Whirlpool Refrigerator Et21Dkxdb04 Users Manual
2015-01-23
: Whirlpool Whirlpool-Whirlpool-Refrigerator-Et21Dkxdb04-Users-Manual-306898 whirlpool-whirlpool-refrigerator-et21dkxdb04-users-manual-306898 whirlpool pdf
Open the PDF directly: View PDF
.
Page Count: 12

CABINET PARTS
1
For Models: ET21DKXDW04, ET21DKXDN04, ET21DKXDB04
(White) (Almond) (Black)
1−96 Litho In U.S.A. (cre) Part No. 4394259
REFRIGERATOR

CABINET PARTS
2
For Models: ET21DKXDW04, ET21DKXDN04, ET21DKXDB04
(White) (Almond) (Black)
4394259
Illus. Part
No. No. DESCRIPTION
1 Cabinet (Not A
Serviceable Part)
2 2174690 Hinge (Top)
3 2166108 Roller−Front (2)
4 489426 Screw
5 489385 Clamp, Tube
(Water Supply Line)
6 489459 Screw
7 489467 Washer, Plain
8 2174899 Bracket, Bottom
Hinge
9 489462 Screw
11 2174650 Screw
12 549193 Clamp−Cord
15 489423 Screw
16 2183066 Hinge, Center
17 2163757 Shim, Hinge
Center
18 489463 Screw
20 2179810 Hinge Butt
21 2172745 Shim
24 Fitting, Water Tube
(NOT SERVICED)
27 Hole Plug (6)
2151652 White
2151653 Almond
2160802 Black
31 2166251 Cover, Valve
35 Corner Filler (2)
2163733 White
2166187 Almond
2166189 Black
36 Grille
2182432 White
2182433 Almond
2182434 Black
37 489341 Washer, Plain
38 487576 Washer, Nylon
39 2176201 Shim
40 Cover−Hinge
2172613 White
2176204 Almond
2176206 Black
41 Rail, Center
(NOT SERVICED)
42 Corner Filler,
Grille
2166156 White
2166204 Almond
2166205 Black
43 2183063 Pin, Hinge
44 2183159 Cover, Unit

LINER PARTS
3
For Models: ET21DKXDW04, ET21DKXDN04, ET21DKXDB04
(White) (Almond) (Black)
4394259

LINER PARTS
4
For Models: ET21DKXDW04, ET21DKXDN04, ET21DKXDB04
(White) (Almond) (Black)
4394259
Illus. Part
No. No. DESCRIPTION Illus. Part
No. No. DESCRIPTION Illus. Part
No. No. DESCRIPTION
1 Liner (Not A
Serviceable Part)
2 531933 Grommet (2)
3 2166181 Gasket, Evaporator
Cover (Side)
4 2193084 Timer, Defrost
5 549512 Thermostat Tube
Barrier
6 941839 Hole Plug
7 2193074 Wire Assy.
Control Box
8 2162085 Socket, Light (2)
9 2179853 Damper, Air
10 2176298 Fan Motor
11 2163777 Fan Blade
12 2174672 Control Box
13 2193033 Thermostat Assembly
(Includes Items
5, 18, & 36)
14 2176341 Clip, Defrost
Timer
15 489412 Screw
16 2183153 Cover−Evaporator
17 946059 Light Bulb (2)
18 2163802 Weight, Thermal
19 1118894 Rocker Arm
Switch
20 2174610 Wire Assembly,
Freezer Compartment
21 2176281 Cover, Air
Diffuser
22 2184572 Knob, Thermostat
23 2182340 Air Tower
24 2176280 Air Diffuser,
Bottom
25 2190589 Freezer Floor
26 2179877 Air Diffuser, Top
27 2183038 Cover, Hole
29 2163827 Bracket,
Fan Motor
30 2166179 Gasket, Evaporator
Cover (Top)
31 2174629 Air Return & Foil
Assembly
32 487996 Cap
33 489438 Screw
34 2182479 Knob, Damper
36 2172532 Seal, Rear
Thermostat
37 2171931 Valve, Release
38 2184574 Gear Wheel,
Thermo
39 2182382 Housing Base
41 2193096 Wiring Harness,
Freezer Light
42 2182384 Electrical Shield,
Freezer Light
43 850166 Light Bulb
45 2172624 Shroud, Icemaker
46 2166274 Wiring Harness,
Freezer Light
48 2166284 Gasket, Rear
49 2193051 Pullout, Freezer
Floor
50 2176242 Rear Fence, Pull−
Out Freezer Floor
51 2176246 Roller, Slide
52 2179713 Side Support,
Floor Assembly
53 2179714 Center Support,
Floor Assembly
54 2179721 Trim, Pullout
Freezer Floor

SHELF PARTS
5
For Models: ET21DKXDW04, ET21DKXDN04, ET21DKXDB04
(White) (Almond) (Black)
4394259

SHELF PARTS
6
For Models: ET21DKXDW04, ET21DKXDN04, ET21DKXDB04
(White) (Almond) (Black)
4394259
Illus. Part
No. No. DESCRIPTION
1 2172637 Shelf, Ladder (2)
2 2172638 Shelf, Ladder
Center
3 2163762 Cup, Shelf Mtg.
4 2169933 Egg Bin
5 489415 Screw
6 520965 Screw Support
7 2174447 Frame Assembly,
Shelf (2)
9 2176234 Crisper Cover
11 2176235 Glass, Crisper
Cover
12 2179717 Frame Assembly,
Meat Shelf
13 2172684 Gasket, Crisper
Cover
14 2169608 Hook, Shelf
15 2163832 Crisper, Support
16 2184418 Shelf Assembly,
Spillguard (2)
17 2166223 Shelf, Freezer
19 2176395 Pan, Crisper Wide
20 2176290 Pan, Meat
22 489419 Screw
24 2166112 Shelf, Freezer
(Top)
26 2184459 Bracket, Shelf
Mounting (L.S.)
27 2176241 Track Assembly,
Shelf
32 2176222 Slide, Crisper
35 2174616 Ice Bucket
36 2176223 Body, Humidity
Control
37 2169935 Cover
38 2164373 Egg Carrier
43 2190552 Trim, Crisper Pan
44 2190556 Trim, Meat Pan
45 2184420 Shelf Assembly,
Spillguard
46 841180 Ice Cube Tray
47 2176360 Trim, Ice Bucket
48 2174648 Shelf Assembly,
Spillguard
49 2172625 Bracket, Shelf
Mounting (R.S.)
50 489438 Screw
51 2176270 Fastener
52 2172626 Shelf, Ice Tray
53 2176292 Support, Ice
Tray Shelf

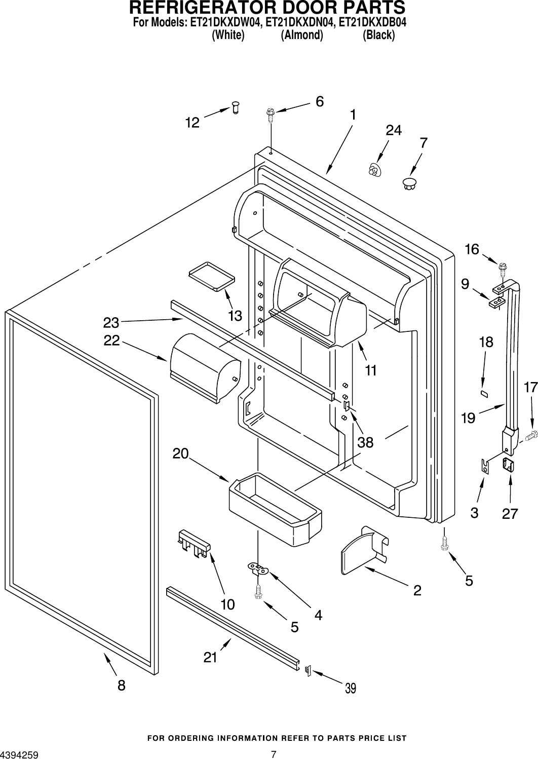
REFRIGERATOR DOOR PARTS
7
For Models: ET21DKXDW04, ET21DKXDN04, ET21DKXDB04
(White) (Almond) (Black)
4394259

REFRIGERATOR DOOR PARTS
8
For Models: ET21DKXDW04, ET21DKXDN04, ET21DKXDB04
(White) (Almond) (Black)
4394259
Illus. Part
No. No. DESCRIPTION
1 Refrigerator Door
(Includes #8)
2171202 White
2171239 Almond
2171240 Black
2 2171284 Divider,
Door Bin
3 2183124 Shim, Handle
4 Bracket, Door
Stop
2159368 White And
Almond Models
2159364 Black Model
5 488921 Screw, 8 x 1/2
6 489028 Screw, 8−15 x 1/2
7 Hole Plug
844478 White
989196 Almond
2160808 Black
8 Door Gasket,
Magnetic
2159061 Mist Beige
2177311 Black
9 2151813 Shim, Handle
10 2173643 Tall Bottle Retainer
11 2156064 Housing Compartment
12 2183003 Thimble
13 2159302 Tray, Door
16 489006 Screw
17 487909 Screw
18 2179398 Shim, Handle
19 Handle
2179311 White
2179312 Almond
2179313 Black
20 2179606 Bin, Door Shelf (4)
21 2177261 Trim, Door Shelf
22 2182402 Door Compartment
23 2159306 Trim−Door Shelf
24 Hole Plug, Handle
1122653 White
1122654 Almond
2160809 Black
27 Cover, Endcap
2174006 White
2174007 Almond
2174008 Black
38 2177340 Endcap, Door Trim
39 2159300 Plug−Trim

UNIT PARTS
9
For Models: ET21DKXDW04, ET21DKXDN04, ET21DKXDB04
(White) (Almond) (Black)
4394259

UNIT PARTS
10
For Models: ET21DKXDW04, ET21DKXDN04, ET21DKXDB04
(White) (Almond) (Black)
4394259
Illus. Part
No. No. DESCRIPTION Illus. Part
No. No. DESCRIPTION Illus. Part
No. No. DESCRIPTION
1 2182403 Plate, Unit
Mounting
2 2182380 Defrost Bimetal
3 2179882 Condenser
4 2166124 Heater, Defrost
5 2166209 Evaporator Assy.
6 489414 Screw
7 2172620 Drain Pan
8 2176301 Bracket, Heater
9 489242 Screw
10 2163780 Extension, Air
Baffle
11 2169464 Clamp
(Production Only)
12 2162358 Cover
(Service Only)
13 Overload
2169407 (Production)
2154760 (Service)
14 Grommet (4)
2183042 (Production)
1100826 (Service)
15 2169337 Module
17 2163782 Roller (2)
18 2179826 Rivet
19 2182338 Clip, Heater
20 489473 Screw
21 Nut
(Not Serviced)
28 2169403 Compressor
(Includes Items
11, 12, 13, 14,
21, 29, 32, 38
And 56)rder
(Also Order 482801
Installation Kit
& 876765 Tube Kit)
29 2174865 Drier
30 2155774 Clamp
32 Capacitor
2169373 (Production Comp.)
2169137 (Service Comp.)
38 1127675 Wire Assembly
39 2182395 Air Baffle
40 2176336 Motor, Condenser
42 2184587 Wire Assy. Unit
43 851732 Fan Blade
44 486692 Nut
46 2184451 Tube, Discharge
47 2182475 Tube, Suction
48 2154109 Tube, Process
49 2174670 Tube, Condenser
To Heat Loop
56 487240 Screw
58 2176276 Evap. Tray
Following Parts Not Illustrated
and Optional Parts Not Included
978025 Valve, Access
(1/4")
978026 Valve, Access
(5/16")
978027 Valve, Access
(3/8")
978028 Valve, Access
(1/2")
978029 Valve, Access
(5/8")
978030 Valve, Access
(3/4")
876764 Valve, Access
(3/16")
482278 Start Kit
REFRIGERANT CHARGE
4.0 Ozs.
(R134A)

FREEZER DOOR PARTS
11
For Models: ET21DKXDW04, ET21DKXDN04, ET21DKXDB04
(White) (Almond) (Black)
4394259
Illus. Part
No. No. DESCRIPTION Illus. Part
No. No. DESCRIPTION Illus. Part
No. No. DESCRIPTION
1 Freezer Door
(Includes #8)
2182490 White
2184404 Almond
2184405 Black
4 2159367 Bracket, Door
Stop
5 488921 Screw
6 489028 Screw, 8−15 x 1/2
7 Hole Plug
844478 White
989196 Almond
2160808 Black
8 Door Gasket,
Magnetic
2159060 Mist Beige
2177310 Black
12 2183003 Thimble
14 2151813 Shim, Handle
15 1123293 Divider, Door Shelf
16 489006 Screw
17 2171265 Trim, Door
Shelf (2)
18 Nameplate
2180544 White
2180545 Almond
2180546 Black
19 Handle
2179302 White
2179303 Almond
2179304 Black
20 Hole Plug
2174433 White
2174434 Almond
2174435 Black
22 2156002 EndCap, Trim (4)

LITERATURE AND OPTIONAL PARTS
12
For Models: ET21DKXDW04, ET21DKXDN04, ET21DKXDB04
(White) (Almond) (Black)
4394259
Illus. Part
No. No. DESCRIPTION Illus. Part
No. No. DESCRIPTION Illus. Part
No. No. DESCRIPTION
Parts Not Illustrated and
Optional Parts (Not Included)
Miscellaneous
978941 Insulation,
Fiberglass
(63−1/2" x 35−1/2"
x 2−5/8")
212643 Sealer, Gum
(4 Feet)
479502 Tape, Vinyl
(3/4" x 108")
876305 Kit, Insulation
(14 Pcs.
3" x 24" x 48")
876370 Kit, Insulation
(2 Pcs.
3" x 24 " x 48")
876029 Kit, Foam Slab
(30" x 32−1/2" x
1−1/2")
505587 Sealer, Mastic
(1 Qt.)
511873 Touch−Up, White
Porcelain (2 Oz.)
542638 Grease, Silicone
(1/2 Oz.)
542639 Cement,
Alumilastic
(1−1/4 Oz.)
606755 Bag, Insulation
(36−5/8" x 46")
799833 Kit, Evaporator
Repair
(Aluminum Epoxy)
799832 Kit, Porcelain
Repair (White)
503695 Cork Sealer
(1/4 Pound)
2176379 Door Reversal
Instructions
Customer Touch−Up Material
350942 Primer, White
(13 Oz. Spray Can)
350939 Enamel, Black
(13 Oz. Spray Can)
350930 Enamel, White
(13 Oz. Spray Can)
350956 Enamel, Almond
(13 Oz. Spray Can)
72017 Brush Touch−Up Kit
(White)
72032 Brush Touch−Up Kit
(Black)
72107 Brush Touch−Up Kit
(Almond)
Refinishing Material
799344 Enamel, White
(1 Qt. Uncut)
978883 Enamel, Almond
(1 Qt. Uncut)
833938 Kit, Terminal
Connector
Caution: The Spray Paint Is Not
To Be Used Where The Paint
May Make Contact With The
Door Gaskets
LITERATURE PARTS
LIT2193088
Service &
Wiring Sheet
LIT2182504
Energy Hang Tag
LIT2184589
Use & Care Guide
Following May Be Purchased
DO−IT−YOURSELF
REPAIR MANUALS
LIT677969
Do−It−Yourself
Manual Ref./Fzr.
LIT677971
Do−It−Yourself
Manual, Icemaker
FIELD INSTALLABLE
ICE MAKER
ECKMF94
TORX SCREW WRENCH
1117510 Torx Key