Whirlpool Refrigerator Gd5Nhaxmb00 Users Manual
2015-01-23
: Whirlpool Whirlpool-Whirlpool-Refrigerator-Gd5Nhaxmb00-Users-Manual-306906 whirlpool-whirlpool-refrigerator-gd5nhaxmb00-users-manual-306906 whirlpool pdf
Open the PDF directly: View PDF
.
Page Count: 21

CABINET PARTS
1
For Models: GD5NHAXMQ00, GD5NHAXMT00, GD5NHAXMB00, GD5NHAXML00
(White) (Biscuit) (Black) (Stainless−VCM)
5−04 Printed In U.S.A. (kdj) Part No. 8198499 Rev. B
REFRIGERATOR

CABINET PARTS
28198499
For Models: GD5NHAXMQ00, GD5NHAXMT00, GD5NHAXMB00, GD5NHAXML00
(White) (Biscuit) (Black) (Stainless−VCM)
Illus. Part
No. No. DESCRIPTION Illus. Part
No. No. DESCRIPTION Illus. Part
No. No. DESCRIPTION
LITERATURE PARTS
1 2305892 Energy Guide
2261717 Owner’s Manual
2255774 Service & Wiring
Sheet
2220407 Modular Icemaker
Service Sheet
Following May Be Purchased
DO−IT−YOURSELF
REPAIR MANUALS
787316 Icemaker
2 2174748 Front Roller (2)
3 3400517 Screw
4 2196236 Roller (Rear) (2)
5 489427 Screw
6 2155013 Clip, Grille
7 489478 Screw
8 2156056 Shim
9 2203771 Hinge Top (RC)
11 8281227 Screw
12 Hinge Cover
2203407W White
2203407T Biscuit
2203407B Black
13 2217075 Hinge Bottom (2)
14 Filler, Wrapper
2196094 White
2196150 Biscuit
2196097 Black
15 Grille
2198468W White
2198468T Biscuit
2198468B Black
16 489497 Screw
17 489464 Screw
18 940139 Drain Fitting
19 1108438 Extension Tube
20 1108439 Clip, Drain Tube
21 2188739 Cover, Unit
22 Cabinet (Not A
Serviceable Part)
23 Hinge Cover
2203408W White
2203408T Biscuit
2203408B Black
24 549193 Clamp, Service
Cord
25 489084 Screw
26 2155311 Door Closer,
Lower Cam (2)
27 489483 Screw
28 2186443 Housing, Water
Filter
29 2255519 Water Filter
30 Cap, Water
Filter
2186494W White
2186494T Biscuit
2186494B Black
31 489500 Screw
32 3400113 Screw
33 3400103 Screw
34 2203098 Plate, Screw
35 2305536 Tube, Filter
Outlet
36 2203770 Hinge Top (FC)
37 2255012 Tube, Filter
Inlet

REFRIGERATOR LINER PARTS
3
8198499
For Models: GD5NHAXMQ00, GD5NHAXMT00, GD5NHAXMB00, GD5NHAXML00
(White) (Biscuit) (Black) (Stainless−VCM)
Illus. Part
No. No. DESCRIPTION
1 Liner (Not A
Serviceable Part)
2 2194744 Escutcheon, Meat
Pan Control
3 2182757 Slide Meat
Pan Control
4 2257741 Louver
8 1118894 Switch,
Rocker Arm
9 2206273 Shelf Ladder
10 487539 Screw
12 2261601 Door Control Asm
15 2209753 Air Diffuser
Assembly
18 2162085 Socket
19 2217199 Reservoir
20 2255743 Light Bulb
21 2209769 Light Lens
22 488280 Screw
23 2256035 Bracket,
Dual Crisper
24 2256037 Wire Harness,
Dual Crisper

REFRIGERATOR SHELF PARTS
48198499
For Models: GD5NHAXMQ00, GD5NHAXMT00, GD5NHAXMB00, GD5NHAXML00
(White) (Biscuit) (Black) (Stainless−VCM)
Illus. Part
No. No. DESCRIPTION
1 2223517 Frame Assembly
2 2223261 Snack Bin Asm
3 2223592 Cover, Crisper
4 2196485 Stud Assembly
5 3400894 Screw
6 2223714 Glass, Meat Cover
7 2223591 Glass, Cover
8 2223242 Cover, Meat Pan
9 2196483 Stud Assembly
10 2223235 Crisper Pan Asm
11 2223308 Slide, Humidity
Control
12 2223309 Knob, Humidity
Control
13 2223288 Shelf Pan Assemly
14 2223243 Meat Pan Asm
15 2216624 Egg Bin
16 8281158 Screw
18 2179350 Deflector
22 2255160 Shelf, Slide
Out (2)
23 2223320 Slide, Pan

FREEZER LINER PARTS
5
8198499
For Models: GD5NHAXMQ00, GD5NHAXMT00, GD5NHAXMB00, GD5NHAXML00
(White) (Biscuit) (Black) (Stainless−VCM)

FREEZER LINER PARTS
68198499
For Models: GD5NHAXMQ00, GD5NHAXMT00, GD5NHAXMB00, GD5NHAXML00
(White) (Biscuit) (Black) (Stainless−VCM)
Illus. Part
No. No. DESCRIPTION
1 Liner (Not A
Seviceable Part)
2 2211746 Shelf, Slide Out
Upper
3 Track, Basket−Dual
2301293 Right
2301294 Left
4 941839 Hole Plug
6 2301355 Basket, Tall
(Includes #12)
11 3400893 Screw
12 2195905 Trim, Basket
13 Shelf Track
2301289 Right Side
2301290 Left Side
14 2205837 Shelf
15 2301356 Basket
(Includes #12)
16 486298 Screw (8)
17 842534 Clip, Air Duct (2)
19 2255572 Cover, Emitter
22 2198635 Spring
23 2198634 Pin
25 1115373 Switch, Rocker Arm
26 2220398 P.C. Board
Emitter
27 2255588 Cover, Ice Maker
28 2212321 Slide, Ice Maker
Mounting
29 489478 Screw
30 489214 Screw
32 2162085 Light Socket
33 2255743 Light Bulb
34 8281185 Screw
35 2198633 Flipper
36 2255558 Cover, Receiver
37 2255562 Slide, Ice Maker
Shut Off
38 2255114 P.C. Board,
Receiver
39 2198643 Lens
40 2198589 Light Shield
41 2212340 Light Lens
42 2198641 Bracket, Ice Maker
Cover
43 2155597 Socket, Light
45 Ladder
2198609 Left Side
2198610 Right Side
46 2219878 Shield, Wiring

MOTOR AND ICE CONTAINER PARTS
7
8198499
For Models: GD5NHAXMQ00, GD5NHAXMT00, GD5NHAXMB00, GD5NHAXML00
(White) (Biscuit) (Black) (Stainless−VCM)

MOTOR AND ICE CONTAINER PARTS
88198499
For Models: GD5NHAXMQ00, GD5NHAXMT00, GD5NHAXMB00, GD5NHAXML00
(White) (Biscuit) (Black) (Stainless−VCM)
Illus. Part
No. No. DESCRIPTION
1 2198573 Ice Bin
2 2255574 Crusher Bin
3 2211590 Auger
4 2257021 Blade, Stirring
5 1119007 Spacer, Flat (6)
6 2255460 Cover, Crusher
7 1119013 Blade, Rotary
8 1119005 Spacer, Step (2)
9 2257020 Blade, Fixed
10 1119012 Blade, Rotary
11 2198602 Block, Blade
12 489229 Roll Pin
13 1119006 Blade, Rotary
14 489235 Washer, Plain
15 2198661 Washer, Coupling
16 2220457 Coupling
17 8281164 Screw
18 3400065 Screw
19 2255575 Button, Bin
20 2212371 Latch, Bin
21 2198608 Spring, Latch
22 2198671 Screw (2)
23 8281163 Screw
24 2212369 Holder
25 2220458 Coupling, Bottom
26 2198628 Seal
27 2212370 Washer
29 2198607 Spring
30 999536 Drive Shaft
31 2198655 Bracket, Motor
32 2198594 Dispenser, Motor
33 2198626 Cover
34 8281162 Screw
35 489478 Screw
36 2212365 Sleeve, Coupling

REFRIGERATOR DOOR PARTS
9
8198499
For Models: GD5NHAXMQ00, GD5NHAXMT00, GD5NHAXMB00, GD5NHAXML00
(White) (Biscuit) (Black) (Stainless−VCM)

REFRIGERATOR DOOR PARTS
10 8198499
For Models: GD5NHAXMQ00, GD5NHAXMT00, GD5NHAXMB00, GD5NHAXML00
(White) (Biscuit) (Black) (Stainless−VCM)
Illus. Part
No. No. DESCRIPTION
1 Refrigerator Door
(Includes Item #6)
2255501W White
2255501T Biscuit
2255501B Black
2255501L Stainless−VCM
2 2255421 Dairy Door
3 2223239 Door Bin (2)
4 3400012 Screw
5 2195327 Clip
6 Door Gasket,
Magnetic
2221302 Mist Beige
2221313 Black
7 2223727 Trivet
8 Handle
2186649W White
2186649T Biscuit
2186649B Black
9 3400852 Screw (4)
10 2182178 Door Closer,
Upper Cam
11 489420 Screw
12 Bracket, Door Stop
2206629 Chrome
2206629B Black
13 489491 Screw (4)
14 Trim, Door−Top
2194973W White
2194973T Biscuit
2194973B Black
15 Trim, Door−Bottom
2194969W White
2194969T Biscuit
2194969B Black
16 2255420 Door Compartment
17 2255422 Frame, Can Rack
18 2255424 Air Diffuser Asm
19 2182180 Thimble−Top
20 2220214 Nameplate
21 2255423 Floor, Can Rack
22 2223463 Door Bin
23 2223464 Mat, Bin

FREEZER DOOR PARTS
11
8198499
For Models: GD5NHAXMQ00, GD5NHAXMT00, GD5NHAXMB00, GD5NHAXML00
(White) (Biscuit) (Black) (Stainless−VCM)

FREEZER DOOR PARTS
12 8198499
For Models: GD5NHAXMQ00, GD5NHAXMT00, GD5NHAXMB00, GD5NHAXML00
(White) (Biscuit) (Black) (Stainless−VCM)
Illus. Part
No. No. DESCRIPTION
1 Freezer Door
(Includes #8
And Dispenser
Front Parts)
2260905W White
2260905T Biscuit
2260905B Black
2260905L Stainless−VCM
2 Handle
2186649W White
2186649T Biscuit
2186649B Black
3 2171157 Shelf Bin (4)
4 2195327 Clip
5 2198619 Dispenser Harness
6 2154473 Connector
7 3400852 Screw (4)
8 Door Gasket,
Magnetic
2221303 Mist Beige
2221314 Black
9 2182181 Thimble−Top
10 2219982 Trim, Door Shelf
11 2255459 Bottle, Ice Pack
12 2182179 Door Closer,
Upper Cam
13 489420 Screw
14 Bracket, Door Stop
2206629 Chrome
2206629B Black
15 489491 Screw (4)
16 2304309 Basket,
Tilt−Out (2)
17 3400012 Screw
18 2223334 Trivet,
Tilt−Out (2)
19 488500 Screw
21 Trim, Door−Top
2194973W White
2194973T Biscuit
2194973B Black
22 Trim, Door−Bottom
2194969W White
2194969T Biscuit
2194969B Black

DISPENSER FRONT PARTS
13
8198499
For Models: GD5NHAXMQ00, GD5NHAXMT00, GD5NHAXMB00, GD5NHAXML00
(White) (Biscuit) (Black) (Stainless−VCM)

DISPENSER FRONT PARTS
14 8198499
For Models: GD5NHAXMQ00, GD5NHAXMT00, GD5NHAXMB00, GD5NHAXML00
(White) (Biscuit) (Black) (Stainless−VCM)
Illus. Part
No. No. DESCRIPTION
1 Housing, Dispenser
(Not Serviced)
2 3196537 Screw
3 2194719 Retainer, Levers
4 2256199 Spring, Torsion
5 2196195 Pin
6 2180353 Door, Ice
7 2206423 Door Mechanism
Assembly
8 2205686 Mechanism Delay
9 Grille, Overflow
2206670W White
2206670T Biscuit
2206670B Black
10 2209718 Water Fitting
Assembly (Includes
Water Tube)
11 Lever, Ice
Dispenser
2255431W White
2255431T Biscuit
2255431B Black
12 2180224 Guide, Ice
13 2180200 Lamp Holder
14 2162361 Switch
15 2183771 Bracket, Control
16 3406124 Bulb, Light
17 Lever, Water
Dispenser
2255432W White
2255432T Biscuit
2255432B Black
18 Switch Assembly
(Not Avaialble
Order #23)
19 Overlay, Front
Cover
(Not Available
Order #23)
20 2187406 Wire Assembly
21 Front Cover,
Housing
(Not Available,
Order #23)
22 489000 Screw
23 Front Cover
Assembly
(Includes Items
18, 19, 20 & 21)
2260993W White
2260993T Biscuit
2260993B Black
24 625834 Spacer, Switch (2)
25 2195051 Strain Relief
26 2188355 Bracket, Dispenser

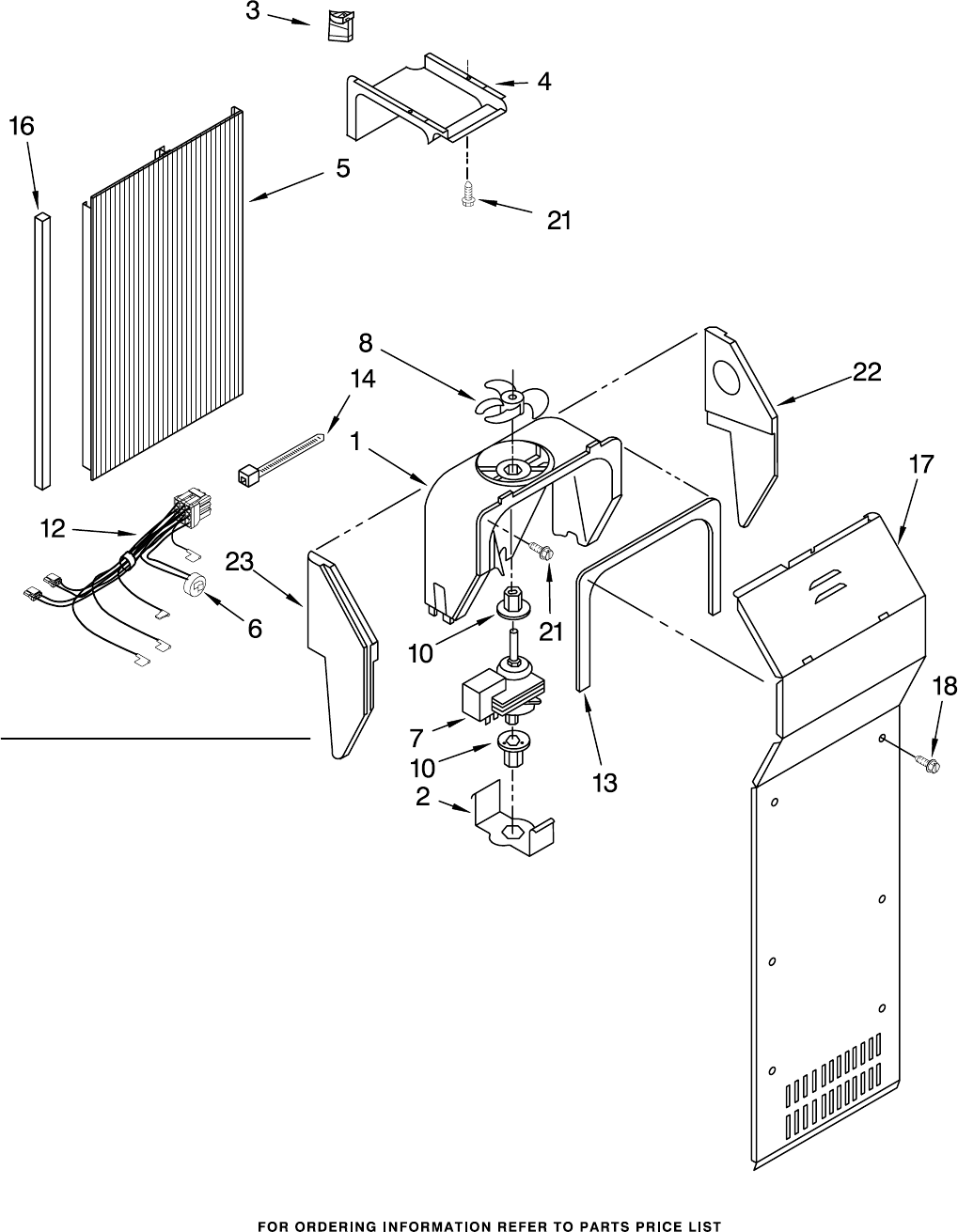
AIR FLOW PARTS
15
8198499
For Models: GD5NHAXMQ00, GD5NHAXMT00, GD5NHAXMB00, GD5NHAXML00
(White) (Biscuit) (Black) (Stainless−VCM)
Illus. Part
No. No. DESCRIPTION
1 2182120 Fan Scroll
2 2155590 Retainer
Fan Motor
3 2198595 Air Scoop
4 2212377 Air Duct, Upper
5 2198580 Air Duct Freezer
6 2188824 Bi−Metal, Defrost
7 2162404 Fan Motor
8 2169142 Fan Blade
10 2176759 Fan Grommet (2)
12 2187826 Harness, Fan
Evaporator
(Includes #6)
13 2155789 Gasket,
Evaporator Cover
14 2172840 Strap
16 2203876 Gasket
17 2206314 Cover, Evaporator
18 489355 Screw (6)
21 489478 Screw
22 2203595 Support, R.S.
23 2203596 Support, L.S.

CONTROL PARTS
16 8198499
For Models: GD5NHAXMQ00, GD5NHAXMT00, GD5NHAXMB00, GD5NHAXML00
(White) (Biscuit) (Black) (Stainless−VCM)
Illus. Part
No. No. DESCRIPTION Illus. Part
No. No. DESCRIPTION Illus. Part
No. No. DESCRIPTION
1 2255222 Control Box
2 2255991 Shield
3 3196537 Screw (4)
4 3400972 Washer
5 2255225 Lens, Light
6 2303804 Electronic
Control
7 489084 Screw (2)
8 940014 Hole Plug
9 2261232 Shield, Electrical
10 2261231 Shield, Electrical
(Internal)
11 2255226 Cam Assembly
12 2255413 Bearing Body
13 3400971 Nut, Hex
15 2255227 Pivot Arm
16 627068 Screw
17 2162085 Light Socket
18 2255666 Shield, Heat
19 2255743 Light Bulb
20 2255235 Control Box
Harness
21 2261329 Shield, Foam
23 2255228 Connecting Rod
24 489285 Fastner, Push−On
25 2261334 Escutcheon,
Control Box
26 2255232 Knob, RC
27 2255992 Knob, FC
28 2216113 Thermistor
29 489203 Spring Washer
31 2261265 Air Seal,
Thermistor

UNIT PARTS
17
8198499
For Models: GD5NHAXMQ00, GD5NHAXMT00, GD5NHAXMB00, GD5NHAXML00
(White) (Biscuit) (Black) (Stainless−VCM)

UNIT PARTS
18 8198499
For Models: GD5NHAXMQ00, GD5NHAXMT00, GD5NHAXMB00, GD5NHAXML00
(White) (Biscuit) (Black) (Stainless−VCM)
Illus. Part
No. No. DESCRIPTION Illus. Part
No. No. DESCRIPTION Illus. Part
No. No. DESCRIPTION
1 486692 Speed Nut
2 2225834 Fan, Blade
3 2223953 Condenser Assembly
4 489464 Screw
5 2216914 Clip, Condenser
6 2261599 Tube, Condenser to
Heat Loop
7 2256150 Heat Shield
And Drain Pan
8 2205765 Tube Suction
9 1115374 Clip, Wiring
10 8281160 Screw
11 2216997 Bracket, Insert
12 4387731 Cover (Service
Compressor Only)
13 2154697 Overload (Service
Compressor Only)
14 2255624 Cover
15 2255199 Clip, Retaining
16 2255198 Start−Device,
Combination
(Start Relay and
Overload) for
Production
Compressor Only
17 Capacitor
999532 Production
1118576 Service
18 2252189 Elec. Control
19 2255623 Control Box
20 2206281 Unit Cover, Bottom
21 489396 Clip
22 2188823 Evaporator
23 2161324 Clip
24 2188729 Motor, Fan
25 1105523 Tray, Evaporator
26 2187748 Harness, Unit
27 Drier
2199167 Production
4387019 Service
28 2255197 Compressor
(Includes Items
12, 13, 17, 27,
29 & 31)
(Also Order
876765 Tube Kit)
29 2183454 Relay
(Service Only)
30 2157397 Unit Mounting
Frame
31 4387765 Wire, Capacitor
(Service Only)
32 2181929 Bracket, Fan Motor
33 2188175 Heater, Defrost
34 2161330 Clip, Heater
37 489373 Screw
39 Grommet (4)
1100826 (Production)
4387558 (Service)
40 489340 Screw
41 2196202 Air Baffle
42 2155547 Clip, Heat
48 1127911 Unit Mounting
Rail
49 8281232 Screw
50 2186495 Guard, Fan
51 2161302 Sleeve
52 2172840 Wire Tie
53 489427 Screw
55 489478 Screw
59 2261316 Clip, Wire & Tube
63 2209709 Union
Following Parts Not Illustrated
and Optional Parts Not Included
978025 Valve, Access
(1/4")
978026 Valve, Access
(5/16")
978027 Valve, Access
(3/8")
978028 Valve, Access
(1/2")
978029 Valve, Access
(5/8")
978030 Valve, Access
(3/4")
876764 Valve, Access
(3/16")
REFRIGERANT CHARGE
5.0 oz.
(R−134A)

ICEMAKER PARTS
19
8198499
For Models: GD5NHAXMQ00, GD5NHAXMT00, GD5NHAXMB00, GD5NHAXML00
(White) (Biscuit) (Black) (Stainless−VCM)

ICEMAKER PARTS
20 8198499
For Models: GD5NHAXMQ00, GD5NHAXMT00, GD5NHAXMB00, GD5NHAXML00
(White) (Biscuit) (Black) (Stainless−VCM)
Illus. Part
No. No. DESCRIPTION
1 489084 Screw
2 2256096 Fitting, Water
Tube
5 628379 Clip, Fuse
9 489478 Screw
10 2188746 Filter Valve Asm
16 2208136 Clip, Tube
18 2174358 Cover
19 488649 Screw
20 628228 Mold & Heater
Assembly (Also
Order 542638
Silicone Grease)
22 628356 Bearing & Inlet
23 627843 Ejector
24 2198598 Ice Stripper
25 2194712 Support
26 627796 Retainer,
Thermostat
27 627985 Thermostat (Also
Order 542369
Cement
Alumilastic)
28 8533917 Screw
29 2212322 Bracket, Ice Maker
Mounting
30 489276 Screw
32 2187467 Harness, Wiring
35 626653 Module Assembly
(Includes Items
37 & 38)
37 627811 Motor
38 489136 Screw
100 2198597 Icemaker Assembly

PARTS NOT ILLUSTRATED
21
8198499
For Models: GD5NHAXMQ00, GD5NHAXMT00, GD5NHAXMB00, GD5NHAXML00
(White) (Biscuit) (Black) (Stainless−VCM)
Illus. Part
No. No. DESCRIPTION Illus. Part
No. No. DESCRIPTION Illus. Part
No. No. DESCRIPTION
Parts Not Illustrated and
Optional Parts (Not Included)
Customer Touch−Up Material
350942 Primer, White
(12 Oz. Spray Can)
350939 Enamel, Black
(12 Oz. Spray Can)
350930 Enamel, White
(12 Oz. Spray Can)
4392901 Enamel, Biscuit
(12 Oz. Spray Can)
8171357 Enamel, Graphite
(12 oz. Spray Can)
72017 Brush Touch−Up Kit
(White)
4392899 Brush Touch−Up Kit
(Biscuit)
72032 Brush Touch−up Kit
(Black)
80051 Brush Touch−up Kit
(Graphite)
Important: The spray paint is
not to be used where the paint
may make contact with the door
gaskets.
Miscellaneous
8129 Coil Brush
212643 Sealer, Gum
(4 Feet)
479502 Tape, Vinyl
(3/4 x 108")
876370 Kit, Insulation
(2 Pcs. x 3" x 24"
X 48")
876305 Kit, Insulation
(14 Pcs. x 3"
x 24" x 48")
978941 Insulation,
Fiberglass
(63−1/2" x 35−1/2"
X 2−5/8)
876029 Kit, Foam Slab
(30" x 32−1/2"
x 1−1/2")
505587 Sealer, Mastic
(1 Qt.)
503695 Cork, Sealer
(1/4 Pound)
511873 Touch−Up, White
Porcelain (2 Oz.)
542638 Grease, Silicone
(1/2 Oz.)
542639 Cement,
Alumilastic
(1−1/4 Oz.)
606755 Bag, Insulation
(36−5/8" x 46")
799833 Kit, Evaporator
Repair
(Aluminum Epoxy)
833938 Kit, Terminal
Connector
2255573 Ice Container−
Crusher Assembly
Refinishing Material
799340 Enamel, Black
(1 Qt. Uncut)
799344 Enamel, White
(1 Qt. Uncut)
4392900 Enamel,
Biscuit
(1 Qt. Uncut)
8171358 Enamel, Graphite
TORX SCREW WRENCH
1117510 Torx Key