Whirlpool Washer Lsq9010Pg1 Users Manual
Whirlpool Washer LSQ9010PG1 upLoadSchematics?pdfName=LSQ9010PW1
2015-01-23
: Whirlpool Whirlpool-Whirlpool-Washer-Lsq9010Pg1-Users-Manual-307778 whirlpool-whirlpool-washer-lsq9010pg1-users-manual-307778 whirlpool pdf
Open the PDF directly: View PDF
.
Page Count: 15

TOP AND CABINET PARTS
1
For Models: LSQ9010PW1, LSQ9010PG1
(White/Grey) (Biscuit/Gold)
8−04 Litho in U.S.A. (drd) Part No. 8180502
AUTOMATIC
WASHER

TOP AND CABINET PARTS
2
For Models: LSQ9010PW1, LSQ9010PG1
(White/Grey) (Biscuit/Gold)
8180502
Illus. Part
No. No. DESCRIPTION
1 Literature Parts
3956025 Installation
Instructions
3955907 Feature Sheet
3955869 Use & Care Guide
3956911 Energy Guide
8564019 Wiring Diagram
Following May Be Purchased
DO−IT−YOURSELF
REPAIR MANUALS
4313896 Manual, Washer
Do−It−Yourself
2 Top
8543451 White
8543452 Biscuit
3 62750 Spacer, Cabinet To
Top (4)
4 357213 Nut, Push−In (2)
5 Cabinet
63424 White
3954357 Biscuit
6 62780 Clip, Top & Cabinet
& Rear Panel (2)
7 3976348 Cabinet −
Sound Damper (3)
8 3351614 Screw, Ground
10 9724509 Bumper, Lid (2)
11 8318084 Switch, Lid
12 3357011 Screw, 10−16 x 1/2
13 355274 Screw, Lid Hinge
Mounting (4)
15 8559336 Hinge, Lid (L.H.)
16 54583 Hinge, Lid (R.H.)
17 19119 Bumper, Lid Hinge
18 8319539 Bearing, Lid
Hinge (2)
19 Lid
8558398 White
8558399 Biscuit
28 3390631 Screw,
10−16 x 3/8 (4)
31 3955788 Cover, Dispenser
32 8519517 Dispenser, Bleach

CONTROLS AND REAR PANEL PARTS
3
For Models: LSQ9010PW1, LSQ9010PG1
(White/Grey) (Biscuit/Gold)
8180502

CONTROLS AND REAR PANEL PARTS
4
For Models: LSQ9010PW1, LSQ9010PG1
(White/Grey) (Biscuit/Gold)
8180502
Illus. Part
No. No. DESCRIPTION Illus. Part
No. No. DESCRIPTION Illus. Part
No. No. DESCRIPTION
1 3976300 Washer, Water
Inlet Hose (4)
(1−1/16 x 5/8)
2 3400073 Screw, Ground
3 Hose, Water
Inlet (2)
3949374 Blue Coupler
3949375 Red Coupler
4 9740848 Screw, 8−18 x 1/2
5 8318255 Strap, Console (2)
6 3357978 Panel, Rear
7 62747 Pad, Rear Panel
8 3951609 Hose, Drain
(4 ft.)
661577 Hose, Drain
(9 ft.)
(Not Included)
3357090 Extension
Drain Hose
(21 Inches)
(Not Included.)
9 8557301 Timer, Control
(60 Hz.)
(Motor Not A
Service Part)
10 3351614 Screw, Ground
11 90767 Screw, 8−18 x 3/8
12 3366845 Switch, Water Level
13 8544893 Bracket, Control
14 661661 Cord, Power
(Includes Item 15)
15 3952821 Strain Relief,
Power Cord
16 Cap, End (L.H.)
8271365 White
8271368 Biscuit
17 8318046 Clip, Capacitor
18 3979347 Valve, Water Inlet
& Thermistor Assy.
19 8316039 Shield, ATC
20 694419 Mini−Buzzer
21 301958 Clamp, Hose
22 8317974 Hose, Vacuum
Break
23 370450 Clamp, Hose
24 387606 Break, Vacuum
25 303294 Edge Protector
26 661606 Capacitor,
Motor Start
27 3366912 Clamp, Hose
28 3976395 Clamp, Hose
30 3363366 Clamp, Hose
31 8317496 Clamp, Hose
32 3951449 Hose, Pump To Tub
(Includes #30)
33 8055003 Clip, Harness
& Pressure Hose
34 8317975 Retainer, Harness
35 8557892 Switch, Water
Temperature
36 3400818 Screw, Timer
Mounting
37 3949180 Switch, Rotary
38 3949187 Switch, Rotary
39 Panel, Console
(Includes Item 40)
3956588 Silver
3956589 Gold
40 3400985 Medallion
44 Knob, Timer
8544945 Silver
8544946 Biscuit
45 Dial, Timer
8544947 White
8544948 Biscuit
46 8536939 Clip, Knob
47 Knob, Control
(Includes Item 46)
8544937 Silver
8544938 Biscuit
49 388326 Screw, 8−18 x 1.25
(Panel to Top)
50 62863 Screw, 10−16 x 3/8
51 Cap, End (R.H.)
8271359 White
8271362 Biscuit
57 8539879 Control, ATC
58 3366913 Clamp, Hose
59 8539874 Shield, Suds
60 3957196 Harness, Wiring
(For Detail See
Pages 9 & 10)
61 3357027 Nozzle−Drain
Hose
62 8317959 Drain Hose
Assembly

5
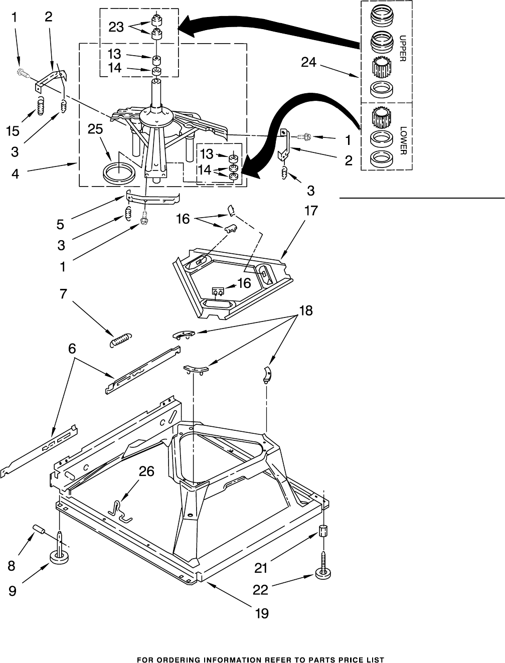
AGITATOR, BASKET AND TUB PARTS
For Models: LSQ9010PW1, LSQ9010PG1
(White/Grey) (Biscuit/Gold)
8180502

AGITATOR, BASKET AND TUB PARTS
6
For Models: LSQ9010PW1, LSQ9010PG1
(White/Grey) (Biscuit/Gold)
8180502
Illus. Part
No. No. DESCRIPTION
1 63580 Dispenser
2 358237 Screw & Washer
(5/16−24 x 1)
3 3363003 Clothes Mover
4 3951632 Agitator
5 8528150 Tub Ring & Gasket
6 3976308 Gasket, Tub Ring
7 3354845 Clip, Agitator
8 3355921 Washer, Agitator
9 3951682 Cam Driven
10 3366877 Dog, Agitator
Clutch
11 3952374 Bearing−Driven
Cam
12 21366 Nut, Spanner
13 8526016 Basket & Balance
Ring
14 2219077 Clip, Pressure
Switch Hose
15 8519788 Balance Ring
16 63849 Tub
17 389140 Block, Basket
Drive
18 383727 Gasket, Centerpost
19 3347780 Hose, Pressure
Switch
20 3951744 Agitator
(Complete)
22 3951608 Spacer, Thrust
23 3354733 Cap, Barrier
24 3348855 Seal, Inner Cap
26 3949550 Washer

MACHINE BASE PARTS
7
For Models: LSQ9010PW1, LSQ9010PG1
(White/Grey) (Biscuit/Gold)
8180502
Illus. Part
No. No. DESCRIPTION
1 3400076 Screw, Bracket
Mounting
(10−32 x 5/8)
2 64067 Bracket, Spring
Outer (2)
3 63907 Spring
Suspension,(3)
4 3362087 Support & Brake,
Tub
5 64065 Bracket, Spring
Outer (L.F.)
6 63466 Link, Leveling
Mechanism (2)
7 62597 Spring, Leveling
Mechanism
8 62837 Pin, Knurled
9 62596 Foot, Rear (2)
13 3347047 Bearing,
Centerpost (2)
14 357409 Seal, Centerpost (3)
15 388492 Spring,
Counterweight
16 62568 Pad, Plate
17 3946509 Plate, Suspension
(Includes Illus. 16)
18 3363660 Pad, Base
19 3946512 Base Assembly
(Includes Illus, 6,
7, 8, 9, 16, 17,
18, & 26 )
21 3359452 Nut, Lock (2)
(3/8−16)
22 389102 Foot, Front (2)
23 356934 Seal, Centerpost (2)
24 285203 Centerpost
Bearing Kit
(Includes Illus.
13, 14 & 23)
25 63134 Ring, Sound
Deadening
26 63806 Retainer,
Suspension Spring

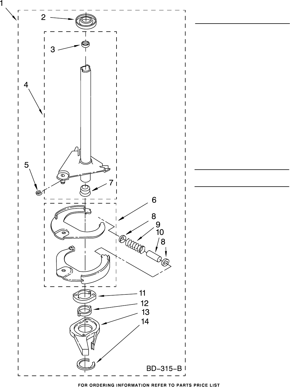
BRAKE, CLUTCH, GEARCASE, MOTOR AND PUMP PARTS
8
For Models: LSQ9010PW1, LSQ9010PG1
(White/Grey) (Biscuit/Gold)
8180502
Illus. Part
No. No. DESCRIPTION Illus. Part
No. No. DESCRIPTION
1 388952 Brake & Drive
Tube (Complete)
(Refer to Page 11
For Further
Breakdown)
2 63292 Washer, Spin
Tube Thrust
3 62697 Ring, Spin
Tube Support
4 63283 Ring, Retainer
5 3951311 Clutch (Complete)
6 3951308 Band & Lining,
Clutch (Includes
Illus. 7 & 8)
7 62646 Cap, Clutch
Spring (2)
8 3946792 Spring, Clutch
9 3360630 Gearcase
(Complete)
(Refer To Page 12
For Further
Breakdown)
10 3357334 Screw, Gearcase
To Base (3)
11 62611 Plate, Motor
Mount To
Gearcase
12 62691 Grommet, Motor (4)
13 285753 Coupling, Motor
& Isolation
15 3355454 Clip,
Anti−Rattle
16 3400516 Screw
17 3349637 Retainer, Motor (2)
18 3362089 Shield, Tub
To Motor
19 8528157 Motor, Main
Drive
20 3952056 Switch, Main
Drive Motor
21 8546127 Retainer, Pump (2)
22 3363394 Pump (Complete)
23 3387485 Screw, 10−16 x 5/8
24 3946532 Shield, Motor

WIRING HARNESS PARTS
9
For Models: LSQ9010PW1, LSQ9010PG1
(White/Grey) (Biscuit/Gold)
8180502

WIRING HARNESS PARTS
Illus. Part
No. No. DESCRIPTION Illus. Part
No. No. DESCRIPTION Illus. Part
No. No. DESCRIPTION
1 3349557 Clip, Harness
2 388498 Clip, Harness
3 3347812 Clip, Harness
4 3352501 Clip, Harness
5 90016 Clip, Harness
6 3390496 Clip, Harness
7 389379 Retainer,
(Suds Models)
8 Timer, Block
Disconnect
3948614 White
352089 Black
9 62889 Receptacle,
Terminal
(3−Way)
(Lid Switch)
(Use Term.94613)
Or 94614.)
10 353424 Plug, Terminal
(3−Way)
(Power Cord)
(Use Term.94613)
11 62505 Block, Disconnect
(Motor 2 Speed)
(Use Term.352088)
12 3347243 Block, Disconnect
(Use Term. 352088)
13 63523 Protector
14 717252 Connector
(2−Way)
(Use Term.94614)
15 3352944 Clip, Harness
16 3390423 Block, Disconnect
(12−Way)
(Timer)
(Use Term. 94613)
17 3347730 Receptacle
(6−Way)
(Use Term. 94613)
18 3349494 Connector, Etc
19 3407125 E.T.C. Control
20 3948617 Connector (T.P.A.)
(3−Circuit)
(Lid Switch)
21 3360056 Connector (T.P.A)
(3−Circuit)
(Pressure Switch)
22 Block, Connector
3354925 Cold Valve
3354926 Hot Valve
10
For Models: LSQ9010PW1, LSQ9010PG1
(White/Grey) (Biscuit/Gold)
8180502

Illus. Part
No. No. DESCRIPTION
BRAKE AND DRIVE TUBE PARTS
1 388952 Brake And Drive
Tube (Complete)
2 62658 Ring, Thrust
3 356427 Seal, Drive Tube
4 64027 Tube, Basket
Drive (Includes
Illus. 3, 4, 5 & 9)
5 64035 Ring, Retaining
6 64232 Shoe, Brake (2)
7 62703 "T" Bearing,
Spin Tube
8 3353956 Cap, Brake
Spring (2)
9 387806 Spring, Brake
10 3355360 Sleeve, Brake
Spring
11 661516 Cam, Brake
Release
12 63022 Sleeve, Cam
13 64194 Driver, Brake
Cam
14 90368 Ring, Retaining
FOLLOWING PARTS
NOT ILLUSTRATED
285208 Lubricant
(Use Only In
Brake Shoe
Assembly On
Roller & Pin)
11
For Models: LSQ9010PW1, LSQ9010PG1
(White/Grey) (Biscuit/Gold)
8180502

GEARCASE PARTS
Illus. Part
No. No. DESCRIPTION
1 3360630 Gearcase
(Complete)
2 285202 Cover, Gearcase
3 3349985 Seal, Gearcase
Cover
4 285195 Sealer, Gasket
(.20 Fl. Oz.) (6 ml)
5 63320 Pinion, Spin
(Includes Illus. 25)
6 356427 Seal, Spin
Pinion
7 389387 Shaft, Agitator
(Complete)
8 90369 Ring, Retaining (2)
9 62677 Retainer, Spring
10 62676 Spring, Agitate
11 63273 Gear, Agitate
(Includes 15 and 29)
12 62619 Washer, Agitate
Gear
13 62580 Cam Follower
(Includes 14)
14 62581 Cam, Agitate
(Includes 13)
15 285509 Shaft, Agitator
(Includes 11 and 29)
16 62618 Washer, Cam Thrust
17 16018 Bearing, Thrust
18 85529 Ball, Bearing
19 389230 Bottom and Pinion,
Gearcase
21 285352 Seal, Thrust Plug
22 3351614 Screw, Gearcase
Cover, Mounting (8)
(10−24 x 3/8)
23 3362552 Ring, Retaining
24 285735 Washer Kit,
Thrust
25 62570 Gear, Spin
26 388253 Neutral Assembly
27 3349296 Rack, Connecting
28 62621 Actuator, Shift
29 388815 Washer,
Intermediate
12
For Models: LSQ9010PW1, LSQ9010PG1
(White/Grey) (Biscuit/Gold)
8180502

WATER SYSTEM PARTS
1 285442 Connector Kit,
Plastic Drain
Hose
2 285321 Sleeve Kit,
(Contains 2
Sleeves)
3 370447 Clamp, Hose
4 16272 Connector,
Straight
5 285320 Siphon Break
Kit
(Not Included)
6 65349 Clamp, Hose
7 367031 Drain Protector
(Not Included)
Illus. Part
No. No. DESCRIPTION
13
For Models: LSQ9010PW1, LSQ9010PG1
(White/Grey) (Biscuit/Gold)
8180502

MISCELLANEOUS PARTS
14
For Models: LSQ9010PW1, LSQ9010PG1
(White/Grey) (Biscuit/Gold)
8180502
Illus. Part
No. No. DESCRIPTION
1 3976263 Miscellaneous
Parts Bag
2 3976300 Washer, Inlet
Hose (4)
(1−1/16 x 5/8)
3 3366912 Clamp, Hose
4 3359452 Nut, Lock (2)
(3/8−16)
5 389102 Foot, Front (2)
6 3366913 Clamp, Hose

OPTIONAL PARTS (NOT INCLUDED)
Illus. Part
No. No. DESCRIPTION
For Models: LSQ9010PW1, LSQ9010PG1
(White/Grey) (Biscuit/Gold)
8180502
PAINT, TOUCH−UP (1/2oz.)
72017 White
4392899 Biscuit
PAINT, PRESSURIZED SPRAY
(12 oz.)
350938 Primer, Gray
350930 White
4392901 Biscuit
PAINT, BULK (1 qt.)
799344 White (Uncut)
4392900 Biscuit (Uncut)
OIL
350572 Oil, Gearcase
(16 Oz.)
LUBRICANT
285208 Lubricant (Use
Only in Brake
Shoe Assembly
On Roller and
Pin)
SEALER
285195 Sealer, Gasket
(.20 Fl. Oz.) (6 ml)
ACCESSORY PARTS
367031 Drain Protector
285320 Siphon Break Kit
15