Whirlpool Wtw5500Sq2 Users Manual
WTW5500SQ2 to the manual 14b325d1-09f8-7cc4-7dd6-d27c0a225d1c
2015-01-23
: Whirlpool Whirlpool-Wtw5500Sq2-Users-Manual-307854 whirlpool-wtw5500sq2-users-manual-307854 whirlpool pdf
Open the PDF directly: View PDF
.
Page Count: 13

TOP AND CABINET PARTS
1
For Models: WTW5500SQ2, WTW5500ST2
(White) (Biscuit)
1−08 Litho in U.S.A. (drd) Part No. W10183169 Rev. A
AUTOMATIC
WASHER

TOP AND CABINET PARTS
2
For Models: WTW5500SQ2, WTW5500ST2
(White) (Biscuit)
W10183169
Illus. Part
No. No. DESCRIPTION
1 Literature Parts
W10150593
Installation
Instructions
W10150595
Use & Care Guide
W10150601
Feature Sheet
W10178027
Energy Guide
8577358 Wiring Diagram
Following May Be Purchased
DO−IT−YOURSELF
REPAIR MANUALS
4313896 Manual, Washer
2 Top
8543451 White
8543452 Biscuit
3 62750 Spacer, Cabinet To
Top (4)
4 357213 Nut, Push−In (2)
5 Cabinet
63424 White
3954357 Biscuit
6 62780 Clip, Top & Cabinet
& Rear Panel (2)
7 8566266 Dispenser, Bleach
8 3351614 Screw, Ground
9 8318084 Switch, Lid
10 3390631 Screw,
10−16 x 3/8 (4)
11
W10119828
Screw, Lid Hinge
Mounting (4)
12 9724509 Bumper, Lid (2)
13 8559336 Hinge, Lid (L.H.)
14 91770 Hinge, Lid (R.H.)
15 8319539 Bearing, Lid
Hinge (2)
16 Lid
W10171313
White
W10171314
Biscuit

CONTROLS AND REAR PANEL PARTS
3
For Models: WTW5500SQ2, WTW5500ST2
(White) (Biscuit)
W10183169

4
CONTROLS AND REAR PANEL PARTS
For Models: WTW5500SQ2, WTW5500ST2
(White) (Biscuit)
W10183169
Illus. Part
No. No. DESCRIPTION Illus. Part
No. No. DESCRIPTION Illus. Part
No. No. DESCRIPTION
1 3976300 Washer, Water
Inlet Hose (4)
(1−1/16 x 5/8)
2 3400073 Screw, Ground
3 Hose, Water
Inlet (2)
8571377 Blue Coupler
8571378 Red Coupler
4 9740848 Screw, 8−18 x 1/2
5 8568314 Strap, Console (2)
6 8318015 Panel, Rear
7 62747 Pad, Rear Panel
8
W10122138
Drain Hose
Assembly (Includes
Items 26 & 27)
9 8577356 Timer, Control
(60 Hz.)
(Motor Not A
Service Part)
10 3351614 Screw, Ground
11 90767 Screw, 8−18 x 3/8
12 8577844 Switch, Water Level
13 8544893 Bracket, Control
14 8578842 Cord, Power
(Includes Item 15)
15 3952821 Strain Relief,
Power Cord
16 Cap, End (L.H.)
8271365 White
8271368 Biscuit
17 8572717 Capacitor,
Motor Start
18 3979347 Valve, Water Inlet
W/Thermistor
19 Cap, End (R.H.)
8271359 White
8271362 Biscuit
20 8318046 Clip, Capacitor
21 301958 Clamp, Hose
22 8317974 Hose, Vacuum
Break
23 370450 Clamp, Hose
24 387606 Break, Vacuum
25 8519200 Support, Rear
Panel
26 8541667 Clamp, Hose
27 8541668 Clamp, Hose
28 8577378 U−Bend,
Drain Hose
29 3347868 Cable Tie
30 3363366 Clamp, Hose
31 8317496 Clamp, Hose
32 3951449 Hose, Pump To Tub
(Includes Item 30)
33 8055003 Clip, Harness
& Pressure Hose
34 388326 Screw, 8−18 x 1.25
(Panel To Top)
35
W10113058
Switch, Water
Temperature (ATC)
36 3400818 Screw, Timer
Mounting
37 3949187 Switch, Rotary
38 8539874 Shield, Suds
39 Panel, Console
8578785 White
8578786 Biscuit
40 62863 Screw, 10−16 x 3/8
41 8541669 Bucket, Drain Hose
(Left Half)
42 8541658 Bucket, Drain Hose
(Right Half)
43 Knob, Timer
8566022 White
8566025 Biscuit
44 8566018 Dial, Timer
45 8536939 Clip, Knob
46 Knob, Control
8565944 White
8565947 Biscuit
47
W10044160
Wiring Harness
(For Detail See
Pages 9 & 10)

5
AGITATOR, BASKET AND TUB PARTS
For Models: WTW5500SQ2, WTW5500ST2
(White) (Biscuit)
W10183169

AGITATOR, BASKET AND TUB PARTS
6
For Models: WTW5500SQ2, WTW5500ST2
(White) (Biscuit)
W10183169
Illus. Part
No. No. DESCRIPTION
1 8575076 Dispenser,
Fabric Softener
2 358237 Screw & Washer
(5/16−24 x 1)
3 3363003 Clothes Mover
4 3951632 Agitator
5 8528150 Tub Ring & Gasket
6 3976308 Gasket, Tub Ring
7 3354845 Clip, Agitator
8 8543666 Washer, Agitator
9 3951682 Cam, Driven
10 3366877 Dog, Agitator
Clutch (4)
11 3952374 Bearing, Cam
Driven
12 21366 Nut, Spanner
13 8526016 Basket & Balance
Ring
14 2219077 Clip, Pressure
Switch Hose
15 8519788 Balance Ring
16 63849 Tub
17 389140 Block, Basket
Drive
18 383727 Gasket, Centerpost
19 3347780 Hose, Pressure
Switch
20 3951744 Agitator
(Complete)
22 3951608 Spacer, Thrust
23 3354733 Cap, Barrier
24
W10072840
Seal, Inner Cap
26 3949550 Washer

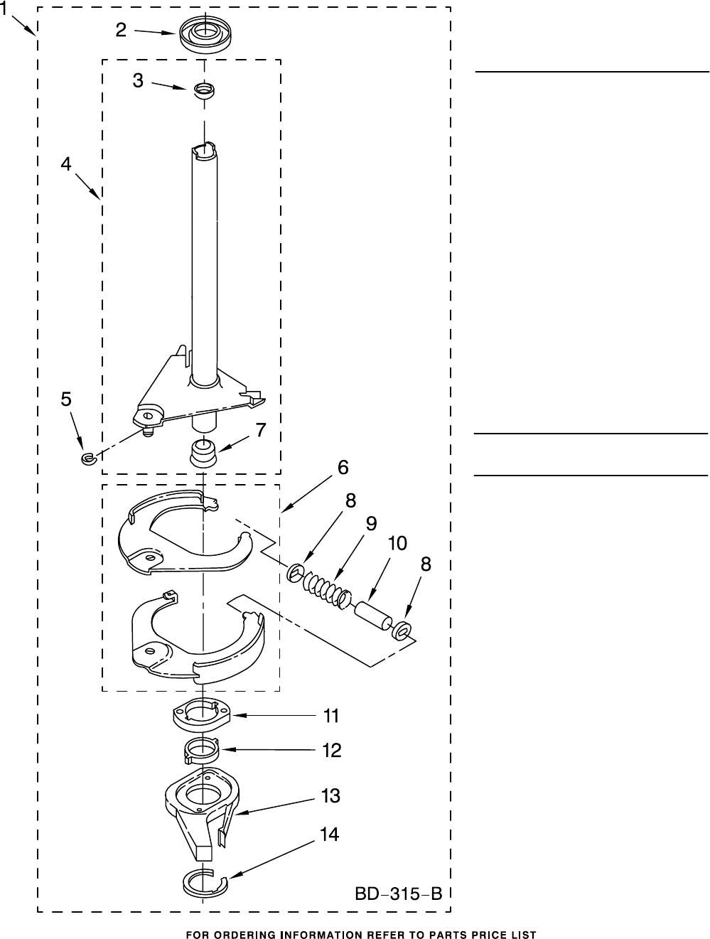
BRAKE, CLUTCH, GEARCASE, MOTOR AND PUMP PARTS
7
For Models: WTW5500SQ2, WTW5500ST2
(White) (Biscuit)
W10183169
Illus. Part
No. No. DESCRIPTION Illus. Part
No. No. DESCRIPTION
1 388952 Brake & Drive
Tube (Complete)
(Refer to Page 11
For Further
Breakdown)
2 63292 Washer, Spin
Tube Thrust
3 62697 Ring, Spin
Tube Support
4 63283 Ring, Retainer
5 3951311 Clutch (Complete)
6 3951308 Band & Lining,
Clutch (Includes
Items 7 & 8)
7 62646 Cap, Clutch
Spring (2)
8 3946792 Spring, Clutch
9 3360630 Gearcase
(Complete)
(Refer To Page 12
For Further
Breakdown)
10 3357334 Screw, Gearcase
To Base (3)
11 62611 Plate, Motor
Mount To
Gearcase
12 62691 Grommet, Motor (4)
13 3364003 Coupling, Motor
& Isolation
14 3946532 Shield, Motor
15 3355454 Clip,
Anti−Rattle
16 3400516 Screw
17
W10086010
Retainer, Motor (2)
18 3362089 Shield, Tub
To Motor
19 8528157 Motor, Main
Drive
20 3952056 Switch, Main
Drive Motor
21 8546127 Retainer, Pump (2)
22 3363394 Pump (Complete)
23 3387485 Screw, 10−16 x 5/8
24 8577374 Seal

MACHINE BASE PARTS
8
For Models: WTW5500SQ2, WTW5500ST2
(White) (Biscuit)
W10183169
Illus. Part
No. No. DESCRIPTION
1 3400076 Screw, Bracket
Mounting
(10−32 x 5/8)
2 64067 Bracket, Spring
Outer (2)
3 63907 Spring
Suspension,(3)
4 8575214 Support & Brake,
Tub
5 64065 Bracket, Spring
Outer (L.F.)
6 63466 Link, Leveling
Mechanism (2)
7 62597 Spring, Leveling
Mechanism
8 62837 Pin, Knurled
9 62596 Foot, Rear (2)
10 8546455 Bearing,
Centerpost (2)
11 357409 Seal, Centerpost (3)
12 388492 Spring,
Counterweight
13 62568 Pad, Plate
14 3946509 Plate, Suspension
(Includes Item 13)
15 3363660 Pad, Base
16 3946512 Base Assembly
(Includes Items 6,
7, 8, 9, 13, 14
15 & 22)
17 3359452 Nut, Lock (2)
(3/8−16)
18
W10001130
Foot, Front (2)
19 8577376 Seal, Centerpost
20 285203 Centerpost
Bearing Kit
(Includes Items
10, 11 & 19)
21 63134 Ring, Sound
Deadening
22
W10145155
Retainer,
Suspension Spring

WIRING HARNESS PARTS
9
For Models: WTW5500SQ2, WTW5500ST2
(White) (Biscuit)
W10183169

WIRING HARNESS PARTS
Illus. Part
No. No. DESCRIPTION Illus. Part
No. No. DESCRIPTION Illus. Part
No. No. DESCRIPTION
1 3349557 Retainer, Harness
2 388498 Clip, Harness
3 3347812 Clip, Harness
4 3352501 Clip, Harness
(Push−In)
5 90016 Clip, Harness
(Half−Harness)
6 3390496 Clip, Harness
7 389379 Retainer, Harness
8 Timer, Block
Disconnect
3948614 Natural
352089 Black
9 62889 Receptacle,
Terminal
(3−Way)
10 353424 Plug, Terminal
(3−Way)
11 62505 Block, Disconnect
(Motor 2 Speed)
12 3347243 Block, Disconnect
13 63523 Protector
14 717252 Connector
(2−Way)
15 3352944 Clip, Harness
16 3390423 Block, Disconnect
(12−Way)
17 3347730 Receptacle
(6−Way)
18 3948617 Connector (T.P.A.)
(3−Circuit)
19 3360056 Plug (T.P.A)
(3−Circuit)
(Pressure Switch)
20 Block, Connector
3354925 Natural
3354926 Red
FOR COMPLETE WIRING HARNESS REFER TO
CONTROL AND REAR PANEL PARTS PAGE
10
For Models: WTW5500SQ2, WTW5500ST2
(White) (Biscuit)
W10183169

Illus. Part
No. No. DESCRIPTION
BRAKE AND DRIVE TUBE PARTS
1 388952 Brake And Drive
Tube (Complete)
2 62658 Ring, Thrust
3 356427 Seal, Drive Tube
4 64027 Tube, Basket
Drive (Includes
Illus. 3, 4, 5 & 9)
5 64035 Ring, Retaining
6 64232 Shoe, Brake (2)
7 62703 "T" Bearing,
Spin Tube
8 3353956 Cap, Brake
Spring (2)
9 387806 Spring, Brake
10 3355360 Sleeve, Brake
Spring
11 661516 Cam, Brake
Release
12 63022 Sleeve, Cam
13 64194 Driver, Brake
Cam
14 90368 Ring, Retaining
FOLLOWING PARTS
NOT ILLUSTRATED
285208 Lubricant
(Use Only In
Brake Shoe
Assembly On
Roller & Pin)
11
For Models: WTW5500SQ2, WTW5500ST2
(White) (Biscuit)
W10183169

GEARCASE PARTS
Illus. Part
No. No. DESCRIPTION
1 3360630 Gearcase
(Complete)
2 285202 Cover, Gearcase
3 3349985 Seal, Gearcase
Cover
4 285195 Sealer, Gasket
(.20 Fl. Oz.) (6 ml)
5 63320 Pinion, Spin
(Includes Illus. 25)
6 356427 Seal, Spin
Pinion
7 389387 Shaft, Agitator
(Complete)
8 90369 Ring, Retaining (2)
9 62677 Retainer, Spring
10 62676 Spring, Agitate
11 63273 Gear, Agitate
(Includes 15 and 29)
12 62619 Washer, Agitate
Gear
13 62580 Cam Follower
(Includes 14)
14 62581 Cam, Agitate
(Includes 13)
15 285509 Shaft, Agitator
(Includes 11 and 29)
16 62618 Washer, Cam Thrust
17 16018 Bearing, Thrust
18 85529 Ball, Bearing
19 389230 Bottom and Pinion,
Gearcase
21 285352 Seal, Thrust Plug
22 3351614 Screw, Gearcase
Cover, Mounting (8)
(10−24 x 3/8)
23 3362552 Ring, Retaining
24 285735 Washer Kit,
Thrust
25 62570 Gear, Spin
26 388253 Neutral Assembly
27 3349296 Rack, Connecting
28 62621 Actuator, Shift
29 388815 Washer,
Intermediate
12
For Models: WTW5500SQ2, WTW5500ST2
(White) (Biscuit)
W10183169

OPTIONAL PARTS (NOT INCLUDED)
13
For Models: WTW5500SQ2, WTW5500ST2
(White) (Biscuit)
W10183169
Illus. Part
No. No. DESCRIPTION
PAINT, TOUCH−UP (1/2oz.)
72017 White
4392899 Biscuit
PAINT, PRESSURIZED SPRAY
(12 oz.)
350938 Primer, Gray
350930 White
4392901 Biscuit
PAINT, BULK (1 qt.)
799344 White (Uncut)
4392900 Biscuit (Uncut)
OIL
350572 Oil, Gearcase
(16 Oz.)
LUBRICANT
285208 Lubricant (Use
Only in Brake
Shoe Assembly
On Roller and
Pin)
SEALER
285195 Sealer, Gasket
(.20 Fl. Oz.) (6 ml)
ACCESSORY PARTS
367031 Drain Protector
280129 Siphon Break Kit
280130 Drain Hose
Adapter Kit
280131 Drain Hose
Extension Kit