Widex A S C4XP C4-XP Hearing Aid User Manual 9 514 0132 001 01 indd
Widex A/S C4-XP Hearing Aid 9 514 0132 001 01 indd
Manual

USER INSTRUCTIONS
THE CLEAR™440 SERIES
C4-XP model
In-the-ear
TENTATIVE
2
YOUR WIDEX CLEAR™440 HEARING
AID
(To be filled out by the hearing care professional)
Date _____________________________________
Batterysize _______________________________
Vent
Vent
Novent
CONTENTS
SYMBOLS. . . . . . . . . . . . . . . . . . . . . . . . . . . . . . . . . . . . . . . .
THEHEARINGAID . . . . . . . . . . . . . . . . . . . . . . . . . . . . . . . .
Acousticindicators . . . . . . . . . . . . . . . . . . . . . . . . . . . . . . . .
Thebattery. . . . . . . . . . . . . . . . . . . . . . . . . . . . . . . . . . . . . . .
Insertingthebattery. . . . . . . . . . . . . . . . . . . . . . . . . . . . .
Lowbatteryindication . . . . . . . . . . . . . . . . . . . . . . . . . .
Turningthehearingaidonandoff. . . . . . . . . . . . . . . . . .
Positioningthehearingaid . . . . . . . . . . . . . . . . . . . . . . . .
Removingthehearingaid . . . . . . . . . . . . . . . . . . . . . . . . .
Volumeadjustment. . . . . . . . . . . . . . . . . . . . . . . . . . . . . . .
Lostpartneralarm. . . . . . . . . . . . . . . . . . . . . . . . . . . . . . . .
Listeningprograms . . . . . . . . . . . . . . . . . . . . . . . . . . . . . . .
Switchingbetweenthelisteningprograms . . . . . . . .
Zen. . . . . . . . . . . . . . . . . . . . . . . . . . . . . . . . . . . . . . . . . .
CLEANING. . . . . . . . . . . . . . . . . . . . . . . . . . . . . . . . . . . . . .
Thehearingaid . . . . . . . . . . . . . . . . . . . . . . . . . . . . . . . . . .
Thesoundoutlet . . . . . . . . . . . . . . . . . . . . . . . . . . . . . . . . .
Thevent . . . . . . . . . . . . . . . . . . . . . . . . . . . . . . . . . . . . . . . .
NANOCAREWAXGUARD . . . . . . . . . . . . . . . . . . . . . . . . .
ChangingtheNanocarewaxguard . . . . . . . . . . . . . . . . .
ACCESSORIES. . . . . . . . . . . . . . . . . . . . . . . . . . . . . . . . . . .
INCASEOFMALFUNCTION . . . . . . . . . . . . . . . . . . . . . . .
CARINGFORYOURHEARINGAID. . . . . . . . . . . . . . . . . .
WARNINGS. . . . . . . . . . . . . . . . . . . . . . . . . . . . . . . . . . . . .
ADVICE . . . . . . . . . . . . . . . . . . . . . . . . . . . . . . . . . . . . . . . .
REGULATORYINFORMATION . . . . . . . . . . . . . . . . . . . . . .
3

4
SYMBOLS
The following symbols will be used throughout the
manual
WARNING
Messages with this heading indicate serious adverse reactions,
potential safety hazards and inadequate performance of device.
CAUTION
Messages with this heading indicate/include information regard-
ing any special care to be exercised.
Not for general waste.

5
THE HEARING AID
Microphoneopenings
Onofffunction
Nailgrip
Soundoutlet
NanoCarewaxguard
Vent(Notinallmodels)

6
WARNING
This booklet contains important information and instructions.
Please read this booklet carefully before you start using the
hearing aid.
NOTE
Your hearing aid and accessories may not look exactly as illustrat-
ed in this booklet. We also reserve the right to make any changes
considered necessary.
7
Intendeduse
TheCLEARhearingaidsareintendedasairconduction
amplificationdevicestobeusedineverydaylistening
environmentsTheCLEARhearingaidsmaybeprovid-
edwiththeZenprogramintendedtoprovidearelaxing
soundbackground(iemusicnoisesource)foradults
whodesiretolistentosuchabackgroundinquiet
Indicationsforuse
Thedevicesareindicatedforindividualswitharangeof
hearinglossseverityfromminimal(dBHL)tomod-
eratelysevere(dBHL)andallhearinglossconfigu-
rations
Theyaretobeprescribedbylicensedhearinghealth-
care professionals (audiologists hearing aid special-
istsotolaryngologists)whoaretrainedinhearing
(re)habilitationaswellastinnitusmanagement
Descriptionofdevice
Thehearingaidusesaproprietarywirelesstechnology
WidexLinktoenablecommunicationbetweentheleft
andtherighthearingaidsaswellasbetweenthehear-
ingaidsandtheDEXaccessories
Yourhearingaidmaybeprovidedwithanlisteningpro-
gram called Zen It makes musical tones (and some-
timesarushingnoise)inthebackgroundThesesounds
areshapedaccordingtoyourhearingloss

8
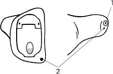
Rightleftidentification
Aright-earhearingaidhasaredWidexlogoandaleft-
earhearingaidabluelogo
The arrow shows the position of the
logo
Acousticindicators
Thehearingaidmaybesettoproduceasignaltoindi-
catetheuseofcertainfunctionsThesignalmaybea
spokenmessageortonesadjustedbythehearingcare
professionalinconsultationwithyouThesignalcan
alsobedeactivated
Adjustingvolumevia
remotecontrol Tone* Off
ConfirmingRCprogramkeyuse Clicking
sound Off
Changingprogramvia
remotecontrol MessageTones Off
Startingupthehearingaid Message Tone Off
Warningaboutlowbattery Message tones Off
Warningaboutlostpartner Message Off
Servicereminder Message Off
* Bold indicates standard setting

9
Thebattery
We recommend zinc-airbatteriesUseasizebat-
teryforthehearingaid
To obtain replacement batteries please consult your
hearingcareprofessionalItisimportanttotakenote
oftheexpirydateandtherecommendationsregarding
disposalofusedbatteriesonthebatterypack
Insertingthebattery
Before inserting a new battery into the
hearing aid, remember to remove the ad-
hesive tab. Once the tab has been re-
moved, the battery will start functioning after a few
seconds.
CAUTION
Do not use batteries if there is a sticky residue from the tab or
other unwanted substance, as this can cause the hearing aid to
malfunction.

10
Usethenailgriptopushthebattery
compartment cover downwards
andopenthecoverDonotpress
thebatterycompartmentcoverbe-
yondtheopenposition
Placethebatterysothattheplus()signofthebattery
facesupwards
You can use the battery magnet provided to
steerthebatteryintoplace
Ifthebatterycompartmentcoverdoesnotcloseeasily
thebatteryisincorrectlyinserted
Whenchangingbatteryitisagoodideatoholdthe
hearingaidoveratable

11
Lowbatteryindication
An acoustic indicator will sound when the battery is
nearlyexhaustedunlessthisfunctionhasbeendisa-
bled(seepage)Werecommendthatyoualwayshave
asparebatterywithyou
WARNING
Never leave an exhausted battery in the hearing aid. Exhausted
batteries may leak, damaging the hearing aid.
WARNING
Your hearing aid may stop functioning, for instance if the
battery is exhausted. You should be aware of this possibility, in
particular when you are in traffic or are otherwise dependent
on warning signals.

12
Turningthehearingaidonandoff
The battery compartment cover of your hearing aid
alsofunctionsastheonoffswitch
Closethebatterycompartmentcoverandpushitup-
wardstoturnthehearingaidonAnacousticindicator
willindicatethatthehearingaidhasbeenswitchedon
unlessthisfunctionhasbeendisabled
Pushthebatterycompartmentcoverdownwardsto
turnthehearingaidoff
Pleaseremembertoturnoffthehearingaidwhenitis
notin use Removethebattery ifthe hearingaidwill
notbeusedforseveraldays

13
Positioningthehearingaid
Closethebatterycompartmentcovercompletely
Hold your hearing aid with your
thumbandfore fingerSlowlyguide
thehearingaidintoyour earcanal
untilyoufeelresistance
Let go of the hearing aid and use
the tip of your forefinger to gen-
tlypushitintoyourearuntilitrests
comfortablyinyourearcanal
Tohelppositionthehearingaid
properlyyoucouldpulltheouter
ear backwards and upwards with
theoppositehand

14
Removingthehearingaid
Holdthehearingaidwithyour
thumbandforefingerandpullgen-
tly
Ifitisdifficultyoucantrytomove
the hearing aid carefully from side
tosideItmayalsohelptopullthe
outer ear backwards and upwards
withtheoppositehand

15
Volumeadjustment
Thehearingaidvolumeisadjustedautomaticallyinac-
cordancewithyoursoundenvironment
Ifyouhavearemotecontrolyoucanalsoadjustthe
volumemanuallyormuteyourhearingaidAnyadjust-
mentofthevolumesettingwillbecancelledwhenyour
hearingaidisturnedofforwhenyouchangeprogram
Inthedefault setting anyvolumeadjustment viathe
remotecontrolwillaffectbothhearingaids
Toaltertheincrementsinwhichthevolumeisincreased
ordecreasedconsultyourhearingcareprofessional
Ifyouhavearemotecontrolpleasealsorefertothe
userinstructionsforthis
Tomutethehearingaidwitharemotecontrol
Keep pressing the volume down key on the remote
controlafterthelongbeep-tonehassoundedandun-
tilitstopsPressingoneofthevolumekeysbrieflywill
bringbackthesound
CAUTION
If the volume in the hearing aid is generally too loud or too
weak, or the reproduced sounds are distorted, or if you would
like any further information, consult your hearing care profes-
sional.
16
Lostpartneralarm
(NoteOnlyapplicableifthisfeaturehasbeenactivated
byyourhearingcareprofessional)
Ifoneofyourhearingaidsfallsoutofyourearand
orthebatteryisexhaustedatonesignalandaspoken
messagewillsoundtwotimesintheotherhearingaid
Listeningprograms
Bydefaultyourhearingaidhasonelisteningprogram
Ifyouhavearemotecontrolyourhearingaidmaybe
providedwithfiveofthefollowingprogramsplusthe
specialZen programcalledZenPlease also referto
theuserinstructionsforyourremotecontrol

17
Master Standard
Music Forlisteningtomusic
TV ForlisteningtotheTV
Comfort Attenuatesbackgroundnoise
Reversefocus Focusonsoundsfrombehind
AudibilityExtender Makeshigh-frequencysounds
audible
Phone Forlisteningtothetelephone
Zen Generatesdifferentkindsoftones
Containsonestyle
Compoundprograms
TheMasterprograminoneearand
ZenAudibilityExtenderReverse
focusorPhoneintheother
Zen SpecialZenprogramwithupto
threedifferentZenstyles

18
Ifyourneedschangeovertimethecombinationoflis-
teningprogramscanbealtered
The Zen program may be used with amplification so
thatboththesurroundingsoundsandtheZentones
areheardtogetherOritmaybeusedalone(without
amplification)inquietwhenyouarenotrequiredto
hearsurroundingsounds
ThedurationoftheZenplaytimecanbesetbyyour
hearingcareprofessionalaccordingtoyourneeds
CAUTION
Use of the different Zen programs may interfere with hearing
surrounding sounds including speech. The programs should not
be used when hearing such sounds is important. Switch the
hearing aid to a non-Zen program in those situations.
CAUTION
If you perceive decrease in loudness, tolerance of sounds,
speech not as clear, or worsening tinnitus, contact your hearing
care professional.
19
Switchingbetweenthelisteningprograms
Each time you change program via a remote control,
an acoustic indicator will sound unless this function
has been disabled.
Program Messageoroneshortbeep
Program Messageortwoshortbeeps
Program Messageorthreeshortbeeps
Program Messageoronelongandoneshortbeep
Program Messageoronelongandtwoshortbeeps
Zen Messageortone
In the default setting, both your hearing aids will be
affected when you change programs.
Zen
Thisprogramisaccessedviaalongpress(twosecs)
ontheRCprogramkeyAshortpressthenallowsyou
tocyclethroughtheavailableZenstyles
YoucanexitZenbypressingandholdingtheprogram
key for two seconds.

20
CLEANING
Thefollowingcleaningaccessoriesareavailableforthe
hearingaid
Cloth
Brush
Waxremovingtool
Contactyourhearingcareprofessionalifyouneedad-
ditionalsuppliesofcleaningaccessories
3.
2.1.

21
Thehearingaid
Itisveryimportantforthehearingaid’sperformance
thatitiskeptfreefromearwaxanddirt
Cleanyourhearingaiddailywith
the soft cloth tokeepitdryand
cleanofearwaxordirt
WARNING
Never clean the hearing aid with water or cleaning solutions, as
this may cause it to malfunction.
Whenthehearingaidisnotin
usethebatterycompartment
covershouldbeleftopentoven-
tilatethehearingaidandallowit
todry

22
Werecommendthatevery timeyoutakethehearing
aidoutofyourearyouinspectthesoundoutletand
theventopeningstoensurethatnoearwaxordirthas
gatheredthereBelowisanexampleofhowthesound
outletandventopeningsmaybepositionedTheposi-
tionscanbeslightlydifferentonyourhearingaid
Soundoutlet
Ventopening

23
Thesoundoutlet
Itisimportantthatthesoundoutletisnotblockedby
earwaxIfitisblockeddoasfollows
Removeanyvisibleearwax
fromaroundthesoundout-
letwiththesmallbrushor
cloth Do not attempt to
cleanthewaxguard
Ifthesoundoutletisstillblockedyoushouldchange
thewaxguard(seepages-)
WARNING
If you cannot clean the sound outlet completely, you should
contact your hearing care professional. Do not insert anything
into the sound outlet as this could damage the hearing aid.

24
Thevent
Ifearwaxhasaccumulatedinandoraroundthevent
openingdoasfollows
Cleananyearwaxfromthevent
bypassingthewaxremoving
toolallthewaythroughthe
vent
WARNING
It is important for the performance of the hearing aid that the
vent is never blocked by earwax. Make it a habit to clean the
vent every day! In rare cases so much earwax can accumulate in
the vent that the hearing aid sound is affected. In that case you
should see your hearing care professional.

25
NANOCARE WAX GUARD
TheNanoCarewaxguardhelpstoprotectthehearing
aidagainstearwaxAlwaysuseNanoCarewaxguards
withyourhearingaidOtherwisethewarrantyforyour
hearingaidwillbevoid
TheNanoCarewaxguardconsistsofthefollowing
parts
Holder
Removalhook
Waxguard
CAUTION
The wax guard is disposable and for one-time use only. Do not
attempt to clean or reuse a wax guard. This could damage your
hearing aid and/or cause the wax guard to become dislodged in
your ear.

26
ChangingtheNanocarewaxguard
Inserttheremovalhookintotheusedwaxguardplaced
inthesoundoutletPullthewaxguardstraightout
Ventopening
Soundoutlet
Usedwaxguard

27
Turntheholderaroundsothatthe
new wax guard is in position to be
inserted
Insert the holder into the open-
ing of the sound outlet and
gently press the wax guard into
the opening.
Thenpulltheholderstraightout
Thenewwaxguardwillautomat-
icallydetachfromtheholder
Press the hearing aid gently
against a flat surface to ensure
thatthewaxguardremainsin
place

28
Discard the holder with the used
waxguard
The frequency with which the NanoCare wax guard
should be changed varies from one individual to an-
other
IfyouhaveanyquestionsregardingyourNanoCare
wax guard please contact your hearing care profes-
sional
WARNING
If the wax guard fits loosely, discard it and insert another. If the
wax guard becomes dislodged from the hearing aid while in the
ear canal, please contact your physician. Do not try to remove
the wax guard from your ear canal yourself.
29
ACCESSORIES
Avarietyofassistivelisteningdevicesareavailablefor
yourhearingaid
• RC-DEX
• TV-DEX
• M-DEX
Forhelpindeterminingwhetheryoucouldbenefitfrom
a remote control or other accessories please consult
yourhearingcareprofessional

30
IN CASE OF MALFUNCTION
The following pages contain some quick advice on
what to do if your hearing aid stops working or per-
formsunsatisfactorilyIftheproblemspersistcontact
yourhearingcareprofessionalforassistance
Problem Possiblecause Solution
Thehearing
aidis
completely
silent
Thehearingaidis
notturnedon
Makesurethebattery
isplacedcorrectly
andthebattery
compartmentcoveris
closed
Thebatterydoes
notwork
Insertanewbatteryin
thehearingaid
Thesoundoutletis
blocked
Seepage
Themicrophone
openingisblocked
Ifyoususpectthat
earwaxordirthas
migratedintothe
microphoneinsidethe
hearingaidcontact
yourhearingcare
professionalDonot
insertanythingintothe
microphoneopening

31
Problem Possiblecause Solution
Thehearing
aidvolumeis
notpowerful
enough
Thebatteryisnearly
exhausted
Insertanewbatteryin
thehearingaid
Thesoundoutletis
blocked
Seepage
Yourearisblocked
byearwax
ContactyourENT
doctorphysician
Yourhearingmay
havechanged
Contactyourhearing
careprofessional
Thehearing
aidwhistles
continuously
Yourearisblocked
byearwax
ContactyourENT
doctorphysician
Thehearingaidis
notcorrectlyplaced
inyourearcanal
Takethehearingaidout
andreinsertit
Thehearingaidfits
looselyinyourear
canal
Contactyourhearing
careprofessional

32
Problem Possiblecause Solution
Ifthehearing
aidisuncom-
fortableto
wear
Thehearingaidis
notcorrectlyplaced
inyourearcanal
Consultyourhearing
careprofessional
onhowtoplacethe
hearingaidcorrectlyin
yourearcanal
Thehearingaid
doesnotfityourear
properly
Contactyourhearing
careprofessional
Yourouterearorear
canalissore
Itisimportantthat
first-timeusersonly
wearthehearingaidfor
shortperiodsoftimeat
thebeginningTheskin
intheearcanalisvery
thinandmayswellabit
becauseofthepressure
fromthehearingaid
Take-weeksto
graduallygetusedto
thehearingaidIfthe
sorenesscontinues
contactyourhearing
careprofessional
Yourhearing
aidsarenot
workingin
synchrony
Theconnection
betweenthehearing
aidsislost
Turnthehearingaids
offandonagain

33
Problem Possiblecause Solution
Thehearing
aidsdonot
respondwith
acorrespond-
ingchange
involumeor
programto
theDEX
a TheDEXisused
beyondthetrans-
missionrange
b Strongelectro-
magneticinterfe-
renceinthe
vicinity
c TheDEXandthe
CLEARhearing
aidsarenot
matched
a MovetheDEXcloser
totheCLEARhearing
aids
b Moveawayfrom
knownsourceofEM
interference
c Checkwithdispenser
tomakesureDEXis
matchedwithCLEAR
hearingaids
Thewearer
hears“inter-
rupted”
speech(on
andoff)from
thehear-
ingaidsor
nospeech
(muted)from
thetrans-
mittingear
a Thebatteryin
oneofthehearing
aidshasexpired
b Strongelectro-
magneticinterfe-
renceinthe
vicinity
a Replacebatteryin
oneorbothhearing
aids
b Moveawayfrom
knownsourcesof
interference

34
CARING FOR YOUR HEARING AID
The hearing aid is a valuable object and should be
treatedwithcareHerearesomethingsyoucandoto
prolongthelifeofyourhearingaid
CAUTION
•Turnoffyour hearingaidwhenitisnot inuseRemovethe
batteryifthehearingaidwillnotbeusedforseveraldays
•Whenthehearingaidisnotinusekeepitinitscaseinacool
drylocationoutofreachofchildrenandpets
•Do not expose the hearing aid to extreme temperatures or
highhumidityMake sure to drythehearing aid thoroughly
afterheavyperspirationsuchasthatwhichmayoccurduring
intensephysicalactivityegplayingsports
•Avoiddroppingyourhearingaid–performcleaningandbat-
terychangeswhileholdingthehearingaidaboveasoftsur-
face
•Donotwearyourhearingaidwhileintheshowerorswim-
ming or when using a hair dryer perfume hair and body
spraysorgelssuchassuntanninglotionsorcreams
•Inenvironmentswithhighhumidityadryingkitmaybeused
dailytoreducetheamountofmoistureinsidethehearingaid
Seetheinstructionsenclosedwiththedryingkit

35
WARNINGS
WARNING
Hearing aids and batteries can be dangerous if swal lowed or
used improperly. Swallowing or improper use can result in
severe injury or even fatalities. In case of ingestion, contact a
physician immediately.
•Keephearingaidsandtheirpartsaccessoriesandbatteries
outofreachofchildrenandanyoneelsewhomightswallow
suchitems orotherwisecause injurytothemselvesDo not
changebatteriesinfrontofthemanddonotletthemsee
whereyoukeepyourbatterysupplyDiscardusedbatteries
carefully
•Batteriesareverysmallandcaneasilybemistakenforpillsor
thelikeNeverputabatteryorhearingaidinyourmouthfor
anyreasonasyoumayriskswallowingit

36
WARNING
•Riskofexplosionifbatteryisreplacedbyanincorrecttype
orrechargedDisposeofusedbatteriesaccordingtothein-
structions
•Never allow others to wear your hearing aid as this could
causepermanentdamagetotheirhear ing
•Whenselectingalisteningprogrampleaserememberthat
therearesituationsinwhichitisparticularlyimportanttobe
abletohearthesurroundingsounds(egtrafficwarningsig-
nals)
•Thehearingaidismadeofmodernnon-allergenicmaterials
NonethelessinrarecasesskinirritationmayoccurIfyouno-
ticeskinirritationinoraroundyourearorearcanalcontact
yourhearingcareprofessional
•Beawarethattheuseofanytypeofhearingaidmayinvolve
aslightlyincreasedriskofinfectionintheearcanalAninfec-
tioncanariseasaresultofinadequateventilationoftheear
Wethereforerecommendthatyouremovethehearingaid
fromyourearatnighttoallowtheearcanaltobeventilated
Makesurethatyoucleanandinspectyourhearingaidasre-
quiredIfaninfectionoccursyoushouldseekmedicalatten-
tionandcontactyourhearingcareprofessionalforadviceon
howtodisinfectthehearingaidDonotunderanycircum-
stancesusealcoholchlorineorsimilarsubstances
•DonotuseWidexhearingaidsinminesorotherareaswith
explosivegases

37
WARNING
•DonotwearyourhearingaidduringradiationX-raysMRIs
CT or other medical treatments and scansTheemissions
from these procedures as well as from other types of radi-
ationsuchasthatinamicrowaveovencandamageyour
hearingaid Radiationfrom forexampleroomsurveillance
equipmentburglaralarmsandmobilephonesisweakerand
willnotdamagethehearingaidbutmaycreateaudiblein-
terference
CAUTION
•Yourhearingaidhasbeentestedforinterferenceaccording
tointernationalstandardsNeverthelessitispossiblethat
unforeseeninterferencemayoccurinthehearingaiddueto
electromagneticradiationfromotherproductssuchasalarm
systemsroomsurveillanceequipmentandmobilephones
•Althoughyourhearingaidhasbeendesignedtocomplywith
themoststringentinternationalelectromagneticcompatibil-
itystandardsthepossibilitycannotbeexcludedthatitmay
causeinterferencewithotherequipmentsuchasmedicalde-
vices
•Nevertrytoopenorrepairthehearingaidyourself

38
ADVICE
NOTE
•Thehearingaidwillnotrestorenormalhearingandwillnot
preventorimproveahearinglossresultingfromorganic
conditionsHoweverthehearingaidcanhelpyoutomake
thebestpossibleuseofyourremaininghearingabilityYou
shouldalsobearinmindthatitcantaketimetogetusedtoa
newhearingaidandnewsounds
•Inmostcasesusingthehearingaidinfrequentlywillnotper-
mityoutogainfullbenefitfromit
•Theuseofahearingaidisonlypartofhearinghabilitation
andmayneedtobesupplementedbyauditorytrainingand
instructioninlipreading
•Theuseofhearingaidsincreasestheriskofaccumulationof
earwaxContactyourphysicianENTdoctorifyoususpect
that aplugof earwax has accumulated inyourearEarwax
maynotonlyreduceyourownhearingbutalsotheeffectof
thehearingaidconsiderablyItisagoodideatoaskyourphy-
siciantocleanyourearsacoupleoftimesayear
39
FCCIDTTY-CXP
ICB-CXP
FederalCommunicationsCommissionStatement
ThisdevicecomplieswithpartoftheFCCRules
Operationissubjecttothefollowingtwoconditions
()Thisdevicemaynotcauseharmfulinterferenceand
()thisdevicemustacceptanyinterferencereceived
includinginterferencethatmaycauseundesired
operation
NOTE
Thisequipmenthasbeentestedandfoundtocomply
withthelimitsforaClassBdigitaldevicepursuant
topartoftheFCCRulesTheselimitsaredesigned
toprovidereasonableprotectionagainstharmful
interferenceinaresidentialinstallationThisequipment
generatesusesandcanradiateradiofrequencyenergy
andifnotinstalledandusedinaccordancewiththe
instructionsmaycauseharmfulinterferencetoradio
communicationsHoweverthereisnoguaranteethat
interferencewillnotoccurinaparticularinstallationIf
thisequipmentdoescauseharmfulinterferencetoradio
ortelevisionreceptionwhichcanbedeterminedby
turningtheequipmentoffandontheuserisencouraged
totrytocorrecttheinterferencebyoneormoreofthe
followingmeasures
40
—Reorientorrelocatethereceivingantenna
— Increasetheseparationbetweentheequipmentand
receiver
— Connecttheequipmentintoanoutletonacircuit
differentfromthattowhichthereceiverisconnected
— ConsultthedealeroranexperiencedradioTV
technicianforhelp
NOTE
ThisequipmentcomplieswithFCCradiationexposure
limitssetforthforanuncontrolledenvironmentThis
transmittermustnotbeco-locatedoroperatingin
conjunctionwithanyotherantennaortransmitter
Changesormodificationstotheequipmentnotexpressly
approvedbyWidexcouldvoidtheuser’sauthorityto
operatetheequipment
IndustryCanadaStatement
Déclarationd’industrieCanada
UnderIndustryCanadaregulationsthisradiotransmitter
mayonlyoperateusinganantennaofatypeand
maximum(orlesser)gainapprovedforthetransmitterby
IndustryCanada
Toreducepotentialradiointerferencetootherusersthe
antennatypeanditsgainshouldbesochosenthatthe
equivalentisotropicallyradiatedpower(eirp)isnot
morethanthatnecessaryforsuccessfulcommunication
41
ThisdevicecomplieswithIndustryCanadalicence-
exemptRSSstandard(s)Operationissubjecttothe
followingtwoconditions
()thisdevicemaynotcauseinterferenceand
()thisdevicemustacceptanyinterferenceincluding
interferencethatmaycauseundesiredoperationofthe
device
Conformémentàlaréglementationd’IndustrieCanada
leprésentémetteurradiopeutfonctionneravecune
antenned’untypeetd’ungainmaximal(ouinférieur)
approuvépourl’émetteurparIndustrieCanada
Danslebutderéduirelesrisquesdebrouillage
radioélectriqueàl’intentiondesautresutilisateursil
fautchoisirletyped’antenneetsongaindesorteque
lapuissanceisotroperayonnéeéquivalente(pire)ne
dépassepasl’intensiténécessaireàl’établissementd’une
communicationsatisfaisante
LeprésentappareilestconformeauxCNRd’Industrie
Canadaapplicablesauxappareilsradioexemptsde
licenceL’exploitationestautoriséeauxdeuxconditions
suivantes
()l’appareilnedoitpasproduiredebrouillageet
()l’utilisateurdel’appareildoitacceptertoutbrouillage
radioélectriquesubimêmesilebrouillageest
susceptibled’encompromettrelefonctionnement

42
REGULATORY INFORMATION
HerebyWidexASdeclaresthatthisC-XPisincom-
pliancewiththeessentialrequirementsand otherrel-
evantprovisionsofDirectiveEC
AcopyoftheDeclarationofConformitycanbefound
athttpwwwwidexcom

43
Hearing aids accessories and batter-
iesshouldnotbedisposedofwithnor-
mal household waste Please consult your
national Widex distributor for advice on
howtodisposeoftheseitems

¡9 514 0132 001S¤ Printed by HTO / 2011-04
9 514 0132 001 #01
¡#01v¤
Manufacturer