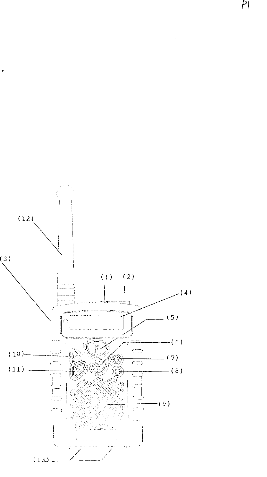
Wintecronics FRS-268 User Manual 8
Wintecronics Ltd 8
UserManual.wiki
>
Wintecronics
>
FRS 268 User Manual
8
Navigation menu
Upload a User Manual
Namespaces
Wiki Guide
HTML
PDF
Info
Views
User Manual
Discussion / Help
Navigation