Wireless N2L5-3S1-01 Point-to-point communication transmitter User Manual Unknown
Wireless Inc Point-to-point communication transmitter Unknown
UserManual.wiki
>
Wireless
>
N2L5 3S1 01 User Manual HTML Version
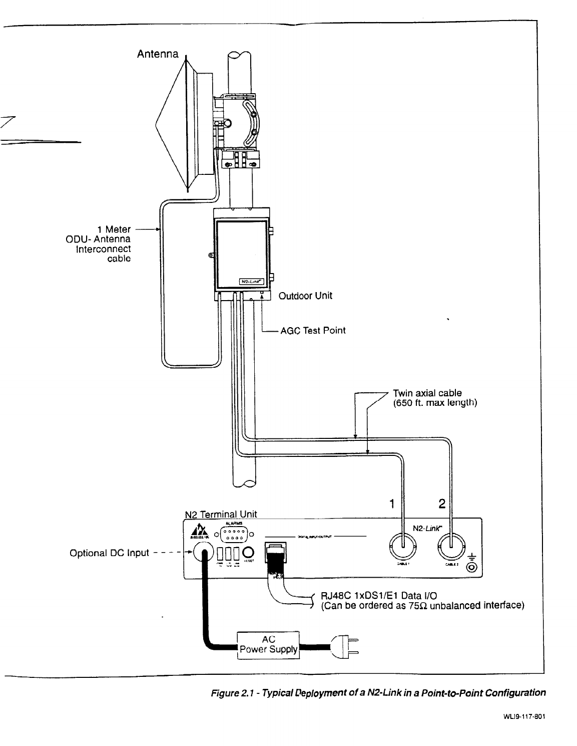
manual operation description
Navigation menu
Upload a User Manual
Namespaces
Wiki Guide
HTML
PDF
Info
Views
User Manual
Discussion / Help
Navigation