Wirepath Home Systems SnapAV 300CUBE Network Camera User Manual

Wirepath Home Systems. DBA SnapAV Network Camera Users Manual

Users Manual

 0                       Network Cube Camera  Quick Start Guide UD04383N-A
Network Cube Camera·Quick Start Guide  1 1 About this Manual This Manual is applicable to 24xx Network Camera. The Manual includes instructions for using and managing the product. Pictures, charts, images and all other information hereinafter are for description and explanation only. The information contained in the Manual is subject to change, without notice, due to firmware updates or other reasons. Please find the latest version in the company website   Please use this user manual under the guidance of professionals. Legal Disclaimer REGARDING TO THE PRODUCT WITH INTERNET ACCESS, THE USE OF PRODUCT SHALL BE WHOLLY AT YOUR OWN RISKS. OUR COMPANY SHALL NOT TAKE ANY RESPONSIBILITES FOR ABNORMAL OPERATION, PRIVACY LEAKAGE OR OTHER DAMAGES RESULTING FROM CYBER ATTACK, HACKER ATTACK, VIRUS INSPECTION, OR OTHER INTERNET SECURITY RISKS; HOWEVER, OUR COMPANY WILL PROVIDE TIMELY TECHNICAL SUPPORT IF REQUIRED.   SURVEILLANCE LAWS VARY BY JURISDICTION. PLEASE CHECK ALL RELEVANT LAWS IN YOUR JURISDICTION BEFORE USING THIS PRODUCT IN ORDER TO ENSURE THAT YOUR USE CONFORMS THE APPLICABLE LAW. OUR COMPANY SHALL NOT BE LIABLE IN THE EVENT THAT THIS PRODUCT IS USED WITH ILLEGITIMATE PURPOSES.   IN THE EVENT OF ANY CONFLICTS BETWEEN THIS MANUAL AND THE APPLICABLE LAW, THE LATER PREVAILS. Regulatory Information FCC Information
Network Cube Camera·Quick Start Guide  2 2 Please take attention that changes or modification not expressly approved by the party responsible for compliance could void the user’s authority to operate the equipment. FCC compliance: This equipment has been tested and found to comply with the limits for a Class B digital device, pursuant to part 15 of the FCC Rules. These limits are designed to provide reasonable protection against harmful interference in a residential installation. This equipment generates, uses and can radiate radio frequency energy and, if not installed and used in accordance with the instructions, may cause harmful interference to radio communications. However, there is no guarantee that interference will not occur in a particular installation. If this equipment does cause harmful interference to radio or television reception, which can be determined by turning the equipment off and on, the user is encouraged to try to correct the interference by one or more of the following measures: —Reorient or relocate the receiving antenna. —Increase the separation between the equipment and receiver. —Connect the equipment into an outlet on a circuit different from that to which the receiver is connected. —Consult the dealer or an experienced radio/TV technician for help. This equipment should be installed and operated with a minimum distance 20cm between the radiator and your body. FCC Conditions This device complies with part 15 of the FCC Rules. Operation is subject to the following two conditions: 1. This device may not cause harmful interference.
Network Cube Camera·Quick Start Guide  3 3 2. This device must accept any interference received, including interference that may cause undesired operation. EU Conformity Statement This product and - if applicable - the supplied accessories too are marked with "CE" and comply therefore with the applicable harmonized European standards listed under the EMC Directive 2014/30/EU, the RoHS Directive 2011/65/EU, RE Directive 2014/53/EU. 2012/19/EU (WEEE directive): Products marked with this symbol cannot be disposed of as unsorted municipal waste in the European Union. For proper recycling, return this product to your local supplier upon the purchase of equivalent new equipment, or dispose of it at designated collection points. For more information see: www.recyclethis.info 2006/66/EC (battery directive): This product contains a battery that cannot be disposed of as unsorted municipal waste in the European Union. See the product documentation for specific battery information. The battery is marked with this symbol, which may include lettering to indicate cadmium (Cd), lead (Pb), or mercury (Hg). For proper recycling, return the battery to your supplier or to a designated collection point. For more information see: www.recyclethis.info Industry Canada ICES-003 Compliance This device meets the CAN ICES-3 (B)/NMB-3(B) standards requirements.
Network Cube Camera·Quick Start Guide  4 4 This device complies with Industry Canada licence-exempt RSS standard(s). Operation is subject to the following two conditions:   (1) this device may not cause interference, and (2) this device must accept any interference, including interference that may cause undesired operation of the device. Le présent appareil est conforme aux CNR d'Industrie Canada applicables aux appareils radioexempts de licence. L'exploitation est autorisée aux deux conditions suivantes : (1) l'appareil ne doit pas produire de brouillage, et (2) l'utilisateur de l'appareil doit accepter tout brouillage radioélectrique subi, même si le brouillage est susceptible d'en compromettre le fonctionnement. Under Industry Canada regulations, this radio transmitter may only operate using an antenna of a type and maximum (or lesser) gain approved for the transmitter by Industry Canada. To reduce potential radio interference to other users, the antenna type and its gain should be so chosen that the equivalent isotropically radiated power (e.i.r.p.) is not more than that necessary for successful communication. Conformément à la réglementation d'Industrie Canada, le présent émetteur radio peut fonctionner avec une antenne d'un type et d'un gain maximal (ou inférieur) approuvé pour l'émetteur par Industrie Canada. Dans le but de réduire les risques de brouillage radioélectrique à l'intention des autres utilisateurs, il faut choisir le type d'antenne et son gain de sorte que la puissance isotrope rayonnée équivalente (p.i.r.e.) ne dépasse pas l'intensité nécessaire à l'établissement d'une communication satisfaisante.
Network Cube Camera·Quick Start Guide  5 5 This equipment should be installed and operated with a minimum distance 20cm between the radiator and your body. Cet équipement doit être installé et utilisé à une distance minimale de 20 cm entre le radiateur et votre corps. Safety Instruction These instructions are intended to ensure that user can use the product correctly to avoid danger or property loss.   The precaution measure is divided into “Warnings” and “Cautions” Warnings: Serious injury or death may occur if any of the warnings are neglected. Cautions: Injury or equipment damage may occur if any of the cautions are neglected.  Warnings ● In the use of the product, you must be in strict compliance with the electrical safety regulations of the nation and region. Please refer to technical specifications for detailed information.   Warnings Follow these safeguards to prevent serious injury or death. Cautions Follow these precautions to prevent potential injury or material damage.
Network Cube Camera·Quick Start Guide  6 6 ● Input voltage should meet both the SELV (Safety Extra Low Voltage) and the Limited Power Source with 24 VAC or 12 VDC according to the IEC60950-1 standard. Please refer to technical specifications for detailed information. ● Do not connect several devices to one power adapter as adapter overload may cause over-heating or a fire hazard. ● Please make sure that the plug is firmly connected to the power socket. When the product is mounted on wall or ceiling, the device shall be firmly fixed.   ● If smoke, odor or noise rise from the device, turn off the power at once and unplug the power cable, and then please contact the service center.   ● Proper configuration of all passwords and other security settings is the responsibility of the installer and/or end-user.  Cautions ● Make sure the power supply voltage is correct before using the camera. ● Do not drop the camera or subject it to physical shock. ● Do not touch sensor modules with fingers. If cleaning is necessary, use clean cloth with a bit of ethanol and wipe it gently. If the camera will not be used for an extended period, please replace the lens cap to protect the sensor from dirt.   ● Do not aim the camera at the sun or extra bright places. Blooming or smearing may occur otherwise (which is not a
Network Cube Camera·Quick Start Guide  7 7 malfunction), and affect the endurance of sensor at the same time. ● The sensor may be burned out by a laser beam, so when any laser equipment is in using, make sure that the surface of sensor will not be exposed to the laser beam. ● Do not place the camera in extremely hot, cold (the operating temperature shall be -10°C to +40°C (14°F to 104°F)), dusty or damp locations, and do not expose it to high electromagnetic radiation.   ● To avoid heat accumulation, good ventilation is required for operating environment.   ● Keep the camera away from liquid while in use. ● While in delivery, the camera shall be packed in its original packing, or packing of the same texture. ● Regular part replacement: a few parts (e.g. electrolytic capacitor) of the equipment shall be replaced regularly according to their average enduring time. The average time varies because of differences between operating environment and using history, so regular checking is recommended for all the users. Please contact with your dealer for more details. ● Improper use or replacement of the battery may result in hazard of explosion. Replace with the same or equivalent type only. Dispose of used batteries according to the instructions provided by the battery manufacturer.   ● If the product does not work properly, please contact your dealer or the nearest service center. Never attempt to disassemble the camera yourself. (We shall not assume any
Network Cube Camera·Quick Start Guide  8 8 responsibility for problems caused by unauthorized repair or maintenance.)
Network Cube Camera·Quick Start Guide  9 9 Table of Contents 1 Appearance Description ............................................................... 10 2 Notice ........................................................................................... 14 3 Installation .................................................................................... 16  Memory Card Installation .............................................. 17 3.1 Stand Mounting ............................................................ 17 3.2 Ceiling Mounting ........................................................... 19 3.34 Setting the Network Camera over the LAN .................................. 22  Wiring ........................................................................... 22 4.1 Activating the Camera ................................................... 23 4.2 Activation via Web Browser ................................ 23 4.2.1 Activation via SADP Software ............................. 24 4.2.2 Modifying the IP Address .............................................. 26 4.35 Accessing via Web Browser .......................................................... 29 6 Operating via Guarding Vision App .............................................. 31  Enable Guarding Vision Service on Camera ................... 31 6.1 Enable Guarding Vision Service via SADP Software31 6.1.1 Enable Guarding Vision Service via Web Browser 32 6.1.2 Guarding Vision Setup ................................................... 34 6.2 Adding Camera to Guarding Vision ................................ 34 6.3 Initializing the Memory Card ......................................... 36 6.4 0504051070109
Network Cube Camera·Quick Start Guide  10 10 1 Appearance Description There are two types of appearances for 24 series camera. Please refer to the figure below. And one appearance will be taken as an example in the chapter below.   Type I Appearance Figure 1-1  Type II Appearance Figure 1-2
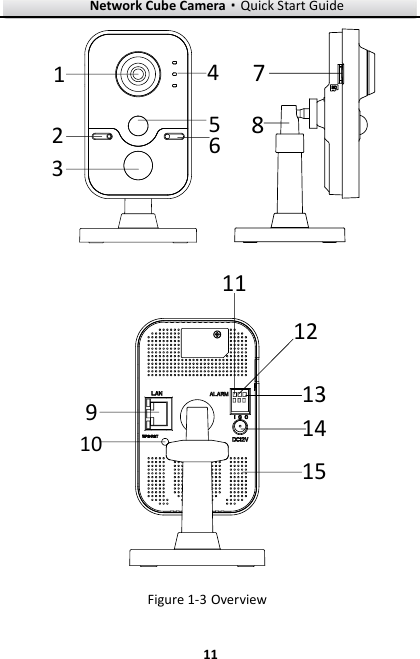
Network Cube Camera·Quick Start Guide  11 11 21346578   1415910121311  Overview Figure 1-3
Network Cube Camera·Quick Start Guide  12 12  Description Table 1-1No. Description 1 Lens 2 Microphone   3 IR LED 4 Indicator Alarm: Solid red when the camera is armed; Solid blue when the camera is unarmed Status: Solid blue when the camera is added to the Guarding Vision Link: Flashing amber when network is connected; Unlit when network is disconnected 4 PIR(Passive Infrared) sensor 5 Light Sensing 6 Memory Card Slot 7 3-axis Bracket 8 10M/100M self-adaptive Ethernet interface & PoE 9 WPS (Wi-Fi Protected Setup)/Reset Button 10 I: Alarm Input Interface 11 G: Grounding
Network Cube Camera·Quick Start Guide  13 13 No. Description 12 O: Alarm Output Interface 13 Power supply interface (12 VDC) 14 Speaker Note:  Press RESET about 10s when the camera is power on or rebooting to restore the default settings, including the user name, password, IP address, port No., etc.  A wireless router with the WPS function is required to enable the WPS function of the camera. Refer the steps below. Steps:  Press the WPS button on the router. 1. Press the WPS button (about 2s) on the camera within 120s 2.you enable the WPS of the router to join in the wireless network. Note:  The WPS button works as a reset button only when you press it when the camera is powering on.  Press the WPS button on the camera, and then press the WPS button on the router will work as well, and the expire time of WPS connection on the camera is 120s.  The link indicator blinks if the wireless connection succeeded.
Network Cube Camera·Quick Start Guide  14 14 2 Notice  Do not install the camera in the extreme whether condition.   Do not touch the lens with your finger.    Do not install the camera towards the strong light or in the unstable lightening condition.   Do not subject the camera to vibration, shock or heavy pressure.
Network Cube Camera·Quick Start Guide  15 15  High humidity may damage the camera hardware; put it in dry and well-ventilated place.   Under no circumstances should you submerge the camera in any type of liquid.    Electromagnetic radiation may affect the video data transmission and the image quality. Do not install the camera near
Network Cube Camera·Quick Start Guide  16 16 3 Installation Before you start: ● Make sure the device in the package is in good condition and all the assembly parts are included. ● The standard power supply is 12V DC or 24V AC, please make sure your power supply matches with your camera. ● Make sure all the related equipment is power-off during the installation. ● Check the specification of the products for the installation environment. ● Make sure that the wall is strong enough to withstand four times the weight of the camera and the bracket. For the camera that supports IR, you are required to pay attention to the following precautions to prevent IR reflection:   ● Dust or grease on the dome cover will cause IR reflection. Please do not remove the dome cover film until the installation is finished. If there is dust or grease on the dome cover, clean the dome cover with clean soft cloth and isopropyl alcohol. ● Make sure that there is no reflective surface too close to the camera lens. The IR light from the camera may reflect back into the lens causing reflection.   ● The foam ring around the lens must be seated flush against the inner surface of the bubble to isolate the lens from the IR LEDS. Fasten the dome cover to camera body so that the foam ring and the dome cover are attached seamlessly.
Network Cube Camera·Quick Start Guide  17 17  Memory Card Installation 3.1This series of camera supports memory card installation. Follow the steps below to install the memory card.  Insert the memory card into the card slot on the side of the 1.camera.  (Optional) Push the inserted memory card to get it sprung out. 2.Memory Card  Install Memory Card Figure 3-1 Stand Mounting 3.2Steps:  Take the bracket out from the package.   1.
Network Cube Camera·Quick Start Guide  18 18   Bracket Figure 3-2 Align the camera body to the bracket, and rotate the camera 2.body to fix it with the bracket.   Install the Camera Body Figure 3-3 Assemble the camera as the steps above, and put the camera 3.on the flat surface.
Network Cube Camera·Quick Start Guide  19 19  Ceiling Mounting 3.3 Drill the screw holes according to the drill template.   1.Drill TemplateScrew hole All:for Mounting Base11  Drill Template Figure 3-4 Disassemble the 3-axis bracket. Hold the base with one hand, 2.and rotate the pole anticlockwise to disassemble the pole from the base.
Network Cube Camera·Quick Start Guide  20 20 PoleBaseFixed TrayKnob  Disassemble the Bracket Figure 3-5 Install the fixed tray to the ceiling with the supplied screws. 3. Install the base to the fixed plate. 4.  Install the Fixed Plate and Mounting Base Figure 3-6 Install the camera to the bracket. 5.
Network Cube Camera·Quick Start Guide  21 21   Install the Camera Figure 3-7 Adjust surveillance angel 6.1). Loosen the knob to adjust the panning position and tilting position. 2). After adjusting the angle of the camera to the desired position, fasten the knob. 90°360°Knob Figure 3-8 Adjust the Camera
Network Cube Camera·Quick Start Guide  22 22 4 Setting the Network Camera over the LAN Note:   You shall acknowledge that the use of the product with Internet access might be under network security risks. For avoidance of any network attacks and information leakage, please strengthen your own protection.   If the product does not work properly, contact your dealer or the nearest service center for help.  Wiring 4.1Connect the camera to network according to the following figures. 半球Network CableorNetwork Camera Computer   Connecting Directly Figure 4-1网络交换机半球Network CableNetwork CableororNetwork Camera Computer   Connecting via a Switch or a Router Figure 4-2
Network Cube Camera·Quick Start Guide  23 23  Activating the Camera 4.2You are required to activate the camera first by setting a strong password for it before you can use the camera. Activation via Web Browser, Activation via SADP, and Activation via Client Software are all supported. We will take activation via SADP software and Activation via Web Browser as examples to introduce the camera activation.   Note:   Refer to the User Manual of Network Camera for Activation via Client Software.    Activation via Web Browser 4.2.1Steps: 1. Power on the camera. Connect the camera to your computer or the switch/router which your computer connects to. 2. Input the IP address into the address bar of the web browser, and press Enter to enter the activation interface. Notes:  The default IP address of the camera is 192.168.1.64.    The computer and the camera should belong to the same subnet.    For the camera enables the DHCP by default, you need to use the SADP software to search the IP address.
Network Cube Camera·Quick Start Guide  24 24   Activation Interface(Web) Figure 4-33. Create a password and input the password into the password field. STRONG PASSWORD RECOMMENDED– We highly recommend you create a strong password of your own choosing (using a minimum of 8 characters, including upper case letters, lower case letters, numbers, and special characters) in order to increase the security of your product. And we recommend you reset your password regularly, especially in the high security system, resetting the password monthly or weekly can better protect your product.   4. Confirm the password. 5. Click OK to save the password and enter the live view interface.  Activation via SADP Software 4.2.2SADP software is used for detecting the online device, activating the camera, and resetting the password.
Network Cube Camera·Quick Start Guide  25 25 Get the SADP software from the supplied disk or the official website, and install the SADP according to the prompts. Follow the steps to activate the camera, please refer to the User Manual of Network Camera for other two activation methods. Steps: 1. Run the SADP software to search the online devices. 2. Check the device status from the device list, and select the inactive device. Select inactive device.Input and confirm password.  SADP Interface Figure 4-4Note: The SADP software supports activating the camera in batch. Refer to the user manual of SADP software for details. 3. Create and input the new password in the password field, and confirm the password.
Network Cube Camera·Quick Start Guide  26 26 STRONG PASSWORD RECOMMENDED– We highly recommend you create a strong password of your own choosing (using a minimum of 8 characters, including upper case letters, lower case letters, numbers, and special characters) in order to increase the security of your product. And we recommend you reset your password regularly, especially in the high security system, resetting the password monthly or weekly can better protect your product. Note: You can enable the Guarding Vision service for the device during activation. Refer to Chapter 6.1 for detailed information. 4. Click Activate to start activation. You can check whether the activation is completed on the popup window. If activation failed, make sure that the password meets the requirement and try again.    Modifying the IP Address 4.3Purpose: To view and configure the camera via LAN (Local Area Network), you need to connect the network camera in the same subnet with your PC. Use the SADP software or client software to search and change the IP address of the device. We take modifying the IP Address via SADP software as an example to introduce the IP address modification. For IP address modification via client software, refer to the user manual of client software.
Network Cube Camera·Quick Start Guide  27 27 Steps: 1. Run the SADP software. 2. Select an activate device. 3. Change the device IP address to the same subnet with your computer by either modifying the IP address manually or checking the checkbox of Enable DHCP.   Modify the IP Address Figure 4-5
Network Cube Camera·Quick Start Guide  28 28 Note: You can enable the Guarding Vision service for the device during activation. Refer to Chapter 6.1 for detailed information. 4. Input the admin password and click Modify to activate your IP address modification. The batch IP address modification is supported by the SADP. Please refer to the User Manual of SADP for details.
Network Cube Camera·Quick Start Guide  29 29 5 Accessing via Web Browser System Requirement: Operating System: Microsoft Windows XP SP1 and above version   CPU: 2.0 GHz or higher RAM: 1G or higher Display: 1024×768 resolution or higher Web Browser: Internet Explorer 8.0 and above version, Apple Safari 5.0.2 and above version, Mozilla Firefox 5.0 and above version and Google Chrome 18 and above version Steps: 1. Open the web browser. 2. In the browser address bar, input the IP address of the network camera, and press the Enter key to enter the login interface. Note:  The default IP address is 192.168.1.64. You are recommended to change the IP address to the same subnet with your computer. 3. Input the user name and password. The admin user should configure the device accounts and user/operator permissions properly. Delete the unnecessary accounts and user/operator permissions. Note: The device IP address gets locked if the admin user performs 7 failed password attempts (5 attempts for the user/operator).
Network Cube Camera·Quick Start Guide  30 30 4. Click Login.   Login Interface Figure 5-15. Install the plug-in before viewing the live video and managing the camera. Please follow the installation prompts to install the plug-in. Note: You may have to close the web browser to finish the installation of the plug-in.   Download Plug-in Figure 5-26. Reopen the web browser after the installation of the plug-in and repeat steps 2 to 4 to login. Note: For detailed instructions of further configuration, please refer to the user manual of network camera.
Network Cube Camera·Quick Start Guide  31 31 6 Operating via Guarding Vision App Purpose: Guarding Vision is an application for mobile devices. With the App, you can view live image of the camera, receive alarm notification and so on. Note:   Guarding Vision service is not supported by certain camera models.  Enable Guarding Vision Service on Camera 6.1Purpose: Guarding Vision service should be enabled on your camera before using the service.   You can enable the service through SADP software or web browser.  Enable Guarding Vision Service via SADP Software 6.1.1Steps: 1. Check the checkbox of Enable Guarding Vision on: 1). "Activate the Device" page during camera activation, refer to Chapter 4.2.2. 2). Or "Modify Network Parameters" page during modifying IP address, refer to Chapter 4.3. 2. Create a verification code or change the verification code.
Network Cube Camera·Quick Start Guide  32 32 Service”“Privacy Policy”  Verification Code Setting (SADP) Figure 6-1Note:   The verification code is required when you add the camera to Guarding Vision app.   3. Click and read "Terms of Service" and "Privacy Policy".   4. Confirm the settings.  Enable Guarding Vision Service via Web Browser 6.1.2Before you start: You need to activate the camera before enabling the service. Refer to Chapter 4.2.
Network Cube Camera·Quick Start Guide  33 33 Steps: 1. Access the camera through web browser. Refer to Chapter 5. 2. Enter platform access configuration interface: Configuration > Network > Advanced Settings > Platform Access Guarding Visiondev.guardingvision.com  Platform Access Configuration (Web) Figure 6-23. Select Platform Access Mode as Guarding Vision. 4. Check the checkbox of Enable. 5. Click and read "Terms of Service" and "Privacy Policy" in pop-up window. 6. Create a verification code or change the verification code for the camera. Note:   The verification code is required when you add the camera to Guarding Vision app. 7. Save the settings.
Network Cube Camera·Quick Start Guide  34 34  Guarding Vision Setup 6.2Steps: 1. Download and install the Guarding Vision app by searching “Guarding Vision” in App Store or Google PlayTM. 2. Launch the app and register for a Guarding Vision user account. 3. Log in Guarding Vision app after registration.  Adding Camera to Guarding Vision 6.3Before you start: You need to enable the Guarding Vision service on camera before adding it to your Guarding Vision account. Refer to Chapter 6.1. Steps: 1. Use a network cable to connect the camera with a router if the camera does not support Wi-Fi.  Figure 6-3 Connect a Router Note:   After the camera connects to the network, please wait one minute before any operation on the camera using Guarding Vision app. 2. In the Guarding Vision app, tap “+” on the upper-right corner and then scan the QR code of the camera to add the camera.
Network Cube Camera·Quick Start Guide  35 35 You can find the QR code on the camera or on the cover of the Quick Start Guide of the camera in the package.  Figure 6-4 Scan QR Code Note: If the QR code is missing or too blur to be recognized, you can also add the camera by tapping the    icon and inputting the camera's serial number. 3. Input the verification code of your camera. Note: ● The required verification code is the code you create or change when you enabling Guarding Vision service on camera. ● If you forget the verification code, you can check the current verification code on Platform Access configuration page via web browser. 4. Follow the prompts to set the network connection and add the camera to your Guarding Vision account. Note: For detailed information, refer to the user manual of the Guarding Vision app.
Network Cube Camera·Quick Start Guide  36 36  Initializing the Memory Card 6.4Steps: Check the memory card status by tapping on the Storage Status in the Device Settings interface. If the memory card status displays as Uninitialized, tap to initialize it. The status will then change to Normal. You can then start recording any event triggered video in the camera such as motion detection.
  0

Navigation menu