Woods Equipment Batwing Bw126 3 Users Manual MAN0707
BW180-3 to the manual 86d61f8a-3816-48f8-9219-13df48a2ae82
2015-02-05
: Woods-Equipment Woods-Equipment-Batwing-Bw126-3-Users-Manual-408492 woods-equipment-batwing-bw126-3-users-manual-408492 woods-equipment pdf
Open the PDF directly: View PDF
.
Page Count: 76

OPER ATOR'S MANUAL
BATWING-
ROTARY CUTTER
MAN0707
(Rev. 07/9/2010)
®
BW180-3
BW180Q-3
BW126-3
BW126Q-3

2 Introduction
Gen’l (Rev. 3/5/2010)
TO THE DEALER:
Assembly and proper installation of this product is the responsibility of the Woods® dealer. Read manual instructions
and safety rules. Make sure all items on the Dealer’s Pre-Delivery and Delivery Check Lists in the Operator’s Manual
are completed before releasing equipment to the owner.
The dealer must complete the online Product Registration form at the Woods Dealer Website which certifies that
all Dealer Check List items have been completed. Please contact your dealer to complete this form. Dealers can
register all Woods product at dealer.WoodsEquipment.com under Product Registration.
Failure to register the product does not diminish customer’s warranty rights.
TO THE OWNER:
Read this manual before operating your Woods equipment. The information presented will prepare you to do a better and
safer job. Keep this manual handy for ready reference. Require all operators to read this manual carefully and become
acquainted with all adjustment and operating procedures before attempting to operate. Replacement manuals can be
obtained from your dealer. To locate your nearest dealer, check the Dealer Locator at www.WoodsEquipment.com, or in
the United States and Canada call 1-800-319-6637.
The equipment you have purchased has been carefully engineered and manufactured to provide dependable and
satisfactory use. Like all mechanical products, it will require cleaning and upkeep. Lubricate the unit as specified.
Observe all safety information in this manual and safety decals on the equipment.
For service, your authorized Woods dealer has trained mechanics, genuine Woods service parts, and the necessary
tools and equipment to handle all your needs.
Use only genuine Woods service parts. Substitute parts will void the warranty and may not meet standards required for
safe and satisfactory operation. Record the model number and serial number of your equipment in the spaces
provided:
Model: _______________________________ Date of Purchase: _____________________
Serial Number: (see Safety Decal section for location) ____________________________________
Provide this information to your dealer to obtain correct repair parts.
Throughout this manual, the term NOTICE is used to indicate that failure to observe can cause damage to equipment.
The terms CAUTION, WARNING, and DANGER are used in conjunction with the Safety-Alert Symbol (a triangle with
an exclamation mark) to indicate the degree of hazard for items of personal safety.

Introduction 3
MAN0707 (5/30/2008)
TABLE OF CONTENTS
INTRODUCTION . . . . . . . . . . . . . . . . . . . . . . . . . . . . . . . . . . . . . . . . . . . . . . 2
SPECIFICATIONS . . . . . . . . . . . . . . . . . . . . . . . . . . . . . . . . . . . . . . . . . . . . . 4
GENERAL INFORMATION . . . . . . . . . . . . . . . . . . . . . . . . . . . . . . . . . . . . . . 4
SAFETY VIDEO ORDER FORM . . . . . . . . . . . . . . . . . . . . . . . . . . . . . . . . . . 5
SAFETY RULES . . . . . . . . . . . . . . . . . . . . . . . . . . . . . . . . . . . . . . . . . . . . . . 7
SAFETY DECALS . . . . . . . . . . . . . . . . . . . . . . . . . . . . . . . . . . . . . . . . . . . . .11
OPERATION . . . . . . . . . . . . . . . . . . . . . . . . . . . . . . . . . . . . . . . . . . . . . . . . 14
OWNER SERVICE . . . . . . . . . . . . . . . . . . . . . . . . . . . . . . . . . . . . . . . . . . . 19
TROUBLESHOOTING . . . . . . . . . . . . . . . . . . . . . . . . . . . . . . . . . . . . . . . . 24
DEALER SERVICE . . . . . . . . . . . . . . . . . . . . . . . . . . . . . . . . . . . . . . . . . . . 25
ASSEMBLY INSTRUCTIONS . . . . . . . . . . . . . . . . . . . . . . . . . . . . . . . . . . . 33
DEALER CHECK LISTS . . . . . . . . . . . . . . . . . . . . . . . . . . . . . . . . . . . . . . . 45
INDEX TO PARTS LISTS . . . . . . . . . . . . . . . . . . . . . . . . . . . . . . . . . . . . . . 47
BOLT TORQUE CHART . . . . . . . . . . . . . . . . . . . . . . . . . . . . . . . . . . . . . . . 72
BOLT SIZE CHART & ABBREVIATIONS . . . . . . . . . . . . . . . . . . . . . . . . . . 73
INDEX . . . . . . . . . . . . . . . . . . . . . . . . . . . . . . . . . . . . . . . . . . . . . . . . . . . . . 74
PRODUCT WARRANTY . . . . . . . . . . . . . . . . . . . . . . . INSIDE BACK COVER
REPLACEMENT PARTS WARRANTY . . . . . . . . . . . . . . . . . . .BACK COVER
Si no lee Ingles, pida ayuda a
alguien que si lo lea para que le
traduzca las medidas de seguridad.
LEA EL INSTRUCTIVO!
!
This Operator’s Manual should be regarded as part of the machine.
Suppliers of both new and second-hand machines must make sure
that this manual is provided with the machine.

4 Introduction
MAN0707 (5/30/2008)
SPECIFICATIONS
BW180-3 / BW180Q-3 BW126-3 / BW126Q-3
Cutting Height (Varies with tire selection) . . . . . . . . . . . . . . . . . . . 1" - 15" 1" - 15"
Cutting Width . . . . . . . . . . . . . . . . . . . . . . . . . . . . . . . . . . . . . . . .180" (15’) 126" (10.5’)
Overall Width . . . . . . . . . . . . . . . . . . . . . . . . . . . . . . . . . . . . . . . . . . . .190" 140"
Transport Width . . . . . . . . . . . . . . . . . . . . . . . . . . . . . . . . . . . . . . . . . . .96" 93"
Tractor HP . . . . . . . . . . . . . . . . . . . . . . . . . . . . . . . . . . . . . . . . . . . .45-160 45-160
Blade Spindle . . . . . . . . . . . . . . . . . . . . . . . . . . . . . . . . . . . . . . . . . . . . . . 3 2
Blade Overlap . . . . . . . . . . . . . . . . . . . . . . . . . . . . . . . . . . . . . . . . . . . . .6" 6"
Number of Blades . . . . . . . . . . . . . . . . . . . . . . . . . . . . . . . . . . . . . . . . . . 6 4
Blade Rotation . . . . . . . . . . . . . . . . . . . . . . . . . . . . . . . . . .Left Spindle: CW; Right & Center Spindles: CCW
Main Driveline . . . . . . . . . . . . . . . . . . . . . . . . . . . . . . . . . . . . Cat 5 Heavy Cat 5 Heavy
CV . . . . . . . . . . . . . . . . . . . . . . . . . . . . . . . . . . . . . . . . . . . . . . . . . . . Cat 6 Cat 6
Side Frame Thickness . . . . . . . . . . . . . . . . . . . . . . . . . . . . . . . . . . . . . 1/4" 1/4"
Weight (approximate lbs.) . . . . . . . . . . . . . . . . . . . . . . . . . . . . . . . . . 4200 4000
Wheel Size. . . . . . . . . . . . . . . . . . . . 15" Rims (BW180 and BW180Q only) or 21" OD Solid Tires, Airplane
Torsion Protection . . . . . . . . . . . . . . . . . . . . . . . . . . . . . . . . . . . Slip Clutch Slip Clutch
GENERAL INFORMATION
Some illustrations in this manual show the
equipment with safety shields removed to provide
a better view. This equipment should never be
operated with any necessary safety shielding
removed.
The purpose of this manual is to assist you in operating
and maintaining your cutter. Read it carefully. It fur-
nishes information and instructions that will help you
achieve years of dependable performance. These
instructions have been compiled from extensive field
experience and engineering data. Some information
may be general in nature due to unknown and varying
operating conditions. However, through experience
and these instructions, you should be able to develop
procedures suitable to your particular situation.
The illustrations and data used in this manual were cur-
rent at the time of printing but, due to possible inline
production changes, your machine may vary slightly in
detail. We reserve the right to redesign and change the
machines as may be necessary without notification.
Throughout this manual, references are made to right
and left directions. These are determined by standing
behind the equipment facing the direction of forward
travel. Blade rotation is clockwise (left wing) and coun-
terclockwise (right wing and center section) as viewed
from the top of the cutter.
BW180-3
BW126-3
BW180Q-3
BW126Q-3
Tractor PTO rpm 540 1000
Blade Speed (Feet per minute) 14,965 15,450

Safety 5
Safety Video Order Form (8/2/2005)
Free Mower Safety Video
Fill out and return the order form and we will send you a FREE VHS
or DVD video outlining
Industrial and Agricultural Mower Safety
Practices
. The 22 minute video, developed in cooperation with
AEM (Association of Equipment Manufacturers), reinforces the
proper procedures to follow while operating your mowing
equipment. The video does not replace the information contained in
the Operator’s Manual, so please review this manual thoroughly
before operating your new mowing equipment.
Safety Training
Does Make a Difference.
BE SAFE!
BE ALERT!
BE ALIVE!
BE TRAINED
Before Operating Mowers!
ASSOCIATION OF
EQUIPMENT
MANUFACTURERS
Safety Video Order Form

6 Safety
Safety Video Order Form (Rev. 2/6/2006)
Free Mower/Cutter Safety Video Order Form
3 (Select one)
VHS Format - VHS01052 Safety Video
DVD Format - DVD01052 Safety Video
Please send me
Name: ________________________________________ Phone: __________________
Address: _____________________________________
_____________________________________
_____________________________________
Mower/Cutter Model: ______________________ Serial #: ________________________
Send to: ATTENTION: DEALER SERVICES
WOODS EQUIPMENT COMPANY
PO BOX 1000
OREGON IL 61061-1000
USA
Also, available from the Association of Equipment Manufacturers:
A large variety of training materials (ideal for groups) are available for a nominal
charge from AEM. Following is a partial list:
●Training Package for Rotary Mowers/Cutters-English
Contains: DVD & VHS (English)
Guidebook for Rotary Mowers/Cutters (English)
AEM Industrial/Agricultural Mower Safety Manual (English)
AEM Agricultural Tractor Safety Manual (English)
●Training Package for Rotary Mowers/Cutters-English/Spanish
Contains: DVD & VHS (English/Spanish)
Guidebook for Rotary Mowers/Cutters (English/Spanish)
AEM Industrial/Agricultural Mower Safety Manual (English/Spanish)
AEM Agricultural Tractor Safety Manual (English/Spanish)
AEM training packages are available through:
AEM at:
www.aem.org
or
Universal Lithographers, Inc.
Email: aem@ulilitho.com
800-369-2310 tel
866-541-1668 fax

Safety 7
BW180_ SR (Rev. 12/10/2007)
INSTALLATION
Hydraulics must be connected as instructed in
this manual. Do not substitute parts, modify, or
connect in any other way.
TRAINING
Safety instructions are important! Read all
attachment and power unit manuals; follow all
safety rules and safety decal information. (Replace-
ment manuals and safety decals are available from
your dealer. To locate your nearest dealer, check
the Dealer Locator at www.WoodsEquipment.com,
or in the United States and Canada call 1-800-319-
6637.) Failure to follow instructions or safety rules
can result in serious injury or death.
If you do not understand any part of this manual
and need assistance, see your dealer.
Know your controls and how to stop engine and
attachment quickly in an emergency.
Operators must be instructed in and be capable
of the safe operation of the equipment, its attach-
ments, and all controls. Do not allow anyone to
operate this equipment without proper instructions.
Keep hands and body away from pressurized
lines. Use paper or cardboard, not hands or other
body parts to check for leaks. Wear safety goggles.
Hydraulic fluid under pressure can easily penetrate
skin and will cause serious injury or death.
Make sure that all operating and service person-
nel know that if hydraulic fluid penetrates skin, it
must be surgically removed as soon as possible by
a doctor familiar with this form of injury or gan-
grene, serious injury, or death will result. CON-
TACT A PHYSICIAN IMMEDIATELY IF FLUID
ENTERS SKIN OR EYES. DO NOT DELAY.
Never allow children or untrained persons to
operate equipment.
PREPARATION
Check that all hardware is properly installed.
Always tighten to torque chart specifications
unless instructed otherwise in this manual.
Air in hydraulic systems can cause erratic oper-
ation and allows loads or equipment components
to drop unexpectedly. When connecting equipment
or hoses or performing any hydraulic maintenance,
purge any air in hydraulic system by operating all
hydraulic functions several times. Do this before
putting into service or allowing anyone to
approach the equipment.
Make sure all hydraulic hoses, fittings, and
valves are in good condition and not leaking before
starting power unit or using equipment. Check and
route hoses carefully to prevent damage. Hoses
must not be twisted, bent sharply, kinked, frayed,
pinched, or come into contact with any moving
parts. Operate moveable components through full
operational range to check clearances. Replace
any damaged hoses immediately.
After connecting hoses, check that all control
lever positions function as instructed in the Opera-
tor's Manual. Do not put into service until control
lever and equipment movements are correct.
Set tractor hydraulic relief valve at 2500 psi (170
bars) (17,000 kPa) to prevent injury and equipment
damage due to hydraulic system failure.
Your dealer can supply original equipment
hydraulic accessories and repair parts. Substitute
parts may not meet original equipment specifica-
tions and may be dangerous.
Always wear relatively tight and belted clothing
to avoid getting caught in moving parts. Wear
sturdy, rough-soled work shoes and protective
equipment for eyes, hair, hands, hearing, and head;
and respirator or filter mask where appropriate.
Make sure attachment is properly secured,
adjusted, and in good operating condition.
Make sure spring-activated locking pin or collar
slides freely and is seated firmly in tractor PTO
spline groove.
(Safety Rules continued on next page)
Safety is a primary concern in the design and
manufacture of our products. Unfortunately, our
efforts to provide safe equipment can be wiped
out by an operator’s single careless act.
In addition to the design and configuration of
equipment, hazard control and accident preven-
tion are dependent upon the awareness, con-
cern, judgement, and proper training of
personnel involved in the operation, transport,
maintenance, and storage of equipment.
It has been said, “The best safety device is an
informed, careful operator.” We ask you to be
that kind of operator.
SAFETY RULES
ATTENTION! BECOME ALERT! YOUR SAFETY IS INVOLVED!

8 Safety
BW180_SR (Rev. 12/10/2007)
(Safety Rules continued from previous page)
Make sure driveline guard tether chains are
attached to the tractor and equipment as shown in
the pamphlet that accompanies the driveline.
Replace if damaged or broken. Check that driveline
guards rotate freely on driveline before putting
equipment into service.
Before starting power unit, check all equipment
driveline guards for damage. Replace any damaged
guards. Make sure all guards rotate freely on all
drivelines. If guards do not rotate freely on drive-
lines, repair and replace bearings before putting
equipment into service.
Power unit must be equipped with ROPS or
ROPS cab and seat belt. Keep seat belt securely
fastened. Falling off power unit can result in death
from being run over or crushed. Keep foldable
ROPS system in “locked up” position at all times.
Remove accumulated debris from this equip-
ment, power unit, and engine to avoid fire hazard.
Make sure all safety decals are installed.
Replace if damaged. (See Safety Decals section for
location.)
Make sure shields and guards are properly
installed and in good condition. Replace if damaged.
Do not put this equipment into service unless all
side skids are properly installed and in good condi-
tion. Replace if damaged.
A minimum 20% of tractor and equipment
weight must be on the tractor front wheels when
attachments are in transport position. Without this
weight, tractor could tip over, causing personal
injury or death. The weight may be attained with a
loader, front wheel weights, ballast in tires or front
tractor weights. Weigh the tractor and equipment.
Do not estimate.
Inspect and clear area of stones, branches, or
other hard objects that might be thrown, causing
injury or damage.
TRANSPORTATION
Power unit must be equipped with ROPS or
ROPS cab and seat belt. Keep seat belt securely
fastened. Falling off power unit can result in death
from being run over or crushed. Keep foldable
ROPS system in “locked up” position at all times.
Always raise unit and install transport locks
before transporting. Leak down or failure of
mechanical or hydraulic system can cause equip-
ment to drop.
Always attach safety chain to tractor drawbar
when transporting unit.
Always comply with all state and local lighting
and marking requirements.
Never allow riders on power unit or attachment.
Do not operate PTO during transport.
Do not operate or transport on steep slopes.
Do not operate or transport equipment while
under the influence of alcohol or drugs.
The maximum transport speed for towed and
semi-mounted machines is 20 mph (32 km/h).
Regardless of the maximum speed capability of the
towing tractor, do not exceed the implement’s max-
imum transport speed. Doing so could result in:
• Loss of control of the implement and tractor
• Reduced or no ability to stop during braking
• Implement tire failure
• Damage to the implement or its components.
Use additional caution and reduce speed when
under adverse surface conditions, turning, or on
inclines.
Never tow this implement with a motor vehicle.
OPERATION
Do not allow bystanders in the area when oper-
ating, attaching, removing, assembling, or servic-
ing equipment.
Never walk, stand, or place yourself or others
under a raised wing or in the path of a lowering
wing. Hydraulic system leak-down, hydraulic sys-
tem failures, mechanical failures, or movement of
control levers can cause wings to drop unexpect-
edly and cause severe injury or death.
Full chain or rubber shielding must be installed
when operating in populated areas or other areas
where thrown objects could injure people or dam-
age property.
• If this machine is not equipped with full chain
or rubber shielding, operation must be stopped
when anyone comes within 300 feet (92 m).
• This shielding is designed to reduce the risk
of thrown objects. The mower deck and protec-
tive devices cannot prevent all objects from
escaping the blade enclosure in every mowing
condition.
It is possible for objects to ricochet
and escape, traveling as much as 300 feet (92 m).
Never direct discharge toward people, animals,
or property.
SAFETY RULES
ATTENTION! BECOME ALERT! YOUR SAFETY IS INVOLVED!

Safety 9
BW180_ SR (Rev. 12/10/2007)
Do not operate or transport equipment while
under the influence of alcohol or drugs.
Operate only in daylight or good artificial light.
Keep hands, feet, hair, and clothing away from
equipment while engine is running. Stay clear of all
moving parts.
Always comply with all state and local lighting
and marking requirements.
Never allow riders on power unit or attachment.
Power unit must be equipped with ROPS or
ROPS cab and seat belt. Keep seat belt securely
fastened. Falling off power unit can result in death
from being run over or crushed. Keep foldable
ROPS system in “locked up” position at all times.
Always sit in power unit seat when operating
controls or starting engine. Securely fasten seat
belt, place transmission in neutral, engage brake,
and ensure all other controls are disengaged
before starting power unit engine.
Operate tractor PTO at 540 RPM (1000 RPM on Q
Series cutters). Do not exceed.
Raise or lower wings slowly to prevent personal
injury or damage to cutter.
Connect PTO driveline directly to power unit
PTO shaft. Never use adapter sleeves or adapter
shafts. Adapters can cause driveline failures due to
incorrect spline or incorrect operating length and
can result in personal injury or death.
Look down and to the rear and make sure area
is clear before operating in reverse.
Do not operate or transport on steep slopes.
Do not stop, start, or change directions sud-
denly on slopes.
Watch for hidden hazards on the terrain during
operation.
Stop power unit and equipment immediately
upon striking an obstruction. Turn off engine,
remove key, inspect, and repair any damage before
resuming operation.
Continuous operation while the clutch is slip-
ping could cause heat build-up resulting in fire.
Adjust slip clutch pressure by tightening springs to
the dimension shown in the “Owner Service” sec-
tion. If clutch is set to minimum spring length,
replace the friction disks as shown.
On pull-type or semi-mounted units with
optional hydraulic cutting height adjustment, use a
single-acting cylinder with a maximum extended
length of 28-1/4" (718 mm) from attaching point
center to center.
MAINTENANCE
Before servicing, adjusting, repairing or unplug-
ging, stop tractor engine, place all controls in neu-
tral, set park brake, remove ignition key, and wait
for all moving parts to stop.
Before dismounting power unit or performing
any service or maintenance, follow these steps:
disengage power to equipment, lower the 3-point
hitch and all raised components to the ground,
operate valve levers to release any hydraulic pres-
sure, set parking brake, stop engine, remove key,
and unfasten seat belt.
Before working underneath, disconnect driveline
from tractor, lower wings to ground, raise cutter,
and pin transport bar in raised position. Attach park-
ing jack and lower to ground. Securely block all four
corners of center section and each wing with jack-
stands. Blocking up prevents the cutter from drop-
ping due to hydraulic leak down, hydraulic system
failure, or mechanical component failure.
Do not modify or alter or permit anyone else to
modify or alter the equipment or any of its compo-
nents in any way.
Your dealer can supply original equipment
hydraulic accessories and repair parts. Substitute
parts may not meet original equipment specifica-
tions and may be dangerous.
To prevent contamination during maintenance
and storage, clean and then cover hose ends, fit-
tings, and hydraulic ports with tape.
Do not allow bystanders in the area when oper-
ating, attaching, removing, assembling, or servic-
ing equipment.
Never go underneath equipment (lowered to the
ground or raised) unless it is properly blocked and
secured. Never place any part of the body under-
neath equipment or between moveable parts even
when the engine has been turned off. Hydraulic
system leak down, hydraulic system failures,
mechanical failures, or movement of control levers
can cause equipment to drop or rotate unexpect-
edly and cause severe injury or death. Follow Oper-
ator's Manual instructions for working underneath
and blocking requirements or have work done by a
qualified dealer.
(Safety Rules continued on next page)
SAFETY RULES
ATTENTION! BECOME ALERT! YOUR SAFETY IS INVOLVED!

10 Safety
BW180_SR (Rev. 12/10/2007)
(Safety Rules continued from previous page)
Keep all persons away from operator control
area while performing adjustments, service, or
maintenance.
Make certain all movement of equipment com-
ponents has stopped before approaching for ser-
vice.
Frequently check blades. They should be sharp,
free of nicks and cracks, and securely fastened.
Do not handle blades with bare hands. Careless
or improper handling may result in serious injury.
Your dealer can supply genuine replacement
blades. Substitute blades may not meet original
equipment specifications and may be dangerous.
Tighten all bolts, nuts, and screws to torque
chart specifications. Check that all cotter pins are
installed securely to ensure equipment is in a safe
condition before putting unit into service.
Make sure all safety decals are installed.
Replace if damaged. (See Safety Decals section for
location.)
Make sure shields and guards are properly
installed and in good condition. Replace if damaged.
Never perform service or maintenance with
engine running.
Do not disconnect hydraulic lines until machine
is securely blocked or placed in lowest position
and system pressure is released by operating
valve levers.
Service and maintenance work not covered in
OWNER SERVICE must be done by a qualified
dealership. Special skills, tools, and safety proce-
dures may be required. Failure to follow these
instructions can result in serious injury or death.
Explosive separation of tire and rim parts can
cause serious injury or death. Release all air pres-
sure before loosening bolts on wheel.
STORAGE
Before disconnecting and storing, follow these
instructions:
• Store on level, solid ground.
• Disconnect driveline and secure up off the
ground.
• Lower wings to ground.
• Raise cutter center section and pin transport
bar in raised position.
• Attach parking jack and raise tongue weight
off tractor drawbar.
• Place wedge blocks at front and rear of
wheels on center section and each wing to pre-
vent wheel rotation.
• Securely block all four corners of center sec-
tion and each wing with jackstands.
• Remove hydraulic hoses after tractor is
turned off and all system pressure is released
by operating valve levers several times.
• Remove safety tow chain.
• Remove retainer pin and high strength draw-
bar pin.
Keep children and bystanders away from stor-
age area.
SAFETY RULES
ATTENTION! BECOME ALERT! YOUR SAFETY IS INVOLVED!

Safety 11
MAN0707 (5/30/2008)
4 - PN 18869
SHIELD MISSING
DO NOT OPERATE - PUT SHIELD ON
18869-B
DANGER
BE CAREFUL!
Use a clean, damp cloth to clean safety decals.
Avoid spraying too close to decals when using a pressure
washer; high-pressure water can enter through very small
scratches or under edges of decals causing them to peel
or come off.
Replacement safety decals can be ordered free from your
Woods dealer. To locate your nearest dealer, check the
Dealer Locator at www.WoodsEquipment.com, or in the
United States and Canada call 1-800-319-6637.
MODEL NO. SERIAL NO.
Woods Equipment Company
Oregon, Illinois, U.S.A.
2 - FRONT AMBER REFLECTOR
(PN 1002940)
3 - REAR RED REFLECTOR
(PN 57123)
1 - SERIAL NUMBER PLATE
PN 1006348 - Located on Wheel Rims
SAFETY & INSTRUCTIONAL DECALS
ATTENTION! BECOME ALERT! YOUR SAFETY IS INVOLVED!
Replace Immediately If Damaged!

12 Safety
MAN0707 (5/30/2008)
7 - PN 15503
FALLING OFF CAN RESULT IN BEING RUN OVER.
Tractor must be equipped with ROPS (or ROPS CAB) and seat
belt. Keep foldable ROPS systems in “locked up” position at all
times.
Buckle Up! Keep seat belt securely fastened.
Allow no riders.
RAISED EQUIPMENT CAN DROP AND CRUSH.
Before working underneath, follow all instructions and safety rules in
operator’s manual and securely block up all corners of equipment
with jack stands.
Securely blocking prevents equipment dropping from hydraulic leak-
down, hydraulic system failures or mechanical component failures.
FALLING OFF OR FAILING TO BLOCK SECURELY CAN
RESULT IN SERIOUS INJURY OR DEATH.
WARNING
18865--C
9 - PN 18865
Check for leaks with cardboard; never use hand.
Before loosening fittings: lower load, release pressure, and
be sure oil is cool.
Consult physician immediately if skin penetration occurs.
WARNING
19924-B
11 - PN 19924
8 - PN 18864
ROTATING BLADES AND
THROWN OBJECTS
Do not put hands or feet under or into mower when
engine is running.
Before mowing, clear area of objects that may be
thrown by blade.
Keep bystanders away.
Keep guards in place and in good condition.
BLADE CONTACT OR THROWN OBJECTS CAN
CAUSE SERIOUS INJURY OR DEATH.
DANGER
15503-C
DANGER
ROTATING DRIVELINE
CONTACT CAN CAUSE DEATH
KEEP AWAY!
DO NOT OPERATE WITHOUT -
All driveline guards, tractor and
equipment shields in place
Drivelines securely attached at both ends
Driveline guards that turn freely on
driveline 18864-C
540 RPM
WARNING
18866-D
WARNING
DO NOT EXCEED PTO SPEED OF
1000 RPM
PTO speeds higher than 1000 RPM
can cause equipment failure and
personal injury. 15922-C
OR
5 - PN 15922
(1000 RPM)
6 - PN 18866
(540 RPM)
If shaft connection is visible, shield
is missing. Replace shield before
operating equipment.
DA
NG
NG
ER
ER
1004114
17 - PN 1004114
SAFETY & INSTRUCTIONAL DECALS
ATTENTION! BECOME ALERT! YOUR SAFETY IS INVOLVED!
Replace Immediately If Damaged!

Safety 13
MAN0707 (5/30/2008)
SAFETY & INSTRUCTIONAL DECALS
ATTENTION! BECOME ALERT! YOUR SAFETY IS INVOLVED!
Replace Immediately If Damaged!
12 - PN 1004991
TRANSPORT LOCK
AND CYLINDER
REQUIREMENTS
1004991
TRANSPORT
LOCK
WARNING
RAISED CUTTER CAN DROP AND CRUSH
e
rs must be e
q
ui
pp
ed with trans
p
ort lock
.
Cutt
e
ds.
sta
n
r
ansport components must be functional, kept in
g
oodAll t
r
Blocking up prevents cutter dropping from hydraulic leak down,
Bloc
hydraulic system failures, or mechanical component failures.
FAILURE TO FOLLOW INSTRUCTIONS CAN
RESULT IN SERIOUS INJURY OR DEATH.
28-1/4"
SINGLE-ACTING FULL
EXTENSION
CRUSHING AND PINCHING HAZARD
Be extremely careful handling various parts of
the machine. They are heavy and hands, fingers,
feet, and other body parts could be crushed or
pinched between tractor and implement.
Operate tractor controls from tractor seat only.
Do not stand between tractor and implement
when tractor is in gear.
Make sure parking brake is engaged before
going between tractor and implement.
Stand clear of machine while in operation or
when it is being raised or lowered.
FAILURE TO FOLLOW THESE
INSTRUCTIONS COULD RESULT IN
SERIOUS INJURY OR DEATH.
WARNING
1003751-A
13 - PN 1003751
RAISED WING EXPOSES BLADE AND
INCREASES THROWN OBJECT HAZARDS.
Only raise for transport. Stop cutter and
lock wing(s) up.
RAISED WING CAN FALL AND CRUSH.
Keep away.
Lock up with wing transport bars.
Lower wing(s) after transport and for
storage.
FAILURE TO FOLLOW INSTRUCTIONS CAN
RESULT IN SERIOUS INJURY OR DEATH.
WARNING
18964-A
15 - PN 18964
CONTACT WITH ROTATING PARTS
CAN CAUSE SERIOUS INJURY.
WARNING
15502--B
ROTATING COMPONENTS
Do not operate without cover in place.
Look and listen for rotation. Do not
open cover until all components have
stopped.
16 - PN 15502
14 - PN 18877
33347E
10 - PN 33347
WARNING
TO AVOID SERIOUS
INJURY OR DEATH:
Read Operator's Manual (available
from dealer) and follow all safety
precautions.
Keep all shields in place and in good
condition.
Operate mower from tractor seat only.
Lower mower, stop engine and remove
key before dismounting tractor.
Allow no children or untrained persons
to operate equipment.
Do not transport towed or
semi-mounted units over 20 mph.
FAILURE TO OPERATE SAFELY
CAN RESULT IN
INJURY OR DEATH.
18877-C

14 Operation
MAN0707 (5/30/2008)
OPERATION
The designed and tested safety of this machine
depends on it being operated within the limitations as
explained in this manual. Be familiar with and follow all
safety rules in the manual, on the cutter and on the
tractor.
The safe operation of this cutter is the responsibility of
the operator, who must be properly trained. The opera-
tor should be familiar with the equipment and all safety
practices before starting operation. Read the safety
information on page 7 through page 13.
Recommended tractor ground speed for most condi-
tions is from 1 to 6 mph.
Always operate tractor PTO at 540 rpm on BW180 and
BW126; on BW180Q and BW126Q operate PTO at
1,000 rpm.
Full chain or rubber shielding must be installed
when operating in populated areas or other areas
where thrown objects could injure people or dam-
age property.
• If this machine is not equipped with full chain
or rubber shielding, operation must be stopped
when anyone comes within 300 feet (92 m).
• This shielding is designed to reduce the risk
of thrown objects. The mower deck and protec-
tive devices cannot prevent all objects from
escaping the blade enclosure in every mowing
condition.
It is possible for objects to ricochet
and escape, traveling as much as 300 feet (92 m).
Never allow children or untrained persons to
operate equipment.
Do not allow bystanders in the area when oper-
ating, attaching, removing, assembling, or servic-
ing equipment.
Make sure spring-activated locking pin or collar
slides freely and is seated firmly in tractor PTO
spline groove.
Stop power unit and equipment immediately
upon striking an obstruction. Turn off engine,
remove key, inspect, and repair any damage before
resuming operation.
Always wear relatively tight and belted clothing
to avoid getting caught in moving parts. Wear
sturdy, rough-soled work shoes and protective
equipment for eyes, hair, hands, hearing, and head;
and respirator or filter mask where appropriate.
CONNECTING CUTTER TO TRACTOR
NOTICE
■ For tractors with a 1-3/8" diameter PTO shaft,
the horizontal distance from the end of the tractor
PTO shaft to the center of drawbar pin should be
14" for 540 rpm cutter and 16" for the 1000 rpm cut-
ters. This will minimize joint knock and damage to
drive components.
Figure 1. Cutter to Tractor Connection
1. Attach cutter using a 1-1/2" clevis pin and clip.
2. Attach safety tow chain (32) to drawbar support.
Leave enough slack for turning (Figure 1).
3. Connect cutter driveline to tractor PTO shaft,
making sure the spring-activated lock pin slides
freely and is seated in tractor PTO splined groove.
4. Attach driveline shield tether chain to tractor
drawbar to prevent rotation.
NOTE: CV driveline does not require a tether
chain.
5. Remove parking jack (29) from the tongue and
attach it to the storage post on the front of the left
wing.
NOTE: Equal Angle Drive Only: With cutting height
established, adjust the 3-joint H-frame bearing
height so that the front driveline is parallel to the
ground.
Hydraulic Connection
1. Inspect hydraulic hoses to ensure they are in good
condition.
2. Clean the fittings before connecting them to the
tractor hydraulic ports.
CAUTION

Operation 15
MAN0707 (5/30/2008)
3. Route the hose through the hose holder at the
hitch and be sure the hose can slide freely in the
holder. Do not allow hose slack to drag on the
ground or become caught on tractor protrusions.
4. Attach the hydraulic hose to the tractor.
5. From the operator position, start tractor and raise
and lower deck several times to purge trapped air
from the hydraulic cylinder.
Interference Check
1. Be sure that tractor 3-point lift links do not interfere
with hydraulic hoses, cutter driveline, or cutter
frame.
2. Check for straight-ahead operation and at full
turning angles. If there is any interference, remove
the lower lift links.
3. Contact between tractor lift links and cutter parts
can cause damage, especially when turning.
CV Driveline Turning Limits
NOTICE
■ You must not exceed a turning angle of 80
degrees at the head of the Constant Velocity drive-
line or damage will occur.
1. To check for potential excessive turn angle,
disconnect the driveline from tractor.
2. Start engine and turn as far right or left as possible.
3. Shut engine off and try to connect CV driveline to
tractor. If it cannot be connected, the turn angle is
too severe.
4. Restart engine and straighten angle slightly, shut
off engine and try to connect CV driveline to tractor.
5. Repeat the process until the driveline can be
connected. The point at which the driveline can be
connected is the maximum turn that should be
made.
Cutting Height Adjustment
On pull-type or semi-mounted units with
optional hydraulic cutting height adjustment, use a
single-acting cylinder with a maximum extended
length of 28-1/4" (718 mm) from attaching point
center to center.
NOTICE
■ Avoid ground contact with blades. Striking
ground with blades produces one of the most dam-
aging shock loads a cutter can encounter. If this
occurs repeatedly, the cutter, driveline, and gear-
boxes will be damaged.
Cutting height range is from 1" to 15". A hydraulic cylin-
der or ratchet jack is available for cutting height adjust-
ment.
When selecting a cutting height, you should consider
the area of operation. If the ground is rolling and has
mounds the blades could contact, set the cutting height
accordingly. The cutting height (blade edge) is approxi-
mately 1" above the bottom of the side skid.
Cutting Height (Normal Mowing) - Center Section
1. Position the cutter on a hard level surface and
select an approximate cutting height, Example 6".
2. Raise wings and lock them in the UP position.
3. Use any of the optional cutting height mechanisms
to raise or lower the center section to obtain a
distance of 5" from bottom edge of skid shoe to the
ground.
4. Loosen jam nuts on the attitude rod that runs from
the wheel yoke to the tongue.
5. Adjust rod in or out until the rear of the cutter is
approximately 1/2" higher than the front.
6. Tighten jam nuts against sleeve.
Cutting Height (Normal Mowing) - Wings
1. Lower wings to normal mowing position.
2. Loosen the jam nut on the adjustable link (turn
buckle).
3. Lengthening the link will raise the wing, shortening
the link will lower the wing. The rear edge of the
wing should be parallel to the ground.
When using the cutter to shred, the rear of the cutter
deck should be approximately 1/2" to 1" lower than the
front.
NOTE: Equal Angle Drive Only: With the cutting height
established, adjust the driveline carrier bearing in the
H-frame to ensure the front driveline is parallel to the
ground with cutter in cutting position.
TRACTOR OPERATION
Use care when operating around tree limbs and other
low objects. Avoid being knocked off tractor and being
injured.
Only use a tractor with a Roll Over Protection Structure
(ROPS) and seat belt. Securely fasten seat belt.
The cutter is operated with tractor controls. Engage the
PTO at a low rpm to prevent excessive loads on the
cutter drive system. Increase throttle to recommended
PTO operating RPM.

16 Operation
MAN0707 (5/30/2008)
Be sure operator is familiar with all controls and can
stop tractor and cutter quickly in an emergency. The
operator should give complete, undivided attention to
operating tractor and cutter.
CUTTER OPERATION
When beginning operation of the cutter, make sure that
all persons are in a safe location.
Power for operating the cutter is supplied by the tractor
PTO. Operate PTO at 540 (1000 RPM for "Q" models).
Know how to stop the tractor and cutter quickly in an
emergency.
Engage PTO at a low engine, rpm to minimize stress
on the drive system and gearbox.
With PTO engaged, raise PTO speed to 540 or 1000
RPM depending on model and maintain throughout
cutting operation.
Gearbox protection is provided by a slip clutch with
replacement fiber disc. The slip clutch is designed to
slip when excessive torsional loads occur.
Move slowly into material. Adjust tractor ground speed
to provide a clean cut without lugging the tractor
engine.
Use a slow ground speed for better shredding.
Proper ground speed will depend on the terrain and the
material’s height, type, and density.
Normally, ground speed will range from 2 to 5 mph.
Tall, dense material should be cut at a low speed; thin,
medium-height material can be cut at a faster ground
speed.
Always operate tractor PTO at proper RPM (540 or
1000 depending on model) to maintain blade speed
and to produce a clean cut.
Under certain conditions tractor tires may roll down
some grass and prevent cutting at the same height as
the surrounding area. When this occurs, reduce your
ground speed but maintain PTO at 540 or 1000 RPM.
The lower ground speed will permit grass to rebound
partially.
Mowing Tips
Look down and to the rear and make sure area
is clear before operating in reverse.
Do not operate or transport on steep slopes.
Do not stop, start, or change directions sud-
denly on slopes.
Use extreme care and reduce ground speed on
slopes and rough terrain.
Watch for hidden hazards on the terrain during
operation.
Stop power unit and equipment immediately
upon striking an obstruction. Turn off engine,
remove key, inspect, and repair any damage before
resuming operation.
Maximum recommended ground speed for cutting or
shredding is 6 miles per hour. Adjust tractor ground
speed by using higher or lower gears to provide a clean
cut without lugging tractor engine.
Tall material should be cut twice. Cut material higher
the first pass. Cut at desired height at 90 degrees the
second pass.
Remember, sharp blades produce cleaner cuts and
use less power.
Before entering an area, analyze it to determine the
best procedure. Consider the height and type of mate-
rial to be cut and the terrain type (hilly, level or rough,
etc.).
Shredding
The cutter may be used to shred various crops includ-
ing green manure, straw, stubble, asparagus residue,
corn stalks and similar crops in preparation for tilling. It
may also be used to shred pruning in orchards, groves
and vineyards.
Each shredding operation may require a different set-
up. Start with front edge of cutter high. Adjust up or
down as necessary with attitude rod. Experiment until
you obtain the results you want.
When shredding attitude is set, check that the distance
from the bottom rear edge of the wing to the ground
matches the bottom edge of the rear center section to
the ground. With the cutting height and attitude estab-
lished, adjust the driveline carrier bearing in the H-
frame to ensure the front driveline is parallel to the
ground.
CAUTION

Operation 17
MAN0707 (5/30/2008)
TRANSPORTING
Power unit must be equipped with ROPS or
ROPS cab and seat belt. Keep seat belt securely
fastened. Falling off power unit can result in death
from being run over or crushed. Keep foldable
ROPS system in “locked up” position at all times.
Always raise unit and install transport locks
before transporting. Leak down or failure of
mechanical or hydraulic system can cause equip-
ment to drop.
Always attach safety chain to tractor drawbar
when transporting unit.
Never exceed 20 mph (32.2 km/h) during trans-
port.
Never allow riders on power unit or attachment.
Do not operate PTO during transport.
Do not operate or transport on steep slopes.
Do not operate or transport equipment while
under the influence of alcohol or drugs.
Always comply with all state and local lighting
and marking requirements.
Lock-Up
Always transport with wings and center frame in the
raised, locked position.
Wing Lock-Up
1. Raise wing to the up position.
2. Remove safety pin and lock-up bar from storage
position.
3. Place lock-up bar over cylinder pin and secure with
safety pin.
4. Repeat steps 1 to 3 for opposite wing.
5. Lower cylinder against lock-up bars (Figure 2).
Figure 2. Transport Lock-Up Bar - Right Wing
Center Section Lock-Up
1. Raise cutter with hydraulic cylinder to maximum
height.
2. Rotate transport lock into position over cylinder rod
(Figure 3).
Figure 3. Transport Lock In Transport Position
3. Lower cutter against transport lock.
4. To lower cutter for operation, extend hydraulic
cylinder to raise cutter. Rotate transport lock back
away from cylinder rod (Figure 4).
5. Lower cutter to desired cutting height.
Figure 4. Transport Lock In Operation Position
CAUTION
DP4a
DP7

18 Operation
MAN0707 (5/30/2008)
STORAGE
Follow these steps when storing your cutter:
1. Clean cutter before storing. See page 23 for
cleaning instructions. Store on level, solid ground.
2. Disconnect driveline and secure up off the ground.
3. Lower wings to ground.
4. Raise cutter center section and pin transport bar in
raised position.
5. Attach parking jack and raise tongue weight off
tractor drawbar.
6. Place wedge blocks at front and rear of wheels on
center section and each wing to prevent wheel
rotation.
7. Securely block all four corners of center section
and each wing with jack stands.
8. Remove hydraulic hoses after tractor is turned off
and all system pressure is released by operating
valve levers several times.
9. Remove safety tow chain.
10. Remove retainer pin and high strength drawbar
pin.
11. Keep children and bystanders away from storage
area.
PRE-OPERATION CHECK LIST
(OWNER'S RESPONSIBILITY)
___ Review and follow all safety rules and safety
decal instructions on page 7 through page 13.
___ Check that all safety decals are installed and in
good condition. Replace if damaged.
___ Check that equipment is properly and securely
attached to tractor.
___ Make sure driveline spring-activated locking pin
or collar slides freely and is seated firmly in trac-
tor PTO spline groove.
___ Check all lubrication points and grease as
instructed in lubrication information. Make sure
the PTO slip joint is lubricated and that the gear-
box fluid levels are correct.
___ Set tractor PTO at correct rpm for your equip-
ment.
___ Lubricate all grease fitting locations. Make sure
PTO shaft slip joint is lubricated.
___ Check that all hydraulic hoses and fittings are in
good condition and not leaking before starting
tractor. Check that hoses are not twisted, bent
sharply, kinked, frayed, or pulled tight. Replace
any damaged hoses immediately.
___ Check that all hardware is properly installed and
secured.
___ Check cutting height and attitude adjustment.
___ Raise and lower equipment to make sure air is
purged from hydraulic cylinders and hoses. Raise
and lower equipment to make sure air is purged
from hydraulic cylinders and hoses.
___ Check that blades are sharp and secure and cut-
ting edge is positioned to lead in a counterclock-
wise rotation.
___ Make sure tractor ROPS or ROPS cab and seat
belt are in good condition. Keep seat belt
securely fastened during operation.
___ Check that shields and guards are properly
installed and in good condition. Replace if dam-
aged.
___ Before starting engine, operator must be in trac-
tor seat with seat belt fastened. Place transmis-
sion in neutral or park, engage brake and
disengage tractor PTO.
___ Inspect area to be cut and remove stones,
branches, or other hard objects that might be
thrown and cause injury or damage.
___ Inspect rubber or chain shielding and replace any
damaged rubber shield or missing links.
___ Make sure tractor 3-point lift links do not interfere
with hydraulic hoses or driveline throughout full
turning range.

Owner Service 19
MAN0707 (5/30/2008)
OWNER SERVICE
The information in this section is written for operators
who possess basic mechanical skills. If you need help,
your dealer has trained service technicians available.
For your protection, read and follow the safety informa-
tion in this manual.
Keep all persons away from operator control
area while performing adjustments, service, or
maintenance.
Before working underneath, disconnect drive-
line from tractor, lower wings to ground, raise cut-
ter, and pin transport bar in raised position. Attach
parking jack and lower to ground. Securely block
all four corners of center section and each wing
with jack stands. Blocking up prevents the cutter
from dropping due to hydraulic leak down, hydrau-
lic system failure, or mechanical component fail-
ure.
Service and maintenance work not covered in
OWNER SERVICE must be done by a qualified
dealership. Special skills, tools, and safety proce-
dures may be required. Failure to follow these
instructions can result in serious injury or death.
Before servicing, adjusting, repairing or unplug-
ging, stop tractor engine, place all controls in neu-
tral, set park brake, remove ignition key, and wait
for all moving parts to stop.
Never perform service or maintenance with
engine running.
If you do not understand any part of this manual
and need assistance, see your dealer.
Always wear relatively tight and belted clothing
to avoid entanglement in moving parts. Wear
sturdy, rough-soled work shoes and protective
equipment for eyes, hair, hands, hearing, and head;
and respirator or filter mask where appropriate.
BLOCKING METHOD
To minimize the potential hazards of working under-
neath the cutter, follow these procedures:
Before performing any service or maintenance,
lower equipment to ground or block securely, turn
off engine, remove key, and disconnect driveline
from tractor PTO.
Never go underneath equipment (lowered to the
ground or raised) unless it is properly blocked and
secured. Never place any part of the body under-
neath equipment or between moveable parts even
when the engine has been turned off. Hydraulic
system leak down, hydraulic system failures,
mechanical failures, or movement of control levers
can cause equipment to drop or rotate unexpect-
edly and cause severe injury or death. Follow Oper-
ator's Manual instructions for working underneath
and blocking requirements or have work done by a
qualified dealer.
Do not position jackstands under wheels, axles, or
wheel supports. Components can rotate and cause cut-
ter to fall.
1. Jackstands with a load rating of 1000 lbs. or more
are the only approved blocking device for this
cutter. Install jackstands (shown by Xs in Figure 5)
under the cutter before working underneath unit.
2. Consider the overall stability of the blocked unit.
Just placing jackstands underneath will not ensure
your safety.
The working surface must be level and solid to
support the weight on the jackstands. Make sure
jackstands are stable, both top and bottom. Make
sure cutter is approximately level.
3. With full cutter weight lowered onto jackstands, test
blocking stability before working underneath.
4. If cutter is attached to tractor when blocking, set
the brakes, remove key, and block cutter before
working underneath.
5. Securely block rear tractor wheels, in front and
behind. Tighten tractor lower 3-point arm anti-sway
mechanism to prevent side-to-side movement.
CAUTION

20 Owner Service
MAN0707 (5/30/2008)
Figure 5. Jackstand Placement and Lubrication Points
LUBRICATION
Do not let excess grease collect on or around parts,
particularly when operating in sandy areas.
See Figure 5 for lubrication points and frequency or
lubrication based on normal operating conditions.
Severe or unusual conditions may require more fre-
quent lubrication.
Use a lithium grease of #2 consistency with a MOLY
(molybdenum disulfide) additive for all locations unless
otherwise noted. Be sure to clean fittings thoroughly
before attaching grease gun. One good pump of most
guns is sufficient when the lubrication schedule is fol-
lowed.
Gearbox Lubrication
For gearbox, use a high quality gear oil with a viscosity
index of 80W or 90W and an API service rating of GL–
4 or –5 in gearboxes. Fill gearbox until oil runs out the
side plug on gearbox. Check gearbox daily for evi-
dence of leakage, and contact your dealer if leakage
occurs. Use sealant on vent plug threads during instal-
lation. Check vent plug periodically and clean if it does
not relieve pressure.
Driveline Lubrication
1. Lubricate the driveline slip joint every eight
operating hours. Failure to maintain proper
lubrication could result in damage to U-joints,
gearbox, and driveline.
2. Lower cutter to ground, disconnect driveline from
tractor PTO shaft, and slide halves apart but do not
disconnect from each other.
3. Apply a bead of grease completely around male
half where it meets female half. Slide drive halves
over each other several times to distribute grease.
1. Driveline U-joint 10 Hours
2. Telescoping shaft 10 Hours
3. Carrier bearing block 40 Hours
4. CV body assembly 10 hours
(10 pumps minimum)
5. Driveline shield 10 Hours
6. Splined yoke 10 Hours
7. Gearbox (above lower Daily
line on dipstick)
8. Tongue pivot 40 Hours
9. Wheel yoke pivot 40 Hours
10. Tailwheel spindle 20 Hours
11. Turnbuckle 40 Hours
(Rev. 10/19/2009)

Owner Service 21
MAN0707 (5/30/2008)
Seasonal Lubrication
In addition to the daily recommended lubrication, a
more extensive application is recommended season-
ally.
1. Fill CV double yokes with 20 pumps of grease with
the joints in a straight line.
2. Articulate CV body to maximum angle several
times to ensure full coverage of joints.
3. Place joints in the straight position and a add 10
additional pumps of grease to both joints.
4. Wipe telescoping drive clean of all old grease and
contaminants.
5. Add a thin layer of new grease over telescoping
drive.
BLADES
Before working underneath, read manual
instructions, securely block up, and check stability.
Secure blocking prevents equipment from drop-
ping due to hydraulic leak down, hydraulic system
failure, or mechanical component failure.
Blade Removal (Figure 6)
Figure 6. Blade Assembly
1. Disconnect driveline from tractor PTO.
2. Raise cutter and block securely (see Figure 5).
3. Align crossbar (10) with blade access hole in the
cutter frame. Remove cap screw (52), blade pin
lock clip (14), keyhole plate (13), and shims (11 &
12). Carefully drive blade pin (9) out of crossbar.
4. Rotate crossbar and repeat for opposite blade.
NOTICE
■If blade pin (9) is seized in crossbar and extreme
force will be needed to remove it, support crossbar
from below to prevent gearbox damage.
Blade Installation (Figure 6)
Your dealer can supply genuine replacement
blades. Substitute blades may not meet original
equipment specifications and may be dangerous.
NOTICE
■Crossbar rotation has clockwise rotation on left
gearbox and counterclockwise rotation on the right
and center gearboxes when looking down on cut-
ter. Be sure to install blade cutting edge to lead in
correct rotation.
NOTE: Always replace or sharpen both blades at the
same time.
1. Inspect blade pin (9) for nicks or gouges, and if you
find any replace the blade pin.
2. Insert blade pin through the blade. Blade should
swivel on blade pin; if it doesn’t, determine the
cause and correct.
3. Align crossbar (10) with blade access hole in cutter
frame. Apply a liberal coating of Never-Seez® or
equivalent to blade pin and crossbar hole. Make
sure blade offset is down away from cutter.
4. Insert blade pin (9) through blade. Push blade pin
through crossbar.
5. Install shims (11 & 12) over blade pin.
NOTE: Only use enough shims to allow keyhole
plate (13) to slide into blade pin groove.
6. Install blade clip (14) over keyhole plate and into
blade pin groove.
7. Secure into position with cap screw (52). Torque
cap screw to 85 lbs-ft.
8. Repeat steps for opposite side.
NOTE: Blade should be snug but should swivel on
pin without having to exert excessive force. Blade
should not move more than a 1/4 inch up or down
at the tip. Keep any spacers not used in the instal-
lation as replacements or for future installation.
9. Blade pin
10. Crossbar assembly
11. Shim, 18 ga
12. Shim, 20 ga
13. Keyhole plate
14. Blade lock clip
52. 1/2 NC x 1-1/4 HHCS GR5
CAUTION

22 Owner Service
MAN0707 (5/30/2008)
Blade Sharpening
NOTICE
■When sharpening blades, grind the same
amount on each blade to maintain balance.
Replace blades in pairs. Unbalanced blades will
cause excessive vibration, which can damage
gearbox bearings. Vibration may also cause struc-
tural cracks to cutter.
1. Sharpen both blades at the same time to maintain
balance. Follow original sharpening pattern.
2. Do not sharpen blade to a razor edge—leave at
least a 1/16" blunt edge.
3. Do not sharpen back side of blade.
Figure 7. Blade Sharpening
SLIP CLUTCH ADJUSTMENT (FIGURE 8)
The slip clutch is designed to slip so that the gearbox
and driveline are protected if the cutter strikes an
obstruction.
A new slip clutch or one that has been in storage over
the winter may seize. Before operating the cutter, make
sure it will slip by performing the following operation:
1. Turn off tractor engine and remove key.
2. Remove driveline from tractor PTO.
3. Loosen six 10 mm cap screws (6) to remove all
tension from Belleville spring plate (5).
4. Hold clutch hub (3) solid and turn shaft to make
sure clutch slips.
5. If clutch does not slip freely, disassemble and clean
the thrust plate faces (4), flange yoke (1), and
clutch hub (3).
6. Reassemble clutch.
7. Tighten Belleville spring (5) until it is against the
thrust plate (4) of the clutch, and then back off each
of the six nuts by 2 full revolutions. The gap
between Belleville spring and thrust plate should
be 1/8" as shown in Figure 8.
8. If a clutch continues to slip when the spring is
compressed to 1/8" gap, check friction discs (2) for
excessive wear. Discs are 1/8" when new. Replace
discs after 1/16" wear. Minimum disc thickness is
1/16".
Figure 8. Slip Clutch Assembly
1. Flange yoke
2. Friction disc
3. Hub 1-3/8 round bore
4. Thrust plate
5. Belleville spring plate
6. 10 mm x 1.5P x 50 mm Cap screw
7. 10 mm x 1.5P Hex nut
8. 12 mm x 1.5P x 65 mm Cap screw
9. 12 mm x 1.5P Hex nut

Owner Service 23
MAN0707 (5/30/2008)
SHIELDING REPAIR
Full chain or rubber shielding must be installed
when operating in populated areas or other areas
where thrown objects could injure people or dam-
age property.
• If this machine is not equipped with full chain
or rubber shielding, operation must be stopped
when anyone comes within 300 feet (92 m).
• This shielding is designed to reduce the risk
of thrown objects. The mower deck and protec-
tive devices cannot prevent all objects from
escaping the blade enclosure in every mowing
condition.
It is possible for objects to ricochet
and escape, traveling as much as 300 feet (92 m).
Repairing Rubber Shielding
1. Inspect belting and rear bands each day of
operation.
2. Replace if bent, cracked, or broken.
3. Replace any missing hardware.
Repairing Optional Chain Shielding:
1. Inspect chain shielding each day of operation and
replace any broken or missing chains as required.
2. Replace any missing hardware.
SERVICING TIRES SAFELY
Used Aircraft Tires (Figure 9)
Do not attempt to mount a tire unless you have the
proper equipment and experience to perform the job.
Always maintain the correct tire pressure. Do not inflate
tires above the recommended pressure. Never weld or
heat a wheel and tire assembly. The heat can cause an
increase in air pressure and result in a tire explosion.
Welding can structurally weaken or deform the wheel.
When inflating tires, use a clip-on chuck and an exten-
sion hose long enough to allow you to stand to the side
— not in front of or over the tire assembly. Use a safety
cage if available.
Check wheels for low pressure, cuts, bubbles, dam-
aged rims, or missing lug bolts and nuts.
Never remove split rim assembly hardware (A) with the
tire inflated.
Figure 9. Split Rim Tire Servicing
CLEANING
After Each Use
●Remove large debris such as clumps of dirt, grass,
crop residue, etc. from machine.
●Inspect machine and replace worn or damaged
parts.
●Replace any safety decals that are missing or not
readable.
Periodically or Before Extended Storage
●Clean large debris such as clumps of dirt, grass,
crop residue, etc. from machine.
●Remove the remainder using a low-pressure water
spray.
1. Be careful when spraying near scratched or torn
safety decals or near edges of decals as water
spray can peel decal off surface.
2. Be careful when spraying near chipped or
scratched paint as water spray can lift paint.
3. If a pressure washer is used, follow the advice
of the pressure washer manufacturer.
●Inspect machine and replace worn or damaged
parts.
●Sand down scratches and the edges of areas of
missing paint and coat with Woods spray paint of
matching color (purchase from your Woods
dealer).
●Replace any safety decals that are missing or not
readable (supplied free by your Woods dealer).
See Safety Decals section for location drawing.
WARNING
A
PN 1006348

24 Troubleshooting
MAN0707 (5/30/2008)
TROUBLESHOOTING
PROBLEM POSSIBLE CAUSE SOLUTION
Does not cut Dull blades Sharpen blades.
Worn or broken blades Replace blades. (Replace in pairs
only.)
Incorrect PTO speed Set at rated PTO speed.
Ground speed too fast Reduce ground speed.
Drive not functioning (blades do
not turn when PTO is running)
Check drive shaft connection.
Check gearbox.
Gearbox malfunction Repair gearbox.
Excessive clutch slippage Adjust clutch.
Incorrect blade direction Check to be sure blade edge is
correct for direction of rotation.
Streaks or ragged cut Broken or worn blades Replace or sharpen blades.
Attitude incorrect Level machine.
Ground speed too fast Reduce ground speed.
Excessive cutting height Lower cutting height. (Note: Set
height so blades do not frequently
hit ground.)
Excessive lush and tall vegetation Recut at 90° to first pass.
Excessive side skid wear Running with skids continuously
on ground
Raise cutting height or adjust.
Excessive clutch slippage Clutch out of adjustment Adjust clutch.
Clutch discs worn; wear stops
contacting opposite plate
Replace discs.
Blades hitting ground Raise cutting height.
Vibration Broken blade Replace blades in pairs.
Bearing failure Check gearbox shafts for side play.
Hitch length incorrect Reset hitch length.
Universal drive Adjust pedestal bearing height to
be parallel to ground.
Blades hitting deck Bent blades or crossbar Replace bent blades or crossbar.
Unit will not raise Low oil Add hydraulic oil.
Unit doesn’t cut level Wing section cuts lower than
center
Lengthen turnbuckle connecting
center yoke to wing wheel yoke.
Wing section cuts higher than
center
Shorten turnbuckle connecting
center yoke to wing wheel yoke.

Dealer Service 25
MAN0707 (5/30/2008)
DEALER SERVICE
The information in this section is written for dealer ser-
vice personnel. The repair described here requires
special skills and tools. If your shop is not properly
equipped or your mechanics are not properly trained in
this type of repair, you may be time and money ahead
to replace complete assemblies.
Before working underneath, read manual
instructions, securely block up, and check stability.
Secure blocking prevents equipment from drop-
ping due to hydraulic leak down, hydraulic system
failure, or mechanical component failure.
Keep all persons away from operator control
area while performing adjustments, service, or
maintenance.
Always wear relatively tight and belted clothing
to avoid getting caught in moving parts. Wear
sturdy, rough-soled work shoes and protective
equipment for eyes, hair, hands, hearing, and head;
and respirator or filter mask where appropriate.
GEARBOX MAINTENANCE
NOTE: Read this entire section before starting any
repair. Many steps are dependent on each other.
1. Fill gearbox with SAE 80W or 90W gear lube.
Proper oil level is between lowest ring and end of
dipstick.
NOTE: Repair to this gearbox is limited to replac-
ing bearings, seals, and gaskets. Replacing gears,
shafts, and a housing is not cost effective. Pur-
chasing a complete gearbox is more economical.
2. Inspect gearbox for leakage and bad bearings.
Leakage is a very serious problem and must be
corrected immediately.
NOTE: Bearing failure is indicated by excessive
noise and side-to-side or end-play in gear shafts.
Seal Replacement (Figure 12)
Recommended sealant for gearbox repair is
Permatex® Aviation 3D Form-A-Gasket or equivalent.
Leakage can occur at the vertical or horizontal gaskets
and shaft seals.
Leakage at the horizontal gasket or seal can be
repaired without removing the gearbox from the cutter.
Seal Installation
NOTE: Proper seal installation is important. An improp-
erly installed seal will leak.
1. Clean area in housing where seal outer diameter
(OD) seats. Apply a thin coat of Permatex.
2. Inspect area of shaft where seal seats. Remove
any burrs or nicks with an emery cloth.
3. Lubricate gear shaft and seal lips.
4. Place seal squarely on housing, spring-loaded lip
toward housing. Select a piece of pipe or tubing
with an OD that will sit on the outside edge of the
seal but will clear the housing. Tubing with an OD
that is too small will bow seal cage and ruin seal.
5. Carefully press seal into housing, avoiding
distortion to the metal seal cage.
Figure 12. Seal Installation
CAUTION
1. Seal
2. Pipe or tube
3. Seal seat
4. Casting
Pipe or tube must
press at outer
edge of seal.
Incorrect
Installation

26 Dealer Service
MAN0707 (5/30/2008)
Vertical Shaft Seal Replacement (Figure 13)
1. Disconnect and remove the rear driveline from the
gearbox.
2. Remove vent plug (24) and siphon gear lube from
housing through this opening.
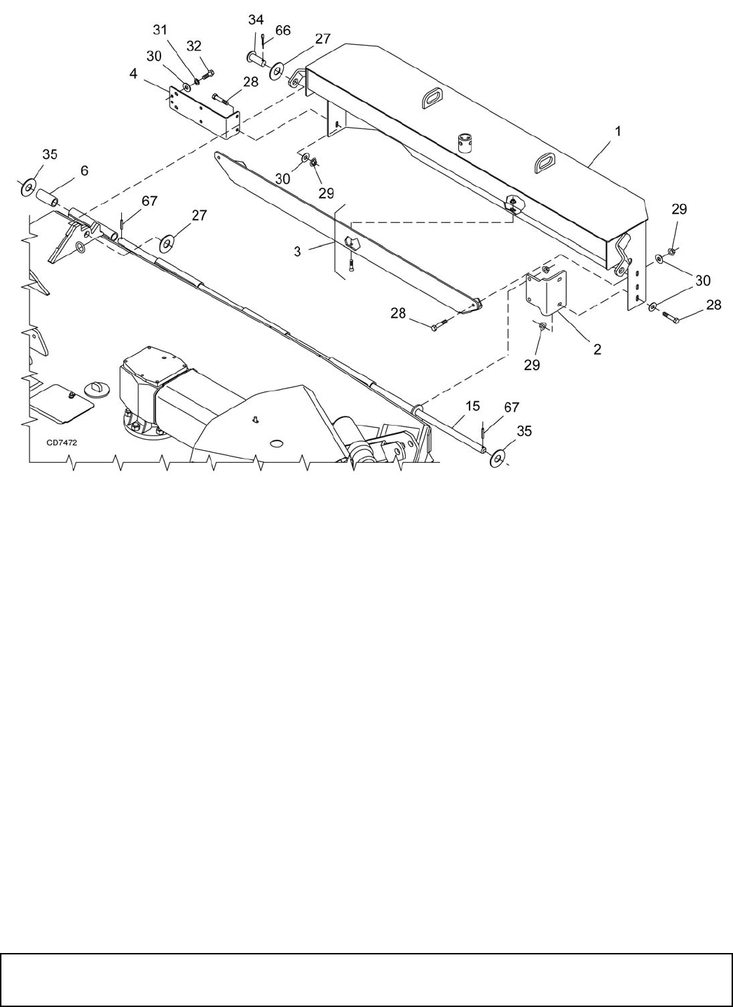
3. Remove crossbar (see page 30).
4. Remove protective seal (8) and vertical shaft seal
(18). Replace seal (18) with new seal.
Vertical seal should be recessed in housing. Hori-
zontal seal (19) should be pressed flush with out-
side of housing.
NOTE: Distortion to seal cage or damage to seal
lip will cause seal to leak.
5. Fill gearbox with SAE 80W or 90W gear lube until it
runs out the level plug.
6. Remove and replace any seal damaged in
installation.
Horizontal Shaft Seal Replacement (Figure 13)
1. Disconnect and remove the rear driveline from the
gearbox.
2. Remove vent plug (24) and siphon gear lube from
housing through this opening.
3. If the leak occurred at either end of horizontal shaft,
remove oil cap (20) and/or oil seal (19). Replace
with new one.
4. Fill gearbox with SAE 80W or 90W gear lube until it
runs out the level plug.
GEARBOX REPAIR
Removal from Cutter (Figure 13)
NOTE: Gearbox is heavy: do not attempt to move with-
out mechanical assistance.
1. Disconnect and remove the rear driveline from the
gearbox.
2. Remove cotter pin and nut from vertical shaft and
remove crossbar (see page 30).
3. Remove the six bolts that attach gearbox to cutter
and remove gearbox.
Disassembly (Figure 13)
1. Remove top cover (22) from gearbox and pour out
gear oil.
2. Remove oil cap (20) (to be replaced).
3. Remove snap ring (10) and shim (13) from input
shaft (3).
4. Support gearbox in hand press and push on input
shaft (3) to remove bearing (7).
5. Remove six cap screws (23) and top cover (22)
from housing. Remove gear (1) from inside
housing.
6. Remove oil seal (19) from front of housing (to be
replaced).
7. Remove snap ring (10) and shim (13) from front of
housing (2).
8. Remove input bearing (7) by using a punch and
hammer from outside of housing.
9. Support housing in vise in a horizontal position.
10. The castle nut (15), cotter pin (25), and hub are
already removed with the stump jumper/crossbar.
Remove the protective seal (8), and oil seal (18).
11. Remove cotter pin (9), castle nut (14), and shim
(17) from output shaft (4).
12. Remove output shaft (4) by using a punch and
hammer and tap on top to drive down. Remove
gear (5) and shim (16) from inside housing.
13. Remove bottom bearing (26) by using a punch and
hammer from the top, outside the housing.
14. Support housing upside down (top cover surface)
and remove bottom bearing (6) by using a punch
and hammer from the bottom side of the housing.
15. Inspect gears for broken teeth and wear. Some
wear is normal and will show on loaded side.
Forged gear surfaces are rough when new. Check
that wear pattern is smooth.
16. Inspect vertical and horizontal shafts for grooves,
nicks, or bumps in the areas where the seals seat.
Resurface any damage with emery cloth.
17. Inspect housing and caps for cracks or other
damage.
Assembly (Figure 13)
1. Clean housing, paying specific attention to areas
where gaskets will be installed.
2. Wash housing and all components thoroughly.
Select a clean area for gearbox assembly. Replace
all seals, bearings, and gaskets. All parts must be
clean and lightly oiled before reassembling.
3. Insert both output bearings (6) in the housing,
using a round tube of the correct diameter and a
hand press.
4. Slide output shaft (4) through both bearings (6)
until it rests against top bearing (6).
5. Slide shim (16) over output shaft (4).
6. Press gear (5) onto output shaft (4) and secure
with shim (17), castle nut (14), and cotter pin (9).
7. Apply grease to lower seal lips (18) and press seal
(18) over output shaft (4), using a tube of the

Dealer Service 27
MAN0707 (5/30/2008)
correct diameter. Be sure not to damage the seal
lip.
8. Press in housing so that seal is recessed. Press
protective seal (8) until seated flush with housing.
Verify that the seal (8) is seated correctly.
9. Press bearing (7) into the housing, using a round
tube of the correct diameter and a hand press.
Secure with shim (13) and snap ring (10).
10. Secure snap ring (11) on input shaft (3) if not
already secure.
11. Place gear (1) through top of housing and align
gear (1) and gear (5) so that gear teeth are a
match.
12. While holding gear (1) in place, slide input shaft (3)
through gear (1) and bearing (7). Align splines on
shaft (3) and gear (1).
13. Slide shim (12) over input shaft (3) and press
bearing (7) onto input shaft (3), using a round tube
of the correct diameter and a hand press.
14. Slide shim (13) over input shaft (3) and secure with
snap ring (10).
15. Check input shaft end float by moving the input
shaft (3) by hand. If end float is higher than 0.012",
insert shim between input shaft (3) and rear
bearing (7). Repeat until end float is less than
0.012". Check rotational torque by hand. The
torque should be less than 2.2 lbs-inch.
16. Check that the gear backlash is between 0.006"
and 0.016". You should not have to adjust the
backlash.
17. Press in input oil seal (19), using tube of correct
diameter. Be careful not to damage seal lip.
18. Press oil cap (20) on to cover the rear of housing,
using a tube of the correct diameter.
19. Place top cover (22) on top of housing and secure
with six cap screw (23).
20. Check gearbox housing for leaks by plugging all
holes except one. Apply 4 psi compressed air and
immerse the gearbox in water to verify that there
are no leaks.
21. Remove gearbox from water and dry off with
compressed air. Add SAE 80W or 90W EP oil until
it runs out of side level hole. Tighten all plugs.
Reinstallation
NOTE: Gearbox is heavy: do not attempt to move with-
out mechanical assistance.
1. Set gearbox on cutter and fasten with bolts and
nuts. Torque bolts to 300 lbs-ft.
2. Attach crossbar (Crossbar Installation, page 31).
Figure 13. Gearbox
1. Crown gear
2. Gearbox housing
3. Input shaft
4. Output shaft
5. Gear pinion
6. Bearing
7. Input bearing
8. Protective seal
9. Cotter pin
10. Snap ring
11. Snap ring
12. Shim, 45.3 x 2.5
13. Shim, 70.3 x 84.7
14. Nut
15. Castle nut
16. Shim, 50.3 x 70.3
17. Shim
18. Oil seal (Vertical Shaft)
19. Oil seal (Horizontal Shaft)
20. Cap
22. Top cover
23. Cap screw 8 mm x 16 (8.8)
24. Vent plug
25. Cotter pin
26. Washer

28 Dealer Service
MAN0707 (5/30/2008)
SPLITTER GEARBOX REPAIR (Figure 14)
Removal from Cutter
1. Disconnect and remove all drivelines from
gearbox.
2. Remove the four cap screw and lock washers that
secure gearbox to cutter, and remove gearbox.
NOTE: Gearbox is heavy: do not attempt to move it
without mechanical assistance.
Disassembly
Center Shaft
1. Remove plug from side of gearbox and pour out
the gear oil.
2. Remove seal (11, to be replaced) from the front
and rear of the center shaft (14).
3. Remove snap ring (10) and shim (12) from the
front and rear of the center shaft (14).
4. Support gearbox in a hand press and push on the
rear of the center shaft.
5. Remove bearing (13) from center shaft (14).
6. Remove six cap screws (20) and top cover (21)
from the gearbox housing.
7. Remove gear (17) and bearing (16).
8. Snap ring (15) does not have to be removed from
shaft (14) unless it is damaged.
Side Shaft
9. Remove seal (2, to be replaced) from the output
shaft (1).
10. Remove snap ring (4) and shim (8) from output
shaft (1).
11. Support gearbox in hand press. Using a punch
through the front opening of the gearbox and, push
shaft (1) and bearing (5) out the backside of
housing.
12. Remove gear (6) from inside housing.
13. Remove bearing (7) and shim (8) by using a
hammer and punch through front opening of the
gearbox and force them out the backside of the
housing.
14. Repeat steps 7 through 11 for opposite side shaft.
Inspect Components
15. Inspect gears for broken teeth and wear. Some
wear is normal and will show on the loaded side of
the teeth. Forged gear surfaces are rough when
new. Check that wear pattern is smooth.
16. Inspect shafts for grooves, nicks, or bumps in the
areas where seals seat. Resurface any damage
with emery cloth or replace shaft.
17. Inspect housing and caps for cracks or other
damage.
Assembly
1. Clean housing, pay specific attention to areas
where gaskets are installed.
2. Wash housing and all components thoroughly.
3. Select a clean work area to assemble gearbox.
4. Replace all seals, bearings, and gaskets.
5. All parts must be clean and lightly oiled before
assembly.
Side Shaft
6. Insert bearing (7) and shim (8) in housing using a
round tube of the same size diameter and a hand
press.
7. Place gear (6) inside the housing and slide output
shaft (1) through gear (6) and into bearing (7).
8. Slide bearing (5) and shim (8) over output shaft.
Secure with snap ring (4).
9. Check end play of shaft by moving it in and out. If
end play is more than 0.012", insert another shim
(8) between snap ring and bearing. Repeat
process until end play is less than 0.012".
10. Check rotational torque. Torque should be less
than 2.2 lbs-inch gear.
11. Place seal (2) over shaft and press into housing
using a tube of the same diameter. Seal should be
flush with housing when properly installed.
12. Repeat steps 6 through 10 for opposite side shaft.
Center Shaft
13. Place gear (17) inside housing and slide center
shaft (14) through the gear from the front of the
housing.
14. Slide bearings (16 & 13) and shims (12) over each
end of the center shaft (14). Secure bearings into
position using snap rings (10).
15. Check end play of shaft by moving it in and out. If
end play is more than 0.012", insert another shim
(12) between snap ring and bearing. Repeat
process until end play is less than 0.012".
16. Check rotational torque. Torque should be less
than 2.2 lbs-inch gear.
17. Check gear backlash, backlash should be between
0.006" and 0.016". You should not have to adjust
for backlash.
18. Place seal (11) over shaft and press into housing
using a tube of the same diameter. Seal should be
flush with housing when properly installed. Repeat
process for opposite end shaft.

Dealer Service 29
MAN0707 (5/30/2008)
Check Gearbox
1. Place top cover (21) on housing and secure into
position using six cap screws (20).
2. Check gearbox for leaks by: plugging all holes
except one, applying 4 psi of compressed air, and
immersing gearbox in water. Verify gearbox does
not leak.
NOTE: Excessive air pressure will damage seals.
3. Remove gearbox from water and dry off.
4. Remove upper plug (3) on right side of housing.
Add SAE 80W or 90W EP oil until it runs out side
level hole. Replace plug.
5. Install breather (18) in top cover.
Reinstallation on Cutter
NOTE: Gearbox is heavy: do not attempt to move it
without mechanical assistance.
1. Place gearbox on cutter and secure into position
using four cap screws and lock washers.
2. Torque hardware to 300 lbs-ft.
3. Attach all drivelines to gearbox.
4. Install all shields.
Figure 14. Splitter Gearbox Assembly
1. Shaft 1-3/4, 20 spline, wing
2. Oil seal
3. 3/8 plug
4. Snap ring
5. Bearing
6. Pinion gear
7. Bearing
8. Shim
9. Housing
10. Snap ring
11. Oil seal
12. Shim
13. Bearing
14. Shaft 1-3/4, 20 spline, center
15. Snap ring
16. Bearing
17. Gear
18. 1/2 Breather
19. 5/16 Lock washer
20. M8 x 30 Cap screw 8.8
21. Cover
22. Snap ring

30 Dealer Service
MAN0707 (5/30/2008)
CROSSBAR REMOVAL
1. It is necessary to gain access to bottom side of
cutter for crossbar removal. See Blocking Method
page 19.
NOTE: You will need to use either the puller screw
(Item 6, Figure 16) or a small hydraulic jack to
remove the crossbar.
2. Remove blades from crossbar as shown in Figure
15.
Figure 15. Blade Removal
3. Refer to Figure 16
.
Remove cotter pin from bottom
of crossbar and remove nut and washer.
4. Attach a clevis (1) to each end of crossbar, using
blade pins, spacers, keyhole plates, and blade pin
clips.
5. Position tube assembly (5) with threaded nut (4)
toward crossbar for puller screw removal or down
for hydraulic jack removal.
6. For removal with puller screw, attach tube (5) to
each clevis with bolts (2) and nuts (3). Place pad
(4) in nut and thread puller screw (6) into nut from
bottom. Tighten until pad is solid against gearbox
shaft. For best results, strike head of puller screw
with a hammer while tightening with a wrench.
7. For removal with a jack, attach tube to each clevis
with puller links (7), bolts (2), and nuts (3). Place
jack on tube with end of jack pressing against
gearbox shaft. Slowly apply force with jack.
NOTE: Hydraulic jack will not operate if tipped
more than 90°. Use care to prevent bending cross-
bar during removal. Figure 16. Crossbar Removal
9. Blade pin
10. Crossbar assembly
11. Shim, 18 ga
12. Shim, 20 ga
13. Keyhole plate
14. Blade lock clip
52. 1/2 NC x 1-1/4 HHCS GR5
1. Crossbar puller clevis
2. 5/8 NC x 4-1/2 HHCS
3. 5/8 NC Hex nut
4. Crossbar puller pad
5. Crossbar puller tube
6. Crossbar puller screw
7. Crossbar puller link

Dealer Service 31
MAN0707 (5/30/2008)
CROSSBAR INSTALLATION
1. Using emery cloth (220 or finer), remove surface
rust, Loctite® and foreign material from hub,
splined gearbox vertical shaft, and crossbar
assembly.
2. Slide crossbar assembly (10) onto splined shaft.
Install washer (71) and nut (72) and align a slot
with hole in splined shaft. Torque nut to 450 lbs-ft.
3. Install cotter pin (73) through slot in nut and bend
ends over.
Figure 17. Crossbar Assembly Installation
UNIVERSAL JOINT REPAIR
Figure 18. U-Joint Exploded View
U-Joint Disassembly
1. Remove external snap rings from yokes in four
locations as shown in Figure 19.
Figure 19
2. With snap rings removed, support drive in vise,
hold yoke in hand and tap on yoke to drive cup up
out of yoke. See Figure 20.
Figure 20
3. Clamp cup in vise as shown in Figure 21 and tap
on yoke to completely remove cup from yoke.
Repeat step 2 and step 3 for opposite cup.
Figure 21
10. Crossbar assembly
71. Washer, 1.22 x 2.205 x .236
72. Castle nut, M30 x 2.0P
73. Cotter pin, 1/4 x 2-1/4
1. Yoke
2. Cup and bearings
3. Snap ring
4. Journal cross

32 Dealer Service
MAN0707 (5/30/2008)
4. Place universal cross in vise as shown in Figure 22
and tap on yoke to remove cup. Repeat Step 3 for
final removal. Drive remaining cup out with a drift
and hammer.
Figure 22
U-Joint Assembly
1. Place seals securely on bearing cups. Insert cup
into yoke from outside and press in with hand
pressure as far as possible. Insert journal cross
into bearing cup with grease fitting away from
shaft. Be careful not to disturb needle bearings.
Insert another bearing cup directly across from first
cup and press in as far as possible with hand
pressure.
2. Trap cups in vise and apply pressure. Be sure
journal cross is started into bearings and continue
pressure with vise, squeezing in as far as possible.
Tapping the yoke will help.
3. Seat cups by placing a drift or socket (slightly
smaller than the cup) on cup and rap with a
hammer. Install snap ring and repeat on opposite
cup.
4. Repeat Step 1 and Step 2 to install remaining cups
in remaining yoke.
5. Move both yokes in all directions to check for free
movement. If movement is restricted, rap on yokes
sharply with a hammer to relieve any tension.
Repeat until both yokes move in all directions
without restriction.
SERVICING TIRES SAFELY
Used Aircraft Tires (Figure 23)
Do not attempt to mount a tire unless you have the
proper equipment and experience to perform the job.
Always maintain the correct tire pressure. Do not inflate
tires above the recommended pressure. Never weld or
heat a wheel and tire assembly. The heat can cause an
increase in air pressure and result in a tire explosion.
Welding can structurally weaken or deform the wheel.
When inflating tires, use a clip-on chuck and an exten-
sion hose long enough to allow you to stand to the side
— not in front of or over the tire assembly. Use a safety
cage if available.
Check wheels for low pressure, cuts, bubbles, dam-
aged rims, or missing lug bolts and nuts.
Never remove split rim assembly hardware (A) with the
tire inflated.
Figure 23. Split Rim Tire Servicing
WARNING
A
PN 1006348
(Rev. 9/26/2008)

Assembly 33
MAN0707 (5/30/2008)
ASSEMBLY INSTRUCTIONS
DEALER SET-UP INSTRUCTIONS
Assembly of this cutter is the responsibility of the
WOODS dealer. It should be delivered to the owner
completely assembled, lubricated and adjusted for nor-
mal cutting conditions.
The cutter is shipped partially assembled. Assembly
will be easier if components are aligned and loosely
assembled before tightening hardware. Recommended
torque values for hardware are located on page 72.
Select a suitable working area. A smooth hard surface,
such as concrete, will make assembly much quicker.
Open parts boxes and lay out parts and hardware to
make location easy. Refer to illustrations, accompany-
ing text, parts lists and exploded view drawings.
Complete the check list on page 45 when assembly is
complete and cutter is delivered to the customer.
Before working underneath, carefully read Oper-
ator’s Manual instructions, disconnect driveline,
raise mower, securely block up all corners with
jackstands, and check stability. Secure blocking
prevents equipment from dropping due to hydrau-
lic leak down, hydraulic system failures, or
mechanical component failures.
Do not disconnect hydraulic lines until machine
is securely blocked or placed in lowest position
and system pressure is released by operating
valve levers.
Always wear relatively tight and belted clothing
to avoid entanglement in moving parts. Wear
sturdy, rough-soled work shoes and protective
equipment for eyes, hair, hands, hearing, and head;
and respirator or filter mask where appropriate.
Fill Gearboxes
1. Remove top and side plugs from gearbox.
2. Fill gearbox with SAE 80W or 90W EP oil until it
runs out of side level hole. Install plug in the side
hole and vented dipstick in the top.
3. Allow oil to drain into the lower bearings and
recheck oil level.
4. Fill all gearboxes.
Install Attitude Rod
1. Insert attitude rod (6) under splitter gearbox
support and through pivot casting in wheel yoke
arm assembly. The rod is a very tight fit; use care
to prevent thread damage during installation.
2. Slide spacer (16) over rod and loosely install
washer (35) and two nuts (34).
Figure 24. Attitude Rod Installed on Wheel Yoke Tube
Install Spring Arm
Refer to Figure 25.
1. Place spring arm (3), spacers (17), and spring (4)
on deck as shown.
2. Secure spring arm and spacers to lugs on deck
using clevis pin (19) and two cotter pins (66).
3. Install retaining cap screw (53) and flange lock nut
(55).
CAUTION
Small Aircraft Tires
Attitude Rod Length
Beyond Nuts (34)
Tongue at 11" 3.5
Tongue at 18" 1.75
Large Aircraft Tires
Tongue at 11" 4.5
Tongue at 18" 2.5
6. Attitude rod
16. 1" x 3.75 Spacer, pipe schedule 40
34.1" Hex nut
35.1" Flat washer

34 Assembly
MAN0707 (5/30/2008)
Install Height Adjustment Cylinder
Refer to Figure 25.
1. Attach base end of cylinder (5) to the spring arm
(3) using clevis pin (18) and two cotter pins (66).
2. Extend cylinder rod and place transport lock
bracket (7) over cylinder rod clevis.
3. Position cylinder rod and transport lock bracket
between lugs on the wheel yoke tube and align
holes.
4. Secure cylinder rod and transport lock bracket to
the wheel yoke tube using clevis pin (20) and two
cotter pins (66).
5. Install bushing (40), elbow, (41) and hose (42) to
the base end of cylinder (5). See Install Hose Kit,
page 39 for complete instructions.
NOTE: An optional ratchet (9) is available, and
replaces the hydraulic cylinder. Install ratchet jack
using the same procedure and hardware used for
the installation of the hydraulic cylinder.
Install SMV Emblem
Refer to Figure 25.
1. Attach SMV mounting bracket (10) to left side of
center section as shown using two carriage bolts
(56) and flange lock nuts (55).
2. Attach SMV socket (11) to mounting bracket (10)
using two carriage bolts (30) and lock nuts (31).
3. Attach SMV emblem (13) to SMV bracket (12)
using two round head cap screws (36) and hex
nuts (37).
Insert SMV bracket (12) and emblem (13) into
socket (11).
Figure 25. Spring Arm and Cylinder Installation
3. Spring arm
4. Spring, compression 3.25" x .69" x 9.5"
5. Hydraulic cylinder 3-1/2"
7. Transport lock-up
9. Ratchet
10. SMV Mounting bracket
11. SMV Socket
12. SMV bracket
13. SMV Emblem
17. Spacer, 1"
18. Clevis pin, 1" x 2.72
19. Clevis pin, 1" x 4.58"
20. Clevis pin, 1" x 5.08"
30. 5/16 NC x 3/4 Carriage bolt
31. 5/16 NC Lock nut
36. 1/4 NC x 1/2 Round head screw
37. 1/4 NC Hex nut
40. 1/2 NPT x 1/4 NPT Reducer bushing
41. 1/4 NPT x 1/4 NPT Restricted
42. 1/4 NPT x 1/4 NPT x 156" Hose
53. 1/2 NC x 5 HHCS GR5
55. 1/2 NC Lock nut
56. 1/2 NC x 1-1/2 Carriage bolt
66. Cotter pin, 1/4" x 1-1/2"
(Rev. 9/26/2008)

Assembly 35
MAN0707 (5/30/2008)
Install Wheel and Hub
1. Insert wheel hub into outside of wheel yoke arm (1)
and align holes.
2. Secure into position using cap screw (54) and
flanged lock nut (55).
3. Attach wheel to hub using five lug nuts. Install the
chamfered side of the lug nut toward the inside for
steel rim for pneumatic tires and rims. Tighten to 75
lbs-ft. Check that tire air pressure is a maximum of
40 psi.
NOTE: Install the flat side of the nut toward the
inside for solid tires and aircraft tires (shown).
4. Install optional dual wheel and hub to inside of
wheel yoke arm.
NOTE: Pneumatic (BW180 and BW180Q only),
notat, and airplane tires are available for this cutter.
See page 63 for parts list.
Figure 26. Center Section Wheel and
Hub Installation
Install Tongue
1. Attach tongue (24) to center section using two
tongue pivot pins (33) and cotter pins (70).
2. Attach attitude rod (6) to lug on tongue and secure
with clevis pin (34), washer (35), and cotter pin
(66).
3. Attach parking jack (22) to the side of the tongue.
4. Attach safety chain (8) to the bottom of center
gusset and secure with cap screw (40), washer
(38), and lock nut (39).
Figure 27. Tongue Installation
1. Center wheel yoke arm
54. 1/2" NC x 3" HHCS GR5
55. 1/2" NC Flange lock nut
6. Attitude rod
8. Safety chain
22. Parking jack
24. Tongue
33. Tongue pivot pin
34. Clevis pin, 1" x 2.26"
35. Washer, flat 1"
38. Washer, flat 3/4" x 2" x 3/8"
39. 3/4" NC Lock nut
40. 3/4" NC x 2-1/2" HHCS GR5
66. Cotter pin, 1/4" x 1-1/2"
70. Cotter pin, 3/16"x 1-1/2"

36 Assembly
MAN0707 (5/30/2008)
Install 3-Joint Drive (540 RPM Only)
Before installing cutter input driveline to gearbox, check
the tag wired to the driveline and the tag wired to the
input shaft of gearbox. Ensure the tag rpm speeds
match the rpm speed decal on front of cutter. After con-
firming all speeds match, remove and discard tags and
then complete driveline assembly.
1. Attach H-frame (26) to tongue with cap screw (45),
sleeves (47), cup washers (46), and nut (48).
2. Coat splined end of gearbox input shaft with
grease.
3. Align hole in drive yoke with groove on gearbox
input shaft and slide drive (29) onto shaft.
4. Secure with bolt and nut supplied with drive.
5. Secure driveline carrier bearing to H-frame with
cap screw (50), washer (53), sleeves (56) and a
flanged lock nut (55).
NOTE: When cutting height is established, adjust
the 3-joint H-frame bearing height so that the front
driveline is parallel to the ground.
6. Attach front driveline (28) to rear driveline (29) and
tighten clamp bolt and nut.
7. Attach shield (19) to driveline carrier bearing with
two cap screws (57) and lock washers (58).
8. Attach spacer (54) and hydraulic hose holder (27)
to top hole of H-frame using cap screw (50) and
flanged lock nut (55).
Figure 28. 3-Joint Drive Installation
19. Carrier bearing shield
24. Tongue
26. H-frame
27. Hydraulic hose holder
28. Front half, 3-joint drive
29. Rear half, Telescoping driveshaft
45. 5/8" NC x 7" HHCS GR5
46. 5/8" x 1-3/4" x 14 ga Cup washer
47. 5/8" x 1" x 9/16" Sleeve, HT
48. 5/8" NC Lock nut
50. 1/2" NC x 6-1/2" HHCS GR5
53. 1/2" Flat washer
54. 1/2" x 4.56" Spacer, pipe schedule 40
55.1/2" NC Flanged lock nut
56. Sleeve, .50" x 1.00" x 1.031"
57. 3/8" NC x 1" HHCS GR5
58. 3/8" Lock washer

Assembly 37
MAN0707 (5/30/2008)
Install CV Drive (Optional)
Before installing cutter input driveline to gearbox, check
the tag wired to the driveline and the tag wired to the
input shaft of gearbox. Ensure the tag rpm speeds
match the rpm speed decal on front of cutter. After con-
firming all speeds match, remove and discard tags and
then complete driveline assembly.
1. Align hole in drive yoke with groove on gearbox
input shaft and slide rear half of drive (23) onto
shaft.
2. Secure with bolt and nut supplied with drive.
Figure 29. CV Drive Installation
Install Wing
Use a suitable lifting device of sufficient capac-
ity. Use adequate personnel to handle heavy com-
ponents.
The wing must be installed in the following sequence
and will require at least two people. A floor jack or a
suitable lifting device will be helpful to align decks when
installing the hinge pin.
Check RPM tags on wing and center section to make
sure they match before proceeding.
1. Remove hinge pin (15) from center section.
2. Place wing assembly adjacent to the center section
and align hinge sections.
3. Insert hinge pin through the hinge sections and
secure with spring pin (67) and washer (35) on
both ends.
4. Attach sice skid (7) to the wing using four carriage
bolts (56) and flange lock nuts (55).
5. Repeat procedure of opposite wing. (BW126R only
had right wing installed. BW126L only has left wing
installed.
Figure 30. Right Wing Installation
Install Wing Cylinder & Lock-up Bar
Figure 31. Wing Cylinder & Lock-Up Bar Installation
1. Place two cylinder links (23 & 24) on either side of
cylinder lug on center section as shown, align
holes and insert clevis pin (22).
NOTE: Items 23 & 24 must be installed with square
corners on top and facing cylinder as shown.
23. CV Drive
CAUTION
7. Side skid
15.Hinge pin
35. 1" Flat washer
37. Spring pin, 1/4 x 1-1/2
55. 1/2 NC Lock nut
56. 1/2 NC x 1-1/2 carriage bolt
4. Hydraulic cylinder
17. Spacer, 1"
18. 1 x 2.72 Clevis pin
19. Wing lock-up bar
22. 1" x 4.08" Clevis pin
23. Cylinder link
24. Cylinder link
25. Spacer, 3/4
26. Lock-up pin 1" x 5"
27. Washer, 1 x 1-7/8
40. 1/2 NPT x 1/4 NPT
Reducer bushing
41. 1/4 NPT x 1/4 NPT
Restricted
42. 1/4 NPT x 1/4 NPT x
200" Hose
45. 3/16 Safety pin
66. 1/4 x 1-1/2 Cotter pin
(Rev. 1/30/2009)

38 Assembly
MAN0707 (5/30/2008)
2. Slide spacer (17) and lock-up bar (19) over clevis
pin (22) on back side of cylinder lug & secure with
washer (27) and cotter pins (66).
3. Attach base end of wing cylinder (4) to cylinder
links (23 & 24) using clevis pin (18) and cotter pins
(66).
4. Remove plug from base end of hydraulic cylinder.
Align cylinder rod end with cylinder lug on the wing
and insert lock-up pin (26).
5. Slide spacer (25) over lock-up pin (26) on back
side of cylinder rod and secure with cotter pins
(66).
6. Insert safety pin (45) into the end of lock-up pin
(26). The safety pin will secure lock-up bar into
position when wing is in the UP position.
7. Extend cylinder fully & replace plug in base end of
cylinder. This trapped air will help push wing down.
8. Install bushing (40), elbow, (41) and hose (42) to
the rod end of cylinder (4). See Install Hose Kit,
page 39 for complete instructions.
9. Repeat procedure for opposite wing.
NOTE: (BW126R has only the right wing installed.
BW126L has only the left wing installed.)
Figure 32. Left Wing Lock-Up Bar Installed
Install Wing Wheel and Hub (Figure 33)
1. Insert wheel hub into wing wheel yoke arms (6)
and align holes.
2. Secure into position using cap screw (54) and
flanged lock nut (55).
3. Attach wheel to hub using five lug nuts. Install the
chamfered side of the lug nut toward the inside for
steel rim for pneumatic tires and rims. Tighten to 75
lbs-ft. Check that tire air pressure is a maximum of
40 psi.
NOTE: Install the flat side of the nut toward the
inside for solid tires and aircraft tires (shown).
4. Install optional dual wheel and hub to inside of
wheel yoke arm.
NOTE: Pneumatic (BW180 and BW180Q only),
notat, and airplane tires are available for this cutter.
See page 63 for parts list.
Figure 33. Wing Wheel and Hub Installation - Right
17
19
22 66
23
24
DP3
17. Spacer, 1"
19. Wing lock-up bar
22. Headless pin,
1 x 4.08
23. Cylinder link
24. Cylinder link
66. Cotter pin,
1/4 x 1-1/2
6. Wing wheel yoke arm,
right
21. Wheel and hub
39. 1/2 NC x 3 HHCS GR5
40. 1/2 NC Flanged lock nut

Assembly 39
MAN0707 (5/30/2008)
Install Wing Wheel Yoke Adjustment Link
Use a suitable lifting device of sufficient capac-
ity. Use adequate personnel to handle heavy com-
ponents.
1. With a lifting device raise right wing and lock in the
up position using the wing lock-up bar. Leave lifting
device attached for added support.
2. Attach adjustable link (8) to right side of center
wheel yoke arm and secure with cap screw (28)
and lock nut (33).
3. Attach opposite end of adjustable link (8) to wing
wheel yoke arm and secure with cap screw (28)
and lock nut (33).
4. Remove lock-up bar and carefully lower wing using
lifting device.
5. Repeat process for left wing. (BW126R only has
right wing installed; BW126L only has left wing
installed.)
Figure 34. Left Wing Wheel Yoke
Adjustment Link Installed
Install Wing Driveline
1. Attach clutch shield (16) to wing gearbox using four
cap screws (60), lock washers (64), and flat
washers (63).
2. Slide non clutch end of driveline (3) over wing
gearbox shaft and align holes with groove.
3. Secure driveline to shaft using cap screws and lock
nuts supplied with driveline.
4. Slide clutch end of driveline over splitter gearbox
and secure using cap screws and lock nuts
supplied with driveline.
5. Repeat process for left driveline. (BW126R only
has right wing installed; BW126L only has left wing
installed.)
Figure 35. Right Driveline Installation
Install Hose Kit
1. Remove plug from rod end of each wing cylinder.
2. With the wings in the down position and cylinder
extended, remove and reinstall the plugs from the
base of the wing cylinders. This will trap air behind
the piston and help when lowering the wings.
3. Install reducer bushing and restricter elbow into
cylinders. Position elbow on center cylinder to point
forward; on wing cylinders point elbows to the
center.
NOTE: Make sure a breather fitting is installed in
the rod end port of the wheel yoke cylinder.
4. Attach hose to each elbow.
CAUTION
8
28
33 DP2
8. Adjustable link
28. 1 NC x 4-1/2 HHCS GR5
33. 1 NC Lock nut
3. Driveline, complete
16. Clutch shield
60. M8 x 1.25P x 20 mm HHCS
63. 5/16" Flat washer
64. 5/16" Lock washer
(Rev. 10/19/2009)

40 Assembly
MAN0707 (5/30/2008)
Install Chain or Belt Shielding
Full chain shielding must be installed when
operating in populated areas or other areas where
thrown objects could injure people or damage
property.
• If this machine is not equipped with full chain
shielding, operation must be stopped when any-
one comes within 300 feet (92 m).
• This shielding is designed to reduce the risk
of thrown objects. The mower deck and protec-
tive devices cannot prevent all objects from
escaping the blade enclosure in every mowing
condition.
It is possible for objects to ricochet
and escape, traveling as much as 300 feet (92 m).
Install chain and rubber shields with hardware as
shown. (Refer to Figure 36 for Chain Shielding Installa-
tion; Figure 38 and Figure 39 for Belt Shielding Installa-
tion.)
NOTE: Chain Shielding: Install four (two per wing) 6-
link chain sections (16) and four (two per wing) 4-link
chain sections (18) to the wing skid shoes. Secure with
carriage bolts (19) and flange lock nuts (21).
Figure 36. Chain Shielding Installation - Center Section
1. Front center chain plate
2. Front right chain plate
3. Front left chain plate
4. Rear chain plate, right
5. Rear chain plate, left
22. 3/8 NC x 1-1/4 Carriage bolt
23. 3/8 NC Flange lock nut
(Rev. 9/26/2008)

Assembly 41
MAN0707 (5/30/2008)
Figure 37. Chain Shielding Installation - Right Wing Shown
6-Link
4-Link
5. Front wing chain plate, inner
6. Front wing chain plate, middle
7. Front wing chain plate, outer
8. Rear wing chain plate
16. 5/16 Chain - 6-link
18. 5/16 Chain - 4-link
19. 1/2 NC x 1-1/2 Carriage bolt
21. 1/2 NC Flange lock nut
22. 3/8 NC x 1-1/4 Carriage bolt
23. 3/8 NC Flange lock nut

42 Assembly
MAN0707 (5/30/2008)
Figure 38. Belt Shielding Installation - Center Section
Figure 39. Belt Shielding Installation - Right Wing
1. Front center belt shield plate
2. Front right belt shield plate
3. Front left belt shield plate
7. Bent link, .25 x 1.72 x 13.00
8. Bent link, .25 x 9.25 x 9.50
9. Rubber shield, .25 x 8.75 x 40.76
12. Rubber shield, .25 x 9.25 x 28.00
13. Rubber shield, .25 x 9.25 x 18.25
22. 3/8 NC x 1-1/4 Carriage bolt GR5
23. 3/8 NC Flange lock nut
4. Front wing belt shield plate, inside
5. Front wing belt shield plate, middle
6. Front wing belt shield plate, outer
7. Bent link, .25 x 1.72 x 13.00
10. Rubber belt, .25 x 8.75 x 31.11
11. Rubber belt, .25 x 8.75 x 53.87
14. Rubber belt, .25 x 9.25 x 34.00
19. 1/2 NC x 1-1/2 Carriage bolt GR5
21. 1/2 NC Flange lock nut
22. 3/8 NC x 1-1/4 Carriage bolt GR5
23. 3/8 NC Flange lock nut

Assembly 43
MAN0707 (5/30/2008)
Figure 40. Counterweight Installation
BW126 and BW126L Counterweight
Installation
■ The offset model is unstable without adequate
counterweight. Use counterweight box loaded with
750 lbs. of steel.
Use a suitable lifting device of sufficient capac-
ity. Use adequate personnel to handle heavy com-
ponents.
This unit may be operated with only one wing - either
right or left. With only one wing, the unit is unshielded
and unstable. When electing to operate with one wing,
you must install a counterweight box, available from
your dealer. This box has a dual purpose: it substitutes
for the shielding and for the weight of the removed
wing.
The counterweight must be installed in the following
sequence and will require at least two people. A floor
jack or a suitable lifting device will be helpful to align
the hinges when installing the hinge pin.
Refer to Figure 40.
1. Remove hinge pin (15) from center section.
1. Weight box 750 lbs
2. Brace
3. Skid shoe
4. Mounting plate
6. Sleeve, 1.25 x 1.5 x 3.40
15. Hinge pin
27. Washer, 1 x 1-1/8 x 1/4
28. 3/8 NC x 1-1/4 HHCS GR5
29. 3/8 NC Flange lock nut
30. 3/8 Flat washer
31. 3/8 Lock washer
32. 3/8 NC x 1-1/4 Self-tapping screw
34. Clevis pin, 1 x 2.26
35. 1" Flat washer
37. Spring pin, 1/4 x 1-1/2
66. Cotter pin, 1/4 x 1-1/2
CAUTION

44 Assembly
MAN0707 (5/30/2008)
2. Place brace (2) inside the front corner of the weight
box (1) and secure with two cap screws (28), two
flat washers (30), and two lock nuts (29).
3. Align mounting plate (4) with slots of rear of weight
box. Secure with two cap screws (28), two flat
washers (30), and two lock nuts (29). Do not
tighten hardware at this point.
4. Align skid shoe (3) with holes on bottom and inside
of weight box. Secure bottom with the hardware
provided with skid shoe. Secure top with two cap
screws (28), two flat washers (30) and two lock
nuts (29).
5. Place weight box assembly adjacent to the center
section and align hinge sections.
6. Insert hinge pin through the hinge sections. Install
sleeve (6) on hinge pin behind deck hinge section
to prevent weight box from sliding rearward.
Secure hinge pin with two washers (35) and two
spring pins (67).
7. Insert clevis pin (34) through lug on rear of weight
box and cylinder lug on center section with two
washers (27) as shown. Secure with cotter pin
(66).
8. Insert self-tapping screw (32), lock washer (31),
and flat washer (30) through upper-rear hole in
mounting plate (4) and hole in side of center
section. Tighten hardware from step 3.
Winch Kit Installation (Optional)
Refer to page 71 for Installation and Operation instruc-
tions.

Dealer Check Lists 45
MAN0707 (5/30/2008)
DEALER CHECK LISTS
PRE-DELIVERY CHECK LIST
(DEALER’S RESPONSIBILITY)
Inspect the equipment thoroughly after assembly to
ensure it is set up properly before delivering it to the
customer.
The following check lists are a reminder of points to
inspect. Check off each item as it is found satisfactory
or after proper adjustment is made.
NOTICE
■Gearboxes are not filled at the factory. Prior to
delivery, make sure each gearbox is filled between
lowest ring and end of dipstick with 80 or 90W API
GL-4 or GL-5 gear lube.
___ Check that all safety decals are installed and in
good condition. Replace if damaged.
___ Check that shields and guards are properly
installed and in good condition. Replace if dam-
aged.
___ Check all bolts to be sure they are properly
torqued.
___ Check wheel bolts for proper torque.
___ Check that all cotter pins and safety pins are
properly installed. Replace if damaged.
___ Check that blades have been properly installed.
___ Check and grease all lubrication points as identi-
fied in lubrication information on page 20.
___ Check the level of gearbox fluids before delivery.
Service, if required, as specified in the lubrication
information on page 20.
DELIVERY CHECK LIST
(DEALER’S RESPONSIBILITY)
___ Show customer how to make adjustments and
select proper PTO speed.
___ Show customer how to make sure driveline is
properly installed and that spring-activated lock-
ing pin or collar slides freely and is seated in
groove on tractor PTO shaft.
___ Show customer how to determine the turning lim-
its of the CV PTO driveline.
___ Show customer the safe, proper procedures to be
used when mounting, dismounting, and storing
equipment.
___ Make customer aware of optional equipment
available so that customer can make proper
choices as required.
___ Instruct customer how to lubricate and explain
importance of lubrication.
___ Point out the safety decals. Explain their meaning
and the need to keep them in place and in good
condition. Emphasize the increased safety haz-
ards when instructions are not followed.
___ Explain to customer that when transporting the
cutter, the wing and center sections should be
raised and their respective transport bars
installed and pinned in place.
___ Present Operator's Manual and request that cus-
tomer and all operators read it before operating
equipment. Point out the manual safety rules,
explain their meanings and emphasize the
increased safety hazards that exist when safety
rules are not followed.
___ Explain to customer the potential crushing haz-
ards of going underneath raised equipment.
Instruct that before going underneath to discon-
nect the driveline, securely block up all corners
with jack stands and to follow all instructions in
the BLOCKING METHOD, page 19 of the opera-
tor’s manual. Explain that blocking up prevents
equipment dropping from hydraulic leak down,
hydraulic system failures or mechanical compo-
nent failures.
___ Point out all guards and shields. Explain their
importance and the safety hazards that exist
when not kept in place and in good condition.
___ Explain to customer that when towing on a public
road to comply with all state and local light-
ing/marking laws and to use a safety tow chain.

46 Notes
MAN0707 (5/30/2008)
NOTES

Parts 47
MAN0707 (5/30/2008)
PARTS INDEX
BATWING® Rotary Cutter
BW180-3, BW180Q-3
BW126-3, BW126Q-3
MAIN FRAME ASSEMBLY (FRONT SECTION) ...................................................... 48-49
(REAR SECTION)......................................................... 50-51
WING ASSEMBLY ........................................................................................................ 52-53
GEARBOX ASSEMBLY SPLITTER .................................................................... 54-55
WING & CENTER ......................................................... 56-57
DRIVE ASSEMBLY CENTER DECK ................................................................ 58
BW180 & BW126 FRONT - EQUAL ANGLE ..................... 59
BW180 & BW126 REAR - EQUAL ANGLE........................ 60
540 RPM & 1000 RPM CV DRIVE ..................................... 61
WING ................................................................................. 62
WHEEL & TIRE ASSEMBLY 5-BOLT............................................................................... 63
SHIELDING RUBBER SHIELDING - CENTER SECTION............................................... 64
RUBBER SHIELDING - WING..................................................................... 65
CHAIN SHIELDING - CENTER SECTION (OPTIONAL) ............................. 66
CHAIN SHIELDING - WING (OPTIONAL) ................................................... 67
HYDRAULIC CYLINDERS................................................................................................. 68
HYDRAULIC CYLINDER STROKE CONTROL KIT .......................................................... 69
CROSSBAR PULLER (OPTIONAL) .................................................................................. 69
BW126 / BW126Q COUNTERWEIGHT BOX ASSEMBLY (OPTIONAL) .......................... 70
WINCH KIT (OPTIONAL)................................................................................................... 71

48 Parts
MAN0707 (5/30/2008)
MAIN FRAME ASSEMBLY (FRONT SECTION)
(Rev. 01/12/2010)

Parts 49
MAN0707 (5/30/2008)
MAIN FRAME ASSEMBLY (FRONT SECTION)
REF PART QTY DESCRIPTION
1 19160KT 1 Blade kit, CCW
2 ----- 1 Gearbox (see page 56)
3 1004933 1 Driveline complete, 1340, 1.75-20 6.0
w/ clutch (see page 58)
6 1003491 1 Attitude rod
7 1027302 2 Front skid
8 19407 1 Safety chain
9 1008190 2 1-1/2 Blade pin kit (includes 13 & 14)
10 1027339 1 Crossbar Assembly
11 10520 2 Shim, 18 GA, 1-1/2 blade pin
12 13946 2 Shim, 20 GA, 1-1/2 blade pin
13 32603 2 Keyhole plate - special
14 32604 2 Blade pin lock clip - special
15 1003495 2 Hinge pin
16 1028585 1 Front shield with hinge
17 1003828 1 Manual tube
18 1027308 1 Rear shield with hinge
19 1003444 1 Front drive shield
20 1003558 1 Shield standoff
21 ----- 1 Splitter gearbox (see page 54)
22 52232 1 Parking jack
23 1021103 1 CV drive - 540 RPM (see page 61) or
23 1021104 1 CV drive - 1000 RPM (see page 61)
24 1010839 1 Tongue (includes 25, 40, 41, 42, 43)
25 1005595 1 Hitch, Cat. 2 clevis
26 1003440 1 H-Frame
27 3443 1 Hydraulic hose holder
28 57282 1 Front 2/3 of 3-joint drive - 540 RPM
only (see page 59)
29 1004932 1 Telescoping shaft (see page 60)
30 32347 1 3-Joint bearing housing
(includes 31, 32, 69)
31 13133 1 1-1/2 ID Ball bearing
32 12128 1 .062 x 72 mm ID Snap ring
33 58982 2 Tongue pivot pin
34 46605 1 Clevis pin, 1 x 2.26
35 1863 * 1" Flat washer
36 30068 * 3/4 NC x 2-1/2 HHCS GR5
37 57798 3/4 Hardened flat washer
38 8424 3/4 x 2 x 3/8 Flat washer
REF PART QTY DESCRIPTION
39 2371 * 3/4 NC Lock nut
40 13759 3/4 NC x 2-1/4 HHCS GR5
41 28873 3/4 ID x 1-1/2 OD 1/4 Thick washer
42 13087 3/4 x 1 x 9/16 HT Sleeve
43 302207 3/4 NC Flange lock nut
44 902 * 5/8 NC x 2 HHCS GR5
45 23638 5/8 NC x 7 HHCS GR5
46 10635 5/8 x 1-3/4 x 14 GA Cup washer
47 1791 .625 x 1 x .563 HT Sleeve
48 6239 * 5/8 NC Hex lock nut
49 19025 * 5/8 NC Flange lock nut
50 22205 * 1/2 NC x 6-1/2 HHCS GR5
51 3508 1/2 NC x 4-1/2 HHCS GR5
52 6100 * 1/2 NC x 1-1/4 HHCS GR5
53 3598 * 1/2 Flat washer
54 1003435 .66 x .88 x 4.50 Sleeve
55 11900 * 1/2 NC Flange lock nut
56 1003445 .50 x 1.00 x 1.031 Sleeve
57 839 * 3/8 NC x 1 HHCS GR5
58 838 * 3/8 Lock washer
59 66840 3/8 NC 3-Prong knob
60 24801 * M8 x 1.25P x 20 mm HHCS
61 307130 M8 x 1.25P x 40 mm HHCS
62 14562 * 5/16 NC x 1 HHCS GR5
63 35155 * 5/16 SAE Flat washer
64 2472 * 5/16 Lock washer
65 4529 * 5/16 NC Hex nut ZP
66 1285 * 1/4 x 1-1/2 Cotter pin
67 66016 * Spring pin, 1/4 x 1-1/2
68 12296 * 1/4-28 Grease fitting
69 2985 * 1/4-28 x 90° Grease fitting
70 1266 * 3/16 x 1-1/2 Cotter pin
71 1024670 Washer, 1.22 x 2.205 x .236
72 39323 M30 x 2.0P Castle nut
73 6185 * 1/4 x 2-1/4 Cotter pin
74 1003689 Complete decal set
75 1003679 Safety decal set
HHCS Hex Head Cap Screw
* Standard hardware, obtain locally
(Rev. 01/12/2010)

50 Parts
MAN0707 (5/30/2008)
MAIN FRAME ASSEMBLY (REAR SECTION)

Parts 51
MAN0707 (5/30/2008)
MAIN FRAME ASSEMBLY (REAR SECTION)
REF PART QTY DESCRIPTION
1 1027470 1 Center wheel yoke
2 57050 1 Access hole cover
3 1027305 1 Spring arm
4 19710 1 Compression spring 3.25 x .69 x 9.5
5 10475 1 Hydraulic cylinder 3-1/2 (see page 68)
6 1003491 1 Attitude rod
7 1004814 1 Transport lock-up
8 24098 1 1-1/4 Cylinder stroke control kit
(optional)
9 23650 1 Ratchet adjustable link bundle
(optional)
10 1017143 1 SMV Mounting link
11 62484 1 SMV Socket
12 1004251 1 SMV Bracket
13 24611 1 SMV Emblem
15 1003495 2 Hinge pin
16 27267 1 Pipe, 1" Schedule 40 x 3.75
17 65130 2 Spacer, 1"
18 1631 1 1 x 2.72 Headless pin
19 8346 1 1 x 4.58 Headless pin
20 8347 1 1 x 5.08 Headless pin
REF PART QTY DESCRIPTION
21 ----- 1 Tire & hub (see page 63)
29 14350 * 3/8 NC Flange lock nut
30 16148 5/16 NC x 3/4 Carriage bolt
31 14139 * 5/16 NC Flange lock nut
32 1003606 * 1 NC x 6 HHCS GR5
33 34279 * 1 NC Lock nut
34 3132 * 1 NC Hex nut
35 1863 * 1" Flat washer
36 1282 * 1/4 NC x 1/2 Round head screw
37 5288 * 1/4 NC Hex nut
40 11893 1 1/2 x 1/4 Pipe reducer bushing
41 10290 1 1/4 x 1/4 Elbow w/ 1/16 restricter
42 8669 1 1/4 x 1/4 x 156 Hose
53 23479 1/2 NC x 5 HHCS GR5
54 3489 * 1/2 NC x 3 HHCS GR5
55 11900 * 1/2 NC Flange lock nut
56 29893 * 1/2 NC x 1-1/2 Carriage bolt GR5
66 1285 * 1/4 x 1-1/2 Cotter pin
67 66016 * Spring pin, 1/4 x 1-1/2
68 12296 * 1/4-28 Grease fitting
HHCS Hex Head Cap Screw
* Standard hardware, obtain locally

52 Parts
MAN0707 (5/30/2008)
WING ASSEMBLY
(Rev. 10/19/2009)

Parts 53
MAN0707 (5/30/2008)
WING ASSEMBLY
REF PART QTY DESCRIPTION
1 19160KT 1 Blade kit, CCW (Right wing) - or -
1 19161KT 1 Blade kit, CW (Left wing)
2 ----- 1 Gearbox (see page 56)
3 1004934 1 Driveline complete 1340, 47.6 x 68.1
(see page 62)
4 1031166 1 Hydraulic cylinder 3 x 10
(see page 68)
6 1027448 1 Wing wheel yoke (Right wing) - or -
6 1027449 1 Wing wheel yoke (Left wing)
7 1026996 1 Side skid (Right wing) - or -
7 1026997 1 Side skid (Left wing)
8 1003690 1 Adjustable link
9 1008190 2 1-1/2 Blade pin kit (includes 13 & 14)
10 1027443 1 Crossbar Assembly
11 10520 2 Shim, 18 GA, 1-1/2 blade pin
12 13946 2 Shim, 20 GA, 1-1/2 blade pin
13 32603 2 Keyhole plate - special
14 32604 2 Blade pin lock clip - special
15 1003495 1 Hinge pin
16 1002048 1 Clutch shield
17 65130 1 Spacer, 1"
18 1631 1 1 x 2.72 Headless pin
19 1003498 1 Wing lock-up bar
20 1003650 2 Wing pivot pin
21 ----- 1 Tire & hub (see page 63)
22 8345 1 1 x 4.08 Headless pin
23 1017075 1 Cylinder link
24 1017095 1 Cylinder link
REF PART QTY DESCRIPTION
25 33647 1 Spacer, 3/4
26 32469 1 1 x 5 Lock-up pin
27 11920 Washer, 1 x 1-7/8 x 1/4
28 46752 1 NC x 4-1/2 HHCS GR5
33 34279 * 1 NC Lock nut
35 1863 * 1" Flat washer
36 30068 * 3/4 NC x 2-1/2 HHCS GR5
37 57798 3/4 Hardened flat washer
39 2371 * 3/4 NC Lock nut
40 11893 1 1/2 x 1/4 Pipe reducer bushing
41 10290 1 1/4 x 1/4 Elbow w/ 1/16 restricter
42 14552 1 1/4 x 1/4 x 200 Hose
45 18270 * 3/16 Safety pin
52 6100 * 1/2 NC x 1-1/4 HHCS GR5
54 3489 * 1/2 NC x 3 HHCS GR5
55 11900 * 1/2 NC Flange lock nut
56 29893 * 1/2 NC x 1-1/2 Carriage bolt GR5
60 24801 * M8 x 1.25P x 20 mm HHCS
63 35155 * 5/16 SAE Flat washer
64 2472 * 5/16 Lock washer
66 1285 * 1/4 x 1-1/2 Cotter pin
67 66016 * Spring pin, 1/4 x 1-1/2
68 12296 * 1/4-28 Grease fitting
71 1024670 Washer, 1.22 x 2.205 x .236
72 39323 M30 x 2.0P Castle nut
73 6185 * 1/4 x 2-1/4 Cotter pin
HHCS Hex Head Cap Screw
* Standard hardware, obtain locally
(Rev. 1/30/2009)

54 Parts
MAN0707 (5/30/2008)
SPLITTER GEARBOX ASSEMBLY

Parts 55
MAN0707 (5/30/2008)
SPLITTER GEARBOX ASSEMBLY
REF PART QTY DESCRIPTION
A 1003687 1 Complete splitter gearbox, 540 rpm
B 1003688 1 Complete splitter gearbox, 1000 rpm
1 1005308 2 Shaft 1-3/4, 20 spline, wing
2 1005304 2 Oil seal
3 -------- 2 3/8 Plug (not shown)
4 39251 2 Snap ring
5 20891 2 Bearing
6 1005305 2 Pinion gear, 540 rpm
6 1005312 2 Pinion gear, 1000 rpm
7 39414 2 Bearing
8 1005306 4 Shim
9 -------- 1 Casting
10 57320 2 Snap ring
11 57318 2 Oil seal
12 1005307 2 Shim
REF PART QTY DESCRIPTION
13 1005319 1 Bearing
14 1005303 1 Shaft 1-3/4, 20 spline, center
15 1005309 1 Snap ring
16 1005319 1 Bearing
17 1005310 1 Gear, 540 rpm
17 1005313 1 Gear, 1000 rpm
18 57076 1 1/2 Breather
19 2472 * 6 5/16 Lock washer, standard
20 -------- * 6 M8 x 30 HHCS 8.8
21 1005311 1 Cover
22 20895 2 Snap ring
* Standard hardware, obtain locally

56 Parts
MAN0707 (5/30/2008)
WING & CENTER GEARBOX ASSEMBLY

Parts 57
MAN0707 (5/30/2008)
WING & CENTER GEARBOX ASSEMBLY
540 RPM 1000 RPM
REF QTY
Left
Wing Center
Right
Wing
Left
Wing Center
Right
Wing DESCRIPTION
A 1 1003682 1003682 1003683 1003685 1003684 1003686 Complete gearbox
1 1 1005314 1005314 1005314** 1005316 1005317 1005316** Gear crown
2 1 NS NS NS NS NS NS Gearbox housing
3 1 57319 57319 57319 57319 57319 57319 Input shaft
4 1 57356 57356 57356 57356 57356 57356 Output shaft
5 1 1005315 1005315 1005315 1005317 1005316 1005317 Gear pinion
6 2 39263 39263 39263 39263 39263 39263 Bearing cup & cone
7 2 39411 39411 39411 39411 39411 39411 Bearing cup & cone
8 1 57338 57338 57338 57338 57338 57338 Protective seal
9 1 * * * * * * Cotter pin 3/16 x 2
10 2 57320 57320 57320 57320 57320 57320 Snap ring 85 UNI7437
11 1 57321 57321 57321 57321 57321 57321 Snap ring 50 UNI7435
12 1 57471 57471 57471 57471 57471 57471 Shim 45.3 x 2.5
13 2 57471 57471 57471 57471 57471 57471 Shim 70.3 x 84.7
14 1 57329 57329 57329 57329 57329 57329 Castle nut M40 x 1.5P
15 1 39323 39323 39323 39323 39323 39323 Castle nut M30 x 2.0P
16 1 57471 57471 57471 57471 57471 57471 Shim 50.3 x 70.3
17 1 57471 57471 57471 57471 57471 57471 Shim 40.3 x 61.7 x 1
18 1 39289 39289 39289 39289 39289 39289 Oil seal 50 x 90 x 10
19 1 57318 57318 57318 57318 57318 57318 Oil seal 45 x 85 x 10
20 1 57371 57371 57371 57371 57371 57371 Cap
22 1 57372 57372 57372 57372 57372 57372 Top cover
23 6 * * * * * * M8 x 16 GR8.8 HHCS
24 1 57057 57057 57057 57057 57057 57057 Dipstick, 1/2 x 6.18
25 1 * * * * * * Cotter pin 1/4 x 2-1/4
26 1 1024670 1024670 1024670 1024670 1024670 1024670 Washer, 1.22 x 2.205 x .236
27 1 1005512 1005512 1005512 1005512 1005512 1005512 Gearbox repair kit (Includes items
6, 7, 8, 10, 11, 12, 13, 18, & 19)
** Crown gear placed on opposite
end of input shaft
* Standard hardware, obtain locally
NS Not Serviced
(Rev. 9/26/2008)

58 Parts
MAN0707 (5/30/2008)
CENTER DECK DRIVE ASSEMBLY
REF PART QTY DESCRIPTION
A 1004933 1 Complete center drive assembly
1 1004961 1 Yoke, 1-3/4, 20 spline
2 110 2 Cross & bearing kit
3 1004962 1 Double yoke
4 1005521 1 Grease fitting
5 57416 1 Friction clutch 1340 1-3/4, 20 spline
6 57438 1 Flange yoke
7 57432 1 Friction disc (package of 2)
REF PART QTY DESCRIPTION
8 57440 1 Hub, 1-3/4, 20 spline
9 57434 1 Thrust plate
10 57439 1 Belleville spring plate
11 57259 6 M10 x 1.5P x 55 mm HHCS 8.8
12 57260 6 M10 x 1.5P Hex lock nut
13 57261 2 M12 x 1.75P Hex lock nut
14 57262 2 M12 x 1.75P x 65 mm HHCS 8.8
15 1005508 Clutch repair kit
(includes items 7, 10, 11, 12, 13 & 14)

Parts 59
MAN0707 (5/30/2008)
BW180 & BW126 FRONT DRIVE ASSEMBLY - EQUAL ANGLE
REF PART QTY DESCRIPTION
A 57282 1 Complete 540 rpm (6-spline)
1 40563 1 Yoke 1-3/8, 6-spline (540 rpm)
2 40566 2 Cross & bearing
3 40751 2 Inboard yoke
4 40753 1 Outer profile
5 40765 2 Spring pin 10 x 90
6 57299 1 Yoke 1-1/2, 23-spline I.C.
8 40727 1 Outer shield
9 40728 1 Inner shield
REF PART QTY DESCRIPTION
10 40766 2 Bearing ring SC25
11 40777 2 Anti-rotation chain
12 40778 2 Screw (package of 10)
13 18864 1 Danger decal, rotating driveline
14 33347 1 Danger decal, shield missing
15 19811 1 1/2 NC x 2 HHCS GR8
16 765 1 1/2 NC Hex nut
17 40758 1 Lock collar kit ASG (540 rpm 6-spline
1-3/8)

60 Parts
MAN0707 (5/30/2008)
BW180 & BW126 REAR DRIVE ASSEMBLY - EQUAL ANGLE
REF PART QTY DESCRIPTION
A 1004932 1 Complete rear drive assembly
1 1004957 1 Yoke, 1-3/4, 20 spline
2 40566 1 Cross and bearing
3 1003471 1 Inboard yoke
4 1004958 1 Inner profile
5 40765 1 Spring pin 10 x 90
6 1029936 1 Stub shaft
7 40766 2 Bearing ring SC25
8 40778 2 Screw (package of 10)
9 40777 2 Anti-rotation chain
REF PART QTY DESCRIPTION
10 40767 1 Support bearing
11 18864 1 Decal, danger rotating driveline
12 33347 1 Decal, danger guard missing
13 1004960 1 Inner guard half
14 1004959 1 Outer guard half
15 NSS 1 Shaft assembly, male
(complete w/guard)
16 NSS 1 Shaft assembly, female
(complete w/guard)
17 1001042 1 M16 x 2.0P x 90 mm HHCS 8.8
18 1005522 1 M16 x 2.0P Hex lock nut
NSS Not serviced separately
(Rev. 10/19/2009)

Parts 61
MAN0707 (5/30/2008)
540 RPM & 1000 RPM FRONT CV DRIVE
REF PART QTY DESCRIPTION
A 1021103 1 Complete CV drive (540 RPM)
A 1021104 1 Complete CV drive (1000 RPM)
1 19851 1 Slide lock repair kit
2 58774 1 Yoke QD CV 1.375 - 6 (540 RPM)
2 58770 1 Yoke QD CV 1.375 - 21 (1000 RPM)
3 58759 2 CV U-Joint repair kit Cat 6 55E
4 58760 1 CV Body with fitting
5 1021313 1 Yoke and shaft CV splined 25.9
(540 RPM)
5 1021317 1 Yoke and shaft - CV splined 26.6
(1000 RPM)
6 1009065 2 Drive shield bearing kit
7 18864 † 1 Decal, danger rotating driveline
(see page 12)
8 1021314 1 CV shield outer (540 RPM)
8 1021318 1 CV shield outer (1000 RPM)
REF PART QTY DESCRIPTION
9 1021315 1 CV shield inner (540 RPM)
9 1021319 1 CV shield inner (1000 RPM)
10 33347 † 1 Decal, danger guard missing
(see page 13)
11 1021316 1 Yoke 55R x 36.4 x 1.69 - 20
(540 RPM)
11 1021320 1 Yoke 55R x 38.4 x 1.69 - 20
(1000 RPM)
12 58765 1 U-Joint cross and bearing kit
13 1023058 1 Yoke, 55R x 5.06 x SP 1.75 - 20
14 6239 * 1 5/8 NC Lock nut
15 34473 * 1 5/8 NC x 3 HHCS GR5
†Not shown
HHCS Hex Head Cap Screw
* Standard hardware, obtain locally

62 Parts
MAN0707 (5/30/2008)
WING DRIVE ASSEMBLY
REF PART QTY DESCRIPTION
A 1004934 Complete wing drive assembly
1 1004963 1 Yoke 1-3/4, 20 Spline
2 110 2 Cross & bearing kit
3 40764 2 Spring pin 10 x 80
4 40575 1 Inboard yoke
5 40587 1 Inner profile
6 1004964 1 Outer profile & sleeve
7 40576 1 Inboard yoke
8 57416 1 Friction clutch 1340 1-3/4, 20 Spline
9 40766 2 Bearing ring
10 40777 2 Anti-rotation chain
11 18864 1 Decal, danger rotating drive
12 33347 1 Decal, danger guard missing
13 40778 2 Screw (package of 10)
14 40767 1 Support bearing
15 40779 1 Grease fitting
REF PART QTY DESCRIPTION
16 1004965 4 Outer guard half
17 1004966 1 Inner guard half
18 1004951 1 Shaft assembly, male
(complete w/guard)
19 1004934 1 Shaft assembly, female
(complete w/guard)
20 57438 1 Flange yoke
21 57432 1 Friction disc (package of 2)
22 57440 1 Hub, 1-3/4, 20 Spline
23 57434 1 Thrust plate
24 57439 1 Belleville spring plate
25 57259 6 M10 x 1.5P x 55 mm HHCS 8.8
26 57260 6 M10 x 1.5P Hex lock nut
27 57261 2 M12 x 1.75P Hex lock nut
28 57262 2 M12 x 1.75P x 65 mm HHCS 8.8
29 58549 2 M12 x 1.75P Hex lock nut
30 307309 2 M12 x 1.75P x 60 mm HHCS 8.8
31 1005508 - Clutch repair kit (includes items 21,
24, 25, 26, 27 & 28)
HHCS Hex Head Cap Screw

Parts 63
MAN0707 (5/30/2008)
5-BOLT WHEEL & TIRE ASSEMBLY
REF PART QTY DESCRIPTION
1 1017050 1 Heavy hub assembly
(includes items 1 through 15)
2 1017034 1 Heavy wheel hub with cups
(includes items 6,7,14)
3 1017033 1 Axle
4 1017027 1 Seal
5 1017028 1 Bearing cone
6 1017036 1 Bearing cup
7 1017037 1 Bearing cup
8 1017029 1 Bearing cone
9 1017031 1 Washer
10 1017032 1 Castle nut
11 1017035 1 Hub cap
12 1017038 5 Stud
13 1017069 1 Cotter pin
14 1017067 1 Grease fitting
15 35317 5 Nut, lug 1/2 NF
16 1017088 1 15" Rim for pneumatic tire - 5 bolt -or-
16 1017040 1 6.00 x 9 Solid tire,
rim & hardware - 5 bolt -or-
16 1028820 1 24 x 7.25 x 12 Aircraft tire,
rim & hardware - 5 bolt -or-
REF PART QTY DESCRIPTION
16 1028820F 1 24 x 7.25 x 12 Aircraft tire,
rim & hardware, foam filled - 5 bolt
16 1017030 1 29 x 9 x 15 Aircraft tire,
rim & hardware - 5 bolt
17 1028821 1 12.0 x 6 Rim half
(for 24" aircraft wheel only) -or-
17 1017026 1 15.0 x 6.0 Rim half
(for 29" aircraft wheel only)
18 1028822 1 12.0 x 6 Rim half
(for 24" aircraft wheel only)
18 1017025 1 15.0 x 6.0 Rim half w/ valve hole
(for 29" aircraft wheel only)
19 6100 * 1/2 NC x 1-1/4 HHCS GR5
20 765 * 1/2 NC Lock nut
21 19887 * 3/8 NC x 1 HHCS GR8
22 838 * 3/8 Standard lock washer
23 835 * 3/8 NC Hex nut
- 1015833 1 29 x 9 x 15 Inner tube
(for 29" aircraft wheel only)
- 1017042 2 Rim half for 6 x 9 solid tire
* Standard hardware, obtain locally
(Rev. 4/20/2010)

64 Parts
MAN0707 (5/30/2008)
BW180 / BW180Q RUBBER SHIELDING - CENTER SECTION
(FRONT & REAR)
(STANDARD ON BW180-3 MODELS)
REF PART QTY DESCRIPTION
1 1017057 1 Front center belt shield plate
2 1028588 1 Front right belt shield plate
3 1028589 1 Front left belt shield plate
7 1028506 2 Bent link .25 x 1.72 x 13.00
8 1028507 2 Bent link .25 x 1.72 x 9.50
9 1028592 2 Rubber shield .25 x 8.75 x 40.76
12 1027468 1 Rubber shield .25 x 9.25 x 28.00
13 1027469 2 Rubber shield .25 x 9.25 x 18.25
22 20973 * 3/8 NC x 1-1/4 Carriage bolt GR5
23 14350 * 3/8 NC Flanged lock nut
* Standard hardware, obtain locally
(Rev. 7/9/2010)

Parts 65
MAN0707 (5/30/2008)
BW180 / BW180Q RUBBER SHIELDING - WING
(FRONT & REAR)
(STANDARD ON BW180-3 MODELS)
REF PART QTY DESCRIPTION
4 1028590 1 Front right wing belt shield plate, inside -or-
4 1028591 1 Front left wing belt shield plate, inside
5 1027496 1 Front right wing belt shield plate, middle -or-
5 1027497 1 Front left wing belt shield plate, middle
6 1028504 1 Front right wing belt shield plate, outer -or-
6 1028505 1 Front left wing belt shield plate, outer
7 1028506 4 Bent link .25 x 1.72 x 13.00
10 1028593 2 Rubber belt .25 x 8.75 x 31.11
11 1028594 2 Rubber belt .25 x 8.75 x 53.87
14 1027484 2 Rubber belt .25 x 9.25 x 34.00
19 29893 * 1/2 NC x 1-1/2 Carriage bolt GR5
21 11900 * 1/2 NC Flanged lock nut
22 20973 * 3/8 NC x 1-1/4 Carriage bolt GR5
23 14350 * 3/8 NC Flanged lock nut
* Standard hardware, obtain locally
(Rev. 7/9/2010)

66 Parts
MAN0707 (5/30/2008)
CHAIN SHIELDING - CENTER SECTION (FRONT & REAR)
(SINGLE ROW STANDARD ON BW126 MODELS)
(SINGLE ROW OPTIONAL ON BW180 MODELS)
(DOUBLE ROW OPTIONAL ON BW126 AND BW180 MODELS)
SINGLE ROW DOUBLE ROW
REF PART QTY DESCRIPTION
1 1017124 1 Front center chain plate
2 1028596 1 Front right chain plate
3 1028597 1 Front left chain plate
4 1027460 1 Rear chain plate, right
5 1027461 1 Rear chain plate, left
9 1017309 1 Pin, 4 to 6 chains
10 1003642 2 Pin, 16 to 18 chains
12 1003644 1 Pin, 22 to 24 chains
13 1003645 2 Pin, 25 to 27 chains
15 5496 114 5/16 Chain - 7 link
16 5498 2 5/16 Chain - 6 link
17 3994 2 5/16 Chain - 5 link
18 4069 2 5/16 Chain - 4 link
22 20973 * 3/8 NC x 1-1/4 Carriage bolt GR5
23 14350 * 3/8 NC Flanged lock nut
* Standard hardware, obtain locally
REF PART QTY DESCRIPTION
1 1017124 1 Front center chain plate
2 1028596 1 Front right chain plate
3 1028597 1 Front left chain plate
4 1027460 1 Rear chain plate, right
5 1027461 1 Rear chain plate, left
9 1017309 1 Pin, 4 to 6 chains
10 1003642 2 Pin, 16 to 18 chains
12 1003644 1 Pin, 22 to 24 chains
13 1003645 2 Pin, 25 to 27 chains
15 1016952 114 5/16 Chain - 13 link
16 1016953 2 5/16 Chain - 11 link
17 38381 2 5/16 Chain - 9 link
18 5496 2 5/16 Chain - 7 link
22 20973 * 3/8 NC x 1-1/4 Carriage bolt GR5
23 14350 * 3/8 NC Flanged lock nut
* Standard hardware, obtain locally
(Rev. 7/9/2010)

Parts 67
MAN0707 (5/30/2008)
CHAIN SHIELDING - WING (FRONT & REAR)
(SINGLE ROW STANDARD ON BW126 MODELS)
(SINGLE ROW OPTIONAL ON BW180 MODELS)
(DOUBLE ROW OPTIONAL ON BW126 AND BW180 MODELS
SINGLE ROW DOUBLE ROW
REF PART QTY DESCRIPTION
5 1028598 1 Front right wing chain plate, inner -or
5 1028599 1 Front left wing chain plate, inner
6 1028500 1 Front right wing chain plate, middle -or
6 1028501 1 Front left wing chain plate, middle
7 1028502 1 Front right wing chain plate, outer - or
7 1028503 1 Front left wing chain plate, outer
8 1028174 2 Rear wing chain plate
10 1003642 2 Pin, 16 to 18 chains
11 1003643 2 Pin, 19 to 21 chains
12 1003644 2 Pin, 22 to 24 chains
13 1003645 2 Pin, 25 to 27 chains
15 5496 168 5/16 Chain - 7 link
16 5498 12 5/16 Chain - 6 link
18 4069 4 5/16 Chain - 4 link
19 29893 * 1/2 NC x 1-1/2 Carriage bolt GR5
20 14406 * 1/2 NC x 1 Carriage bolt
21 11900 * 1/2 NC Flanged lock nut
22 20973 * 3/8 NC x 1-1/4 Carriage bolt GR5
23 14350 * 3/8 NC Flanged lock nut
* Standard hardware, obtain locally
REF PART QTY DESCRIPTION
5 1028598 1 Front right wing chain plate, inner -or
5 1028599 1 Front left wing chain plate, inner
6 1028500 1 Front right wing chain plate, middle -or
6 1028501 1 Front left wing chain plate, middle
7 1028502 1 Front right wing chain plate, outer - or
7 1028503 1 Front left wing chain plate, outer
8 1028174 2 Rear wing chain plate
10 1003642 2 Pin, 16 To 18 Chains
11 1003643 2 Pin, 19 To 21 Chains
12 1003644 2 Pin, 22 To 24 Chains
13 1003645 2 Pin, 25 To 27 Chains
15 1016952 168 5/16 Chain - 13 Link
16 1016953 12 5/16 Chain - 11 Link
18 5496 4 5/16 Chain - 7 Link
19 29893 * 1/2 NC x 1-1/2 Carriage bolt GR5
20 14406 * 1/2 NC x 1 Carriage bolt
21 11900 * 1/2 NC Flanged lock nut
22 20973 * 3/8 NC x 1-1/4 Carriage bolt GR5
23 14350 * 3/8 NC Flanged lock nut
* Standard hardware, obtain locally
(Rev 7/9/2010)

68 Parts
MAN0707 (5/30/2008)
HYDRAULIC CYLINDERS
Wing
3 x 10
Center
3.5 x 8
REF PART PART QTY DESCRIPTION
2 19810 23540 1 Seal repair kit
(includes 2A thru 2G)
-or-
2 19810HD -------- 1 Seal repair kit w/ heavy
duty piston seal(includes
2A thru 2G)
2A ‡ ‡ 1 Wiper seal
2C ‡ ‡ 2 1-1/4 ID U-Cup
2D ‡ ‡ 2 Barrel O-ring
2E † † Rod static O-ring
2F ‡ ‡ 2 Piston back-up washer
2G ‡ ‡ 1 Piston seal O-ring
3 NS 23543 1 Rod end housing
4 NS 23544 1 Piston
5 34328 25496 1 Jam nut
6 NS NS 4 Cylinder tie rod
7 4510 -------- 1 1/2 Pipe plug -or-
7 11893* 11893* 1 1/2 x 1/4 Pipe reducer
bushing
8 NS NS 1 Cylinder butt end
Wing
3 x 10
Center
3.5 x 8
REF PART PART QTY DESCRIPTION
9 923* 923* 4 1/4 x 1-3/4 Cotter pin
10 1631 1631 2 1 x 3-5/8 Clevis pin
11 11893* -------- 1 1/2 x 1/4 Pipe reducer
bushing -or-
11 11975 11975 1 1/2 NPT Vent plug
12 NS NS 1 Cylinder barrel
15 * * 8 Tie rod nut
16 23549 23549 1 Hydraulic cylinder rod clevis
17 6698* 6698* 1 3/8 NC Lock nut
18 23550* 23550* 1 3/8 NC x 1-1/2 Socket head
cap screw
19 NS 23551 1 Hydraulic cylinder rod
20 1031166 -------- 1 3 x 10 Hydraulic cylinder -
Wing
20 -------- 10475 1 3-1/2 x 8 Hydraulic cylinder w/
breather complete - Center
* Obtain Locally
† Not used on this cylinder
‡ Included in seal kit
NS Not sold separately
(Rev. 10/19/2009)

Parts 69
MAN0707 (5/30/2008)
HYDRAULIC CYLINDER STROKE CONTROL KIT
CROSSBAR PULLER (OPTIONAL)
REF PART QTY DESCRIPTION
1 24098 1 Stroke control set for 1-1/4" cylinder
rod (contains items 2 - 5)
2 – – – – 2 1-1/2" Segment
3 – – – – 1 1-1/4" Segment
4 – – – – 1 1" Segment
5 – – – – 1 3/4" Segment
REF PART QTY DESCRIPTION
A 8811 1 Crossbar puller, complete
1 19914 2 Crossbar puller clevis
2 3097 * 4 5/8 NC x 4-1/2 HHCS GR5
3 230 * 4 5/8 NC Hex nut
REF PART QTY DESCRIPTION
4 24879 1 Crossbar puller pad assembly
5 24876 1 Crossbar puller tube assembly
6 24881 1 Crossbar puller screw assembly
7 24885 4 Crossbar puller link
* Standard hardware - obtain locally

70 Parts
MAN0707 (5/30/2008)
BW126 / BW126Q WEIGHT BOX ASSEMBLY (OPTIONAL)
REF PART QTY DESCRIPTION
1 1027345 1 Weight box 750 lbs
2 1028584 1 Brace
3 1010985 1 Skid shoe
4 1028566 1 Mounting plate
6 1003559 1 1.25 x 1.500 x 3.40 Sleeve
15 1003495 1 Hinge pin
27 11920 Washer, 1 x 1-1/8 x 1/4
28 12169 * 3/8 NC x 1-1/4 HHCS GR5
REF PART QTY DESCRIPTION
29 14350 * 3/8 NC x Flange lock nut
30 565 * 3/8 Flat washer
31 838 * 3/8 Lock washer
32 19446 * 3/8 NC x 1-1/4 Self-tapping screw
34 46605 1 Clevis pin, 1 x 2.26
35 1863 * 1" Flat washer
37 66016 * Spring pin, 1/4 x 1-1/2
66 1285 * 1/4 x 1-1/2 Cotter pin
* Standard hardware, obtain locally

Parts 71
MAN0707 (5/30/2008)
WINCH KIT (OPTIONAL)
REF PART QTY DESCRIPTION
A 1019456 - Winch kit, complete
1 52478 4 Idler bracket
2 6696 2 Chain idler casting
3 409 2 Clevis pin, 1/2 x 2
4 22411 2 Klik pin, 3/16 x 1
5 3379 * - HHCS, 1/2 NC x 1-1/2 GR5
6 11900 * - Lock nut, 1/2 NC flanged
7 1863 * - Washer, 1" SAE flat
8 1008325 2 Headless pin, 1 x 4 drilled
9 1266 * - Cotter pin, 3/16 x 1-1/2
10 1019454 2 Channel. 2.56 x 2.75 x 32.88
11 1019455 1 Channel, 3.12 x 3.25 x 10.00
12 12612 1 Gear winch 5.1 to 1
13 12642 1 Winch cable clamp kit
14 11790 1 C-Hook, 1/4 cable
15 52479 1 Cable, 1/4" x 24-ft
16 11789 2 Clip, 1/4 cable
17 839 * - HHCS, NC x 1 GR5
18 565 * - Washer, 3/8 flat
19 838 * - Washer, 3/8 lock
20 835 * - Hex nut, 3/8 NC plated
* Standard hardware; obtain locally
Winch Kit Installation
1. Locate and drill one 9/16" hole in each wing as
shown. Assemble items 1, 2, 3 and 4 and use to
locate and drill remaining holes.
2. Secure idler brackets (1) and rollers (2) to deck
with bolts (5) and nuts (6).
3. Assemble channels (10) to cylinder lugs using
pins (8), washers (7), and cotter pins (9) as
shown.
4. Assemble winch assembly to channels (10) using
bolts (5) and lock nuts (6).
5. Move SMV sign and hardware to channel as
shown.
6. Tighten all hardware.
Winch Kit Operation
1. Move cutter so wing is on the up slope of a ditch
to aid in wing lift with the winch.
2. Unwind cable and remove roller (2).
3. Place cable around roller (2) and reinstall using
pin (3) and Klik pin (4).
4. Remove cylinder pin from clevis end and raise
slowly.
5. Install transport lock before moving unit.

72 Appendix
Bolt Torque & Size Charts (Rev. 3/28/2007)
BOLT TORQUE CHART
Always tighten hardware to these values unless a different torque value or tightening procedure is listed for a specific
application.
Fasteners must always be replaced with the same grade as specified in the manual parts list.
Always use the proper tool for tightening hardware: SAE for SAE hardware and Metric for metric hardware.
Make sure fastener threads are clean and you start thread engagement properly.
All torque values are given to specifications used on hardware defined by SAE J1701 MAR 99 & J1701M JUL 96.
Diameter
(Inches)
Wrench
Size
MARKING ON HEAD
SAE 2 SAE 5 SAE 8
lbs-ft N-m lbs-ft N-m lbs-ft N-m
1/4" 7/16" 6 8 10 13 14 18
5/16"1/2"121719262737
3/8"9/16"233135474967
7/16"5/8"3648557578106
1/2" 3/4" 55 75 85 115 120 163
9/16" 13/16" 78 106 121 164 171 232
5/8" 15/16" 110 149 170 230 240 325
3/4" 1-1/8" 192 261 297 403 420 569
7/8" 1-5/16" 306 416 474 642 669 907
1" 1-1/2" 467 634 722 979 1020 1383
Diameter &
Thread Pitch
(Millimeters)
Wrench
Size
COARSE THREAD FINE THREAD
Diameter &
Thread Pitch
(Millimeters)
MARKING ON HEAD MARKING ON HEAD
Metric 8.8 Metric 10.9 Metric 8.8 Metric 10.9
N-m lbs-ft N-m lbs-ft N-m lbs-ft N-m lbs-ft
6 x 1.0 10 mm 8 6 11 8 8 6 11 8 6 x 1.0
8 x 1.25 13 mm 20 15 27 20 21 16 29 22 8 x 1.0
10 x 1.5 16 mm 39 29 54 40 41 30 57 42 10 x 1.25
12 x 1.75 18 mm 68 50 94 70 75 55 103 76 12 x 1.25
14 x 2.0 21 mm 109 80 151 111 118 87 163 120 14 x 1.5
16 x 2.0 24 mm 169 125 234 173 181 133 250 184 16 x 1.5
18 x 2.5 27 mm 234 172 323 239 263 194 363 268 18 x 1.5
20 x 2.5 30 mm 330 244 457 337 367 270 507 374 20 x 1.5
22 x 2.5 34 mm 451 332 623 460 495 365 684 505 22 x 1.5
24 x 3.0 36 mm 571 421 790 583 623 459 861 635 24 x 2.0
30 x 3.0 46 mm 1175 867 1626 1199 1258 928 1740 1283 30 x 2.0
A
SAE SERIES
TORQUE
CHART
SAE Bolt Head
Identification
SAE Grade 2
(No Dashes)
SAE Grade 5
(3 Radial Dashes)
SAE Grade 8
(6 Radial Dashes)
A
METRIC SERIES
TORQUE
CHART
Metric Bolt Head
Identification
8.8
Metric
Grade 10.9
10.9
Metric
Grade 8.8
A
A
A
Typical Washer
Installations
Lock Washer
Flat Washer
8/9/00
Bolt

Appendix 73
Bolt Torque & Size Charts (Rev. 3/28/2007)
BOLT SIZE CHART
NOTE: Chart shows bolt thread sizes and corresponding head (wrench) sizes for standard SAE and metric bolts.
ABBREVIATIONS
AG .............................................................. Agriculture
ASABE.................... American Society of Agricultural &
Biological Engineers (formerly ASAE)
ASAE ....... American Society of Agricultural Engineers
ATF ............................... Automatic Transmission Fluid
BSPP .............................British Standard Pipe Parallel
BSPTM ................British Standard Pipe Tapered Male
CV.....................................................Constant Velocity
CCW .............................................. Counter-Clockwise
CW............................................................... Clockwise
F ...................................................................... Female
FT .............................................................. Full Thread
GA .................................................................... Gauge
GR (5, etc.) ........................................... Grade (5, etc.)
HHCS ........................................Hex Head Cap Screw
HT........................................................... Heat-Treated
JIC .................Joint Industry Council 37° Degree Flare
LH .................................................................Left Hand
LT........................................................................... Left
m......................................................................... Meter
mm................................................................Millimeter
M.......................................................................... Male
MPa.........................................................Mega Pascal
N.......................................................................Newton
NC ......................................................National Coarse
NF ...........................................................National Fine
NPSM.....................National Pipe Straight Mechanical
NPT .......................................... National Pipe Tapered
NPT SWF .........National Pipe Tapered Swivel Female
ORBM .......................................... O-Ring Boss - Male
P...........................................................................Pitch
PBY ...................................................... Power-Beyond
psi..........................................Pounds per Square Inch
PTO ..................................................... Power Take Off
QD....................................................Quick Disconnect
RH ..............................................................Right Hand
ROPS ........................... Roll-Over Protective Structure
RPM ........................................Revolutions Per Minute
RT ....................................................................... Right
SAE ..........................Society of Automotive Engineers
UNC .....................................................Unified Coarse
UNF...........................................................Unified Fine
UNS......................................................Unified Special
5/16 3/81/2 5/83/4 7/8
SAE Bolt Thread Sizes
MM 25 50 75 100 125 150 175
IN 1 7
Metric Bolt Thread Sizes
8MM 18MM14MM12MM10MM 16MM
234 56

74 Index
MAN0707 (5/30/2008)
INDEX
A
ADJUSTMENTS
Cutting Height 15
Slip Clutch 22
ASSEMBLY
Dealer Set-Up Instructions 33
Fill Gearboxes 33
D
DEALER CHECK LIST
Check Lists
Delivery (Dealer’s Responsibility) 45
Pre-Delivery (Dealer’s Responsibility) 45
DEALER SERVICE
Crossbar
Installation 31
Removal 30
Gearbox Maintenance
Seal Installation 25
Seal Replacement 25
Horizontal Shaft 26
Vertical Shaft 26
Gearbox Repair
Assembly 26
Disassembly 26
Reinstallation 27
Removal 26
Splitter Gearbox Repair
Assembly 28
Check Gearbox for Leaks 29
Disassembly 28
Reinstallation 29
Removal from Cutter 28
Universal Joint
Assembly 32
Disassembly 31
Repair 31
G
GENERAL
Abbreviations 73
Bolt Size Chart 73
Bolt Torque Chart 72
General Information 4
Introduction 2
Obtaining Replacement Manuals 2
Product Registration 2
Specifications 4
Table of Contents 3
Warranty
Product 1
Replacement Parts 50
O
OPERATION
Connecting Cutter to Tractor 14
Cutting Height Adjustment 15
CV Driveline Turning Limits 15
Hydraulic Connection 14
Interference Check 15
Cutter Operation 16
Mowing Tips 16
Shredding 16
Pre-Operation Check List (Owner’s Responsibility)
18
Storage 18
Tractor Operation 15
Transporting 17
Lock-Up 17
Center Section 17
Wing 17
OWNER SERVICE
Adjusting Slip Clutch 22
Blades
Installation 21
Removal 21
Sharpening 22
Blocking Method 19
Lubrication
Driveline 20
Gearbox 20
Lubrication Points 20
Seasonal 21
Shielding Repair 23
Slip Clutch Adjustment 22
P
PARTS
Parts Index 47
S
SAFETY
Blocking Method 19
Check Lists
Delivery Check List (Dealer’s Responsibility) 45
Pre-Delivery Check List (Dealer’s Responsibility) 45
Pre-Operation Check List (Owner’s Responsibility)
18
Free Mower Safety Video Order Form 5, 6
Safety & Instructional Decals 11, 12, 13
Safety Rules 7, 8, 9, 10
Safety Symbols Explained 2
T
TROUBLESHOOTING 24

F-3079 (Rev. 3/31/2010)
Woods Equipment
Company
2606 South Illinois Route 2
Post Office Box 1000
Oregon, Illinois 61061 USA
800-319-6637 tel
800-399-6637 fax
www.WoodsEquipment.com
WARRANTY
All Models Except Mow’n MachineTM Zero-Turn Mowers
Please Enter Information Below and Save for Future Reference.
Date Purchased: ____________________________ From (Dealer): __________________________________________
Model Number: ____________________________ Serial Number: __________________________________________
Woods Equipment Company (“WOODS”) warrants this product to be free from defect in material and workmanship. Except as otherwise set forth
below, the duration of this Warranty shall be for TWELVE (12) MONTHS COMMENCING ON THE DATE OF DELIVERY OF THE
PRODUCT TO THE ORIGINAL PURCHASER.
All current model loaders and backhoes are warranted for two (2) years from the date of delivery to the original purchaser.
The warranty periods for specific parts or conditions are listed below:
Under no circumstances will this Warranty apply in the event that the product, in the good faith opinion of WOODS, has been subjected to
improper operation, improper maintenance, misuse, or an accident. This Warranty does not apply in the event that the product has been materially
modified or repaired by someone other than WOODS, a WOODS authorized dealer or distributor, and/or a WOODS authorized service center.
This Warranty does not cover normal wear or tear, or normal maintenance items. This Warranty also does not cover repairs made with parts other
than those obtainable through WOODS.
This Warranty is extended solely to the original purchaser of the product. Should the original purchaser sell or otherwise transfer this product to a
third party, this Warranty does not transfer to the third party purchaser in any way. There are no third party beneficiaries of this Warranty.
WOODS makes no warranty, express or implied, with respect to engines, batteries, tires or other parts or accessories not manufactured by
WOODS. Warranties for these items, if any, are provided separately by their respective manufacturers.
WOODS’ obligation under this Warranty is limited to, at WOODS’ option, the repair or replacement, free of charge, of the product if WOODS, in
its sole discretion, deems it to be defective or in noncompliance with this Warranty. The product must be returned to WOODS with proof of
purchase within thirty (30) days after such defect or noncompliance is discovered or should have been discovered, routed through the
dealer and distributor from whom the purchase was made, transportation charges prepaid. WOODS shall complete such repair or
replacement within a reasonable time after WOODS receives the product. THERE ARE NO OTHER REMEDIES UNDER THIS WARRANTY.
THE REMEDY OF REPAIR OR REPLACEMENT IS THE SOLE AND EXCLUSIVE REMEDY UNDER THIS WARRANTY.
THERE ARE NO WARRANTIES WHICH EXTEND BEYOND THE DESCRIPTION ON THE FACE OF THIS WARRANTY. WOODS
MAKES NO OTHER WARRANTY, EXPRESS OR IMPLIED, AND WOODS SPECIFICALLY DISCLAIMS ANY IMPLIED WARRANTY
OF MERCHANTABILITY AND/OR ANY IMPLIED WARRANTY OF FITNESS FOR A PARTICULAR PURPOSE.
WOODS shall not be liable for any incidental or consequential losses, damages or expenses, arising directly or indirectly from the
product, whether such claim is based upon breach of contract, breach of warranty, negligence, strict liability in tort or any other legal
theory. Without limiting the generality of the foregoing, Woods specifically disclaims any damages relating to (i) lost profits, business, revenues
or goodwill; (ii) loss of crops; (iii) loss because of delay in harvesting; (iv) any expense or loss incurred for labor, supplies, substitute machinery or
rental; or (v) any other type of damage to property or economic loss.
This Warranty is subject to any existing conditions of supply which may directly affect WOODS’ ability to obtain materials or manufacture
replacement parts.
No agent, representative, dealer, distributor, serviceperson, salesperson, or employee of any company, including without limitation, WOODS, its
authorized dealers, distributors, and service centers, is authorized to alter, modify, or enlarge this Warranty. Answers to any
questions regarding warranty service and locations may be obtained by contacting:
Part or
Condition
Warranted
Model Number
Duration (from date of
delivery to the original
purchaser)
Gearbox
Seals All units listed below 2 years
Gearbox
components
BW1260, BW1620, BW1800, BW2400 8 years
BW240HD, BW180HD, BW180HB, BW126HB 7 years
BB48X, BB60X, BB72X, BB84X, BB600X, BB720X, BB840X, BB6000X, BB7200X, BB8400X,
DS1260, DSO1260, DS1440, TS1680, BW126-3, BW180-3, BW240 6 years
PHD25, PHD35, PHD65, PHD95, 2162, 3240, DS96, DS120, RCC42, RM550-2, RM660-2, RM990-
3, PRD6000, PRD7200, PRD8400, 7144RD-2, 9180RD-2,
9204RD-2, S15CD, S20CD, S22CD, S25CD, S27CD, BW180LH, TC/R74, TC/R68, TC/R60
5 years
RDC54, RD60, RD72, TBW150C, TS/R60, TS/R52, TS/R44 3 years (1 year if used in rental or
commercial applications)
Blade
spindles RM550-2, RM660-2, RM990-3, PRD6000, PRD7200, PRD8400, 7144RD-2, 9180RD-2, 9204RD-2 3 years
Rust-through
BB600, BB720, BB840, BB6000, BB7200, BB8400, BW126-3, BW126HB, BW180-3, BW180HB,
BW180HD, BW1260, BW1800, BW240, BW240HD, 2162, 3240, DS1260, DSO1260, DS1440,
TS1680
10 years

F-8494 (Rev. 6/23/2005)
©2008 Woods Equipment Company. All rights reserved. WOODS and the Woods logo are trademarks of Woods Equipment Company. All other
trademarks, trade names, or service marks not owned by Woods Equipment Company that appear in this manual are the property of their respective
companies or mark holders. Specifications subject to change without notice.
WARRANTY
(Replacement Parts For All Models Except Mow’n MachineTM
Zero-Turn Mowers and Woods BoundaryTM Utility Vehicles)
Woods Equipment Company (“WOODS”) warrants this product to be free from defect in material and
workmanship for a period of ninety (90) days from the date of delivery of the product to the original purchaser
with the exception of V-belts, which will be free of defect in material and workmanship for a period of 12 months.
Under no circumstances will this Warranty apply in the event that the product, in the good faith opinion of
WOODS, has been subjected to improper operation, improper maintenance, misuse, or an accident. This Warranty
does not cover normal wear or tear, or normal maintenance items.
This Warranty is extended solely to the original purchaser of the product. Should the original purchaser sell or
otherwise transfer this product to a third party, this Warranty does not transfer to the third party purchaser in any
way. There are no third party beneficiaries of this Warranty.
WOODS’ obligation under this Warranty is limited to, at WOODS’ option, the repair or replacement, free of
charge, of the product if WOODS, in its sole discretion, deems it to be defective or in noncompliance with this
Warranty. The product must be returned to WOODS with proof of purchase within thirty (30) days after
such defect or noncompliance is discovered or should have been discovered, routed through the dealer and
distributor from whom the purchase was made, transportation charges prepaid. WOODS shall complete
such repair or replacement within a reasonable time after WOODS receives the product. THERE ARE NO
OTHER REMEDIES UNDER THIS WARRANTY. THE REMEDY OF REPAIR OR REPLACEMENT IS THE
SOLE AND EXCLUSIVE REMEDY UNDER THIS WARRANTY.
THERE ARE NO WARRANTIES WHICH EXTEND BEYOND THE DESCRIPTION ON THE FACE OF THIS
WARRANTY. WOODS MAKES NO OTHER WARRANTY, EXPRESS OR IMPLIED, AND WOODS
SPECIFICALLY DISCLAIMS ANY IMPLIED WARRANTY OF MERCHANTABILITY AND/OR ANY
IMPLIED WARRANTY OF FITNESS FOR A PARTICULAR PURPOSE.
WOODS shall not be liable for any incidental or consequential losses, damages or expenses, arising directly
or indirectly from the product, whether such claim is based upon breach of contract, breach of warranty,
negligence, strict liability in tort or any other legal theory. Without limiting the generality of the foregoing,
Woods specifically disclaims any damages relating to (i) lost profits, business, revenues or goodwill; (ii) loss of
crops; (iii) loss because of delay in harvesting; (iv) any expense or loss incurred for labor, supplies, substitute
machinery or rental; or (v) any other type of damage to property or economic loss.
This Warranty is subject to any existing conditions of supply which may directly affect WOODS’ ability to obtain
materials or manufacture replacement parts.
No agent, representative, dealer, distributor, service person, salesperson, or employee of any company, including
without limitation, WOODS, its authorized dealers, distributors, and service centers, is authorized to alter, modify,
or enlarge this Warranty.
Answers to any questions regarding warranty service and locations may be obtained by contacting: