Woods Equipment Ds120 Users Manual MAN0390
DS96 to the manual e79122c0-0fb7-4232-a933-51f7bdc0e6ba
2015-02-05
: Woods-Equipment Woods-Equipment-Ds120-Users-Manual-408520 woods-equipment-ds120-users-manual-408520 woods-equipment pdf
Open the PDF directly: View PDF
.
Page Count: 78

OPER ATOR'S MANUAL
ROTARY CUTTER
MAN0390
(Rev. 5/5/2011)
DS96
DS120

2 Introduction
Gen’l (Rev. 3/5/2010)
TO THE DEALER:
Assembly and proper installation of this product is the responsibility of the Woods® dealer. Read manual instructions
and safety rules. Make sure all items on the Dealer’s Pre-Delivery and Delivery Check Lists in the Operator’s Manual
are completed before releasing equipment to the owner.
The dealer must complete the online Product Registration form at the Woods Dealer Website which certifies that
all Dealer Check List items have been completed. Please contact your dealer to complete this form. Dealers can
register all Woods product at dealer.WoodsEquipment.com under Product Registration.
Failure to register the product does not diminish customer’s warranty rights.
TO THE OWNER:
Read this manual before operating your Woods equipment. The information presented will prepare you to do a better and
safer job. Keep this manual handy for ready reference. Require all operators to read this manual carefully and become
acquainted with all adjustment and operating procedures before attempting to operate. Replacement manuals can be
obtained from your dealer. To locate your nearest dealer, check the Dealer Locator at www.WoodsEquipment.com, or in
the United States and Canada call 1-800-319-6637.
The equipment you have purchased has been carefully engineered and manufactured to provide dependable and
satisfactory use. Like all mechanical products, it will require cleaning and upkeep. Lubricate the unit as specified.
Observe all safety information in this manual and safety decals on the equipment.
For service, your authorized Woods dealer has trained mechanics, genuine Woods service parts, and the necessary
tools and equipment to handle all your needs.
Use only genuine Woods service parts. Substitute parts will void the warranty and may not meet standards required for
safe and satisfactory operation. Record the model number and serial number of your equipment in the spaces
provided:
Model: _______________________________ Date of Purchase: _____________________
Serial Number: (see Safety Decal section for location) ____________________________________
Provide this information to your dealer to obtain correct repair parts.
Throughout this manual, the term NOTICE is used to indicate that failure to observe can cause damage to equipment.
The terms CAUTION, WARNING, and DANGER are used in conjunction with the Safety-Alert Symbol (a triangle with
an exclamation mark) to indicate the degree of hazard for items of personal safety.

Introduction 3
MAN0390 (Rev. 6/30/2006)
TABLE OF CONTENTS
INTRODUCTION . . . . . . . . . . . . . . . . . . . . . . . . . . . . . . . . . . . . . . . . . . . . . . 2
SPECIFICATIONS . . . . . . . . . . . . . . . . . . . . . . . . . . . . . . . . . . . . . . . . . . . . . 4
GENERAL INFORMATION . . . . . . . . . . . . . . . . . . . . . . . . . . . . . . . . . . . . . . 4
SAFETY VIDEO ORDER FORM . . . . . . . . . . . . . . . . . . . . . . . . . . . . . . . . . . 5
SAFETY RULES . . . . . . . . . . . . . . . . . . . . . . . . . . . . . . . . . . . . . . . . . . . . . . 7
SAFETY DECALS . . . . . . . . . . . . . . . . . . . . . . . . . . . . . . . . . . . . . . . . . . . . .11
OPERATION . . . . . . . . . . . . . . . . . . . . . . . . . . . . . . . . . . . . . . . . . . . . . . . . 14
OWNER SERVICE . . . . . . . . . . . . . . . . . . . . . . . . . . . . . . . . . . . . . . . . . . . 21
TROUBLESHOOTING . . . . . . . . . . . . . . . . . . . . . . . . . . . . . . . . . . . . . . . . 26
DEALER SERVICE . . . . . . . . . . . . . . . . . . . . . . . . . . . . . . . . . . . . . . . . . . . 27
ASSEMBLY INSTRUCTIONS . . . . . . . . . . . . . . . . . . . . . . . . . . . . . . . . . . . 37
DEALER CHECK LIST . . . . . . . . . . . . . . . . . . . . . . . . . . . . . . . . . . . . . . . . 49
INDEX TO PARTS LISTS . . . . . . . . . . . . . . . . . . . . . . . . . . . . . . . . . . . . . . 51
BOLT TORQUE CHART . . . . . . . . . . . . . . . . . . . . . . . . . . . . . . . . . . . . . . . 73
BOLT SIZE CHART & ABBREVIATIONS . . . . . . . . . . . . . . . . . . . . . . . . . . 74
INDEX . . . . . . . . . . . . . . . . . . . . . . . . . . . . . . . . . . . . . . . . . . . . . . . . . . . . . 75
PRODUCT WARRANTY . . . . . . . . . . . . . . . . . . . . . . . INSIDE BACK COVER
REPLACEMENT PARTS WARRANTY . . . . . . . . . . . . . . . . . . .BACK COVER
(Rev. 4/6/2007)

4 Introduction
MAN0390 (Rev. 6/30/2006)
SPECIFICATIONS
DS96 DS120
Cutting Height (varies with tire selection) 2" - 15" 2" - 15"
Cutting Width 96" 120"
Overall Width 103" 127"
Tractor HP 40 - 120 40 - 120
Tractor PTO rpm 540 540
Blade Spindle 2 2
Blade Overlap 4" 4"
Number of Blades 4 4
Center Driveline with Slip Clutch Cat 4 Cat 4
Side Frame Thickness 7 ga 7 ga
Weight - Pull-Type (approximate lbs.) 1,800 1,930
Blade Speed (feet per minute) 15,900 16,700
Blade Rotation Left Spindle: CCW; Right Spindle: CW
Wheel Size 15" Rims or 21" OD Solid Tires
22" or 29" Used Aircraft Tires
Torsion Protection Slip Clutch and Flex Couplers
GENERAL INFORMATION
Some illustrations in this manual show the
equipment with safety shields removed to provide
a better view. This equipment should never be
operated with any necessary safety shielding
removed.
The purpose of this manual is to assist you in operating
and maintaining your cutter. Read it carefully. It fur-
nishes information and instructions that will help you
achieve years of dependable performance. These
instructions have been compiled from extensive field
experience and engineering data. Some information
may be general in nature due to unknown and varying
operating conditions. However, through experience
and these instructions, you should be able to develop
procedures suitable to your particular situation.
The illustrations and data used in this manual were cur-
rent at the time of printing but, due to possible inline
production changes, your machine may vary slightly in
detail. We reserve the right to redesign and change the
machines as may be necessary without notification.
Throughout this manual, references are made to right
and left directions. These are determined by standing
behind the equipment facing the direction of forward
travel. Blade rotation is clockwise (right) and counter-
clockwise (left) as viewed from the top of the cutter.

Safety 5
Safety Video Order Form (8/2/2005)
Free Mower Safety Video
Fill out and return the order form and we will send you a FREE VHS
or DVD video outlining
Industrial and Agricultural Mower Safety
Practices
. The 22 minute video, developed in cooperation with
AEM (Association of Equipment Manufacturers), reinforces the
proper procedures to follow while operating your mowing
equipment. The video does not replace the information contained in
the Operator’s Manual, so please review this manual thoroughly
before operating your new mowing equipment.
Safety Training
Does Make a Difference.
BE SAFE!
BE ALERT!
BE ALIVE!
BE TRAINED
Before Operating Mowers!
ASSOCIATION OF
EQUIPMENT
MANUFACTURERS
Safety Video Order Form

6 Safety
Safety Video Order Form (Rev. 2/6/2006)
Free Mower/Cutter Safety Video Order Form
3 (Select one)
VHS Format - VHS01052 Safety Video
DVD Format - DVD01052 Safety Video
Please send me
Name: ________________________________________ Phone: __________________
Address: _____________________________________
_____________________________________
_____________________________________
Mower/Cutter Model: ______________________ Serial #: ________________________
Send to: ATTENTION: DEALER SERVICES
WOODS EQUIPMENT COMPANY
PO BOX 1000
OREGON IL 61061-1000
USA
Also, available from the Association of Equipment Manufacturers:
A large variety of training materials (ideal for groups) are available for a nominal
charge from AEM. Following is a partial list:
●Training Package for Rotary Mowers/Cutters-English
Contains: DVD & VHS (English)
Guidebook for Rotary Mowers/Cutters (English)
AEM Industrial/Agricultural Mower Safety Manual (English)
AEM Agricultural Tractor Safety Manual (English)
●Training Package for Rotary Mowers/Cutters-English/Spanish
Contains: DVD & VHS (English/Spanish)
Guidebook for Rotary Mowers/Cutters (English/Spanish)
AEM Industrial/Agricultural Mower Safety Manual (English/Spanish)
AEM Agricultural Tractor Safety Manual (English/Spanish)
AEM training packages are available through:
AEM at:
www.aem.org
or
Universal Lithographers, Inc.
Email: aem@ulilitho.com
800-369-2310 tel
866-541-1668 fax

Safety 7
DS96-DS120 Safety Rules (Rev. 5/11/2007)
TRAINING
Safety instructions are important! Read all
attachment and power unit manuals; follow all
safety rules and safety decal information. (Replace-
ment manuals and safety decals are available from
your dealer. To locate your nearest dealer, check
the Dealer Locator at www.WoodsEquipment.com,
or in the United States and Canada call 1-800-319-
6637.) Failure to follow instructions or safety rules
can result in serious injury or death.
If you do not understand any part of this manual
and need assistance, see your dealer.
Know your controls and how to stop engine and
attachment quickly in an emergency.
Operators must be instructed in and be capable
of the safe operation of the equipment, its attach-
ments, and all controls. Do not allow anyone to
operate this equipment without proper instruc-
tions.
Keep hands and body away from pressurized
lines. Use paper or cardboard, not hands or other
body parts to check for leaks. Wear safety goggles.
Hydraulic fluid under pressure can easily penetrate
skin and will cause serious injury or death.
Make sure that all operating and service person-
nel know that if hydraulic fluid penetrates skin, it
must be surgically removed as soon as possible by
a doctor familiar with this form of injury or gan-
grene, serious injury, or death will result. CON-
TACT A PHYSICIAN IMMEDIATELY IF FLUID
ENTERS SKIN OR EYES. DO NOT DELAY.
Never allow children or untrained persons to
operate equipment.
PREPARATION
Check that all hardware is properly installed.
Always tighten to torque chart specifications
unless instructed otherwise in this manual.
Air in hydraulic systems can cause erratic oper-
ation and allows loads or equipment components
to drop unexpectedly. When connecting equipment
or hoses or performing any hydraulic maintenance,
purge any air in hydraulic system by operating all
hydraulic functions several times. Do this before
putting into service or allowing anyone to
approach the equipment.
Make sure all hydraulic hoses, fittings, and
valves are in good condition and not leaking before
starting power unit or using equipment. Check and
route hoses carefully to prevent damage. Hoses
must not be twisted, bent sharply, kinked, frayed,
pinched, or come into contact with any moving
parts. Operate moveable components through full
operational range to check clearances. Replace
any damaged hoses immediately.
Always wear relatively tight and belted clothing
to avoid getting caught in moving parts. Wear
sturdy, rough-soled work shoes and protective
equipment for eyes, hair, hands, hearing, and head;
and respirator or filter mask where appropriate.
Make sure attachment is properly secured,
adjusted, and in good operating condition.
Make sure spring-activated locking pin or collar
slides freely and is seated firmly in tractor PTO
spline groove.
If equipped with driveline guard tether chains,
make sure they are attached to the tractor and
equipment as shown in the pamphlet that accom-
panies the driveline. Replace if damaged or broken.
Check that driveline guards rotate freely on drive-
line before putting equipment into service.
Power unit must be equipped with ROPS or
ROPS cab and seat belt. Keep seat belt securely
fastened. Falling off power unit can result in death
from being run over or crushed. Keep foldable
ROPS system in “locked up” position at all times.
Inspect chain shielding before each use.
Replace if damaged.
(Safety Rules continued on next page)
Safety is a primary concern in the design and
manufacture of our products. Unfortunately, our
efforts to provide safe equipment can be wiped
out by an operator’s single careless act.
In addition to the design and configuration of
equipment, hazard control and accident preven-
tion are dependent upon the awareness, con-
cern, judgement, and proper training of
personnel involved in the operation, transport,
maintenance, and storage of equipment.
It has been said, “The best safety device is an
informed, careful operator.” We ask you to be
that kind of operator.
SAFETY RULES
ATTENTION! BECOME ALERT! YOUR SAFETY IS INVOLVED!

8 Safety
DS96-DS120 Safety Rules (Rev. 5/11/2007)
(Safety Rules continued from previous page)
Remove accumulated debris from this equip-
ment, power unit, and engine to avoid fire hazard.
Make sure all safety decals are installed.
Replace if damaged. (See Safety Decals section for
location.)
Make sure shields and guards are properly
installed and in good condition. Replace if dam-
aged.
Do not put this equipment into service unless all
side skids are properly installed and in good condi-
tion. Replace if damaged.
A minimum 20% of tractor and equipment
weight must be on the tractor front wheels when
attachments are in transport position. Without this
weight, front tractor wheels could raise up result-
ing in loss of steering. The weight may be attained
with front wheel weights, ballast in tires or front
tractor weights. Weigh the tractor and equipment.
Do not estimate.
Inspect and clear area of stones, branches, or
other hard objects that might be thrown, causing
injury or damage.
OPERATION
Full chain or rubber shielding must be installed
when operating in populated areas or other areas
where thrown objects could injure people or dam-
age property.
• If this machine is not equipped with full chain
or rubber shielding, operation must be stopped
when anyone comes within 300 feet (92 m).
• This shielding is designed to reduce the risk
of thrown objects. The mower deck and protec-
tive devices cannot prevent all objects from
escaping the blade enclosure in every mowing
condition.
It is possible for objects to ricochet
and escape, traveling as much as 300 feet (92 m).
Do not allow bystanders in the area when oper-
ating, attaching, removing, assembling, or servic-
ing equipment.
Never direct discharge toward people, animals,
or property.
Do not operate or transport equipment while
under the influence of alcohol or drugs.
Operate only in daylight or good artificial light.
Keep hands, feet, hair, and clothing away from
equipment while engine is running. Stay clear of all
moving parts.
Always comply with all state and local lighting
and marking requirements.
Never allow riders on power unit or attachment.
Power unit must be equipped with ROPS or
ROPS cab and seat belt. Keep seat belt securely
fastened. Falling off power unit can result in death
from being run over or crushed. Keep foldable
ROPS system in “locked up” position at all times.
Always sit in power unit seat when operating
controls or starting engine. Securely fasten seat
belt, place transmission in neutral, engage brake,
and ensure all other controls are disengaged
before starting power unit engine.
Operate tractor PTO at 540 RPM. Do not exceed.
Look down and to the rear and make sure area
is clear before operating in reverse.
Do not operate or transport on steep slopes.
Do not stop, start, or change directions sud-
denly on slopes.
Use extreme care and reduce ground speed on
slopes and rough terrain.
Watch for hidden hazards on the terrain during
operation.
Stop power unit and equipment immediately
upon striking an obstruction. Turn off engine,
remove key, inspect, and repair any damage before
resuming operation.
Leak down or failure of mechanical or hydraulic
system can cause equipment to drop.
On pull-type or semi-mounted units with
optional hydraulic cutting height adjustment, use a
single-acting cylinder with a maximum extended
length of 28-1/4" (718 mm) from attaching point
center to center.
On mounted units with optional hydraulic cut-
ting height adjustment, use a double-acting cylin-
der with a maximum extended length of 28-1/4"
(718 mm) from attaching point center to center.
TRANSPORTATION
The maximum transport speed for towed and
semi-mounted machines is 20 mph (32 km/h).
Regardless of the maximum speed capability of the
towing tractor, do not exceed the implement’s max-
SAFETY RULES
ATTENTION! BECOME ALERT! YOUR SAFETY IS INVOLVED!

Safety 9
DS96-DS120 Safety Rules (Rev. 5/11/2007)
imum transport speed. Doing so could result in:
• Loss of control of the implement and tractor
• Reduced or no ability to stop during braking
• Implement tire failure
• Damage to the implement or its components.
Use additional caution and reduce speed when
under adverse surface conditions, turning, or on
inclines.
Do not operate PTO during transport.
Never tow this implement with a motor vehicle.
Do not operate or transport on steep slopes.
Do not operate or transport equipment while
under the influence of alcohol or drugs.
Always comply with all state and local lighting
and marking requirements.
Never allow riders on power unit or attachment.
MAINTENANCE
Before dismounting power unit or performing
any service or maintenance, follow these steps:
disengage power to equipment, lower the 3-point
hitch and all raised components to the ground,
operate valve levers to release any hydraulic pres-
sure, set parking brake, stop engine, remove key,
and unfasten seat belt.
Before performing any service or maintenance,
disconnect driveline from tractor PTO.
Before working underneath, raise mower, install
transport lock, and block mower securely. Hydrau-
lic system leak down and failure of mechanical or
hydraulic system can cause equipment to drop.
Do not modify or alter or permit anyone else to
modify or alter the equipment or any of its compo-
nents in any way.
Your dealer can supply original equipment
hydraulic accessories and repair parts. Substitute
parts may not meet original equipment specifica-
tions and may be dangerous.
Always wear relatively tight and belted clothing
to avoid getting caught in moving parts. Wear
sturdy, rough-soled work shoes and protective
equipment for eyes, hair, hands, hearing, and head;
and respirator or filter mask where appropriate.
Do not allow bystanders in the area when oper-
ating, attaching, removing, assembling, or servic-
ing equipment.
Never go underneath equipment (lowered to the
ground or raised) unless it is properly blocked and
secured. Never place any part of the body under-
neath equipment or between moveable parts even
when the engine has been turned off. Hydraulic
system leak down, hydraulic system failures,
mechanical failures, or movement of control levers
can cause equipment to drop or rotate unexpect-
edly and cause severe injury or death. Follow Oper-
ator's Manual instructions for working underneath
and blocking requirements or have work done by a
qualified dealer.
Make sure attachment is properly secured,
adjusted, and in good operating condition.
Keep all persons away from operator control
area while performing adjustments, service, or
maintenance.
Make certain all movement of equipment com-
ponents has stopped before approaching for ser-
vice.
Frequently check blades. They should be sharp,
free of nicks and cracks, and securely fastened.
Do not handle blades with bare hands. Careless
or improper handling may result in serious injury.
Your dealer can supply genuine replacement
blades. Substitute blades may not meet original
equipment specifications and may be dangerous.
Tighten all bolts, nuts, and screws to torque
chart specifications. Check that all cotter pins are
installed securely to ensure equipment is in a safe
condition before putting unit into service.
Make sure all safety decals are installed.
Replace if damaged. (See Safety Decals section for
location.)
Make sure shields and guards are properly
installed and in good condition. Replace if dam-
aged.
Do not disconnect hydraulic lines until machine
is securely blocked or placed in lowest position
and system pressure is released by operating
valve levers.
Leak down or failure of mechanical or hydraulic
system can cause equipment to drop.
Explosive separation of tire and rim parts can
cause serious injury or death. Release all air pres-
sure before loosening bolts on wheel.
SAFETY RULES
ATTENTION! BECOME ALERT! YOUR SAFETY IS INVOLVED!

10 Safety
DS96-DS120 Safety Rules (Rev. 5/11/2007)
STORAGE
Keep children and bystanders away from stor-
age area.
Follow manual instructions for storage.
On mounted and semi-mounted cutters:
Disconnect cutter driveshaft and secure up off
ground. Raise cutter with 3-point hitch. Place
blocks under cutter side skids. Lower cutter onto
blocks. Disconnect hydraulic lines to optional cyl-
inder. Disconnect cutter from tractor 3-point hitch
and carefully drive tractor away from cutter.
ON PULL-TYPE CUTTERS:
Raise cutter and block securely. Block wheels
and raise tongue with jack. Disconnect hydraulic
lines to optional cylinder. Disconnect driveline and
secure up off the ground.
SAFETY RULES
ATTENTION! BECOME ALERT! YOUR SAFETY IS INVOLVED!

Safety 11
MAN0390 (Rev. 6/30/2006)
1 - SERIAL NUMBER PLATE
2 - PN 5669
3 - PN 12777
4 - PN 1003751
CRUSHING AND PINCHING HAZARD
Be extremely careful handling various parts of
the machine. They are heavy and hands, fingers,
feet, and other body parts could be crushed or
pinched between tractor and implement.
Operate tractor controls from tractor seat only.
Do not stand between tractor and implement
when tractor is in gear.
Make sure parking brake is engaged before
going between tractor and implement.
Stand clear of machine while in operation or
when it is being raised or lowered.
FAILURE TO FOLLOW THESE
INSTRUCTIONS COULD RESULT IN
SERIOUS INJURY OR DEATH.
WARNING
1003751-A
MODEL NO. SERIAL NO.
Woods Equipment Company
Oregon, Illinois, U.S.A.
SAFETY & INSTRUCTIONAL DECALS
ATTENTION! BECOME ALERT! YOUR SAFETY IS INVOLVED!
Replace Immediately If Damaged!
(Safety Decals continued on next page)

12 Safety
MAN0390 (Rev. 6/30/2006)
9 - PN 15503
FALLING OFF CAN RESULT IN BEING RUN OVER.
Tractor must be equipped with ROPS (or ROPS CAB) and seat
belt. Keep foldable ROPS systems in “locked up” position at all
times.
Buckle Up! Keep seat belt securely fastened.
Allow no riders.
RAISED EQUIPMENT CAN DROP AND CRUSH.
Before working underneath, follow all instructions and safety rules in
operator’s manual and securely block up all corners of equipment
with jack stands.
Securely blocking prevents equipment dropping from hydraulic leak-
down, hydraulic system failures or mechanical component failures.
FALLING OFF OR FAILING TO BLOCK SECURELY CAN
RESULT IN SERIOUS INJURY OR DEATH.
WARNING
18865--C
8 - PN 18865
540 RPM
WARNING
18866-D
6 - PN 18866
ROTATING BLADES AND
THROWN OBJECTS
Do not put hands or feet under or into mower when
engine is running.
Before mowing, clear area of objects that may be
thrown by blade.
Keep bystanders away.
Keep guards in place and in good condition.
BLADE CONTACT OR THROWN OBJECTS CAN
CAUSE SERIOUS INJURY OR DEATH.
DANGER
15503-C
5 - PN 18864
DANGER
ROTATING DRIVELINE
CONTACT CAN CAUSE DEATH
KEEP AWAY!
DO NOT OPERATE WITHOUT -
All driveline guards, tractor and
equipment shields in place
Drivelines securely attached at both ends
Driveline guards that turn freely on
driveline 18864-C
10 - PN 1002940
AMBER REFLECTOR 9"
11 - PN 57123
RED REFLECTOR 9"
7 - PN 18877
WARNING
TO AVOID SERIOUS
INJURY OR DEATH:
Read Operator's Manual (available
from dealer) and follow all safety
precautions.
Keep all shields in place and in good
condition.
Operate mower from tractor seat only.
Lower mower, stop engine and remove
key before dismounting tractor.
Allow no children or untrained persons
to operate equipment.
Do not transport towed or
semi-mounted units over 20 mph.
FAILURE TO OPERATE SAFELY
CAN RESULT IN
INJURY OR DEATH.
18877-C
12 - PN 1004114
If shaft connection is visible, shield
is missing. Replace shield before
operating equipment.
DA
NG
NG
ER
ER
1004114
SAFETY & INSTRUCTIONAL DECALS
ATTENTION! BECOME ALERT! YOUR SAFETY IS INVOLVED!
Replace Immediately If Damaged!
(Safety Decals continued from previous page)

Safety 13
MAN0390 (Rev. 6/30/2006)
SAFETY & INSTRUCTIONAL DECALS
ATTENTION! BECOME ALERT! YOUR SAFETY IS INVOLVED!
Replace Immediately If Damaged!
Check for leaks with cardboard; never use hand.
Before loosening fittings: lower load, release pressure, and
be sure oil is cool.
Consult physician immediately if skin penetration occurs.
WARNING
19924-B
14 - PN 19924
13 - PN 1004991
TRANSPORT LOCK
AND CYLINDER
REQUIREMENTS
1004991
TRANSPORT
LOCK
WARNING
RAISED CUTTER CAN DROP AND CRUSH
e
rs must be e
q
ui
pp
ed with trans
p
ort lock
.
Cutt
e
ds.
sta
n
r
ansport components must be functional, kept in
g
oodAll t
r
Blocking up prevents cutter dropping from hydraulic leak down,
Bloc
hydraulic system failures, or mechanical component failures.
FAILURE TO FOLLOW INSTRUCTIONS CAN
RESULT IN SERIOUS INJURY OR DEATH.
28-1/4"
SINGLE-ACTING FULL
EXTENSION
BE CAREFUL!
Use a clean, damp cloth to clean safety decals.
Avoid spraying too close to decals when using a
pressure washer; high-pressure water can enter
through very small scratches or under edges of
decals causing them to peel or come off.
Replacement safety decals can be ordered free
from your Woods dealer. To locate your nearest
dealer, check the Dealer Locator at
www.WoodsEquipment.com, or in the United
States and Canada call 1-800-319-6637.
33347E
16 - PN 33347
17 - PN 24611
SLOW MOVING VEHICLE EMBLEM
PN 1006348
(Rev. 5/11/2007)

14 Operation
MAN0390 (Rev. 6/30/2006)
OPERATION
The operator is responsible for the safe operation of
the cutter. The operator must be properly trained.
Operators should be familiar with the cutter, the tractor,
and all safety practices before starting operation. Read
the safety rules and safety decals on page 7 to page
13.
This medium-duty cutter is designed for grass and
weed mowing and shredding.
Recommended mowing speed for most conditions is
from 2 to 5 mph.
Full chain or rubber shielding must be installed
when operating in populated areas or other areas
where thrown objects could injure people or dam-
age property.
• If this machine is not equipped with full chain
or rubber shielding, operation must be stopped
when anyone comes within 300 feet (92 m).
• This shielding is designed to reduce the risk
of thrown objects. The mower deck and protec-
tive devices cannot prevent all objects from
escaping the blade enclosure in every mowing
condition.
It is possible for objects to ricochet
and escape, traveling as much as 300 feet (92 m).
Never allow riders on power unit or attachment.
Make sure spring-activated locking pin or collar
slides freely and is seated firmly in tractor PTO
spline groove.
Operate tractor PTO at 540 RPM. Do not exceed.
Do not allow bystanders in the area when oper-
ating, attaching, removing, assembling, or servic-
ing equipment.
Stop power unit and equipment immediately
upon striking an obstruction. Turn off engine,
remove key, inspect, and repair any damage before
resuming operation.
Always wear relatively tight and belted clothing
to avoid getting caught in moving parts. Wear
sturdy, rough-soled work shoes and protective
equipment for eyes, hair, hands, hearing, and head;
and respirator or filter mask where appropriate.
TRACTOR STABILITY
A minimum 20% of tractor and equipment
weight must be on the tractor front wheels when
attachments are in transport position. Without this
weight, front tractor wheels could raise up result-
ing in loss of steering. The weight may be attained
with front wheel weights, ballast in tires or front
tractor weights. Weigh the tractor and equipment.
Do not estimate.
Figure 1. Tractor Stability
CONNECT CUTTER TO TRACTOR
(PULL-TYPE)
NOTICE
■ The horizontal distance between the end of the
tractor PTO shaft and the drawbar hitch point
should be 14" for 540 RPM cutters. This distance
must not vary more than plus or minus (1") or the
drive may be damaged when turning.
1. Adjust tractor drawbar to obtain the desired
drawbar hitch point distance.
NOTE: On some tractors, a drawbar kit must be
used to obtain the required dimension. Check with
your tractor dealer for assistance.
2. Install tractor drawbar bracket to the tractor
drawbar using cap screw and hex nut.
3. Attach parking jack to cutter tongue. Raise tongue
to tractor drawbar height.
4. Place special heat-treated washer between cutter
tongue and drawbar.
5. Secure cutter to tractor drawbar with a high-
strength drawbar pin 3/4" or larger. Keep pin in
place during operation.
6. Attach safety tow chain to drawbar support. Leave
enough slack for turning.
CAUTION
(Rev. 2/6/2009)

Operation 15
MAN0390 (Rev. 6/30/2006)
7. Connect cutter driveline to tractor PTO shaft,
making sure the spring-activated lock pin slides
freely and is seated in tractor PTO splined groove.
8. Remove parking jack from the tongue and attach it
to the storage post on the front of the cutter.
9. Adjust H-frame bearing height so that the front
driveline is parallel to the ground. Secure with 5/8 x
5-21/32 clevis pin and 3/16 x 1-1/2 cotter pin.
10. Attach drive shaft shield to bearing housing using
two 3/8 x 1 cap screws and 3/8 lock washers.
Hydraulic Connection
1. Inspect hydraulic hoses to ensure they are in good
condition.
2. Clean the fittings before connecting them to the
tractor hydraulic ports.
3. Attach the hydraulic hose to the tractor.
4. Route the hose through the hose holder at the
hitch and be sure the hose can slide freely in the
holder. Do not allow hose slack to drag on the
ground or become caught on tractor protrusions.
5. From the operator position, start tractor and raise
and lower deck several times to purge trapped air
from the hydraulic cylinder.
Interference Check
1. Be sure that tractor 3-point lift links do not interfere
with hydraulic hoses, cutter driveline, or cutter
frame.
2. Check for straight-ahead operation and at full-
turning angles. If there is any interference, remove
the lower lift links.
3. Contact between tractor lift links and cutter parts
can cause damage, especially when turning.
CONNECT CUTTER TO TRACTOR
(MOUNTED)
A minimum 20% of tractor and equipment
weight must be on the tractor front wheels when
attachments are in transport position. Without this
weight, front tractor wheels could raise up result-
ing in loss of steering. The weight may be attained
with front wheel weights, ballast in tires or front
tractor weights. Weigh the tractor and equipment.
Do not estimate.
Tractor Adjustments
Before attaching tractor to cutter, install sway blocks or
sway chains, or adjust stabilizer bars. Refer to the trac-
tor operator's manual for instructions.
Install tractor front end weights as recommended by
the tractor manufacturer to provide 20% of weight on
front wheels.
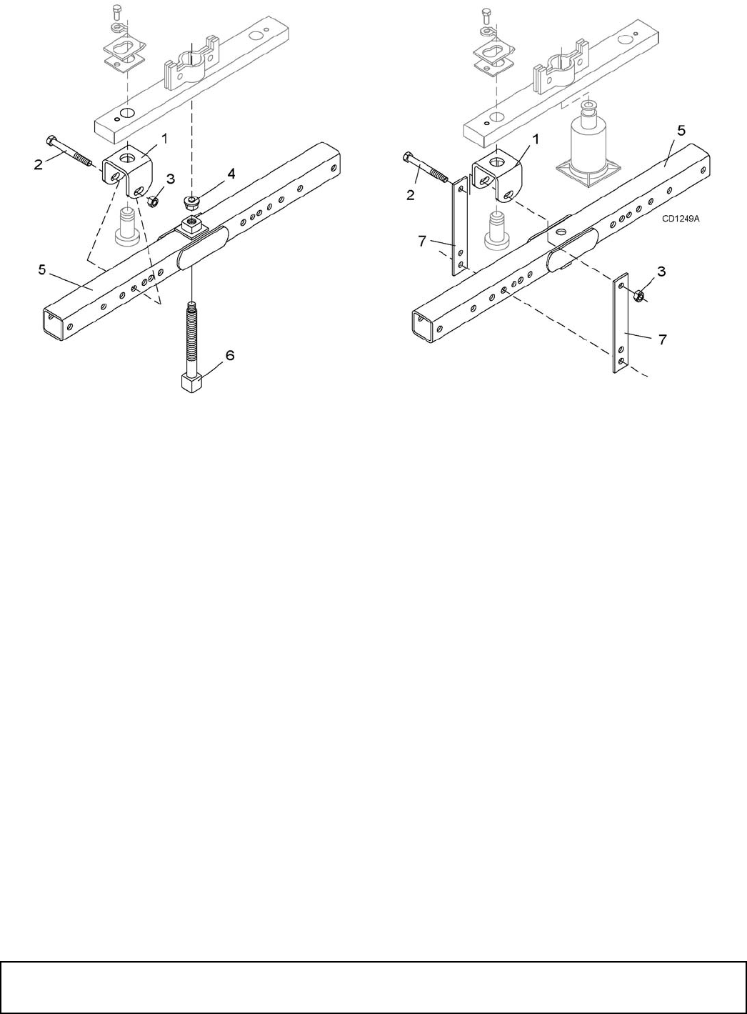
DS96 Category 2 Standard Hitch
1. Position the tractor 3-point lower lift arms over the
hitch pins and secure with 7/16 klik pins.
2. Connect the tractor top link to the cutter A-frame
using the upper holes and 1" OD sleeve. The break
link must be placed in the lower holes of the A-
frame. See Figure 2.
Figure 2. DS96 Cat. 2 Standard Hitch Connection
DS96 Category 2 Quick Hitch
An optional Category 2 quick coupler kit (24845) is
available for DS96 cutters.
DS120 Category 2 Standard Hitch
1. Position the tractor 3-point lower lift arms between
the hitch mast plates and secure with hitch pins
and 7/16 klik pins. Note the hitch pins orientation.
2. Connect the tractor top link to the cutter A-frame
using the upper holes and 1" OD sleeve. The break
link must be placed in the lower holes of the A-
frame. See Figure 3.
Figure 3. DS120 Cat. 2 Standard Hitch Connection
(Rev. 2/6/2009)

16 Operation
MAN0390 (Rev. 6/30/2006)
DS120 Category 2 Quick Hitch
1. Position the hitch pins as shown in Figure 4.
2. Attach tractor with quick hitch to cutter and secure
according to quick hitch manufacturer’s
instructions.
Figure 4. DS120 Category 2 Quick Hitch Connection
DS120 Category 3 Standard Hitch
1. Position the tractor 3-point lower lift arms between
the hitch mast plates and secure with hitch pins
and 7/16 klik pins. Note the hitch pins orientation.
2. Connect the tractor top link to the cutter A-frame
using the upper holes and 1-1/4" OD sleeve. The
break link must be placed in the lower holes of the
A-frame. See Figure 5.
Figure 5. DS120 Cat. 3 Standard Hitch Connection
DS120 Category 3 Quick Hitch
1. Position the hitch pins as shown in Figure 6.
2. Place break link and 1-1/4" OD sleeve in the top
hole of the A-frame and secure.
3. Attach tractor with quick hitch to cutter and secure
according to quick hitch manufacturer’s
instructions.
Figure 6. DS120 Category 3 Quick Hitch Connection
Hydraulic Connection (DS120 Only)
1. Inspect hydraulic hoses to ensure they are in good
condition.
2. Clean the fittings before connecting them to the
tractor hydraulic ports.
3. Route hoses through hose holder on 3-point mast.
Be sure hoses can slide freely in holder. Do not
allow hose slack to drag on the ground or become
caught on tractor protrusions.
DRIVELINE ATTACHMENT
Attach the cutter to the tractor 3-point hitch (or quick
hitch if available). Do not attach driveline. Raise and
lower cutter to determine maximum and minimum dis-
tance between the tractor PTO shaft and the gearbox
input shaft. If the distance is too large, the driveline will
be too short for proper engagement. If distance is too
small, the driveline may bottom out in operation and
damage the cutter or tractor.
Driveline length must be sufficient to provide at least
1/3 driveline length of engagement during operation.
There must be at least 4 inches of engagement at the
cutters lowest possible point of operation. The driveline
must not bottom out when raised to the maximum
height possible.
If driveline is too short please call your Woods dealer
for a longer driveline.
If driveline is too long please follow the instructions for
shortening the driveline.
SHORTEN DRIVELINE
1. Move cutter up and down to get the shortest
possible distance between tractor PTO shaft and
gearbox input shaft.
2. Separate driveline into two halves and connect
them to the tractor PTO and gearbox.
3. Place driveline halves parallel to one another to
determine how much to shorten the driveline.
(Rev. 2/6/2009)

Operation 17
MAN0390 (Rev. 6/30/2006)
Figure 7. Drive Halves Placed Parallel
4. Measure from end of the upper shield to the base
of the bell on the lower shield (A). Add 1-9/16" to
dimension (A). See Figure 8.
Figure 8. Determine Shield Length
5. Cut the shield to the overall dimension.
Figure 9. Cut Shield
6. Place the cutoff portion of the shield against the
end of the shaft and use as a guide. Mark and cut
the shaft.
Figure 10. Cut Shaft to Length
7. Repeat step 6 for the other half of the drive.
8. File and clean cut ends of both drive halves.
Do not use tractor if proper driveline engagement can-
not be obtained through these methods.
Connect driveline to tractor PTO shaft, making sure the
spring-activated locking collar slides freely and locks
driveline to PTO shaft.
NOTICE
■ If attaching with quick hitch the distance
between the tractor PTO and gearbox input shaft
will increase. Please follow the steps as you would
for a 3-point hitch to insure proper engagement.
DRIVELINE INTERFERENCE CHECK
1. Check for clearance between driveline and cutter
deck.
2. Slowly lift cutter and observe driveline. If clearance
between driveline and cutter deck is less than 1
inch, shorten top link or limit upper travel of lower
hitch arms. Refer to tractor operator's manual for
instructions.
CUTTING HEIGHT ADJUSTMENT
On pull-type units with optional hydraulic cut-
ting height adjustment, use a single-acting cylinder
with a maximum extended length of 28-1/4" (718
mm) from attaching point center to center.
Cutting height range is from 2" to 15". A hydraulic cylin-
der or ratchet jack is available for cutting height adjust-
1-9/16"
A
(Rev. 2/6/2009)

18 Operation
MAN0390 (Rev. 6/30/2006)
ment on pull-type units and DS120 mounted units.
DS96 requires manual adjustment using holes in the
tailwheel arms.
When selecting a cutting height, you should consider
the area of operation. If the ground is rolling and has
mounds the blades could contact, set the cutting height
accordingly.
NOTICE
■ Avoid ground contact with blades. Striking
ground with blades produces one of the most dam-
aging shock loads a cutter can encounter. If this
occurs repeatedly, the cutter, driveline, and gear-
boxes will be damaged.
The blade cutting edge is approximately 1-3/4 inches
above the bottom of the skid shoes.
Pull-Type Units
To adjust cutter for normal mowing, select a cutting
height (example: 4-inches).
Using any of the optional cutting height mechanisms,
raise or lower the tailwheel and set position A to 2-1/4
inches. Loosen the jam nut on the attitude rod that runs
from the tongue to the tailwheel. Adjust rod in or out
until position B is approximately 1/4 to 1/2 inches more
than position A. Refer to Figure 11.
Figure 11. Cutting Height Adjustment
Mounted Units
To adjust cutter for normal mowing, select a cutting
height (example: 4").
Adjust tractor 3-point hitch to obtain a distance of 2-1/4
inches at position A. See Figure 11.
DS96 - Using the various holes in the tailwheel arms,
align the tailwheel brace with tailwheel arm to obtain a
distance greater than 2-1/4 inches at position B.
Adjust top link to provide 2 inches of clearance
between the break link (2) and the rear lift links. See
Figure 11. This clearance will allow the cutter to float
over uneven terrain.
DS120 - Using any of the optional height adjustment
devices, raise or lower the tailwheel to obtain 2-1/2 to
2-3/4 inches at position B.
Adjust top link to provide 2 inches of clearance
between the break link (2) and the rear lift links. See
Figure 11. This clearance will allow the cutter to float
over uneven terrain.
ATTITUDE ADJUSTMENT (PULL-TYPE)
Normal Mowing
For the most economical power use and best cutting
results, the cutter should be from 1/2" to 3/4" higher at
the rear than at the front.
For grass and weed mowing, adjust cutter to run level
or with the front slightly lower.
Shredding
For shredding, it is better to set rear of cutter slightly
lower than the front. How much lower depends on the
material to be shredded. Determine the best setting for
your situation by experimenting. Use a slow ground
speed for better shredding.
DRIVELINE ADJUSTMENT (PULL-TYPE)
With the cutting height established, adjust the driveline
carrier bearings in the H-frames so that the front drive-
line is parallel to the ground with cutter in cutting posi-
tion.
WHEEL SPACING (DS120 ONLY)
Wheels may be adjusted to any position for row crop
shredding.
BLADE SELECTION
There are two blade options: standard suction blades
and flat double-edge blades.
The standard suction blade is a general use, multi-pur-
pose blade.
The double-edge blade requires less power because it
does not mulch or recut material. It is designed for use
in areas where blade wear is a problem. Sandy soils
are extremely hard on blades.
Blade rotation, viewed from top of cutter, is clockwise
for the right crossbar, and counter-clockwise for the left
crossbar.
When one cutting surface of a double-edge blade is
worn, the opposite one may be used by placing the
blade on a crossbar of the opposite rotation. Blades
from the right may be used on the left. Blades from the
left may be used on the right.
(Rev. 2/6/2009)

Operation 19
MAN0390 (Rev. 6/30/2006)
Blades must be moved in pairs. Never use one new
blade and one used blade on a crossbar.
TRACTOR OPERATION
Use care when operating around tree limbs and other
low objects.
Use care and reduce ground speed on rough terrain.
Always watch for hidden hazards.
Being knocked off or falling off tractor can result in seri-
ous injury or death.
Only use a tractor with a Roll Over Protective Structure
(ROPS) and seat belt. Securely fasten seat belt before
starting tractor.
The cutter is operated with tractor controls. Engage the
PTO at a low rpm to prevent excessive loads on the
cutter drive system. Increase throttle to proper PTO
speed (540 rpm).
Be sure operator is familiar with all controls and can
stop tractor and cutter quickly in an emergency. The
operator should give complete, undivided attention to
operating tractor and cutter.
OPERATING TECHNIQUE
Power for operating the cutter is supplied by the tractor
PTO. Operate PTO at 540 rpm. Know how to stop the
tractor and cutter quickly in an emergency.
Engage PTO at a low engine rpm to minimize stress on
the drive system and gearbox. With PTO engaged,
raise PTO speed to 540 rpm and maintain throughout
cutting operation.
Gearbox protection is provided by a slip clutch with
replacement fiber disc. The slip clutch is designed to
slip when excessive torsional loads occur.
Move slowly into material. Adjust tractor ground speed
to provide a clean cut without lugging the tractor
engine. Use a slow ground speed for better shredding.
Proper ground speed will depend on the terrain and the
material’s height, type, and density.
Normally, ground speed will range from 2 to 5 mph.
Tall, dense material should be cut at a low speed; thin,
medium-height material can be cut at a faster ground
speed.
Always operate tractor PTO at 540 rpm to maintain
blade speed and to produce a clean cut.
Under certain conditions tractor tires may roll down
some grass and prevent cutting at the same height as
the surrounding area. When this occurs, reduce your
ground speed but maintain PTO at 540 rpm. The lower
ground speed will permit grass to rebound partially.
Cutter Operation
When beginning operation of the cutter, make sure that
all persons are in a safe location. Slowly move into the
material with the tractor PTO set at 540 rpm.
Mowing Tips
Look down and to the rear and make sure area
is clear before operating in reverse.
Do not operate or transport on steep slopes.
Do not stop, start, or change directions sud-
denly on slopes.
Use extreme care and reduce ground speed on
slopes and rough terrain.
Watch for hidden hazards on the terrain during
operation.
Stop power unit and equipment immediately
upon striking an obstruction. Turn off engine,
remove key, inspect, and repair any damage before
resuming operation.
Maximum recommended ground speed for cutting or
shredding is 6 miles per hour. Adjust tractor ground
speed by using higher or lower gears to provide a clean
cut without lugging tractor engine.
Tall material should be cut twice. Cut material higher
the first pass. Cut at desired height at 90 degrees the
second pass.
Remember, sharp blades produce cleaner cuts and
use less power.
Before entering an area, analyze it to determine the
best procedure. Consider the height and type of mate-
rial to be cut and the terrain type (hilly, level or rough,
etc.).
TRANSPORTING
The maximum transport speed for towed and
semi-mounted machines is 20 mph (32 km/h).
Regardless of the maximum speed capability of the
towing tractor, do not exceed the implement’s max-
imum transport speed. Doing so could result in:
• Loss of control of the implement and tractor
• Reduced or no ability to stop during braking
• Implement tire failure
• Damage to the implement or its components.
CAUTION
(Rev. 2/6/2009)

20 Operation
MAN0390 (Rev. 6/30/2006)
Use additional caution and reduce speed when
under adverse surface conditions, turning, or on
inclines.
Never tow this implement with a motor vehicle.
1. Always transport with cutter in raised, locked
position.
2. Raise cutter with hydraulic cylinder.
3. Rotate transport lock over cylinder rod. See Figure
33 on page 38.
4. Lower cylinder against transport lock.
5. To lower cutter for operation, extend hydraulic
cylinder. Rotate transport lock back away from
cylinder rod. Lower to desired cutting height.
STORAGE
Keep children and bystanders away from stor-
age area.
On Mounted and Semi-Mounted Cutters:
Disconnect cutter driveshaft and secure up off
ground. Raise cutter with 3-point hitch. Place
blocks under cutter side skids. Lower cutter onto
blocks. Disconnect hydraulic lines to optional cyl-
inder. Disconnect cutter from tractor 3-point hitch
and carefully drive tractor away from cutter.
On Pull-Type Cutters:
Raise cutter and block securely. Block wheels
and raise tongue with jack. Disconnect hydraulic
lines to optional cylinder. Disconnect driveline and
secure up off the ground.
PRE-OPERATION CHECK LIST
(OWNER'S RESPONSIBILITY)
___ Review and follow all safety rules and safety
decal instructions on page 7 to page 13.
___ Check that all safety decals are installed and in
good condition. Replace if damaged.
___ Check that equipment is properly and securely
attached to tractor.
___ Make sure driveline spring-activated locking pin
or collar slides freely and is seated firmly in trac-
tor PTO spline groove.
___ Set tractor PTO at correct rpm for your equip-
ment.
___ Lubricate all grease fitting locations. Make sure
PTO shaft slip joint is lubricated.
___ Check that all hydraulic hoses and fittings are in
good condition and not leaking before starting
tractor. Check that hoses are not twisted, bent
sharply, kinked, frayed, or pulled tight. Replace
any damaged hoses immediately.
___ Raise and lower equipment to make sure air is
purged from hydraulic cylinders and hoses.
___ Check that all hardware is properly installed and
secured.
___ Check to ensure blades are sharp, in good condi-
tion, and installed correctly. Replace if damaged.
___ Make sure tractor ROPS or ROPS cab and seat
belt are in good condition. Keep seat belt
securely fastened during operation.
___ Check that shields and guards are properly
installed and in good condition. Replace if dam-
aged.
___ Check cutting height, front-to-rear attitude, and
top link adjustment.
___ Before starting engine, operator must be in trac-
tor seat with seat belt fastened. Place transmis-
sion in neutral or park, engage brake and
disengage tractor PTO.
___ Inspect area to be cut and remove stones,
branches, or other hard objects that might be
thrown and cause injury or damage.
___ Check that chain shielding is in good condition
and replace any damaged chain links.
___ Make sure tractor 3-point lift links do not interfere
with hydraulic hoses or driveline throughout full
turning range.
(Rev. 4/6/2007)

Owner Service 21
MAN0390 (Rev. 4/6/2007)
OWNER SERVICE
The information in this section is written for operators
who possess basic mechanical skills. If you need help,
your dealer has trained service technicians available.
For your protection, read and follow the safety informa-
tion in this manual.
Keep all persons away from operator control
area while performing adjustments, service, or
maintenance.
If you do not understand any part of this manual
and need assistance, see your dealer.
Always wear relatively tight and belted clothing
to avoid entanglement in moving parts. Wear
sturdy, rough-soled work shoes and protective
equipment for eyes, hair, hands, hearing, and head;
and respirator or filter mask where appropriate.
BLOCKING METHOD
Never go underneath equipment (lowered to the
ground or raised) unless it is properly blocked and
secured. Never place any part of the body under-
neath equipment or between moveable parts even
when the engine has been turned off. Hydraulic
system leak down, hydraulic system failures,
mechanical failures, or movement of control levers
can cause equipment to drop or rotate unexpect-
edly and cause severe injury or death. Follow Oper-
ator's Manual instructions for working underneath
and blocking requirements or have work done by a
qualified dealer.
To minimize the potential hazards of working under-
neath the cutter, follow these procedures:
1. Jackstands with a load rating of 1000 lbs. or more
are the only approved blocking device for this
cutter. Install a minimum of four jackstands (shown
by Xs in Figure 12) under the cutter before working
underneath unit.
Do not position jackstands under wheels, axles, or
wheel supports. Components can rotate and cause
cutter to fall.
2. Consider the overall stability of the blocked unit.
Just placing jackstands underneath will not ensure
your safety.
The working surface must be level and solid to
support the weight on the jackstands. Make sure
jackstands are stable, both top and bottom. Make
sure cutter is approximately level.
3. With full cutter weight lowered onto jackstands, test
blocking stability before working underneath.
4. If cutter is attached to tractor when blocking, set
the brakes, remove key, and block cutter before
working underneath.
5. Securely block rear tractor wheels, in front and
behind. Tighten tractor lower 3-point arm anti-sway
mechanism to prevent side-to-side movement.
LUBRICATION
Do not let excess grease collect on or around parts,
particularly when operating in sandy areas.
See Figure 12 for lubrication points and frequency or
lubrication based on normal operating conditions.
Severe or unusual conditions may require more fre-
quent lubrication.
Use a lithium grease of #2 consistency with a MOLY
(molybdenum disulfide) additive for all locations unless
otherwise noted. Be sure to clean fittings thoroughly
before attaching grease gun. One good pump of most
guns is sufficient when the lubrication schedule is fol-
lowed.
Gearbox Lubrication
1. Use a high quality gear oil with a viscosity index of
80W or 90W and an API service rating of GL-4 or -
5 in gearboxes.
2. Fill gearbox until oil runs out the the lower hole on
back side of center gearbox or side hole on spindle
gearboxs. Check gearboxs daily for evidence of
leakage, and contact your dealer if leakage occurs.
Driveline Lubrication
1. Lubricate the driveline slip joint every eight
operating hours. Failure to maintain proper
lubrication could result in damage to U-joints,
gearbox, and driveline.
2. Lower cutter to ground, disconnect driveline from
tractor PTO shaft, and slide halves apart but do not
disconnect from each other.
3. Apply a bead of grease completely around male
half where it meets female half. Slide drive halves
over each other several times to distribute grease.
4. Grease side drive yoke where yoke attaches to
side gearbox.
CAUTION
(Rev. 10/5/2007)

22 Owner Service
MAN0390 (Rev. 4/6/2007)
Figure 12. Jackstand Placement and Lubrication Points
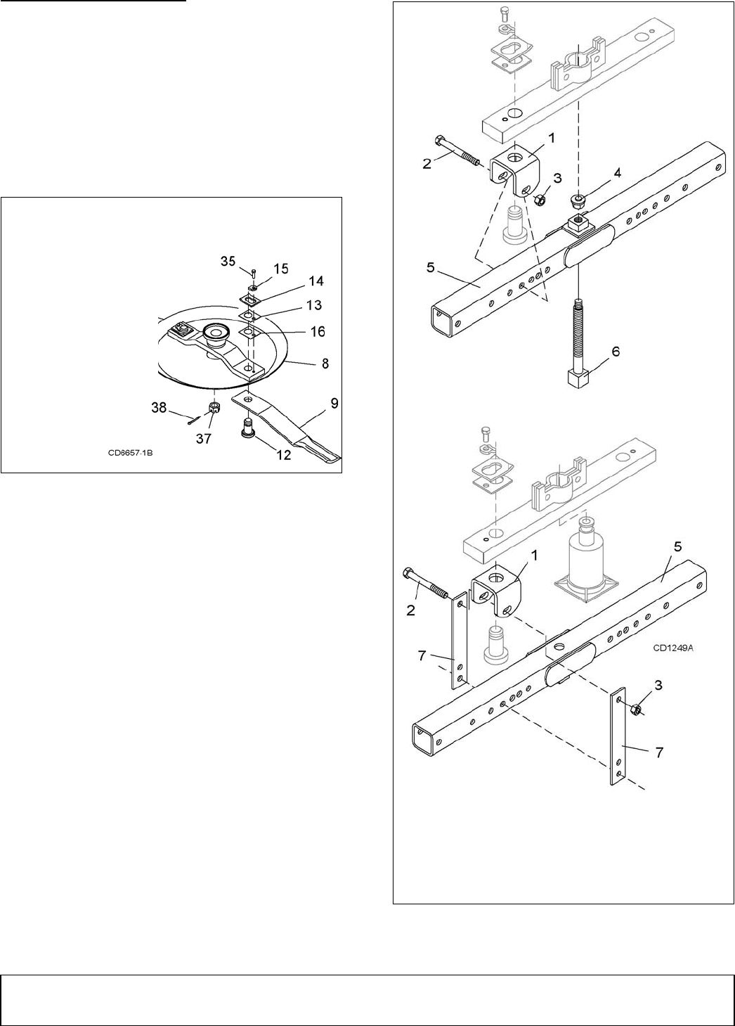
SERVICING BLADES
Removing Blades (Figure 13)
NOTICE
■ If blade pin (12) is seized in crossbar and
extreme force will be needed to remove it, support
crossbar from below to prevent gearbox damage.
Figure 13. Blade Assembly
1. Disconnect driveline from tractor PTO.
2. Open blade access cover and align crossbar (8)
with blade access hole in the cutter frame. Remove
cap screw (35), blade pin lock clip (15), keyhole
plate (14), and shims (13 & 16). Carefully drive
blade pin (12) out of crossbar.
3. Rotate crossbar (8) and repeat for opposite blade.
Installing Blades
Your dealer can supply genuine replacement
blades. Substitute blades may not meet original
equipment specifications and may be dangerous.
NOTICE
■ Crossbar rotation has counterclockwise rota-
tion on left gearbox and clockwise rotation on the
right gearbox when looking down on cutter. Be
sure to install blade cutting edge to lead in correct
rotation.
6. Rotating Drive Shield 10 hrs.
7. Side Drive Yoke (2 Places) 40 hrs.
8. Gearbox (Check Oil Level,
Lower Hole on Center Gearbox
Side Hole on Spindle Gearboxs) Daily
9. Tailwheel Spindle 20 hrs.
10. Caster Wheel Swivel 40 hrs.
1. Front U-Joint 10 hrs.
2. Mid U-Joint 10 hrs.
3. Carrier Bearing Block 40 hrs.
4. Telescoping Shaft 10 hrs.
5. Rear U-Joint 10 hrs.
8. Crossbar
9. Blade
12. Blade pin
13. Shim
14. Keyhole plate
15. Blade pin lock clip
16. Shim
35. Cap screw
CAUTION
(Rev. 10/5/2007)

Owner Service 23
MAN0390 (Rev. 4/6/2007)
NOTE: Always replace or sharpen both blades at the
same time.
1. Inspect blade pin (12) for nicks or gouges, and if
you find any, replace the blade pin.
2. Insert blade pin through the blade (9). Blade
should swivel on blade pin; if it doesn’t, determine
the cause and correct.
3. Align crossbar (8) with blade access hole in cutter
frame. Apply a liberal coating of Never Seez or
equivalent to blade pin and crossbar hole. Make
sure blade offset is away from cutter. Push blade
pin through crossbar. Pin should rotate freely prior
to installing blade clip (15).
4. Install shims (13 & 16) over blade pin.
NOTE: Only use enough shims to allow keyhole
plate (14) to slide into blade pin groove.
5. Install blade clip (15) over keyhole plate and into
blade pin groove.
6. Secure into position with cap screw (35). Torque
cap screw to 85 lbs-ft.
7. Repeat steps for opposite side.
NOTE: Blade should be snug but should swivel on
pin without having to exert excessive force. Keep
any spacers not used in the installation as replace-
ments or for future installation.
Sharpening Blades
NOTICE
■ When sharpening blades, grind the same
amount on each blade to maintain balance.
Replace blades in pairs. Unbalanced blades will
cause excessive vibration, which can damage
gearbox bearings. Vibration may also cause struc-
tural cracks to cutter.
1. Sharpen both blades at the same time to maintain
balance. Follow original sharpening pattern.
2. Do not sharpen blade to a razor edge—leave at
least a 1/16" blunt edge.
3. Do not sharpen back side of blade.
Figure 14. Sharpen Blade Cutting Edge
Figure 15. Slip Clutch Assembly
1. Flange yoke
2. Friction disc
3. Hub, 1-3/8 round bore
4. Thrust plate
5. Belleville spring plate
6. 10 mm x 1.35P x 50 mm Cap screw
7. 10 mm x 1.5P Hex nut
(Rev. 5/11/2007)

24 Owner Service
MAN0390 (Rev. 4/6/2007)
ADJUSTING SLIP CLUTCH
The slip clutch is designed to slip so that the gearbox
and driveline are protected if the cutter strikes an
obstruction. A new slip clutch or one that has been in
storage over the winter may seize. Before operating
the cutter, make sure it will slip by performing the fol-
lowing operation:
1. Turn off tractor engine and remove key. Remove
driveline from tractor PTO. Loosen six 10 mm cap
screws (6) to remove all tension from Belleville
spring plate (5).
2. Hold clutch hub (3) solid and turn shaft to make
sure clutch slips.
3. If clutch does not slip freely, disassemble and clean
the thrust plate faces (4), flange yoke (1), and
clutch hub (3).
4. Reassemble clutch. Tighten Belleville spring (5)
until it is against the thrust plate (4) of the clutch,
and then back off each of the six nuts by two full
revolutions. The gap between Belleville spring and
thrust plate should be 1/8" as shown in Figure 15.
5. If a clutch continues to slip when the spring is
compressed to 1/8", check friction discs (2) for
excessive wear. Discs are 1/8" when new. Replace
discs after 1/16" wear. Minimum disc thickness is
1/16".
RUBBER DISK REPLACEMENT
The flexible coupler side drive is designed to flex when
striking heavy objects or during start-up to protect gear-
boxes. The rubber disks will wear out over time and
require replacement much like slip clutch disks. To
maximize rubber disk life, lower tractor engine speed to
an idle when engaging the PTO and avoid striking the
ground with cutter blades.
Periodically inspect the disks for signs of cracking. A
disk may run for some time after a crack starts but this
is the first sign that disk replacement is required in the
future.
To replace the disks, remove hardware items (6, 7, 8,
and 9). Remove sleeves (7) from old disk and install in
new disk. Reassemble and torque bolts to 85 lbs-ft.
See Figure 16. Take special care not to rotate gearbox
shaft and throw blades out of time. If rubber disks have
failed and blades are hitting, you will need to re-time
the blades per instructions on page 34.
Figure 16. Flexible Coupler
1. Complete drive
2. Inner connector yoke
3. Outer connector yoke
1-3/4 20-spline
4. Outer connector yoke
1-3/4 6-spline
5. Rubber disc
6. Shaped washer
7. Bushing, .63 ID
8. Hex head cap screw
9. M16 x 2.0 Lock nut
10. Grease fitting
11. 3/8 NC x 3/4 Square head set screw
(Rev. 2/6/2009)

Owner Service 25
MAN0390 (Rev. 4/6/2007)
SHIELDING REPAIR
Full chain or rubber shielding is required for all
non-agricultural mowing. Full shielding is also rec-
ommended for all agricultural use to further reduce
the risk of thrown objects.
Repairing Rubber Shielding
Inspect belting and rear bands each day of operation
and replace if bent, cracked, or broken.
Repairing Optional Chain Shielding
Inspect chain shielding each day of operation and
replace any broken or missing chains as required.
CLEANING
After Each Use
●Remove large debris such as clumps of dirt, grass,
crop residue, etc. from machine.
●Inspect machine and replace worn or damaged
parts.
●Replace any safety decals that are missing or not
readable.
Periodically or Before Extended Storage
●Clean large debris such as clumps of dirt, grass,
crop residue, etc. from machine.
●Remove the remainder using a low-pressure water
spray.
1. Be careful when spraying near scratched or torn
safety decals or near edges of decals as water
spray can peel decal off surface.
2. Be careful when spraying near chipped or
scratched paint as water spray can lift paint.
3. If a pressure washer is used, follow the advice of
the pressure washer manufacturer.
●Inspect machine and replace worn or damaged
parts.
●Sand down scratches and the edges of areas of
missing paint and coat with Woods spray paint of
matching color (purchase from your Woods
dealer).
●Replace any safety decals that are missing or not
readable (supplied free by your Woods dealer).
See Safety Decals section for location drawing.
SERVICING TIRES SAFELY
Used Aircraft Tires (Figure 17)
Do not attempt to mount a tire unless you have the
proper equipment and experience to perform the job.
Always maintain the correct tire pressure. Do not inflate
tires above the recommended pressure. Never weld or
heat a wheel and tire assembly. The heat can cause an
increase in air pressure and result in a tire explosion.
Welding can structurally weaken or deform the wheel.
When inflating tires, use a clip-on chuck and an exten-
sion hose long enough to allow you to stand to the side
— not in front of or over the tire assembly. Use a safety
cage if available.
Check wheels for low pressure, cuts, bubbles, dam-
aged rims, or missing lug bolts and nuts.
Never remove split rim assembly hardware (A) with the
tire inflated.
Figure 17. Split Rim Tire Servicing
WARNING
A
DECAL PN 1006348
(Rev. 2/6/2009)

26 Troubleshooting
MAN0390 (Rev. 4/6/2007)
TROUBLESHOOTING
PROBLEM POSSIBLE CAUSE SOLUTION
Does not cut Dull blades Sharpen blades.
Worn or broken blades Replace blades. (Replace in pairs
only.)
Incorrect PTO speed Set at rated PTO speed.
Ground speed too fast Reduce ground speed.
Drive not functioning (blades do
not turn when PTO is running)
Check drive shaft connection.
Check gearbox.
Gearbox malfunction Repair gearbox.
Excessive clutch slippage Adjust clutch.
Incorrect blade direction Check to be sure blade edge is
correct for direction of rotation.
Streaks or ragged cut Broken or worn blades Replace or sharpen blades.
Attitude incorrect Level machine.
Ground speed too fast Reduce ground speed.
Excessive cutting height Lower cutting height. (Note: Set
height so blades do not frequently
hit ground.)
Excessive lush and tall vegetation Recut at 90° to first pass.
Excessive side skid wear Running with skids continuously
on ground
Raise cutting height or adjust.
Excessive clutch slippage Clutch out of adjustment Adjust clutch.
Clutch discs worn; wear stops
contacting opposite plate
Replace discs.
Blades hitting ground Raise cutting height.
Vibration Broken blade Replace blades in pairs.
Bearing failure Check gearbox shafts for side
play.
Hitch length incorrect Reset hitch length.
Universal drive Adjust pedestal bearing height to
be parallel to ground.
Blades hitting deck Bent blades or crossbar Replace bent blades or crossbar.
Blades hitting each other Side drive failure Retime blades, or replace rubber
coupler disks. See page 34.
Unit will not raise Low oil Add hydraulic oil.

Dealer Service 27
MAN0390 (Rev. 4/6/2007)
DEALER SERVICE
The information in this section is written for dealer ser-
vice personnel. The repair described here requires
special skills and tools. If your shop is not properly
equipped or your mechanics are not properly trained in
this type of repair, you may be time and money ahead
to replace complete assemblies.
Before working underneath, disconnect drive-
line, raise cutter, lock in transport position, and
block cutter securely. Hydraulic system leak down
and failure of mechanical or hydraulic system can
cause equipment to drop.
Keep all persons away from operator control
area while performing adjustments, service, or
maintenance.
Always wear relatively tight and belted clothing
to avoid getting caught in moving parts. Wear
sturdy, rough-soled work shoes and protective
equipment for eyes, hair, hands, hearing, and head;
and respirator or filter mask where appropriate.
GEARBOX MAINTENANCE
NOTE: Read this entire section before starting any
repair. Many steps are dependent on each other.
1. Fill gearbox with SAE 80W or 90W gear lube until it
runs out the side level plug.
NOTE: Repair to this gearbox is limited to replac-
ing bearings, seals, and gaskets. Replacing gears,
shafts, and a housing is not cost effective. Pur-
chasing a complete gearbox is more economical.
2. Inspect gearbox for leakage and bad bearings.
Leakage is a very serious problem and must be
corrected immediately. Bearing failure is indicated
by excessive noise and side-to-side or end-play in
gear shafts.
SEAL REPLACEMENT
Recommended sealant for gearbox repair is Perma-
tex® Aviation 3D Form-A-Gasket or equivalent.
Leakage can occur at the vertical or horizontal gaskets
and shaft seals.
Leakage at the horizontal gasket or seal can be
repaired without removing the gearbox from the cutter.
SEAL INSTALLATION
NOTE: Proper seal installation is important. An improp-
erly installed seal will leak.
1. Clean area in housing where seal outer diameter
(OD) seats. Apply a thin coat of Permatex.
2. Inspect area of shaft where seal seats. Remove
any burrs or nicks with an emery cloth.
3. Lubricate gear shaft and seal lips.
4. Place seal squarely on housing, spring-loaded lip
toward housing. Select a piece of pipe or tubing
with an OD that will sit on the outside edge of the
seal but will clear the housing. Tubing with an OD
that is too small will bow seal cage and ruin seal.
5. Carefully press seal into housing, avoiding
distortion to the metal seal cage.
Figure 18. Seal Installation
CAUTION
1. Seal
2. Pipe or tube
3. Seal seat
4. Casting
Pipe or tube must
press at outer
edge of seal.
Incorrect
Installation

28 Dealer Service
MAN0390 (Rev. 4/6/2007)
VERTICAL SHAFT SEAL REPAIR
(SPINDLE BOX)
Refer to Figure 19.
1. Disconnect and remove the driveline from the
gearbox.
2. Remove vent plug (3) and siphon gear lube from
housing through this opening.
3. Remove crossbar (see Crossbar removal on page
33).
4. Remove vertical shaft seal (16). Replace with new
seal (see Seal Installation on page 27).
Vertical seal should be recessed in housing. Hori-
zontal seal should be pressed flush with outside of
housing.
NOTE: Distortion to seal cage or damage to seal
lip will cause seal to leak.
5. Fill gearbox with SAE 80W or 90W gear lube until it
runs out the level plug.
6. Remove and replace any seal damaged in
installation.
HORIZONTAL SHAFT SEAL REPAIR
Refer to Figure 19.
1. Disconnect and remove the driveline from the
gearbox.
2. Remove vent plug (3) and siphon gear lube from
housing through this opening.
3. If the leak occurred at either end of horizontal shaft
(spindle gearbox), remove oil cap (24) and/or oil
seal (10). For splitter gearbox (Figure 20) use oil
seals (11) and (17). Replace with new one (refer to
Seal Installation, page 27).
4. Fill gearbox with SAE 80W or 90W gear lube until it
runs out the level plug.
SPINDLE GEARBOX REPAIR
NOTE: Replacing gears, shafts, bearings, and seals
may not be cost effective. Purchasing a complete gear-
box may be more economical.
REMOVE GEARBOX FROM CUTTER
Refer to Figure 19.
1. Disconnect and remove the driveline from the
gearbox.
2. Remove vent plug (3) and siphon gear lube from
housing through this opening.
3. Remove cotter pin, washer, and nut from vertical
shaft and remove crossbar (see Crossbar removal,
page 33).
4. Remove the four bolts that attach gearbox to cutter
and remove gearbox. Gearbox is heavy; do not
attempt to move without mechanical assistance.
DISASSEMBLE GEARBOX
Refer to Figure 19.
1. Remove 3/8" plug from side of gearbox and pour
out gear oil.
2. Remove oil cap (24) (to be replaced).
3. Remove snap ring (9) and shim (5) from input shaft
(11).
4. Support gearbox in hand press and push on input
shaft (11) to remove bearing (23).
5. Remove top cover (4) from housing. Remove gear
(6) from inside housing.
6. Remove oil seal (10) from front of housing (to be
replaced).
7. Remove snap ring (9) and shim (5) from front of
housing (1).
8. Remove input bearing (7) by using a punch and
hammer from outside of housing.
9. Support housing in vise in a horizontal position.
10. The castle nut (21), cotter pin (8), and washer (20)
are already removed with the stump
jumper/crossbar. Remove the protective screen
(17) and seal (16).
11. Remove cotter pin (18), castle nut (12), and
washer (25) from output shaft (19).
12. Remove output shaft (19) by using a punch and
hammer and tap on top to drive down.
13. Remove gear (5) and shim (15) from inside
housing.
14. Remove bearing (15) by using a punch and
hammer from the top, outside the housing.
15. Support housing upside down (top cover surface)
and remove bearing (15) by using a punch and
hammer from the bottom side of the housing.
16. Inspect gears for broken teeth and wear. Some
wear is normal and will show on loaded side.
Forged gear surfaces are rough when new. Check
that wear pattern is smooth.
17. Inspect vertical and horizontal shafts for grooves,
nicks, or bumps in the areas where the seals seat.
Resurface any damage with emery cloth.
18. Inspect housing and caps for cracks or other
damage.

Dealer Service 29
MAN0390 (Rev. 4/6/2007)
ASSEMBLE GEARBOX
Refer to Figure 19.
1. Clean housing, paying specific attention to areas
where gaskets will be installed.
2. Wash housing and all components thoroughly.
Select a clean area for gearbox assembly. Replace
all seals, bearings, and gaskets. All parts must be
clean and lightly oiled before reassembling.
3. Insert output bearings (15) in the housing, using a
round tube of the correct diameter and a hand
press.
4. Slide output shaft (19) through both bearings (15)
until it rests against bearing (6).
5. Slide shim (5) over output shaft (19).
6. Press gear (13) onto output shaft (19) and secure
with washer (25), castle nut (12), and cotter pin
(18).
7. Apply grease to lower seal lips (16) and press seal
(16) over output shaft (19), using a tube of the
correct diameter. Be sure not to damage the seal
lip.
Press in housing so that seal is recessed. Install
protective screen (17) and position it together with
dual lip seal (16) by pressing it into position. Verify
that snap ring is seated correctly.
8. Press bearing (7) into the housing, using a round
tube of the correct diameter and a hand press.
Secure with shim (5) and snap ring (9).
9. Secure snap ring (9) on input shaft (11) if not
already secure.
10. Place gear (6) through top of housing and align
gear (6) and gear (13) so that gear teeth are a
match.
11. While holding gear (6) in place, slide input shaft
(11) through gear (6) and bearing (7). Align splines
on shaft (11) and gear (6).
12. Slide spacer (7) over input shaft (11) and press
bearing onto input shaft (11), using a round tube of
the correct diameter and a hand press.
13. Slide shim (5) over input shaft (11) and secure with
snap ring (9).
14. Check input shaft end float by moving the input
shaft (11) by hand. If end float is higher than
0.012", insert shim between input shaft (11) and
rear bearing (7). Repeat until end float is less than
0.012". Check rotational torque by hand. The
torque should be less than 2.2 lbs-inch.
15. Check that the gear backlash is between 0.006"
and 0.016". You should not have to adjust the
backlash.
16. Press in input oil seal (10), using tube of correct
diameter. Be careful not to damage seal lip.
17. Press oil cap (24) on to cover the rear of housing,
using a tube of the correct diameter.
18. Check gearbox housing for leaks by plugging all
holes except one. Apply 4 psi compressed air and
immerse the gearbox in water to verify that there
are no leaks.
19. Remove gearbox from water and dry off with
compressed air. Add SAE 80W or 90W EP oil until
it runs out of side level hole. Tighten all plugs.
REINSTALL GEARBOX
NOTE: Gearbox is heavy: do not attempt to move
without mechanical assistance.
1. Set gearbox on cutter and fasten with bolts and
nuts. Torque bolts to 300 lbs-ft.
2. Attach crossbar (see Crossbar removal on page
33).

30 Dealer Service
MAN0390 (Rev. 4/6/2007)
Figure 19. Spindle Gearbox Assembly
16. Seal 50 x 90 x 10
17. Protective screen
18. Cotter pin
19. Output shaft
20. Flat washer
21. Castle nut, metric M3 x 2.0
22. Plug, 3/8 NPT
23. Ball bearing
24. Oil cap
25. Shim, 44 x 30.3 x 1
1. Gearbox housing
2. Cap screw 8 mm x 14 (8.8)
3. Vent plug
4. Top cover
5. Shim kit
6. Crown gear
7. Bearing cup & cone
8. Cotter pin B6 x 60 mm
9. Snap ring
10. Seal
11. Input shaft
12. Castle nut, metric M30 x 1.5
13. Pinion gear
14. Shim kit
15. Bearing cup & cone

Dealer Service 31
MAN0390 (Rev. 4/6/2007)
SPLITTER GEARBOX REPAIR
NOTE: Replacing gears, shafts, bearings, and seals
may not be cost effective. Purchasing a complete gear-
box may be more economical.
REMOVE GEARBOX FROM CUTTER
1. Disconnect driveline from the tractor PTO and
remove it from center gearbox.
2. Remove vent plug (6) and siphon gear lube from
housing through this opening.
3. Disconnect and remove flex coupler drivelines from
side of gearbox by:
a. Removing cap screws and hex nuts from drive-
line.
b. Loosen set screws from flex coupler yoke.
c. Slide flex coupler yoke from gearbox shaft.
4. Remove the four bolts that attach gearbox to cutter
and remove gearbox. Gearbox is heavy; do not
attempt to move without mechanical assistance.
DISASSEMBLE SPLITTER GEARBOX
Refer to Figure 20.
1. Remove breather plug from top of gearbox.
2. Remove plug (19) from side of input housing (1)
and pour out gear oil.
3. Remove eight cap screws (3) from around input
housing (15). Remove input shaft assembly and
housing.
4. Remove oil seals (11) (to be replaced) from both
sides of cross shaft (4).
5. Remove eight cap screws (3) from around gearbox
cover (12) and remove cross shaft (4) from
gearbox.
6. Disassemble shims (5 & 18), spacer (20), bearings
(16 & 13), and crown gear (7) from cross shaft.
7. Support housing in a vise and remove bearing
cones (16) by using a punch and hammer to drive
bearing cone out.
8. Support cover (12) in a vise and remove bearing
cups (13) by using a punch and hammer to drive
bearing cone out.
9. Remove lock nut (2) from end of input shaft (14).
10. Support input housing in a handpress and push
input shaft (14) out of housing.
11. Support housing in a vise and remove bearing
cups (13 & 16) by using a punch and hammer to
drive bearing cones out.
12. Inspect gears for broken teeth and wear. Some
wear is normal and will show on loaded side.
Forged gear surfaces are rough when new. Check
that wear pattern is smooth.
13. Inspect input and cross shafts for grooves, nicks,
or bumps in the areas where the seals seat.
Resurface any damage with emery cloth.
14. Inspect housing and caps for cracks or damage.
Figure 20. Center Gearbox Assembly
1. Gearbox
2. Lock nut
3. M10 x 1.5 x 22 Cap screw
4. Cross shaft
5. Shim, 45.3 x 65.3 x 2.5
6. Vent plug
7. Crown gear
8. Pinion gear
9. Shim, 45.3 x 65.3 x 1
10. Key, 14 x 9 x 40
11. Seal
12. Cover
13. Bearing cup & cone
14. Input shaft
15. Housing, input
16. Bearing cup & cone
17. Seal
18. Shim kit
19. Plug, 3/8 NPT
20. Spacer
21. Key

32 Dealer Service
MAN0390 (Rev. 4/6/2007)
ASSEMBLE GEARBOX
Refer to Figure 20.
1. Clean housing, paying specific attention to areas
where gaskets will be installed.
2. Wash housing and all components thoroughly.
Select a clean area for gearbox assembly. Replace
all seals, bearings, and gaskets. All parts must be
clean and lightly oiled before reassembling.
3. Install new bearing cup (16) in gearbox housing
and bearing cup (13) in cover if these parts were
previously removed.
4. Place bearing (16) and shim (5) on end of cross
shaft (4), and insert shaft into housing.
5. Install spacer (20), key (21), crown gear (7), shim
(18), and bearing (13) on opposite end of cross
shaft.
6. Place cover (12) over bearings (13) and secure
into position using eight cap screws (3). Torque cap
screws to 29 lbs-ft.
7. Place seal (11) over cross shaft and press into
housing. Use a round tube the same diameter of
the seal and a handpress. Repeat process on
opposite side of gearbox.
8. Install new bearing cup (16 & 13) into input housing
if these parts were previously removed.
9. Place bearing (16) over end of input shaft (14) and
insert shaft into front of input housing.
10. Place seal (17) over shaft and press into housing.
Use a round tube the same diameter of the seal
and a handpress.
11. Install bearing (13), shim (18), pinion gear (8), key
(10), shim (9) over opposite end of input shaft (14).
12. Secure parts together using lock nut (2). Tighten
lock nut (2) until shaft rolling torque is 3 to 9 lbs-
inch.
13. Insert input housing assembly into front of gearbox
housing and align teeth of the two gears. Secure
with cap screws (3). Torque cap screws to 29 lbs-ft.
14. Check gear backlash; it should be .006" to .017" at
outer tooth.
15. Check gearbox housing for leaks by plugging all
holes except one. Apply 4 psi compressed air and
immerse the gearbox in water to verify that there
are no leaks.
16. Remove gearbox from water and dry off with
compressed air. Add SAE 80W or 90W EP oil until
it runs out of the lower level hole in front cover.
Tighten all plugs.
REINSTALL GEARBOX
NOTE: Gearbox is heavy: do not attempt to move
without mechanical assistance.
1. Install flex coupler driveline between side
gearboxes and center gearbox.
2. Set gearbox on cutter and fasten with bolts and
nuts. Torque bolts to 300 lbs-ft.
SIDE DRIVE SERVICE
Figure 21. Side Drive Assembly
The drives between the center and side gearboxes
contain rubber shock-absorbing discs. To service or
remove the side drives or remove a gearbox, the flexi-
ble coupling must be disassembled.
Remove end yokes by removing nuts (9) and sliding
bolt (8) inward to clear yoke. Do not remove bolt unless
rubber discs (5) are to be serviced. Remove complete
center section by lifting straight up on center shaft (2).
The outer yoke can be slid off gearbox shaft. The inner
yoke is held by two set screws (11).
Reassemble shaft as shown in Figure 21. End yokes (3
& 4) do not bolt directly to center shaft (2). Use the spe-
cial formed washer (6) and bushings (7) between the
rubber discs (5) and under bolt head or nut near rubber
disc. Tighten the nuts (9) evenly until the formed wash-
ers (6) are slightly embedded into the rubber discs.
Rubber discs (5) will warp and twist if bolts are over-
tightened. Tighten set screw (11).
NOTE: Crossbar must be re-timed anytime a crossbar
or a side drive is disconnected.
6. Shaped washer
7. Bushing
8. Bolt
9. Lock nut
11. Set screw
2. Shaft
3. Inner yoke
4. Outer yoke
5. Rubber disc

Dealer Service 33
MAN0390 (Rev. 4/6/2007)
CROSSBAR REMOVAL
1. It is necessary to gain access to bottom side of
cutter for crossbar removal. See BLOCKING
METHOD, page 21.
NOTE: You will need to use either the puller screw
(Item 6, Figure 23) or a small hydraulic jack to
remove the crossbar.
2. To make crossbar removal easier, remove blades
as shown in Figure 22.
Figure 22. Blade Removal
3. Remove cotter pin (38) and castle nut (37) from
bottom of crossbar.
4. Refer to Figure 23. Attach a clevis (1) to each end
of crossbar, using blade pins, spacers, keyhole
plates, and blade pin clips.
5. Position tube assembly (5) with threaded nut
toward crossbar for puller screw removal or down
for hydraulic jack removal.
6. For removal with puller screw, attach tube (5) to
each clevis with screws (2) and nuts (3). Place pad
(4) in nut and thread puller screw (6) into nut from
bottom. Tighten until pad is solid against gearbox
shaft. For best results, strike head of puller screw
with a hammer while tightening with a wrench.
7. For removal with a jack, attach tube to each clevis
with puller links (7), screws (2), and nuts (3). Place
jack on tube with end of jack pressing against
gearbox shaft. Slowly apply force with jack.
NOTE: Hydraulic jack will not operate if tipped
more than 90-degrees. Use care to prevent bend-
ing crossbar during removal. Figure 23. Crossbar Removal
8. Crossbar
9. Blade
12. Blade pin
13. Shim
14. Keyhole plate
15. Blade pin lock clip
16. Shim
35. Cap screw
37. Castle nut
38. Cotter pin
1. Clevis
2. 5/8 NC x 4 Cap screw
3. 5/8 NC Hex nut
4. Pad assembly
5. Tube assembly
6. Screw assembly
7. Puller link

34 Dealer Service
MAN0390 (Rev. 4/6/2007)
CROSSBAR INSTALLATION
1. Using emery cloth (220 or finer), remove surface
rust, and foreign material from hub, splined
gearbox vertical shaft, and crossbar. See Figure
24.
Figure 24. Example of Crossbar and Gearbox Shaft
2. Install crossbar (8), Figure 22, on splined shaft.
Install castle nut (37) and cotter pin (38). Torque
nut to 450 lbs-ft.
3. Install blades, reinstall them using existing
hardware. Torque cap screws to 85 lbs-ft.
CROSSBAR TIMING
Crossbar must be re-timed anytime a crossbar or a
side drive is disconnected.
1. To re-time crossbars, position bars as shown in
Figure 25.
2. The right crossbar will be at right angles to the front
of the cutter.
3. Measure from the front of the cutter to the blade pin
on each side crossbar.
4. Hold crossbars in position while connecting the
side drivelines.
Figure 25. Crossbar Timing - Bottom View

Dealer Service 35
MAN0390 (Rev. 4/6/2007)
UNIVERSAL JOINT REPAIR
Figure 26. Universal Joint Parts Breakdown
U-JOINT DISASSEMBLY
1. Remove external snap rings from yokes in four
locations as shown in Figure 27.
Figure 27. Remove Snap Ring
2. With snap rings removed, support drive in vise,
hold yoke in hand and tap on yoke to drive cup up
out of yoke. See Figure 28.
Figure 28. Remove Cups
3. Clamp cup in vise as shown in Figure 29 and tap
on yoke to completely remove cup from yoke.
Repeat Step 2 and Step 3 for opposite cup.
Figure 29. Remove Cups
4. Place universal cross in vise as shown in Figure 30
and tap on yoke to remove cup. Repeat Step 3 for
final removal. Drive remaining cup out with a drift
and hammer.
Figure 30. Remove Cups
U-JOINT ASSEMBLY
1. Place seals securely on bearing cups. Insert cup
into yoke from outside and press in with hand
pressure as far as possible. Insert journal cross
into bearing cup with grease fitting away from
shaft. Be careful not to disturb needle bearings.
Insert another bearing cup directly across from first
cup and press in as far as possible with hand
pressure.
2. Trap cups in vise and apply pressure. Be sure
journal cross is started into bearings and continue
pressure with vise, squeezing in as far as possible.
Tapping the yoke will help.
1. Yoke
2. Cup and bearing
3. Snap ring
4. Journal cross
(Rev. 5/11/2007)

36 Dealer Service
MAN0390 (Rev. 4/6/2007)
3. Seat cups by placing a drift or socket (slightly
smaller than the cup) on cup and rap with a
hammer. See Figure 31. Install snap ring and
repeat on opposite cup
4. Repeat Step 1 and Step 2 to install remaining cups
in remaining yoke.
5. Move both yokes in all directions to check for free
movement. If movement is restricted, rap on yokes
sharply with a hammer to relieve any tension.
Repeat until both yokes move in all directions
without restriction.
Figure 31. Install Cups
SERVICING TIRES SAFELY
Used Aircraft Tires (Figure 32)
Do not attempt to mount a tire unless you have the
proper equipment and experience to perform the job.
Always maintain the correct tire pressure. Do not inflate
tires above the recommended pressure. Never weld or
heat a wheel and tire assembly. The heat can cause an
increase in air pressure and result in a tire explosion.
Welding can structurally weaken or deform the wheel.
When inflating tires, use a clip-on chuck and an exten-
sion hose long enough to allow you to stand to the side
— not in front of or over the tire assembly. Use a safety
cage if available.
Check wheels for low pressure, cuts, bubbles, dam-
aged rims, or missing lug bolts and nuts.
Never remove split rim assembly hardware (A) with the
tire inflated.
Figure 32. Split Rim Tire Servicing
WARNING
A
DECAL PN 1006348
(Rev. 5/11/2007)

Assembly 37
MAN0390 (Rev. 4/6/2007)
ASSEMBLY INSTRUCTIONS
DEALER SET-UP INSTRUCTIONS
Full chain or rubber shielding must be installed
when operating in populated areas or other areas
where thrown objects could injure people or dam-
age property.
• If this machine is not equipped with full chain
or rubber shielding, operation must be stopped
when anyone comes within 300 feet (92 m).
• This shielding is designed to reduce the risk
of thrown objects. The mower deck and protec-
tive devices cannot prevent all objects from
escaping the blade enclosure in every mowing
condition.
It is possible for objects to ricochet
and escape, traveling as much as 300 feet (92 m).
Make sure spring-activated locking pin or collar
slides freely and is seated firmly in tractor PTO
spline groove.
Always wear relatively tight and belted clothing
to avoid getting caught in moving parts. Wear
sturdy, rough-soled work shoes and protective
equipment for eyes, hair, hands, hearing, and head;
and respirator or filter mask where appropriate.
These instructions are for the assembly of the DS96
and DS120 mounted and pull-type cutters. Many of the
procedures apply to all units. When an instruction
applies to a specific unit, the section heading will
indicate which unit. Assembly of options may not apply
to all units.
Assembly of this cutter is the responsibility of the
Woods dealer. It should be delivered to the owner
completely assembled, lubricated, and adjusted for
normal cutting conditions.
The cutter is shipped partially assembled. Assembly
will be easier if aligned and loosely assembled before
tightening hardware. Recommended torque values for
hardware are located in the Bolt Torque Chart, page
73.
Select a suitable working area. A smooth hard surface,
such as concrete, will make assembly much quicker.
Open parts boxes and lay out parts and hardware to
make location easy. Refer to illustrations, accompany-
ing text, parts lists and exploded view drawings.
Complete check lists on page 49 when you have com-
pleted the assembly.
ASSEMBLE - DS96 PULL-TYPE CUTTER
REAR HALF
Refer to Figure 33.
Place jackstands under cutter to raise it off the ground
to provide clearance when assembling cutter. See
“BLOCKING METHOD” on page 21 for jackstand
placement.
Install Rear Tailwheel
1. Attach tailwheel (1) to the rear of the cutter using
two clevis pins (13) and cotter pins (35).
2. Insert wheel hubs (2) to the outer mounting tubes
of tailwheel. Secure with cap screws (33) and
flange lock nut (34). NOTE: Inner mounting tubes
are for adding a second set of wheels.
3. Attach solid or aircraft tires to wheel hubs using
four cap screws (31) and lock washers (32).
4. Attach rims and pneumatic tires (pneumatic tires
are not furnished) to wheel hubs using four wheel
bolts (30).
Install Attitude Rod
Slide attitude rod (5) under left spindle driveline
and through pivot block on the tailwheel. Loosely
install spacers (6), washers (37) and two hex nuts
(36).
Install Height Adjustment Device
Ratchet
Install ratchet (12) between cylinder lug on tail-
wheel and lug on deck. Secure with pins supplied
with ratchet.
Cylinder
1. Place hydraulic cylinder (8) between lug on
tailwheel and lug on deck.
2. Secure to deck lug using pin (15) and two cotter
pins (35).
3. Extend cylinder rod, place transport lock bracket
(7) over cylinder rod end and lug on tailwheel.
4. Align holes of cylinder rod, transport lock bracket
(7) and lug on tailwheel. Secure assembly using
pin (16) and two cotter pins (35).
CAUTION

38 Assembly
MAN0390 (Rev. 4/6/2007)
Install Hydraulic Hose
On pull-type units with optional hydraulic cut-
ting height adjustment, use a single-acting cylinder
with a maximum extended length of 28-1/4" (718
mm) from attaching point center to center.
NOTICE
■ If using a cylinder other than the one supplied
by Woods, make sure a breather fitting is installed
in the cylinder rod end port. Use a restricter fitting
in the base end port to dampen the cutter lowering
action.
1. Install reducer bushing (9) and restricter swivel
elbow (10) in port at base end of cylinder (8).
Position elbow to point toward front of cutter.
NOTE: Make sure there is a breather fitting
installed in the rod end port.
2. Connect hose (11) to elbow (10).
3. Install optional stroke control kit (14) to cylinder
rod. Stroke control kit is used to set cut height.
Figure 33. DS96 Pull-Type Rear Half Installation
1. Tailwheel
2. Wheel hub
3. 15" Steel rim
4. 21" Solid tire -or-
4. 22" Aircraft tire -or-
4. 29" Aircraft tire
5. Attitude rod
6. Spacer
7. Transport lock-up
8. Hydraulic cylinder
9. Reducer
10. Elbow, restricter
11. Hose, 156"
12. Ratchet
13. Clevis pin, 1.0 x 2.26
14. Stroke control kit
15. Headless pin, 1 x 4-1/2
16. Headless pin, 1 x 4
30. Wheel bolt, 1/2 NF x 1-1/8
31. Cap screw, 1/2 NF x 1
32. Lock washer, 1/2
33. Cap screw, 1/2 NC x 3
34. Flange lock nut, 1/2 NC
35. Cotter pin, 1/4 x 1-1/2
36. Hex nut, 1 NC
37. Flat washer, 1"

Assembly 39
MAN0390 (Rev. 4/6/2007)
ASSEMBLE - DS120 PULL-TYPE CUTTER
REAR HALF
Refer to Figure 35.
Place jackstands under cutter to raise it off the ground
to provide clearance when assembling cutter. See
“BLOCKING METHOD” on page 21 for jackstand
placement.
Install Rear Tailwheel
1. Attach tailwheel arms (1) to the tailwheel using
eight (four per wheel arm) cap screws (35) and
lock nuts (36). NOTE: Position tailwheel arms on
tailwheel to desired location (usually on row crop
centers). Wheel hubs should be positioned to the
outside of the cutter.
2. Attach solid or aircraft tires to wheel hubs using
four cap screws (31) and lock washers (32).
3. Attach rims and pneumatic tires (pneumatic tires
are not furnished) to wheel hubs using four wheel
bolts (30).
Install Attitude Rod
Slide attitude rod (5) under left spindle driveline
and through pivot block on the tailwheel. Loosely
install spacer (6), washer (37) and two hex nuts
(38).
Install Spring Arm
1. Attach spring arm (13) to cylinder (8) or ratchet
(12) using pin (15).
2. Place spring arm (13) and spring (14) on deck as
shown. Secure spring arm (13) to spring arm lugs
(on the cutter) using pin (16) and two cotter pins
(40). Install retaining cap screw (39) and flange
lock nut (34).
Install Height Adjustment Device
Ratchet
Attach ratchet (12) to tailwheel lug and secure with pin
(17) and two cotter pins (40).
Cylinder
1. Place hydraulic cylinder (8) between lug on
tailwheel.
2. Extend cylinder rod, place transport lock bracket
(7) over cylinder rod end and between lugs on
tailwheel.
3. Align holes of cylinder rod, transport lock bracket
and lugs on tailwheel. Secure assembly using pin
(17) and two cotter pins (40).
Figure 34. Spring Arm Installation
Install Hydraulic Hose
On pull-type units with optional hydraulic cut-
ting height adjustment, use a single-acting cylinder
with a maximum extended length of 28-1/4" (718
mm) from attaching point center to center.
NOTICE
■ If using a cylinder other than the one supplied
by Woods, make sure a breather fitting is installed
in the cylinder rod end port. Use a restricter fitting
in the base end port to dampen the cutter lowering
action.
1. Install reducer bushing (9) and restricter swivel
elbow (10) in port at base end of cylinder (8).
Position elbow to point toward front of cutter.
NOTE: Make sure there is a breather fitting
installed in the rod end port.
2. Connect hose (11) to elbow (10).
3. Install optional stroke control kit (18) to cylinder
rod. Stroke control kit is used to set cut height.
13. Spring arm
14. Spring
15. Headless pin, 1 x 3
16. Headless pin, 1 x 4-1/2
34. Flange lock nut, 1/2 NC
39. Cap screw, 1/2 NC x 5
40. Cotter pin, 1/4 x 1-1/2

40 Assembly
MAN0390 (Rev. 4/6/2007)
DS120 Pull-Type - Rear Half
Figure 35. DS120 Pull-Type Rear Half Installation
1. Tailwheel arm
2. Wheel hub
3. 15" Steel rim
4. 21" Solid tire -or-
4. 22" Aircraft tire -or-
4. 29" Aircraft tire
5. Attitude rod
6. Spacer
7. Transport lock-up
8. Hydraulic cylinder
9. Reducer
10. Elbow, restricter
11. Hose, 156"
12. Ratchet
13. Spring arm
14. Spring
15. Headless pin, 1 x 3
16. Headless pin, 1 x 4-1/2
17. Headless pin, 1 x 5
18. Stroke control kit
30. Wheel bolt, 1/2 NF x 1-1/8
31. Cap screw, 1/2 NF x 1
32. Lock washer, 1/2
33. Cap screw, 1/2 NC x 3
34. Flange lock nut, 1/2 NC
35. Cap screw, 5/8 NC x 5
36. Lock nut, 5/8 NC
37. Flat washer, 1"
38. Hex nut, 1 NC
39. Cap screw, 1/2 NC x 5
40. Cotter pin, 1/4 x 1-1/2

Assembly 41
MAN0390 (Rev. 4/6/2007)
INSTALL TONGUE DS96 & DS120
CUTTERS
Refer to Figure 36.
1. Place tongue (1) between inner mast plates.
NOTE: DS96 only has one set of mast plates. Fig-
ure 36 shows the DS120 cutter frame.
2. Place washer (46) and sleeve (16) on cap screw
(44).
3. Place washer (47) between mast plates and
tongue, insert cap screw (44) with washer (46) and
sleeve (16) through mast plate and tongue. NOTE:
Washers (47) are only required on DS120 cutters.
4. Secure with second washer (46) and lock nut (45).
5. Attach front half of attitude rod to lug on tongue
using clevis pin (17) and cotter pin (48).
6. Raise front of cutter and install parking jack (6) to
support tongue.
7. Attach safety tow chain (5) to tongue using cap
screw (44), washer (47), and lock nut (45). Be sure
chain links do not interfere with tractor drawbar.
INSTALL 3-JOINT DRIVELINE
Install Driveline
Refer to Figure 36.
1. Coat input shaft of gearbox shaft with light coating
of grease.
2. Attach slip clutch on driveline (9) to input shaft of
gearbox. Tighten cap screws (33) and lock nut
(34).
3. Attach rear tether chain on driveline to clip on
plastic gearbox shield.
Install H-Frame
1. Place H-frame (2) over front of tongue and align
holes.
2. Secure H-frame to tongue using cap screw (42),
two sleeve (3), two cup washers (4) and lock nut
(43).
Attach Driveline to H-frame
NOTE: Select holes in H-frame that will allow driveline
to run level. Refer to Operation section for driveline
height. Final adjustment will be necessary when cutter
is attached to the tractor.
Place driveline bearing carrier between H-frame (2)
and secure with clevis pin (7) and cotter pin (49).
Install Front Drive
1. Slide rear yoke of front driveline (8) over shaft of
driveline (9) and align with notch on shaft.
2. Secure drives together using cap screw (39) and
lock nut (38).
3. Attach tether chain on front half of driveline (8) to
H-frame (2).
Install Drive Shield & Hose Holder
1. Attach drive shield (13) to driveline carrier bearing
using two cap screws (35) and lock washers (36).
2. Attach hydraulic hose holder (15) to the top hole in
H-frame (2) with cap screw (41), sleeve (14), and
lock nut (40).
Install SMV Bracket
1. Attach SMV bracket (19) to the top of center
gearbox using two cap screws (32).
2. Attach SMV emblem (20) to SMV bracket using
two round head cap screws (30) and hex nuts (31).

42 Assembly
MAN0390 (Rev. 4/6/2007)
Tongue and Driveline Installation
Figure 36. DS96 and DS120 Tongue and Driveline Installation
1. Tongue
2. H-Frame
3. Sleeve, 5/8 x 1 x 9/16
4. Cup washer
5. Safety chain
6. Parking jack
7. Clevis pin, 1/2 x 5-3/4
8. Driveline, front 2/3
9. Driveline, rear 1/3
13. Shield
14. Sleeve, 1/2 x 3-9/16
15. Hose holder
16. Sleeve, 3/4 x 1-1/8 x 5/8
17. Clevis pin, 1 x 2.26
19. SMV Bracket
20. SMV Emblem
30. Cap screw, 1/4 NC x 1/2
31. Nut, 1/4 NC
32. Cap screw, 1/2 NC x 1
33. Cap screw, M12 x 1.5P x 65 mm
34. Lock nut, M12 x 1.5P
35. Cap screw, 3/8 NC x 1
36. Lock washer, 3/8
37. Grease fitting
38. Lock nut, 1/2 NC
39. Cap screw, 1/2 NC x 2
40. Flange lock nut, 1/2 NC
41. Cap screw, 1/2 NC x 5-1/2
42. Cap screw, 5/8 NC x 6
43. Lock nut, 5/8
44. Cap screw, 3/4 NC x 3
45. Lock nut, 3/4 NC
46. Flat washer, 3/4
47. Washer, 3/4 x 2 x 3/8
(DS120 only)
48. Cotter pin, 1/4 x 1-1/2
49. Cotter pin, 3/16 x 1
(Rev. 5/23/2008)

Assembly 43
MAN0390 (Rev. 4/6/2007)
ASSEMBLE - DS96 MOUNTED CUTTER
Refer to Figure 39.
Place jackstands under cutter to raise it off the ground
to provide clearance when assembling cutter. See
“BLOCKING METHOD” on page 21 for jackstand
placement.
Install A-Frame
1. Attach front A-frame bars (3) to the top of the cutter
mast plates using hitch pins (4), bushing sleeves
(11), washers (41), slotted hex nuts (42), and cotter
pins (39).
2. Torque hex nuts to 400 lbs-ft.
Refer to Figure 37 and Figure 39
3. Attach rear A-frame bars (2) to the mounting lugs
on the rear of the cutter using cap screws (31) and
lock nuts (32).
4. Attach the two rear A-frame bars together at the
top rear hole using cap screw (33), spacer sleeve
(9), and lock nut (32).
5. Place both break links (7) together and position
between front hole of rear A-frame bars. Secure
rear A-frame bars and break links together using
cap screw (33), pacer sleeve (9), and lock nut (32).
NOTE: Break links must rest on top of rear spacer
sleeve (9).
6. Place spacer sleeve (6) through front holes of
break links. Align break links with bottom holes on
front A-frame bars (3) and secure together using
cap screw (37) and lock nut (38).
7. Install top link pin (10) and sleeve (8) into top holes
of A-frame. Secure with cotter pin (39) and klik pin
(40). Sleeve (8) is used with category 2 top links.
Figure 37. Break Linkage Installation
Install Tailwheel Arms
Refer to Figure 38 and Figure 39.
1. Attach adjustment arms (13) to lower holes of lugs
on the rear of the cutter. Braces must be placed on
the inside of mounting lugs (Figure 38).
2. Secure each adjustment brace with a cap screw
(31) and lock nut (32).
3. Attach tailwheel arms (1) between deck rail and lug
near the middle of the cutter. Secure into position
using cap screws (30), two washers (12), and lock
nut (32). NOTE: See Figure 39 for washers (12)
placement.
4. Align holes on adjustment arms (13) with a hole in
the tailwheel arm and insert cap screw (30).
Secure with lock nut (32). NOTE: Hole positions in
tailwheel arms determines cutting height. Final
adjustment will be necessary when cutter is
mounted to the tractor.
Figure 38. Adjustment Arm Installation
Install Driveline
1. Coat input shaft of gearbox with a light coating of
grease.
2. Attach slip clutch on driveline (5) to input shaft of
gearbox. Tighten cap screws (35) and lock nut
(36).
3. Attach rear tether chain of driveline to driveline
shield.
1. Tailwheel arm
13. Tailwheel adjustment arm
31. 5/8 NC x 4-1/2 Cap screw
32. 5/8 NC Lock nut

44 Assembly
MAN0390 (Rev. 4/6/2007)
DS96 Mounted Assembly
Figure 39. DS96 Mounted Assembly
1. Tailwheel arm
2. Rear A-frame bar
3. Front A-frame bar
4. Hitch pin
5. Driveline
6. Sleeve, 3/4 x 1-1/4 x 3
7. Break link
8. Sleeve, 3/4 x 1 x 3
9. Sleeve, 5/8 x 1 x 1-1/4
10. Headless pin, 3/4 x 5
11. Sleeve, 1-1/8 x 1-7/16 x 11/16
12. Washer, 5/8 x 2-1/2 x 1/4
13. Tailwheel adjustment arm
30. Cap screw, 5/8 NC x 4-1/2
31. Cap screw, 5/8 NC x 2
32. Lock nut, 5/8 NC
33. Cap screw, 5/8 NC x 2-3/4
34. Klik pin, 7/16 x 2
35. Cap screw, M12 x 1.5P x 65 mm
36. Lock nut, M12 x 1.5P
37. Cap screw, 3/4 NC x 5-1/2
38. Lock nut, 3/4 NC
39. Cotter pin,1/4 x 1-1/2
40. Klik pin, 1/4 x 1-3/4
41. Washer, 1-1/8 x 2-3/8 x 3/16
42. Slotted nut, 1-1/8 NF

Assembly 45
MAN0390 (Rev. 4/6/2007)
ASSEMBLE - DS120 MOUNTED CUTTER
Refer to Figure 42.
Place jackstands under cutter to raise it off the ground
to provide clearance when assembling cutter. See
“BLOCKING METHOD” on page 21 for jackstand
placement.
Install A-Frame
1. Attach front A-frame bars (3) to the lower (square)
hole of the cutter mast plates. Secure using
carriage bolts (35), bushing sleeves (19), washers
(34), and lock nuts (31).
2. Attach, rear A-frame bars (2) with washers (44)
over mounting bolts (33) and secure with lock nuts
(32).
3. Attach the two rear A-frame bars (2) together at the
top rear hole using cap screw (43), spacer sleeve
(9), and lock nut (31).
4. Place both break links (7) together and position
between front hole of rear A-frame bars. Secure
rear A-frame bars and break links together using
cap screw (43), spacer sleeve (9), and lock nut
(31). NOTE: Break links must rest on top of rear
spacer sleeve (9).
5. Place spacer sleeve (6) through front holes of
break links. Align break links with bottom holes on
front A-frame bars (3) and secure together using
cap screw (39) and lock nut (40).
Category 2 Standard Hitch (Figure 40)
Install top link pin (10) and sleeve (6) into top holes of
A-frame. Secure with cotter pin (41) and klik pin (42).
Figure 40. Category 2 Hitch Arrangement
Category 3 Standard Hitch
Install top link pin (10) and sleeve (8) into top holes of
A-frame. Secure with cotter pin (41) and klik pin (42).
Figure 41. Category 3 Hitch Arrangement
Install Tailwheel Arms
Attach tailwheel arms (1) to the tailwheel using eight
(four per arm) cap screws (30) and lock nuts (31).
NOTE: Position tailwheel arms on tailwheel to desired
location (usually on row crop centers).
Install Height Adjustment Device
Ratchet
Install ratchet (18) between cylinder lugs on tailwheel
and lugs on the deck. Secure to lugs on the deck with
pin (11) and two cotter pins (41). Secure to tailwheel
with pin (12) and two cotter pins (41).
Cylinder
1. Place hydraulic cylinder (14) between lugs on
tailwheel and lugs on deck.
2. Secure to deck lugs using pin (11) and two cotter
pins (41).
3. Extend cylinder rod, place transport lock bracket
(13) over cylinder rod end and between lugs on
tailwheel.
4. Align holes of cylinder rod, transport lock bracket
and lugs on tailwheel. Secure assembly using pin
(12) and two cotter pins (41).
Install Hydraulic Hoses
On mounted units with optional hydraulic cut-
ting height adjustment, use a double-acting cylin-
der with a maximum extended length of 28-1/4"
(718 mm) from attaching point center to center.
■ If using a cylinder other than the one supplied
by Woods, make sure a breather fitting is installed
in the cylinder rod end port. Use a restricter fitting
in the base end port to dampen the cutter lowering
action.

46 Assembly
MAN0390 (Rev. 4/6/2007)
1. Install a reducer bushing (15) and a restricter
swivel elbow (16) in port at base end and rod end
of cylinder (14). Position elbows to point toward
front of cutter.
NOTE: Mounted units must use a double acting
cylinder to prevent damage to tailwheels during
transport.
2. Connect hoses (17) to elbows (16).
Install Driveline
1. Coat input shaft of gearbox with a light coating of
grease.
2. Attach slip clutch on driveline (5) to input shaft of
gearbox. Tighten cap screws (37) and lock nut
(38).
3. Attach rear tether chain of driveline to driveline
shield.
Figure 42. DS120 Mounted Assembly
1. Tailwheel arm
2. Rear A-frame bar
3. Front A-frame bar
4. Lower hitch pin
5. Driveline
6. Sleeve, 3/4 x 1-1/4 x 3
7. Break link
8. Sleeve, 3/4 x 1 x 3
9. Sleeve, 5/8 x 1 x 1-1/4
10. Headless pin, 3/4 x 5
11. Headless pin, 1 x 4-1/2
12. Headless pin, 1 x 5
13. Transport lock-up
37. Cap screw,
M12 x 1.5P x 65 mm
38. Lock nut, M12 x 1.5P
39. Cap screw, 3/4 NC x 5-1/2
40. Lock nut, 3/4 NC
41. Cotter pin, 1/4 x 1-1/2
42. Klik pin, 1/4 x 1-3/4
43. Cap screw, 5/8 NC x 2-3/4
44. Flat washer, 1"
14. Hydraulic cylinder, 3 x 8
15. Reducer
16. Elbow, restricter
17. Hose, 156"
18. Ratchet
19. Sleeve, 5/8 x 1 x 13/16
30. Cap screw, 5/8 NC x 5
31. Lock nut, 5/8 NC
32. Lock nut, 1" NC
33. Cap screw, 1" NC x 12
34. Flat washer, 5/8
35. Carriage bolt, 5/8 NC x 2-1/2
36. Klik pin, 7/16 x 2

Assembly 47
MAN0390 (Rev. 4/6/2007)
FILL GEARBOXES
NOTICE
■ Gearbox is not filled at the factory. Prior to
delivery to customer, make sure gearbox is filled
only half-full with 80W or 90W API GL-4 or GL-5
gear lube. Use side plug to remove any excess oil.
1. Make sure vent plug hole is clear (installed by
dealer).
2. Remove plug on side of gearbox.
3. Fill gearbox until oil runs out the side plug on
gearbox. Use a high quality gear oil with a viscosity
index of 80W or 90W and an API service rating of
GL-4 or GL-5.
4. Install side plug and vent plug.
INSTALL RUBBER SHIELDING
1. Attach rubber belting (3) and deflector brackets (1)
to the front of the frame using self-tapping screws
(6), flat washers (8), and lock washers (7).
2. Attach front reflector bracket (9) over left front
shield.
3. Attach rubber deflector (4) and center deflector
strap (2) to the rear of the cutter frame using self-
tapping screws (6), flat washers (8), and lock
washers (7).
Full chain or rubber shielding must be installed
when operating in populated areas or other areas
where thrown objects could injure people or dam-
age property.
• If this machine is not equipped with full chain
or rubber shielding, operation must be stopped
when anyone comes within 300 feet (92 m).
• This shielding is designed to reduce the risk
of thrown objects. The mower deck and protec-
tive devices cannot prevent all objects from
escaping the blade enclosure in every mowing
condition.
It is possible for objects to ricochet
and escape, traveling as much as 300 feet (92 m).
Figure 43. Rubber Shield Installation
1. Front belt bracket
2. Rear belt strap
3. Front rubber deflector
4. Rear rubber deflector
5. Rear belt strap (DS96 only)
6. Self tapping screw, 3/8 x 1-1/4
7. Lock washer, 3/8
8. Flat washer, 3/8
9. Front reflector bracket

48 Assembly
MAN0390 (Rev. 4/6/2007)
INSTALL CHAIN SHIELDING (OPTIONAL)
The optional chain shielding assemblies are ready for
installation when you receive them.
1. Install front and rear chain shielding as shown
using self-tapping screws (6), lock washers (7),
and flat washers (8).
2. Attach front reflector bracket (9) over left front
shield.
Full chain or rubber shielding must be installed
when operating in populated areas or other areas
where thrown objects could injure people or dam-
age property.
• If this machine is not equipped with full chain
or rubber shielding, operation must be stopped
when anyone comes within 300 feet (92 m).
• This shielding is designed to reduce the risk
of thrown objects. The mower deck and protec-
tive devices cannot prevent all objects from
escaping the blade enclosure in every mowing
condition.
It is possible for objects to ricochet
and escape, traveling as much as 300 feet (92 m).
Figure 44. Optional Chain Shielding Installation
1. Front chain shield bracket
2. Rear chain shield bracket
3. Front chain pin
4. Rear chain pin
5. 5/16 Chain link
6. Self tapping screw, 3/8 x 1-1/4
7. Lock washer, 3/8
8. Flat washer, 3/8
9. Front reflector bracket

Dealer Check Lists 49
MAN0390 (Rev. 4/6/2007)
DEALER CHECK LISTS
PRE-DELIVERY CHECK LIST
(DEALER’S RESPONSIBILITY)
Inspect cutter thoroughly after assembly to make sure
it is set up properly before delivering it to the customer.
The following check list is a reminder of points to
inspect. Check off each item as it is found satisfactory,
corrections are made, or services are performed.
NOTICE
■ Gearbox was not filled at the factory. It must be
serviced before operating cutter. (See LUBRICA-
TION, page 21). Failure to service will result in dam-
age to gearbox.
___ Check that gearbox is properly serviced and
seals are not leaking.
___ Check and grease all lubrication points as identi-
fied in Owner Service, LUBRICATION, page 21.
___ Check that blades have been properly installed.
___ Check all bolts to be sure they are properly
torqued.
___ Check that all cotter pins are properly installed
and secured.
___ Check that PTO shaft is properly installed.
DELIVERY CHECK LIST
(DEALER’S RESPONSIBILITY
___ Show customer how to make adjustments.
Describe the options available for this cutter and
explain their purpose.
___ Explain importance of lubrication to customer and
point out lubrication points on cutter.
___ Point out all guards and shielding. Explain their
importance and the safety hazards that exist
when not kept in place and in good condition.
___ For mounted units, add wheel weights, ballast in
front tires, and/or front tractor weight to enhance
front end stability. A minimum 20% of tractor and
equipment gross weight must be on front tractor
wheels. When adding weight to attain 20% of
tractor and equipment weight on front tractor
wheels, you must not exceed the ROPS weight
certification. Weigh the tractor and equipment. Do
not estimate!
___ Present Operator's Manual and request that cus-
tomer and all operators read it before operating
equipment. Point out the manual safety rules,
explain their meanings and emphasize the
increased safety hazards that exist when safety
rules are not followed.
___ Explain to customer that when equipment is
transported on a road or highway, safety devices
should be used to give adequate warning to oper-
ators of other vehicles.

50 Dealer Check Lists
MAN0390 (Rev. 4/6/2007)
NOTES

Parts 51
MAN0390 (Rev. 4/6/2007)
PARTS INDEX
Rotary Cutters
DS96 & DS120
MAIN FRAME ASSEMBLY . . . . . . . . . . . . . . . . . . . . . . . . . . . . . . . . . . . . . . . . . . . . 52
MAIN FRAME ASSEMBLY PARTS LIST . . . . . . . . . . . . . . . . . . . . . . . . . . . . . . . . . 53
ASSEMBLY, FRONT HALF . . . . . . . . . . . . . . . . . . . . . . . . . . . . . . . . . . . . . . . . . . . 54
PULL-TYPE ASSEMBLY, FRONT HALF PARTS LIST . . . . . . . . . . . . . . . . . . . . . . 55
PULL-TYPE ASSEMBLY, REAR HALF
DS96 . . . . . . . . . . . . . . . . . . . . . . . . . . . . . . . . . . . . . . . . . . . . . . . . . . . . . . . . . . . 56
DS120 . . . . . . . . . . . . . . . . . . . . . . . . . . . . . . . . . . . . . . . . . . . . . . . . . . . . . . . . . . 57
MOUNTED ASSEMBLY
DS96 . . . . . . . . . . . . . . . . . . . . . . . . . . . . . . . . . . . . . . . . . . . . . . . . . . . . . . . . . . . 58
DS120 . . . . . . . . . . . . . . . . . . . . . . . . . . . . . . . . . . . . . . . . . . . . . . . . . . . . . . . . . . 59
MOUNTED TAILWHEEL ASSEMBLY . . . . . . . . . . . . . . . . . . . . . . . . . . . . . . . . . . . 60
SPLITTER GEARBOX ASSEMBLY . . . . . . . . . . . . . . . . . . . . . . . . . . . . . . . . . . . . . 61
SPINDLE GEARBOX ASSEMBLY . . . . . . . . . . . . . . . . . . . . . . . . . . . . . . . . . . . . . . 62
SPINDLE GEARBOX ASSEMBLY PARTS LIST . . . . . . . . . . . . . . . . . . . . . . . . . . . 63
FLEXIBLE COUPLER . . . . . . . . . . . . . . . . . . . . . . . . . . . . . . . . . . . . . . . . . . . . . . . 63
PULL-TYPE DRIVELINE, REAR 1/3 . . . . . . . . . . . . . . . . . . . . . . . . . . . . . . . . . . . . 64
SLIP CLUTCH DRIVE ASSEMBLY . . . . . . . . . . . . . . . . . . . . . . . . . . . . . . . . . . . . . 65
3-JOINT DRIVE, FRONT 2/3 . . . . . . . . . . . . . . . . . . . . . . . . . . . . . . . . . . . . . . . . . . 66
WHEEL & TIRE ASSEMBLY . . . . . . . . . . . . . . . . . . . . . . . . . . . . . . . . . . . . . . . . . . 67
BELT SHIELDING . . . . . . . . . . . . . . . . . . . . . . . . . . . . . . . . . . . . . . . . . . . . . . . . . . 68
CHAIN SHIELDING (OPTIONAL). . . . . . . . . . . . . . . . . . . . . . . . . . . . . . . . . . . . . . . 69
3 X 8 SINGLE-ACTING HYDRAULIC CYLINDER . . . . . . . . . . . . . . . . . . . . . . . . . . 70
HYDRAULIC CYLINDER STROKE CONTROL KIT - PULL-TYPE . . . . . . . . . . . . . 71
PARKING JACK - PULL-TYPE. . . . . . . . . . . . . . . . . . . . . . . . . . . . . . . . . . . . . . . . . 71
CROSSBAR PULLER (OPTIONAL) . . . . . . . . . . . . . . . . . . . . . . . . . . . . . . . . . . . . . 72

52 Parts
MAN0390 (Rev. 4/6/2007)
DS96 / DS120 MAIN FRAME ASSEMBLY
22 - Complete decal set
23 - Safety decal set
(Rev. 2/6/2009)

Parts 53
MAN0390 (Rev. 4/6/2007)
DS96 / DS120 MAIN FRAME PARTS LIST
DS96 DS120
Hardware Hardware
REF PART QTY DESCRIPTION
2 1008191 2 Spindle gearbox (see page 62)
3 1008192 1 Splitter gearbox (see page 61)
4 1002048 1 Clutch shield
5 1013377 2 Shield
6 1013378 1 Right skid
7 1013379 1 Left skid
8 1013370 2 Crossbar
9 11769KT 1 Right blade CCW
(kit includes 2 blades)
10 11768KT 1 Left blade CW
(kit includes 2 blades)
11 11886KT 2 Double edge blade
(kit includes 2 blades)
12 1009098 4 Blade pin kit (includes item 14 & 15)
13 13946 4 20 ga Shim (as required)
14 32603 4 Keyhole plate
15 32604 4 Blade pin lock clip
16 10520 4 18 ga Shim (as required)
17 1003828 1 Manual tube
18 1019437 2 Flexible drive coupler (see page 63)
20 1009203 2 Shield hold down, inside
21 1009204 2 Shield hold down, outside
22 1008194 1 Complete decal set
23 1008195 1 Safety decal set
REF PART QTY DESCRIPTION
1 1009230 1 Tailwheel weldment
2 58803 2 Spindle gearbox (see page 62)
3 1008192 1 Splitter gearbox (see page 61)
4 1002048 1 Clutch shield
5 1009202 2 Shield
6 1009178 1 Right skid
7 1009179 1 Left skid
8 1009180 2 Crossbar
9 19160KT 1 Right blade CCW
(kit includes 2 blades)
10 19161KT 1 Left blade CW
(kit includes 2 blades)
11 19162KT 2 Double edge blade
(kit includes 2 blades)
12 1008190 4 Blade pin kit (includes item 14 & 15)
13 13946 4 20 ga Shim (as required)
14 32603 4 Keyhole plate
15 32604 4 Blade pin lock clip
16 10520 4 18 ga Shim (as required)
17 1003828 1 Manual tube
18 1009207 2 Flexible drive coupler (see page 63)
20 1009203 2 Shield hold down, inside
21 1009204 2 Shield hold down, outside
22 1008194 1 Complete decal set
23 1008195 1 Safety decal set
REF PART DESCRIPTION
30 39141 1" NC x 12 Cap screw GR5
31 34279 1" NC Lock nut
32 30068 * 3/4 NC x 2-1/2 Hex head cap screw GR5
33 57798 3/4 Hardened flat washer
34 302207 * 3/4 NC Flange lock nut
35 6100 * 1/2 NC x 1-1/4 Hex head cap screw GR5
36 855 * 1/2 Lock washer
37 39323 M30 x 2 Castle nut
38 -------- * B6 x 60 Cotter pin
39 11900 * 1/2 NC Flange lock nut
REF PART DESCRIPTION
40 14406 * 1/2 NC x 1 Carriage bolt
41 4529 * 5/16 NC Hex nut
42 2472 * 5/16 Lock washer
43 35155 * 5/16 Flat washer
44 6250 * 5/16 NC x 1-1/4 Hex head cap screw GR5
45 24801 M8 x 1.25P x 20 mm
Hex head cap screw GR5
46 66840 Knob, 3-Prong 3/8 NC
* Standard hardware, obtain locally
(Rev. 2/6/2009)

54 Parts
MAN0390 (Rev. 4/6/2007)
DS96 / DS120 PULL-TYPE ASSEMBLY, FRONT HALF
(Rev. 7/4/2008)

Parts 55
MAN0390 (Rev. 4/6/2007)
DS96 / DS120 PULL-TYPE ASSEMBLY, FRONT HALF PARTS LIST
DS96 DS120
Hardware Hardware
REF PART QTY DESCRIPTION
1 1009220 1 Tongue
2 11940 1 H-frame
3 1791 2 Sleeve, 5/8 x 1 x 9/16
4 10635 2 Cup washer 5/8 x 1-3/4 x 14 Ga
5 19407 1 Safety chain
6 23790 1 Parking jack
7 404 1 Clevis pin, 1/2 x 5-3/4
8 40599 1 Front 2/3 drive (see page 66)
9 1009206 1 Rear 1/3 drive (see page 64)
10 13132 1 3-joint drive bearing housing
(includes items 11,12, 37)
11 13133 1 Bearing
12 12128 1 Snap ring
13 1011760 1 Shield
14 27267 1 Sleeve, 1/2 x 3.56
15 3443 1 Hose holder
16 10083 2 Sleeve 3/4 x 1-1/8 x 5/8
17 46605 1 Clevis pin 1.00 x 2.26
18 1013388 1 Attitude rod
19 1009234 1 SMV Bracket
20 24611 1 Slow moving vehicle emblem
REF PART QTY DESCRIPTION
1 1009220 1 Tongue
2 11939 1 H-frame
3 1791 2 Sleeve, 5/8 x 1 x 9/16
4 10635 2 Cup washer 5/8 x 1-3/4 x 14 Ga
5 19407 1 Safety chain
6 23790 1 Parking jack
7 404 1 Clevis pin, 1/2 x 5-3/4
8 40599 1 Front 2/3 drive (see page 66)
9 1009206 1 Rear 1/3 drive (see page 64)
10 13132 1 3-joint drive bearing housing
(includes items 11,12,37)
11 13133 1 Bearing
12 12128 1 Snap ring
13 1011760 1 Shield
14 27267 1 Sleeve, 1/2 x 3.56
15 3443 1 Hose holder
16 10083 2 Sleeve 3/4 x 1-1/8 x 5/8
17 46605 1 Clevis pin 1.00 x 2.26
18 39385 1 Attitude rod
19 1009234 1 SMV Bracket
20 24611 1 Slow moving vehicle emblem
REF PART DESCRIPTION
30 1282 * 1/4 NC x 1/2 Round head cap screw
31 5288 * 1/4 NC Nut
32 25475 * 1/2 NC x 1 Hex head cap screw GR5
33 57262 M12 x 1.5 x 65 mm Hex head screw
34 57261 M12 x 1.5 Hex lock nut
35 839 * 3/8 NC x 1 Hex head cap screw GR5
36 838 * 3/8 Standard lock washer
37 2985 * 1/4-28 x 90 Grease fitting
38 765 * 1/2 NC Lock nut
39 19811 * 1/2 NC x 2 Hex head cap screw GR8
REF PART DESCRIPTION
41 12305 1/2 NC x 5-1/2 Hex head cap screw GR5
42 12005 5/8 NC x 6 Hex head cap screw GR5
43 6239 5/8 NC Lock nut
44 14334 * 3/4 NC x 3 Hex head cap screw GR5
45 2371 * 3/4 NC Lock nut
46 1257 * 3/4 Standard flat washer
47 8424 Washer 3/4 x 2 x 3/8
48 1285 * 1/4 x 1-1/2 Cotter pin
49 1256 * 3/16 x 1 Cotter pin
50 14334 3/4 NC x 3 HHCS GR5
* Standard hardware, obtain locally
(Rev. 5/5/2011)

56 Parts
MAN0390 (Rev. 4/6/2007)
DS96 PULL-TYPE ASSEMBLY, REAR HALF
REF PART QTY DESCRIPTION
1 1013380 1 Tailwheel weldment
2 1003492 2 or 4 Wheel hub (see page 67)
3 529 2 15" steel rim - or-
4 7428 2 21" solid tire - or-
4 1003695 2 22" Used aircraft tire - or-
4 1003695F 2 22" Used aircraft tire foam filled - or-
4 1003410 2 29" Used aircraft tire
5 1013388 1 Attitude rod
6 27267 1 1" Schedule 40 pipe x 3.75
7 1004814 1 Transport lock-up
8 29547 1 3 x 8 Hydraulic cylinder
(see page 70)
9 11893 1 1/2 to 1/4 Reducer
10 10290 1 1/4 x 1/4 90° Elbow w / 1/16 restricter
11 8669 1 1/4 x 156" Hose
12 1005020 1 Ratchet adjustment link
13 46605 2 Clevis pin 1.00 x 2.26
14 24098 1 1-1/4 Stroke control kit (see page 71)
REF PART DESCRIPTION
30 1258 * 1/2 NF x 1-1/8 Wheel bolt
31 4119 * 1/2 NF x 1 Hex head cap screw GR5
32 855 * 1/2 Standard lock washer
33 3489 * 1/2 NC x 3 Hex head cap screw GR5
34 11900 * 1/2 NC Flange lock nut
35 1285 * 1/4 x 1-1/2 Cotter pin
36 3132 * 1" NC Hex nut
37 1863 * 1" Standard flat washer
* Standard hardware, obtain locally
(Rev. 5/23/2008)

Parts 57
MAN0390 (Rev. 4/6/2007)
DS120 PULL-TYPE ASSEMBLY, REAR HALF
REF PART QTY DESCRIPTION
1 1009165 2 Tailwheel arm
2 1003492 2 or 4 Wheel hub (see page 67)
3 529 2 15" steel rim - or-
4 7428 2 21" solid tire - or-
4 1003695 2 22" Used aircraft tire - or-
4 1003695F 2 22" Used aircraft tire foam filled - or-
4 1003410 2 29" Used aircraft tire
5 39385 1 Attitude rod
6 27267 1 1" Schedule 40 pipe x 3.75
7 1004814 1 Transport lock-up
8 29547 1 3 x 8 Hydraulic cylinder
(see page 70)
9 11893 1 1/2 to 1/4 Reducer
10 10290 1 1/4 x 1/4 90° Elbow w / 1/16
restricter
11 8669 1 1/4 x 156" Hose
12 1005020 1 Ratchet adjustment link
13 1009245 1 Spring arm
REF PART QTY DESCRIPTION
14 13316 1 Spring
15 11493 1 1 x 3 Headless pin
16 8346 1 1 x 4-1/2 Headless pin
17 8347 1 1 x 5 Headless pin
18 24098 1 1-1/4 Stroke control kit (see page 71)
REF PART DESCRIPTION
30 1258 * 1/2 NF x 1-1/8 Wheel bolt
31 4119 * 1/2 NF x 1 Hex head cap screw GR5
32 855 * 1/2 Standard lock washer
33 3489 * 1/2 NC x 3 Hex head cap screw GR5
34 11900 * 1/2 NC Flange lock nut
35 378 * 5/8 NC x 5 Hex head cap screw GR5
36 6239 * 5/8 NC Lock nut
37 1863 * 1" Standard flat washer
38 3132 * 1" NC Hex nut
39 23479 * 1/2 NC x 5 Hex head cap screw GR5
40 1285 * 1/4 x 1-1/2 Cotter pin
* Standard hardware, obtain locally

58 Parts
MAN0390 (Rev. 4/6/2007)
DS96 MOUNTED ASSEMBLY
REF PART QTY DESCRIPTION
1 ------- 2 Tailwheel arm (see page 60)
2 1013376 2 Rear A-frame link
3 1013397 2 Front A-frame link
4 14012 2 Hitch pin
5 1005790 1 Drive (see page 65)
6 27140 1 Sleeve 3/4 x 1-1/4 x 3
7 1013375 2 Break link
8 14824 1 Sleeve 3/4 x 1 x 3
9 66661 2 Sleeve 5/8 x 1 x 1-1/4
10 8327 1 3/4 x 5 Headless pin
11 28306 2 Sleeve 1-1/8 x 1-7/16 x 11/16
12 30278 4 5/8 x 2-1/2 x 1/4 Washer
13 1013374 4 Tailwheel adjustment arm
REF PART DESCRIPTION
30 3097 * 5/8 NC x 4-1/2 Hex head cap screw GR5
31 902 5/8 NC x 2 Hex head cap screw GR5
32 6239 * 5/8 NC Lock nut
33 986 * 5/8 NC x 2-3/4 Hex head cap screw GR5
34 35124 * 7/16 x 2 Klik pin
35 57262 M12 x 1.5 x 65 mm Hex head screw
36 57261 M12 x 1.5 Hex lock nut
37 29315 * 3/4 NC x 5-1/2 Hex head cap screw GR5
38 2371 * 3/4 NC Lock nut
39 1285 * 1/4 x 1-1/2 Cotter pin
40 62043 1/4 x 1-3/4 Klik pin
41 12272 1-1/8 x 2-3/8 x 3/16 Washer
42 14153 1-1/8 NF Slotted hex nut
* Standard hardware, obtain locally

Parts 59
MAN0390 (Rev. 4/6/2007)
DS120 MOUNTED ASSEMBLY
REF PART QTY DESCRIPTION
1 ------- 2 Tailwheel (see page 60)
2 1009214 2 Rear A-frame link
3 1009212 2 Front A-frame link
4 39064 2 Lower hitch pin
5 57413 1 Drive (see page 65)
6 27140 2 Sleeve 3/4 x 1-1/4 x 3
7 1013375 2 Break link
8 14824 1 Sleeve 3/4 x 1 x 3
9 66661 2 Sleeve 5/8 x 1 x 1-1/4
10 8327 1 3/4 x 5 Headless pin
11 8346 1 1 x 4-1/2 Headless pin
12 8347 1 1 x 5 Headless pin
13 1004814 1 Transport lock-up
14 29547 1 3 x 8 Hyd cylinder (see page 70)
15 11893 1 1/2 to 1/4 Reducer
16 10290 1 1/4 x 1/4 90° Elbow w/1/16 restricter
17 8669 1 1/4 x 156" Hose
18 1005020 1 Ratchet adjustment link
19 12313 2 Sleeve 5/8 x 1 x 13/16
REF PART DESCRIPTION
30 378 * 5/8 NC x 5 Hex head cap screw GR5
31 19025 * 5/8 NC Flange lock nut
32 34279 1" NC lock nut
33 39141 1" NC x 12 Hex head cap screw GR5
34 692 * 5/8 Standard flat washer
35 5836 * 5/8 NC x 2-1/2 Carriage bolt GR5
36 35124 * 7/16 x 2 Klik pin
37 57262 M12 x 1.5 x 65 mm Hex head screw
38 57261 M12 x 1.5 Hex lock nut
39 29315 * 3/4 NC x 5-1/2 Hex head cap screw GR5
40 2371 * 3/4 NC Lock nut
41 1285 * 1/4 x 1-1/2 Cotter pin
42 62043 1/4 x 1-3/4 Klik pin
43 986 * 5/8 NC x 2-3/4 Hex head cap screw GR5
44 1863 * 1" Standard flat washer
* Standard hardware, obtain locally

60 Parts
MAN0390 (Rev. 4/6/2007)
DS96 / DS120 MOUNTED TAILWHEEL ASSEMBLY
REF PART QTY DESCRIPTION
1 1013385 2 Tail wheel arm (DS96 only)
or or
1 1009185 2 Tailwheel arm (DS120 only)
2 15580 2 Tail wheel clevis
3 12577 2 4 x 8 Rim and laminated tire
4 15591 2 Wheel hub with cups (includes 2 of
item 6)
5 15277 2 Wheel hub assembly (includes 2 of
items 6, 7, 8)
6 309 4 Bearing cup
7 310 4 Bearing cone
8 314 4 Seal for 1-1/2 shaft
9 15574 2 Sleeve 1.25 x 1.50 x .903
10 15575 2 Sleeve 1.25 x 1.50 x 1.86
11 15573 2 Sleeve 1.00 x 1.25 x 5.81
REF PART QTY DESCRIPTION
12 15087 4 1" NC x 9 Hex head cap screw GR5
13 1386 4 1" NC Jam nut
14 34279 4 1" NC Lock nut
15 855 * 8 1/2 Standard lock washer
16 4119 * 8 1/2 NF x 1 Hex head cap screw
17 4674 2 3/8 x 2 Spirol pin
18 2370 4 Washer 1.62 x 3 x .18
19 12296 * 2 1/4-28 Straight grease fitting
20 12889 2 3/32 x 1-9/16 O.D. O-ring
21 12881 2 Cap washer
* Standard hardware, obtain locally

Parts 61
MAN0390 (Rev. 4/6/2007)
DS96 / DS120 SPLITTER GEARBOX ASSEMBLY
REF PART QTY DESCRIPTION
1 1008192 -- Complete gearbox
2 1008130 1 Lock nut
3 39274 * 16 M10 x 1.5 x 22 mm Cap screw
4 1008131 1 Through shaft 1-3/4 20 spline
5 57456 1 Shim 45.3 x 65.3 x 2.5
6 39325 1 3/8 Vent plug
7 1008132 1 Crown gear, 27 teeth
8 1008133 1 Pinion gear, 18 teeth
9 1008134 1 Shim 45.3 x 65.3 x 1
10 39402 1 Key, 14 x 9 x 40
11 1008135 2 Seal, 45 x 72 x 8
REF PART QTY DESCRIPTION
12 1008136 1 Cover
13 1008148 2 Bearing cup and cone
14 1008149 1 Input shaft 1-3/4 20 spline
15 1008151 1 Housing extension
16 39408 2 Bearing cup and cone
17 39412 1 Seal 52 x 85 x 10
18 58751 3 Shim kit 45.3 x 65.3
19 27326 * 4 3/8 NPT Solid plug
20 1008154 1 Spacer 45.3 x 60.3 x 5
21 1008155 1 Key, 14 x 9 x 35
* Standard hardware, obtain locally

62 Parts
MAN0390 (Rev. 4/6/2007)
DS96 / DS120 SPINDLE GEARBOX ASSEMBLY

Parts 63
MAN0390 (Rev. 4/6/2007)
DS96 / DS120 SPINDLE GEARBOX ASSEMBLY PARTS LIST
DS96 / DS120 FLEXIBLE COUPLER
REF PART QTY DESCRIPTION
1 1008191 1 Complete gearbox (DS96 only)
1 58803 1 Complete gearbox (DS120 only)
2 57150 * 6 M8 x 1.25 x 14 mm Hex head cap
screw
3 57076 1 1/2 Vent plug
4 57139 1 Cover
5 57328 1 Shim kit 60.3 x 71.7
6 1009096 1 Crown gear (DS96 only)
6 39424 1 Crown gear (DS120 only)
7 57462 1 Bearing cup and cone
8 ------ * 1 Cotter pin B6 x 60 mm
9 57466 2 Snap ring
10 57463 1 Seal 35 x 72 x 10
11 57147 1 Input shaft 1-3/8 6 spline
12 39261 1 M30 x 1.5 Castle nut
13 1009097 1 Pinion gear (DS96 only)
12 39418 1 Pinion gear (DS120 only)
14 57471 1 Shim kit 50.3 x 70.3
15 39263 2 Bearing cup and cone
16 39289 1 Seal 50 x 90 x 10
17 57338 1 Screen protection
18 ------ * 1 Cotter pin B4 x 55 mm
19 57191 1 Output shaft
20 39322 1 Flat washer 31 x 56 x 4
21 39323 1 M30 x 2.0 Castle nut
22 27326 * 1 3/8 NPT Solid plug
23 20890 1 Ball bearing
24 57374 1 Seal 72 x 10
25 57094 1 Shim 44 x 30.3 x 1
* Standard hardware, obtain locally
REF PART QTY DESCRIPTION
5 1008140 4 Rubber disc
6 1008141 48 Shaped washer
7 1008142 24 Bushing, .63 I.D.
8 307430 12 M16 x 2.0 x 70 mm HHCS (only for 2
disc drives on DS96)
8 1001042 12 M16 x 2.0 x 90 mm HHCS
9 1008146 12 M16 x 2.0 Lock nut
10 ------- * 1 Grease fitting
11 90016031 * 2 3/8 NC x 3/4 Square head set screw
* Standard hardware, obtain locally
REF PART QTY DESCRIPTION
1 1019437 Complete drive (DS96 only)
1 1009207 Complete drive (DS120 only)
2 ------- 1 Inner connector yoke
3 1008147 1 Outer connector yoke 1-3/4 20-spline
4 1008143 1 Outer connector yoke 1-3/4 6-spline

64 Parts
MAN0390 (Rev. 4/6/2007)
DS96 / DS120 PULL-TYPE DRIVELINE, REAR 1/3
REF PART QTY DESCRIPTION
1009206 1 Complete 540 drive
2 110 1 Cross and bearing kit
3 40764 1 Spring pin 10 x 80
4 1005791 1 Male drive half, complete
6 40593 1 Outer profile & sleeve
7 40576 1 Inboard yoke
8 57416 2 Friction clutch
12 40766 2 Bearing ring
13 40777 1 Anti-rotation chain
14 18864 2 Decal, Danger rotating driveline
15 33347 1 Decal, Danger guard missing
16 40778 2 Screw
17 40767 1 Support bearing
REF PART QTY DESCRIPTION
18 40779 1 Grease fitting
24 1005792 1 Outer guard half
25 1005793 1 Inner guard half
31 57438 1 Flange yoke
32 57432 2 Friction disc
33 57440 1 Hub, 1-3/4 20-spline
34 57434 1 Thrust plate
35 57439 1 Bellevile spring
36 57259 6 M10 x 1.5P x 55 mm Cap screw
37 57260 6 M10 x 1.5P Lock nut w/nylon insert
38 57261 2 M12 x 1.5P Lock nut w/nylon insert
39 57262 2 M12 x 1.5P x 65 mm Cap screw

Parts 65
MAN0390 (Rev. 4/6/2007)
DS96 / DS120 SLIP CLUTCH DRIVE ASSEMBLY
REF PART QTY DESCRIPTION
1005790 1Complete 540 Drive assembly
(DS96 only)
57413 1Complete 540 Drive assembly
(DS120 only)
140574 1Yoke, 1-3/8 Spline ASGE
2110 2Cross and bearing
340764 2Spring pin 10 X 80
440575 1Inboard yoke
540587 1Inner profile
640593 1Outer profile & sleeve
740576 1Inboard yoke
857416 1Friction clutch 1340, 1-3/4, 20-spline
12 40766 2Bearing ring SC25
13 40777 2Anti-rotation chain
14 18864 1Decal, Danger rotating driveline
15 33347 1Decal, Danger guard missing
16 40778 2Screw
17 40767 1Support bearing
18 40779 1Grease fitting
REF PART QTY DESCRIPTION
23 40589 1Slide collar kit
24 1005795 1Outer guard half (DS96 only)
24 57268 1Outer guard half (DS120 only)
25 1005796 1Inner guard half (DS96 only)
25 57269 1Inner guard half (DS120 only)
26 1005794 1Shaft asy, male (complete/guard)
(DS96 only)
26 57414 1Shaft asy, male (complete/guard)
(DS120 only)
31 57438 1Flange yoke
32 57432 2Friction disc
33 57440 1Hub, 1-3/4" 20-spline
34 57434 1Thrust plate
35 57439 1Belleville spring
36 57259 6M10 x 1.5P x 55 mm Cap screw GR8.8
37 57260 6M10 x 1.5P Lock nut w/nylon insert
38 57261 2M12 x 1.5P Lock nut w/nylon insert
39 57262 2M12 x 1.5P x 65 mm Cap screw GR8.8
(Rev. 12/16/2010)

66 Parts
MAN0390 (Rev. 4/6/2007)
DS96 / DS120 3-JOINT DRIVE, FRONT 2/3
REF PART QTY DESCRIPTION
1 40599 1 Complete drive assembly
2 40574 1 Yoke, 1-3/8 - 6SP
(complete with lock collar)
3 110 2 Cross and bearing kit
4 40576 2 Inboard yoke
5 40764 2 Spring pin 10 mm x 80 mm
(package of 10)
6 40588 1 Outer profile (cut to length)
REF PART QTY DESCRIPTION
7 40590 1 Guard, outer half, also includes items
9, 10 and 11 (cut to length)
8 40591 1 Guard, inner half, also includes items
9, 10 and 11 (cut to length)
9 40766 2 Bearing ring (package of 2)
10 40778 2 Screw (package of 10)
11 40777 2 Anti-rotation chain
12 40589 1 Lock collar repair kit (without yoke)
13 15308 1 Yoke, 1-3/8 - 6SP clamp type

Parts 67
MAN0390 (Rev. 4/6/2007)
WHEEL & TIRE ASSEMBLY
REF PART QTY DESCRIPTION
1 1003492 1 Heavy hub assembly
2 530 1 Heavy wheel hub with cups
3 1003493 1 Axle
4 314 1 Seal for 1-1/2 shaft
5 310 2 Bearing cone
6 309 2 Bearing cup
7 1003411 1 15.0 x 6.0 Rim half
(for 29" aircraft wheel only) -or-
7 1003694 1 10.0 x 5.0 Rim half
(for 22" aircraft wheel only)
8 1003412 1 15.0 x 6.0 Rim half w/valve hole
(for 29" aircraft wheel only) -or-
8 1003693 1 10.0 x 5.0 Rim half w/valve hole
(for 22" aircraft wheel only)
95311Hub cap
10 529 1 15" 4-Hole rim
10 7428 1 6.00 x 9 Solid tire, rim & hardware -or-
10 1003410 1 29 x 9 x 15 Aircraft tire,
rim & hardware -or-
REF PART QTY DESCRIPTION
10 1003695 1 22 x 6.6 x 10 Aircraft tire,
rim & hardware
20 1257 * 3/4 Standard flat washer
21 5849 3/4 NF Slotted hex nut
22 1256 * 3/16 x 1 Cotter pin
23 1258 1/2 NF x 1-1/8 Wheel bolt
24 855 * 1/2 Extra-heavy lock washer
25 4119 1/2 NF x 1 Cap screw GR5
(solid tire only)
26 * 9-1/6 NC x 1-1/4 Cap screw GR5
27 * 9/16 NC Hex lock nut
28 19887 3/8 NC x 1 Cap screw GR8
29 838 * 3/8 Standard lock washer
30 835 * 3/8 NC Hex nut, plated
31 1972 * 1/4-28 Tapered thread grease fitting
* Standard hardware - obtain locally

68 Parts
MAN0390 (Rev. 4/6/2007)
DS96 / DS120 BELT SHIELDING
DS96 DS120
REF PART QTY DESCRIPTION
1 1013391 2 Front belt bracket
2 1013393 1 Rear belt strap
3 1013392 2 Front rubber deflector
4 1013394 1 Rear rubber deflector
5 1013399 2 Rear belt strap, outer (DS96 only)
6 19446 18* 3/8 x 1-1/4 Type T self-tapping screw
7 838 18* 3/8 Standard lock washer
8 565 18* 3/8 Standard flat washer
9 1009242 1 Front reflector bracket w/reflector
* Standard Hardware, obtain locally
REF PART QTY DESCRIPTION
1 1008091 2 Front belt bracket
2 1008093 1 Rear belt strap
3 1008092 2 Front rubber deflector
4 1008094 1 Rear rubber deflector
6 19446 20* 3/8 x 1-1/4 Type T self-tapping screw
7 838 20* 3/8 Standard lock washer
8 565 20* 3/8 Standard flat washer
9 1009242 1 Front reflector bracket w/reflector
* Standard Hardware, obtain locally

Parts 69
MAN0390 (Rev. 4/6/2007)
DS96 / DS120 CHAIN SHIELDING (OPTIONAL)
DS96 DS120
REF PART QTY DESCRIPTION
1 1009188 2 Front chain shield bracket
2 1009189 1 Rear chain shield bracket
3 1007854 2 Front chain pin
4 1007856 1 Rear chain pin
5 3994 122 5/16 Chain, 5 link
6 19446 18 3/8 x 1-1/4 Type T self-tapping screw
7 838 18* 3/8 Standard lock washer
8 565 18* 3/8 Standard flat washer
9 1009242 1 Front reflector bracket with reflector
* Standard Hardware, obtain locally
REF PART QTY DESCRIPTION
1 1008083 2 Front chain shield bracket
2 1008084 1 Rear chain shield bracket
3 1007856 2 Front chain pin
4 1007856 1 Rear chain pin
5 3994 151 5/16 Chain, 5 link
6 19446 20 3/8 x 1-1/4 Type T self-tapping screw
7 838 20* 3/8 Standard lock washer
8 565 20* 3/8 Standard flat washer
9 1009242 1 Front reflector bracket with reflector
* Standard Hardware, obtain locally

70 Parts
MAN0390 (Rev. 4/6/2007)
3 X 8" SINGLE-ACTING HYDRAULIC CYLINDER
REF PART QTY DESCRIPTION
1 N/A Not available
2 19810 1 Seal Kit, 3 In Hyd Cylinder
(includes items 2A thru 2G)
2A † 1 Wiper seal
2B Not used
2C † 2 1-1/4 ID U-Cup
2D † 2 Barrel O-ring
2E Not used on this cylinder
2F † 2 Piston back-up washer
2G † 1 Piston seal O-ring
3 N/A 1 Rod end housing
4N/A1Piston
5 34328 1 Nut, Lock 3/4 NF
6 N/A 4 Cylinder tie rod
7 4510 * 1 1/2 Pipe plug
8 N/A 1 Cylinder butt end
REF PART QTY DESCRIPTION
9 Not used on this cylinder
10 Not used on this cylinder
11 11893 1 Bushing, Pipe Reducing 1/2 x 1/4
12 N/A 1 Cylinder barrel
13 Not used on this cylinder
14 Not used on this cylinder
15 * 8 Tie rod nut
16 23549 1 Clevis, Cylinder Rod
17 6698 * 1 Nut, Lock 3/8 NC
18 23550 * 1 Screw, SHCS 3/8 NC x 1-1/2
19 N/A 1 Cylinder rod
20 29547 Cylinder, Hydraulic 3 x 8
* Standard hardware, obtain locally
† Included in seal repair kit
N/A Not available

Parts 71
MAN0390 (Rev. 4/6/2007)
HYDRAULIC CYLINDER STROKE CONTROL KIT (OPTIONAL)
PARKING JACK
PULL-TYPE
REF PART QTY DESCRIPTION
1 24098 1 Stroke control set for 1-1/4" cylinder
rod (contains items 2 - 5)
2 – – – – 2 1-1/2" Segment
3 – – – – 1 1-1/4" Segment
4 – – – – 1 1" Segment
5 – – – – 1 3/4" Segment
REF PART QTY DESCRIPTION
1 23790 1 Swivel parking jack
2 25857 1 Jack hitch pin assembly
3N/S
3A N/S
4 25859 2 15-Tooth bevel gear
5 25860 2 5/32 x 1-1/4 Drive pin
6N/S
7 25862 1 Thrust bearing
N/S Not Serviced Separately

72 Parts
MAN0390 (Rev. 4/6/2007)
CROSSBAR PULLER (OPTIONAL)
REF PART QTY DESCRIPTION
A 8811 1 Crossbar puller, complete
1 19914 2 Crossbar puller clevis
2 3097 * 4 5/8 NC x 4-1/2
Hex head cap screw GR5
3 230 * 4 5/8 NC Hex nut
4 24879 1 Crossbar puller pad assembly
REF PART QTY DESCRIPTION
5 24876 1 Crossbar puller tube assembly
6 24881 1 Crossbar puller screw assembly
7 24885 4 Crossbar puller link
* Standard hardware, obtain locally

Appendix 73
Bolt Torque & Size Charts (Rev. 3/28/2007)
BOLT TORQUE CHART
Always tighten hardware to these values unless a different torque value or tightening procedure is listed for a specific
application.
Fasteners must always be replaced with the same grade as specified in the manual parts list.
Always use the proper tool for tightening hardware: SAE for SAE hardware and Metric for metric hardware.
Make sure fastener threads are clean and you start thread engagement properly.
All torque values are given to specifications used on hardware defined by SAE J1701 MAR 99 & J1701M JUL 96.
Diameter
(Inches)
Wrench
Size
MARKING ON HEAD
SAE 2 SAE 5 SAE 8
lbs-ft N-m lbs-ft N-m lbs-ft N-m
1/4" 7/16" 6 8 10 13 14 18
5/16"1/2"121719262737
3/8"9/16"233135474967
7/16"5/8"3648557578106
1/2" 3/4" 55 75 85 115 120 163
9/16" 13/16" 78 106 121 164 171 232
5/8" 15/16" 110 149 170 230 240 325
3/4" 1-1/8" 192 261 297 403 420 569
7/8" 1-5/16" 306 416 474 642 669 907
1" 1-1/2" 467 634 722 979 1020 1383
Diameter &
Thread Pitch
(Millimeters)
Wrench
Size
COARSE THREAD FINE THREAD
Diameter &
Thread Pitch
(Millimeters)
MARKING ON HEAD MARKING ON HEAD
Metric 8.8 Metric 10.9 Metric 8.8 Metric 10.9
N-m lbs-ft N-m lbs-ft N-m lbs-ft N-m lbs-ft
6 x 1.0 10 mm 8 6 11 8 8 6 11 8 6 x 1.0
8 x 1.25 13 mm 20 15 27 20 21 16 29 22 8 x 1.0
10 x 1.5 16 mm 39 29 54 40 41 30 57 42 10 x 1.25
12 x 1.75 18 mm 68 50 94 70 75 55 103 76 12 x 1.25
14 x 2.0 21 mm 109 80 151 111 118 87 163 120 14 x 1.5
16 x 2.0 24 mm 169 125 234 173 181 133 250 184 16 x 1.5
18 x 2.5 27 mm 234 172 323 239 263 194 363 268 18 x 1.5
20 x 2.5 30 mm 330 244 457 337 367 270 507 374 20 x 1.5
22 x 2.5 34 mm 451 332 623 460 495 365 684 505 22 x 1.5
24 x 3.0 36 mm 571 421 790 583 623 459 861 635 24 x 2.0
30 x 3.0 46 mm 1175 867 1626 1199 1258 928 1740 1283 30 x 2.0
A
SAE SERIES
TORQUE
CHART
SAE Bolt Head
Identification
SAE Grade 2
(No Dashes)
SAE Grade 5
(3 Radial Dashes)
SAE Grade 8
(6 Radial Dashes)
A
METRIC SERIES
TORQUE
CHART
Metric Bolt Head
Identification
8.8
Metric
Grade 10.9
10.9
Metric
Grade 8.8
A
A
A
Typical Washer
Installations
Lock Washer
Flat Washer
8/9/00
Bolt

74 Appendix
Bolt Torque & Size Charts (Rev. 3/28/2007)
BOLT SIZE CHART
NOTE: Chart shows bolt thread sizes and corresponding head (wrench) sizes for standard SAE and metric bolts.
ABBREVIATIONS
AG .............................................................. Agriculture
ASABE ....................American Society of Agricultural &
Biological Engineers (formerly ASAE)
ASAE....... American Society of Agricultural Engineers
ATF................................Automatic Transmission Fluid
BSPP............................. British Standard Pipe Parallel
BSPTM................ British Standard Pipe Tapered Male
CV ....................................................Constant Velocity
CCW.............................................. Counter-Clockwise
CW .............................................................. Clockwise
F .......................................................................Female
FT.............................................................. Full Thread
GA .....................................................................Gauge
GR (5, etc.)........................................... Grade (5, etc.)
HHCS ........................................ Hex Head Cap Screw
HT ...........................................................Heat-Treated
JIC.................Joint Industry Council 37° Degree Flare
LH................................................................. Left Hand
LT ...........................................................................Left
m ........................................................................ Meter
mm ............................................................... Millimeter
M ..........................................................................Male
MPa ........................................................ Mega Pascal
N ......................................................................Newton
NC...................................................... National Coarse
NF ...........................................................National Fine
NPSM .................... National Pipe Straight Mechanical
NPT...........................................National Pipe Tapered
NPT SWF......... National Pipe Tapered Swivel Female
ORBM ...........................................O-Ring Boss - Male
P .......................................................................... Pitch
PBY.......................................................Power-Beyond
psi ......................................... Pounds per Square Inch
PTO......................................................Power Take Off
QD ................................................... Quick Disconnect
RH.............................................................. Right Hand
ROPS........................... Roll-Over Protective Structure
RPM........................................Revolutions Per Minute
RT ........................................................................Right
SAE.......................... Society of Automotive Engineers
UNC ..................................................... Unified Coarse
UNF ..........................................................Unified Fine
UNS ..................................................... Unified Special
5/16 3/81/2 5/83/4 7/8
SAE Bolt Thread Sizes
MM 25 50 75 100 125 150 175
IN 1 7
Metric Bolt Thread Sizes
8MM 18MM14MM12MM10MM 16MM
234 56

Index 75
MAN0390 (Rev. 4/6/2007)
INDEX
A
ASSEMBLY
Assemble - DS120 Pull-Type Cutter Rear Half 39
Install Attitude Rod 39
Install Height Adjustment Device 39
Install Hydraulic Hose 39
Install Rear Tailwheel 39
Install Spring Arm 39
Assemble - DS96 Pull-Type Cutter Rear Half 37
Install Attitude Rod 37
Install Height Adjustment Device 37
Install Hydraulic Hose 38
Install Rear Tailwheel 37
Assemble DS120 Mounted Cutter 45
Install A-Frame 45
Category 2 Standard Hitch 45
Category 3 Standard Hitch 45
Install Driveline 46
Install Height Adjustment Device 45
Install Hydraulic Hoses 45
Install Tailwheel Arms 45
Assemble DS96 Mounted Cutter 43
Install A-Frame 43
Install Driveline 43
Install Tailwheel Arms 43
Dealer Set-up Instructions 37
Install 3-Joint Driveline 41
Attach Driveline to H-Frame 41
Install Drive Shield & Hose Holder 41
Install Driveline 41
Install Front Drive 41
Install H-Frame 41
Install SMV Bracket 41
Install Tongue DS96 & DS120 Cutters 41
D
DEALER CHECK
Check Lists
Delivery (Dealer’s Responsibility) 49
Pre-Delivery (Dealer’s Responsibility) 49
DEALER SERVICE
Crossbar
Crossbar Installation 34
Crossbar Removal 33
Timing Crossbar 34
Gearbox Maintenance 27
Horizontal Shaft Seal Repair 28
Seal Installation 27
Seal Replacement 27
Vertical Shaft Seal Repair (Spindle Gearbox)
28
Side Drive Service 32
Spindle Gearbox Repair 28
Assemble Gearbox 29
Disassemble Gearbox 28
Reinstall Gearbox 29
Remove Gearbox 28
Splitter Gearbox Repair 31
Assemble Gearbox 32
Disassemble Gearbox 31
Reinstall Gearbox 32
Remove Gearbox 31
Universal Joint
Assembly 35
Disassembly 35
Repair 35
G
GENERAL
Abbreviations 74
Bolt Size Chart 74
Bolt Torque Chart 73
General Information 4
Introduction 2
Obtaining Replacement Manuals 2
Product Registration 2
Specifications 4
Table of Contents 3
Warranty
Product 71
Replacement Parts 1
O
OPERATION
Attitude Adjustment - Pull-Type 18
Normal Mowing 18
Shredding 18
Blade Selection 18
Connect Cutter to Tractor - Mounted
DS120 Category 2 Quick Hitch 16
DS120 Category 2 Standard Hitch 15
DS120 Category 3 Quick Hitch 16
DS120 Category 3 Standard Hitch 16
DS120 Hydraulic Connection 16
DS96 Category 2 Quick Hitch 15
DS96 Category 2 Standard Hitch 15
Connect Cutter to Tractor - Pull-Type 14
Hydraulic Connection 15
Interference Check 15
Cutting Height Adjustment 17
Mounted 18
Pull-Type 18
(Rev. 2/6/2009)

76 Index
MAN0390 (Rev. 4/6/2007)
Driveline Adjustment - Pull-Type 18
Driveline Attachment - Mounted 16
Driveline interference Check 17
Operating Technique 19
Cutter Operation 19
Mowing Tips 19
Recommended Speed 14
Storage 20
Tractor Operation 19
Tractor Stability 14
Transporting 19
Wheel Spacing - DS120 Only 18
OWNER SERVICE
Adjusting Slip Clutch 24
Blocking Method 21
Cleaning 25
Jackstand Placement Diagram 22
Lubrication 21
Driveline 21
Gearbox 21
Lubrication Points Diagram 22
Servicing Blades 22
Installing Blades 22
Removing Blades 22
Sharpening Blades 23
Shielding Repair
Optional Chain Shielding 25
Rubber Shielding 25
P
PARTS
Index to Parts Lists 51
S
SAFETY
Blocking Method 21
Check Lists
Delivery (Dealer’s Responsibility) 49
Pre-Delivery (Dealer’s Responsibility) 49
Pre-Operation (Owner’s Responsibility) 20
Free Mower Safety Video Order Form 5, 6
Safety & Instructional Decals 11
Safety Rules 7, 8, 9, 10
Safety Symbols Explained 2
T
TROUBLESHOOTING
Troubleshooting 26
(Rev. 2/6/2009)

F-3079 (Rev. 2/14/2011)
Woods Equipment
Company
2606 South Illinois Route 2
Post Office Box 1000
Oregon, Illinois 61061 USA
800-319-6637 tel
800-399-6637 fax
www.WoodsEquipment.com
WARRANTY
All Models Except Mow’n MachineTM Zero-Turn Mowers
Please Enter Information Below and Save for Future Reference.
Date Purchased: ____________________________ From (Dealer): __________________________________________
Model Number: ____________________________ Serial Number: __________________________________________
Woods Equipment Company (“WOODS”) warrants this product to be free from defect in material and workmanship. Except as otherwise set forth
below, the duration of this Warranty shall be for TWELVE (12) MONTHS COMMENCING ON THE DATE OF DELIVERY OF THE
PRODUCT TO THE ORIGINAL PURCHASER.
All current model loaders and backhoes are warranted for two (2) years from the date of delivery to the original purchaser.
The warranty periods for specific parts or conditions are listed below:
Under no circumstances will this Warranty apply in the event that the product, in the good faith opinion of WOODS, has been subjected to
improper operation, improper maintenance, misuse, or an accident. This Warranty does not apply in the event that the product has been materially
modified or repaired by someone other than WOODS, a WOODS authorized dealer or distributor, and/or a WOODS authorized service center.
This Warranty does not cover normal wear or tear, or normal maintenance items. This Warranty also does not cover repairs made with parts other
than those obtainable through WOODS.
This Warranty is extended solely to the original purchaser of the product. Should the original purchaser sell or otherwise transfer this product to a
third party, this Warranty does not transfer to the third party purchaser in any way. There are no third party beneficiaries of this Warranty.
WOODS makes no warranty, express or implied, with respect to engines, batteries, tires or other parts or accessories not manufactured by
WOODS. Warranties for these items, if any, are provided separately by their respective manufacturers.
WOODS’ obligation under this Warranty is limited to, at WOODS’ option, the repair or replacement, free of charge, of the product if WOODS, in
its sole discretion, deems it to be defective or in noncompliance with this Warranty. The product must be returned to WOODS with proof of
purchase within thirty (30) days after such defect or noncompliance is discovered or should have been discovered, routed through the
dealer and distributor from whom the purchase was made, transportation charges prepaid. WOODS shall complete such repair or
replacement within a reasonable time after WOODS receives the product. THERE ARE NO OTHER REMEDIES UNDER THIS WARRANTY.
THE REMEDY OF REPAIR OR REPLACEMENT IS THE SOLE AND EXCLUSIVE REMEDY UNDER THIS WARRANTY.
THERE ARE NO WARRANTIES WHICH EXTEND BEYOND THE DESCRIPTION ON THE FACE OF THIS WARRANTY. WOODS
MAKES NO OTHER WARRANTY, EXPRESS OR IMPLIED, AND WOODS SPECIFICALLY DISCLAIMS ANY IMPLIED WARRANTY
OF MERCHANTABILITY AND/OR ANY IMPLIED WARRANTY OF FITNESS FOR A PARTICULAR PURPOSE.
WOODS shall not be liable for any incidental or consequential losses, damages or expenses, arising directly or indirectly from the
product, whether such claim is based upon breach of contract, breach of warranty, negligence, strict liability in tort or any other legal
theory. Without limiting the generality of the foregoing, Woods specifically disclaims any damages relating to (i) lost profits, business, revenues
or goodwill; (ii) loss of crops; (iii) loss because of delay in harvesting; (iv) any expense or loss incurred for labor, supplies, substitute machinery or
rental; or (v) any other type of damage to property or economic loss.
This Warranty is subject to any existing conditions of supply which may directly affect WOODS’ ability to obtain materials or manufacture
replacement parts.
No agent, representative, dealer, distributor, serviceperson, salesperson, or employee of any company, including without limitation, WOODS, its
authorized dealers, distributors, and service centers, is authorized to alter, modify, or enlarge this
Warranty. Answers to any questions regarding warranty
service and locations may be obtained by contacting:
Part or
Condition
Warranted
Model Number
Duration (from date of
delivery to the original
purchaser)
Gearbox
Seals All units listed below 2 years
Gearbox
components
BW1260, BW1620, BW1800, BW2400 8 years
BW240HD, BW180HD, BW180HB, BW126HB 7 years
BB48X, BB60X, BB72X, BB84X, BB600X, BB720X, BB840X, BB6000X, BB7200X, BB8400X,
DS1260, DSO1260, DS1440, TS1680, BW126-3, BW180-3, BW240 6 years
PHD25, PHD35, PHD65, PHD95, 2162, 3240, DS96, DS120, RCC42, RM550-2, RM660-2,
RD990X, PRD6000, PRD7200, PRD8400, S15CD, S20CD, S22CD, S25CD, S27CD, BW180LH,
TC/R74, TC/R68, TC/R60, TBW144, TBW180, TBW204
5 years
RDC54, RD60, RD72, TBW150C, TS/R60, TS/R52, TS/R44 3 years (1 year if used in rental or
commercial applications)
Blade
spindles RM550-2, RM660-2, RD990X, PRD6000, PRD7200, PRD8400, TBW144, TBW180, TBW204 3 years
Rust-through
BB600, BB720, BB840, BB6000, BB7200, BB8400, BW126-3, BW126HB, BW180-3, BW180HB,
BW180HD, BW1260, BW1800, BW240, BW240HD, 2162, 3240, DS1260, DSO1260, DS1440,
TS1680
10 years

F-8494 (Rev. 6/23/2005)
©2005 Woods Equipment Company. All rights reserved. WOODS and the Woods logo are trademarks of Woods Equipment Company. All other
trademarks, trade names, or service marks not owned by Woods Equipment Company that appear in this manual are the property of their respective
companies or mark holders. Specifications subject to change without notice.
WARRANTY
(Replacement Parts For All Models Except Mow’n MachineTM
Zero-Turn Mowers and Woods BoundaryTM Utility Vehicles)
Woods Equipment Company (“WOODS”) warrants this product to be free from defect in material and
workmanship for a period of ninety (90) days from the date of delivery of the product to the original purchaser
with the exception of V-belts, which will be free of defect in material and workmanship for a period of 12 months.
Under no circumstances will this Warranty apply in the event that the product, in the good faith opinion of
WOODS, has been subjected to improper operation, improper maintenance, misuse, or an accident. This Warranty
does not cover normal wear or tear, or normal maintenance items.
This Warranty is extended solely to the original purchaser of the product. Should the original purchaser sell or
otherwise transfer this product to a third party, this Warranty does not transfer to the third party purchaser in any
way. There are no third party beneficiaries of this Warranty.
WOODS’ obligation under this Warranty is limited to, at WOODS’ option, the repair or replacement, free of
charge, of the product if WOODS, in its sole discretion, deems it to be defective or in noncompliance with this
Warranty. The product must be returned to WOODS with proof of purchase within thirty (30) days after
such defect or noncompliance is discovered or should have been discovered, routed through the dealer and
distributor from whom the purchase was made, transportation charges prepaid. WOODS shall complete
such repair or replacement within a reasonable time after WOODS receives the product. THERE ARE NO
OTHER REMEDIES UNDER THIS WARRANTY. THE REMEDY OF REPAIR OR REPLACEMENT IS THE
SOLE AND EXCLUSIVE REMEDY UNDER THIS WARRANTY.
THERE ARE NO WARRANTIES WHICH EXTEND BEYOND THE DESCRIPTION ON THE FACE OF THIS
WARRANTY. WOODS MAKES NO OTHER WARRANTY, EXPRESS OR IMPLIED, AND WOODS
SPECIFICALLY DISCLAIMS ANY IMPLIED WARRANTY OF MERCHANTABILITY AND/OR ANY
IMPLIED WARRANTY OF FITNESS FOR A PARTICULAR PURPOSE.
WOODS shall not be liable for any incidental or consequential losses, damages or expenses, arising directly
or indirectly from the product, whether such claim is based upon breach of contract, breach of warranty,
negligence, strict liability in tort or any other legal theory. Without limiting the generality of the foregoing,
Woods specifically disclaims any damages relating to (i) lost profits, business, revenues or goodwill; (ii) loss of
crops; (iii) loss because of delay in harvesting; (iv) any expense or loss incurred for labor, supplies, substitute
machinery or rental; or (v) any other type of damage to property or economic loss.
This Warranty is subject to any existing conditions of supply which may directly affect WOODS’ ability to obtain
materials or manufacture replacement parts.
No agent, representative, dealer, distributor, service person, salesperson, or employee of any company, including
without limitation, WOODS, its authorized dealers, distributors, and service centers, is authorized to alter, modify,
or enlarge this Warranty.
Answers to any questions regarding warranty service and locations may be obtained by contacting: