Xerox Phaser 3610 Users Manual Xerox® Phaser® Black And White Printer
Printer p3610_user_guide_en-us
2015-04-02
: Xerox Xerox-Phaser-3610-Users-Manual-684534 xerox-phaser-3610-users-manual-684534 xerox pdf
Open the PDF directly: View PDF .
Page Count: 144 [warning: Documents this large are best viewed by clicking the View PDF Link!]
- Safety
- Features
- Installation and Setup
- Installation and Setup Overview
- Selecting a Location for the Printer
- Connecting the Printer
- Configuring Network Settings
- Configuring General Setup Using CentreWare Internet Services
- Configuring General Setup Using the Control Panel
- Installing the Software
- Operating System Requirements
- Installing the Print Drivers for a Windows Network Printer
- Installing the Print Drivers for a Windows USB Printer
- Installing Print Drivers for Macintosh OS X Version 10.5 and Later
- Installing Drivers and Utilities for UNIX and Linux
- Other Drivers
- Installing the Printer as a Web Service on Devices
- Paper and Media
- Supported Paper
- Recommended Media
- Ordering Paper
- General Paper Loading Guidelines
- Paper That Can Damage Your Printer
- Paper Storage Guidelines
- Supported Paper Types and Weights
- Supported Standard Paper Sizes
- Supported Paper Types and Weights for Automatic 2-Sided Printing
- Supported Standard Paper Sizes for Automatic 2-Sided Printing
- Supported Custom Paper Sizes
- Loading Paper
- Printing on Special Paper
- Supported Paper
- Printing
- Printing Overview
- Selecting Printing Options
- Printing Features
- Using Custom Paper Sizes
- Maintenance
- Cleaning the Printer
- Ordering Supplies
- Managing the Printer
- Viewing the Firmware Version
- Adjusting Paper Type
- Adjusting the Transfer Unit
- Adjusting the Fuser
- Adjusting the Density
- Printing Charts
- Cleaning the Developer
- Cleaning the Transfer Unit
- Resetting Defaults
- Initializing the Print Meter
- Resetting the Transfer Unit
- Resetting the Fuser
- Clearing Job History
- Clearing Storage
- Clearing Device Memory
- Adjusting the Altitude
- Decreasing Electrostatic Memory
- Enabling Ghost Control
- Moving the Printer
- Troubleshooting
- Specifications
- Regulatory Information
- Recycling and Disposal

Xerox® Phaser® 3610
Black and White Printer
Imprimante noir et blanc
Xerox® Phaser® 3610
User Guide
Guide d'utilisation
Italiano Guida per l’utente
Deutsch Benutzerhandbuch
Español Guía del usuario
Português Guia do usuário
Nederlands Gebruikershandleiding
Svenska Användarhandbok
Dansk Betjeningsvejledning
Suomi Käyttöopas
Norsk Brukerhåndbok
Русский Руководство пользователя
Čeština Uživatelská příručka
Polski Przewodnik użytkownika
Magyar
Felhasználói útmutató
Türkçe
Kullanıcı Kılavuzu
Ελληνικά Εγχειρίδιο χρήστη
© 2013 Xerox Corporation. All rights reserved. Unpublished rights reserved under the copyright laws of the United States. Contents of
this publication may not be reproduced in any form without permission of Xerox Corporation.
Copyright protection claimed includes all forms of matters of copyrightable materials and information now allowed by statutory or
judicial law or hereinafter granted, including without limitation, material generated from the software programs which are displayed on
the screen such as styles, templates, icons, screen displays, looks, and so on.
Xerox® and Xerox and Design®, Phaser®, PhaserSMART®, PhaserMatch®, PhaserCal®, PhaserMeter™, CentreWare®, PagePack®, eClick®,
PrintingScout®, Walk-Up®, WorkCentre®, FreeFlow®, SMARTsend®, Scan to PC Desktop®, MeterAssistant®, SuppliesAssistant®, Xerox
Secure Access Unified ID System®, Xerox Extensible Interface Platform®, ColorQube®, Global Print Driver®, and Mobile Express Driver®
are trademarks of Xerox Corporation in the United States and/or other countries.
Adobe® Reader®, Adobe® Type Manager®, ATM™, Flash®, Macromedia®, Photoshop®, and PostScript® are trademarks of
Adobe Systems Incorporated in the United States and/or other countries.
Apple®, AppleTalk®, Bonjour®, EtherTalk®, Macintosh®, Mac OS®, and TrueType® are trademarks of Apple Inc., registered in the U.S.
and other countries.
HP-GL®, HP-UX®, and PCL® are trademarks of Hewlett-Packard Corporation in the United States and/or other countries.
IBM® and AIX® are trademarks of International Business Machines Corporation in the United States and/or other countries.
Microsoft®, Windows Vista®, Windows®, and Windows Server® are trademarks of Microsoft Corporation in the United States and other
countries.
Novell®, NetWare®, NDPS®, NDS®, IPX™, and Novell Distributed Print Services™ are trademarks of Novell, Inc. in the United States and
other countries.
SGI® and IRIX® are trademarks of Silicon Graphics International Corp. or its subsidiaries in the United States and/or other countries.
Sun, Sun Microsystems, and Solaris are trademarks or registered trademarks of Oracle and/or its affiliates in the United States and
other countries.
UNIX® is a trademark in the United States and other countries, licensed exclusively through X/ Open Company Limited.
PANTONE® and other Pantone, Inc. trademarks are the property of Pantone, Inc.
Document version 1.0: September 2013
BR5710_en-us
Xerox® Phaser® 3610 Black and White Printer 3
User Guide
Contents
1 Safety 9
Electrical Safety ............................................................................................................................................................. 10
General Guidelines................................................................................................................................................ 10
Power Cord .............................................................................................................................................................. 10
Emergency Turn Off ............................................................................................................................................. 11
Laser Safety............................................................................................................................................................. 11
Operational Safety ....................................................................................................................................................... 12
Operational Guidelines ....................................................................................................................................... 12
Ozone Release ........................................................................................................................................................ 12
Printer Location ..................................................................................................................................................... 12
Printer Supplies ...................................................................................................................................................... 13
Maintenance Safety .................................................................................................................................................... 14
Printer Symbols .............................................................................................................................................................. 15
Environmental, Health, and Safety Contact Information ............................................................................. 16
2 Features 17
Parts of the Printer ....................................................................................................................................................... 18
Front View ................................................................................................................................................................ 18
Rear View ................................................................................................................................................................. 19
Internal Parts .......................................................................................................................................................... 19
Control Panel .......................................................................................................................................................... 20
Energy Saver Mode ...................................................................................................................................................... 22
Exiting Energy Saver Mode ............................................................................................................................... 22
Information Pages ....................................................................................................................................................... 23
Configuration Report ........................................................................................................................................... 23
Printing a Configuration Report ...................................................................................................................... 23
Administrative Features ............................................................................................................................................. 24
Finding the IP Address of the Printer ............................................................................................................ 24
CentreWare Internet Services .......................................................................................................................... 24
Accessing the Printer ........................................................................................................................................... 24
Billing Meter ............................................................................................................................................................ 25
More Information ......................................................................................................................................................... 26
3 Installation and Setup 27
Installation and Setup Overview ............................................................................................................................. 28
Selecting a Location for the Printer ....................................................................................................................... 29
Connecting the Printer ................................................................................................................................................ 30
Selecting a Connection Method ...................................................................................................................... 30
Connecting to a Computer Using USB.......................................................................................................... 30
Connecting to a Wired Network ...................................................................................................................... 31
Contents
4 Xerox® Phaser® 3610 Black and White Printer
User Guide
Finding the IP Address of the Printer Using the Control Panel ............................................................ 31
Connecting to a Wireless Network ................................................................................................................. 32
Configuring Network Settings .................................................................................................................................. 34
About TCP/IP and IP Addresses ...................................................................................................................... 34
Configuring General Setup Using CentreWare Internet Services ............................................................... 35
Viewing Printer Information ............................................................................................................................. 35
Configuring System Settings ............................................................................................................................ 36
Configuring Clock Settings ................................................................................................................................ 36
Configuring Tray Settings .................................................................................................................................. 37
Configuring General Setup Using the Control Panel ....................................................................................... 38
Getting Information About the Printer ........................................................................................................ 38
Using the Power On Wizard .............................................................................................................................. 38
Installing the Software ............................................................................................................................................... 39
Operating System Requirements .................................................................................................................... 39
Installing the Print Drivers for a Windows Network Printer .................................................................. 39
Installing the Print Drivers for a Windows USB Printer ........................................................................... 40
Installing Print Drivers for Macintosh OS X Version 10.5 and Later .................................................. 40
Installing Drivers and Utilities for UNIX and Linux .................................................................................. 41
Other Drivers ........................................................................................................................................................... 42
Installing the Printer as a Web Service on Devices .................................................................................. 43
4 Paper and Media 45
Supported Paper............................................................................................................................................................ 46
Recommended Media ......................................................................................................................................... 46
Ordering Paper ....................................................................................................................................................... 46
General Paper Loading Guidelines ................................................................................................................. 46
Paper That Can Damage Your Printer........................................................................................................... 47
Paper Storage Guidelines ................................................................................................................................... 47
Supported Paper Types and Weights ............................................................................................................ 48
Supported Standard Paper Sizes ..................................................................................................................... 48
Supported Paper Types and Weights for Automatic 2-Sided Printing ............................................. 49
Supported Standard Paper Sizes for Automatic 2-Sided Printing ...................................................... 49
Supported Custom Paper Sizes ........................................................................................................................ 49
Loading Paper ................................................................................................................................................................ 50
Loading Paper in the Bypass Tray .................................................................................................................. 50
Loading Small Paper Sizes in the Bypass Tray ........................................................................................... 53
Configuring Trays 1–4 for the Paper Length .............................................................................................. 56
Loading Paper in Trays 1–4 ............................................................................................................................... 58
Configuring Tray Behavior ................................................................................................................................ 60
Printing on Special Paper ........................................................................................................................................... 62
Envelopes ................................................................................................................................................................. 62
Labels ......................................................................................................................................................................... 65
5 Printing 69
Printing Overview .......................................................................................................................................................... 70
Selecting Printing Options ......................................................................................................................................... 71
Contents
Xerox® Phaser® 3610 Black and White Printer 5
User Guide
Print Driver Help .................................................................................................................................................... 71
Windows Printing Options ................................................................................................................................. 72
Macintosh Printing Options .............................................................................................................................. 73
Printing Features ........................................................................................................................................................... 74
Printing on Both Sides of the Paper ............................................................................................................... 74
Orientation .............................................................................................................................................................. 76
Selecting Paper Options for Printing .............................................................................................................. 76
Enabling Letterhead 2-Sided Mode ............................................................................................................... 76
Printing Multiple Pages to a Single Sheet .................................................................................................... 77
Printing Booklets ................................................................................................................................................... 77
Print Quality ............................................................................................................................................................ 78
Lightness .................................................................................................................................................................. 78
Printing Watermarks ............................................................................................................................................ 78
Scaling ....................................................................................................................................................................... 79
Printing Mirror Images ........................................................................................................................................ 79
Printing Special Job Types ................................................................................................................................. 79
Using Custom Paper Sizes ......................................................................................................................................... 81
Defining Custom Paper Sizes ............................................................................................................................ 81
Creating and Saving Custom Paper Sizes .................................................................................................... 81
Printing on Custom Paper Sizes ....................................................................................................................... 82
6 Maintenance 83
Cleaning the Printer ..................................................................................................................................................... 84
General Precautions ............................................................................................................................................. 84
Cleaning the Exterior ........................................................................................................................................... 85
Cleaning the Interior ........................................................................................................................................... 85
Ordering Supplies .......................................................................................................................................................... 86
Consumables .......................................................................................................................................................... 86
Routine Maintenance Items ............................................................................................................................. 86
When to Order Supplies ...................................................................................................................................... 87
Viewing Printer Supply Status .......................................................................................................................... 87
Toner Cartridges .................................................................................................................................................... 88
Recycling Supplies ................................................................................................................................................. 89
Managing the Printer .................................................................................................................................................. 90
Viewing the Firmware Version ......................................................................................................................... 90
Adjusting Paper Type .......................................................................................................................................... 91
Adjusting the Transfer Unit .............................................................................................................................. 91
Adjusting the Fuser .............................................................................................................................................. 92
Adjusting the Density .......................................................................................................................................... 92
Printing Charts ....................................................................................................................................................... 93
Cleaning the Developer ...................................................................................................................................... 93
Cleaning the Transfer Unit ................................................................................................................................ 94
Resetting Defaults ................................................................................................................................................ 94
Initializing the Print Meter ................................................................................................................................ 95
Resetting the Transfer Unit ............................................................................................................................... 95
Resetting the Fuser ............................................................................................................................................... 95
Clearing Job History ............................................................................................................................................. 96
Contents
6 Xerox® Phaser® 3610 Black and White Printer
User Guide
Clearing Storage .................................................................................................................................................... 96
Clearing Device Memory .................................................................................................................................... 97
Adjusting the Altitude ......................................................................................................................................... 97
Decreasing Electrostatic Memory ................................................................................................................... 98
Enabling Ghost Control ....................................................................................................................................... 98
Moving the Printer ........................................................................................................................................................ 99
7 Troubleshooting 101
General Troubleshooting ......................................................................................................................................... 102
Printer Does Not Turn On ................................................................................................................................. 102
Printer Makes Unusual Noises ........................................................................................................................ 102
Printer Does Not Print ........................................................................................................................................ 103
Printer Resets or Turns Off Frequently ........................................................................................................ 104
Condensation Has Formed Inside the Printer .......................................................................................... 104
Paper Jams .................................................................................................................................................................... 105
Locating Paper Jams .......................................................................................................................................... 105
Minimizing Paper Jams ..................................................................................................................................... 106
Clearing Paper Jams .......................................................................................................................................... 107
Troubleshooting Paper Jams .......................................................................................................................... 113
Print-Quality Problems .............................................................................................................................................. 115
Controlling Print Quality ................................................................................................................................... 115
Solving Print-Quality Problems ....................................................................................................................... 115
Getting Help .................................................................................................................................................................. 120
Error and Status Messages .............................................................................................................................. 120
Online Support Assistant .................................................................................................................................. 120
Information Pages..............................................................................................................................................
120
More Information ............................................................................................................................................... 121
A Specifications 123
Printer Configurations and Options ..................................................................................................................... 124
Standard Features .............................................................................................................................................. 124
Available Configurations .................................................................................................................................. 124
Options and Upgrades ...................................................................................................................................... 125
Physical Specifications .............................................................................................................................................. 126
Weights and Dimensions ................................................................................................................................. 126
Standard Configuration ................................................................................................................................... 126
Configuration with Optional 550-Sheet Feeder ...................................................................................... 126
Total Space Requirements ............................................................................................................................... 127
Clearance Requirements .................................................................................................................................. 127
Clearance Requirements with Optional 550-Sheet Feeder ................................................................. 128
Environmental Specifications ................................................................................................................................. 129
Temperature ......................................................................................................................................................... 129
Relative Humidity ............................................................................................................................................... 129
Elevation ................................................................................................................................................................. 129
Electrical Specifications ............................................................................................................................................ 130
Power Supply Voltage and Frequency ........................................................................................................ 130
Contents
Xerox® Phaser® 3610 Black and White Printer 7
User Guide
Power Consumption ........................................................................................................................................... 130
ENERGY STAR Qualified Product ................................................................................................................... 130
Performance Specifications .................................................................................................................................... 131
Print Speed ............................................................................................................................................................ 131
Controller Specifications .......................................................................................................................................... 132
Memory................................................................................................................................................................... 132
Interfaces ............................................................................................................................................................... 132
B Regulatory Information 133
Basic Regulations ........................................................................................................................................................ 134
United States FCC Regulations ...................................................................................................................... 134
Canada .................................................................................................................................................................... 134
European Union ................................................................................................................................................... 135
European Union Lot 4 Imaging Equipment Agreement Environmental Information .............. 135
Germany ................................................................................................................................................................. 136
Turkey RoHS Regulation ................................................................................................................................... 137
Regulatory Information for 2.4 GHz Wireless Network Adapter ...................................................... 137
Material Safety Data Sheets .................................................................................................................................. 138
C Recycling and Disposal 139
All Countries .................................................................................................................................................................. 140
North America .............................................................................................................................................................. 141
European Union ........................................................................................................................................................... 142
Domestic/Household Environment .............................................................................................................. 142
Professional/Business Environment ............................................................................................................. 142
Collection and Disposal of Equipment and Batteries ............................................................................ 143
Battery Symbol Note ......................................................................................................................................... 143
Battery Removal .................................................................................................................................................. 143
Other Countries............................................................................................................................................................ 144
Xerox® Phaser® 3610 Black and White Printer 9
User Guide
This chapter includes:
• Electrical Safety ................................................................................................................................................................ 10
• Operational Safety .......................................................................................................................................................... 12
• Maintenance Safety ....................................................................................................................................................... 14
• Printer Symbols ................................................................................................................................................................. 15
•
Environmental, Health, and Safety Contact Information ................................................................................ 16
Your printer and the recommended supplies have been designed and tested to meet strict safety
requirements. Attention to the following information ensures the continued safe operation of your Xerox
printer.
1
Safety

Safety
10 Xerox® Phaser® 3610 Black and White Printer
User Guide
Electrical Safety
This section includes:
• General Guidelines ........................................................................................................................................................... 10
• Power Cord ......................................................................................................................................................................... 10
• Emergency Turn Off ........................................................................................................................................................ 11
•
Laser Safety ........................................................................................................................................................................ 11
General Guidelines
WARNINGS:
• Do not push objects into slots or openings on the printer. Touching a voltage point or shorting
out a part could result in fire or electric shock.
• Do not remove the covers or guards that are fastened with screws unless you are installing
optional equipment and are instructed to do so. Turn off the printer when performing these
installations. Disconnect the power cord when removing covers and guards for installing optional
equipment. Except for user-installable options, there are no parts that you can maintain or
service behind these covers.
The following are hazards to your safety:
• The power cord is damaged or frayed.
• Liquid is spilled into the printer.
• The printer is exposed to water.
• The printer emits smoke, or the surface is unusually hot.
• The printer emits unusual noise or odors.
• The printer causes a circuit breaker, fuse, or other safety device to activate.
If any of these conditions occur, do the following:
1. Turn off the printer immediately.
2. Disconnect the power cord from the electrical outlet.
3. Call an authorized service representative.
Power Cord
• Use the power cord supplied with your printer.
• Plug the power cord directly into a properly grounded electrical outlet. Ensure that each end of the
cord is connected securely. If you do not know if an outlet is grounded, ask an electrician to check
the outlet.

Safety
Xerox® Phaser® 3610 Black and White Printer 11
User Guide
• Do not use a ground adapter plug to connect the printer to an electrical outlet that does not have a
ground connection terminal.
WARNING: Avoid the potential of electrical shock by ensuring that the printer is grounded properly.
Electrical products can be hazardous if misused.
• Only use an extension cord or power strip designed to handle the electrical current capacity of the
printer.
• Verify that the printer is plugged into an outlet that is providing the correct voltage and power.
Review the electrical specification of the printer with an electrician if necessary.
• Do not place the printer in an area where people can step on the power cord.
• Do not place objects on the power cord.
• Do not plug or unplug the power cord while the power switch is in the On position.
• If the power cord becomes frayed or worn, replace it.
• To avoid electrical shock and damage to the cord, grasp the plug when unplugging the power cord.
The power cord is attached to the printer as a plug-in device on the back of the printer. If it is necessary
to disconnect all electrical power from the printer, disconnect the power cord from the electrical outlet.
Emergency Turn Off
If any of the following conditions occur, turn off the printer immediately and disconnect the power cord
from the electrical outlet. Contact an authorized Xerox service representative to correct the problem if:
• The equipment emits unusual odors or makes unusual noises.
• The power cable is damaged or frayed.
• A wall panel circuit breaker, fuse, or other safety device has been tripped.
• Liquid is spilled into the printer.
• The printer is exposed to water.
• Any part of the printer is damaged.
Laser Safety
This printer complies with laser product performance standards set by governmental, national, and
international agencies and is certified as a Class 1 Laser Product. The printer does not emit hazardous
light because the beam is totally enclosed during all modes of customer operation and maintenance.
WARNING: Use of controls, adjustments, or performance of procedures other than those specified in
this manual can result in hazardous radiation exposure.
Safety
12 Xerox® Phaser® 3610 Black and White Printer
User Guide
Operational Safety
Your printer and supplies were designed and tested to meet strict safety requirements. These include
safety agency examination, approval, and compliance with established environmental standards.
Your attention to the following safety guidelines helps to ensure the continued, safe operation of your
printer.
Operational Guidelines
• Do not remove any paper trays while the printer is printing.
• Do not open the doors when the printer is printing.
• Do not move the printer when it is printing.
• Keep hands, hair, neckties, and so on, away from the exit and feed rollers.
• Covers, which require tools for removal, protect the hazard areas within the printer. Do not remove
the protective covers.
Ozone Release
This printer produces ozone during normal operation. The amount of ozone produced is dependent on
copy volume. Ozone is heavier than air and is not produced in amounts large enough to harm anyone.
Install the printer in a well-ventilated room.
For more information in the United States and Canada, go to www.xerox.com/environment. In other
markets, please contact your local Xerox representative or go to www.xerox.com/environment_europe.
Printer Location
• Place the printer on a level, solid, non-vibrating surface with adequate strength to hold its weight.
To find the weight for your printer configuration, see Physical Specifications on page 126.
• Do not block or cover the slots or openings on the printer. These openings are provided for
ventilation and to prevent overheating of the printer.
• Place the printer in an area where there is adequate space for operation and servicing.
• Place the printer in a dust-free area.
• Do not store or operate the printer in an extremely hot, cold, or humid environment.
• Do not place the printer near a heat source.
• Do not place the printer in direct sunlight to avoid exposure to light-sensitive components.
• Do not place the printer where it is directly exposed to the cold air flow from an air conditioning
system.
• Do not place the printer in locations susceptible to vibrations.
• For optimum performance, use the printer at the elevations specified in Elevation on page 129.

Safety
Xerox® Phaser® 3610 Black and White Printer 13
User Guide
Printer Supplies
• Use the supplies designed for your printer. The use of unsuitable materials can cause poor
performance and a possible safety hazard.
• Follow all warnings and instructions marked on, or supplied with, the product, options, and supplies.
• Store all consumables in accordance with the instructions given on the package or container.
• Keep all consumables away from the reach of children.
• Never throw toner, print/drum cartridges, or toner containers into an open flame.
• When handling cartridges, for example toner and such, avoid skin or eye contact. Eye contact can
cause irritation and inflammation. Do not attempt to disassemble the cartridge, which can increase
the risk of skin or eye contact.
CAUTION: Use of non-Xerox supplies is not recommended. The Xerox Warranty, Service Agreement,
and Total Satisfaction Guarantee do not cover damage, malfunction, or degradation of performance
caused by use of non-Xerox supplies, or the use of Xerox supplies not specified for this printer. The
Total Satisfaction Guarantee is available in the United States and Canada. Coverage could vary
outside these areas. Please contact your Xerox representative for details.
Safety
14 Xerox® Phaser® 3610 Black and White Printer
User Guide
Maintenance Safety
• Do not attempt any maintenance procedure that is not specifically described in the documentation
supplied with your printer.
• Do not use aerosol cleaners. Clean with a dry lint-free cloth only.
• Do not burn any consumables or routine maintenance items. For information on Xerox supplies
recycling programs, go to www.xerox.com/gwa.

Safety
Xerox® Phaser® 3610 Black and White Printer 15
User Guide
Printer Symbols
Symbol Description
Warning:
Indicates a hazard which, if not avoided, could result in death or serious injury.
Caution:
Indicates a mandatory action to take in order to avoid damage to the property.
Hot surface on or in the printer. Use caution to avoid personal injury.
Do not burn the item.
Do not expose the imaging unit to light for more than 10 minutes.
Do not expose the imaging unit to direct sunlight.
Do not touch the part or area of the printer.
Warning:
Wait for the printer to cool for the specified time before touching the fuser.
This item can be recycled. For details, see Recycling and Disposal on page 139.
Safety
16 Xerox® Phaser® 3610 Black and White Printer
User Guide
Environmental, Health, and Safety Contact
Information
For more information on Environment, Health, and Safety in relation to this Xerox product and supplies,
contact the following customer help lines:
United States: 1-800 828-6571
Canada: 1-800 828-6571
Europe: +44 1707 353 434
For product safety information in the United States, go to www.xerox.com/environment.
For product safety information in Europe, go to www.xerox.com/environment_europe.
Xerox® Phaser® 3610 Black and White Printer 17
User Guide
This chapter includes:
• Parts of the Printer ........................................................................................................................................................... 18
• Energy Saver Mode ......................................................................................................................................................... 22
• Information Pages ........................................................................................................................................................... 23
• Administrative Features ................................................................................................................................................ 24
•
More Information ............................................................................................................................................................ 26
2
Features

Features
18 Xerox® Phaser® 3610 Black and White Printer
User Guide
Parts of the Printer
This section includes:
• Front View ........................................................................................................................................................................... 18
• Rear View ............................................................................................................................................................................ 19
• Internal Parts ..................................................................................................................................................................... 19
•
Control Panel ..................................................................................................................................................................... 20
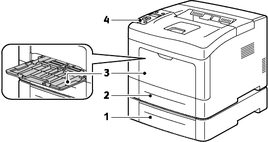
Front View
1. Tray 2 (optional)
2. Tray 1
3. Bypass Tray
4. Control Panel

Features
Xerox® Phaser® 3610 Black and White Printer 19
User Guide
Rear View
1. Duplex Unit
2. Transfer Roller
3. Fuser
4. Power Connector
5. Rear Cover
6. Control Board
7. Left Side Door
8. Power Switch
9. Ethernet Connector
10. USB Port
11. Wireless Network Adapter Port
Internal Parts
1. Front Door Handle
2. Output Tray Paper Stop
3. Front Door
4. Smart Kit Drum Cartridge
5. Toner Cartridge

Features
20 Xerox® Phaser® 3610 Black and White Printer
User Guide
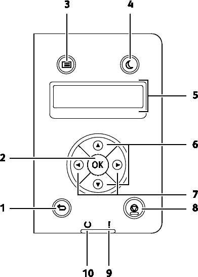
Control Panel
The control panel consists of a display, indicator lights, and buttons you press to control the functions
available on the printer. The control panel:
• Displays the current operating status of the printer.
• Provides access to print features.
• Provides access to reference materials.
• Provides access to administrative and maintenance menus.
• Prompts you to load paper, replace supplies, and clear jams.
• Displays errors and warnings.
1. Back/Return: Moves up one level in the menu.
2. OK: Displays the selected menu or selects the current menu option.
3. Menu: Displays the Information Pages, Billing Meters, Admin, Tray Settings, and Panel Language
menus.
4. Power Saver: Enters and exits low-power mode.
5. The control panel display provides information about settings, statuses, and error messages. An
asterisk (*) next to a menu option indicates the current default setting.
6. Up and Down arrows: Navigates to the next menu, item, or option.
7. Left and Right arrows: Moves forward and backward through submenus or number fields. To display
the Walk-up Features menu and to list Secure Jobs and Saved Jobs, press the Left arrow button.
8. Cancel: Ends the active print job.
Features
Xerox® Phaser® 3610 Black and White Printer 21
User Guide
9. Error Indicator
− Lights red to indicate an error condition or warning that requires your attention.
− Blinks red when an error occurs that requires technical support.
10. Ready Indicator
− Lights green when the printer is ready to receive data.
− Blinks green when the printer is busy receiving data.
Features
22 Xerox® Phaser® 3610 Black and White Printer
User Guide
Energy Saver Mode
You can set the time the printer spends idle in ready mode before the printer transitions to a lower
power level.
Exiting Energy Saver Mode
The printer automatically cancels Energy Saver mode when it receives data from a connected computer.
To exit Energy Saver mode manually, press the Power Saver button on the control panel.
Features
Xerox® Phaser® 3610 Black and White Printer 23
User Guide
Information Pages
Your printer has a printable set of information pages. These include configuration and font information,
demonstration pages, and more.
Configuration Report
The Configuration Report lists printer information such as default settings, installed options, network
settings including IP address, and font settings. Use the information on this page to help you configure
network settings for your printer, and to view page counts and system settings.
Printing a Configuration Report
1. At the printer control panel, press the Menu button.
Note: To navigate through the menu, use the Up or Down arrow buttons.
2. Navigate to Information Pages, then press OK.
3. Navigate to Configuration, then press OK.
Features
24 Xerox® Phaser® 3610 Black and White Printer
User Guide
Administrative Features
Finding the IP Address of the Printer
You can view the IP address of your printer on the Configuration Report. IPv4 and IPv6 address
information is located in the Network Setup section of the Configuration Report under IPv4 and IPv6.
CentreWare Internet Services
CentreWare Internet Services is the administration and configuration software installed on the
embedded Web server in the printer. It allows you to configure and administer the printer from a Web
browser.
CentreWare Internet Services requires:
• A TCP/IP connection between the printer and the network in Windows, Macintosh, UNIX, or Linux
environments.
• TCP/IP and HTTP enabled on the printer.
• A network-connected computer with a Web browser.
Accessing CentreWare Internet Services
At your computer, open a Web browser, in the address field, type the IP address of the printer, then press
Enter or Return.
Accessing the Printer
To ensure that unauthorized users cannot access the printer, the system administrator can configure
authentication and authorization. If the administrator configures authentication and authorization, you
can be required to log in to access some or all of the features of the printer.
Logging In
Logging in is the process by which you identify yourself to the printer for authentication. If
authentication is set, to access printer features, you log in with your user credentials.
Features
Xerox® Phaser® 3610 Black and White Printer 25
User Guide
Logging In to CentreWare Internet Services
When Administrator Mode is enabled, the Jobs, Address Book, Properties, and Support tabs are locked
until you enter the administrator user name and password.
To log in to CentreWare Internet Services as the administrator:
1. At your computer, open a Web browser, in the address field, type the IP address of the printer, then
press Enter or Return.
Note: If you do not know the IP address of your printer, see Finding the IP Address of Your Printer on
page 24.
2. Click the Jobs, Address Book, Properties, or Support tab.
3. Type the administrator user name.
4. Type your password, then click Login.
Logging In at the Control Panel
1. To enter numbers on the control panel, select an option:
− To select a number, press the Up or Down arrow buttons.
− To scroll quickly, hold down the Up or Down arrow buttons.
− To move to the next number field, press the Right arrow button.
− To move to the previous number field, press the Left arrow button.
2. When finished, press OK.
Billing Meter
The Billing Meters menu shows the number of processed print jobs. You cannot reset the meter readings;
they track the total number of pages printed for the life of the printer.
To view the Billing Meter on the control panel:
1. At the printer control panel, press the Menu button.
Note: To navigate through the menu, use the Up or Down arrow buttons.
2. Navigate to Billing Meters, then press OK.
3. To select a billing meter, use the Up or Down arrow buttons.

Features
26 Xerox® Phaser® 3610 Black and White Printer
User Guide
More Information
You can obtain more information about your printer from these sources:
Resource Location
Installation Guide Packaged with the printer.
Other documentation for your printer www.xerox.com/office/3610docs
System Administrator Guide www.xerox.com/office/WC3615docs
Recommended Media List United States: www.xerox.com/paper
European Union: www.xerox.com/europaper
Technical support information for your printer;
including online technical support, Online Support
Assistant, and driver downloads.
www.xerox.com/office/3610support
Information Pages Print from the control panel, or from CentreWare
Internet Services, click Status > Information Pages.
CentreWare Internet Services documentation In CentreWare Internet Services, click Help.
Order supplies for your printer www.xerox.com/office/3610supplies
A resource for tools and information, including
interactive tutorials, printing templates, helpful tips,
and customized features to meet your individual
needs.
www.xerox.com/office/businessresourcecenter
Local sales and support center www.xerox.com/office/worldcontacts
Printer registration www.xerox.com/office/register
Xerox® Direct online store www.direct.xerox.com/
Xerox® Phaser® 3610 Black and White Printer 27
User Guide
This chapter includes:
• Installation and Setup Overview ................................................................................................................................ 28
• Selecting a Location for the Printer........................................................................................................................... 29
• Connecting the Printer ................................................................................................................................................... 30
• Configuring Network Settings ..................................................................................................................................... 34
• Configuring General Setup Using CentreWare Internet Services .................................................................. 35
• Configuring General Setup Using the Control Panel .......................................................................................... 38
•
Installing the Software .................................................................................................................................................. 39
See also:
Installation Guide packaged with your printer.
Online Support Assistant at www.xerox.com/office/3610support
3
Installation and Setup
Installation and Setup
28 Xerox® Phaser® 3610 Black and White Printer
User Guide
Installation and Setup Overview
Before printing, your computer and the printer must be plugged in, turned on, and connected. Configure
the initial settings of the printer, then install the driver software and utilities on your computer.
You can connect to your printer directly from your computer using USB, or connect over a network using
an Ethernet cable or wireless connection. Hardware and cabling requirements vary for the different
connection methods. Routers, network hubs, network switches, modems, Ethernet cables, and USB cables
are not included with your printer and must be purchased separately. Xerox recommends an Ethernet
connection because it is typically faster than a USB connection, and it provides access to CentreWare
Internet Services.
For details, see the System Administrator Guide at www.xerox.com/office/WC3615docs.
Installation and Setup
Xerox® Phaser® 3610 Black and White Printer 29
User Guide
Selecting a Location for the Printer
1. Select a dust-free area with temperatures from 10–32°C (50–90°F), and relative humidity 15–85%.
Note: Sudden temperature fluctuations can affect print quality. Rapid heating of a cold room can
cause condensation inside the printer, directly interfering with image transfer.
2. Place the printer on a level, solid, non-vibrating surface with adequate strength for the weight of the
printer. The printer must be horizontal with all four feet in solid contact with the surface. To find the
weight for your printer configuration, see Physical Specifications on page 126.
After positioning the printer, you are ready to connect it to the power source and computer or network.
See also:
Total Space Requirements on page 127
Clearance Requirements on page 127
Installation and Setup
30 Xerox® Phaser® 3610 Black and White Printer
User Guide
Connecting the Printer
This section includes:
• Selecting a Connection Method ................................................................................................................................. 30
• Connecting to a Computer Using USB ..................................................................................................................... 30
• Connecting to a Wired Network ................................................................................................................................. 31
• Finding the IP Address of the Printer Using the Control Panel ....................................................................... 31
•
Connecting to a Wireless Network ............................................................................................................................ 32
Selecting a Connection Method
The printer can be connected to your computer using a USB cable or an Ethernet cable. The method you
select depends on how your computer is connected to the network. A USB connection is a direct
connection and is the easiest to set up. An Ethernet connection is used for networking. If you are using a
network connection, it is important to understand how your computer is connected to the network. For
details, see About TCP/IP and IP Addresses on page 34.
Note: Hardware and cabling requirements vary for the different connection methods. Routers,
network hubs, network switches, modems, Ethernet cables, and USB cables are not included with
your printer and must be purchased separately.
• Network: If your computer is connected to an office network or home network, use an Ethernet
cable to connect the printer to the network. You cannot connect the printer directly to the computer.
It must be connected through a router or hub. An Ethernet network can be used for one or more
computers and supports many printers and systems simultaneously. Ethernet connection is typically
faster than USB and allows you direct access to the settings of the printer using CentreWare
Internet Services.
• Wireless Network: If your computer includes a wireless router or wireless access point, you can
connect the printer to the network with a wireless connection. A wireless network connection
provides the same access and services as a wired connection provides. A wireless network
connection is typically faster than USB and allows direct access to the setting of the printer using
CentreWare Internet Services.
• USB: If you connect the printer to one computer and do not have a network, use a USB connection.
A USB connection offers fast data speeds, but typically not as fast as an Ethernet connection. In
addition, a USB connection does not provide access to CentreWare Internet Services.
Connecting to a Computer Using USB
To use USB, you must have Windows XP SP1 and later, Windows Server 2003 and later, or Macintosh OS
X version 10.5 and later.
To connect the printer to the computer using a USB cable:
Installation and Setup
Xerox® Phaser® 3610 Black and White Printer 31
User Guide
1. Ensure that the printer is turned off.
2. Connect the B end of a standard A/B USB 2.0 cable to the USB Port on the back of the printer.
3. Attach the power cord and then plug in the printer and turn it on.
4. Connect the A end of the USB cable to the USB Port on the computer.
5. When the Windows Found New Hardware Wizard appears, cancel it.
6. You are ready to install the print drivers. For details, see Installing the Software on page 39.
Connecting to a Wired Network
1. Ensure that the printer is turned off.
2. Using an Ethernet cable, connect the printer to the network.
3. Attach the power cord to the printer, plug the cord into an electrical outlet, then turn on the printer.
4. Set or automatically discover the network IP address of the printer.
For details, see the System Administrator Guide at www.xerox.com/office/WC3615docs.
Finding the IP Address of the Printer Using the Control Panel
To install the print drivers for a network-connected printer, you need the IP address of your printer. You
also need the IP address to access the settings of your printer through CentreWare Internet Services. You
can view the IP address of your printer on the Configuration Page or on the control panel.
After the printer has been on for two minutes, print the Configuration Page. The TCP/IP address appears
in the Network section of the page. If the IP address listed on the page is 0.0.0.0, the printer needs more
time to acquire an IP address from the DHCP server. Wait two minutes, then print the Configuration
Page again.
To print the Configuration Page:
1. At the printer control panel, press the Menu button.
Note: To navigate through the menu, use the Up or Down arrow buttons.
2. Navigate to Information Pages, then press OK.
3. Navigate to Configuration, then press OK.
The IP address of the printer is listed in the Wired Network section of the page.
To view the IP address of the printer on the control panel:
1. At the printer control panel, press the Menu button.
Note: To navigate through the menu, use the Up or Down arrow buttons.
2. Navigate to Admin Settings, then press OK.
3. Navigate to Network Setup, then press OK.
4. Navigate to TCP/IP, then press OK.
5. Navigate to IPv4, then press OK.
6. Navigate to IP Address, then press OK.
The IP address of the printer appears on the IP Address screen.

Installation and Setup
32 Xerox® Phaser® 3610 Black and White Printer
User Guide
Connecting to a Wireless Network
A wireless local area network (WLAN) provides the means to connect two or more devices in a LAN
without a physical connection. The printer can connect to a wireless LAN that includes a wireless router
or wireless access point. Before connecting the printer to a wireless network, the wireless router must be
configured with a service set identifier (SSID), a passphrase, and security protocols.
Note: Wireless networking is available only on printers with the optional Wireless Network Adapter
installed.
Installing the Wireless Network Adapter
The optional wireless network adapter plugs in to the back of the control board. After the adapter is
installed, and wireless networking is enabled and configured, the adapter is able to connect to a wireless
network.
To install the wireless network adapter:
1. Turn off the printer.
2. Remove the packaging from the wireless network adapter.
3. To attach the wireless network adapter to the printer, follow the installation sheet provided with the
wireless network adapter.
Note: Once the wireless network adapter is installed, remove it only as needed and after reading the
instructions for its removal.

Installation and Setup
Xerox® Phaser® 3610 Black and White Printer 33
User Guide
4. To enable the wireless network adapter, disconnect the Ethernet cable from the printer.
Note: Only one network connection can be active. During power on, if a network cable is detected, it
is enabled and the wireless network adapter is disabled.
5. Turn on the printer.
6. In the Admin Menu, configure the Wi-Fi settings. For details, see the System Administrator Guide at
www.xerox.com/office/WC3615docs.
Removing the Wireless Network Adapter
1. Turn off the printer.
2. Unscrew the thumbscrew on the back of the left door, then open the left door.
3. Locate the plastic latch release on the wireless network adapter that protrudes through the back of
the chassis.
4. To remove the wireless network adapter, reach into the chassis and push inward, then back on the
latch release.
CAUTION: Do not use force to pull on the wireless network adapter. If the latch is released properly,
the adapter pulls out easily. Pulling on the adapter can damage it.
5. Close the left door, then on the back of the door, screw in the thumbscrew.
6. Connect the printer to your computer with a USB cable or through the network using an Ethernet
cable.
7. Turn on the printer.
Resetting Wireless Settings
If the printer was previously installed in a wireless network environment, it could retain setup and
configuration information.
To prevent the printer from attempting to connect to the previous network, reset the wireless settings.
For details on resetting or connecting to a wireless network, see the System Administrator guide at
www.xerox.com/office/WC3615docs.
Installation and Setup
34 Xerox® Phaser® 3610 Black and White Printer
User Guide
Configuring Network Settings
This section includes:
•
About TCP/IP and IP Addresses ................................................................................................................................. 34
About TCP/IP and IP Addresses
Computers and printers primarily use TCP/IP protocols to communicate over an Ethernet network.
Generally, Macintosh computers use either TCP/IP or the Bonjour protocol to communicate with a
network printer. For Macintosh OS X systems, TCP/IP is preferred. Unlike TCP/IP, however, Bonjour does
not require printers or computers to have IP addresses.
With TCP/IP protocols, each printer and computer must have a unique IP address. Many networks and
cable and DSL routers have a Dynamic Host Configuration Protocol (DHCP) server. A DHCP server
automatically assigns an IP address to every computer and printer on the network that is configured to
use DHCP.
If you use a Cable or DSL router, see the documentation for your router for information on IP addressing.
Installation and Setup
Xerox® Phaser® 3610 Black and White Printer 35
User Guide
Configuring General Setup Using CentreWare
Internet Services
This section includes:
• Viewing Printer Information ........................................................................................................................................ 35
• Configuring System Settings ....................................................................................................................................... 36
• Configuring Clock Settings ........................................................................................................................................... 36
•
Configuring Tray Settings ............................................................................................................................................. 37
General Setup in CentreWare Internet Services allows you to configure printer settings onscreen using
your Web browser.
Viewing Printer Information
1. At your computer, open a Web browser, in the address field, type the IP address of the printer, then
press Enter or Return.
2. In CentreWare Internet Services, click Properties.
3. To expand the menu, in the Properties pane, next to the General Setup folder, click the plus symbol
(+).
4. In the General Setup folder, click About Printer.
5. Under Version Information, find the printer model number, serial number, and the firmware version
number for the operating systems.
6. Under Page Description Language, find the version numbers for each of the page description
languages installed on the printer.
7. In the Memory section, find the amount of RAM. If Device Memory is installed, its memory amount
appears after SD Card.
Installation and Setup
36 Xerox® Phaser® 3610 Black and White Printer
User Guide
Configuring System Settings
Use this menu to configure general settings of the printer. For example, time to Energy Saver mode,
alarm settings, and so on.
To configure the system settings:
1. At your computer, open a Web browser, in the address field, type the IP address of the printer, then
press Enter or Return.
2. In CentreWare Internet Services, click Properties.
3. To expand the menu, in the Properties pane, next to the General Setup folder, click the plus symbol
(+).
4. From the General Setup menu, click System Settings.
5. Under General, enter values for the Energy Saver modes, then select values for the other selections
from each of their lists.
6. Under Timers, for Panel Timeout, select the time from the list. For the Fault Timeout, enter the time
in seconds.
7. Under Output Settings, for each of the items, select a value from the list.
8. Click Save Changes.
Configuring Clock Settings
Use this menu to set the date and clock settings of the printer.
To configure the clock settings:
1. At your computer, open a Web browser, in the address field, type the IP address of the printer, then
press Enter or Return.
2. In CentreWare Internet Services, click Properties.
3. To expand the menu, in the Properties pane, next to the General Setup folder, click the plus symbol
(+).
4. From the General Setup menu, click Clock Settings.
5. Next to Date Format, Time Format, and Time Zone, select the setting for each from the
corresponding list.
6. Using the selected format, next to Set Date, enter the date.
7. Using the selected format, next to Set Time, enter the time.
8. Click Save Changes.
Installation and Setup
Xerox® Phaser® 3610 Black and White Printer 37
User Guide
Configuring Tray Settings
Use this menu to configure the paper trays for the paper size and type, set custom sizes, and turn the
display prompts on and off.
To configure the tray settings:
1. At your computer, open a Web browser, in the address field, type the IP address of the printer, then
press Enter or Return.
2. In CentreWare Internet Services, click Properties.
3. To expand the menu, in the Properties pane, next to the General Setup folder, click the plus symbol
(+).
4. From the General Setup menu, click Tray Settings.
5. To use the panel or print driver settings to select the Bypass Tray mode, under Tray Settings select
Bypass Tray Mode.
6. Under Tray Settings, next to each tray selection, select the paper size and paper type from the lists.
7. Under Tray Settings, enter the custom paper sizes for the paper width (X) and the paper length (Y).
8. To have the display prompt you for the paper settings each time the paper tray is loaded, next to
the corresponding tray, select On.
9. Under Tray Priority, select the tray priority for paper usage.
10. Click Save Changes.
Installation and Setup
38 Xerox® Phaser® 3610 Black and White Printer
User Guide
Configuring General Setup Using the Control
Panel
This section includes:
• Getting Information About the Printer.................................................................................................................... 38
•
Using the Power On Wizard ......................................................................................................................................... 38
Getting Information About the Printer
1. At the printer control panel, press the Menu button.
Note: To navigate through the menu, use the Up or Down arrow buttons.
2. Navigate to Information Pages, then press OK.
3. To scroll through the information pages, use the Up or Down arrows.
4. To print a specific information page, press OK.
Using the Power On Wizard
The Power On Wizard helps to configure several preliminary settings for the printer, including the
country, date, time, and time zone.
For details, see the System Administrator Guide at www.xerox.com/office/WC3615docs.
Installation and Setup
Xerox® Phaser® 3610 Black and White Printer 39
User Guide
Installing the Software
This section includes:
• Operating System Requirements ............................................................................................................................... 39
• Installing the Print Drivers for a Windows Network Printer ............................................................................. 39
• Installing the Print Drivers for a Windows USB Printer ...................................................................................... 40
• Installing Print Drivers for Macintosh OS X Version 10.5 and Later ............................................................. 40
• Installing Drivers and Utilities for UNIX and Linux ............................................................................................. 41
• Other Drivers ...................................................................................................................................................................... 42
•
Installing the Printer as a Web Service on Devices ............................................................................................. 43
Before installing driver software, verify that the printer is plugged in, turned on, connected correctly, and
has a valid IP address. The IP address usually appears in the upper right corner of the control panel. If
you cannot find the IP address, see Finding the IP Address of Your Printer on page 24.
If the Software and Documentation disc is not available, download the latest drivers from
www.xerox.com/office/3610drivers.
Operating System Requirements
• Windows XP SP3, Windows Vista, Windows 7, Windows 8, Windows Server 2003, Windows
Server 2008, Windows Server 2008 R2, and Windows Server 2012.
• Macintosh OS X version 10.5, 10.6, 10.7, and 10.8.
UNIX and Linux: Your printer supports connection to various UNIX platforms through the network
interface. For details, see www.xerox.com/office/3610drivers.
Installing the Print Drivers for a Windows Network Printer
1. Insert the Software and Documentation disc into the appropriate drive on your computer.
If the installer does not start automatically, navigate to the drive, and double-click the Setup.exe
installer file.
2. Click Network Installation.
3. At the bottom of the Driver Installation window, click Language.
4. Select your language, then click OK.
5. Click Next.
6. To accept the agreement, click I accept the terms, then click Next.
Installation and Setup
40 Xerox® Phaser® 3610 Black and White Printer
User Guide
7. In the Discovered Printers list, select your printer, then click Next.
Note: When installing drivers for a network printer, if you do not see your printer in the list, click the
IP Address or DNS Name button. In the IP Address or DNS Name field, type the IP address of your
printer, then click Search to locate your printer. If you do not know the IP address of the printer, see
Finding the IP Address of Your Printer on page 24.
8. To start the installation, click Next.
9. When the installation is complete, at the Enter Printer Settings screen, select the following as
needed:
− Share this printer with other computers on the network
− Set this printer as default for printing
10. Click Next.
11. In the Software and Documentation window, for any option you do not want to install, clear the
check box.
12. Click Install.
13. At the InstallShield Wizard, click Yes to restart your computer, then click Finish.
14. At the Product Registration screen, select your country from the list, then click Next. Complete the
registration form, then submit it.
Installing the Print Drivers for a Windows USB Printer
1. Insert the Software and Documentation disc into the appropriate drive on your computer.
If the installer does not start automatically, navigate to the drive, and double-click the Setup.exe
installer file.
2. At the bottom of the Driver Installation window, click Language.
3. Select your language, then click OK.
4. Select the printer model, then click Install Print and Scan Drivers.
5. To accept the agreement, click I Agree, then click Next.
6. At the Product Registration screen, from the list, select your country, then click Next.
7. Complete the registration form, then click Submit.
Installing Print Drivers for Macintosh OS X Version 10.5 and Later
Install the Xerox print driver to access all features of your printer.
To install the print driver software:
1. Insert the Software and Documentation disc into the appropriate drive on your computer.
2. To view the .dmg file for your printer, double-click the disc icon on your desktop.
3. Open the .dmg file, then navigate to the appropriate installer file for your operating system.
Installation and Setup
Xerox® Phaser® 3610 Black and White Printer 41
User Guide
4. Open the installer file.
5. To acknowledge the warning and introductory messages, click Continue. Click Continue again.
6. To accept the license agreement, click Continue, then click Agree.
7. To accept the current installation location, click Install, or select another location for the installation
files, then click Install.
8. Enter your password, then click OK.
9. Select your printer in the list of discovered printers, then click Continue.
10. If your printer does not appear in the list of discovered printers:
a. Click the Network Printer Icon.
b. Type the IP address of your printer, then click Continue.
c. Select your printer in the list of discovered printers, then click Continue.
11. To accept the print queue message, click OK.
12. To accept the installation success message, click Close.
Note: The printer is automatically added to the printer queue in Macintosh OS X version 10.4 and
later.
To verify that the print driver recognizes the installed options:
1. From the Apple menu, click System Preferences > Print and Scan.
2. Select the printer in the list, then click Options and Supplies.
3. Click Driver, then confirm that your printer is selected.
4. Confirm that all of the options installed on the printer appear correct.
5. If you change settings, click OK, close the window, then exit System Preferences.
Installing Drivers and Utilities for UNIX and Linux
Xerox® Services for UNIX Systems is a two part installation process. It requires the installation of a
Xerox® Services for UNIX Systems code package and a printer support package. The Xerox® Services for
UNIX Systems code package must be installed before installing the printer support package.
Note: You must have root or superuser privileges to perform the UNIX print driver installation on
your computer.
1. At the printer, do the following:
a. Verify that both the TCP/IP protocol and the proper connector are enabled.
b. On the printer control panel, do one of the following for the IP address:
• Allow the printer to set up a DHCP address.
• Enter the IP address manually.
c. Print the Configuration Report and keep it for reference. For details, see Configuration Report
on page 23.
Installation and Setup
42 Xerox® Phaser® 3610 Black and White Printer
User Guide
2. At your computer, do the following:
a. Go to www.xerox.com/office/3610drivers and select your printer model.
b. From the Operating System menu, select UNIX, then click Go.
c. Select the Xerox® Services for UNIX Systems package for the correct operating system. This
package is the core package and must be installed before the printer support package.
d. To begin downloading, click the Start button.
e. Repeat steps a and b, then click the printer package for use with the Xerox® Services for UNIX
Systems package that you selected earlier. The second part of the driver package is ready for
download.
f. To begin downloading, click the Start button.
g. In the notes below the driver package that you selected, click the link for the Installation
Guide, then follow the installation instructions.
Notes:
• To load Linux print drivers, perform the preceding procedures but select Linux as the operating
system. Select Xerox® Services for Linux Systems driver or the Linux CUPS Printing Package. You
can also use the CUPS driver included in the Linux package.
• Supported Linux drivers are available at www.xerox.com/office/3610drivers.
• For details about UNIX and Linux drivers, see the System Administrator Guide at
www.xerox.com/office/WC3615docs.
Other Drivers
The following drivers are available for download at www.xerox.com/office/3610drivers.
• The Xerox® Global Print Driver works with any printer on your network, including those printers
made by other manufacturers. It configures itself for your individual printer upon installation.
• The Xerox® Mobile Express Driver works with any printer available to your computer that supports
standard PostScript. It configures itself for the printer you select every time you print. If you travel
frequently to the same sites, you can save your favorite printers in that location and the driver saves
your settings.
Installation and Setup
Xerox® Phaser® 3610 Black and White Printer 43
User Guide
Installing the Printer as a Web Service on Devices
Web Services on Devices (WSD) allow a client to discover and access a remote device and its associated
services across a network. WSD supports device discovery, control, and use.
To install a WSD printer using the Add Device Wizard:
1. At your computer, click Start, then select Devices and Printers.
2. To launch the Add Device Wizard, click Add a Device.
3. In the list of available devices, select the one you want to use, then click Next.
Note: If the printer you want to use does not appear in the list, click the Cancel button. Add the
WSD printer manually using the Add Printer Wizard.
4. Click Close.
To install a WSD printer using the Add Printer Wizard:
1. At your computer, click Start, then select Devices and Printers.
2. To launch the Add Printer Wizard, click Add a Printer.
3. Click Add a network, wireless, or Bluetooth printer.
4. In the list of available devices, select the one you want to use, then click Next.
5. If the printer you want to use does not appear in the list, click The printer that I want is not listed.
6. Select Add a printer using a TCP/IP address or hostname, then click Next.
7. From the Device type field, select Web Services Device.
8. Enter the printer IP address in the Hostname or IP address field, then click Next.
9. Click Close.
Xerox® Phaser® 3610 Black and White Printer 45
User Guide
This chapter includes:
• Supported Paper ............................................................................................................................................................... 46
• Loading Paper ................................................................................................................................................................... 50
•
Printing on Special Paper .............................................................................................................................................. 62
4
Paper and Media
Paper and Media
46 Xerox® Phaser® 3610 Black and White Printer
User Guide
Supported Paper
This section includes:
• Recommended Media .................................................................................................................................................... 46
• Ordering Paper .................................................................................................................................................................. 46
• General Paper Loading Guidelines ............................................................................................................................ 46
• Paper That Can Damage Your Printer ...................................................................................................................... 47
• Paper Storage Guidelines .............................................................................................................................................. 47
• Supported Paper Types and Weights ....................................................................................................................... 48
• Supported Standard Paper Sizes ................................................................................................................................ 48
• Supported Paper Types and Weights for Automatic 2-Sided Printing ........................................................ 49
• Supported Standard Paper Sizes for Automatic 2-Sided Printing ................................................................. 49
• Supported Custom Paper Sizes ................................................................................................................................... 49
Your printer is designed to use various paper and other media types. To ensure the best print quality and
to avoid jams, follow the guidelines in this section.
For best results, use Xerox paper and media recommended for your printer.
Recommended Media
A list of paper and media recommended for your printer is available at:
• www.xerox.com/paper Recommended Media List (United States)
• www.xerox.com/europaper Recommended Media List (Europe)
Ordering Paper
To order paper or other media, contact your local reseller or visit www.xerox.com/office/3610supplies.
General Paper Loading Guidelines
• Do not overfill the paper trays. Do not load paper above the maximum fill line in the tray.
• Adjust the paper guides to fit the paper size.
• Fan paper before loading it in the paper tray.
• If excessive jams occur, use paper or other approved media from a new package.
• Do not print on label media once a label has been removed from a sheet.
• Use only paper envelopes. Print envelopes 1-sided only.

Paper and Media
Xerox® Phaser® 3610 Black and White Printer 47
User Guide
Paper That Can Damage Your Printer
Some paper and other media types can cause poor output quality, increased paper jams, or damage
your printer. Do not use the following:
• Rough or porous paper
• Inkjet paper
• Non-laser glossy or coated paper
• Paper that has been photocopied
• Paper that has been folded or wrinkled
• Paper with cutouts or perforations
• Stapled paper
• Envelopes with windows, metal clasps, side seams, or adhesives with release strips
• Padded envelopes
• Plastic media
CAUTION: The Xerox Warranty, Service Agreement, or Xerox Total Satisfaction Guarantee does not
cover damage caused by using unsupported paper or specialty media. The Xerox Total Satisfaction
Guarantee is available in the United States and Canada. Coverage could vary outside these areas.
Please contact your local representative for details.
Paper Storage Guidelines
Storing your paper and other media properly contributes to optimum print quality.
• Store paper in dark, cool, relatively dry locations. Most paper is susceptible to damage from
ultraviolet and visible light. Ultraviolet light, from the sun and fluorescent bulbs, is particularly
damaging to paper.
• Reduce the exposure of paper to strong lights for long periods of time.
• Maintain constant temperatures and relative humidity.
• Avoid storing paper in attics, kitchens, garages, or basements. These spaces are more likely to collect
moisture.
• Store paper flat, either on pallets, cartons, shelves, or in cabinets.
• Avoid food or drinks in the area where paper is stored or handled.
• Do not open sealed packages of paper until you are ready to load them into the printer. Leave
stored paper in the original packaging. The paper wrapper protects the paper from moisture loss or
gain.
• Some special media is packaged inside resealable plastic bags. Store the media inside the bag until
you are ready to use it. Keep unused media in the bag and reseal it for protection.

Paper and Media
48 Xerox® Phaser® 3610 Black and White Printer
User Guide
Supported Paper Types and Weights
Trays Paper Types Weights
All Trays Plain
Letterhead
Hole Punched
Rough Surface
Colored
(60–80 g/m²)
Plain Thick
Letterhead
Hole Punched
Colored
(81–105 g/m²)
Light Card (106–163 g/m²)
Heavy Card (164–216 g/m²)
Labels
Bypass Tray only Envelope
Supported Standard Paper Sizes
Tray European Standard Sizes North American Standard Sizes
All Trays A4 (210 x 297 mm, 8.3 x 11.7 in.)
B5 (176 x 250 mm, 6.9 x 9.8 in.)
A5 (148 x 210 mm, 5.8 x 8.3 in.)
Legal (216 x 356 mm, 8.5 x 14 in.)
Oficio (216 x 343 mm, 8.5 x 13.5 in.)
Folio (216 x 330 mm, 8.5 x 13 in.)
Letter (216 x 279 mm, 8.5 x 11 in.)
Executive (184
x
267
mm, 7.25
x
10.5 in.)
Bypass Tray C5 envelope (162 x 229 mm,
6.4 x 9 in.)
DL envelope (110 x 220 mm,
4.33
x
8.66
in.)
Monarch envelope (98 x 190 mm,
3.9 x 7.5 in.)
No. 10 envelope (241 x 105 mm,
4.1
x
9.5
in.)

Paper and Media
Xerox® Phaser® 3610 Black and White Printer 49
User Guide
Supported Paper Types and Weights for Automatic 2-Sided Printing
Paper Types Weights
Plain
Letterhead
Hole Punched
Colored
(60–80 g/m²)
Plain Thick
Letterhead
Hole Punched
Colored
(81–105 g/m²)
Light Card (106–163 g/m²)
Supported Standard Paper Sizes for Automatic 2-Sided Printing
European Standard Sizes North American Standard Sizes
A4 (210 x 297 mm, 8.3 x 11.7 in.)
B5 (176 x 250 mm, 6.9 x 9.8 in.)
A5 (148 x 210 mm, 5.8 x 8.3 in.)
Legal (216 x 356 mm, 8.5 x 14 in.)
Oficio (216 x 343 mm, 8.5 x 13.5 in.)
Folio (216 x 330 mm, 8.5 x 13 in.)
Letter (216 x 279 mm, 8.5 x 11 in.)
Executive (184
x
267
mm, 7.25
x
10.5 in.)
Supported Custom Paper Sizes
Bypass Tray
• Width: 76.2–215.9 mm (3–8.5 in.)
• Length: 127–355.6 mm (5–14 in.)
Tray 1
• Width: 76.2–215.9 mm (3–8.5 in.)
• Length: 127–355.6 mm (5–14 in.)
Trays 2–4
• Width: 139.7–215.9 mm (5.5–8.5 in.)
• Length: 210–355.6 mm (8.3–14 in.)

Paper and Media
50 Xerox® Phaser® 3610 Black and White Printer
User Guide
Loading Paper
This section includes:
• Loading Paper in the Bypass Tray ............................................................................................................................. 50
• Loading Small Paper Sizes in the Bypass Tray ...................................................................................................... 53
• Configuring Trays 1–4 for the Paper Length ......................................................................................................... 56
• Loading Paper in Trays 1–4 .......................................................................................................................................... 58
•
Configuring Tray Behavior............................................................................................................................................ 60
Loading Paper in the Bypass Tray
1. Open the bypass tray. If the bypass tray is loaded with paper already, remove any paper that is a
different size or type.
2. Move the width guides to the edges of the tray.

Paper and Media
Xerox® Phaser® 3610 Black and White Printer 51
User Guide
3. Flex the sheets back and forth and fan them, then align the edges of the stack on a level surface.
This procedure separates any sheets that are stuck together and reduces the possibility of jams.
Note: To avoid jams and misfeeds, do not remove paper from its packaging until you are ready to
use it.
4. Load the paper in the tray. Load hole punched paper with the holes to the left.
− For 1-sided printing, load letterhead or pre-printed face up with the top edge going into the
printer.
Note: Letterhead Duplex Mode allows 1-sided print jobs to be loaded in the same orientation as
2-sided print jobs. For details, see Enabling Letterhead Duplex Mode on page 76.

Paper and Media
52 Xerox® Phaser® 3610 Black and White Printer
User Guide
− For 2-sided printing, load letterhead and pre-printed face down with the top edge facing you.
Note: Do not load paper above the maximum fill line. Overfilling the tray can cause the printer to
jam.
5. Adjust the width guides until they touch the edges of the paper.
6. If the control panel prompts you, on the screen, verify the paper size and type.
a. At the printer control panel, verify that the displayed paper size matches the paper in the tray.
If correct, press OK.
b. If the displayed paper size does not match the paper in the tray, navigate to the correct paper
size, then press OK.
Note: To navigate through the menu, use the Up or Down arrow buttons.
c. Verify that the displayed paper type matches the paper in the tray. If correct, press OK.
d. If the displayed paper type does not match the paper in the tray, navigate to the correct paper
type, then press OK.

Paper and Media
Xerox® Phaser® 3610 Black and White Printer 53
User Guide
7. Verify or set the paper size and type.
a. At the printer control panel, press the Menu button.
Note: To navigate through the menu, use the Up or Down arrow buttons.
b. Navigate to Tray Settings, then press OK.
c. Navigate to the desired paper tray, then press OK.
d. Navigate to Tray Mode, then press OK.
e. Navigate to Panel Specified, then press OK.
f. To return to the previous menu, press the Left arrow button.
g. Navigate to Paper Size, then press OK.
h. To select a setting, press the Up or Down arrow buttons, then press OK.
i. To return to the previous menu, press the Left arrow button.
j. Navigate to Paper Type, then press OK.
8. To select a setting, press the Up or Down arrow buttons, then press OK.
Loading Small Paper Sizes in the Bypass Tray
To simplify loading paper in the bypass tray, remove the tray from the printer.
1. Open the bypass tray.
2. To remove the bypass tray from the printer, pull the tray straight out of the printer.

Paper and Media
54 Xerox® Phaser® 3610 Black and White Printer
User Guide
3. If the bypass tray is loaded with paper already, remove any paper that is a different size or type.
Then, raise the paper stop.
4. Move the width guides to the edges of the tray.
5. Flex the sheets back and forth and fan them, then align the edges of the stack on a level surface.
This procedure separates any sheets that are stuck together and reduces the possibility of jams.
Note: To avoid jams and misfeeds, do not remove paper from its packaging until you are ready to
use it.
6. Load the paper in the tray.
Note: Do not load paper above the maximum fill line. Overfilling the tray can cause the printer to
jam.

Paper and Media
Xerox® Phaser® 3610 Black and White Printer 55
User Guide
7. Adjust the width guides until they touch the edges of the paper.
8. Adjust the paper stop until it touches the edges of the paper.
9. Slide the tray back into the printer.
10. If the control panel prompts you, on the screen, verify the paper size and type.
a. At the printer control panel, verify that the displayed paper size matches the paper in the tray.
If correct, press OK.
b. If the displayed paper size does not match the paper in the tray, navigate to the correct paper
size, then press OK.
Note: To navigate through the menu, use the Up or Down arrow buttons.
c. Verify that the displayed paper type matches the paper in the tray. If correct, press OK.
d. If the displayed paper type does not match the paper in the tray, navigate to the correct paper
type, then press OK.

Paper and Media
56 Xerox® Phaser® 3610 Black and White Printer
User Guide
11. Verify or set the paper size and type.
a. At the printer control panel, press the Menu button.
Note: To navigate through the menu, use the Up or Down arrow buttons.
b. Navigate to Tray Settings, then press OK.
c. Navigate to the desired paper tray, then press OK.
d. Navigate to Tray Mode, then press OK.
e. Navigate to Panel Specified, then press OK.
f. To return to the previous menu, press the Left arrow button.
g. Navigate to Paper Size, then press OK.
h. To select a setting, press the Up or Down arrow buttons, then press OK.
i. To return to the previous menu, press the Left arrow button.
j. Navigate to Paper Type, then press OK.
k. To select a setting, press the Up or Down arrow buttons, then press OK.
For instructions on setting tray prompts, see Configuring Tray Behavior on page 60.
Configuring Trays 1–4 for the Paper Length
You can adjust the lengths of trays 1–4 to accommodate A4/Letter and Legal paper sizes. In the Legal
length settings, the trays protrude from the front of the printer.
To change the 550-Sheet Feeders in trays 1–4 to match the paper length:
1. Remove all paper from the tray.
2. To remove the tray from the printer, pull out the tray until it stops, lift the front of the tray slightly,
then pull it out.

Paper and Media
Xerox® Phaser® 3610 Black and White Printer 57
User Guide
3. To extend the tray, with one hand, hold the back of the tray. With the other hand, at the front of
the tray, press the release latch and pull the ends outward until they latch.
4. To protect the paper, place the paper cover over the extended section of the paper tray.
5. To compress the tray for shorter paper, with one hand, hold the back of the tray. With the other
hand, at the front of the tray, press the release latch, then push the ends inward until they latch.
6. Load paper into the tray, then insert it back into the printer. For details, see Loading Paper in Trays
1-4 on page 66.

Paper and Media
58 Xerox® Phaser® 3610 Black and White Printer
User Guide
Loading Paper in Trays 1–4
1. Pull out the tray until it stops.
2. To remove the tray from the printer, pull out the tray until it stops, lift the front of the tray slightly,
then pull it out.
3. At the back of the paper tray, press the paper lift tray down until it locks.
4. Adjust the paper length and width guides as illustrated.
5. Flex the sheets back and forth and fan them, then align the edges of the stack on a level surface.
This procedure separates any sheets that are stuck together and reduces the possibility of jams.
6. Load paper into the tray with the print side face up.
− Load hole punched paper with the holes to the left.
− For 1-sided printing, load letterhead face up with the top of the paper toward the back of the
tray.
Note: Letterhead Duplex Mode allows 1-sided print jobs to be loaded in the same orientation as
2-sided print jobs. For details, see Enabling Letterhead Duplex Mode on page 76.
− For 2-sided printing, load letterhead and pre-printed face down with the top edge facing you.

Paper and Media
Xerox® Phaser® 3610 Black and White Printer 59
User Guide
Note: Do not load paper above the maximum fill line. Overfilling the tray can cause the printer to
jam.
7. Adjust the length and width guides to fit the paper.
8. Slide the tray back into the printer.
9. Push the tray in all the way.
Notes:
• If the tray does not go in all the way, ensure that the paper lift plate at the back of the tray is
locked down.
• If the tray is extended for legal size paper, the tray protrudes when it is inserted into the
printer.
Paper and Media
60 Xerox® Phaser® 3610 Black and White Printer
User Guide
10. If the control panel prompts you, on the screen, verify the paper size and type.
a. At the printer control panel, verify that the displayed paper size matches the paper in the tray.
If correct, press OK.
b. If the displayed paper size does not match the paper in the tray, navigate to the correct paper
size, then press OK.
Note: To navigate through the menu, use the Up or Down arrow buttons.
c. Verify that the displayed paper type matches the paper in the tray. If correct, press OK.
d. If the displayed paper type does not match the paper in the tray, navigate to the correct paper
type, then press OK.
11. Verify or set the paper size and type.
a. At the printer control panel, press the Menu button.
Note: To navigate through the menu, use the Up or Down arrow buttons.
b. Navigate to Tray Settings, then press OK.
c. Navigate to the desired paper tray, then press OK.
d. Navigate to Tray Mode, then press OK.
e. Navigate to Panel Specified, then press OK.
f. To return to the previous menu, press the Left arrow button.
g. Navigate to Paper Size, then press OK.
h. To select a setting, press the Up or Down arrow buttons, then press OK.
i. To return to the previous menu, press the Left arrow button.
j. Navigate to Paper Type, then press OK.
12. To select a setting, press the Up or Down arrow buttons, then press OK.
Configuring Tray Behavior
When an individual tray is set to Display Popup mode, the control panel prompts you to verify or set the
paper size and type.
The Tray Priority feature determines the order in which the printer selects the tray for a print job when
you have not specified one. Tray Priority also determines how the printer selects another tray when a
paper tray runs out in the middle of a job. Priority 1 indicates that the tray is set to the highest priority.
Tray Mode allows you to have the bypass tray mode determined at the control panel or the print driver.
To set the Display Popup mode:
1. At the printer control panel, press the Menu button.
Note: To navigate through the menu, use the Up or Down arrow buttons.
2. Navigate to Tray Settings, then press OK.
3. Navigate to the desired paper tray, then press OK.
4. Navigate to Display Popup, then press OK.
5. Navigate to On, then press OK.
Paper and Media
Xerox® Phaser® 3610 Black and White Printer 61
User Guide
To set the priority for a tray:
1. At the printer control panel, press the Menu button.
Note: To navigate through the menu, use the Up or Down arrow buttons.
2. Navigate to Tray Settings, then press OK.
3. To determine the order in which the printer selects the tray for a print job, navigate to Tray Priority,
then press OK.
4. To specify the first priority, use the Up or Down arrow buttons, then press OK. The second priority
setting appears.
5. Navigate to the desired paper tray for the second priority, then press OK.
6. To establish the priority for any remaining trays, repeat steps 4 and 5.
Note: As each priority is assigned to a tray, the menu automatically advances to the next priority.
When there are no trays left to prioritize, the menu returns to Tray Priority.
To set the Tray Mode:
1. At the printer control panel, press the Menu button.
Note: To navigate through the menu, use the Up or Down arrow buttons.
2. Navigate to Tray Settings, then press OK.
3. Navigate to Bypass Tray, then press OK.
4. Navigate to Tray Mode, then press OK.
5. Navigate to Panel Specified or Driver Specified, then press OK.
Paper and Media
62 Xerox® Phaser® 3610 Black and White Printer
User Guide
Printing on Special Paper
This section includes:
• Envelopes ............................................................................................................................................................................ 62
•
Labels .................................................................................................................................................................................... 65
To order paper or other media, contact your local reseller or visit www.xerox.com/office/3610supplies.
See also:
www.xerox.com/paper Recommended Media List (United States)
www.xerox.com/europaper Recommended Media List (Europe)
Envelopes
You can print envelopes from the bypass tray only.
Guidelines for Printing Envelopes
• Print quality depends on the quality and construction of the envelopes. Try another envelope brand
if you do not get desired results.
• Maintain constant temperatures and relative humidity.
• Store unused envelopes in their packaging to avoid excess moisture and dryness which can affect
print quality and cause wrinkling. Excessive moisture can cause the envelopes to seal before or
during printing.
• Remove air bubbles from the envelopes before loading them into the tray by setting a heavy book
on top of them.
• In the print driver software, select Envelope as the paper type.
• Do not use padded envelopes. Use envelopes that lie flat on a surface.
• Do not use envelopes with heat activated glue.
• Do not use envelopes with press and seal flaps.
• Use only paper envelopes.
• Do not use envelopes with windows or metal clasps.

Paper and Media
Xerox® Phaser® 3610 Black and White Printer 63
User Guide
Loading Envelopes in the Bypass Tray
1. Open the bypass tray.
2. Move the width guides to the edges of the tray.
Note: If you do not load envelopes in the bypass tray right after they have been removed from the
packaging, they can bulge. Flatten them to avoid jams.

Paper and Media
64 Xerox® Phaser® 3610 Black and White Printer
User Guide
3. To load envelopes, select an option:
− For Number 10 envelopes, load the envelopes with the short edge going into the printer, flaps
down, and flaps to the right.
− For C5 envelopes, do one of the following. If the envelopes wrinkle, try another option.
• Insert envelopes with the print side up, flaps closed and down, and flaps going into the
printer.

Paper and Media
Xerox® Phaser® 3610 Black and White Printer 65
User Guide
• Insert envelopes with the print side up, flaps closed and down, and flaps going into the
printer.
Note: When loading Monarch or DL envelopes, remove the Multipurpose Tray. For details, see
Loading Small Paper Sizes in the Bypass Tray on page 53.
4. At the printer control panel, press the Menu button.
Note: To navigate through the menu, use the Up or Down arrow buttons.
5. Navigate to Tray Settings, then press OK.
6. Navigate to Bypass Tray, then press OK.
7. Navigate to Tray Mode, then press OK.
8. Navigate to Panel Specified, then press OK.
9. To return to the previous menu, press the Left arrow button.
10. Navigate to Paper Type, then press OK.
11. Navigate to Envelope, then press OK.
12. To return to the previous menu, press the Left arrow button.
13. Navigate to Paper Size, then press OK.
14. Navigate to the desired envelope size, then press OK.
Labels
You can print labels from any tray.
Paper and Media
66 Xerox® Phaser® 3610 Black and White Printer
User Guide
Loading Labels in the Bypass Tray
1. Remove all paper from the tray.
2. Load labels in the bypass tray, face up, with the top edge of the page feeding into the printer only.
3. Adjust the width guides until they touch the edges of the paper.
4. At the printer control panel, press the Menu button.
Note: To navigate through the menu, use the Up or Down arrow buttons.
5. Navigate to Tray Settings, then press OK.
6. Navigate to Bypass Tray, then press OK.
7. Navigate to Tray Mode, then press OK.
8. Navigate to Panel Specified, then press OK.
9. To return to the previous menu, press the Left arrow button.
10. Navigate to Paper Type, then press OK.
11. Navigate to Labels, then press OK.
Loading Labels in Trays 1-4
1. Remove all paper from the tray.
2. Load labels face up with the top edge of the page toward the rear of the tray.
3. Adjust the width guides until they touch the edges of the paper.
4. At the printer control panel, press the Menu button.
Note: To navigate through the menu, use the Up or Down arrow buttons.
5. Navigate to Tray Settings, then press OK.
6. Navigate to the desired paper tray, then press OK.
7. Navigate to Paper Size, then press OK.
8. To select a setting, press the Up or Down arrow buttons, then press OK.
9. To return to the previous menu, press the Left arrow button.
10. Navigate to Paper Type, then press OK.
11. Navigate to Labels, then press OK.

Paper and Media
Xerox® Phaser® 3610 Black and White Printer 67
User Guide
Guidelines for Printing Labels
• Use labels designed for laser printing.
• Do not use vinyl labels.
• Do not feed a sheet of labels through the printer more than once.
• Do not use dry gum labels.
• Print only on one side of the sheet of labels. Use full sheet labels only.
• Store unused labels flat in their original packaging. Leave the sheets of labels inside the original
packaging until ready to use. Return any unused sheets of labels to the original packaging and
reseal it.
• Do not store labels in extremely dry or humid conditions or extremely hot or cold conditions. Storing
them in extreme conditions can cause print-quality problems or cause them to jam in the printer.
• Rotate stock frequently. Long periods of storage in extreme conditions can cause labels to curl and
jam in the printer.
• In the print driver software, select Label as the paper type.
• Remove all other paper from the tray before loading labels.
CAUTION: Do not use any sheet where labels are missing, curled, or pulled away from the backing
sheet. It could damage the printer.
Xerox® Phaser® 3610 Black and White Printer 69
User Guide
This chapter includes:
• Printing Overview ............................................................................................................................................................. 70
• Selecting Printing Options ............................................................................................................................................ 71
• Printing Features .............................................................................................................................................................. 74
• Using Custom Paper Sizes............................................................................................................................................. 81
5
Printing
Printing
70 Xerox® Phaser® 3610 Black and White Printer
User Guide
Printing Overview
Before printing, your computer and the printer must be plugged in, turned on, and connected. Ensure
that you have the correct print driver software installed on your computer. For details, see Installing the
Software on page 39.
1. Select the appropriate paper.
2. Load paper in the appropriate tray.
3. At the printer control panel, specify the size and type.
4. In your software application, access the print settings. For most software applications, press CTRL+P
for Windows or CMD+P for Macintosh.
5. Select your printer from the list.
6. To access the print driver settings for Windows, select Properties or Preferences. For Macintosh
select Xerox® Features.
Note: The title of the button varies depending on your application.
7. Modify the print driver settings as needed, then click OK.
8. Click Print to send the job to the printer.

Printing
Xerox® Phaser® 3610 Black and White Printer 71
User Guide
Selecting Printing Options
This section includes:
• Print Driver Help................................................................................................................................................................ 71
• Windows Printing Options ............................................................................................................................................ 72
•
Macintosh Printing Options ......................................................................................................................................... 73
Printing options, also called print driver software options, are specified as Printing Preferences in
Windows, and Xerox® Features in Macintosh. Printing options include settings for 2-sided printing, page
layout, and print quality. Printing options that are set from Printing Preferences become the default
setting. Printing options that are set from within the software application are temporary. The application
and the computer do not save the settings after the application is closed.
Print Driver Help
Xerox® print driver software Help information is available from the Printing Preferences window. Click the
Help (?) button in the bottom left corner of the Printing Preferences window to see the Help.
Information about Printing Preferences appears in the Help window. From there, you can select by topic
or use the search field to enter the topic or function for which you need information.
Printing
72 Xerox® Phaser® 3610 Black and White Printer
User Guide
Windows Printing Options
Setting Default Printing Options for Windows
When you print from any software application, the printer uses the print job settings specified in the
Printing Preferences window. You can specify your most common printing options and save them so that
you do not have to change them every time you print.
For example, if you want to print on both sides of the paper for most jobs, specify 2-sided printing in
Printing Preferences.
To select default printing options:
1. Navigate to the list of printers on your computer:
− For Windows XP SP2 and later, click Start > Settings > Printers and Faxes.
− For Windows Vista, click Start > Control Panel > Hardware and Sound > Printers.
− For Windows Server 2003 and later, click Start > Settings > Printers.
− For Windows 7, click Start > Devices and Printers.
− For Windows 8, click Control Panel > Devices and Printers.
Note: If the Control Panel icon does not display on the desktop, right-click on the desktop, then,
select Personalize > Control Panel Home > Devices and Printers.
2. In the list, right-click the icon for your printer and click Printing Preferences.
3. In the Printing Preferences window, click a tab, select the options, then click OK to save.
Note: For more information about Windows print driver options, click the Help button (?) in the
Printing Preferences window.
Selecting Printing Options for an Individual Job for Windows
To use special printing options for a particular job, change the Printing Preferences from the application
before sending the job to the printer. For example, if you want to use the Enhanced print-quality mode
when printing a particular document, select Enhanced in Printing Preferences before printing the job.
1. With the document open in your software application, access the print settings. For most software
applications, click File > Print or press CTRL+P for Windows.
2. Select your printer and click the Properties or Preferences button to open the Printing Preferences
window. The title of the button can vary depending on your application.
3. Click a tab in the Printing Preferences window, then make selections.
4. Click OK to save and close the Printing Preferences window.
5. Click Print to send the job to the printer.
Saving a Set of Commonly Used Printing Options for Windows
You can define and save a set of options, so that you can apply them to future print jobs.
To save a set of printing options:
Printing
Xerox® Phaser® 3610 Black and White Printer 73
User Guide
1. With the document open in your application, click File > Print.
2. To open the Printing Preferences window, select your printer, then click Properties or Preferences.
3. In the Printing Properties window, click the tabs, then select the desired settings
4. At the bottom of the Printing Properties window, click Saved Settings, then click Save As.
5. To save the set of options in the Saved Settings list, type a name for the set of printing options, then
click OK.
6. To print using these options, select the name from the list.
Macintosh Printing Options
Selecting Printing Options for Macintosh
To use specific printing options, change the settings before sending the job to the printer.
1. With the document open in your application, click File > Print.
2. Select your printer from the list.
3. Select Xerox® Features from the Copies & Pages menu.
4. Select the desired printing options from the drop-down lists.
5. Click Print to send the job to the printer.
Saving a Set of Commonly Used Printing Options for Macintosh
You can define and save a set of options, so that you can apply them to future print jobs.
To save a set of printing options:
1. With the document open in your application, click File > Print.
2. Select your printer from the Printers list.
3. Select the desired printing options from the drop-down lists in the Print dialog box.
4. Click Presets > Save As.
5. Type a name for the printing options, then click OK to save the set of options in the Presets list.
6. To print using these options, select the name from the Presets list.
Printing
74 Xerox® Phaser® 3610 Black and White Printer
User Guide
Printing Features
This section includes:
• Printing on Both Sides of the Paper .......................................................................................................................... 74
• Orientation ......................................................................................................................................................................... 76
• Selecting Paper Options for Printing ......................................................................................................................... 76
• Enabling Letterhead 2-Sided Mode .......................................................................................................................... 76
• Printing Multiple Pages to a Single Sheet ............................................................................................................... 77
• Printing Booklets .............................................................................................................................................................. 77
• Print Quality ....................................................................................................................................................................... 78
• Lightness ............................................................................................................................................................................. 78
• Printing Watermarks ....................................................................................................................................................... 78
• Scaling .................................................................................................................................................................................. 79
• Printing Mirror Images ................................................................................................................................................... 79
• Printing Special Job Types ............................................................................................................................................ 79
Printing on Both Sides of the Paper
Printing a 2-Sided Document
If your printer supports Automatic 2-Sided Printing, the options are specified in the print driver. The print
driver uses the settings for portrait or landscape orientation from the application for printing the
document.
Note: Ensure that the paper size and weight are supported. For details, see Supported Paper Sizes and
Weights for Automatic 2-Sided Printing on page 49.
Setting Up 1-Sided Printing
To set 1-sided printing as the default setting:
1. Navigate to the list of printers on your computer.
2. From the Printers and Faxes window, select a printer, right-click the printer, then select Printing
preferences.
3. On the Printing Options tab, click the arrow to the right of the 2-Sided Printing, then select 1-Sided
Print.
4. To close the Printing Preferences dialog box, click OK.

Printing
Xerox® Phaser® 3610 Black and White Printer 75
User Guide
2-Sided Page Layout Options
You can specify the page layout for 2-sided printing, which determines how the printed pages turn.
These settings override the application page orientation settings.
To make a 2-sided printing selection, on the Page Layout tab, use the arrow button in the bottom left
corner of the preview pane. Page Layout is on the Document Options tab.
• 1-Sided Print prints on one side of the media. Use this option when printing on envelopes, labels, or
other media that cannot be printed on both sides.
• 2-Sided Print prints the job on both sides of the paper to allow binding on the long edge of the
paper. The following illustrations show the result for documents with portrait and landscape
orientations, respectively:
• 2-Sided Print, Flip on Short Edge prints on both sides of the paper. The images print to allow
binding on the short edge of the paper. The following illustrations show the result for documents
with portrait and landscape orientations, respectively:
Note: 2-Sided Printing is part of the Earth Smart settings.
To change your default print driver settings, see Setting Default Printing Options for Windows.

Printing
76 Xerox® Phaser® 3610 Black and White Printer
User Guide
Orientation
To select the default orientation:
1. In the print driver, on the Document Options tab, click the Orientation tab.
2. Select an option:
− Portrait orients the paper so that the text and images print across the short dimension of the
paper.
− Landscape orients the paper so that the text and images print across the long dimension of
the paper.
− Rotated Landscape orients the paper so that the content is rotated 180 degrees and with the
long bottom side up.
3. Click OK.
Selecting Paper Options for Printing
There are two ways to select the paper for your print job. You can let the printer select which paper to
use based on the document size and paper type that you specify. You can also select a specific tray
loaded with the desired paper.
Enabling Letterhead 2-Sided Mode
Letterhead Duplex Mode allows you to load 1-sided print jobs in the same orientation as 2-sided print
jobs. Enabling this feature allows you to print 1-sided or 2-sided print jobs from the same tray without
switching paper orientation.
To enable Letterhead Duplex Mode:
1. At your computer, open a Web browser, in the address field, type the IP address of the printer, then
press Enter or Return.
2. In CentreWare Internet Services, click Properties.
3. To expand the menu, in the Properties pane, next to the General Setup folder, click the plus symbol
(+).
4. From the General Setup menu, click System Settings.
5. Under Output Settings, next to Letterhead Duplex Mode, click Enable.
6. Click Save Changes.

Printing
Xerox® Phaser® 3610 Black and White Printer 77
User Guide
Printing Multiple Pages to a Single Sheet
When printing a multiple-page document, you can print more than one page on a single sheet of paper.
Print 1, 2, 4, 6, 9, or 16 pages per side by selecting Pages Per Sheet on the Page Layout tab. Page Layout
is on the Document Options tab.
Printing Booklets
With 2-sided printing, you can print a document in the form of a small booklet. Create booklets from any
paper size that is supported for 2-sided printing. The driver automatically reduces each page image and
prints four page images per sheet of paper, two page images on each side. The pages are printed in the
correct order so that you can fold and staple the pages to create the booklet.
When you print booklets using the Windows PostScript or Macintosh driver, you can specify the gutter
and creep.
• Gutter specifies the horizontal distance in points between the page images. A point is 0.35 mm
(1/72 in.).
• Creep specifies how much the page images are shifted outward, in tenths of a point. Shifting
compensates for the thickness of the folded paper, which would cause the page images to shift
slightly outward when folded. You can select a value from zero to 1 point.
Gutter Creep
Error!Error!
Printing
78 Xerox® Phaser® 3610 Black and White Printer
User Guide
Print Quality
Print quality modes:
• Standard print-quality mode: 600 x 600 dpi
• Enhanced print-quality mode: 1200 x 1200 dpi
Lightness
Lightness allows you to adjust the overall lightness or darkness of the text and images in your printed
job.
1. To adjust the lightness, on the Image Options tab, move the slider to the right to lighten or to the
left to darken your print job.
2. Click OK or Apply.
Printing Watermarks
A watermark is special purpose text that can be printed across one or more pages. For example, you can
add a word like Copy, Draft, or Confidential as a watermark instead of stamping it on a document before
distribution.
To print a watermark:
1. In the print driver, click the Document Options tab.
2. Click the Watermarks tab.
3. From the Watermark menu, select the watermark. You can choose from preset watermarks, or
create a customized watermark. You can also manage watermarks from this menu.
4. Under Text, select an option:
− Text: Enter the text in the field, then specify the font.
− Time Stamp: Specify the date and time options, then specify the font.
− Picture: To locate the picture, click the Browse icon.
5. Specify the scaling angle and position of the watermark.
• Select the scaling option that specifies the size of the picture in relation to the original
image.. Use the arrows to scale the image in increments of 1%.
• To define the angle of the image on the page, specify the position option or to rotate the
image left or right by increments of 1, use the arrows.
• To define the location of the image on the page, specify the position option, or to move
the image in each direction in increments of 1, use the arrows.
6. Under Layering, select how to print the watermark.
− Print in Background prints the watermark behind the text and graphics in the document.
− Blend combines the watermark with the text and graphics in the document. A blended
watermark is translucent, so you can see both the watermark and the document content.
− Print in Foreground prints the watermark over the text and graphics in the document.
Printing
Xerox® Phaser® 3610 Black and White Printer 79
User Guide
7. Click Pages, then select the pages to print the watermark:
− Print on All Pages prints the watermark on all pages of your document.
− Print on Page 1 Only prints the watermark only on the first page of the document.
8. If you select a picture as a watermark, specify the lightness settings for the image.
9. Click OK.
Scaling
Scaling reduces or enlarges the original document to match the selected output paper size. In Windows,
the Scale Options are located in the print driver on the Printing Options tab in the Paper field.
To access Scaling Options, to the right of the Paper field, click the arrow, then select Other Size >
Advanced Paper Size.
• Automatically Scale scales the document to fit the selected Output Paper Size. The scaling amount
appears in the percentage box below the sample image.
• No Scaling does not change the size of the page image printed on the output paper, and 100%
appears in the percentage box. If the original size is larger than the output size, the page image is
cropped. If the original size is smaller than the output size, extra space appears around the page
image.
• Manually Scale scales the document by the amount entered in the percentage box below the
preview image.
Printing Mirror Images
If the PostScript driver is installed, you can print pages as a mirror image. Images mirror left to right
when printed.
Printing Special Job Types
Special job types allow you to send a print job from your computer, then print it from the printer control
panel. Select special job types in the print driver, Printing Options tab, under Job Type.
Note: Special job types stored on the RAM disk on the printer are removed when the printer powers
off. To store the special job types permanently, install the Device Memory option on the printer.
Printing
80 Xerox® Phaser® 3610 Black and White Printer
User Guide
Saved Job
Saved jobs are documents sent to the printer and stored there for future use.
Note: This function is available only if RAM Disk is enabled or the Device Memory option is installed.
To release a saved job:
1. To access the Walk-Up Features menu, click the Left arrow button.
2. Navigate to Saved Jobs, then press OK.
3. Navigate to your username, then press OK.
4. Navigate to the desired job, then press OK.
5. Select an option.
6. Press OK.
Secure Print
Secure Print allows you to associate a 1–12 digit passcode number with a print job when sending it to
the printer. The job is held at the printer until the same passcode is entered at the control panel.
Notes:
• This function is available only if RAM Disk is enabled or the Device Memory option is installed.
• If the control panel is dark, press the Power Saver button.
• To navigate through the menu, use the Up or Down arrow buttons.
To release a Secure Print job for printing:
1. To access the Walk-Up Features menu, click the Left arrow button.
2. Navigate to Secure Print, then press OK.
3. Navigate to your username, then press OK.
4. To enter your passcode, use the arrow buttons, then press OK.
5. Navigate to the desired job, then press OK.
6. Select an option. If you selected Delete after Print, to specify the number of print jobs, use the
arrow buttons.
7. Press OK.

Printing
Xerox® Phaser® 3610 Black and White Printer 81
User Guide
Using Custom Paper Sizes
This section includes:
• Defining Custom Paper Sizes ....................................................................................................................................... 81
• Creating and Saving Custom Paper Sizes ............................................................................................................... 81
•
Printing on Custom Paper Sizes .................................................................................................................................. 82
The Xerox® Phaser® 3610 Black and White Printer prints on custom paper sizes that are within the
minimum and maximum size range supported by the printer. For details, see Supported Standard
Paper Sizes on page 48 and Supported Custom Paper Sizes on page 49.
Defining Custom Paper Sizes
To print custom paper sizes, define the custom width and length of the paper in the print driver software
and on the printer control panel. When setting the paper size, ensure that you specify the same size as
the paper in the tray. Setting the wrong size can cause a printer error. Print driver settings override
control panel settings when you print using the print driver software on your computer.
Creating and Saving Custom Paper Sizes
You can print custom-size paper from any paper tray. Custom-size paper settings are saved in the print
driver and are available for you to select in all your applications.
For detail on supported paper sizes for each tray, see Supported Custom Paper Sizes on page 49.
To create and save custom sizes for Windows:
1. Click the Printing Options tab of the print driver.
2. Click the arrow next to the Paper field, then select Other Size > Output Paper Size > New.
3. In the New Custom Paper Size window, enter the height and width of the new size.
4. At the bottom of the New Custom Paper Size window, click Units .
5. Click Inches or Millimeters.
6. To save, in the Name field, type a title for the new size, then click OK.
7. Click OK.
Printing
82 Xerox® Phaser® 3610 Black and White Printer
User Guide
To create and save custom sizes for Macintosh:
1. In the application, click File > Page Setup.
2. Click Paper Sizes, then select Manage Paper Sizes.
3. To add a new size, in the Manage Paper Sizes window, click the plus sign (+).
4. Double-click Untitled at the top of the window and type a name for the new custom size.
5. Enter the height and width of the new custom size.
6. Click the arrow to the right of the Non-Printable Area field and select the printer from the list. Or set
the top, bottom, right, and left margins for User Defined margins.
7. To save the settings, click OK.
Printing on Custom Paper Sizes
Note: Before printing on a custom paper size, use the Custom Paper Sizes feature in printer
properties to define the custom size. For details, see Defining Custom Paper Sizes on page 81.
Printing on Custom Paper Size Using Windows
1. Load the custom-size paper in the tray. For details, see Loading Paper on page 50.
2. In the application, click File > Print and select your printer.
3. In the Print dialog box, click Properties.
4. On the Printing Options tab, to select the desired custom size, use the Paper drop-down list.
Note: If you are printing on custom size paper, define the custom size in the printer properties
before printing.
5. From the Other Type drop-down list, select the paper type.
6. Select any other desired options, then click OK.
7. In the Print dialog box, click OK to start printing.
Printing on Custom Paper Size Using Macintosh
1. Load the custom-size paper. For details, see Loading Paper on page 50.
2. In the application, click Page Setup.
3. From the Paper Size drop-down list, select the custom paper size.
4. Click OK.
5. In the application, click Print.
6. Click OK.
Xerox® Phaser® 3610 Black and White Printer 83
User Guide
This chapter includes:
• Cleaning the Printer ........................................................................................................................................................ 84
• Ordering Supplies ............................................................................................................................................................. 86
• Managing the Printer ..................................................................................................................................................... 90
• Moving the Printer ........................................................................................................................................................... 99
6
Maintenance

Maintenance
84 Xerox® Phaser® 3610 Black and White Printer
User Guide
Cleaning the Printer
This section includes:
• General Precautions ........................................................................................................................................................ 84
• Cleaning the Exterior ...................................................................................................................................................... 85
•
Cleaning the Interior ...................................................................................................................................................... 85
General Precautions
CAUTION: Do not expose the drum cartridge to direct sunlight or strong indoor fluorescent lighting.
Do not touch or scratch the surface of the drum.
CAUTION: When cleaning your printer do not use organic or strong chemical solvents or aerosol
cleaners. Do not pour fluids directly into any area. Use supplies and cleaning materials only as
directed in this documentation.
WARNING: Keep all cleaning materials out of the reach of children.
WARNING: Do not use pressurized spray cleaning aids on or in the printer. Some pressurized sprays
contain explosive mixtures and are not suitable for use in electrical applications. Use of such cleaners
increase the risk of fire and explosion.
WARNING: Do not remove the covers or guards that are fastened with screws. You cannot maintain
or service any parts that are behind these covers and guards. Do not attempt any maintenance
procedure that is not described in the documentation supplied with your printer.
WARNING: Internal parts of the printer can be hot. Use caution when doors and covers are open.
• Do not place anything on top of the printer.
• Do not leave the covers and doors open for any length of time, especially in well-lit places. Light
exposure can damage the drum cartridge.
• Do not open covers and doors during printing.
• Do not tilt the printer while it is in use.
• Do not touch the electrical contacts or gears. Doing so could damage the printer and cause the print
quality to deteriorate.
• Ensure any parts removed during cleaning are replaced before you plug in the printer.

Maintenance
Xerox® Phaser® 3610 Black and White Printer 85
User Guide
Cleaning the Exterior
Clean the exterior of the printer once a month.
• Wipe the paper tray, output tray, control panel, and other parts with a damp, soft cloth.
• After cleaning, wipe with a dry, soft cloth.
• For stubborn stains, apply a small amount of mild detergent to the cloth and gently wipe the stain
off.
CAUTION: Do not spray detergent directly on the printer. Liquid detergent could enter the printer
through a gap and cause problems. Never use cleaning agents other than water or mild detergent.
Cleaning the Interior
To prevent stains inside the printer that can deteriorate print quality, clean the interior of the printer
regularly. Clean the printer interior whenever you replace the drum cartridge.
After clearing paper jams or replacing a toner cartridge, inspect the inside of the printer before closing
the printer covers and doors.
• Remove any remaining pieces of paper or debris. For details, see Clearing Paper Jams on page 107.
• Remove any dust or stains with a dry, clean cloth.
WARNING: Never touch a labeled area on or near the heat roller in the fuser. You can get burned. If
a sheet of paper is wrapped around the heat roller, do not try to remove it immediately. Switch off
the printer immediately and wait 40 minutes for the fuser to cool. Try to remove the jam after the
printer has cooled.

Maintenance
86 Xerox® Phaser® 3610 Black and White Printer
User Guide
Ordering Supplies
This section includes:
• Consumables ..................................................................................................................................................................... 86
• Routine Maintenance Items ........................................................................................................................................ 86
• When to Order Supplies ................................................................................................................................................. 87
• Viewing Printer Supply Status ..................................................................................................................................... 87
• Toner Cartridges ............................................................................................................................................................... 88
•
Recycling Supplies ............................................................................................................................................................ 89
Consumables
Consumables are printer supplies that get depleted during the operation of the printer. The consumable
supply for this printer is the genuine Xerox® Black Toner Cartridge.
Notes:
• Each consumable includes installation instructions.
• Install only new cartridges in your printer. If a used toner cartridge is installed, then the toner
remaining amount displayed could be inaccurate.
• To ensure print quality, the toner cartridge has been designed to cease functioning at a
predetermined point.
CAUTION: Use of toner other than genuine Xerox® Toner can affect print quality and printer
reliability. Xerox® Toner is the only toner designed and manufactured under strict quality controls by
Xerox for specific use with this printer.
Routine Maintenance Items
Routine maintenance items are printer parts that have a limited life and require periodic replacement.
Replacements can be parts or kits. Routine maintenance items are typically customer replaceable.
Note: Each routine maintenance item includes installation instructions.
Routine maintenance items for this printer include the following:
• Smart Kit Drum Cartridge
• Maintenance Kit, which includes a Fuser, Transfer Unit, and Feed Rollers

Maintenance
Xerox® Phaser® 3610 Black and White Printer 87
User Guide
When to Order Supplies
A warning appears on the control panel when the Toner Cartridge or the Smart Kit Drum Cartridge are
near their replacement time. Verify that you have replacements on hand. It is important to order these
items when the messages first appear to avoid interruptions to your printing. An error message appears
on the control panel when the Toner Cartridge or the Smart Kit Drum Cartridge must be replaced.
Order supplies from your local reseller or go to www.xerox.com/office/3610supplies.
CAUTION: Use of non-Xerox supplies is not recommended. The Xerox Warranty, Service Agreement,
and Total Satisfaction Guarantee do not cover damage, malfunction, or degradation of performance
caused by use of non-Xerox supplies, or the use of Xerox supplies not specified for this printer. The
Total Satisfaction Guarantee is available in the United States and Canada. Coverage could vary
outside these areas. Please contact your Xerox representative for details.
Viewing Printer Supply Status
You can check the status and percentage of life remaining for your printer supplies at any time using
CentreWare Internet Services.
1. At your computer, open a Web browser, in the address field, type the IP address of the printer, then
press Enter or Return.
Note: For details, see the System Administrator Guide at www.xerox.com/office/WC3615docs.
2. Select the Status tab.
3. Under Status, click Supplies.

Maintenance
88 Xerox® Phaser® 3610 Black and White Printer
User Guide
Toner Cartridges
This section includes:
• General Precautions ........................................................................................................................................................ 88
•
Replacing a Toner Cartridge ........................................................................................................................................ 88
General Precautions
WARNINGS:
• When replacing a toner cartridge, be careful not to spill the toner. If any toner spills, avoid
contact with clothes, skin, eyes, and mouth. Do not inhale the toner dust.
• Keep toner cartridges out of the reach of children. If a child accidentally swallows toner, have the
child spit out the toner, and rinse out their mouth with water. Consult a physician immediately.
• Use a damp cloth to wipe off spilled toner. Never use a vacuum cleaner to remove spills. Electric
sparks inside the vacuum cleaner can cause a fire or explosion. If you spill a large volume of
toner, contact your local Xerox representative.
• Never throw a toner cartridge into an open flame. Remaining toner in the cartridge can catch
fire and cause burn injuries or an explosion.
WARNING: Do not remove the covers or guards that are fastened with screws. You cannot maintain
or service any parts that are behind these covers and guards. Do not attempt any maintenance
procedure that is not described in the documentation supplied with your printer.
• Do not open covers and doors during printing.
• Do not leave the covers and doors open for any length of time, especially in well-lit places. Light
exposure can damage the drum cartridge.
• Do not place anything on top of the printer.
• Do not tilt the printer while it is in use.
• Do not touch the electrical contacts or gears. Doing so could damage the printer and cause the print
quality to deteriorate.
• Ensure any parts removed during cleaning are replaced before you plug in the printer.
Replacing a Toner Cartridge
When a toner cartridge approaches the end of its usable life span, the control panel displays a toner low
message. When a toner cartridge is empty, the printer stops and displays a message on the control
panel.
Install only new cartridges in your printer. If a used toner cartridge is installed, then the toner remaining
amount displayed could be inaccurate.
Note: Each toner cartridge includes installation instructions.

Maintenance
Xerox® Phaser® 3610 Black and White Printer 89
User Guide
Printer Status Message Cause and Solution
Toner Low: Toner Low, Replace Soon The toner cartridge is low. Order a new toner cartridge.
Toner Out: Replace Toner Cartridge The toner cartridge is empty. Open the front door and
replace the toner cartridge.
Recycling Supplies
For more information on the Xerox® supplies recycling program, go to: www.xerox.com/gwa.
Maintenance
90 Xerox® Phaser® 3610 Black and White Printer
User Guide
Managing the Printer
This section includes:
• Viewing the Firmware Version .................................................................................................................................... 90
• Adjusting Paper Type ..................................................................................................................................................... 91
• Adjusting the Transfer Unit ......................................................................................................................................... 91
• Adjusting the Fuser ......................................................................................................................................................... 92
• Adjusting the Density ..................................................................................................................................................... 92
• Printing Charts .................................................................................................................................................................. 93
• Cleaning the Developer ................................................................................................................................................. 93
• Cleaning the Transfer Unit ........................................................................................................................................... 94
• Resetting Defaults ........................................................................................................................................................... 94
• Initializing the Print Meter............................................................................................................................................ 95
• Resetting the Transfer Unit .......................................................................................................................................... 95
• Resetting the Fuser .......................................................................................................................................................... 95
• Clearing Job History ........................................................................................................................................................ 96
• Clearing Storage ............................................................................................................................................................... 96
• Clearing Device Memory ............................................................................................................................................... 97
• Adjusting the Altitude .................................................................................................................................................... 97
• Decreasing Electrostatic Memory .............................................................................................................................. 98
•
Enabling Ghost Control .................................................................................................................................................. 98
The Service Tools menu contains tools to use for general maintenance and for troubleshooting your
printer. Some service tools are designed for use by, or under the guidance of, a trained service
representative.
Viewing the Firmware Version
To view the firmware version on the control panel:
1. At the printer control panel, press the Menu button.
Note: To navigate through the menu, use the Up or Down arrow buttons.
2. Navigate to Admin Settings, then press OK.
3. Navigate to Service Tools, then press OK.
4. Select F/W Version, then press OK.
5. To return to the Ready screen, press the Menu button.
Maintenance
Xerox® Phaser® 3610 Black and White Printer 91
User Guide
Adjusting Paper Type
Use Adjust Paper Type to compensate for paper thickness within a paper type. If the printed image is
too light, use a heavier setting for the paper you are using. If the printed image is mottled or
blotchy-looking, decrease the setting for the paper you are using.
To adjust the paper type:
1. At the printer control panel, press the Menu button.
Note: To navigate through the menu, use the Up or Down arrow buttons.
2. Navigate to Admin Settings, then press OK.
3. Navigate to Service Tools, then press OK.
4. Select Adjust Paper Type, then press OK.
5. Select Plain, then press OK.
6. Select Lightweight or Heavyweight, then press OK.
7. To return to Service Tools, press the Back arrow button, or to return to the main menu, press the
Menu button.
Adjusting the Transfer Unit
Adjusting the Transfer Unit can decrease a mottled appearance or white spots in your prints. This
adjustment is available for each paper type.
Note: This setting affects print quality. The higher the value, the darker the printed output appears.
To adjust the transfer unit:
1. At the printer control panel, press the Menu button.
Note: To navigate through the menu, use the Up or Down arrow buttons.
2. Navigate to Admin Settings, then press OK.
3. Navigate to Service Tools, then press OK.
4. Navigate to the paper type for the adjustment, then press OK.
5. To increase or decrease the bias voltage, use the arrow buttons, then press OK.
6. Repeat this procedure for each paper type you need to adjust.
7. To return to Service Tools, press the Back arrow button, or to return to the main menu, press the
Menu button.
Maintenance
92 Xerox® Phaser® 3610 Black and White Printer
User Guide
Adjusting the Fuser
Use Adjust Fuser for optimum print quality across a wide range of paper types. If the toner on a print is
smearing or can be rubbed off the paper, increase the offset for the paper you are using. If the toner is
blistered or mottled, decrease the offset for the paper you are using.
To adjust the fuser:
1. At the printer control panel, press the Menu button.
Note: To navigate through the menu, use the Up or Down arrow buttons.
2. Navigate to Admin Settings, then press OK.
3. Navigate to Service Tools, then press OK.
4. Select Adjust Fuser, then press OK.
5. To select the paper type for the adjustment, press the arrow buttons, then press OK.
6. To increase or decrease the amount of offset, press the arrow buttons, then press OK.
7. Repeat this procedure for each paper type you need to adjust.
8. To return to Service Tools, press the Back arrow button, or to return to the main menu, press the
Menu button.
Adjusting the Density
The Density Adjustment feature controls how much toner is used to print. Adjust the density for lighter
toner use for saving toner or heavier for making prints bolder. A positive adjustment makes the prints
darker, while a negative adjustment makes the prints lighter.You can also adjust it to compensate for
different paper types and thicknesses.
To adjust the density:
1. At the printer control panel, press the Menu button.
Note: To navigate through the menu, use the Up or Down arrow buttons.
2. Navigate to Admin Settings, then press OK.
3. Navigate to Service Tools, then press OK.
4. Select Adjust Density, then press OK.
5. To increase or decrease the amount of offset, use the arrow buttons, then press OK.
6. To return to the Ready screen, press the Menu button.
Maintenance
Xerox® Phaser® 3610 Black and White Printer 93
User Guide
Printing Charts
The Charts feature prints different charts that you can use to help diagnose printing issues.
To print a chart:
1. At the printer control panel, press the Menu button.
Note: To navigate through the menu, use the Up or Down arrow buttons.
2. Navigate to Admin Settings, then press OK.
3. Navigate to Service Tools, then press OK.
4. Navigate to Chart, then press OK.
5. Select an option:
− Pitch Chart: Prints a full page halftone chart and a pitch measuring chart that you can use as a
ruler to measure the distance between repeating defects. To identify the component causing
the defect, compare the halftone chart, or your print sample, against the measurements shown
on the chart.
− Full Page Solid: Prints a 1-sided or 2-sided solid black chart that you can use to observe density
variations.
− Alignment Chart: Prints an image alignment chart that you can use to check image alignment
on the page.
6. At the Are you sure? prompt, press Yes, then press OK.
Cleaning the Developer
The Clean Developer feature runs the developer motor and stirs the toner in the toner cartridge. Use
Clean Developer to clean toner from a cartridge just before changing it or to refresh the toner after
replacing a toner cartridge.
To clean the developers:
1. At the printer control panel, press the Menu button.
Note: To navigate through the menu, use the Up or Down arrow buttons.
2. Navigate to Admin Settings, then press OK.
3. Navigate to Service Tools, then press OK.
4. Navigate to Clean Developer, then press OK.
5. At the Are you sure? prompt, press Yes, then press OK.
6. The process runs automatically. Wait three minutes for the process to complete and the printer to
return to Ready.

Maintenance
94 Xerox® Phaser® 3610 Black and White Printer
User Guide
Cleaning the Transfer Unit
The Clean Transfer Unit feature allows you to start motors that clean the bias transfer roller. You can use
this feature if you observe toner on the back side of printed pages.
To clean the transfer unit:
1. At the printer control panel, press the Menu button.
Note: To navigate through the menu, use the Up or Down arrow buttons.
2. Navigate to Admin Settings, then press OK.
3. Navigate to Service Tools, then press OK.
4. Navigate to Clean Trans Unit, then press OK.
5. At the Are you sure? prompt, press Yes, then press OK.
After the process completes, the printer to returns to Ready.
Resetting Defaults
The Reset Defaults feature restores the system settings to the factory default settings.
CAUTION: Resetting NVM to the default erases all fax numbers, email addresses, and server
addresses from the Address book.
To reset defaults:
1. At the printer control panel, press the Menu button.
Note: To navigate through the menu, use the Up or Down arrow buttons.
2. Navigate to Admin Settings, then press OK.
3. Navigate to Service Tools, then press OK.
4. Navigate to Reset Defaults, then press OK.
5. At the Are you sure? prompt, press Yes, then press OK.
After the process completes, the printer to returns to Ready.
Maintenance
Xerox® Phaser® 3610 Black and White Printer 95
User Guide
Initializing the Print Meter
The Initializing the Print Meter feature resets the print meter count to zero.
To initialize the print meter:
1. At the printer control panel, press the Menu button.
Note: To navigate through the menu, use the Up or Down arrow buttons.
2. Navigate to Admin Settings, then press OK.
3. Navigate to Service Tools, then press OK.
4. Navigate to Init Print Meter, then press OK.
5. At the Are you sure? prompt, press Yes, then press OK.
After the process completes, the printer to returns to Ready.
Resetting the Transfer Unit
The Reset Transfer Unit feature resets the life counter after you replace the transfer unit.
To reset the transfer unit:
1. At the printer control panel, press the Menu button.
Note: To navigate through the menu, use the Up or Down arrow buttons.
2. Navigate to Admin Settings, then press OK.
3. Navigate to Service Tools, then press OK.
4. Navigate to Reset Trans Unit, then press OK.
5. At the Are you sure? prompt, press Yes, then press OK.
After the process completes, the printer to returns to Ready.
Resetting the Fuser
The Reset Fuser feature allows you to reset the fuser life counter. Use this feature after you replace the
fuser.
To reset the fuser:
1. At the printer control panel, press the Menu button.
Note: To navigate through the menu, use the Up or Down arrow buttons.
2. Navigate to Admin Settings, then press OK.
3. Navigate to Service Tools, then press OK.
4. Navigate to Reset Fuser, then press OK.
5. At the Are you sure? prompt, press Yes, then press OK.
After the process completes, the printer to returns to Ready.
Maintenance
96 Xerox® Phaser® 3610 Black and White Printer
User Guide
Clearing Job History
The Clear Job History feature erases the history of all finished jobs.
To clear job history:
1. At the printer control panel, press the Menu button.
Note: To navigate through the menu, use the Up or Down arrow buttons.
2. Navigate to Admin Settings, then press OK.
3. Navigate to Service Tools, then press OK.
4. Navigate to Clear Job History, then press OK.
5. At the Are you sure? prompt, press Yes, then press OK.
After the process completes, the printer to returns to Ready.
Clearing Storage
The Clear Storage feature erases all data stored in the RAM disk or optional Device Memory, including all
files stored as secure prints or saved jobs.
Note: This function is available only if RAM Disk is enabled or the Device Memory option is installed.
To clear storage:
1. At the printer control panel, press the Menu button.
Note: To navigate through the menu, use the Up or Down arrow buttons.
2. Navigate to Admin Settings, then press OK.
3. Navigate to Service Tools, then press OK.
4. Navigate to Clear Storage, then press OK.
5. Select an option:
− Clear All: Erases all Secure Print and Saved Job files.
− Secure Document: Erases all Secure Print jobs.
− Stored Document: Erases all Saved Job files.
6. At the Are you sure? prompt, press Yes, then press OK.
After the process completes, the printer to returns to Ready.
Maintenance
Xerox® Phaser® 3610 Black and White Printer 97
User Guide
Clearing Device Memory
The Clear Device Memory feature initializes the optional Device Memory.
Note: This feature is available only when the optional Xerox Device Memory is installed. This feature
is not compatible with generic memory devices.
To clear device memory:
1. At the printer control panel, press the Menu button.
Note: To navigate through the menu, use the Up or Down arrow buttons.
2. Navigate to Admin Settings, then press OK.
3. Navigate to Service Tools, then press OK.
4. Navigate to Clear Device Memory, then press OK.
5. At the Are you sure? prompt, press Yes, then press OK.
After the process completes, the printer to returns to Ready.
Adjusting the Altitude
Use Adjust Altitude to adjust the altitude to match that of the location where the printer is installed. If
the altitude setting is incorrect, it can cause print-quality problems.
To adjust the altitude:
1. At the printer control panel, press the Menu button.
Note: To navigate through the menu, use the Up or Down arrow buttons.
2. Navigate to Admin Settings, then press OK.
3. Navigate to Service Tools, then press OK.
4. Select Adjust Altitude, then press OK.
5. To select the altitude of the location of the printer, press the arrow buttons, then press OK.
6. To return to Service Tools, press the Back arrow button, or to return to the main menu, press the
Menu button.

Maintenance
98 Xerox® Phaser® 3610 Black and White Printer
User Guide
Decreasing Electrostatic Memory
The Decrease Electrostatic Memory feature reduces the instances of streaks along the edges of the
printed output.
CAUTION: Use of this feature reduces print speed and the life of toner and drum cartridges.
To enable Decrease Electrostatic Memory:
1. At the printer control panel, press the Menu button.
Note: To navigate through the menu, use the Up or Down arrow buttons.
2. Navigate to Admin Settings, then press OK.
3. Navigate to Service Tools, then press OK.
4. Select Static Memory Ctr, then press OK.
5. Select On, then press OK.
6. To return to the Ready screen, press the Menu button.
Enabling Ghost Control
The Ghost Control feature reduces the instances of ghost images on the printed output.
To enable Ghost Control:
1. At the printer control panel, press the Menu button.
Note: To navigate through the menu, use the Up or Down arrow buttons.
2. Navigate to Admin Settings, then press OK.
3. Navigate to Service Tools, then press OK.
4. Select Ghost Control, then press OK.
5. Select On, then press OK.
6. To return to the Ready screen, press the Menu button.

Maintenance
Xerox® Phaser® 3610 Black and White Printer 99
User Guide
Moving the Printer
• Always turn off the printer and wait for the printer to shut down.
• Disconnect the power cord from the back of the printer.
• When lifting the printer, grasp the areas as shown.
• Keep the printer level to avoid toner spillage.
• Repack the printer and its options using the original packing material and boxes or a Xerox
Repackaging Kit.
CAUTION: Failure to repackage the printer properly for shipment can result in damage not covered
by the Xerox® Warranty, Service Agreement, or Total Satisfaction Guarantee. The Xerox® Warranty,
Service Agreement, or Total Satisfaction Guarantee do not cover damage to the printer caused by
improper moving.
CAUTION: The Xerox® Total Satisfaction Guarantee is available in the United States and Canada.
Coverage could vary outside these areas. Please contact your Xerox representative for details.
Xerox® Phaser® 3610 Black and White Printer 101
User Guide
This chapter includes:
• General Troubleshooting............................................................................................................................................. 102
• Paper Jams ....................................................................................................................................................................... 105
• Print-Quality Problems ................................................................................................................................................. 115
• Getting Help ..................................................................................................................................................................... 120
7
Troubleshooting

Troubleshooting
102 Xerox® Phaser® 3610 Black and White Printer
User Guide
General Troubleshooting
This section includes:
• Printer Does Not Turn On ............................................................................................................................................ 102
• Printer Makes Unusual Noises ................................................................................................................................... 102
• Printer Does Not Print ................................................................................................................................................... 103
• Printer Resets or Turns Off Frequently ................................................................................................................... 104
•
Condensation Has Formed Inside the Printer ..................................................................................................... 104
This section contains procedures to help you locate and resolve problems. Resolve some problems by
simply restarting the printer.
Printer Does Not Turn On
Probable Causes Solutions
The power switch is not turned on. Turn on the switch.
The power cord is not correctly plugged into
the outlet.
Turn off the printer power switch, and plug the power cord securely
into the outlet.
Something is wrong with the outlet
connected to the printer.
• Plug another electrical appliance into the outlet and see if it
operates properly.
• Try a different outlet.
The printer is connected to an outlet with a
voltage or frequency that does not match the
printer specifications.
Use a power source with the specifications listed in the Electrical
Specifications on page 130.
CAUTION: Plug the three-wire cord with grounding prong directly into a grounded AC outlet.
Printer Makes Unusual Noises
Probable Causes Solutions
There is an obstruction or debris inside the
printer.
Turn off the printer and remove the obstruction or debris. If you
cannot remove it, contact your Xerox representative.
The Smart Kit Drum Cartridge is not fully
seated.
Remove and reseat the Smart Kit Drum Cartridge.

Troubleshooting
Xerox® Phaser® 3610 Black and White Printer 103
User Guide
Printer Does Not Print
Probable Causes Solutions
The printer has an error. To clear the error, follow the onscreen prompts. If the error persists,
contact your Xerox representative.
The printer is out of paper. Load paper into the tray.
A toner cartridge is empty. Replace the empty toner cartridge.
The Error Indicator is blinking. • To clear the error, follow the onscreen prompts.
• If the Ready Indicator is off, the printer has stopped working.
Turn off the printer, then turn it on again. If the error persists,
contact your Xerox representative.
Both control panel indicators are off. Turn off the printer, confirm that the power cord is plugged in
correctly to the printer and the outlet, then turn on the printer. If
the error persists, contact your Xerox representative.
The printer is busy. • If the Ready Indicator is flashing, it is normal. A previous print
job could be the problem. Use the printer properties to delete all
print jobs in the print queue.
• Load the paper in the tray.
• If the Ready Indicator is not flashing after you send a print job,
check the Ethernet connection between the printer and the
computer.
• If the Ready Indicator is not flashing after you send a print job,
check the USB connection between the printer and the
computer. Turn off the printer, then turn it on again.
The printer cable is disconnected. • If the Ready Indicator is not flashing after you send a print job,
check the USB connection between the printer and the
computer.
• If the Ready Indicator is not flashing after you send a print job,
check the Ethernet connection between the printer and the
computer.

Troubleshooting
104 Xerox® Phaser® 3610 Black and White Printer
User Guide
Printer Resets or Turns Off Frequently
Probable Causes Solutions
The power cord is not plugged into the outlet
correctly.
Turn off the printer, confirm that the power cord is plugged in
correctly to the printer and the outlet, then turn on the printer.
A system error occurred. Turn off the printer, then turn it on again. Print the Error History
report from the Information Pages menu. If the error persists,
contact your Xerox representative.
The printer is connected to an uninterruptible
power supply.
Turn off the printer, then connect the power cord to a suitable
outlet.
The printer is connected to a power strip
shared with other high-power devices.
Plug the printer directly into the outlet or into a power strip that is
not shared with other high-power devices.
Condensation Has Formed Inside the Printer
Moisture can condense inside a printer where the humidity is above 85% or when a cold printer is
located in a warm room. Condensation can form in a printer after it has been sitting in a cold room that
is heated quickly.
Probable Causes Solutions
The printer has been sitting in a cold room. • Allow the printer to acclimate for several hours before operation.
• Allow the printer to operate for several hours at room
temperature.
The relative humidity of the room is too high. • Reduce the humidity in the room.
• Move the printer to a location where the temperature and
relative humidity are within the operating specifications.

Troubleshooting
Xerox® Phaser® 3610 Black and White Printer 105
User Guide
Paper Jams
This section includes:
• Locating Paper Jams ..................................................................................................................................................... 105
• Minimizing Paper Jams ................................................................................................................................................ 106
• Clearing Paper Jams...................................................................................................................................................... 107
•
Troubleshooting Paper Jams ..................................................................................................................................... 113
Locating Paper Jams
WARNING: Never touch a labeled area on or near the heat roller in the fuser. You can get burned. If
a sheet of paper is wrapped around the heat roller, do not try to remove it immediately. Switch off
the printer immediately and wait 20 minutes for the fuser to cool. Try to remove the jam after the
printer has cooled. If the error persists, contact your Xerox representative.
CAUTION: Do not attempt to clear any paper jams using tools or instruments. This can permanently
damage the printer.
The following illustration shows where paper jams can occur along the paper path:
1. Tray 2
2.
Rear Door
3. Bypass Tray
4.
Tray 1
Troubleshooting
106 Xerox® Phaser® 3610 Black and White Printer
User Guide
Minimizing Paper Jams
The printer is designed to function with minimal paper jams using Xerox supported paper. Other paper
types can cause jams. If supported paper is jamming frequently in one area, clean that area of the paper
path.
The following can cause paper jams:
• Selecting the incorrect paper type in the print driver.
• Using damaged paper.
• Using unsupported paper.
• Loading paper incorrectly.
• Overfilling the tray.
• Adjusting the paper guides improperly.
Most jams can be prevented by following a simple set of rules:
• Use only supported paper. For details, see Supported Paper on page 46.
• Follow proper paper handling and loading techniques.
• Always use clean, undamaged paper.
• Avoid paper that is curled, torn, moist, creased, or folded.
• To separate the sheets before loading into the tray, fan the paper.
• Observe the paper tray fill line; never overfill the tray.
• Adjust the paper guides in all trays after inserting the paper. A guide that is not properly adjusted
can cause poor print quality, misfeeds, skewed prints, and printer damage.
• After loading the trays, select the correct paper type and size on the control panel.
• When printing, select the correct type and size in the print driver.
• Store paper in a dry location.
• Use only Xerox paper and transparencies designed for the printer.
Avoid the following:
• Polyester coated paper that is specially designed for inkjet printers.
• Paper that is folded, wrinkled, or excessively curled.
• Loading more than one type, size, or weight of paper in a tray at the same time.
• Overfilling the trays.
• Allowing the output tray to overfill.
For a detailed list of supported paper, go to www.xerox.com/paper.

Troubleshooting
Xerox® Phaser® 3610 Black and White Printer 107
User Guide
Clearing Paper Jams
This section includes:
• Clearing Paper Jams from the Front of the Printer ........................................................................................... 107
•
Clearing Paper Jams from the Back of the Printer ............................................................................................ 109
Clearing Paper Jams from the Front of the Printer
Note: To resolve the error displayed on the control panel you must clear all paper from the paper
path.
1. Remove any paper from the bypass tray.
2. To remove the bypass tray from the printer, pull the tray straight out of the printer. Remove any
remaining pieces of paper.

Troubleshooting
108 Xerox® Phaser® 3610 Black and White Printer
User Guide
3. Remove Tray 1 from the printer.
4. Remove any crumpled paper from the tray and any remaining paper jammed in the printer.
5. Insert tray 1 into the printer, then push it in all the way.
Note: If the tray is extended for legal size paper, the tray protrudes when it is inserted into the
printer.

Troubleshooting
Xerox® Phaser® 3610 Black and White Printer 109
User Guide
6. Insert the bypass tray back into the printer.
7. To reset the interlock switch and clear the paper jam message, open and close the back door.
Clearing Paper Jams from the Back of the Printer
Note: To resolve the error displayed on the control panel you must clear all paper from the paper
path.
1. To open the lower rear door for an optional paper tray, pull it down from the top.

Troubleshooting
110 Xerox® Phaser® 3610 Black and White Printer
User Guide
2. Remove any jammed paper from the back of the printer.
3. To open the rear door, pull the release and lower the cover.
4. If paper is jammed in the fuser, raise both green levers to open the fuser.
5. To open the paper guide, raise the green handle.

Troubleshooting
Xerox® Phaser® 3610 Black and White Printer 111
User Guide
6. Remove the paper as shown.
7. Return the paper guide to its normal position.
8. Lower the levers to their original position.
9. Remove any jammed paper from the back of the printer.

Troubleshooting
112 Xerox® Phaser® 3610 Black and White Printer
User Guide
10. Close the rear door.
Note: The rear cover cannot close until both green levers are returned to their starting position, as
instructed in step 8.

Troubleshooting
Xerox® Phaser® 3610 Black and White Printer 113
User Guide
Troubleshooting Paper Jams
This section includes:
• Multiple Sheets Pulled Together .............................................................................................................................. 113
• Paper Misfeeds ................................................................................................................................................................ 113
• Label and Envelope Misfeeds .................................................................................................................................... 114
•
Paper Jam Message Stays On ................................................................................................................................... 114
Multiple Sheets Pulled Together
Probable Causes Solutions
The paper tray is too full. Remove some of the paper. Do not load paper past fill line.
The edges of the paper are not even. Remove the paper, align the edges, and then reload it.
The paper is moist from humidity. Remove the paper from the tray, and replace it with new dry paper.
Too much static electricity is present. • Try a new ream of paper.
• Do not fan transparencies before loading in tray.
Using unsupported paper. Use only Xerox approved paper. For details, see Supported Paper on
page 46.
Humidity is too high for coated paper. Feed paper one sheet at a time.
Paper Misfeeds
Probable Causes Solutions
The paper is not correctly positioned in the
tray.
• Remove the misfed paper and reposition it properly in the tray.
• Adjust the paper guides in the tray to match the size of the
paper.
The paper tray is too full. Remove some of the paper. Do not load paper past the fill line.
The paper guides are not correctly adjusted
to the paper size.
Adjust the paper guides in the tray to match the size of the paper.
The tray contains warped or wrinkled paper. Remove the paper, smooth it out, and reload it. If it still misfeeds,
do not use that paper.
The paper is moist from humidity. Remove the moist paper and replace it with new, dry paper.
Using paper of the wrong size, thickness, or
type.
Use only Xerox approved paper. For details, see Supported Paper on
page 46.

Troubleshooting
114 Xerox® Phaser® 3610 Black and White Printer
User Guide
Label and Envelope Misfeeds
Probable Causes Solutions
The label sheet is facing the wrong way in the
tray.
• Load label sheets according to the instructions from the
manufacturer.
• Load labels in the tray, face up.
For details, see Loading Labels in Trays 1-4 on page 66 or Loading
Labels in the Bypass Tray on page 66.
Labels are missing, curled, or pulled away
from the backing sheet.
Do not use any sheet where labels are missing, curled, or pulled
away from the backing sheet.
Envelopes are loaded incorrectly. Load envelopes in the bypass tray only.
For details, see Loading Envelopes in the Bypass Tray on page 63.
Envelopes are wrinkling. • The heat and pressure of the laser printing process can cause
wrinkling.
• Use supported envelopes. For details, see Guidelines for Printing
Envelopes on page 62.
Paper Jam Message Stays On
Probable Causes Solutions
Some paper remains jammed in the printer. Recheck the media path and ensure that you have removed all of
the jammed paper.
One of the printer doors is open. Check the doors on the printer and close any door that is open.
The rear door interlock switch is not reset. To reset the interlock switch and clear the paper jam message, open
and close the back door.
Note: Check for, and remove, torn pieces of paper in the paper path.

Troubleshooting
Xerox® Phaser® 3610 Black and White Printer 115
User Guide
Print-Quality Problems
This section includes:
• Controlling Print Quality .............................................................................................................................................. 115
•
Solving Print-Quality Problems .................................................................................................................................. 115
Your printer is designed to produce consistently high-quality prints. If you observe print-quality problems,
use the information in this section to troubleshoot the problem. For more information, go to
www.xerox.com/office/3610support.
CAUTION: The Xerox Warranty, Service Agreement, or Xerox Total Satisfaction Guarantee does not
cover damage caused by using unsupported paper or specialty media. The Xerox Total Satisfaction
Guarantee is available in the United States and Canada. Coverage could vary outside these areas.
Please contact your local representative for details.
Note: To ensure print quality, the toner cartridge has been designed to cease functioning at a
predetermined point.
Controlling Print Quality
Various factors can affect the quality of the output of your printer. For consistent and optimum print
quality, use paper designed for your printer and set the paper type correctly. Follow the guidelines in this
section to maintain optimum print quality from your printer.
Temperature and humidity affect the quality of the printed output. The guaranteed range for optimal
print quality is: 15–28ºC (59–82ºF) and 20–70% relative humidity.
Solving Print-Quality Problems
When the print quality is poor, select the closest symptom from the following table and see the
corresponding solution to correct the problem. You can also print a Demo Page to more precisely
determine the print-quality problem.
If the print quality does not improve after carrying out the appropriate action, contact your Xerox
representative.

Troubleshooting
116 Xerox® Phaser® 3610 Black and White Printer
User Guide
Symptom Solutions
The output is too light.
• To check the toner level, check the control panel, use the print driver, or
CentreWare Internet Services. If the toner cartridge is near empty,
replace it.
• Verify that the toner cartridge is approved for use in this printer, and
replace it as needed. For best results, use a genuine Xerox toner cartridge.
• Replace the paper with a recommended size and type, and confirm that
your printer and print driver settings are correct.
• Verify that the paper is dry and that supported paper is used. If not,
change the paper.
• Change the Paper Type settings in the print driver.
In the Printing Preferences of the print driver, on the Paper/Output tab,
change the Paper Type setting.
• Increase the Density Adjustment. For details, see Adjusting the Density
on page 92.
• If printer is located in a high altitude environment, adjust the altitude
setting of the printer. For details, see Adjusting the Altitude on page 97.
Toner smears or print comes off.
The output has stains on the back
side.
• Change the Paper Type settings in the print driver. For example, change
Plain to Lightweight Cardstock.
In the Printing Preferences of the print driver, on the Paper/Output tab,
change the Paper Type setting.
• Verify that the paper is the correct size, type, and weight. If not, change
the paper settings.
• Adjust the fuser. For details, see Adjusting the Fuser on page 92.
• Verify that the printer is plugged into an outlet that is providing the
correct voltage and power. Review the electrical specification of the
printer with an electrician if necessary. For details, see Electrical
Specifications on page 130.
Random spots on the output, or the
image is blurry.
• Ensure that the toner cartridge is installed correctly.
• If you used a non-genuine brand toner cartridge, install a genuine Xerox
toner cartridge.
• Use the Rough paper type setting, or try a paper with a smoother surface.
• Ensure that the humidity in the room is within specifications. For details,
see Relative Humidity on page 129.

Troubleshooting
Xerox® Phaser® 3610 Black and White Printer 117
User Guide
Symptom Solutions
The output is blank.
• Turn off the printer, then turn it on again.
• If the error persists, contact your Xerox representative.
Streaks appear in the output.
• Replace the Smart Kit Drum Cartridge.
• Contact your Xerox representative.
The output has a mottled
appearance.
• Verify that the paper is the correct size, type, and weight. If not, change
the paper settings.
• Ensure that the humidity in the room is within specifications. For details,
see Relative Humidity on page 129.
• Set the Adjust Transfer Unit setting to a higher value for the paper type.
For details, see Adjusting the Transfer Unit on page 91.
Ghosting appears in the printed
output.
• Verify that the paper is the correct size, type, and weight. If not, change
the paper settings.
• Change the Paper Type settings in the print driver.
In the Printing Preferences of the print driver, on the Paper/Output tab,
change the Paper Type setting.
• Replace the Smart Kit Drum Cartridge.
• Adjust the fuser. For details, see Adjusting the Fuser on page 92.
• Enable Ghost Control. For details, see Enabling Ghost Control on page 98.

Troubleshooting
118 Xerox® Phaser® 3610 Black and White Printer
User Guide
Symptom Solutions
The printed output is foggy.
Clean the developer. For details, see Cleaning the Developer on page 93.
Auger marks appear on the printed
output.
• To check the toner level, check the control panel, use the print driver, or
CentreWare Internet Services. If the toner cartridge is near empty,
replace it.
• Verify that the toner cartridge is approved for use in this printer, and
replace it as needed. For best results, use a genuine Xerox toner cartridge.
• Clean the developer. For details, see Cleaning the Developer on page 93.
The output print is wrinkled or
stained.
• Verify that the paper is the correct size, type, and weight for the printer
and that it is loaded properly. If not, change the paper.
• Try a new ream of paper.
• Change the Paper Type settings in the print driver.
In the Printing Preferences of the print driver, on the Paper/Output tab,
change the Paper Type setting.
Envelopes are wrinkled or creased
when printed.
Check if the crease is within 30 mm (1.2 in.) of the four edges of the
envelope.
• If yes, it is printing as expected. Your printer is not faulty.
• If not, take the following actions:
Ensure that envelopes are loaded properly in the bypass tray. For details,
see Loading Envelopes in the Bypass Tray on page 63.
Follow the guidelines for printing on envelopes. For details, see Guidelines
for Printing Envelopes on page 62.
If the problem persists, use a different size envelope.

Troubleshooting
Xerox® Phaser® 3610 Black and White Printer 119
User Guide
Symptom Solutions
The top margin is incorrect.
• Ensure that the paper is loaded properly.
• Ensure that the margins are set correctly in the application you are using.
The printed surface of the paper is
bumpy.
1. Print a solid image over the entire surface of one sheet of paper.
2. Load the printed sheet into the tray with the printed side face down.
3. Print five blank pages to remove debris from the fuser rollers.
The printed areas contain white
spots.
Adjust Transfer Unit to a lower value for the selected paper type. For details,
see Adjusting the Transfer Unit on page 91.
Toner streaks appear on the edges of
prints.
Enable the Decrease Electrostatic Memory feature. For details, see
Decreasing Electrostatic Memory on page 98.
Troubleshooting
120 Xerox® Phaser® 3610 Black and White Printer
User Guide
Getting Help
This section includes:
• Error and Status Messages ......................................................................................................................................... 120
• Online Support Assistant ............................................................................................................................................. 120
• Information Pages ......................................................................................................................................................... 120
•
More Information .......................................................................................................................................................... 121
Your printer comes with utilities and resources to help you troubleshoot printing problems.
Error and Status Messages
The printer control panel provides information and troubleshooting help. When an error or warning
condition occurs, the control panel informs you of the problem. Error messages warn you about printer
conditions, such as low supplies or doors open, that require your attention.
Online Support Assistant
Online Support Assistant is a knowledge base that provides instructions and troubleshooting help to
solve your printer problems. You can find solutions for print-quality problems, paper jams, software
installation issues, and more.
To access the Online Support Assistant, go to www.xerox.com/office/3610support.
Information Pages
Your printer has a printable set of information pages. These include configuration and font information,
demonstration pages, and more.

Troubleshooting
Xerox® Phaser® 3610 Black and White Printer 121
User Guide
More Information
You can obtain more information about your printer from these sources:
Resource Location
Installation Guide Packaged with the printer.
Other documentation for your printer www.xerox.com/office/3610docs
System Administrator Guide www.xerox.com/office/WC3615docs
Recommended Media List United States: www.xerox.com/paper
European Union: www.xerox.com/europaper
Technical support information for your printer;
including online technical support, Online Support
Assistant, and driver downloads.
www.xerox.com/office/3610support
Information Pages Print from the control panel, or from CentreWare
Internet Services, click Status > Information Pages.
CentreWare Internet Services documentation In CentreWare Internet Services, click Help.
Order supplies for your printer www.xerox.com/office/3610supplies
A resource for tools and information, including
interactive tutorials, printing templates, helpful tips,
and customized features to meet your individual
needs.
www.xerox.com/office/businessresourcecenter
Local sales and support center www.xerox.com/office/worldcontacts
Printer registration www.xerox.com/office/register
Xerox® Direct online store www.direct.xerox.com/
Xerox® Phaser® 3610 Black and White Printer 123
User Guide
This appendix includes:
• Printer Configurations and Options ........................................................................................................................ 124
• Physical Specifications ................................................................................................................................................. 126
• Environmental Specifications .................................................................................................................................... 129
• Electrical Specifications ............................................................................................................................................... 130
• Performance Specifications ....................................................................................................................................... 131
•
Controller Specifications ............................................................................................................................................. 132
A
Specifications

Specifications
124 Xerox® Phaser® 3610 Black and White Printer
User Guide
Printer Configurations and Options
Standard Features
The Xerox® Phaser® 3610 Black and White Printer provides the following features:
Feature Xerox® Phaser® 3610 Black and White Printer
Print speed Standard mode up to 47 ppm for Letter and 45 ppm for A4
2-Sided print speed Standard mode up to 28 ppm for Letter and 27 ppm for A4
Print resolution
• Standard print-quality mode
• Enhanced print-quality mode
• 600 x 600 dpi
• 1200 x 1200 dpi
Paper capacity
• Bypass Tray
• Tray 1
• Optional 550-Sheet Feeder
• 150 sheets
• 550 sheets
• 550 sheets
Maximum print size Legal (216
x
356
mm, 8.5
x
14 in.)
2-Sided Printing Up to 163 g/m² from any tray (Phaser 3610DN model only)
Standard memory 512 MB
Control panel Button-navigated menu with two-line display
Connectivity • Universal Serial Bus (USB 2.0)
• Ethernet 10/100/1000Base-T
• Wireless network connectivity: Optional
Remote access CentreWare Internet Services
Available Configurations
The Xerox® Phaser® 3610 Black and White Printer is available in two configurations:
• Phaser 3610N: Network printer with USB and network connectivity.
• Phaser 3610DN: Network printer with automatic 2-sided printing, and USB and network
connectivity.
Specifications
Xerox® Phaser® 3610 Black and White Printer 125
User Guide
Options and Upgrades
• Wireless network adapter
• 550-Sheet Feeder with up to 3 additional trays
• 512 MB RAM Memory
• 4 GB Device Memory
• Printer Stand

Specifications
126 Xerox® Phaser® 3610 Black and White Printer
User Guide
Physical Specifications
Weights and Dimensions
Phaser 3610DN Phaser 3610DN with Optional
550-Sheet Feeder
Width 39.4 cm (15.5 in.) 39.4 cm (15.5 in.)
Depth 42.6 cm (16.8 in.) 42.6 cm (16.8 in.)
Height 31.5 cm (12.4 in.) 41.0 cm (16.2 in.)
Weight 13 kg (28.7 lb.) 16.1 kg (35.5 lb.)
Standard Configuration
Configuration with Optional 550-Sheet Feeder

Specifications
Xerox® Phaser® 3610 Black and White Printer 127
User Guide
Total Space Requirements
Phaser 3610DN Phaser 3610DN with Optional
550-Sheet Feeder
Width 59.4 cm (23.4 in.) 59.4 cm (23.4 in.)
Depth 142.2 cm (56.0 in.) 142.2 cm (56.0 in.)
Height 48.9 cm (19.3 in.) 58.4 cm (23.0 in.)
Clearance Requirements
Xerox® Phaser® 3610 Black and White Printer

Specifications
128 Xerox® Phaser® 3610 Black and White Printer
User Guide
Clearance Requirements with Optional 550-Sheet Feeder
Xerox® Phaser® 3610 Black and White Printer
Specifications
Xerox® Phaser® 3610 Black and White Printer 129
User Guide
Environmental Specifications
Temperature
• Operating temperature: 10–32°C (50–90°F)
• Optimum temperature: 15–28°C (59–82°F)
Relative Humidity
• Minimum–Maximum Humidity Range: 10–85%
• Optimal Humidity Range: 20–70% relative humidity at 28°C (82°F)
Note: Under extreme environmental conditions, such as 10°C and 85% relative humidity, defects
can occur due to condensation.
Elevation
For optimum performance, use the printer at elevations below 3100 m (10,170 ft.).

Specifications
130 Xerox® Phaser® 3610 Black and White Printer
User Guide
Electrical Specifications
Power Supply Voltage and Frequency
Power Supply Voltage Power Supply Frequency
110–127 VAC +/-10%, (99–140 VAC) 50 Hz +/- 3 Hz
60 Hz +/- 3 Hz
220–240 VAC +/-10%, (198–264 VAC) 50 Hz +/- 3 Hz
60 Hz +/- 3 Hz
Power Consumption
• Energy Saver Mode (Sleep): 2W
• Ready, with fuser on: 52W
• Continuous printing: 686W
This printer does not consume electric power when the power switch is turned off even if the printer is
connected to an AC outlet.
ENERGY STAR Qualified Product
The Xerox® Phaser® 3610 Black and White Printer is ENERGY STAR® qualified under the
ENERGY STAR Program Requirements for Imaging Equipment.
The ENERGY STAR and ENERGY STAR mark are registered United States trademarks.
The ENERGY STAR Imaging Equipment Program is a team effort between United
States, European Union, and Japanese governments and the office equipment industry
to promote energy-efficient copiers, printers, fax, multifunction printers, personal
computers, and monitors. Reducing product energy consumption helps combat smog,
acid rain, and long-term changes to the climate by decreasing the emissions that result
from generating electricity.
Xerox® ENERGY STAR equipment is preset at the factory to switch to Energy Saver Modes after 10
minutes from the last print.

Specifications
Xerox® Phaser® 3610 Black and White Printer 131
User Guide
Performance Specifications
Feature Specifications
Printer warm up time Power on: As fast as 12 seconds.
Recovery from sleep mode: As fast as 3 seconds.
Note: Warm up time assumes an ambient temperature of 20ºC (68°F) at
60% relative humidity.
Print Speed
Maximum print speeds for 1-sided continuous printing are 47 ppm for Letter (8.5 x 11") and 45 ppm for
A4 (210 x 297 mm).
Several factors affect print speed:
• 2-sided printing: The maximum print speeds for 2-sided continuous printing are 28 ppm for Letter
(8.5 x 11") and 27 ppm for A4 (210 x 297 mm).
• Print mode: Standard is the fastest print mode. Enhanced is half speed, or slower.
• Paper size. Letter (8.5 x 11 in.) and A4 (210 x 297 mm) sizes share the fastest print speed. Larger
sizes reduce print speeds.
• Paper type: Plain prints faster than Rough Surface.
• Paper weight: Lightweight prints faster than heavier paper, such as Cardstock and Labels.

Specifications
132 Xerox® Phaser® 3610 Black and White Printer
User Guide
Controller Specifications
Memory
Memory Xerox® Phaser® 3610 Black and
White Printer
Standard memory 512 MB RAM (optional 1024 MB
total)
Device Memory 4 GB Device Memory (optional)
Flash memory 64 MB ROM
EEPROM 48 KB EEPROM
Interfaces
Universal Serial Bus (USB 2.0)
Ethernet 10/100/1000Base-TX
IEEE802.11 Compliant Wireless Network Adapter (optional)
Xerox® Phaser® 3610 Black and White Printer 133
User Guide
This appendix includes:
• Basic Regulations ........................................................................................................................................................... 134
•
Material Safety Data Sheets ..................................................................................................................................... 138
B
Regulatory Information
Regulatory Information
134 Xerox® Phaser® 3610 Black and White Printer
User Guide
Basic Regulations
Xerox has tested this printer to electromagnetic emission and immunity standards. These standards are
designed to mitigate interference caused or received by this printer in a typical office environment.
United States FCC Regulations
This equipment has been tested and found to comply with the limits for a Class A digital device,
pursuant to Part 15 of the FCC Rules. These limits are designed to provide reasonable protection against
harmful interference when the equipment is operated in a commercial environment. This equipment
generates, uses, and can radiate radio frequency energy. If it is not installed and used in accordance
with these instructions, it may cause harmful interference to radio communications. Operation of this
equipment in a residential area is likely to cause harmful interference in which case the user will be
required to correct the interference at his/her own expense.
If this equipment does cause harmful interference to radio or television reception, which can be
determined by turning the equipment off and on, the user is encouraged to try to correct the
interference by one or more of the following measures:
• Reorient or relocate the receiving antenna.
• Increase the separation between the equipment and receiver.
• Connect the equipment into an outlet on a circuit different from that to which the receiver is
connected.
• Consult the dealer or an experienced radio/TV technician for help.
Changes or modifications to this equipment not approved by Xerox can void the authority of the user to
operate this equipment.
Note: To ensure compliance with Part 15 of the FCC rules, use shielded interface cables.
Canada
This Class A digital apparatus complies with Canadian ICES-003.
Cet appareil numérique de la classe A est conforme à la norme NMB-003 du Canada.

Regulatory Information
Xerox® Phaser® 3610 Black and White Printer 135
User Guide
European Union
CAUTION: This is a Class A product. In a domestic environment, this product can cause radio
interference in which case the user could be required to take adequate measures.
The CE mark applied to this product symbolizes a declaration of conformity by Xerox with
the following applicable Directives of the European Union as of the dates indicated:
• December 12, 2006: Low Voltage Directive 2006/95/EC
• December 15, 2004: Electromagnetic Compatibility Directive 2004/108/EC
This printer, if used properly in accordance with the instructions, is not dangerous for the consumer or for
the environment.
To ensure compliance with European Union regulations, use shielded interface cables.
A signed copy of the Declaration of Conformity for this printer can be obtained from Xerox.
European Union Lot 4 Imaging Equipment Agreement Environmental
Information
Environmental Information Providing Environmental Solutions and Reducing Cost
Introduction
The following information has been developed to assist users and has been issued in relation to the
European Union (EU) Energy Related Products Directive, specifically the Lot 4 study on Imaging
Equipment. This requires manufacturers to improve environmental performance of in scope products
and supports the EU action plan on energy efficiency.
In scope products are Household and Office equipment that meet the following criteria.
• Standard monochrome format products with a maximum speed less than 66 A4 images per minute
• Standard color format products with a maximum speed less than 51 A4 images per minute
Environmental Benefits of Duplex Printing
Most Xerox products have duplex printing, also known as 2-sided printing, capability. This enables you to
print on both sides of the paper automatically, and therefore helps to reduce the use of valuable
resources by reducing your paper consumption. The Lot 4 Imaging Equipment agreement requires that
on models greater than or equal to 40 ppm color or greater than or equal to 45 ppm monochrome the
duplex function has been auto enabled, during the setup and driver installation. Some Xerox models
below these speed bands may also be enabled with 2-sided printing settings defaulted on at the time of
install. Continuing to use the duplex function will reduce the environmental impact of your work.
However, should you require simplex/1-sided printing, you may change the print settings in the print
driver.
Regulatory Information
136 Xerox® Phaser® 3610 Black and White Printer
User Guide
Paper Types
This product can be used to print on both recycled and virgin paper, approved to an environmental
stewardship scheme, which complies with EN12281 or a similar quality standard. Lighter weight paper
(60 g/m²), which contains less raw material and thus save resources per print, may be used in certain
applications. We encourage you to check if this is suitable for your printing needs.
ENERGY STAR
The ENERGY STAR program is a voluntary scheme to promote the development and purchase of energy
efficient models, which help to reduce environmental impact. Details on the ENERGY STAR program and
models qualified to ENERGY STAR can be found at the following website:
www.energystar.gov/index.cfm?fuseaction=find_a_product.showProductGroup&pgw_code=IEQ
Power Consumption and Activation Time
The amount of electricity a product consumes depends on the way the device is used. This product is
designed and configured to enable you to reduce your electricity costs. After the last print it switches to
Ready Mode. In this mode it can print again immediately if required. If the product is not used for a
period of time, the device switches to a Power Saver Mode. In these modes, only essential functions
remain active in order to enable reduced product power consumption.
Upon exiting from Power Saver Mode, the first print will take slightly longer than in Ready Mode. This
delay is the result of the system "waking up" from Power Saver mode and is typical of most imaging
products on the market.
If you wish to set a longer Activation Time or would like to completely deactivate the Power Save Mode,
please consider that this device may then only switch to a lower energy level after a longer period of
time or not at all.
To learn more about Xerox participation in sustainability initiatives, please visit our website at:
www.xerox.com/about-xerox/environment/enus.html
Germany
Blendschutz
Das Gerät ist nicht für die Benutzung im unmittelbaren Gesichtsfeld am Bildschirmarbeitsplatz
vorgesehen. Um störende Reflexionen am Bildschirmarbeitsplatz zu vermeiden, darf dieses Produkt nicht
im unmittelbaren Gesichtsfeld platziert werden.
Lärmemission
Maschinenlärminformations-Verordnung 3. GPSGV: Der höchste Schalldruckpegel beträgt 70 dB(A) oder
weniger gemäß EN ISO 7779.
Regulatory Information
Xerox® Phaser® 3610 Black and White Printer 137
User Guide
Importeur
Xerox GmbH
Hellersbergstraße 2-4
41460 Neuss
Deutschland
Turkey RoHS Regulation
In compliance with Article 7 (d), we hereby certify “it is in compliance with the EEE regulation.”
“EEE yönetmeliğine uygundur.”
Regulatory Information for 2.4 GHz Wireless Network Adapter
This product contains a 2.4 GHz Wireless LAN radio transmitter module which complies with the
requirements specified in FCC Part 15, Industry Canada RSS-210 and European Council Directive
99/5/EC.
Operation of this device is subject to the following two conditions: (1) this device may not cause harmful
interference, and (2) this device must accept any interference received, including interference that may
cause undesired operation.
Changes or modifications to this device not specifically approved by the Xerox Corporation may void the
user's authority to operate this equipment.
Regulatory Information
138 Xerox® Phaser® 3610 Black and White Printer
User Guide
Material Safety Data Sheets
For Material Safety Data information regarding your printer, go to:
• North America: www.xerox.com/msds
• European Union: www.xerox.com/environment_europe
For the Customer Support Center phone numbers, go to www.xerox.com/office/worldcontacts.
Xerox® Phaser® 3610 Black and White Printer 139
User Guide
This appendix includes:
• All Countries ..................................................................................................................................................................... 140
• North America ................................................................................................................................................................. 141
• European Union .............................................................................................................................................................. 142
• Other Countries ............................................................................................................................................................... 144
C
Recycling and Disposal
Recycling and Disposal
140 Xerox® Phaser® 3610 Black and White Printer
User Guide
All Countries
If you are managing the disposal of your Xerox product, please note that the printer may contain lead,
mercury, perchlorate, and other materials whose disposal may be regulated due to environmental
considerations. The presence of these materials is fully consistent with global regulations applicable at
the time that the product was placed on the market. For recycling and disposal information, contact your
local authorities. Perchlorate Material: This product may contain one or more Perchlorate-containing
devices, such as batteries. Special handling may apply, please see
www.dtsc.ca.gov/hazardouswaste/perchlorate.
Recycling and Disposal
Xerox® Phaser® 3610 Black and White Printer 141
User Guide
North America
Xerox operates an equipment take-back and reuse/recycle program. Contact your Xerox representative
(1-800-ASK-XEROX) to determine if this Xerox product is part of the program. For more information
about Xerox environmental programs, visit www.xerox.com/environment , or for recycling and disposal
information, contact your local authorities.

Recycling and Disposal
142 Xerox® Phaser® 3610 Black and White Printer
User Guide
European Union
Some equipment may be used in both a domestic/household and a professional/business application.
Domestic/Household Environment
Application of this symbol on your equipment is confirmation that you
should not dispose of the equipment in the normal household waste
stream.
In accordance with European legislation, end of life electrical and electronic equipment subject to
disposal must be segregated from household waste.
Private households within EU member states may return used electrical and electronic equipment to
designated collection facilities free of charge. Please contact your local disposal authority for
information.
In some member states, when you purchase new equipment, your local retailer may be required to take
back your old equipment free of charge. Please ask your retailer for information.
Professional/Business Environment
Application of this symbol on your equipment is confirmation that you
must dispose of this equipment in compliance with agreed national
procedures.
In accordance with European legislation, end of life electrical and electronic equipment subject to
disposal must be managed within agreed procedures.
Prior to disposal, please contact your local reseller or Xerox representative for end of life take-back
information.

Recycling and Disposal
Xerox® Phaser® 3610 Black and White Printer 143
User Guide
Collection and Disposal of Equipment and Batteries
These symbols on the products and/or accompanying documents
mean that used electrical and electronic products and batteries should
not be mixed with general household waste.
For proper treatment, recovery, and recycling of old products and used
batteries, please take them to applicable collection points, in
accordance with your national legislation and the Directive
2002/96/EC and 2006/66/EC.
By disposing of these products and batteries correctly, you will help to
save valuable resources and prevent any potential negative effects on
human health and the environment which could otherwise arise from
inappropriate waste handling.
For more information about collection and recycling of old products
and batteries, please contact your local municipality, your waste
disposal service or the point of sale where you purchased the items.
Penalties may be applicable for incorrect disposal of this waste, in
accordance with national legislation.
Business Users in the European Union
If you wish to discard electrical and electronic equipment, please contact your dealer or supplier for
further information.
Disposal Outside of the European Union
These symbols are only valid in the European Union. If you wish to discard these items, please contact
your local authorities or dealer and ask for the correct method of disposal.
Battery Symbol Note
Hg
This wheeled bin symbol may be used in combination with a chemical
symbol. This establishes compliance with the requirements set out by
the Directive.
Battery Removal
Batteries should only be replaced by a MANUFACTURER-approved service facility.
Recycling and Disposal
144 Xerox® Phaser® 3610 Black and White Printer
User Guide
Other Countries
Please contact your local waste management authority to request disposal guidance.