Xerox Phaser 6600 Users Manual Color Printer
2015-04-02
: Xerox Xerox-Phaser-6600-Users-Manual-684510 xerox-phaser-6600-users-manual-684510 xerox pdf
Open the PDF directly: View PDF .
Page Count: 190 [warning: Documents this large are best viewed by clicking the View PDF Link!]
- Safety
- Features
- Installation and Setup
- Installation and Setup Overview
- Selecting a Location for the Printer
- Connecting the Printer
- Selecting a Connection Method
- Connecting to a Computer Using USB
- Connecting to a Wired Network
- Connecting to a Wireless Network
- Installing the Wireless Network Adapter
- Removing the Wireless Network Adapter
- Resetting Wireless Settings
- Connecting to a Network with a Wi-Fi Protected Setup
- Collecting Wireless Network Information for Connecting to a Wireless Network Manually
- Connecting to a Wireless Network Using the Control Panel Wi-Fi Setup Wizard
- Connecting to a Wireless Network Manually
- Connecting to a Wireless Network Using CentreWare Internet Services
- Connecting to a Wireless Network Using the Printer Setup Utility
- Setting Up the Printer for Wireless LAN WPA-Enterprise
- Configuring Network Settings
- Configuring General Setup Using CentreWare Internet Services
- Configuring AirPrint
- Configuring General Setup Using the Control Panel
- Getting Information About the Printer
- Using the Power On Wizard
- Configuring System Settings
- Accessing the System Settings Menu
- Energy Saver Mode
- Configuring the Energy Saver Settings
- Setting the Date and Time
- Setting the Measurement Units
- Configuring Audio Tones
- Setting the Startup Page
- Configuring the Low Toner Alert Message
- Setting the Auto Log Print
- Configuring the Panel Timeout
- Configuring the Fault Timeout
- Configuring the Job Timeout
- Configuring the Output Settings
- Configuring Tray Settings
- Configuring Security Settings Using CentreWare Internet Services
- Configuring Secure Settings Using the Control Panel
- Configuring Smart eSolutions
- Installing the Software
- Operating System Requirements
- Installing the Print Drivers for a Windows Network Printer
- Installing the Print Drivers for a Windows USB Printer
- Installing Drivers and Utilities for Macintosh OS X Version 10.5 and Later
- Installing Drivers and Utilities for UNIX and Linux
- Other Drivers
- Installing the Printer as a Web Service on Devices
- Paper and Media
- Supported Paper
- Recommended Media
- Ordering Paper
- General Paper Loading Guidelines
- Paper That Can Damage Your Printer
- Paper Storage Guidelines
- Supported Paper Types and Weights
- Supported Standard Paper Sizes
- Supported Paper Types and Weights for Automatic 2-Sided Printing
- Supported Standard Paper Sizes for Automatic 2-Sided Printing
- Supported Custom Paper Sizes
- Loading Paper
- Printing on Special Paper
- Supported Paper
- Printing
- Printing Overview
- Selecting Printing Options
- Printing Features
- Using Custom Paper Sizes
- Maintenance
- Cleaning the Printer
- Adjustments and Maintenance Procedures
- Ordering Supplies
- Managing the Printer
- Moving the Printer
- Troubleshooting
- Specifications
- Regulatory Information
- Recycling and Disposal

Xerox Phaser 6600
Color Printer
Imprimante couleur
Xerox® Phaser® 6600
User Guide
Guide d'utilisation
Italiano Guida per l’utente
Deutsch Benutzerhandbuch
Español Guía del usuario
Português Guia do usuário
Nederlands Gebruikershandleiding
Svenska Användarhandbok
Dansk Betjeningsvejledning
Suomi Käyttöopas
Norsk Brukerhåndbok
Русский Руководство пользователя
Čeština Uživatelská příručka
Polski Przewodnik użytkownika
Magyar
Felhasználói útmutató
Türkçe
Kullanıcı Kılavuzu
Ελληνικά Εγχειρίδιο χρήστη
© 2013 Xerox Corporation. All rights reserved. Unpublished rights reserved under the copyright laws of the United States.
Contents of this publication may not be reproduced in any form without permission of Xerox Corporation.
Copyright protection claimed includes all forms of matters of copyrightable materials and information now allowed by statutory or
judicial law or hereinafter granted, including without limitation, material generated from the software programs which are displayed
on the screen such as styles, templates, icons, screen displays, looks, and so on.
XEROX® and XEROX and Design®, Phaser®, PhaserSMART®, PhaserMatch®, PhaserCal®, PhaserMeter™, CentreWare®,
PagePack®, eClick®, PrintingScout®, Walk-Up®, WorkCentre®, FreeFlow®, SMARTsend®, Scan to PC Desktop®, MeterAssistant®,
SuppliesAssistant®, Xerox Secure Access Unified ID System®, Xerox Extensible Interface Platform®, ColorQube®, Global Print
Driver®, and Mobile Express Driver® are trademarks of Xerox Corporation in the United States and/or other countries.
Adobe® Reader®, Adobe® Type Manager®, ATM™, Flash®, Macromedia®, Photoshop®, and PostScript® are trademarks of
Adobe Systems Incorporated in the United States and/or other countries.
Apple, Bonjour, EtherTalk, TrueType, iPad, iPhone, iPod, iPod touch, Mac and Mac OS are trademarks of Apple Inc., registered in
the U.S. and other countries. AirPrint and the AirPrint logo are trademarks of Apple Inc.
HP-GL®, HP-UX®, and PCL® are trademarks of Hewlett-Packard Corporation in the United States and/or other countries.
IBM® and AIX® are trademarks of International Business Machines Corporation in the United States and/or other countries.
Microsoft®, Windows Vista®, Windows®, and Windows Server® are trademarks of Microsoft Corporation in the United States and
other countries.
Novell®, NetWare®, NDPS®, NDS®, IPX™, and Novell Distributed Print Services™ are trademarks of Novell, Inc. in the United
States and other countries.
SGI® and IRIX® are trademarks of Silicon Graphics International Corp. or its subsidiaries in the United States and/or other
countries.
Sun, Sun Microsystems, and Solaris are trademarks or registered trademarks of Oracle and/or its affiliates in the United States
and other countries.
UNIX® is a trademark in the United States and other countries, licensed exclusively through X/ Open Company Limited.
PANTONE® and other Pantone, Inc. trademarks are the property of Pantone, Inc.
Document version 1.1: January 2013
Phaser 6600 Color Printer 3
User Guide
Contents
1 Safety 9
Electrical Safety ................................................................................................................. 10
General Guidelines ...................................................................................................... 10
Power Cord .................................................................................................................. 10
Emergency Turn Off ..................................................................................................... 11
Telephone Line Cord .................................................................................................... 11
Laser Safety ................................................................................................................. 12
Operational Safety ............................................................................................................. 13
Operational Guidelines ................................................................................................. 13
Ozone Release ............................................................................................................ 13
Printer Location ............................................................................................................ 13
Printer Supplies ............................................................................................................ 14
Maintenance Safety ........................................................................................................... 15
Printer Symbols.................................................................................................................. 16
Environmental, Health, and Safety Contact Information ..................................................... 17
2 Features 19
Parts of the Printer ............................................................................................................. 20
Front View .................................................................................................................... 20
Rear View .................................................................................................................... 21
Internal Parts ................................................................................................................ 21
Control Panel ............................................................................................................... 21
Energy Saver Mode ........................................................................................................... 24
Exiting Energy Saver Mode .......................................................................................... 24
Information Pages .............................................................................................................. 25
Configuration Report .................................................................................................... 25
Printing a Configuration Report .................................................................................... 25
Administrative Features ..................................................................................................... 26
Finding the IP Address of the Printer ............................................................................ 26
CentreWare Internet Services ...................................................................................... 26
Accessing the Printer ................................................................................................... 26
Meter Readings ............................................................................................................ 27
More Information ................................................................................................................ 28
3 Installation and Setup 29
Installation and Setup Overview ......................................................................................... 30
Selecting a Location for the Printer .................................................................................... 31
Connecting the Printer ....................................................................................................... 32
Selecting a Connection Method .................................................................................... 32
Connecting to a Computer Using USB ......................................................................... 32
Contents
4 Phaser 6600 Color Printer
User Guide
Connecting to a Wired Network .................................................................................... 33
Connecting to a Wireless Network................................................................................ 33
Configuring Network Settings ............................................................................................. 43
About TCP/IP and IP Addresses .................................................................................. 43
Assigning the Printer IP Address .................................................................................. 44
Configuring General Setup Using CentreWare Internet Services ....................................... 48
Viewing Printer Information .......................................................................................... 48
Cloning the Printer Settings .......................................................................................... 48
Configuring Email Alerts ............................................................................................... 49
Configuring System Settings ........................................................................................ 50
Configuring Clock Settings ........................................................................................... 50
Configuring Tray Settings ............................................................................................. 50
Setting Up a Proxy Server ............................................................................................ 51
Configuring AirPrint ............................................................................................................ 52
Configuring General Setup Using the Control Panel .......................................................... 53
Getting Information About the Printer ........................................................................... 53
Using the Power On Wizard ......................................................................................... 53
Configuring System Settings ........................................................................................ 54
Configuring the Output Settings ................................................................................... 58
Configuring Tray Settings ............................................................................................. 59
Configuring Security Settings Using CentreWare Internet Services.................................... 61
Opening the Security Menu .......................................................................................... 61
Configuring Administrative Security Settings ................................................................ 61
Configuring Secure Settings ......................................................................................... 62
Configuring the Host Access List .................................................................................. 62
Configuring IPsec Settings ........................................................................................... 63
Configuring 802.1x Settings ......................................................................................... 64
Configuring SSL Settings .............................................................................................
65
Managing Certificates................................................................................................... 66
Configuring Secure Settings Using the Control Panel ........................................................ 71
Setting the Date and Time ............................................................................................ 71
Setting the Panel Lock ................................................................................................. 72
Configuring the Data Encryption Settings ..................................................................... 72
Logging In at the Control Panel .................................................................................... 73
Limiting Login Attempts ................................................................................................ 73
Configuring the USB Setup .......................................................................................... 73
Configuring Smart eSolutions............................................................................................. 74
Using Smart eSolutions ................................................................................................ 74
Overview for Setting Up Smart eSolutions .................................................................... 74
Enabling the Proxy Server ............................................................................................ 75
Validate DNS Settings and Enable SSL ....................................................................... 75
Registering with the Xerox Communication Server ....................................................... 76
Setting Up Email Notifications for Billing Meter Read Alerts ......................................... 76
Setting Up Email Notifications for Supplies Data Send Alerts ....................................... 77
Installing the Software ........................................................................................................ 78
Operating System Requirements ................................................................................. 78
Installing the Print Drivers for a Windows Network Printer ............................................ 78
Contents
Phaser 6600 Color Printer 5
User Guide
Installing the Print Drivers for a Windows USB Printer.................................................. 79
Installing Drivers and Utilities for Macintosh OS X Version 10.5 and Later ................... 79
Installing Drivers and Utilities for UNIX and Linux ......................................................... 80
Other Drivers ................................................................................................................ 81
Installing the Printer as a Web Service on Devices ...................................................... 81
4 Paper and Media 83
Supported Paper ................................................................................................................ 84
Recommended Media .................................................................................................. 84
Ordering Paper............................................................................................................. 84
General Paper Loading Guidelines ............................................................................... 84
Paper That Can Damage Your Printer .......................................................................... 85
Paper Storage Guidelines ............................................................................................ 85
Supported Paper Types and Weights ........................................................................... 86
Supported Standard Paper Sizes ................................................................................. 86
Supported Paper Types and Weights for Automatic 2-Sided Printing ........................... 86
Supported Standard Paper Sizes for Automatic 2-Sided Printing ................................. 87
Supported Custom Paper Sizes ................................................................................... 87
Loading Paper ................................................................................................................... 88
Loading Paper in the Bypass Tray................................................................................ 88
Configuring Trays 1 or 2 for the Paper Length .............................................................. 90
Loading Paper in Trays 1 and 2 ................................................................................... 91
Printing on Special Paper ................................................................................................... 94
Envelopes .................................................................................................................... 94
Labels .......................................................................................................................... 97
Glossy Cardstock ......................................................................................................... 98
5 Printing 101
Printing Overview ............................................................................................................. 102
Selecting Printing Options ................................................................................................ 103
Print Driver Help ......................................................................................................... 103
Windows Printing Options .......................................................................................... 103
Macintosh Printing Options ........................................................................................ 105
Printing Features .............................................................................................................. 106
Printing on Both Sides of the Paper ............................................................................ 106
Orientation ................................................................................................................. 107
Selecting Paper Options for Printing ........................................................................... 108
Printing Multiple Pages to a Single Sheet ................................................................... 108
Printing Booklets ........................................................................................................ 109
Print Quality ............................................................................................................... 109
Image Options ............................................................................................................ 109
Printing Watermarks ................................................................................................... 110
Scaling ....................................................................................................................... 110
Printing Mirror Images ................................................................................................ 111
Printing Special Job Types ......................................................................................... 111
Using Custom Paper Sizes .............................................................................................. 113
Contents
6 Phaser 6600 Color Printer
User Guide
Defining Custom Paper Sizes ..................................................................................... 113
Creating and Saving Custom Paper Sizes .................................................................. 113
Printing on Custom Paper Sizes ................................................................................. 114
6 Maintenance 115
Cleaning the Printer ......................................................................................................... 116
General Precautions .................................................................................................. 116
Cleaning the Exterior .................................................................................................. 116
Cleaning the Interior ................................................................................................... 117
Adjustments and Maintenance Procedures ...................................................................... 126
Color Registration ...................................................................................................... 126
Checking the Firmware Version ................................................................................. 128
Adjusting Paper Type ................................................................................................. 128
Adjusting the Transfer Belt Unit .................................................................................. 129
Adjusting the Transfer Roller ...................................................................................... 129
Adjusting the Fuser .................................................................................................... 130
Resetting Defaults ...................................................................................................... 130
Initializing the Print Meter ........................................................................................... 131
Resetting the Transfer Unit ........................................................................................ 131
Clearing Job History ................................................................................................... 132
Adjusting the Altitude.................................................................................................. 132
Ordering Supplies ............................................................................................................ 133
Consumables ............................................................................................................. 133
Routine Maintenance Items ........................................................................................ 133
When to Order Supplies ............................................................................................. 134
Viewing Printer Supply Status .................................................................................... 134
Recycling Supplies ..................................................................................................... 134
Toner Cartridges ........................................................................................................
135
Managing the Printer ........................................................................................................ 136
Checking Page Counts ............................................................................................... 136
Changing the Passcode Using the Control Panel ....................................................... 137
Moving the Printer ............................................................................................................ 138
7 Troubleshooting 141
General Troubleshooting .................................................................................................. 142
Printer Does Not Turn On ........................................................................................... 142
Printer Resets or Turns Off Frequently ....................................................................... 143
Printer Does Not Print ................................................................................................ 143
Printing Takes Too Long ............................................................................................ 144
Document Prints From Wrong Tray ............................................................................ 145
Automatic 2-Sided Printing Problems ......................................................................... 145
Printer is Making Unusual Noises ............................................................................... 145
Paper Tray Will Not Close .......................................................................................... 145
Condensation has Formed Inside the Printer ............................................................. 146
Paper Jams ...................................................................................................................... 147
Locating Paper Jams.................................................................................................. 147
Contents
Phaser 6600 Color Printer 7
User Guide
Clearing Paper Jams .................................................................................................. 148
Troubleshooting Paper Jams ...................................................................................... 157
Print-Quality Problems ............................................................................................... 159
Getting Help ..................................................................................................................... 166
Control Panel Messages ............................................................................................ 166
Using the Integrated Troubleshooting Tools ............................................................... 167
Online Support Assistant ............................................................................................ 167
Information Pages ...................................................................................................... 167
More Information ........................................................................................................ 168
A Specifications 169
Printer Configurations and Options .................................................................................. 170
Available Configurations ............................................................................................. 170
Standard Features ..................................................................................................... 170
Options and Upgrades ............................................................................................... 170
Physical Specifications ..................................................................................................... 171
Weights and Dimensions ............................................................................................ 171
Standard Configuration .............................................................................................. 171
Configuration with Optional 550-Sheet Feeder ........................................................... 171
Total Space Requirements ......................................................................................... 172
Clearance Requirements ............................................................................................ 172
Clearance Requirements with Optional 550-Sheet Feeder ......................................... 173
Environmental Specifications ........................................................................................... 174
Temperature .............................................................................................................. 174
Relative Humidity ....................................................................................................... 174
Elevation .................................................................................................................... 174
Electrical Specifications ................................................................................................... 175
Power Supply Voltage and Frequency .......................................................................
175
Power Consumption ................................................................................................... 175
ENERGY STAR Qualified Product ............................................................................. 175
Performance Specifications ............................................................................................. 176
Print Speed ................................................................................................................ 176
Controller Specifications .................................................................................................. 177
Processor ................................................................................................................... 177
Memory ...................................................................................................................... 177
Interfaces ................................................................................................................... 177
B Regulatory Information 179
Basic Regulations ............................................................................................................ 180
United States FCC Regulations .................................................................................. 180
Canada ...................................................................................................................... 180
European Union ......................................................................................................... 181
European Union Lot 4 Imaging Equipment Agreement Environmental Information ..... 181
Germany .................................................................................................................... 182
Turkey RoHS Regulation ............................................................................................ 183
Regulatory Information for 2.4 GHz Wireless Network Adapter .................................. 183
Contents
8 Phaser 6600 Color Printer
User Guide
Material Safety Data Sheets............................................................................................. 184
C Recycling and Disposal 185
All Countries .................................................................................................................... 186
North America .................................................................................................................. 187
European Union ............................................................................................................... 188
Domestic/Household Environment ............................................................................. 188
Professional/Business Environment ........................................................................... 188
Collection and Disposal of Equipment and Batteries .................................................. 189
Battery Symbol Note .................................................................................................. 189
Battery Removal ......................................................................................................... 189
Other Countries................................................................................................................ 190
Phaser 6600 Color Printer 9
User Guide
This chapter includes:
• Electrical Safety ................................................................................................................... 10
• Operational Safety................................................................................................................ 13
• Maintenance Safety .............................................................................................................. 15
• Printer Symbols .................................................................................................................... 16
•
Environmental, Health, and Safety Contact Information ....................................................... 17
Your printer and the recommended supplies have been designed and tested to meet strict safety
requirements. Attention to the following information ensures the continued safe operation of your
Xerox® printer.
1
Safety

Safety
10 Phaser 6600 Color Printer
User Guide
Electrical Safety
This section includes:
• General Guidelines............................................................................................................... 10
• Power Cord .......................................................................................................................... 10
• Emergency Turn Off ............................................................................................................. 11
• Telephone Line Cord ............................................................................................................ 11
•
Laser Safety ......................................................................................................................... 12
General Guidelines
WARNINGS:
• Do not push objects into slots or openings on the printer. Touching a voltage point or
shorting out a part could result in fire or electrical shock.
• Do not remove the covers or guards that are fastened with screws unless you are
installing optional equipment and are instructed to do so. Turn off the printer when
performing these installations. Disconnect the power cord when removing covers
and guards for installing optional equipment. Except for user-installable options,
there are no parts that you can maintain or service behind these covers.
The following are hazards to your safety:
• The power cord is damaged or frayed.
• Liquid is spilled into the printer.
• The printer is exposed to water.
• The printer emits smoke, or the surface is unusually hot.
• The printer emits unusual noise or odors.
• The printer causes a circuit breaker, fuse, or other safety device to activate.
If any of these conditions occur, do the following:
1. Turn off the printer immediately.
2. Disconnect the power cord from the electrical outlet.
3. Call an authorized service representative.
Power Cord
• Use the power cord supplied with your printer.
• Plug the power cord directly into a properly grounded electrical outlet. Ensure that each end of
the cord is connected securely. If you do not know if an outlet is grounded, ask an electrician to
check the outlet.

Safety
Phaser 6600 Color Printer 11
User Guide
• Do not use a ground adapter plug to connect the printer to an electrical outlet that does not have
a ground connection terminal.
WARNING: Avoid the potential of electrical shock by ensuring that the printer is grounded
properly. Electrical products can be hazardous if misused.
• Only use an extension cord or power strip designed to handle the electrical current capacity of
the printer.
• Verify that the printer is plugged into an outlet that is providing the correct voltage and power.
Review the electrical specification of the printer with an electrician if necessary.
• Do not place the printer in an area where people can step on the power cord.
• Do not place objects on the power cord.
• Do not plug or unplug the power cord while the power switch is in the On position.
• If the power cord becomes frayed or worn, replace it.
• To avoid electrical shock and damage to the cord, grasp the plug when unplugging the power
cord.
The power cord is attached to the printer as a plug-in device on the back of the printer. If it is
necessary to disconnect all electrical power from the printer, disconnect the power cord from the
electrical outlet.
Emergency Turn Off
If any of the following conditions occur, turn off the printer immediately and disconnect the power
cord from the electrical outlet. Contact an authorized Xerox service representative to correct the
problem if:
• The equipment emits unusual odors or makes unusual noises.
• The power cable is damaged or frayed.
• A wall panel circuit breaker, fuse, or other safety device has been tripped.
• Liquid is spilled into the printer.
• The printer is exposed to water.
• Any part of the printer is damaged.
Telephone Line Cord
WARNING: To reduce the risk of fire, use only No. 26 American Wire Gauge (AWG) or larger
telecommunication line cord.

Safety
12 Phaser 6600 Color Printer
User Guide
Laser Safety
This printer complies with laser product performance standards set by governmental, national, and
international agencies and is certified as a Class 1 Laser Product. The printer does not emit
hazardous light because the beam is totally enclosed during all modes of customer operation and
maintenance.
WARNING: Use of controls, adjustments, or performance of procedures other than those
specified in this manual can result in hazardous radiation exposure.
Safety
Phaser 6600 Color Printer 13
User Guide
Operational Safety
Your printer and supplies were designed and tested to meet strict safety requirements. These
include safety agency examination, approval, and compliance with established environmental
standards.
Your attention to the following safety guidelines helps to ensure the continued, safe operation of your
printer.
Operational Guidelines
• Do not remove any paper trays while the printer is printing.
• Do not open the doors when the printer is printing.
• Do not move the printer when it is printing.
• Keep hands, hair, neckties, and so on, away from the exit and feed rollers.
• Covers, which require tools for removal, protect the hazard areas within the printer. Do not
remove the protective covers.
Ozone Release
This printer produces ozone during normal operation. The amount of ozone produced is dependent
on copy volume. Ozone is heavier than air and is not produced in amounts large enough to harm
anyone. Install the printer in a well-ventilated room.
For more information in the United States and Canada, go to www.xerox.com/environment. In other
markets, please contact your local Xerox® representative or go to
www.xerox.com/environment_europe.
Printer Location
• Place the printer on a level, solid, non-vibrating surface with adequate strength to hold its
weight. To find the weight for your printer configuration, see Physical Specifications on page
171.
• Do not block or cover the slots or openings on the printer. These openings are provided for
ventilation and to prevent overheating of the printer.
• Place the printer in an area where there is adequate space for operation and servicing.
• Place the printer in a dust-free area.
• Do not store or operate the printer in an extremely hot, cold, or humid environment.
• Do not place the printer near a heat source.
• Do not place the printer in direct sunlight to avoid exposure to light-sensitive components.
• Do not place the printer where it is directly exposed to the cold air flow from an air conditioning
system.

Safety
14 Phaser 6600 Color Printer
User Guide
• Do not place the printer in locations susceptible to vibrations.
• For optimum performance, use the printer at the elevations specified in Elevation on page 174.
Printer Supplies
• Use the supplies designed for your printer. The use of unsuitable materials can cause poor
performance and a possible safety hazard.
• Follow all warnings and instructions marked on, or supplied with, the product, options, and
supplies.
• Store all consumables in accordance with the instructions given on the package or container.
• Keep all consumables away from the reach of children.
• Never throw toner, print/drum cartridges, or toner containers into an open flame.
• When handling cartridges, for example toner and such, avoid skin or eye contact. Eye contact
can cause irritation and inflammation. Do not attempt to disassemble the cartridge, which can
increase the risk of skin or eye contact.
CAUTION: Use of non-Xerox® supplies is not recommended. The Xerox® Warranty, Service
Agreement, and Total Satisfaction Guarantee do not cover damage, malfunction, or degradation
of performance caused by use of non-Xerox® supplies, or the use of Xerox® supplies not specified
for this printer. The Total Satisfaction Guarantee is available in the United States and Canada.
Coverage could vary outside these areas. Please contact your Xerox representative for details.
Safety
Phaser 6600 Color Printer 15
User Guide
Maintenance Safety
• Do not attempt any maintenance procedure that is not specifically described in the
documentation supplied with your printer.
• Do not use aerosol cleaners. Clean with a dry lint-free cloth only.
• Do not burn any consumables or routine maintenance items. For information on Xerox® supplies
recycling programs, go to www.xerox.com/gwa.

Safety
16 Phaser 6600 Color Printer
User Guide
Printer Symbols
Symbol Description
Warning:
Indicates a hazard which, if not avoided, could result in death or serious injury.
Caution:
Indicates a mandatory action to take in order to avoid damage to the property.
Hot surface on or in the printer. Use caution to avoid personal injury.
Do not burn the item.
Do not expose the imaging unit to light for more than 10 minutes.
Do not expose the imaging unit to direct sunlight.
Do not touch the part or area of the printer.
Warning:
Wait for the printer to cool for the specified time before touching the fuser.
This item can be recycled. For details, see Recycling and Disposal on page 185.
Safety
Phaser 6600 Color Printer 17
User Guide
Environmental, Health, and Safety Contact
Information
For more information on Environment, Health, and Safety in relation to this Xerox® product and
supplies, contact the following customer help lines:
United States: 1-800 828-6571
Canada: 1-800 828-6571
Europe: +44 1707 353 434
For product safety information in the United States, go to www.xerox.com/environment.
For product safety information in Europe, go to www.xerox.com/environment_europe.
Phaser 6600 Color Printer 19
User Guide
This chapter includes:
• Parts of the Printer ............................................................................................................... 20
• Energy Saver Mode .............................................................................................................. 24
• Information Pages ................................................................................................................ 25
• Administrative Features ........................................................................................................ 26
•
More Information .................................................................................................................. 28
2
Features

Features
20 Phaser 6600 Color Printer
User Guide
Parts of the Printer
This section includes:
• Front View ............................................................................................................................ 20
• Rear View ............................................................................................................................ 21
• Internal Parts ........................................................................................................................ 21
•
Control Panel ....................................................................................................................... 21
Front View
1. Tray 2 (optional)
2. Tray 1
3. Bypass Tray
4. Control Panel
5. Right Side Door
6. Power Switch

Features
Phaser 6600 Color Printer 21
User Guide
Rear View
1. Duplex Unit
2. Transfer Roller
3. Fuser
4. Power Connector
5. Rear Cover
6. Control Board
7. Left Side Door
8. Ethernet Connection
9. Wireless Network Adapter Port
10. USB Port
Internal Parts
1. Front Cover
2. Toner Cartridges
3. Transfer Belt
4. Imaging Unit
5. Waste Cartridge
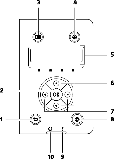
Control Panel
The control panel consists of a display, indicator lights, and buttons you press to control the functions
available on the printer. The control panel:

Features
22 Phaser 6600 Color Printer
User Guide
• Displays the current operating status of the printer.
• Provides access to print features.
• Provides access to reference materials.
• Provides access to administrative and maintenance menus.
• Prompts you to load paper, replace supplies, and clear jams.
• Displays errors and warnings.
1. Back/Return button goes up one level in the menu.
2. OK button displays the selected menu or selects the current menu option.
3. Menu button displays the Information Pages, Billing Meters, Admin, Tray Settings, and Panel
Language menus.
4. Power Saver enters and exits low-power mode.
5. The control panel display provides information about settings, and status or error messages. An
asterisk (*) next to a menu option indicates the current default setting.
6. Up and Down arrow buttons navigate to the next menu, item, or option.
7. Left and Right arrow buttons move forward and back through submenus or number fields. To
display the Walk-up Features menu and list Secure Jobs and Saved Jobs, press the Left arrow
button.
8. Cancel button ends printing jobs.
Features
Phaser 6600 Color Printer 23
User Guide
9. Error Indicator
• Lights red to indicate an error condition or warning that requires your attention.
• Blinks red when an error occurs that requires technical support.
10. Ready indicator
• Lights green when the printer is ready to receive data.
• Blinks green when the printer is busy receiving data.
Features
24 Phaser 6600 Color Printer
User Guide
Energy Saver Mode
You can set the time the printer spends idle in ready mode before the printer transitions to a lower
power level.
Exiting Energy Saver Mode
The printer automatically cancels Energy Saver mode when it receives data from a connected
computer.
To exit Energy Saver mode manually, press the Power Saver button on the control panel.
Features
Phaser 6600 Color Printer 25
User Guide
Information Pages
Your printer has a printable set of information pages. These include configuration and font
information, demonstration pages, and more.
Configuration Report
The Configuration Report lists printer information such as default settings, installed options, network
settings including IP address, and font settings. Use the information on this page to help you
configure network settings for your printer, and to view page counts and system settings.
Printing a Configuration Report
1. At the printer control panel, press the Menu button.
Note: To navigate through the menu, use the Up or Down arrow buttons.
2. Navigate to Information Pages, then press OK.
3. Navigate to Configuration, then press OK.
Features
26 Phaser 6600 Color Printer
User Guide
Administrative Features
Finding the IP Address of the Printer
You can view the IP address of your printer on the Configuration Report. IPv4 and IPv6 address
information is located in the Network Setup section of the Configuration Report under IPv4 and IPv6.
CentreWare Internet Services
CentreWare Internet Services is the administration and configuration software installed on the
embedded Web server in the printer. It allows you to configure and administer the printer from a Web
browser.
CentreWare Internet Services requires:
• A TCP/IP connection between the printer and the network in Windows, Macintosh, UNIX, or
Linux environments.
• TCP/IP and HTTP enabled in the printer.
• A network-connected computer with a Web browser that supports JavaScript.
Accessing CentreWare Internet Services
At your computer, open a Web browser, type the IP address of the printer in the address field, then
press Enter or Return.
Accessing the Printer
To ensure that unauthorized users cannot access the printer, the system administrator can configure
authentication and authorization. If the administrator configures authentication and authorization,
you can be required to log in to access some or all of the features of the printer. If the administrator
configures accounting, you must type an accounting code to access tracked features.
Logging In
Logging in is the process by which you identify yourself to the printer for authentication. When
authentication is set, you must log in to gain access to the printer features.
Logging In to CentreWare Internet Services
When Administrator Mode is enabled, the Jobs, Address Book, Properties, and Support tabs are
locked until you enter the administrator user name and password.
To log in to CentreWare Internet Services as the administrator:
Features
Phaser 6600 Color Printer 27
User Guide
1. At your computer, open a Web browser, type the IP address of the printer in the address field,
then press Enter or Return.
Note: If you do not know the IP address of your printer, see Finding the IP Address of Your
Printer on page 26.
2. Click the Jobs, Address Book, Properties, or Support tab.
3. Type the administrator user name.
4. Type the password, then type the password again to verify.
Logging In at the Control Panel
1. To enter numbers on the control panel, select an option:
• To select a number, press the Up or Down arrow buttons.
• To scroll quickly, hold down the Up or Down arrow buttons.
• To move to the next number field, press the Right arrow button.
• To move to the previous number field, press the Left arrow button.
2. When finished, press OK.
Meter Readings
The Meter Readings menu shows the number of processed print jobs. The meter is divided
according to the color mode. You cannot reset the meter readings; they track the total number of
pages printed for the life of the printer.
To view the Billing Meter on the control panel:
1. At the printer control panel, press the Menu button.
Note: To navigate through the menu, use the Up or Down arrow buttons.
2. Navigate to Billing Meters, then press OK.
3. To select a billing meter, use the Up or Down arrow buttons.

Features
28 Phaser 6600 Color Printer
User Guide
More Information
You can obtain more information about your printer from these sources:
Resource Location
Installation Guide Packaged with the printer.
Other documentation for your printer www.xerox.com/office/6600docs
Recommended Media List United States: www.xerox.com/paper
European Union: www.xerox.com/europaper
Technical support information for your printer;
including online technical support, Online Support
Assistant, and driver downloads.
www.xerox.com/office/6600support
Information about menus or error messages Press the control panel Help (?) button.
Information Pages Print from the control panel, or from CentreWare
Internet Services, click Status > Information Pages.
CentreWare Internet Services documentation In CentreWare Internet Services, click Help.
Order supplies for your printer www.xerox.com/office/6600supplies
A resource for tools and information, including
interactive tutorials, printing templates, helpful tips,
and customized features to meet your individual
needs.
www.xerox.com/office/businessresourcecenter
Local sales and support center www.xerox.com/office/worldcontacts
Printer registration www.xerox.com/office/register
Xerox® Direct online store www.direct.xerox.com/
Phaser 6600 Color Printer 29
User Guide
This chapter includes:
• Installation and Setup Overview ........................................................................................... 30
• Selecting a Location for the Printer ....................................................................................... 31
• Connecting the Printer .......................................................................................................... 32
• Configuring Network Settings ............................................................................................... 43
• Configuring General Setup Using CentreWare Internet Services.......................................... 48
• Configuring AirPrint .............................................................................................................. 52
• Configuring General Setup Using the Control Panel ............................................................. 53
• Configuring Security Settings Using CentreWare Internet Services ...................................... 61
• Configuring Secure Settings Using the Control Panel ........................................................... 71
• Configuring Smart eSolutions ............................................................................................... 74
•
Installing the Software .......................................................................................................... 78
See also:
Installation Guide packaged with your printer.
Online Support Assistant at www.xerox.com/office/6600support
3
Installation and Setup
Installation and Setup
30 Phaser 6600 Color Printer
User Guide
Installation and Setup Overview
Before printing, your computer and the printer must be plugged in, turned on, and connected.
Configure the initial settings of the printer, then install the driver software and utilities on your
computer.
You can connect to your printer directly from your computer using USB, or connect over a network
using an Ethernet cable or wireless connection. Hardware and cabling requirements vary for the
different connection methods. Routers, network hubs, network switches, modems, Ethernet cables,
and USB cables are not included with your printer and must be purchased separately. Xerox
recommends an Ethernet connection because it is typically faster than a USB connection, and it
provides access to CentreWare Internet Services.
Note: If the Software and Documentation disc is not available, you can download the latest
drivers from www.xerox.com/office/6600drivers.
See also:
Selecting a Location for the Printer on page 31
Choosing a Connection Method on page 32
Connecting the Printer on page 32
Configuring Network Settings on page 43
Installing the Software on page 78
Installation and Setup
Phaser 6600 Color Printer 31
User Guide
Selecting a Location for the Printer
1. Select a dust-free area with temperatures from 10–32°C (50–90°F), and relative humidity
15–85%.
Note: Sudden temperature fluctuations can affect print quality. Rapid heating of a cold room can
cause condensation inside the printer, directly interfering with image transfer.
2. Place the printer on a level, solid, non-vibrating surface with adequate strength for the weight of
the printer. The printer must be horizontal with all four feet in solid contact with the surface. To
find the weight for your printer configuration, see Physical Specifications on page 171.
After positioning the printer, you are ready to connect it to the power source and computer or
network.
See also:
Total Space Requirements on page 172
Clearance Requirements on page 172
Installation and Setup
32 Phaser 6600 Color Printer
User Guide
Connecting the Printer
This section includes:
• Selecting a Connection Method ............................................................................................ 32
• Connecting to a Computer Using USB ................................................................................. 32
• Connecting to a Wired Network ............................................................................................ 33
•
Connecting to a Wireless Network ........................................................................................ 33
Selecting a Connection Method
The printer can be connected to your computer using a USB cable or an Ethernet cable. The method
you select depends on how your computer is connected to the network. A USB connection is a direct
connection and is the easiest to set up. An Ethernet connection is used for networking. If you are
using a network connection, it is important to understand how your computer is connected to the
network. For details, see About TCP/IP and IP Addresses on page 43.
Note: Hardware and cabling requirements vary for the different connection methods. Routers,
network hubs, network switches, modems, Ethernet cables, and USB cables are not included with
your printer and must be purchased separately.
• Network: If your computer is connected to an office network or home network, use an Ethernet
cable to connect the printer to the network. You cannot connect the printer directly to the
computer. It must be connected through a router or hub. An Ethernet network can be used for
one or more computers and supports many printers and systems simultaneously. Ethernet
connection is typically faster than USB and allows you direct access to the settings of the printer
using CentreWare Internet Services.
• Wireless Network: If your computer includes a wireless router or wireless access point, you
can connect the printer to the network with a wireless connection. A wireless network
connection provides the same access and services as a wired connection provides. A wireless
network connection is typically faster than USB and allows direct access to the setting of the
printer using CentreWare Internet Services. The optional wireless network adapter plugs in to
the back of the control board. After the adapter has been installed, and wireless networking has
been enabled and configured, the adapter can connect to a wireless network.
• USB: If you connect the printer to one computer and do not have a network, use a USB
connection. A USB connection offers fast data speeds, but typically not as fast as an Ethernet
connection. In addition, a USB connection does not provide access to CentreWare Internet
Services.
Connecting to a Computer Using USB
To use USB, you must have Windows XP SP1 and later, Windows Server 2003 and later, or
Macintosh OS X version 10.5 and later.
Installation and Setup
Phaser 6600 Color Printer 33
User Guide
To connect the printer to the computer using a USB cable:
1. Ensure that the printer is turned off.
2. Connect the B end of a standard A/B USB 2.0 cable to the USB Port on the back of the printer.
3. Attach the power cord and then plug in the printer and turn it on.
4. Connect the A end of the USB cable to the USB Port on the computer.
5. When the Windows Found New Hardware Wizard appears, cancel it.
6. You are ready to install the print drivers. For details, see Installing the Software on page 78.
Connecting to a Wired Network
1. Ensure that the printer is turned off.
2. Attach a Category 5 or better Ethernet cable from the printer to the network or router socket. Use
an Ethernet hub or router, and two or more Ethernet cables. Connect the computer to the hub or
router with one cable, then connect the printer to the hub or router with the second cable.
Connect to any port on the hub or router except the uplink port.
3. Attach the power cord, then plug in the printer and turn it on.
4. Set or automatically discover the network IP address of the printer.
For details, see Assigning the IP address of the printer on page 44.
Connecting to a Wireless Network
A wireless local area network (LAN) provides the means to connect two or more devices in a LAN
without a physical connection. The printer can connect to a wireless LAN that includes a wireless
router or wireless access point. Before connecting the printer to a wireless network, the wireless
router must be configured with a service set identifier (SSID), a passphrase, and security protocols.
Note: Wireless networking is available only on printers with the optional Wireless Network
Adapter installed.
Installing the Wireless Network Adapter
The optional wireless network adapter plugs in to the back of the control board. After the adapter has
been installed, and wireless networking has been enabled and configured, the adapter can connect
to a wireless network.
To install the Wireless Network Adapter:

Installation and Setup
34 Phaser 6600 Color Printer
User Guide
1. Turn off the printer.
2. Remove the packaging from the Wireless Network Adapter.
3. Follow the installation sheet and install the Wireless Network Adapter on the printer.
Note: When the Wireless Network Adapter is installed, remove it only as needed and after
reading the instructions for removing the Wireless Network Adapter.
4. To enable the Wireless Network Adapter, disconnect the Ethernet cable from the printer.
5. Turn on the printer.
6. In the Admin Menu, configure the Wi-Fi Settings.
See also:
Connecting to a network with a Wi-Fi protected setup on page 36
Connecting to a wireless network using the control panel on page 38
Connecting to a wireless network manually on page 38
Connecting to a wireless network using CentreWare Internet Services on page 39

Installation and Setup
Phaser 6600 Color Printer 35
User Guide
Removing the Wireless Network Adapter
1. Turn off the printer.
2. Unscrew the thumbscrew on the back of the left door, then open the left door.
3. Locate the plastic latch release on the Wireless Network Adapter protruding through the back of
the chassis.
4. Reach into the chassis and push inward, then back on the latch release.
CAUTION: Do not use force to pull on the Wireless Network Adapter. If the latch is released
properly, the adapter pulls out easily. Pulling on the adapter can damage it.
5. Close the left door, then screw in the thumbscrew on the back of the door.
6. Connect the printer to your computer with a USB cable or through the network using an Ethernet
cable.
7. Turn on the printer.
Resetting Wireless Settings
If the printer was previously installed in a wireless network environment, it could retain setup and
configuration information.
To prevent the printer from trying to connect to the previous network, perform the following steps:
1. At the printer control panel, press the Menu button.
Note: To navigate through the menu, use the Up or Down arrow buttons.
2. Navigate to Admin Settings, then press OK.
3. Navigate to Network Setup, then press OK.
4. Navigate to Wi-Fi Setup, then press OK.
5. Navigate to Reset Wi-Fi, then press OK.
6. To confirm, press OK.
Installation and Setup
36 Phaser 6600 Color Printer
User Guide
Connecting to a Network with a Wi-Fi Protected Setup
Wi-Fi Protected Setup (WPS) is a network standard for setting up a wireless network. The WPS
protocols allow you with no wireless network experience to set up devices in a secure wireless
network. With a WPS-certified router, you can use tools in the router and the printer to connect the
printer to the network. In order to use the tools, the wireless router must be configured properly and
must be compliant with the WPS.
• Push Button Connection (PBC) is the easiest way to connect the printer to a wireless network. It
automatically connects when you push a button on the router and on the printer. After the router
and printer exchange information, the printer accepts the security and configuration information
from the router and connects to the network. The PBC is a moderately secure way to connect
the printer to the network. You do not need to enter any information to make the network
connection.
• PIN (Personal Identification Number) automatically connects the printer to wireless router by
using a common PIN. The printer generates and prints a PIN for use in the setup process. When
you enter the PIN into the router, the router broadcasts network information using the PIN.
When both devices recognize the PIN, the router provides the security and configuration
information to the printer, which uses it to connect to the network.
To connect to a WPS wireless network using the PBC method:
Note: The wireless router must be connected and properly configured for the network before you
install the printer.
1. On the wireless router, push the PBC button.
The router broadcasts setup information for 120 seconds.
Note: If the wireless router does not have a physical PBC button, use your computer to select
the virtual button in the router control panel. For details, see your router documentation.
2. At the printer control panel, press the Menu button.
Note: To navigate through the menu, use the Up or Down arrow buttons.
3. Navigate to Admin Settings, then press OK.
4. Navigate to Network Setup, then press OK.
5. Navigate to WPS Setup, then press OK.
6. Navigate to Push Button Control, then press OK.
7. Navigate to PBC Start, then press OK.
8. After the printer restarts, wait 20 seconds, then print a Configuration Report to get network
information including the IP address.
Installation and Setup
Phaser 6600 Color Printer 37
User Guide
To connect to a WPS wireless network using the PIN method:
Note: The wireless router must be connected and properly configured for the network before you
install the printer.
1. At your computer, open the router control panel, then select Add WPS Client. For details, see
your router documentation.
2. Select PIN Method. The router control panel opens to a dialog box ready for the PIN number.
Note: The following steps can vary with different router manufacturers.
3. At the printer control panel, press the Menu button.
Note: To navigate through the menu, use the Up or Down arrow buttons.
4. Navigate to Admin Settings, then press OK.
5. Navigate to Network Setup, then press OK.
6. Navigate to WPS Setup, then press OK.
7. Navigate to PIN Code, then press OK.
8. Navigate to Print PIN Code, then press OK or record the PIN Code from the control panel
display.
The PIN is printed at the top of the PIN Code Print.
9. Navigate to Start Configuration, then press OK.
The printer starts advertising using the PIN Code that it printed on the sheet.
Note: The printer continues to advertise for 120 seconds. If it does not find the wireless router
within 120 seconds, the connection attempt stops and the printer generates a new PIN.
10. At your computer, enter the PIN Code in the Client PIN Code field of the router control panel,
then click Next.
The printer communicates with the router to resolve setup and configuration information. When
the printer has the correct information, it connects to the router and restarts with the proper
setup and configuration information. If it does not connect with the printer within 120 seconds,
the connection attempt stops.
11. After the printer restarts, wait 20 seconds, then print a Configuration Report to get network
information including the IP address.
Note: If the printer does not connect to the wireless router, it generates a new PIN Code for the
next attempt. Do not try to use the old PIN for another attempt.
Collecting Wireless Network Information for Connecting to a Wireless Network
Manually
When connecting to a wireless network that does not include a WPS-compliant router, set up and
configure the printer manually. Before starting, you must get the setup and configuration information,
such as name and passphrase, from the router. After you collect the network information, you can
set up the printer from the control panel or from CentreWare Internet Services. For the easiest
manual connection, use CentreWare Internet Services.
Installation and Setup
38 Phaser 6600 Color Printer
User Guide
To record the network information from the wireless router or access point:
1. On your computer, use your Web browser to open the control panel for the wireless router.
2. Click Wireless Settings.
3. Record the following information. The network name and passphrase are case sensitive.
Ensure that you record them exactly as they appear in the wireless router control panel.
• Name (SSID)
• Security Options (Encryption Type)
• Passphrase
Note: The wireless router must be connected and properly configured for the network before you
install the printer. For details, see your router documentation.
Connecting to a Wireless Network Using the Control Panel Wi-Fi Setup Wizard
Before you begin, ensure that you have the wireless network Service Set Identifier (SSID),
encryption type, and passphrase. For details, see Collecting Wireless Network Information for
Connecting to a Wireless Network Manually on page 37.
To connect to a wireless network using the Wi-Fi Setup Wizard:
1. At the printer control panel, press the Menu button.
Note: To navigate through the menu, use the Up or Down arrow buttons.
2. Navigate to Admin Settings, then press OK.
3. Navigate to Network Setup, then press OK.
4. Navigate to Wi-Fi Setup, then press OK.
5. Select the desired network from the list, then press OK.
Note: If the wireless network does not appear in the list, see Connecting to a Wireless Network
Manually on page 38.
6. Enter the passcode for the selected network, then press OK.
7. Turn off the printer, then turn it on again.
8. To view the new IP address and ensure that the connection is successful, print a Configuration
Report.
Connecting to a Wireless Network Manually
Before you begin, ensure that you have the wireless network Service Set Identifier (SSID),
encryption type, and passphrase. For details, see Collecting Wireless Network Information for
Connecting to a Wireless Network Manually on page 37.
Installation and Setup
Phaser 6600 Color Printer 39
User Guide
To connect to a wireless network manually:
1. At the printer control panel, press the Menu button.
Note: To navigate through the menu, use the Up or Down arrow buttons.
2. Navigate to Admin Settings, then press OK.
3. Navigate to Network Setup, then press OK.
4. Navigate to Wi-Fi Setup, then press OK.
5. Navigate to Manual SSID Setup, then press OK.
6. Enter the network SSID (name), then press OK.
7. Depending on your network mode, navigate to Infrastructure type or Ad-hoc, then press OK.
Note: Infrastructure provides the greatest selection of security options. AdHoc provides only
WEP encryption in most networks.
8. Select an encryption type, then press OK.
• As needed, enter the passphrase for the selected network, then press OK.
• If using WEP encryption, enter the WEP key and press OK, select the transmit key, then
press OK.
9. Restart the printer, then wait two minutes for the printer to connect.
Note: If the optional Productivity Kit (HD) is not installed, ensure that the Ready LED is off before
you turn off the printer. The data in the memory is cleared when the printer is turned off.
10. To view the new IP address and ensure that the connection is successful, print a Configuration
Report.
Connecting to a Wireless Network Using CentreWare Internet Services
Before you begin, ensure that you have the wireless network Service Set Identifier (SSID),
encryption type, and passphrase. For details, see Collecting Wireless Network Information for
Connecting to a Wireless Network Manually on page 37.
Note: To use CentreWare Internet Services to set up the printer on a wireless network, connect
the printer to your computer through an Ethernet wired network.
Installation and Setup
40 Phaser 6600 Color Printer
User Guide
To connect to a wireless network manually using the CentreWare Internet Services:
1. At your computer, open a Web browser, type the IP address of the printer in the address field,
then press Enter or Return.
Note: If you do not know the IP address of your printer, see Finding the IP Address of Your
Printer on page 26.
2. Click Properties.
3. In the Properties pane at the left of the window, under Physical Connection, click Wi-Fi.
4. In the SSID field, enter the SSID.
5. To select the Network Type, from the drop-down menu, select Infrastructure or AdHoc.
Note: Infrastructure provides the greatest selection of security options. AdHoc provides only
WEP encryption in most networks.
6. To select Encryption, under Security Settings, select the appropriate security option for your
router.
7. To remove the dots in the Passphrase field, select them, then press Backspace.
8. In the Passphrase field, enter the network passphrase. To remove the dots in the Re-enter
Passphrase field, select them, then press Backspace.
9. In the Re-enter Passphrase field, re-enter the network passphrase.
10. Click Save Changes.
11. Disconnect the Ethernet cable from the printer.
12. Turn off the printer, then turn it on again.
When the printer restarts, it uses the information from CentreWare Internet Services to connect
with the wireless router.
Wait about two minutes, then print a Configuration Report to check the connection. If the printer does
not successfully connect with the wireless network, check your network information and try again.
Connecting to a Wireless Network Using the Printer Setup Utility
Before you begin, ensure that you have the wireless network Service Set Identifier (SSID),
encryption type, and passphrase. For details, see Collecting Wireless Network Information for
Connecting to a Wireless Network Manually on page 37.
Note: To use the Printer Setup Utility for setting up on a wireless network, connect your printer to
your computer through the Ethernet wired network. You can also use the Printer Setup Utility to
set up the printer connected with a USB cable.
Installation and Setup
Phaser 6600 Color Printer 41
User Guide
1. Open the Printer Setup Utility.
2. At the Select Configuration screen, select Wi-Fi Configuration, then click Next.
3. At Select the current connection to printer screen, select the connection type the printer is
currently using.
4. Click Next.
5. From the Access Point list, select the SSID for the network to which you wish to connect.
6. If the desired network does not appear in the list, select Input the SSID directly, then enter the
network name in the SSID field.
7. Click Next.
8. In the Password field, enter the password for the selected network.
9. Click Next.
10. On the IP Address Settings screen, select the IP Mode to use for the connection:
• Dual Stack allows the router to assign IPv4 and IPv6 IP addresses, as needed.
• IPv4 directs the router to assign an appropriate IPv4 address only.
• IPv6 directs the router to assign an appropriate IPv6 address only.
11. Select the type of method for assigning the IP address:
• DHCP allows your DHCP server to assign an IP address to the printer. This option enables
Dynamic DNS Registration.
• Auto IP allows the printer to assign an IP address to itself, in the absence of a
DHCP-capable router or access point.
• Static IP enables the system administrator to assign an IP address to the printer.
a. If you selected Static IP, enter an IP Address that is in the range of the IP address of the
access point or router.
b. Enter the Network Mask, and Gateway Address.
c. If you need a specific IPv6 address, under IPv6 Settings, select Use Manual Address, then
enter the IP Address and Gateway Address.
Note: If the network and wireless router are IPv6 compatible, the router assigns an IPv6 address
as appropriate. Do not use Manual Address unless you are experienced assigning and using
IPv6 addresses.
12. Click Next.
13. At Confirm the Settings, select your Panel Language, then click Apply.
If any of the settings are incorrect, click the Back button to return to the previous screen.
14. To print a record of the IP settings, click Print Printer Settings.
15. Click Finish.
When the printer restarts, it uses the information from Printer Setup Utility to connect with the
wireless router.
16. If the Ethernet cable is connected to the printer, disconnect it.
17. Wait about two minutes, then print a Configuration Report to check the connection.
If the printer does not successfully connect with the wireless network, check your network
information and try again.
Installation and Setup
42 Phaser 6600 Color Printer
User Guide
Setting Up the Printer for Wireless LAN WPA-Enterprise
WPA-Enterprise Encryption is supported only when Infrastructure is selected as the Network Type in
the Wi-Fi settings section.
Note: To manage digital certificates, enable the HDD Data Encryption and HTTPS communication.
1. Import the certificate to use with the wireless LAN. For details, see Importing a Digital Certificate
on page 68.
Note: Use Internet Explorer to import the certificate from Windows. Use Safari to import
certificates from Macintosh.
2. Configure the digital certificate Purpose for wireless LAN (server or root certificate). For details,
see Configuring the Digital Certificate Purpose on page 68.
3. Verify the Certificate Authorities within the Category. For details, see Verifying the Digital
Certificate Purpose on page 69.
4. Configure WPA-Enterprise for PEAPVO-MS-CHAPV2, EAP-TLS, EAP-TTLS PAP, or
EAP-TTLS CHAP.
a. At your computer, open a Web browser, type the IP address of the printer in the address
field, then press Enter or Return.
b. Click Properties.
c. In the left navigation panel, scroll down to Physical Connection, then select Wi-Fi.
d. Configure the SSID.
e. At Network Type, select Infrastructure.
f. In the Security Settings section, select one of the following:
• WPA-Enterprise-AES/WPA2-Enterprise-AES
• WPA-Enterprise-TKIP
g. In the WPA-Enterprise section, configure the EAP Identity, Login Name, and Password.
h. From the Authentication Method list, select one of the following:
• PEAPVO-MS-CHAPV2
• EAP-TLS
• EAP-TTLS PAP
• EAP-TTLS CHAP
i. Click Save Changes.
Installation and Setup
Phaser 6600 Color Printer 43
User Guide
Configuring Network Settings
This section includes:
• About TCP/IP and IP Addresses .......................................................................................... 43
•
Assigning the Printer IP Address .......................................................................................... 44
About TCP/IP and IP Addresses
Computers and printers primarily use TCP/IP protocols to communicate over an Ethernet network.
Generally, Macintosh computers use either TCP/IP or the Bonjour protocol to communicate with a
network printer. For Macintosh OS X systems, TCP/IP is preferred. Unlike TCP/IP, however, Bonjour
does not require printers or computers to have IP addresses.
With TCP/IP protocols, each printer and computer must have a unique IP address. Many networks
and cable and DSL routers have a Dynamic Host Configuration Protocol (DHCP) server. A DHCP
server automatically assigns an IP address to every computer and printer on the network that is
configured to use DHCP.
If you use a Cable or DSL router, see the documentation for your router for information on IP
addressing.
Installation and Setup
44 Phaser 6600 Color Printer
User Guide
Assigning the Printer IP Address
This section includes:
• Assigning the IP Address Automatically ............................................................................... 44
• Assigning the IP Address Manually ...................................................................................... 44
• Finding the IP Address of the Printer Using the Control Panel .............................................. 46
•
Changing the IP Address Using CentreWare Internet Services ............................................ 46
By default, the printer is set to acquire an IP address from the network server using DHCP. Network
addresses assigned by DHCP are temporary, however. After a specified time, the network could
assign a new IP address to the printer. If the print driver is set to an IP address that changes
periodically, you can experience connectivity issues. To avoid problems, or if your network
administrator requires a static IP address for the printer, you can assign the IP address to the printer.
Note: You can view the IP address of your printer on the control panel or on the Configuration
Report. For details, see Printing the Configuration Report on page 46.
See also:
Assigning the IP Address Manually on page 44
Finding the IP Address of Your Printer on page 26
Assigning the IP Address Automatically
1. At the printer control panel, press the Menu button.
Note: To navigate through the menu, use the Up or Down arrow buttons.
2. Navigate to Admin Settings, then press OK.
3. Navigate to Network Setup, then press OK.
4. Navigate to TCP/IP, then press OK.
5. Navigate to IPv4, then press OK.
6. Navigate to Get IP Address, then press OK.
7. Navigate to DHCP/AutoIP, then press OK.
8. Turn off the printer, then turn it on again.
9. To view the new IP address and ensure that the connection is successful, print a Configuration
Report.
Assigning the IP Address Manually
You can assign a static IP address to your printer from the printer control panel. Once an IP address
is assigned, you can change it using CentreWare Internet Services.
To assign a static IP address to the printer, you need the following information:
Installation and Setup
Phaser 6600 Color Printer 45
User Guide
• An IP address properly configured for your network
• The Network Mask address
• The default Router/Gateway address
If you are on a network managed by a network administrator, contact your network administrator to
obtain the network information.
For a home network using routers or other devices to connect the printer to the network, refer to the
device instructions on assigning network addresses. The router or device documentation can give
you a range of acceptable address numbers you can use. It is important that the addresses be
similar to the IP addresses used by other printers and computers on the network, but not the same.
Only the last digit must be different. For example, your printer can have the IPv4 address
192.168.1.2 while your computer has the IP address 192.168.1.3. Another device can have the IP
address 192.168.1.4.
The router could assign the static IP address of the printer to another computer that obtains its IP
address dynamically. To avoid having the IP address reassigned, give the printer an address at the
higher end of the range allowed by the router or device. For example, if your computer has IP
address 192.168.1.2, and your device allows IP addresses to 192.168.1.25, select an address
between 192.168.1.20 and 192.168.1.25.
In IPv6 network configurations, the IPv6 address is assigned automatically.
To assign a static IP address to the printer:
1. At the printer control panel, press the Menu button.
Note: To navigate through the menu, use the Up or Down arrow buttons.
2. Navigate to Admin Settings, then press OK.
3. Navigate to Network Setup, then press OK.
4. Navigate to TCP/IP, then press OK.
5. Navigate to IPv4, then press OK.
6. Navigate to IP Address, then press OK.
When undefined, the address is 000.000.000.000.
7. Set the IP address, then press OK.
The printer control panel displays a reminder that the printer must be turned off and then
restarted before the changed setting is applied. You can restart the printer after all the settings
have been modified.
8. To return to IP Address, press the Left arrow button twice.
9. Navigate to Network Mask and set the address. When finished, press OK.
10. To return to Network Mask, press the Left arrow button twice.
11. Navigate to Gateway Address, then set the address. When finished, press OK.
12. Turn off the printer, then turn it on again.
13. To verify the new settings, print the Configuration Page.
See also:
Online Support Assistant at: www.xerox.com/office/6600support
Installation and Setup
46 Phaser 6600 Color Printer
User Guide
Finding the IP Address of the Printer Using the Control Panel
To install the print drivers for a network-connected printer, you need the IP address of your printer.
You also need the IP address to access the settings of your printer through CentreWare Internet
Services. You can view the IP address of your printer on the Configuration Page or on the control
panel.
After the printer has been on for two minutes, print the Configuration Page. The TCP/IP address
appears in the Network section of the page. If the IP address listed on the page is 0.0.0.0, the printer
needs more time to acquire an IP address from the DHCP server. Wait two minutes, then print the
Configuration Page again.
To print the Configuration Page:
1. At the printer control panel, press the Menu button.
Note: To navigate through the menu, use the Up or Down arrow buttons.
2. Navigate to Information Pages, then press OK.
3. Navigate to Configuration, then press OK.
The IP address of the printer is listed in the Wired Network section of the page.
To view the IP address of the printer on the control panel:
1. At the printer control panel, press the Menu button.
Note: To navigate through the menu, use the Up or Down arrow buttons.
2. Navigate to Admin Settings, then press OK.
3. Navigate to Network Setup, then press OK.
4. Navigate to TCP/IP, then press OK.
5. Navigate to IPv4, then press OK.
6. Navigate to IP Address, then press OK.
The IP address of the printer appears on the IP Address screen.
Changing the IP Address Using CentreWare Internet Services
To change the IP address of the printer using CentreWare Internet Services:
1. At your computer, open a Web browser, type the IP address of the printer in the address field,
then press Enter or Return.
Note: If you do not know the IP address of your printer, see Finding the IP Address of Your
Printer on page 26.
2. Click the Properties link.
If the Protocols link is not expanded under Properties, scroll to the Protocols link and expand it.
Installation and Setup
Phaser 6600 Color Printer 47
User Guide
3. Click TCP/IP.
4. In the IPv4 section of the page, make the desired changes. For example, to change the way the
printer acquires the IP address, in the Get IP Address field, select a method from the drop-down
list.
5. After changing the address information, scroll to the bottom of the page and click Save
Changes.
Installation and Setup
48 Phaser 6600 Color Printer
User Guide
Configuring General Setup Using
CentreWare Internet Services
This section includes:
• Viewing Printer Information .................................................................................................. 48
• Cloning the Printer Settings .................................................................................................. 48
• Configuring Email Alerts ....................................................................................................... 49
• Configuring System Settings ................................................................................................ 50
• Configuring Clock Settings ................................................................................................... 50
• Configuring Tray Settings ..................................................................................................... 50
•
Setting Up a Proxy Server .................................................................................................... 51
General Setup in CentreWare Internet Services allows you to configure printer settings onscreen
using your Web browser.
Viewing Printer Information
1. At your computer, open a Web browser, type the IP address of the printer in the address field,
then press Enter or Return.
2. In CentreWare Internet Services, click Properties.
3. To expand the menu, in the Properties pane, next to the General Setup folder, click the plus
symbol (+).
4. Under Version Information, find the printer model number, serial number, and the firmware
version number for the operating systems.
5. Under Page Description Language, find the version numbers of each of the page description
languages installed in the printer.
6. In the Memory section, find the amount of RAM and size of the hard drive.
Cloning the Printer Settings
Cloning allows you to save your current printer settings to a file to use as a backup and restore file for
your printer. You can also use a clone file to copy your printer settings to other printers.
To clone the settings of the printer to another printer:
Installation and Setup
Phaser 6600 Color Printer 49
User Guide
1. At your computer, open a Web browser, type the IP address of the printer in the address field,
then press Enter or Return.
2. In CentreWare Internet Services, click Properties.
3. To expand the menu, in the Properties pane, next to the General Setup folder, click the plus
symbol (+).
4. Click Cloning.
5. To clone the settings from this printer, select Printer Settings.
6. To use the password for the destination printer, under Enter IP Address of Destination Printer,
select Use the printer's password.
7. In the IP Address field, enter the IP address of the destination printer.
8. If you selected Use the printer's password, in the Password field, enter the password for the
destination printer.
9. Click Clone Selected Settings.
Configuring Email Alerts
1. From the General Setup menu, click Mail Alerts.
2. To have the printer send email alerts, select Enable Mail Alerts.
3. To send email alerts to the printer system administrator, next to SysAdmin Mail Address, enter a
valid address for the system administrator.
4. To send email alerts to a service representative, next to Service Mail Address, enter a valid
address for the service representative.
5. Under Notification Items, select each of the items to generate an email notification for the
system administrator or service representative.
6. Click Save Changes.
7. Next to Connection Setup, click Email Settings.
a. Enter the From: Email Address for the printer.
b. Next to SMTP Server, enter the IP Address or DNS Name of the SMTP server to which the
printer is connected.
If you do not know the IP Address or DNS Name of the SMTP server, click Auto Detect
SMTP Server.
Note: Before clicking Auto Detect SMTP Server, to save any entries that you have made, click
Save Changes.
c. Next to SMTP Port, enter the port number for the SMTP server.
d. If the SMTP server requires authentication, select the Authentication Type, then enter the
SMTP Login Name and SMTP Password in the appropriate fields.
e. Click Save Changes.
Installation and Setup
50 Phaser 6600 Color Printer
User Guide
Configuring System Settings
Use this menu to configure general settings of the printer. For example, time to Energy Saver mode,
alarm settings, and so on.
To configure the system settings:
1. From the General Setup menu, click System Settings.
2. Under General, enter values for the Energy Saver modes, then select values for the other
selections from each of their lists.
3. Under Timers, select the time for the Panel Timeout from the list, then enter the time in seconds
for the Fault Timeout and Job Timeout.
4. Under Output Settings, select a value from the list of each of the items.
5. Click Save Changes.
Configuring Clock Settings
Use this menu to set the date and clock settings of the printer.
To configure the clock settings:
1. From the General Setup menu, click Clock Settings.
2. Next to Date Format, Time Format, and Time Zone, select the setting for each from the
corresponding list.
3. Using the selected format, next to Set Date, enter the date.
4. Using the selected format, next to Set Time, enter the time.
5. Click Save Changes.
Configuring Tray Settings
Use this menu to configure the paper trays for the paper size and type, set custom sizes, and turn the
display prompts on and off.
To configure the tray settings:
1. From the General Setup menu, click Tray Settings.
2. To use the panel or print driver settings to select the Bypass Tray mode, under Tray Settings
select Bypass Tray Mode.
3. Under Tray Settings, next to each tray selection, select the paper size and paper type from the
lists.
4. Under Tray Settings, enter the custom paper sizes for the paper width (X) and the paper length
(Y).
5. To have the display prompt you for the paper settings each time the paper tray is loaded, next to
the corresponding tray, select On.
6. Under Tray Priority, select the tray priority for paper usage.
7. Click Save Changes.
Installation and Setup
Phaser 6600 Color Printer 51
User Guide
Setting Up a Proxy Server
This feature allows you to set up and enable proxy services on the printer. You can enter your
authentication login at the printer control panel, and access a set of features and options designed
specifically for your business needs. You can scan and capture paper documents, preview
thumbnails, and add them to frequently used document storage locations.
To set up a proxy server:
1. From the Protocols menu, click Proxy Server.
2. To enable a proxy server, next to Use Proxy Server, select Enabled.
3. Next to Server Name, enter the name for the proxy server.
4. Next to Port Number, enter the port number of the proxy server.
5. If the proxy server requires login for authentication, next to Authentication, select Enabled.
6. If you enabled authentication, enter the login name and password for the server.
7. Click Save Changes.

Installation and Setup
52 Phaser 6600 Color Printer
User Guide
Configuring AirPrint
Use AirPrint to print directly from a wired or wireless device without using a print driver. AirPrint is a
software feature that allows for driverless printing from Apple iOS-based mobile devices and Mac
OS-based devices. AirPrint-enabled printers let you print directly from a Mac or from an iPhone,
iPad, or iPod touch.
Notes:
• Not all applications support AirPrint.
• Wireless devices must join the same wireless network as the printer.
• For AirPrint to function, both IPP and Bonjour (mDNS) protocols must be enabled.
• The device that submits the AirPrint job must be on the same subnet as the printer. To
allow devices to print from different subnets, configure your network to pass multicast
DNS traffic across subnets.
• The Mac OS device must be Mac OS 10.7 or later.
• AirPrint-enabled printers work with iPad (all models), iPhone (3GS or later), and iPod
touch (3rd generation or later), running the latest version of iOS.
1. At your computer, open a Web browser, type the IP address of the printer in the address field,
then press Enter or Return.
Note: If you do not know the IP address of your printer, see Finding the IP Address of Your
Printer on page 26.
2. Click Properties.
3. If the Protocols link is not expanded under Properties, scroll to the Protocols link and expand it.
4. Under Protocols, click AirPrint.
5. To enable AirPrint, next to Enable AirPrint, click Turn On AirPrint.
Note: AirPrint is enabled by default when IPP and Bonjour (mDNS) are both enabled. When
AirPrint is enabled, Turn On AirPrint is not selectable. To disable AirPrint, disable either IPP or
Bonjour (mDNS) protocols.
• To change the printer name, in the Name field, enter a new name.
• To enter a location for the printer, in the Location field, enter the location of the printer.
• To enter a physical location or address for the printer, in the Geo-Location field, enter the
geographic latitude and longitude coordinates in decimal form. For example, use
coordinates like 45.325026, -122.766831 for a location.
6. Click Save Changes.
7. At the prompt, click Restart, or click Back to cancel.
8. If you click Restart, the printer takes several minutes to restart and apply the new settings.
Installation and Setup
Phaser 6600 Color Printer 53
User Guide
Configuring General Setup Using the Control
Panel
This section includes:
• Getting Information About the Printer ................................................................................... 53
• Using the Power On Wizard ................................................................................................. 53
• Configuring System Settings ................................................................................................ 54
• Configuring the Output Settings............................................................................................ 58
•
Configuring Tray Settings ..................................................................................................... 59
Getting Information About the Printer
1. At the printer control panel, press the Menu button.
Note: To navigate through the menu, use the Up or Down arrow buttons.
2. Navigate to Information Pages.
3. To scroll through the information pages, use the Up or Down arrows.
4. To print a specific information page, press OK.
Using the Power On Wizard
The Power On Wizard helps to configure several preliminary settings for the printer, including the
country, date, time, and time zone.
To use the Power On Wizard:
Installation and Setup
54 Phaser 6600 Color Printer
User Guide
1. At the printer control panel, press the Menu button.
Note: To navigate through the menu, use the Up or Down arrow buttons.
2. Navigate to Admin Settings, then press OK.
3. Navigate to System Settings, then press OK.
4. Navigate to Power On Wizard, then press OK.
5. Navigate to Yes, then press OK.
6. To select your language, press OK.
7. Navigate to your language, then press OK.
8. Navigate to Set Date & Time, then press OK.
9. To select the Greenwich Mean Time (GMT) offset for your time zone, press the Up or Down
arrow buttons. To accept the time zone, press OK.
10. To set the month, press the Up or Down arrow buttons. To move to the Day field, press the
Right arrow button.
11. To set the day, press the Up or Down arrow buttons. To move to the Year field, press the Right
arrow button.
12. To set the year, press the Up or Down arrow buttons. When finished, press OK.
13. To set the hour, press the Up or Down arrow buttons. If the time format is set to 12H, ensure
that you set the hour correctly for AM or PM. To move to the Minutes field, press the Right arrow
button.
14. To set the minutes, press the Up or Down arrow buttons. When finished, press OK.
15. To exit the Power On Wizard, use the Down arrow to select Exit Menu, then press OK twice.
Configuring System Settings
Use this menu to configure system settings of the printer. For example, time to Energy Saver mode,
alarm settings, and so on.
Accessing the System Settings Menu
1. At the printer control panel, press the Menu button.
Note: To navigate through the menu, use the Up or Down arrow buttons.
2. Navigate to Admin Settings, then press OK.
3. Navigate to System Settings, then press OK.
Installation and Setup
Phaser 6600 Color Printer 55
User Guide
Energy Saver Mode
You can set the time the printer spends idle in ready mode before it automatically transitions to a
lower power level. You can also turn off the automatic transition.
Configuring the Energy Saver Settings
1. At the printer control panel, press the Menu button.
Note: To navigate through the menu, use the Up or Down arrow buttons.
2. Navigate to Admin Settings, then press OK.
3. Navigate to System Settings, then press OK.
4. Navigate to Energy Saver, then press OK.
5. To select a setting, press the Up or Down arrow buttons, then press OK.
6. To return to the previous menu, press the Left arrow button.
Setting the Date and Time
1. At the printer control panel, press the Menu button.
Note: To navigate through the menu, use the Up or Down arrow buttons.
2. Navigate to Admin Settings, then press OK.
3. Navigate to System Settings, then press OK.
4. Navigate to Clock Settings, then press OK.
5. Navigate to Set Date & Time, then press OK.
6. To select the Greenwich Mean Time (GMT) offset for your time zone, press the Up or Down
arrow buttons. To accept the time zone, press OK.
7. To set the month, press the Up or Down arrow buttons. To move to the Day field, press the
Right arrow button.
8. To set the day, press the Up or Down arrow buttons. To move to the Year field, press the Right
arrow button.
9. To set the year, press the Up or Down arrow buttons. When finished, press OK.
10. To set the hour, press the Up or Down arrow buttons. If the time format is set to 12H, ensure
that you set the hour correctly for AM or PM. To move to the Minutes field, press the Right arrow
button.
11. To set the minutes, press the Up or Down arrow buttons. When finished, press OK.
12. Navigate to Date Format, then press OK.
13. To select a setting, press the Up or Down arrow buttons, then press OK.
14. To return to the previous menu, press the Left arrow button.
15. Navigate to Time Format, then press OK.
16. To select a setting, press the Up or Down arrow buttons, then press OK.
Installation and Setup
56 Phaser 6600 Color Printer
User Guide
Setting the Measurement Units
1. At the printer control panel, press the Menu button.
Note: To navigate through the menu, use the Up or Down arrow buttons.
2. Navigate to Admin Settings, then press OK.
3. Navigate to System Settings, then press OK.
4. Navigate to mm/inch, then press OK.
5. To select a setting, press the Up or Down arrow buttons, then press OK.
Configuring Audio Tones
1. At the printer control panel, press the Menu button.
Note: To navigate through the menu, use the Up or Down arrow buttons.
2. Navigate to Admin Settings, then press OK.
3. Navigate to System Settings, then press OK.
4. Navigate to Audio Tones, then press OK.
5. Navigate to the tone you want to configure, then press OK.
6. To select a setting, press the Up or Down arrow buttons, then press OK.
Setting the Startup Page
1. At the printer control panel, press the Menu button.
Note: To navigate through the menu, use the Up or Down arrow buttons.
2. Navigate to Admin Settings, then press OK.
3. Navigate to System Settings, then press OK.
4. Navigate to Startup Page, then press OK.
5. To print a Startup Page when the printer is turned on, use the Up or Down arrow buttons to
select On, then press OK.
Configuring the Low Toner Alert Message
1. At the printer control panel, press the Menu button.
Note: To navigate through the menu, use the Up or Down arrow buttons.
2. Navigate to Admin Settings, then press OK.
3. Navigate to System Settings, then press OK.
4. Navigate to Low Toner Msg, then press OK.
5. To select a setting, press the Up or Down arrow buttons, then press OK.
Installation and Setup
Phaser 6600 Color Printer 57
User Guide
Setting the Auto Log Print
1. At the printer control panel, press the Menu button.
Note: To navigate through the menu, use the Up or Down arrow buttons.
2. Navigate to Admin Settings, then press OK.
3. Navigate to System Settings, then press OK.
4. Navigate to Auto Log Print, then press OK.
5. To print a job history log automatically after every 20 print jobs, use the Up or Down arrow
buttons to select On, then press OK.
6. Turn off the printer, then turn it on again.
Configuring the Panel Timeout
The panel timeout allows you to set the delay before the control panel times out.
1. At the printer control panel, press the Menu button.
Note: To navigate through the menu, use the Up or Down arrow buttons.
2. Navigate to Admin Settings, then press OK.
3. Navigate to System Settings, then press OK.
4. Navigate to Panel Timeout, then press OK.
5. To select a setting, press the Up or Down arrow buttons, then press OK.
Configuring the Fault Timeout
The fault timeout allows you to set how long the printer waits before canceling a print job that stops
abnormally.
1. At the printer control panel, press the Menu button.
Note: To navigate through the menu, use the Up or Down arrow buttons.
2. Navigate to Admin Settings, then press OK.
3. Navigate to System Settings, then press OK.
4. Navigate to Fault Timeout, then press OK.
5. To select a setting, press the Up or Down arrow buttons, then press OK.
Configuring the Job Timeout
Job Timeout allows you to set how long the printer waits for data to arrive from a computer.
1. At the printer control panel, press the Menu button.
Note: To navigate through the menu, use the Up or Down arrow buttons.
2. Navigate to Admin Settings, then press OK.
3. Navigate to System Settings, then press OK.
4. Navigate to Job Timeout, then press OK.
5. To select a setting, press the Up or Down arrow buttons, then press OK.
Installation and Setup
58 Phaser 6600 Color Printer
User Guide
Configuring the Output Settings
Use this menu to configure settings concerning the output of the printer.
To configure settings for the printer output:
1. At the printer control panel, press the Menu button.
Note: To navigate through the menu, use the Up or Down arrow buttons.
2. Navigate to Admin Settings, then press OK.
3. Navigate to System Settings, then press OK.
4. Navigate to Default Size, then press OK.
5. To select a setting, press the Up or Down arrow buttons, then press OK. To return to the
previous menu, press the Left arrow button.
Note: The default for Default Paper Size varies, depending on the country-specific default
setting.
6. To print the user ID on the output page, navigate to Print ID, then press OK.
7. To select a setting, press the Up or Down arrow buttons, then press OK. To return to the
previous menu, press the Left arrow button.
8. To have the printer output PDL data as text, navigate to Print Text, then press OK. The printer
does not support printing in PDL.
9. To select a setting, press the Up or Down arrow buttons, then press OK. To return to the
previous menu, press the Left arrow button.
10. To specify if a banner page is printed, navigate to Banner Page, then press OK.
11. Navigate to Sheet Location, then press OK.
12. To select an option, use the Up or Down arrow buttons:
• Off directs the printer not to print a banner page.
• Front directs the printer to insert a banner page before the first page of each copy.
• Back directs the printer to insert a banner page after the last page of every copy.
• Front and Back directs the printer to insert a banner page before the first page and after
the last page of every copy.
13. Press OK. To return to the previous menu, press the Left arrow button.
14. To select the tray from which the banner page is printed, navigate to Specify Tray, then press
OK.
15. To select a setting, press the Up or Down arrow buttons, then press OK. To return to the
System Settings menu, press the Left arrow button twice.
16. To select what action the printer takes when a paper size mismatch occurs, navigate to Size
Mismatch, then press OK.
17. To select an option, use the Up or Down arrow buttons:
• Off directs the printer to display a message prompting you to load paper.
• Nearest Size directs the printer to replace the paper with the nearest size paper before
printing in 100% magnification ratio.
Installation and Setup
Phaser 6600 Color Printer 59
User Guide
• Larger Size directs the printer to replace the paper with a longer size paper before printing
in 100% magnification ratio.
• Use Bypass Tray directs the printer to use the paper size in the Bypass Tray.
18. Press OK. To return to the previous menu, press the Left arrow button.
19. To have letterhead print on both sides of the page, navigate to LetterH Dup Mode, then press
OK.
20. To select a setting, press the Up or Down arrow buttons, then press OK. To return to the
previous menu, press the Left arrow button.
21. To have information pages print on both sides of the page, navigate to 2 Sided Report.
22. To select a setting, press the Up or Down arrow buttons, then press OK. To return to the
previous menu, press the Left arrow button.
23. If you have purchased additional memory, you can enable and configure the RAM Disk feature.
This feature allocates memory to the RAM Disk file system for collating, Secure Print jobs, and
saved jobs.
a. Navigate to RAM Disk, then press OK.
b. To enable the RAM Disk feature, use the Up or Down arrow buttons to select Enable, then
press OK.
c. To specify the amount of memory to allocate to the RAM Disk file system, use the Up or
Down arrow buttons, then press OK.
d. Turn off the printer, then turn it on again.
Note: Not all Xerox® printers support every option. Only available options appear on your printer.
Configuring Tray Settings
Use this menu to configure the paper trays for the paper size and type, set custom sizes, and turn the
display prompts on and off.
To configure the tray settings:
Installation and Setup
60 Phaser 6600 Color Printer
User Guide
1. At the printer control panel, press the Menu button.
Note: To navigate through the menu, use the Up or Down arrow buttons.
2. Navigate to Tray Settings, then press OK.
3. To configure the Bypass Tray settings, navigate to Bypass Tray, then press OK.
a. To select a paper or envelope size for this tray, navigate to Paper Size. Press OK.
b. To select a setting, press the Up or Down arrow buttons, then press OK.
c. To return to the previous menu, press the Left arrow button.
d. To dedicate a paper type for this tray, navigate to Paper Type, then press OK. To select a
setting, press the Up or Down arrow buttons, then press OK. To return to the previous
menu, press the Left arrow button.
e. To specify if the panel or the driver determines the Bypass mode, navigate to Tray Mode
then press OK. To select a setting, press the Up or Down arrow buttons, then press OK. To
return to the previous menu, press the Left arrow button.
4. To configure a paper tray, navigate to the desired tray, then press OK.
a. To select a paper or envelope size for this tray, navigate to Paper Size. To select a setting,
press the Up or Down arrow buttons, then press OK. To return to the previous menu, press
the Left arrow button.
b. To dedicate a paper type for this tray, navigate to Paper Type, then press OK.
c. To have the printer prompt you to set the paper type and size when paper is loaded in this
tray, navigate to Display Popups. Press OK.
d. To select a setting, press the Up or Down arrow buttons, then press OK. To return to the
Tray Settings menu, press the Left arrow button twice.
5. To determine the order in which the printer selects the tray for a print job when you have not
specified one, navigate to Tray Priority. Press OK.
a. To specify the first priority, use the Up or Down arrow buttons, then press OK. The second
priority setting displays.
b. To accept the second priority, press OK.
Installation and Setup
Phaser 6600 Color Printer 61
User Guide
Configuring Security Settings Using
CentreWare Internet Services
This section includes:
• Opening the Security Menu .................................................................................................. 61
• Configuring Administrative Security Settings ........................................................................ 61
• Configuring Secure Settings ................................................................................................. 62
• Configuring the Host Access List .......................................................................................... 62
• Configuring IPsec Settings ................................................................................................... 63
• Configuring 802.1x Settings ................................................................................................. 64
• Configuring SSL Settings ..................................................................................................... 65
•
Managing Certificates ........................................................................................................... 66
Use security settings to configure administrative settings, authentication, user access and privileges,
and service access.
Note: For details, see the Help in CentreWare Internet Services.
Opening the Security Menu
1. At your computer, open a Web browser, type the IP address of the printer in the address field,
then press Enter or Return.
2. In CentreWare Internet Services, click Properties.
3. In the Properties pane, to expand the menu, click the plus (+) symbol next to the Security folder.
Configuring Administrative Security Settings
1. At your computer, open a Web browser, type the IP address of the printer in the address field,
then press Enter or Return.
2. In CentreWare Internet Services, click Properties.
3. In the Properties pane, to expand the menu, click the plus (+) symbol next to the Security folder.
4. Click Administrator Security Settings.
5. To turn on administrator privileges, select Enable Administrator Mode.
6. Enter the user name and password, then re-enter the password.
7. Next to Access denial by the authentication failure of the Administrator, enter the number of
login attempts allowed before locking out the user.
8. Click Save Changes.

Installation and Setup
62 Phaser 6600 Color Printer
User Guide
Configuring Secure Settings
1. From the Security menu, click Secure Settings.
2. To limit access to the control panel menus:
a. Next to Panel Lock Set, select Enable.
b. Enter a four-digit passcode, then re-enter the passcode.
3. To allow download of firmware updates, next to Software Downloads, select Enable.
4. To encrypt the data on the hard drive:
a. Click the HDD Data Encryption link.
b. Next to Encryption, select On.
c. Enter an Encryption Key for the printer, then re-enter the key.
Note: All stored data is deleted after you change the Data Encryption Settings.
d. Click Save Changes.
5. To limit the number of attempts allowed when logging in as an administrator, next to Login
Attempts, select an option from the list.
6. Click Save Changes.
Configuring the Host Access List
The host access list controls access to the printer over LPR or Port 9100. You can enter up to five IP
address/mask combinations, and then select to reject, accept, or turn off the filtering for each IP
address. You can enter a specific IP address and address mask, or you can enter a range of IP
addresses and address masks. If no IP address and address mask is entered in the host access list,
there are no limitations on printer access.
You can allow printing from one specific IP address only. The access list would look like the following
table:
Access List IP Address Address Mask Operation
1 192.168.200.10 255.255.255.255 Accept
You can reject one specific IP address, but allow printing from any other address. The access list
would look like the following table:
Access List IP Address Address Mask Operation
1 192.168.200.10 255.255.255.255 Reject
2 0.0.0.0 0.0.0.0 Accept
The first row of the access list is the highest priority. If configuring a list with multiple rows, enter the
smallest range first. Make the first row the most specific, and the last row the most general.

Installation and Setup
Phaser 6600 Color Printer 63
User Guide
For example, you can set up the host access list to do the following:
• Accept printing from a specific network.
• Reject printing from a particular network mask within that network.
• Accept printing from one particular IP address within that network mask.
In this example, the access list would look like the following table:
Access List IP Address Address Mask Operation
1 192.168.200.10 255.255.255.255 Accept
2 192.168.200.0 255.255.255.0 Reject
3 192.168.0.0 255.255.0.0 Accept
To configure the Host Access List:
1. At your computer, open a Web browser, type the IP address of the printer in the address field,
then press Enter or Return.
2. In CentreWare Internet Services, click Properties.
3. In the Properties pane, to expand the menu, click the plus (+) symbol next to the Security folder.
4. Click Host Access List.
5. In the IP Address field, enter the IP address of the host as X.X. X.X, where X is a number from 0
through 255. For example, 192.168.200.10.
6. In the Address Mask field, enter the network mask for the host as X.X. X.X, where X is a number
from 0 through 255. For example, 255.255.255.255.
7. Under Operation, for the action the host takes with the IP address:
• Off indicates that this row of the access list is inactive. This setting lets you enter a specific
IP address or range of addresses before you plan to enforce the Accept or Reject operation.
• Accept allows the specified IP address or range of addresses access to the printer.
• Reject denies the specified IP address or range of addresses access to the printer.
8. Click Save Changes.
Configuring IPsec Settings
Use this page to enable IPsec on the printer. IPsec is a protocol suite used for securing Internet
Protocol (IP) communications by authenticating or encrypting each IP packet in a data stream. IPsec
also includes protocols for cryptographic key establishment. IPsec can be implemented as part of the
overall security policy of your company.
To configure IPsec Help:
Installation and Setup
64 Phaser 6600 Color Printer
User Guide
1. At your computer, open a Web browser, type the IP address of the printer in the address field,
then press Enter or Return.
2. In CentreWare Internet Services, click Properties.
3. In the Properties pane, to expand the menu, click the plus (+) symbol next to the Security folder.
4. Click IPsec.
5. To use the IPsec protocol, next to Protocol, select Enabled.
6. Next to Shared Key, enter the shared key value, up to 255 characters long.
7. Next to Verify Shared Key, re-enter the shared key value.
8. To specify the lifetime of the secure association, next to IKE SA Lifetime, enter a number. The
range is 5–28800 minutes.
9. To set the maximum time that a secure association is linked without activity, next to IPsec SA
Lifetime, enter a number. The range is 5–2880 minutes.
10. To set the level of cryptographic strength, next to DH Group, select G1 for low, and G2 for
strong.
11. To turn on Perfect Forward Security, next to PFS, select Enabled.
12. In the Specify Destination IPv4 Address, enter the IP address and port number as X.X. X.X/P.
X must be a number from 0 through 255.
13. In the Specify Destination IPv6 Address, enter the IP address and port exactly as it appears for
the destination server.
14. To specify how the printer treats data from non-IPsec devices, next to Communicate with
Non-IPsec device, select an option:
• Bypass directs the printer to bypass the IPsec security protocol and use the data.
• Discard directs the printer to discard the data without using it.
15. Click Save Changes.
Configuring 802.1x Settings
1. At your computer, open a Web browser, type the IP address of the printer in the address field,
then press Enter or Return.
2. In CentreWare Internet Services, click Properties.
3. In the Properties pane, to expand the menu, click the plus (+) symbol next to the Security folder.
4. Click 802.1X.
5. If the printer is connected to a RADIUS server, next to Enable IEEE 802.1X, select Enabled.
6. Next to Authentication Method, select the authentication method.
7. Next to Login Name, enter the login name for the printer.
8. Type a Password for the user, then retype it to verify.
9. To have the printer validate certificates, next to Certificate Validation, select Enabled.
10. Click Save Changes.
Installation and Setup
Phaser 6600 Color Printer 65
User Guide
Configuring SSL Settings
1. At your computer, open a Web browser, type the IP address of the printer in the address field,
then press Enter or Return.
2. In CentreWare Internet Services, click Properties.
3. In the Properties pane, to expand the menu, click the plus (+) symbol next to the Security folder.
4. Click SSL.
5. Next to Enable SSL, select Enabled.
6. Next to Port Number, enter the port number to use for HTTPS.
7. To have the printer create a digitally signed certificate, click Create New Certificate.
8. To select the DKIM signature type, next to Public Key Method, select RSA/SHA-256 or
RSA/SHA-1.
9. To select the size of the key, next to Public Key Size, select the number of bits from the list.
10. To set the length of time that the certificate is effective, next to Validity, enter the number of days
for the life of the certificate.
11. Change any of the parameters that you want for the new digital certificate, then click Generate
Signed Certificate.
12. To restart the printer and have the changes take effect, click Restart.
Notes:
• If HDD Data Encryption is enabled in the Secure Settings, the SSL menu has several
other options. For details, see the CentreWare Internet Services Help.
• After you generate a signed certificate, a new menu item, Certificate Management,
appears in the Security menu after SSL.
Installation and Setup
66 Phaser 6600 Color Printer
User Guide
Managing Certificates
This section includes:
• About Security Certificates ................................................................................................... 66
• Overview of Setting Up Digital Certificates ........................................................................... 67
• Before You Begin ................................................................................................................. 67
• Enabling HTTPS Communication ......................................................................................... 67
• Importing a Digital Certificate ............................................................................................... 68
• Configuring the Digital Certificate Purpose ........................................................................... 68
• Verifying the Digital Certificate Purpose ............................................................................... 69
• Deleting a Digital Certificate ................................................................................................. 70
•
Exporting a Digital Certificate ............................................................................................... 70
About Security Certificates
A digital certificate is a file that contains data used to verify the identity of the client or server in a
network transaction. A certificate also contains a public key used to create and verify digital
signatures. One device proves its identity to another by presenting a certificate trusted by the other
device. Or, the device can present a certificate signed by a trusted third party and a digital signature
proving its ownership of the certificate.
A digital certificate includes the following data:
• Information about the owner of the certificate
• The certificate serial number and expiration date
• The name and digital signature of the certificate authority (CA) that issued the certificate
• A public key
• A purpose defining how the certificate and public key can be used
There are three types of certificates:
• Device Certificate: A certificate for which the printer has a private key, and the purpose
specified in the certificate allows it to be used to prove identity.
• CA Certificate: A certificate with authority to sign other certificates.
• Trusted Certificate: A self-signed certificate from another device that you want to trust.
To ensure that the printer can communicate with other devices over a secure trusted connection,
both devices must have certain certificates installed.
For protocols such as HTTPS, the printer is the server, and must prove its identity to the client Web
browser. For protocols such as 802.1X, the printer is the client, and must prove its identity to the
authentication server, typically a RADIUS server.
Installation and Setup
Phaser 6600 Color Printer 67
User Guide
• Install a device certificate on the printer.
Note: To enable HTTPS, create a self-signed Certificate from the SSL page in CentreWare
Internet Services.
• Install a copy of the CA certificate that was used to sign the device certificate of the printer on the
other device.
Protocols such as LDAP and IPsec require both devices to prove their identity to each other.
Overview of Setting Up Digital Certificates
This is an overview of the steps to take to set up and use digital certificates:
1. Preparing the printer to manage digital certificates.
a. Changing the encryption settings of the hard drive.
b. Enabling HTTPS communications.
2. Importing and setting up digital certificates.
a. Importing the digital certificates.
b. Configuring the digital certificate purpose.
c. Verifying the digital certificate purpose.
3. Configuring desired security features to use the imported digital certificates.
Use the following topics to set up the digital certificates for your printer.
Before You Begin
Before you can manage certificates, do the following:
• Install the optional Productivity Kit (HD).
• Enable HDD Encryption. For details, see Configuring the Data Encryption Settings on page 72.
• Configure SSL. For details, see Configuring SSL settings on page 65.
Enabling HTTPS Communication
1. At your computer, open a Web browser, type the IP address of the printer in the address field,
then press Enter or Return.
2. Click Properties.
3. In the left navigation panel, scroll to Security, then select SSL.
4. Click Create New Certificate.
5. Under Public Key Method, select an option.
6. Under Public Key Size, select an option.
7. Confirm the issuer of the SSL self-signed certificate.
8. In Validity, specify the validity period of the certificate.
9. Click Generate Signed Certificate.
The printer creates a digital certificate and places it in the certificate list.
Installation and Setup
68 Phaser 6600 Color Printer
User Guide
10. After the settings are changed, to restart the printer, click Restart Printer.
11. Enter the IP address of the printer in the address bar, then press the Enter key.
12. To display the SSL page, repeat steps 2, 3, and 4.
13. Ensure that Enabled SSL is selected.
Importing a Digital Certificate
Before importing a certificate, back up the certificate file.
Note: Use Internet Explorer to import the certificate from Windows. Use Safari to import
certificates from Macintosh.
To import a digital certificate:
1. At your computer, open a Web browser, type the IP address of the printer in the address field,
then press Enter or Return.
2. Click Properties.
3. In the left navigation panel, scroll to Security, then select SSL.
4. Click Upload Signed Certificate.
Note: Upload Signed Certificate appears only when the optional hard drive is installed and the
HDD Data Encryption is enabled.
5. Enter a password corresponding to the certificate file to import.
Note: A password is only required for PKCS#12 certificates. Leave the password field blank for
PKCS#7 and other certificates.
6. To confirm, re-enter the password.
7. Click the Browse button, then browse to the certificate file and select it.
8. To import the file, click Import.
Configuring the Digital Certificate Purpose
1. At your computer, open a Web browser, type the IP address of the printer in the address field,
then press Enter or Return.
2. Click Properties.
3. In the left navigation panel, scroll to Security, then select Certificate Management.
Note: Certificate Management appears in the Security menu only when the optional hard drive is
installed and HDD Data Encryption is enabled.
4. Next to Category, select an option:
• When setting a certificate for an SSL server, SSL client, IPsec, or Wireless LAN client,
select Local Device.
• When setting a certificate for a Wireless LAN server, select Trusted Certificate Authority.
Installation and Setup
Phaser 6600 Color Printer 69
User Guide
5. Next to Certificate Purpose, select an option.
6. Next to Certificate Order, select the order in which the certificates appear.
7. To display the Certificate List page, click Display the List.
Note: If the list includes more than 20 certificates, click Next to display the next page.
8. Select the certificate to associate with the Certificate Purpose you selected in step 5.
9. To display the Certificate Details page, click Certificate Details.
10. After confirming the certificate details, at the top of the details window, click the Use this
certificate button.
Verifying the Digital Certificate Purpose
1. At your computer, open a Web browser, type the IP address of the printer in the address field,
then press Enter or Return.
2. Click Properties.
3. In the left navigation panel, scroll to Security, then select Certificate Management.
4. Verify the information selected next to Category, Certificate Purpose, and Certificate Order.
If a selection is incorrect, select another option.
5. To display the Certificate List page, click Display the List.
Note: If the list includes more than 20 certificates, click Next to display the next page.
6. Ensure that the certificate that appears with an asterisk is valid and that it is the certificate
associated with the Certificate Purpose.
Installation and Setup
70 Phaser 6600 Color Printer
User Guide
Deleting a Digital Certificate
1. At your computer, open a Web browser, type the IP address of the printer in the address field,
then press Enter or Return.
2. Click Properties.
3. In the left navigation panel, scroll to Security, then select Certificate Management.
4. For the certificate you want to delete, select the Category.
5. For the certificate you want to delete, select the Certificate Purpose.
6. To display the Certificate List page, click Display the List.
Note: If the list includes more than 20 certificates, click Next to display the next page.
7. Select the certificate that you want to delete.
8. Click Certificate Details.
9. To delete the certificate, in the upper right corner, click Delete.
10. Click Delete to confirm.
Note: When you delete a certificate, it disables the feature associated with the deleted feature.
To delete a certificate that is in use, disable the feature in advance or switch the association to
another certificate.
• For an SSL server, select another certificate, such as a Local Device.
• For an SSL Client, disable the LDAP-SSL/TLS and IEEE802.1x features.
• For IPsec, change the IKE setting to Preshared Key or disable the feature.
• For Wireless LAN, change the wireless security setting to something other than
WPA-Enterprise before deleting the certificate.
Exporting a Digital Certificate
1. At your computer, open a Web browser, type the IP address of the printer in the address field,
then press Enter or Return.
2. Click Properties.
3. In the left navigation panel, scroll to Security, then select Certificate Management.
4. Select the Category of the certificate you want to export.
5. Select the Certificate Purpose of the certificate you want to export.
6. To display the Certificate List page, click Display the List.
Note: If the list includes more than 20 certificates, to display the next page, click Next.
7. Select the certificate to export.
8. Click Certificate Details.
9. To export the certificate, at the bottom of the details list, click Export this certificate.
Note: Imported PKCS#12 format certificates can be exported only as a PKCS#7 certificates,
because PKCS#12 passwords cannot be exported.
10. In the File Download dialog box, click Save.
11. Select the location to save the file, then click Save.
Installation and Setup
Phaser 6600 Color Printer 71
User Guide
Configuring Secure Settings Using the
Control Panel
This section includes:
• Setting the Date and Time .................................................................................................... 71
• Setting the Panel Lock ......................................................................................................... 72
• Configuring the Data Encryption Settings ............................................................................. 72
• Logging In at the Control Panel ............................................................................................ 73
• Limiting Login Attempts ........................................................................................................ 73
•
Configuring the USB Setup .................................................................................................. 73
Use this menu for controlling access to printer features.
Setting the Date and Time
1. At the printer control panel, press the Menu button.
Note: To navigate through the menu, use the Up or Down arrow buttons.
2. Navigate to Admin Settings, then press OK.
3. Navigate to System Settings, then press OK.
4. Navigate to Clock Settings, then press OK.
5. Navigate to Set Date & Time, then press OK.
6. To select the Greenwich Mean Time (GMT) offset for your time zone, press the Up or Down
arrow buttons. To accept the time zone, press OK.
7. To set the month, press the Up or Down arrow buttons. To move to the Day field, press the
Right arrow button.
8. To set the day, press the Up or Down arrow buttons. To move to the Year field, press the Right
arrow button.
9. To set the year, press the Up or Down arrow buttons. When finished, press OK.
10. To set the hour, press the Up or Down arrow buttons. If the time format is set to 12H, ensure
that you set the hour correctly for AM or PM. To move to the Minutes field, press the Right arrow
button.
11. To set the minutes, press the Up or Down arrow buttons. When finished, press OK.
12. Navigate to Date Format, then press OK.
13. To select a setting, press the Up or Down arrow buttons, then press OK.
14. To return to the previous menu, press the Left arrow button.
15. Navigate to Time Format, then press OK.
16. To select a setting, press the Up or Down arrow buttons, then press OK.
Installation and Setup
72 Phaser 6600 Color Printer
User Guide
Setting the Panel Lock
Use this setting to limit access to the Admin Menu. When enabled, access to the Admin Menu
requires a password.
1. At the printer control panel, press the Menu button.
Note: To navigate through the menu, use the Up or Down arrow buttons.
2. Navigate to Admin Settings, then press OK.
3. Navigate to Secure Settings, then press OK.
4. Navigate to Panel Lock, then press OK.
5. Navigate to Panel Lock Set, then press OK.
6. To select a setting, press the Up or Down arrow buttons, then press OK.
7. At the prompt, enter a four-digit passcode, then press OK.
8. At the prompt, re-enter the passcode.
Configuring the Data Encryption Settings
To configure the Data Encryption settings:
1. At the printer control panel, press the Menu button.
Note: To navigate through the menu, use the Up or Down arrow buttons.
2. Navigate to Admin Settings, then press OK.
3. Navigate to Secure Settings, then press OK.
4. To encrypt the data on the hard drive, navigate to Data Encryption, then press OK twice. To
select a setting, press the Up or Down arrow buttons, then press OK.
5. When prompted, enter an encryption key, then press OK.
6. At the Initialize HDD, Are You Sure? prompt, press OK.
Note: All stored data is deleted after you change the Data Encryption Settings.
To change the Encryption Key:
1. At the printer control panel, press the Menu button.
Note: To navigate through the menu, use the Up or Down arrow buttons.
2. Navigate to Admin Settings, then press OK.
3. Navigate to Secure Settings, then press OK.
4. Navigate to Data Encryption, then press OK.
5. To change the encryption key for HDD encryption, navigate to Encryption Key, then press OK.
6. Enter the encryption key.
7. At the Initialize HDD, Are You Sure? prompt, press OK.
Note: All stored data is deleted after you change the Data Encryption Settings.
Installation and Setup
Phaser 6600 Color Printer 73
User Guide
Logging In at the Control Panel
1. To enter numbers on the control panel, select an option:
• To select a number, press the Up or Down arrow buttons.
• To scroll quickly, hold down the Up or Down arrow buttons.
• To move to the next number field, press the Right arrow button.
• To move to the previous number field, press the Left arrow button.
2. When finished, press OK.
Limiting Login Attempts
1. At the printer control panel, press the Menu button.
Note: To navigate through the menu, use the Up or Down arrow buttons.
2. Navigate to Admin Settings, then press OK.
3. Navigate to Secure Settings, then press OK.
4. Navigate to Login Error, then press OK.
5. To select On, use the Up or Down arrow buttons, then press OK.
6. To limit the number of attempts allowed when logging in as an administrator, use the Up or
Down arrow buttons, then press OK.
Configuring the USB Setup
1. At the printer control panel, press the Menu button.
Note: To navigate through the menu, use the Up or Down arrow buttons.
2. Navigate to Admin Settings, then press OK.
3. Navigate to USB Settings, then press OK.
4. To select a setting, press the Up or Down arrow buttons, then press OK. To return to the
previous menu, press the Left arrow button.
5. To select the Adobe protocol, navigate to Adobe Protocol. To select a setting, press the Up or
Down arrow buttons, then press OK.
6. Turn off the printer, then turn it on again.
Installation and Setup
74 Phaser 6600 Color Printer
User Guide
Configuring Smart eSolutions
This section includes:
• Using Smart eSolutions ........................................................................................................ 74
• Overview for Setting Up Smart eSolutions ............................................................................ 74
• Enabling the Proxy Server .................................................................................................... 75
• Validate DNS Settings and Enable SSL ............................................................................... 75
• Registering with the Xerox Communication Server ............................................................... 76
• Setting Up Email Notifications for Billing Meter Read Alerts ................................................. 76
•
Setting Up Email Notifications for Supplies Data Send Alerts ............................................... 77
Using Smart eSolutions
Smart eSolutions is a suite of features that simplifies printer ownership and administration. It
provides free services to enable administration of metered billing and supplies replenishment plans
for printers on a network. For details, see www.xerox.com/smartesolutions.
MeterAssistant automatically counts all metered impressions printed on network printers, then
submits them to Xerox. This process eliminates the need to collect and report meter read information
manually.
SuppliesAssistant monitors the remaining life of the toner or ink, and other printer consumables.
When Smart eSolutions is configured to communicate with Xerox, SuppliesAssistant also monitors
the usage of consumables. The data reported to Xerox is used to replenish supplies.
Overview for Setting Up Smart eSolutions
This is an overview of the steps required to set up the Smart eSolutions feature:
1. Enabling the Proxy Server.
2. Validating the DNS settings and enabling SSL.
3. Registering the printer with the Xerox Communication Server.
4. Setting up email notifications for MeterAssistant.
5. Setting up email notifications for SuppliesAssistant.
Use the following topics to set up Smart eSolutions.
Installation and Setup
Phaser 6600 Color Printer 75
User Guide
Enabling the Proxy Server
1. At your computer, open a Web browser, type the IP address of the printer in the address field,
then press Enter or Return.
2. Click Properties.
3. In the left navigation panel, scroll to Smart eSolutions, then select Registration.
4. In the Registration Window, under Setup, click Enable Proxy Server.
5. If your network does not use a proxy server, next to Use Proxy Server, clear the Enabled box,
then click Save Changes.
Proceed to Register with Xerox Communication Server.
6. If your network uses a proxy server, next to Use Proxy Server, select Enabled.
7. Next to Server Name, enter the name for the proxy server.
8. Next to Port Number, enter the port number of the proxy server.
9. If your proxy server requires authentication, next to Authentication, select Enabled.
10. If authentication is enabled, next to Login Name, enter the login name for the proxy server.
11. Next to Password, enter the password for the proxy server.
12. Next to Retype Password, re-enter the password.
13. Click Save Changes.
Validate DNS Settings and Enable SSL
1. At your computer, open a Web browser, type the IP address of the printer in the address field,
then press Enter or Return.
2. Click Properties.
3. In the left navigation panel, scroll to TCP/IP.
4. Scroll to DNS and ensure that the Obtain DNS Server Address Automatically button is
enabled.
Note: If the printer does not find the DNS server automatically, manually configure the settings
for the DNS server.
5. If the field is not enabled, in the DNS Server Address Field, enter the IP address of the DNS.
6. Click Save Changes.
7. In the left navigation panel, scroll to SSL.
8. Next to LDAP-SSL/TLS Communication, select Enabled.
9. Click Save Changes.
10. At the prompt to restart the system, click Restart.
11. After the printer restarts, wait about 20 seconds, then refresh the CentreWare Internet Services
page in your browser.
If the configuration was successful, the CentreWare Internet Services URL should start with
https.
12. When prompted by the browser, accept the certificate.
Installation and Setup
76 Phaser 6600 Color Printer
User Guide
Registering with the Xerox Communication Server
1. At your computer, open a Web browser, type the IP address of the printer in the address field,
then press Enter or Return.
2. Click Properties.
3. In the left navigation panel, scroll to Smart eSolutions, then select Registration.
4. In the Registration Window, under Setup, click Register with Xerox Communication Server.
5. In the Xerox Communication Server window, under Communication setup, next to Server
Communication, select Enabled.
6. Next to Transmission Time, enter the time for the printer to communicate with the Xerox
Communication Server.
Note: Enter the GMT time for the transmission time. Do not use the local time for the
transmission.
7. Click Test Communication Now.
8. If the message reads "Download Problem detected during the download process. Please try
again", check the settings and retry. If the problem persists, go to
www.xerox.com/office/6600support for online support information.
9. If the message reads "Communication Successful, Device diagnostic information successfully
sent to Xerox," click Back, then click Save Changes.
Setup is complete. No other action is required.
Setting Up Email Notifications for Billing Meter Read Alerts
Use Billing Meters to view impression count details for the printer, and to print Billing Meter and
Supplies Usage reports. The current counts for color, black and white, and combined total
impressions appear on the Billing Meters screen. The Billing Meters data can be sent to as many as
five email addresses for billing administrators and key operators. Use this page to manage the email
addresses and determine when the printer sends email notifications.
Note: Before using email notifications, configure the SMTP server for mail alerts. See
Configuring Mail Alerts on page 49.
To set up email notifications for Billing Meter reads:
1. At your computer, open a Web browser, type the IP address of the printer in the address field,
then press Enter or Return.
2. Click Properties.
3. In the left navigation panel, scroll to Smart eSolutions, then select Registration.
4. In the Registration Window, under Setup, click Setup Email Notification (Billing Meter Read
Alerts).
5. Under Recipient Group Addresses, next to Billing Administrator Email Addresses, enter the
email addresses of the administrators to which the printer sends email notifications.
6. Next to Send Alert, select when the printer sends email alerts.
7. Click Save Changes.
Installation and Setup
Phaser 6600 Color Printer 77
User Guide
Setting Up Email Notifications for Supplies Data Send Alerts
SuppliesAssistant monitors the remaining life of the toner or ink, and other printer consumables.
When Smart eSolutions is configured to communicate with Xerox, SuppliesAssistant also monitors
the usage of consumables. The data reported to Xerox is used to replenish supplies. The printer can
also send email alerts up to five email addresses for supplies administrators and key operators. Use
this page to manage the email addresses and determine when the printer sends email notifications.
Note: Before using email notifications, configure the SMTP server for mail alerts. See
Configuring Mail Alerts on page 49.
To set up email notifications for supplies data:
1. At your computer, open a Web browser, type the IP address of the printer in the address field,
then press Enter or Return.
2. Click Properties.
3. In the left navigation panel, scroll to Smart eSolutions, then select Registration.
4. In the Registration Window, under Setup, click Setup Email Notification (Supplies Data Send
Alerts).
5. Under Recipient Group Addresses, next to Supplies Administrator Email Addresses, enter
the email addresses of the administrators to which the printer sends email notifications.
6. To send an email alert if the registration with the Xerox Communication Server is canceled,
select Send Alert.
7. Click Save Changes.
Installation and Setup
78 Phaser 6600 Color Printer
User Guide
Installing the Software
This section includes:
• Operating System Requirements .......................................................................................... 78
• Installing the Print Drivers for a Windows Network Printer .................................................... 78
• Installing the Print Drivers for a Windows USB Printer .......................................................... 79
• Installing Drivers and Utilities for Macintosh OS X Version 10.5 and Later ........................... 79
• Installing Drivers and Utilities for UNIX and Linux ................................................................. 80
• Other Drivers ........................................................................................................................ 81
•
Installing the Printer as a Web Service on Devices............................................................... 81
Before installing driver software, verify that the printer is plugged in, turned on, connected correctly,
and has a valid IP address. The IP address usually appears in the upper right corner of the control
panel. If you cannot find the IP address, see Finding the IP Address of the Printer on page 26.
If the Software and Documentation disc is not available, download the latest drivers from
www.xerox.com/office/6600drivers.
Operating System Requirements
• Windows XP SP1 and later, Windows Vista, Windows 7, Windows Server 2003, Windows
Server 2008, and Windows Server 2008 R2.
• Macintosh OS X version 10.5 and later
• UNIX and Linux: Your printer supports connection to various UNIX platforms through the
network interface. For details, see www.xerox.com/office/6600drivers.
Installing the Print Drivers for a Windows Network Printer
1. Insert the Software and Documentation disc into the appropriate drive on your computer.
If the installer does not start automatically, navigate to the drive, and double-click the Setup.exe
installer file.
2. Click Network Installation.
3. At the bottom of the Driver Installation window, click Language.
4. Select your language, then click OK.
5. Click Next.
6. To accept the agreement, click I accept the terms, then click Next.
Installation and Setup
Phaser 6600 Color Printer 79
User Guide
7. In the Discovered Printers list, select your printer, then click Next.
Note: When installing drivers for a network printer, if you do not see your printer in the list, click
the IP Address or DNS Name button. In the IP Address or DNS Name field, type the IP address
of your printer, then click Search to locate your printer. If you do not know the IP address of the
printer, see Finding the IP Address of Your Printer on page 26.
8. To start the installation, click Next.
9. When the installation is complete, at the Enter Printer Settings screen, select the following as
needed:
• Share this printer with other computers on the network
• Set this printer as default for printing
10. Click Next.
11. In the Software and Documentation window, for any option you do not want to install, clear the
check box.
12. Click Install.
13. At the InstallShield Wizard, click Yes to restart your computer, then click Finish.
14. At the Product Registration screen, select your country from the list, then click Next. Complete
the registration form, then submit it.
Installing the Print Drivers for a Windows USB Printer
1. Insert the Software and Documentation disc into the appropriate drive on your computer.
If the installer does not start automatically, navigate to the drive, and double-click the Setup.exe
installer file.
2. Click the Personal Installation (USB) button.
3. At the bottom of the Driver Installation window, click Language.
4. Select your language, then click OK.
5. Click Next.
6. Click I accept the terms to accept the agreement, then click Next.
7. At the InstallShield Wizard, click Yes to restart your computer, then click Finish.
8. At the Product Registration screen, select your country from the list, then click Next. Complete
the registration form and submit it.
Installing Drivers and Utilities for Macintosh OS X Version 10.5 and Later
Install the Xerox® print driver to access all features of your printer.
To install the print driver software:
Installation and Setup
80 Phaser 6600 Color Printer
User Guide
1. Insert the Software and Documentation disc into your computer.
2. Double-click the disc icon on your desktop to see the .dmg file for your printer.
3. Open the .dmg file, and navigate to the appropriate installer file for your operating system.
4. Open the installer file.
5. Click Continue to acknowledge the warning and introductory messages.
6. Click Continue and accept the license agreement.
7. To accept the current installation location, click Install, or select another location for the
installation files, then click Install.
8. Enter your password, then click OK.
9. Select your printer in the list of discovered printers, then click Continue.
10. If your printer does not appear in the list of discovered printers:
a. Click the Network Printer Icon.
b. Type the IP address of your printer, then click Continue.
c. Select your printer in the list of discovered printers, then click Continue.
11. To accept the print queue message, click OK.
12. Select or clear the Set Printer as Default and Print a Test Page check boxes.
13. Click Continue, then click Close.
Note: The printer is added automatically to the printer queue.
To verify that the print driver recognizes the installed options:
1. From the Apple menu, click System Preferences > Print & Fax or Print & Scan.
2. Select the printer in the list, then click Options and Supplies.
3. Click Driver, then confirm that your printer is selected.
4. Confirm that all of the options installed on the printer appear correct.
5. If you change settings, click Apply Changes, close the window, and quit System Preferences.
Installing Drivers and Utilities for UNIX and Linux
Xerox® Services for UNIX Systems is a two part installation process. It requires the installation of a
Xerox® Services for UNIX Systems code package and a printer support package. The Xerox®
Services for UNIX Systems code package must be installed before installing the printer support
package.
Note:
You must have root or superuser privileges to perform the UNIX print driver installation on
your computer.
1. At the printer, do the following:
a. Verify that both the TCP/IP protocol and the proper connector are enabled.
Installation and Setup
Phaser 6600 Color Printer 81
User Guide
b. On the printer control panel, do one of the following for the IP address:
• Allow the printer to set up a DHCP address.
• Enter the IP address manually.
c. Print the Configuration Report and keep it for reference. For details, see Configuration
Report on page 25.
2. At your computer, do the following:
a. Go to www.xerox.com/office/6600drivers and select your printer model.
b. From the Operating System menu, select UNIX, then click Go.
c. Select the Xerox® Services for UNIX Systems package for the correct operating system.
This package is the core package and must be installed before the printer support package.
d. To begin downloading, click the Start button.
e. Repeat steps a and b, then click the printer package for use with the Xerox® Services for
UNIX Systems package that you selected earlier. The second part of the driver package is
ready for download.
f. To begin downloading, click the Start button.
g. In the notes below the driver package that you selected, click the link for the Installation
Guide, then follow the installation instructions.
Notes:
• To load Linux print drivers, perform the preceding procedures but select Linux as the
operating system. Select Xerox® Services for Linux Systems driver or the Linux CUPS
Printing Package. You can also use the CUPS driver included in the Linux package.
• Supported Linux drivers are available at www.xerox.com/office/6600drivers.
• For details about UNIX and Linux drivers, see the System Administrator Guide at
www.xerox.com/office/6600docs.
Other Drivers
The following drivers are available for download at www.xerox.com/office/6600drivers.
• The Xerox® Global Print Driver works with any printer on your network, including those printers
made by other manufacturers. It configures itself for your individual printer upon installation.
• The Xerox® Mobile Express Driver works with any printer available to your computer that
supports standard PostScript. It configures itself for the printer you select every time you print. If
you travel frequently to the same sites, you can save your favorite printers in that location and
the driver saves your settings.
Installing the Printer as a Web Service on Devices
Web Services on Devices (WSD) allow a client to discover and access a remote device and its
associated services across a network. WSD supports device discovery, control, and use.
To install a WSD printer using the Add Device Wizard:
Installation and Setup
82 Phaser 6600 Color Printer
User Guide
1. At your computer, click Start, then select Devices and Printers.
2. To launch the Add Device Wizard, click Add a Device.
3. In the list of available devices, select the one you want to use, then click Next.
Note: If the printer you want to use does not appear in the list, click the Cancel button. Add the
WSD printer manually using the Add Printer Wizard.
4. Click Close.
To install a WSD printer using the Add Printer Wizard:
1. At your computer, click Start, then select Devices and Printers.
2. To launch the Add Printer Wizard, click Add a Printer.
3. Click Add a network, wireless, or Bluetooth printer.
4. In the list of available devices, select the one you want to use, then click Next.
5. If the printer you want to use does not appear in the list, click The printer that I want is not
listed.
6. Select Add a printer using a TCP/IP address or hostname, then click Next.
7. From the Device type field, select Web Services Device.
8. Enter the printer IP address in the Hostname or IP address field, then click Next.
9. Click Close.
Phaser 6600 Color Printer 83
User Guide
This chapter includes:
• Supported Paper .................................................................................................................. 84
• Loading Paper ...................................................................................................................... 88
•
Printing on Special Paper ..................................................................................................... 94
4
Paper and Media
Paper and Media
84 Phaser 6600 Color Printer
User Guide
Supported Paper
This section includes:
• Recommended Media .......................................................................................................... 84
• Ordering Paper ..................................................................................................................... 84
• General Paper Loading Guidelines ....................................................................................... 84
• Paper That Can Damage Your Printer .................................................................................. 85
• Paper Storage Guidelines .................................................................................................... 85
• Supported Paper Types and Weights ................................................................................... 86
• Supported Standard Paper Sizes ......................................................................................... 86
• Supported Paper Types and Weights for Automatic 2-Sided Printing ................................... 86
• Supported Standard Paper Sizes for Automatic 2-Sided Printing ......................................... 87
•
Supported Custom Paper Sizes ........................................................................................... 87
Your printer is designed to use various paper and other media types. To ensure the best print quality
and to avoid jams, follow the guidelines in this section.
For best results, use Xerox® paper and media recommended for your printer.
Recommended Media
A list of paper and media recommended for your printer is available at:
• www.xerox.com/paper Recommended Media List (United States)
• www.xerox.com/europaper Recommended Media List (Europe)
Ordering Paper
To order paper or other media, contact your local reseller or visit
www.xerox.com/office/6600supplies.
General Paper Loading Guidelines
• Do not overfill the paper trays. Do not load paper above the maximum fill line in the tray.
• Adjust the paper guides to fit the paper size.
• Fan paper before loading it in the paper tray.
• If excessive jams occur, use paper or other approved media from a new package.
• Do not print on label media once a label has been removed from a sheet.
• Use only paper envelopes. Print envelopes 1-sided only.

Paper and Media
Phaser 6600 Color Printer 85
User Guide
Paper That Can Damage Your Printer
Some paper and other media types can cause poor output quality, increased paper jams, or damage
your printer. Do not use the following:
• Rough or porous paper
• Inkjet paper
• Non-laser glossy or coated paper
• Paper that has been photocopied
• Paper that has been folded or wrinkled
• Paper with cutouts or perforations
• Stapled paper
• Envelopes with windows, metal clasps, side seams, or adhesives with release strips
• Padded envelopes
• Plastic media
CAUTION: The Xerox® Warranty, Service Agreement, or Xerox® Total Satisfaction Guarantee
does not cover damage caused by using unsupported paper or specialty media. The Xerox® Total
Satisfaction Guarantee is available in the United States and Canada. Coverage could vary
outside these areas. Please contact your local representative for details.
Paper Storage Guidelines
Storing your paper and other media properly contributes to optimum print quality.
• Store paper in dark, cool, relatively dry locations. Most paper is susceptible to damage from
ultraviolet and visible light. Ultraviolet light, from the sun and fluorescent bulbs, is particularly
damaging to paper.
• Reduce the exposure of paper to strong lights for long periods of time.
• Maintain constant temperatures and relative humidity.
• Avoid storing paper in attics, kitchens, garages, or basements. These spaces are more likely to
collect moisture.
• Store paper flat, either on pallets, cartons, shelves, or in cabinets.
• Avoid food or drinks in the area where paper is stored or handled.
• Do not open sealed packages of paper until you are ready to load them into the printer. Leave
stored paper in the original packaging. The paper wrapper protects the paper from moisture loss
or gain.
• Some special media is packaged inside resealable plastic bags. Store the media inside the bag
until you are ready to use it. Keep unused media in the bag and reseal it for protection.

Paper and Media
86 Phaser 6600 Color Printer
User Guide
Supported Paper Types and Weights
Trays Paper Types Weights
All Trays Hole Punched
Colored
(60–90 g/m²)
Plain
Letterhead
(75–105 g/m²)
Lightweight Cardstock
Lightweight Glossy Cardstock
(106–163 g/m²)
Heavyweight Cardstock
Heavyweight Glossy Cardstock
(164–216 g/m²)
Bypass Tray Labels
Envelope
Supported Standard Paper Sizes
Tray European Standard Sizes North American Standard Sizes
All Trays A4 (210 x 297 mm, 8.3 x 11.7 in.)
B5 (176 x 250 mm, 6.9 x 9.8 in.)
A5 (148 x 210 mm, 5.8 x 8.3 in.)
Legal (216 x 356 mm, 8.5 x 14 in.)
Folio (216 x 330 mm, 8.5 x 13 in.)
Letter (216 x 279 mm, 8.5 x 11 in.)
Executive (184 x 267 mm, 7.25 x 10.5 in.)
Bypass Tray C5 envelope (162 x 229 mm, 6.4 x 9 in.)
DL envelope (110 x 220 mm,
4.33 x 8.66 in.)
Monarch envelope (98 x 190 mm, 3.9 x 7.5 in.)
No. 10 envelope (241 x 105 mm, 4.1 x 9.5 in.)
Supported Paper Types and Weights for Automatic 2-Sided Printing
Paper Types Weights
Hole Punched
Colored
(60–90 g/m²)
Plain
Letterhead
(75–105 g/m²)
Lightweight Cardstock
Lightweight Glossy Cardstock
(106–163 g/m²)

Paper and Media
Phaser 6600 Color Printer 87
User Guide
Supported Standard Paper Sizes for Automatic 2-Sided Printing
European Standard Sizes North American Standard Sizes
A4 (210 x 297 mm, 8.3 x 11.7 in.)
B5 (176 x 250 mm, 6.9 x 9.8 in.)
A5 (148 x 210 mm, 5.8 x 8.3 in.)
Legal (216 x 356 mm, 8.5 x 14 in.)
Folio (216 x 330 mm, 8.5 x 13 in.)
Letter (216 x 279 mm, 8.5 x 11 in.)
Executive (184 x 267 mm, 7.25 x 10.5 in.)
Supported Custom Paper Sizes
Bypass Tray
• Width: 76.2–215.9 mm (3–8.5 in.)
• Length: 127–355.6 mm (5–14 in.)
Trays 1 and 2
• Width: 148–215.9 mm (5.8–8.5 in.)
• Length: 210–355.6 mm (8.3–14 in.)

Paper and Media
88 Phaser 6600 Color Printer
User Guide
Loading Paper
This section includes:
• Loading Paper in the Bypass Tray ........................................................................................ 88
• Configuring Trays 1 or 2 for the Paper Length ...................................................................... 90
•
Loading Paper in Trays 1 and 2............................................................................................ 91
Loading Paper in the Bypass Tray
1. If the Bypass Tray is loaded with paper already, remove any paper that is a different size or type.
2. Pull out the extension tray for larger sizes.
3. Move the width guides to the edges of the tray.

Paper and Media
Phaser 6600 Color Printer 89
User Guide
4. Flex the sheets back and forth and fan them, then align the edges of the stack on a level surface.
This procedure separates any sheets that are stuck together and reduces the possibility of jams.
Note: To avoid jams and misfeeds, do not remove paper from its packaging until you are ready
to use it.
5. Load the paper in the tray. Load hole punched paper with the holes to the left.
• For 1-sided printing, load letterhead or pre-printed face up with the top edge going into the
printer.
• For 2-sided printing, load letterhead and pre-printed face down with the top edge going into
the printer.
Note: Do not load paper above the maximum fill line. Overfilling the tray can cause the printer to
jam.

Paper and Media
90 Phaser 6600 Color Printer
User Guide
6. Adjust the width guides until they touch the edges of the paper.
7. If the control panel prompts you, verify the size and type on the screen.
a. At the printer control panel, press the Menu button.
Note: To navigate through the menu, use the Up or Down arrow buttons.
b. Navigate to Tray Settings, then press OK.
c. Navigate to Bypass Tray, then press OK.
d. Navigate to Tray Mode, then press OK.
e. Navigate to Panel Specified, then press OK.
f. To return to the previous menu, press the Left arrow button.
g. Navigate to Paper Size, then press OK.
h. To select a setting, press the Up or Down arrow buttons, then press OK.
i. To return to the previous menu, press the Left arrow button.
j. Navigate to Paper Type, then press OK.
k. To select a setting, press the Up or Down arrow buttons, then press OK.
Configuring Trays 1 or 2 for the Paper Length
You can adjust the lengths of Trays 1 and 2 to accommodate A4/Letter and Legal paper sizes. In the
Legal length settings, the trays protrude from the front of the printer.
To change the 550-Sheet Feeders in Trays 1 and 2 to match the paper length:
1. Remove all paper from the tray.
2. To remove the tray from the printer, pull out the tray until it stops, lift the front of the tray slightly,
then pull it out.

Paper and Media
Phaser 6600 Color Printer 91
User Guide
3. To extend the tray, hold the back of the tray with one hand. With the other hand, press the
release latch at the front of the tray and pull the ends outward until they latch.
4. To compress the tray for shorter paper, hold the back of the tray with one hand. With the other
hand, press the release latch at the front of the tray, then push the ends inward until they latch.
5. Load paper into the tray before inserting it back into the printer. For details, see Loading Paper
into Trays 1 and 2 on page 91.
Loading Paper in Trays 1 and 2
1. Pull out the tray until it stops.
2. To remove the tray from the printer, pull out the tray until it stops, lift the front of the tray slightly,
then pull it out.

Paper and Media
92 Phaser 6600 Color Printer
User Guide
3. At the back of the paper tray, press the paper lift tray down until it locks.
4. Adjust the paper length and width guides as illustrated.
5. Flex the sheets back and forth and fan them, then align the edges of the stack on a level surface.
This procedure separates any sheets that are stuck together and reduces the possibility of jams.
6. Load paper into the tray with the print side face up.
• Load hole punched paper with the holes to the left.
• For 1-sided printing, load letterhead face up with the top of the paper toward the back of the
tray.
• For 2-sided printing, load letterhead face down with the top of the paper toward the back of
the tray.
Note: Do not load paper above the maximum fill line. Overfilling the tray can cause the printer to
jam.

Paper and Media
Phaser 6600 Color Printer 93
User Guide
7. Adjust the length and width guides to fit the paper.
8. Slide the tray back into the printer.
9. Push the tray in all the way.
Notes:
• If the tray does not go all the way in, ensure that the paper lift at the back of the tray is
locked down.
• If the tray is extended for legal size paper, the tray protrudes when it is inserted into the
printer.
10. If the control panel prompts you, verify the size and type on the screen.
a. At the printer control panel, press the Menu button.
Note: To navigate through the menu, use the Up or Down arrow buttons.
b. Navigate to Tray Settings, then press OK.
c. Navigate to the desired paper tray, then press OK.
d. Navigate to Paper Size, then press OK.
e. To select a setting, press the Up or Down arrow buttons, then press OK.
f. To return to the previous menu, press the Left arrow button.
g. Navigate to Paper Type, then press OK.
h. To select a setting, press the Up or Down arrow buttons, then press OK.
Paper and Media
94 Phaser 6600 Color Printer
User Guide
Printing on Special Paper
This section includes:
• Envelopes ............................................................................................................................ 94
• Labels .................................................................................................................................. 97
•
Glossy Cardstock ................................................................................................................. 98
To order paper or other media, contact your local reseller or visit
www.xerox.com/office/6600supplies.
See also:
www.xerox.com/paper Recommended Media List (United States)
www.xerox.com/europaper Recommended Media List (Europe)
Envelopes
You can print envelopes from the Bypass Tray only.
Guidelines for Printing Envelopes
• Print quality depends on the quality and construction of the envelopes. Try another envelope
brand if you do not get desired results.
• Maintain constant temperatures and relative humidity.
• Store unused envelopes in their packaging to avoid excess moisture and dryness which can
affect print quality and cause wrinkling. Excessive moisture can cause the envelopes to seal
before or during printing.
• Remove air bubbles from the envelopes before loading them into the tray by setting a heavy
book on top of them.
• In the print driver software, select Envelope as the paper type.
• Do not use padded envelopes. Use envelopes that lie flat on a surface.
• Do not use envelopes with heat activated glue.
• Do not use envelopes with press and seal flaps.
• Use only paper envelopes.
• Do not use envelopes with windows or metal clasps.

Paper and Media
Phaser 6600 Color Printer 95
User Guide
Loading Envelopes in the Bypass Tray
1. Open the Bypass Tray.
2. Move the width guides to the edges of the tray.
Note: If you do not load envelopes in the Bypass Tray right after they have been removed from
the packaging, they can bulge. Flatten them to avoid jams.
3. To load the envelopes, select an option:
• For Number 10 envelopes, load the envelopes with the short edge going into the printer,
flaps down, and flaps to the right.

Paper and Media
96 Phaser 6600 Color Printer
User Guide
For Monarch or DL envelopes, do one of the following. If the envelopes wrinkle, try another option.
• With the short edge going into the printer, flaps down, and flaps to the right.
• With the print side up, flaps open and down, and the bottom of the envelope going into
the printer.
• With the print side up, flaps closed and down, and flaps going into the printer.
• For C5 envelopes, do one of the following. If the envelopes wrinkle, try another option.
• With the print side up, flaps open and down, and the bottom of the envelope going into
the printer.

Paper and Media
Phaser 6600 Color Printer 97
User Guide
• With the print side up, flaps closed and down, and going into the printer.
Note: When you load envelopes with the flaps open, in the print driver, select Portrait,
Landscape, or Rotated Landscape, as needed, to have them print correctly. In the print driver,
use Rotate Image 180 Degrees to flip the image, if needed.
1. At the printer control panel, press the Menu button.
Note: To navigate through the menu, use the Up or Down arrow buttons.
2. Navigate to Tray Settings, then press OK.
3. Navigate to Bypass Tray, then press OK.
4. Navigate to Tray Mode, then press OK.
5. Navigate to Panel Specified, then press OK.
6. To return to the previous menu, press the Left arrow button.
7. Navigate to Paper Type, then press OK.
8. Navigate to Envelope, then press OK.
9. To return to the previous menu, press the Left arrow button.
10. Navigate to Paper Size, then press OK.
11. Navigate to the desired envelope size, then press OK.
Labels
You can print labels from the Bypass Tray only.

Paper and Media
98 Phaser 6600 Color Printer
User Guide
Loading Labels in the Bypass Tray
1. Remove all paper from the tray.
2. Load labels face up with the top of the page going into the printer.
3. Adjust the width guides until they touch the edges of the paper.
4. At the printer control panel, press the Menu button.
Note: To navigate through the menu, use the Up or Down arrow buttons.
5. Navigate to Tray Settings, then press OK.
6. Navigate to Bypass Tray, then press OK.
7. Navigate to Tray Mode, then press OK.
8. Navigate to Panel Specified, then press OK.
9. To return to the previous menu, press the Left arrow button.
10. Navigate to Paper Type, then press OK.
11. Navigate to Labels, then press OK.
Guidelines for Printing Labels
• Use labels designed for laser printing.
• Do not use vinyl labels.
• Do not feed a sheet of labels through the printer more than once.
• Do not use dry gum labels.
• Print only on one side of the sheet of labels. Use full sheet labels only.
• Store unused labels flat in their original packaging. Leave the sheets of labels inside the original
packaging until ready to use. Return any unused sheets of labels to the original packaging and
reseal it.
• Do not store labels in extremely dry or humid conditions or extremely hot or cold conditions.
Storing them in extreme conditions can cause print-quality problems or cause them to jam in the
printer.
• Rotate stock frequently. Long periods of storage in extreme conditions can cause labels to curl
and jam in the printer.
• In the print driver software, select Label as the paper type.
• Remove all other paper from the tray before loading labels.
CAUTION: Do not use any sheet where labels are missing, curled, or pulled away from the
backing sheet. It could damage the printer.
Glossy Cardstock
You can print Lightweight Glossy Cardstock and Heavyweight Glossy Cardstock up to 216 g/m² from
any tray.
Paper and Media
Phaser 6600 Color Printer 99
User Guide
Guidelines for Printing on Glossy Cardstock
• Do not open sealed packages of glossy cardstock until you are ready to load them into the
printer.
• Leave glossy cardstock in the original wrapper, and leave the packages in the shipping carton
until ready to use.
• Remove all other paper from the tray before loading glossy cardstock.
• Load only the amount of glossy cardstock you are planning to use. Do not leave glossy
cardstock in the tray when you are finished printing. Replace unused cardstock in the original
wrapper and seal.
• Rotate stock frequently. Long periods of storage in extreme conditions can cause glossy
cardstock to curl and jam in the printer.
• In the print driver software, select the desired glossy cardstock type or select the tray loaded
with the desired paper.
Phaser 6600 Color Printer 101
User Guide
This chapter includes:
• Printing Overview ............................................................................................................... 102
• Selecting Printing Options .................................................................................................. 103
• Printing Features ................................................................................................................ 106
•
Using Custom Paper Sizes ................................................................................................. 113
5
Printing
Printing
102 Phaser 6600 Color Printer
User Guide
Printing Overview
Before printing, your computer and the printer must be plugged in, turned on, and connected. Ensure
that you have the correct print driver software installed on your computer. For details, see Installing
the Software on page 78.
1. Select the appropriate paper.
2. Load paper in the appropriate tray. On the printer control panel, specify the size, color, and type.
3. Access the print settings in your software application. For most software applications, press
CTRL+P for Windows, or CMD+P for Macintosh.
4. Select your printer from the list.
5. Access the print driver settings by selecting Properties or Preferences for Windows, or Xerox®
Features for Macintosh. The title of the button can vary depending on your application.
6. Modify the print driver settings as necessary, then click OK.
7. Click Print to send the job to the printer.

Printing
Phaser 6600 Color Printer 103
User Guide
Selecting Printing Options
This section includes:
• Print Driver Help ................................................................................................................. 103
• Windows Printing Options .................................................................................................. 103
•
Macintosh Printing Options ................................................................................................. 105
Printing options, also called print driver software options, are specified as Printing Preferences in
Windows, and Xerox® Features in Macintosh. Printing options include settings for 2-sided printing,
page layout, and print quality. Printing options that are set from Printing Preferences become the
default setting. Printing options that are set from within the software application are temporary. The
application and the computer do not save the settings after the application is closed.
Print Driver Help
Xerox® print driver software Help information is available from the Printing Preferences window.
Click the Help (?) button in the bottom left corner of the Printing Preferences window to see the Help.
Information about Printing Preferences appears in the Help window. From there, you can select by
topic or use the search field to enter the topic or function for which you need information.
Windows Printing Options
Setting Default Printing Options for Windows
When you print from any software application, the printer uses the print job settings specified in the
Printing Preferences window. You can specify your most common printing options and save them so
that you do not have to change them every time you print.
Printing
104 Phaser 6600 Color Printer
User Guide
For example, if you want to print on both sides of the paper for most jobs, specify 2-sided printing in
Printing Preferences.
To select default printing options:
1. Navigate to the list of printers on your computer:
• For Windows XP SP1 and later, click Start > Settings > Printers and Faxes.
• For Windows Vista, click Start > Control Panel > Hardware and Sound > Printers.
• For Windows Server 2003 and later, click Start > Settings > Printers.
• For Windows 7, click Start > Devices and Printers.
2. In the list, right-click the icon for your printer and click Printing Preferences.
3. In the Printing Preferences window, click a tab, select the options, then click OK to save.
Note: For more information about Windows print driver options, click the Help button (?) in the
Printing Preferences window.
Selecting Printing Options for an Individual Job for Windows
To use special printing options for a particular job, change the Printing Preferences from the
application before sending the job to the printer. For example, if you want to use the Enhanced
print-quality mode when printing a particular document, select Enhanced in Printing Preferences
before printing the job.
1. With the document open in your software application, access the print settings. For most
software applications, click File > Print or press CTRL+P for Windows.
2. Select your printer and click the Properties or Preferences button to open the Printing
Preferences window. The title of the button can vary depending on your application.
3. Click a tab in the Printing Preferences window, then make selections.
4. Click OK to save and close the Printing Preferences window.
5. Click Print to send the job to the printer.
Saving a Set of Commonly Used Printing Options for Windows
You can define and save a set of options, so that you can apply them to future print jobs.
To save a set of printing options:
1. With the document open in your application, click File > Print.
2. Select the printer, then click Properties. Click the tabs in the Printing Properties window and
select the desired settings.
3. Click Saved Settings at the bottom of the Printing Properties window, then click Save As.
4. Type a name for the set of printing options, then click OK to save the set of options in the Saved
Settings list.
5. Select the name from the list to print using these options.
Printing
Phaser 6600 Color Printer 105
User Guide
Macintosh Printing Options
Selecting Printing Options for Macintosh
To use specific printing options, change the settings before sending the job to the printer.
1. With the document open in your application, click File > Print.
2. Select your printer from the list.
3. Select Xerox® Features from the Copies & Pages menu.
4. Select the desired printing options from the drop-down lists.
5. Click Print to send the job to the printer.
Saving a Set of Commonly Used Printing Options for Macintosh
You can define and save a set of options, so that you can apply them to future print jobs.
To save a set of printing options:
1. With the document open in your application, click File > Print.
2. Select your printer from the Printers list.
3. Select the desired printing options from the drop-down lists in the Print dialog box.
4. Click Presets > Save As.
5. Type a name for the printing options, then click OK to save the set of options in the Presets list.
6. To print using these options, select the name from the Presets list.
Printing
106 Phaser 6600 Color Printer
User Guide
Printing Features
This section includes:
• Printing on Both Sides of the Paper .................................................................................... 106
• Orientation ......................................................................................................................... 107
• Selecting Paper Options for Printing ................................................................................... 108
• Printing Multiple Pages to a Single Sheet ........................................................................... 108
• Printing Booklets ................................................................................................................ 109
• Print Quality........................................................................................................................ 109
• Image Options .................................................................................................................... 109
• Printing Watermarks ........................................................................................................... 110
• Scaling ............................................................................................................................... 110
• Printing Mirror Images ........................................................................................................ 111
•
Printing Special Job Types ................................................................................................. 111
Printing on Both Sides of the Paper
Printing a 2-Sided Document
If your printer supports Automatic 2-Sided Printing, the options are specified in the print driver. The
print driver uses the settings for portrait or landscape orientation from the application for printing the
document.
Note: Ensure that the paper size and weight are supported. For details, see Supported Paper Sizes
and Weights for Automatic 2-Sided Printing on page 86.
Setting Up 1-Sided Printing
To set 1-sided printing as the default setting:
1. Navigate to the list of printers on your computer.
2. From the Printers and Faxes window, select a printer, right-click the printer, then select Printing
preferences.
3. On the Printing Options tab, click the arrow to the right of the 2-Sided Printing, then select
1-Sided Print.
4. To close the Printing Preferences dialog box, click OK.

Printing
Phaser 6600 Color Printer 107
User Guide
2-Sided Page Layout Options
You can specify the page layout for 2-sided printing, which determines how the printed pages turn.
These settings override the application page orientation settings.
To make a 2-sided printing selection, on the Page Layout tab, use the arrow button in the bottom left
corner of the preview pane. Page Layout is on the Document Options tab.
• 1-Sided Print prints on one side of the media. Use this option when printing on envelopes,
labels, or other media that cannot be printed on both sides.
• 2-Sided Print prints the job on both sides of the paper to allow binding on the long edge of
the paper. The following illustrations show the result for documents with portrait and
landscape orientations, respectively:
• 2-Sided Print, Flip on Short Edge prints on both sides of the paper. The images print to
allow binding on the short edge of the paper. The following illustrations show the result for
documents with portrait and landscape orientations, respectively:
Note: 2-Sided Printing is part of the Earth Smart settings.
To change your default print driver settings, see Setting Default Printing Options for Windows on
page 103.
Orientation
To select the default orientation:

Printing
108 Phaser 6600 Color Printer
User Guide
1. On the Advanced tab, click Advanced Settings.
2. Click Orientation. Select an option:
• Portrait orients the paper so that the text and images print across the short dimension of
the paper.
• Landscape orients the paper so that the text and images print across the long dimension of
the paper.
• Rotated Landscape orients the paper so that the content is rotated 180 degrees and with
the long bottom side up.
3. Click OK.
Selecting Paper Options for Printing
There are two ways to select the paper for your print job. You can let the printer select which paper to
use based on the document size, paper type, and paper color you specify. You can also select a
specific tray loaded with the desired paper.
Printing Multiple Pages to a Single Sheet
When printing a multiple-page document, you can print more than one page on a single sheet of
paper. Print 1, 2, 4, 6, 9, or 16 pages per side by selecting Pages Per Sheet on the Page Layout tab.
Page Layout is on the Document Options tab.

Printing
Phaser 6600 Color Printer 109
User Guide
Printing Booklets
With 2-sided printing, you can print a document in the form of a small booklet. Create booklets from
any paper size that is supported for 2-sided printing. The driver automatically reduces each page
image and prints four page images per sheet of paper, two page images on each side. The pages
are printed in the correct order so that you can fold and staple the pages to create the booklet.
When you print booklets using the Windows PostScript or Macintosh driver, you can specify the
gutter and creep.
• Gutter specifies the horizontal distance in points between the page images. A point is 0.35 mm
(1/72 in.).
• Creep specifies how much the page images are shifted outward, in tenths of a point. Shifting
compensates for the thickness of the folded paper, which would cause the page images to shift
slightly outward when folded. You can select a value from zero to 1 point.
Gutter Creep
Print Quality
Print quality modes:
• Standard print-quality mode: 600 x 600 dpi
• Enhanced print-quality mode: 600 x 600 x 5 dpi (1200 x 1200 enhanced image quality)
• Photo print-quality mode: 600 x 600 x 5 dpi (1200 x 1200 enhanced image quality)
Note: The print resolutions are indicated for PostScript print drivers only. The only print quality
mode for PCL is Enhanced.
Image Options
Image options controls the way the printer uses color to produce your document. The Windows
PostScript and the Macintosh drivers provide the widest range of color controls and corrections on
the Image Options tab.
Printing
110 Phaser 6600 Color Printer
User Guide
To convert all color in the document to black and white or shades of gray, select Xerox Black and
White Conversion.
The printer provides the following color correction options:
• Automatic Color applies the best color correction to text, graphics, and images. Xerox
recommends this setting.
• Vivid Color produces brighter and more saturated colors.
Printing Watermarks
A watermark is special purpose text that can be printed across one or more pages. For example, you
can add a word like Copy, Draft, or Confidential as a watermark instead of stamping it on a document
before distribution.
To print a watermark:
1. Click the Document Options tab of the print driver.
2. From the Watermark menu, select the watermark. You can choose from preset watermarks, or
create a customized watermark. You can also manage watermarks from this menu.
3. Under Text, select an option:
• For Text, enter the text in the field, then specify the font and color.
• For Time Stamp, specify the date and time options, then specify the font and color.
• For Picture, click the Browse icon to locate the picture. Specify the scaling option that
specifies the size of the picture in relation to the original image.
4. Specify the angle and position of the watermark.
5. Under Layering, select how to print the watermark:
• Print in Background prints the watermark behind the text and graphics in the document.
• Blend combines the watermark with the text and graphics in the document. A blended
watermark is translucent, so you can see both the watermark and the document content.
• Print in Foreground prints the watermark over the text and graphics in the document.
6. Click Pages, then select the pages on which to print the watermark:
• Print on All Pages prints the watermark on all pages of your document.
• Print on Page 1 Only prints the watermark only on the first page of the document.
7. If you selected a picture as a watermark, specify the lightness of the image.
8. Click OK.
Scaling
Scaling reduces or enlarges the original document to match the selected output paper size. In
Windows, the Scale Options are located in the print driver on the Printing Options tab in the Paper
field.
To access Scale Options, click the arrow at the right side of the Paper field, then select Other Size.
• No Scaling does not change the size of the page image printed on the output paper, and 100%
appears in the percentage box. If the original size is larger than the output size, the page image
Printing
Phaser 6600 Color Printer 111
User Guide
is cropped. If the original size is smaller than the output size, extra space appears around the
page image.
• Automatically Scale scales the document to fit the selected Output Paper Size. The scaling
amount appears in the percentage box below the sample image.
• Manually Scale scales the document by the amount entered in the percentage box below the
preview image.
Printing Mirror Images
If the PostScript driver is installed, you can print pages as a mirror image. Images mirror left to right
when printed.
Printing Special Job Types
Special job types allow you to send a print job from your computer, then print it from the printer
control panel. Select special job types in the print driver, Printing Options tab, under Job Type.
Note: The special job types are stored in memory on the printer and are removed when the
printer is powered off. To store the special job types permanently, your printer needs the
optional Productivity Kit installed.
Saved Job
Saved jobs are documents sent to the printer and stored there for future use.
Note: This function is available only on printers with an optional Productivity Kit installed.
To release a saved job:
1. To access the Walk-Up Features menu, click the Left arrow button.
2. Navigate to Saved Jobs, then press OK.
3. Navigate to your username, then press OK.
4. Navigate to the desired job, then press OK.
5. Select an option. If you selected Print and Save, specify the number of print jobs.
Secure Print
Secure Print allows you to associate a 1–12 digit passcode number with a print job when sending it to
the printer. The job is held at the printer until the same passcode is entered at the control panel.
Notes:
• This function is available only on printers with an optional Productivity Kit installed.
• If the control panel is dark, press the Power Saver button.
• To navigate through the menu, use the Up or Down arrow buttons.
To release a Secure Print job for printing:
Printing
112 Phaser 6600 Color Printer
User Guide
1. To access the Walk-Up Features menu, click the Left arrow button.
2. Navigate to Secure Print, then press OK.
3. Navigate to your username, then press OK.
4. To enter your passcode, use the arrow buttons, then press OK.
5. Navigate to the desired job, then press OK.
6. Select an option. If you selected Print and Save, specify the number of print jobs.
Printing
Phaser 6600 Color Printer 113
User Guide
Using Custom Paper Sizes
This section includes:
• Defining Custom Paper Sizes ............................................................................................. 113
• Creating and Saving Custom Paper Sizes .......................................................................... 113
•
Printing on Custom Paper Sizes ......................................................................................... 114
The Phaser 6600 Color Printer prints on custom paper sizes that are within the minimum and
maximum size range supported by the printer.
Defining Custom Paper Sizes
To print custom paper sizes, define the custom width and length of the paper in the print driver
software and on the printer control panel. When setting the paper size, ensure that you specify the
same size as the paper in the tray. Setting the wrong size can cause a printer error. Print driver
settings override control panel settings when you print using the print driver software on your
computer.
Creating and Saving Custom Paper Sizes
You can print custom-size paper from any paper tray. Custom-size paper settings are saved in the
print driver and are available for you to select in all your applications.
For detail on supported paper sizes for each tray, see Supported Custom Paper Sizes on page 87.
To create and save custom sizes for Windows:
1. Click the Printing Options tab of the print driver.
2. Click the arrow at the right of the Paper field, then select Other Size > Output Paper Size >
New.
3. In the New Custom Paper Size window, enter the height and width of the new size, then select
the units.
4. Enter a title for the new size in the Name field, then click OK to save.
5. Click OK.
To create and save custom sizes for Macintosh:
Printing
114 Phaser 6600 Color Printer
User Guide
1. In the application, click File > Page Setup.
2. Click Paper Sizes, then select Manage Paper Sizes.
3. To add a new size, in the Manage Paper Sizes window, click the plus sign (+).
4. Double-click Untitled at the top of the window and type a name for the new custom size.
5. Enter the height and width of the new custom size.
6. Click the arrow to the right of the Non-Printable Area field and select the printer from the list. Or
set the top, bottom, right, and left margins for User Defined margins.
7. To save the settings, click OK.
Printing on Custom Paper Sizes
Note: Before printing on a custom paper size, use the Custom Paper Sizes feature in printer
properties to define the custom size. For details, see Defining Custom Paper Sizes on page 113.
Printing on Custom Paper Size Using Windows
1. Load the custom-size paper in the tray. For details, see Loading Paper on page 88.
2. In the application, click File > Print and select your printer.
3. In the Print dialog box, click Properties.
4. On the Printing Options tab, to select the desired custom size, use the Paper drop-down list.
Note: If you are printing on custom size paper, define the custom size in the printer properties
before printing.
5. From the Other Type drop-down list, select the paper type.
6. Select any other desired options, then click OK.
7. In the Print dialog box, click OK to start printing.
Printing on Custom Paper Size Using Macintosh
1. Load the custom-size paper. For details, see Loading Paper on page 88.
2. In the application, click Page Setup.
3. From the Paper Size drop-down list, select the custom paper size.
4. Click OK.
5. In the application, click Print.
6. Click OK.
Phaser 6600 Color Printer 115
User Guide
This chapter includes:
• Cleaning the Printer ............................................................................................................ 116
• Adjustments and Maintenance Procedures ........................................................................ 126
• Ordering Supplies .............................................................................................................. 133
• Managing the Printer .......................................................................................................... 136
•
Moving the Printer .............................................................................................................. 138
6
Maintenance

Maintenance
116 Phaser 6600 Color Printer
User Guide
Cleaning the Printer
This section includes:
• General Precautions ........................................................................................................... 116
• Cleaning the Exterior .......................................................................................................... 116
•
Cleaning the Interior ........................................................................................................... 117
General Precautions
CAUTION: When cleaning your printer do not use organic or strong chemical solvents or aerosol
cleaners. Do not pour fluids directly into any area. Use supplies and cleaning materials only as
directed in this documentation.
WARNING: Keep all cleaning materials out of the reach of children.
WARNING: Do not use pressurized spray cleaning aids on or in the printer. Some pressurized
sprays contain explosive mixtures and are not suitable for use in electrical applications. Use of
such cleaners increase the risk of fire and explosion.
WARNING: Do not remove the covers or guards that are fastened with screws. You cannot
maintain or service any parts that are behind these covers and guards. Do not attempt any
maintenance procedure that is not described in the documentation supplied with your printer.
WARNING: Internal parts of the printer can be hot. Use caution when doors and covers are open.
• Do not place anything on top of the printer.
• Do not leave the covers and doors open for any length of time, especially in well-lit places. Light
exposure can damage the imaging units.
• Do not open covers and doors during printing.
• Do not tilt the printer while it is in use.
• Do not touch the electrical contacts or gears. Doing so could damage the printer and cause the
print quality to deteriorate.
• Ensure any parts removed during cleaning are replaced before you plug in the printer.
Cleaning the Exterior
Clean the exterior of the printer once a month.
• Wipe the paper tray, output tray, control panel, and other parts with a damp, soft cloth.
• After cleaning, wipe with a dry, soft cloth.

Maintenance
Phaser 6600 Color Printer 117
User Guide
• For stubborn stains, apply a small amount of mild detergent to the cloth and gently wipe the stain
off.
CAUTION: Do not spray detergent directly on the printer. Liquid detergent could enter the printer
through a gap and cause problems. Never use cleaning agents other than water or mild
detergent.
Cleaning the Interior
Clean the interior of the printer regularly to prevent stains inside the printer that can deteriorate
printing quality. Clean the printer interior whenever you replace an imaging unit.
After clearing paper jams or replacing a toner cartridge, inspect the inside of the printer before
closing the printer covers.
• Remove any remaining pieces of paper or debris. For details, see Clearing Paper Jams on page
148.
• Remove any dust or stains with a dry, clean cloth.
WARNING: Never touch a labeled area on or near the heat roller in the fuser. You can get
burned. If a sheet of paper is wrapped around the heat roller, do not try to remove it immediately.
Switch off the printer immediately and wait 40 minutes for the fuser to cool. Try to remove the jam
after the printer has cooled.
Cleaning the Laser Lenses
If prints have voids or light streaks through one or more color, use the following instructions to clean
the laser lenses.
WARNING:
If you accidentally get toner on your clothes, lightly dust them off as best as you can.
If some toner remains on your clothes, use cool water, not hot, to rinse off the toner. If toner gets
on your skin, wash it off with cool water and a mild soap. If you get toner in your eyes, wash it out
immediately with cool water and consult a doctor.
1. Turn off the printer.
CAUTION: If the optional Productivity Kit (HD) is not installed, ensure that the Ready LED is off
before you turn off the printer. The data in the memory is cleared when the printer is turned off.
2. Open the side door.

Maintenance
118 Phaser 6600 Color Printer
User Guide
3. To unlock the waste cartridge, turn the waste cartridge lever 90-degrees counterclockwise.
4. Grasp the handle of the waste cartridge, then pull it out. To prevent toner spills, keep the
openings facing up.
Notes:
• Be careful not to spill toner when handling the waste cartridge.
• After removing the waste cartridge, do not touch the area shown in the illustration.

Maintenance
Phaser 6600 Color Printer 119
User Guide
5. Place the removed waste cartridge on a level surface.
CAUTION: To avoid toner spills or malfunction, do not lay the waste cartridge on its side.
6. Remove the cleaning rod from inside the printer.
7. Insert the cleaning rod into one of the four cleaning holes until it clicks, then pull it out. Repeat
this two more times.

Maintenance
120 Phaser 6600 Color Printer
User Guide
8. Repeat the procedure for the holes in the other three slots.
9. Return the cleaning rod to its original location.
10. Reinsert the waste cartridge.
Note: If the waste cartridge does not fit into place properly, ensure that the belt is inserted fully.
11. To lock the waste cartridge, turn the waste cartridge lock lever 90-degrees clockwise.
12. Close the side door.

Maintenance
Phaser 6600 Color Printer 121
User Guide
Cleaning the Color Toner Density Sensors
1. Turn off the printer.
CAUTION: If the optional Productivity Kit (HD) is not installed, ensure that the Ready LED is off
before you turn off the printer. The data in the memory is cleared when the printer is turned off.
2. Push down on the rear door release and pull open the door.
3. Open the side door.
4. To unlock the waste cartridge, turn the waste cartridge lever 90-degrees counterclockwise.

Maintenance
122 Phaser 6600 Color Printer
User Guide
5. Grasp the handle of the waste cartridge, then pull it out. To prevent toner spills, keep the
openings facing up.
Notes:
• Be careful not to spill toner when handling the waste cartridge.
• After removing the waste cartridge, do not touch the area shown in the illustration.
6. Place the removed waste cartridge on a level surface.
CAUTION: To avoid toner spills or malfunction, do not lay the waste cartridge on its side.

Maintenance
Phaser 6600 Color Printer 123
User Guide
7. Open the top cover.
8. Put your fingers through the loops on both sides of the transfer belt unit, then pull it out.
9. Use a dry cotton swab to clean the color toner density sensors.
10. Reinsert the belt unit into the printer.

Maintenance
124 Phaser 6600 Color Printer
User Guide
11. Close the top cover.
12. Reinsert the waste cartridge.
Note: If the waste cartridge does not fit into place properly, ensure that the belt is inserted fully.
13. To lock the waste cartridge, turn the waste cartridge lock lever 90-degrees clockwise.
14. Close the side door.

Maintenance
Phaser 6600 Color Printer 125
User Guide
15. Close the rear door.
Maintenance
126 Phaser 6600 Color Printer
User Guide
Adjustments and Maintenance Procedures
This section includes:
• Color Registration .............................................................................................................. 126
• Checking the Firmware Version.......................................................................................... 128
• Adjusting Paper Type ......................................................................................................... 128
• Adjusting the Transfer Belt Unit .......................................................................................... 129
• Adjusting the Transfer Roller .............................................................................................. 129
• Adjusting the Fuser ............................................................................................................ 130
• Resetting Defaults .............................................................................................................. 130
• Initializing the Print Meter ................................................................................................... 131
• Resetting the Transfer Unit ................................................................................................. 131
• Clearing Job History ........................................................................................................... 132
•
Adjusting the Altitude .......................................................................................................... 132
Color Registration
The printer automatically adjusts the color registration when automatic adjustment is turned on. You
can also adjust color registration manually any time the printer is idle. You must adjust the color
registration any time the printer is moved. If you are having printing problems, adjust the color
registration.
Setting Automatic Color Registration
1. At the printer control panel, press the Menu button.
Note: To navigate through the menu, use the Up or Down arrow buttons.
2. Navigate to Admin Settings, then press OK.
3. Navigate to Service Tools, then press OK.
4. Select Auto Regi Adjust, then press OK.
5. Select On, then press OK.
Performing an Automatic Color Registration Adjustment
Automatic color registration adjustment occurs every time a new toner cartridge is installed. You can
run this adjustment at other times as needed.
To perform an automatic color registration adjustment:

Maintenance
Phaser 6600 Color Printer 127
User Guide
1. At the printer control panel, press the Menu button.
Note: To navigate through the menu, use the Up or Down arrow buttons.
2. Navigate to Admin Settings, then press OK.
3. Navigate to Service Tools, then press OK.
4. Navigate to Color Reg Adjust, then press OK.
5. To have the printer perform an automatic color registration, navigate to Auto Correct, then
press OK.
6. At the Are you sure? prompt, press the Up or Down arrows to select Yes, then press OK.
7. To begin the calibration, press OK.
Performing a Manual Color Registration Adjustment
Color Registration adjusts the printer to make corrections to blurry or hazy prints, or prints with color
halos.
To perform a color registration adjustment:
1. At the printer control panel, press the Menu button.
Note: To navigate through the menu, use the Up or Down arrow buttons.
2. Navigate to Admin Settings, then press OK.
3. Navigate to Service Tools, then press OK.
4. To print a registration chart, navigate to Color Reg Chart, then press OK.
5. At the Are you sure? prompt, press the Up or Down arrows to select Yes, then press OK.
6. Starting with the left side calibration lines, circle the line in each group where the color bar aligns
with the adjacent black bars.

Maintenance
128 Phaser 6600 Color Printer
User Guide
7. Repeat the process for the right side calibration lines, RY, RM, and RC.
8. Align a straight edge through the middle of the white zone in each of the PY, PM, and PC charts.
Circle the number at the end of each chart that represents the middle of the white zone.
9. Navigate to Enter Number.
10. To enter values for each LY, LM, and LC field, use the Up and Down arrow buttons. Adjust the
value to what you circled for each field, then press OK.
11. Repeat step 9 to enter values for each RY, RM, and RC field, and each PY, PM, and PC fields.
12. Print another Registration Chart, then repeat the process until you complete the color
registration corrections.
Checking the Firmware Version
1. At the printer control panel, press the Menu button.
Note: To navigate through the menu, use the Up or Down arrow buttons.
2. Navigate to Admin Settings, then press OK.
3. Navigate to Service Tools, then press OK.
4. Navigate to F/W Version, then press OK.
The firmware version appears in the bottom line of the display.
5. To return to Service Tools, press the Back arrow button, or to return to the main menu, press the
Menu button.
Adjusting Paper Type
Use Adjust Paper Type to compensate for paper thickness within a paper type. If the printed image is
too light, use a heavier setting for the paper you are using. If the printed image is mottled or
blotchy-looking, decrease the setting for the paper you are using.
To adjust the paper type:
Maintenance
Phaser 6600 Color Printer 129
User Guide
1. At the printer control panel, press the Menu button.
Note: To navigate through the menu, use the Up or Down arrow buttons.
2. Navigate to Admin Settings, then press OK.
3. Navigate to Service Tools, then press OK.
4. Select Adjust Paper Type, then press OK.
5. Select Plain or Label, then press OK.
6. Select Lightweight or Heavyweight, then press OK.
7. To return to Service Tools, press the Back arrow button, or to return to the main menu, press the
Menu button.
Adjusting the Transfer Belt Unit
Adjust Transfer Belt Unit allows you to improve print quality for selected paper types.
To adjust the transfer belt unit:
1. At the printer control panel, press the Menu button.
Note: To navigate through the menu, use the Up or Down arrow buttons.
2. Navigate to Admin Settings, then press OK.
3. Navigate to Service Tools, then press OK.
4. Navigate to Adjust Transfer Belt, then press OK.
5. At Adjust TransBelt, K Offset, press OK.
6. At K Offset, to increase or decrease the value, use the Up and Down arrow buttons, then press
OK.
7. Press the Back arrow button.
8. At Adjust TransBelt, navigate to YMC Offset, then press OK.
9. At YMC Offset, to increase or decrease the values, use the Up and Down arrow buttons, then
press OK.
10. To return to Service Tools, press the Back arrow button, or to return to the main menu, press the
Menu button.
Adjusting the Transfer Roller
Use Adjust Transfer Roller to specify the bias transfer roller voltage for printing on the selected paper
type. If the printed image is too light, increase the offset for the paper you are using. If the printed
image is mottled or blotchy-looking, decrease the offset for the paper you are using.
To adjust the transfer roller:
Maintenance
130 Phaser 6600 Color Printer
User Guide
1. At the printer control panel, press the Menu button.
Note: To navigate through the menu, use the Up or Down arrow buttons.
2. Navigate to Admin Settings, then press OK.
3. Navigate to Service Tools, then press OK.
4. Select Adjust TransRoll, then press OK.
5. To select the paper type for the adjustment, press the arrow buttons, then press OK.
6. To increase or decrease the amount of offset, press the arrow buttons, then press OK.
7. Repeat this procedure for each paper type you need to adjust.
8. To return to Service Tools, press the Back arrow button, or to return to the main menu, press the
Menu button.
Adjusting the Fuser
Use Adjust Fuser for optimum print quality across a wide range of paper types. If the toner on a print
is smearing or can be rubbed off the paper, increase the offset for the paper you are using. If the
toner is blistered or mottled, decrease the offset for the paper you are using.
To adjust the fuser:
1. At the printer control panel, press the Menu button.
Note: To navigate through the menu, use the Up or Down arrow buttons.
2. Navigate to Admin Settings, then press OK.
3. Navigate to Service Tools, then press OK.
4. Select Adjust Fuser, then press OK.
5. To select the paper type for the adjustment, press the arrow buttons, then press OK.
6. To increase or decrease the amount of offset, press the arrow buttons, then press OK.
7. Repeat this procedure for each paper type you need to adjust.
8. To return to Service Tools, press the Back arrow button, or to return to the main menu, press the
Menu button.
Resetting Defaults
Initializes the settings stored in the non-volatile memory (NVM) except for the network settings. The
NVM stores printer settings even after the power is turned off. After executing this function and
restarting the printer, all menu settings are reset to their default values.
To reset defaults:
Maintenance
Phaser 6600 Color Printer 131
User Guide
1. At the printer control panel, press the Menu button.
Note: To navigate through the menu, use the Up or Down arrow buttons.
2. Navigate to Admin Settings, then press OK.
3. Navigate to Service Tools, then press OK.
4. Navigate to Reset Defaults, then press OK.
5. At the Are you sure? prompt, press the Up or Down arrows to select Yes, then press OK.
6. To return to Service Tools, press the Back arrow button, or to return to the main menu, press the
Menu button.
Initializing the Print Meter
The print meter records the total number of printed pages by user and paper size, and by total prints.
For each user, it also records the sheets printed by color, black only, and the total. To see the page
count since the last reset of the print meter, you can print the Print Volume Report from the
information pages. At the end of each accounting cycle, you can initialize the print meter to keep an
accurate accounting of the print volume by user.
To initialize the print meter:
1. At the printer control panel, press the Menu button.
Note: To navigate through the menu, use the Up or Down arrow buttons.
2. Navigate to Admin Settings, then press OK.
3. Navigate to Service Tools, then press OK.
4. Navigate to Init Print Meter, then press OK.
5. At the Are you sure? prompt, press the Up or Down arrows to select Yes, then press OK.
6. To return to Service Tools, press the Back arrow button, or to return to the main menu, press the
Menu button.
Resetting the Transfer Unit
The print meter keeps a count of the pages processed by the Transfer Unit. As the page count nears
the end of life for the transfer unit, a message appears to warn you to replace it soon. After the
transfer unit is replaced, reset the transfer unit so that the printer has an accurate page count for the
new unit.
To reset the transfer unit:
1. At the printer control panel, press the Menu button.
Note: To navigate through the menu, use the Up or Down arrow buttons.
2. Navigate to Admin Settings, then press OK.
3. Navigate to Service Tools, then press OK.
4. Navigate to Reset Trans Unit, then press OK.
5. At the Are you sure? prompt, press the Up or Down arrows to select Yes, then press OK.
6. To return to Service Tools, press the Back arrow button, or to return to the main menu, press the
Menu button.
Maintenance
132 Phaser 6600 Color Printer
User Guide
Clearing Job History
The printer retains information on previous printing jobs, including the date, time, job type, document
name, output color, paper size, number of pages, and results. The status of a maximum of 20 jobs
prints on the Job History Report. Use Clear Job History to clear all jobs from the list.
To clear job history:
1. At the printer control panel, press the Menu button.
Note: To navigate through the menu, use the Up or Down arrow buttons.
2. Navigate to Admin Settings, then press OK.
3. Navigate to Service Tools, then press OK.
4. Navigate to Clear Job History, then press OK.
5. At the Are you sure? prompt, press the Up or Down arrows to select Yes, then press OK.
6. To return to Service Tools, press the Back arrow button, or to return to the main menu, press the
Menu button.
Adjusting the Altitude
Use Adjust Altitude to adjust the altitude to match that of the location where the printer is installed. If
the altitude setting is incorrect, it can cause print-quality problems.
To adjust the altitude:
1. At the printer control panel, press the Menu button.
Note: To navigate through the menu, use the Up or Down arrow buttons.
2. Navigate to Admin Settings, then press OK.
3. Navigate to Service Tools, then press OK.
4. Select Adjust Altitude, then press OK.
5. To select the altitude of the location of the printer, press the arrow buttons, then press OK.
6. To return to Service Tools, press the Back arrow button, or to return to the main menu, press the
Menu button.

Maintenance
Phaser 6600 Color Printer 133
User Guide
Ordering Supplies
This section includes:
• Consumables ..................................................................................................................... 133
• Routine Maintenance Items ................................................................................................ 133
• When to Order Supplies ..................................................................................................... 134
• Viewing Printer Supply Status ............................................................................................ 134
• Recycling Supplies ............................................................................................................. 134
•
Toner Cartridges ................................................................................................................ 135
Consumables
Consumables are printer supplies that get depleted during the operation of the printer. Consumable
supplies for this printer are the Genuine Xerox® Toner Cartridges in Cyan, Magenta, Yellow, and
Black.
Notes:
• Each consumable includes installation instructions.
• Install only new cartridges in your printer. If a used toner cartridge is installed, then the
toner remaining amount displayed could be inaccurate.
• To ensure print quality, the toner cartridge has been designed to cease functioning at a
predetermined point.
CAUTION: Use of toner other than genuine Xerox® Toner can affect print quality and printer
reliability. Xerox®
Toner is the only toner designed and manufactured under strict quality controls
by Xerox for specific use with this printer.
Routine Maintenance Items
Routine maintenance items are printer parts that have a limited life and require periodic replacement.
Replacements can be parts or kits. Routine maintenance items are typically customer replaceable.
Note: Each routine maintenance item includes installation instructions.
Routine maintenance items for this printer include the following:
• Imaging Unit Kit
• Waste Cartridge
• Fuser
• Transfer Unit Kit

Maintenance
134 Phaser 6600 Color Printer
User Guide
When to Order Supplies
A warning appears on the control panel when supplies near their replacement time. Verify that you
have replacements on hand. It is important to order these items when the messages first appear to
avoid interruptions to your printing. An error message appears on the control panel when supplies
must be replaced.
Order supplies from your local reseller or go to www.xerox.com/office/6600supplies.
CAUTION: Use of non-Xerox® supplies is not recommended. The Xerox® Warranty, Service
Agreement, and Total Satisfaction Guarantee do not cover damage, malfunction, or degradation
of performance caused by use of non-Xerox® supplies, or the use of Xerox® supplies not specified
for this printer. The Total Satisfaction Guarantee is available in the United States and Canada.
Coverage could vary outside these areas. Please contact your Xerox representative for details.
Viewing Printer Supply Status
You can check the status and percentage of life remaining for your printer supplies at any time using
CentreWare Internet Services.
1. At your computer, open a Web browser, type the IP address of the printer in the address field,
then press Enter or Return.
Note: For details, see Finding the IP Address on the Control Panel on page 46.
2. Select the Status tab.
3. In the top-left corner of the Status page, under Status, click Consumables.
Recycling Supplies
For more information on the Xerox® supplies recycling program, go to: www.xerox.com/gwa.

Maintenance
Phaser 6600 Color Printer 135
User Guide
Toner Cartridges
This section includes:
• General Precautions ........................................................................................................... 135
•
Replacing a Toner Cartridge .............................................................................................. 135
General Precautions
WARNINGS:
• When replacing a toner cartridge, be careful not to spill the toner. If any toner spills,
avoid contact with clothes, skin, eyes, and mouth. Do not inhale the toner dust.
• Keep toner cartridges out of the reach of children. If a child accidentally swallows
toner, have the child spit out the toner, and rinse out their mouth with water. Consult
a physician immediately.
WARNING: Use a damp cloth to wipe off spilled toner. Never use a vacuum cleaner to remove
spills. Electric sparks inside the vacuum cleaner can cause a fire or explosion. If you spill a large
volume of toner, contact your local Xerox representative.
WARNING: Never throw a toner cartridge into an open flame. Remaining toner in the cartridge
can catch fire and cause burn injuries or an explosion.
Replacing a Toner Cartridge
When a toner cartridge reaches its usable life span, the control panel displays a message. Job
Tracker displays the toner status in the Printer Status window. When a toner cartridge is empty, the
printer stops and displays messages on the control panel and in the Job Tracker Printer Status
window.
Install only new cartridges in your printer. If a used toner cartridge is installed, then the toner
remaining amount displayed could be inaccurate.
Note: Each toner cartridge includes installation instructions.
Printer Status Message Cause and Solution
Printer Toner Cartridge is Close to Life. The toner cartridge is low. Order a new toner cartridge.
Replace the toner cartridge or check that the toner
cartridge is properly seated. The toner cartridge is empty. Replace the toner
cartridge with a new one.
Maintenance
136 Phaser 6600 Color Printer
User Guide
Managing the Printer
This section includes:
• Checking Page Counts ....................................................................................................... 136
•
Changing the Passcode Using the Control Panel ............................................................... 137
Checking Page Counts
Use Billing Meters to view impression count details for the printer. The current counts for color, black
and white, and combined total impressions appear on the Billing Meters screen. The impression
counts shown are used for billing. A page is one side of a sheet of paper that can be printed on one
or two sides. A sheet printed on two sides counts as two impressions.
You can check the total number of printed pages on the Configuration Report. It lists the print volume
by the total number of pages printed.
Viewing Billing Meters
1. At the printer control panel, press the Menu button.
Note: To navigate through the menu, use the Up or Down arrow buttons.
2. Navigate to Billing Meters, then press OK.
3. To select a billing meter, use the Up or Down arrow buttons.
Printing the Configuration Report
1. At the printer control panel, press the Menu button.
Note: To navigate through the menu, use the Up or Down arrow buttons.
2. Navigate to Information Pages, then press OK.
3. Navigate to Configuration Report, then press OK.
Maintenance
Phaser 6600 Color Printer 137
User Guide
Changing the Passcode Using the Control Panel
1. At the printer control panel, press the Menu button.
Note: To navigate through the menu, use the Up or Down arrow buttons.
2. Navigate to Admin Settings, then press OK.
3. Navigate to Secure Settings, then press OK.
4. Navigate to Panel Lock, then press OK.
5. Navigate to Change Passcode, then press OK.
6. When prompted, enter your four-digit password, then press OK.
7. At the prompt, re-enter the passcode, then press OK.

Maintenance
138 Phaser 6600 Color Printer
User Guide
Moving the Printer
WARNINGS:
• Always use at least two people to lift the printer.
• To prevent you from dropping the printer or injury, lift the printer firmly by gripping
the recessed areas on both sides of the printer. Never lift the printer by gripping any
other areas.
• If the optional 550-Sheet Feeder has been installed, uninstall it before moving the
printer. If the optional 550-Sheet Feeder is not fixed securely to the printer, it could
fall to the ground and cause injuries.
Follow these instructions when moving the printer:
1. Turn off the printer and disconnect the power cord and other cables from the back of the printer.
CAUTION: If the optional Productivity Kit (HD) is not installed, ensure that the Ready LED is off
before you turn off the printer. The data in the memory is cleared when the printer is turned off.
WARNING: To prevent electric shock, never touch the power plug with wet hands. When
removing the power cord, ensure that you pull the plug and not the cord. Pulling the cord can
damage it, which can lead to fire or electric shock.
2. Remove any paper or other media from the output tray. If the output tray extension is extended,
close it.

Maintenance
Phaser 6600 Color Printer 139
User Guide
3. Remove the paper from the paper tray.
4. Keep the paper wrapped and away from humidity and dirt.
5. Lift and carry the printer as shown in the illustration.
CAUTION: Failure to repackage the printer properly for shipment can result in damage not
covered by the Xerox® Warranty, Service Agreement, or Total Satisfaction Guarantee. The
Xerox® Warranty, Service Agreement, or Total Satisfaction Guarantee do not cover damage to
the printer caused by improper moving.
When moving the printer, do not tilt it more than 10 degrees to the front, back, left, or right. Tilting the
printer more than 10 degrees can cause toner spillage.
Note: When moving the printer over a long distance, remove the imaging units and toner
cartridges to prevent toner from spilling. Pack the printer inside a box. For a repacking kit and
instructions, go to www.xerox.com/office/6600support.
After moving the printer:
1. Reinstall any parts you removed.
2. Reconnect the printer to the cables and power cord.
3. Plug in and turn on the printer.
Phaser 6600 Color Printer 141
User Guide
This chapter includes:
• General Troubleshooting .................................................................................................... 142
• Paper Jams ........................................................................................................................ 147
•
Getting Help ....................................................................................................................... 166
7
Troubleshooting

Troubleshooting
142 Phaser 6600 Color Printer
User Guide
General Troubleshooting
This section includes:
• Printer Does Not Turn On ................................................................................................... 142
• Printer Resets or Turns Off Frequently ............................................................................... 143
• Printer Does Not Print ........................................................................................................ 143
• Printing Takes Too Long .................................................................................................... 144
• Document Prints From Wrong Tray .................................................................................... 145
• Automatic 2-Sided Printing Problems ................................................................................. 145
• Printer is Making Unusual Noises ....................................................................................... 145
• Paper Tray Will Not Close .................................................................................................. 145
•
Condensation has Formed Inside the Printer ...................................................................... 146
This section contains procedures to help you locate and resolve problems. Resolve some problems
by simply restarting the printer.
Printer Does Not Turn On
Probable Causes Solutions
The power switch is not turned on. Turn on the switch.
The power cord is not correctly plugged into
the outlet. Turn off the printer power switch, and plug the power cord
securely into the outlet.
Something is wrong with the outlet
connected to the printer.
• Plug another electrical appliance into the outlet and see if it
operates properly.
• Try a different outlet.
The printer is connected to an outlet with a
voltage or frequency that does not match
the printer specifications.
Use a power source with the specifications listed in the Electrical
Specifications on page 175.
CAUTION: Plug the three-wire cord with grounding prong directly into a grounded AC outlet.

Troubleshooting
Phaser 6600 Color Printer 143
User Guide
Printer Resets or Turns Off Frequently
Probable Causes Solutions
The power cord is not plugged into the
outlet correctly. Turn off the printer, confirm that the power cord is plugged in
correctly to the printer and the outlet, then turn on the printer.
A system error occurred. Turn off the printer, then turn it on again. Print the Error History
from the Information Pages of the Printer Setting Utility. If the
error persists, contact your Xerox representative.
The printer is connected to an
uninterruptible power supply. Turn off the printer, then connect the power cord to a suitable
outlet.
The printer is connected to a power strip
shared with other high-power devices. Plug the printer directly into the outlet or into a power strip that is
not shared with other high-power devices.
Printer Does Not Print
Probable Causes Solutions
The printer is in Energy Saver mode. Push the control panel button.
The printer has an error. Follow the instructions on the control panel to clear the error. If
the error persists, contact your Xerox representative.
The printer is out of paper. Load paper into the tray.
A toner cartridge is empty. Replace the empty toner cartridge.
The Error Indicator is blinking. If the Ready Indicator is off, the printer has stopped working. Turn
off the printer, then turn it on again. If the error persists, contact
your Xerox representative.
Both control panel indicators are off. Turn off the printer, confirm that the power cord is plugged in
correctly to the printer and the outlet, then turn on the printer. If
the error persists, contact your Xerox representative.

Troubleshooting
144 Phaser 6600 Color Printer
User Guide
Probable Causes Solutions
The printer is busy. • If the Ready Indicator is flashing, it is normal. A previous print
job could be the problem. Use the printer properties to delete
all print jobs in the print queue.
• Load the paper in the tray.
• If the Ready Indicator is not flashing after you send a print job,
check the USB connection between the printer and the
computer. Turn off the printer, then turn it on again.
The printer cable is disconnected. • If the Ready Indicator is not flashing after you send a print job,
check the USB connection between the printer and the
computer.
• If the Ready Indicator is not flashing after you send a print job,
check the Ethernet connection between the printer and the
computer.
Printing Takes Too Long
Probable Causes Solutions
The printer is set to a slower printing mode,
for example, for printing on glossy or
heavyweight paper.
It takes more time to print on certain types of special paper.
Ensure that the paper type is set properly in the driver and at the
printer control panel. For details, see Print Speed on page 176.
The printer is in Energy Saver mode. Wait. It takes time for printing to start when the printer is coming
out of Energy Saver mode.
The way the printer was installed on the
network could be an issue. Determine if a print spooler or a computer sharing the printer is
buffering all print jobs and then spooling them to the printer.
Spooling can slow print speeds. To test the speed of the printer,
print some information pages such as the Office Demo Page. If
the page does not print at the rated speed of the printer, you
could have a network or printer installation issue.
The job is complex. Wait. No action needed.
The print-quality mode in the driver is set to
Enhanced. Change the print-quality mode in the print driver to Standard.
The printer quality is set to Photo and the
printer is being used for complex, 2-sided
print jobs.
Increase memory size to 768 MB RAM by installing the
Productivity Kit (Memory).

Troubleshooting
Phaser 6600 Color Printer 145
User Guide
Document Prints From Wrong Tray
Probable Causes Solutions
Application and print driver have conflicting
tray selections. 1. Check the tray selected in the print driver.
2. Go to the page setup or printer settings of the application from
which you are printing.
3. Set the paper source to match the tray selected in the print
driver or set the paper source to Automatically Select.
Note: To have the print driver select the tray, set the tray used
as the paper source to Auto Selection Enabled.
Automatic 2-Sided Printing Problems
Probable Causes Solutions
Unsupported or incorrect paper. Ensure that you are using a supported paper size and weight for
2-sided printing. Envelopes and labels cannot be used for 2-sided
printing. For details, see Supported Standard Types and Weights
for Automatic 2-Sided Printing on page 86 and Supported
Standard Paper Sizes for Automatic 2-Sided Printing on page 87.
Incorrect setting. In the print driver Properties, select 2-Sided Print on the
Paper/Output tab.
Printer is Making Unusual Noises
Probable Causes Solutions
There is an obstruction or debris inside the
printer. Turn off the printer and remove the obstruction or debris. If you
cannot remove it, contact your Xerox representative.
Paper Tray Will Not Close
Probable Causes Solutions
The paper tray does not fully close. • The paper tray lift plate is not locked down. Push down on the
paper stack at the back of the tray until it locks down.
• Some debris or an object is blocking the tray.
• The tray is hanging up on the table or shelf on which it is
located.

Troubleshooting
146 Phaser 6600 Color Printer
User Guide
Condensation has Formed Inside the Printer
Moisture can condense inside a printer where the humidity is above 85% or when a cold printer is
located in a warm room. Condensation can form in a printer after it has been sitting in a cold room
that is heated quickly.
Probable Causes Solutions
The printer has been sitting in a cold room. Allow the printer to operate for several hours at room
temperature.
The relative humidity of the room is too
high.
• Reduce the humidity in the room.
• Move the printer to a location where the temperature and
relative humidity are within the operating specifications.

Troubleshooting
Phaser 6600 Color Printer 147
User Guide
Paper Jams
This section includes:
• Locating Paper Jams .......................................................................................................... 147
• Clearing Paper Jams .......................................................................................................... 148
• Troubleshooting Paper Jams .............................................................................................. 157
•
Print-Quality Problems ....................................................................................................... 159
Locating Paper Jams
WARNING: Never touch a labeled area on or near the heat roller in the fuser. You can get
burned. If a sheet of paper is wrapped around the heat roller, do not try to remove it immediately.
Switch off the printer immediately and wait 40 minutes for the fuser to cool. Try to remove the jam
after the printer has cooled. If the error persists, contact your Xerox representative.
CAUTION: Do not attempt to clear any paper jams using tools or instruments. This can
permanently damage the printer.
The following illustration shows where paper jams can occur along the paper path:
1. Tray 2
2. Fuser
3. Bypass Tray
4. Tray 1

Troubleshooting
148 Phaser 6600 Color Printer
User Guide
Clearing Paper Jams
This section includes:
• Clearing Paper Jams from the Bypass Tray ....................................................................... 148
• Clearing Paper Jams from the Tray 1 Area ........................................................................ 150
• Clearing Paper Jams from the Tray 2 Area ........................................................................ 152
•
Clearing Paper Jams from the Fuser Area ......................................................................... 154
Clearing Paper Jams from the Bypass Tray
To resolve the error displayed on the control panel you must clear all paper from the paper path.
1. Remove any paper from the bypass tray.
2. Grasp both sides of the Bypass Tray, then pull it straight out of the printer.
3. Pull out Tray 1 until it stops.

Troubleshooting
Phaser 6600 Color Printer 149
User Guide
4. To remove the tray, lift the front of it slightly, then pull it out of the printer.
5. Remove the jammed paper.
6. At the back of the paper tray, press the paper lift tray down until it locks.
7. Insert Tray 1 into the printer, then push it all the way in.
Notes:
• If the tray does not go all the way in, ensure that the paper lift at the back of the tray is
locked down.
• If the tray is extended for legal size paper, the tray protrudes when it is inserted into the
printer.

Troubleshooting
150 Phaser 6600 Color Printer
User Guide
8. Insert the Bypass Tray into the printer.
9. Push the tray in all the way.
10. If the control panel prompts you, verify the size and type on the screen.
a. At the printer control panel, press the Menu button.
Note: To navigate through the menu, use the Up or Down arrow buttons.
b. Navigate to Tray Settings, then press OK.
c. Navigate to Bypass Tray, then press OK.
d. Navigate to Tray Mode, then press OK.
e. Navigate to Panel Specified, then press OK.
f. To return to the previous menu, press the Left arrow button.
g. Navigate to Paper Size, then press OK.
h. To select a setting, press the Up or Down arrow buttons, then press OK.
i. To return to the previous menu, press the Left arrow button.
j. Navigate to Paper Type, then press OK.
k. To select a setting, press the Up or Down arrow buttons, then press OK.
Clearing Paper Jams from the Tray 1 Area
To resolve the error displayed on the control panel you must clear all paper from the paper path.
1. Remove any paper from the bypass tray.

Troubleshooting
Phaser 6600 Color Printer 151
User Guide
2. Grasp both sides of the Bypass Tray, then pull it straight out of the printer.
3. Pull out Tray 1 until it stops.
4. To remove the tray, lift the front of it slightly, then pull it out of the printer.
5. Remove the jammed paper.

Troubleshooting
152 Phaser 6600 Color Printer
User Guide
6. At the back of the paper tray, press the paper lift tray down until it locks.
7. Insert Tray 1 into the printer, then push it all the way in.
Notes:
• If the tray does not go all the way in, ensure that the paper lift at the back of the tray is
locked down.
• If the tray is extended for legal size paper, the tray protrudes when it is inserted into the
printer.
8. Insert the Bypass Tray into the printer.
9. Push the tray in all the way.
10. If the control panel prompts you, verify the size and type on the screen.
a. At the printer control panel, press the Menu button.
Note: To navigate through the menu, use the Up or Down arrow buttons.
b. Navigate to Tray Settings, then press OK.
c. Navigate to the desired paper tray, then press OK.
d. Navigate to Paper Size, then press OK.
e. To select a setting, press the Up or Down arrow buttons, then press OK.
f. To return to the previous menu, press the Left arrow button.
g. Navigate to Paper Type, then press OK.
h. To select a setting, press the Up or Down arrow buttons, then press OK.
Clearing Paper Jams from the Tray 2 Area
To resolve the error displayed on the control panel you must clear all paper from the paper path.

Troubleshooting
Phaser 6600 Color Printer 153
User Guide
1. Pull Tray 2 out until it stops.
2. To remove the tray, lift the front of it slightly, then pull it out of the printer.
3. Remove any paper jammed at the front of the printer.

Troubleshooting
154 Phaser 6600 Color Printer
User Guide
4. At the back of the printer, open the Tray 2 Door, then remove any paper jammed at the back of
the printer.
5. Insert the tray back into the printer.
6. Push the tray in all the way.
Notes:
• If the tray does not go all the way in, ensure that the paper lift at the back of the tray is
locked down.
• If the tray is extended for Legal size paper, the tray protrudes when it is inserted into the
printer.
7. If the control panel prompts you, verify the size and type on the screen.
a. At the printer control panel, press the Menu button.
Note: To navigate through the menu, use the Up or Down arrow buttons.
b. Navigate to Tray Settings, then press OK.
c. Navigate to the desired paper tray, then press OK.
d. Navigate to Paper Size, then press OK.
e. To select a setting, press the Up or Down arrow buttons, then press OK.
f. To return to the previous menu, press the Left arrow button.
g. Navigate to Paper Type, then press OK.
h. To select a setting, press the Up or Down arrow buttons, then press OK.
Clearing Paper Jams from the Fuser Area
To resolve the error displayed on the control panel you must clear all paper from the paper path.

Troubleshooting
Phaser 6600 Color Printer 155
User Guide
1. Push down on the rear door release and pull open the door.
2. Lift the levers as shown.
3. To lift the top paper guide on the top of the fuser, use the tabs to pull it up and out.
4. Remove any jammed paper from the back of the printer.

Troubleshooting
156 Phaser 6600 Color Printer
User Guide
5. Close the paper guide cover on the fuser.
6. Lower the levers to their original position.
7. Close the rear door.

Troubleshooting
Phaser 6600 Color Printer 157
User Guide
Troubleshooting Paper Jams
This section includes:
• Multiple Sheets Pulled Together ......................................................................................... 157
• Paper Misfeeds .................................................................................................................. 157
• Label and Envelope Misfeeds ............................................................................................ 158
• Paper Jam Message Stays On ........................................................................................... 158
•
Jams During Automatic 2-Sided Printing ............................................................................ 158
Multiple Sheets Pulled Together
Probable Causes Solutions
The paper tray is too full. Remove some of the paper. Do not load paper past fill line.
The edges of the paper are not even. Remove the paper, align the edges, and then reload it.
The paper is moist from humidity. Remove the paper from the tray, and replace it with new dry
paper.
Too much static electricity is present. Try a new ream of paper.
Using unsupported paper. Use only Xerox®-approved paper. For details, see Supported
Paper on page 84.
Humidity is too high for coated paper. Feed paper one sheet at a time.
Paper Misfeeds
Probable Causes Solutions
The paper is not correctly positioned in the
tray.
• Remove the misfed paper and reposition it properly in the tray.
• Adjust the paper guides in the tray to match the size of the
paper.
The paper tray is too full. Remove some of the paper. Do not load paper past the fill line.
The paper guides are not correctly adjusted
to the paper size. Adjust the paper guides in the tray to match the size of the paper.
The tray contains warped or wrinkled paper. Remove the paper, smooth it out, and reload it. If it still misfeeds,
do not use that paper.
The paper is moist from humidity. Remove the moist paper and replace it with new, dry paper.
Using paper of the wrong size, thickness, or
type. Use only Xerox® approved paper. For details, see Supported
Paper on page 84.

Troubleshooting
158 Phaser 6600 Color Printer
User Guide
Label and Envelope Misfeeds
Probable Causes Solutions
The label sheet is facing the wrong way in
the tray.
• Load label sheets according to the instructions from the
manufacturer. Load labels only in the Bypass Tray, face up
and with the top going into the printer.
Envelopes are loaded incorrectly. • Load No. 10, DL, and Monarch envelopes in the trays with the
print side up, flaps closed, flap-side down and to the right.
Load them with the short edge leading into the printer.
• Load C5 envelopes with the print side up, flaps open and
facing away from the printer.
No. 10, DL, and Monarch envelopes are
wrinkling. To prevent wrinkling on No. 10, DL, or Monarch envelopes, load
them with the print side up, flaps open and facing away from the
printer.
Note: When you load envelopes long-edge feed, ensure that you
specify landscape orientation in the print driver.
Paper Jam Message Stays On
Probable Causes Solutions
Some paper remains jammed in the printer. Recheck the media path and make sure that you have removed
all of the jammed paper.
One of the printer doors is open. Check the doors on the printer. Close any door that is open.
Note: Check for, and remove, torn pieces of paper in the paper path.
Jams During Automatic 2-Sided Printing
Probable Causes Solutions
Using paper of the wrong size, thickness, or
type. Use paper of the correct size, thickness, or type. For details, see
Supported Paper Sizes for Automatic 2-Sided Printing on page
87.
Paper is loaded in the wrong tray. The paper must be loaded in the correct tray. For details, see
Supported Paper on page 84.
Tray is loaded with mixed paper. Load the tray with only one type and size of paper.

Troubleshooting
Phaser 6600 Color Printer 159
User Guide
Print-Quality Problems
This section includes:
• Controlling Print Quality ...................................................................................................... 159
•
Solving Print-Quality Problems ........................................................................................... 160
Your printer is designed to produce consistently high-quality prints. If you observe print-quality
problems, use the information in this section to troubleshoot the problem. For more information, go to
www.xerox.com/office/6600support.
CAUTION: The Xerox® Warranty, Service Agreement, or Xerox® Total Satisfaction Guarantee
does not cover damage caused by using unsupported paper or specialty media. The Xerox® Total
Satisfaction Guarantee is available in the United States and Canada. Coverage could vary
outside these areas. Please contact your local representative for details.
Notes:
• To ensure consistent print quality, the toner cartridges and imaging units for many models
of equipment are designed to cease functioning at a predetermined point.
• Grayscale images printed with the composite black setting increment the color pages
counter, because color consumables are used. Composite black is the default setting on
most printers.
Controlling Print Quality
Various factors can affect the quality of the output of your printer. For consistent and optimum print
quality, use paper designed for your printer, and correctly set the Print-Quality Mode and Color
Adjustments. Follow the guidelines in this section to maintain optimum print quality from your printer.
Temperature and humidity affect the quality of the printed output. The guaranteed range for optimal
print quality is: 15–28ºC (59–82ºF) and 20–70% relative humidity.
Paper and Media
Your printer is designed to use various paper and other media types. Follow the guidelines in this
section for the best print quality and to avoid jams:
• Use only Xerox® approved paper. For details, see Supported Paper on page 84.
• Use only dry, undamaged paper.

Troubleshooting
160 Phaser 6600 Color Printer
User Guide
CAUTION: Some paper and other media types can cause poor output quality, increased paper
jams, or damage your printer. Do not use the following:
• Rough or porous paper
• Inkjet paper
• Non-laser glossy or coated paper
• Paper that has been photocopied
• Paper that has been folded or wrinkled
• Paper with cutouts or perforations
• Stapled paper
• Envelopes with windows, metal clasps, side seams, or adhesives with release strips
• Padded envelopes
• Plastic media
• Ensure the paper type selected in your print driver matches the paper type on which you are
printing.
• If you have the same size paper loaded in more than one tray, ensure that the proper tray is
selected in the print driver.
• Store your paper and other media properly for optimum print quality. For details, see Paper
Storage Guidelines on page 85.
Solving Print-Quality Problems
When the print quality is poor, select the closest symptom from the following table and see the
corresponding solution to correct the problem. You can also print a Demo Page to more precisely
determine the print-quality problem. For details, see Information Pages on page 25.
If the print quality does not improve after carrying out the appropriate action, contact your Xerox
representative.
Notes:
• To enhance print quality, toner cartridges for many models of equipment have been
designed to cease functioning at a predetermined point.
• Grayscale images printed with the composite black setting increment the color pages
counter, because color consumables are used. Composite black is the default setting
on most printers.

Troubleshooting
Phaser 6600 Color Printer 161
User Guide
Symptom Probable Causes Solutions
Faded printouts with multiple
colors faded.
The toner cartridges are not
Xerox® toner cartridges. Verify that the toner cartridges meet
specifications, and replace them if
necessary.
The paper being used is
outside the recommended
specification range.
Replace the paper with a recommended
size and type, and confirm that your control
panel and print driver settings are correct.
For details, see Supported Paper on page
84.
The paper type is heavier or
thicker than the paper type
selection.
• Ensure that the proper paper is loaded in
the paper tray.
• Choose a heavier paper type at the
control panel and in the print driver.
• Use a lighter paper or paper type.
The bias transfer voltage is not
properly adjusted for the paper
type.
Verify that the paper types set in the control
panel and the print driver match the paper
loaded in the tray.
The settings in the application
or print driver are incorrect. Print the Demo Page from the Information
Pages menu. If the Demo Page looks
correct, the printer is printing properly. Your
application or incorrect settings in the print
driver are probably causing the print-quality
problems.
The paper is damp. Replace the paper.
The high-voltage supply is
defective. For assistance, go to the Xerox® Support
website at
www.xerox.com/office/6600support.
Only one color is faded.
Toner cartridge is empty or
damaged. Check the condition of the toner cartridge
and replace it if necessary.

Troubleshooting
162 Phaser 6600 Color Printer
User Guide
Symptom Probable Causes Solutions
Stray black dots or white areas
(dropouts).
The paper is outside the
recommended specification
range.
Replace the paper with a recommended
size and type, and confirm that your control
panel and print driver settings are correct.
For details, see Supported Paper on page
84.
There is debris on the rollers. Wipe the feed rollers with a clean damp
cloth to remove debris from the rollers.
Note: Do not touch the transfer roller or the
exposed end of the transfer belt.
The toner cartridges are not
Xerox® toner cartridges. Ensure that the toner cartridges meet
specifications and replace them if
necessary. For details, see Consumables
on page 133.
• Vertical black or color
streaks or multiple colored
streaks or lines.
• Streaks in only one color.
The toner cartridges are not
Xerox® toner cartridges. Ensure that the toner cartridges meet
specifications and replace them if
necessary. For details, see Consumables
on page 133.
Debris in the printer is dragging
against the toner before it is
fused.
Remove any debris or paper scraps from
the paper path under the rear cover.
There is a problem with the
toner cartridge for that color. Check the toner cartridge for damage and
replace if necessary. For assistance, go to
the Xerox® Support website at
www.xerox.com/office/6600support.
Color around the edge of
printing is incorrect. The color registration is
incorrect. Adjust the color registration. For details, see
Color Registration on page 126.

Troubleshooting
Phaser 6600 Color Printer 163
User Guide
Symptom Probable Causes Solutions
Partial blanks, creased paper,
or blotted printing.
The paper is damp. Replace the paper.
The paper is outside the
recommended specification
range.
Replace the paper with a recommended
size and type. For details, see Supported
Paper on page 84.
The printer is worn or
damaged. For assistance, go to the Xerox® Support
website at
www.xerox.com/office/6600support.
The toner cartridges are not
Xerox® toner cartridges. Verify that the toner cartridges meet
specifications and replace if necessary. For
details, see Consumables on page 133.
The paper is impeded in the
paper path.
• Remove any paper or debris from the
paper path.
• Ensure that the trays are pushed in all
the way.
• Ensure that the rear cover is closed and
locked.
Condensation inside the printer
causes partial blanks or
creased paper.
Turn on the printer and leave it on for at
least one hour to get rid of the
condensation. For assistance, go to the
Xerox® Support website at
www.xerox.com/office/6600support.
Vertical blanks appear.
The lenses are blocked. Clean the lenses in the inside of the printer.
For details, see Cleaning the Laser Lenses
on page 117.
The printer is worn or
damaged. For assistance, go to the Xerox® Support
website at
www.xerox.com/office/6600support.
The toner cartridges are not
Xerox® toner cartridges. Ensure that the toner cartridges meet
specifications and replace if necessary.

Troubleshooting
164 Phaser 6600 Color Printer
User Guide
Symptom Probable Causes Solutions
White lines or streaks running
through only one color.
Something is blocking the lens
for the affected color. Clean the lens for the affected color.
White line or lines running
through all colors.
Paper or debris is dragging the
bottom of the transfer belt.
• Remove the paper or debris from the
printer.
• For assistance, go to the Xerox®
Support website at
www.xerox.com/office/6600support.
Slanted printing.
The paper guides in the trays
are not set correctly. Reset the paper tray guides. For details,
see Loading Paper on page 88.
Colors are blurry or there is
white area around objects. Color-to-color alignment is not
correct. Perform an automatic color registration
adjustment. For details, see Color
Registration on page 126.
Blotchy or mottled images.
The paper is too light or too
thin. Choose a different paper type in the at the
control panel, in the application, and in the
printer driver.
The paper is damp. Replace the paper.
The humidity is too high. Reduce the humidity in the room or move
the printer to a new location.

Troubleshooting
Phaser 6600 Color Printer 165
User Guide
Symptom Probable Causes Solutions
Spots or lines appear at regular
intervals on the prints.
One or more of the
components in the paper path
is marking the paper.
To determine the cause, measure the
distance between the print defects.
• 75.3 mm (3 in.) - Imaging Unit
• 28.3 mm (1.1 in.) - Imaging Unit
• 31.1 mm (1.2 in.) - Imaging Unit
• 32.3 mm (1.3 in.) - Imaging Unit
• 25.1 mm (1 in.) - Transfer Belt
• 56.5 mm (2.2 in.) - Transfer Roller
• 82.3 mm (3.2 in.) - Fuser
If the repeating defects match one of these
distances, replace that item.
Troubleshooting
166 Phaser 6600 Color Printer
User Guide
Getting Help
This section includes:
• Control Panel Messages .................................................................................................... 166
• Using the Integrated Troubleshooting Tools ....................................................................... 167
• Online Support Assistant .................................................................................................... 167
• Information Pages .............................................................................................................. 167
•
More Information ................................................................................................................ 168
Your printer comes with utilities and resources to help you troubleshoot printing problems.
Control Panel Messages
The printer control panel provides information and troubleshooting help. When a fault or warning
condition occurs, the control panel displays a message informing you of the problem. For many
status and warning messages, the control panel Information provides additional information.
Viewing Warning Messages on the Control Panel
When a warning condition occurs, a message appears on the control panel to inform you of the
problem. Warning messages inform you about printer conditions, such as low supplies or open
doors, that require your attention. If more than one warning condition occurs, only one is displayed
on the control panel.
Control Panel Help
When a fault occurs that stops the printing operation, such as a paper jam, a message appears on
the screen.
Viewing Current Faults on the Control Panel
When a fault condition occurs, a message appears on the control panel to inform you of the problem.
Fault messages warn you about printer conditions that prevent the printer from printing or degrade
printing performance. If more than one fault occurs, only one is displayed on the control panel.
Viewing Job Status on the Control Panel
To view secure or saved jobs on the control panel:
Troubleshooting
Phaser 6600 Color Printer 167
User Guide
1. To access the Walk-Up Features menu, click the Left arrow button.
2. Select an option:
• To view a list of secure prints, navigate to Secure Jobs, then press OK.
• To view a list of saved jobs, navigate to Saved Jobs, then press OK.
To print a detailed list of last 20 print jobs that have been processed:
1. At the printer control panel, press the Menu button.
2. Navigate to Information Pages, then press OK.
3. Navigate to Job History, then press OK.
Using the Integrated Troubleshooting Tools
Your printer has a printable set of reports. Two of them, the Demo Page and the Error History report,
can help with troubleshooting certain problems. The Demo Page prints an image using many colors
to show the current ability of the printer to print. The Error History report prints information on the
most recent printer errors.
Printing Reports
1. At the printer control panel, press the Menu button.
2. Navigate to Information Pages, then press OK.
3. To select a report, use the Up or Down arrow buttons, then press OK.
Specifying the Source Tray for Printing Reports
1. At the printer control panel, press the Menu button.
2. Navigate to Tray Settings, then press OK.
3. To determine the order in which the printer selects the tray for a print job, navigate to Tray
Priority, then press OK.
4. To specify the first priority, use the Up or Down arrow buttons, then press OK. The second
priority setting displays.
5. To accept the second priority, press OK.
Online Support Assistant
Online Support Assistant is a knowledge base that provides instructions and troubleshooting help to
solve your printer problems. You can find solutions for print-quality problems, paper jams, software
installation issues, and more.
To access the Online Support Assistant, go to www.xerox.com/office/6600support.
Information Pages
Your printer has a printable set of information pages. These include configuration and font
information, demonstration pages, and more.

Troubleshooting
168 Phaser 6600 Color Printer
User Guide
More Information
You can obtain more information about your printer from these sources:
Resource Location
Installation Guide Packaged with the printer.
Other documentation for your printer www.xerox.com/office/6600docs
Recommended Media List United States: www.xerox.com/paper
European Union: www.xerox.com/europaper
Technical support information for your printer;
including online technical support, Online Support
Assistant, and driver downloads.
www.xerox.com/office/6600support
Information about menus or error messages Press the control panel Help (?) button.
Information Pages Print from the control panel, or from CentreWare
Internet Services, click Status > Information Pages.
CentreWare Internet Services documentation In CentreWare Internet Services, click Help.
Order supplies for your printer www.xerox.com/office/6600supplies
A resource for tools and information, including
interactive tutorials, printing templates, helpful tips,
and customized features to meet your individual
needs.
www.xerox.com/office/businessresourcecenter
Local sales and support center www.xerox.com/office/worldcontacts
Printer registration www.xerox.com/office/register
Xerox® Direct online store www.direct.xerox.com/
Phaser 6600 Color Printer 169
User Guide
This appendix includes:
• Printer Configurations and Options ..................................................................................... 170
• Physical Specifications ....................................................................................................... 171
• Environmental Specifications ............................................................................................. 174
• Electrical Specifications ...................................................................................................... 175
• Performance Specifications ................................................................................................ 176
•
Controller Specifications ..................................................................................................... 177
A
Specifications

Specifications
170 Phaser 6600 Color Printer
User Guide
Printer Configurations and Options
Available Configurations
The Phaser 6600 Color Printer is available in two configurations:
• Phaser 6600N Color Printer: Network printer with USB and network connectivity.
• Phaser 6600DN Color Printer: Network printer with automatic 2-sided printing, and USB and
network connectivity.
Standard Features
The Phaser 6600 Color Printer provides the following features:
Feature Phaser 6600 Color Printer
Print speed • Standard and Enhanced modes up to 36 ppm
• Photo mode up to 17 ppm
2-Sided print speed • Standard mode up to 24 images per minute
• Enhanced mode up to 24 images per minute
Print resolution Up to 600 x 600 x 5 dpi (1200 x 1200 enhanced image quality)
Paper capacity
• Bypass Tray
• Tray 1
• Optional 550-Sheet Feeder
• 100 sheets
• 550 sheets
• 550 sheets
Maximum print size Legal (216 x 356 mm, 8.5 x 14 in.)
2-Sided Printing Up to 163 g/m² from any tray (Phaser 6600DN model only)
Control panel Button-navigated menu with two-line display.
Connectivity • Universal Serial Bus (USB 2.0)
• Ethernet 10/100 Base-T
• Wireless network connectivity: Optional
• AirPrint
Remote access CentreWare Internet Services
Options and Upgrades
• Wireless network adapter
• 550-Sheet Feeder
• 160 GB+ Hard Disk - Productivity Kit (HD)
• 512 MB memory upgrade - Productivity Kit (Memory)

Specifications
Phaser 6600 Color Printer 171
User Guide
Physical Specifications
Weights and Dimensions
Phaser 6600DN Color Printer Phaser 6600DN Color Printer with
Optional 550-Sheet Feeder
Width 430 mm (16.9 in.) 430 mm (16.9 in.)
Depth 488 mm (19.2 in.) 488 mm (19.2 in.)
Height 384 mm (15.1 in.) 477 mm (18.8 in.)
Weight 25.5 kg (56.2 lb.) 28.1 kg (61.8 lb.)
Standard Configuration
Configuration with Optional 550-Sheet Feeder

Specifications
172 Phaser 6600 Color Printer
User Guide
Total Space Requirements
Phaser 6600DN Color Printer Phaser 6600DN Color Printer with
Optional 550-Sheet Feeder
Width 927 mm (36.4 in.) 927 mm (36.4 in.)
Depth 1488 mm (58.6 in.) 1488 mm (58.6 in.)
Height 559 mm (22 in.) 652 mm (25.7 in.)
Clearance Requirements
Phaser 6600 Color Printer

Specifications
Phaser 6600 Color Printer 173
User Guide
Clearance Requirements with Optional 550-Sheet Feeder
Phaser 6600 Color Printer
Specifications
174 Phaser 6600 Color Printer
User Guide
Environmental Specifications
Temperature
• Operating temperature: 10–32°C (50–90°F)
• Optimum temperature: 15–28°C (59–82°F)
Relative Humidity
• Minimum–Maximum Humidity Range: 10–85%
• Optimal Humidity Range: 20–70% relative humidity at 28°C (82°F)
Note: Under extreme environmental conditions, such as 10°C and 85% relative humidity,
defects can occur due to condensation.
Elevation
For optimum performance, use the printer at elevations below 3100 m (10,170 ft.).

Specifications
Phaser 6600 Color Printer 175
User Guide
Electrical Specifications
Power Supply Voltage and Frequency
Power Supply Voltage Power Supply Frequency
110–127 VAC +/-10%, (99–140 VAC) 50 Hz +/- 3 Hz
60 Hz +/- 3 Hz
220–240 VAC +/-10%, (198–264 VAC) 50 Hz +/- 3 Hz
60 Hz +/- 3 Hz
Power Consumption
• Energy Saver Mode (Sleep): 4 W
• Ready (with fuser on): 65 W
• Continuous printing: 535 W
This printer does not consume electric power when the power switch is turned off even if the printer
is connected to an AC outlet.
ENERGY STAR Qualified Product
The Phaser 6600 Color Printer is ENERGY STAR® qualified under the ENERGY
STAR Program Requirements for Imaging Equipment.
The ENERGY STAR and ENERGY STAR mark are registered United States
trademarks.
The ENERGY STAR Imaging Equipment Program is a team effort between United
States, European Union, and Japanese governments and the office equipment
industry to promote energy-efficient copiers, printers, fax, multifunction printers,
personal computers, and monitors. Reducing product energy consumption helps
combat smog, acid rain, and long-term changes to the climate by decreasing the
emissions that result from generating electricity.
Xerox® ENERGY STAR equipment is preset at the factory to switch to Energy Saver Modes after 10
minutes from the last copy or print.

Specifications
176 Phaser 6600 Color Printer
User Guide
Performance Specifications
Feature Specifications
Printer warm up time Power on: As fast as 12 seconds.
Recovery from sleep mode: As fast as 3 seconds.
Note: Warm up time assumes an ambient temperature of 20ºC (68°F)
at 60% relative humidity.
Print Speed
Print speeds for continuous printing are up to 36 ppm. Print speeds are the same for color or black
and white printing.
Several factors affect print speed:
• Print mode. The fastest print modes are Standard and Enhanced. Photo mode prints at half
speed. Photo mode prints 1-sided pages on Plain, Letter/A4 at 17 ppm.
• Paper size. Letter (8.5 x 11 in.) prints slightly faster than A4 (210 x 297 mm). Larger sizes
reduce print speeds.
• Paper type and weights. For faster printing, use paper weights of 105 g/m² or less.
The maximum print speed for 1-sided printing is 36 ppm on Letter paper, and 35 ppm on A4 paper.
The maximum print speed for 2-sided printing is 24 ppm on Letter and A4 paper.
Photo mode prints 1-sided pages on Plain, Letter/A4 at 17 ppm.

Specifications
Phaser 6600 Color Printer 177
User Guide
Controller Specifications
Processor
533 MHz ARM11 processor
Memory
Memory Phaser 6600 Color Printer
Standard memory 256 MB RAM
Optional Productivity Kit
(Memory) 512 MB RAM (768 MB total)
Flash memory 64 MB ROM
EEPROM 48 KB EEPROM
Interfaces
Universal Serial Bus (USB 2.0)
Ethernet 10/100/1000Base-TX
IEEE802.11 Compliant Wireless Network Adapter
Phaser 6600 Color Printer 179
User Guide
This appendix includes:
• Basic Regulations .............................................................................................................. 180
•
Material Safety Data Sheets ............................................................................................... 184
B
Regulatory Information
Regulatory Information
180 Phaser 6600 Color Printer
User Guide
Basic Regulations
Xerox has tested this printer to electromagnetic emission and immunity standards. These standards
are designed to mitigate interference caused or received by this printer in a typical office
environment.
United States FCC Regulations
This equipment has been tested and found to comply with the limits for a Class A digital device,
pursuant to Part 15 of the FCC Rules. These limits are designed to provide reasonable protection
against harmful interference when the equipment is operated in a commercial environment. This
equipment generates, uses, and can radiate radio frequency energy. If it is not installed and used in
accordance with these instructions, it may cause harmful interference to radio communications.
Operation of this equipment in a residential area is likely to cause harmful interference in which case
the user will be required to correct the interference at his/her own expense.
If this equipment does cause harmful interference to radio or television reception, which can be
determined by turning the equipment off and on, the user is encouraged to try to correct the
interference by one or more of the following measures:
• Reorient or relocate the receiving antenna.
• Increase the separation between the equipment and receiver.
• Connect the equipment into an outlet on a circuit different from that to which the receiver is
connected.
• Consult the dealer or an experienced radio/TV technician for help.
Changes or modifications to this equipment not approved by Xerox can void the authority of the user
to operate this equipment.
Note: To ensure compliance with Part 15 of the FCC rules, use shielded interface cables.
Canada
This Class A digital apparatus complies with Canadian ICES-003.
Cet appareil numérique de la classe A est conforme à la norme NMB-003 du Canada.

Regulatory Information
Phaser 6600 Color Printer 181
User Guide
European Union
CAUTION: This is a Class A product. In a domestic environment, this product can cause radio
interference in which case the user could be required to take adequate measures.
The CE mark applied to this product symbolizes a declaration of conformity by Xerox
with the following applicable Directives of the European Union as of the dates indicated:
• December 12, 2006: Low Voltage Directive 2006/95/EC
• December 15, 2004: Electromagnetic Compatibility Directive 2004/108/EC
This printer, if used properly in accordance with the instructions, is not dangerous for the consumer
or for the environment.
To ensure compliance with European Union regulations, use shielded interface cables.
A signed copy of the Declaration of Conformity for this printer can be obtained from Xerox.
European Union Lot 4 Imaging Equipment Agreement Environmental
Information
Environmental Information Providing Environmental Solutions and Reducing
Cost
Introduction
The following information has been developed to assist users and has been issued in relation to the
European Union (EU) Energy Related Products Directive, specifically the Lot 4 study on Imaging
Equipment. This requires manufacturers to improve environmental performance of in scope products
and supports the EU action plan on energy efficiency.
In scope products are Household and Office equipment that meet the following criteria.
• Standard monochrome format products with a maximum speed less than 66 A4 images per
minute
• Standard color format products with a maximum speed less than 51 A4 images per minute
Environmental Benefits of Duplex Printing
Most Xerox® products have duplex printing, also known as 2-sided printing, capability. This enables
you to print on both sides of the paper automatically, and therefore helps to reduce the use of
valuable resources by reducing your paper consumption. The Lot 4 Imaging Equipment agreement
requires that on models greater than or equal to 40 ppm color or greater than or equal to 45 ppm
monochrome the duplex function has been auto enabled, during the setup and driver installation.
Some Xerox® models below these speed bands may also be enabled with 2-sided printing settings
defaulted on at the time of install. Continuing to use the duplex function will reduce the environmental
impact of your work. However, should you require simplex/1-sided printing, you may change the print
settings in the print driver.
Regulatory Information
182 Phaser 6600 Color Printer
User Guide
Paper Types
This product can be used to print on both recycled and virgin paper, approved to an environmental
stewardship scheme, which complies with EN12281 or a similar quality standard. Lighter weight
paper (60 g/m²), which contains less raw material and thus save resources per print, may be used in
certain applications. We encourage you to check if this is suitable for your printing needs.
ENERGY STAR
The ENERGY STAR program is a voluntary scheme to promote the development and purchase of
energy efficient models, which help to reduce environmental impact. Details on the ENERGY STAR
program and models qualified to ENERGY STAR can be found at the following website:
www.energystar.gov/index.cfm?fuseaction=find_a_product.showProductGroup&pgw_code=IEQ
Power Consumption and Activation Time
The amount of electricity a product consumes depends on the way the device is used. This product is
designed and configured to enable you to reduce your electricity costs. After the last print it switches
to Ready Mode. In this mode it can print again immediately if required. If the product is not used for a
period of time, the device switches to a Power Saver Mode. In these modes, only essential functions
remain active in order to enable reduced product power consumption.
Upon exiting from Power Saver Mode, the first print will take slightly longer than in Ready Mode. This
delay is the result of the system "waking up" from Power Saver mode and is typical of most imaging
products on the market.
If you wish to set a longer Activation Time or would like to completely deactivate the Power Save
Mode, please consider that this device may then only switch to a lower energy level after a longer
period of time or not at all.
To learn more about Xerox participation in sustainability initiatives, please visit our website at:
www.xerox.com/about-xerox/environment/enus.html
Germany
Blendschutz
Das Gerät ist nicht für die Benutzung im unmittelbaren Gesichtsfeld am Bildschirmarbeitsplatz
vorgesehen. Um störende Reflexionen am Bildschirmarbeitsplatz zu vermeiden, darf dieses Produkt
nicht im unmittelbaren Gesichtsfeld platziert werden.
Lärmemission
Maschinenlärminformations-Verordnung 3. GPSGV: Der höchste Schalldruckpegel beträgt 70 dB(A)
oder weniger gemäß EN ISO 7779.
Regulatory Information
Phaser 6600 Color Printer 183
User Guide
Importeur
Xerox GmbH
Hellersbergstraße 2-4
41460 Neuss
Deutschland
Turkey RoHS Regulation
In compliance with Article 7 (d), we hereby certify “it is in compliance with the EEE regulation.”
“EEE yönetmeliğine uygundur.”
Regulatory Information for 2.4 GHz Wireless Network Adapter
This product contains a 2.4 GHz Wireless LAN radio transmitter module which complies with the
requirements specified in FCC Part 15, Industry Canada RSS-210 and European Council Directive
99/5/EC.
Operation of this device is subject to the following two conditions: (1) this device may not cause
harmful interference, and (2) this device must accept any interference received, including
interference that may cause undesired operation.
Changes or modifications to this device not specifically approved by the Xerox Corporation may void
the user's authority to operate this equipment.
Regulatory Information
184 Phaser 6600 Color Printer
User Guide
Material Safety Data Sheets
For Material Safety Data information regarding your printer, go to:
• North America: www.xerox.com/msds
• European Union: www.xerox.com/environment_europe
For the Customer Support Center phone numbers, go to www.xerox.com/office/worldcontacts.
Phaser 6600 Color Printer 185
User Guide
This appendix includes:
• All Countries ....................................................................................................................... 186
• North America .................................................................................................................... 187
• European Union ................................................................................................................. 188
•
Other Countries .................................................................................................................. 190
C
Recycling and Disposal
Recycling and Disposal
186 Phaser 6600 Color Printer
User Guide
All Countries
If you are managing the disposal of your Xerox® product, please note that the printer may contain
lead, mercury, perchlorate, and other materials whose disposal may be regulated due to
environmental considerations. The presence of these materials is fully consistent with global
regulations applicable at the time that the product was placed on the market. For recycling and
disposal information, contact your local authorities. Perchlorate Material: This product may contain
one or more Perchlorate-containing devices, such as batteries. Special handling may apply, please
see www.dtsc.ca.gov/hazardouswaste/perchlorate.
Recycling and Disposal
Phaser 6600 Color Printer 187
User Guide
North America
Xerox operates an equipment take-back and reuse/recycle program. Contact your Xerox
representative (1-800-ASK-XEROX) to determine if this Xerox® product is part of the program. For
more information about Xerox® environmental programs, visit www.xerox.com/environment , or for
recycling and disposal information, contact your local authorities.

Recycling and Disposal
188 Phaser 6600 Color Printer
User Guide
European Union
Some equipment may be used in both a domestic/household and a professional/business
application.
Domestic/Household Environment
Application of this symbol on your equipment is confirmation that you
should not dispose of the equipment in the normal household waste
stream.
In accordance with European legislation, end of life electrical and electronic equipment subject to
disposal must be segregated from household waste.
Private households within EU member states may return used electrical and electronic equipment to
designated collection facilities free of charge. Please contact your local disposal authority for
information.
In some member states, when you purchase new equipment, your local retailer may be required to
take back your old equipment free of charge. Please ask your retailer for information.
Professional/Business Environment
Application of this symbol on your equipment is confirmation that you
must dispose of this equipment in compliance with agreed national
procedures.
In accordance with European legislation, end of life electrical and electronic equipment subject to
disposal must be managed within agreed procedures.
Prior to disposal, please contact your local reseller or Xerox representative for end of life take-back
information.

Recycling and Disposal
Phaser 6600 Color Printer 189
User Guide
Collection and Disposal of Equipment and Batteries
These symbols on the products and/or accompanying documents
mean that used electrical and electronic products and batteries
should not be mixed with general household waste.
For proper treatment, recovery, and recycling of old products and
used batteries, please take them to applicable collection points, in
accordance with your national legislation and the Directive
2002/96/EC and 2006/66/EC.
By disposing of these products and batteries correctly, you will help
to save valuable resources and prevent any potential negative
effects on human health and the environment which could otherwise
arise from inappropriate waste handling.
For more information about collection and recycling of old products
and batteries, please contact your local municipality, your waste
disposal service or the point of sale where you purchased the items.
Penalties may be applicable for incorrect disposal of this waste, in
accordance with national legislation.
Business Users in the European Union
If you wish to discard electrical and electronic equipment, please contact your dealer or supplier for
further information.
Disposal Outside of the European Union
These symbols are only valid in the European Union. If you wish to discard these items, please
contact your local authorities or dealer and ask for the correct method of disposal.
Battery Symbol Note
Hg
This wheeled bin symbol may be used in combination with a
chemical symbol. This establishes compliance with the
requirements set out by the Directive.
Battery Removal
Batteries should only be replaced by a MANUFACTURER-approved service facility.
Recycling and Disposal
190 Phaser 6600 Color Printer
User Guide
Other Countries
Please contact your local waste management authority to request disposal guidance.