Xplore Technologies WG7550A Rugged Tablet PC User Manual
Xplore Technologies Rugged Tablet PC Users Manual
Contents
- 1. User Manual
- 2. Users Manual
Users Manual
iX101T1 User Handbook
Revision 1.01
06/14/2013

Contents
Disclaimer . . . . . . . . . . . . . . . . . . . . . . . . . . . . . . . . . . . . . . . . . . . . . . . . . . . .4
Trademarks. . . . . . . . . . . . . . . . . . . . . . . . . . . . . . . . . . . . . . . . . . . . . . . . . . . .4
Copyright . . . . . . . . . . . . . . . . . . . . . . . . . . . . . . . . . . . . . . . . . . . . . . . . . . . . .4
Publication information . . . . . . . . . . . . . . . . . . . . . . . . . . . . . . . . . . . . . . . . . .4
Declaration of conformity . . . . . . . . . . . . . . . . . . . . . . . . . . . . . . . . . . . . . . . 5
Warranty information. . . . . . . . . . . . . . . . . . . . . . . . . . . . . . . . . . . . . . . . . . . 5
Important safety information . . . . . . . . . . . . . . . . . . . . . . . . . . . . . . . . . . . . .5
Welcome
8
About your computer . . . . . . . . . . . . . . . . . . . . . . . . . . . . . . . . . . . . . . . .. . . . . . . 9
Package contents . . . . . . . . . . . . . . . . . . . . . . . . . . . . . . . . . . . . . . . . . . . . . . . . . . 10
Optional accessories. . . . . . . . . . . . . . . . . . . . . . . . . . . . . . . . . . . . . . . . . . . . 11
Contacting Xplore – service and questions. . . . . . . . . . . . . . . . . . . . . . . . . . . . . . 12
1
Getting Started
13
Introduction . . . . . . . . . . . . . . . . . . . . . . . . . . . . . . . . . . . . . . . . . . . . . . . . . . . . . . 13
Description . . . . . . . . . . . . . . . . . . . . . . . . . . . . . . . . . . . . . . . . . . . . . . . . . . . . . . 13
Back view. . . . . . . . . . . . . . . . . . . . . . . . . . . . . . . . . . . . . . . . . . . . . . . . . . . . 14
Right side view . .. . . . . . . . . . . . . . . . . . . . . . . . . . . . . . . . . . . . . . . . . . . . . 15
Left side view. . . . . . . . . . . . . . . . . . . . . . . . . . . . . . . . . . . . . . . . . . . . . . . . . 16
Bottom view. . . . . . . . . . . . . . . . . . . . . . . . . . . . . . . . . . . . . . . . . . . . . . . . . .17
LED indicators . . . . . . . . . . . . . . . . . . . . . . . . . . . . . . . . . . . . . . . . . . . . . . . .18
Quick-start guide. . . . . . . . . . . . . . . . . . . . . . . . . . . . . . . . . . . . . . . . . . . . . . . . . . 20
First time Operation. . . . . . . . . . . . . . . . . . . . . . . . . . . . . . . . . . . . . . . . . . . . 20
Turning On/Off and Suspend/Resume . . . . .. . . . . . . . . . . . . . . . . . . . . . . . . 21
Input Operation. . . . . . . . . . . . . . . . . . . . . . . . . . . . . . . . . . . . . . . . . . . . . . . 23
iX101T1 User’s Handbook
1

Contents
3
Maintaining the Tablet
24
Caring for the tablet. . . . . . . . . . . . . . . . . . . . . . . . . . . . . . . . . . . . . . . . . . . . . . . .24
Checking power cords and connectors. . . . . . . . . . . . . . . . . . . . . . . . . . . . . . 24
Protecting the computer from damage . . . . . . . . . . . . . . . . . . . . . . . . . . . . . . 25
Storing the computer . . . . . . . . . . . . . . . . . . . . . . . . . . . . . . . . . . . . . . . . . . . 25
Caring for the display screen . . . . . . . . . . . . . . . . . . . . . . . . . . . . . . . . . . . . .26
Protecting the display screen . . . . . . . . . . . . . . . . . . . . . . . . . . . . . . . . . 26
2 iX101T1 User’s Handbook

Contents
A
B
Troubleshooting
Hardware Specifications
27
29
C
Agency Notices
36

Disclaimer
Xplore Technologies® has made every effort to ensure the accuracy and
completeness of this document; however, because ongoing development
efforts are made to continually improve the capabilities of our products,
we cannot guarantee the accuracy of the contents of this document. We
disclaim liability for errors, omissions, or future changes herein.
Trademarks
Xplore and the Xplore logo are registered trademarks of Xplore
Technologies Corp. of America; iX104, iX104C5, iX101T1, iX104C5 Lite, and iX104C5
Dual Mode are trademarks of Xplore Technologies Corp.
Kensington and MicroSaver are registered trademarks of the Kensington
Technology Group. Android is a registered trademark of Google Corporation.
MicroSD is registered trademark of the Personal
Computer Memory Card International Association.
Wi-Fi is a trademark of the Wireless Ethernet Compatibility Alliance (WECA).
HDMI is a trademark of “”
All other brands, product names, company names, trademarks and service
marks used herein are property of their respective companies.
Copyright
Copyright © 2003-2013 Xplore Technologies Corp. All rights reserved.
No part of this publication may be copied, reproduced, or translated,
without the prior written consent of Xplore Technologies. No part of this
publication may be stored or transmitted in any electronic form without
the prior consent of Xplore Technologies. Any unauthorized use is a
violation of copyright laws.
Publication information
PN: XX-0XXXX, Rev. x00 (Draft)
March 2013
iX101T1 User’s Handbook
4

Declaration of conformity
DECLARATION OF CONFORMITY according to FCC Part 15, IC ICES-003, and RTT&E directives
Responsible Party Name: Xplore Technologies Corp.
Address: 14000 Summit Drive, Suite 900, Austin, Texas 78728
Telephone: 512.336.7797
Declares that product: Model Series: iX101T1 complies with Part 15 of the FCC Rules.
This device complies with Part 15 of the FCC rules. Operation is subject to the
following two conditions: (1) This device may not cause harmful interference, and, (2)
This device must accept any interference received, including interference that may
cause undesired operation.
WARNING
Changes or modifications to this unit not expressly approved by the party responsible for
compliance may void the user’s authority to operate this equipment.
For more information about FCC, IC, and EU rules and their applicability to the iX101T1, see
Appendix E, “Agency Notices.”
Warranty information
The iX101T1 is backed by a standard 36-month International Limited Warranty. An
extended International Limited Warranty is available. Check the service kit included
with your computer for warranty terms and conditions.
Important safety information
Before you use the iX101T1 (referred to as the tablet), read these safety
instructions and the operation instructions in this handbook.
Failure to observe all these instructions voids the Limited Warranty and may lead
to suspension or denial of services to the offender, or legal action, or both.
Follow any special regulations governing the use of the tablet and, if radio-enabled,
always switch it off in areas where radio devices are forbidden or when the radio device
can cause interference or danger.
Always follow any safety laws and regulations pertaining to the use of cell phones and
two-way radios, because these laws and regulations typically apply to the use of the
wireless-enabled tablet.
Observe all restrictions on the use of radio equipment in fuel depots (fuel storage and
distribution areas), chemical plants, and wherever blasting operations are in progress or
in any area in which restrictions on radio transmissions are imposed.
Switch off the tablet when in an aircraft. The tablet is not FAA-approved for use on
aircraft. The effect of the use of the tablet in aircraft is unknown. Using the tablet in an
aircraft may affect aircraft instrumentation, communication, and performance; may
disrupt the network; and may be illegal.
Operating the wireless-enabled tablet may interfere with the functioning of
inadequately protected medical devices such as pacemakers. Consult a physician or the
manufacturer of the medical device if you have any questions.
5
iX101T1 User’s Handbook
Radio signals from your tablet will not affect the operation of most modern equipment,
but certain electronic equipment, including automotive systems, may not be shielded
against radio signals from your tablet. Check with the manufacturer of your motor
vehicle or the manufacturer’s representative to determine whether using the tablet will
present any safety issues.
Avoid using the tablet in any environment that requires your full attention, such as
when driving a vehicle. If you need to use your tablet while driving, have a passenger
use it for you or find a safe location to halt your vehicle.
WARNING BATTERIES
Use only battery types specified in this handbook. Using any other type of battery can be
dangerous and can disable the tablet. Do not drop or mishandle the batteries, immerse them in water, or subject
them to high heat. Doing so could increase the risk of explosion or leakage, and possibly cause injury. The lithium-
ion batteries used in this equipment contain material that is hazardous to your health. If battery contents come in
contact with the eyes, IMMEDIATELY flush the affected area with clean water for 15 minutes and have someone
else summon medical attention for you. Unaffected persons should assist the affected individual in the vital first
flushing of the eyes. RECHARGING THE BATTERY MUST ONLY BE CARRIED OUT IN ANON-HAZERDOUS
AREA USING THE SUPPLIED ac ADAPTOR. The definition of hazardous areas can be found in Standard EN
60079-10.
WARNING
When operating the tablet in a known explosive environment do not remove or replace
the battery while the circuit is live. Before removing the battery verify that the area is
known to be free of ignitable concentrations of flammable substances.
EXPLOSION HAZARD – DO NOT DISCONNECT WHILE CIRCUIT IS LIVE
UNLESS AREA IS KNOWN TO BE NON-HAZERDOUS.
AVERISSEMENT – RISQUE D’EXPLOSION. NE PAS DÉBRANCHER TANT QUE
LE CIRCUIT EST SOUS TENSION, À MOINS QU’IL NE S’AGISSE D’UN
EMPLACEMENT NON DANGEREUX.
WARNING
EXPLOSION HAZARD - DO NOT
REPLACE THE BATTERY UNLESS POWER HAS BEEN
SWITCHED OFF OR THE AREA IS KNOWN TO BE
NON-HAZARDOUS;
AVERTISSEMENT - RISQUE D'EXPLOSION -
COUPER LE COURANT OU S'ASSURER QUE
L'EMPLACEMENT EST DESIGNE NON DANGEREUX
AVANT DE REPLACER LE BATTERY
WARNING
EXPLOSION HAZARD - SUBSTITUTION
OF COMPONENTS MAY IMPAIR SUITABILITY
FOR CLASS I, DIViSION 2;
AVERTISSEMENT - RISQUE D'EXPLOSION - LA
SUBSTITUTIOND E COMPOSANTSP EUTR ENDRE
CE MATERIEL INACCEPTABLE POUR LES EMPLACEMENTS
DE CLASSE I, DIVISION 2;
WARNING
EXPLOSION HAZARD - DO NOT
DISCONNECT EQUIPMENT UNLESS POWER HAS
BEEN SWITCHED OFF OR THE AREA IS KNOWN
TO BE NON-HAZARDOUS
AVERTISSEMENT - RISQUE D'EXPLOSION -
AVANT DE DECONNECTER L'EQUIPEMENT,
COUPER LE COURANT OU S'ASSURER QUE
L'EMPLACEMENT EST DESIGNE NON DANGEREUX.
WARNING
Do not use any dock or any other accessory or attachment that is not manufactured or
supplied by Xplore or an authorized Xplore accessories supplier. Use of any accessory or
attachment that is not supplied or approved for use with the tablet by Xplore is not
permitted because it may cause hazards.
Operate the tablet only from the type of power source indicated on the marking label.
(See page 54 for more information about the battery and power supply.) Route power
supply cords so that they are not likely to be walked on or pinched by items placed
upon or against them. Pay particular attention to cords at plugs and convenience
receptacles, and at the point where cords exit from the tablet or its dock. Do not
overload wall outlets, extension cords, or integral convenience receptacles because this
can cause fire or electric shock.
Unplug the tablet and refer the tablet and dock for service to qualified service personnel
if any of the following conditions occur:
■ The power supply cord or plug is damaged.
■ The tablet or dock does not operate normally when you follow the instructions in
this book.
■ The tablet or dock exhibits a distinct change in performance.
Adjust only controls for which there are instructions in this book. An improper
adjustment of other controls can result in damage and may require extensive work by a
qualified technician to restore the tablet or dock to normal operation.
CAUTION
Avoid prolonged physical contact with the exposed metal surfaces on the front and
back of the tablet. While the tablet may not feel hot to the touch, if you maintain
physical contact with the tablet for a long time (for example, if you rest the tablet on
your lap for a long time), your skin may suffer low-heat injury. In addition, be careful
when you remove a PC card that has been used for a long time, because the card
may be hot.

Welcome
Welcome to the Xplore Technologies® iX101T1™tablet , the
rugged tablet designed, tested, and manufactured to meet the
environmental and physical real-world challenges faced by today’s
mobile workers. Based on years of experience in rugged mobile
applications, the iX101T1 is designed to withstand the abuses of
everyday wear and tear.
Advanced technology, innovative design, and a rugged case are just a
few highlights of your iX101T1 system.
Note: This handbook assumes that you have basic experience
using Tablets and Google® Android® operating system.
iX101T1 User’s Handbook
8

Welcome
About your computer
The iX101T1 is a high-performance tablet that runs on Google ® Android ® operating system.
The method you use to control the tablet is as follows:
Tablet Model
iX101T1
Touchscreen
Projected Capacitive Touch
(PCT)
Control Method
· Special, enhanced pen
(Optional with the tablet)
· One or two fingers
Note: In this handbook, all information applies to all models
unless otherwise noted.
9
iX101T1 User’s Handbook

Welcome
All iX101T1 tablets have been engineered and tested to meet Military
Standards for Environmental Extremes (MIL STD 810G). Your tablet
includes the following features that make it exceptionally rugged and
durable:
■
■
■
■
■
■
Durable, long-lasting, plastic enclosure
Interior magnesium alloy frame
Bumper system and gasket protection mechanisms
Solid State storage memory
Integrated, protected wireless LAN and WAN antennas for dual
mode operation
Chemically treated rugged Display Glass
Package contents
Check to make sure your package includes the following items:
iX101T1 User’s Handbook
■
■
■
■
Quick Start Guide
AC adapter
iX101T1 tablet
Warranty information kit
10

Welcome
Optional accessories
Your package may also include any optional accessories you ordered.
Docking options
■ Vehicle Docking Station
Carrying cases
■
■
Carrying handle with Stylus and Shoulder Strap
Tablet backside hand-strap
Memory
■
Internal “User secure” SD memory expansion up to 160GB
Additional accessories
■
■
■
■
■
CAC reader expansion bay
HDMI-IN and 1Gb Ethernet expansion bay
Auto adapter (cigarette lighter adapter)
Capacitive stylus
Replacement Battery kit
iX101T1 User’s Handbook

Welcome
Contacting Xplore – service and questions
Note: To troubleshoot problems (including wireless and GPS
problems), before you call, read the FAQ page of the Xplore
Technologies Web site. Go to http://www.xploretech.com; then
select Customer Support; then FAQ.
If you purchased your tablet from an authorized Xplore dealer,
contact the dealer for service and support.
If you purchased your tablet directly from Xplore, use any of the
following methods to contact Xplore for service and support:
Web site
E-mail
Toll free
Fax
http://www.xploretech.com
customersupport@xploretech.com
1-866-296-8541, extension 222
1-512-336-7791
Before you contact Xplore, have the following information ready so
that the customer support representative can quickly provide a
solution:
Product name: iX101T1
The serial number is on the
back of the tablet.
iX101T1 User’s Handbook
Product serial number
Purchase date
Conditions under which the problem occurred
Any error messages that were displayed
Type of device connected, if any
12

1
Getting Started
This chapter gives you an overview of your tablet and includes a
quick-start guides.
Front view
Built-in
microphone
Front Camera
Built-in Microphone
Front Camera
Status indicator
Home Button
Auto Light sensor.
iX101T1 User’s Handbook
Auto Light sensor
Status indicator
Home Button
Enables you to input mono audio
HD Video front facing camera for video conferencing, video capture or still picture
capture.
Indicates the computer status (on, off, charging)
Home Button for easy navigation within the Android environment.
Detects ambient light conditions
13

Chapter 1. Getting Started
Back view
Camera Flash
5MP Camera
Battery I/O Port Door
Cover
Speaker
AC Power
NFC Reader
Expansion Bay Door
Device Information
Speaker
NFC Reader
AC Power
Battery cover
Rear 5MP Camera
Rear 5MP Camera Flash
Integrated Speaker for Audio Playback
NFC enabled devices or contactless RFID cards.
Powers the commuter when connected to AC power supply.
Provides access to the battery
5MegaPixel rear facing camera for High Quality still photography or HD Video
Flash light for the rear facing camera for dim light conditions
14

Chapter 1. Getting Started
Right side view
Volume
Down UP
AC Power Connector Speaker
Power (On/Off)/
Suspend/Resume button
Screen Orientation Lock
Power (On/Off)/
Press to power computer, press and hold for 4 seconds to force power off use
Suspend (On/Off)/ Momentarily depress to enter/exit Suspend mode.
Screen Orientation lock Locks the screen in current position regardless of tablet orientation when pressed.
Press again to un-lock screen orientation.
Volume Up/Down Press top of rocker button to increase Audio volume
AC Power connector
Press bottom of rocker button to decrease Audio volume
Pull back cover to expose connector Jack for AC power supply
15
iX101T1 User’s Handbook

Chapter 1. Getting Started
Left side view
HDMI out
USB ports
Power
Switch
HDMI Input
Audio
connector
WAN SIM
Card Slot SD Card
Slot
LAN
connector
The connectors on the side of the computer are located behind the outer doors.
Audio connector
USB 2.0 ports
HDMI Output
WAN SIM Slot
Power Switch
SD Card Slot
(Optional) LAN Connector
(Optional) HDMI Input
(Optional) CAC reader
iX101T1 User’s Handbook
Headset connector for Apple compatible earphones and microphone
One Universal Serial Bus (compliant with USB Standard Revision 2.0) HOST and One Micro-B
OTG connector.
HDMI Micro connector for connection to External Monitor or HDTV device
Wireless Data Provider SIM card (insert contacts facing up).
Power Safety Switch to isolate Battery during shipping. It must be on (thrown toward tablet
top) for the device to operate. See First time operation section.
microSD memory card slot for user memory expansion (insert contacts facing up)
RJ45 for Ethernet LAN data connection.
HDMI Mini connector for Input of Video1080i/720p content from a Set-top box or DVD player
Conditional Access Card reader slot
16

Chapter 1. Getting Started
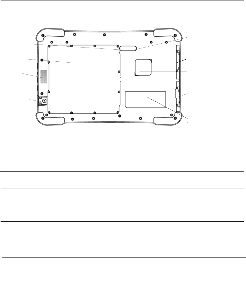
Bottom view
Bottom view
Docking connector for the
optional Xplore Tablet Dock
Kensington lock ___
Guide pin
receptacles
Docking connector
Enables you to connect the optional xStand Desktop Docking Station or xDock
Vehicle Docking Stations.
Guide pin receptacles Help assure a secure connection of the optional xStand or xDock.
Note: See “Optional accessories” on page 16.
Kensington™ lock slot
Connector for the optional Kensington MicroSaver™ or equivalent compatible Security cable
Note: Contact your reseller for information regarding the Kensington security cable.
17
iX101T1 User’s Handbook

Chapter 1. Getting Started
LED Status indicator
The LED Status indicator lights show the status of system functions.
The following table defines the various LED states.
Table 1
Status LED indicator
Mode/State
LED State
Meaning
On state
green, continuous
The computer is on, ready for use, and functioning
normally. The battery is charged.
On Charging
green, blinking
The AC adapter is plugged in and the battery is
charging.
Off state
off (no light)
The computer is off.
Off Charging
Red, blinking
The computer is off and the battery is charging
18
iX101T1 User’s Handbook

Chapter 1. Getting Started
Table 1
Status LED indicator (continued)
Mode/State
On
On
LED State
red, blinking
red, continuous
Meaning
The computer is powered on, running on battery
power, and the charge level in the battery has
reached a minimum warning state. Plug the
computer into an AC/DC power source or install a
charged battery.
The computer is on, running on battery power, and
the charge level in the battery has reached a critical
state. Plug the computer into an AC/DC power
source or install a charged battery.
Or:
The computer has encountered a fault and is not
operating normally. Contact your computer support
personnel, such as your help desk.
iX101T1 User’s Handbook
19

Chapter 1. Getting Started
Quick-start guide
Quick-start guide
First-Time Operation
First time Turning on the computer
1.
2.
3.
Find and Turn the Battery switch ON. A small screwdriver or paperclip may
be used for this purpose. For Safety reasons the tablet is shipped with the
Battery switch OFF and the tablet will not operate if this step is not taken.
It is not necessary to turn the Battery switch of the device ON or OFF during
normal device operation so this operation is only needed on initial device
operation.
Battery Switch is ON when thrown toward the top side of the tablet.
ON Battery Switch
Make sure the battery is charged or that the computer is plugged
into an external power source.
Press the Power On/Off/Suspend/Resume button.
Power On/Off,
Display Toggle and
Suspend/Resume
button
4. Xplore Technologies Logo should display. Allow device to finish
boot-up and follow configuration instructions on your screen
iX101T1 User’s Handbook
20

Chapter 2. Using the Tablet
Turning On/Off the computer
Turning on the computer
1
2.
3.
Press the Power On/Off/Suspend/Resume button.
Drag to with finger to unlock screen
Or Drag to to start Camera application.
Turning off the computer
1.
If the computer is in Suspend mode, press the Power On/Off/
Suspend/Resume button to resume operation.
2.
3.
4.
5.
Make sure the battery is charged or that the computer is plugged
in to an external power source.
Save your work.
Press and hold Power ON/OFF button for 3 seconds then release.
When Dialog box is shown press OK.

Chapter 2. Using the Tablet
Suspending and resuming operation
Suspend operation
To conserve battery power when you do not want to turn off the
computer, put the computer into Suspend mode. (You can suspend
operation without closing any apps.). The default configuration at
time of purchase is for the system to enter suspend mode
automatically after 5 minutes of no activity.
To manually enter suspend mode press the Power switch briefly
and release. The display should switch off, without any
confirmation menu being presented.
Resume operation To resume tablet operation from Suspend mode follow the same
procedure as turning the tablet on.
If this is not successful the battery on the tablet may have fully
discharged. Plug the tablet into AC power and repeat the
procedure

Chapter 2. Using the Tablet
Screen Input Operation
Screen Input Operation
Touch - Select Item or option
Touch and Hold – Open special options
Drag – Scroll the screen
Flick – Scroll the screen quickly
Drag and drop – Move an item
Pinch – Zoom in or out the screen
C

2
Maintaining the Tablet
This chapter provides instructions for maintaining your tablet.
Caring for the tablet
This section provides information about how to keep your tablet in
top working condition.
Checking power cords and connectors
Check AC and DC power cords and power connectors periodically for
damage. Replace the power cord immediately if you find any damage.
Protecting the computer from damage
iX101T1 User’s Handbook
■
■
■
■
Your computer is designed to sustain a multiple-axis drop to a
non-yielding surface. Do not intentionally drop the computer,
because the cumulative effects of multiple drops may damage the
computer.
Do not place heavy objects on the computer.
Do not disassemble the computer.
Keep the computer at least 5 inches (13 centimeters) away from
any electrical appliance that generates a strong magnetic field,
such as a motor, magnet, TV, refrigerator, or large audio
speakers.
24

Caring for the tablet
Chapter 3. Maintaining the Tablet
Caring for the tablet
Storing the computer
You can store the computer in the Off state for about 30 days with a
fully charged battery installed. After this period, recharge the battery
or replace it with a charged battery.
.
Caring for the display screen
To clean the display screen, dampen a soft cotton cloth with water
and gently wipe the screen surface.
Note: Do not use isopropyl alcohol to clean the screen. Alcohol
may damage the surface of the screen.
Protecting the display screen
The screen protector is a durable, replaceable writing surface that
protects the display screen from abrasion.
To obtain screen protectors, check with your reseller, or go
to the Xplore Web site at www.xploretech.com for ordering
information. Additional information about installation is included
with the screen protectors.
iX101T1 User’s Handbook
25

Chapter 3. Maintaining the Tablet
Removing the screen protector
Slide your fingernail under the edge of the screen protector and pull
the protector away from the screen.
Installing a new screen protector
Follow the instructions included with your screen protector
replacement kit.
Note: If a screen protector is already installed on the display
screen, remove it before installing the new screen protector.
26
iX101T1 User’s Handbook

A
Table 7
Problem
Troubleshooting
Table 7 contains solutions to some problems. If you cannot solve the
problem by taking the actions described, contact your local help desk
or your reseller for further assistance.
Troubleshooting
Possible cause and solution
Computer will not start.
The computer will not resume operation
after being suspended.
The Status LED is red, continuous.
The Status LED is red, blinking.
iX101T1 User’s Handbook
· The battery may be defective or discharged to a critically low level.
Connect an external power supply (such as the AC adapter) or install
a charged battery. See “Using the battery” on page 54.
· Internal components may be above or below the acceptable
operating range (below -20° C or above 60° C). After the
temperature returns to safe operating range the computer will start.
· The battery may be defective or discharged to a critically low level.
When the battery reaches a critically low level, the computer is
forced into Suspend- to-RAM mode to avoid a total system power
failure. Connect an external power supply (such as the AC adapter)
or install a charged battery. See “Using the battery” on page 54.
· The computer may be at the critical thermal limit. To avoid damage
to heat-sensitive components, the computer enters Suspend-to-
RAM mode when the computer operates above 60° C. Operation
automatically resumes when the computer cools to below 60° C.
Move the computer to a cooler location.
· The computer is on, running under battery power, and the charge
level in the battery has reached a critical level. Plug the computer
into an AC/DC power source or install a charged battery.
· The system has encountered a fault and is preventing normal
operation. Contact your local help desk.
The computer is powered on, running under battery power, and the
charge level in the battery is at a minimum warning level. Plug the
computer into an AC/DC power source or install a charged battery.
27

Appendix A. Troubleshooting
Table 7
Troubleshooting (continued)
Problem
Possible cause and solution
Display screen is blank or difficult to
· Confirm that the computer is on (the Power icon is displayed
read. continuously in the Status area).
· The brightness may be set too low, causing the screen to appear too
dark. To change system brightness, press Settings Icon, Display, Brightness.
· The video time-out may have expired. Tap the display screen to
reactivate the display.
Note: This is a normal, power-saving feature.
·
Headphone or speaker volume is too
· The volume may be in Mute mode or set too low. Follow the
low. Instruction to adjust headphone or speaker volume.
· Make sure the volume control in your audio software is set to an
audible level.
An external device is not working with
The device may need to be enabled in the computer’s configuration
the computer. program. Contact your local help desk or reseller.
28
iX101T1 User’s Handbook

Main RAM 1GB LPDDR2
RAM Options None
L2 Cache 1MB cache
Storage 32GB eMMC
Storage Expansion up to 160GB
One User accessible micro SD
One internal non User accessible microSD
B
Hardware Specifications
Physical
Dimensions
Weight
Processing
CPU
Chip set
Processor speed
11.20” x 8.25” x 1.6” (WxHxD)
283.9mm x 209.3mm x 40.8mm
5.25 lbs. (2.38 kgs)*
OMAP4470 Dual core ARM A9
Up to 1.5 GHz*
* Varies according to your computer’s configuration.
Memory/storage
.
iX101T1 User’s Handbook
29

Display · Color LCD
· Projected Capacitive Touch Panel
· 10.1 TFT WVGA (1366x768), 16M colors
· Brightness:up to 500 nits
· Viewing Angle:
- Horizontal: 60 degrees (min.)
- Vertical: 10 degrees (min.)
- Contrast Ratio: Typ. 500:1, Min 100:1
Graphics
Powerful Imagination PowerVR SX544 Graphics processor
for low-power, high-performance 3D/2D graphics, video, and
display capabilities.
Appendix B. Hardware Specifications
Display
30
iX101T1 User’s Handbook

Wireless Radios · One internal WiFi 802.11 abgn
· One Bluetooth radio
· One FM Transmitter
· One NFC Transciever
Integrated Interfaces · DC-in
· USB (2) 2.0
· Headset and Microphone Jack
· HDMI output
· microSD Card slot
· WAN SIM slot
· LAN (RJ-45 optional)
· CAC Reader (optional)
· HDMI input (optional)
KeyPad / User Controls · Application buttons with primary and
secondary functions
· Power On/Off/Suspend/Resume button
Appendix B. Hardware Specifications
Interface
Power
iX101T1 User’s Handbook
Main Battery
· Serviceable Lithium Ion
· 3.7V @ 9600mAh (35.52 Whr)
· Recharge Time: 3.5 hours (90%)
· Life: Up to 8 hours. (Battery life is
dependent on operating system, power
management, and applications in use.)
· Suspend Life: Min. 5 days
31

AC Adapter Auto-sensing 100-240V, supplying 19 VDC, with
a current of 3.42 A
Temperature · Operating:
-5⁰ to 140⁰ F (-23⁰ to 60⁰ C)
· Storage:
-40⁰ to 167⁰ F (-40⁰ to 75⁰ C)
Humidity 0% to 95% non-condensing
Shock/Drop Four-foot drop to plywood, operating, on all surfaces,
edges and corners
Vibration 0.04g^2/Hz, 20 Hz - 1000 Hz
-6dB/octave 1000 Hz - 2000 Hz
Appendix B. Hardware Specifications
Power (continued)
Environmental
32
iX101T1 User’s Handbook

EMC CFR 47, FCC part 15 Class B, IC ICES-003, EN
55022, EN55024
Safety
TUV, UL, cUL UL60950
IEC60950
-1 2nd Ed, EN60950-1 2nd Ed,
Appendix B. Hardware Specifications
Environmental (continued)
Enclosure Class
Blowing rain:
4”/hr, 40 mph wind and
MIL-STD-810G Method 506.4 Procedure 1
Drip:
7 gal/ft2/hr
MIL-STD-810G Method 506.4 Procedure III
Sand and dust:
Particle size < 149 µm, 10 + 7 g/m3 particle
density 1.5 m/s to 8.9 m/s wind speed
MIL-STD-810G Method 510.4 Procedure 1
Salt Fog:
5% saline for 48 hr (12 hr wet, 12 hr dry, 2
cycles)
MIL-STD-810G Method 509.4
Contamination by fluids:
Detergents, brake fluid, aromatic hydrocarbons
MIL-STD-810G Method 504
Solar radiation:
1120 W/m2 (355 Btu/ft2/hr) UVB @ 50° C, 7x24
hr cycles
MIL-STD-810G Method 505.4
Agency approvals
iX101T1 User’s Handbook
33

Appendix B. Hardware Specifications
Operating system
Operating Systems
· Google Android 4.04 (Ice Cream Sandwich)
34
iX101T1 User’s Handbook
C
Agency Notices
FCC notices
This device complies with Part 15 of the FCC Rules .Operation is subject to the
following two conditions: (1) this device may not cause harmful interference, and
(2) this device must accept any interference received, including interference that
may cause undesired operation.
Modifications not expressly approved by Xplore Technologies could void this
user’s authority to operate the equipment.
Note:
This equipment has been tested and found to comply with the limits for
a Class B digital device, pursuant to Part 15 of the FCC Rules.. These limits are
designed to provide reasonable protection against harmful interference in a
residential installation. This equipment generates, uses and can radiate radio
frequency energy and, if not installed and used in accordance with the
instructions, may cause harmful interference to radio communications.
However, there is no guarantee that interference will not occur in a particular
installation. If this equipment does cause harmful interference to radio or
television reception, which can be determined by turning the equipment off and
on, the user is encouraged to try to correct the interference by one or more of
the following measures:
- Reorient or relocate the receiving antenna.
- Increase the separation between the equipment and receiver.
- Connect the equipment into an outlet on a circuit different from
that to which the receiver is connected.
- Consult the dealer or an experienced radio/TV technician for help.
WLAN: (Wi-Fi)
Please note that 5150-5250MHz (ch. 36-48) is restricted to indoor-use only
in many countries including the United States.
RF exposure
Tests for SAR are conducted using standard operating positions specified by
the FCC with the tablet PC transmitting at its highest certified power level in
all tested frequency bands. Although the SAR is determined at the highest
certified power level, the actual SAR level of the tablet PC while operating
can be well below the maximum value. This is because the tablet PC is
designed to operate at multiple power levels so as to use only the power
required to reach the network. In general, the closer you are to a wireless base
station antenna, the lower the power output.

iX101T1 User’s Handbook
35

Appendix C. Agency Notices
Before a tablet PC model is available for sale to the public, it must be tested
and certified to the FCC and IC that it does not exceed the limit established by the
government-adopted requirement for safe exposure. The tests are performed
in positions and locations (e.g., next to body/lap) as required by the FCC for
each model. (next to body/lap measurements may differ among tablet PC models,
depending upon available accessories and FCC and IC requirements). ”While there may be
differences between the SAR levels of various tablet PCs and at various positions, they are all
required to meet the government regulations for safe exposure. This device was evaluated and
shown to comply with FCC and IC SAR RF exposure requirements.
Avoid covering or holding antennas when transmitting. Antenna locations are
shown in the following figure.
Antennas
WLAN Bluetooth
antenna
Health and Safety Information
Exposure to Radio Frequency (RF) Signals
Your wireless tablet PC is a radio transmitter and receiver. It is designed and
manufactured not to exceed the emission limits for exposure to radio
frequency (RF) energy set by the Federal Communications Commission of
the U.S. Government as well as the RTT&E directive. These limits are part of comprehensive
guidelines and
establish permitted levels of RF energy for the general population. The
guidelines are based on the safety standards previously set by both U.S. and
international standards bodies:
■
■
American National Standards Institute (ANSI) IEEE. C95.1-1992
National Council on Radiation Protection and Measurement (NCRP).
Report 86. 1986
36
iX101T1 User’s Handbook

Appendix C. Agency Notices
■
■
International Commission on Non-Ionizing Radiation Protection
(ICNIRP) 1996
Ministry of Health (Canada), Safety Code 6. The standards include a
substantial safety margin designed to assure the safety of all persons,
regardless of age and health.
European Union RTT&E Directive for SAR
The exposure standard for wireless mobile tablet PCs employs a unit of
measurement known as the Specific Absorption Rate, or SAR. The SAR limit
set by the FCC is 1.6W/kg. The SAR limit set by the RTT&E is 2.0W/kg.
Note:
In the U.S. and Canada, the SAR limit for mobile tablet PCs used by
the public is 1.6 watts/kg (W/kg) averaged over one gram of tissue. In Europe the SAR limit for
mobile tablet PCs used by the public is 2.0 watts/kg (W/kg) averaged over 10 grams of tissue. The
standard incorporates a substantial margin of safety to give additional
protection for the public and to account for any variations.
DOC (Industry Canada Notices)
Notice to Users of Radio and Television
This Class B digital apparatus meets all requirements of Canadian
Interference-Causing Equipment Regulations per the ICES-003
CET appareil numérique de la class B respecte toutes les exigence du
Réglement sur le matérial brouilleur du Canada.
iX101T1 User’s Handbook
37

Appendix C. Agency Notices
UL Notice
This unit requires an AC adapter to operate. Use only UL Listed
Class 2 Adapters with an output rating of 19 VDC, with a current of 3.42 A.
AC Adapter output polarity:
For authorized repair technicians only
WARNING
For continued protection against risk of fire, replace only with the same
type and rating fuse.
WARNING
Danger of explosion if Lithium (clock) battery is incorrectly replaced.
Replace only with the same equivalent type recommended by the
manufacturer. Dispose of used batteries according to the
manufacturer’s instruction.
System disposal
In the event of system disposal, observe the following information regarding
proper procedures in the State of Vermont.
The liquid crystal display (LCD) lamps used in this system contain mercury.
In the event of system disposal, be sure to follow local guidelines.
38
iX101T1 User’s Handbook

39