Yamaha 2008 V Star 1300 Tourer Owners Manual VSTAR XVS13CTX(C) OWNER'S
2015-03-13
: Yamaha 2008-V-Star-1300-Tourer-Owners-Manual yamaha-2008-v-star-1300-tourer-owners-manual-648463 yamaha pdf
Open the PDF directly: View PDF
.
Page Count: 100
- VSTAR 1300 XVS13CTX(C) OWNER'S MANUAL
- INTRODUCTION
- IMPORTANT MANUAL INFORMATION
- TABLE OF CONTENTS
- SAFETY INFORMATION
- DESCRIPTION
- INSTRUMENT AND CONTROL FUNCTIONS
- PRE-OPERATION CHECKS
- OPERATION AND IMPORTANT RIDING POINTS
- PERIODIC MAINTENANCE AND MINOR REPAIR
- PERIODIC MAINTENANCE
- Owner's tool kit
- Periodic maintenance chart for the emission control system
- General maintenance and lubrication chart
- Removing and installing the panel
- Checking the spark plugs
- Canister (for California only)
- Engine oil and oil filter cartridge
- Coolant
- Replacing the air filter element
- Checking the throttle cable free play
- Valve clearance
- Tires
- Cast wheels
- Accessories and replacement parts
- Adjusting the clutch lever free play
- Adjusting the brake lever free play
- Adjusting the rear brake light switch
- Checking the front and rear brake pads
- Checking the brake fluid level
- Changing the brake fluid
- Drive belt slack
- Checking and lubricating the cables
- Checking and lubricating the throttle grip and cable
- Checking and lubricating the brake and shift pedals
- Checking and lubricating the brake and clutch levers
- Checking and lubricating the sidestand
- Lubricating the swingarm pivots
- Lubricating the rear suspension
- Checking the front fork
- Checking the steering
- Battery
- Replacing the fuses
- Replacing the headlight bulb
- Replacing the tail/brake light bulb
- Replacing a front turn signal light bulb
- Replacing a rear turn signal light bulb
- Replacing the license plate light bulb
- Supporting the motorcycle
- Troubleshooting
- Troubleshooting charts
- MOTORCYCLE CARE AND STORAGE
- SPECIFICATIONS
- CONSUMER INFORMATION
- INDEX

5S6-28199-11
XVS13CTX(C)
OWNER’S MANUAL
LIT-11626-21-30

EAU10041
U5S611E0.book Page 1 Thursday, May 10, 2007 3:00 PM

INTRODUCTION
EAU10080
Congratulations on your purchase of the Yamaha XVS13CTX(C). This model is the result of Yamaha’s vast experience in
the production of fine sporting, touring, and pacesetting racing machines. It represents the high degree of craftsmanship and
reliability that have made Yamaha a leader in these fields.
This manual will give you an understanding of the operation, inspection, and basic maintenance of this motorcycle. If you
have any questions concerning the operation or maintenance of your motorcycle, please consult a Yamaha dealer.
The design and manufacture of this Yamaha motorcycle fully comply with the emissions standards for clean air applicable at
the date of manufacture. Yamaha has met these standards without reducing the performance or economy of operation of the
motorcycle. To maintain these high standards, it is important that you and your Yamaha dealer pay close attention to the
recommended maintenance schedules and operating instructions contained within this manual.
U5S611E0.book Page 1 Thursday, May 10, 2007 3:00 PM

IMPORTANT MANUAL INFORMATION
EAU10131
Particularly important information is distinguished in this manual by the following notations:
NOTE:
●This manual should be considered a permanent part of this motorcycle and should remain with it even if the motorcycle
is subsequently sold.
●Yamaha continually seeks advancements in product design and quality. Therefore, while this manual contains the most
current product information available at the time of printing, there may be minor discrepancies between your motorcycle
and this manual. If you have any questions concerning this manual, please consult your Yamaha dealer.
The Safety Alert Symbol means ATTENTION! BECOME ALERT! YOUR SAFETY IS
INVOLVED!
Failure to follow WARNING instructions could result in severe injury or death to the
motorcycle operator, a bystander or a person inspecting or repairing the motor-
cycle.
A CAUTION indicates special precautions that must be taken to avoid damage to
the motorcycle.
A NOTE provides key information to make procedures easier or clearer.
WARNING
CAUTION:
NOTE:
U5S611E0.book Page 1 Thursday, May 10, 2007 3:00 PM

IMPORTANT MANUAL INFORMATION
WARNING
EWA10010
PLEASE READ THIS MANUAL AND THE “YOU AND YOUR MOTORCYCLE: RIDING TIPS” BOOKLET CAREFULLY
AND COMPLETELY BEFORE OPERATING THIS MOTORCYCLE. DO NOT ATTEMPT TO OPERATE THIS MOTOR-
CYCLE UNTIL YOU HAVE ATTAINED ADEQUATE KNOWLEDGE OF ITS CONTROLS AND OPERATING FEATURES
AND UNTIL YOU HAVE BEEN TRAINED IN SAFE AND PROPER RIDING TECHNIQUES. REGULAR INSPECTIONS
AND CAREFUL MAINTENANCE, ALONG WITH GOOD RIDING SKILLS, WILL ENSURE THAT YOU SAFELY ENJOY
THE CAPABILITIES AND THE RELIABILITY OF THIS MOTORCYCLE.
*Product and specifications are subject to change without notice.
U5S611E0.book Page 2 Thursday, May 10, 2007 3:00 PM

IMPORTANT MANUAL INFORMATION
EAU10192
XVS13CTX(C)
OWNER’S MANUAL
©2007 by Yamaha Motor Corporation, U.S.A.
1st edition, April 2007
All rights reserved.
Any reprinting or unauthorized use
without the written permission of
Yamaha Motor Corporation, U.S.A.
is expressly prohibited.
Printed in Japan.
P/N LIT-11626-21-30
AFFIX DEALER
LABEL HERE
U5S611E0.book Page 3 Thursday, May 10, 2007 3:00 PM

TABLE OF CONTENTS
SAFETY INFORMATION ..................1-1
Location of important labels ...........1-5
DESCRIPTION ..................................2-1
Left view ..........................................2-1
Right view........................................2-2
Controls and instruments ................2-3
INSTRUMENT AND CONTROL
FUNCTIONS.......................................3-1
Main switch/steering lock ................3-1
Indicator and warning lights ............3-2
Multi-function meter unit .................3-3
Handlebar switches ........................3-6
Clutch lever ....................................3-8
Shift pedal ......................................3-8
Brake lever .....................................3-8
Brake pedal ....................................3-9
Fuel tank cap ..................................3-9
Fuel ..............................................3-10
Catalytic converter ........................3-11
Rider seat .....................................3-11
Helmet holder ...............................3-12
Sidebags ......................................3-12
Adjusting the shock absorber
assembly ...................................3-13
Sidestand .....................................3-14
Ignition circuit cut-off system ........3-15
PRE-OPERATION CHECKS..............4-1
Pre-operation check list ..................4-2
OPERATION AND IMPORTANT
RIDING POINTS ................................ 5-1
Starting the engine ......................... 5-1
Shifting ........................................... 5-2
Engine break-in .............................. 5-3
Parking ........................................... 5-4
PERIODIC MAINTENANCE AND
MINOR REPAIR................................. 6-1
PERIODIC MAINTENANCE .......... 6-1
Owner’s tool kit .............................. 6-1
Periodic maintenance chart for the
emission control system ............. 6-3
General maintenance and
lubrication chart .......................... 6-4
Removing and installing the
panel ........................................... 6-9
Checking the spark plugs .............. 6-9
Canister (for California only) ........ 6-11
Engine oil and oil filter cartridge ... 6-11
Coolant ........................................ 6-14
Replacing the air filter element .... 6-15
Checking the throttle cable free
play ........................................... 6-16
Valve clearance ........................... 6-16
Tires ............................................. 6-17
Cast wheels ................................. 6-19
Accessories and replacement
parts ......................................... 6-19
Adjusting the clutch lever free
play ........................................... 6-20
Adjusting the brake lever free
play ........................................... 6-20
Adjusting the rear brake light
switch ........................................ 6-21
Checking the front and rear
brake pads ................................ 6-21
Checking the brake fluid level ...... 6-22
Changing the brake fluid .............. 6-23
Drive belt slack ............................. 6-23
Checking and lubricating the
cables ....................................... 6-24
Checking and lubricating the
throttle grip and cable ...............6-24
Checking and lubricating the
brake and shift pedals ............... 6-25
Checking and lubricating the
brake and clutch levers .............6-25
Checking and lubricating the
sidestand .................................. 6-26
Lubricating the swingarm pivots ... 6-26
Lubricating the rear suspension ... 6-27
Checking the front fork ................. 6-27
Checking the steering .................. 6-28
Checking the wheel bearings ....... 6-28
Battery .......................................... 6-29
Replacing the fuses ...................... 6-30
Replacing the headlight bulb ........6-32
Replacing the tail/brake light
bulb ........................................... 6-33
Replacing a front turn signal light
bulb ........................................... 6-34
U5S611E0.book Page 1 Thursday, May 10, 2007 3:00 PM

TABLE OF CONTENTS
Replacing a rear turn signal light
bulb ...........................................6-34
Replacing the license plate light
bulb ...........................................6-35
Supporting the motorcycle ............6-36
Troubleshooting ............................6-36
Troubleshooting charts .................6-37
MOTORCYCLE CARE AND
STORAGE ..........................................7-1
Matte color caution .........................7-1
Care ................................................7-1
Storage ...........................................7-4
SPECIFICATIONS .............................8-1
CONSUMER INFORMATION.............9-1
Identification numbers ....................9-1
Reporting safety defects .................9-3
Motorcycle noise regulation ............9-4
Maintenance record ........................9-5
YAMAHA MOTOR CORPORATION,
U.S.A. STREET AND ENDURO
MOTORCYCLE LIMITED
WARRANTY ................................9-7
YAMAHA EXTENDED SERVICE
(Y.E.S.) ........................................9-9
U5S611E0.book Page 2 Thursday, May 10, 2007 3:00 PM

1-1
1
SAFETY INFORMATION
EAU10281
MOTORCYCLES ARE SINGLE
TRACK VEHICLES. THEIR SAFE USE
AND OPERATION ARE DEPENDENT
UPON THE USE OF PROPER RIDING
TECHNIQUES AS WELL AS THE EX-
PERTISE OF THE OPERATOR. EV-
ERY OPERATOR SHOULD KNOW
THE FOLLOWING REQUIREMENTS
BEFORE RIDING THIS MOTOR-
CYCLE.
HE OR SHE SHOULD:
●OBTAIN THOROUGH INSTRUC-
TIONS FROM A COMPETENT
SOURCE ON ALL ASPECTS OF
MOTORCYCLE OPERATION.
●OBSERVE THE WARNINGS AND
MAINTENANCE REQUIRE-
MENTS IN THE OWNER’S MAN-
UAL.
●OBTAIN QUALIFIED TRAINING
IN SAFE AND PROPER RIDING
TECHNIQUES.
●OBTAIN PROFESSIONAL TECH-
NICAL SERVICE AS INDICATED
BY THE OWNER’S MANUAL
AND/OR WHEN MADE NECES-
SARY BY MECHANICAL CONDI-
TIONS.
Safe riding
●Always make pre-operation
checks. Careful checks may help
prevent an accident.
●This motorcycle is designed to car-
ry the operator and a passenger.
●The failure of motorists to detect
and recognize motorcycles in traf-
fic is the predominating cause of
automobile/motorcycle accidents.
Many accidents have been caused
by an automobile driver who did
not see the motorcycle. Making
yourself conspicuous appears to
be very effective in reducing the
chance of this type of accident.
Therefore:
•Wear a brightly colored jacket.
•Use extra caution when you are
approaching and passing
through intersections, since in-
tersections are the most likely
places for motorcycle accidents
to occur.
•Ride where other motorists can
see you. Avoid riding in another
motorist’s blind spot.
●Many accidents involve inexperi-
enced operators. In fact, many op-
erators who have been involved in
accidents do not even have a cur-
rent motorcycle license.
•Make sure that you are qualified
and that you only lend your
motorcycle to other qualified op-
erators.
•Know your skills and limits.
Staying within your limits may
help you to avoid an accident.
•We recommend that you prac-
tice riding your motorcycle
where there is no traffic until you
have become thoroughly famil-
iar with the motorcycle and all of
its controls.
●Many accidents have been caused
by error of the motorcycle opera-
tor. A typical error made by the op-
erator is veering wide on a turn
U5S611E0.book Page 1 Thursday, May 10, 2007 3:00 PM

SAFETY INFORMATION
1-2
1
due to EXCESSIVE SPEED or un-
dercornering (insufficient lean an-
gle for the speed).
•Always obey the speed limit and
never travel faster than warrant-
ed by road and traffic conditions.
•Always signal before turning or
changing lanes. Make sure that
other motorists can see you.
●The posture of the operator and
passenger is important for proper
control.
•The operator should keep both
hands on the handlebar and
both feet on the operator foot-
rests during operation to main-
tain control of the motorcycle.
•The passenger should always
hold onto the operator, the seat
strap or grab bar, if equipped,
with both hands and keep both
feet on the passenger footrests.
•Never carry a passenger unless
he or she can firmly place both
feet on the passenger footrests.
●Never ride under the influence of
alcohol or other drugs.
●This motorcycle is designed for on-
road use only. It is not suitable for
off-road use.
Protective apparel
The majority of fatalities from motor-
cycle accidents are the result of head
injuries. The use of a safety helmet is
the single most critical factor in the pre-
vention or reduction of head injuries.
●Always wear an approved helmet.
●Wear a face shield or goggles.
Wind in your unprotected eyes
could contribute to an impairment
of vision that could delay seeing a
hazard.
●The use of a jacket, heavy boots,
trousers, gloves, etc., is effective in
preventing or reducing abrasions
or lacerations.
●Never wear loose-fitting clothes,
otherwise they could catch on the
control levers, footrests, or wheels
and cause injury or an accident.
●Never touch the engine or exhaust
system during or after operation.
They become very hot and can
cause burns. Always wear protec-
tive clothing that covers your legs,
ankles, and feet.
●A passenger should also observe
the above precautions.
Modifications
Modifications made to this motorcycle
not approved by Yamaha, or the re-
moval of original equipment, may ren-
der the motorcycle unsafe for use and
may cause severe personal injury.
Modifications may also make your
motorcycle illegal to use.
Loading and accessories
Adding accessories or cargo to your
motorcycle can adversely affect stabili-
ty and handling if the weight distribution
of the motorcycle is changed. To avoid
the possibility of an accident, use ex-
treme caution when adding cargo or
accessories to your motorcycle. Use
extra care when riding a motorcycle
that has added cargo or accessories.
Here are some general guidelines to
follow if loading cargo or adding acces-
sories to your motorcycle:
U5S611E0.book Page 2 Thursday, May 10, 2007 3:00 PM

SAFETY INFORMATION
1-3
1
Loading
The total weight of the operator, pas-
senger, accessories and cargo must
not exceed the maximum load limit.
When loading within this weight limit,
keep the following in mind:
●Cargo and accessory weight
should be kept as low and close to
the motorcycle as possible. Make
sure to distribute the weight as
evenly as possible on both sides of
the motorcycle to minimize imbal-
ance or instability.
●Shifting weights can create a sud-
den imbalance. Make sure that ac-
cessories and cargo are securely
attached to the motorcycle before
riding. Check accessory mounts
and cargo restraints frequently.
●Never attach any large or heavy
items to the handlebar, front fork,
or front fender. These items, in-
cluding such cargo as sleeping
bags, duffel bags, or tents, can
create unstable handling or a slow
steering response.
Accessories
Genuine Yamaha accessories have
been specifically designed for use on
this motorcycle. Since Yamaha cannot
test all other accessories that may be
available, you must personally be re-
sponsible for the proper selection, in-
stallation and use of non-Yamaha
accessories. Use extreme caution
when selecting and installing any ac-
cessories.
Keep the following guidelines in mind,
as well as those provided under “Load-
ing” when mounting accessories.
●Never install accessories or carry
cargo that would impair the perfor-
mance of your motorcycle. Care-
fully inspect the accessory before
using it to make sure that it does
not in any way reduce ground
clearance or cornering clearance,
limit suspension travel, steering
travel or control operation, or ob-
scure lights or reflectors.
•Accessories fitted to the handle-
bar or the front fork area can
create instability due to improper
weight distribution or aerody-
namic changes. If accessories
are added to the handlebar or
front fork area, they must be as
lightweight as possible and
should be kept to a minimum.
•Bulky or large accessories may
seriously affect the stability of
the motorcycle due to aerody-
namic effects. Wind may at-
tempt to lift the motorcycle, or
the motorcycle may become un-
stable in cross winds. These ac-
cessories may also cause
instability when passing or being
passed by large vehicles.
•Certain accessories can dis-
place the operator from his or
her normal riding position. This
improper position limits the free-
dom of movement of the opera-
Maximum load:
190 kg (419 lb)
U5S611E0.book Page 3 Thursday, May 10, 2007 3:00 PM

SAFETY INFORMATION
1-4
1
tor and may limit control ability,
therefore, such accessories are
not recommended.
●Use caution when adding electri-
cal accessories. If electrical acces-
sories exceed the capacity of the
motorcycle’s electrical system, an
electric failure could result, which
could cause a dangerous loss of
lights or engine power.
Gasoline and exhaust gas
●GASOLINE IS HIGHLY FLAMMA-
BLE:
•Always turn the engine off when
refueling.
•Take care not to spill any gaso-
line on the engine or exhaust
system when refueling.
•Never refuel while smoking or in
the vicinity of an open flame.
●Never start the engine or let it run
for any length of time in a closed
area. The exhaust fumes are poi-
sonous and may cause loss of
consciousness and death within a
short time. Always operate your
motorcycle in an area that has ad-
equate ventilation.
●Always turn the engine off before
leaving the motorcycle unattended
and remove the key from the main
switch. When parking the motor-
cycle, note the following:
•The engine and exhaust system
may be hot, therefore, park the
motorcycle in a place where pe-
destrians or children are not like-
ly to touch these hot areas.
•Do not park the motorcycle on a
slope or soft ground, otherwise it
may fall over.
•Do not park the motorcycle near
a flammable source, (e.g., a ker-
osene heater, or near an open
flame), otherwise it could catch
fire.
●When transporting the motorcycle
in another vehicle, make sure that
it is kept upright. If the motorcycle
should lean over, gasoline may
leak out of the fuel tank.
●If you should swallow any gaso-
line, inhale a lot of gasoline vapor,
or allow gasoline to get into your
eyes, see your doctor immediately.
If any gasoline spills on your skin
or clothing, immediately wash the
affected area with soap and water
and change your clothes.
U5S611E0.book Page 4 Thursday, May 10, 2007 3:00 PM

SAFETY INFORMATION
1-5
1
EAU10381
Location of important labels
Please read the following important labels carefully before operating this vehicle.
U5S611E0.book Page 5 Thursday, May 10, 2007 3:00 PM

SAFETY INFORMATION
1-6
1
U5S611E0.book Page 6 Thursday, May 10, 2007 3:00 PM

SAFETY INFORMATION
1-7
1
56
U5S611E0.book Page 7 Thursday, May 10, 2007 3:00 PM

DESCRIPTION
2-1
2
EAU10410
Left view
1. Front turn signal/position lights (page 6-34)
2. Headlight (page 6-32)
3. Seat lock (page 3-11)
4. Fuel injection system fuse (page 6-30)
5. Fuse box (page 6-30)
6. Main fuse (page 6-30)
7. Helmet holder (page 3-12)
8. License plate light (page 6-35)
9. Rear turn signal light (page 6-34)
10.Tail/brake light (page 6-33)
11.Engine oil level check window (page 6-11)
12.Shift pedal (page 3-8)
13.Engine oil filler cap (page 6-11)
U5S611E0.book Page 1 Thursday, May 10, 2007 3:00 PM

DESCRIPTION
2-2
2
EAU10420
Right view
1. Sidebag (page 3-12)
2. Rear brake fluid reservoir (page 6-22)
3. Owner’s tool kit (page 6-1)
4. Battery (page 6-29)
5. Air filter element (page 6-15)
6. Fuel tank cap (page 3-9)
7. Front brake fluid reservoir (page 6-22)
8. Brake pedal (page 3-9)
9. Rear brake light switch (page 6-21)
10.Engine oil filter cartridge (page 6-11)
11.Engine oil drain bolt (page 6-11)
12.Coolant reservoir (page 6-14)
13.Shock absorber assembly spring preload adjusting ring (page 3-13)
U5S611E0.book Page 2 Thursday, May 10, 2007 3:00 PM

DESCRIPTION
2-3
2
EAU10430
Controls and instruments
1. Clutch lever (page 3-8)
2. Left handlebar switches (page 3-6)
3. Multi-function meter unit (page 3-3)
4. Main switch/steering lock (page 3-1)
5. Right handlebar switches (page 3-6)
6. Throttle grip (page 6-16)
7. Brake lever (page 3-8)
U5S611E0.book Page 3 Thursday, May 10, 2007 3:00 PM

INSTRUMENT AND CONTROL FUNCTIONS
3-1
3
EAU10460
Main switch/steering lock
The main switch/steering lock controls
the ignition and lighting systems, and is
used to lock the steering. The various
positions are described below.
EAU10540
ON
All electrical circuits are supplied with
power, and the meter lighting, taillight,
license plate light and position lights
come on, and the engine can be start-
ed. The key cannot be removed.
NOTE:
The headlight comes on automatically
when the engine is started and stays on
until the key is turned to “OFF”, even if
the engine stalls.
EAU10660
OFF
All electrical systems are off. The key
can be removed.
EAU10680
LOCK
The steering is locked, and all electrical
systems are off. The key can be re-
moved.
To lock the steering
1. Turn the handlebars all the way to
the left.
2. Push the key in from the “OFF” po-
sition, and then turn it to “LOCK”
while still pushing it.
3. Remove the key.
To unlock the steering
Push the key in, and then turn it to
“OFF” while still pushing it.
WARNING
EWA10060
Never turn the key to “OFF” or
“LOCK” while the vehicle is moving,
otherwise the electrical systems will
be switched off, which may result in
loss of control or an accident. Make
sure that the vehicle is stopped be-
fore turning the key to “OFF” or
“LOCK”.
1. Push.
2. Turn.
1. Push.
2. Turn.
U5S611E0.book Page 1 Thursday, May 10, 2007 3:00 PM

INSTRUMENT AND CONTROL FUNCTIONS
3-2
3
EAU11003
Indicator and warning lights
EAU11020
Turn signal indicator light “”
This indicator light flashes when the
turn signal switch is pushed to the left or
right.
EAU11060
Neutral indicator light “”
This indicator light comes on when the
transmission is in the neutral position.
EAU11080
High beam indicator light “”
This indicator light comes on when the
high beam of the headlight is switched
on.
EAU11250
Oil level warning light “”
This warning light comes on when the
engine oil level is low.
The electrical circuit of the warning light
can be checked by turning the key to
“ON”.
If the warning light does not come on
for a few seconds, then go off, have a
Yamaha dealer check the electrical cir-
cuit.
NOTE:
●Even if the oil level is sufficient, the
warning light may flicker when
riding on a slope or during sudden
acceleration or deceleration, but
this is not a malfunction.
●This model is also equipped with a
self-diagnosis device for the oil
level detection circuit. If the oil lev-
el detection circuit is defective, the
following cycle will be repeated un-
til the malfunction is corrected: The
oil level warning light will flash ten
times, then go off for 2.5 seconds.
If this occurs, have a Yamaha
dealer check the vehicle.
EAU42740
Fuel level warning light “”
This warning light comes on when the
fuel level drops below approximately
3.7 L (0.98 US gal) (0.81 Imp.gal).
When this occurs, refuel as soon as
possible.
The electrical circuit of the warning light
can be checked by turning the key to
“ON”.
If the warning light does not come on
for a few seconds, and then go off,
have a Yamaha dealer check the elec-
trical circuit.
NOTE:
●The vehicle must be on a level sur-
face and positioned upright, other-
wise the fuel level warning light
may not come on and go off at the
appropriate times.
●This model is also equipped with a
self-diagnosis device for the fuel
level detection circuit. If the fuel
1. Neutral indicator light “”
2. Coolant temperature warning light “”
3. Engine trouble warning light “”
4. High beam indicator light “”
5. Turn signal indicator light “”
6. Oil level warning light “”
7. Fuel level warning light “”
U5S611E0.book Page 2 Thursday, May 10, 2007 3:00 PM

INSTRUMENT AND CONTROL FUNCTIONS
3-3
3
level detection circuit is defective,
the following cycle will be repeated
until the malfunction is corrected:
The fuel level warning light will
flash eight times, and then go off
for 3.0 seconds. If this occurs,
have a Yamaha dealer check the
vehicle.
EAU11440
Coolant temperature warning light
“”
This warning light comes on when the
engine overheats. When this occurs,
stop the engine immediately and allow
the engine to cool.
The electrical circuit of the warning light
can be checked by turning the key to
“ON”.
If the warning light does not come on
for a few seconds, then go off, have a
Yamaha dealer check the electrical cir-
cuit.
CAUTION:
ECA10020
Do not operate the engine if it is
overheated.
EAU42770
Engine trouble warning light “”
This warning light comes on when an
electrical circuit monitoring the engine
is defective. When this occurs, have a
Yamaha dealer check the self-diagno-
sis system. (See page 3-3 for an expla-
nation of the self-diagnosis device.)
The electrical circuit of the warning light
can be checked by turning the key to
“ON”. If the warning light does not come
on for a few seconds, then go off, have
a Yamaha dealer check the electrical
circuit.
EAU42762
Multi-function meter unit
WARNING
EWA12421
Be sure to stop the vehicle before
making any setting changes to the
multi-function meter unit.
The multi-function meter unit is
equipped with the following:
●a speedometer (which shows the
riding speed)
●an odometer (which shows the to-
tal distance traveled)
●two tripmeters (which show the
distance traveled since they were
last set to zero)
1. Speedometer
2. Odometer/tripmeter/fuel reserve tripme-
ter/clock
U5S611E0.book Page 3 Thursday, May 10, 2007 3:00 PM

INSTRUMENT AND CONTROL FUNCTIONS
3-4
3
●a fuel reserve tripmeter (which
shows the distance traveled on the
fuel reserve)
●a clock
●a self-diagnosis device
●a brightness control mode
NOTE:
Be sure to turn the key to “ON” before
using the “SELECT” switch “/”
and “RESET” switch, except for setting
the brightness control mode.
Speedometer
When the key is turned to “ON”, the
speedometer needle will sweep once
across the speed range and then return
to zero in order to test the electrical cir-
cuit.
Odometer, tripmeters, fuel reserve
tripmeter and clock
Push the “” side of the “SELECT”
switch to switch the display between
the odometer mode “ODO”, the tripme-
ter modes “TRIP 1” and “TRIP 2” and
the clock mode in the following order:
ODO → TRIP 1 → TRIP 2 → Clock →
ODO
NOTE:
●Push the “” side of the “SE-
LECT” switch to switch the display
in the reverse order.
1. “SELECT” switch “/”
2. “RESET” switch
1. Speedometer
1. Odometer/tripmeter/fuel reserve tripme-
ter/clock
U5S611E0.book Page 4 Thursday, May 10, 2007 3:00 PM

INSTRUMENT AND CONTROL FUNCTIONS
3-5
3
●Push the “RESET” switch for less
than one second to display the
clock for five seconds, regardless
of the currently selected display
mode.
If the fuel level warning light comes on
(see page 3-2), the odometer display
will automatically change to the fuel re-
serve tripmeter mode “F-TRIP” and
start counting the distance traveled
from that point. In that case, push the
“” side of the “SELECT” switch to
switch the display between the various
tripmeter, odometer, and clock modes
in the following order:
F-TRIP → TRIP 1 → TRIP 2 → Clock
→ ODO → F-TRIP
NOTE:
Push the “” side of the “SELECT”
switch to switch the display in the re-
verse order.
To reset a tripmeter, select it by push-
ing the “” or “” side of the “SE-
LECT” switch, and then push the
“RESET” switch for at least one sec-
ond. If you do not reset the fuel reserve
tripmeter manually, it will reset itself au-
tomatically, and the display will return
to the prior mode after refueling and
traveling 5 km (3 mi).
To set the clock:
1. Push the “” or “” side of the
“SELECT” switch to change the
display to the clock mode.
2. Push the “” side of the “SE-
LECT” switch and the “RESET”
switch together for at least two
seconds.
3. When the hour digits start flashing,
push the “” or “” side of the
“SELECT” switch to set the hours.
4. Push the “RESET” switch, and the
minute digits will start flashing.
5. Push the “” or “” side of the
“SELECT” switch to set the min-
utes.
6. Push the “RESET” switch and then
release it to start the clock.
Self-diagnosis devices
This model is equipped with a self-diag-
nosis device for various electrical cir-
cuits.
If any of those circuits are defective, the
engine trouble warning light will come
on, and then the odometer/tripme-
ter/clock display will indicate a two-digit
error code.
If the odometer/tripmeter/clock display
indicates any error codes, note the
code number, and then have a Yamaha
dealer check the vehicle.
CAUTION:
ECA11590
If the display indicates an error
code, the vehicle should be checked
as soon as possible in order to avoid
engine damage.
1. Clock
U5S611E0.book Page 5 Thursday, May 10, 2007 3:00 PM

INSTRUMENT AND CONTROL FUNCTIONS
3-6
3
Brightness control mode
This function allows you to adjust the
brightness of the speedometer panel to
suit the outside lighting conditions.
To set the brightness
1. Turn the key to “OFF”.
2. Push and hold the “” side of the
“SELECT” switch.
3. Turn the key to “ON”, and then re-
lease the “SELECT” switch after
five seconds or more.
4. Push the “” or “” side of the
“SELECT” switch to select the de-
sired brightness level.
5. Push the “RESET” switch to con-
firm the selected brightness level.
The display will return to the odom-
eter, tripmeter or clock mode.
EAU12347
Handlebar switches
Left
1. Speedometer panel
2. Brightness level
1. Dimmer switch “/”
2. Turn signal switch “/”
3. Horn switch “”
U5S611E0.book Page 6 Thursday, May 10, 2007 3:00 PM

INSTRUMENT AND CONTROL FUNCTIONS
3-7
3
Right
EAU12400
Dimmer switch “/”
Set this switch to “” for the high
beam and to “” for the low beam.
EAU12430
Turn signal switch “/”
To signal a right-hand turn, push this
switch to “”. To signal a left-hand
turn, push this switch to “”. When re-
leased, the switch returns to the center
position.
Since this model is equipped with a
self-canceling system, the turn signal
lights will self-cancel after the vehicle
has traveled both about 150 m (490 ft)
and for approximately 15 seconds.
However, the turn signal lights can also
be canceled manually by pushing the
switch in after it has returned to the cen-
ter position.
NOTE:
The self-canceling system only oper-
ates when the vehicle is moving, so that
the turn signal lights will not self-cancel
while you are stopped at an intersec-
tion.
EAU12500
Horn switch “”
Press this switch to sound the horn.
EAU12660
Engine stop switch “/”
Set this switch to “” before starting
the engine. Set this switch to “” to
stop the engine in case of an emergen-
cy, such as when the vehicle overturns
or when the throttle cable is stuck.
EAU12710
Start switch “”
Push this switch to crank the engine
with the starter.
CAUTION:
ECA10050
See page 5-1 for starting instruc-
tions prior to starting the engine.
EAU41700
The engine trouble warning light will
come on when the key is turned to “ON”
and the start switch is pushed, but this
does not indicate a malfunction.
EAU42522
“SELECT” switch “/”
This switch is used to perform selec-
tions in the odometer, tripmeter and
clock mode of the multi-function meter
unit.
See “Multi-function meter unit” on page
3-3 for detailed information.
EAU42531
“RESET” switch
This switch is used to perform selec-
tions in the odometer, tripmeter and
clock mode of the multi-function meter
unit.
See “Multi-function meter unit” on page
3-3 for detailed information.
1. Engine stop switch “/”
2. “SELECT” switch “/”
3. “RESET” switch
4. Start switch “”
U5S611E0.book Page 7 Thursday, May 10, 2007 3:00 PM

INSTRUMENT AND CONTROL FUNCTIONS
3-8
3
EAU12820
Clutch lever
The clutch lever is located at the left
handlebar grip. To disengage the
clutch, pull the lever toward the handle-
bar grip. To engage the clutch, release
the lever. The lever should be pulled
rapidly and released slowly for smooth
clutch operation.
The clutch lever is equipped with a
clutch switch, which is part of the igni-
tion circuit cut-off system. (See page
3-15.)
EAU12880
Shift pedal
The shift pedal is located on the left
side of the engine and is used in com-
bination with the clutch lever when
shifting the gears of the 5-speed con-
stant-mesh transmission equipped on
this motorcycle.
NOTE:
Use your toes or heel to shift up and
your toes to shift down.
EAU12890
Brake lever
The brake lever is located at the right
handlebar grip. To apply the front
brake, pull the lever toward the handle-
bar grip.
1. Clutch lever 1. Shift pedal 1. Brake lever
U5S611E0.book Page 8 Thursday, May 10, 2007 3:00 PM

INSTRUMENT AND CONTROL FUNCTIONS
3-9
3
EAU12941
Brake pedal
The brake pedal is on the right side of
the motorcycle. To apply the rear
brake, press down on the brake pedal.
EAU13090
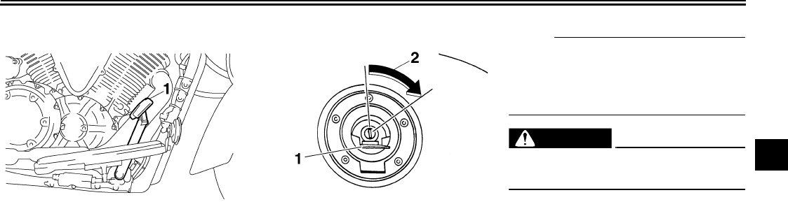
Fuel tank cap
To open the fuel tank cap
Open the fuel tank cap lock cover, in-
sert the key into the lock, and then turn
it 1/8 turn clockwise. The lock will be re-
leased and the fuel tank cap can be
opened.
To close the fuel tank cap
1. Push the fuel tank cap into position
with the key inserted in the lock.
2. Turn the key counterclockwise to
the original position, remove it, and
then close the lock cover.
NOTE:
The fuel tank cap cannot be closed un-
less the key is in the lock. In addition,
the key cannot be removed if the cap is
not properly closed and locked.
WARNING
EWA11090
Make sure that the fuel tank cap is
properly closed before riding.
1. Brake pedal 1. Fuel tank cap lock cover
2. Unlock.
U5S611E0.book Page 9 Thursday, May 10, 2007 3:00 PM

INSTRUMENT AND CONTROL FUNCTIONS
3-10
3
EAU13220
Fuel
Make sure that there is sufficient fuel in
the tank. When refueling, be sure to in-
sert the pump nozzle into the fuel tank
filler hole and to fill the tank to the bot-
tom of the filler tube as shown.
WARNING
EWA10880
●Do not overfill the fuel tank, oth-
erwise it may overflow when the
fuel warms up and expands.
●Avoid spilling fuel on the hot en-
gine.
CAUTION:
ECA10070
Immediately wipe off spilled fuel
with a clean, dry, soft cloth, since
fuel may deteriorate painted surfac-
es or plastic parts.
EAU13361
CAUTION:
ECA11400
Use only unleaded gasoline. The use
of leaded gasoline will cause severe
damage to internal engine parts,
such as the valves and piston rings,
as well as to the exhaust system.
Your Yamaha engine has been de-
signed to use regular unleaded gaso-
line with a pump octane number
[(R+M)/2] of 86 or higher, or a research
octane number of 91 or higher. If
knocking (or pinging) occurs, use a
gasoline of a different brand or premi-
um unleaded fuel. Use of unleaded fuel
will extend spark plug life and reduce
maintenance costs.
Gasohol
There are two types of gasohol: gaso-
hol containing ethanol and that contain-
ing methanol. Gasohol containing
ethanol can be used if the ethanol con-
tent does not exceed 10%. Gasohol
containing methanol is not recom-
mended by Yamaha because it can
cause damage to the fuel system or ve-
hicle performance problems.
1. Fuel tank filler tube
2. Fuel level
Recommended fuel:
UNLEADED GASOLINE ONLY
Fuel tank capacity:
18.5 L (4.89 US gal) (4.07 Imp.gal)
Fuel reserve amount (when the fuel
level warning light comes on):
3.7 L (0.98 US gal) (0.81 Imp.gal)
U5S611E0.book Page 10 Thursday, May 10, 2007 3:00 PM

INSTRUMENT AND CONTROL FUNCTIONS
3-11
3
EAU13431
Catalytic converter
This model is equipped with a catalytic
converter in the exhaust system.
WARNING
EWA10860
The exhaust system is hot after op-
eration. Make sure that the exhaust
system has cooled down before do-
ing any maintenance work.
CAUTION:
ECA10700
The following precautions must be
observed to prevent a fire hazard or
other damages.
●Use only unleaded gasoline.
The use of leaded gasoline will
cause unrepairable damage to
the catalytic converter.
●Never park the vehicle near pos-
sible fire hazards such as grass
or other materials that easily
burn.
●Do not allow the engine to idle
too long.
EAU42750
Rider seat
To remove the rider seat
1. Insert the key into the seat lock,
and then turn it counterclockwise.
2. Lift the front of the seat up, and
then pull the seat off.
To install the rider seat
1. Insert the projection on the rear of
the seat into the seat holder as
shown.
2. Push the front of the seat down to
lock it in place.
3. Remove the key.
NOTE:
Make sure that the seat is properly se-
cured before riding.
1. Seat lock
2. Unlock.
1. Projection
2. Seat holder
U5S611E0.book Page 11 Thursday, May 10, 2007 3:00 PM

INSTRUMENT AND CONTROL FUNCTIONS
3-12
3
EAU14320
Helmet holder
The helmet holder is located under the
rider seat.
To secure a helmet to the helmet
holder
1. Remove the rider seat. (See page
3-11.)
2. Attach the helmet to the helmet
holder, and then securely install
the seat.
WARNING
EWA10160
Never ride with a helmet attached to
the helmet holder, since the helmet
may hit objects, causing loss of con-
trol and possibly an accident.
To release the helmet from the hel-
met holder
Remove the rider seat, remove the hel-
met from the helmet holder, and then
install the seat.
EAU42730
Sidebags
WARNING
EWA14340
Improper loading or overloading can
cause loss of control and possibly
an accident or personal injury. See
pages 1-5 and 6-17 for important
loading and tire pressure informa-
tion.
●Always securely close the side-
bags before riding.
●Distribute weight evenly on
each side of the motorcycle.
●Do not exceed the load limit of 5
kg (11 lb) for each sidebag.
●Do not exceed the maximum
load of 190 kg (419 lb) for the ve-
hicle.
●Do not exceed 120 km/h (80
mi/h) when riding with luggage
in the sidebags, otherwise han-
dling could be affected. Improp-
er loading, poor tire or overall
motorcycle conditions, poor
road surfaces or adverse weath-
er conditions may make it nec-
essary to further reduce the
riding speed.
1. Helmet holder
U5S611E0.book Page 12 Thursday, May 10, 2007 3:00 PM

INSTRUMENT AND CONTROL FUNCTIONS
3-13
3
CAUTION:
ECA15380
To avoid locking the key in, never
lock either sidebag and remove the
key from the lock before closing the
lid.
To open a sidebag lid
1. Insert the key into the sidebag
lock, and then turn the key coun-
terclockwise.
2. Push the key in, and then fold the
sidebag lid up.
To close a sidebag lid
1. Fold the sidebag lid down so that
the latch snaps into place.
2. Turn the key clockwise, and then
remove it.
NOTE:
Water can be harmful to untreated
leather. Use Yamaha Saddle Soap or
another quality brand according to the
manufacturer’s directions to clean the
leather on the sidebags. Polish the dry
leather with a soft cloth, and then treat
with Yamaha Mink Oil or another high-
quality leather protectant for increased
water resistance.
EAU42540
Adjusting the shock absorber
assembly
This shock absorber assembly is
equipped with a spring preload adjust-
ing ring, allowing the spring preload to
be adjusted to suit the rider’s prefer-
ence.
It is recommended to have a Yamaha
dealer adjust the spring preload.
CAUTION:
ECA10100
Never attempt to turn an adjusting
mechanism beyond the maximum or
minimum settings.
1. Key
2. Unlock.
1. Shock absorber assembly
2. Position indicator
3. Spring preload adjusting ring
U5S611E0.book Page 13 Thursday, May 10, 2007 3:00 PM

INSTRUMENT AND CONTROL FUNCTIONS
3-14
3
NOTE:
●Should you choose to make the
adjustment, use the special
wrench included in the additional
tool kit, which was handed out sep-
arately at the purchase of the vehi-
cle.
●Align the appropriate notch in the
adjusting ring with the position in-
dicator on the shock absorber.
WARNING
EWA10220
This shock absorber contains highly
pressurized nitrogen gas. For prop-
er handling, read and understand
the following information before
handling the shock absorber. The
manufacturer cannot be held re-
sponsible for property damage or
personal injury that may result from
improper handling.
●Do not tamper with or attempt to
open the gas cylinder.
●Do not subject the shock ab-
sorber to an open flame or other
high heat sources, otherwise it
may explode due to excessive
gas pressure.
●Do not deform or damage the
gas cylinder in any way, as this
will result in poor damping per-
formance.
●Always have a Yamaha dealer
service the shock absorber.
EAU15301
Sidestand
The sidestand is located on the left side
of the frame. Raise the sidestand or
lower it with your foot while holding the
vehicle upright.
NOTE:
The built-in sidestand switch is part of
the ignition circuit cut-off system, which
cuts the ignition in certain situations.
(See further down for an explanation of
the ignition circuit cut-off system.)
WARNING
EWA10240
The vehicle must not be ridden with
the sidestand down, or if the side-
stand cannot be properly moved up
(or does not stay up), otherwise the
sidestand could contact the ground
and distract the operator, resulting
in a possible loss of control.
Yamaha’s ignition circuit cut-off
system has been designed to assist
the operator in fulfilling the respon-
sibility of raising the sidestand be-
fore starting off. Therefore, check
this system regularly as described
Spring preload setting:
Minimum (soft):
1
Standard:
4
Maximum (hard):
9
U5S611E0.book Page 14 Thursday, May 10, 2007 3:00 PM

INSTRUMENT AND CONTROL FUNCTIONS
3-15
3
below and have a Yamaha dealer re-
pair it if it does not function proper-
ly.
EAU15312
Ignition circuit cut-off system
The ignition circuit cut-off system (com-
prising the sidestand switch, clutch
switch and neutral switch) has the fol-
lowing functions.
●It prevents starting when the trans-
mission is in gear and the side-
stand is up, but the clutch lever is
not pulled.
●It prevents starting when the trans-
mission is in gear and the clutch le-
ver is pulled, but the sidestand is
still down.
●It cuts the running engine when the
transmission is in gear and the sid-
estand is moved down.
Periodically check the operation of the
ignition circuit cut-off system according
to the following procedure.
WARNING
EWA10250
If a malfunction is noted, have a
Yamaha dealer check the system be-
fore riding.
U5S611E0.book Page 15 Thursday, May 10, 2007 3:00 PM

INSTRUMENT AND CONTROL FUNCTIONS
3-16
3
With the engine turned off:
1. Move the sidestand down.
2. Make sure that the engine stop switch is turned on.
3. Turn the key on.
4. Shift the transmission into the neutral position.
5. Push the start switch.
Does the engine start?
With the engine still running:
6. Move the sidestand up.
7. Keep the clutch lever pulled.
8. Shift the transmission into gear.
9. Move the sidestand down.
Does the engine stall?
After the engine has stalled:
10. Move the sidestand up.
11. Keep the clutch lever pulled.
12. Push the start switch.
Does the engine start?
The system is OK. The motorcycle can be ridden.
This check is most reliable if performed with
a warmed-up engine.
The neutral switch may be defective.
The motorcycle should not be ridden until
checked by a Yamaha dealer.
The sidestand switch may be defective.
The motorcycle should not be ridden until
checked by a Yamaha dealer.
The clutch switch may be defective.
The motorcycle should not be ridden until
checked by a Yamaha dealer.
YES NO
YES NO
YES NO
NOTE:
U5S611E0.book Page 16 Thursday, May 10, 2007 3:00 PM

PRE-OPERATION CHECKS
4-1
4
EAU15593
The condition of a vehicle is the owner’s responsibility. Vital components can start to deteriorate quickly and unexpectedly,
even if the vehicle remains unused (for example, as a result of exposure to the elements). Any damage, fluid leakage or loss
of tire air pressure could have serious consequences. Therefore, it is very important, in addition to a thorough visual inspec-
tion, to check the following points before each ride.
NOTE:
Pre-operation checks should be made each time the vehicle is used. Such an inspection can be accomplished in a very short
time; and the added safety it assures is more than worth the time involved.
WARNING
EWA11150
If any item in the Pre-operation check list is not working properly, have it inspected and repaired before operating
the vehicle.
U5S611E0.book Page 1 Thursday, May 10, 2007 3:00 PM

PRE-OPERATION CHECKS
4-2
4
EAU15605
Pre-operation check list
ITEM CHECKS PAGE
Fuel
•Check fuel level in fuel tank.
•Refuel if necessary.
•Check fuel line for leakage.
3-10
Engine oil
•Check oil level in engine.
•If necessary, add recommended oil to specified level.
•Check vehicle for oil leakage.
6-11
Coolant
•Check coolant level in reservoir.
•If necessary, add recommended coolant to specified level.
•Check cooling system for leakage.
6-14
Front brake
•Check operation.
•If soft or spongy, have Yamaha dealer bleed hydraulic system.
•Check lever free play.
•Adjust if necessary.
•Check brake pads for wear.
•Replace if necessary.
•Check fluid level in reservoir.
•If necessary, add recommended brake fluid to specified level.
•Check hydraulic system for leakage.
6-20, 6-21, 6-22
Rear brake
•Check operation.
•If soft or spongy, have Yamaha dealer bleed hydraulic system.
•Check brake pads for wear.
•Replace if necessary.
•Check fluid level in reservoir.
•If necessary, add recommended brake fluid to specified level.
•Check hydraulic system for leakage.
6-21, 6-22
Clutch
•Check operation.
•Lubricate cable if necessary.
•Check lever free play.
•Adjust if necessary.
6-20
U5S611E0.book Page 2 Thursday, May 10, 2007 3:00 PM

PRE-OPERATION CHECKS
4-3
4
Throttle grip
•Make sure that operation is smooth.
•Check cable free play.
•If necessary, have Yamaha dealer adjust cable free play and lubricate cable and
grip housing.
6-16, 6-24
Control cables •Make sure that operation is smooth.
•Lubricate if necessary. 6-24
Wheels and tires
•Check for damage.
•Check tire condition and tread depth.
•Check air pressure.
•Correct if necessary.
6-17, 6-19
Brake and shift pedals •Make sure that operation is smooth.
•Lubricate pedal pivoting points if necessary. 6-25
Brake and clutch levers •Make sure that operation is smooth.
•Lubricate lever pivoting points if necessary. 6-25
Sidestand •Make sure that operation is smooth.
•Lubricate pivot if necessary. 6-26
Chassis fasteners •Make sure that all nuts, bolts and screws are properly tightened.
•Tighten if necessary. —
Instruments, lights, signals
and switches
•Check operation.
•Correct if necessary. —
Sidestand switch •Check operation of ignition circuit cut-off system.
•If system is defective, have Yamaha dealer check vehicle. 3-14
ITEM CHECKS PAGE
U5S611E0.book Page 3 Thursday, May 10, 2007 3:00 PM

OPERATION AND IMPORTANT RIDING POINTS
5-1
5
EAU15950
WARNING
EWA10270
●Become thoroughly familiar
with all operating controls and
their functions before riding.
Consult a Yamaha dealer re-
garding any control or function
that you do not thoroughly un-
derstand.
●Never start the engine or oper-
ate it in a closed area for any
length of time. Exhaust fumes
are poisonous, and inhaling
them can cause loss of con-
sciousness and death within a
short time. Always make sure
that there is adequate ventila-
tion.
●Before starting out, make sure
that the sidestand is up. If the
sidestand is not raised com-
pletely, it could contact the
ground and distract the opera-
tor, resulting in a possible loss
of control.
EAU42420
Starting the engine
In order for the ignition circuit cut-off
system to enable starting, one of the
following conditions must be met:
●The transmission is in the neutral
position.
●The transmission is in gear with
the clutch lever pulled and the sid-
estand up.
WARNING
EWA10290
●Before starting the engine,
check the function of the igni-
tion circuit cut-off system ac-
cording to the procedure
described on page 3-15.
●Never ride with the sidestand
down.
1. Turn the key to “ON” and make
sure that the engine stop switch is
set to “”.
CAUTION:
ECA15660
The following warning lights should
come on for a few seconds, then go
off.
●Oil level warning light
●Fuel level warning light
●Coolant temperature warning
light
●Engine trouble warning light
If a warning light does not go off, see
page 3-2 for the corresponding
warning light circuit check.
2. Shift the transmission into the neu-
tral position.
NOTE:
When the transmission is in the neutral
position, the neutral indicator light
should be on, otherwise have a
Yamaha dealer check the electrical cir-
cuit.
3. Start the engine by pushing the
start switch.
NOTE:
If the engine fails to start, release the
start switch, wait a few seconds, and
then try again. Each starting attempt
should be as short as possible to pre-
serve the battery. Do not crank the en-
gine more than 10 seconds on any one
attempt.
U5S611E0.book Page 1 Thursday, May 10, 2007 3:00 PM

OPERATION AND IMPORTANT RIDING POINTS
5-2
5
CAUTION:
ECA11130
For maximum engine life, always
warm the engine up before starting
off. Never accelerate hard when the
engine is cold!
NOTE:
The engine is warm when it quickly re-
sponds to the throttle.
EAU16671
Shifting
Shifting gears lets you control the
amount of engine power available for
starting off, accelerating, climbing hills,
etc.
The gear positions are shown in the il-
lustration.
NOTE:
To shift the transmission into the neu-
tral position, press the shift pedal down
repeatedly until it reaches the end of its
travel, and then slightly raise it.
CAUTION:
ECA10260
●Even with the transmission in
the neutral position, do not
coast for long periods of time
with the engine off, and do not
tow the motorcycle for long dis-
tances. The transmission is
properly lubricated only when
the engine is running. Inade-
quate lubrication may damage
the transmission.
●Always use the clutch while
changing gears to avoid damag-
ing the engine, transmission,
and drive train, which are not
designed to withstand the
shock of forced shifting.
EAU16680
To start out and accelerate
1. Pull the clutch lever to disengage
the clutch.
2. Shift the transmission into first
gear. The neutral indicator light
should go out.
3. Open the throttle gradually, and at
the same time, release the clutch
lever slowly.
1. Shift pedal
2. Neutral position
U5S611E0.book Page 2 Thursday, May 10, 2007 3:00 PM

OPERATION AND IMPORTANT RIDING POINTS
5-3
5
4. At the recommended shift points
shown in the following table, close
the throttle, and at the same time,
quickly pull the clutch lever in.
5. Shift the transmission into second
gear. (Make sure not to shift the
transmission into the neutral posi-
tion.)
6. Open the throttle part way and
gradually release the clutch lever.
7. Follow the same procedure when
shifting to the next higher gear.
NOTE:
Always shift gears at the recommended
shift points.
EAU16700
To decelerate
1. Apply both the front and the rear
brakes to slow the motorcycle.
2. Shift the transmission into first
gear when the motorcycle reaches
25 km/h (16 mi/h). If the engine is
about to stall or runs very roughly,
pull the clutch lever in and use the
brakes to stop the motorcycle.
3. Shift the transmission into the neu-
tral position when the motorcycle
is almost completely stopped. The
neutral indicator light should come
on.
EAU16720
Recommended shift points
The recommended shift points during
acceleration and deceleration are
shown in the table below.
EAU16841
Engine break-in
There is never a more important period
in the life of your engine than the period
between 0 and 1600 km (1000 mi). For
this reason, you should read the follow-
ing material carefully.
Since the engine is brand new, do not
put an excessive load on it for the first
1600 km (1000 mi). The various parts in
the engine wear and polish themselves
to the correct operating clearances.
During this period, prolonged full-throt-
tle operation or any condition that might
result in engine overheating must be
avoided.
EAU17021
0–1000 km (0–600 mi)
Avoid prolonged operation above 1/3
throttle.
1000–1600 km (600–1000 mi)
Avoid prolonged operation above 1/2
throttle.
Shift up points:
1st → 2nd: 20 km/h (13 mi/h)
2nd → 3rd: 30 km/h (19 mi/h)
3rd → 4th: 40 km/h (25 mi/h)
4th → 5th: 50 km/h (31 mi/h)
Shift down points:
5th → 4th: 25 km/h (16 mi/h)
4th → 3rd: 25 km/h (16 mi/h)
3rd → 2nd: 25 km/h (16 mi/h)
2nd → 1st: 25 km/h (16 mi/h)
U5S611E0.book Page 3 Thursday, May 10, 2007 3:00 PM

OPERATION AND IMPORTANT RIDING POINTS
5-4
5
CAUTION:
ECA11281
After 1000 km (600 mi) of operation,
the engine oil must be changed, and
the oil filter cartridge or element re-
placed.
1600 km (1000 mi) and beyond
The vehicle can now be operated nor-
mally.
CAUTION:
ECA10270
If any engine trouble should occur
during the engine break-in period,
immediately have a Yamaha dealer
check the vehicle.
EAU17212
Parking
When parking, stop the engine, and
then remove the key from the main
switch.
WARNING
EWA10310
●Since the engine and exhaust
system can become very hot,
park in a place where pedestri-
ans or children are not likely to
touch them.
●Do not park on a slope or on soft
ground, otherwise the vehicle
may overturn.
CAUTION:
ECA10380
Never park in an area where there
are fire hazards such as grass or
other flammable materials.
U5S611E0.book Page 4 Thursday, May 10, 2007 3:00 PM

PERIODIC MAINTENANCE AND MINOR REPAIR
6-1
6
EAU17231
Safety is an obligation of the owner. Pe-
riodic inspection, adjustment and lubri-
cation will keep your vehicle in the
safest and most efficient condition pos-
sible. The most important points of
motorcycle inspection, adjustment, and
lubrication are explained on the follow-
ing pages.
Maintenance, replacement, or repair
of the emission control devices and
systems may be performed by any
repair establishment or individual
that is certified (if applicable).
WARNING
EWA10320
If you are not familiar with mainte-
nance work, have a Yamaha dealer
do it for you.
EAU17301
PERIODIC MAINTENANCE
PROPER PERIODIC MAINTENANCE
OF YOUR VEHICLE IS IMPORTANT
IN ORDER TO ENJOY LONG, PLEA-
SURABLE SERVICE. ESPECIALLY
IMPORTANT ARE THE MAINTE-
NANCE SERVICES RELATED TO
EMISSIONS CONTROL. THESE
CONTROLS NOT ONLY FUNCTION
TO ENSURE CLEANER AIR, BUT
ARE ALSO VITAL TO PROPER EN-
GINE OPERATION AND MAXIMUM
PERFORMANCE. IN THE FOLLOW-
ING PERIODIC MAINTENANCE
CHARTS, THE SERVICES RELATED
TO EMISSIONS CONTROL ARE
GROUPED SEPARATELY. THESE
SERVICES REQUIRE SPECIALIZED
DATA, KNOWLEDGE, AND EQUIP-
MENT. YAMAHA DEALERS ARE
TRAINED AND EQUIPPED TO PER-
FORM THESE PARTICULAR SER-
VICES.
EAU17350
Owner’s tool kit
The owner’s tool kit is located under the
rider seat. (See page 3-11.)
The service information included in this
manual and the tools provided in the
owner’s tool kit are intended to assist
you in the performance of preventive
maintenance and minor repairs. How-
ever, additional tools such as a torque
wrench may be necessary to perform
certain maintenance work correctly.
NOTE:
If you do not have the tools or experi-
ence required for a particular job, have
a Yamaha dealer perform it for you.
1. Owner’s tool kit
U5S611E0.book Page 1 Thursday, May 10, 2007 3:00 PM

PERIODIC MAINTENANCE AND MINOR REPAIR
6-2
6
WARNING
EWA10340
Modifications not approved by
Yamaha may cause loss of perfor-
mance, excessive emissions, and
render the vehicle unsafe for use.
Consult a Yamaha dealer before at-
tempting any changes.
U5S611E0.book Page 2 Thursday, May 10, 2007 3:00 PM

PERIODIC MAINTENANCE AND MINOR REPAIR
6-3
6
EAU17600
Periodic maintenance chart for the emission control system
* Since these items require special tools, data and technical skills, have a Yamaha dealer perform the service.
No. ITEM ROUTINE
INITIAL ODOMETER READINGS
600 mi
(1000 km)
or
1 month
4000 mi
(7000 km)
or
6 months
8000 mi
(13000 km)
or
12 months
12000 mi
(19000 km)
or
18 months
16000 mi
(25000 km)
or
24 months
20000 mi
(31000 km)
or
30 months
1*Fuel line
•Check fuel hoses for cracks or
damage.
•Replace if necessary.
√√√√√
2 Spark plugs
•Check condition.
•Adjust gap and clean.
•Replace every 8000 mi (13000
km) or 12 months.
√Replace. √Replace. √
3*Valve clearance •Check and adjust valve clearance
when engine is cold. √√√√√√
4*Crankcase breather
system
•Check breather hose for cracks or
damage.
•Replace if necessary.
√√√√√
5*Fuel injection •Adjust synchronization. √√√√√
6*Exhaust system
•Check for leakage.
•Tighten if necessary.
•Replace gasket(s) if necessary.
√√√√√
7*
Evaporative emis-
sion control system
(For California only)
•Check control system for dam-
age.
•Replace if necessary.
√
U5S611E0.book Page 3 Thursday, May 10, 2007 3:00 PM

PERIODIC MAINTENANCE AND MINOR REPAIR
6-4
6
EAU32185
General maintenance and lubrication chart
No. ITEM ROUTINE
INITIAL ODOMETER READINGS
600 mi
(1000 km)
or
1 month
4000 mi
(7000 km)
or
6 months
8000 mi
(13000 km)
or
12 months
12000 mi
(19000 km)
or
18 months
16000 mi
(25000 km)
or
24 months
20000 mi
(31000 km)
or
30 months
1*Air filter element •Check condition and damage.
•Replace if necessary. √√√√√
2*Clutch •Check operation.
•Adjust or replace cable. √√√√√√
3*Front brake
•Check operation, fluid level, and
for fluid leakage.
•Adjust brake lever free play and
replace brake pads if necessary.
√√√√√√
4*Rear brake
•Check operation, fluid level, and
for fluid leakage.
•Replace brake pads if necessary.
√√√√√√
5*Brake hoses •Check for cracks or damage. √√√√√
•Replace. Every 4 years
6*Wheels •Check runout and for damage.
•Replace if necessary. √√√√√
7*Tires
•Check tread depth and for dam-
age.
•Replace if necessary.
•Check air pressure.
•Correct if necessary.
√√√√√
8*Wheel bearings
•Check bearings for smooth oper-
ation.
•Replace if necessary.
√√√√√
U5S611E0.book Page 4 Thursday, May 10, 2007 3:00 PM

PERIODIC MAINTENANCE AND MINOR REPAIR
6-5
6
9*Swingarm pivot
bearings
•Check bearing assemblies for
looseness.
•Moderately repack with lithium-
soap-based grease.
√Repack.
10 *Drive belt •Check belt tension.
•Adjust if necessary. √Every 2500 mi (4000 km)
11 *Steering bearings
•Check bearing assemblies for
looseness.
•Moderately repack with lithium-
soap-based grease every 16000
mi (25000 km) or 24 months.
√√√√Repack. √
12 *Chassis fasteners
•Check all chassis fitting and fas-
teners.
•Correct if necessary.
√√√√√
13 Brake lever pivot
shaft •Apply silicone grease lightly. √√√√√
14 Brake pedal pivot
shaft •Apply silicone grease lightly. √√√√√
15 Clutch lever pivot
shaft
•Apply lithium-soap-based grease
(all-purpose grease) lightly. √√√√√
16 Shift pedal pivot
shaft
•Apply lithium-soap-based grease
(all-purpose grease) lightly. √√√√√
17 Sidestand pivot
•Check operation.
•Apply lithium-soap-based grease
(all-purpose grease) lightly.
√√√√√
No. ITEM ROUTINE
INITIAL ODOMETER READINGS
600 mi
(1000 km)
or
1 month
4000 mi
(7000 km)
or
6 months
8000 mi
(13000 km)
or
12 months
12000 mi
(19000 km)
or
18 months
16000 mi
(25000 km)
or
24 months
20000 mi
(31000 km)
or
30 months
U5S611E0.book Page 5 Thursday, May 10, 2007 3:00 PM

PERIODIC MAINTENANCE AND MINOR REPAIR
6-6
6
18 *Sidestand switch •Check operation and replace if
necessary. √√√√√√
19 *Front fork
•Check operation and for oil leak-
age.
•Replace if necessary.
√√√√√
20 *Shock absorber as-
sembly
•Check operation and for oil leak-
age.
•Replace if necessary.
√√√√√
21 *Rear suspension
link pivots
•Apply lithium-soap-based grease
lightly. √
22 Engine oil •Change (warm engine before
draining). √√√√√√
23 *Engine oil filter car-
tridge •Replace. √√√
24 *Cooling system
•Check hoses for cracks or dam-
age.
•Replace if necessary.
√√√√√
•Change with ethylene glycol anti-
freeze coolant every 24 months. Change.
25 *Front and rear brake
switches •Check operation. √√√√√√
26 *Control cables
•Apply Yamaha chain and cable
lube or engine oil SAE 10W-30
thoroughly.
√√√√√√
No. ITEM ROUTINE
INITIAL ODOMETER READINGS
600 mi
(1000 km)
or
1 month
4000 mi
(7000 km)
or
6 months
8000 mi
(13000 km)
or
12 months
12000 mi
(19000 km)
or
18 months
16000 mi
(25000 km)
or
24 months
20000 mi
(31000 km)
or
30 months
U5S611E0.book Page 6 Thursday, May 10, 2007 3:00 PM

PERIODIC MAINTENANCE AND MINOR REPAIR
6-7
6
* Since these items require special tools, data and technical skills, have a Yamaha dealer perform the service.
NOTE:
From 24000 mi (37000 km) or 36 months, repeat the maintenance intervals starting from 8000 mi (13000 km) or 12 months.
EAU17650
NOTE:
●Air filter
•This model’s air filter is equipped with a disposable oil-coated paper element, which must not be cleaned with com-
pressed air to avoid damaging it.
•The air filter element needs to be replaced more frequently when riding in unusually wet or dusty areas.
●Hydraulic brake service
•After disassembling the brake master cylinders and calipers, always change the fluid. Regularly check the brake fluid
levels and fill the reservoirs as required.
•Every two years replace the internal components of the brake master cylinders and calipers, and change the brake
fluid.
27 *Throttle grip hous-
ing and cable
•Check operation and free play.
•Adjust the throttle cable free play
if necessary.
•Lubricate the throttle grip housing
and cable.
√√√√√
28 *Lights, signals and
switches
•Check operation.
•Adjust headlight beam. √√√√√√
No. ITEM ROUTINE
INITIAL ODOMETER READINGS
600 mi
(1000 km)
or
1 month
4000 mi
(7000 km)
or
6 months
8000 mi
(13000 km)
or
12 months
12000 mi
(19000 km)
or
18 months
16000 mi
(25000 km)
or
24 months
20000 mi
(31000 km)
or
30 months
U5S611E0.book Page 7 Thursday, May 10, 2007 3:00 PM

PERIODIC MAINTENANCE AND MINOR REPAIR
6-8
6
•Replace the brake hoses every four years and if cracked or damaged.
U5S611E0.book Page 8 Thursday, May 10, 2007 3:00 PM

PERIODIC MAINTENANCE AND MINOR REPAIR
6-9
6
EAU18751
Removing and installing the
panel
The panel shown needs to be removed
to perform some of the maintenance
jobs described in this chapter. Refer to
this section each time the panel needs
to be removed and installed.
EAU19193
Panel A
To remove the panel
Remove the bolts, and then take the
panel off.
To install the panel
Place the panel in the original position,
and then install the bolts.
EAU42430
Checking the spark plugs
The spark plugs are important engine
components, which are easy to check.
Since heat and deposits will cause any
spark plug to slowly erode, the spark
plugs should be removed and checked
in accordance with the periodic mainte-
nance and lubrication chart. In addition,
the condition of the spark plugs can re-
veal the condition of the engine.
To remove a spark plug
1. Remove the appropriate spark
plug cover (rear right or front left)
by removing the bolts.
2. Remove the spark plug cap.
1. Panel A
1. Panel A
2. Bolt
1. Spark plug cover
2. Bolt
U5S611E0.book Page 9 Thursday, May 10, 2007 3:00 PM

PERIODIC MAINTENANCE AND MINOR REPAIR
6-10
6
3. Remove the spark plug as shown,
with the spark plug wrench includ-
ed in the additional tool kit, which
was handed out separately at the
purchase of the vehicle.
To check the spark plugs
1. Check that the porcelain insulator
around the center electrode on
each spark plug is a medium-to-
light tan (the ideal color when the
vehicle is ridden normally).
2. Check that all spark plugs installed
in the engine have the same color.
NOTE:
If any spark plug shows a distinctly dif-
ferent color, the engine could be oper-
ating improperly. Do not attempt to
diagnose such problems yourself. In-
stead, have a Yamaha dealer check
the vehicle.
3. Check each spark plug for elec-
trode erosion and excessive car-
bon or other deposits, and replace
it if necessary.
To install a spark plug
1. Measure the spark plug gap with a
wire thickness gauge and, if nec-
essary, adjust the gap to specifica-
tion.
2. Clean the surface of the spark plug
gasket and its mating surface, and
then wipe off any grime from the
spark plug threads.
3. Install the spark plug with the
spark plug wrench, and then tight-
en it to the specified torque.
N
O
TE:
If a torque wrench is not available when
installing a spark plug, a good estimate
of the correct torque is 1/4–1/2 turn
past finger tight. However, the spark
plug should be tightened to the speci-
fied torque as soon as possible.
4. Install the spark plug cap.
5. Install the spark plug cover by in-
stalling the bolts.
1. Spark plug wrench
Specified spark plug:
NGK/LMAR7A-9
1. Spark plug gap
Spark plug gap:
0.8–0.9 mm (0.031–0.035 in)
Tightening torque:
Spark plug:
12.5 Nm (1.25 m·kgf, 9.0 ft·lbf)
U5S611E0.book Page 10 Thursday, May 10, 2007 3:00 PM

PERIODIC MAINTENANCE AND MINOR REPAIR
6-11
6
EAU19681
Canister (for California only)
This model is equipped with a canister
to prevent the discharging of fuel vapor
into the atmosphere. Before operating
this vehicle, make sure to check the fol-
lowing:
●Check each hose connection.
●Check each hose and canister for
cracks or damage. Replace if dam-
aged.
●Make sure that the canister breath-
er is not blocked, and if necessary,
clean it.
EAU42591
Engine oil and oil filter car-
tridge
The engine oil level should be checked
before each ride. In addition, the oil
must be changed and the oil filter car-
tridge replaced at the intervals speci-
fied in the periodic maintenance and
lubrication chart.
To check the engine oil level
1. Place the vehicle on a level sur-
face and hold it in an upright posi-
tion.
N
O
TE:
Make sure that the vehicle is positioned
straight up when checking the oil level.
A slight tilt to the side can result in a
false reading.
2. Start the engine, warm it up for
several minutes, and then turn it
off.
3. Wait a few minutes until the oil set-
tles, and then check the oil level
through the check window located
at the bottom-left side of the crank-
case.
NOTE:
The engine oil should be between the
minimum and maximum level marks.
4. If the engine oil is below the mini-
mum level mark, add sufficient oil
of the recommended type to raise
it to the correct level.
To change the engine oil (with or
without oil filter cartridge replace-
ment)
1. Start the engine, warm it up for
several minutes, and then turn it
off.
1. Engine oil filler cap
2. Engine oil level check window
3. Maximum level mark
4. Minimum level mark
U5S611E0.book Page 11 Thursday, May 10, 2007 3:00 PM

PERIODIC MAINTENANCE AND MINOR REPAIR
6-12
6
2. Place an oil pan under the engine
to collect the used oil.
3. Remove the engine oil filler cap
and drain bolt to drain the oil from
the crankcase.
N
O
TE:
Skip steps 4–6 if the oil filter cartridge is
not being replaced.
4. Remove the oil filter cartridge with
an oil filter wrench.
NOTE:
An oil filter wrench is available at a
Yamaha dealer.
5. Apply a thin coat of engine oil to
the O-ring of the new oil filter car-
tridge.
N
O
TE:
Make sure that the O-ring is properly
seated.
6. Install the new oil filter cartridge
with an oil filter wrench, and then
tighten it to the specified torque
with a torque wrench.
1. Engine oil drain bolt
1. Oil filter cartridge
2. Oil filter wrench
1. O-ring
U5S611E0.book Page 12 Thursday, May 10, 2007 3:00 PM

PERIODIC MAINTENANCE AND MINOR REPAIR
6-13
67. Install the engine oil drain bolt, and
then tighten it to the specified
torque.
8. Add the specified amount of the
recommended engine oil, and then
install and tighten the oil filler cap.
NOTE:
Be sure to wipe off spilled oil on any
parts after the engine and exhaust sys-
tem have cooled down.
CAUTION:
ECA11620
●In order to prevent clutch slip-
page (since the engine oil also
lubricates the clutch), do not
mix any chemical additives. Do
not use oils with a diesel speci-
fication of “CD” or oils of a high-
er quality than specified. In
addition, do not use oils labeled
“ENERGY CONSERVING II” or
higher.
●Make sure that no foreign mate-
rial enters the crankcase.
9. Start the engine, and then let it idle
for several minutes while checking
it for oil leakage. If oil is leaking, im-
mediately turn the engine off and
check for the cause.
NOTE:
After the engine is started, the engine
oil level warning light should go off if the
oil level is sufficient.
CAUTION:
ECA10400
If the oil level warning light flickers
or remains on, immediately turn the
engine off and have a Yamaha dealer
check the vehicle.
10. Turn the engine off, and then
check the oil level and correct it if
necessary.
1. Torque wrench
Tightening torque:
Oil filter cartridge:
17 Nm (1.7 m·kgf, 12 ft·lbf)
Tightening torque:
Engine oil drain bolt:
43 Nm (4.3 m·kgf, 31 ft·lbf)
Recommended engine oil:
See page 8-1.
Oil quantity:
Without oil filter cartridge replace-
ment:
3.20 L (3.38 US qt) (2.82 Imp.qt)
With oil filter cartridge replacement:
3.40 L (3.59 US qt) (2.99 Imp.qt)
U5S611E0.book Page 13 Thursday, May 10, 2007 3:00 PM

PERIODIC MAINTENANCE AND MINOR REPAIR
6-14
6
EAU20070
Coolant
The coolant level should be checked
before each ride. In addition, the cool-
ant must be changed at the intervals
specified in the periodic maintenance
and lubrication chart.
EAU42630
To check the coolant level
1. Place the vehicle on a level sur-
face and hold it in an upright posi-
tion.
NOTE:
●The coolant level must be checked
on a cold engine since the level
varies with engine temperature.
●Make sure that the vehicle is posi-
tioned straight up when checking
the coolant level. A slight tilt to the
side can result in a false reading.
2. Check the coolant level in the cool-
ant reservoir.
NOTE:
The coolant should be between the
minimum and maximum level marks.
3. If the coolant is at or below the
minimum level mark, remove pan-
el A. (See page 6-9.)
4. Remove the reservoir cap, add
coolant to the maximum level
mark, and then install the reservoir
cap.
CAUTION:
ECA10471
●If coolant is not available, use
distilled water or soft tap water
instead. Do not use hard water
or salt water since it is harmful
to the engine.
●If water has been used instead
of coolant, replace it with cool-
ant as soon as possible, other-
wise the cooling system will not
be protected against frost and
corrosion.
1. Coolant reservoir
2. Maximum level mark
3. Minimum level mark
1. Coolant reservoir cap
Coolant reservoir capacity (up to the
maximum level mark):
0.45 L (0.48 US qt) (0.40 Imp.qt)
U5S611E0.book Page 14 Thursday, May 10, 2007 3:00 PM

PERIODIC MAINTENANCE AND MINOR REPAIR
6-15
6
●If water has been added to the
coolant, have a Yamaha dealer
check the antifreeze content of
the coolant as soon as possible,
otherwise the effectiveness of
the coolant will be reduced.
WARNING
EWA10380
Never attempt to remove the radiator
cap when the engine is hot.
5. Install the panel.
NOTE:
●The radiator fan is automatically
switched on or off according to the
coolant temperature in the radia-
tor.
●If the engine overheats, see page
6-37 for further instructions.
●Make sure that the coolant reser-
voir breather hose is properly rout-
ed through the guide.
EAU33030
Changing the coolant
WARNING
EWA10380
Never attempt to remove the radiator
cap when the engine is hot.
The coolant must be changed at the in-
tervals specified in the periodic mainte-
nance and lubrication chart. Have a
Yamaha dealer change the coolant.
EAU42441
Replacing the air filter element
The air filter element should be re-
placed at the intervals specified in the
periodic maintenance and lubrication
chart. Replace the air filter element
more frequently if you are riding in un-
usually wet or dusty areas.
1. Remove the air filter case cover by
removing the bolts.
2. Pull the air filter element out.
1. Guide
2. Coolant reservoir breather hose
1. Air filter case cover
2. Bolt
U5S611E0.book Page 15 Thursday, May 10, 2007 3:00 PM

PERIODIC MAINTENANCE AND MINOR REPAIR
6-16
6
3. Insert a new air filter element into
the air filter case.
CAUTION:
ECA10480
●Make sure that the air filter ele-
ment is properly seated in the
air filter case.
●The engine should never be op-
erated without the air filter ele-
ment installed, otherwise the
piston(s) and/or cylinder(s) may
become excessively worn.
4. Install the air filter case cover by in-
stalling the bolts.
EAU21382
Checking the throttle cable
free play
The throttle cable free play should mea-
sure 4.0–6.0 mm (0.16–0.24 in) at the
throttle grip. Periodically check the
throttle cable free play and, if neces-
sary, have a Yamaha dealer adjust it.
EAU21401
Valve clearance
The valve clearance changes with use,
resulting in improper air-fuel mixture
and/or engine noise. To prevent this
from occurring, the valve clearance
must be adjusted by a Yamaha dealer
at the intervals specified in the periodic
maintenance and lubrication chart.
1. Air filter element
1. Throttle cable free play
U5S611E0.book Page 16 Thursday, May 10, 2007 3:00 PM

PERIODIC MAINTENANCE AND MINOR REPAIR
6-17
6
EAU42710
Tires
To ensure maximum performance,
long service, and safe operation, note
the following:
Tire air pressure
Always check and adjust the tire pres-
sure before operating the motorcycle.
WARNING
EWA14650
Tire inflation pressure should be
checked and adjusted when the tem-
perature of the tire equals the ambi-
ent air temperature. Tire inflation
pressure must be adjusted accord-
ing to total weight of cargo, rider,
passenger, and accessories (wind-
shield, sidebags, etc. if approved for
this model).
WARNING
EWA11020
Because loading has an enormous
impact on the handling, braking,
performance and safety characteris-
tics of your motorcycle, you should
keep the following precautions in
mind.
●NEVER OVERLOAD THE
MOTORCYCLE! Operation of an
overloaded motorcycle may re-
sult in tire damage, loss of con-
trol, or severe injury. Make sure
that the total weight of rider,
passenger, cargo, and accesso-
ries does not exceed the speci-
fied maximum load for the
vehicle.
●Do not carry along loosely
packed items, which can shift
during a ride.
●Securely pack the heaviest
items close to the center of the
motorcycle and distribute the
weight evenly on both sides.
●Adjust the suspension and tire
air pressure with regard to the
load.
●Check the tire condition and air
pressure before each ride.
Tire air pressure (measured on cold
tires):
0–90 kg (0–198 lb):
Front:
250 kPa (36 psi) (2.50 kgf/cm²)
Rear:
280 kPa (41 psi) (2.80 kgf/cm²)
90–190 kg (198–419 lb):
Front:
250 kPa (36 psi) (2.50 kgf/cm²)
Rear:
280 kPa (41 psi) (2.80 kgf/cm²)
Maximum load*:
190 kg (419 lb)
* Total weight of rider, passenger, car-
go and accessories
U5S611E0.book Page 17 Thursday, May 10, 2007 3:00 PM

PERIODIC MAINTENANCE AND MINOR REPAIR
6-18
6
Tire inspection
Always check the tires before operating
the motorcycle. If a tire tread shows
crosswise line (minimum tread depth),
if the tire has a nail or glass fragments
in it, or if the sidewall is cracked, con-
tact a Yamaha dealer immediately and
have the tire replaced.
NOTE:
These limits may be different by regula-
tion from country to country. If so, con-
form to the limits specified by the
regulations of your own country.
WARNING
EWA10580
●It is dangerous to ride with a
worn-out tire. When a tire tread
begins to show crosswise lines,
have a Yamaha dealer replace
the tire immediately.
●The replacement of all wheel-
and brake-related parts, includ-
ing the tires, should be left to a
Yamaha dealer, who has the
necessary professional knowl-
edge and experience.
Tire information
This motorcycle is equipped with cast
wheels and tubeless tires.
WARNING
EWA10460
●The front and rear tires should
be of the same make and de-
sign, otherwise the handling
characteristics of the vehicle
cannot be guaranteed.
●After extensive tests, only the
tires listed below have been ap-
proved for this model by
Yamaha Motor Co., Ltd.
1. Tire sidewall
2. Tire wear indicator
3. Tire tread depth
Minimum tire tread depth (front and
rear):
1.0 mm (0.04 in)
Front tire:
Size:
130/90 16M/C 67H
Manufacturer/model:
DUNLOP/D404F X
BRIDGESTONE/EXEDRA G721
Rear tire:
Size:
170/70B 16M/C 75H
Manufacturer/model:
DUNLOP/K555
BRIDGESTONE/EXEDRA G722 G
U5S611E0.book Page 18 Thursday, May 10, 2007 3:00 PM

PERIODIC MAINTENANCE AND MINOR REPAIR
6-19
6
EAU21960
Cast wheels
To maximize the performance, durabil-
ity, and safe operation of your vehicle,
note the following points regarding the
specified wheels.
●The wheel rims should be checked
for cracks, bends or warpage be-
fore each ride. If any damage is
found, have a Yamaha dealer re-
place the wheel. Do not attempt
even the smallest repair to the
wheel. A deformed or cracked
wheel must be replaced.
●The wheel should be balanced
whenever either the tire or wheel
has been changed or replaced. An
unbalanced wheel can result in
poor performance, adverse han-
dling characteristics, and a short-
ened tire life.
●Ride at moderate speeds after
changing a tire since the tire sur-
face must first be “broken in” for it
to develop its optimal characteris-
tics.
EAU22011
Accessories and replacement
parts
WARNING
EWA10621
This vehicle is not designed to pull a
trailer or to be attached to a sidecar.
The accessories or replacement
parts you choose for your vehicle
should be designed specifically for
this model, and they must be se-
curely mounted to maintain the in-
herent stability of the original
design. Genuine Yamaha Parts and
Accessories are designed and test-
ed to be compatible with your vehi-
cle. Please consider Genuine
Yamaha Parts and Accessories be-
fore making a purchase. Use of non-
Yamaha-approved accessories or
replacement parts may cause loss of
handling stability and riding safety.
Since Yamaha cannot control the
quality of accessories or parts man-
ufactured by other companies,
Yamaha cannot be held liable for
any consequences caused by the
use of items which have not been
approved by Yamaha.
U5S611E0.book Page 19 Thursday, May 10, 2007 3:00 PM

PERIODIC MAINTENANCE AND MINOR REPAIR
6-20
6
EAU22031
Adjusting the clutch lever free
play
The clutch lever free play should mea-
sure 5.0–10.0 mm (0.20–0.39 in) as
shown. Periodically check the clutch le-
ver free play and, if necessary, adjust it
as follows.
1. Loosen the locknut at the clutch le-
ver.
2. To increase the clutch lever free
play, turn the adjusting bolt in di-
rection (a). To decrease the clutch
lever free play, turn the adjusting
bolt in direction (b).
3. If the specified clutch lever free
play could be obtained as de-
scribed above, tighten the locknut
and skip the rest of the procedure,
otherwise, proceed as follows.
4. Fully turn the adjusting bolt in di-
rection (a) to loosen the clutch ca-
ble.
5. Loosen the locknut further down
the clutch cable.
6. To increase the clutch lever free
play, turn the adjusting nut in direc-
tion (a). To decrease the clutch le-
ver free play, turn the adjusting nut
in direction (b).
7. Tighten both locknuts.
EAU22092
Adjusting the brake lever free
play
The brake lever free play should mea-
sure 2.0–5.0 mm (0.08–0.20 in) as
shown. Periodically check the brake le-
ver free play and, if necessary, adjust it
as follows.
1. Loosen the locknut at the brake le-
ver.
2. To increase the brake lever free
play, turn the adjusting screw in di-
rection (a). To decrease the brake
lever free play, turn the adjusting
screw in direction (b).
3. Tighten the locknut.
1. Locknut (clutch lever)
2. Clutch lever free play adjusting bolt
3. Clutch lever free play
1. Clutch lever free play adjusting nut (clutch
cable)
2. Locknut (clutch cable)
12
(a)
(b) 1. Locknut
2. Brake lever free play adjusting screw
3. Brake lever free play
U5S611E0.book Page 20 Thursday, May 10, 2007 3:00 PM

PERIODIC MAINTENANCE AND MINOR REPAIR
6-21
6
WARNING
EWA10630
●After adjusting the brake lever
free play, check the free play
and make sure that the brake is
working properly.
●A soft or spongy feeling in the
brake lever can indicate the
presence of air in the hydraulic
system. If there is air in the hy-
draulic system, have a Yamaha
dealer bleed the system before
operating the motorcycle. Air in
the hydraulic system will dimin-
ish the braking performance,
which may result in loss of con-
trol and an accident.
EAU22270
Adjusting the rear brake light
switch
The rear brake light switch, which is ac-
tivated by the brake pedal, is properly
adjusted when the brake light comes
on just before braking takes effect. If
necessary, adjust the brake light switch
as follows.
Turn the adjusting nut while holding the
rear brake light switch in place. To
make the brake light come on earlier,
turn the adjusting nut in direction (a). To
make the brake light come on later, turn
the adjusting nut in direction (b).
EAU22390
Checking the front and rear
brake pads
The front and rear brake pads must be
checked for wear at the intervals spec-
ified in the periodic maintenance and
lubrication chart.
EAU22430
Front brake pads
Each front brake pad is provided with
wear indicator grooves, which allow
you to check the brake pad wear with-
out having to disassemble the brake.
To check the brake pad wear, check
the wear indicator grooves. If a brake
pad has worn to the point that the wear
1. Rear brake light switch
2. Rear brake light switch adjusting nut
1. Brake pad wear indicator groove
U5S611E0.book Page 21 Thursday, May 10, 2007 3:00 PM

PERIODIC MAINTENANCE AND MINOR REPAIR
6-22
6
indicator grooves have almost disap-
peared, have a Yamaha dealer replace
the brake pads as a set.
EAU22500
Rear brake pads
Check each rear brake pad for damage
and measure the lining thickness. If a
brake pad is damaged or if the lining
thickness is less than 0.8 mm (0.03 in),
have a Yamaha dealer replace the
brake pads as a set.
EAU22580
Checking the brake fluid level
Front brake
Rear brake
Insufficient brake fluid may allow air to
enter the brake system, possibly caus-
ing it to become ineffective.
Before riding, check that the brake fluid
is above the minimum level mark and
replenish if necessary. A low brake fluid
level may indicate worn brake pads
and/or brake system leakage. If the
brake fluid level is low, be sure to check
the brake pads for wear and the brake
system for leakage.
Observe these precautions:
●When checking the fluid level,
make sure that the top of the brake
fluid reservoir is level.
●Use only the recommended quality
brake fluid, otherwise the rubber
seals may deteriorate, causing
leakage and poor braking perfor-
mance.
●Refill with the same type of brake
fluid. Mixing fluids may result in a
harmful chemical reaction and
lead to poor braking performance.
1. Lining thickness
1. Minimum level mark
1. Minimum level mark
Recommended brake fluid:
DOT 4
U5S611E0.book Page 22 Thursday, May 10, 2007 3:00 PM

PERIODIC MAINTENANCE AND MINOR REPAIR
6-23
6
●Be careful that water does not en-
ter the brake fluid reservoir when
refilling. Water will significantly
lower the boiling point of the fluid
and may result in vapor lock.
●Brake fluid may deteriorate paint-
ed surfaces or plastic parts. Al-
ways clean up spilled fluid
immediately.
●As the brake pads wear, it is nor-
mal for the brake fluid level to grad-
ually go down. However, if the
brake fluid level goes down sud-
denly, have a Yamaha dealer
check the cause.
EAU22730
Changing the brake fluid
Have a Yamaha dealer change the
brake fluid at the intervals specified in
the NOTE after the periodic mainte-
nance and lubrication chart. In addition,
have the oil seals of the master cylin-
ders and calipers as well as the brake
hoses replaced at the intervals listed
below or whenever they are damaged
or leaking.
●Oil seals: Replace every two
years.
●Brake hoses: Replace every four
years.
EAU23040
Drive belt slack
The drive belt slack should be checked
and adjusted at the intervals specified
in the periodic maintenance and lubri-
cation chart.
EAU38410
To check the drive belt slack
1. Place the vehicle on the sidestand.
2. Note the current position of the
drive belt using the marks near the
drive belt check hole.
NOTE:
The marks near the drive belt check
hole are 5.0 mm (0.2 in) apart.
1. Drive belt
2. Marks
3. Drive belt slack
U5S611E0.book Page 23 Thursday, May 10, 2007 3:00 PM

PERIODIC MAINTENANCE AND MINOR REPAIR
6-24
6
3. Note the position of the drive belt
with a force of 45 N (4.5 kgf, 10 lbf)
applied to the belt with a belt ten-
sion gauge as shown.
NOTE:
A belt tension gauge is available at a
Yamaha dealer.
4. Calculate the drive belt slack by
subtracting the measurement not-
ed in step 2 from the measurement
noted in step 3.
5. If the drive belt slack is incorrect,
have a Yamaha dealer adjust it.
EAU23091
Checking and lubricating the
cables
The operation of all control cables and
the condition of the cables should be
checked before each ride, and the ca-
bles and cable ends should be lubricat-
ed if necessary. If a cable is damaged
or does not move smoothly, have a
Yamaha dealer check or replace it.
WARNING
EWA10710
Damage to the outer housing of ca-
bles may result in internal rusting
and cause interference with cable
movement. Replace damaged ca-
bles as soon as possible to prevent
unsafe conditions.
EAU23111
Checking and lubricating the
throttle grip and cable
The operation of the throttle grip should
be checked before each ride. In addi-
tion, the cable should be lubricated at
the intervals specified in the periodic
maintenance chart.
1. Belt tension gauge
Drive belt slack:
5.0–7.0 mm (0.20–0.28 in)
Recommended lubricant:
Yamaha Chain and Cable Lube or
engine oil SAE 10W-30
U5S611E0.book Page 24 Thursday, May 10, 2007 3:00 PM

PERIODIC MAINTENANCE AND MINOR REPAIR
6-25
6
EAU23132
Checking and lubricating the
brake and shift pedals
The operation of the brake and shift
pedals should be checked before each
ride, and the pedal pivots should be lu-
bricated if necessary.
EAU23141
Checking and lubricating the
brake and clutch levers
Brake lever
Clutch lever
The operation of the brake and clutch
levers should be checked before each
ride, and the lever pivots should be lu-
bricated if necessary.
Recommended lubricants:
Brake pedal:
Silicone grease
Shift pedal:
Lithium-soap-based grease (all-
purpose grease)
U5S611E0.book Page 25 Thursday, May 10, 2007 3:00 PM

PERIODIC MAINTENANCE AND MINOR REPAIR
6-26
6
EAU23200
Checking and lubricating the
sidestand
The operation of the sidestand should
be checked before each ride, and the
sidestand pivot and metal-to-metal
contact surfaces should be lubricated if
necessary.
WARNING
EWA10730
If the sidestand does not move up
and down smoothly, have a Yamaha
dealer check or repair it.
EAUM1650
Lubricating the swingarm piv-
ots
The swingarm pivots must be lubricat-
ed at the intervals specified in the peri-
odic maintenance and lubrication chart.
Recommended lubricants:
Brake lever:
Silicone grease
Clutch lever:
Lithium-soap-based grease (all-
purpose grease)
Recommended lubricant:
Lithium-soap-based grease (all-pur-
pose grease)
Recommended lubricant:
Lithium-soap-based grease
U5S611E0.book Page 26 Thursday, May 10, 2007 3:00 PM

PERIODIC MAINTENANCE AND MINOR REPAIR
6-27
6
EAU23250
Lubricating the rear suspen-
sion
The pivoting points of the rear suspen-
sion must be lubricated at the intervals
specified in the periodic maintenance
and lubrication chart.
EAU23271
Checking the front fork
The condition and operation of the front
fork must be checked as follows at the
intervals specified in the periodic main-
tenance and lubrication chart.
To check the condition
WARNING
EWA10750
Securely support the vehicle so that
there is no danger of it falling over.
Check the inner tubes for scratches,
damage and excessive oil leakage.
To check the operation
1. Place the vehicle on a level sur-
face and hold it in an upright posi-
tion.
2. While applying the front brake,
push down hard on the handlebars
several times to check if the front
fork compresses and rebounds
smoothly.
CAUTION:
ECA10590
If any damage is found or the front
fork does not operate smoothly,
have a Yamaha dealer check or re-
pair it.
Recommended lubricant:
Lithium-soap-based grease
U5S611E0.book Page 27 Thursday, May 10, 2007 3:00 PM

PERIODIC MAINTENANCE AND MINOR REPAIR
6-28
6
EAU23280
Checking the steering
Worn or loose steering bearings may
cause danger. Therefore, the operation
of the steering must be checked as fol-
lows at the intervals specified in the pe-
riodic maintenance and lubrication
chart.
1. Place a stand under the engine to
raise the front wheel off the
ground.
WARNING
EWA10750
Securely support the vehicle so that
there is no danger of it falling over.
2. Hold the lower ends of the front
fork legs and try to move them for-
ward and backward. If any free
play can be felt, have a Yamaha
dealer check or repair the steering.
EAU23290
Checking the wheel bearings
The front and rear wheel bearings must
be checked at the intervals specified in
the periodic maintenance and lubrica-
tion chart. If there is play in the wheel
hub or if the wheel does not turn
smoothly, have a Yamaha dealer check
the wheel bearings.
U5S611E0.book Page 28 Thursday, May 10, 2007 3:00 PM

PERIODIC MAINTENANCE AND MINOR REPAIR
6-29
6
EAU23370
Battery
This model is equipped with a sealed-
type (MF) battery, which does not re-
quire any maintenance. There is no
need to check the electrolyte or to add
distilled water.
CAUTION:
ECA10620
Never attempt to remove the battery
cell seals, as this would permanent-
ly damage the battery.
WARNING
EWA10760
●Electrolyte is poisonous and
dangerous since it contains sul-
furic acid, which causes severe
burns. Avoid any contact with
skin, eyes or clothing and al-
ways shield your eyes when
working near batteries. In case
of contact, administer the fol-
lowing FIRST AID.
•EXTERNAL: Flush with plenty
of water.
•INTERNAL: Drink large quan-
tities of water or milk and im-
mediately call a physician.
•EYES: Flush with water for 15
minutes and seek prompt
medical attention.
●Batteries produce explosive hy-
drogen gas. Therefore, keep
sparks, flames, cigarettes, etc.,
away from the battery and pro-
vide sufficient ventilation when
charging it in an enclosed
space.
●KEEP THIS AND ALL BATTER-
IES OUT OF THE REACH OF
CHILDREN.
To charge the battery
Have a Yamaha dealer charge the bat-
tery as soon as possible if it seems to
have discharged. Keep in mind that the
battery tends to discharge more quickly
if the vehicle is equipped with optional
electrical accessories.
To store the battery
1. If the vehicle will not be used for
more than one month, remove the
battery, fully charge it, and then
place it in a cool, dry place.
2. If the battery will be stored for more
than two months, check it at least
once a month and fully charge it if
necessary.
3. Fully charge the battery before in-
stallation.
4. After installation, make sure that
the battery leads are properly con-
nected to the battery terminals.
1. Negative battery lead (black)
2. Positive battery lead (red)
3. Battery
U5S611E0.book Page 29 Thursday, May 10, 2007 3:00 PM

PERIODIC MAINTENANCE AND MINOR REPAIR
6-30
6
CAUTION:
ECA10630
●Always keep the battery
charged. Storing a discharged
battery can cause permanent
battery damage.
●To charge a sealed-type (MF)
battery, a special (constant-volt-
age) battery charger is required.
Using a conventional battery
charger will damage the battery.
If you do not have access to a
sealed-type (MF) battery charg-
er, have a Yamaha dealer
charge your battery.
EAU42582
Replacing the fuses
The main fuse, the fuel injection system
fuse, and the fuse box, which contains
the fuses for the individual circuits, are
located under the rider seat. (See page
3-11.)
If a fuse is blown, replace it as follows.
1. Unhook the battery band, and then
remove the battery cover.
2. Turn the key to “OFF” and turn off
the electrical circuit in question.
3. Remove the blown fuse, and then
install a new fuse of the specified
amperage.
1. Battery band
2. Battery cover
1. Main fuse
2. Fuse box
3. Fuel injection system fuse
4. Fuel injection system spare fuse
U5S611E0.book Page 30 Thursday, May 10, 2007 3:00 PM

PERIODIC MAINTENANCE AND MINOR REPAIR
6-31
6
CAUTION:
ECA10640
Do not use a fuse of a higher amper-
age rating than recommended to
avoid causing extensive damage to
the electrical system and possibly a
fire.
4. Turn the key to “ON” and turn on
the electrical circuit in question to
check if the device operates.
5. If the fuse immediately blows
again, have a Yamaha dealer
check the electrical system.
6. Install the battery cover, and then
hook the battery band onto the
holder.
1. Signaling system fuse
2. Ignition fuse
3. Taillight fuse
4. Radiator fan fuse
5. Backup fuse (for odometer and clock)
6. Headlight fuse
7. Spare fuse
Specified fuses:
Main fuse:
50.0 A
Headlight fuse:
20.0 A
Signaling system fuse:
10.0 A
Taillight fuse:
10.0 A
Ignition fuse:
15.0 A
Fuel injection system fuse:
10.0 A
Backup fuse:
10.0 A
Radiator fan fuse:
20.0 A
U5S611E0.book Page 31 Thursday, May 10, 2007 3:00 PM

PERIODIC MAINTENANCE AND MINOR REPAIR
6-32
6
EAU42470
Replacing the headlight bulb
This model is equipped with a quartz
bulb headlight. If the headlight bulb
burns out, replace it as follows.
1. Remove the turn signal/position
light bracket cover by removing the
bolts.
2. Remove the headlight unit by re-
moving the bolts on each side.
3. Disconnect the headlight coupler,
and then remove the bulb cover.
4. Unhook the headlight bulb holder,
and then remove the defective
bulb.
WARNING
EWA10790
Headlight bulbs get very hot. There-
fore, keep flammable products away
from a lit headlight bulb, and do not
touch the bulb until it has cooled
down.
5. Place a new headlight bulb into po-
sition, and then secure it with the
bulb holder.
CAUTION:
ECA10660
Do not touch the glass part of the
headlight bulb to keep it free from
oil, otherwise the transparency of
the glass, the luminosity of the bulb,
1. Turn signal/position light bracket cover
2. Bolt
1. Bolt
1. Headlight bulb cover
2. Headlight coupler
1. Headlight bulb holder
2. Headlight bulb
U5S611E0.book Page 32 Thursday, May 10, 2007 3:00 PM

PERIODIC MAINTENANCE AND MINOR REPAIR
6-33
6
and the bulb life will be adversely af-
fected. Thoroughly clean off any dirt
and fingerprints on the headlight
bulb using a cloth moistened with al-
cohol or thinner.
6. Install the headlight bulb cover,
and then connect the coupler.
7. Install the headlight unit by install-
ing the bolts.
8. Place the turn signal/position light
bracket cover in the original posi-
tion, and then install the bolts.
9. Have a Yamaha dealer adjust the
headlight beam if necessary.
EAU24131
Replacing the tail/brake light
bulb
1. Remove the tail/brake light lens by
removing the screws.
2. Remove the defective bulb by
pushing it in and turning it counter-
clockwise.
3. Insert a new bulb into the socket,
push it in, and then turn it clock-
wise until it stops.
4. Install the lens by installing the
screws.
CAUTION:
ECA10680
Do not overtighten the screws, oth-
erwise the lens may break.
1. Do not touch the glass part of the bulb. 1. Screw
U5S611E0.book Page 33 Thursday, May 10, 2007 3:00 PM

PERIODIC MAINTENANCE AND MINOR REPAIR
6-34
6
EAU42460
Replacing a front turn signal
light bulb
1. Remove the front turn signal light
outer lens by removing the screws.
2. Remove the inner lens by pulling it
out.
3. Remove the defective bulb by
pushing it in and turning it counter-
clockwise.
4. Insert a new bulb into the socket,
push it in, and then turn it clock-
wise until it stops.
5. Place the inner lens in the original
position, and then install the outer
lens by installing the screws.
CAUTION:
ECA10680
Do not overtighten the screws, oth-
erwise the lens may break.
EAU42450
Replacing a rear turn signal
light bulb
1. Remove the turn signal lens by re-
moving the screws.
2. Remove the defective bulb by
pushing it in and turning it counter-
clockwise.
3. Insert a new bulb into the socket,
push it in, and then turn it clock-
wise until it stops.
4. Install the lens by installing the
screws.
CAUTION:
ECA10680
Do not overtighten the screws, oth-
erwise the lens may break.
1. Screw
1. Inner lens
1. Screw
U5S611E0.book Page 34 Thursday, May 10, 2007 3:00 PM

PERIODIC MAINTENANCE AND MINOR REPAIR
6-35
6
EAU42482
Replacing the license plate
light bulb
1. Remove the license plate light cov-
er by removing the bolts.
2. Pull the license plate light unit up
as shown.
3. Remove the license plate light
socket (together with the bulb) by
turning it counterclockwise, and
then pulling it out.
4. Remove the defective bulb by pull-
ing it out from the socket.
5. Insert a new bulb into the socket.
6. Install the socket (together with the
bulb) by pushing it in and turning it
clockwise until it stops.
7. Place the license plate light unit in
the original position, and then in-
stall the license plate light cover by
installing the bolts.
1. License plate light cover
2. Bolt
1. License plate light unit
1. License plate light bulb socket
1. License plate light bulb
U5S611E0.book Page 35 Thursday, May 10, 2007 3:00 PM

PERIODIC MAINTENANCE AND MINOR REPAIR
6-36
6
EAU24350
Supporting the motorcycle
Since this model is not equipped with a
centerstand, follow these precautions
when removing the front and rear
wheel or performing other maintenance
requiring the motorcycle to stand up-
right. Check that the motorcycle is in a
stable and level position before starting
any maintenance. A strong wooden
box can be placed under the engine for
added stability.
To service the front wheel
1. Stabilize the rear of the motorcycle
by using a motorcycle stand or, if
an additional motorcycle stand is
not available, by placing a jack un-
der the frame in front of the rear
wheel.
2. Raise the front wheel off the
ground by using a motorcycle
stand.
To service the rear wheel
Raise the rear wheel off the ground by
using a motorcycle stand or, if a motor-
cycle stand is not available, by placing
a jack either under each side of the
frame in front of the rear wheel or under
each side of the swingarm.
EAU25870
Troubleshooting
Although Yamaha motorcycles receive
a thorough inspection before shipment
from the factory, trouble may occur dur-
ing operation. Any problem in the fuel,
compression, or ignition systems, for
example, can cause poor starting and
loss of power.
The following troubleshooting charts
represent quick and easy procedures
for checking these vital systems your-
self. However, should your motorcycle
require any repair, take it to a Yamaha
dealer, whose skilled technicians have
the necessary tools, experience, and
know-how to service the motorcycle
properly.
Use only genuine Yamaha replace-
ment parts. Imitation parts may look like
Yamaha parts, but they are often inferi-
or, have a shorter service life and can
lead to expensive repair bills.
U5S611E0.book Page 36 Thursday, May 10, 2007 3:00 PM

PERIODIC MAINTENANCE AND MINOR REPAIR
6-37
6
EAU42500
Troubleshooting charts
Starting problems or poor engine performance
WARNING
EWA10840
Keep away open flames and do not smoke while checking or working on the fuel system.
Check the fuel level in
the fuel tank.
1. Fuel
There is enough fuel.
There is no fuel.
Check the compression.
Supply fuel. The engine does not start.
Check the compression.
Operate the electric starter.
2. Compression
There is compression.
There is no compression.
Check the ignition.
Have a Yamaha dealer
check the vehicle.
Remove the spark plugs
and check the electrodes.
3. Ignition Wipe off with a dry cloth and correct the
spark plug gaps, or replace the spark plugs.
Have a Yamaha dealer check the vehicle.
The engine does not start.
Have a Yamaha dealer
check the vehicle.
The engine does not start.
Check the battery.
Operate the electric starter.
4. Battery The engine turns over
quickly.
The engine turns over
slowly.
The battery is good.
Check the battery lead connections,
and charge the battery if necessary.
Dry
Wet Operate the electric starter.
U5S611E0.book Page 37 Thursday, May 10, 2007 3:00 PM

PERIODIC MAINTENANCE AND MINOR REPAIR
6-38
6
Engine overheating
WARNING
EWAT1040
●Do not remove the radiator cap when the engine and radiator are hot. Scalding hot fluid and steam may be
blown out under pressure, which could cause serious injury. Be sure to wait until the engine has cooled.
●Place a thick rag, like a towel, over the radiator cap, and then slowly rotate the cap counterclockwise to the de-
tent to allow any residual pressure to escape. When the hissing sound has stopped, press down on the cap
while turning it counterclockwise, and then remove the cap.
NOTE:
If coolant is not available, tap water can be temporarily used instead, provided that it is changed to the recommended coolant
as soon as possible.
Wait until the
engine has cooled.
Check the coolant level in the
reservoir and radiator.
The coolant level
is OK.
The coolant level is low.
Check the cooling system
for leakage.
Have a Yamaha dealer check
and repair the cooling system.
Add coolant. (See NOTE.)
Start the engine. If the engine overheats again, have a
Yamaha dealer check
and repair the cooling system.
There is
leakage.
There is
no leakage.
U5S611E0.book Page 38 Thursday, May 10, 2007 3:00 PM

MOTORCYCLE CARE AND STORAGE
7-1
7
EAU37833
Matte color caution
CAUTION:
ECA15192
Some models are equipped with
matte colored finished parts. Be
sure to consult a Yamaha dealer for
advice on what products to use be-
fore cleaning the vehicle. Using a
brush, harsh chemical products or
cleaning compounds when cleaning
these parts will scratch or damage
their surface. Wax also should not
be applied to any matte colored fin-
ished parts.
EAU39164
Care
While the open design of a motorcycle
reveals the attractiveness of the tech-
nology, it also makes it more vulnera-
ble. Rust and corrosion can develop
even if high-quality components are
used. A rusty exhaust pipe may go un-
noticed on a car, however, it detracts
from the overall appearance of a motor-
cycle. Frequent and proper care does
not only comply with the terms of the
warranty, but it will also keep your
motorcycle looking good, extend its life
and optimize its performance.
Before cleaning
1. Cover the muffler outlets with plas-
tic bags after the engine has
cooled down.
2. Make sure that all caps and covers
as well as all electrical couplers
and connectors, including the
spark plug caps, are tightly in-
stalled.
3. Remove extremely stubborn dirt,
like oil burnt onto the crankcase,
with a degreasing agent and a
brush, but never apply such prod-
ucts onto seals, gaskets, the drive
belt and wheel axles. Always rinse
the dirt and degreaser off with wa-
ter.
Cleaning
CAUTION:
ECA10771
●Avoid using strong acidic wheel
cleaners, especially on spoked
wheels. If such products are
used on hard-to-remove dirt, do
not leave the cleaner on the af-
fected area any longer than in-
structed. Also, thoroughly rinse
the area off with water, immedi-
ately dry it, and then apply a cor-
rosion protection spray.
●Improper cleaning can damage
plastic parts such as cowlings,
panels, windshields, headlight
lenses, meter lenses, etc. Use
only a soft, clean cloth or
sponge with mild detergent and
water to clean plastic.
●Do not use any harsh chemical
products on plastic parts. Be
sure to avoid using cloths or
sponges which have been in
U5S611E0.book Page 1 Thursday, May 10, 2007 3:00 PM

MOTORCYCLE CARE AND STORAGE
7-2
7
contact with strong or abrasive
cleaning products, solvent or
thinner, fuel (gasoline), rust re-
movers or inhibitors, brake flu-
id, antifreeze or electrolyte.
●Do not use high-pressure wash-
ers or steam-jet cleaners since
they cause water seepage and
deterioration in the following ar-
eas: seals (of wheel and swing-
arm bearings, fork and brakes),
electric components (couplers,
connectors, instruments,
switches and lights), breather
hoses and vents.
●For motorcycles equipped with
a windshield: Do not use strong
cleaners or hard sponges as
they will cause dulling or
scratching. Some cleaning com-
pounds for plastic may leave
scratches on the windshield.
Test the product on a small hid-
den part of the windshield to
make sure that it does not leave
any marks. If the windshield is
scratched, use a quality plastic
polishing compound after
washing.
After normal use
Remove dirt with warm water, a mild
detergent, and a soft, clean sponge,
and then rinse thoroughly with clean
water. Use a toothbrush or bottlebrush
for hard-to-reach areas. Stubborn dirt
and insects will come off more easily if
the area is covered with a wet cloth for
a few minutes before cleaning.
After riding in the rain, near the sea or
on salt-sprayed roads
Since sea salt or salt sprayed on roads
during winter are extremely corrosive in
combination with water, carry out the
following steps after each ride in the
rain, near the sea or on salt-sprayed
roads.
NOTE:
Salt sprayed on roads in the winter may
remain well into spring.
1. Clean the motorcycle with cold wa-
ter and a mild detergent, after the
engine has cooled down.
CAUTION:
ECA10790
Do not use warm water since it in-
creases the corrosive action of the
salt.
2. After drying the motorcycle, apply
a corrosion protection spray on all
metal, including chrome- and nick-
el-plated, surfaces to prevent cor-
rosion.
After cleaning
1. Dry the motorcycle with a chamois
or an absorbing cloth.
2. Use a chrome polish to shine
chrome, aluminum and stainless-
steel parts, including the exhaust
system. (Even the thermally in-
duced discoloring of stainless-
steel exhaust systems can be re-
moved through polishing.)
U5S611E0.book Page 2 Thursday, May 10, 2007 3:00 PM

MOTORCYCLE CARE AND STORAGE
7-3
7
3. To prevent corrosion, it is recom-
mended to apply a corrosion pro-
tection spray on all metal,
including chrome- and nickel-plat-
ed, surfaces.
4. Use spray oil as a universal clean-
er to remove any remaining dirt.
5. Touch up minor paint damage
caused by stones, etc.
6. Wax all painted and chrome-plat-
ed surfaces. Avoid combination
cleaner waxes, many of which
contain abrasives that may mar
the paint or protective finish.
7. Let the motorcycle dry completely
before storing or covering it.
WARNING
EWA11130
●Make sure that there is no oil or
wax on the brakes or tires.
●If necessary, clean the brake
discs and brake linings with a
regular brake disc cleaner or ac-
etone, and wash the tires with
warm water and a mild deter-
gent. Before riding at higher
speeds, test the motorcycle’s
braking performance and cor-
nering behavior.
CAUTION:
ECA10950
●Apply spray oil and wax spar-
ingly and make sure to wipe off
any excess.
●Never apply oil or wax to the
drive belt.
●Never apply oil or wax to any
rubber and plastic parts, but
treat them with a suitable care
product.
●Avoid using abrasive polishing
compounds as they will wear
away the paint.
NOTE:
Consult a Yamaha dealer for advice on
what products to use.
Special care is needed for cleaning
the windshield and sidebags on this
model. Be sure to follow the instruc-
tions below.
Cleaning the windshield
Avoid using any alkaline or strong acid
cleaner, gasoline, brake fluid, or any
other solvent. Clean the windshield with
a cloth or sponge dampened with a
neutral detergent, and after cleaning,
thoroughly wash it off with water. For
additional cleaning, use Yamaha Wind-
shield Cleaner or other quality cleaner.
Some cleaning compounds for plastics
may leave scratches on surfaces of the
windshield. Before using them, make a
test by polishing an area which does
not affect your visibility.
Cleaning the sidebags
Water can be harmful to untreated
leather. Use Yamaha Saddle Soap or
another quality brand according to the
manufacturer’s directions to clean the
leather on the sidebags. Polish the dry
leather with a soft cloth, and then treat
with Yamaha Mink Oil or another high-
quality leather protectant for increased
water resistance.
U5S611E0.book Page 3 Thursday, May 10, 2007 3:00 PM

MOTORCYCLE CARE AND STORAGE
7-4
7
EAU26280
Storage
Short-term
Always store your motorcycle in a cool,
dry place and, if necessary, protect it
against dust with a porous cover.
CAUTION:
ECA10810
●Storing the motorcycle in a
poorly ventilated room or cover-
ing it with a tarp, while it is still
wet, will allow water and humid-
ity to seep in and cause rust.
●To prevent corrosion, avoid
damp cellars, stables (because
of the presence of ammonia)
and areas where strong chemi-
cals are stored.
Long-term
Before storing your motorcycle for sev-
eral months:
1. Follow all the instructions in the
“Care” section of this chapter.
2. Fill up the fuel tank and add fuel
stabilizer (if available) to prevent
the fuel tank from rusting and the
fuel from deteriorating.
3. Perform the following steps to pro-
tect the cylinders, piston rings, etc.
from corrosion.
a. Remove the spark plug caps
and spark plugs.
b. Pour a teaspoonful of engine oil
into each spark plug bore.
c. Install the spark plug caps onto
the spark plugs, and then place
the spark plugs on the cylinder
head so that the electrodes are
grounded. (This will limit spark-
ing during the next step.)
d. Turn the engine over several
times with the starter. (This will
coat the cylinder walls with oil.)
e. Remove the spark plug caps
from the spark plugs, and then
install the spark plugs and the
spark plug caps.
WARNING
EWA10950
To prevent damage or injury from
sparking, make sure to ground the
spark plug electrodes while turning
the engine over.
4. Lubricate all control cables and the
pivoting points of all levers and
pedals as well as of the side-
stand/centerstand.
5. Check and, if necessary, correct
the tire air pressure, and then lift
the motorcycle so that both of its
wheels are off the ground. Alterna-
tively, turn the wheels a little every
month in order to prevent the tires
from becoming degraded in one
spot.
6. Cover the muffler outlet with a
plastic bag to prevent moisture
from entering it.
7. Remove the battery and fully
charge it. Store it in a cool, dry
place and charge it once a month.
Do not store the battery in an ex-
cessively cold or warm place [less
than 0 °C (30°F) or more than 30
°C (90°F)]. For more information
on storing the battery, see page
6-29.
NOTE:
Make any necessary repairs before
storing the motorcycle.
U5S611E0.book Page 4 Thursday, May 10, 2007 3:00 PM

SPECIFICATIONS
8-1
8
Dimensions:
Overall length:
2490 mm (98.0 in)
Overall width:
980 mm (38.6 in)
Overall height:
1520 mm (59.8 in)
Seat height:
715 mm (28.1 in)
Wheelbase:
1690 mm (66.5 in)
Ground clearance:
145 mm (5.71 in)
Minimum turning radius:
3500 mm (137.8 in)
Weight:
With oil and fuel:
323.0 kg (712 lb)
Engine:
Engine type:
Liquid cooled 4-stroke, SOHC
Cylinder arrangement:
V-type 2-cylinder
Displacement:
1304.0 cm³
Bore × stroke:
100.0 × 83.0 mm (3.94 × 3.27 in)
Compression ratio:
9.50 :1
Starting system:
Electric starter
Lubrication system:
Wet sump
Engine oil:
Type:
YAMALUBE 4 (20W40) or SAE20W40
Recommended engine oil grade:
API service SG type or higher, JASO
standard MA
Engine oil quantity:
Without oil filter cartridge replacement:
3.20 L (3.38 US qt) (2.82 Imp.qt)
With oil filter cartridge replacement:
3.40 L (3.59 US qt) (2.99 Imp.qt)
Cooling system:
Coolant reservoir capacity (up to the
maximum level mark):
0.45 L (0.48 US qt) (0.40 Imp.qt)
Radiator capacity (including all routes):
2.10 L (2.22 US qt) (1.85 Imp.qt)
Air filter:
Air filter element:
Oil-coated paper element
Fuel:
Recommended fuel:
Unleaded gasoline only
Fuel tank capacity:
18.5 L (4.89 US gal) (4.07 Imp.gal)
Fuel reserve amount:
3.7 L (0.98 US gal) (0.81 Imp.gal)
Fuel injection:
Throttle body:
Manufacturer:
MIKUNI
Type/quantity:
ACW40/2
Spark plug (s):
Manufacturer/model:
NGK/LMAR7A-9
Spark plug gap:
0.8–0.9 mm (0.031–0.035 in)
Clutch:
Clutch type:
Wet, multiple-disc
Transmission:
Primary reduction system:
Spur gear
Primary reduction ratio:
70/45 (1.556)
Secondary reduction system:
Belt drive
Secondary reduction ratio:
70/30 (2.333)
Transmission type:
Constant mesh 5-speed
Operation:
Left foot operation
Gear ratio:
1st:
36/13 (2.769)
2nd:
32/18 (1.778)
3rd:
29/21 (1.381)
4th:
29/26 (1.115)
5th:
24/25 (0.960)
U5S611E0.book Page 1 Thursday, May 10, 2007 3:00 PM

SPECIFICATIONS
8-2
8
Chassis:
Frame type:
Double cradle
Caster angle:
32.70 °
Trail:
145.0 mm (5.71 in)
Front tire:
Type:
Tubeless
Size:
130/90 16M/C 67H
Manufacturer/model:
DUNLOP/D404F X
Manufacturer/model:
BRIDGESTONE/EXEDRA G721
Rear tire:
Type:
Tubeless
Size:
170/70B 16M/C 75H
Manufacturer/model:
DUNLOP/K555
Manufacturer/model:
BRIDGESTONE/EXEDRA G722 G
Loading:
Maximum load:
190 kg (419 lb)
(Total weight of rider, passenger, cargo and
accessories)
Tire air pressure (measured on cold
tires):
Loading condition:
0–90 kg (0–198 lb)
Front:
250 kPa (36 psi) (2.50 kgf/cm²)
Rear:
280 kPa (41 psi) (2.80 kgf/cm²)
Loading condition:
90–190 kg (198–419 lb)
Front:
250 kPa (36 psi) (2.50 kgf/cm²)
Rear:
280 kPa (41 psi) (2.80 kgf/cm²)
Front wheel:
Wheel type:
Cast wheel
Rim size:
16M/C x MT3.00
Rear wheel:
Wheel type:
Cast wheel
Rim size:
16M/C x MT4.50
Front brake:
Type:
Dual disc brake
Operation:
Right hand operation
Recommended fluid:
DOT 4
Rear brake:
Type:
Single disc brake
Operation:
Right foot operation
Recommended fluid:
DOT 4
Front suspension:
Type:
Telescopic fork
Spring/shock absorber type:
Coil spring/oil damper
Wheel travel:
135.0 mm (5.31 in)
Rear suspension:
Type:
Swingarm (link suspension)
Spring/shock absorber type:
Coil spring/gas-oil damper
Wheel travel:
110.0 mm (4.33 in)
Electrical system:
Ignition system:
Transistorized coil ignition (digital)
Charging system:
AC magneto
Battery:
Model:
YTX20L-BS
Voltage, capacity:
12 V, 18.0 Ah
Headlight:
Bulb type:
Halogen bulb
Bulb voltage, wattage × quantity:
Headlight:
12 V, 60 W/55.0 W × 1
Tail/brake light:
12 V, 5.0 W/21.0 W × 1
Front turn signal/position light:
12 V, 21 W/5.0 W × 2
U5S611E0.book Page 2 Thursday, May 10, 2007 3:00 PM

SPECIFICATIONS
8-3
8
Rear turn signal light:
12 V, 21.0 W × 2
License plate light:
12 V, 5.0 W × 1
Meter lighting:
LED
Neutral indicator light:
LED
High beam indicator light:
LED
Oil level warning light:
LED
Turn signal indicator light:
LED
Fuel level warning light:
LED
Coolant temperature warning light:
LED
Engine trouble warning light:
LED
Fuses:
Main fuse:
50.0 A
Headlight fuse:
20.0 A
Taillight fuse:
10.0 A
Signaling system fuse:
10.0 A
Ignition fuse:
15.0 A
Radiator fan fuse:
20.0 A
Fuel injection system fuse:
10.0 A
Backup fuse:
10.0 A
U5S611E0.book Page 3 Thursday, May 10, 2007 3:00 PM

CONSUMER INFORMATION
9-1
9
EAU26351
Identification numbers
Record the key identification number,
vehicle identification number and mod-
el label information in the spaces pro-
vided below for assistance when
ordering spare parts from a Yamaha
dealer or for reference in case the vehi-
cle is stolen.
KEY IDENTIFICATION NUMBER:
VEHICLE IDENTIFICATION
NUMBER:
MODEL LABEL INFORMATION:
EAU26381
Key identification number
The key identification number is
stamped into the key tag. Record this
number in the space provided and use
it for reference when ordering a new
key.
EAU26400
Vehicle identification number
The vehicle identification number is
stamped into the steering head pipe.
Record this number in the space pro-
vided.
N
O
TE:
The vehicle identification number is
used to identify your motorcycle and
may be used to register your motor-
cycle with the licensing authority in your
area.
1. Key identification number 1. Vehicle identification number
U5S611E0.book Page 1 Thursday, May 10, 2007 3:00 PM

CONSUMER INFORMATION
9-2
9
EAU26470
Model label
The model label is affixed to the frame
under the rider seat. (See page 3-11.)
Record the information on this label in
the space provided. This information
will be needed when ordering spare
parts from a Yamaha dealer.
1. Model label
U5S611E0.book Page 2 Thursday, May 10, 2007 3:00 PM

CONSUMER INFORMATION
9-3
9
EAU26551
Reporting safety defects
If you believe that your vehicle has a defect which could cause a crash or could cause injury or death, you should immediately
inform the National Highway Traffic Safety Administration (NHTSA) in addition to notifying Yamaha Motor Corporation,
U.S.A. If NHTSA receives similar complaints, it may open an investigation, and if it finds that a safety defect exists in a group
of vehicles, it may order a recall and remedy campaign. However, NHTSA cannot become involved in individual problems
between you, your dealer, or Yamaha Motor Corporation, U.S.A.
To contact NHTSA, you may call the Vehicle Safety Hotline toll-free at 1-888-327-4236 (TTY: 1-800-424-9153); go to
http://www.safercar.gov; or write to: Administrator, NHTSA, 400 Seventh Street, SW., Washington, DC 20590. You can also
obtain other information about motor vehicle safety from http://www.safercar.gov.
U5S611E0.book Page 3 Thursday, May 10, 2007 3:00 PM

CONSUMER INFORMATION
9-4
9
EAU26560
Motorcycle noise regulation
TAMPERING WITH NOISE CONTROL SYSTEM PROHIBITED:
Federal law prohibits the following acts or the causing thereof: (1) The removal or rendering inoperative by any person other
than for purposes of maintenance, repair, or replacement of any device or element of design incorporated into any new ve-
hicle for the purpose of noise control prior to its sale or delivery to the ultimate purchaser or while it is in use or (2) the use of
the vehicle after such device or element of design has been removed or rendered inoperative by any person.
“AMONG THOSE ACTS PRESUMED TO CONSTITUTE TAMPERING ARE THE ACTS LISTED BELOW”.
These acts include tampering with the following systems; i.e., modification, removal, etc.
Exhaust system
•Muffler
•Exhaust pipe
•Silencer
Intake system
•Air cleaner case
•Air cleaner element
•Intake duct
U5S611E0.book Page 4 Thursday, May 10, 2007 3:00 PM

CONSUMER INFORMATION
9-5
9
EAU26632
Maintenance record
Copies of work orders and/or receipts for parts purchased and installed on your vehicle will be required to document that
maintenance has been completed in accordance with the emissions warranty. The chart below is printed only as a reminder
that maintenance work is required. It is not acceptable proof of maintenance work.
Maintenance
interval
Date of
service Mileage Servicing dealer
name and address Remarks
600 mi
(1000 km) or
1 month
4000 mi
(7000 km) or
6 months
8000 mi
(13000 km) or
12 months
12000 mi
(19000 km) or
18 months
16000 mi
(25000 km) or
24 months
20000 mi
(31000 km) or
30 months
24000 mi
(37000 km) or
36 months
28000 mi
(43000 km) or
42 months
32000 mi
(49000 km) or
48 months
U5S611E0.book Page 5 Thursday, May 10, 2007 3:00 PM

CONSUMER INFORMATION
9-6
9
36000 mi
(55000 km) or
54 months
40000 mi
(61000 km) or
60 months
Maintenance
interval
Date of
service Mileage Servicing dealer
name and address Remarks
U5S611E0.book Page 6 Thursday, May 10, 2007 3:00 PM

CONSUMER INFORMATION
9-7
9
EAU26663
YAMAHA MOTOR CORPORATION, U.S.A. STREET AND ENDURO MOTORCYCLE LIMITED
WARRANTY
a)
b)
c)
d)
e)
f)
1.
2.
Yamaha Motor Corporation, U.S.A. hereby warrants that
new Yamaha motorcycles will be free from defects in
material and workmanship for the period of time stated
herein, subject to certain stated limitations.
THE PERIOD OF WARRANTY for Yamaha motorcycles
originally equipped with headlight, stoplight, and turn
signals shall be one (1) year from the date of purchase,
with no mileage limitation.
MODELS EXCLUDED FROM WARRANTY include
those used for non-Yamaha-authorized renting, leasing
or other commercial purposes, and TZ models.
DURING THE PERIOD OF WARRANTY, any authorized
Yamaha motorcycle dealer will, free of charge, repair or
replace any part adjudged defective by Yamaha due to
faulty workmanship or material from the factory. Parts used
in warranty repairs will be warranted for the balance of the
product’s warranty period. All parts replaced under
warranty become property of Yamaha Motor Corporation,
U.S.A.
GENERAL EXCLUSIONS from this warranty shall
include any failures caused by:
Competition or racing use.
Installation of parts or accessories that are not
qualitatively equivalent to genuine Yamaha parts.
Abnormal strain, neglect, or abuse.
Lack of proper maintenance.
Accident or collision damage.
Modification to original parts.
SPECIFIC EXCLUSIONS from this warranty shall
include parts replaced due to normal wear or routine
maintenance.
THE CUSTOMER’S RESPONSIBILITY under this
warranty shall be to:
Operate and maintain the motorcycle as specified in
the appropriate Owner’s Manual, and
Give notice to an authorized Yamaha motorcycle
dealer of any and all apparent defects within ten (10)
days after discovery, and make the machine available
at that time for inspection and repairs at such dealer’s
place of business.
WARRANTY TRANSFER: To transfer the warranty from
the original purchaser to any subsequent purchaser, it is
imperative that the machine be inspected and registered
for warranty by an authorized Yamaha motorcycle dealer.
In order for this warranty to remain in effect, this
inspection and registration must take place within ten
(10) days after transfer. An inspection and registration fee
will be charged for this service.
EMISSION CONTROL SYSTEM WARRANTY:
Yamaha Motor Corporation, U.S.A. also warrants to the
ultimate purchaser and each subsequent purchaser of
each Yamaha motorcycle covered by this warranty with a
displacement of 50cc or greater, that the vehicle is
designed, built, and equipped so as to conform at the
time of sale with all U.S. emissions standards applicable
at the time of manufacture and that it is free from defects
in materials and workmanship which would cause it not
to meet these standards within the period listed
immediately below. Failures other than those resulting
from defects in material or workmanship, which arise
solely as a result of owner abuse and/or lack of proper
maintenance, are not covered by this warranty.
Period
6,000 km (3,750 miles)
or five years, whichever occurs first
12,000 km (7,465 miles)
or five years whichever occurs first
18,000 km (11,185 miles)
or five years, whichever occurs first
30,000 km (18,641 miles)
or five years, whichever occurs first
YAMAHA MOTOR CORPORATION, U.S.A. MAKES NO
OTHER WARRANTY OF ANY KIND, EXPRESSED OR
IMPLIED. ALL IMPLIED WARRANTIES OF
MERCHANTABILITY AND FITNESS FOR A
PARTICULAR PURPOSE WHICH EXCEED THE
OBLIGATIONS AND TIME LIMITS STATED IN THIS
WARRANTY ARE HEREBY DISCLAIMED BY YAMAHA
MOTOR CORPORATION, U.S.A. AND EXCLUDED
FROM THIS WARRANTY.
SOME STATES DO NOT ALLOW LIMITATIONS ON
HOW LONG AN IMPLIED WARRANTY LASTS, SO THE
ABOVE LIMITATION MAY NOT APPLY TO YOU. ALSO
EXCLUDED FROM THIS WARRANTY ARE ANY
INCIDENTAL OR CONSEQUENTIAL DAMAGES
INCLUDING LOSS OF USE. SOME STATES DO NOT
ALLOW THE EXCLUSION OR LIMITATION OF
INCIDENTAL OR CONSEQUENTIAL DAMAGES, SO
THE ABOVE EXCLUSION MAY NOT APPLY TO YOU.
THIS WARRANTY GIVES YOU SPECIFIC LEGAL
RIGHTS, AND YOU MAY ALSO HAVE OTHER RIGHTS
WHICH VARY FROM STATE TO STATE.
YAMAHA MOTOR CORPORATION, U.S.A.
P.O. Box 6555
Cypress, California 90630
Engine
Displacement
Under 50cc
50cc to 169cc
170cc to 279cc
280cc and over
U5S611E0.book Page 7 Thursday, May 10, 2007 3:00 PM

CONSUMER INFORMATION
9-8
9
WARRANTY QUESTIONS AND ANSWERS
What costs are my responsibility during the warranty period?
The customer’s responsibility includes all costs of normal maintenance services,
non-warranty repairs, accident and collision damages, and oil, oil filters, air filters,
spark plugs, and brake shoes.
What are some examples of “abnormal” strain, neglect, or abuse?
These terms are general and overlap each other in areas. Specific examples
include: Running the machine out of oil, sustained high rpm, full-throttle, operating
the machine with a broken or damaged part which causes another part to fail,
damage or failure due to improper or careless transportation and/or tie-down. If
you have any specific questions on operation or maintenance, please contact your
dealer for advice.
Does the warranty cover incidental costs such as towing or transportation due to
a failure?
No. The warranty is limited to repair of the machine itself.
May I perform any or all of the recommended maintenance shown in the Owner’s
Manual instead of having the dealer do them?
Yes, if you are a qualified mechanic and follow the procedures specified in the
Owner’s and Service Manual. We do recommend, however, that items requiring
special tools or equipment be done by a Yamaha motorcycle dealer.
Will the warranty be void or cancelled if I do not operate or maintain my new
motorcycle exactly as specified in the Owner’s Manual?
No. The warranty on a new motorcycle cannot be “voided” or “cancelled.” However,
if a particular failure is caused by operation or maintenance other than as
described in the Owner’s Manual, that failure may not be covered under
warranty.
What responsibility does my dealer have under this warranty?
Each Yamaha motorcycle dealer is expected to:
Completely set up every new machine before sale.
Explain the operation, maintenance, and warranty requirements to your
satisfaction at the time of sale, and upon your request at any later date.
Each Yamaha motorcycle dealer is held responsible for his setup, service and
warranty repair work.
Is the warranty transferable to second owners?
Yes. The remainder of the existing warranty can be transferred upon request. The
unit has to be inspected and re-registered by an authorized Yamaha motorcycle
dealer for the policy to remain effective.
CUSTOMER SERVICE
If your machine requires warranty service, you must take it to any authorized Yamaha
motorcycle dealer within the continental United States. Be sure to bring your warranty
registration card or other valid proof of the original date of purchase. If a question or
problem arises regarding the warranty, first contact the owner of the dealership. Since
all warranty matters are handled at the dealer level, this person is in the best position to
help you. IF you are still not satisfied and require additional assistance, please write to:
YAMAHA MOTOR CORPORATION, U.S.A.
CUSTOMER RELATIONS DEPARTMENT
P.O. Box 6555
Cypress, California 90630
When contacting Yamaha Motor Corporation, U.S.A., don’t forget to include any
important information such as names, addresses, model, V.I.N. (frame number),
dates, and receipts.
CHANGE OF ADDRESS
The federal government requires each manufacturer of a motor vehicle to maintain a
complete, up-to-date list of all first purchasers against the possibility of a safety-
related defect and recall. This list is compiled from the purchase registrations sent to
Yamaha Motor Corporation, U.S.A. by the selling dealer at the time of your purchase.
If you should move after you have purchased your new motorcycle, please advise us
of your new address by sending a postcard listing your motorcycle model name, V.I.N.
(frame number), dealer number (or dealer’s name) as it is shown on your warranty
card, your name and new mailing address. Mail to:
YAMAHA MOTOR CORPORATION, U.S.A.
P.O. Box 6555
Cypress, California 90630
Attention: Warranty Department
This will ensure that Yamaha Motor Corporation, U.S.A. has an up-to-date registration
record in accordance with federal law.
Q.
A.
Q.
A.
Q.
A.
Q.
A.
Q.
A.
Q.
A.
1.
2.
3.
Q.
A.
U5S611E0.book Page 8 Thursday, May 10, 2007 3:00 PM

CONSUMER INFORMATION
9-9
9
EAU26750
YAMAHA EXTENDED SERVICE (Y.E.S.)
Keep your Yamaha protected even after your warranty
expires with genuine Yamaha Extended Service (Y.E.S.).
Y.E.S. is designed and administered by Yamaha Motor
Corporation to provide maximum owner satisfaction. You
get uninterrupted factory-backed coverage for extra
peace of mind.
Y.E.S. is flexible. You choose the plan that’s right for
you: 12 months, 24 months, 36 months or, on certain
models, even 48 months beyond your warranty period.
Y.E.S. is designed and administered by the same
Yamaha people who handle your warranty – and it
shows in the comprehensive coverage benefits. There
are no mileage limitations. Coverage isn’t limited to
“moving parts” or the “drive train” like many other plans.
And Y.E.S. covers manufacturing defects just like the
warranty. See the sample contract at your Yamaha
dealer to see how comforting uninterrupted factory-
backed protection can be.
You don’t have to pay anything for covered repairs.
There’s no deductible to pay, and repairs aren’t
“pro-rated.” You don’t have any “out-of-pocket” expenses
for covered repairs.
In addition, Travel and Recreation Interruption Protection
(TRIP) is included at no extra cost. TRIP gives you up to
$150 reimbursement per occurrence for any reasonable
expenses you incur because your Yamaha needs
covered service: replacement vehicle rental, emergency
towing, phone calls, even food and lodging when you are
away from home. This superb coverage goes into effect
when you purchase Y.E.S., so it applies to any warranty
repairs as well as covered repairs during your entire
Y.E.S. plan period.
Y.E.S. coverage is honored at any authorized Yamaha
dealer nationwide.
Y.E.S. coverage is transferable to a new owner if you
sell or trade-in. That can make your Yamaha much more
valuable!
This excellent Y.E.S. plan coverage is only available to
Yamaha owners like you, and only while your Yamaha is still
within the Yamaha Limited Warranty period. So visit your
authorized Yamaha dealer to get all the facts. He can show
you how easy it is to protect your investment with Yamaha
Extended Service.
U5S611E0.book Page 9 Thursday, May 10, 2007 3:00 PM

CONSUMER INFORMATION
9-10
9
We urge you to act now. You’ll get the excellent benefits of
TRIP coverage right away, and you’ll rest easy knowing
you’ll have strong factory-backed protection even after your
Yamaha Limited Warranty expires.
A special note:
If visiting your dealer isn’t convenient, contact Yamaha with
your Primary ID number (your frame number). We’ll be
happy to help you get the Y.E.S. coverage you need.
Yamaha Service Marketing
P.O. Box 6555
Cypress, CA 90630
1-(866)-YES-EXTD (1-866-937-3983)
U5S611E0.book Page 10 Thursday, May 10, 2007 3:00 PM

INDEX
A
Accessories and replacement parts ..... 6-19
Air filter element, replacing ................... 6-15
B
Battery .................................................. 6-29
Brake and clutch levers, checking and
lubricating ........................................... 6-25
Brake and shift pedals, checking and
lubricating ........................................... 6-25
Brake fluid, changing ............................ 6-23
Brake fluid level, checking .................... 6-22
Brake lever ............................................. 3-8
Brake lever free play, adjusting ............ 6-20
Brake pedal ............................................ 3-9
C
Cables, checking and lubricating.......... 6-24
Canister (for California only)................. 6-11
Care........................................................ 7-1
Catalytic converter................................ 3-11
Clutch lever............................................. 3-8
Clutch lever free play, adjusting ........... 6-20
Coolant ................................................. 6-14
Coolant temperature warning light.......... 3-3
D
Dimmer switch ........................................ 3-7
Drive belt slack ..................................... 6-23
E
Engine break-in ...................................... 5-3
Engine oil and oil filter cartridge ........... 6-11
Engine stop switch.................................. 3-7
Engine trouble warning light ................... 3-3
F
Front and rear brake pads, checking.... 6-21
Front fork, checking .............................. 6-27
Fuel .......................................................3-10
Fuel level warning light............................3-2
Fuel tank cap...........................................3-9
Fuses, replacing....................................6-30
H
Handlebar switches .................................3-6
Headlight bulb, replacing.......................6-32
Helmet holder........................................3-12
High beam indicator light.........................3-2
Horn switch .............................................3-7
I
Identification numbers .............................9-1
Ignition circuit cut-off system .................3-15
Indicator and warning lights ....................3-2
K
Key identification number........................9-1
L
Labels, location of ...................................1-5
License plate light bulb, replacing .........6-35
M
Main switch/steering lock ........................3-1
Maintenance and lubrication, periodic.....6-4
Maintenance, emission control system ...6-3
Maintenance, periodic .............................6-1
Maintenance record ................................9-5
Matte color, caution.................................7-1
Model label..............................................9-2
Multi-function meter unit..........................3-3
N
Neutral indicator light ..............................3-2
Noise regulation ......................................9-4
O
Oil level warning light ..............................3-2
P
Panel, removing and installing................ 6-9
Parking.................................................... 5-4
Part locations .......................................... 2-1
Pre-operation check list .......................... 4-2
R
Rear brake light switch, adjusting ......... 6-21
Rear suspension, lubricating ................ 6-27
RESET switch......................................... 3-7
Rider seat ............................................. 3-11
S
Safety defects, reporting......................... 9-3
Safety information................................... 1-1
SELECT switch....................................... 3-7
Shifting.................................................... 5-2
Shift pedal............................................... 3-8
Shock absorber assembly, adjusting .... 3-13
Sidebags............................................... 3-12
Sidestand.............................................. 3-14
Sidestand, checking and lubricating ..... 6-26
Spark plugs, checking............................. 6-9
Specifications.......................................... 8-1
Starting the engine.................................. 5-1
Start switch ............................................. 3-7
Steering, checking ................................ 6-28
Storage ................................................... 7-4
Supporting the motorcycle .................... 6-36
Swingarm pivots, lubricating ................. 6-26
T
Tail/brake light bulb, replacing .............. 6-33
Throttle cable free play, checking ......... 6-16
Throttle grip and cable, checking and
lubricating ........................................... 6-24
Tires...................................................... 6-17
U5S611E0.book Page 1 Thursday, May 10, 2007 3:00 PM

INDEX
Tool kit .................................................... 6-1
Troubleshooting .................................... 6-36
Troubleshooting charts ......................... 6-37
Turn signal indicator light ........................ 3-2
Turn signal light bulb (front),
replacing ............................................. 6-34
Turn signal light bulb (rear),
replacing ............................................. 6-34
Turn signal switch ...................................3-7
V
Valve clearance ....................................6-16
Vehicle identification number.................. 9-1
W
Warranty, extended................................. 9-9
Warranty, limited..................................... 9-7
Wheel bearings, checking..................... 6-28
Wheels .................................................. 6-19
U5S611E0.book Page 2 Thursday, May 10, 2007 3:00 PM
U5S611E0.book Page 3 Thursday, May 10, 2007 3:00 PM

PRINTED IN JAPAN
2007.05-1.4×1 CR
(E)
PRINTED ON RECYCLED PAPER
YAMAHA MOTOR CO., LTD.