Yamaha F200D Owners Manual F200D, LF200D, F225D, LF225D Owner's Manuual
LF225D to the manual b3534744-ae2e-4a13-8a83-c44e20f755d2
2015-01-15
: Yamaha F200D-Owners-Manual yamaha-f200d-owners-manual-133888 yamaha pdf
Open the PDF directly: View PDF
.
Page Count: 81

F200D
LF200D
F225D
LF225D
April 2004–2.3 × 1 CR
Printed in Japan
Printed on recycled paper
OWNER’S MANUAL
LIT-18626-06-07
69J-28199-14
YAMAHA MOTOR CORPORATION, USA
U.S.A.Edition

ZMU01690
Read this owner’s manual carefully before operating your outboard motor.

Important manual information
EMU25100
To the owner
Thank you for choosing a Yamaha outboard
motor. This Owner’s Manual contains infor-
mation needed for proper operation, mainte-
nance and care. A thorough understanding of
these simple instructions will help you obtain
maximum enjoyment from your new Yamaha.
If you have any question about the operation
or maintenance of your outboard motor,
please consult a Yamaha dealer.
In this Owner’s Manual particularly important
information is distinguished in the following
ways.
The Safety Alert Symbol means AT-
TENTION! BECOME ALERT! YOUR SAFE-
TY IS INVOLVED!
WARNING
EWM00780
Failure to follow WARNING instructions
could result in severe injury or death to the
machine operator, a bystander, or a per-
son inspecting or repairing the outboard
motor.
CAUTION:
ECM00700
A CAUTION indicates special precautions
that must be taken to avoid damage to the
outboard motor.
NOTE:
A NOTE provides key information to make
procedures easier or clearer.
Yamaha continually seeks advancements in
product design and quality. Therefore, while
this manual contains the most current product
information available at the time of printing,
there may be minor discrepancies between
your machine and this manual. If there is any
question concerning this manual, please con-
sult your Yamaha dealer.
NOTE:
The F200TR, LF200TR, F225TR, LF225TR
and the standard accessories are used as a
base for the explanations and illustrations in
this manual. Therefore some items may not
apply to every model.
EMU25110
F200D, LF200D, F225D, LF225D
OWNER’S MANUAL
©2004 by Yamaha Motor Corporation,
USA
1st edition, February 2004
All rights reserved.
Any reprinting or unauthorized use
without the written permission of
Yamaha Motor Corporation, USA
is expressly prohibited.
Printed in Japan
P/N LIT-18626-06-07
U69J14E0.book Page 1 Friday, March 12, 2004 10:20 AM

Table of contents
General information ......................1
Identification numbers record...... 1
Outboard motor serial number ....... 1
Key number.................................... 1
Emission control information ....... 1
North American models.................. 1
Star labels ...................................... 2
Safety information ....................... 3
Important labels........................... 4
Warning labels................................ 4
Basic boating rules
(Rules of the road) ................... 4
Steering and sailing rules and
sound signals.............................. 5
Rules when encountering
vessels........................................ 5
Other special situations.................. 6
Fueling instructions ..................... 8
Gasoline ......................................... 9
Engine oil........................................ 9
Battery requirement..................... 9
Battery specifications ................... 10
Propeller selection..................... 10
Start-in-gear protection ............. 10
Basic components ......................11
Main components...................... 11
Remote control............................. 11
Remote control lever .................... 12
Neutral interlock trigger ................ 12
Neutral throttle lever ..................... 12
Free accelerator ........................... 13
Throttle friction adjuster................ 13
Engine stop lanyard switch........... 14
Main switch................................... 14
Power trim and tilt switch on
remote control or tiller handle ... 15
Power trim and tilt switch on
bottom engine cowling .............. 15
Power trim and tilt switches
(twin binnacle type)................... 16
Trim tab with anode...................... 16
Tilt support lever for power trim
and tilt or hydro tilt model.......... 17
Top cowling lock lever
(pull up type) ............................. 17
Flushing device ............................ 17
Digital tachometer ........................ 18
Low oil pressure warning
indicator .................................... 18
Overheat warning indicator
(digital type) .............................. 18
Speedometer (digital type) ........... 19
Trim meter (digital type) ............... 19
Hour meter (digital type)............... 20
Trip meter ..................................... 20
Clock ............................................ 20
Fuel gauge ................................... 21
Fuel warning indicator .................. 21
Low battery voltage warning
indicator .................................... 21
Fuel management meter .............. 22
Fuel flow meter............................. 22
Fuel consumption meter............... 23
Fuel economy............................... 23
Twin-engine speed
synchronizer.............................. 23
Water separator warning
indicator .................................... 24
Warning system ........................ 24
Overheat warning
(twin engines)............................ 24
Low oil pressure warning.............. 25
Operation ..................................... 27
Installation................................. 27
Mounting the outboard motor ....... 27
Breaking in engine .................... 28
Procedure for 4-stroke models ..... 28
Preoperation checks ................. 29
Fuel .............................................. 29
Controls ........................................ 29
Engine .......................................... 29
Checking the engine oil level........ 29
Filling fuel.................................. 29
Ring Free Fuel Additive................ 30
U69J14E0.book Page 1 Friday, March 12, 2004 10:20 AM

Table of contents
Operating engine....................... 30
Feeding fuel.................................. 30
Starting engine ............................. 30
Warming up engine ................... 32
Manual start and electric start
models ...................................... 32
Shifting ...................................... 33
Forward (tiller handle and
remote control models) ............. 33
Reverse (automatic reverse lock
and power trim and tilt
models) ..................................... 33
Stopping engine ........................ 34
Procedure..................................... 34
Trimming outboard motor.......... 34
Adjusting trim angle...................... 35
Adjusting boat trim........................ 36
Tilting up and down ................... 36
Procedure for tilting up ................. 37
Procedure for tilting down............. 38
Cruising in shallow water .......... 38
Power trim and tilt models /
power tilt models....................... 38
Cruising in other conditions....... 39
Maintenance.................................40
Specifications ............................ 40
Transporting and storing
outboard motor....................... 41
Storing outboard motor................. 41
Procedure..................................... 42
Lubrication
(except oil injection models)...... 43
Cleaning and anticorrosion
measures .................................. 43
Battery care .................................. 43
Flushing power unit ...................... 44
Cleaning the outboard motor........ 45
Checking painted surface of
motor......................................... 45
Periodic maintenance................ 45
Replacement parts ....................... 45
Maintenance chart........................ 46
Maintenance chart (additional) ..... 47
Greasing....................................... 48
Cleaning and adjusting
spark plug ................................. 49
Checking fuel system ................... 49
Inspecting fuel filter ...................... 50
Cleaning fuel filter......................... 50
Inspecting idling speed................. 51
Changing engine oil...................... 52
Checking wiring and
connectors ................................ 54
Exhaust leakage........................... 54
Water leakage .............................. 54
Engine oil leakage ........................ 54
Checking power trim and tilt
system....................................... 54
Checking propeller ....................... 55
Removing the propeller ................ 56
Installing the propeller .................. 56
Changing gear oil ......................... 57
Inspecting and replacing
anode(s).................................... 58
Checking battery
(for electric start models) .......... 58
Connecting the battery ................. 59
Disconnecting the battery............. 60
Checking top cowling ................... 60
Coating the boat bottom ............... 61
Trouble Recovery........................ 62
Troubleshooting ........................ 62
Temporary action in
emergency ............................. 65
Impact damage............................. 65
Running single engine.................. 65
Replacing fuse.............................. 66
Power trim and tilt will not
operate...................................... 67
Treatment of submerged
motor...................................... 67
Procedure..................................... 67
Consumer information ............... 68
Important warranty information
for U.S.A. and Canada........... 68
U69J14E0.book Page 2 Friday, March 12, 2004 10:20 AM

General information
1
EMU25170
Identification numbers record
EMU25182
Outboard motor serial number
The outboard motor serial number is stamped
on the label attached to the port side of the
clamp bracket or the upper part of the swivel
bracket.
Record your outboard motor serial number in
the spaces provided to assist you in ordering
spare parts from your Yamaha dealer or for
reference in case your outboard motor is sto-
len.
EMU25190
Key number
If a main key switch is equipped with the mo-
tor, the key identification number is stamped
on your key as shown in the illustration.
Record this number in the space provided for
reference in case you need a new key.
EMU25220
Emission control information
EMU25230
North American models
This engine conforms to U.S. Environmental
Protection Agency (EPA) regulations for ma-
rine SI engines. See the label affixed to your
engine for details.
EMU25242
Approval label of emission control certifi-
cate
This label is attached to the bottom cowling.
New Technology; (4-stroke/HPDI) EM
1. Outboard motor serial number location
1. Key number
1. Approval label location
U69J14E0.book Page 1 Friday, March 12, 2004 10:20 AM

General information
2
EMU25261
Manufactured date label
This label is attached to the clamp bracket or
the swivel bracket.
EMU25272
Star labels
Your outboard motor is labeled with a Califor-
nia Air Resources Board (CARB) star label.
See below for a description of your particular
label.
EMU25280
One Star—Low Emission
The one-star label identifies engines that
meet the Air Resources Board’s 2001 ex-
haust emission standards. Engines meeting
these standards have 75% lower emissions
than conventional carbureted two-stroke en-
gines. These engines are equivalent to the
U.S. EPA’s 2006 standards for marine en-
gines.
EMU25290
Two Stars—Very Low Emission
The two-star label identifies engines that meet
the Air Resources Board’s 2004 exhaust
emission standards. Engines meeting these
standards have 20% lower emissions than
One Star-Low-Emission engines.
1. Manufactured date label location
ZMU01699
Manufactured:
ZMU04346
1. Star labels location
ZMU01702
U69J14E0.book Page 2 Friday, March 12, 2004 10:20 AM

General information
3
EMU25300
Three Stars—Ultra Low Emission
The three-star label identifies engines that
meet the Air Resources Board’s 2008 ex-
haust emission standards. Engines meeting
these standards have 65% lower emissions
than One Star-Low-Emission engines.
EMU25361
Safety information
●Before mounting or operating the outboard
motor, read this entire manual. Reading it
should give you an understanding of the
motor and its operation.
●Before operating the boat, read any own-
er’s or operator’s manuals supplied with it
and all labels. Be sure you understand each
item before operating.
●Do not overpower the boat with this out-
board motor. Overpowering the boat could
result in loss of control. The rated power of
the outboard should be equal to or less than
the rated horsepower capacity of the boat.
If the rated horsepower capacity of the boat
is unknown, consult the dealer or boat man-
ufacturer.
●Do not modify the outboard. Modifications
could make the motor unfit or unsafe to use.
●Never operate after drinking alcohol or tak-
ing drugs. About 50% of all boating fatalities
involve intoxication.
●Have an approved personal flotation device
(PFD) on board for every occupant. It is a
good idea to wear a PFD whenever boat-
ing. At a minimum, children and non-swim-
mers should always wear PFDs, and
everyone should wear PFDs when there
are potentially hazardous boating condi-
tions.
●Gasoline is highly flammable, and its va-
pors are flammable and explosive. Handle
and store gasoline carefully. Make sure
there are no gas fumes or leaking fuel be-
fore starting the engine.
●This product emits exhaust gases which
contain carbon monoxide, a colorless,
odorless gas which may cause brain dam-
age or death when inhaled. Symptoms in-
clude nausea, dizziness, and drowsiness.
Keep cockpit and cabin areas well ventilat-
ed. Avoid blocking exhaust outlets.
●Check throttle, shift, and steering for proper
operation before starting the engine.
●Attach the engine stop switch lanyard cord
to a secure place on your clothing, or your
arm or leg while operating. If you acciden-
tally leave the helm, the cord will pull from
the switch, stopping the engine.
●Know the marine laws and regulations
where you will be boating—and obey them.
For basic boating rules, see “Rules of the
road” on page 4.
ZMU01703
ZMU01704
U69J14E0.book Page 3 Friday, March 12, 2004 10:20 AM

General information
4
●Stay informed about the weather. Check
weather forecasts before boating. Avoid
boating in hazardous weather.
●Tell someone where you are going: leave a
Float Plan with a responsible person. Be
sure to cancel the Float Plan when you re-
turn.
●Use common sense and good judgment
when boating. Know your abilities, and be
sure you understand how your boat han-
dles under the different boating conditions
you may encounter. Operate within your
limits, and the limits of your boat. Always
operate at safe speeds, and keep a careful
watch for obstacles and other traffic.
●Always watch carefully for swimmers during
the engine operation.
●Stay away from swimming areas.
●When a swimmer is in the water near you
shift into neutral and shut off the engine.
Be informed about boating safety. Additional
publications and information can be obtained
from many organizations, including the follow-
ing:
United States Coast Guard
Consumer Affairs Staff (G-BC)
Office of Boating, Public, and Consumer Af-
fairs
U.S. Coast Guard Headquarters
Washington, D.C. 20593-0001
Boating Safety Hotline: 1-800-368-5647
National Marine Manufacturers Associa-
tion (NMMA)
401 N. Michigan Ave.
Chicago, Il 60611
Marine Retailers Association of America
155 N. Michigan Ave.
Chicago, Il 60601
EMU25380
Important labels
EMU25395
Warning labels
EMU25401
Label
WARNING
EWM01260
●Be sure shift control is in neutral before
starting engine. (except 2HP)
●Do not touch or remove electrical parts
when starting or during operation.
●Keep hands, hair, and clothes away from
flywheel and other rotating parts while
engine is running.
EMU25413
Label (counter rotation models)
WARNING
EWM01281
Use only a counterclockwise rotation pro-
peller with this engine.
Counterclockwise propellers are marked
with a letter “L” after the size indication.
The wrong type of propeller could cause
the boat to go in an unexpected direction,
which could lead to an accident.
EMU25500
Basic boating rules (Rules of
the road)
Just as there are rules which apply when you
are driving on streets and high ways, there
are waterway rules which apply when you are
U69J14E0.book Page 4 Friday, March 12, 2004 10:20 AM

General information
5
driving your boat. These rules are used inter-
nationally, and are also enforced by the Unit-
ed States Coast Guard and local agencies.
You should be aware of these rules, and fol-
low them whenever you encounter another
vessel on the water.
Several sets of rules prevail according to geo-
graphic location, but are all basically the same
as the International Rules of the Road. The
rules presented here in your Owner’s Manual
are condensed, and have been provided for
your convenience only. Consult your local
U.S. Coast Guard Auxiliary or Department of
Motor Vehicles for a complete set of rules
governing the waters in which you will be us-
ing your boat.
EMU25510
Steering and sailing rules and sound
signals
Whenever two vessels on the water meet one
another, one vessel has the right-of-way; it is
called the “stand-on” vessel. The vessel
which does not have the right-of-way is called
the “give-way” or “burdened” vessel. These
rules determine which vessel has the right-of-
way, and what each vessel should do.
Stand-on vessel
The vessel with the right-of-way has the duty
to continue its course and speed, except to
avoid an immediate collision. When you main-
tain your direction and speed, the other vessel
will be able to determine how best to avoid
you.
Give-way vessel
The vessel which does not have the right-of-
way has the duty to take positive and timely
action to stay out of the way of the Stand-On
vessel. Normally, you should not cross in front
of the vessel with the right-of-way. You should
slow down or change directions briefly and
pass behind the other vessel. You should al-
ways move in such a way that the operator of
the other vessel can see what you are doing.
“The general prudential rule”
This rule is called Rule 2 in the International
Rules and says,
“In obeying and construing these rules due re-
gard shall be had to all dangers of navigation
and collision, and to any special circumstanc-
es, which may render a departure from the
above rules necessary in order to avoid im-
mediate danger.”
In other words, follow the standard rules ex-
cept when a collision will occur unless both
vessels try to avoid each other. If that is the
case, both vessels become “Give-Way” ves-
sels.
EMU25520
Rules when encountering vessels
There are three main situations which you
may encounter with other vessels which could
lead to a collision unless the Steering Rules
are followed:
Meeting: (you are approaching another ves-
sel head-on)
Crossing: (you are traveling across the other
vessel’s path)
Overtaking: (you are passing or being
passed by another vessel)
In the following illustration, your boat is in the
center. You should give the right-of-way to
any vessels shown in white area (you are the
Give-Way vessel). Any vessels in the shaded
area must yield to you (they are the Give-Way
vessels). Both you and the meeting vessel
must alter course to avoid each other.
U69J14E0.book Page 5 Friday, March 12, 2004 10:20 AM

General information
6
Meeting
If you are meeting another power vessel head
on, and are close enough to run the risk of col-
lision, neither of you has the right-of-way!
Both of you should alter course to avoid an ac-
cident. You should keep the other vessel on
your port (left) side. This rule doesn’t apply if
both of you will clear one another if you con-
tinue on your set course and speed.
Crossing
When two power driven vessels are crossing
each other’s path close enough to run the risk
of collision, the vessel which has the other on
the starboard (right) side must keep out of the
way of the other. If the other vessel is on your
right, you must keep out of its way; you are the
Give-Way vessel. If the other vessel is on
your port (left) side, remember that you
should maintain course and direction, provid-
ed the other vessel gives you the right-of-way
as it should.
Overtaking
If you are passing another vessel, you are the
“Give-Way” vessel. This means that the other
vessel is expected to maintain its course and
speed. You must stay out of its way until you
are clear of it. Likewise, if another vessel is
passing you, you should maintain your speed
and direction so that the other vessel can
steer itself around you.
EMU25530
Other special situations
There are three other rules you should be
aware of when driving your boat around other
vessels.
Narrow channels and bends
When navigating in narrow channels, you
should keep to the right when it is safe and
practical to do so. If the operator of a power-
driven vessel is preparing to go around a
bend that may obstruct the view of other water
vessels, the operator should sound a pro-
longed blast on the whistle (4 to 6 seconds). If
another vessel is around the bend, it too
should sound the whistle. Even if no reply is
heard, however, the vessel should still pro-
ceed around the bend with caution. If you nav-
igate such waters with your boat, you will
need to carry a portable air horn, available
from local marine supply stores.
U69J14E0.book Page 6 Friday, March 12, 2004 10:20 AM

General information
7
Fishing vessel right-of-way
All vessels which are fishing with nets, lines or
trawls are considered to be “fishing vessels”
under the International Rules. Vessels with
trolling lines are not considered fishing ves-
sels. Fishing vessels have the right-of-way re-
gardless of position. Fishing vessels cannot,
however, impede the passage of other ves-
sels in narrow channels.
Sailing vessel right-of-way
Sailing vessels should normally be given the
right-of-way. The exceptions to this are:
1. When the sailing vessel is overtaking the
power-driven vessel, the power-driven
vessel has the right-of-way.
2. Sailing vessels should keep clear of any
fishing vessel.
3. In a narrow channel, a sailing vessel
should not hamper the safe passage of a
power-driven vessel which can navigate
only in such a channel.
Reading buoys and other markers
The waters of the United states are marked
for safe navigation by the lateral system of
buoyage. Simply put, buoys and markers
have an arrangement of shapes, colors, num-
bers and lights to show which side of the buoy
a boater should pass on when navigating in a
particular direction. The markings on these
buoys are oriented from the perspective of be-
ing entered from seaward (the boater is going
towards the port). This means that red buoys
are passed on the starboard (right) side when
proceeding from open water into port, and
black buoys are to port (left) side. When navi-
gating out of port, your position with respect to
the buoys should be reversed; red buoys
should be to port and black buoys to star-
board.
Many bodies of water used by boaters are en-
tirely within the boundaries of a particular
state. The Uniform State Waterway Marking
System has been devised for these waters.
This system uses buoys and signs with dis-
tinctive shapes and colors to show regulatory
or advisory information. These markers are
white with black letters and orange boarders.
They signify speed zones, restricted areas,
danger areas, and general information.
Remember, markings may vary by geograph-
ic location. Always consult local boating au-
thorities before driving your boat in unfamiliar
waters.
U69J14E0.book Page 7 Friday, March 12, 2004 10:20 AM

General information
8
EMU25540
Fueling instructions
WARNING
EWM00010
GASOLINE AND ITS VAPORS ARE HIGH-
LY FLAMMABLE AND EXPLOSIVE!
●Do not smoke when refueling, and keep
away from sparks, flames, or other
sources of ignition.
●Stop engine before refueling.
●Refuel in a well-ventilated area. Refuel
portable fuel tanks off the boat.
ZMU01708
U69J14E0.book Page 8 Friday, March 12, 2004 10:20 AM

General information
9
●Take care not to spill gasoline. If gaso-
line spills, wipe it up immediately with
dry rags.
●Do not overfill the fuel tank.
●Tighten the filler cap securely after refu-
eling.
●If you should swallow some gasoline, in-
hale a lot of gasoline vapor, or get gaso-
line in your eyes, get immediate medical
attention.
●If any gasoline spills onto your skin, im-
mediately wash with soap and water.
Change clothing if gasoline spills on it.
●Touch the fuel nozzle to the filler open-
ing or funnel to help prevent electrostat-
ic sparks.
CAUTION:
ECM00010
Use only new clean gasoline which has
been stored in clean containers and is not
contaminated with water or foreign matter.
EMU25570
Gasoline
If knocking or pinging occurs, use a different
brand of gasoline or premium unleaded fuel.
Gasohol
There are two types of gasohol: gasohol con-
taining ethanol and that containing methanol.
Gasohol containing ethanol can be used if
ethanol content does not exceed 10% and the
fuel meets minimum octane ratings. Yamaha
does not recommended gasohol containing
methanol because it can cause fuel system
damage or engine performance problems.
EMU25680
Engine oil
CAUTION:
ECM01050
All 4-stroke engines are shipped from the
factory without engine oil.
EMU25700
Battery requirement
CAUTION:
ECM01060
Do not use a battery that does not meet the
specified capacity. If a battery which does
not meet specifications is used, the elec-
Recommended gasoline:
Regular unleaded gasoline with a mini-
mum octane rating of 86 (Pump Oc-
tane Number) = (R+M)/2
Recommended engine oil:
4-stroke motor oil with a combination of
corresponding SAE and API as shown
in the chart
Engine oil quantity (excluding oil filter):
5.6 L (5.92 US qt) (4.93 Imp.qt)
ZMU01710
U69J14E0.book Page 9 Friday, March 12, 2004 10:20 AM

General information
10
tric system could perform poorly or be
overloaded, causing electric system dam-
age.
For electric start models, choose a battery
which meets the following specifications.
EMU25711
Battery specifications
NOTE:
The engine cannot be started if battery volt-
age is too low.
EMU25741
Propeller selection
The performance of your outboard motor will
be critically affected by your choice of propel-
ler, as an incorrect choice could adversely af-
fect performance and could also seriously
damage the motor. Engine speed depends on
the propeller size and boat load. If engine
speed is too high or too low for good engine
performance, this will have an adverse effect
on the engine.
Yamaha outboard motors are fitted with pro-
pellers chosen to perform well over a range of
applications, but there may be uses where a
propeller with a different pitch would be more
appropriate. For a greater operating load, a
smaller-pitch propeller is more suitable as it
enables the correct engine speed to be main-
tained. Conversely, a larger-pitch propeller is
more suitable for a smaller operating load.
Yamaha dealers stock a range of propellers,
and can advise you and install a propeller on
your outboard that is best suited to your appli-
cation.
NOTE:
Select a propeller which will allow the engine
to reach the middle or upper half of the oper-
ating range at full throttle with the maximum
boat load. If operating conditions such as light
boat loads then allow the engine r/min to rise
above the maximum recommended range, re-
duce the throttle setting to maintain the en-
gine in the proper operating range.
For instructions on propeller removal and in-
stallation, see page 55.
EMU25770
Start-in-gear protection
Yamaha outboard motors or Yamaha-ap-
proved remote control units are equipped with
start-in-gear protection device(s). This feature
permits the engine to be started only when it
is in neutral. Always select neutral before
starting the engine.
Minimum cold cranking amps
(CCA/SAE):
512.0 A
Minimum marine cranking amps
(MCA/ABYC):
675.0 A
Minimum reserve capacity (RC/SAE):
182 minutes 1. Propeller diameter in inches
2. Propeller pitch in inches
3. Type of propeller (propeller mark)
ZMU04607
-
x
123
U69J14E0.book Page 10 Friday, March 12, 2004 10:20 AM

Basic components
11
EMU25795
Main components
NOTE:
* May not be exactly as shown; also may not be included as standard equipment on all models.
EMU26180
Remote control
The remote control lever actuates both the
shifter and the throttle. The electrical switches
are mounted on the remote control box.
1. Top cowling
2. Anti-cavitation plate
3. Trim tab (anode)
4. Propeller
5. Cooling water inlet
6. Clamp bracket
7. Top cowling lock lever(s)
8. Power trim and tilt switch
9. Flushing device
10.Remote control box (side mount type)
11.Remote control box (binnacle mount type)
12.Switch panel (for twin engines)
13.Digital speedometer
14.Digital tachometer
15.Fuel management meter
1. Power trim and tilt switch
U69J14E0.book Page 11 Friday, March 12, 2004 10:20 AM

Basic components
12
EMU26190
Remote control lever
Moving the lever forward from the neutral po-
sition engages forward gear. Pulling the lever
back from neutral engages reverse. The en-
gine will continue to run at idle until the lever
is moved about 35° (a detent can be felt).
Moving the lever farther opens the throttle,
and the engine will begin to accelerate.
EMU26201
Neutral interlock trigger
To shift out of neutral, first pull the neutral in-
terlock trigger up.
EMU26211
Neutral throttle lever
To open the throttle without shifting into either
forward or reverse, put the remote control le-
ver in the neutral position and lift the neutral
throttle lever.
2. Remote control lever
3. Neutral interlock trigger
4. Neutral throttle lever
5. Main switch / choke switch
6. Engine stop lanyard switch
7. Throttle friction adjuster
1. Remote control lever
2. Power trim and tilt switch
3. Free accelerator
4. Throttle friction adjuster
1. Neutral “”
2. Forward “”
3. Reverse “”
2
3
2
1
4
ZMU04569
4. Shift
5. Fully closed
6. Throttle
7. Fully open
1. Neutral “”
2. Forward “”
3. Reverse “”
4. Shift
5. Fully closed
6. Throttle
7. Fully open
1. Neutral interlock trigger
N
1
F
7
6
2R
3
44
6
5
7
5
ZMU04573
U69J14E0.book Page 12 Friday, March 12, 2004 10:20 AM

Basic components
13
NOTE:
The neutral throttle lever will operate only
when the remote control lever is in neutral.
The remote control lever will operate only
when the neutral throttle lever is in the closed
position.
EMU26230
Free accelerator
To open the throttle without shifting into either
forward or reverse, push the free accelerator
button and move the remote control lever.
NOTE:
●The free accelerator button can only be
used when the remote control lever is in the
neutral position.
●After the button is pushed, the throttle be-
gins to open after the remote control lever is
moved at least 35°.
●After using the free accelerator, return the
remote control lever to the neutral position.
The free accelerator button will return auto-
matically to its set position. The remote con-
trol will then engage forward and reverse
normally.
EMU25970
Throttle friction adjuster
A friction device provides adjustable resis-
tance to movement of the throttle grip or the
remote control lever, and can be set accord-
ing to operator preference.
To increase resistance, turn the adjuster
clockwise. To decrease resistance, turn the
adjuster counterclockwise.
WARNING
EWM00030
Do not overtighten the friction adjuster. If
there is too much resistance, it could be
difficult to move throttle lever or grip,
which could result in an accident.
1. Fully open
2. Fully closed
1. Fully open
2. Fully closed
3. Free accelerator
1
3
2
ZMU04575
U69J14E0.book Page 13 Friday, March 12, 2004 10:20 AM

Basic components
14
When constant speed is desired, tighten the
adjuster to maintain the desired throttle set-
ting.
EMU25990
Engine stop lanyard switch
The lock plate must be attached to the engine
stop switch for the engine to run. The lanyard
should be attached to a secure place on the
operator’s clothing, or arm or leg. Should the
operator fall overboard or leave the helm, the
lanyard will pull out the lock plate, stopping ig-
nition to the engine. This will prevent the boat
from running away under power.
WARNING
EWM00120
●Attach the engine stop switch lanyard to
a secure place on your clothing, or your
arm or leg while operating.
●Do not attach the lanyard to clothing
that could tear loose. Do not route the
lanyard where it could become entan-
gled, preventing it from functioning.
●Avoid accidentally pulling the lanyard
during normal operation. Loss of engine
power means the loss of most steering
control. Also, without engine power, the
boat could slow rapidly. This could
cause people and objects in the boat to
be thrown forward.
NOTE:
The engine cannot be started with the lock
plate removed.
EMU26090
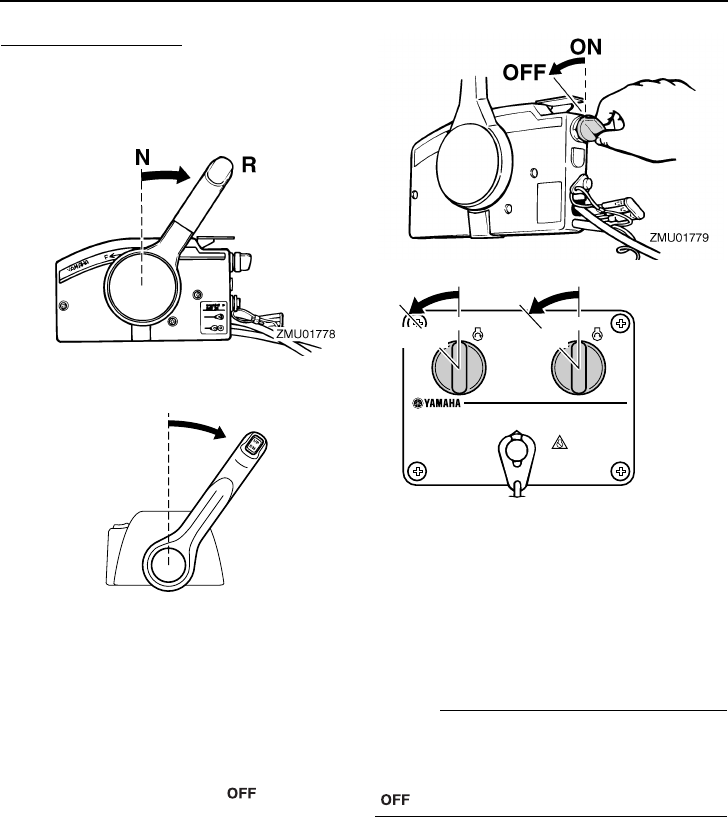
Main switch
The main switch controls the ignition system;
its operation is described below.
●“” (off)
With the main switch in the “” (off) posi-
tion, the electrical circuits are off, and the key
can be removed.
●“” (on)
With the main switch in the “” (on) position,
the electrical circuits are on, and the key can-
not be removed.
●“” (start)
ZMU04563
1. Lanyard
2. Lock plate
1. Lanyard
2. Lock plate
ONSTART
OFF
ONSTART
OFF
1
ZMU04564
2
U69J14E0.book Page 14 Friday, March 12, 2004 10:20 AM

Basic components
15
With the main switch in the “” (start) po-
sition, the starter motor turns to start the en-
gine. When the key is released, it returns
automatically to the “” (on) position.
EMU26141
Power trim and tilt switch on remote
control or tiller handle
The power trim and tilt system adjusts the out-
board motor angle in relation to the transom.
Pressing the switch “” (up) trims the out-
board motor up, then tilts it up. Pressing the
switch “” (down) tilts the outboard motor
down and trims it down. When the switch is re-
leased, the outboard motor will stop in its cur-
rent position.
NOTE:
For instructions on using the power trim and
tilt switch, see pages 34 and 36.
EMU26151
Power trim and tilt switch on bottom
engine cowling
The power trim and tilt switch is located on the
side of the bottom engine cowling. Pressing
the switch “” (up) trims the outboard motor
up, then tilts it up. Pressing the switch “”
(down) tilts the outboard motor down and
trims it down. When the switch is released,
the outboard motor will stop in its current po-
sition.
WARNING
EWM01030
Use the power trim and tilt switch located
on the bottom engine cowling only when
the boat is at a complete stop with the en-
gine off. Attempting to use this switch
while the boat is moving could increase
the risk of falling overboard and could dis-
tract the operator, increasing the risk of
collision with another boat or an obstacle.
ON
OFF START
ON
OFF START
ZMU04566
U69J14E0.book Page 15 Friday, March 12, 2004 10:20 AM

Basic components
16
NOTE:
For instructions on using the power trim and
tilt switch, see page 36.
EMU26161
Power trim and tilt switches (twin
binnacle type)
The power trim and tilt system adjusts the out-
board motor angle in relation to the transom.
Pushing the switch “” (up) trims the out-
board motor up, then tilts it up. Pressing the
switch “” (down) tilts the outboard motor
down and trims it down. When the switch is re-
leased, the outboard motor will stop in its cur-
rent position.
NOTE:
●On the dual engine control, the switch on
the remote control grip controls both out-
board motors at the same time.
●For instructions on using the power trim and
tilt switches, see pages 34 and 36.
EMU26240
Trim tab with anode
The trim tab should be adjusted so that the
steering control can be turned to either the
right or left by applying the same amount of
force.
WARNING
EWM00840
An improperly adjusted trim tab could
cause difficult steering. Always test run af-
ter the trim tab has been installed or re-
placed to be sure steering is correct. Be
sure you have tightened the bolt after ad-
justing the trim tab.
If the boat tends to veer the left (port side),
turn the trim tab rear end to the port side “A” in
the figure. If the boat tends to veer the right
(starboard side), turn the trim tab end to the
starboard side “B” in the figure.
CAUTION:
ECM00840
The trim tab also serves as an anode to
protect the engine from electrochemical
corrosion. Never paint the trim tab as it will
become ineffective as an anode.
1. Power trim and tilt switch
ZMU04601
DN
UP
1
1. Trim tab
2. Bolt
3. Cap
U69J14E0.book Page 16 Friday, March 12, 2004 10:20 AM

Basic components
17
EMU26340
Tilt support lever for power trim and
tilt or hydro tilt model
To keep the outboard motor in the tilted up po-
sition, lock the tilt support lever to the clamp
bracket.
EMU26382
Top cowling lock lever (pull up type)
To remove the engine top cowling, pull up the
lock lever(s) and lift off the cowling. When in-
stalling the cowling, check to be sure it fits
properly in the rubber seal. Then lock the
cowling by moving the lever(s) downward.
EMU26460
Flushing device
This device is used to clean the cooling water
passages of the motor using a garden hose
and tap water.
NOTE:
For details on usage, see page 44.
ZMU01864
1. Flushing device
U69J14E0.book Page 17 Friday, March 12, 2004 10:20 AM

Basic components
18
EMU26491
Digital tachometer
The tachometer shows the engine speed and
has the following functions.
NOTE:
All segments of the display will light momen-
tarily after the main switch is turned on and
will return to normal thereafter.
NOTE:
The water separator and engine trouble warn-
ing indicators only operate when the engine is
equipped with the appropriate functions.
EMU26521
Low oil pressure warning indicator
If oil pressure drops too low, the warning indi-
cator will start to blink. For further information,
see page 25.
CAUTION:
ECM00020
●Do not continue to run the engine if the
low oil pressure warning indicator is on
and the engine oil level is lower. Serious
engine damage will occur.
●The low oil pressure warning indicator
does not indicate the engine oil level.
Use the oil dipstick to check the remain-
ing oil quantity. For further information,
see page 29.
EMU26581
Overheat warning indicator (digital
type)
If the engine temperature rises too high, the
warning indicator will start to blink. For further
information on reading the indicator, see page
24.
CAUTION:
ECM00050
Do not continue to run the engine if the
overheat warning indicator is on. Serious
engine damage will occur.
1. Tachometer
2. Trim meter
3. Hour meter
4. Low oil pressure warning indicator
5. Overheat warning indicator
6. Set button
7. Mode button
ZMU01840
1
5
2
4
3
67
1. Low oil pressure warning indicator
1. Overheat warning indicator
ZMU01736
1
ZMU01737
1
U69J14E0.book Page 18 Friday, March 12, 2004 10:20 AM

Basic components
19
EMU26600
Speedometer (digital type)
This gauge shows the boat speed.
NOTE:
After the main switch is first turned on, all seg-
ments of the display come on as a test. After
a few seconds, the gauge will change to nor-
mal operation. Watch the gauge when turning
on the main switch to make sure all segments
come on.
NOTE:
The speedometer displays km/h, mph, or
knots, according to operator preference. Se-
lect the desired unit of measurement by set-
ting the selector switch on the back of the
gauge. See the illustration for settings.
EMU26620
Trim meter (digital type)
This meter shows the trim angle of your out-
board motor.
NOTE:
●Memorize the trim angles that work best for
your boat under different conditions. Adjust
the trim angle to the desired using the pow-
er trim and tilt switch.
●If the trim angle of your motor exceeds the
trim operating range, the top segment on
the trim meter display will blink.
1. Speedometer
2. Fuel gauge
3. Trip meter/clock/voltmeter
4. Warning indicator(s)
1. Cap
2. Selector switch (for speed unit)
3. Selector switch (for fuel sensor)
ZMU01740
U69J14E0.book Page 19 Friday, March 12, 2004 10:20 AM

Basic components
20
EMU26650
Hour meter (digital type)
This meter shows the number of hours the en-
gine has been run. It can be set to show the
total number of hours or the number of hours
for the current trip. The display can also be
turned on and off.
●Changing the display format
Pressing the “” (mode) button chang-
es the display format in the following pat-
tern:
Total hours→Trip hours→Display off
●Resetting the trip hours
Simultaneously pressing the “” (set) and
“” (mode) buttons for more than 1 sec-
ond while the trip hours are displayed re-
sets the trip counter to 0 (zero).
NOTE:
The total number of hours the engine has
been run cannot be reset.
EMU26690
Trip meter
This gauge displays the distance the boat has
traveled since the gauge was last reset.
Press the “” (mode) button repeatedly
until the indicator on the face of the gauge
points to “” (trip). To reset the trip meter to
zero, press the “” (set) and “” (mode)
buttons at the same time.
NOTE:
●The trip distance is shown in kilometers or
miles depending upon the unit of measure-
ment selected for the speedometer.
●The trip distance is kept in memory by bat-
tery power. The stored data will be lost if the
battery is disconnected.
EMU26700
Clock
Press the “” (mode) button repeatedly
until the indicator on the face of the gauge
points to “” (time). To set the clock, be
sure the gauge is in the “” (time) mode.
Press the “” (set) button; the hour display
will begin blinking. Press the “” (mode)
button until the desired hour is displayed.
Press the “” (set) button again, the minute
display will begin blinking. Press the “”
(mode) button until the desired minute is dis-
played. Press the “” (set) button again to
start the clock.
ZMU01741
U69J14E0.book Page 20 Friday, March 12, 2004 10:20 AM

Basic components
21
NOTE:
The clock operates on battery power. Discon-
necting the battery will stop the clock. Reset
the clock after connecting the battery.
EMU26710
Fuel gauge
The fuel level is indicated by eight segments.
When all segments are showing, the fuel tank
is full.
CAUTION:
ECM00860
The Yamaha fuel tank sensor differs from
conventional sensors. Incorrectly setting
the selector switch on the gauge will give
false readings. Consult your Yamaha deal-
er on how to correctly set the selector
switch.
NOTE:
The fuel level reading can be affected by the
position of the sensor in the fuel tank and the
attitude of the boat in the water. Operation
with bow-up trim or continuous turning can
give false readings.
EMU26720
Fuel warning indicator
If the fuel level decreases to one segment, the
fuel level warning segment will begin to blink.
CAUTION:
ECM00880
Do not continue to operate the engine with
full throttle if a warning device has activat-
ed. Get back to the port within trolling en-
gine speed.
EMU26730
Low battery voltage warning indicator
If battery voltage drops, the display will auto-
matically turn on and begin to blink.
CAUTION:
ECM00870
Get back to the port soon if a warning de-
vice has activated. For charging the bat-
tery, consult your Yamaha dealer.
ZMU01745
1. Fuel level warning segment
1. Low battery indicator
U69J14E0.book Page 21 Friday, March 12, 2004 10:20 AM

Basic components
22
EMU26740
Fuel management meter
The fuel management meter shows the state
of the fuel consumption while the engine is
running.
NOTE:
After the main switch is first turned on, all seg-
ments of the display come on as a test. After
a few seconds, the gauge will change to nor-
mal operation. Watch the gauge when turning
on the main switch to make sure all segments
come on.
EMU26750
Fuel flow meter
The fuel flow meter displays the amount of
fuel flow over a one hour period, at the current
rate of engine operation.
If twin engines are installed on your boat, the
fuel flow meter displays the total fuel flow of
both the port and starboard engines. It also
displays “” (for port and starboard).
Use the “” (set) button to rotate the fuel flow
display in the following order:
●Press the “” (set) button once to display
the fuel flow of the starboard engine. An “”
(for starboard) will also be displayed.
●Press the “” (set) button a second time to
display the fuel flow of the port engine. A “”
(for port) will also be displayed.
●Press the “” (set) button a third time to
return the display to the total fuel flow of
both engines. “” (for port and starboard)
will also be displayed to indicate both the
port and starboard engines.
NOTE:
●The fuel flow meter displays gallons/hour or
liters/hour according to operator prefer-
ence. Select the desired unit of measure-
ment by setting the selector switch on the
back of the gauge during installation.
1. Fuel flow meter
2. Fuel consumption meter / Fuel economy
meter / Twin engine speed synchronizer
3. Water separator warning indicator (operates
only if the sensor has been installed)
ZMU01748
1
2
3
1. Selector switch
ZMU01749
U69J14E0.book Page 22 Friday, March 12, 2004 10:20 AM

Basic components
23
●The fuel consumption meter and fuel econ-
omy meter will indicate the same unit of
measurement.
EMU26760
Fuel consumption meter
This gauge displays the total amount of fuel
consumed since the gauge was last reset.
Press the “” (mode) button repeatedly
until the indicator on the face of the gauge
points to total “” (total). To reset the total
fuel consumption to zero, press the “” (set)
and “” (mode) buttons at the same time.
EMU26770
Fuel economy
This gauge displays the distance per liter or
gallon when cruising, and is only for reference
use by the operator.
Press the “” (mode) button repeatedly
until the indicator on the face of the gauge
points to “” (economy).
NOTE:
If twin engines are installed on your boat, the
gauge will only display the total fuel economy
of both engines.
NOTE:
●Fuel consumption varies greatly with boat
design, weight, propeller used, engine trim
angle, sea conditions (including wind), and
throttle position. Fuel consumption also var-
ies slightly with the type of water (salt, fresh,
and contaminate levels), air temperature
and humidity, cleanliness of the boat bot-
tom, engine mounting height, skill of the op-
erator, and individual gasoline formulation
(winter or summer fuel and amount of addi-
tives).
●The Yamaha digital speedometer and fuel
management meter calculates speed,
miles traveled, and fuel economy by water
movement at the stern of the boat. This dis-
tance can vary greatly from the actual dis-
tance traveled because of water currents,
sea swells, and the condition of the water
speed sensor (partially plugged or dam-
aged).
●Individual engines may slightly vary in their
fuel consumption due to manufacturing
variations. These variations can be even
greater if the engines are of different year
models. In addition, variations in propellers,
even of the same basic dimensions of the
same design, can also cause a slight varia-
tion in fuel consumption.
EMU26780
Twin-engine speed synchronizer
This gauge displays the difference in engine
speed (r/min) between the port and starboard
engines for reference purposes when syn-
chronizing the two engines’ speeds.
ZMU01751
ZMU01752
U69J14E0.book Page 23 Friday, March 12, 2004 10:20 AM

Basic components
24
Press the “” (mode) button repeatedly
until the indicator on the face of the gauge
points to “” (synchronizer).
NOTE:
If the two engines’ speeds are not synchro-
nized while cruising, they can be synchro-
nized by adjusting trim angle or throttle.
EMU26791
Water separator warning indicator
This indicator will blink when water has accu-
mulated in the water separator. In such an
event, stop the engine and drain the water
from the separator.
NOTE:
This indicator only operates when a water
separator sensor is equipped.
EMU26801
Warning system
CAUTION:
ECM00090
Do not continue to operate the engine if a
warning device has activated. Consult
your Yamaha dealer if the problem cannot
be located and corrected.
EMU26822
Overheat warning (twin engines)
This engine has an overheat warning device.
If the engine temperature rises too high, the
warning device will activate.
Activation of warning device
●The engine speed will automatically de-
crease to about 2000 r/min.
●If equipped with an overheat warning indi-
cator, it will light.
1. Port engine speed is higher
2. Port engine speed is slightly higher
3. Engine speed is synchronized evenly be-
tween port and starboard engines
4. Starboard engine speed is slightly higher
5. Starboard engine speed is higher
ZMU01753
ZMU01754
1
2
3
4
5
ZMU01755
ZMU01757
U69J14E0.book Page 24 Friday, March 12, 2004 10:20 AM

Basic components
25
●The buzzer will sound.
If the warning system has activated, stop the
engine and check the cooling water inlet for
clogging.
NOTE:
Dual engine drive users:
Should the overheat warning system of one
engine activate, the engine will slow down
and the buzzer will sound. This will cause the
other engine to slow down and the buzzer to
sound. To switch off the warning activation on
the engine not affected by overheating, turn
off the main switch of the engine overheating.
EMU26853
Low oil pressure warning
If the oil pressure drops too low, the warning
device will activate.
Activation of warning device
●The engine speed will automatically de-
crease to about 2000 r/min.
●The low oil pressure warning indicator will
light.
●The buzzer will sound.
If the warning system has activated, stop the
engine as soon as it is safe to do so. Check
the oil level and add oil as needed. If the oil
level is correct and the warning device does
not switch off, consult your Yamaha dealer.
OFF START
ON
OFF START
ON
ZMU04584
ZMU01828
OFF START
ON
OFF START
ON
ZMU04584
U69J14E0.book Page 25 Friday, March 12, 2004 10:20 AM

Basic components
26
CAUTION:
ECM00100
Do not continue to run the engine if the
low oil pressure warning indicator is on.
Serious engine damage could occur.
U69J14E0.book Page 26 Friday, March 12, 2004 10:20 AM

Operation
27
EMU26901
Installation
CAUTION:
ECM00110
Incorrect engine height or obstructions to
smooth water flow (such as the design or
condition of the boat, or accessories such
as transom ladders or depth finder trans-
ducers) can create airborne water spray
while the boat is cruising. Severe engine
damage may result if the motor is operat-
ed continuously in the presence of air-
borne water spray.
NOTE:
During water testing check the buoyancy of
the boat, at rest, with its maximum load.
Check that the static water level on the ex-
haust housing is low enough to prevent water
entry into the powerhead, when water rises
due to waves when the outboard is not run-
ning.
EMU26910
Mounting the outboard motor
WARNING
EWM00820
●Overpowering a boat could cause se-
vere instability. Do not install an out-
board motor with more horsepower than
the maximum rating on the capacity
plate of the boat. If the boat does not
have a capacity plate, consult the boat
manufacturer.
●The information presented in this sec-
tion is intended as reference only. It is
not possible to provide complete in-
structions for every possible boat and
motor combination. Proper mounting
depends in part on experience and the
specific boat and motor combination.
WARNING
EWM00830
Improper mounting of the outboard motor
could result in hazardous conditions such
as poor handling, loss of control, or fire
hazards. Observe the following:
●For permanently mounted models, your
dealer or other person experienced in
proper rigging should mount the motor.
If you are mounting the motor yourself,
you should be trained by an experienced
person.
●For portable models, your dealer or oth-
er person experienced in proper out-
board motor mounting should show you
how to mount your motor.
Mount the outboard motor on the center line
(keel line) of the boat, and ensure that the
boat itself is well balanced. Otherwise the
boat will be hard to steer. For boats without a
keel or which are asymmetrical, consult your
dealer.
1. Center line (keel line)
ZMU01760
1
U69J14E0.book Page 27 Friday, March 12, 2004 10:20 AM

Operation
28
EMU26930
Mounting height (boat bottom)
To run your boat at optimum efficiency, the
water resistance (drag) of the boat and out-
board motor must be made as little as possi-
ble. The mounting height of the outboard
motor greatly affects the water resistance. If
the mounting height is too high, cavitation
tends to occur, thus reducing the propulsion;
and if the propeller tips cut the air, the engine
speed will rise abnormally and cause the en-
gine to overheat. If the mounting height is too
low, the water resistance will increase and
thereby reduce engine efficiency. Mount the
outboard motor so that the anti-cavitation
plate is in alignment with the bottom of the
boat.
NOTE:
●The optimum mounting height of the out-
board motor is affected by the boat/motor
combination and the desired use. Test runs
at different heights can help determine the
optimum mounting height. Consult your
Yamaha dealer or boat manufacturer for
further information on determining the prop-
er mounting height.
●For instructions on setting the trim angle of
the outboard motor, see page 34.
EMU30172
Breaking in engine
Your new engine requires a period of break-in
to allow mating surfaces of moving parts to
wear in evenly. Correct break-in will help en-
sure proper performance and longer engine
life.
CAUTION:
ECM00800
Failure to follow the break-in procedure
could result in reduced engine life or even
severe engine damage.
EMU27080
Procedure for 4-stroke models
Run the engine under load (in gear with a pro-
peller installed) as follows.
1. For the first hour of operation:
Run the engine at 2000 r/min or at ap-
proximately half throttle.
2. For the second hour of operation:
Run the engine at 3000 r/min or at ap-
proximately three-quarter throttle.
3. For the next eight hours of operation:
Avoid continuous operation at full throttle
for more than five minutes at a time.
4. After the first 10 hours:
Operate the engine normally.
1. Center line (keel line)
ZMU01762
U69J14E0.book Page 28 Friday, March 12, 2004 10:20 AM

Operation
29
EMU27101
Preoperation checks
WARNING
EWM00080
If any item in the preoperation check is not
working properly, have it inspected and
repaired before operating the outboard
motor. Otherwise an accident could occur.
CAUTION:
ECM00120
Do not start the engine out of water. Over-
heating and serious engine damage can
occur.
EMU27110
Fuel
●Check to be sure you have plenty of fuel for
your trip.
●Make sure there are no fuel leaks or gaso-
line fumes.
●Check fuel line connections to be sure they
are tight (if equipped Yamaha fuel tank or
boat tank).
●Be sure the fuel tank is positioned on a se-
cure, flat surface, and that the fuel line is not
twisted or flattened, or likely to contact
sharp objects (if equipped Yamaha fuel
tank or boat tank).
EMU27130
Controls
●Check throttle, shift, and steering for proper
operation before starting the engine.
●The controls should work smoothly, without
binding or unusual free play.
●Look for loose or damaged connections.
●Check operation of the starter and stop
switches when the outboard motor is in the
water.
EMU27150
Engine
●Check the engine and engine mounting.
●Look for loose or damaged fasteners.
●Check the propeller for damage.
●Check that the battery is in good condition
and the battery connections are secure.
EMU27163
Checking the engine oil level
1. Put the outboard motor in an upright po-
sition (not tilted).
2. Remove oil dipstick and wipe it clean.
3. Completely insert the dipstick and re-
move it again.
4. Check the oil level using the dipstick to be
sure the level falls between the upper and
lower marks. Fill with oil if it is below the
lower mark, or drain to the specified level
if it is above the upper mark.
NOTE:
Be sure to completely insert the dipstick into
the dipstick guide.
EMU30021
Filling fuel
WARNING
EWM00060
Gasoline and its vapors are highly flam-
mable and explosive. Keep away from
sparks, cigarettes, flames, or other sourc-
es of ignition.
1. Remove the fuel tank cap.
2. Carefully fill the fuel tank.
1. Oil dipstick
2. Lower level mark
3. Upper level mark
U69J14E0.book Page 29 Friday, March 12, 2004 10:20 AM

Operation
30
3. Securely close the cap after filling the
tank. Wipe up any spilled fuel.
EMU27270
Ring Free Fuel Additive
Gasoline is a precise blend of many different
substances, each chosen to give certain char-
acteristics. Gasoline blends have been
changing in recent years in response to con-
cerns about pollution and resulting emissions
regulations. One of the most obvious changes
has been the elimination of lead from most fu-
els.
As gasoline has changed, the amount of addi-
tives such as aromatics and oxygenates has
increased. These additives are important for
the engines in passenger cars, but they can
have detrimental effects in marine engines,
because of increased deposits in the combus-
tion chamber. When enough deposits collect,
piston rings begin sticking. Performance
drops and engine wear increases dramatical-
ly.
While many additives available may reduce
deposits, Yamaha recommends the use of
Ring Free Fuel Additive, available from your
Yamaha dealer. Ring Free Fuel Additive
has repeatedly proven its ability to clean com-
bustion deposits from inside the engine, nota-
bly the critical piston-ring-land area, and fuel
system components. Follow product labeling
for use instructions.
EMU27450
Operating engine
EMU27480
Feeding fuel
WARNING
EWM00420
●Before starting the engine, make sure
that the boat is tightly moored and that
you can steer clear of any obstructions.
Be sure there are no swimmers in the
water near you.
●When the air vent screw is loosened,
gasoline vapor will be released. Gaso-
line is highly flammable, and its vapors
are flammable and explosive. Refrain
from smoking, and keep away from
open flames and sparks while loosening
the air vent screw.
●This product emits exhaust gases which
contain carbon monoxide, a colorless,
odorless gas which could cause brain
damage or death when inhaled. Symp-
toms include nausea, dizziness, and
drowsiness. Keep cockpit and cabin ar-
eas well ventilated. Avoid blocking ex-
haust outlets.
1. If there is an air vent screw on the fuel
tank cap, loosen it 2 or 3 turns.
2. If there is a fuel joint or a fuel cock on the
boat, firmly connect the fuel line to the
joint or open the fuel cock.
3. Squeeze the primer pump with the outlet
end up until you feel it become firm.
EMU27490
Starting engine
EMU27624
Electric start and remote control models
1. Place the remote control lever in “”
(neutral).
U69J14E0.book Page 30 Friday, March 12, 2004 10:20 AM

Operation
31
NOTE:
The start-in-gear protection device prevents
the engine from starting except when in neu-
tral.
2. Attach the engine stop switch lanyard to
a secure place on your clothing, or your
arm or leg. Then install the lock plate on
the other end of the lanyard into the en-
gine stop switch.
WARNING
EWM00120
●Attach the engine stop switch lanyard to
a secure place on your clothing, or your
arm or leg while operating.
●Do not attach the lanyard to clothing
that could tear loose. Do not route the
lanyard where it could become entan-
gled, preventing it from functioning.
●Avoid accidentally pulling the lanyard
during normal operation. Loss of engine
power means the loss of most steering
control. Also, without engine power, the
boat could slow rapidly. This could
cause people and objects in the boat to
be thrown forward.
3. Turn the main switch to “” (on).
NOTE:
Dual engine users: When the main switch is
turned on, the buzzer operates for a few sec-
onds then stops automatically. The buzzer
also operates if one of the engines stalls.
N
ZMU04588
ONSTART
OFF
ONSTART
OFF
ZMU04589
U69J14E0.book Page 31 Friday, March 12, 2004 10:20 AM

Operation
32
4. Turn the main switch to “” (start),
and hold it for a maximum of 5 seconds.
5. Immediately after the engine starts, re-
lease the main switch to return it to “”
(on).
CAUTION:
ECM00191
●Never turn the main switch to “”
(start) while the engine is running.
●Do not keep the starter motor turning for
more than 5 seconds. If the starter motor
is turned continuously for more than 5
seconds, the battery will be quickly dis-
charged, thus making it impossible to
start the engine. The starter can also be
damaged. If the engine will not start after
5 seconds of cranking, return the main
switch to “” (on), wait 10 seconds,
then crank the engine again.
EMU27670
Warming up engine
EMU30030
Manual start and electric start models
1. After starting the engine, allow it to idle for
3 minutes to warm up. Failure to do so will
shorten engine life.
2. Be sure the low oil pressure warning indi-
cator goes off after starting the engine.
3. Check for a steady flow of water from the
cooling water pilot hole.
CAUTION:
ECM01340
●If the low oil pressure warning indicator
does not go off after the engine starts,
stop the engine. Otherwise serious en-
gine damage could occur. Check the oil
level and add oil if necessary. Consult
your Yamaha dealer if the cause for the
low oil pressure warning indicator can-
not be found.
●A continuous flow of water from the pilot
hole shows that the water pump is
pumping water through the cooling pas-
sages. If water is not flowing out of the
pilot hole at all times while the engine is
running, overheating and serious dam-
age could occur. Stop the engine and
check whether the cooling water inlet on
the lower case or the cooling water pilot
ON START
OFF
ZMU01881
START
ON
ZMU04590
U69J14E0.book Page 32 Friday, March 12, 2004 10:20 AM

Operation
33
hole is blocked. Consult your Yamaha
dealer if the problem cannot be located
and corrected.
●If the cooling passage is frozen, it may
take awhile for water to start flowing out
of the pilot hole.
EMU27740
Shifting
WARNING
EWM00180
Before shifting, make sure there are no
swimmers or obstacles in the water near
you.
CAUTION:
ECM00220
To change the boat direction or shifting
position from forward to reverse or vice-
versa, first close the throttle so that the en-
gine idles (or runs at low speeds).
EMU27763
Forward (tiller handle and remote
control models)
Tiller control models
1. Place the throttle grip in the fully closed
position.
2. Move the gear shift lever quickly and firm-
ly from neutral to forward.
Remote control models
Pull up the neutral interlock trigger (if
equipped) and move the remote control lever
quickly and firmly from neutral to forward.
EMU27784
Reverse (automatic reverse lock and
power trim and tilt models)
WARNING
EWM00190
When operating in reverse, go slowly. Do
not open the throttle more than half. Other-
wise the boat could become unstable,
which could result in loss of control and
an accident.
Tiller control models
1. Place the throttle grip in the fully closed
position.
2. Move the gear shift lever quickly and firm-
ly from neutral to reverse.
N
F
ZMU04597
U69J14E0.book Page 33 Friday, March 12, 2004 10:20 AM

Operation
34
Remote control models
Pull up the neutral interlock trigger (if
equipped) and move the remote control lever
quickly and firmly from neutral to reverse.
EMU27820
Stopping engine
Before stopping the engine, first let it cool off
for a few minutes at idle or low speed. Stop-
ping the engine immediately after operating at
high speed is not recommended.
EMU27851
Procedure
1. Turn the main switch to “” (off).
2. After stopping the engine, disconnect the
fuel line or close the fuel cock if there is a
fuel joint or a fuel cock on the boat.
3. Tighten the air vent screw on the fuel tank
cap (if equipped).
4. Remove the key if the boat will be left un-
attended.
NOTE:
The engine can also be stopped by pulling the
lanyard and removing the clip from the engine
stop switch, then turning the main switch to
“” (off).
EMU27861
Trimming outboard motor
The trim angle of the outboard motor helps
determine the position of the bow of the boat
in the water. Correct trim angle will help im-
prove performance and fuel economy while
reducing strain on the engine. Correct trim an-
gle depends upon the combination of boat,
N
R
ZMU04598
OFFON
OFFON
ZMU04600
U69J14E0.book Page 34 Friday, March 12, 2004 10:20 AM

Operation
35
engine, and propeller. Correct trim is also af-
fected by variables such as the load in the
boat, sea conditions, and running speed.
WARNING
EWM00740
Excessive trim for the operating condi-
tions (either trim up or trim down) can
cause boat instability and can make steer-
ing the boat more difficult. This increases
the possibility of an accident. If the boat
begins to feel unstable or is hard to steer,
slow down and/or readjust the trim angle.
EMU27881
Adjusting trim angle
Power trim and tilt models
WARNING
EWM00750
●Be sure all people are clear of the out-
board motor when adjusting the tilt an-
gle, also be careful not to pinch any
body parts between the drive unit and
clamp bracket.
●Use caution when trying a trim position
for the first time. Increase speed gradu-
ally and watch for any signs of instability
or control problems. Improper trim an-
gle can cause loss of control.
●Use the power tilt switch located on the
bottom engine cowling (if equipped)
only when the boat is at a complete stop
with the engine off.
Adjust the outboard motor trim angle using
the power trim and tilt switch.
To raise the bow (trim-out), press the switch
“” (up).
To lower the bow (trim-in), press the switch
“” (down).
Make test runs with the trim set to different an-
gles to find the position that works best for
your boat and operating conditions.
NOTE:
To adjust the trim angle while the boat is mov-
ing, use the power trim and tilt switch located
on the remote control device or tiller handle, if
equipped.
1. Trim operating angle
1. Power trim and tilt switch
1. Power trim and tilt switch
ZMU04601
DN
UP
1
U69J14E0.book Page 35 Friday, March 12, 2004 10:20 AM

Operation
36
EMU27911
Adjusting boat trim
When the boat is on plane, a bow-up attitude
results in less drag, greater stability and effi-
ciency. This is generally when the keel line of
the boat is up about 3 to 5 degrees. With the
bow up, the boat may have a greater tenden-
cy to steer to one side or the other. Compen-
sate for this as you steer. The trim tab can
also be adjusted to help offset this effect.
When the bow of the boat is down, it is easier
to accelerate from a standing start onto plane.
Bow Up
Too much trim-out puts the bow of the boat
too high in the water. Performance and econ-
omy are decreased because the hull of the
boat is pushing the water and there is more air
drag. Excessive trim-out can also cause the
propeller to ventilate, which reduces perfor-
mance further, and the boat may “porpoise”
(hop in the water), which could throw the op-
erator and passengers overboard.
Bow Down
Too much trim-in causes the boat to “plow”
through the water, decreasing fuel economy
and making it hard to increase speed. Operat-
ing with excessive trim-in at higher speeds
also makes the boat unstable. Resistance at
the bow is greatly increased, heightening the
danger of “bow steering” and making opera-
tion difficult and dangerous.
NOTE:
Depending on the type of boat, the outboard
motor trim angle may have little effect on the
trim of the boat when operating.
EMU27940
Tilting up and down
If the engine will be stopped for some time or
if the boat is moored in shallows, the outboard
motor should be tilted up to protect the propel-
ler and casing from damage by collision with
obstructions, and also to reduce salt corro-
sion.
WARNING
EWM01130
●Be sure all people are clear of the out-
board motor when tilting up and down,
also be careful not to pinch any body
parts between the drive unit and engine
bracket.
●Leaking fuel is a fire hazard. If the out-
board motor will be tilted for more than
a few minutes, close the fuel cock or dis-
U69J14E0.book Page 36 Friday, March 12, 2004 10:20 AM

Operation
37
connect the fuel line if the outboard mo-
tor is equipped with a fuel joint.
Otherwise fuel may leak.
CAUTION:
ECM00990
●Before tilting the outboard motor, follow
the procedure under “Stopping engine”
in this chapter. Never tilt the outboard
motor while the engine is running. Se-
vere damage from overheating can re-
sult.
●To prevent the cooling water passages
from becoming frozen when the ambient
temperature is - 5°C or below, tilt the out-
board motor up after it has been
stopped 30 seconds or more.
EMU28004
Procedure for tilting up
Power trim and tilt models / power tilt models
1. Place the remote control lever / the gear
shift lever in neutral.
2. Disconnect the fuel line from the out-
board motor or close the fuel cock.
3. Press the power trim and tilt switch / pow-
er tilt switch “” (up) until the outboard
motor has tilted up completely.
4. Push the tilt support knob into the clamp
bracket or pull the tilt support lever toward
you to support the engine.
WARNING
EWM00260
After tilting the outboard motor, be sure to
support it with the tilt support knob or tilt
support lever. Otherwise the outboard mo-
tor could fall back down suddenly if oil in
the power trim and tilt unit loses pressure.
ZMU04602
UP
ZMU01886
U69J14E0.book Page 37 Friday, March 12, 2004 10:20 AM

Operation
38
5. Models equipped with trim rods: Once the
outboard motor is supported with the tilt
support lever, press the power trim and
tilt switch “” (down) to retract the trim
rods.
CAUTION:
ECM00250
Be sure to retract the trim rods completely
during mooring. This protects the rods
from marine growth and corrosion which
could damage the power trim and tilt
mechanism.
EMU28052
Procedure for tilting down
Power trim and tilt models / power tilt models
1. Push the power tilt / power trim and tilt
switch “” (up) until the outboard motor
is supported by the tilt rod and the tilt sup-
port lever / tilt support knob becomes
free.
2. Release the tilt support lever or pull out
the tilt support knob.
3. Push the power tilt / power trim and tilt
switch “” (down) to lower the outboard
motor to the desired position.
EMU28060
Cruising in shallow water
The outboard motor can be tilted up partially
to allow operation in shallow water.
EMU28090
Power trim and tilt models / power tilt
models
The outboard motor can be tilted up partially
to allow operation in shallow water.
WARNING
EWM00660
●Place the gear shift in neutral before set-
ting up for shallow water cruising.
●Return the outboard motor to its normal
position as soon as the boat is back in
deeper water.
CAUTION:
ECM00260
Do not tilt the outboard motor up so that
the cooling water inlet on the lower unit is
above the surface of the water when set-
ting up for and cruising in shallow water.
Otherwise severe damage from overheat-
ing can result.
EMU28183
Procedure for power trim and tilt / power
tilt models
1. Place the gear shift lever in neutral.
ZMU01884
ZMU01885
U69J14E0.book Page 38 Friday, March 12, 2004 10:20 AM

Operation
39
2. Slightly tilt the outboard motor up to the
desired position using the power trim / tilt
switch.
3. To return the outboard motor to the nor-
mal running position, press the power
trim / tilt switch and slowly tilt the out-
board motor down.
EMU28190
Cruising in other conditions
Cruising in salt water
After operating in salt water, wash out the
cooling water passages with fresh water to
prevent them from becoming clogged with salt
deposits.
NOTE:
For cooling system flushing instructions, see
page 41.
Cruising in turbid water
Yamaha strongly recommends that you use
the optional chromium-plated water pump kit
if you use the outboard motor in turbid (mud-
dy) water conditions.
N
ZMU04588
U69J14E0.book Page 39 Friday, March 12, 2004 10:20 AM

Maintenance
40
EMU28215
Specifications
Dimension:
Overall length:
892 mm (35.1 in)
Overall width:
634 mm (25.0 in)
Overall height X:
1805 mm (71.1 in)
Overall height U:
F225TR 1932 mm (76.1 in)
LF225TR 1932 mm (76.1 in)
Transom height X:
643 mm (25.3 in)
Transom height U:
F225TR 770 mm (30.3 in)
LF225TR 770 mm (30.3 in)
Weight (without propeller) X:
265.0 kg (584 lb)
Weight (without propeller) U:
F225TR 271.0 kg (597 lb)
LF225TR 271.0 kg (597 lb)
Performance:
Full throttle operating range:
5000–6000 r/min
Maximum output:
F200TR 147.1 kW@5500 r/min (200
HP@5500 r/min)
F225TR 165.5 kW@5500 r/min (225
HP@5500 r/min)
LF200TR 147.1 kW@5500 r/min (200
HP@5500 r/min)
LF225TR 165.5 kW@5500 r/min (225
HP@5500 r/min)
Idling speed (in neutral):
700 ±50 r/min
Engine:
Type:
4-stroke V
Displacement:
3352.0 cm³ (204.54 cu.in)
Bore × stroke:
94.0 × 80.5 mm (3.70 × 3.17 in)
Ignition system:
TCI
Spark plug (NGK):
LFR5A-11
Spark plug gap:
1.0–1.1 mm (0.039–0.043 in)
Control system:
Remote control
Starting system:
Electric
Starting carburetion system:
Electronic fuel injection
Valve clearance (cold engine) IN:
0.17–0.23 mm (0.0067–0.0091 in)
Valve clearance (cold engine) EX:
0.31–0.37 mm (0.0122–0.0146 in)
Min. cold cranking amps (CCA/SAE):
512.0 A
Min. marine cranking amps (MCA/ABYC):
675.0 A
Min. reserve capacity (RC/SAE):
182 minutes
Alternator output for battery DC:
45.0 A
Drive unit:
Gear positions:
Forward-neutral-reverse
Gear ratio:
2.00 (30/15)
Trim and tilt system:
Power trim and tilt
Propeller mark:
F200TR T / M
F225TR T / M
LF200TR TL / ML
LF225TR TL / ML
Fuel and oil:
Recommended fuel:
Regular unleaded gasoline
Min. pump octane:
86
Recommended engine oil:
4-stroke outboard motor oil
Engine oil grade API:
API SE, SF, SG, SH, SJ
Engine oil type SAE:
SAE10W30 or SAE10W40
Lubrication:
Wet sump
Engine oil quantity (excluding oil filter):
5.6 L (5.92 US qt) (4.93 Imp.qt)
Recommended gear oil:
Hypoid gear oil SAE#90
U69J14E0.book Page 40 Friday, March 12, 2004 10:20 AM

Maintenance
41
Gear oil quantity:
F200TR 1150.0 cm³ (38.88 US oz) (40.56
Imp.oz)
F225TR 1150.0 cm³ (38.88 US oz) (40.56
Imp.oz)
LF200TR 1000.0 cm³ (33.81 US oz) (35.27
Imp.oz)
LF225TR 1000.0 cm³ (33.81 US oz) (35.27
Imp.oz)
Tightening torque for engine:
Spark plug:
25.0 Nm (18.4 ft-lb) (2.55 kgf-m)
Propeller nut:
55.0 Nm (40.6 ft-lb) (5.61 kgf-m)
Engine oil drain bolt:
28.0 Nm (20.7 ft-lb) (2.86 kgf-m)
Engine oil filter:
18.0 Nm (13.3 ft-lb) (1.84 kgf-m)
EMU28222
Transporting and storing
outboard motor
WARNING
EWM00690
●Leaking fuel is a fire hazard. When trans-
porting and storing the outboard motor,
close the air vent screw and fuel cock to
prevent fuel from leaking.
●USE CARE when transporting fuel tank,
whether in a boat or car.
●DO NOT fill fuel container to maximum
capacity. Gasoline will expand consider-
ably as it warms up and can build up
pressure in the fuel container. This can
cause fuel leakage and a potential fire
hazard.
WARNING
EWM00700
Never get under the lower unit while it is
tilted, even if a motor support bar is used.
Severe injury could occur if the outboard
motor accidentally falls.
CAUTION:
ECM00660
Do not use the tilt support lever or knob
when trailering the boat. The outboard mo-
tor could shake loose from the tilt support
and fall. If the motor cannot be trailered in
the normal running position, use an addi-
tional support device to secure it in the tilt
position.
The outboard motor should be trailered and
stored in the normal running position. If there
is insufficient road clearance in this position,
then trailer the outboard motor in the tilt posi-
tion using a motor support device such as a
transom saver bar. Consult your Yamaha
dealer for further details.
EMU30061
Storing outboard motor
When storing your Yamaha outboard motor
for prolonged periods of time (2 months or
longer), several important procedures must
be performed to prevent excessive damage. It
is advisable to have your outboard motor ser-
viced by an authorized Yamaha dealer prior to
storage. However, you, the owner, with a min-
imum of tools, can perform the following pro-
cedures.
CAUTION:
ECM01360
●To prevent problems which can be
caused by oil entering the cylinder from
the sump, keep the outboard motor in
the attitude shown when transporting
and storing it. Do not store or transport
the outboard motor on its side (not up-
right).
●Do not place the outboard motor on its
side before the cooling water has
drained from it completely, otherwise
water may enter the cylinder through the
exhaust port and cause engine trouble.
U69J14E0.book Page 41 Friday, March 12, 2004 10:20 AM

Maintenance
42
●Store the outboard motor in a dry, well-
ventilated place, not in direct sunlight.
EMU28301
Procedure
EMU30001
Flushing with the flushing attachment
1. Wash the outboard motor body using
fresh water. For further information, see
page 45.
2. Fill the fuel tank with fresh fuel and add
one ounce of “Yamaha Fuel Conditioner
and Stabilizer” (Part No. LUB-FUELC-12-
00) to each gallon of fuel.
NOTE:
The use of “Yamaha Fuel Conditioner and
Stabilizer” eliminates the need to drain the
fuel system. Consult your Yamaha dealer or
other qualified mechanic if the fuel system is
to be drained instead.
3. Remove the top cowling and propeller.
4. Install the flushing attachment over the
cooling water inlet.
CAUTION:
ECM00300
Do not run the engine without supplying it
with cooling water. Either the engine water
pump will be damaged or the engine will
be damaged from overheating. Before
starting the engine, be sure to supply wa-
ter to the cooling water passages.
CAUTION:
ECM00310
Avoid running the outboard motor at high
speed while on the flushing attachment,
otherwise overheating could occur.
5. Cooling system flushing is essential to
prevent the cooling system from clogging
up with salt, sand, or dirt. In addition, fog-
ging/lubricating of the engine is mandato-
ry to prevent excessive engine damage
due to rust. Perform the flushing and fog-
ging at the same time.
WARNING
EWM00090
●Do not touch or remove electrical parts
when starting or during operation.
●Keep hands, hair, and clothes away from
the flywheel and other rotating parts
while the engine is running.
NOTE:
●When using the flushing attachment, main-
tain adequate water pressure and a steady
water flow.
●If the overheat warning device is activated,
turn the engine off, and consult your
Yamaha dealer.
ZMU04261
1. Flushing attachment
U69J14E0.book Page 42 Friday, March 12, 2004 10:20 AM

Maintenance
43
6. Run the engine at a fast idle for a few
minutes in neutral position while supply-
ing fresh water.
7. Just prior to turning off the engine, quickly
spray “Yamaha Stor-Rite Engine Fogging
Oil” (Part No. LUB-STRRT-12-00) alter-
nately into the intake silencer or the fog-
ging hole of the silencer cover, if
equipped. When properly done, the en-
gine will smoke excessively and almost
stall.
8. Remove the flushing attachment and
wipe off any excess water.
9. Install the top cowling and propeller.
10. Drain the cooling water completely out of
the motor. Clean the body thoroughly.
NOTE:
A flushing attachment is available from your
Yamaha dealer.
EMU28400
Lubrication (except oil injection
models)
1. Grease the spark plug threads and install
the spark plug(s) and torque to proper
specification. For information on spark
plug installation, see page 49.
2. Change the gear oil. For instructions, see
page 57. Inspect the oil for the presence
of water that indicates a leaky seal. Seal
replacement should be performed by an
authorized Yamaha dealer prior to use.
3. Grease all grease fittings. For further de-
tails, see page 48.
EMU28421
Cleaning and anticorrosion measures
1. Wash down the exterior of the outboard
motor with fresh water and dry off com-
pletely.
2. Spray the outboard motor exterior with
“Yamaha Silicone Protectant” (Part No.
LUB-SILCNE-13-00).
3. Wax the cowling with a non-abrasive wax
such as “Yamaha Silicone Wax” (Part No.
ACC-11000-15-02).
EMU28430
Battery care
WARNING
EWM00330
Battery electrolytic fluid is dangerous; it
contains sulfuric acid and therefore is poi-
sonous and highly caustic.
Always follow these preventive measures:
●Avoid bodily contact with electrolytic
fluid as it can cause severe burns or per-
manent eye injury.
●Wear protective eye gear when handling
or working near batteries.
Antidote (EXTERNAL):
●SKIN - Flush with water.
●EYES - Flush with water for 15 minutes
and get immediate medical attention.
Antidote (INTERNAL):
●Drink large quantities of water or milk
followed by milk of magnesia, beaten
egg, or vegetable oil. Get immediate
medical attention.
Batteries also generate explosive hydro-
gen gas; therefore, you should always fol-
low these preventive measures:
●Charge batteries in a well-ventilated ar-
ea.
●Keep batteries away from fire, sparks, or
open flames (for example: welding
equipment, lighted cigarettes, and so
on.)
●DO NOT SMOKE when charging or han-
dling batteries.
KEEP BATTERIES AND ELECTROLYTIC
FLUID OUT OF REACH OF CHILDREN.
U69J14E0.book Page 43 Friday, March 12, 2004 10:20 AM

Maintenance
44
Batteries vary among manufacturers. There-
fore the following procedures may not always
apply. Consult your battery manufacturer’s in-
structions.
Procedure
1. Disconnect and remove the battery from
the boat. Always disconnect the black
negative cable first to prevent the risk of
shorting.
2. Clean the battery casing and terminals.
Fill each cell to the upper level with dis-
tilled water.
3. Store the battery on a level surface in a
cool, dry, well-ventilated place out of di-
rect sunlight.
4. Once a month, check the specific gravity
of the electrolyte and recharge as re-
quired to prolong battery life.
EMU28440
Flushing power unit
Perform this procedure right after operation
for the most thorough flushing.
1. After shutting off the engine, unscrew the
garden hose connector from the fitting on
the bottom cowling.
2. Screw the garden hose connector onto a
garden hose which is connected to a
fresh water supply.
3. With the engine off, turn on the water tap
and let the water flush through the cool-
ing passages for about 15 minutes. Turn
off the water and disconnect the garden
hose.
4. When flushing is complete, reinstall the
garden hose connector on the fitting on
the bottom cowling. Tighten the connec-
tor securely.
CAUTION:
ECM00540
Do not leave the garden hose connector
loose on the bottom cowling fitting or let
the hose hang free during normal opera-
tion. Water will leak out of the connector
instead of cooling the engine, which can
1. Fitting
2. Garden hose connector
3. Garden hose
U69J14E0.book Page 44 Friday, March 12, 2004 10:20 AM

Maintenance
45
cause serious overheating. Be sure the
connector is tightened securely on the fit-
ting after flushing the engine.
NOTE:
●When flushing the engine with the boat in
the water, tilting up the outboard motor until
it is completely out of the water will achieve
better results.
●For cooling system flushing instructions,
see page 41.
EMU28450
Cleaning the outboard motor
After use, wash the exterior of the outboard
motor with fresh water. Flush the cooling sys-
tem with fresh water.
NOTE:
For cooling system flushing instructions, see
page 41.
EMU28460
Checking painted surface of motor
Check the motor for scratches, nicks, or flak-
ing paint. Areas with damaged paint are more
likely to corrode. If necessary, clean and paint
the areas. A touch-up paint is available from
your Yamaha dealer.
EMU28483
Periodic maintenance
WARNING
EWM01070
Be sure to turn off the engine when you
perform maintenance unless otherwise
specified. If you or the owner is not famil-
iar with machine servicing, this work
should be done by your Yamaha dealer or
other qualified mechanic.
Maintenance, replacement, or repair of the
emission control devices and systems
may be performed by any marine engine
repair establishment or individual. All war-
ranty repairs, however, including those to
the emission control system, must be per-
formed by an authorized Yamaha marine
dealership.
A service manual is available for purchase
through your Yamaha dealer for owners who
have the mechanical skills, tools, and other
equipment necessary to perform mainte-
nance not covered by this owner’s manual.
EMU28510
Replacement parts
If replacement parts are necessary, use only
genuine Yamaha parts or parts of the same
type and of equivalent strength and materials.
Any part of inferior quality may malfunction,
and the resulting loss of control could endan-
ger the operator and passengers. Yamaha
genuine parts and accessories are available
from your Yamaha dealer.
U69J14E0.book Page 45 Friday, March 12, 2004 10:20 AM

Maintenance
46
EMU30560
Maintenance chart
NOTE:
●Refer to the sections in this chapter for explanations of each owner-specific action.
●The maintenance cycle on these charts assume usage of 200 hours per year. Maintenance
frequency should be adjusted according to usage conditions.
●Disassembly or repairs may be necessary depending on the outcome of maintenance
checks.
●Expendable or consumable parts and lubricants will lose their effectiveness over time and
through normal usage regardless of the warranty period.
The “” symbol indicates the check-ups which you may carry out yourself.
The “” symbol indicates work to be carried out by your Yamaha dealer.
Item Actions
Initial Every
10 hours
(1 month)
50 hours
(3 months)
100 hours
(6 months)
200 hours
(1 year)
Anode(s) (external) Inspection /
replacement
Anode(s) (internal) Inspection /
replacement
Battery Inspection / charging
Cooling water
passages Cleaning
Cowling clamp Inspection
Fuel filter (can be
disassembled)
Inspection /
replacement
Fuel system Inspection
Fuel tank (Yamaha
portable tank) Inspection / cleaning
Gear oil Change
Greasing points Greasing
Idling speed (EFI
models) Inspection / adjustment
PCV (Pressure Control
Valve) Inspection
Power trim and tilt unit Inspection
Propeller and cotter pin Inspection /
replacement
Shift link / shift cable Inspection / adjustment
Thermostat Inspection
Throttle link / throttle
cable / throttle pick-up
timing
Inspection / adjustment
U69J14E0.book Page 46 Friday, March 12, 2004 10:20 AM

Maintenance
47
NOTE:
When operating in salt water, turbid or muddy water, the engine should be flushed with clean
water after each use.
EMU28871
Maintenance chart (additional)
EMU28910
NOTE:
When using lead or high-sulfur gasoline, inspecting valve clearance may be required more fre-
quently than every 500 hours.
Water pump Inspection
Engine oil Inspection / change
Oil filter (cartridge) Change
Spark plug(s) Cleaning / adjustment /
replacement
Timing belt Inspection /
replacement
Item Actions
Every
500 hours (2.5 years) 1000 hours (5 years)
Timing belt Replacement
Timing chain / chain
tensioner Inspection
Valve clearance
(DOHC) Inspection / adjustment
Item Actions
Initial Every
10 hours
(1 month)
50 hours
(3 months)
100 hours
(6 months)
200 hours
(1 year)
U69J14E0.book Page 47 Friday, March 12, 2004 10:20 AM

Maintenance
48
EMU28931
Greasing
Yamaha marine grease (Water resistant grease)
U69J14E0.book Page 48 Friday, March 12, 2004 10:20 AM

Maintenance
49
EMU28951
Cleaning and adjusting spark plug
WARNING
EWM00560
When removing or installing a spark plug,
be careful not to damage the insulator. A
damaged insulator could allow external
sparks, which could lead to explosion or
fire.
The spark plug is an important engine compo-
nent and is easy to inspect. The condition of
the spark plug can indicate something about
the condition of the engine. For example, if the
center electrode porcelain is very white, this
could indicate an intake air leak or carburetion
problem in that cylinder. Do not attempt to di-
agnose any problems yourself. Instead, take
the outboard motor to a Yamaha dealer. You
should periodically remove and inspect the
spark plug because heat and deposits will
cause the spark plug to slowly break down
and erode. If electrode erosion becomes ex-
cessive, or if carbon and other deposits are
excessive, you should replace the spark plug
with another of the correct type.
Before fitting the spark plug, measure the
electrode gap with a wire thickness gauge;
adjust the gap to specification if necessary.
When fitting the plug, always clean the gasket
surface and use a new gasket. Wipe off any
dirt from the threads and screw in the spark
plug to the correct torque.
NOTE:
If a torque-wrench is not available when you
are fitting a spark plug, a good estimate of the
correct torque is 1/4 to 1/2 a turn past finger-
tight. Have the spark plug adjusted to the cor-
rect torque as soon as possible with a torque-
wrench.
EMU28962
Checking fuel system
WARNING
EWM00060
Gasoline and its vapors are highly flam-
mable and explosive. Keep away from
sparks, cigarettes, flames, or other sourc-
es of ignition.
WARNING
EWM00910
Leaking fuel can result in fire or explosion.
Standard spark plug:
LFR5A-11
1. Spark plug gap
2. Spark plug I.D. mark (NGK)
Spark plug gap:
1.0–1.1 mm (0.039–0.043 in)
Spark plug torque:
25.0 Nm (18.4 ft-lb) (2.55 kgf-m)
U69J14E0.book Page 49 Friday, March 12, 2004 10:20 AM

Maintenance
50
●Check for fuel leakage regularly.
●If any fuel leakage is found, the fuel sys-
tem must be repaired by a qualified me-
chanic. Improper repairs can make the
outboard unsafe to operate.
Check the fuel lines for leaks, crack, or mal-
function. If a problem is found, your Yamaha
dealer or other qualified mechanic should re-
pair it immediately.
Checkpoints
●Fuel system parts leakage
●Fuel line joint leakage
●Fuel line cracks or other damage
●Fuel connector leakage
EMU28980
Inspecting fuel filter
WARNING
EWM00310
Gasoline is highly flammable, and its va-
pors are flammable and explosive.
●If you have any question about properly
doing this procedure, consult your
Yamaha dealer.
●Do not perform this procedure on a hot
or running engine. Allow the engine to
cool.
●There will be fuel in the fuel filter. Keep
away from sparks, cigarettes, flames or
other sources of ignition.
●This procedure will allow some fuel to
spill. Catch fuel in a rag. Wipe up any
spilled fuel immediately.
●The fuel filter must be reassembled
carefully with the O-ring, filter cup, and
hoses in place. Improper assembly or
replacement could result in a fuel leak,
which could result in a fire or explosion
hazard.
EMU29032
Cleaning fuel filter
1. Disconnect the water detection switch
connector, if equipped.
2. Remove the bolts that are securing the
fuel filter bracket in place.
U69J14E0.book Page 50 Friday, March 12, 2004 10:20 AM

Maintenance
51
3. Loosen the bolt that retains the lock tab,
and remove the lock tab.
4. Loosen the bolt that secures the fuel filter
in place.
5. Loosen the ring nut of the filter cup.
6. Remove the filter cup, catching any
spilled fuel in a container.
7. Remove and inspect the filter element
and O-ring to make sure they are in good
condition. Replace them if necessary. If
any water is found in the fuel, the
Yamaha portable fuel tank or other fuel
tanks should be checked and cleaned.
8. Reinstall the filter element in the filter
housing.
9. Reinsert the O-ring in its proper position,
screw the ring nut onto the filler housing
until the filter housing is lightly seated.
10. Tighten the ring nut approximately an ad-
ditional 1/4 turn until the ring nut is tight.
Align one of the eight large ring nut tabs
into the slot of the locking tab. Install and
tighten the locking tab bolt.
11. Reinstall the fuel filter onto the filter
bracket by tightening the bolt.
12. Reinstall the fuel filter bracket onto the
engine by tightening the bolts.
13. Connect the water detection switch con-
nector, if equipped.
14. Run the engine and check the filter and
lines for leaks.
NOTE:
If any water is in the fuel, the red ring in the
fuel filter unit will float. If so, remove the cup
and drain the water.
EMU29040
Inspecting idling speed
WARNING
EWM00450
●Do not touch or remove electrical parts
when starting or during operation.
●Keep hands, hair, and clothes away from
the flywheel and other rotating parts
while the engine is running.
●2-hp models: The propeller rotates
whenever the engine is running. Do not
move the throttle control lever from the
start position during warm-up. The boat
could unexpectedly start to move, which
could result in an accident.
1. Locking tab
2. Bolts
3. Filter bracket
4. Filter housing
5. O-ring
6. Filter element
7. Filter cup
8. Filter cup ring nut
U69J14E0.book Page 51 Friday, March 12, 2004 10:20 AM

Maintenance
52
CAUTION:
ECM00490
This procedure must be performed while
the outboard motor is in the water. A flush-
ing attachment or test tank can be used.
A diagnostic tachometer should be used for
this procedure. Results may vary depending
on whether testing is conducted with the
flushing attachment, in a test tank, or with the
outboard motor in the water.
1. Start the engine and allow it to warm up
fully in neutral until it is running smoothly.
2-hp model: Warm the engine with the
throttle in the start position or less. If the
outboard is mounted on a boat, be sure
the boat is tightly moored.
N
O
TE:
Correct idling speed inspection is only possi-
ble if the engine is fully warmed up. If not
warmed up fully, the idle speed will measure
higher than normal. If you have difficulty veri-
fying the idle speed, or the idle speed requires
adjustment, consult a Yamaha dealer or other
qualified mechanic.
2. Verify whether the idle speed is set to
specification. For idle speed specifica-
tions, see page 40.
EMU29083
Changing engine oil
WARNING
EWM00760
●Avoid draining the engine oil immediate-
ly after stopping the engine. The oil is
hot and should be handled with care to
avoid burns.
●Be sure the outboard motor is securely
fastened to the transom or a stable
stand.
CAUTION:
ECM01240
Change the engine oil after the first 10
hours of operation, and every 100 hours or
at 6-month intervals thereafter. Otherwise
the engine will wear quickly.
NOTE:
Change the engine oil when the oil is still
warm.
The engine oil can be extracted with an oil
changer (recommended), or drained by re-
moving the oil drain screw.
Extracting the oil with an oil changer (normal
oil change)
1. Put the outboard motor in an upright po-
sition (not tilted).
2. Pull out the dipstick and use the oil
changer to extract the oil.
U69J14E0.book Page 52 Friday, March 12, 2004 10:20 AM

Maintenance
53
3. Remove the oil filler cap. Add the correct
amount of oil through the filler hole, and
install the filler cap.
CAUTION:
ECM00970
●Do not overfill the oil, and be sure the
outboard motor is upright (not tilted)
when checking and changing the engine
oil.
●If the oil level is above the upper level
mark, drain until the level meets the
specified capacity. Overfilling the oil
could cause leakage or damage.
4. Start the engine and watch to make sure
the low oil pressure warning indicator
turns off. Make sure that there are no oil
leaks.
CAUTION:
ECM00680
If the low oil pressure warning indicator
does not turn off or if there are oil leaks,
stop the engine and find the cause. Con-
tinued operation with a problem could
cause severe engine damage. Consult
your Yamaha dealer if the problem cannot
be located and corrected.
5. Turn off the engine and wait 3 minutes.
Recheck the oil level using the dipstick to
be sure the level falls between the upper
and lower marks. Fill with oil if it is below
the lower mark, or drain to the specified
level if it is above the upper mark.
6. Dispose of used oil according to local
regulations.
NOTE:
●For more information on the disposal of
used oil, consult your Yamaha dealer.
●Change the oil more often when operating
the engine under adverse conditions such
as extended trolling.
Draining the oil by removing the oil drain
screw
1. Remove the four bolts to remove the
apron from the starboard side.
2. Tilt the outboard motor 5–10 degrees up,
then turn it entirely to the starboard side
until the drain screw is directly below.
3. Prepare a suitable container that holds a
larger amount than the engine oil capaci-
ty. Loosen and remove the drain screw
while holding the container under the
drain hole. Let the oil drain completely.
Wipe up any spilled oil immediately.
1. Oil filler cap
Recommended engine oil:
4-stroke outboard motor oil
Engine oil quantity (excluding oil filter):
5.6 L (5.92 US qt) (4.93 Imp.qt)
U69J14E0.book Page 53 Friday, March 12, 2004 10:20 AM

Maintenance
54
4. Put a new gasket on the oil drain screw.
Apply a light coat of oil to the gasket and
install the drain screw.
NOTE:
●If a torque wrench is not available when you
are installing the drain screw, finger tighten
the screw just until the gasket comes into
contact with the surface of the drain hole.
Then tighten 1/4 to 1/2 turn more. Tighten
the drain screw to the correct torque with a
torque wrench as soon as possible.
●Apply grease to the apron retaining bolts
before tightening them.
5. About adding the engine oil, refer to the
step 3 to 6 on the above oil changing pro-
cedures with the oil changer.
EMU29111
Checking wiring and connectors
●Check that each grounding wire is properly
secured.
●Check that each connector is engaged se-
curely.
EMU29120
Exhaust leakage
Start the engine and check that no exhaust
leaks from the joints between the exhaust
cover, cylinder head, and body cylinder.
EMU29130
Water leakage
Start the engine and check that no water
leaks from the joints between the exhaust
cover, cylinder head, and body cylinder.
EMU29140
Engine oil leakage
Check for oil leaks on the around the engine.
NOTE:
If any leaks are found, consult your Yamaha
dealer.
EMU29153
Checking power trim and tilt system
WARNING
EWM00430
●Never get under the lower unit while it is
tilted, even when the tilt support lever is
locked. Severe injury could occur if the
outboard motor accidentally falls.
●Make sure no one is under the outboard
motor before performing this test.
1. Check the power trim and tilt unit for any
sign of oil leaks.
2. Operate each of the power trim and tilt
switches on the remote control and en-
gine bottom cowling (if equipped) to
check that all switches work.
1. Drain screw
Drain screw tightening torque:
28.0 Nm (20.7 ft-lb) (2.86 kgf-m)
U69J14E0.book Page 54 Friday, March 12, 2004 10:20 AM

Maintenance
55
3. Tilt the outboard motor up and check that
the tilt rod and trim rods are extended
completely.
4. Use the tilt support lever to lock the motor
in the up position. Operate the tilt down
switch briefly so the motor is supported
by the tilt support lever.
5. Check that the tilt rod and trim rods are
free of corrosion or other flaws.
6. Activate the tilt-down switch until the trim
rods have retracted completely into the
cylinders.
7. Activate the trim-up switch until the tilt rod
is fully extended. Unlock the tilt support
lever.
8. Tilt the outboard motor down. Check that
the tilt rod and trim rods operate smooth-
ly.
NOTE:
Consult your Yamaha dealer if any operation
is abnormal.
EMU29171
Checking propeller
WARNING
EWM00321
You could be seriously injured if the en-
gine accidentally starts when you are near
the propeller.
●Before inspecting, removing, or install-
ing the propeller, remove the spark plug
caps from the spark plugs. Also, place
the shift control in neutral, turn the main
switch to “” (off) and remove the key,
and remove the lanyard from the engine
stop switch. Turn off the battery cut-off
switch if your boat has one.
●Do not use your hand to hold the propel-
ler when loosening or tightening the
propeller nut. Put a wood block between
the anti-cavitation plate and the propel-
ler to prevent the propeller from turning.
Checkpoints
●Check each of the propeller blades for
wear, erosion from cavitation or ventilation,
or other damage.
●Check the propeller shaft for damage.
●Check the splines / shear pin for wear or
damage.
1. Tilt rod
2. Tilt support lever
3. Trim rods
1
ZMU01940
3
2
ZMU01941
U69J14E0.book Page 55 Friday, March 12, 2004 10:20 AM

Maintenance
56
●Check for fish line tangled around the pro-
peller shaft.
●Check the propeller shaft oil seal for dam-
age.
NOTE:
If the shear pin equipped: it is designed to
break if the propeller hits a hard underwater
obstacle to help protect the propeller and
drive mechanism. The propeller will then spin
freely on the shaft. If this happens, the shear
pin must be replaced.
EMU29193
Removing the propeller
1. Straighten the cotter pin and pull it out us-
ing a pair of pliers.
2. Remove the propeller nut, washer, and
spacer (if equipped).
3. Remove the propeller and thrust washer.
EMU29240
Installing the propeller
WARNING
EWM00770
On counter rotation models, be sure to
use a propeller intended for counterclock-
wise rotation. These propellers are identi-
fied with the letter “L” after the size
indication on the propeller. Otherwise the
boat could move in the opposite direction
from that expected.
CAUTION:
ECM00340
●Be sure to install the thrust washer be-
fore installing the propeller, otherwise
the lower case and propeller boss could
be damaged.
●Be sure to use a new cotter pin and bend
the ends over securely. Otherwise the
propeller could come off during opera-
tion and be lost.
1. Apply Yamaha marine grease or a corro-
sion resistant grease to the propeller
shaft.
2. Install the thrust washer and propeller on
the propeller shaft.
3. Install the spacer and washer. Tighten
the propeller nut to the specified torque.
4. Align the propeller nut with the propeller
shaft hole. Insert a new cotter pin in the
hole and bend the cotter pin ends.
1. Cotter pin
2. Propeller nut
3. Washer
4. Spacer
5. Propeller
6. Thrust washer
U69J14E0.book Page 56 Friday, March 12, 2004 10:20 AM

Maintenance
57
NOTE:
If the propeller nut does not align with the pro-
peller shaft hole after tightening to the speci-
fied torque, tighten the nut further to align it
with the hole.
EMU29280
Changing gear oil
WARNING
EWM00800
●Be sure the outboard motor is securely
fastened to the transom or a stable
stand. You could be severely injured if
the outboard motor falls on you.
●Never get under the lower unit while it is
tilted, even when the tilt support lever or
knob is locked. Severe injury could oc-
cur if the outboard motor accidentally
falls.
1. Tilt the outboard motor so that the gear oil
drain screw is at the lowest point possi-
ble.
2. Place a suitable container under the gear
case.
3. Remove the gear oil drain screw.
NOTE:
If the magnetic gear oil drain screw equipped:
remove all metal particles from the screw be-
fore installing it.
4. Remove the oil level plug to allow the oil
to drain completely.
CAUTION:
ECM00710
Inspect the used oil after it has been
drained. If the oil is milky, water is getting
into the gear case which can cause gear
damage. Consult a Yamaha dealer for re-
pair of the lower unit seals.
NOTE:
For disposal of used oil consult your Yamaha
dealer.
5. With the outboard motor in a vertical po-
sition, and using a flexible or pressurized
filling device, inject the gear oil into the
gear oil drain screw hole.
ZMU02063
1. Gear oil drain screw
2. Oil level plug
U69J14E0.book Page 57 Friday, March 12, 2004 10:20 AM

Maintenance
58
6. When the oil begins to flow out of the oil
level plug hole, insert and tighten the oil
level plug.
7. Insert and tighten the gear oil drain
screw.
EMU29312
Inspecting and replacing anode(s)
Yamaha outboard motors are protected from
corrosion by sacrificial anodes. Inspect the
external anodes periodically. Remove scales
from the surfaces of the anodes. Consult a
Yamaha dealer for replacement of external
anodes.
CAUTION:
ECM00720
Do not paint anodes, as this would render
them ineffective.
NOTE:
Inspect ground leads attached to external an-
odes on equipped models. Consult a Yamaha
dealer for inspection and replacement of inter-
nal anodes attached to the power unit.
EMU29320
Checking battery (for electric start
models)
WARNING
EWM00330
Battery electrolytic fluid is dangerous; it
contains sulfuric acid and therefore is poi-
sonous and highly caustic.
Always follow these preventive measures:
●Avoid bodily contact with electrolytic
fluid as it can cause severe burns or per-
manent eye injury.
●Wear protective eye gear when handling
or working near batteries.
Antidote (EXTERNAL):
●SKIN - Flush with water.
Recommended gear oil:
Hypoid gear oil SAE#90
Gear oil quantity:
F200TR 1150.0 cm³ (38.88 US oz)
(40.56 Imp.oz)
F225TR 1150.0 cm³ (38.88 US oz)
(40.56 Imp.oz)
LF200TR 1000.0 cm³ (33.81 US oz)
(35.27 Imp.oz)
LF225TR 1000.0 cm³ (33.81 US oz)
(35.27 Imp.oz)
ZMU01902
U69J14E0.book Page 58 Friday, March 12, 2004 10:20 AM

Maintenance
59
●EYES - Flush with water for 15 minutes
and get immediate medical attention.
Antidote (INTERNAL):
●Drink large quantities of water or milk
followed by milk of magnesia, beaten
egg, or vegetable oil. Get immediate
medical attention.
Batteries also generate explosive hydro-
gen gas; therefore, you should always fol-
low these preventive measures:
●Charge batteries in a well-ventilated ar-
ea.
●Keep batteries away from fire, sparks, or
open flames (for example: welding
equipment, lighted cigarettes, and so
on.)
●DO NOT SMOKE when charging or han-
dling batteries.
KEEP BATTERIES AND ELECTROLYTIC
FLUID OUT OF REACH OF CHILDREN.
CAUTION:
ECM00360
●A poorly maintained battery will quickly
deteriorate.
●Ordinary tap water contains minerals
harmful to a battery, and should not be
used for topping up.
1. Check the electrolyte level at least once a
month. Fill to the manufacturer’s recom-
mended level when necessary. Top up
only with distilled water (or pure de-ion-
ized water suitable to use in batteries).
2. Always keep the battery in a good state of
charge. Installing a voltmeter will help
you monitor your battery. If you will not
use the boat for a month or more, remove
the battery from the boat and store it in a
cool, dark place. Completely recharge
the battery before using it.
3. If the battery will be stored for longer than
a month, check the specific gravity of the
fluid at least once a month and recharge
the battery when it is low.
NOTE:
Consult a Yamaha dealer when charging or
re-charging batteries.
EMU30051
Connecting the battery
WARNING
EWM00570
Mount the battery holder securely in a dry,
well-ventilated, vibration-free location in
the boat. Install a fully charged battery in
the holder.
CAUTION:
ECM01121
●Make sure the main switch (on applica-
ble models) is “” (off) before working
on the battery.
●Reversal of the battery cables will dam-
age the electrical parts.
U69J14E0.book Page 59 Friday, March 12, 2004 10:20 AM

Maintenance
60
●Connect the red battery cable first when
installing the battery and disconnect the
black battery cable first when removing
it. Otherwise, the electrical parts can be
damaged.
●The electrical contacts of the battery
and cables must be clean and properly
connected, or the battery will not start
the engine.
Connect the RED battery cable to the POSI-
TIVE (+) terminal first. Then connect the
BLACK battery cable to the NEGATIVE (-) ter-
minal.
Connecting an accessory battery (optional)
1. Remove the accessory battery coupler
cover from the outboard motor.
2. Connect the accessory battery coupler to
the coupler of the accessory battery ca-
ble (optional). Use a connecting cable be-
tween the (-) terminals of the starting
battery and accessory battery. See the il-
lustrations of the wiring connections. This
cable must be made from wire thicker
than the starting battery cable.
WARNING
EWM00600
Use of smaller wire could lead to a fire.
NOTE:
If connecting an accessory battery, consult
your Yamaha dealer about correct wiring.
EMU29370
Disconnecting the battery
Disconnect the BLACK cable from the NEGA-
TIVE (-) terminal first. Then disconnect the
RED cable from the POSITIVE (+) terminal.
EMU29390
Checking top cowling
Check the fitting of the top cowling by pushing
it with both hands. If it is loose have it repaired
by your Yamaha dealer.
1. Red cable
2. Black cable
3. Battery
1. Battery for starting
2. Battery for accessories
3. Large red lead for starting battery
4. Small red lead for accessory battery
charging (optional part)
5. Large black lead
6. Negative connecting cable
7. Power for accessories
U69J14E0.book Page 60 Friday, March 12, 2004 10:20 AM

Maintenance
61
EMU29400
Coating the boat bottom
A clean hull improves boat performance. The
boat bottom should be kept as clean of marine
growth as possible. If necessary, the boat bot-
tom can be coated with an anti-fouling paint
approved for your area to inhibit marine
growth.
Do not use anti-fouling paint which includes
copper or graphite. These paints can cause
more rapid engine corrosion.
ZMU01943
U69J14E0.book Page 61 Friday, March 12, 2004 10:20 AM

Trouble Recovery
62
EMU29422
Troubleshooting
A problem in the fuel, compression, or ignition
systems can cause poor starting, loss of pow-
er, or other problems. This section describes
basic checks and possible remedies, and cov-
ers all Yamaha outboard motors. Therefore
some items may not apply to your model.
If your outboard motor requires repair, bring it
to your Yamaha dealer.
If the engine trouble warning indicator is flash-
ing, consult your Yamaha dealer.
Starter will not operate.
Q. Is battery capacity weak or low?
A. Check battery condition. Use battery of rec-
ommended capacity.
Q. Are battery connections loose or corrod-
ed?
A. Tighten battery cables and clean battery
terminals.
Q. Is fuse for electric start relay or electric cir-
cuit blown?
A. Check for cause of electric overload and
repair. Replace fuse with one of correct am-
perage.
Q. Are starter components faulty?
A. Have serviced by a Yamaha dealer.
Q. Is shift lever in gear?
A. Shift to neutral.
Engine will not start (starter operates).
Q. Is fuel tank empty?
A. Fill tank with clean, fresh fuel.
Q. Is fuel contaminated or stale?
A. Fill tank with clean, fresh fuel.
Q. Is fuel filter clogged?
A. Clean or replace filter.
Q. Is starting procedure incorrect?
A. See page 30.
Q. Has fuel pump malfunctioned?
A. Have serviced by a Yamaha dealer.
Q. Are spark plug(s) fouled or of incorrect
type?
A. Inspect spark plug(s). Clean or replace with
recommended type.
Q. Are spark plug cap(s) fitted incorrectly?
A. Check and re-fit cap(s).
Q. Is ignition wiring damaged or poorly con-
nected?
A. Check wires for wear or breaks. Tighten all
loose connections. Replace worn or broken
wires.
Q. Are ignition parts faulty?
A. Have serviced by a Yamaha dealer.
Q. Is engine stop switch lanyard not at-
tached?
A. Attach lanyard.
Q. Are engine inner parts damaged?
A. Have serviced by a Yamaha dealer.
Engine idles irregularly or stalls.
Q. Are spark plug(s) fouled or of incorrect
type?
A. Inspect spark plug(s). Clean or replace with
recommended type.
Q. Is fuel system obstructed?
U69J14E0.book Page 62 Friday, March 12, 2004 10:20 AM

Trouble Recovery
63
A. Check for pinched or kinked fuel line or oth-
er obstructions in fuel system.
Q. Is fuel contaminated or stale?
A. Fill tank with clean, fresh fuel.
Q. Is fuel filter clogged?
A. Clean or replace filter.
Q. Have ignition parts failed?
A. Have serviced by a Yamaha dealer.
Q. Has warning system activated?
A. Find and correct cause of warning.
Q. Is spark plug gap incorrect?
A. Inspect and adjust as specified.
Q. Is ignition wiring damaged or poorly con-
nected?
A. Check wires for wear or breaks. Tighten all
loose connections. Replace worn or broken
wires.
Q. Is specified engine oil not being used?
A. Check and replace oil as specified.
Q. Is thermostat faulty or clogged?
A. Have serviced by a Yamaha dealer.
Q. Are carburetor adjustments incorrect?
A. Have serviced by a Yamaha dealer.
Q. Is fuel pump damaged?
A. Have serviced by a Yamaha dealer.
Q. Is air vent screw on fuel tank closed?
A. Open air vent screw.
Q. Is choke knob pulled out?
A. Return to home position.
Q. Is motor angle too high?
A. Return to normal operating position.
Q. Is carburetor clogged?
A. Have serviced by a Yamaha dealer.
Q. Is fuel joint connection incorrect?
A. Connect correctly.
Q. Is throttle valve adjustment incorrect?
A. Have serviced by a Yamaha dealer.
Q. Is battery cable disconnected?
A. Connect securely.
Warning buzzer sounds or indicator lights.
Q. Is cooling system clogged?
A. Check water intake for restriction.
Q. Is engine oil level low?
A. Fill oil tank with specified engine oil.
Q. Is heat range of spark plug incorrect?
A. Inspect spark plug and replace it with rec-
ommended type.
Q. Is specified engine oil not being used?
A. Check and replace oil with specified type.
Q. Is engine oil contaminated or deteriorated?
A. Replace oil with fresh, specified type.
Q. Is oil filter clogged?
A. Have serviced by a Yamaha dealer.
Q. Has oil feed/injection pump malfunc-
tioned?
A. Have serviced by a Yamaha dealer.
U69J14E0.book Page 63 Friday, March 12, 2004 10:20 AM

Trouble Recovery
64
Q. Is load on boat improperly distributed?
A. Distribute load to place boat on an even
plane.
Q. Is water pump or thermostat faulty?
A. Have serviced by a Yamaha dealer.
Q. Is there excess water in fuel filter cup?
A. Drain filter cup.
Engine power loss.
Q. Is propeller damaged?
A. Have propeller repaired or replaced.
Q. Is propeller pitch or diameter incorrect?
A. Install correct propeller to operate outboard
at its recommended speed (r/min) range.
Q. Is trim angle incorrect?
A. Adjust trim angle to achieve most efficient
operation.
Q. Is motor mounted at incorrect height on
transom?
A. Have motor adjusted to proper transom
height.
Q. Has warning system activated?
A. Find and correct cause of warning.
Q. Is boat bottom fouled with marine growth?
A. Clean boat bottom.
Q. Are spark plug(s) fouled or of incorrect
type?
A. Inspect spark plug(s). Clean or replace with
recommended type.
Q. Are weeds or other foreign matter tangled
on gear housing?
A. Remove foreign matter and clean lower
unit.
Q. Is fuel system obstructed?
A. Check for pinched or kinked fuel line or oth-
er obstructions in fuel system.
Q. Is fuel filter clogged?
A. Clean or replace filter.
Q. Is fuel contaminated or stale?
A. Fill tank with clean, fresh fuel.
Q. Is spark plug gap incorrect?
A. Inspect and adjust as specified.
Q. Is ignition wiring damaged or poorly con-
nected?
A. Check wires for wear or breaks. Tighten all
loose connections. Replace worn or broken
wires.
Q. Have ignition parts failed?
A. Have serviced by a Yamaha dealer.
Q. Is specified engine oil not being used?
A. Check and replace oil with specified type.
Q. Is thermostat faulty or clogged?
A. Have serviced by a Yamaha dealer.
Q. Is air vent screw closed?
A. Open the air vent screw.
Q. Is fuel pump damaged?
A. Have serviced by a Yamaha dealer.
Q. Is fuel joint connection incorrect?
A. Connect correctly.
Q. Is heat range of spark plug incorrect?
U69J14E0.book Page 64 Friday, March 12, 2004 10:20 AM

Trouble Recovery
65
A. Inspect spark plug and replace it with rec-
ommended type.
Q. Is high pressure fuel pump drive belt bro-
ken?
A. Have serviced by a Yamaha dealer.
Q. Is engine not responding properly to shift
lever position?
A. Have serviced by a Yamaha dealer.
Engine vibrates excessively.
Q. Is propeller damaged?
A. Have propeller repaired or replaced.
Q. Is propeller shaft damaged?
A. Have serviced by a Yamaha dealer.
Q. Are weeds or other foreign matter tangled
on propeller?
A. Remove and clean propeller.
Q. Is motor mounting bolt loose?
A. Tighten bolt.
Q. Is steering pivot loose or damaged?
A. Tighten or have serviced by a Yamaha
dealer.
EMU29431
Temporary action in emergency
EMU29440
Impact damage
WARNING
EWM00870
The outboard motor can be seriously dam-
aged by a collision while operating or
trailering. Damage could make the out-
board motor unsafe to operate.
If the outboard motor hits an object in the wa-
ter, follow the procedure below.
1. Stop the engine immediately.
2. Inspect the control system and all compo-
nents for damage. Also inspect the boat
for damage.
3. Whether damage is found or not, return
to the nearest harbor slowly and careful-
ly.
4. Have a Yamaha dealer inspect the out-
board motor before operating it again.
EMU29450
Running single engine
When using only engine in an emergency, be
sure to keep the unused one tilted up and op-
erate the other engine at low speed.
CAUTION:
ECM00370
If the boat is operated with one engine in
the water but not running, water may run
into the exhaust pipe due to wave action,
causing engine trouble.
NOTE:
When you are maneuvering at low speed,
such as near a dock, it is recommended that
both engines be running with one in neutral
gear if possible.
U69J14E0.book Page 65 Friday, March 12, 2004 10:20 AM

Trouble Recovery
66
EMU29492
Replacing fuse
If the fuse has blown on an electric start mod-
el, open the fuse box and use a fuse puller to
replace the fuse with a spare one of the prop-
er amperage.
WARNING
EWM00630
Be sure to use the specified fuse. An in-
correct fuse or a piece of wire could allow
excessive current flow. This could cause
electric system damage and a fire hazard.
CAUTION:
ECM01382
●If a main fuse has blown, be sure to also
check the other main fuse.
●If the outboard motor is operated after a
main fuse has blown charging capability
will be insufficient, and the engine will
not start.
1. Fuse box
2. Fuse puller
1. Spare fuse (5 A, 20 A, 30 A)
2. Engine control unit / ignition coil / electric
fuel pump / fuel injector / ISC (idle speed
control) fuse (20 A)
3. Rectifier Regulator (Accessory) fuse (30 A)
4. Main switch / trim switch fuse (20 A)
5. Fuel feed pump fuse (5 A)
6. Rectifier Regulator (Main) fuse (30 A)
7. Starter relay fuse (30 A)
U69J14E0.book Page 66 Friday, March 12, 2004 10:20 AM

Trouble Recovery
67
NOTE:
Consult your Yamaha dealer if the new fuse
immediately blows again.
EMU29520
Power trim and tilt will not operate
If the engine cannot be tilted up or down with
the power trim and tilt/ the power tilt because
of a discharged battery or a failure with the
power trim and tilt unit/the power tilt, the en-
gine can be tilted manually.
1. Loosen the manual valve screw by turn-
ing it counterclockwise until it stops.
2. Put the engine in the desired position,
then tighten the manual valve screw by
turning it clockwise.
EMU29760
Treatment of submerged motor
If the outboard motor is submerged, immedi-
ately take it to a Yamaha dealer. Otherwise
some corrosion may begin almost immediate-
ly.
If you cannot immediately take the outboard
motor to a Yamaha dealer, follow the proce-
dure below in order to minimize engine dam-
age.
EMU29970
Procedure
1. Thoroughly wash away mud, salt, sea-
weed, and so on, with fresh water.
2. Remove the spark plugs and face the
spark plug holes downward to allow any
water, mud, or contaminants to drain.
3. Drain the fuel from the vapor separator,
fuel filter, and fuel line.
4. Spray “Fogging Oil” or supply engine oil
through the intake manifold and spark
plug holes while rotating the flywheel
manually.
5. Take the outboard motor to a Yamaha
dealer as soon as possible.
CAUTION:
ECM00400
Do not attempt to run the outboard motor
until it has been completely inspected.
1. Manual valve screw
1
ZMU01905
U69J14E0.book Page 67 Friday, March 12, 2004 10:20 AM

Consumer information
68
EMU29811
Important warranty information for U.S.A. and Canada
U69J14E0.book Page 68 Friday, March 12, 2004 10:20 AM

Consumer information
69
U69J14E0.book Page 69 Friday, March 12, 2004 10:20 AM

Consumer information
70
EMU29830
YAMAHA MOTOR CORPORATION, U.S.A.
FOUR-STROKE OUTBOARD MOTOR
THREE-YEAR LIMITED WARRANTY
U69J14E0.book Page 70 Friday, March 12, 2004 10:20 AM

Consumer information
71
U69J14E0.book Page 71 Friday, March 12, 2004 10:20 AM

Consumer information
72
EMU29840
IMPORTANT WARRANTY INFORMATION IF YOU USE YOUR
YAMAHA OUTSIDE U.S.A. OR CANADA
U69J14E0.book Page 72 Friday, March 12, 2004 10:20 AM

F200D
LF200D
F225D
LF225D
April 2004–2.3 × 1 CR
Printed in Japan
Printed on recycled paper
OWNER’S MANUAL
LIT-18626-06-07
69J-28199-14
YAMAHA MOTOR CORPORATION, USA
U.S.A.Edition

YAMAHA MOTOR CO., LTD.
MADE IN JAPAN
PAYS D'ORIGINE JAPON
OUTBOARD MOTOR WARRANTY REGISTRATION
ENREGISTREMENT DE LA GARANTIE DU MOTEUR HORS-BORD
Please complete and mail this card. This information is necessary to accurately register your unit for warranty.
Veuillez signer ci-dessous pour attester que le montage et l’inspection ont été faits dans le respect des directives d’inspection et
que la marche à suivre pour la garantie et l’entretien a été expliquée à l’acheteur au détail.
OUTBOARD MOTOR MODEL AND SERIAL NUMBER (From I.D. label on clamp bracket)
MODÉLE ET NO. DE SÉRIE DU MOTEUR HORS-BORD (sur l’étiquette d’identification de la presse de fixation)
(For Dealer Use Only)
(A l’usage du concessionnaire)
YAMAHA DEALER NUMBER
NO. DU CONCESSIONNAIRE
YAMAHA
DEALER NAME
NOM DU
CONCESSIONNAIRE
DATE SOLD
DATE DE
LIVRAISON
OWNER’S NAME
NOM DU
PROPRIÉTAIRE
ADDRESS
ADRESSE
PHONE NUMBER ( )
NUMÉRO DE TÉLÉPHONE
USAGE
(Check One)
UTILISATION
(En cocher un.)
PLEASURE
LOISIR
COMMERCIAL
COMMERCIAL
MONTH DAY YEAR
MOIS JOUR ANNÉE
FIRST LAST
PRÉNOM NOM DE FAMILLE
STREET
RUE
CITY STATE/PROVINCE ZIP
VILLE PROVINCE CODE POSTAL
Warranty card 2/27/02 11:47 AM Page 1

PLACE
POSTAGE
HERE
ATTN: WARRANTY DEPARTMENT
Warranty card 2/27/02 11:47 AM Page 2
