Yamaha F25 User Manual To The F076dbfd 53a5 408e Af53 5936ffeb8631
User Manual: Yamaha F25 to the manual
Open the PDF directly: View PDF
.
Page Count: 108 [warning: Documents this large are best viewed by clicking the View PDF Link!]

Printed in Japan
February 2009–0.8 ×1 !Printed on recycled paper
F25
T25
OWNER’S MANUAL
6BP-28199-11
U.S.A.Edition
LIT-18626-08-49
qRead this manual carefully before operating this
outboard motor.
6BP-9-11 Hyoshi 背巾4mm 09.2.19 9:09 ページ 1

EMU25062
ZMU01690
Read this manual carefully before operating this outboard motor. Keep this
manual onboard in a waterproof bag when boating. This manual should stay
with the outboard motor if it is sold.
6BP-9-11 Hyoshi 背巾4mm 09.2.19 9:09 ページ 2

Important manual information
EMU31283
To the owner
Thank you for choosing a Yamaha outboard
motor. This Owner’s Manual contains infor-
mation needed for proper operation, mainte-
nance and care. A thorough understanding
of these simple instructions will help you ob-
tain maximum enjoyment from your new
Yamaha. If you have any question about the
operation or maintenance of your outboard
motor, please consult a Yamaha dealer.
In this Owner’s Manual particularly important
information is distinguished in the following
ways.
: This is the safety alert symbol. It is
used to alert you to potential personal injury
hazards. Obey all safety messages that fol-
low this symbol to avoid possible injury or
death.
WARNING
EWM00781
A WARNING indicates a hazardous situa-
tion which, if not avoided, could result in
death or serious injury.
NOTICE
ECM00701
A NOTICE indicates special precautions
that must be taken to avoid damage to the
outboard motor or other property.
T
IP:
A TIP provides key information to make pro-
cedures easier or clearer.
Yamaha continually seeks advancements in
product design and quality. Therefore, while
this manual contains the most current prod-
uct information available at the time of print-
ing, there may be minor discrepancies
between your machine and this manual. If
there is any question concerning this manu-
al, please consult your Yamaha dealer.
T
IP:
The F25A, F25EA, F25EHA, F25MHA, T25A
and the standard accessories are used as a
base for the explanations and illustrations in
this manual. Therefore some items may not
apply to every model.
EMU25111
F25, T25
OWNER’S MANUAL
©2009 by Yamaha Motor Corporation, USA
1st edition, February 2009
All rights reserved.
Any reprinting or unauthorized use
without the written permission of
Yamaha Motor Corporation, USA
is expressly prohibited.
Printed in Japan
P/N LIT-18626-08-49

Table of contents
Safety information.............................1
Outboard motor safety .................... 1
Propeller............................................ 1
Rotating parts.................................... 1
Hot parts ........................................... 1
Electric shock.................................... 1
Power trim and tilt ............................. 1
Engine shut-off cord (lanyard)........... 1
Gasoline............................................ 1
Gasoline exposure and spills ............ 2
Carbon monoxide.............................. 2
Modifications ..................................... 2
Boating safety ................................. 2
Alcohol and drugs ............................. 2
Personal flotation devices ................. 2
People in the water ........................... 2
Passengers ....................................... 2
Overloading....................................... 2
Avoid collisions ................................. 3
Weather ............................................ 3
Accident reporting ............................. 3
Boat education and training .............. 3
Passenger training ............................ 4
Boating safety publications ............... 4
Laws and regulations ........................ 4
Boating organizations...................... 4
Basic boating rules
(Rules of the road) ........................ 4
Steering and sailing rules and
sound signals.................................. 5
Rules when encountering vessels .... 5
Other special situations..................... 6
General information .......................... 9
Identification numbers record.......... 9
Outboard motor serial number .......... 9
Key number....................................... 9
Read manuals and labels.............. 10
Warning labels ................................ 10
Specifications and requirements... 14
Specifications ................................ 14
Installation requirements ............... 16
Boat horsepower rating................... 16
Mounting motor ............................... 16
Remote control requirements........ 16
Battery requirements..................... 16
Specifications of Battery.................. 16
Mounting battery .............................17
Multiple batteries ............................. 17
Without a rectifier or Rectifier
Regulator ...................................... 17
Propeller selection ........................ 17
Start-in-gear protection ................. 18
Engine oil requirements ................ 18
Fuel requirements......................... 18
Gasoline .......................................... 18
Ring Free Fuel Additive................... 19
Muddy or acidic water................... 19
Anti-fouling paint ........................... 19
Motor disposal requirements......... 20
Emergency equipment.................. 20
Emission control information......... 20
North American models................... 20
Star labels ....................................... 21
Components .................................... 23
Components diagram.................... 23
Fuel tank .........................................24
Fuel joint.......................................... 25
Fuel gauge ...................................... 25
Fuel tank cap................................... 25
Air vent screw.................................. 25
Remote control box ......................... 25
Remote control lever ....................... 25
Neutral interlock trigger ................... 26
Neutral throttle lever........................ 26
Tiller handle..................................... 26
Gear shift lever................................ 26
Throttle grip ..................................... 27
Throttle indicator .............................27
Throttle friction adjuster................... 28
Engine shut-off cord (lanyard)
and clip..........................................28
Engine stop button .......................... 29
Manual starter handle .....................29
Starter button ..................................30
Main switch .....................................30
Steering friction adjuster .................30
Power trim and tilt switch on
remote control or tiller handle .......31
Power trim and tilt switch on
bottom engine cowling .................. 31

Table of contents
Trim tab with anode ........................ 32
Trim tab........................................... 32
Trim rod (tilt pin).............................. 33
Tilt lock mechanism......................... 33
Tilt support knob ............................. 33
Tilt support bar ................................ 34
Cowling lock lever(s) (turn type)...... 34
Flushing device ............................... 34
Alert indicator .................................. 34
Instruments and indicators ............ 36
Indicators....................................... 36
Low oil pressure-alert indicator ....... 36
Overheat-alert indicator .................. 36
Engine control system.................... 37
Alert system .................................. 37
Overheat alert ................................. 37
Low oil pressure alert...................... 37
Installation ....................................... 39
Installation ..................................... 39
Mounting the outboard motor.......... 39
Clamping the outboard motor ......... 40
Operation ......................................... 42
First-time operation ....................... 42
Fill engine oil ................................... 42
Breaking in engine .......................... 42
Getting to know your boat ............... 42
Checks before starting engine ...... 42
Fuel level......................................... 42
Remove cowling.............................. 43
Fuel system..................................... 43
Controls........................................... 43
Engine shut-off cord (lanyard)......... 44
Engine oil ........................................ 45
Engine............................................. 45
Flushing device ............................... 45
Install cowling.................................. 45
Checking power trim and tilt
system .......................................... 46
Battery............................................. 46
Filling fuel ...................................... 46
Operating engine........................... 47
Sending fuel (portable tank)............ 47
Starting engine................................ 49
Checks after starting engine ......... 55
Cooling water .................................. 55
Warming up engine....................... 55
Manual start and electric start
models .......................................... 55
Checks after engine warm-up....... 55
Shifting ............................................ 55
Stop switches .................................. 56
Shifting.......................................... 56
Stopping boat................................ 58
Stopping engine............................ 58
Procedure........................................ 58
Trimming outboard motor.............. 59
Adjusting trim angle for manual tilt
models .......................................... 59
Adjusting trim angle
(Power trim and tilt)....................... 60
Adjusting boat trim ..........................61
Tilting up and down....................... 62
Procedure for tilting up
(manual tilt models).......................62
Procedure for tilting up
(power trim and tilt models)........... 63
Procedure for tilting down
(manual tilt models).......................65
Procedure for tilting down
(power trim and tilt models)........... 65
Shallow water................................ 66
Cruising in shallow water
(manual tilt models).......................66
Power trim and tilt models............... 67
Cruising in other conditions........... 68
Maintenance .................................... 69
Transporting and storing outboard
motor ........................................... 69
Clamp screw mounting models ....... 69
Storing outboard motor ...................69
Procedure........................................ 70
Lubrication....................................... 71
Cleaning and anticorrosion
measures ...................................... 71
Flushing power unit ......................... 71
Cleaning the outboard motor........... 72
Checking painted surface of
motor............................................. 72
Periodic maintenance ................... 72

Table of contents
Replacement parts.......................... 73
Maintenance interval guidelines...... 73
Maintenance chart 1 ....................... 74
Maintenance chart 2 ....................... 76
Greasing ......................................... 77
Cleaning and adjusting spark
plug ............................................... 78
Checking fuel filter .......................... 79
Inspecting idling speed ................... 79
Changing engine oil ........................ 80
Checking wiring and connectors ..... 82
Checking propeller .......................... 82
Removing propeller......................... 82
Installing propeller........................... 83
Changing gear oil............................ 84
Cleaning fuel tank ........................... 85
Inspecting and replacing
anode(s)........................................ 86
Checking battery
(for electric start models) .............. 86
Connecting the battery.................... 87
Disconnecting the battery ............... 87
Trouble Recovery............................ 89
Troubleshooting ............................ 89
Temporary action in emergency.... 92
Impact damage ............................... 92
Replacing fuse ................................ 92
Power trim and tilt will not
operate.......................................... 93
Starter will not operate .................... 93
Emergency starting engine
(manual start model)..................... 94
Emergency starting engine
(electric start model) ..................... 96
Treatment of submerged motor..... 97
Consumer information....................98
YAMAHA MOTOR
CORPORATION, U.S.A.
FOUR-STROKE OUTBOARD
MOTOR
THREE-YEAR LIMITED
WARRANTY ................................ 98
IMPORTANT WARRANTY
INFORMATION IF YOU USE
YOUR YAMAHA OUTSIDE
THE USA OR CANADA............ 100

1
Safety information
EMU33622
Outboard motor safety
Observe these precautions at all times.
EMU36501
Propeller
People can be injured or killed if they come
in contact with the propeller. The propeller
can keep moving even when the motor is in
neutral, and sharp edges of the propeller can
cut even when stationary.
●
Stop the engine when a person is in the
water near you.
●
Keep people out of reach of the propeller,
even when the engine is off.
EMU33630
Rotating parts
Hands, feet, hair, jewelry, clothing, PFD
straps, etc. can become entangled with inter-
nal rotating parts of the engine, resulting in
serious injury or death.
Keep the top cowling in place whenever pos-
sible. Do not remove or replace the cowling
with the engine running.
Only operate the engine with the cowling re-
moved according to the specific instructions
in the manual. Keep hands, feet, hair, jewel-
ry, clothing, PFD straps, etc. away from any
exposed moving parts.
EMU33640
Hot parts
During and after operation, engine parts are
hot enough to cause burns. Avoid touching
any parts under the top cowling until the en-
gine has cooled.
EMU33650
Electric shock
Do not touch any electrical parts while start-
ing or operating the engine. They can cause
shock or electrocution.
EMU33660
Power trim and tilt
Body parts can be crushed between the mo-
tor and the clamp bracket when the motor is
trimmed or tilted. Keep body parts out of this
area at all times. Be sure no one is in this
area before operating the power trim and tilt
mechanism.
The power trim and tilt switches operate
even when the main switch is off. Keep peo-
ple be away from the switches whenever
working around the motor.
Never get under the lower unit while it is tilt-
ed, even when the tilt support lever is locked.
Severe injury could occur if the outboard mo-
tor accidentally falls.
EMU33671
Engine shut-off cord (lanyard)
Attach the engine shut-off cord so that the
engine stops if the operator falls overboard
or leaves the helm. This prevents the boat
from running away under power and leaving
people stranded, or running over people or
objects.
Always attach the engine shut-off cord to a
secure place on your clothing or your arm or
leg while operating. Do not remove it to leave
the helm while the boat is moving. Do not at-
tach the cord to clothing that could tear
loose, or route the cord where it could be-
come entangled, preventing it from function-
ing.
Do not route the cord where it is likely to be
accidentally pulled out. If the cord is pulled
during operation, the engine will shut off and
you will lose most steering control. The boat
could slow rapidly, throwing people and ob-
jects forward.
EMU33810
Gasoline
Gasoline and its vapors are highly flam-
mable and explosive.
Always, refuel ac-
cording to the procedure on page 47 to
reduce the risk of fire and explosion.

Safety information
2
EMU33820
Gasoline exposure and spills
Take care not to spill gasoline. If gasoline
spills, wipe it up immediately with dry rags.
Dispose of rags properly.
If any gasoline spills onto your skin, immedi-
ately wash with soap and water. Change
clothing if gasoline spills on it.
If you swallow gasoline, inhale a lot of gaso-
line vapor, or get gasoline in your eyes, get
immediate medical attention. Never siphon
fuel by mouth.
EMU33900
Carbon monoxide
This product emits exhaust gases which
contain carbon monoxide, a colorless, odor-
less gas which may cause brain damage or
death when inhaled. Symptoms include nau-
sea, dizziness, and drowsiness. Keep cock-
pit and cabin areas well ventilated. Avoid
blocking exhaust outlets.
EMU33780
Modifications
Do not attempt to modify this outboard mo-
tor. Modifications to your outboard motor
may reduce safety and reliability, and render
the outboard unsafe or illegal to use.
EMU33740
Boating safety
This section includes a few of the many im-
portant safety precautions that you should
follow when boating.
EMU33710
Alcohol and drugs
Never operate after drinking alcohol or tak-
ing drugs. Intoxication is one of the most
common factors contributing to boating fatal-
ities.
EMU33720
Personal flotation devices
Have an approved personal flotation device
(PFD) on board for every occupant. Yamaha
recommends that you must wear a PFD
whenever boating. At a minimum, children
and non-swimmers should always wear
PFDs, and everyone should wear PFDs
when there are potentially hazardous boat-
ing conditions.
EMU33731
People in the water
Always watch carefully for people in the wa-
ter, such as swimmers, skiers, or divers,
whenever the engine is running. When
someone is in the water near the boat, shift
into neutral and stop the engine.
Stay away from swimming areas. Swimmers
can be hard to see.
The propeller can keep moving even when
the motor is in neutral. Stop the engine when
a person is in the water near you.
EMU33751
Passengers
Consult your boat manufacturer’s instruc-
tions for details about appropriate passenger
locations in your boat and be sure all pas-
sengers are positioned properly before ac-
celerating and when operating above an idle
speed. Standing or sitting in non-designated
locations may result in being thrown either
overboard or within the boat due to waves,
wakes, or sudden changes in speed or direc-
tion. Even when people are positioned prop-
erly, alert your passengers if you must make
any unusual maneuver. Always avoid jump-
ing waves or wakes.
EMU33760
Overloading
Do not overload the boat. Consult the boat
capacity plate or boat manufacturer for max-
imum weight and number of passengers. Be
sure that weight is properly distributed ac-
cording to the boat manufacturers instruc-
tions. Overloading or incorrect weight
distribution can compromise the boats han-

Safety information
3
dling and lead to an accident, capsizing or
swamping.
EMU33772
Avoid collisions
Scan constantly for people, objects, and oth-
er boats. Be alert for conditions that limit your
visibility or block your vision of others.
Operate defensively at safe speeds and
keep a safe distance away from people, ob-
jects, and other boats.
●
Do not follow directly behind other boats or
waterskiers.
●
Avoid sharp turns or other maneuvers that
make it hard for others to avoid you or un-
derstand where you are going.
●
Avoid areas with submerged objects or
shallow water.
●
Ride within your limits and avoid aggres-
sive maneuvers to reduce the risk of loss
of control, ejection, and collision.
●
Take early action to avoid collisions. Re-
member, boats do not have brakes, and
stopping the engine or reducing throttle
can reduce the ability to steer. If you are
not sure that you can stop in time before
hitting an obstacle, apply throttle and turn
in another direction.
EMU33790
Weather
Stay informed about the weather. Check
weather forecasts before boating. Avoid
boating in hazardous weather.
EMU33800
Accident reporting
Boat operators are required by law to file a
Boating Accident Report with their state
boating law enforcement agency if their boat
is involved in any of the following accidents:
1. There is loss of life or probable loss of
life.
2. There is personal injury that requires
medical attention beyond first aid.
3. There is property damage to boats or
other property over a certain amount.
4. There is complete loss of a boat.
Contact local law enforcement personnel if a
report is necessary.
EMU33870
Boat education and training
Operators should take a boating safety
course. This may be required in your state.
Many of the organizations listed in the next
section can provide information about cours-
es in your area.
You may also want to consider an Internet-
based program for basic boater education.
The Online Boating Safety Course provided
by the BoatU.S. Foundation, is approved by
the National Association of State Boating
Law Administrators (NASBLA) and recog-
nized by the United States Coast Guard.
Most, but not all, states accept this course to
meet their minimum requirements. While it
cannot replace an in-depth course such as
one offered by the U.S. Coast Guard, U.S.
Power Squadron, or other organization, this
online course does provide a general over-
view of the basics in boating safety, require-
ments, navigation, and operation. Upon
successful completion of the course, the
user can download a certificate of comple-
tion immediately or, for a small charge, re-
quest one by mail. To take this free course,
ZMU06025

Safety information
4
go to boatus.org.
EMU33880
Passenger training
Make sure at least one other passenger is
trained to operate the boat in the event of an
emergency.
EMU33890
Boating safety publications
Be informed about boating safety. Additional
publications and information can be obtained
from many boating organizations.
EMU33590
Laws and regulations
Know the marine laws and regulations where
you will be boating- and obey them. Several
sets of rules prevail according to geographic
location, but all are basically the same as the
International Rules of the Road. The rules
presented in the following section are con-
densed- and have been provided for your
convenience only.
Contact the U.S. Coast Guard, the National
Association of State Boating Law Adminis-
trators, or your local Power Squadron for a
complete set of rules governing the waters in
which you will be using your boat.
EMU33681
Boating organizations
The following organizations provide boating
safety training and information about boating
safety and laws.
United States Coast Guard
Consumer Affairs Staff (G-BC)
Office of Boating, Public, and Consumer Af-
fairs
U.S. Coast Guard Headquarters
Washington, D.C. 20593-0001
Boating Safety Hotline: 1-800-368-5647
www.uscgboating.org
United States Power Squadrons
1-888-FOR-USPS (1-888-367-8777)
www.usps.org
Boat Owners Association of The United
States
1-800-336-BOAT (1-800-336-2628)
www.boatus.com
National Association of State Boating
Law Administrators (NASBLA)
1500 Leestown Road, Suite 330
Lexington, KY 40511 859-225-9497
www.nasbla.org
National Marine Manufacturers Associa-
tion (NMMA)
200 East Randolph Drive
Suite 5100
Chicago, IL 60601
www.nmma.org
Marine Retailers Association of America
155 N. Michigan Ave. Chicago,
IL 60304
www.mraa.com
EMU33690
Basic boating rules (Rules of
the road)
Just as there are rules that apply when you
are driving on streets and highways, there
are waterway rules that apply when you are
driving your boat. These rules are used inter-
nationally. (For USA: and are also enforced
by the United States Coast Guard and local
agencies.) You should be aware of these
rules, and follow them whenever you en-
counter another vessel on the water.

Safety information
5
EMU33700
Steering and sailing rules and sound
signals
Whenever two vessels on the water meet
one another, one vessel has the right-of-
way; it is called the “stand-on” vessel. The
vessel that does not have the right-of-way is
called the “give-way” or “burdened”vessel.
These rules determine which vessel has the
right-of-way, and what each vessel should
do.
Stand-on vessel
The vessel with the right-of-way has the duty
to continue its course and speed, except to
avoid an immediate collision. When you
maintain your direction and speed, the other
vessel will be able to determine how best to
avoid you.
Give-way vessel
The vessel that does not have the right-of-
way has the duty to take positive and timely
action to stay out of the way of the Stand-On
vessel. Normally, you should not cross in
front of the vessel with the right-of-way. You
should slow down or change directions brief-
ly and pass behind the other vessel. You
should always move in such a way that the
operator of the other vessel can see what
you are doing.
“ The general prudential rule ”
This rule is called Rule 2 in the International
Rules and says,
“ In obeying and construing these rules due
regard shall be had to all dangers of naviga-
tion and collision, and to any special circum-
stances, which may render a departure from
the above rules necessary in order to avoid
immediate danger.”
In other words, follow the standard rules ex-
cept when a collision will occur unless both
vessels try to avoid each other. If that is the
case, both vessels become “ Give-Way ”
vessels.
EMU25521
Rules when encountering vessels
There are three main situations that you may
encounter with other vessels which could
lead to a collision unless the Steering Rules
are followed:
Meeting:
(you are approaching another ves-
sel head-on)
Crossing:
(you are traveling across the oth-
er vessel’s path)
Overtaking:
(you are passing or being
passed by another vessel)
In the following illustration, your boat is in the
center. You should give the right-of-way to
any vessels shown in white area (you are the
Give-Way vessel). Any vessels in the shad-
ed area must yield to you (they are the Give-
Way vessels). Both you and the meeting
vessel must alter course to avoid each other.
Meeting
If you are meeting another power vessel
head on, and are close enough to run the risk
of collision, neither of you has the right-of-
way Both of you should alter course to avoid
an accident. You should keep the other ves-
sel on your port (left) side. This rule doesn’t
apply if both of you will clear one another if
you continue on your set course and speed.

Safety information
6
Crossing
When two power driven vessels are crossing
each other’s path close enough to run the
risk of collision, the vessel which has the oth-
er on the starboard (right) side must keep out
of the way of the other. If the other vessel is
on your right, you must keep out of its way;
you are the Give-Way vessel. If the other
vessel is on your port (left) side, remember
that you should maintain course and direc-
tion, provided the other vessel gives you the
right-of-way as it should.
Overtaking
If you are passing another vessel, you are
the “Give-Way” vessel. This means that the
other vessel is expected to maintain its
course and speed. You must stay out of its
way until you are clear of it. Likewise, if an-
other vessel is passing you, you should
maintain your speed and direction so that the
other vessel can steer itself around you.
EMU25531
Other special situations
There are three other rules you should be
aware of when driving your boat around oth-
er vessels.
Narrow channels and bends
When navigating in narrow channels, you
should keep to the right when it is safe and
practical to do so. If the operator of a power-
driven vessel is preparing to go around a
bend that may obstruct the view of other wa-
ter vessels, the operator should sound a pro-
longed blast on the whistle (4 to 6 seconds).
If another vessel is around the bend, it too
should sound the whistle. Even if no reply is
heard, however, the vessel should still pro-
ceed around the bend with caution. If you
navigate such waters with your boat, you will
need to carry a portable air horn, available
from local marine supply stores.
Fishing vessel right-of-way
All vessels that are fishing with nets, lines or
trawls are considered to be “fishing vessels”
under the International Rules. Vessels with
trolling lines are not considered fishing ves-
sels. Fishing vessels have the right-of-way
regardless of position. Fishing vessels can-
not, however, impede the passage of other
vessels in narrow channels.
Sailing vessel right-of-way
Sailing vessels should normally be given the
right-of-way. The exceptions to this are:
1. When the sailing vessel is overtaking
the power-driven vessel, the power-driv-
en vessel has the right-of-way.
2. Sailing vessels should keep clear of any
fishing vessel.
3. In a narrow channel, a sailing vessel
should not hamper the safe passage of
a power-driven vessel that can navigate
only in such a channel.

Safety information
7
Reading buoys and other markers
The waters of the United States are marked
for safe navigation by the lateral system of
buoyage. Simply put, buoys and markers
have an arrangement of shapes, colors,
numbers and lights to show which side of the
buoy a boater should pass on when navigat-
ing in a particular direction. The markings on
these buoys are oriented from the perspec-
tive of being entered from seaward (the boat-
er is going towards the port). This means that
red buoys are passed on the starboard
(right) side when proceeding from open wa-
ter into port, and black buoys are to port (left)
side. When navigating out of port, your posi-
tion with respect to the buoys should be re-
versed; red buoys should be to port and
black buoys to starboard.
Many bodies of water used by boaters are
entirely within the boundaries of a particular
state. The Uniform State Waterway Marking
System has been devised for these waters.
This system uses buoys and signs with dis-
tinctive shapes and colors to show regulato-
ry or advisory information. These markers
are white with black letters and orange
boarders. They signify speed zones, restrict-
ed areas, danger areas, and general infor-
mation.
Remember, markings may vary by geo-
graphic location. Always consult local boat-
ing authorities before driving your boat in
unfamiliar waters.

Safety information
8
ZMU01708

9
General information
EMU25171
Identification numbers record
EMU25183
Outboard motor serial number
The outboard motor serial number is
stamped on the label attached to the port
side of the clamp bracket.
Record your outboard motor serial number in
the spaces provided to assist you in ordering
spare parts from your Yamaha dealer or for
reference in case your outboard motor is sto-
len.
EMU25190
Key number
If a main key switch is equipped with the mo-
tor, the key identification number is stamped
on your key as shown in the illustration.
Record this number in the space provided for
reference in case you need a new key.
1. Outboard motor serial number location
1
ZMU06472
1. Key number

General information
10
EMU33520
Read manuals and labels
Before operating or working on this motor:
●
Read this manual.
●
Read any manuals supplied with the boat.
●
Read all labels on the outboard motor and the boat.
If you need any additional information, contact your Yamaha dealer.
EMU33831
Warning labels
If these labels are damaged or missing, contact your Yamaha dealer for replacements.
F25A, F25EA, T25A
3
1
2
ZMU06477

General information
11
F25EHA, F25MHA
ZMU06475
12
3

General information
12
12
3
ZMU05670

General information
13
EMU33843
Symbols
The following symbols mean as follows.
Notice/Warning
Read Owner’s Manual
Hazard caused by continuous rotation
Electrical hazard
Remote control lever/gear shift lever operat-
ing direction, dual direction
Engine start/ Engine cranking
ZMU05696
ZMU05664
ZMU05665
ZMU05666
ZMU05667
ZMU05668

14
Specifications and requirements
EMU34520
Specifications
T
IP:
“(AL)” stated in the specification data below
represents the numerical value for the alumi-
num propeller installed.
Likewise, “(SUS)” represents the value for
stainless steel propeller installed and “(PL)”
for plastic propeller installed.
T
IP:
“*” means, select the engine oil referring to
the chart of engine oil paragraph. For further
information, see page 18.
EMU2821D
Dimension:
Overall length:
F25A 724 mm (28.5 in)
F25EA 724 mm (28.5 in)
F25EHA 1181 mm (46.5 in)
F25MHA 1181 mm (46.5 in)
T25A 735 mm (28.9 in)
Overall width:
398 mm (15.7 in)
Overall height S:
F25EA 1156 mm (45.5 in)
F25EHA 1156 mm (45.5 in)
F25MHA 1157 mm (45.6 in)
Overall height L:
F25A 1283 mm (50.5 in)
F25EA 1284 mm (50.6 in)
F25EHA 1284 mm (50.6 in)
F25MHA 1284 mm (50.6 in)
T25A 1312 mm (51.7 in)
Transom height S:
423 mm (16.7 in)
Transom height L:
F25A 550 mm (21.7 in)
F25EA 550 mm (21.7 in)
F25EHA 550 mm (21.7 in)
F25MHA 550 mm (21.7 in)
T25A 536 mm (21.1 in)
Weight (AL) S:
F25EA 78.0 kg (172 lb)
F25EHA 80.0 kg (176 lb)
F25MHA 77.0 kg (170 lb)
Weight (AL) L:
F25A 82.0 kg (181 lb)
F25EA 79.0 kg (174 lb)
F25EHA 81.0 kg (179 lb)
F25MHA 78.0 kg (172 lb)
T25A 92.0 kg (203 lb)
Performance:
Full throttle operating range:
5000–6000 r/min
Maximum output:
18.4 kW@5500 r/min
(25 HP@5500 r/min)
Idling speed (in neutral):
975
±
50 r/min
Engine:
Type:
4-stroke L
Displacement:
498.0 cm
3
Bore
×
stroke:
65.0
×
75.0 mm (2.56
×
2.95 in)
Ignition system:
CDI
Spark plug with resistor (NGK):
DPR6EB-9
Spark plug gap:
0.8–0.9 mm (0.031–0.035 in)
Control system:
F25A Remote control
F25EA Remote control
F25EHA Tiller
F25MHA Tiller
T25A Remote control
Starting system:
F25A Electric
F25EA Electric

Specifications and requirements
15
F25EHA Electric
F25MHA Manual
T25A Electric
Starting carburetion system:
Prime start
Valve clearance (cold engine) IN:
0.15–0.25 mm (0.0059–0.0098 in)
Valve clearance (cold engine) EX:
0.25–0.35 mm (0.0098–0.0138 in)
Min. cold cranking amps (CCA/SAE):
F25A 245.0 A
F25EA 245.0 A
F25EHA 245.0 A
T25A 245.0 A
Min. marine cranking amps (MCA/ABYC):
F25A 323.0 A
F25EA 323.0 A
F25EHA 323.0 A
T25A 323.0 A
Min. reserve capacity (RC/SAE):
F25A 52 minutes
F25EA 52 minutes
F25EHA 52 minutes
T25A 52 minutes
Maximum generator output:
14 A
Drive unit:
Gear positions:
Forward-neutral-reverse
Gear ratio:
F25A 2.08(27/13)
F25EA 2.08(27/13)
F25EHA 2.08(27/13)
F25MHA 2.08(27/13)
T25A 2.42(29/12)
Trim and tilt system:
F25A Power trim and tilt
F25EA Manual tilt
F25EHA Manual tilt
F25MHA Manual tilt
T25A Power trim and tilt
Fuel and oil:
Recommended fuel:
Regular unleaded gasoline
Min. pump octane:
86
Fuel tank capacity:
24 L (6.34 US gal, 5.28 Imp.gal)
Recommended engine oil:
4-stroke outboard motor oil
Recommended engine oil group 1*:
SAE 10W-30/10W-40/5W-30
API SE/SF/SG/SH/SJ/SL
Recommended engine oil group 2*:
SAE 15W-40/20W-40/20W-50
API SH/SJ/SL
Lubrication:
Wet sump
Total engine oil quantity (oil pan capacity):
Without oil filter replacement:
1.4 L (1.48 US qt, 1.23 Imp.qt)
With oil filter replacement:
1.6 L (1.69 US qt, 1.41 Imp.qt)
Recommended gear oil:
Hypoid gear oil SAE#90
Gear oil quantity:
F25A 0.320 L
(0.338 US qt, 0.282 Imp.qt)
F25EA 0.320 L
(0.338 US qt, 0.282 Imp.qt)
F25EHA 0.320 L
(0.338 US qt, 0.282 Imp.qt)
F25MHA 0.320 L
(0.338 US qt, 0.282 Imp.qt)
T25A 0.430 L
(0.455 US qt, 0.378 Imp.qt)
Tightening torque for engine:
Spark plug:
17.0 Nm (1.73 kgf-m, 12.5 ft-lb)
Propeller nut:
35.0 Nm (3.57 kgf-m, 25.8 ft-lb)
Engine oil drain bolt:

Specifications and requirements
16
27.0 Nm (2.75 kgf-m, 19.9 ft-lb)
Engine oil filter:
18.0 Nm (1.84 kgf-m, 13.3 ft-lb)
EMU33554
Installation requirements
EMU33563
Boat horsepower rating
WARNING
EWM01560
Overpowering a boat can cause severe
instability.
Before installing the outboard motor(s), con-
firm that the total horsepower of your mo-
tor(s) does not exceed the boats maximum
horsepower rating. See the boat’s capacity
plate or contact the manufacturer.
EMU33571
Mounting motor
WARNING
EWM01570
●
Improper mounting of the outboard mo-
tor could result in hazardous condi-
tions such as poor handling, loss of
control, or fire hazards.
●
Because the motor is very heavy, spe-
cial equipment and training is required
to mount it safely.
Your dealer or other person experienced in
proper rigging should mount the motor using
correct equipment and complete rigging in-
structions. For further information, see page
39.
EMU33581
Remote control requirements
WARNING
EWM01580
●
If the engine starts in gear, the boat can
move suddenly and unexpectedly, pos-
sibly causing a collision or throwing
passengers overboard.
●
If the engine ever starts in gear, the
start-in-gear protection device is not
working correctly and you should dis-
continue using the outboard. Contact
your Yamaha dealer.
The remote control unit must be equipped
with a start-in-gear protection device(s). This
device prevents the engine from starting un-
less it is in neutral.
EMU25694
Battery requirements
EMU25713
Specifications of Battery
Use a fully charged battery that meets the
following specifications. The engine cannot
be started if battery voltage is too low.
NOTICE
ECM01061
Do not use a battery that does not meet
the specified capacity. If a battery that
does not meet specifications is used, the
electric system could perform poorly or
be overloaded, causing electric system
Minimum cold cranking amps (CCA/
SAE):
F25A 245.0 A
F25EA 245.0 A
F25EHA 245.0 A
T25A 245.0 A
Minimum marine cranking amps (MCA/
ABYC):
F25A 323.0 A
F25EA 323.0 A
F25EHA 323.0 A
T25A 323.0 A
Minimum reserve capacity (RC/SAE):
F25A 52 minutes
F25EA 52 minutes
F25EHA 52 minutes
T25A 52 minutes

Specifications and requirements
17
damage.
EMU36290
Mounting battery
Mount the battery holder securely in a dry,
well-ventilated, vibration-free location in the
boat.
WARNING! Do not put flammable
items, or loose heavy or metal objects in
the same compartment as the battery.
Fire, explosion or sparks could result.
[EWM01820]
EMU36300
Multiple batteries
To connect multiple batteries, such as for
multiple engine configurations or for an ac-
cessory battery, consult your Yamaha dealer
about battery selection and correct wiring.
EMU25730
Without a rectifier or Rectifier
Regulator
NOTICE
ECM01090
A battery cannot be connected to models
that do not have a rectifier or Rectifier
Regulator.
If you wish to use a battery with the models
without a rectifier or Rectifier Regulator, in-
stall an optional Rectifier Regulator.
Using a maintenance-free battery with the
above models can shorten the life of the bat-
tery significantly.
Install an optional Rectifier Regulator or use
accessories rated to withstand 18 volts or
higher with the above models. Consult your
Yamaha dealer for details on installing an
optional Rectifier Regulator.
EMU34192
Propeller selection
Next to selecting an outboard, choosing the
right propeller is one of the most important
purchasing decisions a boater can make.
The type, size, and design of your propeller
have a direct impact on acceleration, top
speed, fuel economy, and even engine life.
Yamaha designs and manufactures propel-
lers for every Yamaha outboard motor and
every application.
Your outboard motor came with a Yamaha
propeller chosen to perform well over a
range of applications, but there may be uses
where a different propeller would be more
appropriate.
Your Yamaha dealer can help you select the
right propeller for your boating needs. Select
a propeller that will allow the engine to reach
the middle or upper half of the operating
range at full throttle with the maximum boat-
load. Generally, chose a larger pitch propel-
ler for a smaller operating load and a smaller
pitch propeller for a heavier load. If you carry
loads that vary widely, chose the propeller
that lets the engine run in the proper range
for your maximum load but remember that
you may need to reduce your throttle setting
to stay within the recommended engine
speed range when carrying lighter loads.
For instructions on propeller removal and in-
stallation, see page 82.
1. Propeller diameter in inches
2. Propeller pitch in inches
3. Type of propeller (propeller mark)
ZMU04604
-
x
123

Specifications and requirements
18
EMU25770
Start-in-gear protection
Yamaha outboard motors or Yamaha-ap-
proved remote control units are equipped
with start-in-gear protection device(s). This
feature permits the engine to be started only
when it is in neutral. Always select neutral
before starting the engine.
EMU31444
Engine oil requirements
If the recommended engine oil grades are
not available, select an alternative from the
following chart according to the average
temperatures in your area.
EMU36360
Fuel requirements
EMU36781
Gasoline
Use a good quality gasoline that meets the
minimum octane rating. If knocking or ping-
ing occurs, use a different brand of gasoline
or premium unleaded fuel. Yamaha re-
comends that you use alcohol-free (see
Gasohol) gasoline whenever possible.
NOTICE
ECM01981
●
Do not use leaded gasoline. Leaded
gasoline can seriously damage the en-
gine.
●
Avoid getting water and contaminants
in the fuel tank. Contaminated fuel can
cause poor performance or engine
damage. Use only fresh gasoline that
1. Propeller diameter in inches
2. Propeller pitch in inches
3. Type of propeller (propeller mark)
Recommended engine oil:
YAMALUBE 4-M FC-W oil or 4-stroke
motor oil with a combination of the fol-
lowing SAE and API oil classifications
Engine oil type SAE:
10W-30 or 10W-40
Engine oil grade API:
SE, SF, SG, SH, SJ, SL
Total engine oil quantity (oil pan capaci-
ty):
Without oil filter replacement:
1.4 L (1.48 US qt, 1.23 Imp.qt)
With oil filter replacement:
1.6 L (1.69 US qt, 1.41 Imp.qt)
ZMU04606
-
x
123
Recommended gasoline:
Regular unleaded gasoline with a min-
imum Octane rating of 86 (Pump Oc-
tane Number) = (R+M)/2

Specifications and requirements
19
has been stored in clean containers.
Gasohol
There are two types of gasohol: gasohol con-
taining ethanol (E10) and that containing
methanol. Ethanol can be used if the ethanol
content does not exceed 10% and the fuel
meets the minimum octane ratings. E85 is a
fuel containing 85% ethanol and must not be
used in your outboard motor. All ethanol
blends containing more than 10% ethanol
can cause fuel system damage or cause en-
gine starting and running problems. Yamaha
does not recommend gasohol containing
methanol because it can cause fuel system
damage or engine performance problems.
It is recommended that you install a water-
separating marine fuel filter assembly (10
micron minimum) between your boat’s fuel
tank and outboard motor when using etha-
nol. Ethanol is known to allow moisture to be
absorbed into boat fuel tanks and systems.
Moisture in the fuel can cause corrosion of
metallic fuel system components, starting
and running complaints and require addition-
al fuel system maintenance.
EMU27270
Ring Free Fuel Additive
Gasoline is a precise blend of many different
substances, each chosen to give certain
characteristics. Gasoline blends have been
changing in recent years in response to con-
cerns about pollution and resulting emis-
sions regulations. One of the most obvious
changes has been the elimination of lead
from most fuels.
As gasoline has changed, the amount of ad-
ditives such as aromatics and oxygenates
has increased. These additives are impor-
tant for the engines in passenger cars, but
they can have detrimental effects in marine
engines, because of increased deposits in
the combustion chamber. When enough de-
posits collect, piston rings begin sticking.
Performance drops and engine wear in-
creases dramatically.
While many additives available may reduce
deposits, Yamaha recommends the use of
Ring Free Fuel Additive
, available from
your Yamaha dealer.
Ring Free Fuel Addi-
tive
has repeatedly proven its ability to clean
combustion deposits from inside the engine,
notably the critical piston-ring-land area, and
fuel system components. Follow product la-
beling for use instructions.
EMU36880
Muddy or acidic water
Yamaha strongly recommends that you have
your dealer install the optional chromium-
plated water pump kit if you use the outboard
motor in muddy or acidic water conditions.
However, depending on the model it might
not be required.
EMU36330
Anti-fouling paint
A clean hull improves boat performance. The
boat bottom should be kept as clean of ma-
rine growth as possible. If necessary, the
boat bottom can be coated with an anti-foul-
ing paint approved for your area to inhibit
marine growth.
Do not use anti-fouling paint which includes
copper or graphite. These paints can cause
more rapid engine corrosion.

Specifications and requirements
20
EMU36341
Motor disposal requirements
Never illegally discard (dump) the motor.
Yamaha recommends consulting the dealer
about discarding the motor.
EMU36351
Emergency equipment
Keep the following items onboard in case
there is trouble with the motor.
●
A tool kit with assorted screwdrivers, pli-
ers, wrenches (including metric sizes), and
electrical tape.
●
Waterproof flashlight with extra batteries.
●
An extra engine shut-off cord (lanyard)
with clip.
●
Spare parts, such as an extra set of spark
plugs.
Consult your Yamaha dealer for details.
EMU25221
Emission control information
EMU25230
North American models
This engine conforms to U.S. Environmental
Protection Agency (EPA) regulations for ma-
rine SI engines. See the label affixed to your
engine for details.
EMU25242
Approval label of emission control certif-
icate
This label is attached to the bottom cowling.
New Technology; (4-stroke/HPDI) EM
EMU25262
Manufactured date label
This label is attached to the clamp bracket or
the swivel bracket.
1. Approval label location
1. Manufactured date label location
1
ZMU06478
ZMU05159
1
ZMU06480

Specifications and requirements
21
EMU25273
Star labels
Your outboard motor is labeled with a Cali-
fornia Air Resources Board (CARB) star la-
bel. See below for a description of your
particular label.
EMU25280
One Star—Low Emission
The one-star label identifies engines that
meet the Air Resources Board’s 2001 ex-
haust emission standards. Engines meeting
these standards have 75% lower emissions
than conventional carbureted two-stroke en-
gines. These engines are equivalent to the
U.S. EPA’s 2006 standards for marine en-
gines.
EMU25290
Two Stars—Very Low Emission
The two-star label identifies engines that
meet the Air Resources Board’s 2004 ex-
haust emission standards. Engines meeting
these standards have 20% lower emissions
than One Star-Low-Emission engines.
EMU25300
Three Stars—Ultra Low Emission
The three-star label identifies engines that
meet the Air Resources Board’s 2008 ex-
haust emission standards. Engines meeting
1. Manufactured date label location
1. Star labels location
1
ZMU06391
Manufactured:
ZMU04346
1
ZMU06481
ZMU01702
ZMU01703

Specifications and requirements
22
these standards have 65% lower emissions
than One Star-Low-Emission engines.
EMU33861
Four Stars—Super Ultra Low Emission
The four-star label identifies engines that
meet the Air Resources Board’s Sterndrive
and Inboard marine engine 2009 exhaust
emission standards. Personal Watercraft
and Outboard marine engines may also
comply with these standards. Engines meet-
ing these standards have 90% lower emis-
sions than One Star-Low-Emission engines.
ZMU01704
ZMU05663

23
Components
EMU2579M
Components diagram
T
IP:
* May not be exactly as shown; also may not be included as standard equipment on all mod-
els.
F25A, F25EA, T25A
1
2
10 3
5
6
7
8
12
13
11
4
911
13
15 14
16 17
ZMU06605
1. Top cowling
2. Cowling lock lever
3. Idle hole
4. Drain screw
5. Anti-cavitation plate
6. Trim tab
7. Propeller
8. Cooling water inlet
9. Clamp bracket
10. Power trim and tilt switch*
11. Alert indicator(s)
12. Tilt support knob*
13. Flushing device
14. Clamp screw*
15. Tilt lock lever*
16. Remote control box (side mount type)*
17. Fuel tank*

Components
24
F25EHA, F25MHA
EMU25802
Fuel tank
If your model was equipped with a portable
fuel tank, its function is as follows.
WARNING
EWM00020
The fuel tank supplied with this engine is
its dedicated fuel reservoir and must not
be used as a fuel storage container. Com-
mercial users should conform to relevant
licensing or approval authority regula-
tions.
1
2
10
9
5
6
7
8
1
12
16
14
13
18
21
22
19
20
15
17
1
16
14
13
18
21
22
19
20
15
17
23
11
24
ZMU06606
3
4
1. Top cowling
2. Cowling lock lever
3. Idle hole
4. Drain screw
5. Anti-cavitation plate
6. Trim tab
7. Propeller
8. Cooling water inlet
9. Trim rod
10. Clamp bracket
11. Restraint cable attachment
12. Manual starter handle*
13. Gear shift lever
14. Throttle grip
15. Throttle friction adjuster
16. Engine stop button/Engine shut-off switch
17. Clip
18. Alert indicator(s)
19. Clamp screw
20. Steering friction lever
21. Tilt lock lever
22. Flushing device
23. Starter button*
24. Fuel tank*

Components
25
EMU25830
Fuel joint
This joint is used to connect the fuel line.
EMU25841
Fuel gauge
This gauge is located on either the fuel tank
cap or on the fuel joint base. It shows the ap-
proximate amount of fuel remaining in the
tank.
EMU25850
Fuel tank cap
This cap seals the fuel tank. When removed,
the tank can be filled with fuel. To remove the
cap, turn it counterclockwise.
EMU25860
Air vent screw
This screw is on the fuel tank cap. To loosen
the screw, turn it counterclockwise.
EMU26181
Remote control box
The remote control lever actuates both the
shifter and the throttle. The electrical switch-
es are mounted on the remote control box.
EMU26190
Remote control lever
Moving the lever forward from the neutral po-
sition engages forward gear. Pulling the le-
ver back from neutral engages reverse. The
engine will continue to run at idle until the le-
ver is moved about 35° (a detent can be felt).
Moving the lever farther opens the throttle,
and the engine will begin to accelerate.
1. Fuel joint
2. Fuel gauge
3. Fuel tank cap
4. Air vent screw
ZMU02284
3
1
4
2
1. Power trim and tilt switch
2. Remote control lever
3. Neutral interlock trigger
4. Neutral throttle lever
5. Main switch
6. Engine shut-off switch
7. Throttle friction adjuster
1. Neutral “”
2. Forward “”
3. Reverse “”
4. Shift
5. Fully closed

Components
26
EMU26201
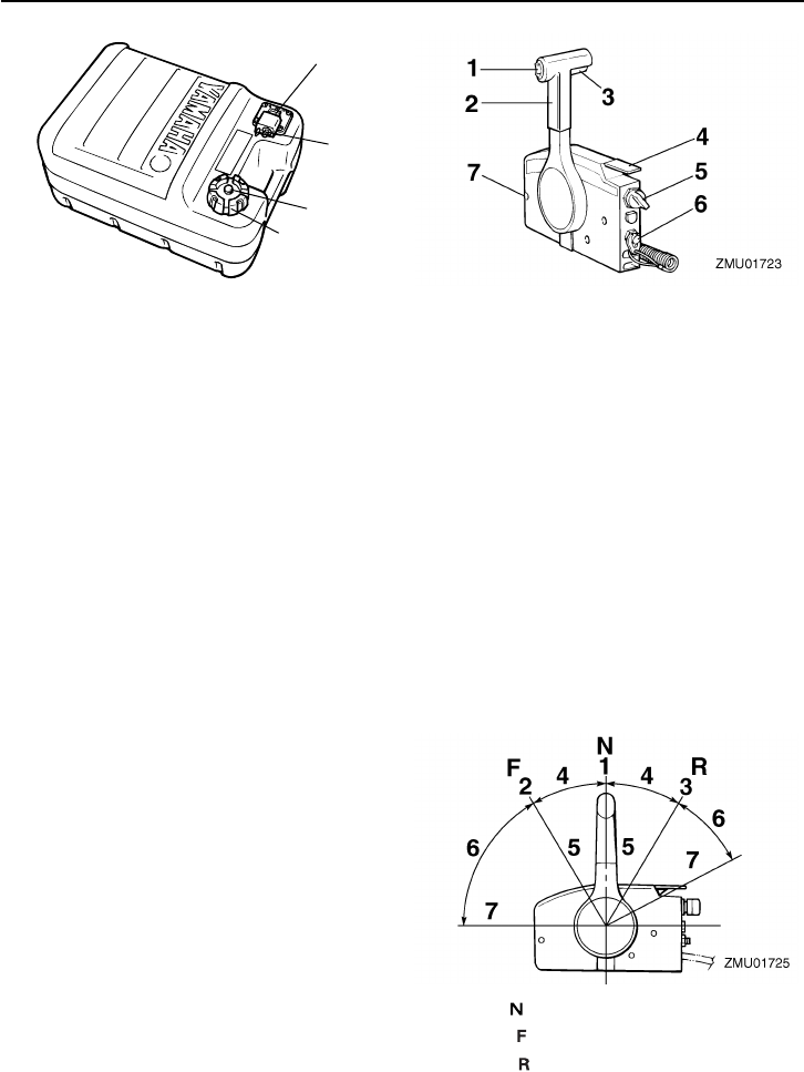
Neutral interlock trigger
To shift out of neutral, first pull the neutral in-
terlock trigger up.
EMU26211
Neutral throttle lever
To open the throttle without shifting into ei-
ther forward or reverse, put the remote con-
trol lever in the neutral position and lift the
neutral throttle lever.
T
IP:
The neutral throttle lever will operate only
when the remote control lever is in neutral.
The remote control lever will operate only
when the neutral throttle lever is in the closed
position.
EMU25911
Tiller handle
To change direction, move the tiller handle to
the left or right as necessary.
EMU25922
Gear shift lever
Pulling the gear shift lever towards you puts
the engine in forward gear so that the boat
6. Throttle
7. Fully open
1. Neutral interlock trigger
1. Fully open
2. Fully closed
ZMU03032

Components
27
moves ahead. Pushing the lever away from
you puts the engine in reverse gear so that
the boat moves astern.
EMU25941
Throttle grip
The throttle grip is on the tiller handle. Turn
the grip counterclockwise to increase speed
and clockwise to decrease speed.
EMU25961
Throttle indicator
The fuel consumption curve on the throttle
indicator shows the relative amount of fuel
consumed for each throttle position. Choose
the setting that offers the best performance
and fuel economy for the desired operation.
1. Forward “”
2. Neutral “”
3. Reverse “”
1. Forward “”
2. Neutral “”
3. Reverse “”
R
F
1
2
3N
ZMU06486
1. Throttle indicator
ZMU03034
1
ZMU06488

Components
28
EMU25975
Throttle friction adjuster
A friction device provides adjustable resis-
tance to movement of the throttle grip or the
remote control lever, and can be set accord-
ing to operator preference.
To increase resistance, turn the adjuster
clockwise. To decrease resistance, turn the
adjuster counterclockwise.
WARNING! Do
not overtighten the friction adjuster. If
there is too much resistance, it could be
difficult to move the remote control lever
or throttle grip, which could result in an
accident.
[EWM00032]
When constant speed is desired, tighten the
adjuster to maintain the desired throttle set-
ting.
EMU25993
Engine shut-off cord (lanyard) and
clip
The clip must be attached to the engine shut-
off switch for the engine to run. The cord
should be attached to a secure place on the
operator’s clothing, or arm or leg. Should the
operator fall overboard or leave the helm, the
cord will pull out the clip, stopping ignition to
the engine. This will prevent the boat from
running away under power.
WARNING! At-
tach the engine shut-off cord to a secure
place on your clothing, or your arm or leg
while operating. Do not attach the cord to
clothing that could tear loose. Do not
route the cord where it could become en-
tangled, preventing it from functioning.
Avoid accidentally pulling the cord dur-
1. Throttle indicator
ZMU03169
ZMU02001

Components
29
ing normal operation. Loss of engine
power means the loss of most steering
control. Also, without engine power, the
boat could slow rapidly. This could cause
people and objects in the boat to be
thrown forward.
[EWM00122]
EMU26001
Engine stop button
To open the ignition circuit and stop the en-
gine, push this button.
EMU26070
Manual starter handle
To start the engine, first gently pull the han-
1. Cord
2. Clip
3. Engine shut-off switch
1. Cord
2. Clip
3. Engine shut-off switch
2
1
3
ZMU02003
1. Cord
2. Clip
3. Engine shut-off switch
ZMU02083

Components
30
dle out until resistance is felt. From that posi-
tion, then pull the handle straight out quickly
to crank the engine.
EMU26080
Starter button
To start the engine with the electric starter,
push the starter button.
EMU26090
Main switch
The main switch controls the ignition system;
its operation is described below.
●
“”
(off)
With the main switch in the “” (off) posi-
tion, the electrical circuits are off, and the key
can be removed.
●
“”
(on)
With the main switch in the “” (on) posi-
tion, the electrical circuits are on, and the key
cannot be removed.
●
“”
(start)
With the main switch in the “” (start) po-
sition, the starter motor turns to start the en-
gine. When the key is released, it returns
automatically to the “” (on) position.
EMU31432
Steering friction adjuster
A friction device provides adjustable resis-
tance to the steering mechanism, and can be
set according to operator preference. An ad-
juster lever is located on the bottom of the
tiller handle bracket.
To increase resistance, turn the lever to the
port side “A”.
To decrease resistance, turn the lever to the
starboard side “B”.
WARNING
EWM00040
Do not overtighten the friction adjuster. If
there is too much resistance, it could be
difficult to steer, which could result in an
accident.
ZMU06523
ZMU06526

Components
31
If the resistance does not increase even
when the lever is turned to the port side “A”,
make sure that the nut is tightened to the
specified torque.
T
IP:
●
Steering movement is blocked when the
adjuster lever is set to the “A” position.
●
Check the tiller handle for smooth move-
ment when the lever is turned to the star-
board side “B”.
●
Do not apply lubricants such as grease to
the friction areas of the steering friction ad-
juster.
EMU26143
Power trim and tilt switch on remote
control or tiller handle
The power trim and tilt system adjusts the
outboard motor angle in relation to the tran-
som. Pressing the switch “” (up) trims the
outboard motor up, and then tilts it up. Press-
ing the switch “” (down) tilts the outboard
motor down and trims it down. When the
switch is released, the outboard motor will
stop in its current position.
For instructions on using the power trim and
tilt switch, see pages 59 and 62.
EMU26153
Power trim and tilt switch on bottom
engine cowling
The power trim and tilt switch is located on
the side of the bottom engine cowling. Press-
ing the switch “” (up) trims the outboard
motor up, and then tilts it up. Pressing the
switch “” (down) tilts the outboard motor
1. Nut
Nut tightening torque:
4.0 Nm (0.4 kgf-m, 3.0 ft-lb)
A
B
ZMU06496
1
ZMU06497

Components
32
down and trims it down. When the switch is
released, the outboard motor will stop in its
current position.
For instructions on using the power trim and
tilt switch, see page 62.
WARNING
EWM01030
Use the power trim and tilt switch located
on the bottom engine cowling only when
the boat is at a complete stop with the en-
gine off. Attempting to use this switch
while the boat is moving could increase
the risk of falling overboard and could
distract the operator, increasing the risk
of collision with another boat or an obsta-
cle.
EMU26244
Trim tab with anode
WARNING
EWM00840
An improperly adjusted trim tab could
cause difficult steering. Always test run
after the trim tab has been installed or re-
placed to be sure steering is correct. Be
sure you have tightened the bolt after ad-
justing the trim tab.
The trim tab should be adjusted so that the
steering control can be turned to either the
right or left by applying the same amount of
force.
If the boat tends to veer to the left (port side),
turn the trim tab rear end to the port side “A”
in the figure. If the boat tends to veer to the
right (starboard side), turn the trim tab end to
the starboard side “B” in the figure.
NOTICE
ECM00840
The trim tab also serves as an anode to
protect the engine from electrochemical
corrosion. Never paint the trim tab as it
will become ineffective as an anode.
EMU26253
Trim tab
WARNING
EWM00840
An improperly adjusted trim tab could
cause difficult steering. Always test run
after the trim tab has been installed or re-
placed to be sure steering is correct. Be
sure you have tightened the bolt after ad-
justing the trim tab.
The trim tab should be adjusted so that the
1. Power trim and tilt switch
UP
DN
1
ZMU06495
1. Trim tab
2. Bolt
Bolt tightening torque:
18.0 Nm (1.8 kgf-m, 13 ft-lb)
ZMU02822
1
2
A
B

Components
33
steering control can be turned to either the
right or left by applying the same amount of
force.
If the boat tends to veer to the left (port side),
turn the trim tab rear end to the port side “A”
in the figure.
If the boat tends to veer to the right (star-
board side), turn the trim tab end to the star-
board side “B” in the figure.
EMU26261
Trim rod (tilt pin)
The position of the trim rod determines the
minimum trim angle of the outboard motor in
relation to the transom.
EMU30440
Tilt lock mechanism
The tilt lock mechanism is used to prevent
the outboard motor from lifting out of the wa-
ter when in reverse gear.
To tilt the outboard motor up, set the tilt lock
lever to the “” (up) position. To tilt the out-
board motor down, set the tilt lock lever to
the “” (down) position.
EMU26321
Tilt support knob
To keep the outboard motor in the tilted up
position, push the tilt support knob under the
swivel bracket.
NOTICE
ECM00660
Do not use the tilt support lever or knob
when trailering the boat. The outboard
motor could shake loose from the tilt sup-
1. Trim tab
2. Bolt
Bolt tightening torque:
8.0 Nm (0.8 kgf-m, 5.8 ft-lb)
1
2
B
A
ZMU06498
ZMU06536
1. Tilt lock lever
1
ZMU06500
ZMU06543

Components
34
port and fall. If the motor cannot be trail-
ered in the normal running position, use
an additional support device to secure it
in the tilt position.
EMU26332
Tilt support bar
The tilt support bar keeps the outboard motor
in the tilted up position.
NOTICE
ECM01660
Do not use the tilt support bar when
trailering the boat. The outboard motor
could shake loose from the tilt support
and fall. If the motor cannot be trailered in
the normal running position, use an addi-
tional support device to secure it in the
tilt position.
EMU26373
Cowling lock lever(s) (turn type)
To remove the engine top cowling, turn the
cowling lock lever(s) and lift off the cowling.
When installing the cowling, check to be sure
it fits properly in the rubber seal. Then lock
the cowling again by returning the cowling
lock lever(s) to the lock position.
EMU26460
Flushing device
This device is used to clean the cooling wa-
ter passages of the motor using a garden
hose and tap water.
T
IP:
For details on usage, see page 71.
EMU26303
Alert indicator
If the engine develops a condition which is
cause for alert, the indicator lights up. For
details on how to read the alert indicator, see
page 37.
ZMU06503
1. Cowling lock lever(s)
1. Flushing device
1
ZMU04041
1
ZMU06505

Components
35
1. Alert indicator
1
ZMU06506

36
Instruments and indicators
EMU36014
Indicators
EMU36024
Low oil pressure-alert indicator
If oil pressure drops too low, this indicator will
light up. For further information, see page 37.
NOTICE
ECM00022
●
Do not continue to run the engine if the
low oil pressure-alert indicator is on
and the engine oil level is lower. Seri-
ous engine damage will occur.
●
The low oil pressure-alert indicator
does not indicate the engine oil level.
Use the oil dipstick to check the re-
maining oil quantity. For further infor-
mation, see page 45.
EMU36033
Overheat-alert indicator
If the engine temperature rises too high, this
indicator will light up. For further information
on reading the indicator, see page 37.
NOTICE
ECM00052
Do not continue to run the engine if the
overheat-alert indicator is on. Serious en-
gine damage will occur.
1. Low oil pressure-alert indicator
1
ZMU06507
1. Overheat-alert indicator
1
ZMU06508

37
Engine control system
EMU26803
Alert system
NOTICE
ECM00091
Do not continue to operate the engine if a
alert device has activated. Consult your
Yamaha dealer if the problem cannot be
located and corrected.
EMU2681A
Overheat alert
This engine has an overheat-alert device. If
the engine temperature rises too high, the
alert device will activate.
●
The engine speed will automatically de-
crease to about 2000 r/min.
●
The overheat-alert indicator will light or
blink.
●
The buzzer will sound (if equipped on the
tiller handle, remote control box, or main
switch panel).
If the alert system has activated, stop the en-
gine and check the cooling water inlets:
●
Check trim angle to be sure that the cool-
ing water inlet is submerged.
●
Check the cooling water inlet for clogging.
EMU3016A
Low oil pressure alert
If the oil pressure drops too low, the alert de-
vice will activate.
●
The engine speed will automatically de-
crease to about 2000 r/min. If equipped
with a low oil pressure-alert indicator, it will
light or blink.
●
The buzzer will sound (if equipped on the
tiller handle, remote control box, or main
switch panel).
ZMU06509
ZMU03026
ZMU06510

Engine control system
38
If the alert system has activated, stop the en-
gine as soon as it is safe to do so. Check the
oil level and add oil as needed. If the oil level
is correct and the alert device does not
switch off, consult your Yamaha dealer.
ZMU02360

39
Installation
EMU26902
Installation
The information presented in this section is
intended as reference only. It is not possible
to provide complete instructions for every
possible boat and motor combination. Prop-
er mounting depends in part on experience
and the specific boat and motor combination.
WARNING
EWM01590
●
Overpowering a boat could cause se-
vere instability. Do not install an out-
board motor with more horsepower
than the maximum rating on the capac-
ity plate of the boat. If the boat does not
have a capacity plate, consult the boat
manufacturer.
●
Improper mounting of the outboard mo-
tor could result in hazardous condi-
tions such as poor handling, loss of
control, or fire hazards. For permanent-
ly mounted models, your dealer or oth-
er person experienced in proper
rigging should mount the motor.
EMU33470
Mounting the outboard motor
The outboard motor should be mounted so
that the boat is well balanced. Otherwise, the
boat could be hard to steer. For single-en-
gine boats, mount the outboard motor on the
centerline (keel line) of the boat.
EMU26923
Mounting height
To run your boat at optimum efficiency, the
water resistance (drag) of the boat and out-
board motor must be made as little as possi-
ble. The mounting height of the outboard
motor greatly affects the water resistance. If
the mounting height is too high, cavitation
tends to occur, thus reducing the propulsion;
and if the propeller tips cut the air, the engine
speed will rise abnormally and cause the en-
gine to overheat. If the mounting height is too
low, the water resistance will increase and
thereby reduce engine efficiency. Mount the
outboard motor so that the anti-cavitation
plate is between the bottom of the boat and
a level 25 mm (1 in) below it.
1. Center line (keel line)
ZMU01760
1

Installation
40
NOTICE
ECM01631
●
Check that the idle hole stays high
enough to keep out water getting inside
engine even if the boat is in stationary
with maximum load.
●
Incorrect engine height or obstructions
to the smooth flow of water (such as the
design or condition of the boat, or ac-
cessories such as transom ladders or
depth finder transducers) can create
airborne water spray while the boat is
cruising. If the motor is operated con-
tinuously in the presence of airborne
water spray, enough water could enter
the engine through the intake opening
on the cowling to cause severe engine
damage. Eliminate the cause of the air-
borne water spray.
T
IP:
●
The optimum mounting height of the out-
board motor is affected by the boat and
motor combination and the desired use.
Test runs at different heights can help de-
termine the optimum mounting height.
Consult your Yamaha dealer or boat man-
ufacturer for further information on deter-
mining the proper mounting height.
●
For instructions on setting the trim angle of
the outboard motor, see page 59.
EMU26972
Clamping the outboard motor
1. Place the outboard motor on the tran-
som so that it is positioned as close to
the center as possible. Tighten the tran-
som clamp screws evenly and securely.
Occasionally check the clamp screws
for tightness during operation of the out-
board motor because they could be-
come loose due to engine vibration.
WARNING! Loose clamp screws
could allow the outboard motor to fall
off or move on the transom. This
could cause loss of control and seri-
ous injury. Make sure the transom
screws are tightened securely. Occa-
sionally check the screws for tight-
ness during operation.
[EWM00641]
2. If the restraint cable attachment is
equipped on your engine, a restraint ca-
ble or chain should be used. Attach one
end to the restraint cable attachment
and the other to a secure mounting point
on the boat. Otherwise the engine could
be completely lost if it accidentally falls
off the transom.
ZMU02012

Installation
41
3. Secure the clamp bracket to the transom
using the bolts provided with the out-
board (if packed). For details, consult
your Yamaha dealer.
WARNING! Avoid
using bolts, nuts or washers other
than those contained in the engine
packaging. If used, they must be of at
least the same quality of material and
strength and must be tightened se-
curely. After tightening, test run the
engine and check their tightness.
[EWM00651]
1. Bolts
ZMU02013
ZMU02637
1

42
Operation
EMU36381
First-time operation
EMU36391
Fill engine oil
The engine is shipped from the factory with-
out engine oil. If your dealer did not fill the oil,
you must fill it before starting the engine.
NOTICE:
Check that the engine is filled
with oil before first-time operation to
avoid severe engine damage.
[ECM01781]
The engine is shipped with the following
sticker, which should be removed after en-
gine oil is filled for the first time. For more in-
formation on checking the engine oil level,
see page 45.
EMU30174
Breaking in engine
Your new engine requires a period of break-
in to allow mating surfaces of moving parts to
wear in evenly. Correct break-in will help en-
sure proper performance and longer engine
life.
NOTICE:
Failure to follow the break-in
procedure could result in reduced engine
life or even severe engine damage.
[ECM00801]
EMU27085
Procedure for 4-stroke models
Your new engine requires a period of 10
hours break-in to allow mating surfaces of
moving parts to wear in evenly.
T
IP:
Run the engine in the water, under load (in
gear with a propeller installed) as follows.
For 10 hours for breaking in engine avoid ex-
tended idling, rough water and crowded ar-
eas.
1. For the first hour of operation:
Run the engine at varying speeds up to
2000 r/min or approximately half throttle.
2. For the second hour of operation:
Increase engine speed as much as nec-
essary to put the boat on plane (but
avoid full-throttle operation), then back
off on the throttle while keeping the boat
at a planing speed.
3. Remaining 8 hours:
Run the engine at any speed. However,
avoid operating at full throttle for more
than 5 minutes at a time.
4. After the first 10 hours:
Operate the engine normally.
EMU36400
Getting to know your boat
Different boats handle differently. Operate
cautiously while you learn how your boat
handles under different conditions and with
different trim angles (see page 59).
EMU36412
Checks before starting engine
WARNING
EWM01920
If any item in the checks before starting
engine is not working properly, have it in-
spected and repaired before operating
the outboard motor. Otherwise an acci-
dent could occur.
NOTICE
ECM00120
Do not start the engine out of water. Over-
heating and serious engine damage can
occur.
EMU36560
Fuel level
Be sure you have plenty of fuel for your trip.
ZMU01710

Operation
43
A good rule is to use 1/3 of your fuel to get to
the destination, 1/3 to return, and to keep 1/
3 as an emergency reserve. With the boat
level on a trailer or in the water, check the
fuel level. For fuel filling instructions, see
page 46.
EMU36570
Remove cowling
For the following checks, remove the top
cowling from the engine. To remove the en-
gine top cowling, release the lock lever and
lift off the cowling.
EMU36442
Fuel system
WARNING
EWM00060
Gasoline and its vapors are highly flam-
mable and explosive. Keep away from
sparks, cigarettes, flames, or other
sources of ignition.
WARNING
EWM00910
Leaking fuel can result in fire or explo-
sion.
●
Check for fuel leakage regularly.
●
If any fuel leakage is found, the fuel
system must be repaired by a qualified
mechanic. Improper repairs can make
the outboard unsafe to operate.
EMU36451
Check for fuel leaks
●
Check for fuel leaks or gasoline fumes in
the boat.
●
Check for fuel leakage from the fuel sys-
tem.
●
Check the fuel tank and fuel lines for
cracks, swellings, or other damages.
EMU37320
Check the fuel filter
Check that the fuel filter is clean and free of
water. If any water is found in the fuel, or if a
significant amount of debris is found, the fuel
tank should be checked and cleaned by a
Yamaha dealer.
EMU38900
Controls
Tiller handle models:
●
Move the tiller handle fully to the left and
right to make sure operation is smooth.
●
Turn the throttle grip from the fully closed
to the fully open position. Make sure that it
turns smoothly and that it completely re-
turns to the fully closed position.
●
Look for loose or damaged connections of
the throttle cable and shift link.
Remote control models:
●
Turn the steering wheel full-right and full-
left. Make sure operation is smooth and
unrestricted throughout the whole range
with no binding or excessive free play.
●
Operate the throttle levers several times to
ZMU06085
ZMU06513

Operation
44
make sure there is no hesitation in their
travel. Operation should be smooth over
the complete range of motion, and each le-
ver should return completely to the idle po-
sition.
●
Look for loose or damaged connections of
the throttle and shift cables.
EMU36481
Engine shut-off cord (lanyard)
Inspect the engine shut-off cord for damage,
such as cuts, breaks, and wear.
ZMU06590
ZMU06589
1. Cord
2. Clip
3. Engine shut-off switch
1. Cord
2. Clip
3. Engine shut-off switch
1. Cord
2. Clip
3. Engine shut-off switch
2
1
3
ZMU02003

Operation
45
EMU27166
Engine oil
1. Put the outboard motor in an upright po-
sition (not tilted).
NOTICE:
If the motor
is not level, the oil level indicated on
the dipstick may not be accurate.
[ECM01790]
2. Remove oil dipstick and wipe it clean.
3. Insert the dipstick and remove it again.
Be sure to completely insert the dipstick
into the dipstick guide, otherwise the oil
level measurement will be incorrect.
4. Check the oil level using the dipstick to
be sure the level falls between the upper
and lower marks. Fill with oil if it is below
the lower mark, or drain to the specified
level if it is above the upper mark.
EMU27153
Engine
●
Check the engine and engine mounting.
●
Look for loose or damaged fasteners.
●
Check the propeller for damage.
●
Check for engine oil leaks.
EMU36490
Flushing device
Check that flushing device’s garden hose
connector is securely screwed on to the fit-
ting on the bottom cowling.
NOTICE:
If the
flushing device is not properly connect-
ed, cooling water can leak out and the en-
gine can overheat during operation.
[ECM01800]
EMU36953
Install cowling
1. Be sure that a cowling lock lever is re-
leased.
2. Be sure that the rubber seal is seated all
the way around the top cowling.
3. Place the top cowling on bottom cowl-
ing.
4. Check to be sure the rubber seal fits cor-
rectly all the way around the engine.
5. Move the lever to lock the cowling as
shown.
NOTICE:
If the cowling is not
1. Oil dipstick
1. Oil dipstick
2. Lower level mark
1
ZMU06515
1
2
3
ZMU06516
3. Upper level mark
1. Fitting
2. Flushing device
12
ZMU06517

Operation
46
installed correctly, water spray under
the cowling can damage the engine,
or the cowling can blow off at high
speeds.
[ECM01990]
After installing, check the fitting of the top
cowling by pushing it with both hands. If the
top cowling is loose, have it repaired by your
Yamaha dealer.
EMU38910
Checking power trim and tilt system
WARNING
EWM01970
●
Never get under the lower unit while it
is tilted, even when the tilt support
knob is locked. Severe injury could oc-
cur if the outboard motor accidentally
falls.
●
Body parts can be crushed between the
motor and the clamp bracket when the
motor is trimmed or tilted.
●
Be sure no one is near the outboard
motor before performing this check.
1. Check the power trim and tilt unit for any
sign of oil leaks.
2. Operate each of the power trim and tilt
switches to check that all switches work.
3. Tilt the outboard motor up and check
that the trim and tilt rod is pushed out
completely.
4. Check that the trim and tilt rod is free of
corrosion or other flaws.
5. Tilt the outboard motor down. Check
that the trim and tilt rod operates
smoothly.
EMU36582
Battery
Check that the battery is in good condition,
and fully charged. Check that the battery
connections are clean, secure and covered
by insulating covers. The electrical contacts
of the battery and cables must be clean and
properly connected or the battery will not
start the engine.
Refer to the battery manufacturer’s instruc-
tions for checks for your particular battery.
EMU27437
Filling fuel
WARNING
EWM01830
●
Gasoline and its vapors are highly flam-
ZMU06110
1. Trim and tilt rod
ZMU02828
1

Operation
47
mable and explosive. Always refuel ac-
cording to this procedure to reduce the
risk of fire and explosion.
●
Gasoline is poisonous and can cause
injury or death. Handle gasoline with
care. Never siphon gasoline by mouth.
If you should swallow some gasoline or
inhale a lot of gasoline vapor, or get
some gasoline in your eyes, see your
doctor immediately. If gasoline spills
on your skin, wash with soap and wa-
ter. If gasoline spills on your clothing,
change your clothes.
1. Be sure the engine is stopped.
2. Disconnect the fuel line from the fuel
tank and tighten the air vent screw on
the fuel tank cap.
3. Remove the portable tank from the boat.
4. Be sure you are in a well-ventilated out-
door area, either securely moored or
trailered.
5. Do not smoke and keep away from
sparks, flames, static electric discharge,
or other sources of ignition.
6. If you use a portable container to store
and dispense fuel, use only an approved
GASOLINE container.
7. Touch the fuel nozzle to the filler open-
ing or funnel to help prevent electrostatic
sparks.
8. Fill the fuel tank, but do not overfill. Fuel
can expand and overflow if the tempera-
ture increases.
9. Tighten the filler cap securely.
10. Wipe up any spilled gasoline immediate-
ly with dry rags. Dispose rags properly
according to local laws or regulations.
EMU27451
Operating engine
EMU27466
Sending fuel (portable tank)
WARNING
EWM00420
●
Before starting the engine, make sure
that the boat is tightly moored and that
you can steer clear of any obstructions.
Be sure there are no swimmers in the
ZMU06598
ZMU02301
Fuel tank capacity:
24 L (6.34 US gal, 5.28 Imp.gal)
ZMU02834

Operation
48
water near you.
●
When the air vent screw is loosened,
gasoline vapor will be released. Gaso-
line is highly flammable, and its vapors
are flammable and explosive. Refrain
from smoking, and keep away from
open flames and sparks while loosen-
ing the air vent screw.
●
This product emits exhaust gases
which contain carbon monoxide, a col-
orless, odorless gas which could cause
brain damage or death when inhaled.
Symptoms include nausea, dizziness,
and drowsiness. Keep cockpit and cab-
in areas well ventilated. Avoid blocking
exhaust outlets.
1. If there is an air vent screw on the fuel
tank cap, loosen it 2 or 3 turns.
2. If there is a fuel joint on the motor, firmly
connect the fuel line to the joint. Then
firmly connect the other end of the fuel
line to the joint on the fuel tank.
T
IP:
Wipe up any spilled gasoline immediately
with dry rags. Dispose rags properly accord-
ing to local laws or regulations.
3. Squeeze the primer pump, with the ar-
row pointing up, until you feel it become
firm. During engine operation place the
tank horizontally, otherwise fuel cannot
be drawn from the fuel tank.
ZMU02295
1. Arrow
ZMU06520
ZMU02024

Operation
49
EMU27493
Starting engine
WARNING
EWM01600
Before starting the engine, make sure
that the boat is tightly moored and that
you can steer clear of any obstructions.
Be sure there are no swimmers in the wa-
ter near you.
EMU39011
Starting engine
WARNING
EWM01840
●
Failure to attached engine shut-off cord
could result in a runaway boat if opera-
tor is ejected. Attach the engine shut-
off cord to a secure place on your cloth-
ing, or your arm or leg while operating.
Do not attach the cord to clothing that
could tear loose. Do not route the cord
where it could become entangled, pre-
venting it from functioning.
●
Avoid accidentally pulling the cord dur-
ing normal operation. Loss of engine
power means the loss of most steering
control. Also, without engine power,
the boat could slow rapidly. This could
cause people and objects in the boat to
be thrown forward.
Starting procedure (cold engine)
1. Place the gear shift lever in neutral.
T
IP:
The start-in-gear protection device prevents
the engine from starting except when in neu-
tral.
2. Attach the engine shut-off cord to a se-
cure place on your clothing, or your arm
or leg. Then install the clip on the other
end of the cord into the engine shut-off
switch.
3. Place the throttle grip in the “”
(start) position.
4. Pull the manual starter handle slowly un-
til you feel resistance. Then give a
strong pull straight out to crank and start
the engine. Repeat if necessary.
N
ZMU06521
ZMU02026
ZMU06522

Operation
50
5. After the engine starts, slowly return the
manual starter handle to its original po-
sition before releasing it.
T
IP:
When the engine is cold, it needs to be
warmed up. For further information, see
page 55.
6. Slowly return the throttle grip to the fully
closed position.
Starting procedure (warm engine)
1. Place the gear shift lever in neutral.
T
IP:
The start-in-gear protection device prevents
the engine from starting except when in neu-
tral.
2. Attach the engine shut-off cord to a se-
cure place on your clothing, or your arm
or leg. Then install the clip on the other
end of the cord into the engine shut-off
switch.
3. Open the throttle grip as shown in the il-
lustration.
T
IP:
●
If the throttle is opened too much, the en-
gine speed rises rapidly, causing the out-
board motor to swivel toward the starboard
side.
●
Do not repeat opening and closing of the
throttle grip as this cause the spark plug to
wet with fuel and prevent from the engine
to start.
4. Hold this throttle grip position by tighten-
ing the throttle friction adjuster.
ZMU06523
N
ZMU06521
ZMU02026
ZMU06609

Operation
51
5. Pull the manual starter handle slowly un-
til you feel resistance. Then give a
strong pull straight out to crank and start
the engine. Repeat if necessary.
6. After the engine starts, slowly return the
manual starter handle to its original po-
sition before releasing it.
7. Loosen the throttle friction adjuster and
return the throttle to the fully closed po-
sition.
WARNING! Loosen the throttle
friction adjuster. If there is too much
resistance, it could be difficult to
move the throttle grip, which could
result in an accident.
[EWM02250]
EMU27595
Electric start / prime start models
WARNING
EWM01840
●
Failure to attached engine shut-off cord
could result in a runaway boat if opera-
tor is ejected. Attach the engine shut-
off cord to a secure place on your cloth-
ing, or your arm or leg while operating.
Do not attach the cord to clothing that
could tear loose. Do not route the cord
where it could become entangled, pre-
venting it from functioning.
●
Avoid accidentally pulling the cord dur-
ing normal operation. Loss of engine
power means the loss of most steering
control. Also, without engine power,
the boat could slow rapidly. This could
cause people and objects in the boat to
be thrown forward.
1. Place the gear shift lever in neutral.
T
IP:
The start-in-gear protection device prevents
the engine from starting except when in neu-
tral.
2. Attach the engine shut-off cord to a se-
cure place on your clothing, or your arm
or leg. Then install the clip on the other
end of the cord into the engine shut-off
switch.
ZMU06608
ZMU06523

Operation
52
3. Place the throttle grip in the “”
(start) position. After the engine starts,
return the throttle to the fully closed po-
sition.
4. Turn the main switch to “” (start),
and hold it for a maximum of 5 seconds.
5. Immediately after the engine starts, re-
lease the main switch and allow it to re-
turn to “” (on).
NOTICE:
Never turn
the main switch to “” (start)
while the engine is running. Do not
keep the starter motor turning for
more than 5 seconds. If the starter
motor is turned continuously for
more than 5 seconds, the battery will
be quickly discharged, thus making it
impossible to start the engine. The
starter can also be damaged. If the
engine will not start after 5 seconds
of cranking, return the main switch to
“” (on), wait 10 seconds, then
crank the engine again.
[ECM00192]
T
IP:
●
When the engine is cold, it needs to be
warmed up. For further information, see
page 55.
●
If the engine is warm and fails to start,
open the throttle slightly and try to start the
engine again. If the engine still fails to
start, see page 89.
EMU27604
Electric start/prime start models
WARNING
EWM01840
●
Failure to attached engine shut-off cord
could result in a runaway boat if opera-
tor is ejected. Attach the engine shut-
off cord to a secure place on your cloth-
ing, or your arm or leg while operating.
Do not attach the cord to clothing that
could tear loose. Do not route the cord
where it could become entangled, pre-
venting it from functioning.
●
Avoid accidentally pulling the cord dur-
ing normal operation. Loss of engine
power means the loss of most steering
control. Also, without engine power,
the boat could slow rapidly. This could
cause people and objects in the boat to
be thrown forward.
1. Place the gear shift lever in neutral.

Operation
53
T
IP:
The start-in-gear protection device prevents
the engine from starting except when in neu-
tral.
2. Attach the engine shut-off cord to a se-
cure place on your clothing, or your arm
or leg. Then install the clip on the other
end of the cord into the engine shut-off
switch.
3. Place the throttle grip in the “”
(start) position. After the engine starts,
return the throttle to the fully closed po-
sition.
4. Push the starter button to start the en-
gine.
5. Immediately after the engine starts, re-
lease the starter button and allow it to re-
turn to its original position.
NOTICE:
Never push the starter button while
the engine is running. Do not keep
the starter motor turning for more
than 5 seconds. If the starter motor is
turned continuously for more than 5
seconds, the battery will be quickly
discharged, thus making it impossi-
ble to start the engine. The starter can
also be damaged. If the engine will
not start after 5 seconds of cranking,
release the starter button, wait 10
seconds, then crank the engine
again.
[ECM00161]
T
IP:
●
When the engine is cold, it needs to be
N
ZMU06521
ZMU02026
ZMU06522
ZMU06526

Operation
54
warmed up. For further information, see
page 55.
●
If the engine is warm and fails to start,
open the throttle slightly and try to start the
engine again. If the engine still fails to
start, see page 89.
6. Slowly return the throttle grip to the fully
closed position.
EMU27664
Electric start and remote control models
WARNING
EWM01840
●
Failure to attached engine shut-off cord
could result in a runaway boat if opera-
tor is ejected. Attach the engine shut-
off cord to a secure place on your cloth-
ing, or your arm or leg while operating.
Do not attach the cord to clothing that
could tear loose. Do not route the cord
where it could become entangled, pre-
venting it from functioning.
●
Avoid accidentally pulling the cord dur-
ing normal operation. Loss of engine
power means the loss of most steering
control. Also, without engine power,
the boat could slow rapidly. This could
cause people and objects in the boat to
be thrown forward.
1. Place the remote control lever in neutral.
T
IP:
The start-in-gear protection device prevents
the engine from starting except when in neu-
tral.
2. Attach the engine shut-off cord to a se-
cure place on your clothing, or your arm
or leg. Then install the clip on the other
end of the cord into the engine shut-off
switch.
3. Turn the main switch to “” (on).
4. Turn the main switch to “” (start),
and hold it for a maximum of 5 seconds.
5. Immediately after the engine starts, re-
lease the main switch and allow it to re-
turn to “” (on).
NOTICE:
Never turn
the main switch to “” (start)
while the engine is running. Do not
keep the starter motor turning for
more than 5 seconds. If the starter
motor is turned continuously for
more than 5 seconds, the battery will
be quickly discharged, thus making it
impossible to start the engine. The

Operation
55
starter can also be damaged. If the
engine will not start after 5 seconds
of cranking, return the main switch to
“” (on), wait 10 seconds, then
crank the engine again.
[ECM00192]
T
IP:
●
When the engine is cold, it needs to be
warmed up. For further information, see
page 55.
●
If the engine is warm and fails to start,
open the throttle slightly and try to start the
engine again. If the engine still fails to
start, see page 89.
EMU36510
Checks after starting engine
EMU36520
Cooling water
Check for a steady flow of water from the
cooling water pilot hole. A continuous flow of
water from the pilot hole shows that the wa-
ter pump is pumping water through the cool-
ing passages. If the cooling passages are
frozen, it may take a while for water to start
flowing out of the pilot hole.
NOTICE
ECM01810
If water is not flowing out of the pilot hole
at all times while the engine is running,
overheating and serious damage could
occur. Stop the engine and check wheth-
er the cooling water inlet on the lower
case or the cooling water pilot hole is
blocked. Consult your Yamaha dealer if
the problem cannot be located and cor-
rected.
Check that no water leaks from the joints be-
tween the exhaust cover, cylinder head, and
body cylinder.
EMU27670
Warming up engine
EMU27715
Manual start and electric start
models
1. After starting the engine, allow it to idle
for 3 minutes to warm up. Failure to do
so will shorten engine life.
2. Be sure the low oil pressure-alert indica-
tor goes off after starting the engine.
NOTICE:
If the low oil pressure-alert
indicator blinks after the engine
starts, stop the engine. Otherwise se-
rious engine damage could occur.
Check the oil level and add oil if nec-
essary. Consult your Yamaha dealer
if the cause for the low oil pressure-
alert indicator cannot be found.
[ECM01830]
EMU36530
Checks after engine warm-up
EMU36540
Shifting
While tightly moored, and without applying
throttle, confirm that the engine shifts
smoothly into forward and reverse, and back
to neutral.

Operation
56
EMU36980
Stop switches
●
Turn the main switch to “”, or press the
engine stop button and make sure the en-
gine stops.
●
Confirm that removing the clip from the en-
gine shut-off switch stops the engine.
●
Confirm that the engine cannot be started
with the clip removed from the engine
shut-off switch.
EMU34561
Shifting
WARNING
EWM00180
Before shifting, make sure there are no
swimmers or obstacles in the water near
you.
NOTICE
ECM01610
Warm up the engine before shifting into
gear. Until the engine is warm, the idle
speed may be higher than normal. High
idle speed can prevent you from shifting
back to neutral. If this occurs, stop the
engine, shift to neutral, then restart the
engine and allow it to warm up.
To shift out of neutral
1. Pull the neutral interlock trigger up (if
equipped).
2. Move the remote control lever / gear
shift lever firmly and crisply forward (for
forward gear) or backward (for reverse
gear) [about 35° (a detent can felt) for re-
mote control models]. Be sure to check
that the tilt lock lever is in the lock/down
position (if equipped) before operating in
reverse.
1. Neutral interlock trigger
ZMU06528
R
F
N
ZMU06531

Operation
57
T
IP:
Tiller handle models: The gear shift lever op-
erates only when the throttle grip is in the ful-
ly closed position.
To shift from in gear (forward/reverse) to
neutral
1. Close the throttle so that the engine
slows to idle speed.
2. After the engine is at idle speed in gear
move the remote control lever / gear
shift lever firmly and crisply into the neu-
tral position.
ZMU06522
N
ZMU06521

Operation
58
EMU31742
Stopping boat
WARNING
EWM01510
●
Do not use the reverse function to slow
down or stop the boat as it could cause
you to lose control, be ejected, or im-
pact the steering wheel or other parts of
the boat. This could increase the risk of
serious injury. It could also damage the
shift mechanism.
●
Do not shift into reverse while traveling
at planing speeds. Loss of control, boat
swamping, or damage to the boat could
occur.
The boat is not equipped with a separate
braking system. Water resistance stops it af-
ter the throttle lever is moved back to idle.
The stopping distance varies depending on
gross weight, water surface conditions, and
wind direction.
EMU27821
Stopping engine
Before stopping the engine, first let it cool off
for a few minutes at idle or low speed. Stop-
ping the engine immediately after operating
at high speed is not recommended.
EMU27845
Procedure
1. Push and hold the engine stop button or
turn the main switch to “” (off).
ZMU02083

Operation
59
2. After stopping the engine, disconnect
the fuel line if there is a fuel joint on the
outboard motor.
3. Tighten the air vent screw on the fuel
tank cap (if equipped).
4. Remove the key if the boat will be left
unattended.
T
IP:
The engine can also be stopped by pulling
the cord and removing the clip from the en-
gine shut-off switch, then turning the main
switch to “” (off).
EMU27862
Trimming outboard motor
WARNING
EWM00740
Excessive trim for the operating condi-
tions (either trim up or trim down) can
cause boat instability and can make
steering the boat more difficult. This in-
creases the possibility of an accident. If
the boat begins to feel unstable or is hard
to steer, slow down and/or readjust the
trim angle.
The trim angle of the outboard motor helps
determine the position of the bow of the boat
in the water. Correct trim angle will help im-
prove performance and fuel economy while
reducing strain on the engine. Correct trim
angle depends upon the combination of
boat, engine, and propeller. Correct trim is
also affected by variables such as the load in
the boat, sea conditions, and running speed.
EMU38880
Adjusting trim angle for manual tilt
models
WARNING
EWM00400
●
Stop the engine before adjusting the
trim angle.
●
Use care to avoid being pinched when
removing or installing the rod.
●
Use caution when trying a trim position
for the first time. Increase speed gradu-
ally and watch for any signs of instabil-
ity or control problems. Improper trim
angle can cause loss of control.
There are 4 or 5 holes provided in the clamp
bracket to adjust the outboard motor trim an-
ZMU06533
ZMU02301
1. Trim operating angle

Operation
60
gle.
1. Stop the engine.
2. Tilt the outboard motor up and remove
the trim rod by pressing clip.
3. Reposition the rod in the desired hole.
To raise the bow (“trim-out”), move the rod
away from the transom.
To lower the bow (“trim-in”), move the rod to-
ward the transom.
Make test runs with the trim set to different
angles to find the position that works best for
your boat and operating conditions.
T
IP:
The outboard motor trim angle can be
changed approximately 4 degrees by shifting
the trim rod one hole.
EMU27885
Adjusting trim angle (Power trim and
tilt)
WARNING
EWM00753
●
Be sure all people are clear of the out-
board motor when adjusting the trim
angle. Body parts can be crushed be-
tween the motor and the clamp bracket
when the motor is trimmed or tilted.
●
Use caution when trying a trim position
for the first time. Increase speed gradu-
ally and watch for any signs of instabil-
ity or control problems. Improper trim
angle can cause loss of control.
●
If equipped with a power trim and tilt
switch located on the bottom cowling,
use the switch only when the boat is at
a complete stop with the engine off. Do
not adjust the trim angle with this
switch while the boat is moving.
Adjust the outboard motor trim angle using
the power trim and tilt switch.
1. Trim rod
1
1
ZMU06566
ZMU06536
ZMU06535

Operation
61
To raise the bow (trim-out), press the switch
“” (up).
To lower the bow (trim-in), press the switch
“” (down).
Make test runs with the trim set to different
angles to find the position that works best for
your boat and operating conditions.
EMU27911
Adjusting boat trim
When the boat is on plane, a bow-up attitude
results in less drag, greater stability and effi-
ciency. This is generally when the keel line of
the boat is up about 3 to 5 degrees. With the
bow up, the boat may have a greater tenden-
cy to steer to one side or the other. Compen-
sate for this as you steer. The trim tab can
also be adjusted to help offset this effect.
When the bow of the boat is down, it is easier
to accelerate from a standing start onto
plane.
Bow Up
Too much trim-out puts the bow of the boat
too high in the water. Performance and econ-
omy are decreased because the hull of the
boat is pushing the water and there is more
air drag. Excessive trim-out can also cause
the propeller to ventilate, which reduces per-
formance further, and the boat may “por-
poise” (hop in the water), which could throw
the operator and passengers overboard.
1. Power trim and tilt switch
1. Power trim and tilt switch
1. Power trim and tilt switch
UP
DN
1
ZMU06495

Operation
62
Bow Down
Too much trim-in causes the boat to “plow”
through the water, decreasing fuel economy
and making it hard to increase speed. Oper-
ating with excessive trim-in at higher speeds
also makes the boat unstable. Resistance at
the bow is greatly increased, heightening the
danger of “bow steering” and making opera-
tion difficult and dangerous.
T
IP:
Depending on the type of boat, the outboard
motor trim angle may have little effect on the
trim of the boat when operating.
EMU27934
Tilting up and down
If the engine will be stopped for some time or
if the boat is moored in shallows, the out-
board motor should be tilted up to protect the
propeller and lower casing from damage by
collision with obstructions, and also to re-
duce salt corrosion.
WARNING
EWM00221
Be sure all people are clear of the out-
board motor when tilting up and down,
Body parts can be crushed between the
motor and the clamp bracket when the
motor is trimmed or tilted.
WARNING
EWM00250
Leaking fuel is a fire hazard. If there is a
fuel joint on the outboard motor, discon-
nect the fuel line or close the fuel cock if
the engine will be tilted for more than a
few minutes. Otherwise fuel may leak.
NOTICE
ECM00241
●
Before tilting the outboard motor, stop
the engine by following the procedure
on page 58. Never tilt the outboard mo-
tor while the engine is running. Severe
damage from overheating can result.
●
Do not tilt up the engine by pushing the
tiller handle (if equipped) because this
could break the handle.
EMU2797B
Procedure for tilting up (manual tilt
models)
1. Place the remote control lever / gear
shift lever in neutral.
N
ZMU03087

Operation
63
2. Disconnect the fuel line from the out-
board motor.
3. Place the tilt lock lever (if equipped) in
the release/up position.
4. Pull up the shallow water lever (if
equipped).
5. Hold the rear of the top cowling with one
hand and tilt the engine up fully.
6. Push the tilt support knob into the clamp
bracket. Or the tilt support bar will turn to
the lock position automatically.
NOTICE:
Do not use the tilt support
lever or knob when trailering the
boat. The outboard motor could
shake loose from the tilt support and
fall. If the motor cannot be trailered in
the normal running position, use an
additional support device to secure it
in the tilt position. For more detailed
information, see page 69.
[ECM01641]
EMU32723
Procedure for tilting up (power trim
and tilt models)
1. Place the remote control lever / gear
shift lever in neutral.
N
ZMU06521
ZMU06533
ZMU06539
ZMU06503
N
ZMU03196

Operation
64
2. Press the power trim and tilt switch “”
(up) until the outboard motor has tilted
up completely.
3. Push the tilt support knob into the clamp
bracket to support the engine.
WARNING! After tilting the outboard
motor, be sure to support it with the
tilt support knob or tilt support lever.
Otherwise the outboard motor could
fall back down suddenly if oil in the
power trim and tilt unit or in the pow-
er tilt unit loses pressure.
[EWM00262]
NOTICE:
Do not use the tilt support
lever or knob when trailering the
boat. The outboard motor could
shake loose from the tilt support and
fall. If the motor cannot be trailered in
the normal running position, use an
additional support device to secure it
in the tilt position. For more detailed
information, see page 69.
[ECM01641]
4. Models equipped with trim rods: Once
the outboard motor is supported with the
tilt support lever, press the power trim
UP
ZMU06537
ZMU06543

Operation
65
and tilt switch “” (down) to retract the
trim rods.
NOTICE:
Be sure to retract
the trim rods completely during
mooring. This protects the rods from
marine growth and corrosion which
could damage the power trim and tilt
mechanism.
[ECM00251]
EMU30192
Procedure for tilting down (manual
tilt models)
1. Place the tilt lock lever in the lock posi-
tion.
2. Slightly tilt the engine up until the tilt sup-
port bar is automatically released.
3. Slowly tilt the engine down.
EMU33120
Procedure for tilting down (power
trim and tilt models)
1. Push the power trim and tilt switch “”
(up) until the outboard motor is support-
ed by the tilt rod and the tilt support knob
becomes free.
2. Pull out the tilt support knob.
3. Push the power trim and tilt switch “”
(down) to lower the outboard motor to
the desired position.
ZMU02306
ZMU06545
DN
ZMU01936
UP
DN
DN
ZMU06546

Operation
66
EMU28061
Shallow water
EMU28073
Cruising in shallow water (manual tilt
models)
WARNING
EWM01781
●
Run the boat at the lowest possible
speed when using the shallow water
cruising system. The tilt lock mecha-
nism does not work while the shallow
water cruising system is being used.
Hitting an underwater obstacle could
cause the outboard motor to lift out of
the water, resulting in loss of control.
●
Use extra care when operating in re-
verse. Too much reverse thrust can
cause the outboard motor to lift out of
the water, increasing the chance of ac-
cident and personal injury.
NOTICE
ECM00260
Do not tilt the outboard motor up so that
the cooling water inlet on the lower unit is
above the surface of the water when set-
ting up for and cruising in shallow water.
Otherwise severe damage from overheat-
ing can result.
EMU28125
Procedure
1. Place the remote control lever / gear
shift lever in neutral.
2. Place the tilt lock lever in the release/up
position.
N
ZMU03087
N
ZMU06521

Operation
67
3. Slightly tilt the outboard motor up. The
tilt support bar will lock automatically,
supporting the outboard motor in a par-
tially raised position. This outboard mo-
tor has 2 positions for shallow water
cruising.
4. To return the outboard motor to the nor-
mal running position, place the remote
control lever / gear shift lever in neutral.
5. Place the tilt lock lever in the lock/down
position, then slightly tilt the outboard
motor up until the tilt support bar auto-
matically returns to the free position.
6. Slowly lower the outboard motor to the
normal position.
EMU32851
Power trim and tilt models
The outboard motor can be tilted up partially
to allow operation in shallow water.
NOTICE
ECM00260
Do not tilt the outboard motor up so that
the cooling water inlet on the lower unit is
above the surface of the water when set-
ting up for and cruising in shallow water.
Otherwise severe damage from overheat-
ing can result.
EMU32912
Procedure for power trim and tilt models
1. Place the remote control lever / gear
shift lever in neutral.
ZMU06539
ZMU04851
ZMU02306

Operation
68
2. Slightly tilt the outboard motor up to the
desired position using the power trim
and tilt switch.
WARNING! Using the
power trim and tilt switch on the bot-
tom cowling while the boat is moving
or engine is on could increase the
risk of falling overboard and could
distract the operator, increasing the
risk of collision with another boat or
an obstacle.
[EWM01850]
3. To return the outboard motor to the nor-
mal running position, press the power
trim and tilt switch and slowly tilt the out-
board motor down.
EMU28195
Cruising in other conditions
Cruising in salt water
After operating in salt water, flush the cooling
water passages with fresh water to prevent
them from becoming clogged. Also rinse the
outside of the outboard motor with fresh wa-
ter.
Cruising in muddy, turbid, or acidic water
Yamaha strongly recommends that you use
the optional chromium-plated water pump kit
(see page 19) if you use the outboard motor
in acidic water or water with a lot of sediment
in it, such as muddy or turbid (cloudy) water.
After operating in such water, flush the cool-
ing passages with fresh water to prevent cor-
rosion. Also rinse the outside of the outboard
motor with fresh water.
UP
ZMU01935
UP
DN
UP
ZMU06537

69
Maintenance
EMU28227
Transporting and storing
outboard motor
WARNING
EWM00693
●
USE CARE when transporting fuel tank,
whether in a boat or car.
●
DO NOT fill fuel container to maximum
capacity. Gasoline will expand consid-
erably as it warms up and can build up
pressure in the fuel container. This can
cause fuel leakage and a potential fire
hazard.
WARNING
EWM01860
Leaking fuel is a fire hazard. When trans-
porting and storing the outboard motor,
close the fuel cock to prevent fuel from
leaking. Never get under the engine while
it is tilted. Severe injury could occur if the
outboard motor accidentally falls.
NOTICE
ECM00660
Do not use the tilt support lever or knob
when trailering the boat. The outboard
motor could shake loose from the tilt sup-
port and fall. If the motor cannot be trail-
ered in the normal running position, use
an additional support device to secure it
in the tilt position.
The outboard motor should be trailered and
stored in the normal running position. If there
is insufficient road clearance in this position,
then trailer the outboard motor in the tilt po-
sition using a motor support device such as
a transom saver bar. Consult your Yamaha
dealer for further details.
EMU28235
Clamp screw mounting models
When transporting or storing the outboard
motor while removed from a boat, keep the
outboard motor in the attitude shown.
T
IP:
Place a towel or something similar under the
outboard motor to protect it from damage.
EMU28241
Storing outboard motor
When storing your Yamaha outboard motor
for prolonged periods of time (2 months or
longer), several important procedures must
be performed to prevent excessive damage.
It is advisable to have your outboard motor
serviced by an authorized Yamaha dealer
prior to storage. However, you, the owner,
with a minimum of tools, can perform the fol-
lowing procedures.
NOTICE
ECM01080
●
To prevent problems which can be
caused by oil entering the cylinder from
the sump, keep the outboard motor in
the attitude shown when transporting
ZMU06560

Maintenance
70
and storing it. If storing or transporting
the outboard motor on its side (not up-
right), put it on a cushion after draining
the engine oil.
●
Do not place the outboard motor on its
side before the cooling water has
drained from it completely, otherwise
water may enter the cylinder through
the exhaust port and cause engine trou-
ble.
●
Store the outboard motor in a dry, well-
ventilated place, not in direct sunlight.
EMU28304
Procedure
EMU39020
Flushing in a test tank
NOTICE
ECM02130
Do not run the engine without supplying
it with cooling water. Either the engine
water pump will be damaged or the en-
gine will be damaged from overheating.
Cooling system flushing is essential to pre-
vent the cooling system from clogging up
with salt, sand, or dirt. In addition, fogging of
the engine is mandatory to prevent exces-
sive engine damage due to rust. Perform the
flushing and fogging at the same time.
1. Wash the outboard motor body using
fresh water.
NOTICE:
Do not spray wa-
ter into the air intake.
[ECM01840]
For fur-
ther information, see page 72.
2. Disconnect the fuel line from the out-
board motor.
3. Remove the engine top cowling and pro-
peller. For further details, see page 82.
4. Install the outboard motor on a water
tank. Fill the tank with fresh water until
the anti-cavitation plate is immersed in
water.
NOTICE:
If the fresh water level
is below the level of the anti-cavita-
tion plate, or if the water supply is in-
sufficient, engine seizure may occur.
[ECM00291]
5. Run the engine at a fast idle for 10–15
minutes in neutral position.
WARNING!
Do not touch or remove electrical
parts when starting or during opera-
tion. Keep hands, hair, and clothes
away from the flywheel and other ro-
tating parts while the engine is run-
ning.
[EWM00091]
6. Just prior to turning off the engine, quick-
ly spray “Yamaha Stor-Rite Engine
Fogging Oil” alternately into the silencer
cover. When properly done, the engine
will smoke excessively and almost stall.
ZMU03659
1. Water surface
2. Lowest water level
ZMU02051
1
2

Maintenance
71
7. Remove the outboard motor from the
test tank.
8. Drain the cooling water completely out
of the motor. Clean the body thoroughly.
9. Install the top cowling.
10. Fill the fuel tank with fresh fuel and add
one ounce of “Yamaha Fuel Conditioner
and Stabilizer” to each gallon of fuel.
T
IP:
The use of “Yamaha Fuel Conditioner and
Stabilizer” eliminates the need to drain the
fuel system. Consult your Yamaha dealer or
other qualified mechanic if the fuel system is
to be drained instead.
11. Store the fuel tank in a dry, well-ventilat-
ed place, not in direct sunlight.
EMU28402
Lubrication
1. Install the spark plug(s) and torque to
proper specification. For information on
spark plug installation, see page 78.
2. Change the gear oil. For instructions,
see page 84. Inspect the oil for the pres-
ence of water that indicates a leaky seal.
Seal replacement should be performed
by an authorized Yamaha dealer prior to
use.
3. Grease all grease fittings. For further de-
tails, see page 77.
T
IP:
For long-term storage, fogging the engine
with oil is recommended. Contact your
Yamaha dealer for information about fogging
oil and procedures for your engine.
EMU28423
Cleaning and anticorrosion
measures
1. Wash down the exterior of the outboard
motor with fresh water and dry off com-
pletely.
NOTICE:
Do not spray water
into the air intake.
[ECM01840]
2. Spray the outboard motor exterior with
“Yamaha Silicone Protectant”.
3. Wax the cowling with a non-abrasive
wax such as “Yamaha Silicone Wax”.
EMU28443
Flushing power unit
Perform this procedure right after operation
for the most thorough flushing.
NOTICE
ECM01530
Do not perform this procedure while the
engine is running. The water pump may
be damaged and severe damage from
overheating can result.
1. After shutting off the engine, unscrew
the garden hose connector from the fit-
ting on the bottom cowling.
ZMU06571

Maintenance
72
2. Screw the garden hose adapter onto a
garden hose, which is connected to a
fresh water supply, and then connect it
to the garden hose connector.
3. With the engine off, turn on the water tap
and let the water flush through the cool-
ing passages for about 15 minutes. Turn
off the water and disconnect the garden
hose adapter from the garden hose con-
nector.
4. Reinstall the garden hose connector
onto the fitting on the bottom cowling.
Tighten the connector securely.
NOTICE:
Do not leave the garden
hose connector loose on the bottom
cowling fitting or let the hose hang
free during normal operation. Water
will leak out of the connector instead
of cooling the engine, which can
cause serious overheating. Be sure
the connector is tightened securely
on the fitting after flushing the en-
gine.
[ECM00541]
T
IP:
●
When flushing the engine with the boat in
the water, tilting up the outboard motor un-
til it is completely out of the water will
achieve better results.
●
For cooling system flushing instructions,
see page 69.
EMU28451
Cleaning the outboard motor
After use, wash the exterior of the outboard
motor with fresh water. Flush the cooling
system with fresh water.
EMU28460
Checking painted surface of motor
Check the motor for scratches, nicks, or flak-
ing paint. Areas with damaged paint are
more likely to corrode. If necessary, clean
and paint the areas. A touch-up paint is avail-
able from your Yamaha dealer.
EMU2848A
Periodic maintenance
WARNING
EWM01871
These procedures require mechanical
skills, tools, and supplies. If you do not
have the proper skills, tools, or supplies
to perform a maintenance procedure,
1. Fitting
2. Garden hose connector
3. Garden hose adapter
1
32
ZMU06553

Maintenance
73
have a Yamaha dealer or other qualified
mechanic do the work.
The procedures involve disassembling
the motor and exposing dangerous parts.
To reduce the risk of injury from moving,
hot, or electrical parts:
●
Turn off the engine and keep the key(s)
and engine shut-off cord (lanyard) with
you when you perform maintenance
unless otherwise specified.
●
The power trim and tilt switches oper-
ate even when the ignition key is off.
Keep people away from the switches
whenever working around the motor.
When the motor is tilted, keep away
from the area under it or between it and
the clamp bracket. Be sure no one is in
this area before operating the power
trim and tilt mechanism.
●
Allow the engine to cool before han-
dling hot parts or fluids.
●
Always completely reassemble the mo-
tor before operation.
Maintenance, replacement, or repair of
the emission control devices and sys-
tems may be performed by any marine
engine repair establishment or individual.
All warranty repairs, however, including
those to the emission control system,
must be performed by an authorized
Yamaha marine dealership.
A service manual is available for purchase
through your Yamaha dealer for owners who
have the mechanical skills, tools, and other
equipment necessary to perform mainte-
nance not covered by this owner’s manual.
EMU28511
Replacement parts
If replacement parts are necessary, use only
genuine Yamaha parts or parts of equivalent
design and quality. Any part of inferior quality
may malfunction, and the resulting loss of
control could endanger the operator and
passengers. Yamaha genuine parts and ac-
cessories are available from your Yamaha
dealer.
EMU35520
Maintenance interval guidelines
The service intervals provided in the Mainte-
nance Chart were developed based upon
“typical” use that includes operating at varied
speeds, with sufficient time for engine warm
up and cool-down, a medium to light load,
and an average cruising speed near the
3000 to 4000 rpm range. As with any engine,
however, if your normal operating conditions
are different, you should consider service
more often than shown, especially how often
you change your engine and gear oil. Exam-
ples might include extended wide-open-
throttle use or long periods of trolling or
idling, carrying heavy loads, or frequent
starting and stopping or shifting. More fre-
quent maintenance will often pay off many
times over in increased engine life and great-
er owner satisfaction. Consult your Yamaha
dealer for additional maintenance recom-
mendations.

Maintenance
74
EMU34445
Maintenance chart 1
T
IP:
●
Refer to the sections in this chapter for explanations of each owner-specific action.
●
The maintenance cycle on these charts assume usage of 100 hours per year and regular
flushing of the cooling water passages. Maintenance frequency should be adjusted when
operating the engine under adverse conditions such as extended trolling.
●
Disassembly or repairs may be necessary depending on the outcome of maintenance
checks.
●
Expendable or consumable parts and lubricants will lose their effectiveness over time and
through normal usage regardless of the warranty period.
●
When operating in salt water, muddy, other turbid (cloudy), acidic water, the engine should
be flushed with clean water after each use.
The “” symbol indicates the check-ups which you may carry out yourself.
The “” symbol indicates work to be carried out by your Yamaha dealer.
Item Actions
Initial Every
20 hours
(3
months)
100
hours
(1 year)
300
hours
(3 years)
500
hours
(5 years)
Anode(s) (external) Inspection or replace-
ment as necessary
Anode(s) (cylinder
head)
Inspection or replace-
ment as necessary
Anodes (exhaust cover,
exhaust guide) Replacement
Battery (electrolyte
level, terminal) Inspection
Battery (electrolyte
level, terminal)
Fill, charging or replac-
ing as necessary
Cooling water leakage Inspection or replace-
ment as necessary
Cowling lock lever Inspection
Engine starting condi-
tion/noise Inspection
Engine idling speed/
noise Inspection
Engine oil Replacement
Engine oil filter (car-
tridge) Replacement
Fuel filter (can be dis-
assembled)
Inspection or replace-
ment as necessary
Fuel line(Low pres-
sure) Inspection

Maintenance
75
Fuel line(Low pres-
sure)
Inspection or replace-
ment as necessary
Fuel pump Inspection or replace-
ment as necessary
Fuel/engine oil leakage Inspection
Gear oil Replacement
Greasing points Greasing
Impeller/water pump
housing
Inspection or replace-
ment as necessary
Impeller/water pump
housing Replacement
Power trim and tilt unit Inspection
Propeller/propeller nut/
cotter pin
Inspection or replace-
ment as necessary
Shift link/shift cable
Inspection, adjustment
or replacement as nec-
essary
Spark plug(s) Inspection or replace-
ment as necessary
Spark plug caps/spark
plug wires
Inspection or replace-
ment as necessary
Water from the cooling
water pilot hole Inspection
Throttle link/throttle
cable/throttle pick-up
timing
Inspection, adjustment
or replacement as nec-
essary
Thermostat Inspection or replace-
ment as necessary
Timing belt Inspection or replace-
ment as necessary
Valve clearance Inspection and adjust-
ment
Water inlet Inspection
Main switch/stop
switch
Inspection or replace-
ment as necessary
Wire harness connec-
tions/wire coupler con-
nections
Inspection or replace-
ment as necessary
Item Actions
Initial Every
20 hours
(3
months)
100
hours
(1 year)
300
hours
(3 years)
500
hours
(5 years)

Maintenance
76
EMU34451
Maintenance chart 2
EMU28910
T
IP:
When using lead or high-sulfur gasoline, inspecting valve clearance may be required more
frequently than every 500 hours.
(Yamaha) Fuel tank Inspection and clean-
ing as necessary
Item Actions Every
1000 hours
Exhaust guide/exhaust
manifold
Inspection or replace-
ment as necessary
Timing belt Replacement
Item Actions
Initial Every
20 hours
(3
months)
100
hours
(1 year)
300
hours
(3 years)
500
hours
(5 years)

Maintenance
77
EMU28932
Greasing
Yamaha marine grease (Water resistant grease)
F25A, F25EA, T25A
ZMU06567

Maintenance
78
F25EHA, F25MHA
EMU28956
Cleaning and adjusting spark plug
The spark plug is an important engine com-
ponent and is easy to inspect. The condition
of the spark plug can indicate something
about the condition of the engine. For exam-
ple, if the center electrode porcelain is very
white, this could indicate an intake air leak or
carburetion problem in that cylinder. Do not
attempt to diagnose any problems yourself.
Instead, take the outboard motor to a
Yamaha dealer. You should periodically re-
ZMU06554

Maintenance
79
move and inspect the spark plug because
heat and deposits will cause the spark plug
to slowly break down and erode.
1. Remove the spark plug caps from the
spark plugs.
2. Remove the spark plug. If electrode ero-
sion becomes excessive, or if carbon
and other deposits are excessive, you
should replace the spark plug with an-
other of the correct type.
WARNING!
When removing or installing a spark
plug, be careful not to damage the in-
sulator. A damaged insulator could
allow external sparks, which could
lead to explosion or fire.
[EWM00561]
3. Be sure to use the specified spark plug,
otherwise the engine may not operate
properly. Before fitting the spark plug,
measure the electrode gap with a wire
thickness gauge; replace it if out of spec-
ification.
4. When fitting the plug, wipe off any dirt
from the threads, and then screw it in to
the correct torque.
T
IP:
If a torque-wrench is not available when you
are fitting a spark plug, a good estimate of
the correct torque is 1/4 to 1/2 a turn past fin-
ger-tight. Have the spark plug adjusted to the
correct torque as soon as possible with a
torque-wrench.
EMU37450
Checking fuel filter
Check the fuel filter periodically. If any water
or foreign matter is found in the filter, clean or
replace it. For cleaning or replacement of the
fuel filter, consult your Yamaha dealer.
EMU29043
Inspecting idling speed
WARNING
EWM00451
●
Do not touch or remove electrical parts
when starting or during operation.
●
Keep hands, hair, and clothes away
from the flywheel and other rotating
Standard spark plug:
DPR6EB-9
1. Spark plug gap
2. Spark plug I.D. mark (NGK)
3. Spark plug part number
Spark plug gap:
0.8–0.9 mm (0.031–0.035 in)
Spark plug torque:
17.0 Nm (1.73 kgf-m, 12.5 ft-lb)
ZMU06513

Maintenance
80
parts while the engine is running.
NOTICE
ECM00490
This procedure must be performed while
the outboard motor is in the water. A
flushing attachment or test tank can be
used.
If the boat is not equipped with a tachometer
for the outboard motor, use a diagnostic ta-
chometer for this procedure. Results may
vary depending on whether testing is con-
ducted with the flushing attachment, in a test
tank, or with the outboard motor in the water.
1. Start the engine and allow it to warm up
fully in neutral until it is running smooth-
ly.
2. Once the engine has warmed up, verify
whether the idle speed is set to specifi-
cation. For idle speed specifications,
see page 14. If you have difficulty verify-
ing the idle speed, or the idle speed re-
quires adjustment, consult a Yamaha
dealer or other qualified mechanic.
EMU38802
Changing engine oil
NOTICE
ECM01710
Change the engine oil after the first 20
hours of operation or 3 months, and ev-
ery 100 hours or at 1-year intervals there-
after. Otherwise the engine will wear
quickly.
Extract the engine oil with an oil changer.
1. Put the outboard motor in an upright po-
sition (not tilted).
NOTICE:
If the motor
is not level, the oil level indicated on
the dipstick may not be accurate.
[ECM01860]
2. Start the engine. Warm it up and keep
the idle speed for 5-10 minutes.
3. Stop the engine and leave it for 5-10
minutes.
4. Remove the top cowling.
5. Remove the oil filler cap. Pull out the dip-
stick and use the oil changer to extract
the oil completely.
T
IP:
If the oil changer is not available, remove the
drain screw while holding a container under
the drain hole. Let the oil drain completely.
Wipe up any spilled oil immediately.
1. Oil changer
ZMU03659
1
ZMU06591

Maintenance
81
6. Add the correct amount of oil through the
filler hole. Put back the filler cap and the
dipstick.
NOTICE:
Overfilling the oil
could cause leakage or damage. If the
oil level is above the upper level
mark, drain until the level meets the
specified capacity.
[ECM01850]
7. Leave the outboard motor for 5-10 min-
utes.
8. Remove oil dipstick and wipe it clean.
9. Insert the dipstick and remove it again.
Be sure to completely insert the dipstick
into the dipstick guide, otherwise the oil
level measurement will be incorrect.
10. Recheck the oil level using the dipstick
to be sure the level falls between the up-
per and lower marks. Consult your
Yamaha dealer if the oil level is out of
specified level.
11. Start the engine and make sure that the
low oil pressure-alert indicator remains
off. Also, make sure that there are no oil
leaks.
NOTICE:
If the low oil pressure-
alert indicator comes on or if there
are oil leaks, stop the engine and find
the cause. Continued operation with
a problem could cause severe engine
damage. Consult your Yamaha dealer
if the problem cannot be located and
corrected.
[ECM01622]
12. Dispose of used oil according to local
regulations.
T
IP:
●
For more information on the disposal of
used oil, consult your Yamaha dealer.
1. Drain screw
1. Oil filler cap
Recommended engine oil:
4-stroke outboard motor oil
Total engine oil quantity (oil pan capaci-
ty):
Without oil filter replacement:
1.4 L (1.48 US qt, 1.23 Imp.qt)
With oil filter replacement:
1.6 L (1.69 US qt, 1.41 Imp.qt)
1
ZMU06610
1
ZMU06561
1. Oil dipstick
2. Lower level mark
3. Upper level mark
1
2
3
ZMU06516

Maintenance
82
●
Change the oil more often when operating
the engine under adverse conditions such
as extended trolling.
EMU29113
Checking wiring and connectors
●
Check that each connector is engaged se-
curely.
●
Check that each ground lead is properly
secured.
EMU32112
Checking propeller
WARNING
EWM01881
You could be seriously injured if the en-
gine accidentally starts when you are
near the propeller. Before inspecting, re-
moving, or installing the propeller, place
the shift control in neutral, turn the main
switch to “” (off) and remove the key,
and remove the clip from the engine shut-
off switch. Turn off the battery cut-off
switch if your boat has one.
Do not use your hand to hold the propeller
when loosening or tightening the propeller
nut. Put a wood block between the anti-cavi-
tation plate and the propeller to prevent the
propeller from turning.
Checkpoints
●
Check each of the propeller blades for ero-
sion from cavitation or ventilation, or other
damage.
●
Check the propeller shaft for damage.
●
Check the splines for wear or damage.
●
Check for fish line tangled around the pro-
peller shaft.
●
Check the propeller shaft oil seal for dam-
age.
EMU30662
Removing propeller
EMU29197
Spline models
1. Straighten the cotter pin and pull it out
ZMU06562
ZMU01897

Maintenance
83
using a pair of pliers.
2. Remove the propeller nut, washer, and
spacer (if equipped).
WARNING! Do
not use your hand to hold the propel-
ler when loosening the propeller nut.
[EWM01890]
3. Remove the propeller, washer (if
equipped), and thrust washer.
EMU30672
Installing propeller
EMU29233
Spline models
NOTICE
ECM00500
Be sure to use a new cotter pin and bend
the ends over securely. Otherwise the
propeller could come off during opera-
tion and be lost.
1. Apply Yamaha marine grease or a cor-
rosion resistant grease to the propeller
shaft.
2. Install the spacer (if equipped), thrust
washer, washer (if equipped), and pro-
peller on the propeller shaft.
NOTICE:
Be sure to install the thrust washer
before installing the propeller, other-
wise the lower case and propeller
boss could be damaged.
[ECM01880]
3. Install the spacer (if equipped) and the
washer. Tighten the propeller nut to the
specified torque.
4. Align the propeller nut with the propeller
shaft hole. Insert a new cotter pin in the
hole and bend the cotter pin ends.
NOTICE:
Do not reuse the cotter pin
installed. Otherwise the propeller can
come off during operation.
[ECM01890]
1. Cotter pin
2. Propeller nut
3. Washer
4. Spacer
5. Propeller
6. Thrust washer
1. Cotter pin
2. Propeller nut
3. Washer
4. Propeller
5. Thrust washer
ZMU06564
65
432
1
1
2
3
4
5
ZMU06603
Propeller nut tightening torque:
35.0 Nm (3.57 kgf-m, 25.8 ft-lb)

Maintenance
84
T
IP:
If the propeller nut does not align with the
propeller shaft hole after tightening to the
specified torque, tighten the nut further to
align it with the hole.
EMU29287
Changing gear oil
WARNING
EWM00800
●
Be sure the outboard motor is securely
fastened to the transom or a stable
stand. You could be severely injured if
the outboard motor falls on you.
●
Never get under the lower unit while it
is tilted, even when the tilt support lever
or knob is locked. Severe injury could
occur if the outboard motor accidental-
ly falls.
1. Tilt the outboard motor so that the gear
oil drain screw is at the lowest point pos-
sible.
2. Place a suitable container under the
gear case.
3. Remove the gear oil drain screw and
gasket.
NOTICE:
If there is an exces-
sive quantity of metal particles on the
magnetic gear oil drain screw, this
can indicate lower unit problem. Con-
sult your Yamaha dealer.
[ECM01900]
T
IP:
●
If a magnetic gear oil drain screw is
equipped, remove all metal particles from
the screw before installing it.
●
Always use new gaskets. Do not reuse the
removed gaskets.
4. Remove the oil level plug and gasket to
allow the oil to drain completely.
NOTICE:
Inspect the used oil after it
has been drained. If the oil is milky,
water is getting into the gear case
which can cause gear damage. Con-
sult a Yamaha dealer for repair of the
lower unit seals.
[ECM00711]
T
IP:
For disposal of used oil, consult your
Yamaha dealer.
5. Put the outboard motor in a vertical po-
sition. Using a flexible or pressurized fill-
ing device, inject the gear oil into the
gear oil drain screw hole.
ZMU02063
1. Gear oil drain screw
2. Oil level plug
ZMU03273
2
1

Maintenance
85
6. Put a new gasket on the oil level plug.
When the oil begins to flow out of the oil
level plug hole, insert and tighten the oil
level plug.
7. Put a new gasket on the gear oil drain
screw. Insert and tighten the gear oil
drain screw.
EMU29302
Cleaning fuel tank
WARNING
EWM00920
Gasoline is highly flammable, and its va-
pors are flammable and explosive.
●
If you have any question about properly
doing this procedure, consult your
Yamaha dealer.
●
Keep away from sparks, cigarettes,
flames, or other sources of ignition
when cleaning the fuel tank.
●
Remove the fuel tank from the boat be-
fore cleaning it. Work only outdoors in
an area with good ventilation.
●
Wipe up any spilled fuel immediately.
●
Reassemble the fuel tank carefully. Im-
proper assembly can result in a fuel
leak, which could result in a fire or ex-
plosion hazard.
●
Dispose of old gasoline according to lo-
cal regulations.
1. Empty the fuel tank into an approved
container.
2. Pour a small amount of suitable solvent
into the tank. Install the cap and shake
the tank. Drain the solvent completely.
3. Remove the screws holding the fuel joint
assembly. Pull the assembly out of the
tank.
4. Clean the filter (located on the end of the
Recommended gear oil:
Hypoid gear oil SAE#90
Gear oil quantity:
F25A 0.320 L
(0.338 US qt, 0.282 Imp.qt)
F25EA 0.320 L
(0.338 US qt, 0.282 Imp.qt)
F25EHA 0.320 L
(0.338 US qt, 0.282 Imp.qt)
F25MHA 0.320 L
(0.338 US qt, 0.282 Imp.qt)
T25A 0.430 L
(0.455 US qt, 0.378 Imp.qt)
Tightening torque:
9 Nm (0.9 kgf-m, 6.6 ft-lb)
Tightening torque:
9 Nm (0.9 kgf-m, 6.6 ft-lb)
ZMU03274
ZMU02324

Maintenance
86
suction pipe) in a suitable cleaning sol-
vent. Allow the filter to dry.
5. Replace the gasket with a new one. Re-
install the fuel joint assembly and tighten
the screws firmly.
EMU29312
Inspecting and replacing anode(s)
Yamaha outboard motors are protected from
corrosion by sacrificial anodes. Inspect the
external anodes periodically. Remove scales
from the surfaces of the anodes. Consult a
Yamaha dealer for replacement of external
anodes.
NOTICE
ECM00720
Do not paint anodes, as this would render
them ineffective.
T
IP:
Inspect ground leads attached to external
anodes on equipped models. Consult a
Yamaha dealer for inspection and replace-
ment of internal anodes attached to the pow-
er unit.
EMU29322
Checking battery (for electric start
models)
WARNING
EWM01900
Battery electrolytic fluid is poisonous
and caustic, and batteries generate ex-
plosive hydrogen gas. When working
near the battery:
●
Wear protective eye gear and rubber
ZMU06559
ZMU03664
ZMU02924
ZMU05024

Maintenance
87
gloves.
●
Do not smoke or bring any other source
of ignition near the battery.
Refer to page 16 for detailed safety infor-
mation about batteries.
The procedure for checking the battery var-
ies for different batteries. This procedure
contains typical checks that apply to many
batteries, but you should always refer to the
battery manufacturer’s instructions.
NOTICE
ECM01920
A poorly maintained battery will quickly
deteriorate.
1. Check the electrolyte level.
2. Check the battery’s charge. If your boat
is equipped with the digital speedome-
ter, the voltmeter and low battery alert
functions will help you monitor the bat-
tery’s charge. If the battery needs charg-
ing, consult your Yamaha dealer.
3. Check the battery connections. They
should be clean, secure, and covered by
an insulating cover.
WARNING! Bad
connections can produce shorting or
arcing and cause an explosion.
[EWM01910]
EMU29333
Connecting the battery
WARNING
EWM00570
Mount the battery holder securely in a
dry, well-ventilated, vibration-free loca-
tion in the boat. Install a fully charged bat-
tery in the holder.
NOTICE
ECM01123
Reversal of the battery cables will dam-
age the electrical parts.
1. Make sure the main switch (on applica-
ble models) is “” (off) before working
on the battery.
2. Connect the red battery cable to the
POSITIVE (+) terminal first. Then con-
nect the black battery cable to the NEG-
ATIVE (-) terminal.
3. The electrical contacts of the battery and
cables must be clean and properly con-
nected, or the battery will not start the
engine.
EMU29371
Disconnecting the battery
1. Turn off the battery cut-off switch (if
equipped) and main switch.
NOTICE:
If
1. Red cable
2. Black cable
3. Battery

Maintenance
88
they are left on, the electrical system
can be damaged.
[ECM01930]
2. Disconnect the negative cable(s) from
the negative (-) terminal.
NOTICE:
Al-
ways disconnect all negative (-) ca-
bles first to avoid a short circuit and
damage to the electrical system.
[ECM01940]
3. Disconnect the positive cable(s) and re-
move the battery from the boat.
4. Clean, maintain, and store the battery
according to the manufacturer’s instruc-
tions.

89
Trouble Recovery
EMU29427
Troubleshooting
A problem in the fuel, compression, or igni-
tion systems can cause poor starting, loss of
power, or other problems. This section de-
scribes basic checks and possible remedies,
and covers all Yamaha outboard motors.
Therefore some items may not apply to your
model.
If your outboard motor requires repair, bring
it to your Yamaha dealer.
If the engine trouble-alert indicator is flash-
ing, consult your Yamaha dealer.
Starter will not operate.
Q. Is battery capacity weak or low?
A. Check battery condition. Use battery of
recommended capacity.
Q. Are battery connections loose or corrod-
ed?
A. Tighten battery cables and clean battery
terminals.
Q. Is fuse for electric start relay or electric cir-
cuit blown?
A. Check for cause of electric overload and
repair. Replace fuse with one of correct am-
perage.
Q. Are starter components faulty?
A. Have serviced by a Yamaha dealer.
Q. Is shift lever in gear?
A. Shift to neutral.
Engine will not start (starter operates).
Q. Is fuel tank empty?
A. Fill tank with clean, fresh fuel.
Q. Is fuel contaminated or stale?
A. Fill tank with clean, fresh fuel.
Q. Is fuel filter clogged?
A. Clean or replace filter.
Q. Is starting procedure incorrect?
A. See page 49.
Q. Has fuel pump malfunctioned?
A. Have serviced by a Yamaha dealer.
Q. Are spark plug(s) fouled or of incorrect
type?
A. Inspect spark plug(s). Clean or replace
with recommended type.
Q. Are spark plug cap(s) fitted incorrectly?
A. Check and re-fit cap(s).
Q. Is ignition wiring damaged or poorly con-
nected?
A. Check wires for wear or breaks. Tighten
all loose connections. Replace worn or bro-
ken wires.
Q. Are ignition parts faulty?
A. Have serviced by a Yamaha dealer.
Q. Is engine shut-off cord (lanyard) not at-
tached?
A. Attach cord.
Q. Are engine inner parts damaged?
A. Have serviced by a Yamaha dealer.
Engine idles irregularly or stalls.
Q. Are spark plug(s) fouled or of incorrect
type?
A. Inspect spark plug(s). Clean or replace
with recommended type.

Trouble Recovery
90
Q. Is fuel system obstructed?
A. Check for pinched or kinked fuel line or
other obstructions in fuel system.
Q. Is fuel contaminated or stale?
A. Fill tank with clean, fresh fuel.
Q. Is fuel filter clogged?
A. Clean or replace filter.
Q. Have ignition parts failed?
A. Have serviced by a Yamaha dealer.
Q. Has alert system activated?
A. Find and correct cause of alert.
Q. Is spark plug gap incorrect?
A. Inspect and adjust as specified.
Q. Is ignition wiring damaged or poorly con-
nected?
A. Check wires for wear or breaks. Tighten
all loose connections. Replace worn or bro-
ken wires.
Q. Is specified engine oil not being used?
A. Check and replace oil as specified.
Q. Is thermostat faulty or clogged?
A. Have serviced by a Yamaha dealer.
Q. Are carburetor adjustments incorrect?
A. Have serviced by a Yamaha dealer.
Q. Is fuel pump damaged?
A. Have serviced by a Yamaha dealer.
Q. Is air vent screw on fuel tank closed?
A. Open air vent screw.
Q. Is choke knob pulled out?
A. Return to home position.
Q. Is motor angle too high?
A. Return to normal operating position.
Q. Is carburetor clogged?
A. Have serviced by a Yamaha dealer.
Q. Is fuel joint connection incorrect?
A. Connect correctly.
Q. Is throttle valve adjustment incorrect?
A. Have serviced by a Yamaha dealer.
Q. Is battery cable disconnected?
A. Connect securely.
Alert buzzer sounds or indicator lights.
Q. Is cooling system clogged?
A. Check water intake for restriction.
Q. Is engine oil level low?
A. Fill oil tank with specified engine oil.
Q. Is heat range of spark plug incorrect?
A. Inspect spark plug and replace it with rec-
ommended type.
Q. Is specified engine oil not being used?
A. Check and replace oil with specified type.
Q. Is engine oil contaminated or deteriorat-
ed?
A. Replace oil with fresh, specified type.
Q. Is oil filter clogged?
A. Have serviced by a Yamaha dealer.
Q. Has oil feed/injection pump malfunc-
tioned?
A. Have serviced by a Yamaha dealer.

Trouble Recovery
91
Q. Is load on boat improperly distributed?
A. Distribute load to place boat on an even
plane.
Q. Is water pump or thermostat faulty?
A. Have serviced by a Yamaha dealer.
Q. Is there excess water in fuel filter cup?
A. Drain filter cup.
Engine power loss.
Q. Is propeller damaged?
A. Have propeller repaired or replaced.
Q. Is propeller pitch or diameter incorrect?
A. Install correct propeller to operate out-
board at its recommended speed (r/min)
range.
Q. Is trim angle incorrect?
A. Adjust trim angle to achieve most efficient
operation.
Q. Is motor mounted at incorrect height on
transom?
A. Have motor adjusted to proper transom
height.
Q. Has alert system activated?
A. Find and correct cause of alert.
Q. Is boat bottom fouled with marine growth?
A. Clean boat bottom.
Q. Are spark plug(s) fouled or of incorrect
type?
A. Inspect spark plug(s). Clean or replace
with recommended type.
Q. Are weeds or other foreign matter tangled
on gear housing?
A. Remove foreign matter and clean lower
unit.
Q. Is fuel system obstructed?
A. Check for pinched or kinked fuel line or
other obstructions in fuel system.
Q. Is fuel filter clogged?
A. Clean or replace filter.
Q. Is fuel contaminated or stale?
A. Fill tank with clean, fresh fuel.
Q. Is spark plug gap incorrect?
A. Inspect and adjust as specified.
Q. Is ignition wiring damaged or poorly con-
nected?
A. Check wires for wear or breaks. Tighten
all loose connections. Replace worn or bro-
ken wires.
Q. Have electrical parts failed?
A. Have serviced by a Yamaha dealer.
Q. Is specified fuel not being used?
A. Replace fuel with specified type.
Q. Is specified engine oil not being used?
A. Check and replace oil with specified type.
Q. Is thermostat faulty or clogged?
A. Have serviced by a Yamaha dealer.
Q. Is air vent screw closed?
A. Open the air vent screw.
Q. Is fuel pump damaged?
A. Have serviced by a Yamaha dealer.

Trouble Recovery
92
Q. Is fuel joint connection incorrect?
A. Connect correctly.
Q. Is heat range of spark plug incorrect?
A. Inspect spark plug and replace it with rec-
ommended type.
Q. Is high pressure fuel pump drive belt bro-
ken?
A. Have serviced by a Yamaha dealer.
Q. Is engine not responding properly to shift
lever position?
A. Have serviced by a Yamaha dealer.
Engine vibrates excessively.
Q. Is propeller damaged?
A. Have propeller repaired or replaced.
Q. Is propeller shaft damaged?
A. Have serviced by a Yamaha dealer.
Q. Are weeds or other foreign matter tangled
on propeller?
A. Remove and clean propeller.
Q. Is motor mounting bolt loose?
A. Tighten bolt.
Q. Is steering pivot loose or damaged?
A. Tighten or have serviced by a Yamaha
dealer.
EMU29433
Temporary action in
emergency
EMU29440
Impact damage
WARNING
EWM00870
The outboard motor can be seriously
damaged by a collision while operating or
trailering. Damage could make the out-
board motor unsafe to operate.
If the outboard motor hits an object in the wa-
ter, follow the procedure below.
1. Stop the engine immediately.
2. Inspect the control system and all com-
ponents for damage. Also inspect the
boat for damage.
3. Whether damage is found or not, return
to the nearest harbor slowly and careful-
ly.
4. Have a Yamaha dealer inspect the out-
board motor before operating it again.
EMU30681
Replacing fuse
If a fuse has blown, open the fuse holder and
remove the fuse with a fuse puller. Replace
it with a spare one of the proper amperage.
WARNING
EWM00631
Substituting an incorrect fuse or a piece
of wire could allow excessive current
flow. This could cause electric system
damage and a fire hazard.
Consult your Yamaha dealer if the new fuse
immediately blows again.

Trouble Recovery
93
EMU29512
Power trim and tilt will not operate
If the engine cannot be tilted up or down with
the power trim and tilt because of a dis-
charged battery or a failure with the power
trim and tilt unit , the engine can be tilted
manually.
1. Loosen the manual valve screw by turn-
ing it clockwise until it stops.
2. Put the engine in the desired position,
then tighten the manual valve screw by
turning it counterclockwise.
EMU29533
Starter will not operate
If the starter mechanism does not operate
(the engine cannot be cranked with the start-
er), the engine can be started with an emer-
gency starter rope.
WARNING
EWM01022
●
Use this procedure only in an emergen-
cy to return to the nearest port for re-
pairs.
●
When the emergency starter rope is
used to start the engine, the start-in-
gear protection device does not oper-
ate. Make sure the remote control lever
is in neutral. Otherwise the boat could
unexpectedly start to move, which
could result in an accident.
●
Attach the engine shut-off cord to a se-
cure place on your clothing, or your
arm or leg while operating the boat.
●
Do not attach the cord to clothing that
could tear loose. Do not route the cord
where it could become entangled, pre-
venting it from functioning.
●
Avoid accidentally pulling the cord dur-
1. Fuse puller
2. Cap
3. Fuse (20 A, 30 A)
4. Spare fuse (20 A, 30 A)
1. Fuse puller
2. Fuse (20 A, 30 A)
1
23
4
ZMU06565
1
2
ZMU03562
1. Manual valve screw
ZMU02816
1

Trouble Recovery
94
ing normal operation. Loss of engine
power means the loss of most steering
control. Also, without engine power,
the boat could slow rapidly. This could
cause people and objects in the boat to
be thrown forward.
●
Make sure no one is standing behind
you when pulling the starter rope. It
could whip behind you and injure
someone.
●
An unguarded, rotating flywheel is very
dangerous. Keep loose clothing and
other objects away when starting the
engine. Use the emergency starter rope
only as instructed. Do not touch the fly-
wheel or other moving parts when the
engine is running. Do not install the
starter mechanism or top cowling after
the engine is running.
●
Do not touch the ignition coil, spark
plug wire, spark plug cap, or other elec-
trical components when starting or op-
erating the motor. You could get an
electrical shock.
EMU38840
Emergency starting engine (manual
start model)
1. Remove the top cowling and protective
cover.
2. Remove the grommet and disconnect
the start-in-gear protection cable from
the manual starter.
3. Remove the manual starter after remov-
ing the bolt(s).
ZMU06574
ZMU06577
ZMU6576
ZMU06575

Trouble Recovery
95
4. Pass the start-in-gear protection cable
under the fuel line and remove the
spring from it.
5. Be sure that the gear shift is in neutral
and that the clip is attached to the en-
gine shut-off switch.
6. Insert the knotted end of the emergency
starter rope into the notch in the flywheel
magnet and wind the rope 1 or 2 turn(s)
around the flywheel magnet clockwise.
7. Pull the rope slowly until resistance is
felt. Give a strong pull straight out to
crank and start the engine. If the engine
does not start on the first try, repeat the
procedure.
T
IP:
●
If the engine does not start on the first try,
repeat the procedure. If the engine fails to
start after 4 or 5 tries, open the throttle a
small amount (between 1/8 and 1/4) and
try again. Also if the engine is warm and
fails to start, open the throttle a same
amount and try to start the engine again. If
the engine still fails to start, see page 49.
●
Slowly return the throttle grip to the fully
closed position so that the engine does not
stall.
ZMU06579
ZMU06578
N
ZMU06521
ZMU02026
ZMU06583

Trouble Recovery
96
EMU38851
Emergency starting engine (electric
start model)
1. Remove the top cowling and protective
cover.
2. Pull off the 10-pin connector from the
clamp and remove the flywheel magnet
cover (if equipped).
3. Remove the flywheel magnet cover after
removing the bolt(s).
4. Be sure that the gear shift is in neutral
and that the clip is attached to the en-
gine shut-off switch. The main switch
must be “” (on), if equipped.
ZMU06585
ZMU06581
ZMU06582
N
ZMU06521

Trouble Recovery
97
5. Insert the knotted end of the emergency
starter rope into the notch in the flywheel
magnet and wind the rope 1 or 2 turn(s)
around the flywheel magnet clockwise.
6. Pull the rope slowly until resistance is
felt. Give a strong pull straight out to
crank and start the engine. If the engine
does not start on the first try, repeat the
procedure.
T
IP:
●
If the engine does not start on the first try,
repeat the procedure. If the engine fails to
start after 4 or 5 tries, open the throttle a
small amount (between 1/8 and 1/4) and
try again. Also if the engine is warm and
fails to start, open the throttle a same
amount and try to start the engine again. If
the engine still fails to start, see page 49.
●
Slowly return the throttle grip to the fully
closed position so that the engine does not
stall.
EMU33501
Treatment of submerged motor
If the outboard motor is submerged, immedi-
ately take it to a Yamaha dealer. Otherwise
some corrosion may begin almost immedi-
ately.
NOTICE:
Do not attempt to run the
outboard motor until it has been com-
pletely inspected.
[ECM00401]
ZMU02026
ZMU06584

98
Consumer information
EMU29830
YAMAHA MOTOR CORPORATION, U.S.A.
FOUR-STROKE OUTBOARD MOTOR
THREE-YEAR LIMITED WARRANTY

Consumer information
99

Consumer information
100
EMU29841
IMPORTANT WARRANTY INFORMATION IF YOU USE YOUR
YAMAHA OUTSIDE THE USA OR CANADA

EMU25062
ZMU01690
Read this manual carefully before operating this outboard motor. Keep this
manual onboard in a waterproof bag when boating. This manual should stay
with the outboard motor if it is sold.
6BP-9-11 Hyoshi 背巾4mm 09.2.19 9:09 ページ 2

Printed in Japan
February 2009–0.8 ×1 !Printed on recycled paper
F25
T25
OWNER’S MANUAL
6BP-28199-11
U.S.A.Edition
LIT-18626-08-49
qRead this manual carefully before operating this
outboard motor.
6BP-9-11 Hyoshi 背巾4mm 09.2.19 9:09 ページ 1