Yamaha Portada QY100 Owner's Manual QY100S
User Manual: Yamaha QY100 Owner's Manual
Open the PDF directly: View PDF
.
Page Count: 150 [warning: Documents this large are best viewed by clicking the View PDF Link!]

QQYY100
SECUENCIADOR MUSICAL
MANUAL DEL USUARIO

Este producto utiliza una fuente de alimentación externa (adap-
tador) o pilas. NO conecte este producto a ninguna fuente de ali-
mentación o adaptador que no sean los descritos en este manual,
en la placa de identificación o cualquier otro modelo específica-
mente recomendado por Yamaha.
PRECAUCION: No sitúe este producto donde se pueda pisar
ni tropezar con el cable de corriente o los cables de conexión.
¡No se recomienda el uso de alargadores! Si aún así es inevita-
ble, el calibre mínimo del cable para un alargador de 25’ es de
18 AWG. NOTA: Cuanto menor es el número AWG, mayor es
la capacidad de manejo de corriente. Para alargadores de mayor
longitud, consulte a un electricista.
Este producto deberá utilizarse solamente con los componentes
que se suministran o en un rack, soporte o carro que esté reco-
mendado por Yamaha. Si se utiliza un rack o un carro, por favor
observe todas las advertencias e instrucciones de seguridad que
acompañen al producto accesorio.
ESPECIFICACIONES SUJETAS A CAMBIO: La informa-
ción que contiene este manual es la que se tiene por correcta en
el momento de la impresión. No obstante, Yamaha se reserva el
derecho de cambiar o modificar cualquiera de las especificacio-
nes sin previo aviso y sin obligación de actualizar las unidades
existentes.
Este producto, ya sea por sí mismo o en combinación con un
amplificador y auriculares o altavoces, puede producir niveles
de sonido capaces de causar una pérdida irreversible de la audi-
ción. NO lo haga funcionar durante mucho tiempo a alto nivel
de volumen o a un nivel que resulte incómodo. Si experimenta
cualquier pérdida de audición o pitidos en los oídos, deberá con-
sultar a un médico especialista.
IMPORTANTE: cuanto más alto sea el sonido, menos tiempo
tardará el daño en ser causado.
Algunos productos de Yamaha pueden tener banquetas y/o
accesorios que requieran montaje. En algunos casos ese monta-
je o instalación ha de ser llevado a cabo por el distribuidor. Por
favor, asegúrese de que las banquetas ofrecen estabilidad y de
que cualquier otro accesorio está bien montado ANTES de uti-
lizarlo. Las banquetas suministradas por Yamaha están diseña-
das exclusivamente para sentarse, no estando recomendadas
para ningún otro uso.
AVISO: Las reparaciones o asistencia técnica que tengan lugar
por una falta de conocimiento del funcionamiento de una opera-
ción o de un efecto (cuando la unidad está funcionando para lo
que fue diseñada) no están cubiertas por la garantía del fabrican-
te, y por tanto son responsabilidad de los propietarios. Por favor,
estudie este manual atentamente y consulte a su distribuidor
antes de solicitar asistencia técnica.
MEDIO AMBIENTE: Yamaha se enorgullece de fabricar pro-
ductos que son seguros para el usuario y no son agresivos contra
el medio ambiente. Sinceramente pensamos que nuestros pro-
ductos y que los métodos de producción utilizados para fabri-
carlos cumplen estos requisitos. Por favor, colabore con noso-
tros para poder mantener estos principios medioambientales,
siendo consciente de lo siguiente:
Aviso Sobre las Pilas: Este producto PUEDE contener una
pequeña pila no recargable la cual (si es el caso) está soldada y
fija en su sitio. El tiempo de vida medio de este tipo de pilas es
de aproximadamente 5 años. Cuando sea necesaria su sustitu-
ción, contacte con un servicio técnico cualificado y autorizado
para llevar a cambio dicha sustitución.
Este producto también puede utilizar pilas de tipo “normal”.
Algunas de estas pueden ser recargables. Asegúrese de que la
pila que se esté recargando sea de tipo recargable y de que el
cargador sea el adecuado para recargar dicha pila.
Cuando instale las pilas, no mezcle pilas viejas con pilas nuevas,
o pilas de tipos diferentes. Las pilas DEBEN ser instaladas
correctamente. Una instalación incorrecta puede originar sobre-
calentamiento y rotura de la carcasa de las pilas.
Precaución: No intente desarmar ni quemar ninguna pila. Man-
tenga todas las pilas alejadas de los niños. Deshágase rápida-
mente de las pilas usadas y de manera que disponga la ley en su
país. Nota: Solicite a cualquier establecimiento que venda pilas
la información necesaria para deshacerse de las pilas usadas.
Nota para Deshacerse de este Producto: En caso de que este
producto se estropee y no sea posible su reparación o que por
alguna razón usted considere que ya es inservible, por favor,
observe todas las regulaciones locales, estatales y autonómicas
en relación a la eliminación de productos que contengan plomo,
pilas, plásticos, etc. Si su distribuidor no puede ayudarle, pónga-
se en contacto con Yamaha directamente.
SITUACION DE LA PLACA DE IDENTIFICACION: El
gráfico que viene a continuación le indica la situación de la placa
de identificación para este modelo. El número de modelo, el
número de serie, los requisitos de alimentación, etc., se encuen-
tran en esta placa. Deberá registrar el número de modelo, el
número de serie y la fecha de compra en los espacios que a tal
efecto le proporcionamos a continuación y conservar este
manual como registro permanente de su compra.
Modelo___________________________________
Número de Serie____________________________
Fecha de Compra ___________________________
SECCION DE MENSAJES ESPECIALES
POR FAVOR CONSERVE ESTE MANUAL PARA
FUTURAS CONSULTAS
2

●No abra el instrumento ni intente desmontar las piezas
internas ni modificarlas en absoluto. El instrumento no con-
tiene ninguna pieza utilizable por el usuario. Si la unidad
presenta algún error de funcionamiento, deje de utilizarla
inmediatamente y solicite su revisión a personal cualificado
del servicio técnico de Yamaha.
●No exponga el instrumento a la lluvia, ni lo utilice cerca del
agua o en entornos húmedos, ni coloque encima de él reci-
pientes que contengan líquidos que podrían filtrarse por
cualquiera de las aberturas.
●Si el cable o enchufe del adaptador de c.a. se desgasta o
resulta dañado, o si se produce una pérdida repentina de
sonido durante la utilización del instrumento, o si genera
ruidos extraños o humo, apague inmediatamente la unidad,
desconecte el adaptador de la toma de corriente y haga revi-
sar el instrumento por personal cualificado del servicio téc-
nico de Yamaha.
●Utilice exclusivamente el adaptador especificado (PA-3B o
equivalente recomendado por Yamaha). La utilización de
un adaptador indebido puede ocasionar daños al instrumen-
to o un sobrecalentamiento.
●Antes de limpiar el instrumento, desconecte siempre la
toma de corriente. No conecte ni desconecte nunca una
toma eléctrica con las manos húmedas.
●Revise periódicamente el enchufe eléctrico, y limpie la
suciedad o el polvo que pueda haberse acumulado en él.
LEA ATENTAMENTE LAS SIGUIENTES ADVERTENCIAS ANTES DE CONTINUAR
* Conserve esta lista en un lugar seguro para futuras consultas.
ADVERTENCIA
Observe siempre las precauciones básicas que se detallan a continuación para evitar la posibilidad
de causar lesiones graves o incluso la muerte como consecuencia de una descarga eléctrica, corto-
circuito, incendio, etc. Las precauciones que se deben observar son, entre otras, las siguientes:
PRECAUCIONES
●No sitúe el cable del adaptador de c.a. cerca de fuentes de
calor (calentadores...) ni lo doble o fuerce demasiado, ni
coloque objetos encima de él, ni lo tienda en un lugar en el
que pueda ser pisado, cortado o arrastrado.
●Cuando desconecte el enchufe eléctrico de la toma de
corriente, sosténgalo por el propio enchufe, nunca por el
cable.
●No conecte el instrumento a una toma eléctrica mediante un
conector múltiple. Tal acción podría dar lugar a una degra-
dación de la calidad de sonido, o posiblemente a un sobre-
calentamiento de la toma.
●Desenchufe el adaptador de la red cuando no esté utilizando
el instrumento, así como durante las tormentas eléctricas.
●Todas las pilas deberán ser insertadas respetando las marcas
de polaridad (+/-), o de lo contrario podría producirse sobre-
calentamiento, incendio, o la sulfatación de las pilas.
●Sustituya siempre todas las pilas al mismo tiempo. No mez-
cle pilas nuevas y usadas, ni distintos tipos de pila (por
ejemplo, alcalinas con manganeso), ni pilas de marcas dife-
rentes, ni pilas de la misma marca pero de diferente tipo,
toda vez que podría ocasionar sobrecalentamiento, incen-
dio, o la sulfatación de las pilas.
●No arroje las pilas al fuego.
●No intente recargar las pilas que no estén preparadas para
ello.
●Si las pilas se agotan, o el instrumento no se va a utilizar
durante un período de tiempo prolongado, extraiga las pilas
para evitar su posible sulfatación.
●Mantenga las pilas fuera del alcance de los niños.
PRECAUCIÓN
O
bserve siempre las precauciones básicas que se detallan a continuación para evitar la
posibilidad de causar daños personales o materiales, tanto en el instrumento como en
otros bienes. Las precauciones que se deben observar son, entre otras, las siguientes:
3

4
●Si las pilas tienen alguna fuga, evite el contacto con el líqui-
do. Si este líquido entra en contacto con los ojos, la boca o
la piel, lávese inmediatamente con agua y consulte a un
médico. Se trata de un líquido corrosivo que podría causar
pérdidas de visión o quemaduras.
●Antes de conectar el instrumento a otros componentes elec-
trónicos, apague todos ellos. Antes de conectar o desconec-
tar los componentes, ajuste todos los niveles de volumen al
mínimo. Así mismo, asegúrese de reducir todos los niveles
de volumen al mínimo e ir elevándolos gradualmente mien-
tras utiliza el instrumento para ajustar el nivel de audición
deseado.
●No exponga el instrumento a un exceso de polvo o vibra-
ciones, ni a temperaturas extremas (luz solar directa, proxi-
midades de un radiador, en el coche durante el día) para evi-
tar que se deforme el panel o sufran daños los componentes
internos.
●No utilice el instrumento cerca de productos eléctricos tales
como televisores, radios o altavoces, ya que podrían produ-
cirse interferencias y afectar al correcto funcionamiento de
los demás equipos.
●No coloque el instrumento en una posición inestable que
pueda ocasionar una caída accidental.
●Antes de trasladar el instrumento, desconecte el cable del
adaptador y los restantes.
●Para la limpieza del instrumento, utilice un paño seco y sua-
ve. No utilice disolventes, diluyentes, líquidos de limpieza
ni paños tratados con productos químicos. Además, no
coloque objetos de plástico, caucho o vinilo encima del ins-
trumento, ya que podrían decolorar el panel o el teclado.
●No apoye su peso sobre el instrumento ni coloque objetos
pesados encima de él, ni aplique demasiada fuerza sobre los
botones, interruptores o conectores.
●No haga funcionar el instrumento durante largos períodos
de tiempo a niveles de volumen elevados o incómodos, pues
podría causar una pérdida irreversible de la capacidad audi-
tiva. Si experimenta una pérdida de audición o campanilleo
en los oídos, consulte a su médico.
SUSTITUCIÓN DE LA PILA DE SEGURIDAD
●El instrumento contiene una pila de seguridad no recargable
que permite conservar los datos internos incluso en caso de
corte del suministro de corriente. Cuando sea preciso susti-
tuir la pila, el mensaje “Backup Batt. Low” aparecerá en la
pantalla. En tal caso, haga inmediatamente una copia de
seguridad de sus datos y solicite a una persona cualificada
de Yamaha que cambie la pila de seguridad.
●No intente nunca sustituir la pila de seguridad por su cuen-
ta, a fin de evitar posibles riesgos de consideración. Encar-
gue siempre la sustitución de la pila al personal de servicio
de Yamaha.
●No deje nunca la pila de seguridad al alcance de los niños,
toda vez que podría ser ingerida inadvertidamente. En tal
caso, consulte a un médico de inmediato.
PROTECCIÓN DE LOS DATOS DE USUARIO
●Guarde periódicamente los datos en una tarjeta de memoria
(SmartMedia) para evitar la pérdida de información impor-
tante como consecuencia de una anomalía o error operativo.
Desconecte la corriente del instrumento siempre que no lo util-
ice.
Procure deshacerse de las pilas usadas respetando las normas
locales.
LEA ATENTAMENTE LAS SIGUIENTES ADVERTENCIAS ANTES DE CONTINUAR
* Conserve esta lista en un lugar seguro para futuras consultas.
PRECAUCIÓN
O
bserve siempre las precauciones básicas que se detallan a continuación para evitar la
posibilidad de causar daños personales o materiales, tanto en el instrumento como en
otros bienes. Las precauciones que se deben observar son, entre otras, las siguientes:
PRECAUCIONES
Yamaha no asume responsabilidad alguna por los
daños causados por una utilización incorrecta o por
modificaciones realizadas en el instrumento, ni por la
pérdida o destrucción de datos.

Conozca el QY100 ................................6
Alimentación y conexiones ..................7
Alimentación ......................................7
Uso de un adaptador de corriente........7
Uso de las pilas....................................7
Cuándo sustituir las pilas ....................8
Configuración......................................8
Los conectores ....................................8
Conexiones de audio..........................10
Conexiones MIDI..............................10
Conexión a un ordenador personal....11
Los controles ......................................13
Visión general del QY100:
Qué es y qué hace................................18
El secuenciador..................................18
Generador de tonos............................19
Efectos ..............................................19
Controlador........................................19
Simulador de amplificador ................19
Guía práctica
Escuche la demostración....................20
Para guitarristas: excelente simulación
de amplificador y efectos....................22
Conexión y ajuste de ganancia ..........22
Pruebe los preajustes de guitarra ......23
Personalización de ajustes con los
parámetros del simulador
de amplificador..................................23
Para cantantes: extraordinario
procesamiento vocal............................27
Conexión y ajuste de ganancia ..........27
Pruebe los preajustes de micrófono ..28
Personalización de ajustes con los
parámetros de efectos de micrófono..28
Acompañamiento instantáneo ..........31
Pero antes…, así sabrá
de lo que hablamos............................31
Pruebe los estilos predefinidos..........32
Añada acordes y empiece a tocar ......34
Grabe su propia progresión de
acordes y sus cambios de patrón ......35
Acordes digitados..............................39
Y también cambios de tempo ............39
Si comete algún error ........................39
Añada algunos detalles para completar
el acompañamiento ............................40
Asignaciones de voces ......................40
Grabación en tiempo real en las
pistas del secuenciador ......................41
Acerca de la grabación “MULTI”....44
Grabación de acompañamiento
por pasos..............................................45
“Pt” - Cambios de patrón en
la grabación por pasos ............46
“Cd” - Cambios de acorde en
la grabación por pasos............48
Grabación de la pista del
secuenciador por pasos ......................50
Creación de patrones de
acompañamiento originales ..............54
Las frases predefinidas ......................54
Combinación de frases en el
modo de patrón..................................55
Grabación de frases originales ..........57
Grabación de frases en
tiempo real ........................................57
Grabación de frases por pasos ..........60
Modo de voces de patrón ..................61
Pantalla de envío de efectos ..............61
Edición de voces................................62
Efectos de reproducción ....................62
Sección de referencia
Control de la reproducción................63
Efectos de reproducción ....................66
Swing ................................................66
Reasignaciones de la tabla
de batería ..........................................67
Modo de voces de canción..................69
Pantalla de envío de efectos ..............71
Edición de voces................................72
Edición de batería..............................74
Operaciones de canción......................76
00 : Deshacer/Rehacer ......................77
01 : Cuantizar ....................................77
02 : Modificar velocidad
de pulsación................................79
03 : Modificar tiempo de puerta........80
04 : Crescendo ..................................81
05 : Transponer..................................82
06 : Desplazamiento de reloj ............82
07 : Clasificación de acordes ............83
08 : Separación de acordes ................84
09 : Copiar evento..............................84
10 : Borrar evento..............................85
11 : Extraer evento ............................86
12 : Crear datos continuos ................87
13 : Aclarar........................................88
14 : Modelación de tiempo................88
15 : Crear compás..............................89
16 : Eliminar compás ........................89
17 : Copiar pista ................................90
18 : Mezclar pistas ............................90
19 : Borrar pista ................................91
20 : Expandir acompañamiento ........91
21 : Normalizar..................................92
22 : Copiar canción............................92
23 : Borrar canción............................93
24 : Nombre de canción ....................93
Operaciones de patrón ......................94
00 : Deshacer/Rehacer ......................95
01 : Cuantizar ....................................95
02 : Modificar velocidad
de pulsación................................97
03 : Modificar tiempo de puerta........98
04 : Crescendo ..................................99
05 : Transponer................................100
06 : Desplazamiento de reloj ..........100
07 : Clasificación de acordes ..........101
08 : Separación de acordes ..............102
09 : Copiar evento............................102
10 : Borrar evento............................103
11 : Extraer evento ..........................104
12 : Crear datos continuos ..............105
13 : Aclarar......................................106
14 : Modelación de tiempo..............106
15 : Copiar frase ..............................107
16 : Obtener frase ............................107
17 : Poner frase................................108
18 : Copiar pista ..............................108
19 : Mezclar pistas ..........................109
20 : Borrar pista ..............................109
21 : Copiar patrón............................110
22 : Borrar patrón ............................110
23 : Nombre de estilo ......................111
Edición de canciones y patrones......112
Activación del modo de edición
de canción o patrón..........................112
Desplazamientos por la
canción o patrón ..............................113
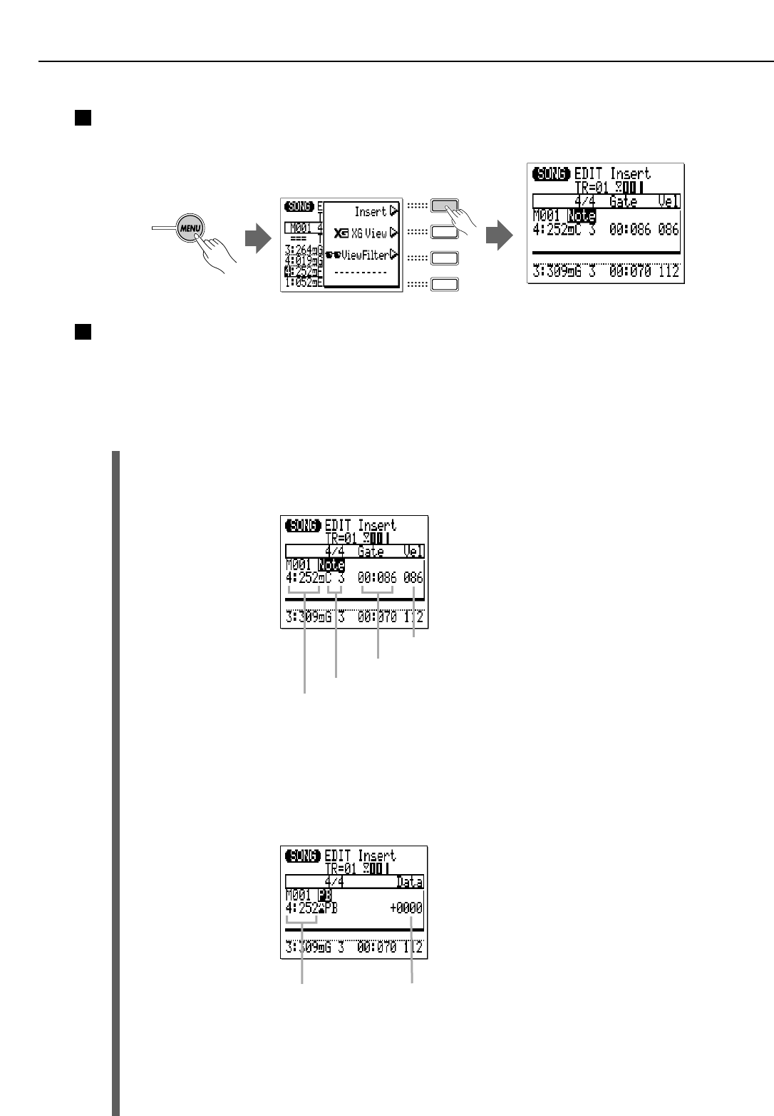
Edición por sustitución....................114
Edición por inserción ......................114
Visualización XG ............................120
Filtro de visualización ....................120
Tabla de frases
(sólo edición de patrón) ..................121
Efectos y edición de efectos..............122
Acceso y edición de los
parámetros de efectos ......................122
Edición de efectos ..........................124
Funciones de utilidad ......................125
Acceso al modo de utilidades..........125
Parámetros de sistema ....................126
Parámetros MIDI ............................127
Trasvase en bloque ..........................129
Zona digitada ..................................130
Funciones de la
tarjeta de memoria ..........................131
Acerca de las tarjetas de
memoria SmartMediaTM..................131
Tarjetas de memoria compatibles ....131
Capacidad de la tarjeta
de memoria......................................131
Inserción y extracción de
tarjetas de memoria ........................131
Formatee las nuevas tarjetas
de memoria antes de usarlas............132
Precauciones de manejo ..................132
Protección contra escritura de las
tarjetas de memoria ........................132
Copia de seguridad ..........................132
Guardar (Save) ................................133
Cargar (Load) ..................................135
Crear directorio (Mk Dir)................136
Formato (Format) ............................138
Apéndice ............................................139
Especificaciones ..............................139
Solución de problemas ....................140
Mensajes de error ............................141
Glosario ..........................................143
Índice alfabético ..............................147
5
INDICE

6
Conozca el QY100
Secuenciador de 16 pistas, módulo de tonos de 547 voces, funciones
incomparables de acompañamiento automático. Todo esto y más en un
solo instrumento… El QY100 es un completo miniestudio para la produc-
ción de música electrónica y acompañamientos que se puede usar en
cualquier sitio, tanto en casa como de gira.
Guitarristas:Ya está aquí la herramienta para prácticas y acompañamien-
tos que estabais esperando. Usa el QY100 como si fuera tu propia banda
para pulir y demostrar tus habilidades.
Vocalistas:Aquí tenéis una máquina de acompañamiento y karaoke total-
mente programable y personalizable, repleta de excelentes efectos de voz.
Teclistas, compositores y toda clase de músicos electrónicos:Aquí lo
tenéis todo. Secuenciador, módulo de tonos, funciones avanzadas de
acompañamiento. Todo lo que necesitáis para crear incluso los temas más
complejos de música electrónica.
Las pantallas ilustradas en este manual poseen exclusivamente un carácter
informativo, de manera que pueden diferir de las que aparezcan en el
instrumento.

Secuenciador de Música
Alimentación y conexiones
Alimentación
Aunque el QY100 funciona tanto con un adaptador de c.a. opcional como con pilas, Yamaha recomienda el uso
del adaptador siempre que sea posible. Incluso el adaptador es más respetuoso que las pilas con el medio ambiente
y no consume recursos.
Uso de un adaptador de corriente
Conecte el cable de salida de c.c. de un adaptador PA-3B de Yamaha (a la venta en su distribuidor Yamaha) a
la toma DC IN del panel posterior, y después el adaptador a una toma mural adecuada.
PRECAUCIÓN
●No intente utilizar un adaptador de c.a. distinto del especificado, o del recomendado por su distribuidor Yamaha, para
alimentar el QY100. El uso de un adaptador incompatible puede causar daños irreparables en el QY100, además del
consiguiente riesgo de descarga eléctrica.
●Desconecte el adaptador de c.a. cuando no esté utilizando el instrumento y durante las tormentas eléctricas.
Uso de las pilas
En primer lugar habrá que insertar seis pilas de 1,5 V, tamaño AA (LR6) o equivalentes. Se recomiendan las
pilas alcalinas para disfrutar de una vida útil más prolongada.
No mezcle nunca distintos tipos de pila, por ejemplo, alcalinas y de manganeso, ni pilas de distintos
fabricantes.
1Abra la tapa del compartimento de las pilas
Abra la tapa del compartimento de las pilas —situado en el panel inferior del instrumento— presio-
nando la sección acanalada y deslizando en el sentido de la flecha, tal y como se muestra en la ilustración.
2Inserte las pilas
Inserte las seis pilas respetando las marcas de polaridad indicadas en el panel inferior.
3Vuelva a colocar la tapa
Coloque de nuevo la tapa del compartimento, asegurándose de que queda perfectamente ajustada.
Secuenciador de Música
PA-3B
AC power
socket.
Toma de c.a.
7

8
Alimentación y conexiones
Cuándo sustituir las pilas
Cuando se estén agotando las pilas, aparecerá la siguiente pantalla:
Si las pilas se agotan peligrosamente, aparecerá el mensaje “Power Batt.End”. Las funciones de la tarjeta de
memoria dejarán de estar accesibles.
En tal caso, sustituya las pilas por un juego completo de seis nuevas. No mezcle NUNCA pilas nuevas y usadas.
PRECAUCIÓN
●Para evitar posibles daños por la sulfatación de las pilas, extráigalas del instrumento cuando éste no vaya a ser utiliza-
do durante un período prolongado de tiempo.
●Si deja insertadas las pilas y la tarjeta de memoria, seguirá fluyendo una mínima cantidad de corriente por el instru-
mento. Si no va a usar la tarjeta de memoria, extráigala de la ranura CARD.
Configuración
Aquello a lo que conecte el QY100, y lo que conecte al QY100, dependerá exclusivamente de sus necesidades
particulares, y sería imposible cubrir en estas páginas todas las posibilidades. Para ayudarle a empezar, seguida-
mente se ofrecen algunos ejemplos.
Los conectores
1Toma DC IN (entrada de c.c.) (ver pág. 7)
Este conector se utiliza únicamente para suministrar corriente al QY100 a través de un adaptador de
c.a. opcional en lugar de pilas. A esta toma se conecta el cable de salida de c.c. (DC) de un adaptador de c.a.
Yamaha opcional PA-3B.
■NOTA
●Las pilas se desconectan automáticamente cuando se inserta un conector en la toma DC IN.
wr qyt e
u
Right Side Panel
Panel posterior
Panel lateral derecho

9
2Conectores MIDI IN y MIDI OUT (ver págs. 10 y 11)
Si tiene pensado utilizar un teclado MIDI u otro instrumento para interpretar y para programar el
QY100, deberá conectarse a la entrada MIDI IN (véase “Conexiones MIDI”, en la página 10). Puede conectar
la salida MIDI OUT a un generador de tonos externo si desea trabajar con voces externas desde el secuencia-
dor del QY100, o a una grabadora de datos MIDI (por ejemplo, Yamaha MDF3) si desea almacenar sus can-
ciones y patrones en un disco flexible.
3Conector LINE OUT/PHONES (ver pág. 10)
Este minijack estéreo puede usarse para conectar la salida del QY100 a un equipo de sonido esté-
reo, o bien para conectar una pareja de auriculares estéreo, provistos de minijack estéreo, para facilitar la
monitorización (véase “Conexiones de audio” en la página 10). El nivel de salida se regula con el mando
VOLUME del panel lateral izquierdo.
4Conector TO HOST y selector HOST SELECT (ver págs. 10 y 11)
El conector TO HOST y el selector HOST SELECT permiten la conexión directa a un ordenador per-
sonal sin necesidad de utilizar una interfaz MIDI. Más detalles en “Conexión a un ordenador personal”, en la
página 11.
5Conector FOOT SW (ver pág. 126)
Aquí puede conectarse un pedal conmutador opcional FC-4 o FC-5 para ejecutar diversas funciones
de conmutación. Esta función se selecciona en el modo de utilidades, descrito en la página 126.
Reproducción de canciones y patrones: El pedal conmutador puede usarse para iniciar y detener la
reproducción de canciones y patrones.
Cambio de sección: También puede usarse el pedal para seleccionar las distintas “secciones” de los esti-
los del QY100 (INTRO, MAIN A, FILL AB, etc.) durante la reproducción de una canción o patrón.
Conmutación del simulador de amplificador: El pedal puede usarse para entrar y salir en las secciones
especificadas del simulador de amplificador del QY100. Por ejemplo, para omitir sólo la sección de pream-
plificador (con retardo si se ha seleccionado una configuración de micrófono), o sólo la sección de reverbe-
ración, o sólo la de chorus, o las tres al mismo tiempo (páginas 26 y 30).
6Conector GUITAR/MIC INPUT (ver págs. 22 y 27)
Conecte aquí la guitarra o el micrófono para usar los excelentes efectos de voz y guitarra del QY100.
El control de ganancia (GAIN) situado junto a la entrada GUITAR/MIC permite coordinar con una amplia varie-
dad de guitarras y micrófonos.
PRECAUCIÓN
●Cuando conecte un micrófono a la entrada GUITAR/MIC del QY100, antes asegúrese de que está seleccionada una
configuración de simulador de amplificador para micrófono (página 28). Podría producirse una intensa realimentación si
se selecciona una de las configuraciones de guitarra.
7Ranura CARD (ver pág. 131)
La ranura de tarjeta del QY100 admite tarjetas de memoria estándar para el almacenamiento de
ajustes y secuencias. El acceso y las operaciones de tarjeta se explican en la página 131.
Alimentación y conexiones

10
Alimentación y conexiones
Conexiones de Audio
La forma más sencilla de monitorizar el sonido del QY100 es a través de una pareja de auriculares estéreo (de
tipo minijack estéreo) conectada a la toma LINE OUT/PHONES. Sin embargo, si desea utilizar un equipo de sonido
estéreo externo, deberá emplear el cable en “Y” suministrado (minijack estéreo a doble conector RCA) para conectar
la toma LINE OUT/PHONES a las entradas del equipo estéreo. El jack RCA blanco se conecta a la entrada del canal
izquierdo (L) del equipo estéreo, y el jack rojo a la entrada del canal derecho (R).
PRECAUCIÓN
●Asegúrese de que estén apagados tanto el QY100 como el equipo de sonido cuando realice las conexio-
nes.
Conexiones MIDI
Aunque el QY100 se puede tocar y programar desde el microteclado incorporado, también es posible conectar
un teclado MIDI externo a la entrada MIDI IN para disfrutar de las ventajas añadidas del tamaño de teclado estándar
y de la sensibilidad a la velocidad de pulsación de tecla (si el teclado dispone de esta prestación). Conecte la salida
MIDI OUT del teclado a la entrada MIDI IN del QY100, asegurándose de que el interruptor HOST SELECT del QY100
se encuentre en la posición MIDI. El teclado MIDI conectado reproducirá la voz asignada a la pista del secuenciador
seleccionada en ese momento. En la página 40 encontrará instrucciones sobre la forma de asignar diferentes voces
a las pistas del secuenciador.
LR
Stereo Sound System
MIDI OUT
(HOST SELECT switch
is set to MIDI)
External MIDI Keyboard
Equipo de sonido estéreo
Teclado MIDI externo
(HOST SELECT en la
posición MIDI)

Conexión a un ordenador personal
Aunque el QY100 puede conectarse a un ordenador personal a través de los terminales MIDI IN/OUT y de una
interfaz MIDI, el conector TO HOST y su interruptor permiten la conexión directa a ordenadores personales Apple
Macintosh o IBM-PC/AT para la secuenciación y otras aplicaciones musicales sin necesidad de usar una interfaz
MIDI adicional.
■IMPORTANTE
●Si va a conectar el QY100 a un ordenador a través
del terminal TO HOST, y un controlador MIDI a tra-
vés de la entrada MIDI IN, la función de retransmi-
sión (“echo back”, o “MIDI THRU”, etc.) del softwa-
re o del secuenciador musical que utilice deberá
estar activada, de tal forma que los datos de nota
MIDI del controlador regresen al QY100 y resto de
dispositivos conectados a la salida MIDI OUT.
●Conexión a un ordenador Apple Macintosh
Conecte el terminal TO HOST del QY100 al puerto de módem o impresora del Macintosh, según qué
puerto utilice su software MIDI para la transferencia de datos, empleando para ello un cable de periférico están-
dar de 8 contactos. Sitúe el interruptor HOST SELECT en la posición “Mac”.
También es posible que tenga que realizar otros ajustes de interfaz MIDI en el ordenador, depen-
diendo del tipo de software que utilice (consulte el manual de uso de dicho software). En cualquier caso, la
velocidad del reloj deberá estar ajustada a 1 MHz.
●Cable de periférico de 8 contactos
●Velocidad de transferencia de datos: 31.250 bps.
●Conexión a un ordenador IBM-PC/AT
Conecte el terminal TO HOST del QY100 al puerto RS-232C del ordenador IBM, utilizando para ello
un cable cruzado estándar MINI DIN de 8 contactos a D-SUB de 9 contactos. Sitúe el interruptor HOST
SELECT en la posición “PC-2”.
Consulte el manual de instrucciones de su software por si tuviera que realizar ajustes en el ordenador.
●Cable mini DIN de 8 contactos a D-SUB de 9 contactos.
●Velocidad de transferencia de datos: 38.400 bps.
Alimentación y conexiones
Mac
Cable
Connections
2 (HSK i)1
1 (HSK 0)2
5 (RxD-)3
MINI DIN
8-PIN
4 GND4
3 (TxD-)5
8 (RxD+)6
7 (GP i)7
6 (TxD+)8
MINI DIN
8-PIN
TO HOST
connector
Modem or
printer port
11
TO HOST
QY100
MIDI
OUT
MIDI
IN
MIDI IN
MIDI OUT
Tone Generator Personal Computer
MIDI Controller
(MIDI Keyboard etc)
echo back = ON
Generador de tonos Ordenador personal
retransmisión
(“echo back”)
activada
Controlador MIDI
(Teclado MIDI, etc.)
Conexiones de cable “Mac”
Conector
TO HOST Puerto de
módem o
impresora
8 (CTS)1
7 (RST)2
2 (RxD)3
45 (GND)
8
3 (TxD) 5
MINI DIN
8-PIN D-SUB
9-PIN
TO HOST
connector
RS-232C
port
Conexiones de cable “PC-2”
Conector
TO HOST Puerto
RS-232C

●Conexión a una interfaz USB (por ejemplo, Yamaha UX256)
Si su ordenador no dispone de puerto RS-232C o de módem/impresora, el QY100 puede conectarse
a través de una interfaz USB como el modelo UX256 de Yamaha.
Conecte el puerto USB de la interfaz UX256 (u otra interfaz USB) al puerto USB del ordenador por
medio de un cable USB. Instale el software de controlador apropiado en el ordenador (deberá facilitarse junto
con la interfaz USB). Conecte el terminal TO HOST o MIDI IN/OUT del QY100 a la interfaz USB. Si desea infor-
mación más detallada, consulte el manual de uso de la interfaz USB.
Si es necesario, instale los protectores de goma (incluidos) en la base del QY100, como se indica en la
ilustración.
12
Alimentación y conexiones
Computer
(sequencer software)
USB cable
UX256
QY100
Ordenador (software
de secuenciador)
Cable
USB UX256
QY100
MODEL
Rubber feet
Soportes de apoyo de goma

Secuenciador de Música
Los controles
El QY100 posee un sistema de control bastante simple y lógico que, una vez comprendido,
convierte su manejo en rápido y sencillo, cualquiera que sea la operación que se realice. Si lee
atentamente este capítulo, y realiza las “PRUEBAS” incluidas, no tendrá ningún problema para
acceder y manejar las numerosas funciones avanzadas del QY100.
1Interruptor de encendido POWER
Deslice el interruptor a la posición “ON” para encender el QY100, y a la posición “STANDBY” para
apagarlo.
2Pantalla y control CONTRAST
Esta gran pantalla de cristal líquido (LCD) multifuncional ofrece la lectura de todos los parámetros e
indicaciones necesarias para hacer funcionar el QY100 con la máxima eficacia y sencillez.
Utilice el control CONTRAST del panel posterior para disfrutar de la mejor visibilidad posible de la
pantalla (varía considerablemente según el ángulo de visión y la iluminación).
3Botón [SONG]
Utilice este botón para seleccionar el modo de canción (SONG) del QY100 desde cualquier otro
modo, así como para alternar entre los modos SONG, SONG VOICE y SONG EFFECT.
Secuenciador de Música
13
q!4
Left Side Panel
Panel lateral izquierdo
Rear Panel
w!5
Panel posterior
w!5 o !6 u
!7
!8
e
r
t
y
!3
!1
!0
i
!2
Panel frontal

14
Los controles
PRUEBA:
Encienda el QY100 (el interruptor se encuentra en el panel izquierdo), luego pulse el botón [SONG]
varias veces y observe cómo cambia la pantalla. El botón [SONG] activa las pantallas de los modos de
canción (SONG), voces de canción (SONG VOICE) y efectos de canción (SONG EFFECT), por este
orden. La secuencia se puede invertir pulsando el botón [SONG] mientras se mantiene pulsado [SHIFT].
4Botón [PATTERN]
El botón [PATTERN] selecciona el modo de patrón (PATTERN) del QY100 desde cualquier otro
modo, y alterna entre las pantallas de patrón (PATTERN), voces de patrón (PATTERN VOICE) y efectos de
patrón (PATTERN EFFECT).
5Botón [SHIFT]
El botón [SHIFT] modifica la función de determinadas teclas en algunas situaciones (por ejemplo,
invierte el orden de aparición de las pantallas de canción o patrón, como se ha explicado anteriormente). Tam-
bién permite la introducción directa de números a través de las teclas negras del microteclado (numeradas del 1
al 0). Las situaciones en que se puede usar el botón [SHIFT] se describen oportunamente a lo largo del manual.
6Botón [EXIT]
Con independencia de la pantalla en que se encuentre del QY100, el botón [EXIT] le llevará al nivel
inmediato superior (es decir, “retrocederá” un nivel del menú, a no ser que ya se encuentre en el más alto).
7Teclas de cursor
Estas cuatro teclas desplazan el “cursor” por la pantalla, resaltando los diversos parámetros que se
hallan disponibles para la edición (el cursor del QY100 es un bloque oscuro que invierte el color de los caracteres).
PRUEBA:
Seleccione la pantalla del modo de CANCIÓN (con el botón [SONG], como ya se ha explicado), y des-
pués pruebe a utilizar las teclas de cursor para mover éste por la pantalla.
8Botones [-1/NO] y [+1/YES]
Estos botones sirven para editar (cambiar de valor) el parámetro sobre el que se encuentra el cursor. El
botón [-1/NO] disminuye (paso a paso) el valor del parámetro seleccionado, y el botón [+1/YES] incrementa (paso a
paso) dicho parámetro. Pulse el botón brevemente para aumentar o disminuir el parámetro en una unidad, o man-
tenga pulsada el botón para aumentar o disminuir el parámetro de forma continua en la dirección especificada.
Los botones [-1/NO] y [+1/YES] también se usan para responder a las preguntas de confirmación
“Are you sure?” (¿está seguro?) cuando se presenten. Pulse [+1/YES] para confirmar la operación, o [-1/NO]
para cancelarla.
■NOTA
● Para acelerar el aumento o disminución del valor, pulse el botón contrario mientras mantiene pulsado el botón corres-
pondiente a la dirección deseada.
PRUEBA:
Seleccione la pantalla del modo de canción (utilice el botón [SONG], como se ha explicado), accione
las teclas de cursor para seleccionar el parámetro de transposición (“TRNS” en la pantalla), y pruebe a
usar las teclas [-1/NO] y [+1/YES] para cambiar su valor. No se olvide de restablecer el valor “+00”
antes de continuar.
SONG display SONG VOICE display SONG EFFECT display
Modo de canciónModo de voces de canciónModo de efectos de canción

15
9Botones de [MENU] y de Función
El botón [MENU] selecciona un menú de funciones o submodos a los que se puede acceder desde el
modo actual del QY100, y los botones de función (los cuatro botones pequeños de la parte derecha de la pan-
talla) seleccionan la opción correspondiente del menú que aparece en la pantalla.
Los botones de función también pueden usarse, como se indica a continuación, con el botón [SHIFT],
en lugar de seleccionar un menú con el botón [MENU].
●Si pulsa el botón de función superior mientras mantiene pulsa-
do [SHIFT], seleccionará una pantalla en la que aparecen las
asignaciones de los instrumentos de batería a cada tecla del
microteclado en el ajuste de octava actual.
●Si pulsa el segundo botón de función mientras mantiene pul-
sado [SHIFT], aparecerá la pantalla de memoria usada
(“USED MEMORY”).
●Si pulsa el botón de función inferior mientras mantiene pulsado [SHIFT], ejecutará la operación de
deshacer/rehacer para la edición más reciente que haya realizado (consulte “Deshacer/Rehacer”
en la página 77).
PRUEBA:
Seleccione la pantalla del modo de canción (utilice el botón [SONG], como se
ha explicado) y luego pulse el botón [MENU]. Deberá aparecer el menú que
se ilustra a la derecha.
A continuación, pulse el segundo botón de función (el que está justo a la
derecha de la opción “Job” del menú) para que aparezca la lista de operacio-
nes (“Job List”) del modo de canción:
Ahora puede usar las teclas de cursor (sólo arriba y abajo) para seleccionar
las distintas opciones de la lista de operaciones. De momento deje la panta-
lla tal y como está, y proceda a leer las funciones del botón [ENTER].
10 Botón [ENTER]
Además de “introducir” los acordes en los modos de canción y patrón (se verá más adelante), el
botón [ENTER] se emplea para “entrar” en las funciones de los menús.
PRUEBA:
Suponiendo que ha seguido los procedimientos de “PRUEBA:” de los boto-
nes de [MENU] y de función, ahora deberá tener en la pantalla del QY100 la
lista de operaciones del modo de canción. Utilice las teclas de cursor (sólo
arriba y abajo) para seleccionar la operación número 02 “Modify Velocity”
(modificar velocidad de pulsación). Ahora pulse [ENTER] para activar la ope-
ración; la pantalla deberá aparecer como en la ilustración.
Como en realidad no queremos modificar la velocidad de pulsación, pulse
dos veces el botón [EXIT] (o una vez [SONG]) para regresar al modo de can-
ción.
Los controles
Asignación a teclas negras
Asignación a teclas blancas

16
Los controles
11 Botones de secuenciador
Los botones de secuenciador controlan la grabación y reproducción de los modos de canción y
patrón, y permiten localizar un compás específico dentro de una canción o patrón. Su disposición y funciones
son similares a las de transporte de una grabadora de cinta.
PREPARADO PARA GRABAR: Pulse este botón activar el modo de preparado para grabar. Para dar
comienzo a la grabación, deberá pulsar INICIO.
PARADA: Pulse este botón para detener la grabación o la reproducción.
INICIO: Pulse este botón para dar comienzo a la grabación o reproducción.
PRIMER COMPÁS: Este botón le lleva directamente al primer compás (“principio”) de la canción o
compás actual.
RETROCESO: Pulse brevemente este botón para retroceder un compás, o manténgalo pulsado para
retroceder de forma continua.
AVANCE: Pulse brevemente este botón para avanzar un compás, o manténgalo pulsado para avan-
zar de forma continua.
12 Microteclado
Este pequeño teclado de 2 octavas permite programar el QY100 en cualquier lugar y momento sin
tener que conectar un teclado MIDI externo. Es incluso polifónico, de forma que puede introducir directamente
acordes o notas simples. Lo único de lo que carece es de sensibilidad a la velocidad de pulsación. El QY100,
sin embargo, acepta información de velocidad de pulsación procedente de un teclado MIDI externo.
Durante la programación de las pistas de acompañamiento, el microteclado también sirve para espe-
cificar las raíces y tipos de acorde que se van a introducir.
PRUEBA:
En el modo de canción, utilice las teclas de cursor para situarlo en la posición
de la pista 1 de secuenciador (“1” en la pantalla).
Ahora toque el microteclado. Deberá oír la voz asignada en ese momento a
la pista 1 del secuenciador.
En el modo de canción, el microteclado reproduce la voz asignada a la pista
seleccionada (a menos que esté grabando la pista de acordes, en cuyo caso
se emplea para especificar los acordes).
13 Botones de octava
Como quiera que la escala de 2 octavas del microteclado no es suficiente para efectuar una progra-
mación musical seria, los botones [OCT DOWN] y [OCT UP] permiten elevar y bajar el tono del teclado en
pasos de una octava, sobre un margen total de 8 octavas. Cada vez que se pulsa el botón [OCT DOWN], el
tono del teclado se reduce en una octava, hasta alcanzar el límite inferior. El botón [OCT UP] eleva el tono del
teclado de forma similar. El número de octavas en que se ha subido o bajado el tono del microteclado se expre-
sa a través del indicador de octava de la esquina superior izquierda de la pantalla: el número de flechas indica
el número de octavas desplazadas en la dirección correspondiente.
Pulsando simultáneamente los botones [OCT DOWN] y [OCT UP] se desplaza el tono a ±0.
Cuando se graban las pistas de acordes del acompañamiento en el modo
de grabación por pasos, el botón [OCT DOWN] se emplea para especificar la nota
de bajo de los acordes, mientras que [OCT UP] se utiliza para introducir los acordes
sincopados.
Cuando esté tocando una nota en el microteclado, el botón [OCT DOWN] elevará el tono de dicha
nota, y el botón [OCT UP] aplicará modulación.
[●]
[■]
[>]
[p]
[r]
[f]
Indicador de octava

14 Control de volumen
El control VOLUME ajusta el volumen del sonido enviado a través de la salida de línea y auriculares
(LINE OUT/PHONES). Deslice el control hacia “MAX” para elevar el volumen, y hacia “MIN” para reducirlo.
PRECAUCIÓN
●Reduzca el volumen al mínimo (“MIN”) la primera vez que conecte el QY100 a un equipo de sonido, y luego elévelo gra-
dualmente hasta alcanzar el nivel deseado. Esta precaución tan simple puede evitar que unos niveles de volumen ines-
peradamente elevados dañen el sistema de altavoces (...y quizá sus oídos).
15 Control de ganancia (GAIN) e indicador de picos (PEAK) (ver páginas 22 y 27)
Utilice el control GAIN del panel posterior para ajustar la ganancia de entrada del QY100 y adaptarla
a la guitarra o al micrófono. Si el diodo luminoso del indicador de picos situado junto al botón PARAMETER se
ilumina más que ocasionalmente mientras toca o canta, significa que la ganancia es demasiado alta. El indica-
dor PEAK no deberá parpadear más que brevemente en los picos transitorios más elevados.
16 Botón [CARD] (ver página 131)
Sirve para acceder a las funciones de tarjeta de memoria del QY100: guardar, cargar, crear directo-
rio y formatear. Los ajustes y secuencias se pueden guardar y cargar desde tarjetas de memoria estándar para
facilitar el almacenamiento y el transporte de grandes volúmenes. Las funciones CARD sólo están disponibles
cuando se ha instalado una tarjeta de memoria apropiada en la ranura CARD del panel lateral derecho. En la
página 131 encontrará más detalles sobre los tipos de tarjeta de memoria que se pueden usar y sobre las fun-
ciones de tarjeta del QY100.
17 Botón [AMP SIMULATOR] e indicador (ver páginas 26 y 30)
Activa y desactiva las secciones especificadas del bloque de simulador de amplificador del QY100.
El botón [AMP SIMULATOR] activa y desactiva de forma alterna la sección de previo del simulador (efecto de
retardo si se ha seleccionado una configuración de micrófono), el efecto de reverberación, el efecto de chorus,
o los tres, dependiendo del ajuste del parámetro “On/Off” descrito en las páginas 26 y 30. El indicador del botón
se apaga cuando se omiten las secciones seleccionadas. La misma función puede asignarse a un pedal con-
mutador opcional FC-4 o FC-5 conectado a la toma FOOT SW del panel posterior (página 7).
18 Botón [PARAMETER] (ver páginas 23 y 28)
Sirve para acceder a los ajustes y parámetros del simulador de amplificador del QY100 para la entra-
da de guitarra y de micrófono. Más detalles en las páginas 23 y 28.
Los controles
17

Secuenciador de Música
Visión general del QY100
Qué es y qué hace
En esta sección se ofrece un amplio resumen del sistema QY100 en su conjunto y del funcio-
namiento combinado de sus distintas funciones. Aunque, si lo que quiere es empezar a tocar, ade-
lante. Luego regresa aquí y se lee esta sección.
El secuenciador
16 pistas de secuenciador
Asigne por separado cualquiera de las 547 voces normales o de los 22 kits de batería a las pistas del secuen-
ciador, y grabe el material deseado a través del microteclado, de un teclado MIDI u otro tipo de controlador MIDI
conectado a la entrada MIDI IN del QY100. Considere cada pista del secuenciador como una “parte” de su composi-
ción: piano, bajo, etc. Puede grabar hasta 16 partes por separado y reproducirlas simultáneamente para crear com-
plejas estructuras musicales y texturas de gran riqueza. Obviamente, también puede usar dos o tres pistas nada más
para arreglos más sencillos. Si es guitarrista, por ejemplo, posiblemente sólo necesite crear una pista de percusión y
bajo para acompañarle en su interpretación.
Las pistas del secuenciador se pueden grabar en tiempo real por sustitución o por overdubbing. En el modo de
sustitución, todo lo que grabe reemplazará (y por tanto, borrará) todo el material previamente existente en la misma
sección de la pista. El modo overdub, por el contrario, le permite añadir material nuevo a una pista previamente gra-
bada, sin borrar los datos existentes. Así podrá ir elaborando una pista poco a poco sin tener que reproducir siempre
toda la pieza. Otra posibilidad es el modo de grabación por pasos, en el que las notas se introducen una a una para
componer fragmentos extremadamente rápidos o complejos que serían difíciles de grabar en tiempo real. El modo de
grabación por pasos también es muy útil para añadir retoques finales a las pistas grabadas en tiempo real. Existe
además un modo “multi” para grabar simultáneamente las 16 pistas del secuenciador, una excelente función que per-
mite transferir datos MIDI al QY100 desde otro secuenciador.
8 pistas de acompañamiento
Las pistas de acompañamiento del QY100 son las que lo convierten en un instrumento al mismo tiempo poliva-
lente y sencillo de usar. En lugar de grabar notas o acordes individuales como en las pistas del secuenciador, los
acompañamientos se crean especificando una secuencia de “patrones” para su reproducción (trataremos brevemen-
te los patrones en la sección de acompañamiento instantáneo de la página 31). Además de los 128 “estilos” de acom-
pañamiento predefinidos, cada uno con 6 “patrones” de variación (más detalles sobre estilos y patrones en la pági-
na 31), el QY100 ofrece memoria con capacidad para 64 estilos originales grabados por el usuario. Los cambios de
acorde se programan simplemente introduciendo el nombre del acorde (puede hacerlo desde el microteclado, sim-
plemente pulsando la tecla correspondiente), y puede especificar la nota de bajo y los tiempos de los acordes sinco-
pados para maximizar la versatilidad a la hora de crear acompañamientos para cualquier tipo de música. Todo el
acompañamiento se rearmoniza automáticamente para adaptarse a los acordes especificados. En resumidas cuen-
tas, puede conjuntar varios acompañamientos en una fracción del tiempo que tardaría con un secuenciador conven-
cional, por lo que le dedicará menos horas a programar y más a componer e interpretar.
Secuenciador de Música
18
Sequencer
QY100
Controller
Tone Generator Effects
• 16 sequencer tracks
• 8 accompaniment
tracks
• built-in micro keyboard
• 547 voices
• 22 drum kits
• reverb, delay,
modulation,
distortion, etc
MIDI messages MIDI messages
Audio
signals
LINE OUT/
PHONES
Audio
signals
MIDI
messages
Effects
• reverb, delay,
modulation,
distortion, etc
Audio signals
LINE OUT/
PHONES
Amp Simulator
• 18 guitar setups
• 5 microphone
setups
GUITAR/MIC
INPUT
Secuenciador
●16 pistas de secuenciador
●8 pistas de acompañamiento
Generador de tonos
●547 voces
●22 kits de batería
Efectos
●reverberación, retardo,
modulación, distorsión, etc.
Simulador amplificador
●18 configuraciones guitarra
●5 configuraciones micrófono
Controlador
●microteclado incorporado
Mensajes MIDI Mensajes MIDI
Señales de audio
Señales
de audio Señales
de audio
LINE
OUT/PHONES
GUITAR/MI
C INPUT
Mensajes
MIDI

19
Generador de tonos
El generador de tonos del QY100 es un módulo de sonido de altas prestaciones por derecho propio, con
547 voces y 22 kits de batería y percusión. De hecho, el bloque del generador de tonos es compatible con los forma-
tos XG y GM (véase explicación), de manera que lo puede usar como módulo independiente accionado desde un
secuenciador externo o sistema MIDI de ordenador. El QY100 también incorpora una serie de controles de edición
para las voces y kits de batería, con los que podrá personalizar el sonido y adaptarlo a su estilo musical. En las listas
de datos encontrará una relación completa de las voces del QY100.
Efectos
Yamaha tiene fama por sus efectos de reverberación, entre otros, y el QY100 no es ninguna excepción. El sis-
tema interno de efectos ofrece reverberación, chorus y variación de la máxima calidad (incluidas modulación y distor-
sión), unos efectos que se pueden usar para refinar y pulir el sonido. Cada pista de secuenciador incorpora controles
de envío individuales para las fases de reverberación, chorus y variación, de forma que se pueden aplicar efectos por
separado a cada una de las pistas según sea necesario. En la lista de datos adjunta se ofrece la relación completa de
efectos del QY100.
Controlador
Con el propio microteclado del QY100 se pueden crear secuencias en cualquier parte. Pero también puede
conectar al QY100 prácticamente cualquier controlador MIDI (teclado, controlador de soplido MIDI, guitarra MIDI,
etc.) para disfrutar del control que mejor se adapte al estilo y al talento de cada uno.
Simulador de amplificador
Como el nombre indica, el “Amp Simulator” del QY100 imita las características de los amplificadores, especial-
mente los de guitarra y los preamplificadores de micrófono. Si los requisitos de un buen previo de micrófono son bas-
tante simples (elevada ganancia, respuesta en frecuencia plana y bajo nivel de ruido y distorsión), los amplificadores
de guitarra son algo más complejos. Cada uno tiene su propio y exclusivo sonido, y por lo general cuenta más la
musicalidad que la precisión. El simulador de amplificador del QY100 cumple sobradamente ambas funciones, y ofre-
ce una serie de excepcionales efectos para aplicar a la guitarra y al micrófono. Los esquemas de guitarra incluyen
saturación/distorsión, modulación y reverberación, en tanto que los de micrófono ofrecen retardo, modulación y rever-
beración. El QY100 cuenta con 18 configuraciones de guitarra y 5 de micrófono que se pueden personalizar para cre-
ar el sonido perfecto que mejor se adapte a cada música.
Visión general del QY100: Qué es y qué hace
Nivel 1 del sistema GM (General MIDI)
El “nivel 1 del sistema GM” es una especificación estándar que define la disposición de voces en
un generador de tonos y su funcionalidad MIDI, garantizando que los datos puedan ser repro-
ducidos básicamente con los mismos sonidos en cualquier generador de tonos compatible con
GM, al margen del fabricante y del modelo.
Los generadores de tonos y los datos de canción que se ajustan al “nivel 1 del sistema GM” exhiben este logoti-
po de General MIDI.
XG
“XG” es un formato de generador de tonos que amplía la disposición de voces de la especifica-
ción de nivel 1 del sistema GM para adaptarse a la creciente demanda de entornos periféricos
actuales, ofreciendo una mayor capacidad expresiva al tiempo que mantiene la compatibilidad
ascendente de datos. “XG” expande en gran medida el nivel 1 del sistema GM definiendo las
ampliaciones y ediciones de las voces y la estructura y tipo de los efectos.
Cuando se reproducen datos de canción que exhiben el logotipo XG en un generador de tonos identificado por
el mismo distintivo, podrá disfrutar de una completa experiencia musical con una oferta ilimitada de voces de
expansión y funciones de efectos.

Secuenciador de Música
Guía Práctica
_Descripción pormenorizada de las características y
funciones básicas del QY100
Está bien, allá vamos. Póngase cómodo: el QY100, el manual de uso y un buen vaso de lo que más le inspire.
Todo listo para que el QY100 haga lo que mejor sabe hacer: música.
Escuche la demostración
“Si prefiere componer su propia música, pase de largo.”
Antes de empezar de verdad a usar el QY100 para hacer música de la buena, quizá desee oír
unos cuantos ejemplos de lo que es capaz de hacer. El QY100 incluye tres canciones de demos-
tración preprogramadas que le darán una idea aproximada de los tipos de sonido que puede cre-
ar, así como de algunas de las posibilidades de su sección de secuenciador.
1Seleccione el modo SONG
Las canciones de demostración se encuentran en el modo SONG. Si aún no está seleccionado, pulse el
botón [SONG] para seleccionarlo. En la esquina superior izquierda de la pantalla deberá aparecer “SONG”.
2Seleccione una canción de demostración
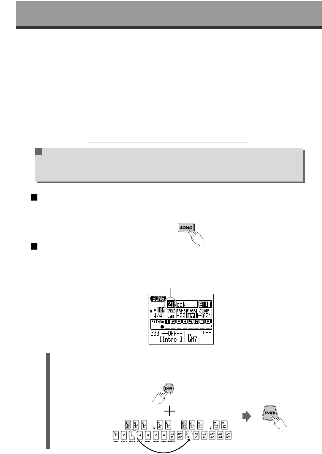
Las canciones de demostración son los números 21, 22 y 23 (las canciones 01 a 20 están disponibles para
sus propias grabaciones). Utilice las teclas de cursor para desplazarse hasta el número de canción (que debe-
rá aparecer en caracteres inversos, esto es, claros sobre fondo oscuro), y después emplee los botones [-1] y
[+1] para seleccionar una de las canciones (21, 22 ó 23).
Método de introducción de datos SHIFT+número:
Este método también sirve para introducir números de canción y otros valores. Utilice las teclas negras
numeradas del microteclado para introducir el valor mientras mantiene pulsado [SHIFT], y a continua-
ción pulse [ENTER].
Secuenciador de Música
20
Número de canción
Ejemplo: para introducir el número “16”

21
Guía Práctica
3Inicie la reproducción
Una vez seleccionada una canción, puede iniciar la reproducción simplemente pulsando el botón [ ] del
secuenciador. Utilice el control volumen del lateral izquierdo del QY100 para ajustar el nivel óptimo de audición.
A la conclusión de la canción, la siguiente comenzará de forma automática. No obstante, puede detenerla
en cualquier momento con el botón [■]. Mientras se reproduce una canción, no podrá seleccionar otra. Así
pues, si desea cambiar de demo, tendrá que detener la canción actual, seleccionar la siguiente y activar la
reproducción.
■NOTA
●Si desea información más detallada sobre el control de la reproducción de secuencias, consulte “Control de la repro-
ducción” en la página 63.

Secuenciador de Música
Para guitarras: excelente simulación
de amplificador y efectos
“Si no es guitarrista, sáltese esta sección sin problemas.”
Si lo que busca es mejorar sus ensayos, o un acompañamiento de calidad para las actuacio-
nes en vivo, o un soporte eficaz para crear composiciones de verdad, el QY100 es una herra-
mienta musical idónea para el guitarrista con ganas de progresar. Aparte de sus avanzadas fun-
ciones de secuenciador de patrones y canciones, también incorpora un completo sistema de efec-
tos y simulador de amplificador para no tener que echar mano de innumerables equipos a la hora
de modelar el sonido de la guitarra.
Conexión y ajuste de ganancia
Facilísimo. Además de las instrucciones básicas de la página 7, lo único que tendrá que hacer es conectar la
guitarra a la entrada GUITAR/MIC INPUT del panel posterior y ajustar el control de ganancia (GAIN) para optimizar la
coordinación de niveles.
1Conecte la guitarra a GUITAR/MIC INPUT en el panel posterior.
2Ajuste la ganancia de entrada.
Utilice el control GAIN del panel posterior para ajustar la ganancia de entrada del QY100 de forma que
concuerde con la guitarra. Si el indicador PEAK situado junto al botón [PARAMETER] se ilumina más que oca-
sionalmente mientras toca, significa que el ajuste de ganancia es demasiado alto. El indicador PEAK sólo
deberá parpadear brevemente durante los picos transitorios más elevados.
Secuenciador de Música
22

23
Para guitarras: excelente simulación de amplificador y efectos
Pruebe los preajustes de guitarra
El QY100 incluye 18 configuraciones de simulador de amplificador diseñadas expresamente para guitarra (véa-
se la lista de datos adjunta). Puede seleccionar las configuraciones y ajustar sus parámetros desde la pantalla
“GTR/MIC EDIT”, a la que se accede pulsando el botón [PARAMETER].
1Pulse el botón [PARAMETER].
Aparecerá la pantalla “GTR/MIC EDIT”.
2Resalte el número/nombre de configuración
Utilice las teclas de cursor para llevarlo hasta el número/nombre de configuración de la parte superior de
la pantalla.
3Seleccione y pruebe las configuraciones
Utilice los botones [-1] y [+1] para seleccionar la configuración deseada (de G01 a G18). Pruébelas tal
cual, que más adelante podrá realizar cambios. Asegúrese de que el control de volumen del QY100 está ajus-
tado a un nivel apropiado, y regule la ganancia convenientemente para optimizar el nivel global y la calidad del
sonido.
Personalización de ajustes con los parámetros del simulador de amplificador
Aunque las configuraciones del simulador de amplificador de guitarra suenan bien tal y como se ofrecen, sin
duda deseará retocarlas de alguna manera para crear su propio sonido. Deberá proceder de la siguiente manera:
La sección del simulador de amplificador de guitarra del QY100 está formada por tres bloques principales: pre-
amplificador, chorus y reverberación (véase el siguiente esquema).
Los parámetros de cada configuración se encuentran debajo de su número y nombre en la pantalla GTR/MIC
EDIT. Los del preamplificador están junto a la cabecera de la lista de parámetros, y se reconocen por una “A” en vídeo
inverso delante del nombre. Los parámetros del bloque de chorus están al lado, y se representan por una “C”. El bloque
de reverberación sólo cuenta con un parámetro, cuyo nombre aparece precedido, como habrá adivinado, por una “R”.
La lista de parámetros también incluye uno de volumen y otro de activación/desactivación, descritos a continuación.
Setup nameSetup number
GUITAR/MIC
INPUT
Preamp
block Chorus
block Reverb
block
LINE OUT/
PHONES
GAIN
Número de configuraciónNombre de configuración
Preamplifi-
cador Chorus Reverbera-
ción
Página de parámetros 1
Parámetro de volumen
Parámetros del bloque de
preamplificador
Nombre de parámetro Indicador gráfico del valor del parámetro
Valor del parámetro

Para editar un parámetro
1Lleve el cursor hasta el parámetro que desea editar
Utilice las teclas de cursor para resaltar el valor del parámetro deseado. En una página no caben todos los
parámetros, así que tendrá que descender para ver los de la segunda página.
2Ajuste el valor del parámetro
Utilice los botones [-1] y [+1] o el método SHIFT+número (véase la página 20, si bien no se podrá usar con
algunos de los parámetros) para realizar los ajustes necesarios. Además del valor numérico, cada parámetro
tiene un control gráfico de nivel situado entre el nombre y el valor, y que constituye una eficaz referencia visual
del ajuste relativo.
■NOTA
●Los cambios que realice en los parámetros se conservarán con cada configuración, aunque seleccione un preajuste
diferente o apague el QY100. Para restablecer los ajustes iniciales de cada configuración, utilice la función “INITIALI-
ZE”: una vez seleccionada la configuración deseada, pulse [MENU] y después el botón de función contiguo a “Initialize”
en la pantalla. Cuando aparezca la pantalla de inicialización, pulse [ENTER] para reiniciar todos los parámetros de la
configuración elegida. Cuando termine, pulse el botón [EXIT] para regresar a la pantalla del simulador de amplificador.
●El parámetro de volumen
Situado en la cabecera de la lista, el parámetro “Volume” afecta al volumen global de la configuración.
Resulta muy útil para coordinar los niveles de las configuraciones con sus exigencias musicales. Por ejemplo,
podría desear que todas sus configuraciones de guitarra tuvieran más o menos el mismo nivel, o que determi-
nados efectos creados para solos sonaran más alto que el resto. Los parámetros como “Drive” (preamplifica-
dor) y “EQ” (baja o alta ganancia) también afectan al nivel relativo del sonido de la guitarra, por lo que el pará-
metro “Volume” resulta muy práctico para compensar tales variaciones.
●El bloque de preamplificador
Dependiendo de la configuración seleccionada, observará uno o tres parámetros de preamplificador deba-
jo de “Volume”. Algunas configuraciones sólo ofrecen “Drive”, y en otras también habrá “EQ LowGain” y “EQ Hi
Gain”. Los parámetros de preamplificador funcionan de la siguiente manera:
24
Para guitarras: excelente simulación de amplificador y efectos
Página de parámetros 2
Parámetros del bloque de chorus
Parámetro del bloque de reverberación
Parámetro de activación/desactivación
Parámetro de volumen
Parámetros del bloque de preamplificador

25
●El bloque de chorus
El efecto de chorus puede añadir vitalidad al sonido de la guitarra. Este bloque no está disponible para
todas las configuraciones. Si selecciona una que no contempla su uso, los valores de los parámetros de cho-
rus aparecerán con guiones. Cuando se activa el bloque de chorus, los parámetros actúan de la siguiente for-
ma:
●El bloque de reverberación
Sólo tiene un parámetro, “Reverb Lvl”, para ajustar la profundidad de reverberación. El margen abarca de
000 a 127, y los valores más altos producen una reverberación más profunda. Si selecciona una configuración
que no utiliza este bloque, el valor del parámetro “Reverb Lvl” aparecerá con guiones.
Para guitarras: excelente simulación de amplificador y efectos
Drive En términos familiares para el guitarrista, este parámetro es similar al control de ganancia o prega-
nancia de un amplificador que disponga de controles tanto de ganancia como de volumen general.
Cuanto más alto sea el valor (000 a 127), mayor será la saturación (distorsión).
EQLowGain Realza o recorta las bajas frecuencias (-12 dB...+00 dB...+12 dB). Los valores negativos reducen la
respuesta de graves y “aligeran” el sonido, en tanto que los positivos la refuerzan para producir un
sonido con más cuerpo.
EQ Hi Gain Realza o recorta las altas frecuencias (-12 dB...+00 dB...+12 dB). Los valores negativos reducen la
respuesta de agudos y producen un sonido más “entero” y melódico, en tanto que los positivos la
refuerzan para crear un sonido más brillante.
Mod Speed Ajusta la velocidad de modulación del efecto de chorus (la velocidad de variación del sonido). El mar-
gen abarca de 0 a 39,7 Hz. Cuanto mayor es el valor, más rápida será la modulación.
Mod Depth Profundidad de modulación (margen: 000 a 127). Cuanto mayor sea el valor, más profunda será la
modulación y, por tanto, más intenso el efecto.
FB Level Ajusta la cantidad de realimentación aplicada al bloque de chorus (margen: -63...+00...+63). Los
valores negativos aplican realimentación en fase invertida.
Parámetros del bloque de chorus
Parámetro del bloque de reverberación

●El parámetro “On/Off”
Al final de la lista de parámetros encontrará el de activación/desactivación. Este parámetro le permite acti-
var y desactivar un bloque específico con el botón [AMP SIMULATOR] del panel superior o con un pedal con-
mutador conectado a la toma FOOT SW del panel posterior (siempre que el pedal esté asignado a la conmu-
tación del simulador en el parámetro UTILITY descrito en la página 126). También hay una opción “ALL” para
activar o desactivar todos los bloques. Cuando se omitan (desactiven) los bloques seleccionados, se apagará
el indicador situado a la derecha del botón [AMP SIMULATOR].
Las opciones son las siguientes:
26
Para guitarras: excelente simulación de amplificador y efectos
Parámetro de activación/desactivación
AMP El pedal conmutador o el botón [AMP SIMULATOR] activan y desactivan únicamente el bloque de
preamplificador.
CHO El pedal conmutador o el botón [AMP SIMULATOR] activan y desactivan únicamente el bloque de
chorus.
REV El pedal conmutador o el botón [AMP SIMULATOR] activan y desactivan únicamente el bloque de
reverberación.
ALL El pedal conmutador o el botón [AMP SIMULATOR] activan y desactivan los tres bloques (preampli-
ficador, chorus y reverberación).

Secuenciador de Música
Para cantantes: extraordinario
procesamiento vocal
“Si no es vocalista, sáltese esta sección sin problemas.”
El QY100 también es un excelente acompañamiento para los vocalistas. La entrada GUI-
TAR/MIC recibirá directamente la señal procedente del micrófono de voz y aplicará los efectos
necesarios, tales como retardo o reverberación. Incluso dispone de un efecto de chorus por si se
desean crear sonidos más consistentes.
Conexión y ajuste de ganancia
Facilísimo. Además de las instrucciones básicas de la página 7, lo único que tendrá que hacer es conectar el
micrófono a la entrada GUITAR/MIC INPUT del panel posterior y ajustar el control de ganancia (GAIN) para optimizar
la coordinación de niveles.
1Conecte el micrófono a GUITAR/MIC INPUT en el panel posterior.
PRECAUCIÓN
●Cuando conecte un micrófono a la entrada GUITAR/MIC del QY100, primero deberá asegurarse de que se ha selec-
cionado una configuración de simulador de amplificador de micrófono (página 28). Si está seleccionada una de las con-
figuraciones de guitarra, es posible que se produzca una intensa realimentación.
2Ajuste la ganancia de entrada.
Utilice el control GAIN del panel posterior para ajustar la ganancia de entrada del QY100 de forma que
concuerde con el micrófono. Si el indicador PEAK situado junto al botón [PARAMETER] se ilumina más que
ocasionalmente mientras toca, significa que el ajuste de ganancia es demasiado alto. El indicador PEAK sólo
deberá parpadear brevemente durante los picos transitorios más elevados.
Secuenciador de Música
27

28
Para cantantes: extraordinario prcesamiento vocal
Pruebe los preajustes de micrófono
El QY100 incluye 5 configuraciones de simulador de amplificador diseñadas expresamente para micrófono
(véase la lista de datos adjunta). Puede seleccionar las configuraciones y ajustar sus parámetros desde la pantalla
“GTR/MIC EDIT”, a la que se accede pulsando el botón [PARAMETER].
1Pulse el botón [PARAMETER].
Aparecerá la pantalla “GTR/MIC EDIT”.
2 Resalte el número/nombre de configuración
Utilice las teclas de cursor para llevarlo hasta el número/nombre de configuración de la parte superior de
la pantalla.
3 Seleccione y pruebe las configuraciones
Utilice los botones [-1] y [+1] para seleccionar la configuración de micrófono deseada (de M01 a M05; qui-
zá tenga que pasar por los preajustes de guitarra G01 a G18 hasta llegar a los de micrófono). Pruébelas tal
cual, que más adelante podrá realizar cambios. Asegúrese de que el control de volumen del QY100 está ajus-
tado a un nivel apropiado, y regule la ganancia convenientemente para optimizar el nivel global y la calidad del
sonido.
Personalización de ajustes con los parámetros de efectos de micrófono
La sección del simulador de amplificador de micrófono del QY100 está formada por tres bloques principales:
retardo, chorus y reverberación (véase el siguiente esquema).
Los parámetros de cada configuración se encuentran debajo de su número y nombre en la pantalla GTR/MIC
EDIT. Los del retardo están junto a la cabecera de la lista de parámetros, y se reconocen por una “D” en vídeo inver-
so delante del nombre. Los parámetros del bloque de chorus están al lado, y se representan por una “C”. El bloque
de reverberación sólo cuenta con un parámetro, cuyo nombre aparece precedido, como habrá adivinado, por una “R”.
La lista de parámetros también incluye uno de volumen y otro de activación/desactivación, descritos a continuación.
Nombre de configuraciónNúmero de configuración
GUITAR/MIC
INPUT
Preamp
block Chorus
block Reverb
block
LINE OUT/
PHONES
GAIN
Retardo Chorus Reverbera-
ción
Página de parámetros 1 Página de parámetros 2
Parámetro de volumen
Nombre de parámetro
Parámetros del bloque
de retardo
Indicador gráfico del
valor del parámetro
Valor del
parámetro
Parámetros del bloque
de chorus
Parámetro del bloque
de reverberación
Parámetro de
activación/desactivación

29
Para editar un parámetro
1Lleve el cursor hasta el parámetro que desea editar
Utilice las teclas de cursor para resaltar el valor del parámetro deseado. En una página no caben todos los
parámetros, así que tendrá que descender para ver los de la segunda página.
2Ajuste el valor del parámetro
Utilice los botones [-1] y [+1] o el método SHIFT+número (véase la página 20, si bien no se podrá usar con
algunos de los parámetros) para realizar los ajustes necesarios. Además del valor numérico, cada parámetro
tiene un control gráfico de nivel situado entre el nombre y el valor, y que constituye una eficaz referencia visual
del ajuste relativo.
■NOTA
●Los cambios que realice en los parámetros se conservarán con cada configuración, aunque seleccione un preajuste
diferente o apague el QY100. Para restablecer los ajustes iniciales de cada configuración, utilice la función “INITIALI-
ZE”: una vez seleccionada la configuración deseada, pulse [MENU] y después el botón de función contiguo a “Initialize”
en la pantalla. Cuando aparezca la pantalla de inicialización, pulse [ENTER] para reiniciar todos los parámetros de la
configuración elegida. Cuando termine, pulse el botón [EXIT] para regresar a la pantalla del simulador de amplificador.
●El parámetro de volumen
Situado en la cabecera de la lista, el parámetro “Volume” afecta al volumen global de la configuración.
Resulta muy útil para coordinar los niveles de las configuraciones con sus exigencias musicales. Por ejemplo,
podría desear que todas sus configuraciones tuvieran más o menos el mismo nivel, o que determinados efec-
tos sonaran más alto que el resto.
●El bloque de retardo
El bloque de retardo estéreo consta de los cinco parámetros siguientes:
Para cantantes: extraordinario prcesamiento vocal
Parámetro de volumen
Parámetros del bloque de preamplificador
Lch Delay Establece el tiempo de retardo inicial del canal izquierdo, entre 0,1 y 715,0 milisegundos.
Rch Delay Establece el tiempo de retardo inicial del canal derecho, entre 0,1 y 715,0 milisegundos.
FB Delay1 Establece el tiempo de retardo de realimentación del canal izquierdo, entre 0,1 y 715 milisegundos
(determina el tiempo de los retardos posteriores al inicial).
FB Delay2 Establece el tiempo de retardo de realimentación del canal derecho, entre 0,1 y 715 milisegundos
(determina el tiempo de los retardos posteriores al inicial).
FB Delay Lvl Determina el nivel de desvanecimiento de los retardos posteriores al inicial.

30
Para cantantes: extraordinario prcesamiento vocal
●El bloque de chorus
El efecto de chorus puede añadir vitalidad al sonido del micrófono. Este bloque no está disponible para
todas las configuraciones. Si selecciona una que no contempla su uso, los valores de los parámetros de cho-
rus aparecerán con guiones. Cuando se activa el bloque de chorus, los parámetros actúan de la siguiente for-
ma:
●El bloque de reverberación
Sólo tiene un parámetro, “Reverb Lvl”, para ajustar la profundidad de reverberación. El margen abarca de
000 a 127, y los valores más altos producen una reverberación más profunda. Si selecciona una configuración
que no utiliza este bloque, el valor del parámetro “Reverb Lvl” aparecerá con guiones.
●El parámetro “On/Off”
Al final de la lista de parámetros encontrará el de activación/desactivación. Este parámetro le permite acti-
var y desactivar un bloque específico con el botón [AMP SIMULATOR] del panel superior o con un pedal con-
mutador conectado a la toma FOOT SW del panel posterior (siempre que el pedal esté asignado a la conmu-
tación del simulador en el parámetro UTILITY descrito en la página 126). También hay una opción “ALL” para
activar o desactivar todos los bloques. Cuando se omitan (desactiven) los bloques seleccionados, se apagará
el indicador situado a la derecha del botón [AMP SIMULATOR].
Las opciones son las siguientes:
Parámetros del bloque de chorus
Parámetro del bloque de reverberación
Parámetro de activación/desactivación
Mod Speed Ajusta la velocidad de modulación del efecto de chorus (la velocidad de variación del sonido). El mar-
gen abarca de 0 a 39,7 Hz. Cuanto mayor es el valor, más rápida será la modulación.
Mod Depth Profundidad de modulación (margen: 000 a 127). Cuanto mayor sea el valor, más profunda será la
modulación y, por tanto, más intenso el efecto.
FB Level Ajusta la cantidad de realimentación aplicada al bloque de chorus (margen: -63...+00...+63). Los
valores negativos aplican realimentación en fase invertida.
DLY El pedal conmutador o el botón [AMP SIMULATOR] activan y desactivan únicamente el bloque de
retardo.
CHO El pedal conmutador o el botón [AMP SIMULATOR] activan y desactivan únicamente el bloque de
chorus.
REV El pedal conmutador o el botón [AMP SIMULATOR] activan y desactivan únicamente el bloque de
reverberación.
ALL El pedal conmutador o el botón [AMP SIMULATOR] activan y desactivan los tres bloques (retardo,
chorus y reverberación).

Secuenciador de Música
Acompañamiento instantáneo
En esta sección aprenderemos a usar el QY100 con vistas a crear una amplia serie de acom-
pañamientos sin tener que programar nada. Combinando los 768 patrones predefinidos disponi-
bles (128 estilos x 6 secciones) con las 99 plantillas de acordes, podremos componer..., vea-
mos..., bueno, un montón de variaciones de acompañamiento.
Pero antes..., así sabrá de lo que hablamos
Antes de descubrir lo fácil que resulta crear acompañamientos con el QY100, aclararemos algunos de estos
confusos términos: ¿qué son exactamente los “patrones”, los “estilos”, las “secciones” y las “plantillas de acordes”?
●Estilos
Un “estilo” es, pues eso, ¡un estilo musical! Como el blues, el reggae o el hip-hop. Los 128 estilos del
QY100 son una especie de miniarreglos en diferentes estilos musicales, con percusión, bajo, acordes, etc.,
según exija el estilo. A su vez, un estilo se subdivide en “secciones”.
●Secciones
Cada estilo se compone de varias “secciones”, enumeradas a continuación.
●Patrones
En resumidas cuentas, cada sección de un estilo es un patrón. La sección INTRO del estilo “FunkRock” es
un patrón, igual que la sección MAIN B del estilo “BritPop”. Así pues, con 128 estilos de 6 secciones cada uno
(no incluimos la sección BLANK por razones obvias), tenemos un total de 768 patrones individuales.
●Plantillas de acordes
Si simplemente selecciona y reproduce una sección de un estilo, éste sonará, aunque sin “movimiento
armónico”. O dicho de otra forma, “sin cambios de acordes”. El estilo sonará con el acorde seleccionado en ese
momento hasta que introduzca uno nuevo manualmente o programe una progresión de acordes original. Pero
dejemos para más adelante la introducción manual y la programación de progresiones, porque no en vano el
QY100 ofrece 99 progresiones de acordes predefinidas que no tienen más que seleccionarse y tocarse. Estas
“plantillas de acordes” incluyen una amplia serie de progresiones “estándar” (reconocerá algunas entre sus
canciones favoritas) que se emplean habitualmente en una gran variedad de géneros musicales.
Secuenciador de Música
31
INTRO Como indica su nombre, esta sección suele se la introducción o preludio de una canción.
MAIN A Es la que normalmente se usaría como estrofa de una canción.
MAIN B Es una variante de MAIN A que puede usarse como estribillo o “puente” de una canción.
FILL AB Un corte o “relleno” que conecta la sección MAIN A con MAIN B.
FILL BA Relleno que conecta la sección MAIN B con MAIN A.
ENDING Un patrón de cierre que pone punto final a la canción. La reproducción se detiene automáticamente
cuando termina este patrón (o coda).
BLANK Si selecciona BLANK, el QY100 no producirá ningún sonido mientras no se cambie de sección. No
obstante, el tiempo sigue contando, por lo que al cambiar a otra sección, entrará correctamente
acompasada.

32
Acompañamiento instantaneo
Pruebe los los estilos predefinidos
Los estilos predefinidos del QY100 se seleccionan y reproducen en el modo de canción (SONG).
1Seleccione el modo SONG y una canción vacía.
Pulse el botón [SONG] para seleccionar el modo de canción. Si es necesario, compruebe que el cursor se
encuentra sobre el número de canción de la parte superior de la pantalla, y utilice los botones [-1] y [+1] para
seleccionar una canción “vacía”.
Método de introducción de datos SHIFT+número
Este método también sirve para introducir números de canción y otros valores. Utilice las teclas negras
numeradas del microteclado para introducir el valor mientras mantiene pulsado [SHIFT], y a continua-
ción pulse [ENTER].
■NOTA
● Si por alguna razón las 20 canciones contienen datos, utilice la operación “Borrar canción” descrita en la página 93 para
vaciar una canción y poder grabar en ella.
2Resalte el número de estilo
La zona inferior izquierda de la pantalla del QY100 es el área de selección de estilos y secciones.
Para seleccionar un estilo, primero lleve el cursor a la zona de número de estilo de la pantalla.
3Seleccione un estilo
Utilice los botones [-1] y [+1] o el método SHIFT+número (página 20) para seleccionar el estilo que desea
reproducir (consulte la lista de estilos del manual adjunto para conocer más detalles sobre cada uno de los estilos).
4Inicie la reproducción
Pulse el botón [ ] del secuenciador para dar comienzo a la reproducción del estilo seleccionado, y el botón
[■] para detenerla.
Número de canción
Número de estilo
Nombre de sección
Número de compás
Detenga la reproducción
Inicie la reproducción

33
●Dos métodos de selección de secciones
Existen dos formas de seleccionar la sección que se desea reproducir:
Método 1: Simplemente lleve el cursor hasta el nombre de sección de la parte inferior de la pantalla, y uti-
lice los botones [-1] y [+1] o SHIFT+número (página 20) para seleccionar una sección.
Método 2: Pulse la tecla del miniteclado que corresponda a la sección que desea seleccionar (observe
que las siete teclas de la izquierda del miniteclado tienen rotulados los nombres de las secciones debajo
de ellas). Este método del miniteclado sólo funcionará mientras el cursor esté situado en la zona de selec-
ción de estilos y secciones de la pantalla.
Con cualquiera de los métodos, siempre que se seleccione una sección diferente mientras se esté reprodu-
ciendo el estilo, la nueva sección comenzará a sonar desde el principio del siguiente compás. Delante del nom-
bre de la nueva sección aparecerá “NEXT” (siguiente) hasta que empiece a reproducirse.
Si se seleccionan las secciones INTRO, FILL AB o FILL BA mientras se reproduce el estilo, sonarán una vez y
la reproducción regresará automáticamente a la sección principal A o B. A la sección INTRO le sigue MAIN A,
después de FILL AB suena MAIN B, y después de FILL BA viene MAIN A. Si ha seleccionado la sección
ENDING, la reproducción se detendrá automáticamente una vez finalizada dicha sección.
●Cualquier sección (o ninguna sección) →INTRO →MAIN A
●Cualquier sección →FILL AB →MAIN B
●Cualquier sección → FILL BA →MAIN A
●Cualquier sección →ENDING →La reproducción se detiene
Acompañamiento instantaneo
“NEXT”
“NEXT” (siguiente)

Añada acordes y empiece a tocar
Ahora que tiene el patrón elegido surcando el QY100 (si no es así, seleccione uno y reprodúzcalo), vamos a oír
cómo suena con algunas de las plantillas de acordes predefinidos.
1Resalte el parámetro de plantilla de acordes (CHRD TEMP)
La parte inferior derecha de la pantalla es la zona de selección de acordes y plantillas de acordes. Lleve el
cursor hasta el ángulo superior derecho de esta zona.
2Seleccione una plantilla de acordes predefinidos
Utilice los botones [-1] y [+1] para seleccionar y escuchar algunas de las plantillas de acordes predefinidos
(numeradas de P01 a P99). Cuando el cursor se encuentra en el número de plantilla de acordes, el nombre de
la plantilla seleccionada aparecerá debajo del número. Si retira el cursor del número de plantilla, el nombre de
cada uno de los acordes individuales se visualizará en la misma posición mientras se reproduce el acompaña-
miento.
■NOTA
● El hecho de que el QY100 muestre los nombres de los acordes durante la reproducción también puede ser muy ins-
tructivo. Si lee los nombres de los acordes mientras suena la progresión (y su propia interpretación), podrá asociarlos
con el sonido global que producen. En poco tiempo no deberá tener problemas para reconocer de oído las progresio-
nes de acordes.
● Todas las plantillas de acordes están originalmente en clave de do. Para cambiarla, utilice el parámetro TRNS para
transponer toda la canción a la clave deseada (página 65).
Algunas de las plantillas de acordes son progresiones estándar, como la progresión básica I — VI — II — V7
de la plantilla POPS-M01. Otras pueden ser algo menos usuales, pero no por ello carentes de interés o utilidad.
En la lista de plantillas de acordes del manual adjunto se ofrece una relación completa de las 99 plantillas dis-
ponibles y sus progresiones. Dedique un tiempo a combinar diversos estilos con las plantillas de acordes y ver
lo que puede conseguir. No se olvide de probar las distintas secciones de cada estilo y oír cómo suenan con
las plantillas de acordes.
34
Acompañamiento instantaneo
Número de plantilla de acordes
Nombre de acorde

Secuenciador de Música
Grabe su propia progresión de acordes y
sus cambios de patrón
Ahora que ya conoce más los estilos, patrones y plantillas de acordes del QY100, vamos a
intentar grabar un pequeño acompañamiento con cambios de patrón y una progresión de acordes
original.
Como ejemplo sencillo y rápido de programar, utilizaremos el estilo HipHop2 (número 035) con la siguiente dis-
tribución:
INTRO (4 compases)→MAIN A (7 compases) →
FILL AB (1 compás) →MAIN B (8 compases) →
FILL BA (1 compás) →MAIN A (7 compases) →
ENDING
■NOTA
● L
a razón para que las dos primeras ocurrencias de MAIN A y MAIN B ocupen siete compases en lugar de ocho (una “uni-
dad” más normal) es que los rellenos FILL AB y FILL BA actúan como último compás de las unidades de 8 compases.
Los cambios de acordes son realmente sencillos. El acompañamiento completo emplea únicamente dos acor-
des, Cm7(11) y Fm7(11), de la siguiente manera:
* Las secciones INTRO y ENDING tienen sus propias progresiones de acordes. Sólo habrá que especificar el acor-
de de inicio (CM7(11)).
1Seleccione el modo SONG y una canción vacía.
Pulse el botón [SONG] para seleccionar el modo de canción. Si es necesario, compruebe que el cursor se
encuentra sobre el número de canción de la parte superior de la pantalla, y utilice los botones [-1] y [+1] para
seleccionar una canción “vacía”.
Método de introducción de datos SHIFT+número
Este método también sirve para introducir números de canción y otros valores. Utilice las teclas negras
numeradas del microteclado para introducir el valor mientras mantiene pulsado [SHIFT], y a continua-
ción pulse [ENTER].
■NOTA
● Si por alguna razón las 20 canciones contienen datos, utilice la operación “Borrar canción” descrita en la página 93 para
vaciar una canción y poder grabar en ella.
Secuenciador de Música
35
INTRO
MAIN A FILL AB
Cm7(11)*
Cm7(11) Cm7(11)
Fm7(11) Fm7(11)
MAIN B FILL BA
Cm7(11) Cm7(11)
Fm7(11) Fm7(11)
MAIN A
Cm7(11) Cm7(11)
Fm7(11) Fm7(11)
ENDING
Cm7(11)*

36
Grabe su propia progresión de acordes y cambios de patrón
2Seleccione la pista “Pt” para grabar los cambios de patrón
Lleve el cursor a la zona de pistas de la pantalla, y después desplácelo en horizontal para seleccionar “Pt”.
Seguidamente, muévalo verticalmente a otras áreas de la pantalla. La pista seleccionada permanecerá resal-
tada con independencia de la posición del cursor.
3Active el modo de preparado para grabar.
Pulse el botón [●] para activar el modo de preparado para grabar. Se iluminará el indicador rojo situado
encima del botón [●]. En la zona central de la pantalla aparecerán los selectores del modo de grabación, y en
la parte superior se visualizará el nombre del modo de grabación actual.
4Seleccione el modo de grabación en tiempo real por sustitución.
Si no está seleccionado este modo, lleve el cursor hasta el botón “REPL” de la zona de selección del modo
de grabación, y pulse [ENTER]. En el botón del modo de grabación seleccionado aparecerá una “R” en plano
inverso.
5Seleccione el patrón de inicio, el acorde y el tempo.
Lleve el cursor hasta los parámetros de número de estilo, sección, acorde y tempo, y ajústelos a conve-
niencia (serán los valores de partida de su acompañamiento).
■NOTA
● Para la grabación, puede ajustar el parámetro de tempo con un valor más lento que el tempo de reproducción que vaya
a utilizar, y así dispondrá de tiempo suficiente para introducir los cambios de patrón y de acorde.
6Grabe los cambios de patrón.
Pulse el botón [ ] para dar comienzo a la grabación de los cambios de patrón en la pista de patrón del
QY100. El metrónomo sonará, y se dispondrá de una cuenta atrás de un compás antes de que comience a gra-
barse el primer compás (el número de compases de entrada se puede cambiar en el modo de utilidades, pági-
na 126). La cuenta atrás también se indica mediante números negativos en la pantalla de número de compás.
Con el valor estándar de un compás, durante la cuenta atrás se visualizará “-01”, y después se iniciará la gra-
bación desde el compás “001”.
>
Pista “Pt”
Selector del modo de grabación.
Cuenta atrás
Botón del modo de grabación
seleccionado

37
Introducción de cambios de patrón
El cursor se desplazará automáticamente al número de estilo cuando empiece a grabar en la pista de
patrón. Puede grabar los cambios de número de estilo utilizando los botones [-1] y [+1] o el método
SHIFT+número (página 20) para seleccionar los estilos deseados. En nuestro ejemplo sólo seleccionará
secciones con el estilo HipHop2, así que no habrá necesidad de cambiar de número de estilo. La forma
más sencilla de introducir cambios de sección consiste en pulsar las teclas apropiadas del microteclado
en los momentos oportunos durante la grabación. Recuerde que todos los cambios de patrón se produ-
cen desde el principio del siguiente compás a partir de la introducción del cambio. Recuerde también que
algunas secciones cambian automáticamente a otra después de reproducirse: INTRO a MAIN A;
FILL AB a MAIN B; y FILL BA a MAIN A. Para terminar, deberá completar la pista de acompañamiento
con el patrón ENDING, o de lo contrario el acompañamiento sonará de forma ininterrumpida.
Los cambios de patrón que deseará grabar son los siguientes:
INTRO (compases 1 … 4): Es el patrón inicial (previamente deberá haber seleccionado el patrón
INTRO en el punto 5 anterior).
MAIN A (compases 5 … 11): El patrón MAIN A se seleccionará automáticamente a la conclusión de
INTRO, por lo que no tendrá que seleccionarlo manualmente.
FILL AB (compás 12): Pulse la tecla [FILL AB] del microteclado durante el compás 11, y el patrón de
relleno AB comenzará a reproducirse desde el principio del compás 12.
MAIN B (compases 13 … 19): El patrón MAIN B se seleccionará automáticamente después de repro-
ducirse una vez completa el relleno AB, por lo que no tendrá que seleccionarlo manualmente.
FILL BA (compás 20): Pulse la tecla [FILL BA] del microteclado durante el compás 19, y el patrón de
relleno BA comenzará a reproducirse desde el principio del compás 20.
MAIN A (compases 21 … 28): El patrón MAIN A se seleccionará automáticamente después de repro-
ducirse una vez completa el relleno BA, por lo que no tendrá que seleccionarlo manualmente.
ENDING (compases 29 … 32): La indicación “—END—” aparecerá en lugar del nombre de estilo
una vez finalizada la coda (patrón ENDING).
■NOTA
● El patrón ENDING repetirá la reproducción en el modo de grabación en tiempo real, pero detendrá automáticamente la
canción cuando se reproduzca en el punto 11.
7Detenga la grabación.
Pulse el botón [■] para detener la grabación y regresar al modo de canción.
8Active de nuevo el modo de preparado para grabar y seleccione la pista “Cd”.
Pulse el botón [●] para activar otra vez el modo de preparado para grabar (el modo “REPL” seguirá selec-
cionado), y luego lleve el cursor a la sección de pistas de la pantalla para seleccionar “Cd” y grabar los cambios
de acorde.
Grabe su propia progresión de acordes y cambios de patrón
Pista “Cd”

9Grabe los cambios de acorde.
Pulse el botón [ ] para iniciar la grabación en la pista de acordes. El metrónomo sonará, y se dispondrá
de una cuenta de entrada como se ha explicado en el punto 6. Cuando comience la grabación (el cursor se
desplazará de forma automática a la zona de nombres de acordes de la pantalla), podrá introducir los cambios
de acorde deseados en los puntos adecuados del acompañamiento, como se indica a continuación.
Introducción de cambios de acordes
Los acordes se introducen desde el microteclado del QY100. Observe que la octava inferior del tecla-
do tiene rotulados en las teclas los nombres de acorde raíz desde “E” hasta “D#/Eb”, y que los teclas
de la octava superior se identifican por distintos tipos de acordes. Para introducir un acorde, pulse la
tecla correspondiente a la raíz deseada, después la del tipo de acorde (las teclas de tipo de acorde
seleccionan de forma alterna los tipos superior e inferior rotulados sobre ellas…; observe la pantalla),
y después pulse [ENTER] (en la lista de tipos de acordes del manual adjunto encontrará una relación
de los tipos de acordes disponibles). Si a un acorde le va a seguir otro distinto pero del mismo tipo, no
tendrá que introducir de nuevo el tipo de acorde.
ACORDE RAÍZ →TIPO DE ACORDE (si es preciso) →[ENTER]
El acorde se introduce realmente cuando se pulsa [ENTER] (hasta entonces, el tipo y raíz de acorde
parpadean en la pantalla). Advierta que los cambios de acorde se producen en realidad en divisiones
de nota negra, así que intente pulsar el botón [ENTER] para introducir cada cambio de acorde exacta-
mente en el tiempo de compás o ligeramente antes del tiempo de compás en el que desea que se pro-
duzca el cambio. En el modo de grabación por pasos (STEP) pueden programarse cambios de acor-
des sincopados (página 49).
También puede introducir cambios de acordes tocando el microteclado (página 39).
Grabe los cambios de acorde de la siguiente manera:
INTRO (Cm7(11)): Los patrones INTRO predefinidos poseen sus propias progresiones de acordes.
Aunque puede especificar la raíz del acorde (clave), los tipos tales como “M” o “m6” serán desestima-
dos. Puesto que Cm7(11) ya ha sido seleccionado como acorde inicial (paso 5 anterior), no será nece-
sario introducir ningún acorde para la sección INTRO en este punto.
MAIN A (Cm7(11)/Fm7(11)): La progresión simplemente alterna entre los acordes Cm7(11) y Fm7(11)
cada dos compases: Cm7(11) para los compases 5 y 6, Fm7(11) para los compases 7 y 8, y así suce-
sivamente.
FILL AB (Fm7(11)): No hay necesidad de introducir un acorde para el patrón FILL AB. El acorde
Fm7(11) se mantiene hasta el comienzo del patrón MAIN B.
MAIN B (Cm7(11)/Fm7(11)): Continúa la misma progresión de Cm7(11) y Fm7(11) alternando cada dos
compases.
FILL BA (Fm7(11)): El acorde Fm7(11) se mantiene hasta el comienzo del patrón MAIN A.
MAIN A (Cm7(11)/Fm7(11)): Continúa la misma progresión de Cm7(11) y Fm7(11) alternando cada
dos compases.
ENDING (Cm7(11)): Al igual que los patrones INTRO, los predefinidos ENDING tienen sus propias
progresiones de acordes.
>
38
Grabe su propia progresión de acordes y cambios de patrón
● Example: Enter a G7 Chord
●Ejemplo: introduzca un acorde G7 (sol 7)

39
Aunque puede especificar la raíz del acorde (clave), los tipos de acorde serán desestimados.
10 Detenga la grabación.
Pulse el botón [ ] para detener la grabación y regresar al modo de canción.
11 Toque el acompañamiento.
Pulse el botón [ ] para reproducir el acompañamiento.
Acordes digitados
El QY100 también dispone de un modo de acordes digitados (“Fingered Chord”) que permite tocar los acordes
deseados en el microteclado, sin tener que especificar la raíz y el tipo como se ha explicado anteriormente. Para acti-
var esta función, lleve el cursor al parámetro “FNGR” de la pantalla del modo de canción antes de grabar, y pulse el
botón [ENTER] para seleccionar “ON”. Cuando grabe con el modo de acorde digitado, no tendrá que pulsar [ENTER]
después de tocar cada acorde, ya que se introducen en el momento de ser ejecutados.
Y también cambios de tempo
Los cambios de tempo se pueden grabar en la pista “Tm” del QY100 igual que los cambios de patrón se graban
en la pista “Pt” y los cambios de acorde en la pista “Cd”.
Después de grabar las pistas de patrón y acorde, seleccione la pista “Tm” (tempo), pulse el botón [●] para acti-
var el modo de preparación para la grabación (sólo se puede seleccionar el modo de grabación en tiempo real por
sustitución para la pista de tempo), pulse [ ] para dar comienzo a la grabación (el cursor se desplazará automática-
mente al parámetro de tempo), y después utilice los botones [+1] y [-1] o el método SHIFT+número (página 20) para
realizar los cambios de tempo requeridos en los momentos apropiados de la grabación. Pulse [ ] para detener la gra-
bación. Los cambios de tempo se pueden editar al detalle como se indica en la página 112.
■NOTA
● Si graba cambios de tempo en el acompañamiento, no se olvide de grabar también el tempo inicial al principio de la
secuencia.
Si comete algún error…
No se preocupe si ha cometido algunos errores. Los deslices sin importancia cometidos en la grabación en
tiempo real normalmente pueden corregirse en el modo de grabación por pasos explicado en la página 45.
o
track
>
f
>
Grabe su propia progresión de acordes y cambios de patrón
Función de acorde
digitado
Tempo
Pista “Tm”

Añada algunos detalles para completar
el acompañamiento
“Complete la sección anterior para continuar en ésta.”
Asignaciones de voces
Antes de empezar a grabar de verdad las pistas del secuenciador, deberá entrar en el modo SONG VOICE y
asignar a dichas pistas las voces que tiene pensado utilizar. Las asignaciones de voces se pueden realizar o modifi-
car más adelante si se desea, pero conviene grabar con las voces que realmente se pretenden usar en la canción.
1 Seleccione el modo SONG VOICE
Desde la pantalla principal del modo de canción (SONG), pulse una vez el botón [SONG] para acceder a
la pantalla del modo SONG VOICE.
2 Seleccione las voces
Lleve el cursor al selector de voz de la pista 1, y utilice los botones [+1/YES] y [-1/NO] o el método
SHIFT+número (página 20) para seleccionar “Ld 081 SquareLd” (el nombre completo de la voz aparecerá en
la parte superior de la pantalla).
A continuación, lleve el cursor al selector de voz de la pista 2 y seleccione “En 056+Bass Hit”.
3 Regrese a la pantalla principal del modo SONG
Desde la pantalla SONG VOICE, pulse el botón [SONG] dos veces para saltar la pantalla de efectos de
canción (SONG EFFECT) y regresar a la principal del modo de canción.
Press twice
40
Pulsar dos veces
Aunque podría usar el acompañamiento básico que creamos en el capítulo anterior como fondo de alguna
improvisación inspirada, en esta sección añadiremos algunos retoques que impriman a la pista algo más de per-
sonalidad. Los procedimientos aquí explicados pueden aplicarse fácilmente para componer canciones completas
en el QY100.
Secuenciador de Música
Secuenciador de Música

41
Grabación en tiempo real en las pistas del secuenciador
Ésta es la partitura de las piezas que grabaremos en las pistas 1 y 2. El pentagrama superior (agudos) corres-
ponde a la pista 1, y el inferior (graves) a la pista 2. Si no lee música o simplemente no quiere complicarse, grabe los
sonidos que mejor le parezcan. La música nunca se tiene que hacer por obligación o rutina.
081
056+
081
056+
SquareLD
Bass Hit
081
056+
081
056+
=120
081
056+
081
056+
081
056+
081
Añada algunos detalles para completar el acompañamiento
081
056+
081
056+
081
056+
081
056+

1Seleccione una pista para grabar
Lleve el cursor al área de pistas de la pantalla, y después desplácelo lateralmente para seleccionar la pis-
ta que desea grabar (1 a 16). En este caso, probablemente desee grabar la primera parte en la pista 1. Advier-
ta que la pantalla muestra al mismo tiempo 8 de las 16 pistas disponibles, pero que puede utilizar las teclas de
cursor para desplazarse a derecha o izquierda hasta las restantes pistas (aparecerá una flecha a la derecha o
a la izquierda de los números de pista para indicar que hay más pistas accesibles avanzando en la dirección
señalada). Una vez seleccionada la pista en la que va a grabar, mueva verticalmente el cursor a otras zonas de
la pantalla. La pista seleccionada quedará resaltada.
■NOTA
● Si va a grabar a través del propio microteclado del QY100, puede ajustar la “velocidad de
pulsación” del microteclado con el parámetro “VELO”. La velocidad de pulsación se puede
ajustar en diez niveles: cuantas más barras, más alta es la velocidad. Existen además cua-
tro ajustes de velocidad aleatoria que producen diferentes grados al azar para cada nota
tocada, imitando las variaciones producidas por un intérprete “humano”. El valor “R1” pro-
duce la variación más ligera, y “R4” la más pronunciada.
2Active el modo de preparación para la grabación
Pulse el botón [●] para activar el modo de preparación para la grabación. Se iluminará el indicador rojo
situado sobre el botón [●]. Los selectores del modo de grabación aparecerán en la zona central de la pantalla,
y el nombre del modo de grabación actual en la parte superior.
3 Seleccione el modo de grabación por sustitución o por “overdubbing” en tiempo real
Normalmente, cuando grabe una pista nueva desde cero, deseará usar el modo de grabación por sustitu-
ción en tiempo real. Para seleccionarlo (en caso de que no lo esté ya), sitúe el cursor sobre “REPL” en el área
de grabación de la pantalla y pulse [ENTER]. En el botón del modo de grabación seleccionado aparecerá una
“R” en fondo invertido.
Si ya ha grabado algo en una pista y desea añadir nuevas notas sin borrar el material existente, seleccio-
ne el modo de grabación por “overdubbing” en tiempo real (“OVER”) en lugar de “REPL”.
42
Añada algunos detalles para completar el acompañamiento
Pista
Selector del modo de
grabación
Botón “REPL”
Parámetro “VELO”

43
■NOTA
● Hay otros modos de grabación aparte de “REPL” y “OVER”. Encontrará más detalles sobre “STEP” en la página 50, y
sobre “MULTI” en la página 44.
4 Ajuste los parámetros de tempo y signatura de tiempo
En este ejemplo usaremos el tempo estándar de 120 pulsos por minuto y la signatura de 4/4, así que no
tendrá que hacer ningún cambio. Cuando quiera grabar con un tempo o compás diferente, simplemente des-
place el cursor hasta los parámetros de tempo y signatura de tiempo y ajústelos a conveniencia con los boto-
nes [+1/YES] y [-1/NO].
■NOTA
● Igual que en la grabación de patrones y acordes, puede establecer un tempo más lento que el que utilizará en la inter-
pretación, y así dispondrá de tiempo suficiente para la introducción de las distintas partes.
5 Grabe la primera pista
Pulse el botón [ ] para dar comienzo a la grabación. Igual que en la grabación de patrones y acordes, el
metrónomo sonará, y se dispondrá de una entrada o cuenta atrás de un compás antes de iniciarse la grabación
real (el número de compases de la cuenta atrás puede cambiarse en el modo de utilidades, página 126). El
número de compases de la cuenta de entrada se reconoce por un número negativo en la sección de número
de compás de la pantalla. Con el ajuste estándar de un compás de entrada, se visualizará “-01” durante la
cuenta atrás, y después comenzará la grabación desde el compás “001”.
Cuando haya comenzado la grabación, toque la parte deseada en el microteclado del QY100, teclado MIDI
externo u otro controlador.
■NOTA
● Si tiene problemas a la hora de interpretar una parte en tiempo real (o simplemente quiere introducir las notas con una
precisión matemática), utilice el modo de grabación por pasos descrito en la página 50 para introducir las notas de una
en una, con un control total sobre la temporización y duración de las notas.
● Si comete un error (o dos, o tres…) durante la grabación, siempre puede retroceder y grabar de nuevo toda la pista.
Pero si sólo se necesitan hacer unos retoques, quizá prefiera usar el modo de edición del QY100 (modo EDIT, pági-
na 112) para reajustar la pista a conveniencia.
>
Añada algunos detalles para completar el acompañamiento
Parámetros de
tempo y signatura
de tiempo
Cuenta de entrada

6Detenga la grabación
Pulse el botón [ ] para detener la grabación y regresar al modo de canción (SONG). Observe que, cuan-
do regrese al modo de reproducción de canción, aparecerá una barra debajo de cada pista que contenga
datos. Es el segmento más bajo de un “medidor de velocidad” que indicará los niveles de velocidad de pulsa-
ción de la pista durante la reproducción.
7 Grabe la siguiente pista
Pulse el botón [●] para activar de nuevo el modo de preparación para la grabación (seguirá seleccio-
nado el modo de grabación “REPL” u “OVER”, que podrá conservar o cambiar a conveniencia), lleve el cursor
a la zona de pistas de la pantalla y seleccione la siguiente pista para la grabación, en este caso la pista 2.
Pulse el botón [ ] para iniciar la grabación, y proceda igual que con la primera pista.
■NOTA
● Si desea ampliar este proceso para grabar una canción entera en las pistas de secuenciador del QY100, no tiene más
que asignar las voces correspondientes y grabar tantas como requiera la canción (hasta 16, obviamente), una detrás
de otra.
● Utilice las operaciones de canción (SONG JOBS, página 76) para retocar las pistas grabadas a su gusto. Si los tiempos
están algo descompensados, por ejemplo, utilice la operación de cuantización para alinearlos. En la página 76 se ofre-
ce una lista de las operaciones de canción disponibles.
8 Detenga la grabación
Pulse el botón [ ] para detener la grabación y regresar al modo de canción.
9Toque el acompañamiento.
Pulse el botón [ ] para reproducir el acompañamiento junto con los añadidos de las pistas de secuenciador.
>
>
44
Añada algunos detalles para completar el acompañamiento
Pista grabada
Acerca de la grabación “MULTI”
Si selecciona el modo “MULTI” en el paso 3 de la página 42, el QY100 grabará simultáneamente los
datos recibidos por los canales MIDI 1 a 16 en las pistas de secuenciador correspondientes (1 a 16). Es un
modo de gran utilidad cuando se desea registrar una grabación multiparte de un ordenador u otro secuen-
ciador en tiempo real, o cuando se quiera grabar de un instrumento MIDI (por ejemplo, una guitarra MIDI)
que transmita por varios canales.
Antes de comenzar la grabación multiparte, asegúrese de ajustar “MIDI Sync” a “External” (pági-
na 127), “MIDI control” a “In” o “In/Out” (página 127), y “Rec Count” a “OFF” (página 126). A continuación
active el modo de preparación para grabar (página 42) y seleccione el modo de grabación “MULTI”. Cuan-
do ponga en marcha el secuenciador u ordenador externo, el QY100 dará comienzo de forma automática a
la grabación multiparte

Secuenciador de Música
Grabación de acompañamiento por pasos
El modo de grabación por pasos (STEP) puede usarse con las pistas “Pt” (patrones) y “Cd”
(acordes), lo que facilita la introducción o supresión individual de cambios de patrón y acorde en
las posiciones exactas que se desee.
1Seleccione una canción para grabar
Seleccione una canción vacía si desea grabar una canción nueva en el modo de grabación por
pasos, o seleccione una canción que ya contenga datos si desea efectuar cambios o añadidos.
2Active el modo de preparado para grabar
Pulse el botón [●] para activar el modo de preparado para grabar. Se iluminará el
indicador rojo situado encima del botón [●].
3Seleccione la pista “Pt” o “Cd”
Lleve el cursor a la zona de pistas de la pantalla, y después desplácelo en horizontal para seleccio-
nar “Pt” o “Cd”. Seguidamente, muévalo verticalmente si desea ir a otras áreas de la pantalla. La pista selec-
cionada permanecerá resaltada con independencia de la posición del cursor.
4Seleccione el modo de grabación por pasos
Mueva el cursor a la zona de selección del modo de grabación (la que contiene los botones “REPL”,
“OVER”, “STEP” y “MULTI”), sitúelo sobre el botón “STEP” (por pasos), y pulse [+1/YES] para seleccionar el
modo de grabación por pasos. En el botón del modo de grabación seleccionado aparecerá una “R” en plano
inverso.
5Inicie la grabación
Pulse el botón [ ] para acceder a la pantalla seleccionada del modo de grabación por pasos.
Secuenciador de Música
Pista “Pt” o “Cd”
Botón “STEP”
>
“Pt” step record “Cd” step record
Grabación por pasos “Cd”
Grabación por pasos “Pt”
45

46
Grabación de acompañamiento por pasos
6Introduzca los datos requeridos de patrón o acorde
Consulte las siguientes secciones para conocer detalles sobre la forma de usar cada una de las pan-
tallas de entrada de datos del modo de grabación por pasos.
Puede alternar directamente entre las pantallas de entrada de datos de patrón y acorde mientras está
activado el modo de grabación por pasos. Para ello, simplemente pulse el botón [MENU] para acceder al menú
que se ilustra debajo, y a continuación el botón de función correspondiente a la pantalla a la que desea ir.
7Detenga la grabación
Pulse el botón [ ] para salir del modo de grabación por pasos y regresar al modo de reproducción de
canción normal.
“Pt” —Cambios de patrón en la grabación por pasos
A continuación se puede ver cómo aparecerá la pantalla de patrón en el modo de grabación por
pasos si ha seleccionado una canción vacía (los datos de patrón apropiados aparecerán si la canción selec-
cionada contiene datos).
●Desplazamientos por la pantalla e introducción de datos
Como siempre, las teclas de cursor se utilizan para llevar éste a la posición en la que se desean introducir
datos, y los botones [-1] y [+1] para ejecutar la introducción o modificación de datos.
Las teclas de cursor también le desplazan, en sentido de avance o de retroceso, por la canción: si el cur-
sor se lleva más allá de la parte inferior de la pantalla, se accede a los siguientes compases presentes, mien-
tras que por la parte superior se accede a los compases precedentes (si existen). En la pantalla de patrón,
moviendo el cursor horizontalmente se accede a los parámetros de signatura de tiempo, número de estilo y
sección. En todas las pantallas del modo de grabación por pasos, pueden usarse también los botones de
secuenciador para avanzar o retroceder en la canción.
Al primer compás.
Hacia arriba (números de compás más bajos)
Hacia abajo (números de compás más altos)
1st measure
Style number area Subsequent measures
follow
Measure number
Time signature
Section area
2nd measure
[p]
[r]
[f]
1er compás
2º compás
Siguen otros compases
Área de secciones
Área de números de estilo
Signatura de tiempo
Número de compás

47
●Número de estilo y sección
En cada compás puede introducirse cualquier número de estilo predefinido del 001 al 128, el “patrón final”
(número 129) o cualquier número de estilo de usuario de U1 a U64. El nombre de estilo aparece a la derecha
del número de estilo. Únicamente puede introducirse un estilo y patrón (sección) por compás, y ese patrón
comenzará la reproducción desde el principio del compás en que se haya introducido.
Un patrón que se haya introducido una vez proseguirá la reproducción hasta que se introduzca otro patrón
diferente. Si desea cambiar de sección sin cambiar el número de estilo, sólo será necesario introducir la sec-
ción. La reproducción se detendrá automáticamente ante la presencia de un “patrón final” (estilo número 129)
o una sección de coda (ENDING).
En la pantalla del ejemplo, el patrón (sección) INTRO del estilo 001 se reproduce en el primer compás, y
después se selecciona el patrón (sección) MAIN A del mismo estilo en el compás2.
●Signatura de tiempo
Aunque se seleccione de forma automática la signatura de tiempo por defecto para la canción selecciona-
da, el valor de la signatura de tiempo para cada compás puede cambiarse cuando se requiera. Las signaturas
de tiempo disponibles son las siguientes:
1/16 ... 16/16
1/8 ... 16/8
1/4 ... 8/4
Si se selecciona una signatura de tiempo que produce compases más cortos que los normales del patrón,
éste quedará truncado (recortado) en consonancia. Si la signatura de tiempo seleccionada produce compases
más largos que el patrón estándar, éste se repetirá para rellenar la longitud de compás especificada.
●Borrado de cambios de patrón
El botón de función situado en la pantalla justo a la derecha de “ers” puede emplearse para borrar los
datos de sección o número de estilo en la posición del cursor.
Grabación de acompañamiento por pasos
Style number/name
Section
Número/nombre de estilo
Sección
Press to erase
style or section at
cursor location.
Pulse este botón para
borrar el estilo o sección
de la posición del cursor.

48
Grabación de acompañamiento por pasos
“Cd” —Cambios de acorde en la grabación por pasos
A continuación se puede ver cómo aparecerá la pantalla de acordes del modo de grabación por pasos si se
selecciona una canción vacía (los datos de acorde apropiados aparecerán si la canción seleccionada contiene
datos).
● Acordes
Se puede introducir un acorde por cada nota negra. Sitúe el cursor en la división de la pantalla correspon-
diente a la nota negra requerida, e introduzca el acorde especificando la raíz y el tipo en el microteclado (véa-
se página 38). En la pantalla del ejemplo se introduce un acorde “LA mayor” en el primer tiempo del primer
compás, un acorde “SI menor séptima” en el tercer tiempo del primer compás, y un “RE mayor” en el primer
tiempo del segundo compás.
También puede introducir un acorde ejecutándolo directamente sobre el microteclado o un teclado externo
si previamente se ha activado la función de acorde digitado (FNGR).
● Especificación de la nota de bajo para un acorde
Con el botón [OCT DOWN] puede especificar la nota de bajo que desea utilizar con cualquier acorde
(observe la indicación “BASS” encima del botón). Introduzca el acorde especificando raíz y tipo, y luego pulse
el botón del microteclado correspondiente a la nota de bajo deseada mientras mantiene pulsado
[OCT DOWN/BASS]. La nota de bajo aparecerá a la derecha de una barra debajo del nombre del acorde.
Ejemplo: SI menor séptima (Bm7) con MI (E) en el bajo.
1st measure
2nd measure
One beat
Place cursor at beat on
which chord is to be
entered
Time signature
Measure number
Subsequent measures
follow
Chord
1er compás
2º compás
Siguen otros compases
Un tiempo de compás
Sitúe el cursor en el tiempo
de compás en el que se va
a introducir el acorde.
Signatura de tiempo
Número de compás
Acorde

49
Grabación de acompañamiento por pasos
■NOTA
●Puede añadir notas de bajo a los acordes existentes sin tener que volver a introducir todo el acorde. Para ello, simple-
mente lleve el cursor hasta el acorde y, con el botón [OCT DOWN/BASS], especifique la nota de bajo. Una nota de bajo
puede suprimirse de un acorde situando el cursor sobre éste y volviendo a introducir el acorde.
Si está activada la función FNGR, podrá introducirse una nota de bajo accionando una tecla adecua-
da en la parte izquierda del microteclado o teclado externo mientras se mantiene el acorde (la “parte izquierda”
para introducir una nota de bajo puede especificarse en el modo de utilidades, página 130).
●Acordes sincopados
Los acordes se pueden sincopar (esto es, hacer que el acorde comience en realidad una corchea o semi-
corchea antes del tiempo de compás en el que se ha introducido), utilizando el botón [OCT UP] (observe el
símbolo “ ” encima del botón). Introduzca el acorde, y después pulse una vez el botón [OCT UP] para la sín-
copa de corchea, o dos veces para la síncopa de semicorchea (el símbolo de síncopa correspondiente apare-
cerá debajo del nombre del acorde).
Ejemplo: acorde RE sincopado (corchea).
■NOTA
●Puede añadir síncopa a los acordes existentes sin tener que volver a introducir todo el acorde. Para ello, simplemente
lleve el cursor hasta el acorde y pulse el botón [OCT UP]. La síncopa puede suprimirse de un acorde situando el cursor
sobre él y pulsando el botón [OCT UP] una o dos veces para que desaparezca el símbolo de síncopa.
●Borrado de Acordes
El botón de función situado en la pantalla justo a la derecha de “ers” puede usarse para borrar el acorde
sobre el que se encuentra el cursor.
●Sonido activado/desactivado
El sonido del acorde introducido se puede oír en la grabación por pasos. Si no desea recibir el sonido, pul-
se el botón [MENU] y a continuación el botón de función situado junto a “Sound” para acceder a la pantalla de
sonido.
Pulse [-1/NO] para desactivar el sonido, y [+1/YES] para activarlo.
Press to erase
chord at cursor
location.
Pulse esta tecla para
borrar el acorde de la
posición del cursor.

Secuenciador de Música
Grabación de la pista del secuenciador por pasos
El modo de grabación por pasos permite introducir cada pista nota a nota, controlando de for-
ma precisa la temporización, la longitud y la intensidad de cada nota. Es posible grabar pistas
completas empleando el modo por pasos, o bien modificar y añadir datos a una pista existente.
1Seleccione el modo SONG y la canción que desea grabar
Utilice el botón [SONG] para seleccionar el modo de canción principal y, con el cursor situado sobre
el número de canción en la parte superior de la pantalla, utilice los botones [-1] y [+1] o SHIFT+número (pági-
na 20) para seleccionar la canción que desea grabar.
2Seleccione una pista para grabar
Lleve el cursor al área de pistas de la pantalla, y después desplácelo lateralmente para seleccionar
la pista que desea grabar (1 a 16). La pantalla SONG muestra al mismo tiempo 8 de las 16 pistas disponibles.
Utilice las teclas de cursor para desplazarse a derecha o izquierda hasta las restantes pistas (aparecerá una
flecha a la derecha o a la izquierda de los números de pista para indicar que hay más pistas accesibles avan-
zando en la dirección señalada). Mueva verticalmente el cursor a otras zonas de la pantalla. La pista seleccio-
nada quedará resaltada.
3Active el modo de preparación para la grabación
Pulse el botón [●] para activar el modo de preparación para la grabación. Se iluminará el indicador
rojo situado sobre el botón [●].
4Seleccione el modo de grabación por pasos
Desplace el cursor a la zona de selección de modo de grabación de la pantalla (donde están los boto-
nes “REPL”, “OVER”, “STEP” y “MULTI”), sitúelo sobre “STEP” (por pasos) y pulse el botón [+1/YES] para
seleccionar dicho modo (si no lo está ya). En el botón del modo de grabación seleccionado aparecerá una “R”
en fondo invertido.
Secuenciador de Música
Track
Número de canción
Selector del modo de gra-
bación
Pista
50

51
Grabación de la pista del secuenciador por pasos
5Active el modo de grabación
Pulse el botón [ ] para activar el modo de grabación por pasos. Aparecerá la pantalla de grabación
por pasos (véase ilustración abajo).
6Ajuste los parámetros de nota
Desplace el cursor a los parámetros de nota, velocidad de pulsación y tiempo de puerta, y ajústelos
con los botones [-1] y [+1] para la primera (o siguiente) nota que se introduzca.
7Introduzca una nota
Una vez especificados los parámetros de nota, ésta se puede introducir simplemente pulsando la
tecla apropiada del microteclado (o del teclado MIDI externo). En la pantalla de notas aparece un punto, y el
puntero de nota avanzará a la siguiente posición. Los acordes también se identifican con un punto. Así es
como aparece la pantalla después de introducir dos corcheas:
■NOTA
●Si utiliza un teclado externo para la grabación por pasos, el QY100 siempre acepta velocidad de pulsación del teclado
externo, con independencia del ajuste “VELO”.
“STEP” button
Measure/beat/clock display
Time signature
Note parameters
Note display
Botón “STEP”
>
Pista de grabación actual
Pantalla de compás/tiempo
de compás/reloj
Signatura de tiempo
Parámetros de nota
Pantalla de notas
STEP (longitud de nota)
Fusa, semicorchea, tresillo de semicorcheas,
corchea, tresillo de corcheas, nota negra,
tresillo de notas negras, blanca, redonda.
VELO (velocidad de pulsación)
Más barras = mayor velocidad, ajustable en
pasos de 10 (ppp, pp, p, mp, normal, mf, f, ff,
fff, ffff).
produce una velocidad aleatoria.
GATE (tiempo de puerta)
= staccato (50%)
= normal (90%)
= ligado (99%)
p ppp
~

52
La pantalla de notas
La pantalla de notas puede mostrar a la vez los datos equivalentes a cuatro notas negras (que es un
compás de 4/4). Si la signatura de tiempo seleccionada ocupa más de cuatro notas negras por com-
pás, la pantalla se desplazará para mostrar el resto de las notas.
Desplazamiento por la pantalla de notas
Es posible desplazar el cursor hacia abajo, a la pantalla de notas (el puntero de nota aparecerá relle-
no), y mover el puntero de nota a cualquier posición en la que desee introducir una nota, o a cualquier
nota que desee borrar. Si desplaza el puntero a una nota existente, se escuchará la nota o acorde real
correspondiente. Si se lleva el puntero más allá del final de la pantalla de notas, se mostrará el siguien-
te compás.
Los botones de función del modo de grabación por pasos
Los cuatro botones de función situados justo a la derecha de la pantalla permiten acceder a diversas
funciones de gran utilidad en el modo de grabación por pasos. El botón “del” borra la nota o acorde en
que se encuentre el puntero. El botón “Bdl” desplaza el puntero de nota hacia atrás un espacio igual a
la longitud de nota actualmente seleccionada, y borra la nota que se encuentre en esa posición. El
botón “rst” introduce en la posición del puntero un silencio de duración igual a la longitud de nota
actualmente seleccionada. Por último, el botón “tie” alarga la nota introducida anteriormente adosán-
dole otra nota de igual longitud (conforme al parámetro STEP) y tono. El botón “tie” sólo funciona
inmediatamente después de introducir una nota.
La pantalla de compás/tiempo de compás/reloj
La zona “Meas” de la pantalla de grabación por pasos muestra la posición actual del puntero en com-
pases, tiempos de compás y relojes (hay 480 relojes por cada nota negra). Si no está seguro de qué
compás está observando en la pantalla de notas durante la grabación, compruebe la pantalla de com-
pás/tiempo de compás/reloj.
Puede llevar el puntero de nota a cualquier compás desplazando el cursor hasta el número de compás
e introduciendo el valor con los botones [-1/NO] y [+1/YES] o SHIFT+número (página 20).
Grabación de la pista del secuenciador por pasos
Primer tiempo Segundo tiempo
Cada guión representa
una nota fusa (60 relojes)
Cuarto tiempoTercer tiempo
Puntero de
nota
Cursor desplazado al puntero de nota (puntero relleno). Obser-
ve que éste apunta hacia arriba a las notas de la fila superior, y
hacia abajo a las de la fila inferior.

53
Grabación de la pista del secuenciador por pasos
8Complete la canción
Repita los pasos 6y 7hasta que la pista actual de la canción esté completa; a continuación pulse [ ]
para detener la grabación y, si es necesario, seleccione la siguiente pista para grabar.
■NOTA
●Consulte la sección “Edición de canciones y patrones”, en la página 112, para obtener información sobre cómo editar
los datos de las canciones grabadas.
Número de compás
(001...999)
Reloj (480 relojes
por nota negra)
Tiempo de compás (01, 02, 03, 04 si el
compás es de 4/4).

Beat
Number
Secuenciador de Música
Creación de patrones de
acompañamiento originales
Los patrones de acompañamiento del QY100 se crean mediante la combinación de “frases”,
tanto predefinidas como originales, en el modo de patrón (PATTERN). Una frase es sencillamente
una “parte” individual de un patrón (por ejemplo, una frase de batería, una frase de bajo, una fra-
se de teclado, etc.) que utiliza una sola voz. El QY100 dispone de 4.285 frases predefinidas y de
384 posiciones de memoria para patrones originales (es decir, 64 estilos de usuario, cada uno con
sus secciones independientes INTRO, MAIN A, MAIN B, FILL AB, FILL BA y ENDING).
También puede ver los componentes de frase de los patrones predefinidos en el modo PATTERN.
Las frases predefinidas
El QY100 tiene un total de 4.285 frases predefinidas que se pueden combinar para crear una varie-
dad prácticamente infinita de patrones de acompañamiento. Los números de frase predefinidos constan de
tres secciones, como se indica a continuación. El cursor puede situarse en cualquiera de estas tres secciones
para realizar la selección deseada.
■NOTA
●Para más detalles sobre la categoría, tiempo de compás y número de la frase, consulte la lista de frases predefinidas
en la lista de datos adjunta.
Secuenciador de Música
Número
Tiempo de compás
Categoría
Categoría
Da Batería a (pop y rock)
Db Batería b (específico)
Fa Relleno de batería a (pop y rock)
Fb Relleno de batería b (específico)
PC Percusión
Ba Bajo a (pop y rock)
Bb Bajo b (específico)
Ga Acorde de guitarra a (pop y rock)
Gb Acorde de guitarra b (específico)
GR Riff de guitarra
KC Acorde de teclado
KR Riff de teclado
PD Pad
BR Metal
SE Efectos de sonido
Tiempo de compás
16
8
3/4
Número
Difiere según la categoría
54

Creación de patrones de acompañamiento originales
Combinación de frases en el modo de patrón
Las frases se combinan para crear patrones que pueden utilizarse en los acompañamientos en el modo de patrón.
1Seleccione el modo PATTERN, un estilo de usuario y una sección
Pulse el botón [PATTERN] para seleccionar el modo de patrón. A continuación, con el cursor situado
en el número de estilo, seleccione un estilo “de usuario”: “U00” a “U64”. Además, lleve el cursor al nombre de
secciones y seleccione la sección que desea crear.
2Determine la longitud, signatura de tiempo y tempo del patrón, según se requiera
Si empieza con un patrón vacío, lleve el cursor al parámetro de longitud de patrón y ajústelo a con-
veniencia entre 1 y 8 compases. Si es preciso, lleve también el cursor al parámetro de signatura de tiempo y
ajústelo (1/16...16/16, 1/8...16/8, 1/4...8/4). Aunque el tempo estándar es 120, puede llevar el cursor al pará-
metro de tempo y ajustar otro valor adecuado para su patrón.
■NOTA
●La longitud de patrón estándar para las secciones INTRO, MAIN A, MAIN B y ENDING es de 2 compases, mientras que
la longitud estándar de las secciones FILL AB y FILL BA es de 1 compás.
3Seleccione una pista de patrón
Las frases se pueden asignar a cualquiera de las 8 “pistas” del modo de patrón. Las pistas de patrón
están diseñadas básicamente para su uso con los tipos de frase indicados a continuación (de ahí los identifi-
cadores de pista “D1”, “PC”, “BA”, “C1”, etc.). En realidad puede asignarse cualquier tipo de frase a las pistas
disponibles.
Pista Parte
D1 Batería 1 Frase de batería
D2 Batería 2 Frase de batería
PC Percusión Frase de percusión
BA Bajo Frase de bajo
C1 Acorde 1 Frase de acompañamiento de acorde (guitarra, teclado, etc.)
C2 Acorde 2 Frase de acompañamiento de acorde (guitarra, teclado, etc.)
C3 Acorde 3 Frase de acompañamiento de acorde (guitarra, teclado, etc.)
C4 Acorde 4 Frase de acompañamiento de acorde (guitarra, teclado, etc.)
■NOTA
●Para más detalles sobre las frases disponibles, consulte la lista de
frases predefinidas.
Lleve el cursor a la zona de introducción de frases
de la pista a la que desea asignar una frase.
Style number
Section
ature
Sección
Nombre de estilo
Tempo
Signatura de tiempo
Cursor en pista D1
Longitud de patrón
55

4Introduzca el número de frase deseado
Utilice las teclas de cursor para llevarlo al parámetro de categoría, tiempo o número, y los botones
[-1] y [+1] o SHIFT+número (página 20) para seleccionar la frase deseada para esa pista.
Monitorización del patrón
Si pulsa el botón [ ] mientras introduce las frases, podrá escuchar cómo suena el patrón según se van
incorporando. Pulse [ ] para detener la reproducción.
Silenciamiento y aislamiento de pistas de patrón
Es posible silenciar (MUTE) o aislar (SOLO) una o más pistas del modo de patrón. Para ello, sitúe el
cursor inmediatamente a la izquierda de la pista (en la posición del medidor de velocidad de pulsación),
y utilice [-1] o [+1] para silenciarla o aislarla según se requiera. Utilice el botón [-1] para silenciar o sono-
rizar alternativamente la pista seleccionada, y el botón [+1] para aislar o no la pista. Se puede silenciar
o aislar cualquier número de pistas al mismo tiempo. Si desea aislar más de una pista a la vez, man-
tenga pulsado el botón [SHIFT] mientras aplica el “solo” a otras pistas adicionales después de haber
especificado la primera. Igualmente, mantenga pulsado [SHIFT] mientras desactiva el solo de una pis-
ta única cuando hay varias de ellas aisladas (si intenta desactivar el solo de una pista sin pulsar
[SHIFT], la desactivación afectará a todas las pistas aisladas).
La letra “M” aparece junto a las pistas silenciadas, y letra “S” junto a las pistas aisladas.
Borrado de frases
Las frases se pueden borrar situando el cursor en el
número, categoría o tiempo correspondiente y pulsando
el botón de función próximo a “cler” en la pantalla.
Cambio del acorde de reproducción del patrón
El acorde empleado para la reproducción de patrón puede cambiarse situando el cursor en la posición
del acorde e introduciendo el nuevo a través del microteclado y el botón [ENTER] como se ha explica-
do en la página 38. La nota de bajo para los acordes de “on-bass” pueden introducirse desde la octava
inferior del microteclado mientras se mantiene pulsado el botón [OCT DOWN/BASS] (la nota de bajo
aparecerá a la derecha de un guión junto al nombre de acorde).
Creación de patrones de acompañamiento originales
If the assigned
phrase is longer
than the pattern
length, this symbol
( ) appears. In this
case, the exceeded
part of the phrase
will not be played.
Category
Beat
Number
Phrase Name
Si la frase asignada es mayor
que la longitud de patrón, apare-
cerá el símbolo . En tal caso,
la parte sobrante de la frase no
será reproducida.
Nombre de frase
Número
Tiempo de compás
Categoría
Mute
Solo
>
[
■
Silenciamiento
Solo
56

Creación de patrones de acompañamiento originales
También puede introducir el acorde pulsándolo tal cual en el microteclado o en un teclado externo si
está activada la función de acorde digitado (“FNGR”). En este caso, podrá introducirse una nota de
bajo pulsando una tecla apropiada en la parte izquierda del microteclado o teclado externo mientras se
mantiene pulsado el acorde. Se puede especificar “Left part” (parte izquierda) como rango para intro-
ducir una nota de bajo en el modo de Utilidad en la página 130.
5Repita el procedimiento con tantas pistas como sea necesario
Repita los pasos 3y 4para introducir frases en tantas pistas como sea preciso (no es necesario pro-
gramar las 8 pistas de patrón).
6Repita el procedimiento en el resto de secciones
Repita el procedimiento para completar las restantes secciones del estilo, según se requiera.
■NOTA
●Véanse la operaciones de patrón en la página 94, donde encontrará detalles sobre su excepcional versatilidad para cre-
ar y modificar patrones.
●Véanse la operaciones de patrón en la página 94, donde encontrará detalles sobre su excepcional versatilidad para
También es posible recombinar frases en el patrón predefinido. Para almacenar la nueva combinación, ejecute las ope-
raciones de copia de patrón (página 110) o copia de pista (página 108) antes de cambiar el número de estilo del patrón.
Grabación de frases originales
Con el QY100 resulta sencillo crear frases de acompañamiento originales. El modo de patrón (PATTERN) ofre-
ce dos métodos para crear frases originales: grabación en tiempo real y grabación por pasos.
Grabación de frases en tiempo real
En el modo de grabación en tiempo real, el usuario selecciona la pista que desea grabar y la voz con la que
desea hacerlo, y después reproduce la parte en el microteclado o en un teclado MIDI externo en tiempo real.
1Seleccione un estilo de usuario y una sección
Como se ha descrito en el capítulo anterior, primero seleccione un estilo de usuario (“U01” a “U64”) y
una sección (“INTRO”, “MAIN A”, etc.) en el modo de patrón.
2Seleccione un acorde fuente
Lleve el cursor al parámetro de acorde y utilice el procedimiento de introducción de acordes descrito
anteriormente para especificar el “acorde fuente” para la frase que está grabando (es decir, el acorde en que
se basará la frase). Advierta que no se puede introducir un acorde de bajo como acorde fuente.
Section
Estilo de usuario
Sección
Acorde fuente 57

58
3Seleccione una pista de patrón y su frase “de usuario”
Lleve el cursor a la pista para la que desea crear una frase original. Si quiere crear una frase de bajo,
por ejemplo, seleccione la pista “BA”. A continuación utilice el botón [+1] para seleccionar la frase de usuario
para esa pista (de “Us—001” para la pista D1 de la sección de preludio, hasta “Us—048” para la pista C4 de la
sección de coda, dependiendo de la sección y pista seleccionadas). Si la pista que pretende grabar está vacía,
no tendrá necesidad de seleccionar la frase de usuario para dicha pista.
■NOTA
●Antes de activar el modo de grabación, puede también ajustar la “velocidad de pulsación” del microteclado con el pará-
metro “VEL” de la esquina superior derecha de la pantalla. La velocidad se puede ajustar en diez niveles: cuantas más
barras, más alta es la velocidad. Existen además cuatro ajustes de “velocidad aleatoria” que producen distintos grados
de variación al azar. “R1” produce la variación más ligera, y “R4” la más pronunciada.
●También puede ajustar la octava del microteclado antes de activar el modo de grabación, utilizando para ello los boto-
nes [OCT UP] y [OCT DOWN].
4Active el modo de preparación para grabar frase
Pulse el botón [●] para activar el modo de preparación para grabar frase. El indicador rojo se ilumi-
nará, y la pantalla aparecerá aproximadamente como la siguiente:
5Seleccione el modo de grabación por “overdubbing” en tiempo real
Lleve el cursor a la zona de selección del modo de grabación de la pantalla (en la que se encuentran
los botones “OVER” y “STEP”), y sitúelo sobre el botón “OVER” (“overdubbing” en tiempo real). Después pulse
[+1/YES] para seleccionar dicho modo si aún no lo está. En el botón del modo de grabación seleccionado apa-
recerá una “R” en fondo invertido.
6Ajuste el tipo de frase y la voz
Observe que se visualizan un tipo (“TYPE”) y voz para la pista seleccionada, que se podrán cambiar
a conveniencia antes de grabar la frase. Los tipos y voces estándar para cada pista de patrón se indican a con-
tinuación. El parámetro “TYPE” es en realidad el “tipo de tabla de transición de notas”, y determina la forma en
que será rearmonizada la pista correspondiente cuando se utilice en un acompañamiento con cambios de
acorde. A continuación se describen los distintos tipos de frases.
Creación de patrones de acompañamiento originales
Record mode
selector
Frase “de usuario”
Selector del modo
de grabación

Los tipos de frase
Bypass La frase no se rearmoniza (es decir, no se ve afectada por los cambios de acorde) cuando se selecciona
este tipo. Deberá usarse para las frases de batería y percusión, o si no los instrumentos de batería se “rear-
monizarán” y cambiarán cada vez que aparezca un cambio de acorde.
Bass Cuando se selecciona el tipo “Bass”, la frase se rearmoniza igual que con el tipo “Chord 1” (véase a conti-
nuación), excepto que la raíz siempre se usa como la primera nota inmediata a un cambio de acorde. En los
acordes “on-bass”, la frase de bajo siempre reproduce la nota “on-bass”.
Chord 1 Los datos de nota fuente se rearmonizan basándose en la raíz del acorde especificado.
Chord 2 Los datos de nota fuente se rearmonizan con la “voz solista” más cercana posible del acorde precedente.
Produce los cambios de acorde más uniformes posible.
Parallel Cuando se selecciona este tipo, los datos de nota fuente simplemente se transponen a la raíz del nuevo
acorde sin rearmonización.
7Determine la longitud, signatura de tiempo y tempo del patrón, según se requiera
Si está creando una frase para un patrón vacío, lleve el cursor al parámetro de longitud de patrón y
ajústelo a conveniencia entre 1 y 8 compases. Si es preciso, lleve también el cursor al parámetro de signatura
de tiempo y ajústelo (1/16...16/16, 1/8...16/8, 1/4...8/4). Aunque el tempo estándar es 120, puede llevar el cur-
sor al parámetro de tempo y ajustar otro valor adecuado para su grabación.
8Inicie la grabación
Pulse el botón [ ] para dar comienzo a la grabación. El metrónomo sonará, y se iniciará una cuenta
de entrada de un compás antes de que se grabe el primero.
Interprete la parte requerida en el microteclado o en un teclado MIDI externo. La frase se repetirá
continuamente desde el primer al último compás, de forma que podrá seguir añadiendo notas hasta completar
la parte actual.
■NOTA
●Puesto que la frase original será rearmonizada automáticamente por el sistema ABC del QY100, hay algunas reglas
que deberán observarse para garantizar los mejores resultados:
1: Respete el contexto armónico del acorde fuente.
2: Use principalmente la raíz, 3ª, 5ª y mayor 7ª.
3: Procure mantener los ritmos, evitando las líneas melódicas.
Creación de patrones de acompañamiento originales
Voice
Type
Voz
Tipo
Tempo
Time signature
Pattern length
Tempo
Signatura de
tiempo
Longitud de patrón
>
Pista Tipo estándar Voz estándar
D1 (Batería 1) Bypass Dr001:Standard Kit
D2 (Batería 2) Bypass Dr001:Standard Kit
PC (Percusión) Bypass Dr001:Standard Kit
BA (Bajo) Bass Ba033: Acoustic Bass
C1 (Acorde 1) Chord 1 Pf001: Grand Piano
C2 (Acorde 2) Chord 1 Pf001: Grand Piano
C3 (Acorde 3) Chord 1 Pf001: Grand Piano
C4 (Acorde 4) Chord 1 Pf001: Grand Piano
59

9Elimine los posibles errores
Para eliminar los errores, simplemente reproduzca la nota que desea suprimir en el microteclado o
en un teclado MIDI externo mientras mantiene pulsado el botón [SHIFT]. Se borrarán todas las notas que se
produzcan mientras se mantiene pulsado el botón.
10 Detenga la grabación
Pulse el botón [■] para detener la grabación. El modo de reproducción normal de patrón se volverá a
seleccionar de forma automática una vez detenida la grabación.
11 Repita el procedimiento con tantas pistas como sea necesario
Repita los pasos deseados del procedimiento anterior para grabar frases en tantas pistas y seccio-
nes como sea preciso.
■NOTA
●Véanse la operaciones de patrón en la página 94, donde encontrará detalles sobre su excepcional versatilidad para
crear y modificar patrones.
Grabación de frases por pasos
El modo de grabación de frases por pasos le permite introducir frases nota a nota, con un preciso control sobre
la temporización, longitud y sonoridad de cada nota. Puede grabar frases completas con el modo STEP, o bien utili-
zarlo para depurar y añadir datos en una frase existente.
Los pasos 1a 7son los mismos que en la grabación en tiempo real ya explicada, excepto el 5paso, en el que
tendrá que seleccionar el modo de grabación “STEP” en lugar de “OVER” (página 58). El proceso será, por tanto,
igual que el de la grabación por pasos de las pistas de canción, excepto que la pantalla de compás/tiempo/reloj mos-
trará el número total de compases del patrón y el número del compás actual. Más detalles sobre la grabación por
pasos en las páginas 50 a 53.
■NOTA
●La frase de usuario grabada puede borrarse pulsando el botón de función contiguo a “cler”, como se indica en la pági-
na 56. En tal caso, podrá recuperar la frase borrada seleccionando de nuevo una frase de usuario para esa pista con
los botones [+1]/[-1]. Para eliminar por completo la frase grabada, ejecute la operación “Borrar pista” descrita en la pági-
na 61.
Creación de patrones de acompañamiento originales
“STEP” button
Botón “STEP”
60

61
Modo de voces de patrón
Cada frase de patrón posee su propia voz, tanto si se trata de una frase predefinida como de una frase de usua-
rio. (La voz de la frase de usuario se especifica en el modo de preparación para la grabación de frase descrito en la
página 58).
No obstante, también puede asignar cualquiera de las 547 voces y 22 kits de batería del QY100 a las 8 pistas
de frases de patrón (D1, D2, PC, BA, C1...C4) desde el modo PATTERN VOICE (voces de patrón).
El modo VOICE incluye un “mezclador” gráfico con controles de silenciamiento/solo, panorámico y deslizantes
(“faders”) para cada pista. El modo de voz de patrón también ofrece acceso a los controles de envío de efectos y a
una versátil gama de parámetros de edición de voz.
Pulse el botón [PATTERN] para seleccionar la pantalla de mezclador del modo de voz. La pantalla del mezcla-
dor presenta al mismo tiempo 8 pistas de frase de patrón.
La pantalla del mezclador del modo de voz se parece mucho a la del modo de voces de canción, con las
siguientes excepciones:
Para más detalles sobre cada uno de los parámetros de la pantalla de mezclador del modo de voz, véase el
“Modo de voces de canción” en la página 69. Recuerde que la asignación de voz y los ajustes de panorámico y volu-
men de cada pista para un patrón predefinido del modo de voz no se almacenarán en la memoria.
Pantalla de envío de efectos
El QY100 incorpora un avanzado sistema interno de procesamiento de señal digital con una serie de efectos
tales como reverberación, retardo, modulación, distorsión, y otros. Existen tres bloques de efectos independientes:
Reverb, Chorus y Variation. Los efectos individuales se seleccionan y modifican en el modo EFFECT, explicado con
más detenimiento en la página 122. La pantalla de mezclador del modo VOICE ofrece acceso a los controles de
envío de efectos independientes de los tres bloques, a través de la subpantalla MENU. Pulse el botón [MENU] y a
continuación el botón de función contiguo a “Effect Send”.
La pantalla de envío de efectos es prácticamente igual que la del modo de voces de canción, a excepción de los
números de pista y la voz asignada (“—” significa que la frase posee su propia voz).
Para más detalles sobre cada uno de los parámetros de la pantalla de envío de efectos, véase el mismo capítu-
lo del modo de voces de canción, en la página 71.
Creación de patrones de acompañamiento originales
Voice parameter for each
track shows “- -” as the
default setting, which
means that the phrase
has its own voice
assigned to each track.
Th
e trac
k
num
b
ers are
D1
,
D2
,
PC, BA and C1...C4.
Los números de pista son D1, D2, PC,
BA y C1...C4
El parámetro de voz para cada pista
indica “—” como ajuste estándar, es
decir, la frase tiene su propia voz asig-
nada a cada pista.
Se han omitido los deslizantes de volu-
men general y volumen de patrón.

Edición de voces
El modo de edición de voces (VOICE EDIT) del QY100 permite modificar el sonido de las voces asignadas a
cada pista para adaptarlas de la mejor manera posible a las necesidades musicales particulares. Al modo VOICE
EDIT se puede acceder desde el modo PATTERN VOICE pulsando el botón [MENU] y después el botón de función
situado junto a “Voice Edit” en la pantalla. Si se selecciona un sonido de batería (por ejemplo, una pista de batería a
la que se ha asignado la voz “Ds3”), el modo de edición de voces de batería también estará disponible en el menú.
■NOTA
●Las configuraciones de batería “Ds1” y “Ds2” sólo se pueden seleccionar en el modo SONG VOICE. En el modo PAT-
TERN VOICE puede seleccionarse “Ds3” para editar los instrumentos de batería.
La pantalla de edición de voces es prácticamente igual que la del modo de voces de canción, a excepción de los
números de pista y la voz asignada (“--” significa que la voz de la frase posee su propia voz).
Para más detalles sobre cada uno de los parámetros de la pantalla de edición de voces, véase el mismo capí-
tulo del modo de voces de canción, en la página 72.
Efectos de reproducción
Los “efectos de reproducción” del QY100 pueden afectar también a la reproducción de patrón en tiempo real,
además de a la reproducción de canción, y de hecho no son grabados con los datos de frase. Los efectos de repro-
ducción incluyen Swing y Drum Table (reasignación de la tabla de batería).
Para acceder a los efectos de reproducción, pulse el botón [MENU] desde el modo de patrón (PATTERN), y
accione el botón de función situado junto a “Play Fx” en la pantalla. Seguidamente podrán seleccionarse las pantallas
“Swing” y “Drum Table” pulsando el botón [MENU] y a continuación el botón de función contiguo a “Swing” o “Drum
Table”, según sea necesario.
■NOTA
●Los ajustes de los efectos de reproducción pueden almacenarse con cada estilo de usuario. Estos ajustes también son
efectivos cuando se asigna y se reproduce el estilo de usuario en la pista de patrón (Pt) del modo de canción (SONG).
Las pantallas de swing y tabla de batería son exactamente iguales que las del modo de canción, a excepción de
los números de pista (D1, D2, PC, BA, C1...C4). Más detalles en “Efectos de reproducción” del modo de canción, en
la página 66.
Creación de patrones de acompañamiento originales
Pantalla de swing Pantalla de tabla de batería
62

Secuenciador de Música
Control de la reproducción
La pantalla normal del modo de canción (SONG) incluye todos los parámetros y controles
necesarios para reproducir canciones. Pulse el botón [SONG] para entrar en el modo de repro-
ducción de canción (dependiendo del modo actual, quizás tenga que pulsar el botón [SONG] más
de una vez).
●Selección de una canción
El QY100 puede conservar hasta 20 canciones diferentes en la memoria al mismo tiempo: números de
canción 01 a 20 (hay grabadas tres canciones de demostración con los números 21 a 23). Si desea seleccio-
nar una canción para la reproducción, utilice las teclas de cursor para llevarlo a la posición del número de can-
ción (quedará resaltado), y después los botones [-1] y [+1] o el método SHIFT+número (descrito a continua-
ción) para seleccionar el número de canción deseado. Si la canción tiene un nombre asignado (a través de la
operación “Nombre de canción” explicada en la página 93), dicho nombre aparecerá a la derecha del número
de canción.
Método de introducción SHIFT+número
Los valores numéricos pueden introducirse directamente con las teclas negras del microteclado
(numeradas del 1 al 0) mientras se mantiene pulsado el botón SHIFT. Para introducir el número “16”,
por ejemplo, pulse el botón “1” y después el “6” (“F#/Gb” y “7(#9)/7(b9)” en el microteclado) mientras
mantiene pulsado el botón [SHIFT]. El número introducido (“16”) parpadeará en la pantalla. Pulse
[ENTER] para confirmar el número.
Los valores negativos pueden introducirse en su caso pulsando primero la tecla “E” (“-”) del microte-
clado mientras se mantiene pulsado SHIFT, y tecleando después el valor como se ha explicado ante-
riormente.
●Reproducción de la canción seleccionada
La reproducción de la canción seleccionada se inicia pulsando el botón de secuenciador [ ] (“PLAY”). El
indicador verde parpadeará con el tempo de reproducción. La canción se reproducirá hasta el final y se deten-
drá de forma automática. También es posible detener la reproducción de canción en cualquier momento pul-
sando el botón de secuenciador [■].
Secuenciador de Música
Song number
Song name
Measure number
Jump mode
(Off/Stop/Top)
and location
Sequencer
tracks (1 … 16)
Velocity meters
& Mute/Solo
buttons
Chord template number
Chord display
Style section name
Style number &
name
Accompaniment
tracks (Pattern,
Chord, Tempo)
Time signature
Tempo
Micro-keyboard
octave indicator
Micro-keyboard velocity
Transpose
Fingered Chord on/off
Número de canción
Nombre de canción
Número de compás
Modo de salto
(desact./parada/prin-
cipio) y posición
Pistas de secuen-
ciador (1...16)
Medidores de velo-
cidad de pulsación
y botones M/S
Número de plantilla de acorde
Pantalla de acordes
Nombre de sección del estilo
Indicador de octava
del microteclado
Tempo
Signatura de tiempo
Pistas de acompa-
ñamiento (patrón,
acorde, tempo)
Número y nombre
de estilo
Acorde digitado activado/desactivado
Transposición
Velocidad de pulsación del microteclado
63

■NOTA
●Cuando se selecciona una canción, también son recuperados sus ajustes de voz y efecto. Por tanto, una vez seleccio-
nada una canción, deberá esperar en torno a un segundo antes de pulsar el botón [ ].
●Repetición
Pulse el botón [ ] mientras mantiene pulsado [SHIFT] para dar comienzo a la reproducción continua de la
canción seleccionada. El símbolo de reproducción continua ( ) aparecerá en el ángulo superior derecho de
la pantalla durante la misma. En este modo, la canción seleccionada se repetirá de forma ininterrumpida mien-
tras no se detenga pulsando el botón [■].
●Número de compás
El parámetro de número de compás de la pantalla indica el número de compás actual durante la repro-
ducción (y grabación) de canción. También puede situar el cursor aquí y usar los botones [-1] y [+1] o
SHIFT+número (página 20) para introducir un número de compás a partir del cual desea dar comienzo a la
reproducción o grabación. Los botones de secuenciador [ ] y [ ] pueden emplearse para avanzar o retroce-
der por los compases de la canción al margen de la posición del cursor.
●Funciones de salto
Para simplificar los desplazamientos, el QY100 dispone de dos modos de “salto” para situarse directa-
mente sobre un número de compás especificado.
Modo de salto Símbolo Función
Parada [■] Cuando se selecciona este modo, el QY100 salta automáticamente al
número de compás especificado siempre que se pulse el botón [■] (para-
da) del secuenciador.
Principio [|] En este modo, el QY100 saltará automáticamente al número de compás
especificado siempre que se pulse el botón [I<] (principio) del secuencia-
dor y el número de compás actual sea mayor que la posición de salto
especificada. Si el número es menor, el QY100 saltará al principio de la
canción (compás 001).
Desactivado [- -] Función de salto desactivada.
Los modos de salto se pueden seleccionar llevando el cursor al símbolo del modo de salto y efectuando la
selección con los botones [-1] y [+1], o bien con cualquiera de las siguientes combinaciones de botones:
Modo Combinación de botones
Parada [SHIFT] + [■]
Principio [SHIFT] + [|<]
Desactivado [SHIFT] + [ ] o [ ]
Para especificar el número de compás al que se desea saltar, lleve el cursor al parámetro de posición de
salto y utilice los botones [-1] y [+1] o SHIFT+número (página 20) para realizar el ajuste deseado.
●Tempo de reproducción
El tempo de reproducción puede ajustarse entre 25 y 300 tiempos de nota negra por minuto. Lleve el cur-
sor al parámetro de tempo y utilice los botones [-1] y [+1] o el método SHIFT+número (página 20) para selec-
cionar el valor deseado.
●Selección de pista
Aunque la selección de pista es más una función de grabación que de reproducción, será preciso selec-
cionar pistas en el modo de reproducción para controlar la monitorización de silenciamientos y solos (véase a
continuación). La pantalla SONG muestra las pistas de acompañamiento de patrón (“Pt”), acorde (“Cd”) y tem-
po (“Tm”), así como 8 de las 16 pistas de secuenciador disponibles. Lleve el cursor al área de pistas y desplá-
celo a derecha e izquierda hasta las restantes (aparecerá una flecha a un lado u otro de los números de pista
para indicar que se puede acceder a otras avanzando en la dirección correspondiente). El número de la pista
seleccionada permanecerá resaltado cuando el cursor se mueva a otras zonas de la pantalla.
Control de la reproducción
64

Control de la reproducción
●Los medidores de velocidad de pulsación
El área existente debajo del número de pista del secuenciador es un medidor de “velocidad de pulsación”
de 5 segmentos que indica la velocidad MIDI aproximada de la pista correspondiente durante la reproducción.
Cuando ésta se ha detenido, el segmento más bajo del medidor aparece únicamente debajo de las pistas que
contienen datos.
●Silenciamiento/Solo
El área del medidor de velocidad de debajo de cada número de pista en el modo de canción también fun-
ciona como botón M/S para silenciar (desactivar) o aislar (monitorizar en solitario) la pista correspondiente. Lle-
ve el cursor a la pista y utilice el botón [-1] para silenciarla o sonorizarla alternativamente, y el botón [+1] para
aislar o no la pista. Si desea aislar más de una pista a la vez, mantenga pulsado el botón [SHIFT] mientras apli-
ca el “solo” a otras pistas adicionales después de haber especificado la primera. Igualmente, mantenga pulsa-
do [SHIFT] mientras desactiva el solo de una pista única cuando hay varias de ellas aisladas (si intenta desac-
tivar el solo de una pista sin pulsar [SHIFT], la desactivación afectará a todas las pistas aisladas).
Debajo de los números de pista silenciados aparece la letra “M”; y si la pista está aislada, aparece la letra
“S”.
■NOTA
●La función de silenciamiento resulta práctica para desactivar de forma sencilla las pistas que no desea escuchar. Cuan-
do grabe, también simplifican el silenciamiento de una pista “ocupada” o de varias que pudieran dificultar el seguimien-
to de una importante.
●La monitorización con la función de “solo” es una excelente manera de aislar una pista o dos cuando la idea es concen-
trarse en el sonido mientras, por ejemplo, se realizan ajustes delicados en los efectos u otros parámetros que podrían
quedar “enmascarados” por otras pistas. También es muy útil para descubrir pequeños errores que de otra manera
podrían pasar desapercibidos.
●Velocidad de pulsación
Este parámetro determina la “velocidad de pulsación” (es decir, la sonoridad) del microteclado. El valor
puede ajustarse en diez niveles: cuantas más barras, más alta es la velocidad. Hay también cuatro ajustes
“aleatorios” que producen distintos grados de variación al azar. “R1” produce la variación más pequeña, y “R4”
la más grande.
●Transposición
El parámetro “TRNS” puede usarse para transponer el tono de la reproducción de canción hacia arriba o
hacia abajo en un máximo de 2 octavas, en incrementos de un semitono. Una transposición de “+00” produce
un tono normal. Para aplicar transposición a la reproducción de canción, lleve el cursor al parámetro “TRNS” y
utilice los botones [-1] y [+1] o el método SHIFT+número (página 20) para efectuar el ajuste deseado. Los ajus-
tes negativos aplican transposición descendente, y los positivos transposición ascendente en la cantidad espe-
cificada. Cada incremento corresponde a un semitono. El margen máximo comprende de “-24” a “+00” y a
“+24”.
●Acorde digitado
Este parámetro puede estar activado (“ON”) o desactivado (“OFF”). Cuando está activado, los acordes
ejecutados en la “zona digitada” especificada del microteclado o teclado MIDI externo serán reconocidos por el
QY100, y la pista de acompañamiento de acordes será rearmonizada en consonancia. Más detalles en la pági-
na 130.
65

Efectos de reproducción
Los “efectos de reproducción” del QY100 afectan a la reproducción de secuencias en tiempo real, y de hecho no
son grabados con los datos de secuencia. Los efectos de reproducción incluyen Swing y Drum Table Remapping
(reasignación de la tabla de batería).
Para acceder a los efectos de reproducción, pulse el botón [MENU] desde el modo de canción (SONG), y accio-
ne el botón de función situado junto a “Play Fx” en la pantalla. Seguidamente podrán seleccionarse las pantallas
“Swing” y “Drum Table” pulsando el botón [MENU] y a continuación el botón de función contiguo a “Swing” o “Drum
Table”, según sea necesario.
■NOTA
●Los ajustes de los efectos de reproducción pueden almacenarse con cada canción.
●Véase la operación de normalización en la página 92 para aplicar los efectos de reproducción a los datos de secuencia
reales.
Swing
Desplazando los tiempos de determinadas notas conforme a un patrón predefinido, esta función resulta muy útil
y sencilla para añadir una sensación de swing a los datos previamente grabados.
Si no aparece la pantalla Swing (véase ilustración) cuando se selecciona “Play Fx”, pulse de nuevo el botón
[MENU] y el botón de función contiguo a “Swing” en la pantalla.
La pantalla de Swing muestra al mismo tiempo 8 de las 16 pistas disponibles. Utilice las teclas de cursor para des-
plazarse a derecha o izquierda hasta las restantes pistas (aparecerá un flecha a un lado u otro de los números de pis-
ta para indicar que se puede acceder a otras avanzando en la dirección correspondiente).
Control de la reproducción
Pantalla de swing Pantalla de tabla de batería
Mute/Solo buttons
FX THRU switches
Swing
Timing
Botones de silenciamiento/solo
Interruptores FX THRU
Swing
Temporización
Pistas de secuenciador (1...16)
66

Control de la reproducción
●M/S (silenciamiento/solo)
Los parámetros de silenciamiento/solo (M/S) existentes debajo de cada número de pista en la pantalla de
surco pueden usarse para silenciar (desactivar) o aislar (para monitorizar en solitario) la pista correspondiente.
Mueva el cursor hasta el parámetro M/S deseado y utilice [-1/YES] para activar o desactivar el silenciamiento
de esa pista, o [+1/NO] para activar o desactivar la función de “solo”. Es posible silenciar o aislar cualquier
número de pistas al mismo tiempo. Para aislar más de una pista a la vez, mantenga pulsado [SHIFT] mientras
aplica el “solo” a las pistas adicionales después de haber especificado la primera. Igualmente, para desactivar
la función de “solo” de una única pista cuando hay aisladas varias de ellas, mantenga pulsado [SHIFT] (de lo
contrario, se desactivará la función en todas las pistas aisladas).
La letra “M” aparece debajo del número de las pistas que están silenciadas, y la letra “S” si está aislada.
■NOTA
●Los parámetros M/S también aparecen en las pantallas de reproducción de canción y de voces de canción, y producen
exactamente el mismo efecto.
●FX THRU (retransmisión de efectos)
Estos “interruptores” activan o suspenden el efecto en las pistas correspondientes. Cuando un interruptor
FX THRU aparece en forma de recuadro vacío, significa que el efecto está activado para esa pista. Si desea
omitir el efecto en una pista, lleve el cursor al interruptor FX THRU correspondiente y pulse el botón [+1], de
manera que aparezca una “T” (THRU = retransmisión) en el recuadro. Las pistas puenteadas podrán activarse
pulsando el botón [-1].
●SWING
Utilice el parámetro Swing Type para seleccionar el tipo de swing que desea aplicar a la pista actual. Si se
desactiva (“—”), no se aplica swing. Las opciones son las siguientes: — (desactivado), (32), (16), (08)
y (04).
●TIMING (temporización)
Determina el grado en que las notas originales se van a desplazar hacia los tiempos especificados en el
parámetro Swing Type. El margen abarca del 0% al 200%. Con el valor 100%, las notas se desplazan a los
tiempos indicados en el parámetro de tipo de swing (véase ilustración), y con un valor de 200% el desplaza-
miento se duplica.
Reasignaciones de la tabla de batería
Si no aparece la pantalla “DRUM TABLE” ilustrada debajo cuando se selecciona “Play Fx”, pulse de nuevo el
botón [MENU] y el botón de función contiguo a “Drum Table”.
El remapeo de la tabla de batería permite “reasignar” los instrumentos de batería para, por ejemplo, poder
reemplazar una caja media por una caja aguda o un aro sin afectar a los datos de la pista de batería.
0% 100% 200%
Sequence
r
(1 … 16)
Mute/Solo buttons
FX THRU switches
Drum table
Temporización de la nota original. Temporización de notas especificada en el parámetro de tipo de swing.
Tiempo
Pistas de secuenciador
(1...16)
Interruptores FX THRU
Tabla de batería
Botones de silenciamiento/solo
67

●M/S (silenciamiento/solo)
Los parámetros de silenciamiento/solo (M/S) existentes debajo de cada número de pista en la pantalla de
la tabla de batería pueden usarse para silenciar (desactivar) o aislar (para monitorizar en solitario) la pista
correspondiente. Mueva el cursor hasta el parámetro M/S deseado y utilice [-1/YES] para activar o desactivar
el silenciamiento de esa pista, o [+1/NO] para activar o desactivar la función de “solo”. Es posible silenciar o
aislar cualquier número de pistas al mismo tiempo. Para aislar más de una pista a la vez, mantenga pulsado
[SHIFT] mientras aplica el “solo” a las pistas adicionales después de haber especificado la primera. Igualmen-
te, para desactivar la función de “solo” de una única pista cuando hay aisladas varias de ellas, mantenga pul-
sado [SHIFT] (de lo contrario, se desactivará la función en todas las pistas aisladas).
La letra “M” aparece debajo del número de las pistas que están silenciadas, y la letra “S” si está aislada.
■NOTA
●Los parámetros M/S también aparecen en las pantallas de reproducción de canción y de voces de canción, y producen
exactamente el mismo efecto.
●FX THRU (retransmisión de efectos)
Estos “interruptores” activan o suspenden el efecto en las pistas correspondientes. Cuando un interruptor
FX THRU aparece en forma de recuadro vacío, significa que el efecto está activado para esa pista. Si desea
omitir el efecto en una pista, lleve el cursor al interruptor FX THRU correspondiente y pulse el botón [+1], de
manera que aparezca una “T” (THRU = retransmisión) en el recuadro. Las pistas puenteadas podrán activarse
pulsando el botón [-1].
●DRUM TABLE (tabla de batería)
Este parámetro especifica el instrumento de batería que va ser reasignado para la pista seleccionada. Hay
disponibles 24 opciones (además de “—” y “OFF”), englobadas en seis categorías de remapeo como se obser-
va en la tabla ilustrada debajo. Un instrumento seleccionado sustituirá a cualquier otro instrumento de la mis-
ma categoría. Por ejemplo, si una pista de batería emplea el instrumento “Snare M” (caja media) y se seleccio-
na el número 7 para esa pista, todas las ocurrencias del instrumento “Snare M” serán reemplazados por el aro
abierto (“Open Rimshot”).
NºCategoría Instrumento
1 Bass Drum L
2 Bass Drum Bass Drum M
3 Bass Drum H
4 Snare L
5 Snare M
6 Snare H
7 Snare Open Rimshot
8 Brush Slap
9 Side Stick
10 Hand Clap
11 Mid Tom
12 Ride Cymbal
13 Cabasa
14 Hi-Hat Maracas
15 Triangle
16 Shaker
17 Tambourine
18 Bongo-Conga Bongo-Conga
19 Solo BassDr
20 Solo Solo SnareDr
21 Solo Hi-Hat
22 Mute BassDr
23 Mute Mute SnareDr
24 Mute Hi-Hat
Control de la reproducción
68

Secuenciador de Música
Modo de voces de canción
El QY100 tiene 547 voces y 22 kits de batería que se pueden seleccionar, reproducir y asignar
a las 16 pistas de secuenciador del modo de canción (SONG) a través del modo SONG VOICE
(voces de canción). El modo VOICE incluye un “mezclador” gráfico con controles de silenciamien-
to/solo, panorámico y deslizantes (“faders”) para cada pista. El modo de voces de canción tam-
bién ofrece acceso directo a los controles de envío de efectos y a una versátil gama de paráme-
tros de edición de voz (página 72).
Pulse el botón [SONG] para seleccionar la pantalla de mezclador del modo de voz. La pantalla
del mezclador presenta al mismo tiempo 8 de las 16 pistas existentes. Utilice las teclas de cursor
para desplazarse a derecha o izquierda hasta las pistas restantes (una flecha a la derecha o
izquierda de los números de pista indica que se puede acceder a otras avanzando en el sentido
correspondiente).
●Silenciamiento/Solo (M/S)
Los parámetros de silenciamiento/solo (M/S) existentes debajo de cada número de pista en la pantalla de
mezclador del modo VOICE pueden usarse para silenciar (desactivar) o aislar (para monitorizar en solitario) la
pista correspondiente. Mueva el cursor hasta el parámetro M/S deseado y utilice [-1/YES] para activar o desac-
tivar el silenciamiento de esa pista, o [+1/NO] para activar o desactivar la función de “solo”. Es posible silen-
ciar/aislar cualquier número de pistas al mismo tiempo. Para aislar más de una pista a la vez, mantenga pulsa-
do [SHIFT] mientras aplica el “solo” a las pistas adicionales después de haber especificado la primera. Igual-
mente, para desactivar la función de “solo” de una única pista cuando hay aisladas varias de ellas, mantenga
pulsado [SHIFT] (de lo contrario, se desactivará la función en todas las pistas aisladas).
La letra “M” aparece debajo del número de las pistas que están silenciadas, y la letra “S” si está aislada.
■NOTA
●La función de silenciamiento es un medio práctico y sencillo de desactivar las pistas que no se desean escuchar. Cuan-
do se graba, también permite silenciar una o varias pistas “densas” que podrían dificultar la audición de una pista impor-
tante.
●La monitorización en solitario (función “solo”) es una excelente forma de aislar una pista o dos cuando se pretende con-
centrar la atención en el sonido mientras, por ejemplo, se realizan ajustes delicados en los efectos u otros parámetros
que pudieran quedar “enmascarados” por el sonido de otras pistas. También es muy útil para detectar pequeños erro-
res que de otra forma podrían pasar desapercibidos.
●Estos mismos parámetros también aparecen en la pantalla principal del modo de canción. Una pista silenciada o aisla-
da en la pantalla principal del modo de canción también aparecerá silenciada o aislada en la pantalla de mezclador del
modo de voz, y viceversa.
Secuenciador de Música
Master fader
Números de pista
Parámetros de silenciamiento/solo
Selectores de voces
Controles de panorámico
Deslizantes de volumen
Deslizante de patrones
Deslizante general
Silenciamiento
(utilice el botón [-1]) Solo
(utilice el botón [+1])
69

●Las voces
Debido al elevado número de voces existentes en el QY100, se han dividido en 21 categorías:
Prefijo Categoría
Pf Piano
Cp Percusión cromática
Or Órgano
Gt Guitarra
Ba Bajo
St Cuerda
En Conjunto
Br Metal
Rd Lengüeta
Pi Flauta
Ld Lead sinte
Pd Pad
Fx Efectos sinte
Et Instrumentos étnicos
Pc Percusivo
Se Efectos de sonido
Sfx Más efectos de sonido
Sfk Kits de efectos de sonido (un efecto diferente en cada tecla)
Dr Kits de batería
Ds1 Batería 1
(incluye instrumentos de batería “editables”)
Ds2 Batería 2
(incluye instrumentos de batería “editables”)
En el manual de listas encontrará una relación completa de las voces con su categoría, número de pro-
grama y número de banco.
Si desea seleccionar una voz para una pista específica, lleve el cursor al parámetro de voz (VOICE)
correspondiente y realice la selección con los botones [-1] y [+1] o el método SHIFT+número (página 20). Tam-
bién puede saltar hasta la primera voz de cada categoría pulsando los botones [-1/NO] y [+1/YES] mientras
mantiene pulsado [SHIFT].
Observe que la categoría, el número y el nombre de la voz seleccionada aparecen en la parte superior de
la pantalla. Advierta asimismo que algunas de las voces tienen variaciones, las cuales se identifican por un sig-
no más (“+”) entre el número de programa y el nombre de la voz. Toque el microteclado y oirá la voz.
■NOTA
●En cualquier modo del QY100, el microteclado o un teclado MIDI externo reproducen las voces asignadas a la pista
seleccionada en cada momento. Un teclado MIDI también reproducirá la voz asignada a una pista que tenga el mismo
número que el canal de transmisión MIDI del teclado externo, excepto si el parámetro “ECHO BACK” (página 128) está
ajustado a “Rec Monitor”.
●Si está tocando el microteclado, utilice los botones de octava para acceder a toda la gama de instrumentos de cada kit
de batería o efectos.
●En el manual anexo de listas encontrará una completa relación de las asignaciones de nota (es decir, los instrumentos
de batería y sonidos SFX asignados a las notas) de todos los kits de batería y SFX.
●Los controles de panorámico
Al igual que los controles de panorámico de una mesa de mezclas, los controles de panorámico del modo
de voz pueden emplearse para situar el sonido de la pista correspondiente en cualquier lugar de derecha a
izquierda del campo de sonido estéreo. Coloque el cursor en el control de panorámico, y utilice los botones
[-1/NO] y [+1/YES] para determinar la posición de panorámico. El panorámico gráfico girará hasta la posición
especificada. Las posiciones de panorámico también poseen valores numéricos (del 1 al 63) que aparecen en
la parte superior de la pantalla: “Center” es el centro, “Left 63” significa totalmente a la izquierda, y “Right 63”
totalmente a la derecha. También existe un valor “Random” con el que la posición de panorámico se ajusta al
azar.
Modo de voces de canción
70

Modo de voces de canción
●Los deslizantes de volumen
Cada pista posee un “deslizante” gráfico de volumen que puede ajustarse para producir la mejor “mezcla”
(balance) entre las distintas voces. Sitúe el cursor en un deslizante, y utilice los botones [-1/NO] y [+1/YES] o
el método SHIFT+número (página 20) para determinar el nivel. El deslizante gráfico se desplazará a la posi-
ción correspondiente (más alta con los volúmenes altos, más baja con los volúmenes reducidos). Las posicio-
nes de deslizante también tienen valores numéricos (000 a 127), que aparecen en la esquina superior derecha
de la pantalla: “000” es el volumen mínimo (ningún sonido), y “127” es el volumen máximo. El ajuste estándar
es “100” para todas las pistas. El deslizante del extremo izquierdo “mst” es un control general (“master”) que
puede usarse para ajustar el nivel de volumen global, mientras que el deslizante “pat” controla por separado el
nivel de la pista de patrón.
■NOTA
●Puede alternar entre los modos de canción y de voz incluso durante la reproducción de una canción, de forma que es
posible ajustar todos los parámetros del modo de voz (cambiar de voz, silenciar pistas, panorámico y cambio de volu-
men) mientras se escucha el resultado en tiempo real.
Pantalla de envío de efectos
El QY100 incorpora un avanzado sistema de procesamiento de señal digital con una serie de efectos tales
como reverberación, retardo, modulación, distorsión, y otros. Existen tres bloques de efectos independientes:
Reverb, Chorus y Variation. Los efectos individuales se seleccionan y modifican en el modo EFFECT, explicado con
más detenimiento en la página 122. La pantalla de mezclador del modo VOICE ofrece acceso a los controles de
envío de efectos independientes de los tres bloques, a través de la subpantalla MENU: pulse el botón [MENU] y a
continuación el botón de función contiguo a “Effect Send”.
Pantalla de mezclador del modo VOICE
Pantalla de envío de efectos
VARI. = Efecto de sistema VARI. = Efecto de inserción
71

El control VARI. (efecto de variación) aparece como mando giratorio estándar o como interruptor, dependiendo
de cómo esté “conectado” el bloque de efectos de variación al sistema en el modo EFFECT (“Sistema” o “Inserción”,
véase página 123).
Los controles REVERB, CHORUS y VARI ajustan el nivel del efecto en las partes correspondientes. Sitúe el cur-
sor en un control, después utilice los botones [-1/NO] y [+1/YES] o SHIFT+número (página 20) para definir el nivel del
efecto. El control gráfico girará a la posición correspondiente (a la derecha si se eleva el nivel, a la izquierda si se
reduce). Las posiciones de control también disponen de valores numéricos (000 a 127), que aparecen en la parte
superior de la pantalla. El valor “000” significa que no se aplica nada de efecto, y “127” es el nivel máximo. Cuando el
control de variación se presenta en forma de interruptor, simplemente activará o desactivará el efecto de variación
actual (se visualiza una “E” en el interruptor cuando el efecto está activado).
Los selectores de silenciamiento/solo y voz de la pantalla de envío de efectos se corresponden con los de la
pantalla de mezclador del modo VOICE, y tienen exactamente las mismas funciones.
Puede regresar a la pantalla de mezclador del modo SONG VOICE pulsando el botón [EXIT].
■NOTA
●Los ajustes de efecto se aplican únicamente a las voces internas del QY100, es decir, no afectan al sonido de un gene-
rador de tonos externo o sintetizador accionado por el QY100.
●Cuando el control “VARI.” se presenta en forma de mando giratorio estándar (esto es, el bloque de efectos de variación
está conectado como efecto de sistema), se dispondrá también del mando giratorio “DRY” para controlar la mezcla
“sin/con efecto” en cada pista.
●Cuando el control “VARI.” se presenta en forma de interruptor (esto es, el bloque de efectos de variación está conecta-
do como efecto de inserción), el mando giratorio “DRY” desaparece de la pantalla. En este caso, la mezcla “sin/con
efecto” puede controlarse a través de la opción “Vari.Edit” de la pantalla de edición de efectos (página 124).
Edición de voces
El modo de edición de voces (VOICE EDIT) del QY100 permite modificar el sonido de las voces asignadas a
cada pista para adaptarlas de la mejor manera posible a las necesidades musicales particulares. Al modo VOICE
EDIT se puede acceder desde el modo SONG VOICE pulsando el botón [MENU] y después el botón de función situa-
do junto a “Voice Edit” en la pantalla. Si se selecciona un sonido de batería (“Ds1” o “Ds2”), el modo de edición de
voces de batería también estará disponible en el menú.
Para editar un parámetro de voz, lleve el cursor hasta el parámetro y edítelo con los botones [-1] y [+1] o
SHIFT+número (página 20).
■NOTA
●Los selectores de silenciamiento/solo y voz de la pantalla VOICE EDIT se corresponden con los de la pantalla de mez-
clador del modo VOICE, y tienen exactamente las mismas funciones.
●Puede regresar a la pantalla de mezclador del modo SONG VOICE pulsando el botón [EXIT].
Modo de voces de canción
Pantalla de mezclador del modo VOICE
CUT
PB
RES A DR
Pantalla de edición de voces
72

Modo de voces de canción
PB (margen de inflexión de tono)
Este control ajusta el margen máximo de control de la inflexión de tono. El margen comprende de “-24” a
“0” y a “+24”. Cada incremento corresponde a un semitono (100 centésimos), por lo que el margen máxi-
mo de control de la inflexión de tono es de más/menos dos octavas. El valor aquí ajustado se aplica al
margen de inflexión de tono controlado por el botón [OCT DOWN] mientras se toca el microteclado.
●Controles de filtro
Los controles de filtro afectan al “timbre” básico del sonido.
CUT (frecuencia de corte)
Determina la frecuencia de corte del filtro de paso bajo, desde “-64” a “0” y a “+63”. Los valores negativos
reducen la frecuencia de corte, produciendo un sonido más “oscuro”. Los valores positivos elevan la fre-
cuencia de corte, dando lugar a un sonido más brillante. La curva gráfica de respuesta del filtro cambiará
para indicar el ajuste actual (la curva estándar gruesa permanecerá en la pantalla).
RES (resonancia)
Ajusta la altura del pico de resonancia del filtro, desde “-64” a “0” y a “+63”. Los valores negativos reducen
el pico de resonancia, produciendo un sonido más “plano”. Los valores positivos elevan el pico resonante,
enfatizando los componentes en la frecuencia de corte del filtro. El pico de la curva gráfica de respuesta
del filtro crecerá o disminuirá para indicar el ajuste actual (la curva estándar gruesa permanecerá en la
pantalla).
●Controles EG (generador de envolvente)
Los controles EG afectan a la “envolvente” de nivel del sonido, es decir, a los tiempos de ataque, caída y
abandono. Con relación al tiempo, la envolvente de nivel adquiere un trazado como el siguiente:
A (tiempo de ataque)
Ajusta la porción de ataque (“attack”) de la curva del EG, desde “-64” a “0” y a “+63”. Los valores negativos
producen un ataque más rápido, y los valores positivos más lento. La curva gráfica del generador de
envolvente cambiará para indicar el ajuste actual (la curva estándar gruesa permanecerá en la pantalla).
D (tiempo de caída)
Ajusta la porción de caída o “decay” de la curva del EG, desde “-64” a “0” y a “+63”. Los valores negativos
producen una caída más rápida, y los valores positivos más lenta. La curva gráfica del generador de envol-
vente cambiará para indicar el ajuste actual (la curva estándar gruesa permanecerá en la pantalla).
R (tiempo de abandono)
Ajusta la porción de abandono (“release”) de la curva del EG, desde “-64” a “0” y a “+63”. Los valores
negativos producen un abandono más rápido, y los valores positivos más lento. La curva gráfica del gene-
rador de envolvente cambiará para indicar el ajuste actual (la curva estándar gruesa permanecerá en la
pantalla).
y
Attack
Resonancia
Frecuencia de corte
Ataque
Caída
Abandono
73

Edición de batería
Cuando se ha seleccionado una configuración de batería (“Ds1” o “Ds2”), el modo de “Edición de voces de bate-
ría” puede seleccionarse desde el menú SONG VOICE.
Seleccione la configuración de batería específica que desea editar, situando para ello el cursor en el número
correspondiente y efectuando la selección con los botones [-1] y [+1] o con el método SHIFT+número. Sólo se pue-
den editar determinados instrumentos de batería, indicados mediante puntos en las teclas correspondientes del tecla-
do gráfico de la parte superior del panel. Utilice los botones [OCT DOWN] y [OCT UP] para acceder a toda la gama
de instrumentos de batería, y pulse el botón correspondiente del microteclado para seleccionar un instrumento y edi-
tarlo. Si se selecciona un instrumento de batería no editable, los controles de la pantalla aparecerán “difuminados” y
no será posible acceder a ellos.
PICH (tono aproximado)
Ajusta el tono del instrumento de batería seleccionado de “-64” a “0” y a “+63”. Los valores negativos redu-
cen el tono del instrumento, y los positivos lo elevan.
REV (envío de reverberación)
Ajusta por separado el nivel de envío de reverberación del instrumento de batería seleccionado, entre “0”
(sin reverberación) y “127” (máxima reverberación).
VAR (envío de variación)
Ajusta por separado el nivel de envío del efecto de variación del instrumento de batería seleccionado,
entre “0” (sin efecto) y “127” (máximo efecto), cuando el bloque de efectos de variación está conectado
como efecto de sistema, o bien activa (valor distinto de cero) o desactiva (valor cero) el efecto de variación
cuando el bloque está conectado como efecto de inserción (véanse más detalles sobre las conexiones de
efectos en la página 123).
PAN (posición de panorámico)
Ajusta la posición de panorámico del instrumento de batería seleccionado. “Center” es central, “Left 63”
significa totalmente a la izquierda, y “Right 63” totalmente a la derecha. Existe también una opción “Ran-
dom” que elige la posición al azar.
LVL (nivel)
Determina el nivel (volumen) del instrumento de batería seleccionado, entre “0” (sin sonido) y “127” (volu-
men máximo).
Modo de voces de canción
Ds1” o “Ds2”
LVL
PAN
VAR
REV
PITCH
Editable drum
instrument
DECAYRESCUT
Instrumento de batería editable
Kit de batería seleccionado
Instrumento de batería
seleccionado
74

CUT (frecuencia de corte)
Determina la frecuencia de corte del filtro de paso bajo, desde “-64” a “0” y a “+63”. Los valores negativos
reducen la frecuencia de corte, produciendo un sonido más “oscuro”. Los valores positivos elevan la fre-
cuencia de corte, dando lugar a un sonido más brillante. La curva gráfica de respuesta del filtro cambiará
para indicar el ajuste actual (la curva estándar gruesa permanecerá en la pantalla).
RES (resonancia)
Ajusta la altura del pico de resonancia del filtro, desde “-64” a “0” y a “+63”. Los valores negativos reducen
el pico de resonancia, produciendo un sonido más “plano”. Los valores positivos elevan el pico resonante,
enfatizando los componentes en la frecuencia de corte del filtro. El pico de la curva gráfica de respuesta
del filtro crecerá o disminuirá para indicar el ajuste actual (la curva estándar gruesa permanecerá en la
pantalla).
DECAY (velocidad de caída)
Ajusta la velocidad de caída de “-64” a “0” y a “+63”. Los valores negativos producen una caída más lenta,
y los valores positivos más rápida (a diferencia del tiempo de caída de la edición de voces normal, descri-
to en la página 73, este parámetro establece la velocidad de caída del instrumento, por lo que los valores
positivos aceleran dicha caída). La curva gráfica del generador de envolvente cambiará para indicar el
ajuste actual (la curva estándar gruesa permanecerá en la pantalla).
Modo de voces de canción
75

Secuenciador de Música
Operaciones de canción
El modo de canción incluye 25 “operaciones” de canción que realizan diversas funciones
importantes. Para acceder y utilizar las operaciones de canción, pulse el botón [MENU] desde el
modo principal de reproducción de canción y, a continuación, pulse el botón de función “Job”. De
esta forma se accede a la lista de operaciones de canción. Se puede seleccionar cualquier opera-
ción de la lista desplazando simplemente el cursor hasta ella y pulsando [ENTER]. Los botones de
función pueden emplearse para mover el cursor directamente a la primera operación de la cate-
goría correspondiente: evento, compás, pista o canción (pulsando el botón [MENU] y después el
botón de función).
■
Regreso al modo de canción
El botón [EXIT] se puede utilizar para salir de cualquier operación de canción y, a continuación, de la lista de operaciones,
con lo que se regresa al modo de reproducción de canción normal. También puede pulsar el botón [SONG] para regresar
directamente al modo de canción.
Secuenciador de Música
76
00: Deshacer/Rehacer
Categoría de “evento”
01: Cuantizar
02: Modificar velocidad de pul-
sación
03: Modificar tiempo de puerta
04: Crescendo
05: Transponer
06: Desplazamiento de reloj
07: Clasificación de acordes
08: Separación de acordes
09: Copiar evento
10: Borrar evento
11: Extraer evento
12: Crear datos continuos
13: Aclarar
14: Modelación de tiempo
Categoría de “compás”
15: Crear compás
16: Eliminar compás
Categoría de “pista”
17: Copiar pista
18: Mezclar pistas
19: Borrar pista
20: Expandir acompañamiento
21: Normalizar
Categoría de “canción”
22: Copiar canción
23: Borrar canción
24: Nombre de canción

77
00: Deshacer/Rehacer
Esta operación “deshará” cualquier otra operación de canción/patrón, edición o función de grabación si se ha
ejecutado antes de realizar ninguna otra. En todos los casos, los datos afectados son restablecidos al estado que
tenían antes de haber ejecutado la operación, edición o función. Esta operación también deshace la última operación
de deshacer (rehacer).
El nombre de la última operación ejecutada aparecerá en la pantalla (es decir, la operación que será “deshe-
cha”). En la pantalla del ejemplo, se deshará una operación de cuantización.
Pulse [ENTER] para ejecutar la operación de deshacer/rehacer. El icono del metrónomo aparecerá en la panta-
lla mientras se procesan los datos, y después de visualizará brevemente “Completed” una vez completada la opera-
ción. Pulse el botón [EXIT] para regresar a la lista de operaciones, o un botón de modo para ir directamente al modo
seleccionado.
■NOTA
●La operación UNDO/REDO no deshará las operaciones de borrar canción (“All”), borrar patrón (estilos “All”), nombre de
canción o nombre de estilo.
01: Cuantizar
Alinea las notas de la pista especificada al tiempo de compás especificado más cercano.
El parámetro “TR” selecciona la pista sobre la que va a actuar la operación de cuantización: “01” a “16” para las
pistas individuales, “All” para cuantizar las 16 pistas al mismo tiempo.
Los parámetros “M” situados encima del gráfico de barras se emplean para especificar el primer compás:tiem-
po y el último compás:tiempo del margen que se desea cuantizar.
El parámetro “Quantize” determina con respecto a qué tiempos se van a alinear los datos de nota de la pista
especificada. Si, por ejemplo, selecciona “ ”, todas las notas de la pista se alinearán con el tiempo de semicorchea
más cercano, en un grado determinado por el parámetro “Strength”.
Operaciones de cancion
Name of the last
operation performed
First measure Last measure
First beat Last beat
Nombre de la última
operación ejecutada
Primer compásÚltimo compás
Primer tiempo Último tiempo

Operaciones de cancion
78
Valores de cuantización
Valor Efecto
Alinea con la fusa más cercana.
Alinea con el tresillo de semicorcheas más cercano.
Alinea con la semicorchea más cercana.
Alinea con el tresillo de corcheas más cercano.
Alinea con la corchea más cercana.
Alinea con el tresillo de notas negras más cercano.
Alinea con la nota negra más cercana.
Alinea con la semicorchea + tresillo de semicorcheas más cercano.
Alinea con la corchea + tresillo de corcheas más cercano.
El parámetro “Strength”determina la “intensidad” con que las notas son atraídas al valor de cuantización espe-
cificado. El margen de intensidades abarca del 0% al 100%. Con un ajuste del 0% no se producirá cuantización,
mientras que un ajuste del 100% hará que todas las notas se alineen con precisión en el valor de tiempo de compás
más cercano especificado. Los ajustes intermedios producen un desplazamiento proporcional en la posición de todas
las notas “desalineadas” hacia el valor de tiempo especificado más cercano. Un valor “ ” con una intensidad del 50%,
por ejemplo, hará que una nota que no encaje con precisión en un tiempo de nota negra se desplace en torno a la
mitad de recorrido hacia el tiempo de nota negra más cercano.
El parámetro “Swing rate”produce una sensación de “swing” desplazando la temporización de los “tiempos de
cierre” en el valor de cuantización especificado. Si se trata de corcheas, por ejemplo, el efecto desplazará los tiempos
segundo, cuarto, sexto y octavo de cada compás hacia delante para crear una sensación de swing. Si el valor de
cuantización se ajusta con una longitud de tresillo, se desplazará la última nota de cada grupo de tresillos. Si el valor
se fija en una longitud de nota compuesta (por ejemplo, corchea + tresillo de corcheas), se desplazarán los tiempos
de cierre de número par. El parámetro “Swing Rate” determina el grado en que se va a desplazar la temporización de
las notas afectadas. El margen comprende del 50% (sin swing) al 75% (máximo swing) para las longitudes de nota
pares, del 66% al 83% para las longitudes de tresillo, y del 50% al 66% para las longitudes de nota par + tresillo (por
ejemplo, corchea + tresillo de corcheas).
Original data (assuming 4/4 meter)
Quantizing strength = 100% (quantize value = )
Quantizing strength = 50% (quantize value = )
Quantizing value = , Swing rate 50% (no delay)
Quantizing value = , Swing rate 60% (delay applied)
O
r
i
g
i
na
l
ti
m
i
ng
Datos originales (suponiendo un metro de 4/4)
Intensidad de cuantización = 100% (valor de cuantización = )
Intensidad de cuantización = 50% (valor de cuantización = )
Temporización original Longitud de nota negra
Valor de cuantización = , proporción de swing 50% (sin retardo)
Valor de cuantización = , proporción de swing 60% (con retardo)

El parámetro “Gate Time” aumenta o disminuye los tiempos de puerta (longitud) de todas las notas afectadas
por el parámetro de swing. El margen abarca del 0% al 200%. El parámetro “Gate Time” establece la relación entre
los valores de tiempo de puerta más breve y más largo. Un ajuste del 100% mantiene la relación original entre las
notas, los valores más bajos producen un margen de tiempo de puerta más estrecho, y los valores más altos produ-
cen un margen más amplio.
Después de ajustar los parámetros a conveniencia, pulse [ENTER] para ejecutar la operación de cuantización.
En la pantalla aparecerá el icono del metrónomo mientras se procesan los datos, y brevemente “Completed” una vez
finalizada la operación. Pulse el botón [EXIT] para regresar a la lista de operaciones, o un botón de modo para ir
directamente al modo seleccionado.
02: Modificar velocidad de pulsación
Aumenta o disminuye los valores de velocidad de pulsación de todas las notas de la pista y conjunto de compa-
ses especificados.
El parámetro “TR” selecciona la pista sobre la que va a actuar la operación de modificar la velocidad de pulsa-
ción: “01” a “16”.
Los parámetros “M” situados encima del gráfico de barras se emplean para especificar el primer compás:tiem-
po y el último compás:tiempo del margen que se desea modificar.
El parámetro “SetAll” permite ajustar todas las notas del margen especificado con un único valor de velocidad de pul-
sación entre “1” y “127”. El parámetro “SetAll” también puede desactivarse (“Off”) cuando los parámetros “Rate” y
“Offset” (véanse a continuación) se van a utilizar para modificar la velocidad.
El parámetro “Rate” (proporción) le permite
cambiar el valor de velocidad de pulsación de
cada nota sin afectar a las relaciones de velocidad
entre las notas (cambio proporcional). Un valor del
100% mantiene las diferencias de velocidad abso-
lutas entre las notas. Los valores más bajos redu-
cen las velocidades en los porcentajes correspon-
dientes, dando lugar a un margen dinámico más
estrecho, y los más altos elevan los porcentajes y
amplían el margen dinámico. Los valores com-
prenden del 0% al 200%.
El parámetro “Offset” (compensación) le permite
cambiar todos los valores de velocidad de pulsa-
ción en una cantidad absoluta. Los valores negati-
vos (-) reducen la velocidad de pulsación de cada
nota en la cantidad correspondiente, y los positi-
vos (+) la hacen aumentar en consonancia. El
margen comprende de “-99” a “0” y a “+99”.
Nueva velocidad = velocidad original x
proporción/100 + compensación
(Si la parte derecha de la ecuación es 0 o
menor, la nueva velocidad será 1. Si es 128
o mayor, la nueva velocidad será 127).
Operaciones de cancion
First measure Last measure
First beat Last beat
Primer compásÚltimo compás
Primer tiempo Último tiempo
96 64 32 127 96
48 32 16 63 48
127 96 48 127 127
Original
velocities
Rate = 50%
Rate = 150%
Velocidades
originales
Proporción = 50%
Proporción = 150%
96 64 32 127 96
48 32 16 63 48
127 96 48 127 127
Original
velocities
Rate = 50%
Rate = 150%
Velocidades
originales
Compensación = -20
Compensación = +20
79

Operaciones de cancion
Después de ajustar los parámetros a conveniencia, pulse [ENTER] para ejecutar la operación de modificar la
velocidad de pulsación. En la pantalla aparecerá el icono del metrónomo mientras se procesan los datos, y breve-
mente “Completed” una vez finalizada la operación. Pulse el botón [EXIT] para regresar a la lista de operaciones, o
un botón de modo para ir directamente al modo seleccionado.
■NOTA
●La operación “Modificar la velocidad de pulsación” es un método apropiado para “suavizar” el sonido de un material que
exhiba demasiada variación entre las notas más bajas y más altas o, por el contrario, para añadir agresividad a un
material que suene monótono. Experimente con los parámetros para apreciar cómo afectan al sonido resultante.
03: Modificar tiempo de puerta
Aumenta o disminuye el tiempo de puerta (longitud) de todas las notas de la pista y margen de compases espe-
cificados.
El parámetro “TR” selecciona la pista sobre la que va a actuar la operación de modificar tiempo de puerta: “01”
a “16”.
Los parámetros “M” situados encima del gráfico de barras se emplean para especificar el primer compás:tiem-
po y el último compás:tiempo del margen que se desea modificar.
El parámetro “SetAll” permite ajustar todas las notas del margen especificado con un único valor de tiempo de puer-
ta entre “1” y “9999”. El parámetro “SetAll” también puede desactivarse (“Off”) cuando los parámetros “Rate” y “Offset”
(véanse a continuación) se van a utilizar para modificar el tiempo de puerta.
El parámetro “Rate” (proporción) le permite cambiar el valor de tiempo de puerta de cada nota sin afectar a las
relaciones de tiempo de puerta entre las notas (cambio proporcional). Un valor del 100% mantiene las diferencias de
tiempo de puerta absolutas entre las notas. Los valores más bajos reducen los tiempos de puerta en los porcentajes
correspondientes, y los más altos los elevan. Los valores comprenden del 0% al 200%.
First measure Last measure
First beat Last beat
Primer compásÚltimo compás
Primer tiempo Último tiempo
32 32 32 48 48
16 16 16 24 24
48 48 48 72 72
Tiempo de puerta original
Proporción = 50%
Proporción = 150%
80

El parámetro “Offset” (compensación) le permite cambiar todos los valores de tiempo de puerta en una cantidad
absoluta. Los valores negativos (-) reducen el tiempo de puerta de cada nota en la cantidad correspondiente, y los
positivos (+) lo hacen aumentar en consonancia. El margen comprende de “9999” a “0” y a “+9999”.
Nuevo tiempo de puerta = tiempo de puerta original x proporción/100 + compensación
(si la parte derecha de la ecuación es 0 o inferior, el nuevo tiempo de puerta será 1)
Después de ajustar los parámetros a conveniencia, pulse [ENTER] para ejecutar la operación de modificar el
tiempo de puerta. En la pantalla aparecerá el icono del metrónomo mientras se procesan los datos, y brevemente
“Completed” una vez finalizada la operación. Pulse el botón [EXIT] para regresar a la lista de operaciones, o un botón
de modo para ir directamente al modo seleccionado.
■NOTA
●La operación “Modificar tiempo de puerta” puede utilizarse para producir una sensación de más staccato o legato, según
se requiera. Experimente con los parámetros para apreciar cómo afectan al sonido resultante.
04: Crescendo
Produce un crescendo gradual (aumento en la velocidad de pulsación de nota) o decrescendo (disminución) en
la pista y margen de compases especificados.
El parámetro “TR” selecciona la pista sobre la que va a actuar la operación de crescendo: “01” a “16”.
Los parámetros “M” situados encima del gráfico de barras se emplean para especificar el primer compás:tiem-
po y el último compás:tiempo del margen que se desea modificar.
El parámetro “Range” determina el margen de valores de velocidad de pulsación sobre el que se va a aplicar cres-
cendo. Un ajuste de “+24”, por ejemplo, hará que los valores de velocidad MIDI aumenten en 24 en la serie de com-
pases especificada (los valores de velocidad de pulsación MIDI comprenden de 1 a 127).
Los valores negativos producen la correspondiente disminución en la velocidad de pulsación, y por tanto
decrescendo más que crescendo. El margen de este parámetro abarca de “-99” a “0” y a “+99”.
Después de ajustar los parámetros a conveniencia, pulse [ENTER] para ejecutar la operación de crescendo. En
la pantalla aparecerá el icono del metrónomo mientras se procesan los datos, y brevemente “Completed” una vez
finalizada la operación. Pulse el botón [EXIT] para regresar a la lista de operaciones, o un botón de modo para ir
directamente al modo seleccionado.
Operaciones de cancion
32 32 32 48 48
12 12 12 28 28
52 52 52 68 68
Original
gate time
Offset = -20
Offset = +20
Tiempo de puerta
original
Compensación = -20
Compensación = +20
First measure Last measure
First beat Last beat
Primer compásÚltimo compás
Primer tiempo Último tiempo
Original
velocity.
Range +24.
Specified measure (
“
M
”
) range
Crescendo
Margen +24
Velocidad
original
Margen especificado de compases (“M”)
81

05: Transponer
Transpone hacia arriba o hacia abajo todas las notas de la parte especificada el número de semitonos definido.
El parámetro “TR” selecciona la pista sobre la que va a actuar la operación de transposición: “01” a “16” para las
pistas de secuenciador, o “Cd” para la pista de acordes del acompañamiento.
Los parámetros “M”situados encima del gráfico de barras se emplean para especificar el primer compás:tiem-
po y el último compás:tiempo del margen que se desea modificar.
Los parámetros “Note” especifican el margen de notas sobre el que va a actuar la transposición. Máximo de
“C-2” a “G8” (DO-2 a SOL8).
El parámetro “Transpose” determina la cantidad de transposición en incrementos de semitono. Los valores
negativos transponen hacia abajo, y los positivos hacia arriba. El margen abarca de “-99” a “0” y a “+99”.
Después de ajustar los parámetros a conveniencia, pulse [ENTER] para ejecutar la operación de transposición.
En la pantalla aparecerá el icono del metrónomo mientras se procesan los datos, y brevemente “Completed” una vez
finalizada la operación. Pulse el botón [EXIT] para regresar a la lista de operaciones, o un botón de modo para ir
directamente al modo seleccionado.
■NOTA
●Por supuesto, es posible transponer todas las notas para cambiar la canción entera a una clave diferente, pero la ope-
ración de transposición resulta más adecuada para cambiar el tono de una sección de una sola pista. Se puede utilizar
para producir “modulaciones” temporales a otra clave, o crear armonía con otra pista.
06: Desplazamiento de reloj
Desplaza todas las notas y eventos de la pista y grupo de compases especificados, hacia delante o hacia atrás,
el número de relojes establecido (480 relojes por nota negra).
El parámetro “TR” selecciona la pista sobre la que va a actuar la operación de desplazamiento de reloj: “01” a
“16” para las pistas de secuenciador, o “Tm” para la pista de tempo.
Los parámetros “M” situados encima del gráfico de barras se emplean para especificar el primer compás:tiem-
po y el último compás:tiempo del margen que se desea modificar.
El parámetro “Clock” determina la dirección y el número de relojes en que se van a desplazar las notas del com-
pás especificado. Los valores positivos desplazan las notas hacia delante (hacia el final de la canción), y los negati-
vos hacia atrás (hacia el principio de la canción). El margen abarca de “-9999” a “0000” y a “+9999”.
82
Operaciones de cancion
First measure Last measure
First beat Last beat
Primer compásÚltimo compás
Primer tiempo Último tiempo
First measure Last measure
First beat Last beat
Primer compásÚltimo compás
Primer tiempo Último tiempo

83
Después de ajustar los parámetros a conveniencia, pulse [ENTER] para ejecutar la operación de desplaza-
miento de reloj. En la pantalla aparecerá el icono del metrónomo mientras se procesan los datos, y brevemente
“Completed” una vez finalizada la operación. Pulse el botón [EXIT] para regresar a la lista de operaciones, o un botón
de modo para ir directamente al modo seleccionado.
■NOTA
●La operación de desplazamiento de reloj no afectará a los datos que se encuentren fuera del margen de compases
especificado. Los eventos próximos al principio y al final del margen especificado podrán, por tanto, sonar “agrupados”
en algunos casos.
●Debido a que esta operación desplaza realmente la temporización de todas las notas y otros eventos de los compases
especificados hacia delante o hacia atrás, puede alterar de un modo significativo el “feeling” de la canción. Se pueden
desplazar las notas hacia delante (ajustes “+”) para crear una mayor sensación de pasividad, o hacia atrás (ajustes “-”)
para conseguir una sensación de acción. Por supuesto, también se puede emplear esta operación para corregir la tem-
porización desviada desde el principio.
07: Clasificación de acordes
Clasifica todas las notas del margen de compases especificado que caigan en el mismo tiempo de compás (esto
es, acordes), de forma que las notas quedan dispuestas en orden desde la más alta a la más baja o viceversa.
El parámetro “TR” selecciona la pista sobre la que va a actuar la operación de clasificación de acordes: “01” a
“16”.Los parámetros “M” situados encima del gráfico de barras se emplean para especificar el primer compás:tiem-
po y el último compás:tiempo del margen que se desea modificar.
El parámetro “Type” determina si los acordes del margen especificado van a colocarse en orden de notas
ascendente (“Normal”) o descendente (“Reverse”).
Después de ajustar los parámetros a conveniencia, pulse [ENTER] para ejecutar la operación de clasificación
de acordes. En la pantalla aparecerá el icono del metrónomo mientras se procesan los datos, y brevemente “Com-
pleted” una vez finalizada la operación. Pulse el botón [EXIT] para regresar a la lista de operaciones, o un botón de
modo para ir directamente al modo seleccionado.
Operaciones de cancion
First measure Last measure
First beat Last beat
Primer compásÚltimo compás
Primer tiempo Último tiempo

08: Separación de acordes
Desplaza hacia delante cada una de las notas del margen de compases especificado que caiga dentro del mis-
mo tiempo de compás (esto es, acordes), en orden ascendente o descendente según los ajustes de clasificación de
acordes, en el número especificado de relojes. De esta manera, las notas del acorde se “separan” el número especi-
ficado de relojes.
El parámetro “TR” selecciona la pista sobre la que va a actuar la operación de separación de acordes: “01” a
“16”.Los parámetros “M” situados encima del gráfico de barras se emplean para especificar el primer compás:tiem-
po y el último compás:tiempo del margen que se desea modificar.
El parámetro “Clock” determina el número de relojes en que se van a separar las notas del acorde: “000” a
“999”.
Después de ajustar los parámetros a conveniencia, pulse [ENTER] para ejecutar la operación de separación de
acordes. En la pantalla aparecerá el icono del metrónomo mientras se procesan los datos, y brevemente “Completed”
una vez finalizada la operación. Pulse el botón [EXIT] para regresar a la lista de operaciones, o un botón de modo
para ir directamente al modo seleccionado.
09: Copiar evento
Copia todos los datos de un margen especificado de compases de una pista al compás especificado de la pista
de destino especificada. Los datos copiados también pueden ser objeto de transposición a conveniencia. Esta ope-
ración borra los datos existentes desde el principio del compás de destino especificado, sustituyéndolos por los datos
de los compases fuente. Por consiguiente, se pierden los datos previos de los compases sobreescritos.
El parámetro “TR” superior selecciona la pista fuente (es decir, la pista de la que se van a copiar los datos): “01”
a “16” para las pistas de secuenciador, la pista “Pt” de acompañamiento, la pista “Cd” de acompañamiento, la pista
“Tm” o todas las pistas (“Al”). Cuando se selecciona “Pt”, “Cd”, “Tm” o “Al”, el parámetro “TR” inferior se ajusta auto-
máticamente a la misma pista.
El parámetro “TR” inferior selecciona la pista de destino (es decir, la pista en la que se van a copiar los datos):
“01” a “16” para las pistas de secuenciador, la pista “Pt” de acompañamiento, la pista “Cd” de acompañamiento, la
pista “Tm” o todas las pistas (“Al”). Cuando se selecciona “Pt”, “Cd”, “Tm” o “Al”, el parámetro “TR” superior se ajusta
automáticamente a la misma pista.
Los parámetros “M” situados encima del gráfico de barras se emplean para
especificar el primer compás:tiempo y el último compás:tiempo del margen que
se desea copiar.
84
Operaciones de cancion
First measure Last measure
First beat Last beat
Primer compásÚltimo compás
Primer tiempo Último tiempo
Parámetro de plantilla de acorde
First measure
Lb
Primer compásÚltimo compás
Primer tiempo Último tiempo

Los parámetros “M” situados debajo del gráfico de barras inferior especifican el compás:tiempo de destino en el
que se van a copiar los datos, así como el número de veces que se copiarán.
El parámetro “Transpose” establece un valor de transposición para los datos copiados, en incrementos de
semitono de “-24” a “+00” y a “+24”.
El parámetro de plantilla de acorde, encima del gráfico de barras superior, aparece únicamente cuando se ha
seleccionado la pista “Cd” en el parámetro “TR”. Este parámetro especifica qué progresión de acordes, ya sea la del
usuario programada en la pista “Cd” fuente o la plantilla predefinida, va a ser copiada en la progresión de acordes del
usuario (User).
Después de ajustar los parámetros a conveniencia, pulse [ENTER] para ejecutar la operación de copia de even-
to. En la pantalla aparecerá el icono del metrónomo mientras se procesan los datos, y brevemente “Completed” una
vez finalizada la operación. Pulse el botón [EXIT] para regresar a la lista de operaciones, o un botón de modo para ir
directamente al modo seleccionado.
■NOTA
●Los datos previos de los compases sobreescritos por la operación de copia de evento quedarán borrados por completo
y serán sustituidos por los datos copiados.
●La signatura de tiempo también se copia en la operación, pero no así los datos de efectos de reproducción y de voz.
●La operación de copia de evento simplifica el uso de frases o incluso secciones completas (un coro entero, por ejemplo)
en más de un lugar de la canción. Puede copiar una frase reproducida con una voz y hacer que se repita con una voz
diferente más adelante. Siempre podrá editar las secciones copiadas para crear variaciones.
10: Borrar evento
Borra todos los datos de nota y evento del compás o grupo de compases especificados de la pista selecciona-
da. Esta operación deja los compases intactos, pero vacíos.
El parámetro “TR” selecciona la pista sobre la que va a actuar la operación de borrado de evento: “01” a “16”
para las pistas de secuenciador, la pista “Pt” de acompañamiento, la pista “Cd” de acompañamiento o la pista “Tm”.
Los parámetros “M” situados encima del gráfico de barras se emplean para especificar el primer compás:tiem-
po y el último compás:tiempo del margen que se desea borrar.
Después de ajustar los parámetros a conveniencia, pulse [ENTER] para ejecutar la operación de borrado de
evento. En la pantalla aparecerá el icono del metrónomo mientras se procesan los datos, y brevemente “Completed”
una vez finalizada la operación. Pulse el botón [EXIT] para regresar a la lista de operaciones, o un botón de modo
para ir directamente al modo seleccionado.
■NOTA
●A diferencia de la eliminación de compás (16), esta operación borra los datos de los compases especificados exclusiva-
mente de la pista seleccionada. Por otra parte, aunque los datos son borrados, los compases permanecen intactos (es
decir, los siguientes no adelantan su posición). Después de una operación de borrado, si lo desea puede grabar mate-
rial nuevo en los compases en blanco resultantes.
Operaciones de cancion
Compás de destino Número de copias
Tiempo de compás de destino
First measure Last measure
First beat Last beat
Primer compásÚltimo compás
Primer tiempo Último tiempo
85

11: Extraer evento
Permite extraer (retirar) un tipo de evento especificado (nota, cambio de programa, inflexión de tono, cambio de
control, aftertouch de canal, aftertouch polifónico o exclusivo de sistema) de un margen especificado de compases de
una pista concreta. Los datos extraídos podrán trasladarse al mismo margen de compases de otra pista especificada.
El parámetro “TR” superior selecciona la pista fuente (es decir, la pista de la que se van a extraer los datos de
evento): “01” a “16”.
El parámetro “TR” inferior selecciona la pista de destino (es decir, la pista a la que se van a trasladar los datos
de evento extraídos): “01” a “17”, o bien “Off” si simplemente desea suprimir los datos de evento especificados.
Los parámetros “M” situados encima del gráfico de barras se emplean para especificar el primer compás:tiem-
po y el último compás:tiempo del margen del que se desean extraer los datos de evento.
El parámetro de tipo de evento situado junto al gráfico de barras superior determina el tipo de datos de evento
que van a ser extraídos:
NOTE Eventos de nota.
PC Eventos de cambio de programa.
PB Eventos de inflexión de tono.
CC Eventos de cambio de control. Cuando se selecciona este tipo de evento, aparece un
parámetro de número de cambio de control a la derecha del tipo de evento. El parámetro
de cambio de control determina el número o números de cambio de control MIDI que van
a ser extraídos: “000” a “127”, “All”.
CAT Eventos de aftertouch de canal.
PAT Eventos de aftertouch polifónico.
EXC Eventos exclusivos de sistema.
Después de ajustar los parámetros a conveniencia, pulse [ENTER] para ejecutar la operación de extracción de
evento. En la pantalla aparecerá el icono del metrónomo mientras se procesan los datos, y brevemente “Completed”
una vez finalizada la operación. Pulse el botón [EXIT] para regresar a la lista de operaciones, o un botón de modo
para ir directamente al modo seleccionado.
■NOTA
●Aunque puede retirar eventos individuales en el modo de edición (página 112), esta operación simplifica la extracción de
una sola vez de todas las ocurrencias del evento especificado dentro del margen de compases seleccionado. Resulta
particularmente útil a la hora de suprimir inflexiones de tono lentas o cambios de volumen que pudieran emplear dema-
siados eventos individuales para crear un efecto simple.
●Si la pista de destino ya contiene datos, los datos de evento extraídos se unirán a ellos.
86
Operaciones de cancion
First measure Last measure
First beat Last beat
Event type
parameter
Primer compásÚltimo compás
Primer tiempo Último tiempo
Parámetro de
tipo de evento

87
12: Crear datos continuos
Esta operación permite crear datos continuos del tipo especificado, a fin de producir inflexiones de tono unifor-
mes, o cambios de tempo, etc.
El parámetro “TR” selecciona la pista sobre la que va a actuar la operación de creación de datos continuos: “01”
a “16” para las pistas de secuenciador, o “Tm” para la pista de tempo.
Los parámetros “M” situados encima del gráfico de barras se emplean para especificar el primer compás:tiem-
po y el último compás:tiempo del margen que se desea modificar.
El parámetro de tipo de datos determina el tipo de datos que van a ser creados:
PB Eventos de inflexión de tono.
CC Eventos de cambio de control. Cuando se selecciona este tipo de evento, aparece un
parámetro de número de cambio de control a la derecha del parámetro de tipo. El paráme-
tro de cambio de control determina el número de cambio de control MIDI que va a ser cre-
ado: “000” a “127”.
CAT Eventos de aftertouch de canal.
EXC Volumen general.
TMP Eventos de tempo (sólo pueden seleccionarse para la pista “Tm”).
Los parámetros “Data” determinan el margen de valores de los datos que se van a crear: el número de la
izquierda establece el valor de partida, y el de la derecha define el valor final. El margen disponible dependerá del tipo
de evento seleccionado.
El parámetro “Clock” establece la separación en relojes entre los eventos creados: “000” a “999”.
El parámetro “Curve” determina el grado de “curvatura” positiva o negativa que se aplicará a los datos conti-
nuos: “-16” a “00” y a “+16”.
Después de ajustar los parámetros a conveniencia, pulse [ENTER] para ejecutar la operación de creación de
datos continuos. En la pantalla aparecerá el icono del metrónomo mientras se procesan los datos, y brevemente
“Completed” una vez finalizada la operación. Pulse el botón [EXIT] para regresar a la lista de operaciones, o un botón
de modo para ir directamente al modo seleccionado.
Operaciones de cancion
First measure Last measure
First beat Last beat
Data type
parameter
Primer compásÚltimo compás
Primer tiempo Último tiempo
Parámetro de
tipo de datos
Start point
Curve = +16 Curve = 0 (linear)
End point
Curve = -16
Clock
parameter
Curva = +16 Curva = 0 (lineal)
Punto final
Curva = -16
Parámetro
de reloj
Punto de partida

13: Aclarar
Esta operación “aclara” los tipos de datos especificados, suprimiendo cualquier otro evento del tipo especifica-
do. Resulta particularmente útil para reducir el volumen de los datos requeridos para inflexiones de tono, aftertouch y
otras operaciones de cambio de control, optimizando el uso de la memoria disponible.
El parámetro “TR” selecciona la pista sobre la que va a actuar la operación de aclarado: “01” a “16” para las pis-
tas de secuenciador, o “Tm” para la pista de tempo.
Los parámetros “M” situados encima del gráfico de barras se emplean para especificar el primer compás:tiem-
po y el último compás:tiempo del margen que se desea modificar.
El parámetro de tipo de datos determina el tipo de datos que van a ser aclarados:
PB Eventos de inflexión de tono.
CC Eventos de cambio de control. Cuando se selecciona este tipo de evento, aparece un
parámetro de número de cambio de control a la derecha del parámetro de tipo. El paráme-
tro de cambio de control determina el número de cambio de control MIDI que va a ser
aclarado: “000” a “127”.
CAT Eventos de aftertouch de canal.
PAT Eventos de aftertouch polifónico.
TMP Eventos de tempo (sólo pueden seleccionarse para la pista “Tm”).
Después de ajustar los parámetros a conveniencia, pulse [ENTER] para ejecutar la operación de aclarado. En
la pantalla aparecerá el icono del metrónomo mientras se procesan los datos, y brevemente “Completed” una vez
finalizada la operación. Pulse el botón [EXIT] para regresar a la lista de operaciones, o un botón de modo para ir
directamente al modo seleccionado.
14: Modelación de tiempo
Alarga o acorta la pista especificada en un porcentaje determinado, sin afectar al tempo ni al tono.
El parámetro “TR” selecciona la pista sobre la que va a actuar la operación de modelación de tiempo: “01” a “16”
para las pistas de secuenciador, o “Al” para todas las pistas de secuenciador.
Los parámetros “M” situados encima del gráfico de barras se emplean para especificar el primer compás:tiem-
po y el último compás:tiempo del margen que se desea modificar.
El parámetro “Time” especifica el porcentaje en que se va a alargar o acortar el tiempo: “50%” a “200%”. El tiempo de
puerta de las notas presentes en la pista y compases especificados también cambiará proporcionalmente a este ajuste.
Después de ajustar los parámetros a conveniencia, pulse [ENTER] para ejecutar la operación de modelación de
tiempo. En la pantalla aparecerá el icono del metrónomo mientras se procesan los datos, y brevemente “Completed”
una vez finalizada la operación. Pulse el botón [EXIT] para regresar a la lista de operaciones, o un botón de modo
para ir directamente al modo seleccionado.
88
Operaciones de cancion
First measure Last measure
First beat Last beat
Data type
parameter
Primer compásÚltimo compás
Primer tiempo Último tiempo
Parámetro de tipo
de datos
First measure Last measure
First beat Last beat
Primer compásÚltimo compás
Primer tiempo Último tiempo

89
15: Crear compás
Crea un número especificado de compases vacíos con la signatura de tiempo establecida para todas las pistas.
Los compases creados se insertan en la posición del número de compás indicado, y todos los compases que se
encuentren a continuación serán desplazados para dejar el espacio necesario.
El parámetro “M” situado encima del gráfico de barras especifica el compás en que se insertarán los recién cre-
ados.El parámetro de signatura de tiempo situado debajo del gráfico de barras determina la signatura de tiempo de
los compases que se van a crear: 1/16 a 16/16, 1/8 a 16/8, 1/4 a 8/4.
El parámetro “Measure” situado debajo de la barra especifica el número de compases que se van a crear.
Después de ajustar los parámetros a conveniencia, pulse [ENTER] para ejecutar la operación de creación de
compás. En la pantalla aparecerá el icono del metrónomo mientras se procesan los datos, y brevemente “Completed”
una vez finalizada la operación. Pulse el botón [EXIT] para regresar a la lista de operaciones, o un botón de modo
para ir directamente al modo seleccionado.
■NOTA
●Todos los compases existentes a continuación del punto en que se creen los nuevos se desplazarán hacia el final para
dejar sitio.
●Si utiliza la operación de “Crear compás” con una canción vacía, los nuevos compases especificados se situarán exclu-
sivamente en la pista 1.
●
Utilice la operación de creación de compás cuando desee añadir nuevo material en alguna zona de datos intermedia que
ya haya grabado, sin borrar dichos datos. Primero deberá crear los compases deseados y, a continuación, copiar los
datos de los compases existentes con la función de copia de evento, o bien grabar los datos nuevos según se requiera.
16: Eliminar compás
Elimina simultáneamente el margen de compases especificado de todas las pistas.
Los parámetros “M” situados encima del gráfico de barras sirven para especificar los compases primero y último
del margen que se desea eliminar.
Después de ajustar los parámetros a conveniencia, pulse [ENTER] para ejecutar la operación de eliminación de
compás. En la pantalla aparecerá el icono del metrónomo mientras se procesan los datos, y brevemente “Completed”
una vez finalizada la operación. Pulse el botón [EXIT] para regresar a la lista de operaciones, o un botón de modo
para ir directamente al modo seleccionado.
■NOTA
●La eliminación de compás es un método muy útil para suprimir por completo datos de una canción. Sin embargo, con-
viene recordar que la operación de eliminación afecta a todas las pistas simultáneamente, y que los compases siguien-
tes al grupo eliminado se desplazarán hacia atrás para ocupar el lugar de los compases suprimidos.
Operaciones de cancion
First measure Last measure
First beat Last beat
Primer compásÚltimo compás
Primer tiempo Último tiempo
First measure
Last measure
Primer compás
Último compás

17: Copiar pista
Copia todos los datos de la pista especificada en otra pista.
El parámetro “TR” superior selecciona la pista fuente (es decir, la pista de la que se van a copiar los datos): “01”
a “16”.
El parámetro “TR” inferior selecciona la pista de destino (es decir, la pista en la que se van a copiar los datos):
“01” a “16”.
Los recuadros de verificación “Event”, “Play Effect” y “Voice” permiten especificar si los tipos de datos corres-
pondientes van a ser copiados o no (los datos serán copiados si el recuadro contiene la marca de verificación).
Después de ajustar los parámetros a conveniencia, pulse [ENTER] para ejecutar la operación de copia de pista.
En la pantalla aparecerá el icono del metrónomo mientras se procesan los datos, y brevemente “Completed” una vez
finalizada la operación. Pulse el botón [EXIT] para regresar a la lista de operaciones, o un botón de modo para ir
directamente al modo seleccionado.
■NOTA
●Si la pista de destino ya contiene datos, los datos de pista copiados borrarán y reemplazarán a los previamente existen-
tes.
18: Mezclar pistas
Combina los datos contenidos en dos pistas especificadas y coloca el resultado en una tercera (que puede ser
la segunda de ellas).
Los parámetros “TR” superior y central seleccionan la primera y segunda pistas fuente (es decir, las pistas que
se van a mezclar): “01” a “16”.
El parámetro “TR” inferior (“01” a “16”) especifica la pista de destino en la que se desean copiar los datos mez-
clados.
Después de ajustar los parámetros a conveniencia, pulse [ENTER] para ejecutar la operación de mezcla de pis-
tas. En la pantalla aparecerá el icono del metrónomo mientras se procesan los datos, y brevemente “Completed” una
vez finalizada la operación. Pulse el botón [EXIT] para regresar a la lista de operaciones, o un botón de modo para ir
directamente al modo seleccionado.
■NOTA
●Si no hay datos en la segunda pista fuente, los datos de la primera simplemente se copiarán en la pista de destino.
90
Operaciones de cancion

91
19: Borrar pista
Borra por completo la pista especificada de la canción actual (incluidos todos los parámetros de efectos de
reproducción).
El parámetro “TR” selecciona la pista o pistas que van a ser borradas: “01” a “16” para las pistas de secuencia-
dor, la pista “Pt” de acompañamiento, la pista “Cd” de acompañamiento, la pista “Tm” o todas las pistas (“Al”).
Los recuadros de verificación “Event”, “Play Effect” y “Voice” permiten especificar si los tipos de datos corres-
pondientes van a ser borrados o no (los datos serán borrados si el recuadro contiene la marca de verificación).
Después de ajustar los parámetros a conveniencia, pulse [ENTER] para ejecutar la operación de borrado de pis-
ta. En la pantalla aparecerá el icono del metrónomo mientras se procesan los datos, y brevemente “Completed” una
vez finalizada la operación. Pulse el botón [EXIT] para regresar a la lista de operaciones, o un botón de modo para ir
directamente al modo seleccionado.
20: Expandir acompañamiento
Esta operación “expande” los datos de pista de acompañamiento, es decir, los datos de acorde y de patrón, y
coloca los resultados en las pistas normales de secuenciador después de convertir los datos al formato MIDI están-
dar. Los datos expandidos son ubicados en las pistas de secuenciador 9 a 16 (véase tabla). Cualquier dato previa-
mente existente en dichas pistas será eliminado.
Pulse [ENTER] para ejecutar la operación de expansión de acompañamiento. En la pantalla aparecerá el icono
del metrónomo mientras se procesan los datos, y brevemente “Completed” una vez finalizada la operación. Pulse el
botón [EXIT] para regresar a la lista de operaciones, o un botón de modo para ir directamente al modo seleccionado.
Pista de patrón Pista de secuenciador
D1 9
D2 10
PC 11
BA 12
C1 13
C2 14
C3 15
C4 16
■NOTA
●Si “Ds3” (configuración de batería 3) se asigna a las pistas D1, D2 o PC del patrón expandido, los ajustes de voz de
batería serán copiados en “Ds2”. Los ajustes previos de “Ds2” quedarán sobreescritos (borrados).
Operaciones de cancion

21: Normalizar
Aplica los ajustes de los efectos de reproducción (“Play Effect”) a los datos de secuencia, modificándolos en
consonancia. Los ajustes de los efectos de reproducción serán inicializados después de ejecutar esta operación.
El parámetro “TR” selecciona la pista o pistas sobre las que va a actuar la operación de normalización: “01” a
“16” para las pistas de secuenciador, o “Al” para todas las pistas de secuenciador.
Después de ajustar el parámetro a conveniencia, pulse [ENTER] para ejecutar la operación de normalización.
En la pantalla aparecerá el icono del metrónomo mientras se procesan los datos, y brevemente “Completed” una vez
finalizada la operación. Pulse el botón [EXIT] para regresar a la lista de operaciones, o un botón de modo para ir
directamente al modo seleccionado.
22: Copiar canción
Copia todos los datos de todas las pistas de la canción especificada en otra canción (incluidos los ajustes de
nombre de canción, efectos de reproducción y asignaciones de voz).
El parámetro “Song” superior selecciona la canción fuente, es decir, la canción de la que se van a copiar los
datos: “01” a “20”.
El parámetro “Song” inferior selecciona la canción de destino, es decir, la canción en la que se van a copiar los
datos: “01” a “20”.
Después de ajustar los parámetros a conveniencia, pulse [ENTER] para ejecutar la operación de copia de can-
ción. En la pantalla aparecerá el icono del metrónomo mientras se procesan los datos, y brevemente “Completed”
una vez finalizada la operación. Pulse el botón [EXIT] para regresar a la lista de operaciones, o un botón de modo
para ir directamente al modo seleccionado.
■NOTA
●Si la canción de destino ya contiene datos, la canción copiada borrará y sustituirá a la canción original.
92
Operaciones de cancion

”
93
23: Borrar canción
Borra por completo todos los datos de todas las pistas de la canción seleccionada. También inicializa los ajus-
tes de efectos de reproducción y voces.
El parámetro “Song” selecciona la canción que va a ser borrada: “01” a “20” o todas (“Al”).
Después de ajustar el parámetro a conveniencia, pulse [ENTER] para ejecutar la operación de borrado de can-
ción. En la pantalla aparecerá el icono del metrónomo mientras se procesan los datos, y brevemente “Completed”
una vez finalizada la operación. Pulse el botón [EXIT] para regresar a la lista de operaciones, o un botón de modo
para ir directamente al modo seleccionado.
■NOTA
●El borrado de todas las canciones no puede deshacerse con la operación “Deshacer/Rehacer”.
24: Nombre de canción
Permite asignar a la canción actual un nombre original con un máximo de 8 caracteres.
Para introducir un carácter, utilice las teclas de cursor para desplazarlo a la posición del carácter que desea
introducir, y a continuación pulse el botón [ENTER]. El carácter aparecerá en la posición del cursor, y éste avanzará
a la siguiente posición.
El cursor puede moverse pulsando el botón de función situado a la derecha de “ “.
Para borrar un carácter, pulse el botón de función situado a la derecha de “del”. El carácter situado a la izquier-
da del cursor se borrará, y el cursor se desplazará a la posición del carácter borrado.
Una vez introducido el nombre, pulse el botón [EXIT] para regresar a la lista de operaciones, o un botón de
modo para ir directamente al modo deseado (no es necesario pulsar el botón [ENTER] para introducir el nombre
especificado).
■NOTA
●La introducción de un nombre de canción no puede deshacerse con la operación “Deshacer/Rehacer”.
Operaciones de cancion

Secuenciador de Música
Operaciones de patrón
El modo PATTERN incluye 24 “operaciones” de patrón que realizan diversas funciones impor-
tantes. Para acceder y utilizar las operaciones de patrón, pulse el botón [MENU] desde el modo
principal de patrón y, a continuación, pulse el botón de función “Job”. De esta forma se accede a
la lista de operaciones de patrón. Se puede seleccionar cualquier operación de la lista desplazan-
do simplemente el cursor hasta ella y pulsando [ENTER]. Los botones de función pueden emple-
arse para mover el cursor directamente a la primera operación de la categoría correspondiente:
evento, frase, pista o patrón (pulsando el botón [MENU] y después el botón de función).
■
Regreso al modo de patrón
El botón [EXIT] se puede utilizar para salir de cualquier operación de patrón y, a continuación, de la lista de operaciones,
con lo que se regresa al modo de patrón normal. También puede pulsar el botón [PATTERN] para regresar directamente al
modo de patrón.
Secuenciador de Música
94
00: Deshacer/Rehacer
Categoría de “evento”
01: Cuantizar
02: Modificar velocidad de pul-
sación
03: Modificar tiempo de puerta
04: Crescendo
05: Transponer
06: Desplazamiento de reloj
07: Clasificación de acordes
08: Separación de acordes
09: Copiar evento
10: Borrar evento
11: Extraer evento
12: Crear datos continuos
13: Aclarar
14: Modelación de tiempo
Categoría de “frase”
15: Copiar frase
16: Obtener frase
17: Poner frase
Categoría de “pista”
18: Copiar pista
19: Mezclar pistas
20: Borrar pista
Categoría de “patrón”
21: Copiar patrón
22: Borrar patrón
23: Nombre de estilo

95
00: Deshacer/Rehacer
Esta operación “deshará” cualquier otra operación de patrón/canción, edición o función de grabación si se ha
ejecutado antes de realizar ninguna otra. En todos los casos, los datos afectados son restablecidos al estado que
tenían antes de haber ejecutado la operación, edición o función. Esta operación también deshace la última operación
de deshacer (rehacer).
El nombre de la última operación ejecutada aparecerá en la pantalla (es decir, la operación que será “deshe-
cha”). En la pantalla del ejemplo, se deshará una operación de cuantización.
Pulse [ENTER] para ejecutar la operación de deshacer/rehacer. El icono del metrónomo aparecerá en la panta-
lla mientras se procesan los datos, y después de visualizará brevemente “Completed” una vez completada la opera-
ción. Pulse el botón [EXIT] para regresar a la lista de operaciones, o un botón de modo para ir directamente al modo
seleccionado.
■NOTA
●La operación UNDO/REDO no deshará las operaciones de borrar canción (“All”), borrar patrón (estilos “All”), nombre de
canción o nombre de estilo.
01: Cuantizar
Alinea las notas de la pista especificada al tiempo de compás especificado más cercano.
El parámetro “TR” selecciona la pista sobre la que va a actuar la operación de cuantización: D1, D2, PC, BA, C1,
C2, C3, C4.
Los parámetros “M” situados encima del gráfico de barras se emplean para especificar el primer compás:tiem-
po y el último compás:tiempo del margen que se desea cuantizar.
El parámetro “Quantize” determina con respecto a qué tiempos se van a alinear los datos de nota de la pista
especificada. Si, por ejemplo, selecciona “ ”, todas las notas de la pista se alinearán con el tiempo de semicorchea
más cercano, en un grado determinado por el parámetro “Strength”.
Operaciones de patrón
Name of the last
operation performed
First measure Last measure
First beat Last beat
Nombre de la última
operación ejecutada
Primer compásÚltimo compás
Primer tiempo Último tiempo

96
Operaciones de patrón
Valores de cuantización
Valor Efecto
Alinea con la fusa más cercana.
Alinea con el tresillo de semicorcheas más cercano.
Alinea con la semicorchea más cercana.
Alinea con el tresillo de corcheas más cercano.
Alinea con la corchea más cercana.
Alinea con el tresillo de notas negras más cercano.
Alinea con la nota negra más cercana.
Alinea con la semicorchea + tresillo de semicorcheas más cercano.
Alinea con la corchea + tresillo de corcheas más cercano.
El parámetro “Strength” determina la “intensidad” con que las notas son atraídas al valor de cuantización espe-
cificado. El margen de intensidades abarca del 0% al 100%. Con un ajuste del 0% no se producirá cuantización,
mientras que un ajuste del 100% hará que todas las notas se alineen con precisión en el valor de tiempo de compás
más cercano especificado. Los ajustes intermedios producen un desplazamiento proporcional en la posición de todas
las notas “desalineadas” hacia el valor de tiempo especificado más cercano. Un valor “ ” con una intensidad del 50%,
por ejemplo, hará que una nota que no encaje con precisión en un tiempo de nota negra se desplace en torno a la
mitad de recorrido hacia el tiempo de nota negra más cercano.
El parámetro “Swing rate” produce una sensación de “swing” desplazando la temporización de los “tiempos de
cierre” en el valor de cuantización especificado. Si se trata de corcheas, por ejemplo, el efecto desplazará los tiempos
segundo, cuarto, sexto y octavo de cada compás hacia delante para crear una sensación de swing. Si el valor de
cuantización se ajusta con una longitud de tresillo, se desplazará la última nota de cada grupo de tresillos. Si el valor
se fija en una longitud de nota compuesta (por ejemplo, corchea + tresillo de corcheas), se desplazarán los tiempos
de cierre de número par. El parámetro “Swing Rate” determina el grado en que se va a desplazar la temporización de
las notas afectadas. El margen comprende del 50% (sin swing) al 75% (máximo swing) para las longitudes de nota
pares, del 66% al 83% para las longitudes de tresillo, y del 50% al 66% para las longitudes de nota par + tresillo (por
ejemplo, corchea + tresillo de corcheas).
Original data (assuming 4/4 meter)
Quantizing strength = 100% (quantize value = )
Quantizing strength = 50% (quantize value = )
Quantizing value = , Swing rate 50% (no delay)
Quantizing value = , Swing rate 60% (delay applied)
O
r
i
g
i
na
l
ti
m
i
ng
Datos originales (suponiendo un metro de 4/4)
Intensidad de cuantización = 100% (valor de cuantización = )
Intensidad de cuantización = 50% (valor de cuantización = )
Temporización original Longitud de nota negra
Valor de cuantización = , proporción de swing 50% (sin retardo)
Valor de cuantización = , proporción de swing 60% (con retardo)

Operaciones de patrón
El parámetro “Gate Time” aumenta o disminuye los tiempos de puerta (longitud) de todas las notas afectadas por el
parámetro de swing. El margen abarca del 0% al 200%. El parámetro “Gate Time” establece la relación entre los valo-
res de tiempo de puerta más breve y más largo. Un ajuste del 100% mantiene la relación original entre las notas, los
valores más bajos producen un margen de tiempo de puerta más estrecho, y los valores más altos producen un mar-
gen más amplio.
Después de ajustar los parámetros a conveniencia, pulse [ENTER] para ejecutar la operación de cuantización.
En la pantalla aparecerá el icono del metrónomo mientras se procesan los datos, y brevemente “Completed” una vez
finalizada la operación. Pulse el botón [EXIT] para regresar a la lista de operaciones, o un botón de modo para ir
directamente al modo seleccionado.
02: Modificar velocidad de pulsación
Aumenta o disminuye los valores de velocidad de pulsación de todas las notas de la pista y conjunto de compa-
ses especificados.
El parámetro “TR” selecciona la pista sobre la que va a actuar la operación de modificar la velocidad de pulsa-
ción: D1, D2, PC, BA, C1, C2, C3, C4.
Los parámetros “M” situados encima del gráfico de barras se emplean para especificar el primer compás:tiem-
po y el último compás:tiempo del margen que se desea modificar.
El parámetro “SetAll” permite ajustar todas las notas del margen especificado con un único valor de velocidad de pul-
sación entre “1” y “127”. El parámetro “SetAll” también puede desactivarse (“Off”) cuando los parámetros “Rate” y
“Offset” (véanse a continuación) se van a utilizar para modificar la velocidad.
El parámetro “Rate” (proporción) le permite
cambiar el valor de velocidad de pulsación de
cada nota sin afectar a las relaciones de velocidad
entre las notas (cambio proporcional). Un valor del
100% mantiene las diferencias de velocidad abso-
lutas entre las notas. Los valores más bajos redu-
cen las velocidades en los porcentajes correspon-
dientes, dando lugar a un margen dinámico más
estrecho, y los más altos elevan los porcentajes y
amplían el margen dinámico. Los valores com-
prenden del 0% al 200%.
El parámetro “Offset” (compensación) le permite
cambiar todos los valores de velocidad de pulsa-
ción en una cantidad absoluta. Los valores negati-
vos (-) reducen la velocidad de pulsación de cada
nota en la cantidad correspondiente, y los positi-
vos (+) la hacen aumentar en consonancia. El
margen comprende de “-99” a “0” y a “+99”.
Nueva velocidad = velocidad original x
proporción/100 + compensación
(Si la parte derecha de la ecuación es 0 o
menor, la nueva velocidad será 1. Si la par-
te derecha de la ecuación es 128 o mayor,
la nueva velocidad será 127).
First measure Last measure
First beat Last beat
Primer compásÚltimo compás
Primer tiempo Último tiempo
-
c
96 64 32 127 96
48 32 16 63 48
127 96 48 127 127
Original
velocities
Rate = 50%
Rate = 150%
Velocidades
originales
Proporción = 50%
Proporción = 150%
96 64 32 127 96
76 44 12 107 76
116 84 52 127 116
Original
velocities
Offset = -20
Offset = +20
Velocidades
originales
Compensación = -20
Compensación = +20
97

98
Operaciones de patrón
Después de ajustar los parámetros a conveniencia, pulse [ENTER] para ejecutar la operación de modificar la
velocidad de pulsación. En la pantalla aparecerá el icono del metrónomo mientras se procesan los datos, y breve-
mente “Completed” una vez finalizada la operación. Pulse el botón [EXIT] para regresar a la lista de operaciones, o
un botón de modo para ir directamente al modo seleccionado.
■NOTA
●La operación “Modificar la velocidad de pulsación” es un método apropiado para “suavizar” el sonido de un material que
exhiba demasiada variación entre las notas más bajas y más altas o, por el contrario, para añadir agresividad a un
material que suene monótono. Experimente con los parámetros para apreciar cómo afectan al sonido resultante.
03: Modificar tiempo de puerta
Aumenta o disminuye los tiempos de puerta (longitud) de todas las notas de la pista y margen de compases
especificados.
El parámetro “TR” selecciona la pista sobre la que va a actuar la operación de modificar tiempo de puerta: D1,
D2, PC, BA, C1, C2, C3, C4.
Los parámetros “M” situados encima del gráfico de barras se emplean para especificar el primer compás:tiem-
po y el último compás:tiempo del margen que se desea modificar.
El parámetro “SetAll” permite ajustar todas las notas del margen especificado con un único valor de tiempo de puer-
ta entre “1” y “9999”. El parámetro “SetAll” también puede desactivarse (“Off”) cuando los parámetros “Rate” y “Offset”
(véanse a continuación) se van a utilizar para modificar el tiempo de puerta.
El parámetro “Rate” (proporción) le permite cambiar el valor de tiempo de puerta de cada nota sin afectar a las
relaciones de tiempo de puerta entre las notas (cambio proporcional). Un valor del 100% mantiene las diferencias de
tiempo de puerta absolutas entre las notas. Los valores más bajos reducen los tiempos de puerta en los porcentajes
correspondientes, y los más altos los elevan. Los valores comprenden del 0% al 200%.
First measure Last measure
First beat Last beat
Primer compásÚltimo compás
Primer tiempo Último tiempo
32 32 32 48 48
16 16 16 24 24
48 48 48 72 72
Tiempo de puerta original
Proporción = 50%
Proporción = 150%

Operaciones de patrón
El parámetro “Offset” (compensación) le permite cambiar todos los valores de tiempo de puerta en una cantidad
absoluta. Los valores negativos (-) reducen el tiempo de puerta de cada nota en la cantidad correspondiente, y los
positivos (+) lo hacen aumentar en consonancia. El margen comprende de “9999” a “0” y a “+9999”.
Nuevo tiempo de puerta = tiempo de puerta original x proporción/100 + compensación
(si la parte derecha de la ecuación es 0 o inferior, el nuevo tiempo de puerta será 1)
Después de ajustar los parámetros a conveniencia, pulse [ENTER] para ejecutar la operación de modificar el
tiempo de puerta. En la pantalla aparecerá el icono del metrónomo mientras se procesan los datos, y brevemente
“Completed” una vez finalizada la operación. Pulse el botón [EXIT] para regresar a la lista de operaciones, o un botón
de modo para ir directamente al modo seleccionado.
■NOTA
●La operación “Modificar tiempo de puerta” puede utilizarse para producir una sensación de más staccato o legato, según
se requiera. Experimente con los parámetros para apreciar cómo afectan al sonido resultante.
04: Crescendo
Produce un crescendo gradual (aumento en la velocidad de pulsación de nota) o decrescendo (disminución) en
la pista y margen de compases especificados.
El parámetro “TR” selecciona la pista sobre la que va a actuar la operación de crescendo: D1, D2, PC, BA, C1,
C2, C3, C4.
Los parámetros “M” situados encima del gráfico de barras se emplean para especificar el primer compás:tiem-
po y el último compás:tiempo del margen que se desea modificar.
El parámetro “Range” determina el margen de valores de velocidad de pulsación sobre el que se va a aplicar cres-
cendo. Un ajuste de “+24”, por ejemplo, hará que los valores de velocidad MIDI aumenten en 24 en la serie de com-
pases especificada (los valores de velocidad de pulsación MIDI comprenden de 1 a 127).
Los valores negativos producen la correspondiente disminución en la velocidad de pulsación, y por tanto
decrescendo más que crescendo. El margen de este parámetro abarca de “-99” a “0” y a “+99”.
Después de ajustar los parámetros a conveniencia, pulse [ENTER] para ejecutar la operación de crescendo. En
la pantalla aparecerá el icono del metrónomo mientras se procesan los datos, y brevemente “Completed” una vez
finalizada la operación. Pulse el botón [EXIT] para regresar a la lista de operaciones, o un botón de modo para ir
directamente al modo seleccionado.
32 32 32 48 48
12 12 12 28 28
52 52 52 68 68
Offset = +20
Offset = -20
Original
gate time
Tiempo de puerta
original
Compensación = -20
Compensación = +20
First measure Last measure
First beat Last beat
Primer compásÚltimo compás
Primer tiempo Último tiempo
Original
velocity.
Range +24.
Specified measure (
“
M
”
) range
Crescendo
Margen +24
Velocidad
original
Margen especificado de compases (“M”)
99

Operaciones de patrón
05: Transponer
Transpone hacia arriba o hacia abajo todas las notas de la parte especificada el número de semitonos definido.
El parámetro “TR” selecciona la pista sobre la que va a actuar la operación de transposición: D1, D2, PC, BA,
C1, C2, C3, C4.
Los parámetros “M” situados encima del gráfico de barras se emplean para especificar el primer compás:tiem-
po y el último compás:tiempo del margen que se desea modificar.
Los parámetros “Note” especifican el margen de notas sobre el que va a actuar la transposición. Máximo de
“C-2” a “G8” (DO-2 a SOL8).
El parámetro “Transpose” determina la cantidad de transposición en incrementos de semitono. Los valores
negativos transponen hacia abajo, y los positivos hacia arriba. El margen abarca de “-99” a “0” y a “+99”.
Después de ajustar los parámetros a conveniencia, pulse [ENTER] para ejecutar la operación de transposición.
En la pantalla aparecerá el icono del metrónomo mientras se procesan los datos, y brevemente “Completed” una vez
finalizada la operación. Pulse el botón [EXIT] para regresar a la lista de operaciones, o un botón de modo para ir
directamente al modo seleccionado.
06: Desplazamiento de reloj
Desplaza todas las notas y eventos de la pista y grupo de compases especificados, hacia delante o hacia atrás,
el número de relojes establecido (480 relojes por nota negra).
El parámetro “TR” selecciona la pista sobre la que va a actuar la operación de desplazamiento de reloj: D1, D2,
PC, BA, C1, C2, C3, C4.
Los parámetros “M” situados encima del gráfico de barras se emplean para especificar el primer compás:tiem-
po y el último compás:tiempo del margen que se desea modificar.
El parámetro “Clock” determina la dirección y el número de relojes en que se van a desplazar las notas del
compás especificado. Los valores positivos desplazan las notas hacia delante (hacia el final de la canción), y los
negativos hacia atrás (hacia el principio de la canción). El margen abarca de “-9999” a “0000” y a “+9999”.
Después de ajustar los parámetros a conveniencia, pulse [ENTER] para ejecutar la operación de desplaza-
miento de reloj. En la pantalla aparecerá el icono del metrónomo mientras se procesan los datos, y brevemente
“Completed” una vez finalizada la operación. Pulse el botón [EXIT] para regresar a la lista de operaciones, o un botón
de modo para ir directamente al modo seleccionado.
First measure Last measure
First beat Last beat
Primer compásÚltimo compás
Primer tiempo Último tiempo
First measure Last measure
First beat Last beat
Primer compásÚltimo compás
Primer tiempo Último tiempo
100

101
■NOTA
●La operación de desplazamiento de reloj no afectará a los datos que se encuentren fuera del margen de compases
especificado. Los eventos próximos al principio del margen especificado podrán, por tanto, sonar “agrupados” en algu-
nos casos, así como los eventos cercanos al final del margen resultar “recortados”.
●Debido a que esta operación desplaza realmente la temporización de todas las notas y otros eventos de los compases
especificados hacia delante o hacia atrás, puede alterar de un modo significativo el “feeling” de la canción. Se pueden
desplazar las notas hacia delante (ajustes “+”) para crear una mayor sensación de pasividad, o hacia atrás (ajustes “-”)
para conseguir una sensación de acción. Por supuesto, también se puede emplear esta operación para corregir la tem-
porizac
07: Clasificación de acordes
Clasifica todas las notas del margen de compases especificado que caigan en el mismo tiempo de compás (esto
es, acordes), de forma que las notas quedan dispuestas en orden desde la más alta a la más baja o viceversa.
El parámetro “TR” selecciona la pista sobre la que va a actuar la operación de clasificación de acordes: D1, D2,
PC, BA, C1, C2, C3, C4.
Los parámetros “M” situados encima del gráfico de barras se emplean para especificar el primer compás:tiem-
po y el último compás:tiempo del margen que se desea modificar.
El parámetro “Type” determina si los acordes del margen especificado van a colocarse en orden de notas
ascendente (“Normal”) o descendente (“Reverse”).
Después de ajustar los parámetros a conveniencia, pulse [ENTER] para ejecutar la operación de clasificación
de acordes. En la pantalla aparecerá el icono del metrónomo mientras se procesan los datos, y brevemente “Com-
pleted” una vez finalizada la operación. Pulse el botón [EXIT] para regresar a la lista de operaciones, o un botón de
modo para ir directamente al modo seleccionado.
Operaciones de patrón
First measure Last measure
First beat Last beat
Primer compásÚltimo compás
Primer tiempo Último tiempo

102
Operaciones de patrón
08: Separación de acordes
Desplaza hacia delante cada una de las notas del margen de compases especificado que caiga dentro del mis-
mo tiempo de compás (esto es, acordes), en orden ascendente o descendente según los ajustes de clasificación de
acordes, en el número especificado de relojes. De esta manera, las notas del acorde se “separan” el número especi-
ficado de relojes.
El parámetro “TR” selecciona la pista sobre la que va a actuar la operación de separación de acordes: D1, D2,
PC, BA, C1, C2, C3, C4.
Los parámetros “M” situados encima del gráfico de barras se emplean para especificar el primer compás:tiem-
po y el último compás:tiempo del margen que se desea modificar.
El parámetro “Clock” determina el número de relojes en que se van a separar las notas del acorde: “000” a
“999”.
Después de ajustar los parámetros a conveniencia, pulse [ENTER] para ejecutar la operación de separación de
acordes. En la pantalla aparecerá el icono del metrónomo mientras se procesan los datos, y brevemente “Completed”
una vez finalizada la operación. Pulse el botón [EXIT] para regresar a la lista de operaciones, o un botón de modo
para ir directamente al modo seleccionado.
09: Copiar evento
Copia todos los datos de un margen especificado de compases en el lugar seleccionado de la misma pista. Los
datos copiados también pueden ser objeto de transposición a conveniencia. Esta operación borra los datos existen-
tes desde el principio del compás de destino especificado, sustituyéndolos por los datos de los compases fuente. Por
consiguiente, se pierden los datos previos de los compases sobreescritos.
El parámetro “TR” superior selecciona la pista fuente (es decir, la pista de la que se van a copiar los datos): D1,
D2, PC, BA, C1, C2, C3, C4.
Los parámetros “M” situados encima del gráfico de barras superior se emplean para especificar el primer com-
pás:tiempo y el último compás:tiempo del margen que se desea copiar.
First measure Last measure
First beat Last beat
Primer compásÚltimo compás
Primer tiempo Último tiempo
Primer compásÚltimo compás
Primer tiempo Último tiempo

Operaciones de patrón
Los parámetros “M” situados debajo del gráfico de barras inferior especifican el compás:tiempo de destino en el
que se van a copiar los datos, así como el número de veces que se copiarán.
El parámetro “Transpose” establece un valor de transposición para los datos copiados, en incrementos de
semitono de “-24” a “+00” y a “+24”.
Después de ajustar los parámetros a conveniencia, pulse [ENTER] para ejecutar la operación de copia de even-
to. En la pantalla aparecerá el icono del metrónomo mientras se procesan los datos, y brevemente “Completed” una
vez finalizada la operación. Pulse el botón [EXIT] para regresar a la lista de operaciones, o un botón de modo para ir
directamente al modo seleccionado.
■NOTA
●Los datos previos de los compases sobreescritos por la operación de copia de evento quedarán borrados por completo
y serán sustituidos por los datos copiados.
10: Borrar evento
Borra todos los datos de nota y evento del compás o grupo de compases especificados de la pista selecciona-
da. Esta operación deja los compases intactos, pero vacíos.
El parámetro “TR” selecciona la pista sobre la que va a actuar la operación de borrado de evento: D1, D2, PC,
BA, C1, C2, C3, C4.
Los parámetros “M” situados encima del gráfico de barras se emplean para especificar el primer compás:tiem-
po y el último compás:tiempo del margen que se desea borrar.
Después de ajustar los parámetros a conveniencia, pulse [ENTER] para ejecutar la operación de borrado de
evento. En la pantalla aparecerá el icono del metrónomo mientras se procesan los datos, y brevemente “Completed”
una vez finalizada la operación. Pulse el botón [EXIT] para regresar a la lista de operaciones, o un botón de modo
para ir directamente al modo seleccionado.
■NOTA
●
Esta operación borra los datos de los compases especificados exclusivamente de la pista seleccionada. Por otra parte,
aunque los datos son borrados, los compases permanecen intactos (es decir, los siguientes no adelantan su posición).
Después de una operación de borrado, si lo desea puede grabar material nuevo en los compases en blanco resultantes.
Compás de destino Número de copias
Tiempo de compás de destino
First measure Last measure
First beat Last beat
Primer compásÚltimo compás
Primer tiempo Último tiempo
103

104
Operaciones de patrón
11: Extraer evento
Permite extraer (retirar) un tipo de evento especificado (nota, cambio de programa, inflexión de tono, cambio de
control, aftertouch de canal, aftertouch polifónico o exclusivo de sistema) de un margen especificado de compases de
una pista concreta. Los datos extraídos podrán trasladarse al mismo margen de compases de otra pista especificada.
El parámetro “TR” superior selecciona la pista fuente (es decir, la pista de la que se van a extraer los datos de
evento): D1, D2, PC, BA, C1, C2, C3, C4.
El parámetro “TR” inferior selecciona la pista de destino (es decir, la pista a la que se van a trasladar los datos
de evento extraídos): D1, D2, PC, BA, C1, C2, C3, C4, o bien “Off” si simplemente desea suprimir los datos de even-
to especificados.
Los parámetros “M” situados encima del gráfico de barras se emplean para especificar el primer compás:tiem-
po y el último compás:tiempo del margen del que se desean extraer los datos de evento.
El parámetro de tipo de evento situado junto al gráfico de barras superior determina el tipo de datos de evento
que van a ser extraídos:
NOTE Eventos de nota.
PC Eventos de cambio de programa.
PB Eventos de inflexión de tono.
CC Eventos de cambio de control. Cuando se selecciona este tipo de evento, aparece un
parámetro de número de cambio de control a la derecha del tipo de evento. El parámetro
de cambio de control determina el número o números de cambio de control MIDI que van
a ser extraídos: “000” a “127”, “All”.
CAT Eventos de aftertouch de canal.
PAT Eventos de aftertouch polifónico.
EXC Eventos exclusivos de sistema.
Después de ajustar los parámetros a conveniencia, pulse [ENTER] para ejecutar la operación de extracción de
evento. En la pantalla aparecerá el icono del metrónomo mientras se procesan los datos, y brevemente “Completed”
una vez finalizada la operación. Pulse el botón [EXIT] para regresar a la lista de operaciones, o un botón de modo
para ir directamente al modo seleccionado.
■NOTA
●Aunque puede retirar eventos individuales en el modo de edición (página 112), esta operación simplifica la extracción de
una sola vez de todas las ocurrencias del evento especificado dentro del margen de compases seleccionado. Resulta
particularmente útil a la hora de suprimir inflexiones de tono lentas o cambios de volumen que pudieran emplear dema-
siados eventos individuales para crear un efecto simple.
●Si la pista de destino ya contiene datos, los datos de evento extraídos se unirán a ellos.
First measure Last measure
First beat Last beat
Event type
parameter
Primer compásÚltimo compás
Primer tiempo Último tiempo
Parámetro de tipo
de evento

105
Operaciones de patrón
12: Crear datos continuos
Esta operación permite crear datos continuos del tipo especificado, a fin de producir inflexiones de tono unifor-
mes, o aftertouch, etc.
El parámetro “TR” selecciona la pista sobre la que va a actuar la operación de creación de datos continuos: D1,
D2, PC, BA, C1, C2, C3, C4.
Los parámetros “M” situados encima del gráfico de barras se emplean para especificar el primer compás:tiem-
po y el último compás:tiempo del margen que se desea modificar.
El parámetro de tipo de datos determina el tipo de datos que van a ser creados:
PB Eventos de inflexión de tono.
CC Eventos de cambio de control. Cuando se selecciona este tipo de evento, aparece un
parámetro de número de cambio de control a la derecha del parámetro de tipo. El paráme-
tro de cambio de control determina el número de cambio de control MIDI que va a ser cre-
ado: “000” a “127”.
CAT Eventos de aftertouch de canal.
EXC Volumen general.
Los parámetros “Data” determinan el margen de valores de los datos que se van a crear: el número de la
izquierda establece el valor de partida, y el de la derecha define el valor final. El margen disponible dependerá del tipo
de evento seleccionado.
El parámetro “Clock” establece la separación en relojes entre los eventos creados: “000” a “999”.
El parámetro “Curve” determina el grado de “curvatura” positiva o negativa que se aplicará a los datos conti-
nuos: “-16” a “00” y a “+16”.
Después de ajustar los parámetros a conveniencia, pulse [ENTER] para ejecutar la operación de creación de
datos continuos. En la pantalla aparecerá el icono del metrónomo mientras se procesan los datos, y brevemente
“Completed” una vez finalizada la operación. Pulse el botón [EXIT] para regresar a la lista de operaciones, o un botón
de modo para ir directamente al modo seleccionado.
Data type
parameter
First measure Last measure
First beat Last beat
Primer compásÚltimo compás
Primer tiempo Último tiempo
Parámetro de tipo
de datos
Start point
Curve = +16 Curve = 0 (linear)
End point
Curve = -16
Clock parameter
Curva = +16 Curva = 0 (lineal)
Punto final
Curva = -16
Parámetro
de reloj
Punto de partida

106
Operaciones de patrón
13: Aclarar
Esta operación “aclara” los tipos de datos especificados, suprimiendo cualquier otro evento del tipo especifica-
do. Resulta particularmente útil para reducir el volumen de los datos requeridos para inflexiones de tono, aftertouch y
otras operaciones de cambio de control, optimizando el uso de la memoria disponible.
El parámetro “TR” selecciona la pista sobre la que va a actuar la operación de aclarado: D1, D2, PC, BA, C1,
C2, C3, C4.
Los parámetros “M” situados encima del gráfico de barras se emplean para especificar el primer compás:tiem-
po y el último compás:tiempo del margen que se desea modificar.
El parámetro de tipo de datos determina el tipo de datos que van a ser aclarados:
PB Eventos de inflexión de tono.
CC Eventos de cambio de control. Cuando se selecciona este tipo de evento, aparece un
parámetro de número de cambio de control a la derecha del parámetro de tipo. El paráme-
tro de cambio de control determina el número de cambio de control MIDI que va a ser
aclarado: “000” a “127”.
CAT Eventos de aftertouch de canal.
PAT Eventos de aftertouch polifónico.
Después de ajustar los parámetros a conveniencia, pulse [ENTER] para ejecutar la operación de aclarado. En
la pantalla aparecerá el icono del metrónomo mientras se procesan los datos, y brevemente “Completed” una vez
finalizada la operación. Pulse el botón [EXIT] para regresar a la lista de operaciones, o un botón de modo para ir
directamente al modo seleccionado.
14: Modelación de tiempo
Alarga o acorta la pista especificada en un porcentaje determinado, sin afectar al tempo ni al tono.
El parámetro “TR” selecciona la pista sobre la que va a actuar la operación de modelación de tiempo: D1, D2,
PC, BA, C1, C2, C3, C4.
Los parámetros “M” situados encima del gráfico de barras se emplean para especificar el primer compás:tiem-
po y el último compás:tiempo del margen que se desea modificar.
El parámetro “Time” especifica el porcentaje en que se va a alargar o acortar el tiempo: “50%” a “200%”. El tiem-
po de puerta de las notas presentes en la pista y compases especificados también cambiará proporcionalmente a
este ajuste.
Después de ajustar los parámetros a conveniencia, pulse [ENTER] para ejecutar la operación de modelación de
tiempo. En la pantalla aparecerá el icono del metrónomo mientras se procesan los datos, y brevemente “Completed”
una vez finalizada la operación. Pulse el botón [EXIT] para regresar a la lista de operaciones, o un botón de modo
para ir directamente al modo seleccionado.
First measure Last measure
First beat Last beat
Data type
parameter
Primer compásÚltimo compás
Primer tiempo Último tiempo
Parámetro de tipo
de datos
First measure Last measure
First beat Last beat
Primer compásÚltimo compás
Primer tiempo Último tiempo

■NOTA
●Si la pista especificada se acorta, la frase de la pista se reproducirá repetidas veces para llenar la longitud del patrón.
●Si la pista especificada se alarga, la parte excedente de la frase será cortada.
15: Copiar frase
Copia la frase predefinida especificada en una pista del modo de patrón como frase de usuario.
El parámetro “Phrase” selecciona la frase fuente, es decir, la frase predefinida que va a ser copiada (los núme-
ros de frases predefinidas tienen tres secciones que se pueden especificar: categoría, tiempo de compás y número;
véase página 54).
El parámetro “TR” selecciona la pista de destino: D1, D2, PC, BA, C1, C2, C3, C4.
Después de ajustar los parámetros a conveniencia, pulse [ENTER] para ejecutar la operación de copia de frase.
En la pantalla aparecerá el icono del metrónomo mientras se procesan los datos, y brevemente “Completed” una vez
finalizada la operación. Pulse el botón [EXIT] para regresar a la lista de operaciones, o un botón de modo para ir
directamente al modo seleccionado.
■NOTA
●Si la frase predefinida especificada es más corta que la longitud del patrón, la frase se copiará repetidas veces para lle-
nar el patrón.
●Si la frase predefinida especificada es más larga que la longitud del patrón, la parte sobrante de la frase copiada se cor-
tará.
●Si la pista de destino ya contiene datos, la frase copiada borrará y sustituirá a los datos de la frase previa.
16: Obtener frase
Copia los datos del margen de compases especificado de la pista especificada de una canción determinada en
la frase especificada.
El parámetro “Song” selecciona la canción fuente, es decir, la canción de la que se van a copiar los datos: “01”
a “20”.
El parámetro “TR” selecciona la pista fuente de la canción, es decir, la pista de la que se van a copiar los datos:
“01” a “16”.
Los parámetros “M” situados encima del gráfico de barras sirven para especificar los compases primero y último
del margen que se desea copiar.
El parámetro “TR” inferior especifica la pista en la que se van a copiar los datos: D1, D2, PC, BA, C1, C2, C3, C4.
Después de ajustar los parámetros a conveniencia, pulse [ENTER] para ejecutar la operación de obtener frase.
En la pantalla aparecerá el icono del metrónomo mientras se procesan los datos, y brevemente “Completed” una vez
finalizada la operación. Pulse el botón [EXIT] para regresar a la lista de operaciones, o un botón de modo para ir
directamente al modo seleccionado.
Operaciones de patrón
First measure
Last measure
Primer compás
Último compás
107

■NOTA
●La operación de obtención de frase es una excelente manera de crear nuevas frases copiando los compases apropia-
dos de otras canciones.
●Si la pista de destino ya contiene datos, los datos copiados borrarán y sustituirán a los datos de la frase previa.
17: Poner frase
Copia los datos de frase de una pista de patrón especificada en los compases especificados de la pista especi-
ficada de una canción determinada.
El parámetro “Pattern TR” especifica la pista de patrón fuente: D1, D2, PC, BA, C1, C2, C3, C4.
El parámetro “Song” selecciona la canción de destino, es decir, la canción en la que se van a copiar los datos
de frase: “01” a “20”.
El parámetro “TR” selecciona la pista de canción de destino, es decir, la pista en la que se van a copiar los datos
de frase: “01” a “16”.
El parámetro “M” especifica el compás de la pista de destino en que se van a copiar los datos de frase.
Después de ajustar los parámetros a conveniencia, pulse [ENTER] para ejecutar la operación de poner frase.
En la pantalla aparecerá el icono del metrónomo mientras se procesan los datos, y brevemente “Completed” una vez
finalizada la operación. Pulse el botón [EXIT] para regresar a la lista de operaciones, o un botón de modo para ir
directamente al modo seleccionado.
■NOTA
●La signatura de tiempo de la frase no afectará a la signatura de tiempo de la canción.
●Si la pista de canción de destino ya contiene datos, los datos de frase copiados borrarán y sustituirán a los datos de pis-
ta de canción previos.
●Los datos de patrón fuente se rearmonizan con el acorde actual especificado en el modo de reproducción de patrón
antes de ser copiados en la pista de canción de destino.
18: Copiar pista
Copia todos los datos de la pista especificada de la sección especificada del estilo especificado en otra pista de
otra sección de otro estilo.
El parámetro “Style” superior especifica el estilo fuente: “001”...”128”, “U01”...”U64”.
El parámetro “Section” superior especifica la sección fuente: “Intro”, “MainA”, “MainB”, “FillAB”, “FillBA”,
“Ending”.
El parámetro “TR” superior selecciona la pista fuente (es decir, la pista de la que se van a copiar los datos): D1,
D2, PC, BA, C1, C2, C3, C4.
El parámetro “Style” inferior especifica el estilo de destino: “U01”...”U64”.
El parámetro “Section” inferior especifica la sección de destino: “Intro”, “MainA”, “MainB”, “FillAB”, “FillBA”,
“Ending”.
El parámetro “TR” inferior selecciona la pista de destino (es decir, la pista en la que se van a copiar los datos):
D1, D2, PC, BA, C1, C2, C3, C4.
108
Operaciones de patrón

109
Después de ajustar los parámetros a conveniencia, pulse [ENTER] para ejecutar la operación de copia de pista.
En la pantalla aparecerá el icono del metrónomo mientras se procesan los datos, y brevemente “Completed” una vez
finalizada la operación. Pulse el botón [EXIT] para regresar a la lista de operaciones, o un botón de modo para ir
directamente al modo seleccionado.
■NOTA
●Si la pista de destino ya contiene datos, los datos copiados borrarán y reemplazarán a los previamente existentes.
19: Mezclar pistas
Combina los datos contenidos en dos pistas especificadas y coloca el resultado en una tercera (que puede ser
la segunda de ellas).
Los parámetros “TR” superior y central seleccionan la primera y segunda pistas fuente (es decir, las pistas que
se van a mezclar): D1, D2, PC, BA, C1, C2, C3, C4.
El parámetro “TR” inferior especifica la pista de destino en la que se desean copiar los datos mezclados: D1, D2,
PC, BA, C1, C2, C3, C4.
Después de ajustar los parámetros a conveniencia, pulse [ENTER] para ejecutar la operación de mezcla de pis-
tas. En la pantalla aparecerá el icono del metrónomo mientras se procesan los datos, y brevemente “Completed” una
vez finalizada la operación. Pulse el botón [EXIT] para regresar a la lista de operaciones, o un botón de modo para ir
directamente al modo seleccionado.
■NOTA
●Si no hay datos en la segunda pista fuente, los datos de la primera simplemente se copiarán en la pista de destino.
●Aunque previamente haya una frase predefinida asignada a la pista de destino, se mezclará con la primera pista fuente
y se convertirá en una frase de usuario.
20: Borrar pista
Borra por completo la pista especificada de la sección especificada.
El parámetro “Section” especifica la sección que se desea borrar: “Intro”, “MainA”, “MainB”, “FillAB”, “FillBA”,
“Ending”..
El parámetro “TR” selecciona la pista que va a ser borrada: D1, D2, PC, BA, C1, C2, C3, C4.
Los recuadros de verificación “Event”, “Play Effect” y “Voice” permiten especificar si los tipos de datos corres-
pondientes van a ser borrados o no (los datos serán borrados si el recuadro contiene la marca de verificación).
Después de ajustar los parámetros a conveniencia, pulse [ENTER] para ejecutar la operación de borrado de pis-
ta. En la pantalla aparecerá el icono del metrónomo mientras se procesan los datos, y brevemente “Completed” una
vez finalizada la operación. Pulse el botón [EXIT] para regresar a la lista de operaciones, o un botón de modo para ir
directamente al modo seleccionado.
Operaciones de patrón

21: Copiar patrón
Copia todos los datos de la sección especificada del estilo especificado en otra sección del estilo especificado.
El parámetro “Style” superior especifica el estilo fuente: “001”...”128”, “U01”...”U64”.
El parámetro “Section” superior especifica la sección fuente: “Intro”, “MainA”, “MainB”, “FillAB”, “FillBA”,
“Ending” y “All”.
El parámetro “Style” inferior especifica el estilo de destino: “U01”...”U64”.
El parámetro “Section” inferior especifica la sección de destino: “Intro”, “MainA”, “MainB”, “FillAB”, “FillBA”,
“Ending” y “All”.
Después de ajustar los parámetros a conveniencia, pulse [ENTER] para ejecutar la operación de copia de
patrón. En la pantalla aparecerá el icono del metrónomo mientras se procesan los datos, y brevemente “Completed”
una vez finalizada la operación. Pulse el botón [EXIT] para regresar a la lista de operaciones, o un botón de modo
para ir directamente al modo seleccionado.
■NOTA
●Si el patrón de destino ya contiene datos, los datos copiados borrarán y sustituirán a los datos de patrón originales.
22: Borrar patrón
Borra por completo todos los datos de la sección especificada del estilo especificado.
El parámetro “Style” especifica el estilo: “U01”...”U64” y “All”.
El parámetro “Section” especifica la sección del estilo que se desea borrar: “Intro”, “MainA”, “MainB”, “FillAB”,
“FillBA”, “Ending” y “All”.
Después de ajustar el parámetro a conveniencia, pulse [ENTER] para ejecutar la operación de borrado de
patrón. En la pantalla aparecerá el icono del metrónomo mientras se procesan los datos, y brevemente “Completed”
una vez finalizada la operación. Pulse el botón [EXIT] para regresar a la lista de operaciones, o un botón de modo
para ir directamente al modo seleccionado.
■NOTA
●El borrado de todos los estilos (“All”) no puede deshacerse con la operación “Deshacer/Rehacer”.
110
Operaciones de patrón

111
23: Nombre de estilo
Permite asignar al estilo actual un nombre original con un máximo de 8 caracteres.
Para introducir un carácter, utilice las teclas de cursor para desplazarlo a la posición del carácter que desea
introducir, y a continuación pulse el botón [ENTER]. El carácter aparecerá en la posición del cursor, y éste avanzará
a la siguiente posición.
El cursor puede moverse pulsando el botón de función situado a la derecha de “ “.
Para borrar un carácter, pulse el botón de función situado a la derecha de “del”. El carácter situado a la izquier-
da del cursor se borrará, y el cursor se desplazará a la posición del carácter borrado.
Una vez introducido el nombre, pulse el botón [EXIT] para regresar a la lista de operaciones, o un botón de
modo para ir directamente al modo deseado (no es necesario pulsar el botón [ENTER] para introducir el nombre
especificado).
■NOTA
●Puede introducir un “nombre” no sólo para el estilo de usuario, sino también para el estilo predefinido. Si desea almace-
nar un “nombre” recién introducido para el estilo predefinido, ejecute la operación de copia de patrón antes de cambiar
de número de estilo.
●La introducción de un nombre de estilo no puede deshacerse con la operación “Deshacer/Rehacer”.
Operaciones de patrón

Secuenciador de Música
Edición de canciones y patrones
Las posibilidades de edición del QY100 facilitan la corrección de los errores que se hayan podi-
do cometer durante la grabación de los datos de canción o de patrón, y ayudan a depurar el soni-
do creado.
El modo de edición de canción y patrón “por sustitución” permite modificar individualmente
la temporización, el tono, el tiempo de puerta (longitud) y la velocidad de pulsación (intensidad) de
cada nota u otros eventos de la canción o patrón. Asimismo, existe la edición “por inserción”, que
permite insertar una nota, cambio de programa, activación/desactivación de sustain, inflexión de
tono, modulación, panorámico, volumen, expresión y otros eventos en cualquier punto de la can-
ción o patrón.
Activación del modo de edición de canción o patrón
Para activar el modo de edición, sitúe el cursor en la pista que desee editar en el modo de reproducción SONG
o PATTERN normal, pulse el botón [MENU] y, a continuación, el botón de función situado junto a “Edit” en la pantalla.
La pantalla de edición será similar a la que se muestra en la ilustración (por supuesto, los datos de nota serán
diferentes).
Secuenciador de Música
112
One note per line
Top of song
Velocity
Note (pitch)
Gate time (beat-clock)
Current measure number
Track being edited
Pantalla de edición de canción
Pista que se está editando
Número de compás actual
Principio de la canción
Una nota por línea
Posición (tiempo-reloj)
Nota (tono)
Tiempo de puerta (tiempo-reloj)
Velocidad de pulsación

113
La pantalla de edición de patrón es prácticamente idéntica. Las únicas diferencias son el nombre de la pista que
se está editando y la indicación del compás actual.
Si sitúa el cursor en la pista “Pt” (patrón) o “Cd” (acorde) del modo de canción y activa el modo de edición, la
pantalla de edición será exactamente igual que la de grabación por pasos descrita en la página 46.
Desplazamientos por la canción o patrón
Los valores de posición, tono, tiempo de puerta y velocidad de pulsación de cada nota se muestran en una sola
línea de la pantalla. Las notas se disponen en orden de arriba abajo. Es posible desplazarse por la canción o patrón
simplemente moviendo el cursor. Si sobrepasa la parte inferior de la pantalla, los datos de nota se desplazarán hacia
arriba para permitir llegar hasta el final de la canción o patrón. Si sobrepasa la parte superior de la pantalla, ocurrirá
justo lo contrario.
Además de las líneas de datos de nota, existen marcas para el principio y el final de la canción/patrón. Las líne-
as de compás se indican mediante líneas de trazo grueso entre las líneas de los datos de nota (las separaciones
entre líneas de datos que no correspondan a líneas de compás aparecen punteadas).
Edición de canciones y patrones
One note per line
Top of pattern
Velocity
Note (pitch)
Gate time (beat-clock)
Current measure number
Track being edited
Current measure number
and the pattern length
Pantalla de edición de patrón
Pista que se está editando
Número de compás actual
Principio de la canción
Una nota por línea
Posición (tiempo-reloj)
Nota (tono)
Tiempo de puerta (tiempo-reloj)
Velocidad de pulsación
Número de compás actual
y longitud del patrón
Cursor currently
in measure 8
Measure line
End of song
Cursor situado en el compás8
Línea de compás
Fin de canción

Edición por sustitución (“Change”)
El modo de edición “por sustitución” se selecciona inicialmente cuando se activa el modo de edición. Para edi-
tar cualquier nota o evento de la canción o patrón, sólo deberá desplazar el cursor a la línea correspondiente y, a con-
tinuación, al parámetro elegido dentro de esa línea. Se pueden utilizar los botones [-1] y [+1] para seleccionar un valor
nuevo para el parámetro seleccionado. La línea editada parpadeará cuando se modifique cualquier parámetro inclui-
do en ella. Así se indica que se ha realizado un cambio, pero que aún no se ha introducido. Pulse el botón [ENTER]
para ejecutar los cambios, o desplace el cursor a otra línea para cancelar los cambios.
Los parámetros disponibles dependen del tipo de evento seleccionado. A continuación se ofrecen los paráme-
tros de evento de nota. Para otros tipos de evento, véase “Edición por inserción” (página 114).
Tiempo-reloj
La primera columna contiene los datos de posición de nota. El número de la izquierda es el tiempo del
compás actual (por ejemplo, de 1 a 4 en un compás de 4/4), y el número de la derecha es el reloj de
ese tiempo de compás (000 a 479 en el caso de un tiempo de nota negra). Los valores de tiempo de
compás y reloj se pueden seleccionar y editar por separado.
Tono
Es el tono real de la nota. Puede variar desde C-2 hasta G8.
Tiempo de puerta
El tiempo de puerta es la longitud de la nota en tiempos y relojes. El número situado a la izquierda de
los dos puntos son tiempos de nota negra, y el número de la derecha son los relojes comprendidos en
un tiempo de nota negra. Una nota negra normal, por ejemplo, tiene una longitud de 432 relojes. Esto
representa alrededor del 90% de la longitud real de una división de nota negra, que tiene 480 relojes.
La longitud “normal” de la nota está ligeramente recortada para evitar que las notas se solapen unas
con otras y el sonido quede ligado (el ligado se consigue seleccionando la longitud total de nota). La
lectura de tiempo-reloj puede adoptar valores entre 00:001 y 99:479.
Velocidad de pulsación
Este parámetro controla la velocidad de pulsación (intensidad) de la nota. Puede variar desde 001 has-
ta 127.
Eliminación de eventos
Las notas y otros eventos (activación/desactivación de sustain, inflexión de tono, etc.) se pueden eli-
minar situando el cursor en la línea correspondiente y pulsando el botón de función próximo a “del” en
la pantalla.
Edición por inserción
El modo de edición por inserción se utiliza para introducir notas nuevas y otros eventos en una posición deter-
minada de la canción o patrón.
1Sitúe el cursor en la posición de inserción.
Lleve el cursor a la línea de edición correspondiente (o próxima) a la posición en la que se deseen insertar
los nuevos datos.
114
Edición de canciones y patrones
Tiempo-reloj Tono Tiempo de puerta Velocidad de pulsación
Sitúe el cursor en la
posición de inserción

2Active el modo de edición por inserción.
Pulse el botón [MENU] y después el botón de función situado junto a “Insert” en la pantalla para cambiar al
modo de edición por inserción.
3Seleccione un tipo de evento para insertar, y ajuste los parámetros
Si la pantalla correspondiente al tipo de evento que desea insertar no aparece de inmediato, utilice los
botones [-1] y [+1] para seleccionar el tipo de evento deseado.
Todos los eventos disponen al menos de dos parámetros, que normalmente son la posición del evento
(compás-tiempo-reloj) y el valor del evento. Lleve el cursor a los parámetros de evento y ajústelos a su gusto
con los botones [-1] y [+1] o el método SHIFT+número (página 20).
Nota
Se pueden insertar notas nuevas en cualquier posición que se especifique. El margen abarca de “C-2”
a “G8”. También se pueden especificar el tiempo de puerta y la velocidad de pulsación.
PB (inflexión de tono)
Los eventos de inflexión de tono se pueden utilizar para producir efectos de inflexión de tono. Los valo-
res se corresponden con las posiciones de la rueda de inflexión de tono de “-8192” (posición más baja)
a “+0000” (centro) y a “+8191” (posición más alta). Para producir inflexiones de tono suaves, será
necesario insertar ligeros eventos de inflexión de tono debidamente distanciados. Recuerde que debe-
rá utilizar más efectos de inflexión de tono para devolver el tono a su valor normal después de una
inflexión.
PC (cambio de programa)
Los eventos de cambio de programa se pueden utilizar para cambiar las voces en cualquier punto de
la pista.
Los parámetros de selección de banco (MSB y LSB) se emplean para elegir banco en la selección de
voces XG. Para más detalles, consulte la lista de voces XG Normal/Batería en el manual de listas
adjunto.
Edición de canciones y patrones
Pitch
Gate time
Velocity
Location Value
Velocidad de pulsación
Tiempo de puerta
Tono
Posición
Valor
Posición
115

Advierta que el número de programa de la lista de voces XG Normal/Batería (véase anexo) y el núme-
ro de cambio de programa MIDI son diferentes. Por ejemplo, el número de programa para “Grand Pia-
no” es “1”, y su número de cambio de programa MIDI es “0” (los números de cambio de programa están
definidos en General MIDI entre 1 y 128, y los números de cambio de programa entre 0 y 127).
CC (cambio de control)
Es posible introducir cualquier número de cambio de control MIDI del 000 al 127 con un valor de con-
trol apropiado, siempre que sea aplicable. Los números de cambio de control se emplean para la
modulación, volumen, panorámico, expresión y otras funciones de control. Algunos números de cam-
bio de control están asignados a funciones específicas, y otros no. Para más detalles, consulte la sec-
ción “Formato de datos MIDI” en la lista del manual adjunto.
CAT (aftertouch de canal)
Inserta un mensaje de aftertouch de canal con el valor especificado.
PAT (aftertouch polifónico)
Inserta un mensaje de aftertouch polifónico para la nota especificada con el valor especificado.
Los eventos PAT afectan a una nota sola, a diferencia de los eventos CAT, que afectan simultánea-
mente a todas las notas del mismo canal (pista).
116
Edición de canciones y patrones
Location
Voice name
Program change number
Bank Select MSB
Bank Select LSB
Control change number
Control change value
Aftertouch value
Posición
Número de cambio de programa LSB de selección de banco
MSB de selección de banco
Nombre de voz
Posición
Valor de cambio de control
Número de cambio de control
PosiciónValor de aftertouch
Valor de aftertouch
Nota
Posición

117
RPN
Inserta datos RPN. RPN son las siglas en inglés de “número de parámetro registrado”, un mensaje
MIDI empleado para controlar ajustes de partes tales como la sensibilidad a la inflexión de tono, la afi-
nación, etc. Para más detalles, consulte la sección “Formato de datos MIDI” en la lista del manual
adjunto.
NRPN
Inserta datos NRPN. NRPN son las siglas en inglés de “número de parámetro no registrado”, un men-
saje MIDI empleado para controlar ajustes de voces tales como vibrato, filtro, generador de envolven-
te, configuración de batería, etc. Para más detalles, consulte la sección “Formato de datos MIDI” en la
lista del manual adjunto.
Exc (exclusivo de sistema)
Inserta un mensaje Exclusivo de Sistema en formato hexadecimal. Para más detalles, consulte la sec-
ción “Formato de datos MIDI” en la lista del manual adjunto.
■Introducción de números hexadecimales
Utilice el botón [SHIFT] y el microteclado para introducir valores hexadecimales.
●Pulse una tecla negra mientras mantiene pulsado [SHIFT] para introducir el número correspondiente.
●Pulse una tecla blanca en la sección izquierda del microteclado (E - D excepto G) mientras mantiene pulsado
[SHIFT] para introducir el carácter correspondiente (“A” - “F”)
●Después de introducir un valor hexadecimal en un espacio, adelante el cursor e introduzca el siguiente valor.
●No olvide introducir “F7” al final de cada mensaje exclusivo.
Edición de canciones y patrones
RPN LSB Data entry LSB
NRPN LSB
PosiciónMSB del RPN
LSB del RPN LSB de entrada de datos
MSB de entrada de datos
PosiciónMSB del NRPN MSB de entrada de datos
LSB del NRPN
PosiciónDatos (en hexadecimal,
desde “F0” hasta “F7”)

XG RPN
Inserta datos RPN (número de parámetro registrado) utilizando un nombre de parámetro XG (“RPN” ha
de ser introducido con valores numéricos; véase más arriba). Para más detalles, consulte la sección
“Formato de datos MIDI” en la lista del manual adjunto.
XG NRPN
Inserta datos NRPN (número de parámetro no registrado) utilizando un nombre de parámetro XG
(“NRPN” ha de ser introducido con valores numéricos; véase más arriba). Para más detalles, consulte
la sección “Formato de datos MIDI” en la lista del manual adjunto.
* Aparecerá la indicación “Note” si se ha seleccionado un parámetro de configuración de batería para
especificar un instrumento de batería.
XG Exc System
Inserta un mensaje Exclusivo de Sistema (sistema XG) utilizando un nombre de parámetro XG (“Exc”
ha de ser introducido con valores hexadecimales; véase más arriba). Para más detalles, consulte la
sección “Formato de datos MIDI” en la lista del manual adjunto.
XG Exc Effect
Inserta un mensaje Exclusivo de Sistema (efecto XG) utilizando un nombre de parámetro XG (“Exc” ha
de ser introducido con valores hexadecimales; véase más arriba). Para más detalles, consulte la sec-
ción “Formato de datos MIDI” en la lista del manual adjunto.
118
Edición de canciones y patrones
RPN parameter name
Data
Datos
Nombre de parámetro RPN
Posición
XG System parameter name
Data
Datos
Nombre de parámetro Sistema XG
Posición
XG Effect parameter name
Data/Type
Datos/tipo
Nombre de parámetro Efecto XG
Posición
NRPN parameter name
Data
Datos
Nombre de parámetro NRPN
Posición

119
XG Exc Multi
Inserta un mensaje Exclusivo de Sistema (parte multi XG) utilizando un nombre de parámetro XG
(“Exc” ha de ser introducido con valores hexadecimales; véase más arriba). Para más detalles, consul-
te la sección “Formato de datos MIDI” en la lista del manual adjunto.
XG Exc Drum
Inserta un mensaje Exclusivo de Sistema (configuración de batería XG) utilizando un nombre de pará-
metro XG (“Exc” ha de ser introducido con valores hexadecimales; véase más arriba). Para más deta-
lles, consulte la sección “Formato de datos MIDI” en la lista del manual adjunto.
Tempo Change (sólo pista de tempo “Tm”)
Inserta datos de cambio de tempo con el valor especificado (25.0 a 300.0).
4Introduzca el evento especificado.
Pulse el botón [ENTER] para introducir el evento especificado.
5Regrese al modo de edición por sustitución
Pulse el botón [MENU] para regresar a la pantalla de edición por sustitución, y prosiga con la edición si lo
desea.
Edición de canciones y patrones
Location
Data
Part
Location
Tempo
Pitch bend event
inserted. once
inserted, you can edit
the event’s location
and value in the
change edit mode.
Location XG Drum setup parameter name
Drum set Note Data
Datos
Parte
Posición
Nombre de parámetro de parte multi XG
Datos
Configuración de batería
Nombre de parámetro de configuración de batería XG
Posición
NotaParte
Posición
Tempo
Evento de inflexión de
tono insertado. Una vez
insertado, puede editar la
posición y el valor del
evento en el modo de edi-
ción por sustitución.

6Abandone el modo de edición
Pulse [SONG] o [PATTERN] para abandonar el modo de edición y regresar al modo de reproducción normal de
canción o patrón. El botón [EXIT] también le devolverá al modo SONG o PATTERN desde el modo EDIT.
■NOTA
●Si inserta datos de cambio de control distintos de modulación (#1), expresión (#11), contenido armónico (#71) o brillo
(#74) en el patrón de usuario, estos datos no se reiniciarán aunque se modifique el patrón, y se aplicarán al nuevo
patrón seleccionado.
Para evitarlo, no olvide introducir el valor de reinicio al final de la frase cuando inserte estos datos de cambio de control.
Visualización XG
La función “XG View” muestra en pantalla eventos relacionados con XG (RPN, NRPN, exclusivos de sistema,
etc.) con el nombre definido por el formato XG. Para activar la visualización de XG, pulse el botón [MENU] desde el
modo de edición, y después el botón de función próximo a “XG View” en la pantalla.
Cuando el recuadro situado a la izquierda de “XG View” tiene la marca de veri-
ficación, los eventos relacionados con XG se visualizarán con el nombre corres-
pondiente en formato XG. Si el recuadro no tiene la marca, los eventos relacio-
nados con XG se visualizarán como valores MSB/LSB o como números hexa-
decimales.
Pulse el botón [+1] para dejar marcado el recuadro “XG View”, y el botón [-1]
para suprimir la marca.
Filtro de visualización
El filtro de visualización le permite “excluir” tipos de evento para que no aparezcan en la pantalla del modo de
edición. Para acceder al filtro de visualización, pulse el botón [MENU] desde el modo de edición, y después el botón
de función situado junto a “View Filter” en la pantalla.
Cuando el recuadro situado junto a un tipo de evento tiene la marca de verificación, esos eventos se visualiza-
rán en la pantalla de edición. Los tipos de evento que no están marcados no aparecerán en la pantalla de edición.
Para filtrar un determinado tipo de evento, simplemente lleve el cursor al recuadro correspondiente y pulse [-1]
para suprimir la marca de verificación (o [+1] para marcar el recuadro, según convenga).
El botón de función “Set All” marca todos los recuadros al mismo tiempo, y el botón de función “Clear All” borra
todas las marcas.
Tipos de evento del filtro de visualización
Abreviatura Tipo de evento
Note Nota
PB Inflexión de tono
PC Cambio de programa
CC Cambio de control
CAT Aftertouch de canal
PAT Aftertouch polifónico
RPN Número de parámetro registrado
NRPN Número de parámetro no registrado
Exc Exclusivo de sistema
120
Edición de canciones y patrones
The “sunglasses”
appear if any events
are “unchecked”.
Las “gafas de sol” aparecen si hay algún evento sin marcar.

121
Tabla de frases (sólo edición de patrón)
La tabla de frases le permite editar los ajustes de frase en la pista de patrón que esté editando en ese momento.
Para acceder a la función “Phrase Table”, pulse el botón [MENU] desde el modo de edición, y después el botón
de función situado junto a “Phrase Table” en la pantalla.
Para editar un parámetro de la tabla de frases, lleve el cursor al parámetro y edítelo a su gusto con los botones
[-1] y [+1], el método SHIFT+número o el microteclado. Sólo se pueden editar los parámetros “CURRENT CHORD” y
“FNGR” en las frases predefinidas.
TYPE (tipo)
Selecciona el tipo de frase (transición de notas): Chord 1, Chord 2, Bass, Bypass o Parallel. Para más
información, consulte los Tipos de frase en la página 59.
PHRASE VOICE (voz de frase)
Selecciona la voz que se va a utilizar en la frase. Consulte la lista de voces XG Normales/Batería en el
manual adjunto.
SOURCE CHORD (acorde fuente)
Determina el acorde fuente de la frase (es decir, el acorde en que se va a basar la frase). Observe que
no puede introducir un acorde “on-bass” como acorde fuente.
LO LIMIT (límite inferior)
HI LIMIT (límite superior)
Establece el margen de notas en que se reproducirá la frase rearmonizada (de C-2 a G8). Si hay notas
de la frase rearmonizada que exceden de este margen, las notas se elevarán o bajarán en pasos de
una octava hasta que se hallen dentro del margen especificado.
CURRENT CHORD (acorde actual)
Muestra el acorde seleccionado en ese momento para el modo de reproducción de patrón. Con este
parámetro se puede cambiar de acorde.
FNGR (acorde digitado)
Indica el ajuste actual de acorde digitado: ON (activado) u OFF (desactivado). Desde aquí se puede
cambiar el ajuste ON/OFF.
HI KEY (clave superior)
Selecciona la raíz más alta (de C a B) en caso de que el tipo de frase (transición de notas) sea
“Chord 1” o “Bass”.
Edición de canciones y patrones
Type
Source chord
Current chord
Fingered chord
High key
Phrase voice
High limit
Low limit
Voz de frase
Límite superior
Límite inferior
Tecla superior
Acorde digitado
Acorde actual
Acorde fuente
Tipo

Secuenciador de Música
Efectos y edición de efectos
El QY100 incorpora un versátil sistema interno de efectos que consta de tres etapas indepen-
dientes: REVERB, CHORUS y VARIATION. De ellas, las etapas de reverberación y chorus operan
como “efectos de sistema”, y la etapa de variación puede usarse como efecto de sistema o como
efecto “de inserción”. Véanse los esquemas de flujo de señal en la página 123 para apreciar la
diferencia entre los efectos de sistema y de inserción.
Acceso y edición de los parámetros de efectos
A la pantalla de conexión de efectos y la de edición de efectos se accede desde los modos de canción y de
patrón, como se indica a continuación.
1Seleccione la pantalla de conexión de efectos
Pulse el botón [SONG] o [PATTERN] tantas veces como sea necesario hasta que aparezca la pantalla de
conexión de efectos de canción o de patrón.
Secuenciador de Música
122
Reverb effect
Chorus effect
Variation effect
Variation effect INSERTION/SYSTEM selector
Chorus-to-Reverb
send control
Variation-to-Chorus
send control
Variation-to-Reverb
send control
(Variation effect: SYSTEM)
(Variation effect: INSERTION)
Reverb effect
Chorus effect
Variation effect
Chorus-to-Reverb
send control
Pattern Mode Effect Connection Display
Variation-to-Chorus
send control
Variation-to-Reverb
send control
Variation effect
(Efecto de variación: SISTEMA)
(Efecto de variación: INSERCIÓN)
Pantalla de conexión de efectos del modo de canción
Pantalla de conexión de efectos del modo de patrón
Efecto de reverberación
Efecto de reverberación
Efecto de chorus
Efecto de chorus
Efecto de variación
Efecto de variación
Selector INSERCIÓN/SISTEMA del efecto de variación
Selector INSERCIÓN/SISTEMA del efecto de variación
Control de envío de
chorus a reverberación
Control de envío de
chorus a reverberación
Control de envío de
variación a chorus
Control de envío de
variación a chorus
Control de envío de
variación a reverberación
Control de envío de
variación a reverberación
Efecto de variación

123
Advierta que, en la pantalla de conexión de efectos del modo de patrón, únicamente la etapa de variación cuen-
ta con controles accesibles. El tipo de reverberación con el efecto del modo de patrón es siempre “HALL 1”, y el tipo
de chorus es siempre “CHORUS 1”.
2Ajuste los parámetros de efecto
Lleve el cursor al parámetro deseado y utilice los botones [-1] y [+1] para ajustar el parámetro selecciona-
do. Los parámetros de efecto REVERB, CHORUS y VARIATION le permiten seleccionar cualquiera de los tipos
de efecto disponibles para cada etapa.
El selector inserción/sistema de la etapa de variación determina si el bloque de variación va a funcionar
como efecto de inserción o como efecto de sistema. Consulte los esquemas y el texto de “Flujo de señal de los
efectos”, a continuación. (En la pantalla de conexión de efectos del modo de patrón, la etapa de variación siem-
pre se utiliza como efecto de sistema aplicado a las 8 pistas del patrón).
Flujo de señal de los efectos
Los siguientes esquemas le ayudarán a entender la relación entre las etapas de efectos del QY100 y
el flujo general de señal.
La señal procedente de cada parte (pista) del generador de tonos es enviada a las etapas de reverbe-
ración, chorus y variación. Los efectos de reverberación y chorus están siempre conectados como
efectos de sistema, es decir, afectan a todas las partes (pistas). La profundidad del efecto para cada
pista puede modificarse mediante los controles de envío de reverberación y chorus de la pantalla de
envío de efectos (EFFECT SEND, página 71). El parámetro “TO REV” de la etapa de chorus puede
emplearse para enviar parte o la totalidad de la salida de la etapa de chorus a la de reverberación.
El efecto de variación puede aplicarse a una parte (pista) específica cuando está conectado como
efecto de inserción, o bien a todas las partes (pistas) cuando está conectado como efecto de sistema.
■Cuando la etapa de variación es un efecto de inserción
En este caso, el efecto de variación es aplicado a una parte (pista) específica con capacidad de mez-
cla “Dry/Wet” (sin/con efecto) disponible en “Vari.Edit” (véase “Edición de efectos” en la página 124). La
pista a la que se va a aplicar el efecto de variación puede seleccionarse en la pantalla de envío de
efectos (EFFECT SEND, página 71).
■Cuando la etapa de variación es un efecto de sistema
En este caso, el efecto de variación es aplicado a todas las partes (pistas). Los parámetros “TO REV”
y “TO CHO” de la etapa de variación pueden utilizarse para enviar una parte o la totalidad de la salida
procedente de la etapa de variación a las de reverberación y chorus. El nivel de envío de variación y la
mezcla “Dry/Wet” (sin/con efecto) para cada pista pueden modificarse con los controles de la pantalla
de envío de efectos (EFFECT SEND, página 71).
Efectos y edición de efectos
VARIATION
REVERB
LINE OUT/
PHONES
CHORUS
TO REV
Track 1
Track 2
Track 3
Track 16
Pista 1
Pista 2
Pista 3
Pista 16
REVERB
LINE OUT/
PHONES
TO REV
TO CHO TO REV
CHORUS
VARIATION
Track 1
Track 2
Track 3
Track 16
Pista 1
Pista 2
Pista 3
Pista 16

Edición de efectos
A las pantallas de edición de reverberación, edición de chorus y edición de variación se accede desde la panta-
lla de conexión de efectos, pulsando el botón [MENU] y después el botón de función contiguo a “Reverb Edit”, “Cho-
rus Edit” o “Vari. Edit” en la pantalla. Observe que únicamente está disponible “Vari. Edit” en la pantalla de conexión
de efectos del modo de patrón.
Utilice el parámetro “Type” próximo al margen superior de la pantalla para seleccionar el tipo de efecto para la
etapa de efectos actual (REVERB, CHORUS o VARIATION). Cada efecto dispondrá de distintos parámetros que apa-
recerán en la sección inferior de la pantalla. Lleve el cursor a los diversos parámetros y ajústelos a conveniencia con
los botones [-1] y [+1]. Consulte la “Lista de tipos de efecto” y la “Lista de parámetros de efectos” (véase el manual
adjunto) para disponer de una relación completa de los parámetros disponibles para cada efecto y sus márgenes.
■NOTA
●Estas pantallas de efectos no pueden emplearse para editar todos los parámetros, sino los principales de cada tipo de
efecto (consulte la “Lista de parámetros de efectos” en el manual adjunto). Para editar el efecto con mayor detenimien-
to, envíe el mensaje exclusivo de sistema apropiado a la sección de generador de tonos del QY100.
Cómo funciona el efecto de variación en el modo de canción
Recuerde que los ajustes del efecto de variación en las pantallas de edición y conexión de efectos
del modo SONG permanecen inoperativos si se reproduce una canción que contenga datos “Pt” (pista
de patrón). En este caso se aplicarán los ajustes del efecto de variación para el patrón utilizado en la
canción (especificados en la pantalla de edición y conexión de efectos de patrón).
Para hacer uso de los ajustes del efecto de variación en la pantalla de edición y conexión de efec-
tos de canción, reproduzca una canción que contenga exclusivamente datos de pista de secuenciador
(1...16). A veces resulta muy práctico ejecutar la operación de expansión de acompañamiento (pági-
na 91) para “expandir” los datos de pista de patrón a las pistas de secuenciador.
124
Efectos y edición de efectos
Connection Display
C
onnect
i
on
Di
sp
l
ay
Pantalla de conexión de efec-
tos del modo de canciónPantalla de conexión de
efectos del modo de patrón
Reverb Edit Display Chorus Edit Display Variation Edit Display
Pantalla de edición de
reverberaciónPantalla de edición de
chorus
Pantalla de edición de
variación

Secuenciador de Música
Funciones de utilidad
El modo de utilidades del QY100 incluye diversas funciones que son importantes para el fun-
cionamiento general (por ejemplo, manejo de datos MIDI, interconexión con equipos externos,
almacenamiento de datos de canción y de patrón en dispositivos externos, funcionamiento del sis-
tema ABC, etc.).
Acceso al modo de utilidades
Al modo de utilidades (UTILITY) se puede acceder desde los modos de canción y de patrón. Simplemente pul-
se el botón [MENU] y después el botón de función próximo a “Utility” en la pantalla.
Una vez seleccionado el modo de utilidades, se puede acceder a cualquiera de las cuatro pantallas de utilida-
des pulsando el botón [MENU] y, a continuación, el botón de función adecuado, como se indica a continuación.
■NOTA
● Cuando se activa el modo de utilidades por primera vez desde el modo de canción o de patrón, inicialmente aparecerá
la última pantalla de utilidades seleccionada.
Secuenciador de Música
125

126
Funciones de utilidad
Parámetros de sistema
La pantalla “System” incluye 6 parámetros que afectan al funcionamiento básico del QY100. Lleve el cursor al
parámetro que vaya a ajustar y modifíquelo con los botones [-1] y [+1].
CLICK MODE (modo de claqueta)
Ajustes: Off, Record, Rec/Play, Always
Determina cuándo va a sonar el metrónomo del QY100. Normalmente, el metrónomo del QY100 sue-
na sólo durante la grabación en tiempo real (con el ajuste “Record”). No obstante, con este parámetro
se puede desactivar el metrónomo (“Off”) para que no suene nunca, o ajustarlo en “Rec/Play” para que
suene durante la grabación y reproducción, o seleccionar “Always” (siempre) para que suene en todo
momento.
CLICK BEAT (compás de claqueta)
Ajustes; 16, 8, 4, 2, 1
Determina en qué tiempos de compás va a sonar el metrónomo del QY100. El ajuste normal es “4”, con
el que el metrónomo suena cada tiempo de nota negra. También puede ajustarse para que suene cada
semicorchea (16), corchea (8), blanca (2) o redonda (1).
REC COUNT (cuenta de entrada para grabación)
Ajustes: OFF, 1 Meas ... 8 Meas
Este parámetro ajusta el número de compases de entrada previos al inicio real de la grabación en tiem-
po real, en los modos de canción y de patrón. El ajuste estándar es “1”.
MASTER TUNE (afinación general)
Ajustes: -102.4 ... +000.0 ... +102.3
Afina el tono general del sonido del QY100. Puede variar desde “-102.4” hasta “+000” y hasta “+102.3”.
Cada incremento corresponde aproximadamente a un centésimo (la centésima parte de un semitono).
El valor “+000” produce un tono normal: A4 = 440 Hz.
EXCLUSIVE INTERVAL (intervalo entre exclusivos de sistema)
Ajustes: 0*100 ... 9*100
Este parámetro ajusta el tiempo de retardo entre bloques de exclusivos de sistema, de 0 a 900 milise-
gundos en incrementos de 100 ms. Este tipo de retardo es necesario en ocasiones para permitir una
reproducción uniforme de los datos de canción que contienen mensajes exclusivos de sistema de gran
tamaño.
FOOT SWITCH (pedal conmutador)
Ajustes: Start (inicio), Section (sección), AmpSim (simulación amplificador)
Especifica la función de un pedal conmutador opcional (Yamaha FC-4 o FC-5) conectado a la toma
FOOT SW del panel posterior.
Start El pedal activa y desactiva la reproducción de canción o patrón.
Durante la reproducción de canción, el pedal conmutador detiene la reproducción (activa una pausa) en el punto en que
se pisa. La siguiente vez que se pise, reanudará la reproducción desde el punto en que se interrumpió.
Durante la reproducción de patrón, el pedal conmutador detiene la reproducción y retorna al principio del patrón. La
siguiente vez que se pise, la reproducción comenzará desde el principio del patrón.

Section El pedal conmutador cambia de sección durante la reproducción de canción o de patrón.
Si se pisa el pedal durante la reproducción de canción, se saltará al siguiente cambio programado de sección una vez
concluido el compás actual. Si se pisa el pedal durante la reproducción de la sección de coda (ENDING), se retrocederá
y proseguirá desde la sección INTRO. Y si se pisa durante una sección en blanco (BLANK), la reproducción saltará a la
sección inmediatamente posterior a la de INTRO.
Si el pedal se pisa durante la reproducción de patrón, saltará a la siguiente sección (conforme a la secuencia indicada a
continuación) una vez finalizado el compás actual.
INTRO →MAIN A →FILL AB →MAIN B →FILL BA →ENDING →INTRO
Si se pisa el pedal durante la reproducción de una sección en blanco, la siguiente sección seleccionada será MAIN A.
AmpSim El pedal activa o desactiva todos los bloques de simulador de amplificador, o el bloque individual especificado por el
parámetro “On/Off” de dicho simulador (páginas 26 y 30).
Parámetros MIDI
Todos los parámetros de la pantalla “MIDI” están relacionados con el control MIDI.
MIDI SYNC (sincronización MIDI)
Ajustes: Internal, External
Cuando este parámetro se ajusta a “Internal”, el QY100 es controlado por su reloj interno. Si se ajusta
a “External”, el QY100 es controlado por una señal de reloj MIDI recibida de un dispositivo externo,
como puede ser un secuenciador o un equipo musical informático (es decir, la reproducción del QY100
está sincronizada con la de un secuenciador externo u otro dispositivo). Observe que el QY100 no fun-
cionará por sí solo si este parámetro se encuentra ajustado a “External”. El QY100 también puede con-
trolar la reproducción de un secuenciador MIDI externo con este parámetro ajustado a “Internal”.
MIDI CONTROL (control MIDI)
Ajustes: Off, In, Out, In/Out
Este parámetro simplemente activa o desactiva el control MIDI del QY100 (es decir, la reproducción
sincronizada). Cuando está desactivado (“Off”), el QY100 no responde al control MIDI externo. El ajus-
te “In” (sólo entrada MIDI) permite el control del QY100 desde un dispositivo MIDI externo, el ajuste
“Out” (sólo salida MIDI) permite al QY100 controlar un dispositivo MIDI externo, y el ajuste “In/Out”
(entrada y salida MIDI) permite al QY100 tanto ser controlado por un dispositivo MIDI externo como
controlarlo.
ECHO BACK (retransmisión)
Ajustes: Off, Thru, RecMontr
Determina si los datos MIDI recibidos en el terminal MIDI IN van a ser o no retransmitidos a través del
conector MIDI OUT. Cuando este parámetro está desactivado (“Off”), no se produce retransmisión.
Con la opción “Thru”, los datos MIDI recibidos son retransmitidos sin modificación. Si se selecciona
“RecMontr” (monitor de grabación), los datos recibidos son retransmitidos por el canal MIDI correspon-
diente a la pista de grabación seleccionada en ese momento, y los datos son sometidos a los ajustes
del filtro MIDI descritos más adelante.
Funciones de utilidad
127

LOCAL CONTROL (control local)
Ajustes: Off, On
Determina si el generador de tonos interno del QY100 va a ser o no controlado por su propio microte-
clado. Si el control local está activado (“On”), el microteclado controla el generador de tonos interno, y
si está desactivado (“Off”), no lo controla y no produce ningún sonido.
MIDI FILTER (filtro MIDI)
Ajustes: Off, PB, CC, AT, Exc
El filtro MIDI especifica un tipo de evento que no será recibido a través de MIDI durante la grabación de
secuencia. Los ajustes son los siguientes:
Off Se reciben todos los eventos.
PB No se reciben eventos de inflexión de tono.
CC No se reciben eventos de cambio de control.
AT No se reciben eventos de aftertouch de canal o polifónico.
Exc No se reciben datos exclusivos de sistema.
PATT OUT CH (canal de salida de patrón)
Ajustes: Off, 1~8, 9~16
Este parámetro especifica los canales MIDI por los que serán transmitidos los datos de reproducción
de patrón del QY100. Si está desactivado (“Off”), los datos de reproducción de patrón no son transmi-
tidos. Con la opción “1~8”, los datos de reproducción de patrón son transmitidos por los canales MIDI
1 a 8, y con la opción “9~16” por los canales 9 a 16.
D1 canales 1 ó 9
D2 canales 2 ó 10
PC canales 3 ó 11
BA canales 4 ó 12
C1 canales 5 ó 13
C2 canales 6 ó 14
C3 canales 7 ó 15
C4 canales 8 ó 16
XG PARM OUT (salida de parámetros XG)
Ajustes: Off, On
Determina si los parámetros de efecto y voz XG van a ser o no transmitidos cuando se modifiquen los
valores de parámetro correspondientes o se seleccione una nueva canción o patrón. Si está desacti-
vado (“Off”), no se transmiten parámetros XG. Los parámetros XG correspondientes se transmitirán a
un generador de tonos XG conectado cuando este parámetro se encuentre activado (“On”).
128
Funciones de utilidad

129
Trasvase en bloque (“Bulk Dump”)
Aunque el QY100 dispone de memoria para 20 canciones, 64 estilos de usuario y 23 configuraciones de simu-
lador de amplificador, quizá desee almacenar los datos de canción y patrón en una grabadora de datos MIDI externa,
ordenador o dispositivo similar para disponer de una mayor capacidad de almacenamiento, o simplemente para pro-
teger los datos contra borrados accidentales o corrupción de los mismos.
Asegúrese de conectar debidamente el QY100 a una grabadora de datos MIDI (por ejemplo, el Archivador de
Datos MIDI MDF3 de Yamaha) o a un ordenador, y sitúe el interruptor HOST SELECT en la posición adecuada antes
de ejecutar la transmisión/recepción del trasvase en bloque.
Consulte también el manual de instrucciones del equipo conectado para saber cómo recibir y transmitir datos en
bloque con el QY100.
■NOTA
● Dependiendo del equipo o software de secuenciación utilizado, los datos en bloque transmitidos al QY100 es posible
que no se reconozcan debidamente. Para garantizar una transferencia fiable, recomendamos el uso de la aplicación
“QY100 Data Filer” facilitada para la transmisión y recepción de datos en bloque.
Para transmitir (trasvasar) datos de canción o de patrón a un dispositivo externo, primero seleccione el modo de
trasvase en bloque (“Bulk Dump”) del modo de utilidades.
Lleve el cursor al parámetro superior y utilice los botones [-1] y [+1] para seleccionar “Song” (si desea guardar
los datos de una canción o todas), “Style” (de un estilo o de todos), o bien “All” (si desea guardar todas las canciones,
estilos y datos de configuración del sistema, incluidos los del simulador de amplificador).
Si selecciona “Song”, lleve el cursor al parámetro de número de canción y seleccione uno de ellos (01...20), o
todos (“All”) para guardar todas las canciones.
Si selecciona “Style”, lleve el cursor al parámetro de número de estilo y seleccione uno de ellos (U01...U64), o
todos (“All”) para guardar todos los estilos. Recuerde que se guardarán los seis patrones de variación (Intro, Main
A/B, Fill AB/BA y Ending) incluidos en el estilo.
Una vez ajustados los parámetros, pulse [ENTER]. En la pantalla aparecerá la pregunta “Are you sure?” (¿está
seguro?). Pulse [+1/YES] para confirmar que desea continuar con la operación de trasvase en bloque, o [-1/NO] para
cancelar. Cuando termina la transmisión, aparecerá la indicación “Completed!”.
■Recepción en bloque de datos de canción y de patrón
Si no se está realizando ninguna otra operación (por ejemplo, una grabación), el QY100 recibirá automática-
mente los datos en bloque de canción y de patrón transmitidos desde un dispositivo externo compatible. Si utiliza los
conectores MIDI del QY100 en lugar del conector TO HOST, asegúrese de que la salida MIDI OUT del dispositivo
externo está conectada a la entrada MIDI IN del QY100.
Seleccione el modo de reproducción de canción del QY100 cuando reciba uno o todos los datos de canción en
bloque, y seleccione el modo de reproducción de patrón cuando reciba uno o todos los datos de estilo en bloque. En
los modos de reproducción de canción o de patrón se pueden recibir todos los datos (“All”), incluidas todas las can-
ciones, estilos y datos de configuración del sistema.
Funciones de utilidad
Connection via the TO HOST
connector to a computer
Connection via the MIDI IN/
OUT connector to the MDF3
(H t S l t MIDI)
Conexión a un ordenador a través del terminal TO HOST (HOST SELECT =
PC1/2 o Mac, según el tipo de ordenador; véase la página 11).
Conexión al MDF3 a través del terminal MIDI
IN/OUT (HOST SELECT = MIDI).

Recuerde que uno o todos los datos de canción/estilo presentes en la memoria del QY100 se borrarán cuando
se reciba uno o todos los datos en bloque de canción o estilo. Todos los datos de la memoria del QY100 serán borra-
dos y sustituidos cuando se recibe un trasvase en bloque del tipo “All”.
■NOTA
● Consulte la guía de uso de la aplicación QY100 Data Filer si utiliza dicho programa para la recepción o transmisión de
trasvases en bloque.
Zona digitada
El avanzado sistema ABC del QY100 puede controlarse desde el microteclado o desde un teclado externo. La
función de utilidad “Fingered Zone” (zona digitada) establece la escala de notas en que los acordes tocados van a ser
reconocidos por el sistema ABC del QY100.
Utilice el parámetro “FINGERED” para activar (“On”) o desactivar (“Off”) la función de acorde digitado del QY100
para el sistema ABC. Cuando está activado, el sistema ABC puede ser controlado interpretando un acorde, tal como
es, en un teclado externo o en el microteclado. Si está desactivado, el sistema ABC se controla especificando la raíz
y tipo de acorde desde el microteclado, en lugar de tocar el acorde real. Los parámetros MIDI CHANNEL (canal MIDI)
y “LOW”/”HIGH” descritos a continuación permanecerán inoperativos si están desactivados.
El parámetro MIDI CHANNEL especifica el canal MIDI por el que se recibirán los datos de acorde procedentes
de un teclado MIDI externo: seleccione “All” para todos los canales, o bien un único canal entre “01” y “16”.
Los parámetros “LOW” y “HIGH” situados sobre el teclado gráfico establecen los límites de la función de acorde
digitado. La escala máxima abarca de C-2 a G8 (el parámetro “HIGH” no puede adoptar un valor menor que el pará-
metro “LOW”). La escala especificada se indica en la sección resaltada (en modo inverso) del teclado gráfico. Cuan-
do están activados los parámetros “FINGERED” de esta pantalla y “FNGR” de la pantalla del modo SONG o PAT-
TERN, los acordes tocados dentro del margen establecido para la función serán reconocidos por el sistema ABC, y el
acorde de acompañamiento variará consecuentemente durante la reproducción de canción/patrón o la grabación de
una pista de acorde. Los acordes interpretados dentro del margen especificado, tanto del microteclado del QY100
como de un teclado MIDI externo, serán reconocidos. En la lista de datos adjunta se facilita una tabla de los acordes
reconocidos por el QY100.
Si toca una nota más grave que el límite “LOW” especificado mientras mantiene pulsado un acorde, será reco-
nocida como nota de bajo para el acorde “on-bass”.
■NOTA
● Cuando esté activada la función de acorde digitado, no sonarán las notas que se toquen por debajo del límite superior
(“HIGH”) especificado.
130
Funciones de utilidad

Secuenciador de Música
Funciones de la tarjeta de memoria
La ranura CARD y el modo CARD del QY100 le permiten usar tarjetas de memoria SmartMe-
diaTM estándar (a la venta en muchas tiendas de electrónica e informática) para guardar y cargar
datos a conveniencia.
Acerca de las tarjetas de memoria SmartMediaTM*
Las tarjetas de memoria deben manejarse con cuidado para evitar posibles daños o la corrupción de los datos.
Lea atentamente la información y las precauciones que se ofrecen a continuación.
* SmartMedia es una marca comercial de Toshiba Corporation.
Tarjetas de memoria compatibles
El QY100 utiliza tarjetas de memoria SmartMedia de 3,3 V (3V), pero no admite tarjetas 5V.
Capacidad de la tarjeta de memoria
Pueden usarse tarjetas de memoria SmartMedia de las siguientes capacidades: 2 MB, 4 MB, 8 MB, 16 MB y
32 MB. Las de mayor capacidad sólo podrán usarse si cumplen las especificaciones SSFDC* Forum.
* SSFDC son las siglas de “Solid State Floppy Disk Card”, otro nombre de las tarjetas SmartMedia. El Foro SSFDC es una organización que desarrolla y define los
estándares de estas tarjetas de memoria.
Inserción y extracción de tarjetas de memoria
■NOTA
● Se recomienda insertar y extraer las tarjetas de memoria desde otras pantallas distintas del modo CARD.
●Para insertar una tarjeta de memoria
Inserte con cuidado la tarjeta en la ranura CARD (hasta el fondo, pero sin aplicar excesiva fuerza), con los
conectores dorados de la tarjeta hacia arriba (esto es, el panel superior del QY100). El extremo de conexión de la tar-
jeta debe introducirse en la ranura.
No intente insertar la tarjeta invertida (boca abajo o de espaldas), y asegúrese de que no se introduce suciedad
ni ningún cuerpo extraño en la ranura.
●Para extraer una tarjeta de memoria
La tarjeta se extrae de la unidad simplemente sosteniendo el borde saliente y tirando hacia fuera. En cualquier
caso, no extraiga NUNCA una tarjeta mientras se esté realizando alguna operación de acceso, como guardar, forma-
tear, borrar o cargar. Advierta también que el QY100 accederá automáticamente a la tarjeta de memoria cuando se
inserte con el equipo encendido, a fin de identificarla.
Insert th
Secuenciador de Música
Insertar en esta dirección
131

PRECAUCION
● No retire nunca la tarjeta de memoria ni apague el QY100 durante una operación de acceso a la tarjeta. Podría dañar la
propia tarjeta o los datos contenidos tanto en ella como en la unidad.
Formatee las nuevas tarjetas de memoria antes de usarlas
Para poder usar una tarjeta de memoria nueva (o utilizada antes en un equipo diferente), deberá ser formatea-
da por el QY100 (véase la función “Formato” en la página 138). La operación borrará todos los datos de la tarjeta, por
lo que deberá asegurarse de que la tarjeta que va a formatear no contenga datos importantes que desee conservar.
■NOTA
● Las tarjetas de memoria formateadas por el QY100 es posible que no se puedan utilizar con otros instrumentos o dis-
positivos.
Precauciones de manejo
●Las tarjetas de memoria pueden resultar dañadas y los datos que contiene podrían corromperse por efecto de la
electricidad estática. En especial cuando el tiempo es seco y la acumulación de electricidad estática puede supo-
ner un problema, es aconsejable tocar un objeto metálico (un picaporte, el marco de una ventana de aluminio…)
para descargar la electricidad del cuerpo antes de manipular una tarjeta de memoria.
●Si no va a utilizar la tarjeta durante un periodo prolongado, extráigala de la ranura CARD y guárdela dentro del estu-
che en un lugar limpio y seco.
●
Mantenga las tarjetas alejadas de la luz solar directa y de las temperaturas elevadas (interior de un vehículo, radia-
dores…) o excesivamente bajas, y evite los entornos húmedos y polvorientos, así como el contacto con los líquidos.
●No fuerce o doble la tarjeta de ninguna manera, ni coloque objetos pesados sobre ella.
●Procure no tocar directamente los contactos eléctricos de la tarjeta (la parte dorada de su superficie superior), ni
permita que lo haga ningún objeto metálico.
●Mantenga las tarjetas alejadas de los campos magnéticos intensos, como los generados por altavoces o recepto-
res de televisión.
●No adhiera nada a las tarjetas de memoria excepto las etiquetas homologadas, y asegúrese de colocarlas en los
lugares habilitados al efecto.
Protección contra escritura de las tarjetas de memoria
Para evitar el borrado accidental de los datos importantes, las tarjetas de memoria se pueden proteger contra
escritura colocando el sello circular en el espacio destinado para ello debajo de los contactos (véase ilustración).
Si desea guardar datos en una tarjeta protegida contra escritura, deberá retirar el sello (que no podrá utilizarse
de nuevo una vez retirado; utilice uno nuevo para volver a proteger la tarjeta).
Copia de seguridad
Para disfrutar de la máxima seguridad, conviene tener dos copias de los datos importantes en tarjetas de
memoria distintas. Conserve una copia en un lugar seguro por si la otra se pierde o inutiliza (pág. 20).
132
Funciones de la tarjeta de memoria
Sello de protección contra
escritura

133
Guardar (Save)
La función Save le permite guardar todos los datos del QY100, o los archivos de datos especificados, en una
tarjeta de memoria.
1Compruebe que hay insertada una tarjeta en la ranura CARD.
Asegúrese de haber insertado correctamente una tarjeta compatible, que no esté protegida contra escritu-
ra, en la ranura CARD del QY100 (página 9).
2Seleccione el modo apropiado.
Para guardar datos de canción, deberá seleccionarse el modo SONG, y para guardar datos de estilo de
usuario deberá estar activado el modo PATTERN.
3Seleccione el modo CARD.
Pulse el botón [CARD] para seleccionar el modo de tarjeta del QY100, siempre y cuando no se estén eje-
cutando datos de canción o de estilo.
■NOTA
● Si inserta una tarjeta de memoria que no haya sido formateada por el QY100, en la pantalla aparecerá la pregunta “For-
mat? Yes/No” (¿Formatear? Sí/No). Pulse el botón [+1/YES] para formatear la tarjeta y poder usarla con el QY100, o
[-1/NO] para cancelar la operación de formateo.
4Seleccione el tipo de datos que desea guardar.
Lleve el cursor hasta el parámetro “FILE=”, en la parte superior de la pantalla inicial del modo de tarjeta, y
utilice los botones [+1/YES] y [-1/NO] para seleccionar el tipo de datos que desea guardar.
ALL Todos los estilos de usuario, canciones, ajustes de simulador de amplificador y datos de sistema.
SONG Guarda los datos correspondientes a una canción específica (sólo modo SONG).
STYLE Guarda los datos correspondientes a un estilo de usuario específico (sólo modo PATTERN).
SMF Guarda los datos correspondientes a una canción específica en SMF (archivo MIDI estándar)
(sólo modo SONG).
SMF+XG Añade los datos XG requeridos a la cabecera de una canción específica y guarda la canción en
SMF (archivo MIDI estándar) (sólo modo SONG).
5Seleccione la función “Save”
Lleve el cursor a “Save” y pulse [ENTER].
Funciones de la tarjeta de memoria
Tipo de datos
Memoria utilizada
Memoria libre

6Seleccione un número de canción o de estilo (si es necesario).
Si ha seleccionado una opción de almacenamiento distinta de “ALL” (todo), utilice los botones [+1/YES] y
[-1/NO] para seleccionar el número de la canción o estilo de usuario que desea guardar.
Si selecciona <Current>, la canción o estilo de usuario se guarda en el directorio actual. Si seleccio-
na uno de los archivos existentes, podría quedar eliminado y sustituido por el nuevo.
■NOTA
● Los estilos predefinidos no se pueden guardar.
● Si el número de estilo o canción seleccionado ya contiene datos, aparecerá un asterisco (*) delante del número.
● Siempre puede regresar a la pantalla anterior pulsando el botón [EXIT].
7Introduzca un nombre de canción o estilo y guarde el archivo.
La pantalla de introducción de nombre se activará automáticamente cuando pulse el botón [ENTER] des-
pués de haber seleccionado un número de canción o estilo para guardar (o simplemente después de pulsar
[ENTER] si eligió la opción “ALL”). Introduzca un nombre de archivo para la canción o estilo que vaya a guar-
dar. El botón de función situado junto a [ ] adelanta el cursor una posición, y el situado junto a “del” borra el
carácter actual. Una vez especificado el nombre, pulse el botón de función contiguo a “ok” para comenzar a
ejecutar la operación de almacenamiento.
■NOTA
● Si no introduce un nombre de archivo antes de pulsar el botón de función (ok), aparecerá el mensaje “No Name” (sin
nombre) y los datos no se guardarán. Asegúrese de introducir un nombre de archivo válido antes de pulsar el botón de
función (ok).
8Fin de operación
Una vez terminada la operación de almacenamiento, se visualizará la lista de archivos de la tarjeta de memoria.
Cambio de nombre (RENAME)
Para cambiar el nombre de un archivo de la lista, seleccione con el cursor el archivo y pulse el botón de
función correspondiente a “RENAME” para acceder a la pantalla de introducción de nombre.
Eliminación (DELETE)
Para suprimir un archivo de la lista, primero seleccione el archivo con el cursor y pulse el botón de función
correspondiente a “DELETE”. Ante la pregunta de confirmación “Are You Sure?”, pulse [+1/YES] para eli-
minar el archivo seleccionado, o [-1/NO] para cancelar la operación.
134
Funciones de la tarjeta de memoria
Número de canción/estilo

135
Cargar (Load)
Los archivos de datos previamente guardados en una tarjeta de memoria pueden volverse a cargar en el QY100
por medio de la función “Load”.
1Compruebe que hay una tarjeta de memoria en la ranura CARD
Asegúrese de haber insertado correctamente en la ranura CARD del QY100 una tarjeta compatible que
contenga los datos que desea cargar (página 9).
2Seleccione el modo apropiado.
Para cargar datos de canción, deberá seleccionarse el modo SONG, y para cargar datos de estilo de
usuario deberá estar activado el modo PATTERN.
3Seleccione el modo CARD.
Pulse el botón [CARD] para seleccionar el modo de tarjeta del QY100, siempre y cuando no se estén eje-
cutando datos de canción o de estilo.
1
4Seleccione el tipo de datos que desea cargar.
Lleve el cursor hasta el parámetro “FILE=”, en la parte superior de la pantalla inicial del modo de tarjeta, y
utilice los botones [+1/YES] y [-1/NO] para seleccionar el tipo de datos que desea cargar.
ALL Carga un archivo guardado con la opción “ALL”, es decir, todos los estilos de usuario, can-
ciones, ajustes de simulador de amplificador y datos de sistema.
SONG Carga los datos correspondientes a una canción específica (sólo modo SONG).
STYLE Carga los datos correspondientes a un estilo de usuario específico (sólo modo PATTERN).
SMF, SMF+XG Carga un archivo guardado con las opciones SMF o SMF+XG, es decir, una canción
(misma función) específica en formato SMF (archivo MIDI estándar) o SMF con información de cabecera
XG. (Sólo modo SONG).
5Seleccione la función “Load”
Lleve el cursor a “Load” y pulse [ENTER].
Funciones de la tarjeta de memoria
Tipo de datos

6Seleccione un número de canción o de estilo (si es necesario).
Si ha seleccionado una opción de carga distinta de “ALL” (todo), utilice los botones [+1/YES] y [-1/NO]
para seleccionar el número de la canción o estilo de usuario en el que desea cargar los datos.
■NOTA
● Si el número de estilo o canción seleccionado ya contiene datos, aparecerá un asterisco (*) delante del número.
● Si selecciona un estilo predefinido, aparecerá el mensaje de error “Select UserStyle”. Los datos de estilos de usuario
sólo pueden cargarse en estilos de usuario.
7Seleccione un nombre de canción o estilo y cargue el archivo.
De la lista de archivos de la tarjeta de memoria que aparezca en la pantalla (sólo con los archivos del tipo
seleccionado en el punto 4 anterior), seleccione con el cursor el que vaya a cargar y pulse [ENTER].
Si en el punto 6 ha seleccionado una canción o estilo de usuario que ya contenga datos como destino de
la operación de carga, aparecerá la pregunta de confirmación “Are You Sure?”. Pulse [+1/YES] para cargar el
archivo seleccionado en la canción o estilo de usuario indicado, o [-1/NO] para cancelar la operación.
8Fin de operación
Una vez terminada la operación de carga, se visualizará la lista de archivos de la tarjeta de memoria.
Cambio de nombre (RENAME)
Para cambiar el nombre de un archivo de la lista, seleccione con el cursor el archivo y pulse el botón de
función correspondiente a “RENAME” para acceder a la pantalla de introducción de nombre.
Eliminación (DELETE)
Para suprimir un archivo de la lista, primero seleccione el archivo con el cursor y pulse el botón de función
correspondiente a “DELETE”. Ante la pregunta de confirmación “Are You Sure?”, pulse [+1/YES] para eli-
minar el archivo seleccionado, o [-1/NO] para cancelar la operación.
Crear directorio (Mk Dir)
Esta función le permite crear y asignar nombres a distintos “directorios” para organizar los archivos.
1Compruebe que hay una tarjeta de memoria en la ranura CARD
Asegúrese de haber insertado correctamente en la ranura CARD del QY100 una tarjeta compatible que no
esté protegida contra escritura (página 9).
p
136
Funciones de la tarjeta de memoria
Número de canción/estilo
Lista de archivos disponibles

137
2Seleccione el modo CARD.
Pulse el botón [CARD] para seleccionar el modo de tarjeta del QY100, siempre y cuando no se estén eje-
cutando datos de canción o de estilo.
3Seleccione la función “Mk Dir”.
Lleve el cursor hasta “Mk Dir” en la pantalla y pulse el botón [ENTER].
4Seleccione un nivel para el nuevo directorio.
Aparecerá una lista de archivos con el nombre del directorio superior en la cabecera, los nombres de otros
directorios y los posibles archivos existentes. Seleccione el nivel en el que desea crear un nuevo directorio
(debajo). Pulse [ENTER] después de llevar el cursor a <Current>.
Para descender un directorio
Lleve el cursor a un nombre de directorio y pulse [ENTER] para acceder a él. En la nueva lista de archivos
que aparezca, el nombre del directorio actual (ruta) aparecerá en la cabecera.
Para ascender un directorio
Para subir al siguiente directorio, pulse el botón de función correspondiente a .
Para cambiar de nombre un directorio
Si desea cambiar el nombre a un directorio de la lista, selecciónelo con el cursor y pulse el botón de fun-
ción contiguo a “RENAME” para acceder a la pantalla de introducción de nombres.
Para eliminar un directorio
Si desea eliminar un directorio de la lista, primero selecciónelo con el cursor y pulse el botón de función
contiguo a “DELETE”. Ante la pregunta de confirmación “Are You Sure?”, pulse [+1/YES] para eliminar el
directorio seleccionado, o [-1/NO] para cancelar la operación. Advierta que el directorio deberá estar vacío
(no contener ningún archivo) para poder eliminarse.
y
Funciones de la tarjeta de memoria
Directorio actual
Nombre del directorio actual
Directorio(s)
Archivos(s)

5Introduzca un nombre de directorio y proceda a su creación.
La pantalla de introducción de nombre se activará automáticamente cuando pulse el botón [ENTER] des-
pués de haber seleccionado un nivel para el nuevo directorio. Introduzca un nombre. El botón de función situa-
do junto a adelanta el cursor una posición, y el situado junto a “del” borra el carácter actual. Una vez espe-
cificado el nombre, pulse el botón de función contiguo a “ok” para comenzar a crear el directorio.
■NOTA
● Si no introduce un nombre de archivo antes de pulsar el botón de función (ok), aparecerá el mensaje “No Name” (sin
nombre) y no se creará el directorio. Asegúrese de introducir un nombre válido antes de pulsar el botón de función (ok).
6Fin de operación
Una vez creado el directorio, se visualizará la lista de archivos del directorio de nivel más alto.
Formato (Format)
Esta función formatea una tarjeta de memoria para su uso con el QY100.
PRECAUCION
● La operación borrará todos los datos de la tarjeta, por lo que deberá asegurarse de que la tarjeta que va a formatear no
contenga datos importantes que desee conservar.
1Compruebe que hay una tarjeta de memoria en la ranura CARD
Asegúrese de haber insertado correctamente en la ranura CARD del QY100 una tarjeta compatible que no
esté protegida contra escritura (página 9).
2Seleccione el modo CARD.
Pulse el botón [CARD] para seleccionar el modo de tarjeta del QY100, siempre y cuando no se estén eje-
cutando datos de canción o de estilo.
3Seleccione la función “Format”.
Lleve el cursor hasta “Format” en la pantalla y pulse el botón [ENTER].
4Formatee la tarjeta de memoria.
En la pantalla de espera de formato, pulse el botón [ENTER]. Ante la pre-
gunta de confirmación “Are You Sure?”, pulse [+1/YES] para ejecutar la operación de
formateo, o [-1/NO] para cancelar la operación.
5Fin de operación
Una vez realizado el formateo, se visualizará la lista de archivos de la tarjeta de
memoria.
138
Funciones de la tarjeta de memoria

Apéndice
Especificaciones
Bloque de secuenciador
Capacidad de datos aproximadamente 32.000 notas
Resolución de nota 480 relojes por nota negra
Polifonía 64 notas
Tempo 25 - 300
Modos Canción: SONG (SONG, SONG VOICE, SONG EFFECT)
Patrón: PATTERN (PATTERN, PATTERN VOICE, PATTERN EFFECT)
Modos de grabación Tiempo real por sustitución, tiempo real por “overdubbing”, por pasos, multi
Pistas Canción: 16 pistas de secuenciador, patrón (Pt), acorde (Cd) y tempo (Tm)
Patrón: 8 pistas de frases de patrón
Canciones 20 canciones + 3 de demostración
Patrones 768 patrones predefinidos (128 estilos predefinidos x 6 secciones)
384 patrones de usuario (64 estilos de usuario x 6 secciones)
Secciones: Intro, Main A, Main B, Fill AB, Fill BA, Ending
Frases 4.285 frases predefinidas
48 frases de usuario por estilo
Tipos de acorde 26 tipos (incluido “sin ABC”)
Plantillas de acorde 99 plantillas predefinidas
1 progresión de acordes de usuario por canción
Efecto de reproducción Swing, Remapeo de tabla de batería
Funciones del pedal conmutador Inicio/parada, cambio de sección
Bloque de generador de tonos
Tipo Generador de tonos AWM2
Polifonía máxima 32 notas
Capacidad multitímbrica 24 timbres (prioridad de última nota con reserva de elementos, DVA)
Voces predefinidas 547 voces normales, 22 voces de batería
Efectos 3 bloques (reverberación, chorus, variación)
Reverberación: 11 tipos
Chorus: 11 tipos
Variación: 43 tipos
Simulador de amplificador
Configuraciones 23 (18 de guitarra y 5 de micrófono)
Bloques Preamplificador (guitarra) o Retardo (micro)
Chorus
Reverberación
Funciones del pedal conmutador Activación/desactivación de bloque
Tarjeta de memoria
Guardar Todo/canción/estilo/SMF (formato 0)/SMF+XG (formato 0)
Cargar Todo/canción/estilo/SMF (formato 0)/SMF+XG (formato 0)
Controladores y pantalla
Microteclado 25 teclas (2 octavas)
Botones de octava [OCT DOWN], [OCT UP]
Teclas de cursor arriba, abajo, derecha, izquierda
Botones de secuenciador [>], [[]], [()], [|<], [<<], [>>]
[AMP SIMULATOR], [PARAMETER], [SONG], [PATTERN], [SHIFT], [EXIT], [CARD], [MENU], [-1(NO)], [+1(YES)], [ENTER], botones de función
Control de volumen
Control de contraste
Control de ganancia
Interruptor HOST SELECT
Pantalla gráfica de cristal líquido de 128 x 64 puntos
Conectores
LINE OUT/PHONES minijack estéreo x 1
GUITAR/MIC INPUT jack monofónico estándar x 1
MIDI IN x 1, OUT x 1
TO HOST
FOOT SW jack estándar x 1
Ranura CARD tarjetas de memoria SmartMedia 3.3 V
DC IN para PA-3B
AlimentaciónAdaptador de c.a. PA-3B opcional
Seis pilas alcalinas AA de 1,5 V (LR6) o equivalentes
Secuenciador de Música
Secuenciador de Música
139

Dimensiones
(anch. x prof. x alt.) 238 x 118 x 48 mm
Peso 750 g sin pilas
Accesorios incluidos
Archivador de Datos QY100 para Win95/98/NT/2000/Me, Mac (Mac OS 7.5 o posterior)
CD-ROM x 1
Cable de audio miniconector estéreo a RCA doble
Manuales Manual de uso del QY100, manual adjunto de listas, guía de instalación del Archivador de Datos
QY100
Soportes de goma
* Las especificaciones y descripciones facilitadas en este manual de uso poseen exclusivamente un carácter informativo. Yamaha Corp. se reserva el derecho a cam-
biar o modificar productos o especificaciones en cualquier momento sin previo aviso. Puesto que las especificaciones, equipamientos y opciones pueden diferir de un
lugar a otro, es aconsejable su comprobación con el distribuidor Yamaha.
Solución de problemas
Si experimenta algún problema tal como “ausencia de sonido”, “sonido incorrecto” o “el secuenciador no funciona”, compruebe los siguien-
tes puntos antes de dar por hecho que se trata de una anomalía de la unidad. En muchos casos, esta comprobación ayudará a solucionar el pro-
blema.
En caso contrario, póngase en contacto con su distribuidor Yamaha más cercano o agente autorizado de su país.
Problema Posibles causas Véase página
No hay sonido. ¿Está el volumen elevado en el QY100 o en el equipo de sonido externo?
¿Están los auriculares o altavoces debidamente conectados? pag. 10
¿Está elevado el volumen general y los niveles de cada pista? pag. 70
Si REVERB, CHORUS, VARI y DRY están todos ajustados a 0, no habrá sonido
en esa pista. pag. 72
¿Está activada la función de acorde digitado? Si toca una nota dentro de la zona
digitada, no se producirá ningún sonido. pag. 39, 130
¿Está activado el silenciamiento?
pag. 56, 65, 69
¿Está bien conectado MIDI IN a TO HOST? pag. 10, 11
¿Está bien ajustado el interruptor HOST SELECT? pag. 11
¿Está desactivado el modo MIDI local? pag. 128
Sonido distorsionado. ¿Se han configurado efectos innecesarios? pag. 122
Sonido de guitarra o ¿Está bien ajustada la ganancia? pag. 17
micrófono distorsionado. ¿Se ha seleccionado una configuración adecuada del simulador de amplificador? pag. 23, 28
No se aplican los efectos del ¿Está apagado el indicador del botón [AMP SIMULATOR]? pag. 17
simulador de amplificador al sonido Si lo está, el simulador de amplificador está puenteado y deberá pulsar el botón
de la guitarra o micrófono. [AMP SIMULATOR] para que se ilumine su indicador.
Las notas se interrumpen de ¿Excede el número de notas accionadas la polifonía máxima de 32? pag. 139
forma intermitente (entrecortadas).
La reproducción no se inicia ¿Contiene datos la canción o patrón? pag. 44, 54
cuando se pulsa ["]. ¿Está ajustado MIDI SYNC a “External”? pag. 127
¿Está seleccionado el estilo número 129 (patrón final) en la pantalla del modo
de canción? pag. 32
Imposible cambiar la ongitud de La longitud de un patrón (número de compases) no se puede cambiar si incluye
un patrón (número de compases). frases de usuario grabadas. pag. 59
La reproducción de una canción¿Está ajustado el número de estilo 129 (patrón final) en el medio de la pista de
se detiene antes del final patrón? pag. 46
Los tiempos de nota o ritmos se ¿Se están utilizando ajustes de efectos de reproducción? pag. 66
reproducen distinto de cuando se
grabaron.
Se aplica la misma fuerza para ¿Está ajustada la velocidad de pulsación del teclado entre R1 y R4 (aleatoria)? pag. 58, 62
tocar notas en el teclado, pero
suenan con distinta intensidad.
140
Apéndice

141
Problema Posibles causas Véase página
Imposible hacer uso de la ¿Está desactivada la función? pag. 39
función de acordes digitados. ¿Está pulsando teclas de la zona de acordes digitados? pag. 130
No se oye el sonido de la claqueta. ¿Tiene seleccionado el ajuste de claqueta un valor distinto de “Off” en el modo de
utilidades? pag. 126
Cuando se inicia la canción, ¿Contiene el principio de la canción datos que reinicien el generador de tonos? pag. 112
desaparecen los ajustes de voces Si hay datos en la pista de patrón, se aplicarán los ajustes del efecto de variación
o efectos realizados por el usuario. para el patrón. pag. 124
La memoria está llena aunque Pulse “SHIFT” y el segundo botón de función empezando desde arriba al mismo
quedan aún canciones sin usar. tiempo para comprobar la capacidad de memoria actual (la del QY100 es de unas
32.000 notas), es decir, los datos totales de canciones y frases. Si hay canciones
o frases con grandes cantidades de datos, la memoria puede saturarse aunque
queden sin usar canciones o patrones. pag. 15
El QY100 (generador de tonos) ¿Está ajustado el parámetro de retransmisión MIDI (“Echo Back”) del modo de
es esclavo de un secuenciador utilidades a “RecMontr”? Cambie el ajuste a “Off” o “Thru”pag. 128
externo, pero no suena cuando
se reproducedesde éste.
No aparece nada en la pantalla. ¿Está bien ajustado el contraste? pag. 13
Mensajes de error
●Monitor
No Data Cuando se ejecuta una operación, este mensaje aparece si la pista o el área seleccionada no contie-
ne datos, invalidando la operación. Vuelva a seleccionar el área.
Illegal Input Aparece en respuesta a una operación o entrada inadecuada. Revise el método de entrada utilizado.
Preset Phrase Aparece cuando se intenta editar una frase predefinida. Si desea editar una frase predefinida, primero
deberá copiarla en una frase de usuario y editar ésta.
Preset Pattern Aparece cuando se intenta grabar en un patrón predefinido. No se puede grabar en los patrones pre-
definidos.
Preset Chord Aparece cuando se intenta cambiar una plantilla de acorde predefinido con una operación (transposi-
ción, etc.).
Now Bulk Mode Aparece si intenta usar el QY100 mientras está recibiendo datos en bloque.
●Sistema
Memory Full
No se ha podido cargar un archivo de canción o estilo porque la memoria interna del QY100 está llena.
Borre los archivos de canciones o estilos que no necesite conservar, para liberar memoria. Si se carga un
archivo de canción o estilo, se borrarán los datos existentes en el archivo de canción o estilo de destino.
NotEnough Memory No se ha podido cargar un archivo de canción o estilo porque la memoria interna del QY100 no tiene
espacio suficiente.
Borre los archivos de canciones o estilos que no necesite conservar, para liberar memoria. Si se car-
ga un archivo de canción o estilo, no se borrarán los datos existentes en el archivo de canción o estilo
de destino.
Backup Batt.Low Aparece cuando la pila de seguridad interna del QY100 está agotada. Póngase en contacto con su
distribuidor Yamaha más cercano o agente autorizado para que le sustituyan la pila.
Power Batt.Low Aparece cuando las pilas (6 de tamaño AA) que alimentan el QY100 se están agotando. Si se agotan
peligrosamente, aparecerá el mensaje “Power Batt.End”.
Power Batt.End Aparece cuando las pilas (6 de tamaño AA) que alimentan el QY100 se han agotado peligrosamente.
En tal caso, no se podrá acceder a las funciones de la tarjeta de memoria. Sustituya todo el juego de
pilas por uno nuevo lo antes posible.
Factory Set Después de encender la unidad, el QY100 efectúa una comprobación del sistema. Si la RAM presen-
ta alguna anomalía, aparecerá este mensaje y la memoria restablecerá sus ajustes originales de fábri-
ca. Se perderán todos los datos de canción, patrones de usuario y frases de usuario.
●MIDI
MIDI Data Error Aparece cuando los datos en bloque QY recibidos contienen algún error.
Now running Aparece cuando el QY100 está recibiendo datos en bloque. Mientras tanto no se podrán recibir otras
señales MIDI.
MIDI Buffer Full Indica que se ha llenado el búfer de recepción MIDI del QY100, imposibilitando el procesamiento.
Pruebe a reducir la cantidad de datos o a elevar el intervalo, y transmita los datos de nuevo.
XG Data Error Aparece cuando el cambio de parámetro XG recibido contiene algún error de tamaño.
Apéndice

XG Adrs Error Aparece cuando los datos XG recibidos contienen algún error de dirección.
XG Size Error Aparece cuando los datos en bloque XG recibidos contienen algún error de tamaño.
Checksum Error Aparecen cuando los datos XG recibidos contienen algún error de suma de comprobación.
Host is OffLine Si el QY100 está conectado a un ordenador, aparece cuando éste se encuentra apagado. Enciéndalo.
●Tarjeta de memoria
No Name Ha intentado realizar una operación de almacenamiento o carga sin especificar un nombre de archivo
o de directorio.
No Card Este mensaje aparece si pulsa el botón [CARD] cuando no hay ninguna tarjeta de memoria insertada
en la ranura CARD del QY100 (o la tarjeta se ha insertado incorrectamente).
Asegúrese de que hay una tarjeta bien insertada antes de pulsar [CARD].
Card Mount Err Se ha producido un error en el acceso a la tarjeta de memoria.
Vuelva a insertar la tarjeta e inténtelo de nuevo.
Too Many Files Este mensaje aparece si intenta guardar 100 archivos/directorios o más en un único directorio.
El QY100 admite un máximo de 99 archivos y subdirectorios por directorio.
Too Long Path La ruta del directorio (la secuencia de caracteres que especifica su ubicación) ocupa más de 100
caracteres.
Las rutas de directorio del QY100 admiten un máximo de 99 caracteres.
Not Empty Ha intentado borrar un directorio que contiene uno o más archivos, o bien otros directorios.
Todos los archivos y subdirectorios contenidos en un directorio deben eliminarse previamente para
poder borrar dicho directorio.
Card Write Err Se ha producido un error durante la grabación de datos en la tarjeta de memoria.
Vuelva a insertar la tarjeta e inténtelo de nuevo.
Card Protected Ha intentado realizar una operación de almacenamiento o grabación en una tarjeta de memoria prote-
gida contra escritura.
Retire el sello de protección de la tarjeta e inténtelo de nuevo.
Same Name Exists En la función de cambio de nombre o creación de directorio, ha introducido un nombre de archivo o
directorio que ya existe.
Utilice otro nombre de archivo o directorio.
Read Only File Este mensaje aparece si intenta eliminar un archivo de sólo lectura o grabar en él.
Card Full No hay suficiente memoria disponible en la tarjeta para guardar el archivo indicado.
Libere memoria de la tarjeta eliminando los archivos que no desee conservar, e inténtelo de nuevo.
Bad File Este mensaje aparece si intenta acceder a un archivo dañado.
Illegal Format La tarjeta a la que está intentado acceder no está debidamente formateada para el uso con el QY100.
Cannot Open El archivo especificado no se puede cargar.
Wrong ID Ha intentado cargar un archivo que no se guardó en el formato del QY100.
SMF Error[00] Ha intentado cargar un archivo SMF, pero el archivo no tiene el formato SMF apropiado.
No se pueden cargar archivos de formato inapropiado.
SMF Error[03] Ha intentado cargar un archivo SMF en el que los datos de división de la sección de cabecera no son
compatibles con el QY100.
No se pueden cargar archivos incompatibles.
SMF Error[06] La longitud real de los archivos SMF que intentó cargar no coincide con la longitud especificada por los
datos de longitud del archivo.
El archivo puede estar corrompido. Si es posible, utilice un dispositivo externo para volver a guardar
los datos en la tarjeta de memoria, e inténtelo de nuevo.
SMF Error[07] Ha intentado cargar un archivo SMF que contiene un byte de status incorrecto.
No se pueden cargar archivos incompatibles.
SMF Error[08] Ha intentado cargar un archivo SMF que contiene un byte de datos incorrecto.
No se pueden cargar archivos incompatibles.
Not Format0 Este mensaje aparece si intenta cargar un archivo SMF que se guardó en un formato distinto de
SMF-0
No se pueden cargar archivos incompatibles.
SMF Error[**] Se ha producido un error SMF distinto de los mencionados.
No se pueden cargar archivos incompatibles.
Card Error[**] Se ha producido un error de tarjeta de memoria distinto de los mencionados.
Pruebe a insertar de nuevo la tarjeta de memoria y pulse [CARD]. Si el error persiste, puede ser que la
tarjeta esté dañada.
●Otros mensajes
Can’t Undo Ok? (Yes/No) Este mensaje aparece si la ejecución de una operación supone la ocupación total de la memoria inter-
na, de forma que la operación “Deshacer” (UNDO) va a resultar inviable. Si está seguro de que no va
a tener que recurrir a la operación UNDO, pulse “YES”. Para cancelar sin ejecutar la operación, pulse
“NO”.
Are you sure? (Yes/No) Antes de ejecutar una operación, este mensaje solicita la confirmación del usuario. Para ejecutar la
operación, pulse “YES”. Para cancelarla, pulse “NO”.
Completed Aparece una vez concluido el proceso en curso.
Executing... Aparece mientras se ejecuta la operación. Espere a que finalice.
Transmitting... Aparece mientras se están transmitiendo datos en bloque MIDI.
Receiving... Aparece mientras se están recibiendo datos en bloque MIDI.
142
Apéndice

143
A
Abandono, tiempo de:
Es el tiempo que tarda el volumen en caer desde el nivel de sustain
(que se inicia en el momento de dejar de tocar una nota) hasta que se
silencia por completo.
ABC (Auto Bass Chord):
Función que rearmoniza automáticamente los patrones de acompaña-
miento especificando progresiones de acordes.
Acorde digitado:
Función que detecta automáticamente los acordes basándose en la
combinación de notas tocadas sobre el teclado, convirtiendo la repro-
ducción de los patrones a los acordes detectados.
Afinación:
Proceso de coordinar el tono de dos o más instrumentos cuando se
tocan en formación de conjunto. Normalmente, LA3 (A3) se afina a
440 Hz.
Aftertouch:
Mensajes MIDI que se transmiten cuando se aplica una presión adicional
al teclado después de tocar las notas. Presión posterior a la pulsación.
Amp Simulator:
Imita las características de un preamplificador de guitarra o micrófono,
incluidos efectos tales como saturación, chorus, retardo y reverberación.
Archivador de datos MIDI:
Dispositivo MIDI que recibe datos destinados a los ajustes internos de
un equipo MIDI en forma de mensajes exclusivos de sistema, y los
almacena en disco. Un ejemplo es el archivador de datos MIDI MDF3
de Yamaha.
Archivador de Datos QY100:
Aplicación informática que permite el intercambio de datos entre el
QY100 y un ordenador. Los datos del QY100 pueden guardarse en el
ordenador, y los datos QY que están almacenados en el ordenador
pueden ser transmitidos al QY100. También pueden transmitirse datos
de canción SMF o XG (disponibles en el mercado) del ordenador al
QY100.
Archivo MIDI estándar (SMF):
Formato que permite un sencillo intercambio de datos de canción entre
distintos secuenciadores. La mayoría de fabricantes de programas y
equipos informáticos ofrecen productos capaces de crear y reproducir
archivos SMF.
Ataque, tiempo de:
Tiempo que tarda el volumen en subir desde cero, en el momento de
tocar una nota, hasta el volumen máximo.
AWM2, generador de tonos:
Método de generar sonido, desarrollado por Yamaha, basado en for-
mas de onda grabadas digitalmente. Como es capaz de generar la
compleja forma de onda de los instrumentos acústicos reales, produce
sonidos de un realismo excepcional. También se incluyen filtros digita-
les, que permiten controlar con gran precisión el timbre. AWM2 =
Memoria Avanzada de Ondas 2.
C
Caída, tiempo de:
Tiempo transcurrido desde que se alcanza el volumen máximo de una
nota hasta que cae al nivel de sustain.
Cambio de control:
Grupo de mensajes MIDI que pueden emplearse para seleccionar ban-
cos de voces y controlar el volumen, panorámico, etc. También se trans-
miten cuando se acciona un controlador (rueda de modulación, pedal
controlador, etc.). Cada controlador posee su propio número de control.
Cambio de programa:
Evento o mensaje MIDI que selecciona una voz.
Canción:
Composición musical creada mediante la grabación de datos de actua-
ción en una o más pistas.
Categoría de frase:
Clasificación de frases por el tipo de instrumento o por el estilo inter-
pretativo.
Chorus:
Tipo de efecto que añade riqueza y profundidad al sonido, similar a lo
que sucede cuando se escuchan múltiples fuentes de sonido al mismo
tiempo.
Claqueta:
Metrónomo que suena durante la reproducción o grabación en un
secuenciador.
Compás:
Unidad de duración musical compuesta por varios tiempos.
Cuantización:
Función que “ordena” los tiempos inexactos de notas u otros eventos
introducidos en tiempo real.
D
Datos en bloque:
Un tipo de mensaje exclusivo de sistema que contiene un conjunto de
datos destinados a los ajustes internos de un dispositivo.
Deshacer (UNDO):
Esta orden cancela la última operación ejecutada, devolviendo los
datos a su estado anterior a la operación. En el QY100, esta orden pue-
de aplicarse a las operaciones (JOB), ediciones y grabaciones. Véase
“Rehacer (REDO)”.
E
Edición:
Acción de modificar o editar datos.
Efecto:
Bloque que procesa el sonido para añadir diversos efectos al mismo. El
QY100 ofrece dos efectos de sistema (reverberación y chorus) y otro
(variación) que puede utilizarse tanto como de sistema como de inser-
ción.
Elemento:
Bloque interno del generador de tonos AWM2 que produce un sonido.
Las voces del QY100 constan de 1 ó 2 elementos. Las voces que utili-
zan dos elementos suelen presentar un sonido más denso, imposible
de lograr con un elemento. Con dos elementos, las voces como el pia-
no o las cuerdas pueden mezclarse en una sola voz.
Estilo:
Nombre colectivo de las categorías de patrón (hip hop, rock duro, etc.;
géneros musicales) Los estilos se dividen en seis secciones (preludio o
“intro”, relleno o “filling”, coda o “ending”...).
Apéndice
Glosario

Evento:
Elemento simple (por ejemplo, mensajes de nota activada/desactivada
o de cambio de programa) de los datos que constituyen una secuencia.
Exclusivo de sistema, mensaje:
Tipo de mensaje MIDI utilizado para intercambiar datos exclusivos con
un modelo o tipo específico de dispositivo.
Expresión:
Mensaje de cambio de control MIDI utilizado para controlar el volumen
de una parte (pista).
F
Filtro:
Bloque que modifica el timbre impidiendo la salida de una determinada
porción de frecuencias del sonido. El QY100 posee filtros de paso bajo
que hacen que el timbre resulte más suave cortando los sobretonos, o
más brillante permitiéndolos pasar. Véase también “Filtro de paso bajo”.
Filtro de paso bajo:
Tipo de filtro que impide el paso de las altas frecuencias por encima de
un punto especificado. El sonido puede hacerse más brillante elevando
la frecuencia de corte del filtro, o más oscuro reduciéndola.
Frase:
Unidad más pequeña a partir de la cual se crea el patrón de acompa-
ñamiento. Una frase (de batería, de bajo, etc.) puede ser asignada a
una de las 8 pistas del patrón.
Frecuencia de corte:
Los filtros actúan permitiendo el paso de la porción de la señal cuya fre-
cuencia es inferior a la especificada, y cortando el paso a la señal cuya
frecuencia es superior. Esta frecuencia límite se conoce como frecuen-
cia de corte. Véase “Filtro de paso bajo”.
G
Generador de envolvente (EG):
Bloque que modifica el nivel del generador de tonos desde el momento
en que una nota es tocada hasta que el sonido se silencia.
Generador de tonos multitímbrico:
Generador de tonos que puede producir al mismo tiempo más de una
voz.
GM:
General MIDI. Especificación que define la ordenación de las voces en
un generador de tonos y su funcionalidad MIDI, para garantizar que los
datos se puedan reproducir básicamente con los mismos sonidos en
cualquier generador de tonos compatible con GM.
Grabación en tiempo real:
Método de grabación mediante el cual la actuación del usuario se graba
según se va produciendo, similar a una grabadora multipistas convencio-
nal. Como la actuación se graba al tiempo que se interpreta, la expresión
musical y los matices quedarán registrados con una gran precisión.
Grabación por pasos:
Método de grabación por el que la música se registra introduciendo las
notas una a una, especificando la longitud de nota, velocidad de pulsa-
ción, tono, etc. de cada una de las notas.
H
Hexadecimal, número:
Sistema de numeración basado en el 16, según el cual los dígitos se van
incrementando en unidades iguales a las potencias enésimas de 16. Los
caracteres alfabéticos A...F se emplean para expresar los números del
10 al 15. Este sistema de numeración es utilizado para los datos MIDI.
I
IBM-PC/AT, serie:
Se trata de un tipo de ordenador personal fabricado y comercializado
por International Business Machine Corporation. Numerosas compañí-
as fabrican y comercializan ordenadores compatibles.
Inflexión de tono:
Tipo de mensaje MIDI que modifica gradualmente el tono.
Inserción (efecto):
Efecto que puede aplicarse a una parte específica (pista). Con él podrá
aplicar los efectos con más agresividad a la canción (por ejemplo, alta-
voz giratorio para los sonidos de órgano, o de “wah-wah” para los soni-
dos de guitarra).
Intervalo:
Retardo de tiempo que se inserta a intervalos regulares de 1 kilobyte
durante la transmisión a los generadores de tonos de datos exclusivos
de sistema grabados en una pista de secuencia (para generadores de
tonos MIDI externos).
L
LFO:
Oscilador de baja frecuencia. Bloque que produce una señal de baja fre-
cuencia utilizada por los sintetizadores para la creación de sonido. La
señal procedente del LFO puede emplearse para modular el tono, el volu-
men o el timbre y producir efectos tales como vibrato, trémolo y wah-wah.
LSB:
Byte menos significativo, en referencia al byte inferior cuando los datos
de cambio de control MIDI se dividen en dos bytes para la transmisión.
M
Mezclador:
En el QY100, la página de pantalla en que se pueden realizar ajustes
tales como panorámico, volumen, etc., para la voz de cada pista de
canción o patrón durante la reproducción.
MIDI:
Intercomunicación digital entre instrumentos digitales, norma utilizada
para la transferencia de datos. La mayoría de los instrumentos musica-
les electrónicos actuales son compatibles con la especificación MIDI y
están provistos de los conectores adecuados. Tales instrumentos pue-
den interconectarse fácilmente para crear sistemas de interpretación
remotos o automáticos.
Modo de utilidades:
Modo operativo del QY100 en el que se pueden realizar los ajustes
MIDI y de sistema.
Modulación:
Función que se puede utilizar para cambiar cíclicamente el volumen,
tono o timbre durante la interpretación. En el QY100, puede aplicar
modulación manteniendo pulsado el botón [OCT UP] mientras toca una
nota en el microteclado.
MSB:
Byte más significativo, en referencia al byte superior cuando los datos
de cambio de control MIDI se dividen en dos bytes para la transmisión.
N
Nivel de envío:
Cantidad de señal que es transmitida a una línea de bus específica
para ser procesada por un efecto. La cantidad de señal “devuelta” del
efecto se conoce como “nivel de retorno”.
144
Apéndice

145
Nivel de retorno:
Véase “Nivel de envío”.
Nivel de sustain:
Nivel de volumen de la nota desde el instante posterior a su máximo
nivel hasta el momento en que se deja de pulsar en el microteclado.
NRPN:
Número de parámetro no registrado. Es un tipo de mensaje de cambio
de control MIDI que se utiliza para editar sonidos a través de MIDI, per-
mitiéndole editar ajustes de filtro o EG y ajustar el tono o el nivel de
cada instrumento de una voz de batería.
Número de programa:
En el QY100, número que especifica una de las voces definidas por el
formato GM.
O
On-bass:
Función que le permite especificar una raíz de acorde para el bajo con
independencia del acorde, de manera que la reproducción de una frase
de bajo cuyo tipo sea “Bass” quedará fijada en esa raíz de nota.
Overdubbing:
Método de grabación en tiempo real por el que se graba nuevo material
sin borrar las pistas previamente grabadas.
P
Panorámico:
Es el parámetro que determina la posición en el campo estéreo de un
sonido cuando se reproduce en estéreo. (“Pan” o “panpot” también se
refieren al potenciómetro de panorámico).
Parámetro:
Unidad de ajuste o información que se puede modificar en las distintas
pantallas de modos y submodos.
“Patch”:
Asignación de frases a cada pista para crear patrones.
Patrón:
Patrón de acompañamiento automático consistente en piezas de bate-
ría, bajo y acompañamiento de acordes.
Pista:
Lugar donde se graban los datos de las actuaciones musicales en el
secuenciador. Puede grabar el piano en la pista 1, el bajo en la 2, etc.
Pista de acordes (Cd):
Pista que le permite grabar y reproducir raíces y tipos de acorde para la
función ABC.
Pista de patrón (Pt):
Se trata de la pista que graba y reproduce datos de patrón.
Pista de tempo (Tm):
Es la pista en que se graban los datos determinantes del tempo de
reproducción de la canción.
Pistas de secuenciador:
Pistas que graban y reproducen datos de secuencia MIDI normales. El
QY100 tiene 16 pistas de secuenciador.
Plantilla de acorde:
Conjunto de modelos predefinidos para las progresiones de acordes. El
conjunto incluye progresiones genéricas para estilos populares y para
estilos como blues o “tension”.
Polifonía máxima:
Número máximo de notas que pueden reproducirse al mismo tiempo.
El QY100 puede reproducir 32 notas simultáneas (contadas en
unidades de un elemento). Si se reciben mensajes MIDI solicitando
más notas de las permitidas por la polifonía máxima, las notas
que estén sonando se desactivarán para dar prioridad a las últimas
que se reciban.
Portamento:
Efecto que modifica ligeramente el tono de una nota a otra. Los ajustes
más altos del tiempo de portamento producirán un efecto más lento,
que será nulo si el ajuste seleccionado es “0”.
Posición:
Lugar dentro de una canción o patrón en el que se introducirán notas o
desde el que se iniciará la reproducción; se expresa en compás, tiem-
po de compás y reloj.
Predefinida, memoria:
Tipo de memoria interna de un dispositivo. El QY100 posee memorias
predefinidas de voces, frases, patrones, etc.
Profundidad:
Cantidad o grado de aplicación de un ajuste o efecto.
R
Raíz de acorde:
Letra del alfabeto que indica la raíz de un acorde. El QY100 le permite
especificar 12 raíces de acorde diferentes.
Rehacer (REDO):
Restablece la operación previamente cancelada con “Deshacer”.
Reloj:
Unidad de resolución de tiempo. En el QY100, un reloj es 1/480 de una
nota negra.
Remapeo de tabla de batería:
Una de las funciones de efectos de reproducción, que le permite cam-
biar los instrumentos de ritmos de los datos de reproducción de batería
por otros instrumentos cuando se reproduce una canción o patrón.
Resonancia:
Parámetro que realza el nivel de la señal en la zona de la frecuencia de
corte. Enfatizando los sobretonos en esta zona, se pueden generar un
picos distintivos para producir un sonido más brillante e intenso.
Retardo:
Efecto que retrasa una señal de audio. El efecto de variación del
QY100 permite la aplicación de un retardo.
Retransmisión (“echo back”):
Acción o proceso por el que los datos recibidos en la entrada MIDI IN
son retransmitidos por la salida MIDI OUT.
Reverberación:
Efecto que simula la reverberación acústica de una sala o espacio. El
sonido que llega al oído suele incluir no sólo el sonido directo, sino tam-
bién el reflejado en las paredes y el techo. El efecto de reverberación
crea artificialmente estas reflexiones indirectas.
RPN:
Número de parámetro registrado. Este tipo de mensajes de cambio de
control MIDI se utilizan para ajustar parámetros de partes, como la sen-
sibilidad a la inflexión de tono o la afinación.
Rueda de inflexión de tono:
Controlador que modifica suavemente el tono. La rueda de tono del
QY100 puede aplicarse manteniendo pulsado el botón [OCT DOWN]
mientras se toca una nota en el microteclado.
S
Sección:
Término que hace referencia a cada uno de los seis tipos de patrones
Apéndice

que comprende un estilo. Los patrones se seleccionan especificando el
estilo y la sección.
Secuenciador:
Bloque (o dispositivo) que graba, edita, modifica y reproduce una
actuación musical en forma de mensajes MIDI.
Silenciamiento (MUTE):
Función que silencia temporalmente una pista o reduce su volumen.
Sincronización:
Función o proceso orientado a coordinar el tempo de reproducción o
grabación de un dispositivo con el de otro dispositivo externo (por
ejemplo, otro secuenciador o una caja de ritmos).
Sistema (efecto):
Efecto que puede aplicarse a todas las partes (pistas) mediante el ajus-
te de los niveles de envío y retorno. Los efectos de sistema permiten
aplicar chorus, reverberación, etc., a la música en conjunto. El QY100
ofrece reverberación y chorus como efectos de sistema. El efecto de
variación también puede utilizarse como efecto de sistema.
SmartMedia:
(Marca comercial de Toshiba Corporation). Son las tarjetas de memoria
que cumplen las especificaciones SSFDC Forum (SSFDC = “Solid Sta-
te Floppy Disk Card”, tarjeta de disco flexible de estado sólido). El Foro
SSFDC es una organización que desarrolla y define los estándares
aplicables a estas tarjetas de memoria.
SMF:
Véase “Archivo MIDI estándar”.
Solo:
Esta función silencia la reproducción de todas las pistas excepto la
seleccionada mientras ésta se encuentra “aislada” (función “solo” acti-
vada para dicha pista).
Sonido con efecto (“wet”):
La señal de audio que es procesada por un efecto. Normalmente,
cuando se usa un efecto, no toda la señal de audio es procesada por el
mismo. La proporción del efecto se ajusta mezclando el sonido proce-
sado (sonido con efecto o “wet”) con el sonido que elude el procesa-
miento (sonido sin efecto o “dry”). Véase también “Sonido sin efecto”.
Sonido sin efecto (“dry”):
La señal de audio que no es procesada por un efecto. Normalmente,
cuando se usa un efecto, no toda la señal de audio es procesada por el
mismo. La proporción del efecto se ajusta mezclando el sonido proce-
sado (sonido con efecto o “wet”) con el sonido que elude el procesa-
miento (sonido sin efecto o “dry”). Véase también “Sonido con efecto”.
Sustitución:
Método de grabación en tiempo real por el que los datos previamente
grabados son borrados (sustituidos) por el nuevo material grabado.
Swing:
Hace referencia a un tipo de ritmo o “groove” que, llevado al extremo,
puede conferir una sensación de tresillo a los patrones de corchea o
semicorchea (como en el “swing jazz”). Puede aplicarse un swing más
sutil para “dinamizar” los patrones rítmicos.
Sync:
Véase “Sincronización”.
T
Tarjeta de memoria:
Las tarjetas de memoria de alta capacidad del espesor de una oblea
constituyen un medio idóneo para almacenar y recuperar los datos de
canción y estilo del QY100. Las tarjetas de memoria utilizables en el
QY100 se pueden adquirir en muchas tiendas de electrónica e informá-
tica. Véase también “SmartMedia”.
Tiempo de compás (beat):
Cuando se reproduce o se graba una canción, es una subdivisión rítmi-
ca de un compás.
Tiempo de puerta:
Extensión de tiempo que ocupa el sonido real de una nota. Los tiempos
de puerta más prolongados producen notas ligadas, y los más cortos
producen “staccato”.
Tipo de acorde:
Indicación simbólica o numérica de la composición de un acorde
(mayor, menor, séptima, etc.). El QY100 le permite seleccionar entre 26
tipos de acorde (entre ellos “sin ABC”).
Transposición:
Desplazamiento del tono de los datos grabados, en pasos de semitono.
Trasvase en bloque:
Proceso de transmitir bloques de datos en forma de mensajes exclusi-
vos de sistema a dispositivos externos MIDI.
Trémolo:
Efecto producido por la modulación cíclica del volumen.
V
Variación, efecto de:
Efecto del QY100 que puede ser tanto de inserción como de sistema,
ofreciendo una amplia variedad de programas de efectos tales como
retardo, altavoz giratorio, autopanorámico, simulación de amplificador y
wah-wah automático, además de reverberación y chorus.
Velocidad de pulsación:
Valor numérico que indica la velocidad (fuerza) con que se toca una
nota.
Vibrato:
Efecto interpretativo producido por la alteración cíclica del tono.
Voz:
Sonido integrado en el generador de tonos, susceptible de ser selec-
cionado y reproducido.
X
XG:
Formato de generador de tonos, desarrollado por Yamaha, que amplía
la especificación GM para ofrecer la mayor riqueza expresiva y la com-
patibilidad ascendente de datos que exigen los sofisticados entornos
periféricos de ordenador de nuestros días.
146
Apéndice

147
A
ABC, función . . . . . . . . . . . . . . . . . . . . . . . . . .130,143
Aclarar (“Thin out”) . . . . . . . . . . . . . . . . . . . . . .88, 106
Acorde . . . . . . . . . . . . . . . . . . . . . . . . . . . . . . . . . . .38
Acorde actual . . . . . . . . . . . . . . . . . . . . . .121
Acorde fuente . . . . . . . . . . . . . . . . . . .57, 121
Clasificación . . . . . . . . . . . . . . . . . . . .83, 101
Lista de plantillas . . . . . . . . . . . . . . . . . . . .[L]
Pista . . . . . . . . . . . . . . . . . . . . . . .39, 45, 143
Plantilla . . . . . . . . . . . . . . . . . . . .31, 139, 143
Raíz . . . . . . . . . . . . . . . . . . . . . . . . . . .38, 143
Separación . . . . . . . . . . . . . . . . . . . . .84, 102
Tipo . . . . . . . . . . . . . . . . . . . .38, 139, 143, [L]
Acorde actual . . . . . . . . . . . . . . . . . . . . . . . . . . . . .121
Acorde digitado . . . . . . . . . . . . . .39, 65, 121, 143, [L]
Adaptador de c.a. . . . . . . . . . . . . . . . . . . .3, 7, 8, 139
Afinación general . . . . . . . . . . . . . . . . . . . . . . . . . .126
Aftertouch . . . . . . . . . . . . . . . . . . . . . . . . . . . .116, 143
Aftertouch de canal . . . . . . . . . . . . . . . . . . . . . . . .116
Aftertouch polifónico . . . . . . . . . . . . . . . . . . . . . . . .116
Alimentación . . . . . . . . . . . . . . . . . . . . . . . . . . . .7, 13
Amp Simulator . . . . . . . . . . . . . . . . . . .19, 22, 27, 143
Archivador de Datos QY100 . . . . . . . . . . . . .129, 139
Auriculares . . . . . . . . . . . . . . . . . . . . . . . . . . . . . .9, 10
B
Bdl . . . . . . . . . . . . . . . . . . . . . . . . . . . . . . . . . . . . . .52
Borrar canción . . . . . . . . . . . . . . . . . . . . . . . . . . . . .93
Borrar evento . . . . . . . . . . . . . . . . . . . . . . . . . .85, 103
Borrar patrón . . . . . . . . . . . . . . . . . . . . . . . . . . . . .110
Borrar pista . . . . . . . . . . . . . . . . . . . . . . . . . . .91, 109
Botón de secuenciador . . . . . . . . . . . . . . . . . . . . . .16
C
Cambio de control . . . . . . . . . . . . . . . . . . . . .116, 143
Cambio de programa . . . . . . . . . . . . . . . . . . .115, 145
Cambio de tempo . . . . . . . . . . . . . . . . . . . . . . .39, 119
Canción . . . . . . . . . . . . . . . . . . . . . . . . . . . . . .63, 145
Borrar canción . . . . . . . . . . . . . . . . . . . . . . .93
Copiar canción . . . . . . . . . . . . . . . . . . . . . .92
Edición . . . . . . . . . . . . . . . . . . . . . . . . . . . .112
Edición por inserción . . . . . . . . . . . . . . . . .114
Efecto de reproducción . . . . . . . . . . . . . . . .66
Grabación . . . . . . . . . . . . . . . . . . . . . . .35, 40
Modo . . . . . . . . . . . . . . . . . . . . . . . . . . . . . .63
Modo de efecto . . . . . . . . . . . . . . . . . . . . .122
Modo de voz . . . . . . . . . . . . . . . . . . . . . . . .69
Nombre . . . . . . . . . . . . . . . . . . . . . . . . . . . .93
Número . . . . . . . . . . . . . . . . . . . . . .20, 32, 63
Operación . . . . . . . . . . . . . . . . . . . . . . . . . .76
Reproducción . . . . . . . . . . . . . . . . . . . . . . .63
CAT . . . . . . . . . . . . . . . . . . . . . . . . . . . . . . . . . . . .116
CC (cambio de control) . . . . . . . . . . . . . . . . .116, 143
Cd . . . . . . . . . . . . . . . . . . . . . . . . . . . . . . . .37, 45, 48
Chorus . . . . . . . . . . . . . . . . . . . . . . .19, 122, 139, 143
Chorus, bloque . . . . . . . . . . . . . . . . . . . . . . . . .25, 30
CHORUS (envío de chorus) . . . . . . . . . . . . . . . . .122
Compás . . . . . . . . . . . . . . . . . . . . . . . . . . . . . .64, 144
Crear compás . . . . . . . . . . . . . . . . . . . . . . .89
Eliminar compás . . . . . . . . . . . . . . . . . . . . .89
Conexiones . . . . . . . . . . . . . . . . . . .10, 10, 11, 22, 27
Contraste . . . . . . . . . . . . . . . . . . . . . . . . . . . . . . . . .13
Copiar canción . . . . . . . . . . . . . . . . . . . . . . . . . . . . .92
Copiar evento . . . . . . . . . . . . . . . . . . . . . . . . .84, 102
Copiar frase . . . . . . . . . . . . . . . . . . . . . . . . . . . . . .107
Copiar patrón . . . . . . . . . . . . . . . . . . . . . . . . . . . . .110
Copiar pista . . . . . . . . . . . . . . . . . . . . . . . . . . .90, 108
Crear compás . . . . . . . . . . . . . . . . . . . . . . . . . . . . .89
Crear datos continuos . . . . . . . . . . . . . . . . . . .87, 105
Crescendo . . . . . . . . . . . . . . . . . . . . . . . . . . . . .81, 99
Cuantización . . . . . . . . . . . . . . . . . . . . . . .77, 95, 145
Intensidad . . . . . . . . . . . . . . . . . . . . . . .78, 96
Proporción de swing . . . . . . . . . . . . . . .78, 96
Tiempo de puerta . . . . . . . . . . . . . . . . .79, 97
Valor . . . . . . . . . . . . . . . . . . . . . . . . . . .77, 95
Cursor . . . . . . . . . . . . . . . . . . . . . . . . . . . . . . . . . . .14
CUT . . . . . . . . . . . . . . . . . . . . . . . . . . . . . . . . . .73, 75
D
DC In . . . . . . . . . . . . . . . . . . . . . . . . . . . . . . . . . . .7, 8
Decay (caída) . . . . . . . . . . . . . . . . . . . . . .73, 75, 143
del . . . . . . . . . . . . . . . . . . . . . . . . . . . . . . . . . .52, 134
Demostración . . . . . . . . . . . . . . . . . . . . . . . . . . . . . .20
Deshacer . . . . . . . . . . . . . . . . . . . . . . . . . .77, 95, 146
Desplazamiento de reloj . . . . . . . . . . . . . . . . .82, 100
DRY/WET (sin/con efecto) . . . . . . . . . . . . . . . . . . .123
E
Echo Back (retransmisión) . . . . . . . . . . . .11, 128, 143
Edición . . . . . . . . . . . . . . . . . . . . . . . . . . . . . .112, 143
Edición de voces de batería . . . . . . . . . . . . . . . . . .74
Efecto . . . . . . . . . . . . . . . . . . . . . . . . . . . . . . . .19, 122
Chorus . . . . . . . . . . . . . . . . . . . . . . . . . . .122
Efecto de inserción . . . . . . . . . . . . . . . . . .123
Efecto de sistema . . . . . . . . . . . . . . . . . . .123
Efecto de variación . . . . . . .19, 122, 124, 146
Envío de efecto . . . . . . . . . . . . . . . . . . .61, 71
Lista de parámetros . . . . . . . . . . . . . . . . . .[L]
Lista de tipos . . . . . . . . . . . . . . . . . . . . . . .[L]
Reverberación . . . . . . . . . . . . . . . . . . . . . .122
Tabla de asignación de datos . . . . . . . . . . .[L]
Efecto de inserción . . . . . . . . . . . . . . . . . . . . . . . .123
Efecto de reproducción . . . . . . . . . . . . . . . . . . .62, 66
Efecto de sistema . . . . . . . . . . . . . . . . .122, 123, 145
Efecto de variación . . . . . . . . . . . . .72, 122, 124, 146
Apéndice
[L]: Manual adjunto de listasÍndice alfabético

EG (generador de envolvente) . . . . . . . . . . . .73, 143
Eliminar . . . . . . . . . . . . . . . . . . . . . . . . . . . . . .52, 134
Eliminar compás . . . . . . . . . . . . . . . . . . . . . . . . . . .89
ers . . . . . . . . . . . . . . . . . . . . . . . . . . . . . . . . . . . . . .49
Especificaciones . . . . . . . . . . . . . . . . . . . . . . . . . .139
Estilo . . . . . . . . . . . . . . . . . . . . . . . . . . . . . . . .31, 145
Nombre . . . . . . . . . . . . . . . . . . . . . . . .47, 111
Número . . . . . . . . . . . . . . . . . . . . . . . . .32, 47
Estilo predefinido . . . . . . . . . . . . . . . . . . . . . . . .32, [L]
Exc . . . . . . . . . . . . . . . . . . . . . . . . . . . . . . . . . . . . .117
Exclusivos . . . . . . . . . . . . . . . . . . . . . . . . . . .117, 143
Expandir acompañamiento . . . . . . . . . . . . . . . . . . .91
Expresión . . . . . . . . . . . . . . . . . . . . . . . . . . . .116, 143
Extraer evento . . . . . . . . . . . . . . . . . . . . . . . .104, 104
F
Filtro de visualización . . . . . . . . . . . . . . . . . . . . . .120
FINGERED . . . . . . . . . . . . . . . . . . . . . . . .39, 65, 130
FNGR . . . . . . . . . . . . . . . . . . . . . . . . . . . . . . . .39, 121
Formato . . . . . . . . . . . . . . . . . . . . . . . . . . . . . . . . .138
Frase . . . . . . . . . . . . . . . . . . . . . . . . . . . . . . . .54, 144
Categoría . . . . . . . . . . . . . . . . . . . . . .54, 144
Copiar . . . . . . . . . . . . . . . . . . . . . . . . . . . .107
Edición por inserción . . . . . . . . . . . . . . . . .114
Editar . . . . . . . . . . . . . . . . . . . . . . . . . . . . .112
Frase de usuario . . . . . . . . . . . . . . . . . . . . .58
Grabación . . . . . . . . . . . . . . . . . . . . . . .57, 60
Nombre . . . . . . . . . . . . . . . . . . . . . . . . . . . .56
Número . . . . . . . . . . . . . . . . . . . . . . . . . . . .54
Obtener . . . . . . . . . . . . . . . . . . . . . . . . . . .107
Pista . . . . . . . . . . . . . . . . . . . . . . . . . . . . . .61
Poner . . . . . . . . . . . . . . . . . . . . . . . . . . . .108
Tabla . . . . . . . . . . . . . . . . . . . . . . . . . . . . .121
Tiempo de compás . . . . . . . . . . . . . . . . . . .54
Tipo . . . . . . . . . . . . . . . . . . . . . . . .55, 59, 121
Voz . . . . . . . . . . . . . . . . . . . . . . . . . . . . . .121
Frase predefinida . . . . . . . . . . . . . . . . . . . . . . .54, [L]
Frase de usuario . . . . . . . . . . . . . . . . . . . . . . . . . . .58
Frecuencia de corte del filtro . . . . . . . . . . .73, 75, 143
FX THRU . . . . . . . . . . . . . . . . . . . . . . . . . . . . . .67, 68
G
GAIN . . . . . . . . . . . . . . . . . . . . . . . . . . . . . .17, 22, 27
GATE . . . . . . . . . . . . . . . . . . . . . . . . . . . . . . . . . . . .51
Generador de tonos . . . . . . . . . . . . . . . . . . . . .19, 139
Grabación por pasos . . . . . . . . . . . .45, 46, 48, 50, 60
Frase . . . . . . . . . . . . . . . . . . . . . . . . . . . . . .60
Pista de acorde . . . . . . . . . . . . . . . . . . . . . .48
Pista de patrón . . . . . . . . . . . . . . . . . . . . . .46
Pista de secuenciador . . . . . . . . . . . . . . . . .50
Grabación en tiempo real . . . . . . . . . . . . . . . .41, 145
Frase . . . . . . . . . . . . . . . . . . . . . . . . . . . . . .57
Overdubbing . . . . . . . . . . . . . . . . .42, 58, 144
Pista de acorde . . . . . . . . . . . . . . . . . . . . . .37
Pista de patrón . . . . . . . . . . . . . . . . . . . . . .35
Pista de secuenciador . . . . . . . . . . . . . . . . .41
Pista de tempo . . . . . . . . . . . . . . . . . . . . . .39
Sustitución . . . . . . . . . . . . . . . . . .36, 42, 145
GUITAR/MIC INPUT . . . . . . . . . . . . . . . . . . .9, 22, 27
H
HI KEY . . . . . . . . . . . . . . . . . . . . . . . . . . . . . . . . . .121
HI LIMIT . . . . . . . . . . . . . . . . . . . . . . . . . . . . . . . . .121
HOST SELECT . . . . . . . . . . . . . . . . . . . . . . .9, 10, 11
I
Inflexión de tono . . . . . . . . . . . . . . . . . . . .72, 115, 145
Insertar . . . . . . . . . . . . . . . . . . . . . . . . . . . . . . . . . .114
INSERTION . . . . . . . . . . . . . . . . . . . . . . . . . . . . . .123
Intervalo de exclusivos de sistema . . . . . . . . . . . .126
J
JUMP . . . . . . . . . . . . . . . . . . . . . . . . . . . . . . . . . . . .64
L
Ligado (“slur”) . . . . . . . . . . . . . . . . . . . . . . . . . . . . .51
Ligado (“tie”) . . . . . . . . . . . . . . . . . . . . . . . . . . . . . .52
LINE OUT/PHONES . . . . . . . . . . . . . . . . . .9, 10, 139
Load (cargar) . . . . . . . . . . . . . . . . . . . . . . . . . . . . .135
LOCAL ON/OFF . . . . . . . . . . . . . . . . . . . . . . . . . .128
LO LIMIT . . . . . . . . . . . . . . . . . . . . . . . . . . . . . . . .121
LVL . . . . . . . . . . . . . . . . . . . . . . . . . . . . . . . . . . . . . .74
M
Medidor de velocidad de pulsación . . . . . . . . . . . . .65
Memoria utilizada . . . . . . . . . . . . . . . . . . . . . . . .15, 82
Mensajes de error . . . . . . . . . . . . . . . . . . . . . . . . .141
Mezclar pistas . . . . . . . . . . . . . . . . . . . . . . . . .90, 109
Microteclado . . . . . . . . . . . . . . . . . . . . . . . . . . . . . .16
MIDI . . . . . . . . . . . . . . . . . . . . . . . . . . . . . . . .127, 144
Canal MIDI . . . . . . . . . . . . . . . . . . . . . . . .130
Control MIDI . . . . . . . . . . . . . . . . . . . . . . .127
Filtro MIDI . . . . . . . . . . . . . . . . . . . . . . . . .128
Formato de datos MIDI . . . . . . . . . . . . . . . .[L]
Implementación MIDI . . . . . . . . . . . . . . . . .[L]
MIDI IN/OUT . . . . . . . . . . . . . . . . . . .9, 10, 11
Sincronización MIDI . . . . . . . . . . . . . . . . .127
Mk Dir (crear directorio) . . . . . . . . . . . . . . . . . . . . .136
Modelación de tiempo (“Time Stretch”) . . . . . .88, 106
Modificar tiempo de puerta . . . . . . . . . . . . . . . .80, 98
Modificar velocidad de pulsación . . . . . . . . . . . .79, 97
Modo de claqueta . . . . . . . . . . . . . . . . . . . . . . . . .126
Modo de grabación . . . . . . . . . . . . .36, 42, 45, 50, 58
Modulación . . . . . . . . . . . . . . . . . . . . . . . . . . .19, 144
M/S . . . . . . . . . . . . . . . . . . . . . . . . . . . . . . .67, 68, 69
mst . . . . . . . . . . . . . . . . . . . . . . . . . . . . . . . . . . . . . .70
Multi . . . . . . . . . . . . . . . . . . . . . . . . . . . . . . . . . . . . .44
N
Normalizar . . . . . . . . . . . . . . . . . . . . . . . . . . . . . . . .92
148
Apéndice

149
Nota . . . . . . . . . . . . . . . . . . . . . . . . . . . . . . . . . . . .115
NRPN . . . . . . . . . . . . . . . . . . . . . . . . . . . . . . .117, 144
Número de programa . . . . . . . . . . . . . . . . . . . .70, 145
Número de tabla de batería . . . . . . . . . . . . . . .68, [L]
O
Obtener frase . . . . . . . . . . . . . . . . . . . . . . . . . . . . .107
OCT . . . . . . . . . . . . . . . . . . . . . . . . . . . . . . . . . . . . .16
Octava . . . . . . . . . . . . . . . . . . . . . . . . . . . . . . . . . . .16
On-Bass . . . . . . . . . . . . . . . . . . . . . . . . . . . . . .56, 144
On/Off (activación/desactivación) . . . . . . . . . . .26, 30
OVER . . . . . . . . . . . . . . . . . . . . . . . . . . . . . . . . .42, 58
“Overdubbing” . . . . . . . . . . . . . . . . . . . . . .42, 58, 144
P
Panorámico . . . . . . . . . . . . . . . . . . . . . . . .70, 74, 144
Pantalla (LCD) . . . . . . . . . . . . . . . . . . . . . . . . . . . . .13
Pantalla de conexiones . . . . . . . . . . . . . . . . . . . . .122
Pantalla de mezclador . . . . . . . . . . . . . . . . . . . . . . .69
Pantalla de notas . . . . . . . . . . . . . . . . . . . . . . . . . . .52
Parámetros de sistema . . . . . . . . . . . . . . . . . . . . .126
Pat . . . . . . . . . . . . . . . . . . . . . . . . . . . . . . . . . . . . . .70
PAT . . . . . . . . . . . . . . . . . . . . . . . . . . . . . . . . . . . . .116
Patrón . . . . . . . . . . . . . . . . . . . . . . . . . . . .18, 31, 144
Borrar patrón . . . . . . . . . . . . . . . . . . . . . . .110
Copiar patrón . . . . . . . . . . . . . . . . . . . . . . .110
Deslizante de pista . . . . . . . . . . . . . . . . . . .69
Efecto de reproducción . . . . . . . . . . . . . . . .62
Modo . . . . . . . . . . . . . . . . . . . . . . . . . . .14, 54
Modo de efecto . . . . . . . . . . . . . . . . . . . . .122
Modo de voz . . . . . . . . . . . . . . . . . . . . . . . .61
Operación . . . . . . . . . . . . . . . . . . . . . . . . . .94
Pista (Pt) . . . . . . . . . . . . . . . . . . . . . . . .35, 45
Pista de frases . . . . . . . . . . . . . . . . . . . . . .61
Patrón predefinido . . . . . . . . . . . . . . . . . . . . . . . . . .31
Patrón de usuario . . . . . . . . . . . . . . . . . . . . . . . . . .55
PATT OUT CH . . . . . . . . . . . . . . . . . . . . . . . . . . . .128
PB . . . . . . . . . . . . . . . . . . . . . . . . . . . . . . . . . .72, 115
PC (cambio de programa) . . . . . . . . . . . . . . . . . . .115
PEAK . . . . . . . . . . . . . . . . . . . . . . . . . . . . . .17, 22, 27
Pedal conmutador . . . . . . . . . . . . . . . . . . . . . . .9, 126
Pilas alcalinas . . . . . . . . . . . . . . . . . . . . . . . .3, 7, 139
Pila de seguridad . . . . . . . . . . . . . . . . . . . . . . . .4, 141
Pista . . . . . . . . . . . . . . . . . . . . . . . . . . . . . .18, 64, 146
Borrar pista . . . . . . . . . . . . . . . . . . . . .91, 109
Copiar pista . . . . . . . . . . . . . . . . . . . . .90, 108
Mezclar pistas . . . . . . . . . . . . . . . . . . .90, 109
Pista de acorde . . . . . . . . . . . . . . .37, 45, 143
Pista de frase de patrón . . . . . . . . . . . . . . .61
Pista de patrón (Pt) . . . . . . . . .35, 55, 58, 144
Pista de secuenciador . . . . . . .18, 40, 50, 145
Pista de tempo . . . . . . . . . . . . . . . . . .39, 146
Pista de secuenciador . . . . . . . . . . . . . . . .40, 50, 145
Pista de tempo . . . . . . . . . . . . . . . . . . . . . . . . .39, 146
Play Fx . . . . . . . . . . . . . . . . . . . . . . . . . . . . . . . . . . .62
Polifonía máxima . . . . . . . . . . . . . . . . . . . . . .139, 144
Poner frase . . . . . . . . . . . . . . . . . . . . . . . . . . . . . .108
Preamplificador, bloque . . . . . . . . . . . . . . . . . . . . . .24
Preparación para grabación . . .16, 36, 42, 45, 50, 58
Proporción de swing . . . . . . . . . . . . . . . . . . . . .78, 96
Pt . . . . . . . . . . . . . . . . . . . . . . . . . . . . . . . . . . . .35, 46
Puntero de nota . . . . . . . . . . . . . . . . . . . . . . . . . . . .52
R
Rec Count (cuenta atrás para grabación) . . . . . . .126
Rehacer . . . . . . . . . . . . . . . . . . . . . . . . . . .77, 95, 145
Reloj . . . . . . . . . . . . . . . . . . . . . . . . . . . . . . . . .52, 143
Remapeo de tabla de batería . . . . . . . . . . . . .67, 143
Repetición . . . . . . . . . . . . . . . . . . . . . . . . . . . . . . . .64
REPL . . . . . . . . . . . . . . . . . . . . . . . . . . . . . .36, 37, 42
RES . . . . . . . . . . . . . . . . . . . . . . . . . . . . . . . . . .73, 75
Resonancia del filtro . . . . . . . . . . . . . . . . .73, 75, 145
Retardo, bloque . . . . . . . . . . . . . . . . . . . . . . . . . . . .29
Retransmisión de efecto de reproducción . . . . .67, 68
Retroceso . . . . . . . . . . . . . . . . . . . . . . . . . . . . . . . .52
REV . . . . . . . . . . . . . . . . . . . . . . . . . . . . . . .28, 30, 74
REVERB (envío de reverberación) . . . . . . . . . . . . .74
Reverberación . . . . . . . . . . . . . . . . . . . .19, 23, 28, 74
Reverberación, bloque . . . . . . . . . . . . . . . . . . . .25, 30
RPN . . . . . . . . . . . . . . . . . . . . . . . . . . . . . . . .117, 145
rst . . . . . . . . . . . . . . . . . . . . . . . . . . . . . . . . . . . . . . .52
S
Save (guardar) . . . . . . . . . . . . . . . . . . . . . . . . . . . . .82
Sección . . . . . . . . . . . . . . . . . . . . . . . . . . . . . .31, 145
Silenciamiento . . . . . . . . . . . . .56, 65, 67, 68, 69, 144
Silencio . . . . . . . . . . . . . . . . . . . . . . . . . . . . . . . . . .52
Simulador de amplificador, configuración . .23, 28, [L]
Síncopa . . . . . . . . . . . . . . . . . . . . . . . . . . . . . . . . . .49
SmartMedia . . . . . . . . . . . . . . . . . . . . . . . . . .131, 145
Solo . . . . . . . . . . . . . . . . . . . . .56, 65, 67, 68, 69, 145
Sonido activado/desactivado . . . . . . . . . . . . . . . . . .49
SOURCE CHORD (acorde fuente) . . . . . . . . .57, 121
Staccato . . . . . . . . . . . . . . . . . . . . . . . . . . . . . . . . . .51
STEP . . . . . . . . . . . . . . . . . . . . . . . . . . . . . . . . .45, 50
Sustitución . . . . . . . . . . . . . . . . . . . . . .36, 37, 42, 145
Swing . . . . . . . . . . . . . . . . . . . . . . . . . . . . . . . . . . . .66
SYSTEM . . . . . . . . . . . . . . . . . . . . . . . . . . . . . . . .122
T
Tabla de batería . . . . . . . . . . . . . . . . . . . . . . . . . . . .68
Tarjeta de memoria . . . . . . . . . . . . . . . . . . . .131, 144
Teclas de función . . . . . . . . . . . . . . . . . . . . . . . . . . .15
Tempo . . . . . . . . . . . . . . . . . . . . . . . . . .36, 39, 55, 59
Tiempo de abandono . . . . . . . . . . . . . . . . . . . .73, 145
Tiempo de ataque . . . . . . . . . . . . . . . . . . . . . .73, 143
Tiempo de claqueta . . . . . . . . . . . . . . . . . . . . . . . .126
Tiempo de compás . . . . . . . . . . . . . . . . . . . . .52, 143
Tiempo de puerta . . . . . . . . . . . . . . .51, 79, 80, 97, 98
TIMING . . . . . . . . . . . . . . . . . . . . . . . . . . . . . . . . . .67
Tm . . . . . . . . . . . . . . . . . . . . . . . . . . . . . . . . . . . . . .39
Apéndice

TO CHO . . . . . . . . . . . . . . . . . . . . . . . . . . . . . . . . .123
TO HOST . . . . . . . . . . . . . . . . . . . . . . . . . . . . . . . . . .9
TO REV . . . . . . . . . . . . . . . . . . . . . . . . . . . . . . . . .123
Tono . . . . . . . . . . . . . . . . . . . . . . . . . . . . . . . . . . . . .74
Tono aproximado . . . . . . . . . . . . . . . . . . . . . . . . . . .74
Transposición . . . . . . . . . . . . . . . . . . .65, 82, 100, 146
Trasvase en bloque . . . . . . . . . . . . . . . . . . . .129, 115
TRNS . . . . . . . . . . . . . . . . . . . . . . . . . . . . . . . . . . . .65
TYPE . . . . . . . . . . . . . . . . . . . . . . . . . . . . . . . .58, 121
U
Utilidades . . . . . . . . . . . . . . . . . . . . . . . . . . . .125, 146
V
VAR . . . . . . . . . . . . . . . . . . . . . . . . . . . . . . . . . . . . .74
VARI. (envío de variación) . . . . . . . . . . . . . . . . . . . .72
VELO . . . . . . . . . . . . . . . . . . . . . . . . . . . . . . . . .42, 51
Velocidad de pulsación . . . . . . . .42, 51, 65, 114, 146
Velocidad de pulsación del teclado . . . . . . . . . . . . .42
Volumen . . . . . . . . . . . . . . . . . . . . . . . . . . . . . . . . . .17
Voz . . . . . . . . . . . . . . . . . . . . . . . . . . . . . . . . . .19, 146
Categoría . . . . . . . . . . . . . . . . . . . . . . . . . .70
Edición . . . . . . . . . . . . . . . . . . . . . . . . .62, 72
Nombre . . . . . . . . . . . . . . . . . . . . . . . . . . . .[L]
Variación (Voz) . . . . . . . . . . . . . . . . . . .70, [L]
Voz de batería . . . . . . . . . . . . . . . . . . .74, [L]
Voz normal . . . . . . . . . . . . . . . . . . . . . . . . .[L]
Voz de batería . . . . . . . . . . . . . . . . . . . . . . . . . .74, [L]
Voz normal . . . . . . . . . . . . . . . . . . . . . . . . . . . .18, [L]
X
XG Exc Drum . . . . . . . . . . . . . . . . . . . . . . . . . . . . .119
XG Exc Effect . . . . . . . . . . . . . . . . . . . . . . . . . . . . .118
XG Exc Multi . . . . . . . . . . . . . . . . . . . . . . . . . . . . .119
XG Exc System . . . . . . . . . . . . . . . . . . . . . . . . . . .118
XG NRPN . . . . . . . . . . . . . . . . . . . . . . . . . . . . . . . .118
XG PARM OUT . . . . . . . . . . . . . . . . . . . . . . . . . . .128
XG RPN . . . . . . . . . . . . . . . . . . . . . . . . . . . . . . . . .118
XG View . . . . . . . . . . . . . . . . . . . . . . . . . . . . . . . . .120
Z
Zona digitada . . . . . . . . . . . . . . . . . . . . . . . . . . . . .130
ZONE . . . . . . . . . . . . . . . . . . . . . . . . . . . . . . . . . . .130
Botones y símbolos gráficos
. . . . . . . . . . . . . . . . . . . . . . . . . . . . . . . . . . . . . .16
. . . . . . . . . . . . . . . . . . . . . . . . . . . . . . . . . . . . . .16
. . . . . . . . . . . . . . . . . . . . . . . . . . . . . . . . . . . . . .16
. . . . . . . . . . . . . . . . . . . . . . . . . . . . . . . . . . . . . .16
. . . . . . . . . . . . . . . . . . . . . . . . . . . . . . . . . . . . . .16
. . . . . . . . . . . . . . . . . . . . . . . . . . . . . . . . . . . . . .16
[-1(NO)]/[+1(YES)] . . . . . . . . . . . . . . . . . . . . . . . . . .14
[AMP SIMULATOR] . . . . . . . . . . . . . . . . . . . . . . . . .17
[CARD] . . . . . . . . . . . . . . . . . . . . . . . . . . . . . . . . . . .17
[ENTER] . . . . . . . . . . . . . . . . . . . . . . . . . . . . . . . . . .15
[EXIT] . . . . . . . . . . . . . . . . . . . . . . . . . . . . . . . . . . . .14
[MENU] . . . . . . . . . . . . . . . . . . . . . . . . . . . . . . . . . .15
[OCT DOWN]/[OCT UP] . . . . . . . . . . . . . . . . . . . . .16
[PARAMETR] . . . . . . . . . . . . . . . . . . . . . . . . . . . . . .17
[PATTERN] . . . . . . . . . . . . . . . . . . . . . . . . . . . . . . . .14
[SHIFT] . . . . . . . . . . . . . . . . . . . . . . . . . . . . . . . . . .14
[SONG] . . . . . . . . . . . . . . . . . . . . . . . . . . . . . . . . . .13
Teclas de cursor . . . . . . . . . . . . . . . . . . . . . . . . . . . .14
Microteclado . . . . . . . . . . . . . . . . . . . . . . . . . . . . . .16
. . . . . . . . . . . . . . . . . . . . . . . . . . . . . . . . . . . . . .64
. . . . . . . . . . . . . . . . . . . . . . . . . . . . . . . . . . . . . . .56
. . . . . . . . . . . . . . . . . . . . . . . . . . . . . . . . . . . . .120
)
[>]
[■]
[
●
]
[
f
]
r
]
[p]
150
Apéndice