Yamaha DTX MULTI 12 Owner's Manual Dtxm12 En Om B0
User Manual: Yamaha DTX-MULTI 12 Owner's Manual
Open the PDF directly: View PDF
.
Page Count: 116 [warning: Documents this large are best viewed by clicking the View PDF Link!]
- Top cover
- Additional Package Contents
- Features of the DTX-MULTI 12
- Contents
- Component Names & Functions
- Setting Up
- Producing Sounds with the Pads
- Listening to Patterns
- Making Your Own Patterns
- Saving Your Data on a USB Memory Device
- Importing Audio Files
- Internal Design
- Basic Operations
- KIT Setting Area (KIT)
- VOICE Setting Area (VCE)
- MIDI Setting Area (MIDI)
- WAVE Setting Area (WAVE)
- PATTERN Setting Area (PTN)
- UTILITY Setting Area (UTIL)
- TRIGGER Setting Area (TRG)
- Troubleshooting
- On-screen Messages
- Specifications
- Index
- Back cover

Owner’s Manual
EN

2
Owner’s Manual
PLEASE KEEP THIS MANUAL
This product utilizes batteries or an external power supply (adapter). DO
NOT connect this product to any power supply or adapter other than one
described in the manual, on the name plate, or specifically recom-
mended by Yamaha.
WARNING:
Do not place this product in a position where anyone could
walk on, trip over ,or roll anything over power or connecting cords of any
kind. The use of an extension cord is not recommended! If you must use
an extension cord, the minimum wire size for a 25’ cord (or less ) is 18
AWG. NOTE: The smaller the AWG number ,the larger the current han-
dling capacity. For longer extension cords, consult a local electrician.
This product should be used only with the components supplied or; a
cart, rack, or stand that is recommended by Yamaha. If a cart, etc., is
used, please observe all safety markings and instructions that accom-
pany the accessory product.
SPECIFICATIONS SUBJECT TO CHANGE:
The information contained in this manual is believed to be correct at the
time of printing. However, Yamaha reserves the right to change or modify
any of the specifications without notice or obligation to update existing
units.
This product, either alone or in combination with an amplifier and head-
phones or speaker/s, may be capable of producing sound levels that
could cause permanent hearing loss. DO NOT operate for long periods
of time at a high volume level or at a level that is uncomfortable. If you
experience any hearing loss or ringing in the ears, you should consult an
audiologist.
IMPORTANT: The louder the sound, the shorter the time period before
damage occurs.
Some Yamaha products may have benches and / or accessory mount-
ing fixtures that are either supplied with the product or as optional
accessories. Some of these items are designed to be dealer assembled
or installed. Please make sure that benches are stable and any optional
fixtures (where applicable) are well secured BEFORE using.
Benches supplied by Yamaha are designed for seating only. No other
uses are recommended.
NOTICE:
Service charges incurred due to a lack of knowledge relating to how a
function or effect works (when the unit is operating as designed) are not
covered by the manufacturer’s warranty, and are therefore the owners
responsibility. Please study this manual carefully and consult your dealer
before requesting service.
ENVIRONMENTAL ISSUES:
Yamaha strives to produce products that are both user safe and environ-
mentally friendly. We sincerely believe that our products and the produc-
tion methods used to produce them, meet these goals. In keeping with
both the letter and the spirit of the law, we want you to be aware of the
following:
Battery Notice:
This product MAY contain a small non-rechargeable battery which (if
applicable) is soldered in place. The average life span of this type of bat-
tery is approximately five years. When replacement becomes necessary,
contact a qualified service representative to perform the replacement.
This product may also use “household” type batteries. Some of these
may be rechargeable. Make sure that the battery being charged is a
rechargeable type and that the charger is intended for the battery being
charged.
When installing batteries, do not mix batteries with new, or with batteries
of a different type. Batteries MUST be installed correctly. Mismatches or
incorrect installation may result in overheating and battery case rupture.
Warning:
Do not attempt to disassemble, or incinerate any battery. Keep all batter-
ies away from children. Dispose of used batteries promptly and as regu-
lated by the laws in your area. Note: Check with any retailer of
household type batteries in your area for battery disposal information.
Disposal Notice:
Should this product become damaged beyond repair, or for some reason
its useful life is considered to be at an end, please observe all local,
state, and federal regulations that relate to the disposal of products that
contain lead, batteries, plastics, etc. If your dealer is unable to assist
you, please contact Yamaha directly.
NAME PLATE LOCATION:
The name plate is located on the bottom of the product. The model num-
ber, serial number, power requirements, etc., are located on this plate.
You should record the model number, serial number, and the date of pur-
chase in the spaces provided below and retain this manual as a perma-
nent record of your purchase.
Model
Serial No.
Purchase Date
SPECIAL MESSAGE SECTION
92-BP
(bottom)

Owner’s Manual
3
1. IMPORTANT NOTICE: DO NOT MODIFY THIS UNIT!
This product, when installed as indicated in the instructions con-
tained in this manual, meets FCC requirements. Modifications not
expressly approved by Yamaha may void your authority, granted by
the FCC, to use the product.
2. IMPORTANT:
When connecting this product to accessories and/
or another product use only high quality shielded cables. Cable/s
supplied with this product MUST be used. Follow all installation
instructions. Failure to follow instructions could void your FCC
authorization to use this product in the USA.
3. NOTE:
This product has been tested and found to comply with the
requirements listed in FCC Regulations, Part 15 for Class “B” digital
devices. Compliance with these requirements provides a reason-
able level of assurance that your use of this product in a residential
environment will not result in harmful interference with other elec-
tronic devices. This equipment generates/uses radio frequencies
and, if not installed and used according to the instructions found in
the users manual, may cause interference harmful to the operation
of other electronic devices. Compliance with FCC regulations does
* This applies only to products distributed by YAMAHA CORPORATION OF AMERICA. (class B)
not guarantee that interference will not occur in all installations. If
this product is found to be the source of interference, which can be
determined by turning the unit “OFF” and “ON”, please try to elimi-
nate the problem by using one of the following measures:
Relocate either this product or the device that is being affected by
the interference.
Utilize power outlets that are on different branch (circuit breaker or
fuse) circuits or install AC line filter/s.
In the case of radio or TV interference, relocate/reorient the
antenna. If the antenna lead-in is 300 ohm ribbon lead, change the
lead-in to co-axial type cable.
If these corrective measures do not produce satisfactory results,
please contact the local retailer authorized to distribute this type of
product. If you can not locate the appropriate retailer, please con-
tact Yamaha Corporation of America, Electronic Service Division,
6600 Orangethorpe Ave, Buena Park, CA90620
The above statements apply ONLY to those products distributed by
Yamaha Corporation of America or its subsidiaries.
FCC INFORMATION (U.S.A.)
*This applies only to products distributed by
YAMAHA CORPORATION OF AMERICA.
COMPLIANCE INFORMATION STATEMENT
(DECLARATION OF CONFORMITY PROCEDURE)
Responsible Party : Yamaha Corporation of America
Address : 6600 Orangethorpe Ave., Buena Park, Calif. 90620
Telephone : 714-522-9011
Type of Equipment : Electronic Percussion Pad
Model Name : DTXM12
This device complies with Part 15 of the FCC Rules.
Operation is subject to the following two conditions:
1) this device may not cause harmful interference, and
2) this device must accept any interference received including interference
that may cause undesired operation.
See user manual instructions if interference to radio reception is sus-
pected.
(FCC DoC)
IMPORTANT NOTICE FOR THE UNITED KINGDOM
Connecting the Plug and Cord
IMPORTANT. The wires in this mains lead are coloured in
accordance with the following code:
BLUE : NEUTRAL
BROWN : LIVE
As the colours of the wires in the mains lead of this apparatus
may not correspond with the coloured makings identifying the
terminals in your plug proceed as follows:
The wire which is coloured BLUE must be connected to the
terminal which is marked with the letter N or coloured BLACK.
The wire which is coloured BROWN must be connected to the
terminal which is marked with the letter L or coloured RED.
Making sure that neither core is connected to the earth termi-
nal of the three pin plug.
Information for Users on Collection and Disposal of Old Equipment
This symbol on the products, packaging, and/or accompanying documents means that used electrical and electronic products should not be
mixed with general household waste.
For proper treatment, recovery and recycling of old products, please take them to applicable collection points, in accordance with your national
legislation and the Directives 2002/96/EC.
By disposing of these products correctly, you will help to save valuable resources and prevent any potential negative effects on human health
and the environment which could otherwise arise from inappropriate waste handling.
For more information about collection and recycling of old products, please contact your local municipality, your waste disposal service or the
point of sale where you purchased the items.
[For business users in the European Union]
If you wish to discard electrical and electronic equipment, please contact your dealer or supplier for further information.
[Information on Disposal in other Countries outside the European Union]
This symbol is only valid in the European Union. If you wish to discard these items, please contact your local authorities or dealer and ask for the
correct method of disposal.
OBSERVERA!
Apparaten kopplas inte ur växelströmskällan (nätet) så länge som den ar ansluten till vägguttaget,
även om själva apparaten har stängts av.
ADVARSEL:
Netspændingen til dette apparat er IKKE afbrudt, sålæenge netledningen siddr i en
stikkontakt, som er t endt — også selvom der or slukket på apparatets afbryder.
VAROITUS:
Laitteen toisiopiiriin kytketty käyttökytkin ei irroita koko laitetta verkosta.
(standby)
• This applies only to products distributed by
Yamaha Music U.K. Ltd.
(2 wires)

4
Owner’s Manual
PRECAUTIONS
PLEASE READ CAREFULLY BEFORE PROCEEDING
* Please keep this manual in a safe place for future reference.
WARNING
Always follow the basic precautions listed below to avoid the possibility of serious injury or even death from electrical
shock, short-circuiting, damages, fire or other hazards. These precautions include, but are not limited to, the following:
• Only use the voltage specified as correct for the instrument. The required
voltage is printed on the name plate of the instrument.
• Use the specified adaptor (page 110) only. Using the wrong adaptor can result
in damage to the instrument or overheating.
•Check the electric plug periodically and remove any dirt or dust which may have
accumulated on it.
•Do not place the AC adaptor cord near heat sources such as heaters or radiators,
and do not excessively bend or otherwise damage the cord, place heavy objects
on it, or place it in a position where anyone could walk on, trip over, or roll
anything over it.
• Do not open the instrument or attempt to disassemble the internal parts or
modify them in any way. The instrument contains no user-serviceable parts. If it
should appear to be malfunctioning, discontinue use immediately and have it
inspected by qualified Yamaha service personnel.
• Do not expose the instrument to rain, use it near water or in damp or wet
conditions, or place containers on it containing liquids which might spill into
any openings. If any liquid such as water seeps into the instrument, turn off the
power immediately and unplug the power cord from the AC outlet. Then have
the instrument inspected by qualified Yamaha service personnel.
• Never insert or remove an electric plug with wet hands.
• Do not put burning items, such as candles, on the unit.
A burning item may fall over and cause a fire.
• If the AC adaptor cord or plug becomes frayed or damaged, or if there is a
sudden loss of sound during use of the instrument, or if any unusual smells or
smoke should appear to be caused by it, immediately turn off the power switch,
disconnect the adaptor plug from the outlet, and have the instrument inspected
by qualified Yamaha service personnel.
CAUTION
Always follow the basic precautions listed below to avoid the possibility of physical injury to you or others, or damage
to the instrument or other property. These precautions include, but are not limited to, the following:
• When removing the electric plug from the instrument or an outlet, always hold
the plug itself and not the cord.
• Unplug the AC power adaptor when not using the instrument, or during
electrical storms.
•Do not connect the instrument to an electrical outlet using a multiple-connector.
Doing so can result in lower sound quality, or possibly cause overheating in the
outlet.
•Do not expose the instrument to excessive dust or vibrations, or extreme cold or
heat (such as in direct sunlight, near a heater, or in a car during the day) to
prevent the possibility of panel disfiguration or damage to the internal
components.
• Do not use the instrument in the vicinity of a TV, radio, stereo equipment,
mobile phone, or other electric devices. Otherwise, the instrument, TV, or radio
may generate noise.
• Do not place the instrument in an unstable position where it might accidentally
fall over.
• Before moving the instrument, remove all connected adaptor and other cables.
• When setting up the product, make sure that the AC outlet you are using is
easily accessible. If some trouble or malfunction occurs, immediately turn off
the power switch and disconnect the plug from the outlet. Even when the power
switch is turned off, electricity is still flowing to the product at the minimum
level. When you are not using the product for a long time, make sure to unplug
the power cord from the wall AC outlet.
• Use only the stand/rack specified for the instrument. When attaching the stand
or rack, use the provided screws only. Failure to do so could cause damage to
the internal components or result in the instrument falling over.
•Do not place objects in front of the instrument's air vent, since this may prevent
adequate ventilation of the internal components, and possibly result in the
instrument overheating.
• Before connecting the instrument to other electronic components, turn off the
power for all components. Before turning the power on or off for all
components, set all volume levels to minimum. Also, be sure to set the volumes
of all components at their minimum levels and gradually raise the volume
controls while playing the instrument to set the desired listening level.
Power supply/AC power adaptor
Do not open
Water warning
Fire warning
If you notice any abnormality
Power supply/AC power adaptor
Location
Connections
(3)-13
1/2

Owner’s Manual
5
• When cleaning the instrument, use a soft, dry cloth. Do not use paint thinners,
solvents, cleaning fluids, or chemical-impregnated wiping cloths.
• Never insert or drop paper, metallic, or other objects into the gaps on the panel
or keyboard. If this happens, turn off the power immediately and unplug the
power cord from the AC outlet. Then have the instrument inspected by qualified
Yamaha service personnel.
•Do not place vinyl, plastic or rubber objects on the instrument, since this might
discolor the panel or keyboard.
•Do not rest your weight on, or place heavy objects on the instrument, and do not
use excessive force on the buttons, switches or connectors.
• Do not use the instrument/device or headphones for a long period of time at a
high or uncomfortable volume level, since this can cause permanent hearing
loss. If you experience any hearing loss or ringing in the ears, consult a
physician.
Saving and backing up your data
• Saved data may be lost due to malfunction or incorrect operation. Save
important data to external USB storage device.
Backing up the USB storage device
•To protect against data loss through media damage, we recommend that you
save your important data onto two USB storage devices.
Always turn the power off when the instrument is not in use.
Even when the power switch is in the standby position, electricity is still flowing to the instrument at the minimum level. When you are not using the instrument for a long
time, make sure you unplug the AC power adaptor from the wall AC outlet.
Special Notice
• This Owner’s Manual and all content thereof is copyright of Yamaha Corporation.
• The illustrations and LCD screens as shown in this Owner’s Manual are for instructional purposes only and may appear somewhat different from those on your instrument.
• This product incorporates and bundles computer software and other content for which Yamaha retains the copyright or, with respect to which, has license to use others’ copyrights.
Such copyrighted materials include, but are not limited to, all computer software, style files, MIDI data, wave data, musical scores, and sound recordings. Any unauthorized use of
said software and content for non-personal applications is prohibited under applicable laws. Any violation of copyright has legal consequences. DO NOT MAKE, DISTRIBUTE, OR
USE ILLEGAL COPIES.
•This device is capable of using various musical-data types and formats by optimization thereof in advance to a specific proprietary format. As a result, this instrument may not play
back said data exactly as the producers or composers thereof originally intended.
• Copying of commercially available musical data including, but not limited to, MIDI data and/or audio data is strictly prohibited except when intended for personal use.
• The company names and product names in this manual are the trademarks or registered trademarks of their respective companies.
Maintenance
Handling caution
Saving data
Yamaha cannot be held responsible for damage caused by improper use or modifications to the instrument, or data that is lost or destroyed.
■
Latest Firmware Version
From time to time, Yamaha may update product firmware without prior notice. We recommend, therefore, that you check our web site (below) for the latest version and
keep your DTX-MULTI 12 firmware up to date.
http://dtxdrums.yamaha.com
The content of this Owner’s Manual applies to the newest version of the firmware as of printing. Details regarding any functions added to later versions will also be made
available via the above web site.
■
Optional Pads
Within this Owner’s Manual, the optional external pads that may be connected to the DTX-MULTI 12 are referred to by model name. Please note that these model names
were up-to-date as of printing of this manual. Details regarding any subsequently released models will be made available via the following web site.
http://dtxdrums.yamaha.com
(3)-13
2/2
00_dtxm_en.fm Page 5 Friday, September 17, 2010 9:16 AM

6
Owner’s Manual
Welcome
Thank you for purchasing the Yamaha DTX-MULTI 12 Electronic Percussion Pad.
To get the most out of your new instrument, please read this owner’s manual carefully. And after reading this
document, be sure to store it in a safe place so that you can refer back to it again as needed.
Additional Package Contents
●
Power adaptor
●
Owner’s Manual (this document)
●
Data List booklet
●
DVD-ROM (containing software)
Features of the DTX-MULTI 12
12 built-in pads and versatile input connectors
The DTX-MULTI 12 features 12 built-in pads that have been
conveniently arranged for ease-of-use in a wide variety of per-
formance situations. On the rear panel, furthermore, you will
find input connectors for five additional Yamaha electronic drum
pads and drum triggers. By combining separately-sold pads
and drum triggers with a central DTX-MULTI 12 unit, you can
create your own compact electronic drum kit and also integrate
acoustic drums. Furthermore, with a foot switch jack and a hi-
hat controller jack also included, you can use foot switches and
controllers to select drum kits, to simulate hi-hat playing tech-
niques, and to enhance your performances in a wide range of
other ways.
High-quality sound
In addition to a broad spectrum of voices from the top-of-the-
line DTXTREME III Drum Trigger Module, the DTX-MULTI 12
also features many newly-sampled percussion sounds and ver-
satile, ready-to-use effect sounds for a grand total of 1,277
voices. What’s more, this rich variety of sounds also includes
timpani, marimba, vibraphone, and many other chromatic per-
cussion instruments. Together with great-sounding Reverb and
Chorus effects that can be applied to entire drum kits, the DTX-
MULTI 12 also features a Variation effect unit that can be used
to enhance individual voices in many exciting ways.
Wide selection of patterns
The DTX-MULTI 12 comes complete with 128 ready-to-use
melodic and rhythmic phrases (including 3 demos) known as
patterns. You can easily start and stop patterns by simply strik-
ing pads to which they are assigned, greatly adding to the
expressiveness of your performances. In addition, you can also
record your own performances as patterns and assign them to
pads in order to conveniently add original grooves to your drum
kits.
Powerful USB expandability
Using the USB TO HOST port and a USB cable (sold sepa-
rately), the DTX-MULTI 12 can be conveniently connected to a
computer. This affords you a much greater level of efficiency
and speed when recording performances and carrying out
many other music-production processes using computer-based
DAW (digital audio workstation) software such as Cubase AI,
which is bundled with your DTX-MULTI 12.
A USB TO DEVICE port allows USB memory devices to be
plugged in for flexible data exchange. This allows you to store
your DTX-MULTI 12 settings on such a device as standard
computer files; furthermore, you can also import WAV or AIFF
audio files from a USB memory device and assign them to indi-
vidual pads, thus adding a unique, highly personal flavor to
your performances.
Versatile triggering for enhanced musical possi-
bilities
With the Stack function, each pad can produce up to four differ-
ent sounds; meanwhile, the Alternate function triggers different
sounds each time a pad is struck. In addition, you can setup
the instrument to automatically select different sounds based
on how hard or soft you strike the corresponding pad or in
response to foot-switch operation.
The DTX-MULTI 12 can also be setup to allow sounds to be
silenced when a hand is pressed down on the pad and to allow
different sounds to be produced when a hand is pressed down
on a pad as it is struck. And you are not restricted to drumsticks
alone! The DTX-MULTI 12 can be easily setup to support a rich
variety of hand playing styles.
00_dtxm_en.fm Page 6 Friday, September 17, 2010 9:16 AM

Owner’s Manual
7
Contents
Additional Package Contents ........................................6
Features of the DTX-MULTI 12.....................................6
Component Names & Functions............................ 8
Setting Up .............................................................. 10
Using with Acoustic Drums .........................................10
Power supply...............................................................10
Connecting Speakers and/or Headphones .................10
Connecting to Other Audio Equipment........................10
Turning on the DTX-MULTI 12....................................11
Connecting a USB Memory Device.............................11
Connecting Other MIDI Devices..................................12
Connecting to a Computer ..........................................13
Making Music with a Computer ...................................13
Setting up Cubase Remote Control ............................15
Quick Guide
Producing Sounds with the Pads................................. 16
Listening to Patterns ..................................................... 20
Making Your Own Patterns ........................................... 21
Saving Your Data on a USB Memory Device............... 23
Importing Audio Files.................................................... 25
Reference
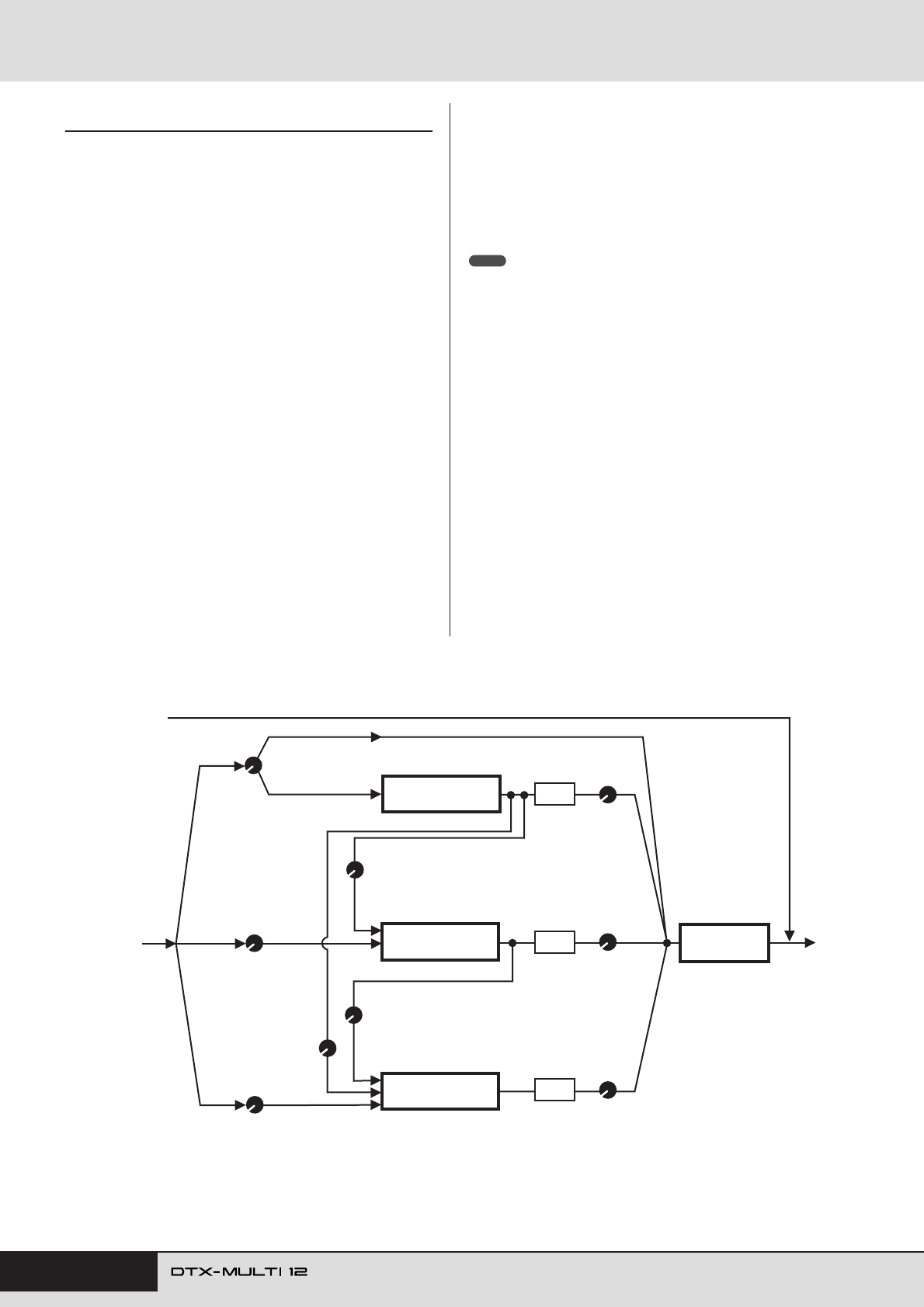
Internal Design ...................................................... 27
Functional Blocks ........................................................27
Pads & Trigger Signals ...............................................28
Sounds Produced Using the Pads ..............................31
Kit Makeup ..................................................................32
Effects .........................................................................36
Internal Memory ..........................................................42
Basic Operations .................................................. 44
KIT Setting Area (KIT)........................................... 46
Makeup of KIT Setting Area ........................................46
KIT1 Select Kit ............................................................47
KIT2 Kit Volume, Tempo & Name ...............................47
KIT3 Effect Send Levels..............................................48
KIT4 Variation Effect Setup.........................................48
KIT5 Chorus Effect Setup ...........................................49
KIT6 Reverb Effect Setup ...........................................50
KIT7 Other Drum Kit Settings......................................51
KIT8 Kit Management .................................................53
VOICE Setting Area
(VCE).................................... 55
Makeup of VOICE Setting Area ..................................55
VCE1 Select Voice......................................................56
VCE2 Voice Tuning, Volume & Pan............................57
VCE3 Voice Timbre.....................................................58
VCE4 Effect Send Levels............................................59
VCE5 Other Voice-Related Settings ...........................60
MIDI Setting Area (MIDI) ....................................... 61
Structure of MIDI Setting Area ....................................61
MIDI1 Select Message Type .......................................62
MIDI2 MIDI Destination Switches................................66
MIDI3 Other MIDI Settings ..........................................67
WAVE Setting Area
(WAVE) ................................ 69
Makeup of WAVE Setting Area ...................................69
WAVE1 Wave Selection & Playback...........................70
WAVE2 Playback Mode, Trim Points & Name ............70
WAVE3 Other Wave-Related Tasks ...........................71
WAVE4 Wave Memory Status ....................................73
PATTERN Setting Area (PTN) .............................. 74
Makeup of PATTERN Setting Area .............................74
PTN1 Select Pattern....................................................75
PTN2 Looping, Tempo & Pattern Names....................75
PTN3 MIDI Settings for Patterns .................................76
PTN4 Pattern Quantization & Management ................78
PTN5 Pattern Memory Status .....................................81
UTILITY Setting Area (UTIL)................................. 82
Makeup of UTILITY Setting Area ................................82
UTIL1 System Settings................................................83
UTIL2 Click Track Settings..........................................84
UTIL3 Master Equalization ..........................................86
UTIL4 Pad Utilities.......................................................88
UTIL5 Hi-hat Setup......................................................89
UTIL6 Instrument MIDI Setup......................................90
UTIL7 File Management..............................................92
UTIL8 Instrument Reset ..............................................98
TRIGGER Setting Area (TRG) .............................. 99
Makeup of TRIGGER Setting Area .............................99
TRG1 Select Trigger Setup .......................................100
TRG2 Pad Setup .......................................................100
TRG3 Trigger Setup Names......................................104
TRG4 Copy Trigger Parameters ...............................104
Troubleshooting ................................................. 105
On-screen Messages.......................................... 108
Specifications ..................................................... 110
Index .................................................................... 111

8
Owner’s Manual
Component Names & Functions
■
Front Panel
q
VOLUME Dial
This dial controls the master volume (i.e., the volume at the
OUTPUT jacks). Turn the dial clockwise to increase the volume
or counter-clockwise to decrease it.
w
Display
This LCD screen shows information and data needed for oper-
ation.
e
Pad Indicator
This array of LEDs shows the pads that have been struck and
are currently producing a sound. The displayed numbers 1 to
12 correspond to the twelve main and rim pads on the instru-
ment itself. In addition, the lamp [13-17] turns on in response to
playing of expansion pads (sold-separately), which are con-
nected via the PAD jacks on the rear panel, or to signals from a
foot switch or hi-hat controller (sold-separately), which is con-
nected via the FOOT SW or HI-HAT CONTROL jack, also on
the rear panel.
• Before use, be sure to remove the transparent film applied to the indi-
cator panel to protect it during transportation.
r
[MIDI] Button
This button is used to access the MIDI setting area (see page
61). In addition, you can turn on and off the Cubase Remote
function by holding down the [SHIFT] button and pressing the
[MIDI] button. When this function is turned on, the buttons on
the DTX-MULTI 12 front panel can be used to control Cubase
operations (see page 15).
t
[VOICE] Button
This button is used to access the Voice setting area (see page
55).
y
[KIT] Button
This button is used to access the Kit setting area (see page
46). In addition, you can toggle effects applied to the current
drum kit on and off by holding down the [SHIFT] button and
pressing the [KIT] button (see page 83).
u
[PTN] Button
The Pattern button is used to access the Pattern setting area
(see page 74). In addition, you can also activate Record Mode
by holding down the [SHIFT] button and pressing the [PTN]
button (see page 21).
i
[WAVE] Button
This button is used to access the Wave setting area (see page
69). In addition, you can also open the Import page by holding
down the [SHIFT] button and pressing the [WAVE] button (see
page 25).
o
[UTILITY] Button
This button is used to access the Utility setting area (see page
82). In addition, you can also access the Trigger setting area by
holding down the [SHIFT] button and pressing the [UTILITY]
button (see page 99).
!0
[SHIFT] Button
Hold down this button and press another button to access the
setting area or function indicated above or below it.
!1
[EE
EE
] Button
The Click-track button is used to start and stop the built-in click-
track (or metronome). In addition, you can also activate the Tap
Tempo function by holding down the [SHIFT] button and pressing
the [ ] button.
!2
[EXIT] Button
The parameter-setting pages in each setting area are arranged
in a hierarchical structure. Press this button to leave the current
page and move one step back towards the top of the setting
area. In addition, you can instantly turn off all sound by holding
down the [SHIFT] button and pressing the [EXIT] button.
!3
[ENTER] Button
This button is used to execute processes and confirm values. In
addition, you can activate the Panel Lock function to lock and
unlock the front panel by holding down the [SHIFT] button and
pressing the [ENTER] button. In this way, the front panel can be
deactivated during performances in order to avoid making unin-
tentional changes to settings. Even with the Panel Lock acti-
vated, the [KIT] and [VOICE] buttons can be used to access the
corresponding setting areas; however, you will only be able to
change the current kit using the [-/DEC] and [+/INC] buttons or
visually confirm the voice assigned to struck pads. To check
voices with the Panel Lock activated, press the [VOICE] button.
!4
[STORE] Button
This button is used to store settings and other data in the DTX-
MULTI 12’s internal memory. In addition, this button will light up
whenever parameters have been changed but not yet stored.
!5 [B] [D] [C] Buttons
•These selector buttons are used to navigate between param-
eter-setting pages and parameters in the various setting
areas.
•You can activate and deactivate Input Lock mode by holding
down the [SHIFT] button and pressing the [D] button (see
page 103).
•With a parameter-setting page displayed, you can move to the
first parameter-setting page of the previous or next parameter
section in the current setting area by holding down the
[SHIFT] button and pressing the [B] or [C] button.
≤≤≤≤≤YAMAHA
<<DTX-MULTI≤12>>
e !5
o !0 !4 !6 !7iuy
r !1 !2 !3tqw
NOTE
E

Component Names & Functions
Owner’s Manual 9
!6 [-/DEC] Button
This button is used when setting parameters to decrease the
value at the cursor position. In addition, the selected value can
be decreased in units of 10 by holding down the [SHIFT] button
and pressing the [-/DEC] button or by holding down the [-/DEC]
button and pressing the [+/INC] button.
!7 [+/INC] Button
This button is used when setting parameters to increase the
value at the cursor position. In addition, the selected value can
be increased in units of 10 by holding down the [SHIFT] button
and pressing the [+/INC] button or by holding down the [+/INC]
button and pressing the [-/DEC] button.
■Side Panel
■Rear Panel
@0 Standby/On Switch
Use this switch to turn your DTX-MULTI 12 on ( ) and off
().
@1 Cord Clip
Wrap the cord from the power adaptor around this clip to pre-
vent accidental unplugging during use.
@2 DC IN Terminal
Connect the power cord from the power adaptor (provided) to
this terminal.
@3 MIDI IN/OUT Connectors
The MIDI IN connector is used to receive control or perfor-
mance data from another MIDI device, such as an external
sequencer, via a MIDI cable. When connected in this way, you
can play the internal tone generator and control a wide range of
parameters using another MIDI device. Meanwhile, the MIDI
OUT connector is used to send performance data from this
instrument to other devices in the form of MIDI messages.
@4 FOOT SW Jack
The Foot Switch jack is used to connect an optional foot switch
(FC4, FC5, FC7, etc.) or hi-hat controller (HH65, etc.) to the
DTX-MULTI 12.
@5 HI-HAT CONTROL Jack
The Hi-hat Control jack is used to connect an optional hi-hat
controller (HH65, etc.).
@6 PAD Jacks (!3 to !7)
These trigger-input jacks are used to connect optional pads.
The PAD !3 jack is compatible both with mono and stereo (two-
and three-zone) types; meanwhile, the PAD !4/!5 and the PAD
!6/!7 jacks support standard mono-output pads (see page 30).
@7 AUX IN Jack
External audio signals can be input via this standard stereo-
phone plug. In this way, you can connect an MP3 or CD player
to play along with your favorite tunes.
@8 GAIN Knob
Use this knob to adjust the gain level for audio being input via
the AUX IN jack. This adjustment may be necessary given that
external audio devices output signals at a wide range of differ-
ent volumes. Increase the gain by rotating the knob clockwise,
and decrease it by rotating the knob counter-clockwise.
@9 OUTPUT L/MONO and R Jacks
Use these jacks to output line-level stereo mixes. For example,
you can connect each of the jacks to the left and right inputs of
an external stereo amplifier or mixer using mono audio-jack
cables. For mono output, use the L/MONO jack only.
#0 PHONES Jack
Use this standard audio jack to connect a pair of stereo head-
phones.
#1 VOLUME Knob
Use this knob to adjust the level of audio output from the
PHONES jack. Increase the volume by rotating the knob clock-
wise, and decrease it by rotating the knob counter-clockwise.
!8 !9
!8 USB TO DEVICE Port
This port is used to plug in a USB memory device (such as a flash drive or external
hard disk), either directly or via a USB cable. When connected in this way, you will be
able to save data created on the DTX-MULTI 12 to the USB memory device and to
import settings, sound files, and the like.
!9 USB TO HOST Port
This port is used to connect the DTX-MULTI 12 to a computer via a USB cable. When
connected in this way, you will be able to exchange MIDI data between the instrument
and your computer.
@3 @9@6@4@0 @5 @7 @8 #0 #1@1 @2
FF
FF

10 Owner’s Manual
Setting Up
Using with Acoustic Drums
If you intend to use your DTX-MULTI 12 together with a set of
acoustic drums, you can attach an MAT1 Module Attachment
(sold separately) to the bottom of the unit so that it can be conve-
niently assembled to a tom holder or a stand. For details regarding
assembly, refer to the owner’s manual that comes with the MAT1.
Power supply
1Ensure that the (Standby/On) switch on the
rear panel is turned off.
2Connect the DC power cord from the power adap-
tor (included) to the DC IN terminal on the rear
panel. To prevent the cord from being acciden-
tally unplugged, wrap it around the cord clip.
3Plug the adaptor’s AC power cord into an AC wall
socket or another electrical outlet.
Connecting Speakers and/or Head-
phones
The DTX-MULTI 12 has no built-in speakers. In order to hear it,
therefore, you will need to connect headphones or an external
amplifier and speakers. (See the connection diagram below.)
●OUTPUT L/MONO and R Jacks
(standard mono audio jacks)
Use these jacks to connect your instrument to an external ampli-
fier and speakers in order to hear yourself play. If the amplifier
has only a single input jack, be sure to connect it via the OUTPUT
L/MONO jack.
●PHONES Jack (standard stereo audio jack)
Use this audio jack to connect a pair of stereo headphones. The
headphone volume can be adjusted using the VOLUME knob on
the rear panel.
Connecting to Other Audio Equipment
Audio input from an MP3 or CD player via the AUX IN jack can
be mixed with the sound produced by the DTX-MULTI 12 and
output together from the OUTPUT (L/MONO and R) and
PHONES jacks. This makes it very easy to play along with your
favorite tunes. If necessary, furthermore, you can adjust the input
volume using the GAIN knob.
• Ensure that the power cord is not bent at an extreme angle
when wrapped around the clip. Excessive bending can dam-
age the cord and create a fire hazard.
• Use only the power adaptor provided. Operation with other
adaptors may damage the instrument, cause it to overheat, or
create a fire hazard.
• Ensure that the power supply is correct for the power adaptor
provided.
•The DTX-MULTI 12 remains charged and draws a small
amount of power even when the (Standby/On) switch is in
the Off position. If it is not to be used for an extended period of
time, therefore, be sure to unplug the AC power adaptor from
the power supply.
FF
FF
CAUTION
WARNING
F
•Whenever making connections, ensure that the plugs on the cables
being used match the DTX-MULTI 12’s output jacks.
•To prevent hearing loss, avoid using headphones at high volumes
for extended periods of time.
CAUTION
CAUTION
DTX-MULTI 12
Headphones
MS100DRJ or MS50DRJ Electronic
Drum Kit Monitor System, etc.
PHONES jackOUTPUT L/MONO and R jacks
AUX IN
Portable music player, etc.

Setting Up
Owner’s Manual
11
Turning on the DTX-MULTI 12
1
After you have connected speakers, an audio
player, and any other necessary equipment, turn
the volume of the DTX-MULTI 12 itself and the
other devices fully down as a precaution.
2
Press the (Standby/On) switch on the DTX-
MULTI 12’s rear panel to turn it on.
The opening screen will be displayed, followed by the Select
Kit page (from the KIT setting area).
■
Connecting a mixer or other MIDI
devices
Ensure that the volume on all devices is turned fully down. Then,
turn on the devices one-by-one in the following sequence:
q
MIDI controllers (master devices),
w
MIDI receivers (slave
devices),
e
audio equipment (mixers, amplifiers, speakers, etc.).
• When turning off your system, first turn the volume of each audio device
fully down, and then switch off the devices one-by-one in the reverse order
to above (i.e., starting with the audio equipment).
Connecting a USB Memory Device
You can plug a USB memory device into the USB TO DEVICE
port on the side panel of your DTX-MULTI 12.
■
Precautions When Using USB TO
DEVICE Port
Whenever connecting a USB device via the USB TO DEVICE
port, be sure to handle it with care and to observe the following
important precautions.
•For more details on how to use your USB device, refer to the owner’s man-
ual that came with it.
●
Supported USB devices
Flash drives, external hard disks, and other USB-compatible,
mass-storage devices may be plugged in for use with this instru-
ment.
The DTX-MULTI 12 does not necessarily support all commer-
cially available USB memory devices, and Yamaha cannot guar-
antee the operation of all such devices that can be purchased.
Before purchasing a USB device for use with this instrument,
therefore, please check with your Yamaha dealer or an authorized
Yamaha distributor (see list at end of the Owner’s Manual) or visit
the following web page:
http://dtxdrums.yamaha.com
• Other USB devices, such as a computer keyboard or mouse, cannot be
used.
●
Connecting a USB memory device
Before plugging in a USB memory device, ensure that its connec-
tor matches the instrument’s USB TO DEVICE port and that both
are oriented in the same direction.
This port supports the USB 1.1 standard; however, you can also
plug in and use USB 2.0 memory devices. It should be noted that
data will be transferred at the USB 1.1 speed in such a case.
■
Using a USB Memory Device
With a USB memory device plugged in, you will be able to save
data that you have created and to import both settings and audio
data.
•Although USB-type CD-R and CD-RW drives can be used to load data into
the instrument, they cannot be used to save data directly. You can, how-
ever, transfer data to a computer featuring a CD-R or CD-RW drive in order
to write it to this type of media.
●
Formatting USB Memory Devices
Certain types of USB memory device must be formatted before
they can be used with this instrument. For details on how to do
this, see page 97.
FF
FF
≥≥≥≥≥YAMAHA
<<DTX-MULTI≥12>>
NOTE
DTX-MULTI 12
Connection to USB
memory device
(hard disk, etc.)
or
USB memory
device
• When a USB memory device is formatted, all data stored on it will
be permanently erased. Before formatting such a device, therefore,
ensure that any important data contained on it has been copied to
another location.
NOTE
NOTE
NOTE
CAUTION
01_dtxm_en.fm Page 11 Friday, September 17, 2010 9:29 AM

Setting Up
12 Owner’s Manual
●Write Protection
Certain types of USB memory device can be write-protected to
prevent data from being accidentally erased. If your USB memory
device contains important data, we suggest that you use write pro-
tection to prevent accidental erasure. Meanwhile, if you need to
save data on such a device, be sure to disable the write-protect
function.
Connecting Other MIDI Devices
Using standard MIDI cables (sold separately), you can connect
other MIDI devices via the MIDI IN and MIDI OUT connectors.
When connected in this way, the DTX-MULTI 12 can be used to
control synthesizers and other sound modules. Meanwhile, the
instrument’s internal tone generator can be played using other
connected MIDI devices. These and many other MIDI functions
allow for an even greater range of performance and recording pos-
sibilities.
•In addition to the two built-in MIDI connectors, the USB TO HOST port can
also be used to exchange MIDI data. Selection of whether to use the MIDI
connectors or the USB TO HOST port for this purpose is performed on the
MIDI In/Out page from the MIDI section of the UTILITY setting area (see
page 91).
■To Control a Sound Module or Synthe-
sizer
Using a MIDI cable, connect the MIDI OUT connector on the
DTX-MULTI 12 to the MIDI IN connector on the device you
want to control or play.
■To Control the DTX-MULTI 12 from
Another MIDI Device
Using a MIDI cable, connect the MIDI IN connector on the DTX-
MULTI 12 to the MIDI OUT connector on the controller device.
●Synchronizing with Other MIDI Devices
(Master and slave devices)
The playback of patterns on the DTX-MULTI 12 can be synchro-
nized with playback on an external MIDI device. This instrument
and other MIDI devices use an internal clock to control the tempo
of playback, and when two such devices are synchronized, it is
necessary to specify which clock will be used by both. The device
set to use its own internal clock serves as a reference for all con-
nected devices and is referred to as the “master” instrument. Con-
nected devices set to use an external clock are referred to as
“slaves”. For example, if devices were connected as shown above
and you wanted to record playback data from the external MIDI
device as a pattern on the DTX-MULTI 12, it would be necessary
to set the external MIDI device as the master; furthermore, the
DTX-MULTI 12 would need to be setup to use an external clock
for synchronization. To do so, first of all press the [UTILITY] but-
ton to access the UTILITY setting area, navigate to the MIDI sec-
tion (UTIL6) using the [B]/[C] buttons, and press the [ENTER]
button. Next, navigate to the MIDI Sync page (UTIL6-6) using
the [B]/[C] buttons, and set the MIDI Sync parameter to either
“ext” or “auto”.
• The MIDI Sync parameter is set to “auto” by default.
•If using a self-powered type of USB memory device, avoid turning it
on and off repeatedly. In addition, avoid frequent plugging and
unplugging of USB cables. If this precaution is not observed, the
DTX-MULTI 12 may freeze and stop operating.
•Never turn off either a plugged-in USB memory device or the DTX-
MULTI 12 or unplug the memory device while it is being accessed
within the UTILITY setting area in order to save, load, or delete
data or to perform formatting. If this precaution is not observed,
data on the USB memory device or the DTX-MULTI 12 may be cor-
rupted.
CAUTION
NOTE
MIDI cable
External MIDI device
DTX-MULTI 12
MIDI IN
connector
MIDI OUT
connector
DTX-MULTI 12
MIDI IN
connector MIDI cable MIDI OUT
connector
External MIDI device
UTIL6-6≥≥≥<MIDI>
≥MIDI≥Sync=ext
auto
or
NOTE

Setting Up
Owner’s Manual 13
Connecting to a Computer
Although the DTX-MULTI 12 is exceptionally powerful and ver-
satile all by itself, connecting it to a computer via USB allows for
even greater power and versatility. When connected in this way,
MIDI data can be freely transferred between the instrument and
the computer. In this section, you’ll learn how to make the neces-
sary connections.
• As the DTX-MULTI 12 has no built-in speakers, you will need to connect
headphones or an external amplifier and speakers in order to hear it. For
details, see page 10.
•A USB cable is not included. In order to connect to a computer, use a USB
A-B cable of no more than 3 meters in length.
1Download the latest version of the USB-MIDI
driver to your computer from the following web
page. After clicking the Download button, save
the compressed file in a convenient location and
then expand it.
http://www.global.yamaha.com/download/usb_midi/
•Information on system requirements is also provided on the above web
page.
•The USB-MIDI driver may be revised and updated without prior notice.
Before installing, visit the above web page to confirm the latest related
information and ensure that you have the most up-to-date version.
2Install the USB MIDI driver on your computer.
For instructions on installing, refer to the guide included with
the driver installer. When the guide indicates that your
Yamaha product should be connected to the computer, do so
as shown below.
3To enable the exchange of MIDI data via the USB
TO HOST port, press the [UTILITY] button to
access the UTILITY setting area and then navi-
gate to the MIDI In/Out page (UTIL6-9).
4Set the MIDI IN/OUT parameter to “USB” (using
the [+/INC] button if necessary).
5Press the [STORE] button and store this setting.
■Precautions When Using USB TO HOST
Port
When connecting to a computer via the USB TO HOST port, be
sure to observe the precautions listed below. Failing to do so risks
freezing your computer and corrupting or losing data. If your
computer or DTX-MULTI 12 should freeze, restart the applica-
tion being used, reboot the computer, or turn the instrument off
once and then back on.
Making Music with a Computer
■Recording DTX-MULTI 12 Performance
Data using a DAW Application
The following section will describe how to record your perfor-
mances using a DAW application running on a connected com-
puter.
Normally, when playing in order to record on a computer, perfor-
mance data produced by striking the pads is first sent to the com-
puter and then returned to the instrument in order to play its
internal tone generator. If local control of the DTX-MULTI 12 is
turned on (via the Local Control page (UTIL6-5) from the UTIL-
ITY area), performance data will also be sent directly to the tone
generator, and as a result, the direct and returned data will over-
lap, making it sound as if the pads are being struck twice.
NOTE
NOTE
DTX-MULTI 12
USB cable
USB port
USB TO HOST port
Computer
UTIL6-9≥≥≥<MIDI>
MIDI≥IN/OUT=MIDI
UTIL6-9≥≥≥<MIDI>
MIDI≥IN/OUT=USB
• Use a USB A-B cable of no more than 3 meters in length.
• Before connecting to the computer via the USB TO HOST port,
restore the computer from any power-saving mode (such as Sus-
pend, Sleep, or Standby).
• Connect the computer via the USB TO HOST port before turning
on the DTX-MULTI 12.
• Be sure to always perform the following steps before turning the
instrument on or off and either plugging or unplugging the USB
cable.
• Quit all applications.
•Ensure that no data is being sent from the DTX-MULTI 12. (Data
is transmitted by striking the pads or playing patterns.)
• When connected to a computer, allow at least 6 seconds to pass
between turning the instrument on and off and plugging or unplug-
ging the USB cable.
CAUTION
Within DTX-MULTI 12
Internal tone
generator
On
Off
Sound is produced
Local Control Settings
No sound is
produced.

Setting Up
14 Owner’s Manual
Most DAW applications allow MIDI Thru to be turned on, and
therefore, you can setup your system as shown below with local
control of the DTX-MULTI 12 turned off and the DAW applica-
tion returning performance data to the tone generator. In this way,
performances can be recorded in comfort without each strike
being heard twice.
•DAW is an abbreviation of digital audio workstation. DAW applications such
as Cubase can be used to record, edit, and mix audio and MIDI data on a
computer.
We will now describe how to setup parameters for recording your
performances, first on the instrument itself, and then within the
DAW application.
●DTX-MULTI 12 settings
Turn off local control as follows.
1Press the [UTILITY] button to access the UTILITY
setting area, navigate to the MIDI section (UTIL6)
using the [BB
BB]/[CC
CC] buttons, and press the
[ENTER] button.
2Navigate to the Local Control page (UTIL6-5)
using the [BB
BB]/[CC
CC] buttons.
3Set the LocalCtrl parameter to “off” (using the [-/
DEC] button if necessary).
4Press the [STORE] button and store this setting.
With local control turned off in this way, performance data pro-
duced by striking the pads will not be sent to the internal tone
generator.
●Setting DAW-Application Parameters
Within your DAW application, turn on MIDI Thru. This setting
ensures that, when performance data is being recorded on a track
within your application, it is also returned to the external MIDI
system.
For example, let’s assume that performance data is being recorded
on Track 3 by your DAW application. In addition, we’ll also
assume that MIDI Channel 1 has been set for the return of perfor-
mance data. If MIDI Thru is now turned on for Track 3, the DAW
application will return the performance data to the DTX-MULTI
12 as it is being recorded, and the instrument’s internal tone gen-
erator will sound as if it is being played directly (on Channel 1).
•For details on how to turn on MIDI Thru, refer to the manual that came with
your DAW application.
• If local control on the DTX-MULTI 12 and MIDI Thru within your DAW appli-
cation are both turned off, no performance data will be sent to the internal
tone generator, either directly or indirectly. As a result, no sound will be pro-
duced.
■Playing the DTX-MULTI 12 using MIDI
Data from a DAW Application
As described below, you can setup the DTX-MULTI 12 to operate
as a multi-timbral tone generator for your DAW application. In
this way, you can easily integrate the instrument’s high-quality
MIDI tone generator into your music-production setup. For
details on how to connect the DTX-MULTI 12 to your computer,
see page 13.
1Set each of the tracks within your DAW applica-
tion to output their MIDI data to the DTX-MULTI
12.
2Play MIDI performance data using the DAW appli-
cation.
DTX-MULTI 12
USB TO HOST port
MIDI Thru turned
on within DAW
application.
Computer
OUT
IN
OUTIN
Local control
LocalCtrl =“off”
Pads
Internal
tone
generator
NOTE
UTIL6
≥≥≥≥≥≥MIDI
UTIL6-5≥≥≥<MIDI>
≥LocalCtrl=on
UTIL6-5≥≥≥<MIDI>
≥LocalCtrl=off
NOTE

Setting Up
Owner’s Manual
15
Setting up Cubase Remote Control
Using a special feature, the DTX-MULTI 12 can operate as a
remote controller for Cubase. For example, you can operate the
Cubase transport, turn its metronome on or off, and control vari-
ous other functions from the instrument’s front panel, signifi-
cantly increasing the efficiency of your music production
workflow.
■
Computer settings
When setting up Cubase remote control for the first time, com-
plete the following steps to configure your computer correctly.
1
Download the latest version of the DTX-MULTI 12
Extension from the following web page.
Save the compressed file in a convenient location and then
expand it.
http://dtxdrums.yamaha.com
• Ensure that the latest USB MIDI driver is installed on your computer
(see page 13).
•Information on system requirements is also provided on the above web
page.
• The DTX-MULTI 12 Extension may be revised and updated without
prior notice. Before installing, visit the above web page to confirm the
latest related information and ensure that you have the most up-to-
date version.
2
Execute the expanded DTX-MULTI 12 Extension
to carry out the required installation procedure.
For more details, refer to the owner’s manual
included in the downloaded package.
■
DTX-MULTI 12 settings
Whenever the Cubase Remote function is to be used, the follow-
ing steps must be completed on the DTX-MULTI 12.
1
Within the UTILITY setting area, navigate to the
MIDI In/Out page (UTIL6-9) and set MIDI IN/OUT to
“USB”.
2
Ensure that the DTX-MULTI 12 is connected to
your computer in the correct manner, and then
launch Cubase.
For more details regarding connection, see page 13.
3
Hold down the [SHIFT] button and press the
[MIDI] button.
The message “Cubase Remote” will be displayed to confirm
that the function has been activated.
• When Cubase Remote mode has been activated, those front-panel
buttons that can be used will light up.
4
To deactivate Cubase Remote mode, again hold
down the [SHIFT] button and press the [MIDI] but-
ton.
■
Button Functions in Cubase Remote
Mode
•For more details regarding the operation of Cubase Remote mode, refer to
the owner’s manual included in the downloaded package.
NOTE
UTIL6-9≥≥≥<MIDI>
MIDI≥IN/OUT=USB
Button Operation
[SHIFT] + [MIDI] Turns the Cubase Remote function on and off.
[KIT] Opens the VSTi window.
[PTN] Starts and stops playback.
[SHIFT] + [PTN] Starts recording.
[-/DEC], [+/INC] Increases or decreases a preset by 1.
[
B
]Rewinds the transport (REW).
[
C
]Fast forwards the transport (FF).
[
D
]Returns the transport to the start of the song
(TOP).
Tu r ns the click track on and off.
<<≥≥≥Cubase≥≥≥>>
<<≥≥≥Remote≥≥≥>>
NOTE
NOTE
E
01_dtxm_en.fm Page 15 Friday, September 17, 2010 9:29 AM

16 Owner’s Manual
Producing Sounds with the Pads
In order that you can start having fun with your DTX-MULTI 12 as soon as possible, this section will begin by
explaining the basic way in which the pads can be played using drum sticks (sold separately), and following
that, will show how to select various kits (i.e., sets of pad sounds).
Pad Names
As shown below, numbers 1 through 12 are assigned to the built-
in pads. These numbers are also shown at the corresponding
positions within the Pad Indicator, and they will light up when
the associated pad is struck.
Striking the Pads
When playing Pads 4 to 9 (i.e., the main pads), aim to strike the
center of the pad with the tip of the drum stick.
Meanwhile, when playing Pads 1 to 3 and Pads 10 to 12 (i.e., the
rim pads), aim to strike the center of the pad with the shoulder of
the drum stick.
• Do not place your fingers into the gaps between Pads 1 to 3 and
the instrument's plastic body. If this precaution is not observed,
your fingers may be injured as a result of crushing or squeezing.
123
456
789
10 11 12
Pad Indicator
CAUTION
Tip
Area of drumstick to use
●Playing Pads 4 to 9
Shoulder
Area of drumstick to use
●Playing Pads 1 to 3 and Pads 10 to 12

Producing Sounds with the Pads
Quick Guide
Owner’s Manual 17
You can also adjust the sensitivity of the pads to allow them to be
played by hand (see page 19).
•Drum and other individual instrument sounds known collectively as preset
voices and rhythmic or musical phrases known as patterns can be
assigned to each of the pads. Whenever you strike a pad to which a pat-
tern has been assigned, the pattern will either be played through just once
(one-shot) or repeated (loop), and the corresponding lamp within the Pad
Indicator will light up. If a pad playing a looped pattern is struck again, the
pattern will stop playing and the lamp will go out.
• If looping patterns are assigned to multiple pads and you loose track of
which ones are actually being played, you can silence all sound output by
holding down the [SHIFT] button and pressing the [EXIT] button.
• If a pad is struck too lightly or very close to an edge or corner, the corre-
sponding lamp in the Pad Indicator may not turn on.
■Muting
Muting is the action of placing a hand on a struck percussion
instrument in order to silence it, and the DTX-MULTI 12 pads
support this playing technique. In addition, when multiple
sounds have been assigned to a pad, you can use also muting to
switch between these sounds for more expressive performances.
•For details on how to switch sounds by muting, see page 51.
Selecting a Preset Kit
The term “kit” is used to refer to a collection of sounds (i.e., pre-
set voices, waves, and patterns) produced when you strike each
of the pads, and the DTX-MULTI 12 comes complete with an
impressive range of specially-prepared preset kits. Using the pro-
cedure outlined below, select various kits and enjoy some of the
stunning sounds that your instrument can produce.
• The screen displays shown in this Owner’s Manual are for instructional
purposes only, and they may appear somewhat different from those on
your DTX-MULTI 12.
1Press the [KIT] button to open the Select
Kit page.
The [KIT] button will light up.
2Use the [-/DEC] and [+/INC] buttons to
select a new drum kit.
Try playing the each of the pads from various differ-
ent types of kit.
•A number of the Preset kits have been specially setup for
playing by hand. When you select one of them, a hand icon
will be displayed on-screen as shown below.
•Kits having a number preceded by the letter “U” are User kits
(i.e., user-defined kits). With these kits, you can create and
save your own collections of preset voices, patterns, and
waves.
NOTE
NOTE
NOTE
KIT1
P001:PercsMaster
NOTE
KIT1≥≥≥≥≥≥≥ˇÁ
P001:PercsMaster
●Kit suitable for playing by hand
KIT1
U001:User≥Kit
●User-defined kit
Starts with “U”

18 Owner’s Manual
Producing Sounds with the Pads
Assigning Preset Voices to Pads
In the following simple example, we will create a User kit by
replacing one of the sounds assigned to the pads in a Preset kit.
Specifically, we will assign a voice to Pad 4 from the selected kit,
and we will then save the resultant kit to the empty User kit
U001.
1Press the [KIT] button to open the Select
Kit page.
2Use the [-/DEC] and [+/INC] buttons to
select a kit to work with.
3Press the [VOICE] button to open the
Select Voice page.
4Strike Pad 4 to select it and to change the
displayed pad number to .
Alternatively, you can move the flashing cursor to the
pad number, and then change it from to
using the [-/DEC] and [+/INC] buttons.
5Select the voice you want to assign to Pad
4.
Move the flashing cursor to the leftmost parameter
from the lower row of text, and using the [-/DEC] and
[+/INC] buttons, select the voice category and voice
number of the voice you wish to assign.
KIT1
P001:PercsMaster
KIT1
P009:Oak≥Custom
VCE01≥≥-º¡-≥≥≥
Cy013:Thin16Eg
-º¢-
-º¡-
-º¢-
VCE01≥≥-º¢-≥≥≥
Tm001:OakCtm≥H
Pad number
VCE01≥≥-º¢-≥≥≥
Sn004:MapleCtm
Voice nameVoice number
Voice category
Voice Categories
Similar voices are grouped together in voice
categories. In addition to melodic instruments
such as timpani and marimba, you can also
select voice categories containing Preset pat-
terns, User patterns, and waves. For more
information, refer to the Data List booklet.

Producing Sounds with the Pads
Quick Guide
Owner’s Manual 19
6Press the [STORE] button and store the
edited kit as a User kit.
As shown here, select the empty User kit U001, using
the [-/DEC] and [+/INC] buttons if necessary, and
then press the [ENTER] button.
• The [STORE] button will light up whenever settings have
been changed but not yet stored in the DTX-MULTI 12’s inter-
nal memory. The button will, therefore, go out when the modi-
fied settings are stored.
7When asked to confirm that you want to
store the kit, press the [ENTER] button to
proceed.
8With User pad U001 selected, strike Pad 4
to hear the voice that you assigned.
■Layers
Using the Layer function, you can assign a number of different
voices to a single pad or external controller. Up to four layers (A
to D) to be setup per pad, meaning that each pad can play as
many as four different voices. Furthermore, a number of different
playback modes can be employed for voices assigned to layers.
For example, these voices can be triggered simultaneously, a dif-
ferent one can be played each time the pad is struck, or they can
alternate between on and off upon successive hits. Details on lay-
ers can be found on page 32.
■Playing by hand
The DTX-MULTI 12 features a number of different preset kits
suitable for hand percussion – that is, for playing with hands
instead of drum sticks. As described below, furthermore, you can
use a trigger setup at any time to adjust the sensitivity of the pads
to suit playing by hand.
●Setting pad sensitivity for playing by hand
qHold down the [SHIFT] button and press the [UTILITY] but-
ton to access the Trigger setting area. The Select Trigger
Setup page will be displayed.
wUse the [-/DEC] and [+/INC] buttons to select the “P04:
Hand” or “P05: Finger” trigger setup.
•Whenever you select a hand-percussion preset kit, the pad sensitivity (i.e.,
the trigger setup) will automatically change to suit playing by hand.
•Very high levels of pad sensitivity are more likely to result in a phenome-
non known as crosstalk, where pads other than the one struck trigger
sounds due to vibration or interference between pads.
•For details on how to configure trigger setups in the Trigger setting area,
see page 99.
• The message ”Please keep power on...” will be dis-
played while data is being stored. It is very important
that the DTX-MULTI 12 is not turned off until this
message disappears. If the instrument were to be
turned off at this time, data for all User kits could be
permanently lost.
VCE≥Store≥to
U001:User≥Kit
User kit number User kit name
NOTE
≥≥≥KIT≥Store
≥Are≥you≥sure?≥≥
CAUTION
≥≥Please≥keep
≥≥power≥on...
TRG1≥≥≥≥≥≥≥≥≥≥
P01:Stick≥Wide≥≥
TRG1≥≥≥≥≥≥≥≥≥≥˛¸
P04:Hand
NOTE

20 Owner’s Manual
Listening to Patterns
Your DTX-MULTI 12 has been pre-loaded with a rich variety of melodic and rhythmic phrases in the form of Pre-
set patterns. The first three Preset patterns (eP001 to eP003) have been specially setup to demonstrate the rich
spectrum of sounds that your DTX-MULTI 12 can produce. Patterns numbered eP004 and higher can be freely
assigned to pads for use in your own User drum kits.
Listening to Demo Patterns
1Press the [PTN] button to open the Select
Pattern page.
The [PTN] button will light up. Demo patterns are
numbered eP001 to eP003.
2Press the [PTN] button once again to start
playback of a demo pattern.
The [PTN] button will flash while the demo pattern is
being played, and the name of the pattern will be dis-
played inside “<<” and “>>” characters on the upper
row of text. Furthermore, the lower row of text will
shown the name of the kit being used for playback of
the demo pattern.
3To stop the demo pattern, press any button
other than [SHIFT].
Listening to Preset Patterns
1Press the [PTN] button to open the Select
Pattern page.
2Select the Preset pattern you want to listen
to using the [-/DEC] and [+/INC] buttons.
Select a Preset pattern numbered eP004 or higher.
3Press the [PTN] button once again to start
playback of the selected Preset pattern.
The [PTN] button will flash while the Preset pattern is
being played.
4To stop the pattern, press the [PTN] button
on the Select Pattern page (PTN1).
•If you wish to assign a Preset pattern to a pad, follow the pro-
cedure described on page 18, and at Step 5, select the Pre-
set pattern instead of a preset voice.
PTN1≥≥≥ƒ=120≥4/4
©P001:Demo≥01
≥<<Demo≥01>>
P039:Orchestra
PTN1≥≥≥ƒ=120≥4/4
©P004:80s≥Electo
NOTE

Quick Guide
Owner’s Manual 21
Making Your Own Patterns
Using the DTX-MULTI 12, you can also create User patterns by recording your own performances. And in the
same way as Preset patterns, these User patterns can then be freely assigned to pads and played back.
Recording Your Performance as a
Pattern
Following the steps below, let’s create a User pattern by record-
ing a performance and then assign that pattern to Pad 6.
1Press the [PTN] button to access the Pat-
tern setting area, and select an empty User
pattern using the [-/DEC] and [+/INC] but-
tons.
Empty User patterns are named “Empty Ptn”.
• If you select a User pattern already containing data for
recording, you can add additional performance data to that
pattern as you record.
•Two existing patterns can be merged to create a new User
pattern (see page 79).
2Press the [KIT] button to open the Select
Kit page, and using the [-/DEC] and [+/INC]
buttons, select the drum kit you want to
use for recording your pattern.
3Hold down the [SHIFT] button and press
the [PTN] button to activate Record Mode.
The [PTN] button will turn red.
• If a Preset pattern is selected when you activate Record
Mode, your performance will be recorded to an empty User
pattern.
4Set the required recording conditions.
On the Record Mode screen (REC), you can set the
tempo and time signature of the click track to be
played when recording, the length of the pattern in
measures (or bars), and a number of other important
parameters. Move the flashing cursor to the required
parameter using the [B], [D], and [C] buttons, and
change the setting using the [-/DEC] and [+/INC] but-
tons.
• If you select a User pattern already containing data,
your performance will be added to that data as a
result of recording. If you want to avoid this, be sure
to select an empty User pattern for recording.
PTN1≥≥≥ƒ=120≥4/4
©U003:Empty≥Ptn
Pattern name
CAUTION
NOTE
KIT1
P001:PercsMaster
REC≥≥≥≥ƒ=120≥4/4
Meas=004≥Q=©≥≥-“
NOTE
REC≥≥≥≥ƒ=120≥4/4
Meas=004≥Q=©≥≥-“
t Playback modee Length
r Quantize
q Tempo w Time signature
qTempo: The speed of the pattern in beats
per second.
wTime signature: The time signature of the
pattern to be recorded.
eLength: The length of the pattern in mea-
sures.
rQuantize: The precision of timing correc-
tion for the recorded pattern.
tPlayback mode: The type of pattern to be
recorded – i.e., one-shot or loop.

22 Owner’s Manual
Making Your Own Patterns
5Press the [PTN] button to start recording.
The DTX-MULTI 12 will count you in over two mea-
sures. Then, play the pattern you want to record in
time with the click track.
6Recording will end automatically after the
number of measures set as the pattern
length in Step 4 above.
The message ”Please keep power on...” will be dis-
played for a short period of time as data is being
stored.
•Recording can be stopped at any time by pressing the [PTN]
button. All performance data recorded up to that point will be
stored.
• If looped playback was selected in Step 4 above, recording
can be ended by pressing the [PTN] button.
7When the Pad Assign page is displayed,
strike Pad 6 to display pad number ,
and then press the [ENTER] button.
Alternatively, you can use the [-/DEC] and [+/INC]
buttons to select on this page.
• If you set PadAssign to “off”, the recorded pattern will not be
assigned to any pad.
•Although you can freely assign the recorded pattern to a pad
at any time, it is best to use a pad from the drum kit selected
in Step 1 above. If you assign it to a pad from another kit, the
pattern may not play as recorded.
8Press the [KIT] button to access the KIT
setting area.
9Press the [STORE] button and store the
current kit and its new pattern assignment
as a User kit.
As shown here, select an empty User kit using the [-/
DEC] and [+/INC] buttons, and then press the
[ENTER] button.
10
When asked to confirm that you want to
store the kit, press the [ENTER] button to
proceed.
11
With the stored drum kit selected, strike
Pad 6 to hear the pattern that you
assigned.
• Up to 50 User patterns can be recorded on your DTX-MULTI
12. If an attempt is made to record more than this number,
the message “Seq data is not empty” will be displayed and
the recording process will end. In such a case, delete
unneeded User patterns (see page 79) and begin recording
again.
•Turning off the DTX-MULTI 12 while recording can
result in data for all User patterns being lost and
must, therefore, be avoided.
•Turning off the DTX-MULTI 12 while the message
”Please keep power on...” is being displayed can
result in all User-pattern data being lost and must,
therefore, be avoided.
REC≥Meas=≥001
Now≥Recording...
Measure currently being recorded
CAUTION
≥Please≥keep≥≥≥
≥power≥on...
CAUTION
NOTE
º§
º§
REC
≥PadAssign=º§
Pad number
NOTE
• The message ”Please keep power on...” will be dis-
played while data is being stored. It is very important
that the DTX-MULTI 12 is not turned off until this
message disappears. If the instrument were to be
turned off at this time, data for all User kits could be
permanently lost.
KIT1
P001:PercsMaster
VCE≥Store≥to
U001:User≥Kit
User kit number User kit name
≥≥≥KIT≥Store
≥Are≥you≥sure?≥≥
CAUTION
≥≥Please≥keep
≥≥power≥on...
NOTE

Quick Guide
Owner’s Manual 23
1Plug a USB memory device into the USB
TO DEVICE port on the side panel.
•For more details regarding USB memory devices, see the
section Connecting a USB Memory Device on page 11.
2Press the [UTILITY] button to access the
UTILITY setting area, use the [BB
BB]/[CC
CC] but-
tons to navigate to the FILE section
(UTIL7), and then press the [ENTER] but-
ton.
3Navigate to the Save File page (UTIL7-1),
using the [BB
BB]/[CC
CC] buttons if necessary,
and then press the [ENTER] button.
4Set Type to “All”, using the [-/DEC] and [+/
INC] buttons if necessary.
When you have made this setting, press the [ENTER]
button.
•For details on saving data with a Type setting other than “All”,
see page 93.
5Enter a name for the file to be saved.
For more details on how to input characters and the
types of character that can be used for file names, see-
see page 47.
• File names can be up to eight characters in length.
6When you have entered the required name,
press the [ENTER] button.
You will be asked to confirm that you want to save the
file, and the [ENTER] button will flash on and off.
NOTE
UTIL7
≥≥≥≥≥≥FILE
UTIL7-1
≥≥≥Save≥File
UTIL7-1-1
Type=All
NOTE
UTIL7-1-2
Name[≥≥≥≥≥≥≥≥≥≥]
NOTE
≥≥≥Save≥File
≥Are≥you≥sure?
Saving Your Data on a USB Memory Device
Data that you have made, such as User kits and User patterns, can be conveniently saved as combined files on
a USB memory device. In the following example, we will create a single file containing all of the data created or
modified in the various DTX-MULTI 12 setting areas on a such a device.

24 Owner’s Manual
Saving Your Data on a USB Memory Device
7To proceed, press the [ENTER] button one
more time.
If a file with the same name already exists on the USB
memory device, you will be asked to confirm whether
you want to overwrite it. If that file is no longer
needed and can be overwritten, press the [ENTER]
button. Alternatively, if the older file contains impor-
tant data, press the [EXIT] button to return to the
Name page and repeat the procedure from Step 5
above using a different file name.
The message “Now saving... [EXIT] to cancel” will
be displayed while your data is being saved. The mes-
sage “Completed.” will then be displayed when the
data has been saved, and the display will return to the
Save File page (UTIL7-1) from Step 4 above.
•Do not unplug the USB memory device from the USB
TO DEVICE port or turn off either the USB memory
device or the DTX-MULTI 12 while data is being
loaded or saved. Failure to observe this precaution
can lead to the USB memory device or the DTX-
MULTI 12 being permanently damaged.
•Be sure to always unplug USB memory devices from
the DTX-MULTI 12 before you start to play. If you
were to accidentally strike a memory device with a
drum stick while playing, it could be permanently
damaged and all data saved on it could be lost.
≥Now≥Saving
[EXIT]≥to≥cancel
Completed
CAUTION
CAUTION

Quick Guide
Owner’s Manual
25
1
Using a computer, place the WAV or AIFF
file(s) for importing at the root directory of
a USB memory device.
2
Unplug the USB memory device from the
computer and plug it into the instrument
via the USB TO DEVICE port on the side
panel.
3
Press the [KIT] button to open the Select
Kit page and then select the drum kit to
which the imported wave(s) will be
assigned.
4
Hold down the [SHIFT] button and press
the [WAVE] button to open the Import page.
5
Select the audio file you want to import
using the [-/DEC] and [+/INC] buttons.
6
When you have made your selection, press
the [ENTER] button to import the file.
7
Once the audio file has been imported, the
Pad Assign page will open. Select the pad
to which the imported wave is to be
assigned and press the [ENTER] button.
• If you set PadAssign to “off”, the imported wave will not be
assigned to any pad.
• Imported AIF and WAV audio files are stored as waves, or in
other words, as one of the three types of DTX-MULTI 12
voices. As such, they can be freely assigned to pads at any
time using the VOICE setting area (see page 56).
KIT1
U001:User≥Kit
IMPORT
≥≥≥Surdo.WAV
•Do not unplug the USB memory device from the USB
TO DEVICE port or turn off either the USB memory
device or the DTX-MULTI 12 while data is being
loaded. Failure to observe this precaution can lead to
the USB memory device or the DTX-MULTI 12 being
permanently damaged.
• If the selected file is not 16-bit, the error message
“Illegal wave data.” will be displayed and the import
process will be halted. In such a case, please convert
the file to 16-bit using, for example, the bundled DAW
software and then repeat the import process.
• If a voice has already been assigned to the selected
pad, it will be deleted and replaced with the imported
wave.
Now≥Importing...
[EXIT]≥to≥cancel
CAUTION
IMPORT
≥PadAssign=º¡
CAUTION
NOTE
Importing Audio Files
WAV and AIFF audio files from your computer and other media can be imported into your DTX-MULTI 12 via
USB memory devices. Referred to as “waves”, these voices can then be assigned to pads and played in the
same way as any other preset voice.
• Only 16-bit audio files can be used with your DTX-MULTI 12. If the audio files you wish to use have been recorded with a differ-
ent bit depth, please convert them to 16-bit in advance using, for example, the bundled DAW software. For details regarding the
conversion method, refer to the DAW software’s manual.
•Your DTX-MULTI 12 can import audio files of up to approximately 23 seconds in length (in the case of 44.1-kHz, 16-bit audio).
•It is important to note that even when the above conditions are satisfied, certain other factors may make audio files incompatible
with the DTX-MULTI 12.
NOTE
02_dtxm_en_quick.fm Page 25 Friday, September 17, 2010 11:04 AM

26 Owner’s Manual
Importing Audio Files
8Press the [KIT] button to return to the KIT
setting area.
9Press the [STORE] button and store the
current kit and its new wave assignment as
a User kit.
As shown here, select an empty User kit using the [-/
DEC] and [+/INC] buttons, and then press the
[ENTER] button.
10
When asked to confirm that you want to
store the kit, press the [ENTER] button to
proceed.
11
To hear the imported wave, strike the
pad to which it was assigned.
• The message ”Please keep power on...” will be dis-
played while data is being stored. It is very important
that the DTX-MULTI 12 is not turned off until this
message disappears. If the instrument were to be
turned off at this time, data for all User kits could be
permanently lost.
VCE≥Store≥to
U001:User≥Kit
User kit number User kit name
≥≥≥KIT≥Store
≥Are≥you≥sure?≥≥
CAUTION
≥≥Please≥keep
≥≥power≥on...

TRIGGER ReferenceKITMIDI VOICEUTILITY WAVEPATTERN
Owner’s Manual 27
Internal Design
In this reference section, you will find a description of what takes place within the DTX-MULTI 12 between striking of a
pad and the output of a sound from speakers. Understanding how signals flow and are processed internally will allow
you to utilize the powerful functions of this versatile instrument to their maximum potential.
Functional Blocks
USB
TO HOST
USB
TO DEVICE
Tr igger signals
Makeup of each kit
Preset
voices
Waves
Preset
patterns
User patterns
MIDI messages MIDI messages
MIDI messages
Import
Import
Pattern
recording
Audio output
SMF file
(Format 0)
WAV file
AIFF file
MIDI output
Portable music
player, etc.
Trigger setup (Preset or User)
Kit (Preset or User)
Internal tone generator
Effects
Reverb, chorus, variation, and master EQ.
Preset voices, patterns, and waves are
assigned to each of the built-in pads, external
pads, and external controllers.
Each pad has up to four layers (A to D) to
which voices can be assigned.
Signals for control-
ling external tone
generators and
MIDI devices
Signals for controlling the
internal tone generator
Built-in pads External pads, controllers, and foot switches
PAD jacks
Tr igger Signals
Reference

28 Owner’s Manual
Internal Design
Pads & Trigger Signals
The DTX-MULTI 12 is played by striking any of the
twelve built-in pads and by striking and operating external
pads, foot switches, or other controllers connected via the
PAD jacks (M to Q), the HI-HAT CONTROL jack, and
the FOOT SW jack. Whenever you perform this type of
action, a trigger signal containing various items of perfor-
mance data, such as the strength with which the pad was
struck, will be produced. These trigger signals are deliv-
ered to a tone generator, which outputs the appropriate
sound in response.
■Built-in Pads (1 to 12)
As shown below, each of the DTX-MULTI 12’s built-in
pads is assigned a unique number between 1 and 12. On the
various parameter-setting pages used to configure the
instrument, these numbers are presented in the format
to as a means of identifying individual pads. Although
Pads 4 to 9 (main pads) and Pads 1 to 3 and 10 to 12 (rims)
are shaped differently, they all function in exactly the same
way. Whenever they are struck, the assigned voices, waves,
or patterns will be played.
■PAD Jacks (M to Q)
The trigger-input jacks provided on the rear panel are used
to connect optional pads. Furthermore, the PAD M jack
can be used to connect a three-zone pad, which produces
three different types of trigger signal based on the position
at which it is struck. The DTX-MULTI 12 treats these
zones as three individual pads, identifying them on-screen
as , , and . For example, the three trig-
ger signals output by a TP65S Three Zone Drum Pad are
identified as shown below.
A: When a trigger signal from rim 1 is received, the voices assigned to
Pad are played.
B: When a trigger signal from rim 2 is received, the voices assigned to
Pad are played.
C: When a trigger signal from the head is received, the voices assigned
to Pad are played.
Although each features just one connector, the PAD N/O
and PAD P/Q jacks can be used to connect the mono out-
puts from a pair of pads. In this way, each of these jacks
can handle two different trigger signals. Within the display,
the numbers , , , and are used to identify
the corresponding pads.
■HI-HAT CONTROL Jack
The Hi-hat Control jack is used to connect an optional
RHH135 Two Zone Hi-Hat Pad (via its HH CTRL jack) or
an HH65 Hi-hat Controller (via its OUTPUT jack). As you
play the pad or controller, the DTX-MULTI 12 receives
and recognizes trigger signals for both hi-hat close and hi-
hat splash*. Within the display, these signals are identified
as and , respectively.
*Hi-hat splash refers to the technique of producing sound by rapidly
depressing and releasing the hi-hat pedal.
•Parameters related to hi-hats can be set on the various pages from the
UTILITY setting area’s HI-HAT section (UTIL5). (See page 89.)
º¡
¡™
¡º ¡¡ ¡™
º¶ º• ºª
º¢ º∞ º§
º¡ º™ º£
¡£ ¡£Ω¡ ¡£Ω™
¡£Ω¡ ¡£Ω™
¡£
A: Rim 1 B: Rim 2
C: Head
Example: TP65S
¡£Ω¡
¡£Ω™
¡£
¡¢ ¡∞ ¡§ ¡¶
TP65
PCY65
When a trigger signal produced by striking the
TP65 Single Zone Drum Pad is received, the
voices assigned to Pad are played.
¡¢
Example:
Connecting a TP65 and a PCY65 via the PAD N/O jack
When a trigger signal produced by striking the
PCY65 Single Zone Cymbal Pad is received, the
voices assigned to Pad are played.
¡∞
∂∂œ› ∂∂‘á
HH65
RHH135
NOTE

TRIGGER ReferenceKITMIDI VOICEUTILITY WAVEPATTERN
Internal Design
Owner’s Manual 29
■FOOT SW Jack
The Foot Switch jack is used to connect an optional hi-hat
controller (FC4 or FC5, etc.), hi-hat controller (HH65,
etc.), or foot controller (FC7) to the DTX-MULTI 12.
Within the instrument’s display, a signal input via this jack
is identified as .
Once you have told the DTX-MULTI 12 which type of
controller or foot switch is connected, you can then select
from a range of useful functions to assign to it. A number
of typical examples are described below.
•Be sure to always turn off the DTX-MULTI 12 before connecting a controller
or foot switch. If you do not follow this precaution, the controller or foot
switch may not function correctly.
●Using an HH65 as a bass drum pedal
[Function]
With parameters configured as described below, an HH65
Hi-hat Controller can be used to play bass-drum voices and
the like. As with acoustic drums, furthermore, the tone of
the sound produced can be influenced by how fast or slow
you depress the controller. In addition, drum sounds can be
produced without the vibration and mechanical noise typi-
cal of acoustic bass-drum pedals.
[Setup]
• With the DTX-MULTI 12 turned off, connect the HH65 Hi-
hat Controller via the FOOT SW jack.
•Turn on the DTX-MULTI 12.
• On the Foot Switch Input page (UTIL4-2), set FootSwIn-
Sel to “HH65”. (See page 89.)
• On the Pad Function page (UTIL4-1), select and
then set Func to “off”. (See page 88.)
• Open the Select Voice page (VCE1) and choose a voice,
such as a bass drum, to be assigned to . (See
page 56.)
●Playing sounds using an FC4 or FC5
[Function]
With parameters configured as described below, you can
play sounds by operating an FC4 or FC5 Foot Switch. Trig-
ger signals generated in this way have a fixed velocity, and
therefore, they are ideal for playing effect sounds, patterns,
and waves.
[Setup]
• With the DTX-MULTI 12 turned off, connect the FC4 or
FC5 Foot Switch via the FOOT SW jack.
•Turn on the DTX-MULTI 12.
• On the Foot Switch Input page (UTIL4-2), set FootSwIn-
Sel to “ftSw”. (See page 89.)
• On the Pad Function page (UTIL4-1), select and
then set Func to “off”. (See page 88.)
•Open the Select Voice page (VCE1) and choose a preset
voice, pattern, or wave to be assigned to . (See
page 56.)
●Changing kits or patterns using an FC4 or FC5
[Function]
With parameters configured as described below, you can
use an FC4 or FC5 Foot Switch to change a range of differ-
ent settings. For example, you could operate a foot switch
to select the next kit or pattern, to increase or decrease the
tempo by 1, to tap the tempo, or to turn the click-track on
or off. Furthermore, you can also set a MIDI Control
Change message number and value to be sent when the foot
switch is depressed.
[Setup]
• With the DTX-MULTI 12 turned off, connect the FC4 or
FC5 Foot Switch via the FOOT SW jack.
•Turn on the DTX-MULTI 12.
• On the Foot Switch Input page (UTIL4-2), set FootSwIn-
Sel to “ftSw”. (See page 89.)
• On the Pad Function page (UTIL4-1), select and
then set Func to the function you want to control using the
foot switch. (See page 88.)
●Adjusting volume (or other MIDI Control
Change values) using an FC7
[Function]
With parameters configured as described below, you can
adjust volume and many other MIDI Control Change val-
ues by changing the pedal angle of an FC7 Foot Controller
(in order to send MIDI Control Change messages). The
FC7 retains its current pedal angle after you remove your
foot, and therefore, it is ideal for making minute changes to
the controlled parameter.
[Setup]
•With the DTX-MULTI 12 turned off, connect the FC7 Foot
Controller via the FOOT SW jack.
•Turn on the DTX-MULTI 12.
• On the Foot Switch Input page (UTIL4-2), set FootSwIn-
Sel to “FC7”. (See page 89.)
• On the Pad Function page (UTIL4-1), select and
then set Func to the MIDI Control Change message
(“CC01” to “CC95”) that you want to control. (See page
88.)
√¤‘’
NOTE
HH65
√¤‘’
√¤‘’
FC4, FC5
√¤‘’
√¤‘’
FC4, FC5
√¤‘’
FC7
√¤‘’

30
Owner’s Manual
Internal Design
●
Adjusting volume and other parameters using an
HH65
[Function]
In the same way as with an FC7 Foot Controller, you can
adjust volume and a wide range of MIDI Control Change
values by adjusting the degree by which an HH65 Hi-hat
Controller is operated.
[Setup]
• With the DTX-MULTI 12 turned off, connect the HH65 Hi-
hat Controller via the FOOT SW jack.
•Turn on the DTX-MULTI 12.
• On the Foot Switch Input page (UTIL4-2), set FootSwIn-
Sel to “HH65”. (See page 89.)
• On the Pad Function page (UTIL4-1), select and
then set Func to the MIDI Control Change message
(“CC01” to “CC95”) that you want to control. (See page
88.)
■
Using Acoustic Drums to Produce Trigger
Signals
Optional drum triggers, such as the DT10 or DT20, can be
used to convert performances on acoustic drums into trig-
ger signals and to input these signals into the instrument.
You can even apply drum triggers to training pads in order
to produce trigger signals.
■
Trigger Setups
Settings for all of the parameters associated with pad sensi-
tivity are collectively referred to as a “trigger setup”. In
addition to the actual sensitivity of the pad when it is
struck, a trigger setup can also include parameter settings
intended to prevent a pair of trigger signals being produced
in response to a single strike (i.e., double triggering) and
unwanted trigger signals being produced by pads other
than the one that was struck (i.e., crosstalk). The DTX-
MULTI 12 supports many different playing styles using
sticks and hands, and by selecting the most appropriate
trigger setup for the style being used, you can ensure that
trigger signals will be correctly processed. Trigger setups
can also be adjusted in order to ensure that trigger signals
from external pads and controllers are processed in an ideal
manner.
Your DTX-MULTI 12 comes pre-loaded with five Preset
trigger setups suitable for many different needs, and you
can also create up to ten unique User trigger setups to suit
your own individual requirements.
■
Using Optional Pads & Drum Triggers with
the PAD Jacks
Whenever you are using separately-sold pads and/or drum
triggers, the types of trigger signal handled will depend on
which of the PAD jacks is used for connection. The follow-
ing table shows how optional pads and drum triggers will
operate when connected via the various PAD jacks on the
rear panel.
PAD
M
:
Suitable for use with two-zone and three-zone pads. Not
suitable for pad controllers.
PAD
N
/
O
, PAD
P
/
Q
:
Not suitable for two-zone pads, three-
zone pads, or pad controllers.
A: Operates as a three-zone pad.
If using a compatible product from the TP series, voices assigned to
each of the two rim sections and the head section can be played. If
using a compatible product from the PCY series, voices assigned to
each of the bow, edge, and cup sections can be played.
B: Operates as a two-zone pad.
If using a compatible product from the RHH series, voices assigned
to each of the bow and edge sections can be played. If using a com-
patible product from the PCY series, voices assigned to each of the
bow and edge sections can be played.
C: Operates as a monoaural pad.
•For the most up-to-date information on support for optional pads and drum
triggers, visit the following web page.
http://dtxdrums.yamaha.com
HH65
√¤‘’
Model Product name
Input (PAD jacks)
PAD
M
PAD
N
/
O
PAD
P
/
Q
TP65 Drum Pad C C
TP65S Drum Pad A C
TP100 Drum Pad A C
TP120SD Snare Pad B C
RHH130 Hi-hat Pad B C
RHH135 Hi-hat Pad B C
PCY65 Cymbal Pad C C
PCY65S Cymbal Pad B C
PCY130 Cymbal Pad C C
PCY130S Cymbal Pad B C
PCY130SC Cymbal Pad A C
PCY135 Cymbal Pad A C
PCY150S Cymbal Pad A C
PCY155 Cymbal Pad A C
KP65 Kick Pad C C
KP125 Kick Pad C C
DT10 Drum Trigger C C
DT20 Drum Trigger C C
NOTE
03_dtxm_en_about.fm Page 30 Friday, September 17, 2010 9:31 AM

TRIGGER ReferenceKITMIDI VOICEUTILITY WAVEPATTERN
Internal Design
Owner’s Manual 31
Sounds Produced Using the Pads
Whenever the internal tone generator receives a trigger sig-
nal produced by striking a pad or by operating a controller
or foot switch, it will play a voice assigned to that pad, con-
troller, or foot switch. As described below, three different
types of voice are available for assigning – namely, preset
voices, patterns, and waves.
•Preset voices
Drum sounds such as snares, bass drums, and cymbals;
percussion sounds; and pitched-instrument sounds such
as piano, xylophone, and guitar.
•Patterns
One-shot or looped phrases containing performance data
for a range of different instruments.
•Waves
Audio files imported into the DTX-MULTI 12 from a
variety of sources.
To assign a voice to a pad, controller, or foot switch, access
the VOICE setting area’s Select Voice page (VCE1) by
pressing the [VOICE] button (and if necessary, the [B]
button). On this page, voices are categorized by instrument
type (in the case of preset voices), as patterns, or as waves.
While preset voices, patterns, and waves can all be
assigned to pads in the same way, it is important to remem-
ber that each voice type plays in a different way and is con-
figured using different parameters.
■Preset Voices
As an electronic percussion instrument played by striking
pads, the DTX-MULTI 12 comes preloaded with a vast
library of drum sounds, such as snares, bass drums, and
cymbals, together with a broad spectrum of percussion-
instrument sounds. Also included are many pitched instru-
ments, such as piano, xylophone, and guitar. The term “pre-
set voices” is used to refer to these built-in drum and
instrument sounds.
Drum and percussion voices from this preset-voice collec-
tion are not rooted at one specific pitch; instead, you can
intuitively adjust their tuning in order to match the sounds
of other instruments. Meanwhile, pitched-instrument
voices such as piano and guitar can be assigned to pads
with a specific pitch setting, thus allowing you to play sev-
eral different notes together to produce chords, or with
voices at different semitones assigned to the twelve pads, to
freely play melodic parts. With the timing and strength of
your playing reflected in the sound produced by preset
voices, you can perform with practically the same level of
expressiveness as afforded by acoustic instruments.
■Patterns
The DTX-MULTI 12 can also play rhythmic or melodic
phrases known as “patterns”. Capable of reproducing the
sound of performances on many different instruments, each
pattern can be up to several measures in length. In the same
way as snare sounds are produced by striking a pad to
which a snare voice has been assigned, you can start and
stop the playback of a pattern by striking the pad to which
it is assigned. In effect, pads with pattern assignments oper-
ate as start/stop switches whenever struck (regardless of
how hard or soft they are actually struck). Your DTX-
MULTI 12 comes pre-loaded with 128 Preset patterns
(including 3 demo patterns) containing performance data
from a host of different instrument genres, and by assign-
ing these freely to pads, you can easily create your own
unique kits. For even more flexibility, you can also record
your own performances and even import standard MIDI
files (Format 0) to create up to 50 additional User patterns.
■Waves
The DTX-MULTI 12 is fully equipped to playback audio
files that can be created, edited, and played on computers.
Commonly called “samples” or “sample data”, these files
contain short portions of sound, and once imported into the
DTX-MULTI 12, they are referred to as “waves”. Either
WAV or AIFF type audio files can be imported into the
instrument’s internal wave memory and assigned to pads in
much the same way as preset voices and patterns. You can
also edit imported waves.
As audio files imported into the instrument’s wave memory
are assigned to pads as a single voice much like preset
voices and patterns, the term “wave data” is used within
this manual in the same way as “preset voice data” or “pat-
tern data”. In contrast, the term “wave file” is used to refer
to data that has not yet been imported and is handled in the
form of a file on a computer, sampler, or USB memory
device.

32 Owner’s Manual
Internal Design
Kit Makeup
The term “kit” is used to refer to a collection of preset
voices, patterns, and waves assigned to each of the instru-
ment’s built-in pads (1 to 12) and to any external pads, foot
switches, or controllers connected via the PAD jacks (M to
Q), the FOOT SW jack, and the HI-HAT CONTROL jack.
For added convenience, the instrument comes pre-loaded
with 30 different Preset kits. You are, however, free to make
your own unique kits in whatever way you see fit, and up to
200 of these User kits can also be stored internally.
■Kits & Voices
Within the DTX-MULTI 12, voice data is grouped and
stored in kit units. In other words, each kit contains the
voice-related information for all of its pad and controller
assignments. Whenever a User kit is created by editing
voices, the voices themselves are not stored within the kit;
instead, the settings for all associated parameters – such as
tuning, stereo pan, attack time, release time, effects, etc. –
are stored. As you would expect, each of the pads can have
different parameter settings. Therefore, even when the
Select Voice page shows the same voice assigned to two or
more pads, the sounds produced by each will not necessar-
ily be the same.
■Voice Layers
Using the DTX-MULTI 12’s Layer function, you can
assign a number of different voices to a single pad or exter-
nal controller. Specifically, this instrument allows up to
four layers (A to D) to be setup per pad, meaning that each
pad can play as many as four different voices. These lay-
ered voices can also be triggered in a number of different
ways – for example, they will all play together in Stack
mode, a different one will be played for each strike in
Alternate mode, and they can be sustained and turned off
on each successive strike in Hold mode. In order that the
Layer function may be put to use, the pad in question must
first be setup to send multiple MIDI messages whenever
struck. Then, voices are assigned to each of the layers, and
a layer playing mode is specified for the pad. For more
details, refer to the section Specifying MIDI note numbers
and assigning voices to each on page 34.
■Information Contained in Kits
Three different setting areas apply specifically to kits: In
the KIT setting area, you can specify a volume, configure
effects, and set other parameters affecting the entire kit; in
the VOICE setting area, you can assign preset voices, pat-
terns, and waves to each pad, foot switch, and controller,
and you can also set parameters such as tuning and volume
for each of the assigned voices; and in the MIDI setting
area, you can set MIDI-related parameters affecting the kit
or individual pads and controllers. Setting a preset voice,
pattern, or wave to be played when a pad is struck involves
the following two steps.
1. Indication of the MIDI note number(s) to be sent
when a specific pad is struck. (MIDI setting area)
2. Indication of the preset voice, pattern, or wave to be
played for each MIDI note number. (VOICE setting
area)
In cases where only a single layer is setup for a pad, how-
ever, it is possible to omit Step 1 above. (The required set-
ting will be performed automatically when you select a
voice in Step 2.)
The following two methods of allocating voices are
described below.
• Assigning a voice directly to a pad
•Specifying MIDI note numbers and assigning voices
to each
VCE1 -º¡- ç
GM001:GrandPiano
VCE1 -º¡- ¬
GM025:NylonGtr
VCE1 -º¡- œ
GM041:Violin
VCE1 -º¡- ˚
GM051:SynthStr1
Arrangement of Voice Layers
Layer A
Layer B
Layer C
Layer D
When Pad 1 is struck, layers A through
D are all played simultaneously.
GM001:GrandPiano
GM025:NylonGtr
GM041:Violin
GM051:SynthStr1

TRIGGER ReferenceKITMIDI VOICEUTILITY WAVEPATTERN
Internal Design
Owner’s Manual 33
●Assigning a voice directly to a pad
In order to assign a voice directly to a pad, we first select
the pad to be set, and then choose the required preset voice,
pattern, or wave.
1To start, press the [KIT] button to access the KIT setting
area. On the Select Kit page (KIT1), select the kit to be
set. Next, press the [VOICE] button to access the VOICE
setting area and navigate to the Select Voice page
(VCE1).
2Move the flashing cursor to the upper row of text, and
using the [-/DEC] and [+/INC] buttons, select the pad or
controller you want to set. You can also select a pad by
striking it. The lower row of text will show the voice (i.e.,
a preset voice, pattern, or wave) currently assigned to
the selected pad or controller. Move the flashing cursor
down to the lower row of text, and using the [-/DEC] and
[+/INC] buttons, select the new voice to be assigned.
By repeating this process to assign preset voices, pat-
terns, and waves to all pads and controllers, you can
quickly and conveniently setup your own personalized
drum kit. Furthermore, parameters such as volume, tun-
ing, stereo pan, and effect levels can be set for the
voices assigned to the various pads and controllers.
3Once you have finished configuring a kit in this way, you
can store it as one of the instrument’s User kits.
VCE1≥≥-º¡-
Cy013:Thin16Eg
Voice assigned to the pad or controller
Pad or controller being set
Example: Working with Preset kit 1
Kit name
KIT setting area
VOICE setting area
Assigning a voice* to a
controller connected
via the HI-HAT CON-
TROL jack.
Assigning a voice* to a
controller or foot
switch connected via
the FOOT SW jack.
Assigning voices to pads
connected via the PAD
jacks
M
to
Q
.
Assigning voices to built-in
pads 1 to 12.
Settings made in KIT setting area
•Volume of the entire kit
• Kit tempo
•Effect settings for the entire kit
• Muting
• Hi-hat settings
etc.
Settings made in VOICE
setting area
•Volume of each pad (or layer)
•Tuning of each pad
• Stereo pan of each pad
•Effect settings for each pad
etc.
*: Voices cannot be assigned to
any controller or foot switch
already having a function
assigned on the Pad Func-
tion page (UTIL4-1).
KIT1
P009:Oak≥Custom
VCE1≥≥-º¡-
Cy013:Thin16Eg
VCE1≥≥-¡™-≥≥≥≥≥ç
HH005:Brite≥Op
VCE1≥≥-¡£-
Sn001:Oak≥Custom
VCE1≥≥-¡£Ω¡-
Sn002:OakCtmOpRm
VCE1≥≥-¡£Ω™-
Sn003:OakCtmClRm
VCE1≥≥-¡¢-
Kk001:OakCtm22
VCE1≥≥-¡¶-≥≥≥≥≥ç
HH006:Brite≥EgOp
VCE1≥≥-√¤‘’-
-----:----------
VCE1≥≥-∂∂œ›-
HH003:Brite≥FtCl
VCE1≥≥-∂∂‘á-
HH004:Brite≥FtOp

34 Owner’s Manual
Internal Design
●Specifying MIDI note numbers and assigning
voices to each
The second approach to configuring a pad involves setting
one or more MIDI note numbers to be sent whenever the
pad is struck and then telling the internal tone generator
which voices to play when MIDI notes with these numbers
are received. In contrast to the direct approach described
above, this method allows multiple MIDI Note messages to
be sent from a single pad in order to play layered or alter-
nating voices using the Layer function. In addition, these
MIDI Note messages can also be output via the MIDI OUT
connector or USB TO HOST port in order to control
another MIDI instrument.
In the following example, we will setup built-in Pad 1 to
play two different voices simultaneously when it is struck.
1Press the [KIT] button to access the KIT setting area. On
the Select Kit page (KIT1), select the kit to be set.
2Press the [MIDI] button to access the MIDI setting area
and navigate to the Select Message Type page (MIDI1).
In the upper row of text, select “ ” as the pad to
be set. Following this, move the flashing cursor to the
lower row of text and set the MessageType parameter to
“note” (indicating that a MIDI Note message will be
sent when the pad is struck).
3Press the [ENTER] button to open the Playing Mode
page (MIDI1-1).
In the lower row of text, set the Mode parameter to
“stack” (indicating that all MIDI notes assigned to the
pad will be played simultaneously).
• In addition to “stack”, you can also set the Mode parameter to “alter-
nate”, which causes the notes assigned to the pad to play individually
in turn each time it is struck, or “hold”, which causes the notes to be
alternately turned on and off each time the pad is struck. (See page
62.)
4Press the [CC
CC] button to navigate to the MIDI Note page
(MIDI1-2).
On this page, we can set the MIDI notes to be sent by
the pad. Specifically, the Note parameter on the lower
row of text is used to set a MIDI note number, while the
indicator in the top right corner shows which of the
pad’s four layers (A to D) is being set. For now, select
“D1/38” as the MIDI note to be sent by Layer A.
5Press the [VOICE] button to access the VOICE setting
area and navigate to the Select Voice page (VCE1).
On the upper row of text, use the [-/DEC] and [+/INC]
buttons to select “D1/38” – that is, the MIDI note num-
ber that Layer A of Pad 1 will send. On the lower row of
text, set “Sn001:OakCustom” as the voice to be played
for that MIDI note number.
With the settings now made, a MIDI note with MIDI note
number 38 (i.e., D1) will be sent to the internal tone gener-
ator whenever Pad 1 is struck, and the tone generator will
respond by playing the preset voice Sn001 (OakCustom).
Next, we will setup Pad 1 to also send the MIDI note num-
ber 40 (E1) whenever struck, and we will tell the internal
tone generator to play the preset voice Cy013 (Thin16Eg)
in response.
6Press the [MIDI] button to access the MIDI setting area
and navigate to the MIDI Note page (MIDI1-2).
Move the flashing cursor to the “ ” indicator in the top
right corner, and using the [+/INC] button, change this
to “ ”. Move back to the lower row of text, and set
“E1/40” as the MIDI note number to be sent by Layer
B.
MIDI1≥-º¡-
MessageType=note
Pad
-º¡-
MIDI1-1≥-º¡-
≥Mode=stack
NOTE
MIDI1-2≥-º¡-≥≥≥ç
Note=≥≥≥D≥1/≥38
Layer
VCE1≥≥≥D≥1/≥38
Sn001:OakCustom
MIDI note number
Assigned voice
MIDI1-2≥-º¡-≥≥≥¬
Note=≥≥≥E≥1/≥40
Layer
ç
¬

TRIGGER ReferenceKITMIDI VOICEUTILITY WAVEPATTERN
Internal Design
Owner’s Manual 35
7Press the [VOICE] button, navigate to the Select Voice
page (VCE1), and in the same way as described above,
set “Cy013:Thin16Eg” as the voice to be played for MIDI
notes with the MIDI note number 40 (E1).
With your DTX-MULTI 12 configured in this way, when-
ever you strike built-in Pad 1, two MIDI notes with the
MIDI note numbers 38 (D1) and 40 (E1) will be simulta-
neously sent to the internal tone generator, and the tone
generator will respond by playing the preset voices Sn001
(OakCustom) and Cy013 (Thin16Eg) together.
The following diagram illustrates exactly what happens
inside the instrument when Pad 1 has been setup to play
two voices simultaneously as described above.
■Using the DTX-MULTI 12 as a MIDI Control-
ler
Instead of MIDI Note messages, the DTX-MULTI 12 can
be setup to send MIDI Program Change messages, MIDI
Control Change messages, and the like to MIDI devices
connected via the MIDI OUT connector or USB TO HOST
port whenever pads are struck or external controllers are
operated. Using this functionality, you can easily configure
pads to, for example, start and stop playback on a MIDI
sequencer or to change presets on a MIDI instrument.
In contrast to the type of control introduced in the Pads &
Trigger Signals section (see page 28), which makes it pos-
sible to play the DTX-MULTI 12 with trigger signals sent
from a controller or foot switch connected via the FOOT
SW jack, the MIDI control function allows the instrument’s
built-in pads and external pads to operate as versatile MIDI
controllers. In addition to selecting frequently-used kits
and patterns or setting the tempo for click-track or pattern
playback, this powerful function also allows you to assign
MIDI Control Change numbers (01 to 95) and values to
pads in order to facilitate a wide range of unique modes of
use.
VCE1≥≥≥≥E≥1/≥40
Cy013:Thin16Eg
C0
240
D1
38
C7
108 127
E1
40
Built-in Pad 1 is struck.
Two MIDI notes (“D1/38”
and “E1/40”) are simulta-
neously sent to the internal
tone generator. MIDI note numbers on a standard keyboard.
The voices assigned to
each of these MIDI notes
are played.
Cy013: Thin16Eg
cymbal sound
Sn001: OakCustom
snare sound

36 Owner’s Manual
Internal Design
Effects
The effect processor built into your DTX-MULTI 12
applies special audio effects to the output from the tone
generator in order to modify and enhance its sound in a
wide variety of ways. Normally applied during the final
stages of editing, such effects allow you to optimize the
sound in line with your own specific requirements.
■Effect Processor Structure
This instrument can apply effects to the tone generator’s
output using the following four effect units.
●Variation
Variation effects allow you to sculpt your sound in a variety
of different ways. A specific type of variation effect can be
selected for each kit within the VARIATION section
(KIT4); furthermore, you can also specify the degree to
which this effect is applied to each layer on the Variation
Send page (VCE4-1).
●Chorus
Chorus effects change the spatial characteristics of the
sounds to which they are applied. A specific type of chorus
effect can be selected for each kit within the CHORUS sec-
tion (KIT5); furthermore, you can also specify the degree
to which this effect is applied to each layer on the Chorus
Send page (VCE4-2).
●Reverb
Reverb effects add a warm ambience to sounds, simulating
the complex reflections of actual performance spaces, such
as a concert hall or a small club. A specific type of reverb
can be selected for each kit within the REVERB section
(KIT6); furthermore, you can also specify the degree to
which this effect is applied to each layer on the Reverb
Send page (VCE4-3).
•The degree to which User patterns are processed by these effect units can
be specified on the Variation Send page (PTN3-5), the Chorus Send page
(PTN3-6), and the Reverb Send page (PTN3-7); furthermore, these set-
tings can then be saved as part of the User pattern data.
●Master EQ
Processing the overall instrument sound just before output,
the Master EQ supports five-band equalization. As this
equalization is applied to the sound of the entire instrument
and not that of individual drum kits or voices, Master EQ
settings do not change whenever a new drum kit is selected.
To set the corresponding parameters, use the parameter-set-
ting pages from the UTILITY setting area’s MASTER EQ
section (UTIL3).
■Effect Connection
NOTE
AUX IN
Dry signal Pan
KIT4-3
VarPan
KIT5-3
ChoPan
KIT6-3
RevPan
KIT4-4
VarToRev
(Wet line)
(Dry line)
Pan
Pan
*1: Click-track voices cannot be sent to effects.
*2: On the Variation Send page (VCE4-1), you can set the required balance
between the amount of the signal that will bypass the effect (i.e., the dry
level) and the amount that will be sent to the effect (i.e., the wet level).
*3: Master EQ is not applied to the headphone output.
*4: External audio signals (AUX IN) bypass all effects.
KIT6-2
RevReturn
KIT3-2
VCE4-3
MIDI3-7
ReverbSend
KIT3-1
VCE4-2
MIDI3-6
ChorusSend
VCE4-1
MIDI3-5
Var(Dry) VARIATION
CHORUS
REVERB
KIT5-2
ChoReturn
KIT4-2
VarReturn
Master EQ
KIT4-5
VarToCho
KIT5-4
ChoToRev
KIT6
REVERB
KIT5
CHORUS
KIT4
VARIATION
*1
*2
*3
*4
UTIL3
MASTER EQ

TRIGGER ReferenceKITMIDI VOICEUTILITY WAVEPATTERN
Internal Design
Owner’s Manual 37
■Effects & Effect Categories
The various individual effects provided by this instrument’s
effect units are sorted into a number of different categories.
What follows is a description of each category and the
effects it contains. We recommend that you refer to these
descriptions whenever setting effects. Each category’s
effect table indicates which of the effect units – i.e., Reverb
(Rev), Chorus (Cho), or Variation (Var) – can be used to
apply the effect in question. Any effect marked using a ✓
symbol can be selected and modified on the corresponding
effect unit’s parameter setting pages.
●Compressor & EQ
The compressor is an effect commonly used to limit and
compress the dynamics (i.e., softness or loudness) of an
audio signal. In the case of vocals, guitar parts, and other
signals that have widely varying dynamics, this effect
essentially squeezes the dynamic range, making soft
sounds louder and loud sounds softer. Furthermore, a com-
pressor’s attack and decay characteristics can be adjusted
to modify how punchy or sustained an audio signal sounds.
Multi-band compression, meanwhile, splits the input into
three different frequency bands for processing indepen-
dently of each other; accordingly, this type of effect can be
thought of as combining compression with equalization.
●Flanger & Phaser
A flanger creates a swirling, metallic sound, similar to that
of a jet plane. While this effect operates using the same
basic principles as chorus effects, it uses shorter delay
times and also incorporates feedback to produce a very dis-
tinctive swelling sound. Rather than being used constantly
throughout a song, it is more suited to selective use in spe-
cific sections in order to add variety. A phaser, meanwhile,
introduces a phase shift into the sound being processed
before returning it to the effect input using a feedback cir-
cuit in order to produce a characteristic animated yet mel-
low tone. Gentler overall than a flanger, this effect can be
put to use in a wider range of situations, and for example, is
often used with electric pianos to sweeten their sound in a
variety of ways.
●Distortion
As its name suggests, a distortion effect distorts the sound
fed into it. It produces a sound similar to that of an ampli-
fier turned up too high or fed with a signal that is already
sufficiently loud. This type of effect is widely used to add a
harsh, biting edge; furthermore, the resultant sound is char-
acterized by overall thickness and long sustain times. This
thickness comes from the large numbers of harmonics con-
tained within clipped signals. Meanwhile, the longer sus-
tain is not produced by the original sound being stretched;
rather, it is produced when the slowly-fading release por-
tion that cannot normally heard is amplified and distorted.
Effect Type Var Description
Compressor ✓Relatively fast-acting compressor well
suited to solo performances.
MltBndComp ✓Three-band compressor.
3 Band EQ ✓Three-band compressor also featuring
equalization.
Vintage EQ ✓Vintage five-band parametric equalizer.
Enhancer ✓Adds higher-order harmonics to enhance a
sound’s presence.
Effect Type Cho Var Description
SPX Flanger ✓✓Produces a swirling, metallic sound.
TempoFlanger ✓✓Tempo-synchronized flanger.
PhaserMono – ✓Vintage sounding mono phaser.
PhaserStereo – ✓Vintage sounding stereo phaser.
TempoPhaser – ✓Tempo-synchronized phaser.
Effect Type Var Description
AmpSim 1 ✓Guitar amp simulation.
AmpSim 2 ✓Guitar amp simulation.
CompDist ✓Combines compression and distortion.
CompDistDly ✓Combines compression, distortion, and
delay.

38 Owner’s Manual
Internal Design
●Wah
A wah effect dynamically changes the frequency character-
istic of a filter in order to produce a highly unique filter-
sweep sound. Auto wah changes the frequency in a cyclic
manner using an LFO, while touch wah performs filter
sweeps in response to the volume of the input signal.
●Reverb
Reverb effects model the complex reverberation produced
by sounds within enclosed spaces. In this way, they add a
natural-sounding sustain, which produces a feeling of
depth and space. Furthermore, different types of reverb –
such as hall, room, plate, and stage – can be used to simu-
late the sound of acoustic environments of varying sizes
and constructions.
●Chorus
Chorus reproduces the sound of multiple instruments play-
ing in unison for a thicker, deeper tone. As all instruments
differ slightly from each other in terms of pitch and phase,
their playing together produces an overall sound that is
warmer and more spacious. In order to reproduce this type
of behavior, chorus effects make use of delay. Specifically,
a delayed, second version of the original signal is produced
and given a vibrato-type effect by varying its delay time
over a period of approximately one second using an LFO.
When this second version is mixed back into the original
signal, the resulting tone sounds as if multiple instruments
are being played in unison.
●Tremolo & Rotary
Tremolo effects are characterized by the way in which they
modulate volume in a cyclical fashion. An auto-pan effect,
meanwhile, moves the sound from left to right in a similar
cyclical manner, and a rotary speaker effect simulates the
distinctive vibrato of rotary-type speakers often used with
organs. In a rotary speaker, the horn and rotor are spun in
order to create highly unique sounds using the Doppler
Effect.
Effect Type VAR Description
AutoWah ✓Vintage automatic wah effect.
TouchWah ✓Classic volume-responsive wah effect.
TouchWahDist ✓Touch wah with distortion applied at the out-
put.
Effect Type Rev Var Description
SPX Hall ✓✓
Emulation of hall acoustics using an
algorithm derived from the classic
Yamaha SPX1000 Digital Multi-
Effects Processor.
SPX Room ✓✓
Emulation of room acoustics using
an algorithm derived from the clas-
sic Yamaha SPX1000 Digital Multi-
Effects Processor.
SPX Stage ✓✓
Emulation of stage acoustics using
an algorithm derived from the clas-
sic Yamaha SPX1000 Digital Multi-
Effects Processor.
R3 Hall ✓–
Emulation of the acoustics of a con-
cert hall using an algorithm derived
from the Yamaha ProR3 – a digital
reverberator for professional-audio
applications.
R3 Room ✓–
Emulation of room acoustics using
an algorithm derived from the
above-mentioned Yamaha ProR3.
R3 Plate ✓–
Emulation of plate reverb using an
algorithm derived from the above-
mentioned Yamaha ProR3.
EarlyRef – ✓Early reflections without any subse-
quent reverberation.
GateReverb – ✓Simulation of gated reverb.
ReverseGate – ✓Simulation of gated reverb played in
reverse.
Effect Type Var Cho Description
G Chorus ✓✓
Rich, deep chorus with complex mod-
ulation.
2 Modulator ✓✓
Chorus effect allowing pitch and
amplitude modulation to be adjusted
for a more natural, spacious tone.
SPX Chorus ✓✓
Enhances modulation and spacious-
ness using a 3-phase LFO.
Symphonic ✓✓
Multi-stage modulation for a wider-
sounding chorus.
Ensemble – ✓Modulation-free chorus achieved by
adding a slightly pitch-shifted sound.
Effect Type Var Description
AutoPan ✓Cyclically moves the sound between left and
right channels.
Tremolo ✓Cyclically modulates the volume of the pro-
cessed signal.
RotarySp ✓Rotary speaker simulator.

TRIGGER ReferenceKITMIDI VOICEUTILITY WAVEPATTERN
Internal Design
Owner’s Manual 39
●Delay
Delay effects create a delayed version of the input signal,
and as such, they can be used for many different purposes,
such as creating a sense of spaciousness or thickening a
sound.
●Miscellaneous
This category contains effect types not included in the
other categories.
■Effect Parameters
Each of the above-mentioned effects includes a range of
parameters allowing you to adjust the way in which it pro-
cesses the input signal. Using these parameters, the behav-
ior of each effect can be optimized in line with, for
example, the type of sound being processed or the type of
music being played. While the function of each of these
parameters is described in the following table, it is good
practice to also listen to how they actually change the
sound of the respective effect in order to achieve the best
settings.
●Parameters with identical names
• Certain effects contain parameters with identical names yet performing dif-
ferent functions. In the following table, the function of each such parameter
is described separately and the corresponding effects are identified.
*1 The Bottom parameter’s setting is valid only when less than that of
the Top parameter.
*2 The Color parameter’s setting has no effect with certain combina-
tions of Mode and Stage settings.
Effect Type Var Description
CrossDelay ✓
A pair of delays featuring cross-over feed-
back to produce a sound that swirls
between the left and right channels.
TempoCrosDly ✓A pair of delays with cross-over feedback
and a tempo-synchronized delay time.
TempoDlyMono ✓A single mono delay synchronized with the
instrument’s tempo.
TempoDlySt ✓A stereo delay synchronized with the
instrument’s tempo.
Delay LR ✓A delay with separate left and right chan-
nels.
Delay LCR ✓A triple delay processing left, right, and
center channels independently.
Delay LR St ✓A stereo delay with fully independent left
and right channels.
Effect Type Var Description
Isolator ✓Controls the volume of individual frequency
bands using powerful filters.
Telephone ✓Reproduces the sound of telephone speech
by cutting high and low frequencies.
TalkingMod ✓Incorporates a vowel-type formant into the
input signal.
PitchChange ✓Changes the pitch of the input signal.
Parameter
name
Descriptions
AMDepth This parameter is used to set the depth of amplitude
modulation.
AmpType This parameter is used to set the type of amplifier to be
simulated.
Attack This parameter is used to set the amount of time that
elapses before compression is fully applied.
Bottom*
1
This parameter is used to set the lowest point in the fil-
ter’s sweep range.
Color*
2
This parameter is used to set the fixed phase modula-
tion.
CommonRel
This parameter is used to set the amount of time that
elapses before the compressor stops processing the
input signal (common for all three bands).
Compres
This parameter is used to set the input-signal level at
which the compressor starts to process the sound (i.e.,
the threshold).
Cutoff This parameter is used to set the offset value for the fil-
ter’s control frequency.
Delay This parameter is used to set the delay time in terms of
note lengths.
DelayC This parameter is used to set the delay time for the cen-
ter channel.
DelayL This parameter is used to set the delay time for the left
channel.
DelayL>R
This parameter is used to set the time that elapses
between input of sound via the left channel and output
via the right channel.
DelayR This parameter is used to set the delay time for the right
channel.
DelayR>L
This parameter is used to set the time that elapses
between input of sound via the right channel and output
via the left channel.
Density
[Reverb effects other than EarlyRef]
This parameter is used to set the reverb density.
[Early Ref]
This parameter is used to set the density of early reflec-
tions.
Depth This parameter is used to set the amplitude of the LFO
wave that controls cyclic changes in phase modulation.
Detune This parameter is used to set the degree to which
pitches are detuned.
Device This parameter is used to select one of a number of
devices that distort the sound in different ways.
Diffuse
[TempoPhaser and EarlyRef]
This parameter is used to adjust the spaciousness of the
sound produced.
[Reverb effects other than EarlyRef]
This parameter is used to set how wide the reverb
sounds.
Directn This parameter is used to set the direction of envelope-
follower modulation.
Div.FreqH This parameter is used to set the mid-high frequency
when splitting the sound into three bands.
Div.FreqL This parameter is used to set the low-mid frequency
when splitting the sound into three bands.
NOTE

40 Owner’s Manual
Internal Design
Parameter
name
Descriptions
DlyLvlC This parameter is used to set the delay volume for the
center channel.
DlyMix This parameter is used to set the mixing level for the
delayed sound.
DlyOfst This parameter is used to set the modulation delay
time’s offset value.
Drive This parameter is used to set the degree to which the
effect is applied.
DriveHorn This parameter is used to set the depth of modulation
produced through rotation of the high-frequency horn.
DriveRotor This parameter is used to set the depth of modulation
produced through rotation of the low-frequency rotor.
DstL.Gain
This parameter is used to set the degree by which the
low frequencies from the distorted sound are boosted or
cut.
DstM.Gain
This parameter is used to set the degree by which the
mid frequencies from the distorted sound are boosted or
cut.
Edge This parameter is used to specify a curve that deter-
mines how the sound is distorted.
EQ1Freq This parameter is used to set the cutoff frequency for the
EQ1 band (i.e., low shelving).
EQ1Gain This parameter is used to set the gain for the EQ1 band
(i.e., low shelving).
EQ2Freq This parameter is used to set the center frequency for
the EQ2 band.
EQ2Gain This parameter is used to set the gain for the EQ2 band.
EQ2Q This parameter is used to set the resonance of the EQ2
band.
EQ3Freq This parameter is used to set the center frequency for
the EQ3 band.
EQ3Gain This parameter is used to set the gain for the EQ3 band.
EQ3Q This parameter is used to set the resonance of the EQ3
band.
EQ4Freq This parameter is used to set the center frequency for
the EQ4 band.
EQ4Gain This parameter is used to set the gain for the EQ4 band.
EQ4Q This parameter is used to set the resonance of the EQ4
band.
EQ5Freq This parameter is used to set the cutoff frequency for the
EQ5 band (i.e., high shelving).
EQ5Gain This parameter is used to set the gain for the EQ5 band
(i.e., high shelving).
ER/Rev This parameter is used to set the relative volumes of
early reflections and reverberation.
F/RDpth
This parameter is used to set the front-to-rear pan depth
(and is valid only when PanDirectn is set to “Lturn” or
“Rturn”).
FBHiDmp
This parameter is used to set how the feedback sound
decays in the high-frequency band (with smaller values
corresponding to faster decay).
FBLevel
[Chorus effects, Delay effects, and TempoFlanger]
This parameter is used to set how much of the delay
sound is fed back into the effect’s input (with negative
values indicating that its phase is to be inverted).
[TempoPhaser]
This parameter is used to set how much of the phaser’s
output is fed back into its input (with negative values indi-
cating that its phase is to be inverted).
[Reverb effects]
This parameter is used to set the initial delay’s feedback
level.
FBLvl1 This parameter is used to set the feedback level for the
first delay sound.
FBLvl2 This parameter is used to set the feedback level for the
second delay sound.
FBTime This parameter is used to set the feedback delay time.
FBTime1 This parameter is used to set the delay time for feedback
delay 1.
FBTime2 This parameter is used to set the delay time for feedback
delay 2.
FBTimeL This parameter is used to set the delay time for the left
feedback delay.
FBTimeR This parameter is used to set the delay time for the right
feedback delay.
Feedback This parameter is used to set how much of the effect’s
output is fed back into its input.
Fine1 This parameter is used to adjust the first fine-pitch set-
ting.
Fine2 This parameter is used to adjust the second fine-pitch
setting.
H.Freq This parameter is used to set the center frequency of the
high-frequency EQ band.
H.Gain This parameter is used to set the amount by which the
high-frequency EQ band is boosted or cut.
Height This parameter is used to set the height of the simulated
room.
HiAtk
This parameter is used to set the amount of time that
elapses before compression is fully applied in the high-
frequency band.
HiGain This parameter is used to set the output level of the high-
frequency band.
HiLvl This parameter is used to set the high-frequency level.
HiMute This parameter is used to activate and deactivate high-
frequency muting.
HiRat
[MltBndComp]
This parameter is used to set the compression ratio for
the high-frequency band.
[Reverb effects]
This parameter is used to adjust the high-frequency
component.
HiTh
This parameter is used to set the input-signal level at
which the compressor starts to process the sound in the
high-frequency band.
HornF This parameter is used to set the speed of rotation of the
high-frequency horn at the “fast” setting.
HornS This parameter is used to set the speed of rotation of the
high-frequency horn at the “slow” setting.
HPF This parameter is used to set the high-pass filter’s cutoff
frequency.
InitDly This parameter is used to set the amount of time that
elapses before early reflections are produced.
InitDly1 This parameter is used to set the delay time for the first
delay.
InitDly2 This parameter is used to set the delay time for the sec-
ond delay.
InitDlyL This parameter is used to set the delay time for the left-
channel delay.
InitDlyR This parameter is used to set the delay time for the right-
channel delay.
InpMode This parameter is used to switch between mono and ste-
reo input.
InpSelect This parameter is used to select an input.
L.Freq This parameter is used to set the center frequency of the
low-frequency EQ band.
L.Gain This parameter is used to set the amount by which the
low-frequency EQ band is boosted or cut.
L/RDiffuse
This parameter is used to set the difference between left
and right delay times in order to produce a more spa-
cious sound.
L/RDpth This parameter is used to set the depth of the left-right
panning effect.
Lag This parameter is used to set a time lag for delay times
specified in terms of note lengths.
LFODpth
[SPX Flanger, TempoFlanger, SPX Chorus, and Sym-
phonic]
This parameter is used to set the depth of modulation.
[Tempo Phaser]
This parameter is used to set the depth of phase modu-
lation.
LFODiff This parameter is used to set the left-right phase differ-
ence between modulation waveforms.
Parameter
name
Descriptions

TRIGGER ReferenceKITMIDI VOICEUTILITY WAVEPATTERN
Internal Design
Owner’s Manual 41
*3 The Top parameter’s setting is valid only when equal to or greater
than that of the Bottom parameter.
LFOSpeed
[TempoFlanger, G Chorus, 2 Modulator, SPX Chorus,
Symphonic, and Tremolo]
This parameter is used to set the modulation frequency.
[TempoPhaser]
This parameter is used to set the modulation speed in
terms of note lengths.
[AutoPan]
This parameter is used to set the auto-pan frequency.
LFOWave
[AutoWah]
This parameter is used to specify whether the filter-
sweep effect is produced using a sine or square wave.
[AutoPan]
This parameter is used to set the panning curve.
Livenss This parameter is used to set the way in which early
reflections decay.
LowAtk
This parameter is used to set the amount of time that
elapses before compression is fully applied in the low-
frequency band.
LowGain This parameter is used to set the output level of the low-
frequency band.
LowLvl This parameter is used to set the low-frequency level.
LowMute This parameter is used to activate and deactivate low-
frequency muting.
LowRat
[MltBndComp]
This parameter is used to set the compression ratio for
the low-frequency band.
[Reverb effects]
This parameter is used to adjust the low-frequency com-
ponent.
LowTh
This parameter is used to set the input-signal level at
which the compressor starts to process the sound in the
low-frequency band.
LPF This parameter is used to set the low-pass filter’s cutoff
frequency.
M.Freq This parameter is used to set the center frequency of the
mid-frequency EQ band.
M.Gain This parameter is used to set the amount by which the
mid-frequency EQ band is boosted or cut.
M.Width This parameter is used to set the width of the mid-fre-
quency EQ band.
Manual This parameter is used to set the phase-modulation off-
set value.
MicAngl This parameter is used to set the left-right inclination of
the microphone used to capture the speaker’s output.
MidAtk
This parameter is used to set the amount of time that
elapses before compression is fully applied in the mid-
frequency band.
MidGain This parameter is used to set the output level of the mid-
frequency band.
MidLvl This parameter is used to set the mid-frequency level.
MidMute This parameter is used to activate and deactivate mid-
frequency muting.
MidRat This parameter is used to set the compression ratio for
the mid-frequency band.
MidTh
This parameter is used to set the input-signal level at
which the compressor starts to process the sound in the
mid-frequency band.
MixLvl This parameter is used to set how much of the effect
sound is mixed back into the dry sound.
Mode This parameter is used to adjust the mode of operation
of the phaser.
MoveSpeed
This parameter is used to specify the amount of time that
elapses until the sound set using the Vowel parameter is
produced.
On/Off This parameter is used to activate and deactivate the
isolator.
OutLvl This parameter is used to set the output level.
OutLvl1 This parameter is used to set the first-stage output level.
OutLvl2 This parameter is used to set the second-stage output
level.
Output This parameter is used to set the output level.
Parameter
name
Descriptions
OverDr This parameter is used to adjust the way in which the
sound distorts.
Pan1 This parameter is used to set the first stereo-panning
position.
Pan2 This parameter is used to set the second stereo-panning
position.
PanDirectn This parameter is used to set the auto-pan type.
PhShiftOfst This parameter is used to set the phase-modulation off-
set value.
Pitch1 This parameter is used to set the first pitch in semi-tone
units.
Pitch2 This parameter is used to set the second pitch in semi-
tone units.
PMDepth This parameter is used to set the depth of pitch modula-
tion.
Presenc Often seen on guitar amplifiers and the like, this parame-
ter is used to control the high-frequency band.
Ratio This parameter is used to set the compression ratio.
Release This parameter is used to set the amount of time that
elapses until the sound is no longer being compressed.
Resonance This parameter is used to set the resonance of the filter.
ResoOfst This parameter is used to set the resonance offset value.
RevDly This parameter is used to set the interval between early
reflections and subsequent reverberation.
RevTime This parameter is used to set the reverb time.
RoomSize This parameter is used to set the size of the room.
Rotor/Horn This parameter is used to set the relative volumes of the
high-frequency horn and the low-frequency rotor.
RotorF This parameter is used to set the speed of rotation of the
low-frequency rotor at the “fast” setting.
RotorS This parameter is used to set the speed of rotation of the
low-frequency rotor at the “slow” setting.
Sens This parameter is used to set how sensitive the wah filter
is to changes in the input level.
S-FTmHorn
This parameter is used to set how long it takes for the
high-frequency horn to switch between fast and slow
rotation speeds.
S-FTmRotor
This parameter is used to set how long it takes for the
low-frequency rotor to switch between fast and slow
rotation speeds.
Speaker This parameter is used to select the type of speaker to
be simulated.
Speed
[PhaserMono and PhaserStereo]
This parameter is used to set the frequency of the LFO
that controls cyclic changes in phase modulation.
[AutoWah]
This parameter is used to set the LFO speed.
SpeedCtrl This parameter is used to set the rotation speed as “fast”
or “slow”.
Spread This parameter is used to set how wide the effect’s out-
put sounds.
Stage This parameter is used to set the number of phase-filter
steps.
Thresh This parameter is used to set the input-signal level at
which the effect starts to process the sound.
Top
*3
This parameter is used to set the highest point in the fil-
ter’s sweep range.
Type
[Wah effects]
This parameter is used to set the wah-effect type.
[EarlyRef, GateReverb, and ReverseGate]
This parameter is used to set the reflected-sound type.
Vowel This parameter is used to select a vowel type.
Parameter
name
Descriptions

42 Owner’s Manual
Internal Design
Internal Memory
By storing User kits, User patterns, and waves that you
have created and edited in the DTX-MULTI 12’s internal
memory, you ensure that they will always be available for
use, even after the instrument has been turned off. In addi-
tion, User trigger setups and the settings from the UTIL-
ITY setting area can also be stored in memory for reuse.
■Data Retained by the DTX-MULTI 12
The following types of setting data can be stored in the
instrument’s internal memory.
●User kits
Original drum kits that you have created by assigning
voices to pads and external controllers can be stored as
User kits in the instrument’s memory. After doing so, you
can then recall these kits at any time in the same way as
Preset kits. In total, up to 200 User kits can be stored, and
they will be available even after the DTX-MULTI 12 has
been turned off. In addition to settings from the KIT area,
each User kit also retains associated data configured in the
VOICE and MIDI setting areas.
●User patterns
User patterns – which may be put to use in exactly the
same way as Preset patterns – can be created by recording
your performances on the DTX-MULTI 12 or by importing
standard MIDI files (Format 0). The corresponding data is
stored as a User pattern within the DTX-MULTI 12 as it is
recorded or imported, and the pattern will then be available
even after the DTX-MULTI 12 has been turned off. Up to
50 of these User patterns can be stored internally.
●Waves
Wave data created by importing either WAV or AIFF type
audio files from a USB memory device (connected via the
USB TO DEVICE port) is automatically stored within the
DTX-MULTI 12 and can then be assigned to pads for play-
back in the same way as preset voices and patterns. In total,
up to 500 of these waves can be stored, ensuring that they
will be available even after the DTX-MULTI 12 has been
turned off.
●User trigger setups
The DTX-MULTI 12 can also store a number of original
User trigger setups, which you can conveniently prepare by
customizing a Preset trigger setup. In specific terms, the
instrument’s internal memory can hold ten of these setups,
ensuring that they will always be available, even after the
power has been turned off and back on.
●UTILITY area settings
The parameter settings that you have configured within the
UTILITY setting area can also be stored in the DTX-
MULTI 12’s internal memory. In this way, they can be
instantly recalled whenever the instrument is turned on.
■Editing & Storing User Kits
Whenever you select a drum kit, the corresponding data is
loaded into a non-permanent area of internal memory
known as the Edit Buffer. If any of the kit’s parameter set-
tings are changed, it is the data within the Edit Buffer – not
the stored version – that is modified. In this way, User kits
can be protected from accidental or unintended modifica-
tion.
The purpose of the Edit Buffer is to hold a temporary ver-
sion of the kit being edited, and therefore, if a new kit is
selected without storing any modifications, those modifica-
tions will be lost (i.e., overwritten with the settings from
the newly selected kit). In addition, modifications to the kit
in the Edit Buffer will also be lost when the DTX-MULTI
12 is turned off if they are not stored in advance. It is good
practice, therefore, to store the content of the Edit Buffer as
a User kit whenever you are happy with it.
■Saving & Loading Data Files
All of the above-mentioned items of data that can be stored
in the instrument’s internal memory can also be saved as
files on a USB storage device. Whenever needed, further-
more, these memory files can be loaded back into the
instrument from the storage device. For more details, refer
to the description of the UTILITY setting area’s FILE sec-
tion (UTIL7).
Kit being edited
(User or Preset)
Edit buffer (containing
all modifications)
[STORE] button
lights up.
If the DTX-MULTI 12 is
turned off without stor-
ing the kit, all modifica-
tions will be lost.
When the kit is stored,
the version in permanent
memory is updated with
all modifications.
[STORE] button
goes out.

TRIGGER ReferenceKITMIDI VOICEUTILITY WAVEPATTERN
Internal Design
Owner’s Manual
43
■
Makeup of Internal Memory
The following diagram shows the correlation between the various functions that can be used to create data on the DTX-
MULTI 12, the data in the instrument’s internal memory, and the data on a USB memory device.
Internal memory
UTIL7
FILE
Data-creating functions
Preset data (ROM)
• Kits
•Voices
•Patterns
•Trigger setups
• User kits
External USB memory device
User memory
Flash ROM
• User trigger
setups
• Utility setting
•Waves
• User
patterns
File extension: .MTK
(file type = “AllKit”)
All combined
File extension: .MTA
(file type = “All”)
File extension: .MTT
(file type = “AllTrigger”)
File extension: .MTU
(file type = “Utility”)
File extension: .MTW
(file type = “AllWave”)
File extension: .MTP
(file type = “AllPattern”)
Audio data (.WAV or .AIFF)
Standard MIDI file (.MID)
Import
Record
•Pattern editing
•Wave editing
• Utility setting
•Trigger setting
• Kit editing
Save / Load
Store
Import SMF
(PTN4-7)
•Pattern recording
•Voice setting
• MIDI setting
03_dtxm_en_about.fm Page 43 Friday, September 17, 2010 9:31 AM

44 Owner’s Manual
Basic Operations
The following section describes how to perform basic tasks
such as the changing of parameter settings, execution of
jobs, and storing of data.
■Parameter Setting Areas
Within your DTX-MULTI 12, parameters associated with
specific functions are conveniently grouped together into
seven different parameter setting areas. These areas may be
accessed using the buttons indicated below.
• KIT setting area: [KIT] button
This area is used to select and edit drum kits.
•VOICE setting area: [VOICE] button
A part of the KIT setting area, this area is used to select
and edit voices.
•MIDI setting area: [MIDI] button
A part of the KIT setting area, this area is used to set
MIDI-related parameters on an individual-kit basis.
•PATTERN setting area: [PTN] button
This area is used to select and edit patterns.
•WAVE setting area: [WAVE] button
This area is used to import and edit waves.
• UTILITY setting area: [UTILITY] button
This area is used to set parameters affecting the overall
system and to manage files.
• TRIGGER setting area: [SHIFT] + [UTILITY] but-
tons
This area is used to edit trigger setup data.
The button corresponding to each setting area will light up
in green when that area is selected. In the case of the
VOICE and MIDI setting areas, the [KIT] button will also
light up.
■Navigating between Sections
Each setting area is subdivided into a number of different
sections. The current section is indicated at the left of the
upper row of text using the name (or abbreviation) of the
selected setting area together with the section number. Use
the [B]/[C] buttons to navigate between these sections.
Example: UTILITY setting area
UTIL1
≥≥≥≥GENERAL
UTIL2
≥≥≥≥≥CLICK
UTIL3
≥≥≥MASTER≥EQ
UTIL4
≥≥≥≥≥≥PAD
UTIL5
≥≥≥≥≥HI-HAT
UTIL6
≥≥≥≥≥≥MIDI
UTIL7
≥≥≥≥≥≥FILE
UTIL8
≥≥FACTORY≥SET
Name of selected
area (UTILITY) Section number

TRIGGER ReferenceKITMIDI VOICEUTILITY WAVEPATTERN
Basic Operations
Owner’s Manual 45
■Navigating between Pages
Each section contains a number of parameter setting pages
that are used to make actual settings. With a section page
displayed, press the lit [ENTER] button to access its
parameter setting pages. (In certain cases, it may not be
possible to access parameter-setting pages from a section
page, and the [ENTER] button will not light up.) Each
parameter-setting page is identified at the left of the upper
row of text using the name (or abbreviation) of the setting
area, the section number, and the page number (with
hyphens between the numbers). You can use the [B]/[C]
buttons to navigate between parameter setting pages.
In certain cases, a number of additional pages may be
accessed from a parameter setting page using the [ENTER]
button, which will light up whenever this is possible. By
pressing the [EXIT] button, you can move back towards the
top of the current setting area.
■Moving the Cursor
Whenever a page contains a number of different parame-
ters, you can move the flashing cursor left and right using
the [B]/[C] buttons or between the upper and lower rows
of text using the [D] button. In this way, you can select the
parameter setting to be changed (as described below). If
there are no additional parameters to the left or right on the
current page when you press the [B]/[C] button, the cur-
sor will jump to the next parameter-setting page to the left
or right, respectively. In addition, the [B]/[C] and [D]
buttons will light up whenever they can be pressed to move
to a different parameter on the current page or an adjacent
page.
■Changing Parameter Settings
By pressing the [-/DEC] or [+/INC] button, you can
increase or decrease the setting of the currently selected
parameter.
•A setting can be decreased in units of 10 by holding down the [SHIFT] but-
ton and pressing the [-/DEC] button or by holding down the [-/DEC] button
and pressing the [+/INC] button.
•Similarly, it can be increased in units of 10 by holding down the [SHIFT] but-
ton and pressing the [+/INC] button or by holding down the [+/INC] button
and pressing the [-/DEC] button.
■Storing Parameter Settings
Whenever parameter settings have been changed on section
and/or parameter-setting pages, the [STORE] button will
light up to remind you to store your settings. The correct
way to store parameter settings is as follows.
1When you have finished setting parameters in a specific
setting area, press the [STORE] button to open the Store
Kit page.
2Using the [-/DEC] and [+/INC] buttons, indicate where
you want your data to be stored.
• The above step is not required when storing settings in the UTILITY
setting area.
3Press the [ENTER] button. You will be asked to confirm
that you wish to proceed. If necessary, you can press the
[EXIT] button to return to the previous page without stor-
ing any data.
4Press the [ENTER] button to store your data in the DTX-
MULTI 12’s internal memory.
Example: VOICE setting area’s TONE section (VCE3)
VCE3
≥≥≥≥≥≥TONE
VCE3-1≥-º¡-≥≥≥≥ç
≥≥≥Attack=+≥0
VCE3-2≥-º¡-≥≥≥≥ç
≥≥≥Decay=+≥0
VCE3-3≥-º¡-≥≥≥≥ç
≥≥Release=+≥0
VCE3-4≥-º¡-≥≥≥≥ç
≥Fc=+≥0≥≥Q=+≥0
Page number
[ENTER]
[EXIT]
• If you turn off the instrument without storing modified settings,
these modifications will lost (i.e., the settings will revert to their
previous state when the instrument is next turned on).
NOTE
KIT≥Store≥to
U001:User≥Kit
Destination for stored data.
NOTE
≥≥≥KIT≥Store
≥Are≥you≥sure?
CAUTION

46 Owner’s Manual
KIT Setting Area (KIT)
This section describes the KIT setting area, which can be accessed using the [KIT] button. Your DTX-MULTI 12 is pre-
loaded with a rich selection of Preset kits (P001 to P050) for immediate use, and you can also create and save up to
200 of your own drum kits as User kits (U001 to U200). Use the KIT setting area to select and edit these drum kits.
Makeup of KIT Setting Area
The KIT setting area is subdivided into eight different sections (KIT1 to KIT8). Use the [B]/[C] buttons to navigate between these sec-
tions. If a section contains parameter-setting pages, the [ENTER] button will light up. Press the [ENTER] button to access these pages. In
certain cases, a number of additional pages may be accessed from a parameter setting page, also using the lit [ENTER] button. Furthermore,
you can press the [EXIT] button to move back towards the top of the setting area.
• Be sure to store any settings that you have edited before turning off the instrument or selecting a new kit. (See page 45.)
CAUTION
KIT1
P001:PercsMaster
KIT2≥≥≥≥≥≥≥≥≥≥≥≥
≥≥≥≥≥COMMON≥≥≥≥≥
KIT3
≥≥EFFECT≥SEND
KIT4
≥≥≥VARIATION
KIT5
≥≥≥≥≥CHORUS
KIT6
≥≥≥≥≥REVERB
KIT7
≥≥≥≥≥OTHER
KIT8≥≥≥≥≥≥≥≥≥≥≥≥
≥≥≥≥≥≥JOB≥
Select Kit ......................................................................................................... Page 47
KIT4-1 Variation Type page ............................................................................. Page 48
KIT4-2 Variation Return page.......................................................................... Page 49
KIT4-3 Variation Pan page .............................................................................. Page 49
KIT4-4 Variation to Reverb page .....................................................................Page 49
KIT4-5 Variation to Chorus page .....................................................................Page 49
KIT2-1 Kit Volume page ..................................................................................Page 47
KIT2-2 Kit Selection Tempo page.................................................................... Page 47
KIT2-3 Kit Name page..................................................................................... Page 47
KIT3-1 Chorus Send page ..............................................................................Page 48
KIT3-2 Reverb Send page............................................................................... Page 48
KIT5-1 Chorus Type page ............................................................................... Page 49
KIT5-2 Chorus Return page............................................................................ Page 49
KIT5-3 Chorus Pan page ................................................................................Page 50
KIT5-4 Chorus to Reverb page .......................................................................Page 50
KIT6-1 Reverb Type page................................................................................Page 50
KIT6-2 Reverb Return page ............................................................................ Page 50
KIT6-3 Reverb Pan page................................................................................. Page 50
KIT7-1 Layer Switch page ...............................................................................Page 51
KIT7-2 Mute Switch page................................................................................ Page 51
KIT7-3 Hi-hat Function page ........................................................................... Page 52
KIT7-4 Hi-hat MIDI Channel page................................................................... Page 52
KIT7-5 Hi-hat MIDI Type page......................................................................... Page 52
KIT7-6 Trigger Setup Link page ...................................................................... Page 52
KIT8-1 Copy Pad page.................................................................................... Page 53
KIT8-2 Exchange Pads page ..........................................................................Page 53
KIT8-3 Exchange Kits page ............................................................................Page 54
KIT8-4 Initialize Pad page ............................................................................... Page 54
KIT8-5 Initialize Kit page .................................................................................Page 54
Sections Parameter-setting pages

TRIGGER ReferenceKITMIDI VOICEUTILITY WAVEPATTERN
KIT Setting Area (KIT)
Owner’s Manual 47
Select Kit
On the Select Kit page (KIT1) you can select the Preset kit or
User kit you want to play. To access this page, press the [KIT]
button, and if necessary, the [B]/[C] buttons. Before you can
edit pads or voices in the VOICE or MIDI setting areas, the drum
kit in question must be selected on this page.
AKit category
Use this parameter to specify either the Preset (P) or User (U)
drum-kit category.
BKit number: Kit name
• If you select a new drum kit while a pattern assigned to one if its pads
is being played, the pattern will stop automatically.
• If you select a new drum kit while a preset voice or wave assigned to
one if its pads is being played, the corresponding sound will be auto-
matically silenced.
• If identical voices are assigned to the same Channel-10 MIDI note
numbers in both the newly selected kit and the previous kit, it is normal
for voices for the corresponding pads to continue to play when the new
drum kit is selected.
•If any of the currently selected drum kit’s pads are set to “Hand” on the
Pad Type page (TRG2-1), the Hand icon ( ) will be displayed on-
screen (see page 101).
Kit Volume, Tempo & Name
In the COMMON section, you can set the volume, tempo, and
name of the currently selected drum kit. With the COMMON
page (KIT2) displayed, press the [ENTER] button to access its
three parameter-setting pages (KIT2-1 to KIT2-3). You can use
the [B]/[C] buttons to navigate between these pages.
1Volume
Use this parameter to set the volume of the entire kit.
• If you change the volume setting for MIDI channel 10 on the MIDI
area’s Volume page (MIDI3-2), the Volume parameter on this page
(KIT2-1) will be automatically set to the same value. The reverse does
not apply, however – in other words, the volume setting on the MIDI
area’s Volume page (MIDI3-2) is not affected by changes made on this
page (KIT2-1).
1Tempo
Use this parameter to specify the tempo to be set automati-
cally upon selection of the current drum kit. If patterns are
assigned to any of the kit’s pads, they will be played at this
tempo. An “off” setting means that the tempo will not change
automatically when the current kit is selected – in other
words, the tempo of the previously selected kit will be main-
tained.
• If waves are assigned to any of the kit’s pads, the tempo (or speed) at
which they are played will not be affected by the kit’s tempo setting.
From the Kit Name page, you can assign a name to the currently
selected drum kit. With this page displayed, press the [ENTER]
button to open the Kit Name Setting page.
KIT2-3-1 Kit Name Setting page
On the Kit Name Setting page, a name of up to 11 characters in
length can be assigned to the currently selected drum kit. Use the
[B]/[C] buttons to move the flashing cursor to the character
you want to change, and then select a character using the [-/DEC]
and [+/INC] buttons. The following characters can be used in
drum-kit names.
[space]
KIT1
Settings P or U
Settings With “P” (Preset kit) selected: 001 to 050
With “U” (User kit) selected: 001 to 200
KIT2 COMMON
KIT2-1 Kit Volume page
Settings 0 to 127
KIT1
P001:PercsMaster
12
NOTE
ˇÁ
KIT2
≥≥≥≥≥COMMON
KIT2-1≥≥<COMMON>
≥≥≥Volume=118 1
KIT2-2 Kit Selection Tempo page
Settings off, or 30 to 300
KIT2-3 Kit Name page
NOTE
KIT2-2≥≥<COMMON>
≥≥≥Tempo=off 1
NOTE
KIT2-3≥≥<COMMON>
≥≥≥≥≥≥Name
KIT2-3-1
≥≥[User≥Kit≥≥≥]
Kit name
!"#$%&'()*+,-./0123456789:;<=>?@
ABCDEFGHIJKLMNOPQRSTUVWXYZ[\]^_`
abcdefghijklmnopqrstuvwxyz{|}ßå

48 Owner’s Manual
KIT Setting Area (KIT)
Effect Send Levels
In the EFFECT SEND section, you can adjust the degree to which
chorus and reverb effects are applied to the entire drum kit. With
the EFFECT SEND page (KIT3) displayed, press the [ENTER]
button to access its two parameter-setting pages (KIT3-1 and
KIT3-2). You can use the [B]/[C] buttons to switch between
these pages.
Using the Chorus Send page, you can adjust the degree to which
the chorus effect is applied to all drum voices in the currently
selected kit. If any of the kit’s individual voices also have a cho-
rus-send level set on the VOICE area’s Chorus Send page (VCE4-
2), chorus will be assigned to them in line with the sum of both
send levels.
1Chorus send level (ChorusSend)
Use this parameter to set the chorus-send level for the cur-
rently selected drum kit.
• If you change the chorus-send level for MIDI channel 10 on the MIDI
area’s Chorus Send page (MIDI3-6), the ChorusSend parameter on
this page (KIT3-1) will be automatically set to the same value. The
reverse does not apply, however – in other words, the chorus send set-
ting on the MIDI area’s Chorus Send page (MIDI3-6) is not affected by
changes made on this page (KIT3-1).
Using the Reverb Send page, you can adjust the degree to which
the reverb effect is applied to all drum voices in the currently
selected kit. If any of the kit’s individual voices also have a
reverb-send level set on the VOICE area’s Reverb Send page
(VCE4-3), reverb will be assigned to them in line with the sum of
both send levels.
1Reverb send level (ReverbSend)
Use this parameter to set the reverb-send level for the cur-
rently selected drum kit.
• If you change the reverb-send level for MIDI channel 10 on the MIDI
area’s Reverb Send page (MIDI3-7), the ReverbSend parameter on
this page (KIT3-1) will be automatically set to the same value. The
reverse does not apply, however – in other words, the reverb send set-
ting on the MIDI area’s Reverb Send page (MIDI3-7) is not affected by
changes made on this page (KIT3-2).
Variation Effect Setup
In the VARIATION section, you can select a variation effect,
adjust the degree to which it is applied, and configure it in a num-
ber of other ways. Variation effects are applied to all voices (on all
MIDI channels). With the VARIATION page (KIT4) displayed,
press the [ENTER] button to access its five parameter-setting
pages (KIT4-1 to KIT4-5). You can use the [B]/[C] buttons to
navigate between these pages.
1Variation category
Use this parameter to select a variation-effect category.
BVariation type
Use this parameter to select a variation-effect type.
With an effect category and type selected, you can press the
[ENTER] button on the Variation Type page (KIT4-1) to access a
range of setting pages allowing each of the selected effect’s
parameters to be set. (The number of parameter-setting pages
depends on the effect selected.) Use the [B]/[C] buttons to nav-
igate between these pages.
KIT4-1-1 Parameter setting page (example)
1Effect parameter
Each parameter setting page contains a different parameter for
the selected variation effect.
KIT3 EFFECT SEND
KIT3-1 Chorus Send page
Settings 0 to 127
KIT3-2 Reverb Send page
Settings 0 to 127
KIT3
≥≥EFFECT≥SEND
KIT3-1≥≥<FXSEND>
≥ChorusSend=≥≥0 1
NOTE
KIT3-2≥≥<FXSEND>
≥ReverbSend=≥35 1
NOTE
KIT4 VARIATION
KIT4-1 Variation Type page
Settings Refer to the separate Data List booklet.
Settings Refer to the separate Data List booklet.
Settings Refer to the separate Data List booklet.
KIT4
≥≥≥VARIATION
KIT4-1≥≥VarType=
C&E/Compressor
12
KIT4-1-1≥≥≥<VAR>
LFOSpeed=0.000Hz 1

TRIGGER ReferenceKITMIDI VOICEUTILITY WAVEPATTERN
KIT Setting Area (KIT)
Owner’s Manual 49
1Variation return (VarReturn)
Use this parameter to set the level of the return signal from the
variation effect.
1Variation pan (VarPan)
Use this parameter to set the stereo panning of the variation
effect’s return signal.
1Variation to reverb (VarToRev)
Use this parameter to set the degree to which the output from
the variation effect is sent to the reverb effect.
1Variation to chorus (VarToCho)
Use this parameter to set the degree to which the output from
the variation effect is sent to the chorus effect.
Chorus Effect Setup
In the CHORUS section, you can select a chorus effect and con-
figure it in a range of different ways. Chorus effects are applied to
all voices (on all MIDI channels). With the CHORUS page
(KIT5) displayed, press the [ENTER] button to access its four
parameter-setting pages (KIT5-1 to KIT5-4). You can use the
[B]/[C] buttons to navigate between these pages.
1Chorus type
Use this parameter to select a chorus-effect type.
With a chorus type selected, you can press the [ENTER] button
on the Chorus Type page (KIT5-1) to access a range of setting
pages allowing each of its parameters to be set. (The number of
parameter-setting pages depends on the type selected.) Use the
[B]/[C] buttons to navigate between these pages.
KIT5-1-1 Parameter setting page (example)
1Effect parameter
Each parameter setting page contains a different parameter for
the selected chorus type.
1Chorus return (ChoReturn)
Use this parameter to set the level of the return signal from the
chorus effect.
KIT4-2 Variation Return page
Settings 0 to 127
KIT4-3 Variation Pan page
Settings L63 to C to R63
KIT4-4 Variation to Reverb page
Settings 0 to 127
KIT4-5 Variation to Chorus page
Settings 0 to 127
KIT4-2≥≥≥≥≥<VAR>
≥VarReturn=≥64 1
KIT4-3≥≥≥≥≥<VAR>
≥≥≥VarPan=≥C 1
KIT4-4≥≥≥≥≥<VAR>
≥≥VarToRev=≥≥0 1
KIT4-5≥≥≥≥≥<VAR>
≥≥VarToCho=≥≥0 1
KIT5 CHORUS
KIT5-1 Chorus Type page
Settings Refer to the separate Data List booklet.
Settings Refer to the separate Data List booklet.
KIT5-2 Chorus Return page
Settings 0 to 127
KIT5
≥≥≥≥≥CHORUS
KIT5-1≥≥ChoType=
G≥Chorus 1
KIT5-1-1≥≥≥<CHO>
LFOSpeed=0.000Hz 1
KIT5-2≥≥≥≥≥<CHO>
≥ChoReturn=≥64 1

50 Owner’s Manual
KIT Setting Area (KIT)
1Chorus pan (ChoPan)
Use this parameter to set the stereo panning of the chorus
effect’s return signal.
1Chorus to reverb (ChoToRev)
Use this parameter to set the degree to which the output from
the chorus effect is sent to the reverb effect.
Reverb Effect Setup
In the REVERB section, you can select a reverb effect and config-
ure it in a range of different ways. Reverb effects are applied to all
voices (on all MIDI channels). With the REVERB page (KIT6)
displayed, press the [ENTER] button to access its three parame-
ter-setting pages (KIT6-1 to KIT6-3). You can use the [B]/[C]
buttons to navigate between these pages.
1Reverb type
Use this parameter to select a reverb-effect type.
With a reverb type selected, you can press the [ENTER] button on
the Reverb Type page (KIT6-1) to access a range of setting pages
allowing each of its parameters to be set. (The number of parame-
ter-setting pages depends on the type selected.) Use the [B]/[C]
buttons to navigate between these pages.
KIT6-1-1 Parameter setting page (example)
1Effect parameter
Each parameter setting page contains a different parameter for
the selected reverb type.
1Reverb return (RevReturn)
Use this parameter to set the level of the return signal from the
reverb effect.
1Reverb pan (RevPan)
Use this parameter to set the stereo panning of the reverb
effect’s return signal.
KIT5-3 Chorus Pan page
Settings L63 to C to R63
KIT5-4 Chorus to Reverb page
Settings 0 to 127
KIT6 REVERB
KIT5-3≥≥≥≥≥<CHO>
≥≥≥ChoPan=≥C 1
KIT5-4≥≥≥≥≥<CHO>
≥≥ChoToRev=≥≥0 1
KIT6
≥≥≥≥≥REVERB
KIT6-1 Reverb Type page
Settings Refer to the separate Data List booklet.
Settings Refer to the separate Data List booklet.
KIT6-2 Reverb Return page
Settings 0 to 127
KIT6-3 Reverb Pan page
Settings L63 to C to R63
KIT6-1≥≥RevType=
R3≥Hall 1
KIT6-1-1≥≥≥<REV>
RevTime=≥0.0s 1
KIT6-2≥≥≥≥≥<REV>
≥RevReturn=≥64 1
KIT6-3≥≥≥≥≥<REV>
≥≥≥RevPan=≥C 1

TRIGGER ReferenceKITMIDI VOICEUTILITY WAVEPATTERN
KIT Setting Area (KIT)
Owner’s Manual 51
Other Drum Kit Settings
In the OTHER section, you can set parameters related to muting*
and hi-hats, and you can also specify the trigger setup to be used
when the current drum kit is selected. With the OTHER page
(KIT7) displayed, press the [ENTER] button to access its six
parameter-setting pages (KIT7-1 to KIT7-6). You can use the
[B]/[C] buttons to navigate between these pages.
*: Muting
The action of pressing a hand down on a pad in order to change the sound
it produces or to silence it is referred to as “muting”. This technique can
be used to delicately change the sound of a performance, and with the
DTX-MULTI 12, you can setup muting in advance in order to change or
silence sounds when you press a hand down on a pad.
Using the Layer Switch function, you can apply the muting tech-
nique during performances to switch between the four layers that
can be assigned to built-in and external pads.
1Pad number
Use this parameter to select the pad to be set.
BLayer switch
Use this parameter to specify whether or not triggered layers
from the pad indicated by 1 are to be switched in response to
muting or operation of a hi-hat controller. For more details
regarding layers, see page 32.
•off ............. Layers will not be switched.
• mute ......... Layers A and B are played when muting is off.
Layers C and D are played when muting is on.
•hh............. Layers A and B are played when the hi-hat is
open.
Layers C and D are played when the hi-hat is
closed.
• The “mute” setting is available only for the twelve built-in pads on your
DTX-MULTI 12.
On the Mute Switch page, you can select a group of pads to be
treated as one in terms of muting in order to silence or change
their sounds during performances.
1Pad number
• This parameter can be set only for the twelve built-in pads on your
DTX-MULTI 12.
BMute switch (MuteSw)
Set this parameter to “on” if muting for the pad indicated by
1 is to operate in conjunction with muting for other pads
with the same setting. When pad sensitivity is set for playing
with sticks, we recommend that you set MuteSw to “on” for at
least two pads so that you can use the muting technique with-
out the fear of accidentally striking your hand. As you make
your selections, the numbers in the Pad Indicator will light up
to show which pads have been grouped together for muting.
Example: If MuteSw has been set to “on” for Pads 4, 5, and 6:
• When you strike Pad 4, 5, or 6 while pressing down on
either of the other two pads by hand, the struck pad will
produce a shorter sound.
• When you press down on Pad 4, 5, or 6 by hand while one
or more of these pads are producing a sound as a result of
being struck, the struck pad(s) will be silenced.
•Be sure to press firmly on a pad when you want to activate the muting
function.
• If you are using the muting technique with the MuteSw parameter (2
above) set to “on” and with “mute” selected on the Layer Switch page
(KIT7-1), the Layer Switch function will be activated.
•A polyphonic aftertouch message with a value of 127 is output when-
ever you press down on a pad with MuteSw set to “on”. Similarly, a
polyphonic aftertouch message with a value of 0 is output whenever
you release the pad. These messages are output for note numbers
assigned to all DTX-MULTI 12 pads, except those for which the mute
switch is not enabled (i.e., MuteSw is set to “off”).
•In cases where pads 4 to 9 are setup for playing by hand on the TRIG-
GER area’s Pad Type page (TRG2-1), muting will be automatically
activated without the need for multiple pads to have MuteSw turned
on. In such a case, the pad with MuteSw turned on can be pressed
and held in order to mute another struck pad. Note, however, that this
type of single-pad muting cannot be activated for the other pads (1 to
3, 10 to 12).
KIT7 OTHER
KIT7-1 Layer Switch page
Settings 01 to 12, 13, 13R1, 13R2, 14 to 17
Settings off, mute, or hh
KIT7
≥≥≥≥≥OTHER
KIT7-1≥-º¡-
LayerSwitch=off 2
1
NOTE
KIT7-2 Mute Switch page
Settings 01 to 12
Settings off or on
KIT7-2≥-º¡-
≥≥≥MuteSw=off 2
1
NOTE
NOTE

52 Owner’s Manual
KIT Setting Area (KIT)
1Hi-hat function (HH Func)
Use this parameter to specify how a hi-hat controller con-
nected to the HI-HAT CONTROL jack is to function.
• hi-hat ........ The hi-hat controller will function in the stan-
dard way for playing the hi-hat cymbal.
• MIDI......... When you step on the hi-hat controller, a MIDI
message is output in line with the settings made
on the Hi-hat MIDI Channel page (KIT7-4) and
the Hi-hat MIDI Type page (KIT7-5).
• When this parameter is set to “hi-hat” and “on” has been selected on
the Send Hi-hat Controller page (UTIL5-3), Control Change 4 mes-
sages corresponding to the degree to which the hi-hat controller is
depressed will be sent to external MIDI devices on MIDI channel 10.
• When this parameter is set to “MIDI”, MIDI messages are sent regard-
less of the selection made on the Send Hi-hat Controller page (UTIL5-
3).
1Hi-hat MIDI channel (HH MIDI ch)
If “MIDI” has been selected on the Hi-hat Function page
(KIT7-3), use this parameter to set the MIDI channel for out-
put of MIDI messages generated by the hi-hat controller.
•If “hi-hat” has been selected on the Hi-hat Function page (KIT7-3), this
setting will be displayed as “--” and modification will not be possible.
1Hi-hat MIDI type (HHMIDIType)
If “MIDI” has been selected on the Hi-hat Function page
(KIT7-3), use this parameter to set the type of MIDI message
generated by the hi-hat controller.
•If “hi-hat” has been selected on the Hi-hat Function page (KIT7-3), this
setting will be displayed as “---” and modification will not be possible.
1Trigger setup link (TrgSetupLink)
Use this parameter to specify the trigger setup to be used
when the current kit is selected. A trigger setup can be
assigned to each different drum kit. These setups are identi-
fied using a category (P for Preset, U for User) and a number,
and you can move the cursor using the [B]/[C] buttons to
set these individually. Select “off” if the currently selected
drum kit does not need a special trigger setup.
•If TrgSetupLink is set to “off”, the trigger setup selected on the Startup
Tr igger page (UTIL1-5) will be loaded by default whenever the DTX-
MULTI 12 is turned on. (See page 83.) Following this, the trigger setup
can be freely changed on the Select Trigger Setup page (TRG1). (See
page 100.)
KIT7-3 Hi-hat Function page
Settings hi-hat or MIDI
KIT7-4 Hi-hat MIDI Channel page
Settings 1 to 16
KIT7-5 Hi-hat MIDI Type page
Settings
CC01 to CC95 (Control Change), AT (After-
touch), PBup (Pitch bend up), or PBdwn
(Pitch bend down)
KIT7-3≥≥≥<OTHER>
≥HH≥Func=hi-hat 1
NOTE
KIT7-4≥≥≥<OTHER>
≥HH≥MIDI≥ch=10 1
NOTE
KIT7-5≥≥≥<OTHER>
HHMIDIType=CC01 1
NOTE
KIT7-6 Trigger Setup Link page
Settings off, P01 to P05, or U01 to U10
KIT7-6≥≥≥<OTHER>
TrgSetupLink=P01 1
NOTE

TRIGGER ReferenceKITMIDI VOICEUTILITY WAVEPATTERN
KIT Setting Area (KIT)
Owner’s Manual 53
Kit Management
In the JOB section, you can perform a range of management tasks
such as copying, swapping, and initializing of kits and pads. With
the JOB page (KIT8) displayed, press the [ENTER] button to
access its five parameter-setting pages (KIT8-1 to KIT8-5). You
can use the [B]/[C] buttons to navigate between these pages.
Operations on the JOB section’s parameter-setting pages are per-
formed as follows.
1Make the required setting(s) and press the [ENTER]
button.
2You will be asked to confirm that you wish to pro-
ceed.
3To do so, press the [ENTER] button. Alternatively,
you can press the [EXIT] button to cancel the pro-
cess.
•Use the [STORE] button to open the Store Kit page and save the drum
kit in the DTX-MULTI 12’s internal memory (see page 45). (This is not
necessary when swapping kits on the Exchange Kit page (KIT8-3).)
From the Copy Pad page, you can copy settings from one pad to
another in the currently selected drum kit. With this page dis-
played, press the [ENTER] button to open the Copy Pad Settings
page.
KIT8-1-1 Copy Pad Settings page
1Pad to be copied
Use this parameter to select the pad whose settings are to be
copied.
BPad to be replaced
Use this parameter to select the pad whose settings are to be
replaced. Set to “01-12” to copy settings to all of the DTX-
MULTI 12’s built-in pads (i.e., Pad 1 to Pad 12). You can also
set “all” to copy settings to all external pads (13, 13R1, 13R2,
14 to 17, FTSW, HHCL, and HHSP) in addition to all of the
DTX-MULTI 12’s built-in pads.
•All information set for the pad in question and the corresponding layers
(i.e., note numbers) will be copied.
• Certain factors may require that output MIDI note numbers other than
those of the pad being copied are automatically assigned to the layers
of the pad(s) being replaced. You can confirm which output MIDI note
numbers have been set on the MIDI Note page (MIDI1-2).
From the Exchange Pads page, you can swap settings for a pair of
pads within the currently selected kit. With this page displayed,
press the [ENTER] button to open the Exchange Pads Settings
page.
KIT8-2-1 Exchange Pads Settings page
1Exchange pad 1
BExchange pad 2
Use these parameters to select the two pads whose settings are
to be swapped.
KIT8 JOB
KIT8-1 Copy Pad page
KIT8
≥≥≥≥≥≥JOB
NOTE
KIT8-1≥≥≥≥≥<JOB>
≥≥≥≥Copy≥Pad
Settings
01 to 12, 13, 13R1, 13R2, 14 to 17, FTSW
(foot switch), HHCL (hi-hat close), or HHSP
(hi-hat splash)
Settings 01 to 12, 13, 13R1, 13R2, 14 to 17, FTSW,
HHCL, HHSP, 01 to 12, or all
KIT8-2 Exchange Pads page
Settings 01 to 12, 13, 13R1, 13R2, 14 to 17, FTSW,
HHCL, or HHSP
KIT8-1-1≥≥<Copy>
≥≥º¡≥≥≥-ß≥≥º™
12
NOTE
KIT8-2≥≥≥≥≥<JOB>
≥≥Exchange≥Pad
KIT8-2-1≥<Exchg>
≥≥º¡≥≥≥åß≥≥º™
12

54 Owner’s Manual
KIT Setting Area (KIT)
From the Exchange Kits page, you can swap settings for a pair of
User kits. With this page displayed, press the [ENTER] button to
open the Exchange Kits Settings page.
KIT8-3-1 Exchange Kits Settings page
1Exchange kit 1
BExchange kit 2
Use these parameters to select the two drum kits whose set-
tings are to be swapped.
•Only those settings already stored will be swapped. In addition, if drum
kits are swapped without first storing any modified settings, the
swapped settings will be overwritten with the modified settings when
the drum kit is subsequently stored.
From the Initialize Pad page, you can initialize individual pads
from the currently selected drum kit. With this page displayed,
press the [ENTER] button to open the Initialize Pad Setting page.
KIT8-4-1 Initialize Pad Setting page
1Pad number
Use this parameter to select the pad to be initialized.
Once you have selected a pad, press the [ENTER] button, and
when asked to confirm that you wish to proceed, press the
[ENTER] button once again.
From the Initialize Kit page, you can initialize the drum kit cur-
rently being edited. With the Initialize Kit page displayed, press
the [ENTER] button, and when asked to confirm that you wish to
proceed, press the [ENTER] button once again.
KIT8-3 Exchange Kits page
Settings U001 to U200
KIT8-4 Initialize Pad page
Settings 01 to 12, 13, 13R1, 13R2, 14 to 17, FTSW,
HHCL, or HHSP
KIT8-3≥≥≥≥≥<JOB>
≥≥Exchange≥Kit
KIT8-3-1≥<Exchg>
≥≥U001≥åß≥U002
12
NOTE
KIT8-4≥≥≥≥≥<JOB>
≥Initialize≥Pad
KIT8-4-1≥
≥≥InitPad=¡£Ω¡ 1
KIT8-5 Initialize Kit page
•When a kit is initialized, all of its parameters will be returned to their
default settings. If you would like to save a copy of the kit before ini-
tialization, perform a Store operation as described on page 45 to
store the currently selected drum kit as a different User kit.
KIT8-5≥≥≥≥≥<JOB>
≥Initialize≥Kit
CAUTION

TRIGGER ReferenceKITMIDI VOICEUTILITY WAVEPATTERN
Owner’s Manual 55
VOICE Setting Area (VCE)
This section describes the VOICE setting area, which can be accessed using the [VOICE] button. In this area, you can
select and edit the voices (i.e., preset voices, waves, and patterns) assigned to individual pads. For more information
on voices and how they work, see page 31.
Makeup of VOICE Setting Area
The VOICE setting area is subdivided into five different sections (VCE1 to VCE5). Use the [B]/[C] buttons to navigate between these
sections. If a section contains parameter-setting pages, the [ENTER] button will light up. Press the [ENTER] button to access these pages.
You can press the [EXIT] button to move back towards the top of the setting area.
Changes made in the VOICE setting area affect the voices assigned to pads from the currently selected kit. You should, therefore, always
select the drum kit you want to configure within the KIT setting area before entering the VOICE setting area. The top-most page within the
VOICE setting area is the Select Voice page (VCE1), and here you can assign voices (i.e., preset voices, waves, and patterns) to individual
pads and layers. On each of the parameter-setting pages within this area, furthermore, you can select the pad and/or layer to be modified.
Please note that when you store changes made to parameters within the VOICE setting area, the entire drum kit is stored.
• Be sure to store any settings that you have edited before turning off the instrument or selecting a new kit. (See page 45.)
CAUTION
VCE1≥-¡£Ω¡-≥≥≥≥ç
Sn001:OakCustom
VCE2≥≥≥≥≥≥≥≥≥≥≥≥
≥≥≥TUNE/OUTPUT≥
VCE3
≥≥≥≥≥≥TONE
VCE4
≥≥EFFECT≥SEND
VCE5
≥≥≥≥≥OTHER
Select Voice..................................................................................................... Page 56
VCE4-1 Variation Send page ..........................................................................Page 59
VCE4-2 Chorus Send page ............................................................................ Page 59
VCE4-3 Reverb Send page.............................................................................Page 59
VCE2-1 Voice Tuning page.............................................................................. Page 57
VCE2-2 Voice Volume page ............................................................................ Page 57
VCE2-3 Voice Pan page.................................................................................. Page 57
VCE3-1 Attack Time page...............................................................................Page 58
VCE3-2 Decay Time page............................................................................... Page 58
VCE3-3 Release Time page............................................................................ Page 58
VCE3-4 Filter page.......................................................................................... Page 58
VCE5-1 Mono/Poly page.................................................................................Page 60
VCE5-2 Alternate Group page ........................................................................ Page 60
Sections Parameter-setting pages

56 Owner’s Manual
VOICE Setting Area (VCE)
Select Voice
On the Select Voice page (VCE1), you can select the preset voice,
wave, or pattern that will be played when the specified pad is
struck. Alternatively, you can select a MIDI note to be played
when a pad is struck, and then assign a voice to that MIDI note
(see page 34). The applicable parameter-setting pages, parame-
ters, and settings in the VOICE area will depend on whether a pad
number or MIDI note number is specified.
• Certain parameters have no effect when a pattern or a MIDI note number
has been assigned to the pad in question. Their settings will be displayed
as “---” and modification will not be possible.
Assigning a voice to a pad
If the voice is not a pattern (i.e., eP or eU)
If the voice is a pattern (i.e., eP or eU)
Assigning a voice to a MIDI note number
1Pad number
Use this parameter to select the number of the pad or MIDI
note to be set. You can also strike a pad to select it.
•Pad 13 supports three different zones, and therefore, is assigned three
different pad numbers – namely, 13 for the head, 13R1 for rim 1, and
13R2 for rim 2.
•Pads 10 to 12 cannot be selected if “disable” has been set on the Pad
10-12 Switch page (UTIL4-3).
BLayer number
Use this parameter to select the layer to be set. Each pad can
contain up to four layers, each of which can be used to play a
preset voice or wave. For details, see page 32.
•The maximum number of layers that can be set for any pad is 4. To add
a layer, change its setting on the MIDI Note page (MIDI1-2) from “off”
to a MIDI note number.
CVoice category
Use this parameter to specify the category of voice to be
assigned as a preset voice, preset pattern (eP), user pattern
(eU), or wave.
•Patterns cannot be assigned to MIDI note numbers.
DVoice number: Voice name
Use these parameters to select a preset voice, pattern, or wave
from the category indicated by 3.
EPattern playback mode
If a pattern has been assigned to the pad, use this parameter to
specify how it will be played.
• .............. Start/stop mode: The pattern will start to play
from the beginning when you strike the pad, and
it will stop the next time you strike it.
• ............ Chase mode: One successive measure will be
played each time you strike the pad.
•............ Cut-off mode: Only one pattern set to this mode
can play at any time. Whenever a cut-off mode
pattern is triggered, any pattern already playing
in this mode will be automatically stopped.
• The maximum number of patterns that can play simultaneously is four.
• Demo patterns cannot be assigned to pads.
VCE1
VCE1≥-¡£Ω¡-≥≥≥≥ç
Sn001:OakCustom
NOTE
VCE1≥-¡£Ω¡-≥≥≥≥ç
Sn001:OakCustom
12
3 4
VCE1≥-¡£Ω¡-≥≥≥>~
©U001:EmptyPtn
15
3 4
VCE1≥≥C#-1/≥13
Sn001:OakCustom
1
3 4
Settings
01 to 12, 13, 13R1, 13R2, 14 to 17, FTSW
(foot switch), HHCL (hi-hat close), HHSP (hi-
hat splash), C#-1, or D-1 to A#5
Settings A, B, C, or D
Settings Kk, Sn, Tm, Cv, HH, EP, Cu, Br, In, Jp, Af, Or,
E1, E2, E3, Ml, GM, WV, eP, or eU
Settings Refer to the separate Data List booklet.
Settings , ,
NOTE
NOTE
NOTE
>
>~
~>
>>~~>
NOTE

TRIGGER ReferenceKITMIDI VOICEUTILITY WAVEPATTERN
VOICE Setting Area (VCE)
Owner’s Manual 57
Voice Tuning, Volume & Pan
In the TUNE/OUTPUT section, you can set the tuning, volume,
and stereo panning of individual voices. With the TUNE/OUT-
PUT page (VCE2) displayed, press the [ENTER] button to access
its three parameter-setting pages (VCE2-1 to VCE2-3). You can
use the [B]/[C] buttons to navigate between these pages.
The parameters presented on the Voice Tuning page will depend
on the type of voice assigned to the pad in question.
Drum sounds and waves (i.e., imported audio files):
Instrument sounds (i.e., piano, guitar, etc.):
Patterns:
1Pad number
Use this parameter to select the number of the pad or MIDI
note to be set.
BLayer number
Use this parameter to select the layer to be set.
CTuning (Tune)
Use this parameter to adjust the tuning of the assigned voice
in one-cent steps.
• The term “cent” refers to one hundredth of a semitone (i.e., 100 cents
= 1 semitone).
DNote
Use this parameter to set the pitch of the assigned voice as a
MIDI note number.
ETranspose
Use this parameter to adjust the pitch of the assigned pattern
in one-semitone steps.
•Patterns triggered using MIDI channels 7 to 11 cannot be transposed.
On the Voice Volume page, you can set the volume of the selected
voice.
1Pad number
BLayer number
CVolume
Use this parameter to set the volume of the selected voice.
On the Voice Pan page, you can set the stereo panning of the
selected voice.
1Pad number
BLayer number
CPan
Use this parameter to set the stereo panning of the selected
voice.
VCE2 TUNE/OUTPUT
VCE2-1 Voice Tuning page
Settings
01 to 12, 13, 13R1, 13R2, 14 to 17, FTSW
(foot switch), HHCL (hi-hat close), HHSP
(hi-hat splash), C#-1, or D-1 to A#5
Settings A, B, C, or D
Settings -24.00 to +0.0 to +24.00
VCE2
≥≥≥TUNE/OUTPUT
VCE2-1≥-º¡-≥≥≥≥ç
≥≥≥Tune=+≥0.00 3
1 2
VCE2-1≥-º¡-≥≥≥≥ç
≥≥≥Note=C#-1 4
1 2
VCE2-1≥-º¡-
≥Transpose=+≥0
1
5
NOTE
Settings C-2 to G8
Settings -24 to +0 to +24
VCE2-2 Voice Volume page
Settings 01 to 12, 13, 13R1, 13R2, 14 to 17, FTSW,
HHCL, HHSP, C#-1, or D-1 to A#5
Settings A, B, C, or D
Settings 0 to 127
VCE2-3 Voice Pan page
Settings 01 to 12, 13, 13R1, 13R2, 14 to 17, FTSW,
HHCL, HHSP, C#-1, or D-1 to A#5
Settings A, B, C, or D
Settings L63 to C to R63
NOTE
VCE2-2≥-º¡-≥≥≥≥ç
≥≥≥Volume=100 3
1 2
VCE2-3≥-º¡-≥≥≥≥ç
≥≥≥≥Pan=≥C 3
1 2

58 Owner’s Manual
VOICE Setting Area (VCE)
Voice Timbre
In the TONE section, you can adjust the tone (or timbre) of the
preset voice, pattern, or wave assigned to the pad in question.
With the TONE page (VCE3) displayed, press the [ENTER] but-
ton to access its four parameter-setting pages (VCE3-1 to VCE3-
4). You can use the [B]/[C] buttons to navigate between these
pages.
On the Attack Time, Decay Time, and Release Time pages
(VCE3-1 to VCE3-3), you can adjust the envelope of the assigned
voice as shown below.
Parameter 3 from each of the pages is used to adjust a different
part of the envelope. Parameters 1 and 2 below are identical on
all three pages.
Typical Display for Attack Time (VCE3-1)
1Pad number
BLayer number
Attack Time (VCE3-1)
CAttack time
Use this parameter to set the amount of time it takes after the
pad is struck for the assigned voice to reach its peak level.
Decay Time (VCE3-2)
CDecay time
Use this parameter to set the amount of time it takes the voice
to drop to a steady level after reaching its peak level.
Release Time (VCE3-3)
CRelease time
Use this parameter to set the amount of time it takes for the
voice to fade out after sending a MIDI Note Off message.
• MIDI Note Off messages are not sent for pads and layers for which
“off” is selected on the MIDI area’s Receive Key-Off page (MIDI1-5).
Therefore, the release-time setting has no effect in such a case.
1Pad number
BLayer number
CFilter cutoff frequency (Fc)
Use this parameter to set a cutoff frequency for the low-pass
filter. Frequencies above this level will be removed from the
selected voice.
VCE3 TONE
VCE3-1 Attack Time page
VCE3-2 Decay Time page
VCE3-3 Release Time page
Settings
01 to 12, 13, 13R1, 13R2, 14 to 17, FTSW
(foot switch), HHCL (hi-hat close), HHSP
(hi-hat splash), C#-1, or D-1 to A#5
Settings A, B, C, or D
VCE3
≥≥≥≥≥≥TONE
Pad is struck
(Note On)
Time
Level
Note Off
Decay time
(VCE3-2)
Release time
(VCE3-3)
Attack time
(VCE3-1)
VCE3-1≥-º¡-≥≥≥≥ç
≥≥≥Attack=+≥0 3
1 2
Settings -64 to +0 to +63
Settings -64 to +0 to +63
Settings -64 to +0 to +63
VCE3-4 Filter page
Settings 01 to 12, 13, 13R1, 13R2, 14 – 17, FTSW,
HHCL, HHSP, C#-1, or D-1 to A#5
Settings A, B, C, or D
Settings -64 to +0 to +63
NOTE
VCE3-4≥-º¡-≥≥≥≥ç
≥Fc=+≥0≥≥Q=+≥0
1 2
3 4
Frequency
(or pitch)
Frequencies that pass
through unaffected
Low-pass filter
Frequencies
that are cut
Cutoff frequency (Fc)
Volume

TRIGGER ReferenceKITMIDI VOICEUTILITY WAVEPATTERN
VOICE Setting Area (VCE)
Owner’s Manual 59
DResonance (Q)
Use this parameter to change the timbre of the voice by boost-
ing frequencies around the cutoff frequency.
Effect Send Levels
In the EFFECT SEND section, you can adjust the degree to which
the DTX-MULTI 12’s built-in Variation, Chorus, and Reverb
effects are applied to individual voices. With the EFFECT SEND
page (VCE4) displayed, press the [ENTER] button to access its
three parameter-setting pages (VCE4-1 to VCE4-3). You can use
the [B]/[C] buttons to navigate between these pages.
1Pad number
BLayer number
CVariation send level (Var)
Use this parameter to specify how much of the sound pro-
duced by the layer indicated by 2 will be sent to the Variation
effect.
1Pad number
BLayer number
CChorus send level (ChoSend)
Use this parameter to specify how much of the sound pro-
duced by the layer indicated by 2 will be sent to the Chorus
effect.
• The chorus send level for the entire kit can be adjusted on the KIT
area’s Chorus Send page (KIT3-1).
1Pad number
BLayer number
CReverb send level (RevSend)
Use this parameter to specify how much of the sound pro-
duced by the layer indicated by 2 will be sent to the Reverb
effect.
• The reverb send level for the entire kit can be adjusted on the KIT
area’s Reverb Send page (KIT3-2).
Settings -64 to +0 to +63
VCE4 EFFECT SEND
VCE4-1 Variation Send page
Settings 01 to 12, 13, 13R1, 13R2, 14 to 17, FTSW,
HHCL, HHSP, C#-1, or D-1 to A#5
Settings A, B, C, or D
Settings 0 to 127
Resonance (Q)
Frequency
Cutoff frequency
Level
VCE4
≥≥EFFECT≥SEND
VCE4-1≥-º¡-≥≥≥≥ç
Var=127(Dry=≥≥0) 3
1 2
VCE4-2 Chorus Send page
Settings 01 to 12, 13, 13R1, 13R2, 14 to 17, FTSW,
HHCL, HHSP, C#-1, or D-1 to A#5
Settings A, B, C, or D
Settings 0 to 127
VCE4-3 Reverb Send page
Settings 01 to 12, 13, 13R1, 13R2, 14 to 17, FTSW,
HHCL, HHSP, C#-1, or D-1 to A#5
Settings A, B, C, or D
Settings 0 to 127
VCE4-2≥-º¡-≥≥≥≥ç
≥≥ChoSend=127 3
1 2
NOTE
VCE4-3≥-º¡-≥≥≥≥ç
≥≥RevSend=≥50 3
1 2
NOTE

60 Owner’s Manual
VOICE Setting Area (VCE)
Other Voice-Related Settings
With the OTHER page (VCE5) displayed, press the [ENTER]
button to access its two parameter-setting pages (VCE5-1 and
VCE5-2). You can use the [B]/[C] buttons to switch between
these pages.
1Pad number
BLayer number
CMono/Poly
Use this parameter to specify how overlapping sounds from
the same pad or layer will be treated.
• mono......... When two overlapping sounds are produced by
striking the same pad, the latter sound is given
priority and the earlier sound is silenced.
• poly........... No such restriction is applied and all overlap-
ping sounds are output.
1Pad number
BLayer number
CAlternate group (AltGroup)
Using this parameter, you can assign voices to alternate
groups (i.e., monophonic sets of pads, only one of which can
be producing a sound at any time). If you do not want various
individual voices to be played together, they should be
assigned to the same alternate group. Whenever voices from
the same alternate group are triggered by playing the instru-
ment, the latter voice is given priority and the earlier sound is
silenced. Set this parameter to “off” if you do not want to
assign an alternate group.
• The “hhOpen” and “hhClose” alternate groups operate in a special
way: If a voice from the “hhClose” group is triggered after a voice from
the “hhOpen” group, the hhOpen voice is silenced and only the
hhClose voice is played. No silencing of the earlier sound is performed
for any other triggering sequence (for example, hhOpen followed by
hhOpen; hhClose followed by hhOpen; or hhClose followed by
hhClose).
VCE5 OTHER
VCE5-1 Mono/Poly page
Settings 01 to 12, 13, 13R1, 13R2, 14 to 17, FTSW,
HHCL, HHSP, C#-1, or D-1 to A#5
Settings A, B, C, or D
Settings mono or poly
VCE5
≥≥≥≥≥OTHER
VCE5-1≥-º¡-≥≥≥≥ç
≥Mono/Poly=poly 3
1 2
VCE5-2 Alternate Group page
Settings 01 to 12, 13, 13R1, 13R2, 14 to 17, FTSW,
HHCL, HHSP, C#-1, or D-1 to A#5
Settings A, B, C, or D
Settings off, hhOpen, hhClose, or 1 to 124
3
1 2
VCE5-2≥-º¡-≥≥≥≥ç
AltGroup=≥≥≥≥off
NOTE

TRIGGER ReferenceKITMIDI VOICEUTILITY WAVEPATTERN
Owner’s Manual 61
MIDI Setting Area (MIDI)
This section describes the MIDI setting area, which can be accessed using the [MIDI] button. In this area, you can set
MIDI-related parameters on an individual-kit basis. In addition, layer settings for each pad (i.e., the number of layers
and the way in which they play) are also configured within the MIDI setting area. For more information on the functions
setup using this setting area, see page 34.
Structure of MIDI Setting Area
The MIDI setting area is subdivided into three different sections (MIDI1 to MIDI3). Use the [B]/[C] buttons to navigate between these
sections. If a section contains parameter-setting pages, the [ENTER] button will light up. Press the [ENTER] button to access these pages.
You can press the [EXIT] button to move back towards the top of the setting area. MIDI parameters set within this area are stored on an
individual-kit basis; therefore, you should always select the drum kit you want to configure within the KIT setting area before entering the
MIDI setting area. Parameters within the MIDI MESSAGE section (MIDI1) affect individual pads, which can be selected on-screen or by
striking them. Meanwhile, parameters within the TG/MIDI SWITCH section (MIDI2) and the OTHER section (MIDI3) affect individual
MIDI channels, which can be selected on-screen.
• Be sure to store any settings that you have edited before turning off the instrument or selecting a new kit. (See page 45.)
CAUTION
MIDI1≥-º¡-
MessageType=note
MIDI2≥≥≥≥≥≥≥≥≥≥≥
≥TG/MIDI≥SWITCH
MIDI3≥≥≥≥≥≥≥≥≥≥≥
≥≥≥≥≥OTHER
The parameter-setting pages that make up the MIDI MESSAGE section will depend
on the type of MIDI message selected on the Select Message Type page (MIDI1).
• Pages when MessageType is set to “note”:
MIDI1-1 Playing Mode page............................................................................Page 62
MIDI1-2 MIDI Note page .................................................................................Page 63
MIDI1-3 MIDI Channel page ...........................................................................Page 63
MIDI1-4 Gate Time page.................................................................................Page 64
MIDI1-5 Receive Key-Off page ....................................................................... Page 64
MIDI1-6 Velocity Limits page........................................................................... Page 64
MIDI1-7 Trigger Velocity page .........................................................................Page 64
MIDI1-8 Trigger Polyphony page..................................................................... Page 65
MIDI1-9 Trigger Alternate Group page ............................................................ Page 65
• Pages when MessageType is set to “CC”:
MIDI1-1 Control Change Number & Value page ............................................. Page 65
MIDI1-2 MIDI Channel page ...........................................................................Page 65
• Pages when MessageType is set to “PC”:
MIDI1-1 Program Change page ...................................................................... Page 66
MIDI1-2 MIDI Channel page ...........................................................................Page 66
• No pages are accessible when MessageType is set to
“strt”, “cont”, or “stop”.
MIDI3-1 Transmit page .................................................................................... Page 67
MIDI3-2 Volume page...................................................................................... Page 67
MIDI3-3 Pan page ........................................................................................... Page 67
MIDI3-4 Program Change page ...................................................................... Page 67
MIDI3-5 Variation Send Level page................................................................. Page 68
MIDI3-6 Chorus Send Level page................................................................... Page 68
MIDI3-7 Reverb Send Level page ................................................................... Page 68
MIDI3-8 CC Number & Value page ................................................................. Page 68
MIDI2-1 Tone Generator Switch page .............................................................Page 66
MIDI2-2 External MIDI Switch page................................................................Page 66
Sections Parameter-setting pages

62 Owner’s Manual
MIDI Setting Area (MIDI)
Select Message Type
When you press the [MIDI] button, a page for selecting a MIDI
message type (MIDI1) will be displayed. On this page, you can
select the type of MIDI message to be assigned to each pad.
1Pad number
Use this parameter to select the pad to be set. You can also
strike a pad to select it.
BMessage type
Use this parameter to set the type of MIDI message that will
be sent whenever the pad indicated by 1 is struck.
•note........... A MIDI note will be sent. Use this setting if you
want to produce a sound whenever you strike the
pad.
•CC............ A Control Change message will be sent.
•PC............. A Program Change message will be sent.
• strt............. A SysEx FA Start command will be sent.
• cont........... A SysEx FB Continue command will be sent.
• stop ........... A SysEx FC Stop command will be sent.
• “note” type messages are sent simultaneously to the DTX-MULTI 12’s
internal tone generator and to connected external MIDI devices.
• Message types other than “note” are sent only to connected external
MIDI devices.
The parameter-setting pages that can be accessed
within the MIDI1 section will depend on the type of
MIDI message selected.
•Parameter-setting pages for “note” messages are
explained on this page.
•Parameter-setting pages for “CC” messages are
explained on page 65.
•Parameter-setting pages for “PC” messages are
explained on page 66.
1Pad number
BPlaying mode
Use this parameter to set Stack, Alternate, or Hold as the play-
ing mode for the pad indicated by 1. Some typical applica-
tions of these modes are explained on the following page.
•stack ......... When Stack mode is selected, all notes assigned
to the pad are triggered simultaneously. For
example, you can use this mode to produce
chords or to trigger multiple preset voices or
waves with a single strike. To produce just one
sound, select this mode and assign only one
voice to the pad.
• alternate.... When Alternate mode is selected, the notes
assigned to the pad are played individually in
turn each time it is struck. For example, you can
use this mode to produce a different sound each
time you strike the pad.
•hold .......... When Hold mode is selected, the notes assigned
to the pad are alternately turned on and off each
time it is struck. If, for example, a sustained
sound has been assigned, the first strike of the
pad will turn it on, the next strike will turn it off,
and so on.
•If no note numbers have been assigned to any of the pad’s layers (A to
D) on the MIDI Note page (MIDI1-2), this setting will be displayed as “-
--” and modification will not be possible.
MIDI1
Settings
01 to 12, 13, 13R1, 13R2, 14 to 17, FTSW
(foot switch), HHCL (hi-hat close), or HHSP
(hi-hat splash)
Settings note, CC, PC, strt, cont, or stop
MIDI1≥-º¡-
MessageType=note
1
2
NOTE
MIDI1≥-º¡-
MessageType=note
MIDI1≥-º¡-
MessageType=CC
MIDI1≥-º¡-
MessageType=PC
Parameter-Setting Pages for
“note” Messages
MIDI1-1 Playing Mode page
Settings 01 to 12, 13, 13R1, 13R2, 14 to 17, FTSW,
HHCL, or HHSP
Settings stack, alternate, or hold
MIDI1-1≥-º¡-
≥Mode=alternate
1
2
NOTE

TRIGGER ReferenceKITMIDI VOICEUTILITY WAVEPATTERN
MIDI Setting Area (MIDI)
Owner’s Manual 63
1Pad number
BLayer number
Use this parameter to select the layer you want to set.
CNote
Use this parameter to select a MIDI note to be sent by the
layer indicated by 2. You can also choose either of the fol-
lowing two special settings.
•off..............Regardless of the setting made on the Playing
Mode page (MIDI1-1), no MIDI note will be
sent when the pad is struck.
• skip............If “alternate” has been selected on the Playing
Mode page (MIDI1-1), this layer will be
skipped. In other words, no MIDI note will be
sent when it is this layer’s turn to play. Alterna-
tively, if “stack” or “hold” has been set on the
Playing Mode page (MIDI1-1), this setting has
the same effect as “off” above (i.e., no MIDI
note will be sent for this layer).
• Notes outside the range covered by General MIDI are displayed in
parentheses – for example, “(C#-2/1)”.
•Notes on MIDI channel 10 having already been assigned to a layer will
be displayed with an asterisk in front of them – for example, “*C3”. If
you change the note setting for a pad indicated in this way, the note
setting for the other pad will also be changed in the same way .
1Pad number
BLayer number
CMIDI channel (MIDI Ch)
Use this parameter to set the MIDI channel for MIDI notes
sent for the layer indicated by 2.
• If no note number has been assigned to any of the pad’s layers (A to
D) on the MIDI Note page (MIDI1-2), this setting will be displayed as “-
--” and modification will not be possible.
Typical Uses of Stack, Alternate, and
Hold Modes
Using the Playing Mode page (MIDI1-1), you can select the
way in which a pad’s four layers will be played. For example,
pads can be setup to produce a chord by playing multiple lay-
ers at the same time or to play a different layer on each succes-
sive strike. The following are typical examples of how these
modes can be used.
●Playing just one sound when a pad is struck
Select “stack” on the Playing Mode page (MIDI1-1), and
assign a MIDI note to Layer A only on the MIDI Note
page (MIDI1-2).
●
Playing two sounds simultaneously when a pad is struck
Select “stack” on the Playing Mode page (MIDI1-1), and
assign a different MIDI note to both Layer A and Layer B
on the MIDI Note page (MIDI1-2).
●
Playing two sounds alternately each time a pad is struck
Select “alternate” on the Playing Mode page (MIDI1-1),
and assign a different MIDI note to Layers A and B on the
MIDI Note page (MIDI1-2).
●Playing Layer A, then silencing it, playing Layer C, then
silencing it, playing Layer A… and so on each time a
pad is struck
Select “alternate” on the Playing Mode page (MIDI1-1),
and assign a MIDI note or “skip” to Layers A through D
on the MIDI Note page (MIDI1-2) as follows.
●Playing three held sounds simultaneously when a pad
is struck, and silencing them the next time it is struck
Select “hold” on the Playing Mode page (MIDI1-1), and
assign MIDI notes to Layers A through C on the MIDI
Note page (MIDI1-2) as follows. In addition, select “on”
for Layers A through C on the Receive Key-Off page
(MIDI1-5).
•If a note on MIDI channel 10 is assigned, be sure to select “on” for
Layers A through C on the Receive Key-Off page (MIDI1-5).
Layer Note number
AD1
B off
C off
D off
Layer Note number
AD1
BE2
C off
D off
Layer Note number
AD1
BE2
C off
D off
Layer Note number
AD1
B skip
CE2
D skip
Layer Note number
AC3
BE3
CG3
D off
NOTE
MIDI1-2 MIDI Note page
Settings 01 to 12, 13, 13R1, 13R2, 14 to 17, FTSW,
HHCL, or HHSP
Settings A, B, C, or D
Settings off, C#-2/1 to F#8/126, or skip
MIDI1-3 MIDI Channel page
Settings 01 to 12, 13, 13R1, 13R2, 14 to 17, FTSW,
HHCL, or HHSP
Settings A, B, C, or D
Settings 1 to 16
MIDI1-2≥-º¡-≥≥≥ç
Note=*≥C#-1/≥13 3
1 2
NOTE
MIDI1-3≥-º¡-≥≥≥ç
≥≥≥MIDI≥Ch=10 3
1 2
NOTE

64 Owner’s Manual
MIDI Setting Area (MIDI)
1Pad number
BLayer number
CGate time
Use this parameter to set a gate time for MIDI notes sent for
the layer indicated by 2. A MIDI Note On message is sent
when a pad is struck, and the corresponding Note Off mes-
sage is sent a short time later. The duration between sending
of these signals is referred to as the “gate time”, and by
adjusting this setting, you can control the duration of MIDI
notes.
•If no note numbers have been assigned to any of the pad’s layers (A to
D) on the MIDI Note page (MIDI1-2), this setting will be displayed as “-
--” and modification will not be possible.
• If “hold” has been selected on the Playing Mode page (MIDI1-1), this
setting will be displayed as “---” and modification will not be possible.
• MIDI Note Off signals are not sent for pads set to “off” on the Receive
Key-Off page (MIDI1-5). If you want to set a gate time, therefore, be
sure to set RcvKeyOff to “on”.
1Pad number
BLayer number
CReceive key-off (RcvKeyOff)
Use this parameter to set whether or not MIDI Note Off mes-
sages will be sent for the layer indicated by 2. Most drum
voices are one-shot sounds that decay over time until they
become silent; therefore, MIDI Note Off messages are not
needed to stop them. As such, this parameter should normally
be set to “off”. If, however, a non-decaying sound is assigned
to a pad or layer, you can ensure that the required MIDI Note
Off message is sent by setting this parameter to “on”. In addi-
tion, you can adjust the amount of time that passes between
striking of the pad and sending MIDI Note Off messages
using the Gate Time page (MIDI1-4).
•If no note numbers have been assigned to any of the pad’s layers (A to
D) on the MIDI Note page (MIDI1-2), this setting will be displayed as “-
--” and modification will not be possible.
• Sending of MIDI Note Off messages is automatically turned on when-
ever a MIDI Channel other than 10 has been selected on the MIDI
Channel page (MIDI1-3). In such a case, therefore, this setting will be
displayed as “---” and modification will not be possible.
1Pad number
BLayer number
CVelocity lower limit
DVelocity upper limit
Use these parameters to set the range of velocities that will
cause the layer indicated by 2 to send a MIDI note message.
The term “velocity” refers to the speed (or power) with which
a pad is struck. By setting upper and lower limits using these
parameters, you can prevent sounds from being produced
when the pad is struck too hard or too soft.
•If no note numbers have been assigned to any of the pad’s layers (A to
D) on the MIDI Note page (MIDI1-2), these settings will be displayed
as “---” and modification will not be possible.
1Pad number
BTrigger velocity (TrgVel)
Use this parameter to control the velocity value of MIDI notes
to be sent whenever the pad indicated by 1 is struck.
•variable..... MIDI velocity values will reflect the strength
with which the pad is struck.
•1 – 127...... MIDI notes are sent with this fixed velocity
value, regardless of how hard or soft the pad is
struck.
•If no note numbers have been assigned to any of the pad’s layers (A to
D) on the MIDI Note page (MIDI1-2), this setting will be displayed as “-
--” and modification will not be possible.
•No sound will be produced if TrgVel 2 is set to a value outside the lim-
its set on the Velocity Limits page (MIDI1-6).
MIDI1-4 Gate Time page
Settings 01 to 12, 13, 13R1, 13R2, 14 to 17, FTSW,
HHCL, or HHSP
Settings A, B, C, or D
Settings 0.0s to 9.9s
MIDI1-5 Receive Key-Off page
Settings 01 to 12, 13, 13R1, 13R2, 14 to 17, FTSW,
HHCL, or HHSP
Settings A, B, C, or D
Settings off or on
MIDI1-4≥-º¡-≥≥≥ç
≥GateTime=0.0s 3
1 2
NOTE
MIDI1-5≥-º¡-≥≥≥ç
≥RcvKeyOff=off 3
1 2
MIDI1-6 Velocity Limits page
Settings 01 to 12, 13, 13R1, 13R2, 14 to 17, FTSW,
HHCL, or HHSP
Settings A, B, C, or D
Settings 0 to 127
MIDI1-7 Trigger Velocity page
Settings 01 to 12, 13, 13R1, 13R2, 14 to 17, FTSW,
HHCL, or HHSP
Settings variable or 1 to 127
NOTE
MIDI1-6≥-º¡-≥≥≥ç
VelLimit=≥≥0-127
3 4
1 2
NOTE
MIDI1-7≥-º¡-≥≥≥
TrgVel=variable
1
2
NOTE

TRIGGER ReferenceKITMIDI VOICEUTILITY WAVEPATTERN
MIDI Setting Area (MIDI)
Owner’s Manual 65
1Pad number
BTrigger mono/poly (TrgMonoPoly)
Use this parameter to control what happens when the pad
indicated by 1 is struck repeatedly.
• mono ........ The previous sound will be stopped before a
new sound starts.
• poly .......... Previous sounds will continue to play when a
new sound starts.
•If no note numbers have been assigned to any of the pad’s layers (A to
D) on the MIDI Note page (MIDI1-2), this setting will be displayed as “-
--” and modification will not be possible.
•MIDI Note Off messages are not sent when “off” has been selected on
the Receive Key-Off page (MIDI1-5). If you want to set trigger monoph-
ony, therefore, be sure to set this parameter to “on”. This will ensure
that Note Off messages are sent to prevent overlapping voices.
1Pad number
BTrigger alternate group (TrgAltGrp)
Use this parameter to assign the pad indicated by 1 to an
alternate group if so required. Alternate groups are monopho-
nic sets of pads, and therefore, only one pad from an alternate
group can be producing a sound at any time. If a pad is struck
while another pad from the same alternate group is already
producing a sound, a MIDI Note Off message will be sent for
the first pad together with the MIDI Note On message for the
second. In order to use trigger alternate groups with voices
played on MIDI channel 10, the sending of MIDI Note Off
messages must be enabled by selecting “on” for RcvKeyOff
on the Receive Key-Off page (MIDI1-5). Up to 32 trigger
alternate groups can be setup on your DTX-MULTI 12. If
there is no need for a pad to be assigned to a trigger alternate
group, you can set this parameter to “off”.
•If no note numbers have been assigned to any of the pad’s layers (A to
D) on the MIDI Note page (MIDI1-2), this setting will be displayed as “-
--” and modification will not be possible.
• MIDI Note Off messages are not sent when “off” has been set on the
Receive Key-Off page (MIDI1-5). If you want to use trigger alternate
groups, therefore, be sure to set this parameter to “on”. This will ensure
that Note Off messages are sent to prevent overlapping voices.
1Pad number
BControl change number (CCNo)
Use this parameter to set the type of MIDI Control Change
message to be sent whenever the pad indicated by 1 is
struck.
CControl change value (Val)
Use this parameter to set a value for the MIDI Control Change
message to be sent whenever the pad indicated by 1 is
struck.
•VARI .........The control change value will depend on how
hard the pad is struck.
•0 – 127 ......Control change messages are sent with this fixed
value, regardless of how hard or soft the pad is
struck.
• Before setting Val 3 to “VARI”, it will be necessary to access the Trig-
ger Velocity page (MIDI1-7) with Message Type=note (MIDI1) and to
set the TrgVel parameter to “variable”.
1Pad number
BMIDI channel (MIDI Ch)
Use this parameter to set a MIDI channel for the Control
Change messages to be sent whenever the pad indicated by 1
is struck.
MIDI1-8 Trigger Polyphony page
Settings 01 to 12, 13, 13R1, 13R2, 14 to 17, FTSW,
HHCL, or HHSP
Settings mono or poly
MIDI1-9 Trigger Alternate Group page
Settings 01 to 12, 13, 13R1, 13R2, 14 to 17, FTSW,
HHCL, or HHSP
Settings off or 1 to 32
MIDI1-8≥-º¡-
TrgMonoPoly=poly
1
2
NOTE
MIDI1-9≥-º¡-≥≥
TrgAltGrp=off
1
2
NOTE
Parameter-Setting Pages for
“CC” Messages
MIDI1-1 Control Change Number &
Value page
Settings 01 to 12, 13, 13R1, 13R2, 14 to 17, FTSW,
HHCL, or HHSP
Settings 1 to 95
Settings VARI or 0 to 127
MIDI1-2 MIDI Channel page
Settings 01 to 12, 13, 13R1, 13R2, 14 to 17, FTSW,
HHCL, or HHSP
Settings 1 to 16
MIDI1-1≥-º¡-
CCNo=≥7/Val=VARI
1
23
NOTE
MIDI1-2≥-º¡-
≥≥≥MIDI≥Ch=10
1
2

66 Owner’s Manual
MIDI Setting Area (MIDI)
1Pad number
BBank select MSB (M)
Use this parameter to set a bank-select MSB value to be sent
whenever the pad indicated by 1 is struck.
CBank select LSB (L)
Use this parameter to set a bank-select LSB value to be sent
whenever the pad indicated by 1 is struck.
DProgram change (PC)
Use this parameter to set a program-change number to be sent
whenever the pad indicated by 1 is struck.
1Pad number
BMIDI channel (MIDI Ch)
Use this parameter to set the MIDI channel for the program-
change messages to be sent whenever the pad indicated by 1
is struck.
MIDI Destination Switches
With the TG/MIDI SWITCH page (MIDI2) displayed, press the
[ENTER] button to access its two parameter-setting pages
(MIDI2-1, MIDI2-2). You can use the [B]/[C] buttons to switch
between these pages.
1MIDI channel (Ch)
Use this parameter to select the MIDI channel (1 to 16) to be
set.
BTone generator switch (TGSwitch)
Use this parameter to indicate whether MIDI messages pro-
duced by playing pads and changing drum kits should be sent
to the internal tone generator. (Choose “on” to send to the
tone generator.)
1MIDI channel (Ch)
Use this parameter to select the MIDI channel (1 to 16) to be
set.
BExternal MIDI switch (MIDI Switch)
Use this parameter to indicate whether MIDI messages pro-
duced by playing pads and changing drum kits should be sent
to an external tone generator via the MIDI OUT connector on
the rear panel or the USB TO HOST port on the side panel.
(Choose “on” to send the messages.)
Parameter-Setting Pages for
“PC” Messages
MIDI1-1 Program Change page
Settings 01 to 12, 13, 13R1, 13R2, 14 to 17, FTSW,
HHCL, or HHSP
Settings 000 to 127
Settings 000 to 127
Settings 001 to 128
MIDI1-2 MIDI Channel page
Settings 01 to 12, 13, 13R1, 13R2, 14 to 17, FTSW,
HHCL, or HHSP
Settings 1 to 16
MIDI1-1≥-º¡-
M000/L000/PC001
1
32 4
MIDI1-2≥-º¡-
≥≥≥MIDI≥Ch=10
1
2
MIDI2 TG/MIDI SWITCH
MIDI2-1 Tone Generator Switch page
Settings 1 to 16
Settings off or on
MIDI2-2 External MIDI Switch page
Settings 1 to 16
Settings off or on
MIDI2
≥TG/MIDI≥SWITCH
MIDI2-1≥≥≥≥≥Ch≥1
≥TG≥Switch=off
1
2
MIDI2-2≥≥≥≥≥Ch≥1
MIDI≥Switch=off
1
2

TRIGGER ReferenceKITMIDI VOICEUTILITY WAVEPATTERN
MIDI Setting Area (MIDI)
Owner’s Manual
67
Other MIDI Settings
In the OTHER section, you can set various MIDI messages to be
sent whenever the current kit is selected. With the OTHER page
(MIDI3) displayed, press the [ENTER] button to access its eight
parameter-setting pages (MIDI3-1 through MIDI3-8). You can
use the [
B
]/[
C
] buttons to navigate between these pages.
1
MIDI channel (Ch)
Use this parameter to select the MIDI channel (1 to 16) to be
set.
B
Transmit
Use this parameter to indicate which MIDI messages are to be
sent whenever the current kit is selected.
•off ............. No MIDI messages will be sent.
•all ............. All applicable MIDI messages will be sent. (See
the following parameter-setting page descrip-
tions for more details.)
•PC............. Only program change messages and bank-select
MSB/LSB messages will be sent.
1
MIDI channel (Ch)
B
Volume
Use this parameter to set a volume value to be sent whenever
the current kit is selected.
• If “off” or “PC” has been selected on the Transmit page (MIDI3-1), this
setting will be displayed as “---” and modification will not be possible.
1
MIDI channel (Ch)
B
Pan
Use this parameter to set the pan value to be sent whenever
the current kit is selected.
• If “off” or “PC” has been selected on the Transmit page (MIDI3-1), this
setting will be displayed as “---” and modification will not be possible.
1
MIDI channel (Ch)
B
Bank select MSB (M)
Use this parameter to set a bank-select MSB value to be sent
whenever the current kit is selected.
C
Bank select LSB (L)
Use this parameter to set a bank-select LSB value to be sent
whenever the current kit is selected.
D
Program change (PC)
Use this parameter to set a program-change number to be sent
whenever the current kit is selected.
• If “off” has been selected on the Transmit page (MIDI3-1), these set-
tings will be displayed as “---” and modification will not be possible.
MIDI3 OTHER
MIDI3-1
Transmit page
Settings
1 to 16
Settings
off, all, or PC
MIDI3-2
Volume page
Settings
1 to 16
Settings
0 to 127
MIDI3
≥≥≥≥≥OTHER
MIDI3-1≥≥≥≥≥Ch≥1
≥≥Transmit=all
1
2
MIDI3-2≥≥≥≥≥Ch≥1
≥≥≥Volume=100
1
2
NOTE
MIDI3-3
Pan page
Settings
1 to 16
Settings
L63 to C to R63
MIDI3-4
Program Change page
Settings
1 to 16
Settings
000 to 127
Settings
000 to 127
Settings
001 to 128
MIDI3-3≥≥≥≥≥Ch≥1
≥≥≥≥Pan=≥C
1
2
NOTE
MIDI3-4≥≥≥≥≥Ch≥1
M000/L000/PC001
1
32 4
NOTE
06_dtxm_en_midi.fm Page 67 Friday, September 17, 2010 9:32 AM

68 Owner’s Manual
MIDI Setting Area (MIDI)
On the Variation Send Level, Chorus Send Level, and Reverb
Send Level pages, you can adjust the send level to be set for each
of the corresponding effect units when the current kit is selected.
• If “off” or “PC” has been selected on the Transmit page (MIDI3-1), theses
settings will be displayed as “---” and modification will not be possible.
Parameter 2 from each of the pages is used to adjust the corre-
sponding send level. Parameter 1 is identical on all three pages.
[Setting example using the Variation Send Level
page (MIDI3-5)]
1MIDI channel (Ch)
[MIDI3-5 Variation Send Level page]
BVariation send level (Var)
Use this parameter to set the variation-effect send level to be
sent whenever the current kit is selected.
•If the MIDI channel 1 is set to 10, this setting will be displayed as “---”
and modification will not be possible.
[MIDI3-6 Chorus Send Level page]
2Chorus send level (ChoSend)
Use this parameter to set the chorus send level to be sent
whenever the current kit is selected.
[MIDI3-7 Reverb Send Level page]
2Reverb send level (RevSend)
Use this parameter to set the reverb send level to be sent
whenever the current kit is selected.
1MIDI channel (Ch)
BControl change number (CCNo)
Use this parameter to set the type (or number) of MIDI Con-
trol Change message to be sent whenever the current kit is
selected. No control-change messages are sent when “off” is
set.
CControl change value (Val)
Use this parameter to set a value for the MIDI Control Change
messages to be sent whenever the current kit is selected.
• If “off” or “PC” has been selected on the Transmit page (MIDI3-1),
these settings will be displayed as “---” and modification will not be
possible.
•If the type of MIDI Control Change message set on this page (MIDI3-8)
matches one of the control-change message types set on the following
pages, this page’s setting will have priority: Volume (MIDI3-2), Pan
(MIDI3-3), Variation Send Level (MIDI3-5), Chorus Send Level (MIDI3-
6), or Reverb Send Level (MIDI3-7).
MIDI3-5 Variation Send Level page
MIDI3-6 Chorus Send Level page
MIDI3-7 Reverb Send Level page
Settings 1 to 16
Settings 0 to 127
Settings 0 to 127
Settings 0 to 127
NOTE
MIDI3-5≥≥≥≥≥Ch≥1
Var=≥≥0(Dry=127)
1
2
NOTE
MIDI3-8 CC Number & Value page
Settings 1 to 16
Settings off or 1 to 95
Settings 0 to 127
MIDI3-8≥≥≥≥≥Ch≥1
CCNo=off/Val=≥≥0
1
32
NOTE

TRIGGER ReferenceKITMIDI VOICEUTILITY WAVEPATTERN
Owner’s Manual 69
WAVE Setting Area (WAVE)
This section describes the WAVE setting area, which can be accessed using the [WAVE] button. Your DTX-MULTI 12
can be used to import AIF and WAV audio files from a wide range of sources. These files (referred to as “waves”) can
then be used in the same way as the instrument’s preset voices and patterns. The WAVE setting area is used to import
and edit waves.
Makeup of WAVE Setting Area
The following four sections (WAVE1 to WAVE4) make up the WAVE setting area. Use the [B]/[C] buttons to navigate between these
sections. If a section contains parameter-setting pages, the [ENTER] button will light up. Press the [ENTER] button to access these pages.
In certain cases, a number of additional pages may be accessed from a parameter setting page, also using the lit [ENTER] button. Further-
more, you can press the [EXIT] button to move back towards the top of the setting area.
• Be sure to store any imported waves or settings that you have edited before turning off the instrument or selecting a new wave. (See page 45.)
CAUTION
WAVE1
WV001:EmptyWave
WAVE2
≥≥≥≥≥COMMON
WAVE3
≥≥≥≥≥≥JOB
WAVE4
≥≥MEMORY≥INFO
Wave Selection & Playback............................................................................. Page 70
WAVE4-1 Memory Info page...........................................................................Page 73
WAVE2-1 Wave Playback Mode page............................................................. Page 70
WAVE2-2 Trimming page ................................................................................ Page 71
WAVE2-3 Wave Name page ...........................................................................Page 71
WAVE3-1 Import All page ...............................................................................Page 72
WAVE3-2 Normalize page............................................................................... Page 73
WAVE3-3 Delete page ....................................................................................Page 73
WAVE3-4 Delete All page ...............................................................................Page 73
WAVE3-5 Optimize Memory page................................................................... Page 73
Sections Parameter-setting pages

70 Owner’s Manual
WAVE Setting Area (WAVE)
Wave Selection & Playback
You can use the Select Wave page (WAVE1) to select and play
waves. Only waves that have been saved in the DTX-MULTI 12’s
internal memory by importing (see page 72) will be available for
selection on this page. In other words, audio files stored on a USB
memory device are not immediately made available for selection
simply by plugging in the device.
On the Select Wave page, you can preview the currently selected
wave by pressing and holding the [WAVE] button. Release the
button to stop playback.
AWave number: Wave name
Playback Mode, Trim Points & Name
In the COMMON section, you can choose a playback mode for
the currently selected wave and perform other related operations
such as trimming and naming. With the COMMON page
(WAVE2) displayed, press the [ENTER] button to access its three
parameter-setting pages (WAVE2-1 to WAVE2-3). You can use
the [B]/[C] buttons to navigate between these pages.
• If the selected wave contains no data, the [ENTER] button will not open
parameter-setting pages.
1Playback mode (PlayMode)
Use this parameter to set the way in which the selected wave
will be played when assigned to a pad. For details on editing
start, end, and loop points, see the description of the Trim-
ming page (WAVE2-2) below.
•oneshot ..... The wave will be played once only from the start
point to the end point. This mode is normally
selected for drums, special effects, and other
non-looped sounds.
•loop .......... The wave will be played continuously, first from
the start point to the end point, and then repeat-
edly from the loop point to the end point.
WAVE1
Settings WV001 to WV500
WAVE2
WAVE1
WV001:My≥Wave
1
WAVE2
≥≥≥≥≥COMMON
NOTE
WAVE2-1 Wave Playback Mode page
Settings oneshot or loop
WAVE2-1≥<COMMON>
PlayMode=oneshot 1
Start point End point
One-shot playback
Start point End point
Looped playback
Loop point

TRIGGER ReferenceKITMIDI VOICEUTILITY WAVEPATTERN
WAVE Setting Area (WAVE)
Owner’s Manual 71
From the Trimming page, you can edit the currently selected
wave’s start, end, and loop points. With the Trimming page
(WAVE2-2) displayed, press the [ENTER] button to open the
Trimming Settings page.
WAVE2-2-1 Trimming Settings page
1Trim point
Use this parameter to select the trim point to be set. As shown
in the diagram below, three different types of trim point can
be selected – start, loop, and end.
• Start ........This is the position at which playback will start.
In other words, no data in front of this point (i.e.,
with a smaller position value) will be played.
• Loop .......This is the position at which looping will start. If
“loop” has been selected on the Wave Playback
Mode page (WAVE2-1), playback will loop con-
tinuously between this point and the end point.
•End .........This is the position at which playback will end. In
other words, no data behind this point (i.e., with a
larger position value) will be played.
BPoint
Use this parameter to specify a five-digit position value for
the selected trim point. The [B]/[C] buttons can be used to
move the cursor between digits, and the [-/DEC] and [+/INC]
buttons can be used to change the corresponding value.
•To audition your wave with the current settings, press the [WAVE] but-
ton with the Trimming Settings page displayed.
From the Wave Name page, you can assign a name to the cur-
rently selected wave. With this page displayed, press the
[ENTER] button to open the Wave Name Setting page.
WAVE2-3-1 Wave Name Setting page
On the Wave Name Setting page, you can set a wave name of
up to 10 characters in length. Use the [B]/[C] buttons to
move the flashing cursor to the character you want to change,
and then select a new character using the [-/DEC] and [+/
INC] buttons. The following characters can be used in wave
names.
[space]
Other Wave-Related Tasks
In the JOB section, you can create waves by importing WAV or
AIFF files from a USB memory device into the DTX-MULTI 12’s
internal memory, and you can also perform a number of other
related tasks. With the JOB page (WAVE3) displayed, press the
[ENTER] button to access its five parameter-setting pages
(WAVE3-1 to WAVE3-5). You can use the [B]/[C] buttons to
navigate between these pages.
Whenever you press the [ENTER] button to perform an operation
on a JOB section page, you will be asked to reconfirm that you
want to do so. Press the [ENTER] button once again to proceed.
WAVE2-2 Trimming page
Settings start, loop, or end
Settings From 00000
WAVE2-2≥<COMMON>
≥≥≥≥Trimming
WAVE2-2-1≥≥start
≥≥Point=05000
1
2
Start point End point
Looped playback
Loop point
NOTE
WAVE2-3 Wave Name page
WAVE3 JOB
WAVE2-3≥<COMMON>
≥≥≥≥≥≥Name
WAVE2-3-1
≥≥[MyWave≥1≥]
Wave name
!"#$%&'()*+,-./0123456789:;<=>?@
ABCDEFGHIJKLMNOPQRSTUVWXYZ[\]^_`
abcdefghijklmnopqrstuvwxyz{|}ßå
WAVE3
≥≥≥≥≥≥JOB
≥≥≥Normalize
≥Are≥you≥sure?

72 Owner’s Manual
WAVE Setting Area (WAVE)
Using the Import All page, you can import all WAV or AIFF files
from a USB memory device into your DTX-MULTI 12’s internal
memory.
• Files can also be imported individually, and the procedure for doing so is
described on the right.
• Only WAV and AIFF audio files can be imported.
1Ensure that the WAV or AIFF files to be imported are
located in the USB memory device’s root directory,
using a computer to move them if necessary.
2Plug the USB memory device into the instrument’s
USB TO DEVICE port.
3With the JOB page (WAVE3) displayed, press the
[ENTER] button, and if necessary, the [B]/[C] but-
tons to open the Import All page (WAVE3-1).
4Press the [ENTER] button once again.
You will be asked to confirm that you want to import all files.
You can press the [EXIT] button to return to the previous page
without importing.
5Press the [ENTER] button to import.
Each imported wave will be automatically assigned a wave
number.
You can press the [EXIT] button at any time during the import
process to terminate it. Files that have been fully imported at
that time will be retained in the DTX-MULTI 12’s internal
memory.
• If there is insufficient free space in the instrument’s internal memory,
the message “Wave memory full.” will be displayed and the import pro-
cess will be terminated. Before repeating the import process, make
additional memory available by deleting unneeded waves on the
Delete page (WAVE3-3) or the Delete All page (WAVE3-4).
WAVE3-1 Import All page
NOTE
WAVE3-1≥≥≥≥<JOB>
≥≥≥Import≥All
≥≥≥Import≥All
≥Are≥you≥sure?
Now≥Importing...
[EXIT]≥to≥cancel
NOTE
Importing Individual Audio Files
The following describes how to import individual WAV or
AIFF files from a USB memory device into the DTX-MULTI
12’s internal memory.
• Only WAV and AIFF audio files can be imported.
1Ensure that the WAV or AIFF file to be imported is
located in the USB memory device’s root direc-
tory, using a computer to move it if necessary.
2Plug the USB memory device into the instru-
ment’s USB TO DEVICE port.
3Hold down the [SHIFT] button and press the
[WAVE] button to open the IMPORT page shown
below.
4Use the [-/DEC] and [+/INC] buttons to select the
audio file you want to import.
5Press the [ENTER] button to import.
When the selected file has been imported, the IMPORT
page will allow you to assign it to a pad within the cur-
rently selected kit.
• If there is insufficient free space in the instrument’s internal mem-
ory, the message “Wave memory full.” will be displayed and the
import process will be terminated. Before repeating the import pro-
cess, make additional memory available by deleting unneeded
waves on the Delete page (WAVE3-3) or the Delete All page
(WAVE3-4).
6Use the [-/DEC] and [+/INC] buttons to select the
pad to which the wave is to be assigned.
The available options are 01 to 13, 13R1, 13R2, 14 to 17,
FTSW, HHCL, and HHSP. You can also select a pad by
striking it. Alternatively, you can select “off” to store the
imported wave in the instrument’s internal memory with-
out assigning it to a pad at this time.
7When you have assigned the wave as required,
press the [ENTER] button to complete the proce-
dure.
NOTE
IMPORT
≥≥≥Surdo.WAV
IMPORT
≥≥≥FillX.AIF
Name of audio file to be imported
NOTE
IMPORT
≥PadAssign=¡£Ω¡
Pad number

TRIGGER ReferenceKITMIDI VOICEUTILITY WAVEPATTERN
WAVE Setting Area (WAVE)
Owner’s Manual 73
From the Normalize page, you can increase the volume of the cur-
rently selected wave. With this page displayed, press the
[ENTER] button to open the Ratio page (WAVE3-2-1). Here you
can specify how much the volume of the wave is to be increased.
WAVE3-2-1 Ratio page
1Ratio
Use this parameter to specify how much the wave’s volume is
to be increased. Generally, a ratio of 100% or lower is used.
With a setting of 100%, the volume will be increased to the
maximum possible level without clipping. (Ratios greater
than 100% can be specified; however, the wave may become
distorted as a result.)
From the Delete page, you can delete the wave currently selected
on the Select Wave page (WAVE1).
Press the [ENTER] button with the Delete page displayed, and
when asked to confirm that you wish to proceed, press the
[ENTER] button once again.
From the Delete All page, you can delete all waves from the
DTX-MULTI 12’s internal wave memory.
Press the [ENTER] button with the Delete All page displayed, and
when asked to confirm that you wish to proceed, press the
[ENTER] button once again.
From the Optimize Memory page, you can maximize the amount
of unused wave memory. In order to do this, the content of the
DTX-MULTI 12’s internal wave memory is rearranged to make
more memory available. Optimization can be an effective way to
increase the amount of memory available for waves.
Wave Memory Status
The MEMORY INFO section allows you to display the current
usage status of the DTX-MULTI 12’s wave memory. To view the
memory-usage status, navigate to the MEMORY INFO section
(WAVE4) and press the [ENTER] button.
1Memory usage ratio (%)
This indicates how much of the total wave memory is cur-
rently being used in percentage format.
BUsed memory / Total memory
This indicates separately the amount of wave memory used
and the total wave memory in megabyte (MB) units.
• Certain types of audio file may require more of the instrument’s mem-
ory than indicated by the corresponding file size shown on your com-
puter.
WAVE3-2 Normalize page
Settings 1 to 800
WAVE3-3 Delete page
WAVE3-4 Delete All page
WAVE3-2≥≥≥≥<JOB>
≥≥≥Normalize
WAVE3-2-1
≥≥≥Ratio=100% 1
WAVE3-3≥≥≥≥<JOB>
≥≥≥≥≥Delete
WAVE3-4≥≥≥≥<JOB>
≥≥≥Delete≥All
WAVE3-5
Optimize Memory page
WAVE4 MEMORY INFO
WAVE4-1 Memory Info page
WAVE3-5≥≥≥≥<JOB>
Optimize≥Memory
WAVE4
≥≥MEMORY≥INFO
WAVE4-1≥≥≥≥≥0.0%
≥≥0.4MB≥/≥64.0MB
1
2
NOTE

74 Owner’s Manual
PATTERN Setting Area (PTN)
This section describes the PATTERN setting area, which can be accessed using the [PTN] button. Built into the DTX-
MULTI 12 are a range of Preset patterns specially for playback (P001 to P128) in addition to User patterns that can be
freely recorded and edited (U001 to U050). Use the PATTERN area to record and edit these patterns.
•Parameter setting pages from the COMMON section (PTN2), the MIDI section (PTN3), and the JOB section (PTN4) will not be accessible when a Preset pattern
has been selected. You can, however, edit a Preset pattern by first selecting an empty User pattern and then copying the Preset pattern into it using the Copy
Pattern page (PTN4-5).
Makeup of PATTERN Setting Area
The PATTERN setting area is subdivided into five different sections (PTN1 to PTN5). Use the [B]/[C] buttons to navigate between
these sections. If a section contains parameter-setting pages, the [ENTER] button will light up. Press the [ENTER] button to access these
pages. In certain cases, a number of additional pages may be accessed from a parameter setting page, also using the lit [ENTER] button.
Furthermore, you can press the [EXIT] button to move back towards the top of the setting area.
NOTE
• Be sure to store any recorded patterns or settings that you have edited before turning off the instrument or selecting a new pattern. (See page 45.)
CAUTION
PTN1≥≥≥ƒ=120≥4/4
©P001:Demo≥01
PTN2≥≥≥≥≥≥≥≥≥≥≥≥
≥≥≥≥≥COMMON≥≥≥≥≥
PTN3
≥≥≥≥≥≥MIDI
PTN4
≥≥≥≥≥≥JOB
PTN5
≥≥MEMORY≥INFO
Select Pattern.................................................................................................. Page 75
PTN4-1 Quantize Pattern page....................................................................... Page 78
PTN4-2 Merge Pattern page ........................................................................... Page 79
PTN4-3 Clear Pattern page.............................................................................Page 79
PTN4-4 Clear All Patterns page...................................................................... Page 79
PTN4-5 Copy Pattern page .............................................................................Page 79
PTN4-6 Exchange Patterns page ...................................................................Page 80
PTN4-7 Import SMF page............................................................................... Page 80
PTN2-1 Pattern Loop page .............................................................................Page 75
PTN2-2 Pattern Tempo page........................................................................... Page 75
PTN2-3 Pattern Name page............................................................................Page 76
PTN3-1 MIDI Transmit page............................................................................ Page 76
PTN3-2 MIDI Volume page .............................................................................Page 77
PTN3-3 MIDI Pan page................................................................................... Page 77
PTN3-4 Bank Select page...............................................................................Page 77
PTN3-5 Variation Send page .......................................................................... Page 77
PTN3-6 Chorus Send page............................................................................. Page 78
PTN3-7 Reverb Send page .............................................................................Page 78
PTN5-1 Memory Info page.............................................................................. Page 81
Sections Parameter-setting pages

TRIGGER ReferenceKITMIDI VOICEUTILITY WAVEPATTERN
PATTERN Setting Area (PTN)
Owner’s Manual 75
Select Pattern
On the Select Pattern page (PTN1), you can select and play pat-
terns and also set their tempo and time signature. To access this
page, press the [PTN] button, and if necessary, the [B]/[C] but-
tons. If you again press the [PTN] button with this page displayed,
the selected pattern will start to play. To stop playback, press the
[PTN] button once again with the Select Pattern page (PTN1) dis-
played. Whenever you want to edit or record a pattern, further-
more, be sure to select it first on this page.
1Tempo
Use this parameter to set the tempo at which the selected pat-
tern will be played.
•Whenever you select a new pattern, its tempo will be set automatically.
• The Tempo parameter’s setting will be displayed as “ext” and modifica-
tion will not be possible if “ext” has been selected on the UTILITY
area’s MIDI Sync page (UTIL6-6) or if “auto” has been selected on that
page and MIDI clock messages are being received from an external
device.
BTime signature
Use this parameter to set the time signature for playback of
the selected pattern.
• Whenever you select a new pattern, its time signature will be set auto-
matically.
CPattern category
Use this parameter to select either the Preset (P) or User
(U) pattern category.
DPattern number: Pattern name
Use these parameters to select the pattern to be played,
recorded, or processed.
Whenever a demo pattern (P001 to P003) is being played, a
page similar to that shown below will be displayed and modi-
fication of the tempo or time signature will not be possible.
• Playback of the click track or of patterns assigned to pads will be
stopped whenever playback of a demo pattern is started.
• Playback of demo patterns can be stopped by pressing any button
other than [SHIFT].
Looping, Tempo & Pattern Names
In the COMMON section, you can specify whether the currently
selected pattern is to be played repeatedly as a loop, and you can
also set its tempo and name. With the COMMON page (PTN2)
displayed, press the [ENTER] button to access its three parame-
ter-setting pages (PTN2-1 to PTN2-3). You can use the [B]/[C]
buttons to navigate between these pages.
• This section can be used only with User patterns. If a Preset pattern has
been selected, the [ENTER] button will not open a parameter-setting page.
Using the Pattern Loop page, you can specify whether or not the
selected pattern is to be played repeatedly as a loop. The selection
made on this page will apply regardless of whether the pattern is
played using the [A] button or by striking a pad to which it
has been assigned.
1Loop
If “on” is selected for this parameter, playback of the pattern
will start again from the beginning whenever it finishes (i.e.,
looped playback). When set to “off”, the pattern will be
played once to the end and will then stop (i.e., one-shot play-
back).
1Tempo
Use this parameter to set a tempo for playback of the selected
pattern.
•If the pattern is assigned to a kit, the kit’s tempo setting (see page 47)
will take priority over this setting.
PTN1
Settings 30 to 300
Settings 1/4 to 16/4, 1/8 to 16/8, or 1/16 to 16/16
Settings P or U
Settings
With “P” (Preset pattern) selected: 001 to
128
With “U” (User pattern) selected: 001 to
050
PTN1≥≥≥ƒ=120≥4/4
©P001:Demo≥01
3
12
4
NOTE
NOTE
≥<<Demo≥01>>
P001:PercsMaster
NOTE
PTN2 COMMON
PTN2-1 Pattern Loop page
Settings off or on
PTN2-2 Pattern Tempo page
Settings 30 to 300
PTN2
≥≥≥≥≥COMMON
NOTE
PTN2-1≥≥<COMMON>
≥≥≥≥Loop=off 1
PTN2-2≥≥<COMMON>
≥≥≥Tempo=120 1
NOTE

76 Owner’s Manual
PATTERN Setting Area (PTN)
With the Pattern Name page displayed, press the [ENTER] button
to edit the name of the currently selected pattern.
PTN2-3-1 Pattern Name Setting page
In the Pattern Name Setting page (PTN2-3-1), you can freely
specify a pattern name of up to ten characters in length. Use
the [
B
]/[C] buttons to move the flashing cursor to the char-
acter you want to change, and then select a character using the
[-/DEC] and [+/INC] buttons. The following characters can be
used in pattern names.
[space]
MIDI Settings for Patterns
In the MIDI section, you can configure the MIDI messages sent
by the currently selected pattern on each individual MIDI chan-
nel. These settings affect MIDI messages sent to both the DTX-
MULTI 12’s internal tone generator and external MIDI devices.
With the MIDI page (PTN3) displayed, press the [ENTER] button
to access its seven parameter-setting pages (PTN3-1 to PTN3-7).
You can use the [
B
]/[
C
] buttons to navigate between these
pages.
• This section can be used only with User patterns. If a Preset pattern has
been selected, the [ENTER] button will not open a parameter-setting page.
1MIDI channel (Ch)
Use this parameter to select the MIDI channel (1 to 16) to be
set.
BTransmit
Use this parameter to specify which MIDI messages will be
sent to the internal tone generator and to external MIDI
devices by the currently selected pattern on the MIDI channel
indicated by 1.
•off ............. No MIDI messages will be sent.
• all.............. All applicable MIDI messages will be sent.
•PC............. Only MIDI Program Change messages (includ-
ing bank-select MSB/LSB) will be sent.
PTN2-3 Pattern Name page
PTN2-3≥≥<COMMON>
≥≥≥≥≥≥Name
PTN2-3-1
≥≥[Pattern≥1≥]≥≥
Pattern name
!"#$%&'()*+,-./0123456789:;<=>?@
ABCDEFGHIJKLMNOPQRSTUVWXYZ[\]^_`
abcdefghijklmnopqrstuvwxyz{|}ßå
PTN3 MIDI
PTN3-1 MIDI Transmit page
Settings 1 to 16
Settings off, all, or PC
PTN3
≥≥≥≥≥≥MIDI
NOTE
PTN3-1≥≥≥≥≥≥Ch≥1
≥≥Transmit=all
1
2

TRIGGER ReferenceKITMIDI VOICEUTILITY WAVEPATTERN
PATTERN Setting Area (PTN)
Owner’s Manual 77
1MIDI channel (Ch)
BVolume
Use this parameter to set the MIDI volume (Control Change
7) sent by the currently selected pattern on the MIDI channel
indicated by 1. In terms of the internal tone generator, this
value affects all voices played on that channel.
•If “off” or “PC” has been selected on the MIDI Transmit page (PTN3-1),
this setting will be displayed as “---” and modification will not be possi-
ble.
• If you change the volume setting for MIDI channel 10, the setting on
the Kit Volume page (KIT2-1) will also change to this new setting.
1MIDI channel (Ch)
BPan
Use this parameter to set the stereo panning (Control Change
10) sent by the currently selected pattern on the MIDI channel
indicated by 1. In terms of the internal tone generator, this
value affects all voices played on that channel.
•If “off” or “PC” has been selected on the MIDI Transmit page (PTN3-1),
this setting will be displayed as “---” and modification will not be possi-
ble.
1MIDI channel (Ch)
BBank select MSB (M)
Use this parameter to set a bank-select MSB value.
CBank select LSB (L)
Use this parameter to set a bank-select LSB value.
DProgram change (PC)
Use this parameter to set a program-change number sent by
the currently selected pattern on the MIDI channel indicated
by 1.
• If “off” has been selected on the MIDI Transmit page (PTN3-1), this
setting will be displayed as “---” and modification will not be possible.
To select a DTX-MULTI 12 drum kit, set parameters for
MIDI channel 10 as follows.
• Preset kits:
MSB = 125, LSB = 000, PC = Preset kit number
• User kits between U001 and U100:
MSB = 125, LSB = 001, PC = 001 to 100
•User kits between U101 and U200:
MSB = 125, LSB = 002, PC = 001 to 100
If a program-change setting is made for MIDI channel 10, the
current drum kit will be changed immediately.
1MIDI channel (Ch)
BVariation send level (Var)
Use this parameter to set the variation-send level to be sent by
the currently selected pattern.
•If “off” or “PC” has been selected on the MIDI Transmit page (PTN3-1),
this setting will be displayed as “---” and modification will not be possi-
ble.
•If MIDI channel 10 is selected, this setting will be displayed as “---” and
modification will not be possible.
PTN3-2 MIDI Volume page
Settings 1 to 16
Settings 0 to 127
PTN3-3 MIDI Pan page
Settings 1 to 16
Settings L64 to C to R63
PTN3-2≥≥≥≥≥≥Ch≥1
≥≥≥Volume=100
1
2
NOTE
PTN3-3≥≥≥≥≥≥Ch≥1
≥≥≥≥Pan=≥C
1
2
NOTE
PTN3-4 Bank Select page
Settings 1 to 16
Settings 000 to 127
Settings 000 to 127
Settings 001 to 128
PTN3-5 Variation Send page
Settings 1 to 16
Settings 0 to 127
PTN3-4≥≥≥≥≥≥Ch≥1
M000/L000/PC001
1
24
3
NOTE
PTN3-5≥≥≥≥≥≥Ch≥1
Var=≥≥0(Dry=127)
1
2
NOTE

78 Owner’s Manual
PATTERN Setting Area (PTN)
1MIDI channel (Ch)
BChorus send level (ChoSend)
Use this parameter to set the chorus-send level to be sent by
the currently selected pattern.
•If “off” or “PC” has been selected on the MIDI Transmit page (PTN3-1),
this setting will be displayed as “---” and modification will not be possi-
ble.
•If you change the chorus send level for MIDI channel 10, the setting on
the Chorus Send page (KIT3-1) for the currently selected kit will also
change to this new setting.
1MIDI channel (Ch)
BReverb send level (RevSend)
Use this parameter to set the reverb-send level to be sent by
the currently selected pattern.
•If “off” or “PC” has been selected on the MIDI Transmit page (PTN3-1),
this setting will be displayed as “---” and modification will not be possi-
ble.
•If you change the reverb send level for MIDI channel 10, the setting on
the Reverb Send page (KIT3-2) for the currently selected kit will also
change to this new setting.
Pattern Quantization & Management
In the JOB section, you can quantize the currently selected User
pattern, import SMF files, and perform other related tasks. With
the JOB page (PTN4) displayed, press the [ENTER] button to
access its seven parameter-setting pages (PTN4-1 to PTN4-7).
You can use the [
B
]/[
C
] buttons to navigate between these
pages.
• This section can be used only with User patterns. If a Preset pattern has
been selected, the [ENTER] button will not open a parameter-setting page.
From the Quantize Pattern page, you can correct irregularities in
the timing of notes making up the currently selected User pattern.
This is referred to as quantizing. With the Quantize page dis-
played, press the [ENTER] button to open the Quantize Pattern
Setting page.
PTN4-1-1 Quantize Pattern Setting page
1Quantize
Use this parameter to specify the quantizing resolution as a
division of a whole note. The lower the resolution, the finer
the correction of timing.
PTN3-6 Chorus Send page
Settings 1 to 16
Settings 0 to 127
PTN3-7 Reverb Send page
Settings 1 to 16
Settings 0 to 127
PTN3-6≥≥≥≥≥≥Ch≥1
≥≥ChoSend=≥≥0
1
2
NOTE
PTN3-7≥≥≥≥≥≥Ch≥1
≥≥RevSend=≥40
1
2
NOTE
PTN4 JOB
PTN4-1 Quantize Pattern page
Settings
When time signature from PTN1 or for
recording is 3/8, 6/8, 9/8, 12/8, or 15/8:
16 note triplets
16 notes
8 note triplets
8 notes
4 notes
Dotted 4 notes
When time signature from PTN1 is other
than the above:
16 note triplets
16 notes
8 note triplets
8 notes
4 note triplets
4 notes
• The natural groove of a recorded performance may be lost as a
result of quantization. Note that once a pattern is quantized, it will
not be possible to reverse the procedure.
PTN4
≥≥≥≥≥≥JOB
NOTE
PTN4-1≥≥≥≥≥<JOB>
≥≥≥≥Quantize
PTN4-1-1
≥≥Quantize=ƒ 1
˙3 th
˙th
©3 th
©th
ƒth
¨th
˙3 th
˙th
©3 th
©th
ƒ3 th
ƒth
CAUTION

TRIGGER ReferenceKITMIDI VOICEUTILITY WAVEPATTERN
PATTERN Setting Area (PTN)
Owner’s Manual 79
From the Merge Pattern page, you can merge two patterns and
store the result as a User pattern. To start, select a User pattern to
hold the merged pattern on the Select Pattern page (PTN1). Then,
navigate to the Merge Pattern page and press the [ENTER] button
to open the Merge Pattern Settings page.
PTN4-2-1 Merge Pattern Settings page
1Merge pattern 1
BMerge pattern 2
Use the above two parameters to specify the patterns that are
to be merged as one.
• If the User pattern selected before opening the Merge Pattern page
already contains data, it will be overwritten with the merged pattern.
•The tempo and time signature of Merge pattern 1 are set as the tempo
and time signature of the merged pattern. If Merge pattern 1 is empty,
however, the tempo and time signature of Merge pattern 2 are used.
•The channel-specific MIDI settings of Merge pattern 1 are set as those
of the merged pattern. In the case, however, of MIDI channels for
which Merge pattern 1 contains no settings, any applicable settings
from Merge pattern 2 will be applied.
•Generally speaking, only patterns with similar tempos, time signatures,
and MIDI voice settings should be merged.
• Demo patterns cannot be selected for merging.
From the Clear Pattern page, you can delete all data from the cur-
rently selected User pattern. To do so, press the [ENTER] button
with the Clear Pattern page displayed, and when asked to confirm
that you wish to proceed, press the [ENTER] button once again.
From the Clear All Patterns page, you can delete data from all
User patterns. To do so, press the [ENTER] button with the Clear
All Patterns page displayed, and when asked to confirm that you
wish to proceed, press the [ENTER] button once again.
From the Copy Pattern page, you can copy a pattern to the cur-
rently selected User pattern. With the Copy Pattern page dis-
played, press the [ENTER] button to open the Copy Pattern
Setting page.
PTN4-2 Merge Pattern page
Settings P004 to P128 or U001 to U050
Example of how quantizing works
These recorded notes were not played exactly in time.
Notes moved closer to the correct position through quantizing.
Exact position
PTN4-2≥≥≥≥≥<JOB>
≥≥≥≥≥Merge
PTN4-2-1≥<Merge>
≥©P004≥+≥©P005
12
NOTE
PTN4-3 Clear Pattern page
• When a User pattern is cleared as described above, its data is com-
pletely erased from the instrument’s pattern memory. Be sure, there-
fore, to always save important data on a USB memory device or the
like before deleting.
PTN4-4 Clear All Patterns page
• When User patterns are cleared as described above, their data is
completely erased from the instrument’s pattern memory. Be sure,
therefore, to always save important data on a USB memory device
or the like before deleting.
PTN4-5 Copy Pattern page
CAUTION
PTN4-3≥≥≥≥≥<JOB>
≥≥≥≥≥Clear
CAUTION
PTN4-4≥≥≥≥≥<JOB>
≥≥≥Clear≥All
PTN4-5≥≥≥≥≥<JOB>
≥≥≥≥≥≥Copy

80 Owner’s Manual
PATTERN Setting Area (PTN)
PTN4-5-1 Copy Pattern Setting page
With the Copy Pattern Setting page displayed, press the [ENTER]
button, and when asked to confirm that you wish to proceed, press
the [ENTER] button once again.
1Pattern to be copied
Use this parameter to select the pattern to be copied to the
currently selected User pattern.
• Demo patterns cannot be copied.
From the Exchange Patterns page, you can swap a pair of User
patterns. With the Exchange Patterns page displayed, press the
[ENTER] button to open the Exchange Patterns Settings page.
PTN4-6-1 Exchange Patterns Settings page
With the Exchange Patterns Settings page displayed, press the
[ENTER] button, and when asked to confirm that you wish to pro-
ceed, press the [ENTER] button once again.
1Exchange pattern 1
BExchange pattern 2
Use these parameters to select the two User patterns to be
swapped.
From the Import SMF page, you can import a standard MIDI file
(SMF) into the DTX-MULTI 12 from a USB memory device for
use as a User pattern. SMFs contain sequenced MIDI data and
have a “.mid” file extension. It should be noted that the DTX-
MULTI 12 supports Format 0 SMFs only.
PTN4-7-1 Import SMF Setting page
1SMF file name
Use this parameter to select the SMF to be imported.
1Plug a USB memory device containing the Format-0
SMF to be imported into the USB TO DEVICE port on
the side panel of the DTX-MULTI 12.
2Navigate to the Import SMF page (PTN4-7) and press
the [ENTER] button to open the Import SMF Setting
page (PTN4-7-1) shown above. Select the SMF to be
imported and then press the [ENTER] button once
again.
You will be asked to confirm that you wish to proceed.
3To import the selected SMF, press the [ENTER] but-
ton. Alternatively, press the [EXIT] button to return
to the previous page without importing.
• If the currently selected User pattern already contains pattern data, it
will be overwritten with the imported data.
The message “Now importing...” will be displayed during the
import process.
• Only standard MIDI files of Format 0 can be imported.
•In certain cases where a User pattern created from an imported SMF is
looped, voices may not change as expected when playback jumps from
the end back to the beginning, and instead, the voices settings from the
end of the pattern will be maintained throughout. Specifically, this hap-
pens when program change data from the SMF’s header is not read
upon return to the start of the pattern. To prevent this type of unintended
situation, move any program change messages slightly back from the
SMF header to ensure that they will be correctly read.
Settings P004 to P128 or U001 to U050
• The currently selected User pattern is overwritten as a result of this
procedure. Be sure, therefore, to always save important data on a
USB memory device or the like before copying patterns.
PTN4-6 Exchange Patterns page
Settings U001 to U050
PTN4-5-1≥≥<Copy>
≥©P004≥-ßCurrent
1
CAUTION
NOTE
PTN4-6≥≥≥≥≥<JOB>
≥≥≥≥Exchange
PTN4-6-1≥<Exchg>
≥©U001≥åß≥©U002
12
PTN4-7 Import SMF page
Settings
Any SMF file having extension .mid and
stored in the USB memory device’s root
directory.
• Do not unplug the USB memory device from the USB TO
DEVICE port or turn off either the USB memory device or the
DTX-MULTI 12 while data is being imported. Failure to observe
this precaution can lead to the USB memory device or the DTX-
MULTI 12 being permanently damaged.
PTN4-7≥≥≥≥≥<JOB>
≥≥≥Import≥SMF
PTN4-7-1<Import>
≥≥pattern1.mid 1
≥≥≥Import≥SMF≥≥
≥Are≥you≥sure?
NOTE
CAUTION
NOTE

TRIGGER ReferenceKITMIDI VOICEUTILITY WAVEPATTERN
PATTERN Setting Area (PTN)
Owner’s Manual 81
Pattern Memory Status
The MEMORY INFO section allows you to check the usage sta-
tus of DTX-MULTI 12 memory for User patterns. To do so, navi-
gate to this section (PTN5) and press the [ENTER] button.
1Memory usage ratio (%)
This indicates how much of the total User-pattern memory is
currently being used in percentage format.
BUsed memory / Total memory (KB)
This indicates separately the amount of memory used and the
total memory in kilobyte (KB) units.
PTN5 MEMORY INFO
PTN5-1 Memory Info page
PTN5
≥≥MEMORY≥INFO
PTN5-1≥≥≥≥≥≥0.0%
≥≥≥0.4KB/896.0KB
1
2

82 Owner’s Manual
UTILITY Setting Area (UTIL)
This section describes the UTILITY setting area, which can be accessed using the [UTILITY] button. In this area, you
can set parameters affecting the entire instrument and perform a range of file management operations.
Makeup of UTILITY Setting Area
The UTILITY setting area is subdivided into three different sections (UTIL1 to UTIL3). Use the [
B
]/[
C
] buttons to navigate between
these sections. If a section contains parameter-setting pages, the [ENTER] button will light up. Press the [ENTER] button to access these
pages. In certain cases, a number of additional pages may be accessed from a parameter setting page, also using the lit [ENTER] button.
Furthermore, you can press the [EXIT] button to move back towards the top of the setting area.
•Be sure to store any settings that you have edited before turning off the instrument. (See page 45.)
CAUTION
UTIL1
≥≥≥≥GENERAL
UTIL2
≥≥≥≥≥CLICK
UTIL3
≥≥≥MASTER≥EQ
UTIL4
≥≥≥≥≥≥PAD
UTIL5
≥≥≥≥≥HI-HAT
UTIL6
≥≥≥≥≥≥MIDI
UTIL7
≥≥≥≥≥≥FILE
UTIL8
≥≥FACTORY≥SET
Sections Parameter-setting pages
UTIL1-1 Master Volume page .........................................................................Page 83
UTIL1-2 Master Tune page.............................................................................. Page 83
UTIL1-3 Startup Kit page ................................................................................ Page 83
UTIL1-4 Startup Pattern page......................................................................... Page 83
UTIL1-5 Startup Trigger page.......................................................................... Page 83
UTIL1-6 Effect Bypass page ...........................................................................Page 83
UTIL1-7 Pan Depth page ................................................................................Page 84
UTIL1-8 Auxiliary Output page........................................................................ Page 84
UTIL4-1 Pad Function page ............................................................................ Page 88
UTIL4-2 Foot Switch Input page .....................................................................Page 89
UTIL4-3 Pad 10-12 Switch page ..................................................................... Page 89
UTIL2-1 Click-track Voice page ....................................................................... Page 84
UTIL2-2 Click-track Master Volume page........................................................ Page 84
UTIL2-3 Click-track Beat Volume page ...........................................................Page 84
UTIL2-4 Click-track Output page.....................................................................Page 84
UTIL2-5 Click-track MIDI page ........................................................................Page 85
UTIL3-1 Gain, Frequency & Bandwidth page ................................................. Page 87
UTIL3-2 EQ Shape page................................................................................. Page 87
UTIL3-3 Master EQ Bypass page ...................................................................Page 87
UTIL5-1 Close Position page .......................................................................... Page 89
UTIL5-2 Splash Sensitivity page ..................................................................... Page 89
UTIL5-3 Send Hi-hat Controller page..............................................................Page 89
UTIL6-1 Channel-10 Receive page.................................................................Page 90
UTIL6-2 Program Change Receive page........................................................ Page 90
UTIL6-3 Channel-10 Program Change Receive page .................................... Page 90
UTIL6-4 Polyphonic Aftertouch Status page ................................................... Page 90
UTIL6-5 Local Control page ............................................................................ Page 90
UTIL6-6 MIDI Sync page.................................................................................Page 91
UTIL6-7 Clock Out page .................................................................................Page 91
UTIL6-8 Sequencer Control page ...................................................................Page 91
UTIL6-9 MIDI In/Out page............................................................................... Page 91
UTIL6-10 MIDI Thru Port page........................................................................Page 91
UTIL6-11 MIDI Merge page ............................................................................Page 92
UTIL6-12 Device Number page ......................................................................Page 92
UTIL7-1 Save File page ..................................................................................Page 93
UTIL7-2 Load File page ..................................................................................Page 94
UTIL7-3 Rename File page............................................................................. Page 96
UTIL7-4 Delete File page ................................................................................ Page 97
UTIL7-5 Format page...................................................................................... Page 97
UTIL7-6 Memory Info page ............................................................................. Page 98
Instrument Reset............................................................................................. Page 98

TRIGGER ReferenceKITMIDI VOICEUTILITY WAVEPATTERN
UTILITY Setting Area (UTIL)
Owner’s Manual 83
System Settings
In the GENERAL section, you can set parameters affecting the
entire system. With the GENERAL page (UTIL1) displayed,
press the [ENTER] button to access its eight parameter-setting
pages (UTIL1-1 to UTIL1-8). You can use the [B]/[C] buttons
to navigate between these pages.
1Master volume
Use this parameter to set the master volume of the instru-
ment’s internal tone generator. If a small value is set here, the
VOLUME dial on the front panel will have very little effect in
increasing the output volume.
1Master tune (M.Tune)
Use this parameter to tune (i.e., adjust the basic pitch of) the
internal tone generator. The value in parentheses shows the
corresponding tuning (of A above middle C) in Hertz.
• The term “cent” refers to one hundredth of a semitone (i.e., 100 cents
= 1 semitone).
1StartupKit
Use this parameter to specify the kit to be automatically
selected when the DTX-MULTI 12 is turned on. Kits are
identified using a category (P for Preset, U for User) and a
number, and you can move the cursor using the [B]/[C]
buttons to set these individually.
1Startup pattern (StartupPtn)
Use this parameter to select the pattern that will be automati-
cally set when the DTX-MULTI 12 is turned on. Patterns are
identified using a category (
e
P for Preset,
e
U for User) and a
number, and you can move the cursor using the [B]/[C]
buttons to set these individually.
1Startup trigger (StartupTrg)
Use this parameter to select the trigger setup that will be auto-
matically selected when the DTX-MULTI 12 is turned on.
Trigger setups are identified using a category (P for Preset, U
for User) and a number, and you can move the cursor using
the [B]/[C] buttons to set these individually.
1Variation effect (var)
BChorus effect (cho)
CReverb effect (rev)
Use these parameters to specify which effects will be
bypassed when Effect Bypass is activated from the front panel
(using the [SHIFT] and [KIT] buttons). When “---” is selected
for an effect type, it will not be bypassed.
UTIL1 GENERAL
UTIL1-1 Master Volume page
Settings 0 to 127
UTIL1-2 Master Tune page
Settings -102.4 to +0.0 to +102.3
UTIL1-3 Startup Kit page
Settings P001 to P050 or U001 to U200
UTIL1
≥≥≥≥GENERAL
UTIL1-1<GENERAL>
MasterVolume=127 1
UTIL1-2≥≥M.Tune=
+≥≥0.0(440.0Hz)
1
NOTE
UTIL1-3<GENERAL>
StartupKit=P001 1
UTIL1-4 Startup Pattern page
Settings eP001 to eP128 or eU001 to eU050
UTIL1-5 Startup Trigger page
Settings P01 to P05 or U01 to U10
UTIL1-6 Effect Bypass page
Settings ---/var, ---/cho, or ---/rev
UTIL1-4<GENERAL>
StartupPtn=©P001 1
UTIL1-5<GENERAL>
≥StartupTrg=P01 1
UTIL1-6≥≥FXByps=
≥≥var/cho/rev
1 2 3

84 Owner’s Manual
UTILITY Setting Area (UTIL)
1Pan depth
Use this parameter to adjust the width of the instrument’s
overall stereo-panning field while maintaining the individual
pan settings for drum and musical instrument sounds.
1Auxiliary output selection (AuxOutSel)
Use this parameter to indicate where audio input via the AUX
IN jack will be output.
• L&R+ph ............. Auxiliary-input audio will be output via
both the OUTPUT (L/MONO and R) and
PHONES jacks.
• phones ................ Auxiliary-input audio will be output via
the PHONES jack only.
Click Track Settings
In the CLICK section, you can set parameters related to the click
track. For example, you can set the type of sound to be used, the
volume, and where the click track will be output. MIDI parame-
ters related to the click track can also be set here. With the CLICK
page (UTIL2) displayed, press the [ENTER] button to access its
five parameter-setting pages (UTIL2-1 to UTIL2-5). You can use
the [B]/[C] buttons to navigate between these pages.
1Click-track voice
Use this parameter to select from a range of different sounds
for use with the click track.
1Click-track master volume
Use this parameter to set the master volume for click-track
sounds.
1Click-track beat volumes
Use these parameters to set volumes for different beat timings
within the click track. The meanings of the symbols used on
this page are shown below.
Example: Beat timings for four beats per bar
• If the time signature from the PATTERN setting area or for pattern
recording is 3/8, 6/8, 9/8, 12/8, or 15/8, this page will display ACC, dot-
ted quarter notes, eighth notes, and sixteenth notes.
1Click-track output selection (ClkOutSel)
Use this parameter to specify where the click track will be
output when activated. In a live-performance setting, for
example, you would normally want the click track to be out-
put to headphones only, and in such a case, “phones” should
be selected here.
•L&R+ph ............. The click-track will be output via both the
OUTPUT (L/MONO and R) and
PHONES jacks.
• phones ................ The click-track will be output via the
PHONES jack only.
UTIL1-7 Pan Depth page
Settings 1 to 127
UTIL1-8 Auxiliary Output page
Settings L&R+ph or phones
UTIL2 CLICK
UTIL2-1 Click-track Voice page
Settings Metronome1, Metronome2, Cowbell, Stick,
Human
UTIL1-7<GENERAL>
≥≥PanDepth=≥64 1
UTIL1-8<GENERAL>
AuxOutSel=L&R+ph 1
UTIL2
≥≥≥≥≥CLICK
UTIL2-1≥≥<CLICK>
Voice=Metronome1 1
UTIL2-2 Click-track Master Volume page
Settings 0 to 127
UTIL2-3 Click-track Beat Volume page
Settings 0 to 9
UTIL2-4 Click-track Output page
Settings L&R+ph, phones
UTIL2-2≥≥<CLICK>
≥≥≥Volume=127 1
UTIL2-3≥A…=9≥ƒ=9
≥≥≥≥∫=0≥ææ=0≥ø=0
1
1
Accents
4 notes
th
8 notes
th
16 notes
th
8 note triplets
th
NOTE
UTIL2-4≥≥<CLICK>
ClkOutSel=phones 1

TRIGGER ReferenceKITMIDI VOICEUTILITY WAVEPATTERN
UTILITY Setting Area (UTIL)
Owner’s Manual 85
From the Click-track MIDI page (UTIL2-5), you can set a range
of MIDI parameters related to the click track. With this page dis-
played, press the [ENTER] button to access a further four param-
eter-setting pages (UTIL2-5-1 to UTIL2-5-4). You can use the
[B]/[C] buttons to navigate between these pages.
UTIL2-5-1 Click-track MIDI In page
1MIDI IN
Use this parameter to specify whether or not click-track
sounds are to be produced based on MIDI Note On messages
received via the MIDI IN connector. When set to “on”, the
DTX-MULTI 12 operates as follows:
•A click-track accent sound will be produced upon the
receipt of a MIDI note with the note number set on the
Accent Note Number page (UTIL2-5-3).
•A click-track quarter note sound will be produced upon the
receipt of a MIDI note with the note number set on the
Quarter-Note Note Number page (UTIL2-5-4).
UTIL2-5-2 Click-Track MIDI Out page
1MIDI OUT
Use this parameter to turn the output of click-track MIDI
events (i.e., MIDI Note On messages) on and off. When set to
“on”, the DTX-MULTI 12 operates as follows:
•A MIDI note with the note number set on the Accent Note
Number page (UTIL2-5-3) will be produced for each click-
track accent sound.
•A MIDI note with the note number set on the Quarter-Note
Note Number page (UTIL2-5-4) will be produced for each
click-track quarter note sound.
• Regardless of this parameter’s setting, no MIDI Note On messages
can be produced for click-track sounds other than accents and quarter
notes.
UTIL2-5-3 Accent Note Number page
1Accent note number (NoteAcc)
Use this parameter to assign a MIDI note number to click-
track accent sounds.
• If “on” is selected on the Click-track MIDI In page
(UTIL2-5-1), a click-track accent sound will be produced
each time a MIDI note with the note number set here is
received.
• If “off” is selected on this page (UTIL2-5-3), no click-track accent
sounds will be produced in response to received MIDI notes.
• If the same value is set on this page (UTIL2-5-3) and on the Quarter-
Note Note Number page (UTIL2-5-4), the same sound will be pro-
duced for all beat timings.
• If “on” is selected on the Click-Track MIDI Out page
(UTIL2-5-2), a MIDI Note On message with the note num-
ber set here will be produced for each click-track accent
sound.
• If “off” is selected both on this page (UTIL2-5-3) and on the Quarter-
Note Note Number page (UTIL2-5-4), no MIDI Note On messages will
be output for click-track sounds. If, however, “off” is selected on this
page (UTIL2-5-3) but a setting other than “off” is selected on the Quar-
ter-Note Note Number page (UTIL2-5-4), MIDI Note On messages
with the corresponding note number will be output for all click-track
sounds.
UTIL2-5-4 Quarter-Note Note Number page
1Quarter-note note number (Noteqq
qq)
Use this parameter to assign a MIDI note number to click-
track quarter note sounds.
• If “on” is selected on the Click-track MIDI In page
(UTIL2-5-1), a click-track quarter-note sound will be pro-
duced each time a MIDI note with the note number set here
is received.
•If “off” is selected on this page (UTIL2-5-4), no click-track quarter-note
sounds will be produced in response to received MIDI notes.
• If “on” is selected on the Click-Track MIDI Out page
(UTIL2-5-2), a MIDI Note On message with the note num-
ber set here will be produced for each click-track quarter-
note sound.
• If “off” is selected on this page (UTIL2-5-4), no MIDI Note On mes-
sages will be produced for click-track quarter-note sounds.
UTIL2-5 Click-track MIDI page
Settings off or on
Settings off or on
UTIL2-5
≥≥≥Click≥MIDI
UTIL2-5-1<CLICK>
≥≥MIDI≥IN=off 1
UTIL2-5-2<CLICK>
≥≥MIDI≥OUT=off 1
NOTE
Settings off or C#-2 to F#8
Settings off or C#-2 to F#8
UTIL2-5-3<CLICK>
NoteA…=C#-1/≥13 1
NOTE
NOTE
UTIL2-5-4<CLICK>
≥Noteƒ=C#-1/≥13 1
NOTE
NOTE

86 Owner’s Manual
UTILITY Setting Area (UTIL)
Master Equalization
In the MASTER EQ section, you can adjust the master equaliza-
tion parameters that control the tone of all preset voices, patterns,
and waves. With the MASTER EQ page (UTIL3) displayed, press
the [ENTER] button to access its three parameter-setting pages
(UTIL3-1 to UTIL3-3). You can use the [B]/[C] buttons to nav-
igate between these pages.
The DTX-MULTI 12 features a five-band master equalizer that
allows the signal level to be freely boosted or cut around a center
frequency specified for each of the bands. In addition, the “low”
and “high” frequency bands can be set to either shelving or peak-
ing equalization.
• Master equalization has no effect on signals from the AUX IN connector.
(See page 36)
• Master equalization has no effect on signals output via the PHONES jack.
(See page 36)
Tap Tempo
Using the Tap Tempo function, you can set the tempo for pat-
terns and the click track by simply striking pads. In this way,
you can conveniently and intuitively set the tempo that you
need.
1Hold down the [SHIFT] button and press the
[EE
EE] (click) button.
The Tap Tempo page will open displaying the current
tempo setting.
2Strike one or more of the pads several times at
the required tempo.
The DTX-MULTI 12 will automatically determine the
tempo based on the speed at which you strike the pads, and
this tempo will be displayed on-screen.
3To check the tempo, press the [EE
EE] (click) but-
ton to start the click track.
The click track will be played at the tempo set using the
Tap Tempo function. Whenever you change the tempo
using this function, the new setting will be immediately
applied to the click track and any patterns being played.
• The [-/DEC] and [+/INC] buttons can also be used to adjust the
tempo on the Tap Tempo page.
• If Func has been set to “tap tempo” for any of the pads on the
UTILITY area’s Pad Function page (UTIL4-1), that pad can be
used at any time to tap the tempo without having to open the Tap
Tempo page (see page 88).
• If “ext” has been selected on the UTILITY area’s MIDI Sync page
(UTIL 6-6) or if “auto” has been selected on that page and MIDI
Clock messages are being received from an external source, the
tempo value will be displayed as “ext” and playback on your DTX-
MULTI 12 will be synchronized with the connected MIDI devices or
DAW application.
• If “int” has been selected on the UTILITY area’s MIDI Sync page
(UTIL 6-6) or if “auto” has been selected on that page and MIDI
Clock messages are not being received from an external source,
playback will occur at the DTX-MULTI 12’s current tempo setting
(see page 91).
TAP≥TEMPO
≥≥≥≥≥ƒ=120
TAP≥TEMPO
≥≥≥≥≥ƒ=158
Tempo: 30 to 300
NOTE
UTIL3 MASTER EQ
UTIL3
≥≥≥MASTER≥EQ
low highhighMidmidlowMid
–
+
0
Q (Bandwidth)
Five EQ bands
Gain (G)
F (Frequency)
NOTE

TRIGGER ReferenceKITMIDI VOICEUTILITY WAVEPATTERN
UTILITY Setting Area (UTIL)
Owner’s Manual 87
1Frequency band
Use this parameter to select the master-EQ frequency band to
be set.
BGain (G)
Use this parameter to specify the amount by which the signal
level in the frequency band indicated by 1 will be boosted or
cut.
CFrequency (F)
Use this parameter to specify the frequency within the band
indicated by 1 around which the signal level will be cut or
boosted. If the “low” band has been selected, the range of
available frequencies will depend on the EQ type set using the
Shape parameter on the EQ Shape page (UTIL3-2).
DBandwidth (Q)
Use this parameter to specify a width for the band of frequen-
cies to be boosted or cut. If you set a large value, a narrower
band of frequencies will be affected and the tone will change
markedly around the center frequency. If you set a smaller
value, a wider band of frequencies will be affected and the
tone will change gradually around the center frequency.
• When “low” or “high” is indicated by 1 and “shelving” has been set using
the Shape parameter on the EQ Shape page (UTIL3-2), the setting for
Bandwidth (Q) will be displayed as “---” and modification will not be possi-
ble.
On the EQ Shape page, you can set an EQ type for each of the
“low” and “high” bands.
1Frequency band
Use this parameter to select the master-EQ frequency band to
be set.
BShape
Use this parameter to set an EQ type.
●shelving:
Signals at all frequencies either above or below the specified
frequency will be boosted or cut.
●peaking:
Signals within a band of frequencies around the specified fre-
quency will be boosted or cut.
1Master EQ bypass (MEQBypass)
Use this parameter to specify whether the master EQ will be
bypassed (“on”) or applied (“off”).
UTIL3-1 Gain, Frequency & Bandwidth
page
Settings low, lowMid, mid, highMid, or high
Settings -12 to +0 to +12
Settings
low: 32 to 2.0k for “shelving”
63 to 2.0k for “peaking”
lowMid, mid, and highMid: 100 to 10k
high: 500 to 16k
Settings 0.1 to 12.0
UTIL3-1≥≥≥≥≥≥mid
G+12/F2.0k/Q≥0.1
1
24
3
–
+
0
Q = 0.1
Q = 12.0
F (Frequency)
Frequency
NOTE
UTIL3-2 EQ Shape page
Settings low or high
Settings shelving or peaking
UTIL3-3 Master EQ Bypass page
Settings off or on
UTIL3-2≥≥≥≥≥≥low
≥Shape=shelving
1
2
–
+
0
–
+
0
EQ low EQ high
G (Gain)
F (Frequency)
G (Gain)
F
(Frequency)
Frequency Frequency
–
+
0
G (Gain)
F (Frequency)
Frequency
UTIL3-3
≥MEQ≥Bypass=off 1

88 Owner’s Manual
UTILITY Setting Area (UTIL)
Pad Utilities
In the PAD section, you can assign functions to pads and external
controllers, specify the type of controller connected via the FOOT
SW jack, and enable or disable rim pads 10 to 12. With the PAD
page (UTIL4) displayed, press the [ENTER] button to access its
three parameter-setting pages (UTIL4-1 to UTIL4-3). You can use
the [B]/[C] buttons to navigate between these pages.
On the Pad Function page, you can specify operations to be per-
formed when individual pads or external controllers are struck or
operated.
1Pad number
Use this parameter to select the pad or external controller to
be set. You can also strike a pad to select it.
BPad function (Func)
Use this parameter to set the operation to be performed when
the pad or external controller indicated by 1 is struck or
operated.
•off ....................... Voices will be played in the normal way.
• inc kitNo............. The kit number will be increased by 1.
• dec kitNo ............ The kit number will be decreased by 1.
• inc ptnNo............ The pattern number will be increased by
1.
• dec ptnNo ........... The pattern number will be decreased by
1.
• inc tempo............ The tempo will be increased by 1 bpm.
• dec tempo ........... The tempo will be decreased by 1 bpm.
•tap tempo............ The pad or external controller can be used
to tap the tempo.
• clickOn/Off......... The click track will be turned on or off.
• CC01 to CC95 .... A MIDI Control Change message will be
sent to the internal tone generator and
connected external MIDI devices.
When a MIDI Control Change message (CC01 to CC95) is
specified as the pad function, control-change values and the
MIDI send channel are set as follows.
CControl change value
Use this parameter to set a value for the MIDI control-change
message indicated by 2.
•If setting a pad or external controller other than
“FTSW”: This value will be sent when the pad or external
controller is struck or operated.
•If setting “FTSW” and “ftSw” is selected on the Foot
Switch Input page (UTIL4-2): 3-a is the value that will
be sent when the foot switch is released, and 3-b is the
value that will be sent when the foot switch is depressed.
•If setting “FTSW” and “ftSw” is not selected on the
Foot Switch Input page (UTIL4-2): A specific control-
change value cannot be specified in this case. Instead, a
value within the range 0 to 127 will be sent based on the
degree by which the hi-hat controller or foot controller is
operated.
DControl-change send channel
Use this parameter to set a MIDI channel for sending the
MIDI Control Change message indicated by 2.
UTIL4 PAD
UTIL4-1 Pad Function page
Settings
01 to 12, 13, 13R1, 13R2, 14 to 17, FTSW
(foot switch), HHCL (hi-hat close), or HHSP
(hi-hat splash)
Settings
off, inc kitNo, dec kitNo, inc ptnNo, dec
ptnNo, inc tempo, dec tempo, tap tempo,
clickOn/Off, or CC01 to CC95
UTIL4
≥≥≥≥≥≥PAD
UTIL4-1≥-º¡-
Func=clickOn/Off 2
1
Settings 0 to 127
Settings 1 to 16
UTIL4-1≥-º¡-≥≥†”
Func=CC01/127
4
2 3
UTIL4-1≥-√¤‘’-†”
Func=CC01/≥0-127
4
23-a 3-b
UTIL4-1≥-√¤‘’-†”
Func=CC01
4
2
If setting a pad or external controller other than “FTSW”:
If setting “FTSW” and “ftSw” is selected on the
Foot Switch Input page (UTIL4-2):
If setting “FTSW” and “ftSw” is not selected on the
Foot Switch Input page (UTIL4-2):

TRIGGER ReferenceKITMIDI VOICEUTILITY WAVEPATTERN
UTILITY Setting Area (UTIL)
Owner’s Manual 89
1Foot switch input selection (FootSwInsel)
Use this parameter to specify whether a foot switch (“ftSw”),
a hi-hat controller (“HH65”), or a foot controller (“FC7”) is
connected via the FOOT SW jack.
• The velocities sent when a hi-hat controller or a foot controller is con-
nected will depend on the setting made on the Trigger Velocity page
(MIDI1-7).
• The velocities sent when a foot switch is connected also depend on
the setting made on the Trigger Velocity page (MIDI1-7); however, if
“variable” is selected on that page, velocities will be sent with a fixed
value of 100.
1Pad10-12
Use this parameter to turn rim pads 10 to 12 on (“enable”) or
off (“disable”). This function can prove useful in preventing
voices assigned to these rim pads from being played when
they are accidentally struck instead of pads 7 to 9.
• enable ................. The rim pads will operate in the normal
way.
• disable ................ Functions assigned to these rim pads will
be disabled. When they are struck, the
DTX-MULTI 12 behaves in the same way
as if the corresponding main pads (7 to 9)
had been struck.
Hi-hat Setup
In the HI-HAT section, you can set parameters related to hi-hats.
With the HI-HAT page (UTIL5) displayed, press the [ENTER]
button to access its three parameter-setting pages (UTIL5-1 to
UTIL5-3). You can use the [B]/[C] buttons to navigate between
these pages.
1Close position (ClosePosi)
Use this parameter to adjust the position at which the hi-hat
switches from open to closed when a hi-hat controller is
depressed. The lower the value, the smaller the virtual open-
ing between the top and bottom hi-hats.
1Splash sensitivity (SplashSens)
Use this parameter to set the degree of sensitivity for detect-
ing hi-hat foot splashes. The higher the value, the easier it will
be to produce foot-splash sounds with the hi-hat controller.
High values may, however, result in splash sounds being unin-
tentionally produced when, for example, you depress the hi-
hat controller lightly to keep time. It is a good idea to set this
parameter to “off” if you do not want to play foot splashes.
1Send hi-hat controller (SendHH)
Use this parameter to enable (“on”) or disable (“off”) the
sending of MIDI messages corresponding to continuous
motion of the hi-hat controller between the open and closed
positions.
• If “hi-hat” is selected on the Hi-Hat Function page (KIT7-3), MIDI mes-
sages will be sent only when this parameter is set to “on”.
• If “MIDI” is selected on the Hi-Hat Function page (KIT7-3), MIDI mes-
sages will always be sent, regardless of whether this parameter is set
to “on” or “off”.
UTIL4-2 Foot Switch Input page
Settings ftSw, HH65, or FC7
UTIL4-3 Pad 10-12 Switch page
Settings enable or disable
UTIL5 HI-HAT
UTIL4-2≥≥≥≥<PAD>
FootSwInSel=ftSw 1
NOTE
UTIL4-3≥≥≥≥<PAD>
Pad10-12=enable 1
UTIL5
≥≥≥≥≥HI-HAT
UTIL5-1 Close Position page
Settings -32 to +0 to +32
UTIL5-2 Splash Sensitivity page
Settings off or 1 to 127
UTIL5-3 Send Hi-hat Controller page
Settings off or on
UTIL5-1≥<HI-HAT>
≥ClosePosi=+10 1
UTIL5-2≥<HI-HAT>
≥SplashSens=127 1
UTIL5-3≥<HI-HAT>
≥≥≥SendHH=on 1
NOTE

90 Owner’s Manual
UTILITY Setting Area (UTIL)
Instrument MIDI Setup
In the MIDI section, you can set MIDI parameters affecting the
entire DTX-MULTI 12 system. With the MIDI page (UTIL6) dis-
played, press the [ENTER] button to access its twelve parameter-
setting pages (UTIL6-1 to UTIL6-12). You can use the [B]/[C]
buttons to navigate between these pages.
1Channel-10 receive (Rcv10ch)
Use this parameter to enable (“on”) or disable (“off”) the
receipt of MIDI messages sent by external devices on Chan-
nel 10. If set to “off”, the internal tone generator will play
voices on Channel 10 in response only to input from the
DTX-MULTI 12’s pads and from pads connected via the PAD
jacks.
1Program change receive (RcvPC)
Use this parameter to enable (“on”) or disable (“off”) the
receipt of MIDI Program Change messages. If set to “off” and
a new drum kit is selected, voices will be changed only based
on settings made for that kit’s preset voices. If you want
voices on all MIDI channels to change in line with pattern set-
tings or in response to signals from external MIDI devices,
this parameter should be set to “on”.
1Channel-10 program change receive
(RcvPC10ch)
Use this parameter to enable (“on”) or disable (“off”) the
receipt of MIDI Program Change messages sent on MIDI
channel 10. Select “on” if you want kits to change in line with
pattern settings or in response to signals from external MIDI
devices. Note that this setting is effective only when “on” is
also selected on the Program Change Receive page (UTIL6-
2).
1Polyphonic aftertouch status (PolyAfter)
Use this parameter to enable (“on”) or disable (“off”) the
exchange of polyphonic aftertouch messages with external
MIDI devices.
1Local control (LocalCtrl)
Use this parameter to enable (“on”) or disable (“off”) playing
of the internal tone generator using DTX-MULTI 12 pads and
patterns. Normally, this is set to “on”, meaning that the tone
generator is locally controlled. If set to “off,” the pads and
external controllers are essentially disconnected from the
internal tone generator – in other words, no sound is produced
by the DTX-MULTI 12 when you strike them.
•Even if local control is disabled (i.e., set to “off”) on this page, the DTX-
MULTI 12’s internal tone generator can produce sound in response to
MIDI messages received via the MIDI IN connector and the USB TO
HOST port; furthermore, MIDI messages produced by pads, patterns,
and external controllers will be output via the MIDI OUT connector.
UTIL6 MIDI
UTIL6-1 Channel-10 Receive page
Settings off or on
UTIL6-2 Program Change Receive page
Settings off or on
UTIL6
≥≥≥≥≥≥MIDI
UTIL6-1≥≥≥<MIDI>
≥≥Rcv10ch=on 1
UTIL6-2≥≥≥<MIDI>
≥≥≥RcvPC=on 1
UTIL6-3
Channel-10 Program Change
Receive page
Settings off or on
UTIL6-4 Polyphonic Aftertouch Status
page
Settings off or on
UTIL6-5 Local Control page
Settings off or on
UTIL6-3≥≥≥<MIDI>
≥RcvPC10ch=on 1
UTIL6-4≥≥≥<MIDI>
≥PolyAfter=on 1
UTIL6-5≥≥≥<MIDI>
≥LocalCtrl=on 1
NOTE

TRIGGER ReferenceKITMIDI VOICEUTILITY WAVEPATTERN
UTILITY Setting Area (UTIL)
Owner’s Manual 91
1MIDI synchronization (MIDISync)
Use this parameter to specify whether patterns and the click
track are to play at the tempo set for the DTX-MULTI 12 or
are to be synchronized with external MIDI devices based on
MIDI Clock messages (i.e., F8 Timing Clock) received from
them.
• int ........ Patterns and the click track will play at the current
DTX-MULTI 12 tempo setting. Use “int” when this
instrument is to be used alone or as the master
clock source for other equipment.
•ext........ The DTX-MULTI 12 will be synchronized with
MIDI Clock messages received via MIDI. Use
“ext” when an external MIDI device is to be used as
the master clock source for synchronized playback.
• auto...... MIDI Clock messages received via MIDI will be
prioritized over the DTX-MULTI 12’s current
tempo. In other words, playback will be synchro-
nized to MIDI Clock messages whenever they are
received, and the internal tempo will be used in all
other cases.
•In order to successfully synchronize the DTX-MULTI 12 whenever this
parameter is set to “ext” or “auto”, the connected external MIDI device
or computer must be setup to send MIDI Clock messages.
1Clock out
Use this parameter to enable (“on”) or disable (“off”) the
sending of MIDI Clock messages (i.e., F8 Timing Clock) via
the MIDI OUT connector.
1Sequencer control (SeqCtrl)
Use this parameter to specify whether or not System Realtime
messages (i.e., FA Start, FB Continue, and FC Stop) will be
sent and received via MIDI.
•off.........System Realtime messages are neither sent nor
received.
•in..........System Realtime messages are received but not
sent.
• out ........System Realtime messages are sent but not
received.
• in/out....System Realtime messages are sent and received.
• If “strt”, “cont”, or “stop” has been set on the MIDI Message page
(MIDI1), the SeqCtrl setting 1 will have no effect and the respective
message (i.e., FA Start, FB Continue, or FC Stop) will be output.
1MIDI IN/OUT
Use this parameter to specify whether the exchange of MIDI
messages with external devices is to be performed via the
MIDI connectors or the USB TO HOST port.
1MIDI Thru port (ThruPort)
When the DTX-MULTI 12 receives MIDI messages from a
computer connected via USB, it can relay those messages
received via a specific port to the MIDI OUT connector so
that they can be output to other external MIDI devices. Use
this parameter to specify that port.
UTIL6-6 MIDI Sync page
Settings int, ext, or auto
UTIL6-7 Clock Out page
Settings off or on
UTIL6-6≥≥≥<MIDI>
≥MIDI≥Sync=int 1
NOTE
UTIL6-7≥≥≥<MIDI>
≥≥ClockOut=on 1
UTIL6-8 Sequencer Control page
Settings off, in, out, or in/out
UTIL6-9 MIDI In/Out page
Settings MIDI or USB
UTIL6-10 MIDI Thru Port page
Settings 1 or 2
UTIL6-8≥≥≥<MIDI>
≥SeqCtrl=in/out 1
NOTE
UTIL6-9≥≥≥<MIDI>
MIDI≥IN/OUT=MIDI 1
UTIL6-10≥≥<MIDI>
≥≥≥ThruPort=1 1

92 Owner’s Manual
UTILITY Setting Area (UTIL)
1MIDI merge
The MIDI Merge function allows you to mix MIDI messages
received via the MIDI IN connector with performance data
produced by playing the DTX-MULTI 12, and to output this
mixed MIDI data via the MIDI OUT connector. Set this
parameter to “on” to enable this merging of MIDI messages.
• If “USB” has been selected on the MIDI In/Out page (UTIL6-9), this
setting will be displayed as “---” and modification will not be possible.
1Device number
Use this parameter to set a MIDI device number for the DTX-
MULTI 12. In order to successfully exchange bulk data,
parameter changes, and other system exclusive MIDI mes-
sages, this setting must match the Device Number of the
external MIDI device.
• all......... System exclusive messages for all MIDI device
numbers will be received. In addition, the DTX-
MULTI 12 will transmit messages using Device
Number 1.
•off ........ System exclusive messages such as bulk dump and
parameter changes will be neither transmitted nor
received. An error message will be displayed if an
attempt is made to perform such an operation.
File Management
In the FILE section, you can perform a range of file-management
operations. With the FILE page (UTIL7) displayed, press the
[ENTER] button to access its six parameter-setting pages
(UTIL7-1 to UTIL7-6). You can use the [B]/[C] buttons to nav-
igate between these pages.
A number of terms will be used in the following descriptions of
file management functions and operations. Please take a moment
to familiarize yourself with their meanings in order that these
functions and operations can be more easily understood.
File
The term “file” is used to define a collection of data stored on a
USB memory device or within the DTX-MULTI 12’s internal
memory. The exchange of data with USB memory devices is car-
ried out in the form of files.
File name
As with your computer, the DTX-MULTI 12 can assign names to
individual files. These names are used to tell files apart, and for
this reason, no two files within a specific directory can share the
same file name. Although computers can handle very long file
names that can even contain non-English characters, the DTX-
MULTI 12 requires that names be limited to eight alphanumeric
characters.
File extension
The three letters following the period at the end of a file name –
such as “.mid” and “.wav” – are referred to as a “file extension.”
The type of data contained within the file is identified by the file
extension. Please note that, although this instrument assigns file
extensions to file names, they are not displayed on-screen in order
to allow the available space to be used more efficiently.
File size
The amount of memory needed to store a file is indicated by the
file size. These sizes and also the capacities of memory devices
are presented in standard computer format using B (bytes), KB
(kilo bytes), MB (mega bytes), and GB (giga bytes). (1 KB is
equivalent to 1,024 bytes, 1 MB is equivalent to 1,024 KB, and 1
GB is equivalent to 1,024 MB.)
USB memory device
The term “USB memory device” is used to refer to hard disks and
other external USB memory units used for the storage and
retrieval of files.
UTIL6-11 MIDI Merge page
Settings off or on
UTIL6-12 Device Number page
Settings 1 to 16, all, or off
UTIL6-11≥≥<MIDI>
≥≥≥Merge=off 1
NOTE
UTIL6-12≥≥<MIDI>
≥DeviceNo.=all 1
UTIL7 FILE
File-related terms
UTIL7
≥≥≥≥≥≥FILE

TRIGGER ReferenceKITMIDI VOICEUTILITY WAVEPATTERN
UTILITY Setting Area (UTIL)
Owner’s Manual 93
Directory
A hierarchical directory system is used on memory devices in
order to group files together according to type or application. In
this regard, a “directory” is equivalent to a folder as used on a
computer. As with files, you can assign names to individual direc-
tories. File operations are carried out inside a set of special direc-
tories that are created as follows within a USB memory device
when it is formatted for use on the Format page (UTIL7-5).
Please note that the DTX-MULTI 12 does not display this direc-
tory structure on-screen.
Format
The operation of initializing a USB memory device is referred to
as “formatting”. Whenever you format a USB memory device
using this instrument, any previously created files and directories
(or folders) will be erased and the special directories shown above
will be created.
Save and Load
The term “save” refers to the writing of data created on the DTX-
MULTI 12 to a USB memory device for storage, while “load”
refers to the reading of files from the memory device into the
instrument’s internal memory. From the Save File page, you can
save files on a USB memory device as follows.
From the Save File page, you can save files on a USB memory
device as follows.
1Plug a USB memory device formatted for use with
the DTX-MULTI 12 on the Format page (UTIL7-5) into
the USB TO DEVICE port on the side of the instru-
ment.
2Navigate to the Save File page (UTIL7-1) and press
the [ENTER] button.
The Type page (UTIL7-1-1) will open.
The Type parameter specifies the types of file to be saved.
• All .......................All user data – i.e., all User kits, all
waves, all User patterns, all User triggers,
and utility settings.
• AllKit ..................All User-kit data
• AllWave ..............All wave data
• AllPattern............All User-pattern data
• AllTrigger ...........All User-trigger data
• Utility..................Utility settings
• If you select “AllPattern” despite User patterns having not yet being
created, a “No Data” error message will be displayed and no data will
be saved.
• If you select “AllWave” despite all waves still being empty, a “No Wave
Data” error message will be displayed and no data will be saved.
3Specify a file type using the Type parameter, and
press the [ENTER] button.
The Name page (UTIL7-1-2) will open. Set a name for the file
to be saved.
The [B]/[C] buttons can be used to move the flashing cur-
sor, and the [-/DEC] and [+/INC] buttons can be used to scroll
through the available characters. File names can be up to eight
characters long.
•Any space characters included in file names will be automatically
replaced with “_” (i.e., an underscore).
\YAMAHA
DTXMULTI
ALL All
ALLKIT AllKit
ALLWAV AllWave
ALLPTN AllPattern
ALLTRG AllTrigger
UTL Utility
UTIL7-1 Save File page
Settings All, AllKit, AllWave, AllPattern, AllTrigger, or
Utility
UTIL7-1≥≥≥<FILE>
≥≥≥Save≥File
UTIL7-1-1≥<FILE>
Type=All
File type
NOTE
UTIL7-1-2≥<FILE>
Name=[ALL_DATA]
File name
NOTE

94 Owner’s Manual
UTILITY Setting Area (UTIL)
4When you have set a file name, press the [ENTER]
button.
You will be asked to confirm that the data is to be saved. To
proceed, press the [ENTER] button. Alternatively, you can
press the [EXIT] button to return to Step 3 above without sav-
ing.
If a file of the same name already exists, you will be asked to
confirm whether it is to be overwritten as shown below. If you
want to set a different file name to avoid overwriting, press the
[EXIT] button to return to the Name page (UTIL7-1-2).
5Press the [ENTER] button to save the file.
The following message will be displayed as the data is being
saved. If you press the [EXIT] button at this time, the save
process will be aborted and the display will return to the
Name page (UTIL7-1-2).
When the file has been saved, the display will return to the
Save File page (UTIL7-1).
From the Load File page, you can load files previously saved on a
USB memory device into the DTX-MULTI 12.
1Plug the USB memory device containing the
required files into the USB TO DEVICE port on the
side of the DTX-MULTI 12.
2Navigate to the Load File page (UTIL7-2) and press
the [ENTER] button.
The Type page (UTIL7-2-1) will open.
The Type parameter specifies the types of file to be loaded.
• All ...............All user data – i.e., all User kits, all waves, all
User patterns, all User triggers, and utility set-
tings.
• AllKit .......... All User-kit data
• Kit ...............A single User kit
• AllWave.......All wave data
•Wave............A single wave
• AllPattern .... All User-pattern data
•Pattern ......... A single User pattern
• AllTrigger....All User-trigger data
•Trigger......... A single User trigger setup
• Utility .......... Utility settings
3Specify a file type using the Type parameter, and
press the [ENTER] button.
The File page (UTIL7-2-2) will open.
Select the file to be loaded using the [-/DEC] and [+/INC]
buttons. Only those files matching your selection on the Type
page (UTIL7-2-1) will be presented for loading. If you are
loading a single file, you will first of all need to select the All
file that contains it (for example, when loading a single drum
kit, you first select a file saved with the type “AllKit”). It is
not, however, possible to load a single file when an All type
has been selected for loading.
• Do not unplug the USB memory device from the USB TO
DEVICE port or turn off either the memory device or the DTX-
MULTI 12 while data is being saved. Failure to observe this pre-
caution can lead to the memory device or the DTX-MULTI 12
being permanently damaged.
≥≥≥Save≥File
≥Are≥you≥sure?
≥≥≥Save≥File
≥≥≥Overwrite?
≥Now≥saving...
[EXIT]≥to≥cancel
CAUTION
UTIL7-1≥≥≥<FILE>
≥≥≥Save≥File
UTIL7-2 Load File page
Settings All, AllKit, Kit, AllWave, Wave, AllPattern,
Pattern, AllTrigger, Trigger, or Utility
UTIL7-2≥≥≥<FILE>
≥≥≥Load≥File
UTIL7-2-1≥<FILE>
Type=All
File type
UTIL7-2-2≥<FILE>
≥File=ALL_DATA
File name

TRIGGER ReferenceKITMIDI VOICEUTILITY WAVEPATTERN
UTILITY Setting Area (UTIL)
Owner’s Manual 95
4When you have selected the file to be loaded, press
the [ENTER] button.
If “All”, “AllKit”, “AllWave”, “AllPattern”, “AllTrigger”,
or “Utility” was selected:
The applicable page from Step 8 below will be displayed.
If “Kit”, “Wave”, “Pattern”, or “Trigger” was selected:
The applicable page from Step 5 below will be displayed.
5Select the required package of data from inside the
selected file.
You can scroll through the available data using the [-/DEC]
and [+/INC] buttons.
6When you have selected the file to be loaded, press
the [ENTER] button.
7Select a destination for the data to be loaded.
The [-/DEC] and [+/INC] buttons can be used to select the
number of the User kit, wave, User pattern, or User trigger to
be overwritten with the loaded data.
8When you have selected the file to be loaded, press
the [ENTER] button.
You will be asked to confirm that the data is to be loaded.
9To proceed, press the [ENTER] button.
The following message will be displayed as the data is being
loaded.
When the data has been loaded, the display will return to the
Load File page (UTIL7-2).
Settings
Kit: U001 to U200
Wave: WV001 to WV500
Pattern: eU001 to eU050
Tr igger: U01 to U10
UTIL7-2-3≥≥<Src>
U001:MyKit
UTIL7-2-3≥≥<Src>
WV001:MyWave
UTIL7-2-3≥≥<Src>
©U001:MyPtn
UTIL7-2-3≥≥<Src>
U01:MyTrigger
If “Kit” was selected:
If “Wave” was selected:
If “Pattern” was selected:
If “Trigger” was selected:
Settings
Kit: U001 to U200
Wave: WV001 to WV500
Pattern: eU001 to eU050
Tr igger: U01 to U10
• Do not unplug the USB memory device from the USB TO
DEVICE port or turn off either the memory device or the DTX-
MULTI 12 while data is being loaded. Failure to observe this
precaution can lead to the memory device or the DTX-MULTI 12
being permanently damaged.
UTIL7-2-4≥≥<Dst>
U001:User≥Kit
UTIL7-2-4≥≥<Dst>
WV001:Empty≥Wave
UTIL7-2-4≥≥<Dst>
©U001:Empty≥Ptn
UTIL7-2-4≥≥<Dst>
U01:User≥Trigger
If “Kit” was selected:
If “Wave” was selected:
If “Pattern” was selected:
If “Trigger” was selected:
≥≥≥Load≥File
≥Are≥you≥sure?
Now≥loading.....
[EXIT]≥to≥cancel
CAUTION
UTIL7-2≥≥≥<FILE>
≥≥≥Load≥File

96 Owner’s Manual
UTILITY Setting Area (UTIL)
From the Rename File page, you can rename files that have been
saved on a USB memory device.
1Plug the USB memory device into the USB TO
DEVICE port on the side of the DTX-MULTI 12.
2Navigate to the Rename File page (UTIL7-3) and
press the [ENTER] button to open the Type page
(UTIL7-3-1).
Use the Type parameter to indicate the type of file to be
renamed.
• All................All user data – i.e., all User kits, all User
waves, all User patterns, all User triggers, and
utility settings.
• AllKit...........All User-kit data
• AllWave.......All wave data
• AllPattern ....All User-pattern data
• AllTrigger....All User-trigger data
• Utility ..........Utility settings
3Press the [ENTER] button to open the Rename From
page (UTIL7-3-2).
Select the file to be renamed using the [-/DEC] and [+/INC]
buttons.
Only those files matching your selection on the Type page
(UTIL7-3-1) will be presented for renaming.
4Press the [ENTER] button to open the Rename To
page (UTIL7-3-3).
The [B]/[C] buttons can be used to move the flashing cur-
sor, and the [-/DEC] and [+/INC] buttons can be used to scroll
through the available characters. File names can be up to eight
characters long.
•Any space characters included in file names will be automatically
replaced with “_” (i.e., an underscore).
5When you have set the new file name, press the
[ENTER] button.
You will be asked to confirm that the file is to be renamed.
6Press the [ENTER] button to rename the file.
The following message will be displayed as the file is being
renamed.
When the renaming process has been completed, the message
“Completed.” will be displayed. Following this, the display
will return to the Rename File page (UTIL7-3).
UTIL7-3 Rename File page
Settings All, AllKit, AllWave, AllPattern, AllTrigger, or
Utility
UTIL7-3≥≥≥<FILE>
≥≥Rename≥File
UTIL7-3-1≥<FILE>
Type=All
File type
UTIL7-3-2≥<From>
≥File=ALL_DATA
File name
• Do not unplug the USB memory device from the USB TO
DEVICE port or turn off either the memory device or the DTX-
MULTI 12 while data is being renamed. Failure to observe this
precaution can lead to the memory device or the DTX-MULTI 12
being permanently damaged.
UTIL7-3-3≥≥≥<To>
Name=[MYDATA]
NOTE
≥≥Rename≥File
≥Are≥you≥sure?
Executing...
CAUTION
UTIL7-3≥≥≥<FILE>
≥≥Rename≥File

TRIGGER ReferenceKITMIDI VOICEUTILITY WAVEPATTERN
UTILITY Setting Area (UTIL)
Owner’s Manual 97
From the Delete File page, you can delete files that have been
saved on a USB memory device.
1Plug the USB memory device containing the file(s)
you want to delete into the USB TO DEVICE port on
the side of the DTX-MULTI 12.
2Navigate to the Delete File page (UTIL7-4) and press
the [ENTER] button.
The Type page (UTIL7-4-1) will open.
The Type parameter specifies the types of file to be deleted.
• All ...............All user data – i.e., all User kits, all waves, all
User patterns, all User triggers, and utility set-
tings.
• AllKit .......... All User-kit data
•AllWave.......All wave data
• AllPattern .... All User-pattern data
• AllTrigger....All User-trigger data
• Utility .......... Utility settings
3Specify a file type using the Type parameter, and
press the [ENTER] button.
The File page (UTIL7-4-2) will open.
Select the file to be deleted using the [-/DEC] and [+/INC]
buttons. Only those files matching your selection on the Type
page (UTIL7-4-1) will be available for selection.
4When you have selected the file to be deleted, press
the [ENTER] button.
You will be asked to confirm that the file is to be deleted.
5To proceed, press the [ENTER] button.
The following message will be displayed as the data is being
deleted.
When the deletion process has been completed, the message
“Completed.” will be displayed. Following this, the display
will return to the Delete File page (UTIL7-4).
Certain types of USB memory device must be formatted before
they can be used with your DTX-MULTI 12. The correct way to
format such a device is as follows.
• In certain cases, USB memory devices formatted on a computer will
not be recognized by the DTX-MULTI 12. Be sure, therefore, to always
use this instrument to format memory devices that will be used with it.
1Plug the USB memory device into the USB TO
DEVICE port on the side of the DTX-MULTI 12.
2Navigate to the Format page (UTIL7-5) and press the
[ENTER] button.
You will be asked to confirm that the USB memory device is
to be formatted.
UTIL7-4 Delete File page
Settings All, AllKit, AllWave, AllPattern, AllTrigger, or
Utility
UTIL7-4≥≥≥<FILE>
≥≥Delete≥File
UTIL7-4-1≥<FILE>
Type=All
File type
UTIL7-4-2≥<FILE>
≥File=ALL_DATA
File name
≥≥Delete≥File
≥Are≥you≥sure?
• Do not unplug the USB memory device from the USB TO
DEVICE port or turn off either the memory device or the DTX-
MULTI 12 while data is being deleted. Failure to observe this
precaution can lead to the memory device or the DTX-MULTI 12
being permanently damaged.
UTIL7-5
Format page
• All data on the USB memory device will be deleted during the
formatting process. Before formatting a memory device, there-
fore, ensure that any important data it contains is backed up.
Executing...
CAUTION
UTIL7-4≥≥≥<FILE>
≥≥Delete≥File
UTIL7-5≥≥≥<FILE>
≥≥≥≥≥Format
CAUTION
NOTE
≥≥≥≥Format
≥Are≥you≥sure?

98 Owner’s Manual
UTILITY Setting Area (UTIL)
3To proceed, press the [ENTER] button.
The following message will be displayed as the memory
device is being formatted.
When the formatting process has been completed, the mes-
sage “Completed.” will be displayed. Following this, the dis-
play will return to the Format page (UTIL7-5).
From the Memory Info page, you can check the memory-usage
status of a USB memory device. To do so, navigate to the Mem-
ory Info page (UTIL7-6) and press the [ENTER] button.
1Memory usage ratio (%)
This indicates how much of the USB memory device’s total
memory is currently being used in percentage format.
BUsed memory / Total memory
This indicates separately the amount of memory used and the
total memory. The units used here will depend on the corre-
sponding memory size (i.e., KB for kilobytes, MB for mega-
bytes, and GB for gigabytes).
Instrument Reset
In the FACTORY SET section, you can restore all of the DTX-
MULTI 12’s user data (i.e., all User kits, waves, User patterns,
User triggers, and utility parameters) to default settings.
1Navigate to the Factory Set page (UTIL8) and
press the [ENTER] button.
You will be asked to confirm that a Factory Set operation is to
be performed.
2To proceed, press the [ENTER] button. Alterna-
tively, you can press the [EXIT] button to cancel
the process.
The messages “Executing...” and “Please keep power on.” will
be displayed during the Factory Set process.
When the process has been completed, the message “Com-
pleted.” will be displayed. Following this, the display will
return to the Factory Set page (UTIL8).
• When formatting a USB memory device, it must not be
unplugged from the USB TO DEVICE port and the memory
device and the DTX-MULTI 12 must not be turned off. Failure to
observe this precaution can lead to the memory device or the
DTX-MULTI 12 being permanently damaged.
UTIL7-6 Memory Info page
Executing...
CAUTION
UTIL7-5≥≥≥<FILE>
≥≥≥≥≥Format
UTIL7-6≥≥≥<FILE>
≥≥Memory≥Info
UTIL7-6-1≥≥≥6.5%
≥≥≥8.4MB/128.0MB
1
2
UTIL8 FACTORY SET
• Whenever the instrument is reset in this way, any settings you have
made will be overwritten with the corresponding defaults. All impor-
tant user-defined data should, therefore, be saved on a USB mem-
ory device (see page 93) in advance.
UTIL8
≥≥FACTORY≥SET
CAUTION
≥≥Factory≥Set
≥Are≥you≥sure?
Executing...

TRIGGER ReferenceKITMIDI VOICEUTILITY WAVEPATTERN
Owner’s Manual 99
TRIGGER Setting Area (TRG)
This section describes the TRIGGER setting area, which can be accessed by pressing the [SHIFT] and [UTILITY] but-
tons simultaneously. The characteristics of the trigger signals output from pads when they are played depend on a
range of different factors, such as whether sticks or hands are used, and in the case of external pads, the design of the
pads themselves. The TRIGGER setting area allows you to optimize each pad’s trigger signals for processing by the
DTX-MULTI 12 and to save these settings as trigger setup data.
Makeup of TRIGGER Setting Area
The TRIGGER setting area is subdivided into four different sections (TRG1 to TRG4). Use the [
B
]/[
C
] buttons to navigate between
these sections. If a section contains parameter-setting pages, the [ENTER] button will light up. Press the [ENTER] button to access these
pages. In certain cases, a number of additional pages may be accessed from a parameter setting page, also using the lit [ENTER] button.
Furthermore, you can press the [EXIT] button to move back towards the top of the setting area.
• Be sure to store any settings that you have edited before turning off the instrument or selecting a new trigger setup. (See page 45.)
CAUTION
TRG1≥≥≥≥≥≥≥≥≥≥˛¸
P1:Stick≥Wide
TRG2≥≥≥≥≥≥≥≥≥≥˛¸
≥≥≥≥≥≥PAD
TRG3
≥≥≥≥≥≥NAME
TRG4
≥≥≥≥COPY≥PAD
TRG1 Select Trigger Setup ........................................................................... Page 100
TRG4-1 Trigger Setup Copy page................................................................. Page 104
TRG2-1 Pad Type page................................................................................. Page 100
TRG2-2 Crosstalk Prevention page .............................................................. Page 102
TRG3-1 Trigger Setup Name page ............................................................... Page 104
Sections Parameter-setting pages

100 Owner’s Manual
TRIGGER Setting Area (TRG)
Select Trigger Setup
Use these parameters to select the trigger setup that you want to
apply or edit.
ATrigger setup category
Use this parameter to specify either the Preset (P) or User (U)
trigger-setup category.
BTrigger setup number: Trigger setup name
Use these parameters to select the trigger setup that you want
to apply or edit.
P01: Stick Wide ......... Stick-playing trigger setup with a wide
dynamic range, allowing the softness
or hardness of playing to be easily
expressed.
P02: Stick Normal...... Stick-playing trigger setup with a stan-
dard, well-balanced response.
P03: Stick Narrow...... Stick-playing trigger setup with a nar-
row dynamic range for highly-consis-
tent hit detection. With this setup, the
softness or hardness of playing has less
effect, allowing differences in volume
to be smoothed out.
P04: Hand .................. Hand-playing trigger setup.
P05:Finger.................. Hand-playing trigger setup that also
supports finger-tip playing.
U01 to U10 ................ User triggers.
Freely-configurable trigger setups for
your own unique triggering needs.
CInput level indicator
Visual representation of the input level for the pad(s) being
struck.
• The Trigger Setup Link page (KIT7-6) can be used to set a complete
trigger setup for the current kit. (See page 52)
Pad Setup
In the PAD section, you can set parameters affecting the sensitiv-
ity, output, and other characteristics of each of your DTX-MULTI
12’s built-in pads and of external pads connected via the PAD
jacks. With the PAD page (TRG2) displayed, press the [ENTER]
button to access the Pad Type (TRG2-1) and Crosstalk Prevention
(TRG2-2) parameter-setting pages. You can use the [B]/[C]
buttons to switch between these pages.
1Pad
Use this parameter to select the pad(s) to be set.
UPUpper row of built-in rim pads (i.e., 1 to 3)
MIDMiddle rows of built-in pads (i.e., 4 to 9)
LOWLower row of built-in rim pads (i.e., 10 to 12)
01Built-in pad 1
: :
12Built-in pad 12
13External pad connected to PAD M jack
: :
17External pad connected to PAD Q jack
Layout of built-in pads
• Selection by striking is limited to pad groups (i.e., UP, MID, or LOW)
and the external pads (i.e., 13 to 17).
TRG1
Settings P or U
Settings
With “P” (Preset trigger setup) selected:
01 to 05
With “U” (User trigger setup) selected:
01 to 10
TRG1≥≥≥≥≥≥≥≥≥≥˛¸
P01:Stick≥Wide
12
3
NOTE
TRG2 PAD
TRG2-1 Pad Type page
01 02 03 UP
04 05 06
MID
07 08 09
10 11 12 LOW
Settings UP, MID, LOW, or 01 to 17
TRG2≥≥≥≥≥≥≥≥≥≥˛¸
≥≥≥≥≥≥PAD
2
1
3
TRG2-1≥-MID-≥≥˛¸
Type=StickDyna
Front panel
NOTE

TRIGGER ReferenceKITMIDI VOICEUTILITY WAVEPATTERN
TRIGGER Setting Area (TRG)
Owner’s Manual
101
B
Pad type
Use this parameter to set a pad type for the pad(s) indicated
by
1
. Listed below, the available options will depend on
whether you selected one or more of the built-in pads (i.e.,
UP, MID, LOW, or 01 to 12) or one of the external pads (i.e.,
13 to 17) using
1
above.
C
Input level indicator
Visual representation of the input level for the pad(s) being
struck.
With a pad and pad type selected on the Pad Type page (TRG2-1),
press the [ENTER] button to access the five parameter setting
pages (TRG2-1-1 to TRG2-1-5) for that pad type’s trigger setup.
You can navigate between these pages using the [
B
]/[
C
] but-
tons.
•If you have selected the UP, MID, or LOW group of pads, the values ini-
tially shown on each parameter-setting page will correspond to those
for Pad 4 and 10, respectively. In such a case, furthermore, changes
made to any parameter will affect all pads in the group.
• The pad indicator and input level indicator shown on the upper row of
text on the five parameter-setting pages (TRG2-1-1 to TRG2-1-5) are
identical to those from the Pad Type page (TRG2-1). Accordingly, they
are not covered in the following page descriptions.
•If one or more of the built-in pads are set to “HandDyna”, “HandNorm”,
or “HandR”, the Hand icon ( ) will be displayed on the Select Kit
page (KIT1).
TRG2-1-1
Input Gain page
1
Gain
Use this parameter to set the level of gain (or amplification)
that is applied to the input signal from the selected pad(s)
before it is converted into a trigger signal. With a high setting,
all input signals above a certain level will be amplified to the
same level (i.e., the maximum level). This means that varia-
tions in the softness or hardness with which the pad is struck
can be smoothed out. Meanwhile, when a low setting is used,
the softness or hardness of playing will be reflected to a much
greater degree in the output trigger signal, allowing for more
expressive performances.
TRG2-1-2
Velocity Curve page
1
Velocity curve (VelCurve)
Use this parameter to select a velocity curve for the selected
pad(s). A velocity curve determines how the relative strength
of playing affects the signal produced. For example, with the
“loud2” velocity curve shown below, relatively loud sounds
(i.e., high velocities) can be produced even with softer play-
ing. In contrast, the “hard2” curve only produces loud sounds
when the pad in question is struck quite hard.
TRG2-1-3
Input Level Range page
1
Level
Use this parameter to set the range of input signals (in per-
centage format) that will be converted into trigger signals.
Any input signals at the minimum level or lower will not be
converted into a trigger signal, and therefore, will not produce
any sound. Meanwhile, input signals at the maximum level or
higher will result in trigger signals with the maximum veloc-
ity as set on the Velocity Range page (TRG2-1-4).
Settings
For built-in pads
StickDyna, StickNorm, StickNarrow,
HandDyna, HandNorm, or Hand
For external pads
KP125W/125, KP65, XP120/100Sn, XP120/
100Tm, TP120/100Sn, TP120/100Tm,
TP65S Snare, TP65S Tom, TP65S HiHat,
TP65, PCY155, PCY135, PCY150S,
PCY130SC, PCY130S/130, PCY65S/65,
RHH135, RHH130, DT Snare, DT HiTom,
DT LoTom, DT Kick, TRG Snare 1, TRG
Snare 2, TRG Snare 3, TRG HiTom 1, TRG
HiTom 2, TRG LoTom 1, TRG LoTom 2, TRG
Kick 1, or TRG Kick 2
Settings
0 to 63
NOTE
ˇÁ
TRG2-1-1≥-MID-˛¸
≥≥≥≥Gain=30 1
Settings
loud2, loud1, normal, hard1, or hard2
Settings
Minimum level: 0% to 99%
Maximum level: 1% to 100%
TRG2-1-2≥-MID-˛¸
VelCurve=normal 1
loud2 loud1 norm hard1 hard2
Velocity
Tr igger input level (i.e., strength of playing) →
TRG2-1-3≥-MID-˛¸
Level=≥≥≥0%-100% 1

102 Owner’s Manual
TRIGGER Setting Area (TRG)
TRG2-1-4 Velocity Range page
1Velocity
Use these parameters to specify the maximum and minimum
velocities corresponding to the settings made on the Input
Level Range page (TRG2-1-3). When struck, the selected
pad(s) will produce sounds within this velocity range.
TRG2-1-5 Double Trigger Prevention page
When a stick or beater strikes a pad, it may rebound and strike
again, producing a second trigger signal and causing a voice to
sound twice. The term “double trigger” is used to refer to this
phenomenon. A reject-time setting is used to prevent double trig-
gers from occurring, and the DTX-MULTI 12 will reject any sec-
ond input signals produced during this time period.
1Reject time
Use this parameter to specify the time period after a pad is
struck during which a second input signal will be ignored.
The larger the value set here, the longer the period during
which a second sound will not be produced.
• Double triggers may not be rejected in cases where the pad-type
selection on the Pad Type page (TRG2-1) is other than a DT-series
pad and the input level of the second strike within the reject time is at
least twice that of the first strike.
The term “crosstalk” refers to the output of trigger signals from a
pad other than the one that was stuck as a result of vibration or
interference between pads. From the Crosstalk Prevention page,
you can set input levels below which trigger signals will not be
produced, thus preventing crosstalk. With this page displayed,
press the [ENTER] button to access the Global Crosstalk Level
page (TRG2-2-1) and the Individual Crosstalk Level page
(TRG2-2-2). You can switch between these parameter-setting
pages using the [
B
]/[
C
] buttons.
• The input level indicator shown on the upper row of text on the
crosstalk level pages (TRG2-2-1, TRG2-2-2) is identical to that from
the Pad Type page (TRG2-1). Accordingly, it is not covered in the fol-
lowing page descriptions.
TRG2-2-1 Global Crosstalk Level page
1Pad
Use this parameter to select the pad(s) for which a crosstalk
level is to be set. You can also strike a pad to select it.
• Selection by striking is limited to pad groups (i.e., UP, MID, or LOW)
and the external pads (i.e., 13 to 17).
BCrosstalk level
Use this parameter to specify a level for preventing crosstalk
from all of the DTX-MULTI 12’s other pads. If the input level
produced at the pad indicated by 1 is lower than this level
whenever any of the other pads are struck, it will be treated as
crosstalk and no trigger signal will be generated. Although
higher setting values are more effective in preventing
crosstalk, they can also make it difficult to play multiple pads
at the same time.
Settings Minimum velocity: 0 to 126
Maximum velocity: 1 to 127
Settings 4ms to 500ms
TRG2-1-4≥-MID-˛¸
Velocity=≥≥0-127 1
TRG2-1-5≥-MID-˛¸
RejectTime=500ms 1
NOTE
TRG2-2 Crosstalk Prevention page
Settings UP, MID, LOW, or 01 to 17
Settings 0% to 99%
TRG2-2≥≥≥≥≥≥≥≥˛¸
≥≥≥Crosstalk
NOTE
TRG2-2-1≥-¡£-≥˛¸
Level=≥25%(ALL)
1
2
NOTE

TRIGGER ReferenceKITMIDI VOICEUTILITY WAVEPATTERN
TRIGGER Setting Area (TRG)
Owner’s Manual 103
TRG2-2-2 Individual Crosstalk Level page
1Pad
Use this parameter to select the pad(s) for which a crosstalk
level is to be set. You can also strike a pad to select it.
• Selection by striking is limited to pad groups (i.e., UP, MID, or LOW)
and the external pads (i.e., 13 to 17).
BCrosstalk source
Use this parameter to specify a pad or group of pads causing
crosstalk in the pad(s) indicated by 1. You can also strike a
pad to select it.
CCrosstalk level
Use this parameter to specify a level for preventing crosstalk
from the pad(s) indicated by 2. If the input level produced at
the pad indicated by 1 is lower than this level whenever the
pad indicated by 2 is struck, it will be treated as crosstalk
and no trigger signal will be generated. Although higher set-
ting values are more effective in preventing crosstalk, they
can also make it difficult to play multiple pads at the same
time.
Settings UP, MID, LOW, or 01 to 17
Settings UP, MID, LOW, or 01 to 17
Settings 0% to 99%
Typical Examples of Crosstalk-
Prevention Setup – No. 1
●Use this approach when pad sensitivity is set
to allow playing by hand and striking of one of
the pads from the MID group (i.e., 4 to 9)
causes another pad from that group to pro-
duce a sound.
1Navigate to the Individual Crosstalk Level page
(TRG2-2-2) and set its parameters as follows.
1: MID (i.e., pads 4 to 9), 2: MID (i.e., pads 4 to 9)
2Hold down the [SHIFT] button and press the [UP/
DOWN] button to activate the input lock. (
will change to .)
• The input lock must be activated here to prevent the selection
from changing when one of the other pads from the MID group
(i.e., 4 to 9) is struck in the next step.
TRG2-2-2≥-¡¢-≥˛¸
Level=≥25%(¡£)
1
32
NOTE
-MID-
[MID]
NOTE
3While striking one of the pads from the MID
group (i.e., 4 to 9), raise the level indicated by 3
until other pads from that group no longer pro-
duce any sound.
4Press the [STORE] button to open the Trigger
Store page, and then store your trigger setup as
described on page 45.
Typical Examples of Crosstalk-
Prevention Setup – No. 2
●Use this approach when pad sensitivity is set
to allow playing by hand and, for example,
striking of Pad 4 also results in Pad 5 produc-
ing a sound
1Navigate to the Individual Crosstalk Level page
(TRG2-2-2) and set its parameters as follows.
1: 05 (i.e., Pad 5), 2: 04 (i.e., Pad 4)
2Hold down the [SHIFT] button and press the [UP/
DOWN] button to activate the input lock. (
will change to .)
• The input lock must be activated here to prevent the selection
changing from Pad 5 to Pad 4 when Pad 4 is struck in the next
step.
3While striking Pad 4, raise the level indicated by
3 until Pad 5 no longer causes a voice to play
(i.e., no longer produces a trigger signal).
• If this level is set too high, Pad 5 may not produce any sound
when struck relatively softly together with Pad 4.
4Press the [STORE] button to open the Trigger
Store page, and then store your trigger setup as
described on page 45.
TRG2-2-2≥[MID]˛¸
Level=≥28%(MID)
1
23
-º∞-
[º∞]
NOTE
NOTE
TRG2-2-2≥[º∞]≥˛¸
Level=≥28%(04)
1
32

104 Owner’s Manual
TRIGGER Setting Area (TRG)
Trigger Setup Names
In the NAME section, you can assign a name of up to 12 charac-
ters in length to trigger setups. With the NAME page displayed,
press the [ENTER] button to open the Trigger Setup Name page
(TRG3-1).
On this page, you can assign a name of up to 12 characters in
length to the current trigger setup. Use the [
B
]/[
C
] buttons
to move the flashing cursor to the character you want to
change, and then select a character using the [-/DEC] and [+/
INC] buttons. The following characters can be used in pattern
names.
[space]
Copy Trigger Parameters
In the COPY PAD section, you can copy and replace data for the
currently selected trigger setup on a pad-specific basis. With the
COPY PAD page displayed, press the [ENTER] button to open
the Trigger Setup Copy page (TRG4-1).
1Pad to copy
Use this parameter to set the pad whose settings are to be cop-
ied. You can also strike a pad to select it.
BPad to replace
Use this parameter to set the pad whose settings are to be
replaced. You can also strike a pad to select it.
• Copying of trigger setup data can only be carried out between the
built-in pads (1 to 12) or between the external pads (13 to 17). If you
attempt to copy between a built-in pad and an external pad, the above
parameters will be automatically changed (to Pad 1 or Pad 13) in order
to prevent this from occurring.
When you have selected the pads to copy and replace, press the
[ENTER] button. When asked to confirm that you wish to pro-
ceed, press the [ENTER] button once again to do so.
Be sure, therefore, to use the [STORE] button to access the Trig-
ger Store page and save important information in the instrument’s
internal memory in advance (see page 45).
TRG3 NAME
TRG3-1 Trigger Setup Name page
TRG3
≥≥≥≥≥≥NAME
TRG3-1
≥[HandPercus≥≥]
Tr igger setup name
!"#$%&'()*+,-./0123456789:;<=>?@
ABCDEFGHIJKLMNOPQRSTUVWXYZ[\]^_`
abcdefghijklmnopqrstuvwxyz{|}ßå
TRG4 COPY PAD
TRG4-1 Trigger Setup Copy page
Settings 01 to 17
Settings 01 to 17
• Whenever trigger-setup data is copied, all of the trigger-setup data
for the pad indicated by 2 will be replaced.
TRG4
≥≥≥≥COPY≥PAD
TRG4-1≥≥≥≥<COPY>
≥≥º¡≥≥≥-ß≥≥º™
1 2
NOTE
CAUTION

Owner’s Manual 105
Appendix
Troubleshooting
Check your system’s connections as follows.
●Ensure that headphones or an external audio system, such as
an amplifier and speakers, are correctly connected (See page
10.)
●Ensure that the cables you are using are in good condition.
Check the following and ensure that their respective vol-
ume levels are not too low.
●The amplifier and/or speakers connected to the DTX-MULTI 12.
●The VOLUME dial on the front panel. (See page 8.)
●The Volume page for the current kit ([KIT] → KIT2 → KIT2-1).
(See page 47.)
●The Voice Volume page for the voices assigned to each of the
pads ([VOICE] → VCE2 → VCE2-2). (See page 57.)
●The Master Volume page for the entire instrument ([UTILITY] →
UTIL1 → UTIL1-1). (See page 83.)
Check your trigger settings as follows.
●Open the Select Trigger Setup page ([SHIFT] + [UTILITY] →
TRG1) and ensure that the trigger setup is suitable for your
playing style and any external pads being used. (See page
100.)
●Open the Input Gain and Velocity Curve pages for each of the
pads’ triggers ([SHIFT] + [UTILITY] → TRG2 → TRG2-1 →
TRG2-1-1, TRG2-1-2) and ensure that the Gain and VelCurve
parameters are set appropriately. (See page 101.)
●Open the Input Level Range page for each of the pads’ triggers
([SHIFT] + [UTILITY] → TRG2 → TRG2-1 → TRG2-1-3) and
ensure that the lower setting for the Level parameter is not set
too high. At high settings, pads may not produce sounds. (See
page 101.)
Check your effect and filter settings.
●It is important to remember that filters, by their very nature,
cause all sound to be silenced at certain cutoff-frequency set-
tings.
●Open the Attack Time and Decay Time pages for the voices
assigned to each of the pads ([VOICE] → VCE3 → VCE3-1,
VCE3-2) and ensure that the Attack and Decay parameters are
not set in such a way that voices are being silenced. (See page
58.)
Check your MIDI settings as follows.
●Open the MIDI Message page for each of the pads ([MIDI] →
MIDI1) and ensure that “note” is selected. No sound will be pro-
duced for any other setting on this page.
●After confirming that the pads are set to play notes on the MIDI
Message page (see above), open the Select Voice page
([VOICE] → VCE1) and ensure that a voice other than “no
assign” is selected. Pads set to “no assign” will not produce any
sound. (See page 56, 62.)
●Open the Velocity Limits page for each of the pads ([MIDI] →
MIDI1 → MIDI1-6) and ensure that the lower setting for the Vel-
Limit parameter is not too high. At high settings, pads will pro-
duce sound only when struck very hard. (See page 64.)
●Open the Trigger Velocity page for each of the pads ([MIDI] →
MIDI1 → MIDI1-7) and ensure that the setting for the TrgVel
parameter is not too small (resulting in low volumes). (See page
64.)
●Open the Local Control page ([UTILITY] → UTIL6 → UTIL6-5)
and ensure that the LocalCtrl parameter is set to “on”. (See
page 90.)
●Open the MIDI Note page for each of the pads ([MIDI] → MIDI1
→ MIDI1-2) and ensure that all layers are not turned off. (See
page 63.)
Check your pad settings as follows.
●Open the Pad Function page for each of the pads ([UTILITY] →
UTIL4 → UTIL4-1) and ensure that the Func parameter is set to
“off”. (See page 88.)
●Open the Pad 10-12 Switch page ([UTILITY] → UTIL4 →
UTIL4-3) and ensure that the Pad10-12 parameter is set to
“enable”. (See page 89.)
Check the following if no sound is produced by external
tone generators.
●Ensure that MIDI cables have been correctly connected. (See
page 12.)
●Open the MIDI In/Out page ([UTILITY] → UTIL6 → UTIL6-9)
and ensure that the correct interface has been set for sending
MIDI data. If the MIDI IN/OUT parameter is set to “USB”, MIDI
data will not be sent to external MIDI devices connected via
MIDI cables. (See page 91.)
●Ensure that the DTX-MULTI 12 is sending data on the MIDI
channel that the external tone generator is set to receive it on.
For details regarding settings within the MIDI setting area, see
page 61. In addition, see page 76 for more details regarding
MIDI settings related to pattern playback.
●Open the External MIDI Switch page ([MIDI] → MIDI2 → MIDI2-
2) and ensure that the MIDI Switch parameter is set to “on”.
When the external MIDI switch is turned off, MIDI messages will
not be sent, and therefore, you will not be able to play external
MIDI devices using your DTX-MULTI 12. (See page 66.)
●Ensure that a pad function has not been assigned to the pads in
question. To do so, open the Pad Function page for each of the
pads ([UTILITY] → UTIL4 → UTIL4-1) and ensure that the Func
parameter is set to “off”. No internal or external sound will be
produced by any pad with a function assignment. (See page
88.)
●Open the Pad 10-12 Switch page ([UTILITY] → UTIL4 →
UTIL4-3) and ensure that the Pad10-12 parameter is set to
“enable”. (See page 89.)
●Open the MIDI Message page for each of the pads ([MIDI] →
MIDI1) and ensure that “note” is selected. No internal or exter-
nal sound will be produced for any other setting on this page.
(See page 62.)
●Open the Velocity Limits page for each of the pads ([MIDI] →
MIDI1 → MIDI1-6) and ensure that the lower setting for the Vel-
Limit parameter is not too high. At high settings, pads will pro-
duce sound only when struck very hard. (See page 64.)
●Open the Input Level Range page for each of the pads’ triggers
([SHIFT] + [UTILITY] → TRG2 → TRG2-1 → TRG2-1-3) and
ensure that the lower setting for the Level parameter is not set
too high. At high settings, pads may not produce sounds. (See
page 101.)
No sound is produced by striking pads or the volume
is lower than expected.

106 Owner’s Manual
Troubleshooting
Check the following if unexpected sounds are produced
when playing an external tone generator.
●Access the external instrument’s MIDI channel settings and
ensure that they match the MIDI channel on which the DTX-
MULTI 12 is sending data.
Check the following if all of the pads are producing sounds
at very high volumes (or high velocities).
●Open the Input Gain page for each pad ([SHIFT] + [UTILITY] →
TRG2 → TRG2-1 → TRG2-1-1) and ensure that the Gain
parameter is not set too high. (See page 101.)
●Open the Velocity Curve page for each pad ([SHIFT] + [UTIL-
ITY] → TRG2 → TRG2-1 → TRG2-1-2) and ensure that the Vel-
Curve parameter is set appropriately. (See page 101.)
●Open the Trigger Velocity page for each of the pads ([MIDI] →
MIDI1 → MIDI1-7) and ensure that the TrgVel parameter is set
appropriately. If, for example, this parameter is set to “127”, high
velocities will be produced even when the pad is struck lightly.
(See page 64.)
●Ensure that you are using only the recommended Yamaha
external pads. Products from other manufacturers can output
excessively large signals.
Check the following if sounds output from the DTX-MULTI
12 appear to be distorted.
●Ensure that effects have been set appropriately. Sound can be
distorted with certain combinations of effect type and parameter
settings. (See pages 48, 49, 50, 59, 68, 78.)
●Open the Filter page for the voices assigned to each of the pads
([VOICE] → VCE3 → VCE3-4) and ensure that filters have been
setup appropriately. Depending on the type of sound being fil-
tered, certain resonance settings (Q) can produce distortion.
(See page 58.)
●Ensure that the MASTER dial is not set to too high a volume,
causing clipping to occur.
Check the following if voices play endlessly and do not stop.
●Open the Receive Key-Off page ([MIDI] → MIDI1 → MIDI1-5)
and check the setting for the RcvKeyOff parameter. If set to
“off”, certain types of voice will play endlessly when triggered.
(See page 64.) You can silence all voices at any time by holding
down the [SHIFT] button and pressing the [MIDI] button.
Check the following if sounds stop unexpectedly during
rolls and flams.
●Open the Playing Mode and MIDI Note pages ([MIDI] → MIDI1
→ MIDI1-1, MIDI1-2) for the pads in question and check their
settings. Delete any unnecessary note assignments for stack or
alternate playing.
●Open the Mono/Poly page ([VOICE] → VCE5 → VCE5-1) and
ensure that the Mono/Poly parameter is set to “poly”. (See page
60.)
●Open the Double Trigger Prevention page for the pad in ques-
tion ([SHIFT] + [UTILITY] → TRG2 → TRG2-1 → TRG2-1-5)
and reduce the setting for the RejectTime parameter. (See page
102.)
Check the following if no sound is produced when the
pads are played by hand.
●Open the Select Trigger Setup page ([SHIFT] + [UTILITY] →
TRG1) and ensure that “P04:Hand” or “P05:Finger is selected.
(See page 100.)
●Open the Pad Type page for each pad ([SHIFT] + [UTILITY] →
TRG2 → TRG2-1) and ensure that the Type parameter is set for
playing by hand. (See page 100.)
Check the following if the DTX-MULTI 12 sounds out of
tune or seems to be playing the wrong note.
●Open the Master Tune page ([UTILITY] → UTIL1 → UTIL1-2)
and ensure that the setting for the M.Tune parameter is not too
far removed from “0”. (See page 83.)
●If you are concerned about the pitch of a wave, open the Voice
Tuning page for that wave ([VOICE] → VCE2 → VCE2-1) and
ensure that the setting for the Tune parameter is not too far
removed from “+ 0.00”. (See page 57.)
●If you are concerned about the pitch of a pattern, open the
Transpose page for that pattern ([VOICE] → VCE2 → VCE2-1)
and ensure that the setting for the Transpose parameter is not
too far removed from “+ 0”. (See page 57.)
Check the following if effects produce no changes in the
sound.
●Ensure that none of the effect bypass switches have been
turned on. (See page 83.)
●Open the Effect Bypass page for the entire instrument ([UTIL-
ITY] → UTIL1 → UTIL1-6), and ensure that the applied effects
have not been bypassed. (See page 83.)
●Open the Master EQ Bypass page ([UTILITY] → UTIL3 →
UTIL3-3) and ensure that the MEQ Bypass parameter is set to
“off”. (See page 87.)
●Open the Variation Send, Chorus Send, and Reverb Send
pages for individual voices ([VOICE] → VCE4 → VCE4-1,
VCE4-2, VCE4-3) and ensure that appropriate effect-send lev-
els are set on each. (See page 59.)
●Open the Chorus Send and Reverb Send pages for the cur-
rently selected kit ([KIT] → KIT3 → KIT3-1, KIT3-2) and ensure
that appropriate effect-send levels are set on each. (See page
48.)
Check the following if pattern playback does not start
when the [
A
] button is pressed.
●Ensure that an empty pattern has not been selected.
●Open the MIDI Sync page ([UTILITY] → UTIL6 → UTIL6-6) and
confirm that MIDI Sync is set as required. If this parameter is set
to “ext”, patterns will only playback when MIDI Clock messages
are being received from an external MIDI sequencer or com-
puter; meanwhile, if MIDI Sync is set to “auto”, playback will be
synchronized to MIDI Clock messages whenever they are
received. (See page 91.)
Perform the following if a pattern loops endlessly and does
not stop.
●Silence all voices by holding down the [SHIFT] button and
pressing the [MIDI] button. This action can be performed at any
time.
Note the following regarding wave playback speeds.
●Waves have fixed tempos. They will always play at the tempo of
the original imported file regardless of the drum kit tempo and
other similar settings.
Carry out the following if the value is displayed as “---” and
cannot be changed.
●Open the Pad Function page (UTIL4-1) for the pad in question
and ensure that the Func parameter is set to “off”. (See page
88.)
●Open the MIDI Note page (MIDI1-2) for the pad in question and
ensure that the Note parameter for all layers (A to D) is not set
to “off”. (See page 63.)
Check the following if pads 10 to 12 cannot be set.
●Open the Pad 10-12 Switch page ([UTILITY] → UTIL4 →
UTIL4-3) and ensure that the Pad10-12 parameter is set to
“enable”. (See page 89.)
Sounds do not stop, are distorted, or are intermittent
and stuttered, etc.
Values cannot be set or buttons do nothing when
pressed, etc.

Troubleshooting
Owner’s Manual 107
Appendix
Perform the following if multiple sounds are produced by
the struck pad (i.e., if double triggers are being produced).
●If your external pads and triggers feature output or sensitivity
controllers, reduce the output or sensitivity to a more appropri-
ate level.
●Open the Input Gain page for the pad’s trigger ([SHIFT] + [UTIL-
ITY] → TRG2 → TRG2-1 → TRG2-1-1) and ensure that the
Gain parameter is not set too high. (See page 101.)
●Ensure that you are using only the recommended Yamaha drum
triggers or trigger sensors. Products from other manufacturers
can output excessively large signals, which in turn can result in
double triggering.
●Ensure that the heads are not vibrating in an irregular manner,
muting them if so required.
●Ensure that drum triggers are attached in the vicinity of the rim
and not near the center of the head.
●Ensure that no other objects are coming into contact with the
drum trigger.
●Open the Double Trigger Prevention page for the pad(s) in ques-
tion ([SHIFT] + [UTILITY] → TRG2 → TRG2-1 → TRG2-1-5)
and increase the setting for the RejectTime parameter. Avoid
setting too large a reject time, as this can make it impossible to
accurately detect flams, rolls, and the like. (See page 102.)
Perform the following if sounds are also produced by pads
other than the one that was struck (i.e., if crosstalk is
occurring).
●Carry out the steps described in the section Typical Example of
Crosstalk-Prevention Setup on page 103.
●Open the Global Crosstalk Level and Individual Crosstalk Level
pages ([SHIFT] + [UTILITY] → TRG2 → TRG2-2 → TRG2-2-1,
TRG2-2-2) and ensure that the Level parameters are set appro-
priately. (See pages 102, 103.)
●If using a separately-sold pad featuring a level adjuster, ensure
that it is set appropriately.
●Open the Input Level Range page for the pad(s) in question
([SHIFT] + [UTILITY] → TRG2 → TRG2-1 → TRG2-1-3) and
ensure that the lower setting for the Level parameter is set to an
appropriate value. (See page 101.)
●If playing by hand, open the Select Trigger Setup page ([SHIFT]
+ [UTILITY] → TRG1) and ensure that a suitable trigger setup is
selected for the drum kit. (See page 100.)
●If playing with sticks, open the Pad Type page for the pad(s) in
question ([SHIFT] + [UTILITY] → TRG2 → TRG2-1) and ensure
that the Type parameter is not set for playing by hand. (See
page 100.)
Perform the following if only one voice is produced even
though two pads are struck simultaneously.
●Open the Input Gain page for the pad not producing a sound
([SHIFT] + [UTILITY] → TRG2 → TRG2-1 → TRG2-1-1) and
increase the setting for the Gain parameter. (See page 101.)
●Open the Input Level Range page for the pad not producing a
sound ([SHIFT] + [UTILITY] → TRG2 → TRG2-1 → TRG2-1-3)
and reduce the lower setting for the Level parameter. (See page
101.)
●Open the Alternate Group page for each of the pads ([VOICE]
→ VCE5 → VCE5-2) and ensure that they are not assigned to
the same alternate group. (See page 60.)
●Open the Trigger Alternate Group page for each of the pads
([MIDI] → MIDI1 → MIDI1-9) and ensure that TrgAltGrp is set to
“off” for both. (See page 65.)
Perform the following checks if consistent, reliable trigger
signals cannot be produced using an acoustic drum.
●Ensure that a high-quality drum trigger, such as the DT20, is
secured firmly in place using adhesive tape. (Remember to
remove any old tape.)
●Carry out the checks listed above in the above section No sound
is produced by striking pads or the volume is lower than
expected.
●Ensure that the signal cable is securely plugged into the jack on
the DT20 or other drum trigger.
Check the following if closed hi-hat sounds cannot be
played.
●Open the Pad Type page ([SHIFT] + [UTILITY] → TRG2 →
TRG2-1) and ensure that a suitable type has been selected. If
you are using a Yamaha RHH130 or RHH135 hi-hat controller,
the pad type must be set to either “RHH130” or “RHH135”. (See
page 100.)
Check the following if edge and cup sounds cannot be
played or the choking technique does not work when
using a cymbal pad.
●Open the Pad Type page for the connected cymbal pad ([SHIFT]
+ [UTILITY] → TRG2 → TRG2-1) and ensure that a suitable
cymbal-pad type has been selected. (See page 100.)
Perform the following checks if hi-hat splash sounds can-
not be played.
●Ensure that the foot controller is connected via the HI-HAT
CONTROL jack.
●Open the Splash Sensitivity page ([UTILITY] → UTIL5 →
UTIL5-2) and ensure that the SplashSens parameter is set to a
suitable level. Note that hi-hat splash sounds will not be pro-
duced if “off” has been set here. (See page 89.)
Check the following if a foot switch connected via the
FOOT SW jack is not working properly.
●You may have connected the foot switch with the DTX-MULTI 12
already turned on. Ensure that you always connect foot
switches before turning on the instrument.
●Ensure that the Panel Lock is turned off. (See page 8.)
●Ensure that the Cubase Remote function is turned off. (See
page 15.)
●Ensure that the USB memory device has been correctly format-
ted. (See page 97.)
●Ensure that the USB memory device has not been write-pro-
tected. (See page 12.)
●Ensure that there is sufficient free space on the USB memory
device to save the data in question. To confirm how much mem-
ory is available for saving data, open the Memory Info page
([UTILITY] → UTIL7 → UTIL7-6). (See page 98.)
●If you are using USB cables, ensure that they are connected
correctly. (See page 13.)
●Open the MIDI In/Out page ([UTILITY] → UTIL6 → UTIL6-9)
and check the current setting. If you want to exchange MIDI
data with a computer via USB, ensure that the MIDI IN/OUT
parameter is set to “USB”. Alternatively, if you want to exchange
MIDI data with external devices via MIDI cables, ensure that this
parameter is set to “MIDI”. (See page 91.)
Multiple sounds are produced when a single pad is
struck.
Optional add-on products do not operate as expected.
Perform the following if nothing happens when but-
tons on the front panel are pressed.
Carry out the following checks if data cannot be
saved on a USB memory device.
Check the following if MIDI data cannot be exchanged
with a computer or external MIDI device.

108 Owner’s Manual
On-screen Messages
Message Full meaning
Are you sure? This message is displayed to confirm whether or not you wish to proceed with the selected opera-
tion.
Choose user pattern. This message is displayed if you attempt to perform a pattern management task even though a Pre-
set pattern is currently selected. Select a User pattern to proceed with the operation in question.
Completed. This message is displayed when loading, saving, formatting, and other similar operations have been
completed.
Connecting USB device... This message is displayed when the instrument is busy mounting a USB memory device.
Copy protected. This message is displayed if operations such as wave editing cannot be performed due to the digital
audio source being copy protected.
Executing... This message is displayed while the instrument is busy performing formatting or another similar
management task. Please wait until the operation is completed.
File already exists. This message is displayed if a file with the same name as the one you are about to save already
exists.
File not found. This message is displayed if no file of the selected type exists.
Illegal file. This message is displayed if the file selected for loading is unsuitable either for use with the instru-
ment or for the current setting area.
Illegal file name. This message is displayed if the specified file name is not valid.
Illegal format. This message is displayed if the standard MIDI file (SMF) you are attempting to import is of Format
1. Please select an SMF of Format 0 to proceed.
Illegal selection. This message is displayed if an operation cannot be performed in accordance with the settings
made.
Illegal wave data. This message is displayed if the audio file you are attempting to import is of an unsupported format.
Incompatible USB device. This message is displayed if an unsupported USB device is plugged into the instrument’s USB TO
DEVICE port.
Invalid USB device. This message is displayed if the plugged-in USB memory device is not usable in its current condi-
tion. As long as the device contains no irreplaceable data, it should be formatted to make it usable.
MIDI buffer full. This message is displayed if the amount of MIDI data received is too large to process.
MIDI data error. This message is displayed if an error occurs while receiving MIDI data.
No data. This message is displayed if you are attempting to perform a pattern management task even though
the selected pattern contains no data.
No response from USB device. This message is displayed if the plugged-in USB memory device fails to respond.
No wave data. This message is displayed to you are attempting to perform a wave management task even though
no wave data exists.
No unused MIDI note. This message is displayed upon execution of a copy-pad operation if no unused MIDI notes are
available.
Now importing... [EXIT] to cancel. This message is displayed while the instrument is busy importing wave data.
Now loading... [EXIT] to cancel. This message is displayed while the instrument is busy loading a file.
Now recording... This message is displayed while the instrument is busy recording a pattern.
Now saving... [EXIT] to cancel. This message is displayed while the instrument is busy saving a file.
Now working... This message is displayed while the instrument is tidying up after importing a wave or after you
press the [EXIT] button to cancel a load or save operation.
Overwrite? This message is displayed when saving files to confirm whether or not you wish to overwrite a file of
the same name already present on the USB memory device.
Pattern stored. This message is displayed to confirm that the selected pattern has been successfully stored.
Please keep power on.
This message is displayed while the instrument is busy writing data to its flash ROM. The instrument
should never be turned off while in this state. If this precaution is not observed, user data may be
lost or the internal system may be damaged, rendering the instrument unable to startup normally
when it is next turned on.

On-screen Messages
Owner’s Manual 109
Appendix
Please stop sequencer. This message is displayed to remind you to stop pattern playback before performing the selected
operation.
Read only file. This message is displayed if you are attempting to perform a file operation using a read-only file.
Sample is protected. This message is displayed if the selected audio file is write protected and cannot be overwritten.
Sample is too long. This message is displayed if the audio file is too long to be loaded.
Sample is too short. This message is displayed if the audio file is too short to be loaded.
Seq data is not empty. This message is displayed upon activating Record Mode if no empty patterns are available for
recording.
Seq memory full.
This message is displayed if the instrument’s internal memory for sequence data is full, making it
impossible to perform record new patterns, perform associated management tasks, or load data
from a USB memory device. To free up some of this sequence memory, delete unneeded User pat-
terns.
System memory crashed. This message is displayed if a problem occurred while writing data to the instrument’s internal flash
ROM.
USB connection terminated.
This message is displayed if connection with a USB memory device was lost due to the occurrence
of an abnormal electric current. Unplug the USB memory device and press the [ENTER] button to
return.
USB device full.
This message is displayed if a USB -memory device is full and no more files can be saved on it. In
such a case, use a new USB memory device or make space by erasing unwanted data from the cur-
rent device.
USB device not ready. This message is displayed if a USB memory device has not been correctly plugged into the instru-
ment.
USB device read/write error. This message is displayed if an error occurred during the exchange of data with a USB memory
device.
USB device write protected. This message is displayed if the USB memory device is write protected or if you are attempting to
save data on a read-only device such as a CD drive.
Excessive demand for USB
power.
This message is displayed if the current being drawn by the USB memory device exceeds the level
supported by the instrument.
USB transmission error. This message is displayed if an error occurred during communication with the USB memory device.
Wave memory full. This message is displayed if the instrument’s wave memory is full, preventing operations such as the
importing and loading of data.
Wave stored. This message is displayed to confirm that the selected wave has been successfully stored.
Utility stored. This message is displayed to confirm that utility settings have been successfully stored.
Message Full meaning

110 Owner’s Manual
Specifications
* Specifications and descriptions in this owner’s manual are for information purposes only. Yamaha Corp. reserves the right to change or modify prod-
ucts or specifications at any time without prior notice. As specifications, compatible equipment, and optional extras may not be the same in every
region, please check with your Yamaha dealer.
Pad section Built-in pads 12
External inputs 5 (three-zone x 1; monaural x 4)
Tone generator Maximum polyphony 64 notes
Wave memory
Voices
100 MB (16-bit linear conversion)
Drum and percussion: 1,061
Keyboard: 216
Drum kits Preset: 50
User-defined: 200
Effects Variation x 42 types; Chorus x 6 types; Reverb x 6 types: 5-band master equalizer
Trigger section Pad functions Increment or decrement of drum kit, pattern, or tempo; tap tempo; switching on or off of
click-track; transmission of control change messages
Waves Readable quantity 500
Bit depth 16 bit
Wave memory 64 MB
Maximum size Mono sample: 2 MB
Stereo sample: 4 MB
Sample formats Proprietary, WAV, and AIFF
Sequencer Sequence capacity 152,000 notes
Note resolution Quarter note / 480
Recording method Real-time overdubbing
Patterns Preset patterns: 128 phrases (including 3 demo patterns)
User-defined patterns: 50 phrases
Sequence formats Proprietary
SMF Format 0 (for loading only)
Click-track Tempo 30 to 300 BPM. Tap tempo functionality
Beats 1/4 – 16/4, 1/8 – 16/8, 1/16 – 16/16
Note timing Accent notes, quarter notes, eight notes, sixteenth notes, triplets
Other Display Backlit LCD with 2 rows of 16 characters
Connectors
PAD M jack (standard stereo-phone plug; left = trigger, right = rim switch)
PAD N/O and PAD P/Q jacks (standard stereo-phone plug; left = trigger, right = trigger)
HI-HAT CONTROL jack (standard stereo-phone plug)
FOOT SW jack (standard stereo-phone plug)
OUTPUT L/MONO and R jacks (standard phone plugs)
PHONES jack (standard stereo-phone plug), AUX IN jack (standard stereo-phone plug),
MIDI IN and OUT connectors, USB TO HOST port, USB TO DEVICE port, and DC IN.
Power Consumption 9W (DTXM12 and PA-5D adaptor)
6W (DTXM12 and PA-150 adaptor)
Size and weight 345 (w) x 319 (d) x 96 (h) mm; 3.3 kg
Package Contents Power adaptor (PA-5D/PA-150 or an equivalent recommended by Yamaha),
Owner’s Manual (this booklet), Data List booklet, DVD-ROM

Owner’s Manual 111
Appendix
Index
Symbols
F Standby/On switch ......... 9, 10, 11
F Switch ............................. 9, 10, 11
[+/INC] button ................................... 9
[-/DEC] button .................................. 9
[B] [D] [C] buttons ................ 8, 44
[EE
EE] button ................................. 8, 86
[ENTER] button .......................... 8, 45
[EXIT] button .............................. 8, 45
[KIT] button .......................... 8, 44, 46
[MIDI] button ........................ 8, 44, 61
[PTN] button ......................... 8, 44, 74
[SHIFT] button ........................... 8, 44
[STORE] button ......................... 8, 45
[UTILITY] button .................. 8, 44, 82
[VOICE] button ..................... 8, 44, 55
[WAVE] button ..................... 8, 44, 69
A
Accent note number (NoteAcc) ...... 85
Alternate group .............................. 60
AltGroup ......................................... 60
Attack time ..................................... 58
AUX IN jack ..................................... 9
Auxiliary output selection ............... 84
AuxOutSel ...................................... 84
B
Bandwidth ...................................... 87
Bank select LSB ................ 66, 67, 77
Bank select MSB ............... 66, 67, 77
Built-in pads ................................... 28
Button .............................................. 8
C
CCNo (Control change number) 65, 68
Ch (MIDI channel) .. 66, 67, 68, 76, 77
Channel-10 program change receive
....................................................... 90
Channel-10 receive ........................ 90
cho (Chorus) .................................. 83
ChoPan .................................... 36, 50
ChoReturn ............................... 36, 49
Chorus ..................................... 36, 83
Chorus pan .................................... 50
Chorus return ................................. 49
Chorus send level ........ 48, 59, 68, 78
Chorus to reverb ............................ 50
Chorus type ............................. 38, 49
ChorusSend ............................. 36, 48
ChoSend (Chorus send level)
........................................... 59, 68, 78
ChoToRev ................................36, 50
Clear All Patterns ...........................79
Clear Pattern ..................................79
Click button .................................8, 86
Click-track beat volumes ................84
Click-track master volume ..............84
Click-track output ............................84
Click-track voice .............................84
ClkOutSel .......................................84
Clock out ........................................91
Close position .................................89
ClosePosi .......................................89
Connector .........................................9
Control change number ............65, 68
Control change value .........65, 68, 88
Control-change send channel ........88
Copy Pad ........................................53
Copy Pattern ..................................80
Cord clip .....................................9, 10
Crosstalk ......................................102
Crosstalk level ......................102, 103
Crosstalk source ...........................103
Cubase Remote Control .................15
D
DC IN terminal ............................9, 10
Decay time .....................................58
Delete .......................................73, 97
Device number ...............................92
Display ..............................................8
Drum .........................................30, 31
E
Edit Buffer .......................................42
Effect ..............................................36
Effect parameter .................48, 49, 50
Exchange Kits ................................54
Exchange Pads ..............................53
Exchange Patterns .........................80
External MIDI switch .......................66
F
F (Frequency) .................................87
FACTORY SET ..............................98
Fc (Filter cutoff frequency) .............58
File ............................................43, 92
Filter cutoff frequency (Fc) .............58
FOOT SW .......................................29
FOOT SW jack .................................9
Foot switch .................................9, 29
Foot switch input selection .............89
FootSwInsel ....................................89
Format ............................................ 97
Frequency ...................................... 87
Frequency band ............................. 87
Func (Pad function) ........................ 88
Function ......................................... 29
G
G (Gain) ......................................... 87
Gain ....................................... 87, 101
GAIN knob ....................................... 9
Gate time ....................................... 64
H
Headphones ............................... 9, 10
HH Func ......................................... 52
HH MIDI ch .................................... 52
HHMIDIType .................................. 52
HI-HAT CONTROL jack ................... 9
Hi-hat controller ................................ 9
Hi-hat function ................................ 52
Hi-hat MIDI channel ....................... 52
Hi-hat MIDI type ............................. 52
I
Import ................................... 8, 25, 72
Import SMF .................................... 80
Initialize Kit ..................................... 54
Initialize Pad ................................... 54
Input level indicator ...................... 100
Instrument Reset ............................ 98
J
Jack .................................................. 9
K
KIT ................................................. 46
Kit ................................................... 32
Kit category .................................... 47
Kit name ......................................... 47
Kit number ...................................... 47
Kit Volume ...................................... 47
L
Layer .............................................. 32
Layer Switch .................................. 51
Level ............................................ 101
Load ......................................... 42, 94
Local Control ............................ 13, 90
LocalCtrl ......................................... 90
Loop ............................................... 75

Index
112 Owner’s Manual
M
M.Tune ...........................................83
Master EQ ......................................36
Master EQ bypass ..........................87
Master tune ....................................83
Master volume ............................8, 83
Memory .....................................42, 43
Memory Info .......................73, 81, 98
Memory usage ratio ............73, 81, 98
MEQBypass ...................................87
Merge .............................................92
Merge Pattern .................................79
Message type .................................62
MIDI ..........................................12, 61
MIDI Ch (MIDI channel) ......63, 65, 66
MIDI channel (MIDI Ch) ......63, 65, 66
MIDI IN ...........................................85
MIDI IN/OUT ...................................91
MIDI IN/OUT connectors ............9, 12
MIDI merge .....................................92
MIDI OUT .......................................85
MIDI Switch ....................................66
MIDI synchronization ......................91
MIDI Thru port ................................91
MIDISync ........................................91
Mode ..............................................62
Mono/Poly ......................................60
Mute switch ....................................51
MuteSw ..........................................51
N
Normalize .......................................73
Note ..........................................57, 63
Noteq ..............................................85
NoteAcc ..........................................85
O
Optimize .........................................73
OUTPUT L/MONO and R jacks ........9
P
Pad ...............................100, 102, 103
Pad function ...................................88
Pad indicator ....................................8
PAD jacks .............................9, 28, 30
Pad names .......................16, 28, 100
Pad to be copied ............................53
Pad to be replaced .........................53
Pad type .......................................101
Pad(s) to copy ..............................104
Pad(s) to replace ..........................104
Pad10-12 ........................................89
Pan ...........................................57, 77
Pan depth .......................................84
Panel Lock ........................................8
Parameter Setting Areas ................ 44
PATTERN ...................................... 74
Pattern ........................................... 31
Pattern category ............................. 75
Pattern name ........................... 75, 76
Pattern number .............................. 75
Pattern playback mode .................. 56
Pattern to be copied ....................... 80
PC (Program change) ........ 66, 67, 77
PHONES jack ............................. 9, 10
Playback mode .............................. 70
Playing mode ................................. 62
PlayMode ....................................... 70
Point ............................................... 71
PolyAfter ......................................... 90
Polyphonic aftertouch status .......... 90
Power adaptor ........................ 6, 9, 10
Power supply .................................. 10
Preset kit ............................ 17, 32, 47
Preset pattern .................... 20, 31, 56
Preset voice ....................... 18, 31, 56
Program change ................ 66, 67, 77
Program change receive ................ 90
Q
Q (Bandwidth) ................................ 87
Q (Resonance) ............................... 59
Quantize ......................................... 78
Quarter-note note number (Noteq) 85
R
Ratio ............................................... 73
Rcv10ch ......................................... 90
RcvKeyOff ...................................... 64
RcvPC ............................................ 90
RcvPC10ch .................................... 90
REC ................................................ 21
Receive key-off .............................. 64
Recording ........................... 13, 21, 43
Reject time ................................... 102
Release time .................................. 58
Rename .......................................... 96
Resonance (Q) ............................... 59
rev (Reverb) ................................... 83
Reverb ...................................... 36, 83
Reverb pan .................................... 50
Reverb return ................................. 50
Reverb send level ........ 48, 59, 68, 78
Reverb type .................................... 50
ReverbSend ............................. 36, 48
RevPan .................................... 36, 50
RevReturn ................................ 36, 50
RevSend (Reverb send level)
........................................... 59, 68, 78
S
Save ..........................................42, 93
Send hi-hat controller ......................89
SendHH ..........................................89
SeqCtrl ............................................91
Sequencer control ...........................91
Shape .............................................87
SMF file name .................................80
Splash sensitivity ............................89
SplashSens ....................................89
Standby/On switch ................9, 10, 11
Startup pattern ................................83
Startup trigger .................................83
StartupKit ........................................83
StartupPtn .......................................83
StartupTrg .......................................83
Store ...............................................45
T
Tap tempo .......................8, 29, 86, 88
Tempo .......................................47, 75
Terminal ............................................9
TGSwitch ........................................66
ThruPort ..........................................91
Time signature ..........................21, 75
Tone generator switch ....................66
Total memory ......................73, 81, 98
Transmit ....................................67, 76
Transpose .......................................57
TrgAltGrp (Trigger alternate group) 65
TrgMonoPoly ..................................65
TrgSetupLink ..................................52
TrgVel .............................................64
TRIGGER .......................................99
Trigger alternate group ...................65
Trigger mono/poly ...........................65
Trigger setup category ..................100
Trigger setup link ............................52
Trigger setup name .......................100
Trigger setup number ...................100
Trigger velocity ...............................64
Trim point ........................................71
Trimming .........................................71
Tune ................................................57
Tuning .............................................57
Turn off all sound ..............................8
U
USB memory device .................11, 23
USB TO DEVICE port .................9, 11
USB TO HOST port ..............9, 12, 13
Used memory .....................73, 81, 98
User kit ..........................17, 22, 32, 42
User pattern ........................21, 31, 42
User trigger .......................30, 42, 100
UTILITY ..........................................82

Index
Owner’s Manual 113
Appendix
V
Val (Control change value) ...... 65, 68
Var (Variation send level) .. 59, 68, 77
var (Variation) ................................ 83
Variation ................................... 36, 83
Variation category .......................... 48
Variation pan .................................. 49
Variation return .............................. 49
Variation send level ........... 59, 68, 77
Variation to chorus ......................... 49
Variation to reverb ......................... 49
Variation type ................................. 48
VarPan ..................................... 36, 49
VarReturn ................................ 36, 49
VarToCho ................................ 36, 49
VarToRev ................................. 36, 49
VelCurve ...................................... 101
Velocity ........................................ 102
Velocity curve .............................. 101
Velocity Limits ................................ 64
Velocity lower limit ......................... 64
Velocity upper limit ......................... 64
VOICE ............................................ 55
Voice .............................................. 31
Voice category ............................... 56
Voice Layer .................................... 32
Voice name .................................... 56
Voice number ................................. 56
Voice Volume ................................. 57
Volume (Click-track) ...................... 84
Volume (kit) .................................... 47
Volume (MIDI) ................................ 77
Volume (Voice) .............................. 57
VOLUME dial ................................... 8
VOLUME knob (headphones) .......... 9
W
WAVE ............................................ 69
Wave ........................................ 25, 31
Wave name .............................. 70, 71
Wave number ................................ 70

114
Owner’s Manual
MEMO
12_dtxm_en.fm Page 114 Friday, September 17, 2010 10:44 AM

For details of products, please contact your nearest Yamaha
representative or the authorized distributor listed below.
Pour plus de détails sur les produits, veuillez-vous adresser à Yamaha ou
au distributeur le plus proche de vous figurant dans la liste suivante.
Die Einzelheiten zu Produkten sind bei Ihrer unten aufgeführten
Niederlassung und bei Yamaha Vertragshändlern in den jeweiligen
Bestimmungsländern erhältlich.
Para detalles sobre productos, contacte su tienda Yamaha más cercana
o el distribuidor autorizado que se lista debajo.
CANADA
Yamaha Canada Music Ltd.
135 Milner Avenue, Scarborough, Ontario,
M1S 3R1, Canada
Tel: 416-298-1311
U.S.A.
Yamaha Corporation of America
6600 Orangethorpe Ave., Buena Park, Calif. 90620,
U.S.A.
Tel: 714-522-9011
MEXICO
Yamaha de México S.A. de C.V.
Calz. Javier Rojo Gómez #1149,
Col. Guadalupe del Moral
C.P. 09300, México, D.F., México
Tel: 55-5804-0600
BRAZIL
Yamaha Musical do Brasil Ltda.
Rua Joaquim Floriano, 913 - 4' andar, Itaim Bibi,
CEP 04534-013 Sao Paulo, SP. BRAZIL
Tel: 011-3704-1377
ARGENTINA
Yamaha Music Latin America, S.A.
Sucursal de Argentina
Olga Cossettini 1553, Piso 4 Norte
Madero Este-C1107CEK
Buenos Aires, Argentina
Tel: 011-4119-7000
PANAMA AND OTHER LATIN
AMERICAN COUNTRIES/
CARIBBEAN COUNTRIES
Yamaha Music Latin America, S.A.
Torre Banco General, Piso 7, Urbanización Marbella,
Calle 47 y Aquilino de la Guardia,
Ciudad de Panamá, Panam
Tel: +507-269-5311
THE UNITED KINGDOM/IRELAND
Yamaha Music U.K. Ltd.
Sherbourne Drive, Tilbrook, Milton Keynes,
MK7 8BL, England
Tel: 01908-366700
GERMANY
Yamaha Music Europe GmbH
Siemensstraße 22-34, 25462 Rellingen, Germany
Tel: 04101-3030
SWITZERLAND/LIECHTENSTEIN
Yamaha Music Europe GmbH
Branch Switzerland in Zürich
Seefeldstrasse 94, 8008 Zürich, Switzerland
Tel: 01-383 3990
AUSTRIA
Yamaha Music Europe GmbH Branch Austria
Schleiergasse 20, A-1100 Wien, Austria
Tel: 01-60203900
CZECH REPUBLIC/SLOVAKIA/
HUNGARY/SLOVENIA
Yamaha Music Europe GmbH Branch Austria
Schleiergasse 20, A-1100 Wien, Austria
Tel: 01-602039025
POLAND/LITHUANIA/LATVIA/ESTONIA
Yamaha Music Europe GmbH
Branch Sp.z o.o. Oddzial w Polsce
ul. 17 Stycznia 56, PL-02-146 Warszawa, Poland
Tel: 022-868-07-57
THE NETHERLANDS/
BELGIUM/LUXEMBOURG
Yamaha Music Europe Branch Benelux
Clarissenhof 5-b, 4133 AB Vianen, The Netherlands
Tel: 0347-358 040
FRANCE
Yamaha Musique France
BP 70-77312 Marne-la-Vallée Cedex 2, France
Tel: 01-64-61-4000
ITALY
Yamaha Musica Italia S.P.A.
Combo Division
Viale Italia 88, 20020 Lainate (Milano), Italy
Tel: 02-935-771
SPAIN/PORTUGAL
Yamaha Música Ibérica, S.A.
Ctra. de la Coruna km. 17, 200, 28230
Las Rozas (Madrid), Spain
Tel: 91-639-8888
GREECE
Philippos Nakas S.A. The Music House
147 Skiathou Street, 112-55 Athens, Greece
Tel: 01-228 2160
SWEDEN
Yamaha Scandinavia AB
J. A. Wettergrens Gata 1, Box 30053
S-400 43 Göteborg, Sweden
Tel: 031 89 34 00
DENMARK
YS Copenhagen Liaison Office
Generatorvej 6A, DK-2730 Herlev, Denmark
Tel: 44 92 49 00
FINLAND
F-Musiikki Oy
Kluuvikatu 6, P.O. Box 260,
SF-00101 Helsinki, Finland
Tel: 09 618511
NORWAY
Norsk filial av Yamaha Scandinavia AB
Grini Næringspark 1, N-1345 Østerås, Norway
Tel: 67 16 77 70
ICELAND
Skifan HF
Skeifan 17 P.O. Box 8120, IS-128 Reykjavik, Iceland
Tel: 525 5000
RUSSIA
Yamaha Music (Russia)
Room 37, bld. 7, Kievskaya street, Moscow,
121059, Russia
Tel: 495 626 5005
OTHER EUROPEAN COUNTRIES
Yamaha Music Europe GmbH
Siemensstraße 22-34, 25462 Rellingen, Germany
Tel: +49-4101-3030
Yamaha Corporation,
Asia-Pacific Sales & Marketing Group
Nakazawa-cho 10-1, Naka-ku, Hamamatsu,
Japan 430-8650
Tel: +81-53-460-2313
TURKEY/CYPRUS
Yamaha Music Europe GmbH
Siemensstraße 22-34, 25462 Rellingen, Germany
Tel: 04101-3030
OTHER COUNTRIES
Yamaha Music Gulf FZE
LOB 16-513, P.O.Box 17328, Jubel Ali,
Dubai, United Arab Emirates
Tel: +971-4-881-5868
THE PEOPLE’S REPUBLIC OF CHINA
Yamaha Music & Electronics (China) Co.,Ltd.
2F, Yunhedasha, 1818 Xinzha-lu, Jingan-qu,
Shanghai, China
Tel: 021-6247-2211
HONG KONG
Tom Lee Music Co., Ltd.
11/F., Silvercord Tower 1, 30 Canton Road,
Tsimshatsui, Kowloon, Hong Kong
Tel: 2737-7688
INDIA
Yamaha Music India Pvt. Ltd.
5F Ambience Corporate Tower Ambience Mall Complex
Ambience Island, NH-8, Gurgaon-122001, Haryana, India
Tel: 0124-466-5551
INDONESIA
PT. Yamaha Musik Indonesia (Distributor)
PT. Nusantik
Gedung Yamaha Music Center, Jalan Jend. Gatot
Subroto Kav. 4, Jakarta 12930, Indonesia
Tel: 021-520-2577
KOREA
Yamaha Music Korea Ltd.
8F, 9F, Dongsung Bldg. 158-9 Samsung-Dong,
Kangnam-Gu, Seoul, Korea
Tel: 02-3467-3300
MALAYSIA
Yamaha Music (Malaysia) Sdn., Bhd.
Lot 8, Jalan Perbandaran, 47301 Kelana Jaya,
Petaling Jaya, Selangor, Malaysia
Tel: 03-78030900
PHILIPPINES
Yupangco Music Corporation
339 Gil J. Puyat Avenue, P.O. Box 885 MCPO,
Makati, Metro Manila, Philippines
Tel: 819-7551
SINGAPORE
Yamaha Music (Asia) Pte., Ltd.
#03-11 A-Z Building
140 Paya Lebor Road, Singapore 409015
Tel: 6747-4374
TAIWAN
Yamaha KHS Music Co., Ltd.
3F, #6, Sec.2, Nan Jing E. Rd. Taipei.
Taiwan 104, R.O.C.
Tel: 02-2511-8688
THAILAND
Siam Music Yamaha Co., Ltd.
4, 6, 15 and 16th floor, Siam Motors Building,
891/1 Rama 1 Road, Wangmai,
Pathumwan, Bangkok 10330, Thailand
Tel: 02-215-2622
OTHER ASIAN COUNTRIES
Yamaha Corporation,
Asia-Pacific Sales & Marketing Group
Nakazawa-cho 10-1, Naka-ku, Hamamatsu,
Japan 430-8650
Tel: +81-53-460-2313
AUSTRALIA
Yamaha Music Australia Pty. Ltd.
Level 1, 99 Queensbridge Street, Southbank,
Victoria 3006, Australia
Tel: 3-9693-5111
NEW ZEALAND
Music Works LTD
P.O.BOX 6246 Wellesley, Auckland 4680,
New Zealand
Tel: 9-634-0099
COUNTRIES AND TRUST
TERRITORIES IN PACIFIC OCEAN
Yamaha Corporation,
Asia-Pacific Sales & Marketing Group
Nakazawa-cho 10-1, Naka-ku, Hamamatsu,
Japan 430-8650
Tel: +81-53-460-2313
NORTH AMERICA
CENTRAL & SOUTH AMERICA
EUROPE
AFRICA
MIDDLE EAST
ASIA
OCEANIA
HEAD OFFICE
Yamaha Corporation, Digital Musical Instruments Division
Nakazawa-cho 10-1, Naka-ku, Hamamatsu, Japan 430-8650
Tel: +81-53-460-2432
SY54
12_dtxm_en.fm Page 115 Friday, September 17, 2010 11:37 AM

Ya maha Electronic Drums web site:
http://www.yamaha.co.jp/english/product/drums/ed
Ya maha Manual Library
http://www.yamaha.co.jp/manual/
U.R.G., Pro Audio & Digital Musical Instrument Division, Yamaha Corporation
© 2009 Yamaha Corporation
WR85360 907PO???.?-01A0
Printed in China