Yamaha ELB01_OME ELB 01 Owner's Manual Elb01 Zh Om B0
使用手册: Yamaha ELB-01 Owner's Manual
Open the PDF directly: View PDF
.
Page Count: 188 [warning: Documents this large are best viewed by clicking the View PDF Link!]


ELB-01 使用说明书
2
注意事项
请在操作使用前,首先仔细阅读下述内容
* 请将本说明书存放在安全的地方,以便将来随时参阅。
警告
为了避免因触电、短路、损伤、火灾或其它危险可能导致的严重受伤甚至死亡,请务必遵守下列基本注
意事项。这些注意事项包括但不限于下列情况:
●只能使用本设备所规定的额定电压。所要求的电压被印在本
设备的铭牌上。
●定期检查电插头,擦除插头上积起来的脏物或灰尘。
●请勿将电源线放在热源如加热器或散热器附近,不要过分弯
折或损伤电源线,不要在其上加压重物,不要将其放在可能
被踩踏引起绊倒或可能被碾压的地方。
●请勿打开本设备并试图拆卸其内部零件或进行任何方式的改
造。本设备不含任何用户可自行修理的零件。若出现异常,
请立即停止使用,并请有资格的 YAMAHA 维修人员进行
检修。
●请勿让本设备淋雨或在水附近及潮湿环境中使用,或将盛有
液体的容器放在其上,否则可能会导致液体溅入任何开口。
●切勿用湿手插拔电源线插头。
●请勿在乐器上放置燃烧着的物体,比如蜡烛。
燃烧着的物体可能会掉落,引起火灾。
●若电源线出现磨损或损坏,使用设备过程中声音突然中断或
因此而发出异常气味或冒烟,请立即关闭电源开关,从电源
插座中拔出电源线插头,并请有资格的 YAMAHA 维修人
员对设备进行检修。
小心
为了避免您或周围他人可能发生的人身伤害、设备或财产损失,请务必遵守下列基本注意事项。这些注
意事项包括但不限于下列情况:
●当从本设备或电源插座中拔出电源线插头时,请务必抓住插
头而不是电源线。直接拽拉电源线可能会导致损坏。
●长时间不使用乐器时,或者在雷电风暴期间,从插座上拔下
电插头。
●不要用多路连接器把乐器连接到电源插座上。否则会降低声
音质量,或者可能使插座过热。
●请认真阅读解释组装过程的附件。如未能按正确的顺序组装
乐器,可能会损坏乐器,甚至造成伤害。
●为了避免操作面板发生变形或损坏内部组件,请勿将本设备
放在有大量灰尘、震动、极端寒冷或炎热 ( 如阳光直射、靠
近加热器或烈日下的汽车里)的环境中。
●请勿在电视机、收音机、立体声设备、手机或其他电子设备
附近使用本设备。这可能会在设备本身以及靠近设备的电视
机或收音机中引起噪音。
●请勿将本设备放在不稳定的地方,否则可能会导致突然翻
倒。
●移动设备之前,请务必拔出所有的连接电缆。
●设置乐器时,请确认要使用的交流电源插座伸手可及。如果
发生问题或者故障,请立即断开电源开关并从电源插座中拔
下插头。
●请勿把乐器靠在墙上 ( 允许和墙壁相距至少 3 cm/ 一英寸),
否则会引起空气流通不足,可能使乐器过热。
电源 / 电源线
请勿打开
关于潮湿的警告
火警
当意识到任何异常情况时
电源 / 电源线
组装
安放位置
(1) B-9
1/2

ELB-01 使用说明书 3
●将本设备连接到其它设备之前,请关闭所有设备的电源开
关。在打开或关闭所有设备的电源开关之前,请将所有音量
都调到最小。而且,务必将所有元件的音量调到最小值,并
且在演奏乐器时逐渐提高音量,以达到理想的听觉感受。
●清洁乐器时,使用柔软的、干燥的布。请勿使用涂料稀释
剂、溶剂、清洁液或浸了化学物质的抹布。
●请勿在乐器的间隙中插入手指或手。
●请勿在面板或键盘上的间隙内插入或掉落纸张、金属或其他
物体。万一发生这种情况,请立即关闭电源开关,从 AC 电
源插座中拔出电源插头。然后请有资格的 YAMAHA 维修
人员对设备进行检修。
●请勿在乐器上放乙烯或塑料或橡胶物体,否则可能使面板或
键盘脱色。
●请勿将身体压在本设备上或在其上放置重物,操作按钮、开
关或插口时要避免过分用力。
●请勿长时间持续在很高或不舒服的音量水平使用本设备,否
则可能会造成永久性听力损害。若发生任何听力损害或耳
鸣,请去看医生。
●请勿将琴凳放在不稳定的地方,否则可能会导致突然翻倒。
●使用琴凳时切忌粗心大意,也不要站到上面去。使用琴凳作
为工具、梯子或用于任何其他用途可能导致意外事故或伤
害。
●每次琴凳上只能坐一人,以防发生意外事故或伤害。
●如果长时间使用后琴凳的螺丝松开了,请定期使用附带的工
具把螺丝拧紧。
数据保存和备份
●请务必将数据保存到 USB 存储设备中,以防止由于故障或
用户操作错误造成重要数据的损失。
对 USB 存储设备作备份
●为避免数据因存储介质损坏丢失,我们建议您把重要数据保
存到两个外接存储介质。
对由于不正当使用或擅自改造本设备所造成的损失、数据
丢失或破坏,YAMAHA 不负任何责任。
当不使用本设备时,请务必关闭其电源。
连接
维护保养
小心操作
使用琴凳 ( 如果提供的话)
保存数据
(1) B-9
2/2

ELB-01 使用说明书
4
附件
•琴凳
•防尘罩
•谱架
•使用说明书
•演奏 ELB-01 —
教程指导手册
•琴体组装说明书
•保证书
恭喜您!
您已经成为了双排键电子琴 Electone STAGEA ELB-01 的主人。
YAMAHA Electone 将最高级的声源技术融合到了完美的数字电子设备中,为您带来丰富
多彩的音乐、令人惊奇的声音质量。
为了充分发挥
Electone丰富演奏潜力,建议您试用说明的各种功能时仔细阅读本说明书。
请将本说明书存放在安全的地方,以便将来随时参阅。

ELB-01 使用说明书 5
本产品中安装了 AVE-TCP (TM),一种由 ACCESS Co., Ltd. 编写的 TCP/IP 协议
堆栈。版权所有
(c) 1986-2008 ACCESS CO., LTD.
本产品中安装了 AV E
®
-SSL (TM),一种由 ACCESS Co., Ltd. 编写的加密模块技
术。版权所有
(c) 1997-2008 ACCESS CO., LTD.
•对于本产品中的电脑程序及内容, YAMAHA 拥有版权或经许可可以使用其它公司的版权。
此类版
权材料包括,但不限于,所有电脑软件、字体文件、 MIDI 文件、 WAVE 资料和录音。
非个人使用
的情况下未经授权使用此类程序及内容属于非法。
侵犯版权须承担法律后果。
严禁制造、传播或
使用盗版。
•除个人使用外,严禁复制作为商品的音乐作品数据和 /或数字音频文件。
•
Electone 和 STAGEA 是 YAMAHA 公司的商标。
•本使用说明书中所出现的公司名和产品名均为其各自所有者的商标或注册商标。
•本使用说明书中的插图和 LCD 画面仅作参考之用,与实物可能略有不同。
ELB-01 兼容下面的格式。
“
GM (通用 MIDI)”是最常用音色配置格式之一。“
GM System Level 2”是一个标
准规范,它增强了原有 “
GM”,改善了乐曲数据的兼容性。
它提供了更多的复音数
和更多的音色选择,扩展了音色参数,并集成了效果处理。
XG 是对 GM System Level 1 格式的增强。
它是由 YAMAHA 提出的。
该格式提供了
更多的音色和变化,更具表现力的音色控制和效果控制,并保证对未来数据的良好
兼容性。
GS 格式是由 Roland 公司提出的。
与 YAMAHA 的 XG 类似, GS 格式是对 GM 格式
的增强,提供了更多的音色和鼓组及它们的变化,还有更具表现力的音色和效果控
制。
伴奏风格文件格式将 YAMAHA 全部有关自动伴奏的技术汇集到一个统一风格格式
中。

ELB-01 使用说明书
6
目目
目目录录
录录
恭喜您!
..................................................................... 4
附件
............................................................................ 4
主要特性
..................................................................... 8
面面
面面板板
板板布布
布布局局
局局 ............................................9
纵览
............................................................................ 9
前面板 ...................................................................... 10
速速
速速成成
成成指指
指指南南
南南 ..........................................12
入门
.......................................................................... 12
注册记忆菜单 ........................................................... 14
从注册记忆菜单中选择注册记忆 ..................... 14
注册记忆菜单列表
........................................... 15
使用 LCD 显示屏
...................................................... 17
LCD 显示屏和 LCD 按钮
................................. 17
更改显示屏幕页面
........................................... 18
选择音色或节奏 .............................................. 18
基本操作
................................................................... 19
选择屏幕语言
.................................................. 19
出厂设定 (初始化 Electone)
........................ 20
确认 Electone 版本 ......................................... 20
音音
音音色色
色色 .................................................21
各键盘的音色 ........................................................... 21
音色屏幕
................................................................... 23
使用音色按钮选择音色
............................................. 25
选择音色组 1的音色
....................................... 25
调整音色音量
.................................................. 26
音色的开 /关状态 ........................................... 28
选择音色组 2的音色 ................................................ 29
在音色组 1和音色组 2之间切换
..................... 29
选择音色组 2的音色
....................................... 30
从用户按钮中选择音色
............................................. 32
音色一览表
............................................................... 34
音音
音音色色
色色控控
控控制制
制制和和
和和音音
音音效效
效效 ...............................40
从音色状态屏幕中选择
............................................. 41
从面板中选择 ........................................................... 48
Reverb............................................................ 48
Sustain............................................................ 49
Rotary Speaker............................................... 50
效果列表
................................................................... 52
节节
节节奏奏
奏奏 /键键
键键盘盘
盘盘打打
打打击击
击击乐乐
乐乐器器
器器 .........................56
使用节奏按钮选择节奏
............................................. 56
若要选择并演奏节奏
....................................... 56
从面板中操作节奏
........................................... 59
调整速度 ......................................................... 61
改变节奏音量 /混响
........................................ 62
从用户按钮中选择节奏
............................................. 63
若要调出用户节奏
........................................... 64
从外接存储介质中选择节奏 ............................ 65
节奏列表 ......................................................... 67
伴奏
.......................................................................... 68
自动伴奏—自动低音和弦 (
A.B.C.)
........................ 71
旋律和弦 (
M.O.C.)
................................................ 74
键盘打击乐器
............................................................ 77
使用预置键盘打击乐器
.................................... 77
改变键盘打击乐器音量 /混响
.......................... 78
预置键盘打击乐器列表
.................................... 80
向用户键盘打击乐器指定声音 ......................... 88
调出用户键盘打击乐器
.................................... 92
打击乐器组指定一览表
.................................... 93
注注
注注册册
册册记记
记记忆忆
忆忆
.......................................... 97
保存注册记忆
............................................................ 97
选择注册记忆
............................................................ 99
初始化注册记忆
...................................................... 100
将注册记忆数据保存到 USB 闪存 ........................... 100
注册记忆转换
.......................................................... 102
音音
音音乐乐
乐乐磁磁
磁磁盘盘
盘盘录录
录录制制
制制器器
器器 ((
((
MDR))
))
............. 107
使用 M.D.R. 功能 .................................................... 108
格式化外接存储介质
............................................... 109
选择乐曲
................................................................. 111
录音 ........................................................................ 117
录音
............................................................... 117
重新录音 (重试)
......................................... 118
分别录音各个部分
......................................... 118
记入点录音
.................................................... 121
更改乐曲 /文件夹名称 ............................................ 122
将注册记忆保存为注册记忆数据 (文件)
............... 124
将两个或多个注册记忆库保存到一首乐曲
..... 126
替换注册记忆
................................................ 127
删除注册记忆
................................................ 128
下一个注册记忆设定 (在一首乐曲中使用超
过 16 个注册记忆)
........................................ 129
调出已录制的注册记忆 ........................................... 131
载入注册记忆
................................................ 131
播放一首乐曲
.......................................................... 132
播放选定的部分
............................................. 133
快进、快退和暂停
......................................... 134
改变速度 ....................................................... 134
重复播放 ....................................................... 135
播放 XG 乐曲
................................................. 136
乐曲复制 /删除 /转换、文件夹创建 /删除 ............. 137
乐曲复制 ....................................................... 137
乐曲删除 /文件夹删除
................................... 139
创建文件夹
.................................................... 140
将 ELB 格式乐曲转换为 EL ........................... 141
将 EL 格式乐曲转换为 ELB ........................... 142
转换为 XG 格式
............................................. 144
检查剩余内存
................................................ 145
脚脚
脚脚控控
控控开开
开开关关
关关
........................................ 146
左侧脚控开关
.......................................................... 146
移移
移移调调
调调和和
和和音音
音音高高
高高控控
控控制制
制制
............................. 150
1
2
3
4
5
6
7
8

ELB-01 使用说明书 7
连连
连连接接
接接 ...............................................151
附件插孔和控制按钮
............................................... 151
连接范例—外接设备
............................................... 153
使用耳机 ....................................................... 153
通过外接音频系统播放 Electone 的声音
....... 153
将 Electone 的声音录制到外接录音机 .......... 154
从 Electone 控制外接 MIDI 设备
................... 154
通过外接设备控制 Electone.......................... 155
连接 USB 存储设备
....................................... 155
连接计算机
............................................................. 156
使用 USB 端口
.............................................. 156
使用 MIDI IN/OUT 端口
................................. 157
MIDI ....................................................................... 157
什么是 MIDI? ................................................ 157
Electone 的 MIDI 信息 .................................. 159
MIDI 通道
...................................................... 160
MIDI 控制 ............................................................... 161
附附
附附录录
录录 ...............................................163
琴体组装说明书
...................................................... 163
安装选购硬件 ......................................................... 167
安装软盘驱动器 ............................................ 167
MIDI 数据格式
........................................................ 168
MIDI 补充表
.................................................. 178
故障排除
................................................................. 180
技术规格
................................................................. 182
索引
........................................................................ 183
10
9

ELB-01 使用说明书
8
主要特性
多种注册记忆菜单 第
14 页
注册记忆菜单按钮共有 330 种注册记忆功能,可让您随时设置 Electone 演奏您最喜欢类型的乐
曲。
注册记忆菜单中的注册记忆分为六种基本类别,更容易进行选择。
并且,您可以编辑任意一
种注册记忆并自定义以满足演奏需要。
层面丰富, AWM 音色和高音质数字效果器
第
21、
52 页
ELB-01 内含共有 245 种使用 AWM (先进波形记忆)音源系统创建的超高品质音色。
逼真的力
度感响应键盘使您演奏出的音色具有原声乐器的全部表现力和控制力。
并且,有多种音效类型可
应用到每个音色部分—可让您增强甚至完全改变音色的特点。
动态、现代节奏和自动伴奏 第
56 页
133 种节奏的众多选择可让您选择演奏中精确的节奏。
每种节奏包括 15 种变化 (乐段)—如主
奏、插入、前奏、尾奏和间歇乐段—演奏时可轻松切换,可让您的演奏音色更富动感、更加专
业。
每种节奏都具有匹配的伴奏,分为五种乐器声部,提供基本伴奏和修饰音。
键盘打击乐器 第
77 页
这种强大的功能可让您在键盘上演奏鼓声和打击乐声。
可使用多种声音和鼓 /打击乐器,实时演
奏节奏。
每种声音指定了专用琴键,声音包罗万象,从普通的低音鼓和军鼓到民族乐器和拉丁乐
器,以及专用声音效果,如雷鸣、笑声、动物的号叫声等等。
多功能音乐磁盘录制器 第
107 页
Electone 具有音乐磁盘录制器 (
MDR)功能,可将注册记忆和演奏记录到 USB 闪存中,并使用
Electone 的声音播放这些演奏。
另外, MDR 可使您从 USB 闪存设备复制乐曲到其它设备中,方
便您保存重要的录音和注册记忆数据。
Electone 也可使您转换数据格式,方便您播放在其它型号
Electone 上录制的乐曲。

ELB-01 使用说明书 9
面板布局
纵览
谱架
上键盘
USB TO DEVICE A 端口
下键盘
MIDI IN/OUT 端口
USB TO DEVICE B 端口
USB TO HOST 端口
右侧脚控开关
左侧脚控开关
表情踏板
脚键盘
前面板
插口
扬声器

ELB-01 使用说明书
10
前面板
LEAD VOICE (主音
色)(第
21 页)
选择上键盘的主音色
PEDAL VOICE
(脚键盘音色)
1/2
(第
22 页)
选择脚键盘的音色
MUSIC DATA RECORDER
(音乐磁盘录制器)(第
107 页)
可以录制并播放键盘演奏,并保存注册记
忆数据以供将来调用
数据控制 [A] – [D] 按钮
(第
17 页)
选择屏幕的设置
LCD 显示屏
(第
17 页)
显示 Electone 的当前设置
[VOICE SECTION]
(音色组)按钮
(第
25 页)
在音色组
1和
2之间切换
UPPER KEYBOARD
VOICE (上键盘音
色) 1/2 (第
21 页)
选择上键盘的音色
LOWER KEYBOARD
VOICE (下键盘音
色) 1/2 (第
22 页)
选择下键盘的音色
KEYBOARD
PERCUSSION (键盘打
击乐器)(第
77 页)
打开或关闭键盘打击乐器
RHYTHM CONTROL
(节奏控制)
(第
59 页)
开始和停止节奏,并为节
奏添加变化
RHYTHM (节奏)
(第
56 页)
设定节奏
TEMPO
(速度)按钮
(第
61 页)
调整节奏的速度
BAR/BEAT (小节 /节拍)
屏幕 (第
61 页)
显示小节的当前节拍或位置
REGISTRATION
MENU (注册记忆
菜单)(第
14 页)
设定注册记忆

ELB-01 使用说明书 11
屏幕选择
[UTILITY] (应用)按钮 (第
19 页)
[FOOTSWITCH] (脚踏板)按钮
(第
146 页)
[ROTARY SP SPEED] (旋音)按钮 (第
50 页)
[REVERB] (混响)按钮
(
第
48 页)
[VOICE DISPLAY] (音色屏幕)按
钮(第
23 页)
[A.B.C./M.O.C.] 按钮 (第
71 页)
[RHYTHM SEQUENCE] (节奏音序)
按钮 (第
75 页)
[SUSTAIN] (延音)按钮
(第
49 页)
PAGE (页码)
按钮 (第
18
页)
选择屏幕的页码
DATA CONTROL
(数据控制)旋钮
(第
17 页)
选择屏幕的设置
[M.] (
Memory)(记
忆)按钮 (第
97 页)
[D.] (
Disable)(部分保
留)按钮 (第
99 页)
REGISTRATION MEORY
(注册记忆)按钮
记录面板和 LCD 的面板设置
MASTER VOLUME
(主音量)旋钮
(第
13 页)
USB TO DEVICE A 端口
(第
151 页)
允许与 USB 闪存设备通信
POWER (电源)开
关(第
12 页)
用于打开或关闭电源。

ELB-01 使用说明书
12
1
速成指南
无论您是水平高的演奏者还是从来没有接触过电子键盘,我们建议您花些时间浏览本基础章节。
本
章节中您将学习到如何演奏 Electone 的最简单方法。
将电源线插入到适当的电源插座。
按下 POWER 开关,打开 Electone。
打开 Electone 后, LCD 显示屏上先后出现下列屏幕:
最后的 Voice Display 显示的是为每个音色组 (第
23 页)当前指定的音
色设置。
1入门
仅使用为 Electone 规定的正确电压。
要求的电压印制在 Electone 的铭牌上。
YAMAHA 产
品根据其销售区域的供电电压制造。
如果想要在其它区域使用乐器,或者对供电电压有何疑
问,请向有资格的技术人员咨询。
1
2
¨”Strings1ΔViolin3
Ò”Piano1 ∏”FingrBs1
Electone STãGEã
ELB-O1
1

ELB-01 使用说明书 13
1
设定 MASTER VOLUME 控制旋钮
MASTER VOLUME 控制旋钮是一个整体控制旋钮,会影响到整个乐器
的音量。
用脚按下表情踏板。
一旦将 MASTER VOLUME 控制旋钮设定到适当的音量,就可以使用
表情踏板在演奏时用脚改变音量。
3
增加音量
降低音量
4
最高音量 最低音量

ELB-01 使用说明书
14
1注册记忆菜单是一种瞬间更改以特定乐曲风格演奏的所有 Electone 设置的简
单、高效的方法。
注册记忆包括选定的上键盘音色、下键盘音色、脚键盘音
色、指定的节奏等等的面板设置。
每个注册记忆按钮 (
1 - 5)包括 48 个
“隐藏”的注册记忆 (
[
★
]按钮包含 90 个注册记忆),每个注册记忆专用于
演奏不同的乐曲伴奏。
●●●●●●●●●●●●●●●●●●●●●●●●●●●●●●●●●●●●●●
从注册记忆菜单中选择注册记忆
按任意一个 REGISTRATION MENU 按钮。
每个按钮对不同的音乐类型具有不同的注册记忆。
例如,如果不想播
放爵士乐,请按 [4] 按钮。
有关注册记忆菜单的详细信息,请参阅第
15
页。
从这种主奏类别中,选择想要使用的注册记忆。
每个注册记忆菜单按钮实际上包含许多隐藏注册记忆,在屏幕中只显
示当前选定的注册记忆。
顺时针旋转 DATA CONTROL 旋钮,按顺序选择隐藏注册记忆。
逆时
针旋转 DATA CONTROL 旋钮,以相反顺序选择。
使用选定的注册记忆演奏您喜爱的乐曲。
2注册记忆菜单
注
附加的基础注册记忆预设在
注册记忆位置 1到 16。有关
详细信息,请参见第
97 页。
1儿童音乐
2流行乐和摇滚乐
3舞曲和叙事曲
4爵士乐和拉丁乐
5交响乐和世界民族节奏
★教程
1
2
¸˛˝<KIDS>
¿01:Simple 8Beat 1
3

ELB-01 使用说明书 15
1
●●●●●●●●●●●●●●●●●●●●●●●●●●●●●●●●●●●●●●●●●●●●●●●●●●
注册记忆菜单列表
[1] 儿童音乐 [2] 流行乐和摇滚乐 [3] 舞曲和叙事曲 [4] 爵士乐和拉丁乐
编号 注册记忆名称
01 Simple 8Beat 1
02 Simple 8Beat 2
03 Light Step
04 Sunny Pop
05 Kids March 1
06 Kids March 2
07 Kids March 3
08 Synth. Rock
09 Symphon.March 1
10 Symphon.March 2
11 Bluegrass
12 Sea Carnival
13 Basic Waltz
14 Brass Ensemble
15 Pure Waltz
16 Rococo Ensemble
17 Pop Cha Cha
18 Comical Rumba
19 Comical Samba
20 Toy Orchestra
21 Charleston
22 Winter Swing
23 Snow Waltz 1
24 Snow Waltz 2
25 Alpine Polka *A
26 Alpine Polka *B
27 Alpine Polka *C
28 Alpine Polka *D
29 Dream Ballad *A
30 Dream Ballad *B
31 Dream Ballad *C
32 Dream Ballad *D
33 Pops Orches. *A
34 Pops Orches. *B
35 Pops Orches. *C
36 Pops Orches. *D
37 Kids On Stage*A
38 Kids On Stage*B
39 Kids On Stage*C
40 Kids On Stage*D
41 Galaxy March *A
42 Galaxy March *B
43 Galaxy March *C
44 Galaxy March *D
45 SE *A
46 SE *B
47 SE *C
48 SE *D
编号 注册记忆名称
01 Dynamic 8Beat
02 NY Ballad
03 British Pop
04 8Beat Modern
05 Rock Band
06 Detroit Pop
07 Techno Pop
08 Sheriff Reggae
09 Rock&Roll
10 Power Rock
11 60's GuitarRock
12 Unplugged
13 Motor City
14 Lovely Shuffle
15 Gospel Shuffle
16 Joyful Gospel
17 Frankly Soul
18 Soul
19 Gospel
20 6/8 Soul
21 Hit Pop
22 New Country
23 Eternal Pop
24 Ground Beat
25 Bounce Pop *A
26 Bounce Pop *B
27 Bounce Pop *C
28 Bounce Pop *D
29 Blues Jam *A
30 Blues Jam *B
31 Blues Jam *C
32 Blues Jam *D
33 Evergre.Waltz*A
34 Evergre.Waltz*B
35 Evergre.Waltz*C
36 Evergre.Waltz*D
37 16Beat Pop *A
38 16Beat Pop *B
39 16Beat Pop *C
40 16Beat Pop *D
41 Top Gear Rock*A
42 Top Gear Rock*B
43 Top Gear Rock*C
44 Top Gear Rock*D
45 Southern Pop *A
46 Southern Pop *B
47 Southern Pop *C
48 Southern Pop *D
编号 注册记忆名称
01 Organ Ballad
02 Dramatic Ballad
03 Love Ballad
04 Smooth Lead
05 Pop Ballad
06 Guitar Ballad
07 Acoustic Ballad
08 Healing Guitar
09 Chillout
10 Sweetheart 1
11 Sweetheart 2
12 Slow & Easy
13 Euro Trance
14 6/8 Trance
15 Cool Hip Hop
16 Latin House
17 Dance Beat
18 Euro Dance Pop
19 UK Pop
20 Jive
21 Disco Queen
22 Disco Soul
23 Pop Disco
24 Hot Disco
25 Ibiza *A
26 Ibiza *B
27 Ibiza *C
28 Ibiza *D
29 Power House *A
30 Power House *B
31 Power House *C
32 Power House *D
33 Dance Latino *A
34 Dance Latino *B
35 Dance Latino *C
36 Dance Latino *D
37 TwilightDisco*A
38 TwilightDisco*B
39 TwilightDisco*C
40 TwilightDisco*D
41 Love Song *A
42 Love Song *B
43 Love Song *C
44 Love Song *D
45 Movie Ballad *A
46 Movie Ballad *B
47 Movie Ballad *C
48 Movie Ballad *D
编号 注册记忆名称
01 Blow On Sax
02 Sax Ensemble
03 Moonlight
04 Big Band
05 Clarinet Swing
06 Jazz Combo
07 Medium Jazz
08 Organ Session
09 Guitar Combo
10 Tender Ballad
11 Jazz Waltz
12 Five-Four
13 Big Band Samba
14 Mambo Brass
15 Mambo Tenor
16 Montuno
17 Bossa Nova
18 Pop Bossa
19 Sweet Rumba
20 Beguine
21 Cha Cha Cha
22 Mellow Groove
23 Modern R&B
24 Dixieland Jazz
25 Jungle Drum *A
26 Jungle Drum *B
27 Jungle Drum *C
28 Jungle Drum *D
29 Jazz Club *A
30 Jazz Club *B
31 Jazz Club *C
32 Jazz Club *D
33 Afro Session *A
34 Afro Session *B
35 Afro Session *C
36 Afro Session *D
37 ChaChaGrandee*A
38 ChaChaGrandee*B
39 ChaChaGrandee*C
40 ChaChaGrandee*D
41 3/4 FastJazz *A
42 3/4 FastJazz *B
43 3/4 FastJazz *C
44 3/4 FastJazz *D
45 Twilight Sax *A
46 Twilight Sax *B
47 Twilight Sax *C
48 Twilight Sax *D

ELB-01 使用说明书
16
1
[5] 交响乐和世界民族节奏
[
★
] 教程
编号 注册记忆名称
01 Fanfare
02 StringOrchestra
03 Romantic Violin
04 Baroque
05 Flute&Harp
06 Serenade
07 Fast March
08 Wild West
09 Vienna Waltz
10 Polka
11 Chanson Club
12 Theatre Organ
13 Flamenco
14 Pop Flamenco
15 Mexican Dance
16 Mariachi
17 Celtic Dance
18 Folk Step
19 Italiano
20 Musette
21 Country
22 Hawaiian
23 ChineseNocturne
24 Japanese Sound
25 Orches.March *A
26 Orches.March *B
27 Orches.March *C
28 Orches.March *D
29 Pasodoble *A
30 Pasodoble *B
31 Pasodoble *C
32 Pasodoble *D
33 Tango *A
34 Tango *B
35 Tango *C
36 Tango *D
37 Show Time *A
38 Show Time *B
39 Show Time *C
40 Show Time *D
41 Majes. Sound *A
42 Majes. Sound *B
43 Majes. Sound *C
44 Majes. Sound *D
45 Orches.Swing *A
46 Orches.Swing *B
47 Orches.Swing *C
48 Orches.Swing *D
编号 注册记忆名称
01 Simple 1 St/St
02 Simple 2 St/Hr
03 Simple 3 Cl/St
04 Simple 4 Cl/Hr
05 Simple 5 Tp/St
06 Simple 6 Tp/Hr
07 Simple 7 Ob/St
08 Simple 8 Ob/Bsn
09 Simple 9 Fl/St
10 Simple 10 Fl/Cl
11 Simple 11 Cl/Cl
12 Simple 12 Pf/Pf
13 Sound Effect 1
14 Sound Effect 2
15 Sound Effect 3
16 Sound Effect 4
17 Sound Effect 5
18 Sound Effect 6
19 Sound Effect 7
20 Sound Effect 8
21 Sound Effect 9
22 Sound Effect 10
23 Sound Effect 11
24 Sound Effect 12
25 Sound Effect 13
26 Sound Effect 14
27 Sound Effect 15
28 Sound Effect 16
29 Strings Combi.1
30 Strings Combi.2
31 Strings Combi.3
32 Strings Combi.4
33 Strings Combi.5
34 Strings Combi.6
35 Strings Combi.7
36 Strings Combi.8
37 Strings Combi.9
38 StringsCombi.10
39 StringsCombi.11
40 StringsCombi.12
41 StringsCombi.13
42 StringsCombi.14
43 StringsCombi.15
44 Brass Combi. 1
45 Brass Combi. 2
46 Brass Combi. 3
47 Brass Combi. 4
48 Brass Combi. 5
编号 注册记忆名称
49 Brass Combi. 6
50 Brass Combi. 7
51 Brass Combi. 8
52 W.Wind Combi. 1
53 W.Wind Combi. 2
54 W.Wind Combi. 3
55 W.Wind Combi. 4
56 W.Wind Combi. 5
57 W.Wind Combi. 6
58 W.Wind Combi. 7
59 W.Wind Combi. 8
60 W.Wind Combi. 9
61 W.Wind Combi.10
62 W.Wind Combi.11
63 W.Wind Combi.12
64 W.Wind Combi.13
65 W.Wind Combi.14
66 W.Wind Combi.15
67 W.Wind Combi.16
68 W.Wind Combi.17
69 Decay 1
70 Decay 2
71 Decay 3
72 Decay 4
73 Decay 5
74 Decay 6
75 Decay 7
76 Sustained 1
77 Sustained 2
78 Sustained 3
79 Sustained 4
80 Synth. 1
81 Synth. 2
82 Synth. 3
83 Synth. 4
84 Synth. 5
85 Comping 1
86 Comping 2
87 Comping 3
88 Comping 4
89 Comping 5
90 Comping 6

ELB-01 使用说明书 17
1
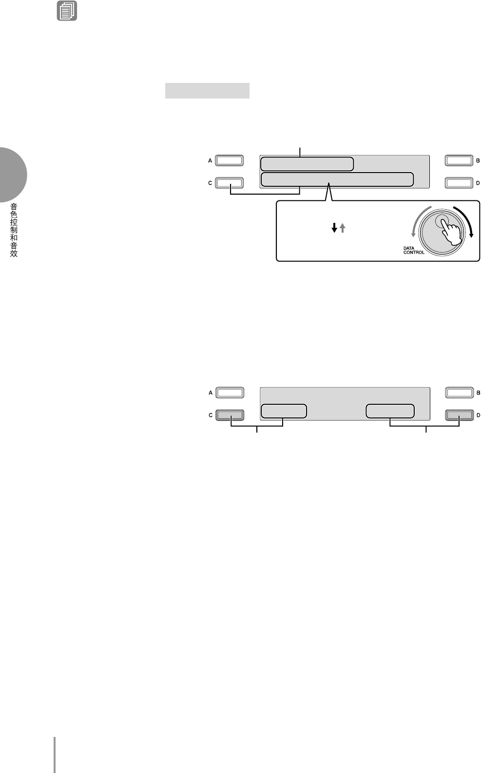
许多 Electone 的操作都是在 LCD 显示屏完成的。
按面板上的按钮自动调出
屏幕上相应按钮的相关功能。
根据出现的屏幕,可以方便地执行各种功能并
使用 [A] – [D] 按钮 (位于 LCD 的任何一侧)和 DATA CONTROL 旋钮 (在
LCD 的右侧)更改数值 /设置。
●●●●●●●●●●●●●●●●●●●●●●●●●●●●●●●●●●●●●●
LCD 显示屏和 LCD 按钮
[A] – [D] 按钮的功能根据选定屏幕而不同。
请注意这三种类型的指示灯使用
的功能和参数:
闪烁的指示灯 (
¿
或
÷)持续点亮的指示灯 (
¿
或
÷)和方
形开 /关指示灯 (
”
或
’)。
1
闪烁的指示灯 (
¿
或
÷)
某个项目的指示灯闪烁时,顺时针旋转 DATA CONTROL 旋钮可以直接选择
项目或参数 (此时显示为 “
Time”)。
(达到最末项目时,顺时针旋转
DATA CONTROL 旋钮不会 “返回”到第一个项目。)
逆时针旋转 DATA
CONTROL 旋钮,以相反顺序选择。
(同样地,达到第一个项目时,顺时针
旋转 DATA CONTROL 旋钮不会 “返回”到最末项目。)
此外,按相应的
[A] – [D] 按钮 (本例中为 [B] 按钮)可以成功地更改需要的数值 /设置。
每
次按下按钮时数值或设置会更改 (按单位)。
2
持续点亮的指示灯 (
¿
或
÷)
这表示当前未选择对应项目 /参数进行更改。
当某个项目的
¿
/
÷指示灯持续
点亮时,按相应的
[A] – [D] 按钮 (本例中, [C] 按钮对应模式设置)将切换
到闪烁的指示灯,可让您使用 DATA CONTROL 旋钮更改数值 /设置。
此外,
按相应的
[A] – [D] 按钮 (本例中为 [C] 按钮)可以成功地更改需要的数值 /
设置。
3
开 /关
指示灯 (
”
或
’)
项目旁边的实心方形 (
”)表示相应的功能 (本例中为 “
Lead”)已打开。
空心方形 (
’)表示该功能已关闭。
按需要项目或参数对应的 [A] – [D] 按钮
(本例中为 [D] 按钮)将在开和关之间交替变化。
3使用 LCD 显示屏
Ò<FOOT.SW> TIME÷1 ⁄
MODE¿GLIDE ”LEAD
1
32

ELB-01 使用说明书
18
1
●●●●●●●●●●●●●●●●●●●●●●●●●●●●●●●●●●●●●●
更改显示屏幕页面
PAGE 按钮用于选择屏幕的各种 ‘页面’(可用时),当前选定的页码突出
显示在 LCD 的右上角。
使用 PAGE[
▲
]按钮选择下一页,使用 PAGE[
▼
]选
择上一页。
同时按两个按钮选择第 1页。
●●●●●●●●●●●●●●●●●●●●●●●●●●●●●●●●●●●●●●
选择音色或节奏
按面板上需要的音色 /节奏按钮 (本例中为上键盘音色 1中的
[STRINGS] 按钮)。
此时选定的音色 /节奏出现在屏幕上。
使用 DATA CONTROL 旋钮选择所需的音色 /节奏。
达到最末项目时,顺时针旋转 DATA CONTROL 旋钮不会 “返回”到
第一个项目。
同样地,达到第一个项目时,顺时针旋转 DATA
CONTROL 旋钮不会 “返回”到最末项目。
Ò<FOOT.SW> TIME÷1 ⁄
MODE¿GLIDE ”LEAD
1
<STRINGS/VIOLIN> ¨1
¿01:Strings 1
包含各种
弦乐音色
表示当前选定的音色
2
<STRINGS/VIOLIN> ¨1
¿08:Pizzicato Strs 1

ELB-01 使用说明书 19
1
●●●●●●●●●●●●●●●●●●●●●●●●●●●●●●●●●●●●●●
选择屏幕语言
LCD 显示屏可以显示两种语言,英语和日语。
默认设置为英语。
按面板中的 [UTILITY] 按钮。
将出现
Utility 屏幕。
语言可以在
Utility 屏幕第
1页设定。
按 [C] 或
[D] 按钮选择对应的语言:
[C] 为日语,或 [D] 为英语。
从推荐的音色 /节奏组中选择
Electone 拥有非常多的可用音色和节奏—很难从中找到需要的。
为了帮助
您找到选定乐器类别的最佳音色 /节奏,我们为该类别准备了一些 “推
荐”或流行的选择。
显示音色 /节奏菜单时只需按下 [A]、 [B] 或 [D] 按
钮,就可调出建议选择的一种方案。
4基本操作
<STRINGS/VIOLIN> ¨1
¿13:Strings&Violin
1
<æy∫/LANGUAGE> ⁄
’i-y∫ ”ENGLISH
2
<æy∫/LANGUAGE> ⁄
’i-y∫ ”ENGLISH
注
乐曲的语言设置并不实际为
乐器设定,直到切换到另一
屏幕。
关闭电源之前,请务
必切换到另一屏幕。

ELB-01 使用说明书
20
1
●●●●●●●●●●●●●●●●●●●●●●●●●●●●●●●●●●●●●●
出厂设定 (初始化 Electone)
可一次性通过下列步骤检测到包括注册记忆和 LCD 显示屏设置的所有当前
设置。
进行出厂设定时请小心,由于会将所有现有数据删除。
请务必将重要
数据保存到外接存储介质中,如 USB 闪存。
关闭电源。
按住 ENDING[1] 按钮,然后重新打开电源。
显示 Voice Display 后释放 ENDING [1] 按钮。
●●●●●●●●●●●●●●●●●●●●●●●●●●●●●●●●●●●●●●
确认 Electone 版本
按照下列步骤可确认 Electone 版本。
按 [UTILITY] 按钮。
将出现 Utility 屏幕。
使用 PAGE 按钮选择第 7页。
屏幕中出现版本。
参考页
保存注册记忆 (第 97 页)
1
2
3
1
2
VERSIONx.xx ‡

ELB-01 使用说明书 21
2
音色
Electone 具有上百种高品质音色。
任何一种音色都可在上键盘、下键盘和脚键盘上使用。
上键盘上
最多可以同时演奏三个音色组,而下键盘和脚键盘最多可同时演奏两个音色组。
上键盘的音色
上键盘最多可同时演奏三个不同的音色组:
上键盘音色 1、上键盘音色 2和
主音色。
上键盘音色 1和上键盘音色 2可从面板的 Upper Keyboard Voice 1/2
部分中选择,而主音色可从 Lead Voice 部分选择。
如果同时演奏两个或多个琴键,主音色只发出最高音符的声音 (或最后演奏
的音符)。
这使得主音色最适合独奏乐器,如小号或萨克斯—管弦乐团或乐
队中演奏 “主奏”或最高声部的乐器。
1各键盘的音色
上键盘 1和上键盘 2的音色 主音色的音色
参考页
在音色组 1和音色组 2之间
切换 (第
29 页 )
参考页
选择音色组 2的音色
(第
30 页 )
2

ELB-01 使用说明书
22
2
下键盘的音色
下键盘最多可同时演奏两个不同的音色组:
可以从面板的 Lower Keyboard
Voice 1/2 部分选择每个部分的音色。
脚键盘的音色
脚键盘最多可同时演奏两个不同的音色组:
Pedal Voice 1 and Pedal Voice 2 可
以从面板的 Pedal Voice 1/2 部分选择每个部分的音色。
同时按下两个或多个
琴键时,脚键盘音色每次只发出一个音符的声音,仅会发出最高音符的声
音。
下键盘 1和下键盘 2的音色
脚键盘音色 1和脚键盘音色 2
的音色

ELB-01 使用说明书 23
2
音色屏幕可让您轻松检查每个键盘正在使用的音色。
也可让您通过更改屏幕
中的开 /关状态设定每个部分的音色是否发声。
如何调出 Voice 屏幕:
按 Display Select 部分的 [VOICE DISPLAY] 按钮选择 Voice 屏幕。
(
Electone
打开后将始终显示 Voice 屏幕。)
每个键盘和脚键盘有两个基本音色组:
音色组 1和音色组 2。若要选择一种
音色,应首先选择需要的音色组。
为此,音色屏幕实际上有两个单独的屏
幕:
一个是检查音色组 1选定的音色,另一个是音色组 2。若要在音色组间
切换,请按面板左上部的 [VOICE SECTION] 按钮。
连续按面板左上部的 [VOICE SECTION] 按钮将在两个屏幕间切换。
2音色屏幕
参考页
音色的开 /关状态
(第
28 页 )
¨”Strings1ΔViolin3
Ò”Piano1 ∏”FingrBs1
参考页
各键盘的音色 (第
21 页 )
参考页
在音色组 1和音色组 2之间
切换 (第
29 页 )
选定音色组编号的指示灯点亮

ELB-01 使用说明书
24
2
音色组 [1] 点亮时
从该屏幕中,可以检查哪种音色在键盘中被音色组 1所选择 (上键盘音色
1、下键盘音色 1和脚键盘音色 1)。
只有一个音色组的主音色只在音色组 1
屏幕上显示。
音色组 [2] 点亮时
从该屏幕中,可以检查哪种音色在键盘中被音色组 2所选择 (上键盘音色
2、下键盘音色 2和脚键盘音色 2)。
该屏幕上将不显示主音色。
¨”Strings1ΔViolin3
Ò”Piano1 ∏”FingrBs1
上键盘音色 1
下键盘音色 1
主音色
脚键盘音色 1
¨”Piano1
Ò”Strings1∏”ContBs1
上键盘音色 2
下键盘音色 2脚键盘音色 2

ELB-01 使用说明书 25
2
●●●●●●●●●●●●●●●●●●●●●●●●●●●●●●●●●●●●●●
选择音色组 1的音色
由于所有音色组 (主音色除外)的音色选择按照相同的步骤,在此仅给出了
音色组 1的上键盘音色 1的说明。
有关如何选择音色组 2的音色的详细信
息,请参阅第
30 页。
确定音色组 [1] 的指示灯点亮。
如果音色组 [2] 指示灯点亮,请按 [VOICE SECTION] 按钮将音色组 [1]
点亮。
音色组 [1] 指示灯点亮时,可以从面板的 Upper Keyboard Voice 1/2 部分
中选择音色组 1的音色 (此时为上键盘音色 1)。
无论音色组 [1] 或音色组 [2] 是否点亮,均可以选择主音色。
按 Upper Keyboard Voice 部分中的任意一个音色按钮。
例如,如果按下了 [ORGAN] 按钮,将出现下面的屏幕 (音色菜单)。
3使用音色按钮选择音色
1
表示可以选择音色组 1的音色 (此时为上键盘音色 1)
参考页
在音色组 1和音色组 2之间
切换 (第
29 页 )
2
<ORGAN> ¨1
¿01:Pipe Organ 1
提示
显示音色菜单时只需按 [A]/
[B]/ [D] 按钮即可选择理想的
音色。
每个音色按钮具有多
种音色,该功能可帮助选择
音色。

ELB-01 使用说明书
26
2
音色菜单包含许多风琴音色,在屏幕中只显示当前选定的风琴音色。
在音色菜单屏幕中选择音色。
顺时针旋转 DATA CONTROL 旋钮,可依次选择其它 “隐藏”的风琴
音色。
逆时针旋转 DATA CONTROL 旋钮,以相反顺序选择。
这里我们选择了上键盘音色 1的 Pipe Organ 3。
现在,可以像上键盘一样,继续为下键盘和脚键盘选择音色。
●●●●●●●●●●●●●●●●●●●●●●●●●●●●●●●●●●●●●●
调整音色音量
可使用两种方法设定音色音量:
使用面板上的音量按钮以及设定屏幕中的音
量。
音量按钮可对音量进行粗略的调整,而屏幕中的设置可进行精确的控
制。
使用面板上的 VOLUME 按钮 (粗调)
按面板上每个音色组的任意一个音量按钮设定每种音色需要的音量。
控制旋
钮有七种音量设置,从最小的 0或无声到最大的满音量。
3
<ORGAN> ¨1
¿03:Pipe Organ 3
按 [C] 按钮 (一次或多次)也可在 Voice Menu 屏幕中选择其它音色。
每
按 [C] 按钮一次就会选择其它隐藏的音色。
如果显示最后一种音色时按
[C] 按钮,选择将 “返回”到第一种音色。
增大音量
降低音量

ELB-01 使用说明书 27
2
设定屏幕中音量 (精调)
选择音色后,再次按面板上相同的音色按钮会调出 Voice Condition 屏幕。
音
量显示在 Voice Condition 屏幕第 1页的左上部。音量值旁的箭头指示灯
(“
¿”或 “
÷”)闪烁时使用 DATA CONTROL 旋钮可更改音量。
如果箭头
指示灯未闪烁,按想要更改的项目或参数对应的 [A] – [D] 按钮使指示灯闪
烁,然后使用 DATA CONTROL 旋钮选择需要的控制设置。
音量精确控制的范围是 0 – 24。
注
根据音量值 (屏幕中设定),
两个相邻的音量按钮指示灯
可能同时会点亮,表示中间
的位置。
参考页
从音色状态屏幕中选择
(第
41 页 )
音色状态屏幕
VOL.¿24 REV.÷20 ¨1⁄
TOUCH¿ 8 FEET÷PRESET
按一次 Voice 按钮会调出选定按钮的 VoiceMenu 屏幕。
再次按会调出
Voice Condition 屏幕。
连续按下将在两个屏幕间交替更换。
从 Voice Condition 屏幕中,可以控制音色相关的参数,如相位、音效、音
量等等。
有关音色状态屏幕的详细信息,请参阅第
41 页。
<STRINGS/VIOLIN> ¨1
¿01:Strings 1
VOL.¿24 REV.÷20 ¨1⁄
TOUCH¿ 8 FEET÷PRESET
音色菜单屏幕 音色状态屏幕

ELB-01 使用说明书
28
2
●●●●●●●●●●●●●●●●●●●●●●●●●●●●●●●●●●●●●●
音色的开 /关状态
设定音色屏幕中的开 /关状态可以设定音色是否发声。
若要调出音色屏幕,
请按 [VOICE DISPLAY] 按钮。
根据音色组 1或音色组 2是否点亮,可以选择两种屏幕。
下面的说明以音色
组 1为例,但更改音色组 1和音色组 2开 /关设置的方法是相同的。
开 /关设置:
按想要更改的项目或参数对应的 [A] – [D] 按钮将在 “开”和 “关”之间交
替变化。
选择 “关”会有效地将相应的音色声音静音,即使演奏键盘。
设定为 “关”会将音量值设定为 0。如果使用音量按钮增大音量,开 /关状
态将变为 “开”。
在其它音色屏幕中可以设定其它音色的开 /关状态。
参考页
音色屏幕 (第
23 页 )
音色屏幕 (音色组 [1] 点亮)
¨”Strings1ΔViolin3
Ò”Piano1 ∏”FingrBs1
上键盘音色 1主音色
下键盘音色 1脚键盘音色 1
¨’Strings1ΔViolin3
Ò”Piano1 ∏”FingrBs1

ELB-01 使用说明书 29
2
该功能可将两种音色混合到一起—音色组 1与音色组 2的不同音色。
这对创
建丰富的声音细节,在同一层面上演奏两种音色时会有用。
有关如何选择音
色组 1的音色的详细信息,请参阅第
25 页。
下面对如何选择音色组 2的音
色 (上键盘音色 2)进行了说明。
●●●●●●●●●●●●●●●●●●●●●●●●●●●●●●●●●●●●●●
在音色组 1和音色组 2之间切换
若要在音色组 1和音色组 2之间切换,请按面板上的 [VOICE SECTION] 按
钮。
如果音色组在面板上显示为 “
xxx Voice 1/2”(音色组的名称为 xxx),可以
按 [VOICE SECTION] 按钮在音色组 1和 2之间切换选择每个音色组的音色。
每次按 [VOICE SECTION] 按钮会在可用音色组 1和 2之间交替变化。选定
(可用)的音色组编号的指示灯将点亮。
3选择音色组 2的音色
注
在音色组 1和 2之间切换不
会影响到键盘上发出的音色
声音。
[VOICE SECTION] 按钮
Upper Keyboard Voice 1
Lower Keyboard Voice 1
Lead Voice
Pedal Voice 1
Upper Keyboard Voice 2
Lower Keyboard Voice 2
Pedal Voice 2
Lead Voice
由于选择了音色组 1,可以选择上键
盘音色 1、下键盘音色 1和脚键盘音
色 1。
音色组 [1] 点亮时 音色组 [2] 点亮时
由于选择了音色组 2,可以选择上键
盘音色 2、下键盘音色 2和脚键盘音
色 2。

ELB-01 使用说明书
30
2
●●●●●●●●●●●●●●●●●●●●●●●●●●●●●●●●●●●●●●
选择音色组 2的音色
由于所有键盘组中音色组 2的音色的选择步骤相同,在此仅对上键盘、上键
盘音色 2的选择进行了说明。
确定音色组 [2] 的指示灯点亮。
如果音色组 [1] 指示灯点亮,请按 [VOICE SECTION] 按钮将音色组 [2]
点亮。
按 Upper Keyboard Voice 1/2 部分中的任意一个音色按钮。
使用 DATA CONTROL 旋钮选择想要演奏的音色。
1
表示可以选择音色组 2的音色 (此时为上键盘音色 2)
2
<PERCUSSION> ¨2
¿01:Vibraphone 1
表示选择了上键盘音色 2。
注
一旦调出音色菜单屏幕,即
使切换音色组 1或 2,屏幕
也不会变化。
3
<PERCUSSION> ¨2
¿03:Marimba

ELB-01 使用说明书 31
2
按面板上 Upper Keyboard Voice 1/2 部分的任意一个 Volume 按钮增
大上键盘音色 2的音量。
由于音色组 2的默认音量设定为最小,即使为音色组 2选择了音色,
上键盘音色 2、下键盘音色 2和脚键盘音色 2也不会发出声音。
若要演
奏音色组 2的音色,请确定按面板上选定的
Voice 1/2 部分的 Volume 按
钮增大音量。
音色组 [2] 的指示灯点亮后,可以使用音色组 (主音色
除外)的音量按钮设定音色组 2的音量。
现在按照设定上键盘音色 2的上述步骤设定下键盘音色 2和脚键盘音色 2的
音色。
如果想要关闭音色组 2的音色,使用面板上选定音色组的音量按钮将音量设
定到最低,或者当音色组 [2] 的指示灯点亮时将音色屏幕选择为 “关”的状
态。
4
参考页
音色的开 /关状态
(第
28 页 )
关于转下键盘功能
为主音色、脚键盘音色 1和脚键盘音色 2音色组选定的音色也可以当每个
音色组的 [TO LOWER] 按钮打开时在下键盘上演奏。
请注意 [TO LOWER] 打开时,主音色和脚键盘音色无法分别在上键盘和
脚键盘上演奏。
此外,初始力度对下键盘上演奏的脚键盘音色无效。

ELB-01 使用说明书
32
2
本款 Electone 具有丰富的音色可供选择—要比前面板控制上立即显示的数量
大很多。
(在上面的 “使用音色按钮选择音色”中)您已经学习了如何在
每个面板音色的音色菜单屏幕中选择不同的音色。
Electone 在每个音色组中也具有用户按钮,可以让您存取更多的音色。
这些
用户按钮的功能相当于 ‘通用’音色菜单选择按钮;任何内部音色都可从这
些按钮中选择。
用户按钮具有两种基本用途:
•从任意键盘或脚键盘的音色菜单中演奏任意音色。可以在上键盘上演奏,
例如, 16 个音色菜单页上的音色 (包括脚键盘音色部分的 4个音色菜单
页),并不限于构成上键盘音色部分的 12 个按钮 (相当于 12 个音色菜单
页)。
•对在相同乐曲中从相同的音色菜单页选择两种不同音色。例如,可以将任
意一种音色指定到 Upper Keyboard Voice 1/2 部分中的用户按钮,将第二种
音色指定到相同部分的其它用户按钮。
例如,将 Upper Keyboard Voice 1 中的用户按钮 [1] 选定为 Bell Pad 3。
确定音色组 [1] 的指示灯点亮。
如果音色组 [2] 指示灯点亮,请按 [VOICE SECTION] 按钮将音色组 [1]
点亮。
4从用户按钮中选择音色
用户按钮
1

ELB-01 使用说明书 33
2
按任意音色组的一个用户按钮。
将显示选定类别 (木管乐器 /长笛)的名称。
使用 PAGE 按钮选择 16 个页面 (类别)之一 (此时为第 7页
“
Pad”)。
使用 DATA CONTROL 旋钮选择 Bell Pad 3。
现在已经指定了 Bell Pad 3 由 Upper Keyboard Voice 1 中的用户按钮 [1]
调出。可以同上述的 Upper keyboard Voice 1 一样将音色设定到任何其
它音色组的用户按钮。
2
<WOODWIND/FLUTE>¨1 ›
¿17:Alto Sax 1
3
<PAD> ¨1 ‡
¿01:Smooth Pad 1
当前选定页
直接选择类别
若要直接选择需要的类别,按住任意一个用户按钮,然后同时按需要的音
色按钮。
1. 按住 User 按钮时 ...
2. 按音色按钮。
4
<PAD> ¨1 ‡
¿12:Bell Pad 3

ELB-01 使用说明书
34
2
本音色表中每种音色名称右侧打印的字母 A、 B和 D表示相应的 DATA CONTROL 旋钮的名称。
按
该按钮选择相应的音色。
6音色一览表
类别 音色名称 说明
STRINGS/VIOLIN 01 Strings1 这些音色具有弦乐合奏的声音,精确地模拟了所有的弦乐乐器,如低音提琴、大提
琴、中提琴和小提琴。
有轻轻的拨弦声、拨弓的搓盘声和低沉的共鸣声。
02 Strings2
03 Strings3
04 Strings4
05 Strings5
06 Chamber Strs 1 室内乐的弦乐合奏。
07 Chamber Strs 2
08 Pizzicato Strs 1 A 拨弦而不是拨弓演奏的弦乐乐器声音。
09 Pizzicato Strs 2
10 Tremolo Strings 震音弦乐。
11 Strings1&5 Strings 1 和 Strings 5 的组合。
12 Strings&Viola Strings 2 和 Viola 的组合。
13 Strings&Violin B Strings 5 和带有低沉颤音 Violin 3 的组合。
14 Violin&Cello 包含 Violin 3 和 Cello 的弦乐合奏。
15 Octave Strings 单键演奏的八度齐奏音色的弦乐合奏声。
16 Violin 1 D 深度表现力的声音,不仅仅适于古典乐 ,也适于爵士乐和西部乡村乐。
包括亮音色
和软音色的音调变奏。
17 Violin 2
18 Violin 3
19 Viola 略比小提琴大一些 (和深沉一些)。
用于中范围的声部。
20 Cello 温暖低沉的声音。
21 Pizzicato Violin 拨弦演奏的小提琴声。
CONTRABASS 01 Contrabass 1 A 用于最低的弯轮声部。
变奏范围从低沉的到独奏型的声音。
02 Contrabass 2
03 Contrabass 3
04 Acoustic Bass B 原声贝司声,适于爵士乐。
这种乐器有许多不同的名称,包括 “立式贝司”和
“直立贝司”。
05 Pizzicato Bass D 拨弦演奏的低音提琴声。
BRASS/
TRUMPET
01 Brass Section 1 小号铜管乐组
包括古典乐、大型爵士乐队和其它音乐的变奏声音。
02 Brass Section 2 A
03 Brass Section 3
04 Brass Section 4
05 Trombone Sec 1 长号铜管乐组。
包括古典音乐的低沉声音和爵士歌谣中柔美、平滑的声音的变奏。
06 Trombone Sec 2
07 Brass&Trp 1 Brass Section 1 和 Trumpet 4 的组合。
08 Brass&Trp 2 Brass Section 2 和 Trumpet 4 的组合。
09 Horn 1&3 Horn 1 和 Horn 3 的组合。
10 Octave Brass 1 带变奏的八度铜管乐。
具有丰富的变奏,从音头快速的强烈有力、动感十足的音
色,到增强整体声音柔软、温和的音色。
11 Octave Brass 2
12 Octave Brass 3
13 Octave Brass 4
14 Trumpet 1 B 响亮、多功能的小号声。
15 Trumpet 2
16 Trumpet 3
17 Trumpet 4

ELB-01 使用说明书 35
2
BRASS/
TRUMPET
18 Muted Trumpet 在弱音小号中插入静音时重新构建独特的声音。
正常 “爆发”的小号声音被抑制,
产生的声音会变淡薄并具有金属效果。
19 Flugel Horn 具有温和、柔美声音的铜管乐乐器。
20 Trombone 1 滑音长号具有独特的 “拉长”和 “收缩”声音,具有巨大的表现力,从响亮有力
的声音到柔和恬美的声音。
21 Trombone 2
22 Trombone 3
23 Muted Trombone 一种弱音音效,使音量更柔和并会改变这种长号音色的特点。
24 Horn 1 D 这些音色为具有绕性软管的长号重新构建的结果,具有柔和、甜美的声音。
这些音
色是管弦乐团和铜管乐乐队不可缺少的,因此其已经将任何乐器声音、木管乐器或
铜管乐完美结合起来。
25 Horn 2
26 Horn 3
27 Horn 4
28 Muted Horn 这种长号的声音通过使用弱音更清晰、具有金属声,甚至能够模仿人说话的声音。
29 Tuba 这种乐器需要以低八度演奏,具有可在铜管乐乐队和管弦乐团中演奏的丰富、稳定
的声音。
具有极大的表现范围,通常用于演奏幽默乐段。
30 Euphonium 具有广泛而深奥—甚至高贵的声音的特点,经常用作独奏乐器。
31 Brass Bass 1 以低八度演奏的铜管乐合奏。
Brass Bass 2 也具有齐奏的定音鼓声。
32 Brass Bass 2
WOODWIND/
FLUTE
01 Flute 1 A 像鸟叫声的一种轻快、透彻的乐器音色。
这种乐器用来演奏节奏快的乐章以及平滑
的旋律效果也非常好。
02 Flute 2
03 Flute 3
04 Piccolo 这种乐器比长笛高一个八度,需要以更高的八度演奏。
05 Recorder 这种基本的长笛乐器用于小学音乐课堂,在一些中世纪和巴洛克时代的音乐中可以
听到。
具有相对固定和圆润的声音。
06 Ocarina 这种乐曲具有很长的历史,具有简单、温和的声音。
音高和音质因呼吸的强度而
变。
07 Whistle 再现人的口哨声。
08 Clarinet 1 B 这种乐器具有广泛的音域和鲜明的特点—低音具有丰富的声音,而高音具有清脆、
响亮的音调。
广泛用于多种音乐伴奏中,包括古典室内乐和摇摆 &爵士。
09 Clarinet 2
10 Clarinet 3
11 Bass Clarinet 这种乐器具有厚实、深沉的声音,比正常的单簧管演奏要低一个八度。
12 Oboe 1 D 木管双笛家族的一种乐器,具有高亢、尖声有时鼻音的音调—但饱满、柔和,可以
处理广泛
的声调和表情。
13 Oboe 2
14 English Horn 又叫做 “英国管”,比双簧管稍大,但它的声部更适合在缓慢的管弦乐章中进行具
有表现力、忧郁的独奏。
15 Bassoon 1 该乐器属于双笛家族并用于低音域。
其以幽默、富有表现力的特点,以及音域宽
广、乐曲欢快而闻名,并也可用作独奏乐器。
它也被称为 “
fagott”,一个德语
词,意思为 “一捆棍”。
16 Bassoon 2
17 Alto Sax 1 在木管乐器中,这种乐器发出的声音最高,并且扮演最主要的角色。
其宽广的表现
力即适于古典乐又适于爵士乐演奏。
18 Alto Sax 2
19 Tenor Sax 1 该音色在多种音乐流派中活跃,其中包括古典乐和爵士乐。
其经常使用在爵士灵歌
和 R&B 音乐中,或缓慢、忧伤的乐段中。
20 Tenor Sax 2
21 Soprano Sax 1 具有高音 ‘拉长’的声音,适于连奏乐段以及甜美、动人的篇章。
22 Baritone Sax 柔和、上低音萨克斯声,也使用在 R&B 音乐中。
23 Sax Ens 1 具有变奏的萨克斯合奏,例如古典乐中圆润的声音以及大乐队中的萨克斯组。
24 Sax Ens 2
25 Woodwind Ens 1 木管乐合奏声,根据演奏的音区而不同。
26 Woodwind Ens 2
类别 音色名称 说明

ELB-01 使用说明书
36
2
TUTTI 01 Strings&Winds A 齐奏弦乐和木管乐合奏。
02 Strings&Brass B 齐奏弦乐和铜管乐合奏。
03 Strings&Horn D 弦乐和长号合奏。
04 Brass&Sax 1 铜管乐 &萨克斯合奏。
05 Brass&Sax 2
06 Brass&Winds 铜管乐 &木管乐合奏。
07 Orchestra Hit 许多管弦乐乐器合奏同一和弦或音符时广泛使用的一种流行采样声音。
用于舞台齐
奏和重音。
CHOIR 01 Choir 1 人声合唱声。
包含男性 “哦”唱音和女性 “啊”唱音以及合唱音的变奏。
02 Choir 2
03 Choir 3 A
04 Choir 4 B
05 Choir 5 D
06 Choir 6
07 Vocal 独唱人声 “啊”唱音。
PAD 01 Smooth Pad 1 A 这些连续、合成延音具有平滑、温和的特点,用来支持一个乐章中的其它音色,通
常作为过渡音。
02 Smooth Pad 2
03 Smooth Pad 3
04 Smooth Pad 4
05 Resonance Pad
1
这些音色比其它合成长音具有更独特的特点和鲜明性,按住该按钮时具有连续的过
滤音效和其它动态声音变奏。
06 Resonance Pad
2
07 Resonance Pad
3
08 Resonance Pad
4
B
09 Resonance Pad
5
10 Bell Pad 1 D 这些连续长音具有柔和的振铃音。
有多种类型的音色—包括初始化的振铃音,柔
和、连续地
发出响亮的振铃音。
11 Bell Pad 2
12 Bell Pad 3
13 Bell Pad 4
14 Bell Pad 5
15 Space Pad 1 这种长音具有一种神秘、空旷的声音。
16 Space Pad 2
17 Space Pad 3
18 Space Pad 4
19 Noisy Pad 1 具有柔和长音的响亮、连续嗡嗡响的合成音。
20 Noisy Pad 2
21 Noisy Pad 3
22 Noisy Pad 4
类别 音色名称 说明

ELB-01 使用说明书 37
2
SYNTH 01 Synth Lead 1 A 这些特殊合成音专门用来独奏声部和主线。
附带的合成音色,在主高音下面具有强
烈的四层间距。
02 Synth Lead 2
03 Synth Lead 3
04 Synth Lead 4
05 Synth Lead 5
06 Synth Lead 6
07 Pop Lead 1 轻快、圆润的合成音,适于独奏和主奏。
08 Pop Lead 2
09 Pop Lead 3
10 Pop Lead 4
11 Pop Lead 5
12 Synth Cla 1 响亮、圆润、鲜明的合成音,让人回想起单簧管。
13 Synth Cla 2
14 Synth Cla 3
15 Synth Cla 4
16 Synth Brass 1 B 多种合成铜管乐音色,从普通声音和八度齐奏到独特、滑稽的声音。
17 Synth Brass 2
18 Synth Brass 3
19 Synth Brass 4
20 Synth Brass 5
21 Synth Brass 6
22 Synth Strs 1 宽广的合成弦乐声。
23 Synth Strs 2
24 Synth Strs 3
25 Synth Strs 4
26 Synth Bell 1 具有变奏的合成音,包括清脆、响亮的铃声以及柔和、透彻的声音。
27 Synth Bell 2 D
28 Synth Bell 3
29 Synth Bell 4
30 Synth Decay 独特的衰减合成音。
ORGAN 01 Pipe Organ 1 A 管风琴在教堂中具有一定基础,具有神圣、丰富、庄严的声音。
其中包含了从柔和
到强有力的音色。
02 Pipe Organ 2
03 Pipe Organ 3
04 Harmonica 1 B 该乐器具有广泛的表现音域,可用于动人、柔和的歌谣和独奏。
05 Harmonica 2
06 Theatre Organ 1 该乐器让人引起怀旧感、曾在无声电影剧场、溜冰场、饭店 (特别是匹萨饼店)
和棒球馆中广泛使用。
07 Theatre Organ 2
08 Accordion 1 D 一种多功能乐器,具有广泛的流派基础,包括法国小调、阿根廷探戈、波尔卡舞和
美墨音乐。
09 Accordion 2
10 Bandoneon 这种乐器经常用于探戈,具有明显的音头。
11 Reed Organ 这种小风琴没有管,具有温和的声音。
12 Jazz Organ 1 这些双排键电子琴声音非常适合爵士乐和 R&B,专门用于丰富旋转扬声器音效。
13 Jazz Organ 2
14 Jazz Organ 3
15 Pop Organ 1 多功能的风琴声。
16 Pop Organ 2
17 Pop Organ 3
18 Rock Organ 1 硬朗、过激励、失真的风琴声,非常适于摇滚乐。
19 Rock Organ 2
类别 音色名称 说明

ELB-01 使用说明书
38
2
ORGAN 20 Organ Bass 1 下键盘音区声部的管乐风琴贝司和爵士风琴贝司声音。
21 Organ Bass 2
22 Organ Bass 3
23 Organ Bass 4
PIANO 01 Piano 1 A 多功能的钢琴声。
02 Piano 2
03 Honkytonk Piano 故意的钢琴跑调声,用于雷格泰姆旋律、怀旧爵士乐和布鲁斯以及乡村摇滚乐。
04 Harpsichord B 演奏巴洛克音乐专用的乐器。
因为拨弦古钢琴使用拨弦发声,因此不存在力度感响
应。
但是,放开琴键时会发出独特的余音。
05 Clavichord 演奏古典音乐的柔软键盘乐器,放开琴键时会发出独特的声音。
06 DX E.Piano 1 D 流行的 DX-7 合成器的电钢琴声音。
07 DX E.Piano 2
08 Stage E.Piano 1 这些电钢琴音色具有音锤和音叉声音的特点,让人具有响亮但温暖的感觉。
2 号音
还具有震音效果。
09 Stage E.Piano 2
10 Stage E.Piano 3
11 Stage E.Piano 4
12 Stack E.Piano 这种响亮的电钢琴具有清晰的音头。
13 Clavi 1 摇滚击弦。
14 Clavi 2
GUITAR 01 Nylon Guitar A 尼龙弦原声吉它。
02 Steel Guitar 钢弦原声吉它。
03 12Str Guitar 12 弦古典乐吉它,具有清新的声音。
04 Jazz Guitar 这种柔和的电吉它适用于爵士乐独奏篇章。
05 Harp 1 B 该乐器柔和、优美的声音最适合演奏柔和的篇章,经常用于演奏滑奏部,具有显著
的效果。
06 Harp 2
07 Elec Guitar 1 D 这些电吉它声音包括失真音效和过激励音效,以及具有真实衰减的电吉它。
08 Elec Guitar 2
09 Elec Guitar 3
10 Muted Guitar 弱音吉他。
11 Distortion Gtr 1 失真的吉它。
12 Distortion Gtr 2
13 Banjo 用于演奏乡村音乐和迪可西兰爵士乐。
14 Mandolin 该乐器多用于意大利音乐,具有真实的拨弦声。
15 Pedal Steel Gtr 夏威夷吉它。
使用滑音功能时有效。
PERCUSSION 01 Vibraphone 1 A 这种打击乐乐器利用安装有金属磁碟的共鸣器,按顺序由杆连接到电机上—在一些
爵士乐中会产生鲜明、温和的震音效果。
02 Vibraphone 2
03 Marimba B 这种乐器与木琴相似,在发声板下有共鸣管。
但是,木质琴键会发出柔和、更具风
琴的声音,并具有特别丰富的下键盘音区—可表现出更广泛的表现音域 ,而且对独
奏乐器更有用。
04 Xylophone 干涩、紧凑的声音。
05 Glockenspiel 1 这是小型钟琴的声音,具有柔和、光辉的声音。
06 Glockenspiel 2 D
07 Celesta 钢片琴与钢琴的结构类似。
演奏琴键时音锤移动并敲击金属杆 (与钟琴类似),发
出微小、有些脆弱的振铃声音。
08 Music Box 音乐盒。
09 Chime 1 管钟琴。
10 Chime 2
TIMPANI 01 Timpani A 发出这种明显声音的打击乐乐器与发出绝对高音的大部分鼓不同。
与其它乐器齐奏
演奏时其增加了超强的表现力和动态的冲击力,在管弦乐音乐中扮演着重要的角
色。
02 Timpani Roll B/D 使用滚鼓技术进行定音鼓演奏。
类别 音色名称 说明

ELB-01 使用说明书 39
2
ELECTRIC BASS 01 Fingered Bass 1 A 使用手指演奏的电贝司。
02 Fingered Bass 2
03 Fingered Bass 3
04 Slap Bass 1 B 击打、拍打的低音。
这些打弦贝司音色具有声音 ‘厚度’的变奏,与演奏弦乐时
不同。
05 Slap Bass 2
06 Slap Bass 3
07 Picked Bass 1 这些电贝司音色具有以弹奏演奏时响亮的音头,在声音的 ‘厚度’上具有变奏。
08 Picked Bass 2 D
09 Fretless Bass 滑音无品贝司。
这种无品贝司音色具有独特的声音,最适用于细微、滑动的音高变
化。
SYNTH BASS 01 Funk Bass 1 A 适于摇滚乐和布鲁斯的合成贝司的演奏。
02 Funk Bass 2
03 Funk Bass 3
04 Dance Bass 1 B 适于舞曲音乐的合成贝司的演奏。
05 Dance Bass 2
06 Smooth Bass 1 现代的 ‘酷’合成贝司声音。
07 Smooth Bass 2 D
08 Smooth Bass 3
WORLD 01 Pan Flute A 排萧是各国民间音乐中使用的一种简单乐器,包含多个止音管,将力度响应集中在
一条线上。
这种优美的乐器会让人联想起大自然的风声,并以希腊神话中神 Pan
的名字来命名。
02 Bagpipe 一种传统的苏格兰乐器,通常用于演奏连续、低沉而单调的声音。
声音可能是忧郁
的,也可能是生动的、让人振奋的。
03 Dulcimer 一种清晰、优美的音色。
04 Shakuhachi 传统竹制日本竖笛。
05 Yokobue 传统日本长笛。
06 Shamisen B 这种传统的日本乐器具有三根弦,小巧的琴体并覆盖有兽皮。
它的声音响亮、略有
嗡嗡响,与班卓琴相似,但具有非常浓厚的东方韵味。
07 Koto 日本筝。
08 Taishokoto 日本大正筝。
09 Erhu D 又叫做 “中国小提琴”,这是一种两根弓弦的乐器,能够演奏出悲伤、神秘或欢快
的旋律。
10 Sheng 中国笙具有垂直簧管,是一种吹奏的自由簧乐器,并明显地推动了口琴、手风琴和
簧片风琴的发明。
11 Pipa 一种中国琵琶,具有梨型琴体,通常用于独奏声部以及伴奏和合奏中。
12 Sitar 一种印度 (或印度斯坦)古典乐器,在低音和中音 /高音音域中具有不同的共鸣。
13 Steel Drum 这种高音打击乐乐器,起源于从西印度群岛的特立尼达岛,用 55 加仑油桶制造,
明显是在 20 世纪发明的唯一的原声乐器。
它具有响亮、欢快的热带声音,让人无
法判断出其来源于工业。
14 Kulimba 非洲乐器。
类别 音色名称 说明

ELB-01 使用说明书
40
3
音色控制和音效
Electone 具有两种类型的功能,用于更改音色的声音:
音色控制和音效。
每种音色都已经设定了某些最佳增强声音的出厂预设音效设置。
但是,如果您需要,您可以使用本
部分中说明的控制和音效按钮将声音更改为适合您的喜好。
所有的内置音效均为数字音效。
下表表示各个音色组的不同音色控制和音效。
可以使用的功能以圈表示。
控制和音效按钮根据不同
类型而不同地应用。
单独为每个音色组,单独为每个键盘或整体为整个系统。
控制和音效按钮 更改设置的
参考页
要使用控制 /音效按钮的音色组
Upper Keyboard Lead Voice Lower Keyboard Pedal board
Upper Keyboard
Voice 1, 2 Lead Voice Lower Keyboard
Voice 1, 2
Pedal board
Voice 1, 2
从音色状态屏幕第
1-6 页中选择
第 1页
Volume 第
42 页 OOOO
Reverb (深度) 第
42 页 OOOO
Initial Touch 第
42 页 OOO
–
Feet 第
42 页 OOOO
第 2页
Pan 第
43 页 OOOO
Tune 第
43 页 OOOO
Transpose 第
43 页 OOOO
第 3页 Vibrato 第
44 页 OOOO
第 4/5 页
Reverb 第
45 页 OOOO
Delay 第
45 页 OOOO
Karaoke 第
45 页 OOOO
Chorus 第
45 页 OOOO
Flanger 第
45 页 OOOO
Phaser 第
45 页 OOOO
Tremolo/Auto Pan 第
45 页 OOOO
Rotary Speaker 第
45 页 OOOO
Distortion 第
45 页 OOOO
Wah 第
45 页 OOOO
Dynamic 第
45 页 OOOO
EQ/Enhancer 第
45 页 OOOO
第 6页
Slide 第
47 页 –
O
––
从
面板中选择
Reverb 第
48 页 O
Sustain 第
49 页 O
–
OO
Rotary Speaker 第
50 页 OOOO
3

ELB-01 使用说明书 41
3
若要调出 Voice Condition 屏幕:
在面板上选择一种音色,然后再次按面板上相同的按钮。
将出 Voice
Condition 屏幕。
每个音色组的音色状态 (主音色除外)包括五个显示页面。
主音色的音色状
态包括六个页面。
1从音色状态屏幕中选择
音色状态屏幕
设定和调整参数
屏幕中的箭头指示灯 “
¿(
÷)
”闪烁时,可以更改项目或参数。
按想要更
改的项目或参数对应的 [A] - [D] 按钮使指示灯闪烁,然后使用 DATA
CONTROL 旋钮选择需要的控制设置。
指示灯闪烁时,也可以使用 DATA CONTROL 旋钮直接更改项目或参
数。
有关详细信息,请参阅第
17 页上的 “使用 LCD 显示屏”。
VOL.¿24 REV.÷20 ¨1⁄
TOUCH¿ 8 FEET÷PRESET
当前选定页
注
按 [A] – [D] 按钮后 (使指示
灯闪烁),可以继续按相同的
按钮更改项目或参数。

ELB-01 使用说明书
42
3
在此屏幕中,可以调整基本的音色控制按钮,包括移相、力度灵敏度和音量。
本页中附带的项目与脚键盘音色组和其它音色组不同。
脚键盘音色无法使用
初始力度。
1
Volume
精确调整音色音量。
有关详细信息,请参见第
26 页。
2
Reverb
确定对各音色组设定的混响量。
Reverb 屏幕中的 Reverb Depth 设置设定为最小时,此处的设置无效。
有关详
情信息,请参见第
48 页。
按 [B] 按钮使 “
÷
”指示灯闪烁,然后使用 DATA CONTROL 旋钮更改设置。
3
Touch
根据演奏琴键的力度控制音量和音色。
演奏琴键越用力,音量就越大并且音
色就越亮。
设置越高变化越大。
最小的设置不会产生音效。
功能不适用于脚键盘音色。
按 [C] 按钮使 “
¿
”指示灯闪烁,然后使用 DATA CONTROL 旋钮更改设置。
Range:
0 – 14
4
Feet
设定音色的八度设置,可让您使用更多的音区。
有三种设置:
4'、 8' 和 16'
(
4' 为最高, 16' 为最低)。
2' 设置添加到脚键盘音色组。
预设值为原始 (出
厂)设置。
按 [D] 按钮使 “
÷
”指示灯闪烁,然后使用 DATA CONTROL 旋钮更改设置。
音色状态 [第 1页 ]
VOL.¿24 REV.÷20 ¨1⁄
TOUCH¿ 8 FEET÷PRESET
12
34
参考页
Reverb( 第
48 页 )
注
初始力度可能不会影响到一
些音色,如风琴音色。

ELB-01 使用说明书 43
3
按 PAGE 按钮选择第 2页。
1
Panning
确定立体声声像中音色的位置。
可使用七种移相位置。
按 [A] 按钮使 “
¿
”指示灯闪烁,然后使用 DATA CONTROL 旋钮更改设置。
Range:
L3
–
C
–
R3
2
Tune
设定每个音色组的精调音高设置,将一个音色相对于另一个音色微调,可让
您创建出更温和、更丰富的声音。
按 [C] 按钮使 “
¿
”指示灯闪烁,然后使用 DATA CONTROL 旋钮更改设置。
Range:
-64
–
+63
3
Transpose
以半音更改每个音色组的音高。
按 [D] 按钮使 “
÷
”指示灯闪烁,然后使用 DATA CONTROL 旋钮更改设置。
Range:
-6
–
+6
音色状态 [第 2页 ]
PAN ¿C ¨1¤
TUNE¿ 0 TRANSP.÷ 0
1
23
参考页
音高 (对于整个乐器);
(第
150 页)
参考页
移调 (对于整个乐器);
(第
150 页)

ELB-01 使用说明书
44
3
按 PAGE 按钮选择第 3页。
Vibrato
Vibrato 功能更改音色的电平,让声音更温和并更富有动感。
该音效单独应用
于每个音色组。
对于一些音色, Vibrato 可能根本不会生效或者不会产生预期
的音效。
1
Preset/User
每次按 [A] 按钮将在 Preset 和 User
间切换。
选择 Preset 将调出音色的原始 (出
厂)颤音设置。
选择 Preset 时,无法
编辑延时、深度和速度参数。
选择 User 可让您自行调整颤音设
置。
2
Depth
确定颤音音效的强度。
设置越高,颤音音效越明显。
最小的设置将取
消颤音音效。
按 [B] 按钮使 “
÷
”指示灯闪烁,然后使用 DATA CONTROL 旋钮更改
设置。
Range:
0
–
14
3
Delay
确定从按下琴键到开始颤音的时间量。
设置越高,开始颤音越迟。
按 [C] 按钮使 “
¿
”指示灯闪烁,然后使用 DATA CONTROL 旋钮更改
设置。
Range:
0
–
14
4
Speed
确定颤音音效的速度。
设置越高,颤音速度越快。
按 [D] 按钮使 “
÷
”指示灯闪烁,然后使用 DATA CONTROL 旋钮更改
设置。
Range:
0
–
14
音色状态 [第 3页 ]
VIB¿PRESET ¨1‹
1
颤音控制
延时 速度
深度
VIB¿USER DEPTH÷ 0¨1‹
DELAY¿ 0 SPEED÷ 0
2
34
1

ELB-01 使用说明书 45
3
按 PAGE 按钮选择第 4页。
Effect
可以选择应用于每个音色组的音效。
1
Effect Category
可以选择应用于每个音色组的音效类别。
按 [A] 按钮使 “
¿
”指示灯闪烁,然后按照 Preset
→
Reverb
→
Delay
→
Dynamic
→
EQ/Enhancer
→
Thru 顺序顺时针旋转 DATA CONTROL 旋钮
选择音效类别。
逆时针旋转 DATA CONTROL 旋钮,以相反顺序选择。
选择预置时,将自动设定选定音色的原始 (出厂)音效类别。
选择贯
通会将音效旁通 (没有音效会添加到选定的音色)。
音色状态 [第 4页 ]
PRESET 自动选择与当前选定声音最匹配、最适合的音效类型。
REVERB 在声音中发出温柔的 “揉洗”声,再现实际演奏空间和室内的细微氛围和
深度。
DELAY 产生独特的延时重复声音或回声。
这在创建声音中的节奏重复也会有用。
KARAOKE 产生像在卡拉 OK 伴奏演唱应用程序中深沉的回声音效。
CHORUS 如果立即演奏相同的声音会产生温和的音效。
可使整体声音更丰富、“宽
广”并更具动感。
FLANGER 这样会产生金属周期 “伸展”音效,与合唱类似,但共鸣声更响亮。
PHASER 与增效器类似,这种音效产生滚动音色变化和声音上下音质过滤音效。
TREMOLO/
AUTO PAN 这种音效定期改变音量,具有将声音图像前后、左右移动的音效。
ROTARY
SPEAKER
这种流行音效 (主要用于双排键电子琴声音)再现旋转扬声器喇叭丰富、
动态的脉冲声音。
DISTORTION 这种音效为声音加入失真音效。
WAH 这种音效使用自动上下音质过滤更改声音的音色,产生 “哇哇”的声音。
DYNAMIC 这种音效 (又叫做压缩)将整体声音的动态音域 “挤压”,并具有增益控
制—可让您将柔和声音变得更响亮,这样为声音赋予更多的 “冲压”。
EQ/ENHANCER 均衡:
这种处理工具可让您改变声音中特定频率范围的电平,并将影响到
整体音质。
加强器:
这种音效强调并增强高频声音音域中的泛音—不仅仅将声音变得
更响亮,并且使其更清晰并更明显。
THRU 旁路控制。
这样会取消音效处理。
EFFECT¿PRESET ¨1›
TYPE¿01:THRU
2
1
EFFECT¿PRESET
EFFECT¿REVERB
EFFECT¿EQ/ENHANCE
EFFECT¿THRU

ELB-01 使用说明书
46
3
2
Effect Type
音效类型根据选定的音效类别显示。
按 [C] 按钮使 “
¿
”指示灯闪烁,然后使用 DATA CONTROL 旋钮更改
设置。
按 PAGE 按钮选择第 5页。
效果参数
可以在音色状态屏幕第
4页设定选定的音效类型的参数。
一般来说,音效参数设置将根据选定的音效类型自动平衡,因此不需要按照
下面的步骤,除非想要更改设置。
如果想要更改设置,请选择参数,然后更改数值。
由于所有音效类型中参数
选择和数值设置按照相同的步骤,在此仅对混响 “
Hall 1”进行了说明。
有关详细信息,请参阅第
52 页。
1参数
音效参数根据选定的音效类型显示。
按 [C] 按钮使 “
¿
”指示灯闪烁,
然后使用 DATA CONTROL 旋钮选择参数。
这时,选择了 Time 参数。
2数值设置
按 [D] 按钮使 “
÷
”指示灯闪烁,然后使用 DATA CONTROL 旋钮更改
设置。
参考页
效果列表 (第
52 页 )
音色状态 [第 5页 ]
TYPE:Hall 1 ¨1fi
¿Time ÷2.1s
Time ÷2.1s
Dry/Wet ÷D24>W
当前选定的音效类型
TYPE:Hall 1 ¨1fi
¿Time ÷2.1s
1 2

ELB-01 使用说明书 47
3
按 PAGE 按钮选择第 6页。
在此页中,确定是否向主音色应用滑音功能。
Slide
将滑音音效作用于以连奏弹奏的音符。
滑音功能在主音色的一个八度音域内
有效。
1
Slide On/Off
确定滑音音效的开 /关状态。
每次按
[A] 按钮将在 “开”和 “关”之间切换。
2
Slide Time
确定滑音速度或滑音音效。
数值越高,速度就越慢。
按 [C] 按钮使 “
¿
”指示灯闪烁,然后使用 DATA CONTROL 旋钮更改
设置。
Range:
0
–
14
音色状态 [第 6页 ](仅适用于主音色)
’SLIDE Î fl
SLIDE TIME¿ 0
1
2

ELB-01 使用说明书
48
3
按屏幕上各自按钮将调出 Reverb、 Sustain 和 Rotary Speaker 屏幕。
●●●●●●●●●●●●●●●●●●●●●●●●●●●●●●●●●●●●●●
Reverb
混响向声音添加回声的音效,感觉像在大房间或音乐厅中演奏。
可以调整每
个音色组或整个系统的混响音量。
此外,也可以分别调整节奏和伴奏的混响
音量。
按面板上的 [REVERB] 按钮调出 Reverb 屏幕设定混响效果。
每次按
[REVERB] 按钮将在 “开”和 “关”之间切换。
设定为 “开”时,
按钮的指示灯亮起,表示混响处于 “开”的状态。
1
Type
选择混响类型。
按 [C] 按钮使 “
¿
”指示灯闪烁,然后使用 DATA CONTROL 旋钮更改设置。
2
Depth
确定混响深度或反射声的电平。
这会精确控制深度。
该参数设定为最小时,
音色状态屏幕中第 2页(第
43 页)的设置将无效。
按 [B] 按钮使 “
÷
”指示灯闪烁,然后使用 DATA CONTROL 旋钮更改设置。
Range:
0 - 24
3
Time
确定每个音色组的混响时值。
设置越高,混响声音越长。
按 [D] 按钮使 “
÷
”指示灯闪烁,然后使用 DATA CONTROL 旋钮更改设置。
Range:
0.3s
–
30.0s
2从面板中选择
参考页
改变节奏音量 /混响
(第
62 页 )
混响 (第
42 页)
混响屏幕
<REVERB> DEPTH÷ 0
¿XG HALL 1 TIM÷ 2.1
13
2

ELB-01 使用说明书 49
3
●●●●●●●●●●●●●●●●●●●●●●●●●●●●●●●●●●●●●●
Sustain
可从上键盘、下键盘和脚键盘音色延音音效,释放琴键时可让音色逐渐渐
弱。
每个键盘的延音开 /关和延音长度的设置是独立的,具有最大表现力控
制。
按面板上的 [SUSTAIN] 按钮调出 Sustain 屏幕设定延音音效。
延音开 /关
对于上键盘音色,按相应的 [B] 按钮在 “开”和 “关”之间切换。
对于下键盘音色,按相应的 [C] 按钮在 “开”和 “关”之间切换。
对于脚键盘音色,按相应的 [D] 按钮在 “开”和 “关”之间切换。
延音不可对主音色使用。
打开 Sustain 屏幕中上键盘、下键盘和脚键盘音色中任意的延音音效时,
[SUSTAIN] 按钮的指示灯点亮。
关闭 Sustain 屏幕中所有音色的延音音效时,
指示灯将关闭。
开始演奏前,请注意检查 Sustain 屏幕中的延音音效为 “开”
还是为 “关”。
延音长度
屏幕显示每个键盘的当前延音长度值。
按相应的按钮使 “
¿
(
÷
)”指示灯闪烁 (上键盘:
[B] 按钮;下键盘:
[C]
按钮;脚键盘:
[D] 按钮),然后使用 DATA CONTROL 旋钮更改设置。
Sustain 屏幕
<SUSTAIN> ’UPPER÷10
’LOWER¿10 ’PEDAL÷ 6

ELB-01 使用说明书
50
3
●●●●●●●●●●●●●●●●●●●●●●●●●●●●●●●●●●●●●●
Rotary Speaker
旋转扬声器再现流行旋转扬声器音效的丰富旋音。
使用前面板按钮或左侧脚
控开关 (脚控开关操作正确设定时),可在演奏时实时切换旋转扬声器音
效。
请注意,仅旋转 [ROTARY SPEED] 按钮无法打开旋转扬声器音效。
若要
使用旋转扬声器音效,请按照下面的步骤。
从需要的音色中选择旋转扬声器音效。
想要为任意一个音色组设定旋转扬声器时,可以在音色状态屏幕中选
择旋转扬声器的音效类别。有关详细信息,请参阅第
45 页。
调整旋转扬声器的旋转速度和模式。
按 [ROTARY SP SPEED] 按钮调出 Rotary Speaker 屏幕。
本屏幕中的设置与所有音色组共用。
1
Speed
确定扬声器旋转的速度。
按 [C] 按钮使 “
¿”指示灯闪烁,然后使用 DATA CONTROL 旋钮更改
设置。
Range:
2.69Hz
–
39.7Hz
2
Mode
确定 [ROTARY SP SPEED] 按钮关闭时的 slow/stop 模式。
如果选择了
Slow,关闭屏幕上的按钮时将使用慢速合唱效果。
如果选择了 Stop,
关闭屏幕上的按钮时将关闭 Rotary Speaker 效果 (完全停止)。
按 [D] 按钮使 “
÷”指示灯闪烁,然后使用 DATA CONTROL 旋钮更改
设置。
一旦旋转扬声器效果被打开并设定,可以从面板或从左侧脚控开关实
时控制效果。
1
EFFECT¿ROTARY SP.¨1›
TYPE¿01:XG ROTARY SP
在此选择 “
Rotary Speaker”
2
<ROTARY SPEAKER>
SPEED¿4.88 MODE÷SLOW
12

ELB-01 使用说明书
52
3
PRESET
自动选择与当前选定声音最匹配、最适合的音
效类型。
REVERB
在声音中发出温柔的 “揉洗”声,再现实际演
奏空间和室内的细微氛围和深度。
DELAY
产生独特的延时重复声音或回声。
这在创建声
音中的节奏重复也会有用。
KARAOKE
产生像在卡拉 OK 伴奏演唱应用程序中深沉的
回声效果。
3效果列表
编号 类型 编号 类型
01 HALL 1 14 STAGE 2
02 HALL 2 15 PLATE 1
03 HALL 3 16 PLATE 2
04 HALL M 17 XG HALL 1
05 HALL L 18 XG HALL 2
06 ROOM 1 19 XG ROOM 1
07 ROOM 2 20 XG ROOM 2
08 ROOM 3 21 XG ROOM 3
09 ROOM 4 22 XG STAGE 1
10 ROOM S 23 XG STAGE 2
11 ROOM M 24 XG PLATE
12 ROOM L 25 GM PLATE
13 STAGE 1
参数 范围 说明
Time 0.3
–
30.0 s 确定混响的衰减时间。
Dry/Wet D63>W
–
D<W63 确定原始音 (干音)与效果音
(湿音)之间的平衡。
编号 类型
01 DELAY LCR
02 XG DLY LCR
03 DELAY LR
04 ECHO
05 CROSS DELAY
06 TEMPO DELAY
参数 范围 说明
L DelayTime 0.1
–
743.0 msec
Echo: 0.1
–
371.5
msec
确定在左通道中原始音和延音反复
演奏之间经过的时间。
R DelayTime 0.1
–
743.0 msec
Echo: 0.1
–
371.5
msec
确定在右通道中原始音和延音反复
演奏之间经过的时间。
C DelayTime 0.1
–
743.0 msec 确定在立体声图像中心中原始音和
延音反复演奏之间经过的时间。
L>R Delay 0.1
–
371.5 msec 确定声音从左边移到右边 (使用
交叉延音时)的时间。
R>L Delay 0.1
–
371.5 msec 确定声音从右边移到左边 (使用
交叉延音时)的时间。
DelayTime 16th
–
8th. 使用速度延音时,这会设定延音反
复演奏间的时间以匹配节奏 /乐曲
的速度。
InputSelect L, R, L/R 确定输入配置。
FB Delay 0.1
–
743.0 msec 确定延音反复演奏的反馈时间。
数
值越大,延音反复演奏的时间间隔
越长。
(对于 Delay LR,左右通
道可以分别设定。)
FB Level -63
–
+63 确定声音中延音反复演奏的量。
此
项被设定为 0% 时,第二次的延音
反复演奏将不发声。
Dry/Wet D63>W
–
D<W63 确定原始音与效果音之间的平衡。
编号 类型
01 KARAOKE 1
02 KARAOKE 2
03 KARAOKE 3
参数 范围 说明
DelayTime 0.1
–
400 msec 确定原始音和延音反复演奏之间经
过的时间。
FB Level -63
–
+63 确定声音中延音反复演奏的量。
此
项被设定为 0% 时,第二次的延音
反复演奏将不发声。
Dry/Wet D63>W
–
D<W63 确定原始音与效果音之间的平衡。
参数 范围 说明

ELB-01 使用说明书 53
3
CHORUS
产生温和的音效,仿佛在同时演奏几种相同的
声音。
可使整体声音更丰富、“宽广”并更具
动感。
FLANGER
这样会产生金属周期 “伸展”效果,与合唱类
似,但共鸣声更响亮。
PHASER
与增效器类似,这种效果产生滚动音色变化和
声音上下音质过滤音效。
TREMOLO/AUTO PAN
这种效果定期改变音量,具有将声音图像前
后、左右移动的效果。
编号 类型 编号 类型
01 CHORUS 1 10 GM CHORUS 4
02 CHORUS 2 11 FB CHORUS
03 XG CHORUS 1 12 CELESTE 1
04 XG CHORUS 2 13 CELESTE 2
05 XG CHORUS 3 14 CELESTE 3
06 XG CHORUS 4 15 CELESTE 4
07 GM CHORUS 1 16 SYMPHONIC
08 GM CHORUS 2 17 XG SYMPHONIC
09 GM CHORUS 3
参数 数值 说明
LFO Freq. 0.00
–
39.7 Hz 确定振荡频率或颤音效果的速度。
LFO Depth 0
–
127 确定振荡深度或颤音效果量。
Dry/Wet D63>W
–
D<W63 确定原始音与效果音之间的平衡。
Input Mode Mono/Stereo 确定输入配置。
编号 类型
18 ENS DETUNE
参数 数值 说明
Detune -50
–
+50 cent 确定对于延音反复演奏的失谐量
(或移调)。
L DelayTime 0.0
–
50.0 msec 确定在左通道中原始音和延音反复
演奏之间经过的时间。
R DelayTime 0.0
–
50.0 msec 确定在右通道中原始音和延音反复
演奏之间经过的时间。
Dry/Wet D63>W
–
D<W63 确定原始音与效果音之间的平衡。
编号 类型
01 FLANGER 1
02 FLANGER 2
03 XG FLANGER 1
04 XG FLANGER 2
05 XG FLANGER 3
06 GM FLANGER
参数 数值 说明
LFO Freq. 0.00
–
39.7 Hz 确定振荡频率或颤音效果的速度。
LFO Depth 0
–
127 确定振荡深度或颤音效果量。
FB Level -63
–
+63 确定返回到输入的输出声音的量
(具有镶边效果)。
数值越大,产
生的镶边效果就越复杂。
Dry/Wet D63>W
–
D<W63 确定原始音与效果音。
编号 类型
01 PHASER
02 EP PHASER 1
03 EP PHASER 2
04 EP PHASER 3
参数 数值 说明
LFO Freq. 0.00
–
39.7 Hz 确定振荡频率或颤音效果的速度。
L/R Depth 0
–
127 确定振荡深度或颤音效果量。
Phase Shift 0
–
127 确定处理过的信号和原始信号之间
的相位关系。
这会改变移相器效果
的声音特点。
FB Level -63
–
+63 确定返回到输入的输出声音的量
(具有移相效果)。
数值越大,产
生的移相效果就越复杂。
Dry/Wet D63>W
–
D<W63 确定原始音与效果音之间的平衡。
编号 类型
01 TREMOLO 1
02 TREMOLO 2
03 XG TREMOLO
04 EP TREMOLO
05 GT TREMOLO 1
06 GT TREMOLO 2
07 ORGAN TREM.

ELB-01 使用说明书
54
3
ROTARY SPEAKER
这种流行音效 (主要用于双排键电子琴声)再
现旋转扬声器喇叭丰富、动态的脉冲声音。
DISTORTION
这种音效为声音加入失真音效。
WAH
这种音效使用自动上下音质过滤更改声音的音
色,产生 “哇哇”的声音。
参数 范围 说明
LFO Freq. 0.00
–
39.7 Hz 确定震音速度。
AM Depth 0
–
127 确定音量变化量。
PM Depth 0
–
127 确定声音中音高变化量。
Input Mode Mono/Stereo 确定输入配置。
LFO Depth 0
–
127 确定震音效果的深度。
L/R Depth 0
–
127 确定左右通道间移相深度。
F/R Depth 0
–
127 前后。
确定前后移相效果的深度。
同时控制电平和音高。
编号 类型
08 AUTO PAN
09 XG AT PAN
10 EP AUTO PAN
参数 数值 说明
LFO Freq. 0.00
–
39.7 Hz 确定自动移相效果的频率,或者在
左右通道间声音转换的速度。
L/R Depth 0
–
127 确定左右移相效果的深度。
F/R Depth 0
–
127 确定前后移相效果的深度。
同时控
制电平和音高。
Pan L<->R
L->R
L<-R
Lturn
Rturn
L/R
确定自动移相类别。
(“
L<->R”
为正弦波,“
L/R ”为锯齿波。)
编号 类型
01 XG ROTARY SP
02 ROTARY SP 1
03 ROTARY SP 2
04 ROTARY SP 3
05 ROTARY SP 4
参数 数值 说明
EQ LowFreq. 32
–
2.0k Hz 确定增强或削弱的低频范围的中心
频率。
EQ Low Gain -12
–
+12 dB 确定增强或削弱的低频范围的量。
EQ Hi.Freq. 500
–
16k Hz 确定增强或削弱的高频范围的中心
频率。
EQ Hi.Gain -12
–
+12 dB 确定增强或削弱的高频范围的量。
编号 类型
01 DIST HARD
02 DIST SOFT
03 OVERDRIVE
04 XG DIST
05 XG AMP SIM
参数 数值 说明
Drive 0
–
127 确定声音中失真的量或程度。
Amp. Type Off
Stack
Combo
Tube
确定模拟的放大器类型。
LPF Cutoff 1.0
–
18k Hz
Thru
确定低通滤波器的截止频率。
该数
值以上的频率被截止或被过滤。
OutputLevel 0
–
127 确定处理声音的电平或音量。
EQ Low Gain -12
–
+12 dB 确定低频范围中的 EQ 增强或衰减
量。
EQ Mid.Gain -12
–
+12 dB 确定中频范围中的 EQ 增强或衰减
量。
Dry/Wet D63>W
–
D<W63 确定原始音与效果音之间的平衡。
编号 类型
01 AUTO WAH
02 XG AUTO WAH
03 TOUCH WAH 1
04 TOUCH WAH 2
05 CLAVI TC WAH
06 EP TOUCH WAH
参数 数值 说明
LFO Freq. 0.00
–
39.7 Hz 确定哇音效果的速度。
LFO Depth 0
–
127 确定哇音效果的深度。
Cutoff 0
–
127 确定对哇音进行过滤的中心频率。
Resonance 1.0
–
12.0 确定哇音过滤器影响到的频率带宽
(上述截止频率的中心频率左
右)。
Sensitivity 0
–
127 确定演奏力度影响到哇音过滤器的
程度。
Dry/Wet D63>W
–
D<W63 确定原始音与效果音之间的平衡。

ELB-01 使用说明书 55
3
DYNAMIC
这种音效 (又叫做压缩)将整体声音的动态音
域 “挤压”,并具有增益控制—可让您将柔和
声音变得更响亮,这样为声音赋予更多的 “冲
压”。
EQ/ENHANCER
EQ
这种处理工具可让您改变声音中特定频率范围
的电平,并将影响到整体音质。
ENHANCER
这种音效强调并增强高频声音音域中的泛音—
不仅仅将声音变得更响亮,并且使其更清晰并
更明显。
THRU
旁路控制。
这样会取消音效处理。
编号 类型
01 COMPRESSOR
02 NOISE GATE
参数 数值 说明
Attack 1
–
40 msec 确定一旦将压缩器触发为以下列临
界值后,应用压缩效果的时间长
短。
Release 10
–
680 msec 确定一旦触发信号电平降到临界值
以下后压缩器在多长时间内返回到
正常增益。
Threshold Compressor:
-48
–
-6 dB
Noise Gate:
-72
–
-30 dB
确定触发压缩器所需的输入信号电
平。
临界值以下的电平通过后未受
影响的信号、压缩的临界值及以上
的信号。
Ratio 1.0
–
20.0 确定声音的压缩量 (通过临界值
的信号)。
压缩量以比例表达 输
出信号的变化量相对与输入信号的
变化量。
此处范围为 1/1 (输出信
号无变化,因此无压缩)至 20/1。
压缩高时压缩率也高。
OutputLevel 0
–
127 确定压缩信号的整体输出。
使用该
设置时,在使用压缩减小动态范围
后将会提高整体电平。
编号 类型
01 ST 2BAND EQ
02 ST 3BAND EQ
03 XG 3BAND EQ
04 EQ DISCO
05 EQ TEL
参数 数值 说明
EQ LowFreq. 50
–
2.0k Hz
ST 2Band EQ:
32
–
2.0k Hz
确定将要增强或削弱的低频范围的
中心频率。
EQ Low Gain -12
–
+12 dB 确定增强或削弱的低频范围的量。
EQ Mid.Freq 100
–
16k Hz 确定将要增强或削弱的中频范围的
中心频率。
EQ Mid.Gain -12
–
+12 dB 确定增强或削弱的中频范围的量。
EQ M Width 0.1
–
12.0 确定将要增强或削弱的特定中频范
围的带宽或频率范围。
低数值可在
具体频率内缩小,而高数值会选择
要频率受到影响的广泛范围。
EQ Hi.Freq 500 Hz
–
16k Hz 确定将要增强或削弱的高频范围的
中心频率。
EQ Hi.Gain -12
–
+12 dB 确定 EQ 高音频率的波形频率点的
增加量或减少量。
编号 类型
06 HM ENHANCER
07 XG HM ENHNCE
参数 数值 说明
HPF Cutoff 500 Hz
–
16k Hz 确定低通滤波器的截止频率。
该数
值以上的频率被截止或被过滤。
Drive 0
–
127 确定加强器效果的程度或深度。
Mix Level 0
–
127 确定有多少处理过的增强声音与原
声混合在一起。
编号 类型
01 Thru

ELB-01 使用说明书
56
4
节奏
/键盘打击乐器
本款 Electone 具有 133 种不同的真实节奏,具有真实鼓声和打击乐采样声音。
自动伴奏功能同节
奏一起使用,提供恰当、完整的自动伴奏功能,以与所选节奏的风格匹配。
另外, Electone 具有键
盘打击乐器功能,可让您从上 /下键盘和脚键盘上直接演奏鼓声和打击乐声音。
使用前面板的十个节奏按钮共可以选择 133 种节奏。
●●●●●●●●●●●●●●●●●●●●●●●●●●●●●●●●●●●●●●
若要选择并演奏节奏
按前面板的 RHYTHM 部分中的任意一个 Rhythm 按钮。
例如,如果按了 [DANCE] 按钮,将出现下面的屏幕 (节奏菜单)。
节奏菜单包含许多舞曲节奏,在屏幕中只显示当前选定的舞曲节奏。
节奏 /键盘打击乐器
1使用节奏按钮选择节奏
1
<DANCE>
¿01:Ibiza
节奏菜单屏幕
4

ELB-01 使用说明书 57
4
在 Rhythm Menu 屏幕中选择节奏。
可以使用 DATA CONTROL 旋钮依次 (正向或反向)选择隐藏的节
奏。
此处我们选择了 “
UK Pop”。
按 [START] 按钮会立即开始节奏。
若要停止节奏,请再次按该按钮。
按面板上的相关按钮可以打开或关闭节奏并在各部分间切换—并向节
奏添加伴奏。
使用面板节奏音量按钮设定音量。
按钮有七种音量设置,从最小的 0或无声到最大的满音量。
也可以从
Rhythm Condition 屏幕中对节奏音量进行精确调整 (第
62 页)。
2
<DANCE>
¿04:UK Pop
按 [C] 按钮一次或多次可以在 Rhythm Menu 屏幕中选择节奏。
每按 [C] 按
钮一次就会选择后面隐藏的节奏。
达到最末项目时,按 [C] 按钮就会 “返
回”到第一个项目。
3
参考页
从面板中操作节奏
(第
59 页
)
参考页
伴奏 (第
68 页 )
4参考页
改变节奏音量 /混响
(第
62 页 )

ELB-01 使用说明书
58
4
节奏结构
每种节奏由 “部分”构成。
由于每个部分具有基本节奏的变量,使用这
些部分可以为演奏添加 “调料品”,并在演奏时加入节拍。
您可以在播放
节奏的同时自由更改这些部分。
INTRO
它用于乐曲的开始。
使用 INTRO [1] – [3] 按钮可以选择三种前奏部分。
前奏结束
播放时,节奏将自动转换到主奏部分。
MAIN
用于乐曲的主奏部分。
使用 MAIN/FILL IN [A] – [D] 按钮可以选择四个主奏部
分。
多个小节的节奏模式组无限反复演奏。
FILL IN
专门用作临时和定期节奏模式组,添加重复的节奏。
按需要使用选定的 (点亮
的) MAIN/FILL IN [A] – [D] 按钮可以演奏四种插入部分。
插入部分的一小节模
式组结束播放时,节奏将自动转换到主奏部分。
BREAK
可让您加入动态变奏,并在节奏模式组中停顿。
按 [BREAK] 按钮选择停顿部分。
一小节的停顿模式组结束演奏时,节奏将自动转换到主奏部分。
ENDING
用于乐曲的结尾。
尾奏播放结束后,节奏将自动停止。
使用 ENDING[1] – [3] 按
钮可以选择三种尾奏部分。
选定前奏部分的指示灯点亮
选定主奏部分的指示灯点亮
选定插入部分的指示灯闪烁
选择停顿部分后,指示灯点亮。
选定尾奏部分的指示灯点亮

ELB-01 使用说明书 59
4
●●●●●●●●●●●●●●●●●●●●●●●●●●●●●●●●●●●●●●
从面板中操作节奏
按面板上的相关按钮可以打开或关闭节奏并在各部分间切换。
使用插入和停
顿模式组时,可添加动态效果并为演奏增加 “调味品”。
若要启动 /停止节奏:
START
按 [START] 按钮后节奏开始。
若要停止节奏,请再次按该按钮。
SYNCHRO START
[SYNCHRO START] 按钮将节奏设置为 “待机”。
在下键盘或脚键盘上按一个音符
时节奏开始。
使用 [SYNCHRO START] 按钮开始节奏时,再次按该按钮将停止节
奏。
INTRO
按 INTRO [1] – [3] 按钮中的任意一个将在正式 (主)节奏开始前自动加入一段短的
前奏。
首先按 INTRO [1] – [3] 按钮中的任意一个,然后按 [START] 或 [SYNCHRO
START] 按钮正式开始节奏。
播放前奏的同时, BAR/BEAT 屏幕将显示模式组中第一小节的剩余时间。
例如,如
果 4/4 时间的模式组中有一个 4小节的前奏,右侧的屏幕将显示:
ENDING
按 ENDING [1] – [3] 按钮中的任意一个将在停止节奏前自动加入一段尾奏乐段。
节
奏正在播放时按 Ending 按钮,播放尾奏乐段后将自动停止节奏。
在尾奏仍在播放时
再按一次 ENDING 按钮,尾奏将逐渐减慢 (渐慢)。
注
使用 [SYNCHRO START] 按
钮开始节奏时,将下键盘 /
脚键盘注册记忆设定为开。
注册记忆关闭时,将手指从
下键盘上松开将停止节奏。
有关注册记忆和 A.B.C. 功能
的详细信息,请参阅第
71
页。
注
播放主奏部分时按 ENDING
[1] 按钮将首先调出插入模式
组,然后调出尾奏 1模式
组。

ELB-01 使用说明书
60
4
若要切换节奏部分:
按需要的 MAIN/FILL IN [A] – [D] 按钮可以更改主乐段的节奏部分。
选定部
分的指示灯 (在按钮上)将点亮。
若要使用插入模式组:
按照节奏演奏 Electone 时,偶尔按需要按选定的 MAIN/FILL 按钮。
将播放
插入模式组 (一个小节)并且选定的插入部分的指示灯 (按钮上)将闪烁。
使用 Fill in 功能时,插入部分将自动播放。
Fill in 功能在 Rhythm Condition 屏
幕的第 1页设定。
若要调出 Rhythm Condition 屏幕,请选择需要的节奏并再
次按相同的节奏按钮。
在屏幕右侧的 Fill in 功能被设定为 “开”(
”)时,只要切换到主奏部分时
就会自动播放插入模式组。
每次按 [B] 按钮将在 “开”(
”)和 “关”(
’)
之间切换。
若要使用中断模式组:
按照节奏演奏 Electone 时,偶尔按 [BREAK] 按钮。
这会让您以动态中断更
改重复的节奏。
<PERCUSSION>”AUTO.F⁄
VOL.¿12 REV.÷ 8
参考页
若要选择并演奏节奏
(第
56 页 )

ELB-01 使用说明书 61
4
●●●●●●●●●●●●●●●●●●●●●●●●●●●●●●●●●●●●●●
调整速度
按 TEMPO 按钮可以调整节奏速度。
1
TEMPO 按钮
用于调整节奏的速度。
按右侧按钮加大速度,而按左侧按钮降低速度。
每个节奏都具有原始 (预设)速度。
同时按 TEMPO 按钮将把速度恢复到原
始设置。
2
TEMPO 屏幕 (
BAR/BEAT 指示灯)
TEMPO 屏幕显示当前速度。
这里显示的数值以拍 /分钟为单位。
速度范围为 40 - 240 拍 /分钟。
节奏开始播放后, TEMPO 指示灯功能将变为 BAR/BEAT 指示灯。
BAR/BEAT 指示灯左侧的数字表示当前小节,右侧的数字表示小节中的当前
拍数。
3
BAR/BEAT 指示灯
TEMPO 屏幕上的节拍指示灯也表示节拍。
12
3
TEMPO 指示灯
BAR/BEAT 指示灯
小节 节拍

ELB-01 使用说明书
62
4
●●●●●●●●●●●●●●●●●●●●●●●●●●●●●●●●●●●●●●
改变节奏音量 /混响
可以调整在 Rhythm Condition 屏幕中的节奏所使用的节奏和打击乐声的节奏
音量或混响量。
也可以将自动插入功能设定为 “开”,使得插入部分自动播
放。
若要调出 Rhythm Condition 屏幕,请选择需要的节奏并再次按相同的节奏按
钮。
屏幕左右两侧的按钮和 DATA CONTROL 旋钮可以控制节奏音量和混响。
1
Auto Fill
屏幕中的 Auto Fill 被设定为开 (
”)时,只要切换主奏部分时就会自动播放
插入模式组。
有关如何设定为 “开”的详细信息,请参阅第
17 页。
2
Volume
精确调整节奏音量。
按 [C] 按钮使 “
¿”指示灯闪烁,然后使用 DATA CONTROL 旋钮更改设置。
Range:
0
–
24
3
Reverb
确定对节奏设定的混响量。
按 [D] 按钮使 “
÷”指示灯闪烁,然后使用 DATA CONTROL 旋钮更改设置。
Reverb Depth (对于整个乐器)设定为最小时,此处的设置无效。
Range:
0
–
24
<PERCUSSION>”AUTO.F⁄
VOL.¿12 REV.÷ 8
1
23
[第 1页 ] Rhythm Condition 屏幕
注
根据音量值 (屏幕中设定),
两个相邻的音量按钮指示灯
可能同时会点亮,表示中间
的位置。
参考页
混响深度 (第
48 页)

ELB-01 使用说明书 63
4
使用音色组时,节奏部分也有用户按钮 (编号 1或 2),可从中选择节奏。
可以选择使用本款 Electone 或其它具有节奏模式组编程功能的型号创建的原
始用户节奏。
有关选择原始用户节奏的详细信息,请参阅下一页。
这会使您从相同类别中指定两种或三种节奏为不同按钮选择;一个为原始节
奏按钮,另一个为用户按钮。
例如,若要调出 “
Modern R&B”,请选择 R&B 类别。
按右侧节奏按钮的任意一个用户按钮。
使用 Page 按钮选择其中一页。
这时,选择了第 5页的 “
R&B”。
使用 DATA CONTROL 旋钮选择 “
Modern R&B”节奏。
此步骤将 “
Modern R&B”指定到用户按钮 [1]。
下一次按 [1] 按钮时可
以调出 “
Modern R&B”。
2从用户按钮中选择节奏
1
<USER> [FILE]⁄⁄
¿01:User 1
2
<R&B> fi
¿01:Motor City
当前选定页
3
<R&B> fi
¿06:Modern R&B

ELB-01 使用说明书
64
4
●●●●●●●●●●●●●●●●●●●●●●●●●●●●●●●●●●●●●●
若要调出用户节奏
在其它具有节奏模式组编程功能的 Electone,如 ELS-01/01C/01X,上创建的
用户节奏可以在面板的 Rhythm 部分中的用户按钮中选择并播放。
若要调出用户节奏,请提前将包含用户节奏的注册记忆载入到 Electone。
有关载入注册记忆的详细信息,请参阅第
132 页上的 “播放一首乐曲”。
此步骤将用户节奏指定到用户编号 1 – 48。
按右侧节奏按钮的任意一个用户按钮。
使用 PAGE 按钮选择第 11 页 (用户页面)。
旋转 DATA CONTROL 旋钮选择用户节奏编号。
1
2
<USER> [FILE]⁄⁄
¿01:User 1
3
<USER> [FILE]⁄⁄
¿04:User 4

ELB-01 使用说明书 65
4
●●●●●●●●●●●●●●●●●●●●●●●●●●●●●●●●●●●●●●
从外接存储介质中选择节奏
可以从 USB 存储设备载入节奏,并将其选择为用户节奏。
也可以载入伴奏文件格式文件 (扩展名:
STY 或 ST2)。
将存储介质插入 USB TO DEVICE 端口。
按右侧节奏按钮的任意一个用户按钮。
使用 PAGE 按钮选择第 11 页 (用户页面)。
选择要载入模式组文件的用户编号。
按屏幕中 [FILE] 对应的 [B] 按钮,打开文件载入功能。
将出现 File Select 屏幕。
1
2
3
<USER> [FILE]⁄⁄
¿01:User 1
4
<USER> [FILE]⁄⁄
¿04:User 4
5
<FILE SELECT> ⁄⁄
¿Ã001:USB 01 [Õ]
<USER> [FILE]⁄⁄
¿04:User 4
注
使用 M.D.R. 功能时或者播放
音序数据时无法完成文件载
入。
如果正在播放节奏时文件选
择屏幕被调出,节奏将自动
停止。

ELB-01 使用说明书 67
4
●●●●●●●●●●●●●●●●●●●●●●●●●●●●●●●●●●●●●●●●●●●●●●●●●●
节奏列表
本列表显示 Electone 上所有可用的节奏。
本列表每列左侧写出的数字表示在 Rhythm 菜单中显示的编
号按钮。
本表中每列右侧打印的字母 A、 B和 D表示相应的 DATA CONTROL 旋钮的名称。
按该按钮选择相
应的节奏。
MARCH
01 Marching Band 1 A
02 Marching Band 2
03 Marching Band 3
04 6/8 March B
05 6/8 Kids
06 6/8 Organ March
07 Broadway
08 SF March
09 Wild West
10 Baroque
11 Metronome 2/4 D
WALTZ
01 Gentle Waltz
02 Guitar Serenade
03 Snow Waltz
04 Classic Waltz A
05 Mariachi
06 Musette
07 Jazz Waltz 1 B
08 Jazz Waltz 2
09 Metronome 3/4 D
SWING&JAZZ
01 Big Band 1 A
02 Big Band 2
03 Big Band Bop
04 Orch. Big Band
05 Orchestra Swing
06 Jungle Drum
07 Medium Jazz B
08 Afro Cuban
09 Five-Four
10 Jazz Ballad
11 Moonlight
12 Winter Song
13 Dixieland
14 Dixieland Jazz
15 Charleston D
POPS
01 8Beat Light 1 A
02 8Beat Light 2
03 Folk Rock
04 Asian Pops
05 Unplugged
06 Bubblegum Pop
07 Guitar Pop
08 British 16Beat B
09 Fusion Shuffle
10 Jazz Pop
11 Pop Shuffle
12 British Pop
13 Metronome 4/4 D
R&B
01 Motor City
02 Soul A
03 Frankly Soul
04 Jazz Funk
05 Detroit Pop
06 Modern R&B B
07 New Gospel
08 Gospel Shuffle
09 Gospel Sisters
10 6/8 Soul
11 Blues Shuffle D
LATIN
01 Big Band Samba A
02 Light Samba
03 Bossa Nova
04 Pop Bossa B
05 Mambo 1
06 Mambo 2
07 Montuno
08 Calypso
09 Cha Cha Cha
10 Big Band Cha Cha
11 Pop Cha Cha
12 Rumba
13 Beguine
14 Tango 1 D
15 Tango 2
WORLD MUSIC
01 Bolero
02 Flamenco
03 Pop Flamenco
04 Pasodoble
05 Polka 1 A
06 Polka 2
07 Banda Polka
08 Irish Dance B
09 Tarantella
10 Enka
11 Sheriff Reggae
12 Bluegrass
13 Hoedown
14 Hawaiian D
15 Mexican Dance
BALLAD
01 Power Ballad
02 Dramatic Ballad
03 Movie Ballad
04 Carpenters Pop
05 Love Song
06 16Beat Ballad 1 A
07 16Beat Ballad 2
08 Easy Ballad
09 Guitar Ballad
10 Organ Ballad
11 Chart Ballad
12 Analog Ballad
13 8Beat Modern B
14 Chillout
15 Slow&Easy
16 6/8 Slow Rock D
ROCK
01 Power Rock A
02 Southern Rock
03 60's Rock
04 Hard Rock B
05 Rock Shuffle D
06 Tears Rock 1
07 Tears Rock 2
08 British Rock
09 New Country
10 Rock&Roll
11 Jive
DANCE
01 Ibiza A
02 Euro Trance
03 Techno Party
04 UK Pop
05 Swing House
06 US Hip Hop B
07 Ground Beat
08 Hip Hop Pop
09 Club Latin
10 Latin Disco D
11 Garage
12 6/8 Trance
13 80's Dance
14 Pop Beat
15 Disco Philly
16 70's Disco
17 Disco Chocolate
创建用于缓慢、柔和的乐曲或者在开始部分不使
用低音声部乐曲的某些节奏,可能没有鼓的声部。
若要使用这些节奏,请参阅下列信息。
下列节奏
/部分不包含鼓声部。
若要播放这些节奏
/
部分,请确定打开伴奏声部。
下列三种节奏的一些部分不包自动低音声部。
这
说明即使打开了自动低音和弦,低音声部也不会
发声。
・华尔兹:
吉它小夜曲
・民族音乐:
流行佛来明哥舞曲
・摇滚:
新乡村音乐
・
节拍器 2/4
・节拍器 3/4
・节拍器 4/4
Category Rhythm Sections
MARCH
6/8 Organ
March Main A, Main B
Baroque All sections except
Intro 1
WALTZ Guitar
Serenade
All sections except
Intro 1
WORLD
MUSIC
Banda Polka Main A, Fill In A
Mexican
Dance Main A, Fill In A
BALLAD Dramatic
Ballad Main A

ELB-01 使用说明书
68
4
使用节奏时,伴奏功能具有琶音和弦和其它乐器修饰音。
该控制按钮从
Rhythm Condition 屏幕的第 3页和第 4页中选择。
选择需要的节奏,然后在面板上再次按相同的按钮。
将出现 Rhythm Condition 屏幕。
使用 PAGE 按钮选择第 3页或第 4页。
每种伴奏包含七个声部,并可目视确认 Rhythm Condition 屏幕中第 3
页和第 4页中所有声部的开 /关状态。
这些声部,除主鼓和附加鼓外,
都是伴奏声部。
这种伴奏具有五个声部:
Chord 1、 Chord 2、 Pad、 Phrase 1 和 Phrase
2,按相应的按钮可以将每个声部设定为 “开”或 “关”。
如果将所有
声部关闭,伴奏将不会发出声音。
3伴奏
1
<PERCUSSION>”AUTO.F⁄
VOL.¿12 REV.÷ 8
2
<PERCUSSION>”AUTO.F⁄
VOL.¿12 REV.÷ 8
”MAIN DR. ”ADD DR.‹
’CHORD1 ’CHORD2
’PAD ›
’PHRASE1 ’PHRASE2
[第 3页 ] Rhythm Condition 屏幕
[第 4页 ] Rhythm Condition 屏幕
伴奏
伴奏

ELB-01 使用说明书 69
4
打开需要的声部。
连续按与需要的伴奏声部对应的 [A] - [D] 按钮将在 “开”和 “关”
之间变化。
1
Chord 1
2
Chord 2
这些为节奏和弦伴奏声音。
若要设定 Chord 1 的开 /关状态,使用 Rhythm Condition 屏幕第 3页中
的 [C] 按钮;使用 [D] 按钮设定 Chord 2 的状态。
3
Pad
该声部具有延音和弦,经常使用美妙的声音,如弦乐和风琴声。
若要设定 Pad 的开 /关状态,使用 Rhythm Condition 屏幕第 4页中的
[A] 按钮。
4
Phrase 1
5
Phrase 2
这些声部用于增强乐曲的各种修饰音和即兴乐句,如铜管乐组重音与
和弦琵音。
若要设定 Phrase 1 的开 /关状态,使用 Rhythm Condition 屏幕第 4页中
的 [C] 按钮;使用 [D] 按钮设定 Phrase 2 的状态。
并不是所有的声部包含伴奏数据。
根据选择的节奏和节奏部分,一些
声部可能是空的。
主奏鼓和附加鼓包含鼓和打击乐节奏模式组。
将主奏鼓和附加鼓都关闭
时,鼓乐器和打击乐器不会发出声音。
一般来说,主鼓包含节奏的主声部,附加鼓包含附加的打击乐声如小手
鼓。
3
”MAIN DR. ”ADD DR.‹
’CHORD1 ’CHORD2
12
’PAD ›
’PHRASE1 ”PHRASE2
3
45
[第 3页 ] Rhythm Condition 屏幕
[第 4页 ] Rhythm Condition 屏幕

ELB-01 使用说明书
70
4
按 [START] 按钮开始播放节奏,然后演奏下键盘。
若要调整对伴奏设定的音量和混响量:
在 Rhythm Condition 屏幕的第 2页中进行设置。
选择需要的节奏然后在面板上再次按相同的节奏按钮。
将出现
Rhythm Condition 屏幕。
使用 PAGE 按钮选择第 2页。
确定混响和音量设置。
1
Volume
确定伴奏音量。
按 [C] 按钮使 “
¿”指示灯闪烁,然后使用 DATA CONTROL 旋钮更改
设置。
Range:
0
–
24
2
Reverb
确定对伴奏设定的混响量。
Reverb Depth (对于整个乐器)设定为最小
时,此处的设置无效。
按 [D] 按钮使 “
÷”指示灯闪烁,然后使用 DATA CONTROL 旋钮更改
设置。
Range:
0
–
24
4
1
参考页
Rhythm Condition 屏幕 (第
62 页)
2
<PERCUSSION>”AUTO.F⁄
VOL.¿12 REV.÷ 8
<ACCOMPANIMENT> ¤
VOL.¿16 REV.÷ 8
2
1
[第 2页 ] Rhythm Condition 屏幕
参考页
混响深度 (第
48 页)

ELB-01 使用说明书 71
4
自动低音和弦 (
A.B.C.)功能用于 Electone 的节奏部分,在演奏时自动进行
贝司伴奏。
为您的演奏增添了全新范围,可让您自主、有效地选择各种伴
奏。
可使用三种模式产生自动伴奏模式组。
可以在 A.B.C 屏幕的第 1页中选
择需要的模式。
若要设定 A.B.C. 功能:
按 [A.B.C./M.O.C.] 按钮。
将出现 A.B.C. 屏幕。
使用 DATA CONTROL 旋钮选择需要的模式。
A.B.C. 模式
顺时针旋转 DATA CONTROL 旋钮可以按 Off
→
Single Finger
→
Fingered
Chord
→
Custom A.B.C. 的顺序选择模式。
逆时针 DATA CONTROL 旋钮,以
相反顺序选择。
使用 [SYNCHRO START] 按钮开始节奏时,将下键盘 /脚键盘注册记忆设定
为 “开”。
注册记忆关闭时,将手指从下键盘上松开将停止节奏。
有关详细
信息,请参阅第
73 页上的 “
Memory”。
1
Off
取消自动低音和弦功能。
4自动伴奏—自动低音和弦 (
A.B.C.)
[第 1页 ] A.B.C. 屏幕
<ABC> ’L.MEMORY⁄
¿OFF ’P.MEMORY
OFF
SINGLE
FINGERED
CUSTOM
1
2
3
4

ELB-01 使用说明书
72
4
2
Single
仅使用一只手指、或者最多两、三个手指演奏和弦便可产生大和弦、小和
弦、属七和弦和小七和弦。
单指弹奏模式提供了最快、最简单的方法,以获
得许多不同的和弦 /低音组合。
无论在下键盘上的任何地方演奏,产生的和
弦都会将以相同的八度发出声音。
C键
大三和弦:
按和弦的根音 (对应和弦名称的音符)。
小三和弦:
同时按根音和其左侧的任何黑键。
属七和弦:
同时按根音和其左侧的任何白键。
小七和弦:
同时按根音和其左侧的任何黑键与白键。
不使用节奏以单指和弦指法演奏为您的演奏增加全部连续和弦。
3
Fingered Chord
Fingered Chord 模式自动为在下键盘上演奏的和弦产生贝司伴奏。
其可让您
比单指弹奏模式使用更多的和弦类型。
在多指和弦模式中,演奏多指和弦时
自动低音和弦功能将自动选择适当的低音模式组。
如果在下键盘中只演奏一
个或两个音符,在原演奏和弦的基础上将发出适当和弦的声音。
C键
不使用节奏演奏多指和弦为您的演奏增加全部连续和弦。
4
A.B.C. 定制
A.B.C. 定制模式比多指和弦模式多一些变化。
这可让您确定在下键盘演奏和弦过程中,在脚键盘上演奏音符时在伴奏中播
放什么低音音符。
注
A.B.C. 功能模式被设定为
Single 或 Fingered Chord
时,即使演奏脚键盘,低音
声部也不会发出声音。
C
Cm
C7
Cm7
C Cm C7 Cm7 Cmaj7
CaugCm maj7 Cdim Cdim7 Csus4
Cm7-5C7sus4 C6 Cm6 Cadd9
注
演奏特定和弦时 (
aug、
dim7、 sus4、 6和 m6), 请
确定未演奏的最低和弦是和
弦的根音。

ELB-01 使用说明书 73
4
Memory
记忆功能是 A.B.C 功能中一种方便的演奏工具,可让随伴奏演奏时声音变得
更流畅。
在下键盘和脚键盘中分别具有该功能。
使用时,将记忆功能打开,
开始播放节奏并根据选定的 A.B.C. 模式演奏和弦和低音音符。记忆功能打开
时,伴奏将持续播放,即便是松开手指 (和脚)。
想要更改为下一和弦时,
只需演奏并松开,自动伴奏将继续随着新和弦和低音音符保持播放。
这就是
说,您可以短暂地演奏和弦 /低音音符,并在演奏下一和弦 /低音音符之前
可有一定的时间—您不必按住某个和弦随着伴奏继续。
A.B.C. 功能关闭时 (但记忆功能打开时),节奏和弦和低音模式组的自动伴
奏不会发出声音,但下键盘和 /或脚键盘的声音将持续直到您演奏下一个和
弦 /低音音符。
1
Lower Memory
此功能设定为 “开”时,播放节奏时即使手指从下键盘上松开,下键
盘音色和和弦伴奏也将持续播放。
连续按 [B] 按钮将在 “开”和 “关”之间进行切换。
2
Pedal Memory
此功能设定为 “开”时,播放节奏时即使脚离开脚键盘,脚键盘音色
和贝司伴奏也将持续播放。
连续按 [D] 按钮将在 “开”和 “关”之间进行切换。
(在单指弹奏和多指弹奏模式:)
此功能设定为 “开”时,即使手指
离开下键盘,脚键盘音色的贝司伴奏也将继续播放。
<ABC> ’L.MEMORY⁄
¿OFF ’P.MEMORY
1
2

ELB-01 使用说明书
74
4
旋律和弦 (
M.O.C.)功能为在上键盘上演奏的旋律自动添加和声声部。
和声
是从在下键盘上演奏的和弦中—或者是从演奏的和弦中 (如果使用了自动伴
奏)提取出来的。
若要设定 M.O.C. 功能:
按 [A.B.C./M.O.C.] 按钮。
将出现 A.B.C. 屏幕。
使用 PAGE 按钮选择第 2页。
将出现 M.O.C. 屏幕。
打开 M.O.C. 功能。
连续按 [C] 按钮将在 “开”和 “关”之间进行切换。
On:
在旋律演奏的闭合范围产生最多两个音符的和声。
Off:
取消旋律和弦功能。
只有上键盘音色组的音量设定为适当数值时才能听到旋律和弦。
旋律和弦不适用于主音色。
5旋律和弦 (
M.O.C.)
1
2
<ABC> ’L.MEMORY⁄
¿OFF ’P.MEMORY
<MOC> ¤
MODE¿OFF
[第 2页 ] M.O.C. 屏幕
3
<MOC> ¤
MODE¿ON

ELB-01 使用说明书 75
4
节奏音序
节奏音序可让您创造出独特的节奏作品,将 Electone 现有的节奏与其它具
有节奏音色编程功能的 Electone 型号 (如 ELS-01)创造出的原始节奏连
接在一起。
尽管 ELB-01 不具备全部的节奏音序编程功能,但您可以使用下面的步骤
将四个节奏作品载入到屏幕中的音序编号 1-4 中以供将来调出。
节奏音序包含注册音序数据或下一个注册数据时,这些数据也可以载入到
ELB-01 中并进行演奏。
播放某个节奏时,无法载入注册数据中的音序数据。
将包含需要的节奏音序数据的存储介质插入 USB TO DEVICE 端
口。
按 [MDR] 按钮并选择想要载入 Electone 需要的乐曲。
这很有必要,因为节奏音序数据在乐曲中被保存为注册数据的一部
分。
按 MDR 部分中的 [PLAY/PAUSE] 按钮载入需要的注册数据。
现在节奏音序数据已经被载入到音序编号 1-4。
1
2
ÃUSB 01 [˜] ⁄
¿ 001:SONG 1
3
参考页
乐曲 (第
116 页)
选择乐曲
(第
111 页
)

ELB-01 使用说明书
76
4
按 [RHYTHM SEQUENCE] 按钮调出 Rhythm Sequence 屏幕。
按屏幕中与需要的音序编号对应的 [A] - [D] 按钮选择音序进行播
放。
连续按 [A] – [D] 按钮将在 “开”和 “关”之间进行切换。
用 [A] 按
钮选择音序 1,用 [B] 按钮选择音序 2,用 [C] 按钮选择音序 3,用
[D] 按钮选择音序 4。
按 Rhythm 部分的 [START] 按钮播放节奏音序。
只有设定为 “开”的音序可以播放。
两个或多个节奏音序可以按数
字顺序连续播放。
播放后,在屏幕中实心方形指示变为空心方形。
注
音序编号 1
–
4 可同时打开。
4
5
”SEQ.1 ”SEQ.2
’SEQ.3 ’SEQ.4
6

ELB-01 使用说明书 77
4
键盘打击乐器功能提供多种不同的鼓声和打击乐声,可从键盘和脚键盘中演
奏。
键盘打击乐器有两种不同的模式,预置和用户。
预置键盘打击乐器可让
您从键盘 (事先指定的琴键)上演奏预置的鼓组声,而用户键盘打击乐器可
让您自由地将鼓声指定到任何琴键或脚键盘上。
●●●●●●●●●●●●●●●●●●●●●●●●●●●●●●●●●●●●●●
使用预置键盘打击乐器
将每种音色的音量设定为 MIN,会将上键盘、下键盘和 /或脚键盘音色
关闭。
按 Keyboard Percussion [1] 或 [2] 按钮将打开键盘打击乐器功能。
按
[1] 按钮在上 /下键盘演奏打击乐声,而按 [2] 按钮在脚键盘上演奏。
选择需要的打击乐器组。
一共可从 15 种乐器中选择。
按 [D] 按钮使 “
÷”指示灯闪烁,然后使用 DATA CONTROL 旋钮选择
乐器。
6键盘打击乐器
1参考页
音色的开 /关状态 (第
28 页 )
2
<KBP1> ⁄
¿PRE1 KIT÷Wonder
[第 1页 ] 键盘打击乐器屏幕 注
将 [1] 和 [2] 两个按钮设定为
开,便可以同时演奏两种键
盘打击乐器组。

ELB-01 使用说明书
78
4
选择需要的打击乐器组。
一共可从 15 种乐器中选择。
按 [D] 按钮使 “
÷”指示灯闪烁,然后使用 DATA CONTROL 旋钮选择
乐器。
在键盘和 /或脚键盘上演奏一些音符。
有关每种乐器的打击乐指定的详细信息,请参阅第
80 页上的 “预置键
盘打击乐器列表”。
●●●●●●●●●●●●●●●●●●●●●●●●●●●●●●●●●●●●●●
改变键盘打击乐器音量 /混响
可在 Keyboard Percussion 屏幕的第 2页进行设置。
将每种音色的音量设定为 MIN,会将上键盘、下键盘和 /或脚键盘音色
关闭。
按 Keyboard Percussion 按钮。
使用 PAGE 按钮选择 Keyboard Percussion 屏幕的第 2页。
3
<KBP1> ⁄
¿PRE1 KIT÷Wonder
4
参考页
音色的开 /关状态
(第
28 页 )1
2
<KBP1> ⁄
¿PRE1 KIT÷Wonder
参考页
使用预置键盘打击乐器
(第
77 页 )
调出用户键盘打击乐器
(第
92 页 )
3
<KBP1> ¤
VOL.¿16 REV.÷ 8

ELB-01 使用说明书 79
4
您可以调整屏幕中的键盘打击乐器音量 /混响。
1
Volume
确定键盘打击乐器音量。
按 [C] 按钮使 “
¿”指示灯闪烁,然后使用 DATA CONTROL 旋钮选择乐器。
Range:
0
–
24
2
Reverb
确定对键盘打击乐器设定的混响量。
Reverb Depth (对于整个乐器)设定为最小时,此处的设置无效。
按 [D] 按钮使 “
÷”指示灯闪烁,然后使用 DATA CONTROL 旋钮选择乐器。
Range:
0
–
24
[第 2页 ] 键盘打击乐器屏幕
<KBP1> ¤
VOL.¿16 REV.÷ 8
12
参考页
Reverb Depth (第
48 页)

ELB-01 使用说明书
80
4
●●●●●●●●●●●●●●●●●●●●●●●●●●●●●●●●●●●●●●●●●●●●●●●●●●
预置键盘打击乐器列表
表示鼓声 /打击乐声及其相对应的琴键。
: Indicates the keys of the keyboard.
Wonderland Kit EL Drum Kit
Preset 2 (
PK) Preset 1 (
LK) Preset 1 (
UK) Preset 2 (
PK) Preset 1 (
LK) Preset 1 (
UK)
Thunder Laser Beam BD Heavy
Horse Laser Shot SD BrRoll
Bass Drum Water Phone SD Heavy
Footsteps Bubble SD BrShot 1 Claves
Snare Puddle SD Reverb 1
Snare Roll Thunder SD Light
Footsteps Shower Tom 3 Synth Tom 3
Lion Beach SD Rim 1 Concert BD
Footsteps Stream Tom 2 Synth Tom 2
Oxen Footsteps HH Close BD Heavy
Footsteps Door Squeak Tom 1 Synth Tom 1
Door Slam Door Slam HH Open BD Light
Big Clock Bass Drum Bass Drum Ride Cym 1 SD Heavy
–
Footsteps Gran Cassa Gran Cassa Synth Tom 3 SD BrRoll
–
Starship Tom 2 Tom 2 Crash Cym 1 SD Heavy
–
Footsteps Tom 1 Tom 1 Synth Tom 2 SD BrShot 1
–
Train Snare Snare Orch Cym SD Reverb 1
–
Car Crash Snare Roll Snare Roll SD Light
–
Footsteps HH Closed HH Closed Synth Tom 1 Tom 3
–
Puddle Cymbal Cymbal SD Rim 1
–
HH Open HH Open Tom 2
–
Tambourine Tambourine HH Close
–
FingerSnaps FingerSnaps Tom 1
–
Castanet Castanet HH Open
–
Triangle M Triangle M Ride Cym 1
–
Woodblock L Woodblock L Orch SD
–
Triangle O Triangle O Crash Cym 1
–
Woodblock H Woodblock H SD Roll
–
Handclap Handclap Orch Cym
–
Jingle Bell Jingle Bell OrchCymRoll
–
Bell Tree Bell Tree Triangle M
–
Alarm Bell Alarm Bell Tambourine
–
Train Train Triangle O –
Horn 1 Horn 1 Castanet –
Horn 2 Horn 2 Cowbell 1 –
Siren Siren Timbale 1 L –
Car Engine Car Engine Timbale 1 H –
Car Crash Car Crash WoodBlock L –
Helicopter Helicopter Conga L –
Starship Starship WoodBlock H –
Sheep Sheep Conga H –
Goat Goat Bongo L –
Oxen Oxen Agogo L –
Whinny Whinny Bongo H –
Horse Horse Agogo H –
Lion Lion Cuica L –
Dog Dog Hand Claps –
Cat Cat Cuica H –
Rooster Rooster Shaker –
Owl –
Insects –
Frog –
Tweet 1 –
Tweet 2 –
CuckooClock –
Big Clock –
Bell –
Telephone –
Camera –
Gnaw –
Applause –
C1
D1
F1
G1
A1
C2
D2
F2
G2
A2
C3
D3
F3
G3
A3
C4
D4
F4
G4
A4
C5
D5
F5
G5
A5
C5
D5
E5
F5
G5
A5
B5
C6
C4
D4
E4
F4
G4
A4
B4
C3
D3
E3
F3
G3
A3
B3
C2
D2
E2
F2
G2
A2
B2
C1
D1
E1
F1
G1
A1
B1

ELB-01 使用说明书 81
4
Standard Kit 1 Standard Kit 2
Preset 2 (
PK) Preset 1 (
LK) Preset 1 (
UK) Preset 2 (
PK) Preset 1 (
LK) Preset 1 (
UK)
Kick
–
Kick Short
–
Side Stick Surdo Mute SideStick L Surdo Mute
Snare Surdo Open Snare Short Surdo Open
Hand Clap Hi Q Hand Clap Hi Q
Snare Tight Whip Slap SnareTightH Whip Slap
Floor Tom L Scratch H Floor Tom L Scratch H
HH Closed Scratch L HH Closed Scratch L
Floor Tom H Finger Snap Floor Tom H Finger Snap
HH Pedal Click Noise HH Pedal Click Noise
Low Tom Metro.Click Low Tom Metro.Click
HH Open Metro.Bell HH Open Metro.Bell
Mid Tom L Seq Click L Mid Tom L Seq Click L
Mid Tom H Seq Click H
–
Mid Tom H Seq Click H
–
Crash Cym 1 Brush Tap
–
Crash Cym 1 Brush Tap
–
High Tom Brush Swirl
–
High Tom Brush Swirl
–
Ride Cym 1 Brush Slap
–
Ride Cym 1 Brush Slap
–
Chinese Cym Br TapSwirl
–
Chinese Cym Br TapSwirl
–
RideCym Cup Snare Roll
–
RideCym Cup Snare Roll
–
Tambourine Castanet
–
Tambourine Castanet
–
Splash Cym Snare Soft
–
Splash Cym SnareSoft 2
–
Sticks
–
Sticks
–
Kick Soft –Kick Soft –
OpenRimShot –OpRimShot H –
Kick Tight –Kick Tight –
Kick Bongo H Kick Short Bongo H
Side Stick Bongo L SideStick L Bongo L
Snare CongaH Mute Snare Short CongaH Mute
Hand Clap CongaH Open Hand Clap CongaH Open
Snare Tight Conga L SnareTightH Conga L
Floor Tom L Timbale H Floor Tom L Timbale H
HH Closed Timbale L HH Closed Timbale L
Floor Tom H Agogo H Floor Tom H Agogo H
HH Pedal Agogo L HH Pedal Agogo L
Low Tom Cabasa Low Tom Cabasa
HH Open Maracas HH Open Maracas
Mid Tom L SambaWhis.H Mid Tom L SambaWhis.H
Mid Tom H SambaWhis.L Mid Tom H SambaWhis.L
Crash Cym 1 Guiro Short Crash Cym 1 Guiro Short
High Tom Guiro Long High Tom Guiro Long
Ride Cym 1 Claves Ride Cym 1 Claves
Chinese Cym WoodBlock H Chinese Cym WoodBlock H
RideCym Cup WoodBlock L RideCym Cup WoodBlock L
Tambourine Cuica Mute Tambourine Cuica Mute
Splash Cym Cuica Open Splash Cym Cuica Open
Cowbell Triangle M Cowbell Triangle M
Crash Cym 2 Triangle O Crash Cym 2 Triangle O
Vibraslap Shaker Vibraslap Shaker
Ride Cym 2 JingleBells Ride Cym 2 JingleBells
–Bell Tree –Bell Tree
– –
– –
– –
– –
– –
– –
– –
– –
– –
– –
– –
– –
C1
D1
F1
G1
A1
C2
D2
F2
G2
A2
C3
D3
F3
G3
A3
C4
D4
F4
G4
A4
C5
D5
F5
G5
A5
C5
D5
E5
F5
G5
A5
B5
C6
C4
D4
E4
F4
G4
A4
B4
C3
D3
E3
F3
G3
A3
B3
C2
D2
E2
F2
G2
A2
B2
C1
D1
E1
F1
G1
A1
B1

ELB-01 使用说明书
82
4
Hit Kit Room Kit
Preset 2 (
PK) Preset 1 (
LK) Preset 1 (
UK) Preset 2 (
PK) Preset 1 (
LK) Preset 1 (
UK)
KickTight H
–
Kick
–
StickAmbien Surdo Mute Side Stick Surdo Mute
SnareAmbien Surdo Open SnareSnappy Surdo Open
Hand Clap Hi Q Hand Clap Hi Q
SnareTight2 Whip Slap SnrTightSnp Whip Slap
HybridTom 1 Scratch H Tom Room 1 Scratch H
HH Closed 2 Scratch L HH Closed Scratch L
HybridTom 2 Finger Snap Tom Room 2 Finger Snap
HH Pedal 2 Click Noise HH Pedal Click Noise
HybridTom 3 Metro.Click Tom Room 3 Metro.Click
HH Open 2 Metro.Bell HH Open Metro.Bell
HybridTom 4 Seq Click L Tom Room 4 Seq Click L
HybridTom 5 Seq Click H
–
Tom Room 5 Seq Click H
–
Crash Cym 1 Brush Tap
–
Crash Cym 1 Brush Tap
–
HybridTom 6 Brush Swirl
–
Tom Room 6 Brush Swirl
–
Ride Cym 1 Brush Slap
–
Ride Cym 1 Brush Slap
–
Chinese Cym Br TapSwirl
–
Chinese Cym Br TapSwirl
–
RideCym Cup Snare Roll
–
RideCym Cup Snare Roll
–
TambourineL Castanet
–
Tambourine Castanet
–
Splash Cym Snr Electro
–
Splash Cym Snare Soft
–
Sticks
–
Sticks
–
KickTight L –Kick Soft –
Snare Pitch –OpenRimShot –
Kick Wet –Kick Tight –
KickTight H Bongo H Kick Bongo H
StickAmbien Bongo L Side Stick Bongo L
SnareAmbien CongaH Mute SnareSnappy CongaH Mute
Hand Clap CongaH Open Hand Clap CongaH Open
SnareTight2 Conga L SnrTightSnp Conga L
HybridTom 1 Timbale H Tom Room 1 Timbale H
HH Closed 2 Timbale L HH Closed Timbale L
HybridTom 2 Agogo H Tom Room 2 Agogo H
HH Pedal 2 Agogo L HH Pedal Agogo L
HybridTom 3 Cabasa Tom Room 3 Cabasa
HH Open 2 Maracas HH Open Maracas
HybridTom 4 SambaWhis.H Tom Room 4 SambaWhis.H
HybridTom 5 SambaWhis.L Tom Room 5 SambaWhis.L
Crash Cym 1 Guiro Short Crash Cym 1 Guiro Short
HybridTom 6 Guiro Long Tom Room 6 Guiro Long
Ride Cym 1 Claves Ride Cym 1 Claves
Chinese Cym WoodBlock H Chinese Cym WoodBlock H
RideCym Cup WoodBlock L RideCym Cup WoodBlock L
TambourineL Cuica Mute Tambourine Cuica Mute
Splash Cym Cuica Open Splash Cym Cuica Open
Cowbell Triangle M Cowbell Triangle M
Crash Cym 2 Triangle O Crash Cym 2 Triangle O
Vibraslap Shaker Vibraslap Shaker
Ride Cym 2 JingleBells Ride Cym 2 JingleBells
–Bell Tree –Bell Tree
– –
– –
– –
– –
– –
– –
– –
– –
– –
– –
– –
– –
C1
D1
F1
G1
A1
C2
D2
F2
G2
A2
C3
D3
F3
G3
A3
C4
D4
F4
G4
A4
C5
D5
F5
G5
A5
C5
D5
E5
F5
G5
A5
B5
C6
C4
D4
E4
F4
G4
A4
B4
C3
D3
E3
F3
G3
A3
B3
C2
D2
E2
F2
G2
A2
B2
C1
D1
E1
F1
G1
A1
B1

ELB-01 使用说明书 83
4
Rock Kit Electro Kit
Preset 2 (
PK) Preset 1 (
LK) Preset 1 (
UK) Preset 2 (
PK) Preset 1 (
LK) Preset 1 (
UK)
Kick Gate
–
KickGateHvy
–
Side Stick Surdo Mute Side Stick Surdo Mute
Snare Rock Surdo Open SnareNoisy2 Surdo Open
Hand Clap Hi Q Hand Clap Hi Q
SnRockTight Whip Slap SnareNoisy3 Whip Slap
Tom Rock 1 Scratch H TomElectro1 Scratch H
HH Closed Scratch L HH Closed Scratch L
Tom Rock 2 Finger Snap TomElectro2 Finger Snap
HH Pedal Click Noise HH Pedal Click Noise
Tom Rock 3 Metro.Click TomElectro3 Metro.Click
HH Open Metro.Bell HH Open Metro.Bell
Tom Rock 4 Seq Click L TomElectro4 Seq Click L
Tom Rock 5 Seq Click H
–
TomElectro5 Seq Click H
–
Crash Cym 1 Brush Tap
–
Crash Cym 1 Brush Tap
–
Tom Rock 6 Brush Swirl
–
TomElectro6 Brush Swirl
–
Ride Cym 1 Brush Slap
–
Ride Cym 1 Brush Slap
–
Chinese Cym Br TapSwirl
–
Chinese Cym Reverse Cym
–
RideCym Cup Snare Roll
–
RideCym Cup Snare Roll
–
Tambourine Castanet
–
Tambourine Hi Q 2
–
Splash Cym Snare Noisy
–
Splash Cym SnrSnapElec
–
Sticks
–
Sticks
–
Kick Soft –Kick 3 –
OpenRimShot –OpenRimShot –
Kick 2 –Kick Gate –
Kick Gate Bongo H KickGateHvy Bongo H
Side Stick Bongo L Side Stick Bongo L
Snare Rock CongaH Mute SnareNoisy2 CongaH Mute
Hand Clap CongaH Open Hand Clap CongaH Open
SnRockTight Conga L SnareNoisy3 Conga L
Tom Rock 1 Timbale H TomElectro1 Timbale H
HH Closed Timbale L HH Closed Timbale L
Tom Rock 2 Agogo H TomElectro2 Agogo H
HH Pedal Agogo L HH Pedal Agogo L
Tom Rock 3 Cabasa TomElectro3 Cabasa
HH Open Maracas HH Open Maracas
Tom Rock 4 SambaWhis.H TomElectro4 SambaWhis.H
Tom Rock 5 SambaWhis.L TomElectro5 SambaWhis.L
Crash Cym 1 Guiro Short Crash Cym 1 Guiro Short
Tom Rock 6 Guiro Long TomElectro6 Guiro Long
Ride Cym 1 Claves Ride Cym 1 Claves
Chinese Cym WoodBlock H Chinese Cym WoodBlock H
RideCym Cup WoodBlock L RideCym Cup WoodBlock L
Tambourine Cuica Mute Tambourine Scratch H 2
Splash Cym Cuica Open Splash Cym Scratch L 2
Cowbell Triangle M Cowbell Triangle M
Crash Cym 2 Triangle O Crash Cym 2 Triangle O
Vibraslap Shaker Vibraslap Shaker
Ride Cym 2 JingleBells Ride Cym 2 JingleBells
–Bell Tree –Bell Tree
– –
– –
– –
– –
– –
– –
– –
– –
– –
– –
– –
– –
C1
D1
F1
G1
A1
C2
D2
F2
G2
A2
C3
D3
F3
G3
A3
C4
D4
F4
G4
A4
C5
D5
F5
G5
A5
C5
D5
E5
F5
G5
A5
B5
C6
C4
D4
E4
F4
G4
A4
B4
C3
D3
E3
F3
G3
A3
B3
C2
D2
E2
F2
G2
A2
B2
C1
D1
E1
F1
G1
A1
B1

ELB-01 使用说明书
84
4
Analog Kit Jazz Kit
Preset 2 (
PK) Preset 1 (
LK) Preset 1 (
UK) Preset 2 (
PK) Preset 1 (
LK) Preset 1 (
UK)
Kick Analog
–
Kick Jazz
–
SideStickAn Surdo Mute SideStick L Surdo Mute
SnareAnalog Surdo Open SnareJazz L Surdo Open
Hand Clap Hi Q Hand Clap Hi Q
SnareAnlg 2 Whip Slap SnareJazz M Whip Slap
TomAnalog 1 Scratch H Floor Tom L Scratch H
Hat CloseAn Scratch L HH Closed Scratch L
TomAnalog 2 Finger Snap Floor Tom H Finger Snap
HatCloseAn2 Click Noise HH Pedal Click Noise
TomAnalog 3 Metro.Click Low Tom Metro.Click
Hat Open An Metro.Bell HH Open Metro.Bell
TomAnalog 4 Seq Click L Mid Tom L Seq Click L
TomAnalog 5 Seq Click H
–
Mid Tom H Seq Click H
–
CrashAnalog Brush Tap
–
Crash Cym 1 Brush Tap
–
TomAnalog 6 Brush Swirl
–
High Tom Brush Swirl
–
Ride Cym 1 Brush Slap
–
Ride Cym 1 Brush Slap
–
Chinese Cym Reverse Cym
–
Chinese Cym Br TapSwirl
–
RideCym Cup Snare Roll
–
RideCym Cup Snare Roll
–
Tambourine Hi Q 2
–
Tambourine Castanet
–
Splash Cym SnareNoisy4
–
Splash Cym SnareJazz H
–
Sticks
–
Sticks
–
Kick 3 –Kick Soft –
OpenRimShot –OpenRimShot –
KickAnlgSht –Kick Tight –
Kick Analog Bongo H Kick Jazz Bongo H
SideStickAn Bongo L SideStick L Bongo L
SnareAnalog CongaAnlg H SnareJazz L CongaH Mute
Hand Clap CongaAnlg M Hand Clap CongaH Open
SnareAnlg 2 CongaAnlg L SnareJazz M Conga L
TomAnalog 1 Timbale H Floor Tom L Timbale H
Hat CloseAn Timbale L HH Closed Timbale L
TomAnalog 2 Agogo H Floor Tom H Agogo H
HatCloseAn2 Agogo L HH Pedal Agogo L
TomAnalog 3 Cabasa Low Tom Cabasa
Hat Open An Maracas 2 HH Open Maracas
TomAnalog 4 SambaWhis.H Mid Tom L SambaWhis.H
TomAnalog 5 SambaWhis.L Mid Tom H SambaWhis.L
CrashAnalog Guiro Short Crash Cym 1 Guiro Short
TomAnalog 6 Guiro Long High Tom Guiro Long
Ride Cym 1 Claves 2 Ride Cym 1 Claves
Chinese Cym WoodBlock H Chinese Cym WoodBlock H
RideCym Cup WoodBlock L RideCym Cup WoodBlock L
Tambourine Scratch H 2 Tambourine Cuica Mute
Splash Cym Scratch L 2 Splash Cym Cuica Open
CowbellAnlg Triangle M Cowbell Triangle M
Crash Cym 2 Triangle O Crash Cym 2 Triangle O
Vibraslap Shaker Vibraslap Shaker
Ride Cym 2 JingleBells Ride Cym 2 JingleBells
–Bell Tree –Bell Tree
– –
– –
– –
– –
– –
– –
– –
– –
– –
– –
– –
– –
C1
D1
F1
G1
A1
C2
D2
F2
G2
A2
C3
D3
F3
G3
A3
C4
D4
F4
G4
A4
C5
D5
F5
G5
A5
C5
D5
E5
F5
G5
A5
B5
C6
C4
D4
E4
F4
G4
A4
B4
C3
D3
E3
F3
G3
A3
B3
C2
D2
E2
F2
G2
A2
B2
C1
D1
E1
F1
G1
A1
B1

ELB-01 使用说明书 85
4
Brush Kit Symphony Kit
Preset 2 (
PK) Preset 1 (
LK) Preset 1 (
UK) Preset 2 (
PK) Preset 1 (
LK) Preset 1 (
UK)
Kick Jazz
–
GranCassa M
–
SideStick L Surdo Mute Side Stick Surdo Mute
BrushSlap 3 Surdo Open Band Snare Surdo Open
Hand Clap Hi Q Hand Clap Hi Q
Brush Tap 2 Whip Slap BandSnare 2 Whip Slap
Tom Brush 1 Scratch H Floor Tom L Scratch H
HH Closed Scratch L HH Closed Scratch L
Tom Brush 2 Finger Snap Floor Tom H Finger Snap
HH Pedal Click Noise HH Pedal Click Noise
Tom Brush 3 Metro.Click Low Tom Metro.Click
HH Open Metro.Bell HH Open Metro.Bell
Tom Brush 4 Seq Click L Mid Tom L Seq Click L
Tom Brush 5 Seq Click H
–
Mid Tom H Seq Click H
–
Crash Cym 1 Brush Tap
–
Hand Cymbal Brush Tap
–
Tom Brush 6 Brush Swirl
–
High Tom Brush Swirl
–
Ride Cym 1 Brush Slap
–
Hand Cym S Brush Slap
–
Chinese Cym Br TapSwirl
–
Chinese Cym Br TapSwirl
–
RideCym Cup Snare Roll
–
RideCym Cup Snare Roll
–
Tambourine Castanet
–
Tambourine Castanet
–
Splash Cym BrushSlap 2
–
Splash Cym Snare Soft
–
Sticks
–
Sticks
–
Kick Soft –Kick Soft 2 –
OpenRimShot –OpenRimShot –
Kick Tight –Gran Cassa –
Kick Jazz Bongo H GranCassa M Bongo H
SideStick L Bongo L Side Stick Bongo L
BrushSlap 3 CongaH Mute Band Snare CongaH Mute
Hand Clap CongaH Open Hand Clap CongaH Open
Brush Tap 2 Conga L BandSnare 2 Conga L
Tom Brush 1 Timbale H Floor Tom L Timbale H
HH Closed Timbale L HH Closed Timbale L
Tom Brush 2 Agogo H Floor Tom H Agogo H
HH Pedal Agogo L HH Pedal Agogo L
Tom Brush 3 Cabasa Low Tom Cabasa
HH Open Maracas HH Open Maracas
Tom Brush 4 SambaWhis.H Mid Tom L SambaWhis.H
Tom Brush 5 SambaWhis.L Mid Tom H SambaWhis.L
Crash Cym 1 Guiro Short Hand Cymbal Guiro Short
Tom Brush 6 Guiro Long High Tom Guiro Long
Ride Cym 1 Claves Hand Cym S Claves
Chinese Cym WoodBlock H Chinese Cym WoodBlock H
RideCym Cup WoodBlock L RideCym Cup WoodBlock L
Tambourine Cuica Mute Tambourine Cuica Mute
Splash Cym Cuica Open Splash Cym Cuica Open
Cowbell Triangle M Cowbell Triangle M
Crash Cym 2 Triangle O Hand Cym 2 Triangle O
Vibraslap Shaker Vibraslap Shaker
Ride Cym 2 JingleBells HandCym 2 S JingleBells
–Bell Tree –Bell Tree
– –
– –
– –
– –
– –
– –
– –
– –
– –
– –
– –
– –
C1
D1
F1
G1
A1
C2
D2
F2
G2
A2
C3
D3
F3
G3
A3
C4
D4
F4
G4
A4
C5
D5
F5
G5
A5
C5
D5
E5
F5
G5
A5
B5
C6
C4
D4
E4
F4
G4
A4
B4
C3
D3
E3
F3
G3
A3
B3
C2
D2
E2
F2
G2
A2
B2
C1
D1
E1
F1
G1
A1
B1

ELB-01 使用说明书
86
4
SFX1 SFX2
Preset 2 (
PK) Preset 1 (
LK) Preset 1 (
UK) Preset 2 (
PK) Preset 1 (
LK) Preset 1 (
UK)
CutingNoiz1
–
Phone Call
–
CutingNoiz2
–
Door Squeak
–
– –
Door Slam
–
String Slap
–
Scratch Cut
–
– –
Scratch H 3
–
– –
Wind Chime
–
– –
Phone Ring
–
– – – –
– – – –
– – – –
– – – –
– – – –
––––––
––––––
––––––
––––––
Fl.KeyClick
––
CarEngnIgni
––
–––
CarTiresSql
––
–––
Car Passing
– –
–––
Car Crash
––
– – – –
– – – –
– – – –
– – – –
CutingNoiz1
–
Phone Call Burst
CutingNoiz2
–
Door Squeak Coaster
––
Door Slam Submarine
String Slap
–
Scratch Cut
–
– –
Scratch H 3 –
– – Wind Chime –
– – Phone Ring –
– – – –
–Shower –Laugh
–Thunder –Scream
–Wind –Punch
–Stream –Heart Beat
–Bubble –Foot Steps
–Feed – –
– – – –
– – – –
Fl.KeyClick –CarEngnIgni –
– – CarTiresSql –
– – Car Passing –
– – Car Crash –
– – Siren –
– – Train –
– – Jet Plane –
– – Starship –
–Dog –Machine Gun
–Horse –Laser Gun
Bird Tweet Explosion
–Firework
– –
– –
Ghost –
Maou –
– –
– –
– –
– –
– –
C1
D1
F1
G1
A1
C2
D2
F2
G2
A2
C3
D3
F3
G3
A3
C4
D4
F4
G4
A4
C5
D5
F5
G5
A5
C5
D5
E5
F5
G5
A5
B5
C6
C4
D4
E4
F4
G4
A4
B4
C3
D3
E3
F3
G3
A3
B3
C2
D2
E2
F2
G2
A2
B2
C1
D1
E1
F1
G1
A1
B1

ELB-01 使用说明书 87
4
ArabicKit
Preset 2 (
PK) Preset 1 (
LK) Preset 1 (
UK)
Kick Soft
–
Side Stick
–
Snare Soft
–
Arabic Clap
–
Snare Drum
–
Floor Tom L
–
HH Closed
–
Floor Tom H
–
HH Pedal
–
Low Tom
–
HH Open
–
Mid Tom L
–
Mid Tom H Nakarazan D
–
Crash Cym 1 Cabasa
–
High Tom Nakarazan E
–
Ride Cym 1 Hager Dom
–
Crash Cym 2 Hager Edge
–
Duhulla Dom Bongo H
–
Tambourine Bongo L
–
Duhulla Tak CongaH Mute
–
CongaH Open
–
Conga L
–
Zagrouda H
–
Zagrouda L
–
Kick Soft Katem Dom
Side Stick Katem Tak
Snare Soft Katem Sak
Arabic Clap Katem Tak
Snare Drum Doff Tak
Floor Tom L Tabla Dom
HH Closed Tabla Tak 1
Floor Tom H Tabla Tik
HH Pedal Tabla Tak 2
Low Tom Tabla Sak
HH Open Tabla Roll
Mid Tom L Tabla Flam
Mid Tom H Sagat 1
Crash Cym 1 Tabel Dom
High Tom Sagat 3
Ride Cym 1 Tabel Tak
Crash Cym 2 Sagat 2
Duhulla Dom Rik Dom
Tambourine Rik Tak 2
Duhulla Tak Rik Finger1
Cowbell Rik Tak 1
Duhulla Sak Rik Finger2
Claves Rik Tremolo
Doff Dom Rik Sak
–
Rik Tik
–
–
–
–
–
–
–
–
–
–
–
–
C1
D1
F1
G1
A1
C2
D2
F2
G2
A2
C3
D3
F3
G3
A3
C4
D4
F4
G4
A4
C5
D5
F5
G5
A5
C5
D5
E5
F5
G5
A5
B5
C6
C4
D4
E4
F4
G4
A4
B4
C3
D3
E3
F3
G3
A3
B3
C2
D2
E2
F2
G2
A2
B2
C1
D1
E1
F1
G1
A1
B1

ELB-01 使用说明书
88
4
●●●●●●●●●●●●●●●●●●●●●●●●●●●●●●●●●●●●●●
向用户键盘打击乐器指定声音
可以将任何需要的鼓声和打击乐器声音指定到任何琴键或脚键盘,并且原始
的设置可以保存在八个记忆位置:
用户 1到用户 8。使 用 Keyboard Percussion
[1] 或
[2] 按钮可以调出保存在用户记忆位置的用户设置。
在下面的说明中,鼓声被指定到用户 1中并使用 Keyboard Percussion [1] 按钮
调出。
按 Keyboard Percussion [1] 按钮将打开键盘打击乐器功能。
将出现键盘打击乐器屏幕。
此处选择 “
User 1”。
按 [C] 按钮使 “
¿”指示灯闪烁,然后使用 DATA CONTROL 旋钮选择
“
User 1”。
选择需要的打击乐器组。
按 [D] 按钮使 “
÷”指示灯闪烁,然后使用 DATA CONTROL 旋钮选择
乐器。
请参阅第
93 页上的 “打击乐器组指定一览表”。
1
<KBP1> ⁄
¿PRE1 KIT÷Wonder
[第 1页 ] 键盘打击乐器屏幕
2
<KBP1> ⁄
¿USER1 KIT÷Wonder
3
<KBP1> ⁄
¿USER1 KIT÷EL

ELB-01 使用说明书 89
4
使用 PAGE 按钮选择第 3页。
在此页中,可以为任何琴键指定特定的鼓声。
1类别
使用 [A] 按钮可以选择需要的打击乐器类别。
请参阅第
93 页上的 “打击乐器组指定一览表”。
2
乐器名称
在屏幕中显示每个乐器,并可以使用适当的 [A] – [D] 按钮选择。
请参阅第
93 页上的 “打击乐器组指定一览表”。
3
Set
将选定的乐器指定到需要的琴键。
(请参阅第 7步中的说明。)
4
Clear
该功能用于清除 User 1 的用户指定。以两种方式清除:
或者清除单个
乐器,或者清除全部乐器。
(请参阅第
91 页的说明。)
选择需要的打击乐器组。
按 [A] 按钮使 “
¿”指示灯闪烁,然后使用 DATA CONTROL 旋钮选择
类别。
4
<KBP1> ⁄
¿USER1 KIT÷EL
¿<CYMBAL> [SET]‹
¿01:Crash Cym 1[CLR]
13
24
[第 3页 ] 键盘打击乐器屏幕
5
¿<BASS DRUM> [SET]‹
¿01:BD light [CLR]

ELB-01 使用说明书
90
4
选择需要的乐器。
按 [C] 按钮使 “
¿”指示灯闪烁,然后使用 DATA CONTROL 旋钮选择
乐器。
若要将乐器指定到一个特定琴键或脚键盘。
同时按住 [Set] 对应的 Data Control 按钮和乐器指定的琴键 (或脚键
盘)。
当前显示的乐器将指定到以 User 1 声部按住的琴键。
重复上述必要的操作步骤进行用户键盘打击乐器设定。
6
¿<BASS DRUM> [SET]‹
¿02:BD Heavy [CLR]
7
注
尽管可以创建八个用户键盘
打击乐器,但不能被记忆到
注册记忆中。
只有开 /关数
据和键盘打击乐器菜单能被
记忆到注册记忆中。
¿<BASS DRUM> [SET]‹
¿02:BD Heavy [CLR]
1. 按住 [B] 按钮时 ...
2. 按下琴键。
8

ELB-01 使用说明书 91
4
若要删除一种乐器:
同时按住屏幕中 [Clear] 对应的 [D] 按钮和想要删除乐器对应的琴键 (或脚
键盘)。
(发出一声短的 ‘嘟嘟’声,表示该乐器已经被删除。)
若要删除全部乐器:
可在 Keyboard Percussion 屏幕的第 3页清除所有指定。
按下然后松开屏幕中 [CLEAR] 对应的 [D] 按钮。
将出现下列屏幕,提示操作确认。
此时按 [CANCEL] 对应的 [D] 按钮
可取消操作。
按 [C] 按钮删除全部数据。
按 [C] 按钮时,屏幕上会暂时出现
“
Completed”信息。
切换到其它屏幕时,创建的键盘打击乐器设置将自动保存。
正在保存键盘打击乐器设置时请勿关闭电源。
¿<BASS DRUM> [SET]‹
¿02:BD Heavy [CLR]
按 [D] 按钮 ...
按下琴键。
1
¿<BASS DRUM> [SET]‹
¿02:BD Heavy [CLR]
2
≤Clear assignments?≤
≤[Clear] [Cancel]≤

ELB-01 使用说明书
92
4
●●●●●●●●●●●●●●●●●●●●●●●●●●●●●●●●●●●●●●
调出用户键盘打击乐器
按 Keyboard Percussion 按钮。
选择需要的用户打击乐器组。
按 [C] 按钮使 “
¿”指示灯闪烁,然后使用 DATA CONTROL 旋钮选择
需要的用户编号。
在键盘和 /或脚键盘上演奏一些音符。
1
2
<KBP1> ⁄
¿USER1 KIT÷Wonder

ELB-01 使用说明书 93
4
●●●●●●●●●●●●●●●●●●●●●●●●●●●●●●●●●●●●●●●●●●●●●●●●●●
打击乐器组指定一览表
Wonderland Kit
EL Drum Kit
Standard Kit 1
Standard Kit 2
SFX
Laser Beam
Laser Shot
Water Phone
Bubble
Puddle
NATURE
Thunder
Shower
Beach
Stream
DAILY
Footsteps
Door Squeak
Door Slam
Alarm Bell
CuckooClock
Big Clock
Bell
Telephone
Camera
Gnaw
Applause
PERCUSSION
Bass Drum
Gran Cassa
Tom 1
Tom 2
Snare
Snare Roll
HH Closed
HH Open
Cymbal
Tambourine
FingerSnaps
Castanet
Triangle M
Triangle O
Woodblock L
Woodblock H
Handclap
Jingle Bell
Bell Tree
VEHICLE
Train
Horn 1
Horn 2
Siren
Car Engine
Car Crash
Helicopter
Starship
ANIMAL
Sheep
Goat
Oxen
Whinny
Horse
Lion
Dog
Cat
Rooster
Owl
Insects
Frog
Tweet 1
Tweet 2
CYMBAL
Crash Cym 1
Crash Cym 2
Crash Cym M
Ride Cym 1
Ride Cym 2
RideCym Cup
Orch Cym
OrchCymRoll
Orch Cym M
Cym March
Cym BrShot
Tam-Tam
HIHAT
HH Open
HH Close
HH Pedal 1
HH Pedal 2
Analog HH O
Analog HH C
SNARE DRUM
SD Light
SD Heavy
SD Rim 1
SD Rim 2
SD Accent 1
SD Accent 2
SD Reverb 1
SD Reverb 2
Synth SD
Orch SD
SD Roll
Analog SD
SNARE BRUSH
SD BrShot 1
SD BrShot 2
SD BrRoll
TOM
Tom 1
Tom 2
Tom 3
Tom 4
TomBrShot 1
TomBrShot 2
TomBrShot 3
TomBrShot 4
Synth Tom 1
Synth Tom 2
Synth Tom 3
BASS DRUM
BD Light
BD Heavy
BD Attack
Synth BD
BD March
Concert BD
Analog BD S
Analog BD L
CONGA/BONGO
Conga H
Conga L
Conga Slap
Conga Muff
Conga Slide
Bongo H
Bongo L
Bongo Slap
Bongo Mute
CUICA/SURDO
Cuica H
Cuica M
Cuica L
Tamborim O
Tamborim M
Surdo Open
Surdo Mute
Surdo Rim
Surdo Muff
TIMBALE/COWBELL
Timbale 1 H
Timbale 1 L
Timbale 2 H
Timbale 2 L
Timbale 3 H
Timbale 3 L
Timbale 4 H
Timbale 4 L
Cowbell 1
Cowbell 2
Cowbell 3
Cowbell 4
PERCUSSION 1
Cabasa
Shaker
Maracas H
Maracas L
Guiro Short
Guiro Long
WoodBlock H
WoodBlock M
WoodBlock L
Claves
Castanet
Vibraslap
PERCUSSION 2
Agogo H
Agogo L
Triangle O
Triangle M
WindbellDwn
Windbell Up
Tambourine
Pandeiro
Bells
Hand Claps
Finger Snap
Scratch
Noise Perc.
PERCUSSION 3
Kotsuzumi 1
Kotsuzumi 2
Kotsuzumi 3
Kotsuzumi 4
Ohtsuzumi 1
Ohtsuzumi 2
Taiko 1
Taiko 2
Ohdaiko 1
Ohdaiko 2
Kakegoe 1
Kakegoe 2
Kakegoe 3
CYMBAL
Crash Cym 1
Crash Cym 2
Splash Cym
Chinese Cym
Ride Cym 1
Ride Cym 2
RideCym Cup
HH Open
HH Closed
HH Pedal
SNARE DRUM
Snare
Snare Tight
Snare Soft
Snare Roll
Side Stick
OpenRimShot
Brush Tap
Brush Slap
Brush Swirl
Br TapSwirl
TOM
Floor Tom L
Floor Tom H
Low Tom
Mid Tom L
Mid Tom H
High Tom
BASS DRUM
Kick
Kick Tight
Kick Soft
PERCUSSION 1
CongaH Open
Conga L
CongaH Mute
Bongo H
Bongo L
Timbale H
Timbale L
Cowbell
Claves
Guiro Long
Guiro Short
Maracas
Vibraslap
PERCUSSION 2
Surdo Mute
Surdo Open
Cuica Mute
Cuica Open
Cabasa
Shaker
Agogo H
Agogo L
SambaWhis.H
SambaWhis.L
PERCUSSION 3
Tambourine
Castanet
JingleBells
Bell Tree
Triangle O
Triangle M
WoodBlock H
WoodBlock L
Sticks
Whip Slap
Finger Snap
Hand Clap
PERCUSSION 4
Hi Q
Click Noise
Scratch H
Scratch L
Seq Click L
Seq Click H
Metro.Click
Metro.Bell
CYMBAL
Crash Cym 1
Crash Cym 2

ELB-01 使用说明书
94
4
Hit Kit
Room Kit
Rock Kit
Splash Cym
Chinese Cym
Ride Cym 1
Ride Cym 2
RideCym Cup
HH Open
HH Closed
HH Pedal
SNARE DRUM
Snare Short
SnareTightH
SnareSoft 2
Snare Roll
SideStick L
OpRimShot H
Brush Tap
Brush Slap
Brush Swirl
Br TapSwirl
TOM
Floor Tom L
Floor Tom H
Low Tom
Mid Tom L
Mid Tom H
High Tom
BASS DRUM
Kick Short
Kick Tight
Kick Soft
PERCUSSION 1
CongaH Open
Conga L
CongaH Mute
Bongo H
Bongo L
Timbale H
Timbale L
Cowbell
Claves
Guiro Long
Guiro Short
Maracas
Vibraslap
PERCUSSION 2
Surdo Mute
Surdo Open
Cuica Mute
Cuica Open
Cabasa
Shaker
Agogo H
Agogo L
SambaWhis.H
SambaWhis.L
PERCUSSION 3
Tambourine
Castanet
JingleBells
Bell Tree
Triangle O
Triangle M
WoodBlock H
WoodBlock L
Sticks
Whip Slap
Finger Snap
Hand Clap
PERCUSSION 4
Hi Q
Click Noise
Scratch H
Scratch L
Seq Click L
Seq Click H
Metro.Click
Metro.Bell
CYMBAL
Crash Cym 1
Crash Cym 2
Splash Cym
Chinese Cym
Ride Cym 1
Ride Cym 2
RideCym Cup
HH Open 2
HH Closed 2
HH Pedal 2
SNARE DRUM
SnareAmbien
SnareTight2
Snr Electro
Snare Roll
StickAmbien
Snare Pitch
Brush Tap
Brush Slap
Brush Swirl
Br TapSwirl
TOM
HybridTom 1
HybridTom 2
HybridTom 3
HybridTom 4
HybridTom 5
HybridTom 6
BASS DRUM
KickTight H
Kick Wet
KickTight L
PERCUSSION 1
CongaH Open
Conga L
CongaH Mute
Bongo H
Bongo L
Timbale H
Timbale L
Cowbell
Claves
Guiro Long
Guiro Short
Maracas
Vibraslap
PERCUSSION 2
Surdo Mute
Surdo Open
Cuica Mute
Cuica Open
Cabasa
Shaker
Agogo H
Agogo L
SambaWhis.H
SambaWhis.L
PERCUSSION 3
TambourineL
Castanet
JingleBells
Bell Tree
Triangle O
Triangle M
WoodBlock H
WoodBlock L
Sticks
Whip Slap
Finger Snap
Hand Clap
PERCUSSION 4
Hi Q
Click Noise
Scratch H
Scratch L
Seq Click L
Seq Click H
Metro.Click
Metro.Bell
CYMBAL
Crash Cym 1
Crash Cym 2
Splash Cym
Chinese Cym
Ride Cym 1
Ride Cym 2
RideCym Cup
HH Open
HH Closed
HH Pedal
SNARE DRUM
SnareSnappy
SnrTightSnp
Snare Soft
Snare Roll
Side Stick
OpenRimShot
Brush Tap
Brush Slap
Brush Swirl
Br TapSwirl
TOM
Tom Room 1
Tom Room 2
Tom Room 3
Tom Room 4
Tom Room 5
Tom Room 6
BASS DRUM
Kick
Kick Tight
Kick Soft
PERCUSSION 1
CongaH Open
Conga L
CongaH Mute
Bongo H
Bongo L
Timbale H
Timbale L
Cowbell
Claves
Guiro Long
Guiro Short
Maracas
Vibraslap
PERCUSSION 2
Surdo Mute
Surdo Open
Cuica Mute
Cuica Open
Cabasa
Shaker
Agogo H
Agogo L
SambaWhis.H
SambaWhis.L
PERCUSSION 3
Tambourine
Castanet
JingleBells
Bell Tree
Triangle O
Triangle M
WoodBlock H
WoodBlock L
Sticks
Whip Slap
Finger Snap
Hand Clap
PERCUSSION 4
Hi Q
Click Noise
Scratch H
Scratch L
Seq Click L
Seq Click H
Metro.Click
Metro.Bell
CYMBAL
Crash Cym 1
Crash Cym 2
Splash Cym
Chinese Cym
Ride Cym 1
Ride Cym 2
RideCym Cup
HH Open
HH Closed
HH Pedal
SNARE DRUM
Snare Rock
SnRockTight
Snare Noisy
Snare Roll
Side Stick
OpenRimShot
Brush Tap
Brush Slap
Brush Swirl
Br TapSwirl
TOM
Tom Rock 1
Tom Rock 2
Tom Rock 3
Tom Rock 4
Tom Rock 5
Tom Rock 6
BASS DRUM
Kick Gate
Kick 2
Kick Soft
PERCUSSION 1
CongaH Open
Conga L
CongaH Mute
Bongo H
Bongo L
Timbale H
Timbale L
Cowbell
Claves
Guiro Long
Guiro Short
Maracas
Vibraslap
PERCUSSION 2
Surdo Mute
Surdo Open
Cuica Mute
Cuica Open
Cabasa
Shaker
Agogo H
Agogo L
SambaWhis.H
SambaWhis.L

ELB-01 使用说明书 95
4
Electro Kit
Analog Kit
Jazz Kit
Brush Kit
PERCUSSION 3
Tambourine
Castanet
JingleBells
Bell Tree
Triangle O
Triangle M
WoodBlock H
WoodBlock L
Sticks
Whip Slap
Finger Snap
Hand Clap
PERCUSSION 4
Hi Q
Click Noise
Scratch H
Scratch L
Seq Click L
Seq Click H
Metro.Click
Metro.Bell
CYMBAL
Crash Cym 1
Crash Cym 2
Splash Cym
Chinese Cym
Ride Cym 1
Ride Cym 2
RideCym Cup
HH Open
HH Closed
HH Pedal
SNARE DRUM
SnareNoisy2
SnareNoisy3
SnrSnapElec
Snare Roll
Side Stick
OpenRimShot
Brush Tap
Brush Slap
Brush Swirl
Reverse Cym
TOM
TomElectro1
TomElectro2
TomElectro3
TomElectro4
TomElectro5
TomElectro6
BASS DRUM
KickGateHvy
Kick Gate
Kick 3
PERCUSSION1
CongaH Open
Conga L
CongaH Mute
Bongo H
Bongo L
Timbale H
Timbale L
Cowbell
Claves
Guiro Long
Guiro Short
Maracas
Vibraslap
PERCUSSION 2
Surdo Mute
Surdo Open
Scratch H 2
Scratch L 2
Cabasa
Shaker
Agogo H
Agogo L
SambaWhis.H
SambaWhis.L
PERCUSSION 3
Tambourine
Hi Q 2
JingleBells
Bell Tree
Triangle O
Triangle M
WoodBlock H
WoodBlock L
Sticks
Whip Slap
Finger Snap
Hand Clap
PERCUSSION 4
Hi Q
Click Noise
Scratch H
Scratch L
Seq Click L
Seq Click H
Metro.Click
Metro.Bell
CYMBAL
CrashAnalog
Crash Cym 2
Splash Cym
Chinese Cym
Ride Cym 1
Ride Cym 2
RideCym Cup
Hat Open An
Hat CloseAn
HatCloseAn2
SNARE DRUM
SnareAnalog
SnareAnlg 2
SnareNoisy4
Snare Roll
SideStickAn
OpenRimShot
Brush Tap
Brush Slap
Brush Swirl
Reverse Cym
TOM
TomAnalog 1
TomAnalog 2
TomAnalog 3
TomAnalog 4
TomAnalog 5
TomAnalog 6
BASS DRUM
Kick Analog
KickAnlgSht
Kick 3
PERCUSSION 1
CongaAnlg M
CongaAnlg L
CongaAnlg H
Bongo H
Bongo L
Timbale H
Timbale L
CowbellAnlg
Claves 2
Guiro Long
Guiro Short
Maracas 2
Vibraslap
PERCUSSION 2
Surdo Mute
Surdo Open
Scratch H 2
Scratch L 2
Cabasa
Shaker
Agogo H
Agogo L
SambaWhis.H
SambaWhis.L
PERCUSSION 3
Tambourine
Hi Q 2
JingleBells
Bell Tree
Triangle O
Triangle M
WoodBlock H
WoodBlock L
Sticks
Whip Slap
Finger Snap
Hand Clap
PERCUSSION 4
Hi Q
Click Noise
Scratch H
Scratch L
Seq Click L
Seq Click H
Metro.Click
Metro.Bell
CYMBAL
Crash Cym 1
Crash Cym 2
Splash Cym
Chinese Cym
Ride Cym 1
Ride Cym 2
RideCym Cup
HH Open
HH Closed
HH Pedal
SNARE DRUM
SnareJazz L
SnareJazz M
SnareJazz H
Snare Roll
SideStick L
OpenRimShot
Brush Tap
Brush Slap
Brush Swirl
Br TapSwirl
TOM
Floor Tom L
Floor Tom H
Low Tom
Mid Tom L
Mid Tom H
High Tom
BASS DRUM
Kick Jazz
Kick Tight
Kick Soft
PERCUSSION 1
CongaH Open
Conga L
CongaH Mute
Bongo H
Bongo L
Timbale H
Timbale L
Cowbell
Claves
Guiro Long
Guiro Short
Maracas
Vibraslap
PERCUSSION 2
Surdo Mute
Surdo Open
Cuica Mute
Cuica Open
Cabasa
Shaker
Agogo H
Agogo L
SambaWhis.H
SambaWhis.L
PERCUSSION 3
Tambourine
Castanet
JingleBells
Bell Tree
Triangle O
Triangle M
WoodBlock H
WoodBlock L
Sticks
Whip Slap
Finger Snap
Hand Clap
PERCUSSION 4
Hi Q
Click Noise
Scratch H
Scratch L
Seq Click L
Seq Click H
Metro.Click
Metro.Bell
CYMBAL
Crash Cym 1
Crash Cym 2
Splash Cym
Chinese Cym
Ride Cym 1
Ride Cym 2
RideCym Cup
HH Open
HH Closed
HH Pedal
SNARE DRUM
BrushSlap 3
Brush Tap 2
BrushSlap 2
Snare Roll
SideStick L
OpenRimShot
Brush Tap
Brush Slap
Brush Swirl
Br TapSwirl
TOM
Tom Brush 1
Tom Brush 2
Tom Brush 3
Tom Brush 4
Tom Brush 5
Tom Brush 6
BASS DRUM

ELB-01 使用说明书
96
4
Symphony Kit
SFX1
SFX2
Arabic Kit
Kick Jazz
Kick Tight
Kick Soft
PERCUSSION 1
CongaH Open
Conga L
CongaH Mute
Bongo H
Bongo L
Timbale H
Timbale L
Cowbell
Claves
Guiro Long
Guiro Short
Maracas
Vibraslap
PERCUSSION 2
Surdo Mute
Surdo Open
Cuica Mute
Cuica Open
Cabasa
Shaker
Agogo H
Agogo L
SambaWhis.H
SambaWhis.L
PERCUSSION 3
Tambourine
Castanet
JingleBells
Bell Tree
Triangle O
Triangle M
WoodBlock H
WoodBlock L
Sticks
Whip Slap
Finger Snap
Hand Clap
PERCUSSION 4
Hi Q
Click Noise
Scratch H
Scratch L
Seq Click L
Seq Click H
Metro.Click
Metro.Bell
CYMBAL
Hand Cymbal
Hand Cym 2
Splash Cym
Chinese Cym
Hand Cym S
HandCym 2 S
RideCym Cup
HH Open
HH Closed
HH Pedal
SNARE DRUM
Band Snare
BandSnare 2
Snare Soft
Snare Roll
Side Stick
OpenRimShot
Brush Tap
Brush Slap
Brush Swirl
Br TapSwirl
TOM
Floor Tom L
Floor Tom H
Low Tom
Mid Tom L
Mid Tom H
High Tom
BASS DRUM
GranCassa M
Gran Cassa
Kick Soft 2
PERCUSSION 1
CongaH Open
Conga L
CongaH Mute
Bongo H
Bongo L
Timbale H
Timbale L
Cowbell
Claves
Guiro Long
Guiro Short
Maracas
Vibraslap
PERCUSSION 2
Surdo Mute
Surdo Open
Cuica Mute
Cuica Open
Cabasa
Shaker
Agogo H
Agogo L
SambaWhis.H
SambaWhis.L
PERCUSSION 3
Tambourine
Castanet
JingleBells
Bell Tree
Triangle O
Triangle M
WoodBlock H
WoodBlock L
Sticks
Whip Slap
Finger Snap
Hand Clap
PERCUSSION 4
Hi Q
Click Noise
Scratch H
Scratch L
Seq Click L
Seq Click H
Metro.Click
Metro.Bell
SFX
CutingNoiz1
CutingNoiz2
String Slap
Fl.KeyClick
Shower
Thunder
Wind
Stream
Bubble
Feed
Ghost
Maou
Dog
Horse
Bird Tweet
SFX 1
Phone Call
Phone Ring
Wind Chime
Door Squeak
Door Slam
Scratch Cut
Scratch H 3
Laugh
Scream
Punch
Heart Beat
Foot Steps
SFX 2
CarEngnIgni
CarTiresSql
Car Passing
Car Crash
Siren
Train
Jet Plane
Starship
Burst
Coaster
Submarine
Machine Gun
Laser Gun
Explosion
Firework
ARABIC 1
Nakarazan D
Nakarazan E
Hager Dom
Hager Edge
Zagrouda H
Zagrouda L
Arabic Clap
Duhulla Dom
Duhulla Tak
Duhulla Sak
Doff Dom
Doff Tak
ARABIC 2
Katem Dom
Katem Tak
Katem Sak
Tabla Dom
Tabla Tak 1
Tabla Tak 2
Tabla Sak
Tabla Tik
Tabla Roll
Tabla Flam
Tabel Dom
Tabel Tak
ARABIC 3
Sagat 1
Sagat 2
Sagat 3
Rik Dom
Rik Tak 1
Rik Tak 2
Rik Sak
Rik Tik
Rik Finger1
Rik Finger2
Rik Tremolo
CYMBAL/SNARE DRUM
Crash Cym 1
Crash Cym 2
Ride Cym 1
HH Open
HH Closed
HH Pedal
Snare Drum
Snare Soft
Side Stick
TOM/BASS DRUM
Floor Tom L
Floor Tom H
Low Tom
Mid Tom L
Mid Tom H
High Tom
Kick Soft
PERCUSSION
CongaH Open
Conga L
CongaH Mute
Bongo H
Bongo L
Cowbell
Claves
Cabasa
Tambourine

ELB-01 使用说明书 97
5
注册记忆
注册记忆是一种强大的演奏工具,可让您的演奏听起来更像一名专业人员。
它可让您保存面板和
LCD 上的全部设置,只需按一个注册记忆按钮,便可在演奏时方便地即刻更改所有的音色设置和节
奏。
按钮通常位于屏幕的右上部,在演奏时便于操作。
只需按想要选择的注册记忆所对应的编号按
钮。
并且,也可以使用右侧脚控开关调出设置。
注册记忆中的所有的注册记忆都可以保存到 USB 闪存。
各种类型的基础注册记忆已被编到注册记忆按钮的 [1] – [8] 编号,附加的注册记忆预置 9 – 16 也可
以方便的调出。
当然,可以将您的注册记忆设置记录到编号按钮上,但请注意该按钮的预置注册记
忆将被覆盖并删除。
将注册记忆初始化可以调出原始出厂预置设置 (并将您的设置删除)。
基础注册记忆
新创建的注册记忆可以保存在注册记忆面板按钮中。
注册记忆中的所有的注
册记忆都可以保存到 USB 闪存。
做出所有需要的面板设置创建原始的注册记忆。
编号 图像 编号 图像
1弦乐合奏 9大铜管乐队
2铜管乐合奏 10 摇滚乐队
3木管乐器合奏 11 欢乐时光
4管弦乐 12 合成流行乐
5长笛组合 13 流行风琴
6钢琴民谣 14 教堂音乐
7爵士乐组合 15 合成钟声
8流行民歌 16 音乐盒
1保存注册记忆
参考页
选择音色 (第
25 页)
选择节奏 (第
56 页)
音色控制和音效 (第
40 页 )
1
5

ELB-01 使用说明书
98
5
按住注册记忆部分的 [M.] (
Memory)(记忆)按钮时,按要保存注册
记忆的编号按钮。
保存注册记忆时,上述编号按钮上的 LED 即刻闪烁。
尽管 ELB-01 只有八个注册记忆按钮,但最多可保存 16 个注册记忆。
若
要保存注册记忆 9 -16,同时按住屏幕选择部分的 [VOICE DISPLAY] 和注
册记忆的 [M.] (
Memory)(记忆)按钮,然后按想要保存注册记忆的编
号按钮 (此时显示为 [1] – [8])。
保存注册记忆时,编号按钮上的 LED 即
刻闪烁。
正在保存注册记忆时请勿关闭电源。
无法记忆的功能和设置:
・音高 (第
150 页)
・
MIDI 控制设置 (第
161 页)
・
LCD 相关设置 (第
19 页)
下列设置与所有注册记忆编号 1 – 16 共用,而且不能单独为每个编号保
存。
・移调 (第
150 页)
・注册记忆转换 (第
102 页)
・自动插入设置 (第
60 页)
・混响类型 (第
48 页)
・用户节奏 (第
64 页)
・用户键盘打击乐器 (第
92 页)
・节奏音序 (第
75 页)
・部分保留设置 (第
99 页)
2
1. 按住 [M.] 按钮时 ... 2. 按需要的编号按钮。
参考页
将注册记忆保存为注册记忆
数据 (文件)(第
124 页)

ELB-01 使用说明书 99
5
只需按想要选择的注册记忆所对应的编号按钮 ([1] – [8])。(选定按钮的
LED 将亮起。)
若要调出注册记忆 9 – 16 中的任意一个,同时按住屏幕选择部分的 [VOICE
DISPLAY] 按钮并按适当的编号按钮。
(对于注册记忆 9 – 16, LED 将不会
点亮。)
也可以使用右侧脚控开关以预编程顺序调出注册记忆。
该功能叫做 “注册记
忆转换”(第
102 页)。
2选择注册记忆
使用 [D.] (
Disable)(部分保留)按钮:
请注意,选择不同的注册记忆按钮时,节奏模式组和自动伴奏模式组也会
改变。
即便对注册记忆进行了更改,演奏时可能有时候想保持相同的节
奏。
按 [D.] (
Disable)(部分保留)按钮可让您在注册记忆变化时保持相
同的节奏、伴奏模式组、速度等等,或者创建自己想要的节奏选择。
[D.] 按钮打开时,即使更改了注册记忆编号,下列功能将不发生变化。
•节奏菜单、节奏部分、节奏速度、节奏音量、节奏混响
•伴奏音量、伴奏混响、伴奏声部的开 /关状态
• A.B.C. 模式、 A.B.C. 记忆
• M.O.C. 模式
91011 12 13 14 15 16
按住
[VOICE DISPLAY] 按钮时, 按需要的编号按钮。
对应的注册记忆编号
例子:
调出注册记忆编号 11
[D.] (
Disable)(部分保留)按钮

ELB-01 使用说明书
100
5
如果想要恢复原始出厂编程的注册记忆,需要初始化 Electone 设置。
请注
意,初始化将删除所有的自定义注册记忆和 LCD 显示屏设置。
请务必将重
要数据保存到外接存储介质中,如 USB 闪存。
初始化 Electone 后打开电源,将调出预置设置,所有注册记忆设置将被删除
并被出厂默认设置所替换。
有关初始化 Electone 的详细信息,请参阅第
20 页上的 “出厂设定 (初始化
Electone)”。
可以将注册记忆设置保存到外接存储设备,如 USB 闪存,将 16 个注册记忆
保存为一个文件。
有关使用外接存储设备的详细信息,请参阅第 6章音乐磁盘录制器
(
M.D.R.)。
下面对如何将注册记忆数据保存到 USB 闪存进行了说明。
将 USB 闪存插入 USB TO DEVICE 端口。
按 [MDR] 按钮。
将出现 MDR 屏幕。
3初始化注册记忆
4将注册记忆数据保存到 USB 闪存
参考页
乐曲 (第
116 页)
1
参考页
USB TO DEVICE 端口
(第
151 页)
2
<SONG SELECT> ⁄
¿Ã001:USB 01 [Õ]

ELB-01 使用说明书 101
5
选择您想要保存注册记忆数据的乐曲 (第
124 页)。
按 PAGE 按钮选择第 9页。
将显示注册记忆保存页面。
按屏幕中 [EXE] (执行)对应的 [B] 按钮。
将出现提示注册记忆数据正在被保存的一条信息。
操作完成后,该信
息将关闭。
您的注册记忆设置被保存到外接存储设备, 16 个注册记忆
被保存为一个文件。
3
ÃUSB 01 [˜] ⁄
¿ ___:new song
4
ÃUSB 01 [˜] ⁄
¿ ___:new song
<REG.SAVE> [EXE] ·
___:new song ¸:__
5
<REG.SAVE> [EXE] ·
___:new song ¸:__
<REG.SAVE> [EXE] ·
001:SONG 1 ¸÷01
参考页
调出已录制的注册记忆
(第
131 页 )
更改乐曲 /文件夹名称
(第
122 页 )

ELB-01 使用说明书
102
5
注册记忆转换功能让您方便地更改注册记忆,无须将手从键盘上移开。
使用表情踏板上的右侧脚控开关,可以跳跃到音序中指定的注册记忆或面板
注册记忆中的步骤,无论是以数字顺序还是以其它指定的顺序。
可以在 Registration Shift 屏幕中设定注册记忆转换顺序。
按 [FOOTSWITCH] 按钮。
如果显示了 Footswitch 页面,按 [A] 按钮切换到 Registration Shift 页
面。
注册记忆转换有三种模式:
转换模式、跳跃模式和用户模式。
这些模
式可以旋转 DATA CONTROL 旋钮在 Regist Shit 屏幕中设定。
顺时针旋转 DATA CONTROL 旋钮,按顺序 (
Shift
→
Jump
→
User)分
别选择。
逆时针旋转 DATA CONTROL 旋钮,以相反顺序选择。
也可
以使用 [C] 按钮选择这些模式。
5注册记忆转换
右侧脚控开关
表情踏板
1
注
按 [FOOTSWITCH] 按钮调出
两种不同屏幕的任意一个,
Registration Shift 屏幕或
Footswitch 屏幕。
按 A按钮
后,可以切换这些屏幕。
按
[FOOTSWITCH] 按钮后,原
来选定的屏幕将出现。
¸<REG.SHIFT>
MODE¿OFF
2

ELB-01 使用说明书 103
5
1
Off
关闭注册记忆转换指定。
选择 Off 时,无法使用右侧脚控开关更改注册
记忆。
2
Shift
在转换模式中,每踢下右侧脚控开关一次将以编号顺序选择注册记忆
预设值。
到达最后的注册记忆后,将再次 ‘返回’选择首个预设值。
选择的编号按钮 (
[1] – [8])的 LED 点亮。
请注意如果选择了注册记
忆 9 – 16,编号按钮的 LED 将不会点亮。
3
Jump
踢下右侧脚控开关将跳跃选择指定的面板注册记忆。
按 [D] 按钮使 “
÷”指示灯闪烁,然后使用 DATA CONTROL 旋钮或
[D] 按钮选择跳跃 “目的地”。
4
User
在用户模式中,每踢下右侧脚控开关一次将根据指定的顺序选择注册
记忆。
也可以指定注册记忆转换功能的结束点。
用户转换可以在第 2
页设定,而转换停止可以在 Registration Shift 屏幕的第 1页中设定。
¸<REG.SHIFT>
MODE¿OFF
OFF
SHIFT
JUMP
USER
1
2
3
4
¸<REG.SHIFT>
MODE¿OFF
¸<REG.SHIFT>
MODE¿SHIFT 1˘ 2
下一个注册记忆
¸<REG.SHIFT>
MODE¿JUMP REGIST÷ 1
目的地的注册记忆编号
¸<REG.SHIFT> ⁄
MODE¿USER END÷STOP

ELB-01 使用说明书
104
5
若要设定用户注册记忆顺序:
按 PAGE 按钮选择第 2页。
在 Registration Menu 部分按需要的编号按钮。
按屏幕中 [INS] (插入)对应的 [B] 按钮。
注册记忆编号出现在屏幕中,表示注册记忆已输入。
重复上述第 2步到第 4步,设定注册记忆顺序的附加编号。
最多可记忆 80 个步骤 (注册记忆)。
1
¸<REG.SHIFT> ⁄
MODE¿USER END÷STOP
¸<REG.SHIFT> [INS]¤
T: ~ ~ ~ ~ ~ [DEL]
输入注册记忆编号
2
注
想要设定注册记忆 9
–
16
时,按住 [VOICE DISPLAY]
按钮时按需要的编号按钮。
(将出现 Voice 屏幕。)
按
[FOOTSWITCH] 按钮调出
Registration Shif 屏幕的第 2
页。
3
¸<REG.SHIFT> [INS]¤
T: ~ ~ ~ ~ ~ [DEL]
闪烁的光标表示数据输入位置。
4
¸<REG.SHIFT> [INS]¤
T: 3 ~ ~ ~ ~ [DEL]
5

ELB-01 使用说明书 105
5
使用 [C] 按钮或 DATA CONTROL 旋钮移动到需要的点,然后使用 [B]
和 [D] 按钮插入或删除需要的编号。
数据输入位置:闪烁的光标表示当前数据输入位置。
如果想要将光标移动到左侧,按 [C] 按钮或逆时针旋转 DATA
CONTROL 旋钮。
如果想要将光标移动到右侧,顺时针旋转 DATA
CONTROL 旋钮。
插入:
使用 [B] 按钮。
这可以首先在注册记忆行的空白位置输入注册记忆编号,或在当前光
标位置替换编号。
若要输入编号,按需要的 Registration Memory 按钮,然后按屏幕中
[INS] (插入)对应的 [B] 按钮。
输入的注册记忆编号将出现在注册记
忆行中。
使用 [INS] 输入注册记忆后,光标可以在编号中移动。
可以使用插入在当前光标位置前插入注册记忆编号。
若要进行操作,
首先将数据输入位置移动到编号位置。
然后,按需要的 Registration
Memory 按钮,然后按屏幕中 [INS] (插入)对应的 [B] 按钮。
新的注
册记忆编号被插入到光标位置,光标右侧的所有其它编号被移动以包
含新的编号。
如果超过注册记忆转换功能允许的 80 个编号范围,将无法输入注册记
忆编号。如果插入操作超过此范围,将显示 “
Cannot insert additional
data”的信息并且无法执行该操作。
删除:使用 [D] 按钮。
若要删除不需要的编号,将光标移动编号位置然后按屏幕中对应 [DEL]
(删除)的 [D] 按钮。
¸<REG.SHIFT> [INS]¤
T: 3 2 5 ~ ~ [DEL]
移动光标位置
插入编号
删除编号
注
输入编号后光标位置在 “
T”
(屏幕的左下侧)时,无法添
加或删除注册记忆数据。
顺
时针旋转 DATA CONTROL
旋钮将光标移动后,添加或
删除数据。
注
在 LCD 中一次可最多显示六
个注册记忆编号;但是,输
入五个或更多的注册记忆编
号后将启动屏幕滚动。
逆时
针旋转 DATA CONTROL 旋
钮,以相反顺序滚动到开始。

ELB-01 使用说明书
106
5
转换停止:
确定注册记忆转换功能的结束点。
按 PAGE 按钮选择第 1页。
按 [D] 按钮使 “
÷”指示灯闪烁,然后使用 DATA CONTROL 旋钮更改设置。
Stop: 选择最后的注册记忆并退出操作。
Top: 到达最后预设设定后,将再次调出首个预设设定,再从头开始。
Next Regist: 到达最后的注册记忆后,将调出乐曲中的下一个注册记忆数
据。
只有两种或多种注册记忆数据设定被保存到一首乐曲中时,才可以使用
该功能。
需要使用超过 16 个注册记忆演奏一首乐曲时,该功能非常有用。
将 Top 或 Next Regist 选择为转换停止时,在输入的注册记忆末部将自动设置
转换停止标志 (
¯:开头、
N:下一个)。
¸<REG.SHIFT>
MODE¿USER END÷STOP
STOP
TOP
NEXT
参考页
将两个或多个注册记忆库保
存到一首乐曲 (第
126 页 )
注
为了在 MDR 中使用下一个注
册记忆播放乐曲,按 [PLAY/
PAUSE] 按钮 (不是
[CUSTOM PLAY] 按钮),然
后启动 MDR。

ELB-01 使用说明书 107
6
音乐磁盘录制器 (
MDR)
音乐磁盘录制器 (
M.D.R.)是 Electone 中内置的一种高级录音系统,可让您将演奏和注册记忆设
置录制到 USB 闪存设备或其它外接存储介质中。
另外, M.D.R. 可让您对乐曲数据进行各种其它操
作 (如复制、删除和转换)。
购买 USB 存储设备前,请向 Yamaha 代理商或授权经销商咨询兼容性问题。
乐曲数据
USB 闪存
复制
转换
删除
将选购的 UD-FD01 软盘驱动器安装到 ELB-01 后,可以播放保存在软盘中的乐曲。
有关安装 UD-
FD01 的详细信息,请参阅第
167 页。
但是请注意,无法将进行过特殊保护的原始乐曲或受保护
的编辑乐曲保存到软盘上。
有关这些受保存乐曲的详细信息,请参阅第
139 页。
使用 USB 设备前,请阅读重要注意事项部分第
155 页上的 “使用 USB TO DEVICE 端口时的注
意事项”。
有关与 Electone 兼容的 USB 设备的详细信息,请参阅第
155 页上的 “兼容 USB 的设
备”。
保护您的数据 (写保护开关):
一些 USB 闪存设备具有写保护开关。
若要防止将 USB 闪存内的重要数据意外删除,请将设备上
的写保护开关滑到 “保护”位置。
保存数据时,请确定写保护开关被设定为 “覆盖”位置。
6

ELB-01 使用说明书
108
6
按面板中的 [MDR] 按钮调出 M.D.R. 屏幕。与 M.D.R. 相关的所有操作,如
录制和播放演奏,都可以在 M.D.R. 屏幕中完成。
M.D.R. 屏面包括 13 个屏幕页面。
每一页具有一种特定的功能,选择适当的
页面可以调出需要的功能或操作。
(例如,选择第 4页可以更改录制乐曲的
名称,选择第 8页可以调出录制的注册记忆。)
M.D.R 屏幕打开时按 [MDR] 按钮之外的任何按钮将从 M.D.R. 屏幕中退出。
如果无意中从该功能中退出,只需再次按 [MDR] 按钮便可重新调出 M.D.R.
屏幕。
进行删除或转换乐曲等操作后,确定返回到第 1页(
Song Select 屏幕)。
1使用 M.D.R. 功能
注
如果 USB TO DEVICE 端口
中没有介质插入时按下了
[MDR] 按钮,屏幕的底部将
出现 “
Internet”选项。但
Internet 功能不可用。
MDR 屏幕
显示 页面功能
第 1页 Song Select 选择乐曲。
第 2页 Playback Setting 设定播放速度或顺序。
第 3页 Part 设定主音色或 KBP 的录制状态。
第 4页 Rename 更改乐曲 /文件夹的名称。
第 5页 Copy 复制乐曲。
第 6页 Delete 删除乐曲 /文件夹。
第 7页 Convert 转换数据格式。
第 8页 Registration Load 将注册记忆数据载入 ELB-01。
第 9页 Registration Save 将注册记忆数据保存到外接存储介质。
第 10 页 Registration Delete 从乐曲中删除注册记忆。
第 11 页 Create Folder 创建文件夹。
第 12 页 Format 格式化存储介质。
第 13 页 Remain 检查剩余记忆。
<SONG SELECT> ⁄
¿Ã001:USB 01 [Õ]

ELB-01 使用说明书 109
6
如果发现无法使用新的空白的,或者其它设备使用过的旧的 USB 闪存 /软
盘,则可能需要进行格式化。
格式化将把存储介质中的所有数据删除并使其
可以进行录制。
格式化删除的数据将永久性丢失。
进行操作前,请检查存储
介质中是否包含重要数据。
将存储介质插入 USB TO DEVICE 端口。
按面板上的 [MDR] 按钮调出 M.D.R. 屏幕。
选择想要进行格式化的存储介质。
若要格式化某个 USB 闪存设备,请选择 “
USB xx”(
xx 表示设备编
号)。
如果插入了两个存储介质 /设备,首先插入的存储介质将显示为
“
USB 01”,后面插入的显示为 “
USB 02”。
未显示出需要的存储介质时,旋转 DATA CONTROL 旋钮或者连续按
[C] 按钮选择需要的存储介质。
2格式化外接存储介质
1
2
<SONG SELECT> ⁄
¿Ã001:USB 01 [Õ]
3
<SONG SELECT> ⁄
¿Ã001:USB 01 [Õ] 注
将选购的 UD-FD01 软盘驱动
器安装到 ELB-01 后,就可
以将软盘格式化。
软盘在屏
幕中将显示为 “
USB-FDxx”
(
xx 表示磁盘编号)。

ELB-01 使用说明书
110
6
按 PAGE 按钮选择第 12 页。
将出现 Format 屏幕。
按屏幕中 [EXE] (执行)对应的 [B] 按钮。
将出现提示操作确认的信息。
此时按 [CANCEL] 对应的 [D] 按钮可取
消操作。
按屏幕中对应 [Format] 的 [C] 按钮,将存储介质格式化。
操作完成后, LCD 将返回第 12 页(
Format 屏幕)。
同时按 PAGE 按钮返回第 1页(
Song Select 屏幕)。
4
<SONG SELECT> ⁄
¿Ã001:USB 01 [Õ]
<FORMAT> [EXE]⁄¤
USB 01
当前选定的存储介质名称
5
≤OK to format? ≤
≤[Format] [Cancel]≤
<FORMAT> [EXE]⁄¤
USB 01
6
≤OK to format? ≤
≤[Format] [Cancel]≤
小心
请勿在格式化操作过程中取
出存储介质。
<SONG SELECT> ⁄
¿Ã001:USB 01 [Õ]
<FORMAT> [EXE]⁄¤
USB 01

ELB-01 使用说明书 111
6
为了将您的演奏录制到存储介质中或将存储介质中的注册记忆载入
Electone,需要按下面步骤选择乐曲。
若要录制您的演奏,需要指定进行录制的乐曲。
若要复制或转换乐曲,不仅
仅需要指定进行复制或转换的乐曲,也需要指定想要保存新创建数据的乐
曲。
若要选择需要的乐曲:
将存储介质插入 USB TO DEVICE 端口,然后按 [MDR] 按钮。
出现 Song Select 屏幕 (第 1页)。
在 Song Select 屏幕中,可以选择需要录制演奏或保存注册记忆设置的
空乐曲,或者选择播放需要的乐曲。
3选择乐曲
什么是乐曲?
可以将乐曲想像为一种 “容器”,用于将
一段乐曲保存为 Electone 数据,录制到外
接存储介质中。
一首乐曲既可以包含录制
的演奏,也可以包含注册记忆。
注册记忆数据
演奏数据
乐曲
参考页
存储介质内容:
文件夹、乐
曲和文件 (第
116 页 )
1
<SONG SELECT> ⁄
¿Ã001:USB 01 [Õ]
存储介质图标 当前选定的存储介质
乐器正在存取数据时,切勿
取出介质。(一些 USB 闪存
设备具有 LED。正在存取介
质时, LED 将闪烁。)

ELB-01 使用说明书
112
6
选择需要的存储介质。
若要使用某个 USB 闪存设备,请选择 “
USB xx”(
xx 表示设备编
号)。
如果插入了两个 USB 闪存设备,首先插入的设备将显示为
“
USB 01”,后面插入的显示为 “
USB 02”。
若要使用软盘,请选择
“
USB-FD xx”(
xx 表示磁盘编号)。
未显示出需要的存储介质时,旋转 DATA CONTROL 旋钮或者连续按
[C] 按钮选择需要的存储介质。
选择介质时,屏幕的底部将出现 “
Internet”选项。但 Internet 功能不
可用。
选择乐曲
按对应屏幕中 [
Õ
]的 [D] 按钮,调出选定存储介质中需要的乐曲或文件
夹。
如果选定的存储介质没有数据,将自动选择 “
new song”(空乐曲)。
如果选定的存储介质包含文件和乐曲,将首先选择文件夹,然后可以
顺时针旋转 DATA CONTROL 旋钮,按照 folders
→
new song
→
songs
(包含数据)的顺序选择下列项目。
也可以连续按 [C] 按钮选择乐曲
(文件夹)。
有关如何选择文件夹中乐曲的详细信息,请参阅第
113 页上的 “选择
文件夹中的乐曲”。
2
<SONG SELECT> ⁄
¿Ã001:USB 01 [Õ]
3
ÃUSB 01 [˜] ⁄
¿ ___:new song
<SONG SELECT> ⁄
¿Ã001:USB 01 [Õ]
在此选择所需的乐曲

ELB-01 使用说明书 113
6
如果想要进行新录制或保存数据,请选择 “
new song”(空乐曲)。
若只播放现有的乐曲,请参考乐曲名称和图标选择需要的乐曲 (包含
数据)。
选择文件夹中的乐曲:
请注意,根据设备中保存的多个数据以及创建文件夹的数量,想要使用的乐
曲可以在存储介质的根目录中轻松地找到,或者可能其放在有其它乐曲的文
件夹中。
下面的图示对如何使用屏幕在存储设备的文件夹中存取特定乐曲进行了说明
(此时将调出乐曲 “
Twinkle Twinkle Little Star”)。
下图表示出设备中文件夹和乐曲的级别。
按照黑色箭头和相应的说明步骤选
择需要的乐曲 “
Twinkle Twinkle Little Star”。
旋转 DATA CONTROL 旋钮或连续按 [C] 按钮可以按顺序选择相同级别中的
乐曲或文件夹。
ÃUSB 01 [˜] ⁄
¿ ___:new song
注
如果存储介质 /文件夹中乐
曲数量少于 100,存储介质 /
文件夹中将自动创建一个空
乐曲 “
new song”。
参考页
录音 (第
117 页 )
ÃUSB 01 [˜] ⁄
¿ 001:SONG 1 ´
参考页
更改乐曲 /文件夹名称
(第
122 页 )
乐曲图标 (第
116 页 )
参考页
播放一首乐曲 (第
132 页 )
Twinkle
Twinkle
Little Star
USB 闪存 (
USB
01)
FOLDER_001 FOLDER_002
new song new song SONG 1
注
除非存储介质 /文件夹中乐
曲数量少于 100,存储介质 /
文件夹中将自动创建一个空
乐曲 “
new song”。
Twinkle Twinkle
Little Star
1. 按 [D] 按钮 2. 使用 DATA CONTROL 旋钮或 [C] 按钮
3. 按 [D] 按钮
4. 使用 DATA CONTROL 旋钮或 [C] 按钮
第 1级
(根目录)
第 2级根目录
第 3级根目录
USB 闪存 (
USB 01)
FOLDER_001 FOLDER_002 new song
new song
SONG 1

ELB-01 使用说明书
114
6
该表仍是实际步骤,但按线型排列。
按 [D] 按钮调出屏幕底部选定存储介质中的文件夹。
将显示 FOLDER_001。
旋转 DATA CONTROL 旋钮或连续按 [C] 按钮选择 FOLDER_002。
按 [D] 按钮调出屏幕底部 FOLDER_002 中的乐曲。
这时,将显示 “
new song”。
旋转 DATA CONTROL 旋钮或连续按 [C] 按钮,选择需要的乐曲
“
Twinkle Twinkle Little Star”。
1
<SONG SELECT> ⁄
¿Ã001:USB 01 [Õ]
ÃUSB 01 [˜] ⁄
¿¶001:FOLDER_001 [Õ]
2
ÃUSB 01 [˜] ⁄
¿¶002:FOLDER_002 [Õ]
3
ÃUSB 01 [˜] ⁄
¿¶002:FOLDER_002 [Õ]
öFOLDER_002 [˜] ⁄
¿ ___:new song
4
öFOLDER_002 [˜] ⁄
¿ 001:Twinkle ´

ELB-01 使用说明书 115
6
若要更改存储介质 /文件夹:
想要更改存储介质 /文件夹 /乐曲时,确定选择 Song Select 屏幕 (第 1
页)。
1当前存储介质 /文件夹 /乐曲
显示当前选定的存储介质 /文件夹 /乐曲。
这时,将显示文件夹
“
FOLDER_003”。
2更改当前存储介质 /文件夹 /乐曲
旋转 DATA CONTROL 旋钮或连续按 [C] 按钮,可以选择当前存储介质 /文
件夹 /乐曲。
3显示整个乐曲名称
若要显示屏幕中当前选定的文件夹 /乐曲 (最多 36 个字符)的全名,请按
住 [A] 按钮。
4上级文件夹或存储介质
将会显示包含当前选定文件夹 /乐曲的上级文件夹 /存储介质。
屏幕左上部
显示的存储介质图标 (
Ã)和文件夹图标 (
¶)表示存储介质中的当前位
置。
例如,“
öFOLDER_002”表示存储介质中根目录的 “
FOLDER_002”
文件夹名称。
对于更深层的文件夹 (在第 3级以下),文件夹图标
“
Ã...¶”将显示。
5移动到上一级
按 [B] 按钮选择上一级。
如果打开的文件夹在第 2级以下,按住 [B] 按钮 (大于 2秒)可立即跳回到
第 1级。
6移动到下一级
按 [D] 按钮选择下一级。
如果选择了一首乐曲,屏幕中将不显示 [
Õ
]。
öFOLDER_002 [˜] ⁄
¿ 003:FOLDER_003 [Õ]
6
4
35
21

ELB-01 使用说明书
116
6
乐曲图标
选择存储介质、文件夹和乐曲时将显示这些图标。
图标 说明
Ã表示存储介质,如 USB 闪存或软盘。
¶表示文件夹。
表示不可以编辑的受保护乐曲。
有关详情信息,请参见第
139
页。
À表示可以编辑的受保护乐曲。
˛
表示写保护或复制保护有效时,从存储介质中的乐曲转换的乐
曲。
有关详细信息,请参阅第
142 页上的 “将 EL 格式转换为
ELB”。
´表示乐曲中包含演奏数据。
E001:SONG 1 表示使用 EL 系列 Electone 如 EL-900 或 EL-100 创建的乐曲。
X001:XGSONG001 表示 XG 乐曲。
存储介质内容:
文件夹、乐曲和文件
文件夹:
文件夹是存储介质中的存储位置,以组来组织多首乐曲。
如果已将上百首乐曲保存到 USB 闪存设备,要快速找到需要的乐曲会很
困难。
在文件夹中将相似的乐曲分为一组,组织乐曲 (例如根据流派或
速度),可以更容易地找到需要的乐曲。
乐曲:
一首乐曲像一种 “容器”,用于将一段乐曲保存为 Electone 数据,录制到
外接存储介质中。
一首乐曲既可以包含录制的演奏,也可以包含注册记
忆。
一首不包含数据的空乐曲显示为 “
new song”。
选择包含演奏数据的乐曲时,屏幕中将显示音符图标 (
´)。
文件:
文件是指乐曲中的数据元素。
例如,一首乐曲包含各种文件,如注册记忆
文件和演奏文件。下面是使用 M.D.R. 创建的文件类型。(
Electone 屏幕中
将不出现扩展名。但是他们会显示在计算机中。)
Song
1
Song
2
Song
3
Song
4
Song
5
Song
6
3
2
Song 1
Song Song Song
Song 4 56
USB 闪存 USB 闪存
创建文件夹
Folder 001
Folder 002

ELB-01 使用说明书 117
6
●●●●●●●●●●●●●●●●●●●●●●●●●●●●●●●●●●●●●●
录音
录音前,对 Electone 在整个录音过程中进行需要的设置。
设定在注册记忆中
演奏 /录音中需要的注册记忆,并也确定选择了在乐曲开始时要使用的注册
记忆
将存储介质插入 USB TO DEVICE 端口。
选择录制演奏的空乐曲 (
New Song)。
有关选择乐曲的详细信息,请参阅第
112 页上的第 2步和第 3步。
按 [RECORD] 按钮。
[RECORD] 按钮上面的指示灯点亮,表示 Electone 已经准备进行录音。
此时按 [STOP] 按钮可取消操作。
按 [PLAY/PAUSE] 按钮。
[PLAY/PAUSE] 按钮上面的指示灯将点亮,一个小箭头的指示灯在
LCD 显示屏的右上部从左到右穿梭闪烁。
这表示 M.D.R. 正在读取注册
记忆。
LCD 显示屏的右上部出现 “
REC~~”后,开始演奏。
乐曲中的文件
4录音
文件 说明 扩展名
演奏数据 该文件包含在 Electone 的键盘和脚键盘上的演奏数据。 .mid
注册记忆数据 该文件包括注册记忆设置、用户音色、用户节奏和节奏音序。 .b00
XG- 转换数据 该文件包括 XG 乐曲数据, Electone 演奏数据被转换为 XG
的兼容格式。 .mid
1
2注
使用下一个注册记忆功能录
制乐曲时,请在按
[RECORD] 按钮前确定按下
了 [PLAY/PAUSE] 按钮。
有
关详细信息,请参阅第
129
页。
ÃUSB 01 [˜] ⁄
¿ ___:new song
3
4
5

ELB-01 使用说明书
118
6
结束演奏后,请按 [STOP] 按钮。
录音停止,演奏被写入到乐曲中。
录制演奏的乐曲将自动命名为 “
SONG xx”(
xx 表示数字)。
可以按
需要更改乐曲名称。
(有关详细信息,请参阅第
122 页。)
按 [START/STOP] 按钮可以听到新录制的演奏。
几秒钟后 Electone 读取注册记忆时,将开始播放。
有关播放和其它与
播放相关功能的详细信息,请参阅第
132 页。
●●●●●●●●●●●●●●●●●●●●●●●●●●●●●●●●●●●●●●
重新录音 (重试)
如果录音中发生了错误,可以从头将乐曲重新录音。
在播放乐曲的同时,按 [PLAY/PAUSE] 按钮。
这样会自动停止录音并返回乐曲的开始点。
[PLAY/PAUSE] 按钮上面的
指示灯将开始闪烁,表示可以重新录制乐曲。
再次按 [PLAY/PAUSE] 按钮。
从乐曲的开始开始重新录音并用新录制的演奏替换原来录制的演奏。
●●●●●●●●●●●●●●●●●●●●●●●●●●●●●●●●●●●●●●
分别录音各个部分
也可以单独录制自己的演奏。
该功能可让您从乐曲的其它部分中分别录制键
盘打击乐器和演奏控制数据,如注册记忆变更和表情踏板操作。
键盘打击乐
器和主音色甚至可以单独录制。
下列说明为一个例子:
首先,使用下键盘和
脚键盘向乐曲录制和弦和低音,然后使用上键盘录制旋律。
按照第
117 页上的第 1步到第 3步调出 Rec Standby 屏幕。
6
小心
录音过程中 (显示信息时)
切勿将存储介质取出。
7
1
2
1

ELB-01 使用说明书 119
6
选择进行录制的部分。
每次按声部按钮将切换状态:
Play (绿色 LED)、 Off (
LED 关闭)和
Rec (红色 LED)。
每次按各个声部按钮将关闭不想要录音的部分,并
确定想要播放的部分点亮绿色 LED,想要录音的部分点亮红色 LED。
Play (绿色 LED):
已经录音的播放部分。
Off (
LED 关闭):
未进行录音或播放。
Record (红色 LED):
录音的部分。
若要在下键盘和脚键盘上录制演奏,请关闭 [UPPER] 按钮上面的
LED,并确定如上述的下插图所示, [LOWER] 按钮上和 [PEDAL] 按钮
上的红色 LED 点亮。
按 [PLAY/PAUSE] 按钮。
LCD 显示屏的右上部出现 “
REC~~”后,开
始演奏。
演奏结束停止录制时,按 [Stop] 按钮。
现在您已经录制了演奏的第一部分。
设置下一部分的录音
—
这时为上键盘部分。
按 [RECORD] 按钮。
将出现提示操作确认的信息。
若要覆盖,请按屏幕中 [OK] 对应的 [C]
按钮。
选择进行录制的部分。
将下一次 (此时为上键盘部分)想要录制的部分设定为 “
Rec”(红色
LED)。
并且将已经录制的部分 (此时为下键盘和脚键盘部分)设定
为“
Play”(绿色 LED),这样在进行新的录音时会听到原来录制的部
分。
2
3
4
5
6

ELB-01 使用说明书
120
6
按 [CUSTOM PLAY] 按钮开始录制新的部分。
将立即开始播放原来录制的部分。
这里使用 [CUSTOM PLAY] 按钮只
录制已选定进行录音的部分,并只播放已选定进行播放的部分。
聆听
正在播放的部分时,开始在上键盘上演奏旋律。
到达录制演奏的最后时,播放将自动停止。
续录部分的长度不得超过
原录音部分的长度。
7
单独录制主音色和 /或键盘打击乐器部分:
尽管没有主音色和键盘打击乐器这些部分的按钮,也可以单独录制 /播
放。
按照第
119 页上的第 2步在屏幕上设定。
按 PAGE 按钮选择第 3页。
按 [B] 按钮使 “
÷”指示灯闪烁,然后使用 DATA CONTROL 旋钮选择主
音色的状态。
按 [D] 按钮使 “
÷”指示灯闪烁,然后使用 DATA CONTROL 旋钮选择键
盘打击乐器的状态。
无法同时将 Upper 和 Lead 同时设定为 “
Rec”;也无法同时录制下键盘
和键盘打击乐器部分。
注
录制键盘打击乐器时,请确
定 KEYBOARD
PERCUSSION [1] 和 /或 [2]
按钮被设定为 “开”。
<PART> LEAD÷PLAY‹
XG VOL.¿100 KBP÷OFF

ELB-01 使用说明书 121
6
●●●●●●●●●●●●●●●●●●●●●●●●●●●●●●●●●●●●●●
记入点录音
您可以重新录制特定乐句或部分—或者是特定声部或者是所有声部。
将存储介质插入 USB TO DEVICE 端口。
选择包含想要更改乐句的乐曲。
有关选择乐曲的详细信息,请参阅第
112 页上的第 2步和第 3步。
按 [PLAY/PAUSE] 按钮开始播放乐曲。
在想要进行记入点录音的地方按 [PLAY/PAUSE] 按钮。
当前乐曲暂时停止。
按 [RECORD] 按钮。
[RECORD] 按钮上面的指示灯点亮,表示 M.D.R. 已经准备进行录音。
将想要更改的部分设定为 “
Rec”状态,其它部分设定为 “
Play”。
按 [PLAY/PAUSE] 按钮开始记入点录音。
演奏想要更改的新乐句。
到达乐句的最后时,按 [STOP] 按钮退出记入点录音。
1
2
注
要重新录制的乐句中具有明
确的开始和结束点、前后稍
有暂停时,最适合使用该功
能。
3
4
5
6
7
8

ELB-01 使用说明书
122
6
尽管 Electone 为每首录制的乐曲自动指定一种流派,但最好为其取一个 “有
意义”的名称,如原始文件标题,甚至是录音时的日期。
将存储介质插入 USB TO DEVICE 端口。
选择包含想要更改名称的乐曲 /文件夹。
有关选择乐曲或文件夹的详细信息,请参阅第
112 页上的第 2步和第 3
步。
使用 PAGE 按钮选择 Rename 屏幕 (第 4页)。
将出现 Rename 屏幕。
使用 [C] [D] 按钮将光标移到需要的位置。
按 [D] 按钮将光标向右移动一步,而按 [C] 按钮将其移动到左侧
改变光标位置处的字符。
使用 DATA CONTROL 旋钮改变光标处的当前字符。
顺时针旋转旋钮
按顺序选择字符,逆时针旋转以相反顺序选择。
5更改乐曲 /文件夹名称
1
2
3
<RENAME> [EXE] ›
« 001:SONG 1 »
_
光标
注
不能命名空乐曲。
只要乐曲
中包含数据就可以命名。
4
_
<RENAME> [EXE] ›
« 001:SONG 1 »
光标
5
_
<RENAME> [EXE] ›
« 001:SONH 1 »

ELB-01 使用说明书 123
6
若要删除一个字符:
将光标移动到要删除的字符,并在按住 [A] 按钮的同时按 [C] 按钮。
删除字符时,光标右侧的所有其它数字将被向左移动一步。
若要插入空格:
将光标移动到想要输入空格的位置,并在按住 [A] 按钮的同时按 [D] 按
钮。
重复上述第 4步到第 5步完成输入乐曲名称。
最多可输入 36 个字符。
完成后,按屏幕中 [EXE] (执行)对应的 [B] 按钮。
将出现提示操作确认的信息。
此时按 [D] 按钮可取消操作。
若要输入更改,请按屏幕中 [Rename] 对应的 [C] 按钮。
将显示重命名的乐曲 /文件夹。
Blank
A – Z (capital)
a – z (lower case)
Japanese Katakana:
Marks
Number 0 – 9
注
如果在 Utility 屏幕 (第
19
页)中选择 “
English”语
言,将无法使用日文片假名。
6
7
8
≤Rename? ≤
≤[Rename] [Cancel]≤

ELB-01 使用说明书
124
6
也可以将注册记忆本身录制到乐曲中,无须随着演奏将其录制。
保存在注册
记忆按钮中的所有注册记忆 1 – 16 以及注册记忆转换设置等等都可以保存到
乐曲中。
即使仅创建了几个注册记忆,保存到乐曲时将始终保存 16 个单独
的注册记忆设置—如果在编号中未设定新设置,将保存出厂预设注册记忆。
可使用两种方法保存注册记忆。
方法 1
将存储介质插入 USB TO DEVICE 端口。
首先进行所有需要的 Electone 设置创建原始的注册记忆。
按 [C] 按钮结束输入名称时可能会出现一条错误信息 (“
This name is not
available”)。
如果出现该信息,该名称无效,需要输入另外一个名称。
不
能使用下列名称。
(字母 “
xx”表示数字。)
MDR_xx.EVT ELS_SONG.NAM MDR_xxx.TMP TMP
MDR_xx.MID MDR_xxx.MID REG_xxx.TMP TMP.E02
MDR_xx.Bxx REG_xxx.B00 ELS_SONG.TMP
MDR_xx.Vxx SONG_xxx.C02
SONG.NAM
6将注册记忆保存为注册记忆数据 (文件)
参考页
无法记忆的功能和设置
(第
98 页)
1 2 3 4 5 6 7 8
910 11 12 13 14 15 16
保存到编号按钮的注册记忆
1
–
16 将以库保存。
保存
注册记忆
1
2

ELB-01 使用说明书 125
6
按 [MDR] 按钮,然后选择目标 (空乐曲)。
选择空乐曲。
有关选择乐曲的详细信息,请参阅第
112 页上的第 2步
和第 3步。
使用 PAGE 按钮选择第 9页。
按屏幕中 [EXE] (执行)对应的 [B] 按钮。
将出现提示注册记忆数据正在被保存的一条信息。
该信息消失后,录
制注册记忆的乐曲将自动命名为 “
SONG xx”(“
xx”表示数字)。
方法 2
首先进行所有想要保存的设置,然后按照上述第 1步和第 3步选择目
的 (空乐曲)。
按 [RECORD] 按钮在 M.D.R. 上录制。
按 [PLAY/PAUSE] 按钮录制注册记忆,然后在屏幕右上部显示
“
REC~~”之前按 [STOP] 按钮。
这与开始录音时的步骤是相同的。
屏幕右上部的 “
REC~~”表示
M.D.R. 正在录制注册记忆并正在设置进行正常录音;按 [STOP] 按钮
将中断此步骤。
3
4
<REG.SAVE> [EXE] ·
___:new song ¸:__
5
参考页
更改乐曲 /文件夹名称
(第
122 页 )
1
2
3
ÃUSB 01 »~~ ⁄
¿ ___:new song
ÃUSB 01 REC~~⁄
¿ ___:new song

ELB-01 使用说明书
126
6
●●●●●●●●●●●●●●●●●●●●●●●●●●●●●●●●●●●●●●
将两个或多个注册记忆库保存到一首乐曲
保存注册记忆时,注册记忆
1 -16 将被保存为注册记忆库。
想要在一首乐曲中
使用超过
16 个注册记忆编号时,可根据下列步骤保存额外的注册记忆库
—
一首乐曲中最多可以保存
50 个。
首先进行所有想要保存的设置。
将存储介质插入 USB TO DEVICE 端口。
按 [MDR] 按钮,然后选择目标乐曲 (包含原有注册记忆的乐曲)。
有关选择乐曲的详细信息,请参阅第
112 页上的第 2步和第 3步。
使用 PAGE 按钮选择第 9页。
已经保存到乐曲中的注册记忆库将显示在屏幕中 (以 “
¸÷01”或相
似的形式)。
使用 DATA CONTROL 旋钮,选择空注册记忆库 “
¸÷__”,以将额外
注册记忆库保存。
也可以连续按 [D] 按钮选择空注册记忆库。
R:01
R:02
R:50
...
...
1 2 3 4 5 6 7 8
910 11 12 13 14 15 16
1 2 3 4 5 6 7 8
910 11 12 13 14 15 16
1 2 3 4 5 6 7 8
910 11 12 13 14 15 16
乐曲
添加
注册记忆库
注册记忆
要添加的注册记忆
要添加的注册记忆
1
2
3
4
<REG.SAVE> [EXE] ·
001:SONG 1 ¸÷01
5
<REG.SAVE> [EXE] ·
001:SONG 1 ¸÷__

ELB-01 使用说明书 127
6
按屏幕中 [EXE] (执行)对应的 [B] 按钮。
注册记忆库将被添加并按照原有的注册记忆库。
播放此乐曲时,此屏
幕中的首个注册记忆将被载入到 Electone 中。
●●●●●●●●●●●●●●●●●●●●●●●●●●●●●●●●●●●●●●
替换注册记忆
M.D.R. 也可以让您更改现有乐曲的注册记忆,而无需更改演奏数据。
首先进行所有想要保存到新注册记忆的必要设置。
将存储介质插入 USB TO DEVICE 端口。
按 [MDR] 按钮,然后选择包含想要替换的注册记忆的必要乐曲。
有关选择乐曲的详细信息,请参阅第
112 页上的第 2步和第 3步。
使用 PAGE 按钮选择第 9页。
注册记忆库编号将显示在屏幕的右下部。
使用 DATA CONTROL 旋钮选择想要覆盖的注册记忆库编号。
如果选择了一个编号的注册记忆库,如 “
01”而不是 “
_ _”,该步骤将
覆盖编号的注册记忆库。
有关详细信息,请参阅第
128 页上 “替换注册
记忆”的第 6步。
参考页
文件 (第
116 页)
6
1
2
3参考页
乐曲图标 (第
116 页 )
4
<REG.SAVE> [EXE] ·
001:SONG 1 ¸÷01
注册记忆
5

ELB-01 使用说明书
128
6
按屏幕中 [EXE] (执行)对应的 [B] 按钮。
将出现提示操作确认的信息。
此时按 [D] 按钮可取消操作。
按屏幕中 [OK] 对应的 [C] 按钮进行覆盖 (替换)。
●●●●●●●●●●●●●●●●●●●●●●●●●●●●●●●●●●●●●●
删除注册记忆
该功能可让您删除已保存到乐曲的注册记忆库。
将存储介质插入 USB TO DEVICE 端口。
按 [MDR] 按钮,然后选择包含想要删除注册记忆的乐曲。
有关选择乐曲的详细信息,请参阅第
112 页上的第 2步和第 3步。
使用 PAGE 按钮选择 Registration Delete 屏幕 (第 10 页)。
将出现 Registration Delete 屏幕。
使用 DATA CONTROL 旋钮选择想要删除的注册记忆库编号。
也可以连续按 [D] 按钮选择注册记忆库编号。
6
<REG.SAVE> [EXE] ·
001:SONG 1 ¸÷01
7
1
2
3
<REG.DEL> [EXE]⁄‚
001:SONG 1 ¸÷01
4
001:SONG 1 ¸÷01
<REG.DEL> [EXE]⁄‚

ELB-01 使用说明书 129
6
按屏幕中 [EXE] (执行)对应的 [B] 按钮。
将出现提示操作确认的信息。
此时按 [D] 按钮可取消操作。
按屏幕中 [Delete] 对应的 [C] 按钮删除注册记忆。
将多个注册记忆保存到一首乐曲时,所删除注册记忆后面的注册记忆
按顺序向后移动并将其替换。
下一个注册记忆设定 (在一首乐曲中使用超过 16 个注册记
●●●●●●●●●●●●●●●●●●●●●●●●●●●●●●●●●●●●●●
忆)
我们在前面的部分已经说明过,使用 16 个注册记忆库可以使用第
106 页上
说明的注册记忆转换功能,最多可编程为 80 个设置以特定顺序调出。
播放使用超过 16 个注册记忆编号的乐曲时,可以将两个或多个注册记忆库
保存到单首乐曲中并在播放乐曲时逐个调出。
可以实现的这种功能叫做下一
个注册记忆。
将存储介质插入 USB TO DEVICE 端口。
将 Registration Shift 模式设定为 User,然后在 Registration Shift
屏幕的第 1页中选择 Next 作为转换停止。
在第 2页,设定用户注册记
忆顺序。
有关详细信息,请参阅第
103 页上的 “注册记忆转换”。
按 [MDR] 按钮,然后选择目标乐曲。
有关选择乐曲的详细信息,请参阅第
112 页上的第 2步和第 3步。
保存注册记忆。
按 PAGE 按钮选择第 9页。
按屏幕中 [EXE] (执行)对应的 [B] 按钮。
将出现提示注册记忆数据正在被保存的一条信息。
该信息消失后,录
制注册记忆的乐曲将自动命名为 “
SONG xx”(“
xx”表示数字)。
5
6
1
R:01
16 1 16
R:02
MEMORY MEMORY MEMORY MEMORY
1
2
3
4
<REG.SAVE> [EXE] ·
___:new song ¸:__

ELB-01 使用说明书
130
6
重复上述第 2步到第 4步以想要在相同乐曲中调出的顺序保存注册记
忆库。
进行新的注册记忆转换设置时,删除原有设置后继续。
有关详细信息,请参阅第
126 页上的 “将两个或多个注册记忆库保存
到一首乐曲”。
一旦打开并设定下一个注册记忆功能后,可以按照下列步骤使用该功能。
按 [MDR] 按钮,然后选择已经设定下一个注册记忆功能的乐曲。
有关选择乐曲的说明,请参阅第
112 页上的第 2步和第 3步。
按 [PLAY/PAUSE] 按钮。
如果乐曲包含两个以上的注册记忆库,将载入第一个 (
¸:01)。
可以
检查 Registration Shift 屏幕第 2页中注册记忆的顺序。。
演奏 Electone 时,踢下右侧脚控开关。
每踢下右侧脚控开关一次将根据指定的顺序选择注册记忆。
结束播放 “
¸:01”后,将自动开始载入下一个注册记忆库 “
¸:02”,
并可踢下右侧脚控开关选择。
5
6
7
8
表情踏板
右侧脚控开关
注
播放节奏时,无法载入使用
ELS-01/01C/01X 型号
Electone 创建的注册记忆数
据中的音序数据和用户节奏。
使用下一个注册记忆功能录制或播放乐曲时,选择需要的乐曲后,确定按
[PLAY/PAUSE] 按钮将最开始的注册记忆库 (R:01)载入到 Electone 中。
如果按下 [RECORD] 按钮开始录音步骤,即使载入了另一个注册记忆库
(R:02 等), R:01 将被当前面板设置覆盖并将丢失。

ELB-01 使用说明书 131
6
录制到乐曲编号中的注册记忆 (和成批数据)可以轻松地载入 Electone。
如
果想要从包含超过两个注册记忆库的乐曲中调出特定注册记忆库 (R:02~)
时,请使用该功能。
●●●●●●●●●●●●●●●●●●●●●●●●●●●●●●●●●●●●●●
载入注册记忆
将存储介质插入 USB TO DEVICE 端口。
按 [MDR] 按钮并选择包含想要载入 Electone 的注册记忆的乐曲。
有关选择乐曲的详细信息,请参阅第
112 页上的第 2步和第 3步。
使用 PAGE 按钮选择 Registration Load 屏幕 (第 8页)。
选择想要载入 Electone 的注册记忆库。
使用 DATA CONTROL 旋钮选择所需的注册记忆库编号。
按屏幕中 [EXE] (执行)对应的 [B] 按钮。
将出现提示注册记忆数据正在载入的一条信息。
注册记忆数据载入后,
LCD 将返回 Registration Load 屏幕。
7调出已录制的注册记忆
1
2
3
<REG.LOAD> [EXE] °
001:SONG 1 ¸÷01
4
<REG.LOAD> [EXE] °
001:SONG 1 ¸÷02
5
注
播放节奏时如果载入了注册
记忆,将无法载入注册记忆
数据中的用户节奏。

ELB-01 使用说明书
132
6
该操作可让您播放录制的演奏时自动载入保存到乐曲中的注册记忆数据。
将存储介质插入 USB TO DEVICE 端口。
按 [MDR] 按钮,然后选择需要的乐曲进行播放。
有关选择乐曲的详细信息,请参阅第
112 页上的第 2步和第 3步。
按 [PLAY/PAUSE] 按钮载入注册记忆数据。
“
»~~”将出现在屏幕的右上部,表示注册记忆数据正在被载入。
如果乐曲包含两个以上的注册记忆库,将载入第一个注册记忆库。
读取注册记忆数据后将自动开始播放。
在屏幕上将显示消逝时间,然后开始播放乐曲 (如果乐曲包含演奏数
据)。
一般来说,所有录制到乐曲中的部分将会进行播放;但可以将特
定部分静音并只播放选定的部分 (第
133 页)。
到达录制演奏的最后
时,播放将自动停止。
但也可以在乐曲中间按 [STOP] 按钮停止播放。
如果乐曲不包含演奏数据,载入注册记忆数据后, LCD 将返回 Song
Select 屏幕。
8播放一首乐曲
1 2 3 4 5 6 7 8
910 11 12 13 14 15 16
乐曲
注册记忆 演奏数据
播放
载入
将 16 个注册记忆载入到
面板上的编号按钮。
1
2
3
参考页
将两个或多个注册记忆库保
存到一首乐曲 (第
126 页 )
4

ELB-01 使用说明书 133
6
●●●●●●●●●●●●●●●●●●●●●●●●●●●●●●●●●●●●●●
播放选定的部分
也可以播放录制演奏的选定部分,而其它部分将暂时关闭。
根据原来录制的
伴奏声部演奏单个声部如旋律时,该功能特别有用。
若要播放选定的部分:
播放前或播放过程中,每次按声部按钮将想要播放的部分变为 “
Play”,并
将想要静音的部分变为 “
Off”。
定制播放
如果想要播放乐曲而不重新设定注册记忆,按 [CUSTOM PLAY] 按钮而不
是按 [PLAY/PAUSE] 按钮。
这会显示乐曲时间并立即开始播放。
使用下一个注册记忆功能播放乐曲时,请确定按 [PLAY/PAUSE] 按钮开始
播放乐曲,而不是按 [CUSTOM PLAY] 按钮。
参考页
分别录音各个部分
(第
118 页 )

ELB-01 使用说明书
134
6
●●●●●●●●●●●●●●●●●●●●●●●●●●●●●●●●●●●●●●
快进、快退和暂停
快进和快退:
播放过程中,按 [FF] (快进)按钮或 [REW] (快退)按钮并按住,直到达
到需要的位置。
释放按钮时,播放在需要的位置暂停。
若要从前进或后退到
的点继续播放,按 [PLAY/PAUSE] 按钮或 [CUSTOM PLAY] 按钮。
暂停:
如果想要暂时停止播放乐曲,请按 [PLAY/PAUSE] 按钮。
若要从暂停点继续
播放,再次按 [PLAY/PAUSE] 按钮或 [CUSTOM PLAY] 按钮。
●●●●●●●●●●●●●●●●●●●●●●●●●●●●●●●●●●●●●●
改变速度
乐曲在 M.D.R. 屏幕中播放时,乐曲停止时或正在播放时,可以更改乐曲的
速度。
面板上的 TEMPO 按钮无法用来更改音乐磁盘录制器的速度。
若要更改速度:
按 [MDR] 按钮。
出现 Song Select 屏幕。
选择要播放的乐曲。
有关选择乐曲的说明,请参阅第
112 页上的第 2步和第 3步。
使用 PAGE 按钮选择 Playback Setting 屏幕 (第 2页)。
速度值显示在屏幕的左下部。
改变速度。
按 [C] 按钮使 “
¿”指示灯闪烁,然后使用 DATA CONTROL 旋钮更改
设置。
范围是 50-200%。
原始录制速度为 100%,数值比慢速的 100%
小,但比快速的 100% 大。
1
2
3
<PLAYBACK SETTING> ¤
TMP¿100% RPT÷OFF
4

ELB-01 使用说明书 135
6
●●●●●●●●●●●●●●●●●●●●●●●●●●●●●●●●●●●●●●
重复播放
该功能可让您重复播放文件夹中的所有乐曲或重复播放一首特定的乐曲。
选择要重复播放的乐曲。
如果要播放某个文件夹中的所有乐曲,请选择将要播放的第一首乐曲。
有关选择乐曲的说明,请参阅第
112 页上的第 2步和第 3步。
使用 PAGE 按钮选择 Playback Setting 屏幕 (第 2页)。
重复模式显示在屏幕的右下部。
选择重复模式。
按 [D] 按钮使 “
÷”指示灯闪烁,然后使用 DATA CONTROL 旋钮选择
设置。
1
Off
取消重复播放。
2
All
按顺序重复播放当前选定文件夹下的所有乐曲。
3
Single
无限重复播放当前选定的乐曲。
4
Random
随机重复播放当前选定文件夹下的所有乐曲。
按下 [PLAY/PAUSE] 按钮开始播放。
停止播放时,重复设置将被自动取消。
1
2
<PLAYBACK SETTING> ¤
TMP¿100% RPT÷OFF
OFF
ALL
SINGLE
RANDOM
1
2
3
4
3

ELB-01 使用说明书
136
6
●●●●●●●●●●●●●●●●●●●●●●●●●●●●●●●●●●●●●●
播放 XG 乐曲
Electone 可让您播放在计算机上创建或者从 Electone 乐曲格式转换为的 XG
格式的 XG 乐曲数据。
很自然地,就像 Electone 上录制的乐曲 (演奏)一
样,您可以使用快进、快退和暂停控制。
将包含 XG 乐曲数据的存储介质插入,然后按 [MDR] 按钮。
在 Song Select 屏幕中选择包含需要的 XG 乐曲的存储介质,然后选
择需要的乐曲进行播放。
有关选择乐曲的说明,请参阅第
112 页上的第 2步和第 3步。
使用 PAGE 按钮选择第 3页。
您可以为每个部分设定音量或静音设置。
1
Part
选择从 “
CH1”到 “
CH6”或 “
ALL”需要的通道,指定设定静音 /
播放或者更改音量的部分。
按 [A] 按钮使 “
¿”指示灯闪烁,然后使用 DATA CONTROL 旋钮选择
设置。
2
Playback/Off
设定进行播放或静音 (关闭)的选定部分。
为想要播放的部分选择
“
Play”,为想要静音部分选择 “
Off”。
按 [B] 按钮使 “
÷”指示灯闪
烁,然后使用 DATA CONTROL 旋钮选择设置。
3
Volume
可在 0 – 100 范围内为选定的部分调整音量。
按 [C] 按钮使 “
¿”指示灯闪烁,然后使用 DATA CONTROL 旋钮选择
设置。
选定的乐曲中包含 XG 声部时,即使乐曲是在 ELB-01 或 EL-900 中创
建的,“
Volume”项目将变为 “
XG Volume”。与其它 XG 乐曲一样,
可以在第 3页中调整 XG 声部音量。
参考页
转换为
XG 格式
(第
144 页
)
1
2
3
<PART>¿ALL ÷PLAY‹
VOL.¿100
CH1
CH2
CH16
ALL
...
1
3
2

ELB-01 使用说明书 137
6
这些操作可让您复制、删除或转换乐曲数据,以及创建或删除文件夹。
●●●●●●●●●●●●●●●●●●●●●●●●●●●●●●●●●●●●●●
乐曲复制
该功能可让您将录制的数据从一首乐曲复制到另一首乐曲。
可以复制使用
ELS-01/01C/01X 创建的乐曲或 XG 乐曲。
(只有使用 EL 系列如 EL-900 创
建的乐曲不能被复制。)
该功能也可让您在两种不同的存储介质间复制和交
换数据。
请确定事先检查目标存储介质的剩余内存。
如果内存空间不足,或者文件夹
已经包含了 100 首乐曲,将无法进行乐曲复制。
将存储介质插入 USB TO DEVICE 端口。
如果想要在两种不同的存储介质间复制乐曲,需要插入适当的目标存
储介质。
按 [MDR] 按钮,然后选择要进行复制的乐曲。
有关选择乐曲的说明,请参阅第
112 页上的第 2步和第 3步。
使用 PAGE 按钮选择 Copy 屏幕 (第 5页)。
按屏幕中 [EXE] (执行)对应的 [B] 按钮。
出现 Copy Destination 屏幕。
9乐曲复制 /删除 /转换、文件夹创建 /删除
1
2
3
<COPY> [EXE] fi
001:SONG 1
4
<COPY> [EXE] fi
001:SONG 1
<COPY DEST> [˜] fi
¿ ___:new song [EXE]

ELB-01 使用说明书
138
6
选择目标乐曲。
包含源乐曲的新乐曲或文件夹将以目标自动显示在屏幕的底部。
如果
显示了文件夹,请选择新乐曲。
有关选择乐曲的说明,请参阅第
112
页上的第 2步和第 3步。
如果想要复制 XG 乐曲,需要选择另外的文件夹作为目标,因为包含
源 XG 乐曲的相同文件夹无法被选择为目标。
如果目标存储介质的剩
余内存不足,将无法进行 XG 乐曲复制。
(将出现一条错误信息并且
操作将取消。)
同一个文件夹中最多可保存 120 首 XG 乐曲。
按 [D] 按钮执行乐曲复制。
操作完成后, LCD 将返回 Copy 屏幕。
除了在开头有 “
*”之外 (不包括 XG 乐曲),目标乐曲与源乐曲的名
称是相同的。
有关更改乐曲名称的说明,请参阅第
122 页。
关于复制受保护的乐曲
只要选择包含源受保护乐曲作为目标的相同文件夹,受保护的原始乐曲或
受保护的编辑乐曲便可以复制。
如果选择另外的文件夹 /存储介质,将显
示“
Move?”信息。
如果按 [C] 按钮选择 [OK],从受保护的原始乐曲创建
的当前选定的受保护的原始乐曲和受保护的编辑乐曲就会移动到指定的其
它文件夹 /存储介质。
这时,数据并未被复制,而是进行了移动。
5
<COPY DEST> [˜] fi
¿ ___:new song [EXE]
参考页
关于受保护的乐曲
(第
139 页 )
6

ELB-01 使用说明书 139
6
●●●●●●●●●●●●●●●●●●●●●●●●●●●●●●●●●●●●●●
乐曲删除 /文件夹删除
这些操作可让您删除乐曲和文件夹。
(只有使用 EL 系列如 EL-900 创建的乐曲不能被删除。)
插入存储介质,然后按 [MDR] 按钮。
选择想要删除的乐曲 /文件夹。
有关选择乐曲 /文件夹的说明,请参阅第
112 页上的第 2步和第 3步。
使用 PAGE 按钮选择 Delete 屏幕 (第 6页)。
确定需要被删除的乐曲 /文件夹显示在屏幕的底部。
如果想要更改乐曲,同时按两个 PAGE 按钮返回第 1页,然后选择需
要的乐曲。
关于受保护的乐曲
如果购买或下载了乐曲数据,可能其受保护不被删除 (防止意外删除)
或复制 (保护版权)。
这些乐曲叫做 “受保护的乐曲”。
受保护的乐曲可
以与创建的乐曲相同的方式进行播放,但不能转换为 XG 格式或 EL 格
式。
受保护的乐曲的注册记忆数据不能进行编辑,演奏数据也不能被覆
盖。
如果想要编辑受保护的乐曲,首先将其复制到一个存储介质 /文件
夹,然后再编辑副本。
(无法复制到其它存储介质 /文件夹。)
只有在相
同的文件夹中有原始乐曲 (叫做 “受保护的原始乐曲”)时,才可以复
制乐曲 (叫做 “受保护的编辑乐曲”)。
小心不要删除受保护的原始乐
曲。
如果未使用 Musicsoft Downloader 应用程序在计算机上移动或复制受保护
的乐曲数据,则无法回放乐曲。在计算机上移动或复制受保护的乐曲时,
请务必使用 Musicsoft Downloader。
Musicsoft Downloader 可以从下列网址中获得:
http://music.yamaha.com/
download/
受保护的原始
乐曲 受保护的编辑
乐曲
文件夹
复制
该乐曲不能进行编辑 该乐曲可进行编辑,但只有文件夹
包含相关原始乐曲时。
1
2
3
<DELETE> [EXE] fl
001:SONG 1
想要编辑受保护的乐曲时,
请关闭乐器电源再重新打,
然后选择要编辑的乐曲。(之
前受保护乐曲的音色数据将
被初始化。)否则可能无法保
存编辑过的受保护乐曲。

ELB-01 使用说明书
140
6
按屏幕中 [EXE] (执行)对应的 [B] 按钮。
将出现提示操作确认的信息。
此时按 [D] 按钮可取消操作。
按 [C] 按钮执行该操作。
操作完成后, LCD 将返回 Delete 屏幕。
若要防止意外删除重要数据,请确定同时按两个 PAGE 按钮返回第 1
页。
●●●●●●●●●●●●●●●●●●●●●●●●●●●●●●●●●●●●●●
创建文件夹
插入存储介质,然后按 [MDR] 按钮。
选择想要创建文件夹的存储介质 /文件夹,然后按 [D] 按钮。
使用 PAGE 按钮选择 Create Folder 屏幕 (第 11 页)。
按屏幕中 [EXE] (执行)对应的 [B] 按钮。
若要查看新建文件夹,首先同时按两个 PAGE 按钮返回第 1页,然后
选择新建文件夹。
新建文件夹被自动命名为 “
FOLDER_xxx”(
xxx 表示数字)。
有关更
改文件夹名称的说明,请参阅第
122 页。
4
5
1
2
3
<CREATE FLD> [EXE]⁄⁄
4
ÃUSB 01 [˜] ⁄
¿¶001:FOLDER_001 [Õ]

ELB-01 使用说明书 141
6
●●●●●●●●●●●●●●●●●●●●●●●●●●●●●●●●●●●●●●
将 ELB 格式乐曲转换为 EL
可以将在 ELB-01 上创建的乐曲转换为 EL 系列格式,并保存到软盘中。
转换
的数据可以在 EL 系列 Electone 如 EL-900 中使用。受保护的乐曲无法使用该
功能。
若要在 Electone 上使用软盘,请安装选购的 UD-DF01 软盘驱动器。
请确定事先检查目标存储介质的剩余内存。
如果内存空间不足,无法使用转
换操作。
将使用包含 Electone 创建的乐曲的存储介质和软盘插入作为目标。
按 [MDR] 按钮,然后选择需要转换为 EL 系列格式的乐曲。
有关选择乐曲的说明,请参阅第
112 页上的第 2步和第 3步。
使用 PAGE 按钮选择 Convert 屏幕 (第 7页)。
选择转换格式。
使用 DATA CONTROL 旋钮或连续按 [A] 按钮选择 “
EL”。
参考页
关于受保护的乐曲
(第
139 页
)
安装软盘驱动器 (第
167 页 )
1注
ELB 乐曲可以在 Electone 的
ELS-01/01C/01X 型号上使
用,不需要转换。
2
3
<CONV>¿EL [EXE] ‡
001:SONG 1 ´
4
<CONV>¿EL [EXE] ‡
001:SONG 1 ´
XG
EL

ELB-01 使用说明书
142
6
按屏幕中 [EXE] (执行)对应的 [B] 按钮。
新乐曲作为目标显示在软盘中。
未显示新乐曲时,请旋转 DATA CONTROL 旋钮或连续按 [C] 按钮选择
一首新乐曲。
按屏幕中 [EXE] (执行)对应的 [D] 按钮。
将出现提示操作确认的信息。
此时按 [D] 按钮可取消操作。
按屏幕中 [Convert] 对应的 [C] 按钮开始转换。
转换完成后, LCD 将返回 Convert 屏幕。
转换为 EL 格式的乐曲将自动
命名为 “
EXXX: SONG x”(
x表示数字)。
●●●●●●●●●●●●●●●●●●●●●●●●●●●●●●●●●●●●●●
将 EL 格式乐曲转换为 ELB
可以将使用 EL 系列 Electone,如 EL-900,在软盘中创建的乐曲转换为 ELB-
01 格式,并将其保存到 USB 闪存设备。
用于 EL 系列写保护或副本保护存储
介质中的乐曲可以一次性转换。
若要使用软盘,需要安装选购的 UD-DF01
软盘驱动器。
根据原始乐曲数据,转换乐曲的声音或速度可能与原始乐曲不
同,并且 /或者原始乐曲的下一首乐曲功能可能会失效。
请确定事先检查目标存储介质的剩余内存。
如果内存空间不足,无法使用转
换操作。
5
<CONV>¿EL [EXE] ‡
001:SONG 1 ´
<CONV DEST> ‡
¿ ___:new song [EXE]
6
7
参考页
安装软盘驱动器 (第
167 页 )
注
将受保护的 EL 数据转换为
ELB 格式时,请确定将 EL 磁
盘的写保护标签设定到
“
overwrite”位置 (标签关
闭)。

ELB-01 使用说明书 143
6
将包含想要转换为 ELB 格式的乐曲的软盘插入,然后将 USB 闪存设
备插入用作目标。
按 [MDR] 按钮,然后选择想要转换为 ELB 格式的乐曲。
有关选择乐曲的说明,请参阅第
112 页上的第 2步和第 3步。
使用 PAGE 按钮选择 Convert 屏幕 (第 7页)。
按屏幕中 [EXE] (执行)对应的 [B] 按钮。
出现 Convert Destination 屏幕。
选择 USB 闪存设备中空乐曲作为目标。
按屏幕中 [EXE] (执行)对应的 [D] 按钮。
将出现提示操作确认的信息。
此时按 [D] 按钮可取消操作。
按屏幕中 [Convert] 对应的 [C] 按钮开始转换。
转换完成后, LCD 将返回 Convert 屏幕。
1
2
3
4
<CONV>:ELB [EXE] ‡
E001:SONG 1
<CONV DEST> [˜] ‡
¿ ___:new song [EXE]
5
6
7

ELB-01 使用说明书
144
6
●●●●●●●●●●●●●●●●●●●●●●●●●●●●●●●●●●●●●●
转换为 XG 格式
该功能可让您将 ELB-01 乐曲数据转换为 XG 格式数据。
可以使用 XG 设备
播放数据。
转换的 XG 乐曲数据可能与原始数据的发音不同。
请确定事先检查目标存储介质的剩余内存。
如果内存空间不足,无法使用转
换操作。
受保护的乐曲无法转换为 XG 格式。
选择要转换为 XG 格式的乐曲。
有关选择乐曲的说明,请参阅第
112 页上的第 2步和第 3步。
使用 PAGE 按钮选择 Convert 屏幕 (第 7页)。
选择转换格式。
使用 DATA CONTROL 旋钮或连续按 [A] 按钮选择 “
XG”。
按屏幕中 [EXE] (执行)对应的 [B] 按钮。
出现 Convert Destination 屏幕。
选择空乐曲作为目标。
按屏幕中 [EXE] (执行)对应的 [D] 按钮。
将出现提示确认转换数据操作的信息。
按 [C] 按钮播放数据。
播放完成后,
LCD 将返回
Convert 屏幕。
转换为
XG 格式的乐曲将自动命
名为 “
XGSONGxxx”(
xxx 表示数字)。
有关更改乐曲名称的说明,请参
阅第
122 页。
1
2
<CONV>¿EL [EXE] ‡
001:SONG 1 ´
3
4
5
6
7
≤Check the data. ≤
≤[OK] [Cancel]≤

ELB-01 使用说明书 145
6
●●●●●●●●●●●●●●●●●●●●●●●●●●●●●●●●●●●●●●
检查剩余内存
可检查存储介质中的剩余内存。
插入存储介质,然后按 [MDR] 按钮。
使用 DATA CONTROL 旋钮或连续按 [C] 按钮选择需要的存储介质。
使用 PAGE 按钮选择第 13 页。
将显示剩余内存。
1
2
3
<REMAIN> ⁄‹
USB 01 xx.xx MB

ELB-01 使用说明书
146
7
脚控开关
这些脚控操作控制可让您进行各种演奏功能并将效果打开 /关闭,而无须将手从键盘上移开。
Electone 在表情踏板中具有两种脚控开关。
右侧脚控开关用于注册记忆转换
功能,而左侧脚控开关可以设定控制下列三种功能之一:节奏、滑音、或旋
转扬声器。
本部分对左侧脚控开关 (脚控开关页面)的设置进行了说明。
有
关注册记忆转换功能和右侧脚控开关的详细信息,请参阅第
102 页上的 “注
册记忆转换”。
按 [FOOTSWITCH] 按钮。
左侧脚控开关
右侧脚控开关
表情踏板
左侧脚控开关
1
¸<REG.SHIFT>
MODE¿OFF
注
按 [FOOTSWITCH] 按钮调出
两种不同屏幕的任意一个,
Footswitch 页面或 Regist
Shift 页面。
按 [A] 在两个页
面间切换。
7

ELB-01 使用说明书 147
7
调出脚控开关屏幕。
按 [A] 按钮在 Footswitch 页面和 Regist Shift 页面间切换。
在此页面中,可以指定左侧脚控开关将要控制的功能:节奏、滑音或
旋转扬声器。
将 DATA CONTROL 旋纽旋转到右侧按照 Off
→
Rhythm
→
Glide
→
Rotary speaker 的顺序选择功能。
将 DATA CONTROL 旋钮旋
转到左侧将以相反顺序选择。
选择 Off 时,将不使用左侧脚控开关。
1
Off
左侧脚控开关将不能控制任何功能。
2
Rhythm
选择此项时,一种控制设置出现在屏幕的右下部。
按 [D] 按钮使 “
÷”
指示灯闪烁,然后使用 DATA CONTROL 旋钮选择需要的控制设置。
2
-1 Stop
踏下左侧脚控开关时切换节奏的开 /关。
2
-2 Break
此功能对应面板中的 [BREAK] 按钮。
踏下左侧脚控开关时,停顿乐
段将打开。
2
¸<REG.SHIFT>
MODE¿OFF
Ò<FOOT.SW>
MODE¿OFF
OFF
RHYTHM
GLIDE
ROTARY SPEAKER
1
2
3
4
Footswitch 页面
参考页
节奏结构 (第
58 页 )
Ò<FOOT.SW>
MODE¿RHYTHM ÷STOP
STOP
BREAK
MAIN A – D
INTRO 1 – 3
2-1
2-2
2-3
2-4
ENDING 1 – 3
2-5

ELB-01 使用说明书
148
7
2
-3 Main A – Main D
这些功能对应面板上的 MAIN/FILL IN [A] – [D] 按钮。
例如,在此
屏幕中选择 “
MAIN A”并踏下左侧脚控开关时,节奏音群将切换
为 Main A 或 Fill In A。
2
-4 Intro 1 – Intro 3
这些功能对应面板上的 INTRO [1] – [3] 按钮。
例如,在此屏幕中选
择“
INTRO1”并踏下左侧脚控开关时,节奏音群将切换为 Intro 1。
2
-5 Ending 1 – Ending 3
这些功能对应面板上的 ENDING [1] – [3] 按钮。
例如,在此屏幕中
选择 “
ENDING1”并踏下左侧脚控开关时,节奏音群将切换为
Ending 1。播放尾奏模式组后,节奏将停止。
3
Glide
该设定让您使用左侧脚控开关控制滑音效果。
踏下左侧脚控开关后将
立即降低选定音色或音色音高的半个音级,释放后将慢慢返回为原始
音高。
选择滑音设置时,可以使用三个单独的滑音页面,屏幕的右上部将显
示当前页码。
可以使用 PAGE 按钮选择这些页面。
脚控开关
–
滑音第 1页
脚控开关
–
滑音第 2页
脚控开关
–
滑音第 3页
Ò<FOOT.SW> TIME÷1 ⁄
MODE¿GLIDE ”LEAD
3-2
3-1
Ò<FOOT.SW> ”UPPER1¤
MODE¿GLIDE ”UPPER2
3-1
3-1
Ò<FOOT.SW> ’LOWER1‹
MODE¿GLIDE ’LOWER2
3-1
3-1

ELB-01 使用说明书 149
7
3
-1 Upper 1, 2, Lower 1, 2, Lead
按相应的 [A] – [D] 按钮选择将要应用滑音功能的音色组。
3
-2 Time
确定滑音功能的速度,或者释放左侧脚控开关时音高返回的速度。
设置越高,音高变化越慢。
按 [B] 按钮使 “
÷”指示灯闪烁,然后
使用 DATA CONTROL 旋钮更改设置。
Range:
1-5
4
Rotary Speaker
可以使用左侧脚控开关控制旋转扬声器音效 (开 /关)。
在屏幕中选择
“
ROTARY SPEAKER”并踢下脚控开关时,旋转扬声器音效在开或关
之间切换。
此功能对应面板中的 [ROTARY SP SPEED] 按钮。
若要使用
此功能,需要为每个音色组设定适当的旋转扬声器设置。
有关详细信
息,请参阅第
50 页。
Ò<FOOT.SW>
MODE¿ROTARY SPEAKER
参考页
Rotary Speaker( 第
50 页 )

ELB-01 使用说明书
150
8
移调和音高控制
在 Electone 中有两种音高相关的控制按钮:
移调和音高。
移调可让您更改乐器的音调,音高可让您精确地调音。
移调和音高可以在 Utility 屏面中调整。
按 [UTILITY] 按钮。
将出现 Utility 屏幕。
按 PAGE 按钮选择 Utility 屏幕的第 2页。
在此页面中,可以使用 [C] [D] 按钮和 DATA CONTROL 旋钮更改移调
和音高设置。
1
Transpose
确定所有音色的音高粗调设置,并可以半音级 (半音)进行调整。
按
[C] 按钮使 “
¿”指示灯闪烁,然后使用 DATA CONTROL 旋钮更改设
置。
Range:
-6
–
+6
2
Pitch
确定所有音色的精确音高设置。
每个音级以 0.2 Hz 改变音高。
默认的
音高设置为 440.0 Hz (对应琴键 A3)。
按 [D] 按钮使 “
÷”指示灯闪
烁,然后使用 DATA CONTROL 旋钮更改设置。
Range:
427.2 Hz
–
452.6 Hz
也可以在 Voice Condition 屏幕中更改每个音色组的移调和音高。
(有
关详情信息,请参见第
43 页。)
1
<æy∫/LANGUAGE> ⁄
’i-y∫ ”ENGLISH
当前选定页
2
<æy∫/LANGUAGE> ⁄
’i-y∫ ”ENGLISH
<TRANSPOSE> <PITCH>¤
¿ 0 ÷440.0Hz
12
注
这里的移调设置不适用于 XG
乐曲 (第
136 页)。
8

ELB-01 使用说明书 151
9
连接
Electone 键盘的下侧和右侧是单独的面板,有各种输入 /输出端口和杂项控制按钮,它们具有的功
能如下:
本部分对 Electone 的每个插孔 /控制按钮进行了说明。
有关连接到外接设备
的详细信息,请参阅第
153 页。
1
AUX OUT (
L/R)
插口
这种立体声输出组件用于连接到外接功率放大器 /扬声器。
输出电平是固定
的,无法进行控制。
2
PHONES 插口
用于连接立体声耳机组件。
耳机连接到此插口时,发送到 Electone 内置扬声
器系统的声音将被自动截止,可让您不影响他人进行演奏。
3
USB TO DEVICE A 端口
用于连接 USB 存储设备 (如闪存)。
1附件插孔和控制按钮
12
参考页
使用耳机 (第
153 页 )
参考页
通过外接音频系统播放
Electone 的声音
(第
153 页
)
将 Electone 的声音录制到外
接录音机 (第
154 页 )
3
参考页
连接 USB 存储设备 (第
155
页 )
9

ELB-01 使用说明书
152
9
4
MIDI IN/OUT 端口
用于连接外接 MIDI 设备如合成器或音序器。
也可以使用这些端口连接到具
有 MIDI 接口的计算机。
5
USB TO HOST 端口
用于连接到具有 USB 电缆的计算机。
若要连接到计算机,请确定计算机上已
经安装适当的 USB-MIDI 驱动程序。
6
USB TO DEVICE B 端口
用于连接 USB 存储设备 (如闪存)。
456
参考页
从 Electone 控制外接 MIDI
设备 (第
154 页 )
通过外接设备控制
Electone( 第
155 页
)
连接计算机 (第
156 页 )
什么是 MIDI (第
157 页)
USB
USB 是 Universal Serial Bus (通用串行总线)的缩写。
它是用于连接计算
机和外围设备的串行接口。
参考页
连接计算机 (第
156 页 )

ELB-01 使用说明书 153
9
●●●●●●●●●●●●●●●●●●●●●●●●●●●●●●●●●●●●●●
使用耳机
若要使用耳机,请将其连接到 PHONES 插口 (标准 1/4" 耳机插口)。
●●●●●●●●●●●●●●●●●●●●●●●●●●●●●●●●●●●●●●
通过外接音频系统播放 Electone 的声音
使用 AUX OUT 插口 (RCA),可以将 Electone 连接到外接扬声器。
2连接范例—外接设备
将 Electone 连接至其它电器之前,请关闭所有电器的电源。
在打开或关闭这些电
器之前,请将所有音量调到最小 (
0)。
否则,可能会对设备造成电击或损坏。
PHONES
AUX OUT L R
扬声器 (左) 扬声器 (右)

ELB-01 使用说明书
154
9
●●●●●●●●●●●●●●●●●●●●●●●●●●●●●●●●●●●●●●
将 Electone 的声音录制到外接录音机
可以使用 AUX OUT 插口将 Electone 的演奏录制到外接录音机,如 MD 录音
机或盒式录音机。
●●●●●●●●●●●●●●●●●●●●●●●●●●●●●●●●●●●●●●
从 Electone 控制外接 MIDI 设备
可以使用 Electone 远程演奏 MIDI 键盘 (或音源)的音色,将音色组合到
Electone 中并创造出更丰富、更多层次的声音细节。
(
MIDI 键盘的 MIDI 接
收通道必须与 Electone 上的传输通道相匹配。)
Electone 以音符信息作为数字数据传输各种演奏信息,包括表示踏下表情踏
板程度和演奏键盘强度的数值。
连接的外接设备如何对这些信息响应取决于
特定设备。
使用 USB TO HOST 端口时, MIDI 端口将被自动禁用。
AUX OUT L
LINE IN L
R
R
盒式录音机等
音频缆线
录音
MIDI IN
MIDI OUT
音源
MIDI 电缆
MIDI 信息
参考页
什么是 MIDI (第
157 页)
注
使用 M.D.R. 时,无法传输
MIDI 数据。

ELB-01 使用说明书 155
9
●●●●●●●●●●●●●●●●●●●●●●●●●●●●●●●●●●●●●●
通过外接设备控制 Electone
可以使用外接 MIDI 键盘或音序器遥控演奏 Electone 的声音并可更改其注册
记忆。
(需要将 MIDI 键盘的 MIDI 传输通道设定为与 Electone 上的固定接
收通道相匹配。)
使用 USB TO HOST 端口时, MIDI 端口将被自动禁用。
●●●●●●●●●●●●●●●●●●●●●●●●●●●●●●●●●●●●●●
连接 USB 存储设备
使用 USB TO DEVICE 端口,可以连接 USB 存储设备 (如 USB 闪存)用于
保存 Electone 数据。
兼容 USB 的设备
可以将一个 USB-LAN 转接头、最多两种 USB 存储设备 (如 USB 闪存设
备、软盘、 Card-R/RW 驱动器、硬盘和其它设备)连接到 USB TO DEVICE
端口。
购买 USB-LAN 转接头或 USBUSB 存储设备前,请向 YAMAHA 代理
商或授权经销商咨询意见。
MIDI IN MIDI OUT
MUSIC PRODUCTION SYNTHESIZER
MIDI 键盘或合成器
MIDI 电缆
MIDI 信息
注
使用 M.D.R. 时,无法接收
MIDI 数据。
参考页
安装软盘驱动器 (第
167 页 )
格式化外接存储介质
(第
109 页
)
注
如有必要,请使用 USB 集线
器。
只可使用自供电 (电池
或外接电源)类型的集线器。
可以使用两级 USB 集线器。
使用 USB TO DEVICE 端口时的注意事项
• 当相连
USB 存储设备为自供电类型时,切勿打开
/关闭或插入 /拔出
USB 电缆、
否则可能会造成 Electone “死机”或故障。
•当乐器在存取数据时 (例如保存、载入和删除操作),切勿拔下
USB 电缆,切勿从驱动器中取出存储介质,切勿关闭任何设备的
电源。
否则可能会破坏某个设备或两个设备上的数据。
• USB 设备仍连接到端口时,小心不要打开或关闭写保护开关。
否
则若无法正确识别开 /关状态,会造成 M.D.R. 操作故障。

ELB-01 使用说明书
156
9
使用 USB TO HOST 端口或 MIDI IN/OUT 端口,可以将 Electone 连接到计算
机并接收 /传输 MIDI 数据 (有关 MIDI 的详细信息,请参阅第
157 页)。
将 Electone 连接到计算机将会展现给您一个全新的乐器世界。
可以将您的原
始乐曲保存到计算机并创造出音符 (需要谱曲应用程序或音序软件),甚至
将原始的 Electone 乐曲数据上传到您自己的网站中,与您的朋友共同分享您
的创意或乐曲。
也可以在计算机上控制 Electone,例如在计算机上演奏 MIDI
文件播放 Electone 的声音。
●●●●●●●●●●●●●●●●●●●●●●●●●●●●●●●●●●●●●●
使用 USB 端口
使用 Electone 的 USB TO HOST 端口和标准 USB 线缆,将 Electone 和计算机
连接在一起。
使用 USB TO HOST 端口时, MIDI 端口将被自动禁用。
3连接计算机
在 Electone 和计算机之间通过 USB 连接真正进行数据传输前,需要安装适当的
MIDI 驱动程序。
请从 YAMAHA 网站上下载最新的 MIDI 驱动程序软件:
“
http://music.yamaha.com/download/”。
注
使用 M.D.R. 时,无法传输到
计算机或从计算机传输 MIDI
数据。
使用 USB TO HOST 端口时的注意事项
将计算机连接至 USB TO HOST 端口时,请务必遵循以下要点。
否则可能
会造成电脑死机、数据损坏、甚至数据丢失。
如果计算机或乐器死机,请关闭乐器的电源或重新启动计算机。
•将计算机连接到 USB TO HOST 端口之前,请退出任何计算机节
能模式 (如暂停、睡眠、等待)。
•打开乐器的电源之前,请将计算机连接到 USB TO HOST 端口。
•在打开或关闭乐器的电源,或者从 USB TO HOST 端口上插拔
USB 线缆之前,请执行下面的操作。
•退出所有打开的应用程序。
•确保乐器没有数据传输出来。
(只有弹奏键盘上的音符或播放
乐曲时才有数据传输。)
• USB 设备连接到乐器上时,在这些操作之间应至少等待 6秒钟:
关闭乐器后再打开电源时,或者先后插拔 USB 线缆时。
USB TO HOST
计算机
USB 线缆

ELB-01 使用说明书 157
9
●●●●●●●●●●●●●●●●●●●●●●●●●●●●●●●●●●●●●●
使用 MIDI IN/OUT 端口
使用选购的 MIDI 接口如 UX16,通过乐器上的 MIDI IN/OUT 端口可以将
Electone 连接到计算机。
使用两根标准 MIDI 线缆 (一根将 Electone 上的
OUT 端口连接到接口上的 MIDI IN 端口,另一根将 Electone 上的 IN 端口连
接到接口上的 MIDI OUT 端口),将 Electone 和 MIDI 接口连接。
使用 USB
线缆来将 MIDI 接口连接到计算机。
本章介绍什么是 MIDI、它能做什么、以及如何在 Electone 上使用 MIDI。
●●●●●●●●●●●●●●●●●●●●●●●●●●●●●●●●●●●●●●
什么是 MIDI?
无疑您应听说过 “原声乐器”和 “数字式乐器”这两个名词。
世界上现在乐器主要有这两种类型。
让我们先看一下大钢琴和古典吉他这两
个原声乐器的代表。
它们比较易于理解。
对于钢琴,弹下一个琴键,内部的
琴锤敲击琴弦并演奏出一个音符。
对于吉它,直接拨弦发出音符的声音。
但
是数字乐器是怎么演奏音符的呢?
注
根据特定的 MIDI 接口,可能
需要使用串行线缆连接 MIDI
接口和计算机。
4
MIDI
MIDI
IN OUT
MIDI OUT MIDI IN
计算机
MIDI 接口
(例如, UX16)
Internal amp
Internal amp
Tone generator
(Electric circuit)
Playing the keyboard
RL
声学吉它音符的产生 数字乐器音符的产生
拨动琴弦,琴体共鸣发出声音。 根据键盘上的弹奏信息,储存在音源中的采样音
符从扬声器播放出来。

ELB-01 使用说明书
158
9
如上图所示,在电子乐器上,根据从键盘上接收到的信息,保存在音源部分
(电子电路)的采样音符 (预先录制的音符)被播放出来并从扬声器输出。
那么,键盘又作为产生音符的基础的信息到底是什么呢?
举一个例子来说,假设在 Electone 的键盘上使用大钢琴音色弹奏了一个四分
音符 “
C”。
与原声乐器发出的共鸣音符不同,电子乐器从键盘发出一些信
息,诸如 “演奏什么音色”、“弹奏哪个音”、“强度如何”、“什么时候弹
下去”和 “什么时候释放”。
然后将每条信息转换成数字值,并发送给音
源。
音源以这些数值为基础,演奏出存储的采样音符。
键盘信息示例
如上述所述,键盘弹奏和面板操作如音色选择都被当作 MIDI 事件处理。
所
有节奏相关的数据—包括节奏模式组、自动伴奏模式组、节奏音序等—也包
括 MIDI 信息。
MIDI “
Musical Instrument Digital Interface (音乐乐器数字接口)”允许电子
乐器通过发送和接收兼容的音符、控制转换、程序转换以及其它各种类型的
MIDI 数据或信息进行相互通信。
音色编号 (演奏什么音色) 01 (大钢琴)
音符编号 (弹奏哪个音) 60 (
C3)
音符打开 (什么时候弹下去) 用数值表示的时间 (四分音符)
力度 (强度如何) 120 (强)

ELB-01 使用说明书 159
9
●●●●●●●●●●●●●●●●●●●●●●●●●●●●●●●●●●●●●●
Electone 的 MIDI 信息
MIDI 信息可分为两组:通道信息和系统信息。
通道信息包括特定通道中键
盘上演奏的相关数据。
系统信息包括允许多个 MIDI 设备相互通信的数据。
通道信息
每次在 Electone 上弹奏键盘时,通道信息 (表示弹奏的琴键和弹奏的力度)
将通过特定通道传输。
同样地,从外接键盘接收到此数据时,可以遥控弹奏
Electone。
Note On: 表示使用音符编号 0到 127 弹奏琴键。接受的音符范围为 C-2
(
0)
–
G8 (
127) , C3 = 60。
Note Off: 释放琴键时产生。
Velocity: 表示弹奏琴键的力度。
范围是 1到 127。
有关详细信息,请参阅第
168 页上的 “
MIDI 数据格式”和第
178 页上的
“
MIDI 补充表”。
• 程序转换
程序转换信息可让您在乐曲中间更改音色。
使用这些信息,可以更改
Electone 的注册记忆。
有关详细信息,请参阅第
168 页上的 “
MIDI 数据格
式”和第
178 页上的 “
MIDI 补充表”。
• 控制转换
控制转换信息可让您通过特定的控制转换编号选择音色库、控制音量、声
相、调制、滑音时间、亮度和其它各种声音参数。
有关 Electone 中可用控制转换信息的详细信息,请参阅第
168 页上的
“
MIDI 数据格式”和第
178 页上的 “
MIDI 补充表”。
系统信息
• 系统状态信息
系统状态信息用于交换系统和音色 /注册记忆数据。

ELB-01 使用说明书
160
9
●●●●●●●●●●●●●●●●●●●●●●●●●●●●●●●●●●●●●●
MIDI 通道
MIDI 数据被分配到 16 个通道的每个通道。
使用这些通道,
1
–
16,
16 个不同
乐器声部的演奏数据可以在一根 MIDI 线缆上同时发送。
将 MIDI 通道看作电视频道。
每个电视台都用指定的频道传输广播节目。
您
家中的电视机可同时接收几个电视台的许多不同节目,可以选择合适的频道
看想看的节目。
MIDI 操作也是同样的基本原理。
传输乐器在指定的 MIDI 通道 (
MIDI 传输
通道)通过一根 MIDI 线缆将 MIDI 数据发送到接收乐器。
如果接收乐器的
MIDI 通道 (
MIDI 接收通道)与传输通道相匹配,接收乐器将根据传输乐器
发送的数据发出声音。
Electone 的接收通道固定为上键盘的通道 1,下键盘的通道 2,以及脚键盘的
通道 3。
这说明使用其它 MIDI 设备演奏 Electone 音色时,必须将连接设备
的 MIDI 发送通道与 Electone 的接收通道相匹配。
可以从通道 1 – 16 中为每
个键盘 (上键盘、下键盘和脚键盘)选择传输通道。
有关详细信息,请参阅
第
161 页。
1
Weather Report
NEWS
2
2
NEWS

ELB-01 使用说明书 161
9
使用第 2种 MIDI 设备 (如合成器或计算机)连接 Electone 时,可以确定
Electone 如何控制 MIDI 设备,或者 Electone 是如何被控制的。
若要选择 MIDI 页面:
按 [UTILITY] 按钮。
将出现 Utility 屏幕。
MIDI 页面可在第 3
–
5 页找到。
使用 PAGE 按钮选择第 3
–
5 页。
Internal/External
切换 Electone (内部)或连接设备 (外部)之间显示项目的控制。
1
Lead
确定主音色的内部或外部控制。
按 [B] 按钮使指示灯闪烁,然后使用 DATA CONTROL 旋钮选择设
置。
Internal: 从 Electone 的上键盘播放主音色。
(如果转下键盘功能打
开,将从下键盘上播放。)
External: 通过 MIDI 通道 4从连接的乐器播放主音色。
2
Synchro
确定定时控制的控制源,用于节奏同步。
按 [C] 按钮使指示灯闪烁,然后使用 DATA CONTROL 旋钮选择设
置。
Internal: 按面板控制的节奏 [START] 或 [SYNCHRO START] 按钮,
并与连接设备 (例如音序器等)同步。
External: 从连接的节奏设备开始播放节奏也将开始 Electone 节奏播
放。
5
MIDI 控制
Internal/External 屏幕
1
<æy∫/LANGUAGE> ⁄
’i-y∫ ”ENGLISH
2
<INT/EXT> LEAD÷INT.‹
SYNC¿INT. EXP.÷AUTO
1
23

ELB-01 使用说明书
162
9
3
Expression
确定表情踏板功能的控制。
一般来说,该控制设定为 Auto。
按 [D]
按钮使指示灯闪烁,然后使用 DATA CONTROL 旋钮选择设置。
Auto: 自动切换内部与外部。
Internal: 可以在 M.D.R. 播放过程中手动控制表情踏板。
External: 播放 M.D.R. 或接收 MIDI 信息时,表情踏板无效。
(音
量由 USB 闪存的录音数据或接收到的 MIDI 数据控制。)
根据哪些 MIDI 信息将被传输设定通道。
任何 1到 16 的通道可以指定
到每个键盘:上键盘、下键盘和脚键盘。
每个键盘的 MIDI 信息将被发
送到在此设定的通道上。
必须在此设定传输通道,与所连接设备的接
收通道匹配。
1
上键盘
可以选择上键盘的通道。
按 [B] 按钮使指示灯闪烁,然后使用 DATA CONTROL 旋钮选择设置。
2
下键盘
可以选择下键盘的通道。
按 [C] 按钮使指示灯闪烁,然后使用 DATA CONTROL 旋钮选择设置。
3脚键盘
可以选择脚键盘的通道。
按 [D] 按钮使指示灯闪烁,然后使用 DATA CONTROL 旋钮选择设置。
删除不必要的 MIDI 数据,保持其从 Electone 进行传输。
在 Electone 上
可以过滤节奏开始 /停止信息。
连续按 [C] 按钮将在传输 (关)和不传输 (开)之间进行切换。
MIDI Out Channel 屏幕
MIDI Out Filter 屏幕
<MIDI OUT CH> UK÷ 1›
LK¿ 2 PK÷ 3
1
23
<MIDI OUT FILTER> fi
’RHYTHM

ELB-01 使用说明书 163
10
附录
在组装 Electone 之前,请仔细阅读这些使用说明书。
打开包装,从包装盒两侧取出两个聚苯乙烯泡沫塑料垫,然后如图小心地将主体放在塑料垫顶部。
小心不要在塑料垫和主体之间夹住 AC 电源线插头。
取出包装盒内的所有零部件。
请确认下图所示的零部件无一遗漏。
取出扬声器单元时,请务必抓住扬声器单元的底部,而不是栅格网。
琴体组装说明书
注意不要混淆各个零部件,并按照下列给出的步骤务必按正确的方向安装所有零部件。
请务必由两人或多人组装 Electone。
请不要使用本包装内指定和包含之外的螺丝。
如果使用的螺丝不正确,可能会导致物品损坏和故障。
组装完成后请务必拧紧所有螺丝。
请务必在平坦的表面上进行组装操作。
若要进行拆卸,请按照相反顺序执行。
需要十字 (
+)
螺丝刀组装 Electone。
1
2
(ø6 X 25 mm): 4
(ø5 X 12 mm): 8
: 4
: 4
: 2
10

ELB-01 使用说明书
164
10
将侧板安装到脚键盘上。
切勿混淆右侧板和左侧板。
3-1 如下图所示抬高脚键盘。
3-2 将每颗螺丝如图所示固定在脚键盘和侧板上,并使
用 4颗短螺丝 (每个侧板上 2颗螺丝)将侧板安
装在脚键盘上。
3-3 固定螺丝后放置脚键盘。
将扬声器单元安装到侧板上。
4-1 从扬声器单元拆下栅格网。
4-2 在其它人的帮助下,水平抓住扬声器单元,从后部
滑到支架中。
小心不要将扬声器单元掉落或在扬声器单元和侧板之间将
手指夹住。
4-3 将侧板插入扬声器单元时,从后面拧紧 4颗短螺
丝,将扬声器单元固定到侧板上。
用相应的螺丝帽
将后部的 4个螺丝孔盖上。
安装主体。
5-1 如图所示,水平抓住主体 (通过 2个人),然后将
其放在扬声器单元的前面,以便从主体底部将手臂
从侧板前面探出,然后将其滑到后侧。
小心不要将主体掉落或者在扬声器单元和主体之间将手指
夹住。
3
将侧板推向脚键盘。
短 /黑色螺丝
4
螺丝帽
螺丝帽
短螺丝
将侧板推向扬声器单元。
将侧板推向扬声器单元。
短螺丝
5
1. 放下,让手臂从侧板
前面探出
手臂
2. 滑到后侧

ELB-01 使用说明书 165
10
5-2 用 4颗长螺丝如图将主体固定在侧板上。
将栅格网固定到扬声器上。
首先,将网对准底线,然后将其固定到扬声器组
件。
将脚键盘连接线和扬声器连接线连接到主体上。
确定每个线插头的插销朝向您,并将其固定地连接
到每个插座。
使用脚键盘连接线夹将脚键盘连接线固定到侧板
上。
8-1 如图所示,将 2个脚键盘连接线夹安装到扬声器单
元后侧以及左侧板底部。
8-2 将脚键盘连接线插入线夹。
长螺丝
长螺丝
6
将旋钮插到孔中,固定
栅格网。
7
扬声器连接线 脚键盘连接
线
8
插入连接线后
关上线夹。

ELB-01 使用说明书
166
10
将谱架放在 Electone 上。
打开 Electone 的电源开关,确定可以演奏
Electone,说明组装已经成功。
琴凳组装
翻转琴凳踏板并将凳腿逐个放到琴凳踏板各个角的位
置,然后使用附带的扳手拧紧每个螺母。
务必如图在
每条凳腿间放置垫圈。
9
10
组装完成后,请检查下列事项。
• 是否还有剩下的零部件?
→复查所有的组装步骤。
•
Electone 是否远离门及其它可移动家具?
→将 Electone 移动到合适的位置。
• 摇动 Electone 时,是否会听到卡嗒卡嗒的声
响?
→拧紧所有螺丝。
• 可以打开 Electone 吗?
→
确定 AC 电源线插头已经牢固地连接到适当的电源
插座。
•
Electone 是否发出了声音?
→确定扬声器插头和脚键盘插头已经牢固地连接到主
体上的每个插座上。
如果在弹奏键盘时 Electone 吱吱作响或不稳,请
参阅组装说明书并再次拧紧所有螺丝。

ELB-01 使用说明书 167
10
●●●●●●●●●●●●●●●●●●●●●●●●●●●●●●●●●●●●●●●●●●●●●●●●●●
安装软盘驱动器
使用附带的软盘驱动器安装盒和螺钉可将选购的
UD-FD01 软盘驱动器安装在乐器的底部。
准备一把
十字 (
+)
螺丝刀。
取下安装盒胶带上的 3个背纸,然后将软盘驱动
器装入安装盒内。
如下图所示将 USB 电缆折叠在安装盒内。
使用附带的 4个螺钉 (
4 mm x 10 mm)将驱动
器和安装盒装配到数码钢琴的右下侧。
将 USB 电缆连接至 [USB TO DEVICE B] 端口。
安装选购硬件
1
双面胶带
2
3
4

ELB-01 使用说明书
168
10
1. 通道信息
1.1 EL 模式
MIDI 数据格式
代码 (十六进制) 功能 接收 传输 备注
8n, nn, 00-7F 音符关闭 1ch
2ch
3ch
(4ch) *
5-14ch
15ch
˛
˛
˛
˛
˛
˛
UK
LK
PEDAL
LEAD 1
XG
键盘打击乐器
9n, nn, 00
9n, nn, 01-7F
音符关闭
音符打开
1ch
2ch
3ch
(
4ch) *
5-14ch
15ch
(
1ch) *
(
2ch) *
(
3ch) *
˛
˛
˛
UK
LK
PEDAL
LEAD 1
XG
键盘打击乐器
An, nn, 00-7F 触后复音 5-14ch
˛
XG
Bn, 00, 00-7F
Bn, 20, 00-7F
音库选择 5-14ch
˛
XG
Bn, 01, 00-7F 调制 5-14ch
˛
XG
Bn, 04, 00-7F 第
2表达 16ch
(
4ch) *
˛
˛
控制
LEAD 1
Bn, 05, 00-7F 滑音时间 5-14ch
˛
XG
Bn, 06, 00-7F
Bn, 26, 00-7F
数据输入 5-14ch
˛
XG
Bn, 07, 00-7F 音量 5-14ch
˛
XG
Bn, 0A, 00-7F 移相 5-14ch
˛
XG
Bn, 0B, 00-7F 表达 16ch
5-14ch
16ch 控制
XG
Bn, 40, 00-7F 按住 5-14ch
˛
XG
Bn, 41, 00-7F 滑音 5-14ch
˛
XG
Bn, 42, 00-7F 延音 5-14ch
˛
XG
Bn, 43, 00-7F 柔音踏板 5-14ch
˛
XG
Bn, 47, 00-7F 共鸣 5-14ch
˛
XG
Bn, 48, 00-7F 释放时间 5-14ch
˛
XG
Bn, 49, 00-7F 起音时间 5-14ch
˛
XG
Bn, 4A, 00-7F 响亮 5-14ch
˛
XG
Bn, 4B, 00-7F 衰减时间 5-14ch
˛
XG
Bn, 4C, 00-7F 颤音速度 5-14ch
˛
XG
Bn, 4D, 00-7F 颤音深度 5-14ch
˛
XG
Bn, 4E, 00-7F 颤音延迟 5-14ch
˛
XG
Bn, 54, 00-7F 滑音控制 5-14ch
˛
XG
Bn, 5B, 00-7F 混响深度 5-14ch
˛
XG
Bn, 5D, 00-7F 合唱深度 5-14ch
˛
XG
Bn, 5E, 00-7F 变奏效果深度 5-14ch
˛
XG
Bn, 60, 00-7F
Bn, 61, 00-7F
数据增加量
数据减少量
5-14ch
˛
XG
Bn, 62, 00-7F
Bn, 63, 00-7F
NRPN LSB
NRPN MSB
5-14ch
˛
XG
Bn, 64, 00-7F
Bn, 65, 00-7F
RPN LSB
RPN MSB
5-14ch
˛
XG
“
˛”表示 “不可用”。
“
Ø”表示 “可用”。

ELB-01 使用说明书 169
10
*在
MIDI设置 (第
161页)中可以更改。
**指定为通道
4时可以输出。
1.2 XG 模式
Bn, 78, 00
Bn, 79, 00
Bn, 7B, 00
Bn, 7C, 00
Bn, 7D, 00
Bn, 7E, 00
Bn, 7F, 00
全部声音关闭
复位所有控制器
全部音符关闭
Omni关闭
Omni打开
单音
复音
5-14ch
˛
XG
Cn, nn 程序变化 5-14ch
16ch
˛
16ch
XG
控制
Dn, 00-7F 触后 1ch
2ch
3ch
(
4ch) *
5-14ch
(
1ch) *
(
2ch) *
(
3ch) *
UK
LK
PEDAL
LEAD 1
XG
En, 00-7F, 00-7F 滑音轮 5-14ch XG
代码 (十六进制) 功能 接收 传输 备注
8n, nn, 00-7F 音符关闭 1-16ch
˛
9n, nn, 00
9n, nn, 01-7F
音符打开
音符关闭
1-16ch
(1ch) *
(2ch) *
(3ch) *
UK
LK
PEDAL
An, nn, 00-7F 触后复音 1-16ch
˛
Bn, 00, 00-7F
Bn, 20, 00-7F
音库选择 1-16ch
˛
Bn, 01, 00-7F 调制
1-16ch
˛
Bn, 04, 00-7F 第
2表达 ˛˛
Bn, 05, 00-7F 滑音时间 1-16ch
˛
Bn, 06, 00-7F
Bn, 26, 00-7F
数据输入 1-16ch
˛
Bn, 07, 00-7F 音量 1-16ch
˛
Bn, 0A, 00-7F 移相 1-16ch
˛
Bn, 0B, 00-7F 表达
1-16ch
16ch 控制
Bn, 40, 00-7F Hold 1-16ch
˛
Bn, 41, 00-7F 滑音 1-16ch
˛
Bn, 42, 00-7F 延音 1-16ch
˛
Bn, 43, 00-7F 柔音踏板 1-16ch
˛
Bn, 47, 00-7F 共鸣 1-16ch
˛
Bn, 48, 00-7F 释放时间 1-16ch
˛
Bn, 49, 00-7F 起音时间 1-16ch
˛
Bn, 4A, 00-7F 响亮 1-16ch
˛
Bn, 4B, 00-7F 衰减时间 1-16ch
˛
Bn, 4C, 00-7F 颤音速度 1-16ch
˛
Bn, 4D, 00-7F 颤音深度 1-16ch
˛
Bn, 4E, 00-7F 颤音延迟 1-16ch
˛
Bn, 54, 00-7F 滑音控制 1-16ch
˛
Bn, 5B, 00-7F 混响深度 1-16ch
˛
Bn, 5D, 00-7F 合唱深度 1-16ch
˛
Bn, 5E, 00-7F 变奏效果深度 1-16ch
˛
代码 (十六进制) 功能 接收 传输 备注

ELB-01 使用说明书
170
10
*在
MIDI设置 (第
161页)中可以更改。
**指定为通道
4时可以输出。
2. 实时信息
*只在外部模式接收
3. 系统状态信息
3.1格式
通用实用信息
Bn, 60, 00-7F
Bn, 61, 00-7F
数据增加量
数据减少量
1-16ch
˛
Bn, 62, 00-7F
Bn, 63, 00-7F
NRPN LSB
NRPN MSB
1-16ch
˛
Bn, 64, 00-7F
Bn, 65, 00-7F
RPN LSB
RPN MSB
1-16ch
˛
Bn, 78, 00
Bn, 79, 00
Bn, 7B, 00
Bn, 7C, 00
Bn, 7D, 00
Bn, 7E, 00
Bn, 7F, 00
全部声音关闭
复位所有控制器
全部音符关闭
Omni 关闭
Omni 打开
单音
复音
1-16ch
˛
Cn, 00-7F 程序变化
1-16ch
16ch 控制
Dn, 00-7F 触后
1-16ch
(
1ch) *
(
2ch) *
(
3ch) *
UK
LK
PEDAL
En, 00-7F, 00-7F 滑音轮 1-16ch
˛
代码 (十六进制) 功能 接收 传输 备注
EL模式 XG模式
F8 时钟 Ø* ˛ Ø
FA 开始 Ø˛ Ø
FC 停止 Ø˛ Ø
FE 激活感应 ØØ Ø
FF 重新设定 ˛˛ ˛
代码 (十六进制) 信息 接收 传输
F0, 7F, 7F, 04, 01, SS, TT, F7
XN
GM2主音量 Ø˛
F0, 7F, 7F, 04, 03, SS, TT, F7
XN
GM2主音量微调 Ø˛
F0, 7F, 7F, 04, 04, 00, TT, F7
XN
GM2主音量粗调 Ø˛
F0, 7F, 7F, 04, 05, 01, 01, 01, 01, 01, PP, VV, ..., F7
XN
GM2混响参数 Ø˛
F0, 7F, 7F, 04, 05, 01, 01, 01, 01, 02, PP, VV, ..., F7
XN
GM2合唱参数 Ø˛
F0, 7F, 7F, 09, 01, 0n, PP, VV, ..., F7
XN
GM2触后参数 Ø˛
F0, 7F, 7F, 09, 03, 0n, CC, PP, VV, ..., F7
XN
GM2控制变化参数 Ø˛
F0, 7F, 7F, 0A, 01, 0n, KK, CC, PP, VV, ..., F7
XN
GM2键控制器 Ø˛
代码 (十六进制) 功能 接收 传输 备注

ELB-01 使用说明书 171
10
通用非实时信息
XG原始参数
数码钢琴专用
独家信息
Electone专用
˛
: 不用理会
N:设备编号
(仅“
0” ) ID:型号
ID (
ELB-01=4FH)
代码 (十六进制) 信息 接收 传输
F0, 7E, 7F, 09, 01, F7
XN
GM ON
Ø˛
F0, 7E, 7F, 09, 03, F7
XN
GM2 ON
Ø˛
F0, 7E, 7F, 09, 02, F7
XN
GM OFF
Ø˛
F0, 7E, 7F, 08, 08, JJ, GG, MM, ..data.., F7
XN
GM2音阶
/八度调音 Ø˛
代码 (十六进制) 信息 接收 传输
F0, 43, 1N, 4C, AH, AM, AL, ..data.., F7 XG 参数变化 Ø˛
F0, 43, 0N, 4C, BH, BL, AH, AM, AL, ..data.., cc, F7 XG 批量存储 Ø˛
F0, 43, 1N, 27, 30, 00, 00, MM, LL, cc, F7 XG 主调音 Ø˛
代码 (十六进制) 信息 接收 传输
F0, 43, 73, 01, 02, F7
03
请求内部同步模式
请求外部同步模式
Ø
Ø
˛
˛
代码 (十六进制) 信息 接收 传输
F0, 43, 60, 7A, F7 节奏开始 Ø˛
F0, 43, 60, 7D, F7 节奏停止 Ø˛
代码 (十六进制) 信息 接收 传输
F0, 43, 70, 70, 00, ..data.., F7
78
ID
批量存储数据 Ø
Ø
Ø
˛
Ø
˛
F0, 43, 70, ID, 00, F7 型号
ID数据 ˛Ø
F0, 43, 70, 70, 30, F7 请求发送型号
ID数据 Ø˛
F0, 43, 70, 70, 38, 7F, F7
00
认可批量存储
未认可批量存储
˛
˛
˛
Ø
F0, 43, 70, 70, 40, nn(
*
1), 7F, F7
00
开关打开
开关关闭
Ø
Ø
Ø
Ø
F0, 43, 70, 70, 40, 50, TL, TH, F7 速度 ØØ
F0, 43, 70, 78, 41, cc, dd, F7(
*
2) 踏板开关事件 ØØ
F0, 43, 70, 78, 42, 3C, ..data.., F7 当前注册记忆数据 ØØ
F0, 43, 70, 78, 44, ..data..(
*
3), F7 MIDI 参数 ØØ
F0, 43, 70, 70, 70, nn(
*
4), F7 MDR
Ø˛
F0, 43, 70, 70, 73, F7 EL ON
Ø˛
F0, 43, 70, 70, 78, 00, 00, F7 小节信号 ˛Ø

ELB-01 使用说明书
172
10
*
1. 开关
*
2. 踏板开关事件
选择按钮
音量
转下键盘
延音
键盘打击乐器
部分保留
nn 开关 接收 传输
45H 左侧脚控开关 ØØ
47H 膝控音杆 ØØ
4DH 独奏小节 ØØ
cc 开关 dd 备注
代码 接收 Rx范围
传输
Tx范围
0F 注册记忆
[1-16]
Ø
[00-0F]
˛
-
cc 开关 dd 备注
代码 接收 Rx范围
传输
Tx范围
12 上键盘音色
1音量 Ø
[00-7F]
Ø
[00-7F] 音量数据
00:MAX, 7F:MIN
13 下键盘音色
1音量 Ø
[00-7F]
Ø
[00-7F] 音量数据
00:MAX, 7F:MIN
14 上键盘音色
2音量 Ø
[00-7F]
Ø
[00-7F] 音量数据
00:MAX, 7F:MIN
15 下键盘音色
2音量 Ø
[00-7F]
Ø
[00-7F] 音量数据
00:MAX, 7F:MIN
16 主音色
1音量 Ø
[00-7F]
Ø
[00-7F] 音量数据
00:MAX, 7F:MIN
17 脚键盘音色
1音量 Ø
[00-7F]
Ø
[00-7F] 音量数据
00:MAX, 7F:MIN
18 脚键盘音色
2音量 Ø
[00-7F]
Ø
[00-7F] 音量数据
00:MAX, 7F:MIN
1A 打击乐音量 Ø
[00-7F]
Ø
[00-7F] 音量数据
00:MAX, 7F:MIN
1B 混响深度 Ø
[00-7F]
Ø
[00-7F] 深度数据
00:MAX, 7F:MIN
cc 开关 dd 备注
代码 接收 Rx范围
传输
Tx范围
36 主音色
1转下键盘
[转下键盘
▼
]
Ø
[00-01]
Ø
[00-01] 00:OFF, 01:ON
37 脚键盘音色
1转下键盘
[转下键盘
▲
]
Ø
[00-01]
Ø
[00-01] 00:OFF, 01:ON
38 脚键盘音色
2转下键盘
[转下键盘
▲
]
Ø
[00-01]
Ø
[00-01] 00:OFF, 01:ON
cc 开关 dd 备注
代码 接收 Rx范围
传输
Tx范围
50 上键盘延音
[UPPER (
KNEE) ]
Ø
[00-01]
Ø
[00-01] 00:OFF, 01:ON
51 下键盘延音
[LOWER (
KNEE) ]
Ø
[00-01]
Ø
[00-01] 00:OFF, 01:ON
52 脚键盘延音
[PEDAL]
Ø
[00-01]
Ø
[00-01] 00:OFF, 01:ON
cc 开关 dd 备注
代码 接收 Rx范围
传输
Tx范围
5B 键盘打击乐器
[1]
Ø
[00-01]
Ø
[00-01] 00:OFF, 01:ON
5C 键盘打击乐器
[2]
Ø
[00-01]
Ø
[00-01] 00:OFF, 01:ON
cc 开关 dd 备注
代码 接收 Rx范围
传输
Tx范围
5F 部分保留
[D.]
Ø
[00-01]
Ø
[00-01] 00:OFF, 01:ON
MIDI专用格式
F0, 43, 70, 78, 41, cc, dd, F7

ELB-01 使用说明书 173
10
旋转扬声器
节奏音序
*
3. MIDI 参数
音色组参数
面板音色参数
(地址
mm: 0 – 4, 6 – 7 = UK1
,
UK2
,
LK1
,
LK2
,
LEAD 1
,
PEDAL 1
,
PEDAL 2)
cc 开关 dd 备注
代码 接收 Rx范围
传输
Tx范围
60 旋转扬声器速度
[ROTARY SP SPEED]
Ø
[00-01]
Ø
[00-01] 00:OFF, 01:ON
cc 开关 dd 备注
代码 接收 Rx范围
传输
Tx范围
61 音序
1 [SEQ.1]
Ø
[00-01]
Ø
[00-01] 00:OFF, 01:ON
62 音序
2 [SEQ.2]
Ø
[00-01]
Ø
[00-01] 00:OFF, 01:ON
63 音序
3 [SEQ.3]
Ø
[00-01]
Ø
[00-01] 00:OFF, 01:ON
64 音序
4 [SEQ.4]
Ø
[00-01]
Ø
[00-01] 00:OFF, 01:ON
地址 大小 数据 参数 数据 接收 Rx范围 传输 Tx范围
hh mm ll
10 00-07 00-0D 5 00-7F
00-7F
00
00
00
音色指定编号 00-7F
00-7F
00
00
00
Ø
00-7F
00-7F
00
00
00
Ø
00-7F
00-7F
00
00
00
10 00-07 10 1 00-0D 音色选择按钮编号 00-0D
Ø
00-0D
Ø
00-0D
10 00-07 11 1 00-7F 音量 00:MIN
7F:MAX
Ø
00-7F
˛
-
10 00-07 12 1 00-7F 混响 (深度) 00:MIN
7F:MAX
Ø
00-7F
Ø
00-7F
10 00-07 14 1 00-04 Feet 00:PRESET
01:16'
02:8'
03:4'
04:2'
Ø
00-7F
Ø
00-04
10 00-07 15 1 00-7F 移相 00:LEFT
40:CENTER
7F:RIGHT
Ø
00-7F
Ø
08-78
10 00-07 16 1 00-7F 触键音初始力度 00:MIN
7F:MAX
Ø
00-7F
Ø
00-7F
10 00-07 19 1 00-7F 用户颤音 00:PRESET
01:USER
Ø
00-7F
Ø
00-01
10 00-07 1A 1 00-7F 颤音延迟 00:SHORT
7F:LONG
Ø
00-7F
Ø
02-1A
10 00-07 1B 1 00-7F 颤音深度 00:MIN
7F:MAX
Ø
00-7F
Ø
00-54
10 00-07 1C 1 00-7F 颤音速度 00:SLOW
7F:FAST
Ø
00-7F
Ø
3C-6C
10 04-07 1F 1 00-7F TO LOWER
▼
/
▲
00:OFF
01:ON
Ø
00-7F
˛
-
10 04-05 20 1 00-02 滑音 (开
/膝控音杆
/关) 00:OFF
01:ON
02:膝控音杆
Ø
00-02
Ø
00-01
10 04-05 21 1 00-7F 滑音时间 00:FAST
7F:SLOW
Ø
00-7F
Ø
02-7F
10 00-07 22 1 00-7F 调音
/微调 00:下
40:中
7F:上
Ø
00-7F
Ø
00-7F
10 00-01/
04-07
23 1 00-7F 第
2表达滑音轮 00:OFF
01:ON
Ø
00-7F
˛
00-01
10 00-05 24 1 00-7F 脚控开关滑音控制 00:OFF
01:ON
Ø
00-7F
Ø
00-01
MIDI专用格式
F0, 43, 70, 78, 44, hh, mm, ll, ..., F7

ELB-01 使用说明书
174
10
键盘参数
延音参数 (地址
mm:
0
–
2 = UK, LK, PEDAL)
键盘打击乐器参数 (地址
mm:
1
–
2 = K.B.P. [1], K.B.P. [2])
10 00-07 25 1 3A-46 移调 3A:琴键下调
40:正常
46:琴键上调
Ø
3A-46
Ø
3A-46
10 00-07 2A 1 00-7F 音量静音 00:静音关闭
01:静音打开
Ø
00-7F
Ø
00-01
10 00-07 40 3 00
00-7F
00-7F
音效
1类型
MSB/LSB 00
00-7F
00-7F
Ø
00
00-7F
00-7F
Ø
00
00-7F
00-7F
10 00-07 41 2 0000-7F7F 音效
1参数
1 MSB/LSB 0000-7F7F
Ø
0000-7F7F
Ø
0000-7F7F
10 00-07 42 2 0000-7F7F 音效
1参数
2 MSB/LSB 0000-7F7F 0000-7F7F 0000-7F7F
10 00-07 43 2 0000-7F7F 音效
1参数
3 MSB/LSB 0000-7F7F 0000-7F7F 0000-7F7F
10 00-07 44 2 0000-7F7F 音效
1参数
4 MSB/LSB 0000-7F7F 0000-7F7F 0000-7F7F
10 00-07 45 2 0000-7F7F 音效
1参数
5 MSB/LSB 0000-7F7F 0000-7F7F 0000-7F7F
10 00-07 46 2 0000-7F7F 音效
1参数
6 MSB/LSB 0000-7F7F 0000-7F7F 0000-7F7F
10 00-07 47 2 0000-7F7F 音效
1参数
7 MSB/LSB 0000-7F7F 0000-7F7F 0000-7F7F
10 00-07 48 2 0000-7F7F 音效
1参数
8 MSB/LSB 0000-7F7F 0000-7F7F 0000-7F7F
10 00-07 49 2 0000-7F7F 音效
1参数
9 MSB/LSB 0000-7F7F 0000-7F7F 0000-7F7F
10 00-07 4A 2 0000-7F7F 音效
1参数
10 MSB/LSB 0000-7F7F 0000-7F7F 0000-7F7F
10 00-07 4B 2 0000-7F7F 音效
1参数
11 0000-7F7F 0000-7F7F 0000-7F7F
10 00-07 4C 2 0000-7F7F 音效
1参数
12 0000-7F7F 0000-7F7F 0000-7F7F
10 00-07 4D 2 0000-7F7F 音效
1参数
13 0000-7F7F 0000-7F7F 0000-7F7F
10 00-07 4E 2 0000-7F7F 音效
1参数
14 0000-7F7F 0000-7F7F 0000-7F7F
10 00-07 4F 2 0000-7F7F 音效
1参数
15 0000-7F7F 0000-7F7F 0000-7F7F
10 00-07 50 2 0000-7F7F 音效
1参数
16 0000-7F7F 0000-7F7F 0000-7F7F
地址 大小 数据 参数 数据 接收 Rx范围 传输 Tx范围
hh mm ll
12 00-02 00 1 00-7F 延音 (开
/关) 00:OFF
01:ON
Ø
00-7F
˛
-
12 00-02 01 1 00-7F 长度 00:短
7F:长
Ø
00-7F
Ø
15-3D
地址 大小 数据 参数 数据 接收 Rx范围 传输 Tx范围
hh mm ll
12 01-02 10 1 00-7F 键盘打击乐器 (开
/关) 00:OFF
01:ON
Ø
00-7F
˛
-
12 01-02 11 1 00-08 键盘打击乐器菜单 00:PRESET
01:USER 1
02:USER 2
03:USER 3
04:USER 4
05:USER 5
06:USER 6
07:USER 7
08:USER 8
Ø
00-08
Ø
00-08
地址 大小 数据 参数 数据 接收 Rx范围 传输 Tx范围
hh mm ll

ELB-01 使用说明书 175
10
节奏
节奏参数
节奏音序参数
伴奏参数
A.B.C.功能参数
地址 大小 数据 参数 数据 接收 Rx范围 传输 Tx范围
hh mm ll
13 00 00-0B 2 0000-7F7F 节奏指定编号 0000-7F7F
Ø
00-7F
00-7F
Ø
00-7F
00-7F
13 00 10 1 00-0B 节奏选择按钮编号 00-0B
Ø
00-0B
Ø
00-0B
13 00 11 1 00-7F 打击乐音量 00:MIN
7F:MAX
Ø
00-7F
˛
-
13 00 12 1 00-7F 打击乐混响 (深度) 00:MIN
7F:MAX
Ø
00-7F
Ø
00-7F
13 00 13 1 00-7F 第
2表达
速度控制 (开
/关)
00:OFF
01:ON
Ø
00-7F
˛
00-01
13 00 14 1 00-7F 脚控开关节奏控制 00:INTRO 1
01:INTRO 2
02:INTRO 3
08:MAIN A
09:MAIN B
0A:MAIN C
0B:MAIN D
18:BREAK
20:ENDING 1
21:ENDING 2
22:ENDING 3
7E:STOP
7F:OFF
(
INTRO 1 –
STOP)
Ø
00-7F
Ø
00-7F
13 00 15 1 00-7F 附加鼓 (开
/关) 00:OFF
01:ON
Ø
00-7F
Ø
00-01
13 00 16 1 00-7F 主鼓 (开
/关) 00:OFF
01:ON
Ø
00-7F
Ø
00-01
13 00 17 1 00-7F 和弦
1 (开
/关) 00:OFF
01:ON
Ø
00-7F
Ø
00-01
13 00 18 1 00-7F 和弦
2 (开
/关) 00:OFF
01:ON
Ø
00-7F
Ø
00-01
13 00 19 1 00-7F 长音 (开
/关) 00:OFF
01:ON
Ø
00-7F
Ø
00-01
13 00 1A 1 00-7F 乐句
1(开
/关) 00:OFF
01:ON
Ø
00-7F
Ø
00-01
13 00 1B 1 00-7F 乐句
2(开
/关) 00:OFF
01:ON
Ø
00-7F
Ø
00-01
13 00 1C 1 00-7F 自动插入 (开
/关) 00:OFF
01:ON
Ø
00-7F
Ø
00-01
地址 大小 数据 参数 数据 接收 Rx范围 传输 Tx范围
hh mm ll
13 01 00-03 1 00-7F 音序
[SEQ.1] – [SEQ.4] 00:OFF
01:ON
Ø
00-7F
˛
-
地址 大小 数据 参数 数据 接收 Rx范围 传输 Tx范围
hh mm ll
13 02 11 1 00-7F 伴奏音量 00:MIN
7F:MAX
Ø
00-7F
Ø
00-7F
13 02 12 1 00-7F 伴奏混响
(深度)
00:MIN
7F:MAX
Ø
00-7F
Ø
00-7F
地址 大小 数据 参数 数据 接收 Rx范围 传输 Tx范围
hh mm ll
13 03 00 1 00-7F 自动低音和弦模式 00:OFF
01:单指弹奏
02:多指
03:
A.B.C.定制
Ø
00-7F
Ø
00-03
13 03 01 1 00-7F 下键盘记忆 (开
/关) 00:OFF
01:ON
Ø
00-7F
Ø
00-01
13 03 02 1 00-7F 脚键盘注册记忆 (开
/关) 00:OFF
01:ON
Ø
00-7F
Ø
00-01

ELB-01 使用说明书
176
10
M.O.C.功能参数
部分参数
键盘打击乐器参数
整体
系统参数
地址 大小 数据 参数 数据 接收 Rx范围 传输 Tx范围
hh mm ll
13 04 00 1 00-7F 旋律和弦模式 00:OFF
01:ON
Ø
00-7F
Ø
00-01
13 04 01 1 00-7F M.O.C.膝控音杆控制
(开
/关)
00:OFF
01:ON
Ø
00-7F
˛
00-01
地址 大小 数据 参数 数据 接收 Rx范围 传输 Tx范围
hh mm ll
13 05 00 1 00-7F 前奏
1(开
/关) 00:OFF
01:ON
Ø
00-7F
Ø
00-01
13 05 01 1 00-7F 前奏
2(开
/关) 00:OFF
01:ON
Ø
00-7F
Ø
00-01
13 05 02 1 00-7F 前奏
3(开
/关) 00:OFF
01:ON
Ø
00-7F
Ø
00-01
13 05 08 1 00-7F 主奏
A(开
/关) 00:OFF
01:ON
Ø
00-7F
Ø
00-01
13 05 09 1 00-7F 主奏
B(开
/关) 00:OFF
01:ON
Ø
00-7F
Ø
00-01
13 05 0A 1 00-7F 主奏
C(开
/关) 00:OFF
01:ON
Ø
00-7F
Ø
00-01
13 05 0B 1 00-7F 主奏
D(开
/关) 00:OFF
01:ON
Ø
00-7F
Ø
00-01
13 05 18 1 00-7F 停顿 (开
/关) 00:OFF
01:ON
Ø
00-7F
Ø
00-01
13 05 20 1 00-7F 尾奏
1 (开
/关) 00:OFF
01:ON
Ø
00-7F
Ø
00-01
13 05 21 1 00-7F 尾奏
2 (开
/关) 00:OFF
01:ON
Ø
00-7F
Ø
00-01
13 05 22 1 00-7F 尾奏
3 (开
/关) 00:OFF
01:ON
Ø
00-7F
Ø
00-01
地址 大小 数据 参数 数据 接收 Rx范围 传输 Tx范围
hh mm ll
13 10 11 1 00-7F 音量 00:MIN
7F:MAX
Ø
00-7F
Ø
00-7F
13 10 12 1 00-7F 混响 (深度) 00:MIN
7F:MAX
Ø
00-7F
Ø
00-7F
地址 大小 数据 参数 数据 接收 Rx范围 传输 Tx范围
hh mm ll
14 00 00 1 00-7F 部分保留 (开
/关) 00:OFF
01:ON
Ø
00-7F
˛
-
14 00 02 1 3A-46 移调 3A:琴键下调
40:正常
46:琴键上调
Ø
3A-46
Ø
3A-46
14 00 03 1 01-0C 第
2表达音域 01:100 C
0C:1200 C
Ø
01-0C
˛
01-0C
14 00 04 1 00-7F 脚控开关模式 00:OFF
01:节奏
02:滑音
03:
旋转扬声器
Ø
00-7F
Ø
00-03
14 00 05 1 00-7F 音高 00:音高下调
40:正常
7F:音高上调
Ø
00-7F
Ø
00-7F
14 00 06 1 00-7F 脚控开关滑音时间 00:FAST
7F:SLOW
Ø
00-7F
Ø
04-1C
14 00 08 1 00-7F MIDI控制表达 (
INT/EXT) 00:内部
01:外部
Ø
00-7F
˛
-

ELB-01 使用说明书 177
10
效果参数 (整体):
混响
效果参数 (整体):
旋转扬声器
*
4. MDR
14 00 09 1 00-7F MIDI控制主音色
1(
INT/EXT) 00:内部
01:外部
Ø
00-7F
˛
-
14 00 0A 3 00-05
00-07
00-0B
注册记忆菜单 00-05
00-07
00-0B
Ø
00-05
00-07
00-0B
Ø
00-05
00-07
00-0B
地址 大小 数据 参数 数据 接收 Rx范围 传输 Tx范围
hh mm ll
14 01 00 1 00-7F 混响深度 00:MIN
7F:MAX
Ø
00-7F
˛
-
14 01 01 1 00-7F 混响时间 (面板) 00:FAST
7F:SLOW
Ø
00-7F
Ø
00-45
14 01 02 3 00
00-7F
00-7F
混响类型 (面板) 00
00-7F
00-7F
Ø
00
00-7F
00-7F
Ø
00
00-7F
00-7F
地址 大小 数据 参数 数据 接收 Rx范围 传输 Tx范围
hh mm ll
14 03 00 1 00-7F 旋转扬声器速度 (开
/关) 00:OFF
01:ON
Ø
00-7F
˛
-
14 03 01 1 00-7F 旋转扬声器速度控制
模式
00:STOP
01:SLOW
Ø
00-7F
Ø
00-01
14 03 02 2 0000-
007F
旋转扬声器速度控制
速度
0000:SLOW
007F:FAST
Ø
0000-007F
Ø
0040-007F
nn 命令 接收 传输
01H 播放开始
Ø˛
02H 播放停止 Ø˛
03H 录音开始 Ø˛
04H 录音停止 Ø˛
05H 快进开始 Ø˛
06H 快进停止 Ø˛
09H 节奏指针复位 Ø˛
地址 大小 数据 参数 数据 接收 Rx范围 传输 Tx范围
hh mm ll

ELB-01 使用说明书
178
10
0, 32
1, 5, 7, 10
4
6, 38
11
96, 97
64-67
71-78
84, 91, 93, 94
98-99, 100-101
:True Voice
1, 2, 3, 16 (*1)
1-16
Ø 9nH, v=1-127
˛ 9nH, v=0
˛
Ø
˛
˛
˛
˛
Ø (*6)
˛
˛
˛
˛
˛
Ø (*9)
************************
˛
˛
˛
Ø
Ø
˛
˛
˛
˛
Ø
˛
*1;
*2;
*3;
*4;
*5;
*7;
*9;
*10;
*6; CONTROL only
*8; External Mode only
1ch: UK, 2ch: LK, 3ch: PEDAL, 16ch: CONTROL
1ch: UK, 2ch: LK, 3ch: PEDAL, 4ch: LEAD1, 5-14ch: XG, 15ch: KEYBOARD PERCUSSION, 16ch: CONTROL
UK: 36-96, LK: 36-96, PEDAL: 36-60
UK, LK, PEDAL, LEAD1: 36-96, XG: 0-127, PERCUSSION: 3-127
XG only
UK only
CONTROL: 0-15
UK, LK, PEDAL, CONTROL: 0-15 XG: 0-127
Mode 3
˛
************************
36-96 (*3)
************************
Ø
Mode 1 : OMNI ON, POLY
Mode 3 : OMNI OFF, POLY
Ø
1-3, 5-16 (*2)
4
Ø 9nH, v=1-127
˛ 9nH, v=0 or 8nH
Ø (*5)
Ø
Ø (*5)
Ø (*5)
Ø (*6)
Ø (*5)
Ø (*5, 6)
Ø (*5)
Ø (*5)
Ø (*5)
Ø (*5)
Ø (*5)
Ø (*10)
˛
˛
˛
Ø (*8)
Ø
Ø (120) (*5)
Ø (121) (*5)
˛
Ø (123-127) (*5)
Ø
˛
Mode 3
˛
˛
0-127 (*4)
Ø
Ø (*5)
Bank Select
2nd Expression
Data Entry
Expression
Data Entry SW
Sound Controller
NRPN, RPN
(FAH, FCH)
Ø : Yes
˛ : No
Date: 03-Mar-2005
Version: 1.00
YAMAHA [Electone-EL mode] / Model: ELB-01
Mode 2 : OMNI ON, MONO
Mode 4 : OMNI OFF, MONO
TransmittedFunction Recognized Remarks
Basic
Channel
Note
Number
Velocity
After
Touch
Pitch Bend
Control
Change
Program
Change
System Exclusive
System
Common
System
Real Time
Aux
Messages
Notes
Mode
Default
Changed
Note on
Note off
Key's
Ch's
:Clock
:Commands
:All Sound Off
:Reset All Cntrls
:Local On/Off
:All Notes Off
:Active Sense
:Reset
:Song Position
:Song Select
:Tune
:True number
Default
Messages
Altered
MIDI 补充表

ELB-01 使用说明书 179
10
MIDI 补充表
0, 32
1, 5, 7, 10
4
6, 38
11
96, 97
64-67
71-78
84, 91, 93, 94
98-99, 100-101
:True Voice
1, 2, 3, 16
1-16
Ø 9nH, v=1-127
˛ 9nH, v=0
˛
Ø
˛
˛
˛
˛
Ø
˛
˛
˛
˛
˛
Ø 0-15
************************
˛
˛
˛
Ø
Ø
*1; Same as that in the EL mode
Mode3
˛
************************
36-96
************************
Ø
˛
1-16
1-16
Ø 9nH, v=1-127
˛ 9nH, v=0 or 8nH
Ø
Ø
Ø
Ø
˛
Ø
Ø
Ø
Ø
Ø
Ø
Ø
Ø
˛
˛
˛
˛
˛
Mode 3
˛
˛
0-127
Ø
Ø
Bank Select
2nd Expression
Data Entry
Expression
Data Entry SW
Sound Controller
NRPN, RPN
Date: 03-Mar-2005
Version: 1.00
YAMAHA [Electone-XG mode] / Model: ELB-01
Mode 1 : OMNI ON, POLY
Mode 3 : OMNI OFF, POLY
Ø : Yes
˛ : No
Mode 2 : OMNI ON, MONO
Mode 4 : OMNI OFF, MONO
˛
˛
˛
˛
Ø
˛
Ø (120)
Ø (121)
˛
Ø (123-127)
Ø
˛
Transmitted (*1)
Function Recognized Remarks
Basic
Channel
Note
Number
Velocity
After
Touch
Pitch Bend
Control
Change
Program
Change
System Exclusive
System
Common
System
Real Time
Aux
Messages
Notes
Mode
Default
Changed
Note on
Note off
Key's
Ch's
:Clock
:Commands
:Song Position
:Song Select
:Tune
:True number
Default
Messages
Altered
:All Sound Off
:Reset All Cntrls
:Local On/Off
:All Notes Off
:Active Sense
:Reset

ELB-01 使用说明书
180
10
故障排除
问题 可能的原因与解决方法
一般操作
接通电源约 10 秒后听不到声音。 这是正常现象; Electone 需要一段时间才可启动。
有时会听到破碎的声音。 在 Electone 附近打开电气设备或者使用电力工具 (如电钻)时可能会产生噪
音。
如果发生这种情况,将 Electone 插到尽可能远离产生问题的设备的电气插
座。
会与收音机、电视机或其它干扰源发生干扰。 这是由于附近有高功率的广播电台,或者有业余电台设置或手机。
Electone 的声音会在附近物体产生共鸣。 由于 Electone 可以产生高功率的低音,附近物体如橱柜或玻璃窗可能会产生共
鸣。
为了避免发生这种情况,请重新放置物体或降低 Electone 的音量。
DISPLAY SELECT 部分的一些 LED 未点亮。 当屏幕中的功能打开时, [RHYTHM SEQUENCE] 按钮和 [SUSTAIN] 按钮上面
的指示灯将点亮。
音量设定为最大时声音太小。 • MASTER VOLUME 旋钮可能被设定为最小位置。
顺时针旋转。
•可能未踏下表情踏板。
用脚踏下。
Electone 面板无法正常工作,或者记忆数据的内容已
被更改。
这种情况非常罕见。
有时候,雷暴或其它原因会造成电泳和波峰,可能会造成
Electone 故障和 /或改变记忆数据的内容。
如果发生这种情况,进行出厂设定
操作将 Electone 复位 (第
20 页)。
音色 /节奏
按下琴键时,会发出两个或多个音色的声音。
可能是音色组 2的音色以下键盘或脚键盘的声音发声。
在 Voice 屏幕中关闭音
色组 2的音色,或者切换到音色组 2后将音量设定为最小 (第
29 页)。
对于上键盘,主音色可能会与音色组 2的音色混合在一起发声。切换到音色组
2后关闭 Voice 屏幕中的主音色。
在脚键盘上的音高特别高,而在下键盘和上键盘中的高
音音区中声音低。
将 Electone 的声音与钢琴的声音对比时可能会发生这种现象。
由于合声结构不
同, Electone 的调音系统与钢琴在高音和低音音域中不同。
一些音色可能有破碎和 /或噪音。 主要在管乐器音色中会发生这种现象。
这些音色主要用来为音色加入音效,再
现管风乐器的特点,如管乐振动、呼吸噪音和吱吱响。
同时琴键过多时,并非所有音符都发声。 总复音能力 (上键盘和下键盘都发声的音符)为 10 个音符。
同时演奏主奏音色或脚键盘音色的两个音符时,只会听
到一种声音。
为了进行练习演奏, Electone 一次只能演奏主奏音色或脚键盘音色的一个音
符。
即使正确设定了音量,脚键盘音色也不发声。 •自动低音和弦的单指弹奏或多指和弦模式已打开。
关闭屏幕上的该模式 (第
71 页)。
•脚键盘音色部分的 TO LOWER 按钮已打开。
关闭该功能 (第
31 页)。
按下琴键后,也会听到打击乐器的声音。 键盘打击乐器功能已打开。
不使用该功能时,请务必将其关闭 (第
77 页)。
即使已经选择并开始了用户按钮的节奏,该模式组未发
出声音。
由于用户按钮包含用户节奏,如果未将模式组保存到选定的用户按钮中,没有
节奏会发声。

ELB-01 使用说明书 181
10
音效
初始力度功能不起作用。 在 Voice Condition 屏幕调整初始力度设置 (第
42 页)。
混响音效未应用到需要的音色组,即使 Voice
Condition 屏幕第 1页的混响设置被设定为最大。
在 Reverb 屏幕中为需要的音色组增强混响深度。
即使 DISPLAY SELECT 部分的 [ROTARY SP SPEED]
按钮被打开,也无法听到旋转扬声器音效。
首先必须在 Voice Condition 屏幕中选择旋转扬声器。
伴奏
即使在键盘上弹奏了不同的琴键,单指弹奏模式的音高
不会改变。
单指弹奏模式只有在下键盘的固定八度音程内演奏时会产生音符。
如果按下了
该范围以外的具有相同字母名称的音符,发出的和弦声音将具有相同的音高。
自动播放前奏 /尾奏模式组时,即使弹奏琴键时下键盘
也不会发出任何声音。
由于伴奏和弦会连续自动播放,在播放前奏 /尾奏模式组时下键盘并不会产生
任何声音。
即使选择了适当的伴奏类型并且节奏已开始播放,也无
法听到伴奏。
•伴奏音量可能被设定为 0。请确定在 Rhythm Condition 屏幕(第
70 页)中增
大伴奏音量。
•所有的伴奏声部可能被设定为 “关”(静音)。
将需要的声部设定为 “开”
(第
68 页)。
无法听到旋律和弦功能的和声音符。 上键盘被设定为仅发出主奏音色的声音。
增大上键盘音色的音量。
注册记忆
某些功能未被记忆到注册记忆中。 一些功能无法被记忆。
请参阅第
98 页。
音乐磁盘录制器
无法进行录音或播放。 •声部按钮可能已被关闭。
将需要的声部变为 REC 或 PLAY。
•演奏数据太大。
录制演奏数据的最大极限为 1 MB。
•存储介质处于写保护状态。
取消写保护。
•存储介质
/文件夹可能包含
EL格式的乐曲。
无法录制到包含
EL格式乐曲的存储
介质 /文件夹中。
创建一个新文件夹并将乐曲录制到其中。
演奏结束前就停止了录制。 •存储介质上录制的数据接近最大极限。
使用另外一个存储介质,或者删除不
需要的乐曲数据。
•覆盖乐曲时,续录部分的长度不得超过原录音部分的长度。
删除原录制乐
曲,然后重新录制 (第
121 页)。
•演奏数据太大。
录制演奏数据的最大极限为 1 MB。
输入文件夹名称或乐曲名称时出现错误提示信息。 •乐曲 /文件夹名称太长。最多允许 50 个字符。
•乐曲 /文件夹名称可能是无效的名称。
请参阅第
124 页。
•路径名称太长。路径名称最多允许 234 个字符。
减少文件夹层次或者缩短乐
曲 /文件夹名称,将路径缩短。
节奏不在录制开始时开始,也不在演奏中间停止。 这样设计 M.D.R. 是为了让节奏不在录制的最开始的时候播放。
如果想要使用节
奏,在屏幕上出现时间指示后开始播放。
想要格式化未被格式化的磁盘时无法格式化软盘。 将软盘插入后需要几秒钟才能识别未格式化的磁盘。
等待 30 秒后,再重试。
录制的音符被 “卡住”,连续发声。 播放过程中,可能已将 USB 闪存或软盘取出。
想要停止播放时,取出存储介质
前始终按 [STOP] 按钮。
问题 可能的原因与解决方法

ELB-01 使用说明书
182
10
本使用说明书中的技术规格及介绍仅供参考。
YAMAHA 公司保留随时更改或修订产品或技术规格的权利,若确有更改,恕不事先通知。
技术规格、设备或选购件在各个
地区可能均会有所不同,因此如有问题,请和当地 YAMAHA 经销商确认。
技术规格
Electone STAGEA
ELB-01
音源 AWM (
2)
键盘 上键盘:
49 (
C – C) /下键盘:
49 (
C – C) /脚键盘:
20 (
C – G)
键盘类型 基本
初始力度 上、下键盘
注册记忆 注册记忆 M. (注册记忆)
1 – 8 (
9 – 16)、 D. (部分保留)
基础注册记忆 16
注册记忆菜单 240 + 90
音色 音色组 上键盘:
2、主奏:
1、下键盘:
2、脚键盘:
2
音色按钮 上 /下键盘 弦乐、铜管乐、木管乐、合奏、长音、合成乐、钢琴、风琴、
打击乐器、吉它、合唱、民族乐器、用户 1、用户 2
主音色 小提琴、合成乐、长笛、小号、用户 1、转下键盘
脚键盘 低音提琴、电贝司、定音鼓、合成贝司、用户 1、转下键盘
预置音色 245
效果 /条件 延音 上、下、脚键盘
混响 25
效果 混响、延音、卡拉 OK、合唱、增效器、移相器、震音 /自动移相、
旋转扬声器、失真、哇音、动态、均衡 /加强器、贯通
节奏 预置节奏模式 133
节奏按钮 进行曲、华尔兹、摇摆 &爵士、流行乐、 R&B、拉丁、民族音乐、叙事曲、
摇滚、舞曲、用户 1、用户 2
声部 主鼓、附加鼓
乐段 前奏 1 – 3、尾奏 1 – 3、主奏 /插入 A – D、中断、自动插入
伴奏 伴奏声部 和弦 1、和弦 2、长音、乐句 1、乐句 2
自动低音和弦 关闭、单指弹奏、多指和弦、 A.B.C. 定制
注册记忆:
下、脚键盘
旋律和弦 ✔
键盘打击乐器 设置 预置 1、 2,用户 1 - 8
鼓组 梦幻乐组 (
Wonderland Kit), EL,标准打击乐 1、 2,齐奏,室内打击乐,摇滚,电声,
模拟,爵士,刷击打击乐,交响乐, SFX1、 2,阿拉伯音乐
指定 ✔
控制 左侧脚控开关 节奏:
停止、停顿、主奏 A – D、前奏 1 – 3、尾奏 1 – 3
滑音:
上键盘 1、 2,下键盘 1、 2,主奏 1,滑音时间
旋转扬声器速度
注册记忆转换 转换模式、跳跃模式和用户模式 (
80)
表情踏板 ✔
移调 -6 – +6
音高 A = 427.2 – 452.6 Hz
MIDI 控制 ✔
主控制 电源打开 /关闭、主音量
M.D.R.
• 停止、演奏、定制播放、录制、暂停、快进、快退
• 速度 (
50 - 200%)、重复设定、更改乐曲名称、剩余内存、格式化、乐曲复制、乐曲 /文
件夹删除、转换 ELB
→
EL,转换 EL
→Ε
LB、转换为 XG、注册记忆载入 /保存 /删除、创
建文件夹
应用 语言 (英语 /日语)、版本
屏幕选择 音色屏幕、 A.B.C./M.O.C.、脚控开关、应用、节奏音序、延音、混响、旋转扬声器速度
声音系统 功率放大器 60 W (立体声)
扬声器 16 cm x 2、 5 cm x 2
其他 LCD 显示屏 20 x 2 字符
存储 USB x 2
接口 PHONES, AUX OUT: L/R, MIDI IN/OUT, USB TO HOST, USB TO DEVICE: A, B
功率消耗 64 W
尺寸、重量 1112.3 (
W)
x 485.8 (
D)
x 936 (
H)
mm、 1123.9 (
W)
mm (使用谱架)、 55 kg
琴凳 596 (
W)
x 296 (
D)
x 580 (
H)
mm, 6.2 kg

ELB-01 使用说明书 183
10
A
[A] – [D] 按钮
............................................................................ 17
A.B.C......................................................................................... 71
A.B.C./M.O.C. ........................................................................... 71
AWM 音色 ................................................................................... 8
AUX OUT (L/R)........................................................................ 151
B
BAR/BEAT................................................................................. 61
版本
........................................................................................... 20
伴奏
........................................................................................... 68
伴奏文件格式 .............................................................................. 5
表情踏板
............................................................................ 13, 162
播放
......................................................................................... 133
部分
........................................................................................... 58
部分 (
M.D.R.)
....................................................................... 119
C
Chord 1 ..................................................................................... 69
Chord 2 ..................................................................................... 69
CHORUS (音效)
.................................................................... 45
插孔和控制按钮
....................................................................... 151
插入
........................................................................................... 58
程序转换
.................................................................................. 159
重复
......................................................................................... 135
重命名 ..................................................................................... 122
出厂设定
.................................................................................... 20
初始化 (出厂设定)
.................................................................. 20
初始化 (注册记忆)
................................................................ 100
初始力度
.................................................................................... 42
D
[D.] (Disable) (部分保留)
....................................................... 99
DATA CONTROL (数据控制)旋钮
................................... 11, 17
DYNAMIC.................................................................................. 55
单指弹奏
.................................................................................... 72
动态
........................................................................................... 45
多指和弦
.................................................................................... 72
E
EL -> ELB 转换
........................................................................ 142
ELB -> EL 转换
........................................................................ 141
耳机
......................................................................................... 153
F
FLANGER.................................................................................. 53
FOOTSWITCH................................................................. 102, 146
附加鼓 ....................................................................................... 68
G
Glide ....................................................................................... 148
格式化 (
M.D.R.)
................................................................... 109
更改乐曲 /文件夹名称
............................................................. 122
贯通
..................................................................................... 45, 55
H
合唱 (效果)
.............................................................................53
滑音 ...........................................................................................47
混响
( 效果 ) ...............................................................................52
混响 (节奏 ) ...............................................................................62
混响 (音色状态 ) ........................................................................45
混响 (伴奏)
.............................................................................70
I
Internal/External (MIDI)............................................................161
J
Jump........................................................................................103
记入点录音
...............................................................................121
记忆 (
A.B.C.)
..........................................................................73
技术规格 ..................................................................................182
键盘打击乐器 .............................................................................77
脚键盘音色
.................................................................................22
脚控开关 (右侧)
....................................................................102
脚控开关 (左侧)
....................................................................146
节拍器
........................................................................................67
节奏 ...........................................................................................56
节奏按钮 ....................................................................................56
节奏菜单 ....................................................................................56
节奏列表 ....................................................................................67
节奏音序 ....................................................................................75
节奏状况 ....................................................................................62
均衡 /加强器
........................................................................45, 55
K
开头 (转换停止)
....................................................................106
卡拉 OK ...............................................................................45, 52
控制转换 ..................................................................................159
快进 .........................................................................................134
快退 .........................................................................................134
L
LCD 显示屏
................................................................................17
LEAD VOICE (主音色)(面板)
..............................................10
LOWER KEYBOARD VOICE (下键盘音色) 1/2 (面板)
......10
力度 (初始力度)
......................................................................42
录音 .........................................................................................117
录音 (各个部分)
....................................................................118
M
[M.] (Memory) ( 记忆 ) ...............................................................98
M.D.R.......................................................................................107
M.O.C. .......................................................................................74
MAIN/FILL IN .............................................................................60
MASTER VOLUME.....................................................................13
MIDI .........................................................................................157
MIDI IN/OUT ....................................................................152, 157
MIDI Out ..................................................................................162
MIDI 控制
.................................................................................161
索引

ELB-01 使用说明书
184
10
模式 (旋转扬声器)
.................................................................. 50
P
Pad............................................................................................ 69
PAGE 按钮
................................................................................ 18
PAGE (页码)按钮 (面板)
.................................................... 11
PEDAL VOICE (脚键盘音色) 1/2 (面板)
............................ 10
PHONES ................................................................................. 151
Phrase 1.................................................................................... 69
Phrase 2.................................................................................... 69
POWER ..................................................................................... 12
屏幕选择 (面板)
..................................................................... 11
Q
前奏
........................................................................................... 58
R
REVERB .................................................................................... 48
Reverb ...................................................................................... 42
RHYTHM CONTROL (节奏控制)(面板)
.............................. 10
ROTARY SP SPEED .................................................................. 50
软盘
......................................................................................... 107
S
START ....................................................................................... 57
SYNCHRO................................................................................. 59
删除 (乐曲 /文件夹)
............................................................. 139
删除 (注册记忆转换)
............................................................ 105
上键盘音色
................................................................................ 21
深度 (混响)
............................................................................ 48
深度 (颤音)
............................................................................ 44
声部 (节奏)
............................................................................ 68
失真
..................................................................................... 45, 54
受保护的乐曲 .......................................................................... 139
速度 (节奏)
............................................................................ 61
速度 (旋转扬声器)
.................................................................. 50
速度 (颤音)
............................................................................ 44
索引
......................................................................................... 183
T
停顿
........................................................................................... 58
停止 (转换停止)
................................................................... 106
通道信息
.................................................................................. 159
图标
......................................................................................... 116
U
UD-FD01 ................................................................................. 167
UPPER KEYBOARD VOICE (上键盘音色) 1/2 (面板)
....... 10
USB TO DEVICE A.................................................................. 151
USB TO DEVICE B.................................................................. 152
USB TO HOST ........................................................................ 152
UTILITY ................................................................................... 150
V
VOICE SECTION....................................................................... 25
Volume (XG)............................................................................ 136
W
WAH ..........................................................................................54
哇音 ...........................................................................................45
尾奏 ...........................................................................................58
文件 .........................................................................................116
文件夹
..............................................................................113, 116
文件夹名称
...............................................................................122
文件夹删除
...............................................................................139
X
XG................................................................................................5
系统状态信息 ...........................................................................159
下键盘音色
.................................................................................22
下一个注册记忆 .......................................................................129
下一个 (转换停止)
................................................................106
效果列表 ....................................................................................52
旋律和弦 ....................................................................................74
旋转扬声器
.....................................................................45, 50, 54
Y
延时 (效果)
.............................................................................52
延时 (音效)
.............................................................................45
延时 (颤音)
.............................................................................44
延音 ...........................................................................................49
移调 .........................................................................................150
移调 (音色组)
.........................................................................43
移相 ...........................................................................................43
移相器
..................................................................................45, 53
音程 ...........................................................................................42
音调 (音色组)
.........................................................................43
音高 .........................................................................................150
音高 (音色组)
.........................................................................43
音乐磁盘录制器 (MDR) ............................................................107
音量 (伴奏)
.............................................................................70
音量 (键盘打击乐器)
...............................................................78
音量 (节奏)
.......................................................................57, 62
音量 (音色)
.......................................................................26, 42
音色 ...........................................................................................21
音色按钮 ....................................................................................25
音色菜单 ....................................................................................25
音色屏幕 ....................................................................................23
音色状态屏幕 .......................................................................27, 41
音色组 1 .....................................................................................25
音色 (音色组 2)
.......................................................................29
音效参数 ..............................................................................46, 52
音效类别 (音色)
......................................................................45
音效类型 (音色)
......................................................................46
用户按钮 (节奏)
......................................................................63
用户按钮 (音色)
......................................................................32
用户键盘打击乐器
......................................................................88
用户模式 (注册记忆转换)
.....................................................103
用户 (颤音)
.............................................................................44
语言 ...........................................................................................19
预置键盘打击乐器
......................................................................77
预置 (音效)
.............................................................................45
预置 (颤音)
.............................................................................44
乐曲 .................................................................................111, 116
乐曲复制 ..................................................................................137
乐曲名称 ..................................................................................122
乐曲删除 ..................................................................................139

ELB-01 使用说明书 185
10
Z
暂停
......................................................................................... 134
增效器 ....................................................................................... 45
震音 /自动移相
.................................................................... 45, 53
指示灯 ....................................................................................... 17
注册记忆
.................................................................................... 97
注册记忆菜单 ............................................................................ 14
注册记忆菜单列表 ..................................................................... 15
注册记忆转换 .......................................................................... 102
主鼓
........................................................................................... 68
主音色 ....................................................................................... 21
主奏
........................................................................................... 58
转换模式 (注册记忆转换)
..................................................... 103
转换停止
.................................................................................. 106
转换为 XG ............................................................................... 144
转下键盘
.................................................................................... 31
自动插入
.................................................................................... 60
自动低音和弦 ............................................................................ 71
备忘录

For details of products, please contact your nearest Yamaha
representative or the authorized distributor listed below.
关于各产品的详细信息,请向就近的 YAMAHA 代理商或下列经
销商询问。
CANADA
Yamaha Canada Music Ltd.
135 Milner Avenue, Scarborough, Ontario,
M1S 3R1, Canada
Tel: 416-298-1311
U.S.A.
Yamaha Corporation of America
6600 Orangethorpe Ave., Buena Park, Calif. 90620,
U.S.A.
Tel: 714-522-9011
MEXICO
Yamaha de México S.A. de C.V.
Calz. Javier Rojo Gómez #1149,
Col. Guadalupe del Moral
C.P. 09300, México, D.F., México
Tel: 55-5804-0600
BRAZIL
Yamaha Musical do Brasil Ltda.
Av. Reboucas 2636-Pinheiros CEP: 05402-400
Sao Paulo-SP. Brasil
Tel: 011-3085-1377
ARGENTINA
Yamaha Music Latin America, S.A.
Sucursal de Argentina
Viamonte 1145 Piso2-B 1053,
Buenos Aires, Argentina
Tel: 1-4371-7021
PANAMA AND OTHER LATIN
AMERICAN COUNTRIES/
CARIBBEAN COUNTRIES
Yamaha Music Latin America, S.A.
Torre Banco General, Piso 7, Urbanización Marbella,
Calle 47 y Aquilino de la Guardia,
Ciudad de Panamá, Panamá
Tel: +507-269-5311
THE UNITED KINGDOM
Yamaha-Kemble Music (U.K.) Ltd.
Sherbourne Drive, Tilbrook, Milton Keynes,
MK7 8BL, England
Tel: 01908-366700
IRELAND
Danfay Ltd.
61D, Sallynoggin Road, Dun Laoghaire, Co. Dublin
Tel: 01-2859177
GERMANY
Yamaha Music Central Europe GmbH
Siemensstraße 22-34, 25462 Rellingen, Germany
Tel: 04101-3030
SWITZERLAND/LIECHTENSTEIN
Yamaha Music Central Europe GmbH,
Branch Switzerland
Seefeldstrasse 94, 8008 Zürich, Switzerland
Tel: 01-383 3990
AUSTRIA
Yamaha Music Central Europe GmbH,
Branch Austria
Schleiergasse 20, A-1100 Wien, Austria
Tel: 01-60203900
CZECH REPUBLIC/SLOVAKIA/
HUNGARY/SLOVENIA
Yamaha Music Central Europe GmbH,
Branch Austria, CEE Department
Schleiergasse 20, A-1100 Wien, Austria
Tel: 01-602039025
POLAND
Yamaha Music Central Europe GmbH
Sp.z. o.o. Oddzial w Polsce
ul. 17 Stycznia 56, PL-02-146 Warszawa, Poland
Tel: 022-868-07-57
THE NETHERLANDS/
BELGIUM/LUXEMBOURG
Yamaha Music Central Europe GmbH,
Branch Benelux
Clarissenhof 5-b, 4133 AB Vianen, The Netherlands
Tel: 0347-358 040
FRANCE
Yamaha Musique France
BP 70-77312 Marne-la-Vallée Cedex 2, France
Tel: 01-64-61-4000
ITALY
Yamaha Musica Italia S.P.A.
Viale Italia 88, 20020 Lainate (Milano), Italy
Tel: 02-935-771
SPAIN/PORTUGAL
Yamaha-Hazen Música, S.A.
Ctra. de la Coruna km. 17, 200, 28230
Las Rozas (Madrid), Spain
Tel: 91-639-8888
GREECE
Philippos Nakas S.A. The Music House
147 Skiathou Street, 112-55 Athens, Greece
Tel: 01-228 2160
SWEDEN
Yamaha Scandinavia AB
J. A. Wettergrens Gata 1
Box 30053
S-400 43 Göteborg, Sweden
Tel: 031 89 34 00
DENMARK
YS Copenhagen Liaison Office
Generatorvej 6A
DK-2730 Herlev, Denmark
Tel: 44 92 49 00
FINLAND
F-Musiikki Oy
Kluuvikatu 6, P.O. Box 260,
SF-00101 Helsinki, Finland
Tel: 09 618511
NORWAY
Norsk filial av Yamaha Scandinavia AB
Grini Næringspark 1
N-1345 Østerås, Norway
Tel: 67 16 77 70
ICELAND
Skifan HF
Skeifan 17 P.O. Box 8120
IS-128 Reykjavik, Iceland
Tel: 525 5000
OTHER EUROPEAN COUNTRIES
Yamaha Music Central Europe GmbH
Siemensstraße 22-34, 25462 Rellingen, Germany
Tel: +49-4101-3030
Yamaha Corporation,
Asia-Pacific Music Marketing Group
Nakazawa-cho 10-1, Hamamatsu, Japan 430-8650
Tel: +81-53-460-2312
TURKEY/CYPRUS
Yamaha Music Central Europe GmbH
Siemensstraße 22-34, 25462 Rellingen, Germany
Tel: 04101-3030
OTHER COUNTRIES
Yamaha Music Gulf FZE
LB21-128 Jebel Ali Freezone
P.O.Box 17328, Dubai, U.A.E.
Tel: +971-4-881-5868
THE PEOPLE’S REPUBLIC OF CHINA
Yamaha Music & Electronics (China) Co.,Ltd.
25/F., United Plaza, 1468 Nanjing Road (West),
Jingan, Shanghai, China
Tel: 021-6247-2211
HONG KONG
Tom Lee Music Co., Ltd.
11/F., Silvercord Tower 1, 30 Canton Road,
Tsimshatsui, Kowloon, Hong Kong
Tel: 2737-7688
INDONESIA
PT. Yamaha Music Indonesia (Distributor)
PT. Nusantik
Gedung Yamaha Music Center, Jalan Jend. Gatot
Subroto Kav. 4, Jakarta 12930, Indonesia
Tel: 21-520-2577
KOREA
Yamaha Music Korea Ltd.
Tong-Yang Securities Bldg. 16F 23-8 Yoido-dong,
Youngdungpo-ku, Seoul, Korea
Tel: 02-3770-0660
MALAYSIA
Yamaha Music Malaysia, Sdn., Bhd.
Lot 8, Jalan Perbandaran, 47301 Kelana Jaya,
Petaling Jaya, Selangor, Malaysia
Tel: 3-78030900
PHILIPPINES
Yupangco Music Corporation
339 Gil J. Puyat Avenue, P.O. Box 885 MCPO,
Makati, Metro Manila, Philippines
Tel: 819-7551
SINGAPORE
Yamaha Music Asia Pte., Ltd.
#03-11 A-Z Building
140 Paya Lebor Road, Singapore 409015
Tel: 747-4374
TAIWAN
Yamaha KHS Music Co., Ltd.
3F, #6, Sec.2, Nan Jing E. Rd. Taipei.
Taiwan 104, R.O.C.
Tel: 02-2511-8688
THAILAND
Siam Music Yamaha Co., Ltd.
891/1 Siam Motors Building, 15-16 floor
Rama 1 road, Wangmai, Pathumwan
Bangkok 10330, Thailand
Tel: 02-215-2626
OTHER ASIAN COUNTRIES
Yamaha Corporation,
Asia-Pacific Music Marketing Group
Nakazawa-cho 10-1, Hamamatsu, Japan 430-8650
Tel: +81-53-460-2317
AUSTRALIA
Yamaha Music Australia Pty. Ltd.
Level 1, 99 Queensbridge Street, Southbank,
Victoria 3006, Australia
Tel: 3-9693-5111
NEW ZEALAND
Music Houses of N.Z. Ltd.
146/148 Captain Springs Road, Te Papapa,
Auckland, New Zealand
Tel: 9-634-0099
COUNTRIES AND TRUST
TERRITORIES IN PACIFIC OCEAN
Yamaha Corporation,
Asia-Pacific Music Marketing Group
Nakazawa-cho 10-1, Hamamatsu, Japan 430-8650
Tel: +81-53-460-2312
NORTH AMERICA
CENTRAL & SOUTH AMERICA
EUROPE
AFRICA
MIDDLE EAST
ASIA
OCEANIA
HEAD OFFICE Yamaha Corporation, Pro Audio & Digital Musical Instrument Division
Nakazawa-cho 10-1, Hamamatsu, Japan 430-8650
Tel: +81-53-460-3273
[EL] 37


