Yamaha Genos Owner’s Manual Owner's Nl Om C0
User Manual: Yamaha Genos Owner's Manual
Open the PDF directly: View PDF
.
Page Count: 140 [warning: Documents this large are best viewed by clicking the View PDF Link!]
- VOORZICHTIG
- Meegeleverde accessoires
- Over de handleidingen
- Belangrijkste eigenschappen
- Inhoudsopgave
- Genos gebruiken—Algemeen overzicht
- Algemene functies
- Bedieningspaneel en aansluitingen
- Beginnen
- Displaystructuur
- Basishandelingen
- Beknopte handleiding—Voor het bespelen van de Genos
- Spelen met stijlen—Configuraties
- Stijlen configureren
- Optimale paneelinstellingen voor de huidige stijl (One Touch Setting)
- Keyboardgedeelten configureren
- Een voice selecteren voor de verschillende keyboardgedeelten
- Eigen Organ Flutes-voices maken
- Ensemblevoices gebruiken
- Keyboard Harmony/Arpeggio configureren op het keyboard
- Multi Pads configureren
- Oorspronkelijke instellingen opslaan in One Touch Setting
- De toonhoogte van het keyboard wijzigen
- Toewijsbare regelaars configureren
- Spelen met stijlen—Handelingen tijdens het spelen
- Meezingen met een afgespeelde song—Configureren
- Meezingen met een afgespeelde song— Handelingen tijdens het spelen
- De parameters van elk gedeelte aanpassen—Mixer
- Songopname
- Zelfgemaakte paneelsetups registreren en terughalen—Registratiegeheugen, playlist
- Aanpassen voor optimale prestaties
- Systeeminstellingen
- Aansluitingen—Het instrument gebruiken met andere apparaten
- Een microfoon aansluiten ([MIC INPUT]-aansluiting)
- Optionele Yamaha GNS-MS01 luidspreker aansluiten
- Audioapparaten aansluiten (LINE OUT-aansluitingen, AUX IN-aansluitingen, [DIGITAL OUT]-aansluiting)
- Voetschakelaars/voetregelaars aansluiten (ASSIGNABLE FOOT PEDAL- aansluitingen)
- USB-apparaten aansluiten ([USB TO DEVICE]-aansluiting)
- Aansluiten op een iPhone/iPad (functie Wireless LAN, [USB TO HOST]- of MIDI-aansluiting)
- Aansluiten op een computer ([USB TO HOST]-aansluiting)
- Externe MIDI-apparaten aansluiten ([MIDI]-aansluitingen)
- Functielijst
- Appendix
- De optionele luidsprekers installeren
- Direct Access-overzicht
- Problemen oplossen
- Specificaties
- Index

Genos Gebruikershandleiding 1
v1.10 NL
Gebruikershandleiding
Lees 'VOORZICHTIG' op pagina 5 voordat u het instrument gebruikt.
DIGITAL WORKSTATION

Genos Gebruikershandleiding 3
Informatie over ophalen en weggooien van oude apparatuur
Dit symbool op de apparaten, verpakking en/of meegeleverde documenten betekent dat gebruikte elektrische en elektronische apparaten
niet met het gewone huishoudelijke afval mogen worden gemengd.
Voor juist behandelen, hergebruik of recyclen van oude apparatuur brengt u deze naar de desbetreffende ophaalpunten in
overeenstemming met de nationale wetgeving.
Door deze apparatuur op de juiste manier weg te gooien, helpt u waardevolle bronnen te sparen en mogelijk negatieve effecten op de
gezondheid van de mens en op het milieu te voorkomen, die het gevolg kunnen zijn van niet-aangepaste afvalverwerking.
Voor meer informatie over ophalen en recyclen van oude apparatuur neemt u contact op met de lokale overheid, uw
afvalophaalmaatschappij of het verkooppunt waar u de items hebt gekocht.
Voor zakelijke gebruikers in de Europese Unie:
Als u elektrische en elektronische apparatuur wilt weggooien, neemt u voor meer informatie contact op met uw dealer of leverancier.
Informatie over weggooien in landen buiten de Europese Unie:
Dit symbool is alleen geldig in de Europese Unie. Als u deze items wilt weggooien, neemt u contact op met de lokale overheid of een
lokale dealer en vraagt u om instructies voor het correct weggooien.
(weee_eu_nl_02)

4Genos Gebruikershandleiding
Het modelnummer, het serienummer, de stroomvereisten, enz.
worden vermeld op of in de nabijheid van het naamplaatje, dat
zich aan de onderzijde van het toestel bevindt. Het is raadzaam
dit serienummer in de hieronder gereserveerde ruimte te noteren.
Bewaar ook deze handleiding als permanent aankoopbewijs om
identificatie in geval van diefstal te vergemakkelijken.
Modelnummer
Serienummer
(bottom_nl_01)
OBSERVERA!
Apparaten kopplas inte ur växelströmskällan (nätet) så länge som
den ar ansluten till vägguttaget, även om själva apparaten har
stängts av.
ADVARSEL:
Netspændingen til dette apparat er IKKE afbrudt,
sålænge netledningen sidder i en stikkontakt, som er tændt —
også selvom der er slukket på apparatets afbryder.
VAROITUS:
Laitteen toisiopiiriin kytketty käyttökytkin ei irroita
koko laitetta verkosta.
(standby)

Genos Gebruikershandleiding 5
VOORZICHTIG
LEES DIT ZORGVULDIG DOOR VOORDAT U VERDERGAAT
Bewaar deze gebruikershandleiding op een veilige en handige plaats voor eventuele toekomstige raadpleging.
WAARSCHUWING
Volg altijd de hierna vermelde algemene voorzorgsmaatregelen op om ernstig of zelfs dodelijk letsel als gevolg van elektrische schokken,
kortsluiting, beschadiging, brand of andere gevaren te voorkomen. Deze maatregelen houden in, maar zijn niet beperkt tot:
• Plaats het netsnoer niet in de buurt van warmtebronnen zoals verwarming en kachels. Verbuig of
beschadig het snoer ook niet en plaats geen zware voorwerpen op het snoer.
• Gebruik het instrument uitsluitend op de voorgeschreven elektrische spanning. De vereiste
spanning wordt vermeld op het naamplaatje van het instrument.
• Gebruik uitsluitend het meegeleverde netsnoer met stekker.
• Controleer de elektrische stekker regelmatig en verwijder vuil of stof dat zich erop heeft verzameld.
• Let erop dat u het apparaat aansluit op een geschikt geaard stopcontact. Onjuiste aarding kan
elektrische schokken tot gevolg hebben.
• Dit instrument bevat geen door de gebruiker te repareren onderdelen. Probeer het apparaat niet uit
elkaar te halen of de interne onderdelen te veranderen. Als het instrument defect lijkt, stopt
u onmiddellijk met het gebruik ervan en laat u het instrument nakijken door bevoegd Yamaha-
servicepersoneel.
• Radiogolven kunnen elektronische medische apparatuur beïnvloeden.
- Gebruik dit product niet in de buurt van medische apparatuur of binnen in ruimtes waarin het
gebruik van golven is beperkt.
- Gebruik dit product niet binnen een afstand van 15 cm van personen met een geïmplanteerde
pacemaker.
• Stel het instrument niet bloot aan regen en gebruik het niet in de buurt van water of in een
vochtige omgeving. Plaats nooit voorwerpen (zoals vazen, flessen of glazen) die vloeistof
bevatten op het instrument. Wanneer een vloeistof, zoals water, in het instrument lekt, schakelt
u het instrument onmiddellijk uit en verwijdert u de stekker uit het stopcontact. Laat het
instrument vervolgens nakijken door bevoegd Yamaha-servicepersoneel.
• Steek/verwijder nooit een stekker in/uit het stopcontact wanneer u natte handen hebt.
• Plaats geen brandende voorwerpen, zoals kaarsen, op het apparaat.
Een brandend voorwerp kan omvallen en brand veroorzaken.
• Als een van de volgende storingen optreedt, schakelt u de POWER-schakelaar onmiddellijk uit en
verwijdert u de stekker uit het stopcontact. Laat het instrument vervolgens nakijken door bevoegd
Yamaha-servicepersoneel.
- Het netsnoer of de stekker raakt versleten of beschadigd.
- Het instrument verspreidt een ongebruikelijke geur of er komt rook uit het instrument.
- Er is een voorwerp gevallen in het instrument.
- Het geluid valt plotseling weg tijdens het gebruik van het instrument.
VOORZICHTIG
Volg altijd de hierna vermelde algemene voorzorgsmaatregelen op om lichamelijk letsel bij uzelf en anderen of beschadiging van het
instrument en andere eigendommen te voorkomen. Deze maatregelen houden in, maar zijn niet beperkt tot:
• Sluit het instrument niet via een verdeelstekker aan op het stopcontact. Dit kan leiden tot een
verminderde geluidskwaliteit of oververhitting in het stopcontact.
• Trek altijd aan de stekker en nooit aan het snoer wanneer u de stekker verwijdert uit het instrument
of het stopcontact. Het snoer kan beschadigd raken als u eraan trekt.
• Verwijder de stekker uit het stopcontact tijdens onweer of als u het instrument gedurende langere
tijd niet gebruikt.
• Plaats het instrument niet op een onstabiele plek waar het per ongeluk kan omvallen.
• Verwijder voordat u het instrument verplaatst alle aangesloten snoeren, om beschadiging van de
kabels te voorkomen en letsel bij personen die erover zouden kunnen struikelen.
• Let erop tijdens het opstellen van het instrument dat het te gebruiken stopcontact gemakkelijk
bereikbaar is. Als er een storing optreedt of het instrument niet correct werkt, schakelt u de
POWER-schakelaar onmiddellijk uit en verwijdert u de stekker uit het stopcontact. Ook wanneer
de POWER-schakelaar is uitgeschakeld, loopt er nog een minimale hoeveelheid stroom naar het
instrument. Verwijder de stekker uit het stopcontact als u het instrument gedurende langere tijd
niet gebruikt.
•
Gebruik uitsluitend de standaard die voor uw instrument wordt aanbevolen. Gebruik uitsluitend de
bijgeleverde schroeven om deze te bevestigen.
Als u dit niet doet, kunnen de inwendige onderdelen
beschadigd raken en kan het instrument omvallen.
• Schakel de stroomtoevoer naar alle onderdelen uit voordat u het instrument aansluit op andere
elektronische componenten. Stel alle volumeniveaus in op het laagste niveau voordat u de
stroomtoevoer naar alle onderdelen in- of uitschakelt.
• Zorg dat het volume van alle componenten is ingesteld op het laagsteniveau en voer het volume
tijdens het bespelen van het instrument geleidelijk op tot het gewenste niveau.
• Steek geen vinger of hand in de openingen van het instrument.
• Steek nooit papier, metaal of andere voorwerpen in de openingen van het paneel en laat deze nooit
hierin vallen. Dit kan lichamelijk letsel bij u of anderen, schade aan het instrument of andere
eigendommen of een verstoring van de werking veroorzaken.
• Leun niet op het instrument, plaats er geen zware voorwerpen op en ga voorzichtig om met de
knoppen, schakelaars en aansluitingen.
• Gebruik het instrument/apparaat of een hoofdtelefoon niet te lang op een hoog of oncomfortabel
geluidsniveau, aangezien dit permanent gehoorverlies kan veroorzaken. Consulteer een KNO-arts als
u ruis in uw oren of gehoorverlies constateert.
Schakel het instrument altijd uit als u het niet gebruikt.
Zelfs als de [ ] (Standby/On)-schakelaar op stand-by staat (display is uit), loopt er nog een minimale hoeveelheid stroom door het instrument.
Als u het instrument gedurende een lange tijd niet gebruikt, zorg er dan voor dat u het netsnoer uit het stopcontact haalt.
Spanningsvoorziening/netsnoer
Niet openen
Locatie
Waarschuwing tegen water
Waarschuwing tegen brand
Als u onregelmatigheden opmerkt
Spanningsvoorziening/netsnoer
Locatie
Aansluitingen
Zorgvuldig behandelen
Yamaha is noch aansprakelijk voor ontstane schade door oneigenlijk gebruik of modificatie van het instrument, noch voor verlies of beschadiging van gegevens.
DMI-5
1/1

6Genos Gebruikershandleiding
Kennisgevingen en informatie
LET OP
Houd u aan onderstaande waarschuwingen om storingen/schade aan het apparaat en schade aan de gegevens of andere eigendommen te
voorkomen.
Behandeling
• Gebruik het instrument niet in de nabijheid van een tv, radio, stereoapparatuur, mobiele telefoon of andere elektrische apparaten. Het
instrument, de tv of de radio kunnen bijgeluid genereren. Als u het instrument samen met een toepassing op uw iPad, iPhone of iPod touch
gebruikt, adviseren we u om de vliegtuigmodus op dat apparaat aan te zetten, om bijgeluiden als gevolg van communicatie te vermijden.
• Stel het instrument niet bloot aan grote hoeveelheden stof of trillingen of aan extreme koude of hitte (zoals in direct zonlicht, bij een
verwarming of overdag in een auto), om eventuele vervorming van het bedieningspaneel, beschadiging van de interne componenten of
instabiele werking te voorkomen. (Gecontroleerd bedrijfstemperatuurbereik: 5–40 °C (41–104 °F).)
• Plaats geen vinyl, plastic of rubberen voorwerpen op het instrument, aangezien dit verkleuring van het paneel of het keyboard tot gevolg kan
hebben.
Onderhoud
• Reinig het instrument altijd met een zachte doek. Gebruik geen verfverdunners, oplosmiddelen, alcohol, schoonmaakmiddelen of chemisch
geïmpregneerde schoonmaakdoekjes.
Gegevens opslaan
• Gegevens van bewerkte songs/stijlen/voices/MIDI-setup enzovoort gaan verloren als u het instrument uitschakelt zonder eerst op te slaan.
Dit gebeurt ook wanneer de spanning wordt uitgeschakeld met de functie Automatisch uitschakelen (pagina 24). Sla de gegevens op in het
instrument of op een USB-flashstation/een extern apparaat zoals een computer (pagina 37). Opslag van de gegevens naar een USB-
flashstation/een extern apparaat is nog veiliger, omdat de gegevens in het instrument verloren kunnen gaan ten gevolge van een technisch
probleem, bedieningsfout enzovoort. Raadpleeg pagina 111 voordat u een USB-flashstation gebruikt.
• Om te voorkomen dat u gegevens kwijtraakt als gevolg van een beschadigd USB-flashstation, adviseren wij u een back-up van belangrijke
gegevens op te slaan op een extra USB-flashstation of een extern apparaat, bijvoorbeeld een computer.
• Systeemset-upgegevens (andere gegevens dan bewerkte songs/stijlen/voices/MIDI-instellingen enz.) worden automatisch opgeslagen als
u de instellingen wijzigt op een displaypagina en vervolgens die pagina afsluit. De gegevens gaan echter verloren als u het instrument uitzet
zonder op correcte wijze de desbetreffende displaypagina te verlaten. Voor informatie over de systeemset-upgegevens raadpleegt u de
Parameter Chart in de Datalijst op de website.
• Als het instrument langer dan een week niet wordt ingeschakeld met de aan/uit-schakelaar, kan de tijdinstelling (klok) verloren gaan.

Genos Gebruikershandleiding 7
Informatie
Auteursrechten
• Het kopiëren van commercieel verkrijgbare muziekgegevens, inclusief maar niet beperkt tot MIDI-gegevens en/of audiogegevens, is strikt verboden,
uitgezonderd voor persoonlijk gebruik.
• Dit product bevat en gaat vergezeld van inhoud waarvan Yamaha alle auteursrechten heeft of waarvoor Yamaha over de licenties beschikt om gebruik te
mogen maken van de auteursrechten van derden. Vanwege auteursrechtwetten en andere relevante wetten is het NIET toegestaan om media te distribueren
waarop deze inhoud is opgeslagen of opgenomen indien deze nagenoeg niet verschillen van die in het product.
* Onder de hierboven beschreven inhoud vallen computertoepassingen, begeleidingsstijlgegevens, MIDI-gegevens, WAVE-gegevens, voice-
opnamegegevens, muzieknotaties, muzieknotatiegegevens enzovoort.
* U mag media verspreiden waarop uw performance of muziekproductie, gemaakt met deze inhoud, is opgenomen. In dergelijke gevallen hebt u geen
toestemming nodig van Yamaha Corporation.
Functies/gegevens die bij het instrument zijn meegeleverd
• Sommige presetsongs zijn ingekort of bewerkt en zijn daarom niet precies hetzelfde als het origineel.
• Dit apparaat kan muziekgegevens van verschillende typen en indelingen gebruiken door deze van tevoren naar de juiste muziekgegevensindeling voor
gebruik met het instrument te optimaliseren. Hierdoor wordt op dit apparaat muziek mogelijk niet exact zo afgespeeld als de componist het oorspronkelijk
heeft bedoeld.
• De in dit instrument gebruikte bitmapfonts zijn geleverd door en zijn eigendom van Ricoh Co., Ltd.
Met het oog op productverbetering kan Yamaha van tijd tot tijd de firmware van het product (functies en gebruik) bijwerken zonder voorafgaande
kennisgeving. Om optimaal gebruik te kunnen maken van dit instrument, raden we u aan om uw instrument naar de nieuwste versie bij te werken. U kunt de
nieuwste firmwareversie downloaden van de onderstaande website:
http://download.yamaha.com/

8Genos Gebruikershandleiding
Kennisgeving over auteursrechten
Hier volgen de titels, verantwoordelijken en auteursrechtvermeldingen voor de songs die vooraf in dit instrument zijn
geïnstalleerd.
Eye Of The Tiger
Theme from ROCKY III
Words and Music by Frank Sullivan and Jim Peterik
Copyright (c) 1982 Sony/ATV Music Publishing LLC, Rude
Music, Three Wise Boys LLC, WB Music Corp. and Easy Action
Music
All Rights on behalf of Sony/ATV Music Publishing LLC, Rude
Music and Three Wise Boys LLC Administered by Sony/ATV
Music Publishing LLC, 424 Church Street, Suite 1200, Nashville,
TN 37219
All Rights on behalf of Easy Action Music Administered by WB
Music Corp.
International Copyright Secured All Rights Reserved
Game Of Thrones
Theme from the HBO Series GAME OF THRONES
By Ramin Djawadi
Copyright (c) 2011 TL MUSIC PUBLISHING
All Rights Administered by UNIVERSAL MUSIC CORP.
All Rights Reserved Used by Permission
The Girl From Ipanema (Garôta De Ipanema)
Music by Antonio Carlos Jobim
English Words by Norman Gimbel
Original Words by Vinicius de Moraes
Copyright (c) 1963 ANTONIO CARLOS JOBIM and VINICIUS
DE MORAES, Brazil
Copyright Renewed 1991 and Assigned to SONGS OF
UNIVERSAL, INC. and WORDS WEST LLC
English Words Renewed 1991 by NORMAN GIMBEL for the
World and Assigned to WORDS WEST LLC (P.O. Box 15187,
Beverly Hills, CA 90209 USA)
All Rights Reserved Used by Permission
Living Next Door To Alice
Words and Music by Nicky Chinn and Mike Chapman
Copyright (c) 1977 by Universal Music - MGB Songs
Copyright Renewed
International Copyright Secured All Rights Reserved
Love Really Hurts Without You
Words and Music by Ben Findon and Les Charles
(c) 1984 EMI MUSIC PUBLISHING LTD.
All Rights in the U.S. and Canada Controlled and Administered
by EMI LONGITUDE MUSIC
All Rights Reserved International Copyright Secured Used by
Permission
Moon River
from the Paramount Picture BREAKFAST AT TIFFANY’S
Words by Johnny Mercer
Music by Henry Mancini
Copyright (c) 1961 Sony/ATV Music Publishing LLC
Copyright Renewed
All Rights Administered by Sony/ATV Music Publishing LLC,
424 Church Street, Suite 1200, Nashville, TN 37219
International Copyright Secured All Rights Reserved
More Than Words
Words and Music by Nuno Bettencourt and Gary Cherone
Copyright (c) 1990 COLOR ME BLIND MUSIC
All Rights Administered by ALMO MUSIC CORP.
All Rights Reserved Used by Permission
A Sky Full Of Stars
Words and Music by Guy Berryman, Jon Buckland, Will
Champion, Chris Martin and Tim Bergling
Copyright (c) 2014 by Universal Music Publishing MGB Ltd. and
EMI Blackwood Music Inc.
All Rights for Universal Music Publishing MGB Ltd. in the
United States and Canada
Administered by Universal Music - MGB Songs
All Rights for EMI Blackwood Music Inc. Administered by
Sony/ATV Music Publishing LLC, 424 Church Street, Suite
1200, Nashville, TN 37219
International Copyright Secured All Rights Reserved
Wake Me Up!
Words and Music by Aloe Blacc, Tim Bergling and Michael
Einziger
(c) 2013 WB MUSIC CORP., ALOE BLACC PUBLISHING,
EMI MUSIC PUBLISHING SCANDINAVIA AB, UNIVERSAL
MUSIC CORP. and ELEMENTARY PARTICLE MUSIC
All Rights on behalf of itself and ALOE BLACC PUBLISHING
Administered by WB MUSIC CORP.
All Rights on behalf of EMI MUSIC PUBLISHING
SCANDINAVIA AB Administered by SONY/ATV MUSIC
PUBLISHING LLC, 424 Church Street, Suite 1200, Nashville,
TN 37219
All Rights on behalf of ELEMENTARY PARTICLE MUSIC
Controlled and Administered by UNIVERSAL MUSIC CORP.
All Rights Reserved Used by Permission
Hulapalu
Words and Music by Andreas GABALIER
© 2015 by Edition Stall c/o Melodie der Welt GmbH & Co.KG,
60313 Frankfurt am Main

Genos Gebruikershandleiding 9
Meegeleverde accessoires
Gefeliciteerd!
U bent de trotse bezitter van een zeer bijzonder elektronisch keyboard.
Naast het stijlvolle gebogen design combineert de Yamaha Genos de meest
geavanceerde klankopwekkingstechnologie met de nieuwste digitale elektronica,
met verbluffend geluid met maximale muzikale veelzijdigheid als resultaat –
in elk opzicht een prachtig instrument.
Om zoveel mogelijk uit uw Genos met zijn kolossale potentieel aan
mogelijkheden te halen, adviseren wij u deze handleiding grondig door te lezen en
de beschreven functies meteen uit te proberen. Bewaar deze handleiding op een
veilige plaats voor latere raadpleging.
Meegeleverde accessoires
• Gebruiksaanwijzing (dit boek)
• Online Member Product Registration (Online registratie van lid en product)
•Netsnoer
• Muziekstandaard, twee beugels voor muziekstandaard

10 Genos Gebruikershandleiding
Over de handleidingen
Voor dit instrument bestaan de volgende documenten en instructiehandleidingen.
Meegeleverde documenten
Gebruikershandleiding (dit boek)
Biedt een algemene beschrijving van de basisfuncties van de Genos.
Online materiaal (kan worden gedownload van internet)
Naslaggids (alleen verkrijgbaar in het Engels, Frans, Duits, Italiaans, Nederlands en Pools)
Hierin worden geavanceerde functies van het instrument uitgelegd, zoals het maken van originele
stijlen, songs en Multi Pads, en het instellen van specifieke parameters.
Datalijst
Bevat verschillende belangrijke lijsten van presetinhoud, zoals voices, stijlen en effecten, maar ook
informatie die betrekking heeft op MIDI.
iPhone/iPad Connection Manual (Handleiding voor het aansluiten van een iPhone/iPad)
(pagina 112)
In dit document wordt uitgelegd hoe u het instrument aansluit op smart toestellen, zoals een iPhone,
iPad enzovoort.
Computer-related Operations (Computergerelateerde handelingen) (pagina 113)
Bevat instructies om het instrument aan te sluiten op een computer en handelingen voor het
overbrengen van songgegevens.
Als u deze materialen wilt downloaden, gaat u naar de Yamaha-downloads, typt u 'Genos' in het vak Modelnaam
en klikt u op [Search] (Zoeken).
• De afbeeldingen en LCD-displays zoals deze in deze handleiding te zien zijn, zijn uitsluitend bedoeld voor
instructiedoeleinden en kunnen dus enigszins afwijken van de werkelijkheid.
• Windows is een geregistreerd handelsmerk van Microsoft
®
Corporation in de Verenigde Staten en andere landen.
• iPhone, iPad en iPod touch zijn handelsmerken van Apple Inc., geregistreerd in de Verenigde Staten en andere landen.
• De namen van bedrijven en producten die in deze handleiding worden genoemd, zijn handelsmerken of gedeponeerde
handelsmerken van hun respectieve eigenaars.
Yamaha-downloads
http://download.yamaha.com/

Genos Gebruikershandleiding 11
Belangrijkste eigenschappen
Belangrijkste eigenschappen
Genos is de vervanger van de uiterst succesvolle Tyros en is de nieuwste benchmark voor geluid, design en
gebruikerservaring voor Digital Workstations. Of u nu professioneel muzikant bent of een hobbyist: Genos
inspireert u en maakt uw muziekspel en plezier intenser.
-
Uitermate expressieve en realistische voices
De geluidskwaliteit van elke voice van de Genos is beter dan die van elk ander Digital Workstation waar u ooit op hebt
gespeeld. Dit instrument is een echte doorbraak. Alles wat u hoort, of het nu de prachtige CFX-piano is, de rijke strijkers of de
pittige nieuwe Revo Drums, zal u versteld laten staan!
-
Krachtige DSP-effectverwerking om het geluid te verbeteren
Van reverb tot vervorming en van roterende luidspreker tot compressor, de Genos heeft ongekende DSP-kracht.
De Genos maakt gebruik van dezelfde VCM-technologie als de geavanceerde professionele mixing consoles van Yamaha,
wat de basis is voor een perfect geluid. De effecten klinken niet alleen geweldig, ze zien er ook geweldig uit – met verbluffende
grafische gebruikersinterfaces.
-
Begeleidingsstijlen
Wel muziekgenre u ook wilt spelen, de Genos kan u begeleiden met arrangementen van wereldklasse, pittige drums en tot wel
vier keer het DSP-vermogen van eerdere Digital Workstations. De meest perfecte persoonlijke begeleidingsband ooit!
-
Flexibele realtime besturing – LIVE CONTROL
Vorm uw geluid direct met het gloednieuwe LIVE CONTROL-oppervlak. U kunt een groot aantal verschillende functies
toewijzen aan de LIVE CONTROL-knoppen en -schuifregelaars, waarbij u in de LIVE CONTROL-weergave meteen uw
aanpassingen kunt zien zonder dat u de hoofddisplay hoeft af te sluiten.
-
Voices en stijlen kunnen worden uitgebreid met de Yamaha Expansion Manager
Met de Yamaha Expansion Manager-software op uw computer kunt u de inhoud van uw Genos voortdurend uitbreiden door uw
eigen aangepaste of aangeschafte pakketten te maken en te installeren. Met ondersteuning voor WAV, AIFF en zelfs SoundFont
en REX zijn de mogelijkheden voor nieuwe geluiden en stijlen vrijwel onbeperkt.
-
Snelle en eenvoudige configuratie met playlist en registratie
De Playlist is de nieuwe manier om Genos snel te configureren, hoe groot uw repertoire ook is.
Organiseer uw registratiegeheugens in handige playlists die u tijdens het spelen meteen kunt oproepen.
-
Audiofunctie
Met de nieuwe Dual Player kunt u crossfaden tussen twee audiobestanden en op het Multi-Pad kunt u uw eigen audiogegevens
toewijzen. U hebt enorme creatieve mogelijkheden. U kunt zelfs uw spel rechtstreeks opnemen naar een geluidsbestand met
hoge kwaliteit dat u meteen eenvoudig kunt delen.
Compatibele indelingen voor het instrument
GM (General MIDI) is een van de meest voorkomende voicetoewijzingsindelingen. De standaardspecificatie GM
System Level 2 is een verbetering ten opzichte van de originele GM-indeling, waarbij ook de
songgegevenscompatibiliteit is verbeterd. De specificatie voorziet in een grotere polyfonie, uitgebreidere
voiceselectie, uitgebreide voiceparameters en geïntegreerde effectverwerking.
XG is een enorme verbetering van de GM System Level 1-indeling, en is door Yamaha speciaal ontwikkeld om in
meer voices en variaties, evenals in een grotere expressieve besturing van de voices en effecten te voorzien, en om een
goede gegevenscompatibiliteit in de toekomst veilig te stellen.
GS is door de Roland Corporation ontwikkeld. Op dezelfde manier als Yamaha XG is GS een belangrijke verbetering
van de GM-specificatie om in meer voices en drumkits en hun variaties te voorzien, evenals in een grotere
expressieve besturing van voices en effecten.
De bestandsindeling XF van Yamaha voegt grotere functionaliteit en open uitbreidbaarheid toe aan de
industriestandaard SMF (Standard MIDI -File). De Genos kan songteksten weergeven als er een XF-bestand met
songtekstgegevens wordt afgespeeld.
SFF (Style File Format) is een originele stijlbestandsindeling van Yamaha, die gebruikmaakt van een uniek
conversiesysteem om in automatische begeleiding van hoge kwaliteit te voorzien, gebaseerd op een uitgebreide reeks
akkoordsoorten. SFF GE (Guitar Edition) is een uitgebreide SFF-indeling, die verbeterde noottransponering voor
gitaartracks biedt.
AEM (Articulation Element Modeling) is het handelsmerk van Yamaha's toonaangevende
klankopwekkingstechnologie. Raadpleeg de Naslaggids op de website voor meer informatie over AEM.

12 Genos Gebruikershandleiding
Inhoudsopgave
VOORZICHTIG ........................................................................................................................................ 5
Meegeleverde accessoires ...................................................................................................................... 9
Over de handleidingen........................................................................................................................... 10
Belangrijkste eigenschappen ................................................................................................................. 11
Genos gebruiken—Algemeen overzicht 14
Algemene functies 16
Bedieningspaneel en aansluitingen 18
Beginnen 22
Audio-aansluitingen ............................................................................................................................... 22
Voeding.................................................................................................................................................. 23
Het instrument aan-/uitzetten................................................................................................................. 23
Basisinstellingen opgeven ..................................................................................................................... 24
De helderheid van Lighting-knoppen wijzigen ....................................................................................... 25
Displaystructuur 26
LIVE CONTROL-weergave (subdisplay), structuur ............................................................................... 27
Structuur van hoofddisplay—de gatewayknoppen gebruiken................................................................ 28
Basishandelingen 30
Displays configureren ............................................................................................................................ 30
De huidige display sluiten ...................................................................................................................... 33
Displaygerelateerde regelaars ............................................................................................................... 34
De gewenste display direct oproepen—Rechtstreekse toegang ........................................................... 36
De demo's afspelen ............................................................................................................................... 36
Bestandsbeheer..................................................................................................................................... 37
Tekens invoeren .................................................................................................................................... 40
De paneelinstellingen vergrendelen (paneelvergrendeling)................................................................... 41
De metronoom gebruiken ...................................................................................................................... 41
Beknopte handleiding—Voor het bespelen van de Genos 42
Bedieningshandleiding
1
Spelen met stijlen—Configuraties 44
Stijlen configureren ................................................................................................................................ 44
Optimale paneelinstellingen voor de huidige stijl (One Touch Setting).................................................. 47
Keyboardgedeelten configureren........................................................................................................... 48
Een voice selecteren voor de verschillende keyboardgedeelten ........................................................... 52
Eigen Organ Flutes-voices maken......................................................................................................... 53
Ensemblevoices gebruiken .................................................................................................................... 54
Keyboard Harmony/Arpeggio configureren op het keyboard................................................................. 56
Multi Pads configureren ......................................................................................................................... 59
Oorspronkelijke instellingen opslaan in One Touch Setting................................................................... 60
De toonhoogte van het keyboard wijzigen ............................................................................................. 61
Toewijsbare regelaars configureren....................................................................................................... 62
Bedieningshandleiding
2
Spelen met stijlen—Handelingen tijdens het spelen 64
Afspelen van stijl bedienen .................................................................................................................... 64
Uw spel expressief regelen.................................................................................................................... 66
Super Articulation Voices afspelen en regelen ...................................................................................... 67
De Multi Pads regelen............................................................................................................................ 70

Genos Gebruikershandleiding 13
Inhoudsopgave
Bedieningshandleiding
3
Meezingen met een afgespeelde song—Configureren 72
Instellingen voor het afspelen van songs............................................................................................... 72
Effecten toepassen op het microfoongeluid (Vocal Harmony)............................................................... 76
Bedieningshandleiding
4
Meezingen met een afgespeelde song—Handelingen tijdens het spelen 78
Afspelen van songs regelen................................................................................................................... 78
Songpositiemarkeringen gebruiken (alleen MIDI-songs) ....................................................................... 81
Muzieknotatie, songteksten en tekstbestanden weergeven tijdens het afspelen .................................. 83
De volumebalans tussen SONG A en SONG B aanpassen (Cross Fader)........................................... 85
De microfoonfuncties regelen ................................................................................................................ 85
Bedieningshandleiding
5
De parameters van elk gedeelte aanpassen—Mixer 86
Basisprocedure voor de Mixer ............................................................................................................... 86
De kanalen van de stijl of MIDI-song in- of uitschakelen ....................................................................... 88
De voice voor elk kanaal van de stijl of MIDI-song wijzigen .................................................................. 89
Bedieningshandleiding
6
Songopname 90
MIDI Quick Recording............................................................................................................................ 90
Audio Quick Recording .......................................................................................................................... 91
Bedieningshandleiding
7
Zelfgemaakte paneelsetups registreren en terughalen—
Registratiegeheugen, playlist 92
Aangepaste paneelsetups opslaan en terugroepen met registratiegeheugen....................................... 93
Een groot repertoire beheren met de Playlist ........................................................................................ 96
Bedieningshandleiding
8
Aanpassen voor optimale prestaties 100
De sneltoetsen op de Home-display aanpassen ................................................................................. 100
De functies of sneltoetsen voor de ASSIGNABLE-knoppen instellen.................................................. 100
Algemene instellingen (Utility).............................................................................................................. 101
Het geluid aanpassen bij de uiteindelijke uitgang (Master Compressor, Master EQ).......................... 102
Nieuwe inhoud toevoegen—Uitbreidingspakketten ............................................................................. 103
Bedieningshandleiding
9
Systeeminstellingen 104
De firmwareversie en hardware-ID bevestigen.................................................................................... 104
De fabrieksinstellingen herstellen ........................................................................................................ 104
Back-up/terugzetten van gegevens ..................................................................................................... 105
Aansluitingen—Het instrument gebruiken met andere apparaten 106
Een microfoon aansluiten ([MIC INPUT]-aansluiting) .......................................................................... 106
Optionele Yamaha GNS-MS01 luidspreker aansluiten........................................................................ 108
Audioapparaten aansluiten (LINE OUT-aansluitingen, AUX IN-aansluitingen, [DIGITAL OUT]-aansluiting) ....108
Voetschakelaars/voetregelaars aansluiten (ASSIGNABLE FOOT PEDAL-aansluitingen).................. 110
USB-apparaten aansluiten ([USB TO DEVICE]-aansluiting) ............................................................... 111
Aansluiten op een iPhone/iPad (functie Wireless LAN, [USB TO HOST]- of MIDI-aansluiting) .......... 112
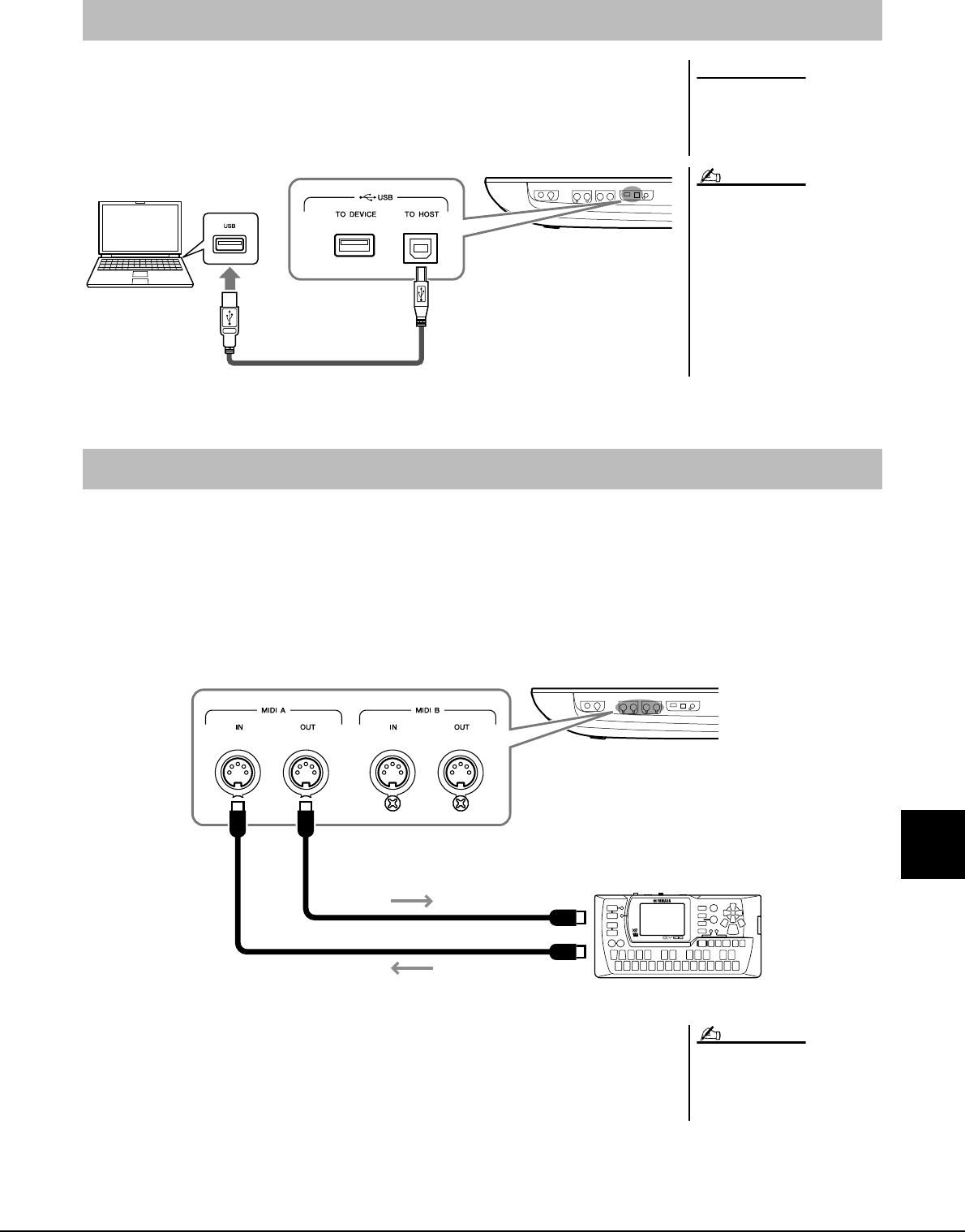
Aansluiten op een computer ([USB TO HOST]-aansluiting) ................................................................ 113
Externe MIDI-apparaten aansluiten ([MIDI]-aansluitingen).................................................................. 113
Functielijst 114
Appendix 116
De optionele luidsprekers installeren ................................................................................................... 116
Direct Access-overzicht ....................................................................................................................... 118
Problemen oplossen ............................................................................................................................ 120
Specificaties......................................................................................................................................... 123
Index .................................................................................................................................................... 125

14 Genos Gebruikershandleiding
Genos gebruiken—Algemeen overzicht
In dit gedeelte vindt u een handig overzicht van de uitgebreide reeks functies van de Genos en van de plekken
waar u de benodigde informatie over die onderwerpen kunt vinden. Als u hulp nodig hebt bij een kenmerk,
functie of handeling of als u in het algemeen wilt weten wat de Genos allemaal kan en hoe u het instrument goed
kunt gebruiken, neemt u dit gedeelte door.
: Genos Gebruikershandleiding (dit boek). De namen van de desbetreffende hoofdstukken worden na dit
symbool weergegeven. Raadpleeg 'Inhoudsopgave' (pagina 12) voor meer informatie over de verschillende
hoofdstukken.
* : Dit materiaal kan worden gedownload van de Yamaha Downloads-website (pagina 10).
Genos op zichzelf gebruiken
Inzicht in de basisfuncties en -bediening van Genos
Algemene Functies
Bedieningspaneel en aansluitingen
Displaystructuur
Basishandelingen
Beknopte handleiding
Basisaansluitingen en -instellingen uitvoeren voor
de Genos Beginnen
Instellen en afspelen van een enkele song
• Het keyboard bespelen met stijlen
• Meezingen met een afgespeelde song
Bedieningshandleiding
Uw eigen instellingen opslaan en oproepen
Een groot songrepertoire gemakkelijk beheren
Eenvoudig uw spel opnemen met Quick Recording
Toepassingen in de display Menu gebruiken
(overzicht) Functielijst
Apparaten aansluiten
(een microfoon, USB-flashstation enz.) Aansluitingen
Uw spel in verschillende partijen opnemen met
Multi Recording
Naslaggids (*)
Toepassingen in de display Menu gebruiken
(gedetailleerd)
Uw eigen originele inhoud maken
(stijlen, voices door presets te bewerken, Multi Pads)
GH
GH
GH
GH
GH
GH

Genos Gebruikershandleiding 15
Genos gebruiken—Algemeen overzicht
De Genos met een computer gebruiken
De Genos met een iPhone/iPad gebruiken
Een computer aansluiten op het instrument Aansluitingen
Bestanden overbrengen (songs, stijlen,
back-upbestanden enz.)
Computergerelateerde handelingen (*)
Songs afspelen op een computer via de
instrumentgeluiden
Uw keyboardspel opnemen naar een computer
De door Yamaha gemaakte uitbreidingspakketten
('Premium Packs') downloaden
De Yamaha MusicSoft-website
https://www.yamahamusicsoft.com/sound-
and-expansion-libraries/
Uitbreidingspakketgegevens beheren
Yamaha Expansion Manager (*)
Gebruikershandleiding
(Wordt meegeleverd met de software)
Uitbreidingspakketgegevens installeren op het
instrument
Uw eigen originele uitbreidingspakketten maken
Uw eigen originele inhoud maken
• Geheel nieuwe voices maken (met uw eigen
opgenomen golfvormbestanden)
Uitbreidingspakketgegevens installeren op het
instrument (aanvullende instructies) Naslaggids (*)
XG/GM MIDI-songgegevens omzetten naar de
speciaal verbeterde gegevens voor de Genos
MEGAEnhancer (*) Gebruikershandleiding
(Wordt meegeleverd met de software)
Een iPhone/iPad aansluiten op het instrument
Aansluitingen
iPhone/iPad Connection Manual
(Handleiding voor het aansluiten van een
iPhone/iPad) (*)
iPhone/iPad-toepassingen downloaden en met de
Genos gebruiken
Raadpleeg de uitleg op de pagina van de
desbetreffende toepassing op de
onderstaande website.
https://www.yamaha.com/kbdapps/
GH
GH

16 Genos Gebruikershandleiding
Algemene functies
In dit gedeelte worden in het kort de algemene functies van de Genos uitgelegd, om u een beter inzicht te geven
in de algemene mogelijkheden van het instrument.
Stijlen
—Ritme en automatische begeleiding—
De Genos beschikt over een groot aantal ritmische en andere begeleidingspatronen ('stijlen' genoemd) in een bonte
mengeling van verschillende muzikale genres zoals pop, jazz en vele andere. Stijlen zijn voorzien van geavanceerde
automatische begeleidingspatronen, waarmee u automatische begeleiding kunt afspelen door gewoon akkoorden met uw
linkerhand te spelen. Hierdoor kunt u automatisch het geluid van een complete band of een compleet orkest maken, zelfs
als u alleen speelt.
Voices
—De individuele geluiden van de Genos—
De Genos beschikt over een grote verscheidenheid aan uitzonderlijk realistische instrumentale voices, waaronder piano,
gitaar, strijkers, koperinstrumenten, blaasinstrumenten en meer. De voices kunnen handmatig op het keyboard worden
gespeeld, en ze worden ook gebruikt door de stijlen, MIDI-songs en Multi Pads.
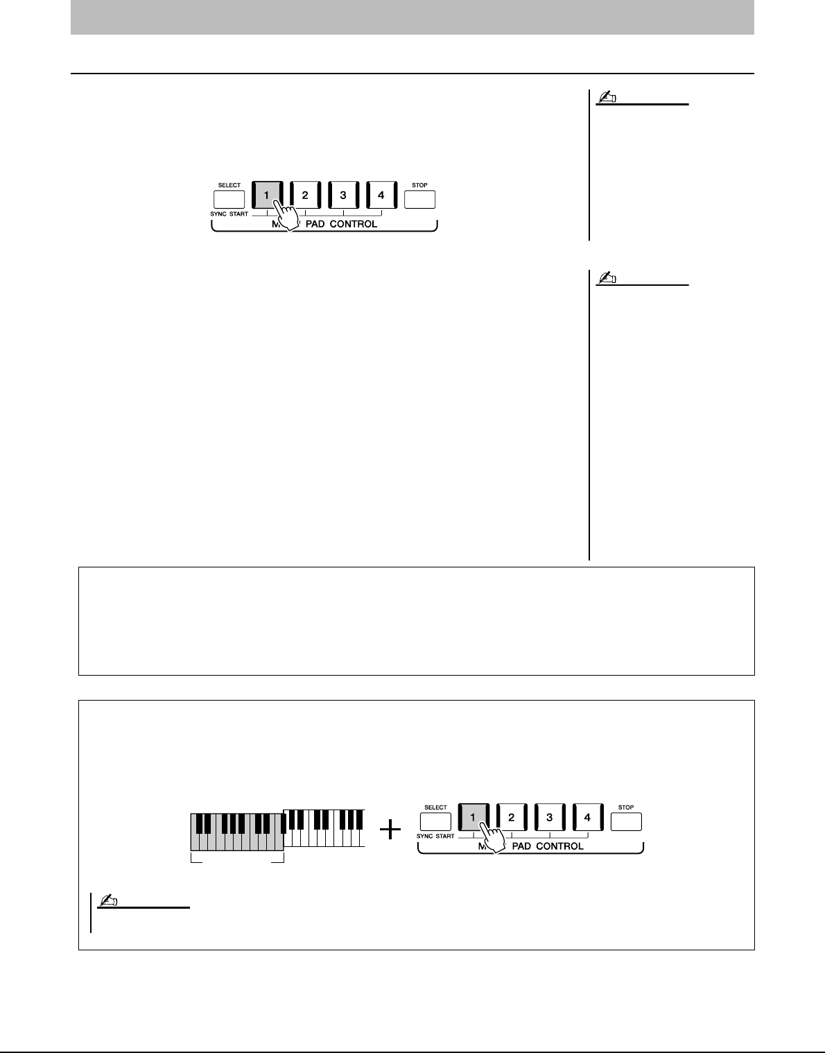
Multi Pads
—Muzikale frasen toevoegen aan uw spel—
De Multi Pads kunnen worden gebruikt om een aantal korte vooraf opgenomen ritmische en melodische sequences af te
spelen die kunnen worden gebruikt om impact en verscheidenheid aan uw keyboardspel toe te voegen. Multi Pads zijn in
banken van vier frasen gegroepeerd. De Genos beschikt over verschillende Multi Pad-banken in verschillende
muziekgenres. Bovendien kunt u met de functie Audio Link Multi Pad unieke nieuwe padinhoud maken met uw eigen
audiogegevens (WAV) en die tijdens uw spel afspelen.
Songs
—MIDI-/audiobestanden afspelen—
Bij de Genos verwijst de term 'song' naar MIDI- of audiogegevens, zoals presetsongs, commercieel verkrijgbare
muziekbestanden enzovoort. U kunt een song niet alleen afspelen en beluisteren, maar u kunt ook op het keyboard
meespelen terwijl de song wordt afgespeeld.
Er zijn twee modi voor het afspelen van songs: de modus Dual Player en de modus Song List.
•Dual Player: In deze modus worden twee audiosongs (of één audiosong en één MIDI-song) gelijktijdig afgespeeld,
met een geleidelijke overgang tussen de twee.
•Song List: In deze modus worden songs ononderbroken afgespeeld volgens een eerder gemaakte songlijst.
Microfooneffecten
—Harmoniestemmen en synthesizer-vocodereffecten toevoegen aan
uw zang—
Als u een microfoon aansluit op de MIC [INPUT]-aansluiting (XLR- of standaard 1/4 inch-telefoonstekker), kunt
u meezingen met uw keyboardperformance of een afgespeelde song. Het instrument voert uw zang uit via het
aangesloten luidsprekersysteem.
Bovendien kunt u terwijl u zingt automatisch diverse Vocal Harmony-effecten op uw stem toepassen en kunt u met de
functie Synth Vocoder de unieke kenmerken van uw stem overzetten naar synthesizer en andere geluiden.
Keyboardgedeelten
Er zijn vier keyboardgedeelten voor handmatig spelen: LEFT, RIGHT 1, 2 en 3. Elk gedeelte heeft één voice. U kunt deze gedeelten
combineren met de PART ON/OFF-knoppen en zo rijke instrumentale motieven en handige performancecombinaties maken.
U kunt het keyboardbereik van de gedeelten wijzigen door het Split Point (splitpunt) te wijzigen.
RIGHT 3-gedeelte
RIGHT 2-gedeelte
RIGHT 1-gedeelte
Sectie voor rechterhand (UPPER)Sectie voor linkerhand (LOWER)
Splitpunt (standaard F#2)
LEFT-gedeelte

Genos Gebruikershandleiding 17
Algemene functies
Registratiegeheugen
—Eigen paneelsetups opslaan en oproepen—
Met de registratiegeheugenfunctie kunt u nagenoeg alle paneelinstellingen opslaan (of 'registreren') in een
registratiegeheugenknop en vervolgens uw eigen paneelinstellingen met één druk op de knop terughalen. De geregistreerde
instellingen voor tien registratiegeheugenknoppen worden opgeslagen als één registratiebank (bestand).
Playlist
—Grote hoeveelheden songs en instellingen beheren—
Met de functie Playlist kunt u gemakkelijk uw songs en de bijbehorende instellingen beheren en oproepen, hoeveel het er
ook zijn. Met de playlist kunt u met één eenvoudige stap een specifieke song oproepen vanuit meer dan 10 songs. U kunt
maximaal 2500 songs registreren in de playlist en u kunt alle paneelinstellingen van een song oproepen met één keer tikken.
Opnemen
—Uw spel opnemen—
Met de Genos kunt u uw spel opnemen en in SMF-indeling opslaan als een MIDI-bestand. Met de Genos kunt u ook uw
spel als audiogegevens (WAV) opnemen naar het interne gebruikersstation. Daarnaast zijn er voor beide manieren van
opnemen ook twee handige opnamemethodes: Quick Recording en Multi Recording.

18 Genos Gebruikershandleiding
Bedieningspaneel en aansluitingen
q[ ] (Standby/On)-schakelaar ......................... Pagina 23
Hiermee schakelt u het instrument
in of zet u het op stand-by.
w[MASTER VOLUME]-draaiknop................... Pagina 23
Hiermee regelt u het totaalvolume.
e[MIC GAIN]-knop.......................................... Pagina 106
Hiermee regelt u de ingangsgevoeligheid van de MIC
INPUT-aansluiting.
rMIC-knoppen.................................................... Pagina 85
Hiermee kunt u diverse effecten aan de microfooningang
toevoegen en deze regelen.
tUPPER OCTAVE-knoppen ............................. Pagina 61
Hiermee verschuift u de toonhoogte van het keyboard in
stappen van een octaaf.
y[ROTARY SP/ASSIGNABLE]-knop............... Pagina 63
Hiermee regelt u het effect van een roterende luidspreker
of de toegewezen functie.
u[ART. 1]/[ART. 2]/[ART. 3]-knoppen.............. Pagina 68
Hiermee regelt u de Super Articulation-voices.
iJoystick, [MODULATION HOLD]-knop....... Pagina 66
Voor het gebruik van pitchbend of modulatiefuncties.
o[PHONES]-aansluiting ..................................... Pagina 22
Hierop sluit u een hoofdtelefoon aan.
!0 Cross Fader........................................................ Pagina 85
Hiermee regelt u de volumebalans tussen de songs
van SONG A en SONG B.
!1 SONG A/SONG B-knoppen............................. Pagina 78
Voor het selecteren van songs en het besturen
van het afspelen van songs.
!2 [RECORDING]-knop................................. Pagina 29, 90
Voor het oproepen van de display Song Recording.
!3 STYLE CONTROL-knoppen .................... Pagina 44, 64
Hiermee regelt u het afspelen van een stijl.
!4 [TAP TEMPO]/TEMPO-knoppen................... Pagina 46
Hiermee regelt u het tempo voor het afspelen van de stijl,
MIDI-song en metronoom.
!5 TRANSPOSE-knoppen .................................... Pagina 61
Hiermee transponeert u de toonhoogte in stappen van
halve noten.
!6 LIVE CONTROL
(weergave/knoppen/schuifregelaars) ......... Pagina 26, 62
Voor het in realtime besturen van geluiden.
w
r
!2
!6
!5
!4
!3 @0
e
!0
!1
t
y
o
u
i
q
Bedieningspaneel

Genos Gebruikershandleiding 19
Bedieningspaneel en aansluitingen
!7 Touch-LCD en verwante
besturingselementen ......................................... Pagina 30
!8 Gatewayknoppen .............................................. Pagina 28
Voor het rechtstreeks oproepen van de Home-display en
andere specifieke displays.
!9 ASSIGNABLE-knoppen ................................ Pagina 100
Hiermee wijst u sneltoetsen toe aan vaak gebruikte
functies.
@0 DIRECT ACCESS-knop .......................... Pagina 36, 118
Voor het onmiddellijk oproepen van de gewenste display
met één extra druk op een knop.
@1 REGISTRATION MEMORY-knoppen.......... Pagina 92
Hiermee registreert u paneelsetups en haalt u ze terug.
@2 ONE TOUCH SETTING-knoppen ........... Pagina 47, 60
Hiermee roept u de geschikte paneelinstellingen
voor de stijl op.
@3 MULTI PAD CONTROL-knoppen........... Pagina 59, 70
Hiermee kunt u een ritmische of melodische Multi Pad-frase
selecteren en afspelen.
@4 VOICE SELECT-knoppen............................... Pagina 52
Hiermee selecteert u een voice voor elk van de
keyboardgedeelten.
@5 PART ON/OFF-knoppen.................................. Pagina 48
Hiermee schakelt u de verschillende keyboardgedeelten
in of uit.
@6 [HARMONY/ARPEGGIO]-knop ................... Pagina 56
Hiermee past u harmonie of arpeggio toe op de voices voor
de rechterhand.
@7 [SUSTAIN]-knop............................................... Pagina 67
Hiermee past u sustain toe op de voices voor de
rechterhand.
@8 [USB TO DEVICE]-aansluiting..................... Pagina 111
Hiermee sluit u een USB-flashstation aan.
Paneelsetup (paneelinstellingen)
Met de regelaars op het paneel kunt u diverse instellingen
opgeven zoals hier wordt beschreven. Deze instellingen
samen worden in deze handleiding de paneelsetup of
paneelinstellingen genoemd.
!9
!8
@3@1 @2
@6
@4
@5
@8
@7
!7

20 Genos Gebruikershandleiding
@9 Sleuven....................................................... Pagina 20, 116
De vier slots die zich het dichtst bij het displaypaneel
bevinden, dienen om de beugels van de muziekstandaard te
bevestigen. De andere slots dienen om de beugels van de
optionele GNS-MS01-luidsprekers te bevestigen.
#0 [TO RIGHT SPEAKER]-aansluiting ........... Pagina 116
Voor het aansluiten van een optionele set luidsprekers.
#1 [TO SUB WOOFER]-aansluiting.................. Pagina 116
Voor het aansluiten van een optionele set luidsprekers.
#2 MIDI-aansluitingen ........................................ Pagina 113
Voor het aansluiten van externe MIDI-apparaten.
#3 [USB TO DEVICE]-aansluiting .................... Pagina 111
Hiermee sluit u een USB-flashstation aan.
#4 [USB TO HOST]-aansluiting......................... Pagina 113
Voor het aansluiten van een computer of een optionele
draadloze MIDI-adapter.
#5 [DIGITAL OUT]-aansluiting......................... Pagina 109
Hiermee kunt u audioapparaten, zoals een stereosysteem,
aansluiten
#6 ASSIGNABLE FOOT PEDAL-
aansluitingen.................................................... Pagina 110
Voor het aansluiten van voetschakelaars en/of
voetregelaars.
#7 LINE OUT-aansluitingen ............................... Pagina 108
Hiermee kunt u audioapparaten, zoals een stereosysteem,
aansluiten
#8 AUX IN-aansluitingen .................................... Pagina 109
Voor het aansluiten van een audioapparaten,
zoals een draagbare audiospeler.
#9 MIC INPUT-aansluiting ................................. Pagina 106
Comboaansluiting voor het aansluiten van een microfoon.
(De comboaansluiting is geschikt voor
zowel XLR- als 1/4-inch telefoonstekkers.)
$0 [+48V]-schakelaar........................................... Pagina 106
Hiermee schakelt u de fantoomvoeding in en uit. Als
u deze schakelaar aanzet, wordt fantoomvoeding geleverd
aan de XLR-aansluiting die is aangesloten op de MIC
INPUT-aansluiting. Zet deze schakelaar alleen aan/uit
Achterpaneel en onderkant
De muziekstandaard bevestigen
1
Bevestig de twee muziekstandaardbeugels aan de binnenste sleuven van het achterpaneel.
2
Plaats de muziekstandaard in de beugels.
2
1
Gebruik de
binnenste sleuven
#5
#4
$3
@9 @9
#1 #2
#3
#0

Genos Gebruikershandleiding 21
Bedieningspaneel en aansluitingen
nadat u een condensermicrofoon met fantoomvoeding op
het apparaat hebt aangesloten. Zet de fantoomvoedingscha-
kelaar altijd op OFF als deze niet nodig is.
$1 AC IN-aansluiting ............................................. Pagina 23
Voor het aansluiten van het meegeleverde netsnoer.
$2 [TO LEFT SPEAKER]-aansluiting............... Pagina 116
Voor het aansluiten van een optionele set luidsprekers.
$3 [USB TO DEVICE]-aansluiting
(onderkant van het instrument)............... Pagina 21, 111
Hiermee sluit u een USB-flashstation aan. Zie hieronder
voor informatie over het openen/sluiten van het klepje.
Neem bij het gebruik van fantoomvoeding het volgende in acht
om ruis en mogelijke schade aan de Genos en aangesloten
apparatuur te voorkomen.
• Sluit geen apparaten aan en koppel ze niet los als de
fantoomvoedingschakelaar op ON staat.
• Zet alle uitgangsniveauregelaars op het minimum voordat
u de fantoomvoedingschakelaar op ON of OFF zet.
• Als u een apparaat dat geen fantoomvoeding nodig heeft,
aansluit op de MIC INPUT-aansluiting, zorg dan dat de
fantoomvoedingschakelaar op OFF staat.
LET OP
Als de fantoomvoedingschakelaar aan en uit wordt gezet, wordt de invoer
van de MIC INPUT-aansluiting enkele seconden gedempt.
OPMERKING
De USB TO DEVICE-aansluiting onder het instrument gebruiken
De Genos heeft een handige extra USB TO DEVICE-aansluiting onder het instrument, waarop u semi-permanent een
USB-flashstation kunt aansluiten dat altijd beschikbaar is en daar veilig is voor beschadiging of verlies.
Controleer voordat u de onderstaande stappen uitvoert of u een kruiskopschroevendraaier hebt. Raadpleeg voordat
u een USB-flashstation gaat gebruiken ook 'USB-apparaten aansluiten' op pagina 111.
1
Verwijder de schroef uit de klep.
2
Open de klep.
U kunt de USB TO DEVICE-aansluiting nu zien.
3
Sluit het USB-flashstation aan.
4
Sluit de klep en draai de schroef vast die u in stap
1 hebt verwijderd.
Voorkant
Achteraan Afdekplaat
Bewaar de verwijderde schroef op een veilige plaats. U hebt deze
nodig bij het sluiten van de klep.
OPMERKING
#6 #7 #8 #9
$0
$1 $2
@9 @9

22 Genos Gebruikershandleiding
Beginnen
Een hoofdtelefoon of luidsprekersysteem aansluiten
Omdat het instrument geen ingebouwde luidsprekers heeft, moet u voor het beluisteren van het geluid van het instrument
gebruikmaken van externe apparatuur, bijvoorbeeld een hoofdtelefoon of luidsprekersysteem.
Een hoofdtelefoon gebruiken
Sluit een hoofdtelefoon aan op de [PHONES]-aansluiting.
Een luidsprekersysteem gebruiken
Zie pagina pagina 116 voor instructies voor de installatie van de optionele luidsprekers
GNS-MS01. Zie pagina 108 voor instructies voor het aansluiten van andere luidsprekers.
Een microfoon aansluiten
Als u een microfoon aansluit op de [MIC INPUT]-aansluiting (XLR- of standaard 1/4 inch-telefoonstekker), kunt
u meezingen met uw keyboardperformance of een afgespeelde song. Raadpleeg pagina 106 voor instructies voor het
aansluiten van een microfoon.
Audio-aansluitingen
Luister niet gedurende een
langere tijd met een hoog volume
naar de hoofdtelefoon. Uw gehoor
kan hierdoor beschadigd raken.
VOORZICHTIG
Standaard-
stekker voor
stereohoofd-
telefoon
Hier is de optionele L-7B
keyboardstandaard te zien.

Genos Gebruikershandleiding 23
Beginnen
1
Sluit het bijgeleverde netsnoer aan op de [AC IN]-aansluiting
op het achterpaneel van het instrument.
2
Sluit het andere eind van het netsnoer aan op een stopcontact.
1
Draai de [MASTER VOLUME]-draaiknop naar 'MIN'.
2
Druk op de schakelaar [ ] (Standby/On) om het instrument
aan te zetten.
De Home-display (pagina 30) wordt weergegeven. Pas het volume zoals gewenst
aan terwijl u het keyboard bespeelt.
3
Als u klaar bent met het instrument, schakelt u het uit door de
[ ] (Standby/On)-schakelaar ongeveer een seconde ingedrukt
te houden.
Voeding
Gebruik alleen het bijgeleverde
netsnoer.
Zorg er bij het opstellen van het
product voor dat het gebruikte
stopcontact makkelijk toegankelijk
is. Schakel de aan/uit-schakelaar bij
storingen of een slechte werking
onmiddellijk uit en trek de stekker
uit het stopcontact.
WAARSCHUWING
VOORZICHTIG
Wanneer u het netsnoer wilt losmaken,
schakelt u eerst het instrument uit en
volgt u daarna deze procedure in
omgekeerde volgorde.
OPMERKING
Het instrument aan-/uitzetten
U kunt tot de Home-display wordt
weergegeven geen handelingen
uitvoeren, ook niet het instrument
uitschakelen of het keyboard bespelen.
Zelfs als de schakelaar POWER
(aan/uit-schakelaar) is uitgeschakeld,
loopt er nog een minimale
hoeveelheid stroom naar het product.
Als u het product gedurende een
langere tijd niet gebruikt, zorg er dan
voor dat u het netsnoer van het
stopcontact loskoppelt.
U kunt het instrument niet uitzetten
tijdens het opnemen of bewerken of
wanneer een bericht wordt
weergegeven, zelfs niet door op de
[ ]-schakelaar (Standby/On) te
drukken. Als u het instrument wilt
uitzetten, drukt u pas na het
opnemen, bewerken of wanneer het
bericht is verdwenen op de [ ]-
schakelaar (Standby/On). Als u het
instrument in een dergelijke situatie
toch gedwongen wilt uitzetten, houdt
u de [ ]-schakelaar (Standby/On)
langer dan drie seconden ingedrukt.
Let wel: het gedwongen uitzetten van
het instrument kan leiden tot verlies
van gegevens of beschadiging van
het instrument.
OPMERKING
VOORZICHTIG
LET OP
2

24 Genos Gebruikershandleiding
Functies voor automatisch uitschakelen en automatische spaarstand
Om onnodig stroomverbruik te voorkomen, heeft dit instrument een functie voor
automatisch uitschakelen waarmee de stroom automatisch wordt uitgeschakeld als het
instrument gedurende een opgegeven tijd niet is gebruikt. De tijd die verstrijkt voordat het
instrument automatisch wordt uitgezet, is standaard ongeveer 30 minuten. U kunt deze
instelling echter wijzigen (pagina 25).
Dit instrument beschikt ook over een automatische energiestandfunctie waarmee de
helderheid van de LIVE CONTROL-weergave automatisch wordt verminderd als het
instrument gedurende een bepaalde duur niet is gebruikt. De tijd waarna de helderheid
wordt verminderd is standaard ongeveer 5 minuten, maar u kunt deze instelling wijzigen
(pagina 25).
Geef zo nodig basisinstellingen voor het instrument op, zoals de taal voor de display.
1
Roep de bedieningsdisplay Utility op.
Druk eerst op de knop [MENU] om de Menu-display op te roepen. Tik vervolgens
op [Menu 2] om naar pagina 2 op de display te gaan (indien nodig) en tik op
[Utility].
2
Tik op [System] in de display.
3
Geef de nodige instellingen op door op de display te tikken.
Alle gegevens die niet met Save
(Opslaan) zijn opgeslagen, gaan
verloren als het instrument
automatisch wordt uitgezet.
Sla uw gegevens op voordat dit
gebeurt.
LET OP
Automatisch uitschakelen en de automatische spaarstand uitzetten
(eenvoudige methode)
Zet het instrument aan terwijl u de laagste toets op het keyboard ingedrukt houdt.
Er wordt kort een bericht weergegeven, waarna automatisch uitschakelen en de
automatische spaarstand worden uitgezet.
De laagste toets
Basisinstellingen opgeven
Language Hiermee bepaalt u de taal die in de display wordt gebruikt voor
menunamen en berichten. Tik op deze instelling om de lijst van
talen op te roepen en selecteer vervolgens de gewenste taal.
Owner Name Hiermee kunt u uw naam invoeren die in de openingsdisplay
verschijnt (de display die wordt weergegeven als het instrument
wordt ingeschakeld). Tik op deze instelling om het
tekeninvoervenster op te roepen en voer uw naam in (pagina 40).

Genos Gebruikershandleiding 25
Beginnen
Raadpleeg de Naslaggids op de website (pagina 10) voor informatie over de
andere items in deze display.
Hier kunt u de helderheid van de Lighting-knoppen wijzigen.
1
Open de bedieningsdisplay (Utility) (stap 1 op pagina 24).
2
Roep pagina 2/2 van de display 'Display/Touch Screen' op.
Tik in de display eerst op [Display/Touch Screen]. Tik vervolgens op [
] om naar
pagina 2 van de display te gaan.
3
Wijzig de instellingen door op de display te tikken.
Auto Power Saving Hiermee kunt u instellen hoeveel tijd er moet verstrijken voordat
de helderheid van de LIVE CONTROL-weergave automatisch
wordt verminderd in de automatische spaarstand. Tik hier om de
lijst van instellingen op te roepen en selecteer vervolgens de
gewenste instelling. Als u de automatische spaarstand wilt
uitschakelen, selecteert u hier 'Disabled'.
Auto Power Off Hiermee kunt u instellen hoeveel tijd er moet verstrijken voordat
het instrument wordt uitgezet door de automatische
uitschakelfunctie (pagina 24). Tik hier om de lijst van
instellingen op te roepen en selecteer vervolgens de gewenste
instelling. Selecteer hier 'Disabled' om de Automatische
uitschakelfunctie uit te schakelen.
De helderheid van Lighting-knoppen wijzigen
LED Tik op []/[] om de helderheid van de Lighting-knoppen aan
te passen.

26 Genos Gebruikershandleiding
Displaystructuur
De Genos heeft twee displays (het LCD-aanraakscherm en de LIVE CONTROL-weergave) en Lighting-
knoppen waarmee u de huidige status kunt zien.
LIVE CONTROL-weergave (subdisplay)
In de LIVE CONTROL-weergave worden de
parameters aangegeven die worden gebruikt
als u de zes LIVE CONTROL-knoppen en
negen LIVE CONTROL-schuifregelaars
gebruikt. Zie pagina 27 voor meer informatie
over de displaystructuur.
LCD (hoofddisplay; aanraakscherm)
Op de LCD-display worden de parameters en waarden
weergegeven die betrekking hebben op de huidige
geselecteerde handeling. U kunt het instrument bedienen
door de 'virtuele' knoppen of schuifregelaars op de
display aan te raken. Zie pagina 28 voor meer informatie
over de displaystructuur.
Lighting-knoppen
Deze knoppen geven de status van de overeenkomstige functie
aan door aan/uit te gaan, te knipperen of van kleur te
veranderen. Voor meer informatie over de indicaties en de
betekenis van de Lighting-knoppen raadpleegt u de
beschrijving van de desbetreffende functie.

Genos Gebruikershandleiding 27
Displaystructuur
In de LIVE CONTROL-weergave kunt u de parameterstatus zien die wordt geregeld met
de LIVE CONTROL-knoppen en de LIVE CONTROL-schuifregelaars. Er zijn twee
displays: knoppen en schuifregelaars, en u kunt tussen die twee displays schakelen terwijl
u het instrument gebruikt. Als u tussen de displays wilt schakelen zonder
parameterwaarden te wijzigen, drukt u op de knop [KNOB ASSIGN]/[SLIDER ASSIGN].
LIVE CONTROL-weergave (subdisplay), structuur
Als u op de knop [KNOB ASSIGN] drukt
terwijl de knoppendisplay al wordt
weergegeven, of als u op de knop
[SLIDER ASSIGN] drukt terwijl de
schuifregelaardisplay al wordt
weergegeven, wordt gewisseld naar een
ander toewijzingstype van de
desbetreffende regelaargroep. Zie
pagina 62 voor meer informatie over het
wisselen tussen toewijzingstypen.
OPMERKING
Geeft het nummer van het knoptoewijzingstype (pagina 62) weer
De LIVE CONTROL-knoppendisplay
De LIVE CONTROL-schuifregelaardisplay
Geeft de parameter weer die momenteel wordt bestuurd met de overeenkomstige knop.
Een van de knoppen bedienen
of
Op de knop [KNOB ASSIGN] drukken
Geeft het nummer van het schuifregelaartoewijzingstype (pagina 62) weer
Geeft de parameter weer die momenteel wordt bestuurd met de overeenkomstige schuifregelaar.
Een van de schuifregelaars bedienen
of
Op de knop [SLIDER ASSIGN] drukken

28 Genos Gebruikershandleiding
De gatewayknoppen zijn bedoeld als een handige, eenvoudig te begrijpen 'toegang' tot de Genos. Als het instrument
wordt ingeschakeld, wordt de Home-display opgeroepen. Tijdens het gebruik van het instrument kunt u de Home-display
en andere gewenste displays ook rechtstreeks oproepen door op de gatewayknoppen op het voorpaneel te drukken.
Andere functies en verschillende gedetailleerde instellingen van het instrument zijn toegankelijk vanuit de display Menu.
Afhankelijk van de desbetreffende functie kunt u ook de display voor bestandsselectie oproepen om de gewenste
bestanden te selecteren.
Structuur van hoofddisplay—de gatewayknoppen gebruiken
Home-display
Dit is het startscherm van de
displaystructuur van het instrument, waarin
u in één oogopslag informatie over alle
huidige instellingen ziet.
Gatewayknoppen
Display voor stijlselectie
Dit is een type display voor
bestandsselectie (pagina 32) voor
het selecteren van stijlen.
De display Song Playback
Dit is de display voor het regelen van het afspelen van songs (pagina 72, 78.)

Genos Gebruikershandleiding 29
Displaystructuur
Menu-display
Als u op de pictogrammen tikt, kunt u verschillende functies, zoals muzieknotatie, volumebalans en
andere gedetailleerde instellingen, oproepen. (pagina 33)
Voice Part Setup (display)
Dit is de display voor gedetailleerde
instellingen, zoals Voice Edit
en effectinstellingen van de
keyboardgedeelten. Zie de Naslaggids op
de website voor meer informatie over de
display Voice Part Setup.
De display Playlist
Dit is de display voor het selecteren en
bewerken van playlists (pagina 96).
Song Recording (display)
Dit is de display voor het opnemen
van uw spel (pagina 90).

30 Genos Gebruikershandleiding
Basishandelingen
In deze sectie gaan we in op de meest gebruikte displays: Home, display voor bestandsselectie en Menu. Als het
instrument wordt aangezet verschijnt de Home-display. De term 'display voor bestandsselectie' verwijst naar alle
verschillende displays die op het instrument worden opgeroepen van waaruit u bestanden kunt selecteren. De Menu-
display is een startdisplay voor verschillende functies en kan worden opgeroepen met de knop [MENU].
Home-display
Wordt weergegeven wanneer het instrument wordt aangezet en kan worden opgeroepen door op de [HOME]-knop te
drukken. In deze display worden de huidige basisinstellingen weergegeven, zoals de huidige voice en stijl, zodat u deze
in één oogopslag kunt zien. Hierdoor wordt gewoonlijk de Home-display weergegeven wanneer u op het keyboard speelt.
qVoicegebied
Geeft de huidige voices voor de keyboardgedeelten (Left en Right 1–3) en de aan/uit-status van de vier gedeelten.
Als u op de naam van een voice tikt, wordt de display voor voiceselectie voor het desbetreffende gedeelte opgeroepen.
wSonggebied
Geeft informatie aan voor de huidige song(s). Als u op een songnaam tikt, wordt de Song-display opgeroepen.
eStijlgebied
Geeft informatie voor de huidige stijl en de naam van het huidige akkoord. Als u op een stijlnaam tikt, wordt de Stijl-
display opgeroepen. Als de knop [ACMP] aan staat, wordt het akkoord weergegeven dat is opgegeven in het
akkoordgedeelte van het keyboard.
rMulti Pad-gebied
Geeft de huidige Multi Pad-bank aan. Als u op de naam van een Multi Pad-bank tikt, wordt de display voor Multi Pad-
bankselectie opgeroepen.
tInformatiegebied
Geeft de huidige status aan zoals informatie met betrekking tot de microfoon, het huidige registratiegeheugen.
Zie de volgende pagina voor meer informatie.
ySneltoetsgebied
Bevat de pictogrammen van sneltoetsen waarmee u met één aanraking verschillende functies kunt oproepen. Als u op
een pictogram van een sneltoets tikt, wordt de display van de overeenkomstige functie opgeroepen. U kunt hier als u dat
wilt ook uw eigen aangepaste sneltoetspictogrammen registreren, via de display Assignable (pagina 100).
Displays configureren
q
t
r
y
w
e

Genos Gebruikershandleiding 31
Basishandelingen
Informatiegebied in de Home-display
qRegistration Memory-bank
Hier worden de naam van de geselecteerde Registration Memory-bank en het Registration Memory-nummer
weergegeven. Als u op de naam van een Registration Memory-bank tikt, wordt de display voor Registration Memory-
bankselectie opgeroepen.
wRegistratiesequence
Verschijnt wanneer de registratiesequence actief is. Raadpleeg de Naslaggids op de website voor instructies voor het
programmeren van de sequence.
eKlok
Hier wordt de huidige tijd weergegeven.
rMIC-ingangsniveau-indicator
Als er een microfoon is aangesloten, wordt hiermee het invoerniveau aangegeven. Pas het niveau aan met de knop
[MIC GAIN] zodat de indicator groen of geel (maar niet rood) oplicht. Zie pagina 106 voor meer informatie over het
aansluiten van een microfoon.
tNaam Vocal Harmony-type
Geeft het huidige Vocal Harmony-type aan (pagina 76). Als u op de naam van een Vocal Harmony-type tikt, wordt de
display voor Vocal Harmony-typeselectie opgeroepen.
q
e
r
w t

32 Genos Gebruikershandleiding
Display voor bestandsselectie
In de display voor bestandsselectie selecteert u een voice, stijl, song Multi Pads en andere items. U kunt deze display
oproepen door in de Home-display op de naam van de voice, stijl of song te tikken of door op een van de VOICE
SELECT- of [STYLE]-knoppen enzovoort te drukken. De displays verschillen afhankelijk van het geselecteerde
bestandstype. Als Voice is geselecteerd, wordt bijvoorbeeld de display voor voiceselectie geopend.
In dit gedeelte worden de displaystructuren beschreven die alle typen displays voor bestandsselectie gemeen hebben.
qHoofdcategorie
Selecteer de tab Preset, User of Favoriet.
wSubcategorie/stations
• Als de tab Preset is geselecteerd bij de hoofdcategorieën, worden de subcategorieën hier weergegeven op basis van
het gegevenstype. Verschillende instrumenttypen zoals Piano en Organ worden bijvoorbeeld weergegeven in de
display voor voiceselectie.
• Als de tab User is geselecteerd, worden de beschikbare stations weergegeven als subcategorieën.
eSelecteerbare gegevens (bestanden)
De bestanden die kunnen worden geselecteerd, worden weergegeven. Als er twee of meer pagina's beschikbaar zijn,
kunt u een andere pagina openen door op de gewenste paginatab onderaan in dit gebied te tikken.
rMappad
Het huidige pad of de huidige map wordt hier weergegeven op basis van de mapstructuur.
tBedieningspictogrammen
De functies (opslaan, kopiëren, verwijderen enzovoort) die u via de display voor bestandsselectie kunt bedienen,
worden weergegeven.
De pictogrammen die hier worden weergegeven, verschillen afhankelijk van de geselecteerde display voor
bestandsselectie. Raadpleeg 'Bestandsbeheer' (pagina 37) of de instructies voor de display voor bestandsselectie van de
verschillende functies voor gedetailleerde instructies.
Preset Locatie waar de presetgegevens worden weergegeven. Een grote hoeveelheid gegevens, zoals voices
en stijlen, is onderverdeeld in verschillende subcategorieën (tabs).
User (Gebruiker)
Locatie waar opgenomen of bewerkte gegevens zijn opgeslagen. Gegevens die op het instrument zijn
opgeslagen, worden weergegeven in 'User' (gebruikersstation), terwijl gegevens op het aangesloten
USB-flashstation worden weergegeven in 'USB'. In deze handleiding worden gegevens op de tab
User 'gebruikersgegevens' genoemd.
Favorite Locatie waar de gegevens worden weergegeven die u als favorieten hebt geregistreerd. Afhankelijk
van het gegevenstype wordt deze tab mogelijk niet weergegeven.
q t
w e
r

Genos Gebruikershandleiding 33
Basishandelingen
Menu-display
Dit is de startdisplay voor verschillende functies, die kan worden opgeroepen met de knop [MENU].
Verschillende handige functies worden weergegeven door pictogrammen. Als u op een
pictogram tikt, wordt de overeenkomstige functie opgeroepen. Deze lijst bestaat uit twee
pagina's, die u kunt selecteren door op [Menu 1] of [Menu 2] te drukken.
Raadpleeg de 'Functielijst' (pagina 114) voor korte informatie over elke functie.
Als u de huidige display wilt sluiten, drukt u op de knop [EXIT] of tikt u in de rechterbovenhoek van de display
(of het venster) op of in de linkerbenedenhoek van de pop-updisplays op [Close]. Wanneer een bericht (informatie-
of bevestigingsdialoog) wordt weergegeven, kunt u het bericht sluiten door op het gewenste item, zoals 'Yes' (Ja) of 'No'
(Nee), te tikken.
Als u snel naar de Home-display wilt terugkeren, drukt u op het paneel op de knop [HOME].
U kunt ook een andere pagina openen
door horizontaal te vegen.
OPMERKING
Instructieconventies voor de Menu-display
In deze hele handleiding worden instructies die uit meerdere stappen bestaan, beknopt weergegeven met pijlen die de
juiste volgorde aangeven.
Voorbeeld: [MENU]
[Utility]
[System]
[Language]
In het bovenstaande voorbeeld wordt een handeling van vier stappen beschreven:
1) Druk op de knop [MENU] om de display Menu op te roepen.
2) Tik in de Menu-display op [Utility].
3) Tik op [System].
4) Tik op [Language].
De huidige display sluiten

34 Genos Gebruikershandleiding
De display van dit instrument is een speciaal aanraakscherm waarmee u de gewenste parameter kunt selecteren of
wijzigen door gewoon op de overeenkomende instelling in de display te tikken. U kunt de waarde ook in kleine stappen
verlagen/verhogen door aan de draaiknop Data te draaien of op de knop [DEC]/[INC] te drukken.
De display (het aanraakscherm) gebruiken
Aanslag
Als u een item wilt selecteren, tikt u op de overeenkomstige aanduiding in de display.
Slide
Houd de schuifregelaar van de display ingedrukt en verschuif deze met uw vinger verticaal of horizontaal om de
parameterwaarde te wijzigen.
Als u Tik op de displayknop en houd deze vast. Draai uw vinger rond de
knop om de parameterwaarde te wijzigen.
Tikken en vasthouden
Met deze instructie kunt u op het object in de display tikken en het even vasthouden.
Wanneer u waarden instelt met de knop [
]/[
], een schuifregelaar of een knop, kunt u de standaardwaarde herstellen
door op de waarde in de display te tikken en deze vast te houden.
Displaygerelateerde regelaars
Gebruik geen scherpe of harde voorwerpen om het aanraakscherm te bedienen. Als u dat wel doet, kan de display beschadigd raken.
LET OP
Houd er rekening mee dat u niet op twee of meer punten tegelijk kunt tikken in de display.
OPMERKING
Als de systeemgeluiden (die worden
geproduceerd als u op de display tikt)
u afleiden, kunt u ze aan-/uitzetten
vanuit
[MENU] [Utility] [Display/Touch
Screen] Touch Screen [Sound]
OPMERKING

Genos Gebruikershandleiding 35
Basishandelingen
De draaiknop Data, de knop [ENTER] en de [DEC]/[INC]-knoppen
gebruiken
Afhankelijk van de display kunnen de draaiknop Data en de knoppen op de volgende drie manieren worden gebruikt.
Parameterwaarden aanpassen
Nadat u de gewenste parameter hebt geselecteerd, past u met de draaiknop Data of de [DEC]/[INC]-knoppen de waarde
aan. Dit is handig als u het aanpassen door tikken in de display moeilijk vindt of de aanpassing nauwkeuriger wilt regelen.
Een item selecteren in een lijst zonder cursor
In een lijst zonder cursor, zoals pop-upvensters voor het instellen van parameters, gebruikt u de draaiknop Data en de
[DEC]/[INC]-knoppen om een item te selecteren.
Draaiknop Data
Draai aan de draaiknop of druk
de knoppen [DEC]/[INC] om het
item daadwerkelijk te selecteren.
Het geselecteerde item wordt
gemarkeerd.

36 Genos Gebruikershandleiding
Met de handige functie Direct Access (directe toegang) kunt u ogenblikkelijk de gewenste display oproepen door slechts
op één extra knop te drukken. Zie de 'Direct Access-overzicht' op pagina 118 voor een overzicht van de displays die
kunnen worden opgeroepen met de Direct Access-functie.
1
Druk op de knop [DIRECT ACCESS].
Er verschijnt een bericht in de display waarin u wordt gevraagd op de
overeenkomstige knop te drukken.
2
Druk op de knop (of verplaats de knop, schuifregelaar, joystick
of het aangesloten pedaal) die overeenkomt met de gewenste
insteldisplay om zo die display direct op te roepen.
Als u bijvoorbeeld op een van de REGISTRATION MEMORY [1]–[10] drukt,
wordt de display Regist Bank Info opgeroepen (pagina 95).
De demo's geven dynamische demonstraties van de hoogwaardige geluiden.
1
Roep de Demo-display op via [MENU] [Demo].
2
Tik op de display om de gewenste demo weer te geven en af te
spelen.
3
Druk op de knop [EXIT] om de display Demo te verlaten.
De gewenste display direct oproepen—Rechtstreekse toegang
De demo's afspelen
Tik op [Menu] op de display om terug te
keren naar het bovenliggende menu.
OPMERKING

Genos Gebruikershandleiding 37
Basishandelingen
U kunt gegevens die u hebt gemaakt, zoals een opgenomen song en bewerkte voice,
als bestanden opslaan op het instrument ('gebruikersstation' genoemd) en een USB-
flashstation. Als u een groot aantal bestanden hebt opgeslagen, kan het moeilijk zijn om
snel het gewenste bestand te vinden. U kunt dit vergemakkelijken door uw bestanden in
mappen te verdelen, bestanden te hernoemen, onnodige bestanden te verwijderen
enzovoort. Deze handelingen voert u uit in de display voor bestandsselectie.
Bestand opslaan
U kunt uw originele gegevens (zoals songs die u hebt opgenomen en voices die u hebt bewerkt) in de display voor
bestandsselectie als een bestand opslaan naar het gebruikersstation of het USB-station (pagina 32).
1
Tik in de desbetreffende display voor bestandsselectie (*) op
(File Edit) om het pop-upvenster File Edit op te roepen.
* De hieronder weergegeven display (voiceselectie) wordt bijvoorbeeld
opgeroepen via de VOICE SELECT [RIGHT 1]-knop.
2
Tik op [Save] om de display op te roepen waar u de
opslagbestemming kunt selecteren.
3
Selecteer de locatie waar u het bestand wilt opslaan.
Als u de bovenliggende map wilt weergeven, tikt u op (Up).
4
Tik op [Save here] (Hier opslaan) om het tekeninvoervenster op
te roepen.
5
Voer de bestandsnaam in (pagina 40).
Als u deze stap overslaat, kunt u het bestand op een willekeurig moment
hernoemen (pagina 38) nadat u het hebt opgeslagen.
Bestandsbeheer
Lees voordat u een USB-flashstation
gaat gebruiken het onderdeel 'USB-
apparaten aansluiten' op pagina 111.
OPMERKING
Beperkingen voor presetsongs
Presetsongs zijn tegen kopiëren beveiligd om illegaal kopiëren of onbedoeld wissen te voorkomen. Ze kunnen niet
worden gekopieerd, verplaatst of naar een andere locatie opgeslagen en kunnen niet worden verwijderd.
Druk op de knop [EXIT] om de
bestandshandeling te annuleren.
OPMERKING
1
2
4
Tik op [Cancel] (Annuleren) om deze
handeling te annuleren.
OPMERKING
VOLGENDE PAGINA

38 Genos Gebruikershandleiding
6
Tik in het tekeninvoervenster op [OK] om het bestand
daadwerkelijk op te slaan.
Het opgeslagen bestand wordt automatisch op de desbetreffende positie in
alfabetische volgorde tussen de bestanden geplaatst.
Een nieuwe map maken
Mappen kunnen naar wens worden gemaakt, benoemd en geordend, waardoor het
makkelijker wordt uw originele gegevens te vinden en te selecteren.
1
Tik in de display voor bestandsselectie op de User-tab (pagina 32)
en selecteer de locatie waar u een nieuwe map wilt maken.
Als u de bovenliggende map wilt weergeven, tikt u op (Up).
2
Tik op (File Edit) om het pop-upvenster File Edit op te roepen.
3
Tik op [New Folder] om het venster Character Entry op te roepen.
4
Voer de naam in van de nieuwe map (pagina 40).
De naam van een bestand/map wijzigen
U kunt de namen van bestanden/mappen wijzigen.
1
Roep de display voor bestandsselectie op waarop het
gewenste bestand/de gewenste map wordt weergegeven.
2
Tik op (File Edit) om het pop-upvenster File Edit op te
roepen.
3
Tik op [Rename] in het menu File Management om de display
op te roepen voor het selecteren van het gewenste bestand/de
gewenste map.
4
Selecteer het gewenste bestand of de gewenste map door erop
te tikken.
5
Tik op [Rename] boven aan de display om het venster
Character Entry op te roepen.
6
Voer de naam van het geselecteerde bestand of de
geselecteerde map in (pagina 40).
Bestanden kopiëren of verplaatsen
U kunt een bestand kopiëren of knippen en op een andere locatie (map) plakken. Met
dezelfde procedure kunt u ook een map kopiëren (zonder deze te verplaatsen).
1
Roep de relevante display voor bestandsselectie op waarop de
gewenste bestanden/mappen worden weergegeven.
2
Tik op (File Edit) om het pop-upvenster File Edit op te
roepen.
3
Tik op [Copy] of [Move] in het menu File Management om de
display op te roepen voor het selecteren van de gewenste
bestanden/mappen.
• Het maximale aantal bestanden/
mappen dat kan worden opgeslagen
in een map is 2500.
U kunt geen nieuwe map maken op de
tab Preset en de map 'Expansion'
(pagina 103) op de tab User.
OPMERKING
OPMERKING
Bestanden op de tab Preset of de map
'Expansion' (pagina 103) op de tab User
kunnen niet worden hernoemd.
OPMERKING
Er kan maar één bestandsnaam of
mapnaam per keer worden gewijzigd.
OPMERKING
• Bestanden in de Preset-tabs kunnen
niet worden gekopieerd/verplaatst.
• Bestanden in de map 'Expansion'
(pagina 103) van de tab User kunnen
niet worden gekopieerd of verplaatst.
OPMERKING

Genos Gebruikershandleiding 39
Basishandelingen
4
Selecteer de gewenste bestanden/mappen door erop te tikken.
U kunt een of meer bestanden/mappen selecteren (markeren). Als u de selectie
wilt opheffen, tikt u nogmaals op hetzelfde item.
Tik op [Select All] om alle items te selecteren die worden weergegeven in de
huidige display (inclusief de overige pagina's). Als u de selectie wilt opheffen,
tikt u op [All Off].
5
Tik op [Copy] of [Move] boven aan de display om de display
voor het selecteren van de bestemming op te roepen.
6
Selecteer de gewenste bestemming (pad) waar u de bestanden/
mappen wilt plakken.
7
Tik op [Copy here] of [Move here] om de in stap 4
geselecteerde bestanden/mappen te plakken.
Het geplakte bestand of de geplakte map verschijnt in de display op de
desbetreffende positie in alfabetische volgorde tussen de bestanden.
Bestanden/mappen verwijderen
U kunt bestanden/mappen verwijderen.
1
Roep de relevante display voor bestandsselectie op waarop de
gewenste bestanden/mappen worden weergegeven.
2
Tik op (File Edit) om het pop-upvenster File Edit op te roepen.
3
Tik op [Delete] in het menu File Management om de display op
te roepen voor het selecteren van de gewenste bestanden/
mappen.
4
Selecteer de gewenste bestanden/mappen door erop te tikken.
U kunt een of meer bestanden/mappen selecteren (markeren). Als u de selectie
wilt opheffen, tikt u nogmaals op hetzelfde item.
Tik op [Select All] om alle items te selecteren die worden weergegeven in de
huidige display (inclusief de overige pagina's). Als u de selectie wilt opheffen, tikt
u op [All Off].
5
Tik op [Delete] boven aan de display.
U wordt gevraagd dit te bevestigen. Als u deze bewerking wilt annuleren, tikt u op
[No] voordat u naar stap 6 gaat.
6
Tik op [Yes] om de in stap 3 geselecteerde bestanden/mappen
daadwerkelijk te verwijderen.
Bestanden registeren op de tab Favoriet
U kunt uw favoriete of vaak gebruikte stijl- of voicebestanden snel oproepen als u ze op de tab Favoriet registreert.
Raadpleeg de Naslaggids op de website (pagina 10) voor meer informatie.
Bestanden zoeken
Door op de opgeroepen display op (File Search) te tikken, kunt u op naam en andere eigenschappen zoeken naar
gewenste Registration Memory-bankbestanden. Raadpleeg de Naslaggids op de website (pagina 10) voor meer informatie.
Tik op [Cancel] (Annuleren) om deze
handeling te annuleren voordat u naar
stap 7 gaat.
OPMERKING
Bestanden op de Preset-tabs of de map
'Expansion' (pagina 103) van de tab
User kunnen niet worden verwijderd.
OPMERKING

40 Genos Gebruikershandleiding
In dit gedeelte wordt beschreven hoe u tekens invoert om uw bestanden/mappen een naam te geven, trefwoorden in te
voeren om te zoeken naar bestanden enz. U voert tekens in in de onderstaande display.
1
Tik op het tekensoort.
Als u op [Symbol] (Symbool) (of [abc]) tikt, schakelt u tussen het invoeren van
symbolen en romeinse letters (en cijfers).
Als u tussen hoofdletters en kleine letters wilt schakelen, tikt u op (Shift).
2
Tik op []/[], draai de draaiknop Data of druk op de [DEC]/
[INC]-knoppen om de cursor naar de gewenste locatie te
verplaatsen.
3
Voer de gewenste tekens een voor een in.
Als u een teken wilt wissen, tikt u op [Delete] (Wissen). Als u alle tekens tegelijk
wilt wissen, houdt u [Delete] (Wissen) ingedrukt. Als u een spatie wilt invoeren,
tikt u op de spatietoets die wordt aangegeven in de bovenstaande afbeelding.
4
Tik op [OK] om de ingevoerde tekens (naam, trefwoorden,
enzovoort) te bevestigen.
Tekens invoeren
2, 3
1
• Afhankelijk van de display voor
tekeninvoer waarin u werkt, kunnen
sommige tekens niet worden
ingevoerd.
• Een bestandsnaam kan uit maximaal
46 tekens bestaan en een mapnaam
uit maximaal 50 tekens.
• U kunt de volgende tekens (halve
grootte) niet gebruiken: \ / : * ? " < > I
Tik op [Cancel] (Annuleren) om deze
handeling te annuleren voordat u naar
stap 4 gaat.
OPMERKING
OPMERKING
Speciale tekens invoeren:
U kunt speciale tekens, zoals letters met een umlaut, invoeren door een letter
ingedrukt te houden zodat een lijst wordt opgeroepen. Houd bijvoorbeeld 'E'
ingedrukt om 'Ë' uit te lijst te kunnen kiezen.
Aangepaste pictogrammen voor bestanden selecteren (links van
de bestandsnaam weergegeven):
U kunt aangepaste pictogrammen voor het bestand selecteren. Tik op [Icon]
om het pop-upvenster op te roepen en selecteer vervolgens het gewenste
pictogram.

Genos Gebruikershandleiding 41
Basishandelingen
Als de paneelinstellingen zijn vergrendeld, gebeurt er niets wanneer u op paneelknoppen drukt. Wanneer u bijvoorbeeld
even pauze neemt tijdens een performance en het instrument onbemand achterlaat, kunt u met deze functie voorkomen
dat paneelinstellingen door anderen worden gewijzigd.
1
Roep de display Panel Lock op via [MENU] [Panel Lock].
Het numerieke toetsenbord voor de invoer van de pincode wordt opgeroepen.
2
Geef een viercijferige pincode op door op het numerieke
toetsenbord te tikken en tik vervolgens op [OK] om het in te
voeren.
De paneelinstellingen worden vergrendeld. Tijdens de paneelvergrendeling is de
hoofddisplay ook vergrendeld.
3
Als u het instrument wilt ontgrendelen, tikt u op de display en
geeft u de pincode op die u in stap 2 hebt ingevoerd.
De metronoom geeft een klikgeluid, zorgend voor een accurate tempoaanduiding terwijl u oefent, of laat u horen en
controleren hoe een bepaald tempo klinkt. Als u opneemt zonder een stijl af te spelen, maakt het inschakelen van de
metronoom uw opnamesessies veel efficiënter.
1
Roep de display Metronome op via [MENU] [Metronome].
2
Tik op het pictogram om de metronoom aan/uit te zetten.
Raadpleeg 'Metronoominstellingen' in de Naslaggids op de website voor
informatie over de andere items in de display.
De paneelinstellingen vergrendelen (paneelvergrendeling)
Wanneer u de pincode bent vergeten,
schakelt u het instrument gewoon uit en
weer aan om het instrument te
ontgrendelen.
OPMERKING
De metronoom gebruiken
2
U kunt de metronoom ook in- of
uitschakelen door op de knop
Metronome On/Off te klikken die zich in
elke opnamedisplay bevindt.
(pagina 90)
OPMERKING

42 Genos Gebruikershandleiding
Beknopte handleiding—Voor het bespelen van de Genos
Handmatige paneelinstellingen en één song uitvoeren
Het keyboard bespelen met stijlen (automatische begeleiding)
Meezingen met een afgespeelde song
De paneelinstelling van de song opslaan zodat u die gemakkelijk kunt terugroepen
De opgeslagen paneelinstellingen voor uw spel oproepen
Uw eigen keyboardspel opnemen
De stijl
configureren
... p. 44
Optimale paneelinstellingen voor de huidige stijl
(One Touch Setting)
... p. 47
De meest geschikte paneelinstellingen (keyboardgedeelten, harmonie/
arpeggio of Multi Pads) oproepen voor de geselecteerde stijl.
De voices configureren
... p. 48
(Keyboardgedeelten configureren)
Instellingen voor het afspelen van songs
...
p. 72
Harmonie/arpeggio
configureren
...
p. 56
De paneelinstellingen van de song opslaan in het registratiegeheugen
... p. 93
Raadpleeg pagina 92 voor meer informatie over het registratiegeheugen en Registration Memory-banken.
Het gewenste registratiebankbestand selecteren
De registratiegeheugens 1–10 voor het bankbestand oproepen. (p. 94)
In één stap de gewenste paneelinstellingen van de song oproepen uit de playlist.
De gewenste playlistrecord selecteren voor het oproepen van het overeenkomstige gekoppelde registratiegeheugen. (p. 97)
Opnameconfiguratie: Een registratiegeheugen oproepen uit
de playlist enz.
of

Genos Gebruikershandleiding 43
Beknopte handleiding—Voor het bespelen van de Genos
Functies toewijzen
aan regelaars
...
p. 62
Multi Pads confi-
gureren
... p. 59
Vocal Harmony
configureren
...
p. 76
Functies toewijzen
aan regelaars
...
p. 62
Vocal Harmony
configureren
...
p. 76
Meezingen met een
afgespeelde song
Handelingen tijdens het
spelen: p. 78
Spelen met stijlen
Handelingen tijdens het
spelen: p. 64
Het registratiegeheugen in een playlist
registeren
... p. 96
Een playlistrecord maken als sneltoets naar het
registratiegeheugen.
De playlist voor de setlijst voor uw live
optreden bewerken
...
p. 98
Een nieuwe playlist voor uw live optreden maken
door songs uit een presetplaylist te selecteren.
Het gewenste registratiegeheugen selecteren
De gewenste paneelinstellingen oproepen door op het registergeheugen 1–10 te drukken. (p. 94)
Spelen met stijlen
of
Meezingen met een
afgespeelde song
Overige opnameconfiguratie
MIDI Quick Recording ... p. 90
Audio Quick Recording ... p. 91
Uw spel opnemen
Uw spel en/of zang
opnemen.

1
1
44 Genos Gebruikershandleiding
Bedieningshandleiding
Spelen met stijlen—Configuraties
In dit gedeelte vindt u basisstappen om uw keyboardspel te verbeteren met stijlen (ritme en automatische
begeleiding). Volg de verschillende instructies hieronder om uw spel van één song volledig te configureren: stijl,
keyboardgedeelte (voice), Multi Pad en verschillende soorten regelaars.
De instellingen uit dit gedeelte kunnen samen als één songconfiguratie (pagina 92) worden opgeslagen in het
registratiegeheugen.
De gewenste stijl selecteren en automatische begeleiding (ACMP)
inschakelen
1
Druk op de knop [STYLE] om de display voor stijlselectie op te
roepen.
2
Tik op de gewenste stijl.
Tik bijvoorbeeld op de categorie [Country] en vervolgens op [Country Folk 8beat].
3
Zorg dat de STYLE CONTROL-knop [ACMP] is ingeschakeld.
Als de knop is ingeschakeld, kunnen zowel de ritmepartij als de automatische
begeleiding worden afgespeeld tijdens het afspelen van een stijl.
Tegelijkertijd kan de specifieke linkerhandsectie van het keyboard worden
gebruikt als de akkoordsectie, en worden akkoorden die in dit gedeelte worden
gespeeld, automatisch gedetecteerd en gebruikt als basis voor een volledig
automatische begeleiding met de geselecteerde stijl.
4
Probeer de geselecteerde stijl indien nodig uit.
Druk op de STYLE CONTROL [ ] (SYNC START)-knop en speel akkoorden
met uw linkerhand.
Als u het afspelen van de stijl wilt stoppen, drukt u op de knop STYLE
CONTROL [ ] (START/STOP).
Stijlen configureren
U kunt de display voor stijlselectie ook
oproepen via de Home-display
(pagina 30).
OPMERKING
Raadpleeg 'Display voor
bestandsselectie' (pagina 32) voor
basishandelingen in de display voor
stijlselectie.
OPMERKING
U kunt het splitpunt naar wens wijzigen
(pagina 49).
OPMERKING
Akkoordsectie
Splitpunt (standaard F#2)
Zie pagina 64 voor meer informatie over
het afspelen van stijlen.
OPMERKING

Genos Gebruikershandleiding 45
1
Spelen met stijlen—Configuraties
Een stijl bestaat gewoonlijk uit acht afzonderlijke partijen (kanalen): ritme, bas enz. U kunt variaties toevoegen en de
manier veranderen waarop de stijl overkomt door kanalen selectief aan/uit te zetten of door de voices te wijzigen
(pagina 88).
Stijlkenmerken
Het desbetreffende type stijl wordt links boven de stijlnaam in de display voor stijlselectie weergegeven.
De kenmerkende eigenschappen van deze stijlen en hun voordelen worden hieronder beschreven.
•
Session:
Deze stijlen voorzien in een nog groter realisme en authentieke begeleiding doordat originele
akkoordsoorten en -wijzigingen en speciale riffs met akkoordwijzigingen worden ingemengd bij de MAIN-
secties. Ze zijn geprogrammeerd om uw spel van bepaalde songs en bepaalde genres te voorzien van wat 'smaak'
en een vleugje professionaliteit. U moet hierbij wel bedenken dat de stijlen niet per se geschikt zijn (of zelfs
kloppend op harmonisch gebied) voor alle songs en gespeelde akkoorden. In enkele gevallen kan het spelen van
een eenvoudige majeurdrieklank bijvoorbeeld resulteren in een septiemakkoord of kan het spelen van een 'op-bas'-
akkoord resulteren in een onjuiste of onverwachte begeleiding.
•
Free play:
Deze stijlen worden gekenmerkt door een rubato-manier van spelen. U kunt vrij spelen met een
opmerkelijk expressieve begeleiding, zonder te worden beperkt door een strak tempo.
•
DJ:
Deze bevatten hun eigen speciale akkoordprogressies; u hoeft dus alleen de grondtoontoets te wijzigen om
akkoordwijzigingen aan uw performance toe te voegen. De Multi Pad-gegevens (pagina 59) in de categorie
'DJ Phrase' zijn specifiek voor deze stijlen gemaakt. U kunt de geschikte Multi Pads oproepen met de functie One
Touch Setting (pagina 47).
Raadpleeg de Datalijst op de website voor de lijst met presetstijlen.
Compatibiliteit van stijlbestanden
Het instrument gebruikt de bestandsindeling SFF GE (pagina 11) en kan bestaande SFF-bestanden afspelen. Als deze
bestanden echter worden opgeslagen (of geladen) in dit instrument, worden ze opgeslagen in de SFF GE-indeling.
Het opgeslagen bestand kan alleen worden afgespeeld op instrumenten die compatibel zijn met de SFF GE-indeling.
• Bij het gebruik van DJ-stijlen is het niet mogelijk om het akkoordtype op te geven, zoals majeur of mineur.
OPMERKING

46 Genos Gebruikershandleiding
Het tempo aanpassen
Met de TEMPO-knoppen [-] en [+] kunt u het tempo wijzigen waarin metronoom, stijl en
MIDI-song worden afgespeeld. U kunt het tempo van de stijl en MIDI-song ook instellen
met de knop [TAP TEMPO].
-
TEMPO [-]/[+]-knoppen
Druk op de knop TEMPO [-] of [+] om de pop-updisplay Tempo op te roepen. Druk op de
TEMPO-knoppen [-]/[+] als u het tempo wilt verlagen of verhogen binnen een bereik van
5 tot 500 tellen per minuut. Houd een van de knoppen ingedrukt als u de waarde
ononderbroken wilt wijzigen. Wanneer u beide TEMPO-knoppen [-] en [+] indrukt, wordt
het standaardtempo van de laatst geselecteerde stijl of song opgeroepen.
-
[TAP TEMPO] (knop)
Tijdens het afspelen van een stijl of MIDI-song kunt u het tempo wijzigen door twee keer in het gewenste tempo op
de knop [TAP TEMPO] te drukken. Als de stijl en song zijn gestopt, tikt u op de knop [TAP TEMPO] (vier keer voor
een 4/4-maatsoort) om het afspelen van de ritmepart van de stijl te starten in het door u aangegeven tempo.
Type vingerzetting voor akkoorden wijzigen
Door het vingerzettingstype voor akkoorden te wijzigen, kunt u automatisch een passende begeleiding creëren, zelfs als
u niet alle noten van een akkoord speelt. Het type vingerzetting voor akkoorden kan via het venster Split Point/Fingering
worden gewijzigd: [MENU]
[Split & Fingering].
De volgende typen kunnen bijvoorbeeld worden geselecteerd.
-
Single Finger
Met deze methode kunt u in het begeleidingsgedeelte van het keyboard met één, twee of drie vingers gemakkelijk
akkoorden spelen.
-
Fingered
Hiermee kunt u uw eigen akkoorden in het akkoordgedeelte van het keyboard spelen, terwijl het instrument zorgt voor
een passende georkestreerde ritme-, bas- en akkoordbegeleiding in de geselecteerde stijl. Het type Fingered herkent de
verschillende akkoordtypen die worden vermeld in de afzonderlijke Datalijst op de website (pagina 10) en die u kunt
opzoeken met de functie Chord Tutor die u oproept via [MENU]
[Chord Tutor].
-
AI Full Keyboard
Hiermee kunt u nagenoeg van alles spelen, waar dan ook op het keyboard, met beide
handen - net alsof u normaal op een piano speelt - en toch een geschikte begeleiding
hebben. U hoeft zich geen zorgen te maken over speciale manieren om de akkoorden te
spelen/aan te geven. (Afhankelijk van het songarrangement is het mogelijk dat het AI Full
Keyboard niet in elke situatie voor een passende begeleiding zorgt.)
Raadpleeg voor andere typen de Naslaggids op de website (pagina 10).
Gebruik de functie Time Stretch op
pagina 80 als u het tempo van een
audiosong wilt aanpassen.
OPMERKING
Majeurakkoord
Druk uitsluitend op de
grondtoontoets.
Mineurakkoord
Druk tegelijkertijd op de
grondtoontoets en een zwarte
toets links daarvan.
Septiemakkoord
Druk tegelijkertijd op de
grondtoontoets en een witte
toets links daarvan.
Mineurseptiemakkoord
Druk tegelijkertijd op de
grondtoontoets en zowel een
witte als een zwarte toets
links daarvan.
Als het akkoorddetectiegebied is
ingesteld op 'Upper' (pagina 51), is
alleen 'Fingered*' beschikbaar.
OPMERKING

Genos Gebruikershandleiding 47
1
Spelen met stijlen—Configuraties
One Touch Setting is een krachtige en handige functie, die automatisch de meest geschikte
paneelinstellingen (voices, effecten enz.) oproept voor de momenteel geselecteerde stijl,
met één druk op een knop. Als u al weet welke stijl u wenst te gebruiken, kunt u One
Touch Setting automatisch de passende voice voor u laten selecteren.
1
Selecteer de gewenste stijl (stap 1–2 op pagina 44).
2
Druk op een van de ONE TOUCH SETTING [1]–[4]-knoppen.
Dit roept niet alleen onmiddellijk alle instellingen (voices, effecten, enz.) op die
bij de huidige stijl passen en daar het meest mee worden gebruikt, het zet ook
automatisch ACMP en SYNC START aan, zodat u onmiddellijk kunt beginnen
met het spelen van de stijl.
3
Zodra u een akkoord met uw linkerhand speelt, begint de
geselecteerde stijl.
Elke stijl heeft vier One Touch Setting-setups. Druk op de andere ONE TOUCH
SETTING [1]–[4]-knoppen om de andere configuraties uit te proberen.
Optimale paneelinstellingen voor de huidige stijl (One Touch Setting)
Raadpleeg de sectie OTS van 'Parameter
Chart' in de Datalijst op de website
(pagina 10) voor informatie over de
paneelinstellingen die met One Touch
Setting worden opgeroepen.
OPMERKING
Inhoud van One Touch Setting bevestigen
Tik in de display voor stijlselectie op (Menu) en vervolgens op
[Style Information] om het informatievenster op te roepen waarin wordt
weergegeven welke voices zijn toegewezen aan de ONE TOUCH SETTING
[1]–[4]-knoppen voor de huidige stijl. U kunt de gewenste instellingen ook
oproepen door rechtstreeks in het informatievenster op een van de nummers
1–4 van One Touch Settings te tikken.
U kunt ervoor zorgen dat de One Touch
Settings automatisch veranderen als
u een Main-sectie (A–D) van de
geselecteerde stil selecteert. Raadpleeg
'OTS LINK' (pagina 65) voor meer
informatie.
OPMERKING

48 Genos Gebruikershandleiding
Er zijn vier keyboardgedeelten voor handmatig spelen: LEFT, RIGHT 1, RIGHT 2 en RIGHT 3, en elk gedeelte heeft
één voice. U kunt deze gedeelten combineren met de PART ON/OFF-knoppen en zo rijke instrumentale motieven en
handige performancecombinaties maken.
Combinaties van keyboardgedeelten maken (Layer, Split)
-
Eén enkele voice op het gehele keyboard spelen:
Zet het gedeelte RIGHT 1, 2 of 3 aan. Zorg dat het LEFT-gedeelte is uitgeschakeld.
-
Twee of drie verschillende voices tegelijk afspelen (Layer):
Twee of meer gedeelten inschakelen van RIGHT 1, 2 en 3.
-
Verschillende voices in de rechter- en linkerhandsectie van het keyboard spelen (split):
Schakel het LEFT-gedeelte en ten minste een van de RIGHT 1–3-gedeelten in. De F
#
2 en lagere toetsen worden gebruikt
voor het LEFT-gedeelte en de hogere toetsen (uitgezonderd F
#
2) voor de gedeelten RIGHT 1, 2 en 3. De toets waarbij
het keyboard wordt verdeeld in de secties voor linker- en rechterhand, wordt het splitpunt genoemd.
Keyboardgedeelten configureren
RIGHT 3-gedeelte
RIGHT 2-gedeelte
RIGHT 1-gedeelte
Sectie voor rechterhand (UPPER)Sectie voor linkerhand (LOWER)
Splitpunt (standaard F#2)
LEFT-gedeelte
Hiermee roept u de display voor
voiceselectie voor elk gedeelte op
Voor het in-/uitschakelen van de
keyboardgedeelten
De verschillende keyboardgedeelten in-/uitschakelen vanuit de display
U kunt gedeelten ook in-/uitschakelen via de Home-display of de display Voice Part Setup. Zie 'Home-display'
(pagina 30) of 'De display Voice Part Setup' (Naslaggids op de website) voor meer informatie.

Genos Gebruikershandleiding 49
1
Spelen met stijlen—Configuraties
Het splitpunt instellen
De toets die het keyboard verdeelt in twee of drie gedeelten, wordt het splitpunt genoemd. Er zijn drie typen splitpunt:
Split Point (Style), Split Point (Left) en Split Point (Right 3). U kunt deze afzonderlijk instellen (zoals aangegeven).
•
Split Point (Style):
........ Verdeelt de sectie voor de linkerhand (LOWER) in de akkoordensectie en de sectie voor het
LEFT-gedeelte.
•
Split Point (Left):
......... Verdeelt het keyboard in een sectie voor de linkerhand (LOWER) en een sectie voor de
rechterhand (UPPER).
•
Split Point (Right 3):
.... Verdeelt de sectie voor de rechterhand (UPPER) in een sectie voor de RIGHT 1, 2-gedeelten
en een sectie voor de RIGHT 3-gedeelten.
1
Roep het venster Split Point/Fingering op.
[MENU]
[Split & Fingering]
2
Stel het splitpunt in.
De voice van het LEFT-gedeelte vasthouden (Left Hold)
Als u de knop PART ON/OFF [LEFT HOLD] inschakelt wanneer het LEFT-gedeelte is
ingeschakeld, wordt de voice van het LEFT-gedeelte ook vastgehouden als de toetsen
worden losgelaten, wat wenselijk is in sommige speelstijlen.
Niet-wegstervende klanken, zoals strings, klinken dan zonder ophouden, terwijl voices
met een bepaalde wegsterftijd, zoals piano, langzaam wegsterven (alsof het sustainpedaal
is ingedrukt). Deze functie is handig in combinatie met het afspelen van een stijl, omdat
het geluid van de akkoorden die overeenkomen met het afspelen van de stijl behouden
blijven.
Als u de voice van het LEFT-gedeelte wilt stoppen, stopt u het afspelen van de stijl of
song of zet u de knop [LEFT HOLD] uit.
Split Point
(Right 3)
Split Point
(Left)
Split Point
(Style)
Akkoordsectie Sectie voor Left-
gedeelte
Sectie voor
RIGHT 1, 2-
gedeelten
Sectie voor
RIGHT 3-
gedeelte
Sectie voor linkerhand
(LOWER)
Sectie voor rechterhand
(UPPER)
w
w
q
VOLGENDE PAGINA

50 Genos Gebruikershandleiding
U kunt de verschillende splitpunten ook opgeven met de naam van de noot, door te tikken op de regelaars [
]/[
].
Split Point (Style) wordt aangegeven met 'Style', Split Point (Left) wordt aangegeven met 'Left' en Split Point
(Right 3) wordt aangegeven met 'Right 3'.
qSplit Point
(Style + Left)
Hiermee stelt u Split Point (Style) en Split Point (Left) in op dezelfde noot. In dit geval nemen
de akkoordsectie en de sectie voor het LEFT-gedeelte hetzelfde gebied in beslag.
U kunt het splitpunt rechtstreeks vanaf het keyboard opgeven door [Style + Left] op de display
ingedrukt te houden en tegelijkertijd op de gewenste toets op het keyboard te drukken.
wSplit Point
(Style, Left,
Right 3)
Hiermee stelt u elk splitpunt afzonderlijk in.
U kunt het splitpunt rechtstreeks vanaf het keyboard opgeven door het desbetreffende item op
de display ingedrukt te houden en tegelijkertijd op de gewenste toets op het keyboard te
drukken.
Akkoordsectie +
sectie voor LEFT-
gedeelte
Split Point
(Style + Left)
Sectie voor rechterhand
(Sectie voor linkerhand)
Als u op []/[] hebt getikt, is het splitpunttype dat u bedient actief (de overeenkomstige indicator is gekleurd). U kunt nu de waarde van het actieve splitpunttype
wijzigen door aan de draaiknop Data te draaien.
Split Point (Left) kan niet lager worden ingesteld dan Split Point (Style) en Split Point (Right 3) kan niet lager worden ingesteld dan Split Point (Left).
OPMERKING
OPMERKING

Genos Gebruikershandleiding 51
1
Spelen met stijlen—Configuraties
Akkoorden opgeven met uw rechterhand voor het afspelen van een stijl
Als u het gebied voor akkoorddetectie van de sectie voor de linkerhand verandert in de sectie voor de rechterhand, kunt u met
uw linkerhand een baslijn spelen terwijl u met uw rechterhand akkoorden speelt om het afspelen van de stijl te regelen.
1
Roep het venster Split Point/Fingering op.
[MENU]
[Split & Fingering]
2
Geef de nodige instellingen op door op de display te tikken.
Chord Detection
Area
(Akkoorddetectiegebied)
Selecteer 'Upper'. Het akkoordgebied wordt rechts van het linkersplitpunt ingesteld.
Het vingerzettingstype wordt automatisch ingesteld op 'Fingered*'.
Manual Bass Als dit is ingesteld op 'On', wordt de baspartij van de huidige stijl gedempt en wordt de voice
van de gedempte baspartij toegewezen aan het LEFT-gedeelte.
Split Point
(Right 3)
Split Point
(Left)
Split Point
(Style)
Sectie voor voice
LEFT
(Sectie voor
linkerhand)
Sectie voor
RIGHT 1, 2-
gedeelten
RIGHT 3
gedeelte-
sectie
Sectie voor rechterhand
Akkoordsectie
• 'Fingered*' is in principe hetzelfde als 'Fingered', behalve dat '1+5', '1+8' en Chord Cancel niet beschikbaar zijn.
• Raadpleeg 'Het splitpunt instellen' (pagina 49) voor informatie over wanneer het akkoorddetectiegebied wordt
ingesteld op 'Lower'.
• Deze parameter wordt automatisch ingesteld op 'Lower' als de ensemblevoice is geselecteerd.
OPMERKING
• Manual Bass wordt standaard automatisch ingesteld op 'On' als u 'Upper' selecteert in het akkoorddetectiegebied
hierboven.
• Deze parameter is alleen beschikbaar als het akkoorddetectiegebied is ingesteld op 'Upper'.
OPMERKING

52 Genos Gebruikershandleiding
1
Druk op de VOICE SELECT-knop die overeenkomt met het
gewenste gedeelte.
De display voor voiceselectie (voor het gewenste gedeelte) wordt weergegeven.
2
Tik op de gewenste voice.
3
Probeer de geselecteerde voice indien nodig uit.
Controleer of het gewenste keyboardgedeelte is ingeschakeld en bespeel het
keyboard.
Een voice selecteren voor de verschillende keyboardgedeelten
U kunt de display voor voiceselectie ook
oproepen via de Home-display
(pagina 30) of de display Voice Part
Setup (Naslaggids op de website).
OPMERKING
• Raadpleeg 'Display voor
bestandsselectie' (pagina 32) voor
basishandelingen in de display voor
voiceselectie.
OPMERKING
De kenmerken van de voices beluisteren:
Tik op (Demo) om het afspelen van de demo van de geselecteerde voice
te starten. Tik nogmaals op (Demo) om het afspelen te stoppen.
Voicekenmerken
Het voicetype en zijn bepalende karakteristieken worden boven de voicenaam aangegeven. Er zijn diverse
voicekenmerken. Hier worden echter alleen de volgende behandeld. Raadpleeg de Naslaggids op de website
(pagina 10) voor meer informatie.
• S.Art, S.Art2 (Super Articulation)-voices (pagina 67)
Hiermee kunt u subtiele en zeer realistische expressie nuances aanbrengen, gewoon door de manier waarop
u speelt, waarbij u maar op één knop hoeft te drukken om nuances toe te voegen.
• Organ Flutes-voices (pagina 53)
Hiermee kunt u alle klanken van een traditioneel orgel nabootsen door de fluit voetmaat niveaus en de percussieve
geluiden aan te passen, net als bij conventionele orgels.
• Revo Drum, Revo SFX-voices
Met de drum- en SFX-voices kunt u diverse drums en percussie-instrumenten of SFX-geluiden (geluidseffecten)
op het keyboard spelen. Vooral Revo Drum-voices reproduceren het natuurlijke geluid van drums, zelfs als
u dezelfde toets meerdere keren na elkaar speelt. U vindt meer informatie in de Drum-/toetstoewijzingslijst van de
aparte Datalijst

Genos Gebruikershandleiding 53
1
Spelen met stijlen—Configuraties
De Genos gebruikt geavanceerde digitale technologie om de legendarische klank van
'vintage' orgels te imiteren. Net als bij een traditioneel elektronisch orgel kunt u uw eigen
orgelklanken samenstellen door het volume van de verschillende voetmaten te verhogen of
te verlagen. U kunt de voice die u hebt gemaakt opslaan zodat u deze later opnieuw kunt
gebruiken.
1
Selecteer in de display voor voiceselectie de gewenste Organ
Flutes-voice.
Tik op [Organ] in de subcategorieën en selecteer de gewenste Organ Flute-voice.
2
Keer terug naar de Home-display en tik op (Organ Flutes)
rechts onder de voicenaam om de Edit-display van de Organ
Flutes-voice op te roepen.
3
Verschuif de voetmaathendels om de voetmaatinstellingen aan
te passen.
De voetmaatinstellingen bepalen het basisgeluid van de Organ Flutes.
U kunt hier ook andere instellingen wijzigen, zoals Rotary Speaker en Vibrato.
4
Tik op (Opslaan) en sla de gemaakte organvoice op.
Raadpleeg 'Bestandsbeheer' (pagina 37) voor instructies voor het opslaan.
Eigen Organ Flutes-voices maken
De term 'voetmaat' (footage) refereert
aan de klankopwekking met traditionele
orgelpijpen, waarbij het geluid wordt
geproduceerd door pijpen met
verschillende lengten (in voeten).
OPMERKING
• De beschikbare parameters
verschillen afhankelijk van het
Organ-type.
• Bovendien kunt u Effecten en EQ-
instellingen opgeven. Raadpleeg de
Naslaggids op de website
(pagina 10) voor meer informatie.
OPMERKING
wqert
3
qVolume Hiermee wordt het volume van het totale Organ Flutes-geluid bepaald.
wRotary Speaker
(Roterende
luidspreker)
Hiermee schakelt u beurtelings tussen de langzaam en de snel draaiende luidspreker. Deze
parameter is alleen beschikbaar wanneer een effect met 'Rotary' of 'Rot' in de naam wordt
toegepast.
eVibrato Hiermee kunt u de vibrato in- of uitschakelen en de diepte en snelheid van vibrato aanpassen.
rResponse Hiermee past u de responssnelheid van de Attack- en Release-gedeelten van het geluid aan.
tAttack (Aanslag) Hiermee schakelt u tussen twee verschillende Attack-modi: First en Each en bepaalt u de
lengte van het Attack-geluid.
De instellingen gaan verloren als
u een andere voice selecteert of
het instrument uitzet zonder dat
u de opslagbewerking hebt
uitgevoerd.
LET OP

54 Genos Gebruikershandleiding
Dit zijn speciale instellingen van de keyboardgedeelten met meerdere voices, die worden gebruikt in realistische
ensemblecombinaties, zoals een koperblaassectie en strijkkwartet. Eén voice kan maximaal vier speciale parts of
instrumenten bevatten. Het gaat echter niet alleen om een combinatie, maar de parts worden dynamisch aan de noten
toegewezen, en worden op uitermate natuurlijke, muzikale manier verdeeld over de intervallen die u speelt, alsof de parts
live door vier verschillende spelers worden gespeeld. Daarnaast kunt u de discrepantie tussen elk instrument - toonhoogte,
timing enzovoort - besturen en 'menselijk maken', waardoor het totaalgeluid verbazend authentiek en expressief wordt.
In deze modus veranderen de keyboardgedeelten (L, R1, R2 en R3) in speciale Ensemble-partijen 1–4. Omdat alle
ensemblepartijen worden behandeld als Right-gedeelten, is het gedeelte voor de linkerhand niet beschikbaar in deze
modus; de automatische begeleiding kan echter wel worden ingeschakeld en er kunnen wel stijlen met de linkerhand
worden gespeeld.
De voicemodus Ensemble starten
1
Druk op een van de VOICE SELECT-knoppen om de
selectiedisplay voor voices op te roepen.
2
Tik op [Ensemble] om de voicemodus Ensemble te starten.
3
Selecteer de gewenste Ensemble Voice-preset om deze te
selecteren.
4
Bespeel het keyboard.
Ensemblevoices gebruiken
Akkoordsectie
Split Point
(Style)
De sectie voor de Ensemble
1–4-partijen
(sectie voor rechterhand)
Split Point
(Left)
Split Point
(Right 3)
Als u de voicemodus Ensemble start, worden alle voicecombinatie-instellingen (L, R1, R2 en R3) die u hebt gemaakt, gewist.
Sla belangrijke paneelinstellingen op in het registratiegeheugen (pagina 92).
LET OP
U kunt instellingen bewerken, zoals de
voices waaruit een ensemblevoice
bestaat, en wijzigen hoe de noten van de
akkoorden die u speelt aan de voices
worden toegewezen. Raadpleeg de
Naslaggids op de website voor meer
informatie.
OPMERKING

Genos Gebruikershandleiding 55
1
Spelen met stijlen—Configuraties
De voicemodus Ensemble afsluiten.
1
Druk op een van de VOICE SELECT-knoppen om de
selectiedisplay voor voices op te roepen.
2
Selecteer een andere voice dan de ensemblevoice.
Nadat u een andere voice hebt geselecteerd, kunt u controleren of de voicemodus
Ensemble niet meer actief is. Druk hiervoor op de knop [Home] om terug te keren
naar de Home-display en controleer of er in het Voice-gebied vier verschillende
voicenamen worden weergegeven.
Terugkeren naar de Home-display
Druk op de knop [EXIT] of de knop [HOME]. In het gebied Voice wordt de naam van de ensemblevoice weergegeven.
Als u de display voor voiceselectie weer wilt oproepen om andere presets te selecteren, tikt u op het Voice-gebied van
de Home-display.

56 Genos Gebruikershandleiding
U kunt de functies Keyboard Harmony of Arpeggio toepassen om het geluid van de
rechterhandgedeelten (RIGHT 1–3) te verbeteren of te wijzigen. Met Keyboard Harmony
worden speleffecten zoals harmonie (duo, trio enz.), echo, tremolo en triller toegepast op
de noten die in het rechterhandgedeelte worden gespeeld. Met de arpeggiofunctie kunt
u arpeggio's (gebroken akkoorden) spelen door gewoon op de noten van het akkoord te
drukken. Zo kunt u de noten C, E en G spelen om interessante en ritmisch dynamische
frasen te creëren. U kunt deze functie gebruiken voor muziekproductie en voor live
performance.
Keyboard Harmony gebruiken
1
Roep de bedieningsdisplay op.
[MENU]
[Kbd Harmony/Arp]
2
Stel de functie Keyboard Harmony/Arpeggio in op 'On'.
Als dit is ingesteld op 'On', wordt Keyboard Harmony automatisch toegepast op
uw keyboardspel.
3
Tik om de categorie 'Harmony' of 'Echo' te selecteren.
4
Tik op het gewenste Harmony- of Echo-type.
Als u op (gedetailleerde instellingen) tikt, wordt het pop-upvenster voor
gedetailleerde instellingen opgeroepen. Raadpleeg de Naslaggids op de website
voor meer informatie.
5
Bespeel het keyboard.
Het effect dat in stap 4 is geselecteerd, wordt toegepast op de melodie van de
rechterhand.
Draai de knop [HARMONY/ARPEGGIO] uit om het effect uit te schakelen.
Categorietypen voor Keyboard Harmony (Harmony/Echo)
- Harmony-categorie
Standard Duet—Strum
Met deze typen wordt het Harmony-effect toegepast op noten die worden gespeeld in het
rechterhandgedeelte van het keyboard, volgens het akkoord dat wordt opgegeven in het
linkerhandgedeelte van het keyboard. (Hierbij moet worden opgemerkt dat de instellingen
'1+5' en 'Octave' niet worden beïnvloed door het akkoord.)
• Als de knop [ACMP] is ingeschakeld en het LEFT-gedeelte is uitgeschakeld:
Keyboard Harmony/Arpeggio configureren op het keyboard
Als u een andere voice selecteert voor
het RIGHT 1-gedeelte, wordt het type
Keyboard Harmony/Arpeggio
automatisch ingesteld op het type dat in
het geheugen is opgeslagen als de
voice-instelling. Zie de Naslaggids op
de website voor meer informatie over de
voice-instellingsfunctie.
OPMERKING
2
U kunt de functie ook op 'On' instellen
door de knop [HARMONY/ARPEGGIO]
in te schakelen.
OPMERKING
Zie pagina 49 voor meer informatie over
het splitpunt.
OPMERKING
Akkoordgedeelte voor het afspelen van de stijl en het Harmony-effect
Split Point
(Style)

Genos Gebruikershandleiding 57
1
Spelen met stijlen—Configuraties
• Als de knop [ACMP] is uitgeschakeld en het LEFT-gedeelte is ingeschakeld:
• Als zowel de knop [ACMP] en het LEFT-gedeelte zijn ingeschakeld:
Multi Assign
Het Multi Assign-effect wijst automatisch de noten van de akkoorden die in het
rechterhandgedeelte van het keyboard worden gespeeld, toe aan afzonderlijke gedeelten
(voices). Als u bijvoorbeeld een akkoord met drie noten speelt, wordt de eerste noot die
u indrukt gespeeld door de RIGHT 1-voice, de tweede door de RIGHT 2-voice en de
derde door de RIGHT 3-voice. Het Multi Assign effect wordt niet beïnvloed door
de aan/uit-status van [ACMP] en het LEFT-gedeelte.
- Echo Category (Echo, Tremolo, Trill)
Het Echo-, Tremolo- of Trill-effect wordt toegepast op de noot die wordt gespeeld in de
rechterhandsectie van het keyboard, in de maat met het momenteel ingestelde tempo,
ongeacht de aan/uit-status van [ACMP] en het LEFT-gedeelte. Houd er rekening mee dat
u voor Trill twee noten tegelijkertijd ingedrukt moet houden op het keyboard (of de laatste
twee noten als meer dan twee noten worden ingedrukt) en dat deze noten beurtelings
worden gespeeld.
Arpeggio gebruiken
1
Roep de bedieningsdisplay op.
[MENU]
[Kbd Harmony/Arp]
2
Stel de functie Keyboard Harmony/Arpeggio in op 'On'.
Als dit is ingesteld op 'On', wordt Keyboard Harmony automatisch toegepast op
uw keyboardspel.
3
Selecteer een andere categorie dan 'Harmony' of 'Echo'.
4
Tik op het gewenste Arpeggio-type.
Als u op (gedetailleerde instellingen) tikt, wordt het pop-upvenster voor
gedetailleerde instellingen opgeroepen. Raadpleeg de Naslaggids op de website
voor meer informatie.
LEFT-gedeelte en akkoordsectie voor Harmony-effect
Split Point
(Left)
RIGHT 1–3-gedeelten
Akkoordgedeelte voor het afspelen van de stijl en het Harmony-effect
Split Point
(Style)
LEFT-gedeelte
Split Point
(Left)
RIGHT 1–3-gedeelten
2
U kunt de functie ook op 'On' instellen
door de knop [HARMONY/ARPEGGIO]
in te schakelen.
OPMERKING
VOLGENDE PAGINA

58 Genos Gebruikershandleiding
5
Speel een of meer noten om het Arpeggio te starten.
De arpeggiofrasering is afhankelijk van de gespeelde noten.
Draai de knop [HARMONY/ARPEGGIO] uit om het effect uit te schakelen.
• Door gebruik te maken van de
Arpeggioquantiseringsfunctie, kunt
u het afspelen van arpeggio's
synchroniseren met het afspelen van
een song of stijl, om kleine
onvolkomenheden in de timing te
corrigeren. U kunt dit instellen in de
display: [MENU] [VoiceSetting]
[S.Art2/Arpeggio].
• U kunt het afspelen van arpeggio's
zelfs voortzetten nadat de noot is
losgelaten. Daartoe wijst u de functie
Arpeggio aanhouden toe aan de
voetschakelaar. Raadpleeg pagina 63
voor instructies.
OPMERKING

Genos Gebruikershandleiding 59
1
Spelen met stijlen—Configuraties
Multi Pads selecteren
1
Druk op de knop MULTI PAD CONTROL [SELECT] om de
display voor Multi Pad-bankselectie op te roepen.
2
Tik op de gewenste Multi Pad-bank.
3
Probeer de geselecteerde Multi Pad(s) indien nodig uit.
Druk op de MULTI PAD CONTROL [1]–[4]-knoppen om het afspelen van de
overeenkomstige frase te starten. Druk op de knop [STOP] om het afspelen te
stoppen.
Raadpleeg 'De Multi Pads regelen' (pagina 70) voor meer informatie over het
regelen van het afspelen van Multi Pads.
Multi Pads configureren
U kunt de display voor Multi Pad-
selectie ook oproepen via de Home-
display (pagina 30).
OPMERKING
Raadpleeg 'Display voor
bestandsselectie' (pagina 32) voor
basishandelingen in de display voor
Multi Pad-selectie.
OPMERKING
Multi Pads maken en bewerken
U kunt op drie manieren zelf uw eigen Multi Pads maken:
• Nieuwe frasen opnemen
• Bestaande Multi Pad-frasen bewerken
• Koppelen naar audiobestanden (Audio Link Multi Pad)
U kunt ook uw eigen Multi Pad-bank maken door de verschillende Multi Pads te
beheren.
Raadpleeg de Naslaggids op de website (pagina 10) voor meer informatie.

60 Genos Gebruikershandleiding
U kunt uw oorspronkelijke paneelinstellingen (voornamelijk stijl, voices en Multi Pads) in
een One Touch Setting (OTS) opslaan. De nieuwe One Touch Setting wordt als een stijl
opgeslagen in het gebruikersstation of op een USB-flashstation en u kunt de One Touch
Setting oproepen als onderdeel van de stijl.
1
Selecteer de gewenste stijl die u wilt opslaan in One Touch
Setting.
2
Geef de gewenste paneelinstellingen op, zoals voor voices en
effecten.
3
Druk op de knop [MEMORY] in het gedeelte REGISTRATION
MEMORY.
Er wordt een bericht weergegeven. U hoeft hier echter geen instellingen te maken,
omdat de aan/uit-instellingen in deze display geen invloed hebben op de functie
One Touch Setting.
4
Druk op de gewenste ONE TOUCH SETTING [1]–[4]-knop
waarop u uw paneelinstellingen wilt opslaan.
Er verschijnt een bericht waarin u wordt gevraagd of u de paneelinstellingen nu
wilt opslaan. Als u door wilt gaan en verschillende paneelinstellingen op andere
knoppen wilt opslaan, tikt u op [No] en herhaalt u stap 2–4 zo vaak als nodig is.
Sla ten slotte al uw nieuwe instellingen op in stap 5 hieronder.
5
Tik op [Yes] om de display voor stijlselectie op te roepen voor
het opslaan van de gegevens, en sla de huidige instellingen op
als een gebruikersstijl.
Raadpleeg 'Bestandsbeheer' (pagina 37) voor instructies voor het opslaan.
Oorspronkelijke instellingen opslaan in One Touch Setting
Raadpleeg 'Parameter Chart' in de
Datalijst op de website (pagina 10) voor
informatie over welke paneelinstellingen
worden opgeslagen in One Touch
Setting.
OPMERKING
34
Voor OTS-knoppen waarop u geen
paneelinstellingen hebt opgeslagen,
blijven de OTS-instellingen van de
oorspronkelijke stijl behouden.
OPMERKING
De opgeslagen One Touch Setting
gaat verloren als u van stijl
verandert of als u het instrument
uitzet zonder de opslaghandeling
uit te voeren.
LET OP

Genos Gebruikershandleiding 61
1
Spelen met stijlen—Configuraties
De toonhoogte transponeren in stappen van een halve noot
(TRANSPOSE [-]/[+]-knoppen)
Met de TRANSPOSE-knoppen [-]/[+] kunt u de totale toonhoogte van het instrument (het
geluid van het keyboard, het afspelen van een stijl of MIDI-song enzovoort) in stappen van
een halve toon (van -12 tot 12) transponeren. Druk tegelijkertijd op de knop [+] en [-] om
de transponeerwaarde onmiddellijk terug te zetten naar 0.
U kunt het te transponeren gedeelte afzonderlijk selecteren. Tik meerdere keren op het
pop-upvenster Transpose tot het gewenste gedeelte wordt weergegeven en gebruik
vervolgens de TRANSPOSE-knoppen [-]/[+] om het te transponeren.
De toonhoogte transponeren in stappen van een octaaf (UPPER OCTAVE
[-]/[+]-knoppen)
Met de UPPER OCTAVE-knoppen [-]/[+] kunt u de toonhoogte van de Right 1–3-gedeelten met één octaaf omhoog of
omlaag schuiven. Druk de knoppen [+] en [-] tegelijkertijd in om de octaveerwaarde onmiddellijk naar 0 terug te zetten.
De toonhoogte van het keyboard wijzigen
• Gebruik de parameter voor
toonhoogteverschuiving op
pagina 80 als u de toonhoogte van de
audiosong wilt transponeren.
• De transponeerfuncties hebben geen
invloed op de Drum Kit- of SFX Kit-
voices.
OPMERKING
U kunt ook transponeren in de display
via [MENU] [Transpose]. Raadpleeg
de Naslaggids op de website voor meer
informatie.
OPMERKING
Master Transponeert de toonhoogte van het totale geluid met uitzondering van de
audiosong en ingangsgeluid uit een microfoon of de [AUX IN]-aansluitingen.
Keyboard De toonhoogte van het keyboard transponeren, inclusief de akkoordgrondtoon
voor het activeren van het afspelen van een stijl.
Song Transponeert de toonhoogte van de MIDI-songs.
De toonhoogte fijnregelen
De toonhoogte van het hele instrument is standaard ingesteld op 440,0 Hz volgens de
gelijkzwevende temperatuur. U kunt deze instelling wijzigen in de display die u kunt
oproepen via [MENU]
[Tuning]. Raadpleeg de Naslaggids op de website voor meer
informatie.

62 Genos Gebruikershandleiding
U kunt parameters en functies toewijzen aan de LIVE CONTROL-knoppen/schuifregelaars, de knop [ROTARY SP/
ASSIGNABLE] of optionele voetschakelaars voor snelle handelingen en expressieve besturing tijdens het keyboardspel.
De configuratie van toewijsbare regelaars wordt opgeslagen in/opgeroepen uit het registratiegeheugen, zodat u ze
allemaal tegelijk kunt wijzigen.
De toewijzingstypen van de LIVE CONTROL-knoppen/schuifregelaars
selecteren
Een configuratie van toegewezen parameters voor knoppen wordt 'knoptoewijzingstype' genoemd, en voor schuifregelaars
'schuifregelaartoewijzingstype'. Er zijn drie knoptoewijzingstypen (1–3) en daar kunt u na elkaar tussen schakelen door op
de knop [KNOB ASSIGN] te drukken. Normaal gesproken zijn er drie schuifregelaartoewijzingstypen (Balance en Assign
Type 1 en 2), en daar kunt u na elkaar tussen schakelen door op de knop [SLIDER ASSIGN] te drukken. De geselecteerde
toewijzingstypen voor knoppen en schuifregelaars worden gereset als het instrument wordt uitgeschakeld.
Toewijsbare regelaars configureren
Assign Type 1
Assign Type 2
Assign Type 3
Balance
Assign Type 1
Assign Type 2
Als voor elk keyboardgedeelte Organ
Flutes Voice is geselecteerd, kunnen
extra schuifregelaartoewijzingstypen
worden geselecteerd, speciaal voor het
bedienen van voetmaathendels voor elk
gedeelte, zodat u het geluid kunt
aanpassen met nagenoeg hetzelfde
gevoel als op een echt instrument.
OPMERKING
Het toewijzingstype van de knoppen/schuifregelaars bewerken
Knoptoewijzingstypen 1–3 en schuifregelaartoewijzingstypen 1–2 kunnen worden
bewerkt in de display Edit, die u als volgt kunt oproepen: [MENU]
[Live Control].
Raadpleeg de Naslaggids op de website voor meer informatie over bewerkbare items.

Genos Gebruikershandleiding 63
1
Spelen met stijlen—Configuraties
Functies toewijzen aan de knop [ROTARY SP/ASSIGNABLE]
Er kunnen verschillende functies worden toegewezen aan de knop [ROTARY SP/ASSIGNABLE].
1
Roep de display Edit op door te tikken op [MENU]
[Assignable].
2
Dubbeltik (tik twee keer) op het item 'Rotary Sp/Assignable' op
de display.
Het pop-upvenster voor het selecteren van een functie wordt weergegeven.
3
Tik op de gewenste functie.
Functies toewijzen aan voetschakelaars/voetregelaars
U kunt verschillende functies toewijzen aan optionele voetschakelaars/voetregelaars.
1
Roep de display Edit op door te tikken op [MENU]
[Assignable].
2
Dubbeltik (tik twee keer) op het gewenste item in het gebied
'Foot Pedals' (hierboven weergegeven).
Het pop-upvenster voor het selecteren van een functie wordt weergegeven.
3
Tik op de gewenste functie.
2
Raadpleeg de Naslaggids op de website
voor meer informatie over de
toewijsbare parameters en functies.
OPMERKING
2
• Raadpleeg de Naslaggids op de
website voor meer informatie over de
toewijsbare parameters en functies.
• Raadpleeg 'Voetschakelaars/
voetregelaars aansluiten'
(pagina 110) voor het aansluiten van
voetschakelaars/voetregelaars.
OPMERKING

2
2
64 Genos Gebruikershandleiding
Bedieningshandleiding
Spelen met stijlen—Handelingen tijdens
het spelen
Als u (in de vorige gedeeltes) alle gewenste instellingen voor één song hebt gemaakt, kunt u nu het keyboard
gaan bespelen. In dit gedeelte worden voornamelijk de verschillende handelingen voor stijlen besproken die
u tijdens het spelen op het keyboard gaat gebruiken: stijlen afspelen, expressieve effecten toepassen en Multi
Pads afspelen.
Afspelen van stijlen starten en stoppen
-
[START/STOP]-knop
Hiermee wordt het afspelen van de ritmepartij van de huidige stijl gestart. Druk nogmaals
op de knop om het afspelen te stoppen.
-
[SYNC START]-knop
Hiermee zet u het afspelen van stijlen in 'stand-by'. De stijl begint te spelen zodra u een
toets op het keyboard indrukt (wanneer [ACMP] is uitgeschakeld) of u een akkoord speelt
met uw linkerhand (wanneer [ACMP] is ingeschakeld). Wanneer u tijdens het afspelen van
een stijl op deze knop drukt, wordt de stijl gestopt en wordt het afspelen in 'stand-by' gezet.
-
[SYNC STOP]-knop
U kunt de stijl op elk moment starten en stoppen door gewoon de toetsen in de
akkoordsectie van het keyboard te spelen of los te laten. Zorg dat de knop [ACMP] is
ingeschakeld, druk op de knop [SYNC STOP] en bespeel het keyboard.
-
INTRO [I]–[III]-knoppen
De Genos beschikt over drie verschillende Intro-secties, waarmee u een intro kunt
invoegen voordat het afspelen van de stijl wordt gestart. Nadat u op een van de INTRO-
knoppen [I]–[III] hebt geklikt, start het afspelen van de stijl. Nadat de intro is afgespeeld,
gaat het afspelen van de stijl automatisch door met de Main-sectie.
-
Knoppen ENDING/rit. [I]–[III]
De Genos beschikt over drie verschillende Ending-secties, waarmee u een einde kunt
invoegen voordat het afspelen van de stijl wordt gestopt. Als u tijdens het afspelen van de
stijl op een van de Ending-knoppen [I]–[III] drukt, wordt de stijl automatisch gestopt nadat
de Ending-sectie is afgespeeld. U kunt de Ending-sectie geleidelijk laten vertragen
(ritardando) door nogmaals op dezelfde ENDING-knop te drukken tijdens het afspelen van
de Ending-sectie.
Afspelen van stijl bedienen
Zowel ritme als automatische begeleiding (ACMP) afspelen
Als de knop [ACMP] is ingeschakeld, worden zowel de ritmepartij als de automatische
begeleiding afgespeeld terwijl u tijdens het afspelen van een stijl akkoorden speelt in de
akkoordensectie.
Als het vingerzettingstype (pagina 46) is
ingesteld op 'Full Keyboard' of 'AI Full
Keyboard', kan Sync Stop niet worden
ingeschakeld.
OPMERKING

Genos Gebruikershandleiding 65
2
Spelen met stijlen—Handelingen tijdens het spelen
Tussen patroonvariaties (secties) schakelen tijdens het afspelen van een stijl
Elke stijl heeft vier verschillende Main-secties, vier Fill-in-secties en een Break-sectie.
Door deze secties op efficiënte wijze te gebruiken, kunt u uw performance makkelijk
dynamischer en professioneler laten klinken. U kunt tijdens het afspelen van een stijl
tussen secties schakelen.
-
MAIN VARIATION [A]–[D]-knoppen
Druk op een van de MAIN VARIATION-knoppen [A]–[D] om de gewenste Main-sectie te
selecteren (het lampje van de knop gaat rood branden). Elke sectie is een
begeleidingspatroon van enkele maten en wordt eindeloos herhaald. Wanneer u nogmaals
op de geselecteerde MAIN VARIATION-knop drukt, wordt een geschikt fill-in patroon
afgespeeld om het ritme op te peppen en de herhaling te breken. Nadat de fill-in is
afgespeeld, gaat deze vloeiend over in de Main-sectie.
-
[BREAK]-knop
Hiermee kunt u dynamische breaks aan het ritme van de begeleiding toevoegen. Druk
tijdens het afspelen van een stijl op de knop [BREAK]. Nadat het breakpatroon van één
maat is afgespeeld, gaat het afspelen van de stijl automatisch door met de Main-sectie.
Fade in/out
Met de functie Face In/Out produceert u geleidelijke fade-ins en fade-outs bij het starten of stoppen van het afspelen
van een stijl of song. U kunt deze functie toewijzen aan de knop [ROTARY SP./ASSIGNABLE], voetschakelaars of de
ASSIGNABLE [A]–[F]-knoppen.
•
Het afspelen starten met een fade-in:
Als het afspelen is gestopt, drukt u op de knop waaraan deze functie is toegewezen. Druk vervolgens op de knop
[START/STOP] voor een stijl (of de knop [PLAY/PAUSE] voor een MIDI-song).
•
Het afspelen stoppen met een fade-out:
Druk tijdens het afspelen op de knop waaraan deze functie is toegewezen.
AUTO FILL IN-functie
Als de knop [AUTO FILL IN] is ingeschakeld en u op een van de MAIN VARIATION-
knoppen [A]–[D] drukt terwijl u speelt, wordt automatisch een fill-insectie afgespeeld
voor een vloeiende, dynamische overgang naar de volgende (of dezelfde) sectie.
Automatisch de One Touch Settings veranderen met de Main-secties (OTS LINK)
De handige OTS (One Touch Setting) Link-functie laat u automatisch de One Touch
Settings wijzigen als u een andere Main-sectie (A-D) selecteert. De Main-secties A, B,
C en D komen overeen met respectievelijk de One Touch Settings 1, 2, 3 en 4. Als u de
functie OTS Link wilt gebruiken, schakelt u de knop [OTS LINK] in.
Raadpleeg 'Toewijsbare regelaars configureren' (pagina 62) en 'De functies of sneltoetsen voor de ASSIGNABLE-knoppen instellen' (pagina 100) voor informatie over het
toewijzen van functies aan de verschillende regelaars.
OPMERKING
Druk nogmaals op
de geselecteerde
Main-sectie
(brandt rood)
De fill-in van de
geselecteerde
Main-sectie wordt
afgespeeld
(knippert rood).
U kunt de timing waarmee de One Touch Settings veranderen aanpassen aan de wisselingen van MAIN VARIATION [A]–[D]. Roep hiervoor de display op via [MENU]
[Style Setting] [Setting] en stel vervolgens de parameter OTS Link Timing in. Raadpleeg de Naslaggids op de website (pagina 10) voor meer informatie.
OPMERKING

66 Genos Gebruikershandleiding
Met de joystick
Door de joystick horizontaal (X) of verticaal (Y) te verplaatsen, kunt u de noten naar boven of beneden ombuigen of
modulatie-effecten toepassen. Beweeg de joystick om het geluid te regelen terwijl u het keyboard bespeelt.
-
X: Pitch Bend (Toonbuiging)
Buigt noten omhoog (joystick naar rechts) of omlaag (joystick naar links) terwijl u het
keyboard bespeelt. Dit wordt toegepast op alle keyboardgedeelten (RIGHT 1–3 en LEFT).
-
Y: Modulation
De modulatiefunctie voegt een vibrato-effect toe aan noten die op het keyboard worden
gespeeld. Dit wordt standaard toegepast op de keyboardgedeelten RIGHT 1–3. U kunt
bepalen of de modulatie-effecten die worden veroorzaakt door de joystick al dan niet
onafhankelijk worden toegepast op elk van de keyboardgedeelten: [MENU]
[Keyboard/Joystick]
[Joystick]
Modulation (+), Modulation (-).
Over de lampstatus van de sectieknoppen (INTRO/MAIN VARIATION/BREAK/ENDING)
•
Rood:
de sectie is momenteel geselecteerd.
•
Rood (knipperend):
de sectie wordt als volgende afgespeeld, na de momenteel geselecteerde sectie.
* De lampjes van de MAIN VARIATION-knoppen [A]–[D] knipperen rood tijdens het afspelen van fill-ins.
•
Blauw:
de sectie bevat gegevens, maar is momenteel niet geselecteerd.
•
Uit:
de sectie bevat geen gegevens en kan niet worden afgespeeld.
Uw spel expressief regelen
+X-X
-Y
+Y
• U kunt het maximale pitchbendbereik
wijzigen in de display die u oproept
via [MENU] [Keyboard/Joystick]
[Joystick].
• Afhankelijk van de stijlinstelling
wordt het pitchbendeffect tijdens het
afspelen van een stijl mogelijk niet
toegepast op het LEFT-gedeelte.
OPMERKING
Afhankelijk van de stijlinstelling worden
de modulatie-effecten tijdens het
afspelen van een stijl mogelijk niet
toegepast op het LEFT-gedeelte.
OPMERKING
De modulatiewaarde vasthouden (MODULATION HOLD)
Als u de joystick loslaat, gaat deze vanzelf terug naar het midden. U kunt de huidige
modulatiewaarde echter vasthouden door op de knop [MODULATION HOLD] te
drukken.
• Als de knop [MODULATION HOLD] wordt ingeschakeld terwijl de joystick wordt
verplaatst, wordt de modulatiewaarde (Y-aswaarde) vastgezet en ook vastgehouden
nadat de joystick wordt losgelaten.
• Als de knop [MODULATION HOLD] wordt uitgeschakeld, gaat de modulatiewaarde
terug naar de standaardwaarde voor de voice van elk gedeelte. (De positie van de
joystick op dat moment wordt genegeerd.)
+X-X
-Y
+Y

Genos Gebruikershandleiding 67
2
Spelen met stijlen—Handelingen tijdens het spelen
Sustain toepassen op de RIGHT 1–3-voices
Met de knop [SUSTAIN] schakelt u de functie Sustain in en uit. Als de functie is
ingeschakeld, hebben alle noten die met de rechterhandgedeelten (RIGHT 1, 2, 3) op het
keyboard worden gespeeld een langere sustain.
Met de Super Articulation-voices (S.Art-voices en S.Art2-voices) kunt u subtiele en
uiterst realistische expressieve nuances maken door de manier waarop u speelt. Het
voicetype (S.Art, S.Art2) wordt aangegeven in de display voor voiceselectie, boven de
naam van de Super Articulation-voices. Bovendien kunt u met de knoppen [ART. 1]/
[ART. 2]/[ART. 3] van dit instrument die expressieve nuances toevoegen met één druk op
een knop.
Automatische articulatie-effecten van Super Articulation-voices
S.Art-voices
De S.Art-voices voorzien in veel voordelen met een grote speelbaarheid en expressieve controle in real-time.
Voorbeeld: Saxophone-voice
Als u een C-noot en vervolgens een aangrenzende D speelt met veel legato,
hoort u de noot naadloos veranderen, zoals wanneer een saxofoonspeler de noten
in één adem speelt.
Voorbeeld: Concert Guitar-voice
Als u een C-noot en vervolgens de hogerliggende E heel legato maar stevig speelt,
glijdt de toonhoogte van C naar E.
S.Art2-voices
Sommige blaasinstrument- en strijkersvoices zijn voorzien van een speciale technologie,
AEM, waarvoor met gedetailleerde samples van de speciale expressieve technieken die op
die specifieke instrumenten worden gebruikt, noten worden gebogen of naar noten wordt
gegleden, noten worden 'samengevoegd' en expressieve nuances worden toegevoegd aan
het eind van een noot, enz. U kunt deze articulaties toevoegen door legato of non-legato te
spelen of intervallen van een octaaf of groter te spelen.
Voorbeeld: Clarinet-voice
Als u een C aanhoudt en de B
b
erboven speelt, hoort u een glissando naar de B
b
.
Sommige 'noot-uit' effecten worden ook automatisch geproduceerd wanneer u een
noot langer dan een bepaalde tijd aanhoudt.
Super Articulation Voices afspelen en regelen
Het toegepaste articulatie-effect is
afhankelijk van de voice die is
geselecteerd. Raadpleeg de Datalijst op
de website voor meer informatie.
OPMERKING
AEM (Articulation Element Modeling) is
een technologie die het geluid van
akoestische instrumenten realistisch
nabootst door de meest geschikte
geluidssamples uit de database in
realtime tijdens een performance
naadloos in elkaar te laten overlopen.
OPMERKING
Elke S.Art2-voice heeft zijn eigen
standaard vibrato-instelling, dus als
u een S.Art2-voice selecteert, wordt de
juiste vibrato toegepast. U kunt het
vibrato aanpassen door de joystick naar
boven of beneden te verplaatsen.
OPMERKING

68 Genos Gebruikershandleiding
Articulatie-effecten toevoegen met de knoppen [ART. 1]–[ART. 3]
Als u een Super Articulation-voice selecteert, lichten de knoppen [ART. 1]/[ART. 2]/[ART. 3] mogelijk blauw op. Door
op een verlichte knop te drukken, voegt u het effect toe (een knop zonder verlichting heeft geen effect).
Hieronder ziet u drie voorbeelden van Super Articulation-effecten met de knoppen.
Voorbeeld 1
Door op de beschikbare [ART]-knop te drukken, worden verschillende speeleffecten en -technieken geactiveerd, los van
uw keyboardspel.
Door bijvoorbeeld op de [ART]-knop voor een S.Art-saxofoonvoice te drukken, worden adem- of toetsgeluiden
geproduceerd en als u ditzelfde doet voor een S.Art-gitaarvoice, worden fretgeluiden of het geluid van vingers
geproduceerd. U kunt deze tijdens uw spel in de noten opnemen.
De knop licht rood op terwijl het articulatie-effect wordt geproduceerd.
Voorbeeld 2
Als u het keyboard bespeelt terwijl u de beschikbare [ART]-knop ingedrukt houdt, verandert u de aard van de voice.
Als u bijvoorbeeld in het geval van de NylonGuitar-voice in de categorie A.GUITAR, de knop [ART. 1] ingedrukt houdt,
kunt u harmonieën voor de gitaarvoice spelen. Wanneer u de knop loslaat, wordt opnieuw de normale voice gebruikt.
De knop licht rood op terwijl u deze ingedrukt houdt.
Voorbeeld 3
Als een S.Art2-voice is geselecteerd en u op de [ART]-knop drukt en een noot bespeelt of loslaat, kunt u articulatie-
effecten toevoegen, bijvoorbeeld toonstijging/-daling, glissando omhoog/omlaag, brass fall, enzovoort.
Wanneer u de beschikbare [ART]-knop indrukt, knippert deze rood tot het afspelen van het effect is voltooid. U kunt het
effect annuleren door de knop nogmaals in te drukken terwijl deze knippert. Meteen nadat u de noot indrukt/loslaat en het
articulatie-effect wordt geproduceerd, licht de knop rood op.
Articulatiegeluid
RoodBlauw
Articulatiegeluid
RoodBlauw
Articulatiegeluid
Rood
(knippert)
Blauw
Toets aan
To e t s u i t
Articulatiegeluid
Rood
(brandt)
Rood
(brandt)
Rood
(knippert)
Blauw

Genos Gebruikershandleiding 69
2
Spelen met stijlen—Handelingen tijdens het spelen
Effecten uit Voorbeeld 3 kunnen op dezelfde manier worden gebruikt als die uit
Voorbeeld 2.
U kunt een [ART]-knop ingedrukt houden (de knop knippert rood) en een noot spelen/
loslaten om het articulatie-effect meerdere keren achter elkaar toe te passen.
Om de realistische respons van de
oorspronkelijke instrumenten niet te
verliezen, zijn de toegepaste effecten
afhankelijk van het keyboardbereik
waarin u speelt.
OPMERKING
Als Super Articulation-voices zijn geselecteerd voor meerdere gedeelten
Als u S.Art/S.Art2-voices selecteert voor twee of meer keyboardgedeelten en u tegelijkertijd een [ART]-knop gebruikt,
heeft dat effect op alle gedeelten waarvoor S.Art/S.Art2-voices zijn geselecteerd.
Als een effect van Voorbeeld 3 is toegewezen aan het Right- en het Left-gedeelte en een van de [ART]-knoppen rood
knippert (stand-by), wordt als u slechts één gedeelte bespeelt (bijvoorbeeld het Right 1-gedeelte), alleen aan dat gedeelte
een articulatie-effect toegevoegd. Aangezien het andere gedeelte (het Left-gedeelte) in stand-by blijft, blijft de knop
knipperen. Als u de knop uit stand-by wilt halen, moet u het Left-gedeelte van het keyboard bespelen. (U kunt de stand-
bystatus in dit geval niet annuleren door op de knipperende knop te drukken omdat u hierdoor mogelijk het Left-gedeelte
uit stand-by haalt en het Right-gedeelte opnieuw stand-by zet.)

70 Genos Gebruikershandleiding
Multi Pads bespelen
1
Druk op een van de MULTI PAD CONTROL [1]–[4]-knoppen om
een Multi Pad-frase af te spelen.
De bijbehorende frase voor de knop wordt vanaf het begin afgespeeld volgens het
ingestelde tempo. U kunt maximaal vier Multi Pads tegelijk afspelen.
2
Druk op de knop [STOP] om het afspelen van de Multi Pad(s) te
stoppen.
Als u een bepaalde pad wilt stoppen, houdt u de knop [STOP] ingedrukt en drukt
u op de pad(s) die u wilt stoppen.
De Multi Pads regelen
• Er zijn twee soorten Multi Pad-
gegevens. De ene soort wordt één
keer afgespeeld en stopt als het einde
is bereikt. De andere soort wordt
steeds herhaald (loop).
• Door op de pad te drukken terwijl
deze al wordt afgespeeld, wordt het
afspelen gestopt en weer gestart
vanaf het begin.
OPMERKING
• Wanneer u tijdens het afspelen van
een stijl of MIDI-song op de Multi
Pad-knop drukt, wordt het afspelen
vanaf het begin van de volgende maat
gestart. Wanneer de stijl of MIDI-
song is gestopt, kunt u op de Multi
Pad-knop drukken om het afspelen
onmiddellijk te starten.
• Terwijl de stijl of MIDI-song wordt
afgespeeld, kunt u ook op de knop
STYLE CONTROL [START/STOP] of
SONG A/B [PLAY/STOP] drukken om
het afspelen van de Multi Pad(s) te
stoppen. Wanneer zowel de stijl als
de MIDI-song worden afgespeeld,
kunt u op de knop SONG A/B [PLAY/
STOP] drukken om het afspelen van
de song, stijl en Multi Pad(s) te
stoppen.
OPMERKING
Over de lampstatus van de MULTI PAD CONTROL-knoppen [1]–[4]
•
Blauw:
geeft aan dat de corresponderende pad gegevens bevat (frase).
•
Rood:
geeft aan dat de corresponderende pad wordt afgespeeld.
•
Rood (knipperend):
geeft aan dat de corresponderende pad stand-by staat (Synchro Start; zie pagina 71).
•
Uit:
geeft aan dat de corresponderende pad geen gegevens bevat en niet kan worden afgespeeld.
Chord Match gebruiken
Als de [ACMP] of het LEFT-gedeelte is ingeschakeld, veranderen Multi Pad-frasen automatisch van toonhoogte volgens
het akkoord dat u in de akkoordsectie speelt.
Speel het akkoord in de akkoordsectie voor/nadat u op een van de Multi Pads drukt.
Akkoordsectie
Sommige Multi Pads worden niet beïnvloed door Bijpassend akkoord.
OPMERKING

Genos Gebruikershandleiding 71
2
Spelen met stijlen—Handelingen tijdens het spelen
Multi Pad Synchro Start-functie gebruiken
U kunt het afspelen van een Multi Pad ook starten door het keyboard te bespelen of het afspelen van een stijl te starten.
1
Houd de knop MULTI PAD CONTROL [SELECT] ingedrukt en
druk op de gewenste knop of knoppen ([1]–[4]).
De overeenkomstige knoppen knipperen rood om de stand-bystatus aan te geven.
2
Start het afspelen van de Multi Pad.
• Als [ACMP] uit is, drukt u op een willekeurige noot of speelt u een stijl af.
• Als [ACMP] is ingeschakeld, speelt u een akkoord in de akkoordsectie of speelt
u een stijl af.
Als u een Multi Pad tijdens het afspelen van de stijl of song in stand-by zet en
u vervolgens op een noot drukt (terwijl [ACMP] is uitgeschakeld) of een akkoord
speelt in de akkoordsectie (wanneer [ACMP] is ingeschakeld), wordt het afspelen
van Multi Pads vanaf het begin van de volgende maat gestart.
Als u de stand-bystatus van de
geselecteerde pad wilt annuleren, voert
u dezelfde handeling uit of drukt
u gewoon op de knop [STOP] om de
status van alle pads te annuleren.
OPMERKING
Als twee of meer Multi Pads stand-by
zijn en u op een ervan drukt, wordt het
simultaan afspelen van alle Multi Pads
gestart.
OPMERKING

3
3
72 Genos Gebruikershandleiding
Bedieningshandleiding
Meezingen met een afgespeelde song—Configureren
In dit gedeelte wordt uitgelegd hoe u het instrument kunt configureren voor meezingen met songs,
met songselectie en Vocal Harmony-instellingen.
Zoals in Hoofdstuk 1, kunnen de instellingen uit dit gedeelte samen als één songconfiguratie (pagina 92) worden
opgeslagen in het registratiegeheugen.
Songs—MIDI-song en audiosong
Bij de Genos verwijst 'song' naar MIDI- of audiogegevens, zoals presetsongs,
commercieel verkrijgbare muziekbestanden enzovoort. U kunt een song niet alleen
afspelen en beluisteren, maar u kunt ook op het keyboard spelen of meezingen terwijl de
song wordt afgespeeld.
Er zijn twee soorten songs die op dit instrument kunnen worden opgenomen en
afgespeeld: MIDI-songs en audiosongs.
-
MIDI-song
Een MIDI-song bestaat uit de informatie over uw toetsenspel. Het is geen opname van het
geluid zelf. De performance-informatie heeft betrekking op welke toetsen zijn ingedrukt,
met welke timing en kracht - net als in een muzieknotatie. Op basis van de opgenomen
performance-informatie voert de toongenerator (van de Genos enz.) het corresponderende
geluid uit. Omdat MIDI-songgegevens informatie bevatten zoals keyboardgedeelte en
voice, kunt u beter spelen terwijl u naar de muzieknotatie kijkt, de betreffende partij in- of
uitschakelt of van voice verandert.
-
Audiosong
Een audiosong daarentegen, is een opname van het gespeelde geluid zelf. Deze gegevens
worden op dezelfde manier opgenomen als met bijvoorbeeld het opnemen van cassettes of
met een spraakrecorder. Audiosongs kunnen worden afgespeeld met een draagbare
muziekspeler en vele andere apparaten zodat anderen gemakkelijk kunnen luisteren naar
wat u hebt gespeeld.
Als u een song van een USB-flashstation wilt afspelen, sluit u op voorhand het USB-
flashstation dat de songgegevens bevat aan op de [USB TO DEVICE]-aansluiting.
Instellingen voor het afspelen van songs
Lees voordat u een USB-flashstation
gaat gebruiken het onderdeel 'USB-
apparaten aansluiten' op pagina 111.
OPMERKING

Genos Gebruikershandleiding 73
3
Meezingen met een afgespeelde song—Configureren
Songafspeelmodus omschakelen
De Genos heeft twee modi voor het afspelen van songs: de modus Dual Player en de modus Song List. In de modus Dual
Player worden twee songs (SONG A en SONG B) tegelijk afgespeeld en kunt u met de speciale Cross Fader een soepele
overgang tussen die twee maken, zoals een dj zou doen. In de modus Song List worden continu songs afgespeeld volgens
een eerder gemaakte songlist.
1
Druk op de knop [SONG] om de display Song Playback op te
roepen.
Dual Player of Song List wordt weergegeven, afhankelijk van wat u de vorige keer
hebt geselecteerd.
2
Tik op de display om naar een andere songafspeelmodus te
schakelen.
Compatibiliteit van songbestanden
U kunt de volgende songtypen afspelen.
• Presetsongs (MIDI-songs)
• Uw eigen opgenomen songs (zie pagina 90 voor instructies voor het opnemen)
• Commercieel verkrijgbare songs: MIDI-bestanden in SMF-indeling (Standard MIDI File), audiobestanden in WAV-
of MP3-indeling.
WAV
....... 44,1 kHz samplefrequentie, 16-bits resolutie, stereo
MP3
....... MPEG-1 Audio Layer-3: 44,1 kHz samplefrequentie, 64–320 kbps bitsnelheid, stereo
• Zie 'MIDI Basics' op de website (pagina 10) voor een algemeen overzicht en aanwijzingen voor een doeltreffend gebruik van MIDI.
• Ga naar pagina 11 voor meer informatie over compatibele MIDI-indelingen.
OPMERKING
Tik op [List] op de display.
Tik op [Dual] op de display.

74 Genos Gebruikershandleiding
Songs selecteren (modus Dual Player)
1
Druk op de knop [SONG] om de display Song Playback op te
roepen. Controleer of de modus Dual Player is geselecteerd.
2
Tik op de naam van de song in het gebied Song A of Song B.
De display voor songselectie wordt weergegeven.
3
Selecteer de gewenste song voor elk ervan,
A en B.
Tik voor het selecteren van audiosongs op [Audio].
Tik voor het selecteren van MIDI-songs op [MIDI].
Zie pagina 78, 85 voor meer informatie over afspeelhandelingen en de crossfadingfuncties.
2
• Raadpleeg 'Display voor
bestandsselectie' (pagina 32) voor
basishandeling in de display voor
songselectie.
• Y kunt twee audiosongs of één
audiosong en één MIDI-song
selecteren voor SONG A en SONG B.
U kunt niet twee MIDI-songs
selecteren.
• U kunt de display met instellingen
voor het afspelen van songs
oproepen via (Menu)
[Song Setting].
OPMERKING
Informatie over songs weergeven
Als er in de display voor songselectie een audiosong is geselecteerd, wordt het
informatievenster opgeroepen als u op (Menu) en vervolgens op [Audio Song
Information] tikt.

Genos Gebruikershandleiding 75
3
Meezingen met een afgespeelde song—Configureren
Songs selecteren (modus Song List)
1
Druk op de knop [SONG] om de display Song Playback op te
roepen. Controleer of de modus Song List is geselecteerd.
2
Een songlijst maken
-
Als u een nieuwe songlijst maakt
Tik op (New) in de display om een nieuwe songlijst te maken.
Raadpleeg de Naslaggids op de website voor meer informatie over hoe u de
songlijst kunt bewerken.
-
Als u een bestaande songlijst selecteert
2-1
Roep de display voor Song List-bestandsselectie op door op de naam van de
songlijst te tikken.
2-2
Tik op het gewenste Song List-bestand.
3
Tik op de gewenste song in de geselecteerde songlijst.
De geselecteerde song wordt gemarkeerd.
Zie pagina 78 voor meer informatie over afspeelregelaars.
Raadpleeg de Naslaggids op de website voor informatie over het configureren van continu
afspelen van de songs in de lijst.
2

76 Genos Gebruikershandleiding
U kunt terwijl u zingt automatisch diverse Vocal Harmony-effecten op uw stem toepassen
en met Synth Vocoder de unieke kenmerken van uw stem overzetten naar synthesizer en
andere geluiden.
Vocal Harmony gebruiken
1
Roep de display Vocal Harmony op via [MENU]
[VocalHarmony].
2
Controleer of Harmony is ingesteld op 'On'.
Tik indien nodig op de display of druk op de knop [VOCAL HARMONY] of
Harmony in te stellen op 'On'.
3
Tik op de naam van de Vocal Harmony om de display voor
Vocal Harmony-typeselectie te openen.
4
Selecteer het gewenste Vocal Harmony-type door erop te tikken.
De Vocal Harmony heeft drie verschillende modi die automatisch kunnen worden
geselecteerd door een Vocal Harmony-type te selecteren.
Vocal Harmony-modi
De pictogrammen die worden weergegeven in de display voor Vocal Harmony-
typeselectie geven het volgende gebruik aan.
Effecten toepassen op het microfoongeluid (Vocal Harmony)
Zorg dat u een microfoon aansluit
voordat u Vocal Harmony en Synth
Vocoder gebruikt. Zie pagina 106 voor
instructies voor het aansluiten van een
microfoon en de benodigde
instellingen.
OPMERKING
2
3
5
Mode (modus)
Naam van Vocal Harmony-type
(Wanneer de modus is ingesteld op 'Vocoder' of 'Vocoder Mono')
Chordal De harmonienoten worden bepaald door de akkoorden die
u speelt in de akkoordensectie (als [ACMP ON/OFF] is
ingeschakeld), de linkerhandsectie (als [ACMP ON/OFF] is
uitgeschakeld en het linkerhandgedeelte is ingeschakeld) of de
akkoordgegevens van een song.
Vocoder Het microfoongeluid wordt uitgevoerd via de noten die u op het
keyboard speelt of de noten van de afgespeelde song.
Vocoder-mono In principe hetzelfde als Vocoder, maar in deze modus kunnen
alleen melodieën of lijnen met één noot worden afgespeeld
(met prioriteit voor de laatst gespeelde noten).
(Blauw) Vocal Harmony-type van akkoordmodus
(Bruin) Vocal Harmony-type van Vocoder-modus
(Groen) Vocal Harmony-type met ongebruikelijke effecten, zoals een
robotstem.
(Grijs) Vocal Harmony-type zonder effect.

Genos Gebruikershandleiding 77
3
Meezingen met een afgespeelde song—Configureren
5
Voer de volgende stappen uit afhankelijk van welk type
(en welke modus) u hebt geselecteerd.
Als u het akkoordtype hebt geselecteerd:
5-1
Zorg ervoor dat de knop [ACMP] is ingeschakeld.
5-2
Speel een stijl af terwijl u akkoorden speelt of speel een song af die
akkoorden bevat.
Vocale harmonieën op basis van de akkoorden worden op uw zangpartij
toegepast.
Als u het Vocoder- of Vocoder-Mono-type hebt geselecteerd:
5-1
Wijzig zo nodig de instelling 'Keyboard' in 'Off', 'Upper' of 'Lower'.
Als 'Upper' of 'Lower' is geselecteerd, kunt u het Vocoder-effect besturen
door de rechter- of linkerhandsectie van het keyboard te bespelen. Als 'Off'
is geselecteerd, kunt u het Vocoder-effect niet met het keyboard besturen.
5-2
Speel melodieën op het keyboard of speel een song af en zing in de
microfoon.
U zult merken dat u geen echte noten op toon hoeft te zingen. Het Vocoder-
effect gebruikt de woorden die u zegt en past ze toe op de toonhoogte van de
geluiden van het instrument.
Synth Vocoder gebruiken
Dit zijn speciale effecten die de kenmerken van uw stem overbrengen op synthesizer en andere geluiden, voor
ongebruikelijke mechanische of robotachtige effecten, maar ook voor unieke koorgeluiden, die u met uw eigen zang en
spel kunt regelen.
1
Voer stap 1–3 in Vocal Harmony gebruiken op pagina 76 uit.
2
Selecteer vanuit de display voor Vocal Harmony-typeselectie de
categorie Synth Vocoder uit de subcategorieën.
3
Selecteer het gewenste Synth Vocoder-type door erop te tikken.
4
Houd een noot op het keyboard ingedrukt terwijl u in de
microfoon spreekt of zingt.
Probeer ook van noot te wisselen terwijl u andere woorden zegt of zingt en voor
elk woord een andere noot aan te slaan.
Het effect van Vocoder Types wordt
toegepast op maximaal drie noten van
het akkoord dat u speelt. Het effect van
Vocoder-Mono wordt telkens maar op
één noot toegepast (de laatst toegepaste
noot).
OPMERKING
U kunt de Keyboard-instelling (Off/
Upper/Lower) wijzigen en bepalen welk
gedeelte van het keyboard (of song) het
effect regelt. Raadpleeg de Naslaggids
op de website voor meer informatie.
OPMERKING

4
4
78 Genos Gebruikershandleiding
Bedieningshandleiding
Meezingen met een afgespeelde song—
Handelingen tijdens het spelen
In dit gedeelte worden de handelingen besproken die u kunt uitvoeren terwijl u meezingt met songs: songs
afspelen, muzieknotatie en songteksten weergeven, het volume aanpassen tussen twee songs en
microfoonfuncties schakelen.
U kunt het afspelen van songs regelen door op de knoppen op het paneel te drukken of vanuit de display Song Playback
die wordt opgeroepen als u op de knop [SONG] drukt. De besturingsdisplays voor SONG A en SONG B (indien
gebruikt) worden weergegeven, waarin u de momenteel geselecteerde MIDI-/audiosongs op het scherm kunt regelen.
De display Song Playback
Basisafspeelhandelingen (voor MIDI- en audiosongs)
Afspelen/pauzeren (knop [PLAY/PAUSE])
Druk (of tik) op de knop [PLAY/PAUSE] ( ) om het afspelen van de desbetreffende kant (SONG A of SONG B) te
starten. Als u tijdens het afspelen op deze knop drukt, wordt het afspelen gepauzeerd. Druk nogmaals op deze knop om
het afspelen van de song te hervatten vanaf de huidige positie.
De vorige/volgende song selecteren (knop [PREV] of [NEXT])
Druk (of tik) op de knop [PREV] of [NEXT] ( of ) om de vorige/volgende song te selecteren. In de Dual Player-
modus selecteert u met deze handeling het vorige/volgende songbestand in dezelfde map. In de Song List-modus
selecteert u met deze handeling de vorige/volgende song in de Song List.
Snel terug-/vooruitspoelen (knop [PREV] of [NEXT])
Houd de knop [PREV] of [NEXT] ( of ) ingedrukt als u onafgebroken achterwaarts/voorwaarts door het huidige
bestand wilt scrollen.
Afspelen van songs regelen
• Raadpleeg pagina 72 voor meer
informatie over MIDI-songs/
audiosongs, het schakelen tussen
afspeelmodi voor songs en het
selecteren van songs.
• In de Song List-modus zijn alleen
basisafspeelhandelingen mogelijk.
Daar staat tegenover dat u meerdere
songs ononderbroken kunt afspelen.
Raadpleeg de Naslaggids op de
website voor meer informatie.
OPMERKING
Dual Player-modus (SONG A, SONG B) Song List-modus (alleen SONG A)

Genos Gebruikershandleiding 79
4
Meezingen met een afgespeelde song—Handelingen tijdens het spelen
Afspeelhandelingen, uitsluitend voor MIDI-songs
Synchro Start
U kunt het afspelen van de MIDI-song gemakkelijk starten zodra u op het keyboard begint te spelen. Als u op
(Synchro start) tikt, wordt Synchro Start in de stand-bystatus gezet, ongeacht of de song momenteel wordt afgespeeld of
is gestopt. Als u de functie Synchro Start wilt annuleren, herhaalt u deze handeling.
Afspelen met songpositiemarkeringen ([M], [1]–[4], [Loop])
Met songpositiemarkeringen kunt u niet alleen snel en gemakkelijk door de MIDI-songgegevens navigeren, maar ook
handige afspeelloops instellen als handig hulpmiddel bij het arrangeren van songs. Raadpleeg 'Songpositiemarkeringen
gebruiken' (pagina 81) voor meer informatie.
De afspeelpositie in de song verplaatsen (pop-upvenster Song Position)
Als u de knop [PREV] of [NEXT] indrukt of ingedrukt houdt, wordt
een instellingsdisplay weergegeven met daarin de huidige positie van
de song. Als het venster in de display wordt weergegeven, kunt u ook
de draaiknop Data gebruiken om onafgebroken achterwaarts/
voorwaarts door het huidige bestand te scrollen.
Het nummer van de frasemarkering wordt alleen weergegeven
wanneer de geselecteerde MIDI-song frasemarkeringen bevat. U kunt
selecteren of de afspeelpositie van de song vooruit of achteruit wordt
verplaatst in maten (Bar) of in frasemarkeringen (Phrase Mark) door
vooraf op de instellingsdisplay te tikken.
Voor MIDI-songs
Huidig
maatnummer
Voor audiosongs
Verstreken tijd
Huidig
maatnummer
Nummer van
frasemarkering
Een frasemarkering is een vooraf geprogrammeerde markering in bepaalde MIDI-songgegevens,
die een bepaalde locatie in de song aangeeft.
OPMERKING
De afspeelpositie van de song verplaatsen (voorgangsbalk op de display)
In elk songgebied wordt de huidige positie van de afgespeelde song weergegeven. U kunt deze naar voren of achteren
verplaatsen door de schuifregelaar in de display te verschuiven.

80 Genos Gebruikershandleiding
Afspeelhandelingen, uitsluitend voor audiosongs
Vocal Cancel (stempartij annuleren)
Hiermee kunt u de middenpositie van het stereogeluid tijdens het afspelen van audiosongs
annuleren of verzwakken. Zo kunt u in karaokestijl meezingen met alleen instrumentale
begeleiding of de melodiepartij op het keyboard spelen, omdat het stemgeluid in de meeste
opnames in het midden van het stereobeeld zit.
Als u de functie Vocal Cancel wilt in- of uitschakelen, selecteert u eerst een audiosong en
schakelt u (Vocal Cancel) in of uit.
Time Stretch (afspeelsnelheid aanpassen)
Net als bij tempoaanpassing van een MIDI-song kunt u hiermee de afspeelsnelheid
van een audiosong aanpassen door deze uit te rekken of te comprimeren. Tik hiervoor
op (Time Stretch) om het configuratievenster op te roepen. Tik in dit venster op
[
]/[
] om de waarde in te stellen (tussen 70% en 160%). Hogere waarden resulteren in
een hoger tempo.
Pitch Shift (toonhoogteverschuiving)
Net zoals bij de functie Transpose voor MIDI-songs kunt u hiermee de toonhoogte van een
audiosong verschuiven in stappen van een halve noot (van -12 tot 12).
A-B Repeat Playback
Hiermee kunt u een opgegeven gedeelte (tussen punt A en B) herhaaldelijk afspelen.
1
Tik op (Play/Pause) om het afspelen te starten.
2
Geef het herhalingsbereik aan.
Wanneer tijdens het afspelen het punt is bereikt dat u als startpunt (A) wilt
instellen, schakelt u [A-B herhaling] in. Wanneer tijdens het afspelen het
punt is bereikt dat u als eindpunt (B) wilt instellen, tikt u opnieuw op [A-B
herhaling]. Het bereik tussen de punten A en B wordt herhaaldelijk afgespeeld.
3
Als u het herhaaldelijk afspelen tussen A en B wilt annuleren,
schakelt u (A-B Repeat) uit.
De tijd van punt A en B wordt gewist en Repeat Playback wordt geannuleerd.
Hoewel de functie Vocal Cancel bij de
meeste audio-opnamen heel goed
werkt, wordt het stemgeluid niet bij alle
songs volledig geannuleerd.
OPMERKING
• Als u alleen punt A opgeeft, wordt
herhaaldelijk afgespeeld tussen punt
A en het einde van de song.
OPMERKING
Begin van de song Einde van de songA B
Het herhalingsbereik aangeven terwijl het afspelen van songs is gestopt.
1. Spoel de song snel vooruit naar punt A en schakel (A-B Repeat) in.
2. Spoel de song snel vooruit naar punt B en tik opnieuw op (A-B Repeat).

Genos Gebruikershandleiding 81
4
Meezingen met een afgespeelde song—Handelingen tijdens het spelen
In MIDI-songgegevens kunnen songpositiemarkeringen (SP1–SP4) worden geplaatst. Hierdoor kunt u niet alleen snel en
makkelijk door de MIDI-songgegevens navigeren, maar ook handige afspeellussen instellen, waardoor u 'ter plekke'
tijdens het spelen dynamische songarrangementen kunt maken.
Songpositiemarkeringen invoeren
1
Selecteer de gewenste MIDI-song (pagina 74) en speel hem af
(pagina 78).
2
Voer de songpositiemarkeringen in.
2-1
Schakel (Song Position Memorize) in door erop te tikken.
2-2
Als de song het punt bereikt waar u een markering wilt plaatsen, tikt u op
het gewenste markeringsnummer ([1]–[4]) op de display.
De corresponderende songpositiemarkering wordt ingevoerd en Song
Position Memorize wordt automatisch uitgeschakeld.
3
Voer indien gewenst andere markeringen in op dezelfde manier
als in stap 2.
4
Pauzeer het afspelen van de song (pagina 78).
5
Sla de song op.
5-1
Tik op de naam van de song om de display voor songselectie op te roepen.
5-2
Sla het songbestand op (pagina 37).
Tijdens het afspelen naar een songpositiemarkering springen
Door tijdens het afspelen van de song op een van de knoppen Song Position-knoppen [1]–[4] te tikken, springt u naar de
overeenkomstige positie nadat het einde van de momenteel afgespeelde maat is bereikt. (De knop knippert rood om aan
te geven dat het instrument gereed is om naar de nieuwe positie te springen.) U kunt het springen annuleren door
nogmaals op dezelfde Song Position te tikken voordat de sprong daadwerkelijk heeft plaatsgevonden.
Songpositiemarkeringen gebruiken (alleen MIDI-songs)
De ingevoerde
markeringsinstellingen gaan
verloren als u van song verandert
of als u het instrument uitzet
zonder de opslagbewerking uit te
voeren.
LET OP
Over de status van de songpositie [1]–[4]
•
Uit:
de songpositie is niet ingevoerd op de knop.
•
Groen:
de songpositie is ingevoerd op de knop.
•
Rood (knippert):
afspeelsprong is gereed. Zie hieronder ('Tijdens het afspelen naar een songpositiemarkering
springen').
•
Rood:
de songpositie is gepasseerd en de song wordt verder afgespeeld tot de volgende songknop.

82 Genos Gebruikershandleiding
Afspelen starten vanaf een specifieke markering
Tik eerst op een van de Song Position-knoppen [1]–[4] terwijl het afspelen van songs is gestopt, en start vervolgens het
afspelen (pagina 78).
Markeringen gebruiken bij het afspelen van een loop
In dit gedeelte wordt het afspelen van een loop beschreven aan de hand van het voorbeeld van loopen tussen markeringen
[1] en [2].
1
Tik op (Play/Pause) om het afspelen te starten vanaf het
begin van de song.
2
Als het punt [1] is gepasseerd, tikt u op (Loop) om de
loop-functie in te schakelen.
De song wordt afgespeeld tot het punt [2], gaat vervolgens terug naar [1] en loopt
(wordt herhaald) tussen de twee punten.
3
Tik nogmaals op (Loop) om het loopen te stopen en het
normale afspelen te hervatten.
Als dit is uitgeschakeld, gaat het afspelen door tot voorbij het punt [2].
Begin van de
song [1] Einde van de
song
[2] [3] [4]
Songposities

Genos Gebruikershandleiding 83
4
Meezingen met een afgespeelde song—Handelingen tijdens het spelen
Muzieknotatie (Score) van de MIDI-song weergeven
U kunt de muzieknotatie (score) van de geselecteerde MIDI-song bekijken. We raden u aan om de muzieknotatie door te
lezen voordat u begint te oefenen.
1
Selecteer een MIDI-song (pagina 74).
2
Tik op (Score) in de display Song Playback om de
display Score op te roepen.
U kunt de hele muzieknotatie doorbladeren door op [
] of [
] te tikken wanneer
het afspelen van de song is gestopt. Terwijl de song wordt afgespeeld, stuitert de
rode 'bal' mee door de notatie, om de huidige positie aan te geven.
Muzieknotatie, songteksten en tekstbestanden weergeven tijdens het
afspelen
• U kunt de display Score ook
oproepen via [MENU] [Score].
• Het instrument kan de muzieknotatie
weergeven van commercieel
beschikbare muziekgegevens of van
uw opgenomen songs.
• De getoonde notatie wordt door het
instrument gegenereerd op basis van
de songgegevens. Hierdoor is het
mogelijk dat dit niet exact gelijk is
aan de in de handel verkrijgbare
bladmuziek van dezelfde song (vooral
bij de weergegeven notatie van
complexe passages met veel korte
noten).
OPMERKING
Hiermee schakelt
u tussen de
pagina's.
Hiermee wijzigt u de
instellingen van de
Score-display.
De grootte van de muzieknotatie en weergegeven songteksten in een muzieknotatie wijzigen
Als u het pictogram van de noot in de rechterbenedenhoek van de display tikt, kunt u de instellingen van de Score-
display wijzigen, zoals de grootte van de muzieknotatie wijzigen of nootnamen of songteksten in de muzieknotatie
weergeven enzovoort. Raadpleeg de Naslaggids op de website voor meer informatie over de display Score.
Er kunnen alleen songteksten worden getoond als de song songtekstgegevens bevat.
OPMERKING

84 Genos Gebruikershandleiding
Songteksten van de MIDI-song weergeven
Als de geselecteerde song tekstgegevens bevat, kunt u deze tijdens het afspelen op de display van het instrument
bekijken.
1
Selecteer een MIDI-song (pagina 74).
2
Tik op (Lyrics) in de display Song Playback om de
display Lyrics op te roepen.
Als de songgegevens tekstgegevens bevatten, wordt de tekst weergegeven op de
display. U kunt de hele songtekst doorbladeren door op [
] of [
] te tikken
wanneer het afspelen van de song is gestopt. Tijdens het afspelen van de song
verandert de kleur van de tekst om de huidige positie aan te geven.
Zie de Naslaggids op de website voor meer informatie over de songtekstweergave.
Tekst weergeven
Ongeacht of er een song is geselecteerd, kunt u op een computer gemaakte tekstbestanden (.txt) weergeven op de display
van het instrument. Tik op (Text) in de display Song Playback om de display op te roepen. Deze functie biedt
u verschillende handige mogelijkheden, zoals het weergeven van songteksten, akkoorddiagrammen en aantekeningen.
Raadpleeg de Naslaggids op de website voor meer informatie over de display Text.
U kunt de display Score ook oproepen
via [MENU] [Lyrics].
OPMERKING
Hiermee schakelt u tussen de pagina's.

Genos Gebruikershandleiding 85
4
Meezingen met een afgespeelde song—Handelingen tijdens het spelen
In de Dual Player-modus van het afspelen van een song kunt u met de Cross Fader de volumebalans tussen de
afgespeelde SONG A en SONG B aanpassen. Door de fader naar links te verplaatsen, verhoogt u het volume waarmee
SONG A wordt afgespeeld en door de fader naar rechts te verplaatsen, verhoogt u het volume waarmee SONG B wordt
afgespeeld.
Vocal Harmony aan- of uitzetten
Als u op de knop [VOCAL HARMONY] drukt, wordt de functie Vocal Harmony in-/uitgeschakeld. Met deze knop kunt
u snel Vocal Harmony-effecten toepassen op uw stem via een microfoon of juist niet. Zie pagina 76 voor meer informatie
over de functie Vocal Harmony, inclusief het selecteren van een harmonietype.
De functie Talk gebruiken
Als u de Talk-functie inschakelt door op de knop [TALK] te drukken, kunt u de
microfooninstellingen direct aanpassen als u tegen uw publiek wilt praten. Vocal Harmony
is niet beschikbaar als deze functie is ingeschakeld. Dat is handig wanneer u tussen songs
in iets wilt zeggen zonder afleidende reverbeffecten en dergelijke.
De volumebalans tussen SONG A en SONG B aanpassen (Cross Fader)
De microfoonfuncties regelen
U kunt de Talk-instellingen ook aan uw
persoonlijke voorkeuren aanpassen in
de display 'Mic Setting'. Raadpleeg de
Naslaggids op de website voor meer
informatie.
OPMERKING

5
5
86 Genos Gebruikershandleiding
Bedieningshandleiding
De parameters van elk gedeelte
aanpassen—Mixer
De Mixer (het mengpaneel) geeft u intuïtieve besturing over aspecten van de keyboardgedeelten en song-/
stijlkanalen, met inbegrip van de volumebalans en de klankkleur van het geluid. U kunt er de niveaus en
stereopositie (pan) mee aanpassen voor elke voice om een optimale balans en een optimaal stereogeluid te
bereiken. Tevens kunt u instellen hoe de effecten worden toegepast.
In dit gedeelte worden de basisprocedures voor de Mixer beschreven. Raadpleeg de Naslaggids op de website
voor meer informatie.
1
Roep de Mixer-display op via [MENU] [Mixer].
2
Tik op de desbetreffende tab om de balans tussen de gewenste
partijen te bewerken.
Basisprocedure voor de Mixer
Panel 1/2 Gebruik deze display als u de balans wilt aanpassen tussen de
gehele stijlpartij, de gehele Song A-partij, de gehele Song B-
partij, het LEFT-gedeelte, de RIGHT 1–3-gedeelten, de Multi
Pad-partij, de Mic-partij, de Aux In-partij en de Wireless LAN-
partij (audio-invoer via de draadloosnetwerkfunctie, indien
aanwezig).
Style 1/2 Gebruik deze display als u de balans tussen de kanalen van de
stijl wilt aanpassen. Raadpleeg voor elk kanaal 'Stijlkanalen'
(pagina 88).
Song Ch 1–8/9–16 Gebruik deze display als u de balans tussen alle partijen van de
MIDI-song wilt aanpassen.
Master In tegenstelling tot de andere displays gebruikt u deze display
wanneer u de tooneigenschappen wilt aanpassen van het totale
geluid (behalve audiosongs) van dit instrument. Zie pagina 102
voor meer informatie over deze display.
3
2
Afhankelijk van uw regio is de draadloosnetwerkfunctie mogelijk niet meegeleverd.
OPMERKING

Genos Gebruikershandleiding 87
5
De parameters van elk gedeelte aanpassen—Mixer
3
Tik op een tab om de gewenste parameters te bewerken.
4
Stel de waarde van elke parameter in.
5
Sla uw Mixer-instellingen op.
De Mixer-instellingen van Panel 1/2 opslaan:
Registreer deze in het Registration Memory (pagina 93).
De Mixer-instellingen van Style 1/2 opslaan:
Sla deze op als een stijlbestand op het gebruikersstation of op een USB-
flashstation. Als u de instellingen later wilt terughalen, selecteert u het
stijlbestand dat u hier hebt opgeslagen.
1
Roep de bedieningsdisplay op via [MENU]
[Style Creator].
2
Tik op [Save] om de display voor stijlselectie te openen en sla de instellingen
op als een stijlbestand (pagina 37).
De Mixer-instellingen van MIDI Song Ch 1–8/9–16 opslaan:
Als u de instellingen voor het MIDI-songkanaal wilt bewerken en opslaan,
hebt u een andere bewerking nodig. Zie 'Mixerinstellingen voor MIDI-songkanaal
1–8/ 9–16 bewerken en opslaan' hieronder voor meer informatie.
Mixerinstellingen voor MIDI-songkanaal 1–8/9–16 bewerken en opslaan
Selecteer eerst een MIDI-song en bewerk de parameters. Registreer vervolgens de bewerkte instellingen als deel van de
MIDI-songgegevens (Setup) en sla de song op, op het User-station of op een USB-flashstation. Als u de instellingen later
wilt terugroepen, selecteert u de songfile die u hier hebt opgeslagen.
1
Roep de bedieningsdisplay op via [RECORDING]
MIDI [Multi Recording].
2
Tik op de songmodus 'New Song' om de display voor
songselectie op te roepen en selecteer de gewenste song.
3
Bewerk de gewenste parameters volgens stappen 1–4 van
'Basisprocedure voor de Mixer' (pagina 86).
4
Druk op de knop [RECORDING] om de display MIDI Multi
Recording nogmaals op te roepen
5
Registreer de bewerkte instellingen bij de MIDI-song.
5-1
Tik op [Setup] om de display Setup op te roepen.
5-2
Tik op [Execute] om de bewerkte instellingen te registreren als deel van
de MIDI-songgegevens.
6
Tik op [Save] om de display voor songselectie op te roepen
en sla de instellingen op als songfile (pagina 37).
Filter Hiermee past u de resonantie, afsnijfrequentie (helderheid van
het geluid) aan.
EQ Hiermee past u de equalizerparameters aan om de klank of
klankkleur van het geluid te corrigeren.
Effect Hiermee selecteert u het effecttype en past u de diepte ervan aan
voor elke part.
Chorus/Reverb Hiermee selecteert u het chorus-/reverbtype en past u de diepte
ervan aan voor elke partij.
Pan/Volume Hiermee past u de panregeling en het volume van elke part aan.
• Als u voor elke parameter de
fabrieksinstellingen wilt terugzetten,
houdt u de numerieke waarde of
instelling ingedrukt.
OPMERKING

88 Genos Gebruikershandleiding
U kunt variaties toevoegen en de manier veranderen waarop de stijl of MIDI-song overkomt door kanalen selectief
aan/uit te zetten terwijl de stijl wordt afgespeeld.
1
Tik in de display Mixer op de tab [Style 1/2], [Song 1-8]
of [Song 9-16].
2
Tik op het kanaal dat u wilt in- of uitschakelen.
Als u slechts één bepaald kanaal wilt afspelen (solo afspelen), tikt u op het
gewenste kanaal en houdt u het ingedrukt totdat het nummer paars wordt
gemarkeerd. U kunt 'Solo' annuleren door gewoon nogmaals op het (paarse)
kanaalnummer te tikken.
3
Geef zo nodig nog andere instellingen op en sla deze
vervolgens op als een stijlbestand of songbestand (stap 5 op
pagina 87).
De kanalen van de stijl of MIDI-song in- of uitschakelen
Stijlkanalen
Elke stijl bevat de hieronder genoemde kanalen.
•
Rhythm 1/2:
Dit zijn de basispartijen van de stijl, met de ritmepatronen voor drum en percussie.
•
Bass:
Voor de baspartij worden verschillende instrumentgeluiden gebruikt die passen bij deze stijl.
•
Chord 1/2:
Dit is de ritmische akkoordbegeleiding, in het algemeen bestaand uit piano- of gitaarvoices.
•
Pad:
Deze partij wordt gebruikt voor aangehouden instrumenten, zoals strijkers, orgel, koor enz.
•
Phrase 1/2:
Deze partijen worden gebruikt voor dynamische blazers licks, arpeggio akkoorden en andere extra's die
de begeleiding interessanter maken.
Channel (kanaal)

Genos Gebruikershandleiding 89
5
De parameters van elk gedeelte aanpassen—Mixer
U kunt de voice voor elk kanaal wijzigen via de Mixer-display.
1
Tik in de display Mixer op de tab [Style 1/2], [Song 1-8]
of [Song 9-16].
2
Tik op het pictogram van het instrument onder de naam van het
kanaal om de display voor voiceselectie op te roepen en
selecteer de gewenste voice.
3
Geef zo nodig nog andere instellingen op en sla deze
vervolgens op als een stijlbestand of songbestand
(stap 5 op pagina 87).
De voice voor elk kanaal van de stijl of MIDI-song wijzigen
Voice

6
6
90 Genos Gebruikershandleiding
Bedieningshandleiding
Songopname
Met dit instrument kunt u op de twee volgende manieren uw spel opnemen: MIDI-opname en audio-opname.
Bovendien zijn er twee methoden voor elke manier van opnemen: Quick Recording, de gemakkelijkste en
handigste manier om op te nemen, en Multi Recording, waarmee u elk kanaal of elke track afzonderlijk kunt
opnemen. in dit gedeelte worden MIDI Quick Recording en Audio Quick Recording besproken.
MIDI Quick Recording
Bij deze methode wordt het opgenomen spel op het instrument of een USB-flashstation opgeslagen als een
MIDI-bestand in SMF (indeling 0). Gebruik deze methode als u een specifiek gedeelte opnieuw wilt opnemen of
als u voices wilt wijzigen en andere parameters (bijvoorbeeld die van een voice) wilt bewerken. Met dit
instrument kunt u ongeveer 300 kB per song opnemen.
Audio Quick Recording
Bij deze methode wordt opgenomen spel als een audiobestand opgeslagen naar het instrument. De opname vindt
plaats zonder dat de opgenomen partij wordt toegewezen. Omdat het spel standaard wordt opgeslagen in de
stereo-WAV-indeling met een normale resolutie met cd-kwaliteit (44,1 kHz/16-bits), kan het via een computer
worden overgebracht naar en afgespeeld op draagbare muziekspelers. Met dit instrument kunt u maximaal
80 minuten per opname opnemen.
Voer vóór de opname de nodige instellingen in, zoals de selectie van voice/stijl. Sluit
indien nodig het USB-flashstation aan op de [USB TO DEVICE]-aansluiting. Met dit type
opname wordt elke partij op de volgende kanalen opgenomen:
•
Keyboardgedeelten:
kanaal 1–4
•
Multi Pad-partijen:
kanaal 5–8
•
Stijlpartijen:
kanaal 9–16
1
Roep de display MIDI Quick Recording op via [RECORDING]
MIDI [Quick Recording].
De display wordt weergegeven en er wordt automatisch een nieuwe lege song in
de stand-bystatus voor opnames gezet.
Multi Recording
•
MIDI Multi Recording:
Hiermee kunt u een MIDI-song van 16 kanalen maken door uw performance één voor één
naar elk kanaal op te nemen.
•
Audio Multi Recording:
Hiermee kunt u uw spel meerdere keren opnemen om de song te completeren, of aanvullend
spel opnemen bij een bestaand audiobestand.
Raadpleeg de Naslaggids op de website voor meer informatie over Multi Recording.
MIDI Quick Recording
• Audiogegevens zoals de ritmekanalen
die zijn gemaakt via de
audiogegevens van Audio Link Multi
Pad en audiosongs kunnen niet
worden opgenomen in de MIDI-
songs.
• Lees voordat u een USB-flashstation
gaat gebruiken het onderdeel 'USB-
apparaten aansluiten' op pagina 111.
OPMERKING
Als u de opname wit stoppen, tikt u op
[Stop] op de display en drukt
u vervolgens op de knop [EXIT] voordat
u verdergaat met stap 2.
OPMERKING

Genos Gebruikershandleiding 91
6
Songopname
2
Start de opname.
U kunt het opnemen starten door het keyboard te bespelen, de stijl te starten, een
Multi Pad te spelen of op [Play/Pause] te tikken.
3
Als u klaar bent met uw performance, tikt u op [Stop] om de
opname te stoppen.
4
Tik op [Save] om de display voor songselectie te openen en sla
opgeslagen perfomance op als een bestand (pagina 37).
Geef vóór de opname de benodigde instellingen op, zoals de selectie van voice/stijl en de microfoonaansluiting (als u uw
zang wilt opnemen).
1
Roep de display Audio Quick Recording op via [RECORDING]
Audio [Quick Recording].
De display wordt weergegeven en er wordt een nieuw audiobestand gemaakt,
in de stand-bystatus voor opname. Anders dan bij MIDI Quick Recording start de
opname echter niet automatisch tegelijk met het keyboardspel, het afspelen van
een stijl of het afspelen van een Multi Pad.
2
Controleer voor de opname de opnameniveaus op de Rec
Monitor-meter door het keyboard, de stijl enzovoort te
bespelen, en deze aan te passen met de overeenkomstige
schuifregelaar.
Pas de regelaar zo aan dat het volume niet constant het 'rood' ingaat en of de
indicator niet oplicht.
3
Tik op [Play/Pause] om het opnemen te starten.
Direct na deze handeling kunt u beginnen met spelen en uw spel opnemen.
4
Als u klaar bent met uw performance, tikt u op [Stop] om de
opname te stoppen.
Opgenomen gegevens worden automatisch naar het gebruikersstation opgeslagen
als een bestand waarvan de naam automatisch wordt ingesteld. De opgenomen
audiosong wordt weergegeven in de categorie User in de display voor
songselectie.
De opgenomen song gaat
verloren als de display sluit of als
u het instrument uitzet zonder de
opslagbewerking uit te voeren.
LET OP
Audio Quick Recording
Als u de opname wit stoppen, tikt u op
[Stop] op de display en drukt
u vervolgens op de knop [EXIT] voordat
u verdergaat met stap 2.
OPMERKING
2

7
7
92 Genos Gebruikershandleiding
Bedieningshandleiding
Zelfgemaakte paneelsetups registreren en
terughalen—Registratiegeheugen, playlist
Met de functies Registration Memory en Playlist kunt u nagenoeg alle paneelinstellingen opslaan (of 'registreren')
in een registratiegeheugenknop en vervolgens uw eigen paneelinstellingen met één keer tikken terughalen voor
uw spel. Een playlist is vooral nuttig voor het beheren van uw repertoire. U hebt de mogelijkheid om alleen de
gewenste paneelinstellingen te selecteren uit het enorme repertoire in het registratiegeheugen en zo een nieuwe lijst
te maken.
Registratiegeheugen
Met deze functie kunt u uw aangepaste paneelinstellingen opslaan (registreren) onder een van de Registration
Memory-knoppen, zodat u ze gemakkelijk kunt terugroepen.
Het paneel heeft tien Registration Memory-knoppen. U kunt alle tien geregistreerde paneelsetups opslaan als één
Registration Memory-bankbestand.
Playlist
Met de functie Playlist kunt u zelf setlijsten maken voor uw live optredens. U kunt alleen de gewenste bestanden
selecteren uit het enorme aantal Registration Memory Bank-bestanden, zonder dat u de configuratie van het
bankbestand hoeft te wijzigen.
Elke playlistrecord kan rechtstreeks een specifiek registratiegeheugen in het geselecteerde Registration Memory-
bankbestand oproepen. U kunt de playlistrecords gezamenlijk opslaan als één playlistbestand.
Vrijwel alle paneelinstellingen kunnen onder één knop worden opgeslagen.
Registration Memory-
bankbestand
Save (opslaan)
Recall
Zie het gedeelte Registration van de 'Parameter Chart' in de Datalijst op de website voor informatie over de parameters die met de functie Registration Memory kunnen worden
geregistreerd.
OPMERKING
Playlistbestand 01 Registration Memory-bankbestanden
Playlistrecord 01
Playlistrecord 02
Playlistrecord 03
Bank 01
Bank 02
: Link voor oproepen

Genos Gebruikershandleiding 93
7
Zelfgemaakte paneelsetups registreren en terughalen—Registratiegeheugen, playlist
Paneelsetups registreren
1
Geef de gewenste paneelinstellingen op, zoals voor voices,
stijlen en effecten.
2
Druk in het gedeelte REGISTRATION MEMORY op de knop
[MEMORY] om het venster Registration Memory op te roepen.
3
Druk op de gewenste REGISTRATION MEMORY-knop [1]–[10]
waarin u de paneelsetup wilt opslaan.
De knop waarin de setup is opgeslagen, licht rood op om aan te geven dat de knop
gegevens bevat, en het nummer van de knop is geselecteerd.
4
U kunt meerdere paneelsetups opslaan onder de overige
knoppen door stap 1–3 te herhalen.
U kunt de geregistreerde paneelsetup oproepen door op de gewenste nummerknop
te drukken.
Aangepaste paneelsetups opslaan en terugroepen met registratiegeheugen
De lijst met items die in het
registratiegeheugen moeten
worden geregistreerd
Selecteren welke items u wilt registreren
Het venster Registration Memory bevat de lijst waarin u de items kunt
selecteren die moeten worden geregistreerd. Plaats of verwijder vinkjes door
op de gewenste items te tikken voordat u naar stap 3 gaat. Items met een vinkje
worden geregistreerd.
Als u hier de knop selecteert
waarvan het lampje rood of blauw
brandt, wordt de paneelsetup die
al is opgeslagen in de knop,
gewist en vervangen door de
nieuwe instellingen.
LET OP
Over de lampstatus
•
Rood:
gegevens geregistreerd en momenteel geselecteerd
•
Blauw:
gegevens geregistreerd, maar momenteel niet geselecteerd
•
Uit:
geen gegevens geregistreerd
De paneelsetups blijven in de
genummerde knoppen geregistreerd,
zelfs als u de voeding uitschakelt. Als
u alle tien huidige paneelsetups wilt
verwijderen, zet u het instrument aan
terwijl u de toets F#6 (de tweede toets
van rechts) op het keyboard ingedrukt
houdt.
OPMERKING

94 Genos Gebruikershandleiding
Registratiegeheugen opslaan als bankbestand
U kunt alle tien geregistreerde paneelsetups opslaan als één Registration Memory-bankbestand.
1
Druk gelijktijdig op de [REGIST BANK]-knoppen [-] en [+] om
de display voor Registration Bank-selectie op te roepen.
2
Tik op (File Edit) om het pop-upvenster op te roepen en tik
vervolgens op [Save] om het bankbestand op te slaan.
Raadpleeg 'Bestandsbeheer' (pagina 37) voor instructies voor het opslaan.
Een geregistreerde paneelsetup terughalen uit een bankbestand
De opgeslagen Registration Memory-bankbestanden kunnen worden opgeroepen met de
knoppen REGIST BANK [-]/[+] of met de volgende procedure.
1
Druk gelijktijdig op de REGIST BANK-knoppen [-] en [+] om de
display voor Registration Bank-selectie op te roepen.
2
Tik op de gewenste bank in de display en selecteer deze.
U kunt ook de REGIST BANK-knoppen [-]/[+] gebruiken om een Bank te
selecteren.
3
Druk op een van de blauw oplichtende genummerde knoppen
([1]–[10]) in het Registration Memory-gedeelte.
De geselecteerde knop gaat rood branden.
2
U kunt Registration Memory-
bankbestanden van een tag voorzien
zodat u ze gemakkelijker kunt
terugvinden. Raadpleeg de Naslaggids
op de website voor meer informatie.
OPMERKING
• Als u setups terughaalt die song-,
stijl- of tekstbestanden bevatten die
op een USB-flashstation zijn
geselecteerd, moet u controleren of
het juiste USB-flashstation met de
geregistreerde song, stijl of tekst is
aangesloten op de [USB TO
DEVICE]-aansluiting.
• Lees voordat u een USB-flashstation
gaat gebruiken het onderdeel 'USB-
apparaten aansluiten' op pagina 111.
OPMERKING
Door de knop [FREEZE] aan te zetten
kunt u het terughalen van specifieke
items uitschakelen. Raadpleeg de
Naslaggids op de website voor meer
informatie.
OPMERKING
U kunt de tien setups ook oproepen met
pedalen of toewijsbare knoppen, in de
volgorde die u kunt opgeven via
[MENU] [Regist Sequence].
Raadpleeg de Naslaggids op de website
voor meer informatie.
OPMERKING

Genos Gebruikershandleiding 95
7
Zelfgemaakte paneelsetups registreren en terughalen—Registratiegeheugen, playlist
De informatie in een Registration Memory-bank controleren en bewerken
U kunt de informatiedisplay oproepen om te controleren welke voices, stijl en songs zijn opgeslagen onder de knoppen
[1]–[10] van een Registration Memory-bank. U kunt in de informatiedisplay ook banks bewerken (registratiegeheugens
verwijderen of hernoemen enz.).
1
Roep de display voor selectie van registratiebank op en
selecteer de gewenste Bank.
2
Tik op (Menu) en vervolgens op [Regist Bank Info] om de
display Regist Bank Info op te roepen.
Deze display bestaat uit twee pagina's: voicegerelateerd en stijlgerelateerd. U kunt
heen en weer schakelen tussen deze twee via [Voice]/[Style] op de display.
3
Bewerk de informatie in de Registration Memory-bank.
Tik op het gewenste registratiegeheugen om het te selecteren.
• Als u de naam van de geselecteerde registratie wilt wijzigen, tikt u op
(Naam wijzigen).
• Als u de geselecteerde registratie wilt verwijderen, tikt u op (Verwijderen).
4
Sluit de display en sla vervolgens de bewerkte Registration
Memory-bank op als een bestand (pagina 94).
Als een bepaalde voicepartij is
uitgeschakeld, wordt de voicenaam van
de bijbehorende partij grijs
weergegeven.
OPMERKING
3
Voor het schakelen tussen pagina's.

96 Genos Gebruikershandleiding
De Playlist is handig om meerdere setlijsten voor uw live optredens te beheren. U kunt alleen de gewenste bestanden
selecteren uit een groot repertoire (het enorme aantal Registration Memory-bankbestanden) en voor elk optreden een
nieuwe setlijst maken.
Een record toevoegen aan de playlist
Door een record aan de playlist toe te voegen, kunt u het gewenste registergeheugen rechtstreeks oproepen.
1
Druk op de knop [PLAYLIST] om de display Playlist op te roepen.
Het playlistbestand dat u als laatste hebt geselecteerd, wordt weergegeven.
(De eerste keer wordt de voorbeeldplaylist weergegeven.)
2
Voeg een record toe aan de playlist.
-
Een record toevoegen via de display voor selectie van
registratiebank:
2-1
Tik op Add Record [List] op de display.
De display voor Registration Bank-selectie wordt weergegeven.
2-2
Selecteer het gewenste Registration Bank-bestand om een playlistrecord te
registreren.
Als u op [Add to Playlist] tikt, wordt de display gesloten en wordt de
nieuwe playlistrecord toegevoegd aan de playlist.
-
Een record toevoegen met de zoekfunctie:
Als u op Add Record [Search] op de display tikt, wordt de bedieningsdisplay
opgeroepen waarin u naar het gewenste registratiebankbestand kunt zoeken. Zie de
Naslaggids op de website voor meer informatie over het zoeken naar bestanden.
Selecteer het gewenste bestand in de zoekresultaten en tik vervolgens op [Add to
Playlist] om de display te sluiten. De nieuwe playlistrecord wordt toegevoegd.
3
Bewerk de playlistrecord zo nodig.
Met de nieuwe playlistrecord wordt het geselecteerde Registration Bank-bestand
opgeroepen. Als u meer gedetailleerde instellingen wilt opslaan (bijvoorbeeld om
rechtstreeks een specifiek registratiegeheugen op te roepen en automatisch naar
een andere schermweergave te schakelen), kunt u de playlistrecord bewerken.
3-1
Tik op [Edit] om de display Record Edit op te roepen.
Een groot repertoire beheren met de Playlist
Bestandspad van het Registration Memory-
bankbestand dat aan de record is gekoppeld.
Dit bestand wordt opgeroepen als u de record
selecteert. (Wordt alleen weergegeven en kan
niet worden gewijzigd.)
Recordnaam

Genos Gebruikershandleiding 97
7
Zelfgemaakte paneelsetups registreren en terughalen—Registratiegeheugen, playlist
3-2
Tik om de record te bewerken.
3-3
Sluit de display.
4
Tik op (Opslaan) om de toegevoegde record toe te voegen
aan het huidige playlistbestand.
Als u de geregistreerde record wilt oproepen, tikt u op de gewenste record in de
display Playlist.
Aangepaste paneelsetups oproepen via de playlist
1
Druk op de knop [PLAYLIST] om de display Playlist op te roepen.
2
Tik op de naam van het playlistbestand om de display voor
playlistbestandsselectie op te roepen.
3
Tik op het gewenste playlistbestand en sluit de display.
4
Tik op de naam van de record in de display Playlist en tik
op [Load].
De Registration Memory-bank die is geregistreerd als de playlistrecord wordt
opgeroepen en de door u gemaakt actie wordt uitgevoerd (pagina 96).
Recordnaam Bepaalt de naam van de record. Als u op [Rename] tikt, wordt het tekeninvoervenster
opgeroepen.
Action (Actie) Extra acties nadat u de record hebt geselecteerd en de bank hebt opgeroepen.
•Load Regist Memory: Roept het registratiegeheugen op dat overeenkomt met het
geselecteerde nummer. Als er geen item is geselecteerd, wordt er geen
registratiegeheugen opgeroepen.
•View: Geeft de geselecteerde weergave weer. Als er geen item is geselecteerd, wordt er
geen weergave weergegeven.
2

98 Genos Gebruikershandleiding
Een nieuwe playlist maken
1
Druk op de knop [PLAYLIST] om de display Playlist op te roepen.
2
Tik op (New) in de display.
Er wordt een nieuw playlistbestand gemaakt.
De playlistrecords kopiëren (Append Playlist)
Met 'Append Playlist' kunt u het bestaande playlistbestand kopiëren als een nieuw playlistbestand.
1
Druk op de knop [PLAYLIST] om de display Playlist op te roepen.
2
Tik op [Append Playlist] in de display.
De display voor playlistbestandsselectie wordt weergegeven.
3
Tik op het playlistbestand dat u wilt toevoegen.
Alle records in het geselecteerde playlistbestand worden onder aan de huidige
playlist toegevoegd.
4
Tik op (Save) om de toegevoegde records toe te voegen
aan het huidige playlistbestand.
2

Genos Gebruikershandleiding 99
7
Zelfgemaakte paneelsetups registreren en terughalen—Registratiegeheugen, playlist
De volgorde van de records in de playlist wijzigen
1
Druk op de knop [PLAYLIST] om de display Playlist op te roepen.
2
Wijzig de volgorde van de records.
2-1
Tik op de record die u wilt verplaatsen.
2-2
Tik op (Up)/ (Down) om de in stap 2-1 geselecteerde record te
verplaatsen.
3
Tik op (Opslaan) om het bewerkte playlistbestand op te slaan.
De playlistrecord uit de playlist verwijderen
1
Selecteer in de display Playlist de gewenste record door erop te
tikken.
2
Tik op [Delete] in de display.
Er wordt een bevestigingsbericht weergegeven. Als u het verwijderen wilt
annuleren, tikt u op [No].
3
Tik op [Yes].
4
Tik op (Opslaan) om het bewerkte playlistbestand op te
slaan.

8
8
100 Genos Gebruikershandleiding
Bedieningshandleiding
Aanpassen voor optimale prestaties
U kunt dit instrument aanpassen aan uw eigen persoonlijke voorkeuren en voor optimale prestaties. In dit
gedeelte wordt het volgende besproken: sneltoetsen bewerken op de Home-display, ASSIGNABLE-knoppen
instellen, algemene instellingen, het geluid van de definitieve uitvoer aanpassen en uitbreidingsinhoud
toevoegen, zoals voices en stijlen.
U kunt een veelgebruikte functie registreren op een sneltoets op de Home-display. Hoewel er standaard zes sneltoetsen
zijn geregistreerd, kunt u ze zo nodig aanpassen. Geregistreerde sneltoetsen worden weergegeven in het sneltoetsgebied
(pagina 30) onderaan in de Home-display, waardoor u snel de gewenste functie kunt oproepen vanuit de Home-display.
1
Roep de display Assignable op via [MENU] [Assignable].
2
Dubbeltik (twee keer tikken) op het gewenste item in een van de
zes locaties van het gedeelte 'Home Shortcuts'.
Het pop-upvenster voor het selecteren van een functie wordt weergegeven.
3
Tik op de gewenste functie.
De functie wordt geregistreerd op de locatie die u in stap 2 hebt geselecteerd.
U kunt verschillende besturingsfuncties of sneltoetsen toewijzen aan de ASSIGNABLE [A]–[F]-knoppen, waarmee u de
gewenste functies snel kunt bedienen of oproepen.
1
Roep de display Assignable op via [MENU] [Assignable].
2
Dubbeltik (twee keer tikken) twee keer op het gewenste item in
het gebied 'Assignable Buttons'.
Het pop-upvenster voor het selecteren van een functie wordt weergegeven.
3
Tik op de gewenste functie.
De functie wordt geregistreerd op de locatie die u in stap 2 hebt geselecteerd.
De sneltoetsen op de Home-display aanpassen
2
De functies of sneltoetsen voor de ASSIGNABLE-knoppen instellen
2
Raadpleeg de Naslaggids op de website
voor meer informatie over de
toewijsbare parameters en functies.
OPMERKING

Genos Gebruikershandleiding 101
8
Aanpassen voor optimale prestaties
De functie Utility biedt diverse handige tools en instellingen voor de Genos. Het betreft zowel algemene instellingen
voor het hele instrument als gedetailleerde instellingen voor specifieke functies. De sectie biedt ook toegang tot functies
voor het resetten van gegevens en het beheer van opslagmedia, zoals schijfformattering.
Basisprocedure
1
Roep de bedieningsdisplay op.
[MENU]
[Utility]
2
Tik op de gewenste tab om de gewenste pagina op te roepen en
wijzig de instellingen of voer de handeling uit.
Raadpleeg 'Utility' in de Naslaggids op de website voor meer informatie over de
verschillende tabs.
Algemene instellingen (Utility)
Speaker/Connectivity Bepaalt hoe het geluid wordt uitgevoerd uit de luidspreker,
en het digitale uitgangsvolume.
Display/Touch
Screen (aanraakscherm)
Bevat instellingen met betrekking tot de display, zoals
helderheid, weergavesnelheid en aan/uit-instellingen voor
het aanraakgeluid.
Parameter Lock Geeft de parameters op zodat ze alleen kunnen worden
geselecteerd via de paneelregelaar.
Storage (Opslag) Hiermee kunt u de formatteerhandeling uitvoeren of de
geheugencapaciteit controleren (waarde bij benadering) van
het USB-flashstation dat op dit instrument is aangesloten.
(pagina 112)
System Geeft de firmwareversie en de hardware-ID van dit
instrument aan en biedt de mogelijkheid basisinstellingen
aan te brengen, zoals de taal voor de display en automatisch
uitschakelen aan/uit. (pagina 24, 104)
Factory Reset/Backup Maakt een gehele of gedeeltelijke back-up van het
instrument of zet deze terug, of initialiseert het instrument
met de standaardfabrieksinstellingen. (pagina 105)

102 Genos Gebruikershandleiding
U kunt de geluidskwaliteit en het volume op de uiteindelijke uitgang van de Genos aanpassen door de Master
Compressor- en Master EQ-instellingen te wijzigen.
1
Roep de Mixer-display op via [MENU] [Mixer].
2
Tik op de tab 'Master'.
3
Tik op een tab om de gewenste parameters te bewerken.
4
Stel de waarde van elke parameter in.
5
Sla de instellingen op.
U kunt uw oorspronkelijke bewerkingen opslaan als een Master Compressor-type
en Master EQ-type. Als u de instellingen later wilt terughalen, selecteert u het
overeenkomstige type in de rechterbovenhoek van elke display.
5-1
Tik op (Save) in de display 'Compressor' of de display 'EQ'.
5-2
Selecteer een van USER1–USER5 in de display 'Compressor' of USER1–
USER2 in de display 'EQ' en tik vervolgens op [Save] om het venster
Character Entry op te roepen.
5-3
Wijzig zo nodig de naam in het venster Character Entry en tik op [OK] om
de gegevens op te slaan.
Het geluid aanpassen bij de uiteindelijke uitgang (Master Compressor,
Master EQ).
3
2
Raadpleeg de Naslaggids op de website
voor meer informatie over deze
parameters.
OPMERKING
Compressor Hiermee kunt u de Master Compressor (die wordt toegepast op
het totale geluid met uitzondering van afgespeelde audio) in- of
uitschakelen, het Master Compressor-type selecteren en de
bijbehorende parameter bewerken. Uw oorspronkelijke
bewerkingen kunnen worden opgeslagen als het Master
Compressor-type.
EQ Hiermee selecteert u het Master EQ-type dat wordt toegepast op
het totale geluid met uitzondering van afgespeelde audio en kunt
u de bijbehorende parameters bewerken. U kunt uw
oorspronkelijke bewerkingen opslaan als het Master EQ-type.
Als u voor elke parameter de
fabrieksinstellingen wilt terugzetten,
houdt u de numerieke waarde of
instelling ingedrukt.
OPMERKING

Genos Gebruikershandleiding 103
8
Aanpassen voor optimale prestaties
Door een uitbreidingspakket te installeren, kunt u diverse optionele voices en stijlen toevoegen aan de map 'Expansion' in
het gebruikersstation. U kunt de geïnstalleerde voices en stijlen selecteren via de tab User in de displays voor voice- of
stijlselectie, zodat u uw muzikale prestaties en creatieve mogelijkheden kunt uitbreiden. U kunt hoogwaardige
uitbreidingspakketgegevens van Yamaha aanschaffen of uw eigen uitbreidingspakketgegevens maken met de software
Yamaha Expansion Manager op uw computer. Raadpleeg de Naslaggids op de website voor instructies voor het
installeren van uitbreidingspakketten.
Voor meer informatie over uitbreidingspakketten gaat u naar de pagina Sound & Expansion Libraries op de Yamaha
MusicSoft-website:
https://www.yamahamusicsoft.com/sound-and-expansion-libraries/
Voor de Yamaha Expansion Manager-software en de bijbehorende handleidingen gaat u naar de volgende website en
zoekt u op de modelnaam 'Genos'.
http://download.yamaha.com/
Nieuwe inhoud toevoegen—Uitbreidingspakketten

9
9
104 Genos Gebruikershandleiding
Bedieningshandleiding
Systeeminstellingen
In dit gedeelte wordt uitgelegd hoe u belangrijke, algemene systeeminstellingen instelt, inclusief back-up/
terugzetten van instellingen en bestandsgegevens.
U kunt de firmwareversie en de hardware-ID van dit instrument controleren.
1
Roep de bedieningsdisplay op via [MENU] [Utility].
2
Tik op [System].
De programmaversie en de hardware-ID worden op de display weergegeven.
Zet het instrument aan terwijl u de meest rechtse toets op het keyboard ingedrukt houdt.
Hiermee zet u alle instellingen terug op de standaardfabrieksinstellingen.
De firmwareversie en hardware-ID bevestigen
De fabrieksinstellingen herstellen
• U kunt ook de fabrieksinstellingen
van specifieke instellingen
terugzetten of alle bestanden/mappen
in het gebruikersstation wissen in de
display die u kunt oproepen via
[MENU] [Utility] [Factory
Reset/Backup] pagina 1/2.
Raadpleeg 'Utility' in de Naslaggids
van de website voor meer informatie.
• Als u gewoon de standaardwaarde
wilt terugzetten van een parameter die
u hebt gewijzigd, houdt u de waarde
in de display ingedrukt (pagina 34).
OPMERKING
De meest rechtse toets

Genos Gebruikershandleiding 105
9
Systeeminstellingen
Gegevensback-up
U kunt van alle gegevens in het gebruikersstation van dit instrument (met uitzondering van
uitbreidingsvoices/-stijlen) en van alle instellingen één back-upbestand maken op een
USB-flashstation. Deze procedure wordt aanbevolen voor gegevensbeveiliging en back-up
in geval van schade.
1
Sluit het USB-flashstation aan op de [USB TO DEVICE]-
aansluiting als back-upbestemming.
2
Roep de display op via [MENU] [Utility] [Factory Reset/
Backup] page (pagina) 2/2.
Als u de audiobestanden wilt opnemen in het back-upbestand:
Zet voordat u verdergaat met stap 3 eerst een vinkje in het selectievakje 'Include
Audio files' door erop te tikken.
3
Tik op [Backup] om het back-upbestand op te slaan op het
USB-flashstation.
Het back-upbestand terugzetten
Druk hiervoor op [Restore] in stap 3 hierboven. Nadat de handeling is voltooid, wordt het
instrument automatisch opnieuw opgestart.
Back-up/terugzetten van gegevens
• Lees voordat u een USB-flashstation
gaat gebruiken het onderdeel 'USB-
apparaten aansluiten' op pagina 111.
• U kunt een back-up maken van
gebruikersgegevens, zoals voice,
song, stijl en registratiegeheugen,
door ze afzonderlijk naar een USB-
flashstation te kopiëren. Raadpleeg
pagina 37 voor instructies.
• Als de totale grootte van de
doelgegevens voor de back-up groter
is dan 1,9 GB (exclusief de
audiobestanden), is de back-
upfunctie niet beschikbaar. In dit
geval kunt u een back-up van de
gebruikersgegevens maken door elk
item afzonderlijk te kopiëren.
• U kunt de systeeminstellingen,
MIDI-instellingen,
gebruikerseffectinstellingen en
playlistrecords afzonderlijk opslaan.
OPMERKING
3
• Het maken/terugzetten van de
back-up duurt mogelijk een
paar minuten. Zet het
instrument niet uit tijdens het
maken van een back-up of het
terugzetten. Als u het
instrument uitschakelt tijdens
het maken van een back-up of
het terugzetten, kunnen de
gegevens beschadigd raken of
verloren gaan.
LET OP

106 Genos Gebruikershandleiding
Aansluitingen—Het instrument gebruiken
met andere apparaten
In dit hoofdstuk worden de aansluitingen van dit instrument op andere apparaten besproken. Zie pagina 18–21
voor informatie over waar de aansluitingen zich op het instrument bevinden.
Door een microfoon aan te sluiten, kunt u meezingen met uw spel op het keyboard of terwijl een song wordt afgespeeld en
kunt u uw zang opnemen naar een audiosong. Zorg dat u een dynamische microfoon of een condensatormicrofoon hebt.
Een microfoon aansluiten op het instrument
1
Zet de knop [MASTER VOLUME] en de knop [MIC GAIN] in de
laagste stand.
2
Zet de [+48V]-schakelaar op Off.
Zet alle componenten uit voordat u het instrument op andere elektronische componenten aansluit. Zorg er
tevens voor dat u alle volumeniveaus op het minimum (0) instelt, voordat u componenten aan- of uitzet. Anders
kunnen de onderdelen beschadigd raken of kan zich een elektrische schok of zelfs blijvend gehoorverlies
voordoen.
Een microfoon aansluiten ([MIC INPUT]-aansluiting)
VOORZICHTIG
Over dynamische microfoons en condensatormicrofoons
• Een dynamische microfoon vermindert trillingsruis en is daardoor geschikt voor live optredens. Er is geen
stroomaansluiting nodig.
• Een condensatormicrofoon wordt voornamelijk gebruikt voor zang en andere instrumenten in omgevingen als een
opnamestudio, omdat hij gevoeliger is voor zachte geluiden. U moet er daarom beter voor zorgen dat u trillingen tot
een minimum beperkt dan bij een dynamische microfoon. Voor een condensatormicrofoon is fantoomvoeding (+48V)
nodig, die via een XLR-aansluiting wordt geleverd door de Genos.

Genos Gebruikershandleiding 107
Aansluitingen—Het instrument gebruiken met andere apparaten
3
Sluit een microfoon aan op de [MIC INPUT]-aansluiting.
Gebruik voor het aansluiten van een dynamische microfoon de XLR-aansluiting of
een standaard 1/4-inch steekplugaansluiting. Voor een condensatormicrofoon
gebruikt u de XLR-aansluiting.
4
Zet de [+48V]-schakelaar aan als u een condensatormicrofoon
gebruikt.
5
Draai de draaiknop [MASTER VOLUME] terug naar het
oorspronkelijke niveau.
Het ingangsniveau van de microfoon aanpassen
1
Schakel indien nodig de microfoon in.
2
Roep de display Mic Setting op via [MENU] [Mic Setting].
3
Pas de knop [MIC GAIN] aan terwijl u in de microfoon zingt.
Pas de knop [MIC GAIN] aan zodat de ingangsniveaumeter op de display groen of
geel brandt. Let erop dat de meter niet oranje of rood oplicht, omdat dit betekent
dat het ingangsniveau te hoog is.
4
Pas de volumebalans tussen het microfoongeluid en het geluid
van het instrument aan op de Mixer-display (pagina 86).
De comboaansluiting is geschikt voor zowel
XLR- als 1/4-inch telefoonstekkers.
• Sluit geen kabels aan en koppel
ze niet los terwijl u aan de
[+48V]-schakelaar draait.
Als u dat wel doet, kan het
aangesloten apparaat of het
instrument zelf beschadigd
raken.
• Als u apparaten gebruikt die
geen fantoomvoeding nodig
hebben, zoals een dynamische
microfoon, moet u de [+48V]-
schakelaar op OFF zetten.
Als de [+48V]-schakelaar aan of uit
wordt gezet, wordt de invoer van de
[MIC IN]-aansluiting enkele seconden
gedempt.
LET OP
OPMERKING
Ingangsniveaumeter
U kunt het ingangsniveau ook
controleren met het SIGNAL-lampje op
het paneel. Zorg dat het lampje niet
rood oplicht.
OPMERKING

108 Genos Gebruikershandleiding
Microfoon loskoppelen
1
Zet de knop [MASTER VOLUME] en de knop [MIC GAIN] in de
laagste stand.
2
Zet de [+48V]-schakelaar op Off.
3
Wacht meer dan 10 seconden als u een condensatormicrofoon
gebruikt.
4
Koppel de microfoon los van de [MIC INPUT]-aansluiting.
Gebruik de aansluitingen [TO RIGHT SPEAKER], [TO LEFT SPEAKER] en [TO SUB WOOFER]. Zie pagina 116.
Externe audioapparaten gebruiken voor afspelen (LINE OUT-aansluitingen)
De LINE OUT-aansluitingen worden gebruikt om het uitgangssignaal van de Genos naar
een keyboardversterker, stereo-installatie of mengpaneel te verzenden. Gebruik alleen de
LINE OUT MAIN [L/L+R]-aansluiting als u de Genos wilt aansluiten op een mono
geluidsinstallatie. Als alleen deze aansluiting wordt gebruikt (standaardtelefoonstekker),
worden de linker- en rechterkanalen gecombineerd en via deze aansluiting uitgevoerd; dit
vormt een handige monomix van het stereogeluid van de Genos.
Onmiddellijk loskoppelen kan de
condensatormicrofoon of het
instrument zelf beschadigen.
LET OP
Optionele Yamaha GNS-MS01 luidspreker aansluiten
Audioapparaten aansluiten (LINE OUT-aansluitingen, AUX IN-aansluitingen,
[DIGITAL OUT]-aansluiting)
Aangezien de Genos geen ingebouwde luidsprekers heeft, moet u het uitgaande geluid afspelen via externe
geluidsapparatuur. U kunt ook een hoofdtelefoon gebruiken (pagina 22).
BELANGRIJK
• U kunt een specifieke part naar elke
gewenste LINE OUT SUB-aansluiting
verzenden. De bedieningsdisplay kan
worden geopend via: [MENU]
[Line Out]. Raadpleeg de Naslaggids
op de website voor meer informatie.
• U kunt ook de [DIGITAL OUT]-
aansluiting gebruiken in plaats van
de LINE OUT MAIN-aansluitingen.
Het uitgangsvolume van [DIGITAL
OUT] kan echter niet worden geregeld
via MASTER VOLUME.
Om mogelijke schade te
voorkomen, dient u eerst het
instrument en daarna pas het
externe apparaat in te schakelen.
Als u de stroom wilt uitschakelen,
dient u eerst het externe apparaat
en daarna pas het instrument uit
te schakelen. Omdat dit
instrument automatisch kan
worden uitgeschakeld via de
automatische uitschakelfunctie
(pagina 24), moet u het externe
apparaat uitschakelen of de
automatische uitschakelfunctie
uitzetten als u het instrument
enige tijd niet gaat gebruiken.
OPMERKING
LET OP
Hoofdtelefoonaansluiting
(standaard)
Hoofdtelefoon-
aansluiting
(standaard)
Ingangs-
aansluiting
Audiokabel
Luidsprekers met eigen voeding

Genos Gebruikershandleiding 109
Aansluitingen—Het instrument gebruiken met andere apparaten
Externe audioapparaten afspelen met de Genos (AUX IN-aansluitingen)
U kunt de uitgangsaansluitingen van een extern apparaat (zoals een cd-speler, draagbare
audiospeler, toongenerator enz.) aansluiten op de AUX IN [L/L+R]/[R]-aansluitingen van
het instrument, zodat u het geluid van dat apparaat kunt horen via de hoofdtelefoon of de
optionele Yamaha GNS-MS01-luidsprekers van de Genos.
De LINE OUT SUB [3]–[4]-aansluitingen gebruiken als AUX OUT-aansluitingen
U kunt de functie van de LINE OUT SUB-aansluitingen [3]–[4] veranderen in AUX OUT-aansluitingen vanuit de
display van het instrument die u oproept via [MENU]
[Line Out]. Raadpleeg de Naslaggids op de website voor
meer informatie.
Sluit nooit de AUX OUT-aansluitingen aan op de AUX IN-aansluitingen. Als u deze aansluiting tot stand brengt, wordt de signaalingang aan de
AUX IN-aansluitingen uitgevoerd vanuit de AUX OUT-aansluitingen. Dit kan resulteren in een terugkoppeling (rondzingen), wat normale
weergave onmogelijk zou maken en de apparatuur zelfs kan beschadigen.
LET OP
Het uitgangsvolume van AUX OUT-aansluitingen kan echter niet worden geregeld via de MASTER VOLUME-regelaar.
OPMERKING
De [DIGITAL OUT]-aansluiting gebruiken
De [DIGITAL OUT]-aansluiting heeft hetzelfde uitgangssignaal als de LINE OUT MAIN-aansluitingen.
Met deze aansluiting kunt u spel met het keyboard of het afspelen van songs van dit instrument in uitzonderlijke hoge
geluidskwaliteit opslaan naar externe media (bijv. een computer of cd- recorder), dankzij de directe digitale aansluiting.
Met deze aansluiting kunt u digitale signalen uitvoeren via een coaxkabel (RCA-pin). De indeling van het digitale
signaal is CD/DAT (S/PDIF). Via deze aansluiting wordt een digitaal signaal uitgevoerd van 44,1 kHz/24 bits.
Het uitgangsvolume van de [DIGITAL OUT]-aansluiting kan niet worden geregeld via de MASTER VOLUME-regelaar. Als u digitale uitgangsvolume wilt regelen, past
u de Digital Out-hendel op de volgende display aan: (opgeroepen via [MENU] [Utility] [Speaker/Connectivity]).
OPMERKING
Om eventuele schade aan de
apparaten te voorkomen, dient
u eerst het externe apparaat en
daarna pas instrument in te
schakelen. Als u de stroom wilt
uitschakelen, dient u eerst het
instrument, en daarna pas het
externe apparaat uit te schakelen.
• Gebruik alleen de [L/L+R]-
aansluiting voor het aansluiten van
een monoapparaat.
• Het ingangssignaal van de AUX IN-
aansluitingen wordt beïnvloed door
de instelling van de draaischijf
[MASTER VOLUME] van het
instrument, en de volumebalans met
de onderdelen, zoals het hele
keyboard, kan worden beïnvloed door
de Mixer-display (pagina 86).
LET OP
OPMERKING
Hoofdtelefoon
aansluiting
(standaard)
LINE OUT
Audiokabel
Cd-speler, draagbare audiospeler,
toongenerator

110 Genos Gebruikershandleiding
Eén of twee optionele Yamaha FC4A- of FC5-voetschakelaars en een optionele Yamaha FC7-
voetregelaar kunnen worden aangesloten op deze ASSIGNABLE FOOT PEDAL-
aansluitingen. Een voetschakelaar kan worden gebruikt om functies in en uit te schakelen,
terwijl via een voetregelaar continue parameters, zoals het volume, kunnen worden bestuurd.
Met de aanvankelijke fabrieksinstellingen heeft elke aansluiting de volgende functie.
•
1 (SUSTAIN)
................Regelt sustain.
•
2 (ART. 1)
.....................Regelt een articulatie-effect voor een Super Articulation/Super Articulation 2-voice.
•
3 (VOLUME)
...............Regelt het volume.
U kunt ook de functietoewijzingen aan de pedalen naar eigen inzicht wijzigen.
-
Voorbeeld: Het starten/stoppen van SONG A regelen met een
voetschakelaar
Sluit een voetschakelaar (FC4A of FC5) aan op een van de ASSIGNABLE FOOT
PEDAL-aansluitingen. Als u een functie wilt toewijzen aan het aangesloten pedaal,
selecteert u 'Song A Play/Pause' in de bedieningsdisplay: [MENU]
[Assignable].
Voetschakelaars/voetregelaars aansluiten (ASSIGNABLE FOOT PEDAL-
aansluitingen)
Sluit de pedalen niet aan en koppel ze
niet los als het instrument aan staat.
OPMERKING
FC4AFC5FC7
Raadpleeg de Naslaggids op de website
voor een lijst met de functies die u aan
de pedalen kunt toewijzen.
OPMERKING

Genos Gebruikershandleiding 111
Aansluitingen—Het instrument gebruiken met andere apparaten
U kunt een USB-flashstation aansluiten op de [USB TO DEVICE]-aansluiting en de gegevens die u op het instrument
hebt gemaakt, opslaan naar het station (pagina 37).
USB-apparaten aansluiten ([USB TO DEVICE]-aansluiting)
Voorzorgsmaatregelen tijdens het gebruik van de [USB TO DEVICE]-aansluiting
Dit instrument heeft een ingebouwde [USB TO DEVICE]-aansluiting. Ga voorzichtig om met het USB-apparaat tijdens
het aansluiten op deze aansluiting. Volg de onderstaande belangrijke voorzorgsmaatregelen.
-Compatibele USB-apparaten
• USB-flashstation
Andere USB-apparaten zoals een USB-hub, computer-
toetsenbord of muis kunnen niet worden gebruikt.
Het instrument ondersteunt niet noodzakelijkerwijs alle
commercieel beschikbare USB-apparaten. Yamaha kan
de werking niet garanderen van USB-apparaten die
u aanschaft. Ga voordat u een USB-apparaat aanschaft
voor gebruik met dit instrument naar de volgende
webpagina:
http://download.yamaha.com/
Hoewel USB-apparaten 1.1 tot 3.0 op dit instrument
kunnen worden gebruikt, kan de hoeveelheid tijd voor het
opslaan op of het laden van het USB-apparaat verschillen
naargelang het type gegevens of de status van het
instrument.
-USB-apparaat aansluiten
Zorg als u een USB-apparaat aansluit op de [USB TO
DEVICE]-aansluiting, dat u de juiste aansluiting op het
apparaat gebruikt en in de juiste richting aansluit.
-USB-flashstations gebruiken
Als u het instrument aansluit op een USB-flashstation,
kunt u het aangesloten apparaat gebruiken voor zowel het
opslaan van de door u gemaakte gegevens als het lezen
van opgeslagen gegevens.
-Aantal USB-flashstations dat kan worden
gebruikt
Er kan slechts één USB-flashstation worden aangesloten
op elk van de [USB TO DEVICE]-aansluitingen.
-Een USB-flashstation formatteren
U mag het USB-flashstation alleen met dit instrument
formatteren (pagina 112). Een USB-flashstation dat met
een ander apparaat is geformatteerd, werkt mogelijk
niet goed.
-Uw gegevens beveiligen (schrijfbeveiliging)
Gebruik de schrijfbeveiliging van elk USB-flashstation
om te voorkomen dat belangrijke gegevens onopzettelijk
worden gewist. Als u gegevens op het apparaat wilt
opslaan, moet schrijfbeveiliging zijn uitgeschakeld.
-Het instrument uitschakelen
Controleer bij het uitschakelen van het instrument of het
instrument GEEN gebruik maakt van het USB-
flashstation door afspelen/opnemen of bestandsbeheer
(zoals opslaan, kopiëren, verwijderen en formatteren).
Anders kunnen het apparaat en de gegevens beschadigd
raken.
Zie de gebruiksaanwijzing bij het USB-apparaat voor meer informatie over het omgaan met USB-apparaten.
OPMERKING
De USB-aansluiting [TO DEVICE] heeft een maximum nominaal vermogen
van 5V/500mA. Sluit geen USB-apparaten aan met een hoger nominaal
vermogen, aangezien u daarmee het instrument zelf kunt beschadigen.
OPMERKING
• Sluit het USB-apparaat niet aan en koppel het niet los tijdens
afspelen/opnemen en bestandsbeheer (zoals opslaan,
kopiëren, verwijderen en formatteren), of wanneer het USB-
apparaat wordt gebruikt. Anders kan het instrument 'blijven
hangen' of kunnen het USB-apparaat en de gegevens
beschadigd raken.
• Als u het USB-apparaat aansluiten en weer loskoppelt
(of omgekeerd), moet u enkele seconden wachten tussen
de twee handelingen.
LET OP
• Gebruik bij het aansluiten van een USB-apparaat geen verlengsnoer.
OPMERKING
Door te formatteren, worden alle bestaande gegevens
overschreven. Zorg ervoor dat het apparaat dat u formatteert
geen belangrijke gegevens bevat. Ga voorzichtig te werk, vooral
als u meerdere USB-flashstations hebt aangesloten.
LET OP

112 Genos Gebruikershandleiding
Een USB-flashstation of het interne gebruikersstation formatteren
Voor het formatteren van een USB-flashstation of het interne gebruikersstation voert u de
handeling Format uit. Als u een USB-flashstation wilt formatteren, moet u eerst
controleren of er een USB-flashstation op de juiste manier is aangesloten op de [USB TO
DEVICE]-aansluiting.
1
Sluit het USB-flashstation dat u wilt formatteren aan op de
[USB TO DEVICE]-aansluiting.
2
Roep de bedieningsdisplay op via [MENU]
[Utility]
[Storage].
3
Tik in de lijst met apparaten op de naam van het gewenste
station dat u wilt formatteren.
De aanduiding USB 1, USB 2, enz. wordt weergegeven, afhankelijk van het
nummer dat is toegewezen aan het aangesloten apparaat.
4
Tik op [Format] om het apparaat te formatteren.
Door een smart toestel, zoals een iPhone of iPad, op het instrument aan te sluiten, kunt
u het gebruiken voor diverse muzikale doeleinden. Met de handige functies in de
toepassingsprogramma's op uw smart toestel kunt u nog meer plezier hebben van uw
instrument.
U kunt verbindingen maken met een van de volgende methoden.
• Aansluiten via de draadloosnetwerkfunctie (*1).
• Sluit aan op de [USB TO HOST]-aansluiting via een draadloze MIDI-adapter:
UD-BT01 (*2)
• Sluit aan op de MIDI-aansluitingen via een draadloze MIDI-adapter: MD-BT01 (*2)
*1 Afhankelijk van uw regio is de draadloosnetwerkfunctie mogelijk niet meegeleverd.
*2 Deze accessoires worden afzonderlijk verkocht, maar zijn mogelijk niet beschikbaar in uw regio.
Raadpleeg de 'iPhone/iPad Connection Manual' (Handleiding voor het aansluiten van een
iPhone/iPad) en de Naslaggids op de website voor meer informatie over aansluitingen.
Ga voor meer informatie over compatibele smart apparaten naar de volgende pagina:
https://www.yamaha.com/kbdapps/
Met de formatteerhandeling
worden alle al bestaande
gegevens gewist. Zorg ervoor dat
het USB-flashstation dat
u formatteert geen belangrijke
gegevens bevat. Ga voorzichtig te
werk, vooral als u meerdere USB-
flashstations hebt aangesloten.
LET OP
4
Aansluiten op een iPhone/iPad (functie Wireless LAN, [USB TO HOST]- of
MIDI-aansluiting)
Plaats de iPhone/iPad niet op een
onstabiele plek. Het apparaat zou
kunnen vallen en beschadigd
kunnen raken.
Als u het instrument samen met een
toepassing op uw iPhone/iPad gebruikt,
adviseren we u om op uw iPhone/iPad
eerst de vliegtuigmodus (Airplane) en
vervolgens Wi-Fi in te stellen op ON,
om bijgeluiden als gevolg van
communicatie te vermijden.
LET OP
OPMERKING

Genos Gebruikershandleiding 113
Aansluitingen—Het instrument gebruiken met andere apparaten
Als u een computer op de [USB TO HOST]-aansluiting aansluit, kunt u via MIDI
gegevens uitwisselen tussen het instrument en de computer. Zie 'Computer-related
Operations (Computergerelateerde handelingen)' op de website voor meer informatie over
het gebruik van een computer met dit instrument.
Gebruik de [MIDI]-aansluitingen en standaard MIDI-kabels om externe MIDI-apparaten (keyboard, sequencer enz.) aan
te sluiten.
•
MIDI IN
...............Ontvangt MIDI-berichten van een ander MIDI-apparaat. Er zijn twee poorten (A, B) en elk
ervan kan MIDI-boodschappen over 16 kanalen ontvangen.
•
MIDI OUT
..........Verzendt door de Genos gegenereerde MIDI-berichten naar een ander MIDI-apparaat.
Er zijn twee poorten (A, B) die elk MIDI-boodschappen over 16 kanalen kunnen verzenden.
De MIDI-instellingen, zoals zend- en ontvangstkanalen, op het instrument kunnen worden
ingesteld via [MENU]
[MIDI]. Raadpleeg de Naslaggids op de website voor meer
informatie.
Aansluiten op een computer ([USB TO HOST]-aansluiting)
Gebruik een USB-kabel van het
type AB die niet langer is dan 3
meter. U kunt geen USB 3.0-
kabels gebruiken.
• Als u het instrument via een USB-
kabel aansluit op uw computer, maakt
u een directe verbinding zonder een
USB-hub te gebruiken.
• Korte tijd nadat de USB-aansluiting is
gemaakt, begint het instrument met
zenden.
• Raadpleeg de gebruikershandleiding
van de sequencesoftware voor meer
informatie over het instellen van de
desbetreffende software.
LET OP
OPMERKING
Type A
Type B
USB-kabel
Externe MIDI-apparaten aansluiten ([MIDI]-aansluitingen)
MIDI IN
MIDI-verzending
MIDI OUT-
MIDI-ontvangst
MIDI IN
MIDI OUT-
MIDI-apparaat
Zie 'MIDI Basics' (te downloaden van de
website) voor een algemeen overzicht
en aanwijzingen voor een doeltreffend
gebruik van MIDI.
OPMERKING

114 Genos Gebruikershandleiding
Functielijst
In deze sectie wordt eenvoudig en kort uitgelegd wat u kunt doen in de displays die worden opgeroepen door op
de knoppen op het paneel te drukken of door op de pictogrammen in de Menu-display te tikken.
Raadpleeg de hieronder aangegeven pagina of de Naslaggids op de website voor meer informatie.
De indicatie '
-
' geeft aan dat de gedetailleerde informatie wordt beschreven in de Naslaggids.
Displays die toegankelijk zijn via de paneelknoppen
Functies van de Menu-display
Display Knop voor toegang Omschrijving Pagina
Naslaggids
Home [HOME] Startscherm van de displaystructuur van het instrument, waarin
u in één oogopslag informatie over alle huidige instellingen ziet. 30 -
Menu [MENU] Door op de pictogrammen te tikken, kunt u de menu's oproepen
voor de onderstaande functies. 33 -
Style Selection [STYLE] Voor het selecteren van stijlbestanden. 44 -
Voice Part Setup [VOICE] Voor gedetailleerde instellingen, zoals Voice Edit en
effectinstellingen van de keyboardgedeelten. --
Song Playback [SONG] Hiermee regelt u het afspelen van een song. 72, 78 -
Playlist [PLAYLIST] Voor het selecteren en bewerken van playlists, en het beheren van
uw repertoire. 96 -
Song Recording [RECORDING] Voor het opnemen van uw spel. 90 -
Voice Selection VOICE SELECT [LEFT]–
[RIGHT 3] Voor het toewijzen van voices aan elk van de keyboardgedeelten. 52 -
Multi Pad
Selection
MULTI PAD CONTROL
[SELECT] Voor het selecteren van Multi Pads. 59 -
Registration
Memory Bank
Selection
REGISTRATION BANK [-]/[+]
Voor het selecteren van Registration Memory-banks. 94 -
Registration
Memory window [MEMORY] Voor het registreren van de huidige paneelinstellingen. 93 -
Menu Omschrijving Pagina
Naslaggids
Mixer
Voor het aanpassen van parameters voor elke partij, zoals volume, pan, en EQ.
U kunt ook algemene geluidsregelaars, zoals Master Compressor en Master EQ,
aanpassen.
86 -
Channel On/Off Voor het in- en uitschakelen van elk kanaal van de stijl en de MIDI-song. - -
Line Out Bepaalt welke aansluiting wordt gebruikt voor de uitvoer van elke partij en elk
drum- en percussie-instrument. --
Score Hiermee geeft u de muzieknotatie (score) van de huidige MIDI-song weer. 83 -
Lyrics Voor het weergeven van de songtekst van de huidige song. 84 -
Text Viewer Hiermee geeft u tekstbestanden weer die u op uw computer hebt gemaakt. - -
Mic Setting Hiermee geeft u instellingen voor het microfoongeluid op. 107 -
Voc al Harmony Hiermee voegt u Vocal Harmony-effecten toe aan uw zang. U kunt de Vocal
Harmony bewerken en als uw originele harmony opslaan. 76 -
Kbd Harmony/Arp Hiermee voegt u het Harmony/Arpeggio-effect toe aan het rechterhandgedeelte
van het keyboard. U kunt parameters zoals Harmony/Arpeggio-type instellen. 56 -
Split & Fingering Voor het instellen van het splitpunt of het wijzigen van het vingerzettingstype en
het akkoorddetectiegebied.
46, 49,
51 -
Regist Sequence Hiermee bepaalt u de volgorde waarin de Registration Memory-instellingen
worden opgeroepen wanneer het pedaal worden gebruikt. --
Regist Freeze Bepaalt welke items ongewijzigd blijven, ook als u paneelsetups oproept uit het
registratiegeheugen. --
Tempo
Hiermee past u het tempo van MIDI-songs, stijlen en de metronoom aan. U kunt
in de display op dezelfde manier te werk gaan als met de knoppen Tempo [-]/[+]
en [TAP TEMPO].
46 -
Metronome Voor instellingen van de metronoom en de knop [TAP TEMPO]. 41 -
Live Control Bepaalt de functies die zijn toegewezen aan de LIVE CONTROL-knoppen en -
schuifregelaars. 62 -
Assignable Bepaalt de functies die zijn toegewezen aan de pedalen, toewijsbare knoppen en
de sneltoetsen op de Home-display. 63, 100 -

Genos Gebruikershandleiding 115
Functielijst
* Dit pictogram wordt alleen weergegeven als er de draadloze functie is meegeleverd.
Panel Lock Voor het vergrendelen van de paneelinstellingen. Als de paneelinstellingen zijn
vergrendeld, gebeurt er niets, ook niet als u op paneelknoppen drukt. 41 -
Demo Hiermee roept u de Demo-display op. 36 -
Voice Edit
Voor het bewerken van de presetvoices, zodat u zelf voices kunt maken. De
display verschilt naargelang een Organ Flutes-voice of een andere voice is
geselecteerd.
--
Style Creator Voor het maken van een stijl door de presetstijl te bewerken of afzonderlijke
stijlkanalen op te nemen. --
Song Recording Voor het opnemen van uw spel. (Dit is hetzelfde als de knop [RECORDING] op
het paneel.) 90 -
M.Pad Creator Voor het maken van een Multi Pad door een bestaande preset Multi Pad te
bewerken of een nieuwe op te nemen. --
Voice Setting
Bepaalt de gedetailleerde instellingen van de keyboardgedeelten, zoals de
toonhoogte voor elk gedeelte, Voice Set-filter en instellingen met betrekking tot
Super Articulation-voices.
--
Style Setting Voor het opgeven van instellingen met betrekking tot het afspelen van stijlen,
zoals synchronisatie van de OTS-koppeling, dynamiekregeling enzovoort. --
Song Setting Voor instellingen met betrekking tot het afspelen van songs, zoals de gidsfunctie,
kanaalinstellingen enz. --
Chord Tutor Geeft aan hoe u akkoorden speelt die overeenkomen met de opgegeven
akkoordnamen. --
Tunin g Voor het fijnregelen van de toonhoogte van het totale instrument en het instellen
van het type stemming. --
Transpose Hiermee transponeert u de toonhoogte van het totale geluid in stappen van halve
noten of alleen het geluid van het keyboard of de MIDI-song. 61 -
Keyboard/Joystick Bepaalt de aanslagrespons van het keyboard en instellingen met betrekking tot
de joystick. --
Expansion
Voor het installeren van uitbreidingspakketten met extra inhoud die zijn
gedownload van de website of zelf zijn gemaakt met de Yamaha Expansion
Manager.
--
MIDI Voor het opgeven van MIDI-gerelateerde instellingen. - -
Utility
Voor algemene instellingen, het beheren van de USB-flashstations, het
initialiseren van het instrument op de standaardfabrieksinstellingen, of het maken
van een back-up van de gegevens in het instrument enz.
101 -
Time Hiermee stelt u de tijd in die op de display wordt weergegeven. - -
Wireless LAN* Voor instellingen voor het aansluiten op het instrument op een smart toestel zoals
een iPad via de draadloosnetwerkfunctie. --
Menu Omschrijving Pagina
Naslaggids

116 Genos Gebruikershandleiding
De optionele luidsprekers installeren
Controleer of alle onderstaande onderdelen zijn meegeleverd, inclusief het
luidsprekerpakket GNS-MS01.
1
Schakel de Genos uit en koppel het netsnoer los. Zorg er ook
voor dat het keyboard is losgekoppeld van alle andere externe
apparaten.
2
Steek de twee luidsprekerbeugels in het achterpaneel van
de Genos.
3
Bevestig de satellietluidsprekers aan de linker- en
rechterbeugel.
4
Gebruik de telefoonkabels om de luidsprekers aan te sluiten op
de respectievelijke uitgangen van de Genos.
Het maakt niet uit welke kabel u met welke uitgangsaansluiting gebruikt.
Appendix
Gebruik uitsluitend de
meegeleverde kabels.
LET OP
Satellietluidsprekers
(2)
Subwoofer
luidspreker (1)
Luidsprekerbeugels
(2)
Netsnoer (1)Telefoonkabel (2) 8-pins mini DIN-
kabel (1)
De beugels zijn onderling uitwisselbaar
en kunnen op beide plaatsen worden
bevestigd.
OPMERKING
Gebruik de buitenste
sleuven (zoals
aangegeven).
De satellietluidsprekers zijn onderling
uitwisselbaar en kunnen op beide
plaatsen worden geïnstalleerd.
OPMERKING
Plaats de luidspreker
op de beugel.
Pas de richting van de luidspreker naar wens
aan en bevestig deze dan stevig aan de beugel.

Genos Gebruikershandleiding 117
De optionele luidsprekers installeren
5
Gebruik de 8-pins mini DIN-kabel om de subwoofer aan te
sluiten op de Genos.
6
Sluit het meegeleverde netsnoer aan op de subwoofer.
7
Sluit stekkers van de Genos en de subwoofer aan op een
geschikt stopcontact.
8
Stel eerst de volumeregelaars (MASTER VOLUME op de Genos
en MAIN VOLUME op de subwoofer) in op het minimum.
9
Zet de Genos en vervolgens de subwoofer aan.
10
Stel de volumeregelaars in (MASTER VOLUME op de Genos en
MAIN VOLUME op de subwoofer) op geschikte niveaus.
Genos Subwoofer
Genos (Achterpaneel)Subwoofer
Zet de Genos aan.
Genos (Voorpaneel)Subwoofer

118 Genos Gebruikershandleiding
Direct Access-overzicht
Druk op de knop [DIRECT ACCESS] en vervolgens op een van de hieronder vermelde knoppen (of beweeg een knop,
schuifregelaar of joystick) om de gewenste display op te roepen.
Besturing Display, opgeroepen met de functie Direct Access (Rechtstreekse toegang)
STYLE
ACMP
Menu
Split Point &
Fingering ---
AUTO FILL IN
OTS LINK Style Setting Setting - -
BREAK
Mixer
Effect Style -
INTRO 1
Pan Volume Style
Pan
INTRO 2 Pan
INTRO 3 Volume
MAIN A Filter Style Resonance
MAIN B Cutoff
MAIN C Chorus Reverb Style Chorus
MAIN D Reverb
ENDING 1 EQ Style High
ENDING 2 Low
ENDING 3 Compressor Master -
SYNC START Split Point &
Fingering ---
SYNC STOP Style Setting Setting - -
START/STOP
SONG A
PLAY/PAUSE
Menu Song Setting Play - -
PREV
NEXT
SONG B
PLAY/PAUSE
PREV
NEXT
SONG A/SONG B CROSS FADER
RECORDING Guide - -
TIMING
TAP TEM PO Menu Metronome Tap Tempo - -
TEMPO + Menu Style Setting ---
TEMPO -
TRANSPOSE TRANSPOSE + Menu Transpose ---
TRANSPOSE -
UPPER OCTAVE UPPER OCTAVE + Menu Voice Setting Tune - -
UPPER OCTAVE -
ROTARY SP/ASSIGNABLE Menu Assignable - - Rotary Sp/
Assignable
MIC VOCAL HARMONY Menu Vocal Harmony ---
TALK Mic Setting ---
DIRECT ACCESS -----
ART
1
Menu Assignable - -
Pedal 1
2Pedal 2
3Pedal 3
MODULATION HOLD -----
JOYSTICK JOYSTICK X Menu Keyboard/Joystick Joystick - -
JOYSTICK Y Keyboard/Joystick Joystick - -
KNOB
1
Menu Live Control - -
Knob 1
2Knob 2
3Knob 3
4Knob 4
5Knob 5
6Knob 6
ASSIGN Knob 1
SLIDER
1
Menu Live Control - -
Slider 1
2Slider 2
3Slider 3
4Slider 4
5Slider 5
6Slider 6
7Slider 7
8Slider 8
9Slider 9
ASSIGN Slider 1
ONE TOUCH
SETTING
1
(Stijlselectie) -- Style Information -
2
3
4

Genos Gebruikershandleiding 119
Direct Access-overzicht
MULTI PAD
MULTI PAD
SELECT (Multi Pad-selectie) -- Multi Pad Edit Multi Pad 1
STOP Multi Pad 1
1
(Multi Pad-selectie) -- Multi Pad Edit
Multi Pad 1
2Multi Pad 2
3Multi Pad 3
4Multi Pad 4
ENTER -----
EXIT Home - - - -
DIAL -----
INC -----
DEC -----
VOICE
PART SELECT
LEFT
Menu
Voice Setting Voice Set Filter
LEFT
-
PART SELECT R1 R1
PART SELECT R2 R2
PART SELECT R3 R3
PART ON/OFF
LEFT LEFT
PART ON/OFF R1 R1
PART ON/OFF R2 R2
PART ON/OFF R3 R3
LEFT HOLD Split Point &
Fingering ---
SUSTAIN Mixer Chorus Reverb Panel -
HARMONY/
ARPEGGIO
Keyboard Harmony/
Arpeggio ---
HOME -----
MENU -----
STYLE -----
VOICE -----
SONG -----
PLAYLIST -----
ASSIGNABLE
A
Menu Assignable - -
Assignable A
BAssignable B
CAssignable C
DAssignable D
EAssignable E
FAssignable F
REGISTRATION
MEMORY
REGIST BANK +
Menu
Registration
Sequence ---
REGIST BANK - Registration
Sequence ---
FREEZE Registration Freeze ---
MEMORY Registration
Sequence ---
1
Registration-
bankselectie - - Registration Bank
Information -
2
3
4
5
6
7
8
9
10
ASSIGNABLE
FOOT PEDAL
1
Menu Assignable - -
Pedal 1
2Pedal 2
3Pedal 3
Besturing Display, opgeroepen met de functie Direct Access (Rechtstreekse toegang)

120 Genos Gebruikershandleiding
Problemen oplossen
Algemeen
Er is een klik of plop te horen als het
instrument wordt aan- of uitgezet.
Dit is normaal. Het instrument wordt voorzien van elektrische stroom.
Het instrument wordt automatisch
uitgeschakeld.
Dit is normaal en is het gevolg van de automatische uitschakelfunctie. Stel indien nodig
de parameter van de automatische uitschakelfunctie in (pagina 24).
Er komen vreemde geluiden uit het
instrument.
Er zijn bijgeluiden hoorbaar als er een mobiele telefoon in de buurt van het instrument
wordt gebruikt of als de telefoon overgaat. Zet de mobiele telefoon uit of gebruik deze op
grotere afstand van het instrument.
Er komt ruis uit de luidsprekers van het
instrument of de hoofdtelefoon wanneer
u het instrument samen met een iPhone-/
iPad-app gebruikt.
Als u het instrument samen met een iPhone-/iPad-app gebruikt, adviseren we u om de
modus Airplane op uw iPhone/iPad in te stellen op ON, om bijgeluiden als gevolg van
communicatie te vermijden.
De LCD bevat enkele puntjes die altijd of
nooit branden.
Dit probleem doet zich af en toe voor in TFT-LCD's. Het wordt veroorzaakt door defecte
pixels maar vermindert de goede werking niet.
Er is een klein verschil in geluidskwaliteit
tussen verschillende gespeelde noten op het
keyboard.
Dit is normaal en is een gevolg van het samplingsysteem van het instrument.
Sommige voices hebben een herhalend
geluid.
Er is wat ruis of vibrato merkbaar bij de
hogere toonhoogten, afhankelijk van de voice.
Het totale volume is te laag of er is geen
geluid te horen.
Het hoofdvolume kan te laag zijn ingesteld. Stel het in op een passend niveau met de
[MASTER VOLUME]-draaiknop.
Alle keyboardgedeelten zijn uitgeschakeld. Druk op de PART ON/OFF [RIGHT 1]/
[RIGHT 2]/[RIGHT 3]/[LEFT]-knop om de desbetreffende gedeelten in te schakelen
(pagina 48).
Het volume van de afzonderlijke parts kan ook te laag zijn ingesteld. Verhoog het volume
via de Mixer-display (pagina 86).
Zorg ervoor dat het gewenste kanaal aanstaat in de Mixer-display (pagina 88).
Er is een hoofdtelefoon aangesloten, waardoor de luidsprekers worden uitgeschakeld.
Haal de hoofdtelefoon los.
Sluit de voetschakelaar aan op de juiste aansluiting.
Controleer of de externe luidspreker is aangesloten en of de volumeregelaar goed is
ingesteld (pagina 108, 116).
Het geluid klinkt vervormd of ruist. Het volume kan te hoog zijn gezet. Zorg ervoor dat alle relevante volume-instellingen
passend zijn.
Dit kan worden veroorzaakt door bepaalde effecten of filterresonantie-instellingen.
Controleer het effect of de filterinstellingen en stel ze in de Mixer-display correct in.
Raadpleeg daarbij de Naslaggids op de website.
Niet alle tegelijkertijd gespeelde noten
klinken.
Mogelijk wordt de maximale polyfonie van het instrument overschreden. Als de maximale
polyfonie wordt overschreden, vallen eerst de minst belangrijke noten weg (zoals zachte
noten en momenteel wegstervende noten).
Het keyboardvolume is lager dan het volume
waarmee de stijl/song wordt afgespeeld.
Het volume van de keyboardgedeelten is mogelijk te laag ingesteld. Verhoog het volume
via de Mixer-display (pagina 86).
De hoofddisplay verschijnt niet, zelfs niet als
het instrument wordt aangezet.
Dit probleem kan optreden als een USB-flashstation is geïnstalleerd in het instrument.
Installatie van sommige USB-flashstations kan resulteren in een lang interval tussen het
moment waarop het instrument wordt aangezet en het verschijnen van de Home-display.
U kunt dit voorkomen door het instrument aan te zetten nadat u het apparaat hebt
losgekoppeld.
Sommige tekens van de naam van
bestanden/mappen zijn onleesbaar.
De taalinstellingen zijn gewijzigd. Stel de juiste taal in voor de naam van het bestand/de
map (pagina 24).

Genos Gebruikershandleiding 121
Problemen oplossen
Een bestaand bestand wordt niet
weergegeven.
Mogelijk is de bestandsextensie (.MID enz.) gewijzigd of gewist. Hernoem het bestand
handmatig op een computer, waarbij u ervoor zorgt de juiste extensie te gebruiken.
Gegevensbestanden waarvan de naam langer is dan 50 tekens kunnen niet worden
gebruikt op het instrument. Hernoem het bestand en zorg ervoor dat de naam 50 tekens
of minder bevat.
Stijl
De stijl wordt niet gestart, zelfs niet nadat op
de knop [START/STOP] is gedrukt.
Mogelijk bevat het ritmekanaal van de geselecteerde stijl geen gegevens. Zet de knop
[ACMP] aan en speel de linkerhandsectie op het keyboard om de begeleidingspart van
de stijl af te spelen.
Alleen het ritmekanaal speelt. Controleer of Automatische begeleiding is ingeschakeld; druk op de knop [ACMP].
Zorg dat u toetsen bespeelt in het akkoordgedeelte van het keyboard.
Stijlen op een USB-flashstation kunnen niet
worden geselecteerd.
Bij een grote gegevensomvang (ongeveer 120 Kb of groter), kan de stijl niet worden
geselecteerd omdat de gegevens te groot zijn om te kunnen worden gelezen door het
instrument.
Het afspelen van de stijl lijkt 'over te slaan'
als het keyboard wordt bespeeld.
Mogelijk wordt de maximale polyfonie van het instrument overschreden. Het instrument
kan maximaal 256 noten tegelijkertijd spelen, inclusief de noten voor de voices RIGHT 1/
RIGHT 2/RIGHT 3/LEFT, de stijl, de song en Multi Pad. Als de maximale polyfonie wordt
overschreden, vallen eerst de minst belangrijke noten weg (zoals zachte noten en
momenteel wegstervende noten).
Style verandert niet wanneer u een ander
akkoord speelt of er wordt helemaal geen
akkoord herkend.
Zorg dat noten speelt in het linkerhandgedeelte van het keyboard.
Voice
De voice die in de display voor voiceselectie
is geselecteerd, wordt niet weergegeven.
Controleer of de geselecteerde part wel is aangezet (pagina 48).
Er doet zich een 'flanging' of 'verdubbeling'
van het geluid voor. Het geluid is steeds iets
verschillend, elke keer dat er toetsen worden
gespeeld.
De gedeelten RIGHT 1 en RIGHT 2 zijn ingesteld op 'ON' en beide gedeelten zijn
ingesteld op het afspelen van dezelfde voice. Schakel het gedeelte RIGHT 2 uit of wijzig
de voice van een van beide gedeelten.
Het geluid is steeds iets verschillend, elke
keer dat er toetsen worden gespeeld.
Wanneer het MIDI OUT-signaal van de Genos naar een sequencer en vandaar weer
terug naar de MIDI IN loopt, is het verstandig om de instelling Local Control op de pagina
System van de display MIDI in te stellen op 'off' (raadpleeg de Naslaggids op de
website).
Sommige voices verspringen een octaaf in
toonhoogte als er in de hogere of lagere
registers gespeeld wordt.
Dit is normaal. Sommige voices hebben een toonhoogtegrens die, als deze bereikt
wordt, dit soort toonhoogteverschuiving veroorzaakt.
Song
Er kunnen geen MIDI-songs worden
geselecteerd.
Als de songgegevens groot zijn (ongeveer 300 Kb of groter), kan de song niet worden
geselecteerd omdat de gegevens te groot zijn om te kunnen worden gelezen door het
instrument.
In de modus Dual Player kunnen er niet twee MIDI-songs worden geselecteerd voor
SONG A en SONG B. Selecteer voor een van beide een audiosong.
MIDI-songs kunnen niet worden afgespeeld tijdens MIDI-opnames. Stop de MIDI-
opname als u een MIDI-song wilt afspelen.
Er kunnen geen audiosongs worden
geselecteerd.
Mogelijk is de bestandsindeling niet compatibel met het instrument. Compatibele
indelingen zijn: MP3 en WAV. Bestanden met DRM-beveiliging kunnen niet worden
afgespeeld.
Het geluid van een song is te laag of een
song is niet hoorbaar.
Controleer de positie van de Cross Fader. Als de Cross Fader is ingesteld op de
rechterpositie, kunt u de song van de SONG A-zijde niet horen. In dat geval stelt u de
Cross Fader in op de middenpositie.
Het afspelen van de song wordt niet gestart. De song is gestopt aan het eind van de songgegevens. Keer terug naar het begin van de
song door op de knop SONG [PREV] te drukken.
Het volume voor het afspelen van een song
verschilt afhankelijk van de geselecteerde
song.
Het volume van MIDI-songs en audiosongs wordt apart ingesteld. Pas het volume aan in
de Mixer-display (pagina 86) nadat u een voice hebt geselecteerd.

122 Genos Gebruikershandleiding
(MIDI)
Het maatnummer verschilt van dat van de
muzieknotatie in de display Song Position,
die wordt weergegeven door de [PREV]/
[NEXT]-knoppen ingedrukt te houden.
Dit gebeurt als muziekgegevens worden teruggespeeld waarvoor een bepaald, vast
tempo is ingesteld.
(MIDI)
Bij het afspelen van een song worden
sommige kanalen niet weergegeven.
Mogelijk is het terugspelen van deze kanalen uitgeschakeld. Zet het terugspelen aan
voor de kanalen die zijn ingesteld op 'OFF' (pagina 88).
(MIDI)
Het tempo, de tel, de maat en de
muzieknotatie worden niet juist
weergegeven.
Sommige songgegevens voor het instrument zijn opgenomen met speciale instellingen
voor 'free tempo' (vrij tempo). Voor dergelijke songgegevens worden het tempo, de tel,
de maat en de muzieknotatie niet goed weergegeven.
(Audio)
Een opgenomen bestand wordt afgespeeld
met een ander volume dan het
opnamevolume.
Het volume voor het afspelen van audiobestanden is gewijzigd. Stel het volume in op
90 als u het bestand wilt afspelen met het opnamevolume (pagina 86).
In de functie Audio Recording wordt een
foutmelding weergegeven en de audio kan
niet op het interne gebruikersstation worden
opgenomen.
De gegevens op het gebruikersstation zijn gefragmenteerd en kunnen zo niet worden
gebruikt. Aangezien de Audio Recording geen defragmenteerfunctie kent, kan de schijf
alleen worden gedefragmenteerd door formatteren. Maak hiervoor eerst een back-up van de
gegevens met de gegevensback-upfunctie (pagina 105), formatteer vervolgens het station
en zet ten slotte de back-upgegevens terug. Het uitvoeren van deze back-up-/
terugzetbewerking defragmenteert de schijf effectief, waardoor u deze weer kunt gebruiken.
Mengpaneel
Het geluid klinkt vreemd of anders dan ik had
verwacht bij het veranderen van ritme-voice
(drumkit enz.) van de stijl of song van de
Mixer.
Bij het veranderen van ritme/percussie-voices (drumkits enz.) van de stijl en song via de
parameter VOICE worden de gedetailleerde instellingen met betrekking tot de drum-
voice opnieuw ingesteld. In enkele gevallen kan het onmogelijk zijn het originele geluid te
herstellen. U kunt het originele geluid herstellen door dezelfde song of stijl opnieuw te
selecteren.
Microphone/Vocal Harmony
Het microfooningangssignaal kan niet
worden opgenomen.
Het microfooningangssignaal kan niet worden opgenomen tijdens een MIDI-opname.
Neem op met audio-opname (pagina 91).
Naast het microfoongeluid kunnen tevens
Harmony-geluiden worden gehoord.
Vocal Harmony is ingeschakeld. Zet Vocal Harmony uit (pagina 85).
De Vocal Harmony-effectgeluiden vervormen
of klinken ontstemd.
Het kan zijn dat uw zangmicrofoon vreemde geluiden oppikt, zoals het stijlgeluid van het
instrument. Met name basgeluiden kunnen de Vocal Harmony misleiden. U kunt dit als
volgt verhelpen:
• Zing zo dicht mogelijk bij de microfoon.
• Gebruik een richtingsgevoelige microfoon.
• Verlaag het hoofd-, stijl- of songvolume (pagina 23, 86).
• Houd de microfoon zo ver mogelijk bij de externe luidsprekers van het instrument
vandaan.
Het Vocal Harmony-effect wordt niet
toegepast, zelfs al is het ingeschakeld.
In de akkoordmodus wordt Vocal Harmony alleen toegevoegd wanneer akkoorden
worden gedetecteerd. Probeer het volgende:
• Schakel de knop [ACMP ON/OFF] in en speel akkoorden in de akkoordsectie tijdens
het afspelen van een stijl.
• Schakel het linkerhandgedeelte in en speel akkoorden op de linkerhandsectie.
• Speel een song af die akkoorden bevat.
• Stel de 'Stop ACMP'-parameter in op iets anders dan 'Disabled' via [MENU]
[Style
Setting]
[Setting]. Raadpleeg de Naslaggids op de website voor meer informatie.
ASSIGNABLE FOOT PEDAL-aansluitingen
De aan/uit-instelling van de voetschakelaar
die op de ASSIGNABLE FOOT PEDAL-
aansluiting is aangesloten, is omgedraaid.
Zet het instrument uit en zet het weer aan, waarbij u ervoor zorgt dat u niet op de
voetschakelaar drukt.
AUX IN-aansluitingen
Geluidinvoer in de AUX IN-aansluitingen
wordt onderbroken.
Het uitvoervolume van het externe apparaat dat is aangesloten op dit instrument, is te laag.
Verhoog het uitvoervolume van het externe apparaat. Het volumeniveau dat via dit
instrument wordt gereproduceerd, kunt u aanpassen met de draaiknop [MASTER VOLUME].

Genos Gebruikershandleiding 123
Specificaties
Specificaties
Productnaam Digital Keyboard
Grootte/gewicht Afmetingen (B x D x H) 1234 mm x 456 mm x 138 mm (48-9/16 inch x 17-15/16 inch x 5-7/16 inch)
Gewicht 13,0 kg
Besturingsinterface
Keyboard Aantal toetsen 76
Type Organ (FSX), Initial Touch/Aftertouch
Touch Response
(aanslagrespons)
Normal, Easy1, Easy2, Soft1, Soft2, Hard1, Hard2
Andere regelaars Joystick Ja
Knoppen 6 (toewijsbaar)
Schuifregelaars 9 (toewijsbaar), Cross Fader
Articulatieschakelaars ART. 1, ART. 2, ART. 3
Hoofddisplay Type VGA TFT breed kleuren-LCD
Afmetingen 800 x 480 dots
9-inch
Aanraakscherm Ja
Taal Engels, Duits, Frans, Spaans en Italiaans
Subdisplay Type OLED (LIVE CONTROL-weergave)
Afmetingen 589 x 48 dots
Taal Engels
Paneel Taal Engels
Voices Toongeneratie Klankopwekkingstechno-
logie
AWM-stereosampling, AEM-technologie
Polyfonie 256 (max.)
(128 voor presetvoices + 128 voor uitbreidingsvoices)
Preset Aantal voices 1652 voices + 58 drum-/SFX-kits
Beschikbare voices 10 Revo! Drums/SFX, 76 Ensemble, 390 Super Articulation!,
75 Super Articulation2!, 82 MegaVoice, 40 Sweet!,
81 Cool!, 160 Live!, 24 Organ Flutes!
Compatibiliteit XG, GS, GM, GM2
(voor het afspelen van songs)
Gedeelten Right 1, Right 1, Right 3, Left.
Effecten Reverb 59 preset + 3 gebruiker
Chorus 107 preset + 3 gebruiker
DSP Variatie: 358 preset (met VCM) + 3 gebruiker
Insertion 1–28: 358 preset (met VCM) + 10 gebruiker
Master Compressor 5 preset + 5 gebruiker
Master-EQ 5 preset + 2 gebruiker
Part EQ 28 partijen
Vocal Harmony 54 preset + 60 gebruiker (*)
* Het gebruikersnummer is het totaal van Vocal Harmony en Synth Vocoder.
Synth Vocoder 20 preset + 60 gebruiker (*)
* Het gebruikersnummer is het totaal van Vocal Harmony en Synth Vocoder.
Overig Microfooneffect: Noise Gate, Compressor, 3-bands EQ
Vocal Effect: 23
Stijlen Preset Aantal stijlen 550
Speciale stijlen 491 Pro, 39 Session, 10 Free Play, 10 DJ
Vingerzetting Single Finger, Fingered, Fingered On Bass, Multi Finger, AI Fingered,
Full Keyboard, AI Full Keyboard
Stijlregelaar INTRO x 3, MAIN VARIATION x 4, FILL x 4, BREAK, ENDING x 3
Overige eigenschappen One Touch Setting
(OTS)
4 voor elke stijl
Compatibiliteit Style File Format (SFF), Style File Format GE (SFF GE)
Uitbreidings-
mogelijkheden
Expansion-voice Ja (ongeveer 1,8 GB).
Uitbreidingsstijl Ja (intern geheugen)
Uitbreidingsaudiostijl Ja (intern geheugen)
Songs (MIDI) Preset Aantal presetsongs 9 demosongs, 11 presetsongs
Opname Aantal tracks 16
Gegevenscapaciteit ongeveer 300 kB per song
Functie Quick Recording, Multi Track Recording, Step Recording
Notatie Afspelen SMF (indeling 0, indeling 1), XF
Opname SMF (indeling 0)
Songs (audio) Opname Gegevenscapaciteit ongeveer 0,8 GB (80 minuten) per song
Notatie Afspelen WAV (44,1kHz, 16bit, stereo), MP3 (44,1kHz, 64/96/128/256/320kbps, stereo)
Opname WAV (44,1kHz, 16-bits, stereo)
Afspelen (Multi) .aud (Genos origineel: 44,1 kHz samplefrequentie, 16-bits resolutie, stereo)
Opnemen (Multi) .aud (Genos origineel: 44,1 kHz samplefrequentie, 16-bits resolutie, stereo)
Time Stretch (afspeelsnelheid aanpassen) Ja
Pitch Shift (toonhoogteverschuiving) Ja
Vocal Cancel (stempartij annuleren) Ja

124 Genos Gebruikershandleiding
* De inhoud van deze handleiding geldt voor de meest recente specificaties op de datum dat de handleiding werd gepubliceerd. Voor de meest recente
handleiding gaat u naar de website van Yamaha, waar u het bestand met de handleiding kunt downloaden. Aangezien specificaties, apparatuur en
afzonderlijk verkochte accessoires kunnen verschillen per gebied, kunt u het beste contact opnemen met uw Yamaha-leverancier.
Multi Pads Aantal Multi Pad-banken 448 banken x 4 pads
Audio Link Ja
Functies Voices Harmony Ja
Arpeggio Ja
Paneelsustain Ja
Mono/Poly Ja
Stijlen Style Creator Ja
OTS-informatie Ja
Songs
Bladmuziekweergavefunctie
Ja
Songtekstweergavefunctie
Ja
Les/gids Follow Lights (lichten volgen), Any Key, Karao-Key, Your Tempo
Multi Pads Multi Pad Creator Ja
Registratiegeheugen Aantal knoppen 10
Besturing Registratiesequence, Freeze
Playlist Aantal records 2500 (max.) records per playlistbestand
Zoeken Registratiebank
Demo Ja
Totaalregelaars Metronoom Ja
Tempobereik 5 – 500, Tap Tempo
Transponeren -12 – 0 – +12
Tuning (stemming) 414,8 – 440,0 – 466,8 Hz (in stappen van circa 0,2 Hz)
Octave-knop Ja
Toonschaaltype 9 typen
Overig Rechtstreekse toegang Ja
Tekst-/afbeeldingsweer-
gavefunctie
Ja
Aanpasbare achtergrond Ja
Opslag en
aansluitingen
Opslag Intern geheugen
(Gebruikersstation)
Ja (ongeveer 58 GB)
Externe stations USB-flashstation
Aansluitingen Hoofdtelefoon Standaard-stereotelefoonaansluiting (PHONES)
Microfoon Ja (combo-aansluiting), fantoomvoeding (+48V) beschikbaar
MIDI MIDI A (IN/OUT), MIDI B (IN/OUT)
AUX IN L/L+R, R
LINE OUT MAIN (L/L+R, R), SUB (1, 2), SUB (3, 4/AUX OUT)
DIGITAL OUT (Audio) Ja (coaxiaal)
FOOT PEDAL 1 (SUSTAIN), 2 (ART.1), 3 (VOLUME), functie toewijsbaar
USB TO DEVICE Ja (x 3)
USB TO HOST Ja
Wireless LAN Ja (*)
• Standaarden:
IEEE802.11b/g/n (IEEE802.11n 5GHz: niet compatibel)
• Bereik van zendfrequentie (kanalen):
Modellen voor Verenigde Staten en Canada: 2400–2472 MHz (kanaal 1–11)
Overige: 2400–2483.5 MHz (kanaal 1–13)
• Maximum RF-uitgangsvermogen: 14 dBm
• Beveiliging:
WEP, WPA2-PSK(AES), WPA/WPA2 gemengd PSK
* Wordt mogelijk niet meegeleverd in uw regio. Neem hiervoor contact op met uw Yamaha-dealer.
Voe ding Automatisch uitschakelen Ja
Meegeleverde accessoires • Gebruikershandleiding
• Online Member Product Registration (Online registratie van lid en product)
• Netsnoer
• Muziekstandaard, twee beugels voor muziekstandaard
Afzonderlijk verkrijgbare accessoires
(mogelijk niet beschikbaar in uw regio.)
• Optionele luidspreker: GNS-MS01
• Hoofdtelefoon: HPH-50, HPH-100, HPH-150
• Voetschakelaar: FC4A, FC5
• Voetregelaar: FC7
• Draadloze MIDI-adapter: UD-BT01, MD-BT01
• Keyboardstandaard: L-7B

Genos Gebruikershandleiding 125
Index
Index
A
Aanraakscherm............................... 34
Aansluiting .................................... 106
A-B Repeat ..................................... 80
AC IN .............................................. 23
Accessoires....................................... 9
Action (Actie) (playlist) .................... 97
Afspelen (Multi Pad)........................ 70
Afspelen (Song) .............................. 78
Afspelen (Stijl)................................. 64
Afspelen/pauzeren .......................... 78
AI Full Keyboard ............................. 46
Akkoorddetectiegebied ................... 51
Arpeggio.......................................... 57
ASSIGNABLE-knoppen ................ 100
Audio Link Multi Pad ....................... 59
Audiosong ....................................... 72
Automatisch uitschakelen ......... 24, 25
Automatische spaarstand ......... 24, 25
AUX IN .......................................... 109
B
Back-up......................................... 105
Begeleiding ..................................... 44
Bestand........................................... 32
Break (stijl) ...................................... 65
Bijpassend akkoord......................... 70
C
Character Entry............................... 40
Chordal ........................................... 76
Chorus ............................................ 87
Close............................................... 33
Compatibiliteit van songbestanden .... 73
Compressor .................................. 102
Computer ...................................... 113
Computer-related Operations
(Computergerelateerde
handelingen)................................ 10
Copy (kopiëren) .............................. 38
Cross Fader .................................... 85
D
Datalijst ........................................... 10
Demo .............................................. 36
DIGITAL OUT ............................... 109
Display voor bestandsselectie ........ 32
Draaiknop Data ............................... 35
Dual Player ......................... 16, 73, 78
E
Effect............................................... 87
Ending (stijl) .................................... 64
Ensemblevoice................................ 54
EQ (Master EQ) ............................ 102
EQ (voor elke partij) ........................ 87
F
Fabrieksinstellingen terugzetten ... 104
Fade In/Out (infaden/uitfaden) ........ 65
Favoriet..................................... 32, 39
Fill-in (stijl)....................................... 65
Filter ................................................ 87
Fingered.......................................... 46
Frasemarkering............................... 79
G
Gatewayknoppen ............................ 28
H
Harmonie (Keyboard Harmony) ...... 56
Harmonie (Vocal Harmony) ...... 76, 85
Home-display ............................ 28, 30
Hoofddisplay ............................. 26, 28
Hoofdtelefoon.................................. 22
I
Intro (stijl) ........................................ 64
iPhone/iPad................................... 112
iPhone/iPad Connection Manual
(Handleiding voor het aansluiten
van een iPhone/iPad) .................. 10
J
Joystick ........................................... 66
K
Kanaal (stijl, MIDI-song).................. 88
Keyboard Harmony ......................... 56
Keyboardgedeelte..................... 16, 48
Knoptoewijzingstype ................. 27, 62
L
Language ........................................ 24
Layer ............................................... 48
LED (Lighting-knoppen) .................. 25
Left Hold.......................................... 49
Lighting-knoppen ...................... 25, 26
LINE OUT ..................................... 108
LIVE CONTROL-knoppen............... 62
LIVE CONTROL-schuifregelaars.... 62
LIVE CONTROL-weergave....... 26, 27
Loop-afspelen ................................. 82
LOWER........................................... 48
Lower .............................................. 51
Lyrics (Songteksten) ....................... 84
M
Main (stijl)........................................ 65
Manual Bass ................................... 51
Map................................................. 38
Master Compressor ...................... 102
Master-EQ..................................... 102
Mengpaneel .................................... 86
Menu....................................... 33, 114
Metronome...................................... 41
Microfoon .......................... 21, 85, 106
Microfooneffect ............................... 16
MIDI ...................................... 112, 113
MIDI-song ....................................... 72
Modulation ...................................... 66
MODULATION HOLD ..................... 66
MP3................................................. 73
Multi Pad............................. 16, 59, 70
Muzieknotatie.................................. 83
Muziekstandaard............................. 20
N
Naslaggids ...................................... 10
Notatie........................................... 112
O
One Touch Setting.................... 47, 60
Opname .................................... 17, 90
Optionele luidsprekers .................. 116
Organ Flutes-voice.......................... 53
OTS Link......................................... 65
Owner Name................................... 24
P
Pan (pannen) .................................. 87
Panel Lock ...................................... 41
Parameter Lock............................. 101
Pitch Bend (Toonbuiging) ............... 66
Playlist................................. 17, 92, 96
Playlistrecord .................................. 96
Preset.............................................. 32
Problemen oplossen ..................... 120

126 Genos Gebruikershandleiding
R
Rechtstreekse toegang ........... 36, 118
Recordnaam (playlist) ..................... 97
Registratiegeheugen................. 17, 92
Registratiesequence ....................... 31
Registration Memory-bank........ 31, 92
Rename (naam wijzigen) ................ 38
Reverb ............................................ 87
Revo Drum, Revo SFX-voice.......... 52
Rotary Sp/Assignable ..................... 63
S
S.Art, S.Art2
(Super Articulation)-voice ............ 52
Save (opslaan)................................ 37
Schuifregelaartoewijzingstype...... 27, 62
Score............................................... 83
Snel terugspoelen ........................... 78
Sneltoets ................................. 30, 100
Song.......................................... 16, 72
Song List ............................. 16, 73, 78
Songpositiemarker .......................... 81
Specificaties.................................. 123
Split ................................................. 48
Split Point (splitpunt) ....................... 49
Style .......................................... 16, 44
Super Articulation-voice .................. 67
Sustain ............................................ 67
Synchro Start (MIDI-song) .............. 79
Synchro Start (Multi Pad)................ 71
Synchro Start (stijl).......................... 64
Synchro Stop (stijl).......................... 64
Synth Vocoder ................................ 77
T
Talk ................................................. 85
TAP TEMPO ................................... 46
Tekst ............................................... 84
TEMPO ........................................... 46
Terugzetten................................... 105
Time Stretch
(afspeelsnelheid aanpassen)....... 80
Toonhoogteverschuiving................. 80
TRANSPOSE.................................. 61
Tuning (stemming) .......................... 61
U
Uitbreidingspakketten ................... 103
UPPER............................................ 48
Upper .............................................. 51
UPPER OCTAVE............................ 61
USB-flashstation ........................... 111
User (Gebruiker) ............................. 32
V
Verplaatsen..................................... 38
Verwijderen ..................................... 39
Vingerzettingstype .......................... 46
Vocal Cancel
(stempartij annuleren).................. 80
Vocal Harmony ......................... 76, 85
Vocoder........................................... 76
Vocoder-mono ................................ 76
Voeding........................................... 23
Voetmaat......................................... 53
Voetregelaar ........................... 63, 110
Voetschakelaar ....................... 63, 110
Voice ................................... 16, 52, 89
Voice Part Setup (display) .............. 29
Volgende......................................... 78
Volume (mastervolume).................. 23
Volume (voor elke partij) ................. 87
Vooruitspoelen ................................ 78
Vorige.............................................. 78
W
WAV................................................ 73
Wireless LAN ................................ 112
Z
Zoeken ............................................ 39

Genos Gebruikershandleiding 127
Notities

128 Genos Gebruikershandleiding
GNU GENERAL PUBLIC LICENSE
Version 2, June 1991
Copyright © 1989, 1991 Free Software Foundation, Inc., 51 Franklin Street, Fifth Floor, Boston, MA 02110-1301 USA
Everyone is permitted to copy and distribute verbatim copies of this license document, but changing it is not allowed.
Preamble
The licenses for most software are designed to take away your freedom to
share and change it. By contrast, the GNU General Public License is
intended to guarantee your freedom to share and change free software—to
make sure the software is free for all its users. This General Public License
applies to most of the Free Software Foundation’s software and to any other
program whose authors commit to using it. (Some other Free Software
Foundation software is covered by the GNU Lesser General Public License
instead.) You can apply it to your programs, too.
When we speak of free software, we are referring to freedom, not price. Our
General Public Licenses are designed to make sure that you have the
freedom to distribute copies of free software (and charge for this service if
you wish), that you receive source code or can get it if you want it, that you
can change the software or use pieces of it in new free programs; and that
you know you can do these things.
To protect your rights, we need to make restrictions that forbid anyone to
deny you these rights or to ask you to surrender the rights. These restrictions
translate to certain responsibilities for you if you distribute copies of the
software, or if you modify it.
For example, if you distribute copies of such a program, whether gratis or for
a fee, you must give the recipients all the rights that you have. You must
make sure that they, too, receive or can get the source code. And you must
show them these terms so they know their rights.
We protect your rights with two steps: (1) copyright the software, and (2) offer
you this license which gives you legal permission to copy, distribute and/or
modify the software.
Also, for each author's protection and ours, we want to make certain that
everyone understands that there is no warranty for this free software. If the
software is modified by someone else and passed on, we want its recipients
to know that what they have is not the original, so that any problems
introduced by others will not reflect on the original authors’ reputations.
Finally, any free program is threatened constantly by software patents. We
wish to avoid the danger that redistributors of a free program will individually
obtain patent licenses, in effect making the program proprietary. To prevent
this, we have made it clear that any patent must be licensed for everyone’s
free use or not licensed at all.
The precise terms and conditions for copying, distribution and modification
follow.
GNU GENERAL PUBLIC LICENSE
TERMS AND CONDITIONS FOR
COPYING, DISTRIBUTION AND
MODIFICATION
0.
This License applies to any program or other work which contains a
notice placed by the copyright holder saying it may be distributed under
the terms of this General Public License. The “Program”, below, refers to
any such program or work, and a “work based on the Program” means
either the Program or any derivative work under copyright law: that is to
say, a work containing the Program or a portion of it, either verbatim or
with modifications and/or translated into another language. (Hereinafter,
translation is included without limitation in the term “modification”.) Each
licensee is addressed as “you”.
Activities other than copying, distribution and modification are not
covered by this License; they are outside its scope. The act of running
the Program is not restricted, and the output from the Program is
covered only if its contents constitute a work based on the Program
(independent of having been made by running the Program). Whether
that is true depends on what the Program does.
1.
You may copy and distribute verbatim copies of the Program’s source
code as you receive it, in any medium, provided that you conspicuously
and appropriately publish on each copy an appropriate copyright notice
and disclaimer of warranty; keep intact all the notices that refer to this
License and to the absence of any warranty; and give any other
recipients of the Program a copy of this License along with the Program.
You may charge a fee for the physical act of transferring a copy, and you
may at your option offer warranty protection in exchange for a fee.
2.
You may modify your copy or copies of the Program or any portion of it,
thus forming a work based on the Program, and copy and distribute
such modifications or work under the terms of Section 1 above, provided
that you also meet all of these conditions:
a)
You must cause the modified files to carry prominent notices stating
that you changed the files and the date of any change.
b)
You must cause any work that you distribute or publish, that in whole
or in part contains or is derived from the Program or any part thereof,
to be licensed as a whole at no charge to all third parties under the
terms of this License.
c)
If the modified program normally reads commands interactively when
run, you must cause it, when started running for such interactive use
in the most ordinary way, to print or display an announcement
including an appropriate copyright notice and a notice that there is no
warranty (or else, saying that you provide a warranty) and that users
may redistribute the program under these conditions, and telling the
user how to view a copy of this License. (Exception: if the Program
itself is interactive but does not normally print such an
announcement, your work based on the Program is not required to
print an announcement.)
These requirements apply to the modified work as a whole. If identifiable
sections of that work are not derived from the Program, and can be
reasonably considered independent and separate works in themselves,
then this License, and its terms, do not apply to those sections when
you distribute them as separate works. But when you distribute the
same sections as part of a whole which is a work based on the Program,
the distribution of the whole must be on the terms of this License, whose
permissions for other licensees extend to the entire whole, and thus to
each and every part regardless of who wrote it.
Thus, it is not the intent of this section to claim rights or contest your
rights to work written entirely by you; rather, the intent is to exercise the
right to control the distribution of derivative or collective works based on
the Program.
In addition, mere aggregation of another work not based on the Program
with the Program (or with a work based on the Program) on a volume of
a storage or distribution medium does not bring the other work under the
scope of this License.
3.
You may copy and distribute the Program (or a work based on it, under
Section 2) in object code or executable form under the terms of Sections
1 and 2 above provided that you also do one of the following:
a)
Accompany it with the complete corresponding machine- readable
source code, which must be distributed under the terms of Sections 1
and 2 above on a medium customarily used for software interchange;
or,
b)
Accompany it with a written offer, valid for at least three years, to give
any third party, for a charge no more than your cost of physically
performing source distribution, a complete machine- readable copy of
the corresponding source code, to be distributed under the terms of
Sections 1 and 2 above on a medium customarily used for software
interchange; or,
c)
Accompany it with the information you received as to the offer to
distribute corresponding source code. (This alternative is allowed
only for noncommercial distribution and only if you received the
program in object code or executable form with such an offer, in
accord with Subsection b above.)
The source code for a work means the preferred form of the work for
making modifications to it. For an executable work, complete source
code means all the source code for all modules it contains, plus any
associated interface definition files, plus the scripts used to control
compilation and installation of the executable. However, as a special
exception, the source code distributed need not include anything that is
normally distributed (in either source or binary form) with the major
components (compiler, kernel, and so on) of the operating system on
which the executable runs, unless that component itself accompanies
the executable.
If distribution of executable or object code is made by offering access to
copy from a designated place, then offering equivalent access to copy
the source code from the same place counts as distribution of the
source code, even though third parties are not compelled to copy the
source along with the object code.

Genos Gebruikershandleiding 129
4.
You may not copy, modify, sublicense, or distribute the Program except
as expressly provided under this License. Any attempt otherwise to
copy, modify, sublicense or distribute the Program is void, and will
automatically terminate your rights under this License. However, parties
who have received copies, or rights, from you under this License will not
have their licenses terminated so long as such parties remain in full
compliance.
5.
You are not required to accept this License, since you have not signed it.
However, nothing else grants you permission to modify or distribute the
Program or its derivative works. These actions are prohibited by law if
you do not accept this License. Therefore, by modifying or distributing
the Program (or any work based on the Program), you indicate your
acceptance of this License to do so, and all its terms and conditions for
copying, distributing or modifying the Program or works based on it.
6.
Each time you redistribute the Program (or any work based on the
Program), the recipient automatically receives a license from the original
licensor to copy, distribute or modify the Program subject to these terms
and conditions. You may not impose any further restrictions on the
recipients’ exercise of the rights granted herein. You are not responsible
for enforcing compliance by third parties to this License.
7.
If, as a consequence of a court judgment or allegation of patent
infringement or for any other reason (not limited to patent issues),
conditions are imposed on you (whether by court order, agreement or
otherwise) that contradict the conditions of this License, they do not
excuse you from the conditions of this License. If you cannot distribute
so as to satisfy simultaneously your obligations under this License and
any other pertinent obligations, then as a consequence you may not
distribute the Program at all. For example, if a patent license would not
permit royalty-free redistribution of the Program by all those who receive
copies directly or indirectly through you, then the only way you could
satisfy both it and this License would be to refrain entirely from
distribution of the Program.
If any portion of this section is held invalid or unenforceable under any
particular circumstance, the balance of the section is intended to apply
and the section as a whole is intended to apply in other circumstances.
It is not the purpose of this section to induce you to infringe any patents
or other property right claims or to contest validity of any such claims;
this section has the sole purpose of protecting the integrity of the free
software distribution system, which is implemented by public license
practices. Many people have made generous contributions to the wide
range of software distributed through that system in reliance on
consistent application of that system; it is up to the author/donor to
decide if he or she is willing to distribute software through any other
system and a licensee cannot impose that choice.
This section is intended to make thoroughly clear what is believed to be
a consequence of the rest of this License.
8.
If the distribution and/or use of the Program is restricted in certain
countries either by patents or by copyrighted interfaces, the original
copyright holder who places the Program under this License may add an
explicit geographical distribution limitation excluding those countries, so
that distribution is permitted only in or among countries not thus
excluded. In such case, this License incorporates the limitation as if
written in the body of this License.
9.
The Free Software Foundation may publish revised and/or new versions
of the General Public License from time to time. Such new versions will
be similar in spirit to the present version, but may differ in detail to
address new problems or concerns.
Each version is given a distinguishing version number. If the Program
specifies a version number of this License which applies to it and “any
later version”, you have the option of following the terms and conditions
either of that version or of any later version published by the Free
Software Foundation. If the Program does not specify a version number
of this License, you may choose any version ever published by the Free
Software Foundation.
10.
If you wish to incorporate parts of the Program into other free programs
whose distribution conditions are different, write to the author to ask for
permission. For software which is copyrighted by the Free Software
Foundation, write to the Free Software Foundation; we sometimes make
exceptions for this. Our decision will be guided by the two goals of
preserving the free status of all derivatives of our free software and of
promoting the sharing and reuse of software generally.
NO WARRANTY
11.
BECAUSE THE PROGRAM IS LICENSED FREE OF CHARGE,
THERE IS NO WARRANTY FOR THE PROGRAM, TO THE EXTENT
PERMITTED BY APPLICABLE LAW. EXCEPT WHEN OTHERWISE
STATED IN WRITING THE COPYRIGHT HOLDERS AND/OR OTHER
PARTIES PROVIDE THE PROGRAM “AS IS” WITHOUT WARRANTY
OF ANY KIND, EITHER EXPRESSED OR IMPLIED, INCLUDING, BUT
NOT LIMITED TO, THE IMPLIED WARRANTIES OF
MERCHANTABILITY AND FITNESS FOR A PARTICULAR PURPOSE.
THE ENTIRE RISK AS TO THE QUALITY AND PERFORMANCE OF
THE PROGRAM IS WITH YOU. SHOULD THE PROGRAM PROVE
DEFECTIVE, YOU ASSUME THE COST OF ALL NECESSARY
SERVICING, REPAIR OR CORRECTION.
12.
IN NO EVENT UNLESS REQUIRED BY APPLICABLE LAW OR
AGREED TO IN WRITING WILL ANY COPYRIGHT HOLDER, OR ANY
OTHER PARTY WHO MAY MODIFY AND/OR REDISTRIBUTE THE
PROGRAM AS PERMITTED ABOVE, BE LIABLE TO YOU FOR
DAMAGES, INCLUDING ANY GENERAL, SPECIAL, INCIDENTAL OR
CONSEQUENTIAL DAMAGES ARISING OUT OF THE USE OR
INABILITY TO USE THE PROGRAM (INCLUDING BUT NOT LIMITED
TO LOSS OF DATA OR DATA BEING RENDERED INACCURATE OR
LOSSES SUSTAINED BY YOU OR THIRD PARTIES OR A FAILURE
OF THE PROGRAM TO OPERATE WITH ANY OTHER PROGRAMS),
EVEN IF SUCH HOLDER OR OTHER PARTY HAS BEEN ADVISED
OF THE POSSIBILITY OF SUCH DAMAGES.
END OF TERMS AND CONDITIONS
How to Apply These Terms to Your New
Programs
If you develop a new program, and you want it to be of the greatest possible
use to the public, the best way to achieve this is to make it free software
which everyone can redistribute and change under these terms.
To do so, attach the following notices to the program. It is safest to attach
them to the start of each source file to most effectively convey the exclusion
of warranty; and each file should have at least the “copyright” line and a
pointer to where the full notice is found.
<one line to give the program’s name and a brief idea of what it does.>
Copyright © <year> <name of author>
This program is free software; you can redistribute it and/or modify it
under the terms of the GNU General Public License as published by the
Free Software Foundation; either version 2 of the License, or (at your
option) any later version.
This program is distributed in the hope that it will be useful, but
WITHOUT ANY WARRANTY; without even the implied warranty of
MERCHANTABILITY or FITNESS FOR A PARTICULAR PURPOSE.
See the GNU General Public License for more details.
You should have received a copy of the GNU General Public License
along with this program; if not, write to the Free Software Foundation,
Inc., 51 Franklin Street, Fifth Floor, Boston, MA 02110-1301 USA.
Also add information on how to contact you by electronic and paper mail.
If the program is interactive, make it output a short notice like this when it
starts in an interactive mode:
Gnomovision version 69, Copyright © year name of author
Gnomovision comes with ABSOLUTELY NO WARRANTY; for details
type ‘show w’. This is free software, and you are welcome to redistribute
it under certain conditions; type ‘show c’ for details.
The hypothetical commands ‘show w’ and ‘show c’ should show the
appropriate parts of the General Public License. Of course, the commands
you use may be called something other than ‘show w’ and ‘show c’; they
could even be mouse-clicks or menu items—whatever suits your program.
You should also get your employer (if you work as a programmer) or your
school, if any, to sign a “copyright disclaimer” for the program, if necessary.
Here is a sample; alter the names:
Yoyodyne, Inc., hereby disclaims all copyright interest in the program
‘Gnomovision’ (which makes passes at compilers) written by James
Hacker.
<signature of Ty Coon>, 1 April 1989
Ty Coon, President of Vice
This General Public License does not permit incorporating your program into
proprietary programs. If your program is a subroutine library, you may
consider it more useful to permit linking proprietary applications with the
library. If this is what you want to do, use the GNU Lesser General Public
License instead of this License.

130 Genos Gebruikershandleiding
GNU LESSER GENERAL PUBLIC LICENSE
Version 2.1, February 1999
Copyright © 1991, 1999 Free Software Foundation, Inc., 51 Franklin Street, Fifth Floor, Boston, MA 02110-1301 USA
Everyone is permitted to copy and distribute verbatim copies of this license document, but changing it is not allowed.
[This is the first released version of the Lesser GPL.
It also counts as the successor of the GNU Library Public License, version 2, hence the version number 2.1.]
Preamble
The licenses for most software are designed to take away your freedom to
share and change it. By contrast, the GNU General Public Licenses are
intended to guarantee your freedom to share and change free software— to
make sure the software is free for all its users.
This license, the Lesser General Public License, applies to some specially
designated software packages—typically libraries—of the Free Software
Foundation and other authors who decide to use it. You can use it too, but
we suggest you first think carefully about whether this license or the
ordinary General Public License is the better strategy to use in any
particular case, based on the explanations below.
When we speak of free software, we are referring to freedom of use, not
price. Our General Public Licenses are designed to make sure that you
have the freedom to distribute copies of free software (and charge for this
service if you wish); that you receive source code or can get it if you want it;
that you can change the software and use pieces of it in new free programs;
and that you are informed that you can do these things.
To protect your rights, we need to make restrictions that forbid distributors to
deny you these rights or to ask you to surrender these rights. These
restrictions translate to certain responsibilities for you if you distribute copies
of the library or if you modify it.
For example, if you distribute copies of the library, whether gratis or for a
fee, you must give the recipients all the rights that we gave you. You must
make sure that they, too, receive or can get the source code. If you link other
code with the library, you must provide complete object files to the
recipients, so that they can relink them with the library after making changes
to the library and recompiling it. And you must show them these terms so
they know their rights.
We protect your rights with a two-step method: (1) we copyright the library,
and (2) we offer you this license, which gives you legal permission to copy,
distribute and/or modify the library.
To protect each distributor, we want to make it very clear that there is no
warranty for the free library. Also, if the library is modified by someone else
and passed on, the recipients should know that what they have is not the
original version, so that the original author’s reputation will not be affected
by problems that might be introduced by others.
Finally, software patents pose a constant threat to the existence of any free
program. We wish to make sure that a company cannot effectively restrict
the users of a free program by obtaining a restrictive license from a patent
holder. Therefore, we insist that any patent license obtained for a version of
the library must be consistent with the full freedom of use specified in this
license.
Most GNU software, including some libraries, is covered by the ordinary
GNU General Public License. This license, the GNU Lesser General Public
License, applies to certain designated libraries, and is quite different from
the ordinary General Public License. We use this license for certain libraries
in order to permit linking those libraries into non-free programs.
When a program is linked with a library, whether statically or using a shared
library, the combination of the two is legally speaking a combined work, a
derivative of the original library. The ordinary General Public License
therefore permits such linking only if the entire combination fits its criteria of
freedom. The Lesser General Public License permits more lax criteria for
linking other code with the library.
We call this license the “Lesser” General Public License because it does
Less to protect the user’s freedom than the ordinary General Public License.
It also provides other free software developers Less of an advantage over
competing non-free programs. These disadvantages are the reason we use
the ordinary General Public License for many libraries. However, the Lesser
license provides advantages in certain special circumstances.
For example, on rare occasions, there may be a special need to encourage
the widest possible use of a certain library, so that it becomes a de-facto
standard. To achieve this, non-free programs must be allowed to use the
library. A more frequent case is that a free library does the same job as
widely used non-free libraries. In this case, there is little to gain by limiting
the free library to free software only, so we use the Lesser General Public
License.
In other cases, permission to use a particular library in non-free programs
enables a greater number of people to use a large body of free software. For
example, permission to use the GNU C Library in non-free programs
enables many more people to use the whole GNU operating system, as well
as its variant, the GNU/Linux operating system.
Although the Lesser General Public License is Less protective of the users’
freedom, it does ensure that the user of a program that is linked with the
Library has the freedom and the wherewithal to run that program using a
modified version of the Library.
The precise terms and conditions for copying, distribution and modification
follow. Pay close attention to the difference between a “work based on the
library” and a “work that uses the library”. The former contains code derived
from the library, whereas the latter must be combined with the library in
order to run.
GNU LESSER GENERAL PUBLIC
LICENSE
TERMS AND CONDITIONS FOR
COPYING, DISTRIBUTION AND
MODIFICATION
0.
This License Agreement applies to any software library or other
program which contains a notice placed by the copyright holder or
other authorized party saying it may be distributed under the terms of
this Lesser General Public License (also called “this License”). Each
licensee is addressed as “you”.
A “library” means a collection of software functions and/or data
prepared so as to be conveniently linked with application programs
(which use some of those functions and data) to form executables.
The “Library”, below, refers to any such software library or work which
has been distributed under these terms. A “work based on the Library”
means either the Library or any derivative work under copyright law:
that is to say, a work containing the Library or a portion of it, either
verbatim or with modifications and/or translated straightforwardly into
another language. (Hereinafter, translation is included without limitation
in the term “modification”.)
“Source code” for a work means the preferred form of the work for
making modifications to it. For a library, complete source code means
all the source code for all modules it contains, plus any associated
interface definition files, plus the scripts used to control compilation and
installation of the library.
Activities other than copying, distribution and modification are not
covered by this License; they are outside its scope. The act of running
a program using the Library is not restricted, and output from such a
program is covered only if its contents constitute a work based on the
Library (independent of the use of the Library in a tool for writing it).
Whether that is true depends on what the Library does and what the
program that uses the Library does.
1.
You may copy and distribute verbatim copies of the Library’s complete
source code as you receive it, in any medium, provided that you
conspicuously and appropriately publish on each copy an appropriate
copyright notice and disclaimer of warranty; keep intact all the notices
that refer to this License and to the absence of any warranty; and
distribute a copy of this License along with the Library.
You may charge a fee for the physical act of transferring a copy, and
you may at your option offer warranty protection in exchange for a fee.
2.
You may modify your copy or copies of the Library or any portion of it,
thus forming a work based on the Library, and copy and distribute such
modifications or work under the terms of Section 1 above, provided that
you also meet all of these conditions:
a)
The modified work must itself be a software library.
b)
You must cause the files modified to carry prominent notices stating
that you changed the files and the date of any change.
c)
You must cause the whole of the work to be licensed at no charge to
all third parties under the terms of this License.

Genos Gebruikershandleiding 131
d)
If a facility in the modified Library refers to a function or a table of data
to be supplied by an application program that uses the facility, other
than as an argument passed when the facility is invoked, then you
must make a good faith effort to ensure that, in the event an
application does not supply such function or table, the facility still
operates, and performs whatever part of its purpose remains
meaningful.
(For example, a function in a library to compute square roots has a
purpose that is entirely well-defined independent of the application.
Therefore, Subsection 2d requires that any application-supplied
function or table used by this function must be optional: if the
application does not supply it, the square root function must still
compute square roots.)
These requirements apply to the modified work as a whole. If identifiable
sections of that work are not derived from the Library, and can be
reasonably considered independent and separate works in themselves,
then this License, and its terms, do not apply to those sections when
you distribute them as separate works. But when you distribute the
same sections as part of a whole which is a work based on the Library,
the distribution of the whole must be on the terms of this License, whose
permissions for other licensees extend to the entire whole, and thus to
each and every part regardless of who wrote it.
Thus, it is not the intent of this section to claim rights or contest your
rights to work written entirely by you; rather, the intent is to exercise the
right to control the distribution of derivative or collective works based on
the Library.
In addition, mere aggregation of another work not based on the Library
with the Library (or with a work based on the Library) on a volume of a
storage or distribution medium does not bring the other work under the
scope of this License.
3.
You may opt to apply the terms of the ordinary GNU General Public
License instead of this License to a given copy of the Library. To do this,
you must alter all the notices that refer to this License, so that they refer
to the ordinary GNU General Public License, version 2, instead of to this
License. (If a newer version than version 2 of the ordinary GNU General
Public License has appeared, then you can specify that version instead
if you wish.) Do not make any other change in these notices.
Once this change is made in a given copy, it is irreversible for that copy,
so the ordinary GNU General Public License applies to all subsequent
copies and derivative works made from that copy.
This option is useful when you wish to copy part of the code of the
Library into a program that is not a library.
4.
You may copy and distribute the Library (or a portion or derivative of it,
under Section 2) in object code or executable form under the terms of
Sections 1 and 2 above provided that you accompany it with the
complete corresponding machine-readable source code, which must be
distributed under the terms of Sections 1 and 2 above on a medium
customarily used for software interchange.
If distribution of object code is made by offering access to copy from a
designated place, then offering equivalent access to copy the source
code from the same place satisfies the requirement to distribute the
source code, even though third parties are not compelled to copy the
source along with the object code.
5.
A program that contains no derivative of any portion of the Library, but is
designed to work with the Library by being compiled or linked with it, is
called a “work that uses the Library”. Such a work, in isolation, is not a
derivative work of the Library, and therefore falls outside the scope of
this License.
However, linking a “work that uses the Library” with the Library creates
an executable that is a derivative of the Library (because it contains
portions of the Library), rather than a “work that uses the library”. The
executable is therefore covered by this License. Section 6 states terms
for distribution of such executables.
When a “work that uses the Library” uses material from a header file that
is part of the Library, the object code for the work may be a derivative
work of the Library even though the source code is not. Whether this is
true is especially significant if the work can be linked without the Library,
or if the work is itself a library. The threshold for this to be true is not
precisely defined by law.
If such an object file uses only numerical parameters, data structure
layouts and accessors, and small macros and small inline functions (ten
lines or less in length), then the use of the object file is unrestricted,
regardless of whether it is legally a derivative work. (Executables
containing this object code plus portions of the Library will still fall under
Section 6.)
Otherwise, if the work is a derivative of the Library, you may distribute
the object code for the work under the terms of Section 6. Any
executables containing that work also fall under Section 6, whether or
not they are linked directly with the Library itself.
6.
As an exception to the Sections above, you may also combine or link a
“work that uses the Library” with the Library to produce a work
containing portions of the Library, and distribute that work under terms
of your choice, provided that the terms permit modification of the work
for the customer’s own use and reverse engineering for debugging such
modifications.
You must give prominent notice with each copy of the work that the
Library is used in it and that the Library and its use are covered by this
License. You must supply a copy of this License. If the work during
execution displays copyright notices, you must include the copyright
notice for the Library among them, as well as a reference directing the
user to the copy of this License. Also, you must do one of these things:
a)
Accompany the work with the complete corresponding machine-
readable source code for the Library including whatever changes
were used in the work (which must be distributed under Sections 1
and 2 above); and, if the work is an executable linked with the Library,
with the complete machine-readable “work that uses the Library”, as
object code and/or source code, so that the user can modify the
Library and then relink to produce a modified executable containing
the modified Library. (It is understood that the user who changes the
contents of definitions files in the Library will not necessarily be able
to recompile the application to use the modified definitions.)
b)
Use a suitable shared library mechanism for linking with the Library.
A suitable mechanism is one that (1) uses at run time a copy of the
library already present on the user’s computer system, rather than
copying library functions into the executable, and (2) will operate
properly with a modified version of the library, if the user installs one,
as long as the modified version is interface- compatible with the
version that the work was made with.
c)
Accompany the work with a written offer, valid for at least three years,
to give the same user the materials specified in Subsection 6a,
above, for a charge no more than the cost of performing this
distribution.
d)
If distribution of the work is made by offering access to copy from a
designated place, offer equivalent access to copy the above specified
materials from the same place.
e)
Verify that the user has already received a copy of these materials or
that you have already sent this user a copy.
For an executable, the required form of the “work that uses the Library”
must include any data and utility programs needed for reproducing the
executable from it. However, as a special exception, the materials to be
distributed need not include anything that is normally distributed (in
either source or binary form) with the major components (compiler,
kernel, and so on) of the operating system on which the executable
runs, unless that component itself accompanies the executable.
It may happen that this requirement contradicts the license restrictions
of other proprietary libraries that do not normally accompany the
operating system. Such a contradiction means you cannot use both
them and the Library together in an executable that you distribute.
7.
You may place library facilities that are a work based on the Library
side-by-side in a single library together with other library facilities not
covered by this License, and distribute such a combined library,
provided that the separate distribution of the work based on the Library
and of the other library facilities is otherwise permitted, and provided
that you do these two things:
a)
Accompany the combined library with a copy of the same work based
on the Library, uncombined with any other library facilities. This must
be distributed under the terms of the Sections above.
b)
Give prominent notice with the combined library of the fact that part
of it is a work based on the Library, and explaining where to find the
accompanying uncombined form of the same work.
8.
You may not copy, modify, sublicense, link with, or distribute the Library
except as expressly provided under this License. Any attempt otherwise
to copy, modify, sublicense, link with, or distribute the Library is void, and
will automatically terminate your rights under this License. However,
parties who have received copies, or rights, from you under this License
will not have their licenses terminated so long as such parties remain in
full compliance.
9.
You are not required to accept this License, since you have not signed it.
However, nothing else grants you permission to modify or distribute the
Library or its derivative works. These actions are prohibited by law if you
do not accept this License. Therefore, by modifying or distributing the
Library (or any work based on the Library), you indicate your
acceptance of this License to do so, and all its terms and conditions for
copying, distributing or modifying the Library or works based on it.

132 Genos Gebruikershandleiding
10.
Each time you redistribute the Library (or any work based on the
Library), the recipient automatically receives a license from the original
licensor to copy, distribute, link with or modify the Library subject to
these terms and conditions. You may not impose any further restrictions
on the recipients’ exercise of the rights granted herein. You are not
responsible for enforcing compliance by third parties with this License.
11.
If, as a consequence of a court judgment or allegation of patent
infringement or for any other reason (not limited to patent issues),
conditions are imposed on you (whether by court order, agreement or
otherwise) that contradict the conditions of this License, they do not
excuse you from the conditions of this License. If you cannot distribute
so as to satisfy simultaneously your obligations under this License and
any other pertinent obligations, then as a consequence you may not
distribute the Library at all. For example, if a patent license would not
permit royalty-free redistribution of the Library by all those who receive
copies directly or indirectly through you, then the only way you could
satisfy both it and this License would be to refrain entirely from
distribution of the Library.
If any portion of this section is held invalid or unenforceable under any
particular circumstance, the balance of the section is intended to apply,
and the section as a whole is intended to apply in other circumstances.
It is not the purpose of this section to induce you to infringe any patents
or other property right claims or to contest validity of any such claims;
this section has the sole purpose of protecting the integrity of the free
software distribution system which is implemented by public license
practices. Many people have made generous contributions to the wide
range of software distributed through that system in reliance on
consistent application of that system; it is up to the author/donor to
decide if he or she is willing to distribute software through any other
system and a licensee cannot impose that choice.
This section is intended to make thoroughly clear what is believed to be
a consequence of the rest of this License.
12.
If the distribution and/or use of the Library is restricted in certain
countries either by patents or by copyrighted interfaces, the original
copyright holder who places the Library under this License may add an
explicit geographical distribution limitation excluding those countries, so
that distribution is permitted only in or among countries not thus
excluded. In such case, this License incorporates the limitation as if
written in the body of this License.
13.
The Free Software Foundation may publish revised and/or new versions
of the Lesser General Public License from time to time. Such new
versions will be similar in spirit to the present version, but may differ in
detail to address new problems or concerns.
Each version is given a distinguishing version number. If the Library
specifies a version number of this License which applies to it and “any
later version”, you have the option of following the terms and conditions
either of that version or of any later version published by the Free
Software Foundation. If the Library does not specify a license version
number, you may choose any version ever published by the Free
Software Foundation.
14.
If you wish to incorporate parts of the Library into other free programs
whose distribution conditions are incompatible with these, write to the
author to ask for permission. For software which is copyrighted by the
Free Software Foundation, write to the Free Software Foundation; we
sometimes make exceptions for this. Our decision will be guided by the
two goals of preserving the free status of all derivatives of our free
software and of promoting the sharing and reuse of software generally.
NO WARRANTY
15.
BECAUSE THE LIBRARY IS LICENSED FREE OF CHARGE, THERE
IS NO WARRANTY FOR THE LIBRARY, TO THE EXTENT
PERMITTED BY APPLICABLE LAW. EXCEPT WHEN OTHERWISE
STATED IN WRITING THE COPYRIGHT HOLDERS AND/OR OTHER
PARTIES PROVIDE THE LIBRARY “AS IS” WITHOUT WARRANTY OF
ANY KIND, EITHER EXPRESSED OR IMPLIED, INCLUDING, BUT
NOT LIMITED TO, THE IMPLIED WARRANTIES OF
MERCHANTABILITY AND FITNESS FOR A PARTICULAR PURPOSE.
THE ENTIRE RISK AS TO THE QUALITY AND PERFORMANCE OF
TH LIBRARY IS WITH YOU. SHOULD THE LIBRARY PROVE
DEFECTIVE, YOU ASSUME THE COST OF ALL NECESSARY
SERVICING, REPAIR OR CORRECTION.
16.
IN NO EVENT UNLESS REQUIRED BY APPLICABLE LAW OR
AGREED TO IN WRITING WILL ANY COPYRIGHT HOLDER, OR ANY
OTHER PARTY WHO MAY MODIFY AND/OR REDISTRIBUTE THE
LIBRARY AS PERMITTED ABOVE, BE LIABLE TO YOU FOR
DAMAGES, INCLUDING ANY GENERAL, SPECIAL, INCIDENTAL OR
CONSEQUENTIAL DAMAGES ARISING OUT OF THE USE OR
INABILITY TO USE THE LIBRARY (INCLUDING BUT NOT LIMITED
TO LOSS OF DATA OR DATA BEING RENDERED INACCURATE OR
LOSSES SUSTAINED BY YOU OR THIRD PARTIES OR A FAILURE
OF THE LIBRARY TO OPERATE WITH ANY OTHER SOFTWARE),
EVEN IF SUCH HOLDER OR OTHER PARTY HAS BEEN ADVISED
OF THE POSSIBILITY OF SUCH DAMAGES.
END OF TERMS AND CONDITIONS
How to Apply These Terms to Your New
Libraries
If you develop a new library, and you want it to be of the greatest possible
use to the public, we recommend making it free software that everyone can
redistribute and change. You can do so by permitting redistribution under
these terms (or, alternatively, under the terms of the ordinary General Public
License).
To apply these terms, attach the following notices to the library. It is safest to
attach them to the start of each source file to most effectively convey the
exclusion of warranty; and each file should have at least the “copyright” line
and a pointer to where the full notice is found.
<one line to give the library’s name and a brief idea of what it does.>
Copyright © <year> <name of author>
This library is free software; you can redistribute it and/or modify it under
the terms of the GNU Lesser General Public License as published by
the Free Software Foundation; either version 2.1 of the License, or (at
your option) any later version.
This library is distributed in the hope that it will be useful, but WITHOUT
ANY WARRANTY; without even the implied warranty of
MERCHANTABILITY or FITNESS FOR A PARTICULAR PURPOSE.
See the GNU Lesser General Public License for more details.
You should have received a copy of the GNU Lesser General Public
License along with this library; if not, write to the Free Software
Foundation, Inc., 51 Franklin Street, Fifth Floor, Boston, MA 02110-
1301 USA
Also add information on how to contact you by electronic and paper mail.
You should also get your employer (if you work as a programmer) or your
school, if any, to sign a “copyright disclaimer” for the library, if necessary.
Here is a sample; alter the names:
Yoyodyne, Inc., hereby disclaims all copyright interest in the library ‘Frob’
(a library for tweaking knobs) written by James Random Hacker.
<signature of Ty Coon>, 1 April 1990
Ty Coon, President of Vice
That’s all there is to it!
Opmerking over de distributie van de broncode
Tot drie jaar na de eigenlijke verzending door de fabriek kunt u de broncode
verkrijgen van alle delen van het product die onder de GNU General Public
License of GNU Lesser General Public License gelicentieerd zijn na
schriftelijk verzoek aan een van de Yamaha-kantoren op de adressen die
achter in deze Gebruikershandleiding staan vermeld.
De broncode wordt kosteloos ter beschikking gesteld. Yamaha kan u echter
verzoeken de kosten voor het verzenden van de broncode te vergoeden.
• Yamaha kan niet aansprakelijk worden gesteld voor eventuele schade als
gevolg van wijzigingen (toevoegingen/weglatingen) aan de software door
een derde partij, anders dan Yamaha (of een door Yamaha
geautoriseerde partij).
• Hergebruik van broncode die door Yamaha aan het publieke domein werd
vrijgegeven, wordt niet gegarandeerd en Yamaha draagt geen enkele
verantwoordelijkheid voor de broncode.
• U kunt de broncode downloaden van de volgende website:
http://download.yamaha.com/sourcecodes/ekb/

Genos Gebruikershandleiding 133
libpng
This copy of the libpng notices is provided for your convenience. In case of
any discrepancy between this copy and the notices in the file png.h that is
included in the libpng distribution, the latter shall prevail.
COPYRIGHT NOTICE, DISCLAIMER, and LICENSE:
If you modify libpng you may insert additional notices immediately following
this sentence.
This code is released under the libpng license.
libpng versions 1.0.7, July 1, 2000 through 1.6.28, January 5, 2017 are
Copyright (c) 2000-2002, 2004, 2006-2017 Glenn Randers-Pehrson, are
derived from libpng-1.0.6, and are distributed according to the same
disclaimer and license as libpng-1.0.6 with the following individuals added to
the list of Contributing Authors:
Simon-Pierre Cadieux
Eric S. Raymond
Mans Rullgard
Cosmin Truta
Gilles Vollant
James Yu
Mandar Sahastrabuddhe
and with the following additions to the disclaimer:
There is no warranty against interference with your enjoyment of the
library or against infringement. There is no warranty that our efforts or
the library will fulfill any of your particular purposes or needs. This
library is provided with all faults, and the entire risk of satisfactory
quality, performance, accuracy, and effort is with the user.
Some files in the “contrib” directory and some configure-generated files that
are distributed with libpng have other copyright owners and are released
under other open source licenses.
libpng versions 0.97, January 1998, through 1.0.6, March 20, 2000, are
Copyright (c) 1998-2000 Glenn Randers-Pehrson, are derived from libpng-
0.96, and are distributed according to the same disclaimer and license as
libpng-0.96, with the following individuals added to the list of Contributing
Authors:
Tom Lane
Glenn Randers-Pehrson
Willem van Schaik
libpng versions 0.89, June 1996, through 0.96, May 1997, are Copyright (c)
1996-1997 Andreas Dilger, are derived from libpng-0.88, and are distributed
according to the same disclaimer and license as libpng-0.88, with the
following individuals added to the list of Contributing Authors:
John Bowler
Kevin Bracey
Sam Bushell
Magnus Holmgren
Greg Roelofs
Tom Tanner
Some files in the “scripts” directory have other copyright owners but are
released under this license.
libpng versions 0.5, May 1995, through 0.88, January 1996, are Copyright (c)
1995-1996 Guy Eric Schalnat, Group 42, Inc.
For the purposes of this copyright and license, “Contributing Authors” is
defined as the following set of individuals:
Andreas Dilger
Dave Martindale
Guy Eric Schalnat
Paul Schmidt
Tim Wegner
The PNG Reference Library is supplied “AS IS”. The Contributing Authors
and Group 42, Inc. disclaim all warranties, expressed or implied, including,
without limitation, the warranties of merchantability and of fitness for any
purpose. The Contributing Authors and Group 42, Inc. assume no liability for
direct, indirect, incidental, special, exemplary, or consequential damages,
which may result from the use of the PNG Reference Library, even if advised
of the possibility of such damage.
Permission is hereby granted to use, copy, modify, and distribute this source
code, or portions hereof, for any purpose, without fee, subject to the following
restrictions:
1. The origin of this source code must not be misrepresented.
2. Altered versions must be plainly marked as such and must not be
misrepresented as being the original source.
3. This Copyright notice may not be removed or altered from any source
or altered source distribution.
The Contributing Authors and Group 42, Inc. specifically permit, without fee,
and encourage the use of this source code as a component to supporting the
PNG file format in commercial products. If you use this source code in a
product, acknowledgment is not required but would be appreciated.
END OF COPYRIGHT NOTICE, DISCLAIMER, and LICENSE.
TRADEMARK:
The name “libpng” has not been registered by the Copyright owner as a
trademark in any jurisdiction. However, because libpng has been distributed
and maintained world-wide, continually since 1995, the Copyright owner
claims “common-law trademark protection” in any jurisdiction where
common-law trademark is recognized.
OSI CERTIFICATION:
Libpng is OSI Certified Open Source Software. OSI Certified Open Source
is a certification mark of the Open Source Initiative. OSI has not addressed
the additional disclaimers inserted at version 1.0.7.
EXPORT CONTROL:
The Copyright owner believes that the Export Control Classification Number
(ECCN) for libpng is EAR99, which means not subject to export controls or
International Traffic in Arms Regulations (ITAR) because it is open source,
publicly available software, that does not contain any encryption software.
See the EAR, paragraphs 734.3(b)(3) and 734.7(b).
Glenn Randers-Pehrson
glennrp at users.sourceforge.net
January 5, 2017
libuuid
Copyright: 1996, 1997, 1998, 1999, 2007 Theodore Ts’o.
1999 Andreas Dilger (adilger@enel.ucalgary.ca)
Redistribution and use in source and binary forms, with or without
modification, are permitted provided that the following conditions are met:
1. Redistributions of source code must retain the above copyright notice, and
the entire permission notice in its entirety, including the disclaimer of
warranties.
2. Redistributions in binary form must reproduce the above copyright notice,
this list of conditions and the following disclaimer in the documentation
and/or other materials provided with the distribution.
3. The name of the author may not be used to endorse or promote products
derived from this software without specific prior written permission.
THIS SOFTWARE IS PROVIDED “AS IS” AND ANY EXPRESS OR IMPLIED
WARRANTIES, INCLUDING, BUT NOT LIMITED TO, THE IMPLIED
WARRANTIES OF MERCHANTABILITY AND FITNESS FOR A
PARTICULAR PURPOSE, ALL OF WHICH ARE HEREBY DISCLAIMED. IN
NO EVENT SHALL THE AUTHOR BE LIABLE FOR ANY DIRECT,
INDIRECT, INCIDENTAL, SPECIAL, EXEMPLARY, OR CONSEQUENTIAL
DAMAGES (INCLUDING, BUT NOT LIMITED TO, PROCUREMENT OF
SUBSTITUTE GOODS OR SERVICES; LOSS OF USE, DATA, OR
PROFITS; OR BUSINESS INTERRUPTION) HOWEVER CAUSED AND ON
ANY THEORY OF LIABILITY, WHETHER IN CONTRACT, STRICT
LIABILITY, OR TORT (INCLUDING NEGLIGENCE OR OTHERWISE)
ARISING IN ANY WAY OUT OF THE USE OF THIS SOFTWARE, EVEN IF
NOT ADVISED OF THE POSSIBILITY OF SUCH DAMAGE.
libjpeg
This software is based in part on the work of the Independent JPEG Group.
imagemagick
Licensed under the ImageMagick License (the “License”); you may not use
this file except in compliance with the License. You may obtain a copy of the
License at
https://www.imagemagick.org/script/license.php
Unless required by applicable law or agreed to in writing, software distributed
under the License is distributed on an “AS IS” BASIS, WITHOUT
WARRANTIES OR CONDITIONS OF ANY KIND, either express or implied.
See the License for the specific language governing permissions and
limitations under the License.

134 Genos Gebruikershandleiding
FreeType
Portions of this software are copyright © 2016 The FreeType Project
(www.freetype.org). All rights reserved.
ICU
COPYRIGHT AND PERMISSION NOTICE
Copyright © 1991-2016 Unicode, Inc. All rights reserved.
Distributed under the Terms of Use in http://www.unicode.org/copyright.html.
Permission is hereby granted, free of charge, to any person obtaining a copy
of the Unicode data files and any associated documentation (the “Data
Files”) or Unicode software and any associated documentation (the
“Software”) to deal in the Data Files or Software without restriction, including
without limitation the rights to use, copy, modify, merge, publish, distribute,
and/or sell copies of the Data Files or Software, and to permit persons to
whom the Data Files or Software are furnished to do so, provided that either
(a) this copyright and permission notice appear with all copies of the Data
Files or Software, or
(b) this copyright and permission notice appear in associated
Documentation.
THE DATA FILES AND SOFTWARE ARE PROVIDED “AS IS”, WITHOUT
WARRANTY OF ANY KIND, EXPRESS OR IMPLIED, INCLUDING BUT
NOT LIMITED TO THE WARRANTIES OF MERCHANTABILITY, FITNESS
FOR A PARTICULAR PURPOSE AND NONINFRINGEMENT OF THIRD
PA RTY R I G H T S.
IN NO EVENT SHALL THE COPYRIGHT HOLDER OR HOLDERS
INCLUDED IN THIS NOTICE BE LIABLE FOR ANY CLAIM, OR ANY
SPECIAL INDIRECT OR CONSEQUENTIAL DAMAGES, OR ANY
DAMAGES WHATSOEVER RESULTING FROM LOSS OF USE, DATA OR
PROFITS, WHETHER IN AN ACTION OF CONTRACT, NEGLIGENCE OR
OTHER TORTIOUS ACTION, ARISING OUT OF OR IN CONNECTION
WITH THE USE OR PERFORMANCE OF THE DATA FILES OR
SOFTWARE.
Except as contained in this notice, the name of a copyright holder shall not
be used in advertising or otherwise to promote the sale, use or other
dealings in these Data Files or Software without prior written authorization of
the copyright holder.
jemalloc
Copyright (C) 2002-2014 Jason Evans <jasone@canonware.com>.
All rights reserved.
Copyright (C) 2007-2012 Mozilla Foundation. All rights reserved.
Copyright (C) 2009-2014 Facebook, Inc. All rights reserved.
Redistribution and use in source and binary forms, with or without
modification, are permitted provided that the following conditions are met:
1. Redistributions of source code must retain the above copyright notice(s),
this list of conditions and the following disclaimer.
2. Redistributions in binary form must reproduce the above copyright
notice(s), this list of conditions and the following disclaimer in the
documentation and/or other materials provided with the distribution.
THIS SOFTWARE IS PROVIDED BY THE COPYRIGHT HOLDER(S) “AS
IS” AND ANY EXPRESS OR IMPLIED WARRANTIES, INCLUDING, BUT
NOT LIMITED TO, THE IMPLIED WARRANTIES OF MERCHANTABILITY
AND FITNESS FOR A PARTICULAR PURPOSE ARE DISCLAIMED. IN NO
EVENT SHALL THE COPYRIGHT HOLDER(S) BE LIABLE FOR ANY
DIRECT, INDIRECT, INCIDENTAL, SPECIAL, EXEMPLARY, OR
CONSEQUENTIAL DAMAGES (INCLUDING, BUT NOT LIMITED TO,
PROCUREMENT OF SUBSTITUTE GOODS OR SERVICES; LOSS OF
USE, DATA, OR PROFITS; OR BUSINESS INTERRUPTION) HOWEVER
CAUSED AND ON ANY THEORY OF LIABILITY, WHETHER IN
CONTRACT, STRICT LIABILITY, OR TORT (INCLUDING NEGLIGENCE
OR OTHERWISE) ARISING IN ANY WAY OUT OF THE USE OF THIS
SOFTWARE, EVEN IF ADVISED OF THE POSSIBILITY OF SUCH
DAMAGE.
libss2/libcomerr2
Copyright 1987, 1988 by the Student Information Processing Board of the
Massachusetts Institute of Technology
Permission to use, copy, modify, and distribute this software and its
documentation for any purpose and without fee is hereby granted, provided
that the above copyright notice appear in all copies and that both that
copyright notice and this permission notice appear in supporting
documentation, and that the names of M.I.T. and the M.I.T. S.I.P.B. not be
used in advertising or publicity pertaining to distribution of the software
without specific, written prior permission.
M.I.T. and the M.I.T. S.I.P.B. make no representations about the suitability of
this software for any purpose. It is provided “as is” without express or implied
warranty.

Genos Gebruikershandleiding 135

136 Genos Gebruikershandleiding
Notities

BG Bulgarian
ОПРОСТЕНА ЕС ДЕКЛАРАЦИЯ ЗА СЪОТВЕТСТВИЕ
С настоящото Yamaha Music Europe GmbH декларира, че този тип
радиосъоръжение [Genos] е в съответствие с Директива 2014/53/
ЕС. Цялостният текст на ЕС декларацията за съответствие може
да се намери на следния интернет адрес:
https://europe.yamaha.com/en/support/compliance/doc.html
ES Spanish
DECLARACIÓN UE DE CONFORMIDAD SIMPLIFICADA
Por la presente, Yamaha Music Europe GmbH declara que el tipo de
equipo radioeléctrico [Genos] es conforme con la Directiva 2014/53/
UE. El texto completo de la declaración UE de conformidad está
disponible en la dirección Internet siguiente:
https://europe.yamaha.com/en/support/compliance/doc.html
CS Czech
ZJEDNODUŠENÉ EU PROHLÁŠENÍ O SHODĚ
Tímto Yamaha Music Europe GmbH prohlašuje, že typ rádiového
zařízení [Genos] je v souladu se směrnicí 2014/53/EU. Úplné znění EU
prohlášení o shodě je k dispozici na této internetové adrese:
https://europe.yamaha.com/en/support/compliance/doc.html
DA Danish
FORENKLET EU-OVERENSSTEMMELSESERKLÆRING
Hermed erklærer Yamaha Music Europe GmbH, at radioudstyrstypen
[Genos] er i overensstemmelse med direktiv 2014/53/EU.
EU-overensstemmelseserklæringens fulde tekst kan findes på
følgende internetadresse:
https://europe.yamaha.com/en/support/compliance/doc.html
DE German
VEREINFACHTE EU-KONFORMITÄTSERKLÄRUNG
Hiermit erklärt Yamaha Music Europe GmbH, dass der Funkanlagentyp
[Genos] der Richtlinie 2014/53/EU entspricht. Der vollständige Text der
EU-Konformitätserklärung ist unter der folgenden Internetadresse
verfügbar:
https://europe.yamaha.com/en/support/compliance/doc.html
ET Estonian
LIHTSUSTATUD ELI VASTAVUSDEKLARATSIOON
Käesolevaga deklareerib Yamaha Music Europe GmbH, et käesolev
raadioseadme tüüp [Genos] vastab direktiivi 2014/53/EL nõuetele.
ELi vastavusdeklaratsiooni täielik tekst on kättesaadav järgmisel
internetiaadressil:
https://europe.yamaha.com/en/support/compliance/doc.html
EL Greek
ΑΠΛΟΥΣΤΕΥΜΕΝΗ ∆ΗΛΩΣΗ ΣΥΜΜΟΡΦΩΣΗΣ ΕΕ
Με την παρούσα ο/η Yamaha Music Europe GmbH, δηλώνει ότι
ο ραδιοεξοπλισμός [Genos] πληροί την οδηγία 2014/53/ΕΕ. Το πλήρες
κείμενο της δήλωσης συμμόρφωσης ΕΕ διατίθεται στην ακόλουθη
ιστοσελίδα στο διαδίκτυο:
https://europe.yamaha.com/en/support/compliance/doc.html
EN English
SIMPLIFIED EU DECLARATION OF CONFORMITY
Hereby, Yamaha Music Europe GmbH declares that the radio
equipment type [Genos] is in compliance with Directive 2014/53/EU.
The full text of the EU declaration of conformity is available at the
following internet address:
https://europe.yamaha.com/en/support/compliance/doc.html
FR French
DECLARATION UE DE CONFORMITE SIMPLIFIEE
Le soussigné, Yamaha Music Europe GmbH, déclare que l'équipement
radioélectrique du type [Genos] est conforme à la directive 2014/53/
UE. Le texte complet de la déclaration UE de conformité est disponible
à l'adresse internet suivante:
https://europe.yamaha.com/en/support/compliance/doc.html
HR Croatian
POJEDNOSTAVLJENA EU IZJAVA O SUKLADNOSTI
Yamaha Music Europe GmbH ovime izjavljuje da je radijska oprema
tipa [Genos] u skladu s Direktivom 2014/53/EU. Cjeloviti tekst EU izjave
o sukladnosti dostupan je na sljedećoj internetskoj adresi:
https://europe.yamaha.com/en/support/compliance/doc.html
IT Italian
DICHIARAZIONE DI CONFORMITÀ UE SEMPLIFICATA
Il fabbricante, Yamaha Music Europe GmbH, dichiara che il tipo di
apparecchiatura radio [Genos] è conforme alla direttiva 2014/53/UE.
Il testo completo della dichiarazione di conformità UE è disponibile al
seguente indirizzo Internet:
https://europe.yamaha.com/en/support/compliance/doc.html
LV Latvian
VIENKĀRŠOTA ES ATBILSTĪBAS DEKLARĀCIJA
Ar šo Yamaha Music Europe GmbH deklarē, ka radioiekārta [Genos]
atbilst Direktīvai 2014/53/ES. Pilns ES atbilstības deklarācijas teksts ir
pieejams šādā interneta vietnē:
https://europe.yamaha.com/en/support/compliance/doc.html
LT Lithuanian
SUPAPRASTINTA ES ATITIKTIES DEKLARACIJA
Aš, Yamaha Music Europe GmbH, patvirtinu, kad radijo įrenginių tipas
[Genos] atitinka Direktyvą 2014/53/ES. Visas ES atitikties deklaracijos
tekstas prieinamas šiuo interneto adresu:
https://europe.yamaha.com/en/support/compliance/doc.html
HU Hungarian
EGYSZERŰSÍTETT EU-MEGFELELŐSÉGI NYILATKOZAT
Yamaha Music Europe GmbH igazolja, hogy a [Genos] típusú
rádióberendezés megfelel a 2014/53/EU irányelvnek. Az EU-
megfelelőségi nyilatkozat teljes szövege elérhető a következő
internetes címen:
https://europe.yamaha.com/en/support/compliance/doc.html
NL Dutch
VEREENVOUDIGDE EU-CONFORMITEITSVERKLARING
Hierbij verklaar ik, Yamaha Music Europe GmbH, dat het type
radioapparatuur [Genos] conform is met Richtlijn 2014/53/EU.
De volledige tekst van de EU-conformiteitsverklaring kan worden
geraadpleegd op het volgende internetadres:
https://europe.yamaha.com/en/support/compliance/doc.html
PL Polish
UPROSZCZONA DEKLARACJA ZGODNOŚCI UE
Yamaha Music Europe GmbH niniejszym oświadcza, że typ urządzenia
radiowego [Genos] jest zgodny z dyrektywą 2014/53/UE. Pełny tekst
deklaracji zgodności UE jest dostępny pod następującym adresem
internetowym:
https://europe.yamaha.com/en/support/compliance/doc.html
PT Portuguese
DECLARAÇÃO UE DE CONFORMIDADE SIMPLIFICADA
O(a) abaixo assinado(a) Yamaha Music Europe GmbH declara que
o presente tipo de equipamento de rádio [Genos] está em conformidade
com a Diretiva 2014/53/UE. O texto integral da declaração de
conformidade está disponível no seguinte endereço de Internet:
https://europe.yamaha.com/en/support/compliance/doc.html
RO Romanian
DECLARAŢIA UE DE CONFORMITATE SIMPLIFICATĂ
Prin prezenta, Yamaha Music Europe GmbH declară că tipul de
echipamente radio [Genos] este în conformitate cu Directiva 2014/53/
UE. Textul integral al declaraţiei UE de conformitate este disponibil la
următoarea adresă internet:
https://europe.yamaha.com/en/support/compliance/doc.html
SK Slovak
ZJEDNODUŠENÉ EÚ VYHLÁSENIE O ZHODE
Yamaha Music Europe GmbH týmto vyhlasuje, že rádiové zariadenie
typu [Genos] je v súlade so smernicou 2014/53/EÚ. Úplné EÚ
vyhlásenie o zhode je k dispozícii na tejto internetovej adrese:
https://europe.yamaha.com/en/support/compliance/doc.html
SL Slovenian
POENOSTAVLJENA IZJAVA EU O SKLADNOSTI
Yamaha Music Europe GmbH potrjuje, da je tip radijske opreme
[Genos] skladen z Direktivo 2014/53/EU. Celotno besedilo izjave EU
o skladnosti je na voljo na naslednjem spletnem naslovu:
https://europe.yamaha.com/en/support/compliance/doc.html
FI Finnish
YKSINKERTAISTETTU EU-VAATIMUSTENMUKAISUUSVAKUUTUS
Yamaha Music Europe GmbH vakuuttaa, että radiolaitetyyppi [Genos] on
direktiivin 2014/53/EU mukainen. EU-vaatimustenmukaisuusvakuutuksen
täysimittainen teksti on saatavilla seuraavassa internetosoitteessa:
https://europe.yamaha.com/en/support/compliance/doc.html
SV Swedish
FÖRENKLAD EU-FÖRSÄKRAN OM ÖVERENSSTÄMMELSE
Härmed försäkrar Yamaha Music Europe GmbH att denna typ av
radioutrustning [Genos] överensstämmer med direktiv 2014/53/EU.
Den fullständiga texten till EU-försäkran om överensstämmelse finns
på följande webbadress:
https://europe.yamaha.com/en/support/compliance/doc.html
TR Turkey
BASİTLEŞTİRİLMİŞ AVRUPA BİRLİĞİ UYGUNLUK BİLDİRİMİ
İşbu belge ile, Yamaha Music Europe GmbH, radyo cihaz tipinin
[Genos], Direktif 2014/53/AB'ye uygunluğunu beyan eder. AB uyumu
beyanının tam metni aşağıdaki internet adresinden edinilebilir:
https://europe.yamaha.com/en/support/compliance/doc.html
Voor EU-landen

CANADA
Yamaha Canada Music Ltd.
135 Milner Avenue, Toronto, Ontario M1S 3R1,
Canada
Tel: +1-416-298-1311
U.S.A.
Yamaha Corporation of America
6600 Orangethorpe Avenue, Buena Park, CA 90620,
U.S.A.
Tel: +1-714-522-9011
MEXICO
Yamaha de México, S.A. de C.V.
Av. Insurgentes Sur 1647 Piso 9, Col. San José
Insurgentes, Delegación Benito Juárez, México,
D.F., C.P. 03900, México
Tel: +52-55-5804-0600
BRAZIL
Yamaha Musical do Brasil Ltda.
Rua Fidêncio Ramos, 302 – Cj 52 e 54 – Torre B –
Vila Olímpia – CEP 04551-010 – São Paulo/SP,
Brazil
Tel: +55-11-3704-1377
ARGENTINA
Yamaha Music Latin America, S.A.,
Sucursal Argentina
Olga Cossettini 1553, Piso 4 Norte,
Madero Este-C1107CEK,
Buenos Aires, Argentina
Tel: +54-11-4119-7000
PANAMA AND OTHER LATIN
AMERICAN COUNTRIES/
CARIBBEAN COUNTRIES
Yamaha Music Latin America, S.A.
Edif. Torre Banco General, F7, Urb. Marbella,
Calle 47 y Aquilino de la Guardia, Panama,
P.O.Box 0823-05863, Panama, Rep.de Panama
Tel: +507-269-5311
THE UNITED KINGDOM/IRELAND
Yamaha Music Europe GmbH (UK)
Sherbourne Drive, Tilbrook, Milton Keynes,
MK7 8BL, U.K.
Tel: +44-1908-366700
GERMANY
Yamaha Music Europe GmbH
Siemensstrasse 22-34, 25462 Rellingen, Germany
Tel: +49-4101-303-0
SWITZERLAND/LIECHTENSTEIN
Yamaha Music Europe GmbH, Branch
Switzerland in Thalwil
Seestrasse 18a, 8800 Thalwil, Switzerland
Tel: +41-44-3878080
AUSTRIA/CROATIA/
CZECH REPUBLIC
/
HUNGARY/ROMANIA/SLOVAKIA/
SLOVENIA
Yamaha Music Europe GmbH, Branch Austria
Schleiergasse 20, 1100 Wien, Austria
Tel: +43-1-60203900
POLAND
Yamaha Music Europe GmbH
Sp.z o.o. Oddział w Polsce
ul. Wielicka 52, 02-657 Warszawa, Poland
Tel: +48-22-880-08-88
BULGARIA
Dinacord Bulgaria LTD.
Bul.Iskarsko Schose 7 Targowski Zentar Ewropa
1528 Sofia, Bulgaria
Tel: +359-2-978-20-25
MALTA
Olimpus Music Ltd.
Valletta Road, Mosta MST9010, Malta
Tel: +356-2133-2093
NETHERLANDS/BELGIUM/
LUXEMBOURG
Yamaha Music Europe, Branch Benelux
Clarissenhof 5b, 4133 AB Vianen, The Netherlands
Tel: +31-347-358040
FRANCE
Yamaha Music Europe
7 rue Ambroise Croizat, Zone d'activités de Pariest,
77183 Croissy-Beaubourg, France
Tel: +33-1-6461-4000
ITALY
Yamaha Music Europe GmbH, Branch Italy
Via Tinelli N.67/69 20855 Gerno di Lesmo (MB),
Italy
Tel: +39-039-9065-1
SPAIN/PORTUGAL
Yamaha Music Europe GmbH Ibérica, Sucursal
en España
Ctra. de la Coruña km. 17,200, 28231
Las Rozas de Madrid, Spain
Tel: +34-91-639-88-88
GREECE
Philippos Nakas S.A. The Music House
19th klm. Leof. Lavriou 190 02 Peania – Attiki,
Greece
Tel: +30-210-6686260
SWEDEN
Yamaha Music Europe GmbH Germany filial
Scandinavia
JA Wettergrensgata 1, 400 43 Göteborg, Sweden
Tel: +46-31-89-34-00
DENMARK
Yamaha Music Denmark,
Fillial of Yamaha Music Europe GmbH, Tyskland
Generatorvej 8C, ST. TH., 2860 Søborg, Denmark
Tel: +45-44-92-49-00
FINLAND
F-Musiikki Oy
Antaksentie 4
FI-01510 Vantaa, Finland
Tel: +358 (0)96185111
NORWAY
Yamaha Music Europe GmbH Germany -
Norwegian Branch
Grini Næringspark 1, 1332 Østerås, Norway
Tel: +47-6716-7800
ICELAND
Hljodfaerahusid Ehf.
Sidumula 20
IS-108 Reykjavik, Iceland
Tel: +354-525-5050
CYPRUS
Nakas Music Cyprus Ltd.
Nikis Ave 2k
1086 Nicosia
Tel: + 357-22-511080
Major Music Center
21 Ali Riza Ave. Ortakoy
P.O.Box 475 Lefkoşa, Cyprus
Tel: (392) 227 9213
RUSSIA
Yamaha Music (Russia) LLC.
Room 37, entrance 7, bld. 7, Kievskaya street,
Moscow, 121059, Russia
Tel: +7-495-626-5005
OTHER EUROPEAN COUNTRIES
Yamaha Music Europe GmbH
Siemensstrasse 22-34, 25462 Rellingen, Germany
Tel: +49-4101-303-0
Yamaha Music Gulf FZE
JAFZA-16, Office 512, P.O.Box 17328,
Jebel Ali FZE, Dubai, UAE
Tel: +971-4-801-1500
TURKEY
Yamaha Music Europe GmbH
Merkezi Almanya Türkiye İstanbul Şubesi
Maslak Meydan Sodak, Spring Giz Plaza Bagimsiz
Böl. No:3, Sariyer Istanbul, Turkey
Tel: +90-212-999-8010
ISRAEL
RBX International Co., Ltd.
P.O Box 10245, Petach-Tikva, 49002
Tel: (972) 3-925-6900
OTHER COUNTRIES
Yamaha Music Gulf FZE
JAFZA-16, Office 512, P.O.Box 17328,
Jebel Ali FZE, Dubai, UAE
Tel: +971-4-801-1500
THE PEOPLE’S REPUBLIC OF CHINA
Yamaha Music & Electronics (China) Co., Ltd.
2F, Yunhedasha, 1818 Xinzha-lu, Jingan-qu,
Shanghai, China
Tel: +86-400-051-7700
HONG KONG
Tom Lee Music Co., Ltd.
11/F., Silvercord Tower 1, 30 Canton Road,
Tsimshatsui, Kowloon, Hong Kong
Tel: +852-2737-7688
INDIA
Yamaha Music India Private Limited
P-401, JMD Megapolis, Sector-48, Sohna Road,
Gurgaon-122018, Haryana, India
Tel: +91-124-485-3300
INDONESIA
PT. Yamaha Musik Indonesia (Distributor)
Yamaha Music Center Bldg. Jalan Jend. Gatot
Subroto Kav. 4, Jakarta 12930, Indonesia
Tel: +62-21-520-2577
KOREA
Yamaha Music Korea Ltd.
8F, Dongsung Bldg. 21, Teheran-ro 87-gil,
Gangnam-gu, Seoul, 06169, Korea
Tel: +82-2-3467-3300
MALAYSIA
Yamaha Music (Malaysia) Sdn. Bhd.
No.8, Jalan Perbandaran, Kelana Jaya, 47301
Petaling Jaya, Selangor, Malaysia
Tel: +60-3-78030900
SINGAPORE
Yamaha Music (Asia) Private Limited
Block 202 Hougang Street 21, #02-00,
Singapore 530202, Singapore
Tel: +65-6740-9200
TAIWAN
Yamaha Music & Electronics Taiwan Co., Ltd.
2F., No.1, Yuandong Rd., Banqiao Dist.,
New Taipei City 22063, Taiwan (R.O.C.)
Tel: +886-2-7741-8888
THAILAND
Siam Music Yamaha Co., Ltd.
3, 4, 15, 16th Fl., Siam Motors Building,
891/1 Rama 1 Road, Wangmai,
Pathumwan, Bangkok 10330, Thailand
Tel: +66-2215-2622
VIETNAM
Yamaha Music Vietnam Company Limited
15th Floor, Nam A Bank Tower, 201-203 Cach
Mang Thang Tam St., Ward 4, Dist.3,
Ho Chi Minh City, Vietnam
Tel: +84-28-3818-1122
OTHER ASIAN COUNTRIES
http://asia.yamaha.com
AUSTRALIA
Yamaha Music Australia Pty. Ltd.
Level 1, 80 Market Street, South Melbourne,
VIC 3205 Australia
Tel: +61-3-9693-5111
NEW ZEALAND
Music Works LTD
P.O.BOX 6246 Wellesley, Auckland 4680,
New Zealand
Tel: +64-9-634-0099
COUNTRIES AND TRUST
TERRITORIES IN PACIFIC OCEAN
http://asia.yamaha.com
NORTH AMERICA
CENTRAL & SOUTH AMERICA
EUROPE
AFRICA
MIDDLE EAST
ASIA
OCEANIA
DMI23
Head Office/Manufacturer: Yamaha Corporation 10-1, Nakazawa-cho, Naka-ku, Hamamatsu, 430-8650, Japan
(For European Countries) Importer: Yamaha Music Europe GmbH Siemensstrasse 22-34, 25462 Rellingen, Germany
Neem voor details over producten alstublieft contact op met uw dichtstbijzijnde Yamaha-vertegenwoordiging of de geautoriseerde
distributeur uit het onderstaande overzicht.

140 Genos Gebruikershandleiding
Yamaha Global Site
https://www.yamaha.com/
Yamaha Downloads
http://download.yamaha.com/
Manual Development Group
© 2017 Yamaha Corporation
Published 11/2017 LB-C0