Yamaha S90_E S90 Owner's Manual Zh
使用手册: Yamaha S90 Owner's Manual
Open the PDF directly: View PDF
.
Page Count: 140 [warning: Documents this large are best viewed by clicking the View PDF Link!]


产品安全注意 : 雅马哈电子产品带有如下图所示的图标或铭牌。本页
中有对这些图形的解释。阁下请遵守本页中各项警示和安全使用部
分。
这个等边三角形中的感叹号图案代表特意警示
使用者在重要操作和维护 (维修)中的所需注意
的事项。
这个等边三角形中的带箭头闪电图案代表特意警
示使用者存在非绝缘的地方具有造成触电危险的
“危险电压”。
重要提示:所有的雅马哈电子产品均被独立的安全测试实验室按照正
常程序测试过和被核准认可,所有预测到可能产生的风险均已排除,
阁下可以放心正常地安装和使用。在没有被雅马哈公司明确的授权许
可的情况下不许 私自或委托他人修改该产品单元。这样,产品性能和
安全性会被降低。如果产品单元被改动 /或已被改动,保证书中的声
明将被否认。同时隐含或连带的保证也将受到影响。
变更说明: 本手册中所有信息的正确性在印刷出厂时已被确认。然而,
雅马哈公司保留改变或修改任何产品规格而不事先通知并不对现有产
品升级的权利。
92-469-1(rear)
环境保护 : 雅马哈公司努力生产出符合用户安全性和环保性的产品。
我们坚信我们的产品和生产手段符合相应的标准。为了遵守法律上的
规定,我们希望阁下遵守以下几项条款:
电池注意事项:该产品含有一小块非充电式电池,该电池的平均寿命
为5年。如果需要更换电池时,请有资格的维修代表来完成。
警告:严禁对电池充电、分解、或烧毁。保证所有电池远离儿童。按
照法律的规定请阁下及时迅速地处理使用过的电池。注意:在一些地
区,法定的回收点用来回收废弃电池。当然,阁下具有选择让回收点
处理阁下的废弃电池的权利。
产品报废:如果产品已被损坏得无法修复,或者由于一些原因产品的
使用寿命被确认为结束,请遵守当地或当地州或国家有关处理包括
铅、电池、塑料等材料的规章制度执行。
注意:由于缺乏了解,不知本设备的功能或效果而产生的费用,不在
保修免费范围内,应由使用者付费。在索取保修前,请仔细阅读本手
册,并向经销商咨询。
铭牌位置:如下图所示指示了铭牌的具体位置。型号、序列号、电源
要求等都包含在该铭牌中。阁下需要记下型号、序列号和购买日期,
并将本手册保存好,以备将来使用。
型号
序列号
购买日期
特别声明
CAUTION
RISK OF ELECTRIC SHOCK
DO NOT OPEN
CAUTION: TO REDUCE THE RISK OF ELECTRIC SHOCK.
DO NOT REMOVE COVER (OR BACK).
NO USER-SERVICEABLE PARTS INSIDE.
REFER SERVICING TO QUALIFIED SERVICE PERSONNEL.
AC INLET
POWER
ON/ OFF
CARD
3.3V
THRU OUT IN
MIDI
R R L/MONO PHONES
ASSIGNABLE
A/D INPUT12
FOOT CONTROLLER
FOOT SWITCH
ASSIGNABLE
BREATH
SUSTAIN
GAIN
OUTPUT OUTPUT
L
USB
Plug-in SLOT
GREEN
YELLOW
ORANGE
3
2
1

本文涉及到个人伤害、触电和火灾危险的可能性
警告 -使用任何电器产品,必须注意基本防范。这些防范包括:
1. 阅读所有的安全使用说明书、安装说明书、特殊信息条款以及装
配说明书。
2. 不要在超出用户维护说明书范围以外擅自维修该产品。所有超出
范围的维修工作必须提交给有资格维修的技术人员来完成。
3. 电源确认:在任何销售地区,雅马哈产品的电压都被人工特定,如
果阁下需要变更或者对在阁下使用的地区的电压存在怀疑,请直接联
系阁下的经销商得到电压的证实和用法说明 (如有可能)。铭牌上印
好了所要求的电源电压。关于铭牌的位置,请查阅本手册 《特别通告
部分》中。
4. 危险-接地说明:该设备务必接地并安装三相插头。如果设备发生
意外故障,接地端提供低阻抗电路,减少了触电危险。如果阁下墙壁
上没有适合的三相插座,请与当地电工联系更换。严禁擅自更换插头
或插头类型。
5. 警告:不许把该设备或其他物体放置在电源线上,不要将电源线
安放在行人易踩,或伴倒的地方或东西易落下的地方。不推荐使用延
长线材!如果需要延长线,可请教电工。
6. 通风:除了装备有特殊的附加装置的电子产品以外,所有电子产品
都应该放置于通风的地方。如果说明书中没有提到附加装置,那么设
备必须放置于通风的地方。
7. 温度注意: 避免靠近热源,比如:散热器,电暖炉等。
8. 该设备不得放置于潮湿的地方,不得靠近水或淋雨。潮湿地点例
如:游泳池、温泉、浴盆、水池附近或地下室。
9. 该设备只许配备厂商指定的附属品带轮机架、机架或支架等,如果
使用这些产品,请仔细查阅设备所有安全标记和产品附带的说明书。
10. 长期不使用该设备或天气可能闪电或雷击的情况下,请拔下电
源线插头。
11. 注意不能让设备坠落或让液体通过设备的开口溅落入其内。
12. 当出现以下情况 ,阁下应该与具有维修资格的专业人员维修:
a. 电源插头被损坏;
b. 设备被跌落,被嵌入异物,或开口部分内被溅入液体;
c. 设备被淋雨;
d. 设备无法运行,或运行异常;
e. 设备外壳被摔坏。
13. 不管该设备独立使用还是连接功率放大器和耳机或扬声器,都
有可能造成永久性的听力下降。不要长期处于高分贝和让人耳朵难受
的状态下。如果阁下发现听力下降和耳鸣,请联系听觉病矫治专家。
14. 一些雅马哈设备带有凳子和 (或)其他附件,它可能是作为设
备一部分的附带品,也可能是可选配附件。在使用之前请确认凳子的
稳定性以及可选配附加固定装备的可靠性。雅马哈公司提供的凳子只
用来坐,不作其它功用。
PLEASE KEEP THIS MANUAL
92-469-3
重要安全说明

(2)-8 1/2
注意事项
使用前请仔细阅读
* 为了日后参考请妥善保管该用户说明书至安全的地方。
警告
以下列出有关防止由于来自触电、短路、火灾或其他危险而造成严重伤害甚至死亡的条例,防范条例不不仅仅局限于以
下几条:
•该设备只许使用指定的电源电压,该设备的铭牌上已明确指明使用
电压。
•定期检查电源插头,除去插头上附着的污垢或堆积其上的尘埃。
•只能使用该设备专用电源线及插头。
•不要让电源线靠近诸如加热器、散热器等热源。不要过分地弯曲或
损伤电源线,不要在电源线上放置较重物品,不要将电源线安放在
行人易踩,或伴倒的地方或东西易落下的地方。
•该设备含有禁止用户自行维修部分。阁下不得尝试分解和更改内部
组成部分。
•不要让设备遭受雨淋,不要放置于潮湿环 境,不要把盛有液体
的容器放置在该设备上,以防液体溅入设备的开口处。
•禁止用湿手去插拔电源插头。
•不要把燃烧物 (比如蜡烛等)放置在设备上,燃烧物会掉落其上
并引起火灾。
•如果发现电源线或插头被磨损、设备瞬间无声、闻到异味、有烟雾
出现,请立即关掉电源开关,拔掉电源插头,让有资格的雅马哈维
修人员检查维修。
小心
以下列出有关防止造成阁下或他人身体伤害,或者造成设备或其他财产受损的条例,这些防范条例不仅仅以下几条:
•通常让三相电源插头能良好的接地。(关于更多电源的信息,请阅
读第 14 页)。
•当从设备或电源插座上拔下插头时,请不要直接拽电源线,而是捏
着电源插头拔。否则会导致电源线受损。
•当设备长期不被使用或遇到雷电时,请从电源插座上拔下插头。
•不许把设备连接在组合插座上,这样会导致设备的声音品质下降,
而且可能导致插座温度过高。
•不许把设备放置于多尘、震动、极冷、极热的地方 (比如:太阳
直射处、加热器附近、或白天放在车里),以防造成面板畸形或内
部零件受损。
•请把设备远离电视、收音机、立体声设备、移动电话或其他电气设
备。否则,该设备、电视、收音机会产生噪音。
•不许把设备放置于不稳定的地方,以防其意外堕落至地。
•在移动该设备前,请拔掉设备上所有的连接线。
•只能使用指定的支架,如果随设备带有支架或机架,应紧固螺丝。
否则会导致设备内部零件受损或造成设备堕落至地。
•不许将物品堵在设备的通风口处,这样影响了设备内部零件的正常
通风,并可能造成设备温度过高。
电源 / 电源线
不要擅自打开机壳
防水警告
防火警告
假如阁下发现任何异常
电源线和电源插头 位置

(2)-8 2/2
•在和其他电子设备连接之前,请关掉所有设备的电源。在给这些设
备开关电源之前一定要把所有设备的音量旋钮拧至最小。同样,连
接好开电后,保证所有设备的旋钮设置在最小然后逐渐把音量提升
到期望的电平值。
•在清洁设备时,请使用质地柔软的干布擦拭。不许采用油漆稀释
剂、溶剂、清洁剂或含化学药品的擦拭布。
•不许将手指或手插入设备的开口缝隙处。
•不许往设备面板或键盘的开口缝隙中插入或掉入纸张、金属物品或
其他物品。万一情况发生,立即关掉电源开关并从交流电源插座上
拔掉插头。让有资格的雅马哈维修人员检查设备。
•不要将乙烯基、塑料或橡皮放在设备上,否则会使设备面板褪色。
•不许将身体或重物压在设备上,不要过于用力按压按钮、开关或连
接器。
•不要长期让设备产生高强度音量或让人难以忍受的音量,否则会导
致永久性的听力下降。如果阁下发现听力下降或耳鸣请找内科医师
就诊。
存储和备份阁下的数据
•当阁下关掉设备电源时, DRAM 数据 (见第 27 页)将被丢失。将
数据存贮于 FLASH ROM (闪存)中 (用户存储器;见第 73
页)。
当设备发生故障或遇到错误操作,储存数据会被丢失。 将重要的数
据存储到储存卡 (SmartMedia) 中。
当数据已经被存储到闪存 (Flash ROM)中,请不要尝试关
电源 (当 "Executing..." 或"Please keep power on" 信息还在显
示时)。此时关电源的结果将导致所有用户的数据丢失并且让
设备死机。
当阁下从设置 模式或 Favorite Category (收藏类别)功能退
出时,阁下在显示屏中所修改的参数被自动储存。然而,如
果没有通过显示屏的提示完全退出就关闭电源,这些修改的
数据便会丢失。
备份存储卡 (SmartMedia)/ 外部媒质 (external media)
•为了防止由于媒质受损导致数据丢失,我们建议阁下将重要的数据
储存到两个备份存储卡 (SmartMedia) 和 外部媒质 (external
media)中。
由于客户不正当的使用或者改动设备造成设备受损、数据丢失或破坏,雅马哈公司概不负责。
如果不使用该设备时通常需要关闭电源。
连线
保养
操作注意事项
保存数据

6
介绍
感谢阁下购买雅马哈 S90 音乐合成器。为了阁下获得有关 S90 最全面的信息以及强大的功能,我们建议您仔细阅读这本
用户手册,并妥善保管,以便将来使用。
附件
• 交流电源插头 • CD-ROM 光盘 x 2 •安装指导
• 用户手册 • 数据表
关于 CD-ROM
CD-ROM 中含有 S90 应用软件。音色编辑器可以通过直观的图形界面来编辑音色,文件处理器可以轻松自如地在储
存卡和计算机之间转换文件。阁下可以通过音序软件 (WINDOWS 专用)轻松地创建和编辑电脑中的原始歌曲。
关于详细资料,请阅读安装指导分册或者软件在线指南。
不许把在 CD 音乐播放器中播放该 CD -ROM 光盘。否则将会让阁下的听力和 CD 音乐播放机 /扬声器受损。
主要功能
•
高品质的动感音色―总共超过
512
种音色,包括
49
组鼓组(见第
25
页)。通过分类快速搜寻和调用所需功能
(
见第
38
页
)
。
•演奏音色模式可以同时支持四种不同音色―层叠或分割。(见第 25 页)
•众多的效果处理,包括回响 (12 种),合唱 (25 种),两个独立扩展效果部分 (共 104 种),一个变化效果部分 (25
种),以及一个 5段主均衡 (见第 67 页)。
•四推子全面实时控制-滤波、电平、效果、包络发生器等 (见第 53 页)。
•琵音功能增加了 "仿真 "特殊模式-比如吉他扫弦和木琴颤音 (见第 45 页)。
•主控模式,在现场演出中让乐手非常方便地和音序器重新匹配 (见第 48 页)。
•非常方便地区分两层操作按钮:[F1] - [F6] 以及 [SF1] - [SF5] (见第 32 页)。
•遥控模式-通过 S90 的面板操作来控制阁下钟爱的音序软件。哑音轨、控制器(播放、停止等),带推子的 MIDI 和音
频轨 (至少 16 条)混音台,声相,均衡,混合――所有操作不需鼠标 (见第 57 页)。
•三个模块化合成扩展系统插槽让阁下的 S90 升级成一个全新的合成器和声处理引擎。扩展卡带有更加丰富的音色,更
多的复音,更多的处理手段。 ( 见第 25 页)。
•强大的 I/O 接口-包括可分配的输出端口,音频输入端口,MIDI 端口,多点连接计算机的 USB 端口,以及用于存储的
SmartMedia card 储存卡插槽。
•可选配mLAN―雅马哈公司的新型mLAN接口技术只需通过一条宽带网线就可以让数字音频和MIDI数据之间的转化成
为现实。
•88 键触后力度键盘全部按照专业钢琴制造专家设计。

7
关于用户手册
该用户手册包含以下章节。
■基本章节 (第 12 页)
该章节提供了有关 S90 主要功能和特点的概述以及有关基本操作规范。
■快速指导 (第 36 页)
该章节提供了如何使用基本功能的解释和说明。
■参考 (第 98 页)
该章节提供了 S90 所有功能和参数的解释和说明。
■附录 (第 114 页)
该章节提供了 S90 合成器有关 MIDI、可选配产品的安装说明、显示屏信息、故障处理和规格等内容。
■安装指导手册 (单独分册)
该分册用于指导用户如何通过 CD-ROM 在计算机中安装软件。
■数据表 (单独分册)
该分册提供了诸如音色库表、音频表、演奏音色表以及 MIDI 执行图表。
关于参考数字
在常规的参考页面以外,还包括特殊的参考数字 (例如参考号 15)。它能让阁下方便快捷地交互参考第 93 页参数
表中相应的参数。(有关更详细的信息,请查阅第 96 页。)
●除了个人使用以外,禁止为了任何意图而复制商用音乐数据和数字音乐文件。
●
本产品包含雅马哈拥有版权或者使用许可权的计算机程序等内容。具体包括所有计算机软件,文字,
MIDI
文件,音频
数据和录音。对以上内容任何未被授权的非个人使用都是违法的,将承担相应法律后果。禁止复制,传播和使用盗版。
●用户手册中的插图和从 LCD 屏幕显示图只作为指导用途,可能会和阁下在设备上遇到的有稍微的不同。
●“mLAN”这个名词以及他的标识图案已经被雅马哈公司商标注册。
●该用户手册中的公司名和产品名称是相关公司的注册商标及商标。

8
使用索引
该索引分隔出几大章节,当阁下希望寻找一个主题或功能时可以方便快捷地寻找到期望的信息。
■聆听 /回放
•欣赏样本歌曲............................................................................. 回放演示曲目 ( 第 19 页 )
• 演奏音色.............................................................................................. ( 第36 页)
• 在期望的乐器组中调用音色.............................................................. 使用音色类别功能 (第38 页)
•从存储卡中演奏歌曲.................................................................................... ( 第 75 页)
• 转换标准 MIDI 文件从版本 1到版本 0................................................. 安装指南以及文件设置分册 (PDF)
• 主控键盘的使用........................................................................................ ( 第48 页)
• 使用音区―与外部音频发生器一起创建层叠 /分割
· 主控音色模式 ........................................................................................ ( 第 51 页)
· 演奏音色模式 ........................................................................................ ( 第 42 页)
· 音色模式 ......................................................................... 音符 (音键)上下限 (第62 页)
• 设置几种音色模式 ( 部分组合 )
· 主控演奏模式 ........................................................................................ ( 第51 页)
· 演奏音色模式 ........................................................................................ ( 第 42 页)
• 改变键盘演奏声部
主控模式 ................................................................ 传送通道 (主控音区编辑 ) [F1] (参考号 25)
音序演奏模式 ............................................................................. 歌曲音轨选择 ( 第76 页)
• 选择触发灵敏度 ............................................................................................. ( 第 87 页)
• 演奏力度的音量响应 - 从柔和演奏得到强重的音量或从强劲演奏得到柔和的音量 ( 对于每个音色 /演奏音色 )..................
.................................. 度灵敏度 /力度灵敏度度偏移 ( 演奏音色 /混合音色声部编辑 [F1] →[SF5] 参考号 39, 40)
• 使用琵音功能 ............................................................................................... ( 第 45 页)
• 设置琵音 MIDI 输出开关
· 音色设置 ................................................................... 输出开关 ( 设置 [F3] →[SF2] 参考号 86)
· 演奏音色 /混合音色设置.................................输出开关 ( 演奏音色 /混合音色公共编辑 [F3] →[SF4] 参考号 86)
• 改变琵音速度 (比较歌曲速度 ) ...................... 琵音单元增加 (音色 /演奏音色 /混合公共编辑 [F3] →[SF3] 参考号 83)
■使用控制器
• 连接不同的控制器...................................................................................... ( 第 18 页)
• 设置弯音范围........................ 弯音上移 /下移 ( 音色公共编辑 , 演奏音色 /混合音色部分编辑 [F1] →[SF5] 参考号 14)
• 使用踏板控制器 /踏板开关去控制参数 .................................................................... ( 第 54 页)
• 使用踏板开关去启动 /关闭音序器 .............................................. 踏板开关 (设置 [F4] →[SF3] 参考号 130)
• 使用踏板开关完全处理音色 /演奏音色 /主控程序................................. 踏板开关 (设置 [F4] →[SF3] 参考号 130)
• 使用踏板开关去启动 /关闭琵音 ................................................ 踏板开关 ( 设置 [F4] →[SF3] 参考号 130)
• 遥控外部音序器........................................................................................ ( 第 57 页)
• 当转换音色时保持控制器的状态 /位置 ......................................... 控制器复位 ( 设置 [F1] →[SF4] 参考号 24)
• 设置控制器............................................................................................ ( 第 55 页)
• 使用控制推子.......................................................................................... ( 第 53 页)
■复制
• 将音色效果 /琵音设置复制到音色模式内 ...................................................... 使用复制功能 ( 第71 页)
• 将混合音色声部参数复制到混合音色模式声部.................................................. 混合音色复制 (第72 页)
• 将音色因子 /音键参数设置复制到另外一个音色因子 /音键................................................... ( 第 71 页)
• 将混合音色 /混合音色声部参数设置复制到另外一个声部 .................................................... ( 第 71 页)
■改变声音
• 编辑音色...................................................................................... 音色编辑 (第60 页)
• 效果器构造和声音信号流向.................................................................... 运用效果器 ( 第67 页)
• 编辑效果器的设置........................................................................ 效果设置的样例 (第67 页)
• 调整音色持续时间................................................................ 振幅包络发生器释放时间 ( 第66 页)
• 产生明亮的声音................................................................................ 截止频点 ( 第63 页)
• 产生更明显的效果 t................................................................................ 谐振 ( 第63 页)
• 模拟单音乐器 ................................. 单音 /复音 ( 音色公共编辑 , 演奏音色 /混合声部编辑 [F1]) →[SF2] 参考号 3)
• 设置立体声声相位置............................................................................... 声相 ( 参考号 44)
使用索引

9
• 根据力度改变音色因子 /声部 .............................................................................. 力度限制
在音色模式下 ......................................................................................... ( 第 62 页)
在演奏音色 /混合音色模式下..................................... ( 演奏音色 /混合音色声部编辑 [F1] →[SF3] 参考号 33)
• 音高从一个音符到另一个音符之间平滑的过度........................................................................
........................ 滑音开关 /时间 (音色 /演奏音色公共编辑 ,演奏音色 /混合音色声部编辑 [F1] →[SF4] 参考号 7-11)
• 将低频振荡发生器和琵音或音序器的速度进行同步....................... 速度同步 ( 音色公共编辑 [F5]) →[SF1] 参考号 161)
• 按照低频振荡器的调节来调制谐振............................ 低频振荡器目标 ( 音色公共编辑 )[F5] →[SF3/4/5] 参考号 170)
• 使用计算机编辑音色................................................ 参考 S90 安装指南和音色编辑器用户单独分册 (PDF)
•低频振荡发生器用户设置 ............................公共低频振荡器 ( 参考 S90 安装指南和音色编辑器用户单独分册 (PDF)
■改变声相位置
• 演奏每个音键声相位置交替移动................................. 交替声相 (音色因子 /音键编辑 ) [F4] →[SF1] 参考号 136)
• 演奏每个音键声相位置随机移动...................................随机声相 (音色因子 /音键编辑 [F4] →[SF1] 参考号 137)
• 根据音键位置移动声相位置...................................调整声相深度 ( 音色因子 /音键编辑 [F4] →[SF1] 参考号 138)
• 根据低频振荡器的设置调节声相位置........................... 低频振荡器目标 (音色公共编辑 [F5] →[SF3/4/5] 参考号 170)
■改变音高
• 变换声音 /调整音高 (音频发生器 )
· 音色 ( 音色因子 ) 设置 ........................... 粗调 /细调 ( 音色音色因子 /音键编辑 [F2] →[SF1] 参考号 59, 参考号 60)
· 扩展音色 ,演奏音色 /混合音色 (声部)设置 ................................................ ( 参考号 41, 参考号 153)
· 整体设置 ................................................................... 音符转换 (设置 [F1] →[SF1] 参考号 41)
• 调整键盘
· 整体设置 ...................................................................... 转换 ( 设置 [F1] →[SF2] 参考号 18))
· 主控设置 .......................................................................转换 ( 主控区域编辑 [F2] 参考号 18)
• 为其他乐器进行调音.............................................................. 调音 ( 设置 [F1] →[SF1] 参考号 216)
• 设置所有音符 (音键)为同一音高 .............................. 音高灵敏度度 ( 音色音色因子编辑 [F2] →[SF4] 参考号 70)
• 设置音色调音系统.......................................................... 微调 ( 音色公共编辑 [F1] →[SF2] 参考号 5)
■设置音量 /电平
• 调整全部音量.............................................................................. 主控音量推子 ( 第14 页)
• 调整整体音量..................................................................... 音量 (设置 [F1] →[SF1] 参考号 43)
• 调整演奏音色的音量 (影响所有声部 )............................................ 音量 ( 公共编辑 [F2] →[SF1] 参考号 43)
•调整每个声部的音量........................................................... 音量 (声部编辑 [F2] →[SF1] 参考号 43)
• 调整音色音量 (影响所有音色因子 ).....................................................音量 (公共编辑 [F2] 参考号 43)
• 调整每个音色因子 /音键的音量 .......................................电平 (音色因子 /音键编辑 [F4] →[SF1] 参考号 135)
• 使用控制推子调整音量.................................................................................. ( 第 53 页)
• 调整输出的增......................................左右增益,可分配的左右增益 ( 设置 [F2] →[SF2] 参考号 55, 参考号 56)
■设置鼓音色
• 给开放镲片和闭合镲片设置鼓音键......................................... 交替组 (音色音键编辑 [F1] →[SF5] 参考号 38)
• 设置音键释放响应 :当一个音键被释放使声音能自然衰减 ,或者当音键被释放时声音立刻截止...............................
............................................................接收音键释放信息 (音色音键编辑 [F1] →[SF5] 参考号 37)
■可选择的静音
• 在编辑中选定某些音色因子设置为静音......................................................... 静音功能 (第30, 61 页)
• 对音色因子 /声部进行静音 .... 音色因子开关 /声部开关 (音色音色因子 /音键编辑,演奏音色声部编辑 [F1] →[SF1] 参考号 28
)
• 对演奏音色进行静音................................................................演奏音色声部开 /关(第30, 42 页)
•对歌曲声部进行静音....................................................................歌曲音轨开 /关(第30, 76 页)
• 取消特殊歌曲声部的声音........................................................................ 接收通道 ( 第80 页)
■快捷编辑功能
• 创造一个完全新的音色 /演奏音色 .................................................................. 初始化 ( 第70 页)
•
比较阁下当前编辑设置的音色 /演奏音色与先前编辑设置的音色 /演奏音色的不同 ...................... 比较功能 (第61 页)
• 恢复音色 /演奏音色最近编辑........................................................................ 召回 ( 第71 页)
■输入数据
• 输入字符 (设置程序 /文件名 )........................................................................ ( 第 34, 84 页)
使用索引

10
■存储数据
• 将已编辑的数据存储到 S90 的内置存储器 ( 用户存储 ) ...................................................... ( 第 73 页)
• 将S90 设置储存到存储卡................................................................................ ( 第 82 页)
• 将S90 设置储存到外部装置例如一台计算机........................................................ 批量复制 (第72 页)
• 储存原始音色.......................................................................................... ( 第 73 页)
■将S90 连接到其他设备上
• 连接一台计算机........................................................................ 连接一台个人电脑 (第17 页)
• 设置本地控制开 /关 ............................................................本地控制 ( 第18 页, 设置 [F5] →[SF2])
• 将S90 作为一个复音音频发生器.......................................................................... ( 第 80 页)
• 使用计算机编辑音色................................................ 参考 S90 安装指南和音色编辑器用户单独分册 (PDF)
• 使用自带的音序软件 (仅供 WIDOWS 系统................................................ 安装指南分册和申请在线帮助
• 设置 S90 是否接收或拒绝来自外部设备的程序变化
· 音色设置 .......................................................程序变化 /库选择 ( 设置 [F5] →[SF2] 参考号 180, 181)
· 演奏音色 /混合音色设置....................................... 接收开关 ( 演奏音色 /混合音色声部编辑 [F5] 参考号 175)
• 决定是否给外部设备 S90 送程序变化
· 音色设置 ...................................................... 程序变化 /库选择 ( 设置 [F5] →[SF2] 参考号 180, 181)
· 主控设置 .................................................................... TX 开关 ( 主控音区编辑 [F3] 参考号 89)
• 开始 /停止 S90 的音序器来决定是否一个外部音序器开始 /停止 .................. 音序控制器 (设置 [F5] →[SF3] 参考号 187)
• 开始 /停止一个外部音序器来决定是否 S90 的音序器开始 /停止 .................. 音序控制器 (设置 [F5] →[SF3] 参考号 187)
•决定歌曲 /琵音回放是否与外部 MIDI 设备时钟同步...............................MIDI 同步 (设置 [F5] →[SF3] 参考号 185)
■重新安排参数 (初始化)
• 初始化音色 /演奏音色 /混合音色 /主控参数 ......................................................... 初始化 ( 第70 页)
• 格式化内存卡.......................................................................................... ( 第 82 页)
• 重新安排 S90 回到默认设置....................................................... 出厂设置 (恢复出厂默认 ) ( 第72 页)
■安装并选择可选配硬件
• 安装扩展卡........................................................................................... ( 第 124 页)
• 使用两个或三个扩展卡作为一个部件去增加复调音乐.............................. 复声扩展 (设置 [F6] →[SF1] 参考号 206)
• 安装 mLAN8E 卡 ...................................................................................... ( 第 126 页)
■ 快速解决和参考资料
•功能列表的整体功能............................................................................... ( 第 88 和98 页)
• S90 参数结构和参考号 ............................................................................ 参数表 ( 第92 页)
• 参考号 ( 参考号 ) 极其参考页 ............................................................................ ( 第 96 页)
• 功能树................................................................................................ ( 第 88 页)
• 显示指示.............................................................................................. ( 第 30 页)
• 数字按键的功能........................................................................................ ( 第 30 页)
•记忆结构 - 指示各种设置的存储 ..................................................................... ( 第 25 和27 页)
• 音色 /演奏音色结构 .................................................................................... ( 第 26 页)
• 滤波类型.............................................................................................. ( 第 63 页)
• 种类列表
· 音色 /演奏音色....................................................................................... ( 第 35 页)
· 琵音 ................................................................................................ ( 第 45 页)
• 音色,演奏音色,声波,琵音种类,效果类型等等...................................................... 数据表单独分册
• 可以被处理的文件类型.................................................................................. ( 第 83 页)
•MIDI 的通用信息 ............................................................................. 关于 MIDI ( 第118 页)
• 信息显示 ............................................................................................ ( 第 114 页)
• 显示信息的含义............................................................................... 显示信息 ( 第116 页)
• 故障解决............................................................................................. ( 第 128 页)
使用索引

11
Basics SectionQuick GuideReferenceAppendix
目录
基本章节 .......................................................12
控制器和连接 .......................................................................... 12
顶部面板.........................................................................................12
后背面板.........................................................................................13
安装指导 .................................................................................. 14
电源供给.........................................................................................14
开电程序 ........................................................................................14
S90 开机顺序..................................................................................14
设备连接 .................................................................................. 15
回放演示曲目 .......................................................................... 19
S90 总体介绍 .......................................................................... 20
控制器.............................................................................................20
音频发生器 ....................................................................................20
效果................................................................................................ 24
卡驱动器及音序器.........................................................................24
音色和演奏音色 ...................................................................... 25
库 (储存器)结构 .......................................................................25
音色 / 音色因子 /演奏音色 概述 ................................................26
常规音色和鼓组音 ........................................................................27
GM 音色 ........................................................................................27
内置存储器和文件管理器 ..................................................... 27
基本操作 .................................................................................. 29
模式 ................................................................................................29
模式例表.........................................................................................29
选择一种模式.................................................................................30
显示屏指示.....................................................................................30
选择功能和参数.............................................................................32
基于显示屏的控制.........................................................................33
快速指导 .......................................................36
演奏音色 .................................................................................. 36
选择音色.........................................................................................36
使用音色类别搜寻功能 ................................................................38
在音色演奏模式中编辑音色 (快速编辑 ) ...................................39
弹奏演奏音色 ......................................................................... 41
选择一个演奏音色.........................................................................41
层叠音色 (声部) )
分割键盘.........................................................................................42
在演奏音色弹奏模式编辑演奏音色 (快速编辑).....................44
使用琵音功能 .......................................................................... 45
什么是琵音功能 ? .........................................................................45
琵音回放........................................................................................ 46
琵音类型,速度和音高范围.........................................................46
作为主控键盘使用 .................................................................. 48
什么是主控模式 ? .........................................................................48
演奏主控演示曲目 (选择主控).................................................49
主控储存 ........................................................................................50
使用音区―与外部音频发生器一起创建层叠 /分割..................51
使用控制器 .............................................................................. 53
弯音轮和调制轮 ............................................................................ 53
控制推子 ....................................................................................... 53
踏板控制器 .................................................................................... 54
踏板开关 (可分配性)................................................................ 54
踏板开关 (持续音).................................................................... 54
呼吸控制器 ................................................................................... 54
触后 (键) ................................................................................... 54
遥控外部音序器 ...................................................................... 57
建立 ............................................................................................... 57
使用遥控功能 ................................................................................ 58
音色编辑 .................................................................................. 60
运用效果器 .............................................................................. 67
效果器结构 .................................................................................... 67
效果器连接 ................................................................................... 68
使用工作 .................................................................................. 70
储存设置 .................................................................................. 73
歌曲演示 .................................................................................. 75
存储卡的使用.......................................................................... 82
触发灵敏度 .............................................................................. 87
功能树....................................................................................... 88
参数表 ...................................................................................... 92
参数 /功能列表 ............................................................................. 97
参考 .............................................................. 98
参考 ( 功能列表 ) ................................................................... 98
附录......................................................................................... 114
显示屏信息 ............................................................................ 114
屏幕显示的信息 .................................................................... 116
关于 MIDI ............................................................................. 118
可选配硬件的安装 ................................................................ 123
S90 可选配硬件的安装............................................................... 123
安装位置 ..................................................................................... 123
安装注意事项 .............................................................................. 123
可选配扩展卡的安装 ................................................................. 124
可选配 mLAN8E 卡的安装 ........................................................ 126
故障解决 ................................................................................ 128
技术规格 ................................................................................ 131
索引 ........................................................................................ 132
目录

12
Basics Section Quick Guide Reference Appendix
控制器和接口
基本章节
控制器和接口
面板
【弯音】轮 (第 53 页)
【调制】轮 (第 53 页)
【主音量】推子 (第 14 页)
【控制功能】按钮 (第 53,59 页)
【CS1】-【CS2】(控制推子)(第 53,56 页)
LCD 对比度控制 (第 14 页)
【F1】-【F6】(功能)按钮 (第 32 页)
【SF1】-【SF5】(子功能)按钮 (第 32 页)
LCD (液晶显示屏)(第 30,114 页)
【信息】按钮 (第 33,34,35 页)
数字转盘 (第 33,76 页)
【INC/YES】(增加 /是)按钮 (第 33 页)
【DEC/NO】( 减 少 /否)按钮 (第 33 页)
指针按钮 (第 33 页)
【退出】按钮 (第 32 页)
【进入】按钮 (第 32 页)
模式按钮 (第 29 页)
【琵音】按钮 (第 45 页)
【效果旁通】按键 (第 67 页)
【播放 /停止】按键 (第 75 页)
库按键 (第 36,38,41 页)
【A】- 【H】组按钮 (第 37,41 页)
数字 【1】- 【16】按键 (第 30,37,42,49,58,61,76,80 页)
【类别搜索】按键 (第 38 页)
【遥控】开 /关按键 (第 57 页)
【音轨选择】按阿进 (第 30,37,76 页)
【哑音】按键 (第 30,42,61,76 页)
1-3插槽指示灯 (第 125 页)
PITCH MODULATION
PAN
CONTROL
FUNCTION
MASTER
VOLUME
CUTOFF
ASSIGN A
MEQ LOW
VOLUME 1
ZONE 1
CS 1
TEMPO
RELEASE
ASSIGN 2
MEQ HIGH
VOLUME 4
ZONE 4
CS 4
REVERB
RESONANCE
ASSIGN B
MEQ LOW MID
VOLUME 2
ZONE 2
CS 2
CHORUS
ATTAC K
ASSIGN 1
MEQ HI MID
VOLUME 3
ZONE 3
CS 3
F1 F2 F3 F4 F5 F6
SF1 SF2 SF3 SF4 SF5
INFORMATION
DEC/NO INC/YES
EXIT ENTER
EXECUTE
VOICE
PERFORM
MASTER
UTILITY
CARD
SEQ PLAY
ARPEGGIO
EFFECT
BYPASS PLAY/
STOP
JOBEDIT
COMPARE
STORE
MODE PROGRAM
SLOT 1 SLOT 2 SLOT 3
DRUM KITS
FAVORITES
COMMON
A. PIANO
SYN LEAD SYN PAD/
CHOIR SYN COMP
CHROMATIC
PERCUSSION
DRUM/
PERCUSSION
SE
MUSICAL FX
COMBI
KEYBOARD
ORGAN BASS STRINGS BRASS REED/PIPEGUITAR/
PLUCKED
PRE 1 PRE 2 PRE 3 GM USER PLG 1 PLG 2 PLG 3
A B C D E F G H
1 2 3 4 5 6 7 8
9 10 11 12 13 14 15 16
REMOTE
CONTROL
CATEGORY
SEARCH
TRACK
SELECT
MUTE
SOLO
ELEMENT / PERF.PART / ZONE
POWER
ON/ OFF
MIDIFOOT SWITCHFOOT CONTROLLERASSIGNABLE OUTPUTOUTPUT
OUTINBREATH
ASSIGNABLESUSTAIN21A/D INPUTGAINRRL/MONOPHONESUSBCARD
3.3V LTHRU
MUSIC SYNTHESIZER
Modular Synthesis Plug-in System
F2F1 F3 F4 F5 F6
SF1 SF2 SF3 SF4 SF5
INFORMATION
DEC/NO INC/YES
EXIT ENTER
EXECUTE
VOICE
PERFORM
MASTER
UTILITY
CARD
SEQ PLAY
ARPEGGIO
EFFECT
BYPASS PLAY/
STOP
JOBEDIT
COMPARE
STORE
MODE PROGRAM
SLOT 1 SLOT 2 SLOT 3
DRUM KITS
FAVORITES
COMMON
A. PIANO
SYN LEAD SYN PAD/
CHOIR SYN COMP
CHROMATIC
PERCUSSION
DRUM/
PERCUSSION
SE
MUSICAL FX
COMBI
KEYBOARD
ORGAN BASS STRINGS BRASS REED/PIPEGUITAR/
PLUCKED
PRE 1 PRE 2 PRE 3 GM USER PLG 1 PLG 2 PLG 3
A B C D E F G H
1 2 3 4 5 6 7 8
9 10 11 12 13 14 15 16
REMOTE
CONTROL
CATEGORY
SEARCH
TRACK
SELECT
MUTE
SOLO
ELEMENT / PERF.PART / ZONE
PA N
CONTROL
FUNCTION
MASTER
VOLUME
CUTOFF
ASSIGN A
MEQ LOW
VOLUME 1
ZONE 1
CS 1
TEMPO
RELEASE
ASSIGN 2
MEQ HIGH
VOLUME 4
ZONE 4
CS 4
REVERB
RESONANCE
ASSIGN B
MEQ LOW MID
VOLUME 2
ZONE 2
CS 2
CHORUS
AT TAC K
ASSIGN 1
MEQ HI MID
VOLUME 3
ZONE 3
CS 3
4
21
!
A-1 B-1 C0 D0 E0 F0 G0 A0 B0 C1 D1 E1 F1 G1 A1 B1 C2 D2 E2 F2 G2 A2 B2 C3 D3 E3 F3 G3 A3 B3 C4 D4 E4 F4 G4 A4 B5 C5 D5 E5 F5 G5 A5 B5 C6 D6 E6 F6 G6 A6 B6 C7
¶
§
7635 $(%
98
)^* º £
•
@&¡
¢
∞
™
#
1
2
3
4
5
6
7
8
9
10
11
12
13
14
15
16
17
18
19
20
21
22
23
24
25
26
27
28

13
Basics SectionQuick GuideReferenceAppendix
控制器和接口
后背面板
【电源】开关 (第 14 页)
交流电源入口 (交流电源线插座)(第 14 页)
扩展卡插槽保护板盖 (第 126 页)
mLAN 扩展板保护板盖 (Mlan8E)(第 126 页)
MIDI 进/出/直通端口 (第 16 页)
呼吸控制器插孔 (第 18 页)
踏板开关插孔 (可分配的)(第 18,54 页)
踏板开关插孔 (连续)(第 18,54 页)
踏板控制器 1,2插孔 (第 18,54 页)
A/D 输入插孔 (第 15 页)
【增益】旋钮 (第 15 页)
可分配的左 /右输出插孔 (第 15 页)
左/单声道 /右输出插孔 (第 15 页)
耳机插孔 (第 15 页)
USB 端口 (第 17 页)
插卡插槽 (第 82 页)
当数据正在写入闪存中时 (当显示 “Executing...”或 “Please keep
power on”信息时)。否这将丢失所有用户的数据并会使系统死机 (由
于闪存内的数据丢失引起)。
USB
USB 是Universal Serial Bus (通用串行母线)的缩写。
它是连接计算机和外围设备的串行接口。
支持 “热交换”
mLAN
“mLAN”是专为音乐设计的数字网络。它采用和扩展了
IEEE 1394 高性能串行母线工业标准。关于详细资料,请
查阅 mLAN8E 的指南手册。
AC INLET
POWER
ON/ OFF
CARD
3.3V
THRU OUT IN
MIDI
R R L/MONO PHONES
ASSIGNABLE
A/D INPUT12
FOOT CONTROLLER
FOOT SWITCH
ASSIGNABLE
BREATH
SUSTAIN
GAIN
OUTPUT OUTPUT
L
USB
Plug-in SLOT
GREEN
YELLOW
ORANGE
3
2
1
ª‹‡HIJ LK›fifl °·⁄
‚¤
29
30
31
32
33
34
35
36
37
38
39
40
41
42
43
44

14
Basics Section Quick Guide Reference Appendix
安装指导
安装指导
电源供给
确认 S90 的电源开关设置为关闭状态。
将电源线连入背部面板的交流电源接入端口。
将电源线的另一端连入交流电源插座。确认 S90 使
用的电压要求和当地市电一致。
确认 S90 使用的电压要求和当地市电一致(S90 使用的电
压要求注明在背部面板上)。如果将设备接入不符合要
求的交流电将会造成内部电路严重的危害,并且会导致
触电危险!
只许使用 S90 专用交流电源线。如果专用交流电源线丢
失或受损以及需要更换,请联系阁下的雅马哈经销商。
如果擅自使用不适合的电源线替代品,将会导致火灾或
触电危险!
根据不同国家, S90 的专用交流电源线的型号会有不同
(三芯插头中有一相设计为地线)。如果不正确的连接地
线会导致触电危险。不要擅自更改专用电源线插头。如
果插头与电源插座不匹配,请有资格的电工安装与之相
匹配的电源插座。不许使用不接地线的插头转换器。
开电程序
当阁下将 S90 和其他设备连接到位后,并确保所有音
量设置设为最小后,开始按下面先后顺序逐一打开电
源开关:主控 MIDI 设备 (发射级),从属 MIDI 设备
(接收级),音频设备 (混音台,功率放大器,扬声
器,等等),这样能保证信号顺利地从第一个设备流
向最后一个设备 (先是 MIDI,后是音频)。当系统需
要关电时,整个顺序颠倒过来 (先是音频设备,后是
MIDI)。
当把 S90 作为 MIDI 接收级时:
S90
开机顺序
在S90 开电和关电之前,先将所有与之连接音频
设备的音量开关设置为最小。
按电源开关。
过一段时间,显示屏显示出默认值 (象设置的系统
参数,开电模式显示)。
如果 LCD 显示屏不太清晰,请调整显示屏的对比
度,通过 LCD 对比度控制旋钮来调节 (见第 12
页)。
逐渐提升音响系统的音量到合适的电平值。
逐渐提升 S90 的主音量控制器,使之达到期望的响
度。
交流电接入端口
电源线
1
2
3
1 2 3 4 5 6 7 8 9 10111213141516 L R
MUSICSYNTHESIZER
ModularSynthesisPlug-in System
MIDI 主控设备 ( 发送级 )
S90 作为 MIDI 从属设备 ( 接收级 )
音频设备 (先混音台 , 后功率放大器 )
开电
1
AC INLET
POWER
ON/ OFF
2
3

15
Basics SectionQuick GuideReferenceAppendix
设备连接
设备连接
在将 S90 和其他设备相连接之前,请将所有设备的电源开关设置为关闭状态。在开关任何设备的电源前,必须将所有的音量电
平设置为最小 (为0)。否则,设备将会造成电击或受损。
连接外围音频设备
由于 S90 没设置内置扬声器,阁下需要一套外置扩音
系统或一只立体声监听耳机。以下图例介绍了不同连
接方式的方案范例;阁下可以选择自己喜欢的方案:
连接立体声有源音箱
将有源音箱连接到合成器背部面板的 OUTPUT L/
MONO / R( 左/单声道 /右输出 )插孔。这样,通过调
节合成器的声相和效果设置,一对有源音箱就能够表
现出丰满的音响。
如果只使用一只音箱,只需将该音箱连接至背部面板
上的左 / 单声道输出插孔。
连接混音台
除了左 /单声道 /右输出插孔外还有额外辅助音频输
出。将这些输出接口与混音台连接,可以单独控制在
演奏音色模式下的 4个声部。
(见第 29, 41 页)。
音频设备输入
■连接话筒或其他音频设备 (模拟信号输入)
阁下可以输入外部音频 (见第 44 页),只需将话筒或
音源连接连接至 A/D input 音频设备输入插孔即可。
按以上方法连接完成后,阁下可以开始输入音频了。
开始输入时,阁下需要通过 GAIN (增益)旋钮调整音
频输入增益大小。
■连接兼容 mLAN 的音频设备(当已安装好可选配产
品mLAN8E)
音频可以通过 mLAN 插孔或 A/D INPUT (音频设备输
入)插孔输入。具体选择哪一个插孔由设置模式决定
([F2] → [SF1] A/D 音频来源 参考号 53)。
MUSICSYNTHESIZER
ModularSynthesisPlug-in System
有源音箱
(左)
有源音箱
(右)
耳机
输入 输入
输出 左 / 单声道 输出 右 连接耳机
S90
12345678910111213141516LR
LR
LR R
R
MUSICSYNTHESIZER
ModularSynthesisPlug-in System
S90
耳机
左/单声道输出
耳机
音箱
输出 左
功率放大器
混音台
可分配的输出
MUSICSYNTHESIZER
ModularSynthesisPlug-in System
MUSICSYNTHESIZER
ModularSynthesisPlug-in System
S90
S90
左/单声道
频设备输入
音频设备 (合并成单声道)
可以使用人声和声扩展卡 (PLG100-VH) 处
理话筒拾音的效果 .
话筒 (单声道 )
音频设备输入
MUSICSYNTHESIZER
ModularSynthesisPlug-in System
S90
mLAN 音频设备
mLAN 插孔

16
Basics Section Quick Guide Reference Appendix
设备连接
连接外部 MIDI 设备
通过一个标准的 MIDI 连线,可以连接一台外部 MIDI
设备,并且由 S90 来控制它。同样的,也可以用外部
MIDI 设备 (例如键盘或音序器)来控制 S90。以下是
几套 MIDI 连接方案范例;阁下可以采用其中喜欢的
一套方案。
■外部 MIDI 键盘控制 S90
■S90 控制外部 MIDI 键盘
■利用外部 MIDI 音序器录音和回放
■通过 MIDI 直通来控制另一 MIDI 设备
如上图所示,当外部音序器 (通过 MIDI 直通)来控
制外部 MIDI 合成器 1 的同时, S90 能够 (通过 MIDI
出)控制外部 MIDI 合成器 2。
MIDI 线长度不得超过 15 米,并且不能超过 3 台设备串
在一条 MIDI 链上 (通过每一设备单元的 MIDI THRU<
直通 > 来组成 MIDI 链)。如果连接更多的模块单元,
可以使用一个 MIDI THRU (直通)并联盒。线缆过长,
或设备过多可能会导致传输错误。
■使用 mLAN 接口 (如果已经安装好可选配的
mLAN8E)
下面任何一个接口都可以作为 MIDI 数据的发送和接
收:MIDI 连接,mLAN 终端连接,USB 连接,但是它们
不能同时使用。在设置模式 ([F2] → [SF1] 数模音源
参考号 53) 下通常采用 MIDI 数据传输。
MUSICSYNTHESIZER
ModularSynthesisPlug-in System
UTILITY [F5]→[SF4] MIDI IN/OUT=MIDI
MIDI 进
MIDI 出
外部 MIDI 键盘或合成器
S90
MUSICPRODUCTION SYNTHESIZER
IntegratedSamplingSequencer
Real-timeExternalControlSur face
ModularSynthesisPlug-in System
MUSICSYNTHESIZER
ModularSynthesisPlug-in System
UTILITY [F5]→[SF4] MIDI IN/OUT=MIDI
MIDI 出
MIDI 进
外部 MIDI 键盘或合成器
S90
MUSICSYNTHESIZER
ModularSynthesisPlug-in System
UTILITY [F5]→[SF4] MIDI IN/OUT=MIDI
MIDI 出
外部 MIDI 音序器
S90
MIDI 出
MIDI 进
MIDI 进
MUSICSYNTHESIZER
ModularSynthesisPlug-in System
UTILITY [F5]→[SF4] MIDI IN/OUT=MIDI
MIDI 出
外部 MIDI 音序器
S90
MIDI 直通
MIDI 进
MIDI 进
外部 MIDI 合成器 1
MIDI 出
MIDI 进
外部 MIDI 合成器 2
MUSICSYNTHESIZER
ModularSynthesisPlug-in System
UTILITY [F5]→[SF4] MIDI IN/OUT=mLAN
IEEE1394 (mLAN) 线缆
S90
mLAN 键盘
发送和接收

17
Basics SectionQuick GuideReferenceAppendix
设备连接
连接个人电脑
连接个人电脑后,阁下可以通过 MIDI 在S90 和个人电脑
之间传输数据了,并且可以通过计算机对 S90 进行控制、
编辑和组织数据。例如,阁下可以通过音色编辑程序软
件来编辑 S90 的音色。还有一个特殊文件设置程序可以
让阁下通过计算机去管理 S90 插槽中记忆卡中的文件。
■使用 USB 端口
如果阁下希望通过计算机音序器来遥控时,我们建议
您使用 USB 线缆连接。
USB 连线只能用来传输 MIDI 数据。音频数据是不能通
过 USB 来传输的。
关于这套系统的信号流向,请见第 113 页(*67)。
关于 USB 连接头
USB 连线有不同的连接头:A型号端口和 B型号端口。 A型号
端口连接计算机, B型号端口连接 S90。
断开或连接 USB 连线以及开关电源都会造成计算机运行
中断,或使 S90 死机。注意在下列情形下不能断开 USB
连接或开关电源。
•当S90 正在识别设备或正在装载驱动程序。
•当正在启动和关闭操作系统。
• 当系统处于暂停状态 (计算机电源管理控制休眠状态)
• 当MIDI 应用程序正在启动时。
如果发生如下情形,同样也会造成计算机运行中断,或使
S90 死机:
• 开关电源以及频繁连接和断开线缆。
• 当正在传输 MIDI 数据,计算机进入休眠模式,并且重新操
作。
• 当S90 开机,断开和连接线缆。
• 当一大文件数据正在传输时,开关 S90 电源,启动计算机,
或者安装驱动软件。
■使用 IEEE1394 接口 (如果已安装可选配产品 mLAN8E)
MUSICSYNTHESIZER
ModularSynthesisPlug-in System
UTILITY [F5]→[SF4] MIDI IN/OUT=USB
USB 端口
S90
带有 USB 端口的计算机
USB 连线
MUSICSYNTHESIZER
ModularSynthesisPlug-in System
MIDI 出
S90
MIDI 进
MIDI 进
数字发送 /接收
MIDI 出
USB 端口
带有 USB 端口的计算机
USB 线缆
外部 MIDI 音序器
外部 MIDI 合成器
MIDI 线缆
MUSICSYNTHESIZER
ModularSynthesisPlug-in System
UTILITY [F5]→[SF4] MIDI IN/OUT=mLAN
IEEE1394 线缆
S90
带有 IEEE1394 接口的
计算机

18
Basics Section Quick Guide Reference Appendix
设备连接
■使用 MIDI 接口
使用计算机的 MIDI 接口
使用外部 MIDI 接口
确定阁下计算机中较适合的 MIDI 接口方式。
如果阁下的计算机带有 USB 接口,确定用 USB 接口来
连接计算机和 S90 (USB 的数据传输速率高于 MIDI
并且提供多通路 MIDI 端口。)
Local On/Off (本地控制开关)-当连接计算机 (设置
[F5] →[SF2])
当连接好 S90 和计算机,键盘演奏数据通常发送至计算机,并
且从计算机返送回后激活音频发生器和音源。如果本地控制
开关设置为 “on/ 开”模式,将会造成 “回”音,因为音频发
生器直接接收来自键盘的演奏数据同时还接收来自计算机的
演奏数据。所以建议采用以下原则:(特别指令可能不需要计
算机和软件支持。)
当阁下的计算机出现 MIDI“回”音,请将 S90 的Local Control
本地控制开关设置为 “off/ 关”。
当发送和接收系统专用数据 ( 例如批量复制功能 ),
请采用以下设置。确保计算机软件中的 MIDI “回”
音设置为 “关”。
当计算机中的 MIDI “回”音不出现时,请将 S90 的
Local Control (本地控制)设置为 “on/ 开”。
尽管以上图例没有明确指出,实际上不管本地控制
是否设置为开或关,S90 都是接收和响应计算机应
用软件 (音序器)发来的 MIDI 数据。
*
MIDI “回”音是由于音序器通过 MIDI IN (进)接收数
据并通过 MIDI OUT (出)返回信号。在一些软件里,
这种现象也叫做 “MIDI THRU (直通)”。
请查阅用户手册中有关软件特别说明。
连接不同的控制器
S90 的多用控制器插孔在背部面板――可以连接各种不同的可
选配产品产生各种不同声音,实现不同的功能。
MUSICSYNTHESIZER
ModularSynthesisPlug-in System
UTILITY [F5]→[SF4] MIDI IN/OUT=MIDI
MIDI 线缆
S90
带有 MIDI 接
口的计算机
MIDI 出MIDI 进
MIDI 进
MIDI
出
MUSICSYNTHESIZER
ModularSynthesisPlug-in System
UTILITY [F5]→[SF4] MIDI IN/OUT=MIDI
MIDI 接口
S90
串行口
(调制解调器或打印端口)
或USB 端口
MIDI 出MIDI 进
MIDI 进
MIDI
出
计算机
安装有应用软件的计算机
出
进
回音返回开启
出进
USB
本地控制关
键盘
音频发
生器
S90 Local Control=off
安装有应用软件的计算机
进
回音返回开启
出USB
本地设置开
键盘
音频发生器
S90 本地控制 =开
12
FOOT CONTROLLER
FOOT SWITCH
ASSIGNABLE
BREATH
SUSTAIN
FC7
BC3 FC4 or FC5

19
Basics SectionQuick GuideReferenceAppendix
回放演示曲目
回放演示曲目
S90 拥有有大量的演示曲,可展示其动感的音色及多重功能。
请确认合成器已经进入回放音乐模式。具体细节请查阅第 14 页 “安装指导”部分。
按[SEQ PLAY] 键, 调用 CHAIN 显示屏。
按[SF5] (DEMO) 键, 调用演示曲目。
阁下可以通过 [ ▲ ▼ ] 键选择第一首曲目。
按[PLAY/STOP] ( 或[SF5]) 键开始回放演示曲目。
阁下可以设置歌曲的速度和歌曲的 (切入)位置。该操作类似于 SEQ PLAY 模式 (见第 76 页)。
按[PLAY/STOP] ( 或[SF5]) 键还实现暂停演奏以及在歌曲暂停位置开始再演奏的功能。
如果希望退出回放演示曲目模式,可以按 [MODE] (模式)键或 [EXIT] (退出)键。
演示曲目将会一直播放下去直到结束。
F1 F2 F3 F4 F5 F6
SF1 SF2 SF3 SF4 SF5
INFORMATION
DEC/NO INC/YES
EXIT ENTER
EXECUTE
VOICE
PERFORM
MASTER
UTILITY
CARD
SEQ PLAY
ARPEGGIO
EFFECT
BYPASS PLAY/
STOP
JOBEDIT
COMPARE
STORE
1
2
(34)
345
1
2
3
4
5

20
Basics Section Quick Guide Reference Appendix
S90
总体介绍
S90 总体介绍
S90 拥有无数先进和便捷的功能。这一章节将概述这些功能。如下图描述了 S90 的各种组成模块。
控制器
这个模块包含键盘,弯音轮,控制推子,等等 (见第 53 页)。
键盘本身是不产生声音的,它的功能是给 S90 音频发生器发送音符、力度和其他信息。控制器还发送非音符的演奏数据。
键盘等控制器可以将信息通过 MIDI OUT (输出)端口发送给其他外部 MIDI 设备。
音频发生器
这个模块按照键盘等控制器发送来的信息播放音乐。如下图示描述了在音色模式中声音信号的流向路径 (见第 26 页)。
歌曲
(SMF)
文件
存储卡
S90
数据
( 回放 ) AWM2
扩展琵音
键盘
音序器
控制器
音频发生器
加载
保存
回响
效果器
MIDI 出
输出
控制器
合唱
变种
嵌入式 1
嵌入式 2
主控均衡
音频发生器
OSC
(音频振荡器 )音高 滤波
控制从 OSC (音频振荡器)单元发出的
每种因子的输出音高。
修改从音高部分输出每种音色因子的音
色质量。
输出每种音色因子的波形,每种音色
最多有 4种音色因子。 .
控制从 FILTER (滤波)单元发出的每种因
子输出的电平 (振幅)信号。随后信号会以
该电平送到效果器单元。
AMP
(功率放大器 )输出至效果单元

21
Basics SectionQuick GuideReferenceAppendix
S90
总体介绍
内置 AW M 2 引擎的音频发生器以及可选配扩展卡
S90 音频发生器拥有内置 AWM2 引擎的音频发生器和可选配扩展卡。
●AWM2 (Advanced Wave Memory2) (高级波形记忆 2)
AWM2(Advanced Wave Memory2) (高级波形记忆)是基于采样波形的合成系统,并广泛应用于众多雅马哈合成器。每一 AWM2 音色
采用多重真实声音波形采样。此外,各种不同的包络发生器,滤波器,调制器,以及各种参数都应用于在它上面。
AWM2 不局限于常规乐器,它还应用于打击乐器 (鼓),详细资料请查阅第 27 页。
●扩展卡
扩展卡将带给阁下无数音乐动机和力量。安装扩展卡后,它将与 S90 搭配得天衣无缝――意味着阁下在运用它的音色和功能时,感觉
它好像在生产时就已被安装在 S90 里似的。
S90 最多能同时安装 3块插槽。这些扩展卡不只是简单的音色资源;它还具有音频发生器,比如复音。此外,它可以允许阁下使用除
了AWM2 引擎之外的合成系统。您既可它当成常规内置音色来演奏它的音色,又可把它当作演奏音色部分 (见第 25 页)。
S90 兼容模块化合成扩展系统,分三种:单声部,多声部和效果扩展卡。
扩展卡阵容
●单声部扩展卡
单声部扩展卡为阁下添加了一台完全不同的合成器或音频发生器并且运用单一声部扩展卡选择音色。
• 模拟物理模型扩展卡 (PLG150 -AN)
使用该扩展卡合成器拥有最新模拟合成器的数字技术。安装该扩展卡后,阁下可以实时控制和演奏出最时尚的音色。
• 钢琴扩展卡 (PLG150-PF)
该扩展卡提供了 136 种立体声音色,包括声学钢琴和电钢琴音色,以及将近 64 音复音。阁下可以安装 3块该类型扩展卡,
这样可以合成出 192 音复音。
• 先进的 DX/TX 扩展卡 (PLG150-DX)
DX7
的音色适用于该扩展卡。不象
PCM
基带音频发生器,该扩展卡采用了
FM
合成器系统―与基于
DX-series
的合成器类似―
―卓越的全面性和灵活的可修改性。
• 虚拟声学扩展卡 (PLG150-VL)
通过虚拟声学扩展卡,实时被模拟出真乐器的音色给您提供一定程度的仿真音色。如果运用可选配的 MIDI 吹管控制器
(WX5),可以获得非常自然的木管乐器的音色。 .
• 鼓组 /打击乐扩展卡 (PLG150-DR/PLG150-PC)
鼓组 /打击乐扩展卡拥有广受众人瞩目的 AWM2 引擎。该扩展卡还具备自身独特的效果处理。这意味着阁下可以制作出回响
等效果。
内置 AWM2
音频发生器
扩展卡 (可选配 )

22
Basics Section Quick Guide Reference Appendix
S90
总体介绍
●效果扩展卡
• 人声和声扩展卡 (PLG100-VH)
安装该扩展卡后,阁下可以在选择四个效果类型中添加和声效果了。
人声基带合唱部分会自动地通过预先准备和储存好的和弦并以 MIDI 数据的方式产生出来。阁下也可以在演奏键盘时把 S90
看作是一台连接好话筒的语音合成机。
●多声部扩展卡
多声部扩展卡扩充了 S90 中的复音并提供了完整 16 种独立的乐器声部。通过该扩展卡回放音序器的音轨,阁下在演奏时可以
发挥出最大复音。
• XG 扩展卡 (PLG100-XG)
该扩展卡的核心是一只 16 声部 XG 音频振荡器。阁下可以通过这块能产生丰富多样的音色和效果的扩展卡来回放 XG/GM 歌
曲文件。
关于模块化合成扩展系统
雅马哈模块化合成扩展系统为兼容模块化扩展系统的合成器、音频发生器、以及声卡提供了强大的扩展和升级能力。这样阁下可
以方便和有效地获得最新和最强大的合成器及效果器技术,让您永远与飞速发展的现代音乐技术同步。
最大复音数
AWM2 加上扩展卡的复音最大复音数为 64 (如果安装了扩展卡的话)。实际复音数取决于使用的音源音色中的音色因子数及插卡的复
音数而有所不同。
音频发生器的通道结构
S90 通过控制部分或音序器部分发来的 MIDI 数据作出响应而产生出声音信号 (由音频发生器完成)。 MIDI 数据被分配到 16 条通道
中的某一条,并且 S90 能够同时处理 16 条独立通道。此外,我们采用了独立 MIDI 端口技术,超越了 16 通道的局限,每一独立 MIDI
端口都支持 16 条通道。 S90 (内置音频发生器和扩展卡)采用了 3个MIDI 端口。
以上图例,该模式最多支持 48 条通道 (声部)(音色模式除外)。然而,在音序演奏模式时实际能使用的通道 (声部)最多 34 条,
请参考后面的一些例子。
详见第 29 页。
USB 连线支持最多 8条独立 MIDI 端口。 S90 的音频发生器支持三个独立 MIDI 端口 (如上图所示 ),而 S90 的MIDI THRU
(直通)功能能支持 8条独立 MIDI 端口。
MIDI 连线和 IEEE 连线 (当 mLAN8E 已被安装)不支持独立 MIDI 端口数据。
Port 1 Port 2 Port 3
part 1
part 2
part 14
part 15
part 16
part 17
part 18
part 30
part 31
part 32
part 33
part 34
part 46
part 47
part 48
音色模式声部
音频发生器
这些声部用于除音色以外的
其他模式中。

23
Basics SectionQuick GuideReferenceAppendix
S90
总体介绍
声部结构-音色 / 演奏音色 / 音序 演奏模式
●音色模式
在音色模式下, MIDI 端口号为 1。
多声部扩展卡不支持音色模式。不过,支持其他扩展卡。
●演奏音色模式
在演奏音色模式下,MIDI 端口号为 1。
多声部扩展卡不支持演奏音色模式。不过,其他扩展卡支持。
Port 1 Port 2 Port 3
part 1
part 2
part 3
part 4
part 5
part 16
part 17
part 18
part 30
part 31
part 32
part 33
part 34
part 46
part 47
part 48
Keyboard
控制模块
Controllers
该音序发生器模块不适用于音色模
式。
1 -48 声部没使用。
输出
音色模式下的声部
音频发生器模块
( 内置 / 扩展卡 )
Port 1 Port 2 Port 3
Par t 1
Par t 2
Par t 3
Par t 4
Par t 5
Par t 14
Par t 15
Par t 16
Par t 17
Par t 18
Par t 30
Par t 31
Par t 32
Par t 33
Par t 34
Par t 46
Par t 47
Par t 48
PLG3 part
PLG2 part
PLG1 part
键盘
控制模块
控制器
输出
音频控制器 (内置或扩展卡)
通道 (声部) 1-4和14 -16 中最多有四条通道 (声部)能处理演奏音色模式。
音频发生器模块不能在演奏音
色模式下使用。
通道 (声部) 5-13 以及 17 -48
没使用。

24
Basics Section Quick Guide Reference Appendix
S90
总体介绍
●音序演奏模式
效果模块
采用强大的 DSP(digital signal processing 数字信号处理 )技术, S90 使用该效果单元可以美化音色。
如需详细了解请查阅第 67 页。
(储存)卡驱动器及音序器
(储存)卡驱动器用于从储存卡中传输和储存数据。(见第 82 页)。
音序器用于回放储存卡中的标准 MIDI 文件 (见第 75 页)。
Port 1 Port 2
(Multi-Part Plug-in
Board)
Port 3
(Single Part Plug-in
Board)
Par t 1
Par t 2
Par t 3
Tr a c k 1
Tr a c k 2
Tr a c k 3
Tr a c k 4
Track 15
Track 16
Par t 4
Par t 15
Par t 17
Par t 18
Par t 30
Par t 31
Par t 32
PLG1 part PLG2 part
Par t 16
Par t 33
Parts 33-46
are not
used.
Par t 34
Par t 46
Par t 47
Par t 48
键盘
控制器模块
控制器
音频发生器 (样例)
MIDI 连线无法处理多通道 (声部)的数
据。如果 MIDI 连线用于传输外部音序器
的数据,只有通道 (声部) 1能够使用。
如果希望在 S90 上传输多通道 (声部)数
据,请使用 USB 连线。
在音序演奏模式中 , 只能发声的声部才能被选用 , 并且该
声部具有同一条接收通道。
每一 (MIDI)数字音乐的音轨一一对应于相应的通
道 / 声部。(每一条接收通道 /声部必须匹配每一条
发送通道 /声部。)
当多声部扩展卡和两只单声部扩展卡已被安装 :
外部音序器
音序器模块
MIDI 音序数据
这些端口设定能运用于设置模式 (声部号 . [F6] → {SF2} 参考号 207)。

25
Basics SectionQuick GuideReferenceAppendix
音色和演奏音色
音色和演奏音色
库 (储存器)结构
一个音色就是一个单一的乐器声部,是由不同的参数和音色因子产生的。在音色演奏模式里 (见第 36 页),阁下可以选择和演奏任何
一种音色。演奏音色,则是混合了各种不同的音色。在演奏音色演奏模式里 (见第 41 页),阁下可以选择和演奏任何一种演奏音色曲
目。
音色
预设音色
(384 种常规音色 + 48 种鼓组音色 )
演奏音色
用户设定
(128)
预设 1
(128 常规音色 )
预设 2
(128 常规音色 )
预设 3
(128 常规音色 )
预设 1
(48 鼓组音色 )
组 A~H
号 1~16
音色
组 A~H
号 1~16
音色
组 A~H
号 1~16
音色
组 A~C
号 1~16
音色
GM 预设音色
(128 种常规音色 +1 种鼓组音色 )
用户设定音色
(128 种常规音色 +16 种鼓组音色 )
GM 预设音色
(128 种常规音色 )
组 A~H
号 1~16
音色
GM 预设音色
(1 种鼓组音色 )
音色
用户设定
(128 种常规音色 )
组 A~H
号 1~16
音色
用户设定
(16 种鼓组音色 )
组 A
号 1~16
音色
扩展音色
(最大 3个预设和用户设定库,具体个数由安装的扩展卡个数决定)
(AN/PF/DX/DR/PC 模块 :
64 音色
VL 模块 : 192 音色 )
用户设定
号 1~16
音色
PLG1
用户设定
号 1~16
音色
用户设定
号 1~16
音色
用户设定
(64 音色 )
号 1~16
音色
组 A~D
号 1~16
音色
组 A~D
号 1~16
音色
组 A~D
组 A~H
号 1~16
演奏音色
用户设定
(64 音色 )
用户设定
(64 音色 )
(AN/PF/DX/DR/PC 模块 :
64 音色
VL 模块 : 192 音色 )
(AN/PF/DX/DR/PC 模块 :
64 音色
VL 模块 : 192 音色 )
PLG2 PLG3
定义音色 / 演奏音色的 “ 库”

26
Basics Section Quick Guide Reference Appendix
音色和演奏音色
音色 / 音色因子 /演奏音色 概述
每一种音色含有四个音色因子。每个音色因子本身就是一个高品质的声波或乐器声响。
音色和音色因子
每一种音色至多含有四个音色因子。音色因子是由声波制造出来的,并且音色因子的音质非常高,一个音色因子就可以充当一种音
色。由四个音色因子可以合并出非常具有表现力和富有质感的音色,阁下同样可以通过左右手单独演奏出不同的乐器音色――无需特
意建立一个演奏程序 (音色因子编辑 [F1] →[SF3] 音符限制 参考号 32)。
演奏音色
一个演奏音色包含最多四个声部,每一声部代表一个常规色乐器音色或鼓组音色。当分配好每一声部的音色后,阁下可以通过键盘同
时演奏四个声部了。(见第 42 页)
歌曲回放设置适用于音序器播放模式的演奏设置。
+
+
CH16
CH1
++
+
C-2 G8
一种音色
最多四个音色因子
音色因子 1-4
一个音色因子
一个声部
一个混合 (模式)(通道 1至16)
音序器
每一声部不同的音色
通过 MIDI 或
USBMIDI 回放歌曲
回放歌曲
(SMF 格式 0)
MIDI 通道 1~16
音色因子 1
音色因子 2
音色因子 3
音色因子 4
音序器软件音色编辑
文件程序
公共编辑参数 音色
音色因子编辑参数
包括 CD -ROM
计算机
音色编辑
低频振荡器
振荡器
包络发生
一种演奏音色
最多四个音色
声部编辑参数
公共编辑参数
一个声部
音色 声部编辑参数
每一声部不同的音色
声波
音高
振幅包络发生器
滤波包络
发生器
音高包络发生器
滤波器 功率放大器
音序器
(回放或
录音 )
SMF
格式 1→0
音色编辑
公共编辑参数
(通道设置影响所有
的声部 )
(每一声部都可以分配到不同
的通道中 )
最多 16 个声部 (如果安装可选配的多声部扩展卡或单声
部扩展卡可以支持最多 34 个声部)

27
Basics SectionQuick GuideReferenceAppendix
内置存储器和文件管理器
常规音色和鼓组音色
S90 拥有两种音色:常规音色和鼓组音色。常规音色大体上为音高乐器类型,并且每一个声音都由与其音高相匹配的音键来匹配。鼓
组音色大体上为打击乐器和鼓,而它们的声音是特定的音符音键来匹配的。
GM 音色
GM 是全球音色组织机构指定的全球统一标准规范。 GM 的设计初衷是为了保证 MIDI 数据能在不同厂家不同型号的设备
中使用的通用性。 S90 中的 GM 音色库专为播放 GM 曲目而设。不过,请要记住音色可能与原始音源上的音色不完全一
致。
内置存储器和文件管理器
在这一部分,如何存储各种类型的数据和如何使用存储介质来存储它们。
下面这个图例描述了 S90 相关的一些功能以及内置存储器和存储卡。
常规音色 鼓组音色
音色因子 1-4
音色
音键 1 音键 2 音键 3 音键 4 音键 5 音键 76
IBM
PersonalSystem/V
PS/V
PersonalSystem/V
内存
* 音色和演奏音色专用
S90 内置存储器
• 音色
• 扩展音色
• 预设琵音
• 演示曲目
预设数据
*批量数据传输不适用于传输用户设定的琵音
以及系统设定的声部。
MIDI 批量数据 外部 MIDI 设备
编辑缓冲器
• 音色编辑
• 扩展音色编辑
• 演奏音色编辑
• 主控编辑
• 混合编辑
存储
上载 / 存储
用户存储器
闪存
• 用户音色
( 常规 128, 鼓组 16)
• 用户扩展音色
(64 音色 x 3 扩展卡 )
• 用户演奏音色 (128)
• 用户主控 (128)
• 链
• 用户设定琵音 (128)
• 系统设置
存储卡
文件扩展名 “.W4V”
文件扩展名
“.W4C”
文件扩展名
“.W2G”
文件扩展名 “.W4A”
文件扩展名
“.W2B”
Put (save)
扩展音色编辑
计算机
• 扩展卡批量数据
扩展卡 (内存 )

28
Basics Section Quick Guide Reference Appendix
内置存储器和文件管理器
内置存储器
●ROM ( 只读存储器)和 RAM (可读写存储器)
ROM (Read Only Memory 只读存储器 )被设计为只能读取数据但不能写入数据的存储器,存储器里预设的乐器数据永存不变。相反,
RAM (Random Access Memory 可读写存储器 )即可读取数据也可写入数据。
●Flash ROM (闪存)和 DRAM( 内存 )
闪存中的数据即使在关电情况下都能随时读写和修改。相反, DRAM (内存)里的数据在关电情况下就会丢失。这样,阁下需要在关
电前经常将内存里的数据储存到闪存或存储卡中。
当数据正在向闪存中写入 (当 "Executing..." 或"Please keep power on" 信息出现在屏幕)时,请不要关电。否则会导致丢失所有
用户的数据并且会使系统死机 (由于闪存内的数据丢失引起 )。
Edit Buffer (DRAM) 编辑缓存和 Recall Buffer (DRAM) 召回缓存
●Edit Buffer 编辑缓存和用户存储器
编辑缓存定位于编辑音色、演奏音色、主控等数据。被编辑后的数据将被存储在用户存储器里。
如果阁下希望选择另外一种音色、演奏音色、主控和混合设置数据,编辑内存中全部内容将被最近的一次音色、演奏音色、主控和混
合设置数据重新写入。所以在选择另一音色等数据前请一定要确保目前的重要数据是否储存了。
●Edit Buffer 编辑缓存和 Recall Buffer 召回缓存
如果阁下选择了其他一种音色或演奏音色数据而没有对您当前编辑过的数据进行储存,您可以召回原始编辑,因为编辑缓存中的内容
被储存在一个备份存储器中。切记召回缓存只能在音色或演奏音色模式中使用。
存储卡
为了保护和保存阁下有价值的用户数据,阁下需要随时将数据存储到存储卡中 (见第 82 页)。
S90 有两种存储方式 :
• 将所有的数据作为一个文件存储在存储卡中 (扩展名为 ".W4A")。
• 将数据按照它们特定的功能分别存储为多个单独的文件 (扩展名对应于每个文件的类型)。

29
Basics SectionQuick GuideReferenceAppendix
基本操作
基本操作
在该章节里,阁下将能了解到 S90 的模块结构、面板显示屏指示以及操作原理。
模式
S90 拥有不同的模式,每一模式具有不同的操作设置和功能设置。
模式例表
阁下在进入编辑模式前需要选择一种音色 / 演奏音色 / 主控。音色 / 演奏音色 / 主控中的所有参数都能被设置和存储。
设置模式其实是音色 / 演奏音色 / 音序演奏模式的一个子模式,例如,如果在演奏音色模式下按 [UTILITY] 键,那么就进入
了演奏音色模式的一个子模式――允许在设置模式下选择和弹奏演奏音色。
参数可分为两组:1)处理每一个音色、演奏音色等功能的参数 2)处理全部音色、演奏音色等功能的参数。
前者对编辑模式进行处理;后者则对设置模式进行处理。设置模式的设置可以随同音色和演奏音色一起储存到存储卡中。
模式 (状态)演奏 编辑(LED灯) 工作 (显示) STORE (Displayed) 相关功能
音色 (LED灯) 第 36页第 60页第 70页第 73页演奏、编辑、储存音色
演奏音色 (LED灯) 第 41页第 98页第 70页第 73页演奏、编辑、储存演奏音色
主控 (LED灯) 第 48页第 51页第 70页第 73页记录或调用常用的音色、演奏音色、音序演
奏模式下的用户主控。
制作和记录主控键盘的功能设置。
音序演奏 (LED灯) 第 75页歌曲回放 (从存储卡)
音序演奏混合 (显示) 第 79页第 70页在音序演奏模式里设置音频发生器参数 (见
第77页)
设置 (LED灯) 第 72页系统整体设置 (见第98页)
插卡 (LED灯) 储存或载入S90数据 (见第82页)
VOICE
PERFORM
MASTER
UTILITY
CARD
SEQ PLAY
JOBEDIT
COMPARE
STORE
MODE
音色 演奏 模式
音色 编辑 模式
音色 工作 模式
音色 储存 模式
音色模式
演奏音色 演奏 模式
演奏音色 编辑 模式
演奏音色 工作 模式
演奏音色 储存 模式
演奏音色模式
设置模式
编辑模式
主控演奏 模式
主控 编辑 模式
主控 工作 模式
主控 存储 模式
主控模式
音序演奏混合模式
音序演奏模式
音序演奏混合
编辑 模式
音序演奏混合
工作 模式
插卡模式
储存模式
工作模式

30
Basics Section Quick Guide Reference Appendix
基本操作
选择一种模式
对于演奏音色、音色以及音序演奏模式都有不同的演奏模式。
按下适当的模式按钮就能进入相应的演奏模式中去。
在音序演奏模式里,有一种混合模式。如果需要进入该模式,
只需在选择好音序演奏模式后按下 [F6] 按键即可。
如果需要进入主控模式,可以按下 [MASTER] 按键。此时,
VOICE/PERFORMANCE/SEQ PLAY 指示灯发光。
演奏音色、音色、主控、混合设置又可分编辑模式和工作模式
两种。点按 [EDIT] 或[JOB] 即可进入编辑或工作模式。
此外,还有一个设置模式,它是用来对设备和插卡模式进行整
体设置的,它含有与插卡相关的设置。
切记在调用子模式前,主模式被激活的状态下,不支
持设置模式的特殊显示和参数。
混合设置的音符可通过 "Put" 功能 (而不是 "Store"
功能)记忆下来。
如果希望从一个模式退出并进入到另一个模式,可以直接点按
相对应不同的按键和按 [EXIT] 按键 即可退出。
[1] - [16] 按键的功能
这些按键在 [TRACK SELECT] 和[MUTE] 键的 on/off( 开
关)不同的设置下的各种功能:
显示屏提示
在这里,我们将指导阁下如何阅读显示屏中的提示信息。
当[TRACK
SELECT] 按键开
启
当[MUTE] 按键开
启
当[TRACK SELECT]
按键和 [MUTE] 按键都
关闭
音色演奏模式 键盘传送通道设置 —在A-H组中选择音
色
音色编辑模式 音色因子选择 (1-4)以及音色因子
哑音设置 (9-12)—
演奏音色弹奏模
式键盘传送通道设置 演奏音色声部哑音
设置 (1-4)
在A-H组中选择演
奏音色或音色
演奏音色编辑模
式
演奏音色声部选择
(1-4)
主控演奏模式 音区选择 (1-
4)—在A-H组中选择主
控
主控编辑模式
音区选择 (1-
4)
音区哑音 (1 - 4)
—
音序演奏模式混
合模式 混合声部选择 混合声部哑音设置 —
1
1
2
2
3
3
6
1
1
2
3
6
4
4
2 3 4
2 3 4
4
5
9
1
9
1
9
9
9
9
12
10
10
10
9
10
9
10
10
10
8
7
7
8
7
12
12
11
2 3 4
10
12
11
5
音色演奏模式
音色演奏模式 (快速编辑)
音色编辑模式
演奏音色弹奏模式
演奏音色弹奏模式 (快速编辑)
演奏音色编辑模式

31
Basics SectionQuick GuideReferenceAppendix
基本操作
模式 (PERF=PERFORMANCE 演奏音色 )
库 / 号 P1-P3 = 扩展卡 1-扩展卡 3
种类 (见第 35 页)
名字 (有关单独数据表)
键盘MIDI传送通道(见第37页)。通过八度音程参数来设
置键盘
分配给各自的控制推子功能 (3个)。 AS=ASSIGN (分配)
(见第 53 页)
功能 (通过 [F1]-[F6] 按键选择)
子功能 (通过 [SF1]-[SF5] 按键选择)
参数或功能名 (见第 98 页)
设置
编辑类型
COMMON=Common Edit status 公共编辑状态
EL1-EL4=Element Edit status 音色因子编辑状态
KEY=Key Edit Status 音键编辑状态
PART01-PART16=Part Edit status 声部编辑状态
编辑提示(指示当前已经修改但还未存储的音色或演奏音色;
见第
39
页。在伴奏环境下,显示
。见第
61
页。)
弹出字符序列
阶梯链号 (见第 75 页)
设置 (歌曲文件 /混合模式)
速度
歌曲位置
速度按键 (见第 76 页)
小节按键 (见第 76 页)
文件夹设置按键 (见第 75 页)
点按该按键进入演示模式 (见第 19 页)
点按该按键进入混合模式 (见第 77 页)
存储的目的地
2
1
1
1
1
1
1
1
6
*(º™
!
42
42
!
5
$
9
9)
^%&
¡
主控演奏模式
主控快速编辑模式
主控编辑模式
音序演奏模式
音序演奏混合模式
分配给主控的模式
指示
音序演奏混合编辑模式
工作模式
分配给主控的音色库
号指示
音色源 数据源类型
目标数据类型
23
13
存储模式
命名清单
1
2
3
4
5
6
7
8
9
10
11
12
13
14
15
16
17
18
19
20
21
14
22
23

32
Basics Section Quick Guide Reference Appendix
基本操作
选择功能和参数
以上每一种模式在不同的功能和参数环境下都呈现出不同的显
示,阁下可以通过这些显示以及 [F1] - [F6] 、[SF1] [SF5] 按键来
选择期望的功能。
当阁下选择了一种模式,相应的显示或菜单将出现在显示屏底
部的按键上。
使用功能按键 [F1] - [F6]
依照目前选择的模式,至多六个功能可以通过按键 ([F1] - [F6])
来被调用。注意并不是所有的功能都如此。
在一些例子里,一些功能按键用于一些特殊操作,例
如音序演奏 (CHAIN) 显示。(见第 76 页)
使用子功能按键 [SF1] - [SF5]
依照目前选择的模式,至多五个功能 (子功能)可以通过按键
([SF1] - [SF5]) 来被调用。注意并不是所有的功能都如此。(有
些显示的按键中并不包含子功能)。
如何退出当前显示
在大多数操作中 (尤其是编辑和工作-或存储-相关联的),
点按 [EXIT] 按键即可退出当前的显示而返回上一层或常规音色
弹奏模式显示。
[ENTER] 按键
通过该键执行一个工作或存储操作,同样在为音色或演奏
音色选择一个音色库或组时,通过该键实际上进入到一个
库号或组号。在文件模式里,通过该键可以在选择好的文
件目录中进入下一级。
F2F1 F3 F4 F5 F6
SF1 SF2 SF3 SF4 SF5
INFORMATION
这些功能可以通过相应的按键 ([F1] -
[F6]) 来实现。
在这个样例中,点按 [F5] 键会出
现低频振荡器显示界面。
F2F1 F3 F4 F5 F6
SF1 SF2 SF3 SF4 SF5
INFORMATION
这些功能可以通过相应的按键 [SF1] -
[SF5] 来实现。
在这个样例中,点按 [SF5] 键会出
现SCALE 显示
DEC/NO INC/YES
EXIT ENTER
EXECUTE
DEC/NO INC/YES
EXIT ENTER
EXECUTE

33
Basics SectionQuick GuideReferenceAppendix
基本操作
基于显示屏的控制
数据输入
当阁下从使用模式或收藏类型功能中退出时,显示
屏中所改变的参数会自动地储存起来。然而,如果
没有正常退出就关电,那么这些编辑数据就会丢
失。
当数据正在向闪存中写入 (当 "Executing..." 或
"Please keep power on" 信息出现在屏幕)时,请不
要关电。否则会导致丢失所有用户的数据并且会使
系统死机 (由于闪存内的数据丢失引起 )。
确认信息
当阁下处理某一个操作,例如工作、储存、以及文件模
式, S90 显示屏会弹出一个确认信息。让阁下确定是执行
还是取消该执行。
如果一个确认信息出现了 (比如上面图例),点按
[INC/YES] 键则执行操作,或点按 [DEC/NO] 键则取消执
行操作。
信息显示
如果需要取得一个被选模式的相关详细信息,只需点按
[INFORMATION] 按键即可轻松快捷地调取出来。例如,
音色模式被激活,阁下可以快速地检查关于哪一个音色
库被选择了、使用的是哪一种演奏模式 (立体声还是单
声道)、选用的是哪种效果等信息。
在音序模式中,阁下可以确认 (当前)选择的文件夹
(目录)。
如果希望了解有关信息显示的详细资料,请查阅第 114
页。
DEC/NO INC/YES
EXIT ENTER
EXECUTE
移动指针 (光标)
通过这四个指针按键来操纵显示屏。屏幕中不同可选目标或参数都可以被
移动的光标来选择。当我们了一个目标,屏幕中相对应的目标就被显示得
突出。
更改 (编辑)数值
顺时针旋转该数据转盘将增大数值;反
之,逆时针旋转该数据转盘将减小数
值。
阁下可以在按住 [INC/YES] 按键的状态
下同时点按 [DEC/NO] 按键,将以 10
倍的步长来快速增大数值。如果希望以
10 倍的步长来快速减小数值,则按住
[DEC/NO] 按键的状态下同时点按 [INC/
YES] 按键来实现。
INFORMATION
INFORMATION

34
Basics Section Quick Guide Reference Appendix
基本操作
音符 (音键)设置
个别的几个 S90 参数是将一个音键设置为一项功能――
例如,设立分割键盘――通过指定的音符数值设置为分
割点。阁下可以通过 [INC/YES] 和[DEC/NO] 键或数字转
盘来设置这些参数,或直接点按音键输入数值。例如显
示屏显示如下,音色中的音色因子 1正在被编辑。
命名 (输入字符)
S90 允许创建自己设计的诸如音色、演奏音色、主控之类
的数据。也可以自由的为它们命名。
• 用户音色 第 66 页
• 用户演奏音色 第43 页
• 用户主控 第50, 52 页
• 混合模式 第 79 页
• 文件存储至存储卡 第 85 页
下面将描述如何给一个用户音色命名。
通过指针按键移动光标至名字的第一个位置。
通过 [INC/YES] 按键、[DEC/NO] 按键或数字转盘选择
一个字符。
通过指针按键移动光标至名字的第二个位置。
重复以上 - 步输入其他希望写入的字符。
INFORMATION
当选择了音符制定, [KBD] 标识将出现,表示阁下可以通过键
盘设置数值了。按住 [INFORMATION] 按键的状态并同时点按
相应的音键。
1
DEC/NO INC/YES
EXIT ENTER
EXECUTE
2
DEC/NO INC/YES
3
DEC/NO INC/YES
EXIT ENTER
EXECUTE
4 1 3

35
Basics SectionQuick GuideReferenceAppendix
基本操作
使用字符表
在以上 和 步中,可以使用专门的弹出式字符表,该
表为您展示出几乎所有能用到的字符,让您非常方便快
捷地输入字符。如果希望选择一个字符,按住
[INFORMATION] 按键并使用 [INC/YES] 按键 /[DEC/NO]
按键或数字转盘即可。
参数类型 (绝对值和相对值 )
我们有很多方法来设置参数。一些参数需要我们直
接输入数字和字母。此外,一些参数类型是 "绝对
值",而另外一些是 "相对值 "。
例如,绝对值参数在下图例中可设置:单声道 "或"
多声道 "。还有例如音量参数,我们可以设置从 0至
127 之间的任何数值。音量设置 (如下图左边部分 )
和实际发生的音量是线性的,一一对应的。而图中
底部显示的是力度偏移参数," 偏移量 "则是在实际
音量的基础上增加或减少的数值。该值直接作用于
我们在操作键盘时的音符力度。有时,这些参数又
是一个百分比。
LCD 全称 LCD 全称
-- 未定义 Ld 合成器序曲
Ap 声学钢琴 Pd 合成器键盘
Kb 键盘 Sc 合成器伴奏
Or 管风琴 Cp 色彩打击乐
Gt 吉他 Dr 鼓组
Ba 贝斯 Se 声音效果
St 弦乐/管弦乐 Me 音乐效果
Br 铜管乐 Co 合并
Rp 笛/风笛
2 3
INFORMATION
INFORMATION
DEC/NO INC/YES
EXIT ENTER
EXECUTE
通过使用 [INC/YES] 按键 /[DEC/
NO] 按键或数字转盘即可选择一个
字符。
移动光标至希望到达的位置。
U使用这两个按键操纵显示屏,屏幕中不同
的可选项目或参数都可以被移动的光标来选
择。当我们选中了一个项目,屏幕中相对应
的项目就被显示得突出醒目。
当光标移动到 Name 的位置, [LIST] 图标将显现出来并且阁下可以通过
按住 [INFORMATION] 键来调用字符表。释放 [INFORMATION] 键将返
回到原始显示状态。
当按住 [INFORMATION] 键……
0
127
0
音量
1. 音量 (绝对值 )
偏移量
+64
2. 力度灵敏偏移 (相对值 )
音量
增加偏移量 (+10)
实际力度
减少偏移量 (-10)
-64

36
Basics Section Quick Guide Reference Appendix
演奏音色
快速指导
演奏音色
在这里,阁下可以掌握如何通过 PRESET1-3( 预设 ), GM, USER( 用户 ) 以及 PLG 1-3( 扩展卡 )存储组 (库)中选择和演奏音色。
有关音色的详细资料,请查阅第 25 页。有关音色表的信息,请查阅数据表分册。
至多 128 种常规音色和 16 种鼓组音色存储在用户存储器里 ( 见第 25,27,73 页 )。音色设置可以在音色编辑模式下变更 ( 见
第60页)。
选择音色
进入音色演奏模式。
当音色模式被激活,那么当前屏幕中被选音色的字体将变大―
―这样阁下能够方便地查到哪条音色是被选演奏的。
选择音色库。
S90 出厂时在用户音色库中就含有一套完整的用户音
色。自然地,阁下可以编辑和重写它们。当然也可以
通过设置工作 ( 见第 72 页 ) 恢复到出厂时地设置。有
关音色库和组的详细资料请查阅第 25 页。
PITCH MODULATION
PAN
CONTROL
FUNCTION
MASTER
VOLUME
CUTOFF
ASSIGN A
MEQ LOW
VOLUME 1
ZONE 1
CS 1
TEMPO
RELEASE
ASSIGN 2
MEQ HIGH
VOLUME 4
ZONE 4
CS 4
REVERB
RESONANCE
ASSIGN B
MEQ LOW MID
VOLUME 2
ZONE 2
CS 2
CHORUS
ATTAC K
ASSIGN 1
MEQ HI MID
VOLUME 3
ZONE 3
CS 3
F1 F2 F3 F4 F5 F6
SF1 SF2 SF3 SF4 SF5
INFORMATION
DEC/NO INC/YES
EXIT ENTER
EXECUTE
VOICE
PERFORM
MASTER
UTILITY
CARD
SEQ PLAY
ARPEGGIO
EFFECT
BYPASS PLAY/
STOP
JOBEDIT
COMPARE
STORE
MODE PROGRAM
SLOT 1 SLOT 2 SLOT 3
DRUM KITS
FAVORITES
COMMON
A. PIANO
SYN LEAD SYN PAD/
CHOIR SYN COMP
CHROMATIC
PERCUSSION
DRUM/
PERCUSSION
SE
MUSICAL FX
COMBI
KEYBOARD
ORGAN BASS STRINGS BRASS REED/PIPEGUITAR/
PLUCKED
PRE 1 PRE 2 PRE 3 GM USER PLG 1 PLG 2 PLG 3
A B C D E F G H
1 2 3 4 5 6 7 8
910 11 12 13 14 15 16
REMOTE
CONTROL
CATEGORY
SEARCH
TRACK
SELECT
MUTE
SOLO
ELEMENT / PERF.PART / ZONE
POWER
ON/ OFF
MIDIFOOT SWITCHFOOT CONTROLLERASSIGNABLE OUTPUTOUTPUT
OUTINBREATH
ASSIGNABLESUSTAIN21A/D INPUTGAINRRL/MONOPHONESUSBCARD
3.3V LTHRU
MUSIC SYNTHESIZER
Modular Synthesis Plug-in System
14 234
5
1
VOICE
PERFORM
MASTER
MODE
2
A. PIANO
KEYBOARD
ORGAN BASS STRINGS BRASS REED/PIPEGUITAR/
PLUCKED
PRE 1 PRE 2 PRE 3 GM USER
A. PIANO
KEYBOARD
ORGAN BASSGUITAR/
PLUCKED
PRE 1 PRE 2 PRE 3 GM USER
PLG 1 PLG 2 PLG 3
DRUM KITS
● 常规音色
● 鼓组音色
音色库名
选择一个常规音色库 选择一个扩展卡音色库
音色库名

37
Basics SectionQuick GuideReferenceAppendix
演奏音色
选择音色组。
每一音色库中的音色被分为 [A] - [H] 组。如果选择某一组,那
么该组下的所有音色将显现在显示屏上。
选择音色号。
演奏键盘 。
●程序号和相应的组 /号
键盘 MIDI 传送通道设置
点按 [TRACK SELECT] 按键,这时该键的指示灯变亮,
我们可以从 [1] -[16] 按键中点按任何一个来改变键盘
MIDI 传送通道。
阁下也可以在设置模式下 ([F5] → [SF1] 键盘传送
通道参考号 177) 设置参数。但该参数不能储存在存
储模式里。
3
SYN LEAD SYN PAD/
CHOIR SYN COMP
CHROMATIC
PERCUSSION
DRUM/
PERCUSSION
SE
MUSICAL FX
COMBI
A B C D E F G H
音色组
4
DEC/NO INC/YES
1 2 3 4 5 6 7 8
910 11 12 13 14 15 16
ELEMENT / PERF.PART / ZONE
减少数值 增加数值
减少数值 增加数值
5
程序号 组 号 程序号 组 号
001 A 1 065 E 1
002 A 2 066 E 2
003 A 3 067 E 3
004 A 4 068 E 4
005 A 5 069 E 5
006 A 6 070 E 6
007 A 7 071 E 7
008 A 8 072 E 8
009 A 9 073 E 9
010 A 10 074 E 10
011 A 11 075 E 11
012 A 12 076 E 12
013 A 13 077 E 13
014 A 14 078 E 14
015 A 15 079 E 15
016 A 16 080 E 16
017 B 1 081 F 1
018 B 2 082 F 2
019 B 3 083 F 3
020 B 4 084 F 4
021 B 5 085 F 5
022 B 6 086 F 6
023 B 7 087 F 7
024 B 8 088 F 8
025 B 9 089 F 9
026 B 10 090 F 10
027 B 11 091 F 11
028 B 12 092 F 12
029 B 13 093 F 13
030 B 14 094 F 14
031 B 15 095 F 15
032 B 16 096 F 16
033 C 1 097 G 1
034 C 2 098 G 2
035 C 3 099 G 3
036 C 4 100 G 4
037 C 5 101 G 5
038 C 6 102 G 6
039 C 7 103 G 7
040 C 8 104 G 8
041 C 9 105 G 9
042 C 10 106 G 10
043 C 11 107 G 11
044 C 12 108 G 12
045 C 13 109 G 13
046 C 14 110 G 14
047 C 15 111 G 15
048 C 16 112 G 16
049 D 1 113 H 1
050 D 2 114 H 2
051 D 3 115 H 3
052 D 4 116 H 4
053 D 5 117 H 5
054 D 6 118 H 6
055 D 7 119 H 7
056 D 8 120 H 8
057 D 9 121 H 9
058 D 10 122 H 10
059 D 11 123 H 11
060 D 12 124 H 12
061 D 13 125 H 13
062 D 14 126 H 14
063 D 15 127 H 15
064 D 16 128 H 16
1 2 3 4 5 6 7 8
910 11 12 13 14 15 16
TRACK
SELECT
MUTE
SOLO
ELEMENT / PERF.PART / ZONE

38
Basics Section Quick Guide Reference Appendix
演奏音色
使用音色类别搜寻功能
S90 具有音色类别搜寻功能,能让阁下快速找到您期望的音色,而不用关心该音色所在的哪个音色库。简单地选择一个音色类别 -如
钢琴音色,这时您可以在所有地相关音色中一浏览和试听。另外,阁下可以使用特殊收藏音色类别将经常使用和钟爱的音色储存起
来。
使用 [CATEGORY SEARCH] 按键开
始搜寻。
如果需要退出该功能,请再点按一次 [CATEGORY
SEARCH] 按键即可。
选择一个音色类别。
■选择一个音色类别
点按 Category 按键,显示屏将出现类别名称和音色表。一般该
类别下的第一种音色被自动选中。
■选择一个音色子类别
所有的音色类别都分有两个或三个子类别。该类别名显示在搜
寻显示屏画面的底部。通过点按 [F1] - [F3] 按键来选择相应的音
色子类别。
选择和演奏一个音色。
阁下可以通过数据转盘 /[INC/YES] 按键 / [DEC/NO] 按键或光标
[▲]/[ ▼] 按键来完成。需要注意的是,阁下无需退出音色类
别搜寻功能演奏和试听每一种音色。
如果调用音色以及返回演奏模式,请点按 [ENTER] 按键。
PITCH MODULATION
PAN
CONTROL
FUNCTION
MASTER
VOLUME
CUTOFF
ASSIGN A
MEQ LOW
VOLUME 1
ZONE 1
CS 1
TEMPO
RELEASE
ASSIGN 2
MEQ HIGH
VOLUME 4
ZONE 4
CS 4
REVERB
RESONANCE
ASSIGN B
MEQ LOW MID
VOLUME 2
ZONE 2
CS 2
CHORUS
ATTAC K
ASSIGN 1
MEQ HI MID
VOLUME 3
ZONE 3
CS 3
F1 F2 F3 F4 F5 F6
SF1 SF2 SF3 SF4 SF5
INFORMATION
DEC/NO INC/YES
EXIT ENTER
EXECUTE
VOICE
PERFORM
MASTER
UTILITY
CARD
SEQ PLAY
ARPEGGIO
EFFECT
BYPASS PLAY/
STOP
JOBEDIT
COMPARE
STORE
MODE PROGRAM
SLOT 1 SLOT 2 SLOT 3
DRUM KITS
FAVORITES
COMMON
A. PIANO
SYN LEAD SYN PAD/
CHOIR SYN COMP
CHROMATIC
PERCUSSION
DRUM/
PERCUSSION
SE
MUSICAL FX
COMBI
KEYBOARD
ORGAN BASS STRINGS BRASS REED/PIPEGUITAR/
PLUCKED
PRE 1 PRE 2 PRE 3 GM USER PLG 1 PLG 2 PLG 3
A B C D E F G H
1 2 3 4 5 6 7 8
910 11 12 13 14 15 16
REMOTE
CONTROL
CATEGORY
SEARCH
TRACK
SELECT
MUTE
SOLO
ELEMENT / PERF.PART / ZONE
POWER
ON/ OFF
MIDIFOOT SWITCHFOOT CONTROLLERASSIGNABLE OUTPUTOUTPUT
OUTINBREATH
ASSIGNABLESUSTAIN21A/D INPUTGAINRRL/MONOPHONESUSBCARD
3.3V LTHRU
MUSIC SYNTHESIZER
Modular Synthesis Plug-in System
132
1
A. PIANO
KEYBOARD
ORGAN BASS STRINGS BRASS REED/PIPEGUITAR/
PLUCKED
PRE 1 PRE 2 PRE 3 GM USER PLG 1 PLG 2 PLG 3 CATEGORY
SEARCH
2
A. PIANO
SYN LEAD SYN PAD/
CHOIR SYN COMP
CHROMATIC
PERCUSSION
DRUM/
PERCUSSION
SE
MUSICAL FX
COMBI
KEYBOARD
ORGAN BASS STRINGS BRASS REED/PIPEGUITAR/
PLUCKED
PRE 1 PRE 2 PRE 3 GM USER PLG 1 PLG 2 PLG 3
A B C D E F G H
音色类别
名
音色类别名 音色表
F2F1 F3
SF1 SF2 SF3
3
DEC/NO INC/YES
EXIT ENTER
EXECUTE

39
Basics SectionQuick GuideReferenceAppendix
演奏音色
音色收藏类
使用这种快捷功能储存阁下收藏的音色,这样经常使用的
音色被设定在一个单独的方便在现场演奏时,只需通过音
色类别搜寻功能和音色收藏类功能即可快速直接地找到所
需的音色,而无需在各种类别的音色中跳跃式搜索。存取
的地方,如果调用它们只需点按 [FAVORITES] 按键。
现选择好所需的音色类别,然后在该音色表中用光标挪动
在阁下的所需的音色上,接着点按 [F5] 按键复选该框中
的下一个音色名。 (阁下可以在一次点按 [F5] 按键来取消
复选。然后继续完成其他音色类别。当所有所需的音色都
已被复选完,点按 [FAVORITES] 键将这些音色储存到音
色收藏类中。这样,显示屏的音色表中只显示阁下所复选
的音色。如果希望退出音色收藏类时,只需再次点按
[FAVORITES] 按键。
当阁下从音色收藏类退出时,显示屏中被阁下变更
的参数将被自动地储存起来。然而,如果阁下没有
等系统完全退出就关电,该编辑数据将会丢失。
当数据正在向闪存中写入 (当 "Executing..." 或
"Please keep power on" 信息出现在屏幕)时,请不
要关电。否则会导致丢失所有用户的数据并且会使
系统死机 (由于闪存内的数据丢失引起 )。
在音色演奏模式中编辑音色
(快速编辑 )
在音色演奏模式下可以对被选择的音色进行各种不同的
编辑操作。如果需要进行更详细全面的编辑操作,请使
用音色编辑模式。
选择所需的音色 (见第 36 页)。
按下 [F4] - [F6] 按键来选择阁下需要编辑的菜单并编辑
参数。
当选择了一个扩展音色
(
当已经安装好单声部扩展卡
)
,
阁下可以按下
[F2]
按键来调用音色库。
往用户存储器里储存第 步的设置。
点按 [F1] 按键返回原始显示状态。
一些参数需要特殊音色扩展卡才能编辑。
音色演奏模式和音色编辑模式中的参数具有相同的名
字以及相同的功能和设置。
[] (EDIT 编辑)提示
当阁下更改了任何参数, [ ] 提示将显示在显示屏
的左上方。它提示我们当前已经更改的设置还未被
储存。
如果阁下在正在编辑时选择了另一个程序或模式,
[] 提示将出现并且所以阁下编辑的数据都会丢
失。最好的办法是在存储模式下存储编辑数据 (见
第73 页)。即使阁下丢失了数据,也可以通过编辑
召回功能来恢复。 (见第 71 页)
F2F1 F3 F4 F5 F6
SF1 SF2 SF3 SF4 SF5
DRUM KITS
FAVORITES
点按该按键
两个设置中选择一种方式:
开启复选方式
关闭复选方式
1
2
32
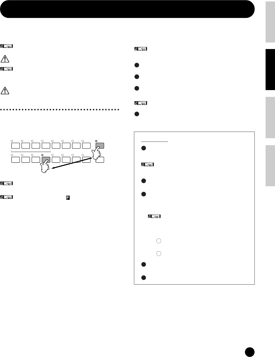
4
编辑提示

40
Basics Section Quick Guide Reference Appendix
演奏音色
●[F2] 音色弹奏 扩展卡音色库
在这个显示屏中,您可以选择扩展卡音色库中的特殊
音色库,然后确定是使用扩展音色还是使用 "原始 "
音色。简单的说 ,两种类型的区别主要在以下几方面:
• "原始"音色是扩展卡中未经过处理和改变的音色―
―扩展卡音色的 "原材料 "
• 扩展卡音色是被编辑过的音色――已被特殊编辑和
处理过并最适合于 S90 的音色。
❏设置 (插槽 1中已安装好扩展卡
)
PLG1USR (User Plug-in voice 用户扩展卡
音色 ), PLGPRE1(Preset Plug-in voice 扩展
卡预设扩展音色 ), 032/000... ( 代表在
Board 音色的 MSB/LSB 中所选择的音色
库。该值不需安装扩展卡的支持 )
只有当扩展卡已被安装并且扩展卡音色已被选择,该
显示才能有效。
●[F4] 音色演奏 滑音 /延音
阁下可以从显示中找到单身道或多声道的回放以及设
置滑音 /延音的参数。 (音色公共编辑 [F1] ->[SF4]
参考号 7, 8, 10, 11)。
●[F5] 音色回放 EG (Envelope Generator) 包络发生器
该显示包括了基本 EG 设置,音量和滤波,滤波又含
有设置截止频点值和谐振的功能。在编辑模式中这些
设置为 AEG 和FEG 的设置进行偏移处理。(见第
65,66 页)。
以下是显示在显示屏中一些参数的全称。
●[F6] 音色演奏 琵音
该显示含有对琵音的基本设置,包括种类和速度 (见
第45 页)。
关于扩展音色和原始音色
S90 扩展卡中的音色可分为两种:原始音色和扩展音色,
原始音色是未经过处理和改变的音色―扩展音色的 “原
材料”。扩展音色,相反,是被编辑过的音色―已被特殊
编辑和处理过并最适合于 S90 的音色。
这些原始音色是一套特殊的音色―称之为原始自定义音色
―该音色可以被与 S90 相连的计算机加上扩展卡中的特殊
编辑软件来编辑。(见第 73 页)。
一些参数需要扩展卡的支持。具体详细资料,请查阅
有关扩展卡用户手册的相关内容。
有关扩展卡的具体种类情况请查阅第 21 页。
ATK DCY SUS REL DEPTH CUTOFF RESO
AEG
触发时间 衰减时间 持续电平 释放时间 --- --- ---
FEG --- 深度 滤波 谐振
扩展卡预设音色
扩展卡用户音色
S90 音色参数
扩展音色编
辑
扩展音色
复制
储存
原始预设音色
原始自定义音色
原始音色
保存
批量发送
不能被编辑
计算机 (CD -ROM 中的音色
编辑器,需扩展卡支持)

41
Basics SectionQuick GuideReferenceAppendix
弹奏演奏音色
弹奏演奏音色
在演奏音色模式中,阁下可以选择和播放个人的用户演奏音色。
有关演奏音色和演奏音色记忆 (库)结构,请查阅第 26 页。
选择一个演奏音色
进入演奏音色模式。
当演奏音色模式被激活,当前被选择的演奏音色将被以大字体
形式出现在显示屏上―这样阁下能十分方便地知道您正在演奏
的是哪一个演奏音色。
选择一个演奏音色组。
每一 (演奏音色)库中的演奏音色都被分成 A至H组。如果选
择好一个所需的组,那么该组下的全部演奏音色将显示在显示
屏上。
全部演奏音色被存储在一个库中,在此阁下不需要去
选择一个音库了。
PITCH MODULATION
PAN
CONTROL
FUNCTION
MASTER
VOLUME
CUTOFF
ASSIGN A
MEQ LOW
VOLUME 1
ZONE 1
CS 1
TEMPO
RELEASE
ASSIGN 2
MEQ HIGH
VOLUME 4
ZONE 4
CS 4
REVERB
RESONANCE
ASSIGN B
MEQ LOW MID
VOLUME 2
ZONE 2
CS 2
CHORUS
ATTAC K
ASSIGN 1
MEQ HI MID
VOLUME 3
ZONE 3
CS 3
F1 F2 F3 F4 F5 F6
SF1 SF2 SF3 SF4 SF5
INFORMATION
DEC/NO INC/YES
EXIT ENTER
EXECUTE
VOICE
PERFORM
MASTER
UTILITY
CARD
SEQ PLAY
ARPEGGIO
EFFECT
BYPASS PLAY/
STOP
JOBEDIT
COMPARE
STORE
MODE PROGRAM
SLOT 1 SLOT 2 SLOT 3
DRUM KITS
FAVORITES
COMMON
A. PIANO
SYN LEAD SYN PAD/
CHOIR SYN COMP
CHROMATIC
PERCUSSION
DRUM/
PERCUSSION
SE
MUSICAL FX
COMBI
KEYBOARD
ORGAN BASS STRINGS BRASS REED/PIPEGUITAR/
PLUCKED
PRE 1 PRE 2 PRE 3 GM USER PLG 1 PLG 2 PLG 3
A B C D E F G H
1 2 3 4 5 6 7 8
910 11 12 13 14 15 16
REMOTE
CONTROL
CATEGORY
SEARCH
TRACK
SELECT
MUTE
SOLO
ELEMENT / PERF.PART / ZONE
POWER
ON/ OFF
MIDIFOOT SWITCHFOOT CONTROLLERASSIGNABLE OUTPUTOUTPUT
OUTINBREATH
ASSIGNABLESUSTAIN21A/D INPUTGAINRRL/MONOPHONESUSBCARD
3.3V LTHRU
MUSIC SYNTHESIZER
Modular Synthesis Plug-in System
1323
4
1
VOICE
PERFORM
MASTER
MODE
2
SYN LEAD SYN PAD/
CHOIR SYN COMP
CHROMATIC
PERCUSSION
DRUM/
PERCUSSION
SE
MUSICAL FX
COMBI
A B C D E F G H
组
演奏音色

42
Basics Section Quick Guide Reference Appendix
弹奏演奏音色
选择一个演奏音色号。
使用键盘。
和音色弹奏模式一样,类别搜索功能 (见第 38 页)同
样适用于演奏音色弹奏模式。
和音色弹奏模式一样,可以用同样的方法对 MIDI 传送
通道进行设置。
演奏音色声部开关
每一演奏音色包含最多 4个声部,共有 7个声部可
以选择―内置声部 1―4以及扩展卡声部 1-3。
该操作同样适用于编辑模式。
点按 [MUTE] 按键,这时该键的指示灯变亮。
在按键 [1] - [4] 中点按任何的一个,该按键的指
示灯随即熄灭,所相应的声部也被哑音。
再次点按 [MUTE] 按键,该键的指示灯熄灭。
独奏声部
按住 [MUTE] 按键并同时点按 [1] 至 [4] 键中的任何
一个,那么所对应的声部处于独奏状态。
一旦阁下选择好一个独奏声部, [MUTE] 按键的指
示灯会闪烁,代表独奏功能已经被激活。当独奏功
能已被激活,阁下可以非常方便地变更独奏音轨,
只需点按 [1] 至 [4] 键中相对应的那个即可。
如果需要退出独奏功能,再次点按 [MUTE] 按键即
可。
层叠音色 (声部)
分割键盘
演奏音色由最多四个声部 (音色)组成,并可选择内部音频发
生器音色 1-4以及扩展卡音色 1-3。
阁下可以将七个音色层叠在一起,并 (或者)分配不同的音色
给键盘的不同音区从而创建一个演奏音色。然后,阁下可以将您
128 种自创、被编辑的演奏音色 (见第 73 页)储存到内置用户
存储器里 (见第 28 页)。
3
DEC/NO INC/YES
1 2 3 4 5 6 7 8
910 11 12 13 14 15 16
ELEMENT / PERF.PART / ZONE
减少数值 增加数值
减少数值 增加数值
4
1
1 2 3 4 5 6 7 8
910 11 12 13 14 15 16
TRACK
SELECT
MUTE
SOLO
ELEMENT / PERF.PART / ZONE
2
3
1 2 3 4 5 6 7 8
9 10 11 12 13 14 15 16
TRACK
SELECT
MUTE
SOLO
ELEMENT / PERF.PART / ZONE
号
PRE1 PRE2 PRE3 USER PL1 PL2 PL3
PRE1 PRE2 PRE3 USER PL1 PL2 PL3
基于音频发生器的音色 扩展音色
分割键盘
基于音频发生器的音色 扩展音色
阶层

43
Basics SectionQuick GuideReferenceAppendix
弹奏演奏音色
演奏音色弹奏模式下点按 [F3] 按键,
调用音色显示屏。
给每一声部分配音色。
移动光标至所需的声部 (音色),点按 [F1] 或[F2] 按
键选择该音色。
如有必要,指定每一个声部的音键。
阁下可以在键盘的低音区点按所要指定的音键同时按住
[SF4] 按键,为低音音键设置音色。而高音区则点按点按
所要指定的音键同时按住 [SF5] 按键。
这样阁下就创建了一台具有最多 4个音区分布 4个不同声
部(音色)的分割键盘。同样阁下也可以在键盘上层叠声
部。
改变每一声部的音量以及调整四个
声部的相对平衡。
当CONTROL FUNCTION (控制功能 )被设置为
VOLUME (音量),阁下可以使用控制推杆对每一个声
部的音量进行调节。
如果对滑音、 EG (Envelope Generator 包络发生器 )、以
及琵音参数进行编辑,只需通过 [F4] - [F6] 按键调用相
应的显示屏即可,和音色模式相似。
在演奏音色编辑模式同样支持千变万化的编辑控制。
见第 98 页。
存储设置。
在退出演奏音色编辑模式前,请确保您编辑的演奏音
色是否已经储存。 (见第 73 页)
1
F2F1 F3 F4 F5 F6
SF1 SF2 SF3 SF4 SF5
INFORMATION
2
F2F1 F3 F4 F5 F6
SF1 SF2 SF3 SF4 SF5
INFORMATION
DEC/NO INC/YES
编辑提示 (见第 39 页)
为被选中的声
部分配内置音
色。
为被选中的声部分配 ch
扩展音色。
为被选中的声部删除音色
3
SF4 SF5
音符 (音键 )下限 音符 (音键 )上限
4
5

44
Basics Section Quick Guide Reference Appendix
弹奏演奏音色
在演奏音色弹奏模式编辑
演奏音色 (快速编辑)
演奏音色弹奏模式可以让阁下为选中的音色进行各种
常规地编辑操作。如需进行更细致和更全面的编辑操
作,请使用演奏音色编辑模式。
演奏音色弹奏模式以及演奏音色编辑模式里含有相同
的参数名、参数功能、参数设置。
●[F2] 演奏音色弹奏 A/D (模拟 /数字)
在该显示屏中,阁下可以为 A/D 输入音色进行设
置。 A/D 输入的功能即让阁下输入外界的声音 (比
如来自话筒或吉他的声音),然后对声音进行处理
以及和 S90 中的其他声音进行混合。声音信号可以
通过 A/D 输入插孔或 mLAN 端口输入至 S90 (如
果S90 已经安装了可选配模块 mLAN8E)。
有关具体连接的详细资料,请查阅第 67 页)。
在设置模式阁下可以通过设置来选择是采用 A/D 输入
插孔,还是采用 mLAN8E 端口。([F2] - >[SF1] 数模
音源, 参考号 53)。
• Volume 音量
指定 A/D 输出的电平值。
• Pan 声相
指定 A/D 声部的立体声声场定位。
• RevSend 混响输出
指定 A/D 信号输出混响效果的电平值。
• ChoSend 合唱输出
指定 A/D 信号输出合唱效果的电平值。
• VarSend(Variation Send) 变种输出
指定 A/D 信号输出变种效果的电平值。
• DryLevel 干音电平
指定未加处理的 A/D 信号的电平―换句话说,干
音就是未添加任何效果 (混响,合唱,变种)的
声音。 (设置 [F1] ->[SF3] 参考号 21)。
• Mono/Stereo 单声道 /立体声 (mLAN 输入)
指定从 mLAN 端口输进声音的结构,或指定采用
的传送方式 (立体声或单声道)。该参数只能在
S90 选用了 mLAN 端口作为 A/D 信号输入端口时
来能发挥作用。
❏设置
立体声
经mLAN 端口输进来的声音被处理为立体声。
左声道单声道。
经 mLAN 端口输进来左通道的声音被处理为单声道。
右声道单声道
经mLAN 端口输进来右通道的声音被处理为单声
道。
左+右单声道
经mLAN 端口输进来的声音被合并处理为单声
道。
• OutputSel ( 输出选择 )
指定 A/D 输出端口。
❏设置 (如下)
* 只有当 mLAN8E 可选配件已安装在 S90 才有效。
●[F3] 演奏音色弹奏 音色
在该显示屏中,阁下可以为任何声部选择一种音色
并指定至音符 (音阶)(见第 43 页)。
●[F4] 演奏音色弹奏 滑音
在该显示屏中,阁下可以为任何声部设置滑音参数
(演奏音色编辑 [F1] →[SF4] 参考号 7-10)。
●
[F5]
演奏音色弹奏 EG 包络发生器
与音色弹奏模式相同。见第 40 页。
●[F6] 演奏音色弹奏 琵音
该显示中包含用琵音弹奏的基本设置,包括种类和
速度 (见第 45 页)。
LCD 输出端口 单声道/立
体声
L&R 左右输出 立体声
as L&R 可分配的左右输出 立体声
as1&2 mLAN8E可分配输出1和2
立体声
1 : 左
2 : 右*
as3&4 mLAN8E可分配输出3和4
立体声
3 : 左
4 : 右*
asL 可分配的左输出 单声道
asR 可分配的右输出 单声道
as1 mLAN8E可分配输出1单声道 *
as2 mLAN8E可分配输出2单声道 *
as3 mLAN8E可分配输出3单声道 *
as4 mLAN8E可分配输出 4单声道 *

45
Basics SectionQuick GuideReferenceAppendix
使用琵音功能
使用琵音功能
什么是琵音功能?
该功能能依照阁下演奏的音键自动地触发预设的琵
音。
非常适合 dance/techno 舞曲类型的音乐。 阁下可以将
自己钟爱的琵音类型分配到每一音色或弹奏音色上
去,并调整速度。同样阁下也可以设置琵音回放方
式,力度范围和播放效果,创造自己设计的风格。不
只这些,琵音回放可以通过 MIDI 输出端口来传送 (参
考号 86), 这样,可以在音序器上录下琵音数据,并且
可以通过其他音频发生器来播放。
琵音构造
如下图例描述了琵音的构造。
* MOTIF 装载有用户琵音数据。
琵音开 /关 (当歌曲回放时)
一首歌曲的每一声部 (混合模式)都可以单独设
置琵音开 /关。 (见79 页)。
琵音的四个回放类型
琵音的类型被分为如下四类:
Sq: 音序
创建常规的琶音乐句。大体上是上行 /下行八度。
Ph: 乐句
乐句比音序更富有音乐性、节奏感以及丰富性。源至
“Techno”,具有广泛多样的音乐素材,并有吉他、钢
琴以及其他乐器作背景音轨。
Dr: 鼓模板
该类型主要为鼓和打击乐音响而设计。
Ct: 控制
通过控制变化数据来实现动态的音高和力度的变化。
不直接产生音符数据――而是用音高变化来作用于演
奏的音符。
音色
音色
音色
音色
音色
音色 演奏音色
演奏音色
演奏音色
演奏音色
演奏音色
演奏音色
琵音数据 在演奏音色模式
下
在音色模式下
预设 1
(128)
预设 2
(128)
琵音
琵音
用户 *
(128)
琵音
不同的琵音类型可以分配至每个音色或音色库
中。

46
Basics Section Quick Guide Reference Appendix
使用琵音功能
琵音回放
选择一个音色或演奏音色 (见第
36、41 页)。
点按 [ARPEGGIO] 按键开启琵音。
当阁下选中了一个音色或演奏音色并将琵音开
关设置为开启, [ARPEGGIO] 按键会自动地开
启。
[ARPEGGIO] 按键的开关状态能被储存到每一个音色或
演奏音色设置中去。
演奏键盘。
如果按住音键,琵音将依照演奏音符、琵音类型、速
度、力度范围设置等参数来执行。
在音色演奏模式里,琵音将作用于被选的音色上。
在演奏音色 /混合模式里,当被选声部对应的
琵音开关设置为开启时,琵音将作用于该声
部。
( 见第 47 页 )。
琵音类型,速度和音高范
围
S90 提供了多种不同的琵音类型,阁下可以改变琵音的
速度。
琵音功能适用于所有的模式。
下面文章将描述琵音在演奏音色模式中的应用。
在演奏音色模式里点按 [F6] 键,调用
ARP(Arpeggio 琵音 )显示屏 。
选择一个琵音库。
移动光标至库参数并选择。
选择一个琵音类型。
移动光标至类型参数并选择。
1
2
ARPEGGIO
EFFECT
BYPASS PLAY/
STOP
3
1
F2F1 F3 F4 F5 F6
SF1 SF2 SF3 SF4 SF5
INFORMATION
2
3

47
Basics SectionQuick GuideReferenceAppendix
使用琵音功能
设置琵音回放的速度。
移动光标至速度参数并选择。
设置琵音回放的力度范围。
移动光标至力度范围参数并选择。
设置琵音声部开关 (只适用于演奏音
色)。
阁下可以为每一声部设置琵音回放开关。移动光标至
希望选中声部的方框中,并复选该框开启该声部的琵
音。
储存用户演奏音色的琵音设置 (见第
73 页)。
4
5
0
127
下限 上限
下限
上限
只有音键演奏的力度在该范围内时,琵音来能
发挥作用。
6
7

48
Basics Section Quick Guide Reference Appendix
作为主控键盘使用
作为主控键盘使用
什么是主控模式?
S90 装载了大量的功能和操作,阁下可能在查找和调
用某一特殊功能感到比较麻烦。如果运用主控模式,
这样阁下就可以将经常执行的操作储存起来,并只需
点按一个按键即可随时立即调用它们。 S90 提供了容
纳总共 128 条用户主控设置空间。
* 该参数于上图中其他的参数不同 (比如推子设置)可以被储存 (主控编辑 [F2]
参考号 58)。
四个音区
在主控模式中,键盘可以分割出最多 4个独立的音区―
―每一音区带有各自的 MIDI 通道设置。这样,阁下可
以只使用一只键盘单独控制几个不同的乐器声部。而
且,阁下可以让这些单独音区来控制与其相连的 MIDI
设备。还可以在用户主控模式下设置和储存这四个音
区。
内置音频发生器 (包括扩展卡)的每一通道的
MIDI 通道只适用于音序演奏模式。
四个音区还可以组成音色 “层叠”――让您在一个音
区中演奏时拥有更多的音色 (见如下图例)。
主控号 设置样例
主控 001 音色模式 音色号 102
主控 002 音色模式 音色号 88
主控 003 演奏音色模式 演奏音色号 043 * 音区开关关闭
主控 004 演奏音色模式 演奏音色号 059 * 音区开关关闭
主控 005
演奏音色模式 演奏音色号 077 * 音区开关开启
主控 006
演奏音色模式 演奏音色号 093 * 音区开关开启
主控 007 音序演奏模式 混合模式号 7
•
•
•
•
•
•
主控 128 音序演奏模式 混合模式号 24
MIDI ch1 MIDI ch2 MIDI ch3 MIDI ch4
音频发生器模块
MIDI ch8 MIDI ch9
音频发生器模块
MIDI ch1
MIDI OUT MIDI OUT MIDI OUT MIDI OUT
MIDI ch2 MIDI ch3 MIDI ch4
外部音频发生器
音频发生器模块 ( 内置 /扩展卡 )
键盘 ( 最多 4 个音区 )
主控音区编辑
MIDI 开关
(参考号 27)
主控音区编辑 TG
开关
(参考号 26)
ZONE2 ZONE3ZONE1
ZONE4
MIDI ch1
MIDI OUT MIDI OUT
MIDI OUT
MIDI OUT
MIDI ch2 MIDI ch3
MIDI ch4
外部音频发生器
音频发生器模块 ( 内置 /扩展卡 )
主控音区编辑
MIDI 开关
(参考号 27)
主控音区编辑 TG
开关
(参考号 26)

49
Basics SectionQuick GuideReferenceAppendix
作为主控键盘使用
■分割
阁下可以使用音区设置建立一个 “分割”―以一个音
键作为分割点,将将键盘分割成两部分音区。
如以下样例,该键盘的分界点为 C3 音键,这样划分出
来的低音音键区域将弹奏琵音,高音音键区域依然弹
奏常规音色。
■层叠
阁下同样可以使用层叠设置来创建一个 “分层”―这
样键盘能同时演奏两个不同的声部。
如以下样例,键盘能同时齐奏出两种音色―一种内置
音色和一种扩展音色。
演奏主控演示曲目 (选择主控)
S90 提供了无数强大底功能和模式,看起来想把这些全
部了解清楚以及想弄懂它们是如何一起工作的,似乎
有些困难。一个非常好的办法就是从主控模式入手学
习。
我们编写了一些各种不同的主控程序,让阁下了解到
这个强大的功能是如何使用的。开始吧。(通过这次学
习,阁下稍后可以设置自己的主控程序了。)
进入主控模式。
选中一个主控号。
演奏选中的主控程序 。
分界点
(C3)
通道 1
声部 1
演奏琵音
低音部分 高音部分
通道 2
声部 2
演奏音色
声部 1
音色
(顶)层
扩展卡 1 声部
扩展 音色
(底)层
1
VOICE
PERFORM
MASTER
MODE
2
DEC/NO INC/YES
1 2 3 4 5 6 7 8
910 11 12 13 14 15 16
ELEMENT / PERF.PART / ZONE
减少数值 增加数值
减少数值 增加数值
模式
3
ARPEGGIO
EFFECT
BYPASS PLAY/
STOP
当主控模式被设置为音色
或演奏音色时,则演奏键
盘。
当主控模式被设置为音序
演奏,则点按 [PLAY/
STOP] 按键即可。

50
Basics Section Quick Guide Reference Appendix
作为主控键盘使用
主控储存
在主控演奏模式中,选中的模式以及程序将被储存到
主控中。
进入主控模式并选中一个主控号
(见第 49 页)。
点按 [F2] 按键,调用储存显示屏幕。
储存选中的模式。
储存选中的程序或模式 (见第 36 至
38 页)。
为主控命名。
阁下可以在主控编辑模式下为主控命名(见第 34 页)。
阁下也可以将设置的功能赋予给控制推子 。(公共 [F2]
参考号 58, 音区 [F5] 参考号 134)。
将该设置作为一个用户主控存储起
来。(见第 73 页)。
1
2
F2F1 F3 F4 F5 F6
SF1 SF2 SF3 SF4 SF5
INFORMATION
3
DEC/NO INC/YES
模式
4
DEC/NO INC/YES
DRUM KITS
FAVORITES
COMMON
A. PIANO
SYN LEAD SYN PAD/
CHOIR SYN COMP
CHROMATIC
PERCUSSION
DRUM/
PERCUSSION
SE
MUSICAL FX
COMBI
KEYBOARD
ORGAN BASS STRINGS BRASS REED/PIPEGUITAR/
PLUCKED
PRE 1 PRE 2 PRE 3 GM USER PLG 1 PLG 2 PLG 3
A B C D E F G H
1 2 3 4 5 6 7 8
910 11 12 13 14 15 16
ELEMENT / PERF.PART / ZONE
或
程序
5
6

51
Basics SectionQuick GuideReferenceAppendix
作为主控键盘使用
使用音区―与外部音频发生
器一起创建层叠 /分割
在以下样例中,我们将建立三个音区,显示如下。我们
将C3 音键设定为分界点。在低音区(B2 音键和 B2 音
键以下音区),会出现低音音色和镲片音色。在高音区
(C3 音键和 C3 音键以上音区)会出现钢琴和电颤琴的
音色―通过外部 MIDI 音频发生器播放。运用这种经典
的设置,阁下只需您的双手就能轻松地演奏出能和一
只完整的爵士乐队媲美的音乐。
如以下样例,我们将运用主控模式的音色。
在主控演奏模式中选择音色
将模式设置为音色,然后选中 PRE1 音色库和 voice
(音色) 123。
开启音区开关。
进入主控编辑模式。
公共编辑和单独音区编辑
如果希望让编辑参数成为所有音区的公共编辑,
请点按 [DRUM KITS] 按键 (该键在这里作为公
共按键处理)。
如果希望对某一单独的音区的参数进行编辑,请
选择与该音区对应的数字符号按键 [1] - [4]。
只有在主控演奏模式下 [F2] ( 记忆储存 ) 显示屏里
的音区开关开启了,该操作才能生效。
调用音区编辑显示屏。
点按任按一按键。
音区 2
(钢琴 )
音区 1
(贝斯 和 镲片 )
音区 3
(电颤琴 )
C3
内置音频发生
器
外部音频发生器
1
DEC/NO INC/YES
2
DEC/NO INC/YES
EXIT ENTER
EXECUTE
3
JOBEDIT
COMPARE
STORE
DRUM KITS
FAVORITES
1 2 3 4
ELEMENT / PERF.PART / ZONE
4
1 2 3 4
ELEMENT / PERF.PART / ZONE

52
Basics Section Quick Guide Reference Appendix
作为主控键盘使用
调用 TRANS 显示屏。
设置开音频发生器关至音区 1 并且将其他所有音区
都设置为关闭。这样只有音区 1 的演奏数据影响于
S90 的音色,而其他音区则无法进行。
将音区 2和音区 3的MIDI 开关开启,其他的则关闭。
这样音区 2和音区 3的演奏数据将传送至外部音频
发生器中去。
将音区 1的MIDI 传送通道设置为 1。将 音 区 2和音区
3MIDI 传送通道的设置与外部音频发生器 (从属设
备)的接收通道相匹配即可。
确认外部音频发生器设置为 multi-timbral 操作(不同
的音色对应 16 条MIDI 通道中每一条不同的通
道)。在音频发生器上选中适合的音色对应到阁下
在第 步设置的 MIDI 通道中去。
调用音符显示屏。
设置音色范围音区 1 的上限音符为 B2。 设置音色范
围音区 1 的下限为 C-2。
设置音色范围音区 2 和音区 3的上限音符为 G8。
设置音色范围音区 2 和音区 3的下限音符为 C3。
每一音区会在以上音符范围内产生被分配的音色。
如有必要,阁下同样可以设置其他参数。
储存该设置至主控 (见第 73 页)。
控制号设置 (音区)
在主控编辑模式的 CS (Control sliders 控制推子)显示
屏里,阁下可以设置如何让控制推子作用于每一个音
区。这样,阁下可以给每个控制推子指定一个 MIDI 控
制号。如下图样例,该控制推子被设置为 11 (表达)。
阁下可以使用控制推子为该音区调节相对音量平衡
了。
只有在主控演奏模式下记忆储存显示屏里的音区开关
开启了,该操作才能生效。
5
F2F1 F3 F4 F5 F6
SF1 SF2 SF3 SF4 SF5
INFORMATION
1
2
3
4
3
6
F2F1 F3 F4 F5 F6
SF1 SF2 SF3 SF4 SF5
INFORMATION
1
2
7
F2F1 F3 F4 F5 F6
SF1 SF2 SF3 SF4 SF5
INFORMATION

53
Basics SectionQuick GuideReferenceAppendix
使用控制器
使用控制器
S90 提供了数量惊人的控制选项。不只是弯音轮和调制轮, S90 还提供了特别的推子以及连接踏板控制器和踏板开
关的后板插孔。阁下可以将这些控制器连接至后板插孔,这样即可用手又可用脚来控制不同的参数。在这一章节里
将介绍各种控制器的基本功能。
弯音轮和调制轮
弯音轮的设计初衷是控制音高。上下推动弯音轮能上
下改变音高。
调制轮通常用于增加调制效果 (颤音、滤波变种、
等)。
每一种音色和演奏音色的弯音范围都可以被设置
(参考号 14)。弯音轮也可以被赋值为其他参数。
(见第 55 页)。
即使弯音轮被分配了不同的参数,弯音信息依然
可以通过 MIDI 输出端口传送。
调制的深度也可以预先设置。同样,调制轮也
可以被赋予不同的参数,比如音量或声相。
(见第 55 页)
。
控制推子 (CS)
当阁下在演奏时,这些推子可以实时变化声音的不同
方面。阁下可以改变选择特殊的功能组,也可以改变
通过 [CONTROL FUNCTION] 按键指定的推子参数。
选中的指定组 (A,B,1,2)能让阁下控制一组用户
指定性功能。
当阁下选择了一个特定程序,您也可以确定哪条
控制行被自动激活。( 参考号 12, 58)。
推子 [A] 和 [B] 分配了 公共系统参数。([F4] →
[SF2] 参考号 128)。推子 [1] 和 [2] 分配了音色
专用参数。(见第 55 页)。
每一音色都已分配了预设的参数设置。使用推子
[1] 和 [2] 在一定程度修改了这些设置。如果这
些参数已经以它们的最小值和最大值设置的,那
么这些设置无法被处理。
控制推子和音轨 (当选择了音量)
在音色模式中,这些推子分别用来控制音色中四
个音色因子的音量 (音色最多由四个音色因子组
成)(见第 26 页)。
在演奏音色模式中,这些推子分别用来控制四个
声部的音量。
在音序演奏模式中,这些推子分别
用来控制某一音轨的音量。
当音区开关设置为在主控演奏模式下时,不同的
功能 (控制号)能够分配到这些控制推子中去
(主控音区编辑 [F5] 参考号 134)。
PITCH MODULATION
弯音轮 调制轮
上移
下移
深
CS1 CS2 CS3 CS4
当选择的音轨为1-4: 1234
当选择的音轨为 5-8: 5678
当选择的音轨为 9-12: 9 10 11 12
当选择的音轨为 13-16: 13 14 15 16

54
Basics Section Quick Guide Reference Appendix
使用控制器
控制推子设置的样例
点按 [CONTROL FUNCTION] 按键,选择希望
控制的功能条。随即相应的指示灯发光,提示
阁下该功能条被激活。例如,如果阁下希望使
用推子去控制声相、混响、合唱和速度,请点
按[CONTROL FUNCTION] 按键 (若有必要,
重复点按)直到显示屏顶部的指示灯发光。
移动推子 ([CS1] - [CS4]) 调节希望的功能。
这些有效的功能都显示在显示屏的顶部,移动推子
可以改变相应的参数。例如,移动推子 2(CS2)
可以改变混响参数 (在顶上方一行),移动推子 1
(CS1)可以改变声相的位置。
如果 “声相”推子 A图行在显示屏中变暗,那么
该推子的任何动作都会直接影响演奏的声音。反
之,如果推子 B图行在显示屏中变亮,该推子的任
何动作都对演奏的声音毫无影响。
控制推子能运用于控制音区 (见第 52 页)或用来
遥控外部音序器 (见第 57 页)。
踏板控制器
阁下可以将可选配的踏板控制器 (比如 FC7)连接至
S90 背板的踏板控制器插孔 (见第 13 页),并对它分
配多种控制参数。当现场演奏时,阁下可以利用踏板
控制器来完成参数控制,这样阁下的双手就被腾出
来,可以轻松自如地演奏键盘了 (或操作其他控制
器)。
踏板控制器的参数适用于所有的音色。(见第 55
页)。
踏板开关 (可分配性)
阁下可以将可选配的雅马哈 FC4 或FC5 连接至 S90 背
板的踏板开关可分配插孔 (见第 13 页),并对它分配
一类参数。它适用于开关类型控制,比如延音开关、
添加或减少一个音色号或演奏音色号、音序器的演奏
或停止、以及琵音开关等。
分配给踏板开关的参数被设置在应用模式里。
([F4] → [SF3] 参考号 130)
踏板开关 (持续音)
阁下可以将可选配的雅马哈 FC4 或FC5 连接至 S90 背
板的持续音插孔 (见第 13 页),这样阁下可以通过该
踏板来控制持续音的参数,尤其是在演奏钢琴音色和
弦乐时非常有用。
阁下不能给持续插孔赋予持续音以外的功能。
呼吸控制器
阁下可以将可选配的呼吸控制器 (BC3)连接至 S90
背板的呼吸控制插孔 (见第 13 页),这样 S90 中大量
的参数可以由呼吸控制器来控制。
呼吸控制器的参数适用于所有的音色。
触后 (键)
当音键按下时,触后 (键)可以根据按下的力度实时
改变诸如颤音等效果。触后 (键)能够适用于广泛各
种不同的参数 (见第 55 页)。
1
PA N
CONTROL
FUNCTION
CUTOFF
ASSIGN A
MEQ LOW
VOLUME 1
ZONE 1
CS 1
TEMPO
RELEASE
ASSIGN 2
MEQ HIGH
VOLUME 4
ZONE 4
CS 4
REVERB
RESONANCE
ASSIGN B
MEQ LOW MID
VOLUME 2
ZONE 2
CS 2
CHORUS
AT TA C K
ASSIGN 1
MEQ HI MID
VOLUME 3
ZONE 3
CS 3
1
2
3
4
5
6
1.声相,效果传送以及速度
2.滤波和 EG (包络发生器)
3.分配指定
4.主控 EQ (均衡)
5.音量
6.音区
重复点按该键,
选择每一条功
能.
2
(A) (B)

55
Basics SectionQuick GuideReferenceAppendix
使用控制器
控制组 (音色公共编辑 【F4】)
触后键盘以及面板上的推子所被分配的不同参数
与其他单独的设置不同,详见第 53 页。例如,调
制轮被分配滤波混响控制,这时触后 (键)就相
应地运行颤音。这样就为控制参数提供了相当大
地适应性和灵活性。这些控制器的分配可以被理
解为控制组。如下图,阁下可以对每一种音色最
多六种不同的控制组进行分配。
在每一个控制组里,控制器可以被理解为控制信
号源 (Src),而信号源控制的参数可以被理解为受
控单元 (Dest)。一些控制 (Dest)参数运用于整
个音色,而有些则运用于音色中每一个音色因
子。如需详细资料可查阅数据表分册的控制表。
有关
Dest
参数设置的详细资料,请数据表分
册的
Dest
参数表。
如果没有对音色因子设置 Dest 参数 (00 到
33),音色因子开关将会无效 ( 音色公共编辑
[F4] 参考号 117)。
音色因子开关只有在常规音色模式下有效。
■使用一个控制器同时控制几个不同受控单元参
数
通过创建控制组,阁下可以同时采用不同的方式
来改变声音的属性。
例如将控制组 1的Src (控制信号源)参数设置
为MW(Modulation Wheel 调制轮 ),并将受控单
元参数设置为 ELFO-PM (Element LFO Pitch
Modulation Depth 音色因子低频振荡音高调制深
度)。然后将控制组 2的Src 参数也设置为 MW,
但受控单元的参数设置为 ELM PAN(Element Pan
音色因子声相 )。同样阁下需要指定受控音色因子
以及控制深度值。
在该例子中,当阁下上移调制轮时,音高调制量
将相应地增高;同时,音色因子的声相也随之从
左移到右。这样,通过一个控制器同时改变了声
音的不同属性。
■使用几个不同的控制器控制一个受控单元的参
数
接着以上例子,现在我们创建另一个控制组。将
控制器设置为 FC (Foot Controller 控制踏板 ),受
控单元设置为 ELFO-PM (Element LFO Pitch
Modulation Depth 音色因子低频振荡音高调制深
度)。同样,还要指定受控音色因子以及控制深度
值。
这样就有两个控制器同时控制音高调制了:调制
轮和控制踏板。按照这种办法,阁下还可以指定
更多的控制器来控制一个受控单元的参数。
通过对六个控制设置的分配 ,阁下可以极其方便地
实时控制合成器所有的音色。
1
ON/OFF ON/OFF ON/OFF ON/OFF
234
音色 信号源
音色控制组
1-6 控制信号源
PB, MW, 等.
受控单元
控制参数
深度
控制深度
音色因子
设置 1
调制轮
信号源
设置 2
受控单元
音色因子低频振荡音高调制深度
调制轮
信号源
受控单元
音色因子声相
推移调制轮同时改
变音高调制和声相
位置。
设置 1
调制轮
信号源
设置 3
控制踏板
信号源
受控单元
音色因子低频振荡音高调制深度
即可使用控制轮
又可使用控制踏
板来控制音高调
制效果。

56
Basics Section Quick Guide Reference Appendix
使用控制器
■控制组和外部 MIDI 控制
在一套控制组里,控制器将分配合成器内部参
数。然而,起初一些控制器是为某一特别的用途
而设计的,只能传送预先定义好的 MIDI 控制变
化信息。
比如,弯音轮、调制轮以及键盘触后 (键),当
初的设计只是将控制弯音、调制和触后的信息传
送到 MIDI 输出。而在控制组里,如果将声相参
数分配到弯音轮,那么只要推移弯音轮,合成器
的内置音频发生器就会改变声音的声相位置,然
而需要注意的是:在此同时,弯音轮预先定义的
原始信息仍被传送至 MIDI 输出。
\
控制器同样可以对外部 MIDI 设备的控制参数传
送控制变化信息。这些分配设置可以在设置模式
下完成。
当弯音器、调制器以及键盘触后已被专用
MIDI
控制器预先定义,其他的
MIDI
控制变
化号则无法对它们进行赋值分配。
阁下也可以建立这样一个控制器:它可以将一类
控制信息发送至合成器的内部音频发生器,还可
以将另一类信息发送至 MIDI 输出。
例如,在一个控制组里阁下可以将谐振参数分配
给推子 1。然后,在设置模式里,您可以将控制
号1(调制)分配给同一个控制器。此时,当阁
下使用控制器,回响效果将从内置音频发生器中
发出;同时,调制信息也通过 MIDI 输出传送至
外部 MIDI 设备中去。
主要控制号及功能
见第 119 页
OUT IN
LFO1Pitch PAN
MIDI
弯音轮
音频发生器
MIDI 控制
控制组
弯音轮/可分配控制器/控制踏板 (变量控制)踏板开关
7 音量 64 持续1
10 声相 65 延音开关
11 表达 66 持续
71 和声 (谐振) 96 琵音开关
72 释放时间 97 琵音持续
73 触发时间 98 播放/停止
74 明亮度 99 程序变化增加
75 衰减时间 100 程序变化减少
91 混响输出电平 101 音键复原
93 合唱输出电平

57
Basics SectionQuick GuideReferenceAppendix
遥控外部音序器
遥控外部音序器
遥控功能可以让 S90 面板上的硬件控制来控制计算机里音序软件的基本操作。通过 S90 的推子可以
对音轨哑音,控制音序器 (播放 /停止),合并 MIDI 和音频轨 (最多 16 条),调节音轨的声相,
均衡以及各种效果控制―所有这些操作再也不需鼠标来完成了。还不只是这些,更方便有效的是 S90
提供了常用功能的专用控制器。如果阁下曾经使用过混音台或硬件音序器,那么阁下肯定会喜欢使
用按键和推子去控制音序软件。
建立
在使用遥控功能之前,阁下需要先按照以下描
述建立一套系统。
用USB连线将计算机和S90连接起来。
见第 17 页。
装载安装文件。
在计算机上装载 USB MIDI 驱动和音序软件的
安装文件 (含在 CD -ROM 中)。有关具体如
何装载的详细资料,请查阅安装指导手册分册。
为S90 中设置模式下的音序软件选择
一个模板。
进入设置模式。
在MIDI 菜单下调用 OTHER (其它)显示屏
([F5] →[SF4])。
移动光标至 MIDI IN/OUT(MIDI 进/出)参数
的位置并将 MIDI 进/出端口设置为 USB。
在CTLASN 菜单中调用 REMOTE(遥控) 显
示屏 ([F4] →[SF4])。
选择模板类型,然后点按 [ENTER] 按键。
1
2
3
1
UTILITY
CARD
SEQ PLAY
2
3
4
5

58
Basics Section Quick Guide Reference Appendix
遥控外部音序器
使用遥控功能
点按 [REMOTE CONTROL] (遥控)按键
开启遥控功能,这时该按键上的指示灯闪烁。
如有必要操作 S90 面板上的推子或按键。
在阁下计算机的音序软件里选中一条音轨。
S90 的[1]~[16] 按键分别对应于计算机音序软件里
音轨。
将音序器的音轨设置为开或关 (哑音)。
S90 的[1]~[16] 按键分别对应于计算机音序软件里
音轨。
使用控制推子来控制音序器中音轨的电平值 (见第
59 页)。
在音序器中控制传送功能。
以下操作可以用来遥控音序器软件中的播放、停
止,快进,快退功能。
1
REMOTE
CONTROL
2
1
1 2 3 4 5 6 7 8
910 11 12 13 14 15 16
TRACK
SELECT
MUTE
SOLO
ELEMENT / PERF.PART / ZONE
2
1 2 3 4 5 6 7 8
910 11 12 13 14 15 16
TRACK
SELECT
MUTE
SOLO
ELEMENT / PERF.PART / ZONE
3
PA N
CONTROL
FUNCTION
MASTER
VOLUME
CUTOFF
ASSIGN A
MEQ LOW
VOLUME 1
ZONE 1
CS 1
TEMPO
RELEASE
ASSIGN 2
MEQ HIGH
VOLUME 4
ZONE 4
CS 4
REVERB
RESONANCE
ASSIGN B
MEQ LOW MID
VOLUME 2
ZONE 2
CS 2
CHORUS
AT TA C K
ASSIGN 1
MEQ HI MID
VOLUME 3
ZONE 3
CS 3
4
ARPEGGIO
EFFECT
BYPASS PLAY/
STOP
UTILITY
CARD
SEQ PLAY
F4
播放 /停止
快进,快退 (音序演奏模式下的 CHAIN 显示
屏)

59
Basics SectionQuick GuideReferenceAppendix
遥控外部音序器
遥控分配
当选中好一个模板,下列软件中的相应功能就可以被
S90 面板上的按键和推子来遥控了。
有某些软件程序,可能会有必要安装 (含在
CD -ROM 中的)设置文件。
软件名:Logic Audio Platinum Ver5
当模板被设置为 “Logic,”下列功能能够由 S90 来遥
控。
软件名:Cubase VST/32, Cubase VST 5.1r1, SQ01
当模板被设置为 "Cubase/ SQ01",下列功能能够由 S90
来遥控。
软件名:SONAR2/Cakewalk ProAudio Ver9.0
当模板被设置为 “SONAR,”下列功能能够由 S90 来
遥控。
软件名:Pro Tools V5.0
当模板被设置为 "Pro Tools",下列功能能够由 S90 来
遥控。
这些用来控制通过 [1] - [16] 按键选择的音轨
每一参数
通过
[CONTROL
FUNCTION]
按键设置
控制推子 1控制推子 2控制推子 2控制推子 4
第1行声相 传送 1传送 2传送 3
第2行声相 均衡 1 频点 均衡 1 增益 均衡 1 Q 值
第3行声相 均衡 2 频点 均衡 2 增益 均衡 2 Q 值
第4行声相 均衡 3 频点 均衡 3 增益 均衡 3 Q 值
音量 (第 5
行)
这些用来控制通过 [1] - [16] 按键选择的四个音轨
选中的音轨 控制推子 1控制推子 2控制推子 2控制推子 4
1 ~ 4 音量 1 音量 2 音量 3 音量 4
5 ~ 8 音量 5 音量 6 音量 7 音量 8
9 ~ 12 音量 9 音量 10 音量 11 音量 12
13 ~ 16 音量 13 音量 14 音量 15 音量 16
音序传送 这些用来控制计算机里音序软件中的播放、停止、快进、快退功能。
音轨哑音 当[MUTE] 按键已被开启, [1] - [16] 按键用来控制计算机里音序软件中
的音轨哑音设置。
音轨选择 当[TRACK SELECT] 按键已被开启,[1] - [16] 按键用来选择计算机里音
序软件中的音轨。
这些用来控制通过 [1] - [16] 按键选择的音轨。
每一参数
通过
[CONTROL
FUNCTION]
按键设置
控制推子 1控制推子 2控制推子 2控制推子 4
第1行声相 传送 1传送 2传送 3
第2行声相 均衡 低频 低频增益 低频 Q值
第3行声相 均衡 中频 中频增益 中频 Q值
第4行声相 均衡 高频 高频增益 高频 Q值
音量 (第 5
行)
这些用来控制通过 [1] - [16] 按键选择的四个音轨
选中的音轨 控制推子 1控制推子 2控制推子 2控制推子 4
1 ~ 4 音量 1 音量 2 音量 3 音量 4
5 ~ 8 音量 5 音量 6 音量 7 音量 8
9 ~ 12 音量 9 音量 10 音量 11 音量 12
13 ~ 16 音量 13 音量 14 音量 15 音量 16
音序传送 这些用来控制计算机里音序软件中的播放、停止、快进、快退功能。
音轨哑音 当[MUTE] 按键已被开启, [1] - [16] 按键用来控制计算机里音序软件中
的音轨哑音设置。
音轨选择 当[TRACK SELECT] 按键已被开启,[1] - [16] 按键用来选择计算机里音
序软件中的音轨。
这些用来控制通过 [1] - [16] 按键选择的音轨。
每一参数
通过
[CONTROL
FUNCTION]
按键设置
控制推子 1控制推子 2控制推子 2控制推子 4
第1行声相 传送 1传送 2传送 3
第2行--- --- --- ---
第3行--- --- --- ---
第4行--- --- --- ---
音量 (第 5
行)
这些用来控制通过 [1] - [16] 按键选择的四个音轨。
选中的音轨 控制推子 1控制推子 2控制推子 2控制推子 4
1 ~ 4 音量 1 音量 2 音量 3 音量 4
5 ~ 8 音量 5 音量 6 音量 7 音量 8
9 ~ 12 音量 9 音量 10 音量 11 音量 12
13 ~ 16 音量 13 音量 14 音量 15 音量 16
音序传送 这些用来控制计算机里音序软件中的播放、停止、快进、快退功能。
音轨哑音 当[MUTE] 按键已被开启, [1] - [16] 按键用来控制计算机里音序软件中
的音轨哑音设置。
音轨选择 当[TRACK SELECT] 按键已被开启,[1] - [16] 按键用来选择计算机里音
序软件中的音轨。
每一参数 无效。
音量 (第 5
行)
这些用来控制通过 [1] - [16] 按键选择的音轨。
选中的音轨 控制推子 1控制推子 2控制推子 2控制推子 4
1 ~ 4 音量 1 音量 2 音量 3 音量 4
5 ~ 8 音量 5 音量 6 音量 7 音量 8
9 ~ 12 音量 9 音量 10 音量 11 音量 12
13 ~ 16 音量 13 音量 14 音量 15 音量 16
音序传送 这些用来控制计算机里音序软件中的播放、停止、快进、快退功能。
音轨哑音 当[MUTE] 按键已被开启, [1] - [16] 按键用来控制计算机里音序软件中
的音轨哑音设置。
音轨选择 当[TRACK SELECT] 按键已被开启,[1] - [16] 按键用来选择计算机里音
序软件中的音轨。

60
Basics Section Quick Guide Reference Appendix
音色编辑
音色编辑
下列程序展示了创建和编辑音色的基本原则。
当然,在该例子中,阁下可以为其自由地设置参数。有关每一参数地详细资料,请参阅本手册中的相关章节 (见
第98 页)。
所有的参数设置将连同音色本身一起被存储起来。
选择一个用来编辑的音色。
点按 [VOICE] 按键进入音色演奏模式。
选中阁下希望编辑的音色的音色号 (见第 36 页)。
阁下只需找到与阁下所希望相近的音色进行编
辑,创建出一个期望的新音色,这样避免了繁琐
的修改和过多的参数编辑――让阁下快速方便地
创建一个新音色。另外,阁下可以在内置用户存
储器中使用便捷的初始化功能 (在音色工作模式
下)对音色进行初始化。具体详情,请查阅第 70
页。
进入音色编辑模式
所有的音色创建和编辑是在音色编辑模式下完成的。
点按 [EDIT] 编辑按键,进入音色编辑模式。
1
3
4
2
5
6
在音色演奏模式里,选中阁下所希望编辑的音色。
进入音色编辑模式。
●对音色中的所有单元设置公共参数 (音量,音高
等),阁下也可以设置有关琵音、控制、效果等参
数。
选择公共参数
设置效果参数。
储存编辑好的音色。
●从OSC (振荡器)显示屏中,选择作用于音色因子
的音频,也可设置音量、声相、音高范围等其它基
本参数。
●从PITCH (音高)显示器中,选择作用于音色因子
的音高调节以及其它与音高有关的参数。如有必要
也可设置 PEG (Pitch Envelope Generator 音高包络
发生器)。
●从FILTER (滤波)显示器中,调整作用于音色因子
的滤波参数。如有必要也可以设置 (Filter Envelope
Generator 滤波包络发生器 )。
●从AMP (Amplitude 功率放大 )显示屏中,设置作用于
音色因子的音量参数以及其他与输出电平值有关的
参数。如有必要,可以设置 AEG (Amplitude
Envelope Generator 振幅包络发生器 )参数。
●从 LFO (Low Frequency Oscillator 低频振荡器)显示屏
中,设置作用于音色因子与调制有关的参数。
●从EQ((Equalizer 均衡 )显示屏中,若有必要可以调
整声音的频响曲线。
选择单元参数
1
MODE
VOICE
PERFORM
MASTER
2
JOBEDIT
COMPARE
STORE
VOICE
PERFORM
MASTER
UTILITY
CARD
SEQ PLAY
ARPEGGIO
EFFECT
BYPASS PLAY/
STOP
MODE

61
Basics SectionQuick GuideReferenceAppendix
音色编辑
公共编辑以及编辑单独的音色因子
开关单元 (或音键)
开/关 (哑音)
音色最多由 4个音色因子组成 (见第 26 页)。使
用公共编辑可以对所有四个音色因子进行共同编
辑。
点按 [DRUM KITS] 按键即可对所有四个音色因子
进行共同编辑了 (该按键在这里理解为 “公共”
按键)。
如需单独对每个音色因子进行参数编辑,点按与希
望处理音色因子相对应的数字按键 ([1] - [4]) 即可。
阁下可以通过数字按键 [9] - [12] (只适用于常规
音色模式)对其他音色因子处理为哑音状态 (那
些不希望编辑和不希望听到的音色因子)。此时,
与该音色因子相对应的按键指示灯将发光。
音色因子独奏
按住 [MUTE] 按键,并同时点按数字按键 [9] 到
[12] 中的其中一个,数字按键所相对应的音色因
子即可进行独奏。
阁下一旦选择了一个独奏音色因子, [MUTE] 按
键上的指示灯将闪烁,指示独奏功能被激活。如
多独奏功能被激活,阁下可以通过点按数字按键
[9] -[12] 来重选独奏音色因子。
如果希望退出独奏功能,请再一次点按 [MUTE]
按键。
在显示屏和输入设置之间切换
点按 [F1] - [F6] 以及 [SF1] - [SF5] 按键来选择阁
下希望进行编辑的菜单。
使用 [ ▲ ▼ ] 按键选择期望的参数。
使用[INC/YES] 和[DEC/NO]按键设置每一参数
的数值。
有关编辑提示的具体详情,可以查阅第 39 页。
比较功能
通过该功能可以在阁下编辑过的音色 /演奏音色
和未编辑 (编辑之前)的音色 /演奏音色之间进
行比较。
在编辑模式下点按 [COMPARE (EDIT)] 按键。
EDIT 指示灯将会闪烁,先前编辑的设置将会
临时恢复。
( 提示将在显示屏顶部 提示显示的地方显
示出来。 )
当比较功能被激活,[DEC/NO] 和 [INC/YES] 按键不能
被用来编辑。
再一次点按 [EDIT] 按键将退出比较功能并储存
阁下最近编辑的设置。
比较功能同样适用于演奏音色模式。
DRUM KITS
FAVORITES
COMMON
1 2 3 4
910 11 12
ELEMENT / PERF.PART / ZONE
音色因子哑音选择
音色因子选择
1 2 3 4 5 6 7 8
910 11 12 13 14 15 16
TRACK
SELECT
MUTE
SOLO
ELEMENT / PERF.PART / ZONE
1
2
3
1
2

62
Basics Section Quick Guide Reference Appendix
音色编辑
设置公共参数
每一种音色包含最多 4个音色因子。在这里,将阐述
对这所有音色因子进行共同处理的公共参数。
●通用参数 [F1]
在公共编辑中设置通用参数,比如音色名。
●输出 [F2]
设置音色输出参数,比如输出电平 (音量)和声相位
置。
●ARP( 琵音 )[F3]
为音色设置琵音的参数 ( 见 第45 页)。
●控制设置 [F4]
该面板 /背板上的控制器分配不同的功能。例如,给
弯音轮和控制踏板分配参数,这样可以实时改变音色
的音质。
●LFO 低频振荡器 F5]
LFO 使用了一个低频波形来改变音高 /滤波 /功率放大
特性,创建出颤音、哇音等效果。
●效果器 [F6]
效果器参数含有两种嵌入式效果器和两种系统效果器
(混响和合唱)。
设置音色因子参数
音色因子编辑过程
●OSC ( 振荡器 ) [F1]
阁下可以设置不同的参数来控制音色的波形。阁下可
以选择一个音色因子的声波、音量、音符范围等等。
ElementSw ( 音色因子开关 )
确定是否采用某一音色因子。
WaveNo. ( 波数 )
给每一个音色因子选择声波。
NoteLimit ( 音符上 /下限 )
VelocityLimit (力度上 /下限 )
对每一音色因子设置音符范围和力度响应。阁下可以
对不同的音色因子设置不同的设置,还可以层叠音色
因子以及控制它们的输出。
例如,阁下可以将一个音色因子设置在键盘的高音
区,而将另一个音色因子设置在键盘的低音区。这
样,在键盘不同的区域中享有不同的音色。甚至还可
以使两个音色因子的音区交迭。
此外,阁下可以给不同的音色因子设置不同的力度响
应范围。使一因音色子在较弱力度时发声,而另一个
因子将对较重力度发声。
在音色演奏模式里,每一声部的设置与上类似。
( 参考号 42, 43)
3 4
AMPFILTERPITCH
OSC
PEG FEG AEG
LFO
音色因子
1-4
振荡器
力度
C-2 G8
音色因子 4
音色因子 3
音色因子 2
音色因子 1

63
Basics SectionQuick GuideReferenceAppendix
音色编辑
●音高 [F2]
阁下可以为每一音色因子设置基本音高。阁下可以使
用音高调节设置对音色因子进行误调处理。同样,阁
下可以通过设置 PEG (Pitch Envelope Generator 音高包
络发生器 )来调节音高变化。
PEG (Pitch Envelope Generator 音高包络发生器 )
[F2] → [SF3]
当一个音键被按下时,阁下可以通过 PEG 来调节音高
的转变。如下图,音高包络由五个时段 (转换速度)
参数和五个电平 (音高)参数组成。这对于产生音高
自动变化非常有用。此外,不同的音色因子可以分别
设置为不同的 PEG 参数。
显示屏中一些参数的全称呈现如下:
●FILTER 滤波 [F3]
阁下可以通过滤波来调整音色因子里声波的泛音 (谐
波)来改变每一音色因子的特性。
截止频点和谐振
滤波工作原理是允许低于指定频点 (截止频点)的声
音信号通过,而高于指定频点 (截止频点)的声音信
号则被过截除。这样,阁下可以通过设置截止频点来
制造出明亮的和黯淡的声音。谐振,则是提升截止频
点的电平值。在该区域通过谐振泛音,可以制作一个
特别的 “ 峰”音,使声音变得明亮和富有穿透力。
关于过滤类型
如上图描述的是低通滤波器的原理。此外, S90
还提供了不少其他类型的滤波器。
LPF24D (Low Pass Filter 24dB/oct Digital) 数字式 24dB/oct
低通滤波器
强谐振式的 A 4-pole (-24db/oct) 动态低通滤波器
HOLD ATK DCY1 DCY2 REL DEPTH
时段 保持时段 触发时段 衰减 1时段 衰减 2时段 释放时段 ---
程度 保持程度 触发程度 衰减 1程度 衰减 2程度 释放程度 深度
0
音高
保持程度
保持时
段
触发程
度
衰减 1
程度
l
衰减 2
(持续)
程度
音键释放 释放程
度
触发时
段
衰减 1
时段
衰减 2
时段
释放时段
时段
电平
电平
截止频点
"通过 "的信号部分
频率 (音高)
截止频点
频率 (音高)
谐振
谐振

64
Basics Section Quick Guide Reference Appendix
音色编辑
LPF24A (Low Pass Filter 24dB/oct Analog) 模拟 24dB/oct 低通滤波
器
具有基于模拟合成器特性的 A 4-pole (-24db/oct) 动态低通滤波器。
LPF18 (Low Pass Filter18dB/oct) 18dB/oct 低通滤波器
A 3-pole (-18db/oct) 动态低通滤波器。
LPF18s (Low Pass Filter [18dB/oct Staggered] 交错式 18dB/oct 低通
滤波器
还是 A 3-pole (-18db/oct) 动态低通滤波器,但频率曲线较平坦。
LPF12 (Low Pass Filter12dB/oct) 12dB/oct 低通滤波器
A 2-pole (-12db/oct) 动态低通滤波器,为结合 HPF (High Pass Filter)
高通滤波器使用而设计。
LPF6 (Low Pass Filter 6dB/oct) 6dB/oct 低通滤波器
无谐振式 A 1-pole (-6db/oct) 动态低通滤波器,为结合 HPF (High
Pass Filter) 高通滤波器使用而设计。
HPF24D (High Pass Filter 24dB/oct Digital) 24dB/oct Digital 高通滤
波器
强谐振式 A 4-pole (-24db/oct) 动态高通滤波器。
HPF12 (High Pass Filter 12dB/oct) 12dB/oct 高通滤波器
A 2-pole (-12db/oct) 动态高通滤波器
BPF12D (Band Pass Filter 12dB/oct Digital) 12dB/oct 数字式
带通滤波器
BPF12s (Band Pass Filter 12dB/oct Staggered) 交错式 12dB/oct
带通滤波器
基本上和 BPF12D 一样,只是频率曲线较平坦。
BPF6 (Band Pass Filter 6dB/oct) 6dB/oct 带通滤波器
BPFw (Band Pass Filter Wide) 宽带通滤波器
同样合并了 -12dB/oct 高通滤波器和低通滤波器,不过允许
通过的频带较宽。
BEF12 (Band Elimination Filter 12dB/oct) 12dB/oct 频带过滤
器
BEF6 (Band Elimination Filter 6dB/oct) 6dB/oct 频带过滤器
Dual LPF 双低通滤波器
并列合并了双 -12dB/oct 低通滤波器。
谐振
LPF18S
LPF18
谐振
谐振
谐振
谐振
电平
滤波范围
带通范围
滤波范围
-12db/oct
频率
电平 带通范围
-6db/oct
频率
滤波范围 滤波范围
电平 带通范围
宽度增加
频率
滤波范围 滤波范围
电平
滤波范围
频率
带通范围
滤波范围中心频点
电平
距离
频率
在显示屏中可以设置
两个截止频点之间的
频率间隔距离

65
Basics SectionQuick GuideReferenceAppendix
音色编辑
Dual HPF 双高通滤波器
并列合并了双 -12dB/oct 高通滤波器
Dual BPF 双带通滤波器
并列合并了双 -6dB/oct 带通滤波器。
Dual BEF 双频带过滤器
并列合并了双 -6dB/oct 频带过滤器。
LPF12 (Low Pass Filter 12dB/oct)+ HPF12 (High Pass Filter)
12dB/oct 低通滤波器+高通滤波器
并列合并了 12dB/oct 低通滤波器和高通滤波器。
LPF12 (Low Pass Filter 12dB/oct)+ BPF6 (Band Pass Filter)
12dB/oct 低通滤波器+带通滤波器
并列合并了 12dB/oct 低通滤波器和高通滤波器。
LPF12 (Low Pass Filter 12dB/oct)+ BPF6 (Band Pass Filter)
12dB/oct 低通滤波器+带通滤波器
并列合并了 12dB/oct 高通滤波器和高通滤波器。
直通
该滤波器将信号未做修改全部旁通。
滤波器参数同样在声部编辑中适用。
阁下同样可以设置 FEG (滤波包络发生器)来实现动态变化。
在此,我们将为您介绍 FEG (滤波包络发生器)是如何工作
的。
FEG (Filter Envelope Generator 滤波包络发生器 ) [F3]
→ [SF3]
当一个音键被按下时,阁下可以通过 PEG 来调节音高的转变。
如下图,音高包络由五个时段 (转变速度)参数和五个程度
(过滤程度)参数组成。当阁下点按了一个键盘音符,截止频
点值将会依照这些包络设置来变化。这对于制作一个自动哇音
设置非常有用。此外,不同的音色因子可以设置不同的 FEG 参
数。
显示屏中一些参数的全称呈现如下:
电平
距离
频率
在显示屏中可以设置两个截
止频点之间的频率间隔距离
电平
距离
频率
在显示屏中可以设置两个截
止频点之间的频率间隔距离 .
电平
距离
频率
在显示屏中可以设置两个截
止频点之间的频率间隔距离。
电平
距离
频率
在显示屏中可以设置两个截
止频点之间的频率间隔距离
电平
频率
HOLD ATK DCY1 DCY2 REL DEPTH
时段 保持时段 触发时段 衰减 1时段 衰减 2时段 释放时段 ---
电平 保持电平
触发电平 衰减 1电平 衰减 2(持
续)电平 释放电平 深度
电平
频率
0
保持电平
保持时
段
触发电
平
衰减 1
电平
衰减 2
(持续)
电平 音键释放
释放程
度
触发时
段
衰减 1
时段
衰减 2
时段
释放时段
时间
截止频率

66
Basics Section Quick Guide Reference Appendix
音色编辑
●AMP (Amplitude 功率放大器 ) [F4]
阁下在完成对 OSC (振荡器)、音高和滤波等参数的
设置之后,可以设置每一个音色因子的输出音量。
声音信号中不同音色因子将被指定不同的音量而传送
至下一个效果单元。
同样,也可以通过设置 AEG (Amplitude Envelope
Generator 振幅包络发生器 )全程控制音量变化。
AEG (Amplitude Envelope Generator
振幅包络发生器
) [F4]
→
[SF3]
当一个音键被按下时,阁下可以通过 PEG 来调节音量
的转变。如下图,振幅包络由四个时段 (转变速度)
参数和三个程度 (过滤程度)参数组成。当阁下点按
了一个键盘音符,音量将会依照这些包络设置来变
化。这对于制作一个自动哇音设置非常有用。此外,
不同的音色因子可以设置不同的 AEG 参数。
显示屏中一些参数的全称呈现如下:
●LFO (Low Frequency Oscillator 低频振荡器 ) [F5]
从名称可以看出,低频振荡器的功能就是产生低频信
号。
这些信号可以用来对不同的音色因子进行音高、滤波
和功率放大的改变,从而产生出颤音、哇音等效果。
低频振荡器可以对每一个音色因子单独进行设置;也
可以对所有的音色进行共同设置。 (参考号 159-174)。
●EQ (Equalizer 均衡器 ) [F6]
通过 EQ 可以对声音进行均衡调整,使音色因子之间
到达一个完美的平衡。 (参考号 210-215)。
设置效果参数
在第 67 页中,将例举如何运用效果器。
储存编辑音色
内置用户存储器可以储存至多 128 条崭新 /常规编辑
音色和 16 条崭新 /编辑鼓组音色。
当储存了一条音色,在存储器里任何当前数据将
会丢失。阁下需要时常将重要数据储存到存储卡
或计算机中。
关于储存音色,请见第 73 页。
关于扩展卡个性音色编辑
阁下可以通过随扩展卡一起的软件来编辑扩展卡
个性音色。
在音色模式下使用编辑软件时,将软件中所
选择的声部号设置为 “
1
”。并且确保
S90
的
基本
MIDI
接收通道和发送至编辑软件的
MIDI
发送通道相匹配。
( 参考号 176)。
阁下编辑的原始个性音色可以被计算机储存和控
制。
如果
S90
关电,
DRAM
(动态随即存取存储
器)中的编辑数据将丢失,所以一定确保要将
编辑过的数据储存到存储卡中。
(
见第
82
页
)
。
请采用在线帮助方式查询有关如何使用随扩
展卡一起的编辑软件的详细资料。
编辑以上的参数有些是需要特殊的扩展卡支
持的,确保扩展卡是否安装到位。
INIT ATK DCY1 DCY2 REL DEPTH
时段 --- 触发时段 衰减 1时
段衰减 2时段 释放时段 ---
电平 初始状态 --- 衰减 1电平 衰减 2(持
续)电平 ---
0
电平
初始
电平
触发电平
衰减 1
电平
衰减 2
(持续)电
平 音键释放
释放电
平
触发时
段
衰减 1
时段
衰减 2
时段
释放时段
时间
5
6
音色
储存
常规音色
用户
1-128
鼓组音色
用户鼓组
1-16

67
Basics SectionQuick GuideReferenceAppendix
运用效果器
运用效果器
在作品完成前的最后一步就是运用效果器来对声音进行修饰了。
效果器结构
S90 的效果处理分如下几个单元。
■系统效果器 (混响、合唱、变种)
系统效果器作用于整个声音信号,比如是一条音色、
一个完整的演奏组合,一首歌曲等。每一声部的声音
通过效果发送级导入到效果器中,通过系统效果器处
理过的声音信号 (“湿”音)将通过返送级输送至混
音台――与处理前的 “干”音进行混合。这样的安排
可以方便地调节原声和效果声之间的平衡。
混响效果器
混响效果器为原音渲染出温暖地气氛,模拟出多重反
射的真实演奏环境,例如音乐厅、小俱乐部等。总共
有12 种不同的混响效果类型可选。
合唱效果器
合唱效果器采用调制手段产生出一个丰满的合唱声音
效果――好似几个乐器声部同时和该声部同时演奏一
样。总共有 25 个不同的合唱效果类型可选。
变种
变种效果器提供了多种不同的声音变种和调整。总共
有25 个不同的变种效果类型可选。变种效果器不适用
于音色模式。
■嵌入式效果器 (1, 2)
嵌入式效果器可以单独应用于每一声部。嵌入式效果
主要直接作用于单个声部。而效果的深度调节由干 /湿
平衡设置来完成。如果将湿音设置为 100%,我们将只
听到效果声音。S90 拥有两个嵌入式效果―一个拥有总
共104 个内置效果类型,另一个则有 25 个内置效果类
型。
■扩展卡嵌入式效果器
这是一个特别的效果系统,只有当效果类扩展卡安装
到位才能发挥作用。扩展效果不适用于音色模式。
■主控均衡器
通常均衡器用于修正听音场所的声学缺陷,均衡器将
声音按频谱分成多频段,然后对每一频段进行提升或
衰减,实现声学缺陷的修正。我们还可以依照音乐的
风格类型进行相应地调节―古典音乐的优雅、流行音
乐的明快、摇滚的动态―增添阁下演奏的乐趣。
S90 提供的是一台高级数字式五段均衡器。四个推子
用来调节 (五个频段中)四个频段的增益。
效果设置的样例
在这里,我们将介绍一个样例:在音色编辑模式
下的编辑效果设置 (见第 60 页)。在该样例中,
我们将通过镶边效果来改变管乐 (PRE1: E13) 音
色的嵌入设置。
选中一个希望编辑的音色号 (在这里选择为管
乐 (PRE1: E13),然后进入音色编辑模式 (见
第36 页和第 60 页)。
点按 [COMMON] (公共)按键选择公共编辑
显示屏。(见第 61 页)
点按[F6]->[SF1]按键调用CONNECT显示屏。
使用 按键选择 INS1 ( 嵌入式 1 类型 )显示屏。
1
2
3
4

68
Basics Section Quick Guide Reference Appendix
运用效果器
使用数字转盘选择 “FLG:FLANGER1 镶边”
之后,就可以演奏键盘了。如果需要调用其他
效果类型,可以在单独的数据表里查找。
阁下可以对已编辑过的音色和未编辑的音色进行试听
和比较。(见第 61 页)
如需采用旁通处理,请点按 [EFFECT BYPASS (效果
器旁通)] 按键 (其指示灯会变亮)。
在效果参数显示屏中 ([SF2]-[SF5]),阁下可以获得
不同详细的参数设置。阁下可以通过 按键滚动屏幕。
有关效果参数的详细信息,可查阅数据表分册。
如果需要保存最新设置,在退出音色编辑模式
之前将该设置作为一个单独的音色进行储存。
有关储存音色的详细资料,可查阅第 73 页。
效果器连接
●在音色模式里:
如下图三个不同的嵌入式连接类型:
并联类型不适用于扩展音色。
5
6
1
22
1
2
1
1
2
音频发生器
音色因子 1
音色因子 2
音色因子 3
音色因子 4
指示每个音色因子选用哪一种嵌
入式系统 (每个鼓组音色对应哪
一只音键)。嵌入式效果可以旁
通。
阁下可以选中下图中的一种连接方案
嵌入式效果器
主控均衡器
系统效果
输出
并联
发送级 返送级
混响
合唱
2 至 1
1 至 2

69
Basics SectionQuick GuideReferenceAppendix
运用效果器
●在演奏音色模式里:
下图描述了当 S90 插槽 1中安装了和声扩展卡 (PLG100-VH) 时,声音信号在系统内部的流向。
和声扩展卡只能安装在插槽 1 上,不能安装在插槽 2 或插槽 3 上。
●在音序演奏及混合模式里:
如下图示,当插槽 1已安装了和声扩展卡 (PLG100-VH) 并且插槽 1已安装了多声部扩展卡 (PLG-100XG) 时,声音
信号在系统内部的流向。
*
请注意嵌入式效果器、扩展卡嵌入式效果器、以及系统效果器不适用于 17 -32 声部(使用多声部扩展卡)。从 17
-32 声部出来的声音信号直接发送至主控均衡器。
A/D
PLG 100-VH
1
2
音频发生器
S1-4声部和 2-3扩展
声部以及 A/D 输入声部
选用哪种扩展卡嵌入式
效果器。
嵌入式效果器
主控均衡器
系统效果器
输出
发送级 返送级
混响
合唱
给1-4声部和 2-3扩展声部
选用哪种嵌入式效果器。
声部 1-4,
扩展声部 2-3
嵌入式效果器
(扩展卡 )
• 外部音源
• 话筒
变种
A/D
PLG100-VH
1
2
音频发生器
嵌入式效果器
主控均衡器
系统效果器
输出
发送级 返送级
混响
合唱
给每一声部选用哪种嵌入式效果
器。
声部 1~16
嵌入式效果器
(扩展卡)
• 外部音源
•话筒
变种
声部 17-32 *
(当多声部扩展卡已被安装)
扩展声部 2
(当单声部扩展卡已被安装)
给每一声部选用哪种嵌入式
效果器。

70
Basics Section Quick Guide Reference Appendix
运用工作
运用工作
阁下可以在工作模式里演奏不同的工作。例如,阁下可以初始化音色或演奏音色至原始设置 (包括那些已被编辑
过的)或复制音色因子或声部。
工作
演奏一个工作
在每个模式里,请选择阁下所希望演奏工作上的音
色/演奏音色 /主控号或混合。
按[JOB] 按键,进入工作模式。
使用功能按键并切换至阁下所希望演奏工作的显示
屏 (包括设置模式)。
使用 [DEC/NO] 和 [INC/YES] 以及 []按键,
选择阁下希望演奏的工作。
点按 [ENTER] 按键时,将出现一个确认提示。
点按 [INC/YES] 按键将确认。如果当被选工作工作
完成,显示屏将显示出 “Completed”的信息,并
且操作返回至最初的显示屏。
点按 [DEC/NO] 按键将取消该工作。
当数据正在向闪存中写入 (当和
“Executing...” 或“Please keep power on”信
息出现在屏幕)时,请不要关电。否则会导致
丢失所有用户的数据并且会使系统死机 (由于
闪存内的数据丢失引起 )。
点按一个 MODE 按键(或 [EXIT] 按键)退出工作模
式,返回至演奏模式。
重新设置 (初始化)音色 /演奏音色参数返回至缺省
设置 [F1]
当阁下希望创建一个全新的音色或演奏音色时,该设
置可以为其建立一个 "白板 "。注意该设置无法将演奏
音色返回至编辑前的原始状态。
选择参数类型并初始化
*这些参数适用于当初始化的参数类型被设置为分割
和层叠时。
高音区通道 ,低音区通道
当以上的参数类型设置为 “音区――分割”时,阁下可以为键盘
的高音区和低音区 (键盘的分割点右边和左边)分别设置 MIDI 传
送通道。当以上的参数类型设置为 “音区――阶层”,阁下可以为
两个阶层分别设置 MIDI 传送通道。
分割点
该参数只适用于当初始化的参数类型被设置为 “分割”时。其音
区范围为 C - 2~G8。
模式
工作
初始化 调用 复制 批量复制 演奏音色复制 出厂设置
F1 F2 F3 F4 F6 -
音色 是 是 是 是
演奏音色 是 是 是 是
主控 是 是
混合 ([SEQ
PLAY] → [F6]) 是是是
设置模式 第72页
1
2
3
4
5
5
对象
在液晶显示屏中的设置
常规音
色
鼓组音
色
扩展音
色演奏音色 混合 主控
当前全部选中的
数据 所有的
当前选中程序的
公共数据 公共的
当前选中程序的
声部/音色因子/
音键/音区/混合
数据
音色因
子1-音
色因子4
音色因
子/音键
(音符
名)
音色因
子
声部1-4扩
展卡1-3
声部1-
16扩展卡
1-3
音区*
7

71
Basics SectionQuick GuideReferenceAppendix
运用工作
Edit Recall 编辑召回 [F2]
如果阁下编辑了一条音色或演奏音色或选择了一条还
未储存编辑的音色或演奏音色,那么阁下所有的编辑
将有可能被抹去。如果该不幸事情发生了,阁下可以
采用 Edit Recall (编辑召回)来完整无缺地恢复阁下
最后一次编辑的音色或演奏音色。
使用复制功能 [F3]
音色
如下显示屏画面,阁下可以将任一音色的公共编辑以
及音色因子 /鼓组音键参数设置复制到另一个您希望
编辑的音色中去。这对于阁下创建一个音色并希望采
用与其他音色一些相同的参数时非常有用。
音色源
选择一个音色并且将其数据类型进行复制。
❏数据类型
当选择了一个常规音色
:
公共,音色因子
1 ~ 4
当选择了一个鼓组音色
公共,鼓组音键
C0 ~ C6
当选择了一个扩展音色
:
公共,音色因子
如果音源色类型 (常规、鼓组、扩展)与阁下当
前编辑音色 (目标)的类型不一致时,阁下将只
能复制公共参数了。
目标音色的数据类型 (当前选择的音色)
如果音色源是一个常规音色或鼓组音色而数据类型设置为音色
因子或鼓组音键,阁下可以为目标音色设置数据类型了。
❏数据类型
当选择了一个常规音色:
公共,音色因子
1 ~ 4
当选择了一个鼓组音色
公共,鼓组音键
C0 ~ C6
如果阁下选中了音色源的公共参数进行复制
时,显示屏将会显示出 "Common"。
演奏音色
通过以下显示屏,阁下可以将任一演奏音色中的公共
和声部参数设置复制到阁下希望编辑的演奏音色中
去。这对于阁下创建一个演奏音色并希望采用与其他
演奏音色一些相同的参数时非常有用。
演奏音色源
选择一个演奏音色并且将其数据类型进行复制。
❏数据类型 声部 1 ~ 4,
扩展卡
1 ~ 3
目标演奏音色的数据类型 (当前选择的演奏音色)
设置目标演奏音色的声部。
❏数据类型
声部
1 ~ 4,
扩展卡
1 ~3,
琵音
,
效果 (混响,合唱)
如果选择了琵音或效果,被分配到源音色的琶音
和效果参数将被拷贝。
音色源
目标音色 (当前选中的音
色)
演奏音色源
目标演奏音色 (当前选中的演奏音
色)

72
Basics Section Quick Guide Reference Appendix
运用工作
存储数据到外部设备 (批量存储) [F4]
阁下可以通过批量存储把所有程序 (音色,演奏音色
和其它设置)的设置保存到阁下的电脑或其它 MIDI
设备。
要使用倾倒功能,必须设置一个可用的 MIDI 设备
号。(设置 [F5] → [SF1] 参考号 178)。
当前的音色 /演奏音色转为存储数据后,如果
阁下选择另一组音色 /演奏音色或其它模式,
当前的数据将丢失。为避免丢失数据,阁下最
好使用存储功能把接收到的数据存储下来 (见
第73 页)
。
复制演奏音色的声部参数设置 [F5]
这项便捷的操作可以让阁下把演奏音色中四个声部的
一些设置复制到当前正在编辑的混合程序中。这将让
阁下在应用混合程序时变得非常方便。通过这个操作
也简化了阁下需要的的设置复制工作。
MIDI 的接收通道设置设置成适应基本通道的设置。(设
置 [F5] →[SF1] 参考号 176)。
当基本通道设置为 “omn”后,接收通道设置为 1。
要复制一组参数,可以在显示屏复选相应的框。
出厂设置 (恢复到出厂时的默认值)
这可以使合成器恢复到默认的内部音色 (用户存
储器)和演奏音色,无论是系统参数还是其它设
置。
一旦阁下编辑了任何设置,相应的出厂设置将被
覆盖而丢失。执行下面的操作程序可以恢复到出
厂时的默认设置。
在阁下要恢复出厂设置的同时,所有当前的演奏
音色和用户音色的设置被覆盖。
为确保一些重要的数据不被覆盖,阁下应该
在操作之前将这些重要数据备份到存储卡或
着阁下的电脑上。
在设置模式下 (见第 29 页),点按 [JOB] 键进
入设置工作模式。
点按 [Enter] 键。(显示屏将提示阁下确认)。
要取消本次操作,点按 [DEC/NO] 键。
点按 [INC/YES] 键执行该操作。该操作执行完
毕,屏幕出现 “Completed”消息并恢复到原
始的操作界面。
点按 [UTILITY] 键退出设置工作模式,返回至
设置模式。
所有在设置模式下的设置的与扩展卡和 Mlan8E 相关
的参数都只能保存在各自的存储器里,而不是 S90 用
户存储器。正因为这一点,上述设备无法通过出厂设
置操作恢复默认参数。
1
2
3
4

73
Basics SectionQuick GuideReferenceAppendix
保存设置
保存设置
阁下可以将原始的参数设置保存 (save)到用户存储
器。操作流程如下:
当阁下执行该操作时,目标数据的设置到将被覆
盖。一些重要数据需要备份到电脑以及外部存储
卡或其它的存储设备上 (见第 82 页)。
更改名字,参考第 34 页。
编辑后的混合数据可以通过 PUT 功能保存。
编辑完音色 /混合音色后点按 [STORE] 按键。将出现
存储界面。
通过 [DEC/NO] 按键和 [INC/YES] 按键选择目标程
序。
点按 [ENTER] 按键时,显示屏将出现提示,需要确
认。
阁下可以通过点按 [DEC/NO] 按键取消存储操作进而
返回到原始操作屏幕。
点按 [INC/YES] 按键确认。该操作执行完毕,屏幕
提示 “Completed”,进而返回到原始操作屏幕。
在向闪存写数据时 (屏幕显示 “Executing…”
或“Please keep power on”)千万不要关机。在
这种情况下关闭电源将导致数据丢失和系统死机
(闪存内的数据中断)。
扩展音色
S90 最多可以安装三个扩展卡。扩展卡正确安装
后,对应的插槽灯亮。
扩展音色可以通过 S90 的操作面板编辑,方法与
用户音色相同。编辑后,每个扩展卡最多可以保
存64 种扩展音色。
编辑和保存原音色
原音色中的一组特定的音色 --- 称为自定义音色 -
可以通过连接 S90 的计算机,应用扩展卡的专用
软件连编辑。
因为扩展卡没有 SRAM,关电会导致编辑过的音
色数据丢失,所以自定义音色数据应该保存到嵌
入在 S90 的存储卡。在开电的时候,通过自动装
载功能,保存到存储卡的自定义音色能够自动被
装载。
用编辑软件编辑原音色。
传送编辑过的数据到扩展卡的存储器
(DRAM)。
1
ex. Voice
目标程序 ( 音色 )
2
3
4
PROGRAM
SLOT 1 SLOT 2 SLOT 3
ORGAN BASS STRINGS BRASS REED/PIPEGUITAR/
PLUCKED
PRE 3 GM USER PLG 1 PLG 2 PLG 3 CATEGORY
SEARCH
1
2
S90
MUSICSYNTHESIZER
ModularSynthesisPlug-in System
1
2
编辑
装有应用软件的计算机
传输
扩展卡

74
Basics Section Quick Guide Reference Appendix
保存设置
保存存储器 (DRAM)中的数据到存储卡。
If necessary, set Auto Load to on in the Utility mode
(page 84)。
下次开机的时候,保存在存储卡中的自定义音
色数据会被自动装载到扩展卡的存储器中。
3
S90
MUSICSYNTHESIZER
ModularSynthesisPlug-in System
3
存储卡
扩展卡
4
设置为 “开”
5

75
Basics SectionQuick GuideReferenceAppendix
播放歌曲
播放歌曲
阁下可以直接回放保存在存储卡上的歌曲文件。通过
阶梯链最多可以按顺序回放 100 首歌曲。这个阶梯链
数据可以保存到存储卡 (见第 82 页)。
确保存有歌曲数据的存储卡已插到卡槽。
确保阅读了 "储存卡的使用 "一章(见第 82 页)。
S90 是同时兼容回放标准的 MIDI 文件或格式 0
的。如果需要的话,阁下可以将阁下电脑里的标
准的 MIDI 文件从格式 1 转换到格式 0。
在音序演奏模式下不要拔 /插存储卡。
设置链
阶梯链号码
用 [▲]/ [▼] 键更改每个阶梯链。
阁下可以直接跳到下一个接替链的设置,甚至
在回放歌曲的时候。
在回放歌曲的时候, [ ] 指示会显示当前的曲
目。
歌曲文件 /混合模板
定义一个歌曲文件到阶梯链。任何一个以 “.MID”为
扩展名的歌曲文件都可以被选中。混合模板也可以被
选中来调用音频发生器设置每个声部。(见第 79 页)
要连续 (已作好链的)回放多个阶梯链,阁下可以在
回放完前一个后,通过选择指令:“skip”,“end”,
或者 “stop”来定义播放阶梯链的方式。
如果阁下选择 “skip”,对应的阶梯链就会被跳过而回
放下一个。如果阁下选择跳过第一百个阶梯链,那么
在回访完第九十九个阶梯链后会自动跳到第一个。如
果阁下选择 “end”,那么在回放到这个接替链的时候
回停止,然后返回到第一个。
如果选择 “stop”,在放到这个阶梯链的时候会停止回
放。
❏设置:跳过,结束,停止,歌曲文件,混合模板
阁下需要首先定义 (插卡模式)包含阁下要选择
的歌曲文件的目录。
点按 [SEQ PLAY] 键进入音序演奏模式。
用 [▲ ] 和 [▼]键选择阶梯链号。
用[DEC/NO]和[INC/YES]键定义歌曲文件/混合模板
或跳过 // 结束 /停止阶梯链。
同一个目录下的歌曲文件可以阶梯链回放。
重复上面第二步和第三步的操作设置阶梯链。
歌曲回放
选择阁下要回放的歌曲文件,与上面的步骤 1
和步骤 3方式相同。
如果只回放一首歌的时候,不需要选择阶梯
链号 (任何阶梯链窗口都可以打开)。
设置速度 (如果需要)。
如果播放的目录和当前目录不同,执行下面两
个步骤。(阁下可以通过 INFORMATION 窗口
查看。)
切记播放目录 (针对音序回放)和当前目
录 (针对 CARD 模式)可以设置成不同的
文件夹。但是对于特有的阶梯链操作,它
们一定要设置成相同的文件夹。
在CHAIN 窗口点按[F5] 键,将出现需要确
认的消息。
点按 [INC/YES] 键执行本次操作
点按 [PLAY/STOP] 键回放歌曲。
再次点按 [PLAY/STOP] 键将停止歌曲回放。
1 2 3 4 5 6 7 8
910 11 12 13 14 15 16
TRACK
SELECT
MUTE
SOLO
ELEMENT / PERF.PART / ZONE
接替链号 混合模板
曲目文件
1
2
3
4
1
2
3
1
2
4
5

76
Basics Section Quick Guide Reference Appendix
播放歌曲
链式回放
用[▲]和[▼]键选择阁下想要回放的第一首歌曲
或者混合模板所在的阶梯链号。
设置速度 (如果需要)。
如果播放的目录和当前目录不同,请执行下面
两个步骤。(阁下可以通过 INFORMATION 信
息窗口查看。)
切记播放目录 (针对音序回放)和当前目
录 (针对插卡模式)可以设置成不同的文
件夹。但是对于特有的阶梯链操作,它们
一定要设置成相同的文件夹。
CHAIN 窗口点按 [F5] 键,将出现需要确认
的消息。
按[INC/YES] 键执行本次操作。
点按 [PLAY/STOP] 键回放歌曲。当一个阶梯链
播完后,下一个链号的歌曲回自动开始回放。
利用这种方式可以连续播放歌曲。
再次点按 [PLAY/STOP] 停止链式回放。
移动歌曲的位置 /改变速度
阁下可以移动当前选中的阶梯链中的歌曲位置或改变
回放的速度。在歌曲回放的时候,自动设置的速度会
优先于最初设置的播放速度。
歌曲音轨 开启 /关闭 -独奏和哑音
哑音一个音轨
点按 [MUTE] 键,对应的灯会亮。
点按 [1]-[16] 当中任何一个数字,选择需要哑音
的音轨号码。
独奏一个音轨
通过同时按住 [MUTE] 键和 [1]-[16] 中的一个数
字键独奏一个音轨。
一旦阁下选择了一个要独奏的音轨, [MUTE] 按
键的指示灯闪烁,说明独奏功能已被激活。该功
能激活后,阁下可以通过点按 [1] 到[16] 中任何
一个数字键来方便地改变需要独奏的音轨。
再次点按 [MUTE] 键退出独奏功能。
曲目音轨选择
要编辑混合数据,阁下需要先选择一个需要编辑
的音轨。
按下 [TRACK SELECT] 键,它的指示灯会变亮,
再从 [1]-[16] 中任选一个数字键就是要编辑的音
轨号。
在音序演奏模式下的键盘传送通道就相当于
阁下选中的音轨号。
1
2
3
1
2
4
5
F3
F4
释放 [F4] 键确认
通过小节移动
改变速度
1 2 3 4 5 6 7 8
910 11 12 13 14 15 16
TRACK
SELECT
MUTE
SOLO
ELEMENT / PERF.PART / ZONE
1
2
1 2 3 4 5 6 7 8
910 11 12 13 14 15 16
TRACK
SELECT
MUTE
SOLO
ELEMENT / PERF.PART / ZONE
1 2 3 4 5 6 7 8
910 11 12 13 14 15 16
TRACK
SELECT
MUTE
SOLO
ELEMENT / PERF.PART / ZONE

77
Basics SectionQuick GuideReferenceAppendix
播放歌曲
在音序演奏模式下编辑歌曲
●[F2] 音序演奏 输出通道
阁下可以从显示窗口确认 MIDI 通道,并且可以定义
通道数据发送到哪一个 MIDI 端口。
OUT CH ( 输出通道 )
代表到 MIDI OUT 端口的通道传输 (只能显示)。
在音序演奏模式下,通过键盘和弯音轮产生的
MIDI 数据发送到音频发生器或者通过当前音轨
的 MIDI 输出通道输出到外部的 MIDI 设备。
端口
定义对应通道的
MIDI
传送端口。这对通过多个
MIDI
端口发送数据到外部音频发生器是很有用的。切记这
个参数只对定义了扩展声部
1-3
(安装了单声部扩展
卡)或扩展声部
17-32
(安装了多声部扩展卡)的通道
可用。
S90
的内部音频发生器声部自动配置到端口
1
。
❏设置 关闭 , 1 ~ 3
端口数据只能被输出到 USB 终端设备。
混合模式
在这个模式下,阁下可以设置混合数据和针对音频发
生器声部 (包括期望的音频,还有深度,声相,均衡,
效果以及其它设置)的不同参数。
混合模式是怎样作用于音频发生器声部,以及其它音
色因子如何作用于混合模式,下面的图表会给出非常
清楚的说明。
混合的参数并不是实际的歌曲数据的声部,只是对音
频发生器的一些设置而通过歌曲数据被回放出来。所
以,对于歌曲的音轨,混合参数是不记录的。
甚至如果被选的歌曲没有音序数据,混合数据
会被作为系统数据 (见第 79 页)保存 (put)
到混合模板。通过这样的歌曲的回放把混合设
置传送到外部的 MIDI 工具。
混合模式 (简易混合器功能)
在混合模式下具有相同名字的参数在混合编辑
模式下具有相同的功能和设置。
基本流程
在CHAIN 界面下,点按 [F6](MIX)键进入混合模
式。
选择想要编辑的混合模板 (见第 79 页),然后退出
TEMPLATE 窗口。
音序模式
歌曲数据
混合
歌曲回放数据作用于混合设置。
音频发生器块
来自于外部设备的 MIDI 数
据作用于混合设置。
在混合模式下的编辑决定混
合设置。
音频发生器
1
2

78
Basics Section Quick Guide Reference Appendix
播放歌曲
用[F6] 键选择一个阁下要混合的声部的显示窗口。
多声部扩展卡 (17~32) 的设置并不适用于单个
歌曲而是针对所有的模板。
通过点按 [F1]-[F5] 选择阁下需要的编辑窗口,然后
在每个窗口下设置相应的参数。
如果需要编辑更多详细的混合参数,阁下可
以通过点按 [EDIT] 键进入混合编辑模式。更
多的细节请查阅第 98 页中的 " 参考 " 部分。
将第 步中编辑的设置保存 (put)到闪存中。
点按 [EXIT] 键退出混合模式并返回到 CHAIN 界面
下。
●[F1] 音量 /声相
阁下可以从下面的显示界面对每个声部的声相和音量
进行设置。
在[TRACK SELECT] 指示开启的情况下,阁下
可以通过移动光标或用 NUMBER 键选择声
部。
阁下也可以用控制推子调整音量 / 声相。细节
见第 53 页。
声相
定义每个声部的立体声声相。
音量
定义每个声部的音量。
●[F2] AD
通过下面显示的窗口中,阁下可以为每个 A/D 声部设
置不同的混合参数,通过 A/DINPUT 插孔或 mLAN 接
线端口 (在可选配的 mLAN 已被安装的情况下)连接
输入线。
与演奏模式相同。见第 44 页。
●[F3] 音频
从下面显示的窗口,阁下可以为每个声部选择音频。
在 [TRACK SELECT] 指示开启的情况下,阁下可
以通过移动光标或用数字键选择声部 (见第 76
页)。
在选择音频时也可以使用级别搜索功能 (多声
部的扩展声部 17-32 除外)。
3
内置音频发生器声部 1~16
多声部扩展卡声部 17~32
(当已经安装了多声部扩展卡 )
单声部扩展卡声部 1~3
(当已经安装了单声部扩展卡 )
[F6]
[F6]
[F6]
4
5 4
6

79
Basics SectionQuick GuideReferenceAppendix
播放歌曲
●[F4] 发射 (效果发送)
从下面显示的界面,阁下可以对每个音轨进行基本设
置-混响,和声和不同的发送电平,还有干音电平。
●[F5] 模板
这个非常方便的功能可以让阁下将您的设置参数保存
为模板 -允许您通过调用原有的模板建立相同的合成
器,然后调整到您所需要的。您也可以通过歌曲的回
放调用设置来为音序序演奏模式下的阶梯链分配模
板。模板是属于设置模式下的系统数据 (见第 27 页)
而不能被存为歌曲数据。
因为合成器模板是作为系统数据保存在闪存里
的,所以即使关电数据也不会丢失。 ( 见第 27
页)
模板号
定义模板号。最多可以创建五十个模板号。
模板名字
定义模板的名字。关于命名的详细信息请参阅第 34 页
的 “基本操作”部分。
混合编辑模式 (详细的合成器功能)
公共编辑和声部编辑
用公共编辑功能设置所有声部的共有的设置参
数。有两种混合参数显示方式:一种是公共编
辑,一种是单个声部的编辑。
公共编辑操作不能在多声部的扩展卡声部 17-
32 上执行。
基本流程
在CHAIN 界面下,点按 [F6] 键进入混合模式。
选择要编辑的混合模板。
点按 [EDIT] 键进入混合编辑模式。(指示灯变亮。)
模板号
模板名字
点[SF4] 键调用左边选中
的模板
点[SF5] 键保存当前的设
置
通用编辑显示
公共
声部 1
声部 2
声部 3
声部 16
扩展声部 1
扩展声部 2
扩展声部 3
声部编辑显示
1
2
3

80
Basics Section Quick Guide Reference Appendix
播放歌曲
选择要编辑的声部。
点按 [DRUM KITS] 键 (在这作为 "COMMON 键)
编辑所有声部的公共参数。
编辑单个声部的参数,阁下可以通过点按
NUMBER 键([1]-[16])选择您要编辑的声部。阁
下也可以用 [F6] 键选择扩展卡的声部 (如下图所
示)。
多声部扩展声部 (17-32)设置参数不能用在
单个模板上,但是可以用在所有的混合参数
上。
按[F1]-[F5] 键选择菜单窗口,然后在每个窗口下编
辑参数。
保存 (put)第 步编辑过的参数到指定的混合模
板。
点按 [EXIT] 键退出混合模式并返回 CHAIN 界面下。
有关每个参数的详细信息,参见 "参考 "部分 (见第
98 页)。在下面的章节,我们向阁下介绍如何启动混
合编辑。
S90 用作复音音频发生器 (混合编辑)
混合模式可以让阁下将 S90 配置成复音音频发生器,这
样就可以使用电脑里的音乐软件和内部 /外部音序器。
如果一个歌曲文件的每个音轨使用不同的 MIDI 通道,
那么混合器生成的声部都会被分别指配相应的 MIDI 通
道。这样,阁下可以通过外部音序器回放歌曲文件而且
不同的音轨会播放不同的音频。
在下面的例子中,我们创建一个适合回放由三个声部
组成的歌曲文件:钢琴,贝司和鼓。钢琴音轨指配到
MIDI 通道 1,贝司音轨在通道 2,鼓在通道 10。
特殊的声部可以临时开启
/
关闭。 ( 见第 76 页 )
有关 MIDI 通道的详细信息,参见第 118 页。
阁下可以在
S90
上,用包含音序器软件 (只针
对
Windows
,参见附录的安装指导)播放多个声
部。在播放之前,一定确保计算机和
S90
之间的
正确连接。( 见第 17 页 )
4
DRUM KITS
FAVORITES
COMMON
1 2 3 4 5 6 7 8
910 11 12 13 14 15 16
TRACK
SELECT
MUTE
SOLO
ELEMENT / PERF.PART / ZONE
[F6]
[F6]
[F6]
内部音频发生器声部 1~16
多声部扩展卡声部 17~32
(安装了多声部扩展卡 )
单声部扩展卡声部 1~3
(安装了多声部扩展卡 )
5
6 5
7
S90
音轨 1
音轨 2
音轨 10
钢琴
贝斯
鼓组
发送通道
1
声部 1
声部 2
声部 10
钢琴
音色
歌曲文件 混合
计算机
(
音序器软件
)
音频发生器
发送通道
2
发送通道
贝斯音色
鼓组音色
接收通道
1
接收通道
2
接收通道
10

81
Basics SectionQuick GuideReferenceAppendix
播放歌曲
点按 [SEQ PLAY] 键后,再点按 [F6](MIX)键 进 入
混合模式,然后进入编辑模式 (见第 29 页)。
在进入混合模式之前,阁下需要先选择一个
要编辑的混合模板 (参见第 79 页)。
如果需要的话,阁下也可以初始话混合设置
(参见第 70 页)。
如果出现公共编辑窗口,点按相应的数字键 [1]-[16]
转换到声部编辑窗口。
这里,我们选择声部 1为钢琴,声部 2为贝司,声
部10 为鼓。首先,我们先声部 1。
点按 [F1] →[SF1] 转换到 VOICE(音量)界面,然后
定义钢琴声部所需要的音频。
同样,定义声部 2的贝司音频和声部 10 的鼓音频。
点按[F2]→[SF1]键转换到VOLUME界面,然后为每
个声部设置音量,如果需要的话,也可以设置声
相,和声以及混响。详细信息参见参考号 43-48。
按[F1]→[SF2] 转换到MODE 界面。为声部1,2和10
设定相关参数。
用 和 键进入单音 /复音设置。设置“Poly”(复音)
的参数。
对于只有单音符的声部不可以设置成复音,
模式参数可以设成 “mono”(单音)。
点按 [F1] →[SF3] 调用 NoteLimit (音符范围)和
VelLimit (力度范围)设置,并检查是否每个音频
的声部都已正确设置 -换句话说,确保音符和速率
的设置都能正常的播放。除非在特殊的情况下,为
了确保音符听起来很正常并且没有间断,阁下通常
避免设置音符和速率的范围限制。
在混合模式下有很多特效声部的参数,详细
信息请查阅 “参考”部分。
在退出编辑模式前,阁下需要保存混合模板的设
置。关于保存混合模板的细节,参见第 79 页。
现在,如果阁下在音序演奏模式下选择混合模板,便
可以回放计算机 (音续器)上的歌曲文件,根据每个
音轨的 MIDI 通道,钢琴,贝司和鼓的声部就会被回
放出来。
1
2
3
4
5
6
7
8
9

82
Basics Section Quick Guide Reference Appendix
存储卡的使用
存储卡的使用
在存储卡模式下 ,阁下可以选择用存储卡 ( 商用的
SmartMedia 卡)来存取数据 ,也可以执行其他的数据
处理操作。用嵌入式的应用软件 ,阁下可以在计算机
上用存储卡处理数据 ,也可实现计算机和存储卡之间
的数据交流。
在存储卡模式下请不要试图插拔存储卡。
用音序演奏模式播放阁下选择的音乐文件。在
存储卡模式下 , 指向了音乐回放的文件 ( 见第
83 页 )。
可处理的存储卡 (SmartMedia™*)
正确应用可处理的存储卡应注意下面重要信息。
*东芝公司商标注册了 SmartMedia。
■ 兼容存储卡类型
3.3V(3V) 存储卡可以应用 , 5V 系列的不能兼容。
■ 内存容量
有七种容量的存储卡 : 2MB/4MB/8MB/16MB/32MB/
64MB/128MB。
■ 插入 /拔出存储卡
插入存储卡 :
握住存储卡使存储卡的接口正对着存储卡插槽 ,
小心把存储卡插入插槽 ,慢慢推动存储卡使它和
插槽接口吻合。
• 不要插错存储卡的方向。
• 不要插入除了存储卡以外别的卡。
拔出存储卡 :
在拔出存储卡之前 ,请确保存储卡没有被使用或
者没有被访问。然后用手缓缓拔出存储卡。如果
存储卡正在被访问 ,将会有一条存储卡正在使用
的信息出现。
*信息包括储存、载入、格式化和删除 ,而且当存储卡插
入插槽并被加电时会自动检测多媒体的类型。
当存储被访问时请不要试图拔出它或者关电 ,因为这
样会使数据丢失或毁坏存储卡。
■ 存储卡的格式化
在使用存储卡之前应该先格式化存储卡。一旦被
格式化上面所有的数据将会被擦除。所以预先应
该检查数据是有用还是无用。
存储卡在一个设备上格式化后可能无法在其
他设备上使用。
■ 关于存储卡
小心使用存储卡 !
静电对存储卡是有影响的。在接触存储卡之前 ,
应该接触类似门把手。铝窗框之类的金属可降低
静电的影响。
如果存储卡长时间没有使用请从插槽里拔出存储
卡时并应避免暴露在阳光照射。超低超高的温
度。过分潮湿。有灰尘的环境或者液体里。
请勿在存储卡上放置重物 ,弯曲或者挤压存储卡。
请勿触摸存储卡金属部分或者在金属部分放置其
他金属物品。
请勿将存储卡暴露在有磁性的环境 ,例如电视机、
话筒、发动机等产生的。因为磁性环境能部分或
完全消去存储卡上的数据 ,降低数据可读性。
请勿在存储卡上贴其他标签 ,并且确保标签贴在
正确的位置。
保护阁下的数据 (写保护 ):
为了避免不小心删掉了重要的数据 ,请将保护封
签(存储卡资料包里提供 )贴在指定的位置 (在一
个盘环内 )。在给存储卡存数据时 ,应确保移开写
入保护封签。不能重复使用剥下的写保护封签。
■ 备份数据
Yamaha 推荐最佳数据安全方案就是阁下应该将重
要的数据在不同的存储卡内备份。这样即便有一
块存储卡遗失或者毁坏 ,阁下还有备份的数据。
■ 防盗锁
这种方法给存储卡提供一个防盗锁 ,如果有需要 ,
在设备上装上防盗锁。
下面是如何设置防盗锁的方法:
用一把 Phillips 螺丝刀拆下金属部件。
旋转颠倒金属部件然后再装配好它。
1
2

83
Basics SectionQuick GuideReferenceAppendix
存储卡的使用
基本步骤
点按[CARD]按键进入到插卡模式(该指示灯变亮)。
选择 [F1]-[F6] 菜单可执行 (保存。装载诸如此类的操
作)。
点按任意模式按键退出插卡模式。
文件 /文件夹选项
下面的图文例子给阁下介绍了在存储卡的卡模式里是
怎样选择文件和文件夹的。
确保需要的音乐文件 ( 指定的阶梯链音序演奏
模式 ) 在当前选择的插卡模式的文件夹内。因
为音乐文件的名字没有在 S90 的显示屏里显示 ,
因此为了方便起见 , 应该给包含此音乐文件的
文件夹命名一个好辨别的名称。阁下可通过文
件设置软件 ( 参考安装指南分册 ) 来查询文件
夹或者文件。
新文件夹的创建
通过保存显示 (通过 [F2] 按键调用 )和重命名显示 (通
过[F4] 按键调用 )。这项功能可使阁下在 S90 上方便
简单地创建大量自己的重要数据文件。
S90 可支持的文件类型
从S90 可保存到存储卡的文件类型
从存储卡上载到 S90 的文件类型
1
2
3
通过 [INC/YES] 和[DEC/ON] 或者数字转盘把光标移动
到期望的文件或文件夹上。
点按 [EXIT] 按键
可返回到上层屏幕
的顶行。
加亮期望的文件夹
光标转到上层屏幕
的低行。
通过 [INC/YES] 和[DEC/ON] 或者数字转盘把光标移动
到期望的文件或文件夹上。
显示 扩展名 解释
All .W4A S90 内置用户存储器的所有数据可作为一个单独的文件
存到存储卡里。
All Voice .W4V 90 内置用户存储器的所有音色数据可作为一个单独的文
件存到存储卡里。
Plugin All
Bulk1,2,3 .W2B 扩展卡里的所有数据可作为一个单独的文件存到存储卡
里。
Chain
(Sequence
chain)
.W4C 链式数据可做为一个单独的文件存到存储卡里 ,这种数
据可作为音乐文件回放的连接。
Voice Editor
(Voice data
for Voice
Editor)
.W4E
有的用户音色数据可作为一个单独的文件存到存储卡里
,这些存储文件可以上载到阁下计算机的音色编辑软件
里(包括 CD-ROM 里的 )。
显示 扩展名 解释
All .W4A 保存在存储卡里的类型为 "ALL" 的文件可以上载或存
储在 S90 里。
All Voice .W4V 保存在存储卡里的类型为 "ALL VOICE" 的文件可以上
载或存储在 S90 里。
Voice .W4A/.W4V 保存在存储卡里类型为 "ALL" 或"ALL VOICE" 的指定
在文件里的音色可以单独挑选存储在 S90 里。
Performance .W4A 保存在存储卡里类型为 "ALL" 的指定在文件里的演奏
音色可以单独挑选存储在 S90 里。
Plugin All
Bulk1,2,3 .W2B 保存在存储卡里的类型为 "Plug-in All Bulk1.2.3" 的文件
可以上载或存储在 S90 的扩展卡里。
Usr ARP .W2G 从MOTIF 来的保存在存储卡里的类型为 "Usr ARP" 的
文件可以上载或存储在 S90 里 。
Chain
(Sequence
chain)
.W4C 保存在存储卡里的类型为 "Chain" 的文件可以上载到
S90 里。
Voice Editor .W4E 通过安装在阁下计算机里的音色编辑软件处理过的音色
数据可以上载到 S90。
阁下可以通过点按 [F6] 按键来创建新文件
夹并且命名它。

84
Basics Section Quick Guide Reference Appendix
存储卡的使用
■开机时从存储卡加载到S90 的文件类型(自动加载文
件)。
第 83 页描述的文件类型中 , “ALL”、“Plug-in All
Bulk 1”、 “Plug-in All Bulk 2”、 “Plug-in All
Bulk 3”可以在开机时自动从存储卡加载到 S90 的用户
存储器里。
数据将自动加载 ,存储器里存在的数据将会被覆
盖,因此阁下事先应该将重要的数据保存在存储
卡里。
如下面描述 ,开了机时 ,命名阁下期望的已经自动上
载的文件。把它们放在同一个单独的文件夹内。
当阁下已经完成了命名相关文件
,
请保留显示
屏中的相应文件夹
,
不要关闭
,
进行第 步。
点按 [UTILITY] 按键进入设置模式。
点按[F1]按键,然后再点按[SF4]按键显示自动上载文
件。
设置“Auto Load”(自动上载 )为开启状态 ,然后再点
按[SF5] 按键。
应用新的参数设置 ,然后退出设置模式。
当有 (“Executing…”(正在处理中 )或“ Please
keep power on”(请保持开机状态 )) 的信息显
示时 ,或正在给闪存写 数据时请勿试图关机。
如果在此状态进行了关机操作 ,将引起用户数
据的丢失 ,还可能引起死机 (由于闪存内的数
据丢失引起 )。
关机。
在下次开机之前,确保有有用的数据在S90里,换句话,
确保第 步指定的存储卡已经完全插好。
8开机时,S90查询指定的文件夹,找到自动加载的文件(
第 步阁下命名并且保存的文件 ), 然后自动地将这
些文件加载到用户存储器。
第 步注册的文件夹中的文件如果没有合适的
自动加载名将会被忽略。
■文件名
文件按照 MS-DOS 文件命名的惯例。如果文件名中包
含有空格。或者其他 MS-DOS 没有规定的字符 ,这些
字符在保存文件时将被自动替换成 “_”(下划线 )。
如果想了解文件命名的详细资料 ,请查阅第 34 页。
[F1] 格式化存储卡
这里将解释第 83 页基本步骤第二步的应用。
当在 S90 上使用一张新的存储卡之前 ,阁下应该先格
式化此卡。通过操作格式化存储卡并且给存储卡赋予
一个卷标。
当格式化程序正在进行时,请勿从S90中拔出存储
卡,也不要将 S90 关电。
如果存储卡里已经存储了数据 ,请勿格式化存储
卡。如果格式化存储卡 ,所有以前保存的数据都
将会被删除。
卷标的命名。关于卷标命名的详细资料 ,请查阅第 34
页中的 "基本操作 "章节。
点按 [ENTER] 按键。(将会出现请阁下确认的显示信
息)。
取消格式化操作请点按
[DEC/NO]
按键。
点按
[INC/YES]
按键执行格式化操作命令
,
当格式化程
序执行完了以后
,
将会出现一个 “
Completed
”
(
完成
)
信息。操作返回原始显示屏。
文件类型 文件名字
All AUTOLOAD.W4A
Plugin All Bulk 1
(for slot 1) AUTOLD1.W2B
Plugin All Bulk 2
(for slot 2) AUTOLD2.W2B
Plugin All Bulk 3
(for slot 3) AUTOLD3.W2B
1
2
2
3
4
设置为开启状态 .
点按 [SF5] 按键注册第一步选择的文件夹 (文件包含在自动加
载的文件系统里 )。
5
6
7
1
1
4
1
2
3

85
Basics SectionQuick GuideReferenceAppendix
存储卡的使用
[F2] 保存 S90 里的数据到存储卡
本操作使阁下把文件保存到存储卡。这里将解释第 83
页基本步骤第二步的应用
在保存显示里选择文件保存的类型 (见第 83 页)。
如果阁下想覆盖已存在的文件 ,移动光标或数字转盘
到要覆盖的文件去存数据。
在保存数据的过程当中, 请勿从S90中拔出存储卡
,也不要将 S90 关电。
点按 [ENTER] 按键执行存储操作。
如果阁下想覆盖一个已存在的文件 ,显示屏中将会
出现一个确认信息。点按 [INC/YES] 按键来执行存
储操作 ,或者点按 [DEC/NO] 按键来取消操作。
当完成了保存数据操作后 ,将会出现一个
“Completed”(完成 )信息。操作返回原始显示屏。
[F3] 从存储卡往 S90 上载数据
本操作使阁下从存储卡里往 S90 里上载文件。
这里将解释 83 页基本步骤第 步的应用。
择一个文件类型 (见第 83 页)和一个文件上载。
当文件类型设置为 All, All Voice, Plug-in All,Bank
1~3, Usr ARP, Chain 或 Voice Editor 时去第 步 ,其
他类型时去第 步。
当一个上载文件的类型为 “
ALL
”时
,
“ without System” 信息将会出现在显示
屏上。如果这个框条被检查和上载被执行
,
设
置模式下系统设置除外的所数据将被上载。
当文件 (数据 )的类型设置为“Vo i c e ”时 ,选中的的数
据加载在 S90 用户存储器一定的位置。如下例 ,下
面有图文解释。
当文件 (数据 )类型设置为演奏音色时 ,一个和上面音
色类型相似的虚拟文件产生。
选择这个虚拟文件点按 [ENTER] 按键来调用演奏音色
类型文件的列表。然后选择想选的演奏音色文件和用
户存储器的指定的位置。
1
如果阁下想要创建一个新的文件 ,可将光标移动到图
中所示位置 ,然后输入一个想要取的名字。详细的关
于命名资料 ,请查阅第 34 页关于 “基本操作”的章
节
如果阁下想要创建一个新的文件夹 ,请点
按[SF6] 按键去命名一个新的文件夹。详
细的关于命名的资料 ,请查阅 34 页有关
“基本操作”的章节。
2
3
2
1
3
2
2
这是一个虚拟文件夹 ,显示在显示屏里包含阁下
将加 载的文件。
[ENTER] 按键
选择音色号加载S90 上用户存储器指定的的
区域。

86
Basics Section Quick Guide Reference Appendix
存储卡的使用
点按 [ENTER] 按键来执行上载操作。当数据已经被
上载 , 将会出现一个 “Completed”(完成 )信息。
操作返回原始显示屏。
在上载数据的过程当中, 请勿从S90中拔出存储
卡,也不要将 S90 关电。
S90 上载数据时将自动的擦除和覆盖用户存储
器里已经存在的数据。所以在执行上载操作之
前请确保将重要的数据保存在存储卡里。
S90
有一个特色功能
:
方便的自动加载功能
,
当阁下开机时
,S90
可自动加载用户指定的文
件。详细有关资料
,
请参考第
84
页。
[F4] 重命名文件
在这个显示屏里,阁下可以给存储卡里选定的文件命
名,文件名最多可由 8个字母和数字组成。
文件按照 MS-DOS 文件命名的惯例 ( 见第 84 页 )。
[F5] 删除文件
在这个显示屏里,阁下可删除存储卡里选定的文件 ,
选择要删掉的文件 (如下图所示 ), 然后点按 [ENTER]
按键。
3
选择期望的文件类型
选择重命名的文
件。
在这儿重命名选择的文件 ,
详细资料请参考 34 页
( “基本操作”) 如果阁下想要创建一个保存数据的文件夹
,请点按 [F6] 按钮来命名一个新的文件
夹。关于命名的详细资料 ,请参考第 34
页(“基本操作”章节 )。
选择期望的文件类型。
选择要删掉的文件。

87
Basics SectionQuick GuideReferenceAppendix
触发灵敏度
触发灵敏度
不同类型灵敏度的键盘可以匹配不同的演奏风格和参数选择。
点按 [UTILITY] (设置)按键进入设置模式。
点按 [F1] → [SF2] 按键来选择 KBD (键盘)屏幕。
使用 [ ]按键选择力度曲线 ,再点按 [INC/YES] 和[DEC/NO] 按键来选择期望的设置 (见下图 )。
点按 [EXIT] 按键退出设置模式。
当有 (“Executing….”(正在处理中 )或“Please keep power on”(请保持开机状态 )) 的信息显示时 ,或正在给闪存
写数据时请勿试图关机。如果在此状态进行了关机操作 ,将引起用户数据的丢失 ,还可能引起死机 (由于闪存
内的数据丢失引起 )。
常规
力度和演奏力 (阁下在键盘演
奏的力度 )成正比。
柔和的
这个曲线提供增强性反映 ,尤
其对较低的力度。换句话说
柔和的演奏能反应出比常规
曲线强地音量。如果阁下在
弱音处想获得较强的控制效
果请使用该曲线。
强劲的
这个曲线比常规曲线能有效
的降低整体反映。如果阁下
注重演奏的强度又想降低音
量变化的灵敏度 , 请使用该曲
线。
延伸的
这个设置提供和较低或较高
力度相应的反映曲线。能明
显延展动态控制音区。在弱
音处降低音量变化 ,在强音处
增加音量变化。
固定的
无论阁下的演奏力度如何 ,这
个设置提供等量的声音变化。
例如 ,阁下可用这个曲线模拟
传统音键或者验证声音的变
化一致性。
阁下可给呼吸控制器设置灵敏度参数
(UTILITY [F1]
→
[SF1] 呼吸控制器 )。
1
2
3
4
键盘演奏力度
音量
键盘演奏力度
音量
键盘演奏力度
音量
键盘演奏力度
音量
键盘演奏力度
音量

88
Basics Section Quick Guide Reference Appendix
功能树
功能
子功能 参数名 ( 显示 )参考号 页数
■ 音色演奏模式
[VOICE]→音色选择 ( 第 36 页)
设置 ... 数据清单分册的 MIDI 数据表 8-1 和 8-2
[F1] (回放)
–36
[F2] (库)
Bank 36 99
[F4] (滑音)
Mono/Poly 3 98
PortaSw 7 98
PortaTime 8 98
PortaMode 10 98
[F5] (包络发生器)
AEG/FEG – 40
[F6] (琵音)
Bank 74 101
Type 75 101
Tempo 76 101
VelocityLimit 82 101
Switch 77 101
Hold 78 101
■ 音色编辑模式 (常规)
公用 ... 给所有四个音色因子进行设置
[VOICE]→常规音色选择 (见第 36 页)→[EDIT]→[COMMON]
设置 ... 在数据表分册中的 MIDI 数据表 8-1
[F1] (通用)
[SF1] 名字 MainCtgry 1 98
SubCtgry 1 98
Name 2 98
[SF2] 演奏模式 Mono/Poly 3 98
KeyAsgnMode 4 98
M.TuningNo. 5 98
[SF3] 主控均衡器偏
移
MEQ OFFSET (LOW/
LOWMID/HIGHMID/
HIGH)
698
[SF4] 滑音 Switch 7 98
Time 8 98
Mode 10 98
TimeMode 11 98
[SF5] 其他 CSAssign 12 98
ChoCtrl 13 98
PB Upper 14 98
PB Lower 14 98
AssignA 15 98
AssignB 15 98
Assign1 15 98
Assign2 15 98
[F2] (输出)
Volume 43 100
Pan 44 100
RevSend 46 100
ChoSend 47 100
[F3] (琵音)
[SF1] 类型 Bank 74 101
Type 75 101
Tempo 76 101
Switch 77 101
Hold 78 101
KeyMode 79 101
VelMode 80 101
[SF2] 限制 NoteLimit 81 101
VelocityLimit 82 101
[SF3] 演奏 FX UnitMultiply 83 101
VelocityRate 84 101
GateTimeRate 85 101
[F4] (控制设置)
[SF1] 设置1/2 ElementSw 117 103
Source 118 103
Dest 119 103
Depth 120 103
[SF2] 设置3/4 ElementSw 117 103
Source 118 103
Dest 119 103
Depth 120 103
[SF3] 设置5/6 ElementSw 117 103
Source 118 103
Dest 119 103
Depth 120 103
[F5] (低频振荡器)
[SF1] 声波 Wave 159 105
Speed 160 105
TempoSync 161 105
TempoSpeed 162 105
KeyOnReset 163 105
Phase 164 105
[SF2] 延迟 Delay 165 105
FadeIn 166 105
Hold 167 105
FadeOut 168 105
[SF3] 目标 ElementSw 169 105
Dest 170 105
Depth 171 105
[SF4] 目标 ElementSw 169 105
Dest 170 105
Depth 171 105
[SF5] 目标 ElementSw 169 105
Dest 170 105
Depth 171 105
[F6] (效果器)
[SF1] 连接 EL: (INS EF) OUT 1-4 190 106
InsEF Connect 191 106
Ins1 Ctgry 192 106
Ins1 Type 192 106
Ins2 Ctgry 193 106
Ins2 Type 193 106
Reverb Type 194 106
Chorus Type 194 106
Reverb Send 195 106
Chorus Send 195 106
Reverb Return 196 106
Chorus Return 196 106
Reverb Pan 197 106
Chorus Pan 197 106
Chorus to Reverb 198 106
[SF2] 嵌入式1 (Effect Parameters) 205 107
[SF3] 嵌入式2 (Effect Parameters) 205 107
[SF4] 混响 (Effect Parameters) 205 107
[SF5] 合唱 (Effect Parameters) 205 107
音因子色 ... 给四个音色因子进行单独设置
[VOICE]→常规音色选择 ( 见第 36 页)→[EDIT]→[1]-[4]
设置 ... 数据表分册中的 MIDI 数据表 8-2
[F1] (振荡器)
[SF1] 声波 ElementSw 28 99
WaveNo. 29 99
WaveCtgry 29 99
[SF2] 输出 KeyOnDelay 30 99
InsEffectOut 31 99
[SF3] 限制 NoteLimit 32 99
VelocityLimit 33 99
VelCrossFade 34 99
[F2] (音高)
[SF1] 调节 Coarse 59 100
Fine 60 100
Random 61 100
[SF2] 力度灵敏度 EGTime 62 100
Segment 63 100
EGLevel 64 100
Curve 65 100
Pitch 66 100
[SF3] 音高包络发生
器
TIME/LEVEL 67/68 100
Depth 69 100
功能
子功能 参数名 ( 显示 )参考号 页数
[SF4] 音键跟随 PitchSens 70 101
CenterKey 71 101
EGTimeSens 72 101
CenterKey 73 101
[F3] (滤波器)
[SF1] 类型 Type 90 101
Gain 91 102
Cutoff 92 102
Resonance 93 102
Width 94 102
Distance 95 102
HPFCutoff 96 102
HPFKeyFlw 97 102
[SF2] 力度灵敏度 EGTime 98 102
Segment 99 102
EGLevel 100 102
Curve 65 100
Cutoff 101 102
Resonance 102 102
[SF3] 滤波包络发生
器
TIME/LEVEL 103/104 102
Depth 105 102
[SF4] 音键跟随 CutoffSens 106 102
CenterKey 107 102
EGTimeSens 108 102
CenterKey 109 102
[SF5] 调整 BREAKPOINT 110 102
OFFSET 111 102
[F4] (功率放大器)
[SF1] 电平/声相 Level 135 103
Pan 44 100
AlternatePan 136 104
RandomPan 137 104
ScalingPan 138 104
[SF2] 力度灵敏度 EGTime 139 104
Segment 140 104
EGLevel 141 104
Curve 142 104
[SF3] 包络发生器 TIME/LEVEL 143/144 104
[SF4] 音键跟随 LevelSens 145 104
CenterKey 146 104
EGTimeSens 147 104
CenterKey 148 104
[SF5] 调整 BREAKPOINT 149 104
OFFSET 150 104
[F5] (低频振荡器)
Wave 159 105
Speed 160 105
KeyOnReset 163 105
KeyOnDelay 165 105
PMod 172 105
FMod 173 105
AMod 174 105
[F6] (均衡器)
Type 210 107
L.Freq/Gain
(Type=EQ L/H)
211 107
H.Freq/Gain
(Type=EQ L/H)
212 107
Freq (Type=P.EQ) 213 107
Gain (Type=P.EQ) 214 107
Q (Type=P.EQ) 215 107
■ 音色编辑模式 (鼓组)
公共 ... 给所有鼓组音键设置
[VOICE]→鼓组音色选择 (见第 36 页)→[EDIT]→[COMMON]
设置 ... 数据表分册中的 MIDI 数据表 9-1
[F1] (通用)
[SF1] 名字 MainCtgry 1 98
SubCtgry 1 98
Name 2 98
功能
子功能 参数名 ( 显示 )参考号 页数
功能树
参考数字可以让阁下方便快捷地在参数表 (第 92 页)和参考章节 (第 98 页)中的相应参数进行交互参考。如需了解显
示屏的信息,请查阅第 33 页;如需了解搜索类别功能的信息,请查阅第 38 页;如需了解工作操作的信息,请查阅第 70
页;如需了解储存操作的信息,请查阅第 73 页;如需了解有关插卡的操作信息,请查阅第 82 页。

89
Basics SectionQuick GuideReferenceAppendix
功能树
[SF3] 主控均衡器偏
移
MEQ OFFSET (LOW/
LOWMID/HIGHMID/
HIGH)
698
[SF5] 其他 CSAssign 12 98
ChoCtrl 13 98
PB Upper 14 98
PB Lower 14 98
AssignA 15 98
AssignB 15 98
Assign1 15 98
Assign2 15 98
[F2] (输出)
Volume 43 100
Pan 44 100
RevSend 46 100
ChoSend 47 100
InsRevSend 49 100
InsChoSend 50 100
[F3] (琵音)
[SF1] 类型 Bank 74 101
Type 75 101
Tempo 76 101
Switch 77 101
Hold 78 101
KeyMode 79 101
VelMode 80 101
[SF2] 限制 NoteLimit 81 101
VelocityLimit 82 101
[SF3] 演奏 FX UnitMultiply 83 101
VelocityRate 84 101
GateTimeRate 85 101
[F4] (控制设置)
[SF1] 设置1/2 Source 118 103
Dest 119 103
Depth 120 103
[SF2] 设置3/4 Source 118 103
Dest 119 103
Depth 120 103
[SF3] 设置5/6 Source 118 103
Dest 119 103
Depth 120 103
[F6] (效果器)
[SF1] 连接 KEY: (INS EF) OUT 190 106
InsEF Connect 191 106
Ins1 Ctgry 192 106
Ins1 Type 192 106
Ins2 Ctgry 193 106
Ins2 Type 193 106
Reverb Type 194 106
Chorus Type 194 106
Reverb Send 195 106
Chorus Send 195 106
Reverb Return 196 106
Chorus Return 196 106
Reverb Pan 197 106
Chorus Pan 197 106
Chorus to Reverb 198 106
[SF2] 嵌入式1 (Effect Parameters) 205 107
[SF3] 嵌入式2 (Effect Parameters) 205 107
[SF4] 混响 (Effect Parameters) 205 107
[SF5] 合唱 (Effect Parameters) 205 107
音键 ... 单独的鼓组音键设置
[VOICE]→鼓组音色选择 ( 第 36 页)→[EDIT]→[1]→[INC]/[DEC]
设置 ... 数据表分册中的 MIDI 数据表 9-2
[F1] (振荡器)
[SF1] 声波 Type 35 99
ElementSw 28 99
Bank 36 99
Number 29 99
Category 29 99
[SF2] 输出 InsEffectOut 31 99
RevSend 46 100
ChoSend 47 100
OutputSel 117 103
[SF5] 其他 AssignMode 4 98
RcvNoteOff 37 99
AltnateGroup 38 99
[F2] (音高)
[SF1] 调节 Coarse 60 100
Fine 61 100
[SF2] 力度灵敏度 Pitch 66 100
[F3] (滤波器)
[SF1] 频率截止 LPFCutoff 112 102
LPFReso 113 102
功能
子功能 参数名 ( 显示 )参考号 页数
HPFCutoff 96 102
[SF2] 力度灵敏度 LPFCutoff 114 102
[F4] (AMP)
[SF1] 电平/声相 Level 135 103
Pan 44 100
AlternatePan 136 104
RandomPan 137 104
[SF2] 力度灵敏度 Level 151 104
[SF3] 振幅包络发生
器
AttackTime 143 104
DecayTime 143 104
DecayLevel1 144 104
Decay2Time 143 104
[F6] (均衡器)
Type 210 107
L.Freq/Gain
(Type=EQ L/H)
211 107
H.Freq/Gain
(Type=EQ L/H)
212 107
Freq (Type=P.EQ) 213 107
Gain (Type=P.EQ) 214 107
Q (Type=P.EQ) 215 107
■ (扩展卡)音色编辑模式
公共
[VOICE] 扩展音色选择 (见第 36 页)→[EDIT]→[COMMON]
设置 ... 数据表分册中的 MIDI 数据表 10
[F1] (通用)
[SF1] 名字 MainCtgry 1 98
SubCtgry 1 98
Name 2 98
[SF2] 演奏模式 Mono/Poly 3 98
KeyAsgnMode 4 98
[SF3] 主控均衡器偏
移
MEQ OFFSET (LOW/
LOWMID/HIGHMID/
HIGH)
698
[SF4] 滑音 Switch 7 98
Time 8 98
[SF5] 其他 CSAssign 12 98
ChoCtrl 13 98
PB Range 14 98
AssignA 15 98
AssignB 15 98
Assign1 15 98
Assign2 15 98
[F2] (输出)
Volume 43 100
Pan 44 100
RevSend 46 100
ChoSend 47 100
[F3] (琵音)
[SF1] 类型 Bank 74 101
Type 75 101
Tempo 76 101
Switch 77 101
Hold 78 101
KeyMode 79 101
VelMode 80 101
[SF2] 限制 NoteLimit 81 101
VelocityLimit 82 101
[SF3] 演奏 FX UnitMultiply 83 101
VelocityRate 84 101
GateTimeRate 85 101
[F4] (控制设置)
[SF1] 设置1/2 Source 118 103
Dest 119 103
Depth 120 103
[SF2] 调制论 Filter 121 103
PMod 122 103
FMod 123 103
AMod 124 103
[SF3] 触后 Pitch 125 103
Filter 121 103
PMod 122 103
FMod 123 103
AMod 124 103
[SF4] 可分配的控制
原
Src 126 103
Filter 121 103
PMod 122 103
FMod 123 103
AMod 124 103
[F6] (效果器)
[SF1] 连接 InsEF Connect 191 106
Ins1 Ctgry 192 106
功能
子功能 参数名 ( 显示 )参考号 页数
Ins1 Type 192 106
Ins2 Ctgry 193 106
Ins2 Type 193 106
Reverb Type 194 106
Chorus Type 194 106
Reverb Send 195 106
Chorus Send 195 106
Reverb Return 196 106
Chorus Return 196 106
Reverb Pan 197 106
Chorus Pan 197 106
Chorus to Reverb 198 106
[SF2] 嵌入式1 (Effect Parameters) 205 107
[SF3] 嵌入式2 (Effect Parameters) 205 107
[SF4] 混响 (Effect Parameters) 205 107
[SF5] 合唱 (Effect Parameters) 205 107
音色因子
[VOICE]→扩展音色选择 (见第 36 页)→[EDIT]→[1]
设置 ... 数据表分册中的 MIDI 数据表 10
[F1] (振荡器)
[SF1] 声波 Bank 36 99
Number 29 99
[SF5] 其他 VelocityDepth 39 99
VelocityOffset 40 99
NoteShift 41 99
[F2] (音高)
(P音高包络发生
器)
TIME/LEVEL 67/68 100
[F3] (滤波器)
HPFCutoff 96 102
[F4] (原始的)
(Native Parameters) 152 104
[F5] (低频振荡器
Speed 160 105
Delay 165 105
PMod 172 105
[F6] (均衡器)
L.Freq/Gain 211 107
H.Freq/Gain 212 107
■ 演奏音色弹奏模式
[PERFORM]→演奏音色选择 ( 见第 41 页)
设置 ... 数据表分册中的 MIDI 数据表 7
[F1] (弹奏)
–41
[F2] (数模)
Volume – 44
Pan – 44
RevSend – 44
ChoSend – 44
VarSend – 44
DryLevel – 44
Mono/Stereo – 44
OutputSel – 44
[F3] (音色)
[SF1] 添加内置 (Voice Bank) – 43
[SF2] 添加扩展 (Voice Bank) – 43
[SF3] 删除 (Delete Voice) – 43
[SF4] 下限L (Note Limit Low) – 43
[SF5] 上限 (Note Limit High) – 43
[F4] (滑音)
PortaSw 7 98
PortaTime 8 98
PartSwitch 9 98
[F5] (包络发生器)
AEG/FEG – 44
[F6] (琵音)
Bank 74 101
Type 75 101
Tempo 76 101
VelocityLimit 82 101
Switch 77 101
Hold 78 101
PartSwitch – 44
■ 演奏音色编辑模式
公共 ... 设置所有四个声部
[PERFORM]→演奏音色选择 ( 见第 41 页)→[EDIT]→[COMMON]
设置 ... 数据表分册中的 MIDI 数据表 6
[F1] (通用)
[SF1] 名字 MainCtgry 1 98
SubCtgry 1 98
Name 2 98
功能
子功能 参数名 ( 显示 )参考号 页数

90
Basics Section Quick Guide Reference Appendix
功能树
[SF3] 主控均衡器偏
移
MEQ OFFSET (LOW/
LOWMID/HIGHMID/
HIGH)
698
[SF4] 滑音 PortaSw 7 98
PortaTime 8 98
PartSwitch 9 98
[SF5] 其他 CSAssign 12 98
ChoCtrl 13 98
AssignA 15 98
AssignB 15 98
Assign1 15 98
Assign2 15 98
[F2] (输出/主控均衡器)
[SF1] 输出 Volume 43 100
Pan 44 100
RevSend 46 100
ChoSend 47 100
[SF2] 主控均衡器 SHAPE/FREQ/GAIN/Q
(LOW/LOWMID/HIGH/
HIGHMID/HIGH)
51 100
[F3] (琵音)
[SF1] 类型 Bank 74 101
Type 75 101
Tempo 76 101
Switch 77 101
Hold 78 101
KeyMode 79 101
VelMode 80 101
[SF2] 限制 NoteLimit 81 101
VelocityLimit 82 101
[SF3] 演奏 FX UnitMultiply 83 101
VelocityRate 84 101
GateTimeRate 85 101
[SF4] 输出通道 OutputSwitch 86 101
TransmitCh 87 101
[F4] (可分配的控制)
BC 88 101
AS1 88 101
AS2 88 101
FC1 88 101
FC2 88 101
[F6] (效果器)
[SF1] 连接 EFF PART→VCE INS 199 106
EFF PART→PLG-EF 200 106
PlugEF Type 200 106
Variation Type 201 107
Variation Return 202 107
Variation Pan 203 107
Variation to Reverb 204 107
Variation to Chorus 204 107
Chorus Type 194 106
Chorus Return 196 106
Chorus Pan 197 106
Chorus to Reverb 198 106
Reverb Type 194 106
Reverb Return 196 106
Reverb Pan 197 106
[SF2] 扩展效果 (Plug-in Effect
Parameters)
200 106
[SF3] 变种 (Effect Parameters) 205 107
[SF4] 混响 (Effect Parameters) 205 107
[SF5] 合唱 (Effect Parameters) 205 107
声部 ... 四个声部的单独设置
[PERFORM]→演奏音色选择 ( 见第 41 页)→[EDIT]→[1]-[4]
设置 ... 数据表分册中的 MIDI 数据表 7
[F1] (音色)
[SF1] 音色 PartSw 28 99
Bank 36 99
Number 29 99
[SF2] 模式 Mono/Poly 3 98
ArpSwitch 77 101
[SF3] 限制 NoteLimitH 32 99
NoteLimitL 32 99
VelLimitH 33 99
VelLimitH 33 99
[SF4] 滑音 Switch 7 98
Time 8 98
Mode 10 98
[SF5] 其他 PB Upper 14 98
PB Lower 14 98
VelSensDpt 39 99
VelSensOfs 40 99
[F2] (输出)
[SF1] 音量/声相 Volume 43 100
Pan 44 100
功能
子功能 参数名 ( 显示 )参考号 页数
VoiceELPan 45 100
[SF2] 效果器发送 RevSend 46 100
ChoSend 47 100
VarSend 48 100
DryLevel 52 100
[F3] (输出选择)
OutputSel 115 103
InsEF 116 103
[F4] (音调)
[SF1] 调节 NoteShift 41 99
Detune 153 104
[SF2] 滤波 Cutoff 92 102
Resonance 93 102
FEGDepth 154 104
[SF3] 滤波包络发生器 Attack 155 105
Decay 155 105
Sustain 156 105
Release 155 105
[SF4] 振幅包络发生器 Attack 157 105
Decay 157 105
Sustain 158 105
Release 157 105
[F5] (接收开关)
CtrlChange 175 105
PB 175 105
MW 175 105
ChAT 175 105
BC 175 105
AS1 175 105
AS2 175 105
FC1 175 105
FC2 175 105
Exp 175 105
Sus 175 105
FS 175 105
[SF5] (1PART/4PART) 175 105
[F6] (PLG1-3/PART1-4) 175 105
■ 音序演奏模式
链
[SEQ PLAY]→阶梯链设置 (见第 75 页)/ 演示曲目 (←→
[EXIT])→[PLAY/STOP]
[F1] (链)
Sequence Chain – 75
[SF5] DEMO/PLAY/STOP – 19, 75
[F2] (输出)
[F3] (TEMPO) – 76
[F4] (MEAS) – 76
[F5] (GET FOLDER) – 75
[F6] MIX (Press [F6] to
enter the Mixing mode
below.)
–77
■ Sequence Play Mixing Mode
混合 ... 为每一声部的音频发生器参数设置
[SEQ PLAY]→阶梯链设置 ( 见第 75 页)→[F6] ( 混合 )
[F1] (音量/声相)
Volume 43 100
Pan 44 100
[F2] (数模)
Volume – 78
Pan – 78
RevSend – 78
ChoSend – 78
VarSend – 78
DryLevel – 78
Mono/Stereo – 78
OutputSel – 78
[F3] (音色)
VOICE NUM – 78
BANK MSB/LSB – 78
[F4] (效果器发送)
REV SEND 46 100
CHO SEND 47 100
VAR SEND 48 100
DRY LEVEL 52 100
[F5] (模板)
Template – 79
[SF4] (GET) – 79
[SF5] (PUT) – 79
[F6] (PLG1-3/PART1-16/
17-32)
–79
功能
子功能 参数名 ( 显示 )参考号 页数
■ 音序演奏混合编辑模式
公共 ... 作用于所有 16 个声部的设置
[SEQ PLAY]→阶梯链设置 (见第75页)→[F6] (混合)→[EDIT]→[COMMON]
设置 ... 数据表分册中的 MIDI 数据表 11
[F1] (通用)
[SF1] 主控均衡器偏
移
MEQ OFFSET (LOW/
LOWMID/HIGHMID/
HIGH)
698
[SF5] 其他 CSAssign 12 98
ChoCtrl 13 98
AssignA 15 98
AssignB 15 98
Assign1 15 98
Assign2 15 98
[F2] (主控均衡器)
SHAPE/FREQ/GAIN/Q
(LOW/LOWMID/HIGH/
HIGHMID/HIGH)
51 100
[F3] (琵音)
[SF1] 类型 Bank 75 101
Type 76 101
Switch 77 101
Hold 78 101
KeyMode 79 101
VelMode 80 101
[SF2] 限制 NoteLimit 81 101
VelocityLimit 82 101
[SF3] 演奏 FX UnitMultiply 83 101
VelocityRate 84 101
GateTimeRate 85 101
[SF4] 输出通道 OutputSwitch 86 101
TransmitCh 87 101
[F4] (可分配的控制)
BC 88 101
AS1 88 101
AS2 88 101
FC1 88 101
FC2 88 101
[F6] (效果器)
[SF1] 连接 EFF PART→VCE INS 199 106
EFF PART→PLG-EF 200 106
PlugEF Type 200 106
Variation Type 201 107
Variation Return 202 107
Variation Pan 203 107
Variation to Reverb 204 107
Variation to Chorus 204 107
Chorus Type 194 106
Chorus Return 196 106
Chorus Pan 197 106
Chorus to Reverb 198 106
Reverb Type 194 106
Reverb Return 196 106
Reverb Pan 197 106
[SF2] 扩展卡效果器 (Plug-in Effect
Parameters)
200 106
[SF3] 变种 (Effect Parameters) 205 107
[SF4] 混响 (Effect Parameters) 205 107
[SF5] 合唱 (Effect Parameters) 205 107
声部 ... 为 16 个声部单独设置
[SEQ PLAY]→阶梯链设置 ( 见第 75 页)→[F6] ( 混合 )→
[EDIT]→[1]-[16]
*设置 ... 数据表分册中的 MIDI 数据表 12
[F1] (音色)
[SF1] 音色 Bank 36 99
Number 29 99
[SF2] 模式 Mono/Poly 3 98
ArpSwitch 77 101
ReceiveCh 42 99
[SF3] 限制 NoteLimitH 32 99
NoteLimitL 32 99
VelLimitH 33 99
VelLimitL 33 99
[SF4] 滑音 Switch 7 98
Time 8 98
Mode 10 98
[SF5] 其他 PB Upper 14 98
PB Lower 14 98
VelSensDpt 39 99
VelSensOfs 40 99
[F2] (输出)
[SF1] 音量/声相 Volume 43 100
Pan 44 100
VoiceELPan 45 100
功能
子功能 参数名 ( 显示 )参考号 页数

91
Basics SectionQuick GuideReferenceAppendix
功能树
[SF2] 效果发送 RevSend 46 100
ChoSend 47 100
VarSend 48 100
DryLevel 52 100
[F3] (输出选择)
OutputSel 115 103
InsEF 116 103
[F4] (音高)
[SF1] 调节 NoteShift 41 99
Detune 153 104
[SF2] 滤波器 Cutoff 92 102
Resonance 93 102
FEGDepth 154 104
[SF3] 滤波包络发生器 Attack 155 105
Decay 155 105
Sustain 156 105
Release 155 105
[SF4] 振幅包络发生器 Attack 157 105
Decay 157 105
Sustain 158 105
Release 157 105
[F5] (接收开关)
BankSel 175 105
PgmChange 175 105
CtrlChange 175 105
PB 175 105
MW 175 105
ChAT 175 105
BC 175 105
AS1 175 105
AS2 175 105
FC1 175 105
FC2 175 105
Vol 175 105
Pan 175 105
Sus 175 105
FS 175 105
[SF5] (1PART/4PART) 175 105
[F6] (PLG1-3/PART1-4) 175 105
■ 主控弹奏模式
[MASTER]→主控选择 ( 见第 49 页)
设置 ... 数据表分册中的 MIDI 数据表 5
[F1] (弹奏)
–49
[F2] (记忆)
Mode – 50
(Program Number) – 50
ZoneSwitch – 50
■ 主控编辑模式
公共 ... 对所有 4 个音区进行设置
[MASTER]→主控设置 ( 见第 49 页)→[EDIT]→[COMMON]
设置 ... 数据表分册中的 MIDI 数据表 5
[F1] (名字)
Name 2 98
[F2] (其他)
Slider 58 100
音区 ... 单独对 4 个音区进行设置
[MASTER]→主控选择 ( 见第 49 页)→[F2] ( 记忆 )
ZoneSwitch=on
→
[EDIT]
→
[1]-[4]
→
通过
[
▲ ▼
](TX
开关
)
设置 ... 数据表分册中的 MIDI 数据表 5
[F1] (传送)
TransCh 25 99
TGSwitch 26 99
MIDISwitch 27 99
[F2] (音符)
Octave 17 98
Transpose 18 98
NoteLimitH 32 99
NoteLimitL 32 99
[F3] (TX 开关)
Bank (TG) 89 101
PC (TG) 89 101
Bank (MIDI) 89 101
PC (MIDI) 89 101
PB 89 101
MW 89 101
ChAT 89 101
BC 89 101
Slider 89 101
FC1 89 101
FC2 89 101
Vol 89 101
功能
子功能 参数名 ( 显示 )参考号 页数
Pan 89 101
Sus 89 101
FS 89 101
[SF5] (1ZONE/4ZONE) 89 101
[F4] (重设)
Bank MSB 132 103
Bank LSB 132 103
PgmChange 133 103
Volume 43 100
Pan 44 100
[F5] (控制开关)
CtrlSlider 134 103
■ 设置模式 [设置]
设置... 数据表分册中的MIDI 数据表4 。
[F1] (通用)
[SF1] 音频发送器 Volume 43 100
NoteShift 41 99
Tune 216 107
BCCurve 16 98
[SF2] 键盘 Octave 17 98
Transpose 18 98
VelCurve 19 98
FixedVelociy 20 99
[SF3] 效果器旁通 Insertion Internal 21 99
Insertion PLG-EF 21 99
System Reverb 21 99
System Chorus 21 99
System Variation 21 99
[SF4] 其他 AutoLoad 22 99
PowerOnMode 23 99
CtrlReset 24 99
[SF5] (GET FOLDER) 22 99
[F2] (输入/输出)
[SF1] 输入 A/D Source 53 100
Mic/Line 54 100
[SF2] 输出 L&RGain 55 100
AssignLGain 56 100
AssignRGain 56 100
[SF3] MLAN (mLAN) 57 100
[F3] (音色) → [VOICE] → [UTILITY]
[SF1] 主控均衡器 SHAPE/FREQ/GAIN/Q
(LOW/LOWMID/HIGH/
HIGHMID/HIGH)
51 100
[SF2] 琵音通道 OutputSwitch 86 101
TransmitCh 87 101
[SF3] 可分配的控制 AS1 88 101
AS2 88 101
BC 88 101
FC1 88 101
FC2 88 101
[F4] (可分配的控制)
[SF1] 琵音 Switch 127 103
Hold 127 103
[SF2] 可分配的 ASA 128 103
Dest 129 103
ASB 128 103
Dest 129 103
[SF3] 踏板开关 FS 130 103
[SF4] 遥控 Remote Template 131 103
[F5] (MIDI)
[SF1] 通道 BasicRcvCh 176 105
KBDTransCh 177 105
DeviceNo. 178 105
FileUtilID 179 106
[SF2] 开关 BankSel 180 106
PgmChange 181 106
CtrlChange 182 106
LocalCtrl 183 106
RcvBulk 184 106
[SF3] 同步 MIDI Sync 185 106
ClockOut 186 106
SeqCtrl 187 106
[SF4] 其他 MIDI IN/OUT 188 106
ThruPort 189 106
[F6] (扩展卡)
[SF1] 状态 PolyExpand 206 107
[SF2] MIDI DEV NO. 178 105
PORT NO. 207 107
GM/XG 208 107
[SF3] 原始1 (Native Parameter) 209 107
[SF4] 原始2 (Native Parameter) 209 107
[SF5] 原始3 (Native Parameter) 209 107
功能
子功能 参数名 ( 显示 )参考号 页数

92
Basics Section Quick Guide Reference Appendix
参数表
参数表
这个方便的表格可以使阁下快速且容易的找到期望的任
何参数―在 S90 的各种编辑模式点出它的位置并确认如
何调用。
参数的设置将显示在选中的功能按钮 ([F1]-[F6])和子
功能按钮 ([SF1]-[SF5])中。下面的表格使在期望的模
式中调用各种参数变得特别容易。阁下也能够很容易的
看到那些在类似模式中的相关参数。
当您需要将音色模式下的参数拷贝到演奏模式下时,或
者您希望在演奏模式下做复杂细致的参数设置而不影响
音色模式的参数时,这个参数表显得尤为方便。
每一个参数都给出了所在页码和参数号码,在使用手册
中可以容易的找到相应解释。在使用 S90 时,每一个选
中的模式、编辑状态 (公共、单独等)和功能号码都有
简短注释,然后指向本表。
■使用表格
• 参数按照相应功能按钮 ([F1]-[F6])组织和显示―在
表中每一个以深色行标注。例如,阁下可以看到单音
/复音参数 (F1 的第三个参数)属于 [F1] 按钮。同样
的,声相 (F2 的第二个参数)被第一次按下 [F2] 调
用。
• 每个功能按钮的深色行显示相应模式下对应的按钮标
签名 (用柱状标识)。比如单音 /复音在 General (音
色编辑模式 -公共)和 Vo i c e 标签中 (演奏编辑模
式,音序器播放混合编辑模式)。
• 请阁下注意单音 /复音行,这里有 4个符合 [SF2] 的入
口。这意味着单音 /复音可以在相应编辑模式下通过
按[F1] 后点按 [SF2] 调用。
• 通常,大部分表的入口用显示屏中变亮的字母,表示
那个参数可以在指定位置找到 (按钮)。正常入口类
型标识参数并不在相应功能按钮,而是可以在其它功
能按钮中发现。例如,琶音开关参数入口在 F1 按钮
附近写着 “F3 →SF1”,说明 (对音色编辑-公共模
式)它可以用按完 [F3] 后按 [SF1] 调用。
• 当可以获得相似的效果或不同参数分担一个相同效果
时,入口将被放在括号中。参数页码和参数号码是标
准 (在显示屏中变亮的)参数;当阁下在括号中发现
一个入口,同样检查相应功能按钮。
• 标有 “直接”的入口表示在相应显示中没有子功能
表,参数可以在功能显示中设置。
■应用举例
• 当阁下想要检查在一个模式下哪些参数是可用的:
查看音色编辑-单元-常规,查看哪些参数具有入
口。如果有入口,参数存在于相应的模式中。
• 当阁下希望在表中找到某个参数:
在98 页中的参数 /功能表查找。这个表按照字母顺序
列出所有参数,并且指出每个参数指向的功能键。一
旦阁下知道功能键,可以到表中找关于该键的部分。
• 当阁下希望查找那些编辑模式包含指定参数时:
查找到期望的参数,浏览那些光柱有入口。例如,低
频振荡速度 (F5 部分参数)能在音色编辑-单元中
找到。阁下也可以很容易的看到该参数对鼔组音色无
效。
• 当阁下想要在一个特殊模式检查或编辑一个相关参数
的设置:
我们假设阁下将在演奏模式编辑声相设置,但阁下只
希望改变一个特殊音色 (音色因子)而不是全部演奏
的音色设置。首先,确认阁下在一个弹奏显示模式的
“基本”状态。(如果在全部演奏中设置了声相并调用
其公共显示,请确认从其中退出。)然后,在表中检
查声相参数项 (在 F2 部分)并查找音色编辑 -音色
因子 -常规栏。阁下将看到显示的声相选项 “[F4]→
[SF1]。” 这表示对一个单元编辑音相,阁下调出音相
编辑单元模式,然后按 [F4] 及[SF1]。

93
Basics SectionQuick GuideReferenceAppendix
参数表
... 能使用快速编辑功能进行编辑 (演奏模式下的编辑)。
... 能使用控制推子进行实时编辑。
... 既能使用快速编辑功能进行编辑,又能使用控制推子进行实时编辑。
显示
音色编辑 演奏音色编辑 音序演奏混合编辑 主控编辑
UTILITY设置 号.页数
公共 音色因子/音键
公共 声部 公共 声部 公共 音区
常规 鼓组 扩展卡 常规 鼓组 扩展卡
F1 (标识名)通用 振荡器 通用 音色 通用 音色 名字 传送 通用
MainCtgry/SubCtgry SF1 SF1 SF1 SF1 198
Name SF1 SF1 SF1 SF1 直接 298
Mono/Poly SF2 SF2 SF2 SF2 398
KeyAsgnMode/AssignMode SF2 SF2 SF5 498
M.TuningNo. SF2 598
MEQ OFFSET SF3 SF3 SF3 SF3 SF1 698
(PORTA) Switch SF4 SF4 SF4 SF4 SF4 798
(PORTA) Time SF4 SF4 SF4 SF4 SF4 898
(PORTA) PartSwitch SF4 998
(PORTA) Mode SF4 SF4 SF4 10 98
(PORTA) TimeMode SF4 11 98
CSAssign SF5 SF5 SF5 SF5 SF5 (F2 直接)1298
ChoCtrl SF5 SF5 SF5 SF5 SF5 13 98
PB Upper/Lower, PB Range SF5 SF5 SF5 SF5 SF5 14 98
AssignA/B/1/2 SF5 SF5 SF5 SF5 SF5 15 98
BCCurve SF1 16 98
Octave F2 直接 SF2 17 98
Transpose F2 直接 SF2 18 98
VelCurve SF2 19 98
Fixed Velocity SF2 20 99
(EF BYPS) SF3 21 99
AutoLoad SF4 22 99
PowerOnMode SF4 23 99
CtrlReset SF4 24 99
TransCh 直接 (F5→SF1) 25 99
TGSwitch 直接 (F5→SF2) 26 99
MIDISwitch 直接 27 99
ElementSw/PartSw SF1 SF1 SF1 28 99
WaveNo./Ctgry/Number SF1 SF1 SF1 SF1 SF1 29 99
KeyOnDelay SF2 30 99
InsEffect(Eff)Out SF2 SF2 31 99
NoteLimit (L/H) SF3 SF3 SF3 F2 直接 32 99
VelocityLimit (L/H) SF3 SF3 SF3 33 99
VelCrossFade SF3 34 99
Type SF1 35 99
Bank SF1 SF1 SF1 SF1 36 99
RevSend F2 直接 F2 直接 SF2 46 100
ChoSend F2 直接 F2 直接 SF2 47 100
OutputSel SF2 F3 直接 F3 直接 115 103
RcvNoteOff SF5 37 99
AltnateGroup SF5 38 99
VelocityDepth SF5 SF5 39 99
VelocityOffset SF5 SF5 40 99
Volume (F2 直接)(F2 直接)(F2 直接)(F4→SF1) (F4→SF1) (F2→SF1) (F2→SF1) (F2→SF1) (F4 直接)SF1 43 100
NoteShift SF5 F4→SF1 F4→SF1 SF1 41 99
Tune SF1 216 107
ArpSwitch (Switch) F3→SF1 F3→SF1 F3→SF1 F3→SF1 SF2 SF2 77 101
ReceiveCh SF2 (F5→SF1) 42 99
F2 (标识名)输出 音高 输出/主控
均衡器 输出 主控均衡器 输出 其他 音符 输入输出
Volume Direct 直接 直接 (F4→SF1) (F4→SF1) SF1 SF1 SF1 (F4 直接)F1→SF1 43 100
Pan Direct 直接 直接 F4→SF1 F4→SF1 SF1 SF1 SF1 (F4 直接)44100
VoiceELPan SF1 SF1 45 100
RevSend Direct 直接 直接 F1→SF2 SF1 SF2 SF2 46 100
ChoSend Direct 直接 直接 F1→SF2 SF1 SF2 SF2 47 100
VarSend SF2 SF2 48 100
InsRevSend 直接 49 100
InsChoSend 直接 50 100
SHAPE/FREQ/GAIN/Q (UTILITY) (UTILITY) (UTILITY) SF2 Direct F3→SF1 51 100
DryLevel SF2 SF2 52 100
A/DSource SF1 53 100
Mic/Line SF1 54 100
L&RGain SF2 55 100
AssignL/RGain SF2 56 100

94
Basics Section Quick Guide Reference Appendix
参数表
(MLAN) SF2 57 100
Slider (F1→SF5) (F1→SF5) (F1→SF5) (F1→SF5) (F1→SF5) 直接 58 100
Octave 直接 F1→SF2 17 98
Transpose 直接 F1→SF2 18 98
NoteLimitL/H F1→SF3 F1→SF3 F1→SF3 直接 32 99
Coarse SF1 SF1 59 100
Fine SF1 SF1 (F4→SF1) (F4→SF1) (F1→SF1) 60 100
Random SF1 61 100
EGTime SF2 62 100
Segment SF2 63 100
EGLevel SF2 64 100
Curve SF2 65 100
Pitch (VEL SENS) SF2 SF2 66 100
(PEG) TIME SF3 直接 67 100
(PEG) LEVEL SF3 直接 68 100
(PEG) Depth SF3 69 100
PitchSens SF4 70 101
CenterKey SF4 71 101
EGTimeSens SF4 72 101
CenterKey SF4 73 101
F3 (标识名)琵音 滤波器 琵音 输出选择 琵音 输出选择 TX 开关 音色
Bank SF1 SF1 SF1 SF1 SF1 74 101
Type SF1 SF1 SF1 SF1 SF1 75 101
Tempo SF1 SF1 SF1 SF1 76 101
Switch (ArpSwitch) SF1 SF1 SF1 SF1 F1→SF2 SF1 F1→SF2 77 101
Hold SF1 SF1 SF1 SF1 SF1 78 101
KeyMode SF1 SF1 SF1 SF1 SF1 79 101
VelMode SF1 SF1 SF1 SF1 SF1 80 101
NoteLimit SF2 SF2 SF2 SF2 SF2 81 101
VelocityLimit SF2 SF2 SF2 SF2 SF2 82 101
UnitMultiply SF3 SF3 SF3 SF3 SF3 83 101
VelocityRate SF3 SF3 SF3 SF3 SF3 84 101
GateTimeRate SF3 SF3 SF3 SF3 SF3 85 101
OutputSwitch (UTILITY) (UTILITY) (UTILITY) SF4 SF4 SF2 86 101
TransmitCh (UTILITY) (UTILITY) (UTILITY) SF4 SF4 SF2 87 101
SHAPE/FREQ/GAIN/Q (UTILITY) (UTILITY) (UTILITY) F2→SF2 F2 直接 SF1 51 100
BC/AS1/AS2/FC1/FC2 (UTILITY) (UTILITY) (UTILITY) F4 直接 (F5 直接)SF3 88 101
(Transmit Switch) 通过[▲/▼](F5→SF2) 89 101
Type SF1 90 101
Gain SF1 91 102
Cutoff SF1 (SF1) F4→SF2 F4→SF2 92 102
Resonance SF1 (SF1) F4→SF2 F4→SF2 93 102
Width SF1 94 102
Distance SF1 95 102
HPFCutoff SF1 SF1 SF1 96 102
HPFKeyFlw SF1 97 102
EGTime SF2 98 102
Segment SF2 99 102
EGLevel SF2 100 102
Curve SF2 65 100
Cutoff (VEL SENS) SF2 101 102
Resonance (VEL SENS) SF2 102 102
(FEG) TIME SF3 (F4→SF3) (F4→SF3) 103 102
(FEG) LEVEL SF3 (F4→SF3) (F4→SF3) 104 102
(FEG) Depth SF3 F4→SF2 F4→SF2 105 102
CutoffSens SF4 106 102
CenterKey SF4 107 102
EGTimeSens SF4 108 102
CenterKey SF4 109 102
(Scaling) BREAKPOINT SF5 110 102
(Scaling) OFFSET SF5 111 102
LPFCutoff (SF1) SF1 112 102
LPFReso (SF1) SF1 113 102
LPFCutoff (VEL SENS) (SF2) SF2 114 102
OutputSel F1→SF2 直接 直接 115 103
(InsEF) 直接 直接 116 103
F4 (标识名)控制设置 (设置 1/2, 3/4, 5/6) 功率放大器 原始 可分配控制 音高 可分配控制 音高 预设 可分配控制
ElementSw SF1, 2, 3 117 103
Source SF1, 2, 3 SF1, 2, 3 SF1 118 103
Dest SF1, 2, 3 SF1, 2, 3 SF1 119 103
Depth SF1, 2, 3 SF1, 2, 3 SF1 120 103
显示
音色编辑 演奏音色编辑 音序演奏混合编辑 主控编辑
UTILITY设置 号.页数
公共 音色因子/音键
公共 声部 公共 声部 公共 音区
常规 鼓组 扩展卡 常规 鼓组 扩展卡

95
Basics SectionQuick GuideReferenceAppendix
参数表
Filter (MW) SF2 121 103
AMod/PMod/FMod (MW) SF2 122-124 103
Pitch SF3 125 103
Filter (AT) SF3 121 103
AMod/PMod/FMod (AT) SF3 122-124 103
Src SF4 126 103
Filter (AC) SF4 121 103
AMod/PMod/FMod (AC) SF4 122-124 103
BC/AS1/AS2/FC1/FC2 (UTILITY) (UTILITY) (UTILITY) 直接 直接 (F5 直接)F3→SF3 88 101
(ARP) Switch/Hold SF1 127 103
ASA/ASB (F5 直接)SF2 128 103
Dest SF2 129 103
FS SF3 130 103
Set Remote Template Type SF4 131 103
BankMSB/LSB 直接 132 103
PgmChange 直接 133 103
Volume (F2 直接)(F2 直接)(F2 直接) (SF1) (SF1) (F2→SF1) (F2→SF1) (F2→SF1) 直接 (F1→SF1) 43 100
Pan (F2 直接)(F2 直接)(F2 直接)SF1 SF1 (F2→SF1) (F2→SF1) (F2→SF1) 直接 44 100
Level (F2 直接)(F2 直接)(F2 直接)SF1 SF1 (F2→SF1) (F2→SF1) (F2→SF1) (直接)(F1→SF1) 135 103
AlternatePan SF1 SF1 136 104
RandomPan SF1 SF1 137 104
ScalingPan SF1 138 104
EGTime SF2 139 104
Segment SF2 140 104
EGLevel SF2 141 104
Curve SF2 142 104
(AEG) TIME SF3 SF3 143 104
(AEG) LEVEL SF3 SF3 144 104
LevelSens SF4 145 104
CenterKey SF4 146 104
EGTimeSens SF4 147 104
CenterKey SF4 148 104
(Scaling) BREAKPOINT SF5 149 104
(Scaling) OFFSET SF5 150 104
Level (VEL SENS) SF2 151 104
(Native Parameters) 直接 或通
过 [/]152 104
NoteShift F1→SF5 SF1 SF1 F1→SF1 41 99
Detune (F2→SF1) (F2→SF1) SF1 SF1 (F1→SF1) 153 104
Cutoff F3→SF1 (F3→SF1) SF2 SF2 92 102
Resonance F3→SF1 (F3→SF1) SF2 SF2 93 102
FEGDepth F3→SF3 SF2 SF2 154 104
(FEG) Attack/Decay/Release
(Time)
(F3→SF3) SF3 SF3 155 105
(FEG) Sustain (Level) (F3→SF3) SF3 SF3 156 105
(AEG) Attack/Decay/Release
(Time)
(F4→SF3) SF4 SF4 157 105
(AEG) Sustain (Level) (F4→SF3) SF4 SF4 158 105
F5 (标识名)低频振荡器 低频振荡器 接受开关 接受开关 控制开关 MIDI
Wave SF1 直接 159 105
Speed SF1 直接 直接 160 105
TempoSync SF1 161 105
TempoSpeed SF1 162 105
KeyOnReset SF1 直接 163 105
Phase SF1 164 105
(KeyOn)Delay SF2 直接 直接 165 105
FadeIn SF2 166 105
Hold SF2 167 105
FadeOut SF2 168 105
ElementSw SF3/4/5 169 105
Dest SF3/4/5 170 105
Depth SF3/4/5 171 105
PMod (LFO) 直接 直接 172 105
FMod (LFO) 直接 173 105
AMod (LFO) 直接 174 105
(Part Receive Switch) 通过 [▲/▼]通过[▲/▼]175 105
BasicRcvCh (UTILITY) (UTILITY) (UTILITY) (UTILITY) (F1→SF2) SF1 176 105
KBDTransCh (UTILITY) (UTILITY) (UTILITY) (UTILITY) (F1 直接)SF1 177 105
DeviceNo. (UTILITY) (UTILITY) (UTILITY) (UTILITY) SF1
(F6→SF2)
178 105
FileUtilID SF1 179 106
BankSel SF2 180 106
显示
音色编辑 演奏音色编辑 音序演奏混合编辑 主控编辑
UTILITY设置 号.页数
公共 音色因子/音键
公共 声部 公共 声部 公共 音区
常规 鼓组 扩展卡 常规 鼓组 扩展卡

96
Basics Section Quick Guide Reference Appendix
参数表
一些不同模式的参数具有相同的参数名,但这些参数的数值和设置会依据不同的模式而有所不同。
有关效果器参数的消息资料,请查阅数据表分册。
有关工作操作,可查阅第 70 页;有关存储操作,可查阅第 73 页;有关插卡操作,可查阅第 82 页。
有关音序演奏模式的资料,可查阅第 75 页。
在演奏音色及混合模式里,音色公共琵音 / 效果器 / 控制器设置是无效的,而演奏音色及混合设置
则有效。可以使用工作功能将音色模式里的合唱、混响效果以及琵音设置复制到演奏音色及混合模
式下。(见第 70 页)
阁下可以将控制推子作为编辑下列参数的快速编辑控制器。然而,它不能完全更改音色因子及声部
参数数值;它仅仅只是临时性更改。
• 截止 • 触发
• 谐振 • 释放
使用任何快速编辑控制器对以下参数的数值都不能完全更改,仅仅只是临时性更改。
音色因子
• 滤波包络发生器时间 /电平 /深度
• 振幅包络发生器时间 /电平 /深度
声部
滤波包络发生器 /振幅包络发生器 ([F4]→[SF3]/[SF4])
PgmChange
(F3
→
通过
[
▲
/
▼
])
SF2 181 106
CtrlChange (通过[▲/
▼])
SF2 182 106
LocalCtrl (F1 直接)SF2 183 106
RcvBulk SF2 184 106
MIDI Sync SF3 185 106
ClockOut SF3 186 106
SeqCtrl SF3 187 106
MIDI IN/OUT SF4 188 106
ThruPort SF4 189 106
CtrlSlider (F4 直接)直接 (F3→SF3/
F4→SF2)
134 103
F6 (标识名)效果器 均衡器 效果器
1-4/
扩展卡
1-3
效果器
1-4/
扩展卡
1-3
扩展卡
EL: OUT 1-4/KEY: OUT SF1 SF1 190 106
InsEF Connect SF1 SF1 SF1 191 106
Ins1 Ctgry/Type SF1 SF1 SF1 192 106
Ins2 Ctgry/Type SF1 SF1 SF1 193 106
Reverb/Chorus Type SF1 SF1 SF1 SF1 SF1 194 106
Reverb/Chorus Send SF1 SF1 SF1 195 106
Reverb/Chorus Return SF1 SF1 SF1 SF1 SF1 196 106
Reverb/Chorus Pan SF1 SF1 SF1 SF1 SF1 197 106
Chorus to Reverb SF1 SF1 SF1 SF1 SF1 198 106
EFF PART→VCE INS SF1 SF1 199 106
EFF PART→PLG-EF SF1 SF1 200 106
Variation Type/Return/Pan SF1 SF1 201-203 107
Variation to Chorus/Reverb SF1 SF1 204 107
(Effect Parameters) SF2/3/4/5 SF2/3/4/5 SF2/3/4/5 SF2/3/4/5 SF2/3/4/5 205 107
PolyExpand SF1 206 107
DEV NO. (UTILITY) (UTILITY) (UTILITY) (UTILITY) SF2
(F5→SF1)
178 105
PORT NO. SF2 207 107
GM/XG SF2 208 107
(Native System Parameter) SF3/4/5 209 107
Type 直接 直接 210 107
L.Freq/Gain (Type=EQ L/H) 直接 直接 直接 211 107
H.Freq/Gain (Type=EQ L/H) 直接 直接 直接 212 107
Freq (Type=P.EQ) 直接 直接 213 107
Gain (Type=P.EQ) 直接 直接 214 107
Q (Type=P.EQ) 直接 直接 215 107
显示
音色编辑 演奏音色编辑 音序演奏混合编辑 主控编辑
UTILITY设置 号.页数
公共 音色因子/音键
公共 声部 公共 声部 公共 音区
常规 鼓组 扩展卡 常规 鼓组 扩展卡
相关参考号将出现在以下页
数中:
参考号 参考页数
1 - 19 98
20 - 42 99
43 - 69 100
70 - 90 101
91 - 114 102
115 - 135 103
136 - 154 104
155 - 178 105
179 - 200 106
201 - 221 107

97
Basics SectionQuick GuideReferenceAppendix
参数表
参数与功能键对应表
A
A/DSource................................................. F2
AEG Sustain (Level).................................. F4
AEG Attack/Decay/Release (Time)........... F4
AlternatePan ............................................. F4
AltnateGroup............................................. F1
AMod (LFO) .............................................. F5
AMod/PMod/FMod (AC) ........................... F4
AMod/PMod/FMod (AT) ............................ F4
AMod/PMod/FMod (MW) .......................... F4
ArpSwitch (Switch).................................... F1
ASA/ASB ................................................... F4
AssignA/B/1/2 ........................................... F1
AssignL/RGain .......................................... F2
AssignMode.............................................. F1
AutoLoad .................................................. F1
B
Bank..................................................... F1/F3
BankMSB/LSB........................................... F4
BankSel..................................................... F5
BasicRcvCh .............................................. F5
BC/AS1/AS2/FC1/FC2.......................... F3/F4
BCCurve ................................................... F1
BREAKPOINT (AMP)................................. F4
BREAKPOINT (FILER)............................... F3
C
CenterKey (AEGTimeSens) ...................... F4
CenterKey (CutoffSens) ............................ F3
CenterKey (FEGTimeSens)....................... F3
CenterKey (LevelSens) ............................. F4
CenterKey (PEGTimeSens)....................... F2
CenterKey (PitchSens).............................. F2
ChoCtrl...................................................... F1
Chorus Pan ............................................... F6
Chorus Return........................................... F6
Chorus Send............................................. F6
Chorus to Reverb...................................... F6
Chorus Type ............................................. F6
ChoSend .............................................. F1/F2
ClockOut ................................................... F5
Coarse ...................................................... F2
CSAssign .................................................. F1
Ctgry ......................................................... F1
CtrlChange................................................ F5
CtrlReset ................................................... F1
CtrlSlider ................................................... F5
Curve (AEG Level).................................... F4
Curve (FEG Level) .................................... F3
Curve (PEG Level) .................................... F2
Cutoff ................................................... F3/F4
Cutoff (VEL SENS) .................................... F3
CutoffSens ................................................ F3
D
Delay (KeyOn Delay) ................................ F5
Depth (CTL SET)....................................... F4
Depth (FEG) ............................................. F3
Depth (LFO).............................................. F5
Depth (PEG) ............................................. F2
Dest (CTL ASN) ........................................ F4
Dest (CTL SET) ......................................... F4
Dest (LFO) ................................................ F5
Detune ...................................................... F4
DEV NO..................................................... F6
DeviceNo. ................................................. F5
Distance.................................................... F3
DryLevel.................................................... F2
E
EF BYPS.................................................... F1
EFF PART→PLG-EF.................................. F6
EFF PART→VCE INS ................................ F6
Effect Parameters ......................................F6
EGLevel (AMP) ..........................................F4
EGLevel (FILTER) ......................................F3
EGLevel (PITCH) .......................................F2
EGTime (AMP) ...........................................F4
EGTime (FILTER) .......................................F3
EGTime (PITCH) ........................................F2
EGTimeSens (AMP) ...................................F4
EGTimeSens (FILTER) ...............................F3
EGTimeSens (PITCH) ................................F2
EL: OUT 1-4/KEY: OUT..............................F6
ElementSw (CTL SET)...............................F4
ElementSw (LFO).......................................F5
ElementSw (OSC)......................................F1
F
FadeIn........................................................F5
FadeOut.....................................................F5
FEG Attack/Decay/Release (Time) ............F4
FEG Depth .................................................F3
FEG LEVEL ................................................F3
FEG Sustain (Level) ...................................F4
FEG TIME...................................................F3
FEGDepth ..................................................F4
FileUtilID ....................................................F5
Filter (AC)...................................................F4
Filter (AT) ...................................................F4
Filter (MW) .................................................F4
Fine ............................................................F2
Fixed Velocity ............................................F1
FMod (LFO) ...............................................F5
Freq (Type=P.EQ) .....................................F6
FS...............................................................F4
G
Gain (FILTER) ............................................F3
Gain (Type=P.EQ) .....................................F6
GateTimeRate............................................F3
GM/XG .......................................................F6
H
H.Freq/Gain ...............................................F6
Hold (ARP).................................................F3
Hold (LFO) .................................................F5
HPFCutoff ..................................................F3
HPFKeyFlw ................................................F3
I
Ins1 Ctgry/Type .........................................F6
Ins2 Ctgry/Type .........................................F6
InsChoSend ...............................................F2
InsEF..........................................................F3
InsEF Connect ...........................................F6
InsEffect(Eff)Out ........................................F1
InsRevSend ...............................................F2
K
KBDTransCh..............................................F5
KeyAsgnMode ...........................................F1
KeyMode ...................................................F3
KeyOnDelay (LFO) ....................................F5
KeyOnDelay (OSC)....................................F1
KeyOnReset...............................................F5
L
L&RGain ....................................................F2
L.Freq/Gain................................................F6
Level ..........................................................F4
LEVEL (AEG) .............................................F4
LEVEL (FEG) .............................................F3
LEVEL (PEG)..............................................F2
Level (VEL SENS) ......................................F4
LevelSens ..................................................F4
LocalCtrl ....................................................F5
LPFCutoff ..................................................F3
LPFCutoff (VEL SENS) ...............................F3
LPFReso ....................................................F3
M
M.TuningNo. ..............................................F1
MainCtgry ..................................................F1
MEQ OFFSET.............................................F1
Mic/Line .....................................................F2
MIDI IN/OUT ..............................................F5
MIDI Sync ..................................................F5
MIDISwitch.................................................F1
Mode (PORTA) ..........................................F1
Mono/Poly..................................................F1
N
Name .........................................................F1
Native Parameters .....................................F4
NoteLimit (ARP) .........................................F3
NoteLimit (L/H)......................................F1/F2
NoteShift ...............................................F1/F4
Number......................................................F1
O
Octave ..................................................F1/F2
OFFSET (AEG)...........................................F4
OFFSET (FEG) ...........................................F3
OutputSel..............................................F1/F3
OutputSwitch .............................................F3
P
Pan .......................................................F2/F4
Part Receive Switch...................................F5
PartSw........................................................F1
PartSwitch (PORTA)...................................F1
PB Range...................................................F1
PB Upper/Lower ........................................F1
PEG Depth.................................................F2
PEG LEVEL................................................F2
PEG TIME ..................................................F2
PgmChange (CS/MIDI)..............................F5
PgmChange (PRESET)..............................F4
Phase.........................................................F5
Pitch...........................................................F4
Pitch (VEL SENS).......................................F2
PitchSens...................................................F2
PlugEF Type ..............................................F6
PMod (LFO) ...............................................F5
PolyExpand................................................F6
PORT NO...................................................F6
PORTA Mode.............................................F1
PORTA PartSwitch.....................................F1
PORTA Switch ...........................................F1
PORTA Time ..............................................F1
PORTA TimeMode .....................................F1
PowerOnMode...........................................F1
Q
Q (Type=P.EQ)..........................................F6
R
Random .....................................................F2
RandomPan...............................................F4
RcvBulk......................................................F5
RcvNoteOff ................................................F1
ReceiveCh .................................................F1
Resonance ...........................................F3/F4
Resonance (VEL SENS)............................F3
Reverb Pan................................................F6
Reverb Return............................................F6
Reverb Send..............................................F6
Reverb Type ..............................................F6
RevSend ...............................................F1/F2
S
ScalingPan ................................................ F4
Segment (AEG) .........................................F4
Segment (FEG)..........................................F3
Segment (PEG).......................................... F2
SeqCtrl.......................................................F5
Set Remote Template Type.......................F4
SHAPE/FREQ/GAIN/Q..........................F2/F3
Slider .........................................................F2
Source .......................................................F4
Speed ........................................................F5
SubCtgry ................................................... F1
Switch (ArpSwitch) ....................................F3
Switch (PORTA).........................................F1
Switch/Hold (ARP) ....................................F4
T
Tempo .......................................................F3
TempoSpeed.............................................F5
TempoSync ...............................................F5
TGSwitch ...................................................F1
ThruPort .....................................................F5
TIME (AEG)................................................F4
TIME (FEG) ...............................................F3
TIME (PEG) ...............................................F2
Time (PORTA)............................................F1
TimeMode (PORTA) ..................................F1
TransCh .....................................................F1
Transmit Switch .........................................F3
TransmitCh ................................................F3
Transpose.............................................F1/F2
Tune...........................................................F1
Type (ARP) ................................................F3
Type (EQ) ..................................................F6
Type (FILTER)............................................F3
Type (OSC)................................................F1
U
UnitMultiply................................................F3
V
Variation to Chorus/Reverb .......................F6
Variation Type/Return/Pan.........................F6
VarSend.....................................................F2
VelCrossFade ............................................F1
VelCurve....................................................F1
VelMode ....................................................F3
VelocityDepth ............................................F1
VelocityLimit (ARP)....................................F3
VelocityLimit (L/H) .....................................F1
VelocityOffset ............................................F1
VelocityRate...............................................F3
VoiceELPan ............................................... F2
Volume...........................................F1/F2/SF4
W
Wave..........................................................F5
WaveNo.....................................................F1
Width .........................................................F3

98
Basics Section Quick Guide Reference Appendix
参考 ( 功能表 )
该表简明清楚地解释了不同参数的功能。该表中有各种不同的脚注,为这些条目提供了更详细的资料和解释,并注上了星号 (*)。“相关页”一列提供了与相应的
操作样例、其他详细资料以及相关参数进行交互参考的方便。手册中的参考号对应于功能树 (第 88 页)和参数表 (第 92 页)的相关条目。借助参考号,阁下可
以方便快捷地在下表中查询到相应的功能和参数。
有关显示屏指示和模式选择的详细信息,可以参阅第 30 页。有关演奏模式的详细信息,可以参阅第 36,41,48 页。
参考
号显示 参数名 解释
相关页
1
MainCtgry/SubCtgry
主/子类别 (音色 /演奏音
色)
设置名字 (至多 10 个字符)和种类。
34,
35, 84
2
Name
名字 1-10 (音色 /演奏
音色 / 主控)
3
Mono/Poly
单/复音模式 选择是否一个音色 /音部作为单音模式 (单音键 )或者复音模式 (复音键 )回放。
4
KeyAsgnMode
(AssignMode)
可分配模式的相同音符 /音
键
当音频发生器接收到相同的音符 (音色 )时这个设置起到效用。设为 "single( 单声道 )" 时,先前的声音截止跳到下一个音符;设为
"multi( 多声道 )" 时,还保持最初的音符。 *1
5
M.TuningNo.
微调号 给音色定义的调音系统 .通常 ,设为 00( 均等模式即未加修饰的模式 )。可是加了 31 段均衡器后系统可适用于不同的调音应用和效果。 *2
6
MEQ OFFSET
主控均衡器偏移 调节主控 (整体的 )均衡器的设置 ,在这里这个参数作为一个均衡设置偏移量来应用 (中音区除外 )。也可用控制推子来编辑此项。 67 *3
7
(PORTA) Switch (Sw)
滑音开关 定义滑音 (从一个音节到另一个音节平滑过度转换 )是开启还是关闭状态。
*4
8
(PORTA) Time
滑音时间 定义音高转换的滑音时间。较高的值引起长时间的转换时间。效果由 "TimeMode( 时间模式 )" 设置来应用。
9
(PORTA) PartSwitch
(滑音)声部开关 定义每个声部滑音开关是处于开启还是处于关闭状态。
10
(PORTA) Mode
滑音模式 在"fingered/fingr" 设置 ,滑音仅应用在连奏时 (释放先前一个之前演奏下一个音色 )。"fulltime/full" 设置 ,一直应用滑音。 *4
*5
11
(PORTA) TimeMode
滑音时间模式 当"TimeMode( 时间模式 )" 设为 "rate" 等级 (常规音色 )时,转化时间将成比例的从一个音色到另一个音色变化。 *4
12
CSAssign
控制功能选择 定义当调用程序时那一行 CONTROL FUNCTION( 控制功能 )参数自动选择。 53 *6
13
ChoCtrl
合唱控制 定义合唱效果的深度 ,受推子分配合唱发送的约束。
14
PB Upper/Lower,
PB Range
弯音上限 /下限,弯音范围 弯音范围定义弯音高 (半音程 ,12 个音键 =1 个八度音程 ), 当阁下上移和下移弯音轮时音高有各种变化。 53
15
AssignA/B/1/2
可分配的 A/B/1/2 通过推子阁下可直接设值并且为每个控制器记住所赋的值 (A, B, 1, 和2)。53 *7
16
BCCurve
呼吸控制器曲线 曲线定义 S90 的音色对呼吸控制器的响应。音色的细节受呼吸控制器和设置在常规音色的公共编辑模式下 ([F4] →[SF1/2/3]) 的控制器
参数曲线影响。 87
17
Octave
主控八度音程移调 定义键盘八度音程上 /下移调。这个参数可以通过踏板 (UTILITY( 设置 ) [F4] →[SF3] FS=101) 重设。 56 *8
18
Transpose
主控半音程移调 定义键盘半音程上 /下移调。这个影响 MIDI 数据的发送。
19
VelCur ve
力度曲线 定义力度曲线的细节 ,或者音键演奏力度怎样影响声音的输出。当设为 "fixed( 固定的 )" 时,阁下的演奏力度和设的固定力度曲线等量
(见下面 )。87
20
FixedVelocity
固定力度 当力度曲线 (见上面 )设为 "fixed( 固定 )", 该值用来定义力度的值。并对 MIDI 数据有影响。 87
21
(EF BYPS)
效果旁通 当[EFFECT BYPASS( 效果旁通 )] 按键打开时 ,选择选中的效果来旁通。 67
22
AutoLoad
自动上载 定义自动上载功能是开启还是关闭。上载功能开关打开时 , 只要开机 ,S90 就将自动上载选中的文件 (从存储卡 )到用户存储器 .点按
[SF5] 按键来注册包含想要上载文件的文件夹。 84
23
PowerOnMode
开电模式 定义缺省的开电模式 (和内存库 ), 当阁下加电时来选择那种条件是自动调用。指定库的开始程序码被选为自动调用。 *9

99
Basics SectionQuick GuideReferenceAppendix
24
CtrlReset
控制器重设 当阁下在两个音色之间切换时 ,定义控制器 (调制轮,控制踏板,后触发等 )当前的状态是保持还是重设。
25
Tr a n s C h
发送通道 为用来给 S90 发送 MIDI 数据 (外置音序器 .音频发生器等 )的每个音区定义 MIDI 通道。 48
26
TGSwitch
音频发生器开关 定义每个音区的 MIDI 信息是否发送给每个声部发生器。 48
27
MIDISwitch
MIDI
开关 定义每个音区的 MIDI 信息是否发送给外置的 MIDI 或USB 接口。 48
28
ElementSw/PartSw
音色因子开关 /声部开关 定义每个音色因子 /音键 /声部输出的方式 ,在鼓音键编辑模式下 ,这个仅适用在 "Type" 被设为 "prewave" 的情况 .在演奏音色模式下 ,阁
下可选择总共七个声部 (其中四个来自内置音频发生器 ,另外三个来自安装的扩展卡 )。
29
WaveNo./Ctgry/
Number
波数 /类别 /音色数 常规音色因子编辑…选择期望的声波 /类别 (见第 35 页)用做音色因子。鼓音键编辑…选择一个声波 /常规音色号 /类别用做音色因
子。演奏音色 /固定声部编辑…选择期望的音色号用做每个声部 (见数据表单独分册 )。扩展音色因子编辑…选择期望的扩展音色号。 *10
30
KeyOnDelay
音键按启延迟 定义阁下点按一个音符后和音乐开始时这段时间的延迟。
31
InsEffect(Eff)Out
嵌入式效果输出 定义哪个嵌入式效果 (1 或2) 用来处理每个单独的音色因子 /音键。“thru( 直通 )”的设置可使阁下旁通指定的音色因子 /音键的嵌入式
效果 (这个参数和常规通用模式下的 "音色因子 /音键 :输出 ([F6] →[SF1])" 相似。改动一个设置可自动使参数改变。 67
32
NoteLimit (L/H)
音符下限 /上限 定义每个音色因子力度反应的下限和上限。 62 *11
*12
33
VelocityLimit (L/H)
力度下限 /上限 定义每个音色因子力度反应的下限和上限。 62 *13
34
VelCrossFade
力度交叉衰落的限度 定义两个音色因子变换对力度响应的平滑性或陡然性 ,最小的取值将呈现两个音色因子之间产生陡然的变化 ,而最大的取值将呈现两个
音色因子之间产生平滑的变化。
35
Ty p e
声波类型 定义是否一个声波或者常规音色用做选择的音键。 *14
36
Bank
库
鼓音键编辑…当类型设 (上面提到的 )为"voice( 音色 )" 时这个参数有用。某些常规音色库可被选。扩展音色不能被选。扩展音色因子
编辑…定义扩展卡音色库。演奏音色 /固定声部编辑…定义每个声部的音色库 (见第 36 页)。
37
RcvNoteOff
接收音键释放 定义是否音键释放信息被接收或不接收。
*17
38
AltnateGroup
交替组 给阁下不希望 (客观上也无法)同时发声的鼓音符分配相同的号 (例如 -开启镲片和关闭镲片 )。
39
Veloci tyDepth
(VelSensDpt)
力度灵敏深度 定义力度灵敏度 ,或者根据阁下演奏的力度响应出音色电平值的大小。
*19
40
VelocityOffset
(VelSensOfs)
力度灵敏偏移量 定义接收的力度信息和实际响应的响度之间的偏移量。
41
NoteShift
音符转换 定义半音程音高 (音键转换 )设置 (12 个音键:1个八度音程 )。这不影响 MIDI 数据的发送。
42
ReceiveCh
接收通道 根据通道的设置每个声部接收 MIDI 信息。如果选择阁下不希望给 MIDI 反应的声部为 “off( 关闭 )”。 *63
43
Volume
音量 调节输出电平。
44
Pan
声相 定义立体声相位置 L63 (hard left( 最左边位置 )) -C (Cener( 中心位置 )) -R63 (hard right( 最右边位置 ))。*15
*21
45
VoiceELPan
音色因子声相 定义是否给每个音色因子 (音色编辑模式生成的 )设置单独的声相应用。 *22
46
RevSend
混响效果器发送 定义从嵌入式效果器 1/2( 或旁通 )出来的声音信号发送到混响效果器。 67 *15
*16
47
ChoSend
合唱效果器发送 定义从嵌入式效果器 1/2( 或旁通 )出来的声音信号发送到合唱效果器。 67
48
VarSend
变种效果器发送 定义给选择的声部的变种效果器发送电平。 67
49
InsRevSend
嵌入式混响效果器发送 给整体鼓音色 (所有音键 )定义发送电平 ,从嵌入效果器 1/2 发送到混响效果器。 67
*20
50
InsChoSend
嵌入式合唱效果器发送 给整体鼓音色 (所有音键 )定义发送电平 ,从嵌入效果器 1/2 发送到合唱效果器。 67
51
SHAPE/FREQ/
GAIN/Q
主控均衡器尖锐度 /频率 /
增益 /Q 值
调节音质 ,阁下可应用 5 段均衡器给所有已选的声部或者所有已选音色的音色因子进行调节。 *23
*24
52
DryLevel
干音电平 定义已选声部未被处理的声音的电平 ,使阁下在声部当中能够控制全面的均衡效果。
参考
号显示 参数名 解释
相关页

100
Basics Section Quick Guide Reference Appendix
53
A/DSource
模拟 /数字音源 S90 的特点 :它有两个不同的与外部输入音源进行连接的端口 :A/D INPUT 插孔或 mLAN 端口 (当mLAN8E 已安装 ), 只能使用其中一
个端口 ,两个端口不能同时使用。 44
54
Mic/Line
麦克风 /线路 (输入 )当使用 A/D INPUT 插孔 ,需要确认输入音源 : 麦克风 /线路 (输入 )。
55
L&RGain
左右输出增益 设置每个插孔的输出增益 ,当设为一个低值时阁下可通过主控音量来获得比较合适的音量。
56
AssignL/RGain
可分配的左右输出增益
57
(MLAN)
mLAN
设置 为一个可选配的 mLAN8E 设置参数。 126 *25
58
Slider
控制功能选择 当切换到主控程序时定义 CONTROL FUNCTION 的状态。 53 *6
59
Coarse
音高粗调 定义半音程 (12 个音键:1个八度音程 )音高的设置 (调整)。 *18
60
Fine
音高细调 定义音高的细调。
61
Random
随机音高 阁下演奏的每个音符的音色因子随机变化音高 ,数值为 127…则以最大的音高变化 ; 数值为 0…则没有音高变化。
62
EGTime
音高包络发生器时间力度
灵敏度
定义一个程度 ,达到这个程度时力度影响音高包络发生器的音高变化。如果设置为正值音高变换将变的更加灵敏 ,这时演奏键盘感觉力度
较大 (较强劲 )。如果设置为负值将有相反的效果。 *27
63
Segment
音高包络发生器时间分割 *26
64
EGLevel
音高包络发生器电平力度
灵敏度
定义音高包络发生器电平 (音高包络发生器变化的宽度 )力度灵敏度 ,通过曲线参数阁下可以在五个不同的预设力度曲线 (图象显示在
显示屏中 )中选择。 *27
65
Curve
力度灵敏曲线
66
Pitch (VEL SENS)
音高力度灵敏度 定义音高包络发生器电平 (音高包络发生器变化的度 )力度灵敏度。
67
(PEG) TIME
音高包络发生器时间 定义从按下音键到发声结束之间的音高转变。
63
68
(PEG) LEVEL
音高包络发生器电平
69
(PEG) Depth
音高包络发生器深度
70
PitchSens
音高音键跟随灵敏度 定义了音高跟随效果的灵敏度 ( 相临音符间隔 ), 设置为 +100 时临近音键之间为半音音程。设置为 0 时所有音键无音高差别 ( 在同一
音高上 , 适用于打击乐器等等 )。设置为 +50 时 24 个音键为一个八度音程。如果设置为负值 , 这些音键上的设置刚好相反 ( 音高顺序
颠倒 )。
*28
71
CenterKey
音高音键跟中心音键 定义音高音键跟随灵敏度参数 (上述 )的基本的音高 (音符号 )。该设置中的音符号与常规的音高相同 (100%)。*28
*12
72
EGTimeSens
音高包络发生器时间音键
跟随灵敏度
定义了音高包络发生器时间 (音高包络发生器变化的力度 )音键力度跟随灵敏度。 *28
73
CenterKey
音高包络发生器时间音键
跟随中心音键
定义了音高包络发生器参数中的基本音高 (上述 ), 当演奏中心音键时音高包络发生器时间和它的实际设置匹配。对于其他音键力度变化
将与该音键的演奏以及它于中心音键的间距成正比。
*28
*12
74
Bank
琵音类型库 定义了琵音库。 pre1: 预设 1, pre2: 预设 2, MOTIF 系列产品中的 (当从一个存储卡里上载时 )user: 用户琵音数据 (见第 83 页)。 45 *29
75
Ty p e
琵音类型 定义了琵音类型 ,前置的两个字符代表了琵音的类型。 45 *29
*34
76
Te m p o
琵音速度 定义了琵音速度。当 MIDI 同步 [Utility( 设置 )[F5 →[SF3] 为 “开启”时 ,“MIDI”字样显示在屏幕上而且不能被设置。在音序演奏
模式 ,速度和歌曲同步 (见第 76 页)。45
77
Switch (ArpSwitch)
琵音开关 定义琵音是否是开启还是关闭状态。阁下可以通过踏板开关 ([Utility( 设置 )[F4 →[SF3] FS=96] 控制这个开关。 45 *30
78
Hold
琵音保持 定义琵音回放 “held( 保持 )”开启与否。当设置为 “on( 开启时 )”,自动琵音循环 ,即使阁下释放按键 , 琵音循环还将继续直到点按下
一个音键。 阁下可以通过踏板开关 ([Utility( 设置 )[F4 →[SF3] FS=97] 控制这个开关。 45 *31
79
KeyMode
琵音音键模式 当演奏键盘时定义琵音演奏模式的选择。 *32
*33
*34
参考
号显示 参数名 解释
相关页

101
Basics SectionQuick GuideReferenceAppendix
80
VelMode
琵音力度模式 定义琵音回放力度 ,或者对阁下自己的演奏力度响应。 *35
81
NoteLimit
琵音音符上下限 定义琵音音符的最低和最高范围。 *36
*12
82
Veloci tyLi mi t
琵音力度上下限 定义琵音力度的最低和最高范围 ,可使阁下用演奏力度来控制琵音歌曲。 47 *13
83
UnitMultiply
琵音单元增加 调节琵音回放时间。例如 :如果阁下将值设为 200%, 回放时间将增加一倍速度将减半。如果阁下设置为 50%, 回放时间将减半速度将增加
一倍。
84
VelocityRate
琵音力度比率 定义琵音回放力度对于初始值的偏移量是多少 .例如 :设置为 100% 说明设置的是初始值。 *37
*38
85
GateTimeRate
琵音门限时间比率 定义琵音音符门限时间 (长度 )对于初始值的偏移量是多少 .设置为 100% 说明设置的是初始值。 *37
86
OutputSwitch
琵音 MIDI 输出开关 当值设置为 "on( 开启 )" 时, 琵音回放数据从 MIDI 端口输出。
*39
87
Tr a n s m i t C h
琵音 MIDI 发送通道 为琵音回放数据定义 MIDI 发送通道。 KbdCH( 键盘通道 )…在设置模式 (演奏音色 /混合音色 )下琵音回放数据通过 KBDTransCH( 键
盘发送通道 )发送。
88
BC/AS1/AS2/
FC1/FC2
BC( 呼吸控制器 )/ 可分配
推子 1/ 可分配推子 2/ 控制
踏板 1/ 控制踏板 2 控制
号
给BC( 呼吸控制器 )/Assign1 sliders( 可分配推子 1/2)/ foot controllers(FC1/2: 控制踏板 1/2) 设置控制号。
53 *40
89
(Transmit Switch)
发送开关 当相关参数设置为 "on( 开启 )" 时,弹奏选择的音区将发送相应的 MIDI 数据 ,例如控制变化和程序变化信息。点按 [F5] 按键将在所有四
音区和一个单音区 (在它里面有所有发送通道设置的显示 )之间切换显示。在四音区显示时 ,用光标来翻屏。
90
Ty p e
滤波类型 定义滤波类型 ,选择的类型不同参数设置不同。 63 *41
91
Gain
滤波增益 定义滤波器输入声音信号的增益。
92
Cutoff
滤波截止频点 定义滤波器的截止频点或者滤波器应用的中心频点。 63 *42
93
Resonance
滤波谐振 给截止频点定义谐振量。 63
*41
94
Width
滤波宽度 通过带通滤波器 ,这个参数用来调节通过滤波器的信号频率宽度。 64
95
Distance
距离 为双滤波类型定义两个截止频点的距离。 63
96
HPFCutoff
高通滤波器截止频点 给高通滤波器的音键跟随参数 (见下述 )定义中心频点 ,这个参数只能用在选择滤波类型为 "LPF12" 或"LPF16"( 常规音色 )的时候。 64
97
HPFKeyFlw
高通滤波器截止频点音键
跟随
给高通滤波器截止频点 (Type=LPF12/LPF6 only: 类型只能为 LPF12/LPF6) 定义音键跟随参数。 这个参数随演奏音符的位置改变中心频
点。如果设置为正值将提升高音符的中心频点降低低音符的中心频点。如果设置为负值将有相反的效果。
98
EGTime
滤波包络发生器时间力度
灵敏度
定义一个度 ,达到这个度时力度影响滤波包络发生器的音高变化。如果设置为正值音高变换将变的更加快速 ,这时演奏键盘感觉力度较
大(较强劲 )。如果设置为负值将有相反的效果。 *27
99
Segment
滤波包络发生器时间分割 *26
100
EGLevel
滤波包络发生器电平力度
灵敏度
定义滤波包络发生器电平 (滤波包络发生器变化的宽度 )力度灵敏度 ,通过曲线参数阁下可以在五个不同的预设力度曲线 (图象显示在
显示屏中 )中选择。 *27
101
Cutoff (VEL SENS)
滤波截止力度灵敏度 定义截止频点的灵敏度。
102
Resonance
(VEL SENS)
滤波谐振力度灵敏度 定义谐振力度的灵敏度。
103
(FEG) TIME
滤波包络发生器时间 定义从按下音键到发声结束之间的音区转变。 65
104
(FEG) LEVEL
滤波包络发生器电平 65
105
(FEG) Depth
滤波包络发生器深度 65
106
CutoffSens
滤波器截止音键跟随灵敏
度
定义滤波器截止音键跟随灵敏度或截止频点相应音符位置的改变的变化电平量。
参考
号显示 参数名 解释
相关页

102
Basics Section Quick Guide Reference Appendix
107
CenterKey
滤波器截止音键跟随中心
音键
指定以上的截止灵敏度的中心音符是 C3。在 C3 时,截止频点和它的实际设置匹配。对于其他音键力度变化将与该音键的演奏以及它
于中心音键的间距成正比。
108
EGTimeSens
滤波包络发生器时间音键
跟随灵敏度
定义滤波包络发生器随音符位置的灵敏度比率设置 (滤波包络发生器变化的速度 )。*28
109
CenterKey
滤波包络发生器时间音键
跟随中心音键
定义了滤波包络发生器参数中的基本音高 (上述 ), 当演奏中心音键时滤波包络发生器时间和它的实际设置相匹配。对于其他音键力度
变化将与该音键的演奏以及它于中心音键的间距成正比。
*12
*28
110
(Scaling)
BREAKPOINT
滤波器调整分界点 定义滤波器的调整分界点 (滤波器截止频点随音符的位置的响应 )和偏移量电平。 *12
*43
*45
111
(Scaling) OFFSET
滤波器调整偏移量 *43
*45
112
LPFCutoff
低通滤波器截止 定义低通滤波器的截止频点。 63
*17
113
LPFReso
低通滤波器谐振 给截止频点定义滤波器谐振量。 63
114
LPFCutoff
(VEL SENS)
低通滤波器截止力度灵敏
度
定义低通滤波器截止频点力度灵敏度。
115
OutputSel
输出选择 给单独的声部 (演奏音色 /混合 声部编辑 )定义指定的输出。给单独的鼓组音键信号 (鼓组音键编辑 )定义指定的输出。 *16
*46
116
(InsEF)
嵌入式效果 定义每个声部是否使用嵌入式效果。在这里只起到显示作用而不能被设置。
117
ElementSw
控制器设置
1-6
音色因子
开关
定义给每个单独音色因子是否选择控制器效果。 55 *47
118
Source
控制器设置
1-6
音色音源 义哪个面板控制器是可分配的和用来做为选择设置。然后这个控制器可用来控制目标参数设置 (见下述 )。55 *48
*49
119
Dest
控制器设置
1-6
目标 定义被音源控制器控制的参数 (见上述 )。55 *50
120
Depth
控制器设置
1-6
深度 定义一个度 ,达到这个度时音源控制器影响目标参数。 55
121
Filter
调制轮 /触后 ,控制触后 /
可分配控制器的滤波控制
在滤波器截止频点上定义调制轮 ([SF2])/ 触后 ([SF3])/ 可分配控制器 ([SF4]) 的控制深度。
122
PMod
MW( 调制轮 )/AT(CAT)( 触
后,控制触后 )/AC/AC1( 可
分配的控制器 (1)) 低频振
荡器滤波音高调制深度
定义音高调制 (颤音效果 )的调制轮 ([SF2])/ 触后 ([SF3])/ 可分配控制器 ([SF4]) 的控制深度。
123
FMod
MW( 调制轮 )/AT(CAT)( 触
后,控制触后 )/AC/AC1( 可
分配的控制器 (1)) 低频振
荡器滤波音高调制深度
定义滤波器截止调制 (弯音效果 )的调制轮 ([SF2])/ 触后 ([SF3])/ 可分配控制器 ([SF4]) 的控制深度。
124
AMod
MW( 调制轮 )/AT(CAT)( 触
后,控制触后 )/AC/AC1( 可
分配的控制器 (1)) 低频振
荡器振幅调制深度
定义振幅调制 (震动效果 )的调制轮 ([SF2])/ 触后 ([SF3])/ 可分配控制器 ([SF4]) 的控制深度。
125
Pitch (AT)
AT(CAT) ( 触后 ,控制触后
)音高控制
定义键盘音高的触后深度。阁下可将此值 (在半音程时 )设置到两个八度音程。
126
Src
AC( 可分配的控制器 )音源
(AC1 控制号 )
定义 MIDI 控制号用做控制滤波器 , PMod, Fmod 和Amod。
127
(ARP) Switch/Hold
琵音开关 /保持控制号 定义用来控制琵音回放的开启 /关闭和制琵音保持的开启 /关闭的控制号。
参考
号显示 参数名 解释
相关页

103
Basics SectionQuick GuideReferenceAppendix
128
ASA/ASB
可分配的 A/B 推子控制号 定义可分配的 A/B 推子控制的控制号 ,这个用在控制一个外置的 MIDI 设备时。
129
Dest
可分配的 A/B 推子目标 定义控制变化号 (上述已设定的 )控制的控制号。参见数据表单独分册。 *50
130
FS
踏板控制器号 /踏板功能分
配
用来给踏板分配一个指定的功能和控制号。 56 *51
131
Set Remote
Tem pl a t e Ty p e
设置遥控模式模板类型 为阁独特的音序演奏软件选择模板。 57
132
BankMSB/LSB
库选择
MSB/LSB
通过指定的三个 MIDI 信息为每个音区选择音色。在数据表单独分册里参考音色表。
133
PgmChange
程序变化 (程序号 1-128)
134
CtrlSlider
控制推子的控制号 定义控制每个音区的推子的控制号。参数仅适用在当音区开关 (主控演奏模式 [F2]) 设置为 “on( 开启 )”和面板上的 "CONTORL
FUNCTION( 控制功能 )设置为 “zone( 音区 )”时。 53 *6
135
Level
音色因子电平 调节已选的音色因子 /鼓组音键的输出电平 ,让阁下控制音色因子 /音键的电平均衡。
136
AlternatePan
交替声相深度 定义一个量 ,通过这个量已选音色因子的声音声相将进行交替左右变化。声相参数可用做基本声相位置。
*17
137
RandomPan
随机声相深度 定义一个量 ,通过这个量已选音色因子的声音声相将进行随机左右变化。主声相设置用给基本声相位置。
138
ScalingPan
调音声相深度 定义一个度 ,到达这个度时已选音色因子的音符影响声相位置。在音符 C3 时, 主声相设置用给基本声相位置。
139
EGTime
振幅包络发生器时间力度
灵敏度
定义一个度 ,到达这个度时力度影响振幅包络发生器。如果设置为正值,振幅包络发生器将变换得更加快速 ,这时演奏键盘感觉力度较
大(较强劲 )。如果设置为负值将有相反的效果。 *27
140
Segment
振幅包络发生器时间分割 *26
141
EGLevel
振幅包络发生器电平力度
灵敏度
定义振幅包络发生器电平 (振幅包络发生器变化的宽度 )力度灵敏度 ,通过曲线参数阁下可以在五个不同的预设力度曲线 (图象显示在
显示屏中 )中选择。 *27
142
Curve
力度灵敏度曲线
143
(AEG) TIME
振幅包络发生器时间 定义从按下音键到发声结束之间的振幅变化。 66
144
(AEG) LEVEL
振幅包络发生器电平 66
145
LevelSens
振幅 (电平 )音键跟随灵敏
度
定义电平音键跟随 (电平调整 )灵敏度 ,或者音符演奏引起音量变化的多少。
*28
146
CenterKey
振幅音键跟中心音键 指定以上的振幅灵敏度的中心音符是 C3。在 C3 时,振幅和它的实际设置匹配。对于其他音键电平变化将与该音键的演奏以及它于中
心音键的间距成正比。
147
EGTimeSens
振幅包络发生器时间音键
跟随灵敏度
定义振幅包络发生器时间 (振幅包络发生器力度的变化 )力度变化灵敏度
148
CenterKey
振幅包络发生器时间音键
跟随中心音键
定义了振幅包络发生器参数中的基本音高 (上述 ), 当演奏中心音键时振幅包络发生器时间和它的实际设置相匹配。对于其他音键力度
变化将与该音键的演奏以及它于中心音键的间距成正比。
*12
*28
149
(Scaling)
BREAKPOINT
振幅调整分界点 定义振幅调整分界点 (振幅随音符的位置的响应 )和偏移量电平。 *12
*44
*45
150
(Scaling) OFFSET
振幅调整偏移量 *44
*45
151
Level (VEL SENS)
电平力度灵敏度 定义音量随力度变化的响应 ,设置为 “0”时,不管以多大的力度点按音键都将产生最大的力度响应。设置为 “32”产生常规的力度响
应。设置为 “64”时 ,仅当接收到最大力度为 (127) 时音频发生器才开始演奏。
152
(Native Parameters)
扩展卡的原始参数 为了编辑原始值 ,使用 [< >] 按键来滚动显示屏。参数随扩展卡的不同而变化。关于每个参数和它的功能具体细节请查阅用户手册或者
扩展卡在线帮助。关于当前使用的扩展卡具体细节 ,见第 21 页。
153
Detune
误调 定义细调。
参考
号显示 参数名 解释
相关页

104
Basics Section Quick Guide Reference Appendix
154
FEGDepth
滤波包络发生器深度 为每个声部定义滤波包络发生器深度 (截止频点的量 )。*52
155
(FEG) Attack/Decay/
Release (Time)
滤波包络发生器触发 /衰减
/释放时间
为每个声部设置 FEG( 滤波包络发生器 )/AEG( 振幅包络发生器 )参数。 在音色因子编辑时参数补偿相同的参数设置 (F3) →[SF3]/[F4]
→[SF3])。
*53
156
(FEG) Sustain
(Level)
滤波包络发生器持续电平
157
(AEG) Attack/Decay/
Release (Time)
振幅包络发生器触发 /衰减
/释放时间
*54
158
(AEG) Sustain
(Level)
振幅包络发生器持续电平
159
Wave
低频振荡器波形 定义不同声音的低频振荡器波形。用户…阁下编辑音色编辑时应用用户波形 (见安装操作指南单独分册 )。具体详细细节 ,请参见用户
手册的音色编辑部分 (PDF 文件 )。66 *55
160
Speed
低频振荡器速度 定义低频振荡器波形速度 ,较高值对应较高的速度。 *56
161
TempoSync
低频振荡器拍子同步 定义是否低频振荡器和琵音或音序 (歌曲 )同步。
162
TempoSpeed
低频振荡器拍子数度 允许阁下使用详细音符值设置来定义低频振荡器和琵音或音序怎样同步 (当速度同步参数设定为 “on( 开启 )”(见上述 )。*57
163
KeyOnReset
音键重置 定义点按音键时低频振荡器是否重置。音色公共编辑模式时三个设置可用。 *58
164
Phase
低频振荡器相位 定义音键演奏时低频振荡器波形的起始相位点。 *59
165
(KeyOn)Delay
低频振荡器 (音键 )延时 定义低频振荡器到效果器的延时。
*60
166
FadeIn
低频振荡器淡入时间 定义为低频振荡器效果淡入 (延时完了后 )的时间量。较高的值产生较低的淡入时间。
167
Hold
低频振荡器保持时间 定义低频振荡器保持在最大电平的时间长度。
168
FadeOut
低频振荡器淡出时间 定义为低频振荡器效果淡出 (延时结束之后 )的时间量。
169
ElementSw
低频振荡器目标音色因子
开关
定义是否每个音色因子受低频振荡器的影响。当受低频振荡器的影响时音色因子号 (1-4) 显示。 (-) 号说明音色因子不受 LFO( 低频振荡
器)的影响。
170
Dest
低频振荡器目标 定义受低频振荡器波形控制 (调制 )的参数。
171
Depth
低频振荡器深度 定义低频振荡器波形的深度。
172
PMod (LFO)
低频振荡器音高调制深度 定义一个量 (深度 ), 通过这个量改变 (调制 )低频振荡器波形的音高。
173
FMod (LFO)
低频振荡器滤波调制深度 定义一个量 (深度 ), 通过这个量改变 (调制 )低频振荡器波形截止频点。
174
AMod (LFO)
低频振荡器振幅调制深度 定义一个量 (深度 ), 通过这个量改变 (调制 )低频振荡器波形的振幅。
175
(Part Receive
Switch)
声部接收开关 设置每个不同的声部对各种 MIDI 信息的响应 ,例如控制变化和程序变化信息。 *61
176
BasicRcvCh
基本接收通道 定义 MIDI 通道 ,通过这个通道 S90 接受 MIDI 数据 (从一个外置 MIDI 设备 )。这个参数适用于音色 /演奏音色模式。当设为 “omni”
时,数据可以被任何通道接收。 *62
177
KBDTransCh
键盘发送通道 (音色 /演奏
音色模式 )
定义 MIDI 通道 ,通过这个通道 S90 发送 MIDI 数据 (给一个外置 MIDI 设备 )。这个参数适用于音色 /演奏音色模式。
178
DeviceNo./DEV NO.
设备号 定义 MIDI 设备号。这个号必须和外部 MIDI 设备的设备号相匹配。
179
FileUtilID
文件设置标识 文件设置标识号和设备号 (见上述 )必须和某个文件应用软件 (见安装指导手册分册 ), 以便能在 S90 和连接的计算机之间正确进行文件
的传递。
180
BankSel
发送 /接收库选择 这个开关能开启 /关闭 库选择 /程序变化信息 (在发送和接收时 )。当设置为 “on( 开启 )”时 ,S90 响应引入库选择信息 ,并且发送正确
的库选择信息 (当使用控制面板时 )。
181
PgmChange
发送 /接收程序变化
参考
号显示 参数名 解释
相关页

105
Basics SectionQuick GuideReferenceAppendix
182
CtrlChange
控制变化 (振幅包络发生器
持续 )
让阁下设置 S90 以便能正确响应 GM 系统数据 ,层1或层 2数据—独特的关于振幅包络持续。当使用 GM 层2, 设置为模式 1,S90 响应信
息作为参数变化数据。当使用 GM 层1, 设置为模式 2,S90 响应信息作为控制变化数据。
183
LocalCtrl
本地控制 当设置为 "off( 关闭 )" 时,键盘和控制器从合成器的音频发生器部分是内在不联系的。 18 *64
*65
184
RcvBulk
批量接收 定义批量数据是否能被接收 protect( 保护 )。不能接收 ,on( 开启 )…可接收。
185
MIDI Sync
MIDI
同步 定义歌曲 /琵音回放是否和 S90 内置的时钟或者外置的 MIDI 时钟是同步的。
186
ClockOut
外部时钟 定义 MIDI 时钟 [F8] 信息是否通过 MIDI OUT/USB 端口发送。
187
SeqCtrl
音序器控制 定义音序器是否控制信号的 -start( 开始 ),continue( 继续 ),stop( 停止 ), 和歌曲位置 — 可通过 MIDI OUT/USB 端口接收或发送。 *66
188
MIDI IN/OUT
MIDI
输入 /输出 定义哪个物理输出端可用来发送 /接收 MIDI 数据 :MIDI IN/OUT/THRU。 USB 或mLAN ( 当可选配卡 mLAN8E 已安装 )。16 *67
189
ThruPort
直通端口 许多计算机音序器具有通过几个 MIDI 端口发送数据的能力 ,突破了 16 个通道的瓶颈。当用 USB 端口接收 MIDI 数据时 ,通过 USB 端
口接收的 MIDI 信息可通过 S90 的MIDI OUT 端口传到其他设备。在这里设置端口号。当 MIDI IN/OUT( 输入 /输出 )设置为 "USB" 时
设置有用。
22
190
EL: OUT 1-4/KEY:
OUT
音色因子 1-4/ 音键嵌入式
效果输出
定义哪个嵌入式效果 (1 或2) 用来处理一个单独的音色因子 /“音键”。“thru( 直通 )”设置让阁下旁通为指定音色因子 /音键用的嵌入
式效果。 (这个参数相当于常规音色因子 /音键编辑模式 ([F1]→[SF2]) 的“insEFOut”)。67
191
InsEF Connect
嵌入式效果器连接类型 定义嵌入式效果 1和2的效果。设置的改变显示在屏幕里的图表中 ,给阁下一个直观的界面 (信号怎样传递 )。67 *68
192
Ins1 Ctgry/Type
嵌入式
1
类别 /类型 为嵌入式 1 定义效果类型。参考数据表单独分册里的效果类型表。 67
193
Ins2 Ctgry/Type
嵌入式
1
类别 /类型 67
194
Reverb/Chorus Type
混响 类型 /合唱 类型 定义混响器 /合唱器效果类型。 参考数据表单独分册里的效果类型表。 67
195
Reverb/Chorus Send
混响 发送 /合唱 发送 定义发送到混响 /合唱效果的声音电平。设置为 “0”时声音没有混响。 67
196
Reverb/Chorus
Return
混响 返送 /合唱 返送 定义混响 /合唱效果的返送电平。 67
197
Reverb/Chorus Pan
混响 声相 /合唱 声相 为混响 /合唱效果定义声相位置设置 L64( 最左 )~c(中心 )~R63(最右 )。
198
Chorus to Reverb
合唱效果转混响效果 定义信号从合唱效果器出来发送到混响效果器的发送电平。 67
199
EFF PART
→
VCE
INS
嵌入式效果器声部 (音色 )定义嵌入式效果应用的声部。嵌入式连接类型取决于所选声部的音色。 67
200
EFF PART
→
PLG-EF
PlugEF Type
扩展卡嵌入式效果器声部 /
类型
定义嵌入式效果和嵌入式效果类型应用的声部。这个参数仅用在当一个指定的效果扩展卡 (VH) 已安装时。在 PLG-EF 显示时 ([SF2]),
阁下可做各种细节设置。 (参考用户手册中特定扩展卡部分内容 )。67
201
Variation Type
变种类型 定义变种效果类型。参考数据表单独分册中的效果类型表部分。 69
202
Variation Retur n
变种返送 定义变种效果的返送电平。 69
203
Variation Pan
变种声相 定义变种效果声响的声相位置。
204
Variation to Reverb/
Chorus
变种转混响 /合唱 定义信号从变种效果转到混响 /合唱效果的发送电平。
205
(Effect Parameters)
效果参数 参数号和用到的不同值取决于当前选择的效果类型。更多的资料 ,请参考数据表单独分册中的效果类型表部分。
206
PolyExpand
复音扩展 当阁下安装了两个或者三个同样的扩展卡时这个参数可起作用。“off( 关闭 )”设置可使两个或三个扩展卡分开工作 (阁下可在两个或
三个不同声部里选择它们 )。当设置 “on( 开启 )”时 ,两个扩展卡作为一个部件一起工作 — 当演奏时给阁下双倍复音音符量。
207
PORT NO.
端口号 定义 MIDI 端口号 ,通过它扩展卡接收 MIDI 数据。一个端口可设置给多声部扩展卡 ,两个端口可设置给单声部扩展卡。效果扩展卡
(VH) 的端口号固定为 1。
208
GM/XG
GM
全球标准
/XG
雅马哈标
准
定义 “GM 开启”和 “XG 开启”是否被认为是开启 /关闭。这个参数仅适用在多声部扩展卡已安装在了插槽 3时。
参考
号显示 参数名 解释
相关页

106
Basics Section Quick Guide Reference Appendix
209
(Native System
Parameters)
原始系统参数 定义每个插槽安装的扩展卡的原始参数。这些参数的详细解释 ,请参考用户手册的扩展卡部分内容。
210
Ty p e
均衡器类型 定义均衡器类型。 S90 的特点是一个宽幅的可选多种均衡类型 ,这不仅可用在加强原始声音 ,而且可完全改变声音的特征。特定的参数
和设置的使用取决指定的均衡器类型的选择。
*69
211
L.Freq/Gain
(Type=EQ L/H)
低频增益 *17
212
H.Freq/Gain
(Type=EQ L/H)
高频增益
213
Freq (Type=P.EQ)
频率、频点
214
Gain (Type=P.EQ)
增益
215
Q (Type=P.EQ)
均衡谐振
216
Tu n e
主控调节 调节音频发生器旋钮 (100 :1个半音程 )。
217
FORMAT/Volume
Label
格式化 /卷标 格式化存储卡。阁下可命名卷标。 82
218
SAVE
保存 设置作为一个文件保存到存储卡。 82
219
LOAD
上载 从存储卡上载文件到阁下的操作端。 82
220
RENAME
重命名 可用最大八个字符命名文件名。 82
221
DELETE
删除 删掉保存在存储卡里的文件。 82
参考
号显示 参数名 解释
相关页

107
Basics SectionQuick GuideReferenceAppendix

108
Basics Section Quick Guide Reference Appendix
*1
当交替组参数设置不为 “off”,这个参数是
没有作用的,同时显示栏显示 “_ _ _”( 鼓
组键编辑)。
*2
微调方式
*3
音色 ... 在设置 ([F3]→ [SF1]) 中调整均衡 .
演奏音色 / 混音…在 (公共 [F2]→ [SF2]) 调
整主控均衡器。
*4
在鼔组音色声部中那些滑音参数就失效了。
*5
在扩展卡声部模式设置失效。
*6
控制功能选择 (控制开关分配)
声相
音高
可分配的
主控均衡器偏移
音量
音区 (仅主控模式有效。音区设置仅在主控演奏模
式下 [F2] MEMORY 显示屏中的 Zone Switch 设置为
On 时有效。)
音色 /演奏音色 /混音…用每个公共编辑
[F1]→[SF5] 设置 (控制推子分配)
主控…用公共编辑 [F2] 设置 (推子)
*7
在未达到当前设置前移动推子不会产生效
果。
*8
如果阁下的音符转换超越了音符范围的限制
(C-2 和G8),相邻的音阶就会采用。例如
F9 转换后的就会变成 F8。
*9
开电模式设置
*10
这些设置依赖于具体扩展卡;请查阅用户手
册的相关内容。
*11
阁下可以预先制定音符上限和下限的音域,
并且在音域中设置一个“中空部分”。例如,
设置一个音符限制“C5-C4”让阁下演奏两个
单独范围的单元:C-2 到C-4 和C-5 到G8。
C4 和C5 间的音符就不能用来演奏选定的音
色因子 /音域 /音区了。
*12
阁下也可以在键盘上通过按住
[INFORMATION] 按钮并点按期望的的低音
键或高音键来直接设定范围。
*13
阁下也可以创建其它类型两个单独的区域,
中间还是设置出一个“中空部分”。例如,力
度限制设置为 93 -34,使阁下在两个不同的
力度范围类演奏选定的音色因子:轻柔的 (1
-34)和强劲的(93 -127)。 35 和92 间的
力度就不能被演奏选定的音色因子 /音域 /音
区了。
*14
当阁下选择了 “voice( 音色 )”,有些参数不
能设置。
*15
阁下也可以通过前面板上的控制推子调节参
数 (公共编辑)。
*16
在鼔组键编辑中,只有当嵌入式效果器输出
(上面)设置为 “thru.”时该参数有效。
*17
当声波在 [F1]-[SF1] 鼔组键振荡器显示屏幕
中选择时该参数有效 (鼔组键编辑)。
*18
当一个音键被分配了一个常规音色时,这个
参数于将相对 C3 进行调整。例如,假设一个
原始音色由两个钢琴音色因子组成 d的C3 音
符以及由两个弦乐音色因子组成的 C#3 音符
构成。如果+ 1粗调,钢琴类音色的音高变成
C#3但感觉音高没有发生变化。因为原始音色
中的 C#3 已被应用 (例如弦乐类声音)。
序号 .类型 音键 注释
00 均等调节类
型
等调节在西方音乐中已有200
多年的应用,并且运用在在广
泛的电子键盘中。相邻两个音
键之间正好为一个8度的12分
之一音程,音乐通过这些均等
音阶排列的音键表现出来,但
是无法将音程进行调整。
01~12 大调 C~B 该调节适用于大调式的音程
(特别是大三度和大五度)。
这就意味其它音程将会超出范
围。阁下需要指定C到B键。
13~24 小调 A~G# 大调式相似。
25 Werckmeister Andreas Werckmeiser, 当代的
BACH,设计这种方式可以演
奏的键盘每一音键,每一个键
代表一个特定的音符。
26 Kirnberger Johann Philipp Kirnberger 同样为
可以用任意键演奏考虑。
27 Vallotti &
Young
Francescatonio Vallotti and Thomas
Young (17世纪中叶)发明这
个 , 调整使得六个中的前5个
音阶键相对常规低些。
28 1/4 上移 一种均等调节的常规调音方
法,将音高上提音程的百分之
五十。
29 1/4 音高 24音键一个8度音程,相邻两
个音键之间的音程为1/4音。
30 1/4 音高 48音键一个8度程,相邻两个
音键之间的音程为1/8音。
31 印第安 C~B 通常在印第安音乐中较常见
(仅用[C-B]白色音键)。
PA N
CONTROL
FUNCTION
MASTER
VOLUME
CUTOFF
ASSIGN A
MEQ LOW
VOLUME 1
ZONE 1
CS 1
TEMPO
RELEASE
ASSIGN 2
MEQ HIGH
VOLUME 4
ZONE 4
CS 4
REVERB
RESONANCE
ASSIGN B
MEQ LOW MID
VOLUME 2
ZONE 2
CS 2
CHORUS
AT TA C K
ASSIGN 1
MEQ HI MID
VOLUME 3
ZONE 3
CS 3
1
2
3
4
5
6
显示 模式 程序
performance 演奏音色弹奏 用户 : 001
voice (USER) 音色演奏 用户 : 001
voice (PRE1) 音色演奏 预设 1: 001
GM 音色演奏 GM: 001
master 主控演奏 用户 : 001

109
Basics SectionQuick GuideReferenceAppendix
*19
依据力度深度改变力度曲线 (将偏移设置为
64)
力度深度
依据力度偏移改变力度曲线 (将深度设置为
64)
力度偏移
*20
(混响效果器和合唱效果器)的发送级并不能
对每个鼔组键单独设置,设置值被设固定在
127 (最大值)。
*21
这个参数对于扩展卡声部无效。
*22
这个参数对于扩展卡声部无效。
*23
主控均衡器
尖锐度
选择有关均衡器不同斜率和峰值的类型。峰
值类型削弱 /提高在特定频点设置的信号,而
斜率类型则削弱 /提高设置高于或低于定频点
的信号。这个参数一般设为低、中和高。
频率
确定中心频点。这中心频点点附近的频率会
被增益设置削弱 /放大。
增益
决定频率的增益级别(上面设置的),或选定
频段的削弱或放大数值。
Q值 (频响特性)
通过这个不同 Q值设置可以创建出不同的频
响特性曲线。
*24
只有在音色模式中进入设置模式
([F3]→[SF1]) 时,阁下才可以设置该有关音
色的参数。
*25
mLAN 连接
从这个显示阁下可以设置任何与可选配的
mlan8E 连接相关的参数 (见第 126 页)。只
有可选配的 mlan8e 安装之后这些才会显示。
所有在设置模式中的 mlan8e 相关设置只存储
在其本身的存储器中,而并不储存在 S90 的
用户存储器中。如果需要对所有的 mlan8e 设
置进行初始化,请按照以下的流程。
*26
*27
基于力度的音色因子控制
(
如高音包络发生器
)
Received Velocity
(Actual KeyOn speed)
Actual Velocity
for tone generator Depth=127 (twice)
Depth=64
(normal)
Depth=32
(half)
Depth=0
127
127
64
64
0
64
127
0127
64
Received
Velocity
(Actual KeyOn speed)
Actual Velocity
for tone generator Offset=96 (+64)
Offset=127 (+127)
Offset=64 (normal)
Offset=32 (-64)
Depends on
offset
Depends on
offset
Offset=0 (-127)
LOW
5 bands HIGHHIGHMIDMIDLOWMID
Q(Frequency Characteristic)
Gain
Freq
(
Frequency
)
0
Gain
Freq
Frequency
–
+
0
Frequency
–
+
0
EQ Low
Freq1
EQ Low
Freq2
shelv (Shelving)
peak (Peaking)
Frequency
0.1
12.0
Freq
Vendor Name
For details on this parameter,
refer to the owner's manual of
the mLAN8E. Nickname
[SF4] button[EXIT] button
Press the [ENTER] button to
actually set the value.
Set the Word Clock. For
details, refer to the owner's
manual of the mLAN8E.
Assign a nickname for the connection. For specific instructions on
naming, see Basic Operation on page 34. For details about the
Nickname parameter, refer to the owner's manual of the mLAN8E.
设置 ( 显示 )包络发生器时间分割
atk 触发时间
atk+dcy 触发时间 /衰落时间
dcy 衰落时间
atk+rls 触发时间 /释放时间
all 全部时间
[SF5] button[EXIT] button
Press the [ENTER] button to
actually initialize the mLAN settings.
Large
Velocity
Positive value Amount of pitch change
Time of PEG change
Slower speed
Faster speed Large
EGTime EGLevel
Small
Small

110
Basics Section Quick Guide Reference Appendix
*28
基于键盘音符位置的音色因子控制 (例如高
音包络发生器时间:高音包络发生器变化的速
度)。
*29
当用户琶音被选择后,阁下可以通过 [SF5] 按
钮清除选中的琶音数据。
*30
阁下还可以通过面板上的 [ARPEGGIO ON/
OFF (琶音开 /关) ]按钮来控制琶音的开 /
关(在音色编辑中)。琶音开关在多扩展卡声
部17 -32 部分失效。
*31
非同步
当阁下第一次按一个键,最先的琶音模型音
符显示出来。从第二次和后来的按键,琶音音
符显示取决于琶音速率和琶音模型的安排时
间。例如,在 1-阶琶音部分,如果第二次按
键三次敲击该键,琶音模型随着三次敲击向
前回到原音。就是说,第一次按键通常启动琶
音模型,后来阁下可以用键 “静音”或 “非
静音”这个模型,负责保持或释放它。当鼔音
部分起始于琶音时它十分有用。
*32
方式
按照音键从最低往最高的顺序回放音符。
直通
依照所按的音键回放音符。
指导
严格按照阁下演奏的指导来回放。如果改变
了音色参数 (例如音相或截止频点)包括在
琶音音序数据中,它们将实时进行变化。
*33
和方式和直通设置一样,指导中的音符也依
据琵音音序数据进行回放。
*34
如果琶音种类设置为“Ct”,除非阁下选择了
“direct”,否则阁下听不到任何声音。
*35
原始
琶音按照预先的速度回放。
直通
琶音按照阁下演奏的速度回放。例如,如果阁
下用力的演奏,回放的琶音值就会增加。
*36
阁下可以为琵音的触发范围制定一个上限和
下限,并且在中间设置一个“中空部分”。例
如,设置一个音符限制 “C5-C4”,演奏两个
单独范围的单元时; C-2 到C-4 和C-5 到G8
可以触发琵音。 C4 和C5 间的音符就不能触
发琵音了。
*37
力度
/
门限时间不能减少到超出它的最小值
1
;
任何超出范围的值会被自动限制到最小值。
*38
力度不能减少或增加到超出它的正常范围1到
127;任何超出范围的值都会被自动限制为最
小值或最大值。
*39
只有从音色模式进入设置模式 ([F3]→ [SF2])
时阁下才可以设置音色相关参数。
*40
只有从音色模式进入设置模式 ([F3]→[SF3])
时阁下才可以设置音色相关参数。
*41
这些参数的功能类别取决于所选择的滤波器
类型。如果选择的滤波器是低通滤波器、高通
滤波器、带通滤波器 (不包括宽带通滤波
器),或是频带滤波器,这个参数通常置为谐
振。对于宽带滤波器,通常用来调整带宽。
*42
当滤波器是低通和高通结合使用模式 (演奏
音色 /混合编辑)时该参数对低通滤波器有
效。
Basic pitch (center Key)
Positive value
Higher range
Lower range
Slower speed
Faster speed
+63
+30
-40
Negative value

111
Basics SectionQuick GuideReferenceAppendix
*43
滤波器调节设置
理解滤波器调节的最好方法是通过以下例
子。在以下表格中显示的设置,基本截止频率
值是 64,在选定的分界点中不同的偏移值按
照基本该值的设置而变化。下图显示了不同
变化的截止频率。连接截止频率各分界点的
线性图如图所示。
*44
振幅调整设置
理解振幅调整的最好方法是通过以下例子。
对于下表显示的例子,基本振幅 (音量)值
对于选定的单元是 80,在选定的分界点的不
同偏移值按照基本值的设置而变化。下图显
示了不同变化的振幅。连接振幅各分界点的
线性图如图所示。
*45
分界点 1到分界点 4将在键盘上自动地按照上
升地顺序排列。
不管这些偏移量设置为多少,截止 /音量限制
的最大和最小值(分别为 0到127)不能被超
过。
任何低于分界点1的音符演奏时效果都为分界
点1的设置。同样的,任何高于分界点 4的音
符都是分界点 4的效果。
*46
L&R…左右输出
AsL&R…可分配的左右输出
AsL…可分配的左输出
AsR…可分配的右输出
Durm…这个设置针对鼔组音色部分。当它被
选中,每一个鼔键地输出目标设置都被开启。
As1&2…Mlan8E 的1、2口输出。
As3&4…Mlan8E 的3、4口输出。
As1/2/3/4…Mlan8E 的1/2/3/4 口输出。
*47
当下面的目标参数设置值为 00 到33 时该参数
无效。
*48
*49
每一个可分配的推子 A和B都可以被指定于
整个音色模式的一个相同功能,而不是某一
个独特音色的不同功能,同样可以参看设置
模式 ([F4]→ [SF2])。
*50
如需有关参数和控制的完整列表,可查阅数
据表分册。
*51
例如,只有当踏板开关和琶音开关都设置为
同一个控制号时((Utility [F4]→ [SF1][SF3])。
(阁下才能在按下踏板开关时打开琶音开关。
(关于开关,在设置模式 [F4]→ [SF3]。)
*52
该参数对扩展卡声部无效。
*53
该参数对扩展卡声部和被指定为鼔组音色声
部无效。
*54
持续电平 /释放时间设置对扩展声部和被指定
为鼔组音色部分无效。
*55
低频振荡器波形
tri…三角波形,saw…锯齿波形,squ…方波,
trpzd…梯形波,S/H…音高迭加随机波形(在
音高上迭加随机的变化)。
在因子编辑中, "trpzd" 和"S/H" 参数无效。
1234
分界点 C#1 D#2 C3 A4
偏置 -4 +10 +17 +4
C#1
60
74
81
68
Break Point 1 Break Point 2 Break Point 3 Break Point 4
A4C3D#2
Note
Cutoff
Frequency
1234
分界点 C1 C2 C3 C4
偏置 -4 +10 +17 +4
C1
76
90
97
84
Break Point 1 Break Point 2 Break Point 3 Break Point 4
C4C3C2
Note
Amplitude
PB 弯音轮
MW 调制轮
AT 触后
FC1/2 控制踏板 1/2
FS 踏板开关
BC 呼吸控制器
AS1/2 可分配的推子 1/2

112
Basics Section Quick Guide Reference Appendix
*56
低频振荡速度
*57
低频振荡器速度设置
16 分、8/3(8 分音符三连音 ) 、16 分音符 (带
附点 16 分音符 )、8分音符三连音、8分音符、
4分音符、2分音符三连音、带附点的 4分音
符。二分音符、全音符三连音、带附点的二分
音符、 4分音符四连音、 4 分音符 5 连音、 4
分音符 6 连音、 4 分音符 7 连音、 4分音符 8
连音。
实际音符长度取决于内部或外部 MIDI 速度
设置 (功能 [F5]→ [SF3]) 。
*58
重设键
关
低频振荡三角波在没有音键同步时将处于自
由振荡状态。只要按下一个音键 LFO 波形的
相位会处于该启动点。
开 (因子编辑)
全开 (公共编辑)
弹奏每个音符重设 LFO,从相位参数指定的
相位启动波形。
第一个开 (公共编辑)
LFO 在弹奏每个音符时重置 LFO,以相位参
数(下面 )指定的相位启动波形。然而,如果
您弹奏第二个音符,而第一个音符被按住,
LFO 会根据由第一个音符击发的相同相位继
续循环。换句话说, LFO 只会在第一个音符
释放后,第二个音符弹奏时重新设置。
*59
低频振荡相位
决定当音符播放时, LFO 波形的启动相位
点。
*60
低频振荡延迟
延迟
淡入时间
保持时间
淡出
*61
按[SF5] 按钮可以在全部 4个声部和单独一个
声部之间切换显示 (所有接收切换设置都会
显示)。在 4个声部显示状态中,用光标按钮
选择目录。
*62
在音序演奏模式的接收通道参数设置在混合
声部编辑 ([F1]→ [SF2])。
*63
在音色 /演奏模式中的基本接收通道参数在
设置模式 ([F5]→ [SF1])。
Speed = fast
Speed = slow
Time
Time
Time
Key on
Key on
(second note)
Time
Key on
(first note)
Key on
(second note)
Time
Key on
(first note)
Time
0˚90˚
120˚240˚
180˚270˚
Phase
Short delay
Long delay
Key on
Key on
Fade in
Max
Delay
Time
Key on
Low Fade-in
value results
in faster
fade in
High Fade-in
value results
in slower
fade in
Fade in
Delay
Time
Key on
Max
Hold
Time
Max
FadeOutHold
Max
Time
Low Fade-out value results
in faster fade out
FadeOut
Time
Hold
Max
High Fade-out value results
in slower fade out

113
Basics SectionQuick GuideReferenceAppendix
*64
即使当本地控制设置为“OFF(关)”时,数
据仍然可以通过 MIDI 输出端后发送。同样,
音频发生器部分将通过 MIDI 输入端口接收的
信号作出响应。
*65
在主控模式中,阁下可以选择是否对每一个
音区的 MIDI 进行传送信息。
*66
音序器控制
关…不传送 /不识别
输入…识别但不传送
输出…传送但不识别
输入 /输出…传送 /识别
*67
MIDI 输入 /输出 =MIDI
MIDI 输入 /输出 =USB
*68
“声相”参数对于扩展音色无效。
*69
均衡器
均衡器 L/H (高 /低),扩展音色因子均衡
这是一个混合分离的高频和低频部分的抑制
型均衡器。
P.E Q ( 参数均衡器 )
参数均衡器用来减弱或增大指定频率附近的
信号等级 (振幅)。它的 32 个不同 “Q”值
设置确定了均衡器频段的宽度。
放大 6(放大 6dB)/放大 12(放大 12dB)/
放大 18 (放大 18dB)
它们可以用来分别放大输入全部信号 6dB,
12dB 和18dB。
直通
如果阁下选择直通,均衡器会被旁路,所有信
号不受影响。
External MIDI Device
MIDI OUT
MIDI IN
MIDI IN
MIDI OUT
Local Off
Keyboard
Tone
Generator
SEQ KBD
TG
MIDI In
MIDI Out
From USB
To USB
Local Sw
SEQ KBD
TG
MIDI In
MIDI Out
From USB
To USB
Local Sw
Thru Port
Low Freq
Low Gain High Freq
High Gain
Frequency
-
+
0
Gain
Gain
Freq
Q (Frequency Characteristic)
Frequency
–
+
0
Gain

114
Basics Section Quick Guide Reference Appendix
显示屏信息
附录
显示屏信息
本信息显示屏让阁下一目了然的看到每个模式下相关
参数的重要设置信息。选择期望的模式 , 然后点按
[INFORMATION] 按键来调用此模式的显示屏信息。想
要退出显示屏信息 , 请再次点按 [INFORMATION] 按键
( 或者其它的面板按键 )。
音色模式
Bank (音库)
显示当前已选择音色的音库 (MSB/LSB)。
EL (音色因子) 1234
显示当前已选择音色的的四个音色因子和单音 /复音状
态为开启 /关闭。
(Porta)滑音
显示当前已选择音色的的滑音为开启 /关闭状态。
PB (弯音)
显示弯音范围是上限 /下限。
Ins1
(嵌入
1
)
, Ins12
(嵌入
2
)
, Rev
(混响)
, Cho
(合唱)
显示每个效果器当前所选的效果类型 (见第 67 页)。
演奏音色
Bank (音库)
显示当前已选择演奏音色的音库 (MSB/LSB)。
1(扩展卡 1),2 (扩展卡 2),3 (扩展卡 3)
显示已安装扩展卡各自的状态。扩展卡名显示在相应
插槽号的右侧。当在设置模式设置复音扩展 (参考号
206) 为开启时 ,"P" 显示在插槽号的左侧。
InsPart
(嵌入式声部)
, PLG
(
Plug-in
扩展卡嵌入式声
部)
显示嵌入式效果器应用的声部号和扩展卡嵌入式效果
器应用的声部号。 (当PLG100-VH 安装时 )。
Rev (混响) , Cho (合唱) ,Var (变种)
显示每个效果器当前所选的效果类型 (见第 67 页)。
音序演奏模式
●音序演奏模式
Play Dir( 演奏目录 )
显示包含回放文件的目录 (见第 75 页)。
Current Dir( 当前目录 )
显示当前已选的目录 (见第 83 页)。
●音序混合演奏模式

115
Basics SectionQuick GuideReferenceAppendix
显示屏信息
PlugInfo/Port (扩展卡安装状态)
在槽位号的右侧显示扩展卡的名字和它的 MIDI 端口号
(参考号 207, 见第 77 页)。 当在设置模式设置复音扩展
(参考号 206) 为开启时 ,“P”显示在插槽号的左侧。
InsPart
(嵌入式声部)
, PLG
(
Plug-in
扩展卡嵌入式声
部)
显示嵌入式效果器应用的声部号和扩展卡嵌入式效果
器应用的声部号。 (当PLG100-VH 安装时 )。
Rev (混响) , Cho (合唱) ,Var (变种)
显示每个效果器当前所选的效果类型 (见第 67 页)。
设置模式
PlugInfo/Port (扩展卡安装状态)
在槽位号的右侧显示扩展卡的名字和它的 MIDI 端口号
(参考号 207, 见第 77 页)。 当在设置模式设置复音扩展
(参考号 206) 为开启时 ,“P”显示在插槽号的左侧。
MIDI IN/OUT (MIDI 输入 /输出)
显示采用哪个物理输出端口来发送 /接收 MIDI 数据 :
MIDI IN/OUT/THRU, USB, 或 mLAN ( 当可选配
mLAN8E 已经安装 )。
USB firm Ver (USB 版本)
显示 USB 的软件版本。
插卡模式
Card Free (存储卡空余空间)
显示存储卡当前可使用的内存空间 (空余的内存空间)。
Volume L abel (卷标)
显示存储卡的卷标。
Current Dir (当前目录)
显示当前已选的目录 (见第 83 页)。
主控模式
Mode (模式)
显示当前已选主控的模式和程序记忆号。
ZoneSwitch (音区开关)
显示音区开关的开启 /关闭状态。
ZoneTCH (音区发送通道)
显示每个 MIDI 音区发送通道 (当音域开关设置为
“on( 开启 )”时 )。

116
Basics Section Quick Guide Reference Appendix
屏幕显示的信息
屏幕显示的信息
屏幕显示的信息 屏幕显示的信息解释
Are you sure? [YES]/[NO] 需要阁下点按 [INC/YES] 或者 [DEC/NO] 按键来确认是否执行或不执行指定的的操作。
Bad Card. 卡不可用 ,请先格式化卡再重试。
Bulk protected. 当RcvBulk( 批量接收 )被设置为“Protect”(保护 )时能接收到批量数据 (设置 [F5] →[SF2] 参考号 184)。
Can’t make folder. 当前等级下 ,无法建立目录。
Card full. 卡已经存满数据。请使用一张新卡或者从卡上删掉一些没用的数据腾出空间。
Card not ready. 卡没有插好或者和 S90 没有连接好。
Card read/write error. 读/写存储卡时出错。
Card unformatted. 卡没有被格式化 ,或者不符合 S90 格式。请检查卡的内容。
Card write protected. 卡设置了写保护。
Completed. 显示上载,保存,格式化或者其他操作执行完毕。
Device number is off. 因为设备号关闭 ,批量数据不能发送 /接受。
Device number mismatch. 因为设备号不匹配 ,批量数据不能发送 /接受。
Effect plug-in is not in slot 1. 插槽 1里没有安装效果扩展卡 ,不能工作。效果扩展卡应该安装在插槽 1里才能正常使用。
Executing... 正在给闪存写数据时请勿试图关机。如果在此状态进行了关机操作 ,将引起用户数据的丢失 ,还可能引起
死机 (由于闪存内的数据丢失引起 )。
File not found. 上载文件时卡里没有发现选中的的文件 ,插拔卡 /重连接后重试。
Folder is too deep. 在下层目录里 ,不能访问。
Illegal Card. 存储卡的格式化类型出错。
Illegal file. 选中的文件不能被 S90 使用。
Illegal file name. 选中的文件不被接受 ,重新命名一个名字试试。
MIDI buffer full. 缓冲器同一时间接收的数据太多 ,致使处理 MIDI 数据时失败。
MIDI checksum error. 接收到批量数据时出错。
MIDI data error. 接收到 MIDI 数据时出错。
mLAN connection error. 提示 mLAN8E 连接有问题 ,请检查 mLAN8E 的指示灯 (亮/灭)状态 ,查阅用户手册关于 mLAN8E 的章
节。
mLAN error (xxx). 提示一个不明确的和 mLAN8E 有关系的问题。
mLAN network error. 提示 mLAN8E 网络有问题 , 请检查 mLAN8E 的指示灯 (亮/灭)状态 ,查阅用户手册关于 mLAN8E 的章
节。
mLAN now in Mixer mode. 阁下计算机将 mLAN8E 板设置为混合模式 ,这样使 S90 不能控制 mLAN8E。
Multi plug-in is not in slot 3. 插槽 3里没有安装多声部扩展卡 ,不能工作。多声部扩展卡应该安装在插槽 3里才能正常使用。
Not empty folder. 试图删掉一个含有数据的文件夹时出现该提示。
Now checking plug-in board. S90 加电开机时检测扩展卡的安装状态。
Now loading... (xxxx) 提示正在加载文件。
Now saving... (xxxx) 提示正在保存文件。
Now working... 提示 S90 正在执行操作 ,例如 :写/读等等。
Overwrite? [YES]/[NO] 卡里保存数据时出现将覆盖卡里数据的提示 , 需要阁下点按 [INC/YES] 或者 [DEC/NO] 按键来确认是否
执行或不执行覆盖数据操作。
Please keep power on. 正在给闪存写数据时请勿试图关机。如果在此状态进行了关机操作 ,将引起用户数据的丢失 ,还可能引起
死机 (由于闪存内的数据丢失引起 )。
Please stop sequencer. 关闭音序器后重试此操作。
PLG100 not supported. PLG 100 系列扩展卡不支持批量存储功能。
Plug-in 1 communication error. 安装在插槽 1上的扩展卡不能工作。
Plug-in 2 communication error. 安装在插槽 2上的扩展卡不能工作。

117
Basics SectionQuick GuideReferenceAppendix
屏幕显示的信息
Plug-in 3 communication error. 安装在插槽 3上的扩展卡不能工作。
Plug-in 1 type mismatch. 插槽 1上安装的扩展卡不匹配 ,不能产生用户音色。
Plug-in 2 type mismatch. 插槽 2上安装的扩展卡不匹配 ,不能产生用户音色。
Plug-in 3 type mismatch. 插槽 3上安装的扩展卡不匹配 ,不能产生用户音色。
Read only file. 只读文件 ,不能做以下操作 :删除,重命名或者覆盖。
Receiving MIDI bulk. S90 接收到 MIDI 批处理文件。
System memory crashed. 因为设备执行操作的过程当中 ,进行了关电操作 (这时用户数据已经完成了自动初始化 )。这样给闪存写
数据时提示出错信息。关掉电源重新加电尝试。
This Performance uses User Voices. 阁下执行的上载操作包含用户音色数据的提示。请检查阁下是否将音色保存在正确的用户音色库里。
Too many favorites. 阁下试图给钟爱的类别分配多于 257 个音色时出现的出错提示。
Transmitting MIDI bulk. S90 正在发送 MIDI 批量数据。
Unknown file format. S90 不支持的文件格式。
屏幕显示的信息 屏幕显示的信息解释

118
Basics Section Quick Guide Reference Appendix
关于
MIDI
关于 MIDI
MIDI 是Musical Instrument Digital Interface 的缩写,即 “数字音乐设备接口”。它通过发送或接受音符、控制变
量、程序变量以及不同类型的 MIDI 数据和信息,实现不同的音乐设备相互沟通和联系。
S90 通过传送音符的相关数据和不同类型的控制数据来控制 MIDI 设备,同时接收的 MIDI 信息对 S90 也进行相应
的控制,它自动决定音频发生器的模式,选择 MIDI 信道、音色、效果,改变参数量,当然还可以播放不同部分的
音乐。
许多 MIDI 信息由十六进制或二进制数码表示,十六
进制数码用字母 H做后缀,字母 n表示某一个整数。 •
例如
, 144-159(
十进制
)/9nH/10010000-10011111(
二进制
)
表示从信道
1
到
16
的音符信息;
176
-
191/BnH/
10110000-10111111
表示的十从信道
1
到信道
16
的控
制变化信息;
192
-
207/CnH/11000000
-
11001111
表示的十信道
1
到信道
16
的程序变化信息;
240/
FoH/11110000
和
247/F7H/11110111
分别表示位于数据
开头的系统专有信息
。
• aaH( 十六进制 )/0aaaaaaa( 二进制 )表示的是数据地址,
此地址有高、中、低三部分组成。
• bbH/0bbbbbbb 表示的是字节数。
• ccH/0ccccccc 表示的是核对总数。
• ddH/0ddddddd 表示的是数据值。
MIDI 通道
MIDI 演奏数据被分配到 16 个MIDI 信道中,利用这 16
个信道, 16 个不同的乐器部分的演奏数据同时发送到
一根 MIDI 线缆。
如果我们把 MIDI 信道看作是电视信道,每一个电视台
利用它的专有频道传送它的电视节目,而家庭用户的
电视机则同时接收众多不同电视台的节目,而用户可
以选择适当的频道以收看到自己喜欢看的电视节目,
道理就是如此。
MIDI 的操作具有相同的基本原理:
传输设备利用专有的 MIDI 信道 (MIDI 传输信道 )经单
独的 MIDI 电缆发送 MIDI 数据到接受设备。如果接受
设备的 MIDI 信道 (MIDI 接受信道 )与传输信道匹配,
则接受设备将根据传输设备发送的数据发出声音。
Decimal Hexadecimal Binary
0
1
2
3
4
5
6
7
8
9
10
11
12
13
14
15
16
17
18
19
20
21
22
23
24
25
26
27
28
29
30
31
32
33
34
35
36
37
38
39
40
41
42
43
44
45
46
47
48
49
50
51
52
53
54
55
56
57
58
59
60
61
62
63
00
01
02
03
04
05
06
07
08
09
0A
0B
0C
0D
0E
0F
10
11
12
13
14
15
16
17
18
19
1A
1B
1C
1D
1E
1F
20
21
22
23
24
25
26
27
28
29
2A
2B
2C
2D
2E
2F
30
31
32
33
34
35
36
37
38
39
3A
3B
3C
3D
3E
3F
0000 0000
0000 0001
0000 0010
0000 0011
0000 0100
0000 0101
0000 0110
0000 0111
0000 1000
0000 1001
0000 1010
0000 1011
0000 1100
0000 1101
0000 1110
0000 1111
0001 0000
0001 0001
0001 0010
0001 0011
0001 0100
0001 0101
0001 0110
0001 0111
0001 1000
0001 1001
0001 1010
0001 1011
0001 1100
0001 1101
0001 1110
0001 1111
0010 0000
0010 0001
0010 0010
0010 0011
0010 0100
0010 0101
0010 0110
0010 0111
0010 1000
0010 1001
0010 1010
0010 1011
0010 1100
0010 1101
0010 1110
0010 1111
0011 0000
0011 0001
0011 0010
0011 0011
0011 0100
0011 0101
0011 0110
0011 0111
0011 1000
0011 1001
0011 1010
0011 1011
0011 1100
0011 1101
0011 1110
0011 1111
Decimal Hexadecimal Binary
64
65
66
67
68
69
70
71
72
73
74
75
76
77
78
79
80
81
82
83
84
85
86
87
88
89
90
91
92
93
94
95
96
97
98
99
100
101
102
103
104
105
106
107
108
109
110
111
112
113
114
115
116
117
118
119
120
121
122
123
124
125
126
127
40
41
42
43
44
45
46
47
48
49
4A
4B
4C
4D
4E
4F
50
51
52
53
54
55
56
57
58
59
5A
5B
5C
5D
5E
5F
60
61
62
63
64
65
66
67
68
69
6A
6B
6C
6D
6E
6F
70
71
72
73
74
75
76
77
78
79
7A
7B
7C
7D
7E
7F
0100 0000
0100 0001
0100 0010
0100 0011
0100 0100
0100 0101
0100 0110
0100 0111
0100 1000
0100 1001
0100 1010
0100 1011
0100 1100
0100 1101
0100 1110
0100 1111
0101 0000
0101 0001
0101 0010
0101 0011
0101 0100
0101 0101
0101 0110
0101 0111
0101 1000
0101 1001
0101 1010
0101 1011
0101 1100
0101 1101
0101 1110
0101 1111
0110 0000
0110 0001
0110 0010
0110 0011
0110 0100
0110 0101
0110 0110
0110 0111
0110 1000
0110 1001
0110 1010
0110 1011
0110 1100
0110 1101
0110 1110
0110 1111
0111 0000
0111 0001
0111 0010
0111 0011
0111 0100
0111 0101
0111 0110
0111 0111
0111 1000
0111 1001
0111 1010
0111 1011
0111 1100
0111 1101
0111 1110
0111 1111
1
2
2
气象报告
消息
消息

119
Basics SectionQuick GuideReferenceAppendix
关于
MIDI
S90 是一部完全的复音音频发生器,它能够根据 S90 分
配不同的 MIDI 信道给不同的声部同时发出不同乐器部
分的声音。
S90MIDI 信息的发射与接收
MIDI 信息可以分为两个部分,即信道信息和系统信
息。以下介绍的使 S90 能够接受和发送的不同类型的
MIDI 信息。
注:音序器只传送已经记录歌曲的全部控制变量信息。
信道信息
信道信息是用于在与键盘上演奏有关的数据。
■触发与关闭
弹奏键盘是产生的信号。
接受音符的范围= C-2(0)-G8(127),C3=60
力度范围= 1-127 (仅在接受到触发力度时)
触发:按键在被按下时产生
释放:按键在被释放时产生
每种信息包括在按下按键时与之相应的特殊音符,
加上基于敲击按键力量大小产生的力度值。
■控制变化
控制变化信息让阁下选择一个音色库、控制音量、
声像、颤音、滑音时间、明亮度以及其他的控制参
数。
音库选择 MSB (控制号 000)
音库选择 LSB (控制号 032)
从一个外接设备中,通过组合和发送 MSB 和LSB
信号,从而选择变化音色库的信息。根据不同的音
源模式, MSB 和LSB 的功能会不一样。 MSB 号码
用来选择类型 (常规音色或鼓组音色),和 LSB 号
码用来选择音色库。(如需了解音色库和程序的信
息,请查阅 “数据表”书中的音色目录,)。 新 选
的音库只有在下一个程序变更信息接到后才会生
效。
注:输入任何一种模式后仅仅在程序变化被接受到时,
在当前选择的相应音色类型和内存将被调用。
注:主旋律、演奏、合成、音色模式只有在参数改变时
发生变化。
注 : 在演奏模式时,声部音色将不会因程序的变化而改
变。
调制 (控制号 001)
利用调制旋钮控制颤音深度。
颤音的最大量为 127,最小量为 0,即将颤音关闭。
滑音时间 (控制号 005)
该信息控制滑音的长度,或播放音符的连续音高滑奏。当
参数滑音开关 (96 页)设定为开时,这里的数值可以调整
音高变更速度。设置为 127,滑音值最大。设置为 0 时,滑
音值最小。
数据录入到 MSB(Control 号006: 控制号 006)
数据录入到 LSB(Control 号038: 控制号 038)
通过 RPN MSB/LSB ( 见第 121 页) 和NRPN MSB/LSB ( 见
第120 页)的信息来设置指定参数的值。
参数的值由 MSB 和LSB 共同来决定。
主控音量 (Control 号007: 控制号 007)
控制每个声部音量的信息。
数值设置为127将得到最大音量,数值设置为0将关掉音量。
声相 (Control 号010: 控制号 010)
控制每个声部立体声相位置的信息 (对立体输出 )。
数值设置为 127 将得到最远边的声相位置 ,数值设置为 0将
得到最左边的声相位置。
表达 (Control 号011: 控制号 011)
在演奏过程中控制表达的信息。
数值设置为127将得到最大音量,数值设置为0将关掉音量。
保持 1(Control 号064: 控制号 064)
控制保持的开启 /关闭状态信息。
数值设置为 64 ―127 保持为开启状态 ,数值设置为 0--63 保
持为关闭状态。
滑音开关 (Control 号065: 控制号 065)
控制滑音开关的开启 /关闭状态信息。
数值设置为 64 ―127 滑音为开启状态 ,数值设置为 0-63 滑
音为关闭状态。
MIDI
线缆
MIDI 发送信道 2 MIDI 接受信道 2

120
Basics Section Quick Guide Reference Appendix
关于
MIDI
持续 (Control 号066: 控制号 066)
控制持续的开启 /关闭状态信息。
当阁下演奏持续音符时 ,按住指定的音键然后点按和按住
持续踏板可持续音符 ,直到持续踏板被释放。
数值设置为 64 ―127 持续为开启状态 ,数值设置为 0-63
持续为关闭状态。
和声丰满度 (Control 号071: 控制号 071)
为每个声部调节滤器波谐振的信息。
在这里此值为一个偏移量 ,用来给音色数据补偿或者减除
一个值。
值很高的话有一个特性 :谐振声音
根据音色特点 ,有效的音域范围可能比调整的音域范围
窄。
释放时间 (Control 号072: 控制号 072)
为每个声部调节均衡释放时间的信息。
在这里此值为一个偏移量 ,用来给音色数据补偿或者减除
一个值。
触发时间 (Control 号073: 控制号 073)
为每个声部调节均衡触发时间的信息。在这里此值为一
个偏移量 ,用来给音色数据补偿或者减除一个值。
明亮度 (Control 号074: 控制号 074)
为每个声部调节滤波截止频点的信息。在这里此值为一
个偏移量 ,用来给音色数据补偿或者减除一个值。
根据音色特点 ,有用效音域范围可能比调整的音域范围
窄。
衰减时间 (Control 号075: 控制号 075)
为每个声部调节衰减时间的信息。
在这里此值为一个偏移量 ,用来给音色数据补偿或者减除
一个值。
效果深度 1( 混响发送电平 ) (Control 号091: 控制号
091)
为混响效果调节发送电平的信息。
效果深度 3( 合唱发送电平 ) (Control 号093: 控制号
093)
为合唱效果调节发送电平的信息。
数据增量 (控制号 096)
RPN( 注册参数码 )的耗用 (控制号 097)
关于弯音轮灵敏度的 MSB 值的增加或减少信息 ,以1为单
位来粗调或细调。阁下有必要事先用注册参数码给外置设
备分配一个参数。
数字字节将被忽略。
当达到最大或者最小数值时 ,数值将不再增加或者减少 (细
调不会引起增量 ,粗调可以引起增量 )。
NRPN (Non-Registered Parameter Number: 非注册参数
码)
LSB ( 控制号 098) ( 仅限用扩展卡 )
NRPN (Non-Registered Parameter Number: 非注册参数
码)
MSB (Control 号099: 控制号 099) ( 仅限用扩展卡 )
调节音色的颤音效果,滤波效果,包络效果,鼓设置等效
果的信息。
首先发送 NRPN MSB 和NRPN MSB 来指定的要控制的参
数,然后用数据录入 (见第 119 页)来给选中的参数赋值。
注意一旦给通道赋予了
NRPN
值
,
随后的数据录入将带有
相同的
NRPN
变更数值。因此
,
当阁下使用了
NRPN
值时
,
阁下应该设值为
0(7FH,7FH)
以避免不想要的效果。
想了解详细资料 ,请查阅用户手册关于扩展卡的相关章节。

121
Basics SectionQuick GuideReferenceAppendix
关于
MIDI
RPN (Registered Parameter Number: 注册参数
码)LSB(Control 号100: 控制号 100)
RPN (Registered Parameter Number:
注册参数
码
)MSB(Control
号
101:
控制号
101)
一个声部的弯音灵敏度,调谐。或者其他参数的偏移量。
补偿或者减少数值信息。
首先发送 NRPN MSB 和NRPN MSB 到指定的要控制的参
数,然后用数据增量 /数据减量 (见第 120 页)来给选中
的参数赋值。
注意一旦给通道赋予了
NRPN
值
,
随后的数据录入将带有相
同的
NRPN
变更数值。因此
,
当阁下使用了
NRPN
值时
,
阁
下应该设值为
0(7FH,7FH)
以避免不想要的效果。
下面是可接收的 RPN 码。
■通道模式信息
下面是可接收的通道模式信息。
所有声音关掉 (Control 号120: 控制号 120)
关掉当前选中的发声通道的所有声音。然而 ,通道的音
键按启和保持按启状态还能保持。
重设所有控制 (Control 号121: 控制号 121)
下面控制器的值将会重设为默认值
所有音符关掉 (Control 号123: 控制号 123)
关掉当前选中通道的所有音符。 然而 ,如果保持力 1或
者持续还是按启状态 ,音键还能持续发音直到保持力 1
或者持续关闭。
单音 (Control 号126: 控制号 126)
当接收到一个所有声音关掉的信息时执行相同的功能 ,
如果第三位 (单音 )的值处在 0-16 之间 ,设置相应的通
道为单音通道模式 (Mode 4: m = 1)。
复音 (Control 号127: 控制号 127)
当接收到一个所有声音关掉的信息时执行相同的功能 ,
设置相应的通道为复音通道模式。
RPN MSB RPN LSB 参数
00 00 弯音灵敏度
00 01 细调
00 02 粗调
7F 7F 零
第二字节 第三字节 信息
120 0 所有声音关掉
121 0 重设所用控制
123 0 所有音键关掉
126 0 ~ 16 单通道模式
127 0 多通道模式
控制器 数值
弯音轮变量 0( 中心值 )
触后(键)0 (关闭)
多通道触后(键) 0 (关闭)
调制 0 (关闭)
表达 127 (最大值)
保持10 (关闭)
滑音 0 (关闭)
持续 0 (关闭)
软持续音 0 (关闭)
滑音控制 取消滑音来源音键的值
RPN(注册参数码) 数值没有选中,内部数据不变
NRPN(非注册参数码)数值没有选中,内部数据不变

122
Basics Section Quick Guide Reference Appendix
关于
MIDI
■程式变化
哪个音色挑选给每个声部的决定信息。在组合选择
音库里 ,阁下不仅可选择基本音色号码 ,而且可选
择变种音色号码。
■弯音轮
当控制信息允许选中的音符音高在指定时期按照特
定数量上移或者下移 , 弯音轮信息将持续控制。
■触后通道
在整个通道上 ,当初次按键后可根据阁下在按键上
按压的力度来控制声音的信息。
■多通道模式的触后
在每个按键上 ,当初次按键后可根据阁下在按键上
按压的力度来控制声音的信息。
S90 不能从键盘上发送此数据 ,然而 ,该数据可从
S90 的内置音序器发送。
系统信息
系统信息是和设备整个系统都相关的数据。
■系统独有信息
系统独有信息控制 S90 不同的功能 ,包括主控音
量,主控调谐,音频发生器模式,效果器等其他参
数。
通用 MIDI 系统开启 (仅限音序演奏模式 )
当收到 “General MIDI system on”信息时 ,S90 将从
MIDI 收到和 GM 系统第一层相兼容的信息 ,但不能接收
到NRPN( 非注册参数码 )和库选择信息。
F0 7E 7F 09 01 F7 ( 十六进制 )
注意确保此信息和歌曲第一个音符的间隔至
少有四分之一音符或者更长。
主控音量
接收到后 ,MSB 音量将对系统参数是有效的。
F0 7F 7F 04 01 ll mm F7 ( 十六进制 )
*mm (MSB) = 相应的音量值
ll (LSB) = 缺省值
■ 系统实时信息
系统实时信息
控制音序器 ,包括开始 (FAH),进行中 (FBH),停止 (FCH),
MIDI 时钟 (F8H) 和主动传感信息 (见下文 )。
激活传感信息
一旦接收到 FEH( 激活传感信息 ), 如果在大于 300msec (300
毫秒 )的时间里没有接收到随后的 MIDI 数据 ,当接收到所有
声音关掉 ,所有音键关掉 , 重设所用控制的信息时 S90 将执行
相同的功能 ,并且 S90 进入休眠状态。
■ 系统公共信息 ( 仅限发送信号 )
系统公共信息也可控制音序器 ,包括选曲目和曲目位置
指针信息。
请在 “数据表”章节里查阅 MIDI 数据格式来
了解更多各种信息的资料。

123
Basics SectionQuick GuideReferenceAppendix
可选配硬件的安装
可选配硬件的安装
S90 可选配硬件的安装
安装位置
最多有三块扩展卡可以被安装在背板中。
安装注意事项
在安装可选配的扩展卡之前 ,应该准备好一把 Philips 螺
丝刀。
• 开始安装前 ,先关掉 S90 的电源和外置设备连接 ,拔掉它
们的电源插头。然后移开 S90 和其他设备的连线 (如
果不移开电源线缆可能导致工作时遭到电击。其他连
线不移开可能会产生干扰 )。
• 安装时小心不要使螺丝掉到设备里面 (通过把可选配扩
展卡和盖板从移开设备可减少事故的发生 )。但是如果
发生了螺丝掉进设备里 ,在加电之前一定要掏出螺丝。
掉在设备里的螺丝会导致设备不能正常工作或者设备
毁坏。如果阁下不能找回掉进设备的螺丝 ,可请求
Yam aha 专业人员帮助。
• 安装可选配扩展卡应该遵从说明书的步骤。不当的安
装可能引起短路烧毁设备或者引起火灾。
• 请勿拆卸,改动或者强力挤压设备面板或者可选配扩
展卡的连接头。弯曲,挤压设备面板或者连接头会导
致漏电,失火或者设备毁坏。
•在安装可选配扩展卡前 ,阁下应该将手和插可选配扩展
卡的设备外壳接触 (或者和其他金属部件接触 -小心划
伤), 这样可以去掉身体所带的静电。注意甚至少量的
静电也会引起设备组件的毁坏。
• 建议阁下带上手套防止和可选配扩展卡及其他组件接
触产生静电。用手直接触摸线缆和接头会划伤手指也
可产生静电或者触电危险。
• 小心搬动可选配扩展卡 ,不小心脱手或者磕碰都可能会
引起损坏或故障的发生。
• 小心静电 ,静电会损坏扩展卡的芯片。在阁下搬动扩展
卡前 ,可通过接触金属物体或设备的接地线消除身上的
静电。
• 请勿触摸裸露的电路板。触摸电路板会引起故障。
• 移动线缆时注意不要碰到扩展卡的电路。这样会弄断
线路引起损坏或运行故障。
• 请勿乱放螺丝 ,防止安装时找不到。
• 请勿将其他螺丝安装在设备上。
mLAN8E扩展卡
mLAN8E 盖板
扩展卡盖板

124
Basics Section Quick Guide Reference Appendix
可选配硬件的安装
可选配扩展卡的安装
A各种可选配扩展卡(见第21页)的销售可使阁下扩展自
己的乐器音色。
下列是可用于阁下设备的扩展卡类型 :
• PLG150-AN
• PLG150-PF
• PLG150-VL
• PLG150-DX
• PLG150-DR
• PLG150-PC
• PLG100-XG
• PLG100-VH
扩展卡的安装
S90的后面板有三个插槽,允许安装三个不同的扩展卡。
关掉S90的电源,拨下交流电线。并且断开S90和其他
外置设备的连线。
用一把 Phillips 螺丝刀卸下后面板的大螺丝。
将螺丝放好 ,便于 S90 重新安装时使用。
断开 S90 内部用来固定扩展卡的缎带橡胶线 ,插槽用
三种不同色线进行了区别 :
插槽 1 — 橙色
插槽 2 — 黄色
插槽 3 — 绿色
接头面对阁下 ,按着指标插入扩展卡。
和声声部扩展卡 (PLG100-VH) 插在插槽 1
内。
多声部扩展卡 (PLG-100XG) 插在插槽 3 内。
单声部扩展卡可插在任意一个插槽内。
1
2
Plug-in SLOT
GREEN
YELLOW
ORANGE
3
2
1
Plug-in SLOT
GREEN
YELLOW
ORANGE
3
2
1
3
Plug-in SLOT
GREEN
YELLOW
ORANGE
3
2
1
插槽 3
插槽 2
插槽 1
插槽 3的
连线 (绿
色)
插槽 2的连
线(黄色 )
插槽 1的
连线 (橙
色)
绿色
黄色
橙色
4
Plug-in SLOT
GREEN
YELLOW
ORANGE
3
2
1
插槽 3
插槽 2
插槽 1
将扩展卡插入正确插槽 ,确保两个槽位相互
无挤压。

125
Basics SectionQuick GuideReferenceAppendix
可选配硬件的安装
将扩展卡插入槽内 ,慢慢往里推直到和接口吻合。
将信号线接到扩展卡上 ,确保色线和插槽的对应关
系。连接扩展卡时请勿太用力 ,以免线缆损伤。
小心将缎带线装回 S90, 确保线的任何部分没有漏出
设备外。
将第二步拆下的螺丝和盖板装回去 ,确保盖板螺丝孔
对准。
检查扩展卡 ,确保插好后可加电。
•一条扩展卡安装检测的信息将会显示 ,主屏幕将会
出现 ,面板右上边有指示灯提示扩展卡已被成功安
装。
•如果出现出错信息 ,S90 会死机 ,表明扩展卡没有安
装成功。出现这种情况 ,请关掉电源重新按安装指
导手册安装。
5
Plug-in SLOT
GREEN
YELLOW
ORANGE
3
2
1
6
Plug-in SLOT
GREEN
YELLOW
ORANGE
3
2
1
扩展卡接口
槽口
连接至 S90 插件
按压两个接口使槽口吻合
7
Plug-in SLOT
GREEN
YELLOW
ORANGE
3
2
1
6
6
PROGRAM
SLOT 1 SLOT 2 SLOT 3
ORGAN BASS STRINGS BRASS REED/PIPEGUITAR/
PLUCKED
PRE 3 GM USER PLG 1 PLG 2 PLG 3
CATEGORY
SEARCH
指示灯
样例中一个扩展卡安装在了槽位 1。

126
Basics Section Quick Guide Reference Appendix
可选配硬件的安装
可选配mLAN8E 卡的安装
通过 mLAN8E 接口卡可以方便的把其他和 mLAN 兼
容的部件或设备和 S90 相连。
mLAN8E 的安装
关掉S90的电源,拔掉交流线。 并且断开S90和其他外
置设备的连线。
把S90 翻转过来 ,阁下能看到设备背面。为了保护旋
钮。弯音轮在四个脚上应该放置胶皮,软垫之类的
东西来支垫。
请保证设备稳固平衡 , 以免设备摔落或碰
撞。
面对着设备的低部面板(第 步图解所示),掀开低部
的盖子 ,松开四个螺丝 (如图所示 ), 去掉设备的面
板。
把螺丝保存好 ,以便装上mLAN8E 后重新安装
S90 面板。
阁下用左手从里面托住 S90, 拆下后面板的三个螺
丝。
放好拆下的螺丝 ,以便将来拆下 mLAN8E 时再
装好 S90 的盖板会用到这些螺丝钉。
从包装盒内拿出 mLAN8E, 连接好内部的扁平缎带数
据线。安全牢固的将扁平缎带数据线连在 mLAN8E
后面板。确保缎带线在上部 ,如图所示 :
1
2
MUSICSYNTHESIZER
ModularSynthesis Plug-in System
请在四个脚上垫上东西防止弯音轮的挤
压。
背面视图
3 2
S90 后面板
4
5
mLAN8E 上部
确保缎带线在接头上部。
mLAN8E 后面板
mLAN8E 前面板
使扁平缎带线从顶部穿出来 , “mLAN8E”印刷字可以被看到。

127
Basics SectionQuick GuideReferenceAppendix
可选配硬件的安装
将mLAN8E 固定在第 步拆下的内罩里。用第 步
拆下的螺丝上紧部件。如果从中间螺孔开始上螺丝
钉能容易上好螺丝钉。
用mLAN8E 自带的扎带固定好 mLAN8E 顶部出来的
缎带数据线。
将mLAN8E颠倒,将扁平缎带数据线的另外一端接口
插进 S90 的电路插槽。
重新装好 S90 的盖板 (安装了 mLAN8E 后的 )。
6
3 4
21
3
7
8
针式接口如图所示。
S90 侧面
S90 后面板
mLAN8E 侧面
mLAN8E 正面
6
将此插进 S90 内部。

128
Basics Section Quick Guide Reference Appendix
故障解决
故障解决
没有声音 ? 声音不正常 ? 当这些问题产生时 ,排除产品不完善问题 ,先参见下面的可能出现问题点。通
常情况 ,阁下可在这里找到问题解决方法。如果问题依然存在 ,请联系阁下的雅马哈经销商或服务中
心 (见第 138 页)。
没有声音 .
●S90 和连接到 S90 的其他外置设备是否加电 ?( 见第 14 页)
●阁下是否 (给所有包括 S90 的主控声音和其他外置设备的声音 )设置了适当的参数 ? ( 见第 14 页)
●控制踏板 (当连接了 FOOT CONTROLLER( 控制踏板 )插孔 )按键是否按下 ? ( 见第 18 页)
●S90 和其他外置设备是否 (例如 :功率放大器,扬声器 )通过音频线正确连接 ? ( 见第 15 页)
●当音色不发声 ,音量或者音色公共编辑器的电平是否正确设置 ?( 参考号 43,135)
●当音色不发声或声音很小。阁下是否改变了控制推子的某些设置 ?( 控制推子 1-4 可控制音色因子电平。如果设为“0”,
音色将不发声。 ( 见第 53 页)
●当音色不发声,在音色公共编辑里音色因子编辑(例如:音色因子开关,音符限制,力度限制)的参数是否正确设置? (见第62
页)
●当音色不发声 ,效果和滤波 (不当的滤波截止频率设置可引起不发声 )设置是否正确 ? ( 见第 63,67 页)
●当演奏音色不发声 ,每个声部是否分配了音色 ? ( 参考号 29,36)
●当演奏音色不发声 ,每个声部的音符限制设置是否正确 ? ( 参考号 32)
●当演奏音色不发声 , 每个声部的音量设置是否正确 ? ( 参考号 43,135)
●当演奏音色不发声或声音很小。 阁下是否改变了控制推子的某些设置 ?( 控制推子 1-4 可控制音色因子电平。如果设为
“0”, 音色将不发声。 ( 见第 53 页)
●当演奏音色不发声 , 每个声部的输出选择是否正确 ? ( 参考号 115)
●当歌曲回放不发声 ,某些或者所有音轨哑音 ? ( 见第 76 页)
●当歌曲回放不发声 ,演奏模式下每个音轨的输出通道和混音模式下每个声部的接收通道设置是否正确 ? ( 见第 77 页)
●当歌曲回放不发声 , 混音模式下每个声部的音量设置是否正确 ? ( 见第 78 页)
●当歌曲回放不发声 , 混音模式下每个声部的输出设置是否正确 ? ( 见第 77 页
●当琵音不发声 , 音符限制和力度限制设置是否正确 ? ( 参考号 81,82)
●设置模式里 MIDI 的位置是否设为 “off( 关闭 )”? ( 参考号 183)
声音失真
●效果器参数设置是否正确 ? ( 参考号 190-205)
●滤波器参数设置是否正确 ?( 太高的滤波器谐振设置可引起失真。 ) ( 参考号 91-93)
●是否是 MASTER VOLUME( 主控音量 )设置太高引起失真。 (见第 14 页)
●音色模式下每个音色因子的音量或演奏音色模式下每个声部的音量及音乐模式下每个音轨 /声部的音量设置太高。(参
考号 43,135)

129
Basics SectionQuick GuideReferenceAppendix
故障解决
声音电平太低
●是否将 MIDI 音量或 MIDI 表达设置太低 (用控制踏板设置 )?( 见第 18 页)
●是否将滤波截止频率设置太高 /太低? (参考号 92,96)
声音截止
●是否超过了 S90 的最大复音 (见第 22 页)
音高或者间隔出错
●是否将设置模式的主控调音参数设置为 “0”以外的值 ?( 参考号 216)
●是否将设置模式的的音符转换参数设置为 “0”以外的值 ?( 参考号 41)
●当音色产生一个错误的音高 ,是否将在音色编辑模式下的微调节系统参数正确设置 ? ( 参考号 5)
●当音色产生一个错误的音高 , 是否将在音色编辑模式下低频振荡器音高调制深度设置太高 ? ( 参考号 172)
●当演奏音色产生一个错误的音高 ,是否将每个声部的音符转换参数设置为 “0”以外的值 ? ( 参考号 41)
●当演奏音色产生一个错误的音高 , 是否将每个声部的的误调参数设置为 “0”以外的值 ? ( 参考号 153)
每次只有一个音符发声
●是否将音色模式下单音 /复音设为 “mono( 单音 )”模式 (参考号 3)
无效果应用
●是否将 [EFFECT BYPASS( 效果旁通 )] 按键关闭 ?( 见第 12 页)
●是否将某些或所有音色因子的输出效果参数设为了 “thru( 直通 )”? ( 参考号 190)
●是否将某些或所有效果类型设为了“thru( 直通 )”或 “off( 关闭 )”(音色编辑模式下的效果显示 ) ?(参考号 190-194)
当用键盘和 [INFORMATION( 信息 )] 按键改变一个设置时出现一个不恰当或意外的值
●是否将设置模式下的转换参数设置为 “0”以外的值 ?([F1] →[SF2] 参考号 18)
歌曲不能开始播放
●所选的歌曲是否含有数据 ?( 见第 75 页)
●否将遥控装置开启 ?( 见第 12 页)
●设置模式下 MIDI 的同步参数是否设为了 MIDI( 用外部时钟 )?( 参考号 185)
●是否选择了正确的演奏目录 (为音序回放 )? ( 见第 75 页)

130
Basics Section Quick Guide Reference Appendix
故障解决
不能将数据保存到存储卡里
●存储卡是否有写入保护 (保存数据时应该打开写保护 )?( 见第 82 页)
●用到的存储卡是否正确格式化过 ? ( 见第 82 页)
MIDI 批量数据发送 /接收不正常
●是否将设置模式下的接收批处理参数设置为 “protect( 保护 )”?( 参考号 184)
扩展卡不工作
●对应的插槽指示灯是否亮 ?( 见第 73 页和 125 页)
●和声声部是否插在了 2,3 槽位 ?( 和声声部部扩展卡应该安装在槽位 1里)( 见第 124 页)
●多声部扩展卡安装在了 1,2 槽位 ?( 多声部扩展卡应该安装在 3槽位 ) ( 见第 124 页)
开机时 S90 因为故障或不正确操作引起挂起或者死机
●正在给闪存写数据时 ,当有 (“Executing…”(正在处理中 )或“Please keep power on”(请保持开机状态 )) 的信息显示 ,请
勿试图关机。如果在此状态进行了关机操作 ,将引起用户数据的丢失 ,还可能引起死机。如果发生了此故障 ,请关掉电
源,当再次加电时请同时按下 [MASTER( 主控 )],[STORE( 存储 )] 和[PRE1] 按键。如果有 “ System memory crashed
(系统内存冲突 )”信息出现 ,请查阅 117 页。

131
Basics SectionQuick GuideReferenceAppendix
技术规格
技术规格
键盘 88 键,平衡击弦效果 (初始力度和触后感应 )
音源 音源 AWM2 声音引擎 ( 与模块化合成扩展系统结合 )
复音 64 复音,可以通过模块化合成扩展系统扩展卡扩展 (如果安装 )
配置 16 声部 (内置)+ 3或更多插卡声部 (1 为单插卡声部 ,16 为多插卡声部 ),A/D 输入
声波 110MB 波形存储 (16-bit 线性格式), 1347 波形
音色 预置音色 :384 常规音色+ 48 套鼓组
GM : 128 常规音色 + 1 套鼓组
User( 用户 ): 128 常规音色 + 16 套鼓组
扩展音色 预置 PLG150-AN/PF/DX/DR/PC:64
预置 PLG-150VL: 192
用户 : 每个扩展卡 64
演奏音色 用户 :128( 等于 4个声部 )
琶音器 预置 1 x 128 类
预置 2 x 128 类
用户 128 类(只读 )
* MIDI 同步, MIDI 发送 /接收通道,力度限制和音色限制可设置
滤波器 21 类
效果器 12 类混响, 25 类合唱 , 25 类嵌入式 1,104 类嵌入式 2,25 类变种 (可用于演奏音色 /歌曲) , 5 段主控均衡器,
扩展卡嵌入式 ( 当PLG100-VH 插在槽位 1里时可用 )
扩展性 3个扩展槽用于模块化合成扩展系统扩展卡
音序器 音序演奏 SMF 格式 0( 直接演奏 )
拍子 1 - 300
音序链号 100 步长 (100 首歌 )
其他 主控键盘 User: 128
通过遥控功能进行音序软件控制 (见第 59 页)
控制器 弯音轮,调制轮,主音量推子, 4个可分配的控制推子,旋转编码器
显示屏 240 x 64 点图形背光 LCD
外置存储器 SmartMedia 卡 (3.3V)
* 最大容量 128 MB
体积 / 重量 1,357 ( 长) x 386 ( 宽) x 163 ( 高) 毫米 / 23.0 公斤
随机配件 P电源线 ,用户操作手册 ,
设置 S90 CD-ROM 工具
用户手册里的技术规范和详细描述仅用于说明。雅马哈公司在任何时候都保留在不通告之前修改设备和技术规范的权利。因此技术规范 ,设备或可选配扩展卡在每个地方可
能有所不同 ,有任何疑问请联系阁下的 YAMAHA 经销商。

132
Basics Section Quick Guide Reference Appendix
索引
A
A/D (Performance Play) 数/模 (演奏音色弹奏模式)............. 44
A/D input (Connections) 数/模输入 (连接)............................ 15
A/D INPUT jack 数/模输入插孔................................................. 13
A/D Source 数/模输入 (音源)............................................... 100
Absolute 绝对的............................................................................. 35
AC INLET (AC power cord socket) 交流电入口 (交流电插座)13
AC Source (AC1 Control Number) 可分配的控制器源 (可分配的
控制器 1控制号)....................................................................... 103
AC(AC1) Filter Control 可分配的控制器(可分配的控制器 1)滤
波控制 .......................................................................................... 103
AC(AC1) LFO Amplitude Modulation Depth 可分配的控制器 (可
分配的控制器 1)低频振荡器调幅深度 ................................... 103
AC(AC1) LFO Filter Modulation Depth 可分配的控制器 (可分配
的控制器 1)低频振荡器滤波调制深度 .................................... 103
AC(AC1) LFO Pitch Modulation Depth 可分配的控制器 (可分配
的控制器 1)低频振荡器音高调制深 ....................................... 103
Active Sensing 主动传感............................................................. 122
AD (Mixing) 数模 (混合参数).................................................. 78
AEG 振幅包络发生器................................................................... 66
(AEG) Attack/Decay/Release (Time) 振幅包络发生器触发、衰减、
释放 (时间) ............................................................................. 105
AEG Attack Time 振幅包络发生器触发时间............................ 105
(AEG) LEVEL 振幅包络发生器)电平..................................... 104
AEG Level 振幅包络发生器电平............................................... 104
AEG Level Velocity Sensitivity 振幅包络发生器电平力度灵敏度
.................................................................................................... 104
(AEG) Sustain (Level) (振幅包络发生器)持续 (电平)
...................................................................................................... 105
AEG Sustain Level 振幅包络发生器持续 (电平).................. 105
(AEG) TIME (振幅包络发生器)时间 ................................... 104
AEG Time 振幅包络发生器时间 ............................................... 104
AEG Time Key Follow Center Key 振幅包络发生器时间音键跟随
中心音键 .......................................... 104
AEG Time Key Follow Sensitivity振幅包络发生器时间音键跟随灵
敏度 .............................................................................................. 104
AEG Time Segment 振幅包络发生器时间分割 . ...................... 104
AEG Time Velocity Sensitivity 振幅包络发生器时间力度灵敏度
...................................................................................................... 104
Aftertouch 触后 (键)
........................................................................................................ 54
All Notes Off (Control #123) 所有音符 (键)关闭 (控制号 123) 121
All Sounds Off (Control #120) 所有声音信号关闭 (控制号 120)
121
Alternate Group 交替组 ................................................................. 99
Alternate Pan Depth 交替声相深度 ............................................ 104
AlternatePan 交替声相 ................................................................ 104
AltnateGroup 交替组 .................................................................... 99
AMod 振幅调制 ......................................................................... 103
AMod (LFO) 振幅调制 (低频振荡器)................................... 105
AMP 功率放大器 .......................................................................... 66
Amplitude 振幅 ............................................................................. 66
Amplitude (Level) Key Follow Sensitivity 振幅 (电平)音键跟随
灵敏度 ............................................ 104
Amplitude Envelope Generator 振幅包络发生器 ......................... 66
Amplitude Key Follow Center Key 振幅音键跟随中心音键 .... 104
Amplitude Scaling Break Point 振幅调整分界点....................... 104
Amplitude Scaling Offset 振幅调整偏移 .................................... 104
ARP (Voice Common) 琵音 (音色公共设置).......................... 62
Arpeggio (Four playback categories) 琵音的四个回放类型 ...... 45
Arpeggio (Performance Play) 琵音 (演奏音色弹奏 ) .................. 44
Arpeggio (Voice Play) 琵音 (音色弹奏)................................... 40
Arpeggio Bank 琵音库................................................................... 46
[ARPEGGIO] button 【琵音】按键............................................. 12
Arpeggio function 琵音功能.......................................................... 45
Arpeggio Gate Time Rate 琵音门限时间.................................... 101
Arpeggio Hold 琵音保持 ............................................................. 101
Arpeggio Key Mode 琵音音键模式 ............................................ 101
Arpeggio MIDI Out Switch 琵音 MIDI 输出开关...................... 101
Arpeggio MIDI Transmit Channel 琵音 MIDI 输送开关 ........... 101
Arpeggio Note Limit Low/High 琵音音符上、下限.................. 101
Arpeggio part switch 琵音声部开关 ............................................. 47
Arpeggio playback. 琵音回放........................................................ 46
Arpeggio structure 琵音结构 . ....................................................... 45
Arpeggio Switch 琵音 MIDI 开关............................................... 101
Arpeggio Switch Control Number 琵音开关控制号................... 103
Arpeggio Tempo 琵音速度.......................................................... 101
Arpeggio Type 琵音类型....................................................... 46, 101
Arpeggio Type Bank 琵音类型库 ............................................... 101
Arpeggio Unit Multiply 琵音单元增加....................................... 101
Arpeggio Velocity Limit Low/High 琵音力度上下限 ............... 101
Arpeggio Velocity Mode 琵音力度模式 ..................................... 101
Arpeggio Velocity Rate 琵音力度比率 ....................................... 101
AS1/AS2 可分配的推子 1/ 可分配的推子 2.............................. 101
ASA/ASB 可分配的 (A/B)推子 ............................................. 103
Assign1/Assign2 Control Number 可分配的 1/ 可分配的 2控制器号
101
AssignA/B/1/2 可分配的 A/B/1/2 ................................................. 98
Assignable A/B Slider Control Number 可分配的 A/B 推子控制号
103
Assignable A/B Slider Destination 可分配的 A/B 推子目标 ...... 103
ASSIGNABLE OUT L & R jacks 可分配的左右输出插孔......... 13
ASSIGNABLE OUTPUT L&R Gain 可分配的左右输出增益
....................................................................................................... 100
AssignL/RGain 可分配的左右增益............................................. 100
AT (CAT) Pitch Control 触后 (控制触后)音高控制 ............. 103
AT(CAT) Filter Control 触后 (控制触后)滤波控制.............. 103
AT(CAT) LFO Amplitude Modulation Depth 触后 (控制触后)低
频振荡器振幅调制深度 ............................. 103
AT(CAT) LFO Filter Modulation Depth 触后 (控制触后)低频振
荡器滤波调制深度....................................................................... 103
AT(CAT) LFO Pitch Modulation Depth 触后 (控制触后)低频振
荡器音高调制深度 ...................................................................... 103
Attack Time (AEG) 触发时间 (振幅包络发生器).................. 105
Attack Time (Control #073) 触发时间 (控制号 073) ................. 120
Attack Time (FEG) 触发时间 (滤波包络发生器).................. 105
AutoLoad 自动上载........................................................................ 99
AWM2 (Advanced Wave Memory2) 高级声波信号存储器 2...... 21
B
Band Elimination Filter 频带滤波器.............................................. 64
Band Pass Filter 带通滤波器.......................................................... 64
Bank 库................................................................................... 99, 101
Bank (Memory) Structure 库结构 .................................................. 25
BANK buttons 按键........................................................................ 12
Bank Select LSB (Control #032) 库选择 LSB (控制号 032).. 119
Bank Select MSB (Control #000) 库选择 MSB (控制号 000) 119
Bank Select MSB/LSB 库选择 MSB/LSB................................... 103
BankMSB/LSB 库MSB/LSB....................................................... 103
BankSel 库选择 ............................................................................ 106
Basic Receive Channel 基本接收通道......................................... 105
BasicRcvCh 基本接收通道.......................................................... 105
BC 呼吸控制器 ............................................................................ 101
BC (Breath Controller) Curve 呼吸控制器曲线............................ 98
BC Control Number 呼吸控制器号 ............................................. 101
BCCurve 呼吸控制器曲线............................................................. 98
Board Custom Voice 原始个性音色 . ............................................ 66
Board voices 原始音色................................................................... 40
Board voices (Save) 原始音色 (保存)....................................... 73
Break Point 分割点........................................................................102
BREAKPOINT 分界点 ........................................................ 102, 104
Breath Controller 呼吸控制器........................................................ 54
BREATH Controller jack 呼吸控制器插孔................................... 13
Brightness (Control #074) 明亮度 (控制号 074)..................... 120
Bulk Dump 批量复制-倾倒 ......................................................... 72
C
Cakewalk ProAudio Ver9.0 (Remote Control) (遥控) Cakewalk
ProAudio Ver9.0 软件..................................................................... 59
Card Drive 插卡驱动器 .................................................................. 24
Card mode 插卡模式 ................................................................... 115
CARD slot 插卡插槽...................................................................... 13
Category 类别 ........................................................................... 38, 99
Category Search 类别搜索 ............................................................. 38
[CATEGORY SEARCH] button[ 类别搜索 ]按键....................... 12
CD-ROM 光盘.................................................................................. 6
CenterKey 中心音键 .................................................... 101, 102, 104
CHAIN 链....................................................................................... 75
Chain Step Number 链步数 ........................................................... 75
Chained Playback 链回放............................................................... 76
Changing the Tempo 改变速度 ...................................................... 76
Channel Aftertouch 通道触后 ...................................................... 122
Character List 字符表 ..................................................................... 35
ChoCtrl 合唱控制........................................................................... 98
Chorus 合唱效果器 ........................................................................ 67
Chorus Control 合唱控制 ............................................................... 98
Chorus Pan 合唱效果器声相 ....................................................... 106
Chorus Return 合唱效果器返送 .................................................. 106
Chorus Send 合唱效果器发送 ............................................. 100, 106
Chorus to Reverb 合唱效果器转混响效果器.............................. 106
Chorus Type 合唱效果器类型 ..................................................... 106
ChoSend 合唱效果器发送 ........................................................... 100
Clock Out 时钟输出 ..................................................................... 106
ClockOut 时钟输出 ...................................................................... 106
Coarse 粗略,半音阶 (调音)................................................... 100
Common Edit (Master mode) 公共音色编辑 (主控模式)........ 51
Compare Function 比较功能 ......................................................... 61
computer’s MIDI interface 计算机 MIDI 接口.............................. 18
Confirmation Message 确认信息 ................................................... 33
Connecting External MIDI Equipment 连接外部 MIDI 设备 ....... 16
Connecting to a Personal Computer 连接个人计算机................... 17
Connecting to External Audio Equipment 连接外部音频设备 ..... 15
Connecting Various Controllers 连接不同的控制器..................... 18
Connections 连接,接线................................................................ 15
Control Change 控制变化 ............................................................ 119
Control Change (AEG Sustain) 控制变化 (振幅包络发生器持续)
106
[CONTROL FUNCTION] button 按键.................... 12
Control Function Select 控制功能选择 ................................. 98, 100
Control Number settings (Zone) 控制号设置 (音区)................ 52
Control Sets 控制设置 ................................................................... 55
Control Slider Control Number 控制推子控制号........................ 103
Control Sliders 控制推子 ............................................................... 53
Control the level (Remote Control) 控制电平 (遥控)................ 58
Control the transport functions (Remote Control) 控制传送功能(遥
控)................................................................................................. 58
Controller 控制器........................................................................... 20
Controller Reset 控制重设 ............................................................. 99
Controller Set 控制设置............................................................... 103
Copy (Job) 复制 (工作).............................................................. 71
CS 控制推子................................................................................... 53
[CS1] - [CS4] (Control Slider) 控制推子....................................... 12
CSAssign 可分配的控制开关 ....................................................... 98
Ctgry 类别 ...................................................................................... 99
CTL SET (Voice Common) 控制设置 (音色公共设置)........... 62
CtrlChange 控制变化 . ................................................................. 106
CtrlReset 控制重设 ........................................................................ 99
CtrlSlider 控制推子...................................................................... 103
Cubase VST 5.0 (Remote Control) 遥控 《Cubase VST 5.0》软件 .
59
Cubase VST/32 (Remote Control) 遥控 《 Cubase VST/32》...... 59
Cursor buttons 指针 (光标)按键............................................... 12
Curve 指针 (光标)............................................................ 100, 104
Cutoff 截止 ................................................................................... 102
Cutoff Frequency 截止频点 ........................................................... 63
CutoffSens 滤波器截止灵敏度 ................................................... 102
D
Data dial 数字转盘 ......................................................................... 12
Data Entry 数字输入 ...................................................................... 33
Data Entry LSB (Control #038) 数据输入 LSB ( 控制号 038). 119
Data Entry MSB (Control #006) 数据输入 MSB ( 控制号 006). 119
Data Increment (Control #096) 数据增加 (控制号 096) ............ 120
Data List 数据表............................................................................... 7
[DEC/NO] button[ 减少 /否]按键............................................... 12
Decay Time 衰减时间.................................................................. 105
Decay Time (AEG) 衰减时间 (振幅包络发生器).................. 105
Decay Time (Control #075) 衰减时间 (控制号 075).............. 120
Decay Time (FEG) 衰减时间 (滤波包络发生器)................... 105
Decrement (Control #097) for RPN 注册参数码耗用
(控制号 097)............................................................................. 120
Delay 延时 ................................................................................... 105
Delay Time 延时时间 .................................................................. 105
DELETE 删除 ...................................................................... 86, 107
Delete 删除 ................................................................................. 107
Demo Playback 回放演示 .............................................................. 19
Demo song 演示曲目 ..................................................................... 19
Depth 深度............................................................ 100, 102, 103, 105
Dest 目标 ............................................................................. 103, 105
Detune 误调 . ............................................................................... 104
DEV NO. 设备号 ......................................................................... 105
Device No. 设备号 ....................................................................... 105
Display Indications 显示屏提示 .................................................... 30
Display Messages 显示屏显示信息 .................................... 116, 128
Distance 距离................................................................................ 102
DRAM 动态随机存取存储器 ....................................................... 28
Drum Voices 鼓组音色 .................................................................. 27
Dry Level 干音电平 ..................................................................... 100
E
[E] Indicator[E] 提示...................................................................... 39
Echo 回音 ...................................................................................... 18
Edit Buffer 编辑缓冲 ..................................................................... 28
Edit indicator 编辑指示.................................................................. 39
Edit Recall (Job) 编辑召回 (工作)............................................ 71
EF BYPS 效果器旁通 ................................................................... 99
EFF PART→PLG-EF 扩展卡效果器声部.................................. 106
EFF PART→VCE INS 嵌入式效果声部.................................... 106
EFFECT (Voice Common) 效果器 (音色公共)........................ 62
Effect Bypass 效果器旁通 ............................................................. 99
[EFFECT BYPASS] button[ 效果器旁通 ]按键 .......................... 12
Effect Parameters 效果器参数..................................................... 107
Effect1 Depth (Reverb Send Level) (Control #091)
效果器 1深度(混响
效果器发送电平)(控制号 091)
................................................ 120
Effect3 Depth (Chorus Send Level) (Control #093)
效果器 3深度(合唱
效果器发送电平)(控制号 093)
................................................ 120
Effects 效果器 ................................................................................. 24
EG (Envelope Generator) (Performance Play) 包络发生器 (演奏音
色弹奏)......................................................................................... 44
EG (Voice Play) 包络发生器 (音色弹奏)................................. 40
EGLevel 包络发生器电平........................................... 100, 102, 104
EGTime 包络发生器时间............................................ 100, 102, 104
EGTimeSens 包络发生器时间灵敏度 ........................ 101, 102, 104
EL 1-4 Insertion Effect Out 音色因子 1-4嵌入式效果器输出 106
EL: OUT 1-4 音色因子 1-4嵌入式效果器输出.................... 106
Element 音色因子 .......................................................................... 26
Element Level 音色因子电平 ...................................................... 103
Element Switch 音色因子开关 ....................................................... 99
Element Switch (Voice Element) 音色因子开关 .......................... 62
ElementSw 音色因子开关 ............................................. 99, 103, 105
[ENTER] button [ 进入 ]按键 ....................................................... 12
Entering Characters 输入字节........................................................ 34
Envelope Generator (Voice Play) 包络发生器 (音色演奏)...... 40
EQ (Equalizer) (Voice Element) 均衡器 (音色因子)................ 66
EQ High Frequency 均衡器高频 ................................................. 107
EQ High Gain 均衡器高频增益 .................................................. 107
索引

133
Basics SectionQuick GuideReferenceAppendix
EQ Low Frequency 均衡器低频.................................................. 107
EQ Low Gain 均衡器低频增益................................................... 107
EQ Resonance 均衡器谐振 ......................................................... 107
EQ Type 均衡器类型................................................................... 107
Equalizer (Voice Element) 均衡器 (音色因子)........................ 66
[EXIT] button[ 退出 ]按键 ........................................................... 12
Expression (Control #011) 表达 (控制 011)............................ 119
extensions 扩展 ............................................................................. 27
external MIDI interface 扩展 MIDI 接口 ...................................... 18
F
[F1] - [F6] (Function) buttons (功能)按键 ............................... 12
Factory Set 出厂设置..................................................................... 72
FadeIn 淡入.................................................................................. 105
FadeOut 淡出 ............................................................................. 105
Favorite Category 收藏类型 .......................................................... 39
FC1/FC2 控制踏板 1/ 控制踏板 2 .............................................. 101
FC1/FC2 Control Number 控制踏板 1/ 控制踏板 2控制号...... 101
FEG 滤波包络发生器.................................................................... 65
(FEG) Attack/Decay/Release (Time) (滤波包络发生器)触发 /衰
减/释放 (时间)....................................................................... 105
FEG Attack Time 滤波包络发生器触发时间 ............................. 105
(FEG) Depth 滤波包络发生器深度 ............................................ 102
FEG Depth 滤波包络发生器深度....................................... 102, 104
FEG Level 滤波包络发生器深度电平 ....................................... 102
FEG Level Velocity Sensitivity 滤波包络发生器深度力度灵敏度
..................................................................................................... 102
(FEG) Sustain (Level) 滤波包络发生器持续电平 ..................... 105
FEG Sustain Level 滤波包络发生器持续电平........................... 105
FEG Time 滤波包络发生器时间 ................................................ 102
FEG Time Key Follow Center Key 滤波包络发生器时间音键跟随
中心音键 ...................................................................................... 102
FEG Time Key Follow Sensitivity 滤波包络发生器时间音键跟随灵
敏度 .............................................................................................. 102
FEG Time Segment 滤波包络发生器时间分割 ......................... 102
FEG Time Velocity Sensitivity 滤波包络发生器时间力度灵敏度
...................................................................................................... 102
FEGDepth 滤波包络发生器时间深度........................................ 104
File Management 文件管理 ........................................................... 27
File types (Load) 文件类型 (上载)............................................ 83
File types (Save) 文件类型 (保存)............................................ 83
File Utility ID 文件设置识别号 .................................................. 106
FileUtilID 文件设置识别号 ........................................................ 106
Filter 滤波器 .............................................................................. 103
FILTER (Voice Element) 滤波 (音色因子).............................. 63
Filter Cutoff Frequency 滤波截止频点 ....................................... 102
Filter Cutoff Key Follow Center Key 滤波器截止音键跟随中心音键
...................................................................................................... 102
Filter Cutoff Key Follow Sensitivity 滤波器截止音键跟随灵敏度
...................................................................................................... 102
Filter Cutoff Scaling Break Point 滤波器截止调整分界点 ........ 102
Filter Cutoff Scaling Offset 滤波器截止调整偏移..................... 102
Filter Cutoff Velocity Sensitivity 滤波器截止力度灵敏度 ........ 102
Filter Envelope Generator 滤波器包络发生器 ............................. 65
Filter Gain 滤波器增益................................................................ 102
Filter Resonance 滤波器谐振 ...................................................... 102
Filter Resonance Velocity Sensitivity 滤波器谐振力度灵敏度 102
Filter Type (Reference) 滤波器类型 (参考)........................... 101
Filter types (Quick Guide) 滤波器类型 (快速指导)................. 63
Filter Width 滤波带宽 ................................................................. 102
Fine 细微...................................................................................... 100
fixed (Velocity) 固定 (力度)..................................................... 87
Fixed Velocity 固定力度 ............................................................... 99
Flash ROM 闪存 ........................................................................... 28
FMod 滤波调制 . ......................................................................... 103
FMod (LFO) 滤波调制 (低频振荡器).................................... 105
Foot Controller 控制踏板 .............................................................. 54
FOOT CONTROLLER 1, 2 jacks 控制踏板 1,2插孔 . ............ 13
FOOT SWITCH jack (ASSIGNABLE) 踏板开关插孔
(可分配的) ........................................ 13
FOOT SWITCH jack (SUSTAIN) 踏板开关插孔 (持续)........ 13
Footswitch 踏板开关 .................................................................... 54
FORMAT (Memory Card) 格式化 (存储卡)............................ 84
Formatting Memory Cards (Utility) 格式化存储卡
(应用模式)................................................................................. 84
FORWARD/REWIND (Remote Control) 快进 /快退
(遥控).......................................................................................... 58
FREQ 频率................................................................................... 100
Freq (Type=P.EQ) 频率 (类型=参数均衡器 )......................... 107
Frequency 频率 .................................................................... 100, 107
FS 踏板开关................................................................................. 103
FS Control Number 踏板开关控制号 ......................................... 103
FS Function Assignment 踏板开关功能分配 ............................. 103
Function buttons 功能按键 ............................................................ 32
Function Tree 功能树..................................................................... 88
Functions 功能 ............................................................................... 32
G
GAIN 增益 ............................................................................. 15, 100
Gain 增益 ..................................................................... 100, 102, 107
[GAIN] knob 增益旋钮 ................................................................. 13
GateTimeRate (琵音)门限时间比率...................................... 101
GENERAL (Voice Common) 通用 (音色公共设置)............... 62
General MIDI (GM) System On 通用 MIDI (全球标准)系统 122
GM System 全球标准系统 .......................................................... 122
GM Voices 全球标准音色............................................................. 27
GM/XG 通用 MIDI 标准 /雅马哈 XG 标准.............................. 107
GROUP [A] - [H] buttons [A] - [H] 组按键.................................. 12
H
H.Freq (Type=EQ L/H) 高频 ...................................................... 107
hard (Velocity) 强劲 (力度)....................................................... 87
Harmonic Content (Control #071) 泛音丰满 (度)(控制号 071)
....................................................................................................... 120
High Pass Filter 高通滤波器 .......................................................... 64
Hold 保持、按住.................................................................. 101, 105
Hold (ARP) 琵音)保持 .............................................................. 103
Hold Control Number 保持控制号 .............................................. 103
Hold1 (Control #064) 保持 (控制号 064)................................ 119
HPF Cutoff Frequency 高通滤波器截止频点 ............................. 102
HPF Cutoff Frequency Key Follow 高通滤波器截止频点音键跟随
....................................................................................................... 102
HPFCutoff 高通滤波器截止 ........................................................ 102
HPFKeyFlw 高通滤波器音键跟随.............................................. 102
I
IEEE1394 interface EEE1394 接口............................................ 17
[INC/YES] button [ 增加 /是]按键.............................................. 12
[INFORMATION] button [ 信息 ]按键 ........................................12
Information Display (Basic Operations) 信息显示
(基本操作)................................................................................... 33
Information Displays (Appendix) 信息显示 (附录)................ 114
initializing (Job) 初始化 (工作)................................................. 70
Ins1 Ctgry/Type 嵌入式 1效果器类别 /种类 ............................ 106
Ins2 Ctgry/Type 嵌入式 2效果器类别 /种类 ............................ 106
InsChoSend 嵌入式合唱效果器发送 .......................................... 100
InsEF 嵌入式效果器 .................................................................... 103
InsEF Connect 嵌入式效果器连接 .............................................. 106
InsEffect(Eff)Out 嵌入式效果器输出 ........................................... 99
Insertion 1 Category/Type 嵌入式 1效果器类别 /种类 ............ 106
Insertion 2 Category/Type 嵌入式 2效果器类别 /种类 . .......... 106
Insertion Chorus Send 嵌入式合唱效果器发送 .......................... 100
Insertion Effect 嵌入式效果器..................................................... 103
Insertion Effect Connection Type 嵌入式效果器连接类型 ........ 106
Insertion Effect Out 嵌入式效果器输出........................................ 99
Insertion Effect Part (Voice) 嵌入式效果器声部 (音色)........ 106
Insertion Effects 嵌入式效果器 ..................................................... 67
Insertion Reverb Send 嵌入式混响效果器发送 .......................... 100
InsRevSend 嵌入式混响效果器发送 .......................................... 100
Installation Guide 安装指导手册 ..................................................... 7
Installing Optional Hardware 安装可选配硬件........................... 123
Internal Memory 内置存储器 .................................................. 27, 28
K
KBDTransCh 键盘传送通道........................................................ 105
KEY Insertion Effect Out 音键嵌入式效果器输出..................... 106
Key On Delay 音键按启延迟......................................................... 99
Key On Reset 音键按启重设 ....................................................... 105
Key On/Key Off 音键按启 /音键释放........................................ 119
KEY: OUT 音键:输出 ............................................................... 106
KeyAsgnMode (AssignMode) 音键可分配模式 ........................... 98
Keyboard Transmit Channel(Voice/Performance Mode)
键盘传送通
道 (音色 /演奏音色模式)........................................................ 105
KeyMode 音键模式 ..................................................................... 101
(KeyOn)Delay 音键按启延迟 ...................................................... 105
KeyOnDelay 音键按启延迟........................................................... 99
KeyOnReset 音键按启重设 ......................................................... 105
L
L&RGain 左右增益 ..................................................................... 100
L.Freq (Type=EQ L/H) 低频........................................................ 107
Layer (Master mode) 阶层 (主控模式)..................................... 49
Layer (Performance Play mode) 阶层 (演奏音色弹奏模式).... 42
LCD (Liquid Crystal Display) 液晶显示器 ................................... 12
LCD Contrast control 液晶显示器对比度控制............................. 12
LEVEL 电平 ................................................................. 100, 102, 104
Level 电平 ............................................................ 100, 102, 103, 104
Level (VEL SENS) 电平 (力度灵敏 ......................................... 104
Level Velocity Sensitivity 电平力度灵敏 ................................... 104
LevelSens 电平放大音键跟随灵敏............................................. 104
LFO 低频振荡器............................................................................ 66
LFO (Key On) Delay Time 低频振荡器 (音键启动)延迟时间
.................................................................................................... 105
LFO (Voice Common) 低频振荡器 (音色公共)....................... 62
LFO Amplitude Modulation Depth 低频振荡器增幅调制深度
..................................................................................................... 105
LFO Depth 低频振荡器深度 ....................................................... 105
LFO Destination 低频振荡器目标 .............................................. 105
LFO Destination Element Switch 低频振荡器目标单元开关 .... 105
LFO Fade-in Time 低频振荡器淡入时间 ................................... 105
LFO Fade-out Time 低频振荡器淡出时间 ................................. 105
LFO Filter Modulation Depth 低频振荡器滤波调制深度.......... 105
LFO Hold Time 低频振荡器保持时间 ....................................... 105
LFO Phase 低频振荡器相位........................................................ 105
LFO Pitch Modulation Depth 低频振荡器音高调制深度 .......... 105
LFO Speed 低频振荡速度 ........................................................... 105
LFO Tempo Speed 低频振荡速度............................................... 105
LFO Tempo Sync 低频振荡器速度同步..................................... 105
LFO Wave 低频振荡器声波信号................................................ 105
Limit (Arpeggio) 限制 (琵音).................................................... 46
Line 线路 ...................................................................................... 100
LOAD 上载 ................................................................................. 107
Load 上载 .............................................................................. 85, 107
Local Control 本地控制 ............................................................... 106
Local On/Off (When Connected to a Computer) 本地开 /关(当连接
一个计算机)................................................................................. 18
LocalCtrl 本地控制 . .................................................................... 106
Logic Audio (Remote Control) (遥控)逻辑声音...................... 59
Low Frequency Oscillator 低频振荡器 ......................................... 66
Low Pass Filter 低通滤波器 .......................................................... 63
Low Pass Filter Cutoff 低通滤波截止......................................... 102
Low Pass Filter Cutoff Velocity Sensitivity 低通滤波器截止力度灵
敏度 ............................................................................................ .. 102
Low Pass Filter Resonance 低通滤波器谐振 .............................. 102
LPFCutoff 低通滤波器截止 ........................................................ 102
LPFCutoff (VEL SENS) 低通滤波截止 (力度灵敏度).......... 102
LPFReso 低通滤波器谐振........................................................... 102
LSB (Control #098) (Plug-in Board only)(控制器 098)(只适用于
扩展卡) ...................................................................................... 120
M
M.TuningNo. 微调 ......................................................................... 98
Main Category (Voice/Performance) 主类型 (音色、音色模式)
......................................................................................................... 98
Main Volume (Control #007) 主音量 .......................................... 119
MainCtgry 主类型.......................................................................... 98
Master Edit Mode (Function Tree) 主控编辑模式 (功能树) .... 91
Master EQ Offset 主控均衡器偏移 ................................................ 98
Master EQ Shape 主控均衡器尖锐度 ......................................... 100
Master Equalizer 主控均衡器 ........................................................ 67
Master Mode 主控模式 .................................................................. 48
Master mode 主控模式 ................................................................ 115
Master Octave Shift 主控八度音移 ............................................... 98
Master Play Mode (Function Tree) 主控演奏模式 (功能树).... 91
Master program 主控程序.............................................................. 49
Master Transpose 主控转换........................................................... 98
Master Tune 主控调整 ................................................................. 107
Master Volume 主控音量 . .......................................................... 122
[MASTER VOLUME] slider[ 主控音量 ]推子 ............................ 12
Maximum Polyphony 最大复音 .................................................... 22
Memorize to a Master 记忆至主控 ................................................ 50
Memory Card 记忆卡,存储卡............................................... 28, 82
MEQ OFFSET 主控均衡器偏移 ................................................... 98
Mic/Line 话筒 /线路 (输入)................................................... 100
Micro Tuning 调整话筒拾音方式 ................................................. 98
microphone 话筒 .......................................................................... 15
MIDI 数字音乐设备接口 ............................................................ 118
MIDI channels 数字音乐设备接口通道 ..................................... 118
MIDI IN/OUT MIDI 输入 /输出............................................. 106
MIDI IN/OUT/THRU terminals MIDI 输入 /输出 /直通端口
......................................................................................................... 13
MIDI OUT MIDI 输出 .............................................................. 106
MIDI Switch MIDI 开关 .............................................................. 99
MIDI Sync MIDI 同步 ............................................................. 106
MIDI Thru MIDI 直通............................................................... 18
MIDISwitch MIDI 开关 .............................................................. 99
Mix Template 混合模板................................................................. 75
mixer 混音台 .................................................................................. 15
Mixer (Sequence Play) 混音台 (音序演奏)............................... 77
Mixing Edit mode 混合编辑模式 .................................................. 79
Mixing mode 混合模式.................................................................. 77
Mixing mode (Effect Connection) 混合模式 (效果器连接)..... 69
MLAN 基于 IEEE 1394 高性能串行母线传输 MIDI 和音频信号的
(扩展卡)接口 ........................................................................... 100
mLAN 基于 IEEE 1394 高性能串行母线传输 MIDI 和音频信号的
(扩展卡)接口 ............................................................................. 13
mLAN Expansion Board (mLAN8E) cover mLAN8E 扩展板盖板
索引

134
Basics Section Quick Guide Reference Appendix
13
mLAN Settings mLAN8E 设置 ................................................ 100
mLAN8E (Install) mLAN8E 安装 ........................................... 126
mLAN-compatible audio equipment 兼容 mLAN8E 的音频设备
........................................................................................................ 15
Mode 模式...................................................................................... 98
MODE buttons 模式按键............................................................... 12
Mode Table 模式表 ....................................................................... 29
Modes 模式 .................................................................................... 29
MODULAR SYNTHESIS PLUG-IN SYSTEM 模块化合成扩
展.................................................................................................... 22
Modulation (Control #001) 调制 (控制)(控制号 001)........ 119
[MODULATION] wheel [ 调制 ]轮............................................. 12
Modulation Wheel 调制轮 ............................................................. 53
Mono (Control #126) 单声道 (控制号 126)............................ 121
Mono/Poly Mode 单音 /复音模式................................................ 98
Moving the Song position 移动歌曲位置 ..................................... 76
MSB (Control #099) (Plug-in Board only)MSB (控制号 099)
(扩展卡).................................................................................... 120
Mute (Song) 哑音 (歌曲)........................................................... 76
[MUTE] button [ 哑音 ]按键 ....................................................... 12
MW Filter Control 调制轮滤波控制........................................... 103
MW LFO Amplitude Modulation Depth 调制轮低频振荡器振幅调
制深度 .......................................................................................... 103
MW LFO Filter Modulation Depth 调制轮低频振荡器滤波调制深
度.................................................................................................. 103
MW LFO Pitch Modulation Depth调制轮低频振荡器音高调制深度
...................................................................................................... 103
N
Name 名字...................................................................................... 98
Name 1-10 (Voice/Performance/Master)(音色 /演奏音色 /主控)名
1-10 .......................................................................................... 98
Naming 命名 .................................................................................. 34
Native Parameters 原始参数........................................................ 104
Native System Parameters 原始系统参数................................... 107
norm (Normal) (Velocity) 常规 (力度)..................................... 87
Normal Voices 常规音色............................................................... 27
Note (Key) settings 音符 (音键)设置....................................... 34
Note Limit High (Quick Guide) 音符上限 (快速指导)............ 43
Note Limit Low (Quick Guide) 音符下限 (快速指导)............. 43
Note Limit Low/High 音符上下限 ................................................ 99
Note Limit Low/High (Voice Element) 音符上下限 (音色因子)
........................................................................................................ 62
Note On/Note Off 音符 (键)按启 /音符 (键)释放........... 119
Note Shift 移调............................................................................... 99
NoteLimit (L/H) 音符上下限 ........................................................ 99
NoteLimit (Voice Element) 音符限制 (音色因子)................... 62
NoteShift 音符转换........................................................................ 99
NRPN (Non-Registered Parameter Number) 非注册参数码 ..... 120
Number 号、数字.......................................................................... 99
NUMBER [1] - [16] buttons [1] - [16] 数字按键...................... 12
O
Octave 八度音阶............................................................................ 98
OFFSET 偏移....................................................................... 102, 104
Offset 偏移 ................................................................................... 102
OSC (Oscillator) (Voice Element) 振荡器 (音色因子)............ 62
OUTPUT (Voice Common) 输出 (音色公共).......................... 62
Output Channel (Song Play) 输出通道 (歌曲播放).................. 77
OUTPUT L&R Gain 左右输出增益 ........................................... 100
OUTPUT L/MONO & R jacks 左/单声道 /右输出插孔 . .......... 13
Output Select 输出选择 .............................................................. 103
OutputSel 输出选择 .................................................................... 103
OutputSwitch 输出开关............................................................... 101
Overview of the S90 关于雅马哈 S90 合成器的概述.................. 20
Overview of Voice/Element/Performance 关于音色、音色因子、演
奏音色的概述 ................................................................................ 26
P
Package Contents 包装内容 (清单)............................................. 6
Pan 声相 ..................................................................................... 100
Pan (Control #010) 声相 (控制 010)....................................... 119
Parameter Table 参数表................................................................. 92
Parameter/Function List 参数 /功能树 ......................................... 97
Part on/off 声部开关...................................................................... 42
Part Receive Switch 声部接收开关............................................. 105
Part Structure 声部结构 ................................................................. 22
Part Switch 声部开关............................................................... 98, 99
PartSw 声部开关............................................................................ 99
PartSwitch 声部开关...................................................................... 98
PB Lower 下移弯音....................................................................... 98
PB Range 弯音范围 ....................................................................... 98
PB Upper 上移弯音 ....................................................................... 98
PEG (Voice Element) 音高包络发生器 (音色因子)................ 63
(PEG) Depth 音高包络发生器深度 ............................................ 100
PEG Depth 音高包络发生器深度............................................... 100
PEG Level 音高包络发生器电平 ................................................ 100
PEG Level Velocity Sensitivity 音高包络发生器电平力度灵敏度
...................................................................................................... 100
PEG Time 音高包络发生器时间 ................................................ 100
PEG Time Key Follow Center Key 音高包络发生器时间音键跟随
中心音键 ...................................................................................... 101
PEG Time Key Follow Sensitivity 音高包络发生器时间音键跟随灵
敏度 ............................................................................................. 101
PEG Time Segment 音高包络发生器时间分割 ......................... 100
PEG Time Velocity Sensitivity 音高包络发生器时间力度灵敏度
...................................................................................................... 100
Performance 演奏音色 . ........................................................... 25, 26
Performance Copy (Job) 演奏音色复制 (工作)........................ 72
Performance Edit Mode (Function Tree) 演奏音色编辑模式 (功能
树).................................................................................................. 89
Performance Group (Quick Guide) 演奏音色组 (快速指导)
......................................................................................................... 41
Performance mode 演奏音色模式 ............................................... 114
Performance mode (Effect Connection) 演奏音色模式 (效果器连
接).................................................................................................. 69
Performance number (Quick Guide) 演奏音色模式
(快速指导)................................................................................... 42
Performance Play mode (Arpeggio) 演奏音色弹奏模式
(琵音)........................................................................................... 46
Performance Play Mode (Function Tree) 演奏音色弹奏模式 (功能
树)................................................. 89
Performance Play mode (Quick Guide) 演奏音色演奏模式
(快速指导)................................................................................... 41
PgmChange 程序变化 .......................................................... 103, 106
Phase 相位 .................................................................................... 105
PHONE jack 耳机插孔................................................................... 13
Pitch (AT) 音高 (触后)............................................................. 103
Pitch (VEL SENS) 音高 (力度灵敏度)................................... 100
PITCH (Voice Element) 音高 (音色因子)................................. 63
Pitch Bend (Appendix) 弯音 (附录)......................................... 122
Pitch Bend Range 弯音范围........................................................... 98
[PITCH] Bend wheel 弯音轮.......................................................... 12
Pitch Bend Wheel 弯音轮............................................................... 53
Pitch Coarse 步长为半音阶的音高粗调 ..................................... 100
Pitch Envelope Generator 音高包络发生器 .................................. 63
Pitch Fine 音高细调 ..................................................................... 100
Pitch Key Follow Center Key 音高音键跟随中心音键 .............. 101
Pitch Key Follow Sensitivity 音高音键跟随灵敏度 ................... 101
Pitch Velocity Sensitivity 音高力度跟随灵敏度......................... 100
PitchSens 音高灵敏度 .................................................................. 101
[PLAY/STOP] button[ 播放 /停止 ]按键..................................... 12
PLAY/STOP (Remote Control) 播放、停止 (遥控)................. 58
Playing Performances 弹奏演奏音色............................................. 41
Playing the Songs 演奏歌曲........................................................... 75
Playing Voices 演奏音色 ............................................................... 36
PlugEF Type 扩展卡效果器类型................................................. 106
Plug-in Bank (Voice Play) 扩展卡库 (音色演奏)..................... 40
Plug-in Board (Install) 扩展卡 (安装)...................................... 124
Plug-in Board cover 扩展卡盖板 ................................................... 13
Plug-in board line-up 扩展卡阵容.................................................. 21
Plug-in Boards 扩展卡.................................................................... 21
Plug-in Insertion Effect Part/Type 扩展卡嵌入式效果器声部 /类型
....................................................................................................... 106
Plug-in Insertion Effects 扩展卡嵌入式效果器 ............................ 67
Plug-in Native Parameters 扩展卡原始参数................................ 104
Plug-in voices (Quick Guide) 扩展卡音色 (快速指导)............. 40
Plug-in Voices (Store) 扩展卡音色 (存储)................................ 73
PMod 音高调制 ........................................................................... 103
PMod (LFO) 音高调制 (低频振荡器) .....................................105
Poly 复音 ...................................................................................... 98
Poly (Control #127) 复音 (控制号 127)................................... 121
Poly Expand 复音扩展 ................................................................. 107
Poly Mode 复音模式 ...................................................................... 98
PolyExpand 复音扩展 .................................................................. 107
Polyphonic Aftertouch 复音触后 ................................................. 122
Polyphony 复音 ............................................................................. 22
Port 端口 ......................................................................................... 77
PORT NO. 端口号........................................................................ 107
Port No. 端口号 ............................................................................ 107
(PORTA) Mode 滑音模式.............................................................. 98
(PORTA) PartSwitch 滑音声部开关 ............................................. 98
(PORTA) Switch (Sw) 滑音开关 ................................................... 98
(PORTA) Time 滑音时间............................................................... 98
(PORTA) TimeMode 滑音时间模式 ............................................. 98
Portamento (Performance Play) 延音 (演奏音色弹奏)............. 44
Portamento (Voice Play) 延音 (音色演奏)................................ 40
Portamento Mode 滑音模式 ........................................................... 98
Portamento Switch 滑音开关 ......................................................... 98
Portamento Switch (Control #065) 滑音开关 (控制号 065)
....................................................................................................... 119
Portamento Time 滑音时间............................................................ 98
Portamento Time (Control #005) 滑音时间 (控制号 005)...... 119
Portamento Time Mode 滑音时间模式.......................................... 98
Power On Mode 开电模式 ............................................................. 99
[POWER] switch [POWER] 开关 ................................................ 13
powered speakers 有源音箱 .......................................................... 15
PowerOnMode 开电模式 .............................................................. 99
Pro Tools V5.0 (Remote Control) 遥控 Pro Tools V5.0 软件....... 59
Program Change 程序变化.......................................................... 122
Program Change (Program Number 1-128) 程序变化................. 103
Program numbers and the corresponding Group/
Numbers 程序号及相应的组 /号.................................................. 37
Q
Q( 音响学) Q值 .................................................................... 100
Q (Type=P.EQ) ( 音响学) Q值.(类型=参数均衡器 ....... 107
Quick Edit (Performance Play mode) 快速编辑 (演奏音色弹奏模
式)................................................................................................. 44
Quick Edit (Voice Play mode) 快速编辑 (音色演奏模式)....... 39
R
RAM 可读写存储器 ...................................................................... 28
Random 随机................................................................................ 100
Random Pan Depth 随机声相深度 .............................................. 104
Random Pitch 随机音高............................................................... 100
RandomPan 随机声相.................................................................. 104
RcvBulk 批量接收 ....................................................................... 106
RcvNoteOff 接收音键释放信息.................................................... 99
Rear Panel 背板 ............................................................................. 13
Recall Buffer 召回缓冲器 ............................................................. 28
Receive Bank Select 接收库选择 ................................................ 106
Receive Bulk 批量接收................................................................ 106
Receive Channel 接收通道 ............................................................ 99
Receive Note Off 接收音键释放信息 ........................................... 99
Receive Program Change 接收程序变化..................................... 106
ReceiveCh 接收音键释放信息 ...................................................... 99
Relative 相对的 ............................................................................. 35
Release Time 释放时间................................................................ 105
Release Time (AEG) 释放时间 (振幅包络发生器)................ 105
Release Time (Control #072) 释放时间 (控制号 072)............ 120
Release Time (FEG) 释放时间 (滤波包络发生器)................ 105
Remote Control 遥控 ..................................................................... 57
[REMOTE CONTROL] button [REMOTE CONTROL] 按键
......................................................................................................... 58
Remote Control for external sequencer 遥控外部音序器 ............. 57
Remote Control function 遥控功能 ............................................... 58
[REMOTE CONTROL] ON/OFF button [REMOTE CONTROL] 开
关按键 ............................................................................................ 12
Rename 再命名 ...................................................................... 86, 107
Reset All Controllers (Control #121) 重设所有控制器
(控制器 121)............................................................................. 121
Resonance 谐振 ...................................................................... 63, 102
Reverb 混响 .......................................................................... 67, 106
Reverb Send 混响发送................................................................. 100
RevSend 混响发送....................................................................... 100
ROM 只读存储器 .......................................................................... 28
RPN (Registered Parameter Number) 注册参数码...................... 121
S
Same Note Number Key On Assign Mode(分配模式)同一音符号
音键 ............................................................................................. 98
Save 保存............................................................................... 85, 107
Saving the Settings 保存设置......................................................... 73
(Scaling) BREAKPOINT (调音)分界点 ........................ 102, 104
(Scaling) OFFSET (调音)偏移 ....................................... 102, 104
Scaling Pan Depth 调音声相深度................................................ 104
ScalingPan 调整声相 ................................................................... 104
Segment 分割 ............................................................ 100, 102, 104
Select a track (Remote Control) 选择一轨 (遥控)..................... 58
Selecting a Mode 选择一个模式 . .................................................. 30
Selecting a voice 选择一个音色 . .................................................. 36
SEND (Effect Send) (Mixing) 发送 (效果发送)(混合)........ 79
SeqCtrl 音序控制 ......................................................................... 106
Sequence Play Mixing Edit Mode (Function Tree)
音序演奏混合编辑
模式 (功能树)............................................................................ 90
Sequence Play Mixing Mode (Function Tree) 音序演奏混合模式(功
能树)............................................................................................. 90
Sequence Play mode 音序演奏模式 ............................................ 114
Sequence Play mode (Effect Connection) 音序演奏模式(效果器连
接)................................................................................................. 69
Sequence Play Mode (Function Tree) 音序演奏模式 (功能树) 90
Sequence Play mode (Part Structure) 音序演奏模式 (声部结构 ) 24
Sequencer 音序器........................................................................... 24
Sequencer Control 音序控制器.................................................... 106
Set Remote Mode Template Type 设置遥控模式模板类型 . ..... 103
Set Remote Template Type 设置遥控模板类型.......................... 103
[SF1] - [SF5] (Sub Function) buttons (子功能)按键 ................ 12
SHAPE 尖锐度 ............................................................................ 100
Slider 推子 .................................................................................. 100
SLOT 1-3 lamps 插槽 1-3指示灯............................................. 12
SmartMedia 智能多媒体存储卡.................................................... 82
soft (Velocity) 柔和 (力度)........................................................ 87
Solo (Song) 独奏 (哑音)............................................................ 76
solo part 独奏声部.......................................................................... 42
SONAR (Remote Control) 遥控 SONAR 软件 ............................. 59
Song File 歌曲文件 ........................................................................ 75
Song Playback 歌曲回放................................................................ 75
Song track on/off 音轨开关 ........................................................... 76
Song track selection 音轨选择 ....................................................... 76
Sostenuto (Control #066) 持续 (控制号 066).......................... 120
Source 来源 .................................................................................. 103
Speed 速度.................................................................................... 105
Split (Master mode) 分割 (主控模式).......................................... 9
Split (Performance Play mode) 分割 (演奏音色弹奏模式)...... 42
SQ01 (Remote Control) 遥控 "Cubase/SQ01" 软件...................... 59
Src 可分配的控制器 .................................................................... 103
Store 储存 ....................................................................................... 73
Sub Category 子类.......................................................................... 38
Sub Category (Voice/Performance) 子类 (音色、演奏音色)... 98
SubCtgry 子类 ................................................................................ 98
Sub-Function buttons 子功能按键................................................. 32
索引

135
Basics SectionQuick GuideReferenceAppendix
Sustain (Level) 持续 (电平)..................................................... 105
Switch (ARP) 开关 (琵音)....................................................... 103
Switch (ArpSwitch) 开关 (琵音开关) ..................................... 101
Switch (Sw) 开关 .......................................................................... 98
System Effects 系统效果 ............................................................... 67
System Exclusive Messages 高级系统信息 ................................ 122
System Realtime Messages 系统实时信息 ................................. 122
T
TEMPLATE (Mixing) 模式 (混合)........................................... 79
Tempo 速度,拍子...................................................................... 101
Tempo (Arpeggio) 速度 (琵音)................................................. 46
TempoSpeed 拍子速度 ................................................................ 105
TempoSync 速度 (拍子)同步................................................. 105
TGSwitch 音频发生器开关........................................................... 99
Thru Port 直通端口...................................................................... 106
TIME 时间 .................................................................. 100, 102, 104
Time 时间 .............................................................. 98, 100, 102, 104
TimeMode 时间模式 ..................................................................... 98
Tone Generator 音频发生器.......................................................... 20
Tone Generator Switch 音频发生器开关...................................... 99
Top Panel 面板 .............................................................................. 12
Touch Sensitivity 触感灵敏度....................................................... 87
[TRACK SELECT] button [TRACK SELECT] 按键 ................ 12
TransCh 传送通道 ......................................................................... 99
Transmit Bank Select 传送库选择 .............................................. 106
Transmit Channel 传送通道 .......................................................... 99
transmit channel 传送通道............................................................. 37
Transmit Program Change 传送程序变化................................... 106
Transmit Switch 传送开关........................................................... 101
TransmitCh 传送通道.................................................................. 101
Transpose 转换............................................................................... 98
Troubleshooting 故障解决........................................................... 128
Tune 调试 ................................................................................... 107
Turn the track (Remote Control) (遥控)音轨 ........................... 58
Turning on the S90 开启雅马哈 S90 合成器................................ 14
Type 类型 ............................................................... 99, 101, 106, 107
U
UnitMultiply 琵音单元增加 ....................................................... 101
USB 通用串行母线 . ..................................................................... 13
USB connector 通用串行母线连线............................................... 17
USB interface 通用串行母线接口 ................................................. 17
USB terminal 通用串行母线端口 ................................................. 13
User Arpeggio 用户琵音 ............................................................... 45
Using as a Master Keyboard 作为主控键盘使用.......................... 48
Using Controllers 使用控制器....................................................... 53
Using Effects 使用效果器 ............................................................. 67
Using Memory Cards 使用存储卡 ................................................ 82
Using the Arpeggio function 使用琵音功能 ................................. 45
Using the Jobs 使用工作................................................................. 70
Utility mode 设置模式................................................................. 115
V
Variation 变种效果器 .................................................................... 67
Variation Pan 变种效果器声相 ................................................... 107
Variation Return 变种效果器返送 .............................................. 107
Variation Send 变种效果器发送 ................................................. 100
Variation to Chorus 变种效果器转合唱效果器 . ....................... 107
Variation to Reverb 变种效果器转混响效果器 ......................... 107
Variation Type 变种效果器类型................................................. 107
VarSend 变种效果器发送 ........................................................... 100
VelCrossFade 力度交叉衰落 ........................................................ 99
VelCurve 力度曲线........................................................................ 98
VelMode 力度模式 ...................................................................... 101
Velocity Curve 力度曲线............................................................... 98
Velocity Limit (Arpeggio) 琵音力度限制..................................... 47
Velocity Limit Cross Fade 力度交叉衰落限制............................. 99
Velocity Limit Low/High 琵音上、下限 ...................................... 99
Velocity Limit Low/High (Voice Element) 琵音上、下限 (音色因
子)................................................................................................. 62
Velocity Sensitivity 力度灵敏度 ................................................. 102
Velocity Sensitivity Curve 力度灵敏度曲线 ...................... 100, 104
Velocity Sensitivity Depth 力度灵敏度 ........................................ 99
Velocity Sensitivity Offset 力度灵敏偏移 . .................................. 99
VelocityDepth (VelSensDpt) 力度灵敏度深度............................. 99
VelocityLimit 力度限制 .............................................................. 101
VelocityLimit (L/H) 力度上下限 ................................................... 99
VelocityLimit (Voice Element) 力度上下限 (音色因子)......... 62
VelocityOffset (VelSensOfs) 力度偏移 (力度灵敏度偏移)..... 99
VelocityRate 力度比率 ................................................................ 101
Voice 音色...................................................................................... 26
Voice & Element 音色和音色因子 ............................................... 26
VOICE (Mixing) 音色 (混合)................................................... 78
Voice Bank (Quick Guide) 音色库 (快速指导)........................ 36
Voice Edit 音色编辑...................................................................... 60
Voice Edit Mode (DRUM) (Function Tree) 音色编辑模式 (鼓组)
(功能树)...................................................................................... 88
Voice Edit Mode (Normal) (Function Tree) 音色编辑模式 (常规)
(功能树)...................................................................................... 88
Voice Edit Mode (Plug-in) (Function Tree) 音色编辑模式(扩展卡)
(功能树)...................................................................................... 89
Voice Element Pan 音色因子声相 ................................................. 00
Voice Group (Quick Guide) 音色组 (快速指导)...................... 37
Voice mode 音色模式.................................................................. 114
Voice mode (Effect Connection) 音色模式 (效果器连接)....... 68
Voice mode (Part Structure) 音色模式 (声部结构).................. 23
Voice Number 音色号 .................................................................... 99
Voice number (Quick Guide) 音色号 (快速指导)..................... 37
Voice Play Mode (Function Tree) 音色演奏模式 (功能树)...... 88
Voice Play mode (Quick Guide) 音色演奏模式 (快速指导)
......................................................................................................... 36
VoiceELPan 音色因子声相 . ....................................................... 100
Voices 音色..................................................................................... 25
Voices & Performance 音色和音色模式 ....................................... 25
Voices (Performance Play) 音色 (演奏音色弹奏).................... 44
VOL/PAN (Mixing) 音量 /声相 (混合).................................... 78
Volume 音量 ................................................................................ 100
Volume Label 卷标....................................................................... 107
W
Wave 声波 .................................................................................... 105
Wave Number 声波名 .....................................................................99
Wave Number (Voice Element) 波数 (音色因子)..................... 62
Wave Type 声波类型 ..................................................................... 99
Waveform 波形............................................................................... 21
WaveNo. 波数................................................................................. 99
wide (Velocity) 延伸的 (力度)................................................... 87
Width 宽........................................................................................ 102
Z
Zone 音区 ............................................................................... 48, 51
Zone Edit 音区编辑 ........................................................................ 51
Zone Switch (Quick Guide) 音区开关 (快速指导)................... 51
索引

136
备忘录

For details of products, please contact your nearest Yamaha
representative or the authorized distributor listed below.
Pour plus de détails sur les produits, veuillez-vous adresser à Yamaha ou au dis-
tributeur le plus proche de vous figurant dans la liste suivante.
Die Einzelheiten zu Produkten sind bei Ihrer unten aufgeführten Niederlassung und
bei Yamaha Vertragshändlern in den jeweiligen Bestimmungsländern erhältlich.
Para detalles sobre productos, contacte su tienda Yamaha más cercana o el
distribuidor autorizado que se lista debajo.
CANADA
Yamaha Canada Music Ltd.
135 Milner Avenue, Scarborough, Ontario,
M1S 3R1, Canada
Tel: 416-298-1311
U.S.A.
Yamaha Corporation of America
6600 Orangethorpe Ave., Buena Park, Calif. 90620,
U.S.A.
Tel: 714-522-9011
MEXICO
Yamaha de México S.A. de C.V.
Calz. Javier Rojo Gómez #1149,
Col. Guadalupe del Moral
C.P. 09300, México, D.F., México
Tel: 55-5804-0600
BRAZIL
Yamaha Musical do Brasil Ltda.
Av. Reboucas 2636-Pinheiros CEP: 05402-400
Sao Paulo-SP. Brasil
Tel: 011-3085-1377
ARGENTINA
Yamaha Music Latin America, S.A.
Sucursal de Argentina
Viamonte 1145 Piso2-B 1053,
Buenos Aires, Argentina
Tel: 1-4371-7021
PANAMA AND OTHER LATIN
AMERICAN COUNTRIES/
CARIBBEAN COUNTRIES
Yamaha Music Latin America, S.A.
Torre Banco General, Piso 7, Urbanización Marbella,
Calle 47 y Aquilino de la Guardia,
Ciudad de Panamá, Panamá
Tel: +507-269-5311
THE UNITED KINGDOM
Yamaha-Kemble Music (U.K.) Ltd.
Sherbourne Drive, Tilbrook, Milton Keynes,
MK7 8BL, England
Tel: 01908-366700
IRELAND
Danfay Ltd.
61D, Sallynoggin Road, Dun Laoghaire, Co. Dublin
Tel: 01-2859177
GERMANY
Yamaha Music Central Europe GmbH
Siemensstraße 22-34, 25462 Rellingen, Germany
Tel: 04101-3030
SWITZERLAND/LIECHTENSTEIN
Yamaha Music Central Europe GmbH,
Branch Switzerland
Seefeldstrasse 94, 8008 Zürich, Switzerland
Tel: 01-383 3990
AUSTRIA
Yamaha Music Central Europe GmbH,
Branch Austria
Schleiergasse 20, A-1100 Wien, Austria
Tel: 01-60203900
THE NETHERLANDS
Yamaha Music Central Europe,
Branch Nederland
Clarissenhof 5-b, 4133 AB Vianen, The Netherlands
Tel: 0347-358 040
BELGIUM/LUXEMBOURG
Yamaha Music Central Europe GmbH,
Branch Belgium
Rue de Geneve (Genevastraat) 10, 1140 - Brussels,
Belgium
Tel: 02-726 6032
FRANCE
Yamaha Musique France
BP 70-77312 Marne-la-Vallée Cedex 2, France
Tel: 01-64-61-4000
ITALY
Yamaha Musica Italia S.P.A.
Combo Division
Viale Italia 88, 20020 Lainate (Milano), Italy
Tel: 02-935-771
SPAIN/PORTUGAL
Yamaha-Hazen Música, S.A.
Ctra. de la Coruna km. 17, 200, 28230
Las Rozas (Madrid), Spain
Tel: 91-639-8888
GREECE
Philippos Nakas S.A. The Music House
147 Skiathou Street, 112-55 Athens, Greece
Tel: 01-228 2160
SWEDEN
Yamaha Scandinavia AB
J. A. Wettergrens Gata 1
Box 30053
S-400 43 Göteborg, Sweden
Tel: 031 89 34 00
DENMARK
YS Copenhagen Liaison Office
Generatorvej 8B
DK-2730 Herlev, Denmark
Tel: 44 92 49 00
FINLAND
F-Musiikki Oy
Kluuvikatu 6, P.O. Box 260,
SF-00101 Helsinki, Finland
Tel: 09 618511
NORWAY
Norsk filial av Yamaha Scandinavia AB
Grini Næringspark 1
N-1345 Østerås, Norway
Tel: 67 16 77 70
ICELAND
Skifan HF
Skeifan 17 P.O. Box 8120
IS-128 Reykjavik, Iceland
Tel: 525 5000
OTHER EUROPEAN COUNTRIES
Yamaha Music Central Europe GmbH
Siemensstraße 22-34, 25462 Rellingen, Germany
Tel: +49-4101-3030
Yamaha Corporation,
Asia-Pacific Music Marketing Group
Nakazawa-cho 10-1, Hamamatsu, Japan 430-8650
Tel: +81-53-460-2312
TURKEY/CYPRUS
Yamaha Music Central Europe GmbH
Siemensstraße 22-34, 25462 Rellingen, Germany
Tel: 04101-3030
OTHER COUNTRIES
Yamaha Music Gulf FZE
LB21-128 Jebel Ali Freezone
P.O.Box 17328, Dubai, U.A.E.
Tel: +971-4-881-5868
THE PEOPLE’S REPUBLIC OF CHINA
Yamaha Music & Electronics (China) Co.,Ltd.
25/F., United Plaza, 1468 Nanjing Road (West),
Jingan, Shanghai, China
Tel: 021-6247-2211
HONG KONG
Tom Lee Music Co., Ltd.
11/F., Silvercord Tower 1, 30 Canton Road,
Tsimshatsui, Kowloon, Hong Kong
Tel: 2737-7688
INDONESIA
PT. Yamaha Music Indonesia (Distributor)
PT. Nusantik
Gedung Yamaha Music Center, Jalan Jend. Gatot Subroto
Kav. 4, Jakarta 12930, Indonesia
Tel: 21-520-2577
KOREA
Yamaha Music Korea Ltd.
Tong-Yang Securities Bldg. 16F 23-8 Yoido-dong,
Youngdungpo-ku, Seoul, Korea
Tel: 02-3770-0660
MALAYSIA
Yamaha Music Malaysia, Sdn., Bhd.
Lot 8, Jalan Perbandaran, 47301 Kelana Jaya,
Petaling Jaya, Selangor, Malaysia
Tel: 3-78030900
PHILIPPINES
Yupangco Music Corporation
339 Gil J. Puyat Avenue, P.O. Box 885 MCPO,
Makati, Metro Manila, Philippines
Tel: 819-7551
SINGAPORE
Yamaha Music Asia Pte., Ltd.
#03-11 A-Z Building
140 Paya Lebor Road, Singapore 409015
Tel: 747-4374
TAIWAN
Yamaha KHS Music Co., Ltd.
3F, #6, Sec.2, Nan Jing E. Rd. Taipei.
Taiwan 104, R.O.C.
Tel: 02-2511-8688
THAILAND
Siam Music Yamaha Co., Ltd.
891/1 Siam Motors Building, 15-16 floor
Rama 1 road, Wangmai, Pathumwan
Bangkok 10330, Thailand
Tel: 02-215-2626
OTHER ASIAN COUNTRIES
Yamaha Corporation,
Asia-Pacific Music Marketing Group
Nakazawa-cho 10-1, Hamamatsu, Japan 430-8650
Tel: +81-53-460-2317
AUSTRALIA
Yamaha Music Australia Pty. Ltd.
Level 1, 99 Queensbridge Street, Southbank,
Victoria 3006, Australia
Tel: 3-9693-5111
NEW ZEALAND
Music Houses of N.Z. Ltd.
146/148 Captain Springs Road, Te Papapa,
Auckland, New Zealand
Tel: 9-634-0099
COUNTRIES AND TRUST
TERRITORIES IN PACIFIC OCEAN
Yamaha Corporation,
Asia-Pacific Music Marketing Group
Nakazawa-cho 10-1, Hamamatsu, Japan 430-8650
Tel: +81-53-460-2312
NORTH AMERICA
CENTRAL & SOUTH AMERICA
EUROPE
AFRICA
MIDDLE EAST
ASIA
OCEANIA
HEAD OFFICE
Yamaha Corporation, Pro Audio & Digital Musical Instrument Division
Nakazawa-cho 10-1, Hamamatsu, Japan 430-8650
Tel: +81-53-460-2445
SY34

