Yamaha THR Head Owner's Manual Manual_KO Thr100hd 100h Ko Om B0 Web
User Manual: Yamaha THR HEAD Owner's Manual_KO
Open the PDF directly: View PDF
.
Page Count: 25

Manual Development Group
Yamaha Corporation
Revised 08/2017 PO-B0
ZQ05310-3 版次 : R2
THR
Series
Guitar Amplifier
THR100HD / THR100H
EnglishDeutschFrançaisItalianoEspañol
Português
Pусский
VOLUME INPUT
IIREVERBPRESENCETREBLEMIDDLEBASSMASTERGAINBOOSTER
MODERN
LEAD
CRUNCH
CLEAN
SOLID
SOLID
II
VOLUME INPUT
IREVERBPRESENCETREBLEMIDDLEBASSMASTERGAINBOOSTER
MODERN
LEAD
CRUNCH
CLEAN
I
I
+
II
SOLID
VOLUME INPUT REVERBPRESENCETREBLEMIDDLEBASSMASTERGAINBOOSTER
MODERN
LEAD
CRUNCH
CLEAN
THR100H
THR100HD
THR100HD / THR100H
日本語
KOZHRUPTESITFRDEJAEN

2
Explanation of Graphical Symbols
Explication des symboles
The lightning ash with arrowhead symbol within an equilateral triangle is intended to alert the user to the presence of uninsulated
“dangerous voltage” within the product’s enclosure that may be of sufcient magnitude to constitute a risk of electric shock to persons.
L’éclair avec une èche à l’intérieur d’un triangle équilatéral est destiné à attirer l’attention de l’utilisateur sur la présence d’une « tension
dangereuse » non isolée à l’intérieur de l’appareil, pouvant être sufsamment élevée pour constituer un risque d’électrocution.
The exclamation point within an equilateral triangle is intended to alert the user to the presence of important operating and mainte-
nance (servicing) instructions in the literature accompanying the product.
Le point d’exclamation à l’intérieur d’un triangle équilatéral est destiné à attirer l’attention de l’utilisateur sur la présence d’instructions
importantes sur l’emploi ou la maintenance (réparation) de l’appareil dans la documentation fournie.
IMPORTANT SAFETY
INSTRUCTIONS
PRÉCAUTIONSCONCER-
NANT LA SÉCURITÉ
1 Read these instructions.
2 Keep these instructions.
3 Heed all warnings.
4 Follow all instructions.
5 Do not use this apparatus near water.
6 Clean only with dry cloth.
7 Do not block any ventilation openings. Install in accordance
with the manufacturer’s instructions.
8 Do not install near any heat sources such as radiators, heat
registers, stoves, or other apparatus (including ampliers)
that produce heat.
9 Do not defeat the safety purpose of the polarized or ground-
ing-type plug. A polarized plug has two blades with one wider
than the other. A grounding type plug has two blades and
a third grounding prong. The wide blade or the third prong
are provided for your safety. If the provided plug does not t
into your outlet, consult an electrician for replacement of the
obsolete outlet.
10 Protect the power cord from being walked on or pinched
particularly at plugs, convenience receptacles, and the point
where they exit from the apparatus.
11 Only use attachments/accessories specied by the manufac-
turer.
12 Use only with the cart, stand, tripod, bracket,
or table specied by the manufacturer, or
sold with the apparatus. When a cart is used,
use caution when moving the cart/apparatus
combination to avoid injury from tip-over.
13 Unplug this apparatus during lightning storms
or when unused for long periods of time.
14 Refer all servicing to qualied service personnel. Servicing
is required when the apparatus has been damaged in any
way, such as power-supply cord or plug is damaged, liquid
has been spilled or objects have fallen into the apparatus, the
apparatus has been exposed to rain or moisture, does not
operate normally, or has been dropped.
WARNING
TO REDUCE THE RISK OF FIRE OR ELECTRIC SHOCK, DO NOT
EXPOSE THIS APPARATUS TO RAIN OR MOISTURE.
(UL60065_03) AVERTISSEMENT
POUR RÉDUIRE LES RISQUES D’INCENDIE OU DE DÉCHARGE
ÉLECTRIQUE, N’EXPOSEZ PAS CET APPAREIL À LA PLUIE OU À L’HUMIDITÉ.
(UL60065_03)
1 Lire ces instructions.
2 Conserver ces instructions.
3 Tenir compte de tous les avertissements.
4 Suivre toutes les instructions.
5 Ne pas utiliser ce produit à proximité d’eau.
6 Nettoyer uniquement avec un chiffon propre et sec.
7 Ne pas bloquer les orices de ventilation. Installer l’appareil
conformément aux instructions du fabricant.
8 Ne pas installer l’appareil à proximité d’une source de chaleur
comme un radiateur, une bouche de chaleur, un poêle ou
tout autre appareil (y compris un amplicateur) produisant de
la chaleur.
9
Ne pas modier le système de sécurité de la che polarisée ou
de la che de terre. Une che polarisée dispose de deux broches
dont une est plus large que l’autre. Une che de terre dispose de
deux broches et d’une troisième pour le raccordement à la terre.
Cette broche plus large ou cette troisième broche est destinée à
assurer la sécurité de l’utilisateur. Si la che équipant l’appareil
n’est pas compatible avec les prises de courant disponibles,
faire remplacer les prises par un électricien.
10 Acheminer les cordons d’alimentation de sorte qu’ils ne soient
pas piétinés ni coincés, en faisant tout spécialement attention
aux ches, prises de courant et au point de sortie de l’appareil.
11 Utiliser exclusivement les xations et accessoires spéciés
par le fabricant.
12 Utiliser exclusivement le chariot, le stand, le
trépied, le support ou la table recommandés
par le fabricant ou vendus avec cet appareil.
Si l’appareil est posé sur un chariot, déplacer
le chariot avec précaution pour éviter tout
risque de chute et de blessure.
13 Débrancher l’appareil en cas d’orage ou lorsqu’il doit rester
hors service pendant une période prolongée.
14 Coner toute réparation à un personnel qualié. Faire réparer
l’appareil s’il a subi tout dommage, par exemple si la che
ou le cordon d’alimentation est endommagé, si du liquide a
coulé ou des objets sont tombés à l’intérieur de l’appareil, si
l’appareil a été exposé à la pluie ou à de l’humidité, si l’appareil
ne fonctionne pas normalement ou est tombé.

3
COMPLIANCE INFORMATION STATEMENT
(DECLARATION OF CONFORMITY PROCEDURE)
Responsible Party : Yamaha Corporation of America
Address : 6600 Orangethorpe Ave., Buena Park, Calif. 90620
Telephone : 714-522-9011
Type of Equipment : GUITAR AMPLIFIER
Model Name : THR100HD/THR100H
This device complies with Part 15 of the FCC Rules.
Operation is subject to the following two conditions:
1) this device may not cause harmful interference, and
2) this device must accept any interference received including interference that may cause
undesired operation.
See user manual instructions if interference to radio reception is suspected.
* This applies only to products distributed by YAMAHA CORPORATION OF AMERICA. (FCC DoC)
FCC INFORMATION (U.S.A.)
1. IMPORTANT NOTICE: DO NOT
MODIFY THIS UNIT!
This product, when installed as indicated
in the instructions contained in this man-
ual, meets FCC requirements. Modifica-
tions not expressly approved by Yamaha
may void your authority, granted by the
FCC, to use the product.
2. IMPORTANT: When connecting this
product to accessories and/or another
product use only high quality shielded
cables. Cable/s supplied with this prod-
uct MUST be used. Follow all installation
instructions. Failure to follow instructions
could void your FCC authorization to use
this product in the USA.
3. NOTE: This product has been tested
and found to comply with the require-
ments listed in FCC Regulations, Part 15
for Class “B” digital devices. Compliance
with these requirements provides a rea-
sonable level of assurance that your use
of this product in a residential environ-
ment will not result in harmful interference
with other electronic devices. This equip-
ment generates/uses radio frequencies
and, if not installed and used according
to the instructions found in the users
manual, may cause interference harmful
to the operation of other electronic de-
vices. Compliance with FCC regulations
does not guarantee that interference will
not occur in all installations. If this prod-
uct is found to be the source of interfer-
ence, which can be determined by turning
the unit “OFF” and “ON”, please try to
eliminate the problem by using one of the
following measures:
Relocate either this product or the device
that is being affected by the interference.
Utilize power outlets that are on different
branch (circuit breaker or fuse) circuits or
install AC line filter/s.
In the case of radio or TV interference, re-
locate/reorient the antenna. If the antenna
lead-in is 300 ohm ribbon lead, change
the lead-in to co-axial type cable.
If these corrective measures do not pro-
duce satisfactory results, please contact
the local retailer authorized to distribute
this type of product. If you can not locate
the appropriate retailer, please contact
Yamaha Corporation of America, Electron-
ic Service Division, 6600 Orangethorpe
Ave, Buena Park, CA90620
The above statements apply ONLY to those
products distributed by Yamaha Corpora-
tion of America or its subsidiaries.
* This applies only to products distributed by YAMAHA CORPORATION OF AMERICA. (class B)

4
This device complies with Part 15 of the FCC Rules. Operation is subject to the following two
conditions:
(1) this device may not cause harmful interference, and (2) this device must accept any inter-
ference received, including interference that may cause undesired operation.
This Class B digital apparatus complies with Canadian ICES-003.
Cet appareil numérique de la classe B est conforme à la norme NMB-003 du Canada.
“ Laite on liitettävä suojamaadoituskoskettimilla
varustettuun pistorasiaan”
“Apparatet må tilkoples jordet stikkontakt”
“Apparaten skall anslutas till jordat uttag”

1
목차
안전 주의사항 ...........................................2
특징 .......................................................5
패키지 내용물 ........................................... 5
명칭 및 기능 .............................................6
캐비닛 연결 ............................................ 12
전원 연결 ............................................... 15
이펙트 루프 사용 ..................................... 15
풋 스위치의 사용 ..................................... 16
상세 설정 ............................................... 17
문제 해결 ............................................... 19
사양 ..................................................... 20
THR series Guitar Amplier
THR100HD / THR100H
사용설명서
한국어
이 기기는 가정용 (B 급 ) 전자파적합기기로
서 주로 가정에서 사용하는 것을 목적으로
하며 , 모든 지역에서 사용할 수 있습니다 .
(class b korea)

2
안전 주의사항
사용 전에 반드시 “ 안전 주의사항 ”을 읽어 주십시오
본 사용설명서를 찾기 쉬운 안전한 곳에 보관하여 향후에 참조하도록 하십시오 .
경고
아래에 열거되어 있는 기본 주의사항을 반드시 준수하여 감전 , 누전 , 손상 , 화재 및 기타 위
험으로 인해 부상 및 사망이 발생할 가능성을 줄이시기 바랍니다 . 다음과 같은 주의사항들이
있으나 이 사항들에 국한되는 것은 아닙니다 .
전원 / 전원 코드
• 전원 코드를 히터나 라디에이터 등의 열기
구와 가까운 곳에 두지 마십시오 . 또한 코
드가 손상될 수 있으므로 코드를 과도하게
구부리거나 코드 위에 무거운 물건을 놓지
마십시오 .
• 본 장치에 알맞은 것으로 지정된 전압만 사
용하십시오 . 전압 조건은 장치의 명판에 인
쇄되어 있습니다 .
• 제공된 전원 코드 / 플러그만을 사용하십시
오 .
• 전원 플러그를 정기적으로 점검하고 , 오물
이나 먼지가 쌓인 경우에는 이를 제거하십
시오 .
• 보호 접지용 연결 장치가 있는 콘센트에 연
결하십시오 . 제대로 접지되어 있지 않으면
감전될 수 있습니다 . ( → 15 페이지 )
분해 금지
• 이 제품의 내부를 열거나 내부 부품을 분
해 , 개조하지 마십시오 . 감전이나 화재 , 부
상 또는 고장의 원인이 될 수 있습니다 . 고
장이 의심되는 경우에는 즉시 사용을 중단
하고 Yamaha 공식 AS 센터에서 점검을 받
도록 하십시오 .
침수 경고
• 비에 젖지 않도록 하고 , 물 또는 습기가 많
은 장소에서 사용하거나 쏟아질 우려가 있
는 액체가 담긴 용기 ( 예 : 화병 , 병 또는 유
리 컵 ) 를 본 제품에 올려놓지 않도록 하십
시오 . 물과 같은 액체가 제품 안으로 새어
들어가는 경우 , 즉시 전원을 끄고 AC 콘센
트에서 전원 코드를 뺀 다음 Yamaha 공식
AS 센터에 장치의 점검을 의뢰하십시오 .
• 절대로 젖은 손으로 플러그를 꽂거나 빼지
마십시오 . 감전의 위험이 있습니다 .
화재 경고
• 양초 등 연소성 물품을 본체 위에 놓지 마십
시오 . 연소성 물품이 떨어져 화재를 일으킬
수 있습니다 .
이상 징후 발견 시
• 다음과 같은 문제가 발생할 경우 즉시 전원
스위치를 끄고 콘센트에서 전원 플러그를
뽑으십시오 . 그대로 사용을 계속했을 경우
감전 , 화재 또는 고장의 위험이 있습니다 .
바로 Yamaha 공식 AS 센터에 점검을 의뢰
하여 주시기 바랍니다 .
- 전원 코드 또는 플러그가 마모되거나 손
상된 경우
- 이상한 냄새나 연기가 나는 경우
- 제품 내부에 이물질이 들어간 경우
- 장치 사용 중 갑자기 소리가 나지 않는 경
우

3
주의
아래에 열거되어 있는 기본 주의사항을 반드시 준수하여 본인이나 타인의 신체적 부상 또는
본 장치나 기타 재산의 손상을 방지하시기 바랍니다 . 다음과 같은 주의사항들이 있으나 이 사
항들에 국한되는 것은 아닙니다 .
Yamaha는 부적절하게 장치를 사용하거나 개조하여 발생한 고장 또는 데이터 손실이나 파손
에 대해 책임지지 않습니다 .
명판은 기기의 아랫면에 부착되어 있습니다 .
장치를 사용하지 않을 때에는 항상 전원을 끄십시오 .
• 본체를 옮길 경우에는 케이블이 손상되거
나 다른 사람이 발에 걸려 넘어져 다치지 않
도록 연결된 모든 케이블을 분리한 후 이 동
하십시오 .
• 본 장치를 AC 콘센트 가까이에 설치하십시
오 . 전원 플러그가 손이 닿기 쉬운 곳에 설
치하여 고장 또는 오작동이 발생할 경우 즉
시 전원 스위치를 끄고 콘센트에서 플러그
를 뽑으십시오 . 제품의 전원을 끄더라도 내
부에는 최소한의 전류가 흐르고 있습니다 .
제품을 장시간 사용하지 않을 때에는 반드
시 콘센트에서 전원 플러그를 뽑아놓으십
시오 .
연결
• 본 장치를 다른 전자 기계에 연결할 때에는
먼저 모든 기계의 전원을 끈 다음 연결하십
시오 . 전원을 켜거나 끄기 전에는 음량을
최소로 낮추십시오 .
• 연주를 시작하기 전에 장치의 음량이 최소
로 설정되어 있는지 확인하고 연주 중 단계
적으로 음량을 올려 원하는 음량 수준으로
맞추십시오 .
취급상 주의
• 음량을 크게 하거나 귀에 거슬리는 수준의
음량으로 장시간 작동시키지 마십시오 . 청
각 장애가 나타나거나 귀 울림현상이 발생
한 경우에는 이비인후과 전문의의 진찰을
받으십시오 .
전원 / 전원 코드
• 멀티탭을 사용하여 연결하지 마십시오 . 음
질이 저하되거나 콘센트가 과열되어 화재
의 원인이 될 수 있습니다 .
• 전원 플러그를 뽑을 때에는 반드시 코드가
아닌 플러그 손잡이 부분을 잡으십시오 . 코
드가 손상되면 감전이나 화재의 원인이 될
수 있습니다 .
• 본 장치를 장시간 동안 사용하지 않을 경우
또는 뇌우 발생 시에는 전기 플러그를 콘센
트에서 뽑아놓으십시오 .
설치
• 불안정한 장소에는 본 장치를 설치하지 마
십시오 . 본체가 떨어져서 고장이 나거나 사
용자 혹은 다른 사람이 다칠 수 있습니다 .
• 장치의 통기구 앞에 물건을 두지 마십시오 .
내장 부품의 환기가 충분히 이루어지지 않
아 장치가 과열될 수 있습니다 .
• 본 장치를 랙에 놓고 사용하지 마십시오 .
또한 , 장치를 설치할 때에는 다음 사항에
유의하십시오 .
- 천이나 식탁보로 덮지 마십시오 .
- 깔개나 카펫 등의 위에 설치하지 마십시
오 .
- 앰프를 눕히거나 거꾸로 놓지 마십시오 .
- 환기가 잘 안되는 좁은 공간에 설치하지
마십시오 .
위 사항을 준수하지 않으면 장치 내부에 열
이 발생할 수 있으며 , 고장 또는 화재의 원
인이 됩니다 .
장치의 왼쪽과 오른쪽 , 위쪽와 뒤쪽에 최소
5cm 의 공간을 유지합니다 .

4
주의 사항
제품의 오동작 및 훼손, 데이터 또는 기타 기
기의 손상을 방지하기 위해 다음 주의 사항
을 준수해 주십시오.
n 취급 및 유지 보수
• 본 장치를 TV, 라디오, 스테레오 장비, 휴대
전화 또는 기타 전기 장치 가까이에서 사용
하지 마십시오. 본 장치나 TV 또는 라디오에
서 잡음이 생길 수 있습니다. iPad, iPhone 또
는 iPod touch의 앱과 함께 본 장치를 사용할
때에는 통신에 의한 잡음이 생기지 않도록 ‘
비행기 모드’를 ‘켬’으로 설정할 것을 권장합
니다.
• 본 장치를 과도한 먼지나 진동, 극한 또는 고
온(직사광선, 히터 주변, 한낮의 차량 내부
등)에 노출시키지 마십시오. 이로 인해 패널
의 변형, 내부 부품의 손상, 또는 불안정한 작
동이 유발될 수 있습니다.
(검증된 작동 온도 범위: 5°–40°C 또는
41°–104°F)
• 비닐, 플라스틱 또는 고무로 된 물체를 장치
에 올려놓지 마십시오. 변색의 원인이 될 수
있습니다.
• 장치를 닦을 때에는 부드럽고 마른 천을 사
용합니다.
시너, 용제, 알코올, 세정액 또는 화학제품이
스며 있는 천은 사용하지 마십시오.
정보
n 저작권
• 소프트웨어의 복제는 엄격히 금지되어 있습
니다.
• 본 제품은 Yamaha가 저작권을 보유한 컴퓨
터 프로그램 및 콘텐츠 또는 제삼자의 저작
권 사용 허가를 받은 저작물이 포함되어 번
들로 제공됩니다. 이러한 저작권 보호 자료
로는 일체의 컴퓨터 소프트웨어, 스타일 파
일, MIDI 파일, WAVE 데이터, 악보 및 음향
녹음 등이 있습니다. 프로그램 및 콘텐츠를
개인적인 용도 외 무단으로 사용하는 일은
관련 법률에 의거, 일절 허용되지 않습니다.
모든 저작권 위반은 법적 영향력을 갖습니
다. 불법 복사본을 제작, 배포 또는 사용하지
마십시오.
n 사용 설명서 관련 정보
• 본 사용 설명서에 표시된 그림은 설명용으로
만 제공되는 것으로 실제 장치와 다소 차이
가 있을 수 있습니다.
• 별도로 명시되지 않는 한, 본 설명서에 사용
된 모든 그림은 THR100HD에 해당됩니다.
• Windows는 미국 및 기타 국가에서
Microsoft® Corporation의 등록 상표입니다.
• Apple, Mac 및 Macintosh는 미국 및 기타 국
가에 등록된 Apple Inc.의 상표입니다.
• 본 설명서에 기재된 회사명과 제품명은 각
회사의 상표 또는 등록 상표입니다.

5
n 패키지 내용물
다음의 품목이 포함되어 있습니다. 제품을 사용하기 전에 모든 품목이 포함되어 있는지 확인
하십시오.
lTHR100HD
•기타 앰프 x1
•전원 코드 x 1
•전용 풋 스위치 (5 스위치 ) x1
•5P DIN 풋 스위치 케이블 x1
•사용 설명서 ( 본서 ) x 1
Yamaha THR100HD/100H 기타 앰프를 구입해 주셔서 감사합니다.
본 제품을 최대한 활용하기 위해 사용 전에 사용 설명서를 숙독해 주십시
오. 본 설명서를 다 읽은 후에는 언제든 다시 참고할 수 있도록 정해진 장소
에 보관해 주십시오.
n 특징
• 매우 가볍고 작은 앰프 헤드가 진공관 앰프에서만 기대할 수 있었던 볼륨, 음압 레벨,
다이나믹과 함께 프로 퀄리티의 음과 톤을 제공합니다.
• 야마하만의 VCM 테크놀로지는 앰프뿐만 아니라 파워 진공관의 가상 모델링 기술로
써, 보다 넓은 범위의 사운드 테일러링 콤비네이션으로 정교하며 톡특한 톤을 만들
수 있습니다.
* VCM 테크놀로지란?
야마하가 개발한 고유의 물리적 모델링 기술입니다. VCM 테크놀로지는 장치의 아날로그 회로
특성을 소자 레벨에서 모델링하여 정확하게 재현합니다.
• 야마하의 고급 믹서에 사용되는 것과 같은 높은 퀄리티의 리버브가 장착되어 있습니
다.
• 새로이 개발된 Class-D 파워 앰프는 진공관 앰프 특유의 작동 특성을 충실히 재현하
여 진공관 앰프의 음압 레벨과 다이나믹을 경험할 수 있습니다.
• THR100HD는 듀얼 앰프 디자인이 특징으로 단일 유닛에서 두 개의 앰프로 사운드를
만듭니다. 두 개의 전자 기타를 위한 분리된 앰프를 제공하므로 두 사람이 동시에 연
주할 수 있습니다.
• LINE OUT과 PHONES 단자의 양쪽에 있는 스피커 시뮬레이터는 스튜디오에서 마이
크로 녹음한 스피커 캐비닛의 다이나믹과 공기와 섞인 톤을 복제합니다. 직접 연결된
라인 신호를 통해 스튜디오 퀄리티의 톤을 즐길 수 있습니다. 캐비닛과 마이크 타입
이 포함된 제삼자의 IR 데이터*도 사용할 수 있습니다. 사운드를 만드는데 훨씬 다양
한 캐비닛/마이킹 콤비네이션 배열을 제공합니다.
* IR 데이터는 스피커 응답 데이터를 나타냅니다(임펄스 응답).
l THR100H
•기타 앰프 x1
•전원 코드 x 1
•전용 풋 스위치 (3 스위치 ) x1
•5P DIN 풋 스위치 케이블 x1
•사용 설명서 ( 본서 ) x 1

6
명칭 및 기능
l 전면 패널
l 전면 패널
l 신호 흐름
l 신호 흐름
THR100HD
THR100H
SOLID
VOLUME INPUT REVERBPRESENCETREBLEMIDDLEBASSMASTERGAINBOOSTER
MODERN
LEAD
CRUNCH
CLEAN
w e r yt u i o !0 !1 !2 !3 !4 q
VOLUME INPUT
IIREVERBPRESENCETREBLEMIDDLEBASSMASTERGAINBOOSTER
MODERN
LEAD
CRUNCH
CLEAN
SOLID
SOLID
II
VOLUME INPUT
IREVERBPRESENCETREBLEMIDDLEBASSMASTERGAINBOOSTER
MODERN
LEAD
CRUNCH
CLEAN
I
I
+
II
e r yt u i o !0 !1 !2 !3 !4 qw
AMP
선택
부스터
부스터
프리 앰프
프리 앰프
부스터 프리 앰프
리버브
리버브
리버브
파워 앰프
파워 앰프
파워 앰프
외부 이
펙터
외부 이
펙터
외부 이
펙터
스피커 시뮬
레이션
스피커 시뮬
레이션
스피커 시뮬
레이션
믹서

7
명칭 및 기능
* 스피커와 캐비닛
기타 앰프의 헤드와 스피커 부분을 분리했을
때 , 스피커 부분을 일반적으로 ' 캐비닛 ' 이
라고 부릅니다 . 캐비닛에 설치된 스피커의
수는 디자인에 따라 다양하지만 , 본 설명서
에서는 SPEAKER OUT 단자에 연결된 장치
는 ' 캐비닛 ' 을 , 각각의 스피커는 ' 스피커 '
를 의미합니다 .
q INPUT I/II
이 단자에 기타를 연결합니다 .
THR100HD 에서는 앰프 선택 스위치 e
가 INPUT I 과 INPUT II 에서 앰프 I( 위
쪽 ) 또는 앰프 II( 아래쪽 ) 로의 신호 흐
름을 할당합니다 .
주의
기타를 하나만 앰프에 연결할 경우에는
INPUT I 단자에 연결해 주십시오. INPUT II
단자는 사용하지 마십시오. 고장의 원인이
됩니다.
w ( 전원 스위치 )
전원 스위치입니다 . 전원을 넣으면 앰
프 램프 e 와 전면 그릴 램프가 켜집니
다.
주의
작동중에 이상이 감지된 경우, 보호 기능이
가동되어 SPEAKER OUT 단자의 출력이 중
지됩니다. 전면 그릴 램프가 꺼지고, 전원도
강제로 꺼집니다. 보호 기능이 가동되었을
경우, 추가 정보는 19페이지의 ‘문제 해
결’ 편을 참조하십시오.
e [THR100HD]
앰프 선택 스위치 / 램
프
이 스위치로 INPUT I 과 INPUT II 단자
q사용을 위한 앰프를 선택합니다 . 선
택된 앰프의 램프 (I/II) 가 점등됩니다 .
기타가 INPUT I 단자에 연결되었을 때
I�������INPUT I 단자에 연결된 기타의 신호
는 앰프 I( 위 ) 로 보내집니다 . 앰프
I( 위 ) 의 출력만이 출력 회로로 보
내집니다 *
*출력 회로 : SPEAKER OUT,
LINEOUT, PHONES 단자를 말합
니다 .
II������INPUT I 단자에 연결된 기타의 신
호는 앰프 II( 아래 ) 로 보내집니다 .
앰프 II( 아래 ) 의 출력만이 출력 회
로로 보내집니다 .
I+II���INPUT I 단자에 연결된 기타의 신호
는 앰프 I( 위 ) 과 앰프 II( 아래 ) 로
보내집니다 . 앰프 I 과 앰프 II, 양쪽
의 출력은 출력 회로로 보내집니다 .
기타가 INPUT I 과 II 단자에 연결되었을
경우
I�������INPUT I 단자에 연결된 기타의 신호
는 앰프 I( 위 ) 로 보내집니다 . 앰프
I( 위 ) 의 출력만이 출력 회로로 보
내집니다
II������INPUT II 단자에 연결된 기타의 신
호는 앰프 II( 아래 ) 로 보내집니다 .
앰프 II( 아래 ) 의 출력만이 출력 회
로로 보내집니다 .
I+II���INPUT I 단자의 신호는 앰프 I( 위 )
로 보내지고 , INPUT II 단자의 신
호는 앰프 II( 아래 ) 로 보내집니다 .
각 앰프의 출력은 각각의 출력 회로
로 보내집니다 .
e [THR100H]
전원 램프
앰프의 전원이 켜질 때 점등됩니다 .
r 앰프 타입 선택기
프리 앰프의 앰프 시뮬레이션 타입을 선
택합니다 .
MODERN:풍부한 저음과 길게 울리는 아
메리칸 하드락 스택 앰프 톤

8
명칭 및 기능
LEAD: 클래식 브리티시 앰프의 우수한
중음 톤을 가진 중간 정도의 프리 앰
프 게인
CRUNCH:브리티시 콤보 앰프의 다이나
믹 디스토션이 있는 밝고 맑은 톤
CLEAN:아메리칸 콤보 앰프 특유의 맑으
면서도 아주 깨끗한 톤
SOLID:솔리드 스테이트 앰프 전형의 맑
은 톤
*******************************************************************
n VCM 테크놀로지
THR100 에 있는 다섯 개의 가상 앰프 타입은 야
마하 독자의 VCM 테크놀로지를 이용해 제작되었
습니다 . VCM 테크놀로지는 새로이 개발된 앰프
모델링 기술로써 , 컨트롤의 작동 특성과 각 앰프
의 독특한 톤을 정확히 재현합니다 . 또한 뒷면의
진공관 타입 선택 스위치 !5 로 파워 앰프부의 가
상 파워 진공관을 전환할 수 있습니다 .
*******************************************************************
t BOOSTER 스위치
부스터를 ON/OFF 합니다 .
* 이 스위치가 ON 일 경우 , 제품에 포함된 풋
스위치로 부스터 기능을 ON/OFF 할 수 있
습니다 . ( → 16 페이지 )
y BOOSTER
부스트 양을 조절합니다 .
* 'THR HD_H Utility' 응용 프로그램을 이용해
부스터 타입을 설정합니다 . ( → 17 페이지 )
u GAIN
프리 앰프부의 게인 양을 조절합니다 .
노브를 시계 방향으로 돌리면 디스토션
양이 증가합니다 .
i MASTER
파워 앰프부의 게인 양을 조절합니다 .
노브를 시계 방향으로 돌리면 파워 앰프
의 디스토션 양이 증가합니다 .
o BASS
프리 앰프부의 음색을 조절합니다 . 노브
를 시계 방향으로 돌리면 저음역이 강조
됩니다 .
!0 MIDDLE
프리 앰프부의 음색을 조절합니다 . 노브
를 시계 방향으로 돌리면 중음역이 강조
됩니다 .
!1 TREBLE
프리 앰프부의 음색을 조절합니다 . 노브
를 시계 방향으로 돌리면 고음역이 강조
됩니다 .
!2 PRESENCE
파워 앰프 입력부의 고음역을 조절합
니다 . 노브를 시계 방향으로 돌리면
TREBLE 컨트롤보다 높은 고음역이 강
조됩니다 .
!3 REVERB
리버브 회로로 보내지는 송출 레벨을 조
절합니다 . 노브를 시계 방향으로 돌리면
이펙트의 양이 증가합니다 .
* 노브를 시계 반대 방향으로 완전히 돌리면
이펙트가 꺼집니다 .
* 'THR HD_H Utility' 응용 프로그램을 이용해
리버브 타입을 설정합니다 . ( → 17 페이지 )
!4 VOLUME
패널 컨트롤 설정에 따라 나오는 소리
의 최종 볼륨을 조절합니다 . 이 설정
은 SPEAKER OUT, LINE OUT, 그리고
PHONES 단자에도 공통으로 사용됩니
다.

9
!5 POWER SECTION
진공관 타입 선택
진공관 시뮬레이션 타입을 선택합니
다.
6V6:작은 아메리칸 콤보 앰프에 사용되
는 진공관으로 훨씬 낮은 볼륨 레벨의
디스토션을 전달합니다 .
EL84:브리티시 콤보 앰프에 자주 사용되
는 진공관으로 소프트 드라이브를 전
달합니다 .
명칭 및 기능
l
후면 패널
l
후면 패널
THR100HD
THR100H
KT88:이 진공관은 재즈용부터 메탈용까
지의 모든 앰프에 다양하게 사용되며 ,
볼륨을 올린 상태에서도 디스토션이
거의 없습니다 .
6L6GC:아메리칸 앰프에 자주 사용되는
진공관으로 농후한 중음 톤을 냅니다 .
EL34:브리티시 앰프에 자주 사용되는 진
공관으로 우수한 중고음 프로젝션을
냅니다 .
* THR100 앰프에는 실제 물리적 진공관은
없습니다 . 대신 , VCM 테크놀로지를 이용
해 각 진공관 타입의 특성을 정확히 재현합
니다 .
6V6
EL84
SEND RETURN
EFFECT LOOP PHONESUSB TO FSW
KT88
6L6GC
EL34
POWER SECTION
CLASS
A
AB
SPEAKER
4Ω
8
Ω
16Ω
25W
50
W
1
00
W
SPEAKER OUT
IMPEDANCE 4~16Ω
CLASS 2 WIRING
GND LIFT
AC IN
LINE OUT
!9@4 @3@6 @5
!5 !7 !8 @0 @1 @7@2!6
6V6
EL84
21
SEND RETURN
EFFECT LOOP PHONESUSB TO FSW
KT88
6L6GC
EL34
POWER SECTION I
CLASS
A
AB
6V6
EL84
KT88
6L6GC
EL34
POWER SECTION II SPEAKER
CLASS
A
AB
4Ω
8
Ω
16Ω
25W
50
W
1
00
W
SPEAKER OUT
IMPEDANCE 4~16Ω
CLASS 2 WIRING
GND LIFT
LINE OUT
III
AC IN
LINE OUT
!9@4 @3@6 @5
!5 !7 !8 @0 @1 @7@2!6

10
명칭 및 기능
!6 POWER SECTION
진공관 클래스 스위치
진공관 타입 선택기 !5 로 선택된 진공관
의 작동 타입을 선택합니다 .
CLASS A:
이 시스템은 반응이 탁월하고 , 터치와
연주의 미묘한 차이에 상당히 민감합
니다 .
CLASS AB:
이 시스템은 보다 강한 볼륨과 파워를
전달합니다 .
!7 SPEAKER
임피던스 스위치
SPEAKER OUT !9 단자에 연결되는 캐
비닛의 사양에 맞게 앰프의 임피던스를
설정합니다 . THR100HD 에서는 이 스위
치 설정을 SPEAKER OUT 1 과 2 단자
에도 공통으로 사용합니다 .
주의
앰프에 캐비닛을 연결하기 전에 ‘캐비닛 연
결’ 편 (→ 12페이지) 을 읽고 내용을 완전
히 이해하시기 바랍니다. 그리고, 임피던스
설정을 캐비닛 사양에 맞추어 주십시오. 잘
못된 설정으로 사용하면 캐비닛과 앰프 손상
의 원인이 될 수 있습니다.
!8 SPEAKER
전력 출력 스위치
SPEAKER OUT
!9
단자에 연결되는 캐비
닛의 사양에 맞게 앰프의 출력 와트를 설정
합니다 .
THR100HD 에서는 이 설정을 SPEAKER
OUT 1 과 2 단자에도 공통으로 사용합니다 .
주의
앰프에 캐비닛을 연결하기 전에 ‘캐비닛 연
결’ 편
(→ 12페이지)
을 읽고 내용을 완전
히 이해하시기 바랍니다. 그리고, 출력 와트
설정을 캐비닛 사양에 맞추어 주십시오. 잘
못된 설정으로 사용하면 캐비닛과 앰프 손상
의 원인이 될 수 있습니다.
!9 SPEAKER OUT
캐비닛을 앰프에 연결합니다 .
THR100HD 에서는 앰프 선택 스위치 e
설정에 따라 단자 1 과 단자 2 의 신호가
다릅니다 . 이 때 , SPEAKER OUT 2 단
자 가 케이블에 연결되었는지는 상관 없
습니다 . 추가 정보는 ' 캐비닛 연결 ' 편
( → 12 페이지 ) 을 참조하십시오 .
@0 쿨링팬
앰프 내부의 열을 외부로 방출합니다 .
앰프 내부의 센서가 팬의 속도를 조절합
니다 .
주의
앰프 내부의 열을 외부로 방출합니다. 앰프
내부의 센서가 팬의 속도를 조절합니다.
@1 GND/LIFT
LINE OUT 단자 @2 를 위한 접지를 앰프
섀시에 연결 (GND) 하거나 분리 (LIFT)
합니다 . 윙윙거리는 소리나 소음이 들릴
때 LIFT 로 전환하면 문제가 해결되기도
합니다 .
@2 LINE OUT
스피커 시뮬레이션을 통과한 신호를 위
한 라인 레벨 밸런스 출력입니다 .
* 'THR HD_H Utility' 응용 프로그램을 이용
해 스피커 시뮬레이션 타입을 설정합니다 .
( → 17 페이지 )
THR100HD 에서는 앰프 I 의 출력은
LINE OUT I 으로 보내지고 , 앰프 II 의
출력은 LINE OUT II 로 보내집니다 .
1: 접지 ( 쉴드 )
2: 핫 (+)
3: 콜드 (-)

11
명칭 및 기능
@3 PHONES
헤드폰을 위한 스테레오 미니 폰 단자입
니다 .
LINE OUT @2 단자와 같이 , 이 단자의
신호가 스피커 시뮬레이터로 통합니다 .
스테레오 단자이지만 , L 과 R 의 양쪽 단
자의 출력이 같습니다 ( 모노 ).
THR100HD 에서는 LINE OUT I 과 II 의
양쪽 단자 신호가 혼합되어 L 과 R 의 양
쪽 단자로 보내집니다 .
* 플러그를 PHONES 단자에 연결하면
SPEAKER OUT 1/2 단자의 출력이 중지됩니
다 . LINE OUT I/II 단자의 출력은 영향을 미
치지 않습니다 .
@4 EFFECT LOOP SEND/RETURN
외부 이펙트 루프의 SEND 와 RETURN
단자입니다 . 이펙트 루프 사용에 대한
설명은 ' 이펙트 루프 사용 ' 편 ( → 15 페
이지 ) 을 참조하십시오 .
* 제품에 포함된 풋 스위치로 이펙트 루프를
ON/OFF 할 수 있습니다 . ( → 16 페이지 )
@5 TO FSW ( 풋 스위치 )
풋 스위치 커넥터입니다 . 추가 정보는 '
풋 스위치 연결 ' 편 ( → 16 페이지 ) 을 참
조하십시오 .
@6 USB
USB 케이블 ( 별도 판매 ) 을 사용하여
컴퓨터에 연결합니다 .
* 추가 정보는 ' 상세 설정 ' 편 ( → 17 페이지 )
을 참조하십시오 .
@7 AC IN
AC 전원 코드를 사용하여 콘센트에 연
결합니다 . 안전을 위해 접지 여부를 확
인해 주십시오 .

12
캐비닛 연결
n 캐비닛 사양
캐비닛을 연결하기 전에 다음의 두 가지 사
항을 확인해 주십시오 .
l 캐비닛 전력 소요량
l 캐비닛 임피던스
l 캐비닛 전력 소요량
앰프 후면 패널에 있는 전력 출력 스위치를
앰프와 연결할 캐비닛의 전력 소요량에 맞
게 설정해 놓습니다 .
* 전력 소요량은 ' 전력 소요량 ' 또는 ' 피크 전
력 소요량 ' 으로 캐비닛의 사양에 표시되어
있을 것입니다 .
l 캐비닛 임피던스
앰프 후면 패널에 있는 임피던스 스위치를
앰프와 연결할 캐비닛의 임피던스에 맞게
설정해 놓습니다 .
주의
잘못된 설정으로 사용하면 스피커와 앰프가
손상될 수 있습니다.
l
야마하 THRC212 캐비닛에서의 설정은
캐비닛의 전력 소요량과 임피던스 요구
사항을 변경할 것입니다. THRC212의 사
용 설명서를 주의 깊게 읽고, 적절하게 설
정해 주십시오.
l
여러개의 캐비닛을 연결할 때에는 전체
시스템의 허용 입력과 총 임피던스를 계
산한 후 적절히 설정합니다. 또한, 연결된
장치의 임피던스를 4Ω에서 16Ω 범위
내로 유지합니다.
n 연결과 설정
시판되는 케이블 ( 모노폰 - 모노폰 ) 을 사용
하여 앰프와 캐비닛을 연결합니다 .
주의
l
항상 앰프의 전원을 먼저 끄고, 본 장치를
연결하거나 분리합니다. 그러지 않으면
감전의 원인이 될 수 있습니다.
l
악기(기타) 케이블을 절대 사용하지 마십
시오. 악기 케이블의 사용으로 스피커와
앰프가 손상될 수 있습니다.
l 연결 예 1
THR100H 를 THRC112 에 연결 ( 출력 전력 :
150W, 임피던스 : 8 Ω )
임피던스 스위치 전력 출력 스위치
100W
8Ω
THRC112
THR100H

13
100W
8Ω
캐비닛 연결
l 연결 예 2
THR100HD 를 THRC112 에 연결 ( 출력 전
력 : 150W, 임피던스 : 8 Ω )
주의
단일 캐비닛을 앰프에 연결할 때에는 항상
SPEAKER OUT 1 단자를 사용하십시오.
l 연결 예 3
THR100HD 를 한 쌍의 THRC112 캐비닛에
연결 ( 출력 전력 : 150W, 임피던스 : 8Ω)
I
INPUT
THR100HD 앰프 선택 스위치 설정과 캐비
닛으로의 신호 출력
l 앰프 선택 스위치 = I
앰프 I( 위 ) 의 사운드가 출력됩니다 .
l 앰프 선택 스위치 = II
앰프 II( 아래 ) 의 사운드가 출력됩니다 .
l 앰프 선택 스위치 = I+II
앰프 I( 위 ) 과 앰프 II( 아래 ) 의 사운드가 출
력됩니다 .
4 Ω 캐비닛이 SPEAKER OUT 1 단자
에 연결되어 있을 때 , THR100HD 의
정격 출력은 50W 입니다 .
100W
8Ω
THRC112
I
INPUT
THRC112 THRC112
앰프 I 사
운드
앰프 II 사운
드
THR100HD
THR100HD
THR100HD 앰프 선택 스위치 설정과 캐비
닛으로의 신호 출력
l
앰프 선택 스위치 = I
앰프 I( 위 ) 의 사운드는 SPEAKER OUT 1 단
자로 보내집니다 . SPEAKER OUT 2 단자에
는 아무 신호도 보내지지 않습니다 .
l
앰프 선택 스위치 = II
앰프 II( 아래 ) 의 사운드는 SPEAKER OUT
2 단자로 보내집니다 . SPEAKER OUT 1 단
자에는 아무 신호도 보내지지 않습니다 .
l
앰프 선택 스위치 = I+II
앰프 I( 위 ) → SPEAKER OUT 1 단자 , 앰프
II( 아래 ) → SPEAKER OUT 2 단자 , 각 앰프
자체의 출력이 있습니다 .

14
100W
8Ω
DUAL
I
INPUT
앰프 II 사운
드
앰프 I 사
운드
캐비닛 연결
THRC212
THR100HD
100W
8Ω
I
II
INPUT
앰프 II( 기타 2)
사운드
앰프 I( 기타 1) 사
운드
THRC112 THRC112
THR100HD
기타 1
기타 2
l 연결 예 4
THR100HD 를 THRC212 에 연결 ( 출력 전
력 : 150W, 임피던스 : 8 Ω )
THRC212 캐비닛에 설치 된 두 스피커는 별
개로 작동됩니다 .
THR100HD 의 앰프 선택 스위치 설정과 캐
비닛으로의 신호 출력은 연결 예 3 과 같습
니다 .
l 연결 예 5
THR100HD 를 한 쌍의 THRC112 캐비닛에
연결 ( 출력 전력 : 150W, 임피던스 : 8Ω), 그
리고 앰프에 연결 된 두 개의 기타를 연주
SPEAKER OUT 1 단자에 연결된 THRC112
는 앰프 I( 기타 1) 에서 소리가 나고 ,
SPEAKER OUT 2 단자에 연결된 THRC112
는 앰프 II( 기타 2) 에서 소리가 납니다 .
THR100HD 의 앰프 선택 스위치 설정과 캐
비닛으로의 신호 출력은 연결 예 3 과 같습
니다 .
SPEAKER OUT 1, 2 단자가 각각 캐비닛에 연결되어 있을 때 ,
THR100HD 의 정격 출력은 50W + 50W 입니다 .

15
전원 연결
제공된 전원 코드를 후면 패널의 AC IN 커
넥터에 연결하고 , 코드의 다른 한쪽 끝은
AC 콘센트에 연결합니다 .
주의
안전한 작동을 위해 항상 접지선을 연결하
십시오.
이펙트 루프 사용
EFFECT LOOP SEND/RETURN 단자로 외
부 이펙터를 연결합니다 . ( 다이어그램 1)
제품에 포함된 풋 스위치로 이펙트 루프를
ON/OFF 할 수 있습니다 . ( → 16 페이지 )
* 외부 이펙트 회로는 공장에서 제조시 직렬
로 설정됩니다 . 그러나 'THR HD_H Utility'
응용 프로그램을 이용해 병렬로 전환할 수
있습니다 . ( → 17 페이지 )
* 절대로 EFFECT LOOP SEND 단자를 직접
RETURN 단자에 연결하지 마십시오 .
THR100HD 의 SEND/RETURN 잭은 L/
MONO 신호를 전하는 팁과 R 신호를 전하
는 링이 있는 스테레오 (TRS) 입니다 ( 다이
어그램 2).
다른 외부 이펙터를 팁과 링에 따로 연결하
려면 , 다이어그램 3 에서 보이는 바와 같이
인서트 케이블 ( 별도 판매 ) 을 사용하여 이
펙터를 연결합니다 .
* 다이어그램 3 에서와 같이 두 개의 외부 이
펙터를 연결하려면 , ‘THR HD_H Utility’
를 이용하여 FX LOOP SEND 와 RETURN 직
렬연결 모드를 ‘Separate’로 설정합니다
( → 17 페이지 ).
IN OUT
다이어그램 1 다이어그램 2 다이어그램 3
이펙터 앰프 I (L) 이펙터 앰프 II (R) 이펙터
팁 (L): L/MONO
링 (R): R
슬리브 (G): GND
모노 폰 잭
좌측 우측
L RL R
AC IN 커넥터
전원 코드 ( 제공됨 )
후면 패널

16
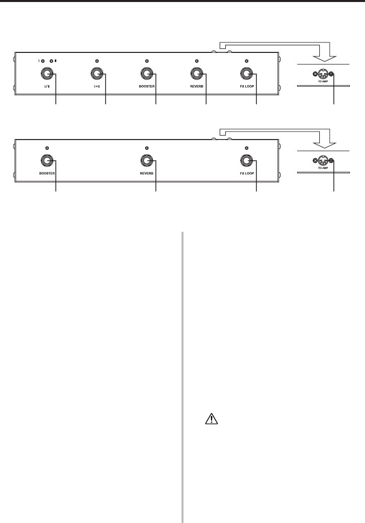
풋 스위치의 사용
몇 가지 앰프의 기능과 스위치 설정은 제공된 풋 스위치를 사용해서 발로 조절할 수 있습니다 .
t FX LOOP
후면 패널의 EFFECT LOOP SEND/
RETURN 단자의 신호를 ON/OFF 합니
다 . 앰프 I 과 앰프 II, 양쪽이 동시에 전
환됩니다 .
* 'THR HD_H Utility' 응용 프로그램으로 FX
LOOP 스위치를 'SERIAL' 로 설정했을 때 ,
외부 이펙터가 EFFECT LOOP SEND/RETURN
단자에 연결되지 않은 상태에서 루프가 활
성화 된 경우에는 소리가 나지 않습니다 .
y TO AMP
제공된 풋 스위치 케이블을 사용하여 이
단자를 앰프의 후면 패널의 TO FSW 단
자에 연결합니다 .
주의
케이블을 연결하기 전에 항상 앰프의 전원
을 끄도록 합니다.
q [THR100HD]
앰프 I/II
전면 패널의 앰프 선택 스위치 설정을
앰프 I 과 II 사이에서 전환합니다 .
w [THR100HD]
앰프 I+II
전면 패널의 앰프 선택 스위치 설정을
I+II 로 전환합니다 ( 램프 점등 ). 스위치
를 다시 한 번 눌러 앰프 I/II 스위치 q 설
정이 가능하도록 합니다 .
e BOOSTER
부스터 기능을 ON/OFF 합니다 . 앰프 I
과 앰프 II, 양쪽이 동시에 전환됩니다 .
* 전면 패널의 부스터 스위치가 ON 상태인
앰프의 부스터 기능만 ON/OFF 됩니다 . 앰
프 I 과 앰프 II, 양쪽의 전면 패널 부스터가
OFF 상태인 경우 , 이 스위치는 아무런 영
향을 미치지 않습니다 .
r REVERB
리버브 이펙트를 ON/OFF 합니다 . 앰프
I 과 앰프 II, 양쪽이 동시에 전환됩니다 .
q
e
w e
r
r t y
t y
l THR100HD
l THR100H

17
상세 설정
n 컴퓨터에 연결
컴퓨터를 앰프의 USB 단자에 연결함으로써
다음의 기능을 제공합니다 .
l 'THR HD_H Utility' 편집기를 이용한 앰프 설정
편집
l 시스템의 펌웨어 업데이트
컴퓨터와 앰프를 연결하기 위해서는 시판되
는 USB 케이블이 필요합니다 .
USB 단자 사용에 관한 주의 사항
컴퓨터를 THR USB 단자에 연결할 때는 아
래의 사항을 반드시 준수합니다. 그러지 않
으면 컴퓨터나 THR이 정지되거나 다운될
뿐만 아니라 데이터가 손상되거나 심지어
손실될 수도 있습니다. 컴퓨터나 본 장치가
정지된 경우에는 응용 프로그램이나 컴퓨터
를 다시 시작합니다.
주의
•길이 3미터 이하의 AB 타입 USB 케이블만
사용하십시오. USB 3.0 케이블과는 호환되
지 않습니다.
•컴퓨터를 USB 단자에 연결하기 전에 컴퓨
터의 일시 중지나 절전 및 대기 모드가 해
제되었는지 확인하십시오.
•USB 케이블을 연결하거나 분리하기 전에는
항상 실행 중인 모든 응용 프로그램을 종
료하고, 컴퓨터의 볼륨 출력을 최소 레벨로
설정하십시오.
•최소 6초가 지난 후 USB 케이블을 연결하
거나 연결을 분리하십시오.
•앰프를 컴퓨터에 연결하면 컴퓨터의 사운
드 입출력이 차단될 수도 있습니다. 필요하
면 다른 장치로 바꾸어 주십시오.
n 'THR HD_H Utility' 의 사용
'THR HD_H Utility' 는 패널에서는 접근할 수
없는 상세 설정이 가능한 , 전용 응용 프로그
램입니다 .
l
'THR HD_H Utility' 로 가능한 설정
l 내장 부스터 타입 (3 타입 ) 을 정합니다 .
l 이펙트 루프 회로 타입 ( 직렬 / 병렬 ) 을 정합
니다 .
l 내장 리버브 타입 (4 타입 ) 을 정합니다 .
l 소음 게이트 레벨 (OFF/1/2/3) 을 정합니다 .
l 각 앰프 타입의 스피커 시뮬레이션을 설정합
니다 .
l FX LOOP SEND/RETURN 신호 경로 (Separate/
Mixed) 를 전환합니다 .
l 'THR HD_H Utility' 를 사용하기 위해
서
컴퓨터를 앰프에 연결하기 전에 'THR HD_
H Utility' 를 다운로드하여 설치해야 합니다 .
필요한 드라이버는 야마하 웹사이트에서 다
운로드 가능합니다 .
http://download.yamaha.com/
* 시스템 요구 사항에 대한 정보는 위의 웹사
이트에서 확인하십시오.
l 드라이버 설치
1� 다음 웹사이트에 접속해서 ‘Yamaha
Steinberg USB Driver’의 최신 버전을 다
운로드한 다음, 압축을 풀어서 파일을 엽
니다.
http://download.yamaha.com/
* 시스템 요구 사항에 대한 정보는 위의 웹사
이트에서 확인하십시오.
* 사용하기 전에 컴퓨터가 모든 작동 요구 사
항을 충족하더라도 소프트웨어가 올바르게
실행되지 않을 수 있음을 양해해 주시기 바
랍니다.
컴퓨터
USB 케이블 ( 별도 판매 )

18
상세 설정
n
앰프의 펌웨어 업데이트
앰프 내부의 펌웨어 없데이트로 장치의 기
능을 향상시킵니다.
THR100HD/100H를 업데이트 하기 위해서
는 다음 순서에 따라 주십시오.
* 진행하기 전에 최신 버전의 ‘Yamaha
Steinberg USB Driver’를 설치하십시오. (→
19페이지)
l 업데이트 순서
1�다음 웹사이트에 방문해 ‘THR HD_H
Updater’를 다운로드합니다 .
http://download.yamaha.com/
* 시스템 요구 사항은 위의 URL을 참조하십
시오.
2�다운로드한 파일의 압축(ZIP 압축 파일)
을 풉니다.
3�‘THR HD_H Updater’를 실행합니다.
* 자세한 설명은 ‘THR HD_H Updater’의 사
용 설명서를 참조하십시오.
* ‘Yamaha Steinberg USB Driver’는 예고 없
이 업데이트될 수 있습니다. 최신 정보와 업
데이트에 관해서는 위의 웹사이트를 방문해
주십시오.
2� ‘Yamaha Steinberg USB Driver’를 컴퓨
터에 설치합니다. 다운로드한 파일에 포
함된 설치 가이드를 참조합니다.
l 'THR HD_H Utility' 설치
1� 다음 웹사이트에 접속해서 ‘THR HD_H
Utility’를 다운로드합니다 .
http://download.yamaha.com/
* 시스템 요구 사항에 대한 정보는 위의 웹사
이트에서 확인하십시오.
2� 다운로드한 파일을 실행하여 화면의 지
시에 따라 ‘THR HD_H Utility’를 설치합
니다.
3� ‘THR HD_H Utility’의 설정 및 조작에 대
한 정보는 ‘THR HD_H Utility’의 사용설
명서 또는 도움말 가이드를 참조합니다.
l 'THR HD_H Utility' 사용
1� USB 케이블을 사용하여 컴퓨터를
THR100HD/100H에 연결합니다. (→ 17
페이지)
2� THR100HD/100H의 전원을 켜고, ‘THR
HD_H Utility’를 실행합니다.
3� ‘THR HD_H Utility’를 이용해 다양한 설
정을 합니다. 편집된 설정은 앰프에 저장
됩니다.
* 상세 설정과 응용 프로그램 사용 방법에
관한 추가 정보는 ‘THR HD_H Utility’의
사용 설명서를 참조하십시오.

19
문제 해결
전원이 들어오지 않습니다 .
l전원 코드가 올바로 연결되어 있습니
까 ? ( → 15 페이지 )
소리가 나지 않습니다 .
l악기가 INPUT 단자에 올바로 연결되어
있습니까 ?
lTHR100HD: 악기가 INPUT II 단자에
연결되어 있습니까 ? 악기를 하나만 연
결해 사용한다면 INPUT I 단자에 연결
되어야 합니다 .
l악기의 볼륨이 올려져 있습니까 ?
lGAIN 이나 MASTER, VOLUME 컨트
롤이 '0' 에 있습니까 ?
l앰프 선택 스위치가 제대로 설정되어
있습니까 ?
l캐비닛이 올바로 연결되어 있습니까 ?
( → 12 페이지 )
lCLEAN 앰프 타입을 선택한 상태에서
톤 컨트롤이 '0' 에 있으면 소리가 나지
않습니다 .
l헤드폰이 PHONES 단자에 연결되어
있습니까 ?
l앰프에 악기를 연결하는 케이블이 손상
되었습니까 ?
l캐비닛에 앰프를 연결하는 케이블이 손
상되었습니까 ?
l외부 이펙터가 EFFECT LOOP SEND/
RETURN 단자에 연결되지 않은 상태
에서 FX LOOP 풋 스위치가 ON 에 있
습니까 ? ( → 17 페이지 )
연주 중에 사운드가 중단되었습니다 .
1)
전면 그릴 램프가 점등되지 않습니다 .
l열 방지 시스템이 작동되어 SPEAKER
OUT 단자로의 출력을 중단하였습니다.
앰프를 식히고 나서 다시 전원을 넣습니
다 . 열 방지 시스템이 다시 작동되면 전
원 코드를 뽑고 , 구입하신 대리점에 연
락해 주십시오 .
l스피커 케이블 끝의 팁이 접지되거나 ,
합선에 의한 정전기에 접촉되었습니다 .
원인을 제거하고 스피커 케이블을 확인
한 후 전원을 껐다가 다시 켭니다 . 방지
회로가 다시 작동되면 즉시 전원을 끄
고 , 전원 코드를 뺀 후 구입하신 대리점
에 연락합니다 .
2)
전원이 꺼져 있습니다 .
l내부 회로가 제대로 기능하지 않을 수
있습니다 . 즉시 전원을 끄고 , 전원 코
드를 뺀 후 구입하신 대리점에 연락합
니다 .

20
사양
디지털 섹션
• 내장 앰프 시뮬레이션
SOLID, CLEAN, CRUNCH, LEAD, MODERN
•내장 이펙트
BOOSTER (WHITE/GREEN/AMBER*)
REVERB (SPRING/PLATE/ROOM/HALL*)
NOISE GATE*
SPEAKER SIMULATION*
*‘THR HD_H Utility’에서만 설정 가능합니다.
컨트롤러/스위치
THR100HD
앰프 I, II 공통: 전원 스위치, 앰프 선택 스위치,
임피던스 스위치, 전력 소요량 스위치, GND/
LIFT 스위치
앰프 I, II 각각: 앰프 타입 선택기, BOOSTER
스위치, BOOSTER, GAIN, MASTER, BASS,
MIDDLE, TREBLE, PRESENCE, REVERB,
VOLUME, POWER SECTION 선택기, CLASS
스위치
THR100H
전원 스위치, 앰프 타입 선택기, BOOSTER 스
위치, BOOSTER, GAIN, MASTER, BASS,
MIDDLE, TREBLE, PRESENCE, REVERB,
VOLUME, POWER SECTION 선택기, CLASS
스위치, 임피던스 스위치, 전력 소요량 스위치,
GND/LIFT 스위치
연결
THR100HD
INPUT I, II (표준 모노 폰 잭)
PHONES (스테레오 미니 폰 잭)
SPEAKER OUT 1/2 (표준 모노 폰 잭)
EFFECT LOOP SEND/RETURN (표준 스테레
오 폰 잭)
LINE OUT 1/2 (XLR 수)
TO FSW (5P DIN)
USB 2.0 (타입 B)
AC IN (3P)
THR100H
INPUT (표준 모노 폰 잭)
PHONES (스테레오 미니 폰 잭)
SPEAKER OUT (표준 모노 폰 잭)
EFFECT LOOP SEND/RETURN (표준 스테레
오 폰 잭)
LINE OUT (XLR 수)
TO FSW (5P DIN)
USB 2.0 (타입 B)
AC IN (3P)
입력 레벨
INPUT : -10 dBu/1MΩ
정격 출력
THR100HD
SPEAKER OUT 1 전용: 100W (4Ω에서 50W )
SPEAKER OUT 1+2 : 50W+50W
THR100H
100W
전원
AC100V - 240V, 50/60 Hz
소비 전력
THR100HD: 60 W
THR100H: 40 W
크기 (W x D x H)
THR100HD: 445×248×125 mm
THR100H: 445×248×95 mm
중량
THR100HD: 4.2 kg
THR100H: 3.6 kg
부속품
THR100HD
• 전원 코드 x 1
• 전용 풋 스위치(5 스위치) x1
• 5P DIN 풋 스위치 케이블 x1
• 사용 설명서(본서) x 1
THR100H
• 전원 코드 x 1
• 전용 풋 스위치(3 스위치) x1
• 5P DIN 풋 스위치 케이블 x1
• 사용 설명서(본서) x 1
* 본 설명서의 내용은 발행일 현재 최신 사
양을 기준으로 하고 있습니다 . 최신 설명
서를 가져오려면 Yamaha 웹사이트에 접
속 후 해당 설명서 파일을 다운로드받으
십시오 .

Manual Development Group
Yamaha Corporation
Revised 08/2017 PO-B0
VAC8430-1版次 : R2
THR
Series
Guitar Amplifier
THR100HD / THR100H
EnglishDeutschFrançaisItalianoEspañol
Português
Pусский
VOLUME INPUT IIREVERBPRESENCETREBLEMIDDLEBASSMASTERGAINBOOSTER
MODERN
LEAD
CRUNCH
CLEAN
SOLID
SOLID
II
VOLUME INPUT IREVERBPRESENCETREBLEMIDDLEBASSMASTERGAINBOOSTER
MODERN
LEAD
CRUNCH
CLEAN
I
I+II
SOLID
VOLUME INPUT REVERBPRESENCETREBLEMIDDLEBASSMASTERGAINBOOSTER
MODERN
LEAD
CRUNCH
CLEAN
THR100H
THR100HD
THR100HD / THR100H
日本語
KOZHRUPTESITFRDEJAEN