Yamaha YDS 150取扱説明書 150 取扱説明書 Ja Om D0
User Manual: Yamaha YDS-150 取扱説明書
Open the PDF directly: View PDF
.
Page Count: 24

1
YDS-150 取扱説明書
YDS-150
DIGITAL SAXOPHONE
取扱説明書
Owner’s Manual
Benutzerhandbuch
Mode d’emploi
Manual de instrucciones
Manual do Proprietário
Руководство пользователя
使用说明书
사용설명서
JA EN DE FR ES PT RU KO ZH
日本語
English
Deutsch
Français
Español
Português
한국어 Рycский
中文

2YDS-150
1.
IMPORTANT NOTICE: DO NOT MODIFY THIS
UNIT!
This product, when installed as indicated in the
instructions contained in this manual, meets FCC
requirements. Modifications not expressly approved
by Yamaha may void your authority, granted by the
FCC, to use the product.
2. IMPORTANT: When connecting this product to
accessories and/or another product use only high
quality shielded cables. Cable/s supplied with this
product MUST be used. Follow all installation instruc-
tions. Failure to follow instructions could void your
FCC authorization to use this product in the USA.
3. NOTE: This product has been tested and found to
comply with the requirements listed in FCC Regula-
tions, Part 15 for Class “B” digital devices. Compli-
ance with these requirements provides a reasonable
level of assurance that your use of this product in a
residential environment will not result in harmful inter-
ference with other electronic devices. This equipment
generates/uses radio frequencies and, if not installed
and used according to the instructions found in the
users manual, may cause interference harmful to the
operation of other electronic devices. Compliance
with FCC regulations does not guarantee that inter-
ference will not occur in all installations. If this product
is found to be the source of interference, which can
be determined by turning the unit “OFF” and “ON”,
please try to eliminate the problem by using one of
the following measures:
Relocate either this product or the device that is
being affected by the interference.
Utilize power outlets that are on different branch (cir-
cuit breaker or fuse) circuits or install AC line filter/s.
In the case of radio or TV interference, relocate/reori-
ent the antenna. If the antenna lead-in is 300 ohm rib-
bon lead, change the lead-in to co-axial type cable.
If these corrective measures do not produce satisfac-
tory results, please contact the local retailer autho-
rized to distribute this type of product. If you can not
locate the appropriate retailer, please contact
Yamaha Corporation of America, Electronic Service
Division, 6600 Orangethorpe Ave, Buena Park,
CA90620
The above statements apply ONLY to those products
distributed by Yamaha Corporation of America or its
subsidiaries.
* This applies only to products distributed by Yamaha Corporation of America.
FCC INFORMATION (U.S.A.)
(class B)
COMPLIANCE INFORMATION STATEMENT
(Supplier’s declaration of conformity procedure)
Responsible Party : Yamaha Corporation of America
Address : 6600 Orangethorpe Ave., Buena Park, Calif. 90620
Telephone : 714-522-9011
Type of Equipment : Digital Saxophone
Model Name : YDS-150
This device complies with Part 15 of the FCC Rules.
Operation is subject to the following two conditions:
1) this device may not cause harmful interference, and
2) this device must accept any interference received including interference that may cause undesired operation.
* This applies only to products distributed by Yamaha Corporation of America. (FCC SDoC)
The model number, serial number, power requirements, etc., may
be found on or near the name plate, which is at the rear of the unit.
You should note this serial number in the space provided below
and retain this manual as a permanent record of your purchase to
aid identification in the event of theft.
Model No.
Serial No.
(rear_en_01)

3
YDS-150 取扱説明書
ここに示した注意事項は、製品を安全に正しくご使用いただき、お客様やほかの方々への危害や財産への損害
を未然に防止するためのものです。必ずお守りください。
■記号表示について
この製品や取扱説明書に表示されている記号には、次のような意味があります。
■「警告」「注意」について
誤った取り扱いをすると生じることが想定される内容を、危害や損害の大きさと切迫の程度を区分して掲載しています。
USBケーブルをストーブなどの熱器具に近づ
けたり、無理に曲げたり、傷つけたりしない。
また、USBケーブルに重いものをのせない。
USB ケーブルが破損し、感電や火災の原因にな
ります。
電源は必ず交流100Vを使用する。
エアコンの電源など交流 200V のものがありま
す。誤って接続すると、感電や火災のおそれがあ
ります。
電源プラグにほこりが付着している場合は、
ほこりをきれいに拭き取る。
感電やショートのおそれがあります。
この製品の内部を開けたり、内部の部品を分
解したり改造したりしない。
感電や火災、けが、または故障の原因になりま
す。
本体の上に花瓶や薬品など液体の入ったもの
を置かない。また、浴室や雨天時の屋外など
湿気の多いところで使用しない。
内部に水などの液体が入ると、感電や火災、また
は故障の原因になります。入った場合は、すぐに
電源スイッチを切り、お買い上げの販売店また
は巻末のヤマハ修理ご相談センターに点検をご
依頼ください。
ぬれた手で電源プラグを抜き差ししない。
感電のおそれがあります。
本体の上にろうそくなど火気のあるものを置
かない。
ろうそくなどが倒れたりして、火災の原因にな
ります。
安全上のご注意
ご使用の前に、必ずこの「安全上のご注意」をよくお読みください。
注意喚起を示す記号 禁止を示す記号 行為を指示する記号
警告
「死亡する可能性または重傷を負う可能性
が想定される」内容です。
注意
「傷害を負う可能性が想定される」内容です。
警告
電源
禁止
必ず実行
必ず実行
分解禁止
禁止
水に注意
禁止
禁止
火に注意
禁止
DMI-7 1/3

4YDS-150 取扱説明書
医療機器の近くなど電波の使用が制限された
区域で使用しない。
心臓ペースメーカーや除細動器の装着部分か
ら15cm以内で使用しない。
本体が発する電波や本体に内蔵されている磁石
の磁気により、動作に影響を与えるおそれがあ
ります。
電池を分解しない。
電池の中のものに触れたり目に入ったりする
と、化学やけどや失明のおそれがあります。
電池を火の中に入れない。
破裂するおそれがあります。
使い切りタイプの電池は、充電しない。
充電すると液漏れや破裂の原因になります。
電池を金属製のネックレスやヘアピン、コイン、
鍵などと一緒に持ち運んだり、保管しない。
電池がショートし、発熱、破裂、火災のおそれが
あります。
指定(15ページ)以外の電池を使用しない。
火災、発熱、液漏れの原因になります。
複数の電池を使う場合、同じメーカーの同じ
種類、同じ品番の新しい電池を使用する。
種類やメーカー、品番の異なる電池を一緒に使
用したり、新しい電池と古い電池を一緒に使う
と、火災、発熱、液漏れの原因になります。
電池はすべて+/−の極性表示どおりに正し
く入れる。
正しく入れていない場合、発熱、火災、液漏れの
おそれがあります。
長時間使用しない場合や電池を使い切った場
合は、電池を本体から抜いておく。
電池が消耗し、電池から液漏れが発生し、本体を
損傷するおそれがあります。
充電式ニッケル水素電池を使用する場合は、
電池の取扱説明書の指示に従う。
電池に付属の取扱説明書をよく読んで、正しく
ご使用ください。また、充電池の充電は、必ず専
用の充電器をご使用ください。専用器以外を使
用すると、電池が発熱、液漏れ、破裂するおそれ
があります。
電池は子供の手の届くところに置かない。
お子様が誤って飲み込むおそれがあります。ま
た、電池の液漏れなどにより炎症を起こすおそ
れがあります。
電池が液漏れした場合は、漏れた液に触れな
い。
失明や化学やけどなどのおそれがあります。万
一液が目や口に入ったり皮膚についたりした場
合は、すぐに水で洗い流し、医師にご相談くださ
い。
下記のような異常が発生した場合、すぐに電
源スイッチを切り、電源プラグをコンセント
から抜く。(電池を使用している場合は、電
池を本体から抜く。)
• USBケーブルやプラグがいたんだ場合
• 製品から異常なにおいや煙が出た場合
• 製品の内部に異物が入った場合
• 使用中に音が出なくなった場合
• 製品に亀裂、破損がある場合
そのまま使用を続けると、感電や火災、または故
障のおそれがあります。至急、お買い上げの販売
店または巻末のヤマハ修理ご相談センターに点
検や修理をご依頼ください。
たこ足配線をしない。
音質が劣化したり、コンセント部が異常発熱し
て火災の原因になることがあります。
電源プラグを抜くときは、USBケーブルを持
たずに、必ず電源プラグを持って引き抜く。
USB ケーブルが破損して、感電や火災の原因に
なることがあります。
長期間使用しないときや落雷のおそれがある
ときは、必ずコンセントから電源プラグを抜
く。
感電や火災、故障の原因になることがあります。
USB電源アダプターは、必ず指定のもの(10
ページ)を使用する。
異なったUSB電源アダプターを使用すると、故
障、発熱、火災の原因になります。
医療用電気機器への影響
禁止
電池
禁止
禁止
禁止
禁止
禁止
必ず実行
必ず実行
必ず実行
必ず実行
禁止
禁止
異常に気づいたら
電源プラグ
を抜く
注意
電源
禁止
必ず実行
電源プラグ
を抜く
必ず実行
DMI-7 2/3

5
YDS-150 取扱説明書
不安定な場所に置かない。
本体が転倒して故障したり、お客様やほかの
方々がけがをしたりする原因になります。
本体を移動するときは、必ずUSBケーブルな
どの接続ケーブルをすべて外した上で行う。
コードをいためたり、お客様やほかの方々が転
倒したりするおそれがあります。
電源プラグを使用する場合は、電源プラグは
見える位置で、手が届く範囲のコンセントに
接続する。
万一の場合、電源プラグを容易に引き抜くため
です。また、電源スイッチを切った状態でも微電
流が流れています。この製品を長時間使用しな
いときは、必ず電源プラグをコンセントから抜
いてください。
すべての機器の電源を切った上で、ほかの機器
と接続する。また、電源を入れたり切ったりす
る前に、機器のボリュームを最小にする。
感電、聴覚障害または機器の損傷の原因になり
ます。
演奏を始める前に機器のボリュームを最小に
し、演奏しながら徐々にボリュームを上げ
て、適切な音量にする。
聴覚障害または機器の損傷の原因になります。
本体のすき間に手や指を入れない。
お客様がけがをするおそれがあります。
キイなどのすき間から金属や紙片などの異物
を入れない。
感電、ショート、火災、故障や動作不良の原因に
なることがあります。
本体の上にのったり重いものをのせたりしな
い。また、ボタンやスイッチ、入出力端子な
どに無理な力を加えない。
本体が破損したり、お客様やほかの方々がけが
をしたりする原因になります。
マウスピースやリード、キイが破損した状態
で使用しない。
ケガをするおそれがあります。
小さな部品は、乳幼児の手の届くところに置
かない。
お子様が誤って飲み込むおそれがあります。
大きな音量で長時間使用しない。
聴覚障害の原因になります。特にヘッドホンを
使用する場合はご注意ください。万一、聴力低下
や耳障りを感じた場合は、専門の医師にご相談
ください。
ストラップを使用して演奏する場合は、スト
ラップと楽器が確実に固定されていることを
確認する。
楽器が落下して、本体が破損したり、お客様がけ
がをするおそれがあります。
ストラップだけを持って楽器を持ち上げな
い。
楽器がストラップからはずれて落下するおそれ
があります。本体が破損したり、お客様やほかの
方々がけがをしたりする原因になりますので、
必ず楽器本体を持ってください。
楽器を振りまわすなどの乱暴な取り扱いはし
ない。
楽器がストラップからはずれて落下したり、周
囲の人を傷つけるなど、思わぬ事故の原因とな
ります。
使用後は、必ず電源を切りましょう。
[ ](スタンバイ/オン)スイッチを切った状態(電源ランプが消えている)でも微電流が流れて
います。[ ](スタンバイ/オン)スイッチが切れているときの消費電力は、最小限の値で設計されています。この製品
を長時間使用しないときは必ず電源プラグをコンセントから抜いてください。
使用済みの電池は、各自治体で決められたルールに従って廃棄しましょう。
設置
禁止
必ず実行
必ず実行
接続
必ず実行
必ず実行
取り扱い
禁止
禁止
禁止
禁止
禁止
禁止
必ず実行
禁止
禁止
●データが破損したり失われたりした場合の補償はいたしかねますので、ご了承ください。
●不適切な使用や改造により故障した場合の保証はいたしかねます。
高調波電流規格 JISC61000-3-2適合品
DMI-7 3/3

6YDS-150 取扱説明書
注記(ご使用上の注意)
製品の故障、損傷や誤動作、データの損失を防ぐため、
以下の内容をお守りください。
■ 製品の取り扱いに関する注意
• テレビやラジオ、ステレオ、携帯電話など他の電気製
品の近くで使用しないでください。楽器本体またはテ
レビやラジオなどに雑音が生じる場合があります。
• スマートフォンやタブレット端末などのスマートデバ
イスのアプリと一緒に使用する場合は、通信によるノ
イズを避けるためスマートデバイスの機内モードをオ
ンにしてからBluetoothをオンにしてお使いいただく
ことをおすすめします。
• 直射日光のあたる場所(日中の車内など)やストーブの
近くなど極端に温度が高くなるところ、逆に温度が極
端に低いところ、また、ほこりや振動の多いところで
使用しないでください。本体が変形したり、内部の部
品が故障したり、動作が不安定になったりする原因に
なります(5℃〜40℃の範囲で動作することを確認して
います)。
• 本体上にビニール製品やプラスチック製品、ゴム製品
などを置かないでください。本体が変色/変質する原因
になります。
• キイを押したまま長時間放置しないでください。キイ
が故障するおそれがあります。
■ 製品のお手入れに関する注意
• お手入れの際は、乾いた柔らかい布をご使用ください。
ベンジンやシンナー、アルコール、洗剤、化学ぞうき
んなどを使用すると、変色/変質する原因になりますの
で、使用しないでください。
• 製品本体には水分が付着しないよう十分注意してくだ
さい。水分が付着してしまったら、すみやかに乾いた
布で拭き取ってください。
お知らせ
■ 取扱説明書の記載内容に関するお知らせ
• この取扱説明書に掲載されているイラストや画面は、
すべて操作説明のためのものです。したがって、実際
の仕様と異なる場合があります。
• Bluetooth®およびロゴはBluetoothSIGの登録商標
であり、ヤマハ株式会社はライセンスに基づき使用し
ています。
• MIDIは社団法人音楽電子事業協会(AMEI)の登録商標
です。
• その他、本書に記載されている会社名および商品名等
は、各社の登録商標または商標です。
機種名(品番)、製造番号(シリアルナンバー )、電源条件などの情報は、製品の背面にある銘板または銘
板付近に表示されています。製品を紛失した場合などでもご自身のものを特定していただけるよう、機
種名と製造番号については以下の欄にご記入のうえ、大切に保管していただくことをお勧めします。
機種名
製造番号
(rear_ja_02)

7
YDS-150 取扱説明書
Bluetoothについて
Bluetoothとは、2.4GHz帯の電波を利用して、対応す
る機器と無線で通信を行うことができる技術です。
Bluetooth通信の取り扱いについて
• Bluetooth対応機器が使用する2.4GHz帯は、さまざ
まな機器が共有する周波数帯です。Bluetooth対応機
器は、同じ周波数帯を使用する機器からの影響を最小
限に抑えるための技術を採用していますが、他の機器
の影響によって通信速度や通信距離が低下することや、
通信が切断されることがあります。
• 通信機器間の距離や障害物、電波状況、機器の種類に
より、通信速度や通信距離は異なります。
• 本機はすべてのBluetooth機能対応機器とのワイヤレ
ス接続を保証するものではありません。
製品の取り扱いに関する注意
• 本製品は、日本国内でのみ使用できます。
• 本製品は、日本電波法に基づく認証を受けた無線機器
を内蔵しております。従って、本製品を使用するとき
に無線局の免許は不要です。ただし、本製品に以下の
行為を行うと法律で罰せられることがあります。
•本製品を分解/改造する
•本体背面の銘板をはがしたり、消したりする
はじめに
このたびは、ヤマハ製品をお買い上げいただき、誠にあ
りがとうございます。この製品はご家庭などで演奏や練
習にお使いいただけるデジタルサクソフォンです。本書
では、この製品を演奏するために必要な操作方法を説明
しています。この楽器に搭載された機能を十分に活かし、
演奏をお楽しみいただくため、本書をよくお読みになっ
てからご使用ください。また、お読みになったあとも、
いつでもご覧になれるところに大切に保管していただき
ますようお願いします。
付属品
• マウスピースセット(マウスピース、リガチャー、
キャップ、リード)×1
• ストラップ×1
• 交換用Oリングセット×1セット(3個)
•交換用リード×1
• 専用ケース×1
• 取扱説明書(本書)×1
無線に関するご注意
この製品の使用周波数帯では、電子レンジなどの産
業・科学・医療用機器のほか、工場の製造ライン等で
使用されている移動体識別用の構内無線局(免許を要す
る無線局)および特定小電力無線局(免許を要しない無
線局)並びにアマチュア無線局(免許を要する無線局)が
運用されています。
1 この機器を使用する前に、近くで移動体識別用の
構内無線局および特定小電力無線局並びにアマ
チュア無線局が運用されていないことを確認して
ください。
2 万一、この機器から移動体識別用の構内無線局に
対して有害な電波干渉の事例が発生した場合には、
速やかに使用場所を変えるか、または機器の運用
を停止(電波の発射を停止)してください。
NOTE
• ストラップは専用ケース内側のポケットに収納されています。
ご注意
• 専用ケースの中に、楽器本体とストラップ以外は収納しな
いでください。キイが長時間押されることにより、キイが
故障するおそれがあります。

8YDS-150 取扱説明書
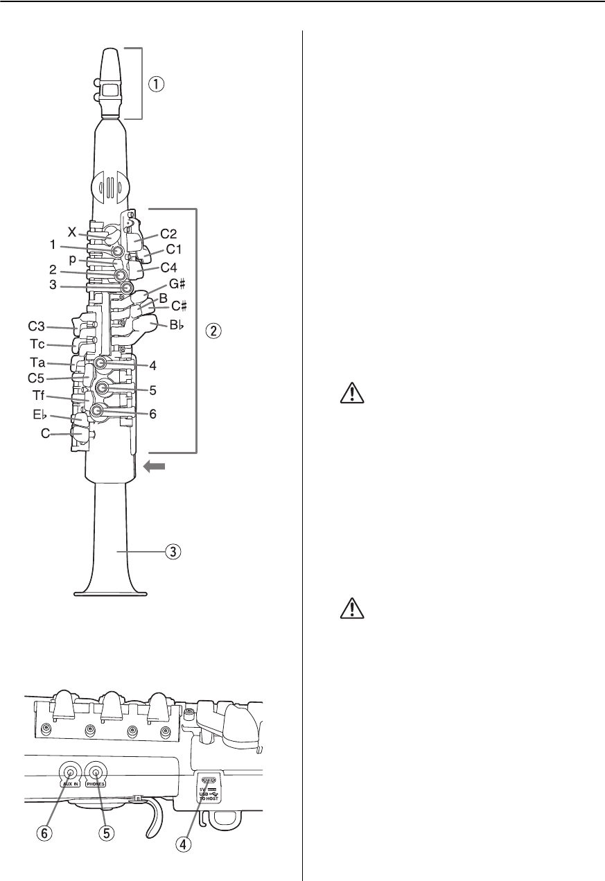
各部の名称と機能
製品の正面
製品の左側面
qマウスピースセット
本製品専用です。
wキイ
フィンガリングチャート:20ページ
eベル
内側にウォータードレインがあります。水滴や息がこ
こから出ます。
r5VDC-IN/USBTOHOST端子
microUSBType-B端子です。
USBケーブルを使ってUSB電源アダプターやUSBモ
バイルバッテリー、PCなどと接続します。
tPHONES端子
ヘッドホンまたはアンプ内蔵スピーカーなどを接続し
ます。3.5mmステレオミニ出力端子です。この端子
に接続すると、製品本体からは音が出なくなります。
yAUXIN端子
携帯音楽プレーヤーなどのオーディオ機器を接続し
て、オーディオ機器に収録された楽曲をヘッドホンで
聞くことができます。オーディオ機器の音量は、オー
ディオ機器側で調整してください。
左側面
ご注意
• USBケーブルは3メール未満のUSBA-microBタイプを
ご使用ください。
• 大きな音量で長時間ヘッドホンを使用しないでくださ
い。聴覚障害の原因になります。
• すべての機器の電源を切った上で、ほかの機器と接続
してください。また、電源を入れたり切ったりする前
に、機器のボリュームを最小にしてください。感電、
聴覚障害または機器の損傷の原因になります。
• 機器の損傷を防ぐために、オーディオ機器→楽器の順
に電源を入れてください。電源を切るときは、この逆
の順で行ってください。聴覚障害または機器の損傷の
原因になります。
NOTE
• オーディオケーブルおよび変換プラグは、抵抗のないもの
をお使いください。
• AUXIN端子、USBTOHOST端子、およびBluetooth接
続経由の入力オーディオ信号は、ヘッドホンでのみ聴くこ
とができます。
注意
注意

9
YDS-150 取扱説明書
製品の背面
u[ ](スタンバイ/オン)スイッチ
電源のスタンバイ/オンを切り替えます。
iLED画面
音色の番号など、英数字が表示されます。
oVOICE[ ]/[ ]ボタン
ボタンを押すたびに音色が切り替わります。
!0 VOL[ー ]/[+]ボタン
押すたびに楽器の音量を上げ下げできます。ボタンを
押している間は連続で音量が変化します。
• 設定範囲:0〜15、od(初期設定:13)
• 初期設定音量に戻すには、VOL[ー ]ボタンとVOL
[+]ボタンを同時に押してください。
!1 [Fn](ファンクション)ボタン
このボタンを押しながら特定のキイを押すことで、
色々な機能を呼び出せます。また、一部の機能の操作
にも使用します。
!2 電源ランプ
!3 Bluetoothランプ
!4 ストラップリング
付属のストラップを取り付けるリングです。
!5 サムフック
親指で演奏時に楽器を支えるためのフックです。
楽器をしっかりと保持するために右手の親指を指かけ
に引っ掛けます。
!6 アナログコントローラー
音色に変化を与えるときに使用します。
Oct
Low A
ストラップの付け方
付属のストラップを、しっかりとリングに取り付け
てください。ストラップの長さは簡単に変えられま
すので、ご自分の使いやすい長さに調節してくださ
い。
楽器の置き方
演奏中など楽器を置く場合は、平坦な机などに、キ
イが下向きになるように置いてください。椅子や譜
面台など、不安定なところに置くと、落下などのお
それがあります。また、壁などに立てかけることも
おやめください。
ご注意
• 楽器単独で立てて置かないでください。倒れた衝撃
で楽器本体が破損するおそれがあります。立てる場
合は市販のスタンドなどをお使いください。

10 YDS-150 取扱説明書
演奏の準備
■ 電源の準備
この楽器の電源は、以下の2つから選択することができます。お使いになる状況に応じて、それぞれの接続例に従い接続
してください。
この楽器には、単4形の充電式ニッケル水素電池または
アルカリ乾電池が使用できます。
1電源が切れていることを確認します。
電源オフ時は電源ランプ( )が消灯します。
2本体を柔らかい布などの上で裏返し、電池カバー
を外します。
3電池4本を入れます。
4イラストに合わせて、向きを間違えないように入
れてください。
-電池の残量
電池の残量が約5〜10分*まで低下したときは電源ラン
プ( )が点滅します。また、残量が残りわずかのとき
は、電源ランプが消灯しスタンバイ状態となります。
* 電池の消耗は使用環境によって異なります。
図の順序で市販のUSBケーブルと、市販のUSB電源アダ
プターまたはUSBモバイルバッテリーを接続します。
-使用可能なUSB電源アダプター /USBモバイルバッ
テリー
出力電圧:4.8V〜5.2V
出力電流:1.0A以上
ご注意
• 電池を入れた状態で、市販のUSBケーブルを市販のUSB電源アダプター、または市販のUSBモバイルバッテリーに接続して
いる場合、USBケーブルによる給電が優先されます。
電池(市販)を使用する
NOTE
• 演奏中に電池が切れないよう、演奏の合間にはこまめに電
源ランプを確認することをおすすめします。
USB 電源アダプターまたは USB モバイルバッテ
リーを使用する
• 必ずUSB規格に適合し、電源供給ができるものをお使
いください。異なったUSB電源アダプターを使用する
と、故障、発熱、火災などの原因になります。接続に
ついて詳しくは、お使いになるUSB電源アダプターや
USBモバイルバッテリーなどの取扱説明書をご覧くだ
さい。
USBケーブル
USBケーブル
USB電源
アダプター
電源コンセント
(AC100V)
USBモバイル
バッテリー
q
w
we
または
注意

11
YDS-150 取扱説明書
■ 電源を入れる・切る
1[ ](スタンバイ/オン)スイッチを押して電源を入
れます。
電源がオンになると、電源ランプ( )が点灯します。
音量はマウスピースを吹いて確かめながら、調整して
ください。
2電源を切るには、もう一度[ ](スタンバイ/オン)
スイッチを押します(1秒)。
-オートパワーオフ機能
この楽器は、電源の切り忘れによる無駄な電力消費を防
ぐため、本体が一定時間(30分)操作されないと自動的に
電源が切れます(オートパワーオフ機能)。初期設定はオ
ンですが、[Fn]ボタンからオン/オフを切り替えることも
できます(13ページ)。
-オートパワーオフ機能を有効にする
一度無効にしたオートパワーオフ機能を有効にしたいと
きは、[Fn]ボタン(13ページ)から設定します。
■ 楽器の音量を調整する
音量を調整します。
VOL[+]を押すと1ずつボリュームが上がります。
VOL[ー ]を押すと1ずつボリュームが下がります。
0〜15、odの範囲で調整できます。初期値は13です。
* odは最大音量になり、迫力のある音が得られます。音色
や音域によっては音が若干ひずみやすくなります。
■ 初期化
すべての設定をリセットし、工場出荷状態と同じ設定に
したいときに操作します。
1電源が入っている場合には、一度電源を切ります。
2
キイの[1]と[p]と[3]を押したまま電源を入れます。
• 大きな音量で長時間使用しないでください。聴覚障害
の原因になります。
ご注意
• 電源を入れてから、楽器が完全に起動するまで操作したり
息を吹き込まないでください。楽器が誤動作する原因にな
ります。
• 電源を切った状態でも微電流が流れています。この楽
器を長時間使用しないときや落雷のおそれがあるとき
は、必ずコンセントからUSB電源アダプターを抜いて
ください。また、長時間使用しない場合は、電池を本
体から抜いてください。
NOTE
• 電源をオンにしてから5秒以上ボタン操作がされなかった
場合、画面は消灯します。その状態でボタン操作や本体を
動かすと再び画面が点灯します。
ご注意
• アンプやスピーカーなどの外部機器を本体に接続した状態
で、一定時間本体を操作しない場合は、外部機器損傷を防
ぐために外部機器→楽器の順に電源を切ってください。接
続した状態で自動的に電源が切れるのを避けたい場合は、
オートパワーオフ機能を無効にしてください。
注意
注意

12 YDS-150 取扱説明書
演奏する
■ マウスピースのくわえかた
マウスピースの先端から1cmくらいの位置に上の歯を
しっかり当て、下の歯はリードに直接あたらないように
下唇をかぶせます。
下唇でリードを支え、口の両端から息が漏れないようマ
ウスピースとリードを包み込むように口を閉じます。
* リードとマウスピースは強くかみ過ぎないでください。
■ 音の出し方
マウスピースをくわえ、息を吹き込みます。息の吹き込
みかたを強くすると、大きな音になり、弱くすると小さ
な音になります。アコースティックのサクソフォンのよ
うに、リードを振動させる必要はありません。
■ 音色を選ぶ
マウスピースに息を吹き込んだときに鳴る音を、アルト
サックスやテナーサックスなどの音色や調性を変えるこ
とができます。
1VOICE[ ]/[ ]を押します。
LED画面に音色番号が表示されます。
音色の名称は、19ページの音色リストをご覧ください。
LED画面の表示の意味は以下のとおりです。
〜 :アルトサックスの音色(inEb)
〜 :ソプラノサックスの音色(inBb)
〜 :テナーサックスの音色(inBb)
〜 :バリトンサックスの音色(inEb)
〜 :サックス以外の音色(inC)
〜 :専用アプリ(14ページ)で編集した
ユーザー音色が選択できます。詳し
くは専用アプリのマニュアルをご覧
ください。
アナログコントローラーを使う
アナログコントローラーは選択した音色によってあらか
じめ機能が割り当てられています。
• ピッチを上げ下げする(PitchBendピッチベンド)
• 音に揺れの効果を与える(Modulationモジュレーション)
• 音のつながりを滑らかにする(Portamentoポルタメント)
音色ごとのアナログコントローラーの割り当て機能につ
いては、巻末の音色リストをご覧ください。
NOTE
• アコースティックのサクソフォンのようにマウスピースと
ネックの差し込み量を変えても、音のピッチは変わりませ
ん。
上の歯
舌
下の歯 下唇
NOTE
• ポルタメントは、演奏音のピッチを滑らかに上げたり下げ
たりする奏法です。ポルタメントが割り当てられている音
色でアナログコントローラーを倒しながらキイを操作する
と、発音のピッチが滑らかに変化します。

13
YDS-150 取扱説明書
[Fn]ボタンで設定を変更する
[Fn]ボタンを押しながら特定のキイを押すと、本製品の
各種機能を設定できます。
基本操作
いずれの機能も以下の手順で設定します。
1[Fn]ボタンを押しながら、機能の割り当てられた
キイを押します。設定が終わるまで[Fn]ボタンは
押したままにしてください。ボタンを離した時点
で値が決定され、音色選択の画面に戻ります。
2[Fn]ボタンを押したまま、VOICE[ ]/[ ]を押
して、お好みの値を選びます。
3値を選び終わったら、[Fn]ボタンを離します。
設定が終わり、音色選択の画面に戻ります。
-Bluetooth機能をオンにして、お手持ちのスマート
デバイスとペアリングする
1Bluetooth機能をオンにします。
オンにするとBluetoothランプがゆっくりと点滅しま
す。
BluetoothAudioを使用したいときに、ペアリング
を行ってください。
NOTE
• VOICE[ ]/[ ]の2つのボタンを同時に押すと、値が工
場出荷時の初期値になります。
例)チューニングの場合
C5
キイ
機能 設定 キイ
息の抵抗感
吹く息の強さに対しての音の出
やすさが変化します。設定した
値が小さいほど、弱い息でも音
が出やすくなります。
1‒5
初期値:3
C3
息の反応
音が鳴り始める息の強さを調整
できます。設定した値が大きい
ほど、音を鳴らすために強く息
を吹き込む必要があります。
1‒10
初期値:5
Tc
キイの反応
複数のキイを同時に押したり離
したりするときに、運指のバラ
つきによる不要な発音を防ぎま
す。設定値が大きいほど、不要
な音が出にくくなります。
0‒20
初期値:10
Ta
チューニング
楽器全体の音程を調整します。
LED画面に音程の設定値が表示
されます。427‒453Hzの範囲
を0.5Hz刻みで調整可能です。
LED表示の一桁目のドットは、
0.5Hzを示しています。
427‒453
(Hz)
初期値:440
C5
オートパワーオフ
自動的に電源が切れる機能を設
定します。LED画面に設定値が
表示されます
Off,5,10,
15,30,60,
120(分)
初期値:30
Tf
Bluetooth機能のオン・オフ
Bluetooth機能のオン・オフを設
定します。Bluetoothをオンにす
ると、ヘッドホンを本製品に接
続している場合のみ、スマート
デバイスなどで再生した楽曲を
Bluetooth経由で聞くことができ
ます。
On、Off
初期値:Off
Eb
リバーブ
残響効果のエフェクトを設定し
ます。数字が大きいほど効果は
大きくなります。リバーブは
ヘッドフォンにのみかかります。
NOTE
• AUXINやBluetooth経由で再生し
た楽曲にはリバーブはかかりません。
Off,1-5
初期値:3
G#

14 YDS-150 取扱説明書
2[Fn]ボタンを押したまま、Key:Cを押します。
ペアリング待機状態になります。[Fn]ボタンを押した
ままにしてください。
・LED画面:[B--]ペアリング待機状態
・LED画面:[---]Bluetooth機能がオフ
3[Fn]ボタンを押したまま、VOICE[ ]を押してペ
アリングを開始します。
このときLED画面が以下の表示に変わり、Bluetooth
ランプが速く点滅します。
4スマートデバイス側で接続先を選びます。
[YDS-150Audio]を選びます。
5ペアリングが完了すると、Bluetoothランプが速
い点滅から点灯に変わります。
ペアリングに失敗したときは、Bluetoothランプが
ゆっくりと点滅し、LED表示が[B--]に変わります。
6手順3のペアリング開始から5分経過すると、ペア
リングは失敗となります。
7[Fn]ボタンを離します。
音色選択画面に戻ります。
専用アプリを使う
本製品の専用アプリを使うことで、本製品の機能をより
便利に設定することができます。
1本製品専用アプリをお手持ちのスマートデバイス
にインストールします。
2Bluetoothで本製品とお手持ちのスマートデバイ
スを接続します。
アプリ上から本製品の以下の設定を行うことができます。
詳しくはアプリのマニュアルをご覧ください。
• ユーザーボイスの編集
• 運指情報の編集
• ボイス選択ショートカットの有効・無効など
お手入れのしかた
本製品をケースに収納する前に、本体からマウスピース
を外し、ベルやマウスピース付近の水分を拭き取ってく
ださい。
1リガチャー締めネジをゆるめ、マウスピースから
リードとリガチャーを取り外します。
2マウスピースをしっかりと持ち、左右に回しなが
ら本体の接合部から引き抜きます。
3クリーニングスワブ(別売)でマウスピースの内部
を掃除します。
* マウスピースの先端を傷つけないように注意してくだ
さい。
* クリーニングスワブは常に清潔に、乾燥させておきま
す。
4ベルやキイは乾いた柔らかい布で拭きます。
NOTE
• ペアリングを中断したいときはVOICE[ ]を押します。
NOTE
• ペアリング中は常にBluetoothランプが点灯します。
• ご使用のスマートデバイスによっては、大きな音量で再生
されることがあります。楽曲を再生する前に、スマートデ
バイス側の音量を調整してください
ご注意
• マウスピースを引き抜くときは、ネックの根元に曲げの力
がかからないようにしてください。ネックに過度な力がか
かって破損するおそれがあります。
リガチャー
締めネジ
リード

15
YDS-150 取扱説明書
■ リードとリガチャーのセット
マウスピースをボディの接合部に、左右に回しながら差
し込みます。差し込んだあと、マウスピースにリードと
リガチャーをセットします。
1マウスピースの上側からリガチャーを差し込みま
す。
2マウスピースの先端がほんの少し見えるくらいの
位置にリードをセットしたら、リガチャー締めネ
ジ2箇所を締めてリードを固定します。
* リガチャーは、マウスピースの音叉マークが中央に見
えるくらいの位置にセットします。
困ったときは
• 音が出続けて止まらない
- 本体の電源を入れ直してください。
- マウスピースの接合部の穴に水分が多く付着してい
る場合、音が止まらないことがあります。細い綿棒
などで水分を取り除いてください。
仕様一覧
本書は、発行時点での最新仕様で説明しています。最新版は、ヤ
マハウェブサイトからダウンロードできます。
ご注意
• リードの先端は繊細なので、リガチャーなどで傷つけない
ように注意してください。
ご注意
• 本製品に付属の専用マウスピースセット(マウスピース、
リード、リガチャー )をご使用ください。正しく音が出な
かったり、故障するおそれがあります。
• リガチャー締めネジは、リードが動かないように締めま
す。締めすぎないように注意してください。
• 製品本体および製品内部を水洗いしないでください。故障
するおそれがあります。
• 本体接合部にはグリスを塗らないでください。接合部が劣
化するおそれがあります。
• 本体の接合部とマウスピースにゆるみを感じたら、接合部の
Oリングを取り外し、付属のOリングと交換してください。
• 使用しているうちに、リードの先端が欠けたり、リードが
変形した場合は、付属の交換用リードと交換してください。
マウスピース
リガチャー
リード
リード
リガチャー
締めネジ
リガチャー
音叉マーク
品名 デジタルサクソフォン
音源 AWMサンプリング
Bluetooth
接続
Bluetoothバージョン:4.2
対応プロファイル:A2DP
BluetoothLowEnergyMIDI
Specificationに準拠
無線出力:BluetoothClass2
最大通信距離:約10m
無線周波数(動作周波数):2,402〜
2,480MHz
最大出力電力:4dBm
変調方式:FHSS
電源 USB電源アダプター:5V/1A
(microUSBType-B)
セルフパワー USBハブ:5V/1A
電池:単4電池(アルカリ乾電池/充電
式ニッケル水素電池)×4(市販品)
電池寿命 アルカリ乾電池:3時間
充電式ニッケル水素電池:3時間
(使用環境によって異なります)
消費電力 4.5W(USB電源アダプター使用時)
オートパワー
オフ
〇
寸法
(WxDxH)
699mmx110mmx103mm
質量 1.0kg(電池含まず)

16 YDS-150
For electrical and electronic products using batteries.
(weee_battery_eu_en_02)
(weee_battery_eu_de_02)
(weee_battery_eu_fr_02)
Information for users on collection and disposal of old equipment and used batteries:
These symbols on the products, packaging, and/or accompanying documents mean that used electrical and electronic products
and batteries should not be mixed with general household waste.
For proper treatment, recovery and recycling of old products and used batteries, please take them to applicable collection
points, in accordance with your national legislation.
By disposing of these products and batteries correctly, you will help to save valuable resources and prevent any potential neg-
ative effects on human health and the environment which could otherwise arise from inappropriate waste handling.
For more information about collection and recycling of old products and batteries, please contact your local municipality, your
waste disposal service or the point of sale where you purchased the items.
For business users in the European Union:
If you wish to discard electrical and electronic equipment, please contact your dealer or supplier for further information.
Information on Disposal in other Countries outside the European Union:
These symbols are only valid in the European Union. If you wish to discard these items, please contact your local authorities
or dealer and ask for the correct method of disposal.
Note for the battery symbol (bottom two symbol examples):
This symbol might be used in combination with a chemical symbol. In this case it complies with the requirement set by the EU
Battery Directive for the chemical involved.
Verbraucherinformation zur Sammlung und Entsorgung alter Elektrogeräte und benutzter Batterien
Befinden sich diese Symbole auf den Produkten, der Verpackung und/oder beiliegenden Unterlagen, so sollten benutzte
elektrische Geräte und Batterien nicht mit dem normalen Haushaltsabfall entsorgt werden.
In Übereinstimmung mit Ihren nationalen Bestimmungen bringen Sie alte Geräte und benutzte Batterien bitte zur fachgerech-
ten Entsorgung, Wiederaufbereitung und Wiederverwendung zu den entsprechenden Sammelstellen.
Durch die fachgerechte Entsorgung der Elektrogeräte und Batterien helfen Sie, wertvolle Ressourcen zu schützen, und verhindern
mögliche negative Auswirkungen auf die menschliche Gesundheit und die Umwelt, die andernfalls durch unsachgerechte Müllent-
sorgung auftreten könnten.
Für weitere Informationen zum Sammeln und Wiederaufbereiten alter Elektrogeräte und Batterien kontaktieren Sie bitte Ihre
örtliche Stadt- oder Gemeindeverwaltung, Ihren Abfallentsorgungsdienst oder die Verkaufsstelle der Artikel.
Information für geschäftliche Anwender in der Europäischen Union:
Wenn Sie Elektrogeräte ausrangieren möchten, kontaktieren Sie bitte Ihren Händler oder Zulieferer für weitere Informationen.
Entsorgungsinformation für Länder außerhalb der Europäischen Union:
Diese Symbole gelten nur innerhalb der Europäischen Union. Wenn Sie solche Artikel ausrangieren möchten, kontaktieren
Sie bitte Ihre örtlichen Behörden oder Ihren Händler und fragen Sie nach der sachgerechten Entsorgungsmethode.
Anmerkung zum Batteriesymbol (untere zwei Symbolbeispiele):
Dieses Symbol kann auch in Kombination mit einem chemischen Symbol verwendet werden. In diesem Fall entspricht dies den Anfor-
derungen der EU-Batterierichtlinie zur Verwendung chemischer Stoffe.
Informations concernant la collecte et le traitement des piles usagées et des déchets d’équipements électriques
et électroniques
Les symboles sur les produits, l'emballage et/ou les documents joints signifient que les produits électriques ou électroniques
usagés ainsi que les piles usagées ne doivent pas être mélangés avec les déchets domestiques habituels.
Pour un traitement, une récupération et un recyclage appropriés des déchets d’équipements électriques et électroniques et
des piles usagées, veuillez les déposer aux points de collecte prévus à cet effet, conformément à la réglementation natio-
nale.
En vous débarrassant correctement des déchets d’équipements électriques et électroniques et des piles usagées, vous
contribuerez à la sauvegarde de précieuses ressources et à la prévention de potentiels effets négatifs sur la santé humaine
qui pourraient advenir lors d'un traitement inapproprié des déchets.
Pour plus d'informations à propos de la collecte et du recyclage des déchets d’équipements électriques et électroniques et
des piles usagées, veuillez contacter votre municipalité, votre service de traitement des déchets ou le point de vente où vous
avez acheté les produits.
Pour les professionnels dans l'Union européenne :
Si vous souhaitez vous débarrasser des déchets d’équipements électriques et électroniques, veuillez contacter votre ven-
deur ou fournisseur pour plus d'informations.
Informations sur la mise au rebut dans d'autres pays en dehors de l'Union européenne :
Ces symboles sont seulement valables dans l'Union européenne. Si vous souhaitez vous débarrasser de déchets d’équipe-
ments électriques et électroniques ou de piles usagées, veuillez contacter les autorités locales ou votre fournisseur et deman-
der la méthode de traitement appropriée.
Note pour le symbole « pile » (deux exemples de symbole ci-dessous) :
Ce symbole peut être utilisé en combinaison avec un symbole chimique. Dans ce cas, il respecte les exigences établies par la
directive européenne relative aux piles pour le produit chimique en question.

17
YDS-150
(weee_battery_eu_es_02)
(weee_baterry_eu_pt_02a)
Información para usuarios sobre la recogida y eliminación de los equipos antiguos y las pilas usadas
Estos símbolos en los productos, embalajes y documentos anexos significan que los productos eléctricos y electrónicos y sus
pilas no deben mezclarse con los desperdicios domésticos normales.
Para el tratamiento, recuperación y reciclaje apropiados de los productos antiguos y las pilas usadas, llévelos a puntos de reci-
claje correspondientes, de acuerdo con la legislación nacional.
Al deshacerse de estos productos y pilas de forma correcta, ayudará a ahorrar recursos valiosos y a impedir los posibles
efectos desfavorables en la salud humana y en el entorno que de otro modo se producirían si se trataran los desperdicios de
modo inapropiado.
Para obtener más información acerca de la recogida y el reciclaje de los productos antiguos y las pilas, póngase en contacto
con las autoridades locales, con el servicio de eliminación de basuras o con el punto de venta donde adquirió los artículos.
Para los usuarios empresariales de la Unión Europea:
Si desea desechar equipos eléctricos y electrónicos, póngase en contacto con su vendedor o proveedor para obtener más
información.
Información sobre la eliminación en otros países fuera de la Unión Europea:
Estos símbolos solamente son válidos en la Unión Europea. Si desea desechar estos artículos, póngase en contacto con las
autoridades locales o con el vendedor y pregúnteles el método correcto.
Nota sobre el símbolo de pila (dos ejemplos de símbolos en la parte inferior):
Este símbolo se puede utilizar en combinación con un símbolo químico. En este caso, cumple el requisito establecido por la
Directiva de la UE sobre pilas correspondiente a la sustancia química utilizada.
Informações para os utilizadores relativas à recolha e eliminação de baterias e equipamentos usados
Os símbolos ilustrados, presentes em produtos, embalagens e/ou incluídos na documentação associada, indicam que as
baterias e os produtos elétricos e eletrónicos usados não devem ser eliminados juntamente com os resíduos domésticos em
geral.
O procedimento correto consiste no tratamento, recuperação e reciclagem de produtos e baterias usados, pelo que deve proceder
à respetiva entrega nos pontos de recolha adequados, em conformidade com a legislação nacional em vigor.
A eliminação destes produtos e baterias de forma adequada permite poupar recursos valiosos e evitar potenciais efeitos pre-
judiciais para a saúde pública e para o ambiente, associados ao processamento incorreto dos resíduos.
Para mais informações relativas à recolha e reciclagem de baterias e produtos usados, contacte as autoridades locais, o ser-
viço de eliminação de resíduos ou o ponto de venda onde foram adquiridos os itens relevantes.
Informações para utilizadores empresariais na União Europeia:
Para proceder à eliminação de equipamento elétrico e eletrónico, contacte o seu revendedor ou fornecedor para obter infor-
mações adicionais.
Informações relativas à eliminação em países não pertencentes à União Europeia:
Estes símbolos são válidos exclusivamente na União Europeia. Caso pretenda eliminar este tipo de itens, contacte as autori-
dades locais ou o seu revendedor e informe-se acerca do procedimento correto para proceder à respetiva eliminação.
Nota relativa ao símbolo referente a baterias (os dois exemplos de símbolos na parte inferior):
Este símbolo poderá ser apresentado com um símbolo químico associado. Neste caso, significa que está em conformidade
com os requisitos estabelecidos na Diretiva da UE relativa a Baterias no âmbito do elemento químico relacionado.

18 YDS-150
MEMO

19
YDS-150
音色リスト / Voice List / Voice-Liste / Liste des sonorités / Lista de voces /
Lista de vozes / Список тембров / 음색 목록 / 音色一览表
Display
Voice Name Trans-
position
Analog
Controller
A.01 Alto Sax 1 (Pop) E
b
(-9) Pitch Bend
A.02 Alto Sax 2 (Straight) E
b
(-9) Pitch Bend
A.03 Alto Sax 3 (Jazzy) E
b
(-9) Pitch Bend
A.04 Alto Sax 4 (Ballad) E
b
(-9) Pitch Bend
A.05 Alto Sax 5 (Rock) E
b
(-9) Pitch Bend
A.06 Alto Sax 6 (Funky) E
b
(-9) Pitch Bend
A.07 Alto Sax 7 (Classic) E
b
(-9) Pitch Bend
A.08 Alto Sax 8 (Rich Classic) E
b
(-9) Pitch Bend
A.09 Alto Sax 9 (Rich Vibrato) E
b
(-9) Pitch Bend
A.10 Alto Sax 10 (Modern Classic) E
b
(-9) Pitch Bend
A.11 DUAL Alto Sax 1
(Octave Alto and Tenor)
E
b
(-9) Pitch Bend
A.12 DUAL Alto Sax 2
(4th Alto and Soprano)
E
b
(-9) Pitch Bend
A.13 DUAL Alto Sax 3
(5th Alto and Tenor)
E
b
(-9) Pitch Bend
A.14 FX Alto Sax 1 (Distortion Effect) E
b
(-9) Pitch Bend
A.15 FX Alto Sax 2 (Overdrive Effect) E
b
(-9) Pitch Bend
A.16 FX Alto Sax 3 (Flanger Effect) E
b
(-9) Pitch Bend
A.17 FX Alto Sax 4 (Phaser Effect) E
b
(-9) Portamento
S.01 Soprano Sax 1 (Pop) B
b
(-2) Pitch Bend
S.02 Soprano Sax 2 (Straight) B
b
(-2) Pitch Bend
S.03 Soprano Sax 3 (Jazzy) B
b
(-2) Pitch Bend
S.04 Soprano Sax 4 (Bright Pop) B
b
(-2) Pitch Bend
S.05 Soprano Sax 5 (Classic) B
b
(-2) Pitch Bend
S.06 Soprano Sax 6 (Rich Classic) B
b
(-2) Pitch Bend
S.07 Soprano Sax 7 (Smooth) B
b
(-2) Pitch Bend
S.08 DUAL Soprano Sax 1
(Octave Soprano and Alto)
B
b
(-2) Pitch Bend
S.09 DUAL Soprano Sax 2
(4th Soprano and Alto)
B
b
(-2) Pitch Bend
S.10
FX Soprano Sax 1 (Overdrive Effect)
B
b
(-2) Pitch Bend
S.11
FX Soprano Sax 2 (Overdrive Effect)
B
b
(-2) Pitch Bend
S.12
FX Soprano Sax 3 (Distortion Effect)
B
b
(-2) Pitch Bend
S.13
FX Soprano Sax 4 (Phaser Effect)
B
b
(-2) Portamento
T.01 Tenor Sax 1 (Pop) B
b
(-14) Pitch Bend
T.02 Tenor Sax 2 (Straight) B
b
(-14) Pitch Bend
T.03 Tenor Sax 3 (Jazzy) B
b
(-14) Pitch Bend
T.04 Tenor Sax 4 (Breathy) B
b
(-14) Pitch Bend
T.05 Tenor Sax 5 (Rock) B
b
(-14) Pitch Bend
T.06 Tenor Sax 6 (Funky) B
b
(-14) Pitch Bend
T.07 Tenor Sax 7 (Classic) B
b
(-14) Pitch Bend
T.08 Tenor Sax 8 (Rich Classic) B
b
(-14) Pitch Bend
Display
Voice Name Trans-
position
Analog
Controller
T.09 DUAL Te n or Sax 1
(Octave Tenor and Alto)
B
b
(-14) Pitch Bend
T.10 DUA L Te nor Sax 2
(Octave Tenor and Baritone)
B
b
(-14) Pitch Bend
T.11 DUA L Te nor Sax 3
(4th Tenor and Alto)
B
b
(-14) Pitch Bend
T.12 FX Tenor Sax 1 (Distortion Effect) B
b
(-14) Pitch Bend
T.13 FX Tenor Sax 2 (Overdrive Effect) B
b
(-14) Pitch Bend
T.14 FX Tenor Sax 3 (Flanger Effect) B
b
(-14) Pitch Bend
T.15 FX Tenor Sax 4 (Phaser Effect) B
b
(-14) Portamento
B.01 Baritone Sax 1 (Pop) E
b
(-21) Pitch Bend
B.02 Baritone Sax 2 (Jazzy) E
b
(-21) Pitch Bend
B.03 Baritone Sax 3 (Ballad) E
b
(-21) Pitch Bend
B.04 Baritone Sax 4 (Rock) E
b
(-21) Pitch Bend
B.05 Baritone Sax 5 (Slap) E
b
(-21) Portamento
B.06 DUAL Baritone Sax 1
(Octave Baritone and Tenor)
E
b
(-21) Pitch Bend
B.07 DUAL Baritone Sax 2
(15th Baritone and Soprano)
E
b
(-21) Pitch Bend
B.08 DUAL Baritone Sax 3
(5th Baritone and Tenor)
E
b
(-21) Pitch Bend
B.09
FX Baritone Sax 1 (Distortion Effect)
E
b
(-21) Pitch Bend
B.10
FX Baritone Sax 2 (Overdrive Effect)
E
b
(-21) Pitch Bend
B.11 FX Baritone Sax 3 (Phaser Effect) E
b
(-21) Portamento
C.01 Harmonica C (0) Pitch Bend
C.02 Irish Pipes C (0) Pitch Bend
C.03 Pan Pipes C (0) Pitch Bend
C.04 Shakuhachi
(Japanese Bamboo Flute)
C (0) Pitch Bend
C.05 Di Zi (Chinese Transverse Flute) C (+12) Pitch Bend
C.06 Sawtooth Lead 1 C (0) Pitch Bend
C.07 Sawtooth Lead 2 C (+12) Pitch Bend
C.08 Sawtooth Lead 3 C (0) Pitch Bend
C.09 Sawtooth Lead 4 C (0) Pitch Bend
C.10 Sawtooth Lead 5 C (0) Pitch Bend
C.11 Square Lead 1 C (0) Modulation
C.12 Square Lead 2 C (0) Pitch Bend
C.13 Square Lead 3 C (+12) Portamento
C.14 Resonance Lead 1 C (0) Pitch Bend
C.15 Resonance Lead 2 C (0) Modulation
C.16 Resonance Lead 3 C (-12) Portamento
C.17 Sawtooth Bass C (-24) Pitch Bend

20 YDS-150
フィンガリングチャート
/ Fingering Chart / Grifftabelle / Tableau des doigtés /
押さえる
Close
Geschlossen
Fermé
Cerrado
Fechado
Закрытый
닫힘
关闭
放す
Open
Offen
Ouvert
Abierto
Aberto
Открытый
열림
开启
Low A
この表は代表的な運指を掲載しています。
楽譜は記譜音で表記しています。
This chart shows typical fingerings for saxophones. The music
notation is the written pitch, and not the concert pitch.
Diese Karte zeigt die typischen Griffe für Saxophone.
Die Noten entsprechen der notierten Tonhöhe, nicht dem Kam-
merton.

21
YDS-150
Gráfico de digitado / Tabela de digitação / Аппликатура / 운지법 / 指法表
Ce graphique représente les doigtés types pour les saxo-
phones. La partition musicale correspond au diapason écrit et
non au diapason de concert.
Este gráfico muestra los digitados habituales en los saxofones.
La notación musical es el tono escrito, no el tono de concierto.
Esta tabela mostra as digitações mais comuns para saxofones.
A notação musical corresponde à afinação indicada e não à
afinação de concerto.
Ниже показана типичная аппликатура для саксофонов.
Музыкальная нотация представлена в написанном, а не
концертном строе.
이 표는 색소폰의 일반적인 운지법을 나타냅니다. 기보는
콘서트 피치가 아닌, 문서로 작성된 피치입니다.
本指法表上标有萨克斯演奏的典型指法。音符上标示的是谱面
音高,而非演奏音高。

22 YDS-150
MEMO

23
YDS-150
ご注意
•楽器本体をケースに収納するときは、製品本体のPHONES端子の孔を真上に向けて収納してください。
それ以外の向きで収納すると、キイが故障するおそれがあります。
NOTICE
• Make sure that the PHONES jack is facing up when storing the instrument in the case.
Failing to do so can cause damage to the keys.
ACHTUNG
• Achten Sie darauf, dass die PHONES-Buchse nach oben zeigt, wenn Sie das Instrument in den Koffer legen.
Andernfalls können die Klappen beschädigt werden.
AVIS
• Vérifiez que la prise PHONES est sur le haut lorsque vous rangez l'instrument dans son étui. Sinon, vous ris-
queriez d'endommager les clés.
AVISO
• Al guardar el instrumento en el estuche, asegúrese de que la toma PHONES apunte hacia arriba. De no hac-
erlo así, podría dañar las llaves.
AVISO
• Verifique se o conector PHONES está voltado para cima ao guardar o instrumento na caixa. Caso contrário, as
teclas poderão ser danificadas.
УВЕДОМЛЕНИЕ
• Убирая инструмент в футляр, убедитесь, что разъем PHONES находится сверху. Несоблюдение этого
правила может привести к повреждению клавиш.
주의사항
•악기를 케이스에 보관할 때는 PHONES 잭이 위로 향하도록 하십시오. 그렇지 않으면 키가 손상될 수
있습니다.
须知
•将乐器放入乐器盒储存之前,请确认PHONES插孔正面朝上。否则可能损坏按键。
PHONES端子の孔を真上に向ける。
Make sure the PHONES jack is facing up.
Achten Sie darauf, dass die PHONES-Buchse nach oben zeigt.
Vérifiez que la prise PHONES est sur le haut.
Asegúrese de que la toma PHONES apunte hacia arriba.
O conector PHONES deve estar voltado para cima.
Убедитесь, что разъем PHONES находится сверху.
PHONES 잭이 위로 향하도록 하십시오.
请确认PHONES插孔正面朝上。

VDH5520
Manual Development Group
©2020 Yamaha Corporation
Published 02/2021
2021年2月发行
POEI-D0
雅马哈乐器音响(中国)投资有限公司
上海市静安区新闸路1818号云和大厦2楼
客户服务热线:4000517700
公司网址:http://www.yamaha.com.cn
制造商 : 雅马哈株式会社
制造商地址 : 日本静冈县滨松市中区中泽町10-1
进口商 : 雅马哈乐器音响(中国)投资有限公司
进口商地址 : 上海市静安区新闸路1818号云和大厦2楼
原产地 : 印度尼西亚