Manual
MF180A
HSDPA USB Stick
Quick Guide
ZTE CORPORATION
NO. 55, Hi-tech Road South, ShenZhen, P.R.China
Postcode: 518057
LEGAL INFORMATION
Copyright © 2011 ZTE CORPORATION.
All rights reserved.
No part of this publication may be excerpted, reproduced, translated or utilized in any form or by
any means, electronic or mechanical, including photocopying and microfilm, without the prior
written permission of ZTE Corporation.
The manual is published by ZTE Corporation. We reserve the right to make modifications on print
errors or update specifications without prior notice.
Version No. : R1.0

Confidential and Proprietary Information of ZTE CORPORATION 1
Introduction
The ZTE USB Stick is a multi-mode USB Stick, working in HSDPA/WCDMA/EDGE/GPRS/GSM
networks. With USB interface connecting to a laptop or a desktop PC, it integrates the functionality of a
modem and a mobile phone (SMS), and combines mobile communication with Internet perfectly. It
supports data and SMS services through the mobile phone network, enabling you to communicate anytime
and anywhere.

MF180A Quick Guide
2 Confidential and Proprietary Information of ZTE CORPORATION
Specification
The following table shows the specification of your device.
Interface Type
USB 2.0 HIGH SPEED
Systems supported
Supports most types of laptop and desktop PC.
Operating systems supported
Windows XP(SP2 or later), Vista(32bit or 64bit), Windows 7
MAC(10.4 or later)
Functions
SMS service, Data service, Applications management,
supports microSD card, etc.
Network Standards
HSDPA/WCDMA/EDGE/GPRS/GSM
Transmission speed (Max)
HSDPA: 3.6Mbps DL
WCDMA CS: 64kbps UL/DL
WCDMA PS: 384kbps UL/DL
Temperature
Storage: -40
℃
~ +80
℃
Operation:-10℃ ~ +60℃
Dimension
78mm×27mm×11mm(without cap)
Weight
About 26g
microSD capacity
Up to 32GByte
Notes:
microSD is a trademark of SD Card Association.

MF180A Quick Guide
Confidential and Proprietary Information of ZTE CORPORATION 3
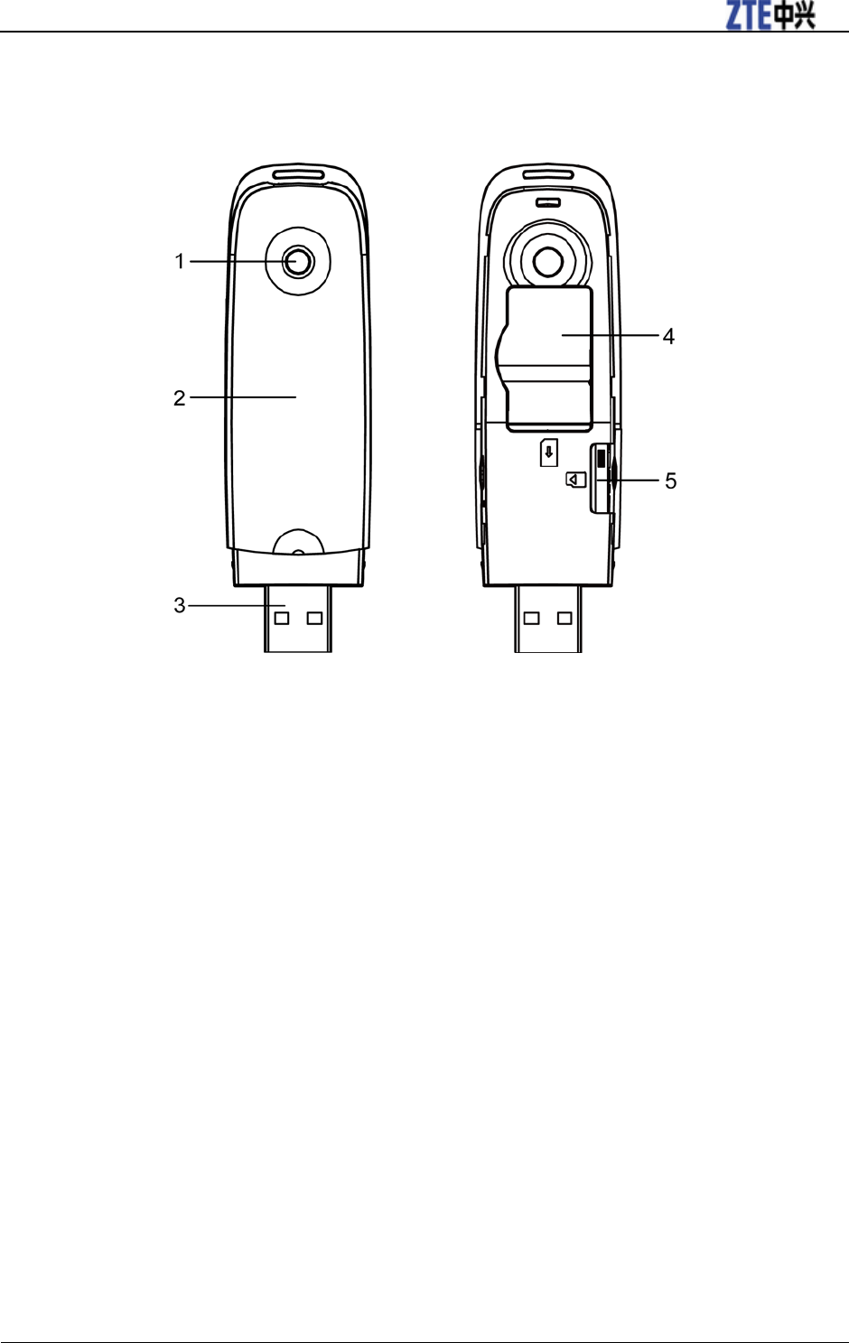
Getting to know your device
The following figure shows the appearance of the MF180A. It is only for your reference. The actual
product may be different.
1. Indicator
2. Front Cover
3. USB Connector
4. SIM/USIM card slot
5. microSD card slot

MF180A Quick Guide
4 Confidential and Proprietary Information of ZTE CORPORATION
Hardware Installation
1. Put finger on the bottom finger grip, and then lift the front cover of the modem to release and remove.
Notes:
Do not open the front cover rudely to avoid the damage of the front cover.
2. Insert the SIM/USIM card and microSD card.
Insert the SIM/USIM card with the metal contact area facing downwards into the slot, and then insert
the microSD card, shown as the following picture.
Notes:
The modem only supports microSD card.
3. Close the front cover as shown in the following picture.
4. Connect the Modem to your laptop or desktop PC.
Plug the USB connector into your computer’s USB port and make sure that it is tightly inserted.

MF180A Quick Guide
Confidential and Proprietary Information of ZTE CORPORATION 5
The OS will automatically recognize the new hardware and start the installation wizard.

MF180A Quick Guide
6 Confidential and Proprietary Information of ZTE CORPORATION
Warning and Notice
To the owner
• Some electronic devices are susceptible to electromagnetic interference sent by modem if inadequately
shielded, such as the electronic system of vehicles. Please consult the manufacturer of the device before
using the modem if necessary.
• Operating of laptop and desktop PCs and the modem may interfere with medical devices like hearing
aids and pacemakers. Please always keep them more than 20 centimeters away from such medical
devices when they are turned on. Turn the modem off if necessary. Consult a physician or the
manufacturer of the medical device before using the modem.
• Be aware of the usage limitation when using a modem at places such as oil warehouses or chemical
factories, where there are explosive gases or explosive products being processed. Turn off your modem
if required.
• The use of electronic transmitting devices is forbidden in aircrafts, at petrol stations and in hospitals.
Please observe and obey all warning signs and switch off your modem in these conditions.
• Do not touch the inner antenna area if not necessary. Otherwise it will affect your modem’s performance.
• Store the modem out of the reach of little children. The modem may cause injury if used as a toy.
• Do not touch the metallic parts of the modem so as to avoid a burn, when the modem is working.
Using your USB Stick
• Please use original accessories or accessories that are authorized. Using any unauthorized accessories
may affect your modem’s performance, and violate related national regulations about telecom terminals.
• Avoid using the modem near or inside metallic structures or establishments that can emit
electromagnetic waves. Otherwise it may influence signal reception.
• The modem is not waterproof. Please keep it dry and store in a shady and cool place.
• Do not use the modem immediately after a sudden temperature change. In such case, it will produce dew
inside and outside the modem, so don’t use it until it becomes dry.
• Handle the modem carefully. Do not drop, bend or strike it. Otherwise the modem will be damaged.
• No dismantling by non-professionals and only qualified technicians can undertake repair work.
• Operating temperature range of -10℃ ~ +60℃ and humidity range of 5% ~ 95% are recommended.
Limited Warranty
• This warranty does not apply to defects or errors in the Product caused by:
i. Reasonable abrasion.
ii. End User’s failure to follow ZTE’s installation, operation or maintenance instructions or procedures.
iii. End User’s mishandling, misuse, negligence, or improper installation, disassembly, storage,
servicing or operation of the Product.
iv. Modifications or repairs not made by ZTE or a ZTE-certified individual.
v. Power failures, surges, fire, flood, accidents, actions of third parties or other events outside ZTE’s
reasonable control.
vi. Usage of third-party products, or usage in conjunction with third-party products provided that such
defects are due to the combined usage.
vii. Any other cause beyond the range of normal usage intended for the Product.
End User shall have no right to reject or return the Product, or receive a refund for the Product from

MF180A Quick Guide
Confidential and Proprietary Information of ZTE CORPORATION 7
ZTE under the above-mentioned situations.
• This warranty is End User’s sole remedy and ZTE’s sole liability for defective or nonconforming items,
and is in lieu of all other warranties, expressed, implied or statutory, including but not limited to the
implied warranties of merchantability and fitness for a particular purpose, unless otherwise required
under the mandatory provisions of the law.
Limitation of Liability
ZTE shall not be liable for any loss of profits or indirect, special, incidental or consequential damages
resulting from or arising out of or in connection with using of this product, whether or not ZTE had been
advised, knew or should have known of the possibility of such damages, including, but not limited to lost
profits, interruption of business, cost of capital, cost of substitute facilities or product, or any downtime
cost.

MF180A Quick Guide
8 Confidential and Proprietary Information of ZTE CORPORATION
Radio Frequency (RF) Energy
This model device meets the government’s requirements for exposure to radio waves.
This device is designed and manufactured not to exceed the emission limits for exposure to radio
frequency (RF) energy set by the Federal Communications Commission of the U.S. Government:
The exposure standard for wireless devices employs a unit of measurement known as the Specific
Absorption Rate, or SAR. The SAR limit set by the FCC is 1.6W/kg. *Tests for SAR are conducted
using standard operating positions accepted by the FCC with the device transmitting at its highest certified
power level in all tested frequency bands. Although the SAR is determined at the highest certified power
level, the actual SAR level of the device while operating can be well below the maximum value. This is
because the device is designed to operate at multiple power levels so as to use only the poser required to
reach the network. In general, the closer you are to a wireless base station antenna, the lower the power
output.
The highest SAR value for the model device as reported to the FCC when worn on the body, as described
in this user guide, is W/kg (Body-worn measurements differ among device models, depending upon
available enhancements and FCC requirements.)
While there may be differences between the SAR levels of various devices and at various positions, they
all meet the government requirement.
The FCC has granted an Equipment Authorization for this model device with all reported SAR levels
evaluated as in compliance with the FCC RF exposure guidelines. SAR information on this model
device is on file with the FCC and can be found under the Display Grant section of
http://www.fcc.gov/oet/fccid after searching on
FCC ID:.

MF180A Quick Guide
Confidential and Proprietary Information of ZTE CORPORATION 9
FCC Compliance
This device complies with part 15 of the FCC Rules. Operation is subject to the condition that this device
does not cause harmful interference.
Caution: Changes or modifications not expressly approved by the manufacturer could void the user’s
authority to operate the equipment.
NOTE: This equipment has been tested and found to comply with the limits for a Class B digital device,
pursuant to part 15 of the FCC Rules. These limits are designed to provide reasonable protection against
harmful interference in a residential installation. This equipment generates, uses and can radiate radio
frequency energy and, if not installed and used in accordance with the instructions, may cause harmful
interference to radio communications. However, there is no guarantee that interference will not occur in a
particular installation. If this equipment does cause harmful interference to radio or television reception,
which can be determined by turning the equipment off and on, the user is encouraged to try to correct the
interference by one or more of the following measures:
—Reorient or relocate the receiving antenna.
—Increase the separation between the equipment and receiver.
—Connect the equipment into an outlet on a circuit different from that to which the receiver is connected.
—Consult the dealer or an experienced radio/ TV technician for help.

MF180A Quick Guide
10 Confidential and Proprietary Information of ZTE CORPORATION
How to get help
You can get Help by:
• Clicking Help on the software.
• Sending E-mail to mobile@zte.com.cn
• Visiting http://www.zte.com.cn
• Calling Service Hotline: +86–755–26779999