ZTE R8860C196 CDMA Remote Radio Unit User Manual Use manual
ZTE Corporation CDMA Remote Radio Unit Use manual
ZTE >
Users Manual

=;6'5 5
&'0$ 5HPRWH 5DGLR 8QLW
,QVWDOODWLRQ 0DQXDO
=7( &25325$7,21
=7( 3OD]D .HML 5RDG 6RXWK
+L7HFK ,QGXVWULDO 3DUN
1DQVKDQ 'LVWULFW 6KHQ]KHQ
3 5 &KLQD
7HO
)D[
85/ KWWSHQVXSSRUW]WHFRPFQ
(PDLO VXSSRUW#]WHFRPFQ

/(*$/ ,1)250$7,21
&RS\ULJKW =7( &25325$7,21
7KH FRQWHQWV RI WKLV GRFXPHQW DUH SURWHFWHG E\ FRS\ULJKW ODZV DQG LQWHUQDWLRQDO WUHDWLHV $Q\ UHSURGXFWLRQ RU GLVWULEXWLRQ RI
WKLV GRFXPHQW RU DQ\ SRUWLRQ RI WKLV GRFXPHQW LQ DQ\ IRUP E\ DQ\ PHDQV ZLWKRXW WKH SULRU ZULWWHQ FRQVHQW RI =7( &2532
5$7,21 LV SURKLELWHG $GGLWLRQDOO\ WKH FRQWHQWV RI WKLV GRFXPHQW DUH SURWHFWHG E\ FRQWUDFWXDO FRQ¿GHQWLDOLW\ REOLJDWLRQV
$OO FRPSDQ\ EUDQG DQG SURGXFW QDPHV DUH WUDGH RU VHUYLFH PDUNV RU UHJLVWHUHG WUDGH RU VHUYLFH PDUNV RI =7( &25325$7,21
RU RI WKHLU UHVSHFWLYH RZQHUV
7KLV GRFXPHQW LV SURYLGHG ³DV LV´ DQG DOO H[SUHVV LPSOLHG RU VWDWXWRU\ ZDUUDQWLHV UHSUHVHQWDWLRQV RU FRQGLWLRQV DUH GLV
FODLPHG LQFOXGLQJ ZLWKRXW OLPLWDWLRQ DQ\ LPSOLHG ZDUUDQW\ RI PHUFKDQWDELOLW\ ¿WQHVV IRU D SDUWLFXODU SXUSRVH WLWOH RU QRQLQ
IULQJHPHQW =7( &25325$7,21 DQG LWV OLFHQVRUV VKDOO QRW EH OLDEOH IRU GDPDJHV UHVXOWLQJ IURP WKH XVH RI RU UHOLDQFH RQ WKH
LQIRUPDWLRQ FRQWDLQHG KHUHLQ
=7( &25325$7,21 RU LWV OLFHQVRUV PD\ KDYH FXUUHQW RU SHQGLQJ LQWHOOHFWXDO SURSHUW\ ULJKWV RU DSSOLFDWLRQV FRYHULQJ WKH VXEMHFW
PDWWHU RI WKLV GRFXPHQW ([FHSW DV H[SUHVVO\ SURYLGHG LQ DQ\ ZULWWHQ OLFHQVH EHWZHHQ =7( &25325$7,21 DQG LWV OLFHQVHH
WKH XVHU RI WKLV GRFXPHQW VKDOO QRW DFTXLUH DQ\ OLFHQVH WR WKH VXEMHFW PDWWHU KHUHLQ
=7( &25325$7,21 UHVHUYHV WKH ULJKW WR XSJUDGH RU PDNH WHFKQLFDO FKDQJH WR WKLV SURGXFW ZLWKRXW IXUWKHU QRWLFH
8VHUV PD\ YLVLW =7( WHFKQLFDO VXSSRUW ZHEVLWH KWWSHQVXSSRUW]WHFRPFQ WR LQTXLUH UHODWHG LQIRUPDWLRQ
7KH XOWLPDWH ULJKW WR LQWHUSUHW WKLV SURGXFW UHVLGHV LQ =7( &25325$7,21
5HYLVLRQ +LVWRU\
5HYLVLRQ 1R 5HYLVLRQ 'DWH 5HYLVLRQ 5HDVRQ
5 )LUVW (GLWLRQ
6HULDO 1XPEHU VM]O

&RQWHQWV
3UHIDFHL
6DIWH\ 'HVFULSWLRQ
6DIHW\ 6SHFL¿FDWLRQV *XLGH
6DIHW\ 6\PEROV
6DIHW\ ,QVWUXFWLRQV
,QVWDOODWLRQ 2YHUYLHZ
&RPSRQHQWV WR EH ,QVWDOOHG
,QVWDOODWLRQ )ORZ
,QVWDOODWLRQ 3UHSDUDWLRQ
(QJLQHHULQJ &RQGLWLRQ ,QVSHFWLRQ
7RROV DQG ,QVWUXPHQWV 3UHSDUDWLRQ
2QVLWH 'RFXPHQWV
8QSDFNLQJ $FFHSWDQFH
&RXQWLQJ *RRGV
&UDWH 8QSDFNLQJ
&DUWRQ 8QSDFNLQJ
$FFHSWDQFH DQG *RRGV +DQGRYHU
&DELQHW ,QVWDOODWLRQ
(QJLQHHULQJ ,QGLFHV
,QVWDOODWLRQ 0RGH ,QVWUXFWLRQ
3ROHPRXQWHG ,QVWDOODWLRQ 0RGH
&RPSRQHQWV 8VHG LQ 3ROHPRXQW ,QVWDOODWLRQ
,QVWDOOLQJ 7ZR =;6'5 5 3ROHPRXQW &DELQHWV
:LWKRXW :DYH 7UDS
,QVWDOOLQJ 7ZR =;6'5 5 3ROHPRXQW &DELQHWV
:LWK :DYH 7UDS
,QVWDOOLQJ 7KUHH =;6'5 5 &DELQHWV RQ 3ROH
:LWKRXW :DYH 7UDS
,QVWDOOLQJ 7KUHH =;6'5 5 &DELQHW RQ 3ROH :LWK
:DYH 7UDS
:DOOPRXQWHG ,QVWDOODWLRQ 0RGH
&RPSRQHQWV 8VHG LQ :DOO0RXQW ,QVWDOODWLRQ
,QVWDOOLQJ &DELQHW RQ :DOO :DOO0RXQW
)ORRU *DQWU\PRXQWHG ,QVWDOODWLRQ 0RGH
&RPSRQHQWV 8VHG LQ JDQWU\PRXQW ,QVWDOODWLRQ
,QVWDOOLQJ &DELQHW RQ *DQWU\ :LWKRXW :DYH 7UDS
,QVWDOOLQJ &DELQHW RQ *DQWU\ :LWK :DYH 7UDS
6LPSOL¿HG &DELQHW ,QWHJUDWHG ,QVWDOODWLRQ 0RGH
&RPSRQHQWV 8VHG LQ ,QWHJUDWHG ,QVWDOODWLRQ
,QVWDOOLQJ ,QWHJUDWHG &DELQHW
,QVWDOOLQJ 6XQ VKLHOG
([WHUQDO &DEOH ,QVWDOODWLRQ
([WHUQDO &DEOH /D\RXW
([WHUQDO &DEOH ,QVWDOODWLRQ )ORZ
,QVWDOOLQJ 3RZHU &DEOH
,QVWDOOLQJ *URXQGLQJ &DEOH
,QVWDOOLQJ )LEHU EHWZHHQ %%8 DQG 558
,QVWDOOLQJ )LEHU EHWZHHQ 558 DQG 558
,QVWDOOLQJ (QYLURQPHQW 0RQLWRULQJ &DEOH
,QVWDOOLQJ $,6* &RQWURO &DEOH
,QVWDOOLQJ )UHTXHQF\ 3RLQW ([WHQVLRQ &DEOH
,QVWDOOLQJ -XPSHU
0DLQ $QWHQQD )HHGHU 6\VWHP ,QVWDOODWLRQ
0DLQ $QWHQQD )HHGHU 6\VWHP 6WUXFWXUH
0DLQ $QWHQQD )HHGHU 6\VWHP ,QVWDOODWLRQ 3UHSDUDWLRQ
0DLQ $QWHQQD )HHGHU 6\VWHP ,QVWDOODWLRQ )ORZ
$QWHQQD ,QVWDOODWLRQ
$QWHQQD ,QVWDOODWLRQ 7HFKQLFDO 6SHFL¿FDWLRQV
$QWHQQD ,QVWDOODWLRQ 3RVLWLRQ
,QVWDOOLQJ 'LUHFWLRQDO $QWHQQD
,QVWDOOLQJ 2PQL $QWHQQD
&RQQHFWLQJ -XPSHU DQG $QWHQQD
)HHGHU ,QVWDOODWLRQ
)HHGHU &XWWLQJ 3ULQFLSOH
,QVWDOOLQJ )HHGHU RQ 7RS RI %XLOGLQJ
,QVWDOOLQJ )HHGHU RQ 7RZHU
)HHGHU /D\RXW 3ULQFLSOHV
)L[LQJ 0DLQ )HHGHU
)HHGHU *URXQGLQJ 3ULQFLSOH
,QVWDOOLQJ )HHGHU *URXQGLQJ &OLSV
&RQQHFWLQJ -XPSHU DQG )HHGHU
,QVWDOOLQJ )HHGHU +HUPHWLFZLQGRZ
)HHGHU ,QGRRU ,QJRLQJ
)HHGHU ,QGRRU $UUDQJHPHQW 3ULQFLSOH
/HDGLQJ 0DLQ )HHGHU LQWR 5RRP
,QVWDOOLQJ 7RSHTXLSPHQW -XPSHU
3HUIRUPLQJ $QWHQQD )HHGHU 6\VWHP 7HVW
3HUIRUPLQJ 2XWGRRU&RQQHFWRU :DWHUSURRI
3URFHVVLQJ
3HUIRUPLQJ )HHGHU +HUPHWLFZLQGRZ :DWHUSURRI
3URFHVVLQJ
&DELQHW -XPSHU ,QVWDOODWLRQ 'HVFULSWLRQ
96:5 7HVW
+DUGZDUH ,QVWDOODWLRQ ,QVSHFWLRQ
&KHFNLQJ &DELQHW ,QVWDOODWLRQ
&KHFNLQJ &DEOH ,QVWDOODWLRQ
&DEOHV ,QVWDOODWLRQ *HQHUDO 6SHFL¿FDWLRQ
3RZHU DQG *URXQGLQJ &DEOHV ,QVWDOODWLRQ &KHFN
2SWLFDO )LEHU ,QVWDOODWLRQ &KHFN
&KHFNLQJ 0DLQ $QWHQQD 6\VWHP ,QVWDOODWLRQ
3RZHU RQ DQG RII
3RZHU RQ 3UHSDUDWLRQ
3RZHU 21
3RZHU 2))
&DELQHWFRPELQHG ,QVWDOODWLRQ
&RPSRQHQWV 8VHG LQ &DELQHWFRPELQLQJ ,QVWDOODWLRQ
3HUIRUPLQJ &DELQHWFRPELQDWLRQ
&DVFDGLQJ &DELQHW ,QVWDOODWLRQ
&RPSRQHQWV 8VHG LQ &DVFDGLQJ ,QVWDOODWLRQ
3HUIRUPLQJ &DELQHW &DVFDGLQJ
2$8
2$8 7HFKQLFDO ,QGLFHV
2$8 $SSHDUDQFH DQG ,QWHUIDFH
,QVWDOOLQJ 2$8 LQ 3ROHPRXQW 0RGH
,QVWDOODWLRQ 2$8 LQ :DOOPRXQW 0RGH
,QVWDOOLQJ 2$8 &DEOH
2/3
2/3 7HFKQLFDO ,QGLFHV
2/3 $SSHDUDQFH DQG ,QWHUIDFH
2/3 ,QVWDOODWLRQ 'HVFULSWLRQ
,/3
,/3 7HFKQLFDO ,QGLFHV
,/3 $SSHDUDQFH DQG ,QWHUIDFH
,/3 ,QVWDOODWLRQ 'HVFULSWLRQ
$& /LJKWQLQJ $UUHVWHU
$& /LJKWQLQJ 7HFKQLFDO ,QGLFHV
$& /LJKWQLQJ $SSHDUDQFH DQG ,QWHUIDFH
$& /LJKWQLQJ ,QVWDOODWLRQ 'HVFULSWLRQ
,QVWDOOLQJ 6KLHOGHG *URXQGLQJ .LW
3'0
3'0 $SSHDUDQFH DQG ,QWHUIDFH
,QVWDOOLQJ 3'0
)LJXUHV
7DEOHV
/LVW RI *ORVVDU\

3UHIDFH
3XUSRVH =;6'5 5 LV DQ RXWGRRU UHPRWH 5) XQLW &RPSRVLQJ DQ LQWH
JUDWHG %76 =;6'5 5 DQG %%8 LPSOHPHQW ZLUHOHVV WUDQVPLV
VLRQ ZLWKLQ FRYHUDJH DUHDV FRQWURO RI ZLUHOHVV FKDQQHO DV ZHOO DV
FRPPXQLFDWLRQ ZLWK %6&
7KLV PDQXDO SURYLGHV EDVLF LQVWDOODWLRQ JXLGH IRU HQJLQHHULQJ SHU
VRQQHO ZKR SHUIRUP =;6'5 5 KDUGZDUH LQVWDOODWLRQ $W WKH
VDPH WLPH LW VHUYHV IRU WKH UHIHUHQFH PDWHULDO IRU WKH SHUVRQQHO
UHVSRQVLEOH IRU RSHUDWLRQ DQG PDLQWHQDQFH
,QWHQGHG
$XGLHQFH
7KLV GRFXPHQW LV LQWHQGHG IRU HQJLQHHUV DQG WHFKQLFLDQV ZKR SHU
IRUP LQVWDOODWLRQ DFWLYLWLHV RQ =;6'5 5 & UHPRWH UDGLR
XQLW
3UHUHTXLVLWH 6NLOO
DQG .QRZOHGJH
7R XVH WKLV GRFXPHQW HIIHFWLYHO\ XVHUV VKRXOG KDYH D JHQHUDO XQ
GHUVWDQGLQJ RI =;6'5 5 HTXLSPHQW DQG LWV FRPSRQHQWV )D
PLOLDULW\ ZLWK WKH IROORZLQJ LV KHOSIXO
FGPD IXQGDPHQWDO
=;6'5 5 KDUGZDUH VWUXFWXUH
:KDW LV LQ 7KLV
0DQXDO
7KLV PDQXDO FRQWDLQV WKH IROORZLQJ FKDSWHUV DQG DSSHQGL[HV
&KDSWHU 6XPPDU\
&KDSWHU 6DIHW\ ,QVWUXFWLRQ 'HVFULEHV SUHFDXWLRQV LQ =;6'5
5 LQVWDOODWLRQ RU RSHUDWLRQ
PDLQWHQDQFH DV ZHOO DV WKH
PHDQLQJV RI YDULRXV VDIHW\
V\PEROV
&KDSWHU ,QVWDOODWLRQ 2YHUYLHZ 'HVFULEHV WKH UHTXLUHPHQWV
IRU =;6'5 5 LQVWDOODWLRQ
SHUVRQQHO WKH LQVWDOODWLRQ ÀRZV
DQG LQVWDOODWLRQ SUHSDUDWLRQ
&KDSWHU &DELQHW ,QVWDOODWLRQ 'HVFULEHV IRXU LQVWDOODWLRQ PRGHV
RI =;6'5 5 FDELQHW DQG
LQVWDOODWLRQ VLWXDWLRQV
&KDSWHU ([WHUQDO &DEOH
,QVWDOODWLRQ
'HVFULEHV WKH LQVWDOODWLRQ PHWKRGV
RI YDULRXV =;6'5 5 H[WHUQDO
FDEOHV
&KDSWHU 0DLQ $QWHQQD )HHGHU
6\VWHP ,QVWDOODWLRQ
'HVFULEHV WKH LQVWDOODWLRQ ÀRZV
DQG LQVWDOODWLRQ PHWKRGV RI
=;6'5 5 PDLQ DQWHQQD
IHHGHU V\VWHP
&KDSWHU +DUGZDUH ,QVWDOODWLRQ
,QVSHFWLRQ
'HVFULEHV WKH LQVSHFWLRQ PHWKRGV
RI FDELQHW DQG FDEOHV DIWHU
LQVWDOODWLRQ FRPSOHWLRQ
&KDSWHU 3RZHU RQ DQG RII 'HVFULEHV WKH PHWKRGV DQG
SUHFDXWLRQV RI =;6'5 5
SRZHU RQ DQG RII
&RQ¿GHQWLDO DQG 3URSULHWDU\ ,QIRUPDWLRQ RI =7( &25325$7,21 L

=;6'5 5 ,QVWDOODWLRQ 0DQXDO
&KDSWHU 6XPPDU\
$SSHQGL[ $ &DELQHWFRPELQHG
,QVWDOODWLRQ
'HVFULEHV WKH PHWKRG RI
=;6'5 5 FDELQHWFRPELQHG
LQVWDOODWLRQ
$SSHQGL[ % &DVFDGLQJ &DELQHW
,QVWDOODWLRQ
'HVFULEHV WKH PHWKRG RI =;6'5
5 FDVFDGLQJ FDELQHW
LQVWDOODWLRQ
$SSHQGL[ & 2XWGRRU $& 8QLW2$8 'HVFULEHV WHFKQLFDO LQGLFHV
DSSHDUDQFH LQWHUIDFHV LQVWDOODWLRQ
LQWURGXFWLRQ DQG FDEOH FRQQHFWLRQ
RI 2$8
$SSHQGL[ ' 2XWGRRU '& /LJKWQLQJ
%R[ 2/3±
'HVFULEHV WHFKQLFDO LQGLFHV
DSSHDUDQFH LQWHUIDFH DQG
LQVWDOODWLRQ LQWURGXFWLRQ RI RXWGRRU
'& OLJKWQLQJ ER[
$SSHQGL[ ( ,QGRRU '& /LJKWQLQJ
%R[ ,/3±
'HVFULEHV WHFKQLFDO LQGLFHV
DSSHDUDQFH LQWHUIDFH DQG
LQVWDOODWLRQ LQWURGXFWLRQ RI LQGRRU
'& OLJKWQLQJ ER[
$SSHQGL[ ) $& /LJKWQLQJ %R[ 'HVFULEHV DSSHDUDQFH LQWHUIDFHV
DQG FDEOH FRQQHFWLRQ RI $&
OLJKWQLQJ ER[
$SSHQGL[ * 3RZHU 'LVWULEXWLRQ
%R[ 3'0
'HVFULEHV DSSHDUDQFH LQWHUIDFH
DQG LQVWDOODWLRQ LQWURGXFWLRQ RI
3'0
LL &RQ¿GHQWLDO DQG 3URSULHWDU\ ,QIRUPDWLRQ RI =7( &25325$7,21

& K D S W H U
6DIWH\ 'HVFULSWLRQ
7DEOH RI &RQWHQWV
6DIHW\ 6SHFL¿FDWLRQV *XLGH
6DIHW\ 6\PEROV
6DIHW\ ,QVWUXFWLRQV
6DIHW\ 6SHFLILFDWLRQV *XLGH
7KHVH VDIHW\ LQVWUXFWLRQV PXVW EH FRQVLGHUHG DV VXSSOHPHQWDU\ IRU
ORFDO VDIHW\ UHJXODWLRQV 7KH SULRULW\ PXVW EH JLYHQ WR ORFDO VDIHW\
UHJXODWLRQV LI WKHUH LV DQ\ FRQÀLFW EHWZHHQ WKH WZR
7KH PDLQWHQDQFH SHUVRQQHO PXVW KDYH WKH NQRZOHGJH RI VDIHW\
RSHUDWLRQV DQG PDLQWHQDQFH ZLWK UHTXLUHG TXDOL¿FDWLRQ DQG WHFK
QLFDO EDFNJURXQG
:DUQLQJ
7KLV GHYLFH FRPSOLHV ZLWK SDUW RI WKH )&& 5XOHV 2SHUDWLRQ LV
VXEMHFW WR WKH IROORZLQJ WZR FRQGLWLRQV 7KLV GHYLFH PD\ QRW
FDXVH KDUPIXO LQWHUIHUHQFH DQG WKLV GHYLFH PXVW DFFHSW DQ\
LQWHUIHUHQFH UHFHLYHG LQFOXGLQJ LQWHUIHUHQFH WKDW PD\ FDXVH XQGH
VLUHG RSHUDWLRQ &KDQJHV RU PRGL¿FDWLRQV QRW H[SUHVVO\ DSSURYHG
E\ WKH SDUW\ UHVSRQVLEOH IRU FRPSOLDQFH FRXOG YRLG WKH XVHU¶V DX
WKRULW\ WR RSHUDWH WKH HTXLSPHQW
7KLV&ODVV>$@GLJLWDODSSDUDWXVFRPSOLHVZLWK&DQDGLDQ,&(6
$OO WKH RSHUDWLRQ DQG PDLQWHQDQFH SHUVRQQHO PXVW IROORZ WKH
VDIHW\ SUHFDXWLRQV DQG LQVWUXFWLRQV SURYLGHG E\ =7( &RUSRUDWLRQ
WR DYRLG DQ\ DFFLGHQW
&RQ¿GHQWLDO DQG 3URSULHWDU\ ,QIRUPDWLRQ RI =7( &25325$7,21

=;6'5 5 ,QVWDOODWLRQ 0DQXDO
1RWH
=7( &RUSRUDWLRQ GRHV QRW EHDU DQ\ OLDELOLWLHV LQFXUUHG EHFDXVH RI
YLRODWLRQ RI WKH XQLYHUVDO VDIHW\ RSHUDWLRQ UHTXLUHPHQWV RU YLROD
WLRQ RI VDIHW\ VWDQGDUGV IRU GHVLJQLQJ PDQXIDFWXULQJ DQG XVLQJ
WKH HTXLSPHQW
6DIHW\ 6\PEROV
7DEOH OLVWV VDIHW\ V\PEROV 7KH\ DUH WR SURPSW WKH XVHU RI WKH
VDIHW\ SUHFDXWLRQV WR EH REVHUYHG GXULQJ =;6'5 5 RSHUDWLRQ
DQG PDLQWHQDQFH
7$%/( 6$)(7< 6<0%2/6 '(6&5,37,21
6DIHW\ 6\PEROV 0HDQLQJ
1R VPRNLQJ 6PRNLQJ LV IRUELGGHQ
1R ÀDPPDEOHV 1R ÀDPPDEOHV FDQ EH VWRUHG
1R WRXFKLQJ 'R QRW WRXFK
8QLYHUVDO DOHUWLQJ V\PERO *HQHUDO VDIHW\
DWWHQWLRQV
(OHFWULF VKRFN 5LVN RI HOHFWULF VKRFN
(OHFWURVWDWLF 7KH GHYLFH PD\ EH VHQVLWLYH WR
VWDWLF HOHFWULFLW\
0LFURZDYH %HZDUH RI VWURQJ HOHFWURPDJQHWLF
¿HOG
/DVHU %HZDUH RI VWURQJ ODVHU EHDP
6FDOG %HZDUH RI VFDOG
$PRQJVW WKHVH VDIHW\ V\PEROV WKH XQLYHUVDO DODUP V\PEROV DUH
FODVVL¿HG LQWR WKUHH OHYHOV GDQJHU ZDUQLQJ DQG FDXWLRQ 7KH
IRUPDWV DQG PHDQLQJV RI WKH WKUHH OHYHOV DUH GHVFULEHG DV EHORZ
&RQ¿GHQWLDO DQG 3URSULHWDU\ ,QIRUPDWLRQ RI =7( &25325$7,21

&KDSWHU 6DIWH\ 'HVFULSWLRQ
'DQJHU
,QGLFDWHV D SRWHQWLDOO\ KD]DUGRXV VLWXDWLRQ ZKLFK LI QRW DYRLGHG
ZLOO UHVXOW LQ GHDWK RU VHULRXV LQMXU\ RI SHRSOH RU HTXLSPHQW GDP
DJHV DQG EUHDNGRZQ
:DUQLQJ
,QGLFDWHV D SRWHQWLDOO\ KD]DUGRXV VLWXDWLRQ ZKLFK LI QRW DYRLGHG
FRXOG UHVXOW LQ GHDWK RU VHULRXV LQMXU\
&DXWLRQ
,QGLFDWHV D SRWHQWLDOO\ KD]DUGRXV VLWXDWLRQ ZKLFK LI QRW DYRLGHG
FRXOG UHVXOW LQ VHULRXV LQMXULHV HTXLSPHQW GDPDJHV RU LQWHUUXSWLRQ
RI SDUW VHUYLFHV
6DIHW\ ,QVWUXFWLRQV
7KLV VHFWLRQ GHVFULEHV WKH VDIHW\ LQVWUXFWLRQV UHODWHG WR HOHFWULFDO
VDIHW\ DQWLVWDWLF KHDY\ REMHFWV DQG PRGXOHV
(OHFWULFDO 6DIHW\
,QVWUXFWLRQV
7KH IROORZLQJ DUH WKH HOHFWULFDO VDIHW\ LQVWUXFWLRQV DERXW WRROV KLJK
YROWDJH SRZHU FDEOHV KROHV DQG OLJKWQLQJ
7RROV
8VH VSHFLDO WRROV UDWKHU WKDQ FRPPRQ WRROV IRU KLJKYROWDJH
DQG $& RSHUDWLRQV
+LJK 9ROWDJH
'DQJHU
+LJK YROWDJH LV KD]DUGRXV 'LUHFW RU LQGLUHFW FRQWDFW ZLWK KLJK
YROWDJH RU PDLQ VXSSO\ XVLQJ D ZHW REMHFW FRXOG UHVXOW LQ GHDWK
f6WULFWO\ IROORZ ORFDO VDIHW\ UXOHV WR LQVWDOO $& SRZHU HTXLS
PHQWV
f,QVWDOODWLRQ VWDII PXVW EH TXDOL¿HG IRU SHUIRUPLQJ KLJKYROW
DJH DQG $& RSHUDWLRQV
f'R QRW ZHDU DQ\ ZDWFK KDQG FKDLQ EUDFHOHW ULQJ RU DQ\
RWKHU FRQGXFWLYH REMHFW GXULQJ VXFK RSHUDWLRQV
f3UHYHQW PRLVWXUH IURP DFFXPXODWLQJ RQ WKH HTXLSPHQW GXU
LQJ RSHUDWLRQV LQ D GDPS HQYLURQPHQW
3RZHU &DEOH
&RQ¿GHQWLDO DQG 3URSULHWDU\ ,QIRUPDWLRQ RI =7( &25325$7,21

=;6'5 5 ,QVWDOODWLRQ 0DQXDO
:DUQLQJ
1HYHU LQVWDOO RU XQLQVWDOO SRZHU FDEOHV ZKLOH WKH\ DUH OLYH 2WK
HUZLVH WKH SRZHU FDEOH ZKHQ FRQWDFWLQJ D FRQGXFWRU PD\ UH
VXOW LQ VSDUNV RU HOHFWULF DUF FDXVLQJ D ¿UH RU HYHQ GDPDJH WR
H\HV
f0DNH VXUH WR VKXW RII SRZHU VXSSO\ EHIRUH LQVWDOOLQJ RU GLV
FRQQHFWLQJ D SRZHU FDEOH
f%HIRUH FRQQHFWLQJ WKH SRZHU FDEOH PDNH VXUH WKDW WKH FRQ
QHFWLQJ FDEOH DQG LWV ODEHO LV DSSURSULDWH IRU WKH DFWXDO LQ
VWDOODWLRQ UHTXLUHPHQWV
'ULOOLQJ +ROHV
:DUQLQJ
,W LV QRW DOORZHG WR GULOO FDELQHW KROHV ZLWKRXW SHUPLVVLRQ
f8QTXDOL¿HG GULOOLQJ FRXOG GDPDJH ZLULQJ DQG FDEOHV LQVLGH
WKH FDELQHW $GGLWLRQDOO\ PHWDO SLHFHV LQVLGH WKH FDELQHW
FUHDWHG E\ WKH GULOOLQJ FRXOG UHVXOW LQ D VKRUW FLUFXLW 8VH
LQVXODWLRQ SURWHFWLRQ JORYHV DQG ¿UVW PRYH FDEOHV LQVLGH D
FDELQHW DZD\ ZKHQ GULOOLQJ LV QHFHVVDU\ RQ D FDELQHW
f3URWHFW H\HV GXULQJ GULOOLQJ DV GXVW RU À\LQJ GHEULV PD\
GDPDJH H\HV
f&OHDQ DQ\ GHEULV LQ WLPH DIWHU GULOOLQJ
/LJKWQLQJ
'DQJHU
'R QRW SHUIRUP KLJKYROWDJH $& LURQ WRZHU RU PDVW RSHUDWLRQV
LQ D WKXQGHUVWRUP
7KXQGHUVWRUPV ZRXOG JLYH ULVH WR D VWURQJ HOHFWURPDJQHWLF
¿HOG LQ WKH DWPRVSKHUH 7KHUHIRUH WKH HTXLSPHQW PXVW EH
JURXQGHG DQG SURWHFWHG LQ WLPH DJDLQVW OLJKWQLQJ VWULNHV
$QWLVWDWLF 6DIHW\
,QVWUXFWLRQV (OHFWURVWDWLF
6WDWLF HOHFWULFLW\ SURGXFHG E\ KXPDQ ERG\ FDQ GDPDJH VWDWLFVHQ
VLWLYH FRPSRQHQWV RQ FLUFXLW ERDUG VXFK DV ODUJHVFDOH LQWHJUDWHG
FLUFXLWV
)ULFWLRQ FDXVHG E\ KXPDQ ERG\ DFWLYLWLHV LV WKH URRW FDXVH RI
HOHFWURVWDWLF FKDUJH DFFXPXODWLRQ 6WDWLF YROWDJH FDUULHG E\ D
KXPDQ ERG\ LQ D GU\ HQYLURQPHQW FDQ EH XS WR N9 DQG
FDQ UHPDLQ LQ WKHUH IRU D ORQJ WLPH $Q RSHUDWRU ZLWK VWDWLF
HOHFWULFLW\ PD\ GLVFKDUJH HOHFWULFLW\ WKURXJK D FRPSRQHQW ZKHQ
KHVKH WRXFKHV WKH FRQGXFWRU DQG FDXVLQJ GDPDJH
&RQ¿GHQWLDO DQG 3URSULHWDU\ ,QIRUPDWLRQ RI =7( &25325$7,21

&KDSWHU 6DIWH\ 'HVFULSWLRQ
:HDU DQ DQWLVWDWLF ZULVW VWUDS WKH RWKHU HQG RI ZULVW VWUDS PXVW
EH ZHOO JURXQGHG EHIRUH WRXFKLQJ WKH HTXLSPHQW RU KROGLQJ
D SOXJLQ ERDUG FLUFXLW ERDUG ,QWHJUDWHG &LUFXLW ,& FKLS RU
RWKHU GHYLFHV WR SUHYHQW KXPDQ VWDWLF HOHFWULFLW\ IURP GDPDJ
LQJ VHQVLWLYH FRPSRQHQWV
$ UHVLVWRU RYHU 0ƻ VKRXOG EH FRQQHFWHG LQ VHULHV RQ WKH FDEOH
EHWZHHQ WKH DQWLVWDWLF ZULVW VWUDS DQG WKH JURXQGLQJ SRLQW WR
SURWHFW WKH RSHUDWRU DJDLQVW DFFLGHQWDO HOHFWULF VKRFN 5HVLV
WDQFH RYHU 0ƻ LV ORZ HQRXJK WR GLVFKDUJH VWDWLF YROWDJH
7KH DQWLVWDWLF ZULVW VWUDS XVHG PXVW EH VXEMHFW WR UHJXODU
FKHFN 'R QRW UHSODFH WKH FDEOH RI DQ DQWLVWDWLF ZULVW VWUDS
ZLWK DQ\ RWKHU FDEOH
'R QRW FRQWDFW VWDWLFVHQVLWLYH PRGXOHV ZLWK DQ\ REMHFW WKDW
HDVLO\ JHQHUDWHV VWDWLF HOHFWULFLW\ )RU H[DPSOH IULFWLRQ RI SDFN
DJH EDJ WUDQVIHU ER[ DQG WUDQVIHU EHOW PDGH IURP LQVXODWLRQ
SODVWLF PD\ FDXVH VWDWLF HOHFWULFLW\ RQ FRPSRQHQWV 'LVFKDUJH
RI VWDWLF HOHFWULFLW\ PD\ GDPDJH FRPSRQHQWV ZKHQ WKH\ FRQ
WDFW D KXPDQ ERG\ RU WKH JURXQG
0RGXOHV VKRXOG RQO\ FRQWDFW PDWHULDOV VXFK DV DQWLVWDWLF EDJ
.HHS PRGXOHV LQ DQWLVWDWLF EDJV GXULQJ VWRUDJH DQG WUDQVSRUWD
WLRQ
'LVFKDUJH VWDWLF HOHFWULFLW\ RI WKH WHVW GHYLFH EHIRUH XVH WKDW
LV JURXQG WKH WHVW GHYLFH ¿UVW
'R QRW SODFH WKH PRGXOH QHDU D VWURQJ '& PDJQHWLF ¿HOG VXFK
DV WKH FDWKRGHUD\ WXEH RI D PRQLWRU .HHS WKH PRGXOH DW OHDVW
FP DZD\
+RLVWLQJ +HDY\
2EMHFWV
:DUQLQJ
:KHQ KRLVWLQJ KHDY\ REMHFWV HQVXUH WKDW QRERG\ LV VWDQGLQJ RU
ZDONLQJ XQGHU WKH KRLVWHG REMHFW
(QVXUH WKH KRLVWHU FDQ PHHW KRLVWLQJ UHTXLUHPHQWV ZKHQ GLV
DVVHPEOLQJ KHDY\ HTXLSPHQW RU PRYLQJ DQG UHSODFLQJ HTXLS
PHQW
7KH LQVWDOODWLRQ SHUVRQQHO PXVW EH GXO\ WUDLQHG DQG TXDOL¿HG
IRU KRLVWLQJ RSHUDWLRQV
+RLVWLQJ WRROV PXVW EH LQVSHFWHG DQG FRPSOHWH EHIRUH VHUYLFH
0DNH VXUH WKDW KRLVWLQJ WRROV DUH ¿[HG ¿UPO\ RQ D VXI¿FLHQWO\
VHFXUHG REMHFW RU ZDOO EHIRUH WKH KRLVWLQJ RSHUDWLRQ
*LYH EULHI RUDO LQVWUXFWLRQV GXULQJ KRLVWLQJ RSHUDWLRQV WR SUH
YHQW DQ\ PLVKDS
8QSOXJJLQJ3OXJ
JLQJ D 0RGXOH
1HYHU SOXJ D PRGXOH ZLWK H[FHVVLYH IRUFH WR HQVXUH WKDW WKH
SLQV RQ WKH EDFNSODQH GR QRW JHW GHIRUPHG
3OXJ WKH PRGXOH ULJKW LQWR WKH VORW DQG PDNH VXUH PRGXOH FLU
FXLW IDFHV GR QRW FRQWDFW HDFK RWKHU OHVW DQ\ VKRUW FLUFXLW PD\
RFFXU
.HHS KDQGV RII WKH PRGXOH FLUFXLW FRPSRQHQWV FRQQHFWRUV
DQG FDEOH WURXJK ZKHQ KROGLQJ D PRGXOH
&RQ¿GHQWLDO DQG 3URSULHWDU\ ,QIRUPDWLRQ RI =7( &25325$7,21

=;6'5 5 ,QVWDOODWLRQ 0DQXDO
2WKHU 6DIHW\
,QVWUXFWLRQV 1RWH
'R QRW SHUIRUP PDLQWHQDQFH RU GHEXJJLQJ LQGHSHQGHQWO\ XQOHVV
D TXDOL¿HG SHUVRQ LV SUHVHQW
3HUIRUP DQ DLUWLJKW WHVW EHIRUH 558 GHOLYHU\ DQG SURKLELW GLV
DVVHPEOLQJ WKH 558 RQ VLWH
5HSODFLQJ DQ\ SDUWV RU PDNLQJ DQ\ FKDQJHV WR WKH HTXLSPHQW
PLJKW UHVXOW LQ DQ XQH[SHFWHG GDQJHU 7KHUHIRUH EH VXUH QRW
WR UHSODFH DQ\ SDUWV RU SHUIRUP DQ\ FKDQJHV WR WKH HTXLSPHQW
XQOHVV DXWKRUL]HG RWKHUZLVH
'XH WR WKDW 558 LV LQ KLJK WHPSHUDWXUH GXULQJ UXQQLQJ WKH 558
VKRXOG EH LQVWDOOHG LQ VRPH UHJLRQV RXW RI RSHUDWRUV¶ UHDFK RU
VWULFWO\ UHVWULFWHG
&RQWDFW =7( RI¿FH LI \RX KDYH DQ\ TXHVWLRQ WR HQVXUH \RXU
VDIHW\
&RQ¿GHQWLDO DQG 3URSULHWDU\ ,QIRUPDWLRQ RI =7( &25325$7,21

& K D S W H U
,QVWDOODWLRQ 2YHUYLHZ
7DEOH RI &RQWHQWV
&RPSRQHQWV WR EH ,QVWDOOHG
,QVWDOODWLRQ )ORZ
,QVWDOODWLRQ 3UHSDUDWLRQ
&RPSRQHQWV WR EH ,QVWDOOHG
)RU =;6'5 5 WKH IROORZLQJ FRPSRQHQWV ZLOO EH LQVWDOOHG
=;6'5 5 FDELQHW DQG FRPSRQHQWV
1RWH
7KH LQQHU FDEOHV DQG IXQFWLRQDO PRGXOHVERDUGV LQ WKH FDELQHW
DUH DOUHDG\ LQVWDOOHG EHIRUH HTXLSPHQW GHOLYHU\
6XQVKLHOG XVHG IRU WKH RXWGRRU =;6'5 5 LQVWDOODWLRQ
&DEOHV
$QWHQQD IHHGHU V\VWHP LQFOXGLQJ DQWHQQD MXPSHUV DQG IHHGHU
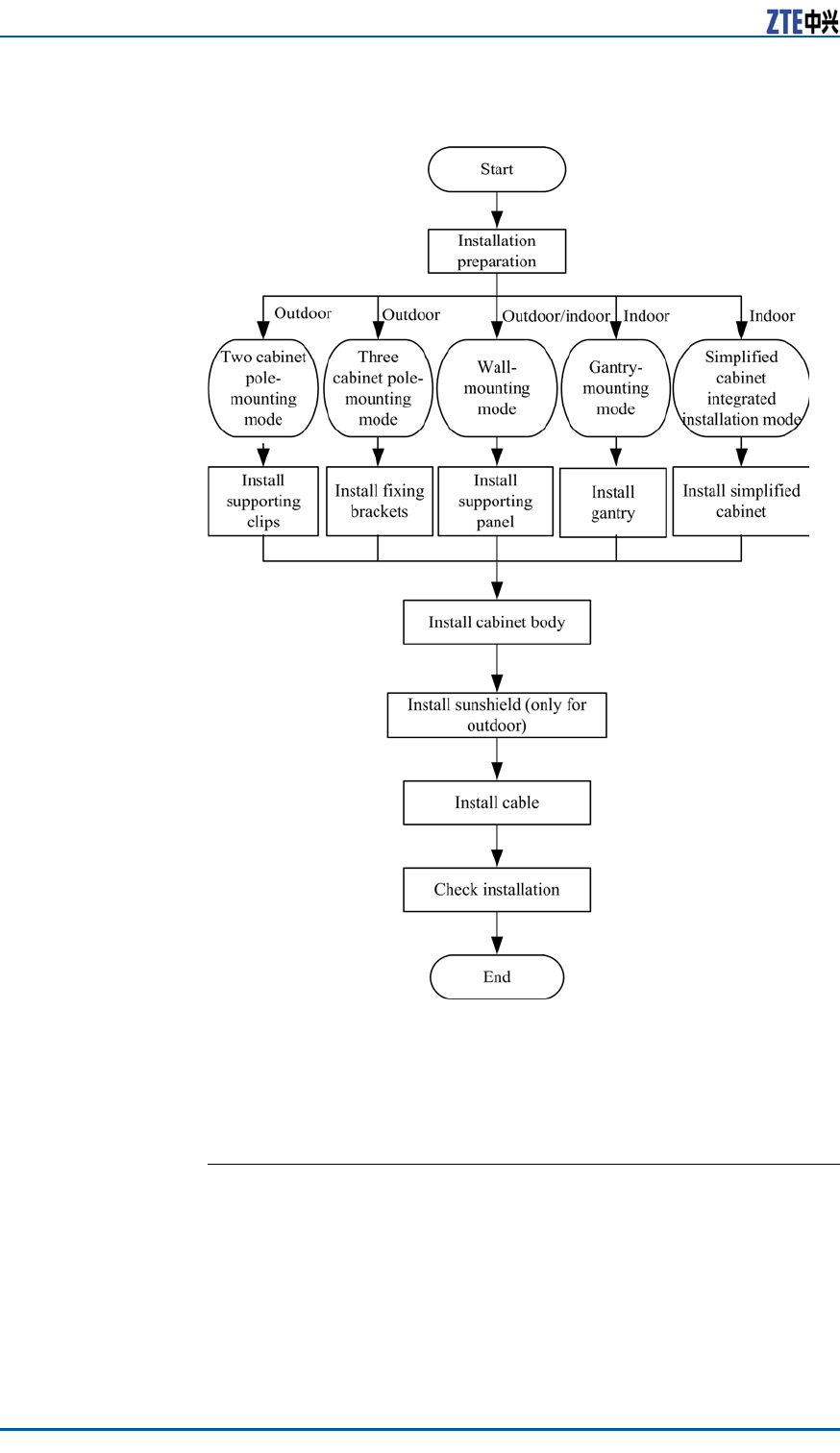
,QVWDOODWLRQ )ORZ
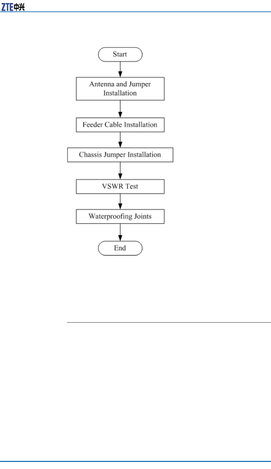
7KH LQVWDOODWLRQ ÀRZ RI =;6'5 5 LV GHPRQVWUDWHG LQ )LJXUH
+RZHYHU LW LV QRW UHTXLUHG WR VWULFWO\ IROORZ WKH VWHSV VKRZHG
LQ WKLV ÀRZ 7KH DFWXDO LQVWDOODWLRQ SURFHGXUHV GHSHQG RQ WKH UH
TXLUHPHQWV RQ VLWH
&RQ¿GHQWLDO DQG 3URSULHWDU\ ,QIRUPDWLRQ RI =7( &25325$7,21

=;6'5 5 ,QVWDOODWLRQ 0DQXDO
),*85( ,167$//$7,21 )/2:
,QVWDOODWLRQ 3UHSDUDWLRQ
(QJLQHHULQJ &RQGLWLRQ ,QVSHFWLRQ
%HIRUH LQVWDOOLQJ GHYLFHV IROORZ WKH UHTXLUHPHQWV RI (QYLURQPHQW
$FFHSWDQFH 5HSRUW DQG FKHFN LQVWDOODWLRQ HQYLURQPHQW 7KH IRO
ORZLQJ FRQWHQW LV MXVW DV D UHIHUHQFH
,QVWDOODWLRQ
3RVLWLRQ
,QVSHFWLRQ
=;6'5 5 LQVWDOODWLRQ SRVLWLRQ VKRXOG DFFRUG ZLWK WKH UHTXLUH
PHQWV RI HQJLQHHULQJ GHVLJQ WKH VSHFL¿HG UHTXLUHPHQWV DV IRO
ORZV
&RQ¿GHQWLDO DQG 3URSULHWDU\ ,QIRUPDWLRQ RI =7( &25325$7,21

&KDSWHU ,QVWDOODWLRQ 2YHUYLHZ
$YRLG GXVW\ KDUPIXOJDV RU H[SORVLYHJRRGV HQYLURQPHQW
$YRLG WKH SODFHV ZLWK ELJ VKRFN RU VWURQJ QRLVH
)DU DZD\ VXEVWDWLRQ
)DU DZD\ SROOXWLRQ VRXUFH
$YRLG DQ LQGXVWULDO ERLOHU DQG KHDWLQJ ERLOHU
)DU DZD\ KLJKSRZHU ZLUHOHVV LQWHUIHUHQFH VRXUFH
7HPSHUDWXUH
DQG +XPLGLW\
,QVSHFWLRQ
=;6'5 5 WHPSHUDWXUH DQG KXPLGLW\ LQ ZRUN HQYLURQPHQW
VKRXOG PHHW WKH UHTXLUHPHQWV DV VKRZQ LQ
3RZHU 6XSSO\
,QVSHFWLRQ
7KH UHTXLUHPHQWV RI =;6'5 5 SRZHU VXSSO\ DUH GHVFULEHG DV
IROORZV
'& SRZHU VXSSO\ =;6'5 5 LV ± 9 '& SRZHU VXSSO\ DQG
WKH YROWDJH RI SRZHU VXSSO\ LV ± 9 '&a± 9 '&
,QGLUHFW $& SRZHU VXSSO\ DGRSW DQ RXWGRRU $& XQLW 2$8
WKH 2$8 FDQ SURYLGH 9 $& SRZHU VXSSO\ IRU RQH =;6'5
% & DQG RQH =;6'5 5 DW WKH VDPH WLPH
/LJKWQLQJ
,QVSHFWLRQ
7KH =;6'5 5 OLJKWQLQJ UHTXLUHPHQWV DUH GHVFULEHG DV IROORZV
2XWGRRU ,QVWDOODWLRQ
L )RU '& SRZHU VXSSO\ FRQ¿JXUH DQ RXWGRRU '& OLJKWQLQJ ER[
2/3 ,I WKH '& SRZHU LV H[SRUWHG IURP WKH HTXLSPHQW
URRP WKH OHQJWK RI SRZHU FDEOH LV PRUH WKDQ P OHVV
WKDQ P DQG WKH RXWSXW HQG RI LQGRRU '& SRZHU LV QRW
FRQ¿JXUHG ZLWK %OHYHO RU DERYH OLJKWQLQJ GHYLFHV LW LV UH
TXLUHG WR FRQ¿JXUH DQ LQGRRU '& OLJKWQLQJ ER[ ,/3± LQ
WKH HTXLSPHQW URRP
LL )RU LQGLUHFW $& SRZHU VXSSO\ LW LV UHTXLUHG WR FRQ¿JXUH DQ
$& OLJKWQLQJ ER[ =;3&6 FRPELQHG DUUHVWHU
)RU LQGRRU LQVWDOODWLRQ LI WKH SRZHU FDEOH LV GLVWULEXWHG RXW
GRRUV FRQ¿JXUH WKH SRZHU OLJKWQLQJ ER[ DFFRUGLQJ WR WKH FRQ
GLWLRQV RI RXWGRRU LQVWDOODWLRQ
*URXQGLQJ
,QVSHFWLRQ
=;6'5 5 DGRSWV DQ DVVRFLDWHG JURXQGLQJ PRGH 7KH YDOXH
RI JURXQGLQJ UHVLVWDQFH LV QRW PRUH WKDQ RKP
2WKHU ,QVSHFWLRQV 7KH FRUROODU\ GHYLFHV RU FRPSRQHQWV VKRXOG DFFRUG ZLWK WKH
UHTXLUHPHQWV RI =;6'5 5 HQJLQHHULQJ GHVLJQ GUDZLQJ
7KH WUDQVPLVVLRQ GHYLFHV LQWHUFRQQHFWHG ZLWK %%8 VKRXOG KDYH
EHHQ SUHSDUHG
7RROV DQG ,QVWUXPHQWV 3UHSDUDWLRQ
7DEOH VKRZV WRROV DQG PHWHUV OLVW UHTXLUHG GXULQJ LQVWDOODWLRQ
&RQ¿GHQWLDO DQG 3URSULHWDU\ ,QIRUPDWLRQ RI =7( &25325$7,21

=;6'5 5 ,QVWDOODWLRQ 0DQXDO
7$%/( 722/ $1' 0(7(5 /,67
&DWH
JRU\ 1DPH ([DPSOH
2QH IHHGHU FRQQHFWRU NQLIH
2QH ƻ FRD[LDO FDEOH VWULS
SHU
2QH PXOWLIXQFWLRQDO FULPSLQJ
SOLHUV
2QH PXOWLPHWHU
2QH VWDQGLQJ ZDYH UDWLR WHVWHU
6SH
FLDO
SXU
SRVH
WRROV
2QH HDUWK UHVLVWDQFH WHVWHU
2QH HOHFWULF SHUFXVVLRQ GULOO
6HYHUDO DX[LOLDU\ SHUFXVVLRQ
GULOO ELWV
3XQFK
LQJ
WRROV
&RQ¿GHQWLDO DQG 3URSULHWDU\ ,QIRUPDWLRQ RI =7( &25325$7,21

&KDSWHU ,QVWDOODWLRQ 2YHUYLHZ
&DWH
JRU\ 1DPH ([DPSOH
2QH YDFXXP FOHDQHU
3RZHU FRQQHFWRU ERDUG SUR
YLGLQJ DW OHDVW WZRSKDVH
VRFNHWV DQG WKUHHSKDVH
VRFNHWV ZLWK WKH FXUUHQW FD
SDFLW\ ODUJHU WKDQ $
&URVV VFUHZGULYHUV ´ ´ DQG
´ HDFK
)ODWKHDG VFUHZGULYHUV ´ ´
DQG ´ HDFK
$GMXVWDEOH ZUHQFKHV ´ ´
´ DQG ´ HDFK
'XDOSXUSRVH ZUHQFKHV ´
DQG ´ HDFK
2QH VHW RI VRFNHW ZUHQFKHV
2QH SDSHU NQLIH
NJ QDLO KDPPHU
2QH : LURQ DQG RQH :
LURQ
*HQ
HUDO
SXU
SRVH
WRROV
&RQ¿GHQWLDO DQG 3URSULHWDU\ ,QIRUPDWLRQ RI =7( &25325$7,21

=;6'5 5 ,QVWDOODWLRQ 0DQXDO
&DWH
JRU\ 1DPH ([DPSOH
2QH VHW RI LQQHUKH[DJRQ
ZUHQFK
6ROGHU ZLUHV
2QH P IHHW WDSH
PHDVXUH
2QH P IHHW VWHHO WDSH
2QH DQJOH LQVWUXPHQW
0HDV
XUH
PHQW
WRROV
&RQ¿GHQWLDO DQG 3URSULHWDU\ ,QIRUPDWLRQ RI =7( &25325$7,21

&KDSWHU ,QVWDOODWLRQ 2YHUYLHZ
&DWH
JRU\ 1DPH ([DPSOH
2QH FRPSDVV
2QH OHYHO EDU
2QH SOXPE
$QWLVWDWLF ZULVW VWUDS
VOLSSURRI JORYHV
3UR
WHF
WLRQ
WRROV
6DIHW\ KHOPHW
&RQ¿GHQWLDO DQG 3URSULHWDU\ ,QIRUPDWLRQ RI =7( &25325$7,21

=;6'5 5 ,QVWDOODWLRQ 0DQXDO
&DWH
JRU\ 1DPH ([DPSOH
2QH KDFNVDZ ZLWK VHYHUDO
VDZ EODGHV
2QH SDLU RI VKDUSQRVH SOLHUV
ļ
2QH SDLU RI GLDJRQDO SOLHUV ļ
2QH SDLU RI URXQGQRVH SOLHUV
ļ
2QH SDLU RI YLFHV ļ
2QH VHW RI QHHGOH ¿OHV PH
GLXPVL]HG
1LSSHUV
2QH SDLQW EUXVK
2QH SDLU RI VFLVVRUV
2QH KRW DLU EORZHU
2QH VROGHU UHPRYDO WRRO
2QH K\GUDXOLF FULPSHU
&ODPS
WRROV
&RQ¿GHQWLDO DQG 3URSULHWDU\ ,QIRUPDWLRQ RI =7( &25325$7,21

&KDSWHU ,QVWDOODWLRQ 2YHUYLHZ
&DWH
JRU\ 1DPH ([DPSOH
2QH FURZEDU
3XOOH\ VHW
5RSH
$X[
LOLDU\
WRROV /DGGHU
6SHFWUXP DQDO\]HU UHTXLUHG
LQ FHUWDLQ VSHFLDO FDVHV
%76 WHVWHU
0H
WHUV
&RQ¿GHQWLDO DQG 3URSULHWDU\ ,QIRUPDWLRQ RI =7( &25325$7,21

=;6'5 5 ,QVWDOODWLRQ 0DQXDO
&DWH
JRU\ 1DPH ([DPSOH
)LHOG VWUHQJWK WHVWHU UHTXLUHG
LQ FHUWDLQ VSHFLDO FDVHV
2QVLWH 'RFXPHQWV
=;6'5 5 LQVWDOODWLRQ QHHGV WKH IROORZLQJ WHFKQLFDO GRFXPHQWV
WR EH UHDG\
=;6'5 5 (QJLQHHULQJ ([SORUDWLRQ 5HSRUW
=;6'5 5 (QYLURQPHQW $FFHSWDQFH 5HSRUW
=;6'5 5 PDQXDO NLW LQFOXGHV
=;6'5 5 &RPPLVVLRQLQJ DQG &RQ¿JXUDWLRQ 0DQXDO
=;6'5 5 2SHUDWLRQ DQG 0DLQWHQDQFH 0DQXDO
=;6'5 5 7HFKQLFDO 0DQXDO
8QSDFNLQJ $FFHSWDQFH
&RXQWLQJ *RRGV
&RQWH[W 7KH UHSUHVHQWDWLYH RI FXVWRPHU DQG WKH SURMHFW VXSHUYLVRU PXVW EH
SUHVHQW RQ VLWH GXULQJ FRXQWLQJ RI JRRGV UHFHLYHG ,I DQ\ SDUW\ LV
QRW SUHVHQW DW WKDW WLPH WUDQVSRUWHU PXVW KROG WKH UHVSRQVLELOLW\
IRU DQ\ GLIIHUHQFH LQ JRRGV
6WHSV &KHFN 'HOLYHU\ &KHFNOLVW RI =7( &RUSRUDWLRQ &KHFN WRWDO QXP
EHU RI JRRGV LQWDFWQHVV RI SDFNLQJ ER[HV DQG FKHFN ZKHWKHU
DUULYDO SODFH LV WKH DFWXDO LQVWDOODWLRQ SODFH DJDLQVW SDFNLQJ OLVW
QXPEHU DWWDFKHG WR SDFNLQJ ER[HV ,I JRRGV DUH LQWDFW VWDUW
WR XQSDFN DQG LQVSHFW WKHP
1RWH
,W LV UHFRPPHQGHG WKDW \RX XQSDFN WKH JRRGV DIWHU DERXW
PLQXWHV RI UHFHLYLQJ WKH FDUJR VLQFH WKHUH LV D SRVVLELOLW\ RI
PRLVWXUH FRQWHQW GXH WR WHPSHUDWXUH YDULDWLRQV LI DQ\
(TXLSPHQW LQVSHFWLRQ OLVW DQG XQSDFNLQJ DFFHSWDQFH UHSRUW DUH
SUHVHQW LQ WKH ¿UVW SDFNLQJ FDUWRQ )LUVWO\ RSHQ ¿UVW SDFNLQJ
FDUWRQ DQG WDNH RXW WKH 8QSDFNLQJ $FFHSWDQFH 5HSRUW WR FKHFN
ZKHWKHU WKH JRRGV UHFHLYHG DUH LQ DFFRUGDQFH ZLWK WKH LQVSHF
WLRQ OLVW
&RQ¿GHQWLDO DQG 3URSULHWDU\ ,QIRUPDWLRQ RI =7( &25325$7,21

&KDSWHU ,QVWDOODWLRQ 2YHUYLHZ
'XULQJ WKH FRXQWLQJ DQG XQSDFNLQJ LQVSHFWLRQ SURFHVV LI DQ\
PDWHULDO LV IRXQG VKRUW RU JRRGV GDPDJHG ¿OO LQ 8QSDFNLQJ
$FFHSWDQFH )HHGEDFN 7DEOH DQG FRQWDFW =7( SURPSWO\
(1' 2) 67(36
&UDWH 8QSDFNLQJ
3UHUHTXLVLWHV 3UHSDUH WKH DSSURSULDWH WRROV VXFK DV VWUDLJKW VFUHZGULYHU SOLHUV
DQG FURZEDU
&RQWH[W 3HUIRUP WKH IROORZLQJ VWHSV WR RSHQ WKH FUDWH
6WHSV ,QVHUW D ÀDWKHDG VFUHZGULYHU RU QDLO KDPPHU LQWR WKH PHQWDO
ODWFK RI WKH FRYHU ERDUG RI WKH FUDWH DQG PRYH WKH ÀDWKHDG
VFUHZGULYHU RU QDLO KDPPHU WR ORRVHQ WKH LURQ VKHHW 7KHQ XVH
WKH FURZEDU RU SLQFHUV WR SXW WKH PHQWDO ODWFK LQ WKH VWUDLJKW
GLUHFWLRQ DV VKRZQ LQ )LJXUH
),*85( 3877,1* 7+( 0(17$/ /$7&+ ,1 675$,*+7 ',5(&7,21
0HQWDO VKHHW
&RYHU ERDUG
0HQWDO ODWFK
)ODWKHDG VFUHZGULYHU RU QDLO
KDPPHU
8VH WKH WRROV WR SXW DOO WKH PHQWDO ODWFKHV RQ WKH FRYHU ERDUG
RI WKH FUDWH DQG WKHQ UHPRYH WKH FRYHU ERDUG RI WKH FUDWH DV
VKRZQ LQ )LJXUH
&RQ¿GHQWLDO DQG 3URSULHWDU\ ,QIRUPDWLRQ RI =7( &25325$7,21

=;6'5 5 ,QVWDOODWLRQ 0DQXDO
),*85( 5(029,1* &29(5 %2$5'
3XW WKH RWKHU PHQWDO ODWFKHV RQ WKH IRXU VLGHV RI WKH FUDWH
UHPRYH WKH ERDUGV DQG WDNH RXW WKH HTXLSPHQW IURP WKH FUDWH
DV VKRZQ LQ )LJXUH
&RQ¿GHQWLDO DQG 3URSULHWDU\ ,QIRUPDWLRQ RI =7( &25325$7,21

&KDSWHU ,QVWDOODWLRQ 2YHUYLHZ
),*85( 5(029,1* 27+(5 %2$5'6
(1' 2) 67(36
&DUWRQ 8QSDFNLQJ
3UHUHTXLVLWHV 3UHSDUH WKH DSSURSULDWH WRROV VXFK DV VWUDLJKW VFUHZGULYHU GLDJR
QDO SOLHUV DQG SDSHU NQLIH
&RQWH[W 3HUIRUP WKH IROORZLQJ VWHSV WR XQSDFN WKH FDUWRQ
6WHSV 8VH GLDJRQDO SOLHUV WR FXW SDFNLQJ VWUDSV
8VH D SDSHU NQLIH WR FXW DGKHVLYH WDSH DORQJ WKH VOLWV RQ FDUWRQ
FRYHU DYRLG GDPDJLQJ JRRGV LQVLGH
2SHQ WKH FDUWRQ DQG UHPRYH WKH IRDP ERDUG
&KHFN WKH JRRGV ZLWKLQ WKH FDUWRQ
7DNH RXW WKH DQWLVWDWLF SDFNLQJ EDJ
2SHQ WKH DQWLVWDWLF SDFNLQJ EDJ WR WDNH RXW WKH HOHFWURQLF
HTXLSPHQW FRPSRQHQWV DV VKRZQ LQ )LJXUH
&RQ¿GHQWLDO DQG 3URSULHWDU\ ,QIRUPDWLRQ RI =7( &25325$7,21

=;6'5 5 ,QVWDOODWLRQ 0DQXDO
),*85( 7$.,1* 287 &20321(17 :,7+ $1 $17,67$7,& :5,67 675$3
1RWH
f$YRLG GDPDJLQJ WKH DQWLVWDWLF EDJ ,W FDQ EH XVHG LQ WKH
IXWXUH IRU VWRUDJH RI VSDUH SDUWV GXULQJ XQSDFNLQJ
f:KLOH WKH HTXLSPHQW LV PRYHG WR D KRWWHU DQG GDPSHU
SODFH ZDLW IRU PLQXWHV EHIRUH XQSDFNLQJ WKH HTXLSPHQW
2WKHUZLVH PRLVWXUH PD\ FRQGHQVH RQ WKH VXUIDFH RI WKH
HTXLSPHQW DQG FDXVH GDPDJH
f3URSHUO\ GLVSRVH RI UHF\FOH GHVLFFDQWV
(1' 2) 67(36
$FFHSWDQFH DQG *RRGV +DQGRYHU
&RQWH[W 3HUIRUP WKLV SURFHGXUH IRU DFFHSWLQJ JRRGV DQG KDQGLQJ WKHP
RYHU WR RSHUDWRUV
6WHSV $FFHSWDQFH
%DVHG XSRQ WKH QDPH FDWHJRU\ DQG QXPEHU PHQWLRQHG RQ WKH
VKLSSLQJ OLVW FDUHIXOO\ FKHFN WKH JRRGV SLHFH E\ SLHFH 0DNH
VXUH WKDW JRRGV IXO¿O WKH IROORZLQJ FRQGLWLRQV
L 0DNH VXUH WKDW WKHUH DUH QR EXEEO\ SHHOLQJ QLFN DQG ¿OWK
PDUN RQ WKH VXUIDFH RI WKH FKDVVLV
LL (QVXUH WKDW RLO SDLQW RQ WKH FKDVVLV VXUIDFH LV LQWDFW
LLL (QVXUH FODPSLQJ VFUHZV DUH WLJKW DQG LQWDFW
LY $OO WKH FRPSRQHQWV DUH SURSHUO\ LQVWDOOHG DW WKHLU UHVSHFWLYH
SRVLWLRQV
&RQ¿GHQWLDO DQG 3URSULHWDU\ ,QIRUPDWLRQ RI =7( &25325$7,21

&KDSWHU ,QVWDOODWLRQ 2YHUYLHZ
Y /D\ GRZQ WKH LQVSHFWHG JRRGV DFFRUGLQJ WR FDWHJRULHV
+DQGRYHU
$IWHU FRPSOHWLQJ WKH XQSDFNLQJ SURFHGXUH UHSUHVHQWDWLYH RI
FXVWRPHU DQG SURMHFW VXSHUYLVRU VKRXOG DSSURYH DQG VLJQ 8Q
SDFNLQJ IRU ,QVSHFWLRQ 5HSRUW (DFK SDUW\ VKRXOG KDYH D FRS\
RI 8QSDFNLQJ IRU ,QVSHFWLRQ 5HSRUW ,I WKH JRRGV DUH VWLOO XQ
GHU WKH VXSHUYLVLRQ RI WKH RSHUDWRU HYHQ DIWHU DFFHSWDQFH WKHQ
JRRGV ZLOO QRW EH KDQGHG RYHU WR WKH RSHUDWRU XQWLO ERWK SDUWLHV
VLJQ RQ WKH UHSRUW
(1' 2) 67(36
&RQ¿GHQWLDO DQG 3URSULHWDU\ ,QIRUPDWLRQ RI =7( &25325$7,21

=;6'5 5 ,QVWDOODWLRQ 0DQXDO
7KLV SDJH LV LQWHQWLRQDOO\ EODQN
&RQ¿GHQWLDO DQG 3URSULHWDU\ ,QIRUPDWLRQ RI =7( &25325$7,21

& K D S W H U
&DELQHW ,QVWDOODWLRQ
7DEOH RI &RQWHQWV
(QJLQHHULQJ ,QGLFHV
,QVWDOODWLRQ 0RGH ,QVWUXFWLRQ
3ROHPRXQWHG ,QVWDOODWLRQ 0RGH
:DOOPRXQWHG ,QVWDOODWLRQ 0RGH
)ORRU *DQWU\PRXQWHG ,QVWDOODWLRQ 0RGH
6LPSOL¿HG &DELQHW ,QWHJUDWHG ,QVWDOODWLRQ 0RGH
,QVWDOOLQJ 6XQ VKLHOG
(QJLQHHULQJ ,QGLFHV
7DEOH GHVFULEHV WKH HQJLQHHULQJ LQGLFHV RI =;6'5 5
7$%/( =;6'5 5 (1*,1((5,1* ,1',&(6
,WHP ,QGLFHV
2YHUDOO 'LPHQVLRQ :LGWK [ +HLJKW [ 'HSWK PP [ PP
[ PP
8SSHU (QFORVXUH
'LPHQVLRQ
:LGWK [ +HLJKW [ 'HSWK PP [ PP
[ PP
/RZHU (QFORVXUH
'LPHQVLRQ
:LGWK [ +HLJKW [ 'HSWK PP [ PP
[PP
:HLJKW NJ
3RZHU 9 '& 9a 9
9 $& 9a9+]a
+] YLD H[WHUQDO $&WR'& FRQYHUVLRQ
OLJKWQLQJ ER[
:RUN 7HPSHUDWXUH ЯWR Я еWR е
:RUN +XPLGLW\ 5+ a 5+
3RZHU &RQVXPSWLRQ RI
1RUPDO :RUN 8QGHU 9
'& 3RZHU 6XSSO\
&DUULHU
±2XWSXW 3RZHU :&6
±3RZHU &RQVXPSWLRQ :
&DUULHU
±2XWSXW 3RZHU :&6
±3RZHU &RQVXPSWLRQ :
&DUULHU
±2XWSXW 3RZHU :&6
±3RZHU &RQVXPSWLRQ :
&RQ¿GHQWLDO DQG 3URSULHWDU\ ,QIRUPDWLRQ RI =7( &25325$7,21

=;6'5 5 ,QVWDOODWLRQ 0DQXDO
7KH WHFKQLFDO LQGLFHV RI WKH LQGRRU '& OLJKWQLQJ ER[ H[HPSOL¿HG
E\ -'.&+±.= DUH OLVWHG LQ 7DEOH ZKLFK LV VXEMHFW WR
WKH DFWXDO ¿HOG WHFKQLFDO VSHFL¿FDWLRQV IRU SUDFWLFDO DSSOLFDWLRQ
7$%/( -'.&+±.= '& /,*+71,1* %2; 7(&+1,&$/ ,1',&(6
,WHP ,QGH[
'LPHQVLRQV :LGWK [ +HLJKW [ 'HSWK PP [
PP [ PP 7KH KHLJKW RI WRS FRYHU ER[
ORFN H[FOXGHG
1RPLQDO :RUNLQJ
9ROWDJH
±9
,QVWDOODWLRQ 0RGH ,QGRRU ZDOOPRXQW LQVWDOODWLRQ
:RUNLQJ 7HPSHUDWXUH ЯWR Я
:RUNLQJ +XPLGLW\ 5+
7KH WHFKQLFDO LQGLFHV RI WKH H[WHUQDO $&WR'& FRQYHUVLRQ OLJKWQLQJ
ER[ H[HPSOL¿HG E\ *3$'0$ DUH OLVWHG LQ 7DEOH ZKLFK
LV VXEMHFW WR WKH DFWXDO ¿HOG WHFKQLFDO VSHFL¿FDWLRQV IRU SUDFWLFDO
DSSOLFDWLRQ
7$%/( *3$'0$ (;7(51$/ $&72'& &219(56,21 /,*+71,1*
%2; 7(&+1,&$/ ,1',&(6
,WHP ,QGH[
'LPHQVLRQV :LGWK [ +HLJKW [ 'HSWK PP [
PP [ PP
:HLJKW NJ
,QSXW 9ROWDJH 0LQ YDOXH 9
7\SLFDO YDOXH 9
0D[ YDOXH 9
,QSXW )UHTXHQF\ 0LQ YDOXH +]
7\SLFDO YDOXH +]
0D[ YDOXH +]
,QVWDOODWLRQ 0RGH 3ROHPRXQW DQG ZDOOPRXQW LQVWDOODWLRQ
:RUNLQJ 7HPSHUDWXUH ЯЯ
:RUNLQJ +XPLGLW\
,QVWDOODWLRQ 0RGH ,QVWUXFWLRQ
$FFRUGLQJ WR GLIIHUHQW LQVWDOODWLRQ HQYLURQPHQWV WKHUH DUH WKUHH
PRGHV RI =;6'5 5 LQVWDOODWLRQ
3ROHPRXQW LQVWDOODWLRQ
:DOOPRXQW LQVWDOODWLRQ
&RQ¿GHQWLDO DQG 3URSULHWDU\ ,QIRUPDWLRQ RI =7( &25325$7,21

&KDSWHU &DELQHW ,QVWDOODWLRQ
*DQWU\PRXQW LQVWDOODWLRQ
6LPSOL¿HGFDELQHW LQWHJUDWLYH ,QVWDOODWLRQ
3ROHPRXQWHG ,QVWDOODWLRQ
0RGH
&RPSRQHQWV 8VHG LQ 3ROHPRXQW
,QVWDOODWLRQ
7KH PDLQ FRPSRQHQWV XVHG LQ SROHPRXQW LQVWDOODWLRQ LQFOXGH
3ROH DQFKRU FODPS FRPSRQHQWV
3ROH ¿[LQJ EUDFNHW FRPSRQHQWV
7KH SROH DQFKRU FODPS FRPSRQHQWV DUH XVHG IRU SROHPRXQW LQ
VWDOODWLRQ RI RQH RU WZR =;6'5 5V 7KH SROH ¿[LQJ EUDFNHW
FRPSRQHQWV DUH XVHG IRU SROHPRXQW LQVWDOODWLRQ RI WKUHH =;6'5
5V
7KH PDLQ SROH DQFKRU FODPS FRPSRQHQWV XVHG LQ SROHPRXQW LQ
VWDOODWLRQ IRU VLQJOH =;6'5 5DUH OLVWHG LQ7DEOH
7$%/( 0$,1 &20321(17 /,67
1DPH 4XDQWLW\
6KRUW DQFKRU FODPS
/RQJ DQFKRU FODPS
6WDQGDUG VSULQJ ZDVKHU
0î KH[DJRQ KHDG EROW IXOO
WKUHDG
,W\SH FRPPRQ 0 KH[DJRQDO
QXW
)ODW ZDVKHU
6WDQGDUG VSULQJ ZDVKHU
0î KH[DJRQ KHDG EROW
%LJ ZDVKHU
7KH PDLQ SROH DQFKRU FODPS FRPSRQHQWV XVHG LQ SROHPRXQW LQ
VWDOODWLRQ IRU WZR =;6'5 5DUH OLVWHG LQ 7DEOH
&RQ¿GHQWLDO DQG 3URSULHWDU\ ,QIRUPDWLRQ RI =7( &25325$7,21

=;6'5 5 ,QVWDOODWLRQ 0DQXDO
7$%/( 0$,1 &20321(17 /,67
1DPH 4XDQWLW\
/RQJ DQFKRU FODPS
6WDQGDUG VSULQJ ZDVKHU
0î KH[DJRQ KHDG EROW IXOO
WKUHDG
0î KH[DJRQ KHDG EROW IXOO
WKUHDG
,W\SH FRPPRQ 0 KH[DJRQDO
QXW
)ODW ZDVKHU
6WDQGDUG VSULQJ ZDVKHU
0î +H[DJRQ KHDG EROW
%LJ ZDVKHU
7KH PDLQ SROH ¿[LQJ EUDFNHW FRPSRQHQWV XVHG LQ SROHPRXQW LQ
VWDOODWLRQ IRU WKUHH =;6'5 5 DUH OLVWHG LQ 7DEOH
7$%/( 0$,1 &20321(17 /,67
1DPH 4XDQWLW\
3ROH ¿[LQJ EUDFNHW
6WDQGDUG VSULQJ ZDVKHU
0î KH[DJRQ KHDG EROW IXOO
WKUHDG
,W\SH FRPPRQ 0 KH[DJRQDO
QXW
)ODW ZDVKHU
6WDQGDUG VSULQJ ZDVKHU
0î KH[DJRQ KHDG EROW
%LJ ZDVKHU
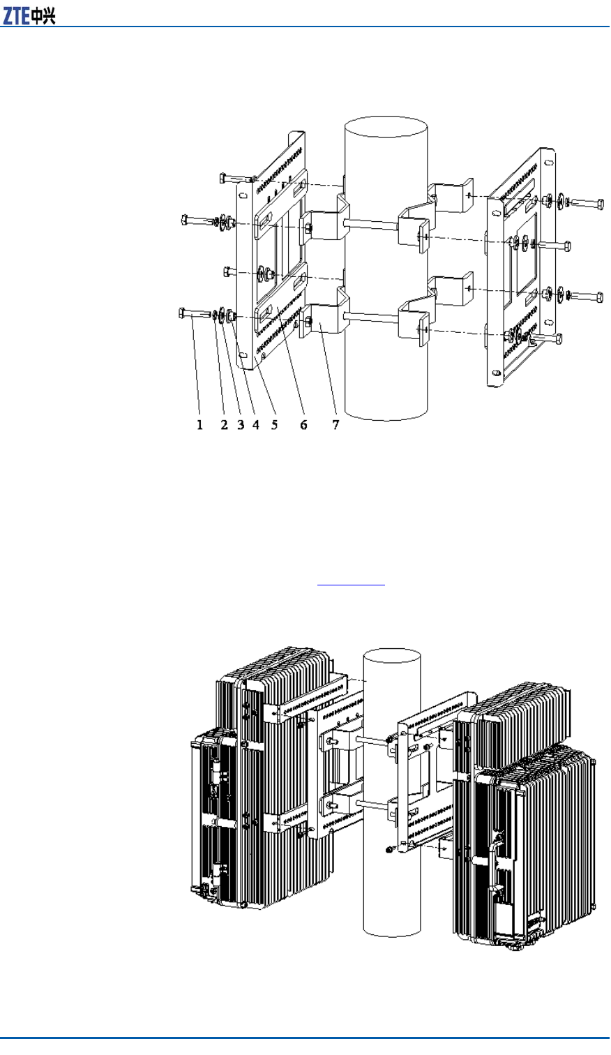
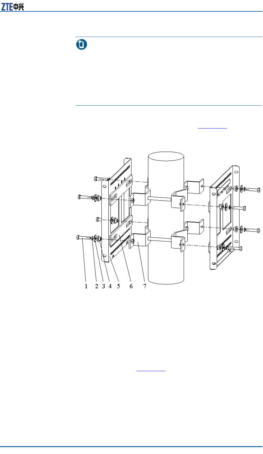
)LJXUH LOOXVWUDWHV SROH DQFKRU FODPS FRPSRQHQWV )LJXUH LOOXV
WUDWHV SROH ¿[LQJ EUDFNHW FRPSRQHQWV
&RQ¿GHQWLDO DQG 3URSULHWDU\ ,QIRUPDWLRQ RI =7( &25325$7,21

&KDSWHU &DELQHW ,QVWDOODWLRQ
),*85( 32/( $1&+25 &/$03 &20321(176
),*85( 32/( ),;,1* %5$&.(7 &20321(176
1RWH
7KH SROH DQFKRU FODPS FRPSRQHQWV VKRZQ LQ )LJXUH LV DGRSWHG LQ
RQH SROHPRXQW LQVWDOODWLRQ 7KH SROH DQFKRU FODPS FRPSRQHQWV
XVHG LQ WZR SROHPRXQW LQVWDOODWLRQ RQO\ FKDQJHV WZR VKRUW DQFKRU
FODPSV LQWR WZR ORQJ DQFKRU FODPSV WKH VSHFL¿F OLVW GHVFULEHG LQ
7DEOH
,QVWDOOLQJ 7ZR =;6'5 5
3ROHPRXQW &DELQHWV :LWKRXW :DYH
7UDS
6WHSV )L[ DQFKRU FODPSV EDFN WR EDFN RQWR WKH SROH DQG DOLJQ WKH
KROHV DQG VFUHZ GRZQ D ELW ZLWK EROWV $GMXVW VSDFH EHWZHHQ
&RQ¿GHQWLDO DQG 3URSULHWDU\ ,QIRUPDWLRQ RI =7( &25325$7,21

=;6'5 5 ,QVWDOODWLRQ 0DQXDO
DQFKRU FODPSV EDVHG RQ WKH VFUHZV¶ SRVLWLRQ RI VXSSRUWLQJ
SDQHO DV VKRZQ LQ )LJXUH
),*85( 32/(02817 ,167$//$7,21
,W\SH FRPPRQ 0 KH[DJR
QDO QXW
6WDQGDUG VSULQJ ZDVKHU
%LJ ÀDW ZDVKHU
/RQJ DQFKRU FODPS
0î KH[DJRQ KHDG EROW
IXOO WKUHDG
7LS
'XULQJ WZR =;6'5 5 FDELQHW LQVWDOODWLRQ WKH VXJJHVWHG
SROH GLDPHWHU LV WR PP DQG WKHUH DUH WZR NLQGV RI EROW
OHQJWKV
f8VH WKH EROW RI OHQJWK PP IRU SROH GLDPHWHU RI PP
WR PP
f8VH WKH EROW RI OHQJWK PP IRU SROH GLDPHWHU RI PP
WR PP
)L[ WZR VXSSRUWLQJ SDQHOV RQ WKH DQFKRU FODPS ZLWK 0 EROWV
DQG VFUHZ 0 EROWV WLJKWO\ DV VKRZQ LQ )LJXUH
&RQ¿GHQWLDO DQG 3URSULHWDU\ ,QIRUPDWLRQ RI =7( &25325$7,21

&KDSWHU &DELQHW ,QVWDOODWLRQ
),*85( 32/(02817 ,167$//$7,21
0î +H[DJRQ KHDG EROW
6WDQGDUG VSULQJ ZDVKHU
%LJ ÀDW ZDVKHU
,QVXODWLRQ ÀDQJH
6XSSRUWLQJ SDQHO
,QVXODWLRQ ERDUG
/RQJ DQFKRU FODPS
0RXQW WKH WZR =;6'5 5 FDELQHWV RQ WKH VXSSRUWLQJ SDQHO
DQG IDVWHQ WKH FDELQHW ZLWK IRXU 0î KH[DJRQ VRFNHW FDS
VFUHZV DV VKRZQ LQ )LJXUH
),*85( 32/(02817 ,167$//$7,21
&RQ¿GHQWLDO DQG 3URSULHWDU\ ,QIRUPDWLRQ RI =7( &25325$7,21

=;6'5 5 ,QVWDOODWLRQ 0DQXDO
(1' 2) 67(36
,QVWDOOLQJ 7ZR =;6'5 5
3ROHPRXQW &DELQHWV :LWK :DYH
7UDS
&RQWH[W :KLOH LQVWDOOLQJ WKH =;6'5 5 SROHPRXQW LQVWDOODWLRQ ZLWK WZR
ZDYH WUDSV DGRSW DQFKRU FODPSV IRU WKH SROHPRXQW LQVWDOODWLRQ
RI WKUHH ZDYH WUDSV DGRSW ¿[LQJ EUDFNHWV
6WHSV )L[ DQFKRU FODPSV EDFN WR EDFN RQWR WKH SROH DOLJQ WKH KROHV
DQG VFUHZ GRZQ D ELW ZLWK EROWV $GMXVW VSDFH EHWZHHQ DQFKRU
FODPSV DV VKRZQ LQ )LJXUH
),*85( 32/(02817 ,167$//$7,21
,W\SH FRPPRQ 0 KH[DJR
QDO QXW
6WDQGDUG VSULQJ ZDVKHU
)ODW ZDVKHU
/RQJ DQFKRU FODPS
0î KH[DJRQ KHDG EROW
IXOO WKUHDG
&RQ¿GHQWLDO DQG 3URSULHWDU\ ,QIRUPDWLRQ RI =7( &25325$7,21

&KDSWHU &DELQHW ,QVWDOODWLRQ
7LS
'XULQJ WZR =;6'5 5 LQVWDOODWLRQ WKH VXJJHVWHG SROH GL
DPHWHU LV WR PP DQG WKHUH DUH WZR NLQGV RI EROW OHQJWKV
f8VH WKH EROW RI OHQJWK PP IRU SROH GLDPHWHU RI PP
WR PP
f8VH WKH EROW RI OHQJWK PP IRU SROH GLDPHWHU RI PP
WR PP
)L[ WZR VXSSRUWLQJ SDQHOV RQ WKH DQFKRU FODPSV ZLWK 0 EROWV
DQG VFUHZ GRZQ 0 EROWV DV VKRZQ LQ )LJXUH
),*85( 32/(02817 ,167$//$7,21
0î KH[DJRQ KHDG EROW
6WDQGDUG VSULQJ ZDVKHU
%LJ ÀDW ZDVKHU
,QVXODWLRQ ÀDQJH
6XSSRUWLQJ SDQHO
,QVXODWLRQ ERDUG
/RQJ DQFKRU FODPS
5HSHDW WKH 6WHSa6WHS WR LQVWDOO WZR DQFKRU FODPSV DQG WZR
VXSSRUWLQJ SDQHOV
0RXQW WKH WZR =;6'5 5 FDELQHWV RQWR WKH VXSSRUWLQJ SDQ
HOV DQG IDVWHQ WKH FDELQHW ZLWK IRXU 0î KH[DJRQ VRFNHW FDS
VFUHZV DV VKRZQ LQ )LJXUH
&RQ¿GHQWLDO DQG 3URSULHWDU\ ,QIRUPDWLRQ RI =7( &25325$7,21

=;6'5 5 ,QVWDOODWLRQ 0DQXDO
),*85( 32/(02817 ,167$//$7,21
0RXQW WKH WZR ZDYH WUDSV RQWR WKH VXSSRUWLQJ SDQHOV DQG IDV
WHQ WKHP WR WKH VXSSRUWLQJ SDQHOV ZLWK IRXU 0î KH[DJRQ
VRFNHW FDS VFUHZV DV VKRZQ LQ )LJXUH
),*85( :$9( 75$3 ,167$//$7,21
:DYH WUDS
)L[LQJ EHDP
6XSSRUWLQJ SDQHO
&RQ¿GHQWLDO DQG 3URSULHWDU\ ,QIRUPDWLRQ RI =7( &25325$7,21

&KDSWHU &DELQHW ,QVWDOODWLRQ
(1' 2) 67(36
,QVWDOOLQJ 7KUHH =;6'5 5
&DELQHWV RQ 3ROH :LWKRXW :DYH
7UDS
6WHSV )L[ WKH WZR VHWV RI ¿[LQJ EUDFNHWV RQWR WKH SROH DQG DOLJQ WKH
KROHV DQG VFUHZ LW D ELW ZLWK EROWV DV VKRZQ LQ )LJXUH
),*85( 32/(02817 ,167$//$7,21
)L[LQJ %UDFNHW
0î KH[DJRQ KHDG EROW
IXOO WKUHDG
6WDQGDUG VSULQJ ZDVKHU
)ODW ZDVKHU
,W\SH FRPPRQ 0 KH[DJR
QDO QXW
$GMXVW VSDFH EHWZHHQ WKH ¿[LQJ EUDFNHWV EDVHG RQ WKH VFUHZV¶
SRVLWLRQ RI LQVXODWLRQ ERDUGV DW WKH EDFN RI VXSSRUWLQJ SDQHOV
DV VKRZQ LQ )LJXUH )L[ WKUHH VXSSRUWLQJ SDQHOV RQ WKH
¿[LQJ EUDFNHWV ZLWK 0 EROWV 6FUHZ WKH ¿[LQJ EUDFNHWV ZLWK
0 EROWV
&RQ¿GHQWLDO DQG 3URSULHWDU\ ,QIRUPDWLRQ RI =7( &25325$7,21

=;6'5 5 ,QVWDOODWLRQ 0DQXDO
),*85( 32/(02817 ,167$//$7,21
)L[LQJ EUDFNHW
,QVXODWLRQ ERDUG
6XSSRUWLQJ SDQHO
,QVXODWLRQ ÀDQJH
%LJ ÀDW ZDVKHU
6WDQGDUG VSULQJ ZDVKHU
0î +H[DJRQ KHDG EROW
0RXQW WKH =;6'5 5 FDELQHWV RQ WKH VXSSRUWLQJ SDQHOV DQG
IDVWHQ WKH FDELQHWV ZLWK 0î KH[DJRQ VRFNHW FDS VFUHZV DV
VKRZQ LQ )LJXUH
),*85( 32/(02817 ,167$//$7,21
&RQ¿GHQWLDO DQG 3URSULHWDU\ ,QIRUPDWLRQ RI =7( &25325$7,21

&KDSWHU &DELQHW ,QVWDOODWLRQ
7LS
7KH VLGH ZLWKRXW ¿[LQJ EUDFNHW FDQ EH ORFDWHG DORQJ WKH ZDOO
(1' 2) 67(36
,QVWDOOLQJ 7KUHH =;6'5 5
&DELQHW RQ 3ROH :LWK :DYH 7UDS
&RQWH[W :KLOH LQVWDOOLQJ WKH =;6'5 5 SROHPRXQW LQVWDOODWLRQ ZLWK WZR
ZDYH WUDSV DGRSW DQFKRU FODPSV )RU WKH SROHPRXQW LQVWDOODWLRQ
RI WKUHH ZDYH WUDSV DGRSW ¿[LQJ EUDFNHWV
6WHSV )L[ WKH WZR VHWV RI ¿[LQJ EUDFNHWV RQWR WKH SROH DQG DOLJQ WKH
KROHV DQG VFUHZ LW D ELW ZLWK EROWV DV VKRZQ LQ )LJXUH
),*85( 32/(02817 ,167$//$7,21
)L[LQJ %UDFNHW
0î KH[DJRQ KHDG EROW
IXOO WKUHDG
6WDQGDUG VSULQJ ZDVKHU
)ODW ZDVKHU
,W\SH FRPPRQ 0 KH[DJR
QDO QXW
$GMXVW VSDFH EHWZHHQ WKH ¿[LQJ EUDFNHWV EDVHG RQ WKH VFUHZV¶
SRVLWLRQ RI LQVXODWLRQ ERDUGV DW WKH EDFN RI VXSSRUWLQJ SDQHOV
DV VKRZQ LQ )LJXUH )L[ WKUHH VXSSRUWLQJ SDQHOV RQ WKH ¿[LQJ
EUDFNHWV ZLWK 0 EROWV 6FUHZ GRZQ WKH ¿[LQJ EUDFNHWV ZLWK
0 EROWV
&RQ¿GHQWLDO DQG 3URSULHWDU\ ,QIRUPDWLRQ RI =7( &25325$7,21

=;6'5 5 ,QVWDOODWLRQ 0DQXDO
),*85( 32/(02817 ,167$//$7,21
)L[LQJ EUDFNHW
,QVXODWLRQ ERDUG
6XSSRUWLQJ SDQHO
,QVXODWLRQ ÀDQJH
%LJ ÀDW ZDVKHU
6WDQGDUG VSULQJ ZDVKHU
0î +H[DJRQ KHDG EROW
5HSHDW WKH 6WHSa6WHS WR LQVWDOO WZR VHWV RI ¿[LQJ EUDFNHWV
DQG WKUHH VHWV RI VXSSRUWLQJ SDQHOV DV VKRZQ LQ )LJXUH
&RQ¿GHQWLDO DQG 3URSULHWDU\ ,QIRUPDWLRQ RI =7( &25325$7,21

&KDSWHU &DELQHW ,QVWDOODWLRQ
),*85( 32/(02817 ,167$//$7,21
6XSSRUWLQJ SDQHO
0RXQW WKH =;6'5 5 FDELQHWV RQ WKH VXSSRUWLQJ SDQHOV DQG
IDVWHQ WKH FDELQHWV ZLWK 0î KH[DJRQ VRFNHW FDS VFUHZV DV
VKRZQ LQ )LJXUH
&RQ¿GHQWLDO DQG 3URSULHWDU\ ,QIRUPDWLRQ RI =7( &25325$7,21

=;6'5 5 ,QVWDOODWLRQ 0DQXDO
),*85( 32/(02817 ,167$//$7,21
7LS
7KH VLGH ZLWKRXW ¿[LQJ EUDFNHW FDQ EH ORFDWHG DORQJ WKH ZDOO
0RXQW WKH ZDYH WUDSV RQWR WKH VXSSRUWLQJ SDQHO DQG IDVWHQ LW
WR WKH VXSSRUWLQJ SDQHO ZLWK IRXU 0î KH[DJRQ VRFNHW FDS
VFUHZV DV VKRZQ LQ )LJXUH
&RQ¿GHQWLDO DQG 3URSULHWDU\ ,QIRUPDWLRQ RI =7( &25325$7,21

&KDSWHU &DELQHW ,QVWDOODWLRQ
),*85( :$9( 75$3 ,167$//$7,21
:DYH WUDS
)L[LQJ EHDP
6XSSRUWLQJ SDQHO
(1' 2) 67(36
([DPSOH $IWHU LQVWDOODWLRQ FRPSOHWHG WKH DSSHDUDQFH LV DV VKRZQ LQ )LJXUH
&RQ¿GHQWLDO DQG 3URSULHWDU\ ,QIRUPDWLRQ RI =7( &25325$7,21

=;6'5 5 ,QVWDOODWLRQ 0DQXDO
),*85( ,167$//$7,21 &203/(7,21
3ROH
=;6'5 5
:DYH WUDS
/LJKWQLQJ %R[
&RQ¿GHQWLDO DQG 3URSULHWDU\ ,QIRUPDWLRQ RI =7( &25325$7,21

&KDSWHU &DELQHW ,QVWDOODWLRQ
1RWH
,Q )LJXUH DQ RXWGRRU '& OLJKWQLQJ ER[ RU DQ $& OLJKWQLQJ ER[
FDQ EH DGRSWDEOH 7KH DSSOLFDWLRQ DQG LQVWDOODWLRQ IRU ERWK UHIHU
WR $SSHQGL[ & DQG $SSHQGL[ (
:DOOPRXQWHG ,QVWDOODWLRQ
0RGH
&RPSRQHQWV 8VHG LQ :DOO0RXQW
,QVWDOODWLRQ
7KH FRPSRQHQWV XVHG LQ ZDOOPRXQW LQVWDOODWLRQ DUH OLVWHG LQ 7DEOH
7$%/( 0$,1 &20321(176
1DPH 4XDQWLW\
6XSSRUWLQJ SDQHO
'ULOO WHPSODWH
0î H[SDQVLRQ EROW
%LJ ZDVKHU
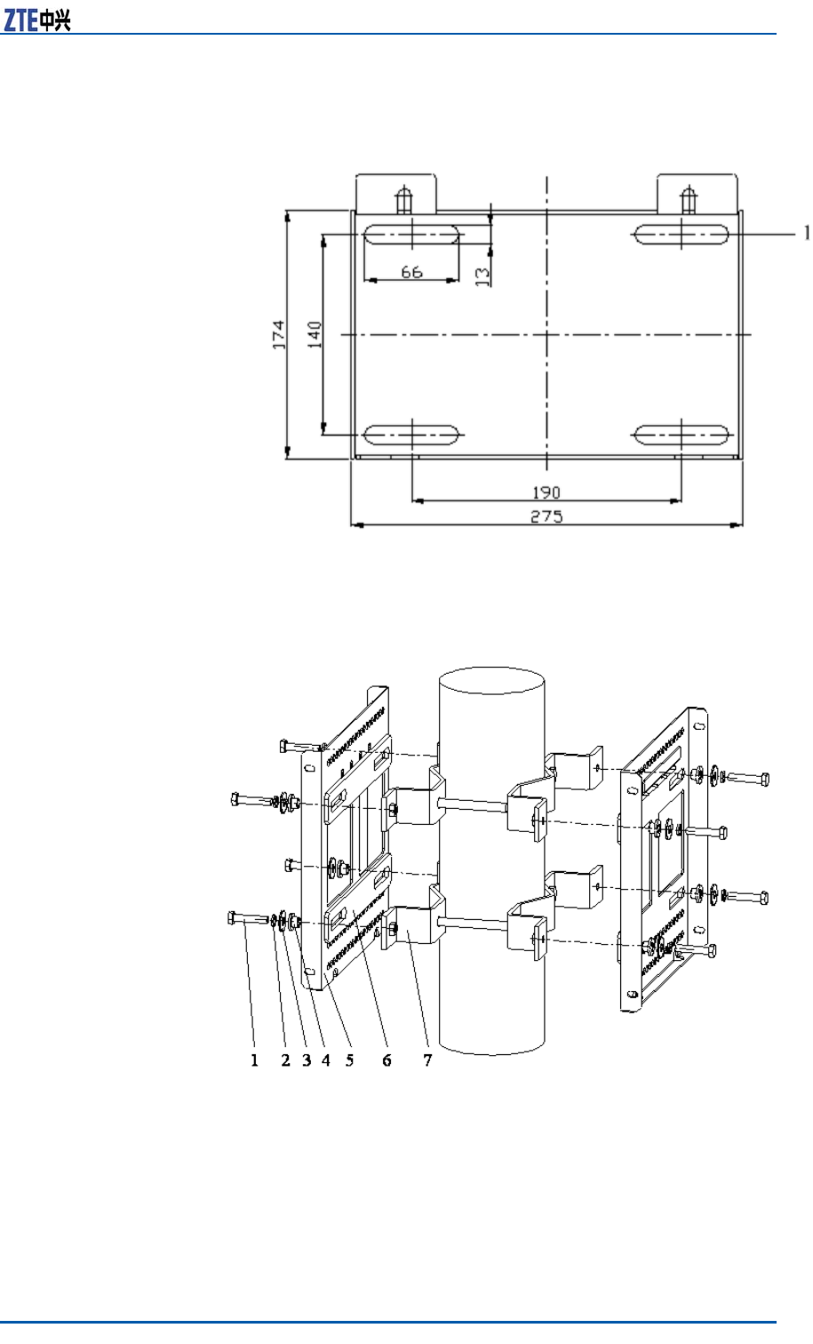
7KH VXSSRUWLQJ SDQHO LV VKRZQ LQ )LJXUH 7KH KROH PDUNLQJ
GHVLJQ WHPSODWH LV VKRZQ LQ )LJXUH
&RQ¿GHQWLDO DQG 3URSULHWDU\ ,QIRUPDWLRQ RI =7( &25325$7,21

=;6'5 5 ,QVWDOODWLRQ 0DQXDO
),*85( 6833257,1* 3$1(/
1RWH
7KH VXSSRUWLQJ SDQHO DV WKH FRPPRQ FRPSRQHQW LQ =;6'5 5
LQVWDOODWLRQ LV XVHG LQ WKH ZDOOPRXQW SROHPRXQW DQG JDQWU\
PRXQW LQVWDOODWLRQ PRGHV
),*85( +2/( 0$5.,1* '(6,*1 7(03/$7( 81,700
&RQ¿GHQWLDO DQG 3URSULHWDU\ ,QIRUPDWLRQ RI =7( &25325$7,21

&KDSWHU &DELQHW ,QVWDOODWLRQ
,QVWDOOLQJ &DELQHW RQ :DOO
:DOO0RXQW
&RQWH[W )LJXUH LOOXVWUDWHV WKH VSDFH UHTXLUHPHQW 8QLW PP IRU ZDOO
PRXQW LQVWDOODWLRQ
),*85( 63$&( 5(48,5(0(17 )25 :$//02817 ,167$//$7,21 81,7
00
6WHSV )LUVWO\ PDUN WKH KROH SRVLWLRQV RQ WKH ZDOO ZLWK KROH GHVLJQ
WHPSODWH 'ULOO WKH PDUNHG SRLQWV DERXW PP ZLWK SHUFXVVLYH
GULOO DQG LQVWDOO WKH H[SDQVLRQ EROWV
)L[ WKH VXSSRUWLQJ SDQHO RQ WKH ZDOO ZLWK EROWV DV VKRZQ LQ
)LJXUH
&RQ¿GHQWLDO DQG 3URSULHWDU\ ,QIRUPDWLRQ RI =7( &25325$7,21

=;6'5 5 ,QVWDOODWLRQ 0DQXDO
),*85( 6833257,1* 3$1(/ ,167$//$7,21 21 :$//
0î H[SDQVLRQ EROW
,QVXODWLRQ ERDUG
6XSSRUWLQJ SDQHO
,QVXODWLRQ ÀDQJH
%LJ ÀDW ZDVKHU
6WDQGDUG VSULQJ PDW
0 QXW
O
0RXQW WKH =;6'5 5 FDELQHW RQWR WKH VXSSRUWLQJ SDQHO
DQG IDVWHQ WKH FDELQHW ZLWK IRXU 0; KH[DJRQ VRFNHW FDS
VFUHZV DV VKRZQ LQ )LJXUH
&RQ¿GHQWLDO DQG 3URSULHWDU\ ,QIRUPDWLRQ RI =7( &25325$7,21

&KDSWHU &DELQHW ,QVWDOODWLRQ
),*85( 02817,1* &$%,1(7
6XSSRUWLQJ SDQHO
0 VDIHJXDUG VFUHZ
5HWDLQLQJ ERDUG
(1' 2) 67(36
)ORRU *DQWU\PRXQWHG
,QVWDOODWLRQ 0RGH
&RPSRQHQWV 8VHG LQ JDQWU\PRXQW
,QVWDOODWLRQ
7KH FRPSRQHQWV XVHG LQ JDQWU\PRXQW LQVWDOODWLRQ LQFOXGHV D
JDQWU\ DQG VXSSRUWLQJ SDQHOV 7KH TXDQWLW\ RI VXSSRUWLQJ SDQHOV
LV FRQVLVWHQW ZLWK WKDW RI =;6'5 5V )RU HYHU\ =;6'5 5
FDELQHW RQH VXSSRUWLQJ SDQHO LV UHTXLUHG
&RQ¿GHQWLDO DQG 3URSULHWDU\ ,QIRUPDWLRQ RI =7( &25325$7,21

=;6'5 5 ,QVWDOODWLRQ 0DQXDO
7DEOH OLVWV VRPH FRPSRQHQWV RI JDQWU\
7$%/( 0$,1 &20321(176
1DPH 4XDQWLW\
*DQWU\
0; VFUHZ
0; WDSSLQJ VFUHZ
0; H[SDQVLRQ EROW
)LJXUH VKRZV WKH DSSHDUDQFH RI JDQWU\
&RQ¿GHQWLDO DQG 3URSULHWDU\ ,QIRUPDWLRQ RI =7( &25325$7,21

&KDSWHU &DELQHW ,QVWDOODWLRQ
),*85( *$175< $33($5$1&(
&RYHU SODWH
8SULJKW FROXPQ
7LOWHG VXSSRUW
0; VFUHZ
%DVH SODWH
0; WDSSLQJ VFUHZ
0; H[SDQVLRQ EROW
&RQ¿GHQWLDO DQG 3URSULHWDU\ ,QIRUPDWLRQ RI =7( &25325$7,21

=;6'5 5 ,QVWDOODWLRQ 0DQXDO
1RWH
$GRSW WKH 0; H[SDQVLRQ EROW ZKLOH LQVWDOOLQJ WKH JDQWU\ RQ
D FRQFUHWH EDVH SODWH DGRSW WKH 0; WDSSLQJ VFUHZ ZKLOH LQ
VWDOOLQJ WKH JDQWU\ LQVLGH D EXQNHU
7DEOH OLVWV VRPH FRPSRQHQWV RI VXSSRUWLQJ SDQHO
7$%/( 0$,1 &20321(176
1DPH 4XDQWLW\
6XSSRUWLQJ SDQHO
0î H[SDQVLRQ EROW
%LJ ZDVKHU
)LJXUH VKRZV WKH DSSHDUDQFH RI VXSSRUWLQJ SDQHO
),*85( 6833257,1* 3$1(/
&RQ¿GHQWLDO DQG 3URSULHWDU\ ,QIRUPDWLRQ RI =7( &25325$7,21

&KDSWHU &DELQHW ,QVWDOODWLRQ
1RWH
7KH VXSSRUWLQJ SDQHO DV WKH FRPPRQ FRPSRQHQW LQ =;6'5 5
LQVWDOODWLRQ LV XVHG LQ WKH ZDOOPRXQW SROHPRXQW DQG JDQWU\
PRXQW LQVWDOODWLRQ PRGHV
,QVWDOOLQJ &DELQHW RQ *DQWU\ :LWKRXW
:DYH 7UDS
6WHSV $VVHPEOH WKH JDQWU\
L )L[ WKH XSULJKW FROXPQ XSRQ WKH EDVH SODWH ZLWK WKH 0;
VFUHZV DV VKRZQ LQ )LJXUH
),*85( ),; 835,*+7 &2/801 $1' %$6( 3/$7(
0; VFUHZ
LL )DVWHQ WKH MXQFWLRQ EHWZHHQ XSULJKW FROXPQ DQG FRYHU SODWH
ZLWK WKH 0; VFUHZV DV VKRZQ LQ )LJXUH
&RQ¿GHQWLDO DQG 3URSULHWDU\ ,QIRUPDWLRQ RI =7( &25325$7,21

=;6'5 5 ,QVWDOODWLRQ 0DQXDO
),*85( )$67(1 835,*+7 &2/801 $1' &29(5 3/$7(
0; VFUHZ
LLL )DVWHQ WKH WLOWHG VXSSRUW ZLWK WKH 0; VFUHZV DV VKRZQ
LQ)LJXUH
),*85( )$67(1 7,/7(' 6833257
0; VFUHZ
,QVWDOO WKH JDQWU\
$FFRUGLQJ WR WKH VSHFL¿HG LQVWDOODWLRQ SRVLWLRQ LQ WKH HQJLQHHU
LQJ GHVLJQ GUDZLQJ GULOO WKH PDUNHG KROHV DQG LQVWDOO WKH H[
SDQVLRQ EROWV
&RQ¿GHQWLDO DQG 3URSULHWDU\ ,QIRUPDWLRQ RI =7( &25325$7,21

&KDSWHU &DELQHW ,QVWDOODWLRQ
1RWH
$GRSW WKH 0; H[SDQVLRQ EROW ZKLOH LQVWDOOLQJ WKH JDQWU\
RQ D FRQFUHWH EDVH SODWH DGRSW WKH 0; WDSSLQJ VFUHZ
ZKLOH LQVWDOOLQJ WKH JDQWU\ LQVLGH D EXQNHU
,QVWDOO WKH =;6'5 5
L )DVWHQ WKH VXSSRUWLQJ SDQHOV RQWR WKH SURSHU SRVLWLRQV RI
JDQWU\ ZLWK EROWV
LL 0RXQW WKH =;6'5 5 FDELQHWV RQWR WKH VXSSRUWLQJ
SDQHOV DQG IDVWHQ WKH FDELQHWV ZLWK IRXU 0; KH[DJRQ
VRFNHW FDS VFUHZV
(1' 2) 67(36
([DPSOH 7KH DSSHDUDQFH DIWHU LQVWDOODWLRQ FRPSOHWLRQ LV DV VKRZQ LQ)LJXUH
&RQ¿GHQWLDO DQG 3URSULHWDU\ ,QIRUPDWLRQ RI =7( &25325$7,21

=;6'5 5 ,QVWDOODWLRQ 0DQXDO
),*85( =;6'5 5,1'225 *$175<02817 ,167$//$7,21
$33($5$1&( 21/< 558 ,167$//('
,QVWDOOLQJ &DELQHW RQ *DQWU\ :LWK
:DYH 7UDS
6WHSV $VVHPEOH WKH JDQWU\
&RQ¿GHQWLDO DQG 3URSULHWDU\ ,QIRUPDWLRQ RI =7( &25325$7,21

&KDSWHU &DELQHW ,QVWDOODWLRQ
L )L[ WKH XSULJKW FROXPQ XSRQ WKH EDVH SODWH ZLWK WKH 0;
VFUHZV DV VKRZQ LQ )LJXUH
),*85( ),; 835,*+7 &2/801 $1' %$6( 3/$7(
0; VFUHZ
LL )DVWHQ WKH MXQFWLRQ EHWZHHQ XSULJKW FROXPQ DQG FRYHU SODWH
ZLWK WKH 0; VFUHZV DV VKRZQ LQ )LJXUH
),*85( )$67(1 835,*+7 &2/801 $1' &29(5 3/$7(
0; VFUHZ
&RQ¿GHQWLDO DQG 3URSULHWDU\ ,QIRUPDWLRQ RI =7( &25325$7,21

=;6'5 5 ,QVWDOODWLRQ 0DQXDO
LLL )DVWHQ WKH WLOWHG VXSSRUW ZLWK WKH 0; VFUHZV DV VKRZQ
LQ)LJXUH
),*85( )$67(1 7,/7(' 6833257
0; VFUHZ
,QVWDOO WKH JDQWU\
$FFRUGLQJ WR WKH VSHFL¿HG LQVWDOODWLRQ SRVLWLRQ LQ WKH HQJLQHHU
LQJ GHVLJQ GUDZLQJ GULOO WKH PDUNHG KROHV DQG LQVWDOO WKH H[
SDQVLRQ EROWV
1RWH
$GRSW WKH 0; H[SDQVLRQ EROW ZKLOH LQVWDOOLQJ WKH JDQWU\
RQ D FRQFUHWH EDVH SODWH DGRSW WKH 0; WDSSLQJ VFUHZ
ZKLOH LQVWDOOLQJ WKH JDQWU\ LQVLGH D EXQNHU
,QVWDOO WKH VXSSRUWLQJ EUDFNHW RI ZDYH WUDS
7KH VXSSRUWLQJ EUDFNHW RI ZDYH WUDS LV DV VKRZQ LQ )LJXUH
)DVWHQ WKH VXSSRUWLQJ EUDFNHW RQWR WKH JDQWU\ ZLWK 0 EROWV
DV VKRZQ LQ )LJXUH
&RQ¿GHQWLDO DQG 3URSULHWDU\ ,QIRUPDWLRQ RI =7( &25325$7,21

&KDSWHU &DELQHW ,QVWDOODWLRQ
),*85( 6833257,1* %5$&.(7
0 EROW
,QVXODWLRQ ERDUG
6XSSRUWLQJ EUDFNHW
,QVWDOO WKH =;6'5 5
L )DVWHQ WKH VXSSRUWLQJ SDQHOV RQWR WKH SURSHU SRVLWLRQV RI
JDQWU\ ZLWK EROWV DV VKRZQ LQ )LJXUH
&RQ¿GHQWLDO DQG 3URSULHWDU\ ,QIRUPDWLRQ RI =7( &25325$7,21

=;6'5 5 ,QVWDOODWLRQ 0DQXDO
),*85( 6833257,1* %5$&.(7 $1' :$//02817 $66(0%/,(6
*DQWU\
6XSSRUWLQJ EUDFNHW
6XSSRUWLQJ SDQHO
%%8 ZDOOPRXQW IUDPH
LL 0RXQW WKH =;6'5 5 FDELQHWV RQWR WKH VXSSRUWLQJ
SDQHOV DQG IDVWHQ WKH FDELQHWV ZLWK IRXU 0; KH[DJRQ
VRFNHW FDS VFUHZV DV VKRZQ LQ )LJXUH
&RQ¿GHQWLDO DQG 3URSULHWDU\ ,QIRUPDWLRQ RI =7( &25325$7,21

&KDSWHU &DELQHW ,QVWDOODWLRQ
),*85( =;6'5 5 ,167$//$7,21
,QVWDOO WKH ZDYH WUDS
7KH DSSHDUDQFH RI ZDYH WUDS LV DV VKRZQ LQ )LJXUH ,QVHUW
WKH ZDYH WUDS LQWR WKH VXSSRUWLQJ EUDFNHW DQG IDVWHQ WKHP ZLWK
0 EROWV DV VKRZQ LQ )LJXUH
&RQ¿GHQWLDO DQG 3URSULHWDU\ ,QIRUPDWLRQ RI =7( &25325$7,21

=;6'5 5 ,QVWDOODWLRQ 0DQXDO
),*85( :$9( 75$3
*XLGH EORFN
:DYH WUDS
0 EROW
)URQW EDIÀHU
&RQ¿GHQWLDO DQG 3URSULHWDU\ ,QIRUPDWLRQ RI =7( &25325$7,21

&KDSWHU &DELQHW ,QVWDOODWLRQ
),*85( :$9( 75$3 ,167$//$7,21
(1' 2) 67(36
([DPSOH 7KH =;6'5 5 JDQWU\PRXQW LQWHJUDWHG LQVWDOODWLRQ LV FRP
SOHWHG 7KH SUR¿OHV DUH DV VKRZQ LQ )LJXUH DQG )LJXUH
&RQ¿GHQWLDO DQG 3URSULHWDU\ ,QIRUPDWLRQ RI =7( &25325$7,21

=;6'5 5 ,QVWDOODWLRQ 0DQXDO
),*85( *$175<02817 ,17(*5$7(' ,167$//$7,21
=;6'5 5
=;6'5 % &
*URXQGLQJ FRSSHU EDU
*DQWU\
:DYH WUDS
&RQ¿GHQWLDO DQG 3URSULHWDU\ ,QIRUPDWLRQ RI =7( &25325$7,21

&KDSWHU &DELQHW ,QVWDOODWLRQ
),*85( *$175<02817 ,17(*5$7(' ,167$//$7,21 6,'(
&RQ¿GHQWLDO DQG 3URSULHWDU\ ,QIRUPDWLRQ RI =7( &25325$7,21

=;6'5 5 ,QVWDOODWLRQ 0DQXDO
6LPSOLILHG &DELQHW ,QWHJUDWHG
,QVWDOODWLRQ 0RGH
&RPSRQHQWV 8VHG LQ ,QWHJUDWHG
,QVWDOODWLRQ
7KH =;6'5 5 IRU LQWHJUDWHG LQVWDOODWLRQ QHHGV WKH IROORZLQJ
FRPSRQHQWV D VLPSOL¿HG FDELQHW DQ XSSHU ¿[LQJ IUDPH DQG D
ORZHU ¿[LQJ IUDPH
7KH GLPHQVLRQ RI VLPSOL¿HG FDELQHW LV +î :î '
XQLW PP DV VKRZQ LQ )LJXUH
&RQ¿GHQWLDO DQG 3URSULHWDU\ ,QIRUPDWLRQ RI =7( &25325$7,21

&KDSWHU &DELQHW ,QVWDOODWLRQ
),*85( 6,03/,),(' &$%,1(7 $33($5$1&(
0î H[SDQVLRQ EROW
7KH XSSHU ¿[LQJ IUDPH LV DV VKRZQ LQ )LJXUH
&RQ¿GHQWLDO DQG 3URSULHWDU\ ,QIRUPDWLRQ RI =7( &25325$7,21

=;6'5 5 ,QVWDOODWLRQ 0DQXDO
),*85( 833(5 ),;,1* )5$0(
8SSHU ¿[LQJ IUDPH
6XSSRUWLQJ SDQHO
0î SDQ²KHDG VFUHZ
0î SDQ²KHDG VFUHZ
7KH XSSHU ¿[LQJ IUDPH LV DV VKRZQ LQ )LJXUH
&RQ¿GHQWLDO DQG 3URSULHWDU\ ,QIRUPDWLRQ RI =7( &25325$7,21

&KDSWHU &DELQHW ,QVWDOODWLRQ
),*85( /2:(5 ),;,1* )5$0(
0î SDQ²KHDG VFUHZ
6XSSRUWLQJ SDQHO
0î SDQ²KHDG VFUHZ
/RZHU ¿[LQJ IUDPH
0î SDQ²KHDG VFUHZ
6XSSRUWLQJ SDQHO
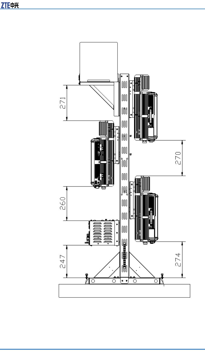
,QVWDOOLQJ ,QWHJUDWHG &DELQHW
3UHUHTXLVLWHV 8QSDFNLQJ DQG DFFHSWDQFH IRU WKH =;6'5 5 DQG WKH VLPSOL¿HG
FDELQHW PHHW UHTXLUHPHQWV
6WHSV ,QVWDOO WKH VLPSOL¿HG FDELQHW
$FFRUGLQJ WR DQ LQVWDOODWLRQ SRVLWLRQ LQ WKH HQJLQHHULQJ GHVLJQ
GUDZLQJ GULOO KROHV RQ WKH LQGRRU ÀRRU 7KH KROH SRVLWLRQV DQG
WKH GLPHQVLRQ DUH DV VKRZQ LQ )DVWHQ WKH FDELQHW RQ WKH ÀRRU
ZLWK 0î H[SDQVLRQ EROWV
&RQ¿GHQWLDO DQG 3URSULHWDU\ ,QIRUPDWLRQ RI =7( &25325$7,21

=;6'5 5 ,QVWDOODWLRQ 0DQXDO
),*85( +2/( 326,7,216 $1' ',0(16,21
,QVWDOO WKH =;6'5 5
VKRZV DOO DVVHPEOLHV IRU =;6'5 5 LQWHJUDWHGFDELQHW LQ
VWDOODWLRQ
&RQ¿GHQWLDO DQG 3URSULHWDU\ ,QIRUPDWLRQ RI =7( &25325$7,21

&KDSWHU &DELQHW ,QVWDOODWLRQ
),*85( =;6'5 5 $66(0%/,(6
8SSHU ¿[LQJ IUDPH
/RZHU ¿[LQJ IUDPH
=;6'5 5
L 5HPRYH WKH ¿[LQJ EHDPV RI =;6'5 5
7KH =;6'5 5 FDUULHV WZR ¿[LQJ EHDPV XVHG IRU ZDOO
PRXQW DQG SROHPRXQW LQVWDOODWLRQV DV VKRZQ LQ 5HPRYH
WKH ¿[LQJ EHDPV
&RQ¿GHQWLDO DQG 3URSULHWDU\ ,QIRUPDWLRQ RI =7( &25325$7,21

=;6'5 5 ,QVWDOODWLRQ 0DQXDO
),*85( =;6'5 5 ),;,1* %($0
)L[LQJ EHDP
LL ,QVWDOO WKH ORZHU ¿[LQJ IUDPH
,QVHUW WKH =;6'5 5 WR WKH ORZHU ¿[LQJ IUDPH )DVWHQ
WKH VXSSRUWLQJ SDQHO ZLWK WKH =;6'5 5 E\ 0î
SDQKHDG VFUHZV DQG IDVWHQ WKH VXSSRUWLQJ ZLWK =;6'5
5 E\ 0î SDQKHDG VFUHZV DV VKRZQ LQ
&RQ¿GHQWLDO DQG 3URSULHWDU\ ,QIRUPDWLRQ RI =7( &25325$7,21

&KDSWHU &DELQHW ,QVWDOODWLRQ
),*85( /2:(5 ),;,1* )5$0( ,167$//$7,21
3DQKHDG VFUHZ 0î 3DQKHDG VFUHZ 0î
LLL ,QVWDOO WKH XSSHU ¿[LQJ IUDPH
,QVHUW WKH =;6'5 5 WR WKH ORZHU ¿[LQJ IUDPH )DVWHQ
WKH VXSSRUWLQJ SDQHO RI XSSHU ¿[LQJ IUDPH ZLWK WKH =;6'5
5 E\ 0î SDQKHDG VFUHZV DV VKRZQ LQ
&RQ¿GHQWLDO DQG 3URSULHWDU\ ,QIRUPDWLRQ RI =7( &25325$7,21

=;6'5 5 ,QVWDOODWLRQ 0DQXDO
),*85( =;6'5 5,167$//(' :,7+ 833(5 $1' /2:(5
),;,1* )5$0(
0î SDQKHDG VFUHZ
,QVWDOO WKH =;6'5 5 WR WKH VLPSOL¿HG FDELQHW
$OLJQ WKH JXLGDQFH FKDQQHO RQ WKH =;6'5 5 LQVWDOOHG ZLWK
WKH XSSHU DQG ORZHU ¿[LQJ IUDPHV WR WKH UDLO RQH WKH VLPSOL¿HG
FDELQHW 7KHQ VOLGH WKH =;6'5 5 VORZO\ LQWR WKH VLPSOL¿HG
FDELQHW DQG IDVWHQ WKHP ZLWK IRXU 0î SDQKHDG VFUHZV DV
VKRZQ LQ
&RQ¿GHQWLDO DQG 3URSULHWDU\ ,QIRUPDWLRQ RI =7( &25325$7,21

&KDSWHU &DELQHW ,QVWDOODWLRQ
),*85( =;6'5 5 ,167$//$7,21 72 6,03/,),(' &$%,1(7
0î SDQKHDG VFUHZ
,QVWDOO RWKHU =;6'5 5V
5HSHDW WKH 6WHSa6WHS WR LQVWDOO RWKHU =;6'5 5V LQWR
WKH VLPSOL¿HG FDELQHW :KHQ VL[ =;6'5 5V DUH LQVWDOOHG
FRPSOHWHO\ WKH DSSHDUDQFH LV DV VKRZQ LQ
&RQ¿GHQWLDO DQG 3URSULHWDU\ ,QIRUPDWLRQ RI =7( &25325$7,21

=;6'5 5 ,QVWDOODWLRQ 0DQXDO
),*85( =;6'5 5 ,167$//$7,21 &203/(7,21
(1' 2) 67(36
&RQ¿GHQWLDO DQG 3URSULHWDU\ ,QIRUPDWLRQ RI =7( &25325$7,21

&KDSWHU &DELQHW ,QVWDOODWLRQ
,QVWDOOLQJ 6XQ VKLHOG
&RQWH[W 7KH FRPSRQHQWV XVHG IRU LQVWDOOLQJ VXQ VKDGH PXVW EH SUHSDUHG
VKRZV WKH VXQ VKDGH WR EH LQVWDOOHG
),*85( 681 6+,(/' 6758&785(
6XQ VKLHOG
0 VFUHZ
)L[LQJ SRVLWLRQ ZHGJHG RQWR WKH
EROW DW WKH VLGH RI WKH FRPPRQ SDUW
IRU ZDOO PRXQWLQJ
0 VFUHZ
=;6'5 5 FDELQHW
6WHSV $VVHPEOH WKH VXQ VKDGH RQ VLWH DQG ¿[ WKH EUDFNHW WR WKH
VKLHOG
&RQ¿GHQWLDO DQG 3URSULHWDU\ ,QIRUPDWLRQ RI =7( &25325$7,21

=;6'5 5 ,QVWDOODWLRQ 0DQXDO
8QVFUHZ WKH WZR 0 VFUHZ DW WKH VLGH WRS RI WKH FDELQHW DQG
LQVHUW WKH EROWV DW ERWK VLGHV RI WKH ZDOOPRXQWLQJ FRPPRQ
SDUW WR WKH VXQ VKDGH
6FUHZ WKH WZR 0 VFUHZV DQG IRXU 0 VFUHZV RQ ERWK VLGHV RI
WKH FDELQHW DQG WLJKWHQ WKHP
(1' 2) 67(36
&RQ¿GHQWLDO DQG 3URSULHWDU\ ,QIRUPDWLRQ RI =7( &25325$7,21

& K D S W H U
([WHUQDO &DEOH
,QVWDOODWLRQ
7DEOH RI &RQWHQWV
([WHUQDO &DEOH /D\RXW
([WHUQDO &DEOH ,QVWDOODWLRQ )ORZ
,QVWDOOLQJ 3RZHU &DEOH
,QVWDOOLQJ *URXQGLQJ &DEOH
,QVWDOOLQJ )LEHU EHWZHHQ %%8 DQG 558
,QVWDOOLQJ )LEHU EHWZHHQ 558 DQG 558
,QVWDOOLQJ (QYLURQPHQW 0RQLWRULQJ &DEOH
,QVWDOOLQJ $,6* &RQWURO &DEOH
,QVWDOOLQJ )UHTXHQF\ 3RLQW ([WHQVLRQ &DEOH
,QVWDOOLQJ -XPSHU
([WHUQDO &DEOH /D\RXW
7KH FRQQHFWLRQ UHODWLRQVKLS RI =;6'5 5 H[WHUQDO FDEOHV LV
GHVFULEHG LQ7DEOH
7$%/( =;6'5 5 (;7(51$/ &$%/( &211(&7,21 5(/$7,216+,3
1DPH &RQQHFWLRQ
5HODWLRQVKLS
'HVFULSWLRQ
3RZHU FDEOH &RQQHFWV WKH =;6'5
5SRZHU LQWHUIDFH
'& ,1 WR WKH SRZHU
VXSSO\ HTXLSPHQW
LQWHUIDFH
2QH HQG LV WKH
DYLDWLRQ SOXJ DQG WKH
RWKHU HQG LV UHVHUYHG
IRU SRZHU FDEOH PDGH
RQ VLWH 7KH OHQJWK RI
FDEOH LV EDVHG RQ WKH
HQJLQHHULQJ VXUYH\
&RQ¿GHQWLDO DQG 3URSULHWDU\ ,QIRUPDWLRQ RI =7( &25325$7,21

=;6'5 5 ,QVWDOODWLRQ 0DQXDO
1DPH &RQQHFWLRQ
5HODWLRQVKLS
'HVFULSWLRQ
*URXQGLQJ FDEOH &RQQHFWV RQH =;6'5
5JURXQG EROW WR
WKH FRSSHU EDU
7KH JURXQGLQJ FDEOH LV
PDGH XS RI VWUDQGV RI
ÀDPHUHWDUGDQW ZLUH
7KH FURVV VHFWLRQDO
DUHD RI =;6'5 5
JURXQGLQJ FDEOH LV
PP 7KH
FRORU RI JURXQGLQJ
FDEOH LV \HOORZ DQG
JUHHQ &RSSHU OXJV
DUH FULPSHG DW ERWK
HQGV RI WKH =;6'5
5 JURXQGLQJ
FDEOH
2SWLFDO )LEHU 7KHUH DUH WZR W\SHV
RI =;6'5 5¿EHU
%%8 FRQQHFWLRQ
=;6'5 5
FDVFDGLQJ
7KHUH DUH WZR W\SHV RI
=;6'5 5RSWLFDO
¿EHU RQH XVHG LQ
%%8 FRQQHFWLRQ DQG
WKH RWKHU XVHG LQ
FDVFDGLQJ EHWZHHQ
=;6'5 5V
(QYLURQPHQW
PRQLWRULQJ FDEOH
&RQQHFWV WKH =;6'5
5HQYLURQPHQW
PRQLWRULQJ LQWHUIDFH
021 WR WKH
H[WHUQDO PRQLWRULQJ
FRPSRQHQWV RU WKH
GU\ FRQWDFW
$ HQG RI WKH
HQYLURQPHQW
PRQLWRULQJ FDEOH
LV 3,1 GHVLJQ % HQG
ZLWK P OHQJWK LQ
WRWDO QHHGV PDNLQJ
EDVHG RQ WKH RQVLWH
HQJLQHHULQJ
$,6* FRQWURO FDEOH &RQQHFWV WKH =;6'5
5GHEXJJLQJ
LQWHUIDFH $,6*
WR WKH FRQWURO
LQWHUIDFH RI
HOHFWULFDODGMXVWPHQW
DQWHQQD
$,6* LV XVHG IRU
FRQWURO RI WKH
HOHFWULFDODGMXVWPHQW
DQWHQQD
)UHTXHQF\ SRLQW
H[WHQVLRQ FDEOH
,QWHUFRQQHFWV
WKH=;6'5 5
5;LQ5;RXW
LQWHUIDFHV
7KH IUHTXHQF\ SRLQW
H[WHQVLRQ FDEOH
XVXDOO\ DGRSWV WKH
¿QLVKHG ļ MXPSHU
ZLWK P OHQJWK
7KH MXPSHU FDQ EH
VHOIPDGH EDVHG
RQ WKH UHDOWLPH
FRQGLWLRQ RQ VLWH
$ DQG % HQGV
RI MXPSHU DUH 1
FRQQHFWRUV PDOH
$QWHQQD IHHGHU DQG
MXPSHU
&RQQHFWV WKH =;6'5
5 WR WKH PDLQ
IHHGHU
7KH 5) MXPSHU XVXDOO\
DGRSWV WKH ¿QLVKHG
ļMXPSHU ZLWK P
OHQJWK 7KH MXPSHU
FDQ EH VHOIPDGH
EDVHG RQ WKH UHDOWLPH
FRQGLWLRQ RQ VLWH
7KH HQG RI MXPSHU LV 1
FRQQHFWRU PDOH DQG
WKH RWKHU HQG LV ',1
FRQQHFWRU IHPDOH
&RQ¿GHQWLDO DQG 3URSULHWDU\ ,QIRUPDWLRQ RI =7( &25325$7,21

&KDSWHU ([WHUQDO &DEOH ,QVWDOODWLRQ
([WHUQDO &DEOH ,QVWDOODWLRQ
)ORZ
)LJXUH OLVWV WKH LQVWDOODWLRQ ÀRZ RI H[WHUQDO FDEOH 7KLV ÀRZ FDQ
EH DGMXVWHG EDVHG RQ WKH UHDOWLPH FRQGLWLRQ
),*85( (;7(51$/ &$%/( ,167$//$7,21 )/2:
&RQ¿GHQWLDO DQG 3URSULHWDU\ ,QIRUPDWLRQ RI =7( &25325$7,21

=;6'5 5 ,QVWDOODWLRQ 0DQXDO
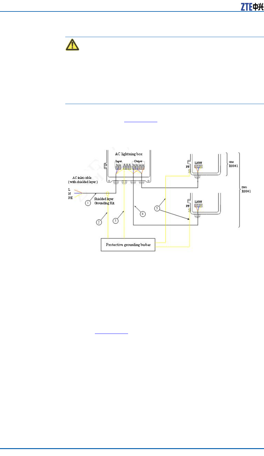
,QVWDOOLQJ 3RZHU &DEOH
&RQWH[W 7KH =;6'5 5 FDELQHW DGRSWV 9 '& IRU SRZHU VXSSO\ (QG
$ LV WKH DYLDWLRQ SOXJ DQG (QG % LV UHVHUYHG IRU VHOIPDGH SRZHU
FDEOH RQ VLWH 7KH OHQJWK RI SRZHU FDEOH LV DFFRUGLQJ WR WKH HQJL
QHHULQJ VXUYH\
=;6'5 5 )LJXUH VKRZV WKH VWUXFWXUH RI SRZHU FDEOH
),*85( 32:(5 &$%/( 6758&785(
7DEOH GHVFULEHV WKH FRORUV DQG VSHFL¿FDWLRQV RI LQVLGH FRUH FD
EOH
7$%/( &2/25 $1' 63(&,),&$7,21
&RORU 6SHFL¿FDWLRQ
%OXH 9
%ODFN 9 *1'
1RWH
,I WKH WZRFRUH FDEOH LV DGRSWHG WKH EOXH FRUH FDEOH VWDQGV
IRU 9 DQG WKH EODFN FRUH FDEOH VWDQGV IRU 9 *1'
,I WKH IRXUFRUH FDEOH LV DGRSWHG WKH WZR EOXH FRUH FDEOHV
FRQQHFWHG LQ SDUDOOHO VWDQG IRU 9 DQG WKH EODFN FRUH FDEOHV
FRQQHFWHG LQ SDUDOOHO VWDQG IRU 9 *1'
6WHSV &RQQHFW (QG $ RI SRZHU FDEOH ZLWK '& ,1 LQWHUIDFH ORFDWHG DW
WKH ERWWRP RI =;6'5 5
6WULS WKH SURWHFWLYH FRDW RI (QG % DQG FRQQHFW LW ZLWK WKH '&
LQSXW SRZHU VRXUFH DFFRUGLQJ WR FRORUV RI WKH LQVLGH FRUH FDEOH
0DNH ZDWHUSURRI SURWHFWLRQ RI (QG %
$WWDFK ODEHOV DW ERWK HQGV RI WKH SRZHU FDEOH
)L[ WKH SRZHU FDEOH
(1' 2) 67(36
&RQ¿GHQWLDO DQG 3URSULHWDU\ ,QIRUPDWLRQ RI =7( &25325$7,21

&KDSWHU ([WHUQDO &DEOH ,QVWDOODWLRQ
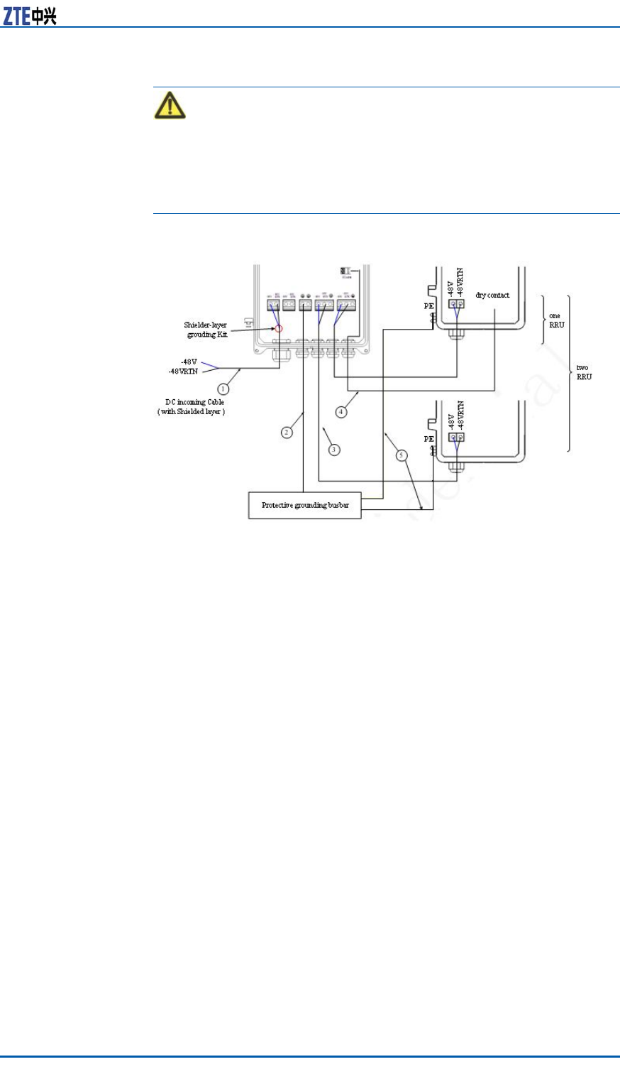
,QVWDOOLQJ *URXQGLQJ &DEOH
&RQWH[W 7KH JURXQGLQJ FDEOH LV PDGH XS RI VWUDQGV RI ÀDPHUHWDUGDQW ZLUH
7KH FURVV VHFWLRQDO DUHD RI =;6'5 5 JURXQGLQJ FDEOH LV
PP 7KH FRORU RI JURXQGLQJ FDEOH LV \HOORZ DQG JUHHQ &RSSHU
OXJV DUH FULPSHG DW ERWK HQGV RI WKH =;6'5 5 JURXQGLQJ FD
EOH DV VKRZQ LQ )LJXUH
),*85( *5281',1* &$%/( 6758&785(
6WHSV &RYHU DQG ¿[ D FRSSHU OXJ RQ WKH D JURXQGLQJ EROW RI WKH
=;6'5 5 FDELQHW DV VKRZQ LQ )LJXUH
),*85( =;6'5 5 *5281',1* %2/7
*URXQGLQJ EROW
&RQ¿GHQWLDO DQG 3URSULHWDU\ ,QIRUPDWLRQ RI =7( &25325$7,21

=;6'5 5 ,QVWDOODWLRQ 0DQXDO
&RQQHFW WKH RWKHU FRSSHU OXJ WR WKH HDUWKQHWZRUNLQJ FRSSHU
EDU DQG ¿[ LW ZLWK D EROW DV VKRZQ LQ )LJXUH
),*85( ($57+1(7:25. &233(5 %$5 81,700
$WWDFK WKH ODEHO RQ WKH JURXQGLQJ FDEOH
0HDVXUH WKH JURXQGLQJ UHVLVWDQFH DQG PDNH VXUH LW OHVV WKDQ
ƻ
(1' 2) 67(36
,QVWDOOLQJ )LEHU EHWZHHQ
%%8 DQG 558
3UHUHTXLVLWHV 7KH =;6'5 5 FDELQHW PXVW EH LQVWDOOHG DQG ¿[HG VXFFHVVIXOO\
&RQWH[W )LJXUH VKRZV ¿EHU FRQQHFWLRQ EHWZHHQ =;6'5 5 DQG %%8
),*85( ),%(5 &211(&7,21 %(7:((1 =;6'5 5 $1' %%8
2XWGRRU 6HDO &RPSRQHQW
:KLOH FRQQHFWLQJ D %%8 WR =;6'5 5 PDNH VXUH WKDW WKH EDVH
EDQG 5) ¿EHU LQWHUIDFH /& RI WKH =;6'5 5 LV FRQQHFWHG
WR WKH RSWLFDO LQWHUIDFH FRQQHFWRU RI WKH %%8
&RQ¿GHQWLDO DQG 3URSULHWDU\ ,QIRUPDWLRQ RI =7( &25325$7,21

&KDSWHU ([WHUQDO &DEOH ,QVWDOODWLRQ
6WHSV $WWDFK ODEHOV DW ERWK HQGV RI WKH ¿EHU
$GMXVW WKH VLGH RI (QG $ ZLWK WKH FRORU PDUN DQG LQVHUW WKH
=;6'5 5 ¿EHU LQWHUIDFH DQG VFUHZ GRZQ WKH QXWV DV
VKRZQ LQ )LJXUH
),*85( 237,&$/ ),%(5 ,167$//$7,21
&RORU PDUN
&RQQHFW (QG $ RI WKH ¿EHU WR WKH EDVH EDQG 5) ¿EHU LQWHUIDFH
/& RI WKH =;6'5 5
&RQQHFW (QG % RI WKH ¿EHU ZKLFK LV D '/& FRQQHFWRU WR WKH
%%8 RSWLFDO FRQQHFWRU
6FUHZ GRZQ WKH RXWGRRU VHDO FRPSRQHQW DW (QG $ IRU ZDWHU
SURR¿QJ
(1' 2) 67(36
,QVWDOOLQJ )LEHU EHWZHHQ
558 DQG 558
3UHUHTXLVLWHV 7KH FDVFDGLQJ =;6'5 5 FDELQHWV PXVW EH LQVWDOOHG DQG ¿[HG
VXFFHVVIXOO\
&RQWH[W )LJXUH VKRZV ¿EHU FRQQHFWLRQ EHWZHHQ =;6'5 5V
&RQ¿GHQWLDO DQG 3URSULHWDU\ ,QIRUPDWLRQ RI =7( &25325$7,21

=;6'5 5 ,QVWDOODWLRQ 0DQXDO
),*85( ),%(5 &211(&7,21 %(7:((1 =;6'5 56
2XWGRRU 6HDO &RPSRQHQW
:KLOH LQWHUFRQQHFWLQJ WKH =;6'5 5V PDNH VXUH WKDW WKH WZR
EDVHEDQG 5) ¿EHU LQWHUIDFHV /& RI WKH =;6'5 5 DUH FRQ
QHFWHG
6WHSV $WWDFK ODEHOV DW ERWK HQGV RI WKH RSWLFDO ¿EHU
$GMXVW WKH VLGH RI (QG $ ZLWK WKH FRORU PDUN DQG LQVHUW WKH
=;6'5 5 ¿EHU LQWHUIDFH DQG VFUHZ GRZQ WKH QXWV DV
VKRZQ LQ )LJXUH
),*85( 237,&$/ ),%(5 ,167$//$7,21
&RORU PDUN
&RQQHFW (QG $ RI WKH RSWLFDO ¿EHU WR WKH EDVH EDQG 5) ¿EHU
LQWHUIDFH /& RI WKH =;6'5 5
&RQQHFW (QG % RI WKH RSWLFDO ¿EHU WR WKH RWKHU EDVH EDQG 5)
¿EHU LQWHUIDFH /& RI WKH =;6'5 5
&RQ¿GHQWLDO DQG 3URSULHWDU\ ,QIRUPDWLRQ RI =7( &25325$7,21

&KDSWHU ([WHUQDO &DEOH ,QVWDOODWLRQ
6FUHZ GRZQ WKH RXWGRRU VHDO FRPSRQHQW DW (QG $ IRU ZDWHU
SURR¿QJ
(1' 2) 67(36
,QVWDOOLQJ (QYLURQPHQW
0RQLWRULQJ &DEOH
3UHUHTXLVLWHV 7KH =;6'5 5 FDELQHW PXVW EH LQVWDOOHG DQG ¿[HG VXFFHVVIXOO\
&RQWH[W 7KH HQYLURQPHQW PRQLWRULQJ FDEOH SURYLGHV D LQWHUIDFH XVHG
IRU =;6'5 5 HQYLURQPHQW PRQLWRULQJ ,Q DGGLWLRQ WKH FD
EOH DOVR SURYLGHV IRXU H[WHQVLRQ DFFHVVHV IRU H[WHUQDO GU\ FRQWDFW
PRQLWRULQJ
(QG $ LV WKH 3,1 FRQQHFWRU DQG (QG % LV PDGH E\ RQVLWH HQJL
QHHULQJ 7KH WRWDO OHQJWK LV P )LJXUH VKRZV WKH DSSHDUDQFH
RI HQYLURQPHQW PRQLWRULQJ FDEOH
),*85( (19,5210(17 021,725,1* &$%/(
7KH FRQQHFWRU FRQQHFWLQJ WKH HQYLURQPHQW PRQLWRULQJ FDEOH WR
WKH =;6'5 5 DGRSWV ±FRUH DYLDWLRQ MDFN 7KH FRQQHFWRU
DFFRUGV ZLWK WKH *-% VSHFL¿FDWLRQ 7KH FRQQHFWRU DSSHDUDQFH
LV DV VKRZQ LQ )LJXUH
),*85( $9,$7,21 -$&. $33($5$1&(
7DEOH GHVFULEHV WKH FRQQHFWRU SLQV
&RQ¿GHQWLDO DQG 3URSULHWDU\ ,QIRUPDWLRQ RI =7( &25325$7,21

=;6'5 5 ,QVWDOODWLRQ 0DQXDO
7$%/( &$%/( 3,1 '(6&5,37,21
3LQ &RUH&DEOH &RORU 6LJQDO 'HVFULSWLRQ
:KLWH DQG EOXHEOXH 'U\ FRQWDFW
:KLWH DQG
RUDQJHRUDQJH
'U\ FRQWDFW
:KLWH DQG
JUHHQJUHHQ
'U\ FRQWDFW
:KLWH DQG
EURZQEURZQ
'U\ FRQWDFW
5HG DQG EOXHEOXH 56 UHFHLYH
5HG DQG
RUDQJHRUDQJH
56 WUDQVPLW
6WHSV &RQQHFW (QG $ WR WKH 021 LQWHUIDFH ORFDWHG DW WKH ERWWRP RI
=;6'5 5
&RQQHFW (QG % ZLWK H[WHUQDO PRQLWRULQJ GHYLFHV RU GU\ FRQ
WDFWV
$WWDFK WKH ODEHO DW (QG %
(1' 2) 67(36
,QVWDOOLQJ $,6* &RQWURO
&DEOH
&RQWH[W 7KH $,6* FRQWURO FDEOH LV XVHG IRU FRQWURO RI WKH HOHFWULFDO DGMXVW
PHQW DQWHQQD
)LJXUH VKRZV WKH VWUXFWXUH RI WKH $,6* FRQWURO FDEOH
),*85( $,6* &21752/ &$%/( 6758&785(
&RQ¿GHQWLDO DQG 3URSULHWDU\ ,QIRUPDWLRQ RI =7( &25325$7,21

&KDSWHU ([WHUQDO &DEOH ,QVWDOODWLRQ
7DEOH GHVFULEHV WKH VHULDO 1R PHDQLQJ RI $,6* FRQWURO FDEOH
7$%/( $,6* &21752/ &$%/( '(6&5,37,21
6HULDO 1R 1DPH 0HDQLQJ
75;B$17BB 56
75;B$17BB 56
75;B$17B9 9
75;B$17B9*1' 9*1'
1& 1XOO
6WHSV &RQQHFW (QG $ WR WKH =;6'5 5 GHEXJJLQJ LQWHUIDFH
$,6* DQG VFUHZ GRZQ WKH EROW
&RQQHFW (QG % WR WKH FRQWURO LQWHUIDFH RI HOHFWULFDO DGMXVWPHQW
DQWHQQD DQG VFUHZ GRZQ WKH EROW
(1' 2) 67(36
,QVWDOOLQJ )UHTXHQF\ 3RLQW
([WHQVLRQ &DEOH
3UHUHTXLVLWHV 7KH WZR =;6'5 5 FDELQHWV WR EH FRPELQHG PXVW EH LQVWDOOHG
DQG ¿[HG VXFFHVVIXOO\
&RQWH[W $IWHU WKH FRPELQDWLRQ RI FDELQHWV WKH =;6'5 5 FDQ VXSSRUW
FDUULHU VHFWRUV DW PRVW
7KH WZR =;6'5 5 FDELQHWV DUH FRQQHFWHG WKURXJK WKHLU FRQ
QHFWLQJ LQWHUIDFHV VXFK DV 5;LQ DQG 5;RXW E\ WZR IUHTXHQF\ SRLQW
H[WHQVLRQ FDEOHV )LJXUH VKRZV WKH VWUXFWXUH RI WKH IUHTXHQF\
SRLQW FDEOH (QG $ DQG (QG % DUH 1 FRQQHFWRUV PDOH
7KH 0 ļ MXPSHU LV RIWHQ XVHG IRU WKH IUHTXHQF\ SRLQW H[WHQVLRQ
FDEOH ,W PD\ EH SUHSDUHG RQ VLWH LI QHFHVVDU\
),*85( )5(48(1&< 32,17 (;7(16,21 &$%/(
6WHSV &RQQHFW (QG $ RI WKH IUHTXHQF\ SRLQW H[WHQVLRQ FDEOH WR WKH
IUHTXHQF\ SRLQW H[WHQVLRQ LQWHUIDFH 5;,1 RI RQH=;6'5 5
&RQQHFW (QG % WR 5;RXW RI WKH RWKHU =;6'5 5
&RQ¿GHQWLDO DQG 3URSULHWDU\ ,QIRUPDWLRQ RI =7( &25325$7,21

=;6'5 5 ,QVWDOODWLRQ 0DQXDO
&RQQHFW WKH UHPDLQLQJ 5;LQ5;RXW LQWHUIDFHV RI WKH WZR FRP
ELQHG FDELQHWV ZLWK WKH RWKHU IUHTXHQF\ SRLQW H[WHQVLRQ FDEOH
(1' 2) 67(36
,QVWDOOLQJ -XPSHU
&RQWH[W 2QH HQG RI 5) MXPSHU FRQQHFWV ZLWK WKH PDLQ IHHGHU DQG WKH RWKHU
HQG FRQQHFWV ZLWK WKH DQWHQQD IHHGHU LQWHUIDFH RI =;6'5 5
FDELQHW %HIRUH LQVWDOOLQJ WKH 5) MXPSHU WKH PDLQ IHHGHU LV LQ
VWDOOHG
7KH 5) MXPSHU DGRSWV WKH ļ MXPSHU ZLWK D P OHQJWK 7KH
MXPSHU FDQ DOVR EH VHOIPDGH DFFRUGLQJ WR WKH RQVLWH FRQGLWLRQ
7KH LQVWDOODWLRQ SRVLWLRQ RI 5) MXPSHU LV DV VKRZQ LQ )LJXUH
),*85( 5) -803(5 ,167$//$7,21
3HUIRUP WKH IROORZLQJ VWHSV WR LQVWDOO WKH 5) MXPSHU
6WHSV &RQQHFW WKH ',1 FRQQHFWRU PDOH RI 5) MXPSHU ZLWK WKH ',1
FRQQHFWRU IHPDOH RI PDLQ IHHGHU
&RQQHFW WKH ',1 FRQQHFWRU PDOH RI 5) MXPSHU ZLWK WKH ',1
FRQQHFWRU IHPDOH RI =;6'5 5 FDELQHW
6HDO WKH FRQQHFWRUV ZLWK ZDWHUSURRI DGKHVLYH WDSHV DQG 39&
WDSHV
(1' 2) 67(36
&RQ¿GHQWLDO DQG 3URSULHWDU\ ,QIRUPDWLRQ RI =7( &25325$7,21

& K D S W H U
0DLQ $QWHQQD )HHGHU
6\VWHP ,QVWDOODWLRQ
7DEOH RI &RQWHQWV
0DLQ $QWHQQD )HHGHU 6\VWHP 6WUXFWXUH
0DLQ $QWHQQD )HHGHU 6\VWHP ,QVWDOODWLRQ 3UHSDUDWLRQ
0DLQ $QWHQQD )HHGHU 6\VWHP ,QVWDOODWLRQ )ORZ
$QWHQQD ,QVWDOODWLRQ
)HHGHU ,QVWDOODWLRQ
,QVWDOOLQJ )HHGHU +HUPHWLFZLQGRZ
)HHGHU ,QGRRU ,QJRLQJ
3HUIRUPLQJ $QWHQQD )HHGHU 6\VWHP 7HVW
3HUIRUPLQJ 2XWGRRU&RQQHFWRU :DWHUSURRI 3URFHVVLQJ
3HUIRUPLQJ )HHGHU +HUPHWLFZLQGRZ :DWHUSURRI 3URFHVV
LQJ
&DELQHW -XPSHU ,QVWDOODWLRQ 'HVFULSWLRQ
96:5 7HVW
0DLQ $QWHQQD )HHGHU
6\VWHP 6WUXFWXUH
7KH W\SLFDO FRQ¿JXUDWLRQV IRU =;6'5 5 PDLQ DQWHQQD IHHGHU
V\VWHP GHVFULEHG EHORZ LQFOXGHV
=;6'5 5 FRQ¿JXUDWLRQ ZLWK FRPPRQ DQWHQQD
=;6'5 5 FRQ¿JXUDWLRQ ZLWK FRPPRQ DQWHQQD $,6* GXDO
SRZHU DPSOL¿HU
=;6'5 5 FRQ¿JXUDWLRQ ZLWK HOHFWURQLF DGMXVWPHQW DQ
WHQQD
=;6'5 5 FRQ¿JXUDWLRQ ZLWK HOHFWURQLF DGMXVWPHQW DQ
WHQQD
=;6'5 5 FRQ¿JXUDWLRQ ZLWK HOHFWURQLF DGMXVWPHQW DQ
WHQQD $,6* GXDO SRZHU DPSOL¿HU
=;6'5 5
FRQ¿JXUDWLRQ ZLWK
FRPPRQ DQWHQQD
,Q WKLV FRQ¿JXUDWLRQ JHQHUDOO\ =;6'5 5 LQVWDOODWLRQ SRVLWLRQ
LV QHDU DQWHQQD DQG WKH\ DUH DOO LQVWDOOHG RQ WKH EXLOGLQJ WRS
=;6'5 5 LV FRQQHFWHG WR WKH DQWHQQD E\ ļIHHGHU GLUHFWO\
RFFDVLRQDOO\ ļRU ļIHHGHU LV DGRSWHG DV VKRZQ LQ)LJXUH
&RQ¿GHQWLDO DQG 3URSULHWDU\ ,QIRUPDWLRQ RI =7( &25325$7,21

=;6'5 5 ,QVWDOODWLRQ 0DQXDO
),*85( =;6'5 5 &21),*85(' :,7+ &20021 $17(11$
=;6'5 5
FRQ¿JXUDWLRQ ZLWK
FRPPRQ DQWHQQD
,Q WKLV FRQ¿JXUDWLRQ JHQHUDOO\ =;6'5 5 LV LQVWDOOHG RQ WKH
WRZHU =;6'5 5 LV FRQQHFWHG WR WKH DQWHQQD E\ ļRU
ļIHHGHU DV VKRZQ LQ )LJXUH
&RQ¿GHQWLDO DQG 3URSULHWDU\ ,QIRUPDWLRQ RI =7( &25325$7,21

&KDSWHU 0DLQ $QWHQQD )HHGHU 6\VWHP ,QVWDOODWLRQ
$,6* GXDO SRZHU
DPSOL¿HU ),*85( =;6'5 5 &21),*85$7,21 :,7+ &20021 $17(11$
$,6* '8$/ 32:(5 $03/,),(5
&RQ¿GHQWLDO DQG 3URSULHWDU\ ,QIRUPDWLRQ RI =7( &25325$7,21

=;6'5 5 ,QVWDOODWLRQ 0DQXDO
=;6'5 5
FRQ¿JXUDWLRQ
ZLWK HOHFWURQLF
DGMXVWPHQW
DQWHQQD
,Q WKLV FRQ¿JXUDWLRQ JHQHUDOO\ =;6'5 5 LQVWDOOHG QHDU WKH
DQWHQQD RQ WKH EXLOGLQJ WRS =;6'5 5 LV FRQQHFWHG WR WKH
DQWHQQD E\ ļIHHGHU GLUHFWO\ RFFDVLRQDOO\ ļRU ļIHHGHU LV
DGRSWHG DV VKRZQ LQ )LJXUH
),*85( =;6'5 5 &21),*85$7,21 :,7+ (/(&7521,&
$'-8670(17 $17(11$
=;6'5 5
FRQ¿JXUDWLRQ
ZLWK HOHFWURQLF
,Q WKLV FRQ¿JXUDWLRQ JHQHUDOO\ =;6'5 5LV LQVWDOOHG QHDU WKH
WRS RI WKH WRZHU =;6'5 5 LV FRQQHFWHG WR WKH DQWHQQD E\
ļRU ļIHHGHU LV DGRSWHG DV VKRZQ LQ )LJXUH
&RQ¿GHQWLDO DQG 3URSULHWDU\ ,QIRUPDWLRQ RI =7( &25325$7,21

&KDSWHU 0DLQ $QWHQQD )HHGHU 6\VWHP ,QVWDOODWLRQ
DGMXVWPHQW
DQWHQQD ),*85( =;6'5 5 &21),*85$7,21 :,7+ (/(&7521,&
$'-8670(17 $17(11$
&RQ¿GHQWLDO DQG 3URSULHWDU\ ,QIRUPDWLRQ RI =7( &25325$7,21

=;6'5 5 ,QVWDOODWLRQ 0DQXDO
=;6'5 5
FRQ¿JXUDWLRQ
ZLWK HOHFWURQLF
DGMXVWPHQW
DQWHQQD $,6*
GXDO SRZHU
DPSOL¿HU
,Q WKLV FRQ¿JXUDWLRQ JHQHUDOO\ =;6'5 5LV LQVWDOOHG QHDU WKH
WRS RI WKH WRZHU =;6'5 5 LV FRQQHFWHG WR WKH DQWHQQD E\
ļRU ļIHHGHU LV DGRSWHG DV VKRZQ LQ )LJXUH
),*85( =;6'5 5 &21),*85$7,21 :,7+ (/(&7521,&
$'-8670(17 $17(11$ $,6* '8$/ 32:(5 $03/,),(5
&RQ¿GHQWLDO DQG 3URSULHWDU\ ,QIRUPDWLRQ RI =7( &25325$7,21

&KDSWHU 0DLQ $QWHQQD )HHGHU 6\VWHP ,QVWDOODWLRQ
0DLQ $QWHQQD )HHGHU
6\VWHP ,QVWDOODWLRQ
3UHSDUDWLRQ
3URSHU DQWHQQD LQVWDOODWLRQ LV YHU\ LPSRUWDQW WR =;6'5 5 V\V
WHP UHOLDEOH RSHUDWLRQ %HIRUH LQVWDOODWLRQ PDNH VXUH WKDW LQVWDOOD
WLRQ VWDII LV TXDOL¿HG DQG WKH IROORZLQJ UHTXLUHPHQWV DUH VDWLV¿HG
3HUVRQQHO
5HTXLUHPHQW
1RUPDOO\ VXSHUYLVRUV DUH LQ FKDUJH RI GLUHFWLRQ DQG VXSHUYLVLRQ
ZKHUHDV LQVWDOODWLRQ SHUVRQQHO FDUU\ RXW WKH LQVWDOODWLRQ
,QVWDOODWLRQ 6XSHUYLVRU
7KH UHTXLUHPHQWV IRU WKH LQVWDOODWLRQ VXSHUYLVRU DUH DV IROORZV
f)DPLOLDU ZLWK DOO PDWHULDOV WRROV DQG RSHUDWLRQ PHWKRGV
f,Q FKDUJH RI DVVLJQLQJ GLIIHUHQW ZRUN WR WKH SURSHU HP
SOR\HH ZKR LV JRRG DW WKH RSHUDWLRQ HVSHFLDOO\ ZKLOH ZRUN
LQJ RQ WKH LURQ WRZHU
1RWH
6DIHW\ LV WKH PRVW LPSRUWDQW FRQVLGHUDWLRQ ZKHQ DVVLJQLQJ
ZRUN
,QVWDOODWLRQ 3HUVRQQHO
7KH UHTXLUHPHQWV IRU WKH LQVWDOODWLRQ SHUVRQQHO DUH DV IROORZV
f,QVWDOODWLRQ HPSOR\HHV DUH UHTXLUHG WR LQVWDOO DQWHQQD V\V
WHP VNLOOIXOO\ XQGHU WKH GLUHFWLRQ RI VXSHUYLVRU
f(PSOR\HHV RQ WRZHU PXVW EH TXDOL¿HG DQG LQ JRRG SK\VLFDO
VWDWH
f,QVWDOODWLRQ DIWHU GULQNLQJ LV IRUELGGHQ
(QYLURQPHQW
5HTXLUHPHQW
3D\ DWWHQWLRQ WR IROORZLQJ LWHPV DQG FKHFN ZKHWKHU WKHVH LWHPV
DFFRUG ZLWK UHTXLUHPHQWV LQ HQJLQHHULQJ GHVLJQ
/LJKWQLQJ SURWHFWLRQ DQG JURXQGLQJ
=;6'5 5 LV XVXDOO\ ORFDWHG RXWGRRUV 7KH JURXQGLQJ
VWDNH DQG RXWGRRU OLJKWQLQJ SURWHFWLQJ JURXQGLQJ FDEOHV DUH
LQVWDOOHG E\ WKH RSHUDWRU DQG WKH VXSHUYLVRU VKRXOG FRQ¿UP
OLJKWQLQJSURWHFWLQJ JURXQGLQJ FDEOHV DUH LQVWDOOHG SURSHUO\
3ROH DQG VXSSRUWLQJ UDFN
$FFRPSOLVK LQVWDOODWLRQ RI DQWHQQD VXSSRUWLQJ UDFN DQG SROH
DFFRUGLQJ WR SURMHFW GHVLJQ UHTXLUHPHQW 7KH VWDELOLW\ RI WKH
VXSSRUWLQJ UDFN DQG SROH VKRXOG EH LQ DFFRUGDQFH ZLWK WKH GH
VLJQ UHTXLUHPHQW
)HHGHU OD\RXW
)LHOG HQJLQHHU QHHG WR FRQVXOW ZLWK RSHUDWRU HQJLQHHUV DQG
GHWHUPLQH WKH URXWH RI IHHGHU
(OHFWURQLF SRZHU HQYLURQPHQW
&RQ¿GHQWLDO DQG 3URSULHWDU\ ,QIRUPDWLRQ RI =7( &25325$7,21

=;6'5 5 ,QVWDOODWLRQ 0DQXDO
=;6'5 5 DQWHQQD DQG IHHGHU V\VWHP FDQ QRW EH LQVWDOOHG
WRR QHDU WR SXEOLF HOHFWULF SRZHU FDEOHV
6DIHW\
3UHFDXWLRQV
(QVXUH WKH IROORZLQJ SUHFDXWLRQV EHIRUH DQWHQQD LQVWDOODWLRQ
7DNH QHFHVVDU\ PHDVXUHV IRU SHUVRQDO DQG HTXLSPHQW VDIHW\
3HUVRQQHO XQGHU WRZHU PXVW ZHDU VDIHW\ KHOPHWV
3HUVRQQHO RQ WRZHU PXVW ZHDU VDIHW\ EHOW
1HYHU FOLPE WRZHU ZLWK ORRVH FORWKHV DQG ZHWVOLSSHU\ VKRHV
'XULQJ DFWLYH DQWHQQD DGMXVWPHQW ZHDU UDGLDWLRQVKLHOGLQJ
FORWKLQJ DQG WXUQ RII SRZHU DPSOL¿HU WR DYRLG UDGLDWLRQ HIIHFWV
,I SRVVLEOH LQVWDOO LQ VXQQ\ DQG ZLQGOHVV GD\V ,QVWDOODWLRQ LV
IRUELGGHQ LQ UDLQ VWURQJ ZLQG WKXQGHU DQG OLJKWQLQJ
0DNH FDXWLRQ EUDQG LQ HQJLQHHULQJ ¿HOG DQG NHHS SDVVHUE\
DZD\ IURP HQJLQHHULQJ ¿HOG HVSHFLDOO\ NLGV
:KHQ ZRUNLQJ RQ WRZHU SXW XQXVHG WRROV LQ D WRRO EDJ DQG
SUHYHQW WKHP IURP GURSSLQJ GRZQ IURP WRZHU WR KXUW SHRSOH
7RROV 5HTXLUH
PHQW
7KH IROORZLQJ WRROV DUH UHTXLUHG IRU PDLQ DQWHQQD IHHGHU V\VWHP
LQVWDOODWLRQ
0HDVXUH WRROV
&RPSDVV PXOWLPHWHU DQJOH PHWHU DQG WDSH PHDVXUH
6SHFLDO WRROV
6SHFLDO WRROV DQG LQVWUXPHQWV IRU PDLQ IHHGHU FRQQHFWRU PDN
LQJ DQG WHVW
5HJXODU WRROV
$GMXVWDEOH ZUHQFK VKDUSQRVH SOLHUV GLDJRQDO SOLHUV KDFNVDZ
ZLWK VHYHUDO VDZ EODGHV
3URWHFWLRQ WRROV
6DIHW\ KHOPHW VDIHW\ EHOW VDIHW\ URSH JORYHV UDGLD
WLRQVKLHOGLQJ FORWKHV PXOWLSOH SRZHU VRFNHW DQG VHDOHG
FDQYDV WRRO EDJ
2WKHU WRROV
7RROV IRU OLIWLQJ HJ /DGGHU
0DLQ $QWHQQD )HHGHU
6\VWHP ,QVWDOODWLRQ )ORZ
)LJXUH VKRZV WKH LQVWDOODWLRQ ÀRZ RI PDLQ DQWHQQD IHHGHU V\V
WHP
&RQ¿GHQWLDO DQG 3URSULHWDU\ ,QIRUPDWLRQ RI =7( &25325$7,21

&KDSWHU 0DLQ $QWHQQD )HHGHU 6\VWHP ,QVWDOODWLRQ
),*85( 0$,1 $17(11$ )(('(5 6<67(0 ,167$//$7,21 )/2:
$QWHQQD ,QVWDOODWLRQ
$QWHQQD ,QVWDOODWLRQ 7HFKQLFDO
6SHFLILFDWLRQV
7KH DQWHQQD WHFKQLFDO VSHFL¿FDWLRQV DQG WKHLU GHVFULSWLRQ LV JLYHQ
EHORZ
$QWHQQD KHLJKW
7KH LQVWDOODWLRQ KHLJKW RI DQWHQQD LV GHWHUPLQHG E\ QHWZRUN
SODQQLQJ GHVLJQ
$QWHQQD D]LPXWK
7KH D]LPXWK RI WKH DQWHQQD LV GHWHUPLQHG E\ QHWZRUN SODQQLQJ
GHVLJQ
$QWHQQD GRZQWLOW
7KH GRZQWLOW DQJOH RI WKH DQWHQQD LV GHWHUPLQHG E\ QHWZRUN
SODQQLQJ GHVLJQ 8VXDOO\ WKH GRZQ WLOW DQJOH LV a
$QWHQQD GLUHFWLRQ
&RQ¿GHQWLDO DQG 3URSULHWDU\ ,QIRUPDWLRQ RI =7( &25325$7,21

=;6'5 5 ,QVWDOODWLRQ 0DQXDO
$QWHQQD GLUHFWLRQ GHSHQGV RQ WKH DQWHQQD D]LPXWK ,I WZR
DQWHQQDV LQ RQH VHFWRU PXVW VKDUH WKH VDPH D]LPXWK
$QWHQQD ,QVWDOODWLRQ 3RVLWLRQ
7KH DQWHQQD LQVWDOODWLRQ SRVLWLRQ PXVW EH LQ DFFRUGDQFH ZLWK
SURMHFW GHVLJQ ,I WKH LQVWDOODWLRQ SRVLWLRQ QHHGV DQ\ PRGL¿FDWLRQ
WKH SURMHFW VXSHUYLVRU PXVW QHJRWLDWH ZLWK RSHUDWRU¶V UHSUHVHQ
WDWLYH
7KH DQWHQQD LQVWDOODWLRQ SRVLWLRQ QHHGV WR WDNH FDUH IRUH OLJKWQLQJ
SURWHFWLRQ DV VKRZQ LQ )LJXUH
),*85( $17(11$ ,167$//$7,21 326,7,21
/LJKWQLQJ URG
/LJKWQLQJ SURWHFWLRQ DUHD
$QWHQQD
*URXQGLQJ FDEOH
)ROORZLQJ DUH OLJKWQLQJ SURWHFWLRQ UHTXLUHPHQWV WR LQVWDOO DQ DQ
WHQQD
7KH DQWHQQD VKRXOG EH LQVWDOOHG ZLWK LQ FRYHUDJH DUHD RI
OLJKWQLQJ URG
,I WKHUH LV QR VSHFLDO OLJKWQLQJ SURWHFWLRQ DUUDQJHPHQW OLNH WKH
DERYH LQVWDOO WKH OLJKWQLQJ SURWHFWLRQ V\VWHP RQWR WKH DQWHQQD
SROH
0DNH VXUH WKDW WKH OLJKWQLQJ URG LV ZHOO JURXQGHG
,QVWDOOLQJ 'LUHFWLRQDO $QWHQQD
&RQWH[W 7KH GLUHFWLRQDO DQWHQQD LQVWDOODWLRQ SURFHGXUH LV JLYHQ EHORZ
&RQ¿GHQWLDO DQG 3URSULHWDU\ ,QIRUPDWLRQ RI =7( &25325$7,21

&KDSWHU 0DLQ $QWHQQD )HHGHU 6\VWHP ,QVWDOODWLRQ
1RWH
7KH IROORZLQJ VWHSV GHVFULEH WKH LQVWDOODWLRQ SURFHVV DV D UHIHUHQFH
IRU LQVWDOODWLRQ SHUVRQQHO 'XULQJ WKH RQVLWH LQVWDOODWLRQ SURFHVV
SOHDVH FDUHIXOO\ UHDG WKH LQVWDOODWLRQ PDQXDO SURYLGHG ZLWK WKH DQ
WHQQD DQG FDUU\ RXW WKH LQVWDOODWLRQ DFFRUGLQJ WR WKH DFWXDO FRQ
GLWLRQ
3HUIRUP WKH IROORZLQJ VWHSV WR LQVWDOO D GLUHFWLRQDO DQWHQQD
6WHSV )LUVWO\ DVVHPEOH IDVWHQHU & RQWR WKH XSSHU DQG ORZHU HQGV
RI DQWHQQD DV VKRZQ LQ )LJXUH WKHQ PRXQW IDVWHQHUV %
DQG $ WR FRPSOHWH WKH LQLWLDO LQVWDOODWLRQ RI WKH GLUHFWLRQDO
DQWHQQD
1RWH
f$OO DFFHVVRULHV PXVW EH LQVWDOOHG ZLWK VSULQJ DQG SODLQ
ZDVKHUV
f8VXDOO\ WKH DQWHQQD IDVWHQLQJ DFFHVVRULHV DQG WKH DQJOH
DGMXVWPHQW GHYLFH DFFHVVRULHV KDYH DOUHDG\ EHHQ LQVWDOOHG
RQ WKH DQWHQQD EHIRUH ¿[LQJ LQWR WKH WRZHU
),*85( ',5(&7,21$/ $17(11$ ,167$//$7,21
&RQ¿GHQWLDO DQG 3URSULHWDU\ ,QIRUPDWLRQ RI =7( &25325$7,21

=;6'5 5 ,QVWDOODWLRQ 0DQXDO
$WWDFK WKH DQWHQQD DORQJ ZLWK ¿[WXUHV RQWR WKH SROH 'R QRW
WLJKWHQ WKH VFUHZV WRR WLJKWO\ WR DOORZ HDV\ DGMXVWPHQW RI WKH
GLUHFWLRQ DQG GRZQWLOW RI WKH DQWHQQD +RZHYHU GHJUHH RI
WLJKWQHVV PXVW EH KLJK HQRXJK WR HQVXUH WKDW WKH DQWHQQD GRHV
QRW VOLG GRZQZDUG
$GMXVW WKH DQWHQQD¶V D]LPXWK
L 'HWHUPLQH WKH D]LPXWK RI WKH DQWHQQD E\ XVLQJ D FRPSDVV
DQG GHWHUPLQH WKH LQVWDOODWLRQ GLUHFWLRQ DFFRUGLQJ WR WKH
HQJLQHHULQJ GHVLJQ GUDZLQJ
LL 7XUQ WKH DQWHQQD VOLJKWO\ WR DGMXVW LW¶V IDFH GLUHFWLRQ DV
VKRZQ LQ )LJXUH $W WKH VDPH WLPH PHDVXUH WKH GLUHF
WLRQ RI WKH DQWHQQD ZLWK D FRPSDVV XQWLO WKH HUURU FRPHV
ZLWKLQ WKH HQJLQHHULQJ GHVLJQ UHTXLUHPHQWV JHQHUDOO\ QRW
PRUH WKDQ
LLL $IWHU DGMXVWLQJ WKH D]LPXWK RI WKH DQWHQQD WLJKWHQ WKH IDV
WHQHU $
$GMXVW WKH DQWHQQD¶V GRZQWLOW
L $GMXVW WKH GRZQWLOW RI WKH PHDVXUHPHQW PHWHU WR REWDLQ
WKH UHTXLUHG DQJOH DFFRUGLQJ WR WKH HQJLQHHULQJ GHVLJQ
LL 7XUQ WKH WRS RI WKH DQWHQQD VOLJKWO\ DQG ORRVH RU IDVW WKH
DQWHQQD DW LWV WRS $GMXVW WKH GRZQWLOW DQJOH RI WKH DQWHQQD
WLOO WKH PHDVXUHPHQW PHWHU¶V EXEEOH FRPHV WR EH FHQWHUHG
DV VKRZQ LQ )LJXUH
),*85( $17(11$ '2:17,/7 $'-8670(17
LLL $IWHU DGMXVWLQJ WKH GRZQWLOW RI WKH DQWHQQD WLJKWHQ WKH IDV
WHQHU %
(1' 2) 67(36
5HVXOW 7KH GLUHFWLRQDO DQWHQQD LV LQVWDOOHG
&RQ¿GHQWLDO DQG 3URSULHWDU\ ,QIRUPDWLRQ RI =7( &25325$7,21

&KDSWHU 0DLQ $QWHQQD )HHGHU 6\VWHP ,QVWDOODWLRQ
,QVWDOOLQJ 2PQL $QWHQQD
&RQWH[W 3HUIRUP IROORZLQJ VWHSV WR LQVWDOO DQ 2PQL GLUHFWLRQDO DQWHQQD
6WHSV 'HWHUPLQH WKH LQVWDOODWLRQ SRVLWLRQ
6HDO WKH DQWHQQD¶V ORZHU SDUW MXPSHU ZLWK WKH MDFNHW DQG
SODFH WKH DQWHQQD DV PXFK FORVH WR WKH VXSSRUWLQJ SROH
(QVXUH WKDW WKH WRS RI WKH MDFNHW VOLJKWO\ KLJKHU WKDQ WKH WRS
RI VXSSRUWLQJ SROH
)DVWHQ WKH DQWHQQD RQWR WKH VXSSRUWLQJ SROH ZLWK WZR ¿[LQJ
FOLSV DV VKRZQ LQ )LJXUH 'R QRW IDVWHQ WKH FOLSV ZKHWKHU
WRR WLJKWO\ RU ORRVHO\ ,I IDVWHQHG WRR WLJKWO\ WKH MDFNHW PD\ EH
GDPDJHG LI IDVWHQ WRR ORRVHO\ WKH ZHLJKWEHDULQJ DQG ZLQG
UHVLVWDQFH UHTXLUHPHQWV FDQQRW EH PHW
),*85( 201, ',5(&7,21$/ $17(11$ ,167$//$7,21
$QWHQQD
)L[LQJ FOLSV
$QWHQQD SROH
0HDVXUH WKH YHUWLFDOLW\ RI WKH DQWHQQD DQG HQVXUH WKDW DQ
WHQQD LV YHUWLFDO
$IWHU HQVXULQJ WKH YHUWLFDOLW\ WLJKWHQ WKH ¿[LQJ FOLSV ¿UPO\
$IWHU WKH DQWHQQD LV LQVWDOOHG RQWR WKH VXSSRUW ¿[ WKH DQWHQQD
VXSSRUW RQWR WKH WRZHU
(1' 2) 67(36
5HVXOW 7KH 2PQL GLUHFWLRQDO DQWHQQD LV LQVWDOOHG
&RQQHFWLQJ -XPSHU DQG $QWHQQD
&RQWH[W 3HUIRUP WKH IROORZLQJ VWHSV WR FRQQHFW MXPSHU ZLWK DQWHQQD
&RQ¿GHQWLDO DQG 3URSULHWDU\ ,QIRUPDWLRQ RI =7( &25325$7,21

=;6'5 5 ,QVWDOODWLRQ 0DQXDO
1RWH
7KH DQWHQQD MXPSHU FDQ EH FRQQHFWHG EHIRUH WKH DQWHQQD
PRXQWHG RQWR WKH SROH DQG QHHGHG WR WDNH WKH ZDWHUSURRI
PHDVXUHPHQWV 7KH DERYH PHDVXUHV KLJKO\ UHGXFH ZRUN WLPH
SURYLGH JRRG FRQQHFWLRQ DQG LPSURYHV ZDWHU SUHYHQWLRQ TXDOLW\
6WHSV &RQQHFW WKH MXPSHU FRQQHFWRU WR WKH DQWHQQD SRUW DQG WLJKWHQ
LW SURSHUO\
6HDO WKH MXPSHU FRQQHFWRU DQG DQWHQQD SRUW IRU ZDWHUSURRI
WUHDWPHQW
L :UDS WKH ZDWHUSURRI DGKHVLYH WDSHV ORZHU VLGH RI FRQQHF
WRUV .HHS ZUDSSLQJ GLUHFWLRQ VDPH DV WKH RQH WKDW WKH
MXPSHU LV WLJKWHQHG
LL :KLOH ZUDSSLQJ H[WHQG WKH DGKHVLYH WDSHV WR GRXEOH WKHLU
OHQJWK 1RWH WKDW HYHU\ ZUDSSLQJ OD\HU PXVW EH RYHUODSSHG
WKH SUHYLRXV OD\HU E\ KDOI WKH ZLGWK RI WKH WDSH :UDS
SLQJ PXVW EH H[WHQGHG XSWR PP LQFKHV DZD\ IURP
MXPSHU FRQQHFWRU SRVLWLRQ
LLL *ULS WKH WDSH ZLWK \RXU KDQGV WR PDNH WKH WDSH WLJKWO\
DGKHUHG
LY :UDS 39& WDSHV RQ WRS RI WKH ZDWHUSURRI DGKHVLYH WDSH
'XULQJ WKH SURFHVV PDNH VXUH WKH XSSHU OD\HU RYHUODSV
WKH ORZHU OD\HU E\ KDOI WKH ZLGWK RI WKH WDSH
(1' 2) 67(36
5HVXOW 7KH MXPSHU LV FRQQHFWHG ZLWK DQWHQQD
)HHGHU ,QVWDOODWLRQ
)HHGHU &XWWLQJ 3ULQFLSOH
'HWHUPLQH OHQJWK RI WKH IHHGHU DFFRUGLQJ WR ¿QDO IHHGHU URXWH DQG
FXW WKH IHHGHUV DFFRUGLQJ WR WKH OHQJWK UHTXLUHG RI HDFK IHHGHU
1RWH
,I WKH IHHGHU OHQJWK LV OHVV WKDQ PHWHUV XVH ´ IHHGHU LI WKH
IHHGHU OHQJWK LV a PHWHUV XVH ´ IHHGHU DQG LI WKH IHHGHU
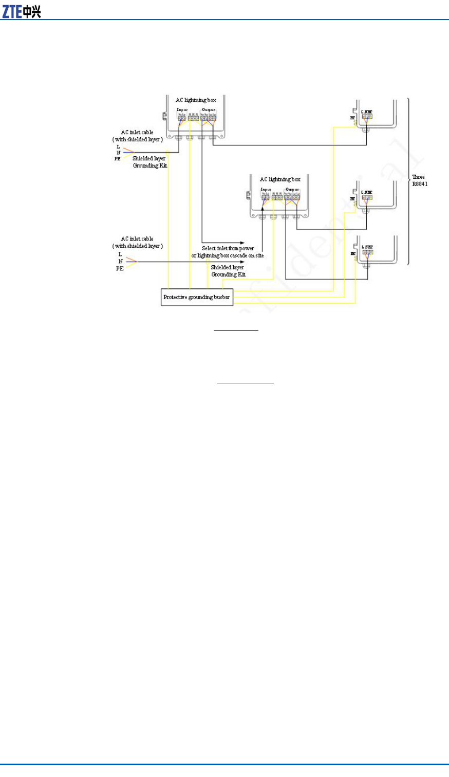
OHQJWK LV PRUH WKDQ PHWHUV XVH ´ IHHGHU
)ROORZLQJ DUH WKH W\SLFDO IHHGHU FXWWLQJ VFHQDULR REVHUYHG RQVLWH
,I WKH DQWHQQD IHHGHU V\VWHP LV WR EH LQVWDOOHG RQ WKH
EXLOGLQJ URRI
&RQ¿GHQWLDO DQG 3URSULHWDU\ ,QIRUPDWLRQ RI =7( &25325$7,21

&KDSWHU 0DLQ $QWHQQD )HHGHU 6\VWHP ,QVWDOODWLRQ
0HDVXUH WKH OHQJWK RI PDLQ IHHGHU IRU HDFK VHFWRU DFFRUGLQJ WR
WKH ¿QDO IHHGHU URXWH
$GG DQ DSSURSULDWH PDUJLQ P IHHWaP IHHW
WR WKH PHDVXUHG OHQJWKV ZKHQ FXWWLQJ WKH IHHGHUV
$IWHU FXWWLQJ RQH PDLQ IHHGHU DWWDFK WKH WHPSRUDU\ ODEHOV DW
ERWK HQGV RI WKH IHHGHU VXFK DV $17 DQG $17 $WWDFK WKH
IRUPDO ODEHOV WR WKH IHHGHU DIWHU LW LV LQVWDOOHG
&DUU\ WKH FXW IHHGHUV WR WKH URRI RI WKH EXLOGLQJ DQG PDNH VXUH
WKH\ DUH QRW VTXHH]HG RU GDPDJHG GXULQJ WKH SURFHVV
,I WKH DQWHQQD IHHGHU V\VWHP LV WR EH LQVWDOOHG RQ DQ LURQ
WRZHU
+RLVW RQH HQG RI WKH IHHGHU WR WKH WRS RI WKH WRZHU E\ XVLQJ D
SXOOH\ EORFN DQG SXOOLQJ URSH %HIRUH KRLVWLQJ PDNH WKH XSSHU
PDLQ IHHGHU FRQQHFWRU
7KH SHUVRQQHO RQ WKH WRZHU PXVW FXW WKH IHHGHU DFFRUGLQJ WR
WKH GLVWDQFH IURP WKH SRLQW ZKHUH WKH IHHGHU HQWHUV WKH URRP
WR WKH OLJKWQLQJ DUUHVWHU UDFN ZLWK DQ DSSURSULDWH PDUJLQ UH
VHUYHG 0DNH D WHPSRUDU\ ODEHO IRU WKH ORZHU SDUW $WWDFK WKH
IRUPDO ODEHOV WR WKH IHHGHU DIWHU LW LV LQVWDOOHG
&DXWLRQ
$W WKH HQG RI IHHGHU FXWWLQJ SURFHVV DWWDFK ODEHO DW ERWK HQGV
7HPSRUDU\ ODEHOV FDQ DOVR EH DWWDFKHG WR WKH PLGGOH RI WKH IHHGHU
GXULQJ WKH IHHGHU FXWWLQJ SURFHVV 0DNH VXUH WKDW DOO ODEHOV DUH
FRQVLVWHQW ZLWK WKH DFWXDO VLWXDWLRQ 2WKHUZLVH WKH IHHGHU PD\
QRW EH FRQQHFWHG FRUUHFWO\ DQG WKH VHFWRUV PD\ QRW FRUUHVSRQG WR
WKH IHHGHU
,QVWDOOLQJ )HHGHU RQ 7RS RI %XLOGLQJ
3UHUHTXLVLWHV 7KH VXSSRUWLQJ SROH DQG DQWHQQD LV LQVWDOOHG
&RQWH[W 3HUIRUP WKH IROORZLQJ VWHSV WR LQVWDOO WKH PDLQ IHHGHU RQ WRS RI
EXLOGLQJ
6WHSV )LUVWO\ GHWHUPLQH WKH ¿QDO PDLQ IHHGHU URXWH
&XW WKH PDLQ IHHGHU DFFRUGLQJ WR WKH GHWHUPLQHG OHQJWK RQ WKH
¿QDO URXWH
$UUDQJH WKH PDLQ IHHGHU LQ JRRG RUGHU ZLWKRXW FURVVLQJ
3UHSDUH WKH FRQQHFWRUV DQG MXPSHUV
/D\ WKH IHHGHUV DFFRUGLQJ WR WKH OD\LQJ SULQFLSOH
/D\ WKH PDLQ IHHGHU DORQJ WR WKH VXSSRUWLQJ SROH DV VKRZQ LQ
)LJXUH
&RQ¿GHQWLDO DQG 3URSULHWDU\ ,QIRUPDWLRQ RI =7( &25325$7,21

=;6'5 5 ,QVWDOODWLRQ 0DQXDO
),*85( )(('(5 ),;,1*
$QWHQQD
)HHGHU
6XSSRUWLQJ FOLSV
1RWH
f0DNH VXUH WKDW WKH IHHGHU ODLG LV WLJKWHQHG
f7KH EHQGLQJ UDGLXV RI WKH IHHGHU LV QR OHVV WKDQ WLPHV
RI PDLQ IHHGHU UDGLXV 7KH UDGLXV RI VLQJOH EHQG LV QR OHVV
WKDQ PP LQFKHV DQG WKH UHSHDWHG EHQG UDGLXV
LV PLQLPXP PP LQFKHV
&RQQHFW IHHGHU ZLWK WKH DQWHQQD
(1' 2) 67(36
5HVXOW 7KH IHHGHU LV VXFFHVVIXOO\ LQVWDOOHG RQ WKH WRS RI EXLOGLQJ
,QVWDOOLQJ )HHGHU RQ 7RZHU
3UHUHTXLVLWHV (QVXUH WKDW WKH ODEHOV DUH DWWDFKHG DW DERXW P IHHW DZD\
IURP PDLQ IHHGHU DW ERWK HQGV DQG DUH FRUUHFW
&RQ¿GHQWLDO DQG 3URSULHWDU\ ,QIRUPDWLRQ RI =7( &25325$7,21

&KDSWHU 0DLQ $QWHQQD )HHGHU 6\VWHP ,QVWDOODWLRQ
&RQWH[W
&DXWLRQ
+RLVW WKH PDLQ IHHGHU ZLWK FDUH WR DYRLG GDPDJLQJ LW¶V VKHDWK
,I DQ\ SDUW RI VKHDWK LV GDPDJHG WKHQ LW PD\ FDXVH WKH HQWLUH
IHHGHU WR EH GLVFDUGHG
7DNH FDUH IRU SHUVRQQHO VDIHW\ ZKHQ KRLVWLQJ WKH IHHGHUV
7KH IHHGHU LQVWDOODWLRQ LQYROYHV WKH IROORZLQJV VWHSV
6WHSV :UDS WKH PDLQ IHHGHU FRQQHFWRU ZLWK D SLHFH RI ÀD[ RU DQ DQWL
VWDWLF SODVWLF EDJ ¿OOHG ZLWK IRDP DQG WKHQ ELQG LW WLJKWO\ ZLWK
FDEOH WLHV
.QRW DQG ¿[ WKH FXW IHHGHU FDEOH ZLWK KRLVWLQJ URSH DW WZR
SRLQWV 2QH LV P IHHW DZD\ IURP WKH IHHGHU FRQ
QHFWRU DQG WKH RWKHU RQH LV P IHHW DZD\
:DUQLQJ
$YRLG IHHGHU DQG LW¶V FRQQHFWRU IURP FROOLGLQJ ZLWK WKH LURQ
WRZHU
$IWHU KRLVWLQJ PDLQ IHHGHU FDEOHV WR WKH WRZHU WRS ¿[ XSSHU
HQG RI FDEOH DW PXOWLSOH SRLQWV WR SUHYHQW LW IURP VOLSSLQJ GRZQ
WKH WRZHU
7KH IHHGHU KRLVWLQJ LV VKRZQ LQ )LJXUH
&RQ¿GHQWLDO DQG 3URSULHWDU\ ,QIRUPDWLRQ RI =7( &25325$7,21

=;6'5 5 ,QVWDOODWLRQ 0DQXDO
),*85( +2,67,1* )(('(5 7272:(5
3XOOH\ EORFN
)HHGHU KHDG ZUDS
)HHGHU ODEHO
.QRW SRVLWLRQ LQ WKH XSZDUG
URSH
'RZQZDUG URSH
(1' 2) 67(36
5HVXOW 7KH IHHGHU LV KRLVWHG RQ WKH WRZHU VXFFHVVIXOO\
)HHGHU /D\RXW 3ULQFLSOHV
7KH IHHGHU VKRXOG EH ODLG LQ DFFRUGDQFH ZLWK WKH IROORZLQJ SULQFL
SOHV
7KH PDLQ IHHGHU PXVW EH ODLG LQ JRRG RUGHU DQG ZLWKRXW FURVV
LQJV
7KH IHHGHU URXWH PXVW EH GHWHUPLQHG EHIRUH FRQQHFWLQJ WKH
PDLQ IHHGHU 0DUN WKH DFWXDO IHHGHU URXWH RQ D GUDZLQJ WR
DYRLG UHZRUNV GXH WR FURVVLQJV
7KH PLQLPXP EHQGLQJ UDGLXV RI WKH PDLQ IHHGHU VKRXOG EH
JUHDWHU WKDQ WLPHV RI WKH PDLQ IHHGHU UDGLXV 7KH EHQGLQJ
UDGLXV RI D VLQJOH EHQG VKRXOG EH JUHDWHU WKDQ PP
LQFKHV 7KH PLQLPXP EHQGLQJ UDGLXV RI UHSHDWHG EHQGV LV
PP LQFKHV
,I PRUH WKDQ RQH WULSOH IHHGHU FOLSV DUH XVHG LQ IHHGHU URXWLQJ
WKHQ PD[LPXP GLVWDQFH EHWZHHQ WULSOH IHHGHU FOLSV VKRXOG EH
QRW PRUH WKDQ P IHHW
&RQ¿GHQWLDO DQG 3URSULHWDU\ ,QIRUPDWLRQ RI =7( &25325$7,21

&KDSWHU 0DLQ $QWHQQD )HHGHU 6\VWHP ,QVWDOODWLRQ
)L[LQJ 0DLQ )HHGHU
&RQWH[W 3HUIRUP WKH IROORZLQJ VWHSV WR ¿[ WKH PDLQ IHHGHU
6WHSV )LUVWO\ DUUDQJH WKH PDLQ IHHGHU LQ D JRRG RUGHU
)DVWHQ PDLQ IHHGHUV IURP WRS GRZQZDUG ZLWK WKH WULSOH IHHGHU
FOLSV DIWHU DUUDQJLQJ WKH PDLQ IHHGHUV )LJXUH VKRZV WKH
DSSHDUDQFH RI WULSOH IHHGHU FOLS
),*85( 75,3/( )(('(5 &/,3 $33($5$1&(
1RWH
'R QRW IDVWHQ IHHGHUV DW ERWK HQGV VLPXOWDQHRXVO\
.HHS PDLQ IHHGHUV VWUDLJKW DQG LQ D JRRG RUGHU ZLWKRXW DQ\
EXOJHV EHWZHHQ WKH WULSOH IHHGHU FOLSV
7LJKWHQ WKH WULSOH IHHGHU FOLSV ¿UPO\
(1' 2) 67(36
5HVXOW 7KH IHHGHU ¿[LQJ LV FRPSOHWHG
)HHGHU *URXQGLQJ 3ULQFLSOH
7KH JURXQGLQJ SULQFLSOHV RI PDLQ IHHGHU LV DV IROORZV
7R LQVWDOO PDLQ DQWHQQD IHHGHU V\VWHP RQ WRZHU PDLQ IHHGHU
PXVW EH LQVWDOOHG ZLWK IHHGHU JURXQGLQJ FOLSV DW OHDVW LQ WKUHH
SODFHV
f7RZHU SODWIRUP
f7KH SODFH ZKHUH WKH PDLQ IHHGHU OHDYHV WKH WRZHU
f7KH SODFH EHIRUH ZKHUH WKH PDLQ IHHGHU LV FRQQHFWHG WR WKH
FKDVVLV
&RQ¿GHQWLDO DQG 3URSULHWDU\ ,QIRUPDWLRQ RI =7( &25325$7,21

=;6'5 5 ,QVWDOODWLRQ 0DQXDO
:KHQ WKH PDLQ IHHGHU LV RYHU P IHHW LQ OHQJWK IHHGHU
JURXQGLQJ FOLSV PXVW EH DGGHG LQ WKH PLGGOH *HQHUDOO\ D
JURXQGLQJ FOLS PXVW EH LQVWDOOHG RQ WKH IHHGHU HYHU\ P
IHHW DV VKRZQ LQ )LJXUH
),*85( )(('(5 *5281',1* 6&+(0$7,& ',$*5$0
7RZHU SODWIRUP
)HHGHU JURXQGLQJ FOLS
)HHGHU
&DELQHW MXPSHU
*URXQGLQJ FDEOH
*URXQGLQJ EXVEDU
*URXQG JULG
7R LQVWDOO WKH PDLQ DQWHQQD IHHGHU V\VWHP RQ WKH URRI LWV DQ
WHQQD VXSSRUW DQG FDEOH UDFN PXVW EH ZHOGHG WR WKH OLJKW
QLQJ SURWHFWLRQ JULG RI WKH EXLOGLQJ 7KH PDLQ IHHGHU PXVW
EH JURXQGHG DW WKUHH SODFHV
&RQ¿GHQWLDO DQG 3URSULHWDU\ ,QIRUPDWLRQ RI =7( &25325$7,21

&KDSWHU 0DLQ $QWHQQD )HHGHU 6\VWHP ,QVWDOODWLRQ
f7KH SODFH ZKHUH IHHGHU OHDYHV WKH SROH
f7KH SODFH ZKHUH IHHGHU OHDYHV WKH URRI
f7KH SODFH EHIRUH ZKHUH WKH PDLQ IHHGHU LV FRQQHFWHG WR WKH
MXPSHU RI WKH FKDVVLV
7KH RXWGRRU ZLULQJ ODGGHU RI WKH PDLQ IHHGHU PXVW EH
JURXQGHG
,QVWDOOLQJ )HHGHU *URXQGLQJ &OLSV
7KH IHHGHU JURXQGLQJ FOLSV LQVWDOODWLRQ RI=;6'5 5 LV GHVFULEHG
EHORZ
*URXQGLQJ
5HTXLUHPHQWV
(QVXUH WKH IROORZLQJ JURXQGLQJ UHTXLUHPHQWV ZKLOH LQVWDOOLQJ
IHHGHU JURXQGLQJ FOLSV
5RRI LQVWDOODWLRQ PRGH
,Q URRI LQVWDOODWLRQ WKH IROORZLQJ LWHPV PXVW EH JURXQGHG WR
EXLOG JURXQGLQJ QHWZRUN
f0DLQ DQWHQQDV V\VWHP
f$QWHQQD SROH
f2XWGRRU FDEOLQJ UDFN RU FDEOLQJ ODGGHU
*URXQG WKH PDLQ IHHGHU FDEOH DW RQH SRVLWLRQ ZKHUH LW OHDYHV
DQWHQQD SROH ,I WKH IHHGHU FDEOH LV UDWKHU ORQJ DGG JURXQGLQJ
SRLQWV DFFRUGLQJ WR IHHGHU OHQJWK
7RZHU LQVWDOODWLRQ PRGH
8VXDOO\ DW OHDVW WZR IHHGHU JURXQGLQJ FOLSV DUH UHTXLUHG WR EH
LQVWDOOHG LQ WRZHU LQVWDOODWLRQ PRGH *URXQG WKH IHHGHU FDEOH
DW WKH IROORZLQJ SRVLWLRQV
f:KHUH LW OHDYHV DQWHQQD LQVWDOODWLRQ SROH
f:KHUH LW OHDYHV LURQ WRZHU
:KHQ WKH IHHGHU FDEOH LV ORQJHU WKDQ P IHHW LQVWDOO
D JURXQGLQJ FOLS RQ WKH IHHGHU FDEOH DW HYHU\ P IHHW
GLVWDQFH
,I RXWGRRU FDEOLQJ UDFN RU RXWGRRU FDEOLQJ ODGGHU LV XVHG
JURXQG LW UHOLDEO\
$QWHQQD SROHV DQG LURQ WRZHU QHHG WR EH JURXQGHG UHOLDEO\
)LJXUH LOOXVWUDWHV JURXQGLQJ V\VWHP LQ WRZHU LQVWDOODWLRQ
&RQ¿GHQWLDO DQG 3URSULHWDU\ ,QIRUPDWLRQ RI =7( &25325$7,21

=;6'5 5 ,QVWDOODWLRQ 0DQXDO
),*85( *5281',1* 6<67(0
$QWHQQD
,URQ WRZHU SODWIRUP
)HHGHU JURXQGLQJ FOLS
)HHGHU FDEOH
*URXQGLQJ JULG
*URXQGLQJ EDU
/LJKWQLQJ DUUHVWHU
&DELQHW MXPSHU
PP $:* JURXQGLQJ FDEOH
=;6'5 5 FDELQHW
*URXQGLQJ %DU
,QWURGXFWLRQ
*URXQGLQJ JULG DQG JURXQGLQJ EDU DUH XVXDOO\ LQVWDOOHG E\ WKH RSHU
DWRU HPSOR\HHV $QG WKH JURXQGLQJ EDU LV UHTXLUHG WR EH LQVWDOOHG
ZKHUH WKH HQJLQHHULQJ GHVLJQ GHWHUPLQHV ZLWK H[SDQVLRQ EROWV
)LJXUH LOOXVWUDWHV WKH VWUXFWXUH RI WKH JURXQGLQJ EDU
&RQ¿GHQWLDO DQG 3URSULHWDU\ ,QIRUPDWLRQ RI =7( &25325$7,21

&KDSWHU 0DLQ $QWHQQD )HHGHU 6\VWHP ,QVWDOODWLRQ
),*85( *5281',1* %$5 6758&785(
,QVWDOODWLRQ 6WHSV 3HUIRUP WKH IROORZLQJ VWHSV WR LQVWDOO JURXQGLQJ FOLS
3UHSDUH UHTXLUHG WRROV LQFOXGLQJ SDSHU NQLIH ÀDW KHDG VFUHZ
GULYHUV DQG ZUHQFK DQG VKDUSQRVH SOLHUV
3HHO RII VKHDWK DFFRUGLQJ WR VL]H RI JURXQGLQJ FOLS DW WKH
SRVLWLRQV
)LJXUH LOOXVWUDWHV VWUXFWXUH RI JURXQGLQJ FOLS
),*85( *5281',1* &/,3
*URXQGLQJ HQG
*URXQGLQJ FDEOH
)HHGHU FDEOH
*URXQGLQJ VSULQJ ORFN
)HHGHU H[WHUQDO FRSSHU FRUH
*URXQGLQJ FDEOH FRSSHU SLHFH
&ODPS WKH IHHGHU H[WHUQDO FRQGXFWRU ZLWK JURXQGLQJ FDEOH FRS
SHU VKHHW DQG ORFNLQJ VSULQJ SODWH
/D\ JURXQGLQJ FDEOH IDFLQJ WR WKH JURXQGLQJ QHWZRUN $YRLG
EHQGLQJ RU IROGLQJ $QG NHHS WKH LQFOXGHG DQJHO EHWZHHQ
JURXQGLQJ FDEOH DQG IHHGHU FDEOH OHVV WKDQ
f,Q WRZHU LQVWDOODWLRQ PRGH JURXQGLQJ FDEOH LV LQVWDOOHG
GRZQZDUGV DQG ¿QDOO\ FRQQHFWHG WR WRZHU
f,Q URRI LQVWDOODWLRQ PRGH JURXQGLQJ FDEOH LV LQVWDOOHG LQ WKH
VDPH GLUHFWLRQ ZLWK IHHGHU FDEOHV
0DNH MRLQW RI JURXQGLQJ FOLS DQG IHHGHU ZDWHUSURRI XVLQJ ZD
WHUSURRI DGKHVLYH WDSHV WKHQ XVH LQVXODWLRQ WDSHV WR FRYHU WKH
MRLQW
&RQ¿GHQWLDO DQG 3URSULHWDU\ ,QIRUPDWLRQ RI =7( &25325$7,21

=;6'5 5 ,QVWDOODWLRQ 0DQXDO
&RQQHFW WKH JURXQGLQJ HQG RI WKH JURXQGLQJ FOLS WR WKH JURXQG
LQJ QHWZRUN
f&RQQHFW LW WR WKH PDLQ WRZHU ERG\ LQ WRZHU LQVWDOODWLRQ
PRGH
f&RQQHFW LW WR WKH JURXQGHG FDEOLQJ UDFN LQ URRI LQVWDOODWLRQ
PRGH
:KHQ FRQQHFWLQJ UHPRYH WKH SDLQW DQG R[LGH DW FRQQHFWLRQ
SODFH ZLWKLQ D UDGLXV RI PP LQFKHV DURXQG WKH MRLQW
DQG GDXE WKH SODFH ZLWK DQWLR[LGDQW FUHDP WR HQVXUH JRRG HOHF
WULF FRQWDFW $IWHU FRQQHFWLQJ SDLQW WKH MRLQW ZLWK DQWLFRUURVLYH
SDLQW
1RWH
'R QRW LQVWDOO JURXQGLQJ FOLS LQ FDVH RI DQ\ OLJKWQLQJ VWULNH
&RQQHFWLQJ -XPSHU DQG )HHGHU
3UHUHTXLVLWHV )HHGHU FRQQHFWRU DQG MXPSHU FRQQHFWRU LV SUHSDUHG
&RQWH[W 7KH IROORZLQJ SURFHGXUHV GHWDLO WKH IHHGHU DQG MXPSHU FRQQHFWLRQ
6WHSV )L[ WKH LQFK MXPSHU FRQQHFWRU ZLWK WKH IHHGHU FRQQHFWRU
DQG VFUHZ WKHP WLJKWO\
6HDO WKH FRQQHFWRUV ZLWK ZDWHUSURRI DGKHVLYH WDSHV DQG 39&
WDSHV
(1' 2) 67(36
5HVXOW 7KH MXPSHU LV FRQQHFWHG ZLWK WKH IHHGHU VXFFHVVIXOO\
,QVWDOOLQJ )HHGHU
+HUPHWLFZLQGRZ
&RQWH[W ,QVWDOODWLRQ UHTXLUHPHQWV DUH GHVFULEHG DV IROORZV
7KH LQVWDOODWLRQ SRVLWLRQ RI KHUPHWLF ZLQGRZ VKRXOG EH FORVH WR
D FDEOH WUD\ SRVVLEO\
7KH KHUPHWLF ZLQGRZ FDQ EH PRXQWHG DJDLQVW DQ LQGRRU ZDOO
RU RXWGRRU ZDOO DQG WKH VLGH RI SURWXEHUDQW PHWDO FLUFOHV PXVW
SXW WRZDUGV RXWGRRUV
,I WKH IHHGHU HQWHUV LQWR D URRP IURP D URRI WKH KHUPHWLF ZLQ
GRZ FDQ EH PRXQWHG RQ WKH URRI DQG WKH VLGH RI SURWXEHUDQW
PHWDO FLUFOHV PXVW SXW WRZDUGV RXWGRRUV
7KH IROORZ GHVFULEHV WKH VWHSV RI KROH KHUPHWLF ZLQGRZ LQVWDOOHG
DJDLQVW WKH ZDOO
&RQ¿GHQWLDO DQG 3URSULHWDU\ ,QIRUPDWLRQ RI =7( &25325$7,21

&KDSWHU 0DLQ $QWHQQD )HHGHU 6\VWHP ,QVWDOODWLRQ
6WHSV $FFRUGLQJ WR WKH UHTXLUHPHQWV RI HQJLQHHULQJ GHVLJQ GUDZLQJ
DQG WKH GLPHQVLRQ RI KHUPHWLF ZLQGRZ PDNH VXUH WKH LQVWDO
ODWLRQ SRVLWLRQ RI KHUPHWLF ZLQGRZ RQ WKH ZDOO DQG DW WKH VDPH
WLPH PDUN KROH SRVLWLRQV RI H[SDQVLRQ EROWV DQG D KROORZ URRP
OHIW IRU WKH KHUPHWLF ZLQGRZ
&XW D PPîPP VTXDUH ELJ KROH DQG WKHQ GULOO HLJKW
KROHV RI H[SDQVLRQ EORWV ZLWK D SHUFXVVLYH GULOO DV VKRZQ LQ
)LJXUH
),*85( ,167$//$7,21 +2/( 326,7,216 81,700
)L[ D IHHGHU KHUPHWLFZLQGRZ SDQHO ZLWK H[SDQVLRQ EROWV DV
VKRZQ LQ )LJXUH :KLOH LQVWDOOLQJ H[SDQVLRQ EROWV ¿UVW SXW
D ÀDW ZDVKHU DQG WKHQ D VSULQJ ZDVKHU
&RQ¿GHQWLDO DQG 3URSULHWDU\ ,QIRUPDWLRQ RI =7( &25325$7,21

=;6'5 5 ,QVWDOODWLRQ 0DQXDO
),*85( +(50(7,& :,1'2: ,167$//$7,21
0î H[SDQVLRQ EROW )HHGHU KHUPHWLFZLQGRZ
SDQHO
(1' 2) 67(36
)HHGHU ,QGRRU ,QJRLQJ
)HHGHU ,QGRRU $UUDQJHPHQW 3ULQFLSOH
7KH DUUDQJHPHQW SULQFLSOHV RI IHHGHU LQWR D URRP FRPSO\ ZLWK WKH
IROORZLQJ
7KHUH DUH IRXU ELJ KROHV RQ D ±KROH IHHGHU KHUPHWLFZLQGRZ
(YHU\ ELJ KROH KDV WKUHH VPDOO KROHV HYHU\ RI ZKLFK D IHHGHU
SDVVHV WKURXJK
$FFRUGLQJ WR WKH VHULDO 1R RQ WKH HQJLQHHULQJ ODEHOV DWWDFKHG
RQ WKH IHHGHU OD\ RXW WKH IHHGHU WKURXJK WKUHH VPDOO KROHV LQ
WKH VDPH ELJ KROH FORFNZLVH RU DQWLFORFNZLVH
&RQ¿GHQWLDO DQG 3URSULHWDU\ ,QIRUPDWLRQ RI =7( &25325$7,21

&KDSWHU 0DLQ $QWHQQD )HHGHU 6\VWHP ,QVWDOODWLRQ
)HHGHU OD\RXW LQ WKH KHUPHWLF ZLQGRZ VKRXOG EH FRQYHQLHQW IRU
FDSDFLW\ H[SDQVLRQ 'R QRW PRGLI\ WKH LQLWLDO IHHGHU OD\RXW LQ
WKH KHUPHWLF ZLQGRZ GXULQJ FDSDFLW\ H[SDQVLRQ DQG RQO\ DOORZ
DGGLQJ IHHGHU RU PRGLI\ MXPSHU FRQQHFWLRQ RI FDELQHW
)HHGHU OD\RXW LQ WKH KHUPHWLF ZLQGRZ VKRXOG EH FRQYHQLHQW
IRU OD\RXW RQ D FDEOH WUD\ DQG FRQQHFWLRQ WR D FDELQHW 7KH
IHHGHU VKRXOG EH SDUDOOHO DQG QRW FURVVHG GXULQJ URXWLQJ DQG
FRQQHFWLQJ
/HDGLQJ 0DLQ )HHGHU LQWR 5RRP
&RQWH[W )LJXUH DQG )LJXUH VKRZ WZR FRPPRQ PRGHV RI PDLQ IHHGHU
LQWR D URRP :KLOH WKH PDLQ IHHGHU LV HQWHULQJ LQWR WKH HTXLSPHQW
URRP GR QRW EULQJ ZDWHU LQWR WKH HTXLSPHQW URRP
),*85( )(('(5 ,172 5220 02'(
)HHGHU ZLQGRZ
&DEOH WUD\
)HHGHU NLW
&RQ¿GHQWLDO DQG 3URSULHWDU\ ,QIRUPDWLRQ RI =7( &25325$7,21

=;6'5 5 ,QVWDOODWLRQ 0DQXDO
),*85( )(('(5 ,172 5220 02'(
)HHGHU ZLQGRZ
&DEOH WUD\
)HHGHU NLW
6WHSV 8QVFUHZ D IDVWQHVV KRRS RI IHHGHU ZLQGRZ WR SURSHU H[WHQW
3XOO RXW VHDOLQJ FRYHUV RI VPDOO KROHV WKDW WKH IHHGHU SDVVHV
WKURXJK
/HDG WKH PDLQ IHHGHU LQWR WKH HTXLSPHQW URRP :KHQ WKH PDLQ
IHHGHU HQWHUV LQWR DQ LQGRRU FDEOH WUD\ IURP DQ RXWGRRU FDEOH
WUD\ LW LV QHFHVVDU\ IRU WZR LQVWDOODWLRQ SHUVRQQHO¶V FRRSHUDWLRQ
UHVSHFWLYHO\ LQGRRUV DQG RXWGRRUV ,Q WKLV ZD\ DYRLG GDPDJLQJ
WKH PDLQ IHHGHU DQG RWKHU LQGRRU GHYLFHV E\ LPSURSHU IRUFH
GXULQJ LQVWDOODWLRQ 6FUHZ GRZQ WKH IDVWQHVV KRRS XQWLO WKH
PDLQ IHHGHU LV SXOO WR WKH VSHFL¿HG SRVLWLRQ
&XW WKH PDLQ IHHGHU %HIRUH DQG DIWHU FXWWLQJ PDNH VXUH WHP
SRUDU\ ODEHOV RQ WKH PDLQ IHHGHU LQWDFW
&RQ¿GHQWLDO DQG 3URSULHWDU\ ,QIRUPDWLRQ RI =7( &25325$7,21

&KDSWHU 0DLQ $QWHQQD )HHGHU 6\VWHP ,QVWDOODWLRQ
1RWH
$FFRUGLQJ WR GHWDLOHG HTXLSPHQW HQYLURQPHQW IRU H[DPSOH
FDELQHW LQVWDOODWLRQ SRVLWLRQ MXPSHU OHQJWK RQ WKH FDELQHW WRS
DUUHVWHU FRQ¿JXUDWLRQ RU DUUHVWHU UDFN LQVWDOODWLRQ SRVLWLRQ WKH
EHQGLQJ UDGLXV UHTXLUHPHQW RI PDLQ IHHGHU DQG WKH EHDXWLIXO
UHTXLUHPHQW RI FDEOH OD\RXW LQ WKH HTXLSPHQW URRP VHOHFW D
FXWWLQJ SRVLWLRQ RI PDLQ IHHGHU FDEOH
0DNH DQ LQGRRU FRQQHFWRU RI PDLQ IHHGHU
&RQQHFW WKH PDLQ IHHGHU ZLWK DQ DUUHVWHU
1RWH
f)RU DQ DUUHVWHU ZLWKRXW JURXQG FDEOH GXULQJ LQVWDOODWLRQ
FRQQHFW WKH DUUHVWHU WR WKH PDLQ IHHGHU GLUHFWO\
f)RU DQ DUUHVWHU ZLWK DQ DUUHVWHU UDFN GXULQJ LQVWDOODWLRQ
DGMXVW HYHU\ PDLQ IHHGHU FDUHIXOO\ 0DNH VXUH D VFUHZ IDV
WHQHU FRQQHFWHG ZHOO ZKLFK FRQQHFWV WKH PDLQ IHHGHU FRQ
QHFWRU ZLWK WKH DUUHVWHU
(1' 2) 67(36
,QVWDOOLQJ 7RSHTXLSPHQW -XPSHU
&RQWH[W 7KH UHTXLUHPHQWV RI MXPSHU LQVWDOODWLRQ DUH DV IROORZV
-XPSHU OD\RXW IURP FDELQHW WRS WR FDEOH WUD\ VKRXOG EH SDUDOOHO
DQG RUGHUO\ EXW QRW FURVVHG
'XULQJ URXWLQJ WKH MXPSHU PXVW SDVV WKURXJK WKH FDEOH WUD\
LQQHU WR LWV XSSHU VLGH 3URKLELW MXPSLQJ WKH FDEOH WUD\ RXWVLGHV
GLUHFWO\
7KH EHQGLQJ RI MXPSHU LV UHDVRQDEOH DQG QDWXUDO 6XJJHVW WKDW
WKH EHQGLQJ UDGLXV RI MXPSHU VKRXOG EH WZHQW\ WLPHV PRUH WKDQ
LWV GLDPHWHU
'XULQJ OD\RXW IURP FDELQHW WRS WR FDEOH WUD\ WKH WHQVLOH
VWUHQJWK IRU WKH MXPSHU VKRXOG EH PRGHUDWH
7KH MXPSHU VKRXOG EH ERXQG ZLWK HYHU\ UDLO RI FDEOH WUD\ 7KH
GLUHFWLRQV RI DOO ZLUH IDVWHQHUV NHHS FRQVLVWHQW DQG DIWHU ELQG
LQJ WKH ZLUH IDVWHQHUV DUH FXW ÀDWO\
/DEHOV PXVW EH DI¿[HG WR DOO LQGRRU MXPSHUV DW D PP GLV
WDQFH IURP ERWK HQGV RI MXPSHU
6WHSV 7KH MXPSHU SDVVHV WKURXJK D ZLULQJ VORW RQ WKH WRS RI FDELQHW
&RQQHFW D ',1 FRQQHFWRU RI IHHGHU WR DQ $17 LQWHUIDFH RI 568
&RQQHFW WKH RWKHU ',1 FRQQHFWRU RI MXPSHU WR D ',1 FRQQHFWRU
RI IHHGHU
&RQ¿GHQWLDO DQG 3URSULHWDU\ ,QIRUPDWLRQ RI =7( &25325$7,21

=;6'5 5 ,QVWDOODWLRQ 0DQXDO
)LJXUH VKRZV WKH LQVWDOODWLRQ SURFHVV
),*85( $17(11$)(('(5 $1' -803(5 ,167$//$7,21
)HHGHU
-XPSHU
568
:LULQJ VORW
$I¿[ MXPSHU HQJLQHHULQJ ODEHOV
(1' 2) 67(36
3HUIRUPLQJ $QWHQQD )HHGHU
6\VWHP 7HVW
6WHSV $IWHU XQSDFNLQJ FKHFN ZKHWKHU D VXUIDFH RI DQWHQQD DQG DQ
WHQQD FRQQHFWRUV DUH XQGDPDJHG
$IWHU FRQQHFWLQJ DQWHQQD DQG MXPSHU DQG VFUHZLQJ GRZQ WKH
FRQQHFWRU FKHFN WKH 69:5 ZLWK D 69:5 WHVWHU
,I 7KHQ
69:5 8QTXDOL¿HG
69:5 4XDOL¿HG
&RQ¿GHQWLDO DQG 3URSULHWDU\ ,QIRUPDWLRQ RI =7( &25325$7,21

&KDSWHU 0DLQ $QWHQQD )HHGHU 6\VWHP ,QVWDOODWLRQ
1RWH
'XULQJ PHDVXULQJ PRYH DQ DQWHQQD RU FKDQJH WKH SRVLWLRQ
RI DQWHQQD ,I WKH 69:5V LQ DOO GLUHFWLRQV DUH XQTXDOL¿HG LW
LQGLFDWHV WKDW WKH DQWHQQD LV IDXOW\ ,I WKH 69:5V LQ VRPH
GLUHFWLRQV DUH XQTXDOL¿HG FKHFN WKH DQWHQQD DIWHU WKH ZKROH
DQWHQQD DQG IHHGHU V\VWHP LQVWDOOHG FRPSOHWHO\
(1' 2) 67(36
3HUIRUPLQJ 2XWGRRU&RQQHF
WRU :DWHUSURRI 3URFHVVLQJ
&RQWH[W 7KH ZDWHUSURRI SURFHVVLQJ IRU RXWGRRU FRQQHFWRUV DGRSWV WKH
³´ PRGH WR ZDUS ³RQH OD\HU 39& LQVXODWLQJ WDSH WKUHH
OD\HU ZDWHUSURRI LQVXODWLQJ WDSH WKUHH OD\HU 39& LQVXODWLQJ
WDSH´
7KH ZDWHUSURRI LQVXODWLQJ WDSH LV DV VKRZQ LQ )LJXUH
),*85( :$7(53522) ,168/$7,1* 7$3(
7KH 39& DGKHVLYH WDSH LV DV VKRZQ LQ )LJXUH XVHG WR SURWHFW
FRQQHFWRUV IURP GDPDJH DV ZHOO DV ZDWHUSURRI WDSH IURP DJLQJ
),*85( 39& $'+(6,9( 7$3(
&RQ¿GHQWLDO DQG 3URSULHWDU\ ,QIRUPDWLRQ RI =7( &25325$7,21

=;6'5 5 ,QVWDOODWLRQ 0DQXDO
6WHSV &OHDQ WKH IHHGHU FRQQHFWRUV DQG IHHGHU JURXQGLQJ FOLSV
:UDS D OD\HU RI 39& LQVXODWLQJ WDSH
L &OHDQ RXW GXVW DQG VWDLQ RQ WKH IHHGHU FRQQHFWRU RU IHHGHU
JURXQGLQJ NLW
LL $V VKRZQ LQ )LJXUH ZUDS WKH IHHGHU ZLWK WKH 39& LQVX
ODWLQJ WDSH LQ DQ RYHUODSSLQJ ZD\ IURP ORZHU WR XSSHU DQG
WKH XSSHU DGKHVLYH WDSH VKRXOG FRYHU D KDOI RI WKH ORZHU
DGKHVLYH WDSH 7KH H[WHQGHG ZLGWK RI DGKHVLYH WDSH LV QRW
RYHU ORQJHU WKDQ WKH IRUPHU ZLGWK RU HOVH LW GHVWUR\V
PROHFXODU VWUXFWXUH RI DGKHVLYH WDSH GXH WR H[WHQVLRQ WRR
PXFK
),*85( :5$33,1* $ /$<(5 2) 39& ,168/$7,1* 7$3(
:UDS WKUHH OD\HUV RI ZDWHUSURRI LQVXODWLQJ WDSH
L ([SDQG WKH ZDWHUSURRI LQVXODWLQJ WDSH DQG VWULS RII UHOHDVH
SDSHU 7KH DGKHVLYH WDSH VWLFNV WR WKH FRQQHFWRU RU WKH
IHHGHU ZKLFK LV a PP DZD\ IURP WKH ORZHU HQG RI
JURXQGLQJ NLW
LL ([WHQG WKH DGKHVLYH WDSH WR XS WR ± RI WKH IRUPHU
ZLGWK LQ RUGHU WR NHHS D FHUWDLQ H[WHQVLRQ VWUHQJWK %LQG
WKH IHHGHU LQ DQ RYHUODSSLQJ ZD\ IURP ORZHU WR XSSHU DQG
WKH XSSHU DGKHVLYH WDSH VKRXOG FRYHU D KDOI RI WKH ORZHU
DGKHVLYH WDSH DV VKRZQ LQ )LJXUH
),*85( :5$33,1* 7+5(( /$<(56 2) :$7(5 ,168/$7,1* 7$3(
7+( ),567 /$<(5
&RQ¿GHQWLDO DQG 3URSULHWDU\ ,QIRUPDWLRQ RI =7( &25325$7,21

&KDSWHU 0DLQ $QWHQQD )HHGHU 6\VWHP ,QVWDOODWLRQ
1RWH
7KH ZUDSSLQJ GLUHFWLRQ VKRXOG EH WRZDUGV WKH GLUHFWLRQ RI
FRQQHFWRU VFUHZHG GRZQ 3URKLELW ZUDSSLQJ LQ D UHYHUVH
GLUHFWLRQ
LLL :KLOH ZUDSSLQJ WR WKH a PP SRVLWLRQ RII WKH FRQQHFWRU
UHSHDW LW IRU WZLFH DQG WKH VHTXHQFH UHVSHFWLYHO\ LV IURP
XSSHU WR ORZHU DV VKRZQ LQ )LJXUH DQG IURP ORZHU WR
XSSHU DV VKRZQ LQ )LJXUH
),*85( :5$33,1* 7+5(( /$<(56 2) :$7(5 ,168/$7,1* 7$3(
7+( 6(&21' /$<(5
),*85( :5$33,1* 7+5(( /$<(56 2) :$7(5 ,168/$7,1* 7$3(
7+( 7+,5' /$<(5
LY $IWHU ZUDSSLQJ WKH ZDWHUSURRI LQVXODWLQJ WDSH SUHVV WKH
DGKHVLYH WDSH DW WKH ELQGLQJ ZLWK KDQGV DQG PDNH LW DI¿[HG
WLJKWO\
:UDS WKUHH OD\HU RI 39& LQVXODWLQJ WDSH
7ZR HQGV RI 39& LQVXODWLQJ WDSH PXVW EH PP ORQJHU WKDQ WKH
XSSHU OD\HU RI ZDWHUSURRI LQVXODWLQJ WDSH %LQG WKH IHHGHU LQ DQ
RYHUODSSLQJ ZD\ IURP ORZHU WR XSSHU DQG WKH XSSHU DGKHVLYH
WDSH VKRXOG FRYHU D KDOI RI WKH ORZHU DGKHVLYH WDSH DV VKRZQ
LQ )LJXUH 5HSHDW LW IRU WZLFH DQG WKH VHTXHQFH UHVSHFWLYHO\
LV IURP XSSHU WR ORZHU DV VKRZQ LQ )LJXUH DQG IURP ORZHU
WR XSSHU DV VKRZQ LQ )LJXUH 0DNH VXUH SURSHU VWUHWFK
VWUHQJWK GXULQJ ZUDSSLQJ
&RQ¿GHQWLDO DQG 3URSULHWDU\ ,QIRUPDWLRQ RI =7( &25325$7,21

=;6'5 5 ,QVWDOODWLRQ 0DQXDO
),*85( :5$33,1* 7+5(( /$<(56 2) 39& ,168/$7,1* 7$3( 7+(
),567 /$<(5
),*85( :5$33,1* 7+5(( /$<(56 2) 39& ,168/$7,1* 7$3( 7+(
6(&21' /$<(5
$IWHU ¿QLVKLQJ ZUDSSLQJ IDVWHQ WZR ZUDSSHG HQGV ZLWK EODFN
IDVWHQHUV DV VKRZQ LQ )LJXUH
),*85( )$67(1,1*
(1' 2) 67(36
&RQ¿GHQWLDO DQG 3URSULHWDU\ ,QIRUPDWLRQ RI =7( &25325$7,21

&KDSWHU 0DLQ $QWHQQD )HHGHU 6\VWHP ,QVWDOODWLRQ
3HUIRUPLQJ )HHGHU
+HUPHWLFZLQGRZ
:DWHUSURRI 3URFHVVLQJ
&RQWH[W 7KHUH DUH WZR W\SHV RI IHHGHU KHUPHWLFZLQGRZ
KROH IHHGHU KHUPHWLFZLQGRZ
KROH IHHGHU KHUPHWLFZLQGRZ
1RUPDOO\ DGRSW WKH KROH IHHGHU KHUPHWLFZLQGRZ LWV GLPHQ
VLRQ DV VKRZQ LQ )LJXUH DQG LWV VWUXFWXUH DV VKRZQ LQ )LJXUH
),*85( )(('(5 +(50(7,&:,1'2: ',0(16,21 81,700
&RQ¿GHQWLDO DQG 3URSULHWDU\ ,QIRUPDWLRQ RI =7( &25325$7,21

=;6'5 5 ,QVWDOODWLRQ 0DQXDO
),*85( )(('(5 +(50(7,&:,1'2: 6758&785(
,QVWDOODWLRQ UHTXLUHPHQWV
7KH LQVWDOODWLRQ SRVLWLRQ RI KHUPHWLF ZLQGRZ VKRXOG EH FORVH WR
D FDEOH WUD\
7KH KHUPHWLF ZLQGRZ FDQ EH PRXQWHG DJDLQVW DQ LQGRRU ZDOO
RU RXWGRRU ZDOO DQG WKH VLGH RI SURWXEHUDQW PHWDO FLUFOHV PXVW
SXW WRZDUGV RXWGRRUV
,I WKH IHHGHU HQWHUV LQWR D URRP IURP D URRI WKH KHUPHWLF ZLQ
GRZ FDQ EH PRXQWHG DJDLQVW WKH URRI DQG KH VLGH RI SURWXEHU
DQW PHWDO FLUFOHV PXVW SXW WRZDUGV RXWGRRUV
6WHSV $FFRUGLQJ WR WKH UHTXLUHPHQWV RI HQJLQHHULQJ GHVLJQ GUDZLQJ
DQG WKH GLPHQVLRQ RI KHUPHWLF ZLQGRZ PDNH VXUH WKH LQVWDO
ODWLRQ SRVLWLRQ RI KHUPHWLF ZLQGRZ RQ WKH ZDOO DQG DW WKH VDPH
WLPH PDUN KROH SRVLWLRQV RI H[SDQVLRQ EROWV DQG D KROORZ URRP
OHIW IRU WKH KHUPHWLF ZLQGRZ
&XW D PPîPP VTXDUH ELJ KROH DQG WKHQ GULOO HLJKW
KROHV RI H[SDQVLRQ EORWV ZLWK D SHUFXVVLYH GULOO DV VKRZQ LQ
)LJXUH
&RQ¿GHQWLDO DQG 3URSULHWDU\ ,QIRUPDWLRQ RI =7( &25325$7,21

&KDSWHU 0DLQ $QWHQQD )HHGHU 6\VWHP ,QVWDOODWLRQ
),*85( ,167$//$7,21 +2/( 326,7,216 81,700
)L[ D IHHGHU KHUPHWLFZLQGRZ SDQHO ZLWK H[SDQVLRQ EROWV DV
VKRZQ LQ )LJXUH
:KLOH LQVWDOOLQJ H[SDQVLRQ EROWV D ÀDW ZDVKHU DQG D VSULQJ
ZDVKHU PXVW EH LQVWDOOHG LQ WXUQ
$ VHDOLQJ ZDVKHU DQG D VHDOLQJ FRYHU PD\ EH LQVWDOOHG WRJHWKHU
ZLWK IHHGHU HQWHULQJ LQWR WKH URRP
&RQ¿GHQWLDO DQG 3URSULHWDU\ ,QIRUPDWLRQ RI =7( &25325$7,21

=;6'5 5 ,QVWDOODWLRQ 0DQXDO
),*85( )(('(5 +(50(7,&:,1'2: ,167$//$7,21
0î H[SDQVLRQ EROW )HHGHU KHUPHWLFZLQGRZ
SDQHO
(1' 2) 67(36
&DELQHW -XPSHU ,QVWDOODWLRQ
'HVFULSWLRQ
7KH =;6'5 5 FDELQHW LV HTXLSSHG ZLWK WZR 1 W\SH IHPDOH FRQ
QHFWRUV 7KHVH FRQQHFWRUV DUH FRQQHFWHG WR 1 W\SH PDOH FRQQHF
WRUV RI MXPSHUV 7KH FDELQHW MXPSHU FRQQHFWLRQ LV DV VKRZQ
LQ )LJXUH
&RQ¿GHQWLDO DQG 3URSULHWDU\ ,QIRUPDWLRQ RI =7( &25325$7,21

&KDSWHU 0DLQ $QWHQQD )HHGHU 6\VWHP ,QVWDOODWLRQ
),*85( &$%,1(7 -803(56
',1 PHDQV WKDW WKH FRQQHFWRU W\SH LV ',1
1 PHDQV WKDW WKH FRQQHFWRU W\SH LV 1
0 LQGLFDWHV PDOH FRQQHFWRU DQG ) LQGLFDWHV IHPDOH FRQQHFWRU
&RQQHFW WKH MXPSHU ZLWK WKH FDELQHW 0DNH VXUH WR FRQQHFW WKH
UHVSHFWLYH FRQQHFWRUV ZLWK VLPLODU W\SHV VXFK DV 1 W\SH FRQQHFWRU
RI MXPSHU VKRXOG EH FRQQHFWHG ZLWK 1 W\SH LQWHUIDFH RI WKH FDELQHW
DQG 0 W\SH FRQQHFWRU RI MXPSHU VKRXOG EH FRQQHFWHG ZLWK 0 W\SH
LQWHUIDFH RI WKH FDELQHW
96:5 7HVW
$IWHU WKH LQVWDOODWLRQ RI DOO DQWHQQD IHHGHUV DQG MXPSHUV FRQGXFW
96:5 WHVW 7KH 96:5 PXVW EH OHVV WKDQ 2WKHUZLVH FKHFN
DOO PDLQ DQWHQQD DQG IHHGHU V\VWHP WKDW LQFOXGHV
&KHFN ZKHWKHU WKH DQWHQQD IHHGHUV FRQQHFWRUV DQG MXPSHUV
DUH LQWDFW
(QVXUH WKDW WKH FRQQHFWLRQ EHWZHHQ DOO SDUWV DUH SURSHU
&KHFN ZKHWKHU WKH DQWHQQD IHHGHU LQVWDOODWLRQ LV SHUIHFW
&RQ¿GHQWLDO DQG 3URSULHWDU\ ,QIRUPDWLRQ RI =7( &25325$7,21

=;6'5 5 ,QVWDOODWLRQ 0DQXDO
7KLV SDJH LV LQWHQWLRQDOO\ EODQN
&RQ¿GHQWLDO DQG 3URSULHWDU\ ,QIRUPDWLRQ RI =7( &25325$7,21

& K D S W H U
+DUGZDUH ,QVWDOODWLRQ
,QVSHFWLRQ
7DEOH RI &RQWHQWV
&KHFNLQJ &DELQHW ,QVWDOODWLRQ
&KHFNLQJ &DEOH ,QVWDOODWLRQ
&KHFNLQJ 0DLQ $QWHQQD 6\VWHP ,QVWDOODWLRQ
&KHFNLQJ &DELQHW
,QVWDOODWLRQ
6WHSV (QVXUH WKDW WKH FDELQHW LQVWDOODWLRQ SRVLWLRQ FRPSOLHV ZLWK WKH
HQJLQHHULQJ GHVLJQ GUDZLQJ
(UHFW FDELQHW ¿UPO\ VR DV WR UHVLVW DQ HDUWKTXDNH PHDVXULQJ
XS WR RQ 5LFKWHU VFDOH
(QVXUH WKDW KRUL]RQWDO DQG YHUWLFDO HUURU LV OHVV WKDQ PP
(QVXUH WKDW FDELQHW VXUIDFH LV FOHDQ DQG WLG\ DQG FRYHUHG ZHOO
E\ RLO SDLQW $OO SDUWV RI WKH FDELQHW DUH FRPSOHWH DQG DOO PDUN
LQJ RQ WKH FDELQHW DUH FRUUHFW FOHDU DQG FRPSOHWH
(QVXUH DOO VFUHZV DUH ¿[HG WLJKW ZLWK ÀDW ZDVKHUV RU VSULQJ
ZDVKHUV
(1' 2) 67(36
&KHFNLQJ &DEOH ,QVWDOODWLRQ
&DEOHV ,QVWDOODWLRQ *HQHUDO
6SHFLILFDWLRQ
2SWLFDO )LEHU
1RWH
&RQ¿GHQWLDO DQG 3URSULHWDU\ ,QIRUPDWLRQ RI =7( &25325$7,21

=;6'5 5 ,QVWDOODWLRQ 0DQXDO
7KH OHQJWK RI RSWLFDO ¿EHU LV GHFLGHG E\ HQJLQHHULQJ VXUYH\ 7[
5[
7KH WHFKQLFDO VSHFL¿FDWLRQV RI RSWLFDO ¿EHU DUH DV IROORZV
7KH RSWLFDO ¿EHU LV D VLQJOH PRGH ZLWK (QG % DGRSWLQJ WZR
'/&3& FRQQHFWRUV
7KH LQVHUWLRQ ORVV LV OHVV WKDW G%
7KH UHWXUQ ORVV LV OHVV WKDQ G%
,I RSWLFDO ¿EHU LV WR EH XVHG RXWGRRU WKHQ
f7DNH ZDWHUSURRI DQG DQWL XOWUDYLROHW SURWHFWLRQ PHDVXUHV
f0DNH VXUH WKDW ZRUNLQJ WHPSHUDWXUH LV LQ EHWZHHQ WR
R&
7KH VKHDWK RI RSWLFDO ¿EHU LV EODFN LQ FRORU ZLWK D GLDPHWHU RI
PP 8QGHU WKH VKHDWK WKHUH DUH WZR FRUHV RSWLFDO ZLUHV
\HOORZ DQG EOXH FRORU ZLWK VXEVWDQWLDO DPRXQW RI SURWHFWLRQ
SDGGLQJ
7KH PD[LPXP GLVWDQFH EHWZHHQ FRUH RSWLFDO ZLUHV LQFOXGLQJ
ERWK '/&3& FRQQHFWRUV DQG VKHDWKHG RSWLFDO ¿EHU LV PP
=7( VXSSOLHV P P P P P P DQG
P ORQJ ¿EHU FDEOHV
7KH PP ORQJ EODFN 3\URFRQGHQVDWLRQ FDQQXOD VKRXOG EH
DGGHG LQ EHWZHHQ RSWLFDO FRUH ZLUHV DQG VKHDWKHG RSWLFDO ¿EHU
7KH ODEHO DWWDFKHG DW ERWK HQGV VKRXOG VDWLVI\ WKH UHTXLUHPHQWV
RI =7( &DEOH 'HVLJQLQJ &ULWHULD ± /DEHO 'HVLJQLQJ DQG 8VDJH
5HTXLUHPHQWV
$,6* &DEOH 7KH IROORZLQJ DUH WKH WHFKQLFDO VSHFL¿FDWLRQ RI $,6* FDEOH
7DEOH LOOXVWUDWHV WKH FRQQHFWLRQ UHODWLRQVKLS RI ERWK HQGV
0DNH VXUH WR HQFORVH (QG $ FRQQHFWLRQ E\ EODFN FDQQXOD FRP
SOHWHO\ DIWHU FRQQHFWLQJ
7$%/( &211(&7,21 5(/$7,216+,3
6HULDO
1XPEHU
6LJQDO
'H¿QL
WLRQ
(QG $ 3LQ
1XPEHU
(QG % 3LQ
1XPEHU
&RQQHFWHG
&DEOH
3LQ 3LQ
3LQ 3LQ
9 3LQ 3LQ 7ZR FDEOHV IURP
3LQ RI $ HQG
DUH ZHOGHG WR
3LQDQGRI
% HQG
9*1' 3LQ 3LQ 7ZR FDEOHV IURP
3LQ RI $ HQG
DUH ZHOGHG WR
3LQDQGRI
% HQG
&RQ¿GHQWLDO DQG 3URSULHWDU\ ,QIRUPDWLRQ RI =7( &25325$7,21

&KDSWHU +DUGZDUH ,QVWDOODWLRQ ,QVSHFWLRQ
7KH 3LQ DQG 3LQ 6HH 7DEOH DUH QHHGHG WR EH ZHOGHG
ZLWK WZR FDEOHV
7KH (QG $ FRQQHFWRU VKRXOG EH HTXLSSHG ZLWK PHWDO GXVWSURRI
FRYHU
7KH ODEHOV SULQWLQJ DQG SDVWLQJ VKRXOG VDWLVI\ WKH UHTXLUHPHQWV
RI 4=; &DEOH 'HVLJQLQJ &ULWHULD ± /DEHO 'HVLJQLQJ
DQG 8VDJH 5HTXLUHPHQWV
0RQLWRULQJ &DEOH 7KH IROORZLQJ DUH WKH WHFKQLFDO VSHFL¿FDWLRQ RI PRQLWRULQJ FDEOH
7KH (QG $ LV D SLQ IHPDOH FRQQHFWRU
(QG % LV DQ RSHQ HQG ZLWKRXW DQ\ FRQQHFWRU 7KH FRQQHFWRU DW
WKH (QG % VKRXOG EH SUHSDUHG RQVLWH DFFRUGLQJ WR WKH RQVLWH
UHTXLUHPHQWV
0DNH VXUH WKDW FRQQHFWRU DW WKH (QG $ LV SURSHUO\ ZHOGHG
7KH ODEHO DWWDFKHG DW ERWK HQGV VKRXOG VDWLVI\ WKH UHTXLUHPHQWV
RI =7( &DEOH 'HVLJQLQJ &ULWHULD ± /DEHO 'HVLJQLQJ DQG 8VDJH
5HTXLUHPHQWV
7DEOH VKRZV WKH FRQQHFWLRQ UHODWLRQVKLS RI (QG $
7$%/( &211(&7,21 5(/$7,216+,3
(QG $ 3LQV &RORU 6LJQDO 'H¿QLWLRQ
:KLWHEOXH 'U\ FRQWDFW
:KLWHRUDQJH 'U\ FRQWDFW
:KLWHJUHHQ 'U\ FRQWDFW
:KLWHEURZQ 'U\ FRQWDFW
5HGEOXH 5[
5HGRUDQJH 7[
2WKHU 3LQV DUH IUHH 2WKHU FRUH ZLUHV DUH
IUHH
3RZHU DQG *URXQGLQJ &DEOHV
,QVWDOODWLRQ &KHFN
&RQWH[W (QVXUH WKH SRZHU DQG JURXQGLQJ FDEOHV LQVWDOODWLRQ LV GRQH LQ DF
FRUGDQFH ZLWK WKH IROORZLQJ FKHFNV
6WHSV 7KH SRZHU DQG JURXQGLQJ FDEOHV DUH ODLG VHSDUDWHO\ IURP RWKHU
FDEOHV ,I WKH SRZHU DQG JURXQGLQJ FDEOHV DUH WR EH ODLG SDU
DOOHO ZLWK RWKHU FDEOHV WKHQ DW OHDVW D GLVWDQFH RI FP LV
PDLQWDLQHG EHWZHHQ WKHP
7KH FDEOH ODEHOV DUH LQWDFW RQ ERWK VLGHV RI SRZHU DQG JURXQG
LQJ FDEOHV 7KH ODEHOV DUH DWWDFKHG DW DOPRVW FP IURP FDEOH
FRSSHU OXJ
&RQ¿GHQWLDO DQG 3URSULHWDU\ ,QIRUPDWLRQ RI =7( &25325$7,21

=;6'5 5 ,QVWDOODWLRQ 0DQXDO
(QWLUH SRZHU DQG JURXQGLQJ FDEOHV DUH PDGH IURP RQH PDWHULDO
ZLWK QR FRQQHFWLRQV LQ EHWZHHQ
$ VLQJOH JURXQGLQJ SRLQW RQ WKH JURXQGLQJ EXVEDU MXVW FRQQHFWV
WR D SLHFH RI HTXLSPHQW
&RSSHU OXJV RQ ERWK HQGV RI SRZHU DQG JURXQGLQJ FDEOHV DUH
VROGHUHG RU SUHVVHG ¿UPO\
7KH VKRUWHVW URXWH EHWZHHQ WKH JURXQGLQJ FDEOHV DQG JURXQG
LQJ EXVEDU LV DGRSWHG
3RZHU DQG JURXQGLQJ FDEOHV DW FRQQHFWLQJ WHUPLQDOV DQG OXJ
KDQGOHV DUH SURSHUO\ LQVXODWHG XVLQJ HLWKHU LQVXODWHG WDSHV RU
KHDW VKULQN WXEHV
7KH UHGXQGDQW OHQJWK RI SRZHU DQG JURXQGLQJ FDEOHV LV FXW WR
DYRLG ZUDSSLQJ HDFK RWKHU
(1' 2) 67(36
2SWLFDO )LEHU ,QVWDOODWLRQ &KHFN
&RQWH[W 7KH ¿EHU FDEOH LQVWDOODWLRQ VKRXOG PHHW WKH IROORZLQJ VSHFL¿FD
WLRQV
6WHSV 'R QRW IROG RSWLFDO ¿EHU DW R )RU RSWLFDO ¿EHU WKDW LV WR EH ODLG
RXWGRRUV PLQLPDO WZLVW UDGLXV VKRXOG EH DWOHDVW JUHDWHU WKDQ
PP :KHUHDV IRU RSWLFDO ¿EHU WKDW LV WR EH ODLG LQGRRUV
PLQLPDO WZLVW UDGLXV VKRXOG EH DWOHDVW JUHDWHU WKDQ PP
$IWHU LQVWDOODWLRQ DQ\ VXUSOXV RSWLFDO ¿EHU VKRXOG EH SXW EDFN
LQ WKH ¿EHU FDUG IRU FRQYHQLHQFH
'XULQJ LQVWDOODWLRQ PLQLPL]H RSWLFDO ¿EHU WZLVW DQG WXUQ DV
PXFK DV SRVVLEOH
7KH ELQGLQJ IRUFH VKRXOG EH SURSHU WR HQVXUH WKDW ELQGLQJ JDSV
DUH OHVV P
0DNH VXUH WKDW ODEHOV DW ERWK HQGV RI RSWLFDO ¿EHU DUH LQWDFW
DQG FOHDU
(1' 2) 67(36
&KHFNLQJ 0DLQ $QWHQQD
6\VWHP ,QVWDOODWLRQ
6WHSV (QVXUH WKH KHLJKW RI DQWHQQD LV FRQVLVWHQW ZLWK WKH QHWZRUN
SODQQLQJ DQG WKH LQVWDOODWLRQ SRVLWLRQ LV FRQVLVWHQW ZLWK WKH
HQJLQHHULQJ GHVLJQ GUDZLQJ
(QVXUH WKH D]LPXWK DQG GRZQWLOW RI WKH DQWHQQD LV FRQVLVWHQW
ZLWK WKH HQJLQHHULQJ GHVLJQ GUDZLQJ
&RQ¿GHQWLDO DQG 3URSULHWDU\ ,QIRUPDWLRQ RI =7( &25325$7,21

&KDSWHU +DUGZDUH ,QVWDOODWLRQ ,QVSHFWLRQ
(QVXUH WKH DQWHQQD LV ZLWKLQ WKH SURWHFWLRQ DUHD RI OLJKWQLQJ
URG
(QVXUH WKH 96:5 QRW PRUH WKDQ
(QVXUH SURSHU FRQQHFWLRQ EHWZHHQ DQWHQQD DQG MXPSHU DV ZHOO
DV EHWZHHQ MXPSHU DQG PDLQ IHHGHU FRUUHFW
0DNH VXUH WKDW WKH MXPSHU DQG DQWHQQD DW WKH MXQFWLRQ NHHS
VWUDLJKW ZLWKLQ FP DW OHDVW
(1' 2) 67(36
&RQ¿GHQWLDO DQG 3URSULHWDU\ ,QIRUPDWLRQ RI =7( &25325$7,21

=;6'5 5 ,QVWDOODWLRQ 0DQXDO
7KLV SDJH LV LQWHQWLRQDOO\ EODQN
&RQ¿GHQWLDO DQG 3URSULHWDU\ ,QIRUPDWLRQ RI =7( &25325$7,21

& K D S W H U
3RZHU RQ DQG RII
7DEOH RI &RQWHQWV
3RZHU RQ 3UHSDUDWLRQ
3RZHU 21
3RZHU 2))
3RZHU RQ 3UHSDUDWLRQ
&RQWH[W 0DNH VXUH WKDW IROORZLQJ FRQGLWLRQV DUH IXO¿OOHG EHIRUH SRZHULQJRQ
=;6'5 5
6WHSV 0DNH VXUH WKDW LQSXW SRZHU VXSSO\ LV ZLWKLQ WKH DFFHSWDEOH
UDQJH
0DNH VXUH WKDW SRZHU FDEOH FRQQHFWHG WR =;6'5 5 FDELQHW
LV SURSHUO\ JURXQGHG
(1' 2) 67(36
5HVXOW 7KH SUHSDUDWLRQ WR SRZHU RQ WKH FDELQHW LV VXFFHVVIXOO\ FRPSOHWHG
3RZHU 21
&RQWH[W 3HUIRUP WKH IROORZLQJ VWHSV WR SRZHURQ WKH =;6'5 5
6WHSV 7KHUH LV QR SRZHU VZLWFK 21 WKH =;6'5 5 FDELQHW &ORVH
WKH H[WHUQDO SRZHU VZLWFK WR SRZHU RQ=;6'5 5
'XULQJ SRZHU 21 LI VRPH DEQRUPDO SKHQRPHQD RFFXUV GLV
FRQQHFW WKH H[WHUQDO SRZHU VZLWFK RU WKH SOXJ LPPHGLDWHO\ DQG
FKHFN WKH UHDVRQ
(1' 2) 67(36
3RZHU 2))
&RQWH[W 3HUIRUP WKH IROORZLQJ VWHSV WR SRZHU 2)) WKH =;6'5 5
&RQ¿GHQWLDO DQG 3URSULHWDU\ ,QIRUPDWLRQ RI =7( &25325$7,21

=;6'5 5 ,QVWDOODWLRQ 0DQXDO
6WHSV 7KHUH LV QR SRZHU VZLWFK RQ WKH =;6'5 5 FDELQHW 'LV
FRQQHFW WKH H[WHUQDO SRZHU VZLWFK WR SRZHU RII =;6'5 5
(1' 2) 67(36
&RQ¿GHQWLDO DQG 3URSULHWDU\ ,QIRUPDWLRQ RI =7( &25325$7,21

$ S S H Q G L [ $
&DELQHWFRPELQHG
,QVWDOODWLRQ
7DEOH RI &RQWHQWV
&RPSRQHQWV 8VHG LQ &DELQHWFRPELQLQJ ,QVWDOODWLRQ
3HUIRUPLQJ &DELQHWFRPELQDWLRQ
&RPSRQHQWV 8VHG
LQ &DELQHWFRPELQLQJ
,QVWDOODWLRQ
%\ FRPELQLQJ FDELQHWV WKH =;6'5 5 FDQ VXSSRUW FDUULHU
VHFWRUV )LJXUH VKRZV WKH FRQQHFWLRQ IRU FRPELQLQJ WZR
=;6'5 5 FDELQHWV
&RQ¿GHQWLDO DQG 3URSULHWDU\ ,QIRUPDWLRQ RI =7( &25325$7,21

=;6'5 5 ,QVWDOODWLRQ 0DQXDO
),*85( =;6'5 5 &$%,1(7&20%,1(' ,167$//$7,21
&211(&7,21
)UHTXHQF\ 3RLQW ([WHQVLRQ &DEOH
1RWH
7KH 558 LQ )LJXUH PHDQV WKH =;6'5 5
7KH GHVFULSWLRQ RI FDELQHWFRPELQHG FRQQHFWLRQ DUH DV IROORZV
7ZR =;6'5 5 FDELQHWV DUH FRQQHFWHG E\ WZR IUHTXHQF\
SRLQW H[WHQVLRQ FDEOHV
7ZR =;6'5 5 FDELQHWV SURYLGHV PXWXDO UHFHLYLQJ GLYHUVLW\
IRU HDFK RWKHU (DFK =;6'5 5 LV HTXLSSHG ZLWK RI D SDLU
RI DQWHQQD WR WUDQVPLW DQG UHFHLYH VLJQDOV
7KH FRPSRQHQWV XVHG LQ WKH FDELQHWFRPELQHG LQVWDOODWLRQ DUH GH
VFULEHG DV IROORZV
:KLOH VHOHFWLQJ WKH SROHPRXQW LQVWDOODWLRQ UHIHU WR &RP
SRQHQWV 8VHG LQ 3ROHPRXQW ,QVWDOODWLRQ&RPSRQHQWV 8VHG
LQ 3ROHPRXQW ,QVWDOODWLRQ ZKLOH VHOHFWLQJ WKH ZDOOPRXQW
LQVWDOODWLRQ UHIHU WR &RPSRQHQWV 8VHG LQ :DOO0RXQW ,Q
VWDOODWLRQ&RPSRQHQWV 8VHG LQ :DOOPRXQW ,QVWDOODWLRQ ZKLOH
VHOHFWLQJ WKH JDQWU\PRXQW LQVWDOODWLRQ UHIHU WR &RPSR
QHQWV 8VHG LQ JDQWU\PRXQW ,QVWDOODWLRQ &RPSRQHQWV 8VHG LQ
*DQWU\PRXQW ,QVWDOODWLRQ
7ZR IUHTXHQF\ SRLQW H[WHQVLRQ FDEOHV DUH SUHSDUHG
&RQ¿GHQWLDO DQG 3URSULHWDU\ ,QIRUPDWLRQ RI =7( &25325$7,21

$SSHQGL[ $ &DELQHWFRPELQHG ,QVWDOODWLRQ
3HUIRUPLQJ &DELQHWFRPELQ
DWLRQ
6WHSV 6HOHFW D SURSHU LQVWDOODWLRQ PRGH SROHPRXQW LQVWDOODWLRQ
ZDOOPRXQW LQVWDOODWLRQ DQG JDQWU\PRXQW DFFRUGLQJ WR WKH
DFWXDO FRQGLWLRQV WR LQVWDOO WZR =;6'5 5
&RQQHFW WKH WZR IUHTXHQF\ SRLQW H[WHQVLRQ FDEOHV DV GH
VFULEHG EHORZ
&RQQHFW (QG $ RI D IUHTXHQF\ SRLQW H[WHQVLRQ FDEOH WR WKH
5;LQ LQWHUIDFH RI D =;6'5 5 DQG (QG % WR WKH 5;RXW
RI WKH RWKHU =;6'5 5
&RQQHFW (QG $ RI WKH RWKHU IUHTXHQF\ SRLQW H[WHQVLRQ FDEOH
WR WKH 5;RXW RI WKH =;6'5 5 DQG (QG % WR WKH 5;LQ RI
WKH RWKHU =;6'5 5
(1' 2) 67(36
&RQ¿GHQWLDO DQG 3URSULHWDU\ ,QIRUPDWLRQ RI =7( &25325$7,21

=;6'5 5 ,QVWDOODWLRQ 0DQXDO
7KLV SDJH LV LQWHQWLRQDOO\ EODQN
&RQ¿GHQWLDO DQG 3URSULHWDU\ ,QIRUPDWLRQ RI =7( &25325$7,21

$ S S H Q G L [ %
&DVFDGLQJ &DELQHW
,QVWDOODWLRQ
7DEOH RI &RQWHQWV
&RPSRQHQWV 8VHG LQ &DVFDGLQJ ,QVWDOODWLRQ
3HUIRUPLQJ &DELQHW &DVFDGLQJ
&RPSRQHQWV 8VHG LQ
&DVFDGLQJ ,QVWDOODWLRQ
0XOWLSOH =;6'5 5 FDELQHWV FDQ EH FRQQHFWHG LQ VHULHV E\ XV
LQJ RSWLFDO ¿EHUV IRUPLQJ D FKDLQ QHWZRUN )LJXUH VKRZV WKH
FDVFDGHG FDELQHWV
),*85( &$6&$'(' &$%,1(7 &211(&7,21
&RQ¿GHQWLDO DQG 3URSULHWDU\ ,QIRUPDWLRQ RI =7( &25325$7,21

=;6'5 5 ,QVWDOODWLRQ 0DQXDO
1RWH
7KH 558 LQ )LJXUH PHDQV =;6'5 5
2QH =;6'5 5 LV FRQQHFWHG WR DQRWKHU =;6'5 5 RU WR
%%8 E\ RSWLFDO ¿EHUV (DFK =;6'5 5 SURYLGHV WZR RSWLFDO
SRUWV WKDW DUH LGHQWL¿HG E\ /& DQG /& UHVSHFWLYHO\
*HQHUDOO\ WKH /& VHUYH WR FRQQHFW WKH %%8 RU WKH XSSHU OHYHO
=;6'5 5 ZKLOH WKH /& WR FRQQHFW WKH ORZHU OHYHO =;6'5
5
7KH FRPSRQHQWV XVHG LQ WKH FDVFDGLQJ LQVWDOODWLRQ DUH GHVFULEHG
DV IROORZV
:KLOH VHOHFWLQJ WKH SROHPRXQWHG LQVWDOODWLRQ UHIHU WR &RP
SRQHQWV 8VHG LQ 3ROHPRXQW ,QVWDOODWLRQ&RPSRQHQWV 8VHG LQ
3ROHPRXQW ,QVWDOODWLRQ ZKLOH VHOHFWLQJ WKH ZDOOPRXQWHG LQ
VWDOODWLRQ UHIHU WR &RPSRQHQWV 8VHG LQ :DOO0RXQW ,QVWDOOD
WLRQ&RPSRQHQWV 8VHG LQ :DOOPRXQW ,QVWDOODWLRQ ZKLOH VHOHFW
LQJ WKH JDQWU\PRXQW LQVWDOODWLRQ UHIHU WR &RPSRQHQWV 8VHG LQ
JDQWU\PRXQW ,QVWDOODWLRQ &RPSRQHQWV 8VHG LQ *DQWU\PRXQW
,QVWDOODWLRQ
&RQQHFW WKH RSWLFDO ¿EHU
3HUIRUPLQJ &DELQHW
&DVFDGLQJ
6WHSV 6HOHFW D SURSHU LQVWDOODWLRQ PRGH SROHPRXQW RU ZDOOPRXQW
WR LQVWDOO WKH =;6'5 5 FDELQHW
8VH RSWLFDO ¿EHUV WR FRQQHFW FDELQHWV LQ FDVFDGH
)LJXUH VKRZV WKH RSWLFDO ¿EHU WR FRQQHFW FDELQHW LQ FDV
FDGH
),*85( =;6'5 5 237,&$/ ),%(5 )25 &$6&$'(' &$%,1(7
)ROORZLQJ LV WKH FRQQHFWLRQ VFKHPH
L &RQQHFW (QG $ RI RSWLFDO ¿EHU WR WKH /&/& LQWHUIDFH RI
RQH =;6'5 5
LL &RQQHFW (QG % RI RSWLFDO ¿EHU WR WKH /&/& LQWHUIDFH RI
WKH RWKHU =;6'5 5
(1' 2) 67(36
5HVXOW 7KH FDVFDGHG FDELQHWV DUH LQVWDOOHG VXFFHVVIXOO\
&RQ¿GHQWLDO DQG 3URSULHWDU\ ,QIRUPDWLRQ RI =7( &25325$7,21

$ S S H Q G L [ &
2$8
7DEOH RI &RQWHQWV
2$8 7HFKQLFDO ,QGLFHV
2$8 $SSHDUDQFH DQG ,QWHUIDFH
,QVWDOOLQJ 2$8 LQ 3ROHPRXQW 0RGH
,QVWDOODWLRQ 2$8 LQ :DOOPRXQW 0RGH
,QVWDOOLQJ 2$8 &DEOH
2$8 7HFKQLFDO ,QGLFHV
7KH RXWGRRU $& XQLW 2$8 LV $&'& SRZHU 2QH 2$8 FDQ SURYLGH
9 $& IRU RQH =;6'5 % DQG RQH =;6'5 5 & DW WKH
VDPH WLPH WR UHDOL]H LQGLUHFW $& SRZHU VXSSO\ IRU =;6'5%
DQG =;6'5 5 &
7HFKQLFDO ,QGLFHV 7KH 2$8 LV $&'& ODUJHSRZHU SRZHU ZLWK VLQJOHFLUFXLW RXWSXW
7KH 2$8 SRVVHVVHV KLJK YROWDJHUHJXODWLRQ SUHFLVLRQ KLJK RXWSXW
HI¿FLHQF\ DQG D ODUJH UDQJH RI LQSXW YROWDJH ,W SURYLGHV XQGHU
YROWDJH SURWHFWLRQ IRU LQSXW DQG VKRUW FLUFXLW SURWHFWLRQ RYHUFXU
UHQW SURWHFWLRQ DQG RYHUWHPSHUDWXUH SURWHFWLRQ ,Q DGGLWLRQ WKH
2$8 KDV 'OHYHO OLJKWQLQJ IXQFWLRQ E\ LWVHOI DGRSWV GXVWSURRI DQG
ZDWHUSURRI GHVLJQ DQG VXSSRUWV RXWGRRU SROH DQG RQZDOO LQVWDO
ODWLRQ
7DEOH GHVFULEHV WKH WHFKQLFDO LQGLFHV RI 2$8
7$%/( (1*,1((5,1* 7(&+1,&$/ ,1',&(6
,WHP ,QGLFHV
'LPHQVLRQ +î:î' PPîPPîPP
:RUN
WHPSHUDWXUH
ЯЯZKHQ WKH WHPSHUDWXUH LV XS WR Я
WKH ORDG RI SRZHU FDQ EH GHFUHDVHG E\
:RUN KXPLGLW\ 5+a 5+
7DEOH GHVFULEHV LQSXW FKDUDFWHUV RI 2$8
&RQ¿GHQWLDO DQG 3URSULHWDU\ ,QIRUPDWLRQ RI =7( &25325$7,21

=;6'5 5 ,QVWDOODWLRQ 0DQXDO
7$%/( 2$8 ,1387 &+$5$&7(56
,WHP 8QLW
0LQLPXP
9DOXH
7\SLFDO
9DOXH
0D[LPXP
9DOXH
,QSXW
YROWDJH
UDQJH 9DF
6WDUWXS
YROWDJH
UDQJH 9DF
,QSXW
IUHTXHQF\ +]
6WDUWXS
LPSXOVH
FXUUHQW $
7DEOH GHVFULEHV RXWSXW FKDUDFWHUV RI 2$8
7$%/( 2$8 287387 &+$5$&7(56
,WHP 8QLW
0LQLPXP
9DOXH
7\SLFDO
9DOXH
0D[LPXP
9DOXH
2XWSXW
YROWDJH
UDQJH 9GF
2XWSXW
FXUUHQW $
9ROWDJH
UHJXODWLRQ
SUHFLVLRQ
/RDG
UHJXODWLRQ
UDWH
2XWSXW
SRZHU :
2$8 $SSHDUDQFH DQG
,QWHUIDFH
$SSHDUDQFH 7KH DSSHDUDQFH RI 2$8 LV DV VKRZQ LQ )LJXUH
&RQ¿GHQWLDO DQG 3URSULHWDU\ ,QIRUPDWLRQ RI =7( &25325$7,21

$SSHQGL[ & 2$8
),*85( 2$8 $33($5$1&(
,QWHUIDFH 7KH LQWHUIDFHV RI 2$8 LV DV VKRZQ LQ )LJXUH
),*85( 2$8 ,17(5)$&(6
&RQ¿GHQWLDO DQG 3URSULHWDU\ ,QIRUPDWLRQ RI =7( &25325$7,21

=;6'5 5 ,QVWDOODWLRQ 0DQXDO
,QVWDOOLQJ 2$8 LQ 3ROHPRXQW
0RGH
3UHUHTXLVLWHV 8QSDFNLQJ DQG DFFHSWDQFH IRU RXWGRRU $& XQLW 2$8 LV HOLJLEOH
&RQWH[W 7KH 2$8 SROHPRXQW PRGH FDQ DGRSW DQFKRU FODPS DVVHPEOLHV
RU ¿[LQJ EUDFNHW DVVHPEOLHV 7KH DQFKRU FODPS DVVHPEOLHV DUH
DV VKRZQ LQ )LJXUH DQG WKH ¿[LQJ EUDFNHW DVVHPEOLHV DUH DV
VKRZQ LQ )LJXUH
),*85( $1&+25 &/$03 $66(0%/,(6
),*85( ),;,1* %5$&.(7 $66(0%/,(6
6WHSV ,QVWDOO WKH DQFKRU FODPS DVVHPEOLHV RU WKH ¿[LQJ EUDFNHW DV
VHPEOLHV
,QVWDOO WZR VHWV RI DQFKRU FODPS DVVHPEOLHV RU WZR VHWV RI ¿[LQJ
EUDFNHWV RQWR WKH SROH DQG VFUHZ GRZQ D ELW ZLWK EROWV 7KH
DQFKRU FODPS DVVHPEOLHV DV VKRZQ LQ )LJXUH DQG WKH ¿[LQJ
EUDFNHWV DUH DV VKRZQ LQ )LJXUH
&RQ¿GHQWLDO DQG 3URSULHWDU\ ,QIRUPDWLRQ RI =7( &25325$7,21

$SSHQGL[ & 2$8
),*85( 7:2 6(76 2) $1&+25 &/$03 $66(0%/,(6
,W\SH FRPPRQ 0 KH[DJR
QDO QXW
6WDQGDUG VSULQJ ZDVKHU
)ODW ZDVKHU
/RQJ DQFKRU FODPS
0î KH[DJRQ KHDG EROW
IXOO WKUHDG
&RQ¿GHQWLDO DQG 3URSULHWDU\ ,QIRUPDWLRQ RI =7( &25325$7,21

=;6'5 5 ,QVWDOODWLRQ 0DQXDO
7LS
'XULQJ WZR =;6'5 5 LQVWDOODWLRQ WKH VXJJHVWHG SROH GL
DPHWHU LV WR PP DQG WKHUH DUH WZR NLQGV RI EROW OHQJWKV
f8VH WKH EROW RI OHQJWK PP IRU SROH GLDPHWHU RI PP
WR PP
f8VH WKH EROW RI OHQJWK PP IRU SROH GLDPHWHU RI PP
WR PP
),*85( 7:2 6(76 2) ),;,1* %5$&.(7 $66(0%/,(6
)L[LQJ %UDFNHW
0î KH[DJRQ KHDG EROW
IXOO WKUHDG
6WDQGDUG VSULQJ ZDVKHU
)ODW ZDVKHU
,W\SH FRPPRQ 0 KH[DJR
QDO QXW
,QVWDOO WKH EUDFNHW RI 2$8
7KH EUDFNHW LV DV VKRZQ LQ )LJXUH ,QVWDOO WKH EUDFNHWV RQWR
WKH SROH LQVWHDG RI WKH VXSSRUWLQJ SDQHOV DV VKRZQ LQ )LJXUH
DQG )LJXUH 6FUHZ GRZQ WKH EUDFNHWV
&RQ¿GHQWLDO DQG 3URSULHWDU\ ,QIRUPDWLRQ RI =7( &25325$7,21

$SSHQGL[ & 2$8
),*85( 2$8 %5$&.(7
,QVWDOODWLRQ SROH
),*85( 7:2 6(76 2) 6833257,1* 3$1(/6
0î KH[DJRQ KHDG EROW
6WDQGDUG VSULQJ ZDVKHU
%LJ ÀDW ZDVKHU
,QVXODWLRQ ÀDQJH
6XSSRUWLQJ SDQHO
,QVXODWLRQ ERDUG
/RQJ DQFKRU FODPS
&RQ¿GHQWLDO DQG 3URSULHWDU\ ,QIRUPDWLRQ RI =7( &25325$7,21

=;6'5 5 ,QVWDOODWLRQ 0DQXDO
),*85( 7+5(( 6(76 2) 6833257,1* 3$1(/6
)L[LQJ EUDFNHW
,QVXODWLRQ ERDUG
6XSSRUWLQJ SDQHO
,QVXODWLRQ ÀDQJH
%LJ ÀDW ZDVKHU
6WDQGDUG VSULQJ ZDVKHU
0î KH[DJRQ KHDG EROW
,QVWDOO WKH 2$8
L $V VKRZQ LQ WKH )LJXUH IDVWHQ WKH 2$8 WR WKH EUDFNHWV
ZLWK WKH 0 KH[DJRQ KHDG VFUHZV DFFRUGLQJ WR WKH DUURZ
KHDG GLUHFWLRQ
&RQ¿GHQWLDO DQG 3URSULHWDU\ ,QIRUPDWLRQ RI =7( &25325$7,21

$SSHQGL[ & 2$8
),*85( 2$8 ,167$//$7,21
,QVWDOODWLRQ GLUHFWLRQ
LL $V VKRZQ LQ WKH )LJXUH FRQQHFW WKH 2$8 ÀDW ZDVKHU
VSULQJ ZDVKHU DQG 0 QXW ZLWK WKH 0 KH[DJRQ KHDG VFUHZV
DFFRUGLQJ WR WKH DUURZKHDG GLUHFWLRQ 6FUHZ GRZQ WKH 0
QXW DW WKH EDFN RI EUDFNHW LQ RUGHU WR IDVWHQ WKH 2$8 DQG
WKH EUDFNHW
&RQ¿GHQWLDO DQG 3URSULHWDU\ ,QIRUPDWLRQ RI =7( &25325$7,21

=;6'5 5 ,QVWDOODWLRQ 0DQXDO
),*85( 2$8 ,167$//$7,21
(1' 2) 67(36
,QVWDOODWLRQ 2$8 LQ
:DOOPRXQW 0RGH
3UHUHTXLVLWHV 8QSDFNLQJ DQG DFFHSWDQFH IRU RXWGRRU $& XQLW 2$8 LV HOLJLEOH
6WHSV ,QVWDOO D UDFN
L $V VKRZQ LQ WKH )LJXUH GULOO KROHV ZLWK 0 GULOO RQ
WKH ZDOO DQG NQRFN WKH 0 H[SDQVLRQ SLSHV LQWR WKH KROHV
0DNH VXUH WKH H[SDQVLRQ EROWV HUHFWHG ZLWK WKH ZDOO
&RQ¿GHQWLDO DQG 3URSULHWDU\ ,QIRUPDWLRQ RI =7( &25325$7,21

$SSHQGL[ & 2$8
),*85( 2$8 5$&.
,QVWDOODWLRQ KROH
LL $OLJQ LQVWDOODWLRQ KROHV RQ WKH EUDFNHW WR H[WHQVLRQ SLSHV
RQ WKH ZDOO $IWHU KDQJLQJ WKH EUDFNHW URWDWH WKH VHOI
GULOOLQJ VFUHZ DVVHPEOHG ZLWK D ELJ ÀDW ZDVKHU DQG D VSULQJ
ZDVKHU LQWR WKH H[SDQVLRQ SLSH 6FUHZ GRZQ WKH EROW ZLWK
D ZUHQFK
,QVWDOO WKH 2$8
L $V VKRZQ LQ WKH )LJXUH IDVWHQ WKH 2$8 WR WKH EUDFNHWV
ZLWK WKH 0 KH[DJRQ KHDG VFUHZV DFFRUGLQJ WR WKH DUURZ
KHDG GLUHFWLRQ
&RQ¿GHQWLDO DQG 3URSULHWDU\ ,QIRUPDWLRQ RI =7( &25325$7,21

=;6'5 5 ,QVWDOODWLRQ 0DQXDO
),*85( 2$8 ,167$//$7,21
,QVWDOODWLRQ GLUHFWLRQ
LL $V VKRZQ LQ WKH )LJXUH FRQQHFW WKH 2$8 ÀDW ZDVKHU
VSULQJ ZDVKHU DQG 0 QXW ZLWK WKH 0 KH[DJRQ KHDG VFUHZV
DFFRUGLQJ WR WKH DUURZKHDG GLUHFWLRQ 6FUHZ GRZQ WKH 0
QXW DW WKH EDFN RI EUDFNHW LQ RUGHU WR IDVWHQ WKH 2$8 DQG
WKH EUDFNHW
&RQ¿GHQWLDO DQG 3URSULHWDU\ ,QIRUPDWLRQ RI =7( &25325$7,21

$SSHQGL[ & 2$8
),*85( 2$8 ,167$//$7,21
(1' 2) 67(36
,QVWDOOLQJ 2$8 &DEOH
3UHUHTXLVLWHV 7KH 2$8 LQVWDOODWLRQ LV FRPSOHWHG
&RQWH[W 7KH 2$8 FDQ SURYLGH 9 SRZHU VXSSO\ IRU RQH =;6'5 %
& DQG RQH =;6'5 5 DW WKH VDPH WLPH
,I WKH 2$8 LV LQVWDOOHG RXWVLGHV LW LV UHTXLUHG WR FRQ¿JXUH DQ $&
OLJKWQLQJ ER[ )RU LQGRRU LQVWDOODWLRQ LI WKH $& SRZHU FDEOH LV GLV
WULEXWHG RXWGRRUV LW LV DOVR UHTXLUHG WR FRQ¿JXUH DQ $& OLJKWQLQJ
ER[
6WHSV ,QVWDOO D ZDWHUSURRI HQG FDS
L 5HIHUULQJ WR WKH )LJXUH DQG )LJXUH ORRVHQ RII WKH
ZDWHUSURRI HQG FDS
&RQ¿GHQWLDO DQG 3URSULHWDU\ ,QIRUPDWLRQ RI =7( &25325$7,21

=;6'5 5 ,QVWDOODWLRQ 0DQXDO
),*85( :$7(53522) (1' &$3
:DWHUSURRI HQG FDS
),*85( /226( 2)) :$7(53522) (1' &$3
:DWHUSURRI HQG FDS
LL 5HPRYH WKH ZDWHUSURRI HQG FDS DQG ORRVH RII WKH QXW RI
ZDWHUSURRI HQG FDS DV VKRZQ LQ )LJXUH
&RQ¿GHQWLDO DQG 3URSULHWDU\ ,QIRUPDWLRQ RI =7( &25325$7,21

$SSHQGL[ & 2$8
),*85( :$7(53522) (1' &$3 6758&785(
1XW
:DWHUSURRI ULQJ
:DWHUSURRI HQG FDS
LLL ,QVWDOO WKH ZDWHUSURRI HQG FDS RQWR WKH 2$8 DQG VFUHZ
GRZQ LW DV VKRZQ LQ )LJXUH
),*85( :$7(53522) (1' &$3 ,167$//$7,21
:DWHUSURRI HQG FDS
'LVDVVHPEOH WKH 2$8 DQG FRQQHFW WKH $& SRZHU FDEOH ZLWK WKH
'& SRZHU FDEOH 7KH FRQQHFWLRQ RI $& FDEOH LV DV VKRZQ LQ
)LJXUH
&RQ¿GHQWLDO DQG 3URSULHWDU\ ,QIRUPDWLRQ RI =7( &25325$7,21

=;6'5 5 ,QVWDOODWLRQ 0DQXDO
&DXWLRQ
:KLOH FRQQHFWLQJ WKH $& SRZHU FDEOH ¿UVW FRQQHFW WKH 3(
FDEOH 1 FDEOH DQG / FDEOH )RU GLVFRQQHFWLQJ WKH VHTXHQFH
LV RSSRVLWH ¿UVW WKH / FDEOH 1 FDEOH DQG ¿QDOO\ 3( FDEOH
%HIRUH SRZHU RQ ¿UVW FRQ¿UP WKH 3( FDEOH JURXQGLQJ ZHOO
'XULQJ PDLQWHQDQFH ¿UVW GLVFRQQHFW WKH $& LQSXW DQG WKHQ
SHUIRUP RWKHU RSHUDWLRQ
$IWHU FXW RII WKH SRZHU ZDLW IRU IRXU PLQXWHV DW OHDVW XQWLO
WKH FDSDFLW\ GLVFKDUJH HQRXJK DQG WKHQ SHUIRUP PDLQWH
QDQFH RSHUDWLRQ IRU WKH 2$8
),*85( $& 32:(5 &$%/( &211(&7,21
:DWHUSURRI HQG FDS
1RWH
7KH FDEOH FRORU GHFLGHV RQ VLWH
&RQQHFW RQH $& OLJKWQLQJ ER[ WKUHH 2$8V DQG WKUHH =;6'5
5 DV VKRZQ LQ )LJXUH )RU WKH FRQQHFWLRQ EHWZHHQ
2$8 DQG =;6'5 % & SOHDVH UHIHU WR WKH )LJXUH
&RQ¿GHQWLDO DQG 3URSULHWDU\ ,QIRUPDWLRQ RI =7( &25325$7,21

$SSHQGL[ & 2$8
),*85( 21( $& /,*+71,1* %2;7+5(( 2$86 $1' 7+5((
5 &$%/( &211(&7,21
$& SRZHU FDEOH )RU RXWGRRU
LQVWDOODWLRQ WKUHHFRUH RXW
GRRU DOXPLQXPIRLO VKLHOGLQJ
SRZHU FDEOH IRU LQGRRU LQ
VWDOODWLRQ 39& VKHDWK SRZHU
FDEOH WKH FDEOH OHQJWK GH
SHQGV RQ VXUYH\ RQ VLWH
*URXQGLQJ FDEOH RI JURXQGLQJ
NLW ZLWK P ORQJ
*URXQGLQJ FDEOH \HOORZDQG
JUHHQ ¿UHUHWDUGDQW FDEOH
WKH OHQJWK LV OHVV WKDQ P
$& SRZHU FDEOH WKUHHFRUH
RXWGRRU DOXPLQXPIRLO VKLHOG
LQJ SRZHU FDEOH WKH FDEOH
OHQJWK GHSHQGV RQ VXUYH\ RQ
VLWH
$& SRZHU FDEOH WKUHHFRUH
RXWGRRU DOXPLQXPIRLO VKLHOG
LQJ SRZHU FDEOH WKH FDEOH
OHQJWK GHSHQGV RQ VXUYH\ RQ
VLWH
$& SRZHU FDEOH WKUHHFRUH
RXWGRRU DOXPLQXPIRLO VKLHOG
LQJ SRZHU FDEOH WKH FDEOH
OHQJWK GHSHQGV RQ VXUYH\ RQ
VLWH
'& SRZHU FDEOH IRXUFRUH
ZLWK P ORQJ
*URXQGLQJ FDEOH \HOORZDQG
JUHHQ ¿UHUHWDUGDQW FDEOH
WKH OHQJWK LV OHVV WKDQ P
(1' 2) 67(36
&RQ¿GHQWLDO DQG 3URSULHWDU\ ,QIRUPDWLRQ RI =7( &25325$7,21

=;6'5 5 ,QVWDOODWLRQ 0DQXDO
7KLV SDJH LV LQWHQWLRQDOO\ EODQN
&RQ¿GHQWLDO DQG 3URSULHWDU\ ,QIRUPDWLRQ RI =7( &25325$7,21

$ S S H Q G L [ '
2/3
7DEOH RI &RQWHQWV
2/3 7HFKQLFDO ,QGLFHV
2/3 $SSHDUDQFH DQG ,QWHUIDFH
2/3 ,QVWDOODWLRQ 'HVFULSWLRQ
2/3 7HFKQLFDO ,QGLFHV
7KH RXWGRRU '& OLJKWQLQJ ER[ 2/3± LV XVHG IRU VXUJH SURWHF
WLRQ RI =;6'5 5 7KH IROORZLQJ GHVFULEHV LWV FKDUDFWHUV
$GRSW SURWHFWLYH FLUFXLW IRU WZR SRUWV ZLWK ORZ UHVLGXDO YROWDJH
DQG JRRG SURWHFWLYH SHUIRUPDQFH
$GRSW WKH WHPSHUDWXUHFRQWURO EURNHQFLUFXLW WHFKQRORJ\ WR
DYRLG ¿UH KD]DUGV
$GRSW SUHVVXUHVHQVLWLYH SDUDOOHO FRQQHFWLRQ WR HQGXUH VXVWDLQ
LQJ OLJKWQLQJ VWULNH
$GRSW DQ DODUP UHSRUW IXQFWLRQ IRU UHPRWH PRQLWRULQJ
(QJLQHHULQJ
7HFKQLFDO ,QGLFHV
7DEOH GHVFULEHV WKH HQJLQHHULQJ WHFKQLFDO LQGLFHV RI RXWGRRU '&
OLJKWQLQJ ER[
7$%/( (1*,1((5,1* 7(&+1,&$/ ,1',&(6
,WHP ,QGH[
'LPHQVLRQ +î:î' PPîPPîPP
1RPLQDO ZRUN YROWDJH ±9'&
0D[LPXP FRQWLQXRXV
UXQQLQJ YROWDJH
±9'&
:RUN WHPSHUDWXUH ЯЯ
:RUN KXPLGLW\ 5+a 5+Я
&RQ¿GHQWLDO DQG 3URSULHWDU\ ,QIRUPDWLRQ RI =7( &25325$7,21

=;6'5 5 ,QVWDOODWLRQ 0DQXDO
2/3 $SSHDUDQFH DQG
,QWHUIDFH
$SSHDUDQFH )LJXUH VKRZV WKH DSSHDUDQFH RI RXWGRRU '& OLJKWQLQJ ER[
),*85( 287'225 '& /,*+71,1* %2; $33($5$1&(
,QWHUIDFH )LJXUH VKRZV WKH LQWHUIDFHV RI RXWGRRU '& OLJKWQLQJ ER[
&RQ¿GHQWLDO DQG 3URSULHWDU\ ,QIRUPDWLRQ RI =7( &25325$7,21

$SSHQGL[ ' 2/3
),*85( 287'225 '& /,*+71,1* %2; ,17(5)$&(
2/3 ,QVWDOODWLRQ
'HVFULSWLRQ
,QVWDOODWLRQ )LJXUH LOOXVWUDWHV SDUWV WR SURYLGH IRU SROH LQVWDOODWLRQ RI RXW
GRRU '& OLJKWQLQJ ER[ )LJXUH VKRZV WKH DSSHDUDQFH DIWHU
LQVWDOODWLRQ FRPSOHWLRQ
&RQ¿GHQWLDO DQG 3URSULHWDU\ ,QIRUPDWLRQ RI =7( &25325$7,21

=;6'5 5 ,QVWDOODWLRQ 0DQXDO
),*85( ,167$//$7,21 3$576
&RPELQHG EROW 0î
3ODLQ ZDVKHU
6SULQJ ZDVKHU
1XW 0
2XWGRRU '& OLJKWQLQJ ER[
2/30 VXSSRUW
2/30 VXSSRUW
+H[DJRQ EROW 0î
&RQ¿GHQWLDO DQG 3URSULHWDU\ ,QIRUPDWLRQ RI =7( &25325$7,21

$SSHQGL[ ' 2/3
),*85( 287'225 '& /,*+71,1* 32/( ,167$//$7,21
3ROH
=;6'5 5 &
:DYH WUDS
2XWGRRU '& OLJKWQLQJ ER[
&DEOH &RQQHFWLRQ 7DNH DSDUW D FDELQHW DQG FRQQHFW FDEOHV DV VKRZQ LQ )LJXUH
&RQQHFW RQH RXWGRRU '& OLJKWQLQJ ER[ ZLWK RQH RU WZR 558 DV
VKRZQ LQ )LJXUH
&RQ¿GHQWLDO DQG 3URSULHWDU\ ,QIRUPDWLRQ RI =7( &25325$7,21

=;6'5 5 ,QVWDOODWLRQ 0DQXDO
),*85( 287'225 '& /,*+71,1* %2; ,17(5)$&(6
&RQ¿GHQWLDO DQG 3URSULHWDU\ ,QIRUPDWLRQ RI =7( &25325$7,21

$SSHQGL[ ' 2/3
&DXWLRQ
:KLOH FRQQHFWLQJ FDEOHV RI OLJKWQLQJ ER[ LW LV UHTXLUHG WR SXW
WKH FDEOH WKURXJK WKH KROH RI ZDWHUSURRI FRQQHFWRU DW WKH ERW
WRP RI ER[
)LUVW FRQQHFW WKH JURXQG FDEOHV DQG WKHQ FRQQHFW RWKHU FDEOHV
:KLOH GLVFRQQHFWLQJ ¿QDOO\ UHPRYH WKH JURXQG FDEOH
),*85( 287'225 '& /,*+71,1* &211(&7,21
'& SRZHU FDEOH WZRFRUH RXWGRRU
VKLHOGHG SRZHU FDEOH WKH VKLHOGHG
OD\HU LV JURXQGLQJ LQVLGH WKH OLJKW
LQJ ER[ WKH FDEOH OHQJWK GHSHQGV
RQ WKH RQVLWH VXUYH\
*URXQGLQJ FDEOH \HOORZDQG
JUHHQ ¿UHUHWDUGDQW FDEOH WKH
OHQJWK LV OHVV WKDQ P
'& SRZHU FDEOH IRXUFRUH ZLWK
P ORQJ
'DWD FDEOH HLJKWSDLU WZLVWHGSDLU
RXWGRRU GDWD FDEOH ZLWK P ORQJ
*URXQGLQJ FDEOH \HOORZDQG
JUHHQ ¿UHUHWDUGDQW FDEOH WKH
OHQJWK LV OHVV WKDQ P
&RQ¿GHQWLDO DQG 3URSULHWDU\ ,QIRUPDWLRQ RI =7( &25325$7,21

=;6'5 5 ,QVWDOODWLRQ 0DQXDO
7KLV SDJH LV LQWHQWLRQDOO\ EODQN
&RQ¿GHQWLDO DQG 3URSULHWDU\ ,QIRUPDWLRQ RI =7( &25325$7,21

$ S S H Q G L [ (
,/3
7DEOH RI &RQWHQWV
,/3 7HFKQLFDO ,QGLFHV
,/3 $SSHDUDQFH DQG ,QWHUIDFH
,/3 ,QVWDOODWLRQ 'HVFULSWLRQ
,/3 7HFKQLFDO ,QGLFHV
)RU =;6'5 5 RXWGRRU LQVWDOODWLRQ LI WKH '& SRZHU LV H[SRUWHG
IURP WKH HTXLSPHQW URRP DQG WKH RXWSXW SRUW RI LQGRRU '& SRZHU
LV QRW FRQ¿JXUHG ZLWK D %OHYHO RU DERYH OLJKWQLQJ GHYLFHV LW LV
UHTXLUHG WR LQVWDOO DQ LQGRRU '& OLJKWLQJ ER[ ,/3± DW WKH VLGH
RI HTXLSPHQW URRP
7KH LQGRRU '& OLJKWQLQJ ER[ FRQWDLQV WKUHH LQGLYLGXDO '& 9 '&
OLJKWQLQJV 7KHLU FKDUDFWHUV DUH GHVFULEHG DV IROORZV
$GRSW WKH WHPSHUDWXUHFRQWURO EURNHQFLUFXLW WHFKQRORJ\ WR
DYRLG ¿UH KD]DUGV
$GRSW DQ DODUP UHSRUW IXQFWLRQ IRU UHPRWH PRQLWRULQJ
$GRSW GRXEOHFRORU LQGLFDWRUV WR GLUHFWO\ DQG FOHDUO\ LQGLFDWH
ZRUNLQJ VWDWXV
(QJLQHHULQJ
7HFKQLFDO ,QGLFHV
7DEOH GHVFULEHV WKH HQJLQHHULQJ WHFKQLFDO LQGLFHV RI LQGRRU '&
OLJKWQLQJ ER[
7$%/( (1*,1((5,1* 7(&+1,&$/ ,1',&(6
,WHP ,QGH[
'LPHQVLRQ +î:î' PPîPPîPP QRW
LQFOXGH WKH KHLJKW RI ORFN RQ WKH XSSHU
FRYHU
1RPLQDO ZRUN YROWDJH ±9'&
0D[LPXP FRQWLQXRXV
UXQQLQJ YROWDJH
±9'&
:RUN WHPSHUDWXUH ЯЯ
:RUN KXPLGLW\ 5+
&RQ¿GHQWLDO DQG 3URSULHWDU\ ,QIRUPDWLRQ RI =7( &25325$7,21

=;6'5 5 ,QVWDOODWLRQ 0DQXDO
,/3 $SSHDUDQFH DQG
,QWHUIDFH
$SSHDUDQFH )LJXUH VKRZV WKH DSSHDUDQFH RI LQGRRU '& OLJKWQLQJ ER[
),*85( ,1'225 '& /,*+71,1* %2; $33($5$1&(
,QWHUIDFH )LJXUH VKRZV WKH LQWHUIDFHV RI LQGRRU '& OLJKWQLQJ ER[
&RQ¿GHQWLDO DQG 3URSULHWDU\ ,QIRUPDWLRQ RI =7( &25325$7,21

$SSHQGL[ ( ,/3
),*85( ,1'225 '& /,*+71,1* %2; ,17(5)$&(6
,/3 ,QVWDOODWLRQ
'HVFULSWLRQ
,QVWDOODWLRQ 7KH LQGRRU '& OLJKWLQJ ER[ DGRSWV DQ RQZDOO LQVWDOODWLRQ PRGH
'ULOO KROH RQ WKH ZDOO RI HTXLSPHQW URRP DFFRUGLQJ WR LQVWDOODWLRQ
SROH SRVLWLRQV RQ WKH OLJKWQLQJ ER[ 6HOHFW IRXU 0î RU PRUH
ORQJHU H[SDQVLRQ EROWV WR IDVWHQ WKH OLJKWQLQJ ER[ RQ WKH ZDOO
&DEOH &RQQHFWLRQ )LJXUH LOOXVWUDWHV FDEOH FRQQHFWLRQ RI OLJKWQLQJ ER[
&RQ¿GHQWLDO DQG 3URSULHWDU\ ,QIRUPDWLRQ RI =7( &25325$7,21

=;6'5 5 ,QVWDOODWLRQ 0DQXDO
&DXWLRQ
)LUVW FRQQHFW WKH JURXQGLQJ FDEOH DQG WKHQ RWKHU FDEOHV :KLOH
GLVFRQQHFWLQJ ¿QDOO\ UHPRYH WKH JURXQGLQJ FDEOH
),*85( ,1'225 '& /,*+71,1* %2; &$%/( &211(&7,21 127
&211(&7 :,7+ 5(027( $/$50
'& SRZHU FDEOH WZRFRUH RXWGRRU
VKLHOGHG SRZHU FDEOH WKH VKLHOGHG
OD\HU LV JURXQGLQJ LQVLGH WKH OLJKW
LQJ ER[ WKH FDEOH OHQJWK GHSHQGV
RQ WKH RQVLWH VXUYH\
'& SRZHU FDEOH WZRFRUH RXWGRRU
VKLHOGHG SRZHU FDEOH WKH FDEOH
OHQJWK GHSHQGV RQ WKH RQVLWH VXU
YH\
*URXQGLQJ FDEOH \HOORZDQG
JUHHQ ¿UHUHWDUGDQW FDEOH WKH
OHQJWK LV OHVV WKDQ P
&RQ¿GHQWLDO DQG 3URSULHWDU\ ,QIRUPDWLRQ RI =7( &25325$7,21

$ S S H Q G L [ )
$& /LJKWQLQJ $UUHVWHU
7DEOH RI &RQWHQWV
$& /LJKWQLQJ 7HFKQLFDO ,QGLFHV
$& /LJKWQLQJ $SSHDUDQFH DQG ,QWHUIDFH
$& /LJKWQLQJ ,QVWDOODWLRQ 'HVFULSWLRQ
,QVWDOOLQJ 6KLHOGHG *URXQGLQJ .LW
$& /LJKWQLQJ 7HFKQLFDO
,QGLFHV
7KH SURWHFWLYH FLUFXLW RI $& OLJKWQLQJ FRQVLVWV RI SRZHU SURWHFWLRQ
DQG VLJQDO SURWHFWLRQ UHVSHFWLYHO\ XVHG IRU OLJKWQLQJ VXUJH SURWHF
WLRQ RI VXSSO\ SRZHU DQG FLUFXLW LQWHUIDFH
7KH FKDUDFWHUV RI SRZHU SURWHFWLRQ DUH GHVFULEHG DV IROORZV
$GRSW VHULHV SURWHFWLYH FLUFXLW ZLWK ORZ UHVLGXDO YROWDJH DQG
JRRG SURWHFWLYH SHUIRUPDQFH
$GRSW WKH WHPSHUDWXUHFRQWURO EURNHQFLUFXLW WHFKQRORJ\ WR
DYRLG ¿UH KD]DUGV
$GRSW SUHVVXUHVHQVLWLYH SDUDOOHO FRQQHFWLRQ WR HQGXUH VXVWDLQ
LQJ OLJKWQLQJ VWULNH
7KH FKDUDFWHUV RI VLJQDO SURWHFWLRQ DUH GHVFULEHG DV IROORZV
/DUJH GLVFKDUJH FXUUHQW
/RZ UHVLGXDO YROWDJH DQG JRRG SURWHFWLYH SHUIRUPDQFH
(LJKW VLJQDO SURWHFWLRQ FLUFXLWV
(QJLQHHULQJ
7HFKQLFDO ,QGLFHV
7DEOH GHVFULEHV WKH HQJLQHHULQJ WHFKQLFDO LQGLFHV RI $& OLJKWQLQJ
ER[
&RQ¿GHQWLDO DQG 3URSULHWDU\ ,QIRUPDWLRQ RI =7( &25325$7,21

=;6'5 5 ,QVWDOODWLRQ 0DQXDO
7$%/( (1*,1((5,1* 7(&+1,&$/ ,1',&(6
,WHP ,QGH[
'LPHQVLRQ +î:î' PPîPPîPP
5DWLQJ ZRUN YROWDJH a9 $&+]
0D[LPXP FRQWLQXRXV
UXQQLQJ YROWDJH
9 $&
:RUN WHPSHUDWXUH ЯЯ
:RUN KXPLGLW\ 5+a 5+Я
$OWLWXGH P
$& /LJKWQLQJ $SSHDUDQFH
DQG ,QWHUIDFH
$SSHDUDQFH )LJXUH LOOXVWUDWHV WKH DSSHDUDQFH RI $& OLJKWQLQJ ER[
&RQ¿GHQWLDO DQG 3URSULHWDU\ ,QIRUPDWLRQ RI =7( &25325$7,21

$SSHQGL[ ) $& /LJKWQLQJ $UUHVWHU
),*85( $& /,*+71,1* %2; $33($5$1&(
,QWHUIDFH )LJXUH LOOXVWUDWHV WKH LQWHUIDFHV RI $& OLJKWQLQJ ER[
),*85( $& /,*+71,1* %2; ,17(5)$&(
&RQ¿GHQWLDO DQG 3URSULHWDU\ ,QIRUPDWLRQ RI =7( &25325$7,21

=;6'5 5 ,QVWDOODWLRQ 0DQXDO
$& /LJKWQLQJ ,QVWDOODWLRQ
'HVFULSWLRQ
:KHQ WKH =;6'5 5 & LV LQVWDOOHG RXWVLGHV LW LV UHTXLUHG WR
FRQ¿JXUH $& OLJKWQLQJ ER[ IRU $& SRZHU VXSSO\ :KHQ WKH =;6'5
5 LV LQVWDOOHG RXWVLGHV LW LV UHTXLUHG WR FRQ¿JXUH $& OLJKWQLQJ
ER[ DW WKH IURQW RI RXWGRRU $& XQLW 2$8 IRU LQGLUHFW $& SRZHU
VXSSO\
,QVWDOODWLRQ )LJXUH LOOXVWUDWHV SDUWV WR SURYLGH IRU SROH LQVWDOODWLRQ RI $&
OLJKWQLQJ ER[ )LJXUH VKRZV WKH DSSHDUDQFH DIWHU LQVWDOODWLRQ
FRPSOHWLRQ
),*85( $& /,*+71,1* %2; ,167$//$7,21 3$576
*URXQGLQJ FRSSHU EDU
6SULQJ ZDVKHU 0
)ODW ZDVKHU 0
1XW 0
$& OLJKWQLQJ ER[
,QVWDOODWLRQ VXSSRUW
&RPELQHG EROW 0î
)DVWHQHU
&RQ¿GHQWLDO DQG 3URSULHWDU\ ,QIRUPDWLRQ RI =7( &25325$7,21

$SSHQGL[ ) $& /LJKWQLQJ $UUHVWHU
),*85( $& /,*+71,1* 32/( ,167$//$7,21
3ROH
=;6'5 5 &
:DYH WUDS
$& OLJKWQLQJ ER[
&DEOH &RQQHFWLRQ 8QSDFN D FDELQHW DQG FRQQHFW FDEOHV
&RQ¿GHQWLDO DQG 3URSULHWDU\ ,QIRUPDWLRQ RI =7( &25325$7,21

=;6'5 5 ,QVWDOODWLRQ 0DQXDO
&DXWLRQ
)LUVW FRQQHFW WKH JURXQGLQJ FDEOH DQG WKHQ RWKHU FDEOHV :KLOH
GLVFRQQHFWLQJ ¿QDOO\ UHPRYH WKH JURXQGLQJ FDEOH
7KH FDEOH WR FRQQHFW WKH OLJKWQLQJ ER[ PXVW EH SXW WKURXJK D
KROH RI ZDWHUSURRI FRQQHFWRU DW WKH ERWWRP RI ER[
$IWHU FRQQHFWLRQ FRPSOHWHG DQG FKHFNHG VFUHZ GRZQ DOO ZD
WHUSURRI FRQQHFWRUV DQG ZUDS ZDWHUSURRI FRQQHFWRUV DQG FD
EOHV ZLWK ZDWHUSURRI DGKHVLYH WDSH
&RQQHFW RQH $& OLJKWQLQJ ER[ ZLWK RQH RU WZR =;6'5 5
& DV VKRZQ LQ )LJXUH
),*85( 21( $& /,*+71,1* %2; $1' 21( 25 7:2 5 &$%/(
&211(&7,21
$& SRZHU FDEOH WKUHHFRUH RXW
GRRU EUDLG DQG DOXPLQXP IRLO
VKLHOGLQJ FDEOH WKH FDEOH OHQJWK
GHSHQGV RQ RQVLWH VXUYH\
*URXQGLQJ NLW JURXQGLQJ FDEOH
WZRFRUH SRZHU FDEOH ZLWK P
ORQJ
*URXQGLQJ FDEOH \HOORZDQG
JUHHQ ¿UHUHWDUGDQW FDEOH WKH
OHQJWK LV OHVV WKDQ P
$& SRZHU FDEOH VRIW FDEOH DQG WKH
OHQJWK GHSHQGV RQ RQVLWH VXUYH\
*URXQGLQJ FDEOH \HOORZDQG
JUHHQ ¿UHUHWDUGDQW FDEOH WKH
OHQJWK LV OHVV WKDQ P
&RQQHFW WZR $& OLJKWQLQJ ER[ ZLWK WKUHH =;6'5 5 & DV
VKRZQ LQ )LJXUH
&RQ¿GHQWLDO DQG 3URSULHWDU\ ,QIRUPDWLRQ RI =7( &25325$7,21

$SSHQGL[ ) $& /LJKWQLQJ $UUHVWHU
),*85( 7:2 $& /,*+71,1* %2; $1' 7+5(( 5 &$%/(
&211(&7,21
± &DEOH W\SH UHIHUV WR )LJXUH
&RQQHFW RQH $& OLJKWQLQJ ER[ WKUHH 2$8V ZLWK WKUHH =;6'5
5 DV VKRZQ LQ )LJXUH
&RQ¿GHQWLDO DQG 3URSULHWDU\ ,QIRUPDWLRQ RI =7( &25325$7,21

=;6'5 5 ,QVWDOODWLRQ 0DQXDO
),*85( 21( $& /,*+71,1* %2;7+5(( 2$86 $1' 7+5(( 5
&$%/( &211(&7,21
$& SRZHU FDEOH )RU RXWGRRU LQ
VWDOODWLRQ WKUHHFRUH RXWGRRU DOX
PLQXPIRLO VKLHOGLQJ SRZHU FDEOH
IRU LQGRRU LQVWDOODWLRQ 39& VKHDWK
SRZHU FDEOH WKH FDEOH OHQJWK GH
SHQGV RQ VXUYH\ RQ VLWH
*URXQGLQJ FDEOH RI JURXQGLQJ NLW
ZLWK P ORQJ
*URXQGLQJ FDEOH \HOORZDQG
JUHHQ ¿UHUHWDUGDQW FDEOH WKH
OHQJWK LV OHVV WKDQ P
$& SRZHU FDEOH WKUHHFRUH RXW
GRRU DOXPLQXPIRLO VKLHOGLQJ
SRZHU FDEOH WKH FDEOH OHQJWK GH
SHQGV RQ VXUYH\ RQ VLWH
$& SRZHU FDEOH WKUHHFRUH RXW
GRRU DOXPLQXPIRLO VKLHOGLQJ
SRZHU FDEOH WKH FDEOH OHQJWK GH
SHQGV RQ VXUYH\ RQ VLWH
$& SRZHU FDEOH WKUHHFRUH RXW
GRRU DOXPLQXPIRLO VKLHOGLQJ
SRZHU FDEOH WKH FDEOH OHQJWK GH
SHQGV RQ VXUYH\ RQ VLWH
'& SRZHU FDEOH IRXUFRUH ZLWK
P ORQJ
*URXQGLQJ FDEOH \HOORZDQG
JUHHQ ¿UHUHWDUGDQW FDEOH WKH
OHQJWK LV OHVV WKDQ P
,QVWDOOLQJ 6KLHOGHG
*URXQGLQJ .LW
3UHUHTXLVLWHV 7KH VKLHOGHG SRZHU FDEOH LV LQVWDOOHG
&RQWH[W 7KLV VHFWRU RQO\ GHVFULEHV LQVWDOODWLRQ RI VKLHOGHG JURXQGLQJ NLW RI
$& OLJKWQLQJ ER[¶V SRZHU FDEOH
6WHSV 6HOHFW D SURSHU LQVWDOODWLRQ SRVLWLRQ IRU JURXQGLQJ NLW 6HOHFW
DQ DSSURSULDWH JURXQGLQJ NLW DFFRUGLQJ WR GLDPHWHU RI SRZHU
FDEOH &XW RII VKHDWK RI SRZHU FDEOH DQG ¿[ WKH VKLHOGHG OD\HU
RI SRZHU FDEOH ZLWK D JURXQGLQJ NLW 7KH VWUXFWXUH RI JURXQG
LQJ NLW LV DV VKRZQ LQ )LJXUH )LJXUH DQG )LJXUH
LOOXVWUDWH YDULRXV JURXQGLQJ NLWV DGRSWHG IRU GLIIHUHQW GLDPH
WHUV
&RQ¿GHQWLDO DQG 3URSULHWDU\ ,QIRUPDWLRQ RI =7( &25325$7,21

$SSHQGL[ ) $& /LJKWQLQJ $UUHVWHU
),*85( 6+,(/'(' *5281',1* .,7 6758&785(
*URXQGLQJ NLW ERG\
6TXHH]H VFUHZ
2±W\SH ULQJ
)ODW ZDVKHU
%XWWRQ KHDGHG VFUHZ 0î
&RQQHFWLQJ WHUPLQDO GXDO
KROH
6KLHOGHG SRZHU FDEOH
*URXQGLQJ FDEOH
*URXQGLQJ WHUPLQDO VLQJOH
KROH
+H[DJRQ QXW
)ODW ZDVKHU
+H[DJRQ EROW 0î
6SULQJ ZDVKHU
),*85( *5281',1* %2'< $'237$%/( )25 007:2&25(
287'225 32:(5 &$%/(
&RQ¿GHQWLDO DQG 3URSULHWDU\ ,QIRUPDWLRQ RI =7( &25325$7,21

=;6'5 5 ,QVWDOODWLRQ 0DQXDO
),*85( *5281',1* %2'< $'237$%/( )25 007:2&25(
287'225 32:(5 &$%/(
6FUHZ GRZQ WKH GXDOKROH FRQQHFWLQJ WHUPLQDO WR ¿[ RQ WKH
ERG\ RI JURXQGLQJ NLW &RQQHFW WKH FRQQHFWLQJ WHUPLQDO ZLWK
WKH JURXQGLQJ FDEOH 3URWHFW WKH MXQFWLRQ EHWZHHQ JURXQGLQJ
FDEOH DQG FRQQHFWLQJ WHUPLQDO ZLWK WKHUPRSODVWLF VOHHYH 3XOO
WKH JURXQGLQJ FDEOH WRZDUGV WKH JURXQG JULG 7KH GXDOKROH
FRQQHFWLQJ WHUPLQDO LV DV VKRZQ LQ )LJXUH
),*85( &211(&7,1* 7(50,1$/ '8$/+2/(
3HUIRUP ZDWHUSURRI SURFHVVLQJ IRU WKH MXQFWLRQ EHWZHHQ
JURXQGLQJ NLW DQG SRZHU FDEOH 7KH PHWKRGV DUH GHVFULEHG DV
IROORZV
L :UDS ZDWHUSURRI VHOIDGKHVLYH WDSH DQG WKHQ ZUDS 39& DG
KHVLYH WDSH
LL :KLOH ZUDSSLQJ ZDWHUSURRI VHOIDGKHVLYH WDSH ¿UVW ZUDS
OD\HU E\ OD\HU IURP GRZQ WR XS WKHQ IURP XS WR GRZQ DQG
¿QDOO\ IURP GRZQ WR XS DJDLQ 7KH XSSHU OD\HU VKRXOG FRYHU
KDOI RI WKH ORZHU OD\HU
)DVWHQ WKH VLQJOHKROH FRQQHFWLQJ WHUPLQDO DW WKH RWKHU HQG
RI JURXQGLQJ FDEOH WR WKH JURXQGLQJ EDU ZLWK 0î KH[DJRQ
EROWV &OHDQ DZD\ SDLQW DQG R[LG ZLWKLQ PP UDGLXV RI FRQ
&RQ¿GHQWLDO DQG 3URSULHWDU\ ,QIRUPDWLRQ RI =7( &25325$7,21

$SSHQGL[ ) $& /LJKWQLQJ $UUHVWHU
QHFWLQJ SRVLWLRQ DQG FRYHU DQWLR[LGDWLRQ SDVWH RQ LW WR PDNH
VXUH JRRG HOHFWULFDO FRQWDFW $IWHU FRQQHFWLRQ FRPSOHWHG FRYHU
D OD\HU RI DQWLUXVW SDLQW 7KH VLQJOHKROH FRQQHFWLQJ WHUPLQDO
LV DV VKRZQ LQ )LJXUH
),*85( &211(&7,1* 7(50,1$/ 6,1*/(+2/(
(1' 2) 67(36
&RQ¿GHQWLDO DQG 3URSULHWDU\ ,QIRUPDWLRQ RI =7( &25325$7,21

=;6'5 5 ,QVWDOODWLRQ 0DQXDO
7KLV SDJH LV LQWHQWLRQDOO\ EODQN
&RQ¿GHQWLDO DQG 3URSULHWDU\ ,QIRUPDWLRQ RI =7( &25325$7,21

$ S S H Q G L [ *
3'0
7DEOH RI &RQWHQWV
3'0 $SSHDUDQFH DQG ,QWHUIDFH
,QVWDOOLQJ 3'0
3'0 $SSHDUDQFH DQG
,QWHUIDFH
3RZHU GLVWULEXWLRQ PRGXOH 3'0 LV LQVWDOOHG LQ D VLPSOL¿HG FDELQHW
WR WUDQVIHU '& SRZHU IRU =;6'5 5 3RZHU RQ RU RII D VLQJOH
=;6'5 5 E\ FRQWURO RI VZLWFKHV RQ WKH 3'0
)LJXUH DQG )LJXUH LOOXVWUDWH WKH DSSHDUDQFH DQG LQWHUIDFHV
RI 3'0
),*85( 32:(5 ',675,%87,21 %2; 3/$1(
%%8 SRZHU VZLWFK 558 SRZHU VZLWFK
),*85( 32:(5 ',675,%87,21 %2;
±9*1' RXWSXW FRSSHU EDU
±9 RXWSXW FRSSHU EDU
3RZHU PDLQ VZLWFK
±9
±9*1'
&RQ¿GHQWLDO DQG 3URSULHWDU\ ,QIRUPDWLRQ RI =7( &25325$7,21

=;6'5 5 ,QVWDOODWLRQ 0DQXDO
,QVWDOOLQJ 3'0
&RQWH[W 7KH SRZHU GLVWULEXWLRQ PRGXOH 3'0 LV LQVWDOOHG LQ DQ LQWHJUD
WLYH FDELQHW WR WUDQVIHU '& SRZHU IRU =;6'5 % & =;6'5
5 & RU =;6'5 5 &
6WHSV &KHFN LQVWDOODWLRQ RI SRZHU VZLWFKHV 7KH VWDWXV RI 21 DQG 2))
VKRXOG EH FRQVLVWHQW ZLWK VLONVFUHHQV RQ WKH 3'0 VZLWFK SODQH
&RQQHFW LQWHUQDO FDEOHV
&RQQHFW DQ HQG RI LQWHUQDO FDEOH WR WKH 2)) HQG RI SRZHU
VZLWFKHV DQG ZUDS DGKHVLYH WDSH DV VKRZQ LQ )LJXUH
),*85( ,16,'( &$%/( 72 &211(&7 :,7+ 3'0
3RZHU VZLWFK
&RQQHFWLQJ WHUPLQDO
,QWHUQDO FDEOH
,QVWDOO WKH 3'0 FRQQHFWHG ZLWK LQWHUQDO FDEOHV WR WKH VLPSOL¿HG
FDELQHW DV VKRZQ LQ )LJXUH
&RQ¿GHQWLDO DQG 3URSULHWDU\ ,QIRUPDWLRQ RI =7( &25325$7,21

$SSHQGL[ * 3'0
),*85( 3'0 ,167$//$7,21 72 $ 6,03/,),(' &$%,1(7
=;6'5 5
=;6'5 5 ¿[DWLRQ VKHOI
3'0
=;6'5 % &
3DQ VFUHZ 0î
6LPSOL¿HG FDELQHW
*36 DUUHVWHU UDFN
*36 DUUHVWHU
,QVWDOO WKH SRZHU FDEOHV RI %%8 DQG 558 7KH SRZHU FDEOH FDU
ULHV IDVWHQHUV E\ LWVHOI LQVWDOOHG DW D ED\RQHW RI 3'0 EDFN DV
VKRZQ LQ )LJXUH
&RQ¿GHQWLDO DQG 3URSULHWDU\ ,QIRUPDWLRQ RI =7( &25325$7,21

=;6'5 5 ,QVWDOODWLRQ 0DQXDO
),*85( %%8 $1' 558 32:(5 &$%/( ,167$//$7,21
3'0 3RZHU FDEOH
&RQQHFW WKH RWKHU HQG RI LQWHUQDO FDEOHV WR 9 FRQQHFWLQJ
WHUPLQDO &RQQHFW WKH 9 HQG RI %%8 DQG 558 SRZHU FDEOHV
WR WKH 21 HQG RI VZLWFKHV &RQQHFW WKH 9*1' HQG WR WKH
9*1' FRQQHFWLQJ WHUPLQDO 7KHQ VFUHZ GRZQ EROWV ZLWK D
VFUHZGULYHU
&RQQHFW WKH LQSXW SRZHU FDEOH FDUULHG E\ 3'0 VHOI WR WKH FRQ
QHFWLQJ WHUPLQDO
(1' 2) 67(36
&RQ¿GHQWLDO DQG 3URSULHWDU\ ,QIRUPDWLRQ RI =7( &25325$7,21

)LJXUHV
)LJXUH ,QVWDOODWLRQ )ORZ
)LJXUH 3XWWLQJ WKH 0HQWDO /DWFK LQ 6WUDLJKW 'LUHFWLRQ
)LJXUH 5HPRYLQJ &RYHU %RDUG
)LJXUH 5HPRYLQJ 2WKHU %RDUGV
)LJXUH 7DNLQJ 2XW &RPSRQHQW ZLWK DQ $QWLVWDWLF :ULVW 6WUDS
)LJXUH 3ROH $QFKRU &ODPS &RPSRQHQWV
)LJXUH 3ROH )L[LQJ %UDFNHW &RPSRQHQWV
)LJXUH 3ROHPRXQW ,QVWDOODWLRQ
)LJXUH 3ROHPRXQW ,QVWDOODWLRQ
)LJXUH 3ROHPRXQW ,QVWDOODWLRQ
)LJXUH 3ROHPRXQW ,QVWDOODWLRQ
)LJXUH 3ROHPRXQW ,QVWDOODWLRQ
)LJXUH 3ROHPRXQW ,QVWDOODWLRQ
)LJXUH :DYH 7UDS ,QVWDOODWLRQ
)LJXUH 3ROHPRXQW ,QVWDOODWLRQ
)LJXUH 3ROHPRXQW ,QVWDOODWLRQ
)LJXUH 3ROHPRXQW ,QVWDOODWLRQ
)LJXUH 3ROHPRXQW ,QVWDOODWLRQ
)LJXUH 3ROHPRXQW ,QVWDOODWLRQ
)LJXUH 3ROHPRXQW ,QVWDOODWLRQ
)LJXUH 3ROHPRXQW ,QVWDOODWLRQ
)LJXUH :DYH 7UDS ,QVWDOODWLRQ
)LJXUH ,QVWDOODWLRQ &RPSOHWLRQ
)LJXUH 6XSSRUWLQJ 3DQHO
)LJXUH +ROH 0DUNLQJ 'HVLJQ 7HPSODWH 8QLW PP
)LJXUH 6SDFH 5HTXLUHPHQW IRU :DOOPRXQW ,QVWDOODWLRQ
8QLW PP
)LJXUH 6XSSRUWLQJ 3DQHO ,QVWDOODWLRQ RQ :DOO
)LJXUH 0RXQWLQJ &DELQHW
)LJXUH *DQWU\ $SSHDUDQFH
)LJXUH 6XSSRUWLQJ 3DQHO
)LJXUH )L[ 8SULJKW &ROXPQ DQG %DVH 3ODWH
)LJXUH )DVWHQ 8SULJKW &ROXPQ DQG &RYHU 3ODWH
)LJXUH )DVWHQ 7LOWHG 6XSSRUW
&RQ¿GHQWLDO DQG 3URSULHWDU\ ,QIRUPDWLRQ RI =7( &25325$7,21

=;6'5 5 ,QVWDOODWLRQ 0DQXDO
)LJXUH =;6'5 5,QGRRU *DQWU\PRXQW ,QVWDOODWLRQ
$SSHDUDQFH RQO\ 558 LQVWDOOHG
)LJXUH )L[ 8SULJKW &ROXPQ DQG %DVH 3ODWH
)LJXUH )DVWHQ 8SULJKW &ROXPQ DQG &RYHU 3ODWH
)LJXUH )DVWHQ 7LOWHG 6XSSRUW
)LJXUH 6XSSRUWLQJ %UDFNHW
)LJXUH 6XSSRUWLQJ %UDFNHW DQG :DOOPRXQW $VVHPEOLHV
)LJXUH =;6'5 5 ,QVWDOODWLRQ
)LJXUH :DYH 7UDS
)LJXUH :DYH 7UDS ,QVWDOODWLRQ
)LJXUH *DQWU\PRXQW ,QWHJUDWHG ,QVWDOODWLRQ
)LJXUH *DQWU\PRXQW ,QWHJUDWHG ,QVWDOODWLRQ VLGH
)LJXUH 6LPSOL¿HG &DELQHW $SSHDUDQFH
)LJXUH 8SSHU )L[LQJ )UDPH
)LJXUH /RZHU )L[LQJ )UDPH
)LJXUH +ROH 3RVLWLRQV DQG 'LPHQVLRQ
)LJXUH =;6'5 5 $VVHPEOLHV
)LJXUH =;6'5 5 )L[LQJ %HDP
)LJXUH /RZHU )L[LQJ )UDPH ,QVWDOODWLRQ
)LJXUH =;6'5 5,QVWDOOHG ZLWK 8SSHU DQG /RZHU
)L[LQJ )UDPH
)LJXUH =;6'5 5 ,QVWDOODWLRQ WR 6LPSOL¿HG &DELQHW
)LJXUH =;6'5 5 ,QVWDOODWLRQ &RPSOHWLRQ
)LJXUH 6XQ 6KLHOG 6WUXFWXUH
)LJXUH ([WHUQDO &DEOH ,QVWDOODWLRQ )ORZ
)LJXUH 3RZHU &DEOH VWUXFWXUH
)LJXUH *URXQGLQJ &DEOH 6WUXFWXUH
)LJXUH =;6'5 5 *URXQGLQJ %ROW
)LJXUH (DUWKQHWZRUN &RSSHU %DU 8QLW PP
)LJXUH )LEHU &RQQHFWLRQ EHWZHHQ =;6'5 5 DQG %%8
)LJXUH 2SWLFDO )LEHU ,QVWDOODWLRQ
)LJXUH )LEHU &RQQHFWLRQ EHWZHHQ =;6'5 5V
)LJXUH 2SWLFDO )LEHU ,QVWDOODWLRQ
)LJXUH (QYLURQPHQW 0RQLWRULQJ &DEOH
)LJXUH $YLDWLRQ -DFN $SSHDUDQFH
)LJXUH $,6* &RQWURO &DEOH 6WUXFWXUH
)LJXUH )UHTXHQF\ 3RLQW ([WHQVLRQ &DEOH
)LJXUH 5) -XPSHU ,QVWDOODWLRQ
)LJXUH =;6'5 5 &RQ¿JXUHG ZLWK &RPPRQ $QWHQQD
&RQ¿GHQWLDO DQG 3URSULHWDU\ ,QIRUPDWLRQ RI =7( &25325$7,21

)LJXUHV
)LJXUH =;6'5 5 &RQ¿JXUDWLRQ ZLWK &RPPRQ
$QWHQQD $,6* 'XDO 3RZHU $PSOL¿HU
)LJXUH =;6'5 5 &RQ¿JXUDWLRQ ZLWK (OHFWURQLF
$GMXVWPHQW $QWHQQD
)LJXUH =;6'5 5 &RQ¿JXUDWLRQ ZLWK (OHFWURQLF
$GMXVWPHQW $QWHQQD
)LJXUH =;6'5 5 &RQ¿JXUDWLRQ ZLWK (OHFWURQLF
$GMXVWPHQW $QWHQQD $,6* 'XDO 3RZHU $PSOL¿HU
)LJXUH 0DLQ $QWHQQD )HHGHU 6\VWHP ,QVWDOODWLRQ )ORZ
)LJXUH $QWHQQD ,QVWDOODWLRQ 3RVLWLRQ
)LJXUH 'LUHFWLRQDO $QWHQQD ,QVWDOODWLRQ
)LJXUH $QWHQQD 'RZQWLOW $GMXVWPHQW
)LJXUH 2PQL 'LUHFWLRQDO $QWHQQD ,QVWDOODWLRQ
)LJXUH )HHGHU )L[LQJ
)LJXUH +RLVWLQJ )HHGHU 7R 7RZHU
)LJXUH 7ULSOH )HHGHU &OLS $SSHDUDQFH
)LJXUH )HHGHU *URXQGLQJ 6FKHPDWLF 'LDJUDP
)LJXUH *5281',1* 6<67(0
)LJXUH *URXQGLQJ %DU 6WUXFWXUH
)LJXUH *5281',1* &/,3
)LJXUH ,QVWDOODWLRQ +ROH 3RVLWLRQV 8QLW PP
)LJXUH +HUPHWLF :LQGRZ ,QVWDOODWLRQ
)LJXUH )HHGHU LQWR 5RRP 0RGH
)LJXUH )HHGHU LQWR 5RRP 0RGH
)LJXUH $QWHQQD )HHGHU DQG -XPSHU ,QVWDOODWLRQ
)LJXUH :DWHUSURRI ,QVXODWLQJ 7DSH
)LJXUH 39& $GKHVLYH 7DSH
)LJXUH :UDSSLQJ D /D\HU RI 39& ,QVXODWLQJ 7DSH
)LJXUH :UDSSLQJ 7KUHH /D\HUV RI :DWHU ,QVXODWLQJ 7DSH
WKH )LUVW /D\HU
)LJXUH :UDSSLQJ 7KUHH /D\HUV RI :DWHU ,QVXODWLQJ 7DSH
WKH 6HFRQG /D\HU
)LJXUH :UDSSLQJ 7KUHH /D\HUV RI :DWHU ,QVXODWLQJ 7DSH
WKH 7KLUG /D\HU
)LJXUH :UDSSLQJ 7KUHH /D\HUV RI 39& ,QVXODWLQJ 7DSH WKH
)LUVW /D\HU
)LJXUH :UDSSLQJ 7KUHH /D\HUV RI 39& ,QVXODWLQJ 7DSH WKH
6HFRQG /D\HU
)LJXUH )DVWHQLQJ
)LJXUH )HHGHU +HUPHWLFZLQGRZ 'LPHQVLRQ 8QLW PP
&RQ¿GHQWLDO DQG 3URSULHWDU\ ,QIRUPDWLRQ RI =7( &25325$7,21

=;6'5 5 ,QVWDOODWLRQ 0DQXDO
)LJXUH )HHGHU +HUPHWLFZLQGRZ 6WUXFWXUH
)LJXUH ,QVWDOODWLRQ +ROH 3RVLWLRQV 8QLW PP
)LJXUH )HHGHU +HUPHWLFZLQGRZ ,QVWDOODWLRQ
)LJXUH &DELQHW -XPSHUV
)LJXUH =;6'5 5 &DELQHWFRPELQHG ,QVWDOODWLRQ
&RQQHFWLRQ
)LJXUH &DVFDGHG &DELQHW &RQQHFWLRQ
)LJXUH =;6'5 5 2SWLFDO )LEHU IRU &DVFDGHG
&DELQHW
)LJXUH 2$8 $SSHDUDQFH
)LJXUH 2$8 ,QWHUIDFHV
)LJXUH $QFKRU &ODPS $VVHPEOLHV
)LJXUH )L[LQJ %UDFNHW $VVHPEOLHV
)LJXUH 7ZR 6HWV RI $QFKRU &ODPS $VVHPEOLHV
)LJXUH 7ZR 6HWV RI )L[LQJ %UDFNHW $VVHPEOLHV
)LJXUH 2$8 %UDFNHW
)LJXUH 7ZR 6HWV RI 6XSSRUWLQJ 3DQHOV
)LJXUH 7KUHH 6HWV RI 6XSSRUWLQJ 3DQHOV
)LJXUH 2$8 ,QVWDOODWLRQ
)LJXUH 2$8 ,QVWDOODWLRQ
)LJXUH 2$8 5DFN
)LJXUH 2$8 ,QVWDOODWLRQ
)LJXUH 2$8 ,QVWDOODWLRQ
)LJXUH :DWHUSURRI (QG &DS
)LJXUH /RRVH RII :DWHUSURRI (QG &DS
)LJXUH :DWHUSURRI (QG &DS 6WUXFWXUH
)LJXUH :DWHUSURRI (QG &DS ,QVWDOODWLRQ
)LJXUH $& 3RZHU &DEOH &RQQHFWLRQ
)LJXUH 2QH $& /LJKWQLQJ %R[ 7KUHH 2$8V DQG 7KUHH
5 &DEOH &RQQHFWLRQ
)LJXUH 2XWGRRU '& /LJKWQLQJ %R[ $SSHDUDQFH
)LJXUH 2XWGRRU '& /LJKWQLQJ %R[ ,QWHUIDFH
)LJXUH ,QVWDOODWLRQ 3DUWV
)LJXUH 2XWGRRU '& /LJKWQLQJ 3ROH ,QVWDOODWLRQ
)LJXUH 2XWGRRU '& /LJKWQLQJ %R[ ,QWHUIDFHV
)LJXUH 2XWGRRU '& /LJKWQLQJ &RQQHFWLRQ
)LJXUH ,QGRRU '& /LJKWQLQJ %R[ $SSHDUDQFH
)LJXUH ,QGRRU '& /LJKWQLQJ %R[ ,QWHUIDFHV
)LJXUH ,QGRRU '& /LJKWQLQJ %R[ &DEOH &RQQHFWLRQ QRW
FRQQHFW ZLWK UHPRWH DODUP
&RQ¿GHQWLDO DQG 3URSULHWDU\ ,QIRUPDWLRQ RI =7( &25325$7,21

)LJXUHV
)LJXUH $& /LJKWQLQJ %R[ $SSHDUDQFH
)LJXUH $& /LJKWQLQJ %R[ ,QWHUIDFH
)LJXUH $& /LJKWQLQJ %R[ ,QVWDOODWLRQ 3DUWV
)LJXUH $& /LJKWQLQJ 3ROH ,QVWDOODWLRQ
)LJXUH 2QH $& /LJKWQLQJ %R[ DQG 2QH RU WZR 5
&DEOH &RQQHFWLRQ
)LJXUH 7ZR $& /LJKWQLQJ %R[ DQG 7KUHH 5 &DEOH
&RQQHFWLRQ
)LJXUH 2QH $& /LJKWQLQJ %R[ 7KUHH 2$8V DQG 7KUHH
5 &DEOH &RQQHFWLRQ
)LJXUH 6KLHOGHG *URXQGLQJ .LW 6WUXFWXUH
)LJXUH *URXQGLQJ %RG\ DGRSWDEOH IRU PPWZRFRUH
RXWGRRU SRZHU FDEOH
)LJXUH *URXQGLQJ %RG\ DGRSWDEOH IRU PPWZRFRUH
RXWGRRU SRZHU FDEOH
)LJXUH &RQQHFWLQJ 7HUPLQDO GXDOKROH
)LJXUH &RQQHFWLQJ 7HUPLQDO VLQJOHKROH
)LJXUH 3RZHU 'LVWULEXWLRQ %R[ 3ODQH
)LJXUH 3RZHU 'LVWULEXWLRQ %R[
)LJXUH ,QVLGH &DEOH WR FRQQHFW ZLWK 3'0
)LJXUH 3'0 ,QVWDOODWLRQ WR D 6LPSOL¿HG &DELQHW
)LJXUH %%8 DQG 558 3RZHU &DEOH ,QVWDOODWLRQ
&RQ¿GHQWLDO DQG 3URSULHWDU\ ,QIRUPDWLRQ RI =7( &25325$7,21

=;6'5 5 ,QVWDOODWLRQ 0DQXDO
7KLV SDJH LV LQWHQWLRQDOO\ EODQN
&RQ¿GHQWLDO DQG 3URSULHWDU\ ,QIRUPDWLRQ RI =7( &25325$7,21

7DEOHV
7DEOH 6DIHW\ 6\PEROV 'HVFULSWLRQ
7DEOH 7RRO DQG 0HWHU /LVW
7DEOH =;6'5 5 (QJLQHHULQJ ,QGLFHV
7DEOH -'.&+±.= '& /LJKWQLQJ %R[ 7HFKQLFDO
,QGLFHV
7DEOH *3$'0$ ([WHUQDO $&WR'& &RQYHUVLRQ
/LJKWQLQJ %R[ 7HFKQLFDO ,QGLFHV
7DEOH 0DLQ &RPSRQHQW /LVW
7DEOH 0DLQ &RPSRQHQW /LVW
7DEOH 0DLQ &RPSRQHQW /LVW
7DEOH 0DLQ &RPSRQHQWV
7DEOH 0DLQ &RPSRQHQWV
7DEOH 0DLQ &RPSRQHQWV
7DEOH =;6'5 5 ([WHUQDO &DEOH &RQQHFWLRQ
5HODWLRQVKLS
7DEOH &RORU DQG 6SHFL¿FDWLRQ
7DEOH &DEOH 3LQ 'HVFULSWLRQ
7DEOH $,6* &RQWURO &DEOH 'HVFULSWLRQ
7DEOH &RQQHFWLRQ 5HODWLRQVKLS
7DEOH &RQQHFWLRQ 5HODWLRQVKLS
7DEOH (QJLQHHULQJ 7HFKQLFDO ,QGLFHV
7DEOH 2$8 ,QSXW &KDUDFWHUV
7DEOH 2$8 2XWSXW &KDUDFWHUV
7DEOH (QJLQHHULQJ 7HFKQLFDO ,QGLFHV
7DEOH (QJLQHHULQJ 7HFKQLFDO ,QGLFHV
7DEOH (QJLQHHULQJ 7HFKQLFDO ,QGLFHV
&RQ¿GHQWLDO DQG 3URSULHWDU\ ,QIRUPDWLRQ RI =7( &25325$7,21

=;6'5 5 ,QVWDOODWLRQ 0DQXDO
7KLV SDJH LV LQWHQWLRQDOO\ EODQN
&RQ¿GHQWLDO DQG 3URSULHWDU\ ,QIRUPDWLRQ RI =7( &25325$7,21

/LVW RI *ORVVDU\
$,6* $QWHQQD ,QWHUIDFH 6WDQGDUGV *URXS
%%8 %DVH%DQG 8QLW
96:5 9ROWDJH 6WDQGLQJ :DYH 5DWLR
&RQ¿GHQWLDO DQG 3URSULHWDU\ ,QIRUPDWLRQ RI =7( &25325$7,21