User manual

ZXSDR R8882
L708
LTE Remote Radio
Unit
User
Manual
Version:
V2.00
ZTE CORPORATION
NO. 55, Hi-tech Road South, ShenZhen, P.R.China
Postcode: 518057
Tel: +86-755-26771900
Fax: +86-755-26770801
URL: http://ensupport.zte.com.cn
E-mail: support@zte.com.cn
FCC Statements
Warning: Changes or modifications to this unit not expressly approved by the party
responsibleforcompliancecouldvoidtheuser’sauthoritytooperatetheequipment.
NOTE: This equipment has been tested and found to comply with the limits for a
Class B digital device, pursuant to Part 15 of the FCC Rules. These limits are
designed to provide reasonable protection against harmful interference when the
equipment is operated in a commercial environment. This equipment generates,
uses, and can radiate radio frequency energy and, if not installed and used in
accordance with the instruction manual, may cause harmful interference to radio
communications. Operation of this equipment in a residential area is likely to cause harmful
interference in which case the user will be required to correct the interference at his own
expense.
NOTE: Operation of this equipment in a residential area is likely to cause harmful
interference in which case the user will be required to correct the interference at his own
expense.
Radiation Exposure Statement:ThisequipmentcomplieswithFCCradiationexposurelimits
setforthforanuncontrolledenvironment.Thisequipmentshouldbeinstalledandoperatedwith
minimumdistance6.5mbetweentheradiator&yourbody.

SJ-20110104194923-001|2011-1-15(R1.0)
ZTE Proprietary and Confidential
Chapter
1
Product
Overview
Table of Contents
Distributed eNodeB Solution.......................................................................................1-1
Product Position in Network........................................................................................1-3
Product
Features........................................................................................................1-4
Product Functions ......................................................................................................1-
4
Product
Appearance...................................................................................................1-5
Installation
Scenario
...................................................................................................1-5
Product
Networking
....................................................................................................1-
5
Operation and Maintenance
Introduction
....................................................................1-6
Product External Interfaces ........................................................................................1-7
Product Indicators ......................................................................................................1-
9
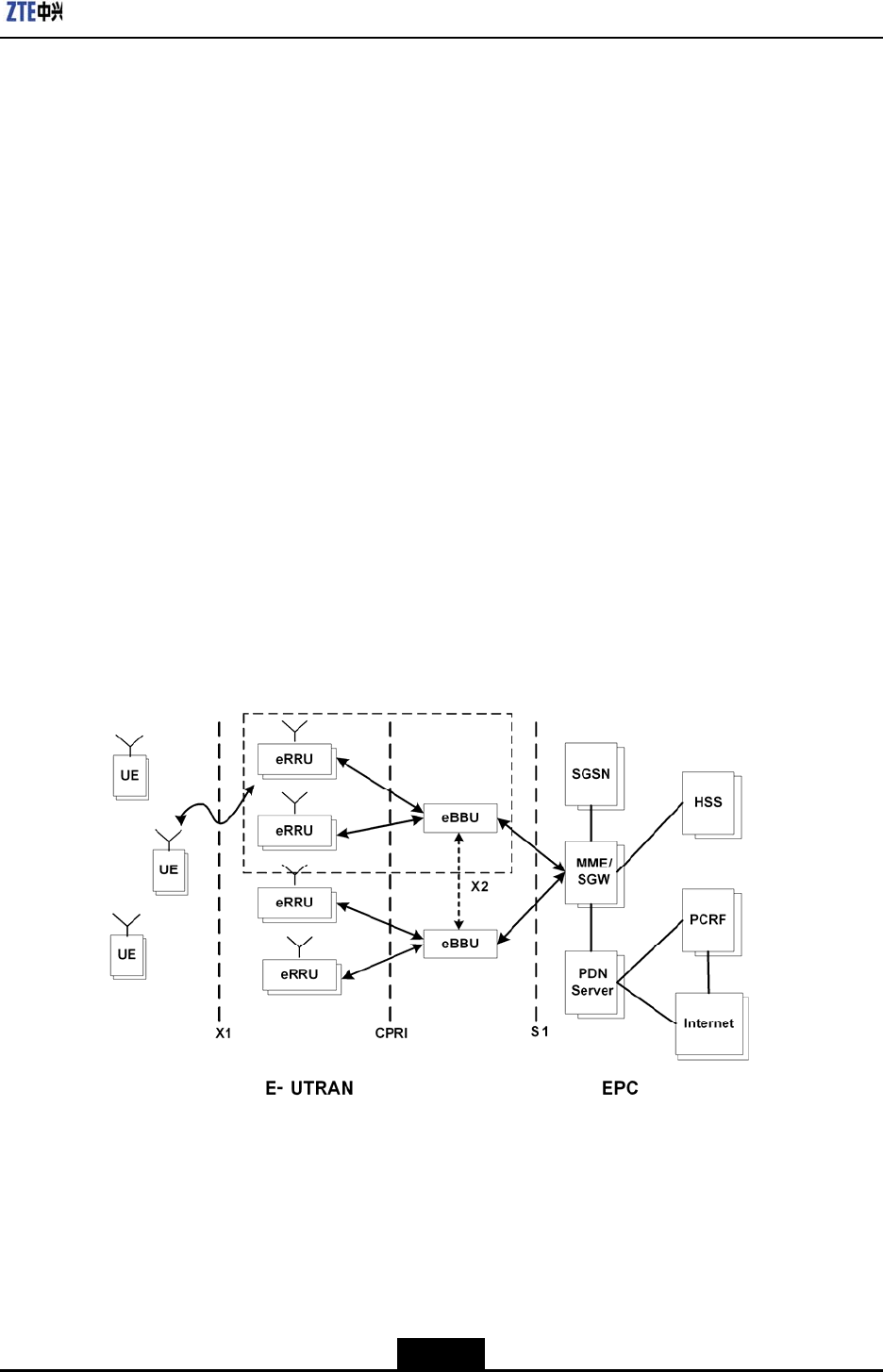
1.1 Distributed eNodeB Solution
To supply customers with more competitive communication equipment and solution in the
market, ZTE develops and promotes ZTE SDR eBBU (baseband unit) and eRRU (remote
radio unit) distributed eNodeB solution timely, which jointly perform LTE eNodeB service.
ZTE distributed eNodeB solution is shown in Figure 1-1.

SJ-20110104194923-001|2011-1-15(R1.0)
ZTE Proprietary and Confidential
1-1

SJ-20110104194923-001|2011-1-15(R1.0)
ZTE Proprietary and Confidential
ZXSDR R8882 L200 User Manual
Figure 1-1 ZTE Distributed eNodeB Solution
ZTE's LTE eBBU+eRRU distributed eNodeB solution has the following predominance:
1. Saving labor cost and engineering cost for networking.
eBBU+eRRU distributed eNodeB equipment is small in size, light in weight, and easy
for transportation and engineering construction.
2. Fast networking, also saving the fees of renting equipment room.
eBBU+eRRU distributed eNodeB is applicable to various sites, such as mounted on
steel tower, on building top, or on wall, etc. It's more flexible in selecting installation
site, and not
restricted
by the space of
equipment
room. It can help operators
to deploy
network rapidly. It can also save the fees of renting equipment room, and the network
operation cost.
3. Convenient in upgrade and capacity expansion; saving the initial stage cost of the
network.
eRRU can be mounted as close to antenna as possible, to save the cost of feed cable
and decrease the loss of feed cable. It also can enhance the output power of eRRU
and increase the coverage.
4. Low power consumption, power-saving.
1-2

SJ-20110104194923-001|2011-1-15(R1.0)
ZTE Proprietary and Confidential
Chapter 1 Product
Overview
Compared with traditional eNodeB,
eBBU+eRRU
distributed eNodeB has lower power
consumption, which can greatly reduce the investment and cost on electric power, and
thus save the network operation cost.
5. Distributed networking, making good use of operators' network resources supporting
eBBU+eRRU
distributed networking; supporting star networking mode between eBBU
and eRRU.
6. Adopting a more perspective and generalized eNodeB platform.
eBBU adopts the platform designed for the future B3G and 4G. One hardware platform
can realize different standard modes, and several standard modes can coexist in one
eNodeB. In this way, operators' management can be simplified, and several eNodeBs
to be invested can be integrated into one eNodeB (multimode eNodeB). The operators
can select the evolution direction of the future network more flexibly.
1.2 Product Position in Network
ZXSDR R8882 L708 is a remote radio unit (eRRU) of distributed eNodeB. The signal is
transmitted or received through ZXSDR R8882 L708 to and from base band processing
unit for further processing through CPRI interface. By applying the distributed system, the
feeder loss will be reduced when the remote radio unit is positioned close to the antenna.
The coverage is enlarged with this solution.
Figure 1-2 Product Location
1-3

SJ-20110104194923-001|2011-1-15(R1.0)
ZTE Proprietary and Confidential
ZXSDR R8882 L200 User Manual
1.3 Product Features
Multi-Mode eRRU
ZXSDR R8882 L708 is fully software defined device. It supports multi-mode at the same
frequency band simultaneously. Therefore, it fully satisfies operators’ requirements of
hybrid network deployment and long term evolution with the lowest cost.
MIMO Supported, Better Performance
R8882 L708 supports 2T2R, which can optimize spectrum efficiency greatly and improve
network uplink performance. As a result, it brings better customer experience.
Higher Efficiency, Lower TCO
z ZXSDR R8882 L708’s PA
efficiency
can reach up to 30% thanks to the most advanced
Doherty PA, DPD linear technology.
z It supports dynamic adaptive PA power supply due to the output power, which reduces
power consumption.
1.4 Product Functions
ZXSDR R8882 L708 is the remote radio unit of distributed base station. The signal is
transmitted or received through ZXSDR R8882 L708 to/from base band processing unit
for further processing via standard CPRI interface.
The product basic functions are listed below:
z Supports the configuration of 5 MHz, 10 MHz, and 15 MHz scalable
bandwidth.
z R8882 L708 supports 698 MHz~716 MHz(uplink)/728 MHz~746 MHz(downlink).
z Supports 2x2 MIMO on downlink.
z Supports QPSK,16-QAM,64-QAM on downlink, QPSK and 16–QAM on uplink.
z Supports transmission and receive power detection.
z Supports overload power protection for power amplifier.
z Supports power amplifier switching on/off function.
z ZXSDR R8882 L708 software failure will not affect the running of eBBU and other
ZXSDR R8882 L708s which are connected to it.
z Supports field strength scanning, temperature query, VSWR query, dry contact,
hardware/software resetting.
1-4

SJ-20110104194923-001|2011-1-15(R1.0)
ZTE Proprietary and Confidential
Chapter 1 Product
Overview
1.5 Product Appearance
The appearance of ZXSDR R8882 L708 is as shown in Figure 1-3.
Figure 1-3 Product Overall Appearance
1.6 Installation Scenario
The ZXSDR R8882 L708 usually installed on wall or on pole or on gantry.
1.7 Product Networking
ZXSDR R8882 L708 supports star networking mode with eBBU, as shown in Figure 1-4.
1-5

SJ-20110104194923-001|2011-1-15(R1.0)
ZTE Proprietary and Confidential
ZXSDR R8882 L200 User Manual
Figure 1-4 Star Networking Mode
1.8 Operation and Maintenance Introduction
ZXSDR R8882 L708 supports system operation and maintenance remotely or locally.
Operate and Maintain System Remotely
Remotely operates and maintains system by using NetNumen management system, as
shown in Figure 1-5.
Figure 1-5 Operate and Maintain System Remotely
1-6

SJ-20110104194923-001|2011-1-15(R1.0)
ZTE Proprietary and Confidential
Chapter 1 Product
Overview
Operate and Maintain System Locally
locally operates and maintains system by using ZTE’s Local Maintenance Terminal (LMT)
software kit, as shown in Figure 1-6.
Figure 1-6 Operate and Maintain System Locally
1.9 Product External Interfaces
The ZXSDR R8882 L708 external interfaces are shown in Figure 1-7 and Figure 1-8.
Figure 1-7 Product External Interfaces and Grounding Terminal
1-7
123 4 5
68 7

SJ-20110104194923-001|2011-1-15(R1.0)
ZTE Proprietary and Confidential
ZXSDR R8882 L200 User Manual
Figure 1-8 LMT Interface
Table 1-1 shows the detailed description of all the external interfaces.
Table 1-1 Product External Interfaces Description
No. Label Interface/Terminal Interface type/connector
1
PWR
Power interface/1 dry contact DC interface:
Connector XCG18T4K1P1-
01+XC18FJJP1-10.5
Section area of cable is 1.5 mm2
2
MON
485 Serial /2 dry contacts 8-cores socket (IEC 60130-9-ED)
3
AISG
AISG device interface 8-cores aviation socket
4
OPT1
eBBU Interface LC type optical interface
5
OPT2
Reserved LC type optical interface
6
ANT4(TX1/RX1)
Antenna TX/RX interface on channel 1 50 Ohm DIN-7/16 Connector
7
Grounding Terminal -
8
ANT1(TX0/RX0)
Antenna TX/RX interface on channel 0 50 Ohm DIN-7/16 Connector
9
LMT
Operation and Maintenance Interface 8P8C Ethernet interface
1-8
9

SJ-20110104194923-001|2011-1-15(R1.0)
ZTE Proprietary and Confidential
Chapter 1 Product
Overview
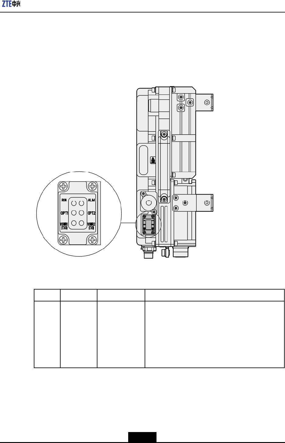
1.10 Product Indicators
ZXSDR R8882 L708 provides six LED indicators, which are located at the right bottom
side of the device. The LED indicators are used to show product working status and alarm
status, as shown in Figure 1-9.
Figure 1-9 Product Indicators
Table 1-2 shows the detailed information of the indicators.
Table 1-2 Product Indicator Description
Name Color Meaning Working Mode
RUN
Green
Running status z Blinking every 1.5 second:
physical link in the process of
initialization
z Blinking every 0.07 second: the
link between eBBU and eRRU is
in the process of establishment,
or the link is broken
1-9

SJ-20110104194923-001|2011-1-15(R1.0)
ZTE Proprietary and Confidential
ZXSDR R8882 L200 User Manual
Name Color Meaning Working Mode
ALM
Red
Alarm indicator z Solid ON: there is alarm
z OFF: there is no alarm
OPT1
Green
Optical interface
running indicator
z Solid ON: physical link is good, logical link
is abnormal
z OFF: physical link is abnormal
z Blinking every 0.3 second: interface is in good
state
OPT2
Green
Optical interface
running indicator
z Solid ON: physical link is good, logical link is
abnormal
z OFF: physical link is abnormal
z Blinking every 0.3 second: interface is in good
state
VSWR1
Red Transmission
channel 1 VSWR
indicator
z Solid ON: there are VSWR alarms
z OFF: there is no VSWR alarm
VSWR2
Red Transmission
channel 4 VSWR
indicator
z Solid ON: there are VSWR alarms
z OFF: there is no VSWR alarm
1-10

SJ-20110104194923-001|2011-1-15(R1.0)
ZTE Proprietary and Confidential
Chapter
2
Product
Installation
Table of Contents
Safety
Description
......................................................................................................3-
1
Device Unpacking and Inspection...............................................................................3-5
Device
Installation
......................................................................................................3-
6
Cables
Connection
...................................................................................................3-
23
2.1 Safety Description
2.1.1 Safety Specifications Introduction
In order to avoid
accidents, before installing
or
maintaining
the
ZXSDR R8882
L708, please
read this manual carefully for safety issues. If there are any local safety specifications, use
the safety specifications described in this manual as a supplement. If there is any conflict
between them, please follow the local safety specifications.
The personnel who install or maintain the ZXSDR R8882 L708 must be equipped
with knowledge of safety operation, technical training, correct knowledge of equipment
operation and maintenance, and corresponding qualifications.
When installing or maintaining the ZXSDR R8882 L708, the operator must follow the
precautions of the equipment and special instructions provided by ZTE CORPORATION.
Furthermore, the security issues listed in this manual are only friendly reminders by
ZTE CORPORATION from safety point of view. ZTE is not responsible for any accident
caused by violations of general safety operating requirements, or by violations of the
design, production and use of equipment safety standards.
2.1.2 Safety Symbols
Common safety symbols are shown in Table 3-1. These symbols are used to remind the
user with safety matters when they maintain the equipment.
Table 3-1 Symbol type and meanings
Symbols Meanings
No Touch Sign: DO NOT touch
General Warning Sign: General security issues

SJ-20110104194923-001|2011-1-15(R1.0)
ZTE Proprietary and Confidential
ZXSDR R8882 L200 User Manual
Symbols Meanings
Electric Shock Warning Sign: Beware of high
voltage
Antistatic Sign: The device is sensitive to
electrostatic charge or static electricity
Microwave Warning Sign: Be careful of strong
electromagnetic fields
Laser Warning Sign: Be careful of intense laser
beam
Burn Warning Sign: Be careful of high
temperature
The general warning sign falls into three safety severities: Danger, Warning and
Caution, from major to minor. The
severity
is
marked
on the right of the
symbol
and detailed
descriptions are placed under the symbol. Their formats and descriptions are shown as
below.
Danger!
Ignoring the safety warning may cause death or serious personal injuries, or equipment
damage or breakdown.
Warning!
Ignoring the safety warning may cause major serious injuries, equipment damage or
service interruption.
Caution!
Ignoring
the safety
warning
may cause serious injuries,
equipment damages
or interruption
of some services.
3-2

SJ-20110104194923-001|2011-1-15(R1.0)
ZTE Proprietary and Confidential
Chapter 2 Product Installation
2.1.3 Safety Operation Guidance
Electrical Safety
1. Tool
When operating in the case of high voltage, use special tools. Do not use general
tools.
2. Power Cable
z Cut off the power before installing or removing the power cable.
z Before connecting the power cable, make sure the cable connection and labels
on the cable comply with the actual installation situation.
Danger!
z Do not install or remove the power cable when the power is ON.
z Sparks or electric arc may happen when the power cable touches the conductor,
which may cause fire or eye injury.
3. Drilling
z Unqualified drilling will damage the lines and cables in the cabinet. The metal
splashes may enter the cabinet and cause the short circuit on the circuit board.
z When drilling on the cabinets is needed, wear insulating gloves and remove the
cables inside the cabinet before the operation. Take care of your eyes when
drilling, because metal splashes may hurt your eyes. Clean up the metal filings
once the drilling is done.
Warning!
Do not drill on the cabinet at will.
4. Thunderstorm
During thunderstorm, strong
electromagnetic
field will be produced in the atmosphere.
Thus, to avoid lightning strike, take lightning grounding measures on the equipment
immediately.
Danger!
During thunderstorm, do not perform operations of high voltage, and do not perform
operations on the iron tower or mast.
3-3

SJ-20110104194923-001|2011-1-15(R1.0)
ZTE Proprietary and Confidential
ZXSDR R8882 L200 User Manual
Antistatic
z The friction caused by human activities is the reason to produce the accumulation of
electrostatic charge. In dry climates, electrostatic voltage carried by the human body
can be accumulated up to 30 kV, which will be kept in the body for couple of hours.
Operators carrying
electrostatic
charge will be
discharged
through the device, causing
equipment damage.
z To avoid damaging sensitive components by human static electricity, before touching
the devices, such as boards, circuit boards, IC chips, operators should wear antistatic
wristband, and make sure the other end of wristband touches the ground.
z To protect people from accidental electric shock, a resistance over 1 MΩ should be
added between the antistatic wristband and the ground.
z The antistatic wristband should be inspected periodically. Do not replace the electric
wires on the wristband by any other unqualified ones.
z Those electrostatic sensitive boards or modules should not have any contact with the
objects of electrostatic charge or which carries static electricity easily. For example,
friction between
the
packages
of
insulating materials
and
transmission
belt
could
make
the
components carrying static
electricity.
Damages
may
happen when
it is discharged
by contacting human body.
z Those electrostatic sensitive boards can be only contacted with qualified discharged
materials, such as antistatic bag. Equipment components need to be stored or
transported in the antistatic bags.
z Before the testing equipment is wired with boards or modules, it should be connected
to ground for discharging.
z Do not place the boards or modules near strong DC magnetic field. For example,
those monitors with Cathode-ray tube, safety distance is over 10 cm.
Caution!
Electrostatic charge produced by human body will damage the electrostatic sensitive
components on the circuit board, such as Integrated Circuit (IC), etc.
Lifting Weights
z The adequate facilities with lifting capacity must be used for assembling, moving or
replacing the heavy equipments.
z The staff for lifting operations is required to have qualified training. Lifting tools must
have periodic inspection, and must be used when it is a complete tool kit. Ensure that
the lifting tool can be firmly fixed on the fixture or load-bearing wall before any lifting
operations. Use simplified commands to prevent misoperation.
3-4

SJ-20110104194923-001|2011-1-15(R1.0)
ZTE Proprietary and Confidential
Chapter 2 Product Installation
Warning!
During lifting operations, do not walk at the bottom of any crane or lifting objects.
Plugging/Unplugging Boards or Modules
z To avoid crooking the pin on backplane, plug the boards or modules gently.
z Plug the boards or modules along the slot to prevent any short circuit.
z When carrying the boards or modules, do not touch the circuits, as well as the
components, connection heads, slots on the boards.
Others
z Replacing the components or modifying the equipments may cause extra dangers.
z Do not replace the components or modify the equipments without authorization.
z From safety point of view, please contact ZTE CORPORATION for any queries.
Caution!
Do not perform maintenance or debugging inside the device, unless there is another
qualified engineer working with you.
2.2 Device Unpacking and Inspection
2.2.1 Unpacking and Checking ZXSDR R8882 L708
Unpacking the Carton
ZXSDR R8882 L708 is transported in a carton.
1. Check the packaging for damage. If it is damaged, make an immediate complaint to
the transport company.
2. Unpack the equipment and check if it is complete according to the packing list.
Inspecting the Device
Check the Device and make sure:
z There are no dents, protrusions, bendings, peelings, or marks on the surface.
z Fastening bolts are properly tightened in place.
z The fittings and accessories required for installation are matched and complete.
z Connector links are not broken or missing.
3-5

SJ-20110104194923-001|2011-1-15(R1.0)
ZTE Proprietary and Confidential
ZXSDR R8882 L200 User Manual
The supplier should be responsible for inspecting the devices and instruments that are
easy to be damaged.
Separate the inspected parts by category.
2.2.2 Goods Handover
After equipment inspection both the parties should sign the Unpacking and Inspection
Report with each party keeping a copy, with the top copy returned within seven days to the
vendor.
Caution!
If any goods are found to be wrong, missing, or damaged, record the details on the form
and ask for replacements.
2.3 Device Installation
2.3.1 Mounting Device on Wall
Prerequisites
Before installing ZXSDR R8882 L708, you should at least leave the following space for
product future maintenance.
z Front side: 600 mm
z Back side: 40 mm
z left and right side: 100 mm
z UP and down side: 250 mm
Steps
1. Mark on installation positions based on layout marking template on wall, as shown in
Figure 3-1, and then drill holes.
3-6

SJ-20110104194923-001|2011-1-15(R1.0)
ZTE Proprietary and Confidential
Chapter 2 Product Installation
Figure 3-1 Template Hole Position
2. Fix the wall-mounting components onto the wall firmly with the bolts, as shown in
Figure 3-2.
Figure 3-2 Installing Wall-mounting Components
1. Hex Bolt
2. Spring Washer
3. Flat Washer
4. Insulation Washer
5. Wall-Mounting
components
6. Expansion Bolt
The wall-mounting components is installed on the wall, as shown in Figure 3-3.
3-7

SJ-20110104194923-001|2011-1-15(R1.0)
ZTE Proprietary and Confidential
ZXSDR R8882 L200 User Manual
Figure 3-3 Wall-mounting Components Fixed on Wall
3. Hang the device on the
wall-mounting components
on the notch department, as shown
in Figure 3-4.
Figure 3-4 Hang the Device on the Wall-mounting Components
4. Mount the ZXSDR R8882 L708 onto the wall-mounting components, and then fasten
it with the M6x20 bolts, as shown in Figure 3-5.
3-8

SJ-20110104194923-001|2011-1-15(R1.0)
ZTE Proprietary and Confidential
Chapter 2 Product Installation
Figure 3-5 Fasten Device
1. Insulation washer 2. Spring washer 3 . Bolt The ZXSDR
R8882 L708 is installed on wall, as shown in Figure 3-6. Figure 3-6
ZXSDR R8882 L708 Is Installed on Wall
– End of Steps –
3-9

SJ-20110104194923-001|2011-1-15(R1.0)
ZTE Proprietary and Confidential
ZXSDR R8882 L200 User Manual
2.3.2 Mounting Device on Pole
2.3.2.1 Mounting One Device on Pole
Context
The installation accessory for the lightning protection box is needed to be attached in
advance, as shown in Figure 3-7.
Figure 3-7 Attach Installation Accessory for Lightning Protection Box
Steps
1. Fix the wall-mounting components and pole clip together, as shown in Figure 3-8.
Figure 3-8 Fix Wall-mounting Components and Pole Clips
2. Fix the wall-mounting components and pole clips on the pole, as shown in Figure 3-9.
3-10

SJ-20110104194923-001|2011-1-15(R1.0)
ZTE Proprietary and Confidential
Chapter 2 Product Installation
Figure 3-9 Fix Wall-mounting Components and Pole Clips on Pole
1. Bolt
2. Spring washer
3. Flat washer
4. Wall-mounting
components
5. Pole Clips
3. Hang the device on the notch part of the wall-mounting components, as shown in
Figure 3-10.
Figure 3-10 Hang the Device on the Wall-mounting Components
4. Fix the device on the wall-mounting components, as shown in Figure 3-11.
3-11

SJ-20110104194923-001|2011-1-15(R1.0)
ZTE Proprietary and Confidential
ZXSDR R8882 L200 User Manual
Figure 3-11 Fix the Device on the Wall-mounting Components
ZXSDR R8882 L708 is installed firmly on the pole, as shown in Figure 3-12.
Figure 3-12 ZXSDR R8882 L708 Is Installed on Pole
5. Align the lightning protection box to the hole of the installation accessory, and the
fasten the screws, as shown in Figure 3-13.
3-12

SJ-20110104194923-001|2011-1-15(R1.0)
ZTE Proprietary and Confidential
Chapter 2 Product Installation
Figure 3-13 Attach Lightning Protection Box
– End of Steps –
2.3.2.2 Mounting Two Devices on Pole
Context
The installation accessory for the lightning protection box is needed to be attached in
advance, as shown in Figure 3-14.
Figure 3-14 Attach Installation Accessory for Lightning Protection Box
Steps
1. Fix the wall-mounting components and pole clip together, as shown in Figure 3-15.
3-13

SJ-20110104194923-001|2011-1-15(R1.0)
ZTE Proprietary and Confidential
ZXSDR R8882 L200 User Manual
Figure 3-15 Fix Wall-mounting Components and Pole Clips
2. Fix the
wall-mounting components
and pole clips on the pole, as shown in Figure 3-16.
Figure 3-16 Fix Wall-mounting Components and Pole Clips on Pole
1. Bolt
2. Spring washer
3. Flat washer
4. Wall-mounting
components
5. Pole Clips
3. Hang the devices on the notch part of the wall-mounting components respectively, as
shown in Figure 3-17.
3-14

SJ-20110104194923-001|2011-1-15(R1.0)
ZTE Proprietary and Confidential
Chapter 2 Product Installation
Figure 3-17 Hang the Devices on the Wall-mounting Components
4. Fix the devices on the wall-mounting components, as shown in Figure 3-18.
Figure 3-18 Fix the Devices on the Wall-mounting Components
5. Align the lightning protection box to the hole of the installation accessory, and the
fasten the screws, as shown in Figure 3-19.
3-15

SJ-20110104194923-001|2011-1-15(R1.0)
ZTE Proprietary and Confidential
ZXSDR R8882 L200 User Manual
Figure 3-19 Attach Lightning Protection Box
– End of Steps –
2.3.2.3 Mounting Three devices on Pole
Context
The installation accessory for the lightning protection box is needed to be attached in
advance, as shown in Figure 3-20.
Figure 3-20 Attach Installation Accessory for Lightning Protection Box
Steps
1. Fix the wall-mounting components and pole clip together, as shown in Figure 3-21.
3-16

SJ-20110104194923-001|2011-1-15(R1.0)
ZTE Proprietary and Confidential
Chapter 2 Product Installation
Figure 3-21 Fix Wall-mounting Components and Pole Clips
2. Fix the
wall-mounting components
and pole clips on the pole, as shown in Figure 3-22.
Figure 3-22 Fix Wall-mounting Components and Pole Clips on Pole
1. Bolt
2. Spring washer
3. Flat washer
4. Wall-mounting
components
5. Pole Clips
3. Fix the third wall-mounting components by using the expansion components to the
other two ones, as shown in Figure 3-23.
3-17

SJ-20110104194923-001|2011-1-15(R1.0)
ZTE Proprietary and Confidential
ZXSDR R8882 L200 User Manual
Figure 3-23 Fix the Third Wall-mounting Components
4. Hang devices on the notch part of the wall-mounting components respectively, as
shown in Figure 3-24.
Figure 3-24 Hang the Devices on the Wall-mounting Components
5. Align the lightning protection box to the hole of the installation accessory, and the
fasten the screws, as shown in Figure 3-25.
3-18

SJ-20110104194923-001|2011-1-15(R1.0)
ZTE Proprietary and Confidential
Chapter 2 Product Installation
Figure 3-25 Attach Lightning Protection Box
– End of Steps
–
2.3.3 Mounting Device on
Gantry
Steps
1. Assemble the
gantry.
a. Install the vertical shaft and the bottom plate by using the M5x16 screw, as shown
in Figure 3-26.
Figure 3-26 Install the Vertical Shaft and the Bottom Plate
b. Fasten the vertical shaft and the cover plate by using the M5x16 screw, as shown
in Figure 3-27.
3-19

SJ-20110104194923-001|2011-1-15(R1.0)
ZTE Proprietary and Confidential
ZXSDR R8882 L200 User Manual
Figure 3-27 Fasten the Vertical Shaft and the Cover Plate
c. Install the slanted rack by using the M5x16 screw, as shown in Figure 3-28.
Figure 3-28 Install the Slanted Rack
2. Drill holes
a. According to the engineering design drawing, determine the installation position
of the gantry and mark installation holes by using the marking pen.Figure 3-29
shows the installation holes of the gantry.
3-20

SJ-20110104194923-001|2011-1-15(R1.0)
ZTE Proprietary and Confidential
Chapter 2 Product Installation
Figure 3-29 Mark the Drilling Holes Position
b. Drill holes by using the electric percussion drill (drill bit: φ12) at the places where
installation holes
are marked. At the
same
time, use the
vacuum cleaner
to remove
the dust generated during the drilling of holes.
c. Put the expansion sleeve onto the metal cone of the expansion bolt, fasten the
nut slightly, strike the expansion bolt into the installation hole by using the rubber
hammer, fasten the nut tightly to make the bolt fully expanded, and then remove
the nut, as shown in Figure 3-30.
Figure 3-30 Install the Expansion Bolt
3. Install the gantry.
3-21

SJ-20110104194923-001|2011-1-15(R1.0)
ZTE Proprietary and Confidential
ZXSDR R8882 L200 User Manual
If the gantry is installed on the concrete floor, use the M10x100 expansion bolt, as
shown in Figure 3-31; if the gantry is installed on the wooden floor, use the M10x40
tapping screw, as shown in Figure 3-32.
Figure 3-31 Install the Gantry on Concrete Floor
Figure 3-32 Install the Gantry on Wooden Floor
4. Install the wall-mounting components on the
gantry.
5. Install the ZXSDR R8882 L708 on the wall-mounting components. The device is
installed firmly on the gantry, as shown in Figure 3-33.
3-22

SJ-20110104194923-001|2011-1-15(R1.0)
ZTE Proprietary and Confidential
Chapter 2 Product Installation
Figure 3-33 ZXSDR R8882 L708 Is Installed on Gantry
Note:
A copper bar is needed to attach at the side of the gantry to connect to the grounding
bar.
– End of Steps –
2.4 Cables Connection
2.4.1 Connection of External Cables
Table 3-2 describes the connection of ZXSDR R8882 L708 external cables.
Table 3-2 Connection of ZXSDR R8882 L708 External Cables
Cable type Connection relation Description
3-23

SJ-20110104194923-001|2011-1-15(R1.0)
ZTE Proprietary and Confidential
ZXSDR R8882 L200 User Manual
Power cable Connects the ZXSDR R8882
L708 power interface to the
power supply equipment
interface
One end is circular 6-core cable
connector (hole) with plastic
cover, the other end is reserved
for power cable and dry contact
cable. The length of cable
is based on the engineering
survey.
Grounding cable Connects one ZXSDR R8882
L708 ground bolt to the copper
bar
The grounding cable is made up
of strands of flame-retardant
wire. The cross sectional area of
ZXSDR R8882 L708 grounding
cable is 16 mm2. Copper lugs
are crimped at both ends of the
grounding cable.
Fiber Connects to eBBU -
Environment monitor cable Connects the ZXSDR R8882
L708 environment monitor
interface to the external monitor
components or the dry contact.
For the environment monitor
cable, end A is PIN header.
End B, with 3m length in total,
is made depending on the field
engineering conditions.
AISG control cable Connects the ZXSDR R8882
L708 debugging interface
(AISG) to the control interface of
electrical-adjustment antenna.
AISG is used to control the
electrical-adjustment antenna.
Antenna jumper Connects ZXSDR R8882 L708
to main feeder
The RF jumper usually uses
the finished 1/2″ jumper with
2m length. The jumper can
be customized depending on
actual conditions. One
end
of
the jumper is N connector
(male) and the other end is DIN
connector (female).
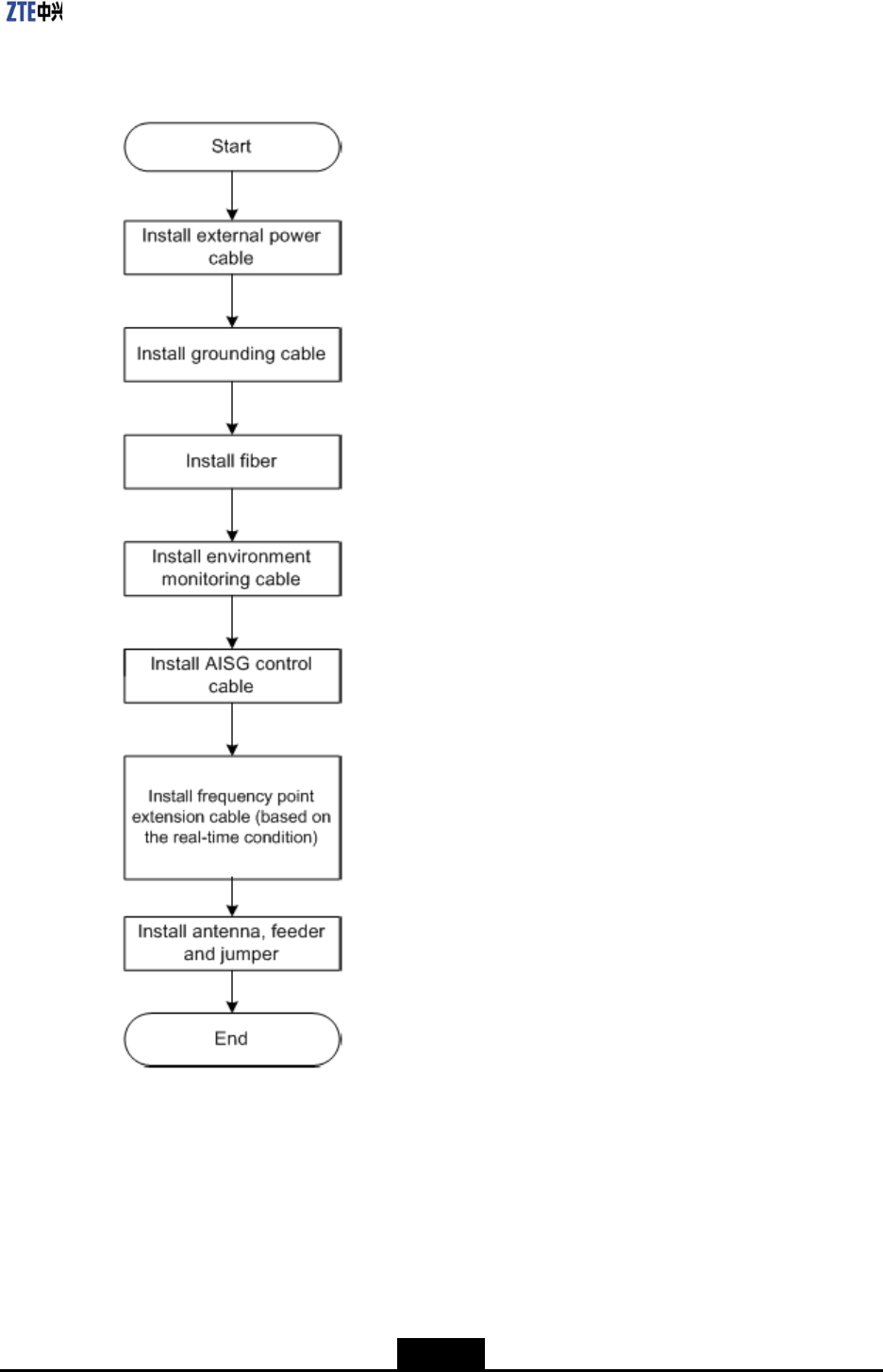
2.4.2 External Cable Installation Flow
Figure 3-34 lists the installation flow of external cable. This flow can be adjusted based on
actual conditions.
3-24

SJ-20110104194923-001|2011-1-15(R1.0)
ZTE Proprietary and Confidential
Chapter 2 Product Installation
Figure 3-34 External Cable Installation Flow
2.4.3 Connecting Power Cable
Context
Figure 3-35 shows power cable connection of PIMDC.
3-25

SJ-20110104194923-001|2011-1-15(R1.0)
ZTE Proprietary and Confidential
ZXSDR R8882 L200 User Manual
Figure 3-35 PIMDC Power Cable Connection
1. Power input cable of the
PIMDC
2. Power input cable of the
R8882
3. Dry contact cable
Figure 3-36 shows the power cable of ZXSDR R8882 L708.
Figure 3-36 Power Cable
Table 3-3 describes the color and definition of inner core of the power cable.
Table 3-3 Color and Definition of Inner Core of the Power Cable
Core color Definition Signal Description
Blue
-48V -48V
Blue
-48V -48V
Black
-48 V GND -48V ground
Black
-48 V GND -48V ground
White
NODE_IN+ Dry contact
Brown
NODE_IN- Dry contact
3-26

SJ-20110104194923-001|2011-1-15(R1.0)
ZTE Proprietary and Confidential
Chapter 2 Product Installation
Note:
1. If the two-core cable is adopted, the blue core cable stands for -48 V and the black
core cable stands for -48 V GND.
2. If the four-core cable is adopted, the two blue core cables connected in parallel stand
for -48 V and the black core cables connected in parallel stand for -48 V GND.
Steps
1. Connect power cable from PIMDC to ZXSDR R8882 L708
a. Connect end A of power cable to the PWR interface of the ZXSDR R8882 L708.
b. Strip the protective coat of end B, and then connect the blue wires to -48V terminal
and the black wires to -48VRTN terminal. Connect the white and blue dry contact
wires to the Alarm terminals, as shown in Figure 3-37.
Figure 3-37 PIMDC Connection (to R8882)
2. Connect power cable from PIMDC to lightning protection box
a. Peel off an appropriate length of insulating layer of the PIMDC power input cable.
b. Lead the end A of the cable through the waterproof plastic ring of the PIMDC,
and then connect the blue wires to the -48V terminal and the black wires to the
-48VRTN terminal. Fasten the power cable with a latch, as shown in Figure 3-38.
3-27

SJ-20110104194923-001|2011-1-15(R1.0)
ZTE Proprietary and Confidential
ZXSDR R8882 L200 User Manual
Figure 3-38 PIMDC Connection (to Lightning Protection Box)
Note:
This latch should be fully contacted with the shielded layer of the PIMDC input
power cable.
c. Connect the end B of the PIMDC input power cable to the output port of the indoor
DC lightning protection box. Connect the blue wires to the -48V terminal and the
black wires to the -48VRTN terminal.
Note:
Power for sectors α, β, and γ are connected to SPD-1, SPD-2, and SPD-3
terminals respectively.
– End of Steps
–
2.4.4 Connecting Grounding
Cable
Context
The grounding cable of ZXSDR R8882 L708 is made up of strands of
flame-retardant
wire.
Copper lugs are needed to be crimped at both ends of the grounding cable in advance
3-28

SJ-20110104194923-001|2011-1-15(R1.0)
ZTE Proprietary and Confidential
Chapter 2 Product Installation
Steps
1. Connect one end of grounding cable to the grounding terminal of the device, as shown
in Figure 3-40.
Figure 3-40 R8882 Grounding Bar Connection
2. Connect the other end of the ground cable to PIMDC, and then connection the PIMDC
to outdoor grounding bar, as shown in Figure 3-41.
3-29

SJ-20110104194923-001|2011-1-15(R1.0)
ZTE Proprietary and Confidential
ZXSDR R8882 L200 User Manual
Figure 3-41 PIMDC Grounding Bar Connection
3. Attach the label on the grounding cable.
4. Measure the grounding resistance and make sure it is less than 5 ohms.
– End of Steps –
2.4.5 Connecting Fiber Between eBBU and eRRU
Steps
1. Remove the protection cap from the optical fiber, and then detach the outer protection
cover
2. Remove two white covers, as shown in Figure 3-43.
3-30

SJ-20110104194923-001|2011-1-15(R1.0)
ZTE Proprietary and Confidential
Chapter 2 Product Installation
Figure 3-43 Remove Covers
3. Insert the optical fiber into the OPT1 port until it locks into place with a snap, as shown
in Figure 3-44.
Figure 3-44 Insert Optical Fiber
4. Insert the transparent sleeve into the OPT port fully, as shown in Figure 3-45.
Figure 3-45 Insert Transparent Sleeve
5. Tighten the outer protection cover fully.
3-31

SJ-20110104194923-001|2011-1-15(R1.0)
ZTE Proprietary and Confidential
ZXSDR R8882 L200 User Manual
Figure 3-46 Tighten Connection
6. Connect the optical fibers of sectors α, β, and γ to the TX0/RX0, TX1/RX1, and
TX2/RX2 ports of the BPL board located in the eBBU.
– End of Steps –
2.4.6 Connecting Environment Monitor Cable
Context
The environment monitor cable provides a 485 interface, used for ZXSDR R8882 L708
environment monitor. It also provides four extension accesses for external dry contact
monitor.
End A is circular 8-core plug and end B is made depending on actual conditions. The total
length is 3m. Figure 3-47 shows the structure of environment monitor cable.
Figure 3-47 Environment Monitor Cable
The connector, connecting the environment monitoring cable to ZXSDR R8882 L708, is
8-core straight welded connector (pin) mounted on panel. The connector appearance is
shown in Figure 3-48.
3-32

SJ-20110104194923-001|2011-1-15(R1.0)
ZTE Proprietary and Confidential
Chapter 2 Product Installation
Figure 3-48 Appearance of Environment Monitor Cable
The cable connector pins and connection are shown in Table 3-4.
Table 3-4 Cable Pin Description
Pin Core color Signal Description
PIN1
Brown Dry contact input, positive polarity
PIN2
Yellow Dry contact input, negative polarity
PIN3
Blue Dry contact input, positive polarity
PIN4
White Dry contact input, negative polarity
PIN5
Green Positive RS485 bus signal
PIN6
Grey Negative RS485 bus signal
PIN7
Red Positive RS485 bus signal
PIN8
Black Negative RS485 bus signal
Note:
Connect the first dry contact of eRRU to outdoor DC lightning protection box.
Steps
1. Connect end A of environment monitor cable to environment monitor interface of
ZXSDR R8882 L708 cabinet.
2. Connect end B of environment monitor cable to external monitor part or dry contact.
3. Attach the labels on end B.
– End of Steps –
2.4.7 Connecting AISG Control
Cable
Context
AISG is used to control the electrical-adjustment antenna.
Figure 3-49 shows the structure of AISG control cable.
3-33

SJ-20110104194923-001|2011-1-15(R1.0)
ZTE Proprietary and Confidential
ZXSDR R8882 L200 User Manual
Figure 3-49 Structure of AISG Control Cable
Table 3-5 describes the meaning of sequence number of AISG control cable.
Table 3-5 Meaning of Sequence Number of AISG Control Cable
Pins at end A Pins at End B Name Meaning
PIN3
PIN1 RS485B
RS485-
PIN5
PIN2 RS485A
RS485+
PIN6
PIN3, PIN4 DC
DC output
PIN7
PIN5, PIN6 DC RTN
DC RTN
PIN1, PIN2, PIN4, PIN8 NC
Null
Steps
1. Connect end A to ZXSDR R8882 L708 debugging interface (AISG) and screw down
the bolt.
2. Connect end B to the control interface of electrical adjustment antenna and screw
down the bolt.
– End of Steps –
2.4.8 Connecting the RF
Jumpers
Steps
1. Connect the A-ends of two RF jumpers to the ANT1 and ANT4 ports of the ZXSDR
R8882 L708. Connect the B-end to the corresponding port of the main antenna.
2. Spiral-wrap two-layer ultraviolet-proof adhesive tape around the ANT2 and ANT3
ports, and then tighten them fully by using black ultraviolet-proof cable ties.
– End of Steps –
3-34

Glossary
V
AISG
- Antenna Interface Standards Group
CPRI
- Common Public Radio Interface
IC
- Integrated Circuit
LED
- Light Emitting Diode
MTBF
- Mean Time Between Failures
MTTR
- Mean Time To Repair
QAM
- Quadrature Amplitude Modulation
QPSK
- Quadrature Phase Shift Keying
SDR
- Software Defined Radio
VSWR
- Voltage Standing Wave Ratio
eRRU
- evolved Remote Radio Unit