ZTE R8964S26H LTE TDD RRU User Manual ZXSDR R8964 TD LTE RRU
ZTE Corporation LTE TDD RRU ZXSDR R8964 TD LTE RRU
ZTE >
ZXSDR R8964 TD-LTE RRU User Manual

ZXSDRR8964
TD-LTERemoteRadioUnit
UserManual
Version:V5.00
ZTECORPORATION
No.55,Hi-techRoadSouth,ShenZhen,P .R.China
Postcode:518057
Tel:+86-755-26771900
Fax:+86-755-26770801
URL:http://support.zte.com.cn
E-mail:support@zte.com.cn

LEGALINFORMATION
Copyright©2014ZTECORPORATION.
Thecontentsofthisdocumentareprotectedbycopyrightlawsandinternationaltreaties.Anyreproductionor
distributionofthisdocumentoranyportionofthisdocument,inanyformbyanymeans,withoutthepriorwritten
consentofZTECORPORATIONisprohibited.Additionally,thecontentsofthisdocumentareprotectedby
contractualcondentialityobligations.
Allcompany,brandandproductnamesaretradeorservicemarks,orregisteredtradeorservicemarks,ofZTE
CORPORATIONoroftheirrespectiveowners.
Thisdocumentisprovided“asis”,andallexpress,implied,orstatutorywarranties,representationsorconditions
aredisclaimed,includingwithoutlimitationanyimpliedwarrantyofmerchantability,tnessforaparticularpurpose,
titleornon-infringement.ZTECORPORATIONanditslicensorsshallnotbeliablefordamagesresultingfromthe
useoforrelianceontheinformationcontainedherein.
ZTECORPORATIONoritslicensorsmayhavecurrentorpendingintellectualpropertyrightsorapplications
coveringthesubjectmatterofthisdocument.ExceptasexpresslyprovidedinanywrittenlicensebetweenZTE
CORPORATIONanditslicensee,theuserofthisdocumentshallnotacquireanylicensetothesubjectmatter
herein.
ZTECORPORATIONreservestherighttoupgradeormaketechnicalchangetothisproductwithoutfurthernotice.
UsersmayvisittheZTEtechnicalsupportwebsitehttp://support.zte.com.cntoinquireforrelatedinformation.
TheultimaterighttointerpretthisproductresidesinZTECORPORATION.
RevisionHistory
RevisionNo.RevisionDateRevisionReason
R1.02013–09–12Firstedition
SerialNumber:SJ-20110921170448-002
PublishingDate:2013-09-12(R1.0)
SJ-20110921170448-002|2013-09-12(R1.0)ZTEProprietaryandCondential

AboutThisManual
Purpose
ThismanualdescribesZXSDRR8964devicedescription,technicalspecications,and
maintenance.
IntendedAudience
Thisdocumentisintendedfor:
lCommissioningandmaintenanceengineer
lHardwareinstallationandsitetestingengineer
PrerequisiteSkillandKnowledge
Tousethisdocumenteffectively,usersshouldhaveageneralunderstandingofwireless
telecommunicationstechnology.FamiliaritywithLTEsystemanditsvariouscomponents
ishelpful.
WhatIsinThisManual
Thismanualcontainsthefollowingchapters:
ChapterSummary
Chapter1FCCStatementDescribestheFCCstatementrelatedtothe
device.
Chapter2ProductOverviewDescribesproductfunction,typicalapplication,
networkingmode,technicalindices,etc.
Chapter3TechnicalSpecicationDescribesproductindices.
Chapter4ProductDescriptionDescribesproductinterfaces,indicatorsand
cables.
Chapter5ProductMaintenanceDescribesproductcablereplacement.
I
SJ-20110921170448-002|2013-09-12(R1.0)ZTEProprietaryandCondential

Thispageintentionallyleftblank.
II
SJ-20110921170448-002|2013-09-12(R1.0)ZTEProprietaryandCondential

Chapter1
FCCStatement
Note:
ThisequipmenthasbeentestedandfoundtocomplywiththelimitsforaClassAdigital
device,pursuanttoPart15oftheFCCRules.Theselimitsaredesignedtoprovide
reasonableprotectionagainstharmfulinterferencewhentheequipmentisoperatedin
acommercialenvironment.Thisequipmentgenerates,uses,andcanradiateradio
frequencyenergyand,ifnotinstalledandusedinaccordancewiththeinstructionmanual,
maycauseharmfulinterferencetoradiocommunications.Operationofthisequipment
inaresidentialareaislikelytocauseharmfulinterferenceinwhichcasetheuserwillbe
requiredtocorrecttheinterferenceathisownexpense.
Cablelossbetweentransmitterandantennais1dB.
Note:
Operationofthisequipmentinaresidentialareaislikelytocauseharmfulinterferencein
whichcasetheuserwillberequiredtocorrecttheinterferenceathisownexpense.
Note:
FCCRadiationExposureStatement:ThisequipmentcomplieswithFCCradiation
exposurelimitssetforthforanuncontrolledenvironment.Thisequipmentshouldbe
installedandoperatedwithminimumdistance7.7mbetweentheradiator&yourbody.
1-1
SJ-20110921170448-002|2013-09-12(R1.0)ZTEProprietaryandCondential

ZXSDRR8964UserManual
Thispageintentionallyleftblank.
1-2
SJ-20110921170448-002|2013-09-12(R1.0)ZTEProprietaryandCondential

Chapter2
ProductOverview
TableofContents
ZTEDistributedBaseStationSolution........................................................................2-1
RRULocationinLTEWirelessNetwork......................................................................2-2
RRUTypicalApplication.............................................................................................2-2
DeviceAppearance....................................................................................................2-3
DeviceFunctions........................................................................................................2-4
DeviceFeatures.........................................................................................................2-4
DeviceInstallationScenarios......................................................................................2-5
DeviceNetworking.....................................................................................................2-5
OperationandMaintenanceIntroduction....................................................................2-5
2.1ZTEDistributedBaseStationSolution
Tosupplythecustomerwithmorecompetitivecommunicationequipmentandsolutionin
themarket,ZTEdevelopsandpromotesZTESDRBBU(basebandunit)+RRU(remote
RFunit)distributedBSsolutiontimely,whichjointlyperformLTEBSservice.
ZTE'sLTEBBU+RRUdistributedBSsolutionhasthefollowingpredominance:
1.ClearerandSimplerNetwork
Insteadofrunninghardwareindependentplatformsforeachtechnology,operatorscan
havevariouswirelesstechnologiesimplementedinsoftwareonthesamehardware
platform.
2.LowerTCO(T otalCostofOwnership)
Fewerengineersarerequiredsincethereisasingleplatformtomanageandmaintain.
Theoperationalexpendituresarekepttominimumcomparedtorunningseveral
hardwareplatforms.
TheTCOforamobilenetworkismuchlowerinperformingupgradesforthenew
wirelesstechnologyduetomulti-technologydeploymentsupportedbySDR-platform.
3.LowerInvestmentRisk
Sincehardwareplatformscanbereused,thereissignicantlylessinvestmentrisk
fordeployinghardware.Wirelesstechnologiesdevelopsofast,andinvestingonone
technologyonlymaybringrisktooperators.SDR-basedsolutionswilldecreasethe
investmentrisksinceSDRplatformcansupportvarioustechnologies.
2-1
SJ-20110921170448-002|2013-09-12(R1.0)ZTEProprietaryandCondential

ZXSDRR8964UserManual
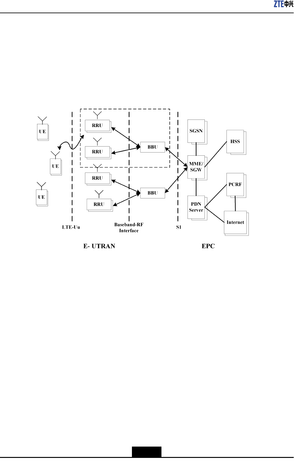
2.2RRULocationinLTEWirelessNetwork
ZXSDRR8964isacompactLTEremoteradiofrequencyunit,whichadoptsthedigital
pre-distortiontechnology,high-efciencypowerampliertechnologyandSDRtechnology.
ZXSDRR8964andBBUformanintegratedeNodeBtoaccomplishradiotransmission
withinitscoverageandcontrolradiochannels.
Figure2-1illustratesthepositionofZXSDRR8964(RRU)innetwork.
Figure2-1DeviceLocationinNetwork
2.3RRUTypicalApplication
Figure2-2illustratesthetypicalapplicationofZXSDRR8964.
2-2
SJ-20110921170448-002|2013-09-12(R1.0)ZTEProprietaryandCondential

ZXSDRR8964UserManual
2.5DeviceFunctions
ZXSDRR8964hasfollowingmainfunctions:
lSupportschannelbandwidth:20MHz.
lSupportsfrequency.
à2300MHz~2400MHz
à2496MHz~2690MHz
à3400MHz~3600MHz(S3500–supportedband)
à3650MHz~3700MHz(S3600–supportedband)
lSupports2x2MIMO,4x4MIMO.
lSupportsOpticalinterface.
lSupportstimeslotswitchingpointcongurationofuplinkanddownlink.
lSupportsmeasurementandcompensationfunctionofthebertoBBU.
lSupportspowermeasurementofcarrier.
lSupportsversionmanagementfunction.
lSupportsperformancemanagementfunction.
lSupportsmalfunctionmanagementfunction.
lSupportssecuritymanagementfunction.
lSupportsoperation&maintenancefunction.
lSupportspowermanagementfunction.
lSupportstransparentchannelfunction.
lSupportsLMT.
2.6DeviceFeatures
ZXSDRR8964isasingle-modeoutdoorRRUbasedonZTESDRplatform,whichcanbe
usedwithZTE'sBBUseriesproducttoformadistributedbasestation.
ThemaincharacteristicsofZXSDRR8964aredescribedasfollows:
lUniedPlatform
ZXSDRR8964adoptsuniedSDRplatformtoprotectoperators'investmentand
supportsmoothevolution.
lHigherEfciencyforEnergySaving
àMultiplehigh-efciencypowerampliertechnologieswereused,likeCFR,DPD
andDoherty.
àZXSDRR8964adoptsnaturalcoolingdesignwithoutnoise.Atthesametime,it
cansavepowerconsumptioncomparewithtraditionalair-conditionsystem.
àUsing"BBU+RRU"solutiontoreducefeederlossandlowerpowerrequirements
ofPAtorealizegreennetwork.
lCompactDesign,EasyDeployment
àThevolumeofZXSDRR8964is17.1liters.
2-4
SJ-20110921170448-002|2013-09-12(R1.0)ZTEProprietaryandCondential

Chapter2ProductOverview
àZXSDRR8964canbeinstalledtopoleandmountedonthewall.Theexibility
ofinstallationbenetstoreducecostforoperators.
lMulti-antennaCapability
ZXSDRR8964supportsmultipleMIMOsolution.Itcanimprovedfrequencyefciency
greatlyandbringsexcellentuserexperience.
2.7DeviceInstallationScenarios
ZXSDRR8964supportswall-mountedinstallationandpole-mountedinstallation..
2.8DeviceNetworking
ZXSDRR8964isconnectedtoBBUthroughopticalberport.Itsupportsstarnetworking
mode.
TheZXSDRR8964typicalstarnetworkingtopologyisshowninFigure2-4.
Figure2-4StartNetworkingMode
2.9OperationandMaintenanceIntroduction
LMTMode
UserscanuseaLMTtoaccomplishtheoperation,maintenanceandmanagementof
ZXSDRR8964,asshowninFigure2-5.
2-5
SJ-20110921170448-002|2013-09-12(R1.0)ZTEProprietaryandCondential

ZXSDRR8964UserManual
Figure2-5LMTMode
NetworkManagementMode
UserscanuseNetNumenTMnetworkmanagementsystemdevelopedbyZTEto
accomplishtheoperation,maintenanceandmanagementofZXSDRR8964.NEsare
connectedtothenetworkmanagementsystemthroughTCP/IP,asshowninFigure2-6.
Figure2-6NetworkManagementMode
2-6
SJ-20110921170448-002|2013-09-12(R1.0)ZTEProprietaryandCondential

Chapter3
TechnicalSpecication
TableofContents
DimensionandWeight...............................................................................................3-1
SystemIndices...........................................................................................................3-1
PowerSupply.............................................................................................................3-2
GroundingIndex.........................................................................................................3-2
PowerConsumption...................................................................................................3-2
Reliability....................................................................................................................3-2
WorkingEnvironment.................................................................................................3-3
3.1DimensionandWeight
Table3-1liststhedimensionandweightofZXSDRR8964.
Table3-1DimensionandWeight
ItemIndex
Dimensions440mmx290mmx134mm(HxWxD)
Weight17kg
Colorlightgray
3.2SystemIndices
Table3-2liststhecapacityspecicationofZXSDRR8964.
Table3-2DeviceCapacityIndex
ItemIndex
Maximumoutputpower
S3500:
l4x15W@DL:UL=2:2
l4x10W@DL:UL=3:1
S2300/S2600:
l4x20W
S3600:
l4x10W@DL:UL=3:1
3-1
SJ-20110921170448-002|2013-09-12(R1.0)ZTEProprietaryandCondential

ZXSDRR8964UserManual
ItemIndex
Frequencyband
l2300MHz~2400MHz
l2496MHz~2690MHz
l3400MHz~3600MHz(S3500)
l3650MHz~3700MHz(S3600)
Channelraster100KHz
Channelbandwidth20MHz
PhysicalInterfaces
l2opticalinterfaces
l4antennainterfaces
l1powerinterface
l1LMTEthernetinterface
l1AISG/drycontactinterface
Antennatype4-antenna
ProtectionIP65
3.3PowerSupply
ZXSDRR8964supports-48VDC(-57VDC~-37VDC)powerinput.
3.4GroundingIndex
ThegroundingrequirementsofZXSDRR8964shouldbelessthanorequalto5Ω.The
groundingresistancecanbelessthan10Ωintheareaswherethenumberofthunderstorm
daysislessthan20ayear.
3.5PowerConsumption
ZXSDRR8964S3500TypicalPowerConsumption:
l270W:(4*10W@DL:UL=3:1).
l240W:(4*15W@DL:UL=2:2).
ZXSDRR8964S2300/S2600TypicalPowerConsumption:
l170W:(DL:UL=2:2).
l260W:(DL:UL=3:1).
ZXSDRR8964S3600TypicalPowerConsumption:
l260W:(4*10W@DL:UL=3:1)
3.6Reliability
Table3-3liststhereliabilityindexofZXSDRR8964.
3-2
SJ-20110921170448-002|2013-09-12(R1.0)ZTEProprietaryandCondential

Chapter3TechnicalSpecication
Table3-3DeviceReliability
ItemIndex
MTBF>180,000hours
MTTR<60minutes
Systemserviceinterruptiontime<3minutes/year
Availability99.9994%
3.7WorkingEnvironment
Table3-4describesthetemperatureandhumidityrequirementsofZXSDRR8964.
Table3-4TemperatureandHumidityRequirements
WorkEnvironmentRegularUseinPlacewithoutClimaticProtection
(Outdoor)4K4/4Z5/4Z7/4B1/4C2/4S3/4M5
EnvironmentRequirement4B1
ChemicalEnvironment4C2
Storagetemperature-55℃to+70℃
Normaloperationghumidity4%to100%
Storagehumidity10%to100%
LowerTemperature-40℃
UpperTemperature+50℃
TemperatureChangerate0.5℃/min
AirPressure70~106kPa
Solarradiation1120W/m2
GelconditionsYes
3-3
SJ-20110921170448-002|2013-09-12(R1.0)ZTEProprietaryandCondential

ZXSDRR8964UserManual
Thispageintentionallyleftblank.
3-4
SJ-20110921170448-002|2013-09-12(R1.0)ZTEProprietaryandCondential

Chapter4
ProductDescription
TableofContents
DeviceInterfaces.......................................................................................................4-1
IndicatorDescription...................................................................................................4-2
Cables........................................................................................................................4-4
4.1DeviceInterfaces
TheexternalinterfacesofZXSDRR8964areshowninFigure4-1andFigure4-2.
Figure4-1ExternalInterfaces1
4-1
SJ-20110921170448-002|2013-09-12(R1.0)ZTEProprietaryandCondential

ZXSDRR8964UserManual
Figure4-2ExternalInterfaces2
1.AISGstandardinterface
anddrycontactinput
2.Antennainterfaces
3.Opticalinterfaces
4.Localmaintenance
interface
5.–48VDCpowerinterface
4.2IndicatorDescription
ZXSDRR8964cabinetindicatorsareshowninFigure4-3.
4-2
SJ-20110921170448-002|2013-09-12(R1.0)ZTEProprietaryandCondential

Chapter4ProductDescription
Figure4-3ZXSDRR8964Indicators
IndicatorsdescriptionsareshowninT able4-1.
Table4-1IndicatorDescriptions
IndicatorColorStatus
RUNGreenlOFF:IndicatespoweroffortheRRHisinfaultstate.
lON:IndicatespoweronbuttheRRHisinfaultstate.
lSlowblinking(1.5son,1.5soff):Indicatesthatitisinthe
initializationprocess.
lFastblinking(0.07son,0.07soff):IndicatesthattheRUDP
(TCP)isnotestablished.
lNormalblinking(0.3son,0.3soff):IndicatesthattheRRHis
runningnormally.
ALMRedlOFF:NoAlarm(notincludingVSWR,OPTalarm)
lON:Alarm(notincludingVSWR,OPTalarm)
4-3
SJ-20110921170448-002|2013-09-12(R1.0)ZTEProprietaryandCondential

ZXSDRR8964UserManual
IndicatorColorStatus
OPT1~OPT2GreenlOFF:Theopticalmodulehasnotreceivedopticalsignal,or
opticalmoduleisnotexistedetc.
lON:Theopticalmodulehasreceivedopticalsignal,but
opticallinkisnotestablished.
lBlinking(0.3son,0.3soff):Theopticallinkisestablished.
VSWRRedlOFF:NoVSWRAlarm
lON:VSWRAlarm
ACTGreenlOFF:Cellisnotestablished.
lON:Cellisestablished.
4.3Cables
4.3.1PowerCable
ZXSDRR8964adopts–48VDCpowerinput.
TheDCpowersupplycableappearanceisshowninFigure4-4.
Figure4-4DCPowerCableAppearance
4.3.2PECable
ThePEcablesofZXSDRR8964ismadeof16mm2yellow-greenwires.Thetwoendsof
thewiresarecrimpedtonakedroundterminals.
PEcableisshowninFigure4-5.
Figure4-5PECable
4.3.3OpticalFiber
OpticalberisusedtoconnectBBUandZXSDRR8964,asshowninFigure4-6.
Figure4-6OpticalFiberCable
4-4
SJ-20110921170448-002|2013-09-12(R1.0)ZTEProprietaryandCondential

Chapter4ProductDescription
4.3.4AntennaJumperCable
AntennajumpercableisusedtoconnectZXSDRR8964andthemainfeeder,themain
feederandtheantenna.Whenthemainfeederuses7/8"or5/4"coaxcable,anantenna
jumpercableisusedtotransit.
TheappearanceoftheantennajumpercableisshowninFigure4-7.
Figure4-7AppearanceofAntennaJumperCable
Note:
Thelengthofthejumpercableisdecidedaccordingtotheon-sitesituation.
4.3.5AISGCable
AISGisusedtocontroltheelectrical-adjustmentantenna.Figure4-8showsthestructure
ofAISGcable.
Figure4-8AISGCable
Table4-2describesthemeaningofsequencenumberofAISGcable.
Table4-2MeaningofSequenceNumberofAISGControlCable
PinsatendAPinsatEndBNameMeaning
PIN3PIN1RS485B_AISGRS485-
PIN5PIN2RS485A_AISGRS485+
PIN6PIN3,PIN4DC_AISGDCpower
4-5
SJ-20110921170448-002|2013-09-12(R1.0)ZTEProprietaryandCondential

ZXSDRR8964UserManual
PinsatendAPinsatEndBNameMeaning
PIN7PIN5,PIN6DC_Return_AISGDCRTN
PIN2PIN7Dry_Node_In1–Drycontactinput,negative
PIN8PIN8Dry_Node_In1+Drycontactinput,positive
Note:
AISGcableisusedonlywhenAISGfunctionisavailable.
4-6
SJ-20110921170448-002|2013-09-12(R1.0)ZTEProprietaryandCondential

Chapter5
ProductMaintenance
TableofContents
ReplacingPowerCable..............................................................................................5-1
ReplacingPECable...................................................................................................5-2
ReplacingOpticalFiber..............................................................................................5-2
ReplacingAntennaFeederJumper............................................................................5-3
5.1ReplacingPowerCable
Prerequisite
Makesurethatthetypeofthenewpowercableisthesameasthatoftheoriginalpower
cable,andtheirlengthsmustbethesame.
Makesuretoturnoffthepowersupplywhenreplacingthepowercable,andtoprevent
userservicesfrombeingaffected,commitreplacingprocedureduringappropriateperiod.
Steps
1.TurnoffthemainswitchfortheZXSDRR8964.
2.CutoffthecabletieofRRUinputpowercable.
3.UnscrewthescrewcapofthepowercablefromRRUpowermoduleandthenremove
thecable.
4.UnscrewthescrewcapofthepowercablefromAPM/DPMandthenremovethecable.
5.Takeouttheoldcable.
6.Laythenewpowercableaccordingtothecablingoftheoldpowercable.
7.ConnectthecabletothepowermoduleandAPM/DPM,andthenfastenthebolt.
8.Makecablesneatandthenbundlethecables.
9.Properlyhandlethereplacedpowercable,andcleanuptheeld.
10.Makesurethattheconnectioniscorrectandreliableandthenswitchonthemain
switchoftheZXSDRR8964fortest.
–EndofSteps–
5-1
SJ-20110921170448-002|2013-09-12(R1.0)ZTEProprietaryandCondential

ZXSDRR8964UserManual
5.2ReplacingPECable
Prerequisite
MakesurethatthelengthofthenewPEcableisthesameasthatoftheoldgrounding
cable.
Makesurethatservicesarenotaffectedduringthereplacement.
Context
Thebasicgroundingnetprojectandtowerofthegroundingsystem,thegrounding
projectofthebuilding,andconnectionpointsoftheindoor/outdoorcoppergroundbarare
constructedbycustomers.Theeldengineeringpersonnelneedtoinstalltheprotection
earth(PE)cabletothecabinetshelloftheZXSDRR8964.
Steps
1.LoosenscrewsonthetwoendsofthePEcableandthenremovethecable.
2.CrimpthecopperlugofoneendofthePEcabletotheprotectiongroundingterminal
oftheZXSDRR8964cabinet.
3.CrimpthecopperlugoftheotherendofthePEcabletothegroundingbar.
4.Usemultimetertotestthegroundingresistance.Thejointgroundingresistancemust
belessthan5ohms.
5.Cleanuptheeld.
–EndofSteps–
5.3ReplacingOpticalFiber
Prerequisite
lPerformfaultobservationandanalysistoconrmthattheopticalbershouldbe
replaced.
lSelecttheopticalberwiththeproperlength,andcheckwhetherthetypeofthenew
opticalberisthesameasthatoftheoldopticalbertobereplaced.
lRecordtheconnectionpositionoftheopticalbertobereplaced,thenewopticalber
shouldbeconnectedattheoriginalposition.
lPreparethemoisture-proofbagandcertainlabelsformarking.
Context
Whenreplacinganopticalber,payattentiontothefollowing:
lDuringoperations,donotdamagetheopticalbercladding.
lProtectopticalberconnectorstoavoidcontaminatingthem.
lDonotforciblypullouttheoriginalopticalberorforciblybundlethenewopticalber.
5-2
SJ-20110921170448-002|2013-09-12(R1.0)ZTEProprietaryandCondential

Chapter5ProductMaintenance
lBendthenewopticalberattheturning.
Steps
1.Aftertheoldopticalberisremoved,puttheprotectivecapontheopticalportsoas
toavoidcontaminatingtheopticalport.
2.Cutoffthecabletieoftheoldopticalber,removetheoldopticalber,andthenput
thebertothemoisture-proofbag.
3.Laythenewopticalberthesamepathwiththeoldone,fastenberconnector,and
thenattachlabelonthenewopticalber.
4.Bundlethenewopticalber.
–EndofSteps–
5.4ReplacingAntennaFeederJumper
Prerequisite
Preparenewfeedercablethesamelengthandtypeastheonetobereplaced.
Context
ThejumperoftheantennafeederisusedtoinducttheRFsignaltoRRUandconnectthe
feedercableoftheantennafeedersystem.
Steps
1.Switchoffpowersupply.
2.Dismantletheolderjumpertobereplaced.
3.Connectoneendofthefeederjumpertothefeedersystem,andthenconnectthe
otherendofthefeederjumpertoantennaportofRRU.
4.Switchonpowersupply.
–EndofSteps–
5-3
SJ-20110921170448-002|2013-09-12(R1.0)ZTEProprietaryandCondential

ZXSDRR8964UserManual
Thispageintentionallyleftblank.
5-4
SJ-20110921170448-002|2013-09-12(R1.0)ZTEProprietaryandCondential

Glossary
AISG
-AntennaInterfaceStandardsGroup
APM
-ACProtectionModule
BBU
-BaseBandUnit
DPM
-DCProtectionModule
IP
-InternetProtocol
LMT
-LocalMaintenanceTerminal
LTE
-LongTermEvolution
MIMO
-Multiple-InputMultiple-Output
MTBF
-MeanTimeBetweenFailures
MTTR
-MeanTimeT oRepair
NE
-NetworkElement
RF
-RadioFrequency
RRU
-RemoteRadioUnit
SDR
-SoftwareDenedRadio
TCP
-TransmissionControlProtocol
eNodeB
-EvolvedNodeB
I
SJ-20110921170448-002|2013-09-12(R1.0)ZTEProprietaryandCondential
