ZTE R9110 Remote Radio Unit(4x8) User Manual Installation Manual
ZTE Corporation Remote Radio Unit(4x8) Installation Manual
ZTE >
Installation Manual

=;0%: 5
5HPRWH 5DGLR 8QLWî
,QVWDOODWLRQ 0DQXDO
=7( &25325$7,21
12 +LWHFK 5RDG 6RXWK 6KHQ=KHQ 35&KLQD
3RVWFRGH
7HO
)D[
85/ KWWSHQVXSSRUW]WHFRPFQ
(PDLO VXSSRUW#]WHFRPFQ

/(*$/ ,1)250$7,21
&RS\ULJKW =7( &25325$7,21
7KH FRQWHQWV RI WKLV GRFXPHQW DUH SURWHFWHG E\ FRS\ULJKW ODZV DQG LQWHUQDWLRQDO WUHDWLHV $Q\ UHSURGXFWLRQ RU GLVWULEXWLRQ RI
WKLV GRFXPHQW RU DQ\ SRUWLRQ RI WKLV GRFXPHQW LQ DQ\ IRUP E\ DQ\ PHDQV ZLWKRXW WKH SULRU ZULWWHQ FRQVHQW RI =7( &2532
5$7,21 LV SURKLELWHG $GGLWLRQDOO\ WKH FRQWHQWV RI WKLV GRFXPHQW DUH SURWHFWHG E\ FRQWUDFWXDO FRQ¿GHQWLDOLW\ REOLJDWLRQV
$OO FRPSDQ\ EUDQG DQG SURGXFW QDPHV DUH WUDGH RU VHUYLFH PDUNV RU UHJLVWHUHG WUDGH RU VHUYLFH PDUNV RI =7( &25325$7,21
RU RI WKHLU UHVSHFWLYH RZQHUV
7KLV GRFXPHQW LV SURYLGHG ³DV LV´ DQG DOO H[SUHVV LPSOLHG RU VWDWXWRU\ ZDUUDQWLHV UHSUHVHQWDWLRQV RU FRQGLWLRQV DUH GLV
FODLPHG LQFOXGLQJ ZLWKRXW OLPLWDWLRQ DQ\ LPSOLHG ZDUUDQW\ RI PHUFKDQWDELOLW\ ¿WQHVV IRU D SDUWLFXODU SXUSRVH WLWOH RU QRQLQ
IULQJHPHQW =7( &25325$7,21 DQG LWV OLFHQVRUV VKDOO QRW EH OLDEOH IRU GDPDJHV UHVXOWLQJ IURP WKH XVH RI RU UHOLDQFH RQ WKH
LQIRUPDWLRQ FRQWDLQHG KHUHLQ
=7( &25325$7,21 RU LWV OLFHQVRUV PD\ KDYH FXUUHQW RU SHQGLQJ LQWHOOHFWXDO SURSHUW\ ULJKWV RU DSSOLFDWLRQV FRYHULQJ WKH VXEMHFW
PDWWHU RI WKLV GRFXPHQW ([FHSW DV H[SUHVVO\ SURYLGHG LQ DQ\ ZULWWHQ OLFHQVH EHWZHHQ =7( &25325$7,21 DQG LWV OLFHQVHH
WKH XVHU RI WKLV GRFXPHQW VKDOO QRW DFTXLUH DQ\ OLFHQVH WR WKH VXEMHFW PDWWHU KHUHLQ
=7( &25325$7,21 UHVHUYHV WKH ULJKW WR XSJUDGH RU PDNH WHFKQLFDO FKDQJH WR WKLV SURGXFW ZLWKRXW IXUWKHU QRWLFH
8VHUV PD\ YLVLW =7( WHFKQLFDO VXSSRUW ZHEVLWH KWWSHQVXSSRUW]WHFRPFQ WR LQTXLUH UHODWHG LQIRUPDWLRQ
7KH XOWLPDWH ULJKW WR LQWHUSUHW WKLV SURGXFW UHVLGHV LQ =7( &25325$7,21
5HYLVLRQ +LVWRU\
5HYLVLRQ 1R 5HYLVLRQ 'DWH 5HYLVLRQ 5HDVRQ
5 )LUVW (GLWLRQ
6HULDO 1XPEHU VM]O

&RQWHQWV
3UHIDFH ,
6DIWH\ 'HVFULSWLRQ
6DIHW\ 6SHFL¿FDWLRQV *XLGH
6DIHW\ 6\PEROV
6DIHW\ ,QVWUXFWLRQV
)&& 5DGLDWLRQ ([SRVXUH 6WDWHPHQW
,QVWDOODWLRQ 2YHUYLHZ
$SSHDUDQFH
(QJLQHHULQJ ,QGH[HV
&RPSRQHQWV WR EH ,QVWDOOHG
5 ,QVWDOODWLRQ )ORZ
5 ,QVWDOODWLRQ 3UHFDXWLRQV
,QVWDOODWLRQ 3UHSDUDWLRQ
,QVWDOODWLRQ (QYLURQPHQW &KHFN
(TXLSPHQW ,QVWDOODWLRQ 6SDFH 5HTXLUHPHQWV
&DELQHW 3RZHU 6XSSO\ 5HTXLUHPHQWV
/LJKWQLQJ *URXQGLQJ 5HTXLUHPHQWV
7UDQVPLVVLRQ 5HTXLUHPHQWV
&DEOLQJ 5HTXLUHPHQWV
6WDII 5HTXLUHPHQWV
7RROV DQG ,QVWUXPHQWV 3UHSDUDWLRQ
'RFXPHQWDWLRQ 3UHSDUDWLRQ
8QSDFNLQJ $FFHSWDQFH DQG +DQGRYHU
&RXQWLQJ *RRGV
&UDWH 8QSDFNLQJ
&DUWRQ 8QSDFNLQJ
*RRGV $FFHSWDQFH DQG +DQGRYHU
&DELQHW ,QVWDOODWLRQ
5 ,QVWDOODWLRQ 0RGH ,QWURGXFWLRQ
7\SLFDO $SSOLFDWLRQ 6FHQDULRV
3ROHPRXQWHG ,QVWDOODWLRQ 0RGH
&RQ¿GHQWLDO DQG 3URSULHWDU\ ,QIRUPDWLRQ RI =7( &25325$7,21 ,

=;0%: 5 ,QVWDOODWLRQ 0DQXDO
&RPSRQHQWV 8VHG LQ 3ROHPRXQW ,QVWDOODWLRQ
,QVWDOOLQJ 3ROHPRXQW 0RGH
+RLVWLQJ =;0%: 5 RQ 7RZHU
:DOOPRXQWHG ,QVWDOODWLRQ 0RGH
&RPSRQHQWV 8VHG LQ :DOOPRXQWHG ,QVWDOODWLRQ
,QVWDOOLQJ :DOOPRXQW 0RGH
&DEOH ,QVWDOODWLRQ
,QVWDOODWLRQ &DEOH /LVW
&DEOH &RQQHFWLRQ 5HODWLRQ
,QVWDOOLQJ WKH '& 3RZHU &DEOH
,QVWDOOLQJ WKH *URXQGLQJ &DEOH
,QVWDOOLQJ WKH )LHOG 2SHUDWLRQ )LEHU
,QVWDOOLQJ )HHGHU
3HUIRUPLQJ 2XWGRRU&RQQHFWRU :DWHUSURRI
3URFHVVLQJ
0DLQ $QWHQQD )HHGHU 6\VWHP ,QVWDOODWLRQ
0DLQ $QWHQQD )HHGHU 6\VWHP ,QVWDOODWLRQ )ORZ
0DLQ $QWHQQD )HHGHU 6\VWHP ,QVWDOODWLRQ 3UHSDUDWLRQ
0DLQ $QWHQQD )HHGHU 6\VWHP ,QVWDOODWLRQ 3RVLWLRQ
$QWHQQD ,QVWDOODWLRQ
$QWHQQD ,QVWDOODWLRQ 7HFKQLFDO 6SHFL¿FDWLRQV
$QWHQQD ,QVWDOODWLRQ 3RVLWLRQ
&RPSRQHQWV 8VHG LQ $QWHQQD 3ROHPRXQW
,QVWDOODWLRQ
,QVWDOOLQJ $QWHQQD
$GMXVWLQJ $QWHQQD¶V $]LPXWK
$GMXVWLQJ $QWHQQDV 'RZQWLOW
+RLVWLQJ $QWHQQD RQ 7RZHU
)HHGHU ,QVWDOODWLRQ
)HHGHU /D\RXW 3ULQFLSOH
)L[LQJ )HHGHU
3HUIRUPLQJ :DWHUSURRI 3URFHVVLQJ IRU )HHGHU
96:5 7HVW
,QVWDOODWLRQ &KHFN
&DELQHW ,QVWDOODWLRQ &KHFN
&DELQHW &KHFN
&DEOH &KHFN
6RFNHW DQG 3OXJ DQG 6OLFH &KHFN
/DEHO &KHFN
(QYLURQPHQW &KHFN
,, &RQ¿GHQWLDO DQG 3URSULHWDU\ ,QIRUPDWLRQ RI =7( &25325$7,21

0DLQ $QWHQQD )HHGHU 6\VWHP ,QVWDOODWLRQ &KHFN
&KHFNLQJ )HHGHU &DEOH
&KHFNLQJ :DWHUSURRI 3URFHVVLQJ
&KHFNLQJ 3RZHURQ 2SHUDWLRQ
)LJXUHV
7DEOHV
*ORVVDU\
&RQ¿GHQWLDO DQG 3URSULHWDU\ ,QIRUPDWLRQ RI =7( &25325$7,21 ,,,

=;0%: 5 ,QVWDOODWLRQ 0DQXDO
7KLV SDJH LV LQWHQWLRQDOO\ EODQN
,9 &RQ¿GHQWLDO DQG 3URSULHWDU\ ,QIRUPDWLRQ RI =7( &25325$7,21

3UHIDFH
3XUSRVH =;0%: 5 LV D W\SH RI :L0$; UHPRWH UDGLR XQLW SURGXFHG E\
=7( ,W LV XVHG IRU ODUJHFDSDFLW\ FRYHUDJH RXWGRRUV ,Q DGGLWLRQ
LW DOVR SURYLGHV FRYHUDJH IRU VRPH XUEDQ EOLQG ]RQHV DQG KRWVSRW
]RQHV VXFK DV EDVHPHQWV DQG SOD]DV
7KLV PDQXDO SURYLGHV SURFHGXUHV DQG JXLGHOLQHV WKDW VXSSRUW
=;0%: 5 LQVWDOODWLRQ
,QWHQGHG
$XGLHQFH
7KLV GRFXPHQW LV LQWHQGHG IRU HQJLQHHUV DQG WHFKQLFLDQV ZKR SHU
IRUP LQVWDOODWLRQ DFWLYLWLHV RQ =;0%: 5 5HPRWH 5DGLR 8QLW
î
3UHUHTXLVLWH 6NLOO
DQG .QRZOHGJH
7R XVH WKLV GRFXPHQW HIIHFWLYHO\ XVHUV VKRXOG KDYH D JHQHUDO XQ
GHUVWDQGLQJ RI =;0%: 5 HTXLSPHQW DQG LWV FRPSRQHQWV )D
PLOLDULW\ ZLWK WKH IROORZLQJ LV KHOSIXO
:L0$; IXQGDPHQWDO
=;0%: 5 KDUGZDUH VWUXFWXUH
:KDW LV LQ 7KLV
0DQXDO
7KLV PDQXDO FRQWDLQV WKH IROORZLQJ FKDSWHUV
&KDSWHU 6XPPDU\
&KDSWHU 6DIHW\ 'HVFULSWLRQ 7KLV FKDSWHU LQWURGXFHV WKH VDIHW\
V\PEROV DQG VDIHW\ VSHFL¿FDWLRQV
GXULQJ =;0%: 5 LQVWDOODWLRQ
&KDSWHU ,QVWDOODWLRQ 2YHUYLHZ 7KLV FKDSWHU LQWURGXFHV WKH
SURGXFW DSSHDUDQFH HQJLQHHULQJ
LQGLFHV LQVWDOODWLRQ FRPSRQHQWV
ÀRZ DQG SUHFDXWLRQV
&KDSWHU ,QVWDOODWLRQ 3UHSDUDWLRQ 7KLV FKDSWHU LQWURGXFHV QHFHVVDU\
=;0%: 5 LQVWDOODWLRQ
SUHSDUDWLRQV DQG XQSDFNLQJ
DFFHSWDQFH SURFHVV
&KDSWHU &DELQHW ,QVWDOODWLRQ 7KLV FKDSWHU LQWURGXFHV WKUHH
PRGHV RI =;0%: 5
LQVWDOODWLRQ
&KDSWHU &DEOH ,QVWDOODWLRQ 7KLV FKDSWHU LQWURGXFHV WKH
LQVWDOODWLRQ RI =;0%: 5
H[WHUQDO FDEOHV
&KDSWHU 0DLQ $QWHQQD )HHGHU
6\VWHP ,QVWDOODWLRQ
7KLV FKDSWHU LQWURGXFHV =;0%:
5 PDLQ DQWHQQD IHHGHU
V\VWHP LQVWDOODWLRQ
&KDSWHU ,QVWDOODWLRQ &KHFN 7KLV FKDSWHU LQWURGXFHV WKH
SURFHGXUHV RI =;0%: 5
KDUGZDUH FKHFN DIWHU LQVWDOODWLRQ
&RQ¿GHQWLDO DQG 3URSULHWDU\ ,QIRUPDWLRQ RI =7( &25325$7,21 ,

=;0%: 5 ,QVWDOODWLRQ 0DQXDO
7KLV SDJH LV LQWHQWLRQDOO\ EODQN
,, &RQ¿GHQWLDO DQG 3URSULHWDU\ ,QIRUPDWLRQ RI =7( &25325$7,21

&KDSWHU
6DIWH\ 'HVFULSWLRQ
7DEOH RI &RQWHQWV
6DIHW\ 6SHFL¿FDWLRQV *XLGH
6DIHW\ 6\PEROV
6DIHW\ ,QVWUXFWLRQV
)&& 5DGLDWLRQ ([SRVXUH 6WDWHPHQW
6DIHW\ 6SHFLILFDWLRQV *XLGH
7KHVH VDIHW\ LQVWUXFWLRQV PXVW EH FRQVLGHUHG DV VXSSOHPHQWDU\ IRU
ORFDO VDIHW\ UHJXODWLRQV 7KH SULRULW\ PXVW EH JLYHQ WR ORFDO VDIHW\
UHJXODWLRQV LI WKHUH LV DQ\ FRQÀLFW EHWZHHQ WKH WZR
7KH PDLQWHQDQFH SHUVRQQHO PXVW KDYH WKH NQRZOHGJH RI VDIHW\
RSHUDWLRQV DQG PDLQWHQDQFH ZLWK UHTXLUHG TXDOL¿FDWLRQ DQG WHFK
QLFDO EDFNJURXQG
:DUQLQJ
7KLV GHYLFH FRPSOLHV ZLWK SDUW RI WKH )&& 5XOHV 2SHUDWLRQ LV
VXEMHFW WR WKH IROORZLQJ WZR FRQGLWLRQV 7KLV GHYLFH PD\ QRW
FDXVH KDUPIXO LQWHUIHUHQFH DQG WKLV GHYLFH PXVW DFFHSW DQ\
LQWHUIHUHQFH UHFHLYHG LQFOXGLQJ LQWHUIHUHQFH WKDW PD\ FDXVH XQGH
VLUHG RSHUDWLRQ &KDQJHV RU PRGL¿FDWLRQV QRW H[SUHVVO\ DSSURYHG
E\ WKH SDUW\ UHVSRQVLEOH IRU FRPSOLDQFH FRXOG YRLG WKH XVHUV DX
WKRULW\ WR RSHUDWH WKH HTXLSPHQW
$OO WKH RSHUDWLRQ DQG PDLQWHQDQFH SHUVRQQHO PXVW IROORZ WKH
VDIHW\ SUHFDXWLRQV DQG LQVWUXFWLRQV SURYLGHG E\ =7( &RUSRUDWLRQ
WR DYRLG DQ\ DFFLGHQW
1RWH
=7( &RUSRUDWLRQ GRHV QRW EHDU DQ\ OLDELOLWLHV LQFXUUHG EHFDXVH RI
YLRODWLRQ RI WKH XQLYHUVDO VDIHW\ RSHUDWLRQ UHTXLUHPHQWV RU YLROD
WLRQ RI VDIHW\ VWDQGDUGV IRU GHVLJQLQJ PDQXIDFWXULQJ DQG XVLQJ
WKH HTXLSPHQW
&RQ¿GHQWLDO DQG 3URSULHWDU\ ,QIRUPDWLRQ RI =7( &25325$7,21

=;0%: 5 ,QVWDOODWLRQ 0DQXDO
6DIHW\ 6\PEROV
7DEOH OLVWV VDIHW\ V\PEROV 7KH\ DUH WR SURPSW WKH XVHU RI WKH
VDIHW\ SUHFDXWLRQV WR EH REVHUYHG GXULQJ =;0%: 5 RSHUDWLRQ
DQG PDLQWHQDQFH
7$%/( 6$)(7< 6<0%2/6 '(6&5,37,21
6DIHW\ 6\PEROV 0HDQLQJ
1R VPRNLQJ 6PRNLQJ LV IRUELGGHQ
1R ÀDPPDEOHV 1R ÀDPPDEOHV FDQ EH VWRUHG
1R WRXFKLQJ 'R QRW WRXFK
8QLYHUVDO DOHUWLQJ V\PERO *HQHUDO VDIHW\
DWWHQWLRQV
(OHFWULF VKRFN 5LVN RI HOHFWULF VKRFN
(OHFWURVWDWLF 7KH GHYLFH PD\ EH VHQVLWLYH WR
VWDWLF HOHFWULFLW\
0LFURZDYH %HZDUH RI VWURQJ HOHFWURPDJQHWLF
¿HOG
/DVHU %HZDUH RI VWURQJ ODVHU EHDP
6FDOG %HZDUH RI VFDOG
$PRQJVW WKHVH VDIHW\ V\PEROV WKH XQLYHUVDO DODUP V\PEROV DUH
FODVVL¿HG LQWR WKUHH OHYHOV GDQJHU ZDUQLQJ DQG FDXWLRQ 7KH
IRUPDWV DQG PHDQLQJV RI WKH WKUHH OHYHOV DUH GHVFULEHG DV EHORZ
'DQJHU
,QGLFDWHV D SRWHQWLDOO\ KD]DUGRXV VLWXDWLRQ ZKLFK LI QRW DYRLGHG
ZLOO UHVXOW LQ GHDWK RU VHULRXV LQMXU\ RI SHRSOH RU HTXLSPHQW GDP
DJHV DQG EUHDNGRZQ
:DUQLQJ
,QGLFDWHV D SRWHQWLDOO\ KD]DUGRXV VLWXDWLRQ ZKLFK LI QRW DYRLGHG
FRXOG UHVXOW LQ GHDWK RU VHULRXV LQMXU\
&RQ¿GHQWLDO DQG 3URSULHWDU\ ,QIRUPDWLRQ RI =7( &25325$7,21

&KDSWHU 6DIWH\ 'HVFULSWLRQ
&DXWLRQ
,QGLFDWHV D SRWHQWLDOO\ KD]DUGRXV VLWXDWLRQ ZKLFK LI QRW DYRLGHG
FRXOG UHVXOW LQ VHULRXV LQMXULHV HTXLSPHQW GDPDJHV RU LQWHUUXSWLRQ
RI SDUW VHUYLFHV
6DIHW\ ,QVWUXFWLRQV
(OHFWULFDO 6DIHW\
,QVWUXFWLRQV
7RROV
8VH VSHFLDO WRROV UDWKHU WKDQ FRPPRQ WRROV IRU KLJKYROWDJH
DQG $& RSHUDWLRQV
+LJK 9ROWDJH
f6WULFWO\ IROORZ ORFDO VDIHW\ UXOHV WR LQVWDOO $& SRZHU HTXLS
PHQWV
f,QVWDOODWLRQ VWDII PXVW EH TXDOL¿HG IRU SHUIRUPLQJ KLJKYROW
DJH DQG $& RSHUDWLRQV
f'R QRW ZHDU DQ\ ZDWFK KDQG FKDLQ EUDFHOHW ULQJ RU DQ\
RWKHU FRQGXFWLYH REMHFW GXULQJ VXFK RSHUDWLRQV
f3UHYHQW PRLVWXUH IURP DFFXPXODWLQJ RQ WKH HTXLSPHQW GXU
LQJ RSHUDWLRQV LQ D GDPS HQYLURQPHQW
'DQJHU
+LJK YROWDJH LV KD]DUGRXV 'LUHFW RU LQGLUHFW FRQWDFW ZLWK KLJK
YROWDJH RU PDLQ VXSSO\ XVLQJ D ZHW REMHFW FRXOG UHVXOW LQ GHDWK
3RZHU &DEOH
f0DNH VXUH WR VZLWFK RII SRZHU VXSSO\ EHIRUH LQVWDOOLQJ RU
GLVFRQQHFWLQJ D SRZHU FDEOH
f%HIRUH FRQQHFWLQJ WKH SRZHU FDEOH PDNH VXUH WKDW WKH FRQ
QHFWLQJ FDEOH DQG LWV ODEHO LV DSSURSULDWH IRU WKH DFWXDO LQ
VWDOODWLRQ UHTXLUHPHQWV
'DQJHU
f1HYHU LQVWDOO RU XQLQVWDOO SRZHU FDEOHV ZKLOH WKH\ DUH OLYH
fZKHQ FRQWDFWLQJ D FRQGXFWRU SRZHU FDEOHV PD\ UHVXOW LQ
VSDUNV RU HOHFWULF DUF FDXVLQJ D ¿UH RU HYHQ GDPDJH WR H\HV
'ULOOLQJ +ROHV
f8QTXDOL¿HG GULOOLQJ FRXOG GDPDJH ZLULQJ DQG FDEOHV LQVLGH
WKH FDELQHW $GGLWLRQDOO\ PHWDO SLHFHV LQVLGH WKH FDELQHW
FUHDWHG E\ WKH GULOOLQJ FRXOG UHVXOW LQ VKRUW FLUFXLW
&RQ¿GHQWLDO DQG 3URSULHWDU\ ,QIRUPDWLRQ RI =7( &25325$7,21

=;0%: 5 ,QVWDOODWLRQ 0DQXDO
f8VH LQVXODWLRQ SURWHFWLRQ JORYHV DQG ¿UVW PRYH FDEOHV LQ
VLGH D FDELQHW DZD\ ZKHQ LW LV QHFHVVDU\ WR GULOO KROHV RQ D
FDELQHW 3URWHFW H\HV GXULQJ GULOOLQJ DV GXVW RU À\LQJ GHEULV
PD\ GDPDJH H\HV &OHDQ DQ\ GHEULV LQ WLPH DIWHU GULOOLQJ
:DUQLQJ
,W LV QRW DOORZHG WR GULOO FDELQHW KROHV ZLWKRXW SHUPLVVLRQ
/LJKWQLQJ
7KXQGHUVWRUPV ZRXOG JLYH ULVH WR D VWURQJ HOHFWURPDJQHWLF
¿HOG LQ WKH DWPRVSKHUH 7KHUHIRUH WKH HTXLSPHQW PXVW EH
JURXQGHG DQG SURWHFWHG LQ WLPH DJDLQVW OLJKWQLQJ VWULNHV
'DQJHU
'R QRW SHUIRUP KLJKYROWDJH $& LURQ WRZHU RU PDVW RSHUDWLRQV
LQ D WKXQGHUVWRUP
$QWLVWDWLF 6DIHW\
,QVWUXFWLRQV
)ULFWLRQ FDXVHG E\ KXPDQ ERG\ DFWLYLWLHV LV WKH URRW FDXVLQJ
HOHFWURVWDWLF FKDUJH DFFXPXODWLRQ 6WDWLF YROWDJH FDUULHG E\ D
KXPDQ ERG\ LQ D GU\ HQYLURQPHQW FDQ EH XS WR N9 DQG
FDQ UHPDLQ LQ WKHUH IRU D ORQJ WLPH $Q RSHUDWRU ZLWK VWDWLF
HOHFWULFLW\ PD\ GLVFKDUJH HOHFWULFLW\ WKURXJK D FRPSRQHQW ZKHQ
KHVKH WRXFKHV WKH FRQGXFWRU DQG FDXVLQJ GDPDJH
:HDU DQ DQWLVWDWLF ZULVW VWUDS WKH RWKHU HQG RI ZULVW VWUDS PXVW
EH ZHOO JURXQGHG EHIRUH WRXFKLQJ WKH HTXLSPHQW RU KROGLQJ
D SOXJLQ ERDUG FLUFXLW ERDUG ,QWHJUDWHG &LUFXLW ,& FKLS RU
RWKHU GHYLFHV WR SUHYHQW KXPDQ VWDWLF HOHFWULFLW\ IURP GDPDJ
LQJ VHQVLWLYH FRPSRQHQWV
$ UHVLVWRU RYHU 0ƻ VKRXOG EH FRQQHFWHG LQ VHULHV RQ WKH FDEOH
EHWZHHQ WKH DQWLVWDWLF ZULVW VWUDS DQG WKH JURXQGLQJ SRLQW WR
SURWHFW WKH RSHUDWRU DJDLQVW DFFLGHQWDO HOHFWULF VKRFN 5HVLV
WDQFH RYHU 0ƻ LV ORZ HQRXJK WR GLVFKDUJH VWDWLF YROWDJH
7KH DQWLVWDWLF ZULVW VWUDS XVHG PXVW EH VXEMHFW WR UHJXODU
FKHFN 'R QRW UHSODFH WKH FDEOH RI DQ DQWLVWDWLF ZULVW VWUDS
ZLWK DQ\ RWKHU FDEOH
'R QRW FRQWDFW VWDWLFVHQVLWLYH PRGXOHV ZLWK DQ\ REMHFW WKDW
HDVLO\ JHQHUDWHV VWDWLF HOHFWULFLW\ )RU H[DPSOH IULFWLRQ RI SDFN
DJH EDJ WUDQVIHU ER[ DQG WUDQVIHU EHOW PDGH IURP LQVXODWLRQ
SODVWLF PD\ FDXVH VWDWLF HOHFWULFLW\ RQ FRPSRQHQWV 'LVFKDUJH
RI VWDWLF HOHFWULFLW\ PD\ GDPDJH FRPSRQHQWV ZKHQ WKH\ FRQ
WDFW D KXPDQ ERG\ RU WKH JURXQG
0RGXOHV VKRXOG RQO\ FRQWDFW PDWHULDOV VXFK DV DQWLVWDWLF EDJ
.HHS PRGXOHV LQ DQWLVWDWLF EDJV GXULQJ VWRUDJH DQG WUDQVSRUWD
WLRQ
'LVFKDUJH VWDWLF HOHFWULFLW\ RI WKH WHVW GHYLFH EHIRUH XVH WKDW
LV JURXQG WKH WHVW GHYLFH ¿UVW
'R QRW SODFH WKH PRGXOH QHDU D VWURQJ '& PDJQHWLF ¿HOG VXFK
DV WKH FDWKRGHUD\ WXEH RI D PRQLWRU .HHS WKH PRGXOH DW OHDVW
FP DZD\
&RQ¿GHQWLDO DQG 3URSULHWDU\ ,QIRUPDWLRQ RI =7( &25325$7,21

&KDSWHU 6DIWH\ 'HVFULSWLRQ
(OHFWURVWDWLF
6WDWLF HOHFWULFLW\ SURGXFHG E\ KXPDQ ERG\ FDQ GDPDJH VWDWLFVHQ
VLWLYH FRPSRQHQWV RQ FLUFXLW ERDUG VXFK DV ODUJHVFDOH LQWHJUDWHG
FLUFXLWV
+RLVWLQJ +HDY\
2EMHFWV
(QVXUH WKH KRLVWHU FDQ PHHW KRLVWLQJ UHTXLUHPHQWV ZKHQ GLV
DVVHPEOLQJ KHDY\ HTXLSPHQW RU PRYLQJ DQG UHSODFLQJ HTXLS
PHQW
7KH LQVWDOODWLRQ SHUVRQQHO PXVW EH GXO\ WUDLQHG DQG TXDOL¿HG
IRU KRLVWLQJ RSHUDWLRQV +RLVWLQJ WRROV PXVW EH LQVSHFWHG DQG
FRPSOHWH EHIRUH VHUYLFH 0DNH VXUH WKDW KRLVWLQJ WRROV DUH ¿[HG
¿UPO\ RQ D VXI¿FLHQWO\ VHFXUHG REMHFW RU ZDOO EHIRUH WKH KRLVW
LQJ RSHUDWLRQ *LYH EULHI RUDO LQVWUXFWLRQV GXULQJ KRLVWLQJ RS
HUDWLRQV WR SUHYHQW DQ\ PLVKDS
:DUQLQJ
:KHQ KRLVWLQJ KHDY\ REMHFWV HQVXUH WKDW QRERG\ LV VWDQGLQJ RU
ZDONLQJ XQGHU WKH KRLVWHG REMHFW
2WKHU 6DIHW\
,QVWUXFWLRQV
5HSODFLQJ DQ\ SDUWV RU PDNLQJ DQ\ FKDQJHV WR WKH HTXLSPHQW
PLJKW UHVXOW LQ DQ XQH[SHFWHG GDQJHU 7KHUHIRUH EH VXUH QRW
WR UHSODFH DQ\ SDUWV RU SHUIRUP DQ\ FKDQJHV WR WKH HTXLSPHQW
XQOHVV DXWKRUL]HG RWKHUZLVH
&RQWDFW =7( RI¿FH LI \RX KDYH DQ\ TXHVWLRQ WR HQVXUH \RXU
VDIHW\
'XH WR WKDW 558 LV LQ KLJK WHPSHUDWXUH GXULQJ UXQQLQJ WKH 558
VKRXOG EH LQVWDOOHG LQ VRPH UHJLRQV RXW RI RSHUDWRUV¶ UHDFK RU
VWULFWO\ UHVWULFWHG
&DXWLRQ
'R QRW SHUIRUP PDLQWHQDQFH RU GHEXJJLQJ LQGHSHQGHQWO\ XQOHVV
D TXDOL¿HG SHUVRQ LV SUHVHQW
)&& 5DGLDWLRQ ([SRVXUH
6WDWHPHQW
=;0%: 5 FRPSOLHV ZLWK )&& UDGLDWLRQ H[SRVXUH OLPLWV VHW
IRUWK IRU DQ XQFRQWUROOHG HQYLURQPHQW=;0%: 5 VKRXOG EH
LQVWDOOHG DQG RSHUDWHG ZLWK PLQLPXP GLVWDQFH P EHWZHHQ WKH
UDGLDWRU \RXU ERG\
&RQ¿GHQWLDO DQG 3URSULHWDU\ ,QIRUPDWLRQ RI =7( &25325$7,21

=;0%: 5 ,QVWDOODWLRQ 0DQXDO
7KLV SDJH LV LQWHQWLRQDOO\ EODQN
&RQ¿GHQWLDO DQG 3URSULHWDU\ ,QIRUPDWLRQ RI =7( &25325$7,21

&KDSWHU
,QVWDOODWLRQ 2YHUYLHZ
7DEOH RI &RQWHQWV
$SSHDUDQFH
(QJLQHHULQJ ,QGH[HV
&RPSRQHQWV WR EH ,QVWDOOHG
5 ,QVWDOODWLRQ )ORZ
5 ,QVWDOODWLRQ 3UHFDXWLRQV
$SSHDUDQFH
)LJXUH VKRZV WKH DSSHDUDQFH RI WKH =;0%: 5
),*85( =;0%: 5 $33($5$1&(
± 8QLW PP
&RQ¿GHQWLDO DQG 3URSULHWDU\ ,QIRUPDWLRQ RI =7( &25325$7,21

=;0%: 5 ,QVWDOODWLRQ 0DQXDO
(QJLQHHULQJ ,QGH[HV
7DEOH OLVWV WKH HQJLQHHULQJ LQGH[HV RI WKH =;0%: 5
7$%/( (1*,1((5,1* ,1'(;(6
,QGH[ 'HVFULSWLRQ
'LPHQVLRQ PP + î PP : î PP '
9ROXPH /
:HLJKW NJ
(QYLURQPHQWDO
WHPSHUDWXUH
Яa Я
(QYLURQPHQWDO
KXPLGLW\
a 5+
6KHOO
SURWHFWLRQ
OHYHO
,3
2YHUDOO SRZHU
FRQVXPSWLRQ
6LQJOH FDUULHU :
'XDO FDUULHU :
3RZHU VXSSO\ 9 '& 9 '& a 9 '&
1RWH
7KH SRZHU VXSSO\ LQGH[ YDOXH LV WKH PHDVXUHG YDOXH DW WKH SRZHU
LQSXW LQWHUIDFH 3:5 ,1 RI WKH =;0%: 5 FKDVVLV
&RPSRQHQWV WR EH ,QVWDOOHG
7KH IROORZLQJ OLVWV DOO FRPSRQHQWV WR EH LQVWDOOHG
=;0%: 5
1RWH
,QQHU FDEOHV DQG IXQFWLRQ PRGXOHV LQ WKH =;0%: 5 KDYH
EHHQ LQVWDOOHG FRPSOHWHO\ EHIRUH VKLSPHQW 7KHUH LV QR QHHG
WR FKHFN RQ VLWH
&DEOHV
0DLQ DQWHQQD IHHGHU V\VWHP LQFOXGLQJ DQWHQQD DQG IHHGHU
3URWHFWLYH VKLHOG
&RQ¿GHQWLDO DQG 3URSULHWDU\ ,QIRUPDWLRQ RI =7( &25325$7,21

&KDSWHU ,QVWDOODWLRQ 2YHUYLHZ
1RWH
=;0%: 5 RXWGRRU LQVWDOODWLRQ PXVW EH HTXLSSHG ZLWK D
SURWHFWLYH VKLHOG
5 ,QVWDOODWLRQ )ORZ
)LJXUH LOOXVWUDWHV =;0%: 5 LQVWDOODWLRQ ÀRZFKDUW
),*85( =;0%: 5 ,167$//$7,21 )/2:&+$57
1RWH
,Q DQ RQVLWH LQVWDOODWLRQ UHIHU WR )LJXUH DQG VRPH VWHSV FDQ EH
DGMXVWHG WR EH PRUH FRQYHQLHQW
&RQ¿GHQWLDO DQG 3URSULHWDU\ ,QIRUPDWLRQ RI =7( &25325$7,21

=;0%: 5 ,QVWDOODWLRQ 0DQXDO
5 ,QVWDOODWLRQ
3UHFDXWLRQV
%HIRUH LQVWDOODWLRQ WKH WHFKQLFDO SHUVRQQHO PXVW FKHFN WKH HTXLS
PHQW UXQQLQJ HQYLURQPHQW DQG SUHSDUH WKH LQIRUPDWLRQ DERXW GDWD
FRQ¿JXUDWLRQ HTXLSPHQW SRVLWLRQ LQWHUIDFH FRQ¿JXUDWLRQ DQG FD
EOH OHQJWK IURP WKH QHWZRUN RSHUDWRU
,Q DGGLWLRQ WKH WHFKQLFDO SHUVRQQHO PXVW IROORZ WKH IROORZLQJ UXOHV
'R QRW RSHUDWH WKH FDELQHW GXULQJ LQVWDOODWLRQ SURFHVV XQOHVV
WKH HQWLUH LQVWDOODWLRQ LV FRPSOHWHG
'R QRW LQVWDOO WKH RXWGRRU DQWHQQD IHHGHU V\VWHP GXULQJ WKXQ
GHU DQG OLJKWQLQJ
&RQ¿GHQWLDO DQG 3URSULHWDU\ ,QIRUPDWLRQ RI =7( &25325$7,21

&KDSWHU
,QVWDOODWLRQ 3UHSDUDWLRQ
7DEOH RI &RQWHQWV
,QVWDOODWLRQ (QYLURQPHQW &KHFN
6WDII 5HTXLUHPHQWV
7RROV DQG ,QVWUXPHQWV 3UHSDUDWLRQ
'RFXPHQWDWLRQ 3UHSDUDWLRQ
8QSDFNLQJ $FFHSWDQFH DQG +DQGRYHU
,QVWDOODWLRQ (QYLURQPHQW
&KHFN
(TXLSPHQW ,QVWDOODWLRQ 6SDFH
5HTXLUHPHQWV
)LJXUH LOOXVWUDWHV WKH HTXLSPHQW URRP VSDFH UHTXLUHPHQWV IRU
LQVWDOOLQJ =;0%: 5 8QLW PP
&RQ¿GHQWLDO DQG 3URSULHWDU\ ,QIRUPDWLRQ RI =7( &25325$7,21

=;0%: 5 ,QVWDOODWLRQ 0DQXDO
),*85( (48,30(17 5220 5(48,5(0(176 )25 ,167$//,1* =;0%:
5
1RWH
)LJXUH JLYHV VSDFH UHTXLUHPHQWV IRU =;0%: 5 LQVWDOOHG ZLWK
D SURWHFWLYH VKLHOG )RU QR SURWHFWLYH VKLHOG WKH FDELQHW WRS PXVW
UHPDLQ PP VSDFH
&DELQHW 3RZHU 6XSSO\ 5HTXLUHPHQWV
7KH FDELQHW SRZHU VXSSO\ VKRXOG PHHW WKH IROORZLQJ UHTXLUHPHQWV
7KH '& SRZHU VXSSO\ IDFLOLW\ SURYLGHV DQ DGHTXDWH SRZHU DQG
D VWDEOH YROWDJH RI ZKLFK WKH QRPLQDO YDOXH LV 9 9 a
9
7KH VWRUDJH EDWWHU\ KDV HQRXJK FDSDFLW\
7KH 3RZHU VRFNHW WR SURYLGH SRZHU VXSSO\ LV PDUNHG ZLWK DQ
REYLRXV ODEHO
&RQ¿GHQWLDO DQG 3URSULHWDU\ ,QIRUPDWLRQ RI =7( &25325$7,21

&KDSWHU ,QVWDOODWLRQ 3UHSDUDWLRQ
$XGLEOH DQG YLVLEOH DODUPV LV UHTXLUHG IRU SRZHU XQGHUFXUUHQW
XQGHUYROWDJH DQG RYHUYROWDJH
'& SRZHU LQVWDOODWLRQ UHTXLUHV SRODU FRQVLVWHQF\ IRU IHDU RI UH
YHUVH FRQQHFWLRQ DQG HTXLSPHQW GDPDJH
(OHFWULF 6KRFN
0DNH VXUH DOO VZLWFKHV SRZHUHG RII WR DYRLG HOHFWULF VKRFN EHIRUH
FKHFNLQJ SRZHUV
/LJKWQLQJ *URXQGLQJ 5HTXLUHPHQWV
,QVWDOO DQ DQWHQQD IHHGHU OLJKWQLQJ SURWHFWLRQ PRGXOH DQG '&
SRZHU OLJKWQLQJ SURWHFWLRQ PRGXOH LQ WKH =;0%: 5 FDE
LQHW 7DEOH GHVFULEHV WKH OLJKWQLQJ SURWHFWLRQ VWUHQJWKV DQG
UHIHUHQFH VWDQGDUGV
7$%/( /,*+71,1* 3527(&7,21 675(1*7+6 $1' 5()(5(1&(
67$1'$5'6
0RGXOH
1DPH
/LJKWQLQJ
6WUHQJWK
5HIHUHQFH 6WDQGDUG
$QWHQQD
IHHGHU
OLJKWQLQJ
SURWHFWLRQ
PRGXOH
.$ 6LJQDO SRUW DUUHVWHU
LQWHUQDWLRQDO VWDQGDUG ,(&
$& SRZHU
OLJKWQLQJ
SURWHFWLRQ
PRGXOH
.$ 3RZHU SRUW DUUHVWHU
LQWHUQDWLRQDO VWDQGDUG ,(&
7KH FRPPRQ JURXQGLQJ PRGH PXVW EH XVHG LQ =;0%: 5
FDELQHW JURXQGLQJ
1RWH
&RPPRQ JURXQGLQJ PRGH IRXQGDWLRQ JURXQGLQJ HOHFWURGHV
RI DOO FRQVWUXFWLRQV PXWXDOO\ FRQQHFWHG ZLWK RWKHU VSHFLDO
JURXQGLQJ HOHFWURGHV IRUP D FRPPRQ JURXQGLQJ QHW ZRUN
JURXQGLQJSURWHFWLRQ JURXQGLQJORJLF JURXQGLQJVKLHOG HQFOR
VXUH JURXQGLQJDQWLVWDWLF JURXQGLQJ RI GHYLFHV VKDUH D JURXS
RI JURXQGLQJ V\VWHP ZLWK OLJKWQLQJ SURWHFWLRQ JURXQGLQJ RI
FRQVWUXFWLRQV
7KH UHVLVWDQFH RI =;0%: 5 FDELQHW JURXQGLQJ PXVW EH
QRW PRUH WKDQ ƻ
&RQ¿GHQWLDO DQG 3URSULHWDU\ ,QIRUPDWLRQ RI =7( &25325$7,21

=;0%: 5 ,QVWDOODWLRQ 0DQXDO
7UDQVPLVVLRQ 5HTXLUHPHQWV
7DEOH GHVFULEHV H[WHUQDO WUDQVPLVVLRQ LQWHUIDFHV RI =;0%:
5 FDELQHW
7$%/( =;0%: 5 (;7(51$/ 75$160,66,21 ,17(5)$&(
7UDQV
PLVVLRQ
7\SH
,QWHUIDFH
1DPH
&RQQHF
WRU
'HVFULSWLRQ
2SWLFDO
¿EHU
%DVHEDQG5)
RSWLFDO ¿EHU
LQWHUIDFH
/& &RQQHFWV WR D FRUUHVSRQGLQJ
RSWLFDO ¿EHU LQWHUIDFH LQ WKH
EDVHEDQG XQLW
)HHGHU 5) DQWHQQD
LQWHUIDFH
1W\SH &RQQHFW WKH =;0%: 5
FDELQHW ZLWK IHHGHU DV ZHOO DV
IHHGHU ZLWK DQWHQQD
(WKHUQHW
FDEOH
(WKHUQHW
LQWHUIDFH
5- /RFDO RSHUDWLRQ DQG
PDLQWHQDQFH
&DEOLQJ 5HTXLUHPHQWV
&DEOH /D\RXW
5HTXLUHPHQWV
:UDS WKHLU FRQQHFWRU ZLWK LQVXODWLRQ DGKHVLYH WDSH EHIRUH OD\
LQJ D SRZHU FDEOH DQG 3( FDEOH
6HSDUDWH D VLJQDO FDEOH IURP WKH SRZHU FDEOH DQG 3( FDEOH
ZKLOH OD\LQJ WKHP
7KHLU GLVWDQFHV HDFK RWKHU DUH QRW OHVV WKDQ PP RXWVLGH
WKH FDELQHW ZKLOH OD\LQJ WKH SRZHU FDEOH 3( FDEOH DQG VLJQDO
FDEOH SDUDOOHO
0DNH VXUH WKH FURVV DQJOH RI VLJQDO FDEOH DQG SRZHU FDEOH DV
GHJUHH LI QHHGHG
0DNH VXUH WKDW WKH FDEOH EHQGLQJ UDGLXV LV WLPHV JUHDWHU
WKDQ WKH SRZHU FDEOH GLDPHWHU
0DNH VWUDLJKW URXWLQJ DQG VPRRWK EHQGLQJ RI WKH SRZHU FDEOH
GXULQJ FRQQHFWLQJ WR WKH HDUWKLQJ WHUPLQDOV RI SRZHU GLVWULEX
WLRQ ER[ LQVLGH WKH FDELQHW
0DNH VXUH WKH FDEOH LQVWDOODWLRQ SRVLWLRQ LQ WHUPV RI WKH HQJL
QHHULQJ UHTXLUHPHQWV DQG FRQVLVWHQW ZLWK WKH GDWD FRQ¿JXUD
WLRQ
/D\ FDEOHV LQ D GLVWLQFW DQG UHDVRQDEOH ZD\ ZLWK SURSHU EHQGLQJ
DFFRUGLQJ WR WKH ZRUNLQJ GHVLJQ
0DNH VXUH RUJDQL]HG DQG VPRRWKLQJ URXWLQJ RI VLJQDO FDEOHV
ZLWKRXW FURVV
0DNH VXUH FDEOH OD\RXW FRQYHQLHQW IRU PDLQWHQDQFH DQG FDSDF
LW\ H[SDQVLRQ
0DNH VXUH WKH PLQLPXP EHQGLQJ UDGLXV LV QRW OHVV WKDQ
WLPHV WKDW RI WKH IHHGHU
&RQ¿GHQWLDO DQG 3URSULHWDU\ ,QIRUPDWLRQ RI =7( &25325$7,21

&KDSWHU ,QVWDOODWLRQ 3UHSDUDWLRQ
6HH 7DEOH EHORZ IRU GHWDLOHG IHHGHU EHQGLQJ UDGLXV UHTXLUH
PHQWV
7$%/( %(1',1* 5$',86 5(48,5(0(176 21 )(('(56 2)
',))(5(17 7<3(6
5HFRPPHQGHG 0LQLPXP %HQGLQJ 5DGLXV)HHGHU 7\SH
6LQJOH %HQGLQJ 5HSHDWHG %HQGLQJ
WLPHV
6XSHU ÀH[LEOH
IHHGHU
PP PP
IHHGHU PP PP
IHHGHU PP PP
IHHGHU PP PP
%LQGLQJ 7HFKQLFDO
5HTXLUHPHQWV
.HHS DQ HTXDO VSDFLQJ EHWZHHQ ZLUH IDVWHQHUV DQG DQ DSSUR
SULDWH GHJUHH RI ELQGLQJ WLJKWQHVV ZLWK WKH VDPH RULHQWDWLRQ
$OO IDVWHQHUV DUH ERXQG LQ WKH VDPH GLUHFWLRQ 5HPDLQ a
PP FDEOH WLHV DQG FXW UHGXQGDQW SDUW ÀDWO\
6HSDUDWH WKH VLJQDO FDEOH IURP SRZHU FDEOH DQG JURXQGLQJ FD
EOH ZKLOH OD\LQJ WKHP
%LQG WKH FDEOHV FORVHO\ DQG RUGHUO\ EHIRUH DUUD\LQJ RQ WKH FDEOH
WUD\
0DNH DOORZDQFH RI HDFK SOXJ IRU H[WUD SOXJJLQJ
6WDII 5HTXLUHPHQWV
7KH LQVWDOODWLRQ SHUVRQQHO IRU =;0%: 5 VKRXOG WDNH SDUW LQ
=7( WUDLQLQJ ¿UVW WR REWDLQ LQVWDOODWLRQ DQG GHEXJJLQJ PHWKRGV
7KH\ DUH QRW TXDOL¿HG XQWLO SDVVLQJ WKH H[DPV DQG JHWWLQJ WKH
ZRUN FHUWL¿FDWH
7RROV DQG ,QVWUXPHQWV
3UHSDUDWLRQ
7DEOH OLVWV WRROV DQG LQVWUXPHQWV XVHG LQ LQVWDOODWLRQ
&RQ¿GHQWLDO DQG 3URSULHWDU\ ,QIRUPDWLRQ RI =7( &25325$7,21

=;0%: 5 ,QVWDOODWLRQ 0DQXDO
7$%/( 722/6 $1' ,167580(176
&DWH
JRU\ 1DPH ,QVWDQFH
.QLIH IRU FXWWLQJ IHHGHU HQGV
ƻ FRD[LDO FDEOH VWULSSHU
0XOWLIXQFWLRQDO FULPSLQJ SOLHUV
0XOWLPHWHU
6WDQGLQJ ZDYH UDWLR WHVWHU
6SH
FLDO
WRROV
(DUWK UHVLVWDQFH WHVWHU
(OHFWULFDO SHUFXVVLRQ GULOO
'ULOO ELW
'ULOO
LQJ
WRROV
&RQ¿GHQWLDO DQG 3URSULHWDU\ ,QIRUPDWLRQ RI =7( &25325$7,21

&KDSWHU ,QVWDOODWLRQ 3UHSDUDWLRQ
&DWH
JRU\ 1DPH ,QVWDQFH
9DFXXP FOHDQHU
&RQQHFWRU ERDUG WKHUH PXVW
EH WKUHH WZRSKDVH DQG WKUHH
WKUHHSKDVH VRFNHWV DW OHDVW
WKH FXUUHQW FDSDFLW\ PXVW EH
PRUH WKDQ $
&URVV VFUHZGULYHU RQH ´ RQH
´ DQG RQH ´
)ODWKHDG VFUHZGULYHU RQH ´
RQH ´ DQG RQH ´
$GMXVWDEOH ZUHQFK RQH ´
RQH ´ RQH ´ RQH ´
'XDOSXUSRVH ZUHQFK RQH ´
DQG RQH ´
6RFNHW ZUHQFK
3DSHU NQLIH
&ODZ KDPPHU ZLWK NJ
(OHFWULF LURQ : DQG :
&RP
PRQ
WRROV
&RQ¿GHQWLDO DQG 3URSULHWDU\ ,QIRUPDWLRQ RI =7( &25325$7,21

=;0%: 5 ,QVWDOODWLRQ 0DQXDO
&DWH
JRU\ 1DPH ,QVWDQFH
+H[DJRQDO ZUHQFK
6ROGHU ZLUH
P WDSH
P WDSH PHDVXUH
$QJOH LQVWUXPHQW
0HD
VXUH
PHQW
WRROV
&RQ¿GHQWLDO DQG 3URSULHWDU\ ,QIRUPDWLRQ RI =7( &25325$7,21

&KDSWHU ,QVWDOODWLRQ 3UHSDUDWLRQ
&DWH
JRU\ 1DPH ,QVWDQFH
&RPSDVV
+RUL]RQWDO UXOHU
3OXPE
$QWLVWDWLF ZULVW VWUDS
6OLSSURRI JORYHV
3UR
WHF
WLYH
WRROV
6DIHW\ KHOPHW
&RQ¿GHQWLDO DQG 3URSULHWDU\ ,QIRUPDWLRQ RI =7( &25325$7,21

=;0%: 5 ,QVWDOODWLRQ 0DQXDO
&DWH
JRU\ 1DPH ,QVWDQFH
+DFNVDZ
6KDUS QRVH SOLHUV ´
7KLQ QRVH EHQW SOLHUV ´
5RXQGQRVH SOLHUV ´
9LFH ´
1HHGOH ¿OH PHGLXPVL]HG
1LSSHUV
3DLQW EUXVK
6FLVVRUV
+RW DLU EORZHU
6ROGHU UHPRYDO WRRO
+\GUDXOLF FULPSHU
%HQF
K ZR
UN WR
ROV
&RQ¿GHQWLDO DQG 3URSULHWDU\ ,QIRUPDWLRQ RI =7( &25325$7,21

&KDSWHU ,QVWDOODWLRQ 3UHSDUDWLRQ
&DWH
JRU\ 1DPH ,QVWDQFH
&URZEDU
3XOOH\ EORFN
5RSH
$X[
LOLDU\
WRROV /DGGHU
6SHFWUXP DQDO\]HU
%6 WHVWHU
0H
WHUV
&RQ¿GHQWLDO DQG 3URSULHWDU\ ,QIRUPDWLRQ RI =7( &25325$7,21

=;0%: 5 ,QVWDOODWLRQ 0DQXDO
&DWH
JRU\ 1DPH ,QVWDQFH
)LHOG LQWHQVLW\ WHVWHU
'RFXPHQWDWLRQ 3UHSDUDWLRQ
3UHSDUH WKH IROORZLQJ WHFKQLFDO GRFXPHQWV
=;0%: 5 5HPRWH 5DGLR 8QLW î 3URMHFW 6XUYH\ 5HSRUW
=;0%: 5 5HPRWH 5DGLR 8QLW î (QYLURQPHQW $FFHS
WDQFH 5HSRUW
5HIHU WR D VXLWH RI =;0%: 5 GRFXPHQWV DV IROORZV
=;0%: 5 5HPRWH 5DGLR 8QLW î 7HFKQLFDO 0DQXDO
=;0%: 5 5HPRWH 5DGLR 8QLW î ,QVWDOODWLRQ 0DQXDO
=;0%: 5 5HPRWH 5DGLR 8QLW î 2SHUDWLRQ DQG 0DLQ
WHQDQFH 0DQXDO
=;0%: 5 5HPRWH 5DGLR 8QLW î &RPPLVVLRQLQJ DQG
&RQ¿JXUDWLRQ 0DQXDO
8QSDFNLQJ $FFHSWDQFH DQG
+DQGRYHU
&RXQWLQJ *RRGV
&RQWH[W 7KH UHSUHVHQWDWLYH RI FXVWRPHU DQG WKH SURMHFW VXSHUYLVRU PXVW
EH SUHVHQW RQ VLWH ZKHQ FRXQWLQJ UHFHLYHG JRRGV ,I HLWKHU SDUW\
LV QRW SUHVHQW WUDQVSRUWHU PXVW EH UHVSRQVLEOH IRU WKH LQWDFWQHVV
RI WKH JRRGV
6WHSV &KHFN WKH 'HOLYHU\ &KHFNOLVW RI =7( &RUSRUDWLRQ &KHFN WKH
WRWDO QXPEHU RI WKH JRRGV DQG WKH LQWDFWQHVV RI WKH SDFNLQJ
ER[HV &KHFN WKH SDFNLQJ OLVW WR VHH LI WKH SODFH RI DUULYDO LV
WKH DFWXDO LQVWDOODWLRQ SODFH ,I WKH JRRGV DUH LQWDFW XQSDFN
DQG LQVSHFW WKHP
&RQ¿GHQWLDO DQG 3URSULHWDU\ ,QIRUPDWLRQ RI =7( &25325$7,21

&KDSWHU ,QVWDOODWLRQ 3UHSDUDWLRQ
1RWH
,W LV UHFRPPHQGHG WR XQSDFN WKH JRRGV DERXW PLQXWHV DIWHU
UHFHLSW EHFDXVH WKHUH LV D SRVVLELOLW\ RI PRLVWXUH FRQWHQW GXH
WR WHPSHUDWXUH YDULDWLRQV
7KH HTXLSPHQW LQVSHFWLRQ OLVW DQG XQSDFNLQJ DFFHSWDQFH UHSRUW
DUH SUHVHQW LQ WKH ¿UVW SDFNLQJ FDUWRQ )LUVWO\ RSHQ ¿UVW WKH
SDFNLQJ FDUWRQ DQG WDNH RXW WKH 8QSDFNLQJ $FFHSWDQFH 5HSRUW
WR FKHFN ZKHWKHU WKH JRRGV UHFHLYHG DUH LQ DFFRUGDQFH ZLWK
WKH LQVSHFWLRQ OLVW
'XULQJ WKH FRXQWLQJ DQG XQSDFNLQJ LQVSHFWLRQ SURFHVV LI DQ\
PDWHULDO LV IRXQG VKRUW RU JRRGV GDPDJHG ¿OO LQ WKH 8QSDFNLQJ
$FFHSWDQFH )HHGEDFN 7DEOH DQG FRQWDFW =7( SURPSWO\
(1' 2) 67(36
&UDWH 8QSDFNLQJ
&RQWH[W 3UHSDUH WKH DSSURSULDWH WRROV VXFK DV FODZ KDPPHU VWUDLJKW
VFUHZGULYHU SOLHUV DQG FURZEDU
3D\ DWWHQWLRQ WR WKH IROORZLQJ ZKLOH XQSDFNLQJ
0DNH VXUH WKH DQWLVWDWLF EDJ LQWDFW GXULQJ XQSDFNLQJ WR VWRUH
VSDUH SDUWV RU SDFN IDXOW\ FRPSRQHQWV IRU UHSDLU LQ IXWXUH
.HHS FDUHIXOO\ WKH GHVLFFDQW LQ WKH FUDWH RU DQWLVWDWLF EDJ RXW
RI FKLOGUHQV UHDFK
6WHSV ,QVHUW D VWUDLJKW VFUHZGULYHU RU FODZ KDPPHU LQWR D PHWDO
ORFNHU RQ WKH FUDWH FRYHU DQG WKHQ WXUQ LW WR PDNH D LURQ VKHHW
ORRVH 7KHQ XVH D ZUHQFK FURZEDU RU SOLHUV WR XQFOHQFK WKH
LURQ VKHHW 7KH SURFHVV LV DV VKRZQ LQ )LJXUH
&RQ¿GHQWLDO DQG 3URSULHWDU\ ,QIRUPDWLRQ RI =7( &25325$7,21

=;0%: 5 ,QVWDOODWLRQ 0DQXDO
),*85( &5$7( 813$&.,1*
&UDWH FRYHU
6WHHO VOLFH
,URQ VKHHW
:UHQFK
8QFOHQFK RWKHU PHWDO ORFNHUV RQ WKH WRS RI FUDWH 5HPRYH WKH
WRS FRYHU RI FUDWH DV VKRZQ LQ )LJXUH
),*85( &5$7( 813$&.,1*
&RQ¿GHQWLDO DQG 3URSULHWDU\ ,QIRUPDWLRQ RI =7( &25325$7,21

&KDSWHU ,QVWDOODWLRQ 3UHSDUDWLRQ
7DNH RXW WKH =;0%: 5 FDELQHW
(1' 2) 67(36
3RVWUHTXLVLWH %HIRUH FDUHIXOO\ RSHQLQJ WKH DQWLVWDWLF SDFNLQJ EDJ LQ WKH FUDWH
ZLWK D VFLVVRUV ¿UVW ZHDU DQ DQWLVWDWLF ZULVW VWUDS DV VKRZQ LQ
)LJXUH 7KHQ WDNH RXW FRPSRQHQWV LQ WKH EDJ
),*85( :($5,1* $17,67$7,& :5,67 675,3
&DUWRQ 8QSDFNLQJ
&RQWH[W 3UHSDUH WKH DSSURSULDWH WRROV VXFK DV GLDJRQDO SOLHUV DQG SDSHU
NQLIH
3D\ DWWHQWLRQ WR WKH IROORZLQJ ZKLOH XQSDFNLQJ
0DNH VXUH WKH DQWLVWDWLF EDJ LQWDFW GXULQJ XQSDFNLQJ WR VWRUH
VSDUH SDUWV RU SDFN IDXOW\ FRPSRQHQWV IRU UHSDLU LQ IXWXUH
.HHS FDUHIXOO\ WKH GHVLFFDQW LQ WKH FUDWH RU DQWLVWDWLF EDJ RXW
RI FKLOGUHQV UHDFK
6WHSV 8VH D GLDJRQDO SOLHUV WR FXW SDFNLQJ VWUDSV
&DUHIXOO\ FXW DGKHVLYH WDSH DORQJ WKH VOLWV RQ WKH FDUWRQ FRYHU
ZLWK D SDSHU NQLIH WR DYRLG GDPDJLQJ JRRGV LQVLGH
2SHQ WKH FDUWRQ DQG UHPRYH WKH IRDP ERDUG
&KHFN WKH JRRGV ZLWKLQ WKH FDUWRQ DFFRUGLQJ WR DQ DWWDFKHG
FKHFNOLVW &DUWRQ XQSDFNLQJ LV DV VKRZQ LQ )LJXUH
&RQ¿GHQWLDO DQG 3URSULHWDU\ ,QIRUPDWLRQ RI =7( &25325$7,21

=;0%: 5 ,QVWDOODWLRQ 0DQXDO
),*85( &$5721 813$&.,1*
8SSHU SURWHFWLRQ SDG
=;0%: 5 FDELQHW
/RZHU SURWHFWLRQ SDG
&DUWRQ
(1' 2) 67(36
*RRGV $FFHSWDQFH DQG +DQGRYHU
&RQWH[W 3HUIRUP WKLV SURFHGXUH IRU DFFHSWLQJ JRRGV DQG KDQGLQJ WKHP
RYHU WR RSHUDWRUV
6WHSV $FFHSWDQFH
%DVHG RQ WKH QDPH FDWHJRU\ DQG QXPEHU PHQWLRQHG RQ WKH
VKLSSLQJ OLVW FDUHIXOO\ FKHFN WKH JRRGV SLHFH E\ SLHFH 0DNH
VXUH WKDW DOO JRRGV PHHW WKH IROORZLQJ FRQGLWLRQV
L 7KHUH LV QR EXEEO\ SHHOLQJ QLFN DQG ¿OWK PDUN RQ WKH VXU
IDFH RI WKH FKDVVLV
LL 7KH RLO SDLQW RQ WKH FKDVVLV VXUIDFH LV LQWDFW
LLL $OO FODPSLQJ VFUHZV DUH WLJKW DQG LQWDFW
LY $OO FRPSRQHQWV DUH SURSHUO\ LQVWDOOHG LQ SRVLWLRQ
&RQ¿GHQWLDO DQG 3URSULHWDU\ ,QIRUPDWLRQ RI =7( &25325$7,21

&KDSWHU ,QVWDOODWLRQ 3UHSDUDWLRQ
Y 7KH LQVSHFWHG JRRGV DUH SODFHG E\ FDWHJRU\
+DQGRYHU
$IWHU FRPSOHWLQJ WKH XQSDFNLQJ SURFHGXUH UHSUHVHQWDWLYH RI
FXVWRPHU DQG SURMHFW VXSHUYLVRU VKRXOG DSSURYH DQG VLJQ WKH
8QSDFNLQJ IRU ,QVSHFWLRQ 5HSRUW %RWK SDUWLHV VKRXOG KDYH D
FRS\ RI 8QSDFNLQJ IRU ,QVSHFWLRQ 5HSRUW
(1' 2) 67(36
&RQ¿GHQWLDO DQG 3URSULHWDU\ ,QIRUPDWLRQ RI =7( &25325$7,21

=;0%: 5 ,QVWDOODWLRQ 0DQXDO
7KLV SDJH LV LQWHQWLRQDOO\ EODQN
&RQ¿GHQWLDO DQG 3URSULHWDU\ ,QIRUPDWLRQ RI =7( &25325$7,21

&KDSWHU
&DELQHW ,QVWDOODWLRQ
7DEOH RI &RQWHQWV
5 ,QVWDOODWLRQ 0RGH ,QWURGXFWLRQ
7\SLFDO $SSOLFDWLRQ 6FHQDULRV
3ROHPRXQWHG ,QVWDOODWLRQ 0RGH
:DOOPRXQWHG ,QVWDOODWLRQ 0RGH
5 ,QVWDOODWLRQ 0RGH
,QWURGXFWLRQ
7KH =;0%: 5 FDELQHW DGDSWV WZR W\SHV RI LQVWDOODWLRQ PRGHV
:DOOPRXQW LQVWDOODWLRQ
3ROHPRXQW LQVWDOODWLRQ
&RQ¿GHQWLDO DQG 3URSULHWDU\ ,QIRUPDWLRQ RI =7( &25325$7,21

=;0%: 5 ,QVWDOODWLRQ 0DQXDO
:DOOPRXQW
,QVWDOODWLRQ
7KH ZDOOPRXQW LQVWDOODWLRQ PRGH LV LOOXVWUDWHG LQ )LJXUH
),*85( =;0%: 5 :$//02817 ,167$//$7,21
&RQ¿GHQWLDO DQG 3URSULHWDU\ ,QIRUPDWLRQ RI =7( &25325$7,21

&KDSWHU &DELQHW ,QVWDOODWLRQ
3ROHPRXQW
,QVWDOODWLRQ
7KH SROHPRXQW LQVWDOODWLRQ PRGH LV LOOXVWUDWHG LQ )LJXUH
),*85( =;0%: 5 :$//02817 ,167$//$7,21
&RQ¿GHQWLDO DQG 3URSULHWDU\ ,QIRUPDWLRQ RI =7( &25325$7,21

=;0%: 5 ,QVWDOODWLRQ 0DQXDO
7\SLFDO $SSOLFDWLRQ
6FHQDULRV
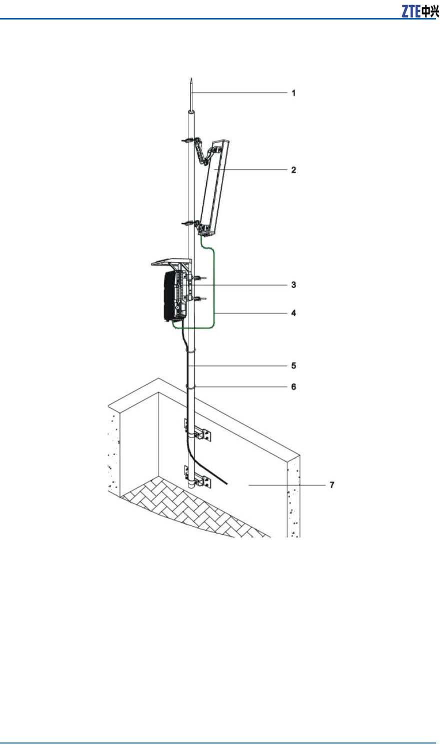
7KH =;0%: 5 FDELQHW VKDUHV D SROH ZLWK DQ DQWHQQD LQ WKH
RXWGRRU SROHPRXQW PRGH DV VKRZQ LQ )LJXUH )LJXUH DQG
)LJXUH
),*85( =;0%: 5 $1' $17(11$ 6+$5,1* 32/(
&RQ¿GHQWLDO DQG 3URSULHWDU\ ,QIRUPDWLRQ RI =7( &25325$7,21

&KDSWHU &DELQHW ,QVWDOODWLRQ
),*85( =;0%: 5 $1' $17(11$ 6+$5,1* 32/(
&RQ¿GHQWLDO DQG 3URSULHWDU\ ,QIRUPDWLRQ RI =7( &25325$7,21

=;0%: 5 ,QVWDOODWLRQ 0DQXDO
),*85( =;0%: 5 $1' $17(11$ 6+$5,1* 32/(
)LJXUH )LJXUH DQG )LJXUH LOOXVWUDWH WKH W\SLFDO DSSOLFDWLRQ
VFHQDULRV IRU =;0%: 5 RXWGRRU LQVWDOODWLRQ
&RQ¿GHQWLDO DQG 3URSULHWDU\ ,QIRUPDWLRQ RI =7( &25325$7,21

&KDSWHU &DELQHW ,QVWDOODWLRQ
),*85( =;0%: 5 $33/,&$7,21 6&(1$5,2
/LJKWQLQJ URG
$QWHQQD
=;0%: 5 &DELQHW
)HHGHU
$& SRZHU FDEOH
)LHOG RSWLFDO ¿EHU
'& SRZHU FDEOH
)LHOG RSWLFDO ¿EHU
,URQ WRZHU
)HHGHU ZLQGRZ
&DEOH UDFN
%%8
3RZHU GLVWULEXWLRQ ER[
&RQ¿GHQWLDO DQG 3URSULHWDU\ ,QIRUPDWLRQ RI =7( &25325$7,21

=;0%: 5 ,QVWDOODWLRQ 0DQXDO
),*85( =;0%: 5 $33/,&$7,21 6&(1$5,2
/LJKWQLQJ URG
$QWHQQD
=;0%: 5 FDELQHW
)HHGHU
'& SRZHU FDEOH DQG ¿HOG RSWLFDO
¿EHU
)DVWHQHU
(QFORVXUH DWRS EXLOGLQJ
&RQ¿GHQWLDO DQG 3URSULHWDU\ ,QIRUPDWLRQ RI =7( &25325$7,21

&KDSWHU &DELQHW ,QVWDOODWLRQ
),*85( =;0%: 5 $33/,&$7,21 6&(1$5,2
/LJKWQLQJ URG
$QWHQQD
=;0%: 5 FDELQHW
)HHGHU
)DVWHQHU
6XSSRUW SROH
'& SRZHU FDEOH DQG ¿HOG RSWLFDO
¿EHU
&RQ¿GHQWLDO DQG 3URSULHWDU\ ,QIRUPDWLRQ RI =7( &25325$7,21

=;0%: 5 ,QVWDOODWLRQ 0DQXDO
&DXWLRQ
7KH SROH GRVH QRW UHSODFH WKH OLJKWQLQJ URG
7KH IDFH RI =;0%: 5 FDELQHW PXVW EH WRZDUG WKH GLUHFWLRQ
ZKHUH LW LV FRQYHQLHQW WR PDLQWDLQ GXULQJ SROHPRXQW LQVWDOOD
WLRQ
0DNH VXUH DOO LQWHUIDFHV RI =;0%: 5 FDELQHW GRZQZDUG
ZKLOH LQVWDOOLQJ LW
3ROHPRXQWHG ,QVWDOODWLRQ
0RGH
&RPSRQHQWV 8VHG LQ 3ROHPRXQW
,QVWDOODWLRQ
7KH PDLQ FRPSRQHQWV XVHG LQ SROHPRXQW LQVWDOODWLRQ IRU D VLQJOH
=;0%: 5 FDELQHW DUH OLVWHG LQ 7DEOH
7$%/( 0$,1 &20321(17 /,67
1DPH 4XDQWLW\
3ROH 'LDPHWHU PP a
PP
=;0%: 5 FDELQHW
3ROH ¿[LQJ FOLS
0î KH[DJRQ KHDG EROW IXOO
WKUHDG
0 KH[DJRQ KHDG EROW
)ODW ZDVKHU
6SULQJ ZDVKHU
0î KH[DJRQ KHDG VFUHZ
6XSSRUWLQJ SDQHO
3URWHFWLYH VKLHOG
0î FURVV UHFHVVHG VPDOO SDQ
KHDG FRPELQHG VFUHZ
&RQ¿GHQWLDO DQG 3URSULHWDU\ ,QIRUPDWLRQ RI =7( &25325$7,21

&KDSWHU &DELQHW ,QVWDOODWLRQ
7KH VXSSRUWLQJ SDQHO LV LOOXVWUDWHG LQ )LJXUH
),*85( 6833257,1* 3$1(/
7KH SURWHFWLYH VKLHOG LV LOOXVWUDWHG LQ )LJXUH
),*85( 3527(&7,9( 6+,(/'
1RWH
$V FRPPRQ LQVWDOODWLRQ FRPSRQHQWV WKH VXSSRUWLQJ SDQHO DQG
SURWHFWLYH VKLHOG DUH XVHG LQ WKH =;0%: 5 SROHPRXQW
LQVWDOODWLRQ DQG ZDOOPRXQW LQVWDOODWLRQ
&RQ¿GHQWLDO DQG 3URSULHWDU\ ,QIRUPDWLRQ RI =7( &25325$7,21

=;0%: 5 ,QVWDOODWLRQ 0DQXDO
,QVWDOOLQJ 3ROHPRXQW 0RGH
6WHSV ,QVWDOO ¿[LQJ FOLS DVVHPEOLHV
/HDG 0î KH[DJRQ EROWV WKURXJK D VXSSRUWLQJ SDQHO DQG
FOLSV DQG WKHQ FRYHU D VSULQJ ZDVKHU DQG ÀDW ZDVKHU
6FUHZ GRZQ 0î KH[DJRQ EROWV WR ¿[ WKH VXSSRUWLQJ
SDQHO WR WKH SROH DV VKRZQ LQ )LJXUH
),*85( ,167$//,1* 32/( &/,3 $66(0%/,(6
3ROH
0 KH[DJRQ QXW
6SULQJ ZDVKHU
)ODW ZDVKHU
&OLS
6XSSRUWLQJ SDQHO
)ODW ZDVKHU
0î KH[DJRQ EROW
,QVWDOO D SURWHFWLYH VKLHOG
L $VVHPEOH WKH SURWHFWLYH VKLHOG ZLWK 0î VFUHZV DV
VKRZQ LQ )LJXUH DQG )LJXUH
&RQ¿GHQWLDO DQG 3URSULHWDU\ ,QIRUPDWLRQ RI =7( &25325$7,21

&KDSWHU &DELQHW ,QVWDOODWLRQ
),*85( $66(0%/,1* 3527(&7,9( 6+,(/'
6XSSRUW SROH
5DFN
0î FURVV UHFHVVHG
VPDOO SDQ KHDG FRPELQHG
VFUHZ
),*85( $66(0%/,1* 3527(&7,9( 6+,(/'
0î FURVV UHFHVVHG
VPDOO SDQ KHDG FRPELQHG
VFUHZ
3URWHFWLYH VKLHOG
6XSSRUW SROH
5DFN
LL ,QVHUW WKH SURWHFWLYH VKLHOG LQVLGH WKH VXSSRUWLQJ SDQHO DQG
DOLJQ LW ZLWK LQVWDOODWLRQ KROHV 0RXQW IRXU 0î FURVVHG
UHFHVVHG VPDOO SDQ KHDG FRPELQHG VFUHZV UHVSHFWLYHO\
WZR DW OHIW DQG ULJKW IURP WKH LQVLGH RI SURWHFWLYH VKLHOG
WR ¿[ WKH SURWHFWLYH VKLHOG DQG VXSSRUWLQJ SDQHO DV VKRZQ
LQ )LJXUH
&RQ¿GHQWLDO DQG 3URSULHWDU\ ,QIRUPDWLRQ RI =7( &25325$7,21

=;0%: 5 ,QVWDOODWLRQ 0DQXDO
),*85( ,167$//,1* 3527(&7,9( 6+,(/'
3URWHFWLYH VKLHOG
6HPLFLUFOH VORW
0î FURVV UHFHVVHG
VPDOO SDQ KHDG FRPELQHG
VFUHZ
6HOIFOLQFKLQJ QXW
6XSSRUWLQJ SDQHO
,QVWDOO WKH =;0%: 5 FDELQHW
L +ROG WKH =;0%: 5 FDELQHW DQG PRXQW SLQV ORFDWHG DW
WRS OHIW DQG ULJKW FRUQHUV RI FDELQHW LQWR WKH VHPLFLUFOH VORWV
RI VXSSRUWLQJ SDQHO DV VKRZQ LQ )LJXUH
&RQ¿GHQWLDO DQG 3URSULHWDU\ ,QIRUPDWLRQ RI =7( &25325$7,21

&KDSWHU &DELQHW ,QVWDOODWLRQ
),*85( ,167$//,1* =;0%: 5 &$%,1(7
3LQ
LL 0RXQW IRXU 0î KH[DJRQ KHDG VFUHZV UHVSHFWLYHO\ WZR
DW OHIW DQG ULJKW WR IDVWHQ WKH =;0%: 5 DQG VXSSRUW
LQJ SDQHO DV VKRZQ LQ )LJXUH
&RQ¿GHQWLDO DQG 3URSULHWDU\ ,QIRUPDWLRQ RI =7( &25325$7,21

=;0%: 5 ,QVWDOODWLRQ 0DQXDO
),*85( ,167$//,1* =;0%: 5 &$%,1(7
0î KH[DJRQ KHDG
VFUHZ
6SULQJ ZDVKHU
)ODW ZDVKHU
=;0%: 5 FDELQHW
(1' 2) 67(36
5HVXOW 7KH =;0%: 5 FDELQHW LV FRPSOHWHO\ LQVWDOOHG WR WKH SROH DV
VKRZQ LQ )LJXUH
&RQ¿GHQWLDO DQG 3URSULHWDU\ ,QIRUPDWLRQ RI =7( &25325$7,21

&KDSWHU &DELQHW ,QVWDOODWLRQ
),*85( &203/(7,1* =;0%: 5 32/(02817 ,167$//$7,21
&RQ¿GHQWLDO DQG 3URSULHWDU\ ,QIRUPDWLRQ RI =7( &25325$7,21

=;0%: 5 ,QVWDOODWLRQ 0DQXDO
+RLVWLQJ =;0%: 5 RQ 7RZHU
3UHUHTXLVLWHV
1RWH
,I LW LV UHTXLUHG WR LQVWDOO WKH =;0%: 5 FDELQHW RQ WRZHU UHIHU
WR WKH IROORZLQJ FRQWHQW
7KH QDWXUDO HQYLURQPHQWV PXVW PHHW WKH UHTXLUHPHQWV RI
KRLVWLQJ RQ WKH WRZHU VXFK DV QR IRJ DQG KLJK YLVLELOLW\
3URKLELW KRLVWLQJ LQ WKH ZLQG\ UDLQ\ RU VQRZ\ GD\
3UHSDUH WRROV WR EH XVHG LQ KRLVWLQJ VXFK DV D URSH DQG ¿[HG
SXOOH\ 7KH ¿[HG SXOOH\ KDV EHHQ LQVWDOOHG LQ SRVLWLRQ RQ WKH
WRZHU
6WHSV 8VH WKH URSH WR WLJKWO\ ELQG WKH =;0%: 5 FDELQHW DV
VKRZQ LQ )LJXUH
),*85( )$67(1,1* 523( 72 =;0%: 5 &$%,1(7
'DQJHU
7KH EHDULQJ FDSDFLW\ RI URSH PXVW EH QRW OHVV WKDQ NJ
&RQ¿GHQWLDO DQG 3URSULHWDU\ ,QIRUPDWLRQ RI =7( &25325$7,21

&KDSWHU &DELQHW ,QVWDOODWLRQ
1RWH
$FFRUGLQJ WR DFWXDO FRQGLWLRQV RQ VLWH VXJJHVW SUHLQVWDOO SROH
DVVHPEOLHV VXSSRUWLQJ SDQHO DQG SURWHFWLYH VKLHOG DQG WKHQ
SHUIRUP KRLVWLQJ LQVWDOODWLRQ
%HIRUH KRLVWLQJ LQVWDOODWLRQ FKHFN ZKHWKHU WKH URSH DQG EROWV
DUH IDVWHQHG SURSHUO\ DJDLQ
'XULQJ KRLVWLQJ LQVWDOODWLRQ WZR LQVWDOODWLRQ SHUVRQQHO VWDQG
XQGHU WKH WRZHU 2QH SXOOV WKH URSH VORZO\ RQ WKH VLGH RI WRZHU
DQG WKH RWKHU ORRVHV WKH URSH DQG OHDGV WKH =;0%: 5
FDELQHW WR DYRLG WRXFKLQJ WKH WRZHU RQ WKH RWKHU VLGH 2QH
LQVWDOODWLRQ SHUVRQQHO VWDQGV RQ WKH WRZHU WR FDWFK WKH =;0%:
5 FDELQHW DV VKRZQ LQ )LJXUH
&RQ¿GHQWLDO DQG 3URSULHWDU\ ,QIRUPDWLRQ RI =7( &25325$7,21

=;0%: 5 ,QVWDOODWLRQ 0DQXDO
),*85( +2,67,1* =;0%: 5 &$%,1(7 21 72:(5
)L[HG SXOOH\
5RSH
=;0%: 5 FDELQHW
&DXWLRQ
'XULQJ KRLVWLQJ LQVWDOODWLRQ PDNH VXUH QR SHRSOH VWDQGLQJ
DURXQG WKH KRLVWLQJ SRVLWLRQ WR DYRLG SHUVRQQHO LQMXU\
(1' 2) 67(36
3RVWUHTXLVLWH 7KH SURFHVV RI GLVDVVHPEOLQJ WKH =;0%: 5 FDELQHW WR WKH
ÀRRU LV VLPLODU WR WKDW RI KRLVWLQJ
&RQ¿GHQWLDO DQG 3URSULHWDU\ ,QIRUPDWLRQ RI =7( &25325$7,21

&KDSWHU &DELQHW ,QVWDOODWLRQ
:DOOPRXQWHG ,QVWDOODWLRQ
0RGH
&RPSRQHQWV 8VHG LQ :DOOPRXQWHG
,QVWDOODWLRQ
7KH PDLQ FRPSRQHQWV XVHG LQ ZDOOPRXQW LQVWDOODWLRQ IRU D VLQJOH
=;0%: 5 FDELQHW DUH OLVWHG LQ 7DEOH
7$%/( 0$,1 &20321(17 /,67
1DPH 4XDQWLW\
=;0%: 5 FDELQHW
0î H[SDQVLRQ EROW
)ODW ZDVKHU
6SULQJ ZDVKHU
0î KH[DJRQ KHDG VFUHZ
6XSSRUWLQJ SDQHO
3URWHFWLYH VKLHOG
0î FURVV UHFHVVHG VPDOO SDQ
KHDG FRPELQHG VFUHZ
7KH VXSSRUWLQJ SDQHO LV LOOXVWUDWHG LQ )LJXUH
&RQ¿GHQWLDO DQG 3URSULHWDU\ ,QIRUPDWLRQ RI =7( &25325$7,21

=;0%: 5 ,QVWDOODWLRQ 0DQXDO
),*85( 6833257,1* 3$1(/
7KH SURWHFWLYH VKLHOG LV LOOXVWUDWHG LQ )LJXUH
),*85( 3527(&7,9( 6+,(/'
1RWH
$V FRPPRQ LQVWDOODWLRQ FRPSRQHQWV WKH VXSSRUWLQJ SDQHO DQG
SURWHFWLYH VKLHOG DUH XVHG LQ WKH =;0%: 5 SROHPRXQW
LQVWDOODWLRQ DQG ZDOOPRXQW LQVWDOODWLRQ
&RQ¿GHQWLDO DQG 3URSULHWDU\ ,QIRUPDWLRQ RI =7( &25325$7,21

&KDSWHU &DELQHW ,QVWDOODWLRQ
,QVWDOOLQJ :DOOPRXQW 0RGH
6WHSV 0DUN KROLQJ SRVLWLRQV
'HWHUPLQH WKH SRVLWLRQV RQ WKH ZDOO IRU LQVWDOOLQJ D =;0%:
5 FDELQHW DFFRUGLQJ WR WKH HQJLQHHULQJ GHVLJQ GUDZLQJ
7KHQ PDUN WKH KROH SRVLWLRQV RQ WKH ZDOO ZLWK D KROH GHVLJQ
WHPSODWH 7KH KROH GLPHQVLRQ LV DV VKRZQ LQ )LJXUH
),*85( +2/( 326,7,21
,QVWDOO H[SDQVLRQ EROWV
L 8VH DQ HOHFWULFDO SHUFXVVLRQ GULOO ĭ WR GULOO KROHV DERXW
PP a PP GHSWK DW WKHVH SRVLWLRQV 8VH D YDFXXP
FOHDQHU WR FOHDU GXVW ZKLOH GULOOLQJ
LL /HDG DQ H[SDQVLRQ WXEH WKURXJK WKH H[SDQVLRQ EROW DQG
WKHQ SXW WKH VSULQJ ZDVKHU DQG ÀDW ZDVKHU RQ LW 6OLJKWO\
WLJKWHQ WKH QXW ,QVHUW WKHP YHUWLFDOO\ LQWR WKH KROH DQG XVH
D FODZ KDPPHU WR VWULNH WKH H[SDQVLRQ EROW LQWR WKH KROH
6FUHZ GRZQ WKH QXW WR PDNH WKH H[SDQVLRQ WXEH H[SDQGHG
HQRXJK DQG WKHQ UHPRYH WKH QXW 7KH SURFHVV LV DV VKRZQ
LQ )LJXUH DQG )LJXUH
&RQ¿GHQWLDO DQG 3URSULHWDU\ ,QIRUPDWLRQ RI =7( &25325$7,21

=;0%: 5 ,QVWDOODWLRQ 0DQXDO
),*85( ,167$//,1* 0î (;3$16,21 %2/7
),*85( ,167$//,1* 0î (;3$16,21 %2/7
([SDQVLRQ EROW HPEHGGHG
LQ WKH ZDOO
6FUHZ GRZQ QXW WR PDNH
WKH H[SDQVLRQ WXEH H[
SDQGHG HQRXJK
$IWHULQVWDOODWLRQ VWDWXV
6SULQJ ZDVKHU
)ODW
0 QXW
,QVWDOO WKH VXSSRUWLQJ SDQHO
$OLJQ WKH VXSSRUWLQJ SDQHO ZLWK H[SDQVLRQ EROWV RQ WKH ZDOO DQG
¿[ LW WKURXJK WKHVH H[SDQVLRQ EROWV &RYHU WKH VSULQJ ZDVKHU
DQG ÀDW ZDVKHU 6FUHZ GRZQ WKH 0 QXW DV VKRZQ LQ
)LJXUH
&RQ¿GHQWLDO DQG 3URSULHWDU\ ,QIRUPDWLRQ RI =7( &25325$7,21

&KDSWHU &DELQHW ,QVWDOODWLRQ
),*85( ,167$//,1* 7+( 6833257,1* 3$1(/
:DOO
0î H[SDQVLRQ EROW
6XSSRUWLQJ SDQHO
,QVWDOO WKH SURWHFWLYH VKLHOG
L $VVHPEOH WKH SURWHFWLYH VKLHOG ZLWK 0î VFUHZV DV
VKRZQ LQ )LJXUH DQG )LJXUH
&RQ¿GHQWLDO DQG 3URSULHWDU\ ,QIRUPDWLRQ RI =7( &25325$7,21

=;0%: 5 ,QVWDOODWLRQ 0DQXDO
),*85( $66(0%/,1* 3527(&7,9( 6+,(/'
6XSSRUW SROH
5DFN
0î FURVV UHFHVVHG
VPDOO SDQ KHDG FRPELQHG
VFUHZ
),*85( $66(0%/,1* 3527(&7,9( 6+,(/'
0î FURVV UHFHVVHG
VPDOO SDQ KHDG FRPELQHG
VFUHZ
3URWHFWLYH VKLHOG
6XSSRUW SROH
5DFN
LL ,QVHUW WKH SURWHFWLYH VKLHOG LQVLGH WKH VXSSRUWLQJ SDQHO DQG
DOLJQ LW ZLWK LQVWDOODWLRQ KROHV 0RXQW IRXU 0î FURVVHG
UHFHVVHG VPDOO SDQ KHDG FRPELQHG VFUHZV UHVSHFWLYHO\
WZR DW OHIW DQG ULJKW IURP WKH LQVLGH RI SURWHFWLYH VKLHOG
WR ¿[ WKH SURWHFWLYH VKLHOG DQG VXSSRUWLQJ SDQHO DV VKRZQ
LQ )LJXUH
&RQ¿GHQWLDO DQG 3URSULHWDU\ ,QIRUPDWLRQ RI =7( &25325$7,21

&KDSWHU &DELQHW ,QVWDOODWLRQ
),*85( ,167$//,1* 3527(&7,9( 6+,(/'
3URWHFWLYH VKLHOG
6HPLFLUFOH VORW
0î FURVV UHFHVVHG
VPDOO SDQ KHDG FRPELQHG
VFUHZ
6HOIFOLQFKLQJ QXW
6XSSRUWLQJ SDQHO
1RWH
)RU RXWGRRU ZDOOPRXQW LQVWDOODWLRQ WKH =;0%: 5
FDELQHW PXVW EH HTXLSSHG ZLWK WKH SURWHFWLYH VKLHOG )RU
LQGRRU ZDOOPRXQW LQVWDOODWLRQ WKH SURWHFWLYH VKLHOG LV
RSWLRQDO
,QVWDOO WKH =;0%: 5 FDELQHW
L +ROG WKH =;0%: 5 FDELQHW DQG PRXQW SLQV ORFDWHG DW
WRS OHIW DQG ULJKW FRUQHUV RI FDELQHW LQWR WKH VHPLFLUFOH VORWV
RI VXSSRUWLQJ SDQHO DV VKRZQ LQ )LJXUH
&RQ¿GHQWLDO DQG 3URSULHWDU\ ,QIRUPDWLRQ RI =7( &25325$7,21

=;0%: 5 ,QVWDOODWLRQ 0DQXDO
),*85( ,167$//,1* =;0%: 5 &$%,1(7
3LQ
LL 0RXQW IRXU 0î KH[DJRQ KHDG VFUHZV UHVSHFWLYHO\ WZR
DW OHIW DQG ULJKW WR IDVWHQ WKH =;0%: 5 DQG VXSSRUW
LQJ SDQHO DV VKRZQ LQ )LJXUH
&RQ¿GHQWLDO DQG 3URSULHWDU\ ,QIRUPDWLRQ RI =7( &25325$7,21

&KDSWHU &DELQHW ,QVWDOODWLRQ
),*85( ,167$//,1* =;0%: 5 &$%,1(7
0î KH[DJRQ KHDG
VFUHZ
6SULQJ ZDVKHU
)ODW ZDVKHU
=;0%: 5 FDELQHW
(1' 2) 67(36
5HVXOW 7KH =;0%: 5 FDELQHW LV FRPSOHWHO\ LQVWDOOHG WR WKH ZDOO DV
VKRZQ LQ )LJXUH
&RQ¿GHQWLDO DQG 3URSULHWDU\ ,QIRUPDWLRQ RI =7( &25325$7,21

=;0%: 5 ,QVWDOODWLRQ 0DQXDO
),*85( &203/(7,1* =;0%: 5 :$//02817 ,167$//$7,21
&RQ¿GHQWLDO DQG 3URSULHWDU\ ,QIRUPDWLRQ RI =7( &25325$7,21

&KDSWHU
&DEOH ,QVWDOODWLRQ
7DEOH RI &RQWHQWV
,QVWDOODWLRQ &DEOH /LVW
&DEOH &RQQHFWLRQ 5HODWLRQ
,QVWDOOLQJ WKH '& 3RZHU &DEOH
,QVWDOOLQJ WKH *URXQGLQJ &DEOH
,QVWDOOLQJ WKH )LHOG 2SHUDWLRQ )LEHU
,QVWDOOLQJ )HHGHU
3HUIRUPLQJ 2XWGRRU&RQQHFWRU :DWHUSURRI 3URFHVVLQJ
,QVWDOODWLRQ &DEOH /LVW
=;0%: 5 H[WHUQDO FDEOHV LQFOXGH
'& SRZHU FDEOH
*URXQGLQJ FDEOH
)LHOG RSWLFDO ¿EHU
)HHGHU
&DEOH &RQQHFWLRQ 5HODWLRQ
)LJXUH LOOXVWUDWHV WKH FDEOH FRQQHFWLRQ UHODWLRQ RI =;0%: 5
WKUHHVHFWRU QHWZRUNLQJ
&RQ¿GHQWLDO DQG 3URSULHWDU\ ,QIRUPDWLRQ RI =7( &25325$7,21

=;0%: 5 ,QVWDOODWLRQ 0DQXDO
),*85( &$%/( &211(&7,21 5(/$7,21
,QVWDOOLQJ WKH '& 3RZHU
&DEOH
&RQWH[W =;0%: 5 XVHV 9 '& IRU SRZHU VXSSO\ 7KH '& SRZHU
FDEOH LV HTXLSSHG ZLWK =;0%: 5 2QH HQG LV DQ DYLJDWLRQ
FRQQHFWRU DQG WKH RWKHU HQG LV PDGH RQ VLWH ,WV OHQJWK LV GHWHU
PLQHG E\ HQJLQHHULQJ VXUYH\
)LJXUH LOOXVWUDWHV WKH DSSHDUDQFH RI =;0%: 5 '& SRZHU
FDEOH
),*85( '& 32:(5 &$%/(
7DEOH GHVFULEHV LQQHU FRUH FRORUV DQG UHOHYDQW PHDQLQJV
7$%/( '&32:(5 &$%/( ,11(5 &25( &2/25 $1' 0($1,1*
&RORU 0HDQLQJ
%OXH 9
%ODFN 9 *1'
&RQ¿GHQWLDO DQG 3URSULHWDU\ ,QIRUPDWLRQ RI =7( &25325$7,21

&KDSWHU &DEOH ,QVWDOODWLRQ
1RWH
)RU D WZRFRUH FDEOH WKH EOXH FRUH VWDQGV IRU 9 DQG EODFN
FRUH VWDQGV IRU 9*1'
)RU D IRXUFRUH FDEOH WZR EOXH FRUH FRQQHFWHG LQ SDUDOOHO VWDQG
IRU 9 DQG WZR EODFN FRUH FRQQHFWHG LQ SDUDOOHO VWDQG IRU
9*1'
6WHSV &RQQHFW WKH DYLJDWLRQ FRQQHFWRU RI SRZHU FDEOH WR D SRZHU
LQWHUIDFH 3:5 ,1 RQ WKH =;0%: 5 FDELQHW
6WULS RII DQ LQVXODWLQJ VKHDWK RI (QG % DQG FRQQHFW WR 9
RXWSXW HQG RI '& SRZHU VXSSO\ DFFRUGLQJ WR FRUH FRORUV
%LQG DQG IDVWHQ WKH SRZHU FDEOH DW P RII WKH ORZHU FRQ
QHFWRU
3HUIRUP ZDWHUSURRI SURFHVVLQJ IRU WKH DYLDWLRQ FRQQHFWRU UH
IHUULQJ WR 3HUIRUPLQJ 2XWGRRU&RQQHFWRU :DWHUSURRI 3URFHVV
LQJ
%LQG ODEHOV UHVSHFWLYHO\ DW ERWK HQGV RI SRZHU FDEOH ZLWK IDV
WHQHUV
(1' 2) 67(36
,QVWDOOLQJ WKH *URXQGLQJ
&DEOH
&RQWH[W )LUVW LQVWDOO D JURXQGLQJ FDEOH DQG WKHQ LQVWDOO RWKHU H[WHUQDO FD
EOHV
7KH JURXQGLQJ FDEOH LV PDGH RI ¿UHSURRI PXOWLVWUDQG FRQGXFWRUV
,W LV LQ \HOORZ DQG JUHHQ DQG LWV FURVV VHFWLRQDO DUHD LV PPDV
VKRZQ LQ )LJXUH
&RQ¿GHQWLDO DQG 3URSULHWDU\ ,QIRUPDWLRQ RI =7( &25325$7,21

=;0%: 5 ,QVWDOODWLRQ 0DQXDO
),*85( *5281',1* &$%/(
6WHSV &RSSHU OXJV DUH FULPSHG DW ERWK HQGV RI WKH JURXQGLQJ FDEOH
DV VKRZQ LQ )LJXUH
),*85( &5,03,1* &233(5 /8*6
1RWH
7KH OHQJWK RI JURXQGLQJ FDEOH WKDW FRQQHFWV WKH =;0%: 5
FDELQHW ZLWK WKH JURXQGLQJ FRSSHU EDU VKRXOG EH OHVV WKDQ
P
3XW WKH FRSSHU OXJ DW RQH HQG RI JURXQGLQJ FDEOH RQWR D JURXQG
LQJ EROW RI =;0%: 5 7KH JURXQGLQJ EROW LV ORFDWHG DW VLGH
RI FDELQHW DV VKRZQ LQ )LJXUH 6FUHZ GRZQ WKH JURXQGLQJ
EROWV DV VKRZQ LQ )LJXUH
&RQ¿GHQWLDO DQG 3URSULHWDU\ ,QIRUPDWLRQ RI =7( &25325$7,21

&KDSWHU &DEOH ,QVWDOODWLRQ
),*85( *5281',1* %2/7 21 =;0%: 5 &$%,1(7
),*85( ,167$//,1* *5281',1* &$%/(
*URXQGLQJ EROWV
&RSSHU OXJ
*URXQGLQJ FDEOH
7KH FRRSHU EDU RI JURXQG JULG LV DV VKRZQ LQ )LJXUH &OHDU
RII UXVW RQ WKH FRSSHU EDU DQG WKHQ FRQQHFW WKH RWKHU HQG RI
JURXQGLQJ FDEOH WR WKH FRSSHU EDU )LQDOO\ ¿[ WKHP ZLWK EROWV
&RQ¿GHQWLDO DQG 3URSULHWDU\ ,QIRUPDWLRQ RI =7( &25325$7,21

=;0%: 5 ,QVWDOODWLRQ 0DQXDO
),*85( &233(5 %$5 2) *5281' *5,'
6SUD\ DQWLUXVW ODFTXHU DURXQG WKH EROW
$I¿[ D ODEHO RQ WKH JURXQGLQJ FDEOH
(1' 2) 67(36
,QVWDOOLQJ WKH )LHOG 2SHUDWLRQ
)LEHU
&RQWH[W )LJXUH VKRZV WKH EDVHEDQG5) ¿HOG RSHUDWLRQ ¿EHU ZKLFK LV
XVHG WR FRQQHFW WKH =;0%: 5 FKDVVLV DQG WKH =;0%: 7\SH%
%DVHEDQG 3RRO 8QLW %%8
),*85( %$6(%$1'5) ),(/' 23(5$7,21 ),%(5
6WHSV 5HPRYH WKH SURWHFWLYH FRYHU IURP WKH ZDWHUSURRI VHDOLQJ FRQ
QHFWRU DQG UHPRYH WKH GXVW FDS DV VKRZQ LQ )LJXUH
&RQ¿GHQWLDO DQG 3URSULHWDU\ ,QIRUPDWLRQ RI =7( &25325$7,21

&KDSWHU &DEOH ,QVWDOODWLRQ
),*85( 3527(&7,9( &29(5 $1' '867 &$3 2) ),(/' 23(5$7,21
),%(5
&DXWLRQ
5HPRYH WKH SURWHFWLYH FRYHU DQG GXVW FDS RQO\ EHIRUH \RX LQ
VWDOO WKH ¿HOG RSHUDWLRQ ¿EHU ,Q RWKHU SURFHVVHV VXFK DV PRY
LQJ DQG VWRULQJ LW GR QRW UHPRYH LWV SURWHFWLYH FRYHU RU GXVW
FDS
&RQQHFW WKH ¿EHU WR WKH RSWLFDO LQWHUIDFH RI WKH =;0%: 5
FKDVVLV
L $OLJQ WKH ZKLWH FRORU FRGH RQ WKH WKUHDGHG VOHHYH RI WKH
ZDWHUSURRI VHDOLQJ LQWHUIDFH ZLWK WKH ZKLWH FRORU FRGH RQ
WKH RSWLFDO LQWHUIDFH DV VKRZQ LQ )LJXUH 7KHQ VFUHZ
WKH WKUHDGHG VOHHYH DV VKRZQ LQ )LJXUH
&RQ¿GHQWLDO DQG 3URSULHWDU\ ,QIRUPDWLRQ RI =7( &25325$7,21

=;0%: 5 ,QVWDOODWLRQ 0DQXDO
),*85( $/,*1,1* &2/25 &2'(6
:KLWH FRORU FRGHV
&RQ¿GHQWLDO DQG 3URSULHWDU\ ,QIRUPDWLRQ RI =7( &25325$7,21

&KDSWHU &DEOH ,QVWDOODWLRQ
),*85( )$67(1,1* 7+( 7+5($'(' 6/((9(
LL )DVWHQ WKH H[WHUQDO VHDOLQJ JODQG DV VKRZQ LQ )LJXUH
&RQ¿GHQWLDO DQG 3URSULHWDU\ ,QIRUPDWLRQ RI =7( &25325$7,21

=;0%: 5 ,QVWDOODWLRQ 0DQXDO
),*85( )$67(1,1* 7+( 6($/,1* */$1'
&DXWLRQ
:KLOH IDVWHQLQJ WKH VHDOLQJ JODQG GR QRW PRYH WKH ¿EHU WR
SUHYHQW GDPDJH
&RQQHFW WKH ¿EHU WR WKH RSWLFDO LQWHUIDFH RI WKH =;0%: 7\SH%
%DVHEDQG 3RRO 8QLW %%8
L ,QVWDOO WKH RSWLFDO PRGXOH RQ WKH RSWLFDO LQWHUIDFH RI WKH
=;0%: 7\SH% %DVHEDQG 3RRO 8QLW %%8 )LJXUH VKRZV
WKH RSWLFDO PRGXOH
&RQ¿GHQWLDO DQG 3URSULHWDU\ ,QIRUPDWLRQ RI =7( &25325$7,21

&KDSWHU &DEOH ,QVWDOODWLRQ
),*85( 237,&$/ 02'8/(
2SWLFDO PRGXOH %OXH KDQGOH
LL 5HPRYH WKH ZKLWH GXVW FDS IURP WKH /& FRQQHFWRU &RQ
QHFW WKH 7;5; WDLO ¿EHUV WR WKH 7;5; HQGV RI WKH RSWLFDO
LQWHUIDFH RI WKH =;0%: 7\SH% %DVHEDQG 3RRO 8QLW %%8
DV VKRZQ LQ )LJXUH
&RQ¿GHQWLDO DQG 3URSULHWDU\ ,QIRUPDWLRQ RI =7( &25325$7,21

=;0%: 5 ,QVWDOODWLRQ 0DQXDO
),*85( &211(&7,1* 7+( ),%(5 72 7+( 237,&$/ ,17(5)$&(
2) 7+( %%8
2SWLFDO LQWHUIDFH RI WKH
RSWLFDO PRGXOH
/& FRQQHFWRU
2Q WKH =;0%: 5 FKDVVLV VLGH ELQG DQG ¿[ WKH ¿EHU DERXW
P XQGHU WKH FRQQHFWRU 2Q WKH %%8 VLGH ELQG DQG ¿[ WKH
WDLO ¿EHUV RQ WKH FDEOH WURXJK
,Q WKH FDVH RI LQVWDOODWLRQ RI WKH =;0%: 5 FKDVVLV RXWGRRU
SHUIRUP ZDWHUSURRI SURFHVVLQJ RQ WKH FRQQHFWRUV DV VKRZQ LQ
3HUIRUPLQJ 2XWGRRU&RQQHFWRU :DWHUSURRI 3URFHVVLQJ
3DVWH ODEHOV RQ WKH WZR VLGHV RI WKH ¿EHU
(1' 2) 67(36
,QVWDOOLQJ )HHGHU
3UHUHTXLVLWHV ,QVWDOO WKH DQWHQQD DQG =;0%: 5 FDELQHW
&RQWH[W 7KH IHHGHU ZLWK D ¿[HG OHQJWK LV XVHG LQ WKH =;0%: 5 FDEL
QHW %RWK HQGV RI IHHGHU DUH 1W\SH FRQQHFWRUV DV VKRZQ LQ )LJXUH
&RQ¿GHQWLDO DQG 3URSULHWDU\ ,QIRUPDWLRQ RI =7( &25325$7,21

&KDSWHU &DEOH ,QVWDOODWLRQ
),*85( /(1*7+),;(' )(('(5
6WHSV &RQQHFW RQH HQG RI IHHGHU WR WKH $17 LQWHUIDFH RQ WKH =;0%:
5 FDELQHW DQG FRQQHFW WKH RWKHU HQG WR WKH $17 LQWHUIDFH
RI DQWHQQD
1RWH
7KH IDVWHQLQJ WRUTXH RI 1W\SH FRQQHFWRU LV ±1P
7DEOH GHVFULEHV WKH FRQQHFWLRQ UHODWLRQV RI IHHGHUV
7$%/( )(('(5 &211(&7,21 5(/$7,21
)HHGHU 6HULDO
1R
/DEHO 1R &RQQHFWRU
DW =;0%:
5
&DELQHW 6LGH
&RQQHFWRU DW
$QWHQQD 6LGH
6±$17 $17 $17
6±$17 $17 $17
6±$17 $17 $17
6±$17 $17 $17
6±$17 $17 $17
6±$17 $17 $17
6±$17 $17 $17
6±$17 $17 $17
&$/ &$/ &$/
± 6±$17 PHDQV WKH $17 IHHGHU RI WKH ¿UVW VHFWRU )RU =;0%: 5
WKUHHVHFWRU QHWZRUNLQJ WKH FRUUHVSRQGLQJ IHHGHUV VKRXOG EH 6±$17
6±$17 DQG 6±$17 7KH UHVW PD\ EH GHGXFHG E\ DQDORJ\
%LQG DQG IDVWHQ WKH IHHGHU DW P RII WKH ORZHU IHHGHU FRQ
QHFWRU
0HDVXUH WKH VWDQGLQJ ZDYH UDWLR 6:5 7KH 6:5 VKRXOG EH
QRW RYHU 5HIHU WR 96:5 7HVW
3HUIRUP ZDWHUSURRI SURFHVVLQJ IRU WKH IHHGHU FRQQHFWRUV WKDW
DFFRUG ZLWK WKH PHDVXUH UHTXLUHPHQWV RI 6:5 UHIHUULQJ WR
3HUIRUPLQJ 2XWGRRU&RQQHFWRU :DWHUSURRI 3URFHVVLQJ
5HIHUULQJ WR 7DEOH ELQG UHOHYDQW ODEHOV DW ERWK HQGV RI
IHHGHU ZLWK IDVWHQHUV DV VKRZQ LQ )LJXUH
&RQ¿GHQWLDO DQG 3URSULHWDU\ ,QIRUPDWLRQ RI =7( &25325$7,21

=;0%: 5 ,QVWDOODWLRQ 0DQXDO
),*85( %,1',1* )(('(5 /$%(/
(1' 2) 67(36
3RVWUHTXLVLWH 7KH IHHGHU FRQQHFWRUV DUH GLVWULEXWHG GHQVHO\ DW WKH =;0%:
5 FDELQHW VLGH 8VH D VSHFLDO ZUHQFK HTXLSSHG ZLWK WKH
GHYLFH WR GLVDVVHPEOH WKHP 7KH ZUHQFK LV DV VKRZQ LQ )LJXUH
5HPRYH D VKULQNDEOH VOHHYH DW WKH IHHGHU FRQQHFWRU EHIRUH
GLVDVVHPEOLQJ WKH IHHGHU DV VKRZQ LQ )LJXUH
),*85( 63(&,$/ :5(1&+
&RQ¿GHQWLDO DQG 3URSULHWDU\ ,QIRUPDWLRQ RI =7( &25325$7,21

&KDSWHU &DEOH ,QVWDOODWLRQ
),*85( ',6$66(0%/,1* )(('(5
3HUIRUPLQJ 2XWGRRU&RQQHF
WRU :DWHUSURRI 3URFHVVLQJ
&RQWH[W 7KH ZDWHUSURRI SURFHVVLQJ IRU RXWGRRU FRQQHFWRUV DGRSWV WKH
³´ PRGH WR ZDUS ³RQH OD\HU 39& LQVXODWLQJ WDSH WKUHH
OD\HU ZDWHUSURRI LQVXODWLQJ WDSH WKUHH OD\HU 39& LQVXODWLQJ
WDSH´
7KH ZDWHUSURRI LQVXODWLQJ WDSH LV DV VKRZQ LQ )LJXUH
),*85( :$7(53522) ,168/$7,1* 7$3(
7KH 39& DGKHVLYH WDSH LV DV VKRZQ LQ )LJXUH XVHG WR SURWHFW
FRQQHFWRUV IURP GDPDJH DV ZHOO DV ZDWHUSURRI WDSH IURP DJLQJ
&RQ¿GHQWLDO DQG 3URSULHWDU\ ,QIRUPDWLRQ RI =7( &25325$7,21

=;0%: 5 ,QVWDOODWLRQ 0DQXDO
),*85( 39& $'+(6,9( 7$3(
6WHSV :UDS D OD\HU RI 39& LQVXODWLQJ WDSH
L &OHDQ RXW GXVW DQG VWDLQ RQ WKH IHHGHU FRQQHFWRU RU IHHGHU
JURXQGLQJ NLW
LL $V VKRZQ LQ )LJXUH ZUDS WKH IHHGHU ZLWK WKH 39& LQVX
ODWLQJ WDSH LQ DQ RYHUODSSLQJ ZD\ IURP ORZHU WR XSSHU DQG
WKH XSSHU DGKHVLYH WDSH VKRXOG FRYHU D KDOI RI WKH ORZHU
DGKHVLYH WDSH 7KH H[WHQGHG ZLGWK RI DGKHVLYH WDSH LV QRW
RYHU ORQJHU WKDQ WKH IRUPHU ZLGWK RU HOVH LW GHVWUR\V
PROHFXODU VWUXFWXUH RI DGKHVLYH WDSH GXH WR H[WHQVLRQ WRR
PXFK
),*85( :5$33,1* $ /$<(5 2) 39& ,168/$7,1* 7$3(
:UDS WKUHH OD\HUV RI ZDWHUSURRI LQVXODWLQJ WDSH
L ([SDQG WKH ZDWHUSURRI LQVXODWLQJ WDSH DQG VWULS RII UHOHDVH
SDSHU 7KH DGKHVLYH WDSH VWLFNV WR WKH FRQQHFWRU RU WKH
IHHGHU ZKLFK LV a PP DZD\ IURP WKH ORZHU HQG RI
JURXQGLQJ NLW
LL ([WHQG WKH DGKHVLYH WDSH WR XS WR ± RI WKH IRUPHU
ZLGWK LQ RUGHU WR NHHS D FHUWDLQ H[WHQVLRQ VWUHQJWK %LQG
WKH IHHGHU LQ DQ RYHUODSSLQJ ZD\ IURP ORZHU WR XSSHU DQG
WKH XSSHU DGKHVLYH WDSH VKRXOG FRYHU D KDOI RI WKH ORZHU
DGKHVLYH WDSH DV VKRZQ LQ )LJXUH
&RQ¿GHQWLDO DQG 3URSULHWDU\ ,QIRUPDWLRQ RI =7( &25325$7,21

&KDSWHU &DEOH ,QVWDOODWLRQ
),*85( :5$33,1* 7+5(( /$<(56 2) :$7(5 ,168/$7,1* 7$3(
7+( ),567 /$<(5
1RWH
7KH ZUDSSLQJ GLUHFWLRQ VKRXOG EH WRZDUGV WKH GLUHFWLRQ RI
FRQQHFWRU VFUHZHG GRZQ 3URKLELW ZUDSSLQJ LQ D UHYHUVH
GLUHFWLRQ
LLL :KLOH ZUDSSLQJ WR WKH a PP SRVLWLRQ RII WKH FRQQHFWRU
UHSHDW LW IRU WZLFH DQG WKH VHTXHQFH UHVSHFWLYHO\ LV IURP
XSSHU WR ORZHU DV VKRZQ LQ )LJXUH DQG IURP ORZHU WR
XSSHU DV VKRZQ LQ )LJXUH
),*85( :5$33,1* 7+5(( /$<(56 2) :$7(5 ,168/$7,1* 7$3(
7+( 6(&21' /$<(5
),*85( :5$33,1* 7+5(( /$<(56 2) :$7(5 ,168/$7,1* 7$3(
7+( 7+,5' /$<(5
&RQ¿GHQWLDO DQG 3URSULHWDU\ ,QIRUPDWLRQ RI =7( &25325$7,21

=;0%: 5 ,QVWDOODWLRQ 0DQXDO
LY $IWHU ZUDSSLQJ WKH ZDWHUSURRI LQVXODWLQJ WDSH SUHVV WKH
DGKHVLYH WDSH DW WKH ELQGLQJ ZLWK KDQGV DQG PDNH LW DI¿[HG
WLJKWO\
:UDS WKUHH OD\HU RI 39& LQVXODWLQJ WDSH
7ZR HQGV RI 39& LQVXODWLQJ WDSH PXVW EH PP ORQJHU WKDQ WKH
XSSHU OD\HU RI ZDWHUSURRI LQVXODWLQJ WDSH %LQG WKH IHHGHU LQ DQ
RYHUODSSLQJ ZD\ IURP ORZHU WR XSSHU DQG WKH XSSHU DGKHVLYH
WDSH VKRXOG FRYHU D KDOI RI WKH ORZHU DGKHVLYH WDSH DV VKRZQ
LQ )LJXUH 5HSHDW LW IRU WZLFH DQG WKH VHTXHQFH UHVSHFWLYHO\
LV IURP XSSHU WR ORZHU DV VKRZQ LQ )LJXUH DQG IURP ORZHU
WR XSSHU DV VKRZQ LQ )LJXUH 0DNH VXUH SURSHU VWUHWFK
VWUHQJWK GXULQJ ZUDSSLQJ
),*85( :5$33,1* 7+5(( /$<(56 2) 39& ,168/$7,1* 7$3( 7+(
),567 /$<(5
),*85( :5$33,1* 7+5(( /$<(56 2) 39& ,168/$7,1* 7$3( 7+(
6(&21' /$<(5
),*85( :5$33,1* 7+5(( /$<(56 2) 39& ,168/$7,1* 7$3( 7+(
7+,5' /$<(5
$IWHU ¿QLVKLQJ ZUDSSLQJ IDVWHQ WZR ZUDSSHG HQGV ZLWK EODFN
IDVWHQHUV DV VKRZQ LQ )LJXUH
&RQ¿GHQWLDO DQG 3URSULHWDU\ ,QIRUPDWLRQ RI =7( &25325$7,21

&KDSWHU &DEOH ,QVWDOODWLRQ
),*85( )$67(1,1*
(1' 2) 67(36
&RQ¿GHQWLDO DQG 3URSULHWDU\ ,QIRUPDWLRQ RI =7( &25325$7,21

=;0%: 5 ,QVWDOODWLRQ 0DQXDO
7KLV SDJH LV LQWHQWLRQDOO\ EODQN
&RQ¿GHQWLDO DQG 3URSULHWDU\ ,QIRUPDWLRQ RI =7( &25325$7,21

&KDSWHU
0DLQ $QWHQQD )HHGHU
6\VWHP ,QVWDOODWLRQ
7DEOH RI &RQWHQWV
0DLQ $QWHQQD )HHGHU 6\VWHP ,QVWDOODWLRQ )ORZ
0DLQ $QWHQQD )HHGHU 6\VWHP ,QVWDOODWLRQ 3UHSDUDWLRQ
0DLQ $QWHQQD )HHGHU 6\VWHP ,QVWDOODWLRQ 3RVLWLRQ
$QWHQQD ,QVWDOODWLRQ
)HHGHU ,QVWDOODWLRQ
96:5 7HVW
0DLQ $QWHQQD )HHGHU
6\VWHP ,QVWDOODWLRQ )ORZ
)LJXUH LOOXVWUDWHV WKH LQVWDOODWLRQ ÀRZ RI PDLQ DQWHQQD IHHGHU
V\VWHP
&RQ¿GHQWLDO DQG 3URSULHWDU\ ,QIRUPDWLRQ RI =7( &25325$7,21

=;0%: 5 ,QVWDOODWLRQ 0DQXDO
),*85( 0$,1 $17(11$ )(('(5 6<67(0 ,167$//$7,21 )/2:&+$57
0DLQ $QWHQQD )HHGHU
6\VWHP ,QVWDOODWLRQ
3UHSDUDWLRQ
%HIRUH LQVWDOODWLRQ PDNH VXUH WKDW LQVWDOODWLRQ VWDII LV TXDOL¿HG DQG
WKH IROORZLQJ UHTXLUHPHQWV DUH VDWLV¿HG
3HUVRQQHO
5HTXLUHPHQW
1RUPDOO\ VXSHUYLVRUV DUH LQ FKDUJH RI GLUHFWLRQ DQG VXSHUYLVLRQ
DQG LQVWDOODWLRQ SHUVRQQHO FDUU\ RXW WKH LQVWDOODWLRQ
,QVWDOODWLRQ 6XSHUYLVRU
)DPLOLDU ZLWK DOO PDWHULDOV WRROV DQG RSHUDWLRQ PHWKRGV XVHG
LQ WKH LQVWDOODWLRQ
,Q FKDUJH RI DVVLJQLQJ GLIIHUHQW ZRUN WR WKH SURSHU HPSOR\HH
ZKR LV JRRG DW WKH RSHUDWLRQ HVSHFLDOO\ ZKLOH ZRUNLQJ RQ WKH
LURQ WRZHU
,QVWDOODWLRQ 3HUVRQQHO
,QVWDOODWLRQ HPSOR\HHV DUH UHTXLUHG WR LQVWDOO DQWHQQD V\VWHP
VNLOOIXOO\ XQGHU WKH GLUHFWLRQ RI VXSHUYLVRU
(PSOR\HHV RQ WRZHU PXVW EH TXDOL¿HG DQG LQ JRRG SK\VLFDO
VWDWH
$OO LQVWDOODWLRQ SHUVRQQHO PXVW SXUFKDVH VHFXULW\ LQVXUDQFHV
DQG XVH VDIH WRROV LQ WHUPV RI UHJXODWLRQV
&RQ¿GHQWLDO DQG 3URSULHWDU\ ,QIRUPDWLRQ RI =7( &25325$7,21

&KDSWHU 0DLQ $QWHQQD )HHGHU 6\VWHP ,QVWDOODWLRQ
,QVWDOODWLRQ DIWHU GULQNLQJ LV IRUELGGHQ
(QYLURQPHQW
5HTXLUHPHQW
&KHFN
3D\ DWWHQWLRQ WR WKH IROORZLQJ LWHPV DQG FKHFN ZKHWKHU WKHVH LWHPV
DFFRUG ZLWK UHTXLUHPHQWV LQ HQJLQHHULQJ GHVLJQ
/LJKWQLQJ SURWHFWLRQ DQG JURXQGLQJ
=;0%: 5 LV XVXDOO\ ORFDWHG RXWGRRUV 3UHSDUH DOO QHFHV
VDU\ WRROV DQG DVVLVWDQW PDWHULDOV 7KH YHQGRU PXVW QHJRWLDWH
D GLVWLQFW DQG GHWDLOHG IHHGHU OD\RXW ZLWK WKH RSHUDWRU &KHFN
ZKHWKHU D SURWHFWLYH HDUWKLQJ FDEOH OLJKWQLQJ URG OLJKWQLQJ
SURWHFWLYH JURXQGLQJ VLWH DQWHQQD SROH PHHW WKH GHVLJQ UH
TXLUHPHQWV
7KH OLJKWQLQJ URG JURXQGLQJ QHW SURWHFWLYH HDUWKLQJ FDEOH
DQWHQQD SROH DV ZHOO DV DQWHQQD DQG IHHGHU FDEOH WUD\ VKRXOG
EH FRPSOHWHO\ LQVWDOOHG E\ WKH RSHUDWRU
7KH JURXQGLQJ VWDNH DQG RXWGRRU SURWHFWLYH HDUWKLQJ FDEOH
VKRXOG EH LQVWDOOHG E\ WKH RSHUDWRU (QJLQHHULQJ VXSHUYLVRUV
PXVW FKHFN LQVWDOODWLRQ RI RXWGRRU SURWHFWLYH HDUWKLQJ FDEOH
3ROH DQG DQWHQQD VXSSRUWLQJ UDFN
$FFRPSOLVK LQVWDOODWLRQ RI DQWHQQD VXSSRUWLQJ UDFN DQG SROH
DFFRUGLQJ WR SURMHFW GHVLJQ UHTXLUHPHQWV 7KH VWDELOLW\ RI WKH
VXSSRUWLQJ UDFN DQG SROH VKRXOG EH LQ DFFRUGDQFH ZLWK WKH GH
VLJQ UHTXLUHPHQWV
)HHGHU OD\RXW
/D\ RXW IHHGHUV DFFRUGLQJ WR WKH SURMHFW GHVLJQ UHTXLUHPHQWV
(OHFWULF SRZHU HQYLURQPHQW
=;0%: 5 DQWHQQD DQG IHHGHU V\VWHP FDQ QRW EH LQVWDOOHG
WRR QHDU WR SXEOLF HOHFWULF SRZHU FDEOHV
6DIHW\ 3UHFDXWLRQ
&KHFN
,QVWDOODWLRQ SHUVRQQHO PXVW SHUIRUP WKH IROORZLQJ
:HDU VDIHW\ EHOWV
:HDU VDIHW\ KHOPHWV
'R QRW ZHDU ORRVH FORWKHV DQG VOLSSHU\ VKRHV RQ VLWH
2EYLRXVO\ ORFDWH D FDXWLRQ VLJQ RQ VLWH WR ZDUQ XQUHODWHG SHRSOH
DZD\ IURP WKH LQVWDOODWLRQ VLWH
:DUQLQJ
,QVWDOODWLRQ SHUVRQQHO LV REOLJDWH WR VXSHUYLVH XQUHODWHG SHRSOH
DZD\ IURP WKH LQVWDOODWLRQ VLWH HVSHFLDOO\ FKLOGUHQ
3XW XQXVHG WRROV DQG PHWDO LQVWDOODWLRQ FRPSRQHQWV LQWR D WRRO
EDJ DQG VHDO LW
7RROV 5HTXLUH
PHQW
7KH IROORZLQJ WRROV DUH XVHG IRU PDLQ DQWHQQD IHHGHU V\VWHP LQ
VWDOODWLRQ
0HDVXUH WRROV
&RPSDVV PXOWLPHWHU DQJOH PHWHU DQG WDSH PHDVXUH
6SHFLDO WRROV
6SHFLDO WRROV DQG LQVWUXPHQWV IRU PDLQ IHHGHU FRQQHFWRU PDN
LQJ DQG WHVW
&RQ¿GHQWLDO DQG 3URSULHWDU\ ,QIRUPDWLRQ RI =7( &25325$7,21

=;0%: 5 ,QVWDOODWLRQ 0DQXDO
5HJXODU WRROV
$GMXVWDEOH ZUHQFK VKDUSQRVH SOLHUV GLDJRQDO SOLHUV HOHFWUL
FLDQ NQLIH ¿OH KDFNVDZ ZLWK VHYHUDO VDZ EODGHV DQG WRUTXH
ZUHQFK
3URWHFWLYH WRROV
6DIHW\ KHOPHW VDIHW\ EHOW VDIHW\ URSH JORYHV WKLFN ZRUN
FORWKHV UDGLDWLRQVKLHOGLQJ FORWKHV PXOWLSOH SRZHU VRFNHW DQG
VHDOHG FDQYDV WRRO EDJ
2WKHU WRROV
7RROV IRU OLIWLQJ IRU H[DPSOH /DGGHU
0DLQ $QWHQQD )HHGHU
6\VWHP ,QVWDOODWLRQ 3RVLWLRQ
7KH PDLQ DQWHQQD IHHGHU V\VWHP PD\ EH LQVWDOOHG LQ WKH IROORZLQJ
SRVLWLRQV
2Q LURQ WRZHU
2Q WRS RI EXLOGLQJ ZLWKRXW IHQFLQJ
2Q WRS RI EXLOGLQJ ZLWK IHQFLQJ
1RWH
3D\ DWWHQWLRQ WR WKH IROORZLQJ ZKLOH VHOHFWLQJ DQ LQVWDOODWLRQ SRVL
WLRQ RI PDLQ DQWHQQD IHHGHU
7KH LQVWDOODWLRQ SRVLWLRQ PXVW KDYH QR LPSDFW RQ DGMXVWPHQW
RI DQWHQQD GLUHFWLRQ DQG DQJOH
7KH LQVWDOODWLRQ SRVLWLRQ PXVW EH FRQYHQLHQW IRU HQJLQHHULQJ
LQVWDOODWLRQ DQG PDLQWHQDQFH
7KH PDLQ DQWHQQD IHHGHU LQVWDOOHG DWRS WKH EXLOGLQJ RU DJDLQVW
WKH H[WHUQDO ZDOO RI EXLOGLQJ PXVW EH IDU DZD\ IURP REVWUXF
WLRQV
,QVWDOOLQJ RQ LURQ
WRZHU
)LJXUH LOOXVWUDWHV WKH PDLQ DQWHQQD IHHGHU LQVWDOOHG RQ LURQ
WRZHU
&RQ¿GHQWLDO DQG 3URSULHWDU\ ,QIRUPDWLRQ RI =7( &25325$7,21

&KDSWHU 0DLQ $QWHQQD )HHGHU 6\VWHP ,QVWDOODWLRQ
),*85( ,167$//,1* 0$,1 $17(11$ )(('(5 21 ,521 72:(5
/LJKWQLQJ URG
,URQ WRZHU
$QWHQQD VXSSRUWLQJ UDFN
)DVWHQHU
$QWHQQD
&RQ¿GHQWLDO DQG 3URSULHWDU\ ,QIRUPDWLRQ RI =7( &25325$7,21

=;0%: 5 ,QVWDOODWLRQ 0DQXDO
,QVWDOOLQJ DWRS
%XLOGLQJ ZLWKRXW
IHQFLQJ
)LJXUH LOOXVWUDWHV WKH PDLQ DQWHQQD IHHGHU LQVWDOOHG RQ WRS RI
EXLOGLQJ ZLWKRXW IHQFLQJ
),*85( ,167$//,1* 0$,1 $17(11$ )(('(5 $723 %8,/',1* :,7+287
)(1&,1*
/LJKWQLQJ URG
$QWHQQD
)DVWHQHU
6XSSRUW SROH
&RQ¿GHQWLDO DQG 3URSULHWDU\ ,QIRUPDWLRQ RI =7( &25325$7,21

&KDSWHU 0DLQ $QWHQQD )HHGHU 6\VWHP ,QVWDOODWLRQ
,QVWDOOLQJ DWRS
%XLOGLQJ ZLWK
IHQFLQJ
)LJXUH LOOXVWUDWHV WKH PDLQ DQWHQQD IHHGHU LQVWDOOHG RQ WRS RI
EXLOGLQJ ZLWK IHQFLQJ
),*85( ,167$//,1* 0$,1 $17(11$ )(('(5 $723 %8,/',1* :,7+
)(1&,1*
/LJKWQLQJ URG
$QWHQQD
)DVWHQHU
:DOO
&RQ¿GHQWLDO DQG 3URSULHWDU\ ,QIRUPDWLRQ RI =7( &25325$7,21

=;0%: 5 ,QVWDOODWLRQ 0DQXDO
$QWHQQD ,QVWDOODWLRQ
$QWHQQD ,QVWDOODWLRQ 7HFKQLFDO
6SHFLILFDWLRQV
$QWHQQD KHLJKW
7KH LQVWDOODWLRQ KHLJKW RI DQWHQQD LV GHWHUPLQHG E\ QHWZRUN
SODQQLQJ GHVLJQ
$QWHQQD D]LPXWK
7KH D]LPXWK RI WKH DQWHQQD LV GHWHUPLQHG E\ QHWZRUN SODQQLQJ
GHVLJQ
$QWHQQD SLWFKLQJ DQJOH
7KH SLWFKLQJ DQJOH RI WKH DQWHQQD LV GHWHUPLQHG E\ QHWZRUN
SODQQLQJ GHVLJQ 8VXDOO\ WKH SLWFKLQJ DQJOH LV a
$QWHQQD GLUHFWLRQ
$QWHQQD GLUHFWLRQ GHSHQGV RQ WKH DQWHQQD D]LPXWK 7ZR DQ
WHQQDV LQ RQH VHFWRU PXVW VKDUH WKH VDPH D]LPXWK
$QWHQQD GLVWDQFH
7KH GLVWDQFH EHWZHHQ DQWHQQDV PXVW EH QRW OHVV WKDQ P
DV VKRZQ LQ )LJXUH
&RQ¿GHQWLDO DQG 3URSULHWDU\ ,QIRUPDWLRQ RI =7( &25325$7,21

&KDSWHU 0DLQ $QWHQQD )HHGHU 6\VWHP ,QVWDOODWLRQ
),*85( $17(11$ ',67$1&(
$QWHQQD ,QVWDOODWLRQ 3RVLWLRQ
7KH DQWHQQD PXVW EH LQVWDOOHG ZLWKLQ FRYHUDJH DUHD RI OLJKW
QLQJ URG DV VKRZQ LQ )LJXUH
&RQ¿GHQWLDO DQG 3URSULHWDU\ ,QIRUPDWLRQ RI =7( &25325$7,21

=;0%: 5 ,QVWDOODWLRQ 0DQXDO
),*85( /,*+71,1* 52' ())(&7,9( 3527(&7,21 $5($
/LJKWQLQJ URG
/LJKWQLQJ SURWHFWLRQ DUHD
$QWHQQD
*URXQGLQJ FDEOH
&RPSRQHQWV 8VHG LQ $QWHQQD
3ROHPRXQW ,QVWDOODWLRQ
7DEOH OLVWV FRPSRQHQWV XVHG LQ DQWHQQD SROHPRXQW LQVWDOODWLRQ
7$%/( &20321(176 86(' ,1 21( $17(11$ 32/(02817 ,167$//$7,21
1DPH 4XDQWLW\
$QWHQQD
8SSHU VXSSRUWLQJ DUP
/RZHU VXSSRUWLQJ DUP
6XSSRUW
6XSSRUWLQJ WXEH
&OLS
8VKDSH FOLS
0î KH[DJRQ EROW
0î KH[DJRQ EROW
0î KH[DJRQ EROW
0î KH[DJRQ EROW
0 KH[DJRQ QXW
0 KH[DJRQ QXW
6WDQGDUG
&RPSRQHQWV
&RQ¿GHQWLDO DQG 3URSULHWDU\ ,QIRUPDWLRQ RI =7( &25325$7,21

&KDSWHU 0DLQ $QWHQQD )HHGHU 6\VWHP ,QVWDOODWLRQ
1DPH 4XDQWLW\
)ODW ZDVKHU
)ODW ZDVKHU
6SULQJ ZDVKHU
6SULQJ ZDVKHU
,QVWDOOLQJ $QWHQQD
&RQWH[W
1RWH
7KLV WRSLF GHVFULEHV LQVWDOODWLRQ VWHSV RI DQWHQQD LQ EULHI
)RU WKH GHWDLO LQVWDOODWLRQ SURFHGXUH UHIHU WR WKH LQVWUXFWLRQ
HTXLSSHG LQ WKH DQWHQQD
7KH LQVWDOODWLRQ RU XVDJH LQVWUXFWLRQ LV SULRU WR LQVWUXFW LQVWDO
ODWLRQ
6WHSV 0RXQW DQ XSSHU VXSSRUWLQJ DUP RI FOLS DVVHPEO\ DV VKRZQ LQ
)LJXUH
),*85( 02817,1* 833(5 6833257,1* $50
± 8SSHU VXSSRUWLQJ DUP
± /RZHU VXSSRUWLQJ DUP
± 6XSSRUWLQJ WXEH
± 0î
KH[DJRQ EROW ÀDW ZDVKHU
VSULQJ ZDVKHU 0
KH[DJRQ QXW
± 0î KH[DJRQ
EROW ÀDW ZDVKHU VSULQJ
ZDVKHU 0 KH[DJRQ QXW
0RXQW D ORZHU VXSSRUWLQJ DUP DV VKRZQ LQ )LJXUH
&RQ¿GHQWLDO DQG 3URSULHWDU\ ,QIRUPDWLRQ RI =7( &25325$7,21

=;0%: 5 ,QVWDOODWLRQ 0DQXDO
),*85( 02817,1* /2:(5 6833257,1* $50
± 6XSSRUW
± 6XSSRUWLQJ WXEH
± &OLS
± 8VKDSH FOLS
± 0î
KH[DJRQ EROW ÀDW ZDVKHU
VSULQJ ZDVKHU 0
KH[DJRQ QXW
± 0î
KH[DJRQ EROW ÀDW ZDVKHU
VSULQJ ZDVKHU 0
KH[DJRQ QXW
± 0î
KH[DJRQ EROW ÀDW ZDVKHU
VSULQJ ZDVKHU 0
KH[DJRQ QX
0RXQW WKH XSSHU DQG ORZHU VXSSRUWLQJ DUPV WR DQ DQWHQQD DV
VKRZQ LQ )LJXUH
&RQ¿GHQWLDO DQG 3URSULHWDU\ ,QIRUPDWLRQ RI =7( &25325$7,21

&KDSWHU 0DLQ $QWHQQD )HHGHU 6\VWHP ,QVWDOODWLRQ
),*85( 02817,1* 833(5 $1' /2:(5 6833257,1* $50 72
$17(11$
0RXQW WKH DQWHQQD WR D SROH DV VKRZQ LQ )LJXUH
&RQ¿GHQWLDO DQG 3URSULHWDU\ ,QIRUPDWLRQ RI =7( &25325$7,21

=;0%: 5 ,QVWDOODWLRQ 0DQXDO
),*85( 02817,1* $17(11$ 72 32/(
$GMXVW WKH LQFOLQDWLRQ RI DQWHQQD DV VKRZQ LQ )LJXUH DQG
WKHQ VFUHZ GRZQ DOO DGMXVWPHQW EROWV
&RQ¿GHQWLDO DQG 3URSULHWDU\ ,QIRUPDWLRQ RI =7( &25325$7,21

&KDSWHU 0DLQ $QWHQQD )HHGHU 6\VWHP ,QVWDOODWLRQ
),*85( $'-867,1* $17(11$ ,1&/,1$7,21
(1' 2) 67(36
$GMXVWLQJ $QWHQQD¶V $]LPXWK
&RQWH[W 7KH D]LPXWK RI DQWHQQD LV GHWHUPLQHG E\ WKH QHWZRUN SODQQLQJ
7KH DFWXDO D]LPXWK VKRXOG NHHS OHVV WKDQ GLIIHUHQFH IURP WKH
D]LPXWK LQ WKH HQJLQHHULQJ GHVLJQ
*HQHUDOO\ WKH DQWHQQD LV LQVWDOOHG RQ WRS RI WKH LURQ WRZHU 'XH
WR WKDW WKH LURQ WRZHU DIIHFWV PDJQHWLF ¿HOG D FRPPRQ FRPSDVV
LV GLI¿FXOW WR DFFXUDWHO\ ORFDWH WKH D]LPXWK RI DQWHQQD ,W LV VXJ
JHVWHG WR XVH VRPH VSHFLDO D]LPXWK SRVLWLRQLQJ WRROV WR DGMXVW WKH
D]LPXWK WR D PRUH SURSHU DQJOH 7KH IROORZLQJ JLYHV DQ H[DPSOH
RI XVLQJ D .DWKUHLQ D]LPXWK DGMXVWPHQW WRRO
)LJXUH LOOXVWUDWHV WKH .DWKUHLQ D]LPXWK DGMXVWPHQW WRRO
&RQ¿GHQWLDO DQG 3URSULHWDU\ ,QIRUPDWLRQ RI =7( &25325$7,21

=;0%: 5 ,QVWDOODWLRQ 0DQXDO
),*85( .$7+5(,1 $=,087+ $'-8670(17 722/
7HOHVFRSH
'LDO
)DVWHQHU
6WHSV 5RXJKO\ DGMXVW WKH D]LPXWK
8QVFUHZ IDVWHQLQJ EROWV RQ WKH XSSHU DQG ORZHU VXSSRUWLQJ
DUPV 6ORZO\ WXUQ WKH DQWHQQD DURXQG WKH SROH WR DGMXVW D]
LPXWKV RI DQWHQQDV LQ DGMDFHQW VHFWRUV WR D FHUWDLQ DQJOH 1RU
PDOO\ WKH DQJHOV RI DQWHQQDV LQ GLIIHUHQW VHFWRUV VKRXOG NHHS
DQG WZR DQWHQQDV LQ WKH VDPH VHFWRU VKRXOG NHHS FRQ
VLVWHQW GLUHFWLRQ
0HDVXUH WKH DQJOH GLIIHUHQFH
)LQG D QHDUE\ WDUJHW IRU H[DPSOH D KLJK EXLOGLQJ PRXQWDLQ
DQG WRZHU DQG PHDVXUH WKH DQJOH GLIIHUHQFH EHWZHHQ WKH WDU
JHW DQG D]LPXWK
6HW WKH DQJOH GLIIHUHQFH RQ WKH .DWKUHLQ D]LPXWK DGMXVWPHQW
WRRO
6HW WKH DQJHO RQ WKH .DWKUHLQ D]LPXWK DGMXVWPHQW WRRO WR WKH
DQJOH GLIIHUHQFH PHDVXUHG LQ 6WHS
$FFXUDWHO\ DGMXVW WKH D]LPXWK
/RFDWH WKH .DWKUHLQ D]LPXWK DGMXVWPHQW WRRO WR WKH DQWHQQD
$LP DW WKH WDUJHW E\ WHOHVFRSH DQG VORZO\ WXUQ WKH DQWHQQD WR
DGMXVW LW WR WKH GHVLJQHG DQJOH DV VKRZQ LQ )LJXUH
&RQ¿GHQWLDO DQG 3URSULHWDU\ ,QIRUPDWLRQ RI =7( &25325$7,21

&KDSWHU 0DLQ $QWHQQD )HHGHU 6\VWHP ,QVWDOODWLRQ
),*85( 722/ 86$*( 0(7+2'
$QWHQQD
7DUJHW GLUHFWLRQ
2EVHUYDWLRQ GLUHFWLRQ
7HOHVFRSH
'LDO
6FUHZ GRZQ EROWV
$IWHU DGMXVWLQJ WKH D]LPXWK VFUHZ GRZQ IDVWHQLQJ EROWV RI XS
SHU DQG ORZHU VXSSRUWLQJ DUPV
(1' 2) 67(36
$GMXVWLQJ $QWHQQDV 'RZQWLOW
&RQWH[W 7KH GRZQWLOW RI DQWHQQD LV GHWHUPLQHG E\ WKH QHWZRUN SODQQLQJ
7KH DFWXDO GRZQWLOW VKRXOG NHHS OHVV WKDQ GLIIHUHQFH IURP WKH
GRZQWLOW LQ WKH HQJLQHHULQJ GHVLJQ
$GMXVW WKH GRZQWLOW E\ UHFWLI\LQJ XSSHU DQG ORZHU VXSSRUWLQJ DUPV
DQG WKHQ PHDVXUH DGMXVWPHQW SUHFLVLRQ ZLWK DQ DQJOH PHDVXUH
PHQW WRRO
)LJXUH LOOXVWUDWHV WKH DQJOH PHDVXUHPHQW WRRO
&RQ¿GHQWLDO DQG 3URSULHWDU\ ,QIRUPDWLRQ RI =7( &25325$7,21

=;0%: 5 ,QVWDOODWLRQ 0DQXDO
),*85( $1*/( 0($685(0(17 722/
6WHSV 5RXJKO\ DGMXVW WKH GRZQWLOW
8QVFUHZ IDVWHQLQJ EROWV RQ WKH XSSHU DQG ORZHU VXSSRUWLQJ
DUPV 6ORZO\ WXUQ WKH DQWHQQD DURXQG WKH SROH WR DGMXVW WKH
GRZQWLOW RI DQWHQQD WR D FHUWDLQ DQJOH
6HW WKH DQJOH RQ WKH DQJOH PHDVXUHPHQW WRRO
5RWDWH WKH GLDO RQ WKH DQJOH PHDVXUHPHQW WRRO WR WKH GHJUHH
RI GRZQWLOW LQ WKH HQJLQHHULQJ GHVLJQ
$GMXVW WKH GRZQWLOW
/RFDWH WKH ERWWRP RI DQJOH PHDVXUHPHQW WRRO FORVH WR WKH LQ
FOLQHG SODQH DQG VORZO\ DGMXVW WKH DQWHQQD WLOO DQ DLU EXEEOHV
LQ WKH SLSH RI DQJOH PHDVXUHPHQW WRRO ORFDWHV LQ WKH PLGGOH RI
WZR ULQJV DQG NHHSV VWLOO DV VKRZQ LQ )LJXUH
&RQ¿GHQWLDO DQG 3URSULHWDU\ ,QIRUPDWLRQ RI =7( &25325$7,21

&KDSWHU 0DLQ $QWHQQD )HHGHU 6\VWHP ,QVWDOODWLRQ
),*85( &203/(7,1* $'-8670(17
6FUHZ GRZQ EROWV
$IWHU DGMXVWLQJ WKH GRZQWLOW VFUHZ GRZQ IDVWHQLQJ EROWV RI XS
SHU DQG ORZHU VXSSRUWLQJ DUPV
(1' 2) 67(36
+RLVWLQJ $QWHQQD RQ 7RZHU
3UHUHTXLVLWHV
1RWH
,I LW LV UHTXLUHG WR LQVWDOO WKH DQWHQQD RQ WRZHU UHIHU WR WKH IROORZ
LQJ FRQWHQW
7KH QDWXUDO HQYLURQPHQWV PXVW PHHW WKH UHTXLUHPHQWV RI
KRLVWLQJ RQ WKH WRZHU VXFK DV QR IRJ DQG KLJK YLVLELOLW\
3URKLELW KRLVWLQJ LQ WKH ZLQG\ UDLQ\ RU VQRZ\ GD\
3UHSDUH WRROV WR EH XVHG LQ KRLVWLQJ VXFK DV D URSH DQG ¿[HG
SXOOH\ 7KH ¿[HG SXOOH\ KDV EHHQ LQVWDOOHG LQ SRVLWLRQ RQ WKH
WRZHU
&RQ¿GHQWLDO DQG 3URSULHWDU\ ,QIRUPDWLRQ RI =7( &25325$7,21

=;0%: 5 ,QVWDOODWLRQ 0DQXDO
6WHSV ,QVWDOO WKH SROH FOLSV RI DQWHQQD EHIRUH KRLVWLQJ )RU WKH GH
WDLOHG LQVWDOODWLRQ PHWKRG UHIHU WR ,QVWDOOLQJ $QWHQQD
8VH WKH URSH WR WLJKWO\ ELQG WKH XSSHU VXSSRUWLQJ DUP RI SROH
FOLSV DV VKRZQ LQ )LJXUH
),*85( %,1',1* $17(11$
'DQJHU
7KH EHDULQJ FDSDFLW\ RI URSH PXVW EH QRW OHVV WKDQ NJ
&DUHIXOO\ UHFKHFN ZKHWKHU WKH URSH DQG EROWV DUH IDVWHQHG
SURSHUO\
'XULQJ KRLVWLQJ LQVWDOODWLRQ WZR LQVWDOODWLRQ SHUVRQQHO VWDQG
XQGHU WKH WRZHU 2QH SXOOV WKH URSH VORZO\ RQ WKH VLGH RI WRZHU
&RQ¿GHQWLDO DQG 3URSULHWDU\ ,QIRUPDWLRQ RI =7( &25325$7,21

&KDSWHU 0DLQ $QWHQQD )HHGHU 6\VWHP ,QVWDOODWLRQ
DQG WKH RWKHU ORRVHV WKH URSH DQG OHDGV WKH DQWHQQD WR DYRLG
WRXFKLQJ WKH WRZHU RQ WKH RWKHU VLGH 2QH LQVWDOODWLRQ SHU
VRQQHO VWDQGV RQ WKH WRZHU WR FDWFK WKH DQWHQQD DV VKRZQ LQ
)LJXUH
),*85( +2,67,1* $17(11$ 21 72:(5
)L[HG SXOOH\
$QWHQQD
5RSH
&DXWLRQ
'XULQJ KRLVWLQJ LQVWDOODWLRQ PDNH VXUH QR SHRSOH VWDQGLQJ
DURXQG WKH KRLVWLQJ SRVLWLRQ WR DYRLG SHUVRQQHO LQMXU\
&RQ¿GHQWLDO DQG 3URSULHWDU\ ,QIRUPDWLRQ RI =7( &25325$7,21

=;0%: 5 ,QVWDOODWLRQ 0DQXDO
1RWH
7KH KRLVWLQJ SURFHGXUHV RI IHHGHU DQG RWKHU JRRGV DV ZHOO DV
GLVDVVHPEOLQJ SURFHGXUH RI WKH DQWHQQD WR WKH ÀRRU DUH VLPLODU
WR WKH DERYH
(1' 2) 67(36
)HHGHU ,QVWDOODWLRQ
)HHGHU /D\RXW 3ULQFLSOH
7KH IHHGHU VKRXOG EH ODLG LQ DFFRUGDQFH ZLWK WKH IROORZLQJ SULQFL
SOHV
7KH IHHGHU PXVW EH ODLG LQ JRRG RUGHU DQG ZLWKRXW FURVVLQJV
7KH IHHGHU URXWH PXVW EH GHWHUPLQHG EHIRUH OD\RXW 0DUN WKH
DFWXDO IHHGHU URXWH RQ D GUDZLQJ WR DYRLG UHZRUNV GXH WR FURVV
LQJV
7KH PLQLPXP EHQGLQJ UDGLXV RI WKH IHHGHU VKRXOG EH JUHDWHU
WKDQ WLPHV RI WKH IHHGHU UDGLXV
/D\ RXW WKH IHHGHU IURP XS WR GRZQ )DVWHQ WKH IHHGHU ZLWK
¿[LQJ FOLSV
7DEOH GHVFULEHV UHTXLUHPHQWV RI EHQGLQJ UDGLXV
7$%/( %(1',1* 5$',86 5(48,5(0(176 )25 9$5,286 )(('(56
5HFRPPHQGHG PLQLPXP EHQGLQJ UDGLXV)HHGHU 7\SH
6LQJOH EHQGLQJ &RQWLQXRXV EHQGLQJ
6XSHUVRIW
IHHGHU
PP PP
IHHGHU PP PP
IHHGHU PP PP
IHHGHU PP PP
)L[LQJ )HHGHU
3UHUHTXLVLWHV /D\ RXW WKH IHHGHU FRPSOHWHO\
&RQ¿GHQWLDO DQG 3URSULHWDU\ ,QIRUPDWLRQ RI =7( &25325$7,21

&KDSWHU 0DLQ $QWHQQD )HHGHU 6\VWHP ,QVWDOODWLRQ
&RQWH[W 8VH IHHGHU FOLSV WR ¿[ WKH IHHGHU $FFRUGLQJ WR WKH RQVLWH HQJL
QHHULQJ FRQGLWLRQ WKHUH DUH WZR W\SHV RI IHHGHU FOLSV DYDLODEOH
WZRFRPELQHG RU WKUHHFRPELQHG IHHGHU FOLS
)LJXUH LOOXVWUDWHV WKH DSSHDUDQFH RI WZRFRPELQHG IHHGHU FOLS
),*85( 7:2&20%,1(' )(('(5 &/,3 $33($5$1&(
)LJXUH LOOXVWUDWHV WKH DSSHDUDQFH RI WKUHHFRPELQHG IHHGHU FOLS
),*85( 7+5((&20%,1(' )(('(5 &/,3 $33($5$1&(
6WHSV 7LG\ XS WKH IHHGHU
%LQG DQG IDVWHQ WKH IHHGHU DW P RII WKH ORZHU IHHGHU LQWHU
IDFH RQ WKH =;0%: 5 FDELQHW
,QVWDOO D IHHGHU FOLS UHVSHFWLYHO\ SHU P DORQJ D LURQ WRZHU
RU FDEOH UDFN )RU RQVLWH LQVWDOODWLRQ WKH LQWHUYDO EHWZHHQ
IHHGHU FOLSV DUH GHWHUPLQHG E\ DFWXDO FRQGLWLRQ KRZHYHU QRW
RYHU P DW PRVW :KLOH LQVWDOOLQJ IHHGHU FOLSV NHHS HTXDO
GLVWDQFH EHWZHHQ FOLSV DQG LGHQWLFDO GLUHFWLRQ ,Q WKH VDPH
FDEOH WUD\ ODGGHU LI WZR URZV RI IHHGHU FOLSV PXVW EH LQVWDOOHG
NHHS WKHP SDUDOOHOHG DQG LQ JRRG RUGHU
)L[ WKH IHHGHU LQWR IHHGHU FOLSV IURP XS WR GRZQ ZKLOH WLG\LQJ
XS WKH IHHGHU 7KHQ VFUHZ GRZQ WKH IHHGHU FOLSV )LJXUH
DQG )LJXUH LOOXVWUDWH WKH IHHGHU LQVWDOOHG RQ WKH LURQ WRZHU
&RQ¿GHQWLDO DQG 3URSULHWDU\ ,QIRUPDWLRQ RI =7( &25325$7,21

=;0%: 5 ,QVWDOODWLRQ 0DQXDO
),*85( )(('(5 ),;$7,21 21 72:(5 7:2&20%,1(' )(('(5
&/,3
),*85( )(('(5 ),;$7,21 21 72:(5 7+5((&20%,1$7,21
)(('(5 &/,3
1RWH
f'R QRW ¿[ ERWK HQGV RI IHHGHU VLPXOWDQHRXVO\
f.HHS IHHGHUV VWUDLJKW DQG LQ D JRRG RUGHU ZLWKRXW DQ\
EXOJHV EHWZHHQ WKH IHHGHU FOLSV
(1' 2) 67(36
&RQ¿GHQWLDO DQG 3URSULHWDU\ ,QIRUPDWLRQ RI =7( &25325$7,21

&KDSWHU 0DLQ $QWHQQD )HHGHU 6\VWHP ,QVWDOODWLRQ
3HUIRUPLQJ :DWHUSURRI 3URFHVVLQJ
IRU )HHGHU
&RQWH[W 3HUIRUP ZDWHUSURRI SURFHVVLQJ IRU WKH PDLQ IHHGHU ZLWK D VKULQN
DEOH VOHHYH
1RWH
$V VRRQ DV WKH ZKROH DQWHQQD IHHGHU V\VWHP LV FRPSOHWHO\ LQVWDOOHG
DQG SDVVHV WKH WHVW SHUIRUP ZDWHUSURRI SURFHVVLQJ IRU RXWGRRU
FRQQHFWRUV
7KH VKULQNDEOH VOHHYH LV PDGH RI HODVWLF PDWHULDO DIWHU YXOFDQL]D
WLRQ VXFK DV VLOLFRQ UXEEHU DQG SURS\OHQH UXEEHU DV VKRZQ LQ
)LJXUH
),*85( 6+5,1.$%/( 6/((9(
3ODVWLF SLSH
6HSDUDWH SODVWLF VWULS
(ODVWLF PDWHULDO
6WHSV 5HPRYH WKH FRQQHFWRU RI IHHGHU DW WKH =;0%: 5 FDELQHW
VLGH
&OHDQ XS GXVW DQG VWDLQV DURXQG WKH FRQQHFWRU EHIRUH SHUIRUP
LQJ ZDWHUSURRI SURFHVVLQJ
/HDG WKH IHHGHU WKURXJK WKH VKULQNDEOH VOHHYH DV VKRZQ LQ
)LJXUH
&RQ¿GHQWLDO DQG 3URSULHWDU\ ,QIRUPDWLRQ RI =7( &25325$7,21

=;0%: 5 ,QVWDOODWLRQ 0DQXDO
),*85( )(('(5 7+528*+ 6+5,1.$%/( 6/((9(
&DXWLRQ
'UDZ WKH VKULQNDEOH VOHHYH GRZQZDUGV DFFRUGLQJ WR WKH WHQVLOH
GLUHFWLRQ RQ WKH VKULQNDEOH VOHHYH
6FUHZ GRZQ WKH FRQQHFWRU DV VKRZQ LQ )LJXUH
&RQ¿GHQWLDO DQG 3URSULHWDU\ ,QIRUPDWLRQ RI =7( &25325$7,21

&KDSWHU 0DLQ $QWHQQD )HHGHU 6\VWHP ,QVWDOODWLRQ
),*85( 6&5(:,1* '2:1 )(('(5 &211(&725
7DNH KROG RI WKH VKULQNDEOH VOHHYH ZLWK RQH KDQG DQG NHHS LWV
WRS FORVH WR WKH FRQQHFWRU DV VKRZQ LQ )LJXUH
&RQ¿GHQWLDO DQG 3URSULHWDU\ ,QIRUPDWLRQ RI =7( &25325$7,21

=;0%: 5 ,QVWDOODWLRQ 0DQXDO
),*85( 6+5,1.$%/( 6/((9( &/26( 72 &211(&725
6ORZO\ GUDZ WKH XSSHU VHSDUDEOH SODVWLF VWULSV GRZQZDUGV ZLWK
WKH RWKHU KDQG 7KH VKULQNDEOH VOHHYH LV LPPHGLDWHO\ DI¿[HG
WR WKH FRQQHFWRU DQG IHHGHU DV VKRZQ LQ )LJXUH DQG )LJXUH
),*85( '$:1,1* 3/$67,& 675,36
&RQ¿GHQWLDO DQG 3URSULHWDU\ ,QIRUPDWLRQ RI =7( &25325$7,21

&KDSWHU 0DLQ $QWHQQD )HHGHU 6\VWHP ,QVWDOODWLRQ
),*85( '$:1,1* 3/$67,& 675,36
:KLOH WKH ZKROH SODVWLF VWULSV DUH FRPSOHWHO\ GUDZQ WKH ZD
WHUSURRI SURFHVVLQJ LV ¿QLVKHG DV VKRZQ LQ )LJXUH
&RQ¿GHQWLDO DQG 3URSULHWDU\ ,QIRUPDWLRQ RI =7( &25325$7,21

=;0%: 5 ,QVWDOODWLRQ 0DQXDO
),*85( &203/(7,1* :$7(53522) 352&(66,1*
5HIHUULQJ WR WKH DERYH VWHSV FRQWLQXH WR FRQGXFW ZDWHUSURRI
SURFHVVLQJ RI RWKHU IHHGHU FRQQHFWRUV
(1' 2) 67(36
&RQ¿GHQWLDO DQG 3URSULHWDU\ ,QIRUPDWLRQ RI =7( &25325$7,21

&KDSWHU 0DLQ $QWHQQD )HHGHU 6\VWHP ,QVWDOODWLRQ
96:5 7HVW
%HIRUH SHUIRUPLQJ ZDWHUSURRI SURFHVVLQJ IRU IHHGHUV FRQGXFW D
96:5 WHVW 7KH 96:5 PXVW EH OHVV WKDQ 2WKHUZLVH FKHFN
WKH IROORZLQJ LWHPV
:KHWKHU WKH LQVWDOODWLRQ RI IHHGHU FRQQHFWRUV LV SURSHU
:KHWKHU WKH IHHGHU DQG DQWHQQD LQVWDOODWLRQ LV SURSHU
:KHWKHU WKH IHHGHU LV LQWDFW
&RQ¿GHQWLDO DQG 3URSULHWDU\ ,QIRUPDWLRQ RI =7( &25325$7,21

=;0%: 5 ,QVWDOODWLRQ 0DQXDO
7KLV SDJH LV LQWHQWLRQDOO\ EODQN
&RQ¿GHQWLDO DQG 3URSULHWDU\ ,QIRUPDWLRQ RI =7( &25325$7,21

&KDSWHU
,QVWDOODWLRQ &KHFN
7DEOH RI &RQWHQWV
&DELQHW ,QVWDOODWLRQ &KHFN
0DLQ $QWHQQD )HHGHU 6\VWHP ,QVWDOODWLRQ &KHFN
&KHFNLQJ 3RZHURQ 2SHUDWLRQ
&DELQHW ,QVWDOODWLRQ &KHFN
&DELQHW &KHFN
,PSOHPHQW WKH IROORZLQJ LWHPV DIWHU LQVWDOODWLRQ
0DNH VXUH WKDW WKH FDELQHW LQVWDOODWLRQ ORFDWLRQ FRPSOLHV ZLWK
WKH HQJLQHHULQJ GHVLJQ
.HHS WKH FDELQHW KRUL]RQWDO DQG YHUWLFDO HUURUV ERWK OHVV WKDQ
PP GXULQJ LQVWDOODWLRQ DQG PDNH LW VWDQG VWLOO DQG SOHDVDQW
WR H\HV
6FUHZ GRZQ DOO WKH IDVWHQHUV 3URSHUO\ SODFH SODLQ ZDVKHUV DQG
VSULQJ ZDVKHUV
0DNH VXUH WKH FDELQHW LV FOHDQ WLG\ DQG LQ JRRG SDLQWLQJ FRQ
GLWLRQ 0DNH VXUH DOO WKH FDELQHW SDUWV XQGDPDJHG DQG DOO WKH
ZLUHV ZHOO FRQQHFWHG /DEHOV RQ WKH FDELQHW DUH SURSHU GLVWLQFW
DQG LQWDFW
&DEOH &KHFN
3RZHU &DEOH DQG
*URXQGLQJ &DEOH
&KHFN
0DNH VXUH DOO SRZHU FDEOHV '& SRZHU FDEOH RI =;0%: 5
FDELQHW DV ZHOO DV $&'& SRZHU FDEOH RI SULPDU\ SRZHU DUH
¿UPO\ DQG FRUUHFWO\ FRQQHFWHG DQG WKH SRODULWLHV DUH SURSHU
0DNH VXUH DOO JURXQGLQJ FDEOHV JURXQGLQJ FDEOH RI =;0%:
5 FDELQHW DV ZHOO DV JURXQGLQJ FDEOH RI SULPDU\ SRZHU
DV ZHOO DV WKH 3( FRQQHFWRU SRVWV DUH ¿UPO\ DQG FRUUHFWO\
FRQQHFWHG
([WHUQDO &DEOH
&KHFN
.HHS D SURSHU VSDFLQJ IRU WKH FDEOH DUUD\LQJ DQG ELQGLQJ 0DNH
WKH ZLUH IDVWHQHUV ODLG ÀDW ZLWKRXW UHSHWLWLRQ
$UUD\ WKH EHOORZV RI RSWLFDO ¿EHU LQ RUGHU
&RQ¿GHQWLDO DQG 3URSULHWDU\ ,QIRUPDWLRQ RI =7( &25325$7,21

=;0%: 5 ,QVWDOODWLRQ 0DQXDO
.HHS WKH FDEOH VXUIDFH FOHDQ DQG WLG\ DQG WKH LQVXODWLRQ OD\HU
RI VKHDWK XQGDPDJHG
6RFNHW DQG 3OXJ DQG 6OLFH &KHFN
0DNH VXUH WKH IROORZLQJ LWHPV ZKHQ FKHFNLQJ VRFNHWV SOXJV DQG
VOLFHV
$OO WKH VRFNHWV SOXJV DQG VOLFHV DUH FRUUHFWO\ FRQQHFWHG
7KH SOXJV DUH FRQQHFWHG ¿UPO\ WR WKH VRFNHW
7KH FRUH ZLUH LV XQGDPDJHG GXULQJ PDNLQJ FRQQHFWRU RQ VLWH
7KH FDEOH SOXJV DQG VOLFHV DUH ¿UPO\ IDVWHQHG DQG WKHVH SKH
QRPHQD VXFK DV SLQ ORVV RU SLQ EHQGLQJ GR QRW RFFXU
/DEHO &KHFN
&KHFN WKH IROORZLQJ LWHPV
0DNH VXUH WKH ODEHOV DUH RI =7( VSHFLDOSXUSRVH SDVWHU
0DNH VXUH WKH ODEHOV DUH SDVWHG ZLWK WKH VLGH LQGLFDWLQJ FDEOH
GLUHFWLRQ XSZDUG RU WRZDUG WKH PDLQWHQDQFH RSHUDWLRQ DUHD
0DNH VXUH WKH ODEHO FRQWHQWV RI UDFN URZV RU FROXPQV FRPSO\
ZLWK WKH HQJLQHHULQJ GHVLJQ DQG =7( HTXLSPHQW LQ WKH HTXLS
PHQW URRP DUH DOO UHDG\ DQG LQ RUGHU ZLWKRXW UHSHWLWLRQ
0DNH VXUH WKH =7( HTXLSPHQW SRZHU FDEOH EUHDNHUV LQ WKH
SRZHU VXSSO\ FDELQHW DQG SRZHU GLVWULEXWLRQ FDELQHW DUH ZHOO
SDVWHG DQG ODEHOOHG ZLWK FRQQHFWLRQ GLUHFWLRQV
0DNH VXUH ERWK HQGV RI DOO FDEOHV SRZHU FDEOH JURXQGLQJ FD
EOH WUDQVPLVVLRQ FDEOH DQG MXPSHU FDEOH DUH ODEHOOHG ZLWK GLV
WLQFW ZULWLQJ DQG LQ FRUUHFW SRVLWLRQV .HHS WKH ODEHOV PP
DSDUW IURP WKH FDEOH HQGV
(QYLURQPHQW &KHFN
3HUIRUP WKH IROORZLQJ IRU HQYLURQPHQW FKHFN
0DNH VXUH WKDW WKH VXUIDFH RI FDELQHW LV FOHDQ DQG WLG\ DIWHU
LQVWDOODWLRQ
&OHDQ RXW WKH DUWLFOHV QRW LQ XVH DQG SODFH WKHVH LQ XVH LQ RUGHU
0DNH VXUH WKDW WKH RSHUDWLRQ FRQVROH DQG UDLVHG ÀRRU DUH NHSW
FOHDQ
&OHDU VXQGULHV VXFK DV FDEOH VWUDS WKUHDG DQG GHVLFFDQW DZD\
IURP EHQHDWK WKH FDEOH WUD\ FDELQHW DQG WKH UDLVHG ÀRRU .HHS
WKH FDEOLQJ LQ JRRG RUGHU
&RQ¿GHQWLDO DQG 3URSULHWDU\ ,QIRUPDWLRQ RI =7( &25325$7,21

&KDSWHU ,QVWDOODWLRQ &KHFN
0DLQ $QWHQQD )HHGHU
6\VWHP ,QVWDOODWLRQ &KHFN
&KHFNLQJ )HHGHU &DEOH
3UHUHTXLVLWHV 7KH PDLQ DQWHQQD IHHGHU V\VWHP LV FRPSOHWHO\ LQVWDOOHG
6WHSV 7KH DFWXDO KHLJKW RI DQ DQWHQQD LV FRQVLVWHQW ZLWK WKH QHWZRUN
SODQQLQJ DQG LWV LQVWDOODWLRQ SRVLWLRQ DFFRUGV ZLWK WKH GHVLJQ
7KH DQWHQQD PRXQW LV ¿UPO\ FRQQHFWHG ZLWK WKH WRZHU
7KH DQWHQQD LV ZLWKLQ WKH SURWHFWLRQ DUHD RI WKH OLJKWQLQJ URG
$OO WKH DQWHQQD ¿[DWLRQ EROWV DUH VFUHZHG GRZQ DQG WKH VSULQJ
ZDVKHUV DUH SUHVVHG ÀDW
7KH 6:5 RI WKH DQWHQQD IHHGHU LV QRW PRUH WKDQ
$OO WKH RXWGRRU MXPSHU FRQQHFWRUV DUH WUHDWHG ZLWK ZDWHUSURRI
SURWHFWLRQ
7KH IHHGHU FDEOH LV ERXQG HTXDOO\ WKH PD[LPXP ELQGLQJ VSDFH
QRW RYHU P
(1' 2) 67(36
&KHFNLQJ :DWHUSURRI 3URFHVVLQJ
&RQWH[W &KHFN WKH IROORZLQJ LWHPV
6WHSV 0DNH VXUH DOO IHHGHU FRQQHFWRUV WUHDWHG ZLWK ZDWHUSURRI SUR
FHVVLQJ
0DNH VXUH IHHGHUV HQWHULQJ WKH GRRU WKURXJK WKH IHHGHU KHU
PHWLF ZLQGRZ
(1' 2) 67(36
&KHFNLQJ 3RZHURQ
2SHUDWLRQ
3UHUHTXLVLWHV 7KH SRZHU FDEOH DQG JURXQGLQJ FDEOH RI WKH FKDVVLV DQG SRZHU
VXSSO\ HTXLSPHQW DUH LQVWDOOHG
7KH FKDVVLV LQWHUQDO SRZHU FDEOH DQG JURXQGLQJ FDEOH DUH LQ
VWDOOHG
7KH VXEUDFNV DQG ERDUGV DUH LQVWDOOHG LQ WKH FKDVVLV
&RQ¿GHQWLDO DQG 3URSULHWDU\ ,QIRUPDWLRQ RI =7( &25325$7,21

=;0%: 5 ,QVWDOODWLRQ 0DQXDO
1HFHVVDU\ LQVWUXPHQW PXOWLPHWHU LV UHDG\ IRU XVH
&RQWH[W 3HUIRUP WKH IROORZLQJ VWHSV IRU SRZHURQ FKHFN
6WHSV &RUUHFWO\ ZHDU DQ DQWLVWDWLF ZULVW VWUDS DQG JURXQG LW WKURXJK
WKH DQWLVWDWLF MDFN LQ WKH FKDVVLV
6ZLWFK RII DOO WKH SRZHU VXSSOLHV RI WKH SRZHU GLVWULEXWLRQ VXE
UDFN
6HW WKH PXOLWPHWHU WR RKP EDQG DQG WKHQ PHDVXUH WKH SRZHU
LQSXW WHUPLQDO RI WKH FKDVVLV SRZHU GLVWULEXWLRQ VXEUDFN WR
FRQ¿UP WKH 9 SRZHU ZLWKRXW VKRUW FLUFXLW
6HW WKH PXOWLPHWHU WR YROW EDQG DQG WKHQ PHDVXUH WKH RXWSXW
WHUPLQDO RI 9 '& SRZHU WR FRQ¿UP WKH RXWSXW YROWDJH DV
9
&RQQHFW WKH SRZHU FDEOH RI =;0%: 5 ZLWK WKH SRZHU VXS
SO\ HTXLSPHQW
6ZLWFK RQ WKH H[WHUQDO SRZHU WR ¿QLVK SRZHURQ SURFHVV
7XUQ RII WKH VZLWFK DQG FKHFN WKH FDXVHV LI DQ\ DEQRUPDOLW\
RFFXUV
(1' 2) 67(36
&RQ¿GHQWLDO DQG 3URSULHWDU\ ,QIRUPDWLRQ RI =7( &25325$7,21

)LJXUHV
)LJXUH =;0%: 5 $SSHDUDQFH
)LJXUH =;0%: 5 ,QVWDOODWLRQ )ORZFKDUW
)LJXUH (TXLSPHQW 5RRP 5HTXLUHPHQWV IRU ,QVWDOOLQJ
=;0%: 5
)LJXUH &UDWH 8QSDFNLQJ
)LJXUH &UDWH 8QSDFNLQJ
)LJXUH :HDULQJ $QWLVWDWLF :ULVW 6WULS
)LJXUH &DUWRQ 8QSDFNLQJ
)LJXUH =;0%: 5 :DOOPRXQW ,QVWDOODWLRQ
)LJXUH =;0%: 5 :DOOPRXQW ,QVWDOODWLRQ
)LJXUH =;0%: 5 DQG $QWHQQD 6KDULQJ 3ROH
)LJXUH =;0%: 5 DQG $QWHQQD 6KDULQJ 3ROH
)LJXUH =;0%: 5 DQG $QWHQQD 6KDULQJ 3ROH
)LJXUH =;0%: 5 $SSOLFDWLRQ 6FHQDULR
)LJXUH =;0%: 5 $SSOLFDWLRQ 6FHQDULR
)LJXUH =;0%: 5 $SSOLFDWLRQ 6FHQDULR
)LJXUH 6XSSRUWLQJ 3DQHO
)LJXUH 3URWHFWLYH 6KLHOG
)LJXUH ,QVWDOOLQJ 3ROH &OLS $VVHPEOLHV
)LJXUH $VVHPEOLQJ 3URWHFWLYH 6KLHOG
)LJXUH $VVHPEOLQJ 3URWHFWLYH 6KLHOG
)LJXUH ,QVWDOOLQJ 3URWHFWLYH 6KLHOG
)LJXUH ,QVWDOOLQJ =;0%: 5 &DELQHW
)LJXUH ,QVWDOOLQJ =;0%: 5 &DELQHW
)LJXUH &RPSOHWLQJ =;0%: 5 3ROHPRXQW ,QVWDOODWLRQ
)LJXUH )DVWHQLQJ 5RSH WR =;0%: 5 &DELQHW
)LJXUH +RLVWLQJ =;0%: 5 &DELQHW RQ 7RZHU
)LJXUH 6XSSRUWLQJ 3DQHO
)LJXUH 3URWHFWLYH 6KLHOG
)LJXUH +ROH 3RVLWLRQ
)LJXUH ,QVWDOOLQJ 0î ([SDQVLRQ %ROW
)LJXUH ,QVWDOOLQJ 0î ([SDQVLRQ %ROW
)LJXUH ,QVWDOOLQJ WKH VXSSRUWLQJ SDQHO
&RQ¿GHQWLDO DQG 3URSULHWDU\ ,QIRUPDWLRQ RI =7( &25325$7,21

=;0%: 5 ,QVWDOODWLRQ 0DQXDO
)LJXUH $VVHPEOLQJ 3URWHFWLYH 6KLHOG
)LJXUH $VVHPEOLQJ 3URWHFWLYH 6KLHOG
)LJXUH ,QVWDOOLQJ 3URWHFWLYH 6KLHOG
)LJXUH ,QVWDOOLQJ =;0%: 5 &DELQHW
)LJXUH ,QVWDOOLQJ =;0%: 5 &DELQHW
)LJXUH &RPSOHWLQJ =;0%: 5 :DOOPRXQW ,QVWDOODWLRQ
)LJXUH &DEOH &RQQHFWLRQ 5HODWLRQ
)LJXUH '& 3RZHU &DEOH
)LJXUH *URXQGLQJ &DEOH
)LJXUH &ULPSLQJ &RSSHU /XJV
)LJXUH *URXQGLQJ %ROW RQ =;0%: 5 &DELQHW
)LJXUH ,QVWDOOLQJ *URXQGLQJ &DEOH
)LJXUH &RSSHU %DU RI *URXQG *ULG
)LJXUH %DVHEDQG5) )LHOG 2SHUDWLRQ )LEHU
)LJXUH 3URWHFWLYH &RYHU DQG 'XVW &DS RI )LHOG 2SHUDWLRQ
)LEHU
)LJXUH $OLJQLQJ &RORU &RGHV
)LJXUH )DVWHQLQJ WKH 7KUHDGHG 6OHHYH
)LJXUH )DVWHQLQJ WKH 6HDOLQJ *ODQG
)LJXUH 2SWLFDO 0RGXOH
)LJXUH &RQQHFWLQJ WKH )LEHU WR WKH 2SWLFDO ,QWHUIDFH RI WKH
%%8
)LJXUH /HQJWK¿[HG )HHGHU
)LJXUH %LQGLQJ )HHGHU /DEHO
)LJXUH 6SHFLDO :UHQFK
)LJXUH 'LVDVVHPEOLQJ )HHGHU
)LJXUH :DWHUSURRI ,QVXODWLQJ 7DSH
)LJXUH 39& $GKHVLYH 7DSH
)LJXUH :UDSSLQJ D /D\HU RI 39& ,QVXODWLQJ 7DSH
)LJXUH :UDSSLQJ 7KUHH /D\HUV RI :DWHU ,QVXODWLQJ 7DSH
WKH ¿UVW OD\HU
)LJXUH :UDSSLQJ 7KUHH /D\HUV RI :DWHU ,QVXODWLQJ 7DSH
WKH VHFRQG OD\HU
)LJXUH :UDSSLQJ 7KUHH /D\HUV RI :DWHU ,QVXODWLQJ 7DSH
WKH WKLUG OD\HU
)LJXUH :UDSSLQJ 7KUHH /D\HUV RI 39& ,QVXODWLQJ 7DSH WKH
¿UVW OD\HU
)LJXUH :UDSSLQJ 7KUHH /D\HUV RI 39& ,QVXODWLQJ 7DSH WKH
6HFRQG /D\HU
&RQ¿GHQWLDO DQG 3URSULHWDU\ ,QIRUPDWLRQ RI =7( &25325$7,21

)LJXUHV
)LJXUH :UDSSLQJ 7KUHH /D\HUV RI 39& ,QVXODWLQJ 7DSH WKH
WKLUG OD\HU
)LJXUH )DVWHQLQJ
)LJXUH 0DLQ $QWHQQD )HHGHU 6\VWHP ,QVWDOODWLRQ )ORZFKDUW
)LJXUH ,QVWDOOLQJ 0DLQ $QWHQQD )HHGHU RQ ,URQ 7RZHU
)LJXUH ,QVWDOOLQJ 0DLQ $QWHQQD )HHGHU DWRS %XLOGLQJ
ZLWKRXW IHQFLQJ
)LJXUH ,QVWDOOLQJ 0DLQ $QWHQQD )HHGHU DWRS %XLOGLQJ ZLWK
IHQFLQJ
)LJXUH $QWHQQD 'LVWDQFH
)LJXUH /LJKWQLQJ 5RG (IIHFWLYH 3URWHFWLRQ $UHD
)LJXUH 0RXQWLQJ 8SSHU 6XSSRUWLQJ $UP
)LJXUH 0RXQWLQJ /RZHU 6XSSRUWLQJ $UP
)LJXUH 0RXQWLQJ 8SSHU DQG /RZHU 6XSSRUWLQJ $UP WR
$QWHQQD
)LJXUH 0RXQWLQJ $QWHQQD WR 3ROH
)LJXUH $GMXVWLQJ $QWHQQD LQFOLQDWLRQ
)LJXUH .DWKUHLQ D]LPXWK DGMXVWPHQW WRRO
)LJXUH 7RRO 8VDJH 0HWKRG
)LJXUH $QJOH 0HDVXUHPHQW 7RRO
)LJXUH &RPSOHWLQJ $GMXVWPHQW
)LJXUH %LQGLQJ $QWHQQD
)LJXUH +RLVWLQJ $QWHQQD RQ 7RZHU
)LJXUH 7:2&20%,1(' )(('(5 &/,3 $33($5$1&(
)LJXUH 7KUHH&20%,1(' )(('(5 &/,3 $33($5$1&(
)LJXUH )HHGHU )L[DWLRQ RQ 7RZHU 7:2&20%,1('
)(('(5 &/,3
)LJXUH )HHGHU )L[DWLRQ RQ 7RZHU 7KUHH&RPELQDWLRQ
)HHGHU &OLS
)LJXUH 6KULQNDEOH 6OHHYH
)LJXUH )HHGHU 7KURXJK 6KULQNDEOH 6OHHYH
)LJXUH 6FUHZLQJ GRZQ )HHGHU &RQQHFWRU
)LJXUH 6KULQNDEOH 6OHHYH &ORVH WR &RQQHFWRU
)LJXUH 'DZQLQJ 3ODVWLF 6WULSV
)LJXUH 'DZQLQJ 3ODVWLF 6WULSV
)LJXUH &RPSOHWLQJ :DWHUSURRI 3URFHVVLQJ
&RQ¿GHQWLDO DQG 3URSULHWDU\ ,QIRUPDWLRQ RI =7( &25325$7,21

=;0%: 5 ,QVWDOODWLRQ 0DQXDO
7KLV SDJH LV LQWHQWLRQDOO\ EODQN
&RQ¿GHQWLDO DQG 3URSULHWDU\ ,QIRUPDWLRQ RI =7( &25325$7,21

7DEOHV
7DEOH 6DIHW\ 6\PEROV 'HVFULSWLRQ
7DEOH (QJLQHHULQJ ,QGH[HV
7DEOH /LJKWQLQJ 3URWHFWLRQ 6WUHQJWKV DQG 5HIHUHQFH
6WDQGDUGV
7DEOH =;0%: 5 ([WHUQDO 7UDQVPLVVLRQ ,QWHUIDFH
7DEOH %(1',1* 5$',86 5(48,5(0(176 21 )(('(56 2)
',))(5(17 7<3(6
7DEOH 7RROV DQG ,QVWUXPHQWV
7DEOH 0DLQ &RPSRQHQW /LVW
7DEOH 0DLQ &RPSRQHQW /LVW
7DEOH '& 3RZHU &DEOH ,QQHU &RUH &RORU DQG 0HDQLQJ
7DEOH )HHGHU &RQQHFWLRQ 5HODWLRQ
7DEOH &RPSRQHQWV 8VHG LQ 2QH $QWHQQD 3ROHPRXQW
,QVWDOODWLRQ
7DEOH %HQGLQJ 5DGLXV 5HTXLUHPHQWV IRU 9DULRXV )HHGHUV
&RQ¿GHQWLDO DQG 3URSULHWDU\ ,QIRUPDWLRQ RI =7( &25325$7,21

=;0%: 5 ,QVWDOODWLRQ 0DQXDO
7KLV SDJH LV LQWHQWLRQDOO\ EODQN
&RQ¿GHQWLDO DQG 3URSULHWDU\ ,QIRUPDWLRQ RI =7( &25325$7,21

*ORVVDU\
,&
,QWHJUDWHG &LUFXLW
3(
3URWHFWLYH (DUWK
&RQ¿GHQWLDO DQG 3URSULHWDU\ ,QIRUPDWLRQ RI =7( &25325$7,21