ZTE ZTEN762 CDMA 1X-EVDO Digital Mobile Phone User Manual San Francisco
ZTE Corporation CDMA 1X-EVDO Digital Mobile Phone San Francisco
ZTE >
Exhibit09.user_manual
1
ZTE N762
User Guide
2
LEGAL INFORMATION
Copyright © 2011 ZTE CORPORATION.
All rights reserved.
No part of this publication may be quoted, reproduced,
translated or used in any form or by any means, electronic
or mechanical, including photocopying and microfilm,
without the prior written permission of ZTE Corporation.
The manual is published by ZTE Corporation. We reserve the
right to make modifications on print errors or update
specifications without prior notice. Every effort has been
made in the preparation of this manual to ensure accuracy of
the contents, but all statements, information, and
recommendations in this manual do not constitute a warranty
of any kind, expressed or implied.
Version No.: R1.0
Edition Time: September 2011
3
Contents
For Your Safety ........................................................ 7
General Safety ............................................................... 7
Radio Frequency (RF) Energy ........................................ 8
General Statement on RF Energy ............................. 8
Specific Absorption Rate (SAR) ................................ 8
Body Worn Operation ............................................... 9
Limiting Exposure to Radio Frequency (RF) Fields . 12
Regulatory Information............................................ 12
Distraction .................................................................... 13
Driving .................................................................... 13
Operating Machinery .............................................. 13
Product Handling ......................................................... 13
General Statement on Handling and Use ................ 13
Small Children ........................................................ 14
Demagnetization ..................................................... 15
Electrostatic Discharge (ESD) ................................. 15
Antenna .................................................................. 15
Normal Use Position ............................................... 16
Air Bags .................................................................. 16
Seizures/ Blackouts ................................................ 17
Repetitive Motion Injuries ........................................ 17
Emergency Calls .................................................... 17
Loud Noise ............................................................. 17
Phone Heating ........................................................ 18
Electrical Safety ........................................................... 18
4
Accessories ............................................................ 18
Connection to a Car ............................................... 18
Faulty and Damaged Products ............................... 18
Interference ................................................................. 19
General Statement on Interface.............................. 19
Pacemakers ........................................................... 19
Hearing Aids .......................................................... 19
Medical Devices ..................................................... 19
Hospitals ................................................................ 20
Aircraft ................................................................... 20
Interference in Cars ................................................ 20
Explosive Environments .............................................. 21
Petrol Stations and Explosive Atmospheres ........... 21
Blasting Caps and Areas ........................................ 21
Phone Overview ..................................................... 22
Keys Functions ...................................................... 24
Battery and microSD Card .................................... 25
Installing the microSD Card and Battery ................. 25
Removing the Battery and microSD Card ............... 27
Charging the Battery .............................................. 27
Brief Introduction ................................................... 28
Switching Your Phone On/Off ................................. 28
Switching to Sleep Mode ........................................ 28
Waking up Your Phone .......................................... 28
Home Screen ......................................................... 29
5
Status and Notification Icons................................... 29
Applications and Settings Preview ...................... 32
Entering Text .......................................................... 37
Basic Function ....................................................... 38
Making a Call ............................................................... 38
Calling from the Dialer ............................................ 38
Calling from Your Contacts ..................................... 38
Calling from Your Call History ................................. 39
Calling from a Text Message .................................. 39
Using Speed Dial .................................................... 39
Import Contacts from the microSD Card or Export to the
Card ............................................................................. 40
Sharing Contacts Information ....................................... 40
Sending a Message ..................................................... 41
Taking Pictures with Your Camera ............................... 41
Adjusting Camera Settings ..................................... 42
Shooting Video with Your Camcorder ........................... 42
Adjusting Your Video Settings ................................. 42
Listening to Your FM Radio .......................................... 43
Playing Your Music ...................................................... 44
Playing Your Videos ..................................................... 45
Opening Your Gallery ................................................... 46
Enabling GPS .............................................................. 47
Signing in to Your Google™ Account ........................... 48
Setting a Screen Unlock Pattern .................................. 48

7
For Your Safety
General Safety
Don‟t make or receive
handheld calls while
driving. And never text
while driving.
Don‟t use at petrol
stations.
Keep your phone at
least 15mm away from
your ear or body while
making calls.
Your phone may produce
a bright or flashing light.
Small parts may cause
a choking.
Don‟t dispose of your
phone in fire.
Your phone can
produce a loud sound.
Avoid contact with
anything magnetic.
Keep away from
pacemakers and other
electronic medical
devices.
Avoid extreme
temperatures.
Switch off when asked
to in hospitals and
medical facilities.
Avoid contact with
liquids. Keep your phone
dry.
Switch off when told to
in aircrafts and airports.
Don‟t take your phone
apart.

8
Switch off when near
explosive materials or
liquids.
Only use approved
accessories.
Don‟t rely on your phone for emergency communications.
Radio Frequency (RF) Energy
General Statement on RF Energy
Your phone contains a transmitter and a receiver. When it is
ON, it receives and transmits RF energy. When you
communicate with your phone, the system handling your call
controls the power level at which your phone transmits.
Specific Absorption Rate (SAR)
Your mobile device is a radio transmitter and receiver. It is
designed not to exceed the limits for exposure to radio waves
recommended by international guidelines. These guidelines
were developed by the independent scientific organization
ICNIRP and include safety margins designed to assure the
protection of all persons, regardless of age and health.
The guidelines use a unit of measurement known as Specific
Absorption Rate, or SAR. The SAR limit for mobile devices is
1.6 W/kg and the highest SAR value for this device when
tested at the ear was 1.03 W/kg*. As mobile devices offer a
9
range of functions, they can be used in other positions, such
as on the body as described in this user guide**.
As SAR is measured utilizing the device's highest
transmitting power, the actual SAR of this device while
operating is typically below that indicated above. This is
due to automatic changes to the power level of the device to
ensure it only uses the minimum power required to
communicate with the network.
** Please see body worn operation.
Body Worn Operation
Important safety information regarding radio frequency
radiation (RF) exposure:
To ensure compliance with RF exposure guidelines the
phone must be used with a minimum of 15 mm separation
from the body.
Failure to observe these instructions could result in your RF
exposure exceeding the relevant guideline limits.
FCC Compliance
This device complies with part 15 of the
FCC Rules. Operation is subject to the
following two conditions: (1) This device
10
may not cause harmful interference, and
(2) this device must accept any
interference received, including
interference that may cause undesired
operation.
Caution: Changes or modifications not
expressly approved by the manufacturer
could void the user’s authority to operate
the equipment.
NOTE: This equipment has been tested
and found to comply with the limits for a
Class B digital device, pursuant to part 15
of the FCC Rules. These limits are
designed to provide reasonable
protection against harmful interference
in a residential installation. This
equipment generates, uses and can
radiate radio frequency energy and, if not
11
installed and used in accordance with the
instructions, may cause harmful
interference to radio communications.
However, there is no guarantee that
interference will not occur in a particular
installation. If this equipment does cause
harmful interference to radio or television
reception, which can be determined by
turning the equipment off and on, the
user is encouraged to try to correct the
interference by one or more of the
following measures:
—Reorient or relocate the receiving
antenna.
—Increase the separation between the
equipment and receiver.
—Connect the equipment into an outlet
on a circuit different from that to which
the receiver is connected.
—Consult the dealer or an experienced
12
radio/ TV technician for help.
Limiting Exposure to Radio Frequency (RF)
Fields
For individuals concerned about limiting their exposure to RF
fields, the World Health Organization (WHO) provides the
following advice:
Precautionary measures: Present scientific information
does not indicate the need for any special precautions for
the use of mobile phones. If individuals are concerned, they
might choose to limit their own or their children‟s RF
exposure by limiting the length of calls, or using „hands-free‟
devices to keep mobile phones away from the head and
body.
Further information on this subject can be obtained from the
WHO home page http://www.who.int/peh-emf (WHO Fact
sheet 193: June 2000).
Regulatory Information
The following approvals and notices apply in specific regions
as noted.
Please find the section Declaration of RoHS Compliance
and CE DOC in the end of this manual.
13
Distraction
Driving
Full attention must be given to driving at all times in order to
reduce the risk of an accident. Using a phone while driving
(even with a hands free kit) can cause distraction and lead to
an accident. You must comply with local laws and
regulations restricting the use of wireless devices while
driving.
Operating Machinery
Full attention must be given to operating the machinery in
order to reduce the risk of an accident.
Product Handling
General Statement on Handling and Use
You alone are responsible for how you use your phone and
any consequences of its use.
You must always switch off your phone wherever the use of a
phone is prohibited. Use of your phone is subject to safety
measures designed to protect users and their environment.
Always treat your phone and its accessories with care
and keep it in a clean and dust-free place.
Do not expose your phone or its accessories to open
14
flames or lit tobacco products.
Do not expose your phone or its accessories to liquid,
moisture or high humidity.
Do not drop, throw or try to bend your phone or its
accessories.
Do not use harsh chemicals, cleaning solvents, or
aerosols to clean the device or its accessories.
Do not paint your phone or its accessories.
Do not attempt to disassemble your phone or its
accessories, only authorized personnel can do so.
Do not expose your phone or its accessories to extreme
temperatures, minimum - [5] and maximum + [50]
degrees Celsius.
Please check local regulations for disposal of electronic
products.
Do not carry your phone in your back pocket as it could
break when you sit down.
Small Children
Do not leave your phone and its accessories within the reach
of small children or allow them to play with it.
They could hurt themselves or others, or could accidentally
damage the phone.
Your phone contains small parts with sharp edges that may
cause an injury or may become detached and create a

15
choking hazard.
Demagnetization
To avoid the risk of demagnetization, do not allow electronic
devices or magnetic media close to your phone for a long
time.
Electrostatic Discharge (ESD)
Do not touch the SIM card‟s metal connectors.
Antenna
Do not touch the antenna unnecessarily.
GPS antenna
Bluetooth antenna
Antenna

16
Normal Use Position
When placing or receiving a phone call, hold your phone to
your ear, with the bottom towards your mouth.
Air Bags
Do not place a phone in the area over an air bag or in the air
bag deployment area.
Antenna
Antenna
17
Store the phone safely before driving your vehicle.
Seizures/ Blackouts
The phone can produce a bright or flashing light.
Repetitive Motion Injuries
To minimize the risk of RSI when texting or playing
games with your phone:
Do not grip the phone too tightly.
Press the buttons lightly.
Use the special features which are designed to minimize
the times of pressing buttons, such as Message
Templates and Predictive Text.
Take lots of breaks to stretch and relax.
Emergency Calls
This phone, like any wireless phone, operates using radio
signals, which cannot guarantee connection in all conditions.
Therefore, you must never rely solely on any wireless phone
for emergency communications.
Loud Noise
This phone is capable of producing loud noises, which may
damage your hearing. Turn down the volume before using
headphones, Bluetooth stereo headsets or other audio
devices.
18
Phone Heating
Your phone may become warm during charging and during
normal use.
Electrical Safety
Accessories
Use only approved accessories.
Do not connect with incompatible products or accessories.
Take care not to touch or allow metal objects, such as
coins or key rings, to contact or short-circuit in the battery
terminals.
Connection to a Car
Seek professional advice when connecting a phone interface
to the vehicle electrical system.
Faulty and Damaged Products
Do not attempt to disassemble the phone or its accessory.
Only qualified personnel can service or repair the phone or
its accessory.
If your phone or its accessory has been submerged in water,
punctured, or subjected to a severe fall, do not use it until
you have taken it to be checked at an authorized service
centre.
19
Interference
General Statement on Interface
Care must be taken when using the phone in close
proximity to personal medical devices, such as pacemakers
and hearing aids.
Pacemakers
Pacemaker manufacturers recommend that a minimum
separation of 15 cm be maintained between a mobile phone
and a pacemaker to avoid potential interference with the
pacemaker. To achieve this, use the phone on the opposite
ear to your pacemaker and do not carry it in a breast pocket.
Hearing Aids
People with hearing aids or other cochlear implants may
experience interfering noises when using wireless devices or
when one is nearby.
The level of interference will depend on the type of hearing
device and the distance from the interference source,
increasing the separation between them may reduce the
interference. You may also consult your hearing aid
manufacturer to discuss alternatives.
Medical Devices
Please consult your doctor and the device manufacturer
20
to determine if operation of your phone may interfere with
the operation of your medical device.
Hospitals
Switch off your wireless device when requested to do so in
hospitals, clinics or health care facilities. These requests are
designed to prevent possible interference with sensitive
medical equipment.
Aircraft
Switch off your wireless device whenever you are instructed
to do so by airport or airline staff.
Consult the airline staff about the use of wireless devices on
board the aircraft. If your device offers a „flight mode‟, this
must be enabled prior to boarding an aircraft.
Interference in Cars
Please note that because of possible interference to
electronic equipment, some vehicle manufacturers forbid
the use of mobile phones in their vehicles unless a
hands-free kit with an external antenna is included in the
installation.
21
Explosive Environments
Petrol Stations and Explosive Atmospheres
In locations with potentially explosive atmospheres, obey all
posted signs to turn off wireless devices such as your phone
or other radio equipment.
Areas with potentially explosive atmospheres include fuelling
areas, below decks on boats, fuel or chemical transfer or
storage facilities, areas where the air contains chemicals or
particles, such as grain, dust, or metal powders.
Blasting Caps and Areas
Power off your mobile phone or wireless device when in a
blasting area or in areas posted power off “two-way radios”
or “electronic devices” to avoid interfering with blasting
operations.

22
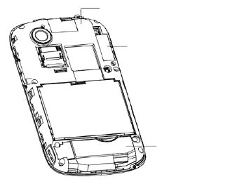
Phone Overview
Volume +
Volume -
Headset Jack
Power Key
Touch
Screen
Earpiece
Back Key
Menu Key
Home Key
Speaker

23
Charger/
USB Jack
Camera
Back
Cover
Thumb
catch

24
Keys Functions
Key
Function
Power Key
Hold to select phone modes: Silent,
Airplane or Power off.
Press to switch your phone to Sleep
mode.
Press to wake up your phone.
Home Key
Press to return to the Home Screen from
any application or screen.
Hold to see recently used applications.
Menu Key
Press to get the options for the current
screen.
Back Key
Press to go to the previous screen.
Volume Keys
Press Volume + to turn the volume up.
Press Volume - to turn the volume down.

25
Battery and microSD Card
Installing the microSD Card and Battery
Switch off your phone before installing or replacing the battery,
or memory card.
1. Remove the back cover.
2. Open the microSD card holder, hold your microSD card
by the cut corner end and slide it in.

26
microSD logo is a trade mark of the SD Card
Association.
3. Insert the battery by aligning the gold contacts on the
battery with the gold contacts in the battery compartment.
Gently push down on the battery until it clicks into place.
4. Press the cover gently back into place until you hear a
click.

27
Removing the Battery and microSD Card
1. Make sure that your mobile phone is off.
2. Remove the back cover.
3. Lift the battery up and out.
4. Open the microSD card holder. Slide the microSD card
down gently and remove it.
Charging the Battery
When you first get your new phone you‟ll need to charge the
battery like this…
1. Connect the adapter to the charger jack. Ensure that the
adapter is inserted with the correct orientation. Do not
force the connector into the charger jack.
2. Connect the charger to a standard AC wall outlet.
3. Disconnect the charger when the battery is fully charged.

28
Brief Introduction
Switching Your Phone On/Off
Make sure the battery is charged.
Hold Power Key to switch on your phone.
To switch it off, hold Power Key to get the phone options.
Select Power off, and then tap OK.
Switching to Sleep Mode
To save battery power, Sleep Mode suspends your device to
a low-power-consumption state while the display is off. Your
device also goes into Sleep Mode by itself when the display
is automatically turned off after a certain period of time, which
you can set in Settings > Display > Screen timeout.
Press Power Key to switch to Sleep Mode.
Waking up Your Phone
1. Press Power Key to activate your screen display.
2. Drag the icon to the right.
NOTE: If you have set an unlock pattern, PIN or password for
your phone, you‟ll need to draw the pattern or enter the
PIN/password to unlock your screen.

29
Home Screen
You choose what is shown on your Home Screen. Set your
own wallpaper, add the widgets or application shortcuts you
need, or remove them as you like.
Status and Notification Icons
Your phone will tell you exactly what‟s going on by showing
you simple icons. Here‟s what they mean.
Status & Notifications
Wallpaper
You can add or
remove items here.
Dots
Tap to enter the
extended screen.
Tap to open the dialer.
Applications
Tap to open the
main menu.
Tap to open the
web browser.

30
CDMA信号强度
Phone speaker off
3G in use
Phone microphone off
Error or warning
GPS on
USB connected
Recording phone call
Battery flat
microSD card removed
Battery very low
Preparing microSD card
Battery low
Connected to a Wi-Fi network
Battery partially
drained
Alarm set
Battery full
Wired microphone headset
Battery charging
Bluetooth on

31
Syncing
Speaker on
Vibrate mode
Problem with SMS/MMS delivery
Airplane mode
New instant message
New mail
Upcoming event
New SMS/MMS/
voicemail
Song is playing
New Gmail message
Downloading data
Missed call
Content downloaded and
installed successfully
Call in progress
Sending data
Call on hold
USB tethering is on
Call forwarding
Portable Wi-Fi hotspot is on
More (not displayed)
notifications
New Wi-Fi network detected

32
Applications and Settings Preview
Programs Preview
Your phone has lots of functions. Tap to see the
following…
Applications
Description
Alarm
Set alarms.
Browser
Calculator
Do basic calculation.
Calendar
Schedule appointments and events.
Call log
Show the history call information.
Camcorder
Shoot video clips.
Camera
Take some great pictures.
Contacts
Manage your contacts information.
Dialer
Dial a number.
Docs To Go
Enables you to view your
documents.
Downloads
Enables you to view your downloads
files.
Email
Send and receive Emails.
Filer
Manage files on your microSD card.

33
Applications
Description
FMRadio
Search, listen to and save radio
channels.
Gallery
Manage multimedia files.
Gmail
Access your Google Mail account
and check your Emails on your
mobile phone.
Google Search
Search for information online or on your
phone.
Latitude
See your friends‟ locations on the
map and share yours with them.
Maps
Track your current location, view
real-time traffic, and receive detailed
directions to your destination.
Market
Access useful applications and fun
games which you can download and
install on your phone.
Messages
Open the Messages screen, where
you can send and receive SMS and
MMS messages.
Music
Browse your audio files and listen to
them in Music player.
Navigation
Use Google Maps Navigation which
is an internet-connected GPS
navigation system.

34
Applications
Description
News&Weather
Check out the latest news and
weather forecast.
Note pad
Create text notes.
Places
Use the online map to search for the
places such as restaurants, hotels,
bars, etc.
Settings
Adjust phone settings.
Sound Recorder
Capture audio clips.
Stopwatch
Measure exactly how long it takes to
do something.
Talk
Use Google Talk to send and
receive instant messages.
Task Manager
Manage all the programs running on
your phone.
TouchPal Input
Set TouchPal input.
Videos
Browse and watch video files.
Voice Search
Use your voice to search, control, and
communicate.
YouTube
Watch YouTube videos.
Checking Your Settings
To change or view your phone‟s settings, tap Home Key >
> Settings.

35
Or from the Home Screen tap Menu Key > Settings.
Wireless & networks
Configure and manage wireless
connections, such as Wi-Fi,
Bluetooth®, mobile networks, and
Virtual Private Networks. You can
also select Airplane mode from
here.
Call settings
Set up voicemail, speed dial, call
barring, voice privacy and
international call settings etc.
Sound
Set sound settings, such as
ringtones and notifications.
Display
Display settings, such as screen
brightness.
Location & security
Create you screen unlock pattern, or
manage the phone‟s credential
storage. You can also select the
sources to use when determining
locations from My Location.
Applications
Manage your applications and
installation of new ones.
Accounts & sync
Manage your accounts and
configure synchronization settings.

36
Privacy
Configure privacy settings, such as
back-up settings, and personal data.
Storage
Check available memory on the
external card and the internal phone
storage.
Language &
keyboard
Set operating system language and
region, plus text input options.
Voice input & output
If you have installed a text-to-speech
(voice data) application, you can
choose the settings.
Accessibility
Choose accessibility options.
Date & time
Set the date, time, time zone, and
date/time format.
About phone
View phone status, battery use, and
legal information, etc.
37
Entering Text
When you enter a field that needs text or numbers, a
keyboard automatically appears on the screen. Hold the input
box and select Input method from the pop-up menu to
change input method.

38
Basic Function
Making a Call
There are many ways to make a call with your phone. And
they‟re all easy to do.
Calling from the Dialer
1. Tap Home Key > > Dialer or on the Home
Screen.
2. Enter the phone number with the on-screen keypad.
Tap to delete wrong digits.
3. Tap
TIPS: To make international calls, hold to enter the
“+”.
Calling from Your Contacts
1. Tap Home Key > > Contacts.
2. Slide your finger to scroll the contacts list and tap the
contact you want to call.
You can search for a contact by tapping and entering
the contact name.
3. Tap .

39
Calling from Your Call History
1. Tap Home Key > > Call log.
2. Tap next to the number you want to call.
Calling from a Text Message
If a text message contains a phone number that you want to
call, you can make the call while viewing the text message.
1. Tap Home Key > > Messages.
2. Tap the conversation and then the message that contains
the phone number you need.
3. Tap the number.
4. Tap .
Using Speed Dial
Press and hold 1 - 9 key from the dialer to call the
corresponding speed dial number.
The number key 1 is reserved to speed dial your voicemail.
Assigning a speed dial key:
1. Tap Menu Key > Settings > Call settings > Speed dial
from the Home Screen.
2. Tap a speed dial key.
3. Enter a phone number or tap to select one from the
contact list.
4. Tap OK.

40
Import Contacts from the microSD
Card or Export to the Card
You can import or export contacts from/to your microSD card.
This is especially useful when you need to transfer contacts
between different devices.
1. Tap /Menu Key > Import/Export from the Contacts
Screen.
2. Choose to import or export contacts.
For export, the phone will prompt you with the name of
the vCard file. Tap OK to create the file in the microSD
card.
For import, you should have vCard files saved in the
microSD card. If there‟s more than one vCard file, you
need to select the vCard file and tap OK.
Sharing Contacts Information
1. Tap /Menu Key > Import/Export > Share visible
contacts from the Contacts Screen. Your phone will
export all information of the contacts in the Contact
Screen to a temporary vCard file.
2. Choose how you want to send the vCard file. You can
either send it via Bluetooth to another device, or as an
attachment in an Email,Gmail or a message.

41
Sending a Message
1. Tap Home Key > > Messages.
2. Tap New message.
3. Enter the recipient‟s number or name. As you type,
matching contacts will appear. Tap a suggested contact
to add as a recipient.
4. Tap Type to compose and type your message.
Tap Menu Key to insert Quick Text, signature, smiley,
or contact.
If you are sending an MMS, tap Menu Key > Attach to
attach pictures, videos, audio, or slideshows.
5. Tap Send to send your text.
NOTE: Add an attachment to text message and it will be
converted into an MMS automatically. Likewise if you remove
all attachments from an MMS, it‟ll automatically become a
text message.
Taking Pictures with Your Camera
Your phone has a 2-megapixel camera. Open it by tapping
Home Key > > Camera.
Tap to take a shot. To view it, just tap the picture in the
right corner of the screen. Or select Menu Key > Gallery to
view all your pictures.

42
Adjusting Camera Settings
From the Camera Screen tap to set up exposure, picture
size/quality, color effect, ISO, anti-banding, saturation, contrast,
sharpness, or to restore camera settings.
Tap to choose whether to save photo‟s geographic location.
Tap to change white balance.
Tap to zoom in or out.
TIP: To change quickly from camera to camcorder or vice
versa, use the switch icon. Use the
bar to adjust the brightness.
Shooting Video with Your Camcorder
Open the camcorder by tapping Home Key > >
Camcorder. Then select to start shooting, and to
stop. Select the picture in the right corner of the screen to
view the video you‟ve just shot. Or tap Menu Key > Gallery
to see all your video clips.
Adjusting Your Video Settings
From the Camcorder Screen, tap to adjust color effect,
video quality, video/audio encoder, video duration, or to restore
camera settings.
Tap to change white balance setting.
Tap to change video quality, video/audio encoder, and video
duration together. And the icon will change to High, Low, MMS

43
or YouTube.
Listening to Your FM Radio
With the FM Radio, you can search for radio channels, listen
to them, and save them on your phone. Note that the quality
of the radio broadcast depends on the coverage of the radio
station in your area. The wired headset that comes with your
phone works as an antenna, so always connect the headset
when using the radio. When you receive an incoming call
while listening to the radio, the radio will be turned off.
To tune in, plug your headset into your phone. Tap Home
Key > > FMRadio. This icon will pop up in the status
bar.
Tap or to scan for available FM channels. If you
need to fine tune the radio‟s reception, tap Menu Key >
Adjust. Tap / change the frequency by +/–0.1 MHz.
Once you get the best reception of a channel, hold the
frequency shown until a red box appears on the screen, and
then drag it into the box to save, as shown in the next
diagram.

44
Press Volume Keys to adjust the volume.
Tap Menu Key > Sleep to set the FM radio sleep timer.
Tap to switch off the radio.
Playing Your Music
You can play digital audio files from your phone‟s memory
card in Music.
6. Tap Home Key > > Music to open the Music Screen.
7. Select Artists/Albums/Songs/Playlists to find the songs
you want to play.
8. Tap an item from the list to start playing.
9. Adjust the volume with Volume Keys.

45
Playing Your Videos
To play a video file, tap Home Key > > Videos. This will
open the Videos Screen and show the video files saved in
your memory card. Tap a video file to start playing. Tap on
the screen and the control bar will appear as below. So now
you can play, pause, fast forward, etc.
Information (artist,
album and title) of
the track. Tap and
hold to search for
related information.
Tap to play the
previous track.
Drag or tap to jump to
any part of the track.
Tap to pause or
resume the track.
Tap to play the
next track.
Tap to choose
repeating mode
(repeat off,
repeat all, repeat
the current track)
Tap to turn on/off
shuffle.
Tap to view the
Now playing list.

46
Opening Your Gallery
Gallery helps you view pictures and play videos. You can
also do some basic editing of your pictures – such as setting
them as wallpaper or contact icons, and sharing with friends.
Tap to rewind.
Hold and drag to jump to
any part of the video.
Tap to pause/resume
video.
Tap to fast
forward.

47
Enabling GPS
1. Tap Home Key > > Navigation.
2. Read the pop-up instructions and tap Accept.
3. Tap OK in the GPS is disabled box to show the GPS
settings.
Note: You can open the GPS settings by tapping Home
Key > Menu Key > Settings >Location & security.
4. Select the Use GPS satellites check box.
Tap to return
to Gallery.
Tap to return to the
previous folder
Show the number of
pictures in the folder
Tap to zoom
Tap to view
pictures in
the folder in
a slideshow

48
Signing in to Your Google™ Account
Signing in to your Google account enables you use various
Google services on the phone, such as Gmail, Calendar, and
Google Talk. The first time you power on the phone, it will
prompt you to set up your Google account.
1. Tap Home Key > > Settings > Accounts & sync.
2. Tap Add account > Google.
3. Follow the on-screen prompt to sign in or create an
account.
Setting a Screen Unlock Pattern
You can protect your phone from unauthorized use by
creating a personal screen unlock pattern.
1. Tap Home Key > > Settings > Location &
security > Set unlock pattern.
2. Read the instructions and tap Next.
3. Watch the sample pattern and tap Next.
4. Draw your own pattern and tap Continue.

49
5. Draw your pattern again and tap Confirm.
PC connection
You can transmit data between PC and your phone.
Your mobile phone supports mass storage. To use this
function, you need to connect your phone to your PC through
a USB cable and mount the microSD card. To turn on USB
storage, flick down the notification panel and tap USB
connected > Turn on USB storage.
Connecting to the Internet
Using Wi-Fi
1. Tap Home Key > > Settings > Wireless &
networks > Wi-Fi settings.
50
The Wi-Fi access points, or “hotspots”, that your phone
has detected are displayed with their names and
security settings.
2. Tap an access point to connect to it.
If security features are implemented, you‟ll need to enter a
password.
Using CDMA/EvDo
To get connected via CDMA/EvDo you need a data plan with
your service provider. For detailed information, please
contact with your provider.