Zebra Technologies ET1N0 ENTERPRISE TABLET User Manual ES400 Quick Start Guide
Zebra Technologies Corporation ENTERPRISE TABLET ES400 Quick Start Guide
Contents
- 1. Users Manual 1
- 2. Users Manual 2
Users Manual 1

ET1
ENTERPRISE TABLET
QUICK START GUIDE
2
Motorola reserves the right to make changes to any product to improve reliability, function, or design.
Motorola does not assume any product liability arising out of, or in connection with, the application or use of any product, circuit, or application described
herein.
No license is granted, either expressly or by implication, estoppel, or otherwise under any patent right or patent, covering or relating to any combination,
system, apparatus, machine, material, method, or process in which Motorola products might be used. An implied license exists only for equipment, circuits,
and subsystems contained in Motorola products.
Warranty
For the complete Motorola hardware product warranty statement, go to: http://www.motorola.com/enterprisemobility/warranty.
User Manuals
For more information about the ET1 Enterprise Tablet refer to the ET1 Enterprise Tablet User Guide and ET1 Enterprise Tablet Integrator Guide. For the
latest version of this guide and all ET1 guides, visit: http://supportcentral.motorola.com.
Service Information
If you have a problem using the equipment, contact your facility’s Technical or Systems Support. If there is a problem with the equipment, they will contact
the Motorola Solutions Global Support Center at: http://www.motorolasolutions.com/support.
Software Support
Motorola wants to ensure that customers have the latest release of entitled software at the time of product purchase. To confirm that your Motorola
Enterprise Mobility device shipped with the latest release of entitled software, visit: www.motorola.com/enterprisemobility/support. Check for the latest
software from Software Downloads > Product Line/Product > Go. If your device does not have the latest entitled software release as of your product
purchase date, please e-mail a request to Motorola at: entitlementservices@motorola.com. You must include the following essential device information with
your request:
• Model number
• Serial number
• Proof of purchase
• Title of the software download you are requesting.
If it is determined by Motorola that your device is entitled to the latest software release, you will receive an e-mail containing a link directing you to a
Motorola Web site to download the appropriate software.

3
Touch Screen
Decode LED
Front-facing
Camera
F
eatures
Menu ButtonProgrammable Buttons
Communication LED
Light Sensor
Microphone Battery Charge LED
Home ButtonBack Button

4
Right Scan/Action
Button
Camera Flash
Headset Jack
Battery
Battery
Release Latch
Left Scan/Action
Button
Rear-facing
Camera USB Host
Expansion Module
Secondary Microphone
F
eatures
HDMI Output Connector
Speaker Speaker
Battery Charging
LED
I/O Connector
Power Button

5
Getting Started
To get started:
•Install the battery
•Charge the battery
•Start the ET1.
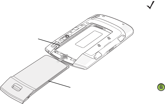
Install the Battery
1. Remove the battery from the packaging.
2. Align the tracks on the sides of the battery with the rails of the
battery compartment.
3. Push the battery in until it snaps into place.
Charge the Battery
Before using the ET1, charge the battery using one of the
following accessories:
•Single-slot USB Docking cradle
•Four-slot Charge Only Docking cradle
•USB/Charge cable and power supply.
1. Ensure that the accessory is connected to power. See the ET1
Enterprise Tablet User Guide for more information.
2. Place the ET1 into a cradle or connect to the USB/Charge
cable.
The Battery Charge LEDs blinks yellow indicating that the
battery is charging. When the battery is fully charged
(approximately six hours) the LEDs becomes solid green.
Startup
Press the Power button to turn on the ET1. As the ET1 starts the
splash screen displays and then the Home screen appears.
Slide up to unlock the screen.
Tracks
Rails
NOTE The battery can be charged separately using the Four-slot
Battery Charger.

6
Launch Applications
To launch an application:
1. Touch the Launcher icon. The Launcher window displays.
2. Touch an application icon to launch the application.
Configure the ET1
To configure ET1 settings, touch > Settings. Refer to the ET1
Enterprise Tablet User Guide for information on configuring the
ET1.
Power Button
Use the Power button to place the ET1 in suspend mode, battery
swap mode, to reset the ET1 or to power off the ET1.
Suspend Mode
Press and release the Power button to place the ET1 in suspend
mode. In Suspend Mode the ET1 turns off the display and goes
into a low power state to conserve battery power.
Press and release the Power button to wake the ET1 and then
slide up to unlock the screen.
Battery Swap Mode
Before replacing the battery, place the ET1 in Battery Swap
Mode. Press and hold the Power button until the Device options
dialog box appears then touch Battery swap.
The Decode LED lights red. When the LED turns off, it is safe to
remove the battery.
Reset
Reset the ET1 if applications stop responding. Press and hold
the Power button until the Device options dialog box appears
then touch Reset.
Power Off
To power off the ET1, press and hold the Power button until the
Device options dialog box appears then touch Power off. When
the Power off dialog box appears, touch OK.
Launcher

7
Hardware Reset
If the ET1 stop responding perform a hardware reset.
Simultaneously press the Left Scan/Action, Right Scan/Action
and Power buttons.
Lock the Screen
Lock the screen to protect access to data. When locked, a
Pattern, PIN or Password is required to unlock the ET1. Press
the Power button to lock the screen. The ET1 also locks after a
pre-defined time-out.
Press and release the Power button to wake the ET1.
The Lock screen displays. Slide up to unlock the screen. If
the Pattern screen unlock feature is enabled, the Pattern screen
appears instead of the Lock screen.
If the PIN or Password screen unlock feature is enabled, enter
the PIN or password after unlocking the screen.
Refer to the ET1 Enterprise Tablet User Guide for setup
instruction for locking the screen. If the Multi-user feature is
enabled, contact the system administrator for login information.
Change Volume
Press P1 to decrease the volume. Press P2 to increase the
volume. Note that these buttons are programmable and can be
changed by the user or application.
Scan a Bar Code
Use the rear-facing camera to scan bar codes. Ensure that
DataWedge is enabled and the cursor is in a text field.
1. Point the back of the ET1 at the bar code.
2. Press the Left or Right Scan/Action button. The Decode LED
turns red indicating that a scan is in process.
3. On the screen, align the bar code in the viewing window.
4. The ET1 reads and decodes the bar code data. The Decode
LED turns green indicating a successful decode.
NOTE The ET1 offers additional data capture options. Refer to
the ET1 Enterprise Tablet User Guide for more
information.

8
Photos and Videos
Use the rear-facing camera to take photos and capture video.
To take a photo:
1. Touch Launcher > Camera.
2. Point the ET1 at the subject.
3. On the screen, frame the subject in the window and then
touch the on-screen shutter icon .
4. The ET1 takes the photo.
To capture video:
1. Touch Launcher > Camera and then touch the video
icon .
2. Point the ET1 at the subject.
3. On the screen, frame the subject in the window.
4. Touch the on-screen record button to begin recording.
5. Touch the on-screen stop button to end recording.
View photos and videos using the Gallery application.
NOTE A microSD card is required to save photos and videos.

9
Connect to a Bluetooth Device
To enable Bluetooth:
1. Touch > Settings > Wireless & networks.
2. Touch the Bluetooth checkbox. A green check appears in the
checkbox and the Bluetooth icon appears in the Status bar
indicating that Bluetooth is enabled.
3. Under Bluetooth settings, touch Scan for devices. The ET1
begins searching for discoverable Bluetooth devices in the
area and lists them under Bluetooth devices.
4. Scroll through the list and select a device. The Bluetooth
pairing request dialog box appears.
5. Enter a PIN and touch OK.
6. Touch .
Connect to a WLAN Network
To set up a WLAN network:
1. Touch > Settings > Wireless & networks.
2. Touch the Wi-Fi checkbox to turn on Wi-Fi. A green check
appears in the checkbox and the Wi-Fi icon appears in the
Status Bar indicating that Wi-Fi is enabled.
3. Touch Wi-Fi settings. The ET1 searches for WLANs in the
area and lists them under Wi-Fi networks.
4. Select the desired network.
5. For open networks, touch Connect. For secure networks
enter the required password or other credentials then touch
Connect. See the system administrator for more information.
6. Touch .
NOTE Refer to the ET1 Enterprise Tablet User Guide for
supported Bluetooth profiles.

10
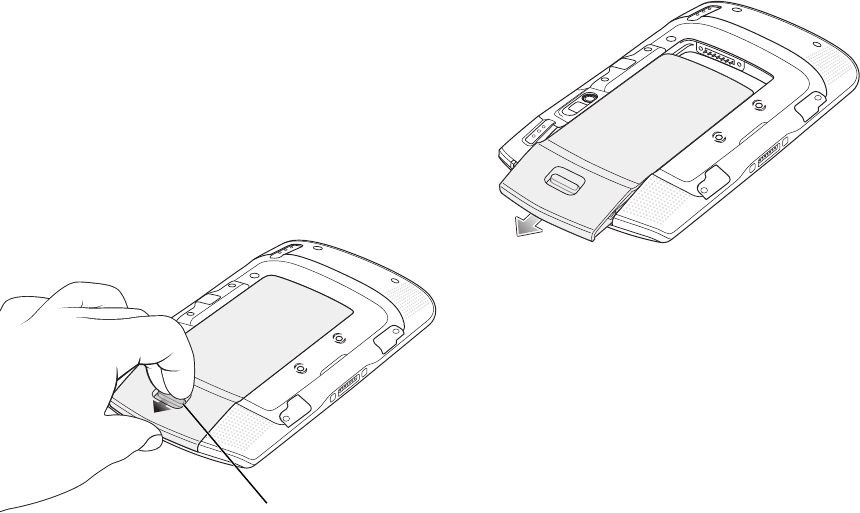
Battery Replacement
To replace the battery:
1. Press and hold the Power button until the Device options
menu displays.
2. Touch Battery Swap. The Scan LED lights red.
3. Wait until the Scan LED turns off.
4. Turn the ET1 over.
5. Press thumb against the side of the ET1 and battery. Using
the index and middle fingers, move the battery release latch
toward thumb and pull the battery out of the battery
compartment.
6. Align the tracks on the side of the replacement battery with the
rails in the battery compartment.
7. Push the battery in until the battery release latch snaps into
place.
8. Press the Power button to turn on the ET1.
Battery Release Latch
11
Accessories
The following accessories are available for the ET1:
•Single-slot Docking Cradle
•Four-slot Charge Only Docking Cradle
•Four-slot Battery Charger
•USB/Charge Cable
•Two-way DC Cable
•Power supplies.

Motorola Solutions, Inc.
1301 E. Algonquin Rd.
Schaumburg, IL 60196-1078, U.S.A.
http://www.motorolasolutions.com
MOTOROLA, MOTO, MOTOROLA SOLUTIONS and the Stylized M Logo are trademarks or registered trademarks of Motorola
Trademark Holdings, LLC and are used under license. All other trademarks are the property of their respective owners.
© 2011 Motorola Solutions, Inc. All Rights Reserved.
72-148508-01 Revision A - November 2011