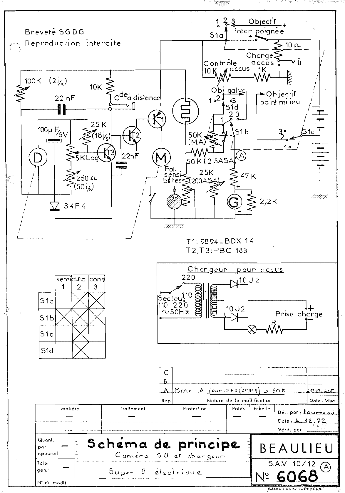
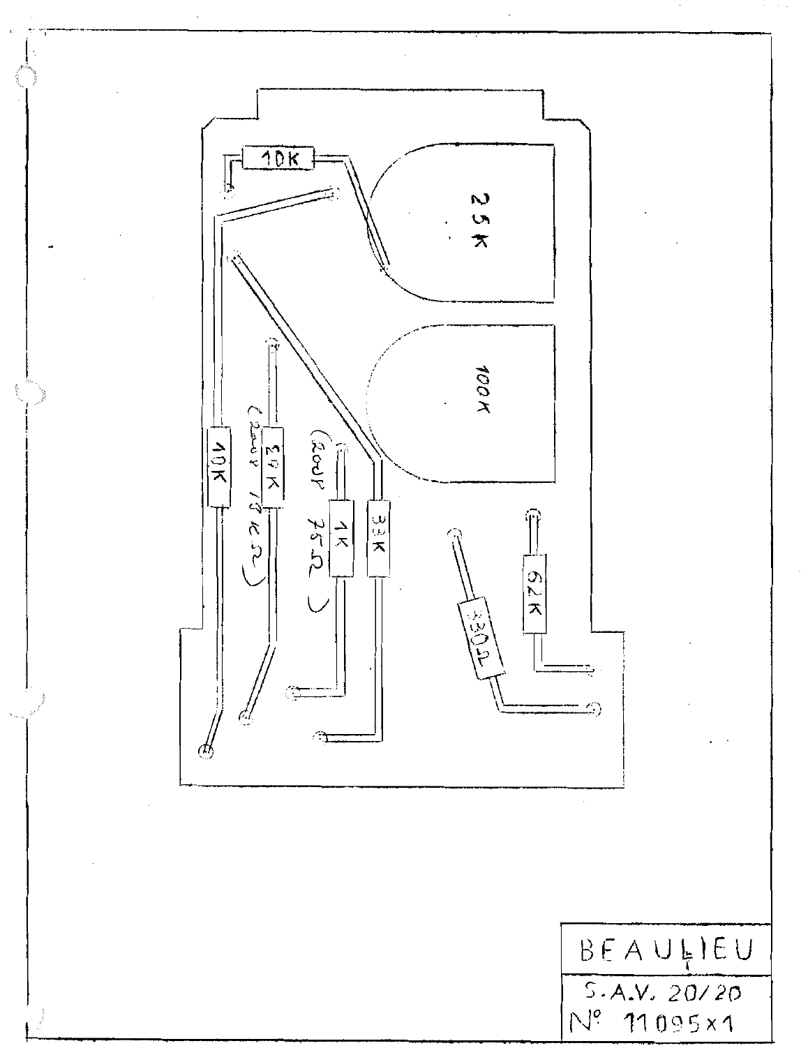
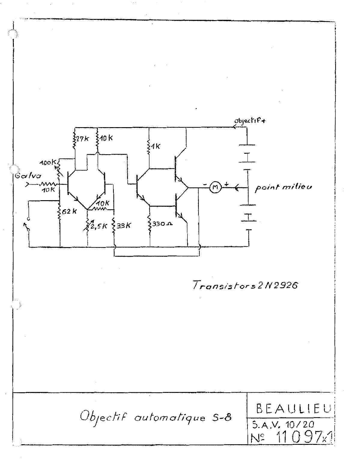
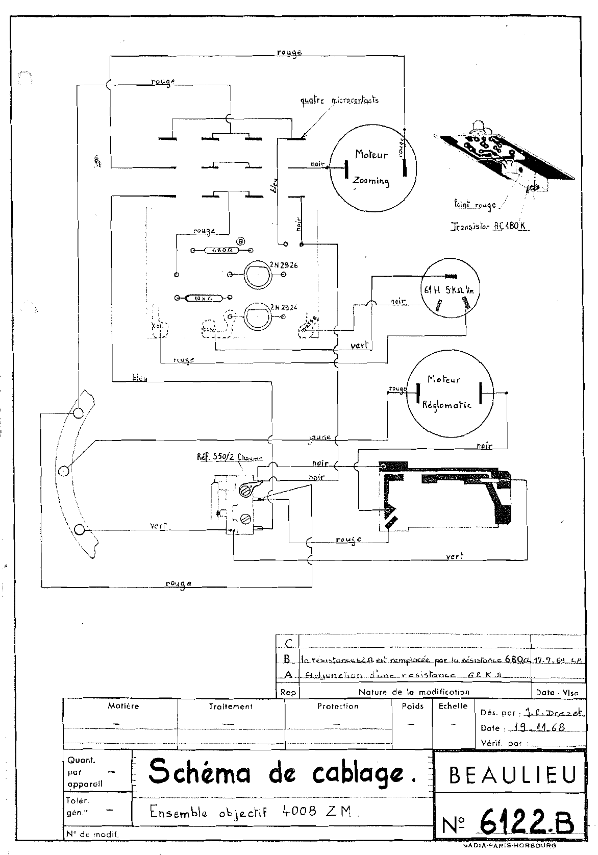
Beaulieu 4008 ZM Service Manual Repair And Disassembly
User Manual: beaulieu 4008 ZM - Service Manual Free User Guide for Beaulieu Camcorder, Manual
Open the PDF directly: View PDF
.
Page Count: 133 [warning: Documents this large are best viewed by clicking the View PDF Link!]




































































































































