ifm electronic DTMHFGB RFID read/write head User Manual UserManual FR
ifm electronic gmbh RFID read/write head UserManual FR
Contents
- 1. UserManual_EN.pdf
- 2. UserManual_FR.pdf
UserManual_FR.pdf

Notice de montage
Système d'identification RFID
Tête de lecture /écriture
DTM424
DTM425
DTM426
DTM427
80231611 / 00 09 / 2015
FR
2
Contenu
1 Remarques préliminaires �������������������������������������������������������������������������������������4
1�1 Symboles utilisés ������������������������������������������������������������������������������������������ 4
1�2 Avertissements utilisés ���������������������������������������������������������������������������������4
2 Consignes de sécurité �����������������������������������������������������������������������������������������4
2�1 Remarques générales ����������������������������������������������������������������������������������4
2�2 Equipements radio ����������������������������������������������������������������������������������������5
2�3 Perturbations d'appareils électroniques et médicaux �����������������������������������5
3 Fonctionnement et caractéristiques ���������������������������������������������������������������������5
4 Fonction ���������������������������������������������������������������������������������������������������������������5
4�1 Principe de fonctionnement ��������������������������������������������������������������������������5
4�2 Aperçu ����������������������������������������������������������������������������������������������������������6
5 Montage ���������������������������������������������������������������������������������������������������������������6
5�1 Instructions de montage générales ��������������������������������������������������������������6
5�2 Remarques sur le montage des TAG �����������������������������������������������������������6
5�3 Elimination de parasites �������������������������������������������������������������������������������7
5�4 Conception mécanique ���������������������������������������������������������������������������������7
5�5 Exemple de fixation ��������������������������������������������������������������������������������������7
5�6 Distances de montage ���������������������������������������������������������������������������������� 8
5�6�1 DTM424 / DTM426 �������������������������������������������������������������������������������8
5�6�2 DTM425 / DTM427 �������������������������������������������������������������������������������8
5�7 Positionnement des TAG ������������������������������������������������������������������������������9
5�7�1 DTM424 / DTM426 �������������������������������������������������������������������������������9
5�7�2 DTM425 / DTM427 �������������������������������������������������������������������������������9
6 Raccordement électrique �����������������������������������������������������������������������������������10
6�1 Schéma de branchement ���������������������������������������������������������������������������10
6�2 Interface bus CAN ��������������������������������������������������������������������������������������10
6�3 cULus ���������������������������������������������������������������������������������������������������������10
7 Eléments de visualisation ���������������������������������������������������������������������������������� 11
7�1 DTM424 / DTM425 (CANopen) ������������������������������������������������������������������ 11
7�2 DTM426 / DTM427 (J1939) ������������������������������������������������������������������������ 12
8 Fonctionnement �������������������������������������������������������������������������������������������������13
8�1 Appareils CANopen (DTM424 / DTM425) ��������������������������������������������������13
8�2 Appareils J1939 (DTM426 / DTM427) ��������������������������������������������������������13

3
FR
9 Dimensions ��������������������������������������������������������������������������������������������������������13
10 Données techniques ����������������������������������������������������������������������������������������13
11 Maintenance, réparation et élimination ������������������������������������������������������������14
12 Homologations/normes ������������������������������������������������������������������������������������14
12�1 Homologations radio ���������������������������������������������������������������������������������14
12�1�1 Aperçu ����������������������������������������������������������������������������������������������14
12�1�2 Europe ����������������������������������������������������������������������������������������������14
12�1�3 États-Unis �����������������������������������������������������������������������������������������14
12�1�4 Canada ���������������������������������������������������������������������������������������������15
12�1�5 Taiwan ����������������������������������������������������������������������������������������������15
12�1�6 Australie �������������������������������������������������������������������������������������������� 15
12�1�7 Déclaration de conformité CE �����������������������������������������������������������15

4
1 Remarques préliminaires
Ce document fait partie de l'appareil et fournit des informations sur l'utilisation
correcte du produit�
Ce document s'adresse à des personnes compétentes� Ce sont des personnes
qui sont capables - grâce à leur formation et expérience – d’appréhender des
risques et d'éviter les dangers potentiels qui pourraient être causés par le
fonctionnement ou la maintenance de l'appareil�
Lire ce document avant l'utilisation afin de vous familiariser avec les conditions
d'utilisation, l'installation et le fonctionnement� Garder ce document pendant tout le
temps d'emploi de l'appareil�
1.1 Symboles utilisés
►Action à faire
→Référence
Remarque importante
Le non-respect peut aboutir à des dysfonctionnements ou perturbations�
Information
Remarque supplémentaire
1.2 Avertissements utilisés
INFORMATION IMPORTANTE
Avertissement de dommages matériels�
2 Consignes de sécurité
2.1 Remarques générales
Respecter les indications de cette notice� Le non-respect des consignes, l'emploi
non conforme par rapport aux prescriptions, un montage ou une manipulation
incorrects peuvent porter atteinte à la sécurité des personnes et des installations�
Le montage et le raccordement doivent être conformes aux normes nationales et
internationales en vigueur� La personne qui installe l'appareil en est responsable�
L'appareil doit être monté, raccordé et mis en service par un électricien qualifié
car seul un montage correct garantit le bon fonctionnement de l'appareil et de
l'installation�

5
FR
Mettre l'appareil hors tension en prenant des mesures externes avant toutes
manipulations�
En cas de mauvais fonctionnement de l'appareil ou en cas de doute contacter le
fabricant� Les interventions sur l'appareil peuvent avoir des conséquences graves
pour la sécurité des personnes et des installations� Elles ne sont pas autorisées et
aboutissent à une exclusion de responsabilité et de garantie�
2.2 Equipements radio
En général, les équipements radio ne doivent pas être utilisés à proximité de
stations d'essence, de dépôts de carburants, d'usines chimiques ou de lieux où il
existe des risques de détonation�
►Ne pas transporter et stocker de gaz, liquides inflammables ou de substances
explosives près de l'appareil�
2.3 Perturbations d'appareils électroniques et médicaux
L'emploi de l'appareil peut affecter le bon fonctionnement des appareils
électroniques qui ne sont pas correctement blindés�
►Mettre l'appareil hors tension à proximité des équipements médicaux�
►En cas de problèmes, contacter le fabricant de l'appareil correspondant�
3 Fonctionnement et caractéristiques
L'appareil est utilisé pour lire et/ou écrire sans contact des étiquettes électroniques
RFID (TAG) compatibles avec le système�
La transmission des données s'effectue via le bus CAN�
4 Fonction
4.1 Principe de fonctionnement
Les TAG sont passifs, c'est-à-dire qu'ils fonctionnent sans pile ; l'énergie
nécessaire à leur fonctionnement est fournie par la tête de lecture/écriture�
Le principe physique du transfert de l'énergie repose sur le couplage inductif� La
bobine de l'antenne intégrée dans la tête de lecture/écriture génère un champ
magnétique qui pénètre en partie la bobine de l'antenne du TAG� Une tension est
générée par induction qui alimente le support de données en énergie�

6
4.2 Aperçu
Référence :
Fonction :
Fréquence de travail :
Standard RFID :
Type :
DTM424 / DTM426
Tête de lecture/écriture
13,56 MHz
ISO15693
M18, encastrable
Référence :
Fonction :
Fréquence de travail :
Standard RFID :
Type :
DTM425 / DTM427
Tête de lecture/écriture
13,56 MHz
ISO15693
M18, non encastrable
5 Montage
5.1 Instructions de montage générales
En cas de montage de plusieurs systèmes respecter les distances
minimales entre les têtes de lecture/écriture �
Le montage encastré d'une tête de lecture/écriture dans le métal réduit la
distance de lecture/écriture�
A proximité immédiate des sources d'émission HF, par ex� des
transformateurs de soudure ou des convertisseurs, le fonctionnement des
têtes de lecture/écriture peut être affecté considérablement�
Des informations sur les accessoires de montage sont disponibles sur Internet :
www�ifm�com → Recherche d'une fiche technique → p.ex. DTM425 → Accessoires
5.2 Remarques sur le montage des TAG
Le montage des TAG en/sur métal réduit la distance lecture/écriture�
L'orientation de l'axe de l'antenne de la tête de lecture/écriture doit
correspondre à l'axe de la bobine du TAG�

7
FR
5.3 Elimination de parasites
L'appareil génère un champ électrique modulé d'une fréquence de 13,56 MHz�
Pour éviter de perturber la communication de données, il n'est pas permis de
faire fonctionner d'autres appareils à proximité s'ils génèrent des émissions de
rayonnements HF dans cette bande de fréquences, comme par exemple des
variateurs de fréquence et des alimentations à découpage�
5.4 Conception mécanique
1: Face active (DTM424 / DTM426) 1: Face active (DTM425 / DTM427)
5.5 Exemple de fixation
►Fixer l'appareil avec les écrous fournis (M18)�
encastré (DTM424 / DTM426) non encastré (DTM425 / DTM427)

8
5.6 Distances de montage
5.6.1 DTM424 / DTM426
Mode de fonctionnement Distance latérale (A) Distance frontale (B)
Lecture et écriture ≥ 50 mm ≥ 100 mm
5.6.2 DTM425 / DTM427
Mode de fonctionnement Distance latérale (A) Distance frontale (B)
Lecture et écriture ≥ 65 mm ≥ 180 mm

9
FR
5.7 Positionnement des TAG
Une sélection de TAG est disponible sur Internet :
www�ifm�com → Nos produits → Systèmes d'identification → Tags
5.7.1 DTM424 / DTM426
D
►Orienter le TAG face à l'antenne dans l'axe
Distance tête de lecture / écriture (D)
TAG Boîtier en plastique
E80371 18 mm
Toutes les indications s'appliquent à des process lecture/écriture statiques�
5.7.2 DTM425 / DTM427
D
►Orienter le TAG face à l'antenne dans l'axe
Distance tête de lecture / écriture (D)
TAG Boîtier en plastique
E80371 40 mm
Toutes les indications s'appliquent à des process lecture/écriture statiques�

10
6 Raccordement électrique
INFORMATION IMPORTANTE
L'appareil doit être raccordé par un électricien qualifié�
Appareil de la classe de protection III (CP III)
L'alimentation électrique ne doit s'effectuer que via des circuits TBTP / TBTS�
►Avant le raccordement électrique mettre l'installation hors tension�
6.1 Schéma de branchement
L'appareil est équipé d'un connecteur M12 5 pôles (codage A)� Le raccordement
des broches correspond à CiA DR-303-1�
4
2 1
3
5
Connecteur M12 CAN
1: Blindage CAN
2: + UB
3: CAN GND
4: CAN_H
5: CAN_L
Non raccordé
Tension d'alimentation
GND
Câble bus H
Câble bus L
Une sélection de connecteurs femelles est disponible sur Internet :
www�ifm�com → Recherche d'une fiche technique → p.ex. DTM424 →
Accessoires
6.2 Interface bus CAN
L'appareil dispose d'une interface CAN�
Utiliser des câbles homologués pour le bus CAN� Terminer les câbles avec
des résistances de terminaison (120 Ω). Comme variante utiliser le câble
EVC492 d'ifm avec des résistances de terminaison intégrées�
6.3 cULus
Pour des appareils avec homologation cULus et le champ d'application cULus :
►Alimenter l'appareil via une source isolée galvaniquement disposant au
secondaire d'un fusible avec homologation UL et le courant nominal max�
suivant :
a) 5 A pour des tensions de 0���20 V rms (0���28,3 V p )
b) 100/V p pour des tensions de 20���30 V rms (28,3���42,4 V p )

11
FR
7 Eléments de visualisation
7.1 DTM424 / DTM425 (CANopen)
LED LED
DTM424 (encastré) DTM425 (non encastré)
Etat de
fonctionnement
LED rouge LED verte LED jaune
Preoperational non activé allumée en
permanence
non activé
Preoperational et
TAG reconnus
non activé clignote en
alternance avec
LED jaune
(toutes les 1,6 s)
clignote en
alternance avec
LED verte
(toutes les 1,6 s)
Operational non activé clignote
(toutes les 0,4 s)
non activé
Operational et TAG
détecté
non activé non activé Allumée en
permanence
Erreur de configu-
ration
clignote
(toutes les 0,4 s) LED selon l'état de fonctionnement actuel
Défaut dans le réseau
CAN
clignote
(toutes les 1,2 s)
CAN : Bus Off allumée en
permanence
non activé non activé
LSS Service actif clignote non activé non activé
Défaut du matériel
dans l'appareil
détecté
non activé non activé clignote

12
7.2 DTM426 / DTM427 (J1939)
LED LED
DTM426 (encastré) DTM427 (non encastré)
Etat de fonctionnement LED rouge LED verte LED jaune
Operational Eteinte Allumée en
permanence
Eteinte
Désactivé Eteinte Clignote
(chaque seconde)
Eteinte
TAG reconnus Eteinte Eteinte Allumée en
permanence
Lecture / écriture des
données TAG réussie
Eteinte Eteinte Clignote une fois
pendant 1/4 s
Erreur pendant la lecture /
l'écriture des données TAG
Eteinte Eteinte Clignote 4x
brièvement
Erreur pendant la
communication via CAN
Allumée en
permanence
Eteinte Eteinte
Défaut matériel Clignote
(chaque seconde)
Eteinte Eteinte

13
FR
8 Fonctionnement
L'appareil est utilisé dans un réseau CANopen�
Le réseau CAN doit être configuré sans erreur afin d'assurer le bon
fonctionnement de l'appareil�
Suivant la configuration du réseau CAN, les réglages sous (→ 8.1) et
(→ 8.2) sont à adapter�
Vous trouverez des informations sur le fonctionnement dans la notice d'utilisation :
www�ifm�com → Recherche d'une fiche technique → DTM425 → Notices d'utilisation
8.1 Appareils CANopen (DTM424 / DTM425)
L'appareil est fourni avec le Node ID à 32 et le Bitrate de 125 kbit/s�
8.2 Appareils J1939 (DTM426 / DTM427)
L'appareil est fourni avec l'adresse 235 et le Bitrate de 250 kbit/s�
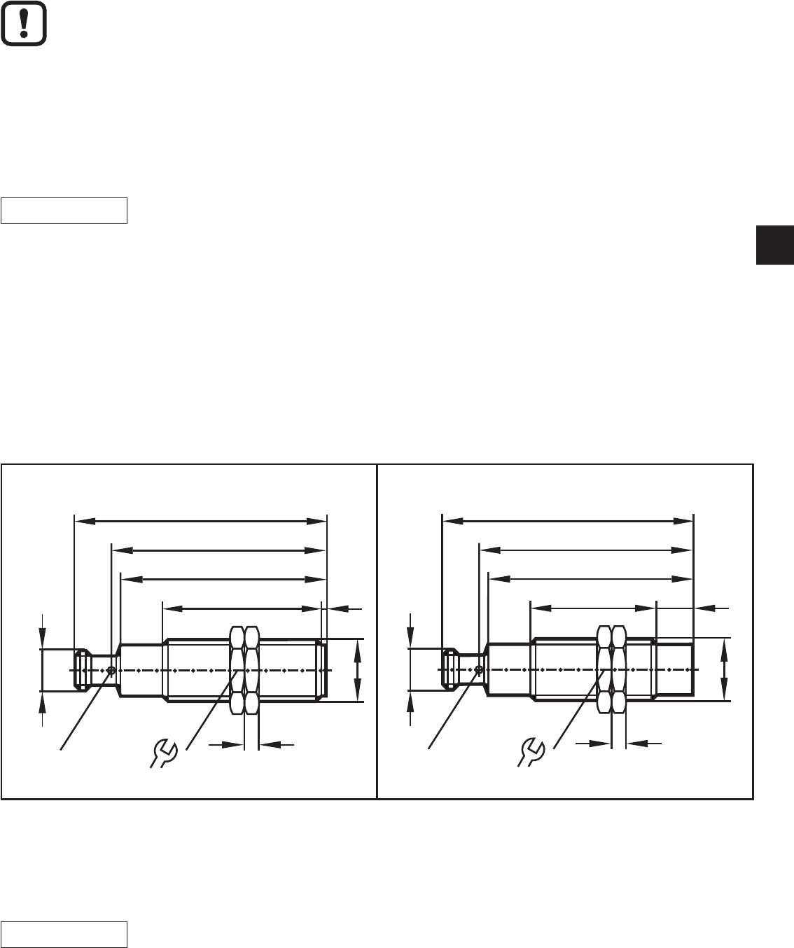
9 Dimensions
Original Scale Drawing (MTD)
EPS Source
Product Scale Drawing
Frame Size: 80 mm x 27 mm
P_MZ_190_0018
DTM424
M12 x1
44
57
70
LED
59
24
4
1
M18x1
M12 x 1
44
57
70
LED
59
24
4
1
M18x1
Original Scale Drawing (MTD)
EPS Source
Product Scale Drawing
Frame Size: 80 mm x 27 mm
P_MZ_190_0017
DTM425
M12 x1
35
57
70
LED
59
10
24
4
M18x1
M12 x 1
35
57
70
LED
59
10
24
4
M18x1
DTM424 / DTM426 DTM425 / DTM427
10 Données techniques
Les fiches techniques sont disponibles sur Internet :
www�ifm�com → Recherche d'une fiche technique → DTM424

14
11 Maintenance, réparation et élimination
►Ne pas ouvrir l’appareil� Aucune opération de maintenance ne peut être
effectuée par l’utilisateur� L'appareil ne doit être réparé que par le fabricant�
►Respecter la réglementation du pays en vigueur pour la destruction écologique
de l‘appareil�
12 Homologations/normes
12.1 Homologations radio
12.1.1 Aperçu
L'aperçu de l'état d'homologation d'un appareil est disponible sur Internet :
www�ifm�com → Recherche d'une fiche technique → p.ex. DTM424 → Plus
d'informations
12.1.2 Europe
utilisation dans tous les états de l'UE
12.1.3 États-Unis
Note FCC :
Cet appareil est conforme à la Partie 15 de la réglementation de la FCC
(Commission Fédérale des Communications)� L'exploitation est autorisée aux
deux conditions suivantes:
1� Cet appareil ne doit pas provoquer d'interférences nuisibles, et
2� cet appareil doit accepter toute interférence reçue, y compris des interférences
susceptibles de provoquer un fonctionnement non désiré�
Tout changement ou modification non expressément approuvé par la partie
responsable des mesures de conformité peut amener l'utilisateur à se voir
interdire l'usage de l'appareil�
NOTE : Cet appareil a été testé et satisfait aux limites imposées aux appareils
numériques de la classe A conformément à la partie 15 de la réglementation
FCC� Ces limites sont destinées à fournir une protection raisonnable contre
toute interférence nuisible dans un environnement commercial� Cet équipement
génère, utilise et peut émettre des radiofréquences� S'il n'est pas installé et utilisé
conformément aux instructions, il peut provoquer des interférences nuisibles aux
radiocommunications� L'utilisation de cet appareil dans une zone résidentielle peut
provoquer des interférences nuisibles que l'utilisateur devra corriger à ses frais�

15
FR
12.1.4 Canada
Note IC :
Cet appareil est conforme aux normes RSS exemptes de licence de la
réglementation d'Industrie Canada�
Son utilisation est sujette aux deux conditions suivantes :
1� cet appareil ne doit pas provoquer d'interférences nuisibles, et
2� ce dispositif doit accepter tout brouillage reçu, y compris un brouillage
susceptible de provoquer un fonctionnement indésirable�
12.1.5 Taiwan
Mise en garde concernant le règlement administratif sur les appareils de
faible puissance émettant des ondes radio
Article 12
En l’absence d’autorisation de la NCC, aucune société, entreprise ou utilisateur
ne doit modifier la fréquence, augmenter la puissance de transmission ou modifier
les caractéristiques d’origine ainsi que les fonctions de tout appareil approuvé à
fréquences radio de faible puissance�
Article 14
Les appareils à fréquences radio de faible puissance ne doivent pas interférer
avec les systèmes de communication aéronautiques et les communications
légales� Au cas où des interférences seraient constatées, l’utilisateur doit cesser
l’utilisation immédiatement jusqu'à ce qu'une amélioration soit apportée et que
l'interférence ne soit plus présente�
Les communications légales mentionnées se rapportant aux communications
respectant les lois et règlements portants sur les télécommunications�
L’équipement électrique de faible puissance émettant des ondes radio doit tolérer
toute interférence reçue d’équipements de communications légales ou d’appareils
à ondes radio ISM�
12.1.6 Australie
Utilisation en Australie :
12.1.7 Déclaration de conformité CE
La déclaration de conformité CE est disponible sur Internet :
www�ifm�com → Recherche d'une fiche technique → DTM424 → Plus d'informations