ACE&EASTMAN Bas 342G Service Manual 342G_SV_cover1_07.08.28__E User
2016-10-15
User Manual: ACE&EASTMAN Bas-342G Service Manual
Open the PDF directly: View PDF
.
Page Count: 152 [warning: Documents this large are best viewed by clicking the View PDF Link!]
- SAFETY INSTRUCTIONS
- 1. SPECIFICATIONS
- 2. FUNCTION SETTINGS
- 2-1. List of special functions when power is turned on
- 2-2. List of advanced functions
- 2-3. Memory switch setting method (Advanced)
- 2-4. List of memory switch settings
- 2-5. Stitch counter checking method
- 2-6. Error history checking method
- 2-7. Input checking method
- 2-8. Output checking method
- 2-9. Software version checking method
- 3. READING / WRITING DATA
- 3-1. Handling data
- 3-2. Notes on handling CF cards (sold separately)
- 3-3. Structure of a CF card folder
- 3-4. Data read/write mode
- 3-5. Reading sewing data from CF cards
- 3-6. Writing sewing data to CF cards
- 3-7. Reading memory switch data from CF cards
- 3-8. Writing memory switch data to CF cards
- 3-9. Reading user program data from CF cards
- 3-10. Writing user program data to CF cards
- 3-11. Updating the control program
- 3-12. Writing error log data to CF card
- 3-13. Reading sewing data from floppy disks
- 3-14. Writing sewing data to floppy disks
- 3-15. Reading extended option output data from a CF card
- 3-16. Writing extended option output data to CF cards
- 3-17. Reading extended option output data from floppy disks
- 4. MECHANICAL DESCRIPTIONS
- 4-1. Needle bar and thread take-up mechanisms
- 4-2. Lower shaft and shuttle race mechanisms
- 4-3. Work clamp lifter mechanism
- 4-4. Intermittent presser foot lifter mechanism
- 4-5. Intermittent presser foot stroke mechanism
- 4-6. Feed mechanism
- 4-7. Thread trimmer mechanism
- 4-8. Tension release mechanism
- 4-9. Thread wiper mechanism
- 5. DISASSEMBLY
- 5-1. Covers
- 5-2. Thread wiper mechanism
- 5-3. Work clamp arm mechanism
- 5-4. Intermittent presser foot lifter mechanism (1)
- 5-5. Needle bar mechanism
- 5-6. Upper shaft mechanism
- 5-7. Lower shaft mechanism
- 5-8. Feed covers
- 5-9. Feed mechanism
- 5-10. Work clamp lifter mechanism
- 5-11. Tension release mechanism
- 5-12. Intermittent presser foot lifter mechanism (2)
- 5-13. Thread trimmer mechanism
- 5-14. Shuttle hook mechanism
- 6. ASSEMBLY
- 6-1. Thread trimmer mechanism (1)
- 6-2. Intermittent presser foot lifter mechanism (1)
- 6-3. Tension release mechanism
- 6-4. Work clamp lifter mechanism
- 6-5. Feed mechanism
- 6-6. Feed covers
- 6-7. Upper shaft mechanism
- 6-8. Needle bar mechanism
- 6-9. Intermittent presser foot lifter mechanism (2)
- 6-10. Lower shaft mechanism
- 6-11. Shuttle hook mechanism
- 6-12. Thread trimmer mechanism (2)
- 6-13. Work clamp arm mechanism
- 6-14. Thread wiper mechanism
- 6-15. Covers
- 7. ADJUSTMENT
- 7-1. Checking the safety switch
- 7-2. Standard thread tension
- 7-3. Adjusting the needle bar height
- 7-4. Adjusting the needle bar lift amount
- 7-5. Adjusting the driver
- 7-6. Adjusting the needle clearance
- 7-7. Adjusting the shuttle race thread guide
- 7-8. Adjusting the rotary hook lubrication amount
- 7-9. Adjusting the position of the movable knife
- 7-10. Replacing the movable and fixed knives
- 7-11. Adjusting the thread wiper
- 7-12. Presser foot installation position
- 7-13. Changing the intermittent stroke
- 7-14. Adjusting the work clamp lift amount
- 7-15. Adjusting the air pressure
- 7-16. Adjusting the thread trimmer cam position
- 7-17. Belt tension adjustment
- 7-18. Adjusting the tension release amount
- 7-19. Adjusting the lower shaft gear backlash
- 7-20. Adjusting the home position
- 7-21. Adjusting the needle up stop home position
- 7-22. Adjusting the needle up stop position
- 8. ELECTRICAL MECHANISM
- 9. TABLE OF ERROR CODES
- 10. TROUBLESHOOTING
- 11. 7-SEGMENT DISPLAY

BAS-342G
Please read this manual before making any adjustments.
DIRECT DRIVE
PROGRAMMABLE ELECTRONIC PATTERN SEWER
SERVICE MANUAL
BAS-342G
This service manual is intended for BAS-342G; be sure to read the BAS-342G instruction manual
before this manual.
Carefully read the “SAFETY INSTRUCTIONS” and the whole of this manual to understand this
product before you start maintenance.
As a result of research and improvements regarding this product, some details of this manual may not
be the same as those for the product you purchased.
If you have any questions regarding this product, please contact a Brother dealer.

BAS-342G i
SAFETY INSTRUCTIONS
[1] Safety indications and their meanings
This service manual and the indications and symbols that are used on the machine itself are provided in order to ensure
safe operation of this machine and to prevent accidents and injury to yourself or other people.
The meanings of these indications and symbols are given below.
Indications
DANGER The instructions which follow this term indicate situations where failure to follow the
instructions will result in death or serious injury.
CAUTION The instructions which follow this term indicate situations where failure to follow the
instructions could cause injury when using the machine or physical damage to equipment
and surroundings.
Symbols
・・・・・・ This symbol ( ) indicates something that you should be careful of. The picture inside the triangle
indicates the nature of the caution that must be taken.
(For example, the symbol at left means “beware of injury”.)
・・・・・・ This symbol ( ) indicates something that you must not do.
・・・・・・ This symbol ( ) indicates something that you must do. The picture inside the circle indicates the
nature of the thing that must be done.
(For example, the symbol at left means “you must make the ground connection”.)

BAS-342G
ii
[2] Notes on safety
DANGER
Wait at least 5 minutes after turning off the power switch and disconnecting the power cord from the wall outlet
before opening the cover of the control box. Touching areas where high voltages are present can result in severe
injury.
CAUTION
Environmental requirements
Use the sewing machine in an area which is free from
sources of strong electrical noise such as electrical
line noise or static electric noise.
Sources of strong electrical noise may cause
problems with correct operation.
Any fluctuations in the power supply voltage should
be within ±10% of the rated voltage for the machine.
Voltage fluctuations which are greater than this may
cause problems with correct operation.
The power supply capacity should be greater than the
requirements for the sewing machine's power
consumption.
Insufficient power supply capacity may cause
problems with correct operation.
The pneumatic delivery capability should be greater
than the requirements for the sewing machine's total
air consumption.
Insufficient pneumatic delivery capability may cause
problems with correct operation.
The ambient temperature should be within the range
of 5°C to 35°C during use.
Temperatures which are lower or higher than this
may cause problems with correct operation.
The relative humidity should be within the range of
45% to 85% during use, and no dew formation should
occur in any devices.
Excessively dry or humid environments and dew
formation may cause problems with correct operation.
In the event of an electrical storm, turn off the power
and disconnect the power cord from the wall outlet.
Lightning may cause problems with correct operation.
Installation
Machine installation should only be carried out by a
qualified technician.
Contact your Brother dealer or a qualified electrician
for any electrical work that may need to be done.
The sewing machine weighs approximately 160 kg.
Use equipment such as a crane or hoist when
installing the machine head and adjusting the height
of the table.
If you try to lift the machine head yourself, it may
cause injuries such as back injury.
Do not connect the power cord until installation is
complete. If the foot switch is depressed by mistake,
the sewing machine might start operating and injury
could result.
Hold the machine head with both hands when tilting it
back or returning it to its original position.
In addition, do not subject the machine head to extra
force while it is tilted back. If this is not observed, the
machine head may become unbalanced and fall
down, and serious injury or damage to the sewing
machine may result.
Be sure to connect the ground. If the ground
connection is not secure, you run a high risk of
receiving a serious electric shock, and problems with
correct operation may also occur.
All cords should be secured at least 25 mm away
from any moving parts. Furthermore, do not
excessively bend the cords or secure them too firmly
with staples, otherwise there is the danger that fire or
electric shocks could occur.
Install the safety covers to the machine head and
motor.
If using a work table which has casters, the casters
should be secured in such a way so that they cannot
move.
Use a table with a height of 84 cm or less. If the table
is too high, the machine head may become
unbalanced and fall down, and serious injury or
damage to the sewing machine may result.
Be sure to wear protective goggles and gloves when
handling the lubricating oil and grease, so that they
do not get into your eyes or onto your skin. If the oil
and grease get into your eyes or onto your skin,
inflammation can result.
Furthermore, do not drink or eat the lubricating oil or
grease. They may cause diarrhea or vomiting.
Keep the oil out of the reach of children.

BAS-342G iii
CAUTION
Sewing
This sewing machine should only be used by
operators who have received the necessary training
in safe use beforehand.
The sewing machine should not be used for any
applications other than sewing.
Be sure to wear protective goggles when using the
machine.
If goggles are not worn, there is the danger that if a
needle breaks, parts of the broken needle may enter
your eyes and injury may result.
Turn off the power switch at the following times. If the
foot switch is depressed by mistake, the sewing
machine might start operating and injury could result.
• When threading the needle
• When replacing the bobbin and needle
• When not using the machine and when leaving the
machine unattended
If using a work table which has casters, the casters
should be secured in such a way so that they cannot
move.
Attach all safety devices before using the sewing
machine. If the machine is used without these
devices attached, injury may result.
Do not touch any of the moving parts or press any
objects against the machine while sewing, as this
may result in personal injury or damage to the
machine.
If an error occurs in machine operation, or if abnormal
noises or smells are noticed, immediately turn off the
power switch. Then contact your nearest Brother
dealer or a qualified technician.
If the machine develops a problem, contact your
nearest Brother dealer or a qualified technician.
Cleaning
Turn off the power switch before carrying out
cleaning. If the foot switch is depressed by mistake,
the sewing machine might start operating and injury
could result.
Be sure to wear protective goggles and gloves when
handling the lubricating oil and grease, so that they
do not get into your eyes or onto your skin. If the oil
and grease get into your eyes or onto your skin,
inflammation can result.
Furthermore, do not drink or eat the lubricating oil or
grease. They may cause diarrhea or vomiting.
Keep the oil out of the reach of children.
Maintenance and inspection
Maintenance and inspection of the sewing machine
should only be carried out by a qualified technician.
Ask your Brother dealer or a qualified electrician to
carry out any maintenance and inspection of the
electrical system.
Turn off the power switch and disconnect the power
cord before carrying out the following operations. If
the foot switch is depressed by mistake, the sewing
machine might start operating and injury could result.
• Inspection, adjustment and maintenance
• Replacing consumable parts such as the rotary
hook
Disconnect the air hoses from the air supply and wait
for the needle on the pressure gauge to drop to “0”
before carrying out inspection, adjustment and repair
of any parts which use the pneumatic equipment.
Hold the machine head with both hands when tilting it
back or returning it to its original position.
In addition, do not subject the machine head to extra
force while it is tilted back. If this is not observed, the
machine head may become unbalanced and fall
down, and serious injury or damage to the sewing
machine may result.
If the power switch and air need to be left on when
carrying out some adjustment, be extremely careful to
observe all safety precautions.
Use only the proper replacement parts as specified
by Brother.
If any safety devices have been removed, be
absolutely sure to re-install them to their original
positions and check that they operate correctly before
using the machine.
Any problems in machine operation which result from
unauthorized modifications to the machine will not be
covered by the warranty.

BAS-342G
iv
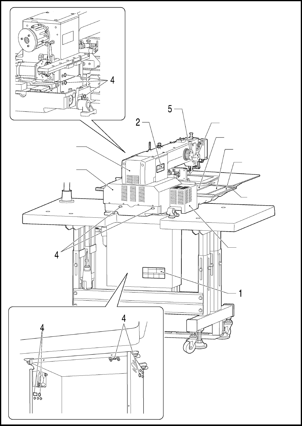
[3] Warning labels
The following warning labels appear on the sewing machine.
Please follow the instructions on the labels at all times when using the machine. If the labels have been removed or are
difficult to read, please contact your nearest Brother dealer.
1 2
3
Be careful to avoid getting hands caught in sliding
parts.
4 Be sure to connect the ground. If the ground
connection is not secure, you run a high risk of
receiving a serious electric shock, and problems
with correct operation may also occur.
5 Direction of operation
Safety devices:
Devices such as eye guard, finger
guard, thread take-up cover, motor
cover, X motor cover, tension
release solenoid cover, inside
cover, outside cover, middle cover,
fixed cover and rear cover
Thread take-up cover
Finger guard
Inside cover R
Outside cover
Fixed cover
Eye guard
Middle cover
Rear cove
r
Rear cover
3956M

BAS-342G v
Tension release
solenoid cover
Motor cover
Rear cove
r
Inside cover L
Outside cover
Fixed cover
Middle cove
r
3957M
X motor cover

BAS-342G
CONTENTS
1. SPECIFICATIONS ................................. 1
2. FUNCTION SETTINGS.......................... 2
2-1. List of special functions when power is
turned on ................................................................2
2-2. List of advanced functions.....................................3
2-3. Memory switch setting method (Advanced).........4
2-4. List of memory switch settings..............................5
2-5. Stitch counter checking method..........................15
2-6. Error history checking method ............................16
2-7. Input checking method ........................................17
2-8. Output checking method .....................................20
2-9. Software version checking method ....................22
3. READING / WRITING DATA................23
3-1. Handling data.......................................................23
3-2. Notes on handling CF cards (sold separately) ..24
3-3. Structure of a CF card folder...............................24
3-4. Data read/write mode ..........................................25
3-5. Reading sewing data from CF cards..................26
3-6. Writing sewing data to CF cards.........................27
3-7. Reading memory switch data from CF cards ....28
3-8. Writing memory switch data to CF cards ...........28
3-9. Reading user program data from CF cards.......29
3-10. Writing user program data to CF cards............29
3-11. Updating the control program ...........................30
3-12. Writing error log data to CF card ......................31
3-13. Reading sewing data from floppy disks ...........31
3-14. Writing sewing data to floppy disks ..................32
3-15. Reading extended option output data
from a CF card ...................................................33
3-16. Writing extended option output data
to CF cards.........................................................34
3-17. Reading extended option output data
from floppy disks ................................................34
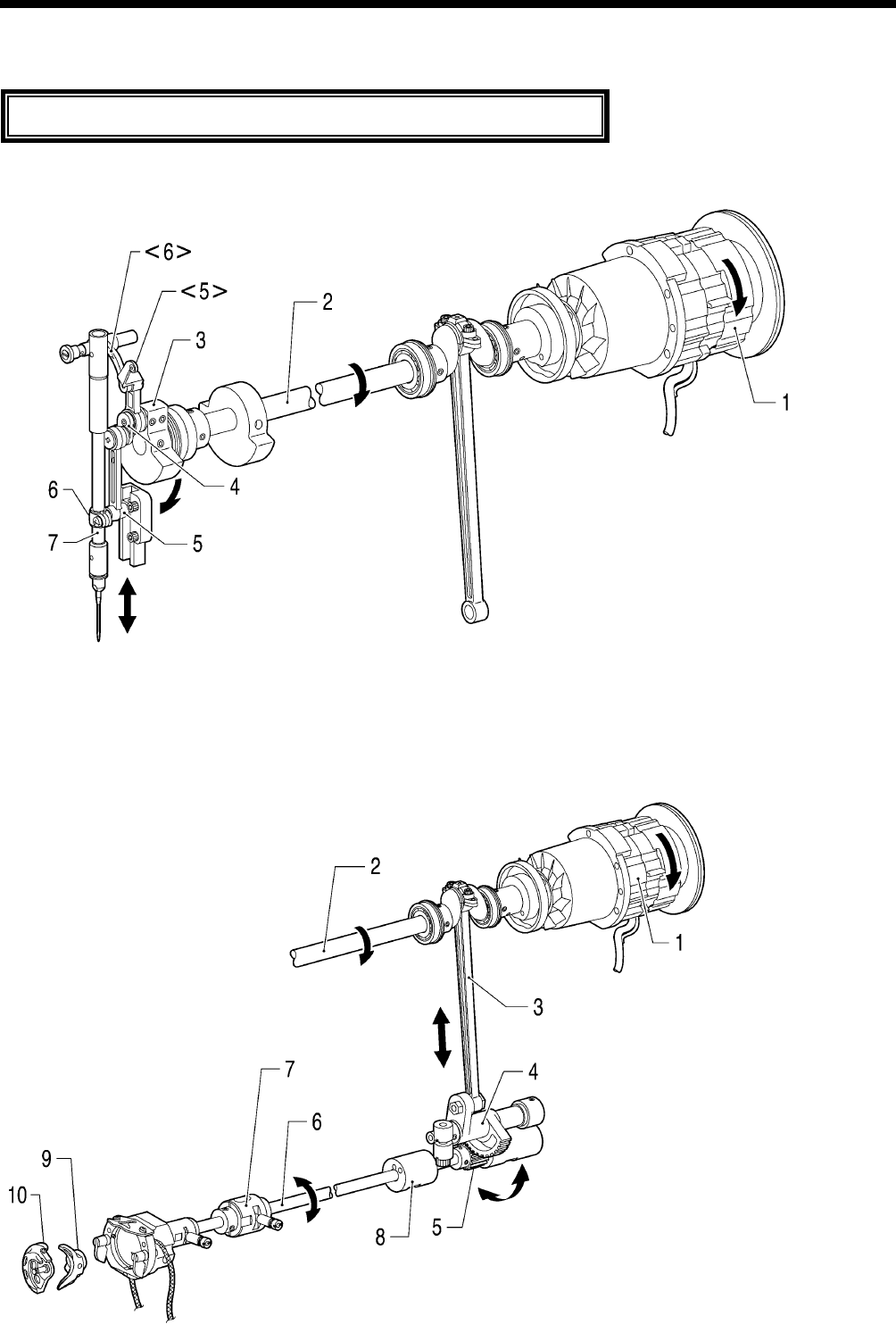
4. MECHANICAL DESCRIPTIONS ......... 35
4-1. Needle bar and thread take-up mechanisms ....35
4-2. Lower shaft and shuttle race mechanisms ........35
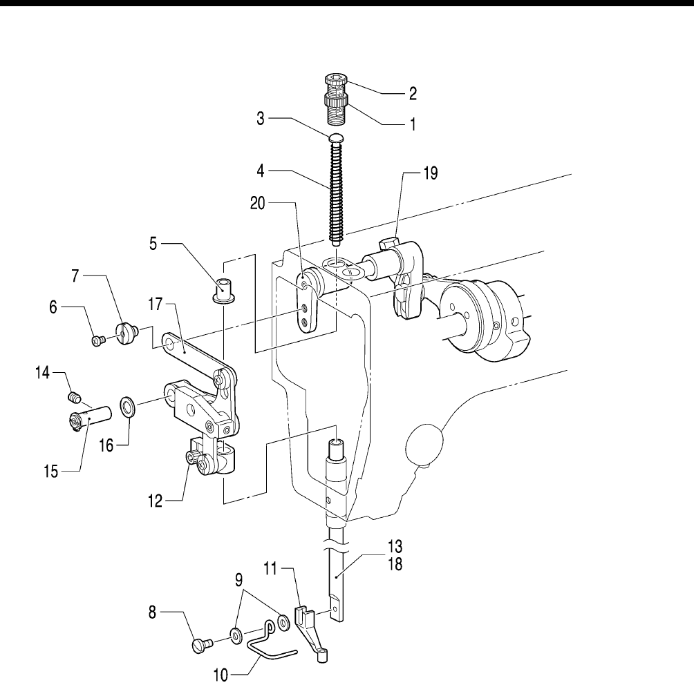
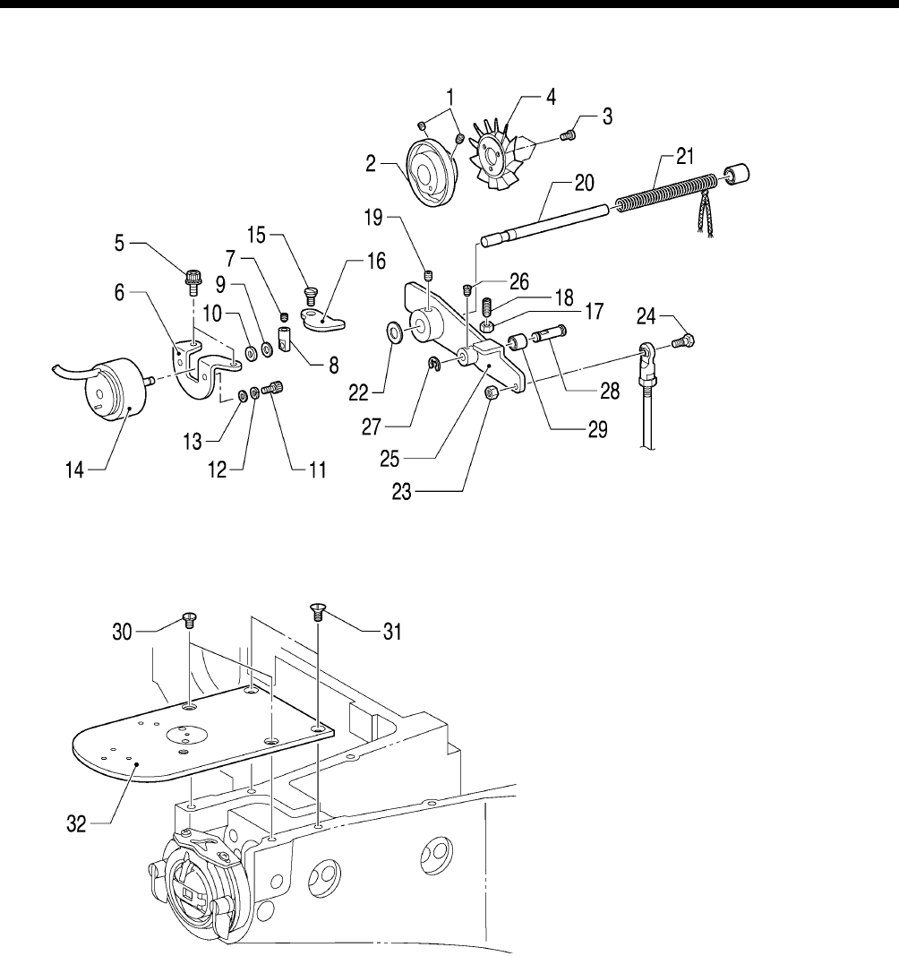
4-3. Work clamp lifter mechanism..............................36
4-4. Intermittent presser foot lifter mechanism..........36
4-5. Intermittent presser foot stroke mechanism.......37
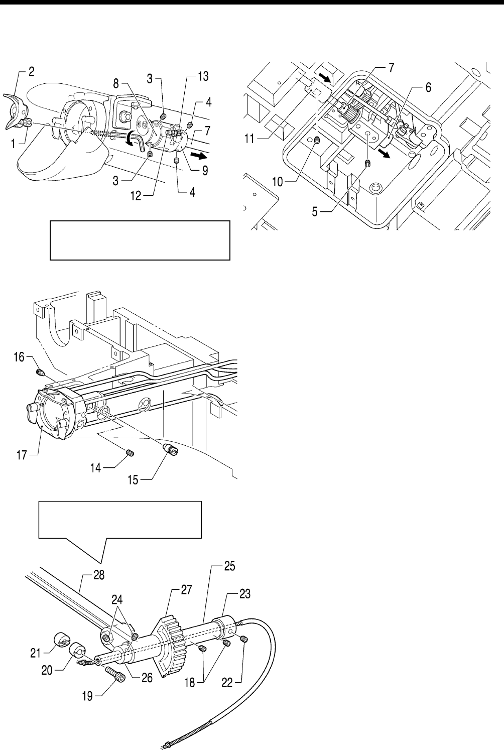
4-6. Feed mechanism.................................................38
4-7. Thread trimmer mechanism................................39
4-8. Tension release mechanism...............................40
4-9. Thread wiper mechanism....................................40
5. DISASSEMBLY .................................... 41
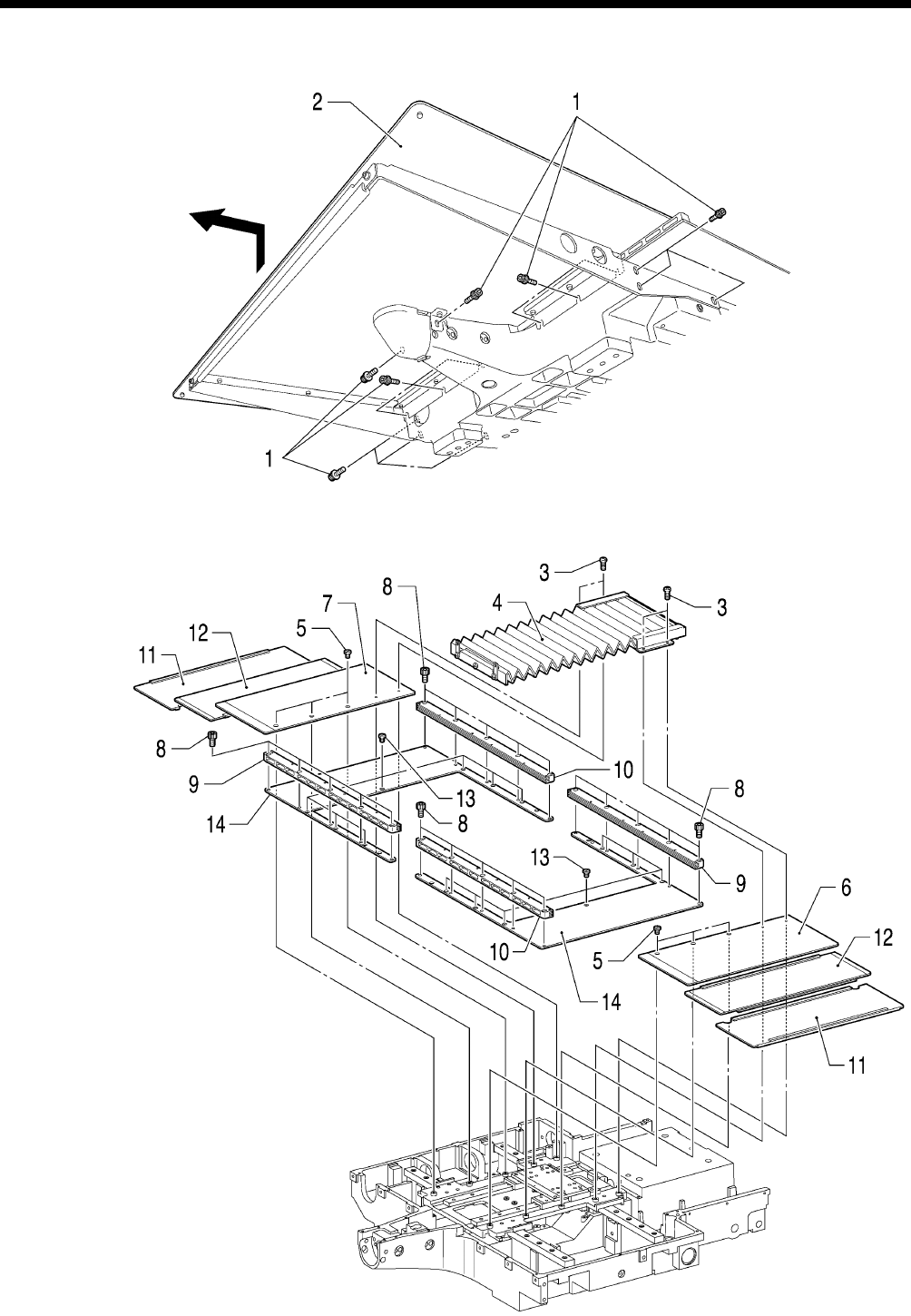
5-1. Covers ..................................................................41
5-2. Thread wiper mechanism....................................42
5-3. Work clamp arm mechanism..............................43
5-4. Intermittent presser foot lifter mechanism (1) ....44
5-5. Needle bar mechanism .......................................45
5-6. Upper shaft mechanism ......................................46
5-7. Lower shaft mechanism ......................................47
5-8. Feed covers .........................................................48
5-9. Feed mechanism.................................................49
5-10. Work clamp lifter mechanism............................51
5-11. Tension release mechanism.............................52
5-12. Intermittent presser foot lifter mechanism (2) ..52
5-13. Thread trimmer mechanism..............................53
5-14. Shuttle hook mechanism...................................54
6. ASSEMBLY........................................... 55
6-1. Thread trimmer mechanism (1) ..........................55
6-2. Intermittent presser foot lifter mechanism (1) ....57
6-3. Tension release mechanism...............................57
6-4. Work clamp lifter mechanism..............................58
6-5. Feed mechanism.................................................60
6-5-1. Y-feed mechanism..................................60
6-5-2. X-feed mechanism..................................65
6-6. Feed covers .........................................................70
6-7. Upper shaft mechanism ......................................72
6-8. Needle bar mechanism .......................................74
6-9. Intermittent presser foot lifter mechanism (2) ....76
6-10. Lower shaft mechanism....................................78
6-11. Shuttle hook mechanism...................................80

BAS-342G
6-12. Thread trimmer mechanism (2)........................80
6-13. Work clamp arm mechanism............................81
6-13-1. Adjusting the lift of the work clamp arm
assembly............................................... 82
6-14. Thread wiper mechanism .................................83
6-15. Covers ................................................................84
7. ADJUSTMENT.......................................85
7-1. Checking the safety switch..................................85
7-2. Standard thread tension......................................86
7-2-1. Upper and lower thread tension............ 86
7-2-2. Thread take-up spring............................ 87
7-2-3. Arm thread guide R ................................ 87
7-3. Adjusting the needle bar height ..........................88
7-4. Adjusting the needle bar lift amount ...................88
7-5. Adjusting the driver ..............................................88
7-6. Adjusting the needle clearance...........................89
7-7. Adjusting the shuttle race thread guide..............89
7-8. Adjusting the rotary hook lubrication amount.....90
7-9. Adjusting the position of the movable knife........91
7-10. Replacing the movable and fixed knives .........93
7-10-1. Installing the feed plate ........................ 94
7-11. Adjusting the thread wiper.................................94
7-12. Presser foot installation position .......................95
7-13. Changing the intermittent stroke.......................95
7-14. Adjusting the work clamp lift amount................97
7-15. Adjusting the air pressure .................................97
7-16. Adjusting the thread trimmer cam position ......98
7-17. Belt tension adjustment.....................................98
7-18. Adjusting the tension release amount............100
7-19. Adjusting the lower shaft gear backlash......... 101
7-20. Adjusting the home position............................ 103
7-20-1. Presser foot lift home position ............ 103
7-20-2. X-Y feed home position ...................... 104
7-21. Adjusting the needle up stop home position..106
7-22. Adjusting the needle up stop position.............107
8. ELECTRICAL MECHANISM................ 109
8-1. Precautions while carrying out
adjustments......................................................109
8-2. Inside the control box and operation
panel structure .................................................110
8-3. Description of fuses .............................................111
8-4. Description of connectors....................................112
8-4-1. Connector positions ................................112
8-4-2. Symptoms when there are poor
connections .............................................115
8-5. Troubleshooting ...................................................119
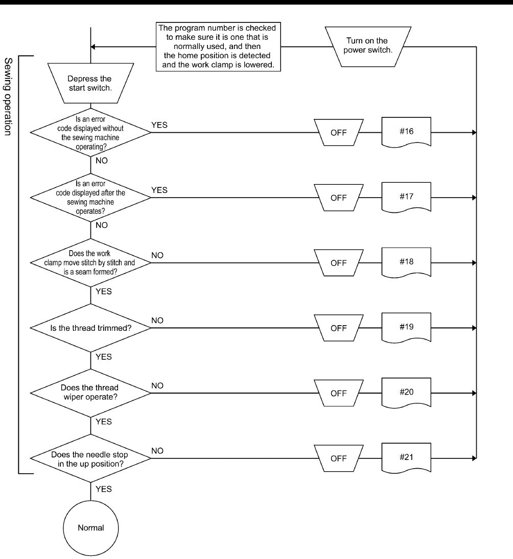
8-5-1. Troubleshooting procedure.....................119
8-5-2. Diagnosis flowchart.................................120
8-5-3. Remedy ...................................................124
9. TABLE OF ERROR CODES................ 135
10. TROUBLESHOOTING ....................... 139
11. 7-SEGMENT DISPLAY ...................... 142

1. SPECIFICATIONS
1BAS-342G
1. SPECIFICATIONS
Sewing machine Lock stitch, pattern tacking sewing machine (with large shuttle hook)
Stitch formation Single needle lock stitch
Max. sewing speed 2,700 rpm
Sewing area (X x Y) Max. 300 x 200 mm
Feed mechanism Intermittent feed, pulse motor drive
Stitch length 0.05 − 12.7 mm
No. of stitches 500,000-stitch internal memory (*)
Maximum no. of stitches 20,000 stitches (per program)
No. of sewing data items
that can be stored Internal memory: 512 (*), CF card: 900
Work clamp lift method Pneumatic method
Work clamp height Max. 30 mm
2-step work clamp Integrated-type work clamp
Intermittent presser foot lift
amount 22 mm
Intermittent stroke 2 − 4.5 mm, 4.5 − 10 mm or 0 (Default setting 3 mm)
Rotary hook Double-capacity shuttle hook (standard shuttle hook sold separately)
Wiper device Standard equipment
Thread trimmer Standard equipment
Data storage method Internal memory (Flash memory), CF card (32 MB − 2GB)
[Option] 3.5 floppy disk 2HD/1.44MB, 2DD
User programs 50
Cycle programs 9
Motor 550 W AC servo motor
Weights Machine head approx. 160 kg, operation panel approx. 0.6 kg
Control box 14.2 − 16.2 kg (Differs depending on destination)
Power supply Single-phase 220 V, Three-phase 220 V/380 V/400 V 500 VA
Air pressure 0.5 MPa 1.8 l/min.
* The number of data items and stitches that can be stored will vary depending on the number of stitches in each program.

2. FUNCTION SETTINGS
2
BAS-342G
2. FUNCTION SETTINGS
2-1. List of special functions when power is turned on
1 Memory switch setting mode (Standard)
Refer to the Instruction Manual.
6 Output checking function
Refer to “2-8. Output checking method”.
2 Memory switch setting mode (Advanced)
Refer to “2-3. Memory switch setting method (Advanced)”.
7 Software version display function
Refer to “2-9. Software version checking method”.
3 Data initialization function
Refer to the Instruction Manual.
8 Home position adjustment mode
Refer to “7-20. Adjusting the home position”.
4 Error log display function
Refer to “2-6. Error history checking method”.
9 Needle up stop position adjustment mode
Refer to “7-22. Adjusting the needle up stop position”.
5 Input checking function
Refer to “2-7. Input checking method”.
4546Q
4542Q
4541Q
4547Q
1365B
4543Q
4544Q
4548Q
4545Q
4421Q
4549Q

2. FUNCTION SETTINGS
3BAS-342G
2-2. List of advanced functions
While holding down the TEST key, press the corresponding combination key.
1 Memory switch setting mode (Standard)
Refer to the Instruction Manual.
5 User program setting mode
Refer to the Instruction Manual.
2 Lower thread counter setting mode
Refer to the Instruction Manual.
6 Parallel movement mode
Refer to the Instruction Manual.
3 Production counter setting mode
Refer to the Instruction Manual.
7 Stitch counter checking mode
Refer to “2-5. Stitch counter checking method”.
4 Production counter temporary display function
When SPEED indicator is illuminated
Refer to the Instruction Manual.
8 CF data read/write mode
Refer to “3-4. Data read/write mode”.
4550Q
4489Q
4491Q
4490Q
4492Q
4493Q
4551Q
4552Q
4553Q

2. FUNCTION SETTINGS
4
BAS-342G
2-3. Memory switch setting method (Advanced)
1
Menu indicator switches off
TEST indicator illuminates
While pressing the TEST key and the SELECT key, turn
on the power switch.
* Keep pressing the TEST key and the SELECT key until
the model name is displayed and the buzzer beeps
once.
• The memory switch number will be displayed in the
PROGRAM No. display and the setting value for that
number will be displayed in the menu display.
2
Press the or key to select the memory switch
number.
Press the or key to change the setting value.
If you would like to display only the numbers of
memory switches that have been changed from
default settings
While pressing the SELECT key, press the or key.
• The numbers of memory switches that have been
changed from default settings will appear in order.
• If no memory switches have been changed from their
default settings, the display will not change and the
buzzer will beep twice.
3 Ending setting mode
TEST indicator switches off
Press the TEST key.
• The changes will be memorized and the sewing
machine will switch to home position detection
standby.
• If you would like to return the setting for a single memory switch to the default setting, press the
RESET key while the number for that memory switch is displayed.
• To return the settings for all memory switches to the default settings, keep pressing the RESET key
for two or more seconds until the buzzer makes a long beep.
A
ll indicators switch off
4449Q 4421Q
4554Q
4555Q

2. FUNCTION SETTINGS
5BAS-342G
2-4. List of memory switch settings
Note: Regarding the term “work clamp” in the table
Normally the intermittent presser foot is lifted and dropped at the same time the work clamp is lifted and dropped.
However, the intermittent presser foot can be set not to operate by means of settings such as the setting for memory
switch No. 54.
No. Setting
value Setting item Default
value
Work clamp lift timing after sewing is completed
OFF Lifts at the final stitch position.
001
ON Lifts after moving to the sewing start position.
ON
Integrated-type work clamp drop operation
0 Work clamp dropping in 1 step
1 Work clamp dropping in two steps (*1)
002
2 Do not use this setting.
0
Sewing start speed
OFF The sewing speed for the first 1 to 5 stitches is set by memory switch numbers 151
to 155.
100
ON 1st stitch at 400 rpm, 2nd stitch at 400 rpm, 3rd stitch at 600 rpm, 4th stitch at 900
rpm, 5th stitch at 2,000 rpm
OFF
Single-stitch test feed
OFF Test feed starts when the start switch is depressed, and it continues automatically
until the final stitch.
200
ON
Test feeding
・ Is carried out one stitch at a time each time the work clamp switch is
depressed
・ Is carried out continuously while the start switch is depressed
・ Is carried out one stitch at a time when the pulley is turned by hand
OFF
Production counter display
OFF Lower thread counter display
300
ON Production counter display
OFF
User programs
OFF Disabled
400
ON User program mode is enabled.
OFF
Cycle programs
OFF Disabled
401
ON When sewing user programs, the set programs are sewn in numeric order.
OFF
Maximum reduction ratio (mm display) (*2)
OFF Displayed as %.
402
ON Displayed as mm.
OFF
Split mode selection
0 Continuous split (split menu is disabled before split detection)
1 Continuous split (split menu is always enabled)
403
2 Independent split
0
*1 The position of the work clamp stopper must be set. (Refer to the Instruction Manual.)
*2 The mm display may differ slightly from the actual sewing size.

2. FUNCTION SETTINGS
6
BAS-342G
Work clamp settings
No. Setting
value Setting item Default
value
Work clamp operating mode (*3)
1 [Standard single pedal] Do not use this setting. (*4)
2 [Single pedal with no automatic work clamp lifter] Do not use this setting. (*4)
3
[Standard double pedal]
Work clamp lifts automatically, and drops when the work clamp switch is depressed.
* Dropping in one step or two steps can be set by means of memory switch No.
002.
4 [Double pedal with no automatic work clamp lifter]
Work clamp lifts while work clamp switch is being depressed.
5
[Work clamp intermittent presser foot 2-step clamping]
When the work clamp switch is depressed to the 1st step, the work clamp is
lowered, and when it is depressed to the 2nd step, the intermittent presser foot is
lowered. (Lifting is carried out simultaneously.)
6 Do not use this setting.
7
[Forward/reverse pedal]
When the start switch is depressed, the work clamp is lowered and the sewing
machine starts in that order with forward control, and when the work clamp switch
is depressed, the sewing machine reverses and the work clamp is lifted.
* Dropping in one step or two steps can be set by means of memory switch No.
002.
8
[2-step work clamp using two presses]
When the work clamp switch is depressed, the work clamp drops to the
intermediate position (when two-step operation is set), then drops fully, and then
lifts in that order.
* Dropping in one step or two steps can be set by means of memory switch No.
002.
9
[Standard triple pedal]
The left pedal lowers the work clamp to the intermediate position and the right
pedal (center) lowers it all the way.
The start pedal (right) starts the sewing machine.
(If the right pedal (center) is depressed first, the work clamp will drop to the
intermediate position and it will then drop fully when the left pedal is depressed.
However, the speed of work clamp operation cannot be controlled, so do not use
this operation.)
10
[Triple pedal with independent home detection]
The right pedal (center) is used exclusively for detecting the home position.
The left pedal raises and lowers the work clamp, and the start pedal (right) starts
the sewing machine.
11
[Special triple pedal with independent home detection]
The right pedal (center) is used exclusively for detecting the home position.
The left pedal moves the work clamp back and forth to the intermediate position,
and when the start pedal (right) is depressed, the work clamp is lowered and the
sewing machine starts.
050
12
[Single pedal operation using work clamp switch]
When the work clamp switch is depressed to the 1st step, the work clamp is
lowered, and when it is depressed to the 2nd step, the sewing machine starts.
3
*3 The operating modes given here are for the integrated-type work clamp. The same settings can also be made for
separate-type work clamps, but some parts and air tubes will need to be changed.
*4 No devices are compatible with the BAS-342G.

2. FUNCTION SETTINGS
7BAS-342G
No. Setting
value Setting item Default
value
Work clamp operation before home position detection
OFF Work clamp cannot be raised or lowered before home position detection (*5)
051
ON Work clamp can be raised and lowered before home position is detected
ON
Work clamp operation during split programs
OFF Work clamp is raised automatically when sewing pauses due to a split program
052
ON Work clamp is raised if the work clamp switch is depressed when sewing pauses
due to a split program
OFF
Time from intermittent presser foot lifting until feed mechanism starts moving
053 0 - 999 [Units ms] 100
Intermittent presser foot lowering timing
0 Intermittent presser foot is lowered when the work clamp switch is depressed, but
it is not lowered at the feed retract position.
1 Intermittent presser foot is lowered when the work clamp switch is depressed.
054
2 Intermittent presser foot is lowered at the sewing start, regardless of the work
clamp switch operation.
0
Work clamp signal valve special output for pneumatic-type work clamp
0 Disabled
1
Valve output is reversed for pneumatic specifications
(Switch the air tube connections so that the work clamp can lift when the power is
turned off.)
055
2
Reverse valve output is output simultaneously for 2-position valve specifications.
(Right work clamp reverse = Option output No. 4, Left work clamp reverse =
Option output No. 5: When using a separate-type work clamp)
0
Thread winding operation before home position is detected
OFF Thread winding cannot be carried out before home position is detected.
056
ON Thread winding can be carried out before home position is detected. (*5)
OFF
Work clamp operation when feed moves to sewing start position after home position is detected
OFF Work clamp stays lowered after home position is detected
Work clamp rises when the work clamp switch is depressed.
057
ON Work clamp lifts automatically after home position is detected.
* Disabled when memory switch No. 050 = 2 or 4.
ON
Work clamp operation at sewing end
OFF Work clamp lifts automatically at the sewing end.
* Disabled when memory switch No. 050 = 2 or 4.
058
ON Work clamp does not lift automatically at the sewing end
OFF
Weight of work clamp
-1 Light (no work clamp)
0 Standard
059
1 Heavy
0
*5 If the thread winding operation is to be carried out before home position detection, first carry out operations such as
lowering the intermittent presser foot to check that the needle does not interfere with any other parts when it is being
raised and lowered. In addition, if raising and lowering of the work clamp is disabled before home position detection is
carried out, thread winding cannot be carried out before home position detection, regardless of the setting for memory
switch No. 056.

2. FUNCTION SETTINGS
8
BAS-342G
Sewing machine motor settings
No. Setting
value Setting item Default
value
Highest needle position stop
OFF Disabled
150
ON
When the upper shaft stops, the motor operates in reverse to return the needle bar
close to its highest position.
(When the motor operates in reverse to raise the needle, the thread take-up will
stop at a position which is lower than its normal stopping position. As a result, the
thread take-up will rise slightly at the sewing start, and this may result in the thread
pulling out under certain conditions.)
OFF
1st stitch sewing speed at the sewing start
151 2 - 27 (Units x100 rpm) 4
2nd stitch sewing speed at the sewing start
152 2 - 27 (Units x100 rpm) 8
3rd stitch sewing speed at the sewing start
153 2 - 27 (Units x100 rpm) 12
4th stitch sewing speed at the sewing start
154 2 - 27 (Units x100 rpm) 27
5th stitch sewing speed at the sewing start
155 2 - 27 (Units x100 rpm) 27
5th last stitch sewing speed at the sewing end
156 4 - 27 (Units x100 rpm) 27
4th last stitch sewing speed at the sewing end
157 4 - 27 (Units x100 rpm) 27
3rd last stitch sewing speed at the sewing end
158 4 - 27 (Units x100 rpm) 27
2nd last stitch sewing speed at the sewing end
159 4 - 20 (Units x100 rpm) 12
Piercing force boosting operation
OFF Disabled
161
ON Piercing force boosting operations are carried out when the sewing machine motor
is locked
OFF
Regulation of sewing speed changes due to sewing pitch changes
OFF Sewing speed varies depending on sewing pitch of the sewing data
162
ON
Speed is fixed at the minimum sewing speed for the maximum pitch of the sewing
data
(Set to ON if there may be a problem with sewing speed changes as a result of
pitch changes.)
OFF
Limits the maximum sewing speed.
163 12 - 27 (Units x100 rpm) 27
Thread trimming disabled
OFF Thread trimming is carried out in accordance with the sewing data.
164
ON All thread trimming operations are disabled.
OFF
Highest needle position stop angle (Units 2 degree steps) (*6)
165 -15 - 0 0: Normal needle up position: Needle bar height increases for values in the
negative direction.
0
*6 If the setting value becomes too large in the negative direction, error “E110” may be generated at the first sewing start
after the power is turned on.

2. FUNCTION SETTINGS
9BAS-342G
Feed settings
No. Setting
value Setting item Default
value
Mechanism home position return when sewing is finished
OFF The feed plate returns to the sewing start position at the sewing end.
250
ON When sewing is finished, the feed plate moves via the machine home position to
the sewing start position.
OFF
Feed speed
1 100 mm/s Slow
2 200 mm/s
3 300 mm/s
4 400 mm/s
251
5 500 mm/s Fast
3
High-speed test feeding
OFF Normally slow, but becomes faster when the work clamp switch is depressed.
252
ON Test feeding is at the same speed as sewing.
* This does not apply to checking stitch by stitch.
OFF
Home position detection method
OFF Depress the start switch while the program number is flashing.
253
ON Press the special external input switch [EXIN3] while the program number is
flashing. (Start switch is disabled.)
OFF
Movement route to home position and sewing start position (*7)
0 No route specified
1 Moves in the order XY when moving to the home position, and in the order Y X
when moving to the sewing start position
2 Moves in the order YX when moving to the home position, and in the order X Y
when moving to the sewing start position
254
3 Moves while avoiding the middle of the work clamp
0
Changes the overall feed timing
260 -10 - 10 -10: Early 0: Standard 10: Late 0
Changes the feed timing for the 1st stitch at the sewing start
261 -10 - 10 -10: Early 0: Standard 10: Late 0
Changes the feed timing for the 2nd stitch at the sewing start
262 -10 - 10 -10: Early 0: Standard 10: Late 0
Changes the feed timing for the 3rd stitch at the sewing start
263 -10 - 10 -10: Early 0: Standard 10: Late 0
Changes the feed timing for the 3rd stitch before the sewing end
264 -10 - 10 -10: Early 0: Standard 10: Late 0
Changes the feed timing for the 2nd stitch before the sewing end
265 -10 - 10 -10: Early 0: Standard 10: Late 0
Changes the feed timing for the 1st stitch before the sewing end
266 -10 - 10 -10: Early 0: Standard 10: Late 0
If the overall feed timing (setting for No. 260) is changed from the default value, this specifies the
number of applicable stitches.
0 No limit
267
1 - 99 The feed timing returns to the standard feed timing once the specified number of
stitches has been sewn.
0
Changes feed timing reference
0 [Feed start reference] Makes the timing uniform at the start of feed.
1 [Need up reference] Changes the timing at the start of feed so that the needle
zigzagging is even.
2 [Feed end reference] Makes the timing uniform at the end of feed.
268
3 This cannot be set for the BAS-342G.
1
Home position detection operation when the program is changed
0 Disabled
1 Home position detection operation is disabled, but feed moves through the middle
of the sewing area.
270
2 Enabled
0
*7 Also change the settings for memory switch No. 250 and No. 270 as necessary.

2. FUNCTION SETTINGS
10
BAS-342G
Operation panel settings
No. Setting
value Setting item Default
value
Operation panel changing limitation
0 No limits on changing setting values using the operation panel.
1 Program numbers, XY scale settings, sewing speed, lower thread counter,
intermittent presser foot height and digital tension values cannot be changed.
2 Program numbers, XY scale settings, sewing speed, intermittent presser foot
height and digital tension values cannot be changed.
3 Program numbers cannot be changed.
4 Program numbers and XY scale settings cannot be changed.
5 Program numbers, XY scale settings and sewing speed settings cannot be
changed.
6 XY scale settings cannot be enlarged. (They can be reduced.)
350
7 Sewing speed setting cannot be changed.
0
Changing memory switches
OFF Allowed
351
ON Forbidden
OFF
Counting method for lower thread counter and production counter
0 Counted for each item of sewing data
1 Counted for each thread trimming operation.
352
2 Counted when sewing data ends or when split stops
0
Counter timing for lower thread counter
OFF Counted at the end of sewing.
353
ON Counted at the start of sewing.
OFF
Switching program numbers using an external switch
0 Disabled
354
1 - 9
Program number is switched by means of the 5 bits of option input (EXIN6 -
EXIN10).
The applicable numbers are: Setting number: 3rd digit; last 2 digits: 1 to 31
0
Switching split numbers using an external switch
OFF Disabled
355
ON Split number is switched by means of the 5 bits of option input (EXIN6 - EXIN10).
The applicable numbers are: 1 to 31 (*8)
OFF
*8 Only enabled for independent split mode. In addition, it is disabled when the setting for memory switch No. 354 is 1 to 9.
User program settings
No. Setting
value Setting item Default
value
Moving to the sewing start position when user program is changed
OFF Moves to the next sewing start position after starting.
450
ON Moves to the next sewing start position at the same time as switching.
OFF
Limitations on changing settings for user programs
OFF No limit
452
ON User program contents cannot be changed.
OFF

2. FUNCTION SETTINGS
11 BAS-342G
Data editing settings
No. Setting
value Setting item Default
value
Sewing area limit in X direction
460 0 − 300 [Units mm] 300
Sewing area limit in Y direction
461 0 − 200 [Units mm] 200
Enlargement/reduction reference point
0 Center of sewing frame
1 Sewing start position
462
2 Center of pattern
0
Enlargement/reduction for bar tacking
OFF Bar tacking stitches (pitch approx. 1 mm or less) cannot be enlarged or reduced.
463
ON Bar tacking stitches (pitch approx. 1 mm or less) are also enlarged or reduced.
ON
Enlargement/reduction ratio in XY directions
OFF Disabled
464
ON Enlargement/reduction ratio settings are the same in X and Y directions (disabled
for user programs)
OFF
Storing parallel movement amount for sewing pattern
OFF Initialized when program number or enlargement/reduction ratio is changed and
when power is turned off.
465
ON Initialized when program number or enlargement/reduction ratio is changed but
not when power is turned off.
OFF
Reading sewing data from external media into internal memory
0 [Normal mode] Programs are copied one by one into internal memory.
1
[Overwriting mode] Sewing data is overwritten into the temporary buffer area.
If sewing data with the same program number already exists in internal memory, it
is deleted.
466
2
[Interrupt mode] Sewing data is overwritten into the temporary buffer area.
If sewing data with the same program number already exists in internal memory, it
is not deleted, but only the data in the temporary buffer is used.
(If sewing data with the same program number already exists in internal memory
and the setting is changed to “0” or “1”, the data in the temporary buffer will be
cleared.),
0
Changing gear ratio correction method when reading from a 2DD floppy disk.
0 Automatic conversion based on model type (For the BAS-342G, data is read as
BAS-342A data and then converted.)
1 BAS-311A data is read.
2 BAS-326A data is read.
467
3 BAS-341A/BAS-342A data is read.
0
Retract point switching at parallel movement point
OFF Disabled
468
ON The position moved to by parallel movement is recorded as the retract point.
OFF
Device settings
No. Setting
value Setting item Default
value
Needle cooler device
OFF Disabled
550
ON Needle cooler device is used (Option output No. 12)
OFF
Tension release setting at the sewing start
551 0 − 3 [Units: No. of stitches] 0
Tension release timing during thread trimming [Units: 8-degree steps]
552 -10 - 1 -10: Early 0: Standard 1: Late 0

2. FUNCTION SETTINGS
12
BAS-342G
No. Setting
value Setting item Default
value
Thread breakage detector
OFF Disabled
554
ON Fiber-type upper thread breakage detector is used
OFF
Detection sensitivity for thread breakage detector
OFF 5 stitches at sewing start, 3 stitches while sewing
555
ON 10 stitches at sewing start, 3 stitches while sewing
OFF
Inner clamping device (Option output No. 13)
0 Disabled
1 Inner clamping device is used (Retract operation is carried out at the sewing end
to prevent interference with the needle.)
2 Inner clamping device is used (No retract operation is carried out at the sewing
end)
556
3 Inner clamping device operates for 1/4 of the sewing pattern and returns for the
other 3/4. (No retract operation)
0
External wiper device
0 Disabled
1 Solenoid-type wiper device is used.
557
2 Pneumatic-type wiper device is used. (Option output No. 2)
1
External error monitoring input
OFF Disabled
558
ON Enabled (P10, option input No. 13 [AIRSW])
OFF
Operating indicator output
OFF Disabled
559
ON
Option output No. 9: Output during operation ON
Option output No. 10: ON during lower thread replacement and during test mode
Option output No. 11: ON when error is generated
OFF
Automatic ejector (Option output No. 3 output, option input No. 1 = right sensor, input No. 2 = left
sensor)
0 Disabled
1 Operates as standard. (*9)
2 Sewing starts when cassette sensor is ON (*9)
560
3 Start switch is enabled even if cassette sensor is OFF. (*9)
0
Timer from sensor detection to sewing start when automatic ejector automatic starting is set
(memory switch No. 560 = 2)
561
0 - 999 Time from after the cassette is chucked until automatic starting
100
Changes the digital tension setting value.
OFF Tension number can be changed regardless of the sewing data.
562
ON Only tension No. 0 and the tension numbers detected in the sewing data can be
changed.
ON
2-step thread tension device (when using spring-type main tension)
OFF Disabled
563
ON 2-step thread tension device is used.
OFF
Increases maximum tension release force when using a spring-type main tension
0 Disabled (Thread tension discs are open at the sewing end.)
1
Increase the maximum tension release force (The thread tension discs close at the
sewing end. If the thread tension discs are open, they will be closed for
approximately 5 minutes.)
564
2
Maximum tension release force is set to maximum (The thread tension discs close
at the sewing end. If the thread tension discs are open, they will be closed for
approximately 1 minute.)
0
*9 Set memory switch No. 002 to 0.

2. FUNCTION SETTINGS
13 BAS-342G
No. Setting
value Setting item Default
value
Thread nipper device (wiper replacement type)
OFF Disabled
566
ON Thread nipper device is used.
OFF
Thread tension disc status during feeding
OFF Released
567
ON Not released
OFF
Auxiliary tension release device
OFF Disabled
568
ON Auxiliary tension release device is used.
(Tension release operation is the same as if memory switch No. 564=0)
OFF
Error processing settings
No. Setting
value Setting item Default
value
Error release method when operation has stopped
0 Press the RESET key.
1 Press the RESET key or the STOP switch.
650
2 Press the RESET key or input a signal from the external switch (EXIN3).
0
Needle stop position when sewing is interrupted by the STOP switch
0 Needle stops in the down position.
1 Needle stops in the up position.
651
2 Needle stops in the up position after thread trimming.
0
Thread trimming operation when sewing is paused
OFF Thread trimming is carried out when the pause is canceled.
652
ON Thread trimming is not carried out when the pause is canceled.
OFF
Resuming sewing after sewing is paused
OFF STOP switch RESET key key Sewing starts
653
ON STOP switch RESET key Sewing starts
OFF
Disables the needle up stop position monitoring sensor
OFF Sensor is enabled and needle up stop position errors [E110] are detected.
655
ON Disabled
OFF
Home position return when sewing is paused
OFF Mechanism moves to home position and then moves to sewing start position.
656
ON Mechanism steps back to the sewing start position along the sewing path without
moving to the home position.
OFF

2. FUNCTION SETTINGS
14
BAS-342G
Maintenance settings
No. Setting
value Setting item Default
value
Run-in operation mode
0 Disabled
1
While the foot switch is being depressed, the work clamp moves up and down
once and then continuous operation starts. (No work clamp up/down movement
when memory switch No. 050=2 or 4)
2
While the foot switch is being depressed, the work clamp moves up and down
twice and then continuous operation starts. (No work clamp up/down movement
when memory switch No. 050=2 or 4)
750
3
While the foot switch is being depressed, the work clamp moves up and down
three times and then continuous operation starts. (No work clamp up/down
movement when memory switch No. 050=2 or 4)
0
Run-in operation cycle time adjustment timer
751 0 - 255 [Units x10 ms] 20
Sewing machine ID code
752 00 - 99 Sewing data specified on CF card 00
Reading/writing sewing data for old models
OFF Only compatible with floppy disks.
755
ON Reading and writing using CF cards is possible in data read/write mode.
OFF
Main shaft angle display mode
OFF Disabled
756
ON Main shaft angle is displayed when sewing machine starts.
OFF
Unique machine settings
No. Setting
value Setting item Default
value
Automatic start for extended option output No. 1
OFF Disabled
950
ON Sewing machine starts when extended option output No. 1 is ON.
OFF
Program number output
OFF Disabled
951
ON When the last two digits of the program number are 1 to 15, the program number
is output in 4 bits to extended option output 4 to 7.
OFF

2. FUNCTION SETTINGS
15 BAS-342G
2-5. Stitch counter checking method
1. While holding down the TEST key (1), press the key
(2).
“Cnt” will be displayed in the PROGRAM No. display (3),
and the cumulative number of stitches will be displayed in
the menu display (4) in units of 100,000 stitches.
(While the key (5) is being pressed, the cumulative
number of stitches will be displayed in units of 100
stitches in all 7 digits of the PROGRAM No. display and
the menu display (4).)
2. When the TEST key (1) is pressed, the display will return
to the normal display.
<Clearing the cumulative number of stitches>
1. When “Cnt” is displayed, press the key (6). The
cumulative number of stitches will change to “0000” and
the display will flash.
2. Press the RESET key (7) for two seconds or more. (The
cumulative number of stitches “0000” will stop flashing
and illuminate, and the setting will be cleared. )
3. When the TEST key (1) is pressed, the display will return
to the normal display.
5058Q

2. FUNCTION SETTINGS
16
BAS-342G
2-6. Error history checking method
The past error history can be checked by the following procedure.
TEST indicator illuminates, Menu indicator switches off.
1. While pressing the key (1), turn on the power switch.
* Keep pressing the key (1) until the model name is displayed and the buzzer beeps once.
The error history sequence number will be displayed in the PROGRAM No. display (2) and the error code will be
displayed in the menu display (3).
2. Press the or key (4) to switch the error history sequentially.
3. When the TEST key (5) is pressed, the display will return to the normal display and the sewing machine will change to
home position standby.
<Display example>
Details PROGRAM No. display (2) Menu display (3)
If there is no error history [000] [E - - -]
Error [E130] is displayed first. [001] [E130]
• While the key (6) is being pressed, the COUNTER indicator will illuminate and the stitch number counter value at the
point where the error occurred will be displayed in the PROGRAM No. display (2) and the menu display (3) in units of 100
stitches.
1366B

2. FUNCTION SETTINGS
17 BAS-342G
2-7. Input checking method
Use this to check for any malfunctions of the operation panel keys, circuit boards or sensors, and for checking for broken
cords and for adjusting sensor positions.
You can check whether the CPU is correctly reading the signals from keys and sensors.
1. While pressing the key (1), turn on the power switch.
* Keep pressing the key (1) until the model name is displayed and the buzzer beeps once.
The check code will be displayed in the PROGRAM No. display (2), and the input status will be displayed in the menu
display (3).
2. Press the key (1) or key (4) to select the desired check code.
If no operations are carried out for 5 seconds after a check code has been selected, the check code and the abbreviated
input name will flash alternately in the PROGRAM No. display (2).
3. Refer to the input check list for key and sensor responses.
4. To return to normal operation, turn off the power switch and then turn it back on again.
<Input check list>
PROGRAM No. display Menu display
Check code Name Input status Check item and checking method
[ 1] [orX] [ H] / [ L] X-axis motor home position sensor signal
Move the feed mechanism by hand in the X direction.
[ 2] [EnX] [-999] - [999] X-axis motor encoder counter value
Move the feed mechanism by hand in the X direction.
[ 3] [orY] [ H] / [ L] Y-axis motor home position sensor signal
Move the feed mechanism by hand in the Y direction.
[ 4] [EnY] [-999] - [999] Y-axis motor encoder counter value
Move the feed mechanism by hand in the Y direction.
[ 5] [orP] [ H] / [ L] Work clamp motor home position sensor signal
Operate the work clamp motor by hand.
[ 6] [EnP] [-999] - [999] Work clamp motor encoder counter value
Operate the work clamp motor by hand.
[ 7] [Enn] [ 0]
- [179] Upper shaft 180 degree rotation signal
Turn the pulley by hand.
4566Q
4565Q

2. FUNCTION SETTINGS
18
BAS-342G
PROGRAM No. display Menu display
Check code Name
Input status Check item and checking method
[ 8] [ UP] [ on]/[oFF] Needle up signal
Turn the pulley by hand.
[ 9] [ dn] [ on]/[oFF] Needle down signal
Turn the pulley by hand
[ 10] [voL] [0] - [300] Power supply voltage
Displayed as %
[ 11] [PnL] [*]/[ oFF]
Operation panel key input check
While a key is being pressed, the name of the key will be
displayed.
* ON display Key name
[rESt] RESET key
[tESt] TEST key
[tHrE] THREAD/CLAMP key
[ tEn] TENSION/WIND key
[SELE] SELECT key
[UP-M] key
[dn-M] key
[ F1] Function key F1
[ F2] Function key F2
[ F3] Function key F3
[ F4] Function key F4
[ CF] R/W key
[ 12] [FtA] [0] - [255] Foot switch analog value (when one pedal is installed)
Depress the foot switch.
[ 13] [CL1] [ on]/[oFF] Work clamp switch 1st step
Depress the work clamp switch to the 1st step.
[ 14] [CL2] [ on]/[oFF] Work clamp switch 2nd step
Depress the work clamp switch to the 2nd step.
[ 15] [Stt] [ on]/[oFF] Start switch
[ 16] [EMC]
[--on]
[on--]
[----]
STOP switch
Press the STOP switch.
[ 17] [HEd] [ on]/[oFF] Safety switch
Tilt back the machine head.
[ 18] [Air] [ on]/[oFF] External input error detection (IN13)
[ 19] [FnX] [ on]/[oFF] Cooling fan for X pulse motor
[ 20] [FnY] [ on]/[oFF] Cooling fan for Y pulse motor
[ 21] [in1] [ on]/[oFF] Option input (IN1)
[ 22] [in2] [ on]/[oFF] Option input (IN2)
[ 23] [in3] [ on]/[oFF] Option input (IN3)
[ 24] [in4] [ on]/[oFF] Option input (IN4)
[ 25] [in5] [ on]/[oFF] Option input (IN5)
[ 26] [rot] [ on]/[oFF] No devices are compatible with the BAS-342G.
[ 27] [Fib] [ on]/[oFF] Fiber-type thread breakage detection (option) (IN14)

2. FUNCTION SETTINGS
19 BAS-342G
PROGRAM No. display Menu display
Check code Name
Input status Check item and checking method
[ 28] [Por] [ on] / [ oFF] Work clamp home position sensor
[ 29] [Xor] [ on] / [ oFF] X-feed home position sensor
[ 30] [Yor] [ on] / [ oFF] Y-feed home position sensor
[ 31] [in6] [ on] / [ oFF] Option input (IN6)
[ 32] [in7] [ on] / [ oFF] Option input (IN7)
[ 33] [in8] [ on] / [ oFF] Option input (IN8)
[ 34] [in9] [ on] / [ oFF] Option input (IN9)
[ 35] [in10] [ on] / [ oFF] Option input (IN10)

2. FUNCTION SETTINGS
20
BAS-342G
2-8. Output checking method
Use this to check for any malfunctions of the circuit boards, and for checking for problems with drive mechanisms and broken
cords.
You can check whether the signals being output by the CPU are driving the mechanisms correctly.
1. While pressing the key (1), turn on the power switch.
* Keep pressing the key (1) until the model name is
displayed and the buzzer beeps once.
The check code will be displayed in the PROGRAM No.
display (2), and the abbreviated name of the output will
be displayed in the menu display (3).
2. Press the key (4) or key (1) to select the desired
check code.
3. The operations for check codes 51 to 54 can be checked
by pressing the or key (5).
4. For check codes 55 and after, lower the work clamp and
then depress the start switch (6).
5. To return to normal operation, turn off the power switch
and then turn it back on again.
Program No.
display Menu display
Check code Name
Operating details
[ 51] [PM-X] When the key is pressed, the work clamp moves to the left.
When the key is pressed, the work clamp moves to the right.
[ 52] [PM-y] When the key is pressed, the work clamp moves forward.
When the key is pressed, the work clamp moves back.
[ 53] [PM-F] When the key is pressed, the work clamp is raised.
When the key is pressed, the work clamp is lowered.
[ 54] [CAtH] No devices are compatible with the BAS-342G.
[ 55] [CL-r] The right clamp valve (clamp valve 1) is turned ON (OUT16) (*1)
[ 56] [CL-L] The left clamp valve (clamp valve 2) is turned ON (OUT15) (*1)
[ 57] [SUPt] Auxiliary tension release valve is turned ON (OUT14) (*1)
[ 58] [FLiP] Inner clamping device valve is turned ON (OUT13) (*1)
[ 59] [CooL] Needle cooling valve is turned ON (OUT12) (*1)
[ 60] The panel LEDs illuminate in order, and then the seven segments of the
PROGRAM No. display and the menu display illuminate one by one.
*1 Applies when corresponding devices are installed.
The corresponding operation for the check code will
be carried out while the start switch is being
depressed (while the start switch has been
depressed once for check code 60).
4953Q
4567Q

2. FUNCTION SETTINGS
21 BAS-342G
PROGRAM No.
display Menu display
Check code Name
Operating details
[ 61] [ CUt] Turns on the thread trimming solenoid.
[ 62] [ rEL] / [dtEn]
Turns on the tension release solenoid/digital tension solenoid.
(*2)
However, in the case of digital tension, the solenoid turns on at the tension
that has been set.
[ 63] [ WiP] Turns on the thread wiper solenoid.
[ 64] [StEP] No devices are compatible with the BAS-342G.
[ 65] [ oP1] Turns on option output 1.
[ 66] [ oP2] Turns on option output 2.
[ 67] [ oP3] Turns on option output 3.
[ 68] [ oP4] Turns on option output 4.
[ 69] [ oP5] Turns on option output 5.
[ 70] [ oP6] Turns on option output 6.
[ 71] [ oP7] Turns on option output 7.
[ 72] [ oP8] Turns on option output 8.
[ 73] [ oP9] Turns on option output 9.
[ 74] [oP10] Turns on option output 10.
[ 75] [oP11] Turns on option output 11.
[ 76] [oP17] Turns on option output 17.
[ 77] [oP18] Turns on option output 18.
[ 78] [oP19] Turns on option output 19.
[ 79] [oP20] Turns on option output 20.
*2 Can be determined automatically using a connector shorting pin.

2. FUNCTION SETTINGS
22
BAS-342G
2-9. Software version checking method
TEST indicator illuminates, Menu indicator switches off
1. While pressing the key (1), turn on the power. The software version will be displayed in the menu display (2).
* Keep pressing the key (1) until the model name is displayed and the buzzer beeps once.
2. The display in the PROGRAM No. display (4) switches as follows each time the or key (3) is pressed.
PROGRAM No. display (4) Software
[1.Mn] Main CPU
[2.Mt] Motor CPU
[3.PL] Panel CPU
[4.iP] Main CPU (IPL)
[5.PG] Programmer
3. When the TEST key (5) is pressed, the display will return to the normal display and the sewing machine will change to
home position standby.
5059Q

3. READING / WRITING DATA
23 BAS-342G
3. READING / WRITING DATA
3-1. Handling data
Program numbers (100 − 999) are read from CF cards.
Program numbers (0 − 99) are older BAS-300 series, BAS-300A series and BAS-300E/F series data and can be read from
floppy disks.
However, when memory switch No. 755 is set to ON, data for older series models (program numbers 0 − 99) can be
transferred from a floppy disk to a CF card using a computer and then be read from the CF card.
* In such cases, the effective reading mode will be [r 1].
Option
0 - 99
100 - 999
or
r9 mode
or
r1 mode
0 − 99
100 − 999
Old model series data range
(BAS***.SEW)
BAS-311G, BAS-326G, BAS-342G data range
ISM***.SEW
Sewing machine internal memory
Old model series data copied from floppy
disk to CF card
(0 − 99)
100 − 999
When memory switch
No. 755 = ON
r1 mode
or
r1 mode

3. READING / WRITING DATA
24
BAS-342G
3-2. Notes on handling CF cards (sold separately)
・ Use CF cards with a capacity of 32MB, 64MB, 128MB, 256MB, 512MB, 1GB or 2 GB. (Cards which are larger than 2GB
cannot be used.)
・ Do not disassemble or modify the CF card.
・ Do not bend, drop or scratch CF cards or place heavy objects on top of them.
・ Avoid contact with liquids such as water, oil, solvents or drinks.
・ Use and store CF cards in locations that are free from strong static electricity and electrical interference.
・ Do not use or store CF cards in places where they may be subject to vibrations or shocks, direct sunlight, high
temperature or humidity or strong magnetic fields from equipment such as speakers, or places which are dusty from
thread scraps, etc.
・ Do not subject CF cards to shocks or impacts or remove them from the sewing machine while data is being loaded or
written.
・ The data on the CF cards may become lost or corrupted due to some malfunction or accident. It is recommended that
you make a backup of important data.
・ CF cards should only be removed after the power for the sewing machine has been turned off.
・ CF cards are already formatted when they are purchased, and so you should not reformat them.
・ The recommended CF cards are commercially-available ones from SanDisk or HAGIWARA SYS-COM. CF cards from
other manufacturers can be used, but different formatting methods may mean that loading from or writing to such cards
may not be possible.
For more information, refer to the documentation provided with the CF card.
* This product is compatible with CF cards that have been formatted using the FAT16 method. Cards that have been
formatted using the FAT32 method cannot be used.
* CFTM is a trademark of SanDisk Corporation.
* Company names and product names appearing in this manual are trademarks or registered trademarks of the
respective owners. However, no TM or other similar symbols appear in the main text of this manual.
3-3. Structure of a CF card folder
\BROTHER\ISM\ISMSYS\ISM05MN.MOT : Control program
\BROTHER\ISM\ISMDD00\ISMMSW.SEW : Memory switch data
*1 \ISMUPG.SEW : User program data
\ISMS0100.SEW : Sewing data P No. = 100
\ISMS0101.SEW : Sewing data P No. = 101
\ISMS0102.SEW : Sewing data P No. = 102
\BROTHER\ISM\ISMDB00\ISMLDT00\ : Log data
*1 The underlined portion of the name of the \BROTHER\ISM\SMDB00 folder for sewing data can be changed by changing
the setting for memory switch No. 752 in order to change the folder name. Change the folder name if you would like to
store sewing data for different sewing machines on a single CF card.

3. READING / WRITING DATA
25 BAS-342G
3-4. Data read/write mode
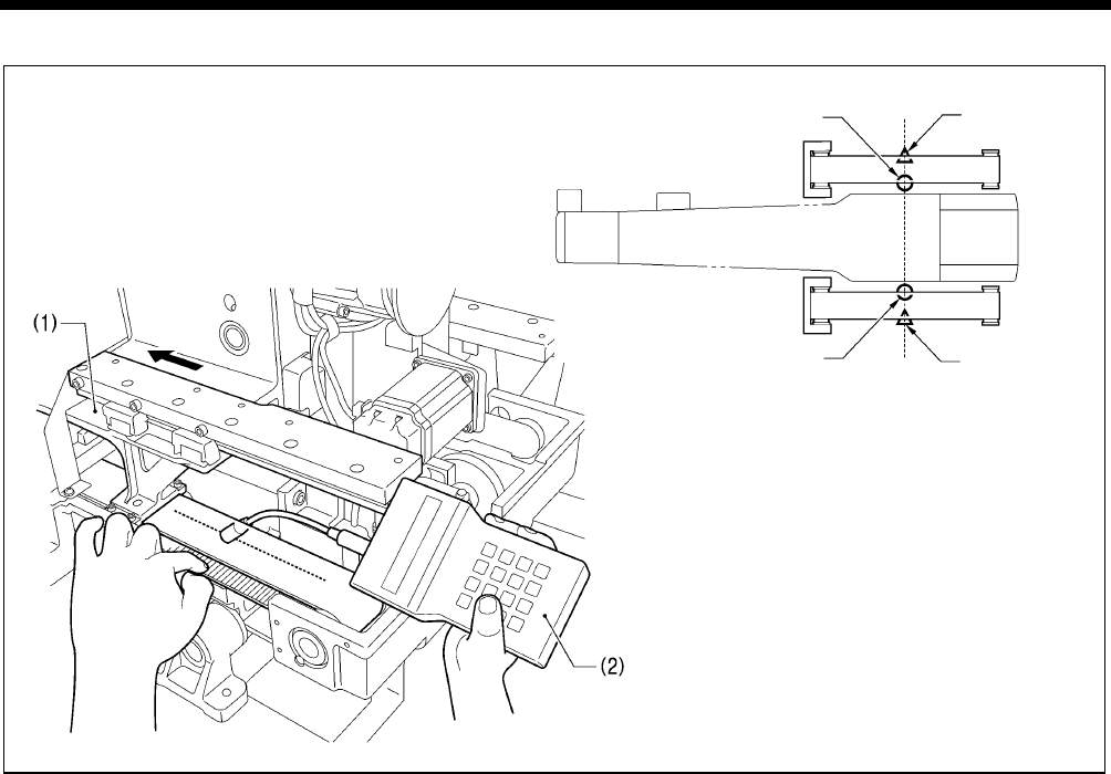
1
With the power turned off, insert the CF card into the CF
slot.
NOTE:
• Make sure the CF card is facing the correct way.
• Always be sure to keep the cover closed except
when inserting and removing the CF card. If this is
not done, dust may get inside and cause problems
with operation.
• If no valid data can be found, the CF media
indicator will not illuminate.
2 Turn on the power switch.
3 Switch to data read/write mode.
TEST indicator and CF media indicator illuminate
While pressing the TEST key, press the R/W key.
• The mode number will appear in the PROGRAM No.
display, and the setting details for that mode will
appear in the menu display.
• The initial mode is sewing data reading mode. (Refer
to the read/write mode list)
4
Press the or key to select the mode.
[Read/write mode list]
PROGRAM No.
display Menu display Setting items
r 1 [-SEd] Sewing data is read from the CF card. (*1)
w 2 [SEd-] Sewing data is written to the CF card.
r 3 [-MEM] Memory switch settings are read from the CF card.
w 4 [MEM-] Memory switch settings are written to the CF card.
r 5 [-UPG] User programs are read from the CF card.
w 6 [UPG-] User programs are written to the CF card.
r 7 [-SyS] Control programs are read from the CF card and used to update the firmware version.
w 8 [LoG-] Error log data is written to the CF card.
r 9 [-Fdd] Sewing data is read from the floppy disk. (*2) (*3)
w 10 [Fdd-] Sewing data is written to the floppy disk. (*2)
r 11 [-EoP] Extended option output (*4) data is read from the CF card.
w 12 [EoP-] Extended option output data is written to the CF card.
r 13 [oPFd] Extended option output data is read from the floppy disk. (*2)
*1 The sewing data that can be use with this sewing machine is data that has been created for the BAS-311G/BAS-326G
/BAS-342G.
*2 Only valid when using an optional floppy disk drive.
*3 Sewing data for the BAS-300 series, BAS-300A series and BAS-300E/F series can be read.
*4 Refer to the instruction manual for the programmer for details on extended option output.
4453Q
4575Q
4574Q

3. READING / WRITING DATA
26
BAS-342G
3-5. Reading sewing data from CF cards
1
Select the [r 1] data read/write mode.
2
Press the R/W key.
• [-SEd] will change to [ ALL].
Press the or key to select the program number (100 - 999) to be
read.
* If [ ALL] is selected, all sewing data (Nos. 100 - 999) will be read at
once.
[When memory switch No. 755 is ON]
The program number (0 − 99) is also displayed and can be selected.
If you select [ ALL] at this time, all sewing data (Nos. 0 - 999) will be
read at once.
3
Loading
Press the R/W key.
• The buzzer will sound and the selected sewing data will be loaded
from the CF card and copied into the sewing machine's internal
memory.
• The program numbers that have been read will be displayed in the
menu display.
* If there is a large volume of data in the CF card, it will take some time
for all of it to be read. To halt the reading of data, press the STOP
switch. If you then press the RESET key, the display will change back
to [ ALL].
4 End data read/write mode
TEST indicator switches off
Press the TEST key.
Turn off the power switch, remove the CF card, and then close the cover
of the CF slot.
4976Q
4576Q
4577Q

3. READING / WRITING DATA
27 BAS-342G
3-6. Writing sewing data to CF cards
1
Select the [w 2] data read/write mode.
2
Press the R/W key.
• [SEd-] will change to [ ALL].
Press the or key to select the program numbers (100 - 999) to be
written.
* If you select [ ALL], all sewing data (Nos. 100 - 999) will be written at
once.
[When memory switch No. 755 is ON]
The program numbers (0 - 99) will also be displayed and can be selected.
If you select [ ALL] at this time, all sewing data (Nos. 0 - 999) will be
written at once.
3
Writing
Press the R/W key.
• The buzzer will sound and the selected sewing data will be copied from
the internal memory onto the CF card.
• The program numbers that have been written will appear in the
PROGRAM No. display.
* If there is a large volume of data in the internal memory, it will take
some time for all of it to be written. To halt the writing of data, press the
STOP switch. If you then press the RESET key, the display will change
back to [ ALL].
4 End data read/write mode
TEST indicator switches off
Press the TEST key.
Turn off the power switch, remove the CF card, and then close the cover
of the CF slot.
4578Q
4577Q
4977Q

3. READING / WRITING DATA
28
BAS-342G
3-7. Reading memory switch data from CF cards
1
Select the [r 3] data read/write mode.
2
Loading
Press the R/W key.
• The buzzer will sound and the memory switch data will
be loaded from the CF card and copied into the sewing
machine's internal memory.
3
When [ End] is displayed, the process is complete.
Turn off the power switch, remove the CF card, and then
close the cover of the CF slot.
3-8. Writing memory switch data to CF cards
1
Select the [w 4] data read/write mode.
2
Writing
Press the R/W key.
• The buzzer will sound and the memory switch data will
be copied from the internal memory onto the CF card.
3 End data read/write mode
TEST indicator switches off
Press the TEST key.
Turn off the power switch, remove the CF card, and then
close the cover of the CF slot.
4581Q
4498Q
4580Q
4582Q
4579Q

3. READING / WRITING DATA
29 BAS-342G
3-9. Reading user program data from CF cards
1
Select the [r 5] data read/write mode.
2
Loading
Press the R/W key.
• The buzzer will sound and the user program data will
be loaded from the CF card and copied into the sewing
machine's internal memory.
3
When [ End] is displayed, the process is complete.
Turn off the power switch, remove the CF card, and then
close the cover of the CF slot.
3-10. Writing user program data to CF cards
1
Select the [w 6] data read/write mode.
2
Writing
Press the R/W key.
• The buzzer will sound and the user program data will
be copied from the internal memory onto the CF card.
3 End data read/write mode
TEST indicator switches off
Press the TEST key.
Turn off the power switch, remove the CF card, and then
close the cover of the CF slot.
4583Q
4581Q
4584Q
4579Q
4498Q

3. READING / WRITING DATA
30
BAS-342G
3-11. Updating the control program
1
Select the [r 7] data read/write mode.
2 Press the R/W key.
• [-SyS] will be displayed for a certain amount of time,
and then the display will change to [ vEr], and after that
the version number of the control program that is
stored on the CF card will be displayed.
3
Press the R/W key.
• [ P] will flash in the PROGRAM No. display and the
control program will be updated.
NOTE:
If the filename and folder name for the control program
are incorrect, error [E421] will be displayed.
4 When [ End] is displayed, the process is complete.
Turn off the power switch, remove the CF card, and then
close the cover of the CF slot.
NOTE:
• Version updating may take about 3 − 10 minutes.
(The time taken will vary depending on the
manufacturers and storage capacity of the CF card
being used. )
• Never remove the CF card or turn off the power
switch while reading of the CF card is in progress.
<Restoring the control program if an error occurs during updating>
If the version updating did not complete normally, such as because of a power outage, the sewing machine will not
operate correctly.
If this happens, restore the control program by the following procedure.
1. Insert the CF card containing the control program data into the CF card slot.
2. Turn on the power switch. The operation panel will switch off and the version updating will be carried out.
3. When the initial screen turns back on, the updating is complete. Turn off the power switch, remove the CF card, and
then close the cover of the CF slot.
5060Q
4581Q
4585Q

3. READING / WRITING DATA
31 BAS-342G
3-12. Writing error log data to CF card
1
Select the [w 8] data read/write mode.
2
Writing
Press the R/W key.
• The buzzer will sound and the error log data will be
copied from the internal memory onto the CF card.
3 End data read/write mode
TEST indicator switches off
Press the TEST key.
Turn off the power switch, remove the CF card, and then
close the cover of the CF slot.
3-13. Reading sewing data from floppy disks
1 Insert the floppy disk into the floppy disk drive.
2
Select the [r 9] data read/write mode.
3
Press the R/W key.
• [-Fdd] will change to [ ALL].
Press the or key to select the program number to be read.
* Program numbers that contain no data will also be displayed at this
time.
* If [ ALL] is selected, all sewing data will be read at once.
5061Q
4579Q
5062Q
4577Q

3. READING / WRITING DATA
32
BAS-342G
4
Loading
Press the R/W key.
• The buzzer will sound and the selected sewing data will be loaded
from the floppy disk and copied into the sewing machine's internal
memory.
• The program numbers that have been read will appear in the menu
display.
* If there is a large volume of data in the floppy disk, it will take some
time for all of it to be read.
To halt the reading of data, press the STOP switch. If you then
press the RESET key, the display will change back to [ ALL].
NOTE:
If there is no data in the selected program number, error [E421] will
be displayed. Press the RESET key and then select another
program number.
5 End data read/write mode
TEST indicator switches off
Press the TEST key.
Turn off the power and remove the floppy disk.
3-14. Writing sewing data to floppy disks
1 Insert the floppy disk into the floppy disk drive.
2
Select the [w 10] data read/write mode.
3
Press the R/W key.
• [Fdd-] will change to [ ALL].
Press the or key to select the program number to
be written.
* If [ ALL] is selected, all sewing data will be written at
once.
5064Q
4577Q
5063Q

3. READING / WRITING DATA
33 BAS-342G
4
Writing
Press the R/W key.
• The buzzer will sound and the selected sewing data will
be copied from the internal memory onto the floppy disk.
• The program numbers that have been written will
appear in the menu display.
* If there is a large volume of data in the internal memory,
it will take some time for all of it to be written.
To halt the writing of data, press the STOP switch. If
you then press the RESET key, the display will change
back to [ ALL].
5 End data read/write mode
TEST indicator switches off
Press the TEST key.
Turn off the power and remove the floppy disk.
3-15. Reading extended option output data from a CF card
1
Select the [r 11] data read/write mode.
2
Loading
Press the R/W key.
• The buzzer will sound and the extended option output
data will be loaded from the CF card and copied into
the sewing machine's internal memory.
3
When [ End] is displayed, the process is complete.
Turn off the power switch, remove the CF card, and then
close the cover of the CF slot.
4581Q
4498Q
5066Q
5065Q

3. READING / WRITING DATA
34
BAS-342G
3-16. Writing extended option output data to CF cards
1
Select the [w 12] data read/write mode.
2
Writing
Press the R/W key.
• The buzzer will sound and the extended option output
data will be copied from the internal memory onto the
CF card.
3 End data read/write mode
TEST indicator switches off
Press the TEST key.
Turn off the power switch, remove the CF card, and then
close the cover of the CF slot.
3-17. Reading extended option output data from floppy disks
1 Insert the floppy disk into the floppy disk drive.
2
Select the [r 13] data read/write mode.
3
Loading
Press the R/W key.
• The buzzer will sound and the extended option output
data will be loaded from the floppy disk and copied into
the sewing machine's internal memory.
4
When [ End] is displayed, the process is complete.
Turn off the power and remove the floppy disk.
5070Q
5069Q
5068Q
4579Q
5067Q

4. MECHANICAL DESCRIPTIONS
BAS-342G
35
4. MECHANICAL DESCRIPTIONS
4-1. Needle bar and thread take-up mechanisms
4-2. Lower shaft and shuttle race mechanisms
1. Motor assembly
2. Upper shaft
3. Thread take-up crank
4. Needle bar crank
5. Needle bar
connecting rod
6. Needle bar clamp
7. Needle bar
1233B
1232B
The mechanisms operate in the order of the numbers given in the illustrations.
1. Motor assembly
2. Upper shaft
3. Crank rod assembly
4. Rock gear
5. Lower gear
6. Lower shaft
7. Lower shaft adjusting bush
8. Lower shaft M bush
9. Driver
10. Shuttle hook
<5> Thread take-up
lever assembly
<6> Thread take-up
support

4. MECHANICAL DESCRIPTIONS
BAS-342G 36
4-3. Work clamp lifter mechanism
4-4. Intermittent presser foot lifter mechanism
1. Air cylinde
r
2. Work clamp lifter lever
3. Work clamp lifter lever
4. Work clamp
1. Work clamp pulse moto
r
2. Work clamp driving gear
3. Work clamp cam gear
4. Stepping foot driving lever
5. Stepping clamp lifter rod
6. Stepping clamp lifter
7. Stepping clamp lifter link
8. Stepping clamp link
9. Stepping clamp link B
10. Presser bar clamp
11. Presser bar
12. Intermittent presser foot
1234B
1235B

4. MECHANICAL DESCRIPTIONS
BAS-342G
37
4-5. Intermittent presser foot stroke mechanism
1. Motor assembly
2. Upper shaft
3. Stepping clamp cam
4. Stepping clamp connecting rod
5. Stepping clamp arm R
6. Stepping clamp arm F
7. Stepping clamp link A
8. Stepping clamp link A
9. Stepping clamp link B
10. Presser bar clamp
11. Presser bar
12. Intermittent presser foot
1236B

4. MECHANICAL DESCRIPTIONS
BAS-342G 38
4-6. Feed mechanism
Sewing patterns are created through combinations of X and Y movements.
Y direction
X direction
1. X-feed motor assembly
2. Y motor gear
3. X gear
4. X-GT belt
5. X base plate
6. Y base plate
1. Y-feed motor assembly
2. Y motor gear
3. Y gear
4. Y-GT belt
5. Y-arm
6. X-LM guide bracket
7. Work clamp arm
1237B
1238B

4. MECHANICAL DESCRIPTIONS
BAS-342G
39
4-7. Thread trimmer mechanism
1. Thread trimmer solenoid
2. Solenoid lever
3. Pushing lever
4. Driving lever
5. Thread trimmer collar
6. Thread trimmer cam
7. Thread trimmer rod V
8. Thread trimmer lever V
9. Thread trimmer lever H
10. Thread trimmer rod H
11. Movable knife lever D
12. Movable knife lever
13. Movable knife connecting plate
14. Movable knife
15. Fixed knife
1239B

4. MECHANICAL DESCRIPTIONS
BAS-342G 40
4-8. Tension release mechanism
4-9. Thread wiper mechanism
1. Tension release solenoid
2. Bolt
3. Tension release bar
4. Tension release pin
5049Q
1. Thread wiper solenoid assembly
2. Thread wiper rod
3. Thread wiper crank assembly
4. Wiper
5050Q
When the thread wiper solenoid assembly is turned off,
the wiper operates in the opposite direction.

5. DISASSEMBLY
BAS-342G
41
5. DISASSEMBLY
CAUTION
Disassembly should only be carried out by a
qualified technician.
Turn off the power switch before carrying out
disassembly. If the foot switch is depressed by
mistake, the sewing machine might start operating
and injury could result.
Be sure to wear protective goggles and gloves when
handling the lubricating oil and grease, so that they
do not get into your eyes or onto your skin. If the oil
and grease get into your eyes or onto your skin,
inflammation can result.
Furthermore, do not drink or eat the lubricating oil or
grease. They may cause diarrhea or vomiting.
Keep the oil out of the reach of children.
Use only the proper replacement parts as specified
by Brother.
If any safety devices have been removed, be
absolutely sure to re-install them to their original
positions and check that they operate correctly
before using the machine.
Any problems in machine operation which result
from unauthorized modifications to the machine will
not be covered by the warranty.
5-1. Covers
Disassemble each part in order of the numbers.
1. Top cove
r
2. Motor cover
3. X motor cover
4. Rear cover
5. Rear cover FR
1240B
6. Rear cover FL
7. Eye guard
8. Face plate
9. Shuttle race cover assembly

5. DISASSEMBLY
BAS-342G 42
5-2. Thread wiper mechanism
1. Thread wiper solenoid harness (Pull out)
2. STOP switch harness (Pull out)
3. Bolt
4. Plain washer
5. Removed plain washer (Assemble)
6. Removed bolt (Assemble)
7. Bolts with washers [2 pcs]
8. Thread wiper unit
5090Q

5. DISASSEMBLY
BAS-342G
43
5-3. Work clamp arm mechanism
1. Set screw
2. Needle
3. Needle bar thread guide
4. Bolts [8 pcs]
5. Bolts with washers [4 pcs]
6. Screws [2 pcs]
7. Work clamp arm assembly
8. Bolts with washers [2 pcs]
9. Feed plate
1241B

5. DISASSEMBLY
BAS-342G 44
5-4. Intermittent presser foot lifter mechanism (1)
1. Adjusting screw nut (Loosen)
2. Presser adjusting screw
3. Presser bar spring guide
4. Presser bar spring
5. Presser bar spring collar
6. Screw
7. Shoulder screw
8. Screw
9. Plain washers [2 pcs]
10. Finger guard
1242B
11. Intermittent presser foot
12. Bolt (Loosen)
13. Presser bar
(Pull downward from presser bar clamp)
14. Set screw (Loosen)
15. Stepping clamp lifter link shaft (Pull out)
16. Washer
17. Stepping clamp lifter link (Remove as unit)
18. Presser bar
19. Bolt (Loosen)
20. Stepping clamp arm F

5. DISASSEMBLY
BAS-342G
45
5-5. Needle bar mechanism
1. Rubber cap
2. Screw
3. Needle bar
4. Needle bar clamp (Pull out)
5. Slide block
6. Rubber caps [2 pcs]
7. Set screws [2 pcs] (Loosen)
8. Thread take-up support shaft
assembly
9. Thread take-up support
10. Screw (Loosen)
Do not remove the slide block guide i
f
possible to prevent the machine from
overheating due to needle bar rubbing.
Left-hand thread
11. Needle bar connecting rod
12. Needle bearing
13. Rubber cap
14. Set screws [3 pcs] (Loosen)
15. Needle bar crank
16. Needle bearing
17. Thread take-up lever assembly
18. Washer
19. Bolts [2 pcs]
20. Slide block guide
5092Q
5093Q

5. DISASSEMBLY
BAS-342G 46
5-6. Upper shaft mechanism
1. Screw (Loosen)
2. Set screw (Loosen)
3. Thread take-up crank
4. Screws [3 pcs] (Loosen)
5. Crank cover
6. Bolts [2 pcs]
7. Crank rod [Upper part]
8. Needle bearing
9. Crank rod [Lower part]
(Lower downward)
10. Rubber cap
11. Set screws [2 pcs] (Loosen)
12. Set screws [2 pcs] (Loosen)
13. Set screws [2 pcs] (Loosen)
14. Set screws [2 pcs] (Loosen)
15. Set screws [2 pcs] (Loosen)
16. Set screws [2 pcs] (Loosen)
17. Set screws [2 pcs] (Loosen)
18. Set screws [2 pcs] (Loosen)
19. Screws [3 pcs] (Loosen)
20. Fries wheels [2 pcs]
21. Bolts [4 pcs] (Loosen)
22. Motor assembly
23. Thread trimmer cam
24. Joint assembly
25. Upper shaft
26. Pulley gear R
27. Bobbin winder driving wheel
28. Stepping clamp cam assembly
29. Set screw (Loosen)
30. Pulley assembly
If the motor assembly cannot be removed,
insert bolts into these two tapping holes
and gradually tighten them to remove the
motor assembly.
Be careful not to drop the needle
bearin
g
.
1243B

5. DISASSEMBLY
BAS-342G
47
5-7. Lower shaft mechanism
1. Bolt (Loosen)
2. Driver
3. Set screws [2 pcs] (Loosen)
4. Set screws [2 pcs] (Loosen)
5. Set screws (Loosen)
6. Lower shaft bush
7. Lower shaft assembly
(Pull out from the rear of the machine)
8. Set screw collar
9. Set screw collar
10. Set screw (Loosen)
11. Lower shaft M bush
12. Set screw (Loosen)
13. Adjusting stud (Pull out)
14. Set screw (Loosen)
15. Adjusting stud (Pull out)
16. Set screw (Loosen)
17. Shuttle race base assembly
18. Set screws [2 pcs] (Loosen)
19. Bolt (Loosen)
20. Pinch sleeve A
21. Pinch sleeve B
22. Set screw (Loosen)
23. Set screw collar R
24. Set screws [2 pcs] (Loosen)
25. Rock gear shaft
(Pull out from the rear of the machine)
26. Set screw collar B
27. Rock gear
28. Crank rod [Lower part]
1246B
If the adjusting stud will not pull out,
insert a M3 screw into the tap hole and
then pull out the adjusting stud.
1244B
1245B
Remove the rock gear and the cran
k
rod together as a single unit.
1247B

5. DISASSEMBLY
BAS-342G 48
5-8. Feed covers
1. Bolts with washers [14 pcs]
2. Auxiliary plate
3. Screws [4 pcs]
4. Bellow assembly
5. Screws [6 pcs]
6. Inside cover R
7. Inside cover L
8. Bolts [20 pcs]
9. Cover rail FL assemblies [2 pcs]
10. Cover rail FR assemblies [2 pcs]
11. Outside cover assemblies [2 pcs]
12. Middle cover assemblies [2 pcs]
13. Screws [14 pcs]
14. Fixations [2 pcs]
1249B
1248B

5. DISASSEMBLY
BAS-342G
49
5-9. Feed mechanism
1. Bolts with washers [2 pcs]
2. Bolts [16 pcs]
3. Y base plate assembly
4. Bolts [4 pcs]
5. Belt holder
6. Bolts [16 pcs]
7. X base plate
8. Screws [2 pcs]
9. Fan bracket
10. Screws [4 pcs]
11. Fan
12. Bolts with washers [4 pcs]
13. X motor bracket
14. Bolts [4 pcs]
1250B
1251B
1252B
15. X moto
r
16. Set screws [2 pcs] (Loosen)
17. X motor gear
18. Set screws [8 pcs] (Loosen)
19. Retaining rings C [2 pcs]
20. X drive shaft
21. X gear
22. Pulley B assembly
23. Set screws [2 pcs] (Loosen)
24. Pulley fulcrum shaft
25. Pulley A assembly
26. Pulley fulcrum shaft collar
27. X pulley bracket
28. X-GT belt

5. DISASSEMBLY
BAS-342G 50
29. Bolts with washers [4 pcs]
30. Bolts with washers [8 pcs]
31. Belt holders [2 pcs]
32. Bolts with washers [4 pcs]
33. Bolts [4 pcs]
34. Y motor bracket
35. Set screws [2 pcs] (Loosen)
36. Y motor gear
37. Y motor
38. Screws [3 pcs]
39. Y gear cover
40. Bolts [2 pcs]
41. Fan bracket
42. Screws [4 pcs]
43. Fan
44. Set screws [12 pcs] (Loosen)
45. Y drive shaft
46. Pulley B assemblies [2 pcs]
47. Y gear
48. Set screws [4 pcs] (Loosen)
49. Pulley fulcrum shafts [2 pcs]
50. Pulley fulcrum shaft collars [2 pcs]
51. Pulley A assemblies [2 pcs]
52. Y pulley brackets [2 pcs]
53. Y-GT belts [2 pcs]
1253B
1254B
1255B

5. DISASSEMBLY
BAS-342G
51
5-10. Work clamp lifter mechanism
11. Set screw colla
r
12. Stepping work clamp driving lever
13. Set screw (Loosen)
14. Set screw (Loosen)
15. Screw
16. Plain washer
17. Retaining ring C
18. Work clamp fulcrum shaft
19. Work clamp cam gear
20. Ball bearings [2 pcs]
1. Bolt
2. Bolts [4 pcs]
3. Pulse motor assembly P (Disconnect the harness)
4. Set screws [2 pcs] (Loosen)
5. Work clamp driving gear
6. Bolts [2 pcs]
7. Work clamp motor plate
8. Set screws [2 pcs] (Loosen)
9. Set screw
10. Work clamp lever shaft
1256B

5. DISASSEMBLY
BAS-342G 52
5-11. Tension release mechanism
5-12. Intermittent presser foot lifter mechanism (2)
1. Set screw (Loosen)
2. Tension bracket assembly
(Pull out)
3. Tension release pin
4. Shoulder screws [2 pcs]
5. O rings [2 pcs]
6. Solenoid cover
7. Tension release solenoid
8. Bolts [2 pcs]
9. Spring washers [2 pcs]
10. Plain washe
r
s [2 pcs]
11. Solenoid setting plate
12. Bolt
13. Nut
14. Plain washer
15. Solenoid cushion
16. Tension release bar
17. Plain washer
18. Compression spring
19. Retaining ring E
5111Q
1. Bolts [2 pcs]
2. Stepping clamp lifter rod holder
3. Flat screw
4. Set screw (Loosen)
5. Stepping clamp lifter shaft (Pull out)
6. Stepping clamp lifter (Pull forward)
1257B

5. DISASSEMBLY
BAS-342G
53
5-13. Thread trimmer mechanism
1. Set screws [2 pcs] (Loosen)
2. Thread trimmer cam
3. Screws [3 pcs]
4. Fan
5. Bolts with washers [2 pcs]
6. Solenoid setting plate
7. Set screw
8. Solenoid lever
9. Washer
10. Solenoid cushion
11. Bolts [2 pcs]
12. Spring washers [2 pcs]
23. Nut
24. Shoulder screw B
25. Thread driving lever
26. Set screw
27. Retaining ring E
28. Collar shaft
29. Thread trimmer collar
30. Screws [2 pcs]
31. Flat screws [2 pcs]
32. Needle plate
13. Plain washe
r
s [2 pcs]
14. Thread trimmer solenoid
15. Shoulder screw
16. Driving lever pushing lever
17. Nut
18. Set screw
19. Set screw
20. Guide shaft
21. Compression spring
22. Cushion
1258B
1317B

5. DISASSEMBLY
BAS-342G 54
5-14. Shuttle hook mechanism
33. Movable knife shoulder
screw
34. Thrust washer
35. Movable knife collar
36. Movable knife assembly
37. Movable knife spacer
38. Screws [2 pcs]
39. Plain washers [2 pcs]
40. Fixed knife
41. Shoulder screw
42. Movable knife connecting
plate
43. Spring hook
44. Extension spring
45. Bolt
46. Spring washer
47. Plain washer
48. Nut
49. Shoulder screw B
50. Thread trimmer rod
V
51. Nut
52. Shoulder screw B
53. Set screws [2 pcs] (Loosen)
54. Thread trimmer lever shaft
55. Spacers [2 pcs]
56. Retaining ring C
57. Thread trimmer lever V
58. Thread trimmer lever H
59. Set screws [2 pcs] (Loosen)
60. Movable knife lever shaft
1259B
1318B
61. Movable knife leve
r
62. Bolt
63. Spring washer
64. Plain washer
65. Movable knife lever D
66. Nut
67. Shoulder screw
68. Thread trimmer rod H
1. Bobbin case assembly
2. Shuttle race base setting claw
(Open to right and left)
3. Shuttle race base
4. Shuttle hook

6. ASSEMBLY
BAS-342G
55
6. ASSEMBLY
Apply grease to the required places when reassembling the parts and once every two years.
6-1. Thread trimmer mechanism (1)
Apply the grease <SA8837-001> specified by Brother in the places indicated by .
1. Movable knife leve
r
2. Movable knife lever D
3. Plain washer
4. Spring washer
5. Bolt
6. Thread trimmer rod H
7. Shoulder screw
8. Nut
9. Movable knife lever shaft
10. Set screws [2 pcs]
11. Thread trimmer lever shaft
12. Retaining ring C
13. Spacers [2 pcs]
14. Thread trimmer lever H
15. Thread trimmer lever V
16. Set screws [2 pcs]
17. Shoulder screw B
18. Nut
19. Extension spring
20. Spring hook
When the ball joint assembly of the thread trimme
r
rod H (6) has been disassembled, assemble it so
that the distance between the centers of the holes
is 527 ± 0.5 mm.
Tighten the two set screws (16) on the
screw stop while lightly pressing the thread
trimmer lever shaft.
Tighten the set
screw on the
screw stop while
lightly pressing the
movable knife
lever shaft.
1267B
1268B
Assemble each part in order of the numbers.

6. ASSEMBLY
BAS-342G 56
21. Thread driving leve
r
22. Thread trimmer collar
23. Collar shaft
24. Retaining ring E
25. Set screw
26. Thread trimmer rod V
27. Shoulder screw B
28. Nut
29. Guide shaft
30. Compression spring
31. Cushion
32. Set screw
33. Thread trimmer solenoid
34. Solenoid bracket
35. Plain washers [2 pcs]
36. Spring washers [2 pcs]
37. Bolts [2 pcs]
38. Solenoid cushion
39. Washer
40. Solenoid lever
41. Set screw
42. Bolts with washers [2 pcs]
43. Driving lever pushing lever
44. Shoulder screw
45. Set screw
46. Nut
47. Movable knife connecting plate
48. Shoulder screw
49. Shoulder screw B
50. Nut
51. Plain washer
52. Spring washer
53. Bolt
When the ball joint assembly of the
thread trimmer rod V (26) has been
disassembled, assemble it so that
the distance between the centers o
f
the holes is 287.5 ± 0.5 mm.
4615Q
1270B
1269B
Tighten the set screw (25) on the
screw stop while lightly pressing the
collar shaft (23).
Check that the thread trimmer colla
r
(22) turns smoothly.
A
ssemble so that the wick is
hanging down.
A
pply grease.

6. ASSEMBLY
BAS-342G
57
6-2. Intermittent presser foot lifter mechanism (1)
6-3. Tension release mechanism
1. Tension release ba
r
2. Retaining ring E
3. Plain washer
4. Compression spring
5. Tension release solenoid
6. Solenoid setting plate
7. Solenoid cushion
8. Plain washer
9. Nut
10. Bolt
11. Plain washers [2 pcs]
12. Spring washers [2 pcs]
13. Bolts [2 pcs]
14. Solenoid cover
15. O rings [2 pcs]
16. Shoulder screws [2 pcs]
17. Tension release pin
18. Tension bracket
19. Set screw
5139Q
A
djust the thread take-up
spring height while referring to
“7-2. Standard thread tension”.
A
djust while referring to “7-18.
A
djusting the tension release amount”.
1. Stepping clamp lifter (Insert from the front)
2. Stepping clamp lifter shaft
3. Set screw
4. Flat screw
<Stepping clamp lifter rod adjustment>
Screw the stepping clamp lifte
r
rod in as far as
it will go, then turn it back 3 times.
1271B
1272B
Place the oil tube into
the groove.
Tighten the set screw (3) on the screw stop
w
hile lightly pressing the stepping clamp lifte
r
shaft (2).

6. ASSEMBLY
BAS-342G 58
6-4. Work clamp lifter mechanism
Apply the grease <SA8837-001> specified by Brother in the places indicated by .
(Continued on the next page.)
Set the work clamp cam gea
r
(2) so that there is no
clearance between it and the ball bearing in the shaft
direction, and then align the V groove in the work clamp
fulcrum shaft (3) with the thread on the hole side of the
w
ork clamp cam gea
r
(2). Then tighten the set screw
(7).
1. Ball bearings [2 pcs]
2. Work clamp cam gear
3. Work clamp fulcrum shaft
4. Retaining ring C
5. Plain washer
6. Screw
7. Set screw
8. Set screw
9. Stepping work clamp driving
lever
10. Set screw collar
11. Work clamp lever shaft
12. Set screw
13. Set screws [2 pcs]
14. Shoulder screw
15. Stepping clamp lifter rod
holders [2 pcs]
16. Bolts [2 pcs]
A
lign the screw stop, and then tighten
the screw (12) so that there is no play
in the stepping work clamp driving
lever (9) and the set screw collar (10).
Check that the stepping work clamp
driving lever (9) turns smoothly.
1273B
1354B
A
fter installing
the stepping
clamp lifter rod
holders (15),
check that the
stepping clamp
lifter (a) moves
smoothly.
1274B
Gently fit the rubber bushing (b) into the
stepping clamp lifter rod holders (15), and
then secure it with the two bolts (16).
1390B

6. ASSEMBLY
BAS-342G
59
1) With the screw stop of the pulse motor assembly P (17) facing
downward and the index mark on the work clamp driving gear (18)
facing to the right, adjust so that the clearance between the
pulse motor assembly P (17) and the work clamp driving gear (18)
is 6.2 mm, and then tighten the two set screws (19).
17. Pulse moto
r
assembly P
18. Work clamp driving gear
19. Set screws [2 pcs]
20. Work clamp motor plate
21. Bolts [4 pcs]
22. Bolts [2 pcs]
2) Install the pulse motor assembly P (17) to the work
clamp motor plate (20) with the four bolts (21) so that the
motor connector is facing downward.
3) Align the index marks on the work clamp cam gear and
the work clamp driving gear, and then install the work
clamp motor plate (20) with the two bolts (22) so that
there is no backlash.
1275B
1277B
1276B
Index mark
Index mark

6. ASSEMBLY
BAS-342G 60
6-5. Feed mechanism
6-5-1. Y-feed mechanism
Apply the grease <SA8837-001> specified by Brother in the places indicated by .
(Continued on the next page)
1. Y-pulley brackets [2 pcs]
2. Y-GT belts [2 pcs]
3. Pulley fulcrum shafts [2 pcs]
4. Pulley fulcrum shaft collars [2 pcs]
5. Pulley A assemblies [2 pcs]
6. Set screws [4 pcs]
7. Y-pulley bracket assemblies [2 pcs]
8. Bolts with washers [4 pcs]
(Temporarily tighten)
1278B
1279B

6. ASSEMBLY
BAS-342G
61
9. Y drive shaft
10. Y-GT belt
11. Pulley B assembly
12. Set screws [4 pcs]
13. Y gear
14. Set screws [4 pcs]
15. Y-GT belt
16. Pulley B assembly
17. Set screws [4 pcs]
18. Screws [2 pcs]
1281B
Reference line
Before inserting the Y drive shaft
(9), apply grease in the places
indicated by .
A
lign the reference line and the edge of the Y gear (13), and then tighten
the set screw. Push the pulley B assembly (11) and pulley B assembly
(16) against the ball bearings (a), tighten the set screw, and then move
the Y drive shaft (9) in the direction of the arrow and check that there is
no play.
Reference
line
19. Y gear cover
20. Screws [3 pcs]
21. Y motor
22. Y motor gear
23. Set screws [3 pcs]
24. Y motor bracket
25. Bolts [4 pcs]
26. Bolts with washers [4 pcs]
(Temporarily tighten)
27. Fan
28. Screws [4 pcs]
29. Fan bracket
30. Bolts [2 pcs]
A
pply grease to the holes
and grooves of the Y
motor shaft.
1282B

6. ASSEMBLY
BAS-342G 62
(Continued on the next page.)
Place the Y motor gear (22)
against ball bearing (b), and
then tighten the set screw (23).
1391B
Install the belt holder (31) so
that the side with the
countersunk hole is at the
top.
Countersunk
hole
31. Belt holde
r
s [2 pcs]
32. Bolts [8 pcs] (Temporarily tighten)
33. Bolts M6X35 [2 pcs] (Tighten and then pull.)
34. Bolts with washers [4 pcs] (Fully tighten)
35. Bolts [2 pcs] (Fully tighten)
36. Bolts M6X35 [2 pcs] (Remove)
1283B
Tighten the two bolts (M6X35) (33)
into the holes in the side of the bed,
and then pull the Y pulley bracket
assembly (c) to adjust the belt tension.
* After adjusting the belt tension, measure the tension. (Refer to the next page.)

6. ASSEMBLY
BAS-342G
63
<Measuring the tension>
1. Move the Y arm (1) forward (in the direction of the arrow) as far as it will go.
2. Use a tension gauge (2) to measure the tension at the middle of the lower belt while referring to “Measurement position” in
the illustration.
* Check that the value for the belt tension is within the following value ranges.
[For a new belt: 650 to 750 N; For a reused belt: 520 to 600 N]
* Be sure to use a belt tension gauge to measure the belt tension, and measure from the middle of the lower belt.
* The belt tension gauge should be set to measure a unit weight of 0.04 kg/m, a belt width of 50 mm and a span length of
333 mm.
* It is recommended that you use the Yunitta U-505 tension gauge.
1284B
1285B
Finger pressing
position
(Lower belt)
Microphone
position
(Lower belt)
[Measurement position]
Microphone
position
(Lower belt) Middle of belt
Finger pressing
position
(Lower belt)

6. ASSEMBLY
BAS-342G 64
37. Y motor assembly
38. Bolts [4 pcs]
Move the feed plate in the Y direction so that the center of the feed
plate is aligned with the center of the needle hole, and then install the
Y
motor so that the index mark on the end of the Y motor shaft is facing
directly upward.
1286B
Index mark
Y direction
Center
Center of needle hole
A
djust and install so
that the backlash is
w
ithin 0.01 to 0.05.
1287B

6. ASSEMBLY
BAS-342G
65
6-5-2. X-feed mechanism
Apply the grease <SA8837-001> specified by Brother in the place indicated by .
1. X pulley bracket
2. X-GT belt
3. Pulley fulcrum shaft
4. Pulley fulcrum shaft collar
5. Pulley A assembly
6. Set screws [2 pcs]
7. X drive shaft
8. Retaining ring
9. X-GT belt
10. Pulley B assembly
11. Set screws [4 pcs]
12. X gear
13. Set screws [4 pcs]
14. Retaining ring
15. X pulley bracket assembly
16. Bolts with washers [2 pcs]
(Temporarily tighten)
Reference
line
1289B
1290B
Before inserting the X drive
shaft (7), apply grease in the
place indicated by .
A
lign the reference line and the
edge of the X gear (12), and then
tighten the set screws (13).
Reference
line
Push the retaining ring (14) and the pulley
B assembly (10) against the ball bearings
(a), tighten the set screws (11), and then
move the X drive shaft (7) in the direction o
f
the arrow and check that there is no play.
1288B

6. ASSEMBLY
BAS-342G 66
(Continued on the next page.)
17. Belt holde
r
18. Bolts [4 pcs]
(Temporarily tighten)
19. X base plate
20. Bolts [16 pcs]
Set the X linear guide (b) against
the X base plate (19) as shown in
the illustration, and then tighten
the bolts (20).
Install the belt holde
r
(17) so that the side
w
ith the countersunk
hole is at the top.
1291B
1292B
21. Y base plate tool
22. Bolts [2 pcs]
23. Bolts [16 pcs]
Install the Y base plate
tool (21) so that its edges
are positioned as shown
in the illustration.
* Once installation is complete, remove the Y base plate tool (21).
Edge Edge
Edge
Countersunk
hole
1355B

6. ASSEMBLY
BAS-342G
67
24. X moto
r
25. X motor gear
26. Set screws [2 pcs]
27. X motor bracket
28. Bolts [4 pcs]
29. X motor assembly
30. Bolts [4 pcs]
Index mark
A
djust and install so that the backlash
is within 0.01 to 0.05.
Install the X motor assembly
(29) so that the projection is
touching against the bed.
1293B
1295B
Touch the X motor gea
r
(25) against the edge
of the ball bearing (c),
and then tighten the
two set screws (26).
A
pply grease to the
places indicated by the
arrows.
Apply grease to the
holes and grooves o
f
the X motor shaft.
Move the feed plate in the X direction so
that the center of the feed plate is aligned
w
ith the center of the needle hole, and then
install the X motor so that the index mark
on the end of the X motor shaft is facing
directly downward.
Center of
needle hole
Center
X direction
1294B

6. ASSEMBLY
BAS-342G 68
(Continued on the next page.)
31. Fan
32. Fan bracket
33. Screws [4 pcs]
34. Bolts [2 pcs] 1296B
35. Bolts M6X30 (Tighten and then pull)
36. Bolts [4 pcs] (Fully tighten)
37. Bolts with washers [2 pcs] (Fully tighten)
38. Bolts M6X30 (Remove)
Tighten the bolts (M6X30)
(35) into the holes in the
side of the bed, and then
pull the Y pulley bracket
assembly (d) to adjust the
belt tension.
* After adjusting the belt tension, measure the tension. (Refer to the next page.)
1297B

6. ASSEMBLY
BAS-342G
69
<Measuring the tension>
1. Move the X base plate (1) to the left edge (in the direction of the arrow).
2. Use a tension gauge (2) to measure the tension at the middle of the lower belt while referring to “Measurement position” in
the illustration.
* Check that the value for the belt tension is within the following value ranges.
[For a new belt: 650 to 750 N; For a reused belt: 520 to 600 N]
* Be sure to use a belt tension gauge to measure the belt tension, and measure from the middle of the lower belt.
* The belt tension gauge should be set to measure a unit weight of 0.04 kg/m, a belt width of 50 mm and a span length of 485
mm.
* It is recommended that you use the Yunitta U-505 tension gauge.
1298B
1299B
Finger pressing
position
(Lower belt)
Microphone
position
(Lower belt)
[Measurement position]
Middle of
belt

6. ASSEMBLY
BAS-342G 70
6-6. Feed covers
(Continued on the next page.)
Install the cover rails so that the pins at the bottom
edges are on the outside.
Place the middle cover on top of the cover rails
and outside cover on the bottom.
1. Fixations [2 pcs]
2. Screws [14 pcs]
3. Middle cover assemblies [2 pcs]
(Place into cover rail.)
4. Outside cover assemblies [2 pcs]
(Place into cover rail.)
5. Cover rail FR assemblies [2 pcs]
6. Bolts 4X10 [10 pcs]
7. Cover rail FL assemblies [2 pcs]
8. Bolts 4X10 [10 pcs]
9. Inside cover R assembly
10. Screws 4X8 [3 pcs]
11. Inside cover L assembly
12. Screws 4X8 [3 pcs]
13. Bellow assembly
14. Screws [4 pcs]
(Tighten the inside cover R assembly and
inside cover L assembly together.)
1300B
1301B
1353B
1352B
A
lign the
edges.
Outside
Outside
Lock the projections together as shown in the illustration.

6. ASSEMBLY
BAS-342G
71
15. Auxiliary plate
16. Bolts with washers [14 pcs]
1302B Install the support plate bracket so that the notches are aligned with
the edge of the bed.
Support plate
bracket
Bed
Needle plate
1304B
1303B
A
fter installing, check that the height of the needle plate is as
shown in the illustration.

6. ASSEMBLY
BAS-342G 72
6-7. Upper shaft mechanism
(Continued on the next page.)
1. Upper shaft
2. Pulley gear R
3. Driving wheel B-winder
4. Stepping clamp cam
assembly
5. Thread take-up crank
6. Screw
7. Set screw
8. Set screws [2 pcs]
9. Set screws [2 pcs]
10. Rubber cap
11. Set screws [2 pcs]
12. Joint assembly
13. Set screws [2 pcs]
1305B
A
pply adhesive <Threebond 1324> to the
outer circumference of the joint assembly
bearing.
1) Tighten the screw of the thread take-up crank (5)
so that it is aligned with the upper shaft hole.
2) While pressing the thread take-up crank (5) so
that there is no play in it, tighten the two set
screws (8).
A
pply adhesive <Threebond 1401> to the thread
section of the screw.
5204Q
Reference line
Before inserting the upper shaft (1), apply
the grease <SA8837-001> specified by
Brother to the places indicated by .
Install the driving wheel B-winder so
that it is in phase with the thread
take-up crank and aligned with the
reference line on the upper shaft.

6. ASSEMBLY
BAS-342G
73
1)Align the index mark D on the thread trimmer cam
(14) and the index mark E on the joint assembly, and
then provisionally tighten the set screw at the inde
x
mark side.
2) After tightening the set screw at the screw stop side,
fully tighten the set screw at the index mark side.
3) Carry out the adjustments in "7-16. Adjusting the
thread trimmer cam position".
A
pply the grease <SA8837-001> specified by Brother to
the groove.
14. Thread trimmer cam
15. Motor assembly
16. Bolts [4 pcs]
17. Fries wheels [2 pcs]
18. Screws [3 pcs]
19. Set screws [2 pcs]
20. Set screws [2 pcs]
21. Set screws [2 pcs]
22. Set screws [2 pcs]
(Temporarily tighten)
23. Pulley assembly
24. Set screw
Tighten the set screw so that the screw stop A on the
motor shaft is in the same phase as the screw stop B
on the thread trimmer cam.
Tighten the set screw so that the screw stop C on the
upper shaft is at a phase of approximately 180
degrees from the screw stop A on the motor shaft.
1419B
1306B
Install the motor assembly so that the
harness is facing downward.
A
djust while referring to “6-9. Intermittent
presser foot lifter mechanism (2)”.
1) Set so that distance F is 4 mm and distance G is 1.5
mm, and then tighten the set screw (24).
2) Move pulley gear R (J) to the position where the teeth
of pulley gear L (H) and pulley gear R (J) are engaged
at a right angle, and then tighten the two set screws
(21).
4644Q
1418B
Spring pin
Upper shaft
Pulley
bush

6. ASSEMBLY
BAS-342G 74
6-8. Needle bar mechanism
Apply the grease <SA8837-001> specified by Brother in the places indicated by .
(Continued on the next page.)
1. Slide block guide
2. Bolts [2 pcs]
(Temporarily tighten)
3. Washer
4. Thread take-up lever
assembly
5. Needle bearing
6. Needle bar crank
7. Set screws [2 pcs]
8. Set screw
9. Needle bearing
10. Needle bearing
11. Screw
12. Thread take-up support
13. Thread take-up support shaft assembly
14. Set screws [2 pcs]
15. Rubber caps [2 pcs]
16. Rubber cap
17. Slide block
Left-hand thread
5142Q
Set so that this hole faces vertically,
and then push in gently while
tightening the set screws (14) to
install.
Inside hole
While gently pushing the needle ba
r
crank in the shaft direction, align the
set screw with the screw stop and then
tighten the set screw.
A
fter securing the needle bar, position
the slide block guide so that the machine
pulley turns smoothly, and then tighten
the bolts.
Fit the chamfering side of the
slide block into the groove on
the slide block guide.

6. ASSEMBLY
BAS-342G
75
18. Needle bar clamp
19. Needle bar
(Insert from above)
20. Screw
21. Rubber cap
A
lign the needle bar so that reference line A (the second lowest
reference line on the needle bar) or reference line a (top reference
line) is aligned with the lower edge of the needle bar bush when the
machine pulley is turned to lower the needle bar to its lowest
position, and then set the cut section so that it is facing forward and
tighten the screw.
4647Q
Needle bar
bush
1392B
Cut section
Inside hole
A
fter inserting the needle
bar (19), apply grease in the
places indicated by .

6. ASSEMBLY
BAS-342G 76
6-9. Intermittent presser foot lifter mechanism (2)
(Continued on the next page.)
1) With the needle bar lowered approximately 6.5 mm from
its highest position, set the stepping clamp arm F to the
position of the straight line in the illustration.
2) Place a bushing in between stepping clamp arm F and
stepping clamp arm R so that there is no play, and then
tighten the bolt.
Install the presser bar spring collar as shown in the
illustration, and then adjust the height of the
presser adjusting screw to 32 mm.
5195Q 1393B
1307B
Notes on the installation position
(Refer to “7-13. Changing the
intermittent stroke”.)
Tighten the set screw on the screw stop
w
hile lightly pressing the link shaft.
10. Link shaft
(with retaining ring)
11. Set screw
12. Shoulder screw
13. Screw
14. Shoulder screw
15. Screw
16. Presser bar spring collar
17. Presser bar spring
18. Presser bar spring guide
19. Adjusting screw nut
20. Presser adjusting screw
21. Intermittent presser foot
22. Plain washers [2 pcs]
23. Finger guard
24. Screw
(Temporarily tighten)
1. Stepping clamp arm F
2. Stepping clamp arm R
3. Set screws [2 pcs]
4. Bolt
5. Presser bar clamp
6. Presser bar
7. Bolt
(Temporarily tighten)
8. Stepping clamp lifter link
9. Washer
1427B
*1): Position when the pulley is
turned to raise the needle
bar from its lowest position
until the reference line B (o
r
b) on the needle bar is
aligned with the lower edge
of the needle bar bush A
1428B
Index marks
A
t the needle bar timing
position*1), align the index
marks of the stepping clamp
cam and the stepping clamp
connecting rod, and then
tighten the set screw (3).

6. ASSEMBLY
BAS-342G
77
After installing the needle plate while referring to “6-12. Thread trimmer mechanism (2)”, carry out the following adjustments.
1. Turn the work clamp cam gear (1) to move the stepping work clamp driving lever (2) to the solid line position shown in
the illustration.
2. Loosen the two nuts (4) and then turn the stepping rod joint (5) to adjust so that the height of the stepping clamp link (3)
is 93.5 mm from the bottom edge of the arm.
3. Set the height of the presser bar (6) to 41 mm above the needle plate, align the center of the intermittent presser foot (7)
and the needle hole, and then tighten the bolt (8).
4. Set the height of the intermittent presser foot (7) to 22 mm above the needle plate, and then tighten the screw (9).
5. Turn the work clamp cam gear (1) to move the stepping work clamp driving lever (2) to the dotted line position shown in
the illustration.
6. Set the needle bar to the timing position*1).
7. Loosen the nut (10) and turn the bolt (11) to set the height of the intermittent presser foot (7) to 0.5 mm above the needle
plate.
5198Q 1395B
1394B
1428B
*1): Needle bar timing position
Position when the pulley is turned to
raise the needle bar from its lowest
position until the reference line B (o
r
b) on the needle bar is aligned with
the lower edge of the needle ba
r
bush A

6. ASSEMBLY
BAS-342G 78
6-10. Lower shaft mechanism
(Continued on the next page.)
5. Pinch sleeve A
6. Rock gear shaft
(Insert from the rear of the machine head)
7. Rock gear
8. Set screw collar B
9. Set screws [2 pcs]
10. Pinch sleeve B
11. Bolt (Temporarily tighten)
12. Set screw collar R
13. Set screw (Temporarily tighten)
14. Set screws [2 pcs] (Temporarily tighten)
1309B
1. Shuttle race base assembly
2. Set screw
3. Set screw
4. Adjusting stud
Tighten the set screw (2) until the head
of the screw is flush with the edge of the
bed. (Refer to “7-8. Adjusting the rotary
hook lubrication amount”.)
1308B
V
iewed from the front
A
djust while referring to “7-19. Adjusting
the lower shaft gear backlash”.

6. ASSEMBLY
BAS-342G
79
15. Set screw
16. Adjusting stud
17. Lower shaft M bush
18. Set screw
19. Set screw collar
20. Set screw collar
21. Lower shaft assembly
(Insert from the rear of the machine head)
22. Lower shaft bush
23. Set screw
24. Set screws [2 pcs]
25. Set screws [2 pcs]
26. Driver
27. Bolt (Temporarily tighten)
28. Crank rod [Lower part] (Insert into upper shaft crank)
29. Needle bearing
30. Crank rod [Upper part] (Align the mating mark)
31. Bolts [2 pcs]
32. Crank cover
33. Screws [3 pcs]
Insert the crank rod [lower part] (28) into the crank o
f
the upper shaft, align the marks on the crank rod
(30) [upper part], and then gently tighten the two
bolts (31).
* Check that the pulley turns smoothly.
1310B
1312B
Matin
g
Mark
1311B
Push a screwdriver gently against the
stepped section of the lower shaft, and
then provisionally tighten the bolt.
A
lign the
lower shaft
bush (22)
w
ith the edge
of the bed.

6. ASSEMBLY
BAS-342G 80
6-11. Shuttle hook mechanism
6-12. Thread trimmer mechanism (2)
Apply the grease <SA8837-001> specified by Brother in the places indicated by .
A
fter installing the shuttle hook, carry out the adjustments in “7-4. Adjusting the
needle bar lift amount”, “7-5. Adjusting the driver” and “7-6. Adjusting the needle
clearance”.
5149Q 1. Needle bar thread guide
2. Needle
3. Set screw
4. Shuttle hook
5. Shuttle race base
6. Shuttle race base setting
claw (Close)
7. Bobbin
8. Bobbin case
1. Fixed knife
2. Plain washers [2 pcs]
3. Screws [2 pcs]
4. Movable knife spacer
5. Movable knife assembly
6. Movable knife collar
7. Thrust washer
8. Movable knife
9. Shoulder screw
10. Needle plate
11. Screws [2 pcs]
12. Flat screws [2 pcs]
1313B
1314B
5151Q
Insert the pin of the movable knife assembly into the
hole in the movable knife connecting plate, and then
install the needle plate with the screws and flat screws
so that the needle drops into the center of the needle
hole.
Movable knife
connecting plate

6. ASSEMBLY
BAS-342G
81
6-13. Work clamp arm mechanism
1. Feed plate
2. Bolts with washers [2 pcs]
3. Work clamp arm assembly
4. Bolts with washers [4 pcs]
5. Bolts [8 pcs]
A
fter assembling, adjust the home position. (Refer to “7-20. Adjusting the home position”.) After that, carry out a test
feed to check that the needle hole does not go outside the frames of the work clamp and feed plate. If the needle
hole goes outside the frames, adjust the position of the feed plate or readjust the home position.
1349B

6. ASSEMBLY
BAS-342G 82
6-13-1. Adjusting the lift of the work clamp arm assembly
<Cross roller adjustment>
1. Loosen the four screws (1) on the outside at left and right.
2. Screw in the four M4 taps (2) on the left and right sides of the work clamp arm to apply pressure.
3. Adjust so that the sliding load of the cross rollers (3) is 10 to 40 N.
4. Tighten the four screws (1).
<Work clamp height adjustment>
1. Loosen the two bolts (4) at left and right.
2. Lift up the left and right work clamp arm levers (5) by hand to their highest positions, and then tighten the two bolts (4).
3. Loosen the two nuts (7) at left and right.
4. Turn the shafts of the air cylinders (8) at left and right until the work clamp (6) is 30 mm above the top of the needle plate,
and then tighten the two nuts (7).
<Work clamp adjustment>
1. Loosen the four bolts (9).
2. Lower the work clamp (6), and then install the work clamp (10) with the four bolts (9).
<Work clamp pressure adjustment>
1. Remove the four nuts (11).
2. Loosen the four nuts (12).
3. Tighten the four set screws (13) so that the pressure is uniform at the front and back of the work clamp (6), and then
tighten the four nuts (12). (Reference dimension: When the edge of the work clamp (6) is 26 mm above the top of the
needle plate)
4. Tighten the four nuts (11).
1315B
The highest
p
osition

6. ASSEMBLY
BAS-342G
83
6-14. Thread wiper mechanism
1. Thread wiper unit
2. Bolts with washers [2 pcs]
3. Bolt (Remove)
4. Plain washer (Remove)
5. Removed plain washer
6. Removed bolt
7. STOP switch harness
8. Thread wiper solenoid harness
5153Q
A
djust the thread wipe
r
after installing. (Refer to “7-11. Adjusting the thread wiper”.)
A
lign the thread wiper shaft bracket
and the bottom of the arm and then
tighten the two bolts with washer.

6. ASSEMBLY
BAS-342G 84
6-15. Covers
1. Shuttle race cove
r
assembly
2. Face plate
3. Eye guard
4. Rear cover FL
5. Rear cover FR
6. Rear cover
7. X motor cover
8. Motor cover
9. Top cover
1316B

7. ADJUSTMENT
85 BAS-342G
7. ADJUSTMENT
CAUTION
Maintenance and inspection of the sewing machine
should only be carried out by a qualified technician.
Ask your Brother dealer or a qualified electrician to
carry out any maintenance and inspection of the
electrical system.
Turn off the power switch and disconnect the power
cord before carrying out the following operations.
If the foot switch is depressed by mistake, the sewing
machine might start operating and injury could result.
• Inspection, adjustment and maintenance
• Replacing consumable parts such as the rotary
hook
Disconnect the air hoses from the air supply and wait
for the needle on the pressure gauge to drop to “0”
before carrying out inspection, adjustment and repair
of any parts which use the pneumatic equipment.
If the power switch and air need to be left on when
carrying out some adjustment, be extremely careful
to observe all safety precautions.
Hold the machine head with both hands when tilting it
back or returning it to its original position.
In addition, do not subject the machine head to extra
force while it is tilted back. If this is not observed, the
machine head may become unbalanced and fall
down, and serious injury or damage to the sewing
machine may result.
Be sure to wear protective goggles and gloves when
handling the lubricating oil and grease, so that they
do not get into your eyes or onto your skin. If the oil
and grease get into your eyes or onto your skin,
inflammation can result.
Furthermore, do not drink or eat the lubricating oil or
grease. They may cause diarrhea or vomiting.
Keep the oil out of the reach of children.
If any safety devices have been removed, be
absolutely sure to re-install them to their original
positions and check that they operate correctly
before using the machine.
7-1. Checking the safety switch
1. If the machine head is tilted back, gently return it to its
original position.
2. Turn on the power switch.
3. Check that no error numbers are displayed on the
operation panel.
< If error [E050], [E051] or [E055] is displayed >
If the safety switch (1) is not turned on, error [E050], [E051]
or [E055] will occur.
Check the installation position of the safety switch (1).
1) Turn off the power switch.
2) Loosen the two screws (2).
3) Push down the right side of the safety switch (1) so that
the safety switch (1) turns on, and then tighten the two
screws (2).
4) Turn on the power and check that no error numbers are
displayed.
3989M

7. ADJUSTMENT
86
BAS-342G
7-2. Standard thread tension
Upper thread #20 or similar
Lower thread #20 or similar
Upper thread tension (N) 1.4 − 1.8
Lower thread tension (N) 0.3 − 0.4
Thread take-up spring height
(mm) 7 − 10
Thread take-up spring
tension (N) 0.6 − 1.2
Pre-tension (N) 0.2 − 0.4
Needle DP x 17 #19
7-2-1. Upper and lower thread tension
1378B
1377B

7. ADJUSTMENT
87 BAS-342G
7-2-2. Thread take-up spring
<Thread take-up spring height>
Loosen the set screw (1) and turn the adjuster to adjust.
<Thread take-up spring tension>
1. Press the upper thread slightly above the tension
bracket (2) with a finger to stop the thread spooling out.
2. Pull the upper thread downward so that the thread
take-up spring (3) is extended to the same height as the
base of the thread guide arm (4), and then measure the
tension of the thread take-up spring (3).
3. Use a screwdriver to turn the tension stud (5) in order to
adjust the tension of the thread take-up spring (3).
NOTE:
If the thread tension spring (3) is not adjusted correctly, the upper thread trailing length will be uneven after thread
trimming.
7-2-3. Arm thread guide R
The standard position of arm thread guide R (1) is when the
screw (2) is aligned with the index mark.
Loosen the screw (2) and move arm thread guide R (1) to
adjust.
* When sewing heavy material, move arm thread guide R (1)
to the left. (The thread take-up amount will become greater.)
* When sewing light material, move arm thread guide R (1) to
the right. (The thread take-up amount will become less.)
4030M
4029M
Higher
More thread Less thread
Index mark
Stronger
Weaker
Lower
4031M
More thread Less thread
Index mark

7. ADJUSTMENT
88
BAS-342G
7-3. Adjusting the needle bar height
Turn the machine pulley to move the needle bar to the lowest position. Then remove the rubber plug (2), loosen the screw (3)
and then move the needle bar up or down to adjust so that the second reference line from the bottom of the needle bar
(reference line A) is aligned with the lower edge of the needle bar bush (1).
* If using a DP X 5 needle, use the highest reference line (reference line a).
7-4. Adjusting the needle bar lift amount
Turn the machine pulley to raise the needle bar from the lowest position until the lowest reference line on the needle bar
(reference line B) is aligned with the lower edge of the needle bar bush (1), and then loosen the bolt (2) and move the driver
(3) so that the tip of the rotary hook is aligned with the center of the needle.
* If using a DP X 5 needle, use the second reference line from the top of the needle bar (reference line b).
7-5. Adjusting the driver
Turn the machine pulley to align the tip of the rotary hook with the center of the needle, and then loosen the set screw (2) and
turn the adjusting stud (3) to adjust so that the driver (1) is touching the needle.
NOTE:
If it crosses the needle more than necessary, it will place a load on the needle, or it may cause poor thread tension.
Furthermore, if it does not cross the needle at all, the tip of the rotary hook will interfere with the needle and skipped
stitches may occur.
2552Q 4032M
2554Q 0135Q 4033M
2555Q
0135Q 4034M
Needle center
Rotary hook tip
Needle center
Rotary hook tip

7. ADJUSTMENT
89 BAS-342G
7-6. Adjusting the needle clearance
Turn the machine pulley to align the tip of the rotary hook with the center of the needle, and then loosen the set screw (1) and
turn the adjusting stud (2) to adjust so that the clearance between the needle and the rotary hook is 0.01 − 0.08 mm.
7-7. Adjusting the shuttle race thread guide
Install the shuttle race thread guide (1) by pushing it in the direction of the arrow so that the needle groove is aligned with the
center of the needle plate hole.
NOTE:
If the shuttle race thread guide (1) is in the wrong position, thread breakages, soiled thread or tangling of the thread may
occur.
The position of the shuttle race thread guide (1) is adjusted at the time of shipment from the factory. It should not be
changed if possible.
0.01 - 0.08mm
0138Q 4035M
3574Q

7. ADJUSTMENT
90
BAS-342G
7-8. Adjusting the rotary hook lubrication amount
<Adjusting by changing the pressure on the oil tube>
The optimum position is when the head of the set screw (1)
is aligned with the edge of the bed. The rotary hook
lubrication amount can be adjusted within three turns to the
right from that position.
• If the set screw (1) is turned clockwise, the lubrication
amount becomes smaller.
• If the set screw (1) is turned counterclockwise, the
lubrication amount becomes greater.
* If you would like the lubrication amount to be increased
further from the position the head of the set screw (1) is
aligned with the edge of the bed, use the following method
to make the adjustment.
<Adjusting by changing the amount of oil supplied from
the sub-tank>
1. Remove the four screws (1), and then remove the X motor
cover (2).
2. Tilt back the machine head.
3. Insert a screwdriver into the holes in the left side of the
sewing machine bed and loosen the two bolts (3).
4. Move the sub-tank (4) up or down to adjust its position,
and then tighten the two bolts (3).
• If the position of the sub-tank (4) is raised, the
lubrication amount will increase.
• If the position of the sub-tank (4) is lowered, the
lubrication amount will decrease.
5. Return the machine head to its original position.
6. Install the X motor cover (2) with the four screws (1).
4037M
4036M
4038M
4037M
Less oil
More oil
Oil tube
Three turns of the se
t
screw (1)
Less oil
More oil
A
ligned
Less oil
More oil

7. ADJUSTMENT
91 BAS-342G
7-9. Adjusting the position of the movable knife
1. Open the top cover and tilt back the machine head.
2. Turn the pulley (1) by hand to lower the needle bar to its lowest position, and push the thread trimmer solenoid (2) as far
as it will go.
3. With the collar (3) inserted into the groove of the thread trimmer cam (4), turn the pulley (1) by hand to set the driving lever
(5) to the reverse position (when the thread take-up (6) is close to its lowest position).
4. Remove the rubber cap (7).
5. Loosen the bolt (8).
6. Move the movable knife connecting plate (10) back and forth to adjust so that the distance from the ridge on the right side
of the needle plate to the ridge on the movable knife (9) is 9.5 to 9.9 mm.
7. After tightening the bolt (8), check the above position once more.
5232Q 4039M
<View from side of thread trimmer cam>
5255Q 5233Q
Reverse position
4004M
4041M
4040M

7. ADJUSTMENT
92
BAS-342G
8. Turn the pulley (1) by hand to move the needle bar to its lowest position.
9. Loosen the nut (11), tighten the set screw (12) until the collar (3) is touching the inside of the groove in the thread
trimmer cam (4), and then turn it back in the counterclockwise direction by approximately 1/4 of a turn.
10. Tighten the nut (11), and then check that the collar (3) is not touching the inside of the groove in the thread trimmer cam
(4). In addition, push the driving lever (5) by hand toward the thread trimmer cam until the collar (3) touches the groove of
the thread trimmer cam (4), and then check that the driving lever (5) returns smoothly to its original position when it is
released.
11. Check that there is a gap of about 0 - 1 mm between the outside of the hole in the movable knife (9) and the ridge line on
the shuttle race thread guide (13) when there is still play between the parts.
4004M
4042M 4043M

7. ADJUSTMENT
93 BAS-342G
7-10. Replacing the movable and fixed knives
1. Loosen the two bolts (1) and then remove the feed plate (2).
2. Open the shuttle race cover, remove the two screws (3) and the two flat screws (4), and then remove the needle plate (5).
3. Remove the movable knife (6) and the fixed knife (7).
4. Install the new fixed knife (7) in the position shown in the illustration.
5. Apply grease to the outside of the collar (8) and to the shoulder screw (9), and then install the new movable knife (6)
together with the thrust washer (10) and the movable knife spacer (11).
6. Check that the movable knife (6) and fixed knife (7) cut the thread cleanly. Replace the movable knife spacer with
accessory spacers (t=0.2, 0.3, 0.4) so that the knives trim the thread accurately.
* If the knife pressure is too weak and the thread is not completely cut, use a thinner movable knife spacer.
* If the knife pressure is too strong and the movable knife (1) turns stiffly, use a thicker movable knife spacer.
7. Apply grease to the pin (12), place it into the movable knife connecting plate (13), and install it to the needle plate (5).
8. Check that the needle is aligned with the center of the needle hole.
9. Install the feed plate (2). (Refer to the next page.)
4045M
5003Q
4044M

7. ADJUSTMENT
94
BAS-342G
7-10-1. Installing the feed plate
NOTE:
Install the feed plate so that the surface with the index mark (U) is facing upward.
Place the rear edge of the feed plate (1) against the stepped part of base plate Y (2) (shaded section (A)) and use a 2 mm
diameter pin (such as a needle) to align the hole in the feed plate (1) with the hole in base plate Y (2); then tighten the two
bolts (3).
7-11. Adjusting the thread wiper
1. Loosen the two screws (3) and shift the entire solenoid setting plate (4) up or down to adjust so that the thread wiper (2) is
15 mm in front of the needle center when the plunger (1) of the thread wiper solenoid is driven to the full stroke.
2. Loosen the screw (5) and adjust the position of the thread wiper (2) so that the distance from the thread wiper to the tip of
the needle is approximately 2 mm and the tip of the thread wiper (2) is approximately 3 mm from the center of the needle
when the thread wiper (2) passes below the needle during operation.
NOTE:
Check that the thread wiper (2) does not touch the finger guard (6).
index mark
4046M
5007Q
A
pprox.
2
mm
A
pprox.
3
mm 4048M4047M

7. ADJUSTMENT
95 BAS-342G
7-12. Presser foot installation position
Install the presser foot (1) with the screw (2) so that the
distance from the bottom of the presser foot to the top of the
needle plate is 22 mm when the sewing machine is stopped
and the presser foot (1) is raised.
7-13. Changing the intermittent stroke
The intermittent stroke can be adjusted to within 2 − 10 mm by adjusting the position of the stepping clamp connecting rod
and changing the installation position of stepping clamp link A.
<Changing the installation position of stepping clamp link A>
1. Remove the face plate.
2. Remove the two screws (1) and the two shoulder screws (2), and then remove stepping clamp link A (3).
3. Change the installation position for stepping clamp link A (3) to either A, B or C above.
If the position of the stepping clamp connecting rod is adjusted as described in the following at any one of the installation
positions, the adjustment range for the intermittent stroke will as given in the following table. (Refer to the next page.)
Installation position Intermittent stroke range
A 2 − 4.5mm
B 4.5 − 10mm
C 0 mm (Presser foot does not move up and down)
5031Q
5012Q
4049Q

7. ADJUSTMENT
96
BAS-342G
<Stepping clamp connecting rod position adjustment>
1. Loosen the screw (1), and then open the cover (2).
2. Loosen the nut (3), and then adjust the position of the stepping clamp connecting rod (4).
• When the stepping clamp connecting rod (4) is raised, the intermittent stroke will increase.
• When the stepping clamp connecting rod (4) is lowered, the intermittent stroke will decrease.
Next, adjust the needle bar and presser foot timing.
3. Turn the machine pulley to raise the needle bar from the lowest position until the lowest reference line on the needle bar
(reference line B) is aligned with the lower edge of the needle bar bush (5).
(If using a DP x 5 needle, align with the second reference line from the top (reference line b).)
4. Open the top cover and loosen the two set screws (6).
5. Align the index marks on the stepping clamp cam (7) and the stepping clamp connecting rod (4), and then tighten the set
screws (6).
Check the following after changing the intermittent stroke.
1. With the intermittent presser foot (1) lowered, turn the pulley to move the intermittent presser foot (1) to its lowest
position.
2. Check that the presser foot (1) does not touch the needle plate and that the presser bar clamp (2) does not touch the
presser bar bush (3).
<If they are touching>
Remove the motor cover (4).
Loosen the nut (5), and turn the bolt (6) until it is pressing against the intermittent drive lever (7), and then adjust until the
two points mentioned above are not touching.
5014Q
5016Q 4051M
Needle plate
Index mark
5015Q
4050M

7. ADJUSTMENT
97 BAS-342G
7-14. Adjusting the work clamp lift amount
The maximum lift amount for the work clamp (2) is 30 mm above the top of the needle plate.
1. Turn on the air, and then turn on the power switch.
2. Depress the work clamp switch (1) to raise the work clamp (2).
3. Loosen the two bolts (4) of the work clamp lifter lever (3), and then move the work clamp lifter lever (3) up or down to adjust
the lift amount.
7-15. Adjusting the air pressure
Lift up the handle (2) of the regulator (1) and then turn it to
adjust the air pressure to 0.5 MPa.
After adjustment is complete, push the handle (2) downward
to lock it.
4052M5018Q
Max. 30mm
3975M

7. ADJUSTMENT
98
BAS-342G
7-16. Adjusting the thread trimmer cam position
1. Remove the top cover.
2. Loosen the two set screws (1), and then adjust the
position of the thread trimmer cam (3) so that the
distance between the edge of the collar shaft (2) and the
edge of the thread trimmer cam (3) is 0.2 - 0.5 mm. After
adjusting, tighten the two set screws (1).
7-17. Belt tension adjustment
<X-GT belt>
1. Provisionally tighten the four bolts (1) and the two bolts (2).
2. Tighten the M6x30 bolt, and then pull the X pulley bracket (3) to adjust the tension.
3. Fully tighten the four bolts (1) of the X base plate (4) and the two bolts (2) of the X pulley bracket (3).
4. Remove the M6X30 bolt.
5. Move the X base plate (4) to the left edge.
6. Use a tension gauge to measure the tension at the middle of the lower belt while referring to “Measurement position” in
the illustration. (Refer to “6-5-2. X-feed mechanism” for details on measuring the tension.)
*
Check that the value for the belt tension is within the following value ranges. If it is not within this range, repeat steps 2 to 6.
[For a new belt: 650 - 750 N; For a reused belt: 520 - 600 N]
* The belt tension gauge should be set to measure a unit weight of 0.04 kg/m, a belt width of 50 mm and a span length of
485 mm.
* It is recommended that you use the Yunitta U-505 tension gauge.
1386B
4685Q
Microphone
position
Finger pressing
position
[Measurement position]
Middle of belt

7. ADJUSTMENT
99 BAS-342G
<Y-GT belt>
1. Provisionally tighten the eight bolts (1) and the four bolts (2).
2. Tighten the M6x30 bolt, and then pull the Y pulley bracket (3) to adjust the tension.
3. Fully tighten the four bolts (2) of the Y pulley bracket (3).
4. Fully tighten the eight bolts (1).
5. Remove the M6X30 bolt.
6. Move the Y arm (4) forward (in the direction of the arrow).
7. Use a tension gauge to measure the tension at the middle of the lower belt while referring to “Measurement position” in
the illustration. (Refer to “6-5-1. Y-feed mechanism” for details on measuring the tension.)
*
Check that the value for the belt tension is within the following value ranges. If it is not within this range, repeat steps 2 to 7.
[For a new belt: 650 - 750 N; For a reused belt: 520 - 600 N]
* The belt tension gauge should be set to measure a unit weight of 0.04 kg/m, a belt width of 50 mm and a span length of
333 mm.
* It is recommended that you use the Yunitta U-505 tension gauge.
1387B
Microphone position
Microphone position
Finger
pressing
position
[Measurement position]
Middle of belt
Finger
pressing
position

7. ADJUSTMENT
100
BAS-342G
7-18. Adjusting the tension release amount
1. Loosen the nut (4) and turn the bolt (2) to adjust so that the distance between the tip of the bolt (2) and the solenoid
setting plate (3) is 16.5 mm when the plunger of the tension release solenoid (1) is pushed in as far as it will go.
2. Check that the tension disc opening amount is 1.0 - 1.5 mm when the tension release solenoid (1) is installed to the arm
and the plunger is pushed with a screwdriver or similar tool through the hole in the solenoid cover.
* If memory switch No. 552 has been set so that the tension release timing is early, you can increase the trailing length
for the upper thread.
4689Q
5156Q

7. ADJUSTMENT
101 BAS-342G
7-19. Adjusting the lower shaft gear backlash
1. Remove the two screws (1), and then remove the motor cover (2).
2. Remove the sixteen screws (3), and then remove the rear cover (4).
3. Remove the two screws (5), and then remove the Y motor fan (6).
4. Gently tilt back the machine head.
1379B
1380B
1381B

7. ADJUSTMENT
102
BAS-342G
5. Loosen the two set screws (7) and the bolt (8).
6. Push set screw collar R (9) against the edge of the bed, and then turn the pulley by hand and check that it turns smoothly.
* If the pulley cannot turn smoothly, loosen the set screw (10) and turn the pulley while moving the rock gear (11) back
and forth. At the position where the pulley moves smoothly, place set screw collar R (9) against the edge of the bed and
tighten the set screw (10).
7. Turn the rock gear shaft (12) to adjust the tip of the driver (13) so that there is 0.05 to 0.15 mm of play, and then tighten the
two set screws (7) and the bolt (8).
1382B 1383B

7. ADJUSTMENT
103 BAS-342G
7-20. Adjusting the home position
7-20-1. Presser foot lift home position
1 Turn the pulley to set the needle to the needle up stop position.
2
TEST indicator and THREAD/CLAMP indicator illuminate.
While pressing the keys simultaneously, turn on
the power switch.
* Keep pressing the keys until the model name is
displayed and the buzzer beeps once.
• "orG" will flash in the PROGRAM No. display and the
offset value (default: 0) will be displayed in the menu
display.
3
Press the RESET key.
• Intermittent presser foot home position detection will be carried out, and the intermittent
presser foot will stop at the currently-registered home position.
* If you press the RESET key for 2 seconds or more at this time, the offset value will be reset
to “ 0 ”.
4 Remove the rear cover, align the index marks of the work
clamp cam gear (2) and the work clamp driving gear (3)
to the center line, and then press the or key to
change the offset value (-999 – 999).
• The work clamp driving gear (3) will move in
conjunction with the setting value.
5 Press the RESET key.
• Intermittent presser foot home position detection will be
carried out. Check if the index marks are aligned with
the center line.
6 Repeat steps 4 and 5 until the index marks are aligned with the center line.
7 End adjustment mode.
TEST indicator switches off
Press the TEST key.
• The display will return to the normal display and the
sewing machine will switch to home position detection
standby.
NOTE:
Always be sure to press the RESET key and check that the index marks are aligned with the center line before ending
adjustment mode. If you end adjustment mode without checking the home position, error "E303" may be generated.
5205Q 4443Q 4421Q
Index marks
5207Q 5208Q

7. ADJUSTMENT
104
BAS-342G
7-20-2. X-Y feed home position
1 Turn the pulley to set the needle to the needle up stop position.
2
TEST indicator and X-SCALE indicator illuminate.
While pressing the keys simultaneously, turn on
the power switch.
* Keep pressing the keys until the model name is
displayed and the buzzer beeps once.
• "orG" will flash in the PROGRAM No. display and the
offset value (default: 0) will be displayed in the menu
display.
3 Press the SELECT key so that either the X-SCALE
indicator or the Y-SCALE indicator illuminates.
4
Press the RESET key.
• Home position detection will be carried out, and the work clamp will stop at the
currently-registered home position.
* If you press the RESET key for 2 seconds or more at this time, the offset value will be reset
to “ 0 ”.
(Continued on the next page)
4570Q
5205Q 4443Q 4421Q

7. ADJUSTMENT
105 BAS-342G
5
1) Remove the feed plate.
2) Place the rear edge of the home position reference plate (1) against the stepped part of base plate Y (2) (shaded
section (A)) and use a 2 mm diameter pin (such as a needle) to align the hole in the home position reference plate
(1) with the hole in base plate Y (2); then tighten the two bolts (3).
3) Press the or key to change the offset value (-999 to 999) so that the needle drops to the center of the mark
(B) on the home position reference plate (1).
・ The home position reference plate (1) will move in accordance with the setting value.
6 Press the RESET key.
・ Home position detection will be carried out. Check the
home position. If the home position is correct, remove
the home position reference plate (1), and then install
the feed plate. (Refer to "7-10-1. Installing the feed
plate".)
7 End adjustment mode.
TEST indicator switches off
Press the TEST key.
・ The display will return to the normal display and the
sewing machine will change to home position standby.
NOTE:
Be sure to press the RESET key to check the home position before ending adjustment mode. If adjustment mode is ended
without checking the home position, error “E202” will be generated.

7. ADJUSTMENT
106
BAS-342G
7-21. Adjusting the needle up stop home position
NOTE:
If the four bolts (1) of the sewing machine motor and the
bolt (3) of the magnet are loosened, it may disrupt the feed
timing.
Do not loosen these bolts at the time of shipment from the
factory or after the needle up stop home position has been
adjusted.
1. Remove the needle and the needle bar thread guide.
2. Turn the pulley to move the needle bar (4) to its lowest
position.
3. Remove the rubber cap (5) from the face plate, and then
loosen the screw (6) of the needle bar clamp.
4. Adjust so that the lowest needle bar position is at the
distance h.
5. Tighten the screw (6) and then install the rubber cap (5).
6. While pressing the key (7), turn on the power switch.
* Keep pressing the key (7) until the model name is
displayed and the buzzer beeps once.
7. Press the key (7) or the key (8) to select check
code “ 8”. (Refer to “2-7. Input checking method” for
details.
8. Remove the flywheels, and then loosen the bolt (3) of the
magnet (2) 1/4 of a turn.
9. Turn the pulley to lower the needle bar (4) to a distance H
from the highest position.
10. Move the magnet (2) to the precise point where the
menu display switches from “ on” to “ oFF”, and then
tighten the bolt (3).
11. Turn the pulley to move the needle bar (4) to the position
of H and check that the menu display switches from “
on” to “ oFF”
Needle DP x 17 DP x 5
Distance H 55.5 mm 50.4 mm
Distance h 18.0 mm 12.9 mm
1420B
1384B
Needle
plate
1421B

7. ADJUSTMENT
107 BAS-342G
7-22. Adjusting the needle up stop position
[Adjustment method]
1
TEST indicator and SPEED indicator illuminate.
While pressing the and keys simultaneously, turn
on the power switch.
* Keep pressing the and keys until the model
name is displayed and the buzzer beeps once.
・ “orG” will flash in the PROGRAM No. display, and the
home position offset value will appear in the menu
display.
2 Lower the work clamp and then depress the start switch.
・ X-Y feed home position detection will be carried out, and then
“orG” will stop flashing and illuminate steadily.
3 Depress the start switch once more.
・ The upper shaft will operate and the needle bar will stop at the
needle up stop position.
4703Q 4448Q 4421Q
1385B
5211Q
Use the operation panel to adjust the needle up stop
position so that the needle bar (1) is lowered 6.2 - 6.7 mm
from its highest position (near the highest stop position fo
r
the thread take-up).
Start switch
Start switch

7. ADJUSTMENT
108
BAS-342G
4
Press the or key to set the offset value (-9 to 10) so that the
needle up stop position is 6.2 to 6.7 mm below the highest position for
the needle bar (1).
・ When the key is pressed, the needle bar will move down, and
when the key is pressed, the needle bar will move up.
NOTE:
After changing the offset value, check that the thread trimming
operation is normal and that error [E110] is not generated.
5 Lower the work clamp and then depress the start switch.
・ The upper shaft will operate and stop at the offset value which has
been set.
6 End adjustment mode
TEST indicator switches off
Press the TEST key.
・ The changes to the offset value will be memorized and the sewing
machine will switch to home position detection standby.
5212Q
Start switch 1385B

8. ELECTRICAL MECHANISM
109 BAS-342G
8. ELECTRICAL MECHANISM
DANGER
Wait at least 5 minutes after turning off the power switch and disconnecting the power cord from the wall outlet
before opening the cover of the control box. Touching areas where high voltages are present can result in severe
injury.
8-1. Precautions while carrying out adjustments
Electric shocks
High voltages can remain in large-capacity capacitors for up to 5 minutes in some circumstances, even when the power has
been turned off. Accordingly, wait at least 5 minutes after turning off the power before carrying out the following operations.
• Opening and closing the control box
• Replacing fuses
• Inserting and disconnecting connectors
• Measuring resistance values
• Any other tasks that may involve touching components inside the control box
Some inspection items require the control box to be open when the power is turned on and voltages are measured.
At such times, be extremely careful never to touch anywhere other than the specified locations. In addition, note that high
voltages may remain for up to 5 minutes after the power is turned off.
Injury
The fan inside the control box turns while the power is turned on, so be careful not to get anything caught in it.
Be careful not to touch metallic objects such as the heat sink and cover when connecting and disconnecting connectors and
making measurements.
Be sure to note the following cautions when opening the control box to carry out inspections and adjustments.

8. ELECTRICAL MECHANISM
110
BAS-342G
8-2. Inside the control box and operation panel structure
Main P.C. board
Secured to the side. This is the P.C. board that controls sewing machine operation.
PMD P.C. board
Secured to the base plate. This P.C. board drives the pulse motors and solenoids.
Power supply motor P.C. board
Secured to the rear. This P.C. board generates the voltages that are required for control, and drives the main shaft motor.
There are 8 fuses on this P.C. board.
DC fan motor
This fan cools the inside of the control box.
The filters at the air intake slots in the cover and base plate should be cleaned about once a month.
Conversion transformer
This breaks down the power supply voltage into the voltages that are required for control operations.
NF P.C. board
This eliminates the electrical interference that is generated by the power supply fan.
Panel P.C. board
Secured to the inside of the operation panel. This P.C. board is used for displaying the sewing machine status and for input
operations.
1407B 5071Q
Control box Operation panel
DC fan motor
NF P.C. board
Power supply
motor P.C. board
Main P.C. board
Conversion
transformer PMD P.C. board
Panel P.C. board

8. ELECTRICAL MECHANISM
111 BAS-342G
8-3. Description of fuses
When replacing the fuses, be sure to use the fuses specified below.
If the components on the P.C. boards are damaged, the fuses may blow again soon even after they have been replaced.
No. Part name Parts code Symptom when fuse blows
F1 Fuse 15AFB
(Glass tube fuse 15A-250V) SA3794-001 Sewing machine motor does not operate and
[E130] is displayed.
F2 Fuse 6AFB
(Glass tube fuse 6A-250V) SA3759-001
Feed mechanism does not operate and [E201] or
[E211] is displayed.
Intermittent presser foot does not operate and
[E300] is displayed.
F3 Fuse 6AFB
(Glass tube fuse 6A-250V) SA3759-001
Thread trimming solenoid or digital tension/tension
release solenoid does not operate, and thread
trimming or thread tightening problems occur.
F4 Fuse 3AFB
(Glass tube fuse 3A-250V) 616167-001 Communication problem with PMD P.C. board and
[E403] is displayed.
F5 Fuse 3AFB
(Glass tube fuse 3A-250V) 616167-001 Power indicator does not illuminate and nothing
operates.
F6 Fuse 3AFB
(Glass tube fuse 3A-250V) 616167-001 DC fan motor does not operate and [E740] is
displayed.
F7
F8
Fuse 15AFB
(Glass tube fuse 15A-250V) SA3794-001 Power indicator does not illuminate and nothing
operates.
Power supply motor P.C. board
4590Q

8. ELECTRICAL MECHANISM
112
BAS-342G
8-4. Description of connectors
A large number of problems are often caused by connectors that are not inserted correctly or which are contacting poorly.
As a result, check that all connectors are inserted correctly and that the pins and wires are crimped properly before carrying
out problem diagnosis.
8-4-1. Connector positions
Main P.C. board
5072Q

8. ELECTRICAL MECHANISM
113 BAS-342G
PMD P.C. board
Power supply motor P.C. board
1260B
4593Q

8. ELECTRICAL MECHANISM
114
BAS-342G
Panel P.C. board
4594Q

8. ELECTRICAL MECHANISM
115 BAS-342G
8-4-2. Symptoms when there are poor connections
This divides the functions of the connectors into five sections, but some connectors have more than one function, so be sure
to refer to the trouble symptoms in other sections too.
Feed mechanism
Trouble symptom Connector No. and position
• The feed mechanism operates briefly but does not detect
the home position correctly.
• [E200] (P20 X_ENC) or [E210] (P4 Y_ENC) is displayed.
• Feed mechanism moves to the left and right briefly, and then
error [E210] appears.
• Feed mechanism moves forward and back briefly, and then
error [E200] appears.
• Feed mechanism does not move, and [E300] appears.
Work clamp mechanism
Trouble symptom Connector No. and position
• The work clamp pulse motor operates, but the home position
is not detected correctly.
• [E300] is displayed.
• The work clamp pulse motor does not operate.
• [E300] is displayed.
5241Q
4708Q
4709Q
4710Q
5242Q
4712Q

8. ELECTRICAL MECHANISM
116
BAS-342G
Thread trimming mechanism
Trouble symptom Connector No. and position
• Thread trimming does not operate. (No error displayed)
• Digital tension does not operate. (No error displayed)
[Digital tension specifications]
• Analog tension does not operate. (No error displayed)
[Analog tension specifications]
Sewing operations
Trouble symptom Connector No. and position
• Power indicator does not illuminate and sewing machine
does not operate.
• Operation is unstable.
• [E403] is displayed when the power is turned on and the
sewing machine does not start.
4713Q
4714Q
5243Q
5244Q
4717Q

8. ELECTRICAL MECHANISM
117 BAS-342G
Other
Trouble symptom Connector No. and position
• The DC fan motor inside the control box does not operate.
• [E740] is displayed.
• DC fan motor for X feed motor does not operate.
• [E741] is displayed.
• DC fan motor for Y feed motor does not operate.
• [E742] is displayed.
• Operation panel display is incorrect.
• Power indicator does not illuminate.
• Operation panel keys do not work.
• Sewing machine does not start when foot switch is
depressed.
Work clamp is lowered when work clamp switch (left) is
depressed.
Home position is detected and sewing machine starts when
start switch (right) is depressed.
5245Q
5246Q
5247Q
1422B
1423B

8. ELECTRICAL MECHANISM
118
BAS-342G
• After the power is turned on, [E055] is displayed.
• After the power is turned on, [E452] is displayed.
5248Q
5249Q

8. ELECTRICAL MECHANISM
119 BAS-342G
8-5. Troubleshooting
8-5-1. Troubleshooting procedure
Carry out troubleshooting by following the procedure given below.
1 Checking connectors With the power turned off, check that all connectors are securely inserted while
referring to “8-4. Description of connectors”.
2 Diagnosis flowchart Carry out diagnosis while following the steps in “8-5-2. Diagnosis flowchart” on the next
page, and if a problem # is reached, continue to the next procedure.
3 Remedy Refer to “8-5-3. Remedy” for the item that corresponds to the problem #. Carry out the
inspections for the problems in the order of the numbers in the “Cause” column.
NOTE:
When replacing the fuses, be sure to use a fuse with the same material and rating.

8. ELECTRICAL MECHANISM
120
BAS-342G
8-5-2. Diagnosis flowchart
Description of symbols
Setting and status
Switch operation Continued on
previous/next page
Judgment OFF Power switch OFF
“Problem” symbol in the “8-5-3. Remedy” lists
1429B

8. ELECTRICAL MECHANISM
121 BAS-342G
1424B

8. ELECTRICAL MECHANISM
122
BAS-342G
1425B

8. ELECTRICAL MECHANISM
123 BAS-342G
1426B

8. ELECTRICAL MECHANISM
124
BAS-342G
8-5-3. Remedy
Problem #1 The power indicator does not illuminate when the power is turned on.
Cause Inspection/Remedy/Adjustment
Replacement if a
malfunction
1. Malfunction of voltage select
harness ***
For 200 V specifications
a. Check if there is a broken wire in the voltage
select harness.
b. Disconnect the connector at the transformer
side, turn on the power and then measure the
voltage at the cord.
(The wiring position may vary depending on the
voltage specifications.)
OK if same as wall outlet voltage
Voltage select harness ***
(*** indicates voltage
specifications)
2. Malfunction of transformer
1) OK if there is continuity between pins 1-3, 2-3,
3-4, 3-5, and 3-6 of the 6-pin connector
coming out from the transformer. [Fig. A]
2) OK if there is continuity between pins 1-2, 3-4
and 5-6 of the 6-pin connector coming out
from the transformer.
[Fig. B]
3) OK if there is continuity between pins 3-4 and
6-7 of the 7-pin connector coming out from the
transformer.
[Fig. C]
Transformer
1266B
1426B
Voltage
specifications Pin No.
200V 3-5
H220V 3-6
380V 2-3
400V 1-3
4876Q
1319B

8. ELECTRICAL MECHANISM
125 BAS-342G
Problem #1 The power indicator does not illuminate when the power is turned on.
Cause Inspection/Remedy/Adjustment
Replacement if a
malfunction
3. Malfunction of power cord Disconnect connector P9 (ACIN) on the power
supply motor P.C. board from the circuit board,
turn on the power, and then measure the voltage
between pins 3-4 of the cord-side connector.
OK if same as wall outlet voltage
After inspecting, turn off the power and insert
connector P9.
4. Blown fuse Remove fuses F7 and F8 and check the continuity.
OK if continuity
(If there is no continuity, replace the fuse and then
carry out the inspections in 5. )
Glass tube fuse
15A-250V
5. Malfunction of power supply motor
P.C. board
Disconnect connector P17 (M-MOTOR) of the
main P.C. board, turn on the power, and then
measure the voltages between the pins at the
cord-side connector.
OK if the voltages are as shown in the table below.
After measuring, turn off the power, wait 5 minutes
or more and then insert P14.
Power supply motor P.C.
board
6. Malfunction of main P.C. board With connector P17 (M-MOTOR) inserted into the
main P.C. board, turn on the power and then
measure the voltages between the pins at the
cord-side connector.
OK if the voltages are as shown in the table below.
After measuring, turn off the power.
Main P.C. board
7. Malfunction of panel P.C. board Check that connector P1 (PANEL) is inserted into
the main P.C. board, and that connector CN2
(MAIN) is inserted into the panel P.C. board.
Panel P.C. board
Panel harness
4880Q
Pin Nos.
+ side −side
Normal
voltage
1 3 +5V
2 4 +5V
6 5 +24V
7 5 +24V
5085Q
Pin Nos.
+ side −side
Normal
voltage
1 3 +5V
2 4 +5V
6 5 +24V
7 5 +24V
5085Q

8. ELECTRICAL MECHANISM
126
BAS-342G
Problem #2 When the power is turned on, nothing is displayed in the PROGRAM No. display or the menu display.
Cause Inspection/Remedy/Adjustment
Replacement if a
malfunction
Control program does not operate.
Insert a CF card containing the control program,
turn on the power switch and update the program
version. (Refer to “3-11. Updating the control
program”.)
Main P.C. board
Problem #3 When the power is turned on, an error code is displayed.
Cause Inspection/Remedy/Adjustment
Replacement if a
malfunction
1. If [E025] is displayed, the start
switch is still depressed.
If [E035] is displayed, the work
clamp switch is still depressed.
1) Check if the start switch or the work clamp
switch is still depressed.
2) Check if there is a harness short-circuit.
3) Check that connector P6 (FOOT) is inserted
into the main P.C. board.
Two-pedal foot switch
2. If [E055] is displayed, there is a
malfunction of the safety switch.
1) Check that the safety switch is OFF
2) Check if there is a harness short-circuit.
3) Check that connector P9 (HEAD-SW) is
inserted into the main P.C. board.
Safety switch
3. If [E065] is displayed, one of the
keys on the operation panel is still
depressed.
Check that connector P1 (PANEL) is inserted into
the main P.C. board, and that connector CN2
(MAIN) is inserted into the panel P.C. board.
Panel P.C. board
Panel harness
4. If [E403] is displayed, the
connection to the PMD P.C. board
is defective.
1) Check that connector P1 (MAIN) is inserted
into the PMD P.C. board.
2) Check if there is a harness short-circuit.
Harness
Power supply motor P.C.
board
Main P.C. board
5. If [E401] is displayed, there is a
poor connection between the main
P.C. board and the power supply
motor P.C. board.
1) Check that connector P6 (MAIN) is inserted
into the power supply motor P.C. board, and
that connector P17 (M-MOTOR) is inserted
into the main P.C. board.
2) Check if there is a harness short-circuit.
Main P.C. board
6. If [E450] or [E452] is displayed, the
machine head memory cannot be
verified.
1) Check that connector P3 (HEAD-M) is
inserted into the power supply motor P.C.
board.
2) Check if there is a harness short-circuit.
Machine head memory
7. If [E700] is displayed, there is an
abnormal rise in the power supply
voltage.
1) Check that the power supply voltage at the wall
outlet is within the range of the specification
voltage +/- 10%.
2) Refer to check items #1-2 and #1-3.
8. If [E705] is displayed, there is an
abnormal drop in the power supply
voltage.
1) Check that the power supply voltage at the
wall outlet is within the range of the
specification voltage +/- 10%.
2) Refer to check items #1-2 and #1-3.
9. If [E740] is displayed, there is a
malfunction of the cooling fan for
control box.
1) Check if there are any thread scraps blocking
the cooling fan.
2) Check that connector P22 (FAN) is inserted
into the main P.C. board.
Cooling fan
(for control box)
10.If [E741] is displayed, there is a
malfunction of the cooling fan for
the X motor.
If [E742] is displayed, there is a
malfunction of the cooling fan for
the Y motor.
1) Check if there are any thread scraps blocking
the cooling fan.
2) Check that connector P10 (SENSOR2) is
inserted into the main P.C. board.
Cooling fan
(for X motor or Y motor)

8. ELECTRICAL MECHANISM
127 BAS-342G
Problem #4 Panel keys do not work.
Cause Inspection/Remedy/Adjustment
Replacement if a
malfunction
Malfunction of panel P.C. board
Check that connector P1 (PANEL) is inserted into
the main P.C. board, and that connector CN2
(MAIN) is inserted into the panel P.C. board.
Panel P.C. board
Panel harness
Problem #5 Home position detection is not carried out (nothing moves at all)
Cause Inspection/Remedy/Adjustment
Replacement if a
malfunction
Malfunction of two-pedal foot switch
Disconnect connector P6 (FOOT) from the main
P.C. board, and check the continuity between
pins 5-6 and 7-8 at the cord-side connector.
OK if normally ∞ Ω, and 0 Ω when the foot switch
is depressed.
Two-pedal foot switch
Problem #6 Home position is incorrect.
Cause Inspection/Remedy/Adjustment
Replacement if a
malfunction
Incorrect home position adjustment Switch to adjustment mode and adjust the X and Y
feed home positions. (Refer to “7-20. Adjusting the
home position”.)
Work
clamp
Start
1201B

8. ELECTRICAL MECHANISM
128
BAS-342G
Problem #7 An error code is displayed.
Cause Inspection/Remedy/Adjustment
Replacement if a
malfunction
1. If the work clamp moves slightly in
the X feed direction and then
[E200] is displayed, there is a
malfunction of the encoder.
1) Check that connector P20 (X-ENC) is inserted
into the main P.C. board.
2) Check the encoder input while referring to
“2-7. Input checking method”.
Pulse motor X assembly
2. If the work clamp moves in the X
feed direction and then [E200] is
displayed, there is a malfunction of
the X home position sensor.
1) Check that connector P10 (XPM) is inserted
into the PMD P.C. board, and that connector
P20 (X_ENC) is inserted into the main P.C.
board.
2) Check the X home position sensor input while
referring to “2-7. Input checking method”.
3) If a metallic object is brought close to the X
home position sensor and the LED inside the
sensor does not illuminate, there is a
malfunction of the sensor.
X home position sensor
3. If the work clamp does not move
and [E200] is displayed, there is a
malfunction of the pulse motor or
cord.
1) Disconnect connector P10 (XPM) from the
PMD P.C. board, and measure the resistance
between pins 1-2 and 3-4 at the cord-side
connector.
OK if 2−3 Ω
After measuring, insert P10.
2) If 1) is OK, there is a malfunction of the PMD
P.C. board.
Pulse motor X assembly
PMD P.C. board
Problem #8 An error code is displayed.
Cause Inspection/Remedy/Adjustment
Replacement if a
malfunction
1. If the work clamp moves slightly in
the Y feed direction and then
[E210] is displayed, there is a
malfunction of the encoder.
1) Check that connector P4 (Y-ENC) is inserted
into the main P.C. board.
2) Check the encoder input while referring to
“2-7. Input checking method”.
Pulse motor Y assembly
2. If the work clamp moves in the Y
feed direction and then [E210] is
displayed, there is a malfunction of
the Y home position sensor.
1) Check that connector P8 (YPM) is inserted
into the PMD P.C. board, and that connector
P4 (Y_ENC) is inserted into the main P.C.
board.
2) Check the Y home position sensor input while
referring to “2-7. Input checking method”.
3) If a metallic object is brought close to the Y
home position sensor and the LED inside the
sensor does not illuminate, there is a
malfunction of the sensor.
Y home position sensor
4885Q

8. ELECTRICAL MECHANISM
129 BAS-342G
Problem #8 An error code is displayed.
Cause Inspection/Remedy/Adjustment
Replacement if a
malfunction
3. If the work clamp does not move
and [E210] is displayed, there is a
malfunction of the pulse motor or
cord.
1) Disconnect connector P8 (YPM) from the PMD
P.C. board, and measure the resistance
between pins 1-2 and 3-4 at the cord-side
connector.
OK if 2-3 Ω
After measuring, insert P8.
2) If 1) is OK, there is a malfunction of the PMD
P.C. board.
Pulse motor Y assembly
PMD P.C. board
Problem #9 An error code is displayed.
Cause Inspection/Remedy/Adjustment
Replacement if a
malfunction
1. If the intermittent presser foot does
not operate and [E300] is
displayed, there is a blown fuse.
Remove fuse F2 from the power supply motor
P.C. board and check the continuity.
OK if continuity
(If there is no continuity, carry out the inspections
in 2.)
Fuse
6A-250V
2. If the intermittent presser foot does
not operate and [E300] is
displayed, there is a malfunction of
the PMD P.C. board or of the
power supply motor P.C. board.
1) Disconnect connector P9 (POWER1) from the
PMD P.C. board and measure the resistance
between pins 1-2 at connector P9.
OK if ∞ Ω; if 0 Ω, there is a malfunction of the
PMD P.C. board.
2) Measure the resistance between the fuse F2
terminal that is close to P6 (MAIN) and pin 2
of connector P7 (PMD) on the power supply
motor P.C. board. (D10 check)
OK if ∞ Ω.
3) Disconnect connector P9 (POWER1) from the
PMD P.C. board, and then measure the
voltage between pins 1-2 of the cord-side
connector.
OK if approx. +200 V
After measuring, turn off the power, wait 5
minutes or more and then insert P9.
4) Disconnect connector P2 (POWER2) from the
PMD P.C. board, and then measure the
voltage between pins 1-2 of the cord-side
connector.
OK if approx. +16 V
After measuring, turn off the power, wait 5
minutes or more and then insert P2.
5) Check that connector P1 (MAIN) is inserted
into the PMD P.C. board.
PMD P.C. board or power
supply motor P.C. board
4886Q
1267B

8. ELECTRICAL MECHANISM
130
BAS-342G
Problem #9 An error code is displayed.
Cause Inspection/Remedy/Adjustment
Replacement if a
malfunction
3. If the intermittent presser foot
moves slightly and then [E300] is
displayed, there is a malfunction of
the encoder.
1) Check that connector P5 (P-ENC) is inserted
into the main P.C. board.
2) Check the encoder input while referring to
“2-7. Input checking method”.
Pulse motor P assembly
4. If the intermittent presser foot
operates and [E300] is displayed,
there is a malfunction of the work
clamp home position sensor.
1) Check that connector P3 (PPM) is inserted
into the PMD P.C. board, and that connector
P5 (P_ENC) is inserted into the main P.C.
board.
2) Check the work clamp home position sensor
input while referring to “2-7. Input checking
method”.
3) If a metallic object is brought close to the work
clamp home position sensor and the LED
inside the sensor does not illuminate, there is
a malfunction of the sensor.
Work clamp home position
sensor
5. If the intermittent presser foot does
not move and [E300] is displayed,
there is a malfunction of the pulse
motor or cord.
1) Disconnect connector P3 (PPM) from the PMD
P.C. board, and measure the resistance
between pins 1-2 and 3-4 at the cord-side
connector.
OK if 2-3 Ω
After measuring, insert P3.
2) If 1) is OK, there is a malfunction of the PMD
P.C. board.
Pulse motor P assembly
PMD P.C. board
Problem #10 CF media indicator does not illuminate.
Cause Inspection/Remedy/Adjustment
Replacement if a
malfunction
1. Incorrectly inserted
1) Check the insertion direction of the CF card.
(The side with the projection should be at the
left.)
2) Check the insertion of the CF card.
2. CF card incorrectly formatted. Check the format of the CF card.
(Format according to FAT16.)
3. Malfunction of CF card Use a computer to check whether the contents of
the CF card can be read.
Problem #11 Work clamp does not rise.
Cause Inspection/Remedy/Adjustment
Replacement if a
malfunction
1. Insufficient air pressure
Set to an appropriate pressure while referring to
“7-15. Adjusting the air pressure”.
2. Incorrect mechanism adjustment Move the air valve manually and check that the
work clamp does not move stiffly.

8. ELECTRICAL MECHANISM
131 BAS-342G
Problem #12 Work clamp does not drop.
Cause Inspection/Remedy/Adjustment
Replacement if a
malfunction
1. Insufficient air pressure
Set to an appropriate pressure while referring to
“7-15. Adjusting the air pressure”.
2. Incorrect mechanism adjustment Move the air valve manually and check that the
work clamp does not move stiffly.
Problem #13 TEST indicator does not illuminate when the TEST key is pressed.
Cause Inspection/Remedy/Adjustment
Replacement if a
malfunction
1. Malfunction of panel P.C. board
Check that connector P1 (PANEL) is inserted into
the main P.C. board, and that connector CN2
(MAIN) is inserted into the panel P.C. board.
Panel P.C. board
Panel harness
2. Malfunction of main P.C. board Replace the main P.C. board. Main P.C. board
Problem #14 The feed mechanism does not move one stitch at a time during test feed.
Cause Inspection/Remedy/Adjustment
Replacement if a
malfunction
1. Malfunction of start switch or cord Refer to inspection #5.
2. Incorrect memory switch setting 1) Set memory switch No. 200 to OFF.
2) Set memory switch No. 252 to OFF.
Problem #15 Feed mechanism does not move fast during test feed.
Cause Inspection/Remedy/Adjustment
Replacement if a
malfunction
Malfunction of work clamp switch or
cord
Refer to inspection #5.
Problem # 16 Sewing machine does not operate during sewing and an error code is displayed.
Cause Inspection/Remedy/Adjustment
Replacement if a
malfunction
1. Malfunction of sewing machine
motor cord
Check connector P4 (UVW) of the power supply
motor P.C. board and the sewing machine motor
connector.
Motor cable
2. If the fuse (F1) on the power supply
motor P.C. board is blown, there is
a malfunction of the main P.C.
board.
1) If the fuse (F1) is blown, check the resistance
values between all pins of the connector P4
(UVW) and the pins of the fuse (∞ Ω) and
replace the fuse.
2) If the fuse blows again, replace the power
supply motor P.C. board.
Power supply motor P.C.
board
3. Sewing machine motor overheats
and the thermostat inside the motor
operates when the sewing machine
is operated at short cycle.
1) Turn off the power and let the sewing machine
stand for 30 minutes.
2) Turn the power back on; OK if operation is
normal.
Avoid repeated sewing of sewing data that is less
than 15 stitches.
Motor cable

8. ELECTRICAL MECHANISM
132
BAS-342G
Problem #17 An error code is displayed after the sewing machine operates.
Cause Inspection/Remedy/Adjustment
Replacement if a
malfunction
1. If [E120], [E121] or [E130] is
displayed after the sewing machine
operates, there is a malfunction of
the synchronizer, interference is
causing operating problems, or the
sewing machine is incorrectly
adjusted.
1) Check that connector P4 (UVW) is inserted
into the power supply motor P.C. board and
that the synchronizer is connected.
2) Check the synchronizer input while referring to
“2-7. Input checking method”.
OK if the signal turns on and off.
3) Turn the pulley by hand and check that it turns
smoothly.
4) Check that connector P17 (M_MOTOR) is
inserted into the main P.C. board and that
connector P6 (MAIN) is inserted into the
power supply motor P.C. board.
5) Check the harness between connector P17
(M_MOTOR) of the main P.C. board and
connector P6 (MAIN) of the power supply
motor P.C. board.
6) Check that the ground wire is connected to a
secure ground and that there is no equipment
nearby that is generating strong electrical
interference.
7) If [E121] is displayed when the sewing
machine stops:
• Check if the thread trimming solenoid is
operating.
• Adjust the thread trimming mechanism.
Motor assembly CCD-430D
2. If [E150] is displayed after the
sewing machine operates, the
motor is abnormally overheating.
1) Turn off the power and let the sewing machine
stand for 30 minutes.
2) Turn the power back on; OK if operation is
normal.
3) If the area around the motor is not hot, carry
out the steps for [E121].
Avoid repeated sewing of sewing data that is less
than 15 stitches.
Problem #18 Sewing is incorrect.
Cause Inspection/Remedy/Adjustment
Replacement if a
malfunction
1. Malfunction of synchronizer
Refer to inspection #17.
2. If uneven seams occur, there is a
malfunction of the pulse motor or
the mechanism is incorrectly
adjusted.
1) Refer to inspection #7-3 or #8-3.
2) If uneven seams occur because there is
insufficient air pressure for the work clamp,
adjust the work clamp pressure while referring
to “6-13-1. Adjusting the lift of the work clamp
arm assembly.”
3) If there is play in the feed mechanism, adjust
the feed mechanism.

8. ELECTRICAL MECHANISM
133 BAS-342G
Problem #19 Thread is not trimmed.
Cause Inspection/Remedy/Adjustment
Replacement if a
malfunction
1. Incorrect mechanism adjustment
Adjust the thread trimming mechanism while refer
to “7-16. Adjusting the thread trimmer cam
position”.
(If it is clear that the thread trimming mechanism
is not operating, carry out inspections 2. and 3.
below.)
2. Poor connector contact Check that connector P1 (MAIN) is inserted into
the PMD P.C. board.
3. Malfunction of thread trimming
solenoid
Disconnect connector P6 (SOL1) from the PMD
P.C. board, and measure the resistance between
pins 3-6 of the cord-side connector.
OK if 6 − 8 Ω
Thread trimming solenoid
4. Malfunction of tension release
solenoid/digital tension
Disconnect connector P7 (SOL2) from the PMD
P.C. board, and measure the resistance between
pins 1-2 of the cord-side connector.
OK if 6 − 8 Ω
Tension release solenoid/
digital tension solenoid
5. Malfunction of PMD P.C. board 1) With connector P6 (SOL1) connected to the
PMD P.C. board, turn on the power and carry
out sewing, and measure the voltage between
pins 3-6 of connector P6 (SOL1).
OK if voltage is output momentarily at the
sewing end.
2) With connector P7 (SOL2) connected to the
PMD P.C. board, turn on the power and carry
out sewing, and measure the voltage between
pins 1-2 of connector P7 (SOL2).
OK if voltage is output momentarily at the
sewing end.
PMD P.C. board
4891Q
4889Q
4890Q

8. ELECTRICAL MECHANISM
134
BAS-342G
Problem #20 Thread wiper does not operate.
Cause Inspection/Remedy/Adjustment
Replacement if a
malfunction
1. Incorrect mechanism adjustment
Adjust the thread wiper while referring to “7-11.
Adjusting the thread wiper”.
(If it is clear that the thread wiper mechanism is not
operating, carry out inspections 2. and 3. below.)
2. Poor connector contact Check that connector P1 (MAIN) is inserted into
the PMD P.C. board.
3. Malfunction of thread wiper
solenoid
Disconnect connector P6 (SOL1) from the PMD
P.C. board, and measure the resistance between
pins 2-5 of the cord-side connector.
OK if approximately 4 Ω
Thread wiper solenoid
4. Malfunction of PMD P.C. board With connector P6 (SOL1) connected to the PMD
P.C. board, turn on the power and carry out
sewing, and measure the voltage between pins
2-5 of connector P6 (SOL1).
OK if voltage is output momentarily at the sewing
end.
PMD P.C. board
Problem #21 Needle does not stop in the up position ([E110] or [E111] is displayed.)
Cause Inspection/Remedy/Adjustment
Replacement if a
malfunction
1. Incorrect adjustment
Adjust while referring to “7-21. Adjusting the
needle up stop home position” and “7-22.
Adjusting the needle up stop position”.
2. Malfunction of synchronizer Refer to inspection #17.
3. Malfunction of cord Refer to inspection #16.
4. Malfunction of power supply motor
P.C. board
With connector P2 (POWER2) connected to the
PMD P.C. board, measure the voltage at the cord.
OK if approximately 30 V DC between pins 3-4
Power supply motor P.C.
board
5. Malfunction of main P.C. board Main P.C. board
6. Malfunction of motor Motor
5089Q
5088Q
4892Q

9. TABLE OF ERROR CODES
135 BAS-342G
9. TABLE OF ERROR CODES
DANGER
Wait at least 5 minutes after turning off the power switch and disconnecting the power cord from the wall outlet
before opening the cover of the control box. Touching areas where high voltages are present can result in severe
injury.
If a malfunction should occur with the sewing machine, a buzzer will sound and an error code will appear in the display
window. Follow the remedy procedure to eliminate the cause of the problem.
Switch-related errors
Code Cause and remedy
E010 Stop switch was pressed. Press the RESET key to clear the error.
E011 Stop switch was pressed. Press the RESET key to clear the error.
Press the key to move the work clamp so that you can continue sewing.
E015 The stop switch was still being pressed, or there is a problem with the stop switch connection.
Turn off the power, and then check that connector P13 on the main P.C. board is properly connected.
E016 Problem with the stop switch connection.
Turn off the power, and then check that connector P13 on the main P.C. board is properly connected.
E025
The power was turned on while the start switch was still being depressed, or the start switch was depressed
without the work clamp being lowered.
If the power has been turned on while the start switch was still depressed, turn off the power and check the start
switch.
If the start switch was depressed without lowering the work clamp, depress the work clamp switch to lower the
work clamp.
E035 The work clamp switch is depressed.
Turn off the power, and then check the work clamp switch.
E036 A foot switch that does not match specifications is connected, or work clamp mode has not been set correctly.
Use a foot switch that matches specifications, or initialize the memory switch settings.
E050
Machine head tilting was detected after the power was turned on.
Turn off the power, and then return the machine head to its original position.
Check that connector P9 on the main P.C. board is properly connected.
E051 Machine head tilting was detected while the sewing machine was operating.
Turn off the power, and then check that connector P9 on the main P.C. board is properly connected.
E055
Machine head tilting was detected when the power was turned on.
Turn off the power, and then return the machine head to its original position.
Check that connector P9 on the main P.C. board is properly connected.
E065 An operation panel key was still being pressed when the power was turned on, or key is faulty.
Turn off the power and check the operation panel.
Upper shaft motor-related errors
Code Cause and remedy
E110 Needle up stop position error.
Turn the machine pulley until the point where the error display disappears.
E111 Upper shaft did not stop at the needle up stop position when the sewing machine stopped.
Turn the machine pulley until the point where the error display disappears.
E120 Needle drop signal could not be detected.
Turn off the power, and then check the synchronizer connection.
E121 Thread trimming was not completed.
Turn off the power, and then check if the cutting edges of the fixed knife and movable knife are damaged or worn.

9. TABLE OF ERROR CODES
136
BAS-342G
Code Cause and remedy
E130
Sewing machine motor stopped due to a problem, or synchronizer is faulty.
Turn off the power, and then turn the machine pulley and check if the sewing machine has locked up.
Check that connectors P4 and P5 on the power supply motor P.C. board are properly connected.
E131
Synchronizer is faulty.
Turn off the power, and then check that connector P5 on the power supply motor P. C. board is properly
connected.
E132
Problem detected with sewing machine motor operation.
Turn off the power, and then check that connector P4 on the power supply motor P.C. board is properly
connected.
E133
Sewing machine motor stopping position is incorrect.
Turn off the power, and then check that connector P5 on the power supply motor P.C. board is properly
connected.
E150
Sewing machine motor is overheating, or temperature sensor is faulty.
Turn off the power, and then check the sewing machine motor.
(When sewing data with a small number of stitches (15 stitches or less) is sewn repeatedly (short cycle
operation), the upper shaft motor may overheat and the "E150" error code may be generated.)
Feed mechanism-related errors
Code Cause and remedy
E200
X-feed motor home position cannot be detected.
Problem with X -feed motor or poor X home position sensor connection.
Turn off the power, and then check that connector P10 on the PMD P.C. board and connector P20 on the main
P.C. board are properly connected.
E201 X-feed motor stopped due to a problem.
Turn off the power, and then check if there are any problems in the X-feed direction.
E202 Problem with X-feed motor or Y-feed motor home position adjustment data.
Re-adjust the home position.
E204 X feed motor stopped abnormally during sewing.
Turn off the power, and then check if there are any problems in the X-feed direction.
E205 X feed motor stopped abnormally while moving to the sewing start position.
Turn off the power, and then check if there are any problems in the X-feed direction.
E206 X feed motor stopped abnormally during test feeding.
Turn off the power, and then check if there are any problems in the X-feed direction.
E207 X feed motor stopped abnormally during programming.
Turn off the power, and then check if there are any problems in the X-feed direction.
E210
Y-feed motor home position cannot be detected.
Problem with Y-feed motor or poor Y home position sensor connection.
Turn off the power, and then check that connector P8 on the PMD P.C. board and connector P4 on the main P.C.
board are properly connected.
E211 Y-feed motor stopped due to a problem.
Turn off the power, and then check if there are any problems in the Y-feed direction.
E214 Y feed motor stopped abnormally during sewing.
Turn off the power, and then check if there are any problems in the Y-feed direction.
E215 Y feed motor stopped abnormally while moving to the sewing start position.
Turn off the power, and then check if there are any problems in the Y-feed direction.
E216 Y feed motor stopped abnormally during test feeding.
Turn off the power, and then check if there are any problems in the Y-feed direction.
E217 Y feed motor stopped abnormally during programming.
Turn off the power, and then check if there are any problems in the Y-feed direction.
Work clamp-related errors
Code Cause and remedy
E300
Work clamp home position cannot be detected.
Problem with work clamp motor or poor work clamp home position sensor connection.
Turn off the power, and then check that connector P3 on the PMD P.C. board and connector P5 on the main P.C.
board are properly connected.
E301 Intermittent presser foot raised or lowered position cannot be detected.
Turn off the power, and then check if there are any problems in the intermittent presser foot vertical direction.
E303 Problem with work clamp motor home position adjustment data.
Re-adjust the home position.

9. TABLE OF ERROR CODES
137 BAS-342G
Communication and memory-related errors
Code Cause and remedy
E401
Connection communication error with power supply motor P. C. board detected when power was turned on.
Turn off the power, and then check that connector P6 on the power supply motor P.C. board and connector P17
on the main P.C. board are properly connected.
E402 Communication error with programmer detected when power is turned on.
Turn off the power, and then check that connector P7 on the main P.C. board is properly connected.
E403 Connection error with PMD P. C. board detected when power was turned on.
Turn off the power, and then check that connector P1 on the PMD P.C. board is properly connected.
E410 Communication error with main P. C. board detected.
Turn off the power, and then turn it back on again.
E411 Communication error with power supply motor P. C. board detected.
Turn off the power, and then turn it back on again.
E412 Communication error with programmer detected.
Turn off the power, and then turn it back on again.
E413 Communication error with PMD P. C. board detected.
Turn off the power, and then turn it back on again.
E420 No CF card is inserted.
E421 Program contents are incorrect and cannot be used, or no data.
Check that the CF card or floppy disk contains data with this program number.
E422 Error occurred while reading the CF card or floppy disk.
Check the data on the CF card or floppy disk.
E424
Insufficient free space on the CF card, or data cannot be written to the floppy disk.
Use a different CF card.
Check if the floppy disk is write-protected and if it has enough free space.
E425
Error occurred while writing to the CF card or floppy disk.
Use the specified type of CF card.
Check if the floppy disk is write-protected and if it has enough free space.
E426 R/W key has not been pressed.
Press the R/W key to load the data.
E427
CF card or floppy disk does not contain any data with this program number.
Check the program number.
Data that has already been loaded into internal memory can be used without having to press the R/W key again.
E430 Data cannot be backed up to main P.C. board.
Turn off the power, and then turn it back on again.
E440 Data memory error on main P.C. board.
Turn off the power, and then turn it back on again.
E450 Model selection cannot be read from the machine head memory.
Turn off the power and check that connector P3 on the power supply motor P.C. board is properly connected.
E451 Data cannot be backed up to machine head memory.
Turn off the power, and then turn it back on again.
E452
Machine head memory is not connected.
Turn off the power, and then check that connector P3 on the power supply motor P.C. board is properly
connected.
E474 Internal memory is full and copying is not possible.
Clear the sewing data.

9. TABLE OF ERROR CODES
138
BAS-342G
Data editing-related errors
Code Cause and remedy
E500 The enlargement ratio setting caused the sewing data to extend outside the sewing area.
Set the enlargement ratio again.
E501 Sewing data that exceeds the sewing machine's sewing area was loaded.
Check the size of the sewing data.
E502 The enlargement ratio caused the data pitch to exceed the maximum pitch of 12.7 mm.
Set the enlargement ratio again.
E510 Invalid code in sewing data.
Reload the data from the CF card or floppy disk.
E511 No end code has been input into sewing data.
Input an end code, or change the program number.
E512 Number of stitches exceeds allowed maximum.
E520 Extended option output number already exists. Change the extended option output number.
If not using the extended option output, initialize the data to clear the extended option output data.
E530 Changing program number is prohibited.
Device-related errors
Code Cause and remedy
E600 Upper thread breakage occurred.
Thread the upper thread. You can continue sewing.
P.C. board-related errors
Code Cause and remedy
E700 Abnormal rise in power supply voltage.
Turn off the power and check the input voltage.
E701 Abnormal rise in sewing machine motor drive voltage.
Turn off the power, and then check the voltage.
E705 Abnormal drop in power supply voltage.
Turn off the power and check the input voltage.
E710 Abnormal current detected in sewing machine motor.
Turn off the power, and then check if there are any problems with the sewing machine.
E711 Abnormal current detected in X-feed motor.
Turn off the power, and then check if there are any problems in the X-feed direction.
E712 Abnormal current detected in Y-feed motor.
Turn off the power, and then check if there are any problems in the Y-feed direction.
E713
Abnormal current detected in work clamp motor.
Turn off the power, and then check if there are any problems with the X-feed mechanism, Y-feed mechanism or
work clamp lifter.
E730 External error input (AIRSW) detected.
Turn off the power, and then check the air pressure.
E740
Control box cooling fan does not operate.
Turn off the power, and then check if the cooling fan is blocked with scraps of thread.
Check that connector P22 on the main P.C. board is properly connected.
E741
X-feed motor cooling fan does not operate.
Turn off the power, and then check if the cooling fan is blocked with scraps of thread.
Check that connector P10 on the main P.C. board is properly connected.
E742
Y-feed motor cooling fan does not operate.
Turn off the power, and then check if the cooling fan is blocked with scraps of thread.
Check that connector P10 on the main P.C. board is properly connected.
If an error code that is not listed above appears or if carrying out the specified remedy does not solve the problem,
contact the place of purchase.

10. TROUBLESHOOTING
139 BAS-342G
10. TROUBLESHOOTING
• Please check the following points before calling for repairs or service.
• If the following remedies do not fix the problem, turn off the power switch and consult a qualified technician or the place of
purchase.
CAUTION
Turn off the power switch and disconnect the power cord before carrying out troubleshooting.
If the foot switch is depressed by mistake, the sewing machine might start operating and injury could result.
Problem Cause Remedy Reference
Work clamp moves stiffly.
Apply a suitable amount of grease to
the sliding parts of the work clamp
slider.
Work clamp does not
lift.
Work clamp does not
drop. Air tube of presser lifter cylinder is bent
or damaged.
Straighten the bend in the tube or
replace the tube.
Work clamp lift amount is
incorrect.
Work clamp lifter lever position is
incorrect.
Adjust the position of the work clamp
lifter lever. P. 97
Work clamp does not lift
to the maximum height. Cylinder joint position is incorrect. Adjust the position of the cylinder joint.
Adjust the height of the thread wiper. P. 94
The thread wiper is obstructing the
needle.
Adjust the stroke of the thread wiper. P. 94
Thread wiper does not
operate correctly.
Thread wiper position is incorrect. Adjust the stroke of the thread wiper. P. 94
Lower thread winds to
one side.
Bobbin winder tension assembly
height is incorrect.
Adjust the height of the bobbin winder
tension assembly.
Instruction
manual
Lower thread winding
amount is incorrect. Bobbin presser position is incorrect. Adjust the position of the bobbin
presser.
Instruction
manual
Stitches being skipped at the sewing
start. Refer to "Skipped stitches occur". P. 140
Upper thread trailing length is uneven. Adjust the sub-tension. Instruction
manual
Thread slips out of the
needle.
Position of shuttle race thread guide is
incorrect
Adjust the position of the shuttle race
thread guide. P. 89

10. TROUBLESHOOTING
140
BAS-342G
Problem Cause Remedy Reference
Upper thread tension is too strong. Adjust the upper thread tension. Instruction
manual
Needle is incorrectly installed. Install the needle correctly. Instruction
manual
Thread is too thick for the needle. Select a thread that matches the
needle.
Instruction
manual
Thread take-up spring tension and
height are incorrect.
Adjust the tension and height of the
thread take-up spring. P. 87
Damage or burring of the rotary hook,
needle hole plate or needle. Repair or replace the problem part.
Thread breaking from heat (Synthetic
thread) Use a cooling tank. Instruction
manual
Upper thread breaks.
Thread is threaded incorrectly. Thread the thread correctly. Instruction
manual
Lower thread tension is too strong. Adjust the lower thread tension. Instruction
manual
Lower thread breaks.
Damage to corners of needle hole
plate or bobbin case. Repair or replace the problem part.
Clearance between needle and rotary
hook tip is too great. Adjust the needle clearance. P. 89
Needle and rotary hook timing is
incorrect. Adjust the needle bar lift amount. P. 88
The driver is covering the needle more
than necessary. Adjust the driver. P. 88
Needle is bent. Replace the needle.
Skipped stitches occur.
Needle is incorrectly installed. Install the needle correctly. Instruction
manual
Adjust the needle clearance. P. 89
Clearance between needle and rotary
hook tip is too great.
Adjust the needle bar lift amount. P. 88
Needle is bent. Replace the needle.
Needle deflection
Select a needle that is suitable for the
sewing conditions.
Reduce the sewing speed.
Instruction
manual
Needle is broken.
Needle is too thin. Select a needle that is suitable for the
sewing conditions.
Instruction
manual
Thread take-up spring tension and
height are incorrect.
Adjust the tension and height of the
thread take-up spring. P. 87
Needle and rotary hook timing is
incorrect. Adjust the needle bar lift amount. P. 88
Thread jamming.
Shuttle race thread guide is not
separating the threads.
Adjust the position of the shuttle race
thread guide. P. 89

10. TROUBLESHOOTING
141 BAS-342G
Problem Cause Remedy Reference
Movable knife is not cutting cleanly. Replace with a new one. P. 93
Fixed knife is not cutting cleanly. Sharpen the fixed knife or replace it
with a new one. P. 93
Adjust the position of the shuttle race
thread guide. P. 89
Movable knife is not picking up the
upper thread.
Adjust the needle bar lift amount. P. 88
Movable knife is not picking up the
upper thread because the last stitch is
being skipped.
Refer to "Skipped stitches occur". P. 140
Movable knife position is incorrect. Adjust the position of the movable
knife. P. 91
Upper thread is not
trimmed.
Sub-tension is too weak. Turn the sub-tension nut to adjust the
tension.
Instruction
manual
Shuttle race thread guide is not
separating the threads enough.
Adjust the position of the shuttle race
thread guide. P. 89
Incorrect tightening of the upper
thread Adjust the upper thread tension. Instruction
manual
Poor stitch finish on
underside of material.
Upper thread trailing length is uneven. Adjust the sub-tension. Instruction
manual
Upper thread tension is too weak. Adjust the upper thread tension. Instruction
manual
Lower thread tension is too weak. Adjust the lower thread tension. Instruction
manual
Thread take-up spring tension and
height are incorrect.
Adjust the tension and height of the
thread take-up spring. P. 87
Incorrect tightening of
the thread
Position of arm thread guide R is
incorrect.
Adjust the position of arm thread guide
R. P. 87
Thread take-up spring tension and
height are incorrect.
Adjust the tension and height of the
thread take-up spring. P. 87
Sub-tension is too weak. Turn the sub-tension nut to adjust the
tension.
Instruction
manual
Upper thread trailing
length is uneven.
Fixed knife is not cutting cleanly. Sharpen the fixed knife or replace it
with a new one. P. 93
Check if the safety switch cord is
disconnected.
Instruction
manual
Adjust the position of the safety
switch.
Instruction
manual
Sewing machine does
not operate when the
power is turned on and
the foot switch is
depressed. Safety switch does not work.
If the safety switch is malfunctioning,
replace it with a new one.

11. 7 SEGMENT DISPLAY
142
BAS-342G
11. 7-SEGMENT DISPLAY
0 1 2 3 4 5 6 7 8 9
A B C D E F G H I J
K L M N O P Q R S T
U V W X Y Z

SERVICE MANUAL
15-1, Naeshiro-cho, Mizuho-ku, Nagoya 467-8561, Japan. Phone: 81-52-824-2177
Printed in Japan BAS-342G
I7070928B
2007.09. B (1)
http://www.brother.com/