ACSS an L 3 Communications and Thales T3C-16 TCAS and Transponder User Manual
ACSS an L-3 Communications and Thales Company TCAS and Transponder Users Manual
Users Manual

SYSTEM DESCRIPTION AND INSTALLATION MANUAL
T3CAS/Part No.9005000
TO HOLDERS OF SYSTEM DESCRIPTION AND INSTALLATION MANUAL, PUB. NO
8600200-001, T3CAS INTEGRATED PLATFORM
REVISION NO. 004 DATED 04 NOVEMBER 2014
HIGHLIGHTS
This revision is a full replacement. All pages have been updated with the new date. Due to the extent of
changes, this document has been revised in whole and no revision bars are used.
Remove and discard ALL pages of the manual and replace them with the attached pages.
Pages
Description of Change
All
All pages have been revised to indicate revision 004 and to show the
latest revision date.
INTRO-1 Updated the note in subsection 1 of the introduction.
Pages 1-4, 1-5, 1-6, 1-13, 1-23,
1-25, 1-30, 1-39, 1-47, 1-50, 1-
60,1-61, 1-62, 1-82, 1-90, 1-92,
1-93, 1-97, 1-103, 2-2, 2-3, 3-2,
4-1, 4-2, 4-3, 4-5, 4-6, 4-37, 4-
92, 4-94, 4-95, 4-97, 4-111, 4-
112, 4-124, 4-126, 4-127, 4-
137, 4-138, 4-145, 4-156, 5-4,
5-6, 5-7, 5-19, 5-20, 5-25, 6-3,
6-7, 6-11, 6-12, 6-13, 6-15, 6-
16, 6-17, 6-18, 7-3, 10-1
Added STD 1.3 part number references.
Pages 1-6, 1-7, 1-13, 1-39, 1-
50, 1-59, 1-60, 1-78, 1-93, 1-97,
1-103, 1-108, 2-2, 4-1, 4-37, 4-
38, 4-114, 4-117, 4-118, 4-119,
4-128, 5-8, 5-19, 5-20, 5-25, 6-
57, 6-59, 7-5, 7-10, 10-1
Updated Rel 2.0 part number references.
Pages 1-39, 4-48, 4-140
Added notes requiring RMP-5E be enabled for Hybrid Surveillance
installations.
Pub. No. 8600200-001, Revision 004 34-45-29 HL-1
04 Nov 2014
Use or disclosure of information on this page is subject to the restrictions in the proprietary notice of this document.

SYSTEM DESCRIPTION AND INSTALLATION MANUAL
T3CAS/Part No.9005000
Blank Page
HL-2
04 Nov 2014 34-45-29 Pub. No. 8600200-001, Revision 004
Use or disclosure of information on this page is subject to the restrictions in the proprietary notice of this document.

Aviation Communication and
Surveillance Systems
19810 North 7th Avenue
Phoenix, Arizona 85027-4741
U.S.A.
T3CAS
Integrated Platform
System Description
and
Installation Manual
Pub. No. 8600200-001, Revision 004 34-45-29 T-1
04 Nov 2014
Printed in U.S.A.

SYSTEM DESCRIPTION AND INSTALLATION MANUAL
T3CAS/Part No.9005000
PROPRIETARY NOTICE
This document and the information disclosed herein are proprietary data of ACSS. Neither this document
nor the information contained herein shall be used, reproduced, or disclosed to others without the written
authorization of ACSS, except to the extent required for installation or maintenance of the recipient's
equipment.
NOTICE - FREEDOM O F INFORMATION A CT ( 5 U SC 552) AND DI SCLOSURE O F CONFIDENTIAL
INFORMATION GENERALLY (18 USC 1905)
This document is being furnished in confidence by ACSS. The information disclosed herein falls within
exemption (b) (4) of 5 USC 552 and the prohibitions of 18 USC 1905.
EXPORT NOTICE
This technical data is controlled under the Export Administration Regulations (EAR) and may not be
exported to a Foreign Person, either in the U.S. or abroad, without proper authorization by the U.S.
Department of Commerce.
Copyright 2014 ACSS S2014
All Rights Reserved
ACSS is a U.S. registered trademark.
All other marks are owned by their respective companies.
T-2
04 Nov 2014 34-45-29 Pub. No. 8600200-001, Revision 004
Use or disclosure of information on this page is subject to the restrictions in the proprietary notice of this document.

SYSTEM DESCRIPTION AND INSTALLATION MANUAL
T3CAS/Part No.9005000
MATERIALS HAZARD RATING CODE
ACSS uses the National Fire Protection Association system to identify the different levels of hazards that
are caused by the use of a given material. A Hazard Code identifies three effects of a material on a
person: health (eat, drink, touch, and breathe), fire (when and how it burns), and reactivity (chemical
explosions). Also, each material is given a storage group for safety.
Each code has three numbers and one letter (for example, 130D) as shown in the Hazard Code symbol
below. The three numbers show the hazard levels for health, fire, and reactivity, in that sequence. The
range of each number is 0 to 4. The higher the number, the more dangerous the hazard. You must be
careful with any material that has a Hazard Code with a 2, 3, or 4. The one letter (A thru E) in the code
identifies a specific storage group that is applicable for the material.
If applicable, materials used for the procedures in this manual are given a Hazard Code. More data on
the health and fire levels is shown on page H-2. Get specific data on a material from the data sheet
supplied by the manufacturer of the material.
Pub. No. 8600200-001, Revision 004 34-45-29 H-1
04 Nov 2014
Use or disclosure of information on this page is subject to the restrictions in the proprietary notice of this document.

SYSTEM DESCRIPTION AND INSTALLATION MANUAL
T3CAS/Part No.9005000
HEALTH HAZARD RATING IN POSITION 1
Rating
Description
Effect of Exposure
4
Very bad health
hazard
Very short exposures could cause DEATH or CRITICAL
REMAINING INJURY even after fast medical treatment. Do not
breathe the vapor or come in contact with the liquid without
approved protection.
3
Dangerous health
hazard
Short exposures could cause DANGEROUS TEMPORARY OR
REMAINING INJURY even with fast medical aid. Use approved
clothing.
2
Hazardous
Intense or continued exposure could cause TEMPORARY
DISABILITY OR POSSIBLE REMAINING INJURY unless medical
aid is given immediately.
1
Irritant
May cause IRRITATION on exposure. Only SMALL REMAINING
INJURY would be the result without medical treatment. Safety
glasses must be worn.
0
No Important
health hazard
Not hazardous for usual conditions. Special personal protection is
not necessary.
FIRE HAZARD RATING IN POSITION 2
Rating
Description
Effect of Exposure
4
Very flammable
Any liquid or gaseous material that is a liquid under pressure with
a flash point below 22.8 °C. Also materials that can form
explosive mixtures with air, such as dusts or combustible solids,
and pressurized small drops of flammable or combustible liquid.
PREVENT ALL SOURCES OF IGNITION. NO SMOKING
PERMITTED!
3
Highly flammable
Liquids and solids that can start to burn in almost all conditions of
ambient temperature. Liquids with a flash point at or above 22.8
°C but below 37.8 °C. Control all sources of ignition. NO
SMOKING!
2
Moderately
combustible
Materials that must be warm or in an area open to high
temperatures before ignition can occur. This rating is applicable to
liquids having a flash point above 37 °C but below 93.4 °C. Be
very careful when near a source of heat.
1
Lightly
combustible
Materials that must be hot before ignition can occur. This rating
includes materials that will burn in air in an area open to a
temperature of 815 °C for 5 minutes or less. Liquids and solids
have a flash point at or above 93.4 °C.
0
Will not burn
Any material that will not burn in air in an area open to a
temperature of 815 °C for 5 minutes.
H-2
04 Nov 2014 34-45-29 Pub. No.8600200-001, Revision 004
Use or disclosure of information on this page is subject to the restrictions in the proprietary notice of this document.

SYSTEM DESCRIPTION AND INSTALLATION MANUAL
T3CAS/Part No.9005000
RECORD OF REVISIONS
For each revision, put the revised pages in your manual and discard the superseded pages. Write the
revision number and date, date put in manual, and the incorporator's initials in the applicable columns on
the Record of Revisions. The initial A shows ACSS is the incorporator.
Revision Number
Revision Date
Date Put in Manual
By
1
15 Sep 2013
15 Sep 2013
A
002 22 May 2014 22 May 2014
A
003 05 Jun 2014 05 Jun 2014
A
004
04 Nov 2014
04 Nov 2014
A
Pub. No.8600200-001, Revision 004 34-45-29 RR-1
04 Nov 2014
Use or disclosure of information on this page is subject to the restrictions in the proprietary notice of this document.

SYSTEM DESCRIPTION AND INSTALLATION MANUAL
T3CAS/Part No.9005000
Blank Page
RR-2
04 Nov 2014 34-45-29 Pub. No.8600200-001, Revision 004
Use or disclosure of information on this page is subject to the restrictions in the proprietary notice of this document.

SYSTEM DESCRIPTION AND INSTALLATION MANUAL
T3CAS/Part No.9005000
RECORD OF TEMPORARY REVISIONS
Read the location instructions on each temporary revision page to know where to put the pages in your
manual. Remove temporary revision pages only when discard instructions are given. For each temporary
revision, give the correct data in the applicable columns.
Temporary
Revision Number
Temporary
Revision Date
Date Put in
Manual
By*
Date Removed
from Manual
By*
1 15 Jul 2011 15 Jul 2011 A 15 Sep 2013 A
2 6 Jun 2012 6 Jun 2012 A 15 Sep 2013 A
3
15 Jan 2014
15 Jan 2014
A
26 Feb 2014
A
4
26 Feb 2014
26 Feb 2014
A
22 Apr 2014
A
5
22 Apr 2014
22 Apr 2014
A
22 May 2014
A
6 25 Jun 2014 25 Jun 2014 A 04 Nov 2014 A
Pub. No. 8600200-001, Revision 004 34-45-29 RTR-1
04 Nov 2014
Use or disclosure of information on this page is subject to the restrictions in the proprietary notice of this document.

SYSTEM DESCRIPTION AND INSTALLATION MANUAL
T3CAS/Part No.9005000
Blank Page
RTR-2
04 Nov 2014 34-45-29 Pub. No. 8600200-001, Revision 004
Use or disclosure of information on this page is subject to the restrictions in the proprietary notice of this document.

SYSTEM DESCRIPTION AND INSTALLATION MANUAL
T3CAS/Part No.9005000
SERVICE BULLETIN LIST
Service Bulletin
Identified
Mod
Date Included
in this manual
Description
ATA 9005000-34-0001
(8008468-001) E 15 Sep 2013
Makes Necessary Modifications to Revise
Transmitter CCA A4, Part No.9005040-001 to
Revision J and Update The T3CAS Computer
Unit (CU) to Hardware Mod E.
ATA 9005000-34-6002
(8008517-001) F 15 Sep 2013
Part No.9005000-10000;
Install New T3CAS Operational Software from
Master Media, Part No.9500001-004F, and
Upgrade the T3CAS (Traffic Management
Computer) Computer Unit to Part No.9005000-
10101 with Hardware Modification F.
ATA 9005000-34-0004
(8008703-001) H 15 Sep 2013
Part No.9005000-10101;
Hardware MOD H Updates the Power Supply
CCA, Part No.9005030-001 and Receiver CCA
Part No.9005050-003 or 9005050-005 to
Improve Reliability.
ATA 9005000-34-0005
(8008706-001) J 15 Sep 2013
Part No. 9005000-10000, -10101, and -10202
Hardware MOD J;
Replaces Processor CCA, Part No.9005020-
001, Rev G (or before) with a New Processor
CCA, Part No.9005020-001, H (or later) for
Improved Reliability.
ATA 9005000-34-6008
(8008864-001) 15 Sep 2013
Part No.9005000-10000, -10101;
Installs New Operational Software from Master
Media, Part No.9500001-005F and Updates
T3CAS Computer Units To Part No.9005000-
10202.
ATA 9005000-34-6013
(8009096-001) 04 Nov 2014
Part No.9005000-10101, -10202;
Installs New Operational Software from Master
Media, Part No.9500001-007F and Updates
T3CAS Computer Units to Part No.9005000-
10204.
Pub. No. 8600200-001, Revision 004 34-45-29 SBL-1
04 Nov 2014
Use or disclosure of information on this page is subject to the restrictions in the proprietary notice of this document.

SYSTEM DESCRIPTION AND INSTALLATION MANUAL
T3CAS/Part No.9005000
Blank Page
SBL-2
04 Nov 2014 34-45-29 Pub. No. 8600200-001, Revision 004
Use or disclosure of information on this page is subject to the restrictions in the proprietary notice of this document.

SYSTEM DESCRIPTION AND INSTALLATION MANUAL
T3CAS/Part No.9005000
LIST OF EFFECTIVE PAGES
Original
-
15 Feb 2010
Revision
001
15 Sep 2013
Revision
002
22 May 2014
Revision
003
05 Jun 2014
Revision
004
04 Nov 2014
Subheading and Page Revision Subheading and Page Revision
Title
T-1
004
T-2
004
Material Hazard
H-1
004
H-2
004
Record of Revisions
RR-1
004
RR-2
004
Service Bulletin
SBL-1
004
SBL-2
004
List of Effective Pages
LEP-1
004
LEP-2
004
LEP-3
004
LEP-4
004
LEP-5
004
LEP-6
004
Table of Contents
TC-1
004
TC-2
004
TC-3
004
TC-4
004
TC-5
004
TC-6
004
TC-7
004
TC-8
004
TC-9
004
TC-10
004
Introduction
INTRO-1
▪
004
INTRO-2
004
INTRO-3
004
INTRO-4
004
INTRO-5
004
INTRO-6
004
INTRO-7
004
INTRO-8
004
System Description
1-1
004
1-2
004
1-3
004
1-4
▪
004
1-5
▪
004
1-6
▪
004
1-7
▪
004
1-8
004
1-9
004
1-10
004
1-11
004
1-12
004
1-13
▪
004
1-14
004
1-15
004
1-16
004
1-17
004
1-18
004
1-19
004
1-20
004
1-21
004
1-22
004
1-23
▪
004
1-24
004
1-25
▪
004
1-26
004
1-27
004
1-28
004
1-29
004
1-30
▪
004
1-31
004
1-32
004
1-33
004
1-34
004
▪ indicates changed, added, or deleted pages.
F indicates right foldout page with blank backs.
Pub. No. 8600200-001, Revision 004 34-45-29 LEP-1
04 Nov 2014
Use or disclosure of information on this page is subject to the restrictions in the proprietary notice of this document.

SYSTEM DESCRIPTION AND INSTALLATION MANUAL
T3CAS/Part No.9005000
Subheading and Page Revision Subheading and Page Revision
1-35
004
1-36
004
1-37
004
1-38
004
1-39
▪
004
1-40
004
1-41
004
1-42
004
F
1-43/44
004
1-45
004
1-46
004
1-47
▪
004
1-48
004
1-49
004
1-50
▪
004
1-51
004
1-52
004
1-53
004
1-54
004
1-55
004
1-56
004
1-57
004
1-58
004
1-59
▪
004
1-60
▪
004
1-61
▪
004
1-62
▪
004
1-63
004
1-64
004
1-65
004
1-66
004
1-67
004
1-68
004
1-69
004
1-70
004
1-71
004
1-72
004
1-73
004
1-74
004
1-75
004
1-76
004
1-77
004
1-78
▪
004
1-79
004
1-80
004
1-81
004
1-82
▪
004
1-83
004
1-84
004
1-85
004
1-86
004
1-87
004
1-88
004
1-89
004
1-90
▪
004
1-91
004
1-92
▪
004
1-93
▪
004
1-94
▪
004
1-95
004
1-96
004
1-97
▪
004
1-98
004
1-99
004
1-100
004
1-101
004
1-102
004
1-103
▪
004
1-104
004
1-105
004
1-106
004
1-107
004
1-108
▪
004
1-109
004
1-110
004
1-111
004
1-112
004
1-113
004
1-114
004
1-115
004
1-116
004
1-117
004
1-118
004
1-119
004
1-120
004
1-121
004
1-122
004
1-123
004
1-124
004
1-125
004
▪ indicates changed, added, or deleted pages.
F indicates right foldout page with blank backs.
LEP-2
04 Nov 2014 34-45-29 Pub. No. 8600200-001, Revision 004
Use or disclosure of information on this page is subject to the restrictions in the proprietary notice of this document.

SYSTEM DESCRIPTION AND INSTALLATION MANUAL
T3CAS/Part No.9005000
Subheading and Page Revision Subheading and Page Revision
1-126
004
1-127
004
1-128
004
1-129
004
1-130
004
1-131
004
1-132
004
1-133
004
1-134
004
1-135
004
1-136
004
Mechanical Installation
2-1
004
2-2
▪
004
2-3
▪
004
2-4
004
2-5
004
2-6
004
F
2-7/8
004
F
2-9/10
004
F
2-11/12
004
F
2-13/14
004
F
2-15/16
004
F
2-17/18
004
2-19
004
2-20
004
F
2-21/22
004
F
2-23/24
004
F
2-25/26
004
F
2-27/28
004
F
2-29/30
004
F
2-31/32
004
F
2-33/34
004
F
2-35/36
004
F
2-37/38
004
F
2-39/40
004
Electrical Installation
3-1
004
3-2
▪
004
3-3
004
3-4
004
3-5
004
3-6
004
3-7
004
3-8
004
3-9
004
3-10
004
3-11
004
3-12
004
3-13
004
3-14
004
3-15
004
3-16
004
3-17
004
3-18
004
3-19
004
3-20
004
3-21
004
3-22
004
3-23
004
3-24
004
3-25
004
3-26
004
Loading/Gradient Specifications
4-1
▪
004
4-2
▪
004
4-3
▪
004
4-4
004
4-5
▪
004
4-6
▪
004
4-7
004
4-8
004
4-9
004
4-10
004
4-11
004
4-12
004
4-13
004
4-14
004
4-15
004
4-16
004
4-17
004
4-18
004
4-19
004
4-20
004
4-21
004
4-22
004
4-23
004
4-24
004
4-25
004
▪ indicates changed, added, or deleted pages.
F indicates right foldout page with blank backs.
Pub. No. 8600200-001, Revision 004 34-45-29 LEP-3
04 Nov 2014
Use or disclosure of information on this page is subject to the restrictions in the proprietary notice of this document.

SYSTEM DESCRIPTION AND INSTALLATION MANUAL
T3CAS/Part No.9005000
Subheading and Page Revision Subheading and Page Revision
4-26
004
4-27
004
4-28
004
4-29
004
4-30
004
4-31
004
4-32
004
4-33
004
4-34
004
4-35
004
4-36
004
4-37
▪
004
4-38
▪
004
4-39
004
4-40
004
4-41
004
4-42
004
4-43
004
4-44
004
4-45
004
4-46
004
4-47
004
4-48
▪
004
4-49
004
4-50
004
4-51
004
4-52
004
4-53
004
4-54
004
4-55
004
4-56
004
4-57
004
4-58
004
4-59
004
4-60
004
4-61
004
4-62
004
4-63
004
4-64
004
4-65
004
4-66
004
4-67
004
4-68
004
4-69
004
4-70
004
4-71
004
4-72
004
4-73
004
4-74
004
4-75
004
4-76
004
4-77
004
4-78
004
4-79
004
4-80
004
4-81
004
4-82
004
4-83
004
4-84
004
4-85
004
4-86
004
4-87
004
4-88
004
4-89
004
4-90
004
4-91
004
4-92
▪
004
4-93
004
4-94
▪
004
4-95
▪
004
4-96
004
4-97
▪
004
4-98
004
4-99
004
4-100
004
4-101
004
4-102
004
4-103
004
4-104
004
4-105
004
4-106
004
4-107
004
4-108
004
4-109
004
4-110
004
4-111
▪
004
4-112
▪
004
4-113
004
4-114
▪
004
▪ indicates changed, added, or deleted pages.
F indicates right foldout page with blank backs.
LEP-4
04 Nov 2014 34-45-29 Pub. No.8600200-001, Revision 004
Use or disclosure of information on this page is subject to the restrictions in the proprietary notice of this document.

SYSTEM DESCRIPTION AND INSTALLATION MANUAL
T3CAS/Part No.9005000
Subheading and Page Revision Subheading and Page Revision
4-115
004
4-116
004
4-117
▪
004
4-118
▪
004
4-119
▪
004
4-120
004
4-121
004
4-122
004
4-123
004
4-124
▪
004
4-125
004
4-126
▪
004
4-127
▪
004
4-128
▪
004
4-129
004
4-130
004
4-131
004
4-132
004
4-133
004
4-134
004
4-135
004
4-136
004
4-137
▪
004
4-138
▪
004
4-139
004
4-140
▪
004
4-141
004
4-142
004
4-143
004
4-144
004
4-145
▪
004
4-146
004
4-147
004
4-148
004
4-149
004
4-150
004
4-151
004
4-152
004
4-153
004
4-154
004
4-155
004
4-156
▪
004
4-157
004
4-158
004
4-159
004
4-160
004
4-161
004
4-162
004
Adjustment/Test
5-1
004
5-2
004
5-3
004
5-4
▪
004
5-5
004
5-6
▪
004
5-7
▪
004
5-8
▪
004
5-9
004
5-10
004
5-11
004
5-12
004
5-13
004
5-14
004
5-15
004
5-16
004
5-17
004
5-18
004
5-19
▪
004
5-20
▪
004
5-21
004
5-22
004
5-23
004
5-24
004
5-25
▪
004
5-26
004
5-27
004
5-28
004
Fault Isolation
6-1
004
6-2
004
6-3
▪
004
6-4
004
6-5
004
6-6
004
6-7
▪
004
6-8
004
6-9
004
6-10
004
6-11
▪
004
▪ indicates changed, added, or deleted pages.
F indicates right foldout page with blank backs.
Pub. No. 8600200-001, Revision 004 34-45-29 LEP-5
04 Nov 2014
Use or disclosure of information on this page is subject to the restrictions in the proprietary notice of this document.

SYSTEM DESCRIPTION AND INSTALLATION MANUAL
T3CAS/Part No.9005000
Subheading and Page Revision Subheading and Page Revision
6-12
▪
004
6-13
▪
004
6-14
004
6-15
▪
004
6-16
▪
004
6-17
▪
004
6-18
▪
004
6-19
004
6-20
004
6-21
004
6-22
004
6-23
004
6-24
004
6-25
004
6-26
004
6-27
004
6-28
004
6-29
004
6-30
004
6-31
004
6-32
004
6-33
004
6-34
004
6-35
004
6-36
004
6-37
004
6-38
004
6-39
004
6-40
004
6-41
004
6-42
004
6-43
004
6-44
004
6-45
004
6-46
004
6-47
004
6-48
004
6-49
004
6-50
004
6-51
004
6-52
004
6-53
004
6-54
004
6-55
004
6-56
004
6-57
▪
004
6-58
004
6-59
▪
004
6-60
004
Maintenance Practices
7-1
004
7-2
004
7-3
▪
004
7-4
004
7-5
▪
004
7-6
004
7-7
004
7-8
004
7-9
004
7-10
▪
004
Inspection/Check
8-1
004
8-2
004
Cleaning/Painting
9-1
004
9-2
004
9-3
004
9-4
004
Repairs
10-1
▪
004
10-2
004
Appendix A
A-1
004
A-2
004
A-3
004
A-4
004
A-5
004
A-6
004
▪ indicates changed, added, or deleted pages.
F indicates right foldout page with blank backs
LEP-6
04 Nov 2014 34-45-29 Pub. No. 8600200-001, Revision 004
Use or disclosure of information on this page is subject to the restrictions in the proprietary notice of this document.

SYSTEM DESCRIPTION AND INSTALLATION MANUAL
T3CAS/Part No.9005000
Table of Contents
Subject Page
INTRODUCTION ............................................................................................................................... INTRO-1
1. General................................................................................................................................. INTRO-1
2. Reference Documents ......................................................................................................... INTRO-1
3. Weights and Measures ........................................................................................................ INTRO-1
4. Acronyms and Abbreviations ............................................................................................... INTRO-2
5. Special Precautions ............................................................................................................. INTRO-8
SYSTEM DESCRIPTION ........................................................................................................................... 1-1
1. General ............................................................................................................................................ 1-1
2. System Components ....................................................................................................................... 1-2
3. System Description ....................................................................................................................... 1-23
A. T3CAS Functionality by Type Designation .................................................................................. 1-23
B. System Functional Description ................................................................................................... 1-26
C. System Configurations ................................................................................................................ 1-38
4. Component Descriptions ............................................................................................................... 1-47
A. T3CAS Computer Unit ................................................................................................................. 1-47
B. Airplane Personality Module Interface ........................................................................................ 1-61
C. Directional Antenna ..................................................................................................................... 1-61
D. Gables ATC/TCAS Dual Mode S Transponder Control Panel .................................................... 1-65
E. TAWS Control Panel ................................................................................................................... 1-68
F. VSI/TRA and VSI-TCAS Displays ............................................................................................... 1-68
G. TAWS Terrain Hazard Display .................................................................................................... 1-75
5. System Operation .......................................................................................................................... 1-77
A. TCAS Operation .......................................................................................................................... 1-77
B. TAWS/RWS Operation ................................................................................................................ 1-86
C. Transponder Operation ............................................................................................................. 1-109
MECHANICAL INSTALLATION................................................................................................................ 2-1
1. General.......................................................................................................................................... 2-1
2. Equipment and Materials .............................................................................................................. 2-1
3. Mechanical Installation Design ..................................................................................................... 2-1
A. T3CAS Computer Unit Provisions ............................................................................................ 2-1
B. Airplane Personality Module Provisions
(Not applicable to 9005000-10000, -10101, -10202, -10204, or -11203) ................................ 2-2
C. Antenna Provisions .................................................................................................................. 2-2
D. TCAS Control Panel Provisions ............................................................................................... 2-3
E. TAWS/RWS Control Panel Provisions ..................................................................................... 2-4
F. VSI/TRA and VSI-TCAS Provisions ......................................................................................... 2-4
G. TAWS Terrain Hazard Display Provisions ............................................................................... 2-4
ELECTRICAL INSTALLATION ................................................................................................................. 3-1
1. General.......................................................................................................................................... 3-1
2. Equipment and Materials .............................................................................................................. 3-1
3. Electrical Installation Procedure .................................................................................................... 3-1
4. Electrical Installation ..................................................................................................................... 3-1
A. T3CAS Computer Units ............................................................................................................ 3-1
B. APM (Not applicable to 9005000-10000, -10101, -10202, -10204, or -11203. Programming
pins are used)........................................................................................................................... 3-2
C. TCAS Antennas ....................................................................................................................... 3-2
D. Control Panels ........................................................................................................................ 3-11
Pub. No. 8600200-001, Revision 004 34-45-29 TC-1
04 Nov 2014
Use or disclosure of information on this page is subject to the restrictions in the proprietary notice of this document.

SYSTEM DESCRIPTION AND INSTALLATION MANUAL
T3CAS/Part No.9005000
Subject Page
E. Thales VSI-TCAS and ACSS VSI/TRA Displays ................................................................... 3-14
F. TAWS Terrain Hazard Display ............................................................................................... 3-24
LOADING/GRADIENT SPECIFICATIONS ............................................................................................... 4-1
1. General ............................................................................................................................................ 4-1
2. T3CAS Interface Description ........................................................................................................... 4-1
3. TAWS/RWS and Transponder Specifications ............................................................................... 4-92
A. TAWS/RWS/XPDR/DO-260B Data Configuration ................................................................. 4-94
B. TAWS/XPDR Pin Programming ........................................................................................... 4-120
C. TCAS/ATSAW (ADS-B) Pin Programming .......................................................................... 4-136
D. Invalid Strobable Program Pin Combinations ...................................................................... 4-141
E. TAWS/RWS and Transponder Input Data Signals .............................................................. 4-145
F. TAWS/RWS Discrete Inputs ................................................................................................ 4-154
G. TAWS/RWS and Transponder Digital Output Data ............................................................. 4-156
H. TAWS/RWS Discrete Output Data ....................................................................................... 4-160
ADJUSTMENT/TEST ................................................................................................................................ 5-1
1. General.......................................................................................................................................... 5-1
2. Equipment ..................................................................................................................................... 5-1
3. Initial Harness Checkout (New Installations Only) ........................................................................ 5-1
A. T3CAS Computer Unit Harness Checkout ............................................................................... 5-1
B. T3CAS Controller and Display Unit Harness Checkout ............................................................ 5-2
C. LRU Pre-installation Power Checkout ...................................................................................... 5-2
D. Initial System Installation Operational Test .............................................................................. 5-2
4. System Self-Tests ......................................................................................................................... 5-3
A. TCAS Flight Deck Display Test Modes .................................................................................... 5-3
B. TAWS Flight Deck Display Test Modes ................................................................................... 5-6
C. T3CAS Computer Unit Self-Test ............................................................................................. 5-17
5. Return-to-Service Test ................................................................................................................ 5-19
6. Operational Software Loading Using an ARINC 615A Portable Data Loader or
Compact Flash Card ................................................................................................................... 5-19
A. Current Software Verification ................................................................................................. 5-19
B. Compact Flash Card - Operational Software/ACD/ASDB Loading (While Installed
on Aircraft) .............................................................................................................................. 5-20
C. Updated Software Verification................................................................................................ 5-24
7. Downloading Information from the T3CAS Using a CF Card ...................................................... 5-25
8. Flight Data Recording ................................................................................................................. 5-26
A. Reformatting ........................................................................................................................... 5-26
B. Flight Data .............................................................................................................................. 5-26
9. Downloaded Maintenance Data, Event Data And Flight Data May Be Sent To ACSS
Customer Services For Analysis ................................................................................................. 5-27
A. Phone ..................................................................................................................................... 5-27
B. Mail ......................................................................................................................................... 5-27
C. Email. ..................................................................................................................................... 5-27
FAULT ISOLATION ................................................................................................................................... 6-1
1. General.......................................................................................................................................... 6-1
2. Equipment and Materials .............................................................................................................. 6-1
3. Procedure ...................................................................................................................................... 6-1
A. OMS or CFDS .......................................................................................................................... 6-1
B. Flight Deck Initiates Self-Test/Fault Display Systems.............................................................. 6-1
C. T
3
CAS Aural and Visual Annunciations ................................................................................... 6-4
TC-2
04 Nov 2014 34-45-29 Pub. No. 8600200-001, Revision 004
Use or disclosure of information on this page is subject to the restrictions in the proprietary notice of this document.

SYSTEM DESCRIPTION AND INSTALLATION MANUAL
T3CAS/Part No.9005000
Subject Page
D. T3CAS Test Menu and System Status Pages ........................................................................ 6-18
E. T3CAS Computer Unit Self-Test ............................................................................................. 6-53
F. Directional Antenna Test/Fault Isolation Procedure .............................................................. 6-56
G. Hybrid Surveillance Test/Fault Isolation Procedure ............................................................... 6-59
MAINTENANCE PRACTICES ................................................................................................................... 7-1
1. General ......................................................................................................................................... 7-1
2. Equipment and Materials ................................................................................................................ 7-1
3. Procedure for the T3CAS Computer Unit ........................................................................................ 7-1
A. Removal and Installation Procedure ............................................................................................. 7-1
B. Adjustment Procedure................................................................................................................... 7-2
C. Repair Procedure .......................................................................................................................... 7-2
D. Return-to-Service Procedures ...................................................................................................... 7-2
4. Procedure for the APM
(Not applicable for part numbers 9005000-10000, -10101, -10202, -10204, or -11203) .............. 7-3
A. Removal and Installation Procedure ............................................................................................. 7-3
B. Adjustment Procedure................................................................................................................... 7-3
C. Repair Procedure .......................................................................................................................... 7-3
D. Return-to-Service Procedures ...................................................................................................... 7-3
5. Procedure for the Directional Antenna ............................................................................................ 7-3
A. Removal and Installation Procedure ............................................................................................. 7-3
B. Adjustment Procedure................................................................................................................... 7-4
C. Repair Procedure .......................................................................................................................... 7-4
D. Return-to-Service Procedures ...................................................................................................... 7-5
6. Procedure for the Omnidirectional Antenna
(Applicable to part numbers 9005000-11203, -11801 and -55801) .............................................. 7-5
A. Removal and Installation Procedure ............................................................................................. 7-5
B. Adjustment Procedure................................................................................................................... 7-5
C. Repair Procedure .......................................................................................................................... 7-5
D. Return-to-Service Procedures ...................................................................................................... 7-6
7. Procedure for the Control Panel ...................................................................................................... 7-6
A. Removal and Installation Procedure ............................................................................................. 7-6
B. Adjustment Procedure................................................................................................................... 7-6
C. Repair Procedure .......................................................................................................................... 7-6
D. Return-to-Service Procedures ...................................................................................................... 7-6
8. Procedure for the VSI/TRA Display ................................................................................................. 7-7
A. Removal and Installation Procedure ............................................................................................. 7-7
B. Adjustment Procedure................................................................................................................... 7-7
C. Repair Procedure .......................................................................................................................... 7-7
D. Return-to-Service Procedures ...................................................................................................... 7-7
9. Instructions for Continued Airworthiness, FAR Part 25.1529 ....................................................... 7-8
A. T3CAS Installation and Maintenance Information ......................................................................... 7-8
B. Tools.............................................................................................................................................. 7-8
C. Part Numbers ................................................................................................................................ 7-8
D. Wiring Diagram Information .......................................................................................................... 7-8
E. T3CAS Components ...................................................................................................................... 7-9
F. Inoperative System Component .................................................................................................... 7-9
G. T3CAS Component Repair ............................................................................................................ 7-9
H. LRU Reinstallation ........................................................................................................................ 7-9
I. Scheduled Maintenance Program Tasks ...................................................................................... 7-9
J. Continued Airworthiness Limitations ............................................................................................. 7-9
Pub. No. 8600200-001, Revision 004 34-45-29 TC-3
04 Nov 2014
Use or disclosure of information on this page is subject to the restrictions in the proprietary notice of this document.

SYSTEM DESCRIPTION AND INSTALLATION MANUAL
T3CAS/Part No.9005000
Subject Page
K. ICA CHANGES ........................................................................................................................... 7-10
INSPECTION/CHECK ............................................................................................................................... 8-1
1. General.......................................................................................................................................... 8-1
2. Equipment and Materials .............................................................................................................. 8-1
3. Procedure ...................................................................................................................................... 8-1
A. Check T3CAS Computer Unit ........................................................................................................ 8-1
B. Check Antennas ............................................................................................................................ 8-1
C. Check Control Panel ..................................................................................................................... 8-1
D. Check VSI/TRA Display ................................................................................................................ 8-2
CLEANING/PAINTING .............................................................................................................................. 9-1
1. General.......................................................................................................................................... 9-1
2. Equipment and Materials .............................................................................................................. 9-1
3. Cleaning ........................................................................................................................................ 9-2
A. Clean T3CAS Computer Unit and Mounting Tray ......................................................................... 9-2
B. Clean Antennas ............................................................................................................................. 9-2
C. Clean Control Panel ...................................................................................................................... 9-2
D. Clean VSI/TRA Display ................................................................................................................. 9-2
4. Painting ......................................................................................................................................... 9-3
A. TCAS Directional Antennas .......................................................................................................... 9-3
B. Other T3CAS System LRUs .......................................................................................................... 9-4
REPAIRS ................................................................................................................................................. 10-1
1. General........................................................................................................................................ 10-1
APPENDIX A ............................................................................................................................................ A-1
T
3
CAS™ Aircraft Configuration Work Sheet ..........................................................................................A-3
TC-4
04 Nov 2014 34-45-29 Pub. No. 8600200-001, Revision 004
Use or disclosure of information on this page is subject to the restrictions in the proprietary notice of this document.

SYSTEM DESCRIPTION AND INSTALLATION MANUAL
T3CAS/Part No.9005000
List of Illustrations
Figure Page
Figure 1-1: TCAS Advisory Capabilities ........................................................................................... 1-28
Figure 1-2: TCAS/Mode S Communication ...................................................................................... 1-29
Figure 1-3: TA/RA Airspace Coverage ............................................................................................. 1-31
Figure 1-4: Basic TCAS Installation ................................................................................................. 1-32
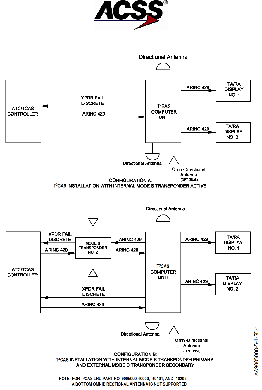
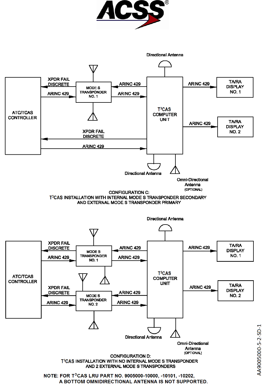
Figure 1-5: Typical System Configurations ...................................................................................... 1-42
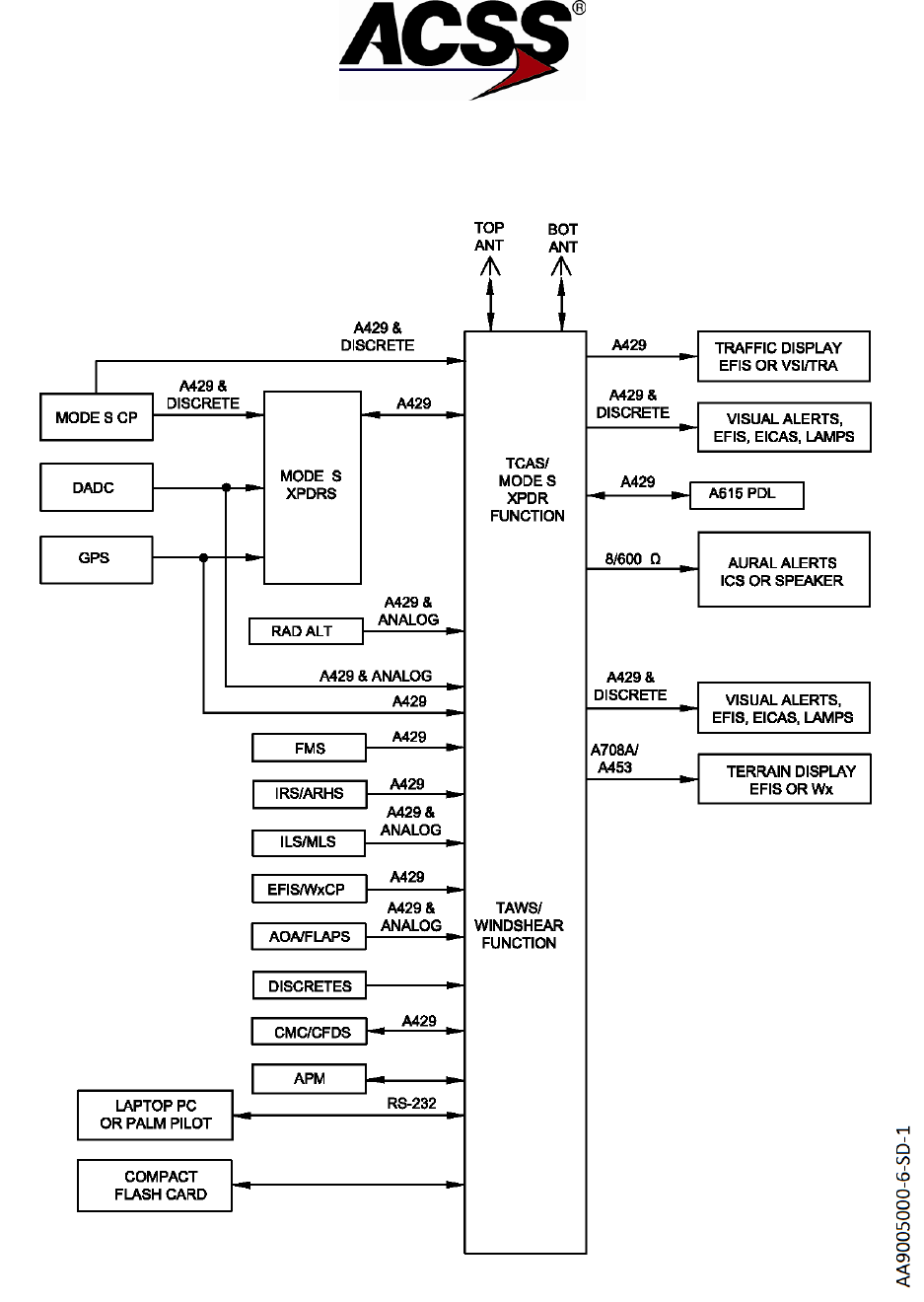
Figure 1-6: T3CAS System Aircraft Interface .................................................................................... 1-44
Figure 1-7: TCAS Function System Block Diagram ......................................................................... 1-45
Figure 1-8: T3CAS Computer Unit .................................................................................................... 1-48
Figure 1-9: T3CAS Airplane Personality Module (APM) ................................................................... 1-61
Figure 1-10: Directional Antenna ........................................................................................................ 1-63
Figure 1-11: Typical Gables ATC/TCAS Control Panel ..................................................................... 1-65
Figure 1-12: Typical VSI/TRA Display Formats .................................................................................. 1-69
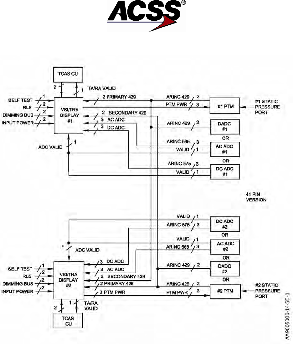
Figure 1-13: Thales VSI-TCAS Interface Diagram (41-Pin) ............................................................... 1-73
Figure 1-14: ACSS VSI/TRA Interface Diagram (41-Pin Version) ..................................................... 1-74
Figure 1-15: ACSS VSI/TRA Interface Diagram (55-Pin Version) ..................................................... 1-75
Figure 1-16: Typical T3CAS Single Terrain Hazard Display Interface ................................................ 1-76
Figure 1-17: TCAS Display Test Pattern ............................................................................................ 1-85
Figure 1-18: Mode 1 – Excessive Descent Rate Envelope ................................................................ 1-86
Figure 1-19: Mode 2 – Excessive Terrain Closure Rate Envelope .................................................... 1-87
Figure 1-20: Mode 3 – Excessive Altitude Loss after Take-Off Envelope .......................................... 1-88
Figure 1-21: Mode 4 – Unsafe Terrain Clearance Envelope .............................................................. 1-89
Figure 1-22: Mode 5- Excessive Glide Path Deviation Envelope ....................................................... 1-90
Figure 1-23: Excessive Bank Angle Envelope ................................................................................... 1-91
Figure 1-24: Windshear Detection ...................................................................................................... 1-92
Figure 1-25: Terrain Slices ................................................................................................................. 1-95
Figure 1-26: Terrain Display Background ........................................................................................... 1-96
Figure 1-27: Terrain Advisory Line ..................................................................................................... 1-97
Figure 1-28: Terrain Hazard Display Upon Caution Alert ................................................................... 1-97
Figure 1-29: Obstacle Hazard Display Upon Caution Alert ................................................................ 1-98
Figure 1-30: Terrain Hazard Display Upon A Pull-up Warning .......................................................... 1-98
Figure 1-31: Obstacle Hazard Display Upon Pull-up Warning ........................................................... 1-99
Figure 1-32: Terrain Hazard Display Upon an Avoid Terrain Warning ............................................... 1-99
Figure 1-33: Terrain Hazard Display Upon an Avoid Obstacle Warning .......................................... 1-100
Figure 1-34: Low Altitude Eleview Display ....................................................................................... 1-100
Figure 1-35: High Altitude Eleview Display ...................................................................................... 1-101
Figure 1-36: Standard Self-Test of TAWS/Windshear Functional Areas ......................................... 1-105
Figure 1-37: TAWS Display Test Pattern ......................................................................................... 1-106
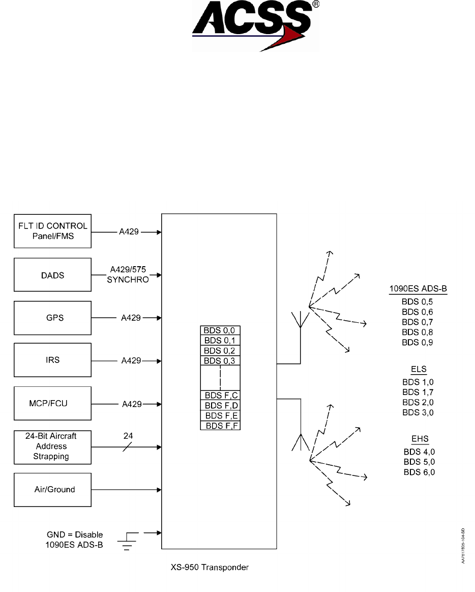
Figure 1-38: XS-950 Transponder DAPS Data Processing ............................................................. 1-121
Figure 2-1: ACSS King Air C90 TAWS Control/Panel Glareshield Switch Annunciators................... 2-5
Figure 2-2: Typical Five-Button B737/757/767 Annunciator Switch Panels ....................................... 2-6
Figure 2-3: Typical Single Terrain Hazard Display Annunciator Switch Panel .................................. 2-6
Figure 2-4: T3CAS Computer Unit Outline and Installation Drawing (6-MCU) ................................... 2-7
Figure 2-5: T3CAS Computer Unit Outline and Installation Drawing (4-MCU) ................................. 2-11
Figure 2-6: APM Outline and Installation Drawings.......................................................................... 2-15
Figure 2-7: TCAS Directional and Omnidirectional Antenna Locations ........................................... 2-19
Figure 2-8: Directional Antenna Angular Orientation ....................................................................... 2-20
Figure 2-9: Directional Antenna Outline and Installation Diagram ................................................... 2-21
Figure 2-10: Directional Antenna (ACSS Part No.7514060-90X) Baseplate Outline and
Installation Diagram ....................................................................................................... 2-31
Pub. No. 8600200-001, Revision 004 34-45-29 TC-5
04 Nov 2014
Use or disclosure of information on this page is subject to the restrictions in the proprietary notice of this document.

SYSTEM DESCRIPTION AND INSTALLATION MANUAL
T3CAS/Part No.9005000
Figure Page
Figure 2-11: Gable G7130-XX Control Panel Outline and Installation Diagram ................................ 2-35
Figure 2-12: Thales VSI-TCAS Outline and Installation Diagram ...................................................... 2-37
Figure 2-13: ACSS VSI/TRA Outline and Installation Diagram .......................................................... 2-39
Figure 3-1: Typical TCAS Installations Types .................................................................................... 3-3
Figure 3-2: T3CAS Computer Tray Mating Connector ........................................................................ 3-4
Figure 3-3: Contact Arrangement for CU Left Top Plug (LTP) Insert ................................................. 3-5
Figure 3-4: Contact Arrangement for CU Left Middle Plug (LMP) Insert............................................ 3-5
Figure 3-5: Contact Arrangement for Left Bottom Plug (LBP) Insert .................................................. 3-6
Figure 3-6: Contact Arrangement for Right Top Plug (RTP) Insert .................................................... 3-7
Figure 3-7: Contact Arrangement for Right Middle Plug (RMP) Insert ............................................... 3-8
Figure 3-8: Contact Arrangement for Right Bottom Plug (RBP) Insert ............................................... 3-9
Figure 3-9: TCAS Computer Unit Data Loader Connector (J1) Pin Layout ..................................... 3-10
Figure 3-10: Thales VSI-TCAS and ACSS VSI/TRA 41-Pin Connector Layout ................................. 3-22
Figure 3-11: ACSS VSI/TRA 55-Pin Connector Layout ..................................................................... 3-23
Figure 3-12: Typical T
3
CAS Single Terrain Hazard Display Interface ................................................ 3-25
Figure 5-1: VSI/TRA Fault Warning Display ....................................................................................... 5-3
Figure 5-2: Active Fault Annunciation .............................................................................................. 5-10
Figure 5-3: Past Fault Annunciation (Non-OMS System) ................................................................ 5-13
Figure 5-4: Maintenance Pages Flow ............................................................................................... 5-16
Figure 5-5: Compact Flash Card Access Port and LRU Identification Label ................................... 5-22
Figure 5-6: Compact Flash Card Ejector Location ........................................................................... 5-23
Figure 5-7: Remote VSI/TRA Interconnect for Viewing Extended Test Mode and Verifying
Software Part Numbers .................................................................................................. 5-25
Figure 6-1: TCAS Test Menu Page .................................................................................................. 6-18
Figure 6-2: Typical System Status Page .......................................................................................... 6-19
Figure 6-3: Typical Display Status Page .......................................................................................... 6-20
Figure 6-4: Typical RAD/ALT Status Page ....................................................................................... 6-21
Figure 6-5: Typical Transponder (XPDR) Status Page .................................................................... 6-22
Figure 6-6: Typical Program Pins 1/4 Page ..................................................................................... 6-23
Figure 6-7: Typical Program Pins 2/4 Page ..................................................................................... 6-24
Figure 6-8: Typical Program Pins 3/4 Page ..................................................................................... 6-25
Figure 6-9: Typical Program Pins 4/4 Page ..................................................................................... 6-25
Figure 6-10: Help Reference Page ..................................................................................................... 6-26
Figure 6-11: Suppression Bus Fail Page ............................................................................................ 6-26
Figure 6-12: Suppression Bus Clear Page ......................................................................................... 6-28
Figure 6-13: Typical Antenna Port Status Page ................................................................................. 6-28
Figure 6-14: Part Numbers Page 1 (Code 0013) ............................................................................... 6-29
Figure 6-15: Part Numbers Page 2 (Code 0014) ............................................................................... 6-29
Figure 6-16: ADS-B Test Menu Page (Code 2000) ............................................................................ 6-30
Figure 6-17: ADS-B Self-Test Page (Code 0020) .............................................................................. 6-30
Figure 6-18: ADS-B Fault Page 1 (Code 0030) .................................................................................. 6-31
Figure 6-19: ADS-B Fault Page 2 (Code 0031) .................................................................................. 6-31
Figure 6-20: ADS-B Fault Page 3 (Code 0032) .................................................................................. 6-32
Figure 6-21: ADS-B Fault Page 4 (Code 0033) .................................................................................. 6-32
Figure 6-22: Unassigned 4096 Code Select Default Page ................................................................ 6-33
Figure 6-23: Maintenance Instruction Page (Page 0/25) ................................................................... 6-33
Figure 6-24: Table of Contents Page (Page 1/25) ............................................................................. 6-34
Figure 6-25: Part Numbers (Pages 2/25) ........................................................................................... 6-34
Figure 6-26: Part Numbers (Pages 3/25) ........................................................................................... 6-34
Figure 6-27: Part Number (Page 4/25) ............................................................................................... 6-35
Figure 6-28: Part Number (Page 5/25) ............................................................................................... 6-35
TC-6
04 Nov 2014 34-45-29 Pub. No. 8600200-001, Revision 004
Use or disclosure of information on this page is subject to the restrictions in the proprietary notice of this document.

SYSTEM DESCRIPTION AND INSTALLATION MANUAL
T3CAS/Part No.9005000
Figure Page
Figure 6-29: Part Number (Page 6/25) ............................................................................................... 6-36
Figure 6-30: Part Number (Page 7/25) ............................................................................................... 6-36
Figure 6-31: Part Number (Page 8/25) ............................................................................................... 6-36
Figure 6-32: Part Number (Page 9/25) ............................................................................................... 6-37
Figure 6-33: Part Number (Page 10/25) ............................................................................................. 6-37
Figure 6-34: System Test Page (Page 11/25) .................................................................................... 6-37
Figure 6-35: ACD Option Page (Page 12/25) – Call Out Options Disabled ....................................... 6-38
Figure 6-36: ACD Option Page (Page 12/25) – Call Out Option Enabled.......................................... 6-39
Figure 6-37: ACD Option Page (Page 13/25) – Discrete Configuration Options ............................... 6-41
Figure 6-38: ACD Option Page (Page 14/25) Boolean Configuration Options .................................. 6-46
Figure 6-39: ACD Option Page (Page 15/25) – Volume Level Options ............................................. 6-47
Figure 6-40: ACD Option Page (page 16/25) – Volume Level Options ............................................. 6-49
Figure 6-41: ACD Option Page (Page 17/25) - Volume Level Options .............................................. 6-50
Figure 6-42: ACD Option Page (Page 18/25) – Volume Level Options ............................................. 6-51
Figure 6-43: ACD Option Page (Page 19/25) – Minimum Runway Length ........................................ 6-51
Figure 6-44: ACD Option Page (Page 20/25) - Mode 2 Latch Time ................................................. 6-51
Figure 6-45: ACD Option Page (Page 21/25) – Mode 2 Activation Vertical Offset ............................ 6-52
Figure 6-46: ACD Option Page (Page 22/25) – Narrow TAL Roll Limit ............................................. 6-52
Figure 6-47: ACD Option Page (Page 23/25) – TAL ILS Deviation Limit ........................................... 6-52
Figure 6-48: ACD Option Page (Page 24/25) – Display Alert Line Aperture ..................................... 6-53
Figure 6-49: ACD Option Page (Page 25/25) – Runway Location Error ............................................ 6-53
Pub. No. 8600200-001, Revision 004 34-45-29 TC-7
04 Nov 2014
Use or disclosure of information on this page is subject to the restrictions in the proprietary notice of this document.

SYSTEM DESCRIPTION AND INSTALLATION MANUAL
T3CAS/Part No.9005000
List of Tables
Table Page
Table INTRO-1: Acronyms and Abbreviations Table ....................................................................... INTRO-2
Table 1-1: System Components ........................................................................................................ 1-2
Table 1-2: T3CAS Unit Configurations ............................................................................................... 1-5
Table 1-3: T3CAS ASDB Configuration ............................................................................................. 1-7
Table 1-4: T3CAS APM Part Number ................................................................................................ 1-7
Table 1-5: T3CAS Unit Deviation Notes ............................................................................................ 1-9
Table 1-6: T3CAS Unit Software and Firmware Configuration Table .............................................. 1-13
Table 1-7: Directional Antenna Configurations ............................................................................... 1-15
Table 1-8: Mode S Transponder Configurations ............................................................................. 1-16
Table 1-9: Control Panel Configurations ......................................................................................... 1-16
Table 1-10: ACSS VSI/TRA Display Configurations ......................................................................... 1-18
Table 1-11: Thales VSI-TCAS Display Configurations...................................................................... 1-19
Table 1-12: Thales VSI-TCAS Display Part Numbers....................................................................... 1-21
Table 1-13: T3CAS Failure Classification .......................................................................................... 1-26
Table 1-14: T3CAS Configurable Functions ...................................................................................... 1-39
Table 1-15: T3CAS Computer Unit Leading Particulars .................................................................... 1-48
Table 1-16: T3CAS Computer DO-160E Categories ......................................................................... 1-52
Table 1-17: ACSS Directional TCAS Antenna Leading Particulars .................................................. 1-64
Table 1-18: Gables G7130 Series Control Panel Leading Particulars .............................................. 1-65
Table 1-19: Thales VSI-TCAS Leading Particulars ........................................................................... 1-70
Table 1-20: ACSS VSI/TRA Leading Particulars .............................................................................. 1-71
Table 1-21: TCAS Traffic Symbols .................................................................................................... 1-79
Table 1-22: TAWS/RWS Aural Alerts .............................................................................................. 1-101
Table 1-23: Typical ATCRBS Reply Code Numbers....................................................................... 1-111
Table 1-24: Uplink Format Messages ............................................................................................. 1-116
Table 1-25: Downlink Format Messages ......................................................................................... 1-117
Table 1-26: Uplink Format Fields .................................................................................................... 1-117
Table 1-27: Downlink Format Fields ............................................................................................... 1-118
Table 1-28: BDS 0,5 Airborne Position ........................................................................................... 1-123
Table 1-29: BDS 0,6 Surface Position ............................................................................................ 1-124
Table 1-30: BDS 0,7 Status ............................................................................................................. 1-125
Table 1-31: BDS 0,8 Aircraft ID and Category ................................................................................ 1-125
Table 1-32: BDS 0,9 Airborne Velocity Subtypes 1 & 2 – Velocity Over Ground ........................... 1-126
Table 1-33: BDS 0,9 Airborne Velocity Subtypes 3 & 4 – Airspeed and Heading .......................... 1-127
Table 1-34: BDS 1,0 Data Link Capability ....................................................................................... 1-128
Table 1-35: BDS 1,7 Common Usage GICB Capability .................................................................. 1-130
Table 1-36: BDS 2,0 Aircraft Identification ...................................................................................... 1-132
Table 1-37: BDS 3,0 ACAS Active Resolution Advisory ................................................................. 1-133
Table 1-38: BDS 4,0 Selected Vertical Intent .................................................................................. 1-134
Table 1-39: BDS 5,0 Track and Turn .............................................................................................. 1-135
Table 1-40: BDS 6,0 Heading and Speed ....................................................................................... 1-136
Table 3-1: Gables G7130-XX ATC/TCAS Control Panel Interconnect Data .................................. 3-11
Table 3-2: Thales 41-Pin VSI-TCAS Interconnect Data .................................................................. 3-14
Table 3-3: ACSS 41-Pin VSI/TRA Interconnect Data ..................................................................... 3-16
Table 3-4: ACSS 55-Pin VSI/TRA Interconnect Data ..................................................................... 3-18
Table 4-1: T3CAS Computer Unit Interface Description
(Applicable to Part No. 9005000-10000, -10101, -10202, -10204, and -11203) ............. 4-2
Table 4-2: T3CAS Computer Unit Interface Description
(Applicable to Part No. 9005000-11801 and -55801) .................................................... 4-38
TC-8
04 Nov 2014 34-45-29 Pub. No. 8600200-001, Revision 004
Use or disclosure of information on this page is subject to the restrictions in the proprietary notice of this document.

SYSTEM DESCRIPTION AND INSTALLATION MANUAL
T3CAS/Part No.9005000
Table Page
Table 4-3: Gables Control Panel Interface Descriptions ................................................................. 4-71
Table 4-4: Thales 41-Pin VSI-TCAS Interface Description ............................................................. 4-73
Table 4-5: ACSS 41-Pin VSI/TRA Interface Descriptions ............................................................... 4-79
Table 4-6: ACSS 55-Pin VSI/TRA Interface Descriptions ............................................................... 4-85
Table 4-7: Callout Configuration Items (NOTE 1) ........................................................................... 4-96
Table 4-8: Operator Selectable Options – Default Settings ............................................................ 4-97
Table 4-9: Source Destination Identifier (SDI) .............................................................................. 4-109
Table 4-10: Sign Status Matrix (SSM) (BNR) .................................................................................. 4-110
Table 4-11: Sign Status Matrix (SSM) [BCD] .................................................................................. 4-110
Table 4-12: APM/ASDB Programmable Discrete Inputs
(Applicable to Part Numbers 9005000-10000, -10101, -10202, -10204, -11203) ....... 4-111
Table 4-13: TAWS/XPDR Programmable Discrete Inputs
(Applicable to Part Numbers 9005000-11801, -55801) ............................................... 4-114
Table 4-14: TAWS/XPDR Programmable Discrete Outputs ........................................................... 4-115
Table 4-15: T3CAS XPDR/DO-260B SPP – Input Pins
(Applicable to Part Numbers 9005000-11203, -11801, -55801) .................................. 4-117
Table 4-16: T3CAS XPDR/DO-260B SPP – Output Pins
(Applicable to Part Numbers 9005000-11203, -11801, -55801) .................................. 4-117
Table 4-17: DO-260B Configuration Pins
(Applicable to Part Numbers 9005000-11203, -11801, -55801) .................................. 4-118
Table 4-18: DO-260B Configuration Definitions
(Applicable to Part Numbers 9005000-11203, -11801, -55801) .................................. 4-119
Table 4-19: Aircraft Type Configurations ........................................................................................ 4-120
Table 4-20: Spare Configuration/Audio Test Volume/Audio Menu Selection ................................. 4-123
Table 4-21: CRT-LCD Display Select and Alternate Lamp Format ................................................ 4-124
Table 4-22: Spare Configuration/Automatic CPA/OCPA-THD/OHD Deactivation/Spare ............... 4-125
Table 4-23: Alternate Alert Priority Management/Predictive Windshear Present/
Blank Angle Function ................................................................................................... 4-126
Table 4-24: Runway Alert Function/GPS Source/Topographical Mode Function ........................... 4-127
Table 4-25: ADLP/Terr Data Comparison/Flight Function .............................................................. 4-128
Table 4-26: Lateral Position Priority/Simulator Environment .......................................................... 4-129
Table 4-27: Alternate Altitude Source Selection, Autonomous GPS Present, and
Hybrid GPS Present ..................................................................................................... 4-130
Table 4-28: Maximum Cruising True Airspeed ................................................................................ 4-131
Table 4-29: Cold Temperature Compensation Function ................................................................. 4-131
Table 4-30: Terrain Advisory Line ................................................................................................... 4-132
Table 4-31: Eleview Function .......................................................................................................... 4-132
Table 4-32: Obstacle Function ........................................................................................................ 4-133
Table 4-33: Program Pin Parity ....................................................................................................... 4-133
Table 4-34: Program Pin Parity Inputs ............................................................................................ 4-134
Table 4-35: TCAS Bottom Antenna Deactivation and XPDR Top Antenna Deactivation ............... 4-134
Table 4-36: TAWS Activation and XPDR Activation Configuration ................................................. 4-135
Table 4-37 Internal Transponder SDI ............................................................................................. 4-136
Table 4-38: ATSAW (ADS-B) Parity ................................................................................................ 4-136
Table 4-39: Program Pin Parity Inputs ............................................................................................ 4-136
Table 4-40: Merging and Spacing Enable/Disable Configuration
(Applicable to 9005000-10000, -10101, -10202, -10204, or -11203) .......................... 4-137
Table 4-41: Surface Area Movement Management Enable/Disable Configuration
(Applicable to 9005000-10000, -10101, -10202, -10204, or -11203) .......................... 4-137
Table 4-42: In-Trail Procedures Enable/Disable Configuration
(Applicable to 9005000-10000, -10101, -10202, -10204, or -11203) .......................... 4-138
Pub. No. 8600200-001, Revision 004 34-45-29 TC-9
04 Nov 2014
Use or disclosure of information on this page is subject to the restrictions in the proprietary notice of this document.

SYSTEM DESCRIPTION AND INSTALLATION MANUAL
T3CAS/Part No.9005000
Table Page
Table 4-43: CDTI Assisted Visual Separation/Spacing Enable/Disable Configuration
(Applicable to 9005000-10000, -10101, -10202, -10204, or -11203) .......................... 4-138
Table 4-44: Aircraft Altitude Limit .................................................................................................... 4-139
Table 4-45: Display All Traffic ......................................................................................................... 4-139
Table 4-46: TA/RA Display Intruder ................................................................................................ 4-139
Table 4-47: RA Valid Disable .......................................................................................................... 4-139
Table 4-48: Audio Level Select In-Air .............................................................................................. 4-140
Table 4-49: RMP 5E: DTIF Enable ................................................................................................ 4-140
Table 4-50: No Traffic In-Air when TCAS Unavailable .................................................................... 4-140
Table 4-51: RMP 5G: Traffic Simulation Enable ............................................................................ 4-141
Table 4-52: Invalid Stobable Program Pin Combinations for Alternate Altitude and
Lateral Position Priority ................................................................................................ 4-141
Table 4-53: Invalid Combination of Simulator Mode vs XPDR/TCAS Antenna
Pin Programming ......................................................................................................... 4-144
Table 4-54: Radio Altitude ............................................................................................................... 4-147
Table 4-55: Navigation Accuracy .................................................................................................... 4-150
Table 4-56: True Display Orientation Left ....................................................................................... 4-153
Table 4-57: True Display Orientation Right ..................................................................................... 4-154
Table 4-58: A29 Output Bus GCAM Event Data Labels ................................................................. 4-157
Table 4-59: TAWS ARINC 429 Output Interface to OMS ............................................................... 4-159
Table 4-60: Transponder ARINC 429 Output Interface to OMS ..................................................... 4-160
Table 5-1: Equipment ........................................................................................................................ 5-1
Table 5-2: Computer Unit Harness Checkout ................................................................................... 5-2
Table 5-3: Extended Test Menu Selections ...................................................................................... 5-5
Table 5-4: Compact Flash Upload/LED Correlation ........................................................................ 5-23
Table 6-1: TCAS Aural and VSI/TRA Annunciations ........................................................................ 6-5
Table 6-2: TAWS/RWS Display Aural State Indications and Conditions .......................................... 6-7
Table 6-3: System Status Page Fault Messages ............................................................................ 6-19
Table 6-4: ACD Callout Options ...................................................................................................... 6-39
Table 6-5: ACD Discrete Options .................................................................................................... 6-41
Table 6-6: ACD Boolean Options .................................................................................................... 6-46
Table 6-7: Table of Enumerated Configuration Option ................................................................... 6-48
Table 6-8: Table of ACD Enumerated Values ................................................................................. 6-49
Table 6-9: Table of Volume Level Values (for Page 17/25 and 18/25) ........................................... 6-50
Table 6-10: Computer Unit Self-Test Execution ................................................................................ 6-54
Table 6-11: T3CAS Fault Reporting and Corrective Actions ............................................................. 6-56
Table 6-12: Antenna Wiring Resistance ............................................................................................ 6-57
Table 9-1: Equipment and Materials ................................................................................................. 9-1
Table 10-1: LRU Maintenance Manual ............................................................................................. 10-1
TC-10
04 Nov 2014 34-45-29 Pub. No. 8600200-001, Revision 004
Use or disclosure of information on this page is subject to the restrictions in the proprietary notice of this document.

SYSTEM DESCRIPTION AND INSTALLATION MANUAL
T3CAS/Part No.9005000
INTRODUCTION
1. General
This manual provides general system installation and maintenance instructions and theory of
operation for the T3CAS Integrated Platform. It also provides interface information and
interconnect diagrams to permit a general understanding of the overall system.
The purpose of this manual is to help install, operate, maintain and troubleshoot the T3CAS
Integrated Platform in the aircraft. Common system maintenance procedures are not presented in
this manual. The best established shop and flight line practices should be used.
NOTE:
This article meets the minimum performance and quality control standards required
by a technical standard order (TSO). If you are installing this article on or in a specific
type or class of aircraft, you must obtain separate approval for installation.
2. Reference Documents
Publications on subsystems installed as part of the T3CAS Integrated Platform are identified in
the list that follows:
Document Title
ACSS
Publication
Number
Mode S Data Link Transponder System Description and Installation
Manual
A09-3839-001
RCZ-852 Mode S Transponder System Description and Installation
Manual
A15-3851-001
Handling, Storage, and Shipping Procedures Instruction Manual for
Avionics Equipment
A09-1100-001
3. Weights and Measures
Weights and measurements in this manual use both U.S. and S.I. (metric) values.
Pub. No. 8600200-001, Revision 004 34-45-29 INTRO-1
04 Nov 2014
Use or disclosure of information on this page is subject to the restrictions in the proprietary notice of this document.

SYSTEM DESCRIPTION AND INSTALLATION MANUAL
T3CAS/Part No.9005000
4. Acronyms and Abbreviations
The letter symbols for abbreviations are the same as shown in ANSI/IEEE Std 260 and ASME
Y1.1, except as identified in the acronyms and abbreviations table.
Table INTRO-1: Acronyms and Abbreviations Table
Term
Definition
A/D
Analog/Digital
AAA Aggregate ASDB and ACD
ac Alternating Current
ACD
Aircraft Configuration Data
ADC
Air Data Computer
ADIRS
Air Data Inertial Reference System
ADL Airborne Data Loader
ADLP Airborne Data Link Processor
ADS-B
Automatic Dependent Surveillance Broadcast
AGL
Above Ground Level
AHRS
Attitude Heading and Reference System
ALT Altitude
AMM Aircraft Maintenance Manual
AMN
ACSS Material Number
ANSI
American National Standards Institute
ANT
Antenna
AOA Angle-Of-Attack
APM Airplane Personality Module
ASCII
American Standard Code for Information Interchange
ASDB
Aircraft Specific Database
ATC
Air Traffic Control
ATCRBS Air Traffic Control Radar Beacon System
ATN Aeronautical Telecommunications Network
ATSAW
Airborne Traffic Situational Awareness
BCD
Binary Coded Decimal
INTRO-2
04 Nov 2014 34-45-29 Pub. No. 8600200-001, Revision 004
Use or disclosure of information on this page is subject to the restrictions in the proprietary notice of this document.

SYSTEM DESCRIPTION AND INSTALLATION MANUAL
T3CAS/Part No.9005000
Table INTRO-1: Acronyms and Abbreviations Table (cont)
Term
Definition
BITE Built-In Test Equipment
BNR
Binary
BOT
Bottom
CAS
Collision Avoidance System
CCA
Circuit Card Assembly
CF Compact Flash
CFDIU
Centralized Fault Display Interface Unit
CFDS
Centralized Fault Display System
CFIT
Controlled Flight Into Terrain
CMC Central Maintenance Computer
CMM Component Maintenance Manual
COMM Communication
CPA
Collision Prediction and Alerting
CPLD
Complex Programmable Logic Device
CRC
Cyclic Redundancy Check
CS Configuration Strap
CU
Computer Unit
DADC
Digital Air Data Computer
dc
Direct Current
ddm
Difference in Depth of Modulation
DFDAU Digital Flight Data Acquisitioning Unit
DH/MDA
Decision Height/Minimum Descent Altitude
DISP
Display
DLP
Data Link Processor
DSWC Digital Stall Warning Computer
EDC Error Detection and Correction
EDDIT Engineering Diagnostic and Data Interface Transfer
Pub. No. 8600200-001, Revision 004 34-45-29 INTRO-3
04 Nov 2014
Use or disclosure of information on this page is subject to the restrictions in the proprietary notice of this document.

SYSTEM DESCRIPTION AND INSTALLATION MANUAL
T3CAS/Part No.9005000
Table INTRO-1: Acronyms and Abbreviations Table (cont)
Term
Definition
EEPROM
Electrically Erasable Programmable Read-Only Memory
EFIS
Electronic Flight Instrument System
EHS
Enhanced Surveillance
ELM Extended-Length Message
ELS
Elementary Surveillance
EPROM
Erasable Programmable Read-Only Memory
ESDS
Electrostatic Discharge Sensitive
FAA
Federal Aviation Administration
FAR
Federal Aviation Regulations
FDR
Flight Data Recorder
FLT
Flight
FMO
Factory Modifiable Option
FMS
Flight Management System
FPM
Feet Per Minute
FPGA
Field Programmable Gate Array
GCAM
Ground Collision Avoidance Module
GFM
General Format Manager
GND
Ground
GPIRS
Global Positioning/Inertial Reference System
GPS
Global Positioning System
GPSSU
Global Positioning System Sensor Unit
GPWS
Ground Proximity Warning System
HBM
Heartbeat Monitor
HDG
Heading
I/O
Input/Output
ICA
Instructions for Continued Airworthiness
ICD
Interface Control Document
IEEE
Institute of Electrical and Electronic Engineers
INTRO-4
04 Nov 2014 34-45-29 Pub. No. 8600200-001, Revision 004
Use or disclosure of information on this page is subject to the restrictions in the proprietary notice of this document.

SYSTEM DESCRIPTION AND INSTALLATION MANUAL
T3CAS/Part No.9005000
Table INTRO-1: Acronyms and Abbreviations Table (cont)
Term
Definition
ILS
Instrument Landing System
INH
Inhibit
IPC
Illustrated Parts Catalog
IRS
Inertial Reference System
JTAG
Joint Test Action Group
LAN
Local Area Network
LBP
Left Bottom Plug
LCD Liquid Crystal Display
LED Light Emitting Diode
LMP
Left Middle Plug
LRU
Line Replaceable Unit
LSB
Least Significant Bit
LTP Left Top Plug
LVL Level
MCP
Mode Control Panel
MCU
Modular Concept Unit
MEL
Minimum Equipment List
MLS Microwave Landing System
MMR Multiple Mode Receiver
MMU
Memory Management Unit
Mode S
Mode Select Transponder
MSB
Most Significant Bit
MTBF Mean Time Between Failures
MTL Minimum Trigger Level
N/A
Not Applicable
NMI
Nautical Mile
OMS
Onboard Maintenance System
OPS Operational Software
Pub. No. 8600200-001, Revision 004 34-45-29 INTRO-5
04 Nov 2014
Use or disclosure of information on this page is subject to the restrictions in the proprietary notice of this document.

SYSTEM DESCRIPTION AND INSTALLATION MANUAL
T3CAS/Part No.9005000
Table INTRO-1: Acronyms and Abbreviations Table (cont)
Term
Definition
OPT
Option
OVR RNG
Over Range
PC
Personal Computer
PCI Peripheral Component Interconnect
PDL
Portable Data Loader
PMS
Performance Management System
POST
Power-On Self-Test
PROG
Program
PTM Pressure Transducer Module
QFE
Queens Field Elevation
QNH
Queen’s Normalized Height
RA
Resolution Advisory
RAD ALT Radio Altimeter
RBP Right Bottom Plug
RCB Radio Communication Bus
RMP
Right Middle Plug
RMU
Radio Management Unit
RNG
Range
ROPS Runway Overrun Protection System
RTCA
Radio Technical Commission for Aeronautics
RTP
Right Top Plug
RWS
Reactive Windshear
SDI
Source Destination Identifier
SDRAM Synchronous Dynamic Random Access Memory
SPI
Special Pulse Identifier
SSM
Sign Status Matrix
STBY
Standby
SW Software
INTRO-6
04 Nov 2014 34-45-29 Pub. No. 8600200-001, Revision 004
Use or disclosure of information on this page is subject to the restrictions in the proprietary notice of this document.

SYSTEM DESCRIPTION AND INSTALLATION MANUAL
T3CAS/Part No.9005000
Table INTRO-1: Acronyms and Abbreviations Table (cont)
Term
Definition
TA
Traffic Advisory
TAL
Traffic Advisory Line
TAT Total Air Temperature
TAWS Terrain Awareness Warning System
T2CAS
Traffic and Terrain Collision Avoidance System
T3CAS
“T cubed CAS”; TAWS, TCAS, and Transponder combined
unit
TCAS
Traffic Alert and Collision Avoidance System
TCK
Test Clock
TDI
Test Data in
TDO Test Data Out
THD Terrain Hazard Display
TMS
Tactical Message Subfield
TRA
Traffic Resolution Advisory
TRST
Test Reset
TSO Technical Standard Order
VDOP Vertical Dilution Of Precision
VSI
Vertical Speed Indicator
VSWR
Voltage Standing Wave-Ratio
WBS
Weight and Balance System
WGS World Geodetic System
WOW Weight-On-Wheels
WSS
Windshear Detection and Recovery Guidance System
WXR
Weather
XFER
Transfer
XPDR/XPNDR Transponder
Pub. No. 8600200-001, Revision 004 34-45-29 INTRO-7
04 Nov 2014
Use or disclosure of information on this page is subject to the restrictions in the proprietary notice of this document.

SYSTEM DESCRIPTION AND INSTALLATION MANUAL
T3CAS/Part No.9005000
5. Special Precautions
Warnings, cautions, and notes in this manual give the data that follows:
● A WARNING is an operation or maintenance procedure or condition, which, if not obeyed,
can cause injury or death
● A CAUTION is an operation or maintenance procedure or condition, which, if not obeyed, can
cause damage to the equipment
● A NOTE gives data to make the work easier or gives directions to go to a procedure
All personnel who operate and do maintenance on the TCAS components and on the applicable
test equipment must know and obey the safety precautions. The warnings and cautions that
follow apply to all parts of the manual.
WARNING: HIGH VOLTAGES MAY BE PRESENT ON SYSTEM INTERCONNECT
CABLES. MAKE SURE THAT SYSTEM POWER IS OFF BEFORE YOU
DISCONNECT LRU MATING CONNECTORS.
CAUTION: ACSS HAS PREPARED AN AIRWORTHINESS CRITICAL REQUIREMENTS
ANALYSIS FOR THIS AIRBORNE EQUIPMENT TO MAKE SURE THAT IT
WILL NOT CAUSE A DANGEROUS IN-FLIGHT CONDITION. SPECIFIC
PARTS, TESTS, AND PROCEDURES THAT ARE IDENTIFIED AS
INSTALLATION
CRITICAL IN THE ANALYSIS ARE CHANGED TO
AIRWORTHINESS CRITICAL IN THIS MANUAL. IT IS NECESSARY TO DO
THESE PROCEDURES AND TESTS TO GET THE APPROVED RESULTS.
CAUTION: THE T3CAS SYSTEM CONTAINS LRUS THAT ARE ELECTROSTATIC
DISCHARGE SENSITIVE (ESDS). IF YOU DO NOT OBEY THE NECESSARY
CONTROLS, A FAILURE OR UNSATISFACTORY OPERATION OF THE UNIT
CAN OCCUR FROM ELECTROSTATIC DISCHARGE. USE APPROVED
INDUSTRY PRECAUTIONS TO KEEP THE RISK OF DAMAGE TO A
MINIMUM WHEN YOU TOUCH, REMOVE OR INSTALL LRUS.
Pub. No. 8600200-001, Revision 004 34-45-29 INTRO-1
04 Nov 2014
Use or disclosure of information on this page is subject to the restrictions in the proprietary notice of this document.

SYSTEM DESCRIPTION AND INSTALLATION MANUAL
T3CAS/Part No.9005000
SYSTEM DESCRIPTION
1. General
The T3CAS Integrated Platform combines TAWS, TCAS and a Mode S Transponder to form a
combined system (T3CAS). Optionally, the T3CAS may contain obstacle alerting in addition to
terrain and Eleview functions within the same LRU. The integration of the functions provides
significant cost and space advantages to the customer. The implementation method used
preserves the independence of the TCAS, TAWS and Transponder functions within the T3CAS
LRU. The system reliability for the T3CAS LRU is greater than a federated system with separate
TCAS, TAWS and Transponder LRUs.
The TCAS function, within T3CAS, determines the range, altitude, and bearing of other aircraft
equipped with Mode S/Air Traffic Control Radar Beacon System (ATCRBS) transponders, with
respect to the location of own aircraft. It also monitors the trajectory of these aircraft for the
purpose of determining if any of them constitute a potential collision hazard. The TCAS function is
responsible for estimating the projected intruder track and determining if a potential conflict exists.
If so, the system displays an advisory to the pilot. The system also provides guidance for the
optimum vertical avoidance maneuver. Complementary avoidance maneuvers between two
TCAS equipped aircraft are ensured by coordination of mutual intentions with the other aircraft
through the Mode S Transponders. The T3CAS TCAS function meets the TSO requirements
referenced in Table 1-2.
The Automatic Dependent Surveillance-Broadcast (ADS-B) function accepts and decodes several
types of ADS-B messages. The ADS-B message types that are supported include: Flight
Identification, Surface and Airborne Position, Airborne Velocity, Target State and Status, and
Aircraft Operational Status.
The ADS-B function takes the traffic information from the 1090 MHz squitters (ADS-B messages)
and generates a list of the aircrafts within the receiver area. The function is a part of the ATSAW
functionality and is performing the underlying tracking of targets and the correlation of ADS-B and
TCAS data.
The ADS-B function correlates traffic targets, if possible, to present a single traffic with the best
possible position to the other systems. This provides filtering based on the reported quality of the
data provided by the traffic and filtered against the values provided by the receiving function. The
filter uses quality parameters provided with the ADS-B transmissions and defined in either RTCA
DO-260, DO-260A or DO-260B depending on what protocol the traffic is using. The result of the
tracking calculations and the filtering is provided in a traffic list customized for each function
receiving this data. The output of the ADS-B function is a graphical Display Traffic Information
File (DTIF) as well as an MCDU list of traffic within receiver range and within a maximum number
of traffic limits. This information forms the base for the higher-level ADS-B function of In-Trail
Procedures (ITP).
The T3CAS TAWS function, within the T3CAS, provides Collision Prediction and Alerting (CPA),
as well as conventional Ground Proximity Warning System (GPWS) modes of operation. The
CPA uses data provided by the Flight Management Computer, the GPS receiver, and other
aircraft subsystems to predict a 3-D flight path based upon a curve-fit extrapolation of the most
recent position and velocity data received. This predicted flight path is then compared with the
internal terrain profile of the immediate area and the CPA algorithm computes an assessment of
Pub. No. 8600200-001, Revision 004 34-45-29 1-1
04 Nov 2014
Use or disclosure of information on this page is subject to the restrictions in the proprietary notice of this document.

SYSTEM DESCRIPTION AND INSTALLATION MANUAL
T3CAS/Part No.9005000
the potential threat of aircraft collision with terrain. When operative, CPA replaces RTCA DO-
161A reactive Mode 2 since it offers superior safety margins for controlled flight into terrain (CFIT)
prevention due to its predictive capabilities.
T3CAS TAWS meets the requirements of TSO-C151 Class A, refer to Table 1-2
The obstacle awareness function provides additional CPA for man-made obstacles.
The Eleview function provides additional terrain display enhanced situational awareness
independent of aircraft altitude. Eleview is displayed to the flight crew by a pair of three digital
MSL elevations. These numbers represent the MSL terrain elevation in hundreds of feet (e.g.,
250 is 25,000 feet). The top number represents the MSL altitude of the highest display terrain and
the bottom number represents the MSL altitude of the lowest displayed terrain. When above the
highest terrain elevation by a user defined altitude, the Eleview function will show three shades of
green to represent terrain. On supporting displays, water can be depicted in cyan.
The T3CAS Mode S Data Link Transponder function supplies surveillance functions to both
ground-based and airborne interrogators and communication functions to onboard systems. The
transponder contains data link functions that allow it to function as part of the Aeronautical
Telecommunications Network (ATN). The data link functions allow communication with a
Communication Management Unit (CMU) through a Mode S Airborne Data Link Processor
(ADLP). The transponder also contains Mode S Specific functions, which are dedicated links
directly to onboard systems. The transponder can be upgraded to supply an internal ADLP
function. The T3CAS Transponder conforms to the ARINC 718A Mode S Transponder
Characteristic for function. The T3CAS Transponder is fully compliant with the Mode S
Elementary and Enhanced Surveillance (ELS/EHS) selective interrogation requirements. The
transponder reports ELS Flight Identification as well as Aircraft Intent (BDS 4,0 - Selected
Altitude), Track and Turn Report (BDS 5,0 - Roll Angle, True Track Angle, Groundspeed, Track
Angle Rate, and True Airspeed), and Speed and Heading Report (BDS 6,0 – Magnetic Heading,
Indicated Airspeed, Mach Number, Baro Altitude Rate, and Inertial Vertical Velocity).
The T3CAS transponder provides ADS-B, either per DO-260A or DO-260B based on T3CAS part
number, refer to Table 1-2. This is a function for airborne and surface aircraft which transmit
horizontal and vertical position and velocity as well as other pertinent information. This ADS- B
functionality will support improved used of airspace, improved surface surveillance, and
enhanced safety.
2. System Components
The tables that follow within this section provide information regarding the components within the
system as well as related configuration information as categorized by the table caption.
Table 1-1: System Components
Component
ACSS Part No.
T3CAS Computer Unit, refer to Table 1-2 for unit
configurations.
9005000-XXYYY (Note 1)
Directional Antenna (See Table 1-7 for configuration
descriptions)
7514081-VAR or 7514060-VAR
1-2
04 Nov 2014 34-45-29 Pub. No. 8600200-001, Revision 004
Use or disclosure of information on this page is subject to the restrictions in the proprietary notice of this document.

SYSTEM DESCRIPTION AND INSTALLATION MANUAL
T3CAS/Part No.9005000
Table 1-1: System Components (cont.)
Component
ACSS Part No.
TAWS Terrain Display
N/A – Installation specific
TAWS Control Panel N/A – Installation specific
ACSS VSI/TRA Display (see Table 1-10 for
configuration descriptions)
4067241-VAR
APM (Model No. AP-950)
Refer to Table 1-4
ASDB Refer to Table 1-3
Thales VSI-TCAS (Note 4) (See Table 1-11 for
configurations.)
High resolution LCD flat panel Vertical
Speed Indicator with TCAS II data in
RA and TA modes.
Gables G7130 Series ATC/TCAS Dual Transponder
Control Panel (Note 2)
General aviation type controller that
operates from +28 V DC aircraft
power (Note 3)
Gables G6990, G6991, G6992 and G6993 Series
Mode S/TCAS Control Panels (Note 2)
Commercial aviation type controllers
that operate from 115 V ac aircraft
power (Note 3)
Gables G7490 Flight ID/ATC/TCAS Control Panel
Commercial aviation type controller
which operates from 115 V ac aircraft
power (Note 3)
Gables G7491 Flight ID Control Panel
Commercial aviation type Flight ID
Control Panel that operates from 115
V ac aircraft power (Note 3)
Omnidirectional Antenna (Notes 6 and 7)
ATC blade antenna, dc shorted, TSO
C119c and C112 compliant,1030 to
1090 MHz. Installer to supply
antenna.
Mounting Tray, T3CAS Computer (6-MCU size unit)
ARINC 600 6-MCU Mount, cooling air
required. Installer to supply mount.
Mounting Tray, T3CAS Computer (4-MCU size unit)
ARINC 600 4-MCU Mount, utilize a
unit-mounted fan (integrated fan) for
cooling. Installer to supply mount.
NOTES:
1. The part number for the T3CAS Computer Unit is 9005000-XXYYY, where the five digit dash number
corresponds to the hardware/software version. The first two digits following the dash number (XX)
correspond to the unit hardware version. The last three digits following the dash number (YYY) correspond
to the unit software version.
XX = Hardware Configuration:
(10 thru 39) = 6MCU (AC/DC)
(40 thru 59) = 4MCU (DC only)
(60 thru 99) = 4MCU (AC/DC)
Pub. No. 8600200-001, Revision 004 34-45-29 1-3
04 Nov 2014
Use or disclosure of information on this page is subject to the restrictions in the proprietary notice of this document.

SYSTEM DESCRIPTION AND INSTALLATION MANUAL
T3CAS/Part No.9005000
2. Refer to Table 1-9 for individual part number descriptions.
3. For additional information, pricing and availability contact:
Gables Engineering, Inc.
247 Greco Avenue
Coral Gables, Florida 33146
Telephone: (305) 774-4400
Fax: (305) 774-4465
4. For additional information, pricing and availability contact:
Thales Communications, Inc.
Aviation Electronics Division
22605 Gateway Center drive
Clarksburg, MD 20871-2001, USA
Telephone: + 1 (240) 864-7639
5. For additional information, pricing and availability contact:
AeroAntenna Technology, Inc.
20732 Lassen Street
Chatsworth, CA 91311
Telephone: (818) 993-3842
6. A bottom omnidirectional antenna can be used as an optional replacement for the directional antenna.
7. For T3CAS LRU Part Numbers 9005000-10000, -10101, -10202, and -10204, a bottom omnidirectional
antenna is not supported.
1-4
04 Nov 2014 34-45-29 Pub. No. 8600200-001, Revision 004
Use or disclosure of information on this page is subject to the restrictions in the proprietary notice of this document.

SYSTEM DESCRIPTION AND INSTALLATION MANUAL
T3CAS/Part No.9005000
Table 1-2: T3CAS Unit Configurations
T3CAS Computer
Unit Part Number/
Type Designation
Description
Applicable TSO & Deviations
Class, Comments
9005000-10000
T3CAS Standard 1
Standard 6-MCU size T3CAS unit
operates from either 115 V ac, 400 Hz,
or +28 V dc aircraft power. Part No.
-10000 does not support a bottom
omnidirectional antenna.
C112 - Deviation Note 6
C119c - Deviation Note 1, 2, 6, 7
C151b - No Deviation
C166a - Deviation Note 3, 4, 5, 6
Class 3A7 121 011
-
Class A
Class A3 Transmit Only &
Class A3/Type 1 Receive Only
9005000-10101
T3CAS Standard 1.1
Standard 6-MCU size T3CAS unit
operates from either 115 V ac, 400 Hz,
or +28 V dc aircraft power. Part No.
-10101 does not support a bottom
omnidirectional antenna.
C112 - Deviation Note 6
C119c - Deviation Note 1, 2, 6, 7
C151b - No Deviation
C166a - Deviation Note 3, 4, 5, 6
Class 3A7 121 011
-
Class A
Class A3 Transmit Only &
Class A3/Type 1 Receive Only
9005000-10202
T3CAS Standard 1.2
Standard 6-MCU size T3CAS unit
operates from either 115 V ac, 400 Hz,
or +28 V dc aircraft power. Part No.
-10202 does not support a bottom
omnidirectional antenna.
C112 - Deviation Note 6
C119c - Deviation Note 1, 2, 6, 7
C151b - No Deviation
C166a - Deviation Note 3, 4, 5, 6
Class 3A7 121 011
-
Class A
Class A3 Transmit Only &
Class A3/Type 1 Receive Only
9005000-10204
T3CAS Standard 1.3
Standard 6-MCU size T3CAS unit
operates from either 115 V ac, 400 Hz,
or +28 V dc aircraft power. Part No.
-10204 does not support a bottom
omnidirectional antenna.
C112 - Deviation Note 6
C119c - Deviation Note 1, 2, 6, 7
C151b - No Deviation
C166a - Deviation Note 3, 4, 5, 6
Class 3A7 121 011
-
Class A
Class A3 Transmit Only &
Class A3/Type 1 Receive Only
9005000-11203
T3CAS Standard 2
Standard 6-MCU size T3CAS unit
operates from either 115 V ac, 400 Hz,
or +28 V dc aircraft power. This Part No.
contains software updates for DO-181E,
DO-185B and DO-260A/B.
C112d - Deviation Note 9, 10
C119c - Deviation Note 1, 2, 6
C151c - Deviation Note 8, 9
C166a - Deviation Note 3, 4, 5, 9
C166b - Deviation Note 9, 10
Level 3adens, Class 1
-
Class A
Class A3/Type 1 Receive Only
Class A3 Transmit Only
Pub. No. 8600200-001, Revision 004 34-45-29 1-5
04 Nov 2014
Use or disclosure of information on this page is subject to the restrictions in the proprietary notice of this document.

SYSTEM DESCRIPTION AND INSTALLATION MANUAL
T3CAS/Part No.9005000
Table 1-2: T3CAS Unit Configurations (cont.)
T3CAS Computer
Unit Part Number/
Type Designation
Description
Applicable TSO & Deviations
Class, Comments
9005000-11801
T3CAS Release 2
Standard 6-MCU size T3CAS unit
operates from either 115 V ac, 400 Hz,
or +28 V dc aircraft power. This Part No.
contains software updates for DO-181E,
DO-185B, DO-260B and DO-300A.
C112d - Deviation Note 9, 10
C117a - Deviation Note 9, 12
C119d - Deviation Note 1, 2, 11
C151c - Deviation Note 8, 9
C166b - Deviation Note 9, 10
Level 3adens, Class 1
Hybrid Surveillance
Class A
Class A3 Transmit & Receive
9005000-55801
T3CAS Release 2
Standard 4-MCU size T3CAS unit
operates from +28 V dc aircraft power.
This Part No. contains software updates
for DO-181E, DO-185B, DO-260B and
DO-300A.
C112d - Deviation Note 9, 10
C117a - Deviation Note 9, 12
C119d - Deviation Note 1, 2, 11
C151c - Deviation Note 8, 9
C166b - Deviation Note 9, 10
Level 3adens, Class 1
Hybrid Surveillance
Class A
Class A3 Transmit & Receive
RTCA NOTE:
DO-181C, DO-185A and DO-260A (IN & OUT) apply to Part No. 9005000-10000, -10101, -10202, and -
10204.
DO-181E and DO-185B applies to Part No. 9005000-11203, -11801 and -55801.
DO-260A (IN) and DO-260B (OUT) applies to Part No. 9005000-11203.
DO-260B (IN & OUT) applies to Part No. 9005000-11801 and -55801.
DO-300A applies to Part No. 9005000-11801 and -55801.
DO-160E applies to Part No. 9005000-10000, -10101, -10202, -10204, -11203, -11801 and -55801.
Deviations NOTE:
Refer to Table 1-5.
1-6
04 Nov 2014 34-45-29 Pub. No. 8600200-001, Revision 004
Use or disclosure of information on this page is subject to the restrictions in the proprietary notice of this document.

SYSTEM DESCRIPTION AND INSTALLATION MANUAL
T3CAS/Part No.9005000
Table 1-3: T3CAS ASDB Configuration
T3CAS ASDB Part
Number/
Type Designation
Description
Applicable TSO & Deviations
Class
9200004-04802
T3CAS ASDB 1
Aircraft Specific Database(s) used with
the T3CAS Release 2 System.
C112d - Deviation Note 9, 10
C117a - Deviation Note 9, 12
C119d - Deviation Note 1, 2, 11
C151c - Deviation Note 8, 9
C166b - Deviation Note 9, 10
Level 3adens, Class 1
Hybrid Surveillance
Class A
Class A3 Transmit & Receive
Table 1-4: T3CAS APM Part Number
T3CAS APM Part
Number/
Type Designation
Description
Applicable TSO & Deviations
Class
9000001-11001
APM Version 2
Aircraft Personality Module Version 2
used with the T3CAS Release 2 System.
C112d - Deviation Note 9, 10
C117a - Deviation Note 9, 12
C119d - Deviation Note 1, 2, 11
C151c - Deviation Note 8, 9
C166b - Deviation Note 9, 10
Level 3adens, Class 1
Hybrid Surveillance
Class A
Class A3 Transmit & Receive
Pub. No. 8600200-001, Revision 004 34-45-29 1-7
04 Nov 2014
Use or disclosure of information on this page is subject to the restrictions in the proprietary notice of this document.

SYSTEM DESCRIPTION AND INSTALLATION MANUAL
T3CAS/Part No.9005000
Blank Page
1-8
04 Nov 2014 34-45-29 Pub. No. 8600200-001, Revision 004
Use or disclosure of information on this page is subject to the restrictions in the proprietary notice of this document.

SYSTEM DESCRIPTION AND INSTALLATION MANUAL
T3CAS/Part No.9005000
The T3CAS unit has the following FAA approved software deviations. These do not affect the installation
or performance of the system. The following table is a compilation of deviations across multiple releases.
Deviation numbering within this document may not correlate to deviation numbering used elsewhere.
Table 1-5 - T3CAS Unit Deviation Notes
Deviation 1: TSO-C119c and TSO-C119d: DO-185B 2.2.4.6.2.2.4, 2.4.2.1.7.6 - Mode S Power
Programming in High Density
DO-185B Paragraph 2.2.4.6.2.2.4 indicates that the transmit power level of Mode S tracking
interrogations to targets (but not air-to-air coordination interrogations) shall be automatically reduced
as a function of range for targets within 10 NMI.
The deviation allows the use of a precursor interrogation to be transmitted at the lower of either the
MOPS calculated power level for power programming or a power level based on previously received
replies from the intruder aircraft. If a reply is not received from the precursor interrogation, then
tracking interrogations are transmitted at a higher power level according to the MOPS requirements
for tracking interrogation transmissions.
Deviation 2: TSO-C119c and TSO-C119d: DO-185B 2.2.4.4.2.2b, 2.4.2.1.5.1 Mode S Preamble
Reception
This deviation from DO-185B allows the use of the enhanced pulse decoder techniques defined in
DO-260B Appendix I of the TCAS pulse decoder techniques specified in DO-185B
2.2.4.4.2.2b.
The test procedures defined in DO-185B 2.4.2.1.5.1 are replaced by test procedures defined in DO-
260B section 2.4.4.4.2.2 for System Bench tests, where a DF-11 replaces a DF-17 in the test
procedures. For Environmental Qualification tests, DO-260B section 2.3.2.4.6.2 is used, where a DF-
11 replaces a DF-17 in the test procedure. (Note - 2.3.2.4.6.2 tests have been approved by SC-186
WG3 and will be included in release DO-260B of that document). The ADS-B Enhanced Preamble
Detection techniques in DO-260B Appendix I provide a more robust implementation than the legacy
TCAS Mode S Preamble Detection techniques defined in DO-185B, and therefore provide an
equivalent level of safety.
Deviation 3: TSO-C166a: DO-260A 2.4.10.6.3 Report Verification of Reasonableness Test Applied
to Positions Determined from Locally Unambiguous CPR Decoding
This deviation from DO-260A 2.4.10.6.3 increases the tolerance from 6 NMI ±5 m to 6 NMI ±100 m
for airborne participants and 0.75 NMI ±1.25 m to 0.75 NMI ±100 m for surface participants.
Deviation 4: TSO-C166a: DO-260A 2.2.3.2.7.3.2.1 TEST Message with SUBTYPE=7, Global
Enable/Inhibit
This deviation from DO-260A Change 2, paragraph 2.2.3.2.7.3.2.1 and 2.2.3.2.7.3.2.2 complies with
the proposed change to DO-260A. The change removes the geographic filter which is defined in
2.2.3.2.7.3.2.2 and makes the default setting of the global parameter to Enable Transmission of the
TEST Message with SUBTYPE=7.
The transmission of the TEST message has no effect on system safety, and therefore will have an
equivalent level of safety. The current system with the geographic filter enabled transmits the TEST
message only in North America. The effect of the change is to allow it to be transmitted at all
locations. The effect of the change provides additional ADS-B data outside North America.
Pub. No. 8600200-001, Revision 004 34-45-29 1-9
04 Nov 2014
Use or disclosure of information on this page is subject to the restrictions in the proprietary notice of this document.

SYSTEM DESCRIPTION AND INSTALLATION MANUAL
T3CAS/Part No.9005000
Table 1-5 - T3CAS Unit Deviation Notes
Deviation 5: TSO-C166a: DO-260A 2.2.3.6 ADS-B Airborne Velocity Messages;
TSO-C112: DO-181C 2.2.16.2.6.2.4.2 Register Timeout.
This deviation from DO-260A and DO-181C sets all codes in the Airborne Velocity Message to
ZEROS except the type code when a data time-out occurs. The Type Code field continues to be
transmitted as 19 under this condition. Setting the data fields in the Airborne Velocity Message will
signify no data available for the N/S Velocity, E/W Velocity, Vertical Rate and Difference From
Barometric Altitude data fields. The Subtype Code will be set to an invalid code of zero. The ADS-B
receiving system will ignore the data fields since they are set to invalid states, which provides an
equivalent level of safety.
Deviation 6: TSO-C119c, TSO-C112 and TSO-C166a: DO-160E 21.4 Radiated RF Emissions
The T3CAS Processor has a high power RF transmitter which is used to generate both the 1030 MHz
and 1090 MHz waveforms for TCAS, Mode S Transponder and ADS-B OUT functions. Due to the
high RF power requirement and inherent non-linearities in RF transmitters, the harmonics of the
transmitter exceed the RF radiated emissions limit in DO-160E Category M. The T3CAS deviates
from DO-160E Section 21 Category M Radiated RF Emissions in the following frequency bands when
the transmitter is active:
1030 ±60 MHz (TCAS fundamental)
1090 ±60 MHz (Transponder fundamental)
2060 ±60 MHz (2nd TCAS harmonic)
2180 ±60 MHz (2nd Transponder harmonic).
3090 ±60 MHz (3rd TCAS harmonic)
3270 ±60 MHz (3rd Transponder harmonic).
4120 ±60 MHz (4th TCAS harmonic)
4360 ±60 MHz (4th Transponder harmonic).
5150 ±60 MHz (5th TCAS harmonic)
5450 ±60 MHz (5th Transponder harmonic).
The avionics installer must conduct the appropriate testing required to ensure that other aircraft
systems are not adversely affected in the above frequency bands when the T3CAS transmitter is
active.
Deviation 7: TSO-C119c: DO-185B 2.3 Equipment Performance – Environmental Conditions
The T3CAS LRU is tested to the environmental test conditions set forth in Environmental Conditions
and Test Procedures for Airborne Equipment, RTCA DO-160E, December 9, 2004 instead of the
RTCA DO-160F standard called out in the RTCA DO-185B MOPS. The T3CAS deviates from TSO-
C119c to allow the use of DO-160E Environmental Test Procedures.
Deviation 8: Alternate GPWS Curves
TSO-C151b, Appendix 1,1.3.e stated that deviations to the DO-161A alerting requirements to
minimize nuiance alerting if equivalent level of safety could be provided for 5 specific conditions. In
T3CAS 1.2 and other TAWS systems, ACSS has supplied alternate alerting logic and gotten it
approved as part of the TSO. In TSO-C151c Class A, the phrase “the deviation is approved under the
provision of 14 CFR §21.618” was added to this section. Thus, this deviation has been previously
approved, but now needs to be formally listed as a deviation.
Deviation 9: TSO-C112d, TSO-C117a, TSO-C151c, TSO-C166a and TSO-C166b Part Marking
requirements.
This deviation is in regards to the part marking requirements of:
• TSO-C112d, Sections 4(a) and 4(b)
• TSO-C117a, Section g(1) and g(3)
1-10
04 Nov 2014 34-45-29 Pub. No. 8600200-001, Revision 004
Use or disclosure of information on this page is subject to the restrictions in the proprietary notice of this document.

SYSTEM DESCRIPTION AND INSTALLATION MANUAL
T3CAS/Part No.9005000
Table 1-5 - T3CAS Unit Deviation Notes
• TSO-C151c, Sections 4(a) and 4(b)
• TSO-C166a, Sections 4(a), 4(b) and 4(c)
• TSO-C166b, Sections 4(a), 4(b) and 4(e)
This deviation allows TSO-C112d, TSO-C117a, TSO-C151c, TSO-C166a and TSO-C166b part
marking details to be listed in this installation manual instead of on the article’s label. See Table 1-2
in this manual for marking details.
Deviation 10: TSO-C112d and TSO-C166b: DO-160E 21.4 Radiated RF Emissions
The T3CAS Processor has a high power RF transmitter which is used to generate 1090 MHz
waveforms for Mode S Transponder and ADS-B OUT functions. Due to the high RF power
requirement and inherent non-linearities in RF transmitters, the harmonics of the transmitter exceed
the RF radiated emissions limit in DO-160E Category M. The T3CAS deviates from DO-160E Section
21 Category M Radiated RF Emissions in the following frequency bands when the transmitter is
active:
2180 ±78 MHz (2nd Transmitter harmonic) Exceeds Cat M limits by as much as 20dB
3270 ±78 MHz (3rd Transmitter harmonic) Exceeds Cat M limits by as much as 20dB
4360 ±23 MHz (4th Transmitter harmonic) Exceeds Cat M limits by as much as 5dB
5450 ±23 MHz (5th Transmitter harmonic) Exceeds Cat M limits by as much as 5dB
The avionics installer must conduct the appropriate testing required to ensure that other aircraft
systems are not adversely affected in the above frequency bands when the T3CAS transmitter is
active.
Deviation 11: TSO-C119d: DO-160E 21.4 Radiated RF Emissions
The T3CAS Processor has a high power RF transmitter which is used to generate 1030 MHz
waveforms for the TCAS function. Due to the high RF power requirement and inherent non-linearities
in RF transmitters, the harmonics of the transmitter exceed the RF radiated emissions limit in DO-
160E Category M. The T3CAS deviates from DO-160E Section 21 Category M Radiated RF
Emissions in the following frequency bands when the transmitter is active:
2060 ±60 MHz (2nd Transmitter harmonic) Exceeds Cat M limits by as much as 20dB
3090 ±60 MHz (3rd Transmitter harmonic) Exceeds Cat M limits by as much as 20dB
4120 ±60 MHz (4th Transmitter harmonic) Exceeds Cat M limits by as much as 5dB
5150 ±60 MHz (5th Transmitter harmonic) Exceeds Cat M limits by as much as 5dB
The avionics installer must conduct the appropriate testing required to ensure that other aircraft
systems are not adversely affected in the above frequency bands when the T3CAS transmitter is
active.
Deviation 12: TSO-C117a: DO-160B 2.3 Environmental Conditions
The T3CAS LRU is tested to the environmental test conditions set forth in Environmental Conditions
and Test Procedures for Airborne Equipment, RTCA DO-160E, December 9, 2004 instead of the
RTCA DO-160B standard called out in TSO-C117a. The T3CAS deviates from TSO-C117a to allow
the use of DO-160E Environmental Test Procedures.
Pub. No. 8600200-001, Revision 004 34-45-29 1-11
04 Nov 2014
Use or disclosure of information on this page is subject to the restrictions in the proprietary notice of this document.

SYSTEM DESCRIPTION AND INSTALLATION MANUAL
T3CAS/Part No.9005000
Blank Page
1-12
04 Nov 2014 34-45-29 Pub. No. 8600200-001, Revision 004
Use or disclosure of information on this page is subject to the restrictions in the proprietary notice of this document.

SYSTEM DESCRIPTION AND INSTALLATION MANUAL
T3CAS/Part No.9005000
The following table identifies the software and airborne electronic hardware (firmware) part numbers used in each T3CAS part number.
Table 1-6: T3CAS Unit Software and Firmware Configuration Table
T3CAS
Part
Number
Software Part Numbers
Firmware Part Numbers
Part
Number
Table
AAA P1 P2 P3 Input /
Output
TCAS
RX
XPDR
RX TX Processor
Companion
9005000-
10000
N/A
9001077-
002
9000904-
002
9000905-
002
9000906-
001
9005101-
001
9005102-
002
9005103-
001
9005104-
002
9005100-
002
9005000-
10101
N/A
9001077-
002
9000904-
004
9000905-
003
9000906-
001
9005101-
002
9005102-
003
9005103-
001
9005104-
003
9005100-
002
9005000-
10202
N/A
9001077-
002
9000904-
005
9000905-
004
9000906-
002
9005101-
002
9005102-
003
9005103-
001
9005104-
003
9005100-
002
9005000-
10204
N/A
9001077-
004
9000904-
007
9000905-
006
9000906-
004
9005101-
002
9005102-
003
9005103-
001
9005104-
003
9005100-
002
9005000-
11203
N/A
9001077-
003
9000904-
006
9000905-
005
9000906-
003
9005101-
101
9005102-
004
9005103-
002
9005104-
004
9005100-
002
9005000-
11801
9001120-
104
9001175-
003
9000904-
102
9000905-
104
9000906-
102
9005101-
101
9005102-
004
9005103-
002
9005104-
004
9005100-
002
9005000-
55801
9001120-
104
9001175-
003
9000904-
102
9000905-
104
9000906-
102
9005101-
101
9005102-
004
9005103-
002
9005104-
004
9005100-
002
Pub. No. 8600200-001, Revision 004 34-45-29 1-13
04 Nov 2014
Use or disclosure of information on this page is subject to the restrictions in the proprietary notice of this document.

SYSTEM DESCRIPTION AND INSTALLATION MANUAL
T3CAS/Part No.9005000
Blank Page
1-14
04 Nov 2014 34-45-29 Pub. No. 8600200-001, Revision 004
Use or disclosure of information on this page is subject to the restrictions in the proprietary notice of this document.

SYSTEM DESCRIPTION AND INSTALLATION MANUAL
T3CAS/Part No.9005000
Table 1-7: Directional Antenna Configurations
Antenna
Part Number
Description
7514060-901
Directional antenna with no adapter plate and 1.560-in. (39.624-mm) connector
extension length. Installer must supply adapter plate to mate with aircraft fuselage.
7514060-902
Directional antenna with no adapter plate and 0.705-in. (17.907-mm) connector
extension length. Installer must supply adapter plate to mate with aircraft fuselage.
7514081-901
Directional antenna with flat base, four hole mounting pattern, and 1.560-in.
(39.624-mm) connector extension length.
7514081-902
Directional antenna with flat base, eight hole mounting pattern, and 1.560-in.
(39.624-mm) connector extension length.
7514081-903
Directional antenna with a curved 61.52-in. (1,562.608-mm) radius base, eight hole
mounting pattern, and 1.560-inch connector extension length.
7514081-904
Directional antenna with a curved 66.52- in. (1,689.608-mm) radius base, eight
hole mounting pattern, and 1.560- in. (39.624-mm) connector extension length.
7514081-905
Directional antenna with a curved 74.02-in. (1880.108-mm) radius base, eight hole
mounting pattern, and 1.560-in. (39.624-mm) connector extension length.
7514081-906
Directional antenna with a curved 77.78-in. (1975.612-mm) radius base, eight hole
mounting pattern, and 1.560-in. (39.624-mm) connector extension length.
7514081-907
Directional antenna with a curved 99.02-in. (2,515.108-mm) radius base, eight hole
mounting pattern, and 1.560-in. (39.624-mm) connector extension length.
7514081-908
Directional antenna with a curved 111.02-in. (2,819.908-mm) radius base, four hole
mounting pattern, and 1.560-in. (39.624-mm) connector extension length.
7514081-909
Directional antenna with a curved 118.52-in. (3,010.408-mm) radius base, eight
hole mounting pattern, and 1.560-in. (39.624-mm) connector extension length.
7514081-910
Directional antenna with a flat base, eight hole mounting pattern, and 0.705-in.
(17.907-mm) connector extension length.
7514081-911
Directional antenna with a curved 77.78-in. (1,975.612-mm) radius base, eight hole
mounting pattern, special 0.015-in. (0.381-mm) Teflon gasket, and 1.560-in.
(39.624-mm) connector extension length.
7514081-912
Directional antenna with a curved 111.02-in. (2,819.908-mm) radius base, eight
hole mounting pattern, special 0.015-in. (0.381-mm) Teflon gasket, and 1.56-in.
(39.624-mm) connector extension length.
7514081-913
Directional antenna with a flat base, four hole mounting pattern, and 0.705-in.
(17.907-mm) connector extension length.
7514081-914
Directional antenna with a curved 53.02-in. (1,346.708-mm) radius base, eight hole
mounting pattern, and 0.705-in. (17.907-mm) connector extension length.
7514081-915
Directional antenna with a curved 44.80-in. (1,137.92-mm) radius base, eight hole
mounting pattern, and 0.705-in. (17.907-mm) connector extension length.
7514081-916
Directional antenna with a curved 42.00-in. (1,066.8-mm) radius base, eight hole
mounting pattern, and 0.705-in. (17.907-mm) connector extension length.
Pub. No. 8600200-001, Revision 004 34-45-29 1-15
04 Nov 2014
Use or disclosure of information on this page is subject to the restrictions in the proprietary notice of this document.

SYSTEM DESCRIPTION AND INSTALLATION MANUAL
T3CAS/Part No.9005000
Table 1-7: Directional Antenna Configurations (cont.)
Antenna
Part Number
Description
7514081-917
Directional antenna with a curved 85.06-in. (2160.524-mm) radius base, eight hole
mounting pattern, and 1.560-in. (39.624-mm) connector extension length.
Table 1-8: Mode S Transponder Configurations
Part Number
Description
7517800-XXYYY
ACSS ATDL, 4-MCU type Mode S Data Link Transponder that operates on
either 115 V ac, 400 Hz or +28 V dc aircraft power.
7510700-XXX
ACSS RCZ-852, Mode S Data Link Transponder that operates on +28 V dc
aircraft power.
Table 1-9: Control Panel Configurations
Part Number
Description
4052190-902
Control Panel, Dual Mode S/TCAS, Brown Bezel
4052190-903
Control Panel, Single Mode S-Single ATCRBS/TCAS, Brown Bezel
4052190-904 Control Panel, Dual Mode S/TCAS, Gray Bezel
4052190-905 Control Panel, Single Mode S-Single ATCRBS/TCAS, Gray Bezel
4052190-906
Control Panel, Dual Mode S/TCAS, Black Bezel
4052190-907
Control Panel, Single Mode S-Single ATCRBS/TCAS, Black Bezel
4052190-908
Control Panel, Dual Mode S/TCAS, Dark Gray Bezel
4052190-909 Control Panel, Single Mode S-Single ATCRBS/TCAS, Dark Gray Bezel
Gables Control Panels
Gables G7130-02
Control Panel, Dual Mode S/TCAS, Rotary knob 4096 code entry, Black Bezel,
Operates from +28 V dc aircraft power
Gables G7130-05
Control Panel, Dual Mode S/TCAS, Rotary knob 4096 code entry, Gray Bezel,
Operates from +28 V dc aircraft power
Gables G7130-06
Control Panel, Dual Mode S/TCAS, Rotary knob 4096 code entry, Black Bezel,
Extended Range (80, 120 Mi), Operates from +28 V dc aircraft power
Gables G7130-07
Control Panel, Dual Mode S/TCAS, Rotary knob 4096 code entry, Gray Bezel,
Extended Range (80, 120 Mi), Operates from +28 V dc aircraft power
Gables G6990-XX
Control Panel, Dual Mode S/TCAS, Pushbutton 4096 code entry, Operates from
115 V ac aircraft power
1-16
04 Nov 2014 34-45-29 Pub. No. 8600200-001, Revision 004
Use or disclosure of information on this page is subject to the restrictions in the proprietary notice of this document.

SYSTEM DESCRIPTION AND INSTALLATION MANUAL
T3CAS/Part No.9005000
Table 1-9: Control Panel Configurations (cont.)
Part Number
Description
Gables G6991-XX
Control Panel, Single Mode S-Single ATCRBS/TCAS, Pushbutton 4096 code entry,
Operates from 115 V ac aircraft power
Gables G6992-XX
Control Panel, Dual Mode S/TCAS, Rotary knob 4096 code entry, Operates from
115 V ac aircraft power
Gables G6993-XX
Control Panel, Single Mode S-Single ATCRBS/TCAS, Rotary knob 4096 code
entry, Operates from 115 V ac aircraft power
Gables G7490-XX
Control Panel, Flight ID, ATC, TCAS, Operates from 115 V ac aircraft power
Gables G7491-XX
Control Panel, Flight ID (Only), Operates from 115 V ac aircraft power
Gables G7130-02
Control Panel, Dual Mode S/TCAS, Rotary knob 4096 code entry, Black Bezel,
Operates from +28 V dc aircraft power
Gables G7130-05
Control Panel, Dual Mode S/TCAS, Rotary knob 4096 code entry, Gray Bezel,
Operates from +28 V dc aircraft power
Gables G7130-06
Control Panel, Dual Mode S/TCAS, Rotary knob 4096 code entry, Black Bezel,
Extended Range (80, 120 Mi), Operates from +28 V dc aircraft power
Gables G7130-07
Control Panel, Dual Mode S/TCAS, Rotary knob 4096 code entry, Gray Bezel,
Extended Range (80, 120 Mi), Operates from +28 V dc aircraft power
Gables G6990-XX
Control Panel, Dual Mode S/TCAS, Pushbutton 4096 code entry, Operates from
115 V ac aircraft power
Gables G6991-XX
Control Panel, Single Mode S-Single ATCRBS/TCAS, Pushbutton 4096 code entry,
Operates from 115 V ac aircraft power
Gables G6992-XX
Control Panel, Dual Mode S/TCAS, Rotary knob 4096 code entry, Operates from
115 V ac aircraft power
Gables G6993-XX
Control Panel, Single Mode S-Single ATCRBS/TCAS, Rotary knob 4096 code
entry, Operates from 115 V ac aircraft power
Gables G7490-XX
Control Panel, Flight ID, ATC, TCAS, Operates from 115 V ac aircraft power
Gables G7491-XX
Control Panel, Flight ID (Only), Operates from 115 V ac aircraft power
Pub. No. 8600200-001, Revision 004 34-45-29 1-17
04 Nov 2014
Use or disclosure of information on this page is subject to the restrictions in the proprietary notice of this document.

SYSTEM DESCRIPTION AND INSTALLATION MANUAL
T3CAS/Part No.9005000
Table 1-10: ACSS VSI/TRA Display Configurations
VSI/TRA
Part Number
Description
4067241-84X
-840
-841
-842
-843
-844
-845
The VSI/TRA Display provides continuous TCAS symbology and non-ARINC
display control features: 6-, 14-, 40-mile ranges and above/normal/below display
volumes. It has pin programmable altitude band, range, lighting curve, and VSI
source selection.
Gray bezel, 55-pin connector (contains bootstrap function)
Black bezel, 55-pin connector (contains bootstrap function)
Brown bezel, 55-pin connector (contains bootstrap function)
Gray bezel, 41-pin connector
Black bezel, 41-pin connector
Brown bezel, 41-pin connector
4067241-86X
860
861
862
863
864
865
This VSI/TRA Display provides a single range default (6.0 miles), continuous or
“POP-UP” TCAS symbology, and a test mode display. ARINC display control
features include: 6-, 12-, 14-, 20-, and 40-mile ranges and above/normal/below
display volumes. It has pin programmable VSI source selection, lighting curve,
format mode, and traffic filter.
Gray bezel, 41-pin connector
Black bezel, 41-pin connector
Brown bezel, 41-pin connector
Gray bezel, 55-pin connector (contains bootstrap function)
Black bezel, 55-pin connector (contains bootstrap function)
Brown bezel, 55-pin connector (contains bootstrap function)
4067241-88X
880
881
882
883
884
885
This VSI/TRA Display provides a single range default (6.0 miles), continuous or
“POP-UP” TCAS symbology, and a test mode display. ARINC display control
features include: 6-, 12-, 14-, 20-, and 40-mile ranges and above/normal/below
display volumes. It has pin programmable VSI source selection, lighting curve,
format mode, traffic filter, and a 1.6-, 3.2-, 5.0-, or 6.4-sec time constants.
Gray bezel, 41-pin connector
Black bezel, 41-pin connector
Brown bezel, 41-pin connector
Gray bezel, 55-pin connector (contains bootstrap function)
Black bezel, 55-pin connector (contains bootstrap function)
Brown bezel, 55-pin connector (contains bootstrap function)
1-18
04 Nov 2014 34-45-29 Pub. No. 8600200-001, Revision 004
Use or disclosure of information on this page is subject to the restrictions in the proprietary notice of this document.

SYSTEM DESCRIPTION AND INSTALLATION MANUAL
T3CAS/Part No.9005000
Table 1-10: ACSS VSI/TRA Display Configurations (cont.)
VSI/TRA
Part Number
Description
4067241-89X
890
891
892
893
894
895
This VSI/TRA Display provides a single range default (6.0 miles), continuous or
“POP-UP” TCAS symbology, and a test mode display. ARINC display control
features include: 6-, 12-, 14-, 20-, and 40-mile ranges and above/normal/below
display volumes. It has pin programmable VSI display (English/Metric) VSI source
selection, format mode, traffic filter, and a 1.6-, 3.2-, 5.0-, or 6.4-sec time
constants.
Gray bezel, 41-pin connector
Black bezel, 41-pin connector
Brown bezel, 41-pin connector
Gray bezel, 55-pin connector (contains bootstrap function)
Black bezel, 55-pin connector (contains bootstrap function)
Brown bezel, 55-pin connector (contains bootstrap function)
Table 1-11: Thales VSI-TCAS Display Configurations
Thales VSI-TCAS
Part Number
Description
Thales VSI-TCAS
457400XXYYYY
The Thales VSI-TCAS display provides continuous TCAS symbology and
non-ARINC display control features: mile ranges and above/normal/below
display volumes. It has pin programmable altitude band, range, lighting curve,
and VSI source selection.
XX = Hardware Version as defined in Table 1-12
YYYY = Software Version as defined in Table 1-12
Pub. No. 8600200-001, Revision 004 34-45-29 1-19
04 Nov 2014
Use or disclosure of information on this page is subject to the restrictions in the proprietary notice of this document.

SYSTEM DESCRIPTION AND INSTALLATION MANUAL
T3CAS/Part No.9005000
Blank Page
1-20
04 Nov 2014 34-45-29 Pub. No. 8600200-001, Revision 004
Use or disclosure of information on this page is subject to the restrictions in the proprietary notice of this document.

SYSTEM DESCRIPTION AND INSTALLATION MANUAL
T3CAS/Part No.9005000
Table 1-12: Thales VSI-TCAS Display Part Numbers
PART NUMBER
HARDWARE VERSIONS
SOFTWARE VERSIONS
457400
ES
GB
JB
HB
KB
PB
MB
RB
SB
TC
WB
FB
UB
ZB
LA
0012
0312
0712
0812
1901
[7]
2101
[6]
1502
X
X
X
X
X
X
X
X
X
X
X
X
X
EXSITING P/Ns
X
X
X
X
X
X
X
X
X
X
X
X
X
X
X
X
HARDWARE OPTIONS
BEZEL COLOR
GREY
X
X
X
X
X
X
X
X
BLACK
X
X
X
X
X
BROWN
X
X
ELECTRICAL CONNECTOR
RECEPTACLE 41P6
X
X
X
X
X
X
X
X
X
X
X
(MS83723 41 PN)
X
X
X
X
PRESSURE BOSS
MS 33649-5
X
X
X
X
X
X
X
X
X
X
X
X
X
QUICK DISCONNECT
X
X
CONTROL BUTTONS
SELECT RANGE “RNG”
X
OPTIONS
NOT
AVAILABLE
X
X
X
OPTIONS
NOT
AVAILABLE
SELECT RANGE “-“ and “+”
X
X
Altitude Band “A/B”
X
X
TCAS TRAFFIC DISPLAY
Full time/Part Time “ON/OFF”
X
X
LIGHTNING FEATURES
Brightness fine adjustment
X
Specific night luminosity law
X
X
NVG compatible
X
X
POWER SUPPLY
115v-400Hz
X
X
X
X
X
X
X
X
X
X
X
+28 V dc
X
X
X
X
SOFTWARE OPTIONS
Traffic part/full sel via ARINC
X
X
X
X
X
Traffic part/full sel via button
X
Range via ARINC 6-12 NMI
X
Pub. No. 8600200-001, Revision 004 34-45-29 1-21
04 Nov 2014
Use or disclosure of information on this page is subject to the restrictions in the proprietary notice of this document.

SYSTEM DESCRIPTION AND INSTALLATION MANUAL
T3CAS/Part No.9005000
Table 1-12: Thales VSI-TCAS Display Part Numbers
PART NUMBER
HARDWARE VERSIONS
SOFTWARE VERSIONS
Range via ARINC 3-5-10 NMI
Range via ARINC 6-12-24 NMI
X
Range via ARINC 3, 5, 6, 10, 12, 14, 15, 20, 40, 80, 120 NMI
X
Range via button 6-12 NMI
X
X
Range via button 4-8-16 NMI
X
Range via ARINC 5-10-20 NMI
X (1)
Range via ARINC 5, 6, 10, 12, 20, 40 NMI
X (1)
X (1)
ABV/NORN/BLW via ARINC
X
X
X
X
X
X
ABV/NORN/BLW via button
X
Absolute altitude via ARINC
X
X
X
X
X
Vertical Speed in metric units (M/S)
X
TCAS Extended Test normal
X
X
X
X
X
X
TCAS Extended Test normal + text display mode
X
X
Specific Symbology
(2)
(3)
(4)
(5)
Note
[1]
Only when instrument is pin-programmed for operation in TCAS TRAFFIC DISPLAY only
[2]
Specific symbology for “don’t climb” and “don’t descend” RA’s, V/S failure with background instead of yellow
[3]
V/S pointer shorter and thicker. Traffic range version 8 NMI when in TCAS self-test.
[4]
ABV (above) or BLW (below) message on the display when one of these modes are selected by A/B push-button on bezel
[5]
This version is only for TCAS 1 operation (no RA DISPLAY, TCAS validity discrete output is relative to Traffic instead of RA,
No ABV/BLW message displayed
[6]
Dedicated software for ACSS (formerly Honeywell)
[7]
This SW version replaces the previous version “1311”, “1312”, “0911”, “1100” and “2000”
1-22
04 Nov 2014 34-45-29 Pub. No. 8600200-001, Revision 004
Use or disclosure of information on this page is subject to the restrictions in the proprietary notice of this document.

SYSTEM DESCRIPTION AND INSTALLATION MANUAL
T3CAS/Part No.9005000
3. System Description
The T3CAS is a safety system that combines TCAS, Terrain Awareness and Warning System
(TAWS), ADS-B IN and OUT and a Mode S Transponder in a single LRU. The following briefly
describes the functions in each T3CAS Type Designation. Refer to Table 1-2 for TSO
compliance.
A. T3CAS Functionality by Type Designation
(1) T3CAS Standard 1, Standard 1.1, Standard 1.2, Standard 1.3, and Standard 2
TCAS II
The TCAS function is an onboard advisory system designed as a last resort
method of preventing midair collisions or near-midair collisions between aircraft.
By computing the closure rate and altitude of all transponder equipped aircraft in
the surrounding airspace, the TCAS can anticipate a potential midair collision
before it has a chance to occur.
TAWS/GPWS
The TAWS function within T3CAS features an innovative design aimed at
preventing CFIT (Controlled Flight Into Terrain) accidents by providing timely
aircrew alerts. The alerts are based upon predicted terrain clearance profiles
calculated with present aircraft climb capabilities. This represents a significant
advance in capability from the present Ground Proximity Warning System
(GPWS) technology, and a significant improvement in CFIT safety margins over
existing Terrain Awareness and Warning System (TAWS) designs:
● By providing warnings based on remaining time before pilot response is
required and not based on remaining time to terrain impact
● By covering more operational situations
● By drastically reducing nuisance alerts.
As another optional part of the TAWS system, T3CAS incorporates an obstacle
database in addition to the terrain database for additional safety and awareness.
T3CAS also integrates an Eleview function as an optional part of the TAWS
system to display main terrain when above the hazard display altitude. Eleview
incorporates a pair of three-digit MSL elevation numbers, additional green
contours and water depiction (on displays supporting cyan). The top three-digit
elevation numbers respresent the highest colored and textured terrain and the
bottom respresent the lowest colored and textured terrain.
Pub. No. 8600200-001, Revision 004 34-45-29 1-23
04 Nov 2014
Use or disclosure of information on this page is subject to the restrictions in the proprietary notice of this document.

SYSTEM DESCRIPTION AND INSTALLATION MANUAL
T3CAS/Part No.9005000
Transponder
The T3CAS Mode S Data Link Transponder function supplies surveillance
functions to both ground-based and airborne interrogators and communication
functions to onboard systems. The transponder also contains Mode S Specific
functions, which are dedicated links directly to onboard systems. The
transponder can be upgraded to supply an internal ADLP function. The T3CAS
Transponder conforms to the ARINC 718A Mode S Transponder Characteristic
for function. The T3CAS Transponder is fully compliant with the Mode S
Elementary and Enhanced Surveillance (ELS/EHS) selective interrogation
requirements. The transponder reports ELS Flight Identification as well as
Aircraft Intent (BDS 4,0 - Selected Altitude), Track and Turn Report (BDS 5,0 -
Roll Angle, True Track Angle, Groundspeed, Track Angle Rate, and True
Airspeed), and Speed and Heading Report (BDS 6,0 - Magnetic Heading,
Indicated Airspeed, Mach Number, Baro Altitude Rate, and Inertial Vertical
Velocity).
ADS-B IN
The TCAS also includes the ADS-B IN subfunction. The ADS-B function accepts
and decodes several types of ADS-B messages. The ADS-B message types that
are supported include: Flight Identification, Surface and Airborne Position,
Airborne Velocity, Target State and Status, and Aircraft Operational Status.
The ADS-B function receives traffic information from the 1090 MHz squitters
(ADS-B messages) and outputs a traffic report for the aircraft within the receiver
area. The function is a part of the ATSAW functionality and is performing the
underlying tracking of targets and the correlation of ADS-B and TCAS data.
The output of the ADS-B function is a graphical Display Traffic Information File
(DTIF) as well as an MCDU list of traffic within receiver range and within a
maximum number of traffic limits. This information forms the base for the higher-
level ADS-B function of In-Trail Procedures (ITP).
ADS-B OUT
The T3CAS transponder performs the Automatic Dependent Surveillance-
Broadcast (ADS-B) OUT function. This function transmits aircraft position
(latitude and longitude), velocity, integrity and other parameters. The T3CAS
transponder will automatically (no external stimulus required) transmit this
information based upon onboard navigation without knowledge of which users
are receiving its broadcast.
(2) T3CAS Release 2
The T3CAS Release 2 contains the same TSO functionality as Standard 2
including the following enhancements:
TCAS
The T3CAS Release 2 TCAS function has been updated to incorporate the hybrid
surveillance function. The hybrid surveillance function will be compliant to the
DO-300A definition of hybrid surveillance.
1-24
04 Nov 2014 34-45-29 Pub. No. 8600200-001, Revision 004
Use or disclosure of information on this page is subject to the restrictions in the proprietary notice of this document.

SYSTEM DESCRIPTION AND INSTALLATION MANUAL
T3CAS/Part No.9005000
Windshear
As an optional part of the TAWS system, T3CAS Release 2 incorporates a
Reactive Windshear feature as part of its basic functionality. The Reactive
Windshear function monitors wind factors that affect aircraft performance on both
take-off and landing approach, in order to identify the presence of a severe low-
level, downburst/microburst-type windshear.
(3) Non-TSO Functions for Standard 1, 1.1, 1.2, 1.3, & 2 only
This section is applicable to Standard 1, Standard 1.1, Standard 1.2, Standard
1.3, and Standard 2 only.
The non-TSO functions defined in this section are not part of the TSO approval.
Separate aircraft level regulatory approval is required to enable these optional
non-TSO functions.
These non-TSO functions do not interfere with the T3CAS’ compliance to the
requirements of any TSO authorization.
The software, hardware and environmental qualification levels for these non-TSO
functions do not differ from the TSO functions of the T3CAS.
Airborne Surveillance and Separation Assurance Processing (ASSAP)
The ASSAP Application performs the following functionality:
• ADS-B Tracking - Identify and track ADS-B equipped Aircraft / Vehicles.
• TIS-B Tracking - Identify and track Aircraft / Vehicles by means of received
TIS-B reports.
• Track Correlation - Associates tracks from different surveillance sources that
relate to the same Aircraft / Vehicles.
• Best Track Selection - For correlated tracks, selection is performed based on
specific criteria for the particular cross-reference type.
• Alert Consolidation and Display Track Selection - Traffic alerts received from
Aircraft Surveillance Applications and TCAS are prioritized by source and
consolidated into the tracks.
In-Trail Procedures (ITP)
The ITP application enables the flight crew to conduct desired Flight Level
changes on a more frequent basis by conducting ITP climbs, thus improving flight
efficiency and/or flight safety while maintaining safe separation from other
aircraft.
Installation and operation of the non-TSO functions.
Installation and activation of these non-TSO functions will typically require
additional aircraft certification and operational approval from your certification
authority. Please contact ACSS for additional details.
(4) T3CAS Failure Classifications
The following table summarizes the failure classification of each T3CAS function
and the rigor that the T3CAS was developed to support (which in some cases
exceeds the requirements):
Pub. No. 8600200-001, Revision 004 34-45-29 1-25
04 Nov 2014
Use or disclosure of information on this page is subject to the restrictions in the proprietary notice of this document.

SYSTEM DESCRIPTION AND INSTALLATION MANUAL
T3CAS/Part No.9005000
Table 1-13: T3CAS Failure Classification
Function
No.
Function Description
Hazard
Classification
T3CAS
Development
Level/Rigor
1
TCAS: Incorrect Resolution Advisory
Hazardous
AC20-151A
Hazardous
2
Transponder Mode S Operation:
Incorrect Transponder Response to SSR
Major
TSO-C112/112d
Hazardous
3
Transponder to TCAS Coordination:
Incorrect Transponder Response to
TCAS Interrogation
Hazardous
Hazardous
4
Windshear Detection: Un-annunciated
loss of false annunciation of reactive
windshear alert
Major
AC25-12
Major
5
TAWS/GPWS: Un-annunciated failure,
hazardously misleading information
(HMI), and false alerts.
Major
AC25-23
Major
6
ADSB-OUT: Incorrect Transponder ADS-
B Message Output
Major
AC20-165A
Hazardous
7
ADS-B IN: Corruption of ADS-B IN
Reports
Major
Hazardous
8
ADS-B IN: Incorrect Display of Traffic
(AIRB/VSA)
Major
Hazardous
9
ADS-B IN, ITP: Incorrect ITP Distance
Major
Hazardous
NOTE1:
NOTE2:
NOTE3:
Hazards with classifications less than Major are not listed in this table.
Due to the above Hazard Classifications, the T3CAS software was developed to RTCA
DO-178B Design Assurance Levels C (Major) and B (Hazardous) as indicated above.
Due to the above Hazard Classifications, the T3CAS airborne electronic hardware was
developed to RTCA DO-254 Design Assurance Level B (Hazardous).
B. System Functional Description
(1) TCAS Functional Description
Situational awareness is provided to the flight crew by aiding in visually acquiring
intruding aircraft and discriminating between the intruding aircraft, threat aircraft,
and other traffic in the airspace.
Vertical guidance to avoid midair collisions is accomplished by interrogating the
Mode A, Mode C, and Mode S transponders of potential threat aircraft, tracking
their responses, and providing advisories to the flight crew to assure vertical
separation.
The first two levels of situational awareness include:
1-26
04 Nov 2014 34-45-29 Pub. No. 8600200-001, Revision 004
Use or disclosure of information on this page is subject to the restrictions in the proprietary notice of this document.

SYSTEM DESCRIPTION AND INSTALLATION MANUAL
T3CAS/Part No.9005000
● Non-threat Traffic, indicates other targets within the range of the display
whose relative altitude is greater than ±1200 feet (365.76 meters) vertically
or a distance greater than six nautical miles from own aircraft.
● Proximity Traffic, indicates the target is within ±1200 feet (365.76 meters)
vertically or within six nautical miles of own aircraft.
The two levels of advisories include:
● Traffic advisories (TA) indicate the range, bearing, and relative altitude of the
intruder to aid in visual acquisition of the intruder.
● Resolution advisories (RA) indicate a vertical maneuver to be performed or
avoided in order to assure safe separation.
Traffic advisories can be displayed on a Vertical Speed Indicator/Traffic and
Resolution Advisory (VSI/TRA) display, Electronic Flight Instrument System
(EFIS) or any instrument that displays the appropriate symbology and conforms
to the definition of ARINC Characteristic 735b.
Resolution advisories can be displayed on the VSI/TRA display, EFIS or any
other indicator that displays the appropriate symbology and conforms to the
definition of ARINC Characteristic 735b.
Figure 1-1 shows the various types of intruder equipment and the resulting
advisories. It should be noted that Mode A equipped intruders result in detection
and display of TAs only. An intruder not equipped with a transponder is invisible
to TCAS.
Communication with another TCAS-equipped aircraft is provided by the
embedded diversity Mode S transponder or an external onboard diversity Mode
S transponder. Only one onboard Mode S transponder is required for T3CAS
operation. However, the ACSS T3CAS operates with either of two onboard Mode
S transponders, one of which operates as a spare. The transponder in use is
selectable from the Flight Deck. Figure 1-2 shows the communication between
two TCAS equipped aircraft. Configuration A shows communication between a
T3CAS with the embedded transponder and another aircraft. Configuration B
shows communication between a T3CAS with an external transponder and
another aircraft.
Pub. No. 8600200-001, Revision 004 34-45-29 1-27
04 Nov 2014
Use or disclosure of information on this page is subject to the restrictions in the proprietary notice of this document.

SYSTEM DESCRIPTION AND INSTALLATION MANUAL
T3CAS/Part No.9005000
Figure 1-1: TCAS Advisory Capabilities
1-28
04 Nov 2014 34-45-29 Pub. No. 8600200-001, Revision 004
Use or disclosure of information on this page is subject to the restrictions in the proprietary notice of this document.

SYSTEM DESCRIPTION AND INSTALLATION MANUAL
T3CAS/Part No.9005000
Figure 1-2: TCAS/Mode S Communication
Pub. No. 8600200-001, Revision 004 34-45-29 1-29
04 Nov 2014
Use or disclosure of information on this page is subject to the restrictions in the proprietary notice of this document.

SYSTEM DESCRIPTION AND INSTALLATION MANUAL
T3CAS/Part No.9005000
The TCAS function generates both RAs and TAs when the TA/RA mode is
selected. The two types of advisories correspond to time-based protection zones
around the aircraft. The airspace around the TCAS aircraft where an RA is
annunciated represents the warning area, while the larger airspace which results
in a TA being annunciated is the caution area. Figure 1-3 contrasts the airspace
covered by the two types of advisories.
The onboard equipment listed below must be linked to the TCAS function as
shown in Figure 1-4.
● Mode S transponder with associated antennas
● Radio altimeter
● Air Data Computer (ADC) (digital or analog). If an ADC does not support
vertical speed rate data, the static line can be run directly into the Thales
VSI-TCAS.
● ATC/TCAS control panel. A separate control panel is not the only method of
control for the TCAS. Other components, such as a Radio Management Unit
(RMU) can be used.
● Antenna. The TCAS function accepts two types of bottom antennas: A
standard directional antenna or an optional ATC-type omnidirectional
antenna. If an omnidirectional antenna is installed, it must be supplied by the
installer. If a directional antenna is installed at both top and bottom antenna
locations, a bottom omnidirectional antenna is not needed.
NOTE: T3CAS LRU Part Numbers 9005000-10000, -10101, -10202, and -
10204 do not support a bottom omnidirectional antenna.
1-30
04 Nov 2014 34-45-29 Pub. No. 8600200-001, Revision 004
Use or disclosure of information on this page is subject to the restrictions in the proprietary notice of this document.

SYSTEM DESCRIPTION AND INSTALLATION MANUAL
T3CAS/Part No.9005000
Figure 1-3: TA/RA Airspace Coverage
Pub. No. 8600200-001, Revision 004 34-45-29 1-31
04 Nov 2014
Use or disclosure of information on this page is subject to the restrictions in the proprietary notice of this document.

SYSTEM DESCRIPTION AND INSTALLATION MANUAL
T3CAS/Part No.9005000
Figure 1-4: Basic TCAS Installation
(2) TAWS Functional Description
The T3CAS TAWS function provides guidance to prevent Controlled Flight Into
Terrain (CFIT). This is accomplished by using vertical speed, ground speed,
track angle, flight path angle, latitude, longitude, flap status, steep approach
status, static air temperature, roll angle, pressure altitude and radio altitude
inputs along with a built-in database for determination of alerts and display of
terrain information.
The following advanced functional capabilities are featured in the T3CAS TAWS
function.
(a) Collision Prediction and Alerting (CPA) Mode
This mode provides medium-term (caution) and short-term (warning)
alerts when the predicted flight path will bring the aircraft dangerously
close to nearby terrain (and when enabled, Obstacles). When operative,
CPA conditionally replaces RTCA DO-161A reactive Mode 2 since it
offers superior safety margins for CFIT prevention due to its predictive
capabilities.
1-32
04 Nov 2014 34-45-29 Pub. No. 8600200-001, Revision 004
Use or disclosure of information on this page is subject to the restrictions in the proprietary notice of this document.

SYSTEM DESCRIPTION AND INSTALLATION MANUAL
T3CAS/Part No.9005000
T3CAS uses data provided by the Flight Management Computer, the
GPS receiver, and other aircraft subsystems to predict a 3-D flight path
based upon a curve-fit extrapolation of the most recent position and
velocity data received. This predicted flight path is then compared with
the internal terrain map of the immediate area and an assessment of the
potential threat of aircraft collision with terrain is computed by the
Collision Prediction and Alerting (CPA) algorithm.
(b) The Premature Descent alert (PDA)
The Premature Decent Alert is based on the forward-looking Collision
Prediction and Alerting (CPA) sensor. If the CPA sensor contacts a
terrain cell plus the Minimum Terrain Clearance Distance (MTCD), then a
comparison is performed. If a 0.25-g level-off maneuver is sufficient to
clear the conflicting terrain, then the PDA alert ”Too Low Terrain” is
annunciated and the Caution Alert Lamp will be activated. Otherwise, the
corresponding CPA alert is annunciated. Therefore, since this alert is
based off of the CPA sensor, any conditions that result in an outage of
the CPA function will also result in the PDA alert being inactive.
(c) Conventional GPWS Modes of Operation
1 Mode 1: Excessive rate of descent with respect to terrain
T3CAS meets the requirement for Mode 1 alerts as defined in
RTCA DO-161A. This mode provides not only a reactive short-
term warning as defined in RTCA DO-161A, but also a reactive
medium-term caution when the current flight path is descending
toward the terrain ahead of the aircraft at an excessive rate.
2 Mode 2: Excessive closure rate to terrain
T3CAS meets the requirement for Mode 2 alerts as defined in
RTCA DO-161A. This mode provides a reactive short-term
warning as defined in RTCA DO-161A when the current flight
path and the terrain ahead of the aircraft are closing at an
excessive rate. When the CPA function is active, Mode 2 is
conditionally activated when a Terrain Cell in the Terrain
Database is detected to be significantly low. This can be due to a
vertical error, horizontal error or terrain database error. This
detection occurs if the difference between MSL Altitude and
Radio Altitude is appreciably larger than the Terrain Cell Height
in the Terrain DB. This detection is only calculated when Radio
altitude is less than 2500 feet (762 meters).
3 Mode 3: Excessive altitude loss after take-off
T3CAS meets the requirement for Mode 3 alerts as defined in
RTCA DO-161A. This mode provides an alert when there is a
loss of altitude after take-off or during a missed approach. The
mode uses the radar altimeter to determine proximity to the
ground and the barometric altimeter to determine altitude loss. If
an excessive loss of altitude occurs after take-off, a warning is
issued.
Pub. No. 8600200-001, Revision 004 34-45-29 1-33
04 Nov 2014
Use or disclosure of information on this page is subject to the restrictions in the proprietary notice of this document.

SYSTEM DESCRIPTION AND INSTALLATION MANUAL
T3CAS/Part No.9005000
4 Mode 4: Incorrect aircraft configuration with regard to terrain
T3CAS meets the requirement for Mode 4 alerts as defined in
RTCA DO-161A. Mode 4 usually applies during the landing
phase of flight and results in the annunciation of an alert in the
event of insufficient terrain clearance when the aircraft is not in
the proper landing configuration. Mode 4 consists of the following
two submodes:
● Mode 4A, when the landing gear is up
● Mode 4B, when the landing gear is down, but the flaps are
not in landing configuration.
5 Mode 5: Excessive glide path deviation
T3CAS meets the requirement for Mode 5 alerts as defined in
RTCA DO-161A. Mode 5 applies in the event of an excessive
descent below the instrument glide path when making a front-
course approach with the gear down. In a back-course landing
configuration, Mode 5 is automatically inhibited.
When Localizer Performance with Vertical guidance (LPV) data
is provided to the T3CAS unit in the same format as the ILS
Glideslope Deviation data, LPV Mode 5 operation is supported
by T3CAS. Coordinate with ACSS regarding the LPV data
format sourced by the T3CAS interfacing equipment installed on
the aircraft to determine if the input format can be supported by
the T3CAS unit.
6 Call-outs and excessive bank angle
As defined in RTCA DO-161A, T3CAS produces call-outs and
alerts for descent below a set of predefined altitudes and for
excessive bank angle.
(d) Terrain Display
The T3CAS TAWS function provides two outputs to ARINC 708A
compatible displays to provide terrain-related information to the crew
through the weather radar or EFIS displays in order to enhance flight
crew situational awareness. When no threat is perceived, the TAWS
display shows with different levels of colors, the height of the surrounding
terrain relative to the aircraft altitude and takes into account the aircraft
flight path angle. Upon detection of a potential CFIT threat, the terrain
texture is modified on the terrain map in order to identify the location and
level (caution/warning) of the threat.
(e) Reactive Windshear (RWS)
NOTE: The FMO “Windshear Enable” and the TAWS function must be
enabled in order for the RWS function to activate. TAWS is
enabled via program pin RTP-11H.
T3CAS may optionally incorporate a Reactive Windshear feature as part
of its basic functionality. The reactive Windshear Warning algorithm
continuously monitors wind factors that affect aircraft performance on
1-34
04 Nov 2014 34-45-29 Pub. No. 8600200-001, Revision 004
Use or disclosure of information on this page is subject to the restrictions in the proprietary notice of this document.

SYSTEM DESCRIPTION AND INSTALLATION MANUAL
T3CAS/Part No.9005000
both take-off and landing approach, in order to identify the presence of a
severe low-level, downburst/microburst-type windshear.
If these wind factors cause aircraft performance to decrease to a
predetermined level, an audio warning is sounded, indicating to the crew
that the aircraft net performance capability is deteriorating and rapidly
approaching a critical state. In addition to the warning, the Windshear
Warning algorithm provides a caution when an increasing-performance
Windshear is detected, thus giving advance warning of decreasing-
performance windshear.
(f) Low RNP (Required Navigation Performance) Capability
Terrain based Low RNP (not traffic based) requires the use of a qualified
ARINC 743/743A GPS source. TAWS is capable of supporting LOW
RNP routes providing high precision lateral and vertical navigation on
airports located on mountainous regions. Please consult ACSS with
specific routes to be flown.
(g) Runway Selection Function
Applicable to part number 9005000-11203, the T3CAS provides
information related to the assumed landing runway on the ARINC 429
output bus. Refer to the applicable Interface Control Document (ICD) for
corresponding labels. The determination of which runway is the assumed
landing runway is based on aircraft trajectory and proximity to the
runway. The data transmitted includes information about the runway
itself (elevation, slope, landing distance available, etc.) as well as the
aircraft’s proximity to the runway threshold (lateral distance, longitudinal
distance and height above the runway). The Runway Selection outputs
from T3CAS are used by an aircraft-level function.
(3) Mode S Transponder Functional Description
(a) Radio Frequency (RF) Transmitter and Receiver
The T3CAS Mode S Data Link Transponder receives interrogations on
1030 MHz, and transmits replies to interrogations on 1090 MHz. The
transponder has antenna diversity, which means it has two RF antenna
ports connected to antennas on the top and bottom of the aircraft. When
an interrogation is received, the transponder monitors the signal on the
top and bottom antenna ports, and chooses the best port, based on
signal strength and time of arrival. The transponder then replies to the
interrogation on the port that contained the best interrogation. The
transponder contains two independent RF receiver channels, which allow
both top and bottom interrogations to be monitored simultaneously.
The T3CAS Transponder also contains data link capability, which lets it
receive COMM-A (UF=20/21) uplink messages and COMM-C (UF=24,
16 Segment) Uplink Extended Length Messages (UELM).
The T3CAS Transponder can transmit COMM-B (DF=20/21) downlink
messages and COMM-D (DF=24, 16 Segment) Downlink Extended
Length Messages (DELM). The transmitter has the capability of
transmitting sets of 16 segment DELMs at a rate of eight per second.
Pub. No. 8600200-001, Revision 004 34-45-29 1-35
04 Nov 2014
Use or disclosure of information on this page is subject to the restrictions in the proprietary notice of this document.

SYSTEM DESCRIPTION AND INSTALLATION MANUAL
T3CAS/Part No.9005000
Depending on the transponder in use by the T3CAS system, COMM-D
may be supported.
(b) ADLP Interface and ADLP Function
The initial implementation of the T3CAS Transponder function is a Level
3 transponder according to the definitions in DO-181A and ICAO Annex
10. It can process COMM-A/B/C Data Link messages and it interfaces to
an external Mode S Airborne Data Link Processor (ADLP), which is
defined functionally by RTCA DO-218. The T3CAS Transponder function
contains four high-speed ARINC 429 data busses, a COMM-A/B Input
and Output Bus, and a COMM-C Input and Output Bus. COMM-A Data
received by the transponder in an interrogation are transferred to the
ADLP on the COMM-A/B data bus; COMM-B data received from the
ADLP are transmitted in replies to interrogations. In a similar manner,
COMM-C data received by the transponder in an UELM interrogation are
transferred to the ADLP on the COMM-C data bus.
There are certain XS-950 part numbers that support Level-4 functions.
These can process COMM-A/B Data Link messages and interface to an
external Mode S ADLP to process COMM-C/D Data Link messages,
which is defined functionally by RTCA DO-218. The XS-950 transponder
contains four high-speed ARINC 428 Data Busses, a COMM-A/B Input
and Output Bus, and a COMM-C/D Input and Output Bus. COMM-A Data
received by the transponder in an interrogation is transferred to the
ADLP on the CMM-A/B data bus; COMM-B data received from the ADLP
is transmitted in replies to interrogations. In a similar manner, COMM-C
Data received by the transponder in an UELM interrogation is transferred
to the ADLP on the COMM-C/D data bus; COMM-D data received from
the ADLP is transmitted in a DELM reply to an interrogation.
NOTE: COMM-D functionality is not supported by Level 3
transponders.
NOTE: XS-950 transponders which are DO-181E-compatible are
Level 3 transponders per the definitions in DO-181E and
ICAO Annex 10.
(c) Altimeter Interface
The T3CAS Transponder function can accept non-corrected pressure
altitude inputs from air data systems. The transponder has an interface
for ARINC 429 Air Data and ARINC 575 Air Data Systems. The
transponder contains two independent inputs for each source and a
discrete input for source selection.
(d) Controller Interface
The T3CAS Transponder function is controlled from a standard Mode S
or Mode S/TCAS control panel through an ARINC 429 input data bus
and discrete inputs and outputs. The control panel interface is defined in
ARINC 718. However, several variations exist for different customers
1-36
04 Nov 2014 34-45-29 Pub. No. 8600200-001, Revision 004
Use or disclosure of information on this page is subject to the restrictions in the proprietary notice of this document.

SYSTEM DESCRIPTION AND INSTALLATION MANUAL
T3CAS/Part No.9005000
and airlines. The T3CAS Transponder function interfaces to all commonly
used Mode S and Mode S/TCAS control panels.
The T3CAS Transponder function has a dedicated low-speed ARINC 429
data input for receiving the Aircraft Identification Subfield (AIS) Flight
Identification from another aircraft system (i.e., a Flight Management
System [FMS] or Onboard Maintenance System [OMS]). The flight ID
can also be received on DAPS busses (high- or low-speed) or from the
control panel on the control data bus (low-speed). The flight identification
can be the aircraft flight number or tail number.
(e) Discrete Interfaces and Configuration Interfaces
The T3CAS Transponder function has discrete inputs for configuration
and control of Mode S Transponder functions and interfaces, and
discrete outputs for annunciating transponder status information. The
T3CAS Transponder function implements the discrete inputs and outputs
defined by ARINC 718. The input/output discretes default to an open
state when power is removed.
(f) Maintenance Computer Interface
The T3CAS Transponder function has a maintenance computer interface
that allows maintenance and test data and histories to be obtained from
the unit while it is installed in an aircraft. The transponder interfaces with
maintenance systems for all major airframes via low-speed ARINC 429
input and output data busses.
(g) Navigation Data ARINC 429 Interface
The T3CAS Transponder function has ARINC 429 input bus circuitry for
extended squitter and enhanced DAPS capability. The transponder
meets ELS/EHS requirements.
Pub. No. 8600200-001, Revision 004 34-45-29 1-37
04 Nov 2014
Use or disclosure of information on this page is subject to the restrictions in the proprietary notice of this document.

SYSTEM DESCRIPTION AND INSTALLATION MANUAL
T3CAS/Part No.9005000
C. System Configurations
The T3CAS may be installed in different aircraft configurations depending on the current
TCAS, TAWS/RWS and Transponder equipment installed on the aircraft. The T3CAS
uses an Airplane Personality Module (APM) or embedded AAA to hold aircraft specific
configuration data. The APM is used in place of program pin inputs to provide system
configuration. An Aircraft Specific Database (ASDB) provides the aircraft specific
interface requirements for the T3CAS System and is loaded into the APM at the time of
system installation. The following table shows the core T3CAS configurable functions:
1-38
04 Nov 2014 34-45-29 Pub. No. 8600200-001, Revision 004
Use or disclosure of information on this page is subject to the restrictions in the proprietary notice of this document.

SYSTEM DESCRIPTION AND INSTALLATION MANUAL
T3CAS/Part No.9005000
Table 1-14: T3CAS Configurable Functions
Function
State Definition
TCAS
TCAS is always enabled. Hybrid surveillance (applicable to -11801 and -55801) requires pin RMP-5E be
enabled.
TAWS The TAWS function can be activated or deactivated via program pin RTP-11H. Refer to SDIM Section 4.
Obstacles
The Obstacle function can be activated via program pin RTP-11F. It also requires that TAWS is enabled
and a valid Obstacle Database to be loaded on the T
3
CAS LRU. Refer to SDIM Section 4.
Eleview
The Eleview function can be activated via program pin RTP-11C. It also requires that TAWS is enabled.
Refer to SDIM Section 4.
RWS
The RWS function can be activated via a Factory Modifiable Option (FMO). The FMO file is a component
of the ASDB or embedded AAA and is customized by the supplier. It also requires that TAWS is enabled.
Applicable to -11801 and -55801.
Embedded
Transponder
The embedded transponder function can be activated or deactivated via program pin RTP-11H. Refer to
SDIM Section 4.
ADS-B IN
The ADS-B IN function can be activated or deactivated via the program pin RMP-5E ADS-B/DTIF Enable.
Refer to SDIM Section 4, sub-section 2 T3CAS Interface Description. ADS-B IN provides EVaq; additional
ADS-B IN functions are activated separately.
ADS-B IN
Applications
In Trail Procedures application may be activated or deactivated via the program pin RBP-2A ITP Enable for
9005000-10000, -10101, -10202, -10204, and -11203. Refer to SDIM Section 4, Table 4-42 In-Trail
Procedures Enable/Disable Configuration. The ADS-B IN function must be activated prior to the activation
of any specific ADS-B IN applications.
Pub. No. 8600200-001, Revision 004 34-45-29 1-39
04 Nov 2014
Use or disclosure of information on this page is subject to the restrictions in the proprietary notice of this document.

SYSTEM DESCRIPTION AND INSTALLATION MANUAL
T3CAS/Part No.9005000
Blank Page
1-40
04 Nov 2014 34-45-29 Pub. No. 8600200-001, Revision 004
Use or disclosure of information on this page is subject to the restrictions in the proprietary notice of this document.

SYSTEM DESCRIPTION AND INSTALLATION MANUAL
T3CAS/Part No.9005000
For a detailed explanation of how to activate or de-activate all of the T3CAS functions
using configurable and non-configurable program pins, configuration options and ASDBs,
refer to SDIM Section 4, sub-section 3 TAWS/RWS and Transponder Specifications.
The T3CAS unit’s TCAS function may be installed in several different configurations
depending on the transponders used and the choice of antennas and displays. Some
typical configurations are shown in Figure 1-5. Other combinations are feasible.
Figure 1-5 shows the signals and overall interconnects for a typical T3CAS installation
with dual transponders.
● Configuration A shows the TCAS function using only the embedded Mode S
transponder.
● Configuration B shows the TCAS function linked to a single external transponder
Mode S transponder system as the secondary along with the embedded Mode S
transponder as the primary.
● Configuration C shows the TCAS function linked to a single external transponder
Mode S transponder system as the primary along with the embedded Mode S
transponder as the secondary.
● Configuration D shows the TCAS function linked to two external Mode S
transponders. The system may operate with either transponder depending on the
control panel selection. The second transponder acts as a backup.
Figure 1-6 illustrates a typical aircraft installation of the T3CAS. The system is designed
as an integrated safety solution, available as a replacement to the existing TCAS 2000,
3000, SafeRoute Surveillance Processor, or T2CAS LRUs. Figure 1-7 is a TCAS Function
System block diagram.
Pub. No. 8600200-001, Revision 004 34-45-29 1-41
04 Nov 2014
Use or disclosure of information on this page is subject to the restrictions in the proprietary notice of this document.

SYSTEM DESCRIPTION AND INSTALLATION MANUAL
T3CAS/Part No.9005000
Figure 1-5: (Sheet 1) Typical System Configurations
1-42
04 Nov 2014 34-45-29 Pub. No. 8600200-001, Revision 004
Use or disclosure of information on this page is subject to the restrictions in the proprietary notice of this document.

SYSTEM DESCRIPTION AND INSTALLATION MANUAL
T3CAS/Part No.9005000
Figure 1-5: (Sheet 2) Typical System Configurations
Pub. No. 8600200-001, Revision 004 34-45-29 1-43
04 Nov 2014
Use or disclosure of information on this page is subject to the restrictions in the proprietary notice of this document.

SYSTEM DESCRIPTION AND INSTALLATION MANUAL
T3CAS/Part No.9005000
Figure 1-6: T3CAS System Aircraft Interface
1-44
04 Nov 2014 34-45-29 Pub. No. 8600200-001, Revision 004
Use or disclosure of information on this page is subject to the restrictions in the proprietary notice of this document.

SYSTEM DESCRIPTION AND INSTALLATION MANUAL
T3CAS/Part No.9005000
Figure 1-7: TCAS Function System Block Diagram
Pub. No. 8600200-001, Revision 004 34-45-29 1-45/46 (blank page)
04 Nov 2014
Use or disclosure of information on this page is subject to the restrictions in the proprietary notice of this document.

SYSTEM DESCRIPTION AND INSTALLATION MANUAL
T3CAS/Part No.9005000
4. Component Descriptions
A. T3CAS Computer Unit
The TCAS function contains the RF transmitter and the receivers necessary to
interrogate and receive replies from other transponder equipped aircraft. Surveillance and
collision avoidance algorithms determine whether an intruder aircraft should be
considered a threat and then determine the appropriate vertical response to avoid a
midair or near midair collision. In addition, output data is provided to drive displays that
inform the flight crew what action to take or avoid.
The TCAS function also provides an interface to the onboard Mode S transponder in
order to communicate with other TCAS ll equipped aircraft in the airspace.
The TAWS/RWS function consists primarily of the Ground Collision Avoidance Module
(GCAM). The GCAM contains the core TAWS/Windshear algorithms which utilize A/C
state data, performance database variables and Terrain/Airport database information to
calculate required TAWS/Windshear alarms, build a terrain display buffer, and then pass
the data back to the platform. The resulting terrain information is then output to ARINC
708A compatible weather radar or EFIS displays.
The Transponder function supplies surveillance functions to both ground-based and
airborne interrogators, as well as communication functions to various onboard systems.
The transponder contains data link functions that allow it to function as part of the
Aeronautical Telecommunications Network (ATN). The data link functions allow
communication with a Communication Management Unit (CMU) via a Mode S Airborne
Data Link Processor (ADLP). The transponder also has Mode S specific functions that
are dedicated links to onboard systems.
The T3CAS CU also provides past and present LRU and system status through the front
panel mounted TEST switch and PASS/FAIL annunciators. Software updates can be
incorporated into the computer by Compact Flash Card an ARINC 615A data loader port
through either the connector mounted on the front panel of the computer or the port
provided on the LRU rear connector.
Figure 1-8 shows a graphical view of the T3CAS Computer Unit.
Table 1-15 provides the leading particulars.
Table 1-16 provides the DO-160E Categories.
NOTE:
The RWS function is not applicable to Part Numbers 9005000-10000, -10101, -10202, -
10204, or -11203.
Pub. No. 8600200-001, Revision 004 34-45-29 1-47
04 Nov 2014
Use or disclosure of information on this page is subject to the restrictions in the proprietary notice of this document.

SYSTEM DESCRIPTION AND INSTALLATION MANUAL
T3CAS/Part No.9005000
Figure 1-8: T3CAS Computer Unit
Table 1-15: T3CAS Computer Unit Leading Particulars
Item
Specification
Dimensions 6-MCU (maximum)
•
Height
7.64 in. (194.1 mm)
● Width 7.52 in. (191.0 mm)
●
Length
15.26 in. (387.6 mm)
Dimensions 4-MCU DC Only (maximum)
•
Height
7.64 in. (194.1 mm)
●
Width
4.90 in. (124.5 mm)
● Length 15.79 in. (401.1 mm)
Dimensions 4-MCU AC/DC (maximum)
•
Height
7.64 in. (194.1 mm)
Pub. No. 8600200-001, Revision 004 34-45-29 1-48
04 Nov 2014
Use or disclosure of information on this page is subject to the restrictions in the proprietary notice of this document.

SYSTEM DESCRIPTION AND INSTALLATION MANUAL
T3CAS/Part No.9005000
Table 1-15: T3CAS Computer Unit Leading Particulars (cont.)
Item Specification
•
Height
7.64 in. (194.1 mm)
●
Width
4.90 in. (124.5 mm)
●
Length
15.79 in. (401.1 mm)
Weight 6-MCU (maximum)
17.50 lb (7.94 kg)
Weight 4-MCU DC Only (maximum) 15.80 lb (7.17 kg)
Weight 4-MCU AC/DC (maximum) 16.7 lb (7.57 kg)
Operating ac Voltage:
97 V rms minimum, 115 V rms nominal,
134 V rms maximum at 400 ±80 Hz
Operating dc Voltage:
+20.5 V dc minimum, +27.5 V dc nominal,
+32.2 V dc maximum
Power Consumption 80 W standby, 95 W operational
Circuit Breaker Ratings:
●
115 V ac Circuit Breaker
3 A Typical
●
+28 V dc Circuit Breaker
10 A Typical
Mating Connector:
● Rear Connector
Radiall Part No. NSXN3P357X0001 or
equivalent
● Front Connector (J1)
ACSS Part No. 4004295-160
(ITT Part No. KJ6F18A53P)
(MS 27473T18F53P with backshell
M85049/49-2-18N) or equivalent
6-MCU Unit Cooling Requirements:
●
Cooling Requirements
ARINC 600 (blow through)
● Minimum Cooling Airflow Rate 46 lb/hour (21 kg/hour)
● Pressure Drop (at minimum airflow rate)
0.2 ±
0.12 in. (5
±
3 mm) of H2O
4-MCU Unit Cooling Requirements:
•
The 4-MCU form-factor utilizes a unit-mounted fan (integrated fan) for cooling.
T3CAS Mounting
ARINC 600 6-MCU or 4-MCU Tray Assembly
TSO:
● Refer to Table 1-2
Pub. No. 8600200-001, Revision 004 34-45-29 1-49
04 Nov 2014
Use or disclosure of information on this page is subject to the restrictions in the proprietary notice of this document.

SYSTEM DESCRIPTION AND INSTALLATION MANUAL
T3CAS/Part No.9005000
Table 1-15: T3CAS Computer Unit Leading Particulars (cont.)
Item
Specification
●
Software Development Specification
DO-178B, Level B
●
Environmental Specifications
Applicable to 9005000-10000,
-10101, -10202, -10204, -11203, -11801,
and -55801.
DO-160E Refer to Table 1-16
Temperature/Altitude [A2F2]:
●
Operating Temperature
-55 to +70 degrees C (-67 to 158 degrees F)
● Ground Survival Temperature -55 to +85 degrees C (-67 to 185 degrees F)
●
Altitude
Sea Level to 55,000 ft (16764 m)
● Loss of Cooling
+40 degrees C (+104 degrees F) for 18
hours minimum
RF Transmitter Characteristics:
●
Unwanted Output Power in an Inactive
State
-79 dBm (960-1215 MHz)
● TCAS Transmitter Frequency
1030
±
0.01 MHz
TCAS RF Peak Output Power:
●
Minimum
53.5 dBm (224 W)
●
Nominal
54.0 dBm (251 W)
● Maximum 57.5 dBm (562 W)
XPDR Transmitter Frequency
1090
±
0.01 MHz
XPDR/ADS-B RF Peak Output Power (each port of directional antenna):
●
Minimum
51.4 dBm (138 W)
●
Nominal
52.2 dBm (166 W)
● Maximum 55.4 dBm (347 W)
TCAS Pulse Timing Characteristics:
●
Pulse Rise Time
0.05 to 0.10 µsec
●
Pulse Fall Time
0.05 to 0.20 µsec
●
ATCRBS S1, P1, P3, P4 Duration
0.8
±
0.05 µsec
● Mode S P1, P2 Duration
0.08
±
0.05 µsec
●
Mode S P6 Duration
16.25 ± 0.125 µsec (short)
30.25 ± 0.125 µsec (long)
Pub. No. 8600200-001, Revision 004 34-45-29 1-50
04 Nov 2014
Use or disclosure of information on this page is subject to the restrictions in the proprietary notice of this document.

SYSTEM DESCRIPTION AND INSTALLATION MANUAL
T3CAS/Part No.9005000
Table 1-15: T3CAS Computer Unit Leading Particulars (cont.)
Item
Specification
XPDR Pulse Timing Characteristics:
● Pulse Rise Time 0.05 to 0.10 µsec
● Pulse Fall Time 0.05 to 0.20 µsec
●
ATCRBS S1, P1, P3, P4 Duration
0.45 ± 0.05 µsec
●
Mode S P1, P2 Duration
0.5 ± 0.05 µsec
Whisper-Shout Characteristics:
● Range 0 to 27 dB attenuation by 1 dB steps
●
Absolute Tolerance
Relative to the 0 dB step, the attenuation
of each step does not exceed the
nominal attenuation by more than ±2 dB
●
Relative Tolerance
Step increments are ±0.5 dB and
monotonic
TCAS RF Receiver Characteristics:
●
Receiver Frequency Range
1087 to 1093 MHz
●
Receiver MTL Over Frequency
(Nominal Operation)
-77 ±2 dBm (≥90% Mode S and
ATCRBS replies decoded)
Receiver Dynamic Range
(Normal Operation)
-77 to -24 dBm (≥99% Mode S and
ATCRBS replies for signal levels greater
Than MTL +3 dB)
●
Low-level Receiver Signal Rejection
(Normal Operation)
-81 dBm (≤10% Mode S and ATCRBS
replies decoded)
●
Receiver Signal Processing
Amplitude Mono-pulse
●
System Bearing Accuracy
Error less than 9 degrees RMS, 27
degrees peak from -10 to +10 degrees
elevation
ADS-B RF Receiver Characteristics:
●
Receiver Frequency Range
1089 to 1091 MHz
●
Receiver MTL Over Frequency
(Normal Operation)
≤-87 dBm (= 90% Interrogations
decoded)
●
Receiver Dynamic Range
(Normal Operation)
-87 to -24 dBm (≥99% for signal levels
greater than MTL +3 dB)
●
Reply Reception
-90 dBm (≥15% ADS-B squitter replies
decoded)
XPDR RF Receiver Characteristics:
●
Receiver Frequency Range
1029.8 to 1030.2 MHz
Pub. No. 8600200-001, Revision 004 34-45-29 1-51
04 Nov 2014
Use or disclosure of information on this page is subject to the restrictions in the proprietary notice of this document.

SYSTEM DESCRIPTION AND INSTALLATION MANUAL
T3CAS/Part No.9005000
Table 1-15: T3CAS Computer Unit Leading Particulars (cont.)
Item
Specification
●
Receiver MTL Over Frequency
(Normal Operation)
-75 ±3 dBm (_90% Interrogations
decoded)
●
Receiver Dynamic Range
(Normal Operation)
-75 to -24 dBm (_99% for signal levels
greater than MTL +3 dB)
●
Lower Level Receiver Signal Rejection
(Normal Operation)
-82 dBm (≤10% Interrogations
decoded)
Receiver Signal Processing
Pulse and DPSK Modulation
Table 1-16: T3CAS Computer DO-160E Categories
DO-160E
Section
Condition Category
4.0 (except
4.5.5) Temperature and Altitude
Category A2, Partially controlled temperature,
Pressurized to 15,000 ft (4,572 m)
Category F2, Non-controlled temperature, Non-
pressurized, 55,000 ft (16,764 m) maximum
4.5.5 In-Flight Loss of Cooling
Category Y (300 minutes). Refer to NOTE following
this Table.
5.0 Temperature Variation
Category B, Non-controlled temperature,
Equipment mounted internal in aircraft
6.0
Humidity
Category B, Severe Humidity environment
7.0 Operational Shock and Crash Safety Category E
8.0 Vibration
Category R, curves B and B1
Category S, curve M
9.0 Explosion Atmosphere Category E
10.0 Waterproofness Category X, Not Applicable
11.0
Fluids Susceptibility
Category X, Not Applicable
12.0
Sand and Dust
Category X, Not Applicable
13.0
Fungus Resistance
Category F
14.0 Salt Fog Category X, Not Applicable
15.0 Magnetic Effect
Category Z, Less than 0.3 m for 1 degree
deflection
16.0 Power Input
Category A(CF) for AC Power Inputs
Category X for AC input harmonics, no tests
performed
Pub. No. 8600200-001, Revision 004 34-45-29 1-52
04 Nov 2014
Use or disclosure of information on this page is subject to the restrictions in the proprietary notice of this document.

SYSTEM DESCRIPTION AND INSTALLATION MANUAL
T3CAS/Part No.9005000
Table 1-16: T3CAS Computer DO-160E Categories (cont.)
DO-160E
Section
Condition Category
17.0 Voltage Spike
Category A, High degree of protection against
voltage spikes (For both 115VAC)
18.0
Audio Frequency Conducted
Susceptibility
Category R(CF) for AC Power Inputs
19.0
Induced Signal Susceptibility
Category CC
20.0 Radio Frequency Susceptibility
Category R for conducted susceptibility
Category R for radiated susceptibility (CW and
Pulse)
21.0
Emission of RF Energy
Category M with deviation (Refer to Table 1-5)
22.0
Lightning Induced Transient
Susceptibility
Category A3 for pin injection tests
Category J13 for cable bundle tests
23.0
Lightning Direct Effects
Category X, Not Applicable
24.0
Icing
Category X, Not Applicable
25.0 Electrostatic Discharge
Category A, Equipment Installed, Repaired, or
operated in an Aerospace Environment
26.0
Fire, Flammability
Category C, by analysis
NOTE:
Regarding DO-160E Section 4.5.5 In-Flight Loss of Cooling, the 6-MCU unit was tested for
18 hours.
(1) System Interfaces
The T3CAS Computer Unit supports the external system interfaces that follow.
The specifications apply to the 6-MCU and 4-MCU computer. All interfaces are
per ARINC 735B.
(a) Common System Interfaces
This section defines external system interfaces that are common to the
T3CAS functions.
1 Radio Altimeter
The T3CAS Computer Unit accepts either analog or digital radio
altimeter inputs. For each type of input, dual input ports are provided.
The external connector pins for Analog/Digital Radio Altitude Inputs
#1 and #2 are shared by TCAS, TAWS/RWS and XPDR. The
Analog/Digital inputs have independent circuitry.
The T3CAS CU analog radio altimeter interface accepts either
ARINC 552A, Collins BCA analog input, or metric analog input
formats. The type of input format is selected by program discrete
inputs RMP-12B, -12D, -12E, and -12F. Each analog input contains
a valid discrete used to validate the analog input.
Pub. No. 8600200-001, Revision 004 34-45-29 1-53
04 Nov 2014
Use or disclosure of information on this page is subject to the restrictions in the proprietary notice of this document.

SYSTEM DESCRIPTION AND INSTALLATION MANUAL
T3CAS/Part No.9005000
Each of the military radio altimeter types provide two outputs that are
connected to the T3CAS CU input pins. The two altimeter outputs are
the Analog Data Output and Analog Data Reliability signal. The
T3CAS CU uses the Data Reliability signal in conjunction with the
Analog Data Output to determine radio altimeter failures.
A condition exists for several military radio altimeters known as Out-
of-Track. This condition occurs when the radio altimeter has not
failed and the altimeter is not reading a valid altitude. Altitude data
for an Out-of-Track condition should be considered invalid and not
used.
The digital radio altimeter interface accepts inputs from an ARINC
707 radio altimeter on ARINC 429 low-speed input busses.
2 Voice Audio Outputs
The T3CAS contains two analog audio outputs that provide
TAWS/RWS and TCAS aural advisories. The 8-ohm output has the
capability to supply up to 4 Watts RMS into a speaker. The 600-ohm
output has the capability to supply up to 80 milliwatts RMS into an
audio distribution system.
3 Onboard Maintenance System Interface
The TCAS function contains a set of ARINC 429 low-speed busses
for communication with an onboard maintenance system (1 input, 1
output). The input RBP-6G/6H is shared with the TAWS functionality.
The output is RBP-6E/6F. The unit interfaces with all major airframe
manufacturers maintenance computer systems. Since the
maintenance computer protocol for each airframe manufacturer is
different, the TCAS function automatically detects the type of
airframe from the data received from the maintenance computer and
sets its protocol accordingly. The TCAS OMS interface supports all
Boeing and Airbus maintenance systems.
The TAWS/RWS function contains an interface to an onboard
maintenance system that allows fault and diagnostic information to
be retrieved. The ARINC 429 input is shared with TCAS on RBP-
6G/6H. The ARINC 429 output bus, RTP-8A/8B contains OMS data;
however, the output is shared with other systems and contains
additional data. The OMS has capability to display BITE fault log
information over the display device. Current faults and faults from
previous flight legs may be displayed. In addition, information such
as software part numbers may be displayed. The OMS can be used
to initiate TCAS, TAWS/RWS and XPDR system tests.
The XPDR function contains an interface to an onboard maintenance
system that allows fault and diagnostic information to be retrieved.
The ARINC 429 input is RTP-5G/5H. The ARINC 429 output bus,
RTP-8E/8F contains OMS data. The OMS can be used to initiate
TCAS, TAWS/RWS and XPDR system tests.
Pub. No. 8600200-001, Revision 004 34-45-29 1-54
04 Nov 2014
Use or disclosure of information on this page is subject to the restrictions in the proprietary notice of this document.

SYSTEM DESCRIPTION AND INSTALLATION MANUAL
T3CAS/Part No.9005000
4 Data Loader Interface
The T3CAS is provisioned for interface with an ARINC 615A data
loader (Ethernet 10 Base-T). The front Portable Data Loader
connector contains the signals required by the ARINC 615A
specification. The interface will be used to upload future software
updates to the T3CAS system.
The T3CAS also contains an access port on the front of the unit that
accepts a Type I Compact PC Flash card. The Compact PC card is
commercially available. The Compact PC card can be inserted in a
CF card slot on a PC, or a USB serial port with an adapter. The
Compact PC Flash card is used for updating the operational
software. In addition, the Compact PC Flash card may be used as a
data recorder.
5 RS-232/Compact Flash Card Data Recorder Interface
The Data Recorder Interface can be utilized for either internal or
external data recording.
The TAWS/RWS event log contains event information due to TAWS
or windshear cautions or warnings (internal data recording). The log
can hold approximately three events that last up to 45 seconds each
(assuming GCAM Event, GCAM parameter data and GFM
parameter data selected for recording). The event log data may be
downloaded to a Laptop PC over the RS-232 port, or downloaded to
a Compact Flash card using the slot on the front of the unit.
The external data recording provides the capability to perform real-
time recording of various T3CAS input, output and internal data. This
data may be recorded using the Compact Flash card or RS-232
interface. Using a 2 Gigabyte Compact Flash card, the system can
store up to 15 hours of data.
In addition, the RS-232 interface allows for LRU maintenance and
troubleshooting. The maintenance log and RA event log can also be
downloaded to a PC using this port. The RS-232 interface is
connected to the 53-pin PDL connector on the front of the unit.
6 Control Panel
The control panels for the transponder and TCAS systems supply
mode control for dual or single ATC Mode S Transponders and
TCAS systems. The Control Panel for the Mode S System supplies
mode control for the ATC Transponders, both Mode S and ATCRBS
(if used). Communication with Mode S Transponders is
accomplished via an ARINC 429 bus as defined in ARINC
Characteristic 718. Control panel functions include 4096 ident code
selection and display, altitude source and reporting inhibit selection,
and selection between two onboard Transponders, TCAS TA or
TA/RA advisory selection, selection of TCAS test, and other
TCAS/XPDR related functions.
Pub. No. 8600200-001, Revision 004 34-45-29 1-55
04 Nov 2014
Use or disclosure of information on this page is subject to the restrictions in the proprietary notice of this document.

SYSTEM DESCRIPTION AND INSTALLATION MANUAL
T3CAS/Part No.9005000
7 Flight Data Recording
The warning discretes and/or the A429 general output bus may be
connected to the Flight Data Recorder (FDR) or Digital Flight Data
Acquisition Unit (DFDAU).
The TCAS function contains an interface for an ARINC 429 flight
data recorder. The flight data recorder function is activated by
grounding a discrete input pin (RMP-11D) on the rear connector.
With the discrete input grounded, flight data is output as high-speed
ARINC 429 data on the RA Display No.1 and No.2 busses. With the
discrete grounded, the normal RA Display bus operation is not
available.
The TCAS function contains 12 discrete outputs connected to an
ARINC 573 flight data recorder. The outputs are used to record
information during a resolution advisory event.
8 Air Data Interface
The TAWS/RWS function uses Vertical Speed, Static Air
Temperature, Computed Air Speed, and Corrected/Uncorrected
Barometric Altitude from an air data system. In addition, TAWS/RWS
uses True Airspeed (TAS) on installations where T3CAS is
performing the RWS function.
The TAWS/RWS function accepts up to three digital ARINC 429
inputs from Digital Air Data Systems. Some of the supported system
interfaces include ARINC 706 Air Data Computer (ADC), ARINC 575
ADC, ARINC 738 Air Data Inertial Reference System (ADIRS), and
other non-ARINC standard interfaces that meet the minimum input
signal requirements.
The Air Data source also provides altitude information to the TCAS
and XPDR functions.
9 Inertial Reference Interface
TAWS/RWS function uses Ground Speed, True Track Angle, Flight
Path Angle, Latitude, Longitude, Altitude MSL, Roll Angle, Pitch
Angle, Inertial Vertical Speed, and True Heading from an inertial
system.
Additionally, TAWS/RWS uses Body Longitudinal and Normal
Acceleration on installations where TAWS/RWS is performing the
RWS function.
T3CAS accepts ARINC 429 inputs from an ARINC 704 Inertial
Reference System (IRS), ARINC 705 Attitude Heading and
Reference System (AHRS), ARINC 738 Air Data Inertial Reference
System (ADIRS), Global Positioning and Inertial Reference System
(GPIRS) and other non-ARINC standard interfaces that meet the
minimum input signal requirements.
Pub. No. 8600200-001, Revision 004 34-45-29 1-56
04 Nov 2014
Use or disclosure of information on this page is subject to the restrictions in the proprietary notice of this document.

SYSTEM DESCRIPTION AND INSTALLATION MANUAL
T3CAS/Part No.9005000
10 FMC Interface
The TAWS/RWS function uses Ground Speed, True Track Angle,
Flight Path Angle, Aircraft Weight, Latitude, Longitude and True
Heading from an FMC system.
TAWS/RWS can accept up to two digital ARINC 429 inputs from an
ARINC 702 Flight Management Computer system or other non-
ARINC standard interfaces.
11 GPS/GNSS
The TAWS/RWS function uses Vertical Speed, Ground Speed, True
Track Angle, Latitude, Longitude, Altitude MSL, WGS 84 altitude and
True Heading from a GPS system.
NOTE:
World Geodetic System (WGS) 84 altitude is another type of
MSL altitude.
T3CAS accepts up to three digital ARINC 429 inputs from an ARINC 743
or ARINC 743A GPS System, or other non-standard ARINC interfaces
that meet the minimum input signal requirements.
(b) TCAS System Interfaces
1 Mode S Transponder Interface
The T3CAS computer contains two sets of ARINC 429 high-speed
busses for communication with two Mode S transponders. It uses
ARINC 718A/735B communication protocol (2 inputs, 2 outputs).
Only 1 input is used when the embedded Mode S transponder is
activated.
2 TCAS Display Bus Interface
The TCAS function has four sets of ARINC output busses for display
of traffic and resolution advisories.
The TA/RA Display No.1 and No.2 busses are high-speed ARINC
429 busses that contain both traffic information and resolution
advisory information. The busses function according to either the
ARINC 735B characteristics, or can optionally be set for the
Honeywell EFIS characteristics through a program input pin (RMP-
12C). For each bus, a valid discrete input is provided that indicates
whether the display is functional.
The RA Display No.1 and No.2 busses are low-speed ARINC 429
busses that contain only resolution advisory information. The busses
function according to the ARINC 735B characteristics. For each bus,
a valid discrete is provided that indicates whether the display is
functional.
The RA Display No.1 and No.2 busses can be configured for a 429
Data Recorder function by grounding programming pin (RMP-11D).
In this mode, the busses are configured for high-speed operation.
Pub. No. 8600200-001, Revision 004 34-45-29 1-57
04 Nov 2014
Use or disclosure of information on this page is subject to the restrictions in the proprietary notice of this document.

SYSTEM DESCRIPTION AND INSTALLATION MANUAL
T3CAS/Part No.9005000
3 Altitude Alerter Interface
The TCAS function contains an ARINC 429 low-speed input bus that
is reserved for receiving “selected altitude” information from an
altitude control source or flight control computer. The TCAS function
uses the “selected altitude” information to ensure the weakening or
strengthening of a Resolution Advisory (RA) is consistent with the
aircrafts clearance altitude.
(c) TAWS/RWS System Interfaces
1 TAWS Display Interface
The TAWS function contains two digital 453 picture bus outputs that
transmit terrain display data to ARINC 708A compatible weather
radar displays or EFIS displays. The bus outputs can be configured
with independent range selections. The mode and range selections
are input to the system on an ARINC 429 bus.
The TAWS function also has two ARINC 429 bus outputs that
contain data for alerts and annunciation of system status.
2 ILS/MLS
The TAWS/RWS function uses Selected Runway Heading, Glide
Slope Deviation, Localizer Deviation, and ILS Select from an
Instrument Landing System (ILS) or Microwave Landing System
(MLS). TAWS/RWS can accept up to three digital ARINC 429 inputs
from an ARINC 710 ILS receiver, ARINC 727 MLS receiver, or other
non-ARINC standard interfaces.
3 Angle of Attack
On installations where T3CAS is performing the RWS function, the
TAWS/RWS function uses the aircraft angle of attack for the
windshear computation.
TAWS/RWS can accept up to two ARINC 429 inputs from a source
such as a Digital Stall Warning Computer (DSWC) or other data
concentrator devices.
4 Decision Height
The TAWS/RWS function uses selected decision height and/or
minimum descent altitude for the generation of audio call-outs.
TAWS/RWS can accept ARINC 429 inputs or a discrete input.
5 Decision Height/Minimum Descent Altitude Switch
A flight deck switch can be used to select either decision height or
minimum descent altitude for audio call-out altitude determination.
6 Flap/Slat Settings
TAWS function uses Flap/Slat settings for TAWS alerts.
TAWS/RWS can accept ARINC 429 Flap/Slat setting inputs from a
source such as a Digital Stall Warning Computer (DSWC) or other
data concentrator devices.
Pub. No. 8600200-001, Revision 004 34-45-29 1-58
04 Nov 2014
Use or disclosure of information on this page is subject to the restrictions in the proprietary notice of this document.

SYSTEM DESCRIPTION AND INSTALLATION MANUAL
T3CAS/Part No.9005000
7 Weight and Balance System (WBS)
The TAWS/RWS function obtains current aircraft weight from an
A429 digital weight and balance system source.
(d) Transponder System Interfaces
1 ADLP Interface
The transponder is a Level 3 Transponder per the definitions in ICAO
Annex 10 Volume IV Section 2.1.5. The Transponder is capable of
processing COMM-A/B/C Data Link messages, and interfaces to an
external Mode S Airborne Data Link Processor (ADLP).
(4) Discrete Inputs
The T3CAS has various discrete inputs available for implementing various TCAS
and TAWS/RWS functions. For the TCAS function, the input logic status is
defined in accordance with ARINC 735B. For the TAWS/RWS function, the input
definition is defined by the ASDB for the specific aircraft type. These discrete
inputs default to open when power is removed.
(5) TCAS Program Inputs
The T3CAS has various program inputs available for TCAS unit configuration and
installation programming. Input logic status is defined according to ARINC 735B
definition.
For Part Numbers 9005000-11801 and -55801, the T3CAS also utilizes the ASDB
database for unit configuration and installation programming. ASDB software is
stored on the Airplane Personality Module (APM).
The ASDB defines the assignment of the connector pins to each signal, the
criteria for determining the value and status of each signal and the signal specific
filtering and processing requirements.
(6) Discrete Outputs
The T3CAS TAWS function contains 7 discrete outputs that are used to provide
annunciation of alerts and system status. For the TCAS function, the output logic
status is defined in accordance with ARINC 735B. For the TAWS/RWS function,
the output definition is defined by the ASDB for the specific aircraft type. These
discrete outputs default to open when power is removed.
(7) Self-Test Function
(a) TCAS, TAWS/RWS and Transponder Maintenance Self-Test
By momentarily pushing the TEST switch on the front panel of the T3CAS
Computer Unit, maintenance personnel can display fault data for the
current and preceding flight legs. When TEST is initially activated, all
annunciators (pass/fail lamps on front of unit) are ON for a 3-second
lamp test, and then current fault data is displayed for 10 seconds. If no
further activations of the TEST switch are made, the LRU display cycle is
terminated at the end of the 10-second fault display period, and all
annunciators are extinguished.
Pub. No. 8600200-001, Revision 004 34-45-29 1-59
04 Nov 2014
Use or disclosure of information on this page is subject to the restrictions in the proprietary notice of this document.

SYSTEM DESCRIPTION AND INSTALLATION MANUAL
T3CAS/Part No.9005000
If during the 10-second fault display period, the TEST button is activated
again, the fault display period is aborted, a 2-second lamp test cycle is
done, and the fault data recorded for the preceding flight leg is displayed
for 10 seconds. This procedure can be repeated up to 10 times to obtain
recorded data from the previous 10 flight legs. If the TEST button is not
activated again during the fault display period, the fault display cycle is
terminated at the end of the 10-second fault display period and all
annunciators are extinguished. If an attempt is made to display fault data
for the preceding flight leg when the tenth preceding flight leg fault data
is displayed, all annunciators flash for a 3-second period at a 2.5-Hz rate,
after which all annunciators are extinguished.
When less than 10 flight legs have been flown since the T3CAS
Computer Unit was shop tested and recertified, less than 10 previous
flight legs of recorded fault data may be available for display. In this
case, if an attempt is made to display fault data for the preceding flight
leg when the earliest flight leg is displayed, all annunciators flash for 3
seconds at a 2.5-Hz rate and then all annunciators are extinguished.
The T3CAS Pass/Fail status annunciator indicates the status of the
T3CAS Computer Unit only. All other annunciators reflect the condition of
the respective sub-system.
(b) TCAS Self-Test
The T3CAS TCAS self-test is initiated from a self-test button on the
TCAS/MODE S control panel. The T3CAS TCAS self-test may also be
initiated from the Central Maintenance Computer.
(c) TAWS/RWS Self-Test
The T3CAS TAWS/RWS self-test is initiated from a self-test discrete
input interface. The TAWS/RWS self-test discrete is further defined in the
ASDB. The T3CAS TAWS/RWS self-test may also be initiated from the
Central Maintenance Computer.
(d) Transponder Self-Test
The T3CAS XPDR self-test is initiated from a self-test button on the
TCAS/MODE S control panel. The T3CAS XPDR self-test may also be
initiated from the Central Maintenance Computer.
(8) TAWS/Transponder Pin Programming
For Part Numbers 9005000-10000, -10101, -10202, -10204, -11203, -11801 and
-55801 pin programming defines the operational environment of the T3CAS
including the aircraft type, input/output interfaces, climb gradient, and feature
selections. There are 18 program pins used for pin programming TAWS and
transponder functionality. Each of the 18 program pins can be set to one of 9
states by strapping each program pin to one of eight T3CAS output discretes or
leaving the connection open. During power-up initialization, the T3CAS cycles the
states of the output discretes to determine its operating configuration.
Valid program pin configuration monitoring is provided via a parity pin that is
connected in such a manner that the sum of program pin connections results in
an odd number.
Pub. No. 8600200-001, Revision 004 34-45-29 1-60
04 Nov 2014
Use or disclosure of information on this page is subject to the restrictions in the proprietary notice of this document.

SYSTEM DESCRIPTION AND INSTALLATION MANUAL
T3CAS/Part No.9005000
B. Airplane Personality Module Interface
The Airplane Personality Module (APM) is defined in ARINC Report 607, Attachment 3 -
see Figure 1-9. A serial digital interface between the T3CAS Computer and the APM
allows the APM to be programmed with aircraft and system configurations during the
initial installation of the T3CAS computer. In addition, the serial digital interface allows the
APM to be read during every subsequent power-on to configure the computer for proper
operation. The APM is used to hold/provide information for the T3CAS configuration
database, for example, registration number, aircraft type, equipment installed, et cetera.
Moreover, the APM stores the Aircraft Specific Database (ASDB) which defines the
Input/Output definition for the specific aircraft type and the aircraft climb performance
data to support the TAWS/RWS functionality.
NOTES:
1. It is the responsibility of the installer to ensure the correct ASDB is loaded into
the T3CAS system during aircraft installation. Contact ACSS to determine the
applicable ASDB for a particular installation configuration (i.e., B737-400 with
FMS, GPS, AHRS, etc.).
2. The APM is not applicable for Part Numbers 9005000-10000, -10101, -10202, -
10204, and -11203. These part numbers are configured using pin programming.
3. The DO-160E categories of the APM are the same as listed in Table 1-16.
Figure 1-9: T3CAS Airplane Personality Module (APM)
C. Directional Antenna
The T3CAS directional antenna, Figure 1-10, is a four-element, vertically polarized,
monopole array capable of transmitting in four selectable directions at 1030 MHz and
1090 MHz. The antenna is capable of receiving replies from all directions simultaneously
with bearing information at 1090 MHz and 1030 MHz, using amplitude-ratio monopulse
techniques. The antenna is also capable of transmitting omnidirectionally at 1090 MHz for
transponder transmissions.
Pub. No. 8600200-001, Revision 004 34-45-29 1-61
04 Nov 2014
Use or disclosure of information on this page is subject to the restrictions in the proprietary notice of this document.

SYSTEM DESCRIPTION AND INSTALLATION MANUAL
T3CAS/Part No.9005000
The antenna consists of a molded radome with radiating/receiving elements and is
completely filled with a rigid foam. The antenna assembly uses five or nine screws to
attach the radome and either four or eight screws to attach the antenna to the aircraft
fuselage.
The ACSS directional antenna has a small frontal area. The circular radome has a 3:1
elliptical leading edge and an extremely low profile height of only 0.806 inches (20.472
millimeters). This yields excellent aerodynamic performance with a minimum possibility of
icing, which could be a hazard for rear mounted engines.
For T3CAS TCAS system installations, the top antenna must be a directional antenna.
The bottom antenna can be either a directional or omnidirectional antenna. The T3CAS
Computer Unit has the capability of automatically sensing which version is installed.
NOTE:
The bottom omnidirectional antenna is not an option for Part Numbers
9005000-10000, -10101, -10202, and -10204.
The directional antenna mounting screws are standard #10-32 UNF-2A pan head,
corrosion-resistant (stainless) steel screws in accordance with Military Specification
MS51958. The appropriate length is determined by the installer allowing 0.5 inches (12.7
millimeters) for the thickness of the antenna and adapter plate. A washer must be
installed under the head of each mounting screw. The washer must be made of
passivated, corrosion-resistant steel in accordance with MIL-S-5059 or MIL-S-6721. The
Air Force-Navy Aeronautical Standard part number is AN960C10L. The washer has an
outer diameter of 0.438 inches (11.125 millimeters), an inner diameter of 0.203 inches
(5.156 millimeters), and a thickness of 0.032 inches (0.813 millimeters).
An O-ring (included with the directional antenna) is required to be installed between the
directional antenna and the aircraft fuselage. The National Aerospace Standard part
number for the O-ring is NAS 1613. The ACSS part number for the O-ring is 4000171-
240. Table 1-17 contains the leading particulars for the ACSS directional antenna.
NOTE:
For directional antennas, ACSS Part No.7514060-90X, the customer must
provide an adapter plate for mounting to the aircraft. For details of the antenna
base plate, to which the adapter must mate, refer to Section 2. Directional
antennas, ACSS Part No.7514081-9XX, come with a preinstalled adapter
plate.
NOTE:
The mounting surface of the antenna base plate has an Alodine-treated
surface, which provides corrosion resistance. The Alodine application material
does not provide any electrical resistance or isolation. Do not sand or remove
the Alodine material from the surface. In addition, sanding this surface may
damage the unit beyond repair.
The average unit weight of an antenna with adapter plate is approximately 3.0 pounds
(1.361 kilograms).
Pub. No. 8600200-001, Revision 004 34-45-29 1-62
04 Nov 2014
Use or disclosure of information on this page is subject to the restrictions in the proprietary notice of this document.

SYSTEM DESCRIPTION AND INSTALLATION MANUAL
T3CAS/Part No.9005000
Figure 1-10: Directional Antenna
Pub. No. 8600200-001, Revision 004 34-45-29 1-63
04 Nov 2014
Use or disclosure of information on this page is subject to the restrictions in the proprietary notice of this document.

SYSTEM DESCRIPTION AND INSTALLATION MANUAL
T3CAS/Part No.9005000
Table 1-17: ACSS Directional TCAS Antenna Leading Particulars
Item
Specification
Form Factor
ARINC 735A
Antenna Base Types
Curved base
Flat base
Maximum Weight
3.2 lb (1.45 kg)
Overall Dimensions
See outline drawings, Figure 2-10 and 2-11.
Antenna Mounting See Figure 2-10 and 2-11.
Number of Antenna Array Elements Four
Polarization
Vertical
Power Requirements
N/A
Transmission Frequency
1030 ±1 MHz
Receiving Frequency 1090 ±1 MHz
Connectors:
● Quantity
Four
● Type
Standard TNC Jacks
O-ring
PN-NAS 1613
Antenna Cable Loss Requirement
2.5 ±0.5 dB for each coaxial cable
including connectors
Antenna Cable Length
Required to be greater than or equal to 10 ft
and less than or equal to 100 ft. Refer to Note.
ARINC Characteristics
ARINC 735A
TSO
C119a
Environmental Specifications E1F2/B/JLMYC’/E1SFDFSZXXXXM
NOTE:
The T3CAS embedded transponder may fail if the directional antenna cable length is
less than 10 ft or greater than 100 ft.
Pub. No. 8600200-001, Revision 004 34-45-29 1-64
04 Nov 2014
Use or disclosure of information on this page is subject to the restrictions in the proprietary notice of this document.

SYSTEM DESCRIPTION AND INSTALLATION MANUAL
T3CAS/Part No.9005000
D. Gables ATC/TCAS Dual Mode S Transponder Control Panel
The Gables ATC/TCAS Mode S control panel is used to independently control two Mode
S transponders, and to interface with a Mode S installation with TCAS capabilities.
The control panel contains two isolated electronic modules each dedicated to a given
transponder. Each module derives its input ATC code data from two dual concentric
knobs. The selected code is then displayed on a four digit LCD, and subsequently
transmitted to each transponder.
Figure 1-11 shows a typical front panel layout of a Gables G7130 series control panel.
Table 1-18 gives items and specifications that are particular to these units.
Figure 1-11: Typical Gables ATC/TCAS Control Panel
Table 1-18: Gables G7130 Series Control Panel Leading Particulars
Item
Specification
Dimensions (maximum)
● Height 2.25 in. (57.2 mm)
● Width 5.75 in (146.1 mm)
●
Length
5.80 in. (147.3 mm)
Weight (maximum)
2.0 lb (0.907 kg)
Power Requirements:
● Primary +28 V dc, 0.25 A maximum current
● Display and Overlay Lighting 5 V, 400 Hz (2.3 A maximum)
Display Type
Four-Digit, Dichroic LCD
Pub. No. 8600200-001, Revision 004 34-45-29 1-65
04 Nov 2014
Use or disclosure of information on this page is subject to the restrictions in the proprietary notice of this document.

SYSTEM DESCRIPTION AND INSTALLATION MANUAL
T3CAS/Part No.9005000
Table 1-18: Gables G7130 Series Control Panel Leading Particulars (cont.)
Item
Specification
Code Select Range
0000 to 7777 (octal)
Transmitted ARINC 429 Labels 013, 015, 016, 031 (octal)
TSO C112/C119
Environmental Specifications
/A2D1/BB/MB·/XXXXXXZZAZZRZ/xxZZ
Mating Connectors:
●
J1
M83723/75R16247 or MS24266R16B24S7
● J2 M83723/75R16248 or MS24266R16B24S8
Mounting Four Dzus Fasteners
(1) Functional Description and Operation
Communication with Mode S transponders is accomplished through an ARINC
429 bus as defined in ARINC Characteristic 718. Control panel functions include
4096 ident code selection and display, altitude source and reporting inhibit
selection, selection between two onboard transponders, TCAS TA or TA/RA
advisory selection, range selection (in nautical miles) and a system functional
test selection. A description of the front panel annunciator and switch functions
follows.
(a) Transponder Code Display
The control panel has a single four digit LCD display common to both
modules within the unit. The display shows the ATC code selected by the
user and consequently transmitted to the transponders. Input to the
display is controlled by the system select switch (XPDR 1-2).
In addition, certain fault indications are also indicated on the display.
After a functional test has been initiated, PASS shows on the display
after a successful test, or it shows FAIL if a high level failure is detected
under normal operating conditions. It also shows which transponder is
active by displaying ATC 1 or 2.
(b) ATC Code Selection
The ATC four-digit code is selected with two dual concentric sets of
knobs. Each knob is dedicated to a single liquid crystal display (LCD)
digit on the LCD code display. The two smaller knobs control the inner
digits of the LCD (tens and hundreds) while the two larger knobs control
the outer most digits (units and thousands).
(c) XPDR 1-2 Switch
The XPDR switch is a two position switch that allows the selection of one
Mode S module in the control panel, and the activation of its associated
transponder (System 1 or System 2).
Pub. No. 8600200-001, Revision 004 34-45-29 1-66
04 Nov 2014
Use or disclosure of information on this page is subject to the restrictions in the proprietary notice of this document.

SYSTEM DESCRIPTION AND INSTALLATION MANUAL
T3CAS/Part No.9005000
(d) Mode Control Selector Switch
The rotary switch labeled STBY-ALT RPTG OFF-XPDR-TA ONLY-
TA/RA allows the operator to activate the TCAS system by selecting TA,
or traffic and resolution advisory (TA/RA). When STBY is selected, both
transponders are selected inactive or in standby mode. Altitude reporting
off (ALT RPTG OFF) selection disables the altitude data sources
interrupting transmission of aircraft altitude and location information to
ground controllers and causes a TCAS OFF annunciation on the
VSI/TRA.
(e) ABV/N/BLW Switch
The ABV/N/BLW switch selects an altitude range (from aircraft) for traffic
display on the TCAS displays. Range limits for software versions prior to
Change 7 are 7000 feet (2133.6 meters) above and 2700 feet (822.96
meters) below the aircraft when in ABV mode and 2700 feet (822.96
meters) above and 7000 feet (2133.6 meters) below the aircraft when in
BLW mode. Range limits for the Change 7 software version are 9900
feet (3,017.52 meters) above and 2700 feet below the aircraft when in
ABV mode and 2700 feet (822.96 meters) above and 9900 feet (3,017.5
meters) below the aircraft when in BLW mode. When the normal (N)
position is selected, the display range is 2700 feet (822.96 meters)
above and below the aircraft.
(f) Traffic Display Switch
The TRAFFIC AUTO-MAN switch is a two position rotary switch that
controls the TCAS traffic display mode of operation. When the AUTO
mode is selected, the TCAS computer sets the TCAS displays to pop-up
mode under a traffic/resolution advisory condition. If the MAN mode is
selected, then the TCAS displays will be constantly activated advising of
any nearby traffic detected within the horizontal and vertical range limits.
(g) Range Switch
The RANGE switch is a four or six position rotary switch used to select
among different nautical mile (NMI) traffic advisory horizontal range
displays.
(h) IDENT Key
The IDENT key is a momentary button. Upon activation, the Special
Position Identifier (SPI) pulse shall be transmitted to ground controllers,
in accordance with ARINC 718 Draft 5 of Supplement 4, when replying to
ATRCRBS Mode A or Mode S UF-4 and UF-5 interrogations for a period
of 18 ±1 seconds. The SPI pulse can be reinitiated at any time.
(i) Flight Level Button
The FL button is a momentary button used to select between relative and
absolute altitude information. When absolute is selected, this mode is
enabled for approximately 20 seconds and then reverts back to relative.
In the event of a TA or RA, the Flight Level will automatically revert back
to the relative mode.
Pub. No. 8600200-001, Revision 004 34-45-29 1-67
04 Nov 2014
Use or disclosure of information on this page is subject to the restrictions in the proprietary notice of this document.

SYSTEM DESCRIPTION AND INSTALLATION MANUAL
T3CAS/Part No.9005000
(j) Test Button
The TEST button enables the user to initiate a system functional test.
When the TEST button is pushed, the control panel initiates an internal
test while a functional test output is also transmitted through ARINC 429
labels.
When installed with a TCAS system, an extended test can be initiated by
continuously pushing the TEST button for at least eight seconds.
(k) XPDR FAIL Annunciator
The XPDR FAIL annunciator displays the functional status of the active
transponder. The fail annunciator lights only when a failed transponder is
selected on the XPDR 1-2 switch.
E. TAWS Control Panel
The TAWS controls are used to control the displayed terrain data and TAWS inhibit
features. The TAWS control panels may be installed in a single or dual configuration
depending on the TAWS display capabilities.
The TAWS controls can be mounted on a single control panel or they can be discrete
switches individually mounted at a convenient location in the flight deck. The TAWS
controls may be part of the electronic display menu selection in installations where TAWS
information is displayed on an EFIS or electronic display.
F. VSI/TRA and VSI-TCAS Displays
The VSI/TRA display, Figure 1-12, is used to display current vertical speed and TCAS
traffic/warning information. The display consists of an LCD panel. Table 1-19 and Table
1-20 give items and specifications particular to the units. Figure 1-13 contains an
interface block diagram of the 41-pin Thales VSI-TCAS, Figure 1-14 contains the
interface block diagram for the ACSS 41-pin version, and Figure 1-15 contains the
interface block diagram for the ACSS 55-pin (bootstrap) version.
Pub. No. 8600200-001, Revision 004 34-45-29 1-68
04 Nov 2014
Use or disclosure of information on this page is subject to the restrictions in the proprietary notice of this document.

SYSTEM DESCRIPTION AND INSTALLATION MANUAL
T3CAS/Part No.9005000
Figure 1-12: Typical VSI/TRA Display Formats
Pub. No. 8600200-001, Revision 004 34-45-29 1-69
04 Nov 2014
Use or disclosure of information on this page is subject to the restrictions in the proprietary notice of this document.

SYSTEM DESCRIPTION AND INSTALLATION MANUAL
T3CAS/Part No.9005000
Table 1-19: Thales VSI-TCAS Leading Particulars
Item
Specification
Dimensions (maximum)
● Height 3.26 in. (82.8 mm)
● Width 3.26 in. (82.8 mm)
●
Length
7.5 in. (190.0 mm)
Weight (maximum)
3.3 lb (1.5 kg)
Power Requirements:
●
Primary
115 V, 400 Hz; 17 W nominal (Day),
12 W nominal (Night),
20 W maximum
● External Circuit Breaker Rating 1 A at 115 V ac
Display Type
LCD
Mating Connectors:
● J1 (41 Pin)
M83723/75A-20-41-6
M83723/75A-20-41-N
●
Pneumatic Fitting
MS33649-5
●
Quick Disconnect (Hardware p/n KB &PB
only)
40006-1B45
●
Packing
MS9385-05
Mounting
3-ATI Clamp, Marmon NH1004994-30
or MSP 64311B
(1) Functional Description and Operation
The VSI/TRA has three functions. It continuously displays rate of climb or rate of
descent. Traffic information is displayed and resolution advisory information is
displayed against vertical speed to allow the flight crew to avoid threats.
The vertical speed display is generated from signals applied directly to the
indicator. The VSI/TRA is designed to be used in place of a conventional vertical
speed indicator. Four possible sources exist for vertical speed data including
ARINC 429 data, dc analog signals in accordance with ARINC 575
(approximately 500 millivolts per 1000 feet per minute or per 304.8 meters per
minute), ac analog signals in accordance with ARINC 565 (approximately 250
millivolts per 1000 feet per minute or 304.8 meters per minute), and ARINC 429
signals from the ACSS Pressure Transducer Module. The VSI/TRA computes
vertical rate from electrical static pressure when a remote static sensor is used.
These four program pin selectable configurations provide compatibility with most
aircraft.
Pub. No. 8600200-001, Revision 004 34-45-29 1-70
04 Nov 2014
Use or disclosure of information on this page is subject to the restrictions in the proprietary notice of this document.

SYSTEM DESCRIPTION AND INSTALLATION MANUAL
T3CAS/Part No.9005000
Bootstrapping of vertical speed inputs as currently implemented on L-1011,
A300, A310, and A300-600 aircraft, is provided with a larger ACSS 55-pin unit
connector. These units have a unique dash number assigned to them.
Table 1-20: ACSS VSI/TRA Leading Particulars
Item
Specification
Dimensions (maximum)
●
Height
3.26 in. (82.8 mm)
● Width 3.26 in. (82.8 mm)
●
Length
9.42 in. (239.3 mm)
Weight (maximum)
4.0 lb (1.81 kg)
Power Requirements:
●
Primary
115 V, 400 Hz; 18 W nominal,
31 W maximum
●
External Circuit Breaker Rating
1 A at 115 V ac
Display Type
LCD
Mating Connectors:
● J1 (41 Pin Version) M83723/75A-20-41N
●
J1 (55 Pin Version)
M83723/75A-22-55N
Mounting
3-ATI Clamp, Marmon NH1004994-30
or MSP 64311B
Environmental Specifications (DO-160B)
(A2F1)AKXXXXXXAEAEZZZK
Various dash number VSI/TRA displays are available that provide unique design
characteristics, which include VSI rate filter programming and selection of an
English or metric rate scale.
The VSI/TRA also displays symbology corresponding to traffic in the vicinity of
the aircraft. Threat information is received from the TCAS function on a dedicated
high-speed ARINC 429 bus. The display uses the bearing, altitude, and range
data for each threat to provide an indication of the proximity of the threat.
Allowable (non-illuminated or green illuminated bands) and prohibited (red
illuminated bands) vertical rates are displayed based on information received
from the TCAS function. The VSI/TRA can be pin programmed to provide vertical
speed data only, vertical speed and resolution advisory data, or vertical speed,
resolution advisory and traffic advisory data. Display of the TCAS system fault
status is provided on the VSI/TRA in response to extended TCAS control panel
TEST activation.
Pub. No. 8600200-001, Revision 004 34-45-29 1-71
04 Nov 2014
Use or disclosure of information on this page is subject to the restrictions in the proprietary notice of this document.

SYSTEM DESCRIPTION AND INSTALLATION MANUAL
T3CAS/Part No.9005000
Display dimming is controlled from several inputs consisting of an internal light
sensor mounted on the bezel of the LRU, a remote light sensor, and the aircraft
dimming bus. The display is dimmed by varying the brightness of the LCD panel
backlighting.
(9) Software Considerations
VSI/TRA software is developed to a DO-178A category of Level ll (essential).
The software continually monitors and displays vertical speed and TCAS
information. Output discretes supply user components with the status of the LRU.
TCAS valid indicates that the LRU is displaying valid TCAS information. On the
ACSS 55-pin version, VSI valid indicates that the LRU is displaying valid vertical
speed information. This is needed to support the bootstrap feature, which is
exclusive to the 55-pin version of the VSI/TRA display.
(10) Built-In-Test Equipment (BITE) and Self-Test Capability
The LRU has input discretes that allow a calibration and test program to be run.
This mode allows the display to be adjusted and various diagnostic tests to be
performed. These tests and adjustments can only be done in a shop on a
dedicated test fixture.
When the LRU application program is operating in the aircraft, the background
loop continuously monitors the power supply status, the ROM integrity, and the
analog range limits. A failure results in the setting of bad status output discretes.
A cold start will continuously be attempted until the LRU passes the built-in-test.
There is a dedicated self-test input for both versions of the VSI/TRA Display.
When this pin is activated, the unit will display symbology that aids in the
detection of unit faults.
Pub. No. 8600200-001, Revision 004 34-45-29 1-72
04 Nov 2014
Use or disclosure of information on this page is subject to the restrictions in the proprietary notice of this document.

SYSTEM DESCRIPTION AND INSTALLATION MANUAL
T3CAS/Part No.9005000
Figure 1-13: Thales VSI-TCAS Interface Diagram (41-Pin)
Pub. No. 8600200-001, Revision 004 34-45-29 1-73
04 Nov 2014
Use or disclosure of information on this page is subject to the restrictions in the proprietary notice of this document.

SYSTEM DESCRIPTION AND INSTALLATION MANUAL
T3CAS/Part No.9005000
Figure 1-14: ACSS VSI/TRA Interface Diagram (41-Pin Version)
Pub. No. 8600200-001, Revision 004 34-45-29 1-74
04 Nov 2014
Use or disclosure of information on this page is subject to the restrictions in the proprietary notice of this document.

SYSTEM DESCRIPTION AND INSTALLATION MANUAL
T3CAS/Part No.9005000
Figure 1-15: ACSS VSI/TRA Interface Diagram (55-Pin Version)
G. TAWS Terrain Hazard Display
T3CAS installations require at least one TAWS terrain hazard display. ARINC 708A WXR
display and EFIS interfaces are supported. Figure 1-16 shows a typical single ARINC
708A terrain hazard display interface. The T3CAS dual-independent terrain hazard
display I/O supports dual ARINC 708A terrain hazard display systems. The terrain image
is transmitted via 453 bus to the display.
(1) Functional Description and Operation
The terrain hazard display function enhances situational awareness by providing
a display of terrain-related hazardous situations in front of the aircraft on existing
ARINC 708A-compatible weather radar or EFIS flight deck displays. The display
may be either the EFIS Navigation Display (for EFIS-equipped aircraft) or the
weather radar display. A crew-activated switch is used to select/deselect the
terrain image on the display.
Pub. No. 8600200-001, Revision 004 34-45-29 1-75
04 Nov 2014
Use or disclosure of information on this page is subject to the restrictions in the proprietary notice of this document.

SYSTEM DESCRIPTION AND INSTALLATION MANUAL
T3CAS/Part No.9005000
Figure 1-16: Typical T3CAS Single Terrain Hazard Display Interface
Pub. No. 8600200-001, Revision 004 34-45-29 1-76
04 Nov 2014
Use or disclosure of information on this page is subject to the restrictions in the proprietary notice of this document.

SYSTEM DESCRIPTION AND INSTALLATION MANUAL
T3CAS/Part No.9005000
5. System Operation
A. TCAS Operation
The principal modes of operation and display features of the TCAS function are
discussed in the paragraphs that follow. In-flight procedures with display examples are
contained in the T3CAS Pilot’s Manual, ACSS Publication No.8008010-001.
(1) Operational Modes
The TCAS function can operate in several different modes, depending on control
panel selection. Several control panels are available. Only the ACSS single
Mode S control panel is discussed. Other control panels provide similar features.
Four switches directly affect the TCAS operational mode: TCAS/XPDR mode
selector, TA DSPLY selector, ALT RPTG selector, and TCAS TEST switch. To
distinguish the modes that provide TCAS advisories from those that do not, the
operational modes are discussed under TCAS modes and non-TCAS modes.
The non-TCAS modes are annunciated TCAS OFF at the right center of the
display.
The extended test mode is mentioned for reference. A detailed description of it
use can be found in the FAULT ISOLATION section.
(a) TCAS Modes
The TA/RA and the TA-only modes are the two TCAS operational
modes. The TA/RA mode gives traffic information and warnings of
hazardous traffic conflicts, while the TA mode gives only traffic
information. A third mode, the TEST mode, can be temporarily activated
from any mode including standby (STBY). The TEST mode does not
inhibit the generation of advisories. Functions available in the operational
and test modes are as follows:
1 TA/RA Mode
This mode is the normal operation mode providing full TCAS coverage.
In this mode, TCAS tracks all aircraft in the surrounding airspace and
generates traffic advisories or resolution advisories, as the situation
requires. Figure 1-3 contrasts the airspace covered for each kind of
advisory.
For normal TA/RA operation, the TA/DSPLY selector must be set to
AUTO or ON and the ALT/RPTG selector must be set to 1 or 2.
2 TA Mode
The TA mode provides only surveillance of the surrounding airspace. In
this mode, TCAS tracks all proximate aircraft and generates traffic
advisories; no resolution advisories are issued in this mode.
The flight crew uses the TA-only mode when resolution advisories would
be a nuisance, or when flying over an area where only TCAS
surveillance is allowed. Also, the system automatically selects this mode
Pub. No. 8600200-001, Revision 004 34-45-29 1-77
04 Nov 2014
Use or disclosure of information on this page is subject to the restrictions in the proprietary notice of this document.

SYSTEM DESCRIPTION AND INSTALLATION MANUAL
T3CAS/Part No.9005000
when the aircraft is flying less than 1000 feet (304.8 meters) above
ground level (AGL).
The TA mode is annunciated TA ONLY at the upper left corner of the
display.
3 Test Mode
Pushing the TEST button on the control panel starts a self-test program
which verifies proper operation of the TA and RA displays and of the
aural advisories on the audio system.
The test mode does not affect normal TCAS operation, provided the
selected transponder remains in normal operation during the test cycle.
Should a TA or RA occur during the test sequence, the test aborts, and
the advisory is announced and displayed.
The test mode just described excludes extended self-tests performed on
the ground, where TCAS is inoperative.
(b) Hybrid Surveillance
(Applicable only to Part No.9005000-11801 and -55801)
The purpose of hybrid surveillance is to decrease TCAS interrogations
and associated Mode S replies and use passive surveillance to track
intruders that are far from being a threat without degradation of the
TCAS collision protection. Another goal is to maintain tracks that may
have been dropped from the display in high density traffic environments
due to interference limiting.
Hybrid Surveillance includes both active and passive surveillance.
Active surveillance uses the standard TCAS/transponder
interrogations/replies to provide range, bearing and altitude. Passive
surveillance is used to track traffic that is far from being a threat.
Passive surveillance data including latitude, longitude and ground speed,
must be provided by a navigation source that is typically GPS based and
the data is broadcast and received through the processing of Mode S
extended squitter. Under hybrid surveillance, TCAS active interrogations
are used to validate the passive surveillance position.
An extension of passive surveillance is extended hybrid surveillance
which is applied when ownship and intruder ADS-B position data meet
certain quality and power requirements and the intruder is not a near
threat in range and altitude. Under extended hybrid surveillance, the
intruder is tracked with ADS-B data exclusively.
Refer to Section 6, sub-section Hybrid Surveillance Test/Fault Isolation
Procedure for recommended procedures for performing hybrid
surveillance checks, the recommended scheduled maintenance interval
and for instructions for a required periodic reliability report.
Pub. No. 8600200-001, Revision 004 34-45-29 1-78
04 Nov 2014
Use or disclosure of information on this page is subject to the restrictions in the proprietary notice of this document.

SYSTEM DESCRIPTION AND INSTALLATION MANUAL
T3CAS/Part No.9005000
(c) Non-TCAS Modes
The control panel selections that follow disable TCAS operation and all
advisories:
● MODE S ON activates a Mode S transponder only
● STBY sets the selected transponder in standby mode
● ATC activates an ATCRBS transponder only
● ALT RPTG set to OFF inhibits altitude reporting.
When TCAS is inoperative as a result of control panel selection, TCAS
OFF is annunciated on the display. When TCAS is inoperative due to a
system failure, TA FAIL, RA FAIL, or TCAS FAIL is annunciated on the
display. In addition, if the transponder or the altitude data source fails,
the XPDR FAIL light on the control panel comes on.
(d) Extended Test Mode
The purpose of the extended test mode is to facilitate diagnosis in the
event self-test has failed. Like self-test, this mode is enabled by pushing
the TCAS TEST button, but only when TCAS is inoperative. The aircraft
must be on the ground, and the transponder must be set to STBY. Push
and hold the TCAS TEST button for longer than eight seconds to activate
the extended tests. This feature is not available on all systems. Refer to
the TESTING AND FAULT ISOLATION section for system requirements
and test description.
(11) Display Symbology
The TCAS modes use color-coded symbols and data tags to map air traffic and
locate threat aircraft on the RA/TA VSI display.
Four traffic symbols are used: solid circle, solid square, solid diamond, and
hollow diamond. See Figure 1-17 for examples. A different color is assigned to
each symbol type, as listed in Figure 1-17.
Table 1-21: TCAS Traffic Symbols
Graphic Symbol
Color
Display Function
Solid Circle Amber Traffic Advisory (TA)
Solid Square
Red
Resolution Advisory (RA)
Solid Diamond
Blue
Proximate Traffic
Hollow Diamond
Blue
Other Traffic
NOTES:
(1) TCAS traffic information displayed on EFIS displays such as crew alerting system
display, navigation display, electronic horizontal situation display or multifunction display,
Pub. No. 8600200-001, Revision 004 34-45-29 1-79
04 Nov 2014
Use or disclosure of information on this page is subject to the restrictions in the proprietary notice of this document.

SYSTEM DESCRIPTION AND INSTALLATION MANUAL
T3CAS/Part No.9005000
is similar to that on combined RA/TA VSI indicators. Traffic symbology is identical to that
displayed on the RA/TA VSI.
(2) Some manufactures’ displays may indicate Other Traffic with a hollow WHITE diamond.
Some training materials may refer to the color BLUE as CYAN.
(a) Colors
1 Amber
Represents a moderate threat to a TCAS-equipped aircraft. A visual
search is recommended to prepare for intruder avoidance. Amber is
used only in conjunction with a traffic advisory.
2 Red
Represents an immediate threat to a TCAS-equipped aircraft.
Prompt action is required to avoid the intruder. This color is only
used in conjunction with a resolution advisory.
3 Blue
Represents proximate traffic and other traffic the TCAS surveillance
logic has in its track file.
4 White
Used only for mode annunciations and for reference graphics,
including aircraft home position, range ring, and VSI scale.
(b) Traffic Identification
1 Traffic Advisory
Intruder aircraft entering the caution area, 20 to 48 seconds from the
TCAS 2000 collision area are represented as a solid amber circle.
This type of traffic results in a traffic advisory.
2 Resolution Advisory
Intruder aircraft entering the warning area, 15 to 35 seconds from the
TCAS 2000 collision area are represented as a solid red square.
This type of traffic results in a resolution advisory.
3 Proximate Traffic
Aircraft within 6.0 nautical miles and ±1200 feet (365.76 meters)
vertically are represented as a solid cyan diamond. Proximate traffic
is shown to improve situational awareness in the event of a potential
conflict with higher priority RA or TA aircraft.
4 Other Traffic
Any transponder replying to traffic not classified as an intruder or
proximate traffic, and within ±2700 feet (822.96 meters) vertically
and the range of the display are represented as hollow cyan
diamonds (only in view with the traffic switch ON and no TA or RA in
process). The predicted flightpaths of proximate and other traffic do
not penetrate the collision area of the TCAS aircraft.
Pub. No. 8600200-001, Revision 004 34-45-29 1-80
04 Nov 2014
Use or disclosure of information on this page is subject to the restrictions in the proprietary notice of this document.

SYSTEM DESCRIPTION AND INSTALLATION MANUAL
T3CAS/Part No.9005000
(c) Data Tags
A data tag, made up of a two-digit number, a plus (+) or a minus (-) sign,
and may also include an arrow, appears either above or below the
intruder aircraft symbol. The data tag appears in the same color as the
advisory.
1 Two-Digit Number (Relative Altitude)
Represents the relative altitude difference, in hundreds of feet, either
above or below the TCAS aircraft of an intruder aircraft. For an
intruder above the TCAS aircraft, the data tag is placed above the
traffic symbol and preceded by a plus (+) sign; for one below, the tag
is placed below the traffic symbol and be preceded by a minus (-)
sign.
2 Plus (+) or Minus (−) Sign
Appears adjacent to the relative altitude number and indicates
whether the displayed aircraft is above (plus) or below (minus) the
TCAS aircraft.
3 Arrow
A vertical arrow is placed to the immediate right of the traffic symbol
if the intruder is either climbing (up arrow) or descending (down
arrow) in excess of 500 feet per minute (152.4 meters per minute).
(d) VSI Scale Overlays
During a resolution advisory, red and green bands overlay the VSI scale.
The red band indicates what vertical speed range is to be avoided by the
pilot (prohibited vertical speed). The green band indicates the vertical
speed the pilot is to attain to achieve safe separation from a threat
aircraft (recommended vertical speed). The red/green band reflects the
RA in progress and acts as a vertical speed advisory for the pilot.
(e) Reference Graphic and Annunciations
A white airplane symbol is displayed in the lower center of the VSI which
represents the aircraft’s own position. A white range ring made up of 12
white hash marks, each corresponding to a normal clock position, is
included. The range ring surrounds the airplane with a radius of 2
nautical miles and is intended to assist in interpreting TCAS traffic
information.
The scale of the VSI display is 6.0 nautical miles to the top display edge
of the VSI (ahead of the aircraft), 4 nautical miles to the left and right
edges, and 2.5 nautical miles to the bottom (behind the aircraft).
Annunciations in white letters serve as a reminder of the current
operation mode. They include TCAS OFF, TA only and RA only. Fault
annunciations in amber letters replace the mode annunciations in case of
system failure. They include TCAS FAIL, RA FAIL, VSI FAIL, and TA
FAIL (traffic display failure). Figure 1-13 shows a typical failure display.
Pub. No. 8600200-001, Revision 004 34-45-29 1-81
04 Nov 2014
Use or disclosure of information on this page is subject to the restrictions in the proprietary notice of this document.

SYSTEM DESCRIPTION AND INSTALLATION MANUAL
T3CAS/Part No.9005000
(3) Aural Messages
The TCAS generates aural alerts or messages announced over the aircraft audio
system. These messages accompany the visual TA or RA display and are
softened or strengthened, depending on the urgency of the situation. The TCAS
audio level is preset and is not adjustable by the aircrew.
If a logic change occurs before a message is completed and a new message is
initiated, the original alert is terminated and the new alert announced
immediately.
(a) Requirements and Limitations
The following is a list of the requirements and limitations for issuing an
aural advisory by the T3CAS Computer Unit:
1 Voice announcements are inhibited below 500 feet (152.4 meters)
above ground level (AGL).
2 The CANCEL BUTTON, which is a reserved input on the 9005000-
10000, -10101, -10202, and -10204 T3CAS CUs, only halts voice
announcements after the CANCEL BUTTON is activated. An aural
advisory in progress is terminated and not repeated after
deactivation of the CANCEL BUTTON.
3 During T3CAS computer unit self-test, an aural advisory confirms
proper operation of the aural advisory system by annunciating the
message “TCAS TEST”. The aural advisory system annunciates the
pass/fail status of any monitored functions with the messages “TCAS
TEST PASS” and “TCAS TEST FAIL”, respectively.
4 An aural advisory tone will precede each aural advisory when the
audio tone enable program pin has been activated.
5 T3CAS computer unit TCAS aural alerts are inhibited when the
advisory inhibit discrete inputs 2, 3, or 4 are grounded. An aural
advisory in progress is disabled after the grounding of advisory
inhibit discrete. The truncated message is annunciated in its entirety
once the inhibit discrete has been released. This capability is used to
defer all advisory (TA and RA), aural alert, and visual alert outputs
until another, higher priority announcement/alert is completed. See
Table 4-1 for RBP-5A, 5B, 5C and 5D.
6 Increases and decreases in the threat level are aurally annunciated.
However, decreases in threat level are annunciated once and are not
preceded by setting the audio tone discrete. For example, a vertical
speed restriction following a climb RA is annunciated once.
(b) Traffic Advisory (TA) Message
The traffic advisory aural alert, TRAFFIC - TRAFFIC is spoken once, and
then inhibited until the next TA occurs. This alert occurs when TCAS
predicts an intruder will enter the collision area within 20 to 48 seconds.
Simultaneously, the TCAS traffic display shows the location of the
intruder.
Pub. No. 8600200-001, Revision 004 34-45-29 1-82
04 Nov 2014
Use or disclosure of information on this page is subject to the restrictions in the proprietary notice of this document.

SYSTEM DESCRIPTION AND INSTALLATION MANUAL
T3CAS/Part No.9005000
(c) Resolution Advisory (RA) Messages
Resolution advisories indicate evasive vertical maneuvers calculated to
increase separation between the TCAS aircraft and the intruder
(corrective advisory), or to indicate certain changes in vertical speed are
not recommended (preventive). Resolution advisory messages are
repeated twice.
RAs are annunciated on the T3CAS computer unit using the voice
messages listed below as determined by Collision Avoidance System
(CAS) data. The following messages will not immediately follow another
message from this paragraph if it causes a reversal of sense. For
example, a “CLIMB, CLIMB” message cannot immediately follow a
:”DESCEND, DESCEND” message.
1 “CLIMB, CLIMB”: Climb at the rate shown on the VSI or other
suitable indicator.
2 “DESCEND, DESCEND”: Descend at the rate shown on the VSI or
other suitable indicator.
3 “MONITOR VERTICAL SPEED”: Verify that vertical speed is out of
the illuminated red VSI arc, or comply with another suitable indicator.
Safe separation is based upon maintaining the current vertical
speed.
4 “LEVEL OFF, LEVEL OFF”: Reduce climb or descent rate, maintain
level flight.
5 “MAINTAIN VERTICAL SPEED, MAINTAIN”: Safe separation is
based upon maintaining the current vertical speed.
6 “MAINTAIN VERTICAL SPEED, CROSSING, MAINTAIN”: Maintain
vertical speed while crossing the intruder’s flight path.
7 “CLEAR OF CONFLICT”: Range is increasing, and separation is
adequate; return to assigned clearance.
8 “CLIMB, CROSSING CLIMB—CLIMB, CROSSING CLIMB”: Safe
separation is best be achieved by climbing through intruder’s flight
path.
9 “DESCEND, CROSSING DESCEND, DESCEND, CROSSING
DESCEND”: Safe separation is best achieved by descending
through the intruder’s flight path.
(d) Enhanced RA Messages
Enhanced RAs are annunciated on the T3CAS computer unit using the
voice messages listed below as designated by the CAS data when the
initial resolution advisory does not provide sufficient vertical separation.
These messages are annunciated to convey a sense of urgency. The
following messages can immediately follow a message from the previous
paragraph and can have a reversal of sense.
NOTE:
These advisories are expected to occur only on rare
occasions, usually when an intruder suddenly changes its
current flightpath (Maneuvering intruder).
Pub. No. 8600200-001, Revision 004 34-45-29 1-83
04 Nov 2014
Use or disclosure of information on this page is subject to the restrictions in the proprietary notice of this document.

SYSTEM DESCRIPTION AND INSTALLATION MANUAL
T3CAS/Part No.9005000
1 “INCREASE CLIMB, INCREASE CLIMB”: (Received after a “CLIMB”
advisory) Indicates additional climb rate required to achieve safe
vertical separation from a maneuvering intruder.
2 “INCREASE DESCENT, INCREASE DESCENT”: (Repeated two
times, received after “DESCEND” advisory) Indicates additional
descent rate required to achieve safe vertical separation from a
maneuvering intruder.
3 “CLIMB, CLIMB NOW!—CLIMB,CLIMB NOW!”: (Received after a
“DESCEND” resolution advisory) Indicates a reversal in sense is
required to achieve safe vertical separation from a maneuvering
intruder.
4 “DESCEND, DESCEND NOW!—DESCEND, DESCEND NOW!”:
(Received after a “CLIMB” resolution advisory) Indicates a reversal in
sense is required to achieve safe vertical separation from a
maneuvering intruder.
(4) Operating Procedures
Basic TCAS operating procedures on the ground include pre-flight test, TCAS
activation before takeoff, and TCAS deactivation after landing. In-flight
procedures are contained in the pilot’s manual.
(a) Pre-Flight Test
The RA/TA VSI self-test feature provides a convenient method to test the
TCAS system before takeoff.
NOTE:
Self-Test can be initiated at any time, on the ground or in flight
(if not disabled in the air by grounding pin RBP-8E), by
momentarily pushing TCAS TEST. If TAs and RAs occur
while self-test is activated in flight, the test aborts, and the
advisories are processed and displayed.
To perform self-test, push the TCAS TEST button on the control panel
and monitor the sequence that follows:
● Aural annunciation TCAS TEST is heard on audio system.
● Test pattern with fixed traffic and advisory symbols appears on the
display for eight seconds.
● Make sure the test pattern is as shown in Figure 1-17. The test
pattern includes:
- An RA symbol at 3 o’clock, 2 NMI, 200 feet (60.96 meters)
above, in level flight
- A TA symbol at 9 o’clock, 2 NMI, 200 feet (60.96 meters) below,
climbing
- A proximate traffic symbol at 3.6 NMI, 33 degrees right of the
aircraft heading (approximately 1 o’clock), 1000 feet (304.8
meters) below, descending
Pub. No. 8600200-001, Revision 004 34-45-29 1-84
04 Nov 2014
Use or disclosure of information on this page is subject to the restrictions in the proprietary notice of this document.

SYSTEM DESCRIPTION AND INSTALLATION MANUAL
T3CAS/Part No.9005000
- A non-threat intruder (other traffic symbol) at 3.6 NMI, 33
degrees left of the aircraft heading (approximately 11 o’clock),
1000 feet (304.8 meters) above, in level flight
- Red and green resolution advisory VSI overlay indicating a don’t
descend, don’t climb > 2000 feet per minute (609.6 meters per
minute) advisory
- TCAS TEST or RA OFF annunciation, depending on the
capabilities of the display.
- After 8 seconds, TCAS TEST PASS is announced, and the test
pattern is replaced with the normal VSI display.
- If self-test fails, TCAS TEST FAIL is announced, and TCAS FAIL
appears on the display. To obtain failure data, perform the
extended test mode procedure in the next section.
(b) TCAS Mode Activation
Prior to takeoff, activate TCAS as follows:
● Set TCAS/XPDR mode selector to TA/RA
● Set TA/DSPLY to AUTO
● Set ALT/RPTG to 1 or 2.
(c) TCAS Mode Deactivation
After clearing the runway following landing, set the TCAS/XPDR mode
selector to STBY to disable Mode S communication.
Figure 1-17: TCAS Display Test Pattern
Pub. No. 8600200-001, Revision 004 34-45-29 1-85
04 Nov 2014
Use or disclosure of information on this page is subject to the restrictions in the proprietary notice of this document.

SYSTEM DESCRIPTION AND INSTALLATION MANUAL
T3CAS/Part No.9005000
B. TAWS/RWS Operation
The principal modes of operation and display features of the TAWS/RWS function are
discussed in the paragraphs that follow. In-flight procedures with display examples are
contained in the T3CAS Pilot’s Guide, ACSS Publication No. 8008010-001.
(1) TAWS Operational Modes
The T3CAS TAWS function provides both conventional GPWS and Collision
Prediction and Alerting (CPA) modes of operation.
The conventional GPWS modes of operation are as follows:
(a) Mode 1: Excessive Rate of Descent with Respect to Terrain
This mode provides, as defined in RTCA DO-161A, a reactive medium-
term caution and a reactive short-term warning when the current flight
path is descending toward the terrain ahead of the aircraft at an
excessive rate. Figure 1-18 shows Mode 1 - Excessive Descent Rate
Envelope.
Figure 1-18: Mode 1 – Excessive Descent Rate Envelope
(b) Mode 2: Excessive Closure Rate to Terrain
When the CPA mode is inoperative, this mode provides, as defined in
RTCA DO-161A, a reactive medium-term caution and a reactive short-
term warning when the current flight path and the terrain ahead of the
aircraft are closing at an excessive rate. When the CPA mode is
operative, Mode 2 is conditionally activated when a terrain cell in the
terrain database is detected to be significantly low. Figure 1-19 shows
Mode 2 - Excessive Terrain Closure Rate Envelope.
Pub. No. 8600200-001, Revision 004 34-45-29 1-86
04 Nov 2014
Use or disclosure of information on this page is subject to the restrictions in the proprietary notice of this document.

SYSTEM DESCRIPTION AND INSTALLATION MANUAL
T3CAS/Part No.9005000
Figure 1-19: Mode 2 – Excessive Terrain Closure Rate Envelope
(c) Mode 3: Excessive Altitude Loss after Take-Off
This mode provides, as derived from RTCA DO-161A, an alert when
there is a loss of altitude after take-off or during a missed approach.
Figure 1-20 shows Mode 3 - Loss of Altitude after Take-Off Envelope.
Pub. No. 8600200-001, Revision 004 34-45-29 1-87
04 Nov 2014
Use or disclosure of information on this page is subject to the restrictions in the proprietary notice of this document.

SYSTEM DESCRIPTION AND INSTALLATION MANUAL
T3CAS/Part No.9005000
Figure 1-20: Mode 3 – Excessive Altitude Loss after Take-Off Envelope
(d) Mode 4: Incorrect Aircraft Configuration With Regard to Terrain
T3CAS meets the requirement for Mode 4 alerts as defined in RTCA DO-
161A. Mode 4 applies during the landing phase of flight and results in the
annunciation of an alert in the event of insufficient terrain clearance when
the aircraft is not in the proper landing configuration. Mode 4 consists of
the following two sub-modes:
● Mode 4A, when the landing gear is up
● Mode 4B, when the landing gear is down, but the flaps are not in
landing configuration.
Figure 1-21 shows Mode 4 - Unsafe Terrain Clearance Envelope.
NOTE:
For the Long Range aircraft types (A340-500-600, A340-200-
300, A330), the Mode 4 envelope area of “Too Low Gear” has
been extended from 190 knots to 200 knots. The Mode 4
envelope area of “Too Low Flaps” has been extended from
159 knots to 180 knots. This was decided upon consideration
of computed airspeed based on aircraft type and speed
approach capabilities.
Pub. No. 8600200-001, Revision 004 34-45-29 1-88
04 Nov 2014
Use or disclosure of information on this page is subject to the restrictions in the proprietary notice of this document.

SYSTEM DESCRIPTION AND INSTALLATION MANUAL
T3CAS/Part No.9005000
Figure 1-21: Mode 4 – Unsafe Terrain Clearance Envelope
(e) Mode 5: Excessive Glide Path Deviation
T3CAS meets the requirement for Mode 5 alerts as defined in RTCA DO-
161A. Mode 5 applies in the event of an excessive descent below the
instrument glide path when making a front-course approach with the gear
down. Figure 1-22 shows Mode 5 - Excessive Glide Path Deviation
Envelope.
Pub. No. 8600200-001, Revision 004 34-45-29 1-89
04 Nov 2014
Use or disclosure of information on this page is subject to the restrictions in the proprietary notice of this document.

SYSTEM DESCRIPTION AND INSTALLATION MANUAL
T3CAS/Part No.9005000
Figure 1-22: Mode 5- Excessive Glide Path Deviation Envelope
When Localizer Performance with Vertical guidance (LPV) data is
provided to the T3CAS unit in the same format as the ILS Glideslope
Deviation data, LPV Mode 5 operation is supported by T3CAS.
Coordinate with ACSS regarding the LPV data format sourced by the
T3CAS interfacing equipment installed on the aircraft to determine if the
input format can be supported by the T3CAS unit.
(f) Altitude Call-Outs
(Not applicable for Part Numbers 9005000-10000, -10101, -10202, -
10204, and -11203).
The T3CAS TAWS function produces call-outs and alerts for descent
below a set of customer defined altitudes.
(g) Excessive Bank Angle
The T3CAS TAWS function produces call-outs and alerts for descent
below a set of predefined altitudes and for excessive bank angle. Figure
1-23 shows Excessive Bank Angle Envelope.
Pub. No. 8600200-001, Revision 004 34-45-29 1-90
04 Nov 2014
Use or disclosure of information on this page is subject to the restrictions in the proprietary notice of this document.

SYSTEM DESCRIPTION AND INSTALLATION MANUAL
T3CAS/Part No.9005000
Figure 1-23: Excessive Bank Angle Envelope
The CPA mode of operation provides medium-term (caution) and short—term
(warning) alerts to inform the crew that the flight path they are following is
hazardous due to the presence of terrain/obstacles ahead. The objective of the
CPA function is to warn the crew of an impending controlled flight into
terrain/obstacles with sufficient time for them to assess the situation and safely
avoid the terrain/obstacles hazard. All CPA predictions are based on the
assumption that the operational escape maneuver in case of a terrain/obstacles
hazard will be a “pull up” evasive action. CPA predictions model a conservative
pull up escape maneuver based on current aircraft climb capability.
The T3CAS CPA function provides alerts in the following CFIT situations:
● Hazardous descent rate with respect to terrain/obstacles
● Hazardous closure rate with respect to terrain/obstacles
● Hazardous terrain/obstacles ahead situation during turns
● Hazardous high terrain/obstacles ahead situation that cannot be cleared by a
pull up maneuver.
(5) RWS Operational Mode
NOTE: The FMO “Windshear Enable” and the TAWS function must be
enabled in order for the RWS function to activate. TAWS is
enabled via program pin RTP-11H.
Whenever wind factors cause aircraft performance to decrease to a
predetermined level, an audio warning is sounded, indicating to the crew that the
aircraft net performance capability is deteriorating and rapidly approaching a
critical state. In addition to the warning, the Windshear Warning algorithm
Pub. No. 8600200-001, Revision 004 34-45-29 1-91
04 Nov 2014
Use or disclosure of information on this page is subject to the restrictions in the proprietary notice of this document.

SYSTEM DESCRIPTION AND INSTALLATION MANUAL
T3CAS/Part No.9005000
provides a caution when a performance-increasing Windshear is detected, thus
giving advance warning of a performance-decreasing windshear. Figure 1-24
illustrates reactive windshear detection.
NOTE:
Reactive Windshear is not applicable for Part Numbers 9005000-
10000, -10101, -10202, -10204, and -11203.
Figure 1-24: Windshear Detection
The following are the inputs required for RWS:
● Pitch Angle
● Body Angle of Attack Left
● Body Angle of Attack Right
● Body Axis Normal Acceleration
● Body Axis Longitudinal Acceleration
● TAS
● Bank Angle
Pub. No. 8600200-001, Revision 004 34-45-29 1-92
04 Nov 2014
Use or disclosure of information on this page is subject to the restrictions in the proprietary notice of this document.

SYSTEM DESCRIPTION AND INSTALLATION MANUAL
T3CAS/Part No.9005000
● Radio Altitude
(6) TAWS Display Symbology
The terrain hazard display function generates an image that provides the
following information to the flight crew:
● A Terrain Display Background consisting of shaded areas representing
terrain at different altitudes relative to the aircraft altitude.
● A Terrain Advisory Line depicting the point or points where a CPA caution
will occur if the aircraft continues on its current trajectory.
● Terrain Alert areas corresponding to the terrain that is causing a CPA caution
or warning.Each of these features is explained in the following sub-sections.
NOTE: Obstacles will not generate the Terrain Advisory Line.
(a) Terrain Display Background
The purpose of the Terrain Display Background is to provide overall
situational awareness to the crew about the relative height of the terrain
near the aircraft.
The terrain is divided into “slices” based on the elevation of the terrain
with respect to an aircraft reference altitude. Slices above or very near
the reference altitude are typically shown as varying shades of yellow.
Slices safely below the reference altitude are typically shown as varying
shades of green or even black.
The reference altitude is a surface starting at the aircraft and propagating
forward along the aircraft flight path angle for 30 seconds. The reference
altitude surface then extends horizontally at the altitude the aircraft is
expected to have at that time (i.e., 30 seconds in the future).
The specific colors and textures used for the various slices, as well as
the threshold altitudes for the slices, are contained in the Aircraft Specific
Database (ASDB) and thus can be tailored for specific installations.
Figure 1-25 shows a typical color scheme and altitude definitions. (Note:
The figure is drawn in color. If this document is printed in black and
white, the different yellow and green textures representing different
terrain elevations will appear as different shades of gray.)
NOTE:
For Part Numbers 9005000-10000, -10101, -10202, -10204, -
11203, -11801 and -55801, in order to comply with the dark
cockpit philosophy and to avoid covering up symbols
displayed by other systems (FMS maps, trajectories, TCAS
intruders) the non alerting areas are black.
For Part Numbers 9005000-10000, -10101, -10202, -10204, -11203, -
11801 and -55801 the terrain colored textures is as follows:
Slice 1 - Black
Slice 2 - Light Density Green (12.5% dot density)
Slice 3 - Medium Density Green (25% dot density)
Pub. No. 8600200-001, Revision 004 34-45-29 1-93
04 Nov 2014
Use or disclosure of information on this page is subject to the restrictions in the proprietary notice of this document.

SYSTEM DESCRIPTION AND INSTALLATION MANUAL
T3CAS/Part No.9005000
Slice 4 - Medium Density Yellow (25% dot density)
Slice 5 - High Density Yellow (50% dot density)
Slice 6 - High Density Red (50% dot density)
Caution - Solid Yellow
Pull Up Warning - Solid Red
Avoid Terrain - Solid Red with Black
Unavailable Terrain - Medium Density Magenta (50% dot density)
Terrain Slice Altitude Limits are as follows:
Slice 1-2 Altitude Limit = Reference Altitude - 2000 feet (609.6 meters)
Slice 2-3 Altitude Limit = Reference Altitude - 1000 feet (304.8 meters)
Slice 3-4 Altitude Limit = Reference Altitude - MTCD . See Note Below
Slice 4-5 Altitude Limit = Reference Altitude + 1000 feet (304.8 meters)
Slice 5-6 Altitude Limit = Reference Altitude + 2000 feet (609.6 meters)
Pub. No. 8600200-001, Revision 004 34-45-29 1-94
04 Nov 2014
Use or disclosure of information on this page is subject to the restrictions in the proprietary notice of this document.

SYSTEM DESCRIPTION AND INSTALLATION MANUAL
T3CAS/Part No.9005000
If the Eleview feature is enabled, the display will have two three-digit
elevation numbers. The top number represents the highest terrain
elevation and the bottom number represents the lowest terrain elevation
displayed in color. Each elevation expressed in hundreds of feet (e.g.,
250 is 25,000 ft MSL). The eleview slices are sized as a proportion of the
terrain amplitude spread. The spread changes as the terrain in range
changes. The spread percentages are configurable by ACSS. In a
situation where the spread between the highest and lowest elevation is
very low, the display will only show one shade of green with black. If the
display supports cyan, water will be depicted. If the display does not
support cyan, water will remain black.
NOTE: The MTCD margin is used in order to determine the limit
between slice #3 and #4. The MTCD is the minimum safe
distance between the aircraft and the terrain when
considering a CFIT situation. This clearance is usually about
600 feet (182.88 meters) en route and is progressively
reduced to 30 feet (9.144 meters) in the short final approach
phase of flight. This allows the pilot to see the green-to-yellow
terrain slice transition anytime terrain is within MTCD of the
aircraft.
NOTE: Eleview digits will not be displayed in the following situations:
If the Display Spread in the Viewable area (i.e., the difference
between the maximum terrain or obstacle height and the
minimum terrain or obstacle height) is less than 750 feet, then
the minimum elevation number is removed, regardless of
height of aircraft.
If the Display Spread in the Viewable area is no higher than
200 feet above the runway, and the aircraft position is within
15 NM and 3500 ft height of the runway elevation, then the
maximum and minimum elevation numbers are removed.
Figure 1-25: Terrain Slices
A typical terrain background image is shown in Figure 1-26.
Pub. No. 8600200-001, Revision 004 34-45-29 1-95
04 Nov 2014
Use or disclosure of information on this page is subject to the restrictions in the proprietary notice of this document.

SYSTEM DESCRIPTION AND INSTALLATION MANUAL
T3CAS/Part No.9005000
Figure 1-26: Terrain Display Background
(b) Terrain Advisory Line
The Terrain Hazard Display can also depict a Terrain Advisory Line. The
Terrain Advisory Line is drawn at the points where a CPA caution will
occur if the aircraft continues along its current vertical trajectory. When
there are no CPA cautions or warnings active, T3CAS TAWS will
determine if a Terrain Advisory Line needs to be drawn. Beginning at the
current aircraft position, T3CAS TAWS looks ahead of the aircraft to
determine where a CPA caution will occur. T3CAS TAWS will monitor
terrain up to 120 seconds ahead of the current position. If T3CAS detects
that the aircraft is within 15 nautical miles of a mountainous airport, the
prediction distance of the TAL will be progressively reduced from 120
seconds down to 30 seconds at 5 nautical miles.
For the purposes of the Terrain Advisory Line, when the absolute value
of the Roll Angle is within 5 degrees, the aircraft is considered to be in
“wings level” flight. Under this wings level flight condition, the TAL is only
calculated using an extraction aperture of 1.5 degrees on either side of
the aircraft’s current track projection. This will result in a single Terrain
Advisory Line and an alert if the aircraft’s current trajectory is maintained.
When the absolute value of the Roll Angle is greater than 5 degrees,
TAL calculation is opened up in the direction of the turn at an angle equal
to 90 degrees. The TAL extraction is extended along the flight path angle
to the full prediction distance of 30-120 seconds based off of the distance
to nearest airport and mountainous area airports consideration. The side
opposite of the turn remains at an extraction aperture of 1.5 degrees. If
any CPA cautions would be triggered in this area, the Terrain Advisory
Line will be drawn on the terrain hazard display.
Figure 1-27 illustrates the Terrain Advisory Line. The Terrain advisory
line is the solid yellow line located at about the 5-nautical mile range ring.
As the aircraft continues, this line (as well as the background terrain)
would get closer to the aircraft symbol. When the Terrain Advisory Line
reached the aircraft symbol, a CPA caution would occur. Thus the
Pub. No. 8600200-001, Revision 004 34-45-29 1-96
04 Nov 2014
Use or disclosure of information on this page is subject to the restrictions in the proprietary notice of this document.

SYSTEM DESCRIPTION AND INSTALLATION MANUAL
T3CAS/Part No.9005000
Terrain Advisory Line provides the flight crew an advance indication of
when CPA alerts will occur. The Terrain Advisory Line is not displayed
when a CPA caution or warning is active. Obstacles will not generate the
Terrain Advisory Line.
NOTE: For Part Numbers 9005000-10000, -10101, -10202, -10204, -
11203, -11801 and -55801, the Terrain Advisory Line
Programming pin must be selected in order to display the
TAL.
Figure 1-27: Terrain Advisory Line
(c) Display of Terrain and Obstacle Alerts
When a CPA caution or warning occurs, the terrain that caused the alert
will be displayed on the Terrain Hazard Display. Solid yellow is used for
cautions, solid red is used for pull-up warnings, and black X’s on a solid
red background are used for avoid terrain warnings.
In Figure 1-28 , the caution alarm is generated through the TAWS
display by highlighting the hazardous terrain in yellow. An aural message
is also played on the flight deck.
Figure 1-28: Terrain Hazard Display Upon Caution Alert
Pub. No. 8600200-001, Revision 004 34-45-29 1-97
04 Nov 2014
Use or disclosure of information on this page is subject to the restrictions in the proprietary notice of this document.

SYSTEM DESCRIPTION AND INSTALLATION MANUAL
T3CAS/Part No.9005000
In Figure 1-29, the obstacle caution alarm is generated through the
TAWS display by highlighting the hazardous obstacle in yellow. An aural
message is also played on the flight deck.
Figure 1-29: Obstacle Hazard Display Upon Caution Alert
In Figure 1-30, the warning alarm is generated through the TAWS
display by highlighting the hazardous area ahead of the aircraft in red.
An aural message is also played on the flight deck.
Figure 1-30: Terrain Hazard Display Upon A Pull-up Warning
In Figure 1-31, the obstacle warning alarm is generated through the
TAWS display by highlighting the hazardous obstacle in red. An aural
message is also played on the flight deck.
Pub. No. 8600200-001, Revision 004 34-45-29 1-98
04 Nov 2014
Use or disclosure of information on this page is subject to the restrictions in the proprietary notice of this document.

SYSTEM DESCRIPTION AND INSTALLATION MANUAL
T3CAS/Part No.9005000
Figure 1-31: Obstacle Hazard Display Upon Pull-up Warning
In Figure 1-32, the warning alarm is generated through the TAWS
display by highlighting the hazardous area ahead of the aircraft in red
with black X’s. An aural message is also played on the flight deck. The
“pull-up” maneuver will not allow for a safe clearance with terrain, and
the crew has to immediately initiate an appropriate vertical and/or turning
escape maneuver in order to avoid a CFIT accident.
Figure 1-32: Terrain Hazard Display Upon an Avoid Terrain Warning
In Figure 1-33, the warning alarm is generated through the TAWS
display by highlighting the hazardous obstacle ahead of the aircraft with
a red and black “X”. An aural message is also played on the flight deck.
The “pull-up” maneuver will not allow for a safe clearance with the
obstacle, and the crew has to immediately initiate an appropriate vertical
and/or turning escape maneuver to avoid a CFIT accident.
Pub. No. 8600200-001, Revision 004 34-45-29 1-99
04 Nov 2014
Use or disclosure of information on this page is subject to the restrictions in the proprietary notice of this document.

SYSTEM DESCRIPTION AND INSTALLATION MANUAL
T3CAS/Part No.9005000
Figure 1-33: Terrain Hazard Display Upon an Avoid Obstacle Warning
Figure 1-34 shows an example of the Eleview function at low altitude
while still in the hazard display mode. The highest red terrain is 6,700
feet (2042.16 meters) MSL. The lowest green terrain is 1,200 feet
(365.76 meters) MSL.
Figure 1-34: Low Altitude Eleview Display
Figure 1-35 shows an example of the Eleview function at high altitude in
full Eleview display mode when the highest displayed terrain is well
below the operator defined threshold. The highest terrain, shown using
high density green, is 13,500 feet (4114.8 meters) MSL. The low density
green terrain is at 3,400 feet (1036.32 meters) MSL. This example also
contains an example of the water depiction.
Pub. No. 8600200-001, Revision 004 34-45-29 1-100
04 Nov 2014
Use or disclosure of information on this page is subject to the restrictions in the proprietary notice of this document.

SYSTEM DESCRIPTION AND INSTALLATION MANUAL
T3CAS/Part No.9005000
Figure 1-35: High Altitude Eleview Display
(7) TAWS/RWS Aural Messages
Aural alerts can be generated for any of the cautions or warnings generated by
the TAWS and RWS functions. The specific messages are selectable from a list
of several options. Additionally, the T3CAS can be configured to play the voices
in either a male voice or a female voice. The list of selectable aural alerts is
shown in Table 1-22.
Table 1-22: TAWS/RWS Aural Alerts
Condition
Selectable Aural Alerts
CPA Caution
“Terrain Ahead”
or
“Caution Terrain”
CPA Warning -Pull up
“Terrain Ahead, Pull Up”
or
“Terrain, Terrain, Pull Up, Pull Up”
or
Whoop Whoop, “Pull Up”
CPA Warning - Avoid Terrain
“Avoid Terrain” (NOTE 2)
Mode 1 Caution
“Sink Rate, Sink Rate”
Mode 1 Warning
Whoop, Whoop, “Pull Up”
or
“Pull Up, Pull Up” (NOTE 1)
Mode 2 Caution
“Terrain, Terrain”
Mode 2 Warning
Whoop Whoop “Pull Up”
or
“Pull Up, Pull Up” (NOTE 1)
Pub. No. 8600200-001, Revision 004 34-45-29 1-101
04 Nov 2014
Use or disclosure of information on this page is subject to the restrictions in the proprietary notice of this document.

SYSTEM DESCRIPTION AND INSTALLATION MANUAL
T3CAS/Part No.9005000
Table 1-22: TAWS/RWS Aural Alerts (cont)
Condition
Selectable Aural Alerts
Mode 3 Caution
“Don’t Sink, Don’t Sink”
Mode 4 Caution
“Too Low Terrain”
or
“Too Low Flaps”
or
“Too Low Gear”
Mode 5 Caution
“Glideslope”
Bank Angle Alert
“Bank Angle, Bank Angle”
Windshear Caution
Nothing (NOTE 1)
or
“Caution Windshear”
Windshear Warning
“Windshear Windshear Windshear” (NOTE 1)
or
siren “Windshear Windshear Windshear”
(NOTE 1)
Callouts
“Minimums Minimums”
“Minimums”
“Decision Height”
“Unknown Decision Height”
“Approaching Minimums”
“Approaching Decision Height”
“Twenty Five Hundred”
“One Thousand”
“Five Hundred”
500-ft (152.4-m) tone
“Four Hundred”
“Three Hundred”
“Two Hundred”
“One Hundred”
100-ft (30.48-m) tone
“Eighty”
“Sixty”
“Fifty”
“Forty”
“Thirty Five”
35-ft (10.668-m) tone
“Thirty”
“Twenty”
20-ft (6.096-m) tone
“Ten”
(NOTE 1)
Pub. No. 8600200-001, Revision 004 34-45-29 1-102
04 Nov 2014
Use or disclosure of information on this page is subject to the restrictions in the proprietary notice of this document.

SYSTEM DESCRIPTION AND INSTALLATION MANUAL
T3CAS/Part No.9005000
Table 1-22: TAWS/RWS Aural Alerts (cont)
NOTES:
1. These aural messages are not applicable for Part Numbers 9005000-10000, -
10101, -10202, -10204, -11203.
2. For Part Numbers 9005000-10000, -10101, -10202, -10204, -11203, -11801 and -
55801, the Avoid Terrain aural alert begins with a single “TERRAIN AHEAD PULL
UP” or “TOO LOW TERRAIN” or “TERRAIN, TERRAIN, PULL UP, PULL UP” then
followed by “AVOID TERRAIN” (i.e., “TERRAIN AHEAD PULL UP”, “AVOID
TERRAIN”, “AVOID TERRAIN”, etc.) when an Avoid Terrain condition exists before
a Pull-Up occurs.
(8) Operating Procedures
Basic TAWS/RWS operating procedures on the ground include pre-flight test,
TAWS/RWS activation before takeoff, and TAWS/RWS deactivation after
landing. In-flight procedures are contained in the pilot’s manual.
(a) Pre-Flight Test
● The Standard Self-Test is performed by activating either the OMS
self-test or the self-test discrete input. The Standard Self-Test can
only occur while on the ground.
● Upon activating the Standard Self-Test the following will occur:
● The Standard Self-Test will not be initiated if a TAWS alert is present
when either the OMS self-test or the self-test discrete input is
activated.
● If the T3CAS unit has the windshear function enabled, the following
aural annunciation will occur:
“TERRAIN AWARENESS AND WINDSHEAR TEST START”
● If the T3CAS unit does not have the windshear function enabled, the
following aural annunciation will occur:
“TERRAIN AWARENESS TEST START”.
During the Standard Self-Test the following will occur:
All discrete outputs implemented within a specific aircraft installation
will be tested for over current and output voltage levels by activating
the output for 4.0 seconds (±100 milliseconds), then deactivating the
output for 2.0 seconds (±100 milliseconds), and then re-activating
the output for 4.0 seconds (±100 milliseconds). Any faults found will
be recorded in the T3CAS unit’s non-volatile memory.
The T3CAS unit will verify the following functional areas in accordance
with Figure 1-36.
● Aircraft Personality Module (APM) (Not applicable to Part Numbers
9005000-10000, -10101, -10202, -10204, or -11203.)
● Terrain Database CRC
Pub. No. 8600200-001, Revision 004 34-45-29 1-103
04 Nov 2014
Use or disclosure of information on this page is subject to the restrictions in the proprietary notice of this document.

SYSTEM DESCRIPTION AND INSTALLATION MANUAL
T3CAS/Part No.9005000
● External System Inputs
● Internal TAWS Parameters
Pub. No. 8600200-001, Revision 004 34-45-29 1-104
04 Nov 2014
Use or disclosure of information on this page is subject to the restrictions in the proprietary notice of this document.

SYSTEM DESCRIPTION AND INSTALLATION MANUAL
T3CAS/Part No.9005000
Figure 1-36: Standard Self-Test of TAWS/Windshear Functional Areas
Pub. No. 8600200-001, Revision 004 34-45-29 1-105
04 Nov 2014
Use or disclosure of information on this page is subject to the restrictions in the proprietary notice of this document.

SYSTEM DESCRIPTION AND INSTALLATION MANUAL
T3CAS/Part No.9005000
Comment: XXXX is dependent on the Windshear enable and YYYY is
dependent on the type of RTS/Short test selected. If Windshear is
enabled the XXXX is “Terrain Awareness and Windshear”, whereas if
Windshear is disabled the XXXX is “Terrain Awareness”. If the Standard
Self-Test is selected, YYYY is “Test”, if the Extended Self-Test is
selected, YYYY is “Extended Test”, and if the Maintenance Report is
selected, YYYY is “Maintenance Report”.
Figure 1-37: TAWS Display Test Pattern
The T3CAS unit will display a multicolor test pattern on both the captain’s
and first officer’s TAWS displays. Figure 1-37 shows a typical multicolor
test pattern.
NOTE:
Each colored-square in Figure 1-37 represents a texture
terrain image slice (2 through 6) as well as the pull-up area
texture (P), avoid terrain area texture (A), and caution area
texture (C) as defined in the ASDB SRS, Airplane Personality
Module. Slice 1 is black in color therefore it is camouflaged
into the background.
The T3CAS unit will interrupt the Standard Self-Test when any of the
following alerts occur:
● “WINDSHEAR, WINDSHEAR, WINDSHEAR”
● “CAUTION WINDSHEAR”
● “TERRAIN AHEAD, PULL UP”
● “TERRAIN TERRAIN, PULL UP PULL UP”
● “≈ ≈PULL UP”
● “TERRAIN AHEAD”
● “TERRAIN CAUTION”
● “AVOID TERRAIN”
● “PULL UP, PULL UP”
Pub. No. 8600200-001, Revision 004 34-45-29 1-106
04 Nov 2014
Use or disclosure of information on this page is subject to the restrictions in the proprietary notice of this document.

SYSTEM DESCRIPTION AND INSTALLATION MANUAL
T3CAS/Part No.9005000
● “TERRAIN, TERRAIN”
● “SINK RATE, SINK RATE”
● “DON’T SINK, DON’T SINK”
● “TOO LOW, TERRAIN”
● “TOO LOW, GEAR”
● “TOO LOW, FLAPS”
● “GLIDESLOPE”.
NOTE: “≈≈” designates a pair of varying tones from 400 to 800 Hz;
where each tone is 0.3 seconds in duration, separated by 0.1
seconds, and at the end of the pair there is 0.1 seconds of
silence.
NOTE: The aural annunciations listed above will depend on the
Operator Selectable Options chosen during installation of the
T3CAS unit.
Upon completion of the Standard Self-Test the following will occur:
● If the T3CAS unit has the windshear function enabled and the APM
and Terrain Database and Internal system self-tests have passed,
the following aural annunciation will occur:
“TERRAIN AWARENESS AND WINDSHEAR SYSTEM PASS”
● If the T3CAS unit has the windshear function enabled and the Terrain
Database CRC check fails, the following aural annunciation will
occur:
“TERRAIN AWARENESS AND WINDSHEAR SYSTEM FAIL”
● If the T3CAS unit has the windshear function enabled and if the
Obstacle function is enabled and the Obstacle Database CRC check
fails, the following aural annunciation will occur:
“TERRAIN AWARENESS AND WINDSHEAR SYSTEM FAIL”
● If the T3CAS unit does not have the windshear function enabled and
the APM and Terrain Database and Internal system self-tests have
passed, the following aural annunciation will occur:
“TERRAIN AWARENESS SYSTEM PASS”
● If the T3CAS unit does not have the windshear function enabled and
the Terrain Database CRC check fails, the following aural
annunciation will occur:
“TERRAIN AWARENESS SYSTEM FAIL”
● If the T3CAS unit does not have the windshear function enabled and
if the Obstacle function is enabled and the Obstacle Database CRC
check fails, the following aural annunciation will occur:
“TERRAIN AWARENESS SYSTEM FAIL”
Pub. No. 8600200-001, Revision 004 34-45-29 1-107
04 Nov 2014
Use or disclosure of information on this page is subject to the restrictions in the proprietary notice of this document.

SYSTEM DESCRIPTION AND INSTALLATION MANUAL
T3CAS/Part No.9005000
● If the T3CAS unit has the windshear function enabled and the APM
or Terrain Database or Internal system or Internal GPS self-tests
have not failed, the following aural annunciation will occur:
“TERRAIN AWARENESS AND WINDSHEAR TEST COMPLETE”
● If the T3CAS unit does not have the windshear function enabled and
the APM or Terrain Database or Internal system self-tests have not
failed, the following aural annunciation will occur:
“TERRAIN AWARENESS TEST COMPLETE”.
● If the self-test passes, the system provides the following aural over
the speaker system:
“TERRAIN AWARENESS SYSTEM PASS”
“TERRAIN AWARENESS TEST COMPLETE”
● If a T3CAS input from an external LRU is failed or a pin programming
error is detected, the system provides the following aural message
over the speaker system:
“TERRAIN AWARENESS LRU PASS”
“REQUIRED EXTERNAL INPUT FAIL”
“TERRAIN AWARENESS SYSTEM FAIL”
● For Part Numbers 9005000-11801 and -55801, if a T3CAS input from
an external LRU is invalid, the system provides the following aural
message over the speaker system:
“TERRAIN AWARENESS LRU PASS”
“REQUIRED EXTERNAL INPUT UNAVAILABLE”
“TERRAIN AWARENESS SYSTEM UNAVAILABLE”
● If a T3CAS input from an external LRU is NCD or functional test, the
system provides the following aural message over the speaker
system:
“TERRAIN AWARENESS LRU PASS”
“REQUIRED EXTERNAL INPUT UNAVAILABLE”
“TERRAIN AWARENESS SYSTEM PASS”
● When the self-test is finished, the ON ND indication remains lighted
with cyan TERR indication on bottom right corner of the ND (Terrain
background is displayed, it can appear all black depending on the
A/C location).
(b) TAWS/RWS Mode Activation
The TAWS/RWS is activated upon Aircraft Power Up and becomes
available when parameters needed for normal operation of the
TAWS/RWS functions are available.
(c) TAWS/RWS Mode Deactivation
Pub. No. 8600200-001, Revision 004 34-45-29 1-108
04 Nov 2014
Use or disclosure of information on this page is subject to the restrictions in the proprietary notice of this document.

SYSTEM DESCRIPTION AND INSTALLATION MANUAL
T3CAS/Part No.9005000
The TAWS/RWS becomes deactivated upon Aircraft Power Down.
Specific TAWS/RWS functions can become unavailable if an Internal or
External parameter needed for normal operation of the TAWS/RWS
functions is unavailable or invalid.
The TAWS predictive CPA modes may become deactivated upon the
selection of the “Terrain Inhibit” switch. The purpose of the “Terrain
Inhibit” switch is to allow the aircraft to operate without nuisance or
unwanted warnings at airports that are not in the system database.
Additionally, there may be some “VFR only” airports where unique terrain
features are in close proximity to the runway. The “Terrain Inhibit” switch
should NOT be engaged for normal operations.
C. Transponder Operation
An ATCRBS Transponder responds to ATCRBS interrogations with a Mode A (4096
code) reply or Mode C (altitude status) reply contingent upon the type of interrogation
received. Interrogations are received by the transponder on 1030 MHz and replies are
transmitted by the transponder on 1090 MHz. All ATCRBS transmissions are between
the ground station and aircraft. A Mode S Transponder receives and transmits on the
same frequencies as the ATCRBS Transponder and can receive and transmit ATCRBS
interrogations and replies. However, the Mode S Transponder was developed for Mode S
operation and can function alone as Mode S or in conjunction with TCAS. When
functioning alone as Mode S, all Mode S transmissions are between the ground station
and aircraft. When functioning in conjunction with TCAS, transmissions may also be from
aircraft to aircraft.
Mode S System operation begins when aircraft power is applied. Initial self-test is
performed automatically upon power-up and is completed in approximately 1 second.
Self-testing of the system occurs continuously while in the power-on mode. If a
transponder failure occurs, it is indicated on the control panel. Other failures are indicated
via front panel-mounted LEDs on the transponders; however, these failure indications are
not available to the pilot. All failures, whether hard or intermittent, are recorded in the
transponder maintenance memory for analysis by maintenance personnel.
After power-up, the pilot enters the assigned 4096 code via the control panel. This code
is the ATC identification code for that aircraft and is used during ATCRBS (Mode A)
interrogations and replies. Mode S interrogations and replies use a 24-bit address code
entered into transponder memory automatically upon power-up. Each aircraft has its own
unique address that is permanently programmed to the airframe. No manual entry of this
address is available.
The system can be placed in STANDBY mode. When the STANDBY mode is selected,
the transponder reply transmit capability (Mode S or ATCRBS) is disabled. The remaining
transponder functions are operational, including Built-In-Test (BIT). STANDBY mode is
typically engaged while on the ground to prevent unnecessary RF traffic. It is disengaged
just prior to takeoff and engaged again upon landing. In addition, an air/ground switch,
which functions as part of the Weight-On-Wheels (WOW) circuitry, can disable ATCRBS
Transponder reply capability while the aircraft is on the ground if this feature has been
enabled. To disable ATCRBS or ground replies with the air/ground switch, the
appropriate air/ground transponder discrete must be connected. Refer to the
REMOVAL/INSTALLATION section of this manual for details on this interface. Mode S
Pub. No. 8600200-001, Revision 004 34-45-29 1-109
04 Nov 2014
Use or disclosure of information on this page is subject to the restrictions in the proprietary notice of this document.

SYSTEM DESCRIPTION AND INSTALLATION MANUAL
T3CAS/Part No.9005000
Transponder replies and squitters, however, are not disabled by the air/ground switch,
and aircraft status (on ground or airborne) is included in the Mode S reply data.
In a dual Mode S System, the pilot can choose either transponder from the control panel.
When an ATCRBS Transponder is installed, the pilot can choose between the embedded
Mode S and ATCRBS Transponders. In either case (dual Mode S or Mode S/ATCRBS)
only one transponder is enabled at a time. If a Mode S Transponder failure occurs, the
XPDR FAIL indicator on the control panel lights. However, the failed transponder must be
the one selected on the control panel for the indicator to light. Switching between the
transponders occurs without loss of system function.
An SPI is added to the ATCRBS and Mode S replies when the control panel IDENT
button is pushed. The SPI is enabled for approximately 18 seconds and supplies the
ground station with a more positive aircraft identification capability. This function is
typically activated upon verbal command from the ground station.
Dual altitude input ports are supplied for each transponder; the capability to switch
between the two is supplied by a switch on the control panel. This function lets the pilot
select a second altitude source if the first fails. It also lets the ground station verbally
verify one source against the other. Additionally, this switch lets the pilot disable altitude
reporting altogether if the ground station finds a discrepancy between reported and actual
altitude.
(1) Mode S/ATCRBS Interrogations and Replies
The Air Traffic Control Radar Beacon System (ATCRBS) has been in operation
for several decades. Its purpose is to ensure safe separation and operation of
aircraft, especially in busy terminal areas. ATCRBS Transponder-equipped
aircraft transmit replies to interrogations from ground-based sensors
(interrogators). Depending on the type of interrogation, the reply contains either
the identification code currently assigned to the aircraft by ATC (Mode A), or
uncorrected barometric altitude with 100-foot resolution (Mode C).
The ground station uses reply delay time to compute range to within
approximately 500 feet (152.4 meters). The current angle of the rotating ground
antenna determines azimuth. There is an 18 ±2 second duration SPI pulse to aid
in identifying specific aircraft. Thus, ATC is provided with the information required
to ensure safe separation of aircraft.
(a) Assigned Code Number
The digits of the assigned code number indicate the code groups to be
used and the pulse coding within each group. The assigned code is a
four-digit octal number (any of 4096) in which the first or left-most digit
designates the A group; the second digit designates the B group; the
third digit designates the C group; and the last or right-most digit
designates the D group. Typical information pulses present in assigned
reply codes are given in Table 1-23.
Pub. No. 8600200-001, Revision 004 34-45-29 1-110
04 Nov 2014
Use or disclosure of information on this page is subject to the restrictions in the proprietary notice of this document.

SYSTEM DESCRIPTION AND INSTALLATION MANUAL
T3CAS/Part No.9005000
Table 1-23: Typical ATCRBS Reply Code Numbers
4096 Code
Number
Information Pulses
4096 Code
Number
Information Pulses
0000
0001
0002
0003
0004
0005
0006
0007
None
D1
D2
D1, D2
D4
D1, D4
D2, D4
D1, D2, D4
3000
3100
3200
3300
3400
3500
3600
3700
A1, A2
A1, A2, B1
A1, A2, B2
A1, A2, B1, B2
A1, A2, B4
A1, A2, B1, B4
A1, A2, B2, B4
A1, A2, B1, B2, B4
0010
0020
0030
0040
0050
0060
0070
C1
C2
C1, C2
C4
C1, C4
C2, C4
C1, C2, C4
4000
4100
4200
4300
4400
4500
4600
4700
A4
A4, B1
A4, B2
A4, B1, B2
A4, B4
A4, B1, B4
A4, B2, B4
A4, B1, B2, B4
0100
0200
0300
0400
0500
0600
0700
B1
B2
B1, B2
B4
B1, B4
B2, B4
B1, B2, B4
5000
5100
5200
5300
5400
5500
5600
5700
A1, A4
A1, A4, B1
A1, A4, B2
A1, A4, B1, B2
A1, A4, B4
A1, A4, B1, B4
A1, A4, B2, B4
A1, A4, B1, B2, B4
1000
1100
1200
1300
1400
1500
1600
1700
A1
A1, B1
A1, B2
A1, B1, B2
A1, B4
A1, B1, B4
A1, B2, B4
A1, B1, B2, B4
6000
6100
6200
6300
6400
6500
6600
6700
A2, A4
A2, A4, B1
A2, A4, B2
A2, A4, B1, B2
A2, A4, B4
A2, A4, B1, B4
A2, A4, B2, B4
A2, A4, B1, B2, B4
2000
2100
2200
2300
2400
2500
2600
2700
A2
A2, B1
A2, B2
A2, B1, B2
A2, B4
A2, B1, B4
A2, B2, B4
A2, B1, B2, B4
7000
7100
7200
7300
7400
7500
7600
7700
A1, A2, A4
A1, A2, A4, B1
A1, A2, A4, B2
A1, A2, A4, B1, B2
A1, A2, A4, B4
A1, A2, A4, B1, B4
A1, A2, A4, B2, B4
A1, A2, A4, B1, B2, B4
Pub. No. 8600200-001, Revision 004 34-45-29 1-111
04 Nov 2014
Use or disclosure of information on this page is subject to the restrictions in the proprietary notice of this document.

SYSTEM DESCRIPTION AND INSTALLATION MANUAL
T3CAS/Part No.9005000
(b) Mode Select
Air traffic density has significantly increased since the inception of
ATCRBS. Aircraft within the same approximate range and azimuth from
the interrogator may interfere with each other’s replies. Much verbal
communication is also needed to coordinate ATC, causing more traffic
on communication channels. This also places a heavier burden on the air
traffic controllers.
Mode Select (Mode S) has been designed as an evolutionary addition to
ATCRBS to supply enhanced surveillance as well as data
communication capability for ATC, with greater degrees of automation in
mind. Ground-air-ground data link communications can be
accommodated with the surveillance interrogations and replies,
permitting use of the Transponder for a number of different ATC
functions. Messages can be either 56 or 112 bits in length. The same
transmit and receive frequencies are used as for ATCRBS.
1 Ground and Airborne Installations
To facilitate the introduction of Mode S into ATCRBS, both ground
and airborne Mode S installations include full ATCRBS capability.
Mode S interrogators supply surveillance of older ATCRBS-equipped
aircraft, and Mode S Transponders reply to ATCRBS interrogators.
Mode S interrogators are able to command Mode S Transponders
not to reply to compatible ATCRBS-only interrogations. They are
also able to solicit only Mode S replies from Mode S Transponders
which minimizes RF transmissions.
Another unique aspect of Mode S is that each aircraft equipped with
a Mode S Transponder is assigned a unique 24-bit address. This
address appears in either a coded or clear form in every Mode S
reply. This not only improves aircraft identification by ATC, but also
permits selective interrogation once the aircraft has been acquired by
an ATCRBS/Mode S or Mode S-only All-Call interrogation. This is
aimed toward reducing RF channel loading.
Another way to minimize RF traffic is the capability of locking out the
transponder from replying to All-Calls, from either all interrogators or
from specific ones, for retriggerable 18-second intervals. Including
the station’s identity code in the interrogation message enables this
lockout. Probability-based replies make it possible to separate
transmissions from aircraft that would otherwise be garbled when a
group of aircraft might answer a single interrogation.
All transmissions for surveillance or data communications, from the
ground up to the aircraft (uplink) and from the aircraft down to the
ground (downlink), are protected by a 24-bit Cyclic Redundancy
Code (CRC) error detection scheme, also referred to as parity. In
addition, ground interrogators can perform error correction on
received downlink messages.
Pub. No. 8600200-001, Revision 004 34-45-29 1-112
04 Nov 2014
Use or disclosure of information on this page is subject to the restrictions in the proprietary notice of this document.

SYSTEM DESCRIPTION AND INSTALLATION MANUAL
T3CAS/Part No.9005000
2 Air to Air Communication
Traffic Alert and Collision Avoidance System and Mode S
Transponders are an integral part of the Traffic Alert and Collision
Avoidance System (TCAS). TCAS-equipped aircraft are airborne
interrogators, communicating with other TCAS-equipped aircraft
through their Mode S Transponders for coordination of collision
avoidance maneuvers. TCAS aircraft acquire other Mode S
Transponder-equipped aircraft by receiving squitter transmissions
(unsolicited All-Call type replies, transmitted pseudo-randomly every
0.8 to 1.2 seconds), and thereafter by special addressed
interrogations. Although either Mode S or ATCRBS Mode C
Transponders aid TCAS-equipped aircraft in avoiding collisions,
coordination of collision avoidance maneuvers is possible between
two aircraft only if both are Mode S and TCAS equipped.
3 Mode S Messages
a Interrogation and Reply Formats
Mode S features have been added to the ATCRBS already
in place. This procedure ensures that the older airborne
transponders and the ground-based interrogators used in the
ATCRBS are still functional. The Mode S signal formats
used for this combined system operation are ATCRBS/Mode
S All-Call [Mode A and Mode C], Mode S interrogation,
Mode S SLS, and Mode S reply.
b Interrogation Pulses and Timing
The uplink Mode S format for the interrogation pulse group
consists of pulses designated P1, P2, and P3. The time
spacing between the P1 and P3 pulses determines the type
of interrogation (Mode A aircraft identification or Mode C
altitude reporting). Pulse P2, which follows P1 by 2
microseconds, is used for Side Lobe Suppression (SLS) in
the ATCRBS. The amplitude of P2 is recognized by the
airborne transponder as either a main beam or SLS
interrogation. With Mode S interrogation, the basic P1 and
P3 pulse system is extended to include a P4 pulse, which
follows P3 by 2 microseconds. The P4 pulse uses the same
spacing as between P1 and P2. However, P4 has an
additional feature in that its pulse width can be either 1.6
microseconds or 0.8 microseconds, whereas the P1 and P3
pulse widths are always 0.8 microseconds.
c Replies to All-Call Interrogations and Pulse Width
In operation, when a standard ATCRBS Transponder
receives this interrogation of P1, P3, and P4 pulses, it
responds with the ATCRBS reply, which consists of 14
pulses that carry the identity code or the altitude code. The
P4 pulse is ignored since the ATCRBS Transponder circuit is
designed so that it does not recognize the P4 pulse. The
response is dependent upon the presence and length of P4.
When a standard P1 and P3 interrogation is received from
Pub. No. 8600200-001, Revision 004 34-45-29 1-113
04 Nov 2014
Use or disclosure of information on this page is subject to the restrictions in the proprietary notice of this document.

SYSTEM DESCRIPTION AND INSTALLATION MANUAL
T3CAS/Part No.9005000
an ATCRBS interrogator (no P4), the Mode S Transponder
responds with a standard ATCRBS reply. An uplink
interrogation pulse group, which includes a P4 pulse, makes
the Mode S Transponder prepare to measure the P4 pulse
width. As soon as the Mode S Transponder detects the
rising edge of the P4 pulse, it disables its ATCRBS reply. It
then looks for a pulse width of 0.8 or 1.6 microseconds. A
pulse width of 0.8 microseconds is recognized by the Mode
S Transponder as an uplink ATCRBS-only All-Call, and it
does not respond at all. In this case, the ground station is
looking for all the aircraft in the vicinity that are equipped
with ATCRBS only. In the case of a 1.6-microsecond pulse
width, the Mode S interrogator wants the Mode S
Transponder to respond with the Mode S All-Call coded
reply. In this case, the interrogator receives the aircraft’s
identity, which is the unique number that is given to the
Mode S-equipped aircraft. The 1.6-microsecond pulse width
is in fact an All-Call interrogation for both ATCRBS and
Mode S Transponders, eliciting both ATCRBS and Mode S
replies. There is no interrogation addressing in this case as
each system responds within its own capability.
d Mode S Interrogation
The final type of uplink interrogation is made up of P1 and
P2 pulses of equal amplitude followed by a long pulse of
constant amplitude called P6. This is a Mode S interrogation
pulse (P6) that occurs 1.5 microseconds after P2. When the
P1 and P2 pulses are of equal amplitude, the standard
ATCRBS transponders see the P2 pulse and do not
respond, since they interpret this as a side lobe
interrogation.
e Modes S Short/Long Interrogation Messages
The Mode S Transponder sees the P1 and P2 pulses and
prepares to receive P6 and the uplink Mode S message.
There are two types of messages that are defined in terms of
length. The first type of interrogation is a short message and
is 56 bits long; the second is a long message and is 112 bits
long.
4 Mode S Timing
For the ATCRBS/Mode S All-Calls the timing reference, or trigger
point, for the Mode S reply is from the leading edge of pulse P4.
From pulse P4, the response time for a Mode S reply is 128 ±0.5
microseconds. When responding to a standard ATCRBS
interrogation, the timing reference is the leading edge of pulse P3
and the ATCRBS response time is 3 microseconds.
A typical Mode S interrogation contains the equal amplitude P1 and
P2 pulses, in addition to the video pulse P6 that contains the Mode S
uplink message phase encoded information.
Pub. No. 8600200-001, Revision 004 34-45-29 1-114
04 Nov 2014
Use or disclosure of information on this page is subject to the restrictions in the proprietary notice of this document.

SYSTEM DESCRIPTION AND INSTALLATION MANUAL
T3CAS/Part No.9005000
Inside the P6 pulse, the first phase change occurs 1.25
microseconds into the pulse. This phase change is called the Sync
Phase Reversal (SPR), and it is used to synchronize the transponder
with the ground station. The SPR is used as the timing reference for
the Mode S reply for uplink messages. Response time is 128 ±0.25
microseconds.
All t he p ossible phase c hanges ( chips), c orresponding t o t he d ata
bits, ar e i nside the P6 pulse a nd oc cur af ter t he SPR. Since the
uplink message c onsists of 4 megabits per s econd, it m eans t hat
there i s a pos sible phase c hange (chip) ev ery 0. 25 m icroseconds.
This pr ocess i s c alled D ifferential P hase Shift K eying ( DPSK). If
there i s a one in the da ta stream, t he phas e c hanges. H owever, i f
there is a zero in the data stream, it does not change.
All of the short 56-bit Mode S uplink messages have the following two
things in common:
● The first five bits are always the Uplink Format (UF) number. For
example, in a UF = 0, the first five bits are all zero (00000); in a UF =
4, the first five bits are 00100. Downlink messages are identified by
the abbreviation DF for Downlink Format.
● The last 24 bits are an address/parity field. This is a means of
addressing the uplink message (interrogation) and it is also a means
of error detection. The last 24 bits do not carry data, but rather the
unique address of the aircraft overlaid with the parity bits. A CRC
system is actually used for the entire uplink message. The
transponder starts to handle the uplink message only when it
ensures that the message is intended for the aircraft in which the
transponder is installed.
The uplink message can be a broadcast-type message intended for
all aircraft in range of the ground station. This is the Mode S-only All-
Call message, which is a special format (UF = 11) that contains an
all-ones address. Mode S SLS is handled by a P5 pulse, which has a
pulse width of 0.8 microseconds. P5 is transmitted simultaneously
with the P6 Sync Phase Reversal (SPR); the P5 pulse subsequently
covers the SPR. When this occurs, the decoder in the receiver
cannot see the SPR and, therefore, does not process the uplink
message. This decoding procedure is different from the ATCRBS
method where the amplitude of the P2 pulse must actually be
detected for SLS. The Mode S reply is then generated either in
response to a Mode S interrogation or by one of the ATCRBS/Mode
S All-Calls. The reply includes a preamble made up of two pairs of
pulses that occur 8 microseconds before the first Mode S downlink
pulse. The preamble precedes the actual data on the downlink
message, much like the P1, P2, and P6 pulses precede the uplink
message.
Pub. No. 8600200-001, Revision 004 34-45-29 1-115
04 Nov 2014
Use or disclosure of information on this page is subject to the restrictions in the proprietary notice of this document.

SYSTEM DESCRIPTION AND INSTALLATION MANUAL
T3CAS/Part No.9005000
There are two fundamental differences between the uplink message and
the downlink message, as follows:
● The uplink burst is at 4 megabits per second, while the downlink is at
1 megabit per second.
● The uplink uses DPSK, while the downlink uses Pulse Position
Modulation (PPM). Using PPM, there is one pulse for every bit, either
in the first half or the second half of the bit interval (window). The first
half of the window represents a 1; the second half of the window
represents a 0.
The reply delay time for Mode S is 128 microseconds with respect to the
P6 SPR. This is true for both long and short messages. However, the
downlink message data cannot be prepared until the uplink message is
complete. There is an additional derived timing specification that
indicates how much time is available from the end of an interrogation
until the reply starts. For a short message, it is 113 microseconds; for a
long message, it is 99 microseconds. The basic Mode S transponder
handles only the short messages, but this timing shows that a data link
transponder, which handles long messages, has more data to process
and a shorter time to prepare the message.
(2) Mode S Message Format and Data Field Descriptions
Refer to RTCA DO-181C, DO-185, DO-218B and DO-260 for further details of
Mode S Message Formats and Field definitions.
Table 1-24 defines the Mode S interrogation UF (Uplink Format) messages and Table 1-25 defines the
Mode S reply DF (Downlink Format) messages. The first 5 bits of the message indicate the UF/DF type.
The message structure including the number of bits per subfield is included in Table 1-24 and Table 1-25.
For example, UF=0 [Binary 00000] is composed of X:3 (3 bits assigned as padding), RL:1 (1 bit assigned
to Reply Length) etc. The Uplink Format message field descriptions are listed in Table 1-26 and the
Downlink Format message field descriptions are listed in Table 1-.
Table 1-24: Uplink Format Messages
Uplink Format
Field Description
Message Format with Number of Bits
UF=0 [00000]
Short Air-Air Surveillance
X:3, RL:1, X:4, AQ:1, DS:8, X:10 AP:24 X:Pad
UF=4 [00100]
Surveillance, Altitude Request
PC:3, RR:5, DI:3, SD:16, AP:24
UF=5 [00101]
Surveillance, Identity Request
PC:3, RR:5, DI:3, SD:16, AP:24
UF=11 [01011]
Mode S Only All-Call
PR:4, II/IC:4, CL:3, X:16, AP:24 X:Pad
UF=16 [10000]
Long Air-Air Surveillance
X:3, RL:1, X:4, AQ:1, X:18, MU:56, AP:24 X:Pad
UF=20 [10100]
Comm-A, Altitude Request
PC:3, RR:5, DI:3, SD:16, MA:56, AP:24
UF=21 [10101]
Comm-A, Identity Request
PC:3, RR:5, DI:3, SD:16, MA:56, AP:24
NOTE:
PC, RR, DI and SD subfields are undefined for UF=20/21 broadcast interrogations.
Pub. No. 8600200-001, Revision 004 34-45-29 1-116
04 Nov 2014
Use or disclosure of information on this page is subject to the restrictions in the proprietary notice of this document.

SYSTEM DESCRIPTION AND INSTALLATION MANUAL
T3CAS/Part No.9005000
Table 1-25: Downlink Format Messages
Downlink Format
Field Description
Message Format with Number of Bits
DF=0 [00000]
Short Air-Air Surveillance
VS:1, CC:1, X:1, SL:3, X:2, RI:4, X:2, AC:13,
AP:24 X:Pad
DF=4 [00100]
Surveillance, Altitude Reply
FS:3, DR:5, UM:6, AC:13, AP:24
DF=5 [00101]
Surveillance, Identity Reply
FS:3, DR:5, UM:6, ID:13, AP:24
DF=11 [01011]
All-Call Reply
CA:3, AA:24, PI:24
DF=16 [10000]
Long Air-Air Surveillance
VS:1, X:2, SL:3, X:2, RI:4, X:2, AC:13, MV:56,
AP:24 X:Pad
DF=17 [10001]
Extended Squitter (ADS-B)
CA:3, AA:24, ME:56, PI:24
DF=20 [10100]
Comm-B, Altitude Reply
FS:3, DR:5, UM:6, AC:13, MB:56, AP:24
DF=21 [10101]
Comm-B, Identity Reply
FS:3, DR:5, UM:6, ID:13, MB:56, AP:24
Table 1-26: Uplink Format Fields
Designator
Field
Description
AP
Address Parity
24-bit discrete address with parity check bits
overlaid
AQ
Acquisition
Designates formats UF=0, 16 as acquisition
transmissions or non-acquisition.
CL
Code Label
Identifies the contents of the IC field
DI
Designator Identification
Identifies the coding contained in the SD field
DS
COMM-B Data Selector
Contains the identity of the ground-initiated
COMM-B register
IC
Interrogator Code
Contains either the II Code or SI Code
II
Interrogator Identification
Identifies the interrogator
MA
Message COMM-A
56-bit uplink field contains messages directed to
the aircraft
MU
Message COMM-U
56-bit uplink field contains information used in
air-to-air exchanges part of the long special
surveillance interrogation
NC
Number of C Segments
Number of segments transmitted in ELM mode
and part of a COMM-C interrogation
PC
Protocol
Operating commands to the transponder
PR
Probability of Reply
Contains commands to the transponder which
specify the reply probability to the Mode S only
All-Call interrogations
RC
Reply Control
Designates the transmitted segment as initial,
intermediate or final
Pub. No. 8600200-001, Revision 004 34-45-29 1-117
04 Nov 2014
Use or disclosure of information on this page is subject to the restrictions in the proprietary notice of this document.

SYSTEM DESCRIPTION AND INSTALLATION MANUAL
T3CAS/Part No.9005000
Table 1-26: Uplink Format Fields
Designator
Field
Description
RL
Reply Length
Commands a reply of DF=0 Short Message or
DF=16 Long Message
RR
Reply Request
Contains length and content of the reply
requested by the interrogators
SD
Special Designator
Contains control codes affecting transponder
protocol
SI
Surveillance Identifier
Defines the surveillance identifier code
Table 1-27: Downlink Format Fields
Designator
Field
Description
AA
Address Announced
Contains the aircraft address
AC
Altitude Code
Field contains the aircraft altitude
AP
Address Parity
24-bit field contains the parity overlaid on the
address
CA
Transponder Capability
Reports transponder communication capability
CC
Crosslink Capability
Indicates the transponder’s ability to support
crosslink capability
DR
Downlink Request
Requests extraction of downlink messages from
the transponder by the interrogator
FS
Flight Status
Reports flight status of the aircraft
ID
Identification
Contains the Mode A identification code reporting
the numbers as set by the pilot
MB
Message COMM-B
56-bit MB field contains messages transmitted to
the interrogator
ME
Message Extended Squitter
56-bit downlink field used to broadcast messages
MV
Message COMM-V
Contains information used in air-to-air exchanges
and is part of the long special surveillance reply
PI
Parity/Interrogator Identity
24-bit field contains the parity overlaid on the
interrogator’s identity code
RI
Reply Information
4-bit field reports airspeed capability and the type
of reply to the interrogating aircraft
SL
TCAS Sensitivity Level
This field reports the sensitivity level at which the
TCAS unit is currently operating
Pub. No. 8600200-001, Revision 004 34-45-29 1-118
04 Nov 2014
Use or disclosure of information on this page is subject to the restrictions in the proprietary notice of this document.

SYSTEM DESCRIPTION AND INSTALLATION MANUAL
T3CAS/Part No.9005000
Table 1-27: Downlink Format Fields (cont.)
Designator
Field
Description
UM
Utility Message
Contains the transponder status readouts
VS
Vertical Status
Reports the aircraft airborne or on-ground state
(3) Mode S ELS/EHS and ADS-B OUT
Traditional Secondary Surveillance Radar (SSR) includes Mode 3/A (aircraft
identification or 4096 code) and Mode C (uncorrected barometric altitude
reporting). Then to increase ATC capacity which included implementing TCAS
operation, Mode S was developed which made transponder interrogations
addressable and transponder replies more accurate and reliable. Basic Mode S
requires the aircraft to be;
● equipped with a Mode S capable transponder
● equipped with a means for the operator to enter the ATC assigned 4096
code that then provides standard ARINC 429 label 016 Mode S Control
● equipped with a source of uncorrected barometric altitude with at least 100
feet resolution via one of the following:
- standard ARINC 429 label 203 Uncorrected Barometric Altitude
- standard ARINC 575 label 203 Uncorrected Barometric Altitude
- standard ARINC 407 Coarse and Fine Synchro Uncorrected Barometric
Altitude
- dual Gillham Code uncorrected pressure altitude.
- strapped with the aircraft's unique 24-bit ICAO aircraft address.
Mode S Elementary Surveillance (ELS) was the first step of down linking
additional aircraft derived data. In addition to the Mode S aircraft requirements
listed above, minimally Mode S ELS requires the aircraft to be:
● equipped with a Mode S ELS capable transponder
● equipped with a means for the operator to enter Flight Identification that then
provides standard ARINC 429 labels:
- 233, 301 Characters 1 and 2
- 234, 301 Character 3
- 234, 302 Character 4
- 235. 302 Characters 5 and 6
- 236 Characters 7 and 8.
● equipped with a source of uncorrected barometric altitude source with at
least 25 feet resolution with the exception of dual Gillham code uncorrected
barometric altitude sources with 100 feet resolution via one of the following:
- Standard ARINC 429 label 203 Uncorrected Barometric Altitude
- Standard ARINC 575 label 203 Uncorrected Barometric Altitude
- Standard ARINC 407 Coarse and Fine Synchro Uncorrected Barometric
Altitude
- Dual Gillham Code uncorrected barometric altitude.
Pub. No. 8600200-001, Revision 004 34-45-29 1-119
04 Nov 2014
Use or disclosure of information on this page is subject to the restrictions in the proprietary notice of this document.

SYSTEM DESCRIPTION AND INSTALLATION MANUAL
T3CAS/Part No.9005000
Mode S Enhanced Surveillance (EHS) was the second step of down linking
additional aircraft derived data. In addition to the Mode S and Mode S ELS
requirements listed above, minimally Mode S EHS requires the aircraft to be:
● equipped with a Mode S ELS/EHS capable transponder
● equipped with sources of standard ARINC 429 labels;
- 102 Selected Altitude
- 325 Roll Angle
- 103 True Track Angle or 312 Ground Speed
- 335 Track Angle Rate
- 210 True Airspeed (TAS)
- 320 Magnetic Heading
- 365 Inertial Vertical Velocity
- 205 MACH
- 206 Indicated Airspeed (IAS)
- 212 Barometric Rate
Automatic Dependent Surveillance-Broadcast (ADS-B OUT) is the next step of
down linking additional aircraft derived data. In addition to the Mode S, Mode S
ELS, and Mode S EHS requirements listed above, minimally ADS-B OUT may
require the aircraft to be:
● equipped with a Mode S ELS/EHS and ADS-B OUT capable transponder
● equipped with sources of standard ARINC 429 labels:
- 076 GNSS Altitude (MSL)
- 103 GNSS True Track Angle
- 110 GNSS Latitude, Coarse or 310 Latitude
- 111 GNSS Longitude, Coarse or 311 Longitude
- 112 GNSS Ground Speed or else 312 Ground Speed
- 120 GNSS Latitude, Fine
- 121 GNSS Longitude, Fine
- 130 GNSS Horizontal Protection Limit or else 112 Ground Speed or 312
Ground
- Speed or else 133 VIL or else 203 Uncorrected Barometric Altitude or
370 GNSS HAE
- 136 GNSS Vertical Figure of Merit
- 140 GNSS UTC, Fine (binary, “0.200 sec”)
- 150 GNSS UTC (binary, e.g., “12 h 23 m 12 s”)
- 165 GNSS Vertical Velocity
- 166 GNSS N/S Velocity
- 174 GNSS E/W Velocity
- 247 GNSS Horizontal Figure of Merit
- 314 True Heading or else 103 GNSS Track Angle or else 313 True Track
Angle
- 370 GNSS Geodetic Height (above WGS-84 ellipsoid).
a) BDS Registers
The transponder assembles data into Binary Data Store (BDS) registers.
These registers are also referred to as GICB registers since they can be
down linked via Ground Initiated Comm B transactions.
Pub. No. 8600200-001, Revision 004 34-45-29 1-120
04 Nov 2014
Use or disclosure of information on this page is subject to the restrictions in the proprietary notice of this document.

SYSTEM DESCRIPTION AND INSTALLATION MANUAL
T3CAS/Part No.9005000
The transponder's 256 BDS registers are commonly notated in
hexadecimal format with the first register notated as BDS 0,0 (0016 or 0
decimal) and the last register notated as BDS F,F (FF16 or 255 decimal).
Each BDS register consists of 56 bits as specified in the ICAO Manual of
Mode S Specific Services and Mode S Standard and Recommended
Practices (SARPs). Each BDS register contains the data payload of a
specific Mode S reply or extended squitter. Registers not updated within
a fixed time are cleared, i.e. filled with 0's. Refer to Figure 1-38 for a
simplified block diagram of DAPS Data Processing.
Figure 1-38: XS-950 Transponder DAPS Data Processing
BDS registers currently specific to 1090 ES ADS-B are:
● 0,5 Airborne Position
● 0,6 Surface Position
● 0,7 Status
Pub. No. 8600200-001, Revision 004 34-45-29 1-121
04 Nov 2014
Use or disclosure of information on this page is subject to the restrictions in the proprietary notice of this document.

SYSTEM DESCRIPTION AND INSTALLATION MANUAL
T3CAS/Part No.9005000
● 0,8 Aircraft ID and Category
● 0,9 Airborne Velocity
NOTE:
1090 ES ADS-B BDS data is transmitted in the ME field of
DF=17.
BDS registers currently specific to Elementary Surveillance (ELS) are:
● 1,0 Data Link Capability
● 1,7 Common Usage GICB Capability
● 2,0 Aircraft Identification
● 3,0 ACAS Active Resolution Advisory
NOTE: ELS BDS data is transmitted in the MB field of DF=20 or DF=21.
BDS registers currently specific to Enhanced Surveillance (EHS) are:
● 4,0 Selected Vertical Intent
● 5,0 Track and Turn
● 6,0 Heading and Speed
NOTE: EHS BDS data is transmitted in the MB field of DF=20 or
DF=21.
b) Detailed BDS Register Descriptions
This section provides a detailed description of the BDS register data
currently specific to 1090 ES ADS-B, ELS, and EHS. The first column in
each of the BDS register tables that follow provides the number of bits
allocated for each parameter listed that is listed in the second column.
The third column provides typical transponder ramp tester parameter
data. The fourth and last column provides the external sources and
details that are required by the transponder to effectively assemble each
parameter into the BDS register.
Refer to ICAO Annex 10, Vol III, Part 1, Chapter 5 and RTCA DO 260 for
more details.
Pub. No. 8600200-001, Revision 004 34-45-29 1-122
04 Nov 2014
Use or disclosure of information on this page is subject to the restrictions in the proprietary notice of this document.

SYSTEM DESCRIPTION AND INSTALLATION MANUAL
T3CAS/Part No.9005000
Table 1-28: BDS 0,5 Airborne Position
Bits
Parameter
Parameter Data
External Source(s)
1-5
Format Type
Code
0, 9-18, 20-22
See NOTE:
6-7
Surveillance
Status
NO INFO
PERM ALERT
TEMP ALERT
SPI
Label 016 from ATC/TCAS control panel.
8
Single Antenna
Flag (SAF)
SINGLE
DUAL
9-20
Barometric
altitude
or
GNSS Altitude
Decoded Barometric
Altitude in feet
Decoded HAE in feet.
Label 203 uncorrected pressure altitude
from ADC.
Label 370 HAE from GPS
21
Time
N/UTC (Not UTC)
UTC
Time mark from GPS.
22
CPR Format
EVEN
ODD
Label 150 UTC Coarse, Label 140 UTC
Fine, and Label 141 UTC Fine Fraction
from GPS
23-39
Encoded
Latitude
Decoded CPR format
in degrees, minutes
and seconds
Label 110 Latitude (coarse) and Label 120
Latitude (fine) from GPS 1 or 2 (Best HIL
value) or else Label 310 Latitude from FMS
or IRS
40-46
Encoded
Longitude
Decoded CPR format
in degrees, minutes
and seconds
Label 111 Longitude (coarse) and Label
121 Longitude (fine) from GPS 1 or 2 (best
HIL value) or else Label 311 Longitude
from FMS or IRS
NOTE:
Label 130 HIL from GPS or Label 171 RNP from FMS or IRS,
or else Label 112 Ground Speed from GPS or Label 312 Ground Speed from FMS or IRS,
or else Label 133 VIL from GPS,
or else Label 203 Baro Altitude from ADC or label 370 HAE from GPS.
Pub. No. 8600200-001, Revision 004 34-45-29 1-123
04 Nov 2014
Use or disclosure of information on this page is subject to the restrictions in the proprietary notice of this document.

SYSTEM DESCRIPTION AND INSTALLATION MANUAL
T3CAS/Part No.9005000
Table 1-29: BDS 0,6 Surface Position
Bits
Parameter
Parameter Data
External Source(s)
1-5
Format Type
Code
0, 5-8
See NOTE:
6-12
Movement
NO INFO
STOPPED
Speed in Knots
DECELERATING
ACCELERATING
BACKING UP
Label 112 Ground Speed from GPS 1 or 2
(best HIL value) or else Label 312 Ground
Speed from IRS or FMS or else derived
from Label 174 E/W and Label 166 N/S
velocities.
13
Status Heading
14-20
Heading
N/A
Decoded Heading in
degrees.
Label 314 True Heading from IRS or else
Label 103 Ground Track from GPS 1 or 2
(best HIL value) - only if GS > 20 kts or
Label 313 True Track Angle from IRS only
if GS > 20 kts.
21
Time
N/UTC (Not UTC)
UTC
22
CPR Format
EVEN
ODD
Label 150 UTC Coarse, Label 140 UTC
Fine, and Label 141 UTC Fine Fraction
from GPS
23-39
Encoded
Latitude
Decoded CPR format
in degrees, minutes
and seconds.
Label 110 Latitude (coarse) and Label
120 Latitude (fine) from GPS 1 or 2 (best
HIL value) or else Label 310 Latitude from
FMS or IRS.
40-56
Encode
Longitude
Decoded CPR format
in degrees, minutes
and seconds.
Label 111 Longitude (coarse) and Label
121 Longitude (fine) from GPS 1 or 2 (best
HIL value) or else Label 311 Longitude
from FMS or IRS.
NOTE:
Label 130 HIL from GPS or Label 171 RNP from FMS or IRS,
or else Label 112 Ground Speed from GPS or Label 312 Ground Speed from FMS or IRS,
or else Label 133 VIL from GPS,
or else Label 203 Baro Altitude from ADC or label 370 HAE from GPS.
Pub. No. 8600200-001, Revision 004 34-45-29 1-124
04 Nov 2014
Use or disclosure of information on this page is subject to the restrictions in the proprietary notice of this document.

SYSTEM DESCRIPTION AND INSTALLATION MANUAL
T3CAS/Part No.9005000
Table 1-30: BDS 0,7 Status
Bits
Parameter
Parameter Data
External Source(s)
1-2
Transition Rate
No capability to
determine surface
squitter rate
High surface squitter
rate selected
Low surface squitter
rate selected
Unassigned
Label 110 Latitude (coarse),
Label 111 Longitude (coarse),
Label 120 Latitude (fine), and
Label 121 Longitude (fine) from GPS.
or
Label 310 Latitude, and
Label 311 Longitude from IRS or FMS.
3
Altitude Type
Barometric Altitude
GPS height above
ellipsoid (HAE)
4-56
Reserved
Table 1-31: BDS 0,8 Aircraft ID and Category
Bits
Parameter
Parameter Data
External Source(s)
1-5
Format Type
Code
1-4
6-8
Aircraft
Category
A, B, C, D
9-14
Character 1
ICAO Character
Label 233 Flight Identifier from control
panel.
15-20
Character 2
ICAO Character
Label 233 Flight Identifier from control
panel.
21-26
Character 3
ICAO Character
Label 234 Flight Identifier from control
panel.
27-32
Character 4
ICAO Character
Label 234 Flight Identifier from control
panel.
33-38
Character 5
ICAO Character
Label 235 Flight Identifier from control
panel.
39-44
Character 6
ICAO Character
Label 235 Flight Identifier from control
panel.
45-50
Character 7
ICAO Character
Label 236 Flight Identifier from control
panel.
51-56
Character 8
ICAO Character
Label 236 Flight Identifier from control
panel.
Pub. No. 8600200-001, Revision 004 34-45-29 1-125
04 Nov 2014
Use or disclosure of information on this page is subject to the restrictions in the proprietary notice of this document.

SYSTEM DESCRIPTION AND INSTALLATION MANUAL
T3CAS/Part No.9005000
Table 1-32: BDS 0,9 Airborne Velocity Subtypes 1 & 2 – Velocity Over Ground
Bits
Parameter
Parameter Data
External Source(s)
1-5
Format Type
Code
19
6-8
Sub Type
1 (Ground Speed
Normal)
Label 166 N/S velocity and Label 174
E/W velocity from GPS.
9
Intent Change
Flag
10
IFR Capability
Flag
11-13
NACv
0, 1, 2, 3, 4.
Label 247 HFOM from GPS.
Label 136 VFOM from GPS.
14
Direction E/W
E
W
15-24
E/W Velocity
N/A
Knots
Label 174 E/W Velocity from GPS 1 or 2
(best HIL value) or calculated from Label
112 Ground Speed from GPS, or Label
367 E/W velocity from FMS or IRS.
25
Direction N/S
N
S
26-35
N/S Velocity
N/S
Knots
Label 166 N/S Velocity from GPS 1 or 2
(best HIL value) or calculated from Label
112 Ground Speed from GPS, or Label
366 N/S velocity from FMS or IRS.
36
Source of
Vertical Rate
N/A
BARO
GEO
37
Signe for
Vertical Rate
+
-
38-46
Vertical Rate
N/A
Feet per minute
Label 165 Vertical Rate from GPS 1 or 2
(best HIL value) or Label 212 Vertical
Rate from ADC.
Applicable to –XX400 and subsequent:
IRS Label 365 Inertial Vertical Velocity is
the primary source to encode the Vertical
Rate field. Label 212 Vertical Rate is an
alternate data source.
47-48
Reserved
49
Difference Sign
+
-
Pub. No. 8600200-001, Revision 004 34-45-29 1-126
04 Nov 2014
Use or disclosure of information on this page is subject to the restrictions in the proprietary notice of this document.

SYSTEM DESCRIPTION AND INSTALLATION MANUAL
T3CAS/Part No.9005000
Table 1-32: BDS 0,9 Airborne Velocity Subtypes 1 & 2 – Velocity Over Ground (cont.)
Bits
Parameter
Parameter Data
External Source(s)
50-56
Difference from
Geo and Baro
Altitudes
Feet
Label 370 Height Above Ellipsoid (HAE)
from GPS 1 or 2 (best HIL value) or Label
076 Altitude (MSL) from GPS 1 or 2 (best
HIL value) or Label 203 Uncorrected
Barometric Altitude from ADC.
NOTE:
Subtype 1 is used when NS and EW velocities are valid and both are less than 1022
knots.
Subtype 2 is used when NS and EW velocities are valid and both are greater than 1022
knots.
Table 1-33: BDS 0,9 Airborne Velocity Subtypes 3 & 4 – Airspeed and Heading
Bits
Parameter
Parameter Data
External Source(s)
1-5
Format Type
Code
19
6-8
Sub Type
1 (Ground Speed
Normal)
Label 166 N/S velocity and Label 174
E/W velocity from GPS.
9
Intent Change
Flag
10
IFR Capability
Flag
11-13
NACv
0, 1, 2, 3, 4.
Label 247 HFOM from GPS.
Label 136 VFOM from GPS.
14
Status
N/A
Available
15-24
Magnetic
Heading
Degrees
Label 320 Magnetic Heading from FMS or
IRS.
25
Airspeed Type
IAS
TAS
26-35
Airspeed
N/A
0 to > 1021 Knots
0 to>4084 Knots
Label 206 Indicated Airspeed or Label
210 True Airspeed from ADC.
36
Source of
Vertical Rate
N/A
BARO
GEO
37
Sign of Vertical
Rate
+
-
Pub. No. 8600200-001, Revision 004 34-45-29 1-127
04 Nov 2014
Use or disclosure of information on this page is subject to the restrictions in the proprietary notice of this document.

SYSTEM DESCRIPTION AND INSTALLATION MANUAL
T3CAS/Part No.9005000
Table 1-33: BDS 0,9 Airborne Velocity Subtypes 3 & 4 – Airspeed and Heading (cont.)
Bits
Parameter
Parameter Data
External Source(s)
38-46
Vertical Rate
N/A
Feet per minute
Label 165 Vertical Rate from GPS 1 or 2
(best HIL value) or Label 212 Vertical
Rate from ADC.
Applicable to –XX400 and subsequent:
IRS Label 365 Inertial Vertical Velocity is
the primary source to encode the Vertical
Rate field. Label 212 Vertical Rate is an
alternate data source.
47-48
Reserved
49
Difference Sign
+
-
50-56
Difference from
Geo and Baro
Altitudes
Feet
Label 370 Height Above Ellipsoid (HAE)
from GPS 1 or 2 (best HIL value) or Label
076 Geometric Altitude from GPS 1 or 2
(best HIL value) or Label 203 Baro
Altitude from ADC.
NOTE:
Subtype 3 is used when NS and EW velocities are Not valid and Airspeed is less than
1022 knots.
Subtype 4 is used when NS and EW velocities are Not valid and Airspeed is greater than
1022 knots.
Table 1-34: BDS 1,0 Data Link Capability
Bits
Parameter
Parameter Data
External Source(s)
1-8
BDS 1,0 Code
9
Continuation
Flag
YES
NO
10-15
Reserved
Applicable to –XX400 and subsequent, See Bit 15 definition below:
15
Overlay
Command
Capability
0 = No OCC
1 = Transponder has
OCC
16
Reserved for
ACAS
17-23
Mode S Sub
Network
Version
Number
0-127
Pub. No. 8600200-001, Revision 004 34-45-29 1-128
04 Nov 2014
Use or disclosure of information on this page is subject to the restrictions in the proprietary notice of this document.

SYSTEM DESCRIPTION AND INSTALLATION MANUAL
T3CAS/Part No.9005000
Table 1-34: BDS 1,0 Data Link Capability (cont)
Bits
Parameter
Parameter Data
External Source(s)
37-40
Reserved for
ACAS
41-56
DTE
YES
NO
Applicable to –XX400 and subsequent, See Bits 17-23 definition below:
17-23
Mode S Sub
Network
Version
Number
0 = Mode S
sub network not
available
1-5 = Version No. 1-5
respectively
6-127 = Not Assigned
24
Transponder
Enhanced
Protocol
Indicator
YES
NO
25
Mode S
Specific
Services
Capability
YES
NO
26-28
Uplink ELM
Capability
(Comm C)
NO UELM
16/5 ms
16/500 ms
16/250 ms
16/128 ms
16/60 ms
16/30 ms
29-32
Downlink ELM
Capability
(Comm D)
NO DELM
4/15
8/15
16/15
16/500 ms
16/250 ms
16/125 ms
NOTE:
Comm-D DELM functionality is not supported by –XX400 and subsequent.
33
Aircraft
Identification
Capability
YES
NO
34
Squitter
Capability
Subfield (SCS)
YES
NO
Pub. No. 8600200-001, Revision 004 34-45-29 1-129
04 Nov 2014
Use or disclosure of information on this page is subject to the restrictions in the proprietary notice of this document.

SYSTEM DESCRIPTION AND INSTALLATION MANUAL
T3CAS/Part No.9005000
Table 1-34: BDS 1,0 Data Link Capability (cont)
Bits
Parameter
Parameter Data
External Source(s)
35
Surveillance
Identifier (SI)
YES
NO
36
Common
Usage
GICB
Capability
0
1
Table 1-35: BDS 1,7 Common Usage GICB Capability
Bits
Parameter
Parameter Data
External Source(s)
1
0,5 Extended
Squitter
Airborne
Position
0,5
2
0,6 Extended
Squitter Surface
Position
0,6
3
0,7 Extended
Squitter Status
0,7
4
0,8 Extended
Squitter
Identification
and
Category
0,8
5
0,9 Extended
Squitter
Airborne
Velocity
0,9
6
0,A Extended
Squitter Event
Driven
Information
0,A
7
2,0 Aircraft
Identification
2,0
8
2,1 Aircraft
Registration
9
4,0 Aircraft
Intention
4,0
Pub. No. 8600200-001, Revision 004 34-45-29 1-130
04 Nov 2014
Use or disclosure of information on this page is subject to the restrictions in the proprietary notice of this document.

SYSTEM DESCRIPTION AND INSTALLATION MANUAL
T3CAS/Part No.9005000
Table 1-35: BDS 1,7 Common Usage GICB Capability (cont.)
Bits
Parameter
Parameter Data
External Source(s)
10
4,1 Next Way-
Point Identifier
11
4,2 Next Way-
Point Position
12
4,3 Next Way-
Point
Information
13
4,4
Meteorological
Routine Report
14
4,5
Meteorological
Hazard Report
15
4,8 VHF
Channel
Report
16
5,0 Track and
Turn Report
5,0
17
5,1 Position
Coarse
5,1
18
5,2 Position
Fine
5,2
19
5,3 Air-
Referenced
State Vector
20
5,4 Way-Point 1
21
5,5 Way-Point 2
22
5,6 Way-Point 3
23
5,F Quasi-Static
Parameter
Monitoring
5,F
24
6,0 Heading and
Speed Report
6,0
25-56
Reserved
Pub. No. 8600200-001, Revision 004 34-45-29 1-131
04 Nov 2014
Use or disclosure of information on this page is subject to the restrictions in the proprietary notice of this document.

SYSTEM DESCRIPTION AND INSTALLATION MANUAL
T3CAS/Part No.9005000
Table 1-36: BDS 2,0 Aircraft Identification
Bits
Parameter
Parameter Data
External Source(s)
1-8
BDS Code 2,0
9-14
Character 1
ICAO Character
Label 233 Flight Identifier from control
panel, or Label 301 Tail Number from
CDFIU.
15-20
Character 2
ICAO Character
Label 233 Flight Identifier from control
panel, or Label 301 Tail Number from
CDFIU.
21-26
Character 3
ICAO Character
Label 234 Flight Identifier from control
panel, or Label 301 Tail Number from
CDFIU.
27-32
Character 4
ICAO Character
Label 234 Flight Identifier from control
panel, or Label 302 Tail Number from
CDFIU.
33-38
Character 5
ICAO Character
Label 235 Flight Identifier from control
panel, or Label 302 Tail Number from
CDFIU.
39-44
Character 6
ICAO Character
Label 235 Flight Identifier from control
panel, or Label 302 Tail Number from
CDFIU.
45-50
Character 7
ICAO Character
Label 236 Flight Identifier from control
panel, or Label 303 Tail Number from
CDFIU.
51-60
Character 8
ICAO Character
Label 236 Flight Identifier from control
panel, or Label 303 Tail Number from
CDFIU.
Pub. No. 8600200-001, Revision 004 34-45-29 1-132
04 Nov 2014
Use or disclosure of information on this page is subject to the restrictions in the proprietary notice of this document.

SYSTEM DESCRIPTION AND INSTALLATION MANUAL
T3CAS/Part No.9005000
Table 1-37: BDS 3,0 ACAS Active Resolution Advisory
Bits
Parameter
Parameter Data
External Source(s)
1-8
BDS Code 3,0 or
0,0
3,0 = TCAS Bus
Valid
0,0 = TCAS Bus
Invalid
9-22
Active
Resolution
Advisories
23-26
Resolution
Advisory
Compliment
27
RA Terminated
(RAT)
0
1
28
Multiple Threat
Encounter
0
1
29-30
Threat Type
Indicator (TTI)
0
1
2
31-56
Threat Identity
Data (TID)
Mode S Address
of the threat
Pub. No. 8600200-001, Revision 004 34-45-29 1-133
04 Nov 2014
Use or disclosure of information on this page is subject to the restrictions in the proprietary notice of this document.

SYSTEM DESCRIPTION AND INSTALLATION MANUAL
T3CAS/Part No.9005000
Table 1-38: BDS 4,0 Selected Vertical Intent
Bits
Parameter
Parameter Data
External Source(s)
1
Status
N/A
Available
2-13
MCP/FCU Selected
Altitude
N/A
Feet
Label 102 Selected Altitude from MCP/FCU
14
Status
N/A
Available
15-26
FMS Selected
Altitude
N/A
Feet
Label 102 Selected Altitude from FMS.
27
Status
N/A
Available
28-39
Barometric
Pressure Altitude
N/A
Label 203 Baro Alt or Label 234 Baro Alt
Correction from ADC or else Label 273 Baro
Pressure Setting Ref from MCP/ FCU.
40-47
Reserved
48
Status of MCP/FCU
Mode Bits
49
Vertical
Navigation(VNAV)
Mode
YES
NO
50
Altitude Hold Mode
YES
NO
51
Approach Mode
YES
NO
52-53
Reserved
54
Status of Target
Altitude Source
YES
NO
55-56
Target Altitude
Source
N/A
UNKNOWN
AIRCRAFT ALT
FCU/MCP SEL
ALT
FMS SEL ALT
Pub. No. 8600200-001, Revision 004 34-45-29 1-134
04 Nov 2014
Use or disclosure of information on this page is subject to the restrictions in the proprietary notice of this document.

SYSTEM DESCRIPTION AND INSTALLATION MANUAL
T3CAS/Part No.9005000
Table 1-39: BDS 5,0 Track and Turn
Bits
Parameter
Parameter Data
External Source(s)
1
Status
N/A
Available
2
Sign
+
-
3-11
Roll Angle
Degrees
Label 325 Roll Angle from IRS.
12
Status
N/A
Available
13
Sign
+
-
14-23
True Track Angle
Degrees
Label 103 True Track Angle from GPS or
else Label 313 True Track Angle from
IRS.
24
Status
N/A
Available
25-34
Ground Speed
Knots
Label 112 Ground Speed from GPS or
else Label 312 Ground Speed from IRS.
35
Status
N/A
Available
36
Sign
+
-
37-45
Track Angle Rate
Degrees per
second
Label 335 Track Angle Rate from IRS.
46
Status
N/A
Available
47-56
True Airspeed
Knots
Label 210 True Airspeed from ADC.
Pub. No. 8600200-001, Revision 004 34-45-29 1-135
04 Nov 2014
Use or disclosure of information on this page is subject to the restrictions in the proprietary notice of this document.

SYSTEM DESCRIPTION AND INSTALLATION MANUAL
T3CAS/Part No.9005000
Table 1-40: BDS 6,0 Heading and Speed
Bits
Parameter
Parameter Data
External Source(s)
1
Status
NA
Available
2
Sign
East
West
3-12
Magnetic
Heading
Degrees
Label 320 Magnetic Heading from IRS or
FMS.
13
Status
NA
Available
14-23
Indicated
Airspeed
Knots
Label 206 Indicated Airspeed from ADC.
24
Status
NA
Available
25-34
MACH
MACH Number
Label 205 MACH from ADC.
35
Status
NA
Available
36
Sign
+
-
37-45
Barometric
Altitude
Feet per minute
Label 212 Barometric Rate from ADC.
46
Status
NA
Available
47
Sign
+
-
48-56
Internal Vertical
Velocity
Feet per minute
Label 365 Inertial Vertical Velocity from
IRS or FMS.
Pub. No. 8600200-001, Revision 004 34-45-29 1-136
04 Nov 2014
Use or disclosure of information on this page is subject to the restrictions in the proprietary notice of this document.

SYSTEM DESCRIPTION AND INSTALLATION MANUAL
T3CAS/Part No.9005000
MECHANICAL INSTALLATION
1. General
This section contains information on how and where to mount each component of the T3CAS
system. For new installations, plan installation in two stages. First, determine the location of the
LRUs in the aircraft. Next, determine the length of RF and electrical interconnections for selected
locations.
NOTE: The mounting surface of the antenna base plate has an Alodine-treated surface which
provides corrosion resistance. The Alodine application material does not provide any
electrical resistance or isolation. Do not sand or remove the Alodine material from the
surface. In addition, sanding this surface may damage the unit beyond repair.
2. Equipment and Materials
For new T3CAS installations, refer to Table 1-1 for mounting tray information. For all other
components, refer to the applicable Outline and Installation drawing in this section for mounting
information. The Outline and Installation drawings show connector and connector contact
pin/socket part number information, where applicable.
3. Mechanical Installation Design
NOTE: To assure proper grounding of the T3CAS system, the aircraft surface to which
all mountings or units are attached must be clean bare metal. Mount to the
airframe with a resistance of 5 milliohms or less.
A. T3CAS Computer Unit Provisions
Mechanical installation data for the T3CAS Computer Unit (6-MCU) is shown in Figure 2-4
and for the T3CAS Computer Unit (4-MCU) is shown in Figure 2-5.
The computer unit can be mounted in any convenient location in the aircraft; however, it
must be located so as to maintain an antenna coaxial cable insertion loss of 2.5 ±0.5 dB
in accordance with DO-185. This is approximately within 50 feet (15.24 meters) of the
antenna unless low loss coaxial cable is used. Top and bottom coaxial delay timing
differences can be compensated for by use of the antenna delay program pins.
The T3CAS Computer Unit is mounted in an ARINC 600 6-MCU or 4-MCU mounting tray,
depending on the T3CAS unit part number. The 6-MCU computer unit requires external
cooling air in accordance with ARINC 600 to maintain the highest possible Mean Time
between Failures (MTBF). The 4-MCU computer unit utilizes a unit-mounted fan
(integrated fan) for cooling.
Pub. No. 8600200-001, Revision 004 34-45-29 2-1
04 Nov 2014
Use or disclosure of information on this page is subject to the restrictions in the proprietary notice of this document.

SYSTEM DESCRIPTION AND INSTALLATION MANUAL
T3CAS/Part No.9005000
The T3CAS computer tray connector is RADIALL part number NSXN3P357X0001 or
equivalent. This tray connector does not come with contacts. The following contacts are
required, quantities depend on specific installation:
- 22-gauge Contact Part No. 620-200 or equivalent (wire gauges 22, 24 and 26).
- 20-gauge Contact Part No. 620-310 or equivalent (wire gauges 20, 22 and 24).
- 16-gauge Contact Part No. 620-330 or equivalent (wire gauges 18, 20, 22 and 24).
- 12-gauge Contact Part No. 620-341, or equivalent (wire gauges 18, 20, 22 and 24).
- SIZE 5 Coaxial Contact Part No. 620-021 or equivalent (Coax RG 142, RG 223 and
RG 400).
- SIZE 1 Coaxial Contact Part No. 620-119-100 or equivalent (Coax RG 225 and RG
393).
The required contacts for the LBP insert depend on if the computer is to be powered with
+28 V dc or 115 V ac and if a 115 V ac cooling fan will be connected when the computer
is powered with 115 V ac. Note that there is no output pins to support a +28 V dc cooling
fan.
B. Airplane Personality Module Provisions (Not applicable to 9005000-10000, -
10101, -10202, -10204, or -11203)
Reference Figure 2-6 for the mechanical installations of the ACSS T3CAS APM. The
APM can be mounted to existing aircraft structure or can be mounted to the ACSS APM
mounting bracket that is secured to the aft side of the T3CAS computer tray connector,
reference Figure 2-6 (Sheet 2). If the customer specifies the ACSS APM mounting
bracket, an APM bracket sub kit will be provided for the customer’s T3CAS installations.
NOTE: 9005000-10000, -10101, -10202, -10204, or -11203 do not require an
APM to be installed.
C. Antenna Provisions
The T3CAS top directional antenna should, ideally, be the most forward antenna on the
top of the aircraft and should be located as close to the longitudinal centerline as
possible. See Figure 2-7. A 5-degree tilt angle is allowed laterally, with 2-degree positive
and 5-degree negative tilt angles allowed longitudinally. See Figure 2-8.
If a bottom directional antenna is used, it should also be the most forward antenna on the
fuselage bottom. Tilt angle allowances are the same as on the top antenna. A bottom
omnidirectional antenna need not be the most forward antenna, but it should be
separated by at least 20 inches (508 millimeters) from any other L-band antenna.
Since the bottom antenna may be either a directional (standard) or an omnidirectional
(optional for part numbers 9005000-11203, -11801 and -55801) antenna, dual notation is
shown in the wiring diagram. Only one coax cable is needed for an omnidirectional
antenna installation. The bottom omnidirectional antenna and connectors must have a
loss of no greater than 2 dB for the 1030-1090 MHz range.
2-2
04 Nov 2014 34-45-29 Pub. No. 8600200-001, Revision 004
Use or disclosure of information on this page is subject to the restrictions in the proprietary notice of this document.

SYSTEM DESCRIPTION AND INSTALLATION MANUAL
T3CAS/Part No.9005000
(1) Directional Antenna Installation
The directional antenna mounting and installation data is given in Figure 2-9.
Figure 2-9 contains the maximum radius dimensions for the various curved
antenna base part number units, the number of aircraft mounting holes and the
length of the connector extension for the various part number units. The antenna
must be electrically bonded (less than 5.0 milliohms bonding resistance) to the
airframe to provide a ground plane for the antenna elements.
The directional antenna must be separated by at least 30 inches (762
millimeters) from any other L-band antenna, and 60 inches (1,524 millimeters) is
preferred. If a bottom directional antenna is used, it should be the most forward
antenna on the fuselage bottom with tilt angle allowances the same as for a top-
mounted antenna.
An O-ring (included with the directional antenna) is required to be installed
between the directional antenna and the aircraft fuselage. The Navy Aeronautical
Standard part number for the O-ring is NAS 1613. The ACSS part number for the
O-ring is 4000171-240.
NOTE:
For directional antennas, ACSS Part No.7514060-90X, the customer
must provide an adapter plate for mounting to the aircraft. The antenna
base plate, to which the adapter must mate, is detailed in Figure 2-9.
Directional antennas, ACSS Part No.7514081-9XX, come with a
preinstalled adapter plate.
NOTE:
The mounting surface of the antenna baseplate has an Alodine-treated
surface, which provides corrosion resistance. The Alodine application
material does not provide any electrical resistance or isolation. Do not
sand or remove the Alodine material from the surface. In addition,
sanding this surface may damage the unit beyond repair.
(2) Omnidirectional Antenna Installation
The omnidirectional antenna is a standard ATC-type antenna. It should be
qualified to TSO-C119 and be dc-grounded per MIL-A-90941, B-5087B. All L-
band antennas must be separated by at least 20 inches (508 millimeters). Only
one coax cable is required for installation.
The omnidirectional antenna is not supplied by ACSS. To install, follow the
manufacturer’s installation instructions.
NOTE:
The T3CAS part numbers 9005000-10000, -10101, -10202, and -
10204 do not support a bottom omnidirectional antenna.
D. TCAS Control Panel Provisions
Mechanical installation data for a typical Gables GXXXX Series ATC/TCAS control panel
is shown in Figure 2-11.
It should be noted that various other types of controllers (Radio Management Units or
EFIS Display Controllers) can be used to control the TCAS display. If a controller other
Pub. No. 8600200-001, Revision 004 34-45-29 2-3
04 Nov 2014
Use or disclosure of information on this page is subject to the restrictions in the proprietary notice of this document.

SYSTEM DESCRIPTION AND INSTALLATION MANUAL
T3CAS/Part No.9005000
than an ACSS ATC/TCAS control panel is used, refer to that particular unit’s manual for
installation data.
E. TAWS/RWS Control Panel Provisions
The TAWS controls can be mounted on a single control panel or they can be discrete
switches individually mounted at a convenient location in the Flight Deck. The TAWS
controls may be part of the electronic display menu selection in installations where TAWS
information is displayed on an EFIS or electronic display.
Figure 2-1 shows the ACSS King Air C90 TAWS control panel/glareshield switch
annunciator installation design. The TERR and WXR select switches shown are
momentary but alternate action switches are also supported. The terrain INHIBIT or
OVRD switches are alternate action switches and are typically guarded.
The T3CAS TAWS control/annunciator installation design will vary depending on the flight
deck configuration and available space.
F. VSI/TRA and VSI-TCAS Provisions
Mechanical installation data for the Thales VSI-TCAS display is shown in Figure 2-12,
and the ACSS VSI/TRA is shown in Figure 2-13. The VSI/TRA is usually used as a direct
replacement for the existing 3-ATI form VSI indicator currently mounted in the Flight
Deck. Replacement of the installation clamp may be necessary if the previous clamp is
less than 2 inches (50.8 millimeters) deep. Some older aircraft clamps do not provide
sufficient mechanical support.
If an ACSS VSI/TRA is used as the TCAS display source, and an Air Data Computer is
not available to provide vertical speed signals to the display, the installation must include
an ACSS PTM to supply air data signals to the VSI/TRA. These signals are derived from
a static pneumatic input.
If a Thales VSI-TCAS is used as the TCAS display source, and an Air Data Computer is
not available to provide vertical speed signals to the display, a static line can be run
directly into the Thales VSI-TCAS from a static pneumatic input.
G. TAWS Terrain Hazard Display Provisions
ARINC 708A and ARINC 429 WXR display and EFIS interfaces are supported. T3CAS
dual-independent terrain hazard display I/O supports dual ARINC 708A and dual ARINC
429 terrain hazard display systems. Figure 2-2 shows TAWS dual terrain hazard display
annunciator switch panels and locations that have been used on B757, B767, and B737-
300/400/500 aircraft. Figure 2-3 shows a typical single terrain hazard display annunciator
switch panel.
2-4
04 Nov 2014 34-45-29 Pub. No. 8600200-001, Revision 004
Use or disclosure of information on this page is subject to the restrictions in the proprietary notice of this document.

SYSTEM DESCRIPTION AND INSTALLATION MANUAL
T3CAS/Part No.9005000
Figure 2-1: ACSS King Air C90 TAWS Control/Panel Glareshield Switch Annunciators
Pub. No. 8600200-001, Revision 004 34-45-29 2-5
04 Nov 2014
Use or disclosure of information on this page is subject to the restrictions in the proprietary notice of this document.

SYSTEM DESCRIPTION AND INSTALLATION MANUAL
T3CAS/Part No.9005000
Figure 2-2: Typical Five-Button B737/757/767 Annunciator Switch Panels
Figure 2-3: Typical Single Terrain Hazard Display Annunciator Switch Panel
2-6
04 Nov 2014 34-45-29 Pub. No. 8600200-001, Revision 004
Use or disclosure of information on this page is subject to the restrictions in the proprietary notice of this document.

SYSTEM DESCRIPTION AND INSTALLATION MANUAL
T3CAS/Part No.9005000
Figure 2-4: (Sheet 1) T3CAS Computer Unit Outline and Installation Drawing (6-MCU)
Pub. No. 8600200-001, Revision 004 34-45-29 2-7/2-8 (blank page)
04 Nov 2014
Use or disclosure of information on this page is subject to the restrictions in the proprietary notice of this document.

SYSTEM DESCRIPTION AND INSTALLATION MANUAL
T3CAS/Part No.9005000
Figure 2-4: (Sheet 2) T3CAS Computer Unit Outline and Installation Drawing (6-MCU)
Pub. No. 8600200-001, Revision 004 34-45-29 2-9/2-10 (blank page)
04 Nov 2014
Use or disclosure of information on this page is subject to the restrictions in the proprietary notice of this document.

SYSTEM DESCRIPTION AND INSTALLATION MANUAL
T3CAS/Part No.9005000
Figure 2-5: (Sheet 1) T3CAS Computer Unit Outline and Installation Drawing (4-MCU)
Pub. No. 8600200-001, Revision 004 34-45-29 2-11/2-12 (blank page)
04 Nov 2014
Use or disclosure of information on this page is subject to the restrictions in the proprietary notice of this document.

SYSTEM DESCRIPTION AND INSTALLATION MANUAL
T3CAS/Part No.9005000
Figure 2-5: (Sheet 2) T3CAS Computer Unit Outline and Installation Drawing (4-MCU)
Pub. No. 8600200-001, Revision 004 34-45-29 2-13/2-14 (blank page)
04 Nov 2014
Use or disclosure of information on this page is subject to the restrictions in the proprietary notice of this document.

SYSTEM DESCRIPTION AND INSTALLATION MANUAL
T3CAS/Part No.9005000
Figure 2-6: (Sheet 1) APM Outline and Installation Drawings
PARTS LIST
QTY
PART OR
IDENTIFYING NO.
NOMENCLATURE OR DESCRIPTION
MATERIAL SPECIFICATION
OR VENDOR
ITEM
NO.
031-1007-042
ALTERNATE
ITT CANNON
REF
M39029/63-368
CONTACT, SOCKET, D SHELL CONNECTOR
M39029
5
AR
2005036-R-BK
BLACK ½ INCH WIDE SELF-FUSING TAPE
MIL SPEC A-A-59163 TYPE II
4
2
D20419-18
SCREW, D SHELL, LOCKING, MALE
ITT CANNON
3
DE44994
ALTERNATE
ITT CANNON
1
M85049/48-2-1
BACKSHELL, D SHELL CONNECTOR
M85049
2
205203-3
ALTERNATE
AMP
DEMA9S
ALTERNATE
ITT CANNON
M24308/2-1
CONNECTOR, D SHELL RECEPTACLE
M24308
1
APM MATING CONNECTOR PARTS NOT INCLUDED WITH APM
APM MATING CONNECTOR CONTACT TERMINATION INFORMATION:
CONTACT
SIZE/TYPE
SOCKET
INSTALLATION
REMOVAL
TOOL
CRIMPING
TOOL POSITIONER SELECTOR
WIRE
MIL PART
NUMBER
AWG
STRIP
LENGTH
20
M39029/63-
368
M81969/1-02
M22520/2-
01
M22520/2-08 4 22
0.198±
0.010
22D
M39029/57-
354
M81969/1-01
M22520/2-
01
M22520/2-06 4 22
0.198±
0.010
D SHELL CONTACTS, REAR RELEASE
SECURE CONNECTOR BACKSHELL APPLYING A MINIMUM OF 3 WRAPS OF SELF-FUSING TAPE
(ITEM 4) BETWEEN BACKSHELL AND CABLE. ADD ADDITIONAL WRAPS AS REQUIRED FOR
PROPER FIT OF THE BACKSHELL.
Pub. No. 8600200-001, Revision 004 34-45-29 2-15/2-16 (blank page)
04 Nov 2014
Use or disclosure of information on this page is subject to the restrictions in the proprietary notice of this document.

SYSTEM DESCRIPTION AND INSTALLATION MANUAL
T3CAS/Part No.9005000
Figure 2-6: (Sheet 2) APM Outline and Installation Drawings
Pub. No. 8600200-001, Revision 004 34-45-29 2-17/2-18 (blank page)
04 Nov 2014
Use or disclosure of information on this page is subject to the restrictions in the proprietary notice of this document.

SYSTEM DESCRIPTION AND INSTALLATION MANUAL
T3CAS/Part No.9005000
Figure 2-7: TCAS Directional and Omnidirectional Antenna Locations
Pub. No. 8600200-001, Revision 004 34-45-29 2-19
04 Nov 2014
Use or disclosure of information on this page is subject to the restrictions in the proprietary notice of this document.

SYSTEM DESCRIPTION AND INSTALLATION MANUAL
T3CAS/Part No.9005000
Figure 2-8: Directional Antenna Angular Orientation
2-20 34-45-29
04 Nov 2014 Pub. No. 8600200-001, Revision 004
Use or disclosure of information on this page is subject to the restrictions in the proprietary notice of this document.

SYSTEM DESCRIPTION AND INSTALLATION MANUAL
T3CAS/Part No.9005000
Figure 2-9: (Sheet 1) Directional Antenna Outline and Installation Diagram
Pub. No. 8600200-001, Revision 004 34-45-29 2-21/2-22 (blank page)
04 Nov 2014
Use or disclosure of information on this page is subject to the restrictions in the proprietary notice of this document.

SYSTEM DESCRIPTION AND INSTALLATION MANUAL
T3CAS/Part No.9005000
Figure 2-9: (Sheet 2) Directional Antenna Outline and Installation Diagram
Pub. No. 8600200-001, Revision 004 34-45-29 2-23/2-24 (blank page)
04 Nov 2014
Use or disclosure of information on this page is subject to the restrictions in the proprietary notice of this document.

SYSTEM DESCRIPTION AND INSTALLATION MANUAL
T3CAS/Part No.9005000
Figure 2-9: (Sheet 3) Directional Antenna Outline and Installation Diagram
Pub. No. 8600200-001, Revision 004 34-45-29 2-25/2-26 (blank page)
04 Nov 2014
Use or disclosure of information on this page is subject to the restrictions in the proprietary notice of this document.

SYSTEM DESCRIPTION AND INSTALLATION MANUAL
T3CAS/Part No.9005000
Figure 2-9: (Sheet 4) Directional Antenna Outline and Installation Diagram
Pub. No. 8600200-001, Revision 004 34-45-29 2-27/2-28 (blank page)
04 Nov 2014
Use or disclosure of information on this page is subject to the restrictions in the proprietary notice of this document.

SYSTEM DESCRIPTION AND INSTALLATION MANUAL
T3CAS/Part No.9005000
Figure 2-9: (Sheet 5) Directional Antenna Outline and Installation Diagram
Pub. No. 8600200-001, Revision 004 34-45-29 2-29/2-30 (blank page)
04 Nov 2014
Use or disclosure of information on this page is subject to the restrictions in the proprietary notice of this document.

SYSTEM DESCRIPTION AND INSTALLATION MANUAL
T3CAS/Part No.9005000
Figure 2-10: (Sheet 1) Directional Antenna (ACSS Part No.7514060-90X) Baseplate Outline and Installation Diagram
Pub. No. 8600200-001, Revision 004 34-45-29 2-31/2-32 (blank page)
04 Nov 2014
Use or disclosure of information on this page is subject to the restrictions in the proprietary notice of this document.

SYSTEM DESCRIPTION AND INSTALLATION MANUAL
T3CAS/Part No.9005000
Figure 2-10: (Sheet 2) Directional Antenna (ACSS Part No.7514060-90X) Baseplate Outline and Installation Diagram
Pub. No. 8600200-001, Revision 004 34-45-29 2-33/2-34 (blank page)
04 Nov 2014
Use or disclosure of information on this page is subject to the restrictions in the proprietary notice of this document.

SYSTEM DESCRIPTION AND INSTALLATION MANUAL
T3CAS/Part No.9005000
Figure 2-11: Gable G7130-XX Control Panel Outline and Installation Diagram
Pub. No. 8600200-001, Revision 004 34-45-29 2-35/2-36 (blank page)
04 Nov 2014
Use or disclosure of information on this page is subject to the restrictions in the proprietary notice of this document.

SYSTEM DESCRIPTION AND INSTALLATION MANUAL
T3CAS/Part No.9005000
Figure 2-12: Thales VSI-TCAS Outline and Installation Diagram
Pub. No. 8600200-001, Revision 004 34-45-29 2-37/2-38 (blank page)
04 Nov 2014
Use or disclosure of information on this page is subject to the restrictions in the proprietary notice of this document.

SYSTEM DESCRIPTION AND INSTALLATION MANUAL
T3CAS/Part No.9005000
Figure 2-13: ACSS VSI/TRA Outline and Installation Diagram
Pub. No. 8600200-001, Revision 004 34-45-29 2-39/2-40 (blank page)
04 Nov 2014
Use or disclosure of information on this page is subject to the restrictions in the proprietary notice of this document.

SYSTEM DESCRIPTION AND INSTALLATION MANUAL
T3CAS/Part No.9005000
ELECTRICAL INSTALLATION
1. General
This section gives electrical installation procedures, power distribution, and interconnect
information for each component on the T3CAS system.
2. Equipment and Materials
Refer to the applicable Outline and Installation Diagram in the MECHANICAL INSTALLATION
section for mating connector part numbers.
3. Electrical Installation Procedure
The information necessary to provide the electrical interconnections is contained in the following
paragraphs. Refer to Section 4, LOADING/GRADIENT SPECIFICATIONS, for a list of the signal
names used in the interconnect diagrams and tables.
NOTE:
Unless otherwise specified, all wires shall be stranded #22 AWG.
NOTE:
All ARINC 429 data bus wires shall be stranded #22 AWG twisted shield wire. All outer
shields shall be terminated to the airframe ground. Unshielded portions of the cable
and shield ground wires should be kept to a minimum length to minimize RF
susceptibility.
NOTE:
All electrical installations must be in compliance with SFAR-88.
4. Electrical Installation
A. T3CAS Computer Units
Figure 3-1 shows some general types of T3CAS system installations, using various
combinations of controllers (control panels) and transponders.
The various installation options require different electrical connections as described in the
paragraphs that follow.
The T3CAS Computer Unit uses programming and configuration straps to select or
deselect various TCAS, TAWS and transponder functions. In addition, the T3CAS may
use the APM and ASDB to select or deselect various TAWS/RWS functions.
The T3CAS Computer Unit ARINC 600 connector layout is shown in Figure 3-2. The
contact arrangement for the various connector plugs are shown in Figure 3-3 thru Figure
3-8. Figure 3-9 shows the connector pin layout for the DATA LOADER connector located
on the front of the computer unit.
Pub. No. 8600200-001, Revision 004 34-45-29 3-1
04 Nov 2014
Use or disclosure of information on this page is subject to the restrictions in the proprietary notice of this document.

SYSTEM DESCRIPTION AND INSTALLATION MANUAL
T3CAS/Part No.9005000
B. APM (Not applicable to 9005000-10000, -10101, -10202, -10204, or -11203.
Programming pins are used)
Figure 2-6 (Sheet 1) shows a typical APM installation. An APM can be mounted to
existing aircraft structure or can be mounted to the ACSS APM mounting bracket that is
secured to the aft side of the T3CAS computer tray connector (reference Figure 2-6,
Sheet 2). If the customer specifies the ACSS APM mounting bracket, the Contractor shall
manufacture and provide this APM bracket sub kit for this customer’s T3CAS installations.
C. TCAS Antennas
The electrical installation for the TCAS antennas is specified in the LOADING AND
GRADIENT section. Figure 3-3 shows the T3CAS computer contact arrangement for the
top directional antenna and Figure 3-4 shows the T3CAS computer contact arrangement
for the bottom antenna.
3-2
04 Nov 2014 34-45-29 Pub. No. 8600200-001, Revision 004
Use or disclosure of information on this page is subject to the restrictions in the proprietary notice of this document.

SYSTEM DESCRIPTION AND INSTALLATION MANUAL
T3CAS/Part No.9005000
ATC/TCAS
CONTROLLER
MODE S
TRANSPONDER
NO. 2
T
3
CAS
COMPUTER
UNIT
TA/RA
DISPLAY
NO. 1
TA/RA
DISPLAY
NO. 2
XPDR FAIL
DISCRETE
ARINC 429
ARINC 429
ARINC 429
ARINC 429
ARINC 429
XPDR FAIL
DISCRETE
ARINC 429
ATC/TCAS
CONTROLLER
MODE S
TRANSPONDER
NO. 1ATC/TCAS
CONTROLLER
T
3
CAS
COMPUTER
UNIT
TA/RA
DISPLAY
NO. 1
TA/RA
DISPLAY
NO. 2
XPDR FAIL
DISCRETE
ARINC 429
ARINC 429
ARINC 429
ARINC 429
ARINC 429
XPDR FAIL
DISCRETE
ARINC 429
ATC/TCAS
CONTROLLER
T
3
CAS
COMPUTER
UNIT
TA/RA
DISPLAY
NO. 1
TA/RA
DISPLAY
NO. 2
ARINC 429
ARINC 429
XPDR FAIL
DISCRETE
ARINC 429
ATC/TCAS
CONTROLLER
MODE S
TRANSPONDER
NO. 1
T
3
CAS
COMPUTER
UNIT
TA/RA
DISPLAY
NO. 1
TA/RA
DISPLAY
NO. 2
XPDR FAIL
DISCRETE
ARINC 429
ARINC 429
ARINC 429
ARINC 429
ARINC 429
MODE S
TRANSPONDER
NO. 2
XPDR FAIL
DISCRETE
ARINC 429
ARINC 429
ARINC 429
AA9005000-53-SD-1
Figure 3-1: Typical TCAS Installations Types
Pub. No. 8600200-001, Revision 004 34-45-29 3-3
04 Nov 2014
Use or disclosure of information on this page is subject to the restrictions in the proprietary notice of this document.

SYSTEM DESCRIPTION AND INSTALLATION MANUAL
T3CAS/Part No.9005000
Figure 3-2: T3CAS Computer Tray Mating Connector
3-4
04 Nov 2014 34-45-29 Pub. No. 8600200-001, Revision 004
Use or disclosure of information on this page is subject to the restrictions in the proprietary notice of this document.

SYSTEM DESCRIPTION AND INSTALLATION MANUAL
T3CAS/Part No.9005000
Figure 3-3: Contact Arrangement for CU Left Top Plug (LTP) Insert
Figure 3-4: Contact Arrangement for CU Left Middle Plug (LMP) Insert
Pub. No. 8600200-001, Revision 004 34-45-29 3-5
04 Nov 2014
Use or disclosure of information on this page is subject to the restrictions in the proprietary notice of this document.

SYSTEM DESCRIPTION AND INSTALLATION MANUAL
T3CAS/Part No.9005000
Figure 3-5: Contact Arrangement for Left Bottom Plug (LBP) Insert
3-6
04 Nov 2014 34-45-29 Pub. No. 8600200-001, Revision 004
Use or disclosure of information on this page is subject to the restrictions in the proprietary notice of this document.

SYSTEM DESCRIPTION AND INSTALLATION MANUAL
T3CAS/Part No.9005000
Figure 3-6: Contact Arrangement for Right Top Plug (RTP) Insert
Pub. No. 8600200-001, Revision 004 34-45-29 3-7
04 Nov 2014
Use or disclosure of information on this page is subject to the restrictions in the proprietary notice of this document.

SYSTEM DESCRIPTION AND INSTALLATION MANUAL
T3CAS/Part No.9005000
Figure 3-7: Contact Arrangement for Right Middle Plug (RMP) Insert
3-8
04 Nov 2014 34-45-29 Pub. No. 8600200-001, Revision 004
Use or disclosure of information on this page is subject to the restrictions in the proprietary notice of this document.

SYSTEM DESCRIPTION AND INSTALLATION MANUAL
T3CAS/Part No.9005000
Figure 3-8: Contact Arrangement for Right Bottom Plug (RBP) Insert
Pub. No. 8600200-001, Revision 004 34-45-29 3-9
04 Nov 2014
Use or disclosure of information on this page is subject to the restrictions in the proprietary notice of this document.

SYSTEM DESCRIPTION AND INSTALLATION MANUAL
T3CAS/Part No.9005000
Figure 3-9: TCAS Computer Unit Data Loader Connector (J1) Pin Layout
3-10
04 Nov 2014 34-45-29 Pub. No. 8600200-001, Revision 004
Use or disclosure of information on this page is subject to the restrictions in the proprietary notice of this document.

SYSTEM DESCRIPTION AND INSTALLATION MANUAL
T3CAS/Part No.9005000
D. Control Panels
Table 3-1 contains the interconnect data for the Gables G7130 series control panels.
Table 3-1: Gables G7130-XX ATC/TCAS Control Panel Interconnect Data
I/O Description
Connector
Pin
Connects To Notes
(I)
5 V ac Panel Lighting (H)
J1-1 (20)
----------------------
Acft Lighting Source
(I)
5 V ac Panel Lighting (L)
J1-2 (20)
----------------------
Acft Lighting Source
(I)
+28 V dc Input Power (H)
J1-3 (20)
----------------------
Acft 28 V dc Supply
(I)
+28 V dc Return (L)
J1-4 (20)
----------------------
Acft dc Ground
(O)
Antenna Transfer Discrete
J1-5 (22)
----------------------
Antenna Relay
1, 2
(I)
dc Ground
J1-6 (22)
----------------------
Acft dc Ground
(O)
Standby/On Output Disc
J1-7 (22)
----------------------
Transponder No.1
(I)
Chassis Ground
J1-8 (22)
----------------------
Airframe Ground
3
(I)
Functional Test
J1-9 (22)
----------------------
Remote Test Switch
(O)
Warning & Caution
J1-10 (22)
----------------------
Remote Warn
System
2
Reserved
J1-11
(I)
XPDR Fail Logic No.2
J1-12 (22)
----------------------
Transponder No.1
(I)
Ident Input
J1-13 (22)
----------------------
Remote IDENT
Switch
2
(I)
XPDR Fail (High-Level)
J1-14
-----------NC
2, 4
(O)
Air/Gnd Switched Discrete
J1-15
-----------NC
(O)
Alt Source Select Discrete
J1-16 (22)
----------------------
Transponder No.1
2
Reserved
J1-17
(I)
Monitor Lamp Power
J1-18 (20)
----------------------
Acft 28 V dc Power
Reserved
J1-19
(I)
XPDR Configuration
J1-20
-----------NC
2
(I)
Lamp Test
J1-21 (22)
----------------------
Rmt Lamp Test SW
2
(O)
ARINC 429 (A) Out
J1-22 (22)
-------S--T--S----
| |
Transponder No.1
5
Pub. No. 8600200-001, Revision 004 34-45-29 3-11
04 Nov 2014
Use or disclosure of information on this page is subject to the restrictions in the proprietary notice of this document.

SYSTEM DESCRIPTION AND INSTALLATION MANUAL
T3CAS/Part No.9005000
Table 3-1: Gables G7130-XX ATC/TCAS Control Panel Interconnect Data (cont)
I/O Description
Connector
Pin
Connects To Notes
(O)
ARINC 429 (B) Out
J1-23 (22)
-------S--T--S----
| |
GND-- --GND
Transponder No.1
5
(I)
Air/Gnd Discrete
J1-24 (22)
---------------------
WOW Switch
2
Reserved
J2-1
Reserved
J2-2
(I)
+28 V dc Input Power (H)
J2-3 (20)
----------------------
Acft 28 V dc Power
(I)
+28 V dc Return (L)
J2-4 (20)
----------------------
Acft dc Ground
(O)
Antenna Transfer Discrete
J2-5 (22)
----------------------
Antenna Relay
1, 2
(I)
dc Ground
J2-6 (22)
----------------------
Acft dc Ground
(O)
Standby/On Discrete
J2-7 (22)
----------------------
Transponder No.2
(I)
Chassis Ground
J2-8 (22)
----------------------
Airframe Ground
3
(I)
Functional Test
J2-9 (22)
----------------------
Remote Test SW
(O)
Warning & Caution
J2-10 (22)
----------------------
Remote Warn Sys
2
Reserved
J2-11
(I)
XPDR Fail Logic No.2
J2-12 (22)
----------------------
Transponder No.2
(I)
Ident Input
J2-13 (22)
----------------------
Remote Ident SW
2
(I)
XPDR Fail (High-Level)
J2-14
----------NC
2, 4
(O)
Air/Gnd Switched Discrete
J2-15 (22)
----------NC
(O)
Alt Source Select Discrete
J2-16 (22)
----------------------
Transponder No.2
2
Reserved
J2-17
(I)
Monitor Lamp Pwr
J2-18 (20)
----------------------
Acft 28 V dc Power
2
Reserved
J2-19
(I)
XPDR Configuration
J2-20
----------NC
Gnd/Open
2
(I)
Lamp Test
J2-21 (22)
----------------------
Rmt Lamp Test SW
2
(O)
ARINC 429 (A) Out
J2-22 (22)
-------S--T--S----
| |
Transponder No.2
5
3-12
04 Nov 2014 34-45-29 Pub. No. 8600200-001, Revision 004
Use or disclosure of information on this page is subject to the restrictions in the proprietary notice of this document.

SYSTEM DESCRIPTION AND INSTALLATION MANUAL
T3CAS/Part No.9005000
Table 3-1: Gables G7130-XX ATC/TCAS Control Panel Interconnect Data (cont)
I/O Description
Connector
Pin
Connects To Notes
(I)
Air/Gnd Discrete
J2-24
Acft WOW Switch
2
NOTES:
1. Connect either J1-5 or J2-5 to an antenna switching relay if one set of ATC antennas is used in a
dual-transponder installation.
2. Refer to Loading Gradient Specifications in Table 4-2.
3. Tie chassis ground to aircraft frame.
4. 28 V dc discrete input from Collins TDR-94D transponder.
5. Two-wire shielded cable. Tie shields to aircraft dc ground.
Pub. No. 8600200-001, Revision 004 34-45-29 3-13
04 Nov 2014
Use or disclosure of information on this page is subject to the restrictions in the proprietary notice of this document.

SYSTEM DESCRIPTION AND INSTALLATION MANUAL
T3CAS/Part No.9005000
E. Thales VSI-TCAS and ACSS VSI/TRA Displays
Table 3-2 contains interconnect data for the Thales 41-pin connector units. Table 3-3 and
Table 3-4 contain the interface information for the various ACSS VSI/TRA displays. Table
3-3 contains interconnect data for the 41-pin connector units. Table 3-4 contains the
interconnect data for the 55-pin connector (bootstrap) units.
Figure 3-10 and Figure 3-11 show the connector pin layouts for the VSI/TRA. Figure 3-10
shows the 41-pin connector configuration and Figure 3-11 shows the 55-pin connector
configuration.
Table 3-2: Thales 41-Pin VSI-TCAS Interconnect Data
I/O Description
Connector
Pin
Connects To Notes
(I)
VS +dc Ref
J1-1 (22)
----------------------
ARINC 575 ADC
(I)
VS dc Rate
J1-2 (22)
----------------------
ARINC 575 ADC
(I)
VS -dc Ref
J1-3 (22)
----------------------
ARINC 575 ADC
(I)
Primary VS (HI)
J1-4 (22)
-------S--T--S----
| |
ARINC 565 ADC or
IRS
1
(I)
Primary VS (LO)
J1-6 (22)
-------S--T--S----
| |
GND-- --GND
ARINC 565 ADC or
IRS
1
(I)
VS 26 V ac Ref (HI)
J1-5 (22)
----------------------
ARINC 565 ADC or
IRS
(I)
Vert. Speed Digital Port (A)
J1-7 (22)
----------------------
(I)
Vert. Speed Digital Port (B)
J1-21 (22)
----------------------
(I)
VS VALID NO.1
J1-8 (22)
----------------------
ARINC 565/575 ADC
or IRS
(I)
5-V Lamp Dimming (LO)
J1-9 (22)
----------------------
Acft Lamp Dim Ckt
(I)
5-V Lamp Dimming (HI)
J1-10
Acft Lamp Dim Ckt
(I)
TCAS TA/RA
ARINC 429 (B)
J1-11 (22)
-------S--T--S----
| |
TCAS Computer
1
(I)
TCAS TA/RA
ARINC 429 (A)
J1-26 (22)
-------S--T--S----
| |
GND-- --GND
TCAS Computer
1
(I)
VS No.1 ARINC 429 (B)
J1-12 (22)
-------S--T--S----
| |
Digital ADC No.1 or
IRS No.1
1
(I)
VS No.1 ARINC 429 (A)
J1-27 (22)
-------S--T--S----
| |
GND-- --GND
Digital ADC No.1 or
IRS No.1
1
3-14
04 Nov 2014 34-45-29 Pub. No. 8600200-001, Revision 004
Use or disclosure of information on this page is subject to the restrictions in the proprietary notice of this document.

SYSTEM DESCRIPTION AND INSTALLATION MANUAL
T3CAS/Part No.9005000
Table 3-2: Thales 41-Pin VSI-TCAS Interconnect Data (cont)
I/O Description
Connector
Pin
Connects To Notes
(O)
26 V ac Bootstrap ref. Out
J1-13
Bootstrap instrument
(I)
VS No.2 ARINC 429 (B)
J1-14 (22)
-------S--T--S----
| |
Digital ADC No.2 or
IRS No.2
(I)
VS No.2 ARINC 429 (A)
J1-30 (22)
-------S--T--S----
| |
GND-- --GND
Digital ADC No.2 or
IRS No.2
(I)
Config Strap Common
J1-15 (22)
----------------------
Config Strap Logic
Gnd
5
(I)
VS 26 V ac Ref (C)
J1-16 (22)
----------------------
ARINC 565 ADC or
IRS
(I)
Config Strap No.3 (CS3)
J1-17 (22)
----------------------
Gnd/Open
(O)
Secondary VERT SPEED
Validity input (+ 28 V dc)
J1-18 (20)
-------S--T--S----
| |
ARINC 565/575 ADC
2
(O)
VERT SPEED Bootstrap ac
Out (HI)
J1-19 (22)
----------------------
Bootstrap instrument
2
(O)
VERT SPEED Bootstrap ac
Out (LO)
J1-20 (22)
----------------------
Bootstrap instrument
2
(I)
Chassis Ground
J1-22 (22)
----------------------
Airframe Ground
3
(I)
115 V ac Return (C)
J1-23 (22)
----------------------
Acft ac Ground
(I)
Remote Light Sensor (LO)
J1-24 (22)
-------S--T--S----
| |
Acft Rmt Light
Sensor
1
(I)
Remote Light Sensor (HI)
J1-25 (22)
-------S--T--S----
| |
GND-- --GND
Acft Rmt Light
Sensor
1
(I)
Configuration strap
J1-28
----------------------
V/S response time
selection
(O)
RA Valid Out
J1-29 (22)
----------------------
TCAS Computer
(I)
Source Sel Discrete In (SS
1)
J1-31 (22)
----------------------
Gnd/Open
(I)
Config Strap No.0 (CS0)
J1-32 (22)
----------------------
Gnd/Open
(I)
Config Strap No.1 (CS1)
J1-33 (22)
----------------------
Gnd/Open
(I)
Config Strap No.2 (CS2)
J1-34 (22)
----------------------
Gnd/Open
(I)
Config Strap No.4 (CS4)
J1-35 (22)
----------------------
Gnd/Open
Pub. No. 8600200-001, Revision 004 34-45-29 3-15
04 Nov 2014
Use or disclosure of information on this page is subject to the restrictions in the proprietary notice of this document.

SYSTEM DESCRIPTION AND INSTALLATION MANUAL
T3CAS/Part No.9005000
Table 3-2: Thales 41-Pin VSI-TCAS Interconnect Data (cont)
I/O Description
Connector
Pin
Connects To Notes
(I)
Secondary Source Select
Discrete Input (SS 2)
J1-37 (22)
----------------------
Aircraft Switch
(O)
VERT SPEED VALID
Discrete Output
J1-38 (22)
----------------------
(I)
dc Ground
J1-39 (22)
----------------------
Acft dc Ground
(I)
115 V ac Input Power (H)
J1-40 (20)
----------------------
Acft 115 V ac Supply
(I)
Self-test/Display Test
J1-41 (22)
----------------------
Aircraft Switch
NOTES:
1.
Two-wire shielded cable. Tie shields to aircraft dc ground.
2.
Three-wire shielded cable. Tie shields to aircraft dc ground.
3.
The chassis ground to aircraft frame.
Table 3-3: ACSS 41-Pin VSI/TRA Interconnect Data
I/O Description
Connector
Pin
Connects To Notes
(I)
VS +dc Ref
J1-1 (22)
----------------------
ARINC 575 ADC
(I)
VS dc Rate
J1-2 (22)
----------------------
ARINC 575 ADC
(I)
VS -dc Ref
J1-3 (22)
----------------------
ARINC 575 ADC
(I)
Primary VS (HI)
J1-4 (22)
-------S--T--S----
| |
ARINC 565 ADC or
IRS
1
(I)
Primary VS (LO)
J1-6 (22)
-------S--T--S----
| |
GND-- --GND
ARINC 565 ADC or
IRS 1
(I)
VS 26 V ac Ref (HI)
J1-5 (22)
----------------------
ARINC 565 ADC or
IRS
(I)
Reserved ARINC Bus (A)
J1-7 (22)
(I)
Reserved ARINC Bus (B)
J1-21 (22)
(I)
VS VALID NO.1
J1-8 (22)
----------------------
ARINC 565/575 ADC
or IRS
(I)
TCAS TA/RA
ARINC 429 (B)
J1-11 (22)
-------S--T--S----
| |
TCAS Computer
1
3-16
04 Nov 2014 34-45-29 Pub. No. 8600200-001, Revision 004
Use or disclosure of information on this page is subject to the restrictions in the proprietary notice of this document.

SYSTEM DESCRIPTION AND INSTALLATION MANUAL
T3CAS/Part No.9005000
Table 3-3: ACSS 41-Pin VSI/TRA Interconnect Data (cont)
I/O Description
Connector
Pin
Connects To Notes
(I)
TCAS TA/RA
ARINC 429 (A)
J1-26 (22)
-------S--T--S----
| |
GND-- --GND
TCAS Computer
1
(I)
VS No.1 ARINC 429 (B)
J1-12 (22)
-------S--T--S----
| |
Digital ADC No.1 or
PTM No.1
1
(I)
VS No.1 ARINC 429 (A)
J1-27 (22)
-------S--T--S----
| |
GND-- --GND
Digital ADC No.1 or
PTM No.1 1
(I)
Spare
J1-13
(I)
VS No.2 ARINC 429 (B)
J1-14 (22)
-------S--T--S----
| |
Digital ADC No.2 or
PTM No.2
(I)
VS No.2 ARINC 429 (A)
J1-30 (22)
-------S--T--S----
| |
GND-- --GND
Digital ADC No.2 or
PTM No.2
(I)
Config Strap Common
J1-15 (22)
----------------------
Config Strap Logic
Gnd
5
(I)
VS 26 V ac Ref (C)
J1-16 (22)
----------------------
ARINC 565 ADC or
IRS
(I)
Config Strap No.3 (CS3)
J1-17 (22)
----------------------
Gnd/Open
(O)
PTM Common
J1-18 (20)
-------S--T--S-------
| |
Pressure Xdcr Mdl
2
(O)
PTM Pwr Out (-15 V dc)
J1-19 (20)
-------S--T--S-------
| |
Pressure Xdcr Mdl
2
(O)
PTM Pwr Out (+15 V dc)
J1-20 (20)
-------S--T--S-----
| |
GND-- --GND
Pressure Xdcr Mdl
2
(I)
Chassis Ground
J1-22 (22)
----------------------
Airframe Ground
3
(I)
115 V ac Return (C)
J1-23 (20)
----------------------
Acft ac Ground
(I)
Remote Light Sensor (LO)
J1-24 (22)
-------S--T--S----
| |
Acft Rmt Light
Sensor
1
(I)
Remote Light Sensor (HI)
J1-25 (22)
-------S--T--S----
| |
GND-- --GND
Acft Rmt Light
Sensor
1
Spare
J1-28 (22)
(O)
RA Valid Out
J1-29 (22)
----------------------
TCAS Computer
Pub. No. 8600200-001, Revision 004 34-45-29 3-17
04 Nov 2014
Use or disclosure of information on this page is subject to the restrictions in the proprietary notice of this document.

SYSTEM DESCRIPTION AND INSTALLATION MANUAL
T3CAS/Part No.9005000
Table 3-3: ACSS 41-Pin VSI/TRA Interconnect Data (cont)
I/O Description
Connector
Pin
Connects To Notes
(I)
Source Sel Discrete In
J1-31 (22)
----------------------
Gnd/Open
(I)
Config Strap No.0 (CS0)
J1-32 (22)
----------------------
Gnd/Open
(I)
Config Strap No.1 (CS1)
J1-33 (22) ----------------------
Gnd/Open
(I)
Config Strap No.2 (CS2)
J1-34 (22) ----------------------
Gnd/Open
(I)
Config Strap No.4 (CS4)
J1-35 (22)
----------------------
Gnd/Open
(I)
Config Strap No.5 (CS5)
J1-36 (22)
----------------------
Gnd/Open
(I)
Config Strap No.6 (CS6)
J1-37 (22)
----------------------
Gnd/Open
(I)
Config Strap No.7 (CS7)
J1-38 (22) ----------------------
Gnd/Open
(I)
dc Ground
J1-39 (22) ----------------------
Acft dc Ground
(I)
115 V ac Input Power (H)
J1-40 (20)
----------------------
Acft 115 V ac Supply
(I)
Config Strap No.8 (CS8)
J1-41 (22)
----------------------
Gnd/Open
NOTES:
1.
Two-wire shielded cable. Tie shields to aircraft dc ground.
2.
Three-wire shielded cable. Tie shields to aircraft dc ground.
3.
Tie chassis ground to aircraft frame.
Table 3-4: ACSS 55-Pin VSI/TRA Interconnect Data
I/O Description
Connector
Pin
Connects To Notes
(I)
Secondary ARINC 565 VS
(LO) Input
J1-1 (22)
-------S--T--S----
| |
Cross-Side VSI/TRA
1
(I)
Secondary ARINC 565 VS
(HI) Input
J1-6 (22)
-------S--T--S----
| |
GND-- --GND
Cross-Side VSI/TRA
1
(I)
VS dc Rate
J1-2 (22)
----------------------
ARINC 575 ADC
(I)
VS -dc Ref
J1-3 (22)
----------------------
ARINC 575 ADC
(O)
Bootstrap Ref Output
J1-4 (22)
----------------------
Cross-Side VSI/TRA
(I)
VS No.2 Valid Discrete In
J1-5 (22)
----------------------
Cross-Side VSI/TRA
(I)
Second 26 V ac Ref In
J1-7 (22)
----------------------
Cross-Side VSI/TRA
3-18
04 Nov 2014 34-45-29 Pub. No. 8600200-001, Revision 004
Use or disclosure of information on this page is subject to the restrictions in the proprietary notice of this document.

SYSTEM DESCRIPTION AND INSTALLATION MANUAL
T3CAS/Part No.9005000
Table 3-4: ACSS 55-Pin VSI/TRA Interconnect Data (cont)
I/O Description
Connector
Pin
Connects To Notes
(I)
VS +dc Ref
J1-8 (22)
----------------------
ARINC 575 ADC
(I)
Primary 26 V ac Ref (H)
J1-9 (22)
----------------------
ARINC 565 ADC
(I)
Primary VS (LO)
J1-10 (22)
-------S--T--S----
| |
ARINC 565 ADC
1
(I)
Primary VS (HI)
J1-11 (22)
-------S--T--S----
| |
GND-- --GND
ARINC 565 ADC
1
(I)
VS No.1 Valid Discrete In
J1-12 (22)
----------------------
ARINC 565/575 ADC
(O)
R/C Bootstrap (LO) Output
J1-13 (22)
-------S--T--S----
| |
Cross-Side VSI/TRA
1
(O)
R/C Bootstrap (HI) Output
J1-14 (22)
-------S--T--S----
| |
GND-- --GND
Cross-Side VSI/TRA
1
(O)
Bootstrap Command Out
J1-15
----------NC
Spare
J1-16
(I)
Config Strap No.5 (CS5)
J1-17 (22)
----------------------
Gnd/Open
(I)
Config Strap No.6 (CS6)
J1-18 (22)
----------------------
Gnd/Open
(I)
Config Strap No.7 (CS7)
J1-19 (22)
----------------------
Gnd/Open
(I)
Chassis Ground
J1-20 (22)
----------------------
Airframe Ground
2
(I)
Config Strap No.5 (CS5)
J1-17 (22)
----------------------
Gnd/Open
(I)
Config Strap No.6 (CS6)
J1-18 (22)
----------------------
Gnd/Open
(I)
Config Strap No.7 (CS7)
J1-19 (22)
----------------------
Gnd/Open
(I)
Chassis Ground
J1-20 (22)
----------------------
Airframe Ground
2
(I)
dc Ground
J1-21 (22)
----------------------
Acft dc Ground
(I)
Config Strap No.8 (CS8)
J1-22 (22)
----------------------
Gnd/Open
(I)
Remote Light Sensor (HI)
J1-23 (22)
-------S--T--S----
| |
Acft Rmt Light
Sensor
2
(I)
Remote Light Sensor (LO)
J1-24 (22)
-------S--T--S----
| |
GND-- --GND
Acft Rmt Light
Sensor
2
(I)
TCAS ARINC 429 (A)
J1-25 (22)
-------S--T--S----
| |
TCAS Computer
2
Pub. No. 8600200-001, Revision 004 34-45-29 3-19
04 Nov 2014
Use or disclosure of information on this page is subject to the restrictions in the proprietary notice of this document.

SYSTEM DESCRIPTION AND INSTALLATION MANUAL
T3CAS/Part No.9005000
Table 3-4: ACSS 55-Pin VSI/TRA Interconnect Data (cont)
I/O Description
Connector
Pin
Connects To Notes
(I)
TCAS ARINC 429 (B)
J1-44 (22)
-------S--T--S----
| |
GND-- --GND
TCAS Computer
2
(I)
VS No.2 ARINC 429 (A)
J1-26 (22)
-------S--T--S----
| |
Digital ADC No.2 or
PTM No.2
2
(I)
VS No.2 ARINC 429 (B)
J1-45 (22)
-------S--T--S----
| |
GND-- --GND
Digital ADC No.2 or
PTM No.2
2
(I)
IRS ARINC 429 (A)
J1-27 (22)
-------S--T--S----
| |
Inertial Reference
Sys
2
(I)
IRS ARINC 429 (B)
J1-46 (22)
-------S--T--S----
| |
GND-- --GND
Inertial Reference
Sys
2
(O)
RA Valid Discrete Out
J1-28 (22)
----------------------
TCAS Computer
(I)
Source Select No.2
J1-29 (22)
----------------------
Gnd/Open
Spare
J1-30
(I)
Source Select No.1
J1-31 (22)
----------------------
Gnd/Open
(I)
Config Strap No.0 (CS0)
J1-32 (22)
----------------------
Gnd/Open
(I)
Config Strap No.1 (CS1)
J1-33 (22)
----------------------
Gnd/Open
(I)
Config Strap No.2 (CS2)
J1-34 (22)
----------------------
Gnd/Open
(I)
Config Strap No.3 (CS3)
J1-35 (22)
----------------------
Gnd/Open
(I)
Config Strap No.4 (CS4)
J1-36 (22)
----------------------
Gnd/Open
(I)
Config Strap Common
J1-37 (22)
----------------------
Config Strap Logic
Gnd
(I)
115 V ac Return (C)
J1-38 (20)
----------------------
Acft ac Ground
Spare
J1-39
(I)
115 V ac Input Power (H)
J1-40 (20)
Acft 115 V ac Supply
Spare
J1-41
(I)
5-V Lamp Dimming (HI)
J1-42 (22)
----------------------
Acft Lamp Dim Ckt
(I)
5-V Lamp Dimming (LO)
J1-43 (22)
----------------------
Acft Lamp Dim Ckt
(I)
VS No.1 ARINC 429 (A)
J1-47 (22)
-------S--T--S----
| |
Digital ADC No.1 or
PTM No.1
2
3-20
04 Nov 2014 34-45-29 Pub. No. 8600200-001, Revision 004
Use or disclosure of information on this page is subject to the restrictions in the proprietary notice of this document.

SYSTEM DESCRIPTION AND INSTALLATION MANUAL
T3CAS/Part No.9005000
Table 3-4: ACSS 55-Pin VSI/TRA Interconnect Data (cont)
I/O Description
Connector
Pin
Connects To Notes
(I)
VS No.1 ARINC 429 (B)
J1-48 (22)
-------S--T--S----
| |
GND-- --GND
Digital ADC No.1 or
PTM No.1
2
(O)
VSI Valid Output Discrete
J1-49 (22)
----------------------
Cross--Side VSI/TRA
(O)
PTM Pwr Out (--15 V dc)
J1-50 (20)
-------S--T--S----
| |
Pressure Xdcr Mdl
3
(O)
PTM Common
J1-51 (20)
-------S--T--S----
| |
Pressure Xdcr Mdl
3
(O)
PTM Pwr Out (+15 V dc)
J1-52 (20)
-------S--T--S----
| |
GND-- --GND
Pressure Xdcr Mdl
3
Spare
J1-53
Spare
J1-54
Spare
J1-55
NOTES:
1.
Two-wire shielded cable. Tie shields to aircraft dc ground.
2.
Tie chassis ground to aircraft frame.
3.
Three-wire shielded cable. Tie shields to aircraft dc ground.
Pub. No. 8600200-001, Revision 004 34-45-29 3-21
04 Nov 2014
Use or disclosure of information on this page is subject to the restrictions in the proprietary notice of this document.

SYSTEM DESCRIPTION AND INSTALLATION MANUAL
T3CAS/Part No.9005000
Figure 3-10: Thales VSI-TCAS and ACSS VSI/TRA 41-Pin Connector Layout
3-22
04 Nov 2014 34-45-29 Pub. No. 8600200-001, Revision 004
Use or disclosure of information on this page is subject to the restrictions in the proprietary notice of this document.

SYSTEM DESCRIPTION AND INSTALLATION MANUAL
T3CAS/Part No.9005000
Figure 3-11: ACSS VSI/TRA 55-Pin Connector Layout
Pub. No. 8600200-001, Revision 004 34-45-29 3-23
04 Nov 2014
Use or disclosure of information on this page is subject to the restrictions in the proprietary notice of this document.

SYSTEM DESCRIPTION AND INSTALLATION MANUAL
T3CAS/Part No.9005000
F. TAWS Terrain Hazard Display
For T3CAS installations with the TAWS function enabled, at least one TAWS terrain
hazard display is required. ARINC 708 and ARINC 429 WXR display and EFIS interfaces
are supported. Figure 3-12 shows a typical single ARINC 708 terrain hazard display
interface. The T3CAS dual-independent terrain hazard display I/O supports dual ARINC
708 and dual ARINC 429 terrain hazard display systems. Figure 3-12 shows a typical
single ARINC 708 terrain hazard display and display interface with annunciator switch
panels. The TERR and WXR select switches shown are momentary but alternate action
switches are also supported. The terrain INHIBIT or OVRD switches are alternate action
switches and are typically guarded.
3-24
04 Nov 2014 34-45-29 Pub. No. 8600200-001, Revision 004
Use or disclosure of information on this page is subject to the restrictions in the proprietary notice of this document.

SYSTEM DESCRIPTION AND INSTALLATION MANUAL
T3CAS/Part No.9005000
Figure 3-12: Typical T3CAS Single Terrain Hazard Display Interface
Pub. No. 8600200-001, Revision 004 34-45-29 3-25
04 Nov 2014
Use or disclosure of information on this page is subject to the restrictions in the proprietary notice of this document.

SYSTEM DESCRIPTION AND INSTALLATION MANUAL
T3CAS/Part No.9005000
Blank Page
3-26
04 Nov 2014 34-45-29 Pub. No. 8600200-001, Revision 004
Use or disclosure of information on this page is subject to the restrictions in the proprietary notice of this document.

SYSTEM DESCRIPTION AND INSTALLATION MANUAL
T3CAS/Part No.9005000
LOADING/GRADIENT SPECIFICATIONS
1. General
This section contains the loading and gradient specifications for the input and output signals of
each component of the T3CAS system. The input/output discretes default to an open state when
power is removed.
2. T3CAS Interface Description
Refer to sub-section 3.A. TAWS/RWS/XPDR/DO-260B Data Configuration, sub-section (3)
Programmable Digital Input/Output Pins, for the definition of the physical characteristics of each
Digital signal type supported by the T3CAS. The T3CAS unit supports the following Digital signals:
ARINC 429, ARINC 453, Ethernet 10 Base-T and RS-422. Refer to Table 4-1 and Table 4-2 for
the T3CAS Computer Unit input and output interface definition.
Component
Table No.
T3CAS Computer Unit Interface Description
(Applicable to Part No.9005000-10000, -10101, -10202, -10204, and -11203)
Table 4-1
T3CAS Computer Unit Interface Description
(Applicable to Part No.9005000-11801 and -55801)
Table 4-2
Gables Control Panel Interface Description Table 4-3
Thales 41-Pin VSI-TCAS Interface Description Table 4-4
ACSS 41-Pin VSI/TRA Interface Descriptions Table 4-5
ACSS 55-Pin VSI/TRA Interface Descriptions
Table 4-6
Pub. No. 8600200-001, Revision 004 34-45-29 4-1
04 Nov 2014
Use or disclosure of information on this page is subject to the restrictions in the proprietary notice of this document.

SYSTEM DESCRIPTION AND INSTALLATION MANUAL
T3CAS/Part No.9005000
Table 4-1: T3CAS Computer Unit Interface Description
(Applicable to Part No. 9005000-10000, -10101, -10202, -10204, and -11203)
Connector
Pin
Designation
Functional Description
T
3
CAS Computer Unit Right Top Plug (RTP)
RTP-1A, 1B
ARINC 453 Terrain Display Output No.1 (CAPT): (RTP-1A [A], RTP-1B [B])
T
3
CAS output number 1 to the terrain awareness display.
RTP-1C, 1D
ARINC 429 Input: MMR/GPS #1 [RTP-1C (A), RTP-1D (B)]
This high-speed 429 input is used to receive GPS label input containing position,
velocity and quality information for the use of ADS-B IN applications and by the
transponder function of ADS-B OUT. NOTE: These pins are designated for
MMR/GPS #1 if T3CAS is operating as TAWS and TCAS only with internal
transponder and ATSAW function disabled. Else these pins are Spares.
RTP-1E, 1F
ARINC 453 Terrain Display Output No.2 (F/O): (RTP-1E [A], RTP-1F [B])
T
3
CAS output number 2 to the terrain awareness display.
RTP-1G, 1H
ARINC 429 Input: FMC #1:EIS [RTP-1G (A), RTP-1H (B)]
This high-speed 429 input from the Flight Management Computer (FMC)
Electronic Instrument System (EIS) provides position information from the FMC to
the T3CAS. NOTE: These pins are designated for FMC #1 if T3CAS is operating
as TAWS and TCAS only with internal transponder disabled. Else these pins are
Spares.
RTP-1J, 1K
ARINC 429 Input: ADIRU #2 / ADR [RTP-1J (A), RTP-1K (B)]
This low-speed 429 input from the Air Data/Inertial Reference Unit (ADIRU) #2
provides altitude, airspeed, altitude rate and temperature information to the
T
3
CAS.
RTP-2A, 2B
ARINC 429 Input: ADIRU #3 / ADR [RTP-2A (A), RTP-2B (B)]
This low-speed 429 input from the Air Data/Inertial Reference Unit (ADIRU) #2
provides altitude, airspeed, altitude rate and temperature information to the
T
3
CAS.
RTP-2C, 2D
ARINC 429 Air Data/Inertial Reference Unit (ADIRU) #2, Inertial Reference
Part (IRS) Input: [RTP-2C (A), RTP-2D (B)]
This high-speed input is provided for applications to receive Inertial Reference
System information.
RTP-2E, 2F
Weather Radar/Predictive Windshear System Hazard #1: [RTP-2E (A), RTP-
2F (B)]
This high-speed input is provided for TAWS application to receive predictive
windshear information.
RTP-2G
Discrete Input (Gnd/Open)
XPDR Mode S Address Bit A1 (MSB). Refer to Note 5 following the table.
RTP-2H
Discrete Input (Gnd/Open)
XPDR Mode S Address Bit A2.
RTP-2J
Discrete Input (Gnd/Open)
XPDR Mode S Address Bit A3.
4-2
04 Nov 2014 34-45-29 Pub. No. 8600200-001, Revision 004
Use or disclosure of information on this page is subject to the restrictions in the proprietary notice of this document.

SYSTEM DESCRIPTION AND INSTALLATION MANUAL
T3CAS/Part No.9005000
Table 4-1: T3CAS Computer Unit Interface Description (cont)
(Applicable to Part No. 9005000-10000, -10101, -10202, -10204, and -11203)
Connector
Pin
Designation
Functional Description
RTP-2K
Discrete Input (Gnd/Open)
XPDR Mode S Address Bit A4.
RTP-3A, 3B
Instrument Landing System #1 (Left)
This low-speed bus inputs all signals associated with the instrument landing
system to the T
3
CAS.
RTP-3C, 3D
FCU #1 Interface [RTP-3C (A), RTP-3D (B)]
This low-speed input is provided for applications to receive flight control unit
information.
RTP-3E, 3F
ARINC 429 FMC (Engine Out) - Performance Limit Input: [RTP-3E (A), RTP-3F
(B)]
This high-speed ARINC 429 input is provided for TAWS applications to receive
climb rate performance limit information from an external device such as a Flight
Management Computer. NOTE: These pins are designated for FMC (Engine Out)
if T3CAS is operating as TAWS and TCAS only with internal transponder disabled.
Else these pins are Spares.
RTP-3G, 3H
FCU #2 Interface [RTP-3G (A), RTP-3H (B)]
This low-speed input is provided for applications to receive flight control unit
information. NOTE: These pins are designated for FCU #2 if T3CAS is operating as
TAWS and TCAS only with the internal transponder disabled. Else these pins are
Spares.
RTP-3J, 3K
ARINC 429 Input: ADIRU #1/ADR [RTP-3J (A), RTP-3K (B)]
This low-speed 429 input from the Air Data/Inertial Reference Unit (ADIRU) #1
provides altitude, airspeed, altitude rate and temperature information to the T3CAS.
NOTE: These pins are designated for ADIRU #1 if T3CAS is operating as TAWS
and TCAS only with internal transponder disabled. Else these pins are Spares.
RTP-4A, 4B
Slat/Flap Control Computer [RTP-4A (A), RTP-4B (B)]
This low-speed bus inputs flap angle to T
3
CAS.
RTP-4C
Discrete Input (Gnd/Open)
XPDR Mode S Address Bit A5.
RTP-4D, 4E
ATC/TCAS Control Panel [RTP-4D (A), RTP-4E (B)]
This low-speed bus controls the TCAS/ATC interfaces and the TCAS display.
NOTE: These pins are designated for the ATC/TCAS control panel if T3CAS is
operating in full configuration mode with TAWS, TCAS and internal transponder
enabled. Else these pins are Spares.
RTP-4F
Discrete Input (Gnd/Open)
XPDR Mode S Address Bit A6.
Pub. No. 8600200-001, Revision 004 34-45-29 4-3
04 Nov 2014
Use or disclosure of information on this page is subject to the restrictions in the proprietary notice of this document.

SYSTEM DESCRIPTION AND INSTALLATION MANUAL
T3CAS/Part No.9005000
Table 4-1: T3CAS Computer Unit Interface Description (cont)
(Applicable to Part No. 9005000-10000, -10101, -10202, -10204, and -11203)
Connector
Pin
Designation
Functional Description
RTP-4G, 4H
ARINC 429 CFDS Input to TAWS: [RTP-4G (A), RTP-4H (B)]
This differential pair input is a low-speed ARINC 429 bus (12.5k bits/second
nominal), that receives data from an onboard maintenance computer or a central
fault display system to the TAWS function. NOTE: These pins are designated for
CFDS if T3CAS is operating as TAWS and TCAS only with internal transponder
disabled. Else these pins are Spares.
RTP-4J
Discrete Input (Gnd/Open)
XPDR Mode S Address Bit A7.
RTP-4K
Discrete Input (Gnd/Open)
XPDR Mode S Address Bit A8.
RTP-5A, 5B
Weather Radar/Predictive Windshear System Hazard #2: [RTP-5A (A), RTP-5B
(B)]
This high-speed input is provided for TAWS application to receive predictive
windshear information.
RTP-5C
Discrete Input (Gnd/Open)
XPDR Mode S Address Bit A9.
RTP-5D, 5E
Spare
RTP-5F
Discrete Input (Gnd/Open)
XPDR Mode S Address Bit A10.
RTP-5G, 5H
ARINC 429 CFDIU Input to Internal Transponder: [RTP-5G (A), RTP-5H (B)]
This differential pair input is a low-speed ARINC 429 bus (12.5k bits/second
nominal), that receives data from an onboard maintenance computer or a central
fault display interface unit to the internal transponder.
NOTE: These pins are designated for CFDIU inputs if T3CAS is operating in full
configuration mode with TAWS, TCAS and internal transponder enabled. Else
these pins are Spares.
RTP-5J
Discrete Input (Gnd/Open)
XPDR Mode S Address Bit A11.
RTP-5K
Strobed Program Pin
TAWS/XPDR #11: Max True Airspeed
Refer to sub-section 3.C. TAWS/XPDR Pin Programming
RTP-6A, 6B
FMGC #1 Own C/FMGEC #1 GEN 1 Interface: [RTP-6A (A), RTP-6B (B)]
This low-speed bus inputs all labels associated with the Flight Management
Computer to T
3
CAS.
RTP-6C
Discrete Input (Gnd/Open)
XPDR Mode S Address Bit A12.
RTP-6D
Strobed Program Pin
TAWS/XPDR #1: Aircraft Type. Refer to Table 4-19: Aircraft Type Configurations
4-4
04 Nov 2014 34-45-29 Pub. No. 8600200-001, Revision 004
Use or disclosure of information on this page is subject to the restrictions in the proprietary notice of this document.

SYSTEM DESCRIPTION AND INSTALLATION MANUAL
T3CAS/Part No.9005000
Table 4-1: T3CAS Computer Unit Interface Description (cont)
(Applicable to Part No. 9005000-10000, -10101, -10202, -10204, and -11203)
Connector
Pin
Designation
Functional Description
RTP-6E
Discrete Input (Gnd/Open)
XPDR Mode S Address Bit A13.
RTP-6F
Strobed Program Pin
TAWS/XPDR #2: Aircraft Type. Refer to Table 4-19: Aircraft Type Configurations
RTP-6G
Strobed Program Pin
TAWS/XPDR #3: Lateral Position Priority.
Refer to sub-section 3.C. TAWS/XPDR Pin Programming
RTP-6H
Discrete Input (Gnd/Open)
XPDR Mode S Address Bit A14.
RTP-6J
Strobed Program Pin
TAWS/XPDR #4: Audio Menu Selection
Refer to sub-section 3.C. TAWS/XPDR Pin Programming
RTP-6K
Discrete Input (Gnd/Open)
XPDR Mode S Address Bit A15.
RTP-7A
Strobed Program Pin
TAWS/XPDR #5: CRT-LCD Disp Select
Refer to sub-section 3.C. TAWS/XPDR Pin Programming
RTP-7B
Discrete Input (Gnd/Open)
XPDR Mode S Address Bit A16.
RTP-7C
Strobed Program Pin
TAWS/XPDR #6: Auto (CPA-THD) Deactivation
Refer to sub-section 3.C. TAWS/XPDR Pin Programming
RTP-7D
Strobed Program Pin
TAWS/XPDR #7: Predictive Windshear Present
Refer to sub-section 3.C. TAWS/XPDR Pin Programming
RTP-7E
Discrete Input (Gnd/Open)
XPDR Mode S Address Bit A17.
RTP-7F
Strobed Program Pin
TAWS/XPDR #8:
Topo Mode ( For Part No.-10000, -10101, -10202, -10204)
GPS Source (For Part No.-11203)
Refer to sub-section 3.C. TAWS/XPDR Pin Programming
RTP-7G
Strobed Program Pin
TAWS/XPDR #9:
Vertical Display (For Part No.-10000, -10101, -10202, -10204)
ADLP Installed (For Part No.-11203)
Refer to sub-section 3.C. TAWS/XPDR Pin Programming
RTP-7H
Discrete Input (Gnd/Open)
XPDR Mode S Address Bit A18.
Pub. No. 8600200-001, Revision 004 34-45-29 4-5
04 Nov 2014
Use or disclosure of information on this page is subject to the restrictions in the proprietary notice of this document.

SYSTEM DESCRIPTION AND INSTALLATION MANUAL
T3CAS/Part No.9005000
Table 4-1: T3CAS Computer Unit Interface Description (cont)
(Applicable to Part No. 9005000-10000, -10101, -10202, -10204, and -11203)
Connector
Pin
Designation
Functional Description
RTP-7J
Strobed Program Pin
TAWS/XPDR #10: Attitude Source Selection
Refer to sub-section 3.C. TAWS/XPDR Pin Programming
RTP-7K
Strobed Program Pin
TAWS/XPDR #12: Cold Temp Comp
Refer to sub-section 3.C. TAWS/XPDR Pin Programming
RTP-8A, 8B
ARINC 429 TAWS Output to CFDIU: [RTP-8A (A), RTP-8B (B)]
This ARINC 429 output bus transmits data from the TAWS function to an onboard
maintenance computer or a central fault display system.
RTP-8C
Discrete Input (Gnd/Open)
Internal XPDR SDI #1 Refer to Note 6 following the table.
RTP-8D
Discrete Input (Gnd/Open)
Internal XPDR SDI #2
RTP-8E, 8F
ARINC 429 Transponder Output to CFDIU: [RTP-8E (A), RTP-8F (B)]
This ARINC 429 output bus transmits data from the transponder function to an
onboard maintenance computer or a central fault display system. NOTE: These
pins are designated for CFDIU outputs if T3CAS is operating in full configuration
mode with TAWS, TCAS and internal transponder enabled. Else these pins are
Spares.
RTP-8G, 8H
ARINC 429 TAWS Test Output
This bus outputs Event Data for flight test use. Event Data is the post filter / post
source selection inputs to the Ground Collision Avoidance Module.
RTP-8J, 8K
Reserved
RTP-9A, 9B
Reserved
RTP-9C
Discrete Input (Gnd/Open)
XPDR Mode S Address Bit A19.
RTP-9D
Discrete Input (Gnd/Open)
XPDR Mode S Address Bit A20.
RTP-9E
Discrete Input (Gnd/Open)
XPDR Mode S Address Bit A21.
RTP-9F
Discrete Input (Gnd/Open)
XPDR Mode S Address Bit A22.
RTP-9G, 9H
ARINC 429 TAWS Output
This bus outputs data for Airline troubleshooting purposes.
RTP-9J
Strobed Program Pin
Spare Or
DO-260B Config Data #7 (For Part No.-11203)
Refer to sub-section 3.B. TAWS/RWS/XPDR/DO-260B Data Configuration
4-6
04 Nov 2014 34-45-29 Pub. No. 8600200-001, Revision 004
Use or disclosure of information on this page is subject to the restrictions in the proprietary notice of this document.

SYSTEM DESCRIPTION AND INSTALLATION MANUAL
T3CAS/Part No.9005000
Table 4-1: T3CAS Computer Unit Interface Description (cont)
(Applicable to Part No. 9005000-10000, -10101, -10202, -10204, and -11203)
Connector
Pin
Designation
Functional Description
RTP-9K
Strobed Program Pin
Spare Or
DO-260B Config Data Parity (For Part No.-11203)
Refer to sub-section 3.B. TAWS/RWS/XPDR/DO-260B Data Configuration
RTP-10A
Discrete Input (Gnd/Open)
Glideslope Cancel (Self-Test)
RTP-10B
Discrete Input (Gnd/Open)
Audio Inhibit
RTP-10C
Discrete Input (Gnd/Open)
GPWS Inhibit
RTP-10D
Discrete Input (Gnd/Open)
Glideslope Cancel
RTP-10E
Discrete Input (Gnd/Open)
XPDR Air/Ground #1
RTP-10F
Discrete Input (Gnd/Open)
Terrain Display Select #1
RTP-10G
Discrete Input (Gnd/Open)
Terrain Display Select #2
RTP-10H
Discrete Input (Gnd/Open)
Landing Flaps / Landing Flap Override
RTP-10J
Discrete Input (Gnd/Open)
Steep Approach or Landing Gear Override. Refer to Note 7 following the table.
RTP-10K
Discrete Input (Gnd/Open)
Audio Momentary Suppress
RTP-11A
Strobed Program Pin
TAWS/XPDR #13: Terrain Adv Lines Displayed
Refer to sub-section 3.C. TAWS/XPDR Pin Programming
RTP-11B
Discrete Input (Gnd/Open)
WXR Radar #1 On/Off
RTP-11C
Strobed Program Pin
TAWS/XPDR #14: Eleview Function
Refer to sub-section 3.C. TAWS/XPDR Pin Programming
RTP-11D
Discrete Input (Gnd/Open)
WXR Radar #2 On/Off
RTP-11E
Discrete Input (Gnd/Open)
Terrain Mode Inhibit
Pub. No. 8600200-001, Revision 004 34-45-29 4-7
04 Nov 2014
Use or disclosure of information on this page is subject to the restrictions in the proprietary notice of this document.

SYSTEM DESCRIPTION AND INSTALLATION MANUAL
T3CAS/Part No.9005000
Table 4-1: T3CAS Computer Unit Interface Description (cont)
(Applicable to Part No. 9005000-10000, -10101, -10202, -10204, and -11203)
Connector
Pin
Designation
Functional Description
RTP-11F
Strobed Program Pin
TAWS/XPDR #15: Obstacle Function
Refer to sub-section 3.C. TAWS/XPDR Pin Programming
RTP-11G
Strobed Program Pin
TAWS/XPDR #16: Antenna Modes
Refer to sub-section 3.C. TAWS/XPDR Pin Programming
RTP-11H
Strobed Program Pin
TAWS/XPDR #17: TAWS/XPDR Installed
Refer to sub-section 3.C. TAWS/XPDR Pin Programming
RTP-11J
Strobed Program Pin
TAWS/XPDR #18: Odd Program Pin Parity
Refer to sub-section 3.C. TAWS/XPDR Pin Programming
RTP-11K
Discrete Input (Gnd/Open)
XPDR Air/Ground #2
RTP-12A
Strobed Program Pin
Spare Or
DO-260B Config Data #1 (For Part No.-11203)
Refer to sub-section 3.B. TAWS/RWS/XPDR/DO-260B Data Configuration
RTP-12B
Strobed Program Pin
Spare Or
DO-260B Config Data #2 (For Part No.-11203)
Refer to sub-section 3.B. TAWS/RWS/XPDR/DO-260B Data Configuration
RTP-12C
Strobed Program Pin
Spare Or
DO-260B Config Data #3 (For Part No.-11203)
Refer to sub-section 3.B. TAWS/RWS/XPDR/DO-260B Data Configuration
RTP-12D
Strobed Program Pin
Spare Or
DO-260B Config Data #4 (For Part No.-11203)
Refer to sub-section 3.B. TAWS/RWS/XPDR/DO-260B Data Configuration
RTP-12E
Strobed Program Pin
Spare Or
DO-260B Config Data #5 (For Part No.-11203)
Refer to sub-section 3.B. TAWS/RWS/XPDR/DO-260B Data Configuration
RTP-12F
Strobed Program Pin
Spare Or
DO-260B Config Data #6 (For Part No.-11203)
Refer to sub-section 3.B. TAWS/RWS/XPDR/DO-260B Data Configuration
RTP-12G
+28 V dc Discrete Input
Spare
4-8
04 Nov 2014 34-45-29 Pub. No. 8600200-001, Revision 004
Use or disclosure of information on this page is subject to the restrictions in the proprietary notice of this document.

SYSTEM DESCRIPTION AND INSTALLATION MANUAL
T3CAS/Part No.9005000
Table 4-1: T3CAS Computer Unit Interface Description (cont)
(Applicable to Part No. 9005000-10000, -10101, -10202, -10204, and -11203)
Connector
Pin
Designation
Functional Description
RTP-12H
+28 V dc Discrete Input
Spare
RTP-12J
Discrete Input (Gnd/Open), Latch
Air Data Source Select
RTP-12K
Discrete Input (Gnd/Open)
Control Panel Source Select
RTP-13A
Discrete Input (Gnd/Open), Latch
Extended Squitter Disable
RTP-13B
Programmable/Strobed Ground Discrete Output
GPWS Caution /TAWS/XPDR Lamp 500 mA
RTP-13C
Programmable/Strobed Ground Discrete Output
Spare Output /TAWS/XPDR 500 mA
RTP-13D
Programmable/Strobed Ground Discrete Output
GPWS Warning /TAWS/XPDR Lamp 500 mA
RTP-13E
Programmable/Strobed Ground Discrete Output
Spare /TAWS/XPDR 500 mA
RTP-13F
Programmable/Strobed Ground Discrete Output
Spare /TAWS/XPDR 500 mA
RTP-13G
Programmable/Strobed Ground Discrete Output
Spare /TAWS/XPDR 500 mA
RTP-13H
Programmable/Strobed Ground Discrete Output
Spare /TAWS/XPDR 500 mA
RTP-13J
Ground Discrete Output
Terrain Display Select #1 500 mA
RTP-13K
Programmable/Strobed Ground Discrete Output
Spare /TAWS/XPDR 500 mA
RTP-14A
Ground Discrete Output
Terrain Display Select #2 500 mA
RTP-14B
Ground Discrete Monitor Output
GPWS Monitor 250 mA
RTP-14C
Ground Discrete Monitor Output
Terrain Not Available Monitor 250 mA
RTP-14D
Ground Discrete Monitor Output
Terrain Monitor 250 mA
RTP-14E
Discrete Input (Gnd/Open)
XPDR Functional Test
Pub. No. 8600200-001, Revision 004 34-45-29 4-9
04 Nov 2014
Use or disclosure of information on this page is subject to the restrictions in the proprietary notice of this document.

SYSTEM DESCRIPTION AND INSTALLATION MANUAL
T3CAS/Part No.9005000
Table 4-1: T3CAS Computer Unit Interface Description (cont)
(Applicable to Part No. 9005000-10000, -10101, -10202, -10204, and -11203)
Connector
Pin
Designation
Functional Description
RTP-14F
Discrete Input (Gnd/Open), Latch
Standby/ON
RTP-14G
Discrete Input (Gnd/Open)
XPDR Mode S Address Bit A23
RTP-14H
Discrete Input (Gnd/Open)
XPDR Mode S Address Bit A24
RTP-14J
Ground Discrete Output
Spare
RTP-14K
Discrete Output 500 mA
XPDR Fail #2
RTP-15A
Discrete Output 5 V dc / 100 mA
XPDR Fail #1
RTP-15B,
15C
ARINC 429 TCAS Output
This bus outputs Dataloader or ADLP COMM A data.
RTP-15D
APM Power
+12 V dc power source for the Airplane Personality Module. Connect to APM J1-7.
RTP-15E
APM Return
This is the Ground return for +12 V dc APM power source. Connect to APM J1-8.
See pin RTP-15D
RTP-15F
APM Clock
This is the APM Clock Output which is used to synchronize serial output to the
APM. The Clock output frequency is 2.0 MHz + 1% when the APM is being
accessed and is set to a logic 0 (not toggling) when the APM is not being
accessed. Connect to APM J1-2.
RTP-15G
APM Serial Data Output
This is the Serial Data Output from T3CAS to the APM Serial Data Input. APM
Enable (RTP-15J) and APM Write Enable (RTP-15K) must be enabled before data
can be written to the APM. Connect to APM J1-1.
RTP-15H
APM Serial Data Input
This is the Serial Data Input to T3CAS from the APM Serial Data Output. APM
Enable (RTP-15J) must be enabled before data can be read from the APM.
Connect to APM J1-9.
RTP-15J
APM Enable No.1
This pin is used to Enable Read/Write access to the APM. An APM Enable Output
logic of 1 disables Read/Write access to the APM and a logic 0 enables APM
Read/Write access. Connect to APM J1-3. This pin is used in conjunction with pins
RTP-15G (APM serial output) and RTP-15H (APM serial input).
4-10
04 Nov 2014 34-45-29 Pub. No. 8600200-001, Revision 004
Use or disclosure of information on this page is subject to the restrictions in the proprietary notice of this document.

SYSTEM DESCRIPTION AND INSTALLATION MANUAL
T3CAS/Part No.9005000
Table 4-1: T3CAS Computer Unit Interface Description (cont)
(Applicable to Part No. 9005000-10000, -10101, -10202, -10204, and -11203)
Connector
Pin
Designation
Functional Description
RTP-15K
APM Write Enable No.1
This pin is used to Enable Write access to the APM. An APM Write Enable Output
logic of 1 disables Write access to the APM and a logic 0 enables APM Write
access. Connect to APM J1-4. This pin is used in conjunction with pin RTP-15G
(APM serial output).
T3CAS Computer Unit Right Middle Plug (RMP)
RMP-1A,
to
RMP-1D
Reserved Discrete Outputs (Standard Ground/Open)
RMP-1E
TA Display Enable Discrete Output (NO)
This output is a ground/open-type discrete used by the weather radar display to
place the radar in standby mode. A ground on this pin enables the weather radar
display.
RMP-1F
Corrective Aural Advisory Discrete Output (NO)
This aural advisory discrete output is a ground/open-type discrete (Note 3) used to
control external equipment that generate tones to accompany TCAS advisories.
The output is active whenever a corrective advisory (RA that requires a corrective
maneuver) is issued. The output remains active for the duration of the synthesized
voice unless it is cancelled by the cancel discrete at RMP-3D. Only one aural
advisory is active at a time. The corrective discrete and preventative discrete at
RMP-1K are mutually exclusive. The active state is ground and the inactive state is
open.
RMP-1G
Reserved Discrete Output (Lamp Driver)
RMP-1H
Reserved Discrete Output (Lamp Driver)
RMP-1J
Climb Inhibit No.1 Discrete Input (NO)
This input is a ground/open-type discrete used to provide information to the T3CAS
CU whether to assume the aircraft cannot achieve a climb rate of 1500 FPM (457.2
m/min). The climb inhibit discrete inputs are designed in pairs (No.1 and No.2 at
RMP-13G, or No.3 at RBP-5J and No.4 at RBP-5K) but can be wired as a single
input or in conjunction with other aircraft operations to achieve airframe
customization of the climb inhibit feature. The 1500 FPM (457.2 m/min) climb
inhibit function is assumed whenever No.1 and No.2 are ground or No.3 and No.4
are ground.
See Note 1 for Ground/Open type discrete input definition.
RMP-1K
Preventive Aural Advisory Discrete Output (NO)
Same as RMP-1F, except this discrete is active whenever a preventative advisory
(RA that directs the flight crew to avoid certain maneuvers or maintain flight path) is
issued.
Pub. No. 8600200-001, Revision 004 34-45-29 4-11
04 Nov 2014
Use or disclosure of information on this page is subject to the restrictions in the proprietary notice of this document.

SYSTEM DESCRIPTION AND INSTALLATION MANUAL
T3CAS/Part No.9005000
Table 4-1: T3CAS Computer Unit Interface Description (cont)
(Applicable to Part No. 9005000-10000, -10101, -10202, -10204, and -11203)
Connector
Pin
Designation
Functional Description
RMP-2A
Traffic Aural Advisory Discrete Output (NO)
Same as RMP-1F, except this discrete is active during a traffic advisory when
information is being given to the flight crew regarding other aircraft in the
immediate vicinity. No suggested maneuver is issued. This output is inhibited if
either the corrective or preventative output is active.
RMP-2B, 2C
GPS Time Mark #1 Input : [RMP-2B (A), RMP-2C (B)]
These RS-422 differential pair inputs are provided to receive the Time Mark signal
from an external GPS receiver in order to provide synchronization with other
aircraft systems. This signal is also used to remove the latency error from GPS
when available.
RMP-2D
Advisory/Announce Common
This is the return line for the aural and visual advisory discrete outputs.
RMP-2E
Reserved Discrete Output (Lamp Driver)
RMP-2F,2G
8-Ohm Audio Output: (RMP-2F [HI], RMP-2G [LO])
This is a synthesized voice output supplied by the TCAS computer unit. Its level is
programmable up to 8 W into an 8-ohm speaker. All aural traffic and resolution
advisories are announced over this output. See RBP-7A for audio level
programming.
RMP-2H, 2J
Radio Altimeter No.1 ARINC 552/Analog Input: (RMP-2H [HI], RMP-2J [LO])
Normal aircraft configurations include either two digital or two analog radio
altimeter sources. The T3CAS computer unit attempts to establish which type is
present in order to obtain data from one of the two available sources. TCAS first
checks the radio altimeter No.1 valid flag at RMP-2K. If No.1 is not valid then No.2
valid is checked at RBP-3C. If neither are valid then TCAS checks digital source
No.1 for valid data on the ARINC 429 bus at RMP-13H and RMP-13J. If none of
the above are valid then the TCAS checks the digital source No.2 for valid data on
the ARINC 429 bus at RBP-3D and RBP-3E. This process is repeated until a valid
flag or data is detected.
Until a valid source is found, the TCAS function inhibits all surveillance, CAS, and
TA/RA display functions, records failures in maintenance memory, and sets the
TCAS system status discrete output at RMP-13K to invalid. The TCAS function
uses radio altitude to inhibit advisories and aural annunciation when in close
proximity to the ground. This analog input No.1, as well as analog input No.2, can
accept data as a dc voltage from several types of radio altimeters. The type of
radio altimeter is selected using the program pins RMP-12B and RMP-12D thru
RMP-12F.
RMP-2K
Radio Altimeter No.1 Valid Input (PO)
See RMP-2H. A valid condition is greater than +18.5 V dc. An invalid is open
circuit.
4-12
04 Nov 2014 34-45-29 Pub. No. 8600200-001, Revision 004
Use or disclosure of information on this page is subject to the restrictions in the proprietary notice of this document.