ALPS ALPINE WK1A004 Ant Assy-Immobiliser User Manual ADVERTISING LITERATURE BROCHURE
Alps Electric Co., Ltd. Ant Assy-Immobiliser ADVERTISING LITERATURE BROCHURE
User Manual

User’s Manual
ANT ASSY-IMMOBILISER
Model No.: TWK1A004
There is no User’s Manual because this equipment will not be sold to end-
user directly.

The connector is arran
g
ed as shown in the fi
g
ure below.
Terminal No. I/O
1-
2I
3 I/O
4-
User's Manual
+B
CLOCK
DATA
It communicates with IC used both as Transponder and Passive RKE
through LF ANT(Z axis) of I-key H/U, and operates as ANT to exchange
communication data depending on community signal with BCM.
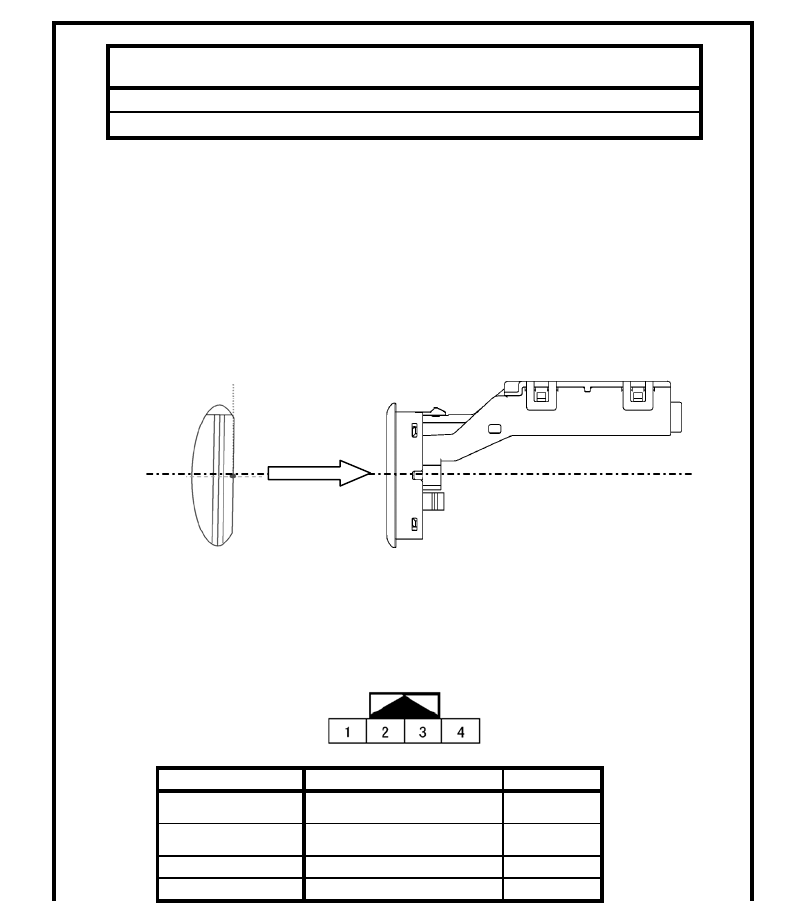
The ANT ASSY-IMMOBILISER communicates with the transponder in
the hand unit when the hand unit is brought close, and receives the code
of the key. The immobiliser is used by bringing the hand unit close as
shown in fi
g
ure.
Product name : ANT ASSY-IMMOBILISER
Type : TWK1A004
Terminal Name
GND
HAND UNIT IMMOBILISER

■CAUTION■
Approved by TR
A
Pay attention to the following.
(The operation range might be changed by the environment. )
・Do not contact and bring metals close to the engine SW and the
key.
・It may not be operated when using the equipment of the same
frequency band in the vicinity.
Operating temperature
range
-40~+85 degree C
MAX 0.5mA(@12.5V 25℃) at standby
Weight 0.03kg
Consumption current
spec
MAX 150mA(@12.5V 25℃) at operation
AC/DC Supply
Operating voltage DC8~16V(Inner:DC 5V)
DC12V
Range of voltage
Consumption current Under 0.5mA(Standby current)
W40xL62xH49(mm)
Size
DC8~16V
・Disassembly and modification.
This device complies with Part 15 of FCC Rules and RSS-Gen of IC
Rules. Operation is subject to the following two conditions: (1) this device
may not cause interference, and (2) this device must accept any
interference, including interference that may cause undesired operation
of this device.
FCC WARNING
Changes or modifications not expressly approved by the party
responsible for compliance could void the user’s authority to operate the
equipment.
Operation of frequency
・Give a shock.
・Get it wet. If it got wet, wipe and dry up.
125kHz
Please DO NOT the following. Engine is not started by failure of
electronic parts. (Product can not receive the signal correctly)

INQUIRIES
NAME OF COMPANY: ALPS ELECTRIC CO., LTD.
Phone: +81(03)3726-1211
WEBSITE: http://www.alps.com/index.html