ATI Electronics SH805C Bluetooth Headset User Manual SH805C UserManualx
ATI Electronics (Shenzhen) Co. Ltd Bluetooth Headset SH805C UserManualx
User Manual

BluetoothStereoEarphones
OperationManual
ThankyouforpurchasingtheSH805CBluetoothStereo
Earphones.Pleasereadallinstructionscarefullybefore
usingandretainthismanualforfutureuseand
reference.
PACKAGECONTENTS
.BluetoothStereoEarphones
.USBChargingCable
.1ExtraSetsofEarCushions
.OperationManual
KEYFEATURES
.CompatiblewithBluetooth‐enableddevices
.Built‐inrechargeablebattery
.Volumecontrol
SAFETYINSTRUCTIONS
Keeptheunitawayfromheatsources.Directsunlight,
humidity,waterandanyotherliquids.
Donotoperatetheunitofithasbeenexposedtowater,
moistureoranyotherliquidstopreventagainstelectric
shock,explosionand/orinjurytoyourselfanddamage
totheunit.
Donotusetheunitifithasbeendroppedordamaged
inanyway.
Repairstoelectricalequipmentshouldonlybe
performedbyaqualifiedelectrician.Improperrepairs
mayplacetheuseratseriousrisk.
Donotpunctureorharmtheexteriorsurfaceofthe
productinanyway.
Keeptheunitfreefromdust.lint.etc.
Donotusethisunitforanythingotherthanitsintended
useorpurpose.Doingsomaydamagethedevice.
Thisproductisnotatoy.Keepoutofreachofchildren.
Donotusetheheadsetatexcessivelevelsasthismay
damagehearing.
Donotexposebatteries,batterypack,orbatteriesto
installedtoexcessiveheat,suchasdirectsunlightor
openflame.
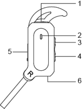
FEATURES/PARTS
I.PowerOn/Off
MultifunctionButton
Answer/EndCal
2.IndicatorLED
3.VolumeUp/NextTrack
4.VolumeDown/PreviousTrack
5.ChargingPort
6.Microphone

CHARGINGTHEEARPHONES
Theearphonescomewithabuilt‐inrechargeable
battery.Beforeusingitforthefirsttime,werecommend
youchargethebatteryfully.OnlyusethesuppliedUSB
cabletochargetheheadphones.
ConnecttheUSBcabletoacomputerUSBportandthe
USBplugtothechargingjackoftheheadset.Thered
LEDlightwillilluminatewhiletheearphonesare
chargingAfullchargeofthebatterytakesaround2
hours.Whenthebatteryisfullycharged,theLEDlight
willturnblue.
Disconnecttheheadsetatthispoint.Theheadsetwill
thenbereadyforuse.
Whenthebatteryislow,theLEDwillflashredandemit
Voicepromptevery20seconds.Whenthisoccurs,
pleaserechargetheheadset.
WhenusingyourearphoneswithaniPhone,thetop
rightcornerwillindicateyourearbud'sbatterylife.
VOICEPROMPT
Theearphonewillnotifyyouofstatusbytones“Power
On",“PowerOff",And“Pairingcode"“connected;
whenapplicable.
TURNINGHEADSETON/OFF
PowerOn:PressandholdthePowerOn/Offbuttonfor
3secondsuntiltheLEDflashesblue.
PowerOff:PressandholdthePowerOn/Offbuttonfor
5secondsuntiltheLEDflashesred.
Inordertosavepower,theheadsetwillautomatically
turnoffifnotpairedwithadeviceafter10minutes.
PAIRINGTHEEARPHONES
1.Ensuretheearphonesareturnedoff.Iftheyarenot,
pleaseturnofftheearphonesfirstbeforepairing.
2.PressandholdthePowerOn/Offbuttonfor
5‐7secondsuntiltheLEDflashesredandblue.Thiswill
indicateyourearphonesarenowinpairingmode.
3.PlacetheearphonesandtheBluetoothdeviceto
whichyouwouldliketopairitwithintheoperating
distance.Werecommendkeepingthetwodevicesno
furtherthan3feetapart.
4.EnsureBluetoothisenabledonyourphoneormusic
device.Refertothemanufacturer'sinstructionsforhow
toenableBluetoothonyourdevice.
5.OnceyouhaveactivatedBluetoothonyourdevice,
selecttheearphones'MERKURY BTE41'fromthelist
ofavailableBluetoothdevices.
6.Pleasenote,pairingmodeontheearbudswilllastfor
twominutes.Ifnodevicesarepairedaftertwominutes,
theearphoneswillautomaticallyswitchoff.
7.Ifpairingisunsuccessful,turnofftheearphonesfirst
andrepairfollowingtheaforementionedsteps.Once
youhavepairedtheearphoneswithadevice.The
earphoneswillrememberthisdeviceandwillpair
automaticallywhenthedevice'sBluetoothisactivated
andinrange.Youdonotneedtore‐pairanypreviously
connecteddevices.
Yourearbudcanpairuptotwomulti‐pointdevices.You
canreconnectapreviouslypaireddevicewithoutgoing
throughthepairingorPINprocessonuptotwodevices.
Duringuse,thebatterylifeofyourearphonesisvisible
onyouriPhoneoriPadscreen.
LISTENINGTOMUSIC
Oncetheearphonesarepairedtoyourdevice,youcan
streammusicwirelesslytotheearphones.Selectthe
trackyouwishtolistentoonyourdevicetolistenvia
earphones.Shouldyouencounteranyproblemswhile
streaming,pleaserefertoyourdevice'susermanual.
MANUALKEYFUNCTIONS
Yourearphonesareequippedwithafewshortcutkeys.
Pleasenotethefollowingfunctions.
1.IncreaseVolume:PresstheVol+Buttononce
2.DecreaseVolume:PresstheVol‐Buttononce
3.Play/Pause:PresstheMultifunctionButton
4.PreviousTrack:doublepressthetheVol‐Button
5.NextTrack:doublepresstheVol+Button
CAREANDMAINTENANCE
.Donotexposetheheadsettoliquid,moisture,or
humiditytoavoiddamagetotheproduct'sintimal
circuitry.
.Donotuseabrasivecleaningsolventstodeanthe
unit.
.Donotexposetheheadsettoextremelyhighorlow
temperaturesasthiswillshortenthelifeofthe
electronicdevice,destroythebattery,and/ordistort
certainplasticparts.
.Donotdisposeoftheearphonesinfireastheymay
explodeorcombust.
.Donotexposetheearphonestocontactwithsharp
objectsasthiswillcausescratchesanddamage
.Donotlettheearphonesfallfromhighplaces.as
doingsomaydamagetheinternalcircuitry.
.Donotattempttodisassembletheearphones.Inthe
eventthattheearphonesdonotfunctionproperly
returnittothestorewhereitwaspurchased.
SPECIFICATIONS
Bluetooth:V3.0+EDR,ClassII
BluetoothProfiles:HSP,HFP,A2DPandAVRCP
OperatingDistance:Upto33ft(10m)
PlayTime:Upto4Hours
TalkTime:Upto5Hours
StandbyTime:Upto100Hours
ChargingInput:DC5V
ChargingTime:2Hours
Warranty
Theconditionofthiswarrantyandsupplier's
responsibilitiesunderthiswarrant/areasfollows:
Warrantyisnon‐transferableandislimitedtothe
originalpurchaseronly.
‐Youmustbeabletoprovethedateoforiginal
purchaseoftheunitwithadatedreceipt.
‐Thewarrantyisnotapplicableiftheproducthasbeen
subjecttophysicalabuse,improperinstallation,
modificationorrepairbyanunauthorizedthirdparty.
‐Supplier'sresponsibilityshallbelimitedtotherepair
orreplacementoftheproductatif’ssolediscretion.
‐Specificallyexemptfromanywarrantyarelimited‐life
consumablecomponentssubjecttonormalwearand
tearsuchasbatteries,decoratesandotheraccessories.
‐Supplierisnotresponsible,forfailureresultingfrom
accident,abuse,misuse,oranyunauthorizedrepairor
modification.
‐Modificationandrepairoftheunitshouldbedoneby
anauthorizedandqualifiedservicecenterorreturned
tothemanufacturer.
‐Thiswarrantygivesyouspecificlegalrights,andyou
mayalsohaveotherrights,whichvaryunderlocallaws.
FCCWarning
ThisdevicecomplieswithPart15oftheFCCRules.Operationis
subjecttothefollowingtwoconditions:
(1)Thisdevicemaynotcauseharmfulinterference,and(2)this
devicemustacceptanyinterferencereceived,including
interferencethatmaycauseundesiredoperation.
NOTE1:Thisequipmenthasbeentestedandfoundtocomply
withthelimitsforaClassBdigitaldevice,pursuanttopart15of
theFCCRules.Theselimitsaredesignedtoprovidereasonable
protectionagainstharmfulinterferenceinaresidential
installation.Thisequipmentgenerates,usesandcanradiate
radiofrequencyenergyand,ifnotinstalledandusedin
accordancewiththeinstructions,maycauseharmful
interferencetoradiocommunications.However,thereisno
guaranteethatinterferencewillnotoccurinaparticular
installation.Ifthisequipmentdoescauseharmfulinterference
toradioortelevisionreception,whichcanbedeterminedby
turningtheequipmentoffandon,theuserisencouragedtotry
tocorrecttheinterferencebyoneormoreofthefollowing
measures:
‐Reorientorrelocatethereceivingantenna.
‐Increasetheseparationbetweentheequipmentandreceiver.
‐Connecttheequipmentintoanoutletonacircuitdifferent
fromthattowhichthereceiverisconnected.
‐Consultthedealeroranexperiencedradio/TVtechnicianfor
help.
NOTE2:Anychangesormodificationstothisunitnotexpressly
approvedbythepartyresponsibleforcompliancecouldvoidthe
user'sauthoritytooperatetheequipment.