Acer orporated T77H389 DUAL BAND WIFI LGA MODULE User Manual Acer WT3 Win8 UM Eng
Acer Incorporated DUAL BAND WIFI LGA MODULE Acer WT3 Win8 UM Eng
Contents
- 1. user manual
- 2. User Manual
- 3. Users Manual Regulatory Info
User Manual

- 1
Acer ICONIA W510
User’s Manual
2 -
© 2012. All Rights Reserved.
Acer ICONIA User’s Manual
Model: W510
First issue: 4 September 2012

Table of contents - 3
TABLE OF CONTENTS
Safety and comfort 5
First things first 16
Your guides ...................................................... 16
Basic care and tips for using your
computer .......................................................... 16
Turning your computer on and off............. 16
Taking care of your computer ................... 17
Taking care of your AC adapter................ 18
Cleaning and servicing.............................. 18
Your Acer tablet PC tour 19
Tablet PC ......................................................... 19
Front view ................................................ 20
Back view ................................................. 21
Top view ................................................... 22
Bottom view ............................................. 23
Left/right views ........................................ 24
LED Indicators .......................................... 25
Installing a SIM card (only for selected
models) ............................................................ 26
Using the network connection................... 26
SIM card lock ............................................ 26
Removing the SIM card ............................ 27
Connect the tablet to the keyboard dock.......... 27
Secure the tablet to the keyboard
dock .......................................................... 28
Keyboard dock ................................................. 28
Front view ................................................ 28
Top view ................................................... 29
Left view.................................................... 30
Right view ................................................. 30
Bottom view ............................................. 31
Environment ..................................................... 31
Micro USB 32
HDMI Micro 33
Using the virtual keyboard 34
Wireless networks 36
Connecting to the Internet ............................... 36
Wireless networks ........................................... 36
Acer clear.fi 38
Navigating media and photos .......................... 38
Shared files .............................................. 39
Which devices are compatible? ............... 39
Playing to another device......................... 40
Screen orientation
and G-sensor 41
Power management 42
Saving power................................................... 42
Battery pack 45
Battery pack characteristics............................. 45
Charging the battery................................. 45
Optimizing battery life............................... 47
Checking the battery level........................ 47
Battery-low warning.................................. 48
Securing your computer 49
Using passwords ............................................. 49
Entering passwords.................................. 50
Frequently asked questions 51
Requesting service .......................................... 53
Tips and hints for using Windows 8................. 55
4 - Table of contents
Three concepts you might want to
keep in mind.............................................. 55
How do I access the charms?................... 55
How do I get to Start? ............................... 55
How do I jump between apps?.................. 56
How do I turn off my computer?................ 56
Why is there a new interface?................... 56
How do I unlock my computer?................. 56
How do I personalize my computer?......... 57
I want to use Windows in the way
that I'm used to - give me my
desktop back!............................................ 58
Where are my apps?................................. 58
What is a Microsoft ID (account)?............. 60
How do I add a favorite to Internet
Explorer?.................................................. 60
How do I check for Windows
updates? .................................................. 61
Where can I get more information?.......... 61
Troubleshooting............................................... 62
Troubleshooting tips................................. 62
Error messages........................................ 62
Recovering your system 64
BIOS utility 65
Boot sequence................................................. 65
Enable disk-to-disk recovery ........................... 65
Setting passwords ........................................... 65
Regulations and safety notices 66

Safety and comfort - 5
SAFETY AND COMFORT
SAFETY INSTRUCTIONS
Read these instructions carefully. Keep this document for future reference. Follow all
warnings and instructions marked on the product.
Turning the product off before cleaning
Unplug this product from the wall outlet before cleaning. Do not use liquid cleaners or
aerosol cleaners. Use a damp cloth for cleaning.
WARNINGS
Accessing the power cord
Be sure that the power outlet you plug the power cord into is easily accessible and located
as close to the equipment operator as possible. When you need to disconnect power to
the equipment, be sure to unplug the power cord from the electrical outlet.
Disconnecting the power source
Observe the following guidelines when connecting and disconnecting power to the power
supply unit:
Install the power supply unit before connecting the power cord to the AC power outlet.
Unplug the power cord before removing the power supply unit from the computer.
If the system has multiple sources of power, disconnect power from the system by
unplugging all power cords from the power supplies.
Using electrical power
- This product should be operated from the type of power indicated on the marking
label. If you are not sure of the type of power available, consult your dealer or local
power company.
- Do not allow anything to rest on the power cord. Do not locate this product where
people will walk on the cord.

6 - Safety and comfort
- If an extension cord is used with this product, make sure that the total ampere rating
of the equipment plugged into the extension cord does not exceed the extension cord
ampere rating. Also, make sure that the total rating of all products plugged into the
wall outlet does not exceed the fuse rating.
- Do not overload a power outlet, strip or receptacle by plugging in too many devices.
The overall system load must not exceed 80% of the branch circuit rating. If power
strips are used, the load should not exceed 80% of the power strip's input rating.
- This product's AC adapter is equipped with a three-wire grounded plug. The plug only
fits in a grounded power outlet. Make sure the power outlet is properly grounded
before inserting the AC adapter plug. Do not insert the plug into a non-grounded
power outlet. Contact your electrician for details.
- Warning! The grounding pin is a safety feature. Using a power outlet that is not
properly grounded may result in electric shock and/or injury.
-Note: The grounding pin also provides good protection from unexpected noise
produced by other nearby electrical devices that may interfere with the performance
of this product.
- The system can be powered using a wide range of voltages; 100 to 120 or 220 to 240
V AC. The power cord included with the system meets the requirements for use in
the country/region where the system was purchased. Power cords for use in other
countries/regions must meet the requirements for that country/region. For more
information on power cord requirements, contact an authorized reseller or service
provider.
Protecting your hearing
- Warning! Permanent hearing loss may occur if earphones or
headphones are used at high volume for prolonged periods of time.
To protect your hearing, follow these instructions.
- Increase the volume gradually until you can hear clearly and comfortably.
- Do not increase the volume level after your ears have adjusted.
- Do not listen to music at high volumes for extended periods.
Safety and comfort - 7
- Do not increase the volume to block out noisy surroundings.
- Decrease the volume if you can't hear people speaking near you.
Bundled dummy cards
-Note: Information in this section may not apply to your computer.
Your computer shipped with plastic dummies installed in the card slots. Dummies protect
unused slots from dust, metal objects or other particles. Save the dummies for use when
no cards are in the slots.
General
- Do not use this product near water.
- Do not place this product on an unstable cart, stand or table. If the product falls, it
could be seriously damaged.
- Slots and openings are provided for ventilation to ensure reliable operation of the
product and to protect it from overheating. These openings must not be blocked or
covered. The openings should never be blocked by placing the product on a bed, sofa,
rug or other similar surface. This product should never be placed near or over a radiator
or heat register, or in a built-in installation unless proper ventilation is provided.
- Never push objects of any kind into this product through cabinet slots as they may
touch dangerous voltage points or short-out parts that could result in a fire or electric
shock. Never spill liquid of any kind onto or into the product.
- To avoid damage of internal components and to prevent battery leakage, do not
place the product on a vibrating surface.
- Never use it under sporting, exercising, or any vibrating environment which will
probably cause unexpected short current or damage rotor devices, HDD, Optical
drive, and even exposure risk from lithium battery pack.
- The bottom surface, areas around ventilation openings and AC adapter may get hot.
To avoid injury, ensure they do not come in contact with your skin or body.
- Your device and its enhancements may contain small parts. Keep them out of the
reach of small children.
8 - Safety and comfort
Product servicing
Do not attempt to service this product yourself, as opening or removing covers may
expose you to dangerous voltage points or other risks. Refer all servicing to qualified
service personnel.
Unplug this product from the wall outlet and refer servicing to qualified service personnel
when:
- The power cord or plug is damaged, cut or frayed.
- Liquid was spilled into the product.
- The product was exposed to rain or water.
- The product has been dropped or the case has been damaged.
- The product exhibits a distinct change in performance, indicating a need for service.
- The product does not operate normally after following the operating instructions.
-Note: Adjust only those controls that are covered by the operating instructions, since
improper adjustment of other controls may result in damage and will often require
extensive work by a qualified technician to restore the product to normal condition.
Guidelines for safe battery usage
This computer uses a Lithium-ion
or Lithium-polymer
battery. Do not use it in a humid, wet
or corrosive environment. Do not put, store or leave your product in or near a heat source,
in a high temperature location, in strong direct sunlight, in a microwave oven or in a
pressurized container, and do not expose it to temperatures over 60° C (140° F). Failure
to follow these guidelines may cause the battery to leak acid, become hot, explode or
ignite and cause injury and/or damage.
Do not pierce, open or disassemble the battery. If the battery leaks and you come into
contact with the leaked fluids, rinse thoroughly with water and seek medical attention
immediately.
For safety reasons, and to prolong the lifetime of the battery, charging will not occur at
temperatures below 0° C (32° F) or above 40° C (104° F).

Safety and comfort - 9
The full performance of a new battery is achieved only after two or three complete charge
and discharge cycles. The battery can be charged and discharged hundreds of times, but
it will eventually wear out. When the operation time becomes noticeably shorter than
normal, refer to qualified service personnel. Use only the approved batteries, and
recharge your battery only with the approved chargers designated for this device.
Never use any charger or battery that is damaged.
The capacity and lifetime of the battery will be reduced if the battery is left in hot or cold
places, such as in a closed car in summer or winter. Always try to keep the battery
between 15°C and 25°C (59°F and 77°F). A device with a hot or cold battery may not work
temporarily, even when the battery is fully charged. Battery performance is especially
limited in temperatures well below freezing.
Do not dispose of batteries in a fire as they may explode. Batteries may also explode if
damaged. Dispose of batteries according to local regulations. Please recycle when
possible. Do not dispose as household waste.
-Note: Please refer to www.acer.com for battery shipping documents.
- Warning! Batteries may explode if not handled properly. Do not disassemble or
dispose of them in fire. Keep them away from children. Follow local regulations
when disposing of used batteries.
RADIO FREQUENCY INTERFERENCE
- Warning! For safety reasons, turn off all wireless or radio transmitting devices
when using your laptop under the following conditions. These devices may
include, but are not limited to: wireless LAN (WLAN), Bluetooth and/or 3G.
Remember to follow any special regulations in force in any area, and always switch off
your device when its use is prohibited or when it may cause interference or danger. Use
the device only in its normal operating positions. This device meets RF exposure
guidelines when used normally, and it and its antenna are positioned at least 1.5
centimeters (5/8 inch) away from your body. It should not contain metal and you should
position the device the above-stated distance from your body. To successfully transmit
data files or messages, this device requires a good quality connection to the network. In

10 - Safety and comfort
some cases, transmission of data files or messages may be delayed until such a
connection is available. Ensure that the above separation distance instructions are
followed until the transmission is completed. Parts of the device are magnetic. Metallic
materials may be attracted to the device, and persons with hearing aids should not hold
the device to the ear with the hearing aid. Do not place credit cards or other magnetic
storage media near the device, because information stored on them may be erased.
MEDICAL DEVICES
Operation of any radio transmitting equipment, including wireless phones, may interfere
with the functionality of inadequately protected medical devices. Consult a physician or
the manufacturer of the medical device to determine if they are adequately shielded from
external RF energy or if you have any questions. Switch off your device in health care
facilities when any regulations posted in these areas instruct you to do so. Hospitals or
health care facilities may be using equipment that could be sensitive to external RF
transmissions.
Pacemakers. Pacemaker manufacturers recommend that a minimum separation of 15.3
centimeters (6 inches) be maintained between wireless devices and a pacemaker to avoid
potential interference with the pacemaker. These recommendations are consistent with
the independent research by and recommendations of Wireless Technology Research.
Persons with pacemakers should do the following:
- Always keep the device more than 15.3 centimeters (6 inches) from the pacemaker
- Not carry the device near your pacemaker when the device is switched on.
If you suspect interference, switch off your device, and move it.
Hearing aids. Some digital wireless devices may interfere with some hearing aids. If
interference occurs, consult your service provider.
VEHICLES
RF signals may affect improperly installed or inadequately shielded electronic systems in
motor vehicles such as electronic fuel injection systems, electronic anti-skid (anti-lock)
braking systems, electronic speed control systems, and air bag systems. For more
information, check with the manufacturer, or its representative, of your vehicle or any

Safety and comfort - 11
equipment that has been added. Only qualified personnel should service the device, or
install the device in a vehicle. Faulty installation or service may be dangerous and may
invalidate any warranty that may apply to the device. Check regularly that all wireless
equipment in your vehicle is mounted and operating properly. Do not store or carry
flammable liquids, gases, or explosive materials in the same compartment as the device,
its parts, or enhancements. For vehicles equipped with an air bag, remember that air bags
inflate with great force. Do not place objects, including installed or portable wireless
equipment in the area over the air bag or in the air bag deployment area. If in-vehicle
wireless equipment is improperly installed, and the air bag inflates, serious injury could
result. Using your device while flying in aircraft is prohibited. Switch off your device before
boarding an aircraft. The use of wireless teledevices in an aircraft may be dangerous to
the operation of the aircraft, disrupt the wireless telephone network, and may be illegal.
POTENTIALLY EXPLOSIVE ENVIRONMENTS
Switch off your device when in any area with a potentially explosive atmosphere and obey
all signs and instructions. Potentially explosive atmospheres include areas where you
would normally be advised to turn off your vehicle engine. Sparks in such areas could
cause an explosion or fire resulting in bodily injury or even death. Switch off the device at
refueling points such as near gas pumps at service stations. Observe restrictions on the
use of radio equipment in fuel depots, storage, and distribution areas; chemical plants; or
where blasting operations are in progress. Areas with a potentially explosive atmosphere
are often, but not always, clearly marked. They include below deck on boats, chemical
transfer or storage facilities, vehicles using liquefied petroleum gas (such as propane or
butane), and areas where the air contains chemicals or particles such as grain, dust or
metal powders. Do not switch the computer on when wireless phone use is prohibited or
when it may cause interference or danger.
EMERGENCY CALLS
- Warning! You cannot make emergency calls through this device. To make an
emergency call you shall dial out through your mobile phone or other
telephone call system.

12 - Safety and comfort
DISPOSAL INSTRUCTIONS
Do not throw this electronic device into the trash when discarding. To minimize
pollution and ensure utmost protection of the global environment, please
recycle. For more information on the Waste from Electrical and Electronics
Equipment (WEEE) regulations, visit www.acer-group.com/public/
Sustainability/sustainability01.htm
ENERGY STAR
Acer's ENERGY STAR qualified products save your money by reducing
energy cost and protecting the environment without sacrificing features or
performance. Acer is proud to offer our customers products with the
ENERGY STAR mark.
What is ENERGY STAR?
Products that are ENERGY STAR qualified use less energy and prevent greenhouse gas
emissions by meeting strict energy efficiency guidelines set by the U.S. Environmental
Protection Agency. Acer is committed to offering products and services worldwide that
help customers save money, conserve energy and improve the quality of our
environment. The more energy we can save through higher energy efficiency, the more
we reduce greenhouse gases and the risks of climate change. More information refers to
www.energystar.gov or www.energystar.gov/powermanagement.
-Note: Information in this section may not apply to your computer.
Acer ENERGY STAR qualified products:
- produce less heat and reduce cooling loads in warmer climates.
- automatically go into "display Sleep" and "computer Sleep" mode after 10 and 30
minutes of inactivity, respectively.
- wake from "Sleep" mode if the keyboard is pressed or mouse is moved.
- save more than 80% energy when in "Sleep" mode.
ENERGY STAR and the ENERGY STAR mark are registered U.S. marks.

Safety and comfort - 13
TIPS AND INFORMATION FOR COMFORTABLE USE
Computer users may complain of eyestrain and headaches after prolonged use. Users
are also at risk of physical injury after long hours of working in front of a computer. Long
work periods, bad posture, poor work habits, stress, inadequate working conditions,
personal health and other factors greatly increase the risk of physical injury.
Incorrect computer usage may lead to carpal tunnel syndrome, tendonitis, tenosynovitis
or other musculoskeletal disorders. The following symptoms may appear in the hands,
wrists, arms, shoulders, neck or back:
- Numbness, or a burning or tingling sensation.
- Aching, soreness or tenderness.
- Pain, swelling or throbbing.
- Stiffness or tightness.
- Coldness or weakness.
If you have these symptoms, or any other recurring or persistent discomfort and/or pain
related to computer use, consult a physician immediately and inform your company's
health and safety department.
The following section provides tips for more comfortable computer use.
Finding your comfort zone
Find your comfort zone by adjusting the viewing angle of the monitor, using a footrest, or
raising your sitting height to achieve maximum comfort. Observe the following tips:
- Refrain from staying too long in one fixed posture.
- Avoid slouching forward and/or leaning backward.
- Stand up and walk around regularly to remove the strain on your leg muscles.
- Take short rests to relax your neck and shoulders.
- Avoid tensing your muscles or shrugging your shoulders.
- Install the external display, keyboard and mouse properly and within comfortable
reach.
14 - Safety and comfort
- If you view your monitor more than your documents, place the display at the center
of your desk to minimize neck strain.
Taking care of your vision
Long viewing hours, wearing incorrect glasses or contact lenses, glare, excessive room
lighting, poorly focused screens, very small typefaces and low-contrast displays could
stress your eyes. The following sections provide suggestions on how to reduce eyestrain.
Eyes
- Rest your eyes frequently.
- Give your eyes regular breaks by looking away from the monitor and focusing on a
distant point.
- Blink frequently to keep your eyes from drying out.
Display
- Keep your display clean.
- Keep your head at a higher level than the top edge of the display so your eyes point
downward when looking at the middle of the display.
- Adjust the display brightness and/or contrast to a comfortable level for enhanced text
readability and graphics clarity.
- Eliminate glare and reflections by:
placing your display in such a way that the side faces the window or any light source,
minimizing room light by using drapes, shades or blinds,
using a task light,
changing the display's viewing angle,
using a glare-reduction filter,
using a display visor, such as a piece of cardboard extended from the display's top
front edge.
- Avoid adjusting your display to an awkward viewing angle.
- Avoid looking at bright light sources for extended periods of time.
Safety and comfort - 15
Developing good work habits
The following work habits make computer use more relaxing and productive:
- Take short breaks regularly and often.
- Perform some stretching exercises.
- Breathe fresh air as often as possible.
- Exercise regularly and maintain a healthy body.
- Warning! We do not recommend using the computer on a couch or bed. If this
is unavoidable, work for only short periods, take breaks regularly, and do some
stretching exercises.
-Note: For more information, please refer to "Regulations and safety notices" on
page 66.

16 - First things first
FIRST THINGS FIRST
We would like to thank you for making an Acer notebook your choice for
meeting your mobile computing needs.
Your guides
To help you use your Acer notebook, we have designed a set of guides:
First off, the setup poster helps you get started with setting up your
computer.
The Quick Guide introduces you to the basic features and functions of
your new computer. For more on how your computer can help you to be
more productive, please refer to the User’s Manual. This guide contains
detailed information on such subjects as system utilities, data recovery,
expansion options and troubleshooting. In addition it contains general
regulations and safety notices for your notebook. It is available from
Desktop; double-click the Help icon and click User’s Manual in the menu
that opens.
Basic care and tips for using your computer
Turning your computer on and off
To turn the power off, do any of the following:
• Use the Windows shutdown command: Press the Windows key + <C>, click
Settings > Power then click Shut Down.

First things first - 17
If you need to power down the computer for a short while, but don’t want
to completely shut it down, you can put it into Hibernate by pressing the
power button.
You can also put the computer in sleep mode by pressing the sleep hotkey
<Fn> + <F4>.
Note: If you cannot power off the computer normally, press and hold
the power button for more than four seconds to shut down the
computer. If you turn off the computer and want to turn it on again, wait
at least two seconds before powering up.
Taking care of your computer
Your computer will serve you well if you take care of it.
• Do not expose the computer to direct sunlight. Do not place it near
sources of heat, such as a radiator.
• Do not expose the computer to temperatures below 0º C (32º F) or
above 50º C (122º F).
• Do not subject the computer to magnetic fields.
• Do not expose the computer to rain or moisture.
• Do not spill water or any liquid on the computer.
• Do not subject the computer to heavy shock or vibration.
• Do not expose the computer to dust or dirt.
• Never place objects on top of the computer.
• Do not slam the computer display when you close it.

18 - First things first
• Never place the computer on uneven surfaces.
Taking care of your AC adapter
Here are some ways to take care of your AC adapter:
• Do not connect the adapter to any other device.
• Do not step on the power cord or place heavy objects on top of it.
Carefully route the power cord and any cables away from foot traffic.
• When unplugging the power cord, do not pull on the cord itself but pull
on the plug.
• The total ampere ratings of the equipment plugged in should not exceed
the ampere rating of the cord if you are using an extension cord. Also,
the total current rating of all equipment plugged into a single wall outlet
should not exceed the fuse rating.
Cleaning and servicing
When cleaning the computer, follow these steps:
1. Turn off the computer.
2. Disconnect the AC adapter.
3. Use a soft, moist cloth. Do not use liquid or aerosol cleaners.
If either of the following occurs:
• The computer has been dropped or the body has been damaged;
• The computer does not operate normally
Please refer to "Frequently asked questions" on page 51.

Your Acer tablet PC tour - 19
YOUR ACER TABLET PC TOUR
After setting up your computer as illustrated in the setup poster, let us
show you around your new Acer computer.
You can enter information into you new computer via the touchscreen.
Tablet PC
Your tablet computer has two components: the tablet and an optional
keyboard dock. The following set of images will show you both of these.
The views are labeled as if you are holding the tablet with the screen
towards you and the camera at the top.

20 - Your Acer tablet PC tour
Front view
2
1
No. Item Description
1Integrated
webcam Web camera for video communication.
2Windows
key Press once to open the Start menu.

Your Acer tablet PC tour - 21
Back view
No. Item Description
1Flash LED flash for camera.
2Camera indicator
light Lights up when camera is active.
3Camera 8-megapixel camera for taking high-resolution
images.
1 2 3

22 - Your Acer tablet PC tour
Top view
13
2
No. Item Description
1Headset/speaker
jack
Connects to audio devices
(e.g., speakers, headphones) or a headset with
microphone.
2Lock switch Locks the screen orientation.
3
Power button
Press to turn the tablet on; press again to place
the tablet in Sleep mode. Press and hold to turn
the tablet off.
Battery LED Indicates the tablet's battery status. See "LED
Indicators" on page 25.
Note: Display orientation may be fixed when apps designed for a
specific orientation are running. These include games and other full-
screen apps.
When making video calls, you should always hold the tablet in
landscape orientation.

Your Acer tablet PC tour - 23
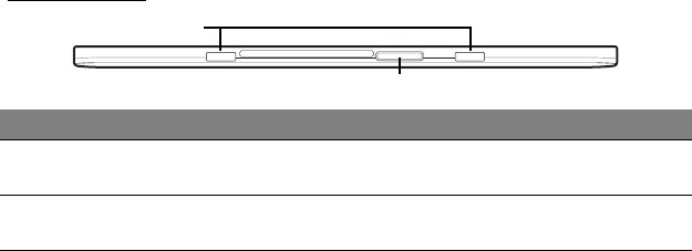
Bottom view
1
2
No. Item Description
1Slot for keyboard
dock Fastens to the keyboard dock.
2Dock connector /
DC-in Connects to an AC adapter or the keyboard dock.

24 - Your Acer tablet PC tour
Left/right views
2
3
4
5
6
1
No. Item Description
1Speakers Delivers stereo audio output.
2Volume key Press to increase or decrease volume.
3Micro HDMI port Supports high-definition digital video
connections.
4Micro USB
connector
Connects to USB devices.
A Micro USB to USB adapter is needed to
connect to USB devices.
When using a USB port, it is recommended to
plug in the power adapter.

Your Acer tablet PC tour - 25
LED Indicators
LED color State Description
Blue Steady The computer is fully charged and plugged in.
Blue On briefly
The computer is fully charged and running on
battery power.
After pressing the power button, the blue LED
stays lit for a few seconds before turning off.
Amber Steady The computer is charging and plugged in.
Amber On briefly
The computer is not fully charged and running
on battery power.
After pressing the power button, the amber LED
stays lit for a few seconds before turning off.
Amber Blinking The battery is critically low or abnormal battery
situation.
Off The computer is off.
5MicroSD card slot Insert a microSD card into this slot.
6SIM card slot* Insert a SIM card into this slot.
* - only for selected models.
No. Item Description

26 - Your Acer tablet PC tour
Installing a SIM card (only for selected models)
Certain computers include a SIM slot for Internet access. To take full
advantage of your computer’s Internet capabilities, you should install a
SIM card with data subscription before turning on your computer.
1. Make sure your computer is turned off.
2. Insert the SIM card. When fully inserted, the SIM card will click into place.
3. Turn on your computer.
Note:
Ensure that the SIM card is inserted all the way into the card slot.
Caution: Turn off your computer before installing or removing a SIM
card. You may damage the card or your computer if power it still on.
Using the network connection
Open the desktop and tap the network icon in the
taskbar.
Select your data connection from the list of
networks.
Select Connect, then Next.
SIM card lock
Your computer may come with a SIM card lock, i.e.,
you will only be able to use the SIM card provided
by your network operator.
To cancel the SIM lock, contact your network provider.

Your Acer tablet PC tour - 27
Removing the SIM card
1. Make sure your computer is turned off.
2. Press the SIM card into the slot then carefully release. The SIM card will
be pushed out of the slot.
Connect the tablet to the keyboard dock
The keyboard dock is optional.
Align the tablet with the dock connector and two pins on the keyboard
dock. Press the tablet down until the release latch clicks into place.

28 - Your Acer tablet PC tour
Secure the tablet to the keyboard dock
Place the tablet on the dock, ensuring it clicks into place.
Note: Push the release latch to the left and lift the tablet to remove it
from the keyboard dock.
Keyboard dock
The following set of images show you the optional keyboard dock.
Front view
1
2
No. Item Description
1Pin for keyboard
dock Secures the tablet to the dock.
2Dock connector Connects to the dock connector on the tablet.

30 - Your Acer tablet PC tour
Left view
1
No. Item Description
1DC-in Connects to an AC adapter.
Right view
1
No. Item Description
1USB 2.0 port Connect to USB devices.

Your Acer tablet PC tour - 31
Bottom view
1
No. Item Description
1Release latch Secures the tablet to the keyboard dock until
opened.
Environment
• Temperature:
• Operating: 5 °C to 35 °C
• Non-operating: -20 °C to 65 °C
• Humidity (non-condensing):
• Operating: 20% to 80%
• Non-operating: 20% to 80%

32 - Micro USB
MICRO USB
The USB (Universal Serial Bus) port is a high-speed serial bus which
allows you to connect USB peripherals without taking up system
resources.
The micro USB port provides a compact port is fully compatible with 2.0
USB devices.
Note: A Micro USB to USB adapter is needed to connect to USB
devices that use a full-sized connector.

HDMI Micro - 33
HDMI MICRO
HDMI (High-Definition Multimedia Interface) is an industry-supported,
uncompressed, all-digital audio/video interface. HDMI provides an
interface between any compatible digital audio/video source, such as a
set-top box, DVD player, and A/V receiver and a compatible digital audio
and/or video monitor, such as a digital television (DTV), over a single
cable.
Use the HDMI Micro port on your computer to connect with high-end audio
and video equipment. Single cable implementation allows tidy setup and
fast connection.

34 - Using the virtual keyboard
USING THE VIRTUAL KEYBOARD
Microsoft Windows provides a convenient virtual keyboard for entering
data. There are several ways to display the keyboard:
Tap inside any text field to display the Windows virtual keyboard.

Using the virtual keyboard - 35
From Desktop, tap the Keyboard icon in the system tray to display the
keyboard. Tap the "x" in the keyboard’s top-right corner to close the
keyboard.

36 - Wireless networks
WIRELESS NETWORKS
Connecting to the Internet
Your computer's wireless connection is turned on by default.
Windows will detect and display a list of available networks during setup.
Select your network and enter the password if required.
Otherwise, open Internet Explorer and follow the instructions.
Please refer to your ISP or router documentation.
Wireless networks
A wireless LAN or WLAN is a wireless local area network, which may link
two or more computers without using wires. Setting up a wireless network
is easy and allows you to share files, peripheral devices and an Internet
connection.
What are benefits of a wireless network?
Mobility
Wireless LAN systems allow you and other users of your home network to
share access to files and devices connected to the network, for example a
printer or scanner.
Also you can share an internet connection with other computers in your home.

Wireless networks - 37
Installation speed and simplicity
Installing a wireless LAN system can be fast and easy and eliminates the
need to pull cables through walls and ceilings.
Components of a wireless LAN
To set up your Wireless network at home you need to have the following:
Access point (router)
Access points (routers) are two-way transceivers that broadcast data into the
surrounding environment. Access points act as a mediator between wired
and wireless network. Most routers have a built-in DSL modem that will allow
you access to a high speed DSL internet connection. The ISP (Internet
Service Provider) you have chosen normally supplies a modem/router with
the subscription to their services. Read carefully the documentation supplied
with your Access point/router for detailed setup instructions.

38 - Acer clear.fi
ACER CLEAR.FI
Note: Only for certain models.
With Acer clear.fi, you can enjoy videos, photos and music. Stream media
from, or to, other devices with Acer clear.fi installed.
Note: All devices must be connected to the same network.
To watch videos or listen to music open clear.fi Media, to browse photos
open clear.fi Photo.
Important: When you first open a clear.fi application, Windows
Firewall will ask for permission to allow clear.fi to access the network.
Select Allow Access in each window.
Navigating media and photos
The list in the left panel shows your computer (’My Library’), then other
devices if any are connected to your network (’Home Shared’).
To view files on your computer, select one of the categories under ’My
Library’, then browse the files and folder on the right.

Acer clear.fi - 39
Shared files
Devices connected to your network are shown in the Home Shared
section. Select a device, then the select the category to explore.
After a short delay, shared files and folders are shown on the right.
Browse to the file you want to play, then double-click to start playback.
Use the media controls in the bar across the bottom of the screen to
control playback. For example, when music is selected, you can play,
pause or stop playback, and adjust the volume.
Note: You must activate sharing on the device that stores the files.
Open clear.fi on the device that stores the files, select Edit then make
sure Share my library on local network is active.
Which devices are compatible?
Certified Acer devices with clear.fi or DLNA software can be used with the
clear.fi software. These include DLNA-compliant PCs, smartphones, and
NAS (Network Attached Storage) devices.

40 - Acer clear.fi
Playing to another device
If you want to play the media on another device, you need to do the
following:
1. In the bottom right corner, select Play to.
2. Select the remote device that will be used to play the file.
Note: Only devices optimised for playback are available in this list,
certain PCs and storage devices will not appear. To add a Windows PC
to this list, open Windows Media Player, select Stream and Allow
remote control of my Player...
3. Select a file in the main window, then use the media controls in the bar
across the bottom of the screen to control the remote device.
For more help, go to http://www.acer.com/clearfi/download/.

Screen orientation and G-sensor - 41
SCREEN ORIENTATION
AND G-SENSOR
Your computer has a built-in accelerometer that detects the tablet’s
orientation and automatically rotates the screen to suit the orientation.
You can lock the screen orientation by using the lock switch. The
orientation may also be locked at other times, including:
• When the tablet is attached to the cradle.
• With an HDMI cable is plugged in.
• When programs designed for a specific orientation are running.
Note: You are advised to keep your tablet in landscape orientation
with the webcam above the screen while you are making a video call.
Please rotate your display to the landscape orientation and use the
lock switch to set the orientation before starting a video call.
The screen orientation lock status will be indicated via icons briefly
displayed onscreen when the status changes.

42 - Power management
POWER MANAGEMENT
This computer has a built-in power management unit that monitors system
activity. System activity refers to any activity involving one or more of the
following devices: keyboard, mouse, hard disk, peripherals connected to
the computer, and video memory. If no activity is detected for a period of
time, the computer stops some or all of these devices in order to conserve
energy.
Saving power
Disable Fast startup
Your computer uses Fast startup to start quickly, but also uses a small
amount of power to check for signals to start. These checks will slowly
drain your computer’s battery.
If you prefer to reduce your computer’s power requirements and
environmental impact, turn off Fast startup:
Note: If Fast startup is off, your computer will take longer to start from
Sleep. If your computer features Acer Instant On or Acer Always
Connect, these will also be turned off.
Your computer will also not start if it receives an instruction to start
over a network (Wake on LAN).

Power management - 43
1. Open the Desktop.
2. Click Power Options in the Notification area.
3. Select More Power Options.
4. Select Choose what the power buttons do.
5. To access Shutdown Settings, select Change settings that are
currently unavailable.

44 - Power management
6. Scroll down and disable Turn on fast startup.
7. Select Save changes.

Battery pack - 45
BATTERY PACK
The computer uses an embedded battery pack that gives you long use
between charges.
Battery pack characteristics
The battery pack has the following characteristics:
• Employs current battery technology standards.
• Delivers a battery-low warning.
The battery is recharged whenever you connect the computer to the AC
adapter. Your computer supports charge-in-use, enabling you to recharge
the battery while you continue to operate the computer. However,
recharging with the computer turned off results in a significantly faster
charge time.
Charging the battery
To charge the battery, first make sure that it is correctly installed in the
battery bay. Plug the AC adapter into the computer, and connect to a
mains power outlet. You can continue to operate your computer on AC
power while your battery is charging. However, charging the battery with
the computer turned off results in a significantly faster charge time.
Note: You are advised to charge the battery before retiring for the day.
Charging the battery overnight before traveling enables you to start
the next day with a fully charged battery.

46 - Battery pack
Conditioning a new battery pack
Before you use a battery pack for the first time, there is a conditioning
process that you should follow:
1. Connect the AC adapter and fully charge the battery.
2. Disconnect the AC adapter.
3. Turn on the computer and operate using battery power.
4. Fully deplete the battery until the battery-low warning appears.
5. Reconnect the AC adapter and fully charge the battery again.
Follow these steps again until the battery has been charged and
discharged three times.
Use this conditioning process for all new batteries, or if a battery hasn't
been used for a long time.
Warning! Do not expose battery packs to temperatures below 0°
C (32° F) or above 45° C (113° F). Extreme temperatures may
adversely affect the battery pack.
By following the battery conditioning process you condition your battery to
accept the maximum possible charge. Failure to follow this procedure will
prevent you from obtaining the maximum battery charge, and will also
shorten the effective lifespan of the battery.
In addition, the useful lifespan of the battery is adversely affected by the
following usage patterns:
• Using the computer on constant AC power.

Battery pack - 47
• Not discharging and recharging the battery to its extremes, as described
above.
• Frequent use; the more you use the battery, the faster it will reach the
end of its effective life. A standard computer battery has a life span of
about 300 charges.
Optimizing battery life
Optimizing battery life helps you get the most out of battery operation,
prolonging the charge/recharge cycle and improving recharging efficiency.
You are advised to follow the suggestions set out below:
• Use AC power whenever possible, reserving battery for on-the-go use.
• Eject a PC Card if it is not being used, as it will continue to draw power
(for selected models).
• Store your PC in a cool, dry place. The recommended temperature is
10° C (50° F) to 30° C (86° F). Higher temperatures cause the battery to
self-discharge faster.
• Excessive recharging decreases the battery life.
• Look after your AC adapter and battery.
Checking the battery level
The Windows power meter indicates the current battery level. Rest the
cursor over the battery/power icon on the taskbar to see the battery's
present charge level.

48 - Battery pack
Battery-low warning
When using battery power pay attention to the Windows power meter.
Warning! Connect the AC adapter as soon as possible after the
battery-low warning appears. Data will be lost if the battery to
become fully depleted and the computer shuts down.
When the battery-low warning appears, the recommended course of
action depends on your situation:
Situation Recommended Action
The AC adapter
and a power outlet
are available.
1. Plug the AC adapter into the computer, and then
connect to the mains power supply.
2. Save all necessary files.
3. Resume work.
Turn off the computer if you want to recharge the
battery rapidly.
The AC adapter or
a power outlet is
unavailable.
1. Save all necessary files.
2. Close all applications.
3. Turn off the computer.

Securing your computer - 49
SECURING YOUR COMPUTER
Your computer is a valuable investment that you need to take care of.
Learn how to protect and take care of your computer.
Using passwords
Passwords protect your computer from unauthorized access. Setting
these passwords creates several different levels of protection for your
computer and data:
• Supervisor Password prevents unauthorized entry into the BIOS utility.
Once set, you must enter this password to gain access to the BIOS
utility. See "BIOS utility" on page 65.
• User Password secures your computer against unauthorized use.
Combine the use of this password with password checkpoints on boot-
up and resume from Hibernation (if available) for maximum security.
• Password on Boot secures your computer against unauthorized use.
Combine the use of this password with password checkpoints on boot-
up and resume from Hibernation (if available) for maximum security.
Important: Do not forget your Supervisor Password! If you forget
your password, please get in touch with your dealer or an
authorized service center.

50 - Securing your computer
Entering passwords
When a password is set, a password prompt appears in the center of the
display screen.
• When the Supervisor Password is set, a prompt appears when you
press <F2> to enter the BIOS utility at boot-up.
• Type the Supervisor Password and press <Enter> to access the BIOS
utility. If you enter the password incorrectly, a warning message
appears. Try again and press <Enter>.
• When the User Password is set and the password on boot parameter is
enabled, a prompt appears at boot-up.
• Type the User Password and press <Enter> to use the computer. If you
enter the password incorrectly, a warning message appears. Try again
and press <Enter>.
Important: You have three chances to enter a password. If you
fail to enter the password correctly after three tries, the system
halts. Press and hold the power button for four seconds to shut
down the computer. Then turn on the computer again, and try
again.

Frequently asked questions - 51
FREQUENTLY ASKED QUESTIONS
The following is a list of possible situations that may arise during the use
of your computer. Easy solutions are provided for each one.
I turned on the power, but the computer does not start or boot up
Look at the power indicator:
• If it is not lit, no power is being supplied to the computer. Check the
following:
• If you are using on the battery, it may be low and unable to power the
computer. Connect the AC adapter to recharge the battery pack.
• Make sure that the AC adapter is properly plugged into the computer
and to the power outlet.
• If it is lit, check the following:
• Is a disc in the optical drive? Remove it and press <Ctrl> + <Alt> +
<Del> to restart the system.
• Do you have a USB storage device (USB disk or smartphone)
plugged into your computer? Unplug it and press <Ctrl> + <Alt> +
<Del> to restart the system.
Nothing appears on the screen
The computer’s power management system automatically blanks the
screen to save power. Press any key to turn the display back on.

52 - Frequently asked questions
If pressing a key does not turn the display back on, three things might be
the cause:
• The brightness level might be too low. Press <Fn> + < > (increase) to
adjust the brightness level.
• The display device might be set to an external monitor. Press the
display toggle hotkey <Fn> + <F5> to toggle the display back to the
computer.
• If the Sleep indicator is lit, the computer is in Sleep mode. Press and
release the power button to resume.
No audio is heard from the computer
Check the following:
• The volume may be muted. In Windows, look at the volume control
(speaker) icon on the taskbar. If it is crossed-out, click the icon and
deselect the Mute all option.
• The volume level may be too low. In Windows, look at the volume
control icon on the taskbar. You can also use the volume control buttons
to adjust the volume.
• If headphones, earphones or external speakers are connected to the
line-out port on the computer, the internal speakers automatically turn
off.
I want to eject the optical drive tray without turning on the power
There is a mechanical eject hole on the optical drive. Simply insert the tip
of a pen or paperclip into the hole and push to eject the tray.

Frequently asked questions - 53
The keyboard does not respond
Try attaching an external keyboard to a USB port on the computer. If it
works, contact your dealer or an authorized service center as the internal
keyboard cable may be loose.
The printer does not work
Check the following:
• Make sure that the printer is connected to a power outlet and that it is
turned on.
• Make sure that the printer cable is connected securely to a USB port
and the corresponding port on the printer.
Requesting service
International Travelers Warranty (ITW)
Your computer is backed by an International Travelers Warranty (ITW)
that gives you security and peace of mind when traveling. Our worldwide
network of service centers are there to give you a helping hand.
An ITW passport comes with your computer. This passport contains all
you need to know about the ITW program. A list of available, authorized
service centers is in this handy booklet. Read this passport thoroughly.
Always have your ITW passport on hand, especially when you travel, to
receive the benefits from our support centers. Place your proof-of-
purchase in the flap located inside the front cover of the ITW passport.

54 - Frequently asked questions
If the country you are traveling in does not have an Acer-authorized ITW
service site, you can still get in contact with our offices worldwide. Please
visit www.acer.com.
Before you call
Please have the following information available when you call Acer for
online service, and please be at your computer when you call. With your
support, we can reduce the amount of time a call takes and help solve
your problems efficiently. If there are error messages or beeps reported by
your computer, write them down as they appear on the screen (or the
number and sequence in the case of beeps).
You are required to provide the following information:
Name:
Address:
Telephone number:
Machine and model type:
Serial number:
Date of purchase:

Frequently asked questions - 55
Tips and hints for using Windows 8
We know this is a new operating system that will take some getting used
to, so we've created a few pointers to help you get started.
Three concepts you might want to keep in mind
1. Start
The Start button is no longer available; you can launch apps from the Start
screen.
2. Tiles
Live tiles are similar to thumbnails of the apps.
3. Charms
Charms allow you to perform useful functions, such as sharing content,
turning off your PC or changing settings.
How do I access the charms?
Swipe the right-hand edge of the screen inwards.
How do I get to Start?
Press the Windows key; or swipe the right-hand edge of the screen
inwards and tap the Start charm.

56 - Frequently asked questions
How do I jump between apps?
Swipe the left-hand edge of the screen inwards to cycle through apps that
are currently running.
How do I turn off my computer?
Swipe the right-hand edge of the screen inwards, tap Settings > Power
and select the action you'd like to take. Alternatively, from Desktop, tap
Acer Power Button and select the action you'd like to take.
Why is there a new interface?
The new interface for Windows 8 is designed to work well with touch input.
Windows Store apps will automatically use the whole screen and don't
require closing in the traditional way. Windows Store apps will be
displayed on Start using live-tiles.
What are ’live tiles?’
Live tiles are similar to thumbnails of the app that will be updated with new
content whenever you're connected to the Internet. So, for example, you
can view weather or stock updates without needing to open the app.
How do I unlock my computer?
Swipe the lock screen upwards and tap a user account icon to unlock the
computer. If your account has a password set, you will need to enter the
password to continue.

Frequently asked questions - 57
Tap and hold the preview icon to see the characters you've entered to
ensure the password is correct.
How do I personalize my computer?
You can personalize Start with a different background image or by
arranging the tiles to suit your personal needs.
To change the background, swipe the right-hand edge of the screen
inwards and tap Settings > Change PC settings > Personalize. Tap
Start screen at the top of the page and select a color and image.
How do I move tiles?
Tap and hold a tile to select it, then drag it to the place on Start that you
want it to appear. Other tiles will be moved to accommodate the tile in its
new location.
Can I make tiles bigger or smaller?
Tap and drag the tile downwards and release it. Select Smaller or Larger
from the menu that appears at the bottom of the screen.
How do I personalize the Lock screen?
You can personalize the lock screen with a different image or to show you
quick status and notifications to suit your personal needs.
To change the background, swipe the right-hand edge of the screen
inwards and tap Settings > Change PC settings > Personalize. Tap
Lock screen at the top of the page and select the image and apps you
would like to see on the lock screen.

58 - Frequently asked questions
So, how do I close an app?
Swipe the window downwards from the top of the screen, and past the
halfway point of the screen.
Can I change the screen resolution?
Swipe the right-hand edge of the screen inwards and tap Search, tap the
text box to open the onscreen keyboard and start typing 'Control Panel' to
display the results; tap Control Panel > Adjust screen resolution.
I want to use Windows in the way that I'm used to - give me my
desktop back!
From Start tap the Desktop tile to see a traditional desktop. You can pin
apps you frequently use to the taskbar to easily open them.
If you click a app that is not a Windows Store app, Windows will
automatically open the app using Desktop.
Where are my apps?
Swipe the right-hand edge of the screen inwards and tap Search, type the
name of the app you would like to open using the pop-up keyboard.
Results will be displayed on the left-hand side of the screen.
To view the complete list of apps, swipe upwards from the bottom of the
screen and tap All apps.

Frequently asked questions - 59
How do I make an app appear on Start?
If you're in All apps and you want to make a app appear on Start, tap and
drag the app downwards and release it. Tap Pin to Start from the menu
that appears at the bottom of the screen.
How do I remove a tile from Start?
Tap and drag the app downwards and release it. Tap Unpin from Start
from the menu that appears at the bottom of the screen.
How do I make an app appear on my taskbar in Desktop?
If you're in All apps and you want to make a app appear on the taskbar in
Desktop, tap and drag the app downwards and release it. Select Pin to
taskbar from the menu that appears at the bottom of the screen.
How do I install apps?
You can download Windows Store apps from Store. You will need to have
a Microsoft ID to purchase and download apps from Store.
I can't find apps like Notepad and Paint! Where are they?
Swipe the right-hand edge of the screen inwards and tap Search, type the
name of the app you would like to open using the pop-up keyboard.
Alternatively, open All apps and scroll to ’Windows Accessories’ to see the
list of legacy programs.

60 - Frequently asked questions
What is a Microsoft ID (account)?
A Microsoft account is an email address and password that you use to
sign in to Windows. You can use any email address, but it is best if you
choose the one you already use to communicate with friends and sign in
to your favorite websites. When you sign in to your PC with a Microsoft
account, you'll connect your PC to the people, files, and devices you care
about.
Do I need one?
You do not need a Microsoft ID to use Windows 8, but it makes life easier
because you can sync data across different machines you sign in to using
a Microsoft ID.
How do I get one?
If you've already installed Windows 8 and didn't sign in with a Microsoft
account or you don't have a Microsoft account and want to get one, swipe
the right-hand edge of the screen inwards and tap Settings > Change PC
settings > Users > Switch to a Microsoft account, and follow the
onscreen instructions.
How do I add a favorite to Internet Explorer?
Internet Explorer 10 doesn't have traditional favorites, instead you can pin
shortcuts to Start. Once you have the page open, swipe upwards from the
bottom edge of the screen to open the menu at the bottom of the screen.
Tap Pin to Start.

Frequently asked questions - 61
How do I check for Windows updates?
Swipe the right-hand edge of the screen inwards and tap Settings >
Change PC settings > Windows Updates. Tap Check for updates
now.
Where can I get more information?
For more information please visit the following pages:
• Windows 8 tutorials: www.acer.com/windows8-tutorial
• Support FAQs: www.acer.com/support

62 - Frequently asked questions
Troubleshooting
This chapter shows you how to deal with common system problems.
Read it before calling a technician if a problem occurs. Solutions to more
serious problems require opening up the computer. Do not attempt to
open the computer yourself; contact your dealer or authorized service
center for assistance.
Troubleshooting tips
This computer incorporates an advanced design that delivers onscreen
error message reports to help you solve problems.
If the system reports an error message or an error symptom occurs, see
"Error messages" below. If the problem cannot be resolved, contact your
dealer. See "Requesting service" on page 53.
Error messages
If you receive an error message, note the message and take the corrective
action. The following table lists the error messages in alphabetical order
together with the recommended course of action.
Error messages Corrective action
CMOS battery bad Contact your dealer or an authorized service
center.
CMOS checksum
error
Contact your dealer or an authorized service
center.

Frequently asked questions - 63
If you still encounter problems after going through the corrective
measures, please contact your dealer or an authorized service center for
assistance.
Disk boot failure Insert a system (bootable) disk, then press
<Enter> to reboot.
Equipment
configuration error
Press <F2> (during POST) to enter the BIOS
utility, then press Exit in the BIOS utility to
reboot.
Hard disk 0 error Contact your dealer or an authorized service
center.
Hard disk 0 extended
type error
Contact your dealer or an authorized service
center.
I/O parity error Contact your dealer or an authorized service
center.
Keyboard error or no
keyboard connected
Contact your dealer or an authorized service
center.
Keyboard interface
error
Contact your dealer or an authorized service
center.
Memory size
mismatch
Press <F2> (during POST) to enter the BIOS
utility, then press Exit in the BIOS utility to
reboot.
Error messages Corrective action

64 - Recovering your system
RECOVERING YOUR SYSTEM
Your computer comes with system recovery DVDs, but does not contain
an optical disc drive (ODD). Obtain an external ODD and complete the
following steps to recover your computer to factory conditions:
1. Shutdown the computer completely by pressing and holding the power
button for more than 4 seconds or by tapping the Settings charm >
Change PC settings > General. Under "Advanced startup", tap Restart
now. The "Choose an option" screen displays. Tap Turn off your PC.
2. Connect the ODD to your computer.
3. Enter the computer’s BIOS by pressing the Windows button and the
power button at the same time.
4. Select the Boot option in the left pane.
5. Under "Boot priority order", move EFI DVD/CDROM to the number one
position using the provided instructions.
6. Select Exit in the left pane and select Exit Saving Changes on the right
side.
7. Insert the recovery DVD, turn on your computer, and follow the
onscreen instructions.

BIOS utility - 65
BIOS UTILITY
The BIOS utility is a hardware configuration program built into your
computer's BIOS.
Your computer is already properly configured and optimized, and you do
not need to run this utility. However, if you encounter configuration
problems, you may need to run it.
To activate the BIOS utility, press <F2> during the POST while the
computer logo is being displayed.
Boot sequence
To set the boot sequence in the BIOS utility, activate the BIOS utility, then
select Boot from the categories listed at the top of the screen.
Enable disk-to-disk recovery
To enable disk-to-disk recovery (hard disk recovery), activate the BIOS
utility, then select Main from the categories listed at the top of the screen.
Find D2D Recovery at the bottom of the screen and use the <F5> and
<F6> keys to set this value to Enabled.
Setting passwords
To set a password on boot, activate the BIOS utility, then select Security
from the categories listed at the top of the screen. Find Password on
boot: and use the <F5> and <F6> keys to enable this feature.

66 - Regulations and safety notices
REGULATIONS AND SAFETY
NOTICES
FCC STATEMENT
This device has been tested and found to comply with the limits for a Class B digital device
pursuant to Part 15 of the FCC rules. These limits are designed to provide reasonable
protection against harmful interference in a residential installation. This device generates,
uses, and can radiate radio frequency energy and, if not installed and used in accordance
with the instructions, may cause harmful interference to radio communications.
However, there is no guarantee that interference will not occur in a particular installation.
If this device does cause harmful interference to radio or television reception, which can
be determined by turning the device off and on, the user is encouraged to try to correct
the interference by one or more of the following measures:
- Reorient or relocate the receiving antenna.
- Increase the separation between the device and receiver.
- Connect the device into an outlet on a circuit different from that to which the receiver
is connected.
- Consult the dealer or an experienced radio/television technician for help.
Notice: Shielded cables
All connections to other computing devices must be made using shielded cables to
maintain compliance with FCC regulations.
NOTICE: PERIPHERAL DEVICES
Only peripherals (input/output devices, terminals, printers, etc.) certified to comply with
the Class B limits may be attached to this equipment. Operation with non-certified
peripherals is likely to result in interference to radio and TV reception.

Regulations and safety notices - 67
Caution: Changes or modifications not expressly approved by the manufacturer
could void the user's authority, which is granted by the Federal Communications
Commission, to operate this computer.
NOTICE FOR CANADA
This Class B digital apparatus complies with Canadian ICES-003.
Remarque à l'intention des utilisateurs canadiens
Cet appareil numérique de la classe B est conforme a la norme NMB-003 du Canada.
COMPLIANT WITH RUSSIAN REGULATORY CERTIFICATION
LCD PIXEL STATEMENT
The LCD unit is produced with high-precision manufacturing techniques. Nevertheless,
some pixels may occasionally misfire or appear as black or red dots. This has no effect
on the recorded image and does not constitute a malfunction.
RADIO DEVICE REGULATORY NOTICES
Note: Below regulatory information is for models with wireless LAN and / or Bluetooth
only.
To prevent radio interference to the licensed service, this device is intended to be
operated indoors.
This product complies with the radio frequency and safety standards of any country or
region in which it has been approved for wireless use. Depending on configurations, this
product may or may not contain wireless radio devices (such as wireless LAN and/or
Bluetooth modules). Below information is for products with such devices.
68 - Regulations and safety notices
Declaration of Conformity for EU countries
Hereby, Acer, declares that this computer is in compliance with the essential requirements
and other relevant provisions of Directive 1999/5/EC.
Wireless operation channels for different domains
France: Restricted wireless frequency bands
Some areas of France have a restricted frequency band. The worst case maximum
authorized power indoors is:
- 10 mW for the entire 2.4 GHz band (2400 MHz - 2483.5 MHz)
- 100 mW for frequencies between 2446.5 MHz and 2483.5 MHz
Note: Channels 10 through 13 inclusive operate in the band 2446.6 MHz to 2483.5 MHz.
There are few possibilities for outdoor use: On private property or on the private property
of public persons, use is subject to a preliminary authorization procedure by the Ministry
of Defense, with maximum authorized power of 100 mW in the 2446.5 - 2483.5 MHz band.
Use outdoors on public property is not permitted.
In the departments listed below, for the entire 2.4 GHz band:
- Maximum authorized power indoors is 100 mW
- Maximum authorized power outdoors is 10 mW
N. America 2.412-2.462 GHz Ch01 through Ch11
Japan 2.412-2.484 GHz Ch01 through Ch14
Europe ETSI 2.412-2.472 GHz Ch01 through Ch13
Regulations and safety notices - 69
Departments in which the use of the 2400 - 2483.5 MHz band is permitted with an EIRP
of less than 100 mW indoors and less than 10 mW outdoors:
This requirement is likely to change over time, allowing you to use your wireless LAN card
in more areas within France.
Please check with ART for the latest information (www.art-telecom.fr).
Note: Your WLAN Card transmits less than 100 mW, but more than 10 mW.
01 Ain Orientales
02 Aisne
03 Allier
05 Hautes Alpes
08 Ardennes
09 Ariege
11 Aude
12 Aveyron
16 Charente
24 Dordogne
25 Doubs
26 Drome
32 Gers
36 Indre
37 Indre et Loire
41 Loir et Cher
45 Loret
50 Manche
55 Meuse
58 Nievre
59 Nord
60 Oise
61 Orne
63 Puy Du Dome
64 Pyrenees
Atlantique
66 Pyrenees
67 Bas Rhin
68 Haut Rhin
70 Haute Saone
71 Saone et Loire
75 Paris
82 Tarn et Garonne
84 Vaucluse
88 Vosges
89 Yonne
90 Territoire de
Belfort
94 Val de Marne

70 - Regulations and safety notices
List of national codes
This equipment may be operated in the following countries:
CANADA — LOW-POWER LICENSE-EXEMPT RADIO COMMUNICATION DEVICES (RSS-210)
Exposure of humans to RF fields (RSS-102)
The computer employs low gain integral antennas that do not emit RF field in excess of
Health Canada limits for the general population; consult Safety Code 6, obtainable from
Health Canada's website at www.hc-sc.gc.ca/rpb.
Country
Austria
Belgium
Cyprus
Czech Republic
Denmark
Estonia
Finland
France
Germany
Greece
Hungary
Ireland
Italy
Latvia
Lithuania
Luxembourg
ISO 3166
2 letter code
AT
BE
CY
CZ
DK
EE
FI
FR
DE
GR
HU
IE
IT
LV
LT
LU
Country
Malta
Netherlands
Poland
Portugal
Slovakia
Slovenia
Spain
Sweden
United Kingdom
Iceland
Liechtenstein
Norway
Switzerland
Bulgaria
Romania
Turkey
ISO 3166
2 letter code
MT
NT
PL
PT
SK
SL
ES
SE
GB
IS
LI
NO
CH
BG
RO
TR
Regulations and safety notices - 71
This device complies with RSS210 of Industry Canada.
This Class B digital apparatus complies with Canadian ICES-003, Issue 4, and RSS-210,
No 4 (Dec 2000) and No 5 (Nov 2001).
"To prevent radio interference to the licensed service, this device is intended to be
operated indoors and away from windows to provide maximum shielding. Equipment (or
its transmit antenna) that is installed outdoors is subject to licensing."
Cet appareil numérique de la classe B est conforme à la norme NMB-003, No. 4, et CNR-
210, No 4 (Dec 2000) et No 5 (Nov 2001).
« Pour empêcher que cet appareil cause du brouillage au service faisant l'objet d'une
licence, il doit être utilisé a l'intérieur et devrait être placé loin des fenêtres afin de fournir
un écran de blindage maximal. Si le matériel (ou son antenne d'émission) est installé à
l'extérieur, il doit faire l'objet d'une licence.
Caution: When using IEEE 802.11a wireless LAN, this product is restricted to indoor
use due to its operation in the 5.15- to 5.25-GHz frequency range. Industry Canada
requires this product to be used indoors for the frequency range of 5.15 GHz to 5.25
GHz to reduce the potential for harmful interference to co-channel mobile satellite
systems. High power radar is allocated as the primary user of the 5.25 to 5.35 GHz
and 5.65 to 5.85-GHz bands. These radar stations can cause interference with and/
or damage to this device.
The maximum allowed antenna gain for use with this device is 6 dBi in order to comply
with the E.I.R.P limit for the 5.25- to 5.35 and 5.725 to 5.85 GHz frequency range in point-
to-point operation.
