Acer Aspire Notebook 5349 Users Manual SG_Acer_HMA51_HR_(ZRL)
5349 to the manual 902da1b1-f70e-4e7b-9b91-9a7e03d3453b
2015-01-25
: Acer Acer-Aspire-Notebook-5349-Users-Manual-211131 acer-aspire-notebook-5349-users-manual-211131 acer pdf
Open the PDF directly: View PDF
.
Page Count: 208 [warning: Documents this large are best viewed by clicking the View PDF Link!]
- Hardware Specifications
- Features
- Operating System
- Platform
- System Memory
- Display
- Audio Subsystem
- Graphics
- Storage Subsystem
- Optical Media Drive
- Privacy Control
- Webcam
- Wireless and networking
- Dimension and Weight
- Power Adapter and Battery
- Input and Controls
- I/O Ports
- Optional Items
- Warranty
- Eco-compliance
- Environment
- Software
- Using the communication key*
- Specification Tables
- Computer specifications
- Processor
- Processor Specifications
- CPU Fan True Value Table (TJ100-CPU)
- CPU Fan True Value Table (TJ85-CPU)
- System Memory
- Memory Combinations
- Video Interface
- BIOS
- LAN Interface
- Keyboard
- Hard Disk Drive (AVL components)
- LED 15.6”
- LCD Inverter (not available with this model)
- Display Supported Resolution (LCD Supported Resolution)
- Display Supported Resolution (GPU Supported Resolution)
- Mini Card
- 3G Card (not available in this model)
- Audio Codec and Amplifier
- Audio Interface
- Battery
- VRAM
- USB Port
- AC Adapter
- System Power Management
- Card Reader
- System LED Indicator
- System DMA Specification
- System Interrupt Specification
- System I/O Address Map
- System I/O Address Map (Continued)
- Specification Tables
- System Utilities
- Machine Maintenance Procedures
- Introduction
- General Information
- Recommended Equipment
- Maintenance Flowchart
- Getting Started
- Battery Pack Removal
- Battery Pack Installation
- Dummy Card Removal
- Dummy Card Installation
- Keyboard Removal
- Keyboard Installation
- UpperCase Screws and FFC Removal
- UpperCase Screws and FFC Installation
- ODD (Optical Disk Drive) Module Removal
- ODD Module Installation
- Base Cover Removal
- Base Cover Installation
- USB Module Removal
- USB Module Installation
- HDD (Hard Disk Drive) Removal
- Hard Disk Drive Installation
- RTC (Real Time Clock) Battery Removal
- RTC Battery Installation
- WLAN (Wireless Local Area Network) Module Removal
- WLAN Module Installation
- Bluetooth Module Removal
- Bluetooth Module Installation
- Thermal Module Removal
- Thermal Module Installation
- Mainboard Removal
- Mainboard Installation
- CPU (Central Processing Unit) Removal
- CPU Installation
- PCH (Platform Controller Hub) Removal
- PCH Installation
- DIMM (Dual In-line Memory Module) Removal
- DIMM Installation
- Power Board Removal
- Power Board Installation
- DC-in Jack Removal
- DC-in Jack Installation
- Speakers Removal
- Speakers Installation
- LCD (Liquid Crystal Display) Module Removal
- LCD Module Installation
- LCD Bezel Removal
- LCD Bezel Installation
- Camera Module Removal
- Camera Module Installation
- LCD Panel Removal
- LCD Panel Installation
- LCD Hinge Removal
- LCD Hinge Installation
- LVDS Cable Removal
- LVDS Cable Installation
- Troubleshooting
- Jumper and Connector Locations
- FRU (Field Replaceable Unit) List
- Model Definition and Configuration
- Test Compatible Components
- Online Support Information

Aspire 5349, 5749 & 5749Z
SERVICEGUIDE

ii
Revision History
Refer to the table below for the updates made to this service guide.
Service guide files and updates are available on the ACER/CSD Website. For more
information, go to http://csd.acer.com.tw.The information in this guide is subject to
change without notice.
Copyright
Copyright © 2011 by Acer Incorporated. All rights reserved. No part of this publication
may be reproduced, transmitted, transcribed, stored in a retrieval system, or translated
into any language or computer language, in any form or by any means, electronic,
mechanical, magnetic, optical, chemical, manual or otherwise, without the prior written
permission of Acer Incorporated.
Disclaimer
The information in this guide is subject to change without notice.
There are no representations or warranties, either expressed or implied, with respect to
the contents hereof and specifically disclaims any warranties of merchantability or
fitness for any particular purpose. The software described in this manual is sold or
licensed "as is". Should the programs prove defective following their purchase, the
buyer (not the manufacturer, distributor, or its dealer) assumes the entire cost of all
necessary servicing, repair, and any incidental or consequential damages resulting from
any defect in the software.
Date Chapter Updates

iii
Conventions
The following conventions are used in this manual:
WARNING:
!
Indicates a potential for personal injury.
CAUTION:
!
Indicates a potential loss of data or damage to equipment.
IMPORTANT:
+
Indicates information that is important to know for the proper
completion of a procedure, choice of an option, or completing a task.
The following typographical conventions are used in this document:
-Book titles, directory names, file names, path names, and program/process names are
shown in italics.
Example:
the DRS5 User's Guide
/usr/local/bin/fd
the /TPH15spool_M program
-Computer output (text that represents information displayed on a computer screen, such as
menus, prompts, responses to input, and error messages) are shown in constant width.
Example:
[01] The server has been stopped
-User input (text that represents information entered by a computer user, such as command
names, option letters, and words) are shown in constant width bold.
Variables contained within user input are shown in angle brackets (< >).
Example:
At the prompt, type run <file name> -m
-Keyboard keys are shown in bold italics.
Example:
After entering data, press Enter.

iv
General Information 0
This service guide provides all technical information relating to the basic configuration
for Acer’s global product offering. To better fit local market requirements and enhance
product competitiveness, the regional office may have decided to extend the
functionality of a machine (such as add-on cards, modems, or extra memory capabilities).
These localized features are not covered in this generic service guide. In such cases,
contact the regional offices or the responsible personnel/channel to provide further
technical details.
When ordering FRU parts: Check the most up-to-date information available on the
Website. If, for whatever reason, a part number change is made, it may not be noted in
this printed service guide.
Acer-authorized Service Providers: The Acer office may have a different part number
code than those given in the FRU list in this service guide. A list must be provided by the
regional Acer office to order FRU parts for repair and service of customer machines.

v
CHAPTER 1
Hardware Specifications
Features. . . . . . . . . . . . . . . . . . . . . . . . . . . . . . . . . . . . . . . . 1-5
Operating System. . . . . . . . . . . . . . . . . . . . . . . . . . . . . . . . . . 1-5
Platform . . . . . . . . . . . . . . . . . . . . . . . . . . . . . . . . . . . . . . . . . 1-5
System Memory . . . . . . . . . . . . . . . . . . . . . . . . . . . . . . . . . . . 1-5
Display. . . . . . . . . . . . . . . . . . . . . . . . . . . . . . . . . . . . . . . . . . . 1-5
Audio Subsystem . . . . . . . . . . . . . . . . . . . . . . . . . . . . . . . . . . 1-5
Graphics . . . . . . . . . . . . . . . . . . . . . . . . . . . . . . . . . . . . . . . . . 1-6
Storage Subsystem . . . . . . . . . . . . . . . . . . . . . . . . . . . . . . . . . 1-6
Optical Media Drive . . . . . . . . . . . . . . . . . . . . . . . . . . . . . . . . 1-6
Privacy Control . . . . . . . . . . . . . . . . . . . . . . . . . . . . . . . . . . . . 1-6
Webcam . . . . . . . . . . . . . . . . . . . . . . . . . . . . . . . . . . . . . . . . . 1-6
Wireless and networking. . . . . . . . . . . . . . . . . . . . . . . . . . . . 1-7
Dimension and Weight . . . . . . . . . . . . . . . . . . . . . . . . . . . . . 1-7
Power Adapter and Battery. . . . . . . . . . . . . . . . . . . . . . . . . . 1-7
Input and Controls . . . . . . . . . . . . . . . . . . . . . . . . . . . . . . . . . 1-8
I/O Ports. . . . . . . . . . . . . . . . . . . . . . . . . . . . . . . . . . . . . . . . . . 1-8
Optional Items . . . . . . . . . . . . . . . . . . . . . . . . . . . . . . . . . . . . 1-8
Warranty. . . . . . . . . . . . . . . . . . . . . . . . . . . . . . . . . . . . . . . . . 1-8
Eco-compliance. . . . . . . . . . . . . . . . . . . . . . . . . . . . . . . . . . . . 1-8
Environment. . . . . . . . . . . . . . . . . . . . . . . . . . . . . . . . . . . . . . 1-9
Software . . . . . . . . . . . . . . . . . . . . . . . . . . . . . . . . . . . . . . . . . 1-10
Notebook Tour . . . . . . . . . . . . . . . . . . . . . . . . . . . . . . . . . .1-11
Touchpad Basics . . . . . . . . . . . . . . . . . . . . . . . . . . . . . . . . . . . 1-18
Using the Keyboard . . . . . . . . . . . . . . . . . . . . . . . . . . . . . . . . 1-19
Windows Keys. . . . . . . . . . . . . . . . . . . . . . . . . . . . . . . . . . . . . 1-20
Hotkeys . . . . . . . . . . . . . . . . . . . . . . . . . . . . . . . . . . . . . . . . . . 1-21
Using the communication key*. . . . . . . . . . . . . . . . . . . . . . . 1-22
Specification Tables . . . . . . . . . . . . . . . . . . . . . . . . . . . . . .1-24
Computer specifications. . . . . . . . . . . . . . . . . . . . . . . . . . . . . 1-24
Processor. . . . . . . . . . . . . . . . . . . . . . . . . . . . . . . . . . . . . . . . . 1-25
Processor Specifications . . . . . . . . . . . . . . . . . . . . . . . . . . . . . 1-26
CPU Fan True Value Table (TJ100-CPU). . . . . . . . . . . . . . . . . 1-26
CPU Fan True Value Table (TJ85-CPU). . . . . . . . . . . . . . . . . . 1-27
System Memory . . . . . . . . . . . . . . . . . . . . . . . . . . . . . . . . . . . 1-27
Memory Combinations. . . . . . . . . . . . . . . . . . . . . . . . . . . . . . 1-28
Video Interface. . . . . . . . . . . . . . . . . . . . . . . . . . . . . . . . . . . . 1-28
BIOS. . . . . . . . . . . . . . . . . . . . . . . . . . . . . . . . . . . . . . . . . . . . . 1-28
LAN Interface . . . . . . . . . . . . . . . . . . . . . . . . . . . . . . . . . . . . . 1-29
Keyboard. . . . . . . . . . . . . . . . . . . . . . . . . . . . . . . . . . . . . . . . . 1-29
Hard Disk Drive (AVL components). . . . . . . . . . . . . . . . . . . . 1-30
LED 15.6” . . . . . . . . . . . . . . . . . . . . . . . . . . . . . . . . . . . . . . . . 1-31
LCD Inverter (not available with this model) . . . . . . . . . . . . 1-31

vi
Display Supported Resolution (LCD Supported Resolution) 1-32
Display Supported Resolution (GPU Supported Resolution) 1-32
Mini Card . . . . . . . . . . . . . . . . . . . . . . . . . . . . . . . . . . . . . . . . 1-34
3G Card (not available in this model) . . . . . . . . . . . . . . . . . . 1-34
Audio Codec and Amplifier . . . . . . . . . . . . . . . . . . . . . . . . . 1-35
Audio Interface. . . . . . . . . . . . . . . . . . . . . . . . . . . . . . . . . . . . 1-36
Battery. . . . . . . . . . . . . . . . . . . . . . . . . . . . . . . . . . . . . . . . . . . 1-36
VRAM . . . . . . . . . . . . . . . . . . . . . . . . . . . . . . . . . . . . . . . . . . . 1-37
USB Port . . . . . . . . . . . . . . . . . . . . . . . . . . . . . . . . . . . . . . . . . 1-37
AC Adapter. . . . . . . . . . . . . . . . . . . . . . . . . . . . . . . . . . . . . . . 1-37
System Power Management . . . . . . . . . . . . . . . . . . . . . . . . . 1-38
Card Reader . . . . . . . . . . . . . . . . . . . . . . . . . . . . . . . . . . . . . . 1-38
System LED Indicator . . . . . . . . . . . . . . . . . . . . . . . . . . . . . . . 1-39
System DMA Specification. . . . . . . . . . . . . . . . . . . . . . . . . . . 1-39
System Interrupt Specification. . . . . . . . . . . . . . . . . . . . . . . . 1-40
System I/O Address Map. . . . . . . . . . . . . . . . . . . . . . . . . . . . . 1-44
System I/O Address Map (Continued) . . . . . . . . . . . . . . . . . . 1-45
CHAPTER 2
System Utilities
BIOS Setup Utility. . . . . . . . . . . . . . . . . . . . . . . . . . . . . . . .2-3
Navigating the BIOS Utility . . . . . . . . . . . . . . . . . . . . . . . . . . 2-3
BIOS. . . . . . . . . . . . . . . . . . . . . . . . . . . . . . . . . . . . . . . . . . . 2-4
Information. . . . . . . . . . . . . . . . . . . . . . . . . . . . . . . . . . . . . . . 2-4
Main . . . . . . . . . . . . . . . . . . . . . . . . . . . . . . . . . . . . . . . . . . . . 2-6
Advanced . . . . . . . . . . . . . . . . . . . . . . . . . . . . . . . . . . . . . . . . 2-8
Security . . . . . . . . . . . . . . . . . . . . . . . . . . . . . . . . . . . . . . . . . . 2-9
Power . . . . . . . . . . . . . . . . . . . . . . . . . . . . . . . . . . . . . . . . . . . 2-13
Boot. . . . . . . . . . . . . . . . . . . . . . . . . . . . . . . . . . . . . . . . . . . . . 2-14
Exit. . . . . . . . . . . . . . . . . . . . . . . . . . . . . . . . . . . . . . . . . . . . . . 2-15
BIOS Flash Utilities. . . . . . . . . . . . . . . . . . . . . . . . . . . . . . .2-16
DOS Flash Utility. . . . . . . . . . . . . . . . . . . . . . . . . . . . . . . . . . . 2-17
WinFlash Utility . . . . . . . . . . . . . . . . . . . . . . . . . . . . . . . . . . . 2-18
Clearing BIOS Passwords . . . . . . . . . . . . . . . . . . . . . . . . . .2-19
Removing BIOS Passwords. . . . . . . . . . . . . . . . . . . . . . . . . . . 2-20
Removing Insyde HDD Password. . . . . . . . . . . . . . . . . . . . . . 2-22
Miscellaneous Tools. . . . . . . . . . . . . . . . . . . . . . . . . . . . . .2-23

vii
Using DMITools. . . . . . . . . . . . . . . . . . . . . . . . . . . . . . . . . . . . 2-23
Using STUUID . . . . . . . . . . . . . . . . . . . . . . . . . . . . . . . . . . . . . 2-26
Using the LAN MAC EEPROM Utility. . . . . . . . . . . . . . . . . . . 2-27
Crisis Disk Recovery . . . . . . . . . . . . . . . . . . . . . . . . . . . . . . . . 2-28
CHAPTER 3
Machine Maintenance Procedures
Introduction . . . . . . . . . . . . . . . . . . . . . . . . . . . . . . . . . . . .3-5
General Information . . . . . . . . . . . . . . . . . . . . . . . . . . . . . 3-5
Recommended Equipment . . . . . . . . . . . . . . . . . . . . . . . .3-5
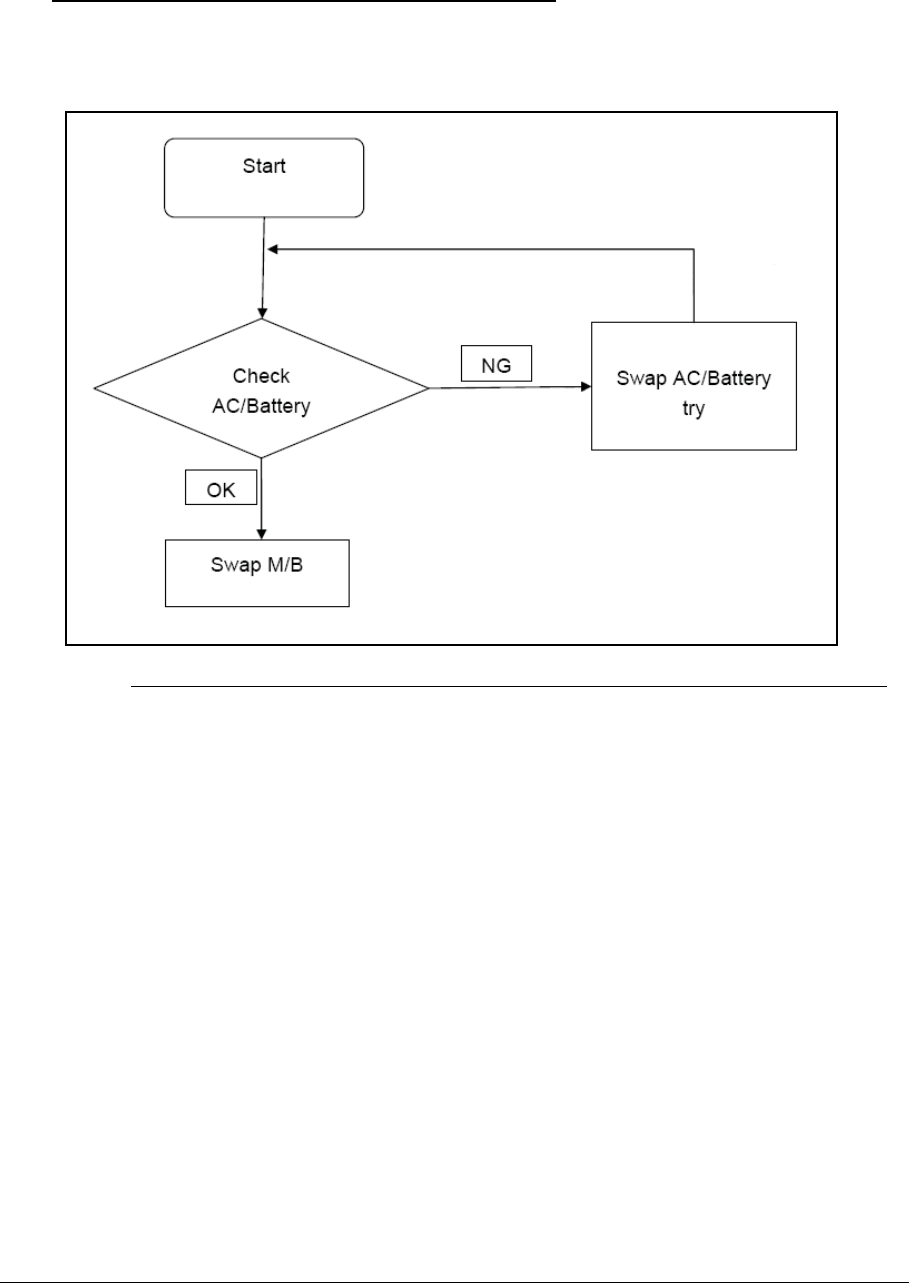
Maintenance Flowchart. . . . . . . . . . . . . . . . . . . . . . . . . . .3-6
Getting Started. . . . . . . . . . . . . . . . . . . . . . . . . . . . . . . . . .3-7
Battery Pack Removal. . . . . . . . . . . . . . . . . . . . . . . . . . . . . . . 3-8
Battery Pack Installation . . . . . . . . . . . . . . . . . . . . . . . . . . . . 3-8
Dummy Card Removal . . . . . . . . . . . . . . . . . . . . . . . . . . . . . . 3-9
Dummy Card Installation. . . . . . . . . . . . . . . . . . . . . . . . . . . . 3-9
Keyboard Removal. . . . . . . . . . . . . . . . . . . . . . . . . . . . . . . . . 3-10
Keyboard Installation. . . . . . . . . . . . . . . . . . . . . . . . . . . . . . . 3-11
UpperCase Screws and FFC Removal. . . . . . . . . . . . . . . . . . . 3-12
UpperCase Screws and FFC Installation. . . . . . . . . . . . . . . . . 3-12
ODD (Optical Disk Drive) Module Removal . . . . . . . . . . . . . 3-13
ODD Module Installation. . . . . . . . . . . . . . . . . . . . . . . . . . . . 3-14
Base Cover Removal. . . . . . . . . . . . . . . . . . . . . . . . . . . . . . . . 3-15
Base Cover Installation. . . . . . . . . . . . . . . . . . . . . . . . . . . . . . 3-15
USB Module Removal. . . . . . . . . . . . . . . . . . . . . . . . . . . . . . . 3-16
USB Module Installation . . . . . . . . . . . . . . . . . . . . . . . . . . . . 3-17
HDD (Hard Disk Drive) Removal . . . . . . . . . . . . . . . . . . . . . . 3-18
Hard Disk Drive Installation. . . . . . . . . . . . . . . . . . . . . . . . . . 3-19
RTC (Real Time Clock) Battery Removal . . . . . . . . . . . . . . . . 3-20
RTC Battery Installation . . . . . . . . . . . . . . . . . . . . . . . . . . . . . 3-20
WLAN (Wireless Local Area Network) Module Removal . . . 3-21
WLAN Module Installation . . . . . . . . . . . . . . . . . . . . . . . . . . 3-23
Bluetooth Module Removal. . . . . . . . . . . . . . . . . . . . . . . . . . 3-24
Bluetooth Module Installation . . . . . . . . . . . . . . . . . . . . . . . 3-25
Thermal Module Removal . . . . . . . . . . . . . . . . . . . . . . . . . . . 3-26
Thermal Module Installation. . . . . . . . . . . . . . . . . . . . . . . . . 3-27
Mainboard Removal. . . . . . . . . . . . . . . . . . . . . . . . . . . . . . . . 3-29
Mainboard Installation . . . . . . . . . . . . . . . . . . . . . . . . . . . . . 3-30
CPU (Central Processing Unit) Removal . . . . . . . . . . . . . . . . 3-31
CPU Installation . . . . . . . . . . . . . . . . . . . . . . . . . . . . . . . . . . . 3-32
PCH (Platform Controller Hub) Removal. . . . . . . . . . . . . . . . 3-33

viii
PCH Installation . . . . . . . . . . . . . . . . . . . . . . . . . . . . . . . . . . . 3-34
DIMM (Dual In-line Memory Module) Removal. . . . . . . . . . 3-35
DIMM Installation. . . . . . . . . . . . . . . . . . . . . . . . . . . . . . . . . . 3-36
Power Board Removal . . . . . . . . . . . . . . . . . . . . . . . . . . . . . . 3-37
Power Board Installation . . . . . . . . . . . . . . . . . . . . . . . . . . . . 3-38
DC-in Jack Removal . . . . . . . . . . . . . . . . . . . . . . . . . . . . . . . . 3-39
DC-in Jack Installation . . . . . . . . . . . . . . . . . . . . . . . . . . . . . . 3-40
Speakers Removal. . . . . . . . . . . . . . . . . . . . . . . . . . . . . . . . . . 3-41
Speakers Installation . . . . . . . . . . . . . . . . . . . . . . . . . . . . . . . 3-41
LCD (Liquid Crystal Display) Module Removal . . . . . . . . . . . 3-42
LCD Module Installation . . . . . . . . . . . . . . . . . . . . . . . . . . . . 3-43
LCD Bezel Removal. . . . . . . . . . . . . . . . . . . . . . . . . . . . . . . . . 3-44
LCD Bezel Installation . . . . . . . . . . . . . . . . . . . . . . . . . . . . . . 3-45
Camera Module Removal. . . . . . . . . . . . . . . . . . . . . . . . . . . . 3-46
Camera Module Installation . . . . . . . . . . . . . . . . . . . . . . . . . 3-47
LCD Panel Removal. . . . . . . . . . . . . . . . . . . . . . . . . . . . . . . . . 3-48
LCD Panel Installation . . . . . . . . . . . . . . . . . . . . . . . . . . . . . . 3-49
LCD Hinge Removal . . . . . . . . . . . . . . . . . . . . . . . . . . . . . . . . 3-50
LCD Hinge Installation . . . . . . . . . . . . . . . . . . . . . . . . . . . . . . 3-50
LVDS Cable Removal . . . . . . . . . . . . . . . . . . . . . . . . . . . . . . . 3-51
LVDS Cable Installation . . . . . . . . . . . . . . . . . . . . . . . . . . . . . 3-52
CHAPTER 4
Troubleshooting
Introduction . . . . . . . . . . . . . . . . . . . . . . . . . . . . . . . . . . . .4-3
General Information . . . . . . . . . . . . . . . . . . . . . . . . . . . . . 4-3
Power On Issues . . . . . . . . . . . . . . . . . . . . . . . . . . . . . . . . . . . 4-4
No Display Issues. . . . . . . . . . . . . . . . . . . . . . . . . . . . . . . . . . . 4-5
LCD Failure . . . . . . . . . . . . . . . . . . . . . . . . . . . . . . . . . . . . . . . 4-8
Keyboard Failure . . . . . . . . . . . . . . . . . . . . . . . . . . . . . . . . . . 4-9
Touchpad Failure . . . . . . . . . . . . . . . . . . . . . . . . . . . . . . . . . . 4-10
Internal Speaker Failure. . . . . . . . . . . . . . . . . . . . . . . . . . . . . 4-11
Microphone Failure . . . . . . . . . . . . . . . . . . . . . . . . . . . . . . . . 4-13
USB Failure . . . . . . . . . . . . . . . . . . . . . . . . . . . . . . . . . . . . . . . 4-14
Other Functions Failure . . . . . . . . . . . . . . . . . . . . . . . . . . . . . 4-15
Intermittent Problems. . . . . . . . . . . . . . . . . . . . . . . . . . . .4-16

ix
Undetermined Problems . . . . . . . . . . . . . . . . . . . . . . . . . .4-16
Post Codes . . . . . . . . . . . . . . . . . . . . . . . . . . . . . . . . . . . . .4-17
CHAPTER 5
Jumper and Connector Locations
Mainboard Jumper and Connector Locations . . . . . . . . .5-3
Clearing Password Check and BIOS Recovery . . . . . . . . .5-5
Clearing Password Check. . . . . . . . . . . . . . . . . . . . . . . . . . . . 5-5
Clear CMOS Jumper . . . . . . . . . . . . . . . . . . . . . . . . . . . . . . . . 5-6
BIOS Recovery by Crisis Disk. . . . . . . . . . . . . . . . . . . . . . . . . . 5-6
CHAPTER 6
FRU (Field Replaceable Unit) List
Exploded Diagrams . . . . . . . . . . . . . . . . . . . . . . . . . . . . . .6-4
FRU List . . . . . . . . . . . . . . . . . . . . . . . . . . . . . . . . . . . . . . . .6-7
Screw List . . . . . . . . . . . . . . . . . . . . . . . . . . . . . . . . . . . . . .6-16
CHAPTER 7
Model Definition and Configuration
Aspire 5349 . . . . . . . . . . . . . . . . . . . . . . . . . . . . . . . . . . . . .7-1
Aspire 5749Z . . . . . . . . . . . . . . . . . . . . . . . . . . . . . . . . . . . .7-3
Aspire 5749 . . . . . . . . . . . . . . . . . . . . . . . . . . . . . . . . . . . . .7-5
CHAPTER 8
Test Compatible Components
Microsoft® Windows® 7 Environment Test. . . . . . . . . . .8-4
CHAPTER 9
Online Support Information
Introduction . . . . . . . . . . . . . . . . . . . . . . . . . . . . . . . . . . . .9-3

x

CHAPTER 1
Hardware Specifications

1-2
Features. . . . . . . . . . . . . . . . . . . . . . . . . . . . . . . . . . . . . . . . 1-5
Operating System. . . . . . . . . . . . . . . . . . . . . . . . . . . . . . . . . . .1-5
Platform . . . . . . . . . . . . . . . . . . . . . . . . . . . . . . . . . . . . . . . . . .1-5
System Memory . . . . . . . . . . . . . . . . . . . . . . . . . . . . . . . . . . . .1-5
Display. . . . . . . . . . . . . . . . . . . . . . . . . . . . . . . . . . . . . . . . . . . .1-5
Audio Subsystem . . . . . . . . . . . . . . . . . . . . . . . . . . . . . . . . . . .1-5
Graphics . . . . . . . . . . . . . . . . . . . . . . . . . . . . . . . . . . . . . . . . . .1-6
Storage Subsystem . . . . . . . . . . . . . . . . . . . . . . . . . . . . . . . . . .1-6
Optical Media Drive . . . . . . . . . . . . . . . . . . . . . . . . . . . . . . . . .1-6
Privacy Control . . . . . . . . . . . . . . . . . . . . . . . . . . . . . . . . . . . . .1-6
Webcam . . . . . . . . . . . . . . . . . . . . . . . . . . . . . . . . . . . . . . . . . .1-6
Wireless and networking. . . . . . . . . . . . . . . . . . . . . . . . . . . . .1-7
Dimension and Weight . . . . . . . . . . . . . . . . . . . . . . . . . . . . . .1-7
Power Adapter and Battery. . . . . . . . . . . . . . . . . . . . . . . . . . .1-7
Input and Controls . . . . . . . . . . . . . . . . . . . . . . . . . . . . . . . . . .1-8
I/O Ports. . . . . . . . . . . . . . . . . . . . . . . . . . . . . . . . . . . . . . . . . . .1-8
Optional Items . . . . . . . . . . . . . . . . . . . . . . . . . . . . . . . . . . . . .1-8
Warranty. . . . . . . . . . . . . . . . . . . . . . . . . . . . . . . . . . . . . . . . . .1-8
Eco-compliance. . . . . . . . . . . . . . . . . . . . . . . . . . . . . . . . . . . . .1-8
Environment. . . . . . . . . . . . . . . . . . . . . . . . . . . . . . . . . . . . . . .1-9
Software . . . . . . . . . . . . . . . . . . . . . . . . . . . . . . . . . . . . . . . . . .1-10
Notebook Tour . . . . . . . . . . . . . . . . . . . . . . . . . . . . . . . . . . 1-11
Touchpad Basics . . . . . . . . . . . . . . . . . . . . . . . . . . . . . . . . . . . .1-18
Using the Keyboard . . . . . . . . . . . . . . . . . . . . . . . . . . . . . . . . .1-19
Windows Keys. . . . . . . . . . . . . . . . . . . . . . . . . . . . . . . . . . . . . .1-20
Hotkeys . . . . . . . . . . . . . . . . . . . . . . . . . . . . . . . . . . . . . . . . . . .1-21
Using the communication key*. . . . . . . . . . . . . . . . . . . . . . . .1-22
Specification Tables . . . . . . . . . . . . . . . . . . . . . . . . . . . . . . 1-24
Computer specifications. . . . . . . . . . . . . . . . . . . . . . . . . . . . . . . . . . . . . . . 1-24
Processor . . . . . . . . . . . . . . . . . . . . . . . . . . . . . . . . . . . . . . . . . . . . . . . . . . . 1-25
Processor Specifications . . . . . . . . . . . . . . . . . . . . . . . . . . . . . . . . . . . . . . . 1-26
CPU Fan True Value Table (TJ100-CPU). . . . . . . . . . . . . . . . . . . . . . . . . . . 1-26
CPU Fan True Value Table (TJ85-CPU) . . . . . . . . . . . . . . . . . . . . . . . . . . . . 1-27
System Memory. . . . . . . . . . . . . . . . . . . . . . . . . . . . . . . . . . . . . . . . . . . . . . 1-27
Memory Combinations. . . . . . . . . . . . . . . . . . . . . . . . . . . . . . . . . . . . . . . . 1-28
Video Interface . . . . . . . . . . . . . . . . . . . . . . . . . . . . . . . . . . . . . . . . . . . . . . 1-28
BIOS . . . . . . . . . . . . . . . . . . . . . . . . . . . . . . . . . . . . . . . . . . . . . . . . . . . . . . . 1-28
LAN Interface . . . . . . . . . . . . . . . . . . . . . . . . . . . . . . . . . . . . . . . . . . . . . . . 1-29
Keyboard. . . . . . . . . . . . . . . . . . . . . . . . . . . . . . . . . . . . . . . . . . . . . . . . . . . 1-29
Hard Disk Drive (AVL components) . . . . . . . . . . . . . . . . . . . . . . . . . . . . . . 1-30
LED 15.6”. . . . . . . . . . . . . . . . . . . . . . . . . . . . . . . . . . . . . . . . . . . . . . . . . . . 1-31
LCD Inverter (not available with this model) . . . . . . . . . . . . . . . . . . . . . . 1-31
Display Supported Resolution (LCD Supported Resolution) . . . . . . . . . . 1-32
Display Supported Resolution (GPU Supported Resolution) . . . . . . . . . . 1-32
Mini Card. . . . . . . . . . . . . . . . . . . . . . . . . . . . . . . . . . . . . . . . . . . . . . . . . . . 1-34
3G Card (not available in this model) . . . . . . . . . . . . . . . . . . . . . . . . . . . . 1-34
Audio Codec and Amplifier . . . . . . . . . . . . . . . . . . . . . . . . . . . . . . . . . . . . 1-35
Audio Interface. . . . . . . . . . . . . . . . . . . . . . . . . . . . . . . . . . . . . . . . . . . . . . 1-36

1-3
Battery. . . . . . . . . . . . . . . . . . . . . . . . . . . . . . . . . . . . . . . . . . . . . . . . . . . . . 1-36
VRAM. . . . . . . . . . . . . . . . . . . . . . . . . . . . . . . . . . . . . . . . . . . . . . . . . . . . . . 1-37
USB Port. . . . . . . . . . . . . . . . . . . . . . . . . . . . . . . . . . . . . . . . . . . . . . . . . . . . 1-37
AC Adapter . . . . . . . . . . . . . . . . . . . . . . . . . . . . . . . . . . . . . . . . . . . . . . . . . 1-37
System Power Management . . . . . . . . . . . . . . . . . . . . . . . . . . . . . . . . . . . 1-38
Card Reader. . . . . . . . . . . . . . . . . . . . . . . . . . . . . . . . . . . . . . . . . . . . . . . . . 1-38
System LED Indicator . . . . . . . . . . . . . . . . . . . . . . . . . . . . . . . . . . . . . . . . . 1-39
System DMA Specification . . . . . . . . . . . . . . . . . . . . . . . . . . . . . . . . . . . . . 1-39
System Interrupt Specification. . . . . . . . . . . . . . . . . . . . . . . . . . . . . . . . . . 1-40
System I/O Address Map. . . . . . . . . . . . . . . . . . . . . . . . . . . . . . . . . . . . . . . 1-44
System I/O Address Map (Continued) . . . . . . . . . . . . . . . . . . . . . . . . . . . . 1-45

1-4

Hardware Specifications and Configurations 1-5
Hardware Specifications and Configurations
Features 0
Below is a summary of the computer’s features:
Operating System 0
-Genuine Windows® 7 Home Basic 64-bit
-Genuine Windows® 7 Home Premium 64-bit
Platform 0
Aspire 5349 0
-Intel® Celeron® processor B710/B800 (1 MB/2 MB L3 cache, 1.6 GHz/1.5 GHz, DDR3
1333 MHz, 35 W), supporting Intel® 64 architecture, Intel® Smart Cache
-Mobile Intel® HM65 Express Chipset
Aspire 5749 0
-Intel® Core™ i3-2310M/i3-2330M/i3-2350M processor (3 MB L3 cache,
2.10/2.20/2.30 GHz, DDR3 1333 MHz, 35 W), supporting Intel® 64 architecture,
Intel® Smart Cache
-Mobile Intel® HM65 Express Chipset
Aspire 5749Z 0
-Intel® Pentium® processor B940/B950/B960 (2 MB L3 cache, 2/2.10/2.20 GHz, DDR3
1333 MHz, 35 W), supporting Intel® 64 architecture, Intel® Smart Cache
-Mobile Intel® HM65 Express Chipset
System Memory 0
-Dual-channel DDR3 SDRAM support:
Up to 4 GB of DDR3 system memory, upgradable to 8 GB using two soDIMM
modules
Display 0
-15.6" HD 1366 x 768 resolution, high-brightness (200-nit) Acer CineCrystal™
LED-backlit TFT LCD
-Mercury-free, environment-friendly
-16:9 aspect ratio
Audio Subsystem 0
-High-definition audio support

1-6 Hardware Specifications and Configurations
-Two built-in stereo speakers
-MS-Sound compatible
-Built-in microphone
Graphics 0
Intel® HD Graphics with 128 MB of dedicated system memory, supporting Microsoft®
DirectX® 10.1
-Dual independent display support
-16.7 million colors
-External resolution / refresh rates:6
VGA port up to 2048 x 1536: 75 Hz
HDMI® port up to 1920 x 1080: 60 Hz
-MPEG-2/DVD decoding
-WMV9 (VC-1) and H.264 (AVC) decoding
-HDMI® (High-Definition Multimedia Interface) with HDCP (High-bandwidth
Digital Content Protection) support
Storage Subsystem 0
Hard disk drive:
-250/320/500/640/750 GB or larger
2-in-1 card reader:
-Supports Secure Digital™ (SD) Card and MultiMediaCard™ (MMC)
Optical Media Drive 0
8X DVD-Super Multi double-layer drive:
-Read: 24X CD-ROM, 24X CD-R, 24X CD-RW, 8X DVD-ROM, 8X DVD-R, 8X DVD+R,
6X DVD-ROM DL, 6X DVD-R DL, 6X DVD+R DL, 6X DVD-RW, 6X DVD+RW, 5X
DVD-RAM
-Write: 24X CD-R, 16X CD-RW, 8X DVD-R, 8X DVD+R, 4X DVD-R DL, 4X DVD+R DL,
6X DVD-RW, 8X DVD+RW, 5X DVD-RAM
Privacy Control 0
-BIOS user, supervisor, HDD passwords
-Kensington lock slot
Webcam 0
Acer Video Conference, featuring:
-Acer Crystal Eye webcam

Hardware Specifications and Configurations 1-7
Wireless and networking 0
WLAN:
-Acer InviLink™ Nplify™ 802.11b/g/n Wi-Fi CERTIFIED™
-Supporting Acer SignalUp™ wireless technology
WPAN:
-Bluetooth® 3.0+HS
-Bluetooth® 2.0/2.1+EDR
LAN:
-Fast Ethernet, Wake-on-LAN ready
Dimension and Weight 0
Dimensions:
-381 (W) x 253 (D) x 29.6/34.7 (H) mm (15 x 9.96 x 1.17/1.37 inches)
Weight:
-2.4 kg (5.29 lbs.)10 with 6-cell battery pack
Power Adapter and Battery 0
ACPI 3.0 CPU power management standard: supports Standby and Hibernation
power-saving modes
Power adapter:
-3-pin 65 W AC adapter:
95 (W) x 50 (D) x 25.4 (H) mm (3.74 x 1.96 x 1 inches)
216 g (0.47 lbs.)10 with 180 cm DC cable
Battery:
-48.8 Wh 4400 mAh 6-cell Li-ion standard battery pack
-Battery life: 4 hours
-ENERGY STAR®

1-8 Hardware Specifications and Configurations
Input and Controls 0
Keyboard
-103-/104-/107-key Acer FineTip keyboard with independent standard numeric
keypad, international language support
Touchpad
-Multi-gesture touchpad, supporting two-finger scroll, pinch, rotate, flip
Media keys
-Media control keys (printed on keyboard): play/pause, stop, previous, next, volume
up, volume down
I/O Ports 0
-2-in-1 card reader (SD™, MMC)
-Three USB 2.0 ports
-External display (VGA) port
-Headphone/speaker jack
-Microphone-in jack
-Ethernet (RJ-45) port
-DC-in jack for AC adapter
-HDMI® port with HDCP support
Optional Items 0
-1/2/4 GB DDR3 soDIMM module
-6-cell Li-ion battery pack
-3-pin 65W AC adapter
Warranty 0
-One-year International Travelers Warranty (ITW)
Eco-compliance 0
-Energy Star
-WEE
-RoHS
-Mercury free

Hardware Specifications and Configurations 1-9
Environment 0
-Temperature:
Operating: 41 F to 95 F (5 C to 35 C)
Non-operating: -4 F to 149 F (-20 C to 65 C)
-Humidity (non-condensing):
Operating: 20% to 80%
Non-operating: 20% to 80%

1-10 Hardware Specifications and Configurations
Software 0
Productivity
-Acer Backup Manager
-Acer ePower Management
-Acer eRecovery Management
-Adobe® Flash® Player 10.1
-Adobe® Reader® 9.1
-AUPEO! (US only)
-Bing™ Bar
-Kobo™ (Canada only)
-Microsoft® Office Starter 2010: Includes limited-functionality Microsoft® Word
and Excel with advertising; no PowerPoint or Outlook. Buy Office 2010 to use the
full-featured software.
-New York Times Reader (US only)
-NOOK for PC (US only)
-Norton™ Online Backup
-Windows Live™ Essentials
Security
-McAfee® Internet Security Suite Trial
-MyWinLocker® (except China, Hong Kong)
Multimedia
-Acer clear.fi
-NTI Media Maker™
Gaming
-Oberon GameZone (except US, Canada, China, Hong Kong, Korea)
-WildTangent® (US, Canada only)
Communication and ISP
-Acer Crystal Eye
-Microsoft® Silverlight™
-Skype™
Web links and utilities
-Acer Accessory Store (Belgium, France, Germany, Italy, Netherlands, Spain,
Sweden, UK only)
-Acer Identity Card
-Acer Registration
-Acer Updater
-eBay® shortcut 2009 (Canada, France, Germany, Italy, Mexico, Spain, UK, US only)
-Netflix shortcut (US only)

Hardware Specifications and Configurations 1-11
Notebook Tour 0
Figure 1-1. Top ViewTop View
Table 1-1. Top View
#Icon Item Description
1 Integrated webcam Web camera for video communication
(configuration may vary by model).
2 Display screen Also called Liquid-Crystal Display (LCD), displays
computer output (configuration may vary by
model).
3 Power button Turns the computer on and off.
4 Keyboard For entering data into your computer.
5 Touchpad Touch-sensitive pointing device which functions
like a computer mouse.
6 Click buttons (left and
right) The left and right buttons function like the left
and right mouse buttons.
7 Microphone Internal microphone for sound recording.

1-12 Hardware Specifications and Configurations
Note: Color option may depend on the model.
8 Power indicator Indicates the computer's power status.
Battery indicator Indicates the computer's battery status.
1. Charging: The light shows amber when the
battery is charging.
2. Fully charged: The light shows blue when in
AC mode.
9 Palmrest Comfortable support area for your hands when
you use the computer.
10 Speaker Delivers audio output
Table 1-1. Top View
#Icon Item Description

Hardware Specifications and Configurations 1-13
Figure 1-2. Closed Front View
Table 1-2. Closed Front View
#Icon Item Description
1 Microphone jack Accepts inputs from external microphones.
Headphone/
speaker/line-out
jack
Connects to audio line-out devices (e.g.,
speakers, headphones).
2-in-1 card reader Accepts Secure Digital (SD),
MultiMediaCard (MMC).
Note: Push to remove/install the card. Only
onecard can operate at any given time.

1-14 Hardware Specifications and Configurations
Figure 1-3. Rear View
Note: Your computer may be equipped with a different battery to the one in the
picture.
Table 1-3. Rear View
#Icon Item Description
1 Battery bay Houses the computer's battery pack.

Hardware Specifications and Configurations 1-15
Figure 1-4. Left View
Table 1-4. Left View
#Icon Item Description
1 DC-in jack Connects to an AC adapter.
2Ventilation slots Enable the computer to stay cool,
even after prolonged use.
3External display
(VGA) port Connects to a display device (e.g., external
monitor, LCD projector).
4Ethernet (RJ-45) port Connects to an Ethernet 10/100 based
network.
5HDMI port Supports high-definition digital video
connections.
6USB 2.0 port Connects to USB 2.0 devices (e.g., USB mouse,
USB camera).

1-16 Hardware Specifications and Configurations
Figure 1-5. Right View
Table 1-5. Right View
#Icon Item Description
1 USB 2.0 ports Connect to USB 2.0 devices
(e.g., USB mouse, USB camera).
2 Optical drive Internal optical drive; accepts CDs or DVDs.
3 Optical disk access
indicator Lights up when the optical drive is active.
4 Optical drive eject
button Ejects the optical disk from the drive.
5 Emergency eject hole Ejects the optical drive tray when the computer
is turned off.
Note: Insert a paper clip to the emergency eject
hole to eject the optical drive tray when the
computer is off.
6 Kensington lock slot Connects to a Kensington-compatible
computer security lock.

Hardware Specifications and Configurations 1-17
Figure 1-6. Base View
Table 1-6. Base View
#Icon Item Description
1 Battery bay Houses the computer's battery pack.
2 Battery lock Locks the battery in position.
3 Ventilation slots Enable the computer to stay cool, even after
prolonged use.
Note: Do not cover or obstruct the opening of
the fan.
4 Battery release latch Releases the battery for removal.

1-18 Hardware Specifications and Configurations
Touchpad Basics 0
Figure 1-7. Touchpad
-Move your finger across the Touchpad (1) to move the cursor.
-Press the left (2) and right (3) buttons located beneath the Touchpad to perform
selection and execution functions. These two buttons are the equivalent of the
left and right buttons on a mouse. Tapping on the Touchpad is the same as clicking
the left button.
Function Main Touchpad (1) Left Button (2) Right Button (3)
Execute Tap twice (at the same speed as
double-clicking a mouse button). Quickly click
twice.
Select Tap once. Click once.
Drag Tap twice (at the same speed as
double-clicking a mouse button);
rest your finger on the Touchpad
on the second tap and drag the
cursor.
Click and hold,
then use finger
on the Touchpad
to drag the
cursor.
Access context
menu Click once.
NOTE:
When using the Touchpad, keep it - and fingers - dry and clean. The Touchpad is
sensitive to finger movement; hence, the lighter the touch, the better the response.
Tapping too hard will not increase the Touchpad’s responsiveness.
1
23

Hardware Specifications and Configurations 1-19
Using the Keyboard 0
The computer has a close-to-full-sized keyboard and an embedded numeric keypad,
separate cursor, lock, function and special keys.
Figure 1-8. Keyboard Lock Keys
Lock Keys 0
The keyboard has three lock keys which can be toggled on and off.
Lock key Description
Caps Lock When Caps Lock is on, all alphabetic characters typed are in uppercase.
Num Lock When Num Lock is on, the numeric keypad is activated.
Scroll Lock
<Fn> + <F12> When Scroll Lock is on, the screen moves one line up or down when the
up or down arrow keys are pressed respectively. Scroll Lock does not work
with some applications.

1-20 Hardware Specifications and Configurations
Windows Keys 0
The keyboard has two keys that perform Windows-specific functions.
- Windows Logo key
- Application key
Key Description
Windows Logo
key Pressed alone, this key has the same effect as clicking on the Windows
Start button; it launches the Start menu. It can also be used with other
keys to provide a variety of functions.
Functions supported by Windows XP, Windows Vista, and
Windows 7:
< >: Open or close the Start menu
< > + <R>: Open the Run dialog box
< > + <M>: Minimizes all windows
<SHIFT> + < > + M: Undo minimize all windows
< > + <F1>: Show the help window
< > + <E>: Open Windows Explorer
< > + <F>: Search for a file or folder
< > + <D>: Show the desktop
<CTRL> + < > + <F>: Search for computers (if you are on a network)
< > + <L>: Lock your computer (if you are connected to a network
domain), or switch users (if you're not connected to a network domain)
<CTRL> + < > + <TAB>: Moves focus from Start menu, to the Quick
Launch toolbar, to the system tray (use RIGHT ARROW or LEFT ARROW
to move focus to items on the Quick Launch toolbar and the system tray)
< > + <TAB>: Cycle through programs on the taskbar
< > + <BREAK>: Display the System Properties dialog box
Functions supported by Windows XP:
< > + <BREAK>: Show the System Properties dialog box
< > + <U>: Open Ease of Access Center
Application key This key has the same effect as clicking the right mouse button; it opens
the application's context menu.

Hardware Specifications and Configurations 1-21
Hotkeys 0
The computer employs hotkeys or key combinations to access most of the computer's
controls like screen brightness and volume output.
Figure 1-9. Keyboard Hotkeys
To activate hotkeys, press and hold the <Fn> key before pressing the other key in the
hockey combination.
Hot key Icon Function Description
<Fn> + <F3> Communication Enables/disables the computer’s
communication devices.
(Communication devices may
vary by configuration.)
<Fn> + <F4> Sleep Puts the computer in Sleep
mode.
<Fn> + <F5> Display toggle Switches display output
between the display screen,
external monitor (if connected)
and both.
<Fn> + <F6> Display off Turns the display screen
backlight off to save power.
Press any key to return.
<Fn> + <F7> Touchpad toggle Turns the touchpad on and off.
<Fn> + <F8> Speaker toggle Turns the speakers on and off.
<Fn> + <>Brightness up Increases the screen brightness.
<Fn> + <>Brightness down Decreases the screen
brightness.

1-22 Hardware Specifications and Configurations
Using the communication key* 0
Here you can enable and disable the various wireless connectivity devices on your
computer.
Press <Fn> + <F3> to bring up the Launch Manager window panel.
A red toggle indicates the device is off. Click On to enable Wi-Fi/Bluetooth connection.
Click Off to disable connection.
* Communication devices may vary by model.
<Fn> + < > Volume up Increases the sound volume.
<Fn> + <>Volume down Decreases the sound volume.
<Fn> + <Home> Play/Pause Play or pause a selected media
file.
<Fn> + <Pg Up> Stop Stop playing the selected media
file.
<Fn> + <Pg Dn> Previous Return to the previous media
file.
<Fn> + <End> Next Jump to the next media file.
Hot key Icon Function Description

Hardware Specifications and Configurations 1-23
System Block Diagram
Figure 1-10. System Block Diagram
P16USB8
CCD (Camera)
SPK
P21
Audio CODEC
P21
HP Jack MIC Jack DMIC
P21
SPI ROM
P26
Touch Pad
P25
Keyboard
P25
WPCE791/FLASH
P26
FDI interface
LVDS
CRT
P16
HDMI
P17
P16
ATHEROS AR8158
10/100 LAN
P18
PCIE-1
RJ45
P18
X'TAL
25MHz
MINI CARD
WLAN
USB-13
P19
BLOCK DIAGRAM
CLK
CLK
REALTEK ALC271X
INT_LVDS
INT_CRT
INT_HDMI
(DA Type)
NPCE971
intel
SandyBridge
DC 35W
rPGA 988
P4~P7
intel
CougarPoint 0.7
<PCH>
P8~P13
USB1,3,9 P24
USB 2.0 * 3
P14, 15
iGFX Interfaces
PCI-E
X16
DDR SYSTEM MEMORY
FDI
PCI-E
SATA Gen2
HDA
RTC
P9
USB
DMI
X'TAL
25MHz
ODD (SATA)
P20
SATA Gen3
CPU +1.05V_VTT
P30
RT8238A
Thermal protect
P33
P32
+VCCSA
discharger
P33
RT8241DZ
CHARGER
P27
ISL88731
3/5V SYS PWR
P28
RT8223M
CPU CORE PWR
ISL95835
P29
DDR3 +1.5_SUS
RT8207A
P31
FDI
SPI
Azalia
P25
PCI-Express Gen2
X4 DMI interface
Fan Driver
USB 2.0
SATA1
5GT/s
2.7GT/s
1066 MHz
DDR III - SODIMM 0 Dual Channel DDR III
HDD (SATA)
P20
SATA0
(37.5mm X 37.5mm)
mBGA 989
(25mm X 25mm)
LPC
<MCH Processor>
5GT/s
5GT/s
fifl
flfl
flfl
P22 P22
DMI
4MB x1 (Basic ME+Braidwood)
Dual SPI ROM
P9
X'TAL
32.768KHz
DDR III - SODIMM 1
USB4 P24
Bluetooth
P23
USB12
Card Reader
PCIE-6
P33
+1.8V
HPA00835RTER

1-24 Hardware Specifications and Configurations
Specification Tables 0
Computer specifications
Item Metric Imperial
Dimensions
Length 381 mm 15 in
Width 253 mm 9.96 in
Height
(front to rear) 29.6/34.7 mm 1.17/1.37 in
Weight (equipped with
optical drive, flash drive,
and battery)
2.4 kg with 6-cell battery 5.29 lbs with 6-cell battery
Input power
Operating voltage 19V
Operating current 3.42A
Temperature
Operating (not writing to
optical disc) 5°C to 35°C 41°F to 95°F
Operating (writing to
optical disc) 5°C to 40°C 41°F to 104°F
Nonoperating -20°C to 65°C -4°F to 149°F
Relative humidity
Operating 20% to 80%
Nonoperating 20% to 80%
Maximum altitude (unpressurized)
Operating -15 to 3,048m -50 to 10,000ft
Nonoperating -15 to 12,192m -50 to 40,000ft
Shock
Operating 105G, 2 ms, half-sine
Nonoperating 220 G, 2 ms, half-sine
Random vibration
Operating 0.6G/5~500HZ/30min per axis
Nonoperating 1.5G/5~500HZ/30 min per axis
NOTE:
Applicable product safety standards specify thermal limits for plastic surfaces. The
computer operates well within this range of temperatures.

Hardware Specifications and Configurations 1-25
System Board Major Chips
Processor
Item Specification
Core logic Intel® Ibex-Peak
VGA Integrated
LAN Atheros AR8158L - Mega LAN solution.
S5 Wake on LAN.
USB 2.0 USB2.0 embedded in PCH
Super I/O controller embedded
Bluetooth Bluetooth 2.1 with EDR/BT3.0 supported
Wireless Atheros HB125, Realtek RTL8188CE
PCMCIA N/A
Audio codec Realtek ALC271X
Card reader 2-in-1 Card Reader (SD/MMC)
eSata N/A
Item Specification
CPU type Intel® Sandy Bridge series
CPU package 989 pins-rPGA socket
Core Logic Intel® Ibex-Peak
Chipset Mobile Intel® HM65 Express Chipset

1-26 Hardware Specifications and Configurations
Processor Specifications
CPU Fan True Value Table (TJ100-CPU)
Item CPU
Speed
(GHz)
Cores/
Threads Bus
Speed
(FSB/
DMI/QBI
)
Mfg
Tech
(nm)
Cache
Size Package Voltage
Core
i3-2310M 2.10 4 5 GT/s 32 3MB L3 BGA1023 1.05V~
1.1V
Core
i3-2330M 2.20 4 5 GT/s 32 3MB L3 BGA1023 1.05V~
1.1V
Core
i3-2350M 2.30 4 5 GT/s 32 3MB L3 BGA1023 1.05V~
1.1V
Pentium
B940 2 2 5 GT/s 32 2MB L3 rPGA988B 1.05V~
1.1V
Pentium
B950 2.10 2 5 GT/s 32 2MB L3 rPGA988B 1.05V~
1.1V
Pentium
B960 2.20 2 5 GT/s 32 2MB L3 rPGA988B 1.05V~
1.1V
Celeron
B710 1.6 1 5 GT/s 32 1MB L3 rPGA988B 1.05V~
1.1V
Celeron
B800 1.5 2 5 GT/s 32 2MB L3 rPGA988B 1.05V~
1.1V
Fan On (°C) Fan Off (°C) Fan Speed (RPM)
45 40 3150
58 52 3500
70 64 3850
80 75 4200
92 85 N/A
-Throttling 50%: On =98C ; Off=95C
-OS Shut down: 100C
-H/W Shut down : 100C

Hardware Specifications and Configurations 1-27
CPU Fan True Value Table (TJ85-CPU)
System Memory
Fan On (°C) Fan Off (°C) Fan Speed (RPM)
45 40 3150
58 52 3500
70 64 3850
78 74 4200
82 80 N/A
-Throttling 50%: On =83C ; Off=81C
-OS Shut down: 85C
-H/W Shut down : 85C
Item Specification
Memory controller Built in at CPU
Memory size DDR3 1066MHz 1 GB, 2 GB, 4 GB
DIMM socket number 2 socket
Supports memory size per
socket 4 GB
Supports maximum memory size 8 GB
Supports DIMM type SDRAM memory interface design
Supports DIMM Speed 800/1066/1333 SDRAM
Support DIMM voltage 1.5V
Supports DIMM package Standard 204P

1-28 Hardware Specifications and Configurations
Memory Combinations
Video Interface
BIOS
Slot 1 (MB) Slot 2 (MB) Total Memory (MB)
0 1024 1024
1024 0 1024
1024 1024 2048
0 2048 2048
2048 0 2048
2048 2048 4096
0 4096 4096
4096 0 4096
4096 4096 8192
Item Specification
Chipset NB Chipset Intel CS BD82HM65 B3 Huron River
Package 25 mm x 25 mm FCBGA (Mobile Only)
Interface Intel® Flexible Display Interconnect (FDI)
Compatibility Fully compliant with the electrical specifications
ANSI/TIA/EIA-644
Sampling rate Fixed frequency 2.7 GT/s data rate
Item Specification
BIOS vendor Insyde
BIOS Version 2.0
BIOS ROM type EC, ME/BIOS
BIOS ROM size 128K/4MB
Features -Insyde code base
-Flash ROM 4 MB
-Support ISIPP

Hardware Specifications and Configurations 1-29
LAN Interface
Keyboard
Item Specification
LAN Chipset Atheros AR8158-BL1A-RL
LAN connector type RJ45
LAN connector location RJ45 at the left side
Features Supports 10/100/1000
Item Specification
Type Acer FineTip keyboard
Total number of keypads 103-/104-/107-key
Windows logo key Yes
Internal & external
keyboard work
simultaneously
Plug USB keyboard to the USB port directly: Yes
Features -Phantom key auto detect
-Overlay numeric keypad
-Supports independent pgdn/pgup/pgup/home/end keys
-Supports reverse T cursor keys
-Factory configurable different languages by OEM customer

1-30 Hardware Specifications and Configurations
Hard Disk Drive (AVL components)
Item Specification
Vendor &
Model
Name
Toshiba
MK2559GSXP
WD
WD2500BPVT
-22JJ5T0
HGST
HTS543225A7
A384
Seagate
ST250LT003/9
YG14C-188
Toshiba
MK3259GSXP
WD
WD3200BPVT
-22JJ5T0
HGST
HTS543232A7
A384
Seagate
ST320LT020
Toshiba
MK5059GSXP
WD
WD
5000BPVT-22
HXZT3
HGST
HTS547550A9
E384
Seagate
ST9500325AS
Toshiba
MK6459GSXP
WD
WD6400BPVT
-22HXZT3
HGST
HTS547564A9
E384
Seagate
ST9640423AS
ST9640320AS
Toshiba
MK7559GSXP
WD
WD750BPVT-
22HXZT3
HGST
HTS547575A9
E384
Seagate
ST9750423AS
Capacity
(GB) 250 320 500 640 750
Bytes per
sector 4k
Data heads 2 2 3/4 4 4
Drive Format
Disks 11222
Spindle
speed
(RPM)
5400
Performance Specifications
Buffer size 8MB
Interface SATA
Fast data
transfer
rate
(Gbits / sec,
max)
3.0
Media data
transfer
rate
(Mbytes/sec
max)
953, 1044 994, 1044, 872, 1175 1144, 838,
1305, 1175 996, 1130,
1363
DC Power Requirements
Voltage
tolerance 5V ±5%

Hardware Specifications and Configurations 1-31
LED 15.6”
LCD Inverter (not available with this model)
Item Specification
Vendor & Model name AUO B156XW02
SAMSUNG LTN156AT02-A11
SAMSUNG LTN156AT24-A01
LPL P156WH2-TLEA
LPL LP156WH4-TLA1
CMO N156B6-L0B
Screen Diagonal (mm) 396
Active Area (mm) 222.72 X128.28 344.232 X 193.536
Display resolution (pixels) 1366 X 768
Pixel Pitch (mm) 0.252 X 0.252
Typical White Luminance (cd/m2)
also called Brightness 220 typ. (5 points average)
190 min. (5 points average)
Contrast Ratio 500 typ
Response Time (Optical Rise
Time/Fall Time) msec 8 typ /16Max
Typical Power Consumption
(watt) 2.816 max. (Include Logic and Blu power)
Weight (without inverter) 450 max.
Physical Size (mm) 359 (L) x 210 (W) x 5.5 (D)
Electrical Interface 1 channel LVDS
Viewing Angle (degree)
Horizontal (Right)
CR = 10 (Left)
Vertical (Upper)
CR = 10 (Lower)
40 min / 45 typ
40 min / 45 typ
10 min / 15 typ
30 min / 35 typ
Item Specification
Vendor & Model name
Brightness conditions
Input voltage (v)
Input current (mA)
Output voltage (V, RMS)
Output current (mA, RMS)
Output voltage frequency
(KHz)

1-32 Hardware Specifications and Configurations
Display Supported Resolution (LCD Supported Resolution)
Graphics Controller
Display Supported Resolution (GPU Supported Resolution)
Resolution 16 bits 32 bits Intel
1280x720p/60Hz 16:9 Yes Yes Yes
1366x768p/60Hz 16:9 Yes Yes Yes
Item Specification
VGA Chip Integrated graphics; Intel HD Graphics 3000
Supports -For SKUs with graphics, carries display traffic from the
GPU in the processor to the legacy display connectors in
the PCH.
-DisplayPort standard.
-Two independent links - one for each display pipe.
-Four unidirectional downstream differential transmitter
pairs:
Scalable down to 3X, 2X, or 1X based on actual display
bandwidth requirements
Fixed frequency 2.7 GT/s data rate
-Two sideband signals for Display synchronization:
FDI_FSYNC and FDI_LSYNC (Frame and Line
Synchronization)
-One Interrupt signal used for various interrupts from the
PCH:
FDI_INT signal shared by both Intel FDI Links
-PCH supports end-to-end lane reversal across both links
-Common 100-MHz reference clock is sent to both
processor and PCH
Resolution 16 bits 32 bits Intel
800x600p/60Hz Yes Yes Yes
1024x600p/60Hz Yes Yes Yes
1280x600p/60Hz Yes Yes Yes
1280x720p/60Hz Yes Yes Yes
1280x768p/60Hz Yes Yes Yes
1360x768p/60Hz Yes Yes Yes
1366x768p/60Hz Yes Yes Yes

Hardware Specifications and Configurations 1-33
Bluetooth Interface
Bluetooth Module
Item Specifications
Chipset Atheros BU22 Broadcom BCM
20702 Broadcom BCM
2070 Atheros BU12
Data
through
put
TX 1.2Mbits/sec, RX 1.2Mbits/sec
Protocol 3.0 + EDR 3.0 + EDR 3.0 + EDR 3.0 + EDR
Interfac
eUSB 2.0
Connect
or type 6 pin connector 6 pin connector 6 pin JST
SM06B-XSRK-ETB 6 pin narrow
pitch connector
Supporte
d
protocol
3.03.03.03.0
Item Specifications
Controller Atheros BU22
Feature -Single-chip Bluetooth v4.0 solution
-USB 2.0 full-speed device interface, supporting Device
Firmware Upgrade (DFU)
-I²C or SPI interface, supporting external EEPROM and
serial flash devices
-1.2V linear voltage regulator (LDO)
-Integrated 32-bit CPU with 128 KByte data RAM and 512
KByte program ROM
-On-chip low power oscillator
-On-chip one-time programmable (OTP) memory
-Standard USB HCI interface
Controller Broadcom BCM 20702
Feature -Bluetooth 4.0 + EDR compliant
-Programmable output power control
-Supports mobile and PC applications
-Point-to-multipoint operation
-USB 2.0 compliant interface
-Etched PCB antenna
-Ultra-low power consumption
Controller Broadcom BCM 2070

1-34 Hardware Specifications and Configurations
Camera
Mini Card
3G Card (not available in this model)
Features - Bluetooth 3.0 compliant
- Point-to-multipoint operation
- External USB interface for data
- Onboard antenna and SMA RF connector
- Coexistence support
Controller Atheros BU12
Features -Single-chip Bluetooth v2.1/3.0+EDR integrated solution
-USB 2.0 full-speed device interface, supporting Device
Firmware Upgrade
-(DFU)
-SPI interface supports external serial flash devices
-Two on-chip 1.2V linear voltage regulators
-Integrated 32-bit CPU with 32KB data RAM and 256KB
program RAM
-On-board PLL
-On-chip low power oscillator (LPO)
-Standard USB HCI interface
Item Specification
Vendor & Model Liteon 0.3MB
LT7675AL Suyin 0.3MB
SY_7675_AL Chicony 0.3MB
CH_7675_AL
Type CMOS image
sensor with VGA CMOS image sensor
OV7675 CMOS image sensor
with VGA
Item Specification
Number supported 1
Features 1 mini card slot (for WLAN or WLAN/WiMax)
Item Specification
Features
Item Specifications

Hardware Specifications and Configurations 1-35
Audio Codec and Amplifier
Item Specification
Audio
Controller Realtek ALC271X
Features -Meets WLP (Windows Logo Program) requirements for Windows XP,
Vista and Windows 7
-98dB Signal-to-Noise Ratio (A-weighting) for DAC output
-90dB Signal-to-Noise Ratio (A-weighting) for ADC output
-4-channel DAC supports 16/20/24-bit PCM format for indepent two
stereo channel or 2.1 audio playback
-4-channel ADC supports 16/20/24-bit PCM format for indepent two
stereo channel audio inputs
-All DACs support 44.1k/48k/96k/192kHz sample rate
-All ADCs support 44.1k/48k/96k/192kHz sample rate
-S/PDIF-OUT support 16/20/24-bit format and 44.1/48/88.2/96/192kHz
rate
-Supports MONO line level output
-Supports external PCBEEP input and built-in digital BEEP generator
-Software selectable 2.5V/3.2V VREFOUT as bias voltage for analog
microphone input
-Programmable +12/+24/+36dB boot gain for analog microphone input
-Supports stereo digital microphone input
-Programmable boost gain and volume control for digital microphone
input
-Built-in headphone amplifiers for port-C (LINE1) and port-I(HP OUT)
-Headphone amplifier for port-I does not require DC blocking
capacitors
-Two jack detection pins each designed to detect up to 4 jacks, and
S/PDIF-OUT jack detection is supported
-EAPD (External Amplifier Power Down) is supported
-Supports Anti-pop mode when analog power AVDD is on and digital
power is off
-Power support: 3.3V digital core power: 1.5V~3.3V digital IO power for
HDA link; 3.0V~5.5V analog power; 4.5V~5.5V power stage voltage
-Enhanced power management features for normal operation and
standby mode
-Stereo Bridge-Tied Load Class-D amplifier at port-D has 2Watt (rms)/4
Ohms per channel output
-Short circuit and thermal overload protection for Class-D amplifier
-Class D amplifier has high pass filter with programmable Cut-Off
frequency (10Hz~900Hz) to prevent low frequency signal damage
speaker
-Class D amplifier output with slew rate and spread spectrum control to
improve EMI performance
-Independent left and right channel of output power limiter
(25%~100% power range) to protect speaker

1-36 Hardware Specifications and Configurations
Audio Interface
Wireless Module 802.11b/g/n
Battery
-Intel low power ECR compliant: supports power status control, jack
detection, and wake-up event in D3 mode
-Built in a 5V-to-4.5V linear regulator with 60db PSRR to power analog
circuitry
-48-pin QFN ‘Green’ package
Item Specification
Audio Controller Realtek ALC271X
Audio onboard or optional On board
Mono or Stereo Mono
Resolution Support 16/24bit PCM
Compatibility HD audio Interface
Sampling rate Sample rate up to 192Khz resolution VSR (Variable
Sampling Rate)
Internal microphone Yes
Internal speaker/quantity Yes/(1.2W speakers x2)
Item Specification
Chipset Atheros
HB95 Atheros
HGB125 Broadcom
4313 Intel Crane
Peak Realtek
RTL8188CE
Data
throughput 11-54 Mbps,
up to 300
Mbps for
Draft-N
11-54 Mbps,
up to 300
Mbps for
Draft-N
11-54 Mbps,
up to 300
Mbps for
Draft-N
11-54 Mbps,
up to 300
Mbps for
Draft-N
11-54 Mbps,
up to 300
Mbps for
Draft-N
Protocol b, g, n b, g, n b, g, n b, g, n a, g, n
Interface PCI-E PCI-E PCI-E PCI-E PCI-E
Item Specification
Vendor & Model name Sanyo AS10D31, Sony AS10D41, Panasonic AS10D51,
Samsung AS10D61, Simplo AS10D, LGC AS10D
Battery Type Lithium-Ion
Pack capacity 4400mAh
Number of battery cell 6
Package configuration MSOP-8L, MSOP-8S
Item Specification

Hardware Specifications and Configurations 1-37
VRAM
USB Port
AC Adapter
Item Specification
Chipset N/A (Shared memory only)
Memory size N/A
Interface N/A
Item Specification
USB compliance level Universal Serial Bus 2.0
EHCI 2
Number of USB port(s) 3
Location 1 left side, 2 right side
Output Current 1.05V
Item Specification
Input rating 100-240V~1.7A(1,7A) 50-60Hz
Maximum input AC current 1.7 Amps
Inrush current 264 Vac (Cold/Hot start) No damage; meet fuse and bridge
diode I2t de-rating.
Efficiency Meets EPA 2.0 level V requirement. The adapter efficiency
shall be more than 87%, that is the average value of 25%,
50%, 75% and 100% load with both 115Vac/60Hz and
230Vac/50Hz input voltage condition.

1-38 Hardware Specifications and Configurations
System Power Management
Card Reader
Item Specification
Mech. Off (G3) Al devices in the system are turned off completely.
Soft Off (G2/S5) OS initiated shutdown. All devices in the system are turned
off completely.
Working (G0/S0) Individual devices such as the CPU and hard disc may be
power managed in this state.
Suspend to RAM (S3) -CPU set power down
-VGA Suspend
-Audio Power Down
-Hard Disk Power Down
-Super I/O Low Power mode
Save to Disk (S4) Also called Hibernation Mode. System saves all system states
and data onto the disc prior to power off the whole system.
Item Specification
Chipset AU6435A51-GDL-GR
Package LQFP
Maximum supported size 16G
Features -Fully compatible with USB2.0 High Speed and backward
compatible with USB1.1 specifications
-Supports multiple flash card interfaces, including
SD/MMC.
-Supports single LUN
-48-pin LQFP lead-free/Halogen-free/RoHS compliant
package is available.
-Complies with USB Device Class Definition for Mass
Storage and Bulk-Transport V1.0
-Complies with Secure Digital Card (SD) specification up to
ver. 3.0(SDXC)
-Support UHS (SRD-50/DDR-50) operation mode.
-Complies with MultiMedia Card (MMC) specification up to
ver. 4.4 and supports 8-bit data bus.
-Complies with Memory Stick (MS) specification up to ver.
1.43
-Complies with Memory Stick PRO (MS_Pro) specification
up to ver. 1.05
-Complies with Memory Stick PRO-HG (MS PRO-HG)
specification up to ver. 1.03 and supports 8-bit data bus.
-Complies with Memory Stick Interface Guideline for PC
peripheral devices with Memory Stick Slot ver. 1.16-00
-Complies with xD-Picture Card (xD) specification up to ver.
1.2

Hardware Specifications and Configurations 1-39
System LED Indicator
System DMA Specification
Item Specification
Lock -Caps Lock on = Blue
System state -Blue color on: System on
-Blue color and amber color off: System off
-Amber color on: S3
HDD access state N/A
Wireless state Wifi on = Amber
Power button backlight -Blue color solid on: System on
-Blue color off: System off
Battery state -Full charging = Blue
-Battery charging = Amber
Legacy Mode Power Management
DMA0 N/A
DMA1 N/A
DMA2 N/A
DMA3 N/A
DMA4 Direct memory access controller
DMA5 N/A
DMA6 N/A
DMA7 N/A
*ExpressCard controller can use DMA 1, 2, or 5.

1-40 Hardware Specifications and Configurations
System Interrupt Specification
Hardware IRQ System Function
IRQ00 System timer
IRQ01 Standard PS/2 Keyboard
IRQ07 Intel(R) 6 Series/C200 Series Chipset Family SMBus Controller
- 1C22
IRQ08 System CMOS/real-time clock
IRQ12 Synaptics PS/2 Port Touchpad
IRQ13 Numeric data processor
IRQ16 -Atheros AR8152/8158 PCI-E Fast Etherent Controller (NDIS
6.20)
-Intel(R) 6 Series/C200 Series Chipset Family USB Enhanced
Host Controller - 1C2D
-Intel(R) 6 Series/C200 Series Chipset Family PCI Express
Root Port 6 - 1C1A
-Intel(R) Management Engine Interface
IRQ17 Intel(R) 6 Series/C200 Series Chipset Family PCI Express Root
Port 1 - 1C10
IRQ19 Intel(R) Mobile Express Chipset SATA AHCI Controller
IRQ22 High Definition Audio Controller
IRQ23 Intel(R) 6 Series/C200 Series Chipset Family USB Enhanced
Host Controller - 1C26
IRQ81 Microsoft ACPI-Compliant System
IRQ82 Microsoft ACPI-Compliant System
IRQ83 Microsoft ACPI-Compliant System
IRQ84 Microsoft ACPI-Compliant System
IRQ85 Microsoft ACPI-Compliant System
IRQ86 Microsoft ACPI-Compliant System
IRQ87 Microsoft ACPI-Compliant System
IRQ88 Microsoft ACPI-Compliant System
IRQ89 Microsoft ACPI-Compliant System
IRQ90 Microsoft ACPI-Compliant System
IRQ91 Microsoft ACPI-Compliant System
IRQ92 Microsoft ACPI-Compliant System
IRQ93 Microsoft ACPI-Compliant System
IRQ94 Microsoft ACPI-Compliant System
IRQ95 Microsoft ACPI-Compliant System

Hardware Specifications and Configurations 1-41
IRQ96 Microsoft ACPI-Compliant System
IRQ97 Microsoft ACPI-Compliant System
IRQ98 Microsoft ACPI-Compliant System
IRQ99 Microsoft ACPI-Compliant System
IRQ100 Microsoft ACPI-Compliant System
IRQ101 Microsoft ACPI-Compliant System
IRQ102 Microsoft ACPI-Compliant System
IRQ103 Microsoft ACPI-Compliant System
IRQ104 Microsoft ACPI-Compliant System
IRQ105 Microsoft ACPI-Compliant System
IRQ106 Microsoft ACPI-Compliant System
IRQ107 Microsoft ACPI-Compliant System
IRQ108 Microsoft ACPI-Compliant System
IRQ109 Microsoft ACPI-Compliant System
IRQ110 Microsoft ACPI-Compliant System
IRQ111 Microsoft ACPI-Compliant System
IRQ112 Microsoft ACPI-Compliant System
IRQ113 Microsoft ACPI-Compliant System
IRQ114 Microsoft ACPI-Compliant System
IRQ115 Microsoft ACPI-Compliant System
IRQ116 Microsoft ACPI-Compliant System
IRQ117 Microsoft ACPI-Compliant System
IRQ118 Microsoft ACPI-Compliant System
IRQ119 Microsoft ACPI-Compliant System
IRQ120 Microsoft ACPI-Compliant System
IRQ121 Microsoft ACPI-Compliant System
IRQ122 Microsoft ACPI-Compliant System
IRQ123 Microsoft ACPI-Compliant System
IRQ124 Microsoft ACPI-Compliant System
IRQ125 Microsoft ACPI-Compliant System
IRQ126 Microsoft ACPI-Compliant System
IRQ127 Microsoft ACPI-Compliant System
IRQ128 Microsoft ACPI-Compliant System
Hardware IRQ System Function

1-42 Hardware Specifications and Configurations
IRQ129 Microsoft ACPI-Compliant System
IRQ130 Microsoft ACPI-Compliant System
IRQ131 Microsoft ACPI-Compliant System
IRQ132 Microsoft ACPI-Compliant System
IRQ133 Microsoft ACPI-Compliant System
IRQ134 Microsoft ACPI-Compliant System
IRQ135 Microsoft ACPI-Compliant System
IRQ136 Microsoft ACPI-Compliant System
IRQ137 Microsoft ACPI-Compliant System
IRQ138 Microsoft ACPI-Compliant System
IRQ139 Microsoft ACPI-Compliant System
IRQ140 Microsoft ACPI-Compliant System
IRQ141 Microsoft ACPI-Compliant System
IRQ142 Microsoft ACPI-Compliant System
IRQ143 Microsoft ACPI-Compliant System
IRQ144 Microsoft ACPI-Compliant System
IRQ145 Microsoft ACPI-Compliant System
IRQ146 Microsoft ACPI-Compliant System
IRQ147 Microsoft ACPI-Compliant System
IRQ148 Microsoft ACPI-Compliant System
IRQ149 Microsoft ACPI-Compliant System
IRQ150 Microsoft ACPI-Compliant System
IRQ151 Microsoft ACPI-Compliant System
IRQ152 Microsoft ACPI-Compliant System
IRQ153 Microsoft ACPI-Compliant System
IRQ154 Microsoft ACPI-Compliant System
IRQ155 Microsoft ACPI-Compliant System
IRQ156 Microsoft ACPI-Compliant System
IRQ157 Microsoft ACPI-Compliant System
IRQ158 Microsoft ACPI-Compliant System
IRQ159 Microsoft ACPI-Compliant System
IRQ160 Microsoft ACPI-Compliant System
IRQ161 Microsoft ACPI-Compliant System
Hardware IRQ System Function

Hardware Specifications and Configurations 1-43
IRQ162 Microsoft ACPI-Compliant System
IRQ163 Microsoft ACPI-Compliant System
IRQ164 Microsoft ACPI-Compliant System
IRQ165 Microsoft ACPI-Compliant System
IRQ166 Microsoft ACPI-Compliant System
IRQ167 Microsoft ACPI-Compliant System
IRQ168 Microsoft ACPI-Compliant System
IRQ169 Microsoft ACPI-Compliant System
IRQ170 Microsoft ACPI-Compliant System
IRQ171 Microsoft ACPI-Compliant System
IRQ172 Microsoft ACPI-Compliant System
IRQ173 Microsoft ACPI-Compliant System
IRQ174 Microsoft ACPI-Compliant System
IRQ175 Microsoft ACPI-Compliant System
IRQ176 Microsoft ACPI-Compliant System
IRQ177 Microsoft ACPI-Compliant System
IRQ178 Microsoft ACPI-Compliant System
IRQ179 Microsoft ACPI-Compliant System
IRQ180 Microsoft ACPI-Compliant System
IRQ181 Microsoft ACPI-Compliant System
IRQ182 Microsoft ACPI-Compliant System
IRQ183 Microsoft ACPI-Compliant System
IRQ184 Microsoft ACPI-Compliant System
IRQ185 Microsoft ACPI-Compliant System
IRQ186 Microsoft ACPI-Compliant System
IRQ187 Microsoft ACPI-Compliant System
IRQ188 Microsoft ACPI-Compliant System
IRQ189 Microsoft ACPI-Compliant System
IRQ190 Microsoft ACPI-Compliant System
IRQ-2 Intel(R) Centrino(R) Wireless-N100
IRQ-3 Intel(R) HD Graphics Family
Hardware IRQ System Function

1-44 Hardware Specifications and Configurations
System I/O Address Map
I/O address (hex) System Function (shipping configuration)
0000 - 001F Direct memory access controller
0000 - 0CF7 PCI bus
0020 - 0021 Programmable interrupt controller
0024 - 0025 Programmable interrupt controller
0028 - 0029 Programmable interrupt controller
002C - 002D Programmable interrupt controller
002E - 002F Motherboard resources
0030 - 0031 Programmable interrupt controller
0034 - 0035 Programmable interrupt controller
0038 - 0039 Programmable interrupt controller
003C - 003D Programmable interrupt controller
0040 - 0043 System timer
004E - 004F Motherboard resources
0050 - 0053 System timer
0060 - 0060 Standard PS/2 Keyboard
0061 - 0061 Motherboard resources
0062 - 0062 Microsoft ACPI-Compliant Embedded
0063 - 0063 Motherboard resources
0064 - 0064 Standard PS/2 Keyboard
0065 - 0065 Motherboard resources
0066 - 0066 Microsoft ACPI-Compliant Embedded
0067 - 0067 Motherboard resources
0070 - 0070 Motherboard resources
0070 - 0077 System CMOS/real time clock
0080 - 0080 Motherboard resources
0081 - 0091 Direct memory access controller
0092 - 0092 Motherboard resources
0093 - 009F Direct memory access controller
00A0 - 00A1 Programmable interrupt controller
00A4 - 00A5 Programmable interrupt controller
00A8 - 00A9 Programmable interrupt controller
00AC - 00AD Programmable interrupt controller

Hardware Specifications and Configurations 1-45
System I/O Address Map (Continued)
I/O address (hex) System Function (shipping configuration)
00B0 - 00B1 Programmable interrupt controller
00B2 - 00B3 Motherboard resources
00B4 - 00B5 Programmable interrupt controller
00B8 - 00B9 Programmable interrupt controller
00BC - 00BD Programmable interrupt controller
00C0 - 00DF Direct memory access controller
00F0 - 00F0 Numeric data processor
03B0 - 03BB Intel(R) HD Graphics Family
03C0 - 03DF Intel(R) HD Graphics Family
0400 - 0453 Motherboard resources
0454 - 0457 Motherboard resources
0458 - 047F Motherboard resources
04D0 - 04D1 Programmable interrupt controller
0500 - 057F Motherboard resources
0680 - 069F Motherboard resources
0D00 - FFFF PCI bus
1000 - 100F Motherboard resources
1010 - 1013 Motherboard resources
164E -164F Motherboard resources
2000 - 2FFF Intel(R) 6 Series/C200 Series Chipset Family PCI Express Root Port
6 - 1C1A
3000 - 307F Atheros AR8152/8158 PCI-E Fast Ethernet Controller (NDIS 6.20)
3000 - 3FFF Intel(R) 6 Series/C200 Series Chipset Family PCI Express Root Port
1 - 1C10
4000 - 403F Intel(R) HD Graphics Family
4040 - 405F Intel(R) 6 Series/C200 Series Chipset Family SMBus Controller -
1C22
4060 - 407F Intel(R) Mobile Express Chipset SATA AHCI Controller
4080 - 4087 Intel(R) Mobile Express Chipset SATA AHCI Controller
4088 - 408F Intel(R) Mobile Express Chipset SATA AHCI Controller
4049 - 4093 Intel(R) Mobile Express Chipset SATA AHCI Controller
4094 - 4097 Intel(R) Mobile Express Chipset SATA AHCI Controller
FFFF - FFFF Motherboard resources

1-46 Hardware Specifications and Configurations

CHAPTER 2
System Utilities

2-2
BIOS Setup Utility. . . . . . . . . . . . . . . . . . . . . . . . . . . . . . . . 2-3
Navigating the BIOS Utility . . . . . . . . . . . . . . . . . . . . . . . . . . .2-3
BIOS. . . . . . . . . . . . . . . . . . . . . . . . . . . . . . . . . . . . . . . . . . . 2-4
Information. . . . . . . . . . . . . . . . . . . . . . . . . . . . . . . . . . . . . . . .2-4
Main . . . . . . . . . . . . . . . . . . . . . . . . . . . . . . . . . . . . . . . . . . . . .2-6
Advanced . . . . . . . . . . . . . . . . . . . . . . . . . . . . . . . . . . . . . . . . .2-8
Security . . . . . . . . . . . . . . . . . . . . . . . . . . . . . . . . . . . . . . . . . . .2-9
Power . . . . . . . . . . . . . . . . . . . . . . . . . . . . . . . . . . . . . . . . . . . .2-13
Boot. . . . . . . . . . . . . . . . . . . . . . . . . . . . . . . . . . . . . . . . . . . . . .2-14
Exit. . . . . . . . . . . . . . . . . . . . . . . . . . . . . . . . . . . . . . . . . . . . . . .2-15
BIOS Flash Utilities. . . . . . . . . . . . . . . . . . . . . . . . . . . . . . . 2-16
DOS Flash Utility. . . . . . . . . . . . . . . . . . . . . . . . . . . . . . . . . . . .2-17
WinFlash Utility . . . . . . . . . . . . . . . . . . . . . . . . . . . . . . . . . . . .2-18
Clearing BIOS Passwords . . . . . . . . . . . . . . . . . . . . . . . . . . 2-19
Removing BIOS Passwords. . . . . . . . . . . . . . . . . . . . . . . . . . . .2-20
Removing Insyde HDD Password. . . . . . . . . . . . . . . . . . . . . . .2-22
Miscellaneous Tools. . . . . . . . . . . . . . . . . . . . . . . . . . . . . . 2-23
Using DMITools. . . . . . . . . . . . . . . . . . . . . . . . . . . . . . . . . . . . .2-23
Using STUUID . . . . . . . . . . . . . . . . . . . . . . . . . . . . . . . . . . . . . .2-26
Using the LAN MAC EEPROM Utility. . . . . . . . . . . . . . . . . . . .2-27
Crisis Disk Recovery . . . . . . . . . . . . . . . . . . . . . . . . . . . . . . . . .2-28

System Utilities 2-3
System Utilities
BIOS Setup Utility 0
This utility is a hardware configuration program built into a computer’s BIOS (Basic
Input/Output System).
The utility is pre-configured and optimized so most users do not need to run it. If
configuration problems occur, the setup utility may need to be run. Refer to Chapter 4,
Troubleshooting when a problem arises.
To activate the utility, press F2 during POST (power-on self-test) when prompted at the
bottom of screen.
The default parameter of F12 Boot Menu is set to Disabled. To change the boot
device without entering BIOS Setup Utility, set the parameter to Enabled.
To change the boot device without entering the BIOS SETUP, press F12 during POST to
enter the multi-boot menu.
Navigating the BIOS Utility 0
Six menu options are:
-Information
-Main
-Security
-Boot
-Exit
To navigate through the following:
-Menu - use the left and right arrow keys
-Item - use the up and down arrow keys
-Change parameter value - press F5 or F6.
-Exit - Press Esc
-Load default settings - press F9. Press F10 to save changes and exit BIOS Setup
Utility
NOTE:
NOTE:
Parameter values can be changed if enclosed in square brackets open the
DIMM door open the DIMM door[ ]. Navigation keys appear at the bottom
of the screen. Read parameter help carefully when making changes to
parameter values. Parameter help is found in the Item Specific Help area of
the screen.
NOTE:
NOTE:
System information is subject to specific models.

2-4 System Utilities
BIOS 0
The following is a description of the tabs found on the InsydeH20 BIOS Setup Utility
screen:
NOTE:
NOTE:
The screens provided are for reference only. Actual values may differ by model.
Information 0
The Information tab shows a summary of computer hardware information.
Figure 2-1. BIOS Information
Table 2-1 describes the parameters shown in Figure 2-1
Table 2-1. BIOS Information
Parameter Description
CPU Type CPU (central processing unit) type and speed of system
CPU Speed Speed of the CPU
HDD Model Name Model name of HDD (hard disk drive) installed on primary IDE
master
HDD Serial Number Serial number of HDD installed on primary IDE master
ATAPI Model Name Model name of ATAPI (Advanced Technology Attachment with
Packet Interface)
System BIOS Version System BIOS version
VGA BIOS Version VGA (video graphics array) firmware version of system

System Utilities 2-5
Serial Number Serial number of unit
Asset Tag Number Asset tag number of system
Product Name Product name of the system
Manufacturer Name Manufacturer of system
UUID Universally Unique Identifier
Table 2-1. BIOS Information (Continued)
Parameter Description

2-6 System Utilities
Main 0
The Main tab allows the user to set system time and date, enable or disable boot option
and enable or disable recovery.
Figure 2-2. BIOS Main
Table 2-2 describes the parameters shown in Figure 2-2.
Table 2-2. BIOS Main
Parameter Description Format/Option
System Time BIOS system time in 24-hour format Format: HH:MM:SS
(hour:minute:second)
System Date BIOS system date Format MM/DD/YYYY
(month/day/year)
Total Memory Total memory available N/A
Video Memory Available memory for video N/A
Quiet Boot Shows OEM (original equipment
manufacturer) screen during system boot
instead of traditional POST screen
Option: Enabled or
Disabled
Network Boot Option to boot system from LAN (local area
network) Option: Enabled or
Disabled
F12 Boot Menu Option to use boot menu during POST Option: Enabled or
Disabled
D2D Recovery Option to use D2D Recovery function Option: Enabled or
Disabled

System Utilities 2-7
SATA Mode Option to set SATA controller mode Option: AHCI or IDE
Table 2-2. BIOS Main (Continued)
Parameter Description Format/Option

2-8 System Utilities
Advanced 0
The Advanced tab shows the configuration of system settings, including:
-Boot configuration
-Peripheral configuration
-IDE configuration
-Thermal configuration
-Video configuration
-Chipset configuration
-ACPI table/feature control
-PCI express configuration
-Extended ICC
Use - and ¯ keys to select an item.
Figure 2-3. BIOS Advanced

System Utilities 2-9
Security 0
The Security tab shows parameters that safeguard and protect the computer from
unauthorized use.
Figure 2-4. BIOS Security
Table 2-3 describes the parameters shown in Figure 2-4.
Table 2-3. BIOS Security
Parameter Description Option
Supervisor Password Is Supervisor password setting Clear or Set
User Password Is User password setting Clear or Set
HDD Password Is HDD password setting Clear or Set
Set Supervisor Password Option to set supervisor password N/A
Set User Password Option to set user password N/A
Set HDD Password Option to set HDD password N/A
Password on Boot Shows if password is required during system
boot
CAUTION:
!
If Power-on-Password authentication is
enabled, the BIOS password can only be
cleared by initiating the Crisis Disk Recovery
procedure. Refer to Crisis Disk Recovery.
Disabled or
Enabled

2-10 System Utilities
NOTE:
NOTE:
When prompted to enter password, three attempts are allowed before
system halts. Resetting BIOS password may require computer be returned
to dealer.
Setting a Password 0
Perform the following to set user or supervisor passwords:
1. Use the and keys to highlight the Set Supervisor Password parameter and
press Enter. The Set Supervisor Password dialog box appears.
NOTE:
NOTE:
To change an existing password, refer to Changing a Password.
Figure 2-5. Set Supervisor Password
2. Type a new password in the Enter New Password field. Passwords are not case
sensitive and the length must not exceed 12 alphanumeric characters (A-Z, a-z, 0-9).
Retype the password in the Confirm New Password field.
IMPORTANT:
+
Use care when typing a password. Characters do not appear on the
screen.
3. Press Enter. After setting the password, the computer sets the User Password
parameter to Set.
NOTE:
NOTE:
Password on Boot must be set to Enabled to activate password feature.
4. Press F10 to save changes and exit BIOS Setup Utility.
Removing a Password 0
Perform the following:
1. Use the and keys to highlight Set Supervisor Password and press Enter. The
Set Supervisor Password dialog box appears:
Figure 2-6. Set Supervisor Password

System Utilities 2-11
2. Type current password in Enter Current Password field and press Enter.
3. Press Enter twice without typing anything in Enter New Password and Confirm
New Password fields. Computer will set Supervisor Password parameter to
Clear.
4. Press F10 to save changes and exit the BIOS Setup Utility.
Changing a Password 0
1. Use the and keys to highlight Set Supervisor Password and press Enter. The
Set Supervisor Password dialog box appears.
Figure 2-7. Set Supervisor Password
2. Type current password in Enter Current Password field and press Enter.
3. Type new password in Enter New Password field. Retype new password in
Confirm New Password field.
4. Press Enter. Computer sets Supervisor Password parameter to Set.
NOTE:
NOTE:
Password on Boot must be set to Enabled to activate the password feature.
5. Press F10 to save changes and exit BIOS Setup Utility.
If the verification is OK, the screen will show as follows.
Figure 2-8. Setup Notice
The password setting is complete after the user presses Enter.
If the password entered does not match the current password, the screen shows the
Setup Warning dialog. (Figure 2-9)

System Utilities 2-13
Power 0
The power tab allows you to change the various power settings.
Figure 2-11. BIOS Power
Table 2-4 describes the parameters shown in Figure 2-11.
Table 2-4. BIOS Power
Parameter Description
Advanced CPU Control Set CPU parameters
Platform Power
Management Shows power settings
Break Event Shows break events

2-14 System Utilities
Boot 0
The Boot tab allows changes to the order of boot devices used to load the operating
system. Bootable devices include the:
-USB diskette drives
-Onboard hard disk drive
-DVD drive in the module bay
Use and keys to select a device and press F5 or F6 to change the value.
Figure 2-12. BIOS Boot

System Utilities 2-15
Exit 0
The Exit tab allows users to save or discard changes and quit the BIOS Setup Utility.
Figure 2-13. BIOS Exit
Table 2-5 describes the parameters in Figure 2-13.
Table 2-5. Exit Parameters
Parameter Description
Exit Saving Changes Exit BIOS utility and save setup item changes to system.
Exit Discarding Changes Exit BIOS utility without saving setup item changes to system.
Load Setup Defaults Load default values for all setup items.
Discard Changes Load previous values of all setup items.
Save Changes Save setup item changes without exiting BIOS utility.

2-16 System Utilities
BIOS Flash Utilities 0
BIOS Flash memory updates are required for the following conditions:
-New versions of system programs
-New features or options
-Restore a BIOS when it becomes corrupted.
Use the Flash utility to update the system BIOS Flash ROM.
NOTE:
NOTE:
If a Crisis Recovery Disc is not available, create one before Flash utility is used.
NOTE:
NOTE:
Do not install memory related drivers (XMS, EMS, DPMI) when Flash is used.
NOTE:
NOTE:
Use AC adaptor power supply when running Flash utility. If battery pack does not
contain power to finish loading BIOS Flash, do not boot system.
Perform the following to run Flash.
1. Prepare a bootable USB HDD.
2. Copy ZQR_101.exe to bootable USB HDD.
3. Boot system from bootable USB HDD.
NOTE:
NOTE:
Flash utility has auto execution function.

System Utilities 2-17
DOS Flash Utility 0
Perform the following to use the DOS Flash Utility:
1. Press F2 during boot to enter Setup Menu.
2. Select Boot Menu to modify boot priority order.
Example: If using USB HDD to Update BIOS, move USB HDD to position 1.
Figure 2-14. BIOS Boot
3. Copy ZQR_101.exe to a bootable USB HDD.
4. Insert the USB HDD and reboot computer.
5. Execute ZQR_101.exe to update BIOS. Flash process begins as shown in Figure 2-15.
6. Flash is complete when the message, Flash Programming Complete is shown.
System will restart automatically when finished.
NOTE:
NOTE:
If AC power is not connected, the following message is shown (Figure 2-15). Plug
in the AC power to continue.
Figure 2-15. AC Power Warning

System Utilities 2-19
Clearing BIOS Passwords 0
CAUTION:
!
If Power-on Password authentication is enabled, the BIOS password can only
be cleared by initiating the Crisis Disk Recovery procedure or flashing the
BIOS. See Crisis Disk Recovery.
This section provides details about removing HDD/BIOS passwords.
Clear the BIOS Password as follows:
NOTE:
NOTE:
If the BIOC password is incorrectly entered three times, an error is generated.
(Figure 2-17)
Figure 2-17. Password Error Status
To reset the BIOS password, perform the following:
1. Press any key to exit the menu.
2. In DOS mode, execute ClearSubPw.exe.
Figure 2-18. Clear BIOS Password
76776356

2-20 System Utilities
Removing BIOS Passwords 0
(Hardware method) To clear User or Supervisor passwords, remove lower cover and use a
metal instrument to short the CMOS jumper.
Figure 2-19. CMOS Jumper
(Software method) If wrong supervisor password is entered three times, the message
System will halt! is displayed on screen.
Figure 2-20. Supervisor Password Error
Table 2-6. CMOS Jumper
Item Description
1 Clear CMOS Jumper
2 Clear CMOS Jumper
1
2

System Utilities 2-21
If user is unable to obtain correct password then it must be removed. There are two
methods to do this.
Method 1: 0
If BIOS menu item Power on Password is set to Enabled, then Crisis Recovery disc
must be used.
Method 2: 0
If BIOS menu item Power on Password is set to Disabled.
1. Boot to DOS and execute ClearSuPw.exe. (Figure 2-21)
Figure 2-21. Clear Supervisor Password Utility
2. When message Clear the SU Pws completely is displayed, supervisor password
has been removed.

2-22 System Utilities
Removing Insyde HDD Password 0
Clear the BIOS Password as follows:
To reset the BIOS password, perform the following:
1. When the user keys in the wrong password three times, the system reports the error
code:
Figure 2-22. Unlock Password Prompt
2. In DOS mode, execute UnlockHD.exe XXXXX (where XXXX is the Unlock password
error code; example here is 76776356). The exe will generate an unlock password
(example here is 69654998).
Figure 2-23. UnlockHD.exe
3. The exe will generate a unlock password. Enter this password at the prompt.
Figure 2-24. Enter Unlock Password

System Utilities 2-23
Miscellaneous Tools 0
Using DMITools 0
The DMI (Desktop Management Interface) Tool copies BIOS information to EEPROM
(Electrically Erasable Programmable Read-Only Memory). Used in the DMI pool for
hardware management.
When the BIOS shows Verifying DMI pool data, it is checking that the table
correlates with the hardware before sending information to the operating system
(Windows, etc.).
To update the DMI Pool, perform the following:
1. Boot to DOS.
2. Execute qdmi301.exe. To execute a specific function, select the associated menu number.
Figure 2-25. DMI Tools Main Menu Screen

2-24 System Utilities
3. Press 1 to modify the asset tag key.
Figure 2-26. Asset Tag Menu Item
4. Press 2 to modify the product number key.
Figure 2-27. Product Name Menu Item

System Utilities 2-25
5. Press 3 to modify serial number key.
Figure 2-28. Serial Number Menu Item
6. Press 4 to modify the 1394 GUID number key.
Figure 2-29. 1394 GUID Number Menu Item
7. Press 0 to exit.

2-26 System Utilities
8. At the command prompt, type VEEPROM to write any changes in the data to the EEPROM.
Figure 2-30. VEEPROM Command Prompt
NOTE:
NOTE:
When using any of the write options, restart the system to make the new
DMI data effective.
Using STUUID 0
To use STUUID, perform the following:
1. Copy stuuid20.exe to a bootable USB drive.
2. Boot to DOS.
3. Execute stuuid20 q.
4. Execute stuuid20 s X YY where X is the PCI bus and YY is the device ID.
Figure 2-31. STUUID

System Utilities 2-27
Using the LAN MAC EEPROM Utility 0
Perform the following steps to write MAC (Media Access Control) information to
EEPROM:
Use LAN.BAT utility to write MAC values to EEPROM under DOS mode.
1. Get into a MS-DOS prompt and enter ipconfig /all to get ‘MAC address’ (MAC address
is the 16 digit number given as Physical Address ).
2. Run the LAN.BAT file.
3. Enter the ’MAC address’ to write MAC values. Flash process begins as shown as
follow:
Enter the MAC ID - Samle: 001636XXXXXX(_________): 00269E230844
Please waiting for EEPROM data filling ………
Please waiting for EEPROM data comparing ………
………
Current MAC ID of ESN EEPROM : 00269E230844
Compare ACER & OEM S/N of ESN EEPROM : PASS
4. Flash is completed when the message, Compare ACER & OEM S/N of ESN EEPROM:
PASS, is shown.
5. At the command prompt, run VEEPROM.EXE to write any changes in the data to the
EEPROM.
6. Reboot the system when the process has completed.

2-28 System Utilities
Crisis Disk Recovery 0
1. Plug in the USB flash disk.
2. Select the Fast Format option and click Start. Then click Next.
3. Click Format and then Exit to complete the operation.
4. Copy the ZQR.fd file to the USB flash disk root directory and rename to BIOS.fd.
NOTE:
NOTE:
Do not place any other *.fd files to the USB flash disk root directory.
5. Plug in the USB Flash Disk without AC plug.
6. Press Fn + Esc keys and hold them down utnil the power led turns offs (about 1-2
seconds).
7. Press Power button and the system will enter crisis mode to flash the BIOS.

CHAPTER 3
Machine Maintenance Procedures

3-2
Introduction . . . . . . . . . . . . . . . . . . . . . . . . . . . . . . . . . . . . 3-5
General Information . . . . . . . . . . . . . . . . . . . . . . . . . . . . . 3-5
Recommended Equipment . . . . . . . . . . . . . . . . . . . . . . . . 3-5
Maintenance Flowchart. . . . . . . . . . . . . . . . . . . . . . . . . . . 3-6
Getting Started. . . . . . . . . . . . . . . . . . . . . . . . . . . . . . . . . . 3-7
Battery Pack Removal. . . . . . . . . . . . . . . . . . . . . . . . . . . . . . . .3-8
Battery Pack Installation . . . . . . . . . . . . . . . . . . . . . . . . . . . . .3-8
Dummy Card Removal . . . . . . . . . . . . . . . . . . . . . . . . . . . . . . .3-9
Dummy Card Installation. . . . . . . . . . . . . . . . . . . . . . . . . . . . .3-9
Keyboard Removal. . . . . . . . . . . . . . . . . . . . . . . . . . . . . . . . . .3-10
Keyboard Installation. . . . . . . . . . . . . . . . . . . . . . . . . . . . . . . .3-11
UpperCase Screws and FFC Removal. . . . . . . . . . . . . . . . . . . .3-12
UpperCase Screws and FFC Installation. . . . . . . . . . . . . . . . . .3-12
ODD (Optical Disk Drive) Module Removal . . . . . . . . . . . . . .3-13
ODD Module Installation. . . . . . . . . . . . . . . . . . . . . . . . . . . . .3-14
Base Cover Removal. . . . . . . . . . . . . . . . . . . . . . . . . . . . . . . . .3-15
Base Cover Installation. . . . . . . . . . . . . . . . . . . . . . . . . . . . . . .3-15
USB Module Removal. . . . . . . . . . . . . . . . . . . . . . . . . . . . . . . .3-16
USB Module Installation . . . . . . . . . . . . . . . . . . . . . . . . . . . . .3-17
HDD (Hard Disk Drive) Removal . . . . . . . . . . . . . . . . . . . . . . .3-18
Hard Disk Drive Installation. . . . . . . . . . . . . . . . . . . . . . . . . . .3-19
RTC (Real Time Clock) Battery Removal . . . . . . . . . . . . . . . . .3-20
RTC Battery Installation . . . . . . . . . . . . . . . . . . . . . . . . . . . . . .3-20
WLAN (Wireless Local Area Network) Module Removal . . . .3-21
WLAN Module Installation . . . . . . . . . . . . . . . . . . . . . . . . . . .3-23
Bluetooth Module Removal. . . . . . . . . . . . . . . . . . . . . . . . . . .3-24
Bluetooth Module Installation . . . . . . . . . . . . . . . . . . . . . . . .3-25
Thermal Module Removal . . . . . . . . . . . . . . . . . . . . . . . . . . . .3-26
Thermal Module Installation. . . . . . . . . . . . . . . . . . . . . . . . . .3-27
Mainboard Removal. . . . . . . . . . . . . . . . . . . . . . . . . . . . . . . . .3-29
Mainboard Installation . . . . . . . . . . . . . . . . . . . . . . . . . . . . . .3-30
CPU (Central Processing Unit) Removal . . . . . . . . . . . . . . . . .3-31
CPU Installation . . . . . . . . . . . . . . . . . . . . . . . . . . . . . . . . . . . .3-32
PCH (Platform Controller Hub) Removal. . . . . . . . . . . . . . . . .3-33
PCH Installation . . . . . . . . . . . . . . . . . . . . . . . . . . . . . . . . . . . .3-34
DIMM (Dual In-line Memory Module) Removal. . . . . . . . . . .3-35
DIMM Installation. . . . . . . . . . . . . . . . . . . . . . . . . . . . . . . . . . .3-36
Power Board Removal . . . . . . . . . . . . . . . . . . . . . . . . . . . . . . .3-37
Power Board Installation . . . . . . . . . . . . . . . . . . . . . . . . . . . . .3-38
DC-in Jack Removal . . . . . . . . . . . . . . . . . . . . . . . . . . . . . . . . .3-39
DC-in Jack Installation . . . . . . . . . . . . . . . . . . . . . . . . . . . . . . .3-40
Speakers Removal. . . . . . . . . . . . . . . . . . . . . . . . . . . . . . . . . . .3-41
Speakers Installation . . . . . . . . . . . . . . . . . . . . . . . . . . . . . . . .3-41
LCD (Liquid Crystal Display) Module Removal . . . . . . . . . . . .3-42

3-3
LCD Module Installation . . . . . . . . . . . . . . . . . . . . . . . . . . . . .3-43
LCD Bezel Removal. . . . . . . . . . . . . . . . . . . . . . . . . . . . . . . . . .3-44
LCD Bezel Installation . . . . . . . . . . . . . . . . . . . . . . . . . . . . . . .3-45
Camera Module Removal. . . . . . . . . . . . . . . . . . . . . . . . . . . . .3-46
Camera Module Installation . . . . . . . . . . . . . . . . . . . . . . . . . .3-47
LCD Panel Removal. . . . . . . . . . . . . . . . . . . . . . . . . . . . . . . . . .3-48
LCD Panel Installation . . . . . . . . . . . . . . . . . . . . . . . . . . . . . . .3-49
LCD Hinge Removal . . . . . . . . . . . . . . . . . . . . . . . . . . . . . . . . .3-50
LCD Hinge Installation . . . . . . . . . . . . . . . . . . . . . . . . . . . . . . .3-50
LVDS Cable Removal . . . . . . . . . . . . . . . . . . . . . . . . . . . . . . . .3-51
LVDS Cable Installation . . . . . . . . . . . . . . . . . . . . . . . . . . . . . .3-52

3-4

Machine Maintenance Procedures 3-5
Machine Maintenance Procedures
Introduction 0
This chapter contains general information about the computer, a list of tools needed to
do the required maintenance and step by step procedures on how to remove and install
components from the computer.
General Information 0
The product previews seen in the following procedures may not represent the final
product color or configuration. Cable paths and positioning may also differ from the
actual model. During the removal and installation of components, make sure all
available cable channels and clips are used and that the cables are installed in the same
position.
All prerequisites must be completed prior to starting maintenance.
Recommended Equipment 0
The following equipment are recommended to do the following maintenance
procedures:
-Wrist grounding strap and conductive mat
-Flat screwdriver
-Philips screwdriver
-Plastic tweezers
-Flat plastic pry
Table 3-1. Screw List
Size Quantity Acer Part No.
M2.5*6.0 24 MM25060IL69
M2.5*3.5 6 MM25035ICI4
M2.0*3.0 18 MS20030ILX1
M2.5*4.0 6 MM25040IL60
M2.0*5.0 4 MS20050I028
M3.0*3.5 2 MS30035I354

3-6 Machine Maintenance Procedures
Maintenance Flowchart 0
The flowchart in Figure 3-1 shows a graphic representation of the module removal and
installation sequences. It shows information on what components may need to be
removed and installed during servicing.
Figure 3-1. Maintenance Flow
Battery
Keyboard
ODD
module
HDD
module
Speaker cable
Power FFC
Touchpad FFC
Mainboard
Bluetooth
module
DIMM
module
WLAN
module
Thermal
module
PCHCPU
Base cover
LCD module
LCD bezel
LCD panel
LCD hinge LVDS cable
Camera
Power board DC-in Jack Speaker
Lower case
Dummy
card
USB module

Machine Maintenance Procedures 3-7
Getting Started 0
Flowchart Figure 3-1 identifies sections for the removal and install sequence. Follow the
order of the sequence to avoid damage to any of the hardware components.
Do the following prior to starting any maintenance procedures:
1. Remove power (A) from the system and peripherals.
2. Remove all cables from system.
Figure 3-2. AC Adapter Outlet
3. Put system on a stable work surface.
A

3-8 Machine Maintenance Procedures
Battery Pack Removal 0
1. Place computer on flat surface, battery side up.
2. Push battery lock/unlock latch (A) to unlock position (Figure 3-3).
3. Push and hold battery release latch (B) to release position (Figure 3-3).
4. Lift battery pack (C) from battery bay (Figure 3-3).
Figure 3-3. Battery
IMPORTANT:
+
Follow local regulations for battery (C) disposal (Figure 3-3).
Battery Pack Installation 0
1. Hold latch (B) in release position and install battery (C) (Figure 3-3).
2. Lock battery lock/unlock latch (A) (Figure 3-3).
B
A
C

Machine Maintenance Procedures 3-9
Dummy Card Removal 0
1. Push the dummy card (A) in to release it from the spring latch (Figure 3-4).
2. Remove the dummy card (A) (Figure 3-4).
Figure 3-4. Dummy Card
Dummy Card Installation 0
1. Insert the dummy card (A) (Figure 3-4).
2. Push the card until the spring latch locks.
A

3-10 Machine Maintenance Procedures
Keyboard Removal 0
Prerequisite:
Battery Pack Removal
1. Release six (6) latches from the keyboard (Figure 3-5).
Figure 3-5. Keyboard Latches
2. Turn the keyboard over so that the keys are face down on the upper case (C)
(Figure 3-6).
3. Disconnect the keyboard FPC (A) from the mainboard connector (B) (Figure 3-6).
Figure 3-6. Keyboard FPC
A
B
C

Machine Maintenance Procedures 3-11
CAUTION:
!
Keyboard FPC (Flexible Printed Circuit) can be damaged if removed while the
mainboard connector is locked.
Keyboard Installation 0
1. Put the keyboard face down on the upper case (C). Refer to Figure 3-6.
2. Connect the keyboard FPC (A) to the mainboard connector (B). Refer to Figure 3-6.
3. Turn the keyboard over and align the keyboard with the indentation in the upper
cover.
4. Press down to secure the latches on the upper cover. Refer to Figure 3-5.
5. Install the battery.

3-12 Machine Maintenance Procedures
UpperCase Screws and FFC Removal 0
Prerequisite:
Keyboard Removal
1. Disconnect the touchpad cable (A), speaker cable (B) and power cable (C)
(Figure 3-7).
Figure 3-7. Base Cover Screw Removal
2. Remove the four (4) screws from the upper case (Figure 3-7).
UpperCase Screws and FFC Installation 0
3. Secure the four (4) screws. Refer to Figure 3-7.
4. Connect the touchpad cable, speaker cable and the power cable.
5. Install the keyboard.
ID Size Quantity Screw Type
Red
Call
out
M2.5*3.5 4
A
B
C

Machine Maintenance Procedures 3-13
ODD (Optical Disk Drive) Module Removal 0
Prerequisite:
Battery Pack Removal
1. Remove one (1) screw (A) from lower cover (Figure 3-8).
Figure 3-8. ODD Module in Lower Cover
2. Remove ODD module from ODD bay (B) (Figure 3-8).
3. Remove ODD bezel (C) from ODD module (Figure 3-9).
Figure 3-9. ODD bezel Removal
A
B
C

3-14 Machine Maintenance Procedures
4. Remove two (2) screws (E) from ODD module (Figure 3-10).
5. Remove ODD bracket (D) from ODD module (Figure 3-10).
Figure 3-10. ODD bracket Removal
ODD Module Installation 0
1. Install the ODD bracket (D) to the ODD module. Refer to Figure 3-10.
2. Secure two (2) screws. Refer to Figure 3-10.
3. Install the ODD bezel to the module and press down to secure it. Refer to Figure 3-9.
4. Place the ODD module into the ODD bay. Refer to Figure 3-8.
5. Install and secure one (1) screw to the base cover.
6. Install the battery.
ID Size Quantity Screw Type
A M2.5*6.0 1
E M2.0*3.0 2
EE
D

Machine Maintenance Procedures 3-15
Base Cover Removal 0
Prerequisite:
ODD (Optical Disk Drive) Module Removal
1. Remove twentythree (23) screws from the lower case (Figure 3-11).
2. Remove the base cover.
Figure 3-11. Outside Screws
Base Cover Installation 0
1. Install the base cover and press downward until the tab engages.
2. Secure twenty three (23) screws. Refer to Figure 3-11.
3. Install the ODD.
ID Size Quantity Screw Type
Red Call
out M2.5*6.0 19
Green
Call out M2.0*3.0 4

Machine Maintenance Procedures 3-17
3. Remove screw (D) from lower cover (Figure 3-13)
Figure 3-13. USB screw
4. Remove USB module from lower case.
USB Module Installation 0
1. Install USB module on lower cover.
2. Install and secure screw (D) to lower cover (Figure 3-13).
3. Connect USB module FFC (A) to module connector (B) (Figure 3-12).
4. Connect USB module FFC (A) to mainboard connector (C) (Figure 3-12).
5. Install the base cover.
ID Size Quantity Screw Type
D M2.5*3.5 1
D

3-18 Machine Maintenance Procedures
HDD (Hard Disk Drive) Removal 0
Prerequisite:
USB Module Removal
1. Using the pull-tab, slide the HDD module in the direction of the arrow to disconnect
the interface. (Figure 3-14).
Figure 3-14. HDD Location
2. Remove the HDD module as shown in Figure 3-15.
Figure 3-15. HDD Removal

Machine Maintenance Procedures 3-19
3. Remove four (4) screws (A) from HDD bracket (B) Figure 3-15.
Figure 3-16. HDD Module
4. Remove HDD bracket (D) from HDD module.
Hard Disk Drive Installation 0
1. Put HDD brackets ont HDD module (Figure 3-16).
2. Instal four (4) screws (C) and secure HDD brackets (D) to HDD module (Figure 3-16).
3. Install the hard drive into the hard drive compartment. (Figure 3-15).
4. Install the USB module.
ID Size Quantity Screw Type
C M3*3.5 4
A
A
A
A
B

3-20 Machine Maintenance Procedures
RTC (Real Time Clock) Battery Removal 0
Prerequisite:
Base Cover Removal
1. Lift the RTC battery away from the mainboard (Figure 3-18).
Figure 3-17. RTC battery
IMPORTANT:
+
Follow local regulations for battery (C) disposal (Figure 3-17).
RTC Battery Installation 0
1. Place the RTC battery into the mainboard connector. Refer to Figure 3-18.
2. Install the base cover.

Machine Maintenance Procedures 3-21
WLAN (Wireless Local Area Network) Module Removal 0
Prerequisite:
Base Cover Removal
1. Find the WLAN module (B) (Figure 3-18).
2. Disconnect antenna cables (A) from module (Figure 3-18).
Figure 3-18. WLAN Module
3. Remove one (1) screw (C) from the mainboard. Refer to Figure 3-19.
A
B

Machine Maintenance Procedures 3-23
Figure 3-21. WLAN Module
WLAN Module Installation 0
1. Place the WLAN module into the mainboard connector (E). Refer to Figure 3-21.
2. Secure the antennas to the cable guides on the thermal module. Refer to Figure 3-20.
3. Install and secure one (1) screw (C) to mainboard. Refer to Figure 3-19.
4. Install the antenna cables on WLAN module. Refer to Figure 3-18.
5. Install the base cover.
ID Size Quantity Screw Type
C M2.0*3.0 NI 1
E

3-24 Machine Maintenance Procedures
Bluetooth Module Removal 0
Prerequisite:
Base Cover Removal
1. Find the Bluetooth Module on the lower case (A) (Figure 3-22).
2. Disconnect the Bluetooth cable (B) from the mainboard connector (C).
Figure 3-22. Bluetooth Module
3. Remove the mylar tape (D) (Figure 3-23).
Figure 3-23. Bluetooth Module
A
BC
C
B
A
A
BC
D

Machine Maintenance Procedures 3-25
4. Remove the Bluetooth Module from the lower case.
5. Disconnect the bluetooth cable (B) from the bluetooth module (E) (Figure 3-24).
Figure 3-24. Bluetooth Module
Bluetooth Module Installation 0
1. Connect the Bluetooth cable (B) to the bluetooth module (Figure 3-23).
2. Connect the Bluetooth cable (B) to the mainboard connector (C) (Figure 3-22).
3. Install the base cover.
A
BC
E
B

Machine Maintenance Procedures 3-27
3. Remove the thermal module from the mainboard as shown in Figure 3-26.
Figure 3-26. Thermal Module Removal
Thermal Module Installation 0
IMPORTANT:
+
Apply approved thermal grease and ensure all heat pads are in position
before replacing module.
CAUTION:
!
Use caution when applying thermal grease. Thermal grease may cause
damage to the mainboard.
The following thermal grease types are approved for use:
-Silmore GP50
-Honeywell
-Jet Motor 7762
The following thermal pads are approved for use:
-Eapus XR-PE
1. Remove all traces of thermal grease from CPU using a lint-free cloth or cotton swab
and Isopropyl Alcohol, Acetone, or other approved cleaning agent.
2. Apply small amount of thermal grease to center of CPU.
NOTE:
NOTE:
Force used during installation of thermal module is sufficient to spread grease
evenly over CPU top.
3. Install and secure four (4) non-captive screws to mainboard. (Figure 3-25).
4. Connect thermal module cable (A) to mainboard connector (B). (Figure 3-25).
5. Install the base cover.

3-28 Machine Maintenance Procedures
ID Size Quantity Screw Type
Red
Call
out
M2.5*3.5 4

Machine Maintenance Procedures 3-29
Mainboard Removal 0
Prerequisite:
Bluetooth Module Removal
1. Find the mainboard on the lower case (Figure 3-27).
Figure 3-27. Mainboard Location
2. Disconnect the speaker cable from the mainboard connector (A) (Figure 3-27).
3. Remove two (2) screws (B) from the mainboard (Figure 3-27).
4. Remove the mainboard by lifting it from the lower case.
CAUTION:
!
Make sure all cables are moved away from the device to avoid damage
during removal.
BA

3-30 Machine Maintenance Procedures
Figure 3-28. Mainboard
IMPORTANT:
+
The mainboard is shown in the above image. Please follow local
regulations for disposal.
Mainboard Installation 0
1. Place the mainboard onto the lower case (Figure 3-27).
2. Install and secure two (2) screws (B) to the mainboard (Figure 3-27).
3. Connect the speaker cable to the mainboard connector (A) (Figure 3-27).
4. Install the Bluetooth module.
ID Size Quantity Screw Type
B M2.5*3.5 2

Machine Maintenance Procedures 3-31
CPU (Central Processing Unit) Removal 0
Prerequisite:
Mainboard Removal
1. Using a slotted screw driver, rotate the CPU camlock (A) 180° counter-clockwise
(Figure 3-29).
Figure 3-29. CPU Removal
2. Carefully lift the CPU clear of the socket (Figure 3-30).
Figure 3-30. CPU Removal
A

3-32 Machine Maintenance Procedures
IMPORTANT: Place the CPU on a clean, dry surface when it is not installed.
CPU Installation 0
1. Place the CPU into the CPU socket (Figure 3-29).
2. Using a slotted screw driver, rotate the CPU locking screw 180° clockwise to secure it
in the package.
3. Install the mainboard.
ID Size Quantity Screw Type
A M2.5*3.5 1

Machine Maintenance Procedures 3-33
PCH (Platform Controller Hub) Removal 0
Prerequisite:
Mainboard Removal
1. Find the PCH (A). Refer to Figure 3-31.
2. Remove the two (2) screws from the mainboard (Figure 3-31).
Figure 3-31. PCH screws Removal
3. Remove the PCH by lifting it from the mainboard (Figure 3-32).
Figure 3-32. PCH Removal
A

Machine Maintenance Procedures 3-35
DIMM (Dual In-line Memory Module) Removal 0
Prerequisite:
Mainboard Removal
1. Push out the release latches on both sides of the DIMM socket to release the DIMM
module (Figure 3-33).
Figure 3-33. DIMM Removal
2. Remove the DIMM module (Figure 3-34).
Figure 3-34. DIMM Removal
3. Repeat steps for the second DIMM module if present (Figure 3-34).

3-38 Machine Maintenance Procedures
Power Board Installation 0
1. Place the power board onto the lower case and press down to secure it. Refer to
Figure 3-36.
2. Install and secure two (2) screws to the power board. Refer to Figure 3-35
3. Install the mainboard.
ID Size Quantity Screw Type
Red
Call
out
M2.5*3.5 2

Machine Maintenance Procedures 3-41
Speakers Removal 0
Prerequisite:
Mainboard Removal
1. Remove the speakers by lifting upwards from the lower case (Figure 3-39).
Figure 3-39. Speakers
Speakers Installation 0
1. Place the speakers onto the lower case and press down to secure it. Refer to
Figure 3-39.
2. Install the mainboard.
A
AA

3-42 Machine Maintenance Procedures
LCD (Liquid Crystal Display) Module Removal 0
Prerequisite:
Base Cover Removal
1. Remove the two (2) screws (A) from the LCD hinges (Figure 3-40).
Figure 3-40. LCD Hinge Screws
2. Lift the lower case upward from the LCD module (Figure 3-41).
Figure 3-41. LCD Module Removal
AA

Machine Maintenance Procedures 3-43
CAUTION:
!
Make sure all cables are moved away from the device to avoid damage
during removal.
LCD Module Installation 0
1. Align the LCD hinges with the hinge guides on the lower case.
2. Install and secure two(2) screws (A). Refer to Figure 3-40.
3. Install the base cover.
ID Size Quantity Screw Type
A M2.5*3.5 2

Machine Maintenance Procedures 3-45
3.
Continue along the sides of the bezel until all the latches have been released
(Figure 3-44).
Figure 3-44. LCD Bezel Removal
4. Lift the bezel from LCD module.
LCD Bezel Installation 0
1. Put LCD bezel on the LCD module. Refer to Figure 3-44.
2. Press along the edges of the LCD bezel to secure the latches on the LCD module.
3. Install and secure two (2) screws to the LCD bezel. Refer to Figure 3-42.
4. Install the LCD module.
ID Size Quantity Screw Type
Red
Call
out
M2.5*6.0 2

Machine Maintenance Procedures 3-49
LCD Panel Installation 0
1. Place the LCD panel on the LCD cover. Refer to Figure 3-48.
2. Install and secure four (4) screws to the LCD panel. Refer to Figure 3-48.
3. Connect the camera cable (A) to the camera connector (B). Refer to Figure 3-47.
4. Install the LCD bezel.
ID Size Quantity Screw Type
Red
Call
out
M2.0*3.0 NI 4

3-50 Machine Maintenance Procedures
LCD Hinge Removal 0
Prerequisite:
LCD Panel Removal
1. Remove the three (3) screws on each side of the hinge (Figure 3-49).
Figure 3-49. LCD Hinges
2. Remove LCD hinges from the LCD module.
LCD Hinge Installation 0
1. Place the LCD hinges on the LCD module (Figure 3-49).
2. Install and secure the six (6) screws to the LCD hinges (Figure 3-49).
3. Install the LCD panel.
ID Size Quantity Screw Type
Red
Call
out
M2.5*4.0 6

3-52 Machine Maintenance Procedures
2. Remove the bottom mylar and disconnect the LVDS cable from the LCD panel
connector (B) (Figure 3-51).
Figure 3-51. LVDS Cable Connector
LVDS Cable Installation 0
1. Place the LVDS cable into the LCD panel connector (B) and secure the bottom mylar
tape (C) (Figure 3-51).
2. Place the LVDS cable (A) on the rear of the LCD panel. Refer to Figure 3-50.
3. Install the LCD panel.
C
B

CHAPTER 4
Troubleshooting

4-2
Introduction . . . . . . . . . . . . . . . . . . . . . . . . . . . . . . . . . . . . 4-3
General Information . . . . . . . . . . . . . . . . . . . . . . . . . . . . . 4-3
Power On Issues . . . . . . . . . . . . . . . . . . . . . . . . . . . . . . . . . . . .4-4
No Display Issues. . . . . . . . . . . . . . . . . . . . . . . . . . . . . . . . . . . .4-5
LCD Failure . . . . . . . . . . . . . . . . . . . . . . . . . . . . . . . . . . . . . . . .4-8
Keyboard Failure . . . . . . . . . . . . . . . . . . . . . . . . . . . . . . . . . . .4-9
Touchpad Failure . . . . . . . . . . . . . . . . . . . . . . . . . . . . . . . . . . .4-10
Internal Speaker Failure. . . . . . . . . . . . . . . . . . . . . . . . . . . . . .4-11
Microphone Failure . . . . . . . . . . . . . . . . . . . . . . . . . . . . . . . . .4-13
USB Failure . . . . . . . . . . . . . . . . . . . . . . . . . . . . . . . . . . . . . . . .4-14
Other Functions Failure . . . . . . . . . . . . . . . . . . . . . . . . . . . . . .4-15
Intermittent Problems. . . . . . . . . . . . . . . . . . . . . . . . . . . . 4-16
Undetermined Problems . . . . . . . . . . . . . . . . . . . . . . . . . . 4-16
Post Codes . . . . . . . . . . . . . . . . . . . . . . . . . . . . . . . . . . . . . 4-17

Troubleshooting 4-3
Troubleshooting
Introduction 0
This chapter contains information about troubleshooting common problems associated
with the notebook.
General Information 0
The following procedures are a guide for troubleshooting computer problems. The step
by step procedures are designed to be performed as described.
NOTE:
NOTE:
The diagnostic tests are intended for Acer products only. Non-Acer products,
prototype cards, or modified options can give false errors and invalid system
responses.
1. Obtain as much detailed information as possible about the problem.
2. If possible, verify the symptoms by re-creating the failure through diagnostic tests or
repeating the operation that led to the problem.
3. Use Table 4-1 with the verified symptom to determine the solution.
4. If the Issue is still not resolved, refer to Online Support Information.
NOTE:
NOTE:
Do not replace non-defective FRU parts.
Table 4-1. Common Problems
Symptoms (Verified)
Power On Issues
No Display Issues
LCD Failure
Keyboard Failure
Touchpad Failure
Internal Speaker Failure
Microphone Failure
USB Failure
Other Functions Failure
Intermittent Problems
Undetermined Problems

4-4 Troubleshooting
Power On Issues 0
If the system does not power on, perform the following:
Figure 4-1. Power On Issue
Computer Shuts Down Intermittently 0
If the system powers off at intervals, perform the following.
1. Makes sure the power cable is properly connected to the computer and the electrical outlet.
2. Remove all extension cables between the computer and the outlet.
3. Remove all surge protectors between the computer and the electrical outlet. Plug the
computer directly into a known serviceable electrical outlet.
4. Disconnect the power and open the casing to check the thermal unit and fan airways
are free of obstructions.
5. Remove all external and non-essential hardware connected to the computer that are
not necessary to boot the computer to the failure point.
6. Remove any recently installed software.
7. If the Issue is still not resolved, refer to Online Support Information.

Troubleshooting 4-5
No Display Issues 0
If the Display does not work, perform the following:
Figure 4-2. No Display Issue
No POST or Video 0
If the POST or video does not appear, perform the following:
1. Make sure that internal display is selected. Switching between internal and external
by pressing Fn+F5. Reference product pages for specific model procedures.
2. Make sure the computer has power by checking for one of the following:
-Fans start up
-Status LEDs illuminate
If no power, refer to Power On Issues.
3. Drain stored power by removing the power cable and battery. Hold the power
button for 10 seconds.
START
Power On? No Power On Issues
Replace
Ext. DDR RAM
module
No
No Fasten Screw
Replace
M/B
Check
connection
No
LCD module
OK?
No
Replace
LCD panel/
LCD cable
Ext. DDRRAM
module well
connected?
Ext. DDRRAM
module OK?
CPU thermal
module well
screw?

4-6 Troubleshooting
4. Connect the power and reboot the computer.
5. Connect an external monitor to the computer and switch between the internal
display and the external display is by pressing Fn+F5.
6. If the POST or video appears on the external display only, refer to LCD Failure.
7. Disconnect power and all external devices including port replicators or docking
stations. Remove any memory cards and CD/DVD discs.
8. Start the computer. If the computer boots correctly, add the devices one by one until
the failure point is discovered.
9. Reseat the memory modules.
10. Remove the drives (refer to Maintenance Flowchart).
11. If the Issue is still not resolved, refer to Online Support Information.
Abnormal Video 0
If the video appears abnormal, perform the following:
1. Boot the computer.
-If permanent vertical/horizontal lines or dark spots appear in the same location,
the LCD is faulty and should be replaced. Refer to Disassembly Process.
-If extensive pixel damage is present (different colored spots in the same locations
on the screen), the LCD is faulty and should be replaced. Refer to Maintenance
Flowchart.
NOTE:
NOTE:
Make sure that the computer is not running on battery alone as this may reduce
display brightness.
2. Adjust the brightness to its highest level. Refer to the User Manual for instructions on
adjusting the settings. If the display is too dim at the highest brightness setting, the
LCD is faulty and should be replaced. Refer to Disassembly Process.
3. Check the display resolution is correctly configured:
-Minimize or close all Windows.
-If display size is only abnormal in an application, check the view settings and
control/mouse wheel zoom feature in the application.
-If desktop display resolution is not normal, right-click on the desktop and select
Personalize Display Settings.
-Click and drag the Resolution slider to the desired resolution.
-Click Apply and check the display. Readjust if necessary.
4. Roll back the video driver to the previous version if updated.
5. Remove and reinstall the video driver.
6. Check the Device Manager to determine that:
-The device is properly installed. There are no red Xs or yellow exclamation marks
-There are no device conflicts
-No hardware is listed under Other Devices
7. If the Issue is still not resolved, refer to Online Support Information.
8. Run the Windows Memory Diagnostic from the operating system DVD and follow the
on-screen prompts.

4-8 Troubleshooting
LCD Failure 0
If the LCD fails, perform the following:
Figure 4-3. LCD Failure

Troubleshooting 4-9
Keyboard Failure 0
If the Keyboard fails, perform the following:
Figure 4-4. Keyboard Failure
No
No
START
Keyboard FPC
well connected?
Connect
it well
Keyboard OK? Replace
keyboard
Replace M/B

4-10 Troubleshooting
Touchpad Failure 0
If the Touchpad fails, perform the following:
Figure 4-5. Touchpad Failure
Start
OK
NG
OK
NG
Check M/B
T/P FFC
Re-assemble the
T/P FFC to M/B
Check
To u c h Pa d
Swap/Reassemble
the T/P board or
T/P FFC
Swap M/B

Troubleshooting 4-11
Internal Speaker Failure 0
If internal Speakers fail, perform the following:
Figure 4-6. Internal Speaker Failure
Sound Problems 0
Perform the following, one at a time.
1. Boot the computer.
2. Navigate to Start Control Panel System and Maintenance System
Device Manager. Check the Device Manager to determine that:
-The device is properly installed
-There are no red Xs or yellow exclamation marks
-There are no device conflicts
-No hardware is listed under Other Devices
3. If updated recently, roll back the audio driver to the previous version.
4. Remove and reinstall the audio driver.
5. Make sure that all volume controls are set mid range:
-Click the volume icon on the taskbar
-Drag the slider to 50. Confirm that the volume is not muted.
-Click Mixer to verify that other audio applications are set to 50 and not muted.
6. Navigate to Start Control Panel Hardware and Sound Sound. Confirm

4-12 Troubleshooting
that Speakers are selected as the default audio device (green check mark).
NOTE:
NOTE:
If Speakers does not show, right-click on the Playback tab and select Show
Disabled Devices (clear by default).
7. Select Speakers and click Configure to start Speaker Setup. Follow the on-screen
prompts to configure the speakers.
8. Remove any recently installed hardware or software.
9. Restore system and file settings from a known good date using System Restore.
10. If the issue is remains, repeat step 9, selecting an earlier time and date.
11. Reinstall the operating system.
12. If the issue is still not resolved, refer to Online Support Information.

Troubleshooting 4-13
Microphone Failure 0
If internal or external Microphones fail, perform the following:
Figure 4-7. Microphone Failure
1. Check that the microphone is enabled. Navigate to Start Control Panel
Hardware and Sound Sound and select the Recording tab.
2. Right click on the Recording tab and select Show Disabled Devices (clear by
default). The microphone appears on the Recording tab.
3. Right click on the microphone and select Enable.
4. Select the microphone then click Properties. Select the Levels tab.
5. Increase the volume to the maximum setting and click OK.
6. Test the microphone hardware:
-Select the microphone and click Configure.
-Select Set up microphone.
-Select the microphone type from the list and click Next.
-Follow the on-screen prompts to complete the test.
7. If the Issue is still not resolved, refer to Online Support Information.

4-14 Troubleshooting
USB Failure 0
If the USB fails, perform the following:
Figure 4-8. USB Failure
Start
Check USB/B to
M/B cable
Re-assemble the
USB/B cable to M/B
OK
NG
Check USB/B
OK
Swap USB/B and
USB cable
OK
NG
Swap M/B

Troubleshooting 4-15
Other Functions Failure 0
1. Check if drives are functioning correctly.
2. Check if external modules are functioning correctly.
3. Change mainboard to check if current one is defective.

4-16 Troubleshooting
Intermittent Problems 0
Intermittent system hang problems can be caused by a variety of reasons that have
nothing to do with a hardware defect, such as: cosmic radiation, electrostatic discharge,
or software errors. FRU replacement should be considered only when a recurring
problem exists.
When analyzing an intermittent problem, perform the following:
1. Run the advanced diagnostic test for the system board in loop mode at least 10 times.
2. If no error is detected, do not replace any FRU.
3. If an error is detected, replace the FRU. Rerun the test to verify that there are no
more errors.
Undetermined Problems 0
The diagnostic problems do not identify which adapter or device failed, which installed
devices are incorrect, whether a short circuit is suspected, or whether the system is
inoperative.
Perform the following procedures to isolate the failing FRU (do not isolate non-defective FRU).
NOTE:
NOTE:
Verify that all attached devices are supported by the computer.
NOTE:
NOTE:
Verify that the power supply being used at the time of the failure is operating
correctly. (Refer to Power On Issues).
1. Remove power from the computer.
2. Visually check components for damage. If any problems are found, replace the FRU.
3. Remove or disconnect all of the following devices:
-Non-Acer devices
-Printer, mouse, and other external devices
-Battery pack
-Hard disk drive
-DIMM
-CD-ROM/Diskette drive Module
-PC Cards
4. Apply power to the computer.
5. Determine if the problem has changed.
6. If the problem does not recur, connect the removed devices one at a time until failing
FRU is found.
7. If the problem remains, replace the following FRUs:
-System board
-LCD assembly

Troubleshooting 4-17
Post Codes 0
The following are the InsydeH2O™ Functionality POST code tables. The components of
the POST code table includes: SEC phase, PEI phase, DXE phase, BDS phase, CSM
functions, S3 functions and ACPI functions.
Table 4-2. POST Code Range
Phase POST Code Range
SEC 0x01 - 0x0F
PEI 0x70 - 0x9F
DXE 0x40 - 0x6F
BDS 0x10 - 0x3F
SMM 0xA0 - 0xBF
S3 0xC0 - 0xCF
ASL 0x51 – 0x55
0xE1 – 0xE4
PostBDS 0xF9 – 0xFE
InsydeH2ODDT™ Reserve 0xD0 – 0xD7
OEM Reserve 0xE8 – 0xEB
Reserved 0xD8 – 0xE0
0xE5 – 0xE7
0xEC – 0xF8
Table 4-3. SEC Phase POST Code Table
Functionality Name (Include\
PostCode.h) Phase PostCod
eDescription
SEC_SYSTEM_POWER_ON
SEC 01 CPU power on and switch to
Protected mode
SEC_BEFORE_MICROCODE_PATCH
SEC 02 Patching CPU microcode
SEC_AFTER_MICROCODE_PATCH
SEC 03 Setup Cache as RAM
SEC_ACCESS_CSR*
SEC 04 PCIE MMIO Base Address initial
SEC_GENERIC_MSRINIT*
SEC 05 CPU Generic MSR initialization
SEC_CPU_SPEEDCFG*
SEC 06 Setup CPU speed
SEC_SETUP_CAR_OK
SEC 07 Cache as RAM test
SEC_FORCE_MAX_RATIO*
SEC 08 Tune CPU frequency ratio to
maximum level

4-18 Troubleshooting
SEC_GO_TO_SECSTARTUP
SEC 09 Setup BIOS ROM cache
SEC_GO_TO_PEICORE
SEC 0A Enter Boot Firmware Volume
* 3rd party relate functions – Platform dependence.
Table 4-4. PEI Phase POST Code Table
Functionality Name (Include\
PostCode.h) Phase Post Code Description
PEI_SIO_INIT
PEI 70 Super I/O Initialization
PEI_CPU_REG_INIT
PEI 71 CPU Early Initialization
PEI_CPU_AP_INIT*
PEI 72 Multi-processor Early Initial
PEI_CPU_HT_RESET*
PEI 73 HyperTransport Initialization
PEI_PCIE_MMIO_INIT
PEI 74 PCIE MMIO BAR Initialization
PEI_NB_REG_INIT
PEI 75 North Bridge Early Initialization
PEI_SB_REG_INIT
PEI 76 South Bridge Early Initialization
PEI_PCIE_TRAINING*
PEI 77 PCIE Training
PEI_TPM_INIT
PEI 78 TPM Initialization
PEI_SMBUS_INIT
PEI 79 SMBUS Early Initialization
PEI_PROGRAM_CLOCK_GEN
PEI 7A Clock Generator Initialization
PEI_IGD_EARLY_INITIAL *
PEI 7B Internal Graphic device early
Initialization
PEI_HECI_INIT*
PEI 7C HECI Initialization
PEI_WATCHDOG_INIT*
PEI 7D Watchdog timer Initialization
PEI_MEMORY_INIT
PEI 7E Memory Initial for Normal boot.
PEI_MEMORY_INIT_FOR_CRISIS
PEI 7F Memory Initial for Crisis
Recovery
PEI_MEMORY_INSTALL
PEI 80 Simple Memory test
PEI_TXTPEI*
PEI 81 TXT function early Initialization
PEI_SWITCH_STACK
PEI 82 Start to use Memory
PEI_MEMORY_CALLBACK
PEI 83 Set cache for physical memory
PEI_ENTER_RECOVERY_MODE
PEI 84 Recovery device Initialization
PEI_RECOVERY_MEDIA_FOUND
PEI 85 Found Recovery image
PEI_RECOVERY_MEDIA_NOT_FOUND
PEI 86 Recovery image not found
Table 4-3. (Continued)SEC Phase POST Code Table
Functionality Name (Include\
PostCode.h) Phase PostCod
eDescription

Troubleshooting 4-19
PEI_RECOVERY_LOAD_FILE_DONE
PEI 87 Load Recovery Image
completed
PEI_RECOVERY_START_FLASH
PEI 88 Start Flash BIOS with Recovery
image
PEI_ENTER_DXEIPL
PEI 89 Loading BIOS image to RAM
PEI_FINDING_DXE_CORE
PEI 8A Loading DXE core
PEI_GO_TO_DXE_CORE
PEI 8B Enter DXE core
* 3rd party relate functions – Platform dependence.
Table 4-5. DXE Phase POST Code Table
Functionality Name (Include\
PostCode.h) Phase Post
Code Description
DXE_TCGDXE* DXE 40 TPM initial in DXE
DXE_SB_SPI_INIT* DXE 41 South bridge SPI initialization
DXE_CF9_RESET* DXE 42 Setup Reset service
DXE_SB_SERIAL_GPIO_INIT* DXE 43 South bridge Serial GPIO
initialization
DXE_SMMACCESS* DXE 44 Setup SMM ACCE SS service
DXE_NB_INIT DXE 45 North bridge Middle
initialization
DXE_SIO_INIT* DXE 46 Super I/O DXE initialization
DXE_LEGACY_REGION* DXE 47 Setup Legacy Region service
DXE_SB_INIT* DXE 48 South Bridge Middle
initialization
DXE_IDENTIFY_FLASH_DEVICE* DXE 49 Identify Flash device
DXE_FTW_INIT DXE 4A Fault Tolerant Write verification
DXE_VARIABLE_INIT DXE 4B Variable Service initialization
DXE_VARIABLE_INIT_FAIL DXE 4C Fail to initial Variable Service
DXE_MTC_INIT DXE 4D MTC Initial
DXE_CPU_INIT DXE 4E CPU Middle Initialization
DXE_MP_CPU_INIT DXE 4F Multi-processor Middle
Initialization
DXE_SMBUS_INIT DXE 50 SMBUS Driver Initialization
DXE_SMART_TIMER_INIT DXE 51 8259 Initialization
Table 4-4. (Continued)PEI Phase POST Code Table
Functionality Name (Include\
PostCode.h) Phase Post Code Description

4-20 Troubleshooting
DXE_PCRTC_INIT DXE 52 RTC Initialization
DXE_SATA_INIT* DXE 53 SATA Controller early
Initialization
DXE_SMM_CONTROLER_INIT* DXE 54 Setup SMM Control service
DXE_LEGACY_INTERRUPT* DXE 55 Setup Legacy Interrupt service
DXE_RELOCATE_SMBASE DXE 56 Relocate SMM BASE
DXE_FIRST_SMI DXE 57 SMI test
DXE_VTD_INIT* DXE 58 VTD Initial
DXE_BEFORE_CSM16_INIT DXE 59 Legacy BIOS Initialization
DXE_AFTER_CSM16_INIT DXE 5A Legacy interrupt function
Initialization
DXE_LOAD_ACPI_TABLE DXE 5B ACPI Table Initialization
DXE_SB_DISPATCH* DXE 5C Setup SB SMM Dispatcher service
DXE_SB_IOTRAP_INIT* DXE 5D Setup SB IOTRAP Service
DXE_SUBCLASS_DRIVER* DXE 5E Build AMT Table
DXE_PPM_INIT* DXE 5F PPM Initialization
DXE_HECIDRV_INIT* DXE 60 HECIDRV Initialization
* 3rd party relate functions – Platform dependence.
Table 4-6. BDS Phase POST Code Table
Functionality Name (Include\
PostCode.h) Phase Post
Code Description
BDS_ENTER_BDS BDS 10 Enter BDS entry
BDS_INSTALL_HOTKEY BDS 11 Install Hotkey service
BDS_ASF_INIT* BDS 12 ASF Initialization
BDS_PCI_ENUMERATION_START BDS 13 PCI enumeration
BDS_BEFORE_PCIIO_INSTALL BDS 14 PCI resource assign complete
BDS_PCI_ENUMERATION_END BDS 15 PCI enumeration complete
BDS_CONNECT_CONSOLE_IN BDS 16 Keyboard Controller,
Keyboard and Mouse
initialization
BDS_CONNECT_CONSOLE_OUT BDS 17 Video device initialization
Table 4-5. (Continued)DXE Phase POST Code Table
Functionality Name (Include\
PostCode.h) Phase Post
Code Description

Troubleshooting 4-21
BDS_CONNECT_STD_ERR BDS 18 Error report device
initialization
BDS_CONNECT_USB_HC BDS 19 USB host controller
initialization
BDS_CONNECT_USB_BUS BDS 1A USB BUS driver initialization
BDS_CONNECT_USB_DEVICE BDS 1B USB device driver
initialization
BDS_NO_CONSOLE_ACTION BDS 1C Console device initial fail
BDS_DISPLAY_LOGO_SYSTEM_INFO BDS 1D Display logo or system
information
BDS_START_IDE_CONTROLLER BDS 1E IDE controller initialization
BDS_START_SATA_CONTROLLER BDS 1F SATA controller initialization
BDS_START_ISA_ACPI_CONTROLLER BDS 20 SIO controller initialization
BDS_START_ISA_BUS BDS 21 ISA BUS driver initialization
BDS_START_ISA_FDD BDS 22 Floppy device initialization
BDS_START_ISA_SEIRAL BDS 23 Serial device initialization
BDS_START_IDE_BUS BDS 24 IDE device initialization
BDS_START_AHCI_BUS BDS 25 AHCI device initialization
BDS_CONNECT_LEGACY_ROM BDS 26 Dispatch option ROMs
BDS_ENUMERATE_ALL_BOOT_OPTION
BDS 27 Get boot device information
BDS_END_OF_BOOT_SELECTION BDS 28 End of boot selection
BDS_ENTER_SETUP BDS 29 Enter Setup Menu
BDS_ENTER_BOOT_MANAGER BDS 2A Enter Boot manager
BDS_BOOT_DEVICE_SELECT BDS 2B Try to boot system to OS
BDS_EFI64_SHADOW_ALL_LEGACY_RO M
BDS 2C Shadow Misc Option ROM
BDS_ACPI_S3SAVE BDS 2D Save S3 resume required data
in RAM
BDS_READY_TO_BOOT_EVENT BDS 2E Last Chipset initial before
boot to OS
BDS_GO_LEGACY_BOOT BDS 2F Start to boot Legacy OS
BDS_GO_UEFI_BOOT BDS 30 Start to boot UEFI OS
BDS_LEGACY16_PREPARE_TO_BOOT BDS 31 Prepare to Boot to Legacy OS
BDS_EXIT_BOOT_SERVICES* BDS 32 Send END of POST Message to
ME via HECI
Table 4-6. (Continued)BDS Phase POST Code Table
Functionality Name (Include\
PostCode.h) Phase Post
Code Description

4-22 Troubleshooting
BDS_LEGACY_BOOT_EVENT BDS 33 Last Chipset initial before
boot to Legacy OS.
BDS_ENTER_LEGACY_16_BOOT BDS 34 Ready to Boot Legacy OS.
BDS_RECOVERY_START_FLASH BDS 35 Fast Recovery Start Flash.
* 3rd party relate functions – Platform dependence.
Table 4-7. PostBDS Functions POST Code Table
Functionality Name (Include\
PostCode.h) Phase Post
Code Description
POST_BDS_NO_BOOT_DEVICE PostBDS F9 No Boot Device
POST_BDS_START_IMAGE PostBDS FB UEFI Boot Start Image
POST_BDS_ENTER_INT19 PostBDS FD Legacy 16 boot entry
POST_BDS_JUMP_BOOT_SECTOR PostBDS FE Try to boot with INT 19
Table 4-8. S3 Functions POST Code Table
Functionality Name (Include\PostCode.h) Phase PostCode Description
S3_RESTORE_MEMORY_CONTROLLER PEI C0 Memory initial for S3 resume
S3_INSTALL_S3_MEMORY PEI C1 Get S3 resume required data
from memory
S3_SWITCH_STACK PEI C2 Start to use memory during S3
resume
S3_MEMORY_CALLBACK PEI C3 Set cashe for physical memory
during S3 resume
S3_ENTER_S3_RESUME_PEIM PEI C4 Start to restore system
configuration
S3_BEFORE_ACPI_BOOT_SCRIPT PEI C5 Restore system configuration
stage 1
S3_BEFORE_RUNTIME_BOOT_SCRIPT PEI C6 Restore system configuration
stage 2
S3_BEFORE_RELOCATE_SMM_BASE PEI C7 Relocate SMM BASE during S3
resume
S3_BEFORE_MP_INIT PEI C8 Multi-processor initial during
S3 resume
S3_BEFORE_RESTORE_ACPI_CALLBACK PEI C9 Start to restore system
configuration in SMM
Table 4-6. (Continued)BDS Phase POST Code Table
Functionality Name (Include\
PostCode.h) Phase Post
Code Description

Troubleshooting 4-23
S3_AFTER_RESTORE_ACPI_CALLBACK PEI CA Restore system configuration
in SMM complete
S3_GO_TO_FACS_WAKING_VECTOR PEI CB Back to OS
Table 4-9. ACPI Functions POST Code Table
Functionality Name (Include\
PostCode.h) Phase Post
Code Description
ASL_ENTER_S1 ASL 51 Prepare to enter S1
ASL_ENTER_S3 ASL 53 Prepare to enter S3
ASL_ENTER_S4 ASL 54 Prepare to enter S4
ASL_ENTER_S5 ASL 55 Prepare to enter S5
ASL_WAKEUP_S1 ASL E1 System wake up from S1
ASL_WAKEUP_S3 ASL E3 System wake up from S3
ASL_WAKEUP_S4 ASL E4 System wake up from S4
Table 4-10. SMM Functions POST Code Table
Functionality Name
(Include\ PostCode.h) Phase Post
Code Description
SMM_IDENTIFY_FLASH_DEVICE
SMM 0xA0 Identify Flash device in SMM
SMM_SMM_PLATFORM_INIT SMM 0xA2 SMM service initial
SMM_ACPI_ENABLE_START SMM 0xA6 OS call ACPI enable function
SMM_ACPI_ENABLE_END SMM 0xA7 ACPI enable function complete
SMM_S1_SLEEP_CALLBACK SMM 0xA1 Enter S1
SMM_S3_SLEEP_CALLBACK SMM 0xA3 Enter S3
SMM_S4_SLEEP_CALLBACK SMM 0xA4 Enter S4
SMM_S5_SLEEP_CALLBACK SMM 0xA5 Enter S5
SMM_ACPI_DISABLE_START SMM 0xA8 OS call ACPI disable function
SMM_ACPI_DISABLE_END SMM 0xA9 ACPI disable function complete
Table 4-11. InsydeH2ODDT Debugger POST Code Table
Functionality Name
(Include\PostCode.h) PostCode Description
Used by Insyde debugger 0x0D Waiting for device connect
Table 4-8. (Continued)S3 Functions POST Code Table
Functionality Name (Include\PostCode.h) Phase PostCode Description

4-24 Troubleshooting
Used by Insyde debugger 0xD0 Waiting for device connect
Used by Insyde debugger 0xD1 InsydeH2ODDT Ready
Used by Insyde debugger 0xD2 EHCI not found
Used by Insyde debugger 0xD3 Debug port connect low speed device
Used by Insyde debugger 0xD4 DDT Cable become low speed device
Used by Insyde debugger 0xD5 DDT Cable Transmission Error
(Get descriptor fail)
Used by Insyde debugger 0xD6 DDT Cable Transmission Error
(Set Debug mode fail)
Used by Insyde debugger 0xD7 DDT Cable Transmission Error
(Set address fail)
Table 4-11. InsydeH2ODDT Debugger POST Code Table
Functionality Name
(Include\PostCode.h) PostCode Description

CHAPTER 5
Jumper and Connector Locations

5-2
Mainboard Jumper and Connector Locations . . . . . . . . . 5-3
Clearing Password Check and BIOS Recovery . . . . . . . . . 5-5
Clearing Password Check. . . . . . . . . . . . . . . . . . . . . . . . . . . . .5-5
Clear CMOS Jumper . . . . . . . . . . . . . . . . . . . . . . . . . . . . . . . . .5-6
BIOS Recovery by Crisis Disk. . . . . . . . . . . . . . . . . . . . . . . . . . .5-6

Jumper and Connector Locations 5-3
Jumper and Connector Locations
Mainboard Jumper and Connector Locations 0
Figure 5-1. Mainboard Top
Table 5-1. Mainboard Top
Item Description Item Description
1 Keyboard Connector 5 Speaker Connector
2 Touchpad Connector 6 CODEC Connector
3 Card Reader Connector 7 Microphone Connector
4 Power Board Connector
1
1
2
3
4
5
6
7

5-4 Jumper and Connector Locations
Figure 5-2. Mainboard Bottom
Table 5-2. Mainboard Bottom
Item Description Item Description
8 Battery Connector 16 USB Connector
9 DC Connector 17 Microphone Connector
10 LVDS Connector 18 Headphone Connector
11 Fan Connector 19 Bluetooth Connector
12 CRT Connector 20 USB Connector
13 LAN Connector 21 HDD Connector
14 HDMI Connector 22 ODD Connector
15 MINI Card Connector
8
9
10
11
12
13
14
15
16
17
18
19
20
21
22

Jumper and Connector Locations 5-5
Clearing Password Check and BIOS Recovery 0
This section provides users with the standard operating procedures of clearing password
and BIOS recovery for the Aspire 5349/5749/5749Z. The machine provides one Hardware
Open Gap on main board for clearing password check, and one hot key for enabling
BIOS Recovery.
Clearing Password Check 0
NOTE:
NOTE:
The following procedure is only for clearing BIOS Password (Supervisor Password
and User Password).
Steps for Clearing BIOS Password Check 0
If users set BIOS Password (Supervisor Password and/or User Password) for a security
reason, BIOS will ask the password during systems POST or when systems enter to BIOS
Setup menu. However, once it is necessary to bypass the password check, users need to
short the HW Gap to clear the password by the following steps:
1. Remove power from the system.
2. Remove battery.
3. Remove lower cover.
4. Disconnect the RTC battery
5. Locate the CMOS jumper.
6. Use an electric conductivity tool to short the two points of the CMOS jumper.
7. Plug in AC, keeping the CMOS jumper shorted.
8. Press Power Button until BIOS POST is finished, then remove the conductivity tool
from the CMOS jumper.
9. Restart the system. Press F2 to enter BIOS Setup menu.
10. If there is no Password request, BIOS Password is cleared.
11. If a password is requested, repeat Steps 1 through 9.

5-6 Jumper and Connector Locations
Clear CMOS Jumper 0
Figure 5-3. CMOS Jumper
BIOS Recovery by Crisis Disk 0
BIOS Recovery Boot Block 0
BIOS Recovery Boot Block is a special block of BIOS. It is used to boot up the system with
minimum BIOS initialization. Users can enable this feature to restore the BIOS firmware
to a successful one once the previous BIOS flashing process failed.
BIOS Recovery Hot Key 0
The system provides a function hot key, <Fn+Esc>, for enable BIOS Recovery process
when system is powered on during BIOS POST. To use this function, it is strongly
recommended to have the AC adapter and Battery present. If this function is enabled,
the system will force the BIOS to enter a special BIOS block, called Boot Block.
Table 5-3. CMOS Jumper
Item Description
1 Clear CMOS Jumper
2 Clear CMOS Jumper
1
2

Jumper and Connector Locations 5-7
Steps for BIOS Recovery from USB Storage 0
NOTE:
NOTE:
Prior to performing the recovery, prepare a Crisis USB key. The Crisis USB key is
created by executing the Crisis Disk program on another system with Windows 7
OS.
To Create a Crisis USB key, perform the following:
1. Format the USB storage disk using the Fast Format option.
2. Save ROM file (file name: ZQR_EC.bin/BIOS_ME.bin) to the root directory of USB
storage. Make sure that there is no other BIOS file saved in the same directory.
3. Plug USB storage into USB port.
4. Press <Fn + ESC> button then plug in AC power.
5. The Power button flashes once.
6. Press Power button to initiate system CRISIS mode.
7. When CRISIS is complete, the system auto restarts with a workable BIOS.
8. Update the latest version BIOS for this machine by regular BIOS flashing process.

5-8 Jumper and Connector Locations

CHAPTER 6
FRU (Field Replaceable Unit) List

FRU (Field Replaceable Unit) List 6-3
FRU (Field Replaceable Unit) List
This chapter provides users with a FRU (Field Replaceable Unit) listing in global
configurations for the Aspire 5349/5749/5749Z. Refer to this chapter whenever ordering
for parts to repair or for RMA (Return Merchandise Authorization).
NOTE:
NOTE:
WHEN ORDERING FRU PARTS, check the most up-to-date information available on
the regional web or channel. Part number changes will not be noted on the
printed Service Guide. For ACER AUTHORIZED SERVICE PROVIDERS, the Acer office
may have a DIFFERENT part number code from those given in the FRU list of this
printed Service Guide. Users MUST use the local FRU list provided by the regional
Acer office to order FRU parts for repair and service of customer machines.
NOTE:
NOTE:
To scrap or to return the defective parts, users should follow the local government
ordinance or regulations on how to dispose it properly, or follow the rules set by
the regional Acer office on how to return it.

6-4 FRU (Field Replaceable Unit) List
Exploded Diagrams 0
Figure 6-1. Upper & Lower Cover Exploded Diagram
Table 6-1. Upper & Lower Cover Exploded Diagram
No. Description Acer Part No.
1 Keyboard AEZR7R00010
2 Battery AHA63222483
3 Upper Case 2HZRLTATN00
4 ODD Module 24ZRLCDTN10
5 CPU AJ0QACBUG03
1
2
3
4
5
6
7
8
10
9
11
12

FRU (Field Replaceable Unit) List 6-5
6 HDD Module 23ZRLHDTN20
7 Base Cover 2IZRLBATN00
8 RAM (1GB) ATR31ABMF33
9 RAM (4GB) ATR34AAMF04
10 WLAN 3WZRLWLTN00
11 Bluetooth 3XZRLBTTN00
12 Mainboard 20ZRLBU0000
Table 6-1. Upper & Lower Cover Exploded Diagram
No. Description Acer Part No.

6-6 FRU (Field Replaceable Unit) List
Figure 6-2. LCD Assembly Exploded Diagram
Table 6-2. LCD Assembly Exploded Diagram
No. Description Acer Part No.
1 LCD Bracket (Right) LCD Bezel 3EZRLLBTN00
2 LCD Cover 3DZRLLCTN00
3 LED Panel AA0156B6033
4 LCD Hinge FBZRD005010
1
2
3
4
4

FRU (Field Replaceable Unit) List 6-7
FRU List 0
Table 6-3. FRU List
Category Description Acer Part No.
ADAPTER
Adapter DELTA 65W 19V 1.7x5.5x11 Yellow
ADP-65VH BA, LV5, Low profile LED LF AP.06501.033
Adapter LITE-ON 65W 19V 1.7x5.5x11 Yellow
PA-1650-69AW, LV5, Low profile LED LF AP.06503.029
Adapter Chicony Power 65W 19V 1.7x5.5x11
Yellow CPA09-A065N1, LV5, low profile LED
LF
AP.0650A.017
BATTERY
Battery SANYO AS10D Li-Ion 3S2P SANYO 6
cell 4400mAh Main COMMON new IC BQ8055 BT.00603.124
Battery SONY AS10D Li-Ion 3S2P SONY 6 cell
4400mAh Main COMMON ID:AS10D41 BT.00604.049
Battery PANASONIC AS10D51, for new IC
max1787 Li-Ion 3S2P PANASONIC 6 cell
4400mAh Main COMMON
BT.00605.072
Battery SAMSUNG AS10D Li-Ion 3S2P
SAMSUNG 6 cell 4400mAh Main COMMON
ID:AS10D61
BT.00606.008
Battery SIMPLO AS10D Li-Ion 3S2P
PANASONIC 6 cell 4400mAh Main COMMON
ID:AS10D71
BT.00607.125
Battery SIMPLO AS10D Li-Ion 3S2P LGC 6 cell
4400mAh Main COMMON ID:AS10D73 BT.00607.126
Battery SIMPLO AS10D Li-Ion 3S2P SAMSUNG
6 cell 4400mAh Main COMMON ID:AS10D75 BT.00607.127
Battery LGC AS10D Li-Ion 3S2P LGC 6 cell
4400mAh Main COMMON ID:AS10D81 BT.0060G.001
BOARD
Foxconn Atheros BU22 BT4.0 Foxconn
Atheros BU22 BH.21100.017
Foxconn Braodcom 20702 BT4.0 BH.21100.018
Foxconn Bluetooth BRM 2070 (T77H114.01)
BT 3.0 BH.21100.010
Foxconn Bluetooth ATH BU12 BH.21100.011
Foxconn Bluetooth BRM 2070 (T77H114.01) BH.21100.007
Foxconn Bluetooth ATH BU_12 BH.21100.012

6-8 FRU (Field Replaceable Unit) List
Lan Intel WLAN 100BN.HMWG Crane Peak
1x1 BGN KI.CNH01.002
Liteon Wireless LAN Atheros HB125 1x1 BGN NI.23600.086
liteon WLAN 802.11 B/G/N WN6606LH-AA NI.23600.088
Foxconn Wirelss LAN Broadcom 4313 1x1 BGN
(HM) T77H194.00 NI.23600.076
Foxconn Wirelss LAN Atheros HB95 1x1 BGN
(HM) T77H121.01 NI.23600.068
Foxconn Wirelss LAN Atheros HB125 1x1 BGN NI.23600.085
Foxconn Wirelss LAN Broadcom 4313 IPA 1x1
BGN NI.23600.090
ZRL POWER/B ASSY 55.RR907.001
ZRL USB BOARD ASSY 55.RR907.002
TOUCH PAD 56.R6Z07.001
CABLE
PWR CORD V442S311612100(1M,3P,125V)US
BK 27.A50V7.001
PWR CORD 5-KBB0237(1.0M,3P,125V,7A)US 27.S0207.001
PWR CORD PRC 3P 1M 250V BLK
K0A0646-079 (CCC) - unapproved 27.A03V7.006
PWR CORD D646B301612(1M,3P,250V)CHINA
BK(CCC) 27.TATV7.005
PWR CORD
V4K5B3(1M,3P,250V16A)EUR+KOR BK 27.A99V7.002
PWR CORD
5-KBB0232(1.0M,3P,250V,2.5A)EUR 27.A99V7.004
Table 6-3. FRU List
Category Description Acer Part No.

FRU (Field Replaceable Unit) List 6-9
CABLE - FFC USB 50.NCE07.003
CABLE - FFC TP 50.NCE07.001
CASE/COVER/BRACKET ASSEMBLY
LOWER CASE 60.RR907.003
DUMMY CARD 42.TVM07.002
ODD BEZEL - SUPER MULTI 42.NCE07.001
ODD BRACKET 33.PUM07.001
HDD BRACKET 33.NCE07.001
LCD BRACKET W/ HINGE - L 33.NCE07.002
LCD BRACKET W/ HINGE - R 33.NCE07.003
Table 6-3. FRU List
Category Description Acer Part No.

6-10 FRU (Field Replaceable Unit) List
CCD
Liteon CAMERA 10P2SF005 (0.3M)LOE AM.21400.078
CPU/PROCESSOR
CPU Intel Core i3 i3-2310M PGA 2.1G 35W
2/4-QS KC.23101.DMP
CPU Intel Core i3 i3-2330M PGA 2.2G 35W
2/4-QS KC.23301.DMP
CPU Intel Core i3 i3-2350M PGA 2.3G 35W 2/4
-QS KC.23501.DMP
CPU Intel Pentium Dual-Core B940 PGA 2.0G
35W DDR3-1333-QS KC.94001.DPB
CPU Intel Pentium Dual-Core B950 PGA 2.1G
35W DDR3-1333-QS KC.95001.DPB
CPU Intel Core i3 i3-2310M PGA 2.1G 35W
2/4-DC KC.23101.DMP
CPU Intel Core i3 i3-2330M PGA 2.2G 35W 2/4
-MP KC.23301.DMP
CPU Intel Core i3 i3-2350M PGA 2.3G 35W 2/4
-MP KC.23501.DMP
CPU Intel Pentium Dual-Core B940 PGA 2.0G
35W DDR3-1333 -MP KC.94001.DPB
CPU Intel Pentium Dual-Core B950 PGA 2.1G
35W DDR3-1333 -MP KC.95001.DPB
CPU Intel Celeron B710 PGA 1.6G 35W
DDR3-1333, 1/1-QS KC.71001.CMB
CPU Intel Celeron B800 PGA 1.5G 35W
DDR3-1333-QS KC.80001.CMB
DVD RW DRIVE
ZQ5 DVD+/-RW/RAM F/W:1.00 S.P KU.00807.075
Table 6-3. FRU List
Category Description Acer Part No.

FRU (Field Replaceable Unit) List 6-11
ODD PANASONIC Super-Multi DRIVE 12.7mm
Tray DL 8X UJ8B0 LF W/O bezel SATA (HF + ZP)
Foxconn Yentai Facotry
KU.00807.078
ODD PANASONIC Super-Multi DRIVE 12.7mm
Tray DL 8X UJ8B0AW LF+HF W/O bezel SATA
(Win7)
KU.00807.079
ODD HLDS Super-Multi DRIVE 12.7mm Tray
DL 8X GT32N (R5-2) LF W/O bezel SATA with
Renesas solution + PCC LD (HF + Windows 7)
KU.0080D.055
ODD HLDS Super-Multi DRIVE 12.7mm Tray
DL 8X GT34N LF W/O bezel SATA Zero Power
Supported, PCC LD (HF + Windows 7)
KU.0080D.057
ODD PLDS Super-Multi DRIVE 12.7mm Tray DL
8X DS-8A5SH LF+HF W/O bezel SATA With TI +
Rohm Solution (HF + Windows 7)
KU.0080F.014
ODD PIONEER Super-Multi DRIVE 12.7mm
Tray DL 8X DVR-TD11RS LF W/O bezel 1.01
SATA HF + ZP (HME OPU)
KU.00805.051
HDD/HARD DISK DRIVE
HDD SEAGATE 2.5" 5400rpm 500GB
ST9500325AS,9HH134-189, Wyatt with new
pcb SATA 8MB LF F/W:0001SDM1
KH.50001.017
HDD SEAGATE 2.5" 5400rpm 250GB
ST250LT003/9YG14C-188, Sapta 15 320G/P
SATA 8MB LF+HF F/W:0001SDM1
KH.25001.020
HDD SEAGATE 2.5" 5400rpm 320GB
ST320LT020 /9YG142-188, Sapta 15,320G/P
SATA 8MB LF+HF F/W:0001SDM1
KH.32001.021
HDD TOSHIBA 2.5" 5400rpm 250GB
MK2559GSXP,Capricorn 3BS, 4K drive, 375G/P
SATA 8MB LF+HF F/W:GN003J 4K drive
KH.25004.006
HDD TOSHIBA 2.5" 5400rpm 320GB
MK3259GSXP, Capricorn 3BS, 375G/P, 4K drive
SATA 8MB LF+HF F/W:GN003J 4K
KH.32004.005
HDD TOSHIBA 2.5" 5400rpm 500GB
MK5059GSXP, Capricron 3BS, 375G/P SATA
8MB LF+HF F/W:GN003J 4K
KH.50004.003
HDD TOSHIBA 2.5" 5400rpm 640GB
MK6459GSXP, Capricron 3BS, 375G/P SATA
8MB LF+HF F/W:GN003J 4K
KH.64004.003
HDD WD 2.5" 5400rpm 7500GB
WD750BPVT-22HXZT3, ML375M-AF2, 375G/P,
4K drive SATA 8MB LF+HF F/W:01.01A01
KH.75008.011
Table 6-3. FRU List
Category Description Acer Part No.

6-12 FRU (Field Replaceable Unit) List
HDD TOSHIBA 2.5" 5400rpm 750GB
MK7559GSX, 375G/P, Capricorn BS, 4K drive
SATA 8MB LF+HF F/W:GNDD3J
KH.75004.001
HDD WD 2.5" 5400rpm 250GB
WD2500BPVT-22JJ5T0, ML320S-AF2, 320G/P,
4K drive SATA 8MB LF+HF F/W:01.01A01
KH.25008.030
HDD WD 2.5" 5400rpm 320GB
WD3200BPVT-22JJ5T0, ML320S-AF2, 320G/P,
4K drive SATA 8MB LF+HF F/W:01.01A01
KH.32008.024
HDD WD 2.5" 5400rpm 500GB
WD5000BPVT-22HXZT3, ML375M-AF2,
375G/P, 4K drive SATA 8MB LF+HF
F/W:01.01A01
KH.50008.024
HTS543225A7A384 for Eagle-B7 250GB KH.25007.020
HDD HGST 2.5" 5400rpm 320GB
HTS543232A7A384,0J11523, Eagle B7, 320G/P
SATA LF+HF F/W:A60W
KH.32007.013
HDD HGST 2.5" 5400rpm 500GB
HTS547550A9E384, Jet B,375G/P SATA 8MB
LF+HF F/W:DA3872
KH.50007.013
HDD HGST 2.5" 5400rpm 640GB
HTS547564A9E384,Jet B, 375G/P, 0J20012
SATA 8MB LF+HF F/W:DA3872
KH.64007.003
HDD HGST 2.5" 5400rpm 750GB
HTS547575A9E384, 0J20013, Jet B, 375G/P
SATA 8MB LF F/W:DA3872
KH.75007.004
HDD WD 2.5" 5400rpm 640GB
WD6400BPVT-22HXZT3, ML375M-AF2,
375G/P, 4K drive SATA 8MB LF+HF
F/W:01.01A01
KH.64008.006
HDD SEAGATE 2.5" 5400rpm 640GB Desaru,
ST9640423AS,9ZW144-188, 375G/P, 4K drive
SATA 8MB LF+HF F/W:0001SDM1
KH.64001.005
HDD SEAGATE 2.5" 5400rpm 750GB
ST9750423AS,9ZW14G-188, Desaru5, 375G/P.
SATA 8MB LF+HF F/W:0001SDM1
KH.75001.011
HEATSINK
THERMAL MODULE 35W - UMA 60.RR907.008
Table 6-3. FRU List
Category Description Acer Part No.

FRU (Field Replaceable Unit) List 6-13
PCH HEAT SINK 60.PUM07.006
KEYBOARD
Keyboard ACER AC7T_A10B AC7T Internal 17
Standard 103KS Black US International
Texture
KB.I170A.143
K/B(UI)ZR7(AEZR7R00,3B)JMO KB.I170A.143
Keyboard ACER AC7T_A10B AC7T Internal 17
Standard 104KS Black UK Texture KB.I170A.143
K/B(UK)ZR7(AEZR7E00,3D)JMO KB.I170A.171
LCD
LED LCD AUO 15.6"W WXGA Glare
B156XW02 V6 LF 200nit 8ms 400:1 LK.15605.019
LED LCD SAMSUNG 15.6"W WXGA Glare
LTN156AT02-A11 LF 220nit 8ms 500:1 LK.15606.012
LED LCD SAMSUNG 15.6''W WXGA Glare
LTN156AT24-A01 LF 220nit 8ms 500:1 LK.15606.013
LED LCD LPL 15.6"W WXGA Glare
LP156WH2-TLEA LF 220nit 16ms 500:1 (color
engine)
LK.15608.011
LED LCD LPL 15.6''W WXGA Glare
LP156WH4-TLA1 LF 220nit 16ms 500:1 LK.15608.015
LED LCD CMO 15.6"W WXGA Glare
N156B6-L0B LF 220nit 8ms 650:1 LK.1560D.010
LED LCD AUO 15.6"W WXGA Glare
B156XW02 V6 LF 200nit 8ms 400:1 LK.15605.019
MAINBOARD
ZRL MB ASSY(UMA,HR,DC)W/O CPU MB.RR706.001
ZRL MB(UMA,HR,DC,SURGE)W/O CPU MB.D1206.001
Table 6-3. FRU List
Category Description Acer Part No.

6-14 FRU (Field Replaceable Unit) List
MEMORY
Memory NANYA SO-DIMM DDRIII 1333 1GB
NT1GC64BH4B0PS-CG LF 128*16 0.055um KN.1GB03.034
Memory KINGSTON SO-DIMM DDRIII 1333
1GB ACR128X64D3S1333C9 LF 128*8 0.065um KN.1GB07.004
Memory UNIFOSA SO-DIMM DDRIII 1333 1GB
GU672203EP0200 LF 128*8 0.065um KN.1GB0H.017
Memory NANYA SO-DIMM DDRIII 1333 2GB
NT2GC64B8HC0NS-CG LF 128*8 0.065um KN.2GB03.017
Memory KINGSTON SO-DIMM DDRIII 1333
2GB ACR256X64D3S13C9G LF+HF KN.2GB07.006
Memory ELPIDA SO-DIMM DDRIII 1333 2GB
EBJ20UF8BCS0-DJ-F LF 256*8 46nm KN.2GB09.010
Memory SAMSUNG SO-DIMM DDRIII 1333
2GB M471B5773DH0-CH9 LF 256*8 KN.2GB0B.030
Memory HYNIX SO-DIMM DDRIII 1333 2GB
HMT325S6BFR8C-H9 LF 256*8 46nm KN.2GB0G.018
Memory NANYA SO-DIMM DDRIII 1333 4GB
NT4GC64B8HB0NS-CG LF 256*8 0.055um KN.4GB03.005
Memory KINGSTON SO-DIMM DDRIII 1333
4GB ACR512X64D3S13C9G LF+HF KN.4GB07.001
Memory ELPIDA SO-DIMM DDRIII 1333 4GB
EBJ41UF8BCS0-DJ-F LF 256*8 46nm KN.4GB09.002
Memory SAMSUNG SO-DIMM DDRIII 1333
4GB M471B5273DH0-CH9 LF 256*8 35nm KN.4GB0B.015
Memory HYNIX SO-DIMM DDRIII 1333 4GB
HMT351S6BFR8C-H9 LF 256*8 46nm KN.4GB0G.004
MISCELLANEOUS
BASE FOOT RUBBER FRONT 47.NCE07.003
Table 6-3. FRU List
Category Description Acer Part No.

FRU (Field Replaceable Unit) List 6-15
BASE FOOT RUBBER REAR 47.NCE07.004
MYLAR
COVER LOGO MYLAR 40.RR907.002
ZRD BASE SUB ASSY JE S.P 60.NCE07.002
TP PROTECT MYLAR 47.R6Z07.004
LCD SCREW MYLAR 47.R6Z07.003
SPEAKER
SPEAKER 23.RR907.001
Table 6-3. FRU List
Category Description Acer Part No.

6-16 FRU (Field Replaceable Unit) List
Screw List 0
Table 6-4. Screw List
CATEGORY Description Acer Part No.
SCREW M3*0.5+3.5I 86.TDY07.003
SCREW M2.5*6-I(BNI)(NYLOK) 86.A08V7.004
SCREW M2.5X4-I-NYLOK K 86.T23V7.009
SCREW M2.5*6-I(BNI)(NYLOK) 86.A08V7.004
SCREW M2.0*3.0-I(BKAG)(NYLOK IRON 86.ARE07.002

CHAPTER 7
Model Definition and Configuration

Model Definition and Configuration 7-3
Model Definition and Configuration
Aspire 5349 0
Table 7-1. RO, Description
Model RO Country Acer Part No Description
AS5349-B802
G50Mikk TWN GCTWN LX.RR902.008 AS5349-B802G50Mikk
W7HP64ASTW1 MC
UMACkk_3
1*2G/500/BT/6L2.2/2R/CB_GN_
0.3C_AN_TC41SP1
AS5349-B802
G50Mikk AAP Korea LX.RR902.007 AS5349-B802G50Mikk
W7HP64KASKR1 MC
UMACkk_3
1*2G/500/6L2.2/2R/CB_GN_0.3
C_outer_AN_KO11SP1
AS5349-B802
G50Mikk AAP Korea LX.RR90C.001 AS5349-B802G50Mikk
LinpusMGAKR1 UMACkk_3
1*2G/500_L/6L2.2/2R/CB_GN_0.
3C_outer_AN_KO21
AS5349-B802
G25Mikk PA USA LX.RR902.004 AS5349-B802G25Mikk
W7HP64ASUS1 MC UMACkk_3
1*2G/250/6L2.2/2R/CB_GN_0.3
C_AN_FRB9SP1
AS5349-B802
G32Mikk EMEA Russia LX.RR908.003 AS5349-B802G32Mikk
W7ST32RUASRU1 MC
UMACkk_3
1*2G/320/6L2.2/2R/CB_GN_0.3
C_AN_RU11SP1
AS5349-B802
G32Mikk EMEA Greece LX.RR902.006 AS5349-B802G32Mikk
W7HP64ASGR1 MC UMACkk_3
1*2G/320/6L2.2/2R/CB_GN_0.3
C_AN_EL32SP1
AS5349-B803
G50Mikk EMEA Greece LX.RR902.005 AS5349-B803G50Mikk
W7HP64ASGR1 MC UMACkk_3
2G+1G/500_L/6L2.2/2R/CB_GN_
0.3C_AN_EL32SP1
AS5349-B802
G32Mikk EMEA Middle East LX.RR908.002 AS5349-B802G32Mikk EM
W7ST32EMASME1 MC
UMACkk_3
1*2G/320/BT/6L2.2/2R/CB_GN_
0.3C_AN_ARA1SP1

7-4 Model Definition and Configuration
AS5349-B802
G32Mikk EMEA Middle East LX.RR908.001 AS5349-B802G32Mikk EM
W7ST32EMASME1 MC
UMACkk_3
1*2G/320/6L2.2/2R/CB_GN_0.3
C_AN_ARA1SP1
AS5349-B804
G50Mikk EMEA Germany LX.RR902.003 AS5349-B804G50Mikk
W7HP64ASDE1 MC UMACkk_3
1*4G/500_L/6L2.2/2R/CB_GN_0.
3C_AN_DE11SP1
AS5349-B802
G25Mikk AAP Japan LX.RR902.002 AS5349-B802G25Mikk
W7HP64AJP1 MC UMACkk_3
1*2G/250/BT/6L2.2/2R/CB_GN_
0.3C_outer_AN_JA11SP1_BT82
2
AS5349-B802
G32Mikk AAP Japan LX.RR902.001 AS5349-B802G32Mikk
W7HP64AJP1 MC UMACkk_3
1*2G/320/BT/6L2.2/2R/CB_GN_
0.3C_outer_AN_JA11SP1_BT82
3
Table 7-1. RO, Description (Continued)
Model RO Country Acer Part No Description

Model Definition and Configuration 7-5
Aspire 5749Z 0
Table 1-2. RO, Description
Model RO Country Acer Part No Description
AS5749Z-B95
3G32Mikk EMEA Russia LX.RR801.002 AS5749Z-B953G32Mikk
W7HB64RUASRU1 MC
UMACkk_3
2G+1G/320/6L2.2/2R/CB_GN_0.
3C_AN_RU11SP1
AS5749Z-B95
4G32Mikk EMEA Serbia/Bosnia-
Herzegovina LX.RR801.001 AS5749Z-B954G32Mikk
W7HB64ERASBA1 MC
UMACkk_3
1*4G/320/BT/6L2.2/2R/CB_GN_
0.3C_AN_A151SP1
AS5749Z-B95
4G32Mikk EMEA Serbia/Bosnia-
Herzegovina LX.RR802.011 AS5749Z-B954G32Mikk
W7HP64ASBA1 MC UMACkk_3
1*4G/320/BT/6L2.2/2R/CB_GN_
0.3C_AN_A151SP1
AS5749Z-B94
4G32Mikk EMEA Serbia/Bosnia-
Herzegovina LX.RR802.010 AS5749Z-B944G32Mikk
W7HP64ASBA1 MC UMACkk_3
1*4G/320/BT/6L2.2/2R/CB_GN_
0.3C_AN_A151SP1
AS5749Z-B95
4G32Mikk AAP Japan LX.RR802.009 AS5749Z-B954G32Mikk
W7HP64AJP1 MC UMACkk_3
2*2G/320/6L2.2/2R/CB_GN_0.3
C_outer_AN_JA11SP1SP1
AS5749Z-B95
2G32Mikk AAP Japan LX.RR802.008 AS5749Z-B952G32Mikk
W7HP64AJP1 MC UMACkk_3
1*2G/320/6L2.2/2R/CB_GN_0.3
C_outer_AN_JA11SP1SP1
AS5749Z-B95
2G32Mikk AAP Japan LX.RR802.007 AS5749Z-B952G32Mikk
W7HP64AP2JP1 MC
UMACkk_3
1*2G/320/6L2.2/2R/CB_GN_0.3
C_outer_AN_JA11SP1SP1
AS5749Z-B95
4G32Mikk AAP Japan LX.RR802.006 AS5749Z-B954G32Mikk
W7HP64AP2JP1 MC
UMACkk_3
2*2G/320/6L2.2/2R/CB_GN_0.3
C_outer_AN_JA11SP1SP1
AS5749Z-B95
2G50Mikk TWN GCTWN LX.RR802.005 AS5749Z-B952G50Mikk
W7HP64ASTW1 MC
UMACkk_3
1*2G/500/BT/6L2.2/2R/CB_GN_
0.3C_AN_TC41SP1

7-6 Model Definition and Configuration
AS5749Z-B94
2G25Mikk AAP Japan LX.RR802.004 AS5749Z-B942G25Mikk
W7HP64AJP1 MC UMACkk_3
1*2G/250/BT/6L2.2/2R/CB_GN_
0.3C_outer_AN_JA11SP1_CA92
5
AS5749Z-B94
2G32Mikk AAP Japan LX.RR802.003 AS5749Z-B942G32Mikk
W7HP64AJP1 MC UMACkk_3
1*2G/320/BT/6L2.2/2R/CB_GN_
0.3C_outer_AN_JA11SP1_CA92
3
AS5749Z-B94
2G50Mikk TWN GCTWN LX.RR802.002 AS5749Z-B942G50Mikk
W7HP64ASTW1 MC
UMACkk_3
1*2G/500/BT/6L2.2/2R/CB_GN_
0.3C_AN_TC41SP1
Table 1-2. RO, Description (Continued)
Model RO Country Acer Part No Description

Model Definition and Configuration 7-7
Aspire 5749 0
Table 1-3. RO, Description
Model RO Country Acer Part No Description
AS5749-2333
G32Mikk EMEA Russia LX.RR701.002 AS5749-2333G32Mikk
W7HB64RUASRU1 MC
UMACkk_3
2G+1G/320/6L2.2/2R/CB_GN_0.
3C_AN_RU11SP1
AS5749-2334
G50Mikk EMEA Spain LX.RR702.002 AS5749-2334G50Mikk
W7HP64ASES1 MC UMACkk_3
2*2G/500_L/6L2.2/2R/CB_GN_0.
3C_AN_ES51SP1
AS5749-2314
G50Mikk EMEA Spain LX.RR702.001 AS5749-2314G50Mikk
W7HP64ASES1 MC UMACkk_3
2*2G/500_L/6L2.2/2R/CB_GN_0.
3C_AN_ES51SP1
AS5749-2332
G32Mikk EMEA Middle East LX.RR701.001 AS5749-2332G32Mikk EM
W7HB64EMASME1 MC
UMACkk_3
1*2G/320/BT/6L2.2/2R/CB_GN_
0.3C_AN_ARA1SP1
AS5749-2312
G50Mikk AAP Vietnam LX.RR70C.001 AS5749-2312G50Mikk
LinpusMGAVN1 UMACkk_3
1*2G/500_L/BT/6L2.2/2R/CB_GN
_0.3C_outer_AN_XS11
R510HR-B94
2G50Mikk CHINA China LX.D120C.001 R510HR-B942G50Mikk
LINPUSfCN1 UMACkk_3
1*2G/500_L/6L2.2/2R/CB_GN_0.
3C_outer_AN_SC25
R510HR-B94
2G50Mikk CHINA China LX.D1201.001 R510HR-B942G50Mikk
W7HB32SCfSCN1 UMACkk_3
1*2G/500/6L2.2/2R/CB_GN_0.3
C_outer_AN_SC27SP1

7-8 Model Definition and Configuration

CHAPTER 8
Test Compatible Components

Test Compatible Components 8-3
Test Compatible Components
This computer’s compatibility is tested and verified by Acer’s internal testing
department. All of its system functions are tested under Windows® 7 environment.
Refer to the following lists for components, adapter cards, and peripherals which have
passed these tests. Regarding configuration, combination and test procedures, please
refer to the Aspire 5349/5749/5749Z. Compatibility Test Report released by the Acer
Mobile System Testing Department.

8-4 Test Compatible Components
Microsoft® Windows® 7 Environment Test 0
Table 1-1. Test Compatible Components
Vendor Type Description Acer Part No.
Adapter
10001023 LITE-ON 65W Adapter LITE-ON 65W 19V
1.7x5.5x11 Yellow PA-1650-69AW,
LV5, Low profile LED LF
AP.06503.029
60016453
CHICONY POWER 65W Adapter Chicony Power 65W 19V
1.7x5.5x11 Yellow CPA09-A065N1,
LV5, low profile LF
AP.0650A.017
10001081 DELTA 65W Adapter DELTA 65W 19V
1.7x5.5x11 Yellow ADP-65VH BA,
LV5, Low profile LED LF
AP.06501.033
Audio Codec
10004786
REALTEK ALC271X_VB3 Realtek ALC271X_VB3 LZ.21000.085
Battery
60001921 SANYO 6CELL2.2 Battery SANYO AS10D Li-Ion 3S2P
SANYO 6 cell 4400mAh Main
COMMON new IC BQ8055
BT.00603.124
10001063 SONY 6CELL2.2 Battery SONY AS10D Li-Ion 3S2P
SONY 6 cell 4400mAh Main
COMMON ID:AS10D41
BT.00604.049
60001535
PANASONIC 6CELL2.2 Battery PANASONIC AS10D51, for
new IC max1787 Li-Ion 3S2P
PANASONIC 6 cell 4400mAh Main
COMMON
BT.00605.072
60013145
SAMSUNG SDI 6CELL2.2 Battery SAMSUNG AS10D Li-Ion
3S2P SAMSUNG 6 cell 4400mAh
Main COMMON ID:AS10D61
BT.00606.008
60002162 SIMPLO 6CELL2.2 Battery SIMPLO AS10D Li-Ion 3S2P
PANASONIC 6 cell 4400mAh Main
COMMON ID:AS10D71
BT.00607.125
60002162 SIMPLO 6CELL2.2 Battery SIMPLO AS10D Li-Ion 3S2P
LGC 6 cell 4400mAh Main
COMMON ID:AS10D73
BT.00607.126
60002162 SIMPLO 6CELL2.2 Battery SIMPLO AS10D Li-Ion 3S2P
SAMSUNG 6 cell 4400mAh Main
COMMON ID:AS10D
BT.00607.127
60032811 LG
CHEM 6CELL2.2 Battery LGC AS10D Li-Ion 3S2P
LGC 6 cell 4400mAh Main
COMMON ID:AS10D81
BT.0060G.001

Test Compatible Components 8-5
Bluetooth
10001018 HON
HAI BT 4.0 BT 4.0 Foxconn Atheros BU22 BH.21100.017
10001018 HON
HAI BT 4.0 BT 4.0 Foxconn BCM 20702 BH.21100.018
10001018 HON
HAI BT 3.0 Foxconn Bluetooth ATH BU12 BH.21100.011
10001018 HON
HAI BT 3.0 Foxconn Bluetooth BRM 2070
(T77H114.01) BT 3.0 BH.21100.010
10001018 HON
HAI BT 2.1 Foxconn Bluetooth ATH BU_12 BH.21100.012
23707801
FOXCONN TW BT 2.1 Foxconn Bluetooth BRM 2070
(T77H114.01) BH.21100.007
10001018 HON
HAI BT 3.0 Foxconn Bluetooth ATH BU_22 BH.21100.021
10001018 HON
HAI BT 3.0 Foxconn Bluetooth BCM 20702 BH.21100.022
10001018 HON
HAI BT 2.1 BT 2.1 Foxconn ATH BU22 BH.21100.023
10001018 HON
HAI BT 2.1 BT 2.1 Foxconn BCM 20702 BH.21100.024
Camera
10001023 LITE-ON 0.3M Liteon 0.3M LT7675AL AM.21400.078
PLM00012 Suyin 0.3M Suyin 0.3M SY_7675_AL AM.21400.109
10001044
CHICONY 0.3M Chicony Camera CH_7675_AL AM.21400.111
Card Reader
10000981 MISC 2-in-1 card
reader 2-in-1 card reader CR.21500.030
Table 1-1. Test Compatible Components
Vendor Type Description Acer Part No.

8-6 Test Compatible Components
CPU
10001067 INTEL Ci32310M CPU Intel Core i3 i3-2310M PGA
2.1G 35W 2/4 KC.23101.DMP
10001067 INTEL Ci32330M CPU Intel Core i3 i3-2330M PGA
2.2G 35W 2/4 KC.23301.DMP
10001067 INTEL PMDB940 CPU Intel Pentium Dual-Core B940
PGA 2.0G 35W DDR3-1333 KC.94001.DPB
10001067 INTEL PMDB950 CPU Intel Pentium Dual-Core B950
PGA 2.1G 35W DDR3-1333 KC.95001.DPB
10001067 INTEL CMB800 CPU Intel Celeron B800 PGA 1.5G
35W DDR3-1333 KC.80001.CMB
10001067 INTEL CMB710 CPU Intel Celeron B710 PGA 1.6G
35W DDR3-1333, 1/1 KC.71001.CMB
10001067 INTEL Ci32350M CPU Intel Core i3 i3-2350M PGA
2.3G 35W 2/4 KC.23501.DMP
10001067 INTEL PMDB960 CPU Intel Pentium Dual-Core B960
PGA 35W DDR3-1333 KC.96001.DPB
HDD
60002036
SEAGATE N250GB5.4KS_
4K HDD SEAGATE 2.5" 5400rpm
250GB ST250LT003/9YG14C-188,
Sapta 15 320G/P SATA 8MB LF+HF
F/W:0001SDM1
KH.25001.020
60001922
TOSHIBA DIGI N250GB5.4KS_
4K HDD TOSHIBA 2.5" 5400rpm
250GB MK2559GSXP,Capricorn
3BS, 4K drive, 375G/P SATA 8MB
LF+HF F/W:GN003J 4K drive
KH.25004.006
60002005 HGST
SG N250GB5.4KS HDD HGST 2.5" 5400rpm 250GB
HTS543225A7A384, Eagle B7,
320G/P SATA 8MB LF+HF
F/W:A60W
KH.25007.020
60001994 WD N250GB5.4KS_
4K HDD WD 2.5" 5400rpm 250GB
WD2500BPVT-22JJ5T0,
ML320S-AF2, 320G/P, 4K drive
SATA 8MB LF+HF F/W:01.01A01
KH.25008.030
60002036
SEAGATE N320GB5.4KS_
4K HDD SEAGATE 2.5" 5400rpm
320GB ST320LT020 /9YG142-188,
Sapta 15,320G/P SATA 8MB LF+HF
F/W:0001SDM1
KH.32001.021
60001922
TOSHIBA DIGI N320GB5.4KS_
4K HDD TOSHIBA 2.5" 5400rpm
320GB MK3259GSXP, Capricorn
3BS, 375G/P, 4K drive SATA 8MB
LF+HF F/W:GN003J 4K
KH.32004.005
Table 1-1. Test Compatible Components
Vendor Type Description Acer Part No.

Test Compatible Components 8-7
60002005 HGST
SG N320GB5.4KS HDD HGST 2.5" 5400rpm 320GB
HTS543232A7A384, Eagle B7,
320G/P SATA LF+HF F/W:A60W
KH.32007.013
60001994 WD N320GB5.4KS_
4K HDD WD 2.5" 5400rpm 320GB
WD3200BPVT-22JJ5T0,
ML320S-AF2, 320G/P, 4K drive
SATA 8MB LF+HF F/W:01.01A01
KH.32008.024
60002036
SEAGATE N500GB5.4KS HDD SEAGATE 2.5" 5400rpm
500GB ST9500325AS,9HH134-189,
Wyatt with new pcb SATA 8MB LF
F/W:0001SDM1
KH.50001.017
60001922
TOSHIBA DIGI N500GB5.4KS_
4K HDD TOSHIBA 2.5" 5400rpm
500GB MK5059GSXP, Capricron
3BS, 375G/P SATA 8MB LF+HF
F/W:GN003J 4K
KH.50004.003
60002005 HGST
SG N500GB5.4KS_
4K HDD HGST 2.5" 5400rpm 500GB
HTS547550A9E384, Jet B,375G/P
SATA 8MB LF+HF F/W:DA3872
KH.50007.013
60001994 WD N500GB5.4KS_
4K HDD WD 2.5" 5400rpm 500GB
WD5000BPVT-22HXZT3,
ML375M-AF2, 375G/P, 4K drive
SATA 8MB LF+HF F/W:01.01A01
KH.50008.024
60002036
SEAGATE N640GB5.4KS HDD SEAGATE 2.5" 5400rpm
640GB ST9640320AS,9RN134-189,
Cameron, 320G/P SATA 8MB LF
F/W:0001SDM1
KH.64001.004
60001922
TOSHIBA DIGI N640GB5.4KS_
4K HDD TOSHIBA 2.5" 5400rpm
640GB MK6459GSXP, Capricron
3BS, 375G/P SATA 8MB LF+HF
F/W:GN003J 4K
KH.64004.003
60002005 HGST
SG N640GB5.4KS_
4K HDD HGST 2.5" 5400rpm 640GB
HTS547564A9E384,Jet B, 375G/P
SATA 8MB LF+HF F/W:DA3872
KH.64007.003
60001994 WD N640GB5.4KS_
4K HDD WD 2.5" 5400rpm 640GB
WD6400BPVT-22HXZT3,
ML375M-AF2, 375G/P, 4K drive
SATA 8MB LF+HF F/W:01.01A01
KH.64008.006
60002036
SEAGATE N750GB5.4KS_
4K HDD SEAGATE 2.5" 5400rpm
750GB ST9750423AS,9ZW14G-188,
Desaru5, 375G/P. SATA 8MB LF+HF
F/W:0001SDM1
KH.75001.011
Table 1-1. Test Compatible Components
Vendor Type Description Acer Part No.

8-8 Test Compatible Components
60001922
TOSHIBA DIGI N750GB5.4KS_
4K HDD TOSHIBA 2.5" 5400rpm
750GB MK7559GSXP, 750G,
Capricorn 3BS SATA 8MB LF+HF
F/W:GN001A for exteral HDD
market only
KH.75004.003
60002005 HGST
SG N750GB5.4KS_
4K HDD HGST 2.5" 5400rpm 750GB
HTS547575A9E384, Jet B, 375G/P
SATA 8MB LF F/W:DA3872
KH.75007.004
60002005 HGST
SG N750GB5.4KS HDD HGST 2.5" 5400rpm 750GB
Dummy P.N SATA 8MB LF+HF F/W:
0000
KH.75007.005
60001994 WD N750GB5.4KS_
4K HDD WD 2.5" 5400rpm 750GB
WD750BPVT-22HXZT3,
ML375M-AF2, 375G/P, 4K drive
SATA 8MB LF+HF F/W:01.01A01
KH.75008.011
60001922
TOSHIBA DIGI N750GB5.4KS_
4K HDD TOSHIBA 2.5" 5400rpm
750GB MK7559GSXP, 375G/P,
Capricorn BS, 4K drive SATA 8MB
LF+HF F/W:GN003J
KH.75004.001
60001922
TOSHIBA DIGI N750GB5.4KS_
4K HDD TOSHIBA 2.5" 5400rpm
750GB MK7559GSXP, 750G,
Capricorn 3BS SATA 8MB LF+HF
F/W:GN001A for exteral HDD
market only
KH.75004.003
60001922
TOSHIBA DIGI N750GB5.4KS_
4K HDD TOSHIBA 2.5" 5400rpm
750GB MK7559GSXP, 750G,
Capricorn 3BS SATA 8MB LF+HF
F/W:GN001A for exteral HDD
market only
KH.75004.003
60002036
SEAGATE N640GB5.4KS_
4K HDD SEAGATE 2.5" 5400rpm
640GB Desaru,
ST9640423AS,9ZW144-188,
375G/P, 4K drive SATA 8MB LF+HF
F/W:0001SDM1
KH.64001.005
60002036
SEAGATE N640GB5.4KS HDD SEAGATE 2.5" 5400rpm
640GB ST9640320AS,9RN134-189,
Cameron, 320G/P SATA 8MB LF
F/W:0001SDM1
KH.64001.004
60002036
SEAGATE N640GB5.4KS HDD SEAGATE 2.5" 5400rpm
640GB ST9640320AS,9RN134-189,
Cameron, 320G/P SATA 8MB LF
F/W:0001SDM1
KH.64001.004
Keyboard
Table 1-1. Test Compatible Components
Vendor Type Description Acer Part No.

Test Compatible Components 8-9
60004864
DARFON AC7T_A10B Keyboard ACER AC7T_A10B AC7T
Internal 17 Standard Black NONE
Y2010 Acer Texture
KB.I170A.143
LAN
10017383 Atheros AR8158L Atheros AR8158L NI.22400.058
LCD
60003316 AUO NLED15.6WXG
AG LED LCD AUO 15.6"W WXGA
Glare B156XW02 V6 LF 200nit 8ms
400:1
LK.15605.019
60002215
SAMSUNG NLED15.6WXG
AG LED LCD SAMSUNG 15.6"W
WXGA Glare LTN156AT02-A11 LF
220nit 8ms 500:1
LK.15606.012
60003089 LG NLED15.6WXG
AG LED LCD LPL 15.6"W WXGA Glare
LP156WH2-TLEA LF 220nit 16ms
500:1 (color engine)
LK.15608.011
60003089 LG NLED15.6WXG
AG LED LCD LPL 15.6''W WXGA Glare
LP156WH4-TLA1 LF 220nit 16ms
500:1
LK.15608.015
10001038 CMO NLED15.6WXG
AG LED LCD CMO 15.6''W WXGA
Glare N156B6-L0B LF 220nit 8ms
650:1
LK.1560D.010
60002215
SAMSUNG NLED15.6WXG
AG LED LCD SAMSUNG 15.6''W
WXGA Glare LTN156AT24-A01 LF
220nit 8ms 500:1
LK.15606.013
Memory
60024207
KINGSTON-FAR
EAST
SO2GBIII13 Memory KINGSTON SO-DIMM
DDRIII 1333 2GB
ACR256X64D3S13C9G LF+HF
KN.2GB07.006
60004668 ELPIDA SO2GBIII13 Memory ELPIDA SO-DIMM DDRIII
1333 2GB EBJ20UF8BCS0-DJ-F LF
256*8 46nm
KN.2GB09.010
60002215
SAMSUNG SO2GBIII13 Memory SAMSUNG SO-DIMM
DDRIII 1333 2GB
M471B5773DH0-CH9 LF 256*8
KN.2GB0B.030
60002045 HYNIX SO2GBIII13 Memory HYNIX SO-DIMM DDRIII
1333 2GB HMT325S6BFR8C-H9 LF
256*8 46nm
KN.2GB0G.018
60001993 NANYA SO4GBIII13 Memory NANYA SO-DIMM DDRIII
1333 4GB NT4GC64B8HB0NS-CG
LF 256*8 0.055um
KN.4GB03.005
Table 1-1. Test Compatible Components
Vendor Type Description Acer Part No.

8-10 Test Compatible Components
60024207
KINGSTON-FAR
EAST
SO4GBIII13 Memory KINGSTON SO-DIMM
DDRIII 1333 4GB
ACR512X64D3S13C9G LF+HF
KN.4GB07.001
60004668 ELPIDA SO4GBIII13 Memory ELPIDA SO-DIMM DDRIII
1333 4GB EBJ41UF8BCS0-DJ-F LF
256*8 46nm
KN.4GB09.002
60001993 NANYA SO2GBIII13 Memory NANYA SO-DIMM DDRIII
1333 2GB NT2GC64B8HC0NS-CG
LF 128*8 0.065um
KN.2GB03.017
60002215
SAMSUNG SO4GBIII13 Memory SAMSUNG SO-DIMM
DDRIII 1333 4GB
M471B5273DH0-CH9 LF 256*8
35nm
KN.4GB0B.015
60002045 HYNIX SO4GBIII13 Memory HYNIX SO-DIMM DDRIII
1333 4GB HMT351S6BFR8C-H9 LF
256*8 46nm
KN.4GB0G.004
60024207
KINGSTON-FAR
EAST
SO1GBIII13 Memory KINGSTON SO-DIMM
DDRIII 1333 1GB
ACR128X64D3S1333C9 LF 128*8
0.065um
KN.1GB07.004
60002000
UNIFOSA SO1GBIII13 Memory UNIFOSA SO-DIMM
DDRIII 1333 1GB GU672203EP0200
LF 128*8 0.065um
KN.1GB0H.017
60001993 NANYA SO1GBIII13 Memory NANYA SO-DIMM DDRIII
1333 1GB NT1GC64BH4B0PS-CG LF
128*16 0.055um
KN.1GB03.034
60004668 ELPIDA SO4GBIII10 Memory NONE SO-DIMM DDRIII
1066 4GB dummy P/N LF KN.4GB00.001
60002041
QIMONDA SO1GBIII10 Memory NONE REG-ECC DDRIII
1066 1GB phantom p/n LF KN.1GB00.003
60002215
SAMSUNG SO2GBIII10 Memory NONE SO-DIMM DDRIII
1066 2GB dummy 1066 LF KN.2GB00.001
NB Chipset
10001067 INTEL
HM65
NB Chipset Intel CS BD82HM65 B3
Huron River KI.G6501.004
ODD
60001939
PIONEER
NSM8XS
ODD PIONEER Super-Multi DRIVE
12.7mm Tray DL 8X DVR-TD11RS
LF W/O bezel 1.01 SATA HF + ZP
(HME OPU)
KU.00805.051
Table 1-1. Test Compatible Components
Vendor Type Description Acer Part No.

Test Compatible Components 8-11
60001535
PANASONIC
NSM8XS
ODD PANASONIC Super-Multi
DRIVE 12.7mm Tray DL 8X UJ8A0
LF W/O bezel SATA (HF + Windows
7) Foxconn Yentai Facotry
KU.00807.075
60001535
PANASONIC
NSM8XS
ODD PANASONIC Super-Multi
DRIVE 12.7mm Tray DL 8X UJ8B0
LF W/O bezel SATA (HF + ZP)
Foxconn Yentai Facotry
KU.00807.078
610105 HLDS
NSM8XS
ODD HLDS Super-Multi DRIVE
12.7mm Tray DL 8X GT32N (R5-2)
LF W/O bezel SATA with Renesas
solution + PCC LD (HF + Windows
7)
KU.0080D.055
60003901 HITACHI
EAST
NSM8XS
ODD HLDS Super-Multi DRIVE
12.7mm Tray DL 8X GT34N LF W/O
bezel SATA Zero Power
Supported, PCC LD (HF + Windows
7)
KU.0080D.057
10001070 PHILIPS
NSM8XS
ODD PLDS Super-Multi DRIVE
12.7mm Tray DL 8X DS-8A5SH
LF+HF W/O bezel SATA With TI +
Rohm Solution (HF + Windows 7)
KU.0080F.014
60001535
PANASONIC
NSM8XS
ODD PANASONIC Super-Multi
DRIVE 12.7mm Tray DL 8X
UJ8B0AW LF+HF W/O bezel SATA
(Win7)
KU.00807.079
60003901 HITACHI
EAST
NSM8XS
ODD HLDS Super-Multi DRIVE
12.7mm Tray DL 8X GT51N LF W/O
bezel SATA Zero Power Supported
(HF + Windows 7)
KU.0080D.059
SB Chipset
9999995 ONE
TIME VENDER
N
N KI.22800.011
Software
10000981 MISC KIS Antivirus application KIS Antivirus
application KIS SR.23900.011
VGA Chip
10001067 INTEL UMA UMA (Intel) KI.23200.038
VRAM
9999995 ONE
TIME VENDER N N no VRAM KI.23300.014
WiFi Antenna
Table 1-1. Test Compatible Components
Vendor Type Description Acer Part No.

8-12 Test Compatible Components
10000105 WNC
PIFA
PIFA LZ.23500.006
Wireless LAN
10001067 INTEL 3rd WiFi 1x1
BGN Lan Intel WLAN 100BN.HMWG
Crane Peak 1x1 BGN KI.CNH01.002
10001023 LITE-ON 3rd WiFi 1x1
BGN Liteon Wireless LAN Atheros
HB125 1x1 BGN NI.23600.086
10001023 LITE-ON 3rd WiFi 1x1
BGN Liteon Wireless LAN Reltek
RTL8188CE 1x1 BGN NI.23600.088
10001018 HON
HAI 3rd WiFi 1x1
BGN Foxconn Wirelss LAN Broadcom
4313 IPA 1x1 BGN NI.23600.090
10001018 HON
HAI 3rd WiFi 1x1
BGN Foxconn Wirelss LAN Atheros
HB125 1x1 BGN NI.23600.085
23707801
FOXCONN TW 3rd WiFi 1x1
BGN Foxconn Wirelss LAN Broadcom
4313 1x1 BGN (HM) T77H194.00 NI.23600.076
10001018 HON
HAI 3rd WiFi 1x1
BGN Foxconn Wirelss LAN Atheros
HB95 1x1 BGN (HM) L NI.23600.078
23707801
FOXCONN TW 3rd WiFi 1x1
BGN Foxconn Wirelss LAN Atheros
HB95 1x1 BGN (HM) T77H121.01 NI.23600.068
10001018 HON
HAI 3rd WiFi 1x1
BGN Foxconn Wirelss LAN Atheros
HB95 1x1 BGN (HM) L NI.23600.078
10001018 HON
HAI 3rd WiFi 1x1
BGN Foxconn Wirelss LAN Atheros
HB95 1x1 BGN (HM) L NI.23600.078
Table 1-1. Test Compatible Components
Vendor Type Description Acer Part No.

CHAPTER 9
Online Support Information

Online Support Information 9-3
Online Support Information
Introduction 0
This section describes online technical support services available to help users repair their
Acer Systems.
For distributors, dealers, ASP or TPM, please refer the technical queries to a local Acer
branch office. Acer Branch Offices and Regional Business Units may access our website.
However some information sources will require a user i.d. and password. These can be
obtained directly from Acer CSD Taiwan.
Acer's Website offers convenient and valuable support resources.
In the Technical Information section users can download information on all of Acer's
Notebook, Desktop and Server models including:
-Service guides for all models
-Bios updates
-Software utilities
-Spare parts lists
-TABs (Technical Announcement Bulletin)
For these purposes, we have included an Acrobat File to facilitate the problem-free
downloading of our technical material.
Also contained on this website are:
-Detailed information on Acer's International Traveller’s Warranty (ITW)
-Returned material authorization procedures
-An overview of all the support services we offer, accompanied by a list of
telephone, fax and email contacts for all technical queries.
We are always looking for ways to optimize and improve our services, so do not hesitate
to direct any suggestions or comments to us.

9-4 Online Support Information



















