Airgas USA CAMWFCLR01 Cylinder Asset Monitor (CAM) User Manual
Airgas USA, LLC Cylinder Asset Monitor (CAM)
User Manual

USER MANUAL CYLINDER ASSET MONITOR Rev. 12
1 | Page
Cylinder Asset Monitor (CAM)
User Manual (DRAFT)
Rev 12.0
May, 2017
DISCLAIMER
Information contained in this document is offered for use by technically qualified personnel at their
discretion and risk. All statements, technical information, and recommendations contained herein are
based on tests and data, which we believe to be reliable; but the accuracy or completeness thereof is not
guaranteed and no warranty of any kind is made with respect thereto. This information is not intended as
a license to operate under or a recommendation to practice or infringe any patent of Airgas Inc., or others
covering any process, composition of matter or use of the project described herein. Airgas Inc. assumes
no liability for loss or damage incurred from the proper or improper use of such product.

USER MANUAL CYLINDER ASSET MONITOR Rev. 12
2 | Page
1.0 Contents Page
1.0
Contents Page
Page:
2
2.0
Introduction
Page:
3
2.1
General Warnings
Page:
3
2.2
Product Users
Page:
3
2.3
Personal Protective Equipment
Page:
3
2.4
Equipment Modifications
Page:
3
2.5
Cylinder / Vessel Handling
Page:
4
2.6
Safety Precautions
Page:
4
2.7
Electrical Hazards
Page:
4
3.0
Operating Summary
Page:
6
4.0
General Specifications
Page:
7
4.1
Power & Utilities
Page:
7
4.2
General Operating Capacities
Page:
7
5.0
Getting Started
Page:
8
5.1
Inside the Box
Page:
8
5.1.1
Maintenance Kit
Page:
8
5.2
CAM Wi-Fi Concentrator Installation
Page:
9
5.3
Connecting CAM Wi-Fi Concentrator to Wi-Fi
Page:
10
5.3.1
Software Capabilities
Page:
10
5.3.2
Data Communication & Firewall Configuration
Page:
10
5.3.3
CAM Wi-Fi Concentrator Connection
Page:
10
5.4
CAM Pressure Remote Installation
Page:
12
6.0
CAM Pressure Remote Installation and Mounting
Page:
14
6.1
Operating Temperature
Page:
14
6.2
CAM Pressure Remote Installation with a Helium Regulator
Page:
14
6.3
CAM Pressure Remote Installation with an Industrial Regulator
Page:
14
7.0
Operating Procedure
Page:
15
7.1
Latex Balloon Inflation
Page:
15
7.2
Mylar Balloon Inflation
Page:
15
7.3
Cylinder Re-Order
Page:
15
8.0
General maintenance
Page:
16
8.1
Operator Responsibilities
Page:
16
8.2
Component Maintenance
Page:
16
9.0
Troubleshooting Guide – System
Page:
16
10.0
Regulatory Statements and Labels
Page:
17
10.1
Product labels
Page:
19
10.2
Regulatory Statement
Page:
20
10.2.1
FCC Statement
Page:
20
10.2.2
Innovations, Science and Economics Development Canada Statement
Page:
21
10.2.3
TUV Statement
Page:
22
11.0
Airgas Contacts
Page:
23
Appendix A
Pressure Mote (CAM-PR) Specification
Page:
24
Appendix B
Wi-Fi Concentrator (CC-WF25) Specification
Page:
25
Appendix C
Pressure Remote (CAM-PR) Mechanical Drawing
Page:
26
Appendix D
Wi-Fi Concentrator (CC-WF25) Mechanical Drawing
Page:
27
Appendix E
Acronyms
Page:
28

USER MANUAL CYLINDER ASSET MONITOR Rev. 12
3 | Page
2.0 Introduction
Please read User Manual completely before installing and operating a Cylinder Asset Monitor (CAM)
instrument. Make sure that you read and understand all the related data. This includes all local safety
procedures and this publication. Changes or modifications not expressly approved by the party
responsible for compliance could void the user’s authority to operate the equipment (47 CFR 15.21).
A complete digital copy of the Installation User Manual is available for download at
http://testairgasbam.com/RDTelemetry/Portal/Downloads/Downloads.jsp.
2.1 General Warnings
The warnings in this manual supplement the safety policies of the user’s company. All users should be
thoroughly trained in the safety policies of their company, the potential issues with equipment and
materials within in the area where the equipment is located, relevant safety equipment within the area and
the safe use of the equipment referenced in this manual. This manual should be kept with the system or
equipment and be available for use.
2.2 Product Users
This system may contain hazardous liquids or gases under pressure. There may also be electrical voltages
up to 110-230 VAC. The system or equipment is not to be used by untrained operators. Users must be
trained in the following, as a minimum:
• Operation of the system or equipment;
• Handling of hazardous gases and liquids;
• Handling of gases and liquids under pressure;
• Emergency shutdown procedures, switches, valves or other devices to safely isolate the system;
• Electrical safety precautions; and
• Relevant safety equipment including:
o Personal Protective Equipment (PPE);
o Cylinder hand carts & cylinder restraints;
o Fire alarm & extinguishing systems; and / or
o Other relevant alarm systems.
2.3 Personal Protective Equipment (PPE)
All personal protective equipment should be of safe design and construction, and should be maintained in
a clean and reliable fashion. It should fit well and be comfortable to wear. If the personal protective
equipment does not fit properly, it can make the difference between being safely covered or dangerously
exposed.
2.4 Equipment Modifications
This system has been designed and tested for safe and efficient operation. Changes not approved by
Airgas will void the warranty and may result in unpredictable results. Contact Airgas prior to making any
changes or modifications to the equipment. Use only the liquids or gases specified for use with this
system or equipment.

USER MANUAL CYLINDER ASSET MONITOR Rev. 12
4 | Page
2.5 Cylinder/Vessel Handling
Cylinders or other vessels may contain hazardous liquids or gases under high pressure. Improper handling
could release hazardous material to the environment and cause dangerous projectiles. Only properly
trained personnel should handle cylinders and other vessels.
Whenever a cylinder is being moved, cylinder caps should be installed to protect the valve stem. If the
valve stem is broken or damaged serious personal injury or death may result. All cylinders, full or empty,
should be moved only when secured to a hand cart. Once placed in position a cylinder should be chained
to a secure object or wall to prevent accidental knock over or other cylinder damage. All facility, local
and state codes and standards that apply to cylinder handling, storage or use should also be followed when
working with cylinders or other vessels.
CAUTION: Ensure that the cylinder(s) are securely attached to a wall bracket or cylinder
stand. Always keep the cylinder cap on when moving cylinders. Take extra care to ensure the
cylinder does not tip over. Do not remove cylinder cap until the cylinder is completely secure.
2.6 Safety Precautions
It is important to read and follow all notes, cautions and warnings before setting up, installing and
operating a CAM instrument:
• Some gas mixtures are dangerous (This includes mixtures that occur because of contamination);
• It is dangerous to ignore the specified limits for the CAM system or to use the CAM system when
it is not in its normal condition;
• To prevent a dangerous release of pressure, isolate and bleed the system before you disconnect a
pressure connection;
• Do not use the CAM system in locations where explosive gas, vapor or dust are present;
• This device has not been designed, tested or approved for use in any medical or nuclear
application;
• Never operate CAM devices outside of the recommended use outlined in the manual;
• No co-location with other radio transmitters is allowed (By definition, co-location is when
another radio device or its antenna is located within 20 cm of your unit and can transmit
simultaneously with your unit);
• Never install and/or continuously operate your wireless unit closer than 20 cm to nearby persons;
and
• Never remove the CAM device from the installed regulator (This device has been designed to
operate in a permanent installation only).
CAUTION: Helium is a nontoxic, odorless, colorless, nonflammable gas stored in cylinders at
high pressure. It can cause rapid suffocation when inhaled.
2.7 Electrical Hazards
It is common for the equipment provided to use 110-230 VAC. Guidelines on when work on energized
systems may be authorized varies. The Customer must always minimize the risk to users who operate or
maintain energized equipment. All users should read and understand all, facility, local and state relevant
guidelines and mandates.

USER MANUAL CYLINDER ASSET MONITOR Rev. 12
5 | Page
CAUTION: Care should be taken when handling electrical devices to minimize ESD exposure:
• Avoid carpets in cool, dry areas as well as other electrostatic generating materials such as plastic,
paper, or cardboard;
• Leave digital gauges in their anti-static packaging until ready to be installed;
• Dissipate static electricity before handling the digital gauge by touching a well-grounded metal
object, such as the system unit unpainted metal chassis (If possible, use antistatic devices, such as
wrist straps and floor mats);
• When installing lithium ion batteries, avoid touching the contacts and components; and
• Take care when connecting or disconnecting cables (A damaged cable can cause a short in the
electrical circuit. When disconnecting a cable, always pull on the cable connector, case, or strain-
relief loop, not on the cable itself).
Lithium batteries may get hot, explode or ignite and cause serious injury if exposed to abusive conditions.
Be sure to follow the safety warnings listed below. Please do not:
• Use a different battery other than what is specified in this manual;
• Discharge the battery using any device except your CAM Pressure Remote;
• Place the battery in fire or heat the battery;
• Store batteries with other hazardous or combustible materials;
• Install the battery backwards;
• Connect the positive terminal and negative terminal of the battery to each other with any metal
object (such as wire);
• Carry or store the battery together with metal objects;
• Pierce the battery with nails, strike the battery with a hammer, step on the battery or otherwise
subject it to strong impacts or shocks;
• Solder directly onto the battery;
• Expose battery to water or salt water, or allow the battery to get wet;
• Disassemble or modify the battery; and
• Place the battery in microwave ovens or high-pressure containers.
CAUTION: When disposing of lithium batteries, ensure proper disposal in accordance with
Local and State Laws and Regulations.
CAUTION: Immediately discontinue use of the battery if the battery emits an unusual smell,
feels hot, changes color or shape, leaks or appears abnormal in any other way

USER MANUAL CYLINDER ASSET MONITOR Rev. 12
6 | Page
3.0 Operating Summary
Thank you for selecting the Airgas Cylinder Asset Monitor (CAM) system. The CAM system will help
you streamline the process of measuring, reporting metrics, local temperature and manage no-runout
delivery of your high-pressure cylinders.
This product is intended to be used at the customer’s balloon inflation site. This device helps to provide a
total cylinder management tool to the end user by providing 24/7 remote monitoring. Customer settings,
usage, alarms and forecasting trends are to be implemented in the existing Airgas Web Dashboard
through a Wi-Fi network.
The Pressure Remote is typically connected to a regulator of a compressed gas cylinder and acquires
cylinder pressure, voltage, and temperature data. It then sends this data to the CAM Wi-Fi Concentrator.
The CAM Pressure Remote is available in 1 model listed below:
• CAM-PR, CAM Pressure Remote
The CAM Pressure Remote will be available in 3 part numbers as listed below:
• PR-1.8NPT, pressure transducer size (1/8” National Pipe Thread (NPT));
• PR-1.4NPT, pressure transducer size (1/4” NPT); and
• PR-1.4VCR, pressure transducer size (1/4” NPT).
The CAM Wi-Fi Concentrator collects and forwards the data acquired to the Airgas Cloud Services
(ACS) Database. This device connects to the end users Wi-Fi Access Point (AP) and “Remote” while
displaying the current connectivity and time. The CAM Wi-Fi Concentrator is available in 1 model:
• CC-WF25, CAM Wi-Fi Concentrator.
Figure 1: CAM System Overview
In order to achieve the maximum communication range, the CAM Pressure Remote and CAM Wi-Fi
Concentrator must be free of all obstacles in line-of-sight. Note: it is important to understand that the
environment might change over time due to new equipment and / or obstacles. If communication becomes
limited move the CAM Wi-Fi Concentrator in order to find an ideal location.

USER MANUAL CYLINDER ASSET MONITOR Rev. 12
7 | Page
4.0 General Specifications
This section provides the general specifications of the CAM as provided by Airgas Research &
Development, Cheshire, Connecticut.
4.1 Power & Supply Utilities
Many factors such as ambient temperature conditions and the transmitting rate can have a big effect on
the life of the lithium ion battery. Transmitting data places a large demand of the battery in your CAM
Pressure Remote. Conditions that affect battery life are outlined below:
• The transmit rate of the CAM Pressure Remote (slower the transmit rate set, the longer the
battery device life); and
• Constant connectivity of the CAM Pressure Remote to the CAM Wi-Fi Concentrator (more
consistent connectivity, the longer the battery device life).
4.2 General Operating Capacities
Description
Parameter
Inert Gases
YES
Corrosive Gases
YES
Flammable
NO
Accuracy
3% @ 25°C (77°F)
Overall Range
Indoor 100ft, Outdoor 300ft
CAM Pressure Remote Pressure Range
0 to 3000 PSI
Total Wireless Remotes
25
Operating Temperature
-20°C to 70°C (-4°F to 158°F)
Table 1: General Operating Capacities

USER MANUAL CYLINDER ASSET MONITOR Rev. 12
8 | Page
5.0 Getting Started
This section outlines how to setup and configure a CAM Pressure Remote and CAM Wi-Fi Concentrator
before installation and use.
CAUTION: The CAM Wi-Fi Concentrator utilizes a Universal Serial Bus (USB) Wall Adapter
to power the device. Be sure to follow the safety warnings listed below:
• Do not use a different/non-approved USB Wall Adapter or Micro USB Cable other than
what is provided; and
• Avoid tampering with USB Wall Adapter, Micro USB Cable or CAM Wi-Fi
Concentrator Micro USB connection.
Once the package is received, remove the packing list and verify that you have received all equipment. If
you have any questions about the shipment, please call Airgas Retail Services at 1-800-329-0010.
5.1 Inside the Box
Figure 2: 1 x CAM Wi-Fi
Concentrator
Figure 3: 1 x USB Wall Adapter
Figure 4: 1 x Micro USB Cable
Figure 5: 1 x CAM Pressure Remote
Figure 6: 1 x Maintenance Kit
Figure 7: 1 x Helium Regulator
5.1.1 Maintenance Kit
Figure 8: 1 x Phillips Head Screw
Driver
Figure 9: 2 x Lithium Batteries
Figure 10: 2 x O-Ring Seals

USER MANUAL CYLINDER ASSET MONITOR Rev. 12
9 | Page
5.2 CAM Wi-Fi Concentrator Installation
The first step to installing your CAM system is to supply power to the CAM Wi-Fi Concentrator. This
involves the following steps:
• Connect the Micro USB Cable (USB end) to the USB Wall Adapter;
• Then connect USB Wall Adapter to the power outlet; and
Figure 11: USB Cable to USB Wall Adapter
• Then connect the Micro USB Cable (Micro USB end) to the CAM Wi-Fi Concentrator (Note:
Image below depicts preceding enclosure design).
Figure 12: USB Cable to CAM Wi-Fi Concentrator
At power up, the Airgas logo will appear on the CAM Wi-Fi Concentrator screen for 15 seconds. The
screen below demonstrates the Liquid Crystal Display (LCD) screen of CAM Wi-Fi Concentrator:
Figure 13: CAM Wi-Fi Concentrator LCD Startup
This screen will be visible until the unit connects to a Wi-Fi Access Point (AP). The screen will only be
displayed for a few seconds if the unit has already been assigned to an AP and automatically connects to
it. If an AP has not been assigned, then this screen will display “Pick Wi-Fi” until the Wi-Fi connection
has been completed. The LCD displays:
• In the middle of the screen, Wi-Fi network SSID will be displayed based upon which AP is
connected to;
• Signal bars will indicate the signal strength of CAM Wi-Fi Concentrator associated with Wi-Fi
router. The closer the device is to the Wi-Fi router, the higher the signal strength;
• Shows time of day in hours and minutes. Shortly after the unit connects to the network,
the time will be updated. The time will be updated to an offset from Greenwich Mean Time
(GMT);

USER MANUAL CYLINDER ASSET MONITOR Rev. 12
10 | Page
• Will indicate the data flow between the device and Airgas infrastructure; and
• Will be displayed as soon the device is connected to the Wi-Fi network selected by the
customer.
5.3 Connecting CAM Wi-Fi Concentrator to Wi-Fi
5.3.1 Software Compatibility
When provisioning the CAM Wi-Fi Concentrator either the users: mobile phone, tablet or computer must
meet the minimum device compatibility requirements with either:
• Firefox;
• Safari;
• Chrome; and / or
• Internet Explorer (IE) browsers.
5.3.2 Data Communication & Firewall Configuration
The CAM Wi-Fi Concentrator uses HTTP to communicate with the Airgas Cloud Services. Data is sent
via ports 80 & 443. In/out data communication rules will need to be added to any existing firewalls as
applicable to your network set-up to permit the data to be sent to the Airgas Cloud Services. In summary,
the following ports will need to be open for all communications on the networks:
• Port 80; and
• Port 443.
The CAM Wi-Fi Concentrator sends its information to the following domain:
http://testairgasbam.com/RDTelemetry/
Please note, the IP address of the Airgas Cloud Services is subject to change.
5.3.3 CAM Wi-Fi Concentrator Connection
By completing this process it will make the CAM Wi-Fi Concentrator visible to the CAM system. Begin
by identifying your AP for the CAM Wi-Fi Concentrator, using a computer, smart phone or tablet. Look
for a wireless network name that starts with “Airgas-CAM-XXXXXX“.
Figure 14: CAM Wi-Fi Concentrator AP
CAM Wi-Fi Concentrator
Access Point

USER MANUAL CYLINDER ASSET MONITOR Rev. 12
11 | Page
Once you have selected the AP, open a web browser and enter the following address:
http://airgas.cam.net/profiles_config.html
You will be redirected to Wi-Fi connectivity profile setting web page. There will be list of available
networks on the page.
Figure 15: CAM Wi-Fi Concentrator Provisioning Step 1
• Select AP for CAM Wi-Fi Concentrator to connect to from the “Select a Wi-Fi” Drop down menu
• And / Or: Type into Add Wi-Fi Box and Select Add Wi-Fi;
• Click Continue.
Figure 16: CAM Wi-Fi Concentrator connection Step 2
• Select a Security Type;
• Type in a Security Key; and
• Click Connect.
Figure 17: CAM Wi-Fi Concentrator connection Step 3
• You will be notified when the CAM Wi-Fi Concentrator connects to the Wi-Fi network;

USER MANUAL CYLINDER ASSET MONITOR Rev. 12
12 | Page
• Once the profile has been added, the CAM Wi-Fi Concentrator will no longer act as an AP, and
you will be disconnected.
5.4 CAM Pressure Remote Installation
The third step to installing your CAM system is to supply power to the CAM Pressure Remote.
CAUTION: Do not attempt to replace the batteries while the unit is pressurized. This will cause
the CAM Pressure Remote to improperly report and could cause a safety issue.
This section will involve the operator/user of the device to gain access to the internal compartment of the
CAM Pressure Remote. A screw driver will be supplied in the maintenance kit. This screw driver must be
used to gain access to the internal compartment of the CAM Pressure Remote.
CAUTION: Do not attempt to misuse device once internal compartment is exposed. This will
cause the CAM Pressure Remote to improperly report and could cause a safety issue.
This involves the following steps:
• Remove the 4 screws on the front cover of the CAM Pressure Remote using a Philips head screw
driver;
• Open CAM Pressure Remote;
• Insert two Lithium Ion batteries into the battery compartment;
CAUTION: Note the polarity of the batteries (+ +).
• Replace front cover of CAM Pressure Remote; and
• Insert the 4 screws on the front cover of the CAM Pressure Remote Using a Philips Head Screw
Driver.
Figure 18: CAM Pressure Remote battery install.
CAUTION: The same four screws removed in this procedure must be re-installed into the CAM
Pressure Remote housing or you will not have the proper IP-65 seal. Failure to install these
screws correctly may result in damage to the device when exposed to wet or hazardous condition.
You should see the gauge LCD show the Airgas logo and then show the initial data shown here:

USER MANUAL CYLINDER ASSET MONITOR Rev. 12
13 | Page
Figure 19: CAM Pressure Remote LCD
• Network icon blinks while in network negotiation and it will be solid on after it successfully
connects to the CAM Wi-Fi Concentrator;
• This icon is only displayed if the cylinder pressure is lower than preset alarm setting. This
icon will appear, and fill request will be scheduled;
• Displays the pressure measurement;
• Indicating battery level. To avoid any interruption in monitoring services, monthly
inspection is suggested; and
• This icon indicates the environment temperature in degrees Celsius.
CAUTION: Be sure to follow the safety warnings listed below:
• Do not mix ages or brands of batteries;
• Do not use store bought AA batteries;
• Do not replace batteries in hazardous areas; and
• To provide maximum battery life, replace both batteries.

USER MANUAL CYLINDER ASSET MONITOR Rev. 12
14 | Page
6.0 CAM Pressure Remote Installation and Mounting
Please apply precautionary safety procedures during installation. The CAM Pressure Remote has been
specifically designed to meet IP-65 standard (protected from low pressure water jets from any direction,
limited ingress protection (IP)). The CAM Pressure Remote can be installed in locations where it will be
intermittently exposed to spraying water, rain or high humidity.
CAUTION: The CAM Pressure Remote should never be submerged or used under water.
6.1 Operating Temperature
The CAM Pressure Remote should only be installed and operated in locations that maintain an ambient
temperature between -20°C to 70°C (-4°F to 158°F).
6.2 CAM Pressure Remote Installation with a Helium Regulator
Please apply precautionary safety procedures during installation. This involves the following steps:
• Attach helium regulator to cylinder (Note: Do not carry the regulator by the CAM Pressure
Remote, this could cause undue stress to the unit);
• Only use the hand tight wheel on helium regulator to tighten to the cylinder; and
• Once the hand tight wheel is tight apply pressure from the cylinder.
For future use, make note of the 16 digit identification code on the label of the CAM Pressure Remote.
Note: Visually check O ring on stem of regulator for wear with each cylinder change to prevent helium
loss (The O ring is usually the only failed part of regulator - replace as necessary).
6.3 CAM Pressure Remote Installation with an Industrial Regulator
The CAM Pressure Remote comes standard with either a 1/4 or 1/8 NPT connection. Good piping
practices are required. Always use Teflon tape or pipe sealant on the gauge threads. It is recommended to
use a wrench on the wrench flat of the gauge to tighten the gauge to the process.
CAUTION: Never tighten gauge threads by holding the body of the CAM Pressure Remote.
Doing so will damage the gauge and make the gauge inoperable.

USER MANUAL CYLINDER ASSET MONITOR Rev. 12
15 | Page
7.0 Operating Procedures
7.1 Latex Balloon Inflation
To fill latex balloons, insert the opening of the balloon onto the latex nozzle. The latex nozzle on the
regulator is designed to release helium when tilted at an angle. Inflate the balloon to the desired size. Be
careful not to over inflate the balloon as Helium expands rapidly.
CAUTION: Do not place balloons near heat or A/C vents.
Figure 20: (Left) Latex Balloon Inflation, (Right) Foil Balloon Inflation
7.2 Foil Balloon Inflation
To fill foil balloons, slide the balloon opening over the push valve. The push valve on the regulator is
designed to release helium when pushed in. To inflate, hold the balloon while engaging the push valve.
CAUTION: Do not push the valve too far into the balloon, as this will cause the self-seal valve to
tear. The regulator is designed to stop the flow of Helium when the balloon is fully inflated.
7.3 Cylinder Re-Order
Airgas recommends that when the cylinder pressure is reduced to 500 psi, it is time to re-order your
Helium. Mark the cylinder once it is empty for easy reference at time of pickup, then contact Airgas
Retail Solutions.
Sales/Services: Airgas Retail Solutions: 1-800-329-0010

USER MANUAL CYLINDER ASSET MONITOR Rev. 12
16 | Page
8.0 General Maintenance
Preventative maintenance, when properly performed, will help to ensure that the system will continue to
operate properly. The system should be inspected periodically so that defects can be corrected before they
result in failure.
The scheduling of preventative maintenance checks and services should be based on the operating
environment and the frequency of operation of the system. All safety procedures and warnings should be
observed to prevent injury to yourself and others while servicing or maintaining the system.
8.1 Operator Responsibilities
• Keep the system and the area around the system clean;
• Monitor system pressures and note any significant deviations from typical operating parameters;
and
• Replace any suspect pressure components.
8.2 Component Maintenance
The CAM Pressure Remote has been built, tested and factory calibrated to meet the specifications
listed in the Appendix A and Appendix B. If your CAM Pressure Remote or CAM Wi-Fi
Concentrator requires service please contact Airgas Retail Solutions (ARS).
Sales/Services: Airgas Retail Solutions: 1-800-329-0010
See section 4.2 maintenance Kit for contents of Maintenance Kit.
It is recommended:
• The CAM Pressure Remote be opened using the provided screw driver provided by following
installation steps outlined in section 4.4 CAM Pressure Remote Installation; and
• The O-ring seals are provided to ensure if regulator seals become compromised that they can be
replaced promptly.

USER MANUAL CYLINDER ASSET MONITOR Rev. 12
17 | Page
9.0 Troubleshooting Guide - System
All users must read and understand this manual before attempting any operation or service of this
equipment.
Personnel troubleshooting the system must be trained in the procedures for safe handling of hazardous
gases and liquids under pressure. All users must be instructed in the proper use of all required personal
protective equipment (PPE).
Description
Identification
Resolution
*CAM Pressure Remote: CAM-PR, **CAM Wi-Fi Concentrator: CC-WF25
Batteries in *CAM-PR fall below
working voltage causing the device
to no longer function correctly
Device stops working and Potential Battery Low
Alarm Notification
Batteries will need to be replaced
in the *CAM-PR
Batteries polarity is incorrectly
inserted into *CAM-PR
Device will not work and will remain in missed
readings
Batteries will need to have
polarities rearranged
Customer uses non-approved
batteries in the *CAM-PR
Device may not function correctly or work at all,
potential Battery Low Alarm Notification
Batteries will need to be replaced
with approved batteries
Batteries exhibit corrosion in the
*CAM-PR
Device may not function correctly or stop
working, potential Battery Low Alarm
Notification
Batteries will need to be replaced
in the device, potential RMA if
connectors need cleaning
LCD is Damaged
Device may not function correctly or stop
working and may go into missed readings if
damaged
Potential RMA if device is
damaged
Device is dropped and damaged
internally or externally
Device may not function correctly or stop
working and may go into missed readings if
damaged
Potential RMA if device is
damaged
Front Cover of *CAM-PR is not
properly installed
IP65 not maintained, *CAM-PR may go into
missed readings if damaged
Check cover for proper fitment
before screwing into the device
Screw Treads in *CAM-PR become
cross treaded when screwing in
Screw does not screw in or remain tight in the
mold
Manual recommends not to over
tighten screws
Battery Wires are pulled out when
*CAM-PR is opened
Wires pulled out and no longer connected and
may not function correctly or work at all
Potential RMA if device is
damaged
Battery Wire Connector pulled out
when *CAM-PR is opened
Battery Wire Connector pulled out and no longer
connected, device may not function correctly or
work at all
Potential RMA or by connecting
the connector back to the PCB
Transducer Wires are pulled out
when *CAM-PR is opened
Transducer Wires pulled out and no longer
connected, device may not function correctly or
work at all
Potential RMA if device is
damaged.
Transducer Wire Connector pulled
out when *CAM-PR is opened
Transducer Wire connector pulled out and no
longer connected, device may not function
correctly or work at all
Potential RMA or by connecting
the connector back to the PCB.
*CAM-PR loses connection to
**CC-WF25
Device goes into missed readings and icon in top
left hand corner of the *CAM-PR LCD will start
to blink
Move device closer and check
surrounding area for Radio
Frequency (RF) obstructions
Device is exposed to a temperatures
exceeding limits specified in Manual
Device may not function correctly or stop
working, device may go into Missed Readings if
damaged
Potential RMA if damaged.
Device may recover if returned to
ambient temperature
Foreign substance leaked into device
Device may not function correctly or stop
working, device may go into Missed Readings if
damaged
Potential RMA if device is
damaged

USER MANUAL CYLINDER ASSET MONITOR Rev. 12
18 | Page
**CC-WF25 loses connection to
Wi-Fi
*CAM-PR goes into Missed Readings on the
ACS, system no longer reports
Check for Wi-Fi Visibility, and
time on **CC-WF25. Reset and
re provision if necessary
**CC-WF25 loses power
*CAM-PR goes into missed readings on the
ACS, **CC-WF25 can no longer report
Reconnect Cable and **CC-
WF25 will reconnect to Wi-Fi
and continue reporting
**CC-WF25 loses power
*CAM-PR goes into missed readings on the
ACS, **CC-WF25 can no longer report
Reconnect Cable and **CC-
WF25 will reconnect to Wi-Fi
and continue reporting
**CC-WF25 no longer functions
correctly due to disconnected
antenna
*CAM-PR goes into missed readings on the
ACS, **CC-WF25 can no longer report
Reconnect antenna, Potential
RMA if **CC-WF25 is damaged
**CC-WF25 no longer functions
correctly due to damaged antenna
*CAM-PR goes into missed readings on the
ACS, **CC-WF25 can no longer report
Replace antenna, Potential RMA
if **CC-WF25 is damaged
**CC-WF25 no longer functions
correctly due to damaged cable
*CAM-PR goes into missed readings on the
ACS, **CC-WF25 can no longer report
Replace cable, Potential RMA if
**CC-WF25 is damaged
**CC-WF25 no longer functions
correctly due to damaged USB
adapter
*CAM-PR goes into missed readings on the
ACS, **CC-WF25 can no longer report
Replace USB adapter, Potential
RMA if **CC-WF25 is damaged
**CC-WF25 can no longer report if
exposed to excess voltage.
*CAM-PR goes into missed readings Alarm on
the ACS
USB adapter meets IEC 61000-4-
5 standard which is a voltage
surge up to 4000V
Access to Ports 443 and 80/123
blocked
**CC-WF25 cannot connect to Wi-Fi, *CAM-
PR goes into missed readings on the ACS
Contact IT Department to unblock
ports to **CC-WF25
**CC-WF25 is moved or is out of
range from the Wi-Fi signal
*CAM-PR goes into missed readings on the
ACS, **CC-WF25 can no longer report
Move **CC-WF25 to Router
**CC-WF25 no longer reports,
*CAM-PR goes into missed
readings
*CAM-PR goes into missed readings on the
ACS, **CC-WF25 can no longer report
Consult IT Department
**CC-WF25 no longer reports,
*CAM-PR goes into missed
readings
*CAM-PR goes into missed readings on the
ACS, **CC-WF25 can no longer report
Consult IT Department
*CAM-PR no longer reports to
**CC-WF25, *CAM-PR goes into
missed readings
*CAM-PR goes into missed readings on the
ACS, **CC-WF25 can no longer connect to
*CAM-PR
Check Net ID of *CAM-PR and
**CC-WF25, Change if needed
Leaking gas out of Regulator
Loss of Product when not in use, this can be seen
on the ACS Pressure Graph or potentially heard
Use ACS to confirm, tighten or
re-tape regulator, potential RMA
of Regulator
Leaking gas out of Regulator
Loss of Product when not in use, this can be seen
on the ACS Pressure Graph or potentially heard
Use ACS to confirm, Replace O-
ring seal on regulator, potential
RMA of Regulator
Leaking gas out of Regulator
Loss of Product when not in use, this can be seen
on the ACS Pressure Graph or potentially heard
Use ASC to confirm, Replace
Components or consult ARS.
Potential RMA of Regulator
System is exposed to different size
cylinders at one location
Customer or SAP will need to notify System
Customer or SAP will need to
notify ARS to manually adjust
inventory
Each device has a Unique MAC ID
unique to that device
Loss of Devices in the field
Track devices when shipped and
provisioned
Incorrect provisioning information
given to ARS
Device unable to be configured
Outline clearly the required
information from the customer
Incorrect Wi-Fi Credentials
Device unable to be provisioned
Outline clearly the required
information from the customer
Table 2: Troubleshooting Guidelines

USER MANUAL CYLINDER ASSET MONITOR Rev. 12
19 | Page
10.0 Regulatory Statements and Labels
10.1 Product Labels
Label 1: CAM Wi-Fi Concentrator TI Module
(CAM-CC3200M) Product Label. To Scale
Label 1 Exploded View: CAM Wi-Fi
Concentrator TI Module (CAM-CC3200M)
Product Label. Not to Scale
Label 2: CAM Pressure Remote (CAM-PR)
Product Label. To Scale
Label 2 Exploded View: CAM Pressure Remote
(CAM-PR) Product Label. Not to Scale
Label 3: CAM Wi-Fi Concentrator (CC-WF25)
Product Label. To Scale
Label 3 Exploded View: CAM Wi-Fi
Concentrator (CC-WF25) Product Label. Not to
Scale
Model #: CAM-CC3200M
FCC ID: 2ALBX-CAMWFCTIR01
IC: 22533-CAMWFCTIR01
Model #: CAM-CC3200M
FCC ID: 2ALBX-CAMWFCTIR01
IC: 22533-CAMWFCTIR01
Product Name: Wi-Fi Concentrator
Model #: CC-WF25
FCC ID: 2ALBX-CAMWFCTIR01
IC: 22533-CAMWFCTIR01
Contains: FCC ID: 2ALBX-CAMWFCTIR01
Contains: IC: 22533-CAMWFCTIR01
This device complies with Part 15 of the FCC rules. Operation is subject to the following
two conditions: 1.) This device may not cause harmful interference. 2.) This device must
accept any interference received, including i
nterference that may cause undesired
operations.
Power Supply: 5.0VDC, 0.5A
Product Name: Wi-Fi Concentrator
Model #: CC-WF25
FCC ID: 2ALBX-CAMWFCTIR01
IC: 22533-CAMWFCTIR01
Contains: FCC ID: 2ALBX-CAMWFCTIR01
Contains: IC: 22533-CAMWFCTIR01
This device complies with Part 15 of the FCC rules. Operation is subject to the
following two conditions: 1.) This device may not cause harmful interference.
2.) This device must accept
any interference received, including interference
that may cause undesired operations.
Power Supply: 5.0VDC, 0.5A
Product Name: CAM Pressure Remote
Model #: CAM-PR
FCC ID: 2ALBX-CAMPRMR01
IC: 22533-CAMPRMR01
This device complies with Part 15 of the FCC rules.
Operation is subject to the following two
conditions: 1.) This device may not cause harmful
interference. 2.) This device must accept any
interference receiv
ed, including interference that
may cause undesired operations.
Product Name: CAM Pressure Remote
Model #: CAM-PR
FCC ID: 2ALBX-CAMPRMR01
IC: 22533-CAMPRMR01
This device complies with Part 15 of the FCC rules.
Operation is subject to the following two conditions:
1.) This device may not cause harmful interference.
2.) This device must accept any interference
received, including interference that may cause
undesired operations.

USER MANUAL CYLINDER ASSET MONITOR Rev. 12
20 | Page
10.2 Regulatory Statement
10.2.1 FCC Statement
Figure 20: FCC Mark for CAM Pressure Remote and CAM Wi-Fi Concentrator
DUST Manager Module FCC ID: 2ALBX-CAMWFCLR01
DUST Remote Module FCC ID: 2ALBX-CAMPRMR01
TI Module FCC ID: 2ALBX-CAMWFCTIR01
47 CFR 15.19 –This device complies with Part 15 of the FCC rules. Operation is subject to the following
two conditions:
1) This device may not cause harmful interference.
2) This device must accept any interference received, including interference that may cause
undesired operations.
47 CFR 15.105 – This equipment has been tested and found to comply with the limits for a Class B
digital device, pursuant to part 15 of the FCC Rules. These limits are designed to provide reasonable
protection against harmful interference in a residential installation. This equipment generates, uses and
can radiate radio frequency energy and, if not installed and used in accordance with the instructions, may
cause harmful interference to radio communications. However, there is no guarantee that interference will
not occur in a particular installation. If this equipment does cause harmful interference to radio or
television reception, which can be determined by turning the equipment off and on, the user is encouraged
to try to correct the interference by one or more of the following measures:
• Reorient or relocate the receiving antenna.
• Increase the separation between the equipment and receiver.
• Connect the equipment into an outlet on a circuit different from that to which the receiver is
connected.
• Consult the dealer or an experienced radio/TV technician for help.
47 CFR 15.21 – Changes or modifications not expressly approved by the party responsible for
compliance could void the user’s authority to operate the CAM System.
47 CFR 15.18.213 – Information on the following matters shall be provided to the user in the instruction
manual or on the packaging if an instruction manual is not provided for any type of ISM equipment:
• The interference potential of the device or system.
• Maintenance of the system.
• Simple measures that can be taken by the user to correct interference.
• The CAM System may cause interference to radio equipment and should not be installed near
maritime safety communications equipment or other critical navigation or communication
equipment operating between 0.45-30 MHz.

USER MANUAL CYLINDER ASSET MONITOR Rev. 12
21 | Page
10.2.2 Innovations, Science and Economics Development Canada ISEDC Statement
DUST Manager Module IC ID: 22533-CAMWFCLR01
DUST Remote Module IC ID: 22533-CAMPRMR01
TI Module IC ID: 22533-CAMWFCTIR01
Under Industry Canada regulations, this radio transmitter may only operate using an antenna of a type and
maximum (or lesser) gain approved for the transmitter by Industry Canada.
To reduce potential radio interference to other users, the antenna type and its gain should be so chosen
that the equivalent isotopically radiated power (e.i.r.p.) is not more than that necessary for successful
communication.
Conformément à la réglementation d'Industrie Canada, le présent émetteur radio peut fonctionner avec
une antenne d'un type et d'un gain maximal (ou inférieur) approuvé pour l'émetteur par Industrie Canada.
Dans le but de réduire les risques de brouillage radioélectrique à l'intention des autres utilisateurs, il faut
choisir le type d'antenne et son gain de sorte que la puissance isotrope rayonnée équivalente (p.i.r.e.) ne
dépasse pas l'intensité nécessaire à l'établissement d'une communication satisfaisante.
RSS-GEN. ISSUE 4, SECTION 8.3 – This radio transmitter (22533-CAMWFCLR01, CC-WF25 &
22533-CAMWFCTIR01, CC-WF25) has been approved by Industry Canada to operate with the antenna
types listed below with the maximum permissible gain and required antenna impedance for each antenna
type indicated. Antenna types not included in this list, having a gain greater than the maximum gain
indicated for that type, are strictly prohibited for use with this device.
Le présent émetteur radio (22533-CAMWFCLR01, CC-WF25 & 22533-CAMWFCTIR01, CC-WF25) a
été approuvé par Industrie Canada pour fonctionner avec les types d'antenne énumérés ci-dessous et ayant
un gain admissible maximal et l'impédance requise pour chaque type d'antenne. Les types d'antenne non
inclus dans cette liste, ou dont le gain est supérieur au gain maximal indiqué, sont strictement interdits
pour l'exploitation de l'émetteur.
Manufacture
Description
Quantity
Part Number
Tekfun
2dBi 2.4GHz Antenna, RP-SMA (M) L=109, White
2
M04-SR-W
Table 3: Description of Detachable Antenna used in Wi-Fi Concentrator
RSS-GEN. ISSUE 4, SECTION 8.4 – This device complies with Industry Canada’s license-exempt
RSSs. Operation is subject to the following two conditions:
1) This device may not cause interference; and
2) This device must accept any interference, including interference that may cause undesired
operation of the device.

USER MANUAL CYLINDER ASSET MONITOR Rev. 12
22 | Page
10.2.3 TUV Statement
Figure 21: CAM Pressure Remote and CAM
Wi-Fi Concentrator TUV Mark
The Cylinder Asset Monitor CAM Pressure Remote and CAM Wi-Fi Concentrator has been tested to the
IEC 61010-1 3rd edition standard by TUV Rheinland®.
IEC 61010-1 3rd EDITION, CLAUSE 5.2 – If OPERATOR wishes to gain internal access, using the
provided SCREWDRIVER, the equipment must first be isolated or disconnect from the HAZARDOUS
LIVE voltage before access.
Figure 22: Warning Marking. Symbol 14 of Table 1, IEC 61010-1 3rd EDITION
IEC 61010-1 3rd EDITION, CLAUSE 5.4.4 – If the equipment is used in a manner not specified by the
manufacturer, the protection provided by the equipment may be impaired.

USER MANUAL CYLINDER ASSET MONITOR Rev. 12
23 | Page
11.0 Airgas Contacts
Airgas Specialty Gases
Engineered Solutions Group
21610 Alexander Road.
Oakwood Village, OH 44146
Phone: 440.232.7242 / 800.282.1524
Fax: 440.232.7799
Airgas Specialty Gases
Airgas Research & Development
180 Sandbank Road.
Cheshire, CT 06410
Phone: 203.272.5800
Airgas Specialty Gases
Airgas Retail Solution
7401 114th Avenue.
Largo, FL 33773
Phone: 727.341.8207 / 800.329.0010

USER MANUAL CYLINDER ASSET MONITOR Rev. 12
24 | Page
Appendix
Appendix A - CAM Pressure Remote (CAM-PR) Specification
Description
Specification
Product Type
Inert Gases
YES
Corrosive Gases
YES
Flammable
NO
Performance
Accuracy
3% @ 25°C (77°F)
Overall Range
Indoor 100ft, Outdoor 300ft
Pressure Range
0 to 3000 PSI
LCD Update Rate
5 seconds
Reporting Rate
5 minutes
Environmental
Operating Temperature
-20°C to 70°C (-4°F to 158°F)
Shock Rating
Standard Under Test (UT)
Vibration Rating
Standard UT
Water Proof Rating
IP-65
Mechanical
Mechanical Connection
Only 1 (Transducer)
Mechanical Fitting
1/4 MNPT Male, 1/8 MNPT Male, 1/4 VCR
Wetted Material
316L Stainless Steel
Electrical
Battery Supply
2 x AA 3.6VDC Lithium Batteries
Battery Supply Life
5 Years @ 12 samples per hour
Housing Material
Covestro Makrolon TP0585
Display
LCD 128 x 128
Dimensions
76mm x 76mm x 28mm
Communication
Output
Dust Eterna™ 802.15.4
Output Frequency
2.4GHz
Encryption
AE128 bit
Access Control
Media Access Control
Identifier
Service Set Identifier
Software Updates
Remote Firmware Update
Compliance
FCC
Part 15, Class C (pending)
IEC 61010-1
TUV Compliant (pending)
Table 4: CAM Pressure Remote Specification

USER MANUAL CYLINDER ASSET MONITOR Rev. 12
25 | Page
Appendix B - CAM Wi-Fi Concentrator (CC-WF25) Specification
Description
Specification
Performance
Overall Range
Indoor 100ft, Outdoor 300ft
Update Time
1 sample per 5 sec
Total Remotes
25 Remotes
Environmental
Operating Temperature
-20°C to 70°C (-4°F to 158°F)
Shock Rating
Standard UT
Vibration Rating
Standard UT
Water Proof Rating
Dust Protected
Electrical
Power Supply
USB Mini Power Supply: 5.0VDC, 0.5A
Enclosure
Enclosure
Covestro Makrolon TP0585
Display
LCD 128 x 128
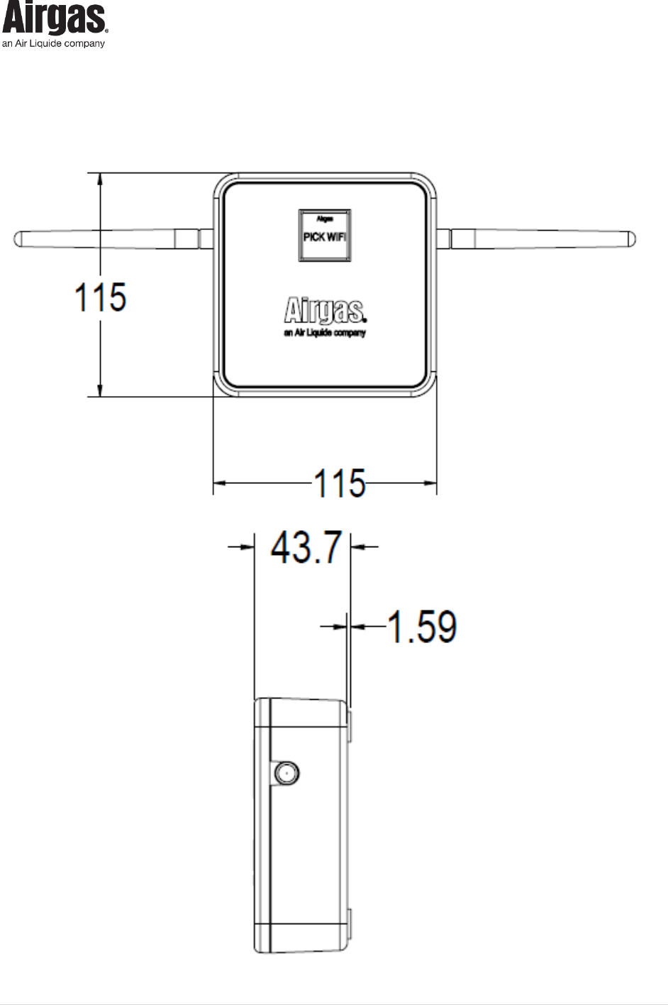
Dimensions
115mm x 115mm x 44mm
Communication
Input
Dust Eterna™ 802.15.4
Output
IEEE 802.11 b, g, n
Radio Frequency
2.4GHz
Encryption
Wireless encryption standard
Access Control
Media Access Control
Identifier
Service Set Identifier
Software Updates
Remote Firmware Update
Compliance
FCC
Part 15, Class C (pending)
IEC 61010-1
TUV Compliant (pending)
Table 5: CAM Wi-Fi Concentrator Specification

USER MANUAL CYLINDER ASSET MONITOR Rev. 12
26 | Page
Appendix C - CAM Pressure Remote (CAM-PR) Mechanical Drawing
Figure 23: CAM Pressure Remote Mechanical Drawing (mm)

USER MANUAL CYLINDER ASSET MONITOR Rev. 12
27 | Page
Appendix D - CAM Wi-Fi Concentrator (CC-WF25) Mechanical Drawing

USER MANUAL CYLINDER ASSET MONITOR Rev. 12
28 | Page
Figure 24: CAM Wi-Fi Concentrator Mechanical Drawing (mm)
Appendix E - Acronyms
Acronym
Description
CAM
Cylinder Asset Monitor
PPE
Personal Protective Equipment
VAC
Voltage Alternating Current
VDC
Voltage Direct Current
cm
Centimeters
ESD
Electrostatic Discharge
IP-65
Ingress Protection - 65
AP
Access Point
ACS
Airgas Cloud Services
USB
Universal Serial Bus
CAM-PR
Cylinder Asset Monitor Pressure Remote
CAM-WF25
Cylinder Asset Monitor Wi-Fi Concentrator
UT
Under Test
PSI
Pounds per Square Inches
°C
Degress Celcius
e.i.r.p
Equivalent Isotopically Radiated Power
°F
Degress Faharenheit
IE
Internet Explorer
IP
Internet Protocol
OH
Ohio
CT
Connecticut
FL
Florida
FCC
Federal Communications Commission
IEC
International Electrotechnical Commission
LCD
Liquide Crystal Display
mm
Millimeters
Ft
Feet
dB
Decibel
GHz
Gigahertz
MHz
Megahertz
ARS
Airgas Retail Solutions
NTP
National Pipe Thread
RF
Radio Frequency
RMA
Return Merchandise Authorization
MAC
Media Access Control
TI
Texas Instruments
IC
Industry Canada
TV
Television
A
Amperes
Table 6: Acronyms