Alien Technology ALR9650 RFID Reader User Manual Hardware Setup Guide

Alien Technology Corporation RFID Reader Hardware Setup Guide

Contents

Hardware Setup Guide

  ALIEN TECHNOLOGY®    ALR-9650  HARDWARE SETUP GUIDE  January 2008   ALR-9650
Legal Notices Copyright ©2007 Alien Technology Corporation. All rights reserved.  Alien Technology Corporation has intellectual property rights relating to technology embodied in the products described in this document, including without limitation certain patents or patent pending applications in the U.S. or other countries.  This document and the products to which it pertains are distributed under licenses restricting their use, copying, distribution and de-compilation. No part of this product documentation may be reproduced in any form or by any means without the prior written consent of Alien Technology Corporation and its licensors, if any. Third party software is copyrighted and licensed from Licensors. Alien, Alien Technology, the Alien logo, Nanoblock, FSA, Gen2Ready, Squiggle, the Squiggle logo, Nanoscanner and other graphics, logos, and service names used in this document are trademarks of Alien Technology Corporation in the U.S. and other countries. All other trademarks are the property of their respective owners. U.S. Government approval required when exporting the product described in this documentation.  Federal Acquisitions: Commercial Software -- Government Users Subject to Standard License Terms and Conditions. U.S. Government: If this Software is being acquired by or on behalf of the U.S. Government or by a U.S. Government prime contractor or subcontractor (at any tier), then the Government's rights in the Software and accompanying documentation shall be only as set forth in this license; this is in accordance with 48 C.F.R. 227.7201 through 227.7202-4 (for Department of Defense (DoD) acquisitions) and with 48 C.F.R. 2.101 and 12.212 (for non-DoD acquisitions).  DOCUMENTATION IS PROVIDED “AS IS” AND ALL EXPRESS OR IMPLIED CONDITIONS, REPRESENTATIONS AND WARANTEES, INCLUDING ANY IMPLIED WARRANTY OF MERCHANTABILITY, FITNESS FOR A PARTICULAR PURPOSE OR NON-INFRINGMENT ARE HEREBY DISCLAIMED, EXCEPT TO THE EXTENT THAT SUCH DISCLAIMERS ARE HELD TO BE LEGALLY INVALID.  FCC Compliance This equipment has been tested and found to comply with the limits for Class A digital device, pursuant to Part 15 of the FCC Rules. These limits are designed to provide reasonable protection against harmful interference when the equipment is operated in a commercial environment. This equipment generates, uses and can radiate radio frequency energy and, if not installed and used in accordance with instruction manual, may cause harmful interference with radio communications. Operation of this equipment in a residential area is likely to cause harmful interference in which case the user will be required to correct the interference at his expense.  Any change or modification to this product voids the user’s authority to operate per FCC Part 15 Subpart A. Section 15.21 regulations.  Industry Canada Compliance Operation is subject to the following two conditions: (1) this device may not cause interference and (2) this device must accept any interference, including interference that may cause undesired operation of the device. This device has been designed to operate with an antenna having a maximum gain of 6dBi. Antenna having a higher gain is strictly prohibited per regulations of Industry Canada.  The required antenna impedance is 50 ohms. To reduce potential radio interference to other users, the antenna type and its gain should be so chosen that the equivalent isotropically radiated power (EIRP) is not more than that required for successful communication.  Caution Reader antennas should be positioned so that personnel in the area for prolonged periods may safely remain at least 23 cm (9 in) in an uncontrolled environment from the antenna’s surface. See FCC OET Bulletin 56 “Hazards of radio frequency and electromagnetic fields” and Bulletin 65 “Human exposure to radio frequency electromagnetic fields.”
  TABLE OF CONTENTS  ALR-9650 HARDWARE SETUP GUIDE DOC. CONTROL  #8102091-000 REV A  iAlien Technology® Hardware Setup Guide ALR-9650 November 2007  Table of Contents CHAPTER 1 INTRODUCTION.....................................................................................................................1 Audience .......................................................................................................................................................1 RFID Reader Overview.................................................................................................................................2 EPC Class 1 GEN 2 UHF RFID Tags...........................................................................................................2 Requirements................................................................................................................................................3 Specifications ................................................................................................................................................3 RFID Reader...........................................................................................................................................3 RFID Reader External Circular Polarized Antenna ................................................................................4 RFID Reader External Linear Polarized Antenna...................................................................................4 Mechanical:  Reader Physical Size ........................................................................................................5 I/O Port Terminal Interface .....................................................................................................................5 I/O Port Screw Terminal (Female) – Looking at Reader..................................................................6 RS-232 Port Pinouts...............................................................................................................................7 RS-232 Connector (Female) – Looking at Reader ..........................................................................7 System Architecture ...............................................................................................................................7 CHAPTER 2 READER HARDWARE INSTALLATION AND OPERATION................................................8 Receiving the RFID Reader ..........................................................................................................................8 Reader I/O Panel....................................................................................................................................9 Diagnostic LEDs .....................................................................................................................................9 Antenna Panel.............................................................................................................................................10 System Assembly and Bench Test .............................................................................................................11 Bench Test Configuration.....................................................................................................................11 Bench Test Procedure..........................................................................................................................15 Installation ...................................................................................................................................................16 Requirements .......................................................................................................................................16 Hardware Installation Procedure ..........................................................................................................17 System Operation: Software Control ..........................................................................................................19 Reader Interface Guide ........................................................................................................................19 Demonstration Software Guide ............................................................................................................20 Alien RFID Academy ............................................................................................................................20
TABLE OF CONTENTS    ALR-9650 HARDWARE SETUP GUIDE   DOC. CONTROL  #8102091-000 REV A ii (This page intentionally left blank)
CHAPTER 2 READER HARDWARE INSTALLATION AND OPERATION ALR-9650 HARDWARE SETUP GUIDE DOC. CONTROL  #8102091-000 REV A  1CHAPTER 1 Introduction  This Hardware Setup Guide provides instructions for installing and operating the ALR-9650 RFID Readers.   This document is designed for use by RFID system integrators and software developers - those who wish to develop software products and extended systems that take full advantage of the RFID Reader's capabilities.  Included with each reader or developer kit is a CD-ROM that contains additional information about RFID and the ALR-9650 including the following:   RFID Primer  – an overview of RFID technology and a glossary of terms.  Reader Interface Guide – an overview of the communication interfaces for the ALR-9650.  Quick Installation Guide – a quick start guide for installing and running the ALR-9650 reader  Quick Reference – a quick reference guide summarizing the Alien Reader Protocol command set.   Demo Software Guide  – details installing and operating the Alien RFID Gateway demonstration software.  Quick Upgrade Guide  – briefly explains how to use the demonstration software to upgrade the ALR-9650. The ALR – 9650 can only be upgraded through the LAN/PoE port.  In addition the developer’s kit includes the Software Developers Kit providing developer’s guides, API’s and example code.  Please insert the CD that came with your reader and follow the on-screen prompts to access these guides. Audience For the purposes of this document, we assume the readers of the Hardware Setup Guide:  Are competent PC users  Have minimal previous knowledge of Radio-Frequency Identification (RFID) technology  Are experienced in software development and/or hardware systems integration
READER HARDWARE INSTALLATION AND OPERATION CHAPTER 2    ALR-9650 HARDWARE SETUP GUIDE   DOC. CONTROL  #8102091-000 REV A 2 RFID Reader Overview The Alien ALR-9650 RFID reader is designed to read and program any EPC Class 1 Generation 2 tag and issue event reports to a host computer system. The host computer can be locally connected to the reader via RS-232, or at a remote network location.  It is designed to accept power through an IEEE 802.3af compliant network or a conventional 24 Volt DC power brick.   The RFID Reader is delivered with the following components and accessories:  One (1) RFID Reader  One (1) RS-232 serial cable (to connect to host computer)  One (1) Network cross-over cable (to connect the Power over Ethernet power supply directly to host a computer)  One (1) PoE power supply  One (1) AC power cord   One (1) standard network cable to connect the PoE power supply to the reader.  CD-ROM containing demonstration software, user guides, documentation and the Alien RFID Gateway Application   A standard 24 volt DC power brick is also available as an option. Additionally, the RFID Reader Developer's Kit includes the following items:   An auxiliary circular antenna  Software APIs and example code  An assortment of Class 1 Gen 2 UHF tags EPC Class 1 GEN 2 UHF RFID Tags The Alien ALR-9650 RFID reader is designed to read and program any EPC Class 1 Generation 2 tag and issue event reports to a host computer system.    Class 1 tags are “passive” devices meaning they do not have a battery or other onboard power source. They are powered solely by the RF energy transmitted by an RFID reader.   Tags communicate with the reader through backscatter modulation in which the tags do not transmit RF energy.  Instead, they change their reflective characteristics in a controlled way and reflect RF energy back to the reader.  An analogy to this is the way you can use a mirror to signal someone by reflecting light from the Sun.    Alien Technology manufactures user-programmable EPC Class 1 Generation 2 tags compliant with all key commercial and DoD mandates.  Alien Technology offers a variety of designs capable of delivering optimal performance worldwide, including Europe and Asia.  For more information about RFID tags from Alien Technology, please visit our website at:  http://www.alientechnology.com.
CHAPTER 2 READER HARDWARE INSTALLATION AND OPERATION ALR-9650 HARDWARE SETUP GUIDE DOC. CONTROL  #8102091-000 REV A  3Requirements To interface with the RFID Reader you will need the following:  A PC running Windows 98 or higher, with CD-ROM drive, an available RS-232 serial port and/or Ethernet connectivity  Standard 120/220 VAC 50/60 Hz  Power supply and cord (included with reader)  Host software (Alien Gateway demo software or your own custom software) Specifications Specifications for key components of the RFID Reader system are provided in the tables below: RFID Reader Name  Alien Smartenna Model Number  ALR 9650 Architecture  Point-to-multipoint reader network, mono-static circularly polarized (CP), internal antenna Operating Frequency  902.75 MHz – 927.25 MHz Hopping Channels  50 Channel Spacing  500 KHz Channel Dwell Time  < 0.4 seconds RF Transmitter  < 30 dBm into internal antenna and from auxiliary antenna port. Modulation Method  Phase Reversal – Amplitude Shift Keying (PR-ASK) 20 db Modulation Bandwidth  < 100 KHz RF Receiver  2 Channels Power Consumption  8 Watts  Communications Interface  RS-232 (DB-9), TCPI/IP (RJ-45)  Inputs/Outputs  1 internal antenna, 1 auxiliary antenna port, 2  inputs/2  outputs (TTL compatible), RS-232 com port, LAN, power Dimensions  9 “ (22.9 cm) x 8.4 “ (21.3 cm) x 2 “ (5.1 cm) Weight  Approximately 1.3 kg (2.9 lbs) Operating Temperature  0°C to +50°C  (32 °F to +122°F) LED Indicators  DC Power, RF ON, Read, Fault(red), Link, Active  Software Support  APIs, sample code, executable demo app (Alien Gateway) Protocol Support  Comply with EPC Class 1 Gen 2 and 18000 – 6C Compliance Certifications  FCC Part 15; FCCID: P65ALR9650;    IOC: 4370A-ALR9650
READER HARDWARE INSTALLATION AND OPERATION CHAPTER 2    ALR-9650 HARDWARE SETUP GUIDE   DOC. CONTROL  #8102091-000 REV A 4 RFID Reader External Circular Polarized Antenna  Model  ALR-9611-CR and ALR-9611-CL  3 dB Beamwidth  E-plane: 65 degrees  •  H-plane: 65 degrees Frequency  902-928 MHz Gain (dBi)  6.0 dBiL (maximum) Polarization  Circular RF Connector  6 m LMR-195 with Reverse-Polarity TNC  VSWR  1.5:1 Dimensions  (cm) 22 x 27 x 4  •  (in) 8.5 x 10.5 x 1.65  Weight  0.6 kg  • 1.25 lb  RFID Reader External Linear Polarized Antenna  Model  ALR-9610 – AL 3 dB Beamwidth  65 degrees   Gain   6.0 dBiL (maximum) Polarization  Linear RF Connector  6 m LMR-195 with Reverse-Polarity TNC VSWR  1.5:1 Dimensions  (cm) 20 x 28 x 4  •  (in) 7.7 x 11.2 x 1.65 Weight  0.6 kg  • 1.25 lb
CHAPTER 2 READER HARDWARE INSTALLATION AND OPERATION ALR-9650 HARDWARE SETUP GUIDE DOC. CONTROL  #8102091-000 REV A  5Mechanical:  Reader Physical Size   Figure 1 - Outline Drawing of the ALR-9650 I/O Port Terminal Interface The ALR-9650 I/O port provides two digital inputs, two digital outputs and a ground return.  The design provides protection against momentary over and reverse voltage application to the inputs or outputs and short circuit of the outputs.  The inputs and outputs are TTL compatible.  When set high, outputs will sink ~1 mA with 5 volts applied. Caution:  The absolute maximum voltage applied to any input or output shall not exceed 5.5 volts.  The user must control the output circuit impedance achieve the recommended operating conditions below.  Operation outside these guidelines may result in damage.  I/O Recommended Operating Conditions Inputs    Logic “0”  0 – 0.8 VDC Logic “1”  2.0 – 5.25 VDC Outputs   Isource  20 mA @ 3 VDC Isink  20 mA @ 0.5 VDC
READER HARDWARE INSTALLATION AND OPERATION CHAPTER 2    ALR-9650 HARDWARE SETUP GUIDE   DOC. CONTROL  #8102091-000 REV A 6 Unlike the Alien Enterprise Readers (ALR – 9800 and ALR – 9900) the  ALR - 9650 I/O’s are not optically isolated.  Instead they are buffered internally.  As a result the outputs can source up to 20 mA’s without the external supply required for the Enterprise Readers.  Outputs should be protected from transients such as inductive kickback so as to not exceed the absolute maximum voltage allowed at the outputs.  The circuit diagram below illustrates the input and output equivalent circuits.          Figure 2 - Input and Output Circuits   I/O Port Screw Terminal Connector (Phoenix 5 pin header) Pin 1  Input 0                 (TTL Compatible) Pin 2  Input 1                 (TTL Compatible) Pin 3  Output 0              (TTL Compatible) Pin 4  Output 1              (TTL Compatible) Pin 5  Ground     I/O PORT SCREW TERMINAL (FEMALE) – LOOKING AT READER  1  2  3  4  5
CHAPTER 2 READER HARDWARE INSTALLATION AND OPERATION ALR-9650 HARDWARE SETUP GUIDE DOC. CONTROL  #8102091-000 REV A  7RS-232 Port Pinouts RS-232 Connector (Female DB-9F) Pin 1  DCD Connected to Pin 6 Pin 2  TR1 Transmit Data (Output) Pin 3  RC1 Receive Data (Input)  Pin 4  DTR Connected to Pin 6 Pin 5  Ground Pin 6  DSR Connected to Pin 4 Pin 7  RTS Connected to Pin 8 Pin 8  CTS Connected to Pin 7 Pin 9  Not Connected  RS-232 CONNECTOR (FEMALE) – LOOKING AT READER   System Architecture AntennaSwitchRFModulatorRFReceiverRF SourceDigitalControlCircuitryHost CommunicationInterfaceA0A1Internal CPAntennaExternalAntenna Figure 3 - System Architecture for the ALR-9650 Reader  543219 8 7 6
READER HARDWARE INSTALLATION AND OPERATION CHAPTER 2    ALR-9650 HARDWARE SETUP GUIDE   DOC. CONTROL  #8102091-000 REV A 8 CHAPTER 2 Reader Hardware Installation and Operation  This chapter describes the RFID Reader and provides installation and operation information. Receiving the RFID Reader Your RFID Reader Kit is shipped with the items listed below. Please verify the contents of your received shipment before assembling.   RFID Reader  Power supply and AC power cable and standard Ethernet Cable.  RS-232 reader-to-PC cable   One Ethernet cross-over cable for direct connection to a local host / PC  CD-ROM containing demonstration software, user guides and documentation  Additionally, the RFID Reader Developer's Kit includes the following items:   A circular antenna   Software APIs and example code  An assortment of Class 1 Gen 2 UHF tags Figure 4 - ALR-9650 Reader Kit
CHAPTER 2 READER HARDWARE INSTALLATION AND OPERATION ALR-9650 HARDWARE SETUP GUIDE DOC. CONTROL  #8102091-000 REV A  9Reader I/O Panel The I/O panel (shown below) houses the following:  Auxiliary Antenna Port (RP-TNC)  9-pin D female RS-232 serial port  5-pin I/O terminal block (GPIO)  Auxiliary DC Power connector  LAN TCP/IP and PoE port Diagnostic LEDs   The ALR-9900 includes diagnostic LEDs on the face of the reader to provide easy and convenient external indication for various operating conditions: On the Front Panel you will find:  POWER (green) –indicates power is applied to the reader.  RF Power On (green) –indicates that the reader is transmitting.  READ (green) –indicates that the reader is receiving data from a tag.  FAULT (red) – indicates a fault condition with the reader On the RJ 45 connector you will find:  LINK (green) – indicates that the reader is connected to the network  ACTIVE (green) – indicates reader is transmitting on the network Figure 5 - ALR-9650 Reader Connections
READER HARDWARE INSTALLATION AND OPERATION CHAPTER 2    ALR-9650 HARDWARE SETUP GUIDE   DOC. CONTROL  #8102091-000 REV A 10 Figure 6 – ALR-9650 Front Panel Reader Diagnostic LEDs Antenna Panel The ALR – 9650 includes an internal, circularly polarized antenna and an auxiliary antenna port.  The Auxiliary port is found on the connector panel.  It is a reverse-polarity TNC connector.     Figure 7 - Antenna Connections
CHAPTER 2 READER HARDWARE INSTALLATION AND OPERATION ALR-9650 HARDWARE SETUP GUIDE DOC. CONTROL  #8102091-000 REV A  11System Assembly and Bench Test Assembling the RFID Reader system is easy. We recommend you set up the system and verify its operation in a bench test configuration before installing it in a production setting.  Bench Test Configuration 1.  Place the Reader on a tabletop. Ensure the following conditions:  A standard 120 or 220 VAC outlet is nearby.  Sufficient space is available on the tabletop for the reader and antenna.   Figure 8 – Power, RS-232 and LAN Connections  2.  Connect the RS-232 cable to the reader.   Align the male cable connector so that its shape and pins match the shape and holes of the female DB-9 RS-232 port.  Figure 9 - RS-232 Connector   Push the aligned connector into the port.  Finger-tighten the screws to secure the cable/connector to the reader. 3.  Connect the RS-232 cable to the serial port on the PC.  Settings for RS-232 are 115200 Bits per second, 8 data bits, no parity, 1 stop bit, and no flow control.  Start up terminal software on the PC, such as HyperTerminal with these settings, and be prepared to observe the reader's messages as it boots up.
READER HARDWARE INSTALLATION AND OPERATION CHAPTER 2    ALR-9650 HARDWARE SETUP GUIDE   DOC. CONTROL  #8102091-000 REV A 124.  Connect the power supply to the reader.   The reader may be powered through either the PoE power supply provided in the Reader Kit, an optional AC/DC brick available from Alien Technology or through an 802.3af compliant network.    WARNING:  If you do not use an 802.3af compliant network to supply DC power you must use power supplies provided by Alien Technology.  Failure to do so voids the product warranty and violates the terms of the FCC license.  If you are using the PoE power supply, use the standard Ethernet cable to connect the reader RJ–45 jack to the “LAN+DC” RJ–45 jack of the power supply.  If you are using the optional AC/DC power supply, connect the DC power jack into the DC power plug of the reader.  Tighten the screw fitting finger tight.  If you are using an 802.3af compliant network, take no action at this time.  Caution:  DO NOT use both the PoE power supply and the optional AC/DC power brick on the same unit at the same time.  DO NOT plug the AC power cord into the supply at this time. 5.  Connect the Ethernet cable to the reader and LAN or PC.  Connecting to the LAN  If you are using the PoE power supply provided with the Reader Kit, connect a standard Ethernet cable from the PoE power supply LAN port  to a nearby LAN drop or network switch.  If you are using the optional AC/DC power brick provided by Alien Technology, connect a standard Ethernet cable to the ALR – 9650 LAN/PoE port and to the LAN drop or network switch..  If you are using an 802.3af compliant network to power the reader defer this step.  Connecting to a PC  If you are using the PoE power supply provided with the Reader Kit, connect a cross-over Ethernet cable from the PoE power supply LAN port  to the PC LAN port.  If you are using the optional AC/DC power brick provided by Alien Technology, connect a scross-over Ethernet cable to the ALR – 9650 LAN/PoE port and to the LAN drop or network switch..  If you are using an 802.3af compliant network to power the reader defer this step.
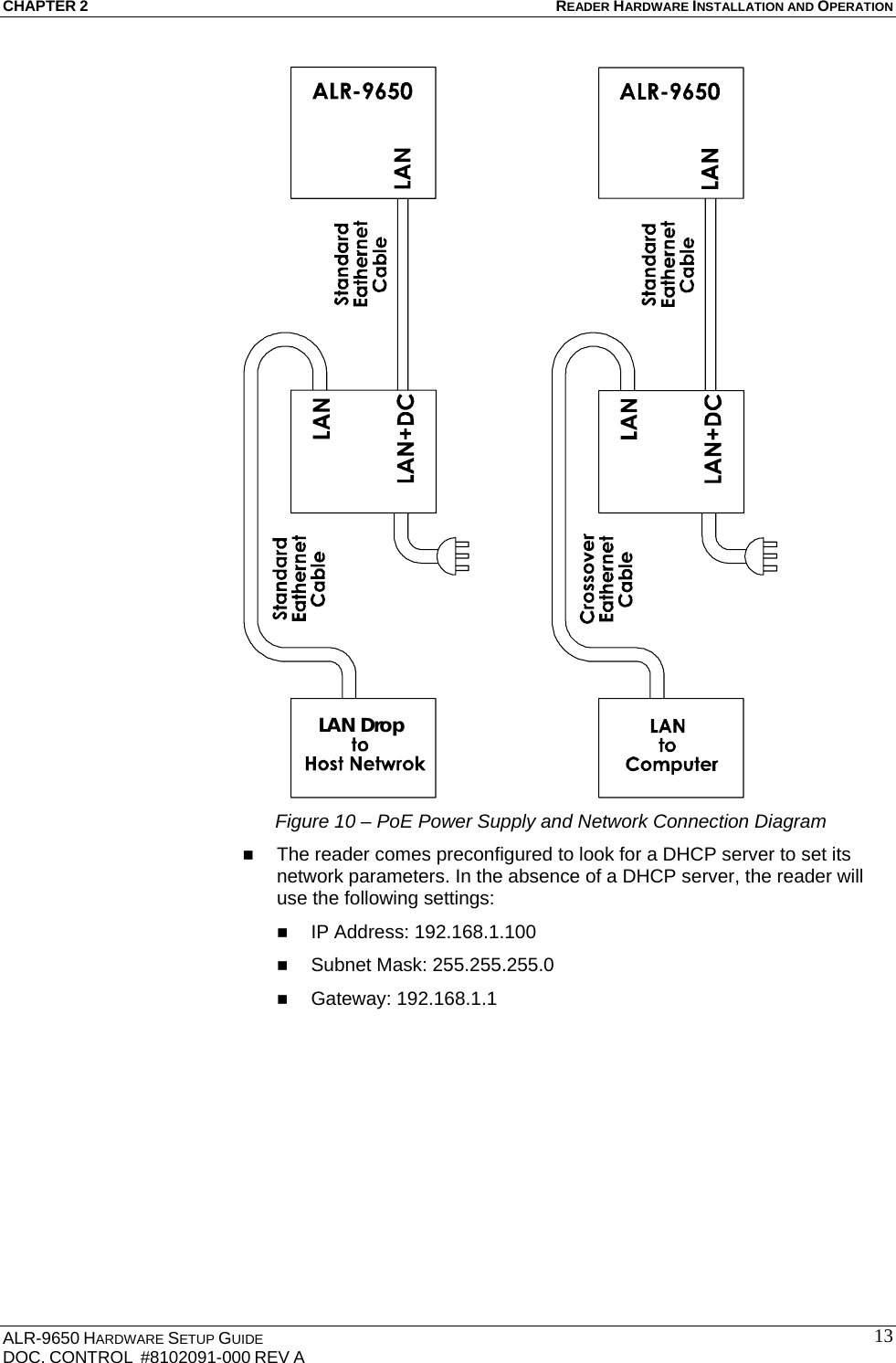
CHAPTER 2 READER HARDWARE INSTALLATION AND OPERATION ALR-9650 HARDWARE SETUP GUIDE DOC. CONTROL  #8102091-000 REV A  13LAN Drop   Figure 10 – PoE Power Supply and Network Connection Diagram  The reader comes preconfigured to look for a DHCP server to set its network parameters. In the absence of a DHCP server, the reader will use the following settings:  IP Address: 192.168.1.100  Subnet Mask: 255.255.255.0  Gateway: 192.168.1.1
READER HARDWARE INSTALLATION AND OPERATION CHAPTER 2    ALR-9650 HARDWARE SETUP GUIDE   DOC. CONTROL  #8102091-000 REV A 14LAN Drop   Figure 11 – DC Brick and Network Connection Diagram 6.  Connect the coaxial cable to the auxiliary antenna port.  The ALR – 9650 is a mono-static system.  A single antenna acts as both transmit and receive.  It provides an internal antenna (ANT 0) and an auxiliary antenna port (ANT 1).  Each antenna provides a single read point.  If you are using only the internal antenna you can skip this step.   Only the antennas listed in this manual and their associated cables (if specified) may be used with this reader.  The auxiliary antenna port (ANT 1) is found on the connector panel on the left hand side if viewing the reader from the top with the connectors at the bottom.  It uses a reverse polarity TNC connector.  If using the Alien Gateway software, please note that ANT 0 is selected by default when first initialized.  To attach an auxiliary antenna align the coax cable’s center pin and push into the port  Screw the fitting from the cable end onto the reader connector clockwise until finger-tight to secure the cable to the reader.
CHAPTER 2 READER HARDWARE INSTALLATION AND OPERATION ALR-9650 HARDWARE SETUP GUIDE DOC. CONTROL  #8102091-000 REV A  157.  Power up the reader  If you are using the PoE Power supply or the AC/DC brick plug the AC power cord into the supply and into the wall outlet.  The green POWER LED will illuminate when power is on.  If you are using an 802.3af compliant network to power the  ALR – 9650 connect a standard LAN cable between the ALR – 9650 LAN/PoE port and the 802.3af enable LAN drop or network switch.  The green POWER LED will illuminate when power is on. 8  Observe the reader's boot-up trace, and determine the network settings. The RS-232 port displays useful information while the reader boots, including network settings. Toward the end of the trace, the reader displays a block of text similar to the following:  --------------------------------------------- Network Settings:     MAC Address : 00:80:66:10:2D:12     DHCP        : 1     IP Address  : 10.9.8.10     Netmask     : 255.255.255.0     Gateway     : 10.9.8.2     DNS         : 10.9.8.1     TimeServer  : time-a.timefreq.bldrdoc.gov     TimeZone    : -7 ---------------------------------------------  Once the reader boots and you see the "Boot>Ready!" prompt, pressing return will bring up the "Alien>" prompt.   9.  Ensure the PC has compatible network settings.  In order for you to be able to connect to the reader over TCP/IP, the host PC must be on the same subnet as the reader. If you are unfamiliar with how to do this, consult your local IT service for assistance.  Once the initial connection is made, you may configure your reader's network settings as you choose. Refer to the Reader Interface Guide for instructions on how to do this. You are now ready to bench test or demonstrate the RFID Reader system.  Bench Test Procedure 1.  Position the reader so you can see the diagnostic LEDs   You may also want to position the PC so you can view the monitor  2.  Access an operational mode suitable for bench testing.  Select Tag Grid on Gateway.  The RF ON light should illuminate.  Refer to the applicable software application user guide for specific instructions. 3.  Move a tag slowly away from the antenna’s range.  Begin with the tag well inside the expected read range (~2m or 6 ft) and move it toward the antenna while observing the LEDs.
READER HARDWARE INSTALLATION AND OPERATION CHAPTER 2    ALR-9650 HARDWARE SETUP GUIDE   DOC. CONTROL  #8102091-000 REV A 164.  Verify the READ LED illuminates when the tag is inside the read window.  READ should be illuminated green. 5.  Verify the host receives the tag data.  Refer to indications specified in applicable user guide to verify the tag was read successfully. 6.  If bench test conditions are verified, proceed to installation.     NOTE: To perform a hard reboot of the system, simply cycle power on the reader. Installation This section provides guidance for configuring components in your RFID system. You should consider the overall design of your specific system before permanently mounting the equipment.   Installation involves all the same connection steps required for bench test. However, instead of placing equipment on a tabletop, the reader, antenna, and their accessories are mounted in your application environment.  Requirements Before installing your RFID Reader system, you will need the following:  A PC running Windows 98 or higher, with Ethernet connectivity and, optionally, one available RS-232 serial port.  An 802.3af compliant network connection or a standard 120 or 220 VAC power for the reader and a standard grounded, three-pronged power cord of desired length (if using the PoE power supply or the AC/DC brick available from Alien Technology).  WARNING:  If you do not use an 802.3af compliant network to supply DC power you must use power supplies provided by Alien Technology.  Failure to do so voids the product warranty and violates the terms of the FCC license.  Host software (Gateway, for example)   (Optional) extra antennas (if desired for additional coverage or configurations)  Additional RS-232 cables or antenna coax cables needed to accommodate routing requirements   Mounting hardware suitable for the surface to which equipment is to be attached.  Use #8 pan head screws 1.125” minimum length.
CHAPTER 2 READER HARDWARE INSTALLATION AND OPERATION ALR-9650 HARDWARE SETUP GUIDE DOC. CONTROL  #8102091-000 REV A  17 Figure 12 - View of the Reader showing mounting holes Hardware Installation Procedure 1.  Select mounting position for antenna(s). CAUTION: Reader antenna should be positioned so that personnel in the area for prolonged periods may safely remain at least 23 cm (9 in) in an uncontrolled environment from the antenna’s surface. See FCC OET Bulletin 56 “Hazards of radio frequency and electromagnetic fields” and Bulletin 65 “Human exposure to radio frequency electromagnetic fields.”  Mount the reader and optional auxiliary antenna (if used) at the periphery of the desired read window so that the position of the most distant tag passing through the window is no farther from the antenna than the maximum range specified for your system design.   Position the reader and optional auxiliary antenna (if used) at a height approximately midway between the highest and lowest expected tag position. (For example, a pallet tag may be the lowest tag position to be read, while the top-most case on a fully stacked pallet may represent your highest tag position.)
READER HARDWARE INSTALLATION AND OPERATION CHAPTER 2    ALR-9650 HARDWARE SETUP GUIDE   DOC. CONTROL  #8102091-000 REV A 18 NOTE: To maintain compliance with FCC regulations, use only antenna cable and power supplies supplied with the unit or approved by Alien Technology for use with the ALR-9650. 2.  Select mounting position for reader. The ALR – 9650 has been designed to provide reliable operation over its operating temperature range.  This is enhanced by proper mounting of the reader during bench test and installation.  When using the reader place it on a solid thermally conductive surface.  Optimum thermal performance is achieved by mounting the unit to a metal mounting plate with direct contact between the reader base and the mounting plate.  When mounting vertically the connector panel should be oriented at the bottom.    When using the auxiliary antenna it should be placed close enough reader to accommodate the cable length without putting strain on the connectors.  Be sure power is available at the selected reader location. [really just for PoE]   Mount units individually.  Do not stack them.   3. Install reader.  Secure the reader through the four mounting holes to its mounting location (wall, post, mounting bracket) using appropriate #8 pan head screws at least 1.125” long. 4.  Install the auxiliary antenna.  Secure the auxiliary antenna (if used) through the mounting holes on either flange to its mounting location using appropriate hardware.  5.  Connect the auxiliary antenna to reader.  Route coax cable from the auxiliary antenna to the reader according to your system design specifications and secure it properly.  Align the connector of the cable with the reader antenna port, push into the port, and finger-tighten the screw fitting. 6.  Connect reader power supply.  If you are using the PoE power supply use a short standard Ethernet cable to connect the reader RJ – 45 jack to the LAN+DC RJ – 45 jack of the power supply.  Align the RJ-45 connector with the corresponding TCP/IP port on the reader or the power supply and push the connector in.  If you are using the optional AC/DC power supply connect the DC power jack into the DC power plug of the reader.  Tighten the screw fitting finger tight.  If you are using an 802.3af compliant network for reader power take no action.  DO NOT use both the PoE power supply and the optional AC/DC power brick on the same unit at the same time.  DO NOT plug the AC power cord into the supply at this time. 7.  Connect reader to the LAN or host PC.
CHAPTER 2 READER HARDWARE INSTALLATION AND OPERATION ALR-9650 HARDWARE SETUP GUIDE DOC. CONTROL  #8102091-000 REV A  19 If you are using the PoE power supply connect the Ethernet cable into the LAN jack of the power supply.  Align the RJ-45 connector with the corresponding TCP/IP port on the power supply and push the connector in.  Connect to the other end to a LAN drop or network switch.  You may optionally connect the reader directly to a PC's network port, but you must use an Ethernet cross-over cable in this situation.  If you are using the optional power brick connect the Ethernet cable into the LAN jack of the reader.  Align the RJ-45 connector with the corresponding TCP/IP port on the reader and push the connector in. Connect to the other end to a LAN drop or network switch.  You may optionally connect the reader directly to a PC's network port, but you must use an Ethernet cross-over cable in this situation.  If you are using an 802.3af compliant network for reader power take no action.  If you wish to observe the reader's bootup trace, or control the reader via RS-232, align and connect a DB-9 serial cable to the reader's RS-232 port, and to the serial port on the PC. Configure your terminal software as described previously in the Bench Test Configuration topic. 8.  Connect reader power.   If you are using the PoE Power supply or the AC/DC brick plug the AC power cord into the supply and into the wall outlet.  The green POWER LED will illuminate when power is on.  If you are using an 802.3af compliant network to power the  ALR – 9650 connect a standard LAN cable between the ALR – 9650 LAN/PoE port and the 802.3af enable LAN drop or network switch.  The green POWER LED will illuminate when power is on 9.  You are now ready to use the reader.  If using the Alien Gateway software, please refer to the Demonstration Software Guide included on your CD. System Operation: Software Control The ALR-9650 RFID Reader is controlled from software running on a host system that communicates with the reader using the ASCII-based Alien Reader Protocol. All applications use this protocol to communicate with the reader.   You may operate the reader from your own application code, using the example code provided on the Developer’s Kit CD, or using the Alien RFID Gateway application which is a demonstration program also included on your CD.   For more details, refer to either the Reader Interface Guide or the Demonstration Software Guide described briefly below. Reader Interface Guide The Alien Reader Protocol, mentioned previously, is described in detail in the Reader Interface Guide. Using this interface, the reader can be configured to read tags when queried or after one of a variety of event triggers (e.g., a rising edge on one of the I/O pins, or a timer).
READER HARDWARE INSTALLATION AND OPERATION CHAPTER 2    ALR-9650 HARDWARE SETUP GUIDE   DOC. CONTROL  #8102091-000 REV A 20Tag data acquired in response to these triggers can be transmitted to the host in a number of formats (e.g., text, XML or custom) and under a number of conditions (e.g., on a new tag being observed, or a tag disappearing from view).   If you are a software developer, the Reader Interface Guide provides the information you will need to connect to the reader from a host computer, communicate with it, and customize its performance.  Demonstration Software Guide The Demonstration Software Guide describes the installation and operation of the Alien RFID Gateway application.   The Alien RFID Gateway application is a useful demonstration program that allows users to explore the reader’s functionality and build customizable demos with a user-friendly interface.   Using the Gateway, the various operating modes of the reader can be controlled and custom interactive demos can be constructed using sounds, images, and text.  Alien RFID Academy Need to absorb RFID systems fast? Enroll in the Alien RFID Academy! In two or three days we'll share our practical expertise in RFID tags, antennas, readers, frequencies, systems, and protocols.   The Alien RFID Academy is a hands-on immersion into the workings, uses, and challenges of RFID technology. Rather than a product pitch, we put products to the test in the classroom, provide students with hands-on exposure in our RFID Solutions Center, and short-cut the learning curve by sharing practical solutions to real-world challenges. You'll learn best industry practice tag placement techniques for packaging and pallets alike.  Upon completion of the training, you will learn how to implement, avoid common costly mistakes, know how to make the correct decisions for your business, how to select the right RFID options for your requirements, and where to find RFID answers.  Alien RFID Intermediate / Advanced Academy Topics: • RFID Physics, Protocols & Practical Applications • Tag Placement & Packaging Considerations • RFID Reader/System Configuration & Optimization • Hands-on Implementation • RFID System Architecture and Integration • Conducting Site-surveys & Contending with Interference  Please visit http://www.alientechnology.com for more information.

Navigation menu