Alien Technology ALR9650 RFID Reader User Manual Hardware Setup Guide
Alien Technology Corporation RFID Reader Hardware Setup Guide
Contents
- 1. Quick Installation Guide
- 2. Hardware Setup Guide
Hardware Setup Guide

 ALIEN TECHNOLOGY® 
ALR-9650 
 HARDWARE 
SETUP GUIDE 
January 2008 
ALR-9650 
Legal Notices 
Copyright ©2007 Alien Technology Corporation. All rights reserved. 
Alien Technology Corporation has intellectual property rights relating to technology embodied in the products 
described in this document, including without limitation certain patents or patent pending applications in the U.S. or 
other countries. 
This document and the products to which it pertains are distributed under licenses restricting their use, copying, 
distribution and de-compilation. No part of this product documentation may be reproduced in any form or by any 
means without the prior written consent of Alien Technology Corporation and its licensors, if any. Third party software 
is copyrighted and licensed from Licensors. Alien, Alien Technology, the Alien logo, Nanoblock, FSA, Gen2Ready, 
Squiggle, the Squiggle logo, Nanoscanner and other graphics, logos, and service names used in this document are 
trademarks of Alien Technology Corporation in the U.S. and other countries. All other trademarks are the property of 
their respective owners. U.S. Government approval required when exporting the product described in this 
documentation. 
Federal Acquisitions: Commercial Software -- Government Users Subject to Standard License Terms and Conditions. 
U.S. Government: If this Software is being acquired by or on behalf of the U.S. Government or by a U.S. Government 
prime contractor or subcontractor (at any tier), then the Government's rights in the Software and accompanying 
documentation shall be only as set forth in this license; this is in accordance with 48 C.F.R. 227.7201 through 
227.7202-4 (for Department of Defense (DoD) acquisitions) and with 48 C.F.R. 2.101 and 12.212 (for non-DoD 
acquisitions). 
DOCUMENTATION IS PROVIDED “AS IS” AND ALL EXPRESS OR IMPLIED CONDITIONS, REPRESENTATIONS 
AND WARANTEES, INCLUDING ANY IMPLIED WARRANTY OF MERCHANTABILITY, FITNESS FOR A 
PARTICULAR PURPOSE OR NON-INFRINGMENT ARE HEREBY DISCLAIMED, EXCEPT TO THE EXTENT THAT 
SUCH DISCLAIMERS ARE HELD TO BE LEGALLY INVALID. 
FCC Compliance 
This equipment has been tested and found to comply with the limits for Class A digital device, pursuant to Part 15 of 
the FCC Rules. These limits are designed to provide reasonable protection against harmful interference when the 
equipment is operated in a commercial environment. This equipment generates, uses and can radiate radio 
frequency energy and, if not installed and used in accordance with instruction manual, may cause harmful 
interference with radio communications. Operation of this equipment in a residential area is likely to cause harmful 
interference in which case the user will be required to correct the interference at his expense. 
Any change or modification to this product voids the user’s authority to operate per FCC Part 15 Subpart A. Section 
15.21 regulations. 
Industry Canada Compliance 
Operation is subject to the following two conditions: (1) this device may not cause interference and (2) this device 
must accept any interference, including interference that may cause undesired operation of the device. 
This device has been designed to operate with an antenna having a maximum gain of 6dBi. Antenna having a higher 
gain is strictly prohibited per regulations of Industry Canada.  The required antenna impedance is 50 ohms. 
To reduce potential radio interference to other users, the antenna type and its gain should be so chosen that the 
equivalent isotropically radiated power (EIRP) is not more than that required for successful communication. 
Caution 
Reader antennas should be positioned so that personnel in the area for prolonged periods may safely remain at least 
23 cm (9 in) in an uncontrolled environment from the antenna’s surface. See FCC OET Bulletin 56 “Hazards of radio 
frequency and electromagnetic fields” and Bulletin 65 “Human exposure to radio frequency electromagnetic fields.” 

  TABLE OF CONTENTS 
ALR-9650 HARDWARE SETUP GUIDE 
DOC. CONTROL  #8102091-000 REV A  i
Alien Technology® 
Hardware Setup Guide 
ALR-9650 
November 2007 
Table of Contents 
CHAPTER 1 INTRODUCTION.....................................................................................................................1 
Audience .......................................................................................................................................................1 
RFID Reader Overview.................................................................................................................................2 
EPC Class 1 GEN 2 UHF RFID Tags...........................................................................................................2 
Requirements................................................................................................................................................3 
Specifications ................................................................................................................................................3 
RFID Reader...........................................................................................................................................3 
RFID Reader External Circular Polarized Antenna ................................................................................4 
RFID Reader External Linear Polarized Antenna...................................................................................4 
Mechanical:  Reader Physical Size ........................................................................................................5 
I/O Port Terminal Interface .....................................................................................................................5 
I/O Port Screw Terminal (Female) – Looking at Reader..................................................................6 
RS-232 Port Pinouts...............................................................................................................................7 
RS-232 Connector (Female) – Looking at Reader ..........................................................................7 
System Architecture ...............................................................................................................................7 
CHAPTER 2 READER HARDWARE INSTALLATION AND OPERATION................................................8 
Receiving the RFID Reader ..........................................................................................................................8 
Reader I/O Panel....................................................................................................................................9 
Diagnostic LEDs .....................................................................................................................................9 
Antenna Panel.............................................................................................................................................10 
System Assembly and Bench Test .............................................................................................................11 
Bench Test Configuration.....................................................................................................................11 
Bench Test Procedure..........................................................................................................................15 
Installation ...................................................................................................................................................16 
Requirements .......................................................................................................................................16 
Hardware Installation Procedure ..........................................................................................................17 
System Operation: Software Control ..........................................................................................................19 
Reader Interface Guide ........................................................................................................................19 
Demonstration Software Guide ............................................................................................................20 
Alien RFID Academy ............................................................................................................................20 

TABLE OF CONTENTS 
  ALR-9650 HARDWARE SETUP GUIDE 
  DOC. CONTROL  #8102091-000 REV A 
ii 
(This page intentionally left blank)

CHAPTER 2 READER HARDWARE INSTALLATION AND OPERATION 
ALR-9650 HARDWARE SETUP GUIDE 
DOC. CONTROL  #8102091-000 REV A  1
CHAPTER 1 
Introduction 
This Hardware Setup Guide provides instructions for installing and operating the 
ALR-9650 RFID Readers. 
This document is designed for use by RFID system integrators and software 
developers - those who wish to develop software products and extended systems 
that take full advantage of the RFID Reader's capabilities. 
Included with each reader or developer kit is a CD-ROM that contains additional 
information about RFID and the ALR-9650 including the following: 
 RFID Primer  – an overview of RFID technology and a glossary of terms. 
 Reader Interface Guide – an overview of the communication interfaces 
for the ALR-9650. 
 Quick Installation Guide – a quick start guide for installing and running 
the ALR-9650 reader 
 Quick Reference – a quick reference guide summarizing the Alien 
Reader Protocol command set.  
 Demo Software Guide  – details installing and operating the Alien RFID 
Gateway demonstration software. 
 Quick Upgrade Guide  – briefly explains how to use the demonstration 
software to upgrade the ALR-9650. The ALR – 9650 can only be 
upgraded through the LAN/PoE port. 
In addition the developer’s kit includes the Software Developers Kit providing 
developer’s guides, API’s and example code. 
Please insert the CD that came with your reader and follow the on-screen 
prompts to access these guides. 
Audience 
For the purposes of this document, we assume the readers of the Hardware 
Setup Guide: 
 Are competent PC users 
 Have minimal previous knowledge of Radio-Frequency Identification 
(RFID) technology 
 Are experienced in software development and/or hardware systems 
integration 

READER HARDWARE INSTALLATION AND OPERATION CHAPTER 2 
  ALR-9650 HARDWARE SETUP GUIDE 
  DOC. CONTROL  #8102091-000 REV A 
2 
RFID Reader Overview 
The Alien ALR-9650 RFID reader is designed to read and program any EPC 
Class 1 Generation 2 tag and issue event reports to a host computer system. 
The host computer can be locally connected to the reader via RS-232, or at a 
remote network location.  It is designed to accept power through an IEEE 802.3af 
compliant network or a conventional 24 Volt DC power brick.   
The RFID Reader is delivered with the following components and accessories: 
 One (1) RFID Reader 
 One (1) RS-232 serial cable (to connect to host computer) 
 One (1) Network cross-over cable (to connect the Power over Ethernet 
power supply directly to host a computer) 
 One (1) PoE power supply 
 One (1) AC power cord  
 One (1) standard network cable to connect the PoE power supply to the 
reader. 
 CD-ROM containing demonstration software, user guides, 
documentation and the Alien RFID Gateway Application  
 A standard 24 volt DC power brick is also available as an option. 
Additionally, the RFID Reader Developer's Kit includes the following items: 
 An auxiliary circular antenna 
 Software APIs and example code 
 An assortment of Class 1 Gen 2 UHF tags 
EPC Class 1 GEN 2 UHF RFID Tags 
The Alien ALR-9650 RFID reader is designed to read and program any EPC 
Class 1 Generation 2 tag and issue event reports to a host computer system.   
Class 1 tags are “passive” devices meaning they do not have a battery or other 
onboard power source. They are powered solely by the RF energy transmitted by 
an RFID reader.  
Tags communicate with the reader through backscatter modulation in which the 
tags do not transmit RF energy.  Instead, they change their reflective 
characteristics in a controlled way and reflect RF energy back to the reader.  An 
analogy to this is the way you can use a mirror to signal someone by reflecting 
light from the Sun.   
Alien Technology manufactures user-programmable EPC Class 1 Generation 2 
tags compliant with all key commercial and DoD mandates.  Alien Technology 
offers a variety of designs capable of delivering optimal performance worldwide, 
including Europe and Asia. 
For more information about RFID tags from Alien Technology, please visit our 
website at: 
http://www.alientechnology.com. 

CHAPTER 2 READER HARDWARE INSTALLATION AND OPERATION 
ALR-9650 HARDWARE SETUP GUIDE 
DOC. CONTROL  #8102091-000 REV A  3
Requirements 
To interface with the RFID Reader you will need the following: 
 A PC running Windows 98 or higher, with CD-ROM drive, an available 
RS-232 serial port and/or Ethernet connectivity 
 Standard 120/220 VAC 50/60 Hz 
 Power supply and cord (included with reader) 
 Host software (Alien Gateway demo software or your own custom 
software) 
Specifications 
Specifications for key components of the RFID Reader system are provided in 
the tables below: 
RFID Reader 
Name  Alien Smartenna 
Model Number  ALR 9650 
Architecture  Point-to-multipoint reader network, mono-static circularly polarized 
(CP), internal antenna 
Operating Frequency  902.75 MHz – 927.25 MHz 
Hopping Channels  50 
Channel Spacing  500 KHz 
Channel Dwell Time  < 0.4 seconds 
RF Transmitter  < 30 dBm into internal antenna and from auxiliary antenna port. 
Modulation Method  Phase Reversal – Amplitude Shift Keying (PR-ASK) 
20 db Modulation Bandwidth  < 100 KHz 
RF Receiver  2 Channels 
Power Consumption  8 Watts  
Communications Interface  RS-232 (DB-9), TCPI/IP (RJ-45)  
Inputs/Outputs  1 internal antenna, 1 auxiliary antenna port, 2  inputs/2  outputs (TTL 
compatible), RS-232 com port, LAN, power 
Dimensions  9 “ (22.9 cm) x 8.4 “ (21.3 cm) x 2 “ (5.1 cm) 
Weight  Approximately 1.3 kg (2.9 lbs) 
Operating Temperature  0°C to +50°C  (32 °F to +122°F) 
LED Indicators  DC Power, RF ON, Read, Fault(red), Link, Active  
Software Support  APIs, sample code, executable demo app (Alien Gateway) 
Protocol Support  Comply with EPC Class 1 Gen 2 and 18000 – 6C 
Compliance Certifications  FCC Part 15; FCCID: P65ALR9650;    IOC: 4370A-ALR9650 

READER HARDWARE INSTALLATION AND OPERATION CHAPTER 2 
  ALR-9650 HARDWARE SETUP GUIDE 
  DOC. CONTROL  #8102091-000 REV A 
4 
RFID Reader External Circular Polarized Antenna  
Model  ALR-9611-CR and ALR-9611-CL  
3 dB Beamwidth  E-plane: 65 degrees  •  H-plane: 65 degrees 
Frequency  902-928 MHz 
Gain (dBi)  6.0 dBiL (maximum) 
Polarization  Circular 
RF Connector  6 m LMR-195 with Reverse-Polarity TNC  
VSWR  1.5:1 
Dimensions  (cm) 22 x 27 x 4  •  (in) 8.5 x 10.5 x 1.65  
Weight  0.6 kg  • 1.25 lb 
RFID Reader External Linear Polarized Antenna  
Model  ALR-9610 – AL 
3 dB Beamwidth  65 degrees   
Gain   6.0 dBiL (maximum) 
Polarization  Linear 
RF Connector  6 m LMR-195 with Reverse-Polarity TNC 
VSWR  1.5:1 
Dimensions  (cm) 20 x 28 x 4  •  (in) 7.7 x 11.2 x 1.65 
Weight  0.6 kg  • 1.25 lb 

CHAPTER 2 READER HARDWARE INSTALLATION AND OPERATION 
ALR-9650 HARDWARE SETUP GUIDE 
DOC. CONTROL  #8102091-000 REV A  5
Mechanical:  Reader Physical Size 
Figure 1 - Outline Drawing of the ALR-9650 
I/O Port Terminal Interface 
The ALR-9650 I/O port provides two digital inputs, two digital outputs and a 
ground return.  The design provides protection against momentary over and 
reverse voltage application to the inputs or outputs and short circuit of the 
outputs.  The inputs and outputs are TTL compatible.  When set high, outputs will 
sink ~1 mA with 5 volts applied. 
Caution:  The absolute maximum voltage applied to any input or output shall not 
exceed 5.5 volts.  The user must control the output circuit impedance achieve the 
recommended operating conditions below.  Operation outside these guidelines 
may result in damage. 
 I/O Recommended Operating Conditions 
Inputs    
Logic “0”  0 – 0.8 VDC 
Logic “1”  2.0 – 5.25 VDC 
Outputs   
Isource  20 mA @ 3 VDC 
Isink  20 mA @ 0.5 VDC 

READER HARDWARE INSTALLATION AND OPERATION CHAPTER 2 
  ALR-9650 HARDWARE SETUP GUIDE 
  DOC. CONTROL  #8102091-000 REV A 
6 
Unlike the Alien Enterprise Readers (ALR – 9800 and ALR – 9900) the  
ALR - 9650 I/O’s are not optically isolated.  Instead they are buffered internally.  
As a result the outputs can source up to 20 mA’s without the external supply 
required for the Enterprise Readers.  Outputs should be protected from transients 
such as inductive kickback so as to not exceed the absolute maximum voltage 
allowed at the outputs.  The circuit diagram below illustrates the input and output 
equivalent circuits. 
Figure 2 - Input and Output Circuits 
I/O Port Screw Terminal Connector 
(Phoenix 5 pin header) 
Pin 1  Input 0                 (TTL Compatible) 
Pin 2  Input 1                 (TTL Compatible) 
Pin 3  Output 0              (TTL Compatible) 
Pin 4  Output 1              (TTL Compatible) 
Pin 5  Ground    
I/O PORT SCREW TERMINAL (FEMALE) – LOOKING AT READER 
 1  2  3  4  5

CHAPTER 2 READER HARDWARE INSTALLATION AND OPERATION 
ALR-9650 HARDWARE SETUP GUIDE 
DOC. CONTROL  #8102091-000 REV A  7
RS-232 Port Pinouts 
RS-232 Connector (Female DB-9F) 
Pin 1  DCD Connected to Pin 6 
Pin 2  TR1 Transmit Data (Output) 
Pin 3  RC1 Receive Data (Input)  
Pin 4  DTR Connected to Pin 6 
Pin 5  Ground 
Pin 6  DSR Connected to Pin 4 
Pin 7  RTS Connected to Pin 8 
Pin 8  CTS Connected to Pin 7 
Pin 9  Not Connected 
RS-232 CONNECTOR (FEMALE) – LOOKING AT READER 
System Architecture 
Antenna
Switch
RF
Modulator
RF
Receiver
RF Source
Digital
Control
Circuitry
Host 
Communication
Interface
A0
A1
Internal CP
Antenna
External
Antenna
Figure 3 - System Architecture for the ALR-9650 Reader  
54321
9 8 7 6

READER HARDWARE INSTALLATION AND OPERATION CHAPTER 2 
  ALR-9650 HARDWARE SETUP GUIDE 
  DOC. CONTROL  #8102091-000 REV A 
8 
CHAPTER 2 
Reader Hardware Installation and Operation 
This chapter describes the RFID Reader and provides installation and operation 
information. 
Receiving the RFID Reader 
Your RFID Reader Kit is shipped with the items listed below. Please verify the 
contents of your received shipment before assembling. 
 RFID Reader 
 Power supply and AC power cable and standard Ethernet Cable. 
 RS-232 reader-to-PC cable  
 One Ethernet cross-over cable for direct connection to a local host / PC 
 CD-ROM containing demonstration software, user guides and documentation 
Additionally, the RFID Reader Developer's Kit includes the following items: 
 A circular antenna  
 Software APIs and example code 
 An assortment of Class 1 Gen 2 UHF tags 
Figure 4 - ALR-9650 Reader Kit  

CHAPTER 2 READER HARDWARE INSTALLATION AND OPERATION 
ALR-9650 HARDWARE SETUP GUIDE 
DOC. CONTROL  #8102091-000 REV A  9
Reader I/O Panel 
The I/O panel (shown below) houses the following: 
 Auxiliary Antenna Port (RP-TNC) 
 9-pin D female RS-232 serial port 
 5-pin I/O terminal block (GPIO) 
 Auxiliary DC Power connector 
 LAN TCP/IP and PoE port 
Diagnostic LEDs  
The ALR-9900 includes diagnostic LEDs on the face of the reader to provide 
easy and convenient external indication for various operating conditions: 
On the Front Panel you will find: 
 POWER (green) –indicates power is applied to the reader. 
 RF Power On (green) –indicates that the reader is transmitting. 
 READ (green) –indicates that the reader is receiving data from a tag. 
 FAULT (red) – indicates a fault condition with the reader 
On the RJ 45 connector you will find: 
 LINK (green) – indicates that the reader is connected to the network 
 ACTIVE (green) – indicates reader is transmitting on the network 
Figure 5 - ALR-9650 Reader Connections 

READER HARDWARE INSTALLATION AND OPERATION CHAPTER 2 
  ALR-9650 HARDWARE SETUP GUIDE 
  DOC. CONTROL  #8102091-000 REV A 
10
Figure 6 – ALR-9650 Front Panel Reader Diagnostic LEDs 
Antenna Panel 
The ALR – 9650 includes an internal, circularly polarized antenna and an 
auxiliary antenna port.  The Auxiliary port is found on the connector panel.  It is a 
reverse-polarity TNC connector.   
Figure 7 - Antenna Connections 

CHAPTER 2 READER HARDWARE INSTALLATION AND OPERATION 
ALR-9650 HARDWARE SETUP GUIDE 
DOC. CONTROL  #8102091-000 REV A  11
System Assembly and Bench Test 
Assembling the RFID Reader system is easy. We recommend you set up the 
system and verify its operation in a bench test configuration before installing it in 
a production setting. 
Bench Test Configuration 
1.  Place the Reader on a tabletop. Ensure the following conditions: 
 A standard 120 or 220 VAC outlet is nearby. 
 Sufficient space is available on the tabletop for the reader and antenna. 
Figure 8 – Power, RS-232 and LAN Connections 
 2.  Connect the RS-232 cable to the reader.  
 Align the male cable connector so that its shape and pins match the 
shape and holes of the female DB-9 RS-232 port. 
Figure 9 - RS-232 Connector 
 Push the aligned connector into the port. 
 Finger-tighten the screws to secure the cable/connector to the reader. 
3.  Connect the RS-232 cable to the serial port on the PC. 
 Settings for RS-232 are 115200 Bits per second, 8 data bits, no parity, 1 
stop bit, and no flow control. 
 Start up terminal software on the PC, such as HyperTerminal with these 
settings, and be prepared to observe the reader's messages as it boots 
up. 

READER HARDWARE INSTALLATION AND OPERATION CHAPTER 2 
  ALR-9650 HARDWARE SETUP GUIDE 
  DOC. CONTROL  #8102091-000 REV A 
12
4.  Connect the power supply to the reader.  
 The reader may be powered through either the PoE power supply 
provided in the Reader Kit, an optional AC/DC brick available from Alien 
Technology or through an 802.3af compliant network.   
 WARNING:  If you do not use an 802.3af compliant network to supply 
DC power you must use power supplies provided by Alien Technology.  
Failure to do so voids the product warranty and violates the terms of the 
FCC license. 
 If you are using the PoE power supply, use the standard Ethernet cable 
to connect the reader RJ–45 jack to the “LAN+DC” RJ–45 jack of the 
power supply. 
 If you are using the optional AC/DC power supply, connect the DC power 
jack into the DC power plug of the reader.  Tighten the screw fitting finger 
tight. 
 If you are using an 802.3af compliant network, take no action at this time. 
 Caution:  DO NOT use both the PoE power supply and the optional 
AC/DC power brick on the same unit at the same time. 
 DO NOT plug the AC power cord into the supply at this time. 
5.  Connect the Ethernet cable to the reader and LAN or PC. 
 Connecting to the LAN 
 If you are using the PoE power supply provided with the Reader Kit, 
connect a standard Ethernet cable from the PoE power supply LAN 
port  to a nearby LAN drop or network switch. 
 If you are using the optional AC/DC power brick provided by Alien 
Technology, connect a standard Ethernet cable to the ALR – 9650 
LAN/PoE port and to the LAN drop or network switch.. 
 If you are using an 802.3af compliant network to power the reader 
defer this step. 
 Connecting to a PC 
 If you are using the PoE power supply provided with the Reader Kit, 
connect a cross-over Ethernet cable from the PoE power supply LAN 
port  to the PC LAN port. 
 If you are using the optional AC/DC power brick provided by Alien 
Technology, connect a scross-over Ethernet cable to the ALR – 9650 
LAN/PoE port and to the LAN drop or network switch.. 
 If you are using an 802.3af compliant network to power the reader 
defer this step. 

CHAPTER 2 READER HARDWARE INSTALLATION AND OPERATION 
ALR-9650 HARDWARE SETUP GUIDE 
DOC. CONTROL  #8102091-000 REV A  13
LAN Drop
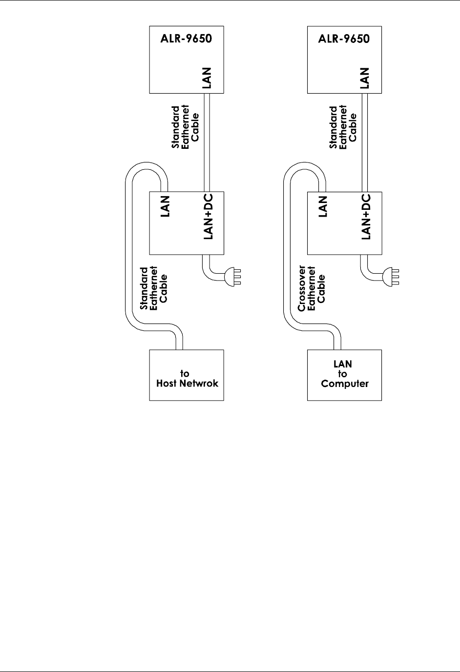
Figure 10 – PoE Power Supply and Network Connection Diagram 
 The reader comes preconfigured to look for a DHCP server to set its 
network parameters. In the absence of a DHCP server, the reader will 
use the following settings: 
 IP Address: 192.168.1.100 
 Subnet Mask: 255.255.255.0 
 Gateway: 192.168.1.1 

READER HARDWARE INSTALLATION AND OPERATION CHAPTER 2 
  ALR-9650 HARDWARE SETUP GUIDE 
  DOC. CONTROL  #8102091-000 REV A 
14
LAN Drop
Figure 11 – DC Brick and Network Connection Diagram 
6.  Connect the coaxial cable to the auxiliary antenna port. 
 The ALR – 9650 is a mono-static system.  A single antenna acts as both 
transmit and receive.  It provides an internal antenna (ANT 0) and an 
auxiliary antenna port (ANT 1).  Each antenna provides a single read 
point. 
 If you are using only the internal antenna you can skip this step.  
 Only the antennas listed in this manual and their associated cables (if 
specified) may be used with this reader. 
 The auxiliary antenna port (ANT 1) is found on the connector panel on 
the left hand side if viewing the reader from the top with the connectors 
at the bottom.  It uses a reverse polarity TNC connector.  If using the 
Alien Gateway software, please note that ANT 0 is selected by default 
when first initialized. 
 To attach an auxiliary antenna align the coax cable’s center pin and push 
into the port 
 Screw the fitting from the cable end onto the reader connector clockwise 
until finger-tight to secure the cable to the reader. 

CHAPTER 2 READER HARDWARE INSTALLATION AND OPERATION 
ALR-9650 HARDWARE SETUP GUIDE 
DOC. CONTROL  #8102091-000 REV A  15
7.  Power up the reader 
 If you are using the PoE Power supply or the AC/DC brick plug the 
AC power cord into the supply and into the wall outlet.  The green 
POWER LED will illuminate when power is on. 
 If you are using an 802.3af compliant network to power the  
ALR – 9650 connect a standard LAN cable between the ALR – 9650 
LAN/PoE port and the 802.3af enable LAN drop or network switch.  
The green POWER LED will illuminate when power is on. 
8  Observe the reader's boot-up trace, and determine the network 
settings. 
The RS-232 port displays useful information while the reader boots, including 
network settings. Toward the end of the trace, the reader displays a block of 
text similar to the following: 
--------------------------------------------- 
Network Settings: 
    MAC Address : 00:80:66:10:2D:12 
    DHCP        : 1 
    IP Address  : 10.9.8.10 
    Netmask     : 255.255.255.0 
    Gateway     : 10.9.8.2 
    DNS         : 10.9.8.1 
    TimeServer  : time-a.timefreq.bldrdoc.gov 
    TimeZone    : -7 
--------------------------------------------- 
Once the reader boots and you see the "Boot>Ready!" prompt, pressing 
return will bring up the "Alien>" prompt.  
9.  Ensure the PC has compatible network settings. 
 In order for you to be able to connect to the reader over TCP/IP, the host 
PC must be on the same subnet as the reader. If you are unfamiliar with 
how to do this, consult your local IT service for assistance. 
 Once the initial connection is made, you may configure your reader's 
network settings as you choose. Refer to the Reader Interface Guide for 
instructions on how to do this. 
You are now ready to bench test or demonstrate the RFID Reader system. 
Bench Test Procedure 
1.  Position the reader so you can see the diagnostic LEDs  
 You may also want to position the PC so you can view the monitor  
2.  Access an operational mode suitable for bench testing. 
 Select Tag Grid on Gateway. 
 The RF ON light should illuminate. 
 Refer to the applicable software application user guide for specific 
instructions. 
3.  Move a tag slowly away from the antenna’s range. 
 Begin with the tag well inside the expected read range (~2m or 6 ft) and 
move it toward the antenna while observing the LEDs. 

READER HARDWARE INSTALLATION AND OPERATION CHAPTER 2 
  ALR-9650 HARDWARE SETUP GUIDE 
  DOC. CONTROL  #8102091-000 REV A 
16
4.  Verify the READ LED illuminates when the tag is inside the read 
window. 
 READ should be illuminated green. 
5.  Verify the host receives the tag data. 
 Refer to indications specified in applicable user guide to verify the tag 
was read successfully. 
6.  If bench test conditions are verified, proceed to installation.  
  NOTE: To perform a hard reboot of the system, simply cycle power on the reader. 
Installation 
This section provides guidance for configuring components in your RFID system. 
You should consider the overall design of your specific system before 
permanently mounting the equipment.  
Installation involves all the same connection steps required for bench test. 
However, instead of placing equipment on a tabletop, the reader, antenna, and 
their accessories are mounted in your application environment.  
Requirements 
Before installing your RFID Reader system, you will need the following: 
 A PC running Windows 98 or higher, with Ethernet connectivity and, 
optionally, one available RS-232 serial port. 
 An 802.3af compliant network connection or a standard 120 or 220 VAC 
power for the reader and a standard grounded, three-pronged power 
cord of desired length (if using the PoE power supply or the AC/DC brick 
available from Alien Technology). 
WARNING:  If you do not use an 802.3af compliant network to supply 
DC power you must use power supplies provided by Alien Technology.  
Failure to do so voids the product warranty and violates the terms of the 
FCC license. 
 Host software (Gateway, for example)  
 (Optional) extra antennas (if desired for additional coverage or 
configurations) 
 Additional RS-232 cables or antenna coax cables needed to 
accommodate routing requirements  
 Mounting hardware suitable for the surface to which equipment is to be 
attached.  Use #8 pan head screws 1.125” minimum length. 

CHAPTER 2 READER HARDWARE INSTALLATION AND OPERATION 
ALR-9650 HARDWARE SETUP GUIDE 
DOC. CONTROL  #8102091-000 REV A  17
Figure 12 - View of the Reader showing mounting holes 
Hardware Installation Procedure 
1.  Select mounting position for antenna(s). 
CAUTION: Reader antenna should be positioned so that personnel in 
the area for prolonged periods may safely remain at least 23 cm (9 in) in 
an uncontrolled environment from the antenna’s surface. See FCC OET 
Bulletin 56 “Hazards of radio frequency and electromagnetic fields” and 
Bulletin 65 “Human exposure to radio frequency electromagnetic 
fields.” 
 Mount the reader and optional auxiliary antenna (if used) at the periphery 
of the desired read window so that the position of the most distant tag 
passing through the window is no farther from the antenna than the 
maximum range specified for your system design.  
 Position the reader and optional auxiliary antenna (if used) at a height 
approximately midway between the highest and lowest expected tag 
position. (For example, a pallet tag may be the lowest tag position to be 
read, while the top-most case on a fully stacked pallet may represent 
your highest tag position.) 

READER HARDWARE INSTALLATION AND OPERATION CHAPTER 2 
  ALR-9650 HARDWARE SETUP GUIDE 
  DOC. CONTROL  #8102091-000 REV A 
18
 NOTE: To maintain compliance with FCC regulations, use only antenna 
cable and power supplies supplied with the unit or approved by Alien 
Technology for use with the ALR-9650. 
2.  Select mounting position for reader. 
The ALR – 9650 has been designed to provide reliable operation over its 
operating temperature range.  This is enhanced by proper mounting of the 
reader during bench test and installation.  When using the reader place it on 
a solid thermally conductive surface.  Optimum thermal performance is 
achieved by mounting the unit to a metal mounting plate with direct contact 
between the reader base and the mounting plate.  When mounting vertically 
the connector panel should be oriented at the bottom.  
 When using the auxiliary antenna it should be placed close enough 
reader to accommodate the cable length without putting strain on the 
connectors. 
 Be sure power is available at the selected reader location. [really just for 
PoE]  
 Mount units individually.  Do not stack them.   
3. Install reader. 
 Secure the reader through the four mounting holes to its mounting 
location (wall, post, mounting bracket) using appropriate #8 pan head 
screws at least 1.125” long. 
4.  Install the auxiliary antenna. 
 Secure the auxiliary antenna (if used) through the mounting holes on 
either flange to its mounting location using appropriate hardware. 
5.  Connect the auxiliary antenna to reader. 
 Route coax cable from the auxiliary antenna to the reader according to 
your system design specifications and secure it properly. 
 Align the connector of the cable with the reader antenna port, push into 
the port, and finger-tighten the screw fitting. 
6.  Connect reader power supply. 
 If you are using the PoE power supply use a short standard Ethernet 
cable to connect the reader RJ – 45 jack to the LAN+DC RJ – 45 jack of 
the power supply.  Align the RJ-45 connector with the corresponding 
TCP/IP port on the reader or the power supply and push the connector 
in. 
 If you are using the optional AC/DC power supply connect the DC power 
jack into the DC power plug of the reader.  Tighten the screw fitting finger 
tight. 
 If you are using an 802.3af compliant network for reader power take no 
action. 
 DO NOT use both the PoE power supply and the optional AC/DC power 
brick on the same unit at the same time. 
 DO NOT plug the AC power cord into the supply at this time. 
7.  Connect reader to the LAN or host PC. 

CHAPTER 2 READER HARDWARE INSTALLATION AND OPERATION 
ALR-9650 HARDWARE SETUP GUIDE 
DOC. CONTROL  #8102091-000 REV A  19
 If you are using the PoE power supply connect the Ethernet cable into 
the LAN jack of the power supply.  Align the RJ-45 connector with the 
corresponding TCP/IP port on the power supply and push the connector 
in.  Connect to the other end to a LAN drop or network switch.  You may 
optionally connect the reader directly to a PC's network port, but you 
must use an Ethernet cross-over cable in this situation. 
 If you are using the optional power brick connect the Ethernet cable into 
the LAN jack of the reader.  Align the RJ-45 connector with the 
corresponding TCP/IP port on the reader and push the connector in. 
Connect to the other end to a LAN drop or network switch.  You may 
optionally connect the reader directly to a PC's network port, but you 
must use an Ethernet cross-over cable in this situation. 
 If you are using an 802.3af compliant network for reader power take no 
action. 
 If you wish to observe the reader's bootup trace, or control the reader via 
RS-232, align and connect a DB-9 serial cable to the reader's RS-232 
port, and to the serial port on the PC. Configure your terminal software 
as described previously in the Bench Test Configuration topic. 
8.  Connect reader power.  
 If you are using the PoE Power supply or the AC/DC brick plug the AC 
power cord into the supply and into the wall outlet.  The green POWER 
LED will illuminate when power is on. 
 If you are using an 802.3af compliant network to power the  
ALR – 9650 connect a standard LAN cable between the ALR – 9650 
LAN/PoE port and the 802.3af enable LAN drop or network switch.  The 
green POWER LED will illuminate when power is on 
9.  You are now ready to use the reader.  If using the Alien Gateway 
software, please refer to the Demonstration Software Guide included on 
your CD. 
System Operation: Software Control 
The ALR-9650 RFID Reader is controlled from software running on a host 
system that communicates with the reader using the ASCII-based Alien Reader 
Protocol. All applications use this protocol to communicate with the reader.  
You may operate the reader from your own application code, using the example 
code provided on the Developer’s Kit CD, or using the Alien RFID Gateway 
application which is a demonstration program also included on your CD. 
For more details, refer to either the Reader Interface Guide or the Demonstration 
Software Guide described briefly below. 
Reader Interface Guide 
The Alien Reader Protocol, mentioned previously, is described in detail in the 
Reader Interface Guide. Using this interface, the reader can be configured to 
read tags when queried or after one of a variety of event triggers (e.g., a rising 
edge on one of the I/O pins, or a timer).  

READER HARDWARE INSTALLATION AND OPERATION CHAPTER 2 
  ALR-9650 HARDWARE SETUP GUIDE 
  DOC. CONTROL  #8102091-000 REV A 
20
Tag data acquired in response to these triggers can be transmitted to the host in 
a number of formats (e.g., text, XML or custom) and under a number of 
conditions (e.g., on a new tag being observed, or a tag disappearing from view).  
If you are a software developer, the Reader Interface Guide provides the 
information you will need to connect to the reader from a host computer, 
communicate with it, and customize its performance.  
Demonstration Software Guide 
The Demonstration Software Guide describes the installation and operation of 
the Alien RFID Gateway application.  
 The Alien RFID Gateway application is a useful demonstration program that 
allows users to explore the reader’s functionality and build customizable demos 
with a user-friendly interface.  
Using the Gateway, the various operating modes of the reader can be controlled 
and custom interactive demos can be constructed using sounds, images, and 
text. 
Alien RFID Academy 
Need to absorb RFID systems fast? Enroll in the Alien RFID Academy! In two or 
three days we'll share our practical expertise in RFID tags, antennas, readers, 
frequencies, systems, and protocols.  
The Alien RFID Academy is a hands-on immersion into the workings, uses, and 
challenges of RFID technology. Rather than a product pitch, we put products to 
the test in the classroom, provide students with hands-on exposure in our RFID 
Solutions Center, and short-cut the learning curve by sharing practical solutions 
to real-world challenges. You'll learn best industry practice tag placement 
techniques for packaging and pallets alike. 
 Upon completion of the training, you will learn how to implement, avoid common 
costly mistakes, know how to make the correct decisions for your business, how 
to select the right RFID options for your requirements, and where to find RFID 
answers. 
Alien RFID Intermediate / Advanced Academy Topics: 
• RFID Physics, Protocols & Practical Applications 
• Tag Placement & Packaging Considerations 
• RFID Reader/System Configuration & Optimization 
• Hands-on Implementation 
• RFID System Architecture and Integration 
• Conducting Site-surveys & Contending with Interference 
Please visit http://www.alientechnology.com for more information.