Alien Technology ALR9680 RFID Reader User Manual Hardware Guide

Alien Technology, LLC RFID Reader Hardware Guide

Hardware Guide

  ALIEN TECHNOLOGY®    ALR-9680  HARDWARE SETUP GUIDE  February 2013   ALR-9680
Legal Notices Copyright ©2013 Alien Technology Corporation. All rights reserved.  Alien Technology Corporation has intellectual property rights relating to technology embodied in the products described in this document, including without limitation certain patents or patent pending applications in the U.S. or other countries.  This document and the products to which it pertains are distributed under licenses restricting their use, copying, distribution and de-compilation. No part of this product documentation may be reproduced in any form or by any means without the prior written consent of Alien Technology Corporation and its licensors, if any. Third party software is copyrighted and licensed from Licensors. Alien, Alien Technology, the Alien logo, Higgs, Squiggle, the Squiggle logo, and other graphics, logos, and service names used in this document are trademarks of Alien Technology Corporation in the U.S. and other countries. All other trademarks are the property of their respective owners. U.S. Government approval required when exporting the product described in this documentation.  Federal Acquisitions: Commercial Software -- Government Users Subject to Standard License Terms and Conditions. U.S. Government: If this Software is being acquired by or on behalf of the U.S. Government or by a U.S. Government prime contractor or subcontractor (at any tier), then the Government's rights in the Software and accompanying documentation shall be only as set forth in this license; this is in accordance with 48 C.F.R. 227.7201 through 227.7202-4 (for Department of Defense (DoD) acquisitions) and with 48 C.F.R. 2.101 and 12.212 (for non-DoD acquisitions).  DOCUMENTATION IS PROVIDED “AS IS” AND ALL EXPRESS OR IMPLIED CONDITIONS, REPRESENTATIONS AND WARANTEES, INCLUDING ANY IMPLIED WARRANTY OF MERCHANTABILITY, FITNESS FOR A PARTICULAR PURPOSE OR NON-INFRINGMENT ARE HEREBY DISCLAIMED, EXCEPT TO THE EXTENT THAT SUCH DISCLAIMERS ARE HELD TO BE LEGALLY INVALID.  FCC Compliance This equipment has been tested and found to comply with the limits for Class A digital device, pursuant to Part 15 of the FCC Rules. These limits are designed to provide reasonable protection against harmful interference when the equipment is operated in a commercial environment. This equipment generates, uses and can radiate radio frequency energy and, if not installed and used in accordance with instruction manual, may cause harmful interference with radio communications. Operation of this equipment in a residential area is likely to cause harmful interference in which case the user will be required to correct the interference at his expense.  Any change or modification to this product voids the user’s authority to operate per FCC Part 15 Subpart A. Section 15.21 regulations.  Industry Canada Compliance Operation is subject to the following two conditions: (1) this device may not cause interference and (2) this device must accept any interference, including interference that may cause undesired operation of the device. This device has been designed to operate with an antenna having a maximum gain of 6dBi. Antenna having a higher gain is strictly prohibited per regulations of Industry Canada. The required antenna impedance is 50 ohms. To reduce potential radio interference to other users, the antenna type and its gain should be so chosen that the equivalent isotropically radiated power (EIRP) is not more than that required for successful communication.  Caution Reader antennas should be positioned so that personnel in the area for prolonged periods may safely remain at least 23 cm (9 in) in an uncontrolled environment from the antenna’s surface. See FCC OET Bulletin 56 “Hazards of radio frequency and electromagnetic fields” and Bulletin 65 “Human exposure to radio frequency electromagnetic fields.”
  TABLE OF CONTENTS  ALR-9680 HARDWARE SETUP GUIDE                                                                                    DOC. CONTROL  #8102135-000 REV A                                         iAlien Technology® Hardware Setup Guide ALR-9680 February 2013  Table of Contents CHAPTER 1 INTRODUCTION ..................................................................................................................... 1Audience ....................................................................................................... Error! Bookmark not defined.RFID Reader Overview ................................................................................................................................. 1EPC Class 1 GEN 2 UHF RFID Tags ........................................................................................................... 2Requirements ................................................................................................................................................ 2Specifications ................................................................................................................................................ 4RFID Reader ........................................................................................................................................... 4RFID Reader High Performance Circular Antenna ................................................................................ 5Power Supplies ....................................................................................................................................... 7Mechanical:  Reader Physical Size ........................................................................................................ 5I/O Port Terminal Interface ..................................................................................................................... 6RS-232 Port Pinouts ............................................................................................................................... 7RS-232 Connector (Female) – Looking at Reader .......................................................................... 7System Architecture ............................................................................................................................... 8CHAPTER 2 READER HARDWARE INSTALLATION AND OPERATION ................................................ 1Receiving the RFID Reader .......................................................................................................................... 1Reader I/O Panel .................................................................................................................................... 2Diagnostic LEDs ..................................................................................................................................... 2Reader Antennas .......................................................................................................................................... 3System Assembly and Bench Test ............................................................................................................... 3Bench Test Configuration ....................................................................................................................... 3Bench Test Procedure ............................................................................................................................ 8Installation ..................................................................................................................................................... 9Requirements ......................................................................................................................................... 9Hardware Installation Procedure ............................................................................................................ 9System Operation: Software Control .......................................................................................................... 11Reader Interface Guide ........................................................................................................................ 11Demonstration Software Guide ............................................................................................................ 11Alien RFID Academy ............................................................................................................................ 12
CHAPTER 1  INTRODUCTION ALR-9680 HARDWARE SETUP GUIDE                                                                                    DOC. CONTROL  #8102135-000 REV A                                         1CHAPTER 1 Introduction  This Hardware Setup Guide provides instructions for installing and operating the ALR-9680 RFID Readers.   This document is designed for use by RFID system integrators and software developers - those who wish to develop software products and extended systems that take full advantage of the RFID Reader's capabilities.  Included with each developer’s kit is a CD-ROM that contains additional information about RFID and the ALR-9680 including the following:   RFID Primer  – an overview of RFID technology and a glossary of terms.  Reader Interface Guide – an overview of the communication interfaces for the ALR-9680.  Quick Installation Guide – a quick start guide for installing and running the ALR-9680 reader  Quick Reference – a quick reference guide summarizing the Alien Reader Protocol command set.   Demo Software Guide  – details installing and operating the Alien RFID Gateway demonstration software.  Quick Upgrade Guide  – briefly explains how to use the demonstration software to upgrade the ALR-9680. The ALR-9680 can only be upgraded through the LAN/PoE port.  Developer’s Guides, Application Programming Interfaces and Example Code. Please insert the CD that came with your Developer’s Kit and follow the on-screen prompts to access this information. RFID Reader Overview The Alien ALR-9680 RFID reader is designed to read and program any EPC Class 1 Generation 2 tag and issue event reports to a host computer system. The host computer can be locally connected to the reader via RS-232, or at a remote network location. It is designed to accept power through an IEEE 802.3af compliant network or a conventional 24 Volt DC power brick. The RFID Reader is delivered with the following components and accessories:  One (1) RFID Reader  One (1) PoE power supply  One (1) AC power cord
INTRODUCTION  CHAPTER 1     ALR-9680 HARDWARE SETUP GUIDE   DOC. CONTROL  #8102135-000 REV A 2  One (1) standard network cable to connect the PoE power supply to the reader. Additionally, the RFID Reader Developer's Kit includes the following items:   One (1) ALR-8696-C antenna  One (1) RS-232 serial cable (to connect to host computer)  One (1) Network cross-over cable   CD-ROM containing demonstration software, user guides, documentation and the Alien RFID Gateway Application  Software APIs and example code  An assortment of Class 1 Gen 2 UHF tags EPC Class 1 GEN 2 UHF RFID Tags The Alien ALR-9680 RFID reader is designed to read and program any EPC Class 1 Generation 2 tag and issue event reports to a host computer system. Class 1 tags are “passive” devices meaning they do not have a battery or other onboard power source. They are powered solely by the RF energy transmitted by an RFID reader.   Tags communicate with the reader through backscatter modulation. The tags do not transmit RF energy. Instead, they change their reflective characteristics in a controlled way and reflect RF energy back to the reader. An analogy to this is the way you can use a mirror to signal someone by reflecting light from the Sun.  Alien Technology manufactures user-programmable EPC Class 1 Generation 2 tags compliant with all key commercial and DoD mandates. Alien Technology offers a variety of designs capable of delivering optimal performance worldwide, including Europe and Asia.  For more information about RFID tags from Alien Technology, please visit our website at:  http://www.alientechnology.com. Requirements To interface with the RFID Reader you will need the following:  A PC running Windows 98 or higher, with CD-ROM drive, an available RS-232 serial port and/or Ethernet connectivity  An 802.3af compatible network connection, or  Standard 120/220 VAC 50/60 Hz outlet and the model ALX-416-1 (PoE) or ALX-416-2 (24 Volt AC/DC) power supply (provided with the reader) Note: Only these supplies may be used to power the ALR-9680.   Host software (Alien Gateway demo software, telnet terminal or your own custom software)
CHAPTER 1  INTRODUCTION ALR-9680 HARDWARE SETUP GUIDE                                                                                    DOC. CONTROL  #8102135-000 REV A                                         3
INTRODUCTION  CHAPTER 1     ALR-9680 HARDWARE SETUP GUIDE   DOC. CONTROL  #8102135-000 REV A 4 Specifications Specifications for key components of the RFID Reader system are provided in the tables below. Only these listed components may be used in the RFID reader system.  The reader table refers to US specifications only. Reader models released for the other countries may have different power levels, frequency of operation and channel spacing in compliance with local regulations where the product is sold. RFID Reader Name  Alien Multi-Port General Purpose RFID Reader Model Number  ALR-9680 Architecture  Point-to-multipoint reader network, mono-static Operating Frequency  902.75 MHz – 927.25 MHz Hopping Channels  50 Channel Spacing  500 KHz Channel Dwell Time  < 0.4 seconds RF Transmitter  < 30 dBm  from antenna port.s. Modulation Method  Phase Reversal – Amplitude Shift Keying (PR-ASK) 20 db Modulation Bandwidth  < 100 KHz RF Receiver  2 Channels Power Consumption  8 Watts  Communications Interface  RS-232 (DB-9), TCP/IP (RJ-45)  Inputs/Outputs  4  antenna ports, 2  inputs/2  outputs (TTL compatible), RS-232 comm port, LAN/PoE, power Dimensions  (cm) 26.7 x 20.3 x 3.8    (in)10.5 x 8x 1.5 Weight  Approximately 1.1 kg (2.4 lbs) LED Indicators  DC Power, RF ON, Read, Fault(red), Link, Active  Operating Temperature  0°C to +50°C  (32 °F to +122°F) Operating Environment  Indoor  operation only Software Support  APIs, sample code, executable demo app (Alien Gateway) Protocol Support  Comply with EPC Class 1 Gen 2 and 18000 – 6C Compliance Certifications  FCC Part 15; FCCID: P65ALR9680;   IOC: 4370A-ALR9680 UL 60950,  CB Report
CHAPTER 1  INTRODUCTION ALR-9680 HARDWARE SETUP GUIDE                                                                                    DOC. CONTROL  #8102135-000 REV A                                         5RFID Reader High Performance Circular Antenna Model  ALR-8696-C  3 dB Beamwidth  E-plane: 65 degrees    H-plane: 65 degrees Frequency  865-960 MHz Gain (dBi)  6.0 dBiL (maximum) Polarization  Circular RF Connector  6 m LMR-195 with Reverse-Polarity TNC  VSWR  1.5:1 Dimensions  (cm) 26 x 26 x 3.4    (in) 10.2 x 10.2 x 1.32  Weight  1.1 kg   2.5 lb  Mechanical:  Reader Physical Size   Figure 1 - Outline Drawing of the ALR-9680
INTRODUCTION  CHAPTER 1     ALR-9680 HARDWARE SETUP GUIDE   DOC. CONTROL  #8102135-000 REV A 6 I/O Port Terminal Interface The ALR-9680 I/O port provides two digital inputs, two digital outputs and a ground return. The design provides protection against momentary over and reverse voltage application to the inputs or outputs and short circuit of the outputs. The inputs and outputs are TTL compatible. When set high, outputs will sink ~1 mA with 5 volts applied. Caution: The absolute maximum voltage applied to any input or output shall not exceed 5.5 volts.  I/O Recommended Operating Conditions Inputs    Logic “0”  0 – 0.8 VDC Logic “1”  2.0 – 5.25 VDC Outputs   Isource  20 mA @ 3 VDC Isink  20 mA @ 0.5 VDC   Unlike the Alien enterprise readers (ALR-9800 and ALR-9900+) the  ALR-9680 I/O’s are not optically isolated. Instead they are buffered internally. As a result the outputs can source up to 20 mA’s without the external supply required for the enterprise Readers. Outputs should be protected from transients such as inductive kickback so as to not exceed the absolute maximum voltage allowed at the outputs. The circuit diagram below illustrates the input and output equivalent circuits.                 Figure 2 - Input and Output Circuits  ALR-9680Pin 5 Pins 3, 4 Pins 1, 2 TerminalBlock
CHAPTER 1  INTRODUCTION ALR-9680 HARDWARE SETUP GUIDE                                                                                    DOC. CONTROL  #8102135-000 REV A                                         7I/O Port Screw Terminal Connector (Phoenix 5-pin header) Pin 1  Input 0                 (TTL Compatible) Pin 2  Input 1                 (TTL Compatible) Pin 3  Output 0              (TTL Compatible) Pin 4  Output 1              (TTL Compatible) Pin 5  Ground     RS-232 Port Pin-outs RS-232 Connector (Female DB-9F) Pin 1  DCD Connected to Pin 6 Pin 2  TR1 Transmit Data (Output) Pin 3  RC1 Receive Data (Input)  Pin 4  DTR Connected to Pin 6 Pin 5  Ground Pin 6  DSR Connected to Pin 4 Pin 7  RTS Connected to Pin 8 Pin 8  CTS Connected to Pin 7 Pin 9  Not Connected  RS-232 CONNECTOR (FEMALE) – LOOKING AT READER Figure 3 - RS-232 Connector Power Supplies The ALR-9680 has been certified to operate in accordance with FCC or other national requirements when powered by an 802.3af compliant network capable of supplying 12.95 watts minimum, or by using one of the power supplies listed below. Only the power supplies listed below may be used with the ALR-9680 reader. Operation with other power supplies is a violation of the conditions of the ALR-9680 FCC license.   Model ALX-416-1 Power over Ethernet (PoE) Power Supply  Model ALX-416-2 24 VDC AC/DC Power Supply 543219 8 7 6
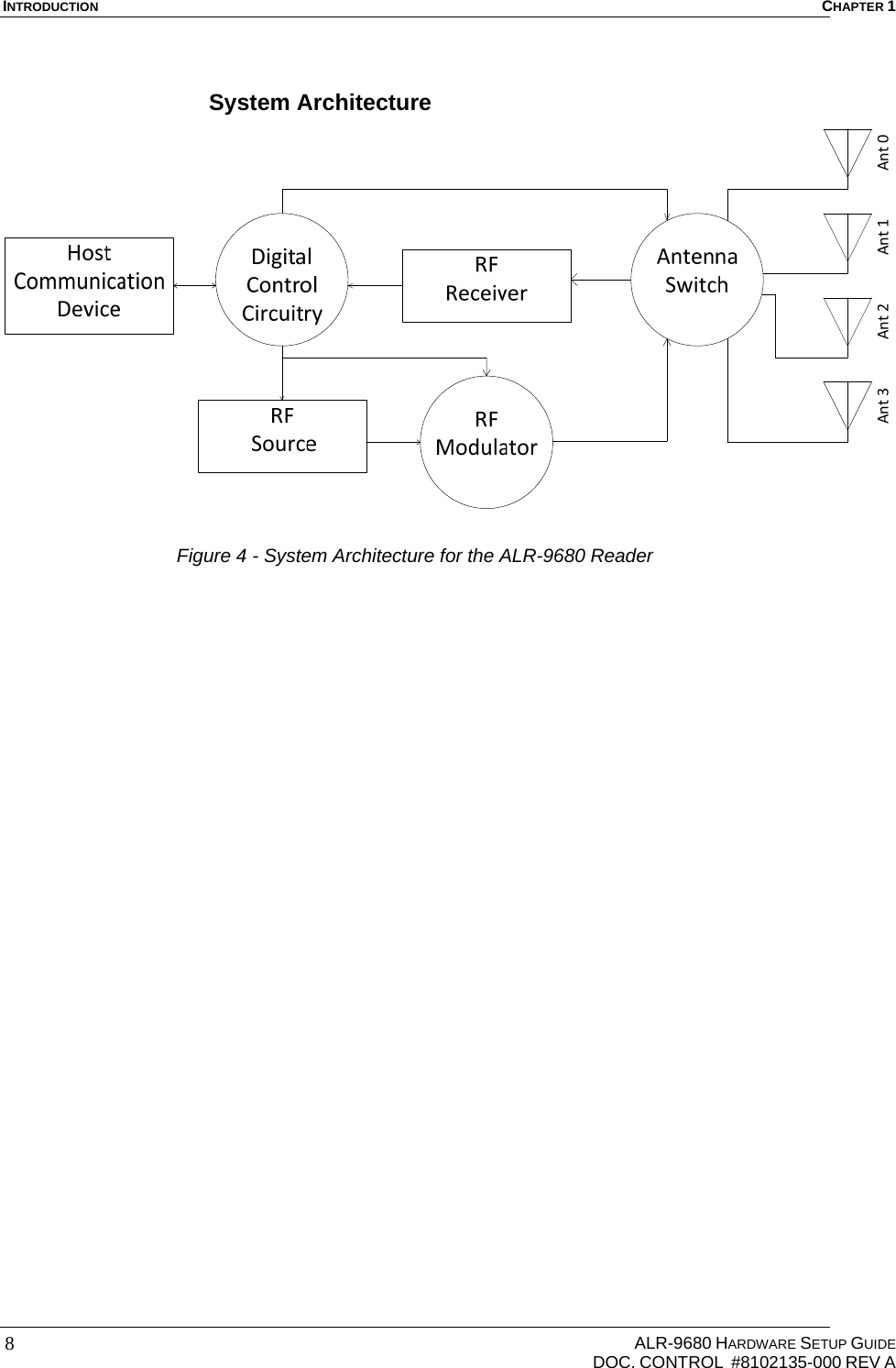
INTRODUCTION  CHAPTER 1     ALR-9680 HARDWARE SETUP GUIDE   DOC. CONTROL  #8102135-000 REV A 8 System Architecture Ant0Ant1Ant2Ant3 Figure 4 - System Architecture for the ALR-9680 Reader
CHAPTER 2 READER HARDWARE INSTALLATION AND OPERATION ALR-9680 HARDWARE SETUP GUIDE                                                                                    DOC. CONTROL  #8102135-000 REV A                                         1CHAPTER 2 Reader Hardware Installation and Operation  This chapter describes the RFID Reader and provides installation and operation information. Receiving the RFID Reader Your RFID Reader Kit is shipped with the items listed below. Please verify the contents of your received shipment before assembling.   RFID reader  ALX-416 PoE power supply, AC power cable and standard Ethernet cable. Additionally, the RFID Reader Developer's Kit includes the following items:   An ALR-8696-C antenna   RS-232 reader-to-PC cable  One Ethernet cross-over cable for direct connection to a local host/PC  CD-ROM containing demonstration software, user guides, documentation, Software APIs and example code  An assortment of Class 1 Gen 2 UHF tags  Figure 5 - ALR-9680 Developer’s Kit (Antennas and tag kit not shown)
READER HARDWARE INSTALLATION AND OPERATION CHAPTER 2     ALR-9680 HARDWARE SETUP GUIDE   DOC. CONTROL  #8102135-000 REV A 2 Reader I/O Panel The I/O panel (shown below) includes the following:  4 Antenna Ports (RP-TNC)  9-pin D female RS-232 serial port  5-pin I/O terminal block (GPIO)  Auxiliary DC Power connector  LAN TCP/IP and PoE port  Diagnostic LEDs  The ALR-9680 includes diagnostic LEDs on the face of the reader to provide easy and convenient external indication for various operating conditions: On the Front Panel you will find:  POWER (green) –indicates power is applied to the reader.  RF Power On (green) –indicates that the reader is transmitting.  READ (green) –indicates that the reader is receiving data from a tag.  FAULT (red) – indicates a fault condition with the reader On the RJ 45 connector you will find:  LINK (green) – indicates that the reader is connected to the network  ACTIVE (green) – indicates reader is transmitting on the network Figure 6 - ALR-9680 Reader Connections
CHAPTER 2 READER HARDWARE INSTALLATION AND OPERATION ALR-9680 HARDWARE SETUP GUIDE                                                                                    DOC. CONTROL  #8102135-000 REV A                                         3Figure 7 – ALR-9680 Front Panel Reader Diagnostic LEDs Reader Antennas The ALR-9680 includes 4 antenna ports. These antenna ports are a reverse-polarity TNC connector. Only antennas documented in this manual may be used with the ALR-9680. System Assembly and Bench Test Assembling the RFID Reader system is easy. We recommend you set up the system and verify its operation in a bench test configuration before installing it in a production setting. Bench Test Configuration 1.  Place the Reader on a tabletop. Ensure that a standard 120 or 220 VAC outlet or 802.3af compliant network port is nearby, and there is sufficient space is available on the tabletop for the reader and antenna.
READER HARDWARE INSTALLATION AND OPERATION CHAPTER 2     ALR-9680 HARDWARE SETUP GUIDE   DOC. CONTROL  #8102135-000 REV A 4  Figure 8 – Power, RS-232 and LAN Connections  2.  Connect the RS-232 cable to the reader.   Align the male cable connector so that its shape and pins match the shape and holes of the female DB-9 RS-232 port.  Figure 9 - RS-232 Connector   Push the aligned connector into the port.  Finger-tighten the screws to secure the cable/connector to the reader. 3.  Connect the RS-232 cable to the serial port on the PC.  Settings for RS-232 are 115,200 baud, 8 data bits, no parity, 1 stop bit, and no flow control.  Start up terminal software on the PC, such as HyperTerminal with these settings, and be prepared to observe the reader's messages as it boots up. 4.  Connect the ALX-416 power supply to the reader.   If you are using an 802.3af compliant network, skip this step.  WARNING: You must use the ALX-416-1 PoE power supply or the ALX-416-2 AC/DC brick certified for use with the ALR-9680 by Alien Technology. Failure to do so voids the product warranty and violates the terms of the FCC license.  If you are using the ALX-416-1 PoE power supply, use the standard Ethernet cable to connect the reader RJ-45 jack to the “LAN+DC” RJ-45 jack of the power supply.  If you are using the optional ALX-416-2 AC/DC power supply, connect the DC power jack into the DC power plug of the reader. Tighten the screw fitting finger tight.  Caution: DO NOT use both the PoE power supply and the optional AC/DC power brick on the same unit at the same time.  DO NOT plug the AC power cord into the supply at this time. 5.  Connect the Ethernet cable to the reader and LAN or PC.  If you are using an 802.3af compliant network to power the reader skip this step.
CHAPTER 2 READER HARDWARE INSTALLATION AND OPERATION ALR-9680 HARDWARE SETUP GUIDE                                                                                    DOC. CONTROL  #8102135-000 REV A                                         5 Connecting to the LAN  If you are using the ALX-416-1 PoE power supply provided with the Reader Kit, connect a standard Ethernet cable from the PoE power supply LAN port to a nearby LAN drop or network switch.  If you are using the ALX-416-2 AC/DC power brick, connect a standard Ethernet cable to the ALR-9680 LAN/PoE port and to the LAN drop or network switch.  Connecting directly to a PC  If you are using the ALX-416-1 PoE power supply provided with the Reader Kit, connect a cross-over Ethernet cable from the PoE power supply LAN port to the PC LAN port.  If you are using the ALX-416-2 AC/DC power brick, connect a cross-over Ethernet cable to the ALR-9680 LAN/PoE port and to the PC LAN port.
READER HARDWARE INSTALLATION AND OPERATION CHAPTER 2     ALR-9680 HARDWARE SETUP GUIDE   DOC. CONTROL  #8102135-000 REV A 6      Figure 10 – ALX-416-1 PoE Power Supply and Network Connection Diagram     Figure 11 – ALX-416-2 24V AC/DC Brick and Network Connection Diagram
CHAPTER 2 READER HARDWARE INSTALLATION AND OPERATION ALR-9680 HARDWARE SETUP GUIDE                                                                                    DOC. CONTROL  #8102135-000 REV A                                         7  The reader comes preconfigured to look for a DHCP server to set its network parameters. In the absence of a DHCP server, the reader will use the following settings:  IP Address: 192.168.1.100  Subnet Mask: 255.255.255.0  Gateway: 192.168.1.1 6.  Connect the antenna to the antenna port.  The ALR-9680 is a mono-static system (a single antenna acts as both transmitter and receiver). Four antenna ports (ANT 0-3) are provided. Each antenna provides a single read point.  Only the antennas listed in this manual and their associated cables (if specified) may be used with this reader.  The antenna ports are found on the reader I/O panel on the left hand side if viewing the reader from the top with the connectors at the bottom. It uses a reverse polarity TNC connector. If using the Alien Gateway software, please note that ANT 0 is selected by default when first initialized.  Align the antenna’s coax cable’s center pin and push it into the port.  Screw the fitting from the cable end onto the reader connector clockwise until finger-tight to secure the cable to the reader. 7.  Power up the reader  If you are using an 802.3af compliant network to power the ALR-9680 connect a standard LAN cable between the ALR-9680 LAN/PoE port and the 802.3af enabled LAN drop or network switch. The green POWER LED will illuminate when power is on.  Note: If using an 802.3af compliant network it must be capable of supplying up to 12.95 watts.   Figure 12 – 802.3af Network Connection Diagram  If you are using the ALX-416-1 PoE Power supply or the ALX-416-2 AC/DC brick plug the AC power cord into the supply and into the wall outlet. The green POWER LED will illuminate when power is on.
READER HARDWARE INSTALLATION AND OPERATION CHAPTER 2     ALR-9680 HARDWARE SETUP GUIDE   DOC. CONTROL  #8102135-000 REV A 8 8  Observe the reader's boot-up trace on the serial port, and determine the network settings. The RS-232 port displays useful information while the reader boots, including network settings. Toward the end of the trace, the reader displays a block of text similar to the following:  --------------------------------------------- Network Settings:     MAC Address : 00:80:66:10:2D:12     DHCP        : 1     IP Address  : 10.9.8.10     Netmask     : 255.255.255.0     Gateway     : 10.9.8.2     DNS         : 10.9.8.1     TimeServer  : time-a.timefreq.bldrdoc.gov     TimeZone    : -7 ---------------------------------------------  Once the reader boots and you see the "Boot>Ready!" prompt, pressing return will bring up the "Alien>" prompt.   9.  Ensure the PC has compatible network settings.  In order for you to be able to connect to the reader over TCP/IP, the host PC must be on the same subnet as the reader. If you are unfamiliar with how to do this, consult your local IT service for assistance.  Once the initial connection is made, you may configure your reader's network settings as you choose. Refer to the Reader Interface Guide for instructions on how to do this. You are now ready to bench test or demonstrate the RFID Reader system.  Bench Test Procedure 1.  Position the reader so you can see the diagnostic LEDs   You may also want to position the PC so you can view the monitor  2.  Access an operational mode suitable for bench testing.  Open the Alien Gateway RFID Demonstration Application.  Select Tag Grid on Gateway.  The RF ON light should illuminate.  Refer to the applicable software application user guide for specific instructions. 3.  Move a tag slowly away from the antenna’s range.  Begin with the tag well inside the expected read range (~2m or 6 ft) and move it toward the antenna while observing the LEDs. 4.  Verify the READ LED illuminates when the tag is inside the read zone.  The READ LED should illuminate green. 5.  Verify the host receives the tag data.  The tag should be displayed on the monitor. 6.  If bench test conditions are verified, proceed to installation.
CHAPTER 2 READER HARDWARE INSTALLATION AND OPERATION ALR-9680 HARDWARE SETUP GUIDE                                                                                    DOC. CONTROL  #8102135-000 REV A                                         9Installation This section provides guidance for configuring components in your RFID system. You should consider the overall design of your specific system before permanently mounting the equipment.   Installation involves many of the same connection steps required for bench test. However, instead of placing equipment on a tabletop, the reader, antenna, and their accessories are mounted in your application environment.  Requirements Before installing your RFID Reader system, you will need the following:   An 802.3af compliant network connection or standard 120 or 220 VAC power outlet  WARNING:  If you do not use an 802.3af compliant network to supply DC power you must use the ALX-416 power supplies provided by Alien Technology. Failure to do so voids the product warranty and violates the terms of the FCC license.  RS-232 cables, Ethernet cables or antenna coax cables needed to accommodate routing requirements   Mounting hardware suitable for the surface to which equipment is to be attached. Use #8 pan head screws 1.125” minimum length  Hardware Installation Procedure 1.  Select mounting position for antenna(s). CAUTION: Reader antenna should be positioned so that personnel in the area for prolonged periods may safely remain at least 23 cm (9 in) in an uncontrolled environment from the antenna’s surface. See FCC OET Bulletin 56 “Hazards of radio frequency and electromagnetic fields” and Bulletin 65 “Human exposure to radio frequency electromagnetic fields.”  Mount the reader and antenna(s) at the periphery of the desired read window so that the position of the most distant tag passing through the window is no farther from the antenna than the maximum range specified for your system design.   Position the reader and antenna(s) at a height approximately midway between the highest and lowest expected tag position. (For example, a pallet tag may be the lowest tag position to be read, while the top-most case on a fully stacked pallet may represent your highest tag position.)  NOTE: To maintain compliance with FCC regulations, use only antennas, cables, and power supplies supplied with the unit or approved by Alien Technology for use with the ALR-9680. 2.  Select mounting position for reader. The ALR-9680 has been designed to provide reliable operation over its operating temperature range. This is enhanced by proper mounting of the reader during bench test and installation. Place the reader on a solid,
READER HARDWARE INSTALLATION AND OPERATION CHAPTER 2     ALR-9680 HARDWARE SETUP GUIDE   DOC. CONTROL  #8102135-000 REV A 10thermally conductive surface. Optimum thermal performance is achieved by mounting the unit to a metal mounting plate with direct contact between the reader base and the mounting plate. When mounting vertically the reader IO panel should be oriented at the bottom.    Antennas should be placed close enough to the reader to accommodate the cable length without putting strain on the connectors.  Mount units individually. Do not stack them. 3.  Install the reader.  Secure the reader through the four mounting holes to its mounting location (wall, post, mounting bracket) using appropriate #8 pan head screws at least 1.125” long. 4.  Install the antenna(s).  Secure the antenna through the mounting holes on either flange to its mounting location using appropriate hardware. 5.  Connect the antenna(s) to reader.  Route coax cable from the antenna to the reader according to your system design specifications and secure it properly. Do not kink the antenna cable and maintain bend radii of at least 1 inch.  Align the connector of the cable with the reader antenna port, push into the port, and finger-tighten the screw fitting. 6.  Connect reader power supply.  If you are using an 802.3af compliant network for reader power skip this step  If you are using the ALX-416-1 PoE power supply, use a short standard Ethernet cable to connect the reader’s RJ-45 jack to the LAN+DC RJ-45 jack of the power supply. Align the RJ-45 connector with the corresponding TCP/IP port on the reader or the power supply and push the connector in.  If you are using the optional ALX-416-2 AC/DC power supply, connect the DC power jack into the DC power plug of the reader. Tighten the screw fitting finger tight.  DO NOT use both the PoE power supply and the optional AC/DC power brick on the same unit at the same time.  DO NOT plug the AC power cord into the supply at this time. 7.  Connect reader to the LAN or host PC.  If you are using an 802.3af compliant network for reader power skip this step.  If you are using the ALX-416-1 PoE power supply, connect the Ethernet cable into the LAN jack of the power supply. Align the RJ-45 connector with the corresponding TCP/IP port on the power supply and push the connector in. Connect the other end to a LAN drop or network switch. You may optionally connect the reader directly to a PC's network port, but you should use an Ethernet cross-over cable in this situation.  If you are using the ALX-416-2 AC/DC power brick, connect the Ethernet cable into the LAN jack of the reader. Align the RJ-45 connector with the
CHAPTER 2 READER HARDWARE INSTALLATION AND OPERATION ALR-9680 HARDWARE SETUP GUIDE                                                                                    DOC. CONTROL  #8102135-000 REV A                                         11corresponding TCP/IP port on the reader and push the connector in. Connect the other end to a LAN drop or network switch. You may optionally connect the reader directly to a PC's network port, but you should use an Ethernet cross-over cable in this situation.  If you wish to observe the reader's boot up trace, or control the reader via RS-232, align and connect a DB-9 serial cable to the reader's RS-232 port, and to the serial port on the PC. Configure your terminal software as described previously in the Bench Test Configuration section. 8.  Connect reader power.   If you are using an 802.3af compliant network to power the ALR-9680, connect a standard LAN cable between the ALR-9680 LAN/PoE port and the 802.3af enable LAN drop or network switch. The green POWER LED will illuminate when power is on  Note: If using an 802.3af compliant network it must be capable of supplying up to 12.95 watts.  If you are using the ALX-416-1 PoE power supply or the ALX-416-2 AC/DC brick, plug the AC power cord into the supply and into the wall outlet. The green POWER LED will illuminate when power is on. 9.  You are now ready to use the reader. System Operation: Software Control The ALR-9680 RFID Reader is controlled from software running on a host system that communicates with the reader using the ASCII-based Alien Reader Protocol. All applications use this protocol to communicate with the reader.   You may operate the reader from your own application code, using the example code provided on the Developer’s Kit CD, or using the Alien RFID Gateway application which is a demonstration program also included on your CD.   For more details, refer to either the Reader Interface Guide or the Demonstration Software Guide described briefly below. Reader Interface Guide The Alien Reader Protocol, mentioned previously, is described in detail in the Reader Interface Guide. Using this interface, the reader can be configured to read tags when queried or after one of a variety of event triggers (e.g., a rising edge on one of the I/O pins or a timer).   Tag data acquired in response to these triggers can be transmitted to the host in a number of formats (e.g., text, XML or custom) and under a number of conditions (e.g., on a new tag being observed, or a tag disappearing from view).   If you are a software developer, the Reader Interface Guide provides the information you will need to connect to the reader from a host computer, communicate with it, and customize its performance.  Demonstration Software Guide The Demonstration Software Guide describes the installation and operation of the Alien RFID Gateway application.
READER HARDWARE INSTALLATION AND OPERATION CHAPTER 2     ALR-9680 HARDWARE SETUP GUIDE   DOC. CONTROL  #8102135-000 REV A 12 The Alien RFID Gateway application is a useful demonstration program that allows users to explore the reader’s functionality and build customizable demos with a user-friendly interface.   Using the Gateway, the various operating modes of the reader can be controlled and custom interactive demos can be constructed using sounds, images, and text.  Alien RFID Academy Need to absorb RFID systems fast? Enroll in the Alien RFID Academy! In two or three days we'll share our practical expertise in RFID tags, antennas, readers, frequencies, systems, and protocols.   The Alien RFID Academy is a hands-on immersion into the workings, uses, and challenges of RFID technology. Rather than a product pitch, we put products to the test in the classroom, provide students with hands-on exposure in our RFID Solutions Center, and short-cut the learning curve by sharing practical solutions to real-world challenges. You'll learn best industry practice tag placement techniques for packaging and pallets alike.  Upon completion of the training, you will learn how to avoid common costly mistakes, know how to make the correct decisions for your business, how to select the right RFID options for your requirements, and where to find RFID answers.  Alien RFID Intermediate / Advanced Academy Topics: • RFID Physics, Protocols & Practical Applications • Tag Placement & Packaging Considerations • RFID Reader/System Configuration & Optimization • Hands-on Implementation • RFID System Architecture and Integration • Conducting Site-surveys & Contending with Interference  Please visit http://www.alientechnology.com for more information.

Navigation menu