Allied Telesis K K TQ4400E Outdoor Wireless Access Point User Manual Revised
Allied Telesis K.K. Outdoor Wireless Access Point Revised
Contents
- 1. User Manual
- 2. Users Manual
- 3. User Manual Revised
User Manual Revised

613-002195 Rev. B
AT-TQ4400e
Outdoor Wireless Access Point
with IEEE802.11a/b/g/n/ac Dual Radio
Installation Guide
2018-03-02_Review_Draft
Copyright 2018 Allied Telesis, Inc.
All rights reserved. No part of this publication may be reproduced without prior written permission from Allied Telesis, Inc.
Allied Telesis and the Allied Telesis logo are trademarks of Allied Telesis, Incorporated. All other product names, company names,
logos or other designations mentioned herein are trademarks or registered trademarks of their respective owners.
Allied Telesis, Inc. reserves the right to make changes in specifications and other information contained in this document without prior
written notice. The information provided herein is subject to change without notice. In no event shall Allied Telesis, Inc. be liable for
any incidental, special, indirect, or consequential damages whatsoever, including but not limited to lost profits, arising out of or related
to this manual or the information contained herein, even if Allied Telesis, Inc. has been advised of, known, or should have known, the
possibility of such damages.
2018-03-02_Review_Draft

3
Electrical Safety and Emissions
Standards
This product meets the following standards:
Federal Communications Commission Interference Statement
Declaration of Conformity
Manufacturer Name: Allied Telesis, Inc.
Declares that the product: Wireless access point with PoE+ powered device function
Model Number: AT-TQ4400e
This device complies with Part 15 of the FCC Rules. Operation is subject to the following two
conditions: (1) This device may not cause harmful interference, and (2) this device must accept
any interference received, including interference that may cause undesired operation.
This equipment has been tested and found to comply with the limits for a Class B digital device,
pursuant to Part 15 of the FCC Rules. These limits are designed to provide reasonable protection
against harmful interference in a residential installation. This equipment generates, uses and can
radiate radio frequency energy and, if not installed and used in accordance with the instructions,
may cause harmful interference to radio communications. However, there is no guarantee that
interference will not occur in a particular installation. If this equipment does cause harmful
interference to radio or television reception, which can be determined by turning the equipment
off and on, the user is encouraged to try to correct the interference by one of the following
measures:
Reorient or relocate the receiving antenna.
Increase the separation between the equipment and receiver.
Connect the equipment into an outlet on a circuit different from that to which the receiver is
connected.
Consult the dealer or an experienced radio/TV technician for help.
Caution
FCC Caution: Any changes or modifications not expressly approved by the party responsible
for compliance could void the user's authority to operate this equipment. E80
Avertissement
Avertissement de la FCC: Les changements ou modifications non expressément approuvés
par la partie responsable de la conformité pourraient annuler l'autorité de l'utilisateur à utiliser
cet équipement. E80
2018-03-02_Review_Draft

4
This transmitter must not be co-located or operating in conjunction with any other antenna or
transmitter.
The band from 5600-5650MHz will be disabled by the software during the manufacturing and
cannot be changed by the end user. This device meets all the other requirements specified in
Part 15E, Section 15.407 of the FCC Rules.
Radiation Exposure Statement:
This equipment complies with FCC radiation exposure limits set forth for an uncontrolled
environment. This equipment should be installed and operated with minimum distance 34cm
between the radiator & your body.
European Union Restriction of the Use of Certain Hazardous
Substances (RoHS) in Electrical and Electronic Equipment
This Allied Telesis RoHS-compliant product conforms to the European Union Restriction of the
Use of Certain Hazardous Substances (RoHS) in Electrical and Electronic Equipment. Allied
Telesis ensures RoHS conformance by requiring supplier Declarations of Conformity, monitoring
incoming materials, and maintaining manufacturing process controls.
Note
For additional regulatory statements, refer to Appendix B, ”Regulatory Statements” on page
73.
Safety and Electromagnetic Emissions Certificates
Standard Compliance
RoHs compliant
European Union RoHS (Directive 2011/65/EU of the European Parliament and of the Council
of 8 June 2011 on the restriction of the use of certain hazardous substances in electrical and
electronic equipment.)
Certificates
CE
FCC/IC
RCM
Wi-Fi CERTIFIED
2018-03-02_Review_Draft
5
Electromagnetic Compatibility (EMC)
EN 301 489-1
EN 301 489-17
EN 55022
EN 55024
EN 61000-3-2
EN 61000-3-3
EN 61000-4-2
EN 61000-4-3
EN 61000-4-4
EN 61000-4-5
EN 61000-4-6
EN 61000-4-8
EN 61000-4-11
AS/NZS CISPR 22
FCC 47 CFR Part 15, Subpart B
ICES-003
Radio Equipment
EN 300 328
EN 301 893
AS/NZS 4268
FCC 47 CFR Part 15, Subpart C
FCC 47 CFR Part 15, Subpart E
RSS247
RSS-Gen
RSS-102
FCC: OET Bulletin No. 65 Supplement C
EN 50385
Safety
EN 60950-1
IEC 60950-1
TUV-T
UL 60950-1
UL 60950-22
2018-03-02_Review_Draft

6
CAN/CSA C22.2 No. 60950-1-07
CAN/CSA-C22.2 No. 60950-22-07
IEC 60950-22
IEC 60529
Translated Safety Statements
Important: The indicates that a translation of the safety statement is available in a PDF
document titled Translated Safety Statements on the Allied Telesis website at
www.alliedtelesis.com/support.
2018-03-02_Review_Draft

7
Contents
Preface ............................................................................................................................................................13
Safety Symbols Used in this Document ..................................................................................................... 14
Contacting Allied Telesis............................................................................................................................ 15
Chapter 1: Product Description ...................................................................................................................17
Overview .................................................................................................................................................... 18
Features..................................................................................................................................................... 20
LAN Port..................................................................................................................................................... 22
Power over Ethernet (PoE).................................................................................................................. 22
Connector Type ................................................................................................................................... 22
Speed .................................................................................................................................................. 22
Duplex Mode ....................................................................................................................................... 22
Automatic MDIX Detection .................................................................................................................. 22
Port Pinouts ......................................................................................................................................... 23
Cable Specifications................................................................................................................................... 24
Cable Requirements............................................................................................................................ 24
Maximum Distance .............................................................................................................................. 24
Optional Antennas...................................................................................................................................... 25
Available Use Cases ........................................................................................................................... 25
Frequency Bands ................................................................................................................................ 25
Chapter 2: Optional Antennas and Cables ..................................................................................................27
Optional Antennas...................................................................................................................................... 28
AT-AN2458-10DP Mini Panel Antenna ...............................................................................................28
AT-AN5158-16DP Sector Antenna...................................................................................................... 30
AT-AN5158-19DP Flat Panel Antenna ................................................................................................ 32
Cables to Connect an Optional Antenna.................................................................................................... 35
Cable Specifications ............................................................................................................................ 35
Chapter 3: Installing the Access Point ........................................................................................................37
Reviewing Safety Precautions ................................................................................................................... 38
Unpacking the Access Point ...................................................................................................................... 40
Optional Antennas...................................................................................................................................... 42
Attaching the Ground Cable to the Access Point ....................................................................................... 43
Guidelines............................................................................................................................................ 43
What to Prepare for Attaching the Ground Cable................................................................................ 43
Attaching the Ground Cable to the Access Point ................................................................................ 44
Connecting the Access Point with the Ethernet Cable............................................................................... 45
Installing the Access Point on a Wall ......................................................................................................... 47
Guidelines............................................................................................................................................ 47
What to Prepare for Wall Installation ................................................................................................... 48
Installing the Access Point on a Concrete Wall ................................................................................... 48
Installing the Access Point on a Regular Wall ..................................................................................... 50
Installing the Access Point on a Pole ......................................................................................................... 51
What to Prepare for Pole Installation ................................................................................................... 51
Installing the Access Point on a Pole .................................................................................................. 51
2018-03-02_Review_Draft
Contents
8
Attaching the Antennas to the Access Point............................................................................................... 54
Starting the Initial Management Session on the Access Point ...................................................................55
Starting the Initial Management Session without a DHCP Server .......................................................55
Starting the Initial Management Session with a DHCP Server ............................................................ 57
Setting the Country Setting.........................................................................................................................58
Chapter 4: Installing the Optional Antennas .............................................................................................. 61
Overview..................................................................................................................................................... 62
Installing the AT-AN2458-10DP Mini Panel Antenna .................................................................................63
Installing the AT-AN5158-16DP Sector Antenna........................................................................................65
Installing the AT-AN5158-19DP Flat Panel Antenna..................................................................................66
Appendix A: Technical Specifications ........................................................................................................ 67
Physical Specifications ...............................................................................................................................67
Environmental Specifications ..................................................................................................................... 67
Power Specifications ..................................................................................................................................68
LAN Port .....................................................................................................................................................69
Safety and Electromagnetic Emissions Certifications ................................................................................ 71
Appendix B: Regulatory Statements ........................................................................................................... 73
Federal Communication Commission Interference Statement ...................................................................74
Radiation Exposure Statement ............................................................................................................ 75
Description of Antenna......................................................................................................................... 75
Industry Canada Statement........................................................................................................................77
Europe - EU Declaration of Conformity ...................................................................................................... 80
Operating Frequencies and Maximum Transmission Power Levels ....................................................80
Radiation Exposure Statement ............................................................................................................ 80
Importer................................................................................................................................................80
2018-03-02_Review_Draft

9
Figures
Figure 1: AT-TQ4400e Access Point Antenna Panel Top ............................................................................... 18
Figure 2: AT-TQ4400e Access Point Antenna Panel Bottom.......................................................................... 18
Figure 3: AT-TQ4400e Access Point Side Panel ............................................................................................ 19
Figure 4: AT-AN2458-10DP Mini Panel Antenna ............................................................................................ 28
Figure 5: AT-AN5158-16DP Sector Antenna................................................................................................... 30
Figure 6: AT-AN5158-16DP Sector Antenna Adjustment................................................................................ 30
Figure 7: AT-AN5158-19DP Flat Panel Antenna............................................................................................. 32
Figure 8: AT-AN5158-19DP Flat Panel Antenna Adjustment.......................................................................... 32
Figure 9: Aligning the Access Point with Ground Cable .................................................................................. 44
Figure 10: Removing the Sealing Nut, Clamping Claw, and Sealing Insert .................................................... 45
Figure 11: Removing the Rubber Nail from the Sealing Insert ........................................................................ 45
Figure 12: Applying the Sealing Parts to the LAN Cable................................................................................. 46
Figure 13: Connecting the LAN Cable and Attaching the Sealing Nut ............................................................ 46
Figure 14: Vertical Orientation of Dipole Antennas ......................................................................................... 47
Figure 15: Base Plate Hole Dimensions.......................................................................................................... 48
Figure 16: Attaching the Mounting Base to the Access Point.......................................................................... 49
Figure 17: Installing to the Wall Using Bolts .................................................................................................... 49
Figure 18: Installing to the Wall Using Tapping Screws .................................................................................. 50
Figure 19: Pole Installation of the Access Point .............................................................................................. 51
Figure 20: Attaching the Pole-Mount Bracket to the Mounting Base............................................................... 52
Figure 21: Attaching the O-Ring Clamp to the Pole-Mount Bracket ................................................................ 52
Figure 22: Installing Antennas to the Access Point ......................................................................................... 54
Figure 23: Logon Window................................................................................................................................ 56
Figure 24: Modify Wireless Settings Window .................................................................................................. 58
Figure 25: Installing Mini Panel Antenna to the Pole....................................................................................... 63
Figure 26: Installing Antennas to the Access Point ......................................................................................... 63
Figure 27: Installing Antennas for 2.4GHz to the Access Point....................................................................... 64
Figure 28: Installing Antennas for 5GHz to the Access Point.......................................................................... 64
Figure 29: Installing Sector Antenna to the Pole ............................................................................................. 65
Figure 30: Installing Antennas to the Access Point ......................................................................................... 65
Figure 31: Installing Flat Panel Antenna to the Pole ....................................................................................... 66
Figure 32: Installing Antennas to the Access Point ......................................................................................... 66
Figure 33: Pin Layout for the RJ45 Connector on the LAN Port...................................................................... 69
2018-03-02_Review_Draft
List of Figures
10
2018-03-02_Review_Draft

11
Tables
Table 1. Components of the Access Point ..................................................................................................... 19
Table 2. Twisted Pair Cable for the LAN Port ................................................................................................. 24
Table 3. Available Use Case .......................................................................................................................... 25
Table 4. Available Frequency Bands per Antenna Complied by FCC ............................................................ 26
Table 5. Available Frequency Bands per Antenna Complied by IC ................................................................ 26
Table 6. Available Frequency Bands per Antenna Complied by CE .............................................................. 26
Table 7. Electrical Specifications for the Mini Panel Antenna ........................................................................ 29
Table 8. Mechanical Specifications for the Mini Panel Antenna ..................................................................... 29
Table 9. Electrical Specifications for the Sector Antenna ............................................................................... 31
Table 10. Mechanical Specifications for the Sector Antenna ......................................................................... 31
Table 11. Electrical Specifications for the Flat Panel Antenna ....................................................................... 33
Table 12. Mechanical Specifications for the Flat Panel Antenna ................................................................... 33
Table 13. Cable Descriptions and Specifications ........................................................................................... 35
Table 14. Components in the Shipping Boxes ............................................................................................... 40
Table 15. AT-TQ4400e Physical Specifications ............................................................................................. 67
Table 16. Environmental Specifications ......................................................................................................... 67
Table 17. AT-TQ4400e Maximum Power Consumption ................................................................................. 68
Table 18. LAN Port Specifications .................................................................................................................. 69
Table 19. MDI Pin Signals (10Base-T or 100Base-TX) .................................................................................. 69
Table 20. MDI-X Pin Signals (10Base-T or 100Base-TX) .............................................................................. 70
Table 21. 1000Base-T Connector Pinouts ..................................................................................................... 70
Table 22. Safety and Electromagnetic Emissions Certificates ....................................................................... 71
Table 23. Operational Description of Antenna Configuration ......................................................................... 75
Table 24. Antenna RF Output Power Settings ............................................................................................... 76
2018-03-02_Review_Draft
List of Tables
12
2018-03-02_Review_Draft

Preface
14
Safety Symbols Used in this Document
This document uses the following conventions.
Note
Notes provide additional information.
Caution
Cautions inform you that performing or omitting a specific action
may result in equipment damage or loss of data.
Warning
Warnings inform you that performing or omitting a specific action
may result in bodily injury.
2018-03-02_Review_Draft

AT-TQ4400e Wireless Access Point Installation Guide
15
Contacting Allied Telesis
If you need assistance with this product, you may contact Allied Telesis
technical support by going to the Support & Services section of the Allied
Telesis web site at www.alliedtelesis.com/support. You can find links for
the following services on this page:
24/7 Online Support — Enter our interactive support center to
search for answers to your product questions in our knowledge
database, check support tickets, learn about Return Merchandise
Authorizations (RMAs), and contact Allied Telesis technical
experts.
USA and EMEA phone support — Select the phone number that
best fits your location and customer type.
Hardware warranty information — Learn about Allied Telesis
warranties and register your product online.
Replacement Services — Submit an RMA request via our
interactive support center.
Documentation — View the most recent installation and user
guides, software release notes, white papers, and data sheets for
your products.
Software Downloads — Download the latest software releases for
your managed products.
For sales or corporate information, go to www.alliedtelesis.com/
purchase.
2018-03-02_Review_Draft
Preface
16
2018-03-02_Review_Draft

17
Chapter 1
Product Description
This chapter describes the hardware components of the AT-TQ4400e
access point. This chapter contains the following sections:
“Overview” on page 18
“Features” on page 20
“LAN Port” on page 22
“Cable Specifications” on page 24
“Optional Antennas” on page 25
2018-03-02_Review_Draft

Chapter 1: Product Description
18
Overview
The Allied Telesis is an enterprise-class wireless access point designed to
expand wireless networks to outdoor venues, such as ski and beach
resorts, sports arenas, college and corporate campuses. The access point
comes with one PoE+ capable LAN port to connect to the network as well
as the power supply.
The top panel components of the AT-TQ4400e access point are illustrated
in Figure 1.
Figure 1. AT-TQ4400e Access Point Antenna Panel Top
The bottom panel components of the AT-TQ4400e access point are
illustrated in Figure 2.
Figure 2. AT-TQ4400e Access Point Antenna Panel Bottom
Figure 3 on page 19 shows the side view of theAT-TQ4400e access point.
5GHz Antenna Connector 2.4GHz Antenna Connector
LAN Port
5GHz Antenna Connector
2.4GHz Antenna Connector
2018-03-02_Review_Draft

AT-TQ4400e Wireless Access Point Installation Guide
19
Figure 3. AT-TQ4400e Access Point Side Panel
The components are listed in Table 1.
Note
Do not remove the Gore® vent plug from the access point.
Table 1. Components of the Access Point
Component Description
5 GHz Antenna
Connector
N-type female connector for the 5 GHz
antenna
2.4 GHz Antenna
Connector
N-type female connector for the 2.4 GHz
antenna
LAN 1 Port (PoE Input) The LAN port connects the access point to
your wired network. It supports PoE+. The
PoE+ capable LAN port is the only way to
supply power to this access point. You must
connect this LAN port to a PoE switch.
Gore® vent The vent equalizes housing pressures,
protects against dirt, dust, humidity and water,
and reduces condensation.
Gore® vent
2018-03-02_Review_Draft

Chapter 1: Product Description
20
Features
The main features of the product are listed here:
Dual radio: 2.4 GHz and 5 GHz
IEEE 802.11a/b/g/n/ac
2x2:2ss MIMO
Maximum capacity 2.4 GHz: 300 Mbps
Maximum capacity 5 GHz: 867 Mbps
Wireless Distribution System (WDS) bridges
Access point clustering
Rogue access point detection
Multiple SSIDs
One 10/100/1000Base-T Ethernet port with Auto-Negotiation, auto
MDI/MDIX, and IEEE 802.3at Power over Ethernet (PoE+)
IEEE 802.3 (10Base-T), IEEE 802.3u (100Base-TX), and IEEE
802.3ab (1000Base-T) compliance on the Ethernet port
MAC address filtering for wireless access security
Broadcast and multicast rate limiting
Virtual access points for multiple broadcast domains
DHCP client
RADIUS accounting with external RADIUS server
Network Time Protocol (NTP) client
Domain name server (DNS) client
IEEE 802.1x authentication
WPA-Personal and WPA-Enterprise with WPA, WPA2, TKIP, and
CCMP (AES) authentication and encryption
Static WEP encryption
HTTP and HTTPS web browser management
SNMPv1 and v2c management
Quality of Service
Event log
Syslog client
Outdoor installation on a wall or pole
Antenna connectors with surge protection
2018-03-02_Review_Draft
AT-TQ4400e Wireless Access Point Installation Guide
21
N-type female antenna connectors for replacing antennas
Metallic chassis with plastic cover to repel ultraviolet (UV) radiation
from the sun
2018-03-02_Review_Draft

Chapter 1: Product Description
22
LAN Port
The AT-TQ4400e access point has one LAN port to connect to your Local
Area Network (LAN), typically through an Ethernet switch.
Power over
Ethernet (PoE)
The AT-TQ4400e access point supports Power over Ethernet Plus (PoE+)
on the LAN port. The access point is a PoE+ class 4 powered device with
a maximum power consumption of 16 watts. When the port is connected
to a PoE+ Ethernet switch, the access point receives its power over the
network cable that carries the network traffic. The LAN port is the only way
to supply the power to the device.
Connector Type The LAN port has an eight-pin RJ45 connector. The port uses four pins at
10 or 100 Mbps and all eight pins at 1000 Mbps. The pin assignments are
listed in “LAN Port” on page 69.
Speed The LAN port can operate at 10, 100, or 1000 Mbps. The speed is set
automatically with Auto-Negotiation. You cannot disable Auto-Negotiation
on the port.
Note
The LAN port should be connected to a network device that also
adjusts its speed with Auto-Negotiation. If the network device does
not support Auto-Negotiation, the LAN port operates at 10 Mbps,
which may reduce network performance.
Duplex Mode The LAN port can operate in either half- or full-duplex mode at 10 or 100
Mbps, and full-duplex mode at 1000 Mbps. The port is IEEE 802.3u-
compliant and uses Auto-Negotiation to set the duplex mode. (You cannot
disable Auto-Negotiation on the port.)
Note
The LAN port should be connected to a network device that also
sets its duplex mode with Auto-Negotiation. If the network device
does not support Auto-Negotiation, the LAN port operates at half-
duplex mode. This may result in a duplex mode mismatch if the
network device is operating at full duplex.
Automatic MDIX
Detection
The 10/100/1000 Mbps twisted-pair port is IEEE 802.3ab compliant and
features automatic MDIX detection when operating at 10 or 100 Mbps.
(Automatic MDIX detection does not apply to 1000 Mbps.) This feature
automatically configures the port to MDI or MDI-X depending on the wiring
configuration of the port on the Ethernet switch.
2018-03-02_Review_Draft
AT-TQ4400e Wireless Access Point Installation Guide
23
You may not disable automatic MDIX detection. For automatic MDIX
detection to work properly, it must also be present on the Ethernet switch.
The LAN port defaults to MDIX if it is connected to a network device that
does not support automatic MDIX detection.
Port Pinouts Refer to Table 19 on page 69 for the port pinouts of the LAN port when it is
operating at 10 or 100 Mbps in the MDI configuration and Table 20 on
page 70 for the MDI-X configuration. Refer to Table 21 on page 70 for the
port pinouts when the port is operating at 1000 Mbps.
2018-03-02_Review_Draft

Chapter 1: Product Description
24
Cable Specifications
To connect the AT-TQ4400e Access Point to your LAN, you must provide
cables. Here are cable requirements and options.
Cable
Requirements
The cable requirements for the LAN port are listed in Table 2.
Maximum
Distance
The LAN port has a maximum operating distance of 100 meters (328 feet).
Table 2. Twisted Pair Cable for the LAN Port
Cable Type
10Mbps 100Mbps 1000Mbps
PoE+ PoE+ PoE+
Standard TIA/EIA 568-A-compliant
Category 5 shielded or unshielded
cabling with 100 ohm impedance and
100 MHz frequency.
Yes Yes No
Standard TIA/EIA 568-B-compliant
Enhanced Category 5 (Cat 5e)
shielded or unshielded cabling with
100 ohm impedance and 100 MHz
frequency.
Yes Yes Yes
Standard TIA/EIA 568-B-compliant
Category 6 or 6a shielded cabling.
Yes Yes Yes
2018-03-02_Review_Draft

AT-TQ4400e Wireless Access Point Installation Guide
25
Optional Antennas
The AT-TQ4400e access point is shipped with a set of antennas. In
addition to the antennas, you may use optional antennas. For more
information, refer to Chapter 2, “Optional Antennas and Cables” on page
27.
Available Use
Cases
Table 3 shows five available combinations of antennas including optional
antennas for the AT-TQ4400e access point.
Frequency Bands This sections shows the optional antennas’ available frequency bands by
FCC, IC, and CE.
Table 4 on page 26 shows the frequency bands permitted by FCC
(Federal Communications Commission) available for each antenna.
Table 3. Available Use Case
Case Regulatory
Domain 2.4GHz 5GHz Description
1 Any Default antennas Default antennas The dual band, omni-directional
antennas to access WiFi
2 Any AT-AN2458-10DP AT-AN2458-10DP The dual band, panel antennas
to access WiFi
3 Any AT-AN2458-10DP AT-AN5158-16DP The panel antenna to access
2.4GHz WiFi and the sector
antennas to access 5GHz WiFi
4 Any Default antennas AT-AN5158-19DP The omni-directional antenna to
access 2.4GHz WiFi and the
panel antenna for backhaul in
the 5GHz band
5 Any AT-AN2458-10DP AT-AN5158-19DP The panel antennas to access
2.4GHz WiFi and the panel
antenna for backhaul in the
5GHz band
2018-03-02_Review_Draft

Chapter 1: Product Description
26
Table 5 shows the frequency bands permitted by IC (Industry Canada)
available for each antenna.
Table 6 shows the frequency bands permitted by CE (European
Conformity) available for each antenna.
Table 4. Available Frequency Bands per Antenna Complied by FCC
2.4GHz ISM 5GHz
U-NII-1
5GHz
U-NII-2A
5GHz
U-NII-2C
5GHz
U-NII-3
Indoor
Use (In)
Outdoor
Use (Out) In Out In Out In Out In Out
AT-AN2458-10DP Yes Yes Yes Yes Yes Yes Yes Yes Yes Yes
AT-AN5158-16DP No No Yes Yes Yes Yes Yes Yes Yes Yes
AT-AN5158-19DP No No No No Yes Yes Yes Yes Yes Yes
Table 5. Available Frequency Bands per Antenna Complied by IC
2.4GHz ISM 5GHz
U-NII-1
5GHz
U-NII-2A
5GHz
U-NII-2C
5GHz
U-NII-3
Indoor
Use (In)
Outdoor
Use (Out) In Out In Out In Out In Out
AT-AN2458-10DP Yes Yes Yes No Yes Yes Yes Yes Yes Yes
AT-AN5158-16DP No No Yes No Yes Yes Yes Yes Yes Yes
AT-AN5158-19DP No No No No No No Yes Yes Yes Yes
Table 6. Available Frequency Bands per Antenna Complied by CE
2.4GHz ISM 5GHz
U-NII-1
5GHz
U-NII-2A
5GHz
U-NII-2C
5GHz
U-NII-3
Indoor
Use (In)
Outdoor
Use (Out) In Out In Out In Out In Out
AT-AN2458-10DP Yes Yes Yes No Yes No Yes Yes No No
AT-AN5158-16DP No No No No No No Yes Yes No No
AT-AN5158-19DP No No No No No No Yes Yes No No
2018-03-02_Review_Draft

27
Chapter 2
Optional Antennas and Cables
This chapter describes supported optional antennas and cables to connect
these antennas and the AT-TQ4400e access point. This chapter contains
the following sections:
“Optional Antennas” on page 28
“Cables to Connect an Optional Antenna” on page 35
2018-03-02_Review_Draft

Chapter 2: Optional Antennas and Cables
28
Optional Antennas
The AT-TQ4400e access point is shipped with a set of antennas. In
addition to the antennas, you may use the following optional antennas:
”AT-AN2458-10DP Mini Panel Antenna”
“AT-AN5158-16DP Sector Antenna” on page 30
“AT-AN5158-19DP Flat Panel Antenna” on page 32
Note
For how to install the optional antennas, refer to Chapter 4,
“Installing the Optional Antennas” on page 61.
AT-AN2458-
10DP Mini Panel
Antenna
The AT-AN2458-10DP Mini Panel Antenna features two independent
dual-band, vertically and horizontally polarized antennas in a single
housing. The housing has drain holes to help prevent moisture build-up
inside the antenna. Refer to Figure 4.
Figure 4. AT-AN2458-10DP Mini Panel Antenna
The Antenna is supplied with a mast mount kit. It allows the antenna to be
mounted to a 1 inch (25.4 mm) to 1.7” (43.2 mm) diameter mast and
adjusted upward or downward up to 30°.
Features
All weather operations
Dual polarity feed system in single enclosure
MIMO: Multiple Input and Multiple Output
2018-03-02_Review_Draft

AT-TQ4400e Wireless Access Point Installation Guide
29
Electrical Specifications
Table 7 shows the electrical specifications for the Mini Panel Antenna.
Mechanical Specifications
Table 8 shows the mechanical specifications for the Mini Panel Antenna.
Table 7. Electrical Specifications for the Mini Panel Antenna
Item Value
Frequency Range 2400-2500/4900-5850 MHz
Gain 8 dBi@2.4 GHz / 10 dBi@4.9-5.8 GHz
Polarization Vertical and Horizontal
Vertical Beamwidth 57° @2.4 GHz / 42° @4.9-5.8 GHz
Horizontal Beamwidth 90° @2.4 GHz / 70° @4.9-5.8 GHz
Maximum Power 50 watts
Impedance 50 Ohm
Isolation > 28 dB
Voltage Standing Wave
Ratio (VSWR)
< 2.0 (V-Pol) / < 2.3 (H-Pol)
Front to Back Ratio ≥15 dB
Lightning Protection DC Ground
Table 8. Mechanical Specifications for the Mini Panel Antenna
Item Description
Connectors 2 Integral N-Female
Mounting 1 to 1.7 in. (25.4 to 43.2 mm) diameter mast
Vertical Tilt 0-30
Radome Material UV-Protected ABS
Dimensions 4 x 4 x 3.5 in.(104 x 104 x 90 mm)
Antenna Weight 1.1 lbs (0.5kg)
Mounting Bracket Weight 0.4 lbs (0.18 kg)
Operating Temperature -40° C to 60° C (-40° F to 131° F)
Rated Wind Velocity 130 mph/h (210 km/h)
RoHS Compliant Yes
2018-03-02_Review_Draft

Chapter 2: Optional Antennas and Cables
30
AT-AN5158-
16DP Sector
Antenna
The AT-AN5158-16DP Sector Antenna combines vertical and horizontal
polarization with high gain over a broadband frequency in a single
enclosure. Refer to Figure 5.
Figure 5. AT-AN5158-16DP Sector Antenna
The Sector Antenna is supplied with a stainless steel tilt and swivel mast
mount kit. It allows the antenna to be mounted to a 1.2 inch (30 mm) to
2.0” (50 mm) diameter mast and adjusted tilt from 0° to 17°. Refer to
Figure 6.
Figure 6. AT-AN5158-16DP Sector Antenna Adjustment
2018-03-02_Review_Draft

AT-TQ4400e Wireless Access Point Installation Guide
31
Features
All weather operations
Dual polarity feed system in single enclosure
MIMO: Multiple Input and Multiple Output
Electrical Specifications
Table 9 shows the electrical specifications for the Sector Antenna.
Mechanical Specifications
Table 10 shows the mechanical specifications for the Sector Antenna.
Table 9. Electrical Specifications for the Sector Antenna
Item Value
Frequency Range 5150-5850 MHz
Gain 16 dBi
Polarization Vertical and Horizontal (Dual)
Maximum Voltage Standing Wave
Ratio (VSWR)
<1.8
Horizontal Beamwidth (-6 dB) 120°
Vertical Beamwidth (-6 dB) 11°
Front to Back Ratio > 25 dB
Port to Port Isolation < -28 dB
Maximum Input Power 100 watts
Input Impedance 50Ohm
Lightning Protection DC Ground
Table 10. Mechanical Specifications for the Sector Antenna
Item Description
Connector Interface N-Female x 2
Rated Wind Velocity 130 mph (210 km/h)
Vertical Tilt 0-17°
Dimensions 31.3 x 4.5 x 2.5 in. (795 x 115 x 65 mm)
Weight including
Bracket
6.0 lbs (2.75 kg)
2018-03-02_Review_Draft

Chapter 2: Optional Antennas and Cables
32
AT-AN5158-
19DP Flat Panel
Antenna
The AT-AN5158-19DP Flat Panel Antenna combines vertical and
horizontal polarization with high gain over a broadband frequency in a
single enclosure. It operates in the 4.9 to 5.8 GHz frequency bands. Refer
to Figure 7.
Figure 7. AT-AN5158-19DP Flat Panel Antenna
The Flat Panel Antenna is fed via two N-female ports, one for the vertically
polarized signal and one for the horizontally polarized signal.
The Antenna is supplied with a mast mount kit. It allows the antenna to be
mounted to a 0.75 inch (19 mm) to 2 inch (50 mm) diameter mast and
adjusted upward up to 60° and downward to 10°. Refer to Figure 8.
Figure 8. AT-AN5158-19DP Flat Panel Antenna Adjustment
Mounting Mast Size
(diameter)
1.2 to 2.0 in. (30 -50 mm)
RoHS Compliant Yes
Table 10. Mechanical Specifications for the Sector Antenna (Continued)
Item Description
2018-03-02_Review_Draft

AT-TQ4400e Wireless Access Point Installation Guide
33
Features
UV-resistant radome for all-weather operations
Dual polarity feed system in single enclosure
MIMO: Multiple Input and Multiple Output
Electrical Specifications
Table 11 shows the electrical specifications for the Flat Panel Antenna.
Mechanical Specifications
Table 12 shows the mechanical specifications for Flat Panel Antenna.
Table 11. Electrical Specifications for the Flat Panel Antenna
Item Value
Frequency Range 4900-5850 MHz
Gain 19 dBi
Polarization Vertical and Horizontal
Maximum Voltage Standing Wave Ratio
(VSWR)
<1.8
V Polarization Horizontal Beamwidth 86°
H Polarization Horizontal Beamwidth 75°
Vertical Beamwidth 23°
Front to Back Ratio ≥25 dB
Cross Polarization Isolation > 28 dB
Maximum Input Power 10 watts
Input Impedance 50Ohm
Lightning Protection DC Ground
Table 12. Mechanical Specifications for the Flat Panel Antenna
Item Description
Connector Interface N-Female x 2
Radome Material Gray ASA (acrylic ester-styrene-acrylonitrile)
Dimensions 12.40 x 12.40 x 0.98 in.(315 x 315 x 25 mm)
Weight including the
bracket
3.5 lbs (1.6kg)
2018-03-02_Review_Draft

Chapter 2: Optional Antennas and Cables
34
Mounting Mast Size
(diameter)
0.75-2.00 in. (19-50 mm)
Rated Wind Velocity 130 mph/h (210 km/h)
RoHS Compliant Yes
Table 12. Mechanical Specifications for the Flat Panel Antenna
Item Description
2018-03-02_Review_Draft

AT-TQ4400e Wireless Access Point Installation Guide
35
Cables to Connect an Optional Antenna
To connect the optional antenna and the AT-TQ4400e access point, you
need to use one of the following cables:
AT-AN0001 RF Coax Cable
AT-AN0002 RF Coax Cable
AT-AN0003 RF Coax Cable
Note
You need two cables to connect the optional antenna and the
access point.
Cable
Specifications
Here are the descriptions and specifications of the cables.
Table 13 shows the descriptions and specifications of the cables.
4Table 13. Cable Descriptions and Specifications
Cable Model Connector Cable Diameter Length
AT-AN0001 N-male to N-male 0.24 in. (6.1mm) 4.0 ft. (1.2m)
AT-AN0002 N-male to N-male 0.41 in. (10.3mm) 10.0 ft. (3.0m)
AT-AN0003 N-male to N-male 0.41 in. (10.3mm) 20.0 ft. (6.1m)
2018-03-02_Review_Draft
Chapter 2: Optional Antennas and Cables
36
2018-03-02_Review_Draft

37
Chapter 3
Installing the Access Point
This chapter describes how to install the AT-TQ4400e access point. This
chapter contains the following sections:
“Reviewing Safety Precautions” on page 38
“Unpacking the Access Point” on page 40
“Attaching the Ground Cable to the Access Point” on page 43
“Connecting the Access Point with the Ethernet Cable” on page 45
“Installing the Access Point on a Wall” on page 47
“Installing the Access Point on a Pole” on page 51
“Attaching the Antennas to the Access Point” on page 54
“Starting the Initial Management Session on the Access Point” on
page 55
“Setting the Country Setting” on page 58
Note
The non-US model of this product has a country code setting that
must be set during the initial management session of the unit. The
setting ensures that the unit operates in compliance with the laws
and regulations of your country or region.
For the US model, the country code is preset and cannot be
changed. Per FCC regulations, the country code setting for all WiFi
products marketed in the US must be fixed to US operational
channels only.
2018-03-02_Review_Draft

Chapter 3: Installing the Access Point
38
Reviewing Safety Precautions
Please review the following safety precautions before you begin to install
the access point.
Note
The indicates that a translation of the safety statement is
available in a PDF document titled Translated Safety Statements on
the Allied Telesis website at www.alliedtelesis.com/support.
Warning
To prevent electric shock, do not remove the cover. No user-
serviceable parts inside. This unit contains hazardous voltages and
should only be opened by a trained and qualified technician. To
avoid the possibility of electric shock, disconnect electric power to
the product before connecting or disconnecting the LAN cables.
E1
Warning
Do not work on equipment or cables during periods of lightning
activity. E2
Warning
Operating Temperature. This product is designed for a maximum
ambient temperature of 65°C E50
Caution
FCC Caution: Any changes or modifications not expressly approved
by the party responsible for compliance could void the user's
authority to operate this equipment. E80
Note
All Countries: Install product in accordance with local and National
Electrical Codes. E8
2018-03-02_Review_Draft

AT-TQ4400e Wireless Access Point Installation Guide
39
Note
You should verify that your PoE network adheres to the standards of
a separated extra-low voltage (SELV) circuit before using the PoE
feature on the wireless access point.
Warning
Only trained and qualified personnel are allowed to install or to
replace this equipment. E14
Warning
This equipment shall be installed in a Restricted Access location.
E45
Warning
Hot Surface, Do Not Touch! - The finned surface on the back of the
chassis is a heat sink and can become dangerously hot when the
unit is operating. E114
2018-03-02_Review_Draft

Chapter 3: Installing the Access Point
40
Unpacking the Access Point
To unpack the access point, perform the following procedure:
1. Remove all components from the shipping boxes.
Note
Store the packaging material in a safe location. You must use the
original shipping material if you need to return the unit to Allied
Telesis.
2. Verify that all components listed in Table 14 are included in your
shipping boxes.
Table 14. Components in the Shipping Boxes
Name Component
2 x 5GHz Antenna
2 x 2.4GHz Antenna
Mounting Base
2018-03-02_Review_Draft

AT-TQ4400e Wireless Access Point Installation Guide
41
3. If any item is missing or damaged, contact your Allied Telesis sales
representative for assistance.
Pole-mount bracket
O-ring clamp
Ground cable
2 x Antenna connector
cap
4 x Screw for the
mounting base
4 x Screw for the pole-
mount bracket
1 x Screw for the
ground cable
Table 14. Components in the Shipping Boxes (Continued)
Name Component
2018-03-02_Review_Draft

Chapter 3: Installing the Access Point
42
Optional Antennas
The AT-TQ4400e access point comes with a set of antennas. In addition
to the antennas, you may use the following optional antennas:
Mini Panel Antenna: AT-AN2458-10DP
Sector Antenna: AT-AN5158-16DP
Flat Panel Antenna: AT-AN5158-19DP
Note
Refer to Table 23 on page 75 for antenna configurations and
Table 24 on page 76 for the RF output power settings.
2018-03-02_Review_Draft

AT-TQ4400e Wireless Access Point Installation Guide
43
Attaching the Ground Cable to the Access Point
To protect the device from lightning strikes and against electrostatic
discharge (ESD), attach the ground cable to the access point.
Guidelines Review the following guidelines before attaching the ground cable to the
access point:
Before installing the mounting base to the access point, attach the
ground cable to the access point.
Connect the ground cable straight to the earth ground; cut off the
extra length of the ground cable.
Prevent the ground cable from being sharply bent, looped, or
coiled.
Connect the surge protector ground cable and the equipment
ground to a single common ground. The equipment ground
includes power ground and telecommunications ground.
The recommended earth ground impedance is less than 1.0 ohm.
Measure the ground impedance at the point where the surge
protector ground cable, not at the ground rod.
If you provide your own ground cable, use a 10 AWG or larger
stranded wire as a ground cable.
What to Prepare
for Attaching the
Ground Cable
You need the following items to attach the ground cable to the access
point:
AT-TQ4400e Access Point
Ground cable
One screw for the ground cable
Phillips-head screwdriver
2018-03-02_Review_Draft

Chapter 3: Installing the Access Point
44
Attaching the
Ground Cable to
the Access Point
To attach the ground cable to the access point, perform the following
procedure:
1. Align the ground cable hole on the access point with the ring terminal
of the ground cable. Refer to Figure 9.
Figure 9. Aligning the Access Point with Ground Cable
2. Drive the screw through the holes to attach the ground cable to the
access point.
3. Cut off the extra length of the ground cable to make it connected
straight to the ground point.
4. Attach the other terminal of the ground cable to a circuit breaker,
ground rod, or earth ground.
2018-03-02_Review_Draft

AT-TQ4400e Wireless Access Point Installation Guide
45
Connecting the Access Point with the Ethernet Cable
To connect the access point with the Ethernet cable, perform the following
procedure:
1. Unscrew the sealing nut at the LAN port on the access point and
remove the clamping claw and sealing insert. Refer to Figure 10.
Figure 10. Removing the Sealing Nut, Clamping Claw, and Sealing Insert
2. Remove the rubber nail from the sealing insert. Refer to Figure 11.
Figure 11. Removing the Rubber Nail from the Sealing Insert
2018-03-02_Review_Draft

Chapter 3: Installing the Access Point
46
3. Pass the LAN cable through the sealing nut, and attach the sealing
insert and clamping claw to the cable. Refer to Figure 12.
Figure 12. Applying the Sealing Parts to the LAN Cable
4. Connect the RJ-45 plug into the LAN port and screw the sealing nut to
the access point. Refer to Figure 13.
Figure 13. Connecting the LAN Cable and Attaching the Sealing Nut
5. Connect the other RJ-45 plug to the PoE switch.
2018-03-02_Review_Draft

AT-TQ4400e Wireless Access Point Installation Guide
47
Installing the Access Point on a Wall
The AT-TQ4400e access point can be mounted on a concrete or a
regular wall. To install the access point, perform one of the following
procedures:
“Installing the Access Point on a Concrete Wall” on page 48
“Installing the Access Point on a Regular Wall” on page 50
Guidelines Review the following guidelines before installing the access point on a
wall:
If you are not installing the access point on a concrete wall, provide
four tapping screws. They are not included in the shipping box.
Attach the ground cable before attaching the mounting base to the
access point.
Connect the Ethernet cable to the access point before installing the
access point on a wall or pole because connecting the Ethernet
cable will be difficult after the access point is installed.
Attach the antennas to the access point before installing it on a wall
or pole because attaching the antennas will be difficult after the
access point is installed.
When installing the access point, orient the mounting base and
chassis in a vertical position such that the dipole antennas are
running in the up and down directions. Refer to Figure 14.
Figure 14. Vertical Orientation of Dipole Antennas
UP
DOWN
2018-03-02_Review_Draft

Chapter 3: Installing the Access Point
48
What to Prepare
for Wall
Installation
You need the following items to install the access point on a wall:
AT-TQ4400e Access Point
Mounting base
Four screws for the mounting base
Screws for the wall, one of the following:
– Four sets of the bolt, nut, washer, and wall anchor
for a concrete wall
– Four tapping screws for a regular wall
Drill
Phillips-head screwdriver
Pencil
Note
Screws fro the wall, drill, Phillip-head screwdriver, and pencil are not
included in the shipping box.
Installing the
Access Point on a
Concrete Wall
To install the access point on the wall, perform the following procedure:
1. Review “Guidelines” on page 47.
2. Orient the mounting base so the dipole antennas are vertically
positioned. Refer to Figure 14 on page 47.
3. Using the mounting base as a template, mark four holes with a pencil.
Refer to Figure 15 on page 48 for hole dimensions.
Figure 15. Base Plate Hole Dimensions
2018-03-02_Review_Draft

AT-TQ4400e Wireless Access Point Installation Guide
49
4. Pre-drill the marked locations on the concrete wall.
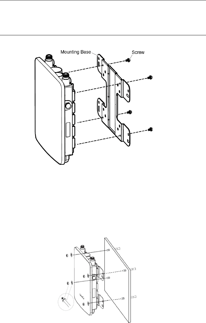
5. Attach the mounting base to the access point with the screws using a
Phillips-head screwdriver, as refer to Figure 16.
Note
Attach the ground cable to the access point before attaching the
mounting base. Refer to “Attaching the Ground Cable to the Access
Point” on page 43.
Figure 16. Attaching the Mounting Base to the Access Point
6. Install the four sets of bolts and wall anchors into the holes you made
in Step 4.
7. Attach the nuts and washers to the bolts in the concrete wall to install
the access point. Refer to Figure 17.
Figure 17. Installing to the Wall Using Bolts
8. Proceed to “Attaching the Antennas to the Access Point” on page 54.
2018-03-02_Review_Draft

Chapter 3: Installing the Access Point
50
Installing the
Access Point on a
Regular Wall
To install the access point on a regular wall, perform the following
procedure:
1. Review “Guidelines” on page 47.
2. Orient the mounting base so the dipole antennas are vertically
positioned. Refer to Figure 14 on page 47.
3. Using the mounting base as a template, mark four holes with a pencil.
Refer to Figure 15 on page 48 for hole dimensions.
4. Pre-drill the marked locations on the wall.
5. Attach the mounting base to the access point with the screws using a
Phillips-head screwdriver. Refer to Figure 16 on page 49.
Note
Attach the ground cable to the access point before attaching the
mounting base to the access point. Refer to “Attaching the Ground
Cable to the Access Point” on page 43.
6. Drive the tapping screws into the holes made in Step 4 to install the
access point. Refer to Figure 18 on page 50.
Figure 18. Installing to the Wall Using Tapping Screws
7. Proceed to “Attaching the Antennas to the Access Point” on page 54.
2018-03-02_Review_Draft

AT-TQ4400e Wireless Access Point Installation Guide
51
Installing the Access Point on a Pole
The AT-TQ4400e access point can be mounted on a vertical pole or
horizontal pole. Refer to Figure 19.
Figure 19. Pole Installation of the Access Point
What to Prepare
for Pole
Installation
You need the following items to install the access point on a pole:
AT-TQ4400e Access Point
Mounting base
Four screws for the mounting base
Pole-mounting bracket
Four screws for the pole-mounting bracket
O-ring clamp
Phillips-head screwdriver
Flat-head screwdriver
Note
Phillip-head and flat-head screwdrivers are not included in the
shipping box.
Installing the
Access Point on a
Pole
To install the access point on a pole, perform the following procedure:
1. Review “Guidelines” on page 47.
2. Attach the mounting base to the access point with the screws using a
Phillips-head screwdriver. Refer to Figure 16 on page 49.
2018-03-02_Review_Draft

Chapter 3: Installing the Access Point
52
Note
Attach the ground cable to the access point before attaching the
mounting base to the access point. Refer to “Attaching the Ground
Cable to the Access Point” on page 43.
3. Orient the pole-mount bracket for installing to either a vertical pole or a
horizontal pole. Refer to Figure 20.
Figure 20. Attaching the Pole-Mount Bracket to the Mounting Base
4. Drive the screws to attach the pole-mount bracket to the mounting
base using a Phillips-head screwdriver.
5. Attach the O-ring clamp to the pole-mount bracket. Refer to Figure 21.
Figure 21. Attaching the O-Ring Clamp to the Pole-Mount Bracket
Installing to a Vertical Pole Installing to a Horizontal Pole
Installing on a Installing on a
Vertical Pole Horizontal Pole
2018-03-02_Review_Draft

Chapter 3: Installing the Access Point
54
Attaching the Antennas to the Access Point
In addition to the antennas that came with the access point, Allied Telesis
supports three optional antennas.
Note
To install the optional antennas, refer to Chapter 4, “Installing the
Optional Antennas” on page 61.
To install the antennas that is shipped with the access point, perform the
following procedure:
1. Screw a 5GHz antenna into the 5GHz antenna connector on the top
panel of the access point. Refer to Figure 22.
Figure 22. Installing Antennas to the Access Point
2. Repeat Step 1 for the second 5GHz antenna to screw into the 5GHz
antenna connector on the bottom panel of the access point.
3. Screw a 2.4GHz antenna into the 2.4GHz antenna connector on the
top panel of the access point. Refer to Figure 22.
4. Repeat Step 3 for the second 2.4GHz antenna to screw into the
2.4GHz antenna connector on the bottom panel of the access point.
2018-03-02_Review_Draft

AT-TQ4400e Wireless Access Point Installation Guide
55
Starting the Initial Management Session on the Access Point
When you connect the access point to the PoE switch for the first time, it
queries the subnet on the LAN port for a DHCP server. If a DHCP server
responds to its query, the access point uses the IP address the server
assigns to it. If there is no DHCP server, it uses the default IP address
192.168.1.230.
If your network does not have a DHCP server, you must change the IP
address of your management PC to match the subnet of the default
address of the access point. If your network is divided into virtual LANs
(VLANs), be sure to connect the access point and your management PC
to ports on a PoE switch that are members of the same VLAN.
If your network has a DHCP server, use the IP address the server assigns
it to start the management session.
To start the initial management session, perform one of the following:
“Starting the Initial Management Session without a DHCP Server” on
page 55
“Starting the Initial Management Session with a DHCP Server” on
page 57
Note
The initial management session of the access point has to be
conducted through the LAN port because the default setting for the
radios is off.
Starting the
Initial
Management
Session without a
DHCP Server
This procedure explains how to start the initial management session on
the access point when the LAN port is connected to a PoE switch on a
network that does not have a DHCP server.
To start the management session, perform the following procedure:
1. Connect the access point to a PoE switch.
If your network has VLANs, the access point must be connected to a
port on the PoE switch that belongs to the same VLAN as the port
where your management PC is connected.
You may need to access the management software on the PoE switch
to list the VLANs and their port assignments. For example, if the
access point is connected to a port that is a member of the Sales
VLAN, your management PC must be connected to a port that is also a
member of that VLAN. If your network is small and does not have
VLANs or routers, you may connect your management PC to any port
on the PoE switch.
2018-03-02_Review_Draft

Chapter 3: Installing the Access Point
56
2. Change the IP address on your management PC to 192.168.1.n.
The n is any number from 1 to 254, except 230. Refer to the
documentation that accompanies your PC for instructions on how to
set the IP address.
3. Set the subnet mask on your management PC to 255.255.255.0.
4. Start the web browser on your management PC.
5. Enter the IP address 192.168.1.230 in the URL field of the browser.
The logon window appears. Refer to Figure 23.
.
Figure 23. Logon Window
6. Enter “manager” for the username and “friend” for the password.
The username and password are case-sensitive.
2018-03-02_Review_Draft

AT-TQ4400e Wireless Access Point Installation Guide
57
Starting the
Initial
Management
Session with a
DHCP Server
This procedure explains how to start the initial management session on
the access point when the LAN port is connected to a network that has a
DHCP server. This procedure assumes that you have already configured
the DHCP server to assign the access point all the necessary
configuration information (for example, IP address and default gateway)
for your network.
To start the management session, perform the following procedure:
1. Connect the access point to a PoE switch.
2. Start the web browser on your management PC.
3. Enter the IP address of the access point in the URL field of the
browser.
Note
Use the IP address assigned to the access point by the DHCP
server. If you do not know the address, refer to the DHCP server.
The logon window appears. Refer to Figure 23 on page 56.
4. Enter “manager” for the username and “friend” for the password.
The username and password are case-sensitive.
2018-03-02_Review_Draft

Chapter 3: Installing the Access Point
58
Setting the Country Setting
You should set the country setting during the initial management session
of the access point to ensure that the device operates in compliance with
the codes and regulations of your region or country.
Note
The non-US model of this product has a country code setting that
must be set during the initial management session of the unit. The
setting ensures that the unit operates in compliance with the laws
and regulations of your country or region.
For the US model, the country code is preset and cannot be
changed. Per FCC regulations, the country code setting for all WiFi
products marketed in the US must be fixed to US operational
channels only.
To set the country setting, perform the following procedure:
1. Select Wireless Settings from the Manage menu.
The access point displays the Modify wireless settings window. Refer
to Figure 24.
Figure 24. Modify Wireless Settings Window
2018-03-02_Review_Draft

AT-TQ4400e Wireless Access Point Installation Guide
59
2. Select the Country pull-down menu and select your country or region.
Note
If the Country pull-down menu is deactivated and cannot be
changed, the country parameter was set when the unit was
manufactured. If the setting is not correct for your country or region,
contact your Allied Telesis sales representative for assistance.
The access point displays a confirmation prompt.
3. Click OK to change the country setting or Cancel to cancel the
procedure.
If you click OK, the access point changes the country setting and
disables both radios on the access point.
This procedure does not require clicking the Update button.
You must now reboot the access point. The new country setting is not
active until the unit is rebooted. To reboot the unit, either power off and
on the unit or continue with these steps:
4. From the Maintenance menu, select Configuration.
5. Click the Reboot button in the To Reboot the Access Point section of
the “Manage the Access Point’s Configuration” window.
6. When the access point displays a confirmation prompt, click OK to
reboot the unit or Cancel to cancel the procedure.
7. To resume managing the unit, wait for it to complete initializing its
management software and then start a new management session.
For more instructions on how to configure the features of the access
point, refer to the AT-TQ Wireless Access Point Series User’s Guide.
2018-03-02_Review_Draft
Chapter 3: Installing the Access Point
60
2018-03-02_Review_Draft

61
Chapter 4
Installing the Optional Antennas
This chapter describes how to attach the optional antennas to the access
point. This chapter contains the following sections:
“Overview” on page 62
“Installing the AT-AN2458-10DP Mini Panel Antenna” on page 63
“Installing the AT-AN5158-16DP Sector Antenna” on page 65
“Installing the AT-AN5158-19DP Flat Panel Antenna” on page 66
2018-03-02_Review_Draft

Chapter 4: Installing the Optional Antennas
62
Overview
In addition to the antennas that come with the AT-TQ4400e access point,
Allied Telesis supports three optional antennas.
To install one of the optional antennas, you need two cables to connect
the antenna and the access point. For more information about the cables,
refer to “Cables to Connect an Optional Antenna” on page 35.
To install one of the optional antennas, perform one of the following
procedures:
“Installing the AT-AN2458-10DP Mini Panel Antenna” on page 63
“Installing the AT-AN5158-16DP Sector Antenna” on page 65
“Installing the AT-AN5158-19DP Flat Panel Antenna” on page 66
2018-03-02_Review_Draft

AT-TQ4400e Wireless Access Point Installation Guide
63
Installing the AT-AN2458-10DP Mini Panel Antenna
To install the AT-AN2458-10DP Mini Panel Antenna, perform the following
procedure:
1. Find an adequate place to install the antenna.
2. Install the mounting panel attached to the antenna onto the pole. Refer
to Figure 25.
Figure 25. Installing Mini Panel Antenna to the Pole
3. Connect cables to the connectors on the back panel of the antenna.
Refer to Figure 26.
Figure 26. Installing Antennas to the Access Point
2018-03-02_Review_Draft

Chapter 4: Installing the Optional Antennas
64
4. Connect cables to the connectors on the top and back panels of the
antenna.
When you use the 2.4GHz band, refer to Figure 27; when you use the
5Ghz band, refer to Figure 28.
Figure 27. Installing Antennas for 2.4GHz to the Access Point
Figure 28. Installing Antennas for 5GHz to the Access Point
2018-03-02_Review_Draft

AT-TQ4400e Wireless Access Point Installation Guide
65
Installing the AT-AN5158-16DP Sector Antenna
To install the AT-AN5158-16DP Sector Antenna, perform the following
procedure:
1. Find an adequate place to install the antenna.
2. Install the mounting hardware attached to the antenna onto the pole.
Refer to Figure 29.
Figure 29. Installing Sector Antenna to the Pole
3. Connect cables to the connectors on the back panel of the antenna.
Refer to Figure 30.
Figure 30. Installing Antennas to the Access Point
4. Connect cables to the connectors on the back panel of the antenna.
Refer to Figure 28 on page 64.
2018-03-02_Review_Draft

Chapter 4: Installing the Optional Antennas
66
Installing the AT-AN5158-19DP Flat Panel Antenna
To install the AT-AN5158-19DP Flat Panel Antenna, perform the following
procedure:
1. Find an adequate place to install the antenna.
2. Install the mounting panel attached to the antenna onto the pole. Refer
to Figure 31.
Figure 31. Installing Flat Panel Antenna to the Pole
3. Connect cables to the connectors on the back panel of the antenna.
Refer to Figure 32.
Figure 32. Installing Antennas to the Access Point
4. Connect cables to the connectors on the back panel of the antenna.
Refer to Figure 28 on page 64.
2018-03-02_Review_Draft

67
Appendix A
Technical Specifications
This appendix contains the following sections:
“Physical Specifications”
“Environmental Specifications”
“Power Specifications” on page 68
“LAN Port” on page 69
“Safety and Electromagnetic Emissions Certifications” on page 71
Physical Specifications
Environmental Specifications
Table 15. AT-TQ4400e Physical Specifications
Dimensions (W x D x H) 218 mm x 250 mm x 55.5 mm
(8.6 in. x 9.8 in. x 2.2 in.)
Weight 2 kg (4.4 lb.)
Table 16. Environmental Specifications
Operating Temperature of the
Access Point
-40° C to 65° C (32° F to 104° F)
Storage Temperature -40° C to 70° C (-4° F to 140° F)
Operating Humidity 0% to 95% non-condensing
Storage Humidity 0% to 95% non-condensing
Altitude of operation Up to 2000m
2018-03-02_Review_Draft

Appendix A: Technical Specifications
68
Power Specifications
Table 17. AT-TQ4400e Maximum Power Consumption
AT-TQ4400e 19.4 watts
2018-03-02_Review_Draft

AT-TQ4400e Wireless Access Point Installation Guide
69
LAN Port
Figure 33 illustrates the pin layout of the LAN port.
Figure 33. Pin Layout for the RJ45 Connector on the LAN Port
Table 19 lists the pin signals when the port is operating in the MDI
configuration at 10 or 100 Mbps.
Table 18. LAN Port Specifications
Connector RJ45
Standards IEEE 802.3 (10Base-T)
IEEE 802.3u (100Base-TX)
IEEE 802.3ab (1000Base-T)
PoE standard IEEE 802.3at (class 4)
Table 19. MDI Pin Signals (10Base-T or 100Base-TX)
Pin Signal
1TX+
2TX-
3RX+
6RX-
2018-03-02_Review_Draft

Appendix A: Technical Specifications
70
Table 20 lists the pin signals for the MDI-X configuration at 10 or 100
Mbps.
Table 21 lists the pin signals when the LAN port is operating at 1000
Mbps.
Table 20. MDI-X Pin Signals (10Base-T or 100Base-TX)
Pin Signal
1RX+
2RX-
3TX+
6TX-
Table 21. 1000Base-T Connector Pinouts
Pin Pair Signal
1 1 TX and RX
2 1 TX and RX-
32TX and RX+
43TX and RX+
5 3 TX and RX-
6 2 TX and RX-
74TX and RX+
8 4 TX and RX-
2018-03-02_Review_Draft

AT-TQ4400e Wireless Access Point Installation Guide
71
Safety and Electromagnetic Emissions Certifications
Table 22. Safety and Electromagnetic Emissions Certificates
Standard
Compliance
RoHs compliant
European Union RoHS (Directive 2011/65/EU of
the European Parliament and of the Council of 8
June 2011 on the restriction of the use of certain
hazardous substances in electrical and electronic
equipment.)
Certificates CE
FCC/IC
RCM
Wi-Fi CERTIFIED
Electromagnetic
Compatibility (EMC)
EN 301 489-1
EN 301 489-17
EN 55022
EN 55024
EN 61000-3-2
EN 61000-3-3
EN 61000-4-2
EN 61000-4-3
EN 61000-4-4
EN 61000-4-5
EN 61000-4-6
EN 61000-4-8
EN 61000-4-11
AS/NZS CISPR 22
FCC 47 CFR Part 15, Subpart B
ICES-003
Radio Equipment EN 300 328
EN 301 893
AS/NZS 4268
FCC 47 CFR Part 15, Subpart C
FCC 47 CFR Part 15, Subpart E
RSS247
RSS-Gen
RSS-102
FCC: OET Bulletin No. 65 Supplement C
EN 50385
2018-03-02_Review_Draft

Appendix A: Technical Specifications
72
Safety EN 60950-1
IEC 60950-1
TUV-T
UL 60950-1
UL 60950-22
CAN/CSA C22.2 No. 60950-1-07
CAN/CSA-C22.2 No. 60950-22-07
IEC 60950-22
IEC 60529
Table 22. Safety and Electromagnetic Emissions Certificates (Continued)
2018-03-02_Review_Draft

Appendix B: Regulatory Statements
74
Federal Communication Commission Interference Statement
This device complies with Part 15 of the FCC Rules. Operation is subject
to the following two conditions: (1) This device may not cause harmful
interference, and (2) this device must accept any interference received,
including interference that may cause undesired operation.
This equipment has been tested and found to comply with the limits for a
Class B digital device, pursuant to Part 15 of the FCC Rules. These limits
are designed to provide reasonable protection against harmful
interference in a residential installation. This equipment generates, uses
and can radiate radio frequency energy and, if not installed and used in
accordance with the instructions, may cause harmful interference to radio
communications. However, there is no guarantee that interference will not
occur in a particular installation. If this equipment does cause harmful
interference to radio or television reception, which can be determined by
turning the equipment off and on, the user is encouraged to try to correct
the interference by one of the following measures:
Reorient or relocate the receiving antenna.
Increase the separation between the equipment and receiver.
Connect the equipment into an outlet on a circuit different from that
to which the receiver is connected.
Consult the dealer or an experienced radio/TV technician for help.
Caution
FCC Caution: Any changes or modifications not expressly approved
by the party responsible for compliance could void the user's
authority to operate this equipment. E80
Caution
Avertissement de la FCC: Les changements ou modifications non
expressément approuvés par la partie responsable de la conformité
pourraient annuler l'autorité de l'utilisateur à utiliser cet équipement.
E80
This transmitter must not be co-located or operating in conjunction with
any other antenna or transmitter.
For operation within 5.15 ~ 5.25GHz / 5.47 ~5.725GHz frequency range, it
is restricted to indoor environment. The band from 5600-5650MHz will be
disabled by the software during the manufacturing and cannot be changed
by the end user. This device meets all the other requirements specified in
Part 15E, Section 15.407 of the FCC Rules.
2018-03-02_Review_Draft

AT-TQ4400e Wireless Access Point Installation Guide
75
Radiation
Exposure
Statement
This equipment complies with FCC radiation exposure limits set forth for
an uncontrolled environment. This equipment should be installed and
operated with minimum distance 34cm between the radiator & your body.
Description of
Antenna
Per the KDB 353028 D01 Antennas Part 15 Transmitters v01 requirement,
Table 23 lists each antenna, the antenna gain, antenna type, and antenna
model no. and Table 24 on page 76output power that can be used with the
AT-TQ4400e access point.
Table 23. Operational Description of Antenna Configuration
No Antenna Model No &
Description Function Type
Gain (dBi)
Connector
2GHz
Band
5GHz
Band
1AT-AN5158-19DP
Indoor/outdoor and didn’t support
2.4GHz and U-NII-1
WLAN Panel - 19 N Type, 2
feed
2AT-AN5158-16DP Indoor/outdoor
and didn’t support 2.4GHz
WLAN Sector - 16 N Type, 2
feed
3AT-AN2458-10DP Indoor/outdoor WLAN Panel 8 10 N Type, 2
feed
498615MUXX003 Indoor/outdoor
and didn’t support 5GHz
WLAN Dipole 5 - N Type
598615UNXX005 Indoor/outdoor
and didn’t support 2.4GHz, U-NII-
1 outdoor used only
WLAN Dipole - 7 N Type
2018-03-02_Review_Draft

Appendix B: Regulatory Statements
76
Table 24. Antenna RF Output Power Settings
No Antenna Model No
& Description
Limit of MAX. Output Power (mW)
2.4 GHz
5GHz
U-NII-1
Indoor
5GHz U-
NII-1
outdoor
5GHz
U-NII-2a
5GHz U-
NII-2c
5GHz U-
NII-3
1 AT-AN5158-19DP
Indoor/outdoor and
didn’t support
2.4GHz and U-NII-1
- - - 12.278 12.336 91.020
2 AT-AN5158-16DP
Indoor/outdoor and
didn’t support
2.4GHz
- 80.664 49.950 23.084 24.164 181.551
3 AT-AN2458-10DP
Indoor/outdoor
798.109 125.859 23.716 87.390 98.345 608.888
4 98615MUXX003
Indoor/outdoor and
didn’t support 5GHz
798.109 - - - - -
5 98615UNXX005
Indoor/outdoor and
didn’t support
2.4GHz, U-NII-1
outdoor used only
- - 129.758 100.333 113.120 190.023
2018-03-02_Review_Draft

AT-TQ4400e Wireless Access Point Installation Guide
77
Industry Canada Statement
This device complies with ISED’s licence-exempt RSSs. Operation is
subject to the following two conditions: (1) This device may not cause
harmful interference, and (2) this device must accept any interference
received, including interference that may cause undesired operation.
Le présent appareil est conforme aux CNR d’ ISED applicables aux
appareils radio exempts de licence. L’exploitation est autorisée aux deux
conditions suivantes: (1) le dispositif ne doit pas produire de brouillage
préjudiciable, et (2) ce dispositif doit accepter tout brouillage reçu, y
compris un brouillage susceptible de provoquer un fonctionnement
indésirable.
Caution:
(i) the device for operation in the band 5150-5250 MHz is only for indoor
use to reduce the potential for harmful interference to co-channel mobile
satellite systems;
(ii) the maximum antenna gain permitted for devices in the bands 5250-
5350 MHz and 5470-5725 MHz shall be such that the equipment still
complies with the e.i.r.p. limit;
(iii) the maximum antenna gain permitted for devices in the band 5725-
5850 MHz shall be such that the equipment still complies with the
e.i.r.p. limits specified for point-to-point and non-point-to-point
operation as appropriate; and
(iv) the worst-case tilt angle(s) necessary to remain compliant with the
e.i.r.p. elevation mask requirement set forth in Section 6.2.2(3) shall be
clearly indicated.
(v) Users should also be advised that high-power radars are allocated as
primary users (i.e. priority users) of the bands 5250-5350 MHz and 5650-
5850 MHz and that these radars could cause interference and/or damage
to LE-LAN devices.
Avertissement:
Le guide d’utilisation des dispositifs pour réseaux locaux doit inclure des
instructions précises sur les restrictions susmentionnées, notamment:
(i) les dispositifs fonctionnant dans la bande 5150-5250 MHz sont
réservés uniquement pour une utilisation à l’intérieur afin de réduire les
risques de brouillage préjudiciable aux systèmes de satellites mobiles
utilisant les mêmes canaux;
2018-03-02_Review_Draft
Appendix B: Regulatory Statements
78
(ii) le gain maximal d'antenne permis pour les dispositifs utilisant les
bandes de 5250 à 5 350 MHz et de 5470 à 5725 MHz doit être
conforme à la limite de la p.i.r.e;
(iii) le gain maximal d'antenne permis (pour les dispositifs utilisant la
bande de 5 725 à 5 850 MHz) doit être conforme à la limite de la p.i.r.e.
spécifiée pour l'exploitation point à point et l’exploitation non point à
point, selon le cas;
(iv) les pires angles d’inclinaison nécessaires pour rester conforme à
l’exigence de la p.i.r.e. applicable au masque d’élévation, et énoncée à
la section 6.2.2 3), doivent être clairement indiqués.
(v) De plus, les utilisateurs devraient aussi être avisés que les utilisateurs
de radars de haute puissance sont désignés utilisateurs principaux (c.-à-
d., qu’ils ont la priorité) pour les bandes 5250-5350 MHz et 5650-5850
MHz et que ces radars pourraient causer du brouillage et/ou des
dommages aux dispositifs LAN-EL.
Radiation Exposure Statement:
This equipment complies with ISED radiation exposure limits set forth for
an uncontrolled environment. This equipment should be installed and
operated with minimum distance 36cm between the radiator & your body.
Déclaration d'exposition aux radiations:
Cet équipement est conforme aux limites d'exposition aux rayonnements
ISED établies pour un environnement non contrôlé. Cet équipement doit
être installé et utilisé avec un minimum de 36cm de distance entre la
source de rayonnement et votre corps.
Professional Installation Instruction:
1. Installation personal
This product is designed for specific application and needs to be installed
by a qualified personal who has RF and related rule knowledge. The
general user shall not attempt to install or change the setting.
2. Installation location
The product shall be installed at a location where the radiating antenna
can be kept 36cm from nearby person in normal operation condition to
meet regulatory RF exposure requirement.
2018-03-02_Review_Draft
AT-TQ4400e Wireless Access Point Installation Guide
79
3. External antenna
Use only the antennas which have been approved by the applicant. The
non-approved antenna(s) may produce unwanted spurious or excessive
RF transmitting power which may lead to the violation of FCC/IC limit and
is prohibited.
4. Installation procedure
Please refer to user’s manual for the detail.
5. Warning
Please carefully select the installation position and make sure that the final
output power does not exceed the limit set force in relevant rules. The
violation of the rule could lead to serious federal penalty.
Instructions d'installation professionnelle:
1. Installation
Ce produit est destine a un usage specifique et doit etre installe par un
personnel qualifie maitrisant les radiofrequences et les regles s'y
rapportant. L'installation et les reglages ne doivent pas etre modifies par
l'utilisateur final.
2. Emplacement d'installation
En usage normal, afin de respecter les exigences reglementaires
concernant l'exposition aux radiofrequences, ce produit doit etre installe
de facon a respecter une distance de 36cm entre l'antenne emettrice et les
personnes.
3. Antenn externe.
Utiliser uniiquement les antennes approuvees par le fabricant. L'utilisation
d'autres antennes peut conduire a un niveau de rayonnement essentiel ou
non essentiel depassant les niveaux limites definis par FCC/IC, ce qui est
interdit.
4. Procedure d'installation
Consulter le manuel d'utilisation.
5. Avertissement
Choisir avec soin la position d'installation et s'assurer que la puissance de
sortie ne depasse pas les limites en vigueur. La violation de cette regle
peut conduire a de serieuses penalites federales.
2018-03-02_Review_Draft

Appendix B: Regulatory Statements
80
Europe - EU Declaration of Conformity
This device complies with Directive 2014/53/EU issued by the
Commission of the European Community.
Operating
Frequencies and
Maximum
Transmission
Power Levels
The operating frequencies and maximum transmission power
levels for wireless devices operated in the EU are listed below:
2412 - 2472 MHz: 19.91 dBM
5180 - 5240 MHz: 22.78 dBM
5260 - 5320 MHz: 19.8 dBM
5500 - 5700 MHz: 26.91 dBM
Operations in the 5.15 - 5.35 GHz band are restricted to indoor
usage only.
Radiation
Exposure
Statement
This equipment complies with EU radiation exposure limits set
forth for an uncontrolled environment. This equipment should be
installed and operated with a minimum distance of 21cm between
the radiator and your body.
Importer Allied Telesis International BV
Incheonweg 7, 1437 EK Rozenburg
Note
Contact Allied Telesis for the EU conformity statement. To contact
Allied Telesis, visit our web site at www.alliedtelesis.com/contact.
2018-03-02_Review_Draft

