Allied Telesis K K TQ4400E Outdoor Wireless Access Point User Manual at002195a
Allied Telesis K.K. Outdoor Wireless Access Point at002195a
Contents
- 1. User Manual
- 2. Users Manual
- 3. User Manual Revised
Users Manual

613-002195 Rev. A
AT-TQ4400e
Outdoor Wireless Access Point
with IEEE802.11a/b/g/n/ac Dual Radio
Installation Guide
Draft 3 on October 8, 2015
Copyright 2015 Allied Telesis, Inc.
All rights reserved. No part of this publication may be reproduced without prior written permission from Allied Telesis, Inc.
Allied Telesis and the Allied Telesis logo are trademarks of Allied Telesis, Incorporated. All other product names, company names,
logos or other designations mentioned herein are trademarks or registered trademarks of their respective owners.
Allied Telesis, Inc. reserves the right to make changes in specifications and other information contained in this document without prior
written notice. The information provided herein is subject to change without notice. In no event shall Allied Telesis, Inc. be liable for
any incidental, special, indirect, or consequential damages whatsoever, including but not limited to lost profits, arising out of or related
to this manual or the information contained herein, even if Allied Telesis, Inc. has been advised of, known, or should have known, the
possibility of such damages.
Draft 3 on October 8, 2015

3
Electrical Safety and Emissions
Standards
This product meets the following standards:
Federal Communications Commission Interference Statement
Declaration of Conformity
Manufacturer Name: Allied Telesis, Inc.
Declares that the product: Wireless access point with PoE+ powered device function
Model Number: AT-TQ4400e
This device complies with Part 15 of the FCC Rules. Operation is subject to the following two
conditions: (1) This device may not cause harmful interference, and (2) this device must accept
any interference received, including interference that may cause undesired operation.
This equipment has been tested and found to comply with the limits for a Class B digital device,
pursuant to Part 15 of the FCC Rules. These limits are designed to provide reasonable protection
against harmful interference in a residential installation. This equipment generates, uses and can
radiate radio frequency energy and, if not installed and used in accordance with the instructions,
may cause harmful interference to radio communications. However, there is no guarantee that
interference will not occur in a particular installation. If this equipment does cause harmful
interference to radio or television reception, which can be determined by turning the equipment
off and on, the user is encouraged to try to correct the interference by one of the following
measures:
Reorient or relocate the receiving antenna.
Increase the separation between the equipment and receiver.
Connect the equipment into an outlet on a circuit different from that to which the receiver is
connected.
Consult the dealer or an experienced radio/TV technician for help.
Caution
FCC Caution: Any changes or modifications not expressly approved by the party responsible
for compliance could void the user's authority to operate this equipment. E80
Avertissement
Avertissement de la FCC: Les changements ou modifications non expressément approuvés
par la partie responsable de la conformité pourraient annuler l'autorité de l'utilisateur à utiliser
cet équipement. E80
Draft 3 on October 8, 2015

4
This transmitter must not be co-located or operating in conjunction with any other antenna or
transmitter.
The band from 5600-5650MHz will be disabled by the software during the manufacturing and
cannot be changed by the end user. This device meets all the other requirements specified in
Part 15E, Section 15.407 of the FCC Rules.
Radiation Exposure Statement:
This equipment complies with FCC radiation exposure limits set forth for an uncontrolled
environment. This equipment should be installed and operated with minimum distance 32cm
between the radiator & your body.
European Union Restriction of the Use of Certain Hazardous
Substances (RoHS) in Electrical and Electronic Equipment
This Allied Telesis RoHS-compliant product conforms to the European Union Restriction of the
Use of Certain Hazardous Substances (RoHS) in Electrical and Electronic Equipment. Allied
Telesis ensures RoHS conformance by requiring supplier Declarations of Conformity, monitoring
incoming materials, and maintaining manufacturing process controls.
Note
For additional regulatory statements, refer to Appendix B, ”Regulatory Statements” on page
49.
Safety and Electromagnetic Emissions Certificates
Standard Compliance
RoHs compliant
European Union RoHS (Directive 2011/65/EU of the European Parliament and of the Council
of 8 June 2011 on the restriction of the use of certain hazardous substances in electrical and
electronic equipment.)
Certificates
CE
FCC/IC
RCM
Wi-Fi CERTIFIED
Draft 3 on October 8, 2015
5
Electromagnetic Compatibility (EMC)
EN 301 489-1
EN 301 489-17
EN 55022
EN 55024
EN 61000-3-2
EN 61000-3-3
EN 61000-4-2
EN 61000-4-3
EN 61000-4-4
EN 61000-4-5
EN 61000-4-6
EN 61000-4-8
EN 61000-4-11
AS/NZS CISPR 22
FCC 47 CFR Part 15, Subpart B
ICES-003
Radio Equipment
EN 300 328
EN 301 893
AS/NZS 4268
FCC 47 CFR Part 15, Subpart C
FCC 47 CFR Part 15, Subpart E
RSS247
RSS-Gen
RSS-102
FCC: OET Bulletin No. 65 Supplement C
EN 50385
EN 302502
Safety
EN 60950-1
IEC 60950-1
TUV-T
UL 60950-1
Draft 3 on October 8, 2015

6
UL 60950-22
CAN/CSA C22.2 No. 60950-1-07
CAN/CSA-C22.2 No. 60950-22-07
IEC 60950-22
IEC 60529
Translated Safety Statements
Important: The indicates that a translation of the safety statement is available in a PDF
document titled Translated Safety Statements on the Allied Telesis website at
www.alliedtelesis.com/support.
Draft 3 on October 8, 2015

7
Contents
Preface ..............................................................................................................................................................9
Safety Symbols Used in this Document..................................................................................................... 10
Contacting Allied Telesis............................................................................................................................ 11
Chapter 1: Product Description ...................................................................................................................13
Overview .................................................................................................................................................... 14
Features..................................................................................................................................................... 16
LAN Port..................................................................................................................................................... 18
Power over Ethernet (PoE).................................................................................................................. 18
Connector Type ................................................................................................................................... 18
Speed .................................................................................................................................................. 18
Duplex Mode ....................................................................................................................................... 18
Automatic MDIX Detection .................................................................................................................. 18
Port Pinouts ......................................................................................................................................... 19
Cable Specifications................................................................................................................................... 20
Cable Requirements............................................................................................................................ 20
Maximum Distance .............................................................................................................................. 20
Chapter 2: Installing the Access Point ........................................................................................................21
Reviewing Safety Precautions ................................................................................................................... 22
Unpacking the AT-TQ4400e Access Point................................................................................................. 24
Attaching the Ground Cable to the Access Point....................................................................................... 26
Guidelines............................................................................................................................................ 26
What to Prepare for Attaching the Ground Cable................................................................................ 26
Attaching the Ground Cable to the Access Point ................................................................................ 26
Connecting the Access Point with the Ethernet Cable............................................................................... 28
Installing the Access Point on a Wall ......................................................................................................... 30
Guidelines............................................................................................................................................ 30
What to Prepare for Wall Installation ................................................................................................... 30
Installing the Access Point on a Concrete Wall ................................................................................... 30
Installing the Access Point on a Regular Wall ..................................................................................... 32
Installing the Access Point on a Pole......................................................................................................... 34
What to Prepare for Pole Installation................................................................................................... 34
Installing the Access Point on a Pole .................................................................................................. 34
Attaching the Antennas to the Access Point .............................................................................................. 37
Starting the Initial Management Session on the Access Point................................................................... 38
Starting the Initial Management Session without a DHCP Server....................................................... 38
Starting the Initial Management Session with a DHCP Server............................................................ 39
Setting the Country Setting ........................................................................................................................ 41
Appendix A: Technical Specifications ........................................................................................................43
Physical Specifications............................................................................................................................... 43
Environmental Specifications..................................................................................................................... 43
Power Specifications.................................................................................................................................. 44
LAN Port..................................................................................................................................................... 45
Safety and Electromagnetic Emissions Certifications ................................................................................ 47
Draft 3 on October 8, 2015
Contents
8
Appendix B: Regulatory Statements ........................................................................................................... 49
Federal Communication Commission Interference Statement ...................................................................50
Industry Canada Statement........................................................................................................................52
Europe - EU Declaration of Conformity ......................................................................................................55
Europe – EU Declaration of Conformity...............................................................................................55
Draft 3 on October 8, 2015

Preface
10
Safety Symbols Used in this Document
This document uses the following conventions.
Note
Notes provide additional information.
Caution
Cautions inform you that performing or omitting a specific action
may result in equipment damage or loss of data.
Warning
Warnings inform you that performing or omitting a specific action
may result in bodily injury.
Draft 3 on October 8, 2015

AT-TQ4400e Outdoor Wireless Access Point Installation Guide
11
Contacting Allied Telesis
If you need assistance with this product, you may contact Allied Telesis
technical support by going to the Support & Services section of the Allied
Telesis web site at www.alliedtelesis.com/support. You can find links for
the following services on this page:
24/7 Online Support — Enter our interactive support center to
search for answers to your product questions in our knowledge
database, check support tickets, learn about Return Merchandise
Authorizations (RMAs), and contact Allied Telesis technical
experts.
USA and EMEA phone support — Select the phone number that
best fits your location and customer type.
Hardware warranty information — Learn about Allied Telesis
warranties and register your product online.
Replacement Services — Submit an RMA request via our
interactive support center.
Documentation — View the most recent installation and user
guides, software release notes, white papers, and data sheets for
your products.
Software Downloads — Download the latest software releases for
your managed products.
For sales or corporate information, go to www.alliedtelesis.com/
purchase.
Draft 3 on October 8, 2015
Preface
12
Draft 3 on October 8, 2015

Chapter 1: Product Description
14
Overview
The AT-TQ4400e Access Point is an enterprise-class wireless access
point designed to expand wireless networks to outdoor venues, such as
ski and beach resorts, sports arenas, college and corporate campuses.
The access point comes with one PoE+ capable LAN port to connect to
the network as well as the power supply.
The top panel components of the AT-TQ4400e Access Point are
illustrated in Figure 1.
Figure 1. AT-TQ4400e Access Point Antenna Panel Top
The bottom panel components of the AT-TQ4400e Access Point are
illustrated in Figure 2.
Figure 2. AT-TQ4400e Access Point Antenna Panel Bottom
Figure 3 on page 15 shows the side view of the AT-TQ4400e Access
Point.
5GHz Antenna Connector 2.4GHz Antenna Connector
LAN Port
5GHz Antenna Connector
2.4GHz Antenna Connector
Draft 3 on October 8, 2015

AT-TQ4400e Outdoor Wireless Access Point Installation Guide
15
Figure 3. AT-TQ4400e Access Point Side Panel
The components are listed in Table 1.
Note
Do not remove the Gore® vent plug from the access point.
Table 1. Components of the Access Point
Component Description
5 GHz Antenna
Connector
N-type female connector for the 5 GHz
antenna
2.4 GHz Antenna
Connector
N-type female connector for the 2.4 GHz
antenna
LAN 1 Port (PoE Input) The LAN port connects the access point to
your wired network. It supports PoE+. The
PoE+ capable LAN port is the only way to
supply power to this access point. You must
connect this LAN port to a PoE switch.
Gore® vent The vent equalizes housing pressures,
protects against dirt, dust, humidity and
water, and reduces condensation.
Gore® vent
Draft 3 on October 8, 2015

Chapter 1: Product Description
16
Features
The main features of the product are listed here:
Dual radio: 2.4 GHz and 5 GHz
IEEE 802.11a/b/g/n/ac
2x2:2ss MIMO
Maximum capacity 2.4 GHz: 300 Mbps
Maximum capacity 5 GHz: 867 Mbps
Wireless Distribution System (WDS) bridges
Access point clustering
Rogue access point detection
Multiple SSIDs
One 10/100/1000Base-T Ethernet port with Auto-Negotiation, auto
MDI/MDIX, and IEEE 802.3at Power over Ethernet (PoE+)
IEEE 802.3 (10Base-T), IEEE 802.3u (100Base-TX), and IEEE
802.3ab (1000Base-T) compliance on the Ethernet port
MAC address filtering for wireless access security
Broadcast and multicast rate limiting
Virtual access points for multiple broadcast domains
DHCP client
RADIUS accounting with external RADIUS server
Network Time Protocol (NTP) client
Domain name server (DNS) client
IEEE 802.1x authentication
WPA-Personal and WPA-Enterprise with WPA, WPA2, TKIP, and
CCMP (AES) authentication and encryption
Static WEP encryption
HTTP and HTTPS web browser management
SNMPv1 and v2c management
Quality of Service
Event log
Syslog client
Tx Power Control (TPC)
Outdoor installation on a wall or pole
Antenna connectors with surge protection
N-type female antenna connectors for replacing antennas
Draft 3 on October 8, 2015
AT-TQ4400e Outdoor Wireless Access Point Installation Guide
17
Metallic chassis with plastic cover to repel ultraviolet (UV) radiation
from the sun
Draft 3 on October 8, 2015

Chapter 1: Product Description
18
LAN Port
The AT-TQ4400e wireless access point has one LAN port to connect to
your Local Area Network (LAN), typically through an Ethernet switch.
Power over
Ethernet (PoE)
The AT-TQ4400e Access Point supports Power over Ethernet Plus
(PoE+) on the LAN port. The access point is a PoE+ class 4 powered
device with a maximum power consumption of 16 watts. When the port is
connected to a PoE+ Ethernet switch, the access point receives its power
over the network cable that carries the network traffic. The LAN port is the
only way to supply the power to the device.
Connector Type The LAN port has an eight-pin RJ45 connector. The port uses four pins at
10 or 100 Mbps and all eight pins at 1000 Mbps. The pin assignments are
listed in “LAN Port” on page 45.
Speed The LAN port can operate at 10, 100, or 1000 Mbps. The speed is set
automatically with Auto-Negotiation. You cannot disable Auto-Negotiation
on the port.
Note
The LAN port should be connected to a network device that also
adjusts its speed with Auto-Negotiation. If the network device does
not support Auto-Negotiation, the LAN port operates at 10 Mbps,
which may reduce network performance.
Duplex Mode The LAN port can operate in either half- or full-duplex mode at 10 or 100
Mbps, and full-duplex mode at 1000 Mbps. The port is IEEE 802.3u-
compliant and uses Auto-Negotiation to set the duplex mode. (You cannot
disable Auto-Negotiation on the port.)
Note
The LAN port should be connected to a network device that also
sets its duplex mode with Auto-Negotiation. If the network device
does not support Auto-Negotiation, the LAN port operates at half-
duplex mode. This may result in a duplex mode mismatch if the
network device is operating at full duplex.
Automatic MDIX
Detection
The 10/100/1000 Mbps twisted-pair port is IEEE 802.3ab compliant and
features automatic MDIX detection when operating at 10 or 100 Mbps.
(Automatic MDIX detection does not apply to 1000 Mbps.) This feature
automatically configures the port to MDI or MDI-X depending on the wiring
configuration of the port on the Ethernet switch.
Draft 3 on October 8, 2015
AT-TQ4400e Outdoor Wireless Access Point Installation Guide
19
You may not disable automatic MDIX detection. For automatic MDIX
detection to work properly, it must also be present on the Ethernet switch.
The LAN port defaults to MDIX if it is connected to a network device that
does not support automatic MDIX detection.
Port Pinouts Refer to Table 8 on page 45 for the port pinouts of the LAN port when it is
operating at 10 or 100 Mbps in the MDI configuration and Table 9 on
page 46 for the MDI-X configuration. Refer to Table 10 on page 46 for the
port pinouts when the port is operating at 1000 Mbps.
Draft 3 on October 8, 2015

Chapter 1: Product Description
20
Cable Specifications
To connect the AT-TQ4400e wireless access point to your LAN, you must
provide cables. Here are cable requirements and options.
Cable
Requirements
The cable requirements for the LAN port are listed in Table 2.
Maximum
Distance
The LAN port has a maximum operating distance of 100 meters (328 feet).
Table 2. Twisted Pair Cable for the LAN Port
Cable Type
10Mbps 100Mbps 1000Mbps
PoE+ PoE+ PoE+
Standard TIA/EIA 568-A-compliant
Category 5 shielded or unshielded
cabling with 100 ohm impedance and
100 MHz frequency.
Yes Yes No
Standard TIA/EIA 568-B-compliant
Enhanced Category 5 (Cat 5e) shielded
or unshielded cabling with 100 ohm
impedance and 100 MHz frequency.
Yes Yes Yes
Standard TIA/EIA 568-B-compliant
Category 6 or 6a shielded cabling.
Yes Yes Yes
Draft 3 on October 8, 2015

21
Chapter 2
Installing the Access Point
This chapter describes how to install the AT-TQ4400e Wireless Access
Point. This chapter contains the following sections:
“Reviewing Safety Precautions” on page 22
“Unpacking the AT-TQ4400e Access Point” on page 24
“Attaching the Ground Cable to the Access Point” on page 26
“Connecting the Access Point with the Ethernet Cable” on page 28
“Installing the Access Point on a Wall” on page 30
“Installing the Access Point on a Pole” on page 34
“Attaching the Antennas to the Access Point” on page 37
“Starting the Initial Management Session on the Access Point” on
page 38
“Setting the Country Setting” on page 41
Note
The non-US model of this product has a country code setting that
must be set during the initial management session of the unit. The
setting ensures that the unit operates in compliance with the laws
and regulations of your country or region.
For the US model, the country code is preset and cannot be
changed. Per FCC regulations, the country code setting for all WiFi
products marketed in the US must be fixed to US operational
channels only.
Draft 3 on October 8, 2015

Chapter 2: Installing the Access Point
22
Reviewing Safety Precautions
Please review the following safety precautions before you begin to install
the access point.
Note
The indicates that a translation of the safety statement is
available in a PDF document titled Translated Safety Statements on
the Allied Telesis website at www.alliedtelesis.com/support.
Warning
To prevent electric shock, do not remove the cover. No user-
serviceable parts inside. This unit contains hazardous voltages and
should only be opened by a trained and qualified technician. To
avoid the possibility of electric shock, disconnect electric power to
the product before connecting or disconnecting the LAN cables.
E1
Warning
Do not work on equipment or cables during periods of lightning
activity. E2
Warning
Operating Temperature. This product is designed for a maximum
ambient temperature of 65°C E50
Caution
FCC Caution: Any changes or modifications not expressly approved
by the party responsible for compliance could void the user's
authority to operate this equipment. E80
Note
All Countries: Install product in accordance with local and National
Electrical Codes. E8
Draft 3 on October 8, 2015

AT-TQ4400e Outdoor Wireless Access Point Installation Guide
23
Note
You should verify that your PoE network adheres to the standards of
a separated extra-low voltage (SELV) circuit before using the PoE
feature on the wireless access point.
Warning
Only trained and qualified personnel are allowed to install or to
replace this equipment. E14
Warning
This equipment shall be installed in a Restricted Access location.
E45
Warning
Hot Surface, Do Not Touch! - The finned surface on the back of the
chassis is a heat sink and can become dangerously hot when the
unit is operating. E114
Draft 3 on October 8, 2015

Chapter 2: Installing the Access Point
24
Unpacking the AT-TQ4400e Access Point
To unpack the AT-TQ4400e access point, perform the following
procedure:
1. Remove all components from the shipping boxes.
Note
Store the packaging material in a safe location. You must use the
original shipping material if you need to return the unit to Allied
Telesis.
2. Verify that all components listed in Table 3 are included in your
shipping boxes.
Table 3. Components in the Shipping Boxes
Name Component
2 x 5GHz Antenna
2 x 2.4GHz Antenna
Mounting Base
Draft 3 on October 8, 2015

AT-TQ4400e Outdoor Wireless Access Point Installation Guide
25
3. If any item is missing or damaged, contact your Allied Telesis sales
representative for assistance.
Pole-mount bracket
O-ring clamp
Ground cable
2 x Antenna connector
cap
4 x Screw for the
mounting base
4 x Screw for the pole-
mount bracket
1 x Screw for the
ground cable
Table 3. Components in the Shipping Boxes (Continued)
Name Component
Draft 3 on October 8, 2015

Chapter 2: Installing the Access Point
26
Attaching the Ground Cable to the Access Point
To protect the device from lightning strikes and against electrostatic
discharge (ESD), attach the ground cable to the access point.
Guidelines Review the following guidelines before attaching the ground cable to the
access point:
Before installing the mounting base to the access point, attach the
ground cable to the access point.
Connect the ground cable straight to the earth ground; cut off the
extra length of the ground cable.
Avoid the ground cable from being sharply bent, looped, or coiled.
Connect the surge protector ground cable and the equipment
ground to a single common ground. The equipment ground
includes power ground and telecommunications ground.
The recommended earth ground impedance is less than 1.0 ohm.
Measure the ground impedance at the point where the surge
protector ground cable, not at the ground rod.
If you provide your own ground cable, use a 10 AWG or larger
stranded wire as a ground cable.
What to Prepare
for Attaching the
Ground Cable
You need the following items to attach the ground cable to the access
point:
AT-TQ4400e Access Point
Ground cable
one screw for the ground cable
Phillips-head screwdriver
Attaching the
Ground Cable to
the Access Point
To attach the ground cable to the access point, perform the following
procedure:
1. Align the ground cable hole on the access point with the ring terminal
of the ground cable as shown in Figure 4 on page 27.
Draft 3 on October 8, 2015

AT-TQ4400e Outdoor Wireless Access Point Installation Guide
27
Figure 4. Aligning the Access Point with Ground Cable
2. Drive the screw through the holes to attach the ground cable to the
access point.
3. Cut off the extra length of the ground cable to make it connected
straight to the ground point.
4. Attach the other terminal of the ground cable to a circuit breaker,
ground rod, or earth ground.
Draft 3 on October 8, 2015

Chapter 2: Installing the Access Point
28
Connecting the Access Point with the Ethernet Cable
To connect the access point with the Ethernet cable, perform the following
procedure:
1. Unscrew the sealing nut at the LAN port on the access point and
remove the clamping claw and sealing insert. See Figure 5.
Figure 5. Removing the Sealing Nut, Clamping Claw, and Sealing Insert
2. Remove the rubber nail from the sealing insert. See Figure 6.
Figure 6. Removing the Rubber Nail from the Sealing Insert
3. Pass the LAN cable through the sealing nut, and attach the sealing
insert and clamping claw to the cable as shown in Figure 7 on page
29.
Draft 3 on October 8, 2015

AT-TQ4400e Outdoor Wireless Access Point Installation Guide
29
Figure 7. Applying the Sealing Parts to the LAN Cable
4. Connect the RJ-45 plug into the LAN port and screw the sealing nut to
the access point as shown in Figure 8.
Figure 8. Connecting the LAN Cable and Attaching the Sealing Nut
5. Connect the other RJ-45 plug to the PoE switch.
Draft 3 on October 8, 2015

Chapter 2: Installing the Access Point
30
Installing the Access Point on a Wall
The AT-TQ4400e access point can be mounted on a concrete or regular
wall. To install the access point, perform one of the following procedures:
“Installing the Access Point on a Concrete Wall” on page 30
“Installing the Access Point on a Regular Wall” on page 32
Guidelines Review the following guidelines before installing the access point on a
wall:
Attach the ground cable before attaching the mounting base to the
access point.
Connect the Ethernet cable to the access point before installing the
access point on a wall or pole if connecting the Ethernet cable will
be difficult after the access point is installed.
Attach the antennas to the access point before installing it on a
wall or pole if attaching the antennas will be difficult after the
access point is installed.
If you are not installing the access point on a concrete wall, provide
four tapping screws. They are not included in the shipping box.
What to Prepare
for Wall
Installation
You need the following items to install the access point on a wall:
AT-TQ4400e Access Point
Mounting base
Four screws for the mounting base
Screws for the wall, one of the following:
– Four sets of the bolt, nut, washer, and wall anchor
for a concrete wall
– Four tapping screws for a regular wall
Drill
Phillips-head screwdriver
Pencil
Note
Screws fro the wall, drill, Phillip-head screwdriver, and pencil are not
included in the shipping box.
Installing the
Access Point on a
Concrete Wall
To install the access point on the wall, perform the following procedure:
1. Review “Guidelines” on page 30.
Draft 3 on October 8, 2015

AT-TQ4400e Outdoor Wireless Access Point Installation Guide
31
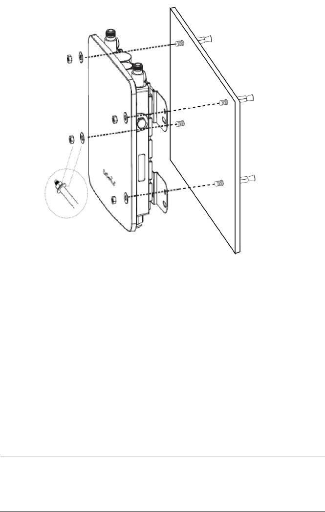
2. Using the mounting base as a template, mark four holes with a pencil.
See Figure 9 on page 31 for hole dimensions.
Figure 9. Base Plate Hole Dimensions
3. Pre-drill the marked locations on the concrete wall.
4. Attach the mounting base to the access point with the screws using a
Phillips-head screwdriver, as shown in Figure 10.
Note
Attach the ground cable to the access point before attaching the
mounting base. See “Attaching the Ground Cable to the Access
Point” on page 26.
Figure 10. Attaching the Mounting Base to the Access Point
Draft 3 on October 8, 2015

Chapter 2: Installing the Access Point
32
5. Install the four sets of bolts and wall anchors into the holes you made
in Step 3.
6. Attach the nuts and washers to the bolts in the concrete wall to install
the access point. See Figure 11.
Figure 11. Installing to the Wall Using Bolts
7. Proceed to “Attaching the Antennas to the Access Point” on page 37.
Installing the
Access Point on a
Regular Wall
To install the access point on a regular wall, perform the following
procedure:
1. Using the mounting base as a template, mark four holes with a pencil.
See Figure 9 on page 31 for hole dimensions.
2. Pre-drill the marked locations on the wall.
3. Attach the mounting base to the access point with the screws using a
Phillips-head screwdriver, as shown in Figure 10 on page 31.
Note
Attach the ground cable to the access point before attaching the
mounting base to the access point. See “Attaching the Ground
Cable to the Access Point” on page 26.
Draft 3 on October 8, 2015

AT-TQ4400e Outdoor Wireless Access Point Installation Guide
33
4. Drive the tapping screws into the holes made in Step 2 to install the
access point. See Figure 12 on page 33.
Figure 12. Installing to the Wall Using Tapping Screws
5. Proceed to “Attaching the Antennas to the Access Point” on page 37.
Draft 3 on October 8, 2015

Chapter 2: Installing the Access Point
34
Installing the Access Point on a Pole
The AT-TQ4400e access point can be mounted on a vertical pole or
horizontal pole as shown in Figure 13.
Figure 13. Pole Installation of the Access Point
What to Prepare
for Pole
Installation
You need the following items to install the access point on a pole:
AT-TQ4400e Access Point
Mounting base
Four screws for the mounting base
Pole-mounting bracket
Four screws for the pole-mounting bracket
O-ring clamp
Phillips-head screwdriver
Flat-head screwdriver
Note
Phillip-head and flat-head screwdrivers are not included in the
shipping box.
Installing the
Access Point on a
Pole
To install the access point on a pole, perform the following procedure:
1. Review “Guidelines” on page 30.
2. Attach the mounting base to the access point with the screws using a
Phillips-head screwdriver. See Figure 10 on page 31.
Draft 3 on October 8, 2015

AT-TQ4400e Outdoor Wireless Access Point Installation Guide
35
Note
Attach the ground cable to the access point before attaching the
mounting base to the access point. See “Attaching the Ground
Cable to the Access Point” on page 26.
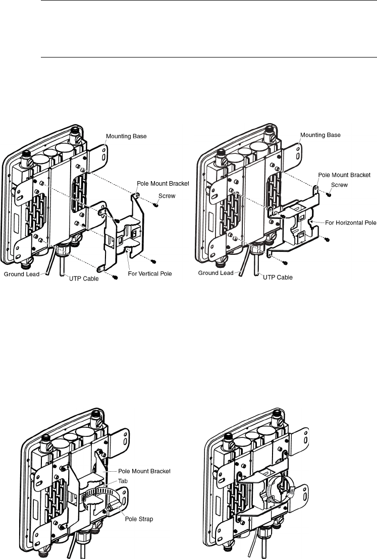
3. Orient the pole-mount bracket for installing to either a vertical pole or a
horizontal pole. See Figure 14.
Figure 14. Attaching the Pole-Mount Bracket to the Mounting Base
4. Drive the screws to attach the pole-mount bracket to the mounting
base using a Phillips-head screwdriver.
5. Attach the O-ring clamp to the pole-mount bracket. See Figure 15.
Figure 15. Attaching the O-Ring Clamp to the Pole-Mount Bracket
6. Install the unit to the pole and tighten the O-ring clamp using the flat-
head screwdriver.
Installing to a Vertical Pole Installing to a Horizontal Pole
Installing to a Vertical Pole Installing to a Horizontal Pole
Draft 3 on October 8, 2015

AT-TQ4400e Outdoor Wireless Access Point Installation Guide
37
Attaching the Antennas to the Access Point
To attach the antennas to the access point, perform the following
procedure:
1. Screw a 5GHz antenna into the 5GHz antenna connector on the top
panel of the access point. See Figure 16.
Figure 16. Installing Antennas to the Access Point
2. Repeat Step 1 for the second 5GHz antenna to screw into the 5GHz
antenna connector on the bottom panel of the access point.
3. Screw a 2.4GHz antenna into the 2.4GHz antenna connector on the
top panel of the access point. See Figure 16.
4. Repeat Step 3 for the second 2.4GHz antenna to screw into the
2.4GHz antenna connector on the bottom panel of the access point.
Draft 3 on October 8, 2015

Chapter 2: Installing the Access Point
38
Starting the Initial Management Session on the Access Point
When you connect the access point to the PoE switch for the first time, it
queries the subnet on the LAN port for a DHCP server. If a DHCP server
responds to its query, the access point uses the IP address the server
assigns to it. If there is no DHCP server, it uses the default IP address
192.168.1.230.
If your network does not have a DHCP server, you must change the IP
address of your management PC to match the subnet of the default
address of the access point. If your network is divided into virtual LANs
(VLANs), be sure to connect the access point and your management PC
to ports on a PoE switch that are members of the same VLAN.
If your network has a DHCP server, use the IP address the server assigns
it to start the management session.
To start the initial management session, perform one of the following:
“Starting the Initial Management Session without a DHCP Server” on
page 38
“Starting the Initial Management Session with a DHCP Server” on
page 39
Note
The initial management session of the access point has to be
conducted through the LAN port because the default setting for the
radios is off.
Starting the
Initial
Management
Session without a
DHCP Server
This procedure explains how to start the initial management session on
the access point when the LAN port is connected to a PoE switch on a
network that does not have a DHCP server.
To start the management session, perform the following procedure:
1. Connect the access point to a PoE switch.
If your network has VLANs, the access point must be connected to a
port on the PoE switch that belongs to the same VLAN as the port
where your management PC is connected.
You may need to access the management software on the PoE switch
to list the VLANs and their port assignments. For example, if the
access point is connected to a port that is a member of the Sales
VLAN, your management PC must be connected to a port that is also
a member of that VLAN. If your network is small and does not have
VLANs or routers, you may connect your management PC to any port
on the PoE switch.
Draft 3 on October 8, 2015

AT-TQ4400e Outdoor Wireless Access Point Installation Guide
39
2. Change the IP address on your management PC to 192.168.1.n.
The n is any number from 1 to 254, except 230. Refer to the
documentation that accompanies your PC for instructions on how to
set the IP address.
3. Set the subnet mask on your management PC to 255.255.255.0.
4. Start the web browser on your management PC.
5. Enter the IP address 192.168.1.230 in the URL field of the browser.
The logon window appears as shown in Figure 17.
.
Figure 17. Logon Window
6. Enter “manager” for the username and “friend” for the password.
The username and password are case-sensitive.
Starting the
Initial
Management
Session with a
DHCP Server
This procedure explains how to start the initial management session on
the access point when the LAN port is connected to a network that has a
DHCP server. This procedure assumes that you have already configured
the DHCP server to assign the access point all the necessary
configuration information (for example, IP address and default gateway)
for your network.
To start the management session, perform the following procedure:
1. Connect the access point to a PoE switch.
2. Start the web browser on your management PC.
3. Enter the IP address of the access point in the URL field of the
browser.
Note
Use the IP address assigned to the access point by the DHCP
server. If you do not know the address, refer to the DHCP server.
Draft 3 on October 8, 2015

AT-TQ4400e Outdoor Wireless Access Point Installation Guide
41
Setting the Country Setting
You should set the country setting during the initial management session
of the access point to ensure that the device operates in compliance with
the codes and regulations of your region or country.
Note
The non-US model of this product has a country code setting that
must be set during the initial management session of the unit. The
setting ensures that the unit operates in compliance with the laws
and regulations of your country or region.
For the US model, the country code is preset and cannot be
changed. Per FCC regulations, the country code setting for all WiFi
products marketed in the US must be fixed to US operational
channels only.
To set the country setting, perform the following procedure:
1. Select Wireless Settings from the Manage menu.
The access point displays the Modify wireless settings window, shown
in Figure 18.
Figure 18. Modify Wireless Settings Window
2. Select the Country pull-down menu and select your country or region.
Draft 3 on October 8, 2015

Chapter 2: Installing the Access Point
42
Note
If the Country pull-down menu is deactivated and cannot be
changed, the country parameter was set when the unit was
manufactured. If the setting is not correct for your country or region,
contact your Allied Telesis sales representative for assistance.
The access point displays a confirmation prompt.
3. Click OK to change the country setting or Cancel to cancel the
procedure.
If you click OK, the access point changes the country setting and
disables both radios on the access point.
This procedure does not require clicking the Update button.
You must now reboot the access point. The new country setting is not
active until the unit is rebooted. To reboot the unit, either power off and
on the unit or continue with these steps:
4. From the Maintenance menu, select Configuration.
5. Click the Reboot button in the To Reboot the Access Point section of
the “Manage the Access Point’s Configuration” window.
6. When the access point displays a confirmation prompt, click OK to
reboot the unit or Cancel to cancel the procedure.
7. To resume managing the unit, wait for it to complete initializing its
management software and then start a new management session.
For more instructions on how to configure the features of the access
point, refer to the AT-TQ Wireless Access Point Series User’s Guide.
Draft 3 on October 8, 2015

43
Appendix A
Technical Specifications
This appendix contains the following sections:
“Physical Specifications”
“Environmental Specifications”
“Power Specifications” on page 44
“LAN Port” on page 45
“Safety and Electromagnetic Emissions Certifications” on page 47
Physical Specifications
Environmental Specifications
Table 4. AT-TQ4400e Physical Specifications
Dimensions (W x D x H) 218 mm x 250 mm x 55.5 mm
(8.6 in. x 9.8 in. x 2.2 in.)
Weight 2 kg (4.4 lb.)
Table 5. Environmental Specifications
Operating Temperature of the
Access Point
-40° C to 65° C (32° F to 104° F)
Storage Temperature -40° C to 70° C (-4° F to 140° F)
Operating Humidity 0% to 95% non-condensing
Storage Humidity 0% to 95% non-condensing
Altitude of operation Up to 2000m
Draft 3 on October 8, 2015

Appendix A: Technical Specifications
44
Power Specifications
Table 6. AT-TQ4400e Maximum Power Consumption
AT-TQ4400e 19.4 watts
Draft 3 on October 8, 2015

AT-TQ4400e Outdoor Wireless Access Point Installation Guide
45
LAN Port
Figure 19 illustrates the pin layout of the LAN port.
Figure 19. Pin Layout for the RJ45 Connector on the LAN Port
Table 8 lists the pin signals when the port is operating in the MDI
configuration at 10 or 100 Mbps.
Table 7. LAN Port Specifications
Connector RJ45
Standards IEEE 802.3 (10Base-T)
IEEE 802.3u (100Base-TX)
IEEE 802.3ab (1000Base-T)
PoE standard IEEE 802.3at (class 4)
Table 8. MDI Pin Signals (10Base-T or 100Base-TX)
Pin Signal
1TX+
2TX-
3RX+
6RX-
Draft 3 on October 8, 2015

Appendix A: Technical Specifications
46
Table 9 lists the pin signals for the MDI-X configuration at 10 or 100 Mbps.
Table 10 lists the pin signals when the LAN port is operating at 1000
Mbps.
Table 9. MDI-X Pin Signals (10Base-T or 100Base-TX)
Pin Signal
1RX+
2RX-
3TX+
6TX-
Table 10. 1000Base-T Connector Pinouts
Pin Pair Signal
1 1 TX and RX
2 1 TX and RX-
32TX and RX+
43TX and RX+
5 3 TX and RX-
6 2 TX and RX-
74TX and RX+
8 4 TX and RX-
Draft 3 on October 8, 2015

AT-TQ4400e Outdoor Wireless Access Point Installation Guide
47
Safety and Electromagnetic Emissions Certifications
Table 11. Safety and Electromagnetic Emissions Certificates
Standard
Compliance
RoHs compliant
European Union RoHS (Directive 2011/65/EU of
the European Parliament and of the Council of 8
June 2011 on the restriction of the use of certain
hazardous substances in electrical and electronic
equipment.)
Certificates CE
FCC/IC
RCM
Wi-Fi CERTIFIED
Electromagnetic
Compatibility (EMC)
EN 301 489-1
EN 301 489-17
EN 55022
EN 55024
EN 61000-3-2
EN 61000-3-3
EN 61000-4-2
EN 61000-4-3
EN 61000-4-4
EN 61000-4-5
EN 61000-4-6
EN 61000-4-8
EN 61000-4-11
AS/NZS CISPR 22
FCC 47 CFR Part 15, Subpart B
ICES-003
Radio Equipment EN 300 328
EN 301 893
AS/NZS 4268
FCC 47 CFR Part 15, Subpart C
FCC 47 CFR Part 15, Subpart E
RSS247
RSS-Gen
RSS-102
FCC: OET Bulletin No. 65 Supplement C
EN 50385
EN 302502
Draft 3 on October 8, 2015

Appendix A: Technical Specifications
48
Safety EN 60950-1
IEC 60950-1
TUV-T
UL 60950-1
UL 60950-22
CAN/CSA C22.2 No. 60950-1-07
CAN/CSA-C22.2 No. 60950-22-07
IEC 60950-22
IEC 60529
Table 11. Safety and Electromagnetic Emissions Certificates (Continued)
Draft 3 on October 8, 2015

Appendix B: Regulatory Statements
50
Federal Communication Commission Interference Statement
This device complies with Part 15 of the FCC Rules. Operation is subject
to the following two conditions: (1) This device may not cause harmful
interference, and (2) this device must accept any interference received,
including interference that may cause undesired operation.
This equipment has been tested and found to comply with the limits for a
Class B digital device, pursuant to Part 15 of the FCC Rules. These limits
are designed to provide reasonable protection against harmful
interference in a residential installation. This equipment generates, uses
and can radiate radio frequency energy and, if not installed and used in
accordance with the instructions, may cause harmful interference to radio
communications. However, there is no guarantee that interference will not
occur in a particular installation. If this equipment does cause harmful
interference to radio or television reception, which can be determined by
turning the equipment off and on, the user is encouraged to try to correct
the interference by one of the following measures:
Reorient or relocate the receiving antenna.
Increase the separation between the equipment and receiver.
Connect the equipment into an outlet on a circuit different from that
to which the receiver is connected.
Consult the dealer or an experienced radio/TV technician for help.
Caution
FCC Caution: Any changes or modifications not expressly approved
by the party responsible for compliance could void the user's
authority to operate this equipment. E80
Caution
Avertissement de la FCC: Les changements ou modifications non
expressément approuvés par la partie responsable de la conformité
pourraient annuler l'autorité de l'utilisateur à utiliser cet équipement.
E80
This transmitter must not be co-located or operating in conjunction with
any other antenna or transmitter.
The transmission in the band from 5600MHz to 5650MHz is disabled by
the software installed on the device. You cannot change this setting. This
device meets all the other requirements specified in the Part 15E, Section
15.407 of the FCC Rules.
Draft 3 on October 8, 2015

AT-TQ4400e Wireless Access Point Installation Guide
51
Radiation Exposure Statement
This equipment complies with FCC radiation exposure limits set forth for
an uncontrolled environment. This equipment should be installed and
operated with minimum distance 32cm between the radiator & your body.
Country Code Selection (WiFi Devices)
Note
The non-US model of this product has a country code setting that
must be set during the initial management session of the unit. The
setting ensures that the unit operates in compliance with the laws
and regulations of your country or region.
For the US model, the country code is preset and cannot be
changed. Per FCC regulations, the country code setting for all WiFi
products marketed in the US must be fixed to US operational
channels only.
Draft 3 on October 8, 2015

Appendix B: Regulatory Statements
52
Industry Canada Statement
This device complies with RSS-247 of the Industry Canada Rules.
Operation is subject to the following two conditions: (1) This device may
not cause harmful interference, and (2) this device must accept any
interference received, including interference that may cause undesired
operation.
Ce dispositif est conforme à la norme CNR-247 d'Industrie Canada
applicable aux appareils radio exempts de licence. Son fonctionnement
est sujet aux deux conditions suivantes: (1) le dispositif ne doit pas
produire de brouillage préjudiciable, et (2) ce dispositif doit accepter tout
brouillage reçu, y compris un brouillage susceptible de provoquer un
fonctionnement indésirable.
Caution:
(i) the device for operation in the band 5150-5250 MHz is only for indoor
use to reduce the potential for harmful interference to co-channel mobile
satellite systems;
(ii) the maximum antenna gain permitted for devices in the bands 5250-
5350 MHz and 5470-5725 MHz shall comply with the e.i.r.p. limit; and
(iii) the maximum antenna gain permitted for devices in the band 5725-
5825 MHz shall comply with the e.i.r.p. limits specified for point-to-point
and non point-to-point operation as appropriate.
(iv) Users should also be advised that high-power radars are allocated as
primary users (i.e. priority users) of the bands 5250-5350 MHz and 5650-
5850 MHz and that these radars could cause interference and/or damage
to LE-LAN devices.
Avertissement:
Le guide d’utilisation des dispositifs pour réseaux locaux doit inclure des
instructions précises sur les restrictions susmentionnées, notamment:
(i) les dispositifs fonctionnant dans la bande 5 150-5 250 MHz sont
réservés uniquement pour une utilisation à l’intérieur afin de réduire les
risques de brouillage préjudiciable aux systèmes de satellites mobiles
utilisant les mêmes canaux;
Draft 3 on October 8, 2015
AT-TQ4400e Wireless Access Point Installation Guide
53
(ii) le gain maximal d’antenne permis pour les dispositifs utilisant les
bandes 5 250-5 350 MHz et 5 470-5 725 MHz doit se conformer à la limite
de p.i.r.e.;
(iii) le gain maximal d’antenne permis (pour les dispositifs utilisant la
bande 5 725-5 825 MHz) doit se conformer à la limite de p.i.r.e. spécifiée
pour l’exploitation point à point et non point à point, selon le cas.
(iv) De plus, les utilisateurs devraient aussi être avisés que les utilisateurs
de radars de haute puissance sont désignés utilisateurs principaux (c.-à-
d., qu’ils ont la priorité) pour les bandes 5 250-5 350 MHz et 5 650-5 850
MHz et que ces radars pourraient causer du brouillage et/ou des
dommages aux dispositifs LAN-EL.
Radiation Exposure Statement:
This equipment complies with IC radiation exposure limits set forth for an
uncontrolled environment. This equipment should be installed and
operated with minimum distance 32cm between the radiator & your body.
Déclaration d'exposition aux radiations:
Cet équipement est conforme aux limites d'exposition aux rayonnements
IC établies pour un environnement non contrôlé. Cet équipement doit être
installé et utilisé avec un minimum de 32cm de distance entre la source de
rayonnement et votre corps.
Professional Installation Instruction:
1. Installation personal
This product is designed for specific application and needs to be installed
by a qualified personal who has RF and related rule knowledge. The
general user shall not attempt to install or change the setting.
2. Installation location
The product shall be installed at a location where the radiating antenna
can be kept 32cm from nearby person in normal operation condition to
meet regulatory RF exposure requirement.
3. External antenna
Use only the antennas which have been approved by the applicant. The
non-approved antenna(s) may produce unwanted spurious or excessive
RF transmitting power which may lead to the violation of FCC/IC limit and
is prohibited.
4. Installation procedure
Please refer to user’s manual for the detail.
Draft 3 on October 8, 2015
Appendix B: Regulatory Statements
54
5. Warning
Please carefully select the installation position and make sure that the final
output power does not exceed the limit set force in relevant rules. The
violation of the rule could lead to serious federal penalty.
Instructions d'installation professionnelle:
1. Installation
Ce produit est destine a un usage specifique et doit etre installe par un
personnel qualifie maitrisant les radiofrequences et les regles s'y
rapportant. L'installation et les reglages ne doivent pas etre modifies par
l'utilisateur final.
2. Emplacement d'installation
En usage normal, afin de respecter les exigences reglementaires
concernant l'exposition aux radiofrequences, ce produit doit etre installe
de facon a respecter une distance de 32 cm entre l'antenne emettrice et
les personnes.
3. Antenn externe.
Utiliser uniiquement les antennes approuvees par le fabricant. L'utilisation
d'autres antennes peut conduire a un niveau de rayonnement essentiel ou
non essentiel depassant les niveaux limites definis par FCC/IC, ce qui est
interdit.
4. Procedure d'installation
Consulter le manuel d'utilisation.
5. Avertissement
Choisir avec soin la position d'installation et s'assurer que la puissance de
sortie ne depasse pas les limites en vigueur. La violation de cette regle
peut conduire a de serieuses penalites federales.
Draft 3 on October 8, 2015

AT-TQ4400e Wireless Access Point Installation Guide
55
Europe - EU Declaration of Conformity
This device complies with the essential requirements of the R&TTE
Directive 1999/5/EC. The following test methods have been applied in
order to prove presumption of conformity with the essential requirements
of the R&TTE Directive 1999/5/EC:
Europe – EU
Declaration of
Conformity
This device complies with the essential requirements of the R&TTE
Directive 1999/5/EC. The following test methods have been applied in
order to prove presumption of conformity with the essential requirements
of the R&TTE Directive 1999/5/EC:
EN 60950-1
Safety of Information Technology Equipment
EN 50385
Product standard to demonstrate the compliance of radio base
stations and fixed terminal stations for wireless telecommunication
systems with the basic restrictions or the reference levels related to
human exposure to radio frequency electromagnetic fields
(110MHz - 40 GHz) - General public
EN 300 328
Electromagnetic compatibility and Radio spectrum Matters (ERM);
Wideband transmission systems; Data transmission equipment
operating in the 2.4GHz ISM band andusing wide band modulation
techniques; Harmonized EN covering the essential requirements of
article 3.2 of the R&TTE Directive
EN 301 893
Broadband Radio Access Networks (BRAN); 5GHz high
performance RLAN; Harmonized EN covering the essential
requirements of article 3.2 of the R&TTE Directive
EN 301 489-1
Electromagnetic compatibility and Radio spectrum Matters (ERM);
ElectroMagnetic Compatibility (EMC) standard for radio equipment
and services; Part 1: Common technical requirements
EN 301 489-17
Electromagnetic compatibility and Radio spectrum Matters (ERM);
ElectroMagnetic Compatibility (EMC) standard for radio
equipment; Part 17: Specific conditions for Broadband Data
Transmission Systems
Draft 3 on October 8, 2015

Appendix B: Regulatory Statements
56
Table 12. Declaration of Conformity
Country Declaration Statement
Česky
[Czech]
Allied Telesis tímto prohlašuje, že tento wireless access
point je ve shodě se základními požadavky a dalšími
příslušnými ustanoveními směrnice 1999/5/ES.
Dansk
[Danish]
Undertegnede Allied Telesis erklærer herved, at
følgende udstyr wireless access point overholder de
væsentlige krav og øvrige relevante krav i direktiv 1999/
5/EF.
Deutsch
[German]
Hiermit erklärt Allied Telesis, dass sich das Gerät
wireless access point in Übereinstimmung mit den
grundlegenden Anforderungen und den übrigen
einschlägigen Bestimmungen der Richtlinie 1999/5/EG
befindet.
Eesti
[Estonian]
Käesolevaga kinnitab Allied Telesis seadme wireless
access point vastavust direktiivi 1999/5/EÜ põhinõuetele
ja nimetatud direktiivist tulenevatele teistele
asjakohastele sätetele.
English Hereby, Allied Telesis, declares that this wireless access
point is in compliance with the essential requirements
and other relevant provisions of Directive 1999/5/EC.
Español
[Spanish]
Por medio de la presente Allied Telesis declara que el
wireless access point cumple con los requisitos
esenciales y cualesquiera otras disposiciones aplicables
o exigibles de la Directiva 1999/5/CE.
Ελληνική
[Greek]
ΜΕ ΤΗΝ ΠΑΡΟΥΣΑ Allied Telesis ∆ΗΛΩΝΕΙ ΟΤΙ
wireless access point ΣΥΜΜΟΡΦΩΝΕΤΑΙ ΠΡΟΣ ΤΙΣ
ΟΥΣΙΩ∆ΕΙΣ ΑΠΑΙΤΗΣΕΙΣ ΚΑΙ ΤΙΣ ΛΟΙΠΕΣ ΣΧΕΤΙΚΕΣ
∆ΙΑΤΑΞΕΙΣ ΤΗΣ Ο∆ΗΓΙΑΣ 1999/5/ΕΚ.
Français
[French]
Par la présente Allied Telesis déclare que l'appareil
wireless access point est conforme aux exigences
essentielles et aux autres dispositions pertinentes de la
directive 1999/5/CE.
Italiano
[Italian]
Con la presente Allied Telesis dichiara che questo
wireless access point è conforme ai requisiti essenziali
ed alle altre disposizioni pertinenti stabilite dalla direttiva
1999/5/CE.
Draft 3 on October 8, 2015

AT-TQ4400e Wireless Access Point Installation Guide
57
Latviski
[Latvian]
Ar šo Allied Telesis deklarē, ka wireless access point
atbilst Direktīvas 1999/5/EK būtiskajām prasībām un
citiem ar to saistītajiem noteikumiem.
Lietuvių
[Lithuanian]
Šiuo Allied Telesis deklaruoja, kad šis wireless access
point atitinka esminius reikalavimus ir kitas 1999/5/EB
Direktyvos nuostatas.
Nederlands
[Dutch]
Hierbij verklaart Allied Telesis dat het toestel wireless
access point in overeenstemming is met de essentiële
eisen en de andere relevante bepalingen van richtlijn
1999/5/EG.
Malti
[Maltese]
Hawnhekk, Allied Telesis, jiddikjara li dan wireless
access point jikkonforma mal-ħtiġijiet essenzjali u ma
provvedimenti oħrajn relevanti li hemm fid-Dirrettiva
1999/5/EC.
Magyar
[Hungarian]
Alulírott, Allied Telesis nyilatkozom, hogy a wireless
access point megfelel a vonatkozó alapvetõ
követelményeknek és az 1999/5/EC irányelv egyéb
elõírásainak.
Polski
[Polish]
Niniejszym Allied Telesis oświadcza, że wireless access
point jest zgodny z zasadniczymi wymogami oraz
pozostałymi stosownymi postanowieniami Dyrektywy
1999/5/EC.
Português
[Portuguese
]
Allied Telesis declara que este wireless access point
está conforme com os requisitos essenciais e outras
disposições da Directiva 1999/5/CE.
Slovensko
[Slovenian]
Allied Telesis izjavlja, da je ta wireless access point v
skladu z bistvenimi zahtevami in ostalimi relevantnimi
določili direktive 1999/5/ES.
Slovensky
[Slovak]
Allied Telesis týmto vyhlasuje, že wireless access point
spĺňa základné požiadavky a všetky príslušné
ustanovenia Smernice 1999/5/ES.
Suomi
[Finnish]
Allied Telesis vakuuttaa täten että wireless access point
tyyppinen laite on direktiivin 1999/5/EY oleellisten
vaatimusten ja sitä koskevien direktiivin muiden ehtojen
mukainen.
Table 12. (Continued)Declaration of Conformity
Country Declaration Statement
Draft 3 on October 8, 2015

Appendix B: Regulatory Statements
58
Svenska
[Swedish]
Härmed intygar Allied Telesis att denna wireless access
point står I överensstämmelse med de väsentliga
egenskapskrav och övriga relevanta bestämmelser som
framgår av direktiv 1999/5/EG.
Table 12. (Continued)Declaration of Conformity
Country Declaration Statement
Draft 3 on October 8, 2015


