Anritsu Mt8852A Users Manual HOW TO USE THIS
MT8852A to the manual f3fcb081-5020-4ecb-9760-eafcc5581454
2015-02-05
: Anritsu Anritsu-Mt8852A-Users-Manual-509463 anritsu-mt8852a-users-manual-509463 anritsu pdf
Open the PDF directly: View PDF
.
Page Count: 162 [warning: Documents this large are best viewed by clicking the View PDF Link!]
- MT8850A / MT8852A Bluetooth Test Set
- Warranty
- Limitation of Warranty
- Trademark Acknowledgments
- Notice about Documentation
- Safety Symbols
- For Safety
- Declaration of Conformity
- General Information
- Product Overview
- Installation
- Connections
- Front Panel Operation
- Getting Started
- Configuring the MT8850A/MT8852A
- Introduction
- Setting up the EUT
- Setting up the MT8850A/MT8852A
- Displaying the Identity of the MT8850A/MT8852A
- Configuring the System Interfaces
- Setting the Screen Display and Sound
- Setting Up the Signal Generator
- Setting Up the Bluetooth Interferer
- Configuring the Rear Panel Outputs (MT8852A only)
- Performing Continuous Wave Measurement
- Setting the Range Hold
- Setting the modulation index
- Setting Up the Link Timeout
- Setting Up the IF Bandwidth Filter
- Setting Up Test Script Operation
- System features
- Service
- Using the Script Menu
- Introduction
- Accessing the Script Menu
- Locking and Unlocking a Script
- Changing the Password
- Running the Tests
- Setting Up General Script Parameters
- Testing in Standard Script Mode
- Output Power Test (Standard Mode)
- Power Control Test (Standard Mode)
- Initial Carrier Test (Standard Mode)
- Carrier Drift Test (Standard Mode)
- Single Slot Sensitivity Test (Standard Mode)
- Multi-Slot Sensitivity Test (Standard Mode)
- Modulation Index Test (Standard Mode)
- Maximum Input Power Test (Standard Mode)
- Testing in Single Payload Script Mode
- Output Power Test (Single Payload Mode)
- Power control test (single payload mode)
- Initial Carrier Test (Single Payload Mode)
- Carrier Drift Test (Single Payload Mode)
- Single Slot Sensitivity Test (Single Payload Mode)
- Multi-Slot Sensitivity Test (Single Payload Mode)
- Modulation Index Test (Single Payload Mode)
- Maximum input power test (single payload mode)
- Entering the BT Address of the EUT
- Viewing Test Results
- Audio Measurements (MT8852A only)
- Testing the EUTfs Audio Performance Using Remot
- Testing the Audio Performance of the EUT Transmit Path
- Testing the Audio Performance of the EUT Receive Path
- Putting the EUT into Remote Loopback
- Introduction
- Message Types
- Message Priorities
- Error Codes
- HCI and Communication List of Error Codes
- Internal HCI and Communication List of Error Codes
- Transmitter Tests
- Receiver Tests
- Output Power
- Power Control
- Modulation Characteristics
- Initial Carrier Frequency Tolerance
- Carrier Frequency Drift
- Sensitivity - Single Slot Packets
- Sensitivity - Multi-Slot Packets
- Maximum Input Level
- MT8850A/MT8852A Signal Generator
- MT8850A/MT8852A Measuring Receiver
- EUT Control Interface
- Audio Specifications (MT8852 only)
- Frequency Standard
- Rear Panel Connectors
- GPIB
- RS 232
- Power Requirements
- Environmental
- Size and Weight
- Ordering Information

MT8850A / MT8852A Bluetooth Test Set
Operation Manual
For MT8850A and MT8852A software release 2.30
Originated by Anritsu Ltd, EMD, Stevenage, U.K. P/N: 13000-000109
REVISION: G
CREATED June 2003
COPYRIGHT 2003
ANRITSU

Warranty
The Anritsu product(s) listed on the title page is (are) warranted against defects in
materials and workmanship for one year from the date of shipment. Anritsu’s obligation
covers repairing or replacing products that prove to be defective during the warranty
period. Buyers shall prepay transportation charges for equipment returned to Anritsu for
warranty repairs. Obligation is limited to the original purchaser. Anritsu is not liable for
consequential damages.
Limitation of Warranty
The foregoing warranty does not apply to Anritsu connectors that have failed due to
normal wear. Also, the warranty does not apply to defects resulting from improper or
inadequate maintenance by the buyer, unauthorized modification or misuse, or operation
outside of the environmental specifications of the product. No other warranty is expressed
or implied, and the remedies provided herein are the buyer's sole and exclusive remedies.
Trademark Acknowledgments
The Bluetooth trademarks are owned by Telefonaktiebolaget L MEricsson, Sweden.
V Connector and K Connector are registered trademarks of Anritsu Company. Adobe
Acrobat and Acrobat Reader are trademarks of Adobe Systems Incorporated.
Notice about Documentation
Anritsu Company has prepared this manual for use by Anritsu Company personnel and
customers as a guide for the proper installation and operation of Anritsu Company
equipment and computer programs.
The drawings, specifications, and information contained herein are the property of Anritsu
Company, and any unauthorized use or disclosure of these drawings, specifications, and
information is prohibited; they shall not be reproduced, copied, or used in whole or in part
as the basis for manufacture or sale of the equipment or software programs without the
prior written consent of Anritsu Company.
i 13000-000109
June 2003

Safety Symbols
To prevent the risk of any personnel injury or loss related to equipment malfunction,
Anritsu Company uses the following symbols to indicate safety-related information. For
your own safety, please read this information carefully BEFORE operating the equipment.
Symbols Used in This Manual
Danger Indicates a very dangerous procedure that could result in
serious injury or death if not performed properly.
Warning Indicates a hazardous procedure that could result in serious
injury or death if not performed properly.
Caution Indicates a hazardous procedure or danger that could result
in light-to-severe injury, or loss related to equipment
malfunction, if proper precautions are not taken.
Safety Symbols Used on Equipment and In Manuals
Some or all of the following five symbols may or may not be used on all Anritsu
equipment. In addition, there may be other labels attached to products that are not shown
in the diagrams in this manual.
The following safety symbols are used inside or on the equipment near operation locations
to provide information about safety items and operation precautions. Ensure that you
clearly understand the meanings of the symbols and take the necessary precautions
BEFORE operating the equipment.
This symbol indicates a prohibited operation. The prohibited
operation is indicated symbolically in or near the barred circle.
This symbol indicates a compulsory safety precaution. The required
operation is indicated symbolically in or near the circle.
This symbol indicates warning or caution. The contents are indicated
symbolically in or near the triangle.
This symbol indicates a note. The contents are described in the box.
These symbols indicate that the marked part should be recycled.
ii 13000-000109
June 2003

For Safety
Always refer to the operation manual when working near
locations at which the alert mark, shown on the left, is
attached. If operation is performed without heeding the
advice in the operation manual, there is a risk of personal
injury. In addition, the equipment performance may be
reduced.
Moreover, this alert mark is sometimes used with other
marks and descriptions indicating other dangers.
or
When supplying AC power to this equipment, connect the
accessory 3-pin power cord to a 3-pin grounded power
outlet. If a grounded 3-pin outlet is not available, use a
conversion adapter and ground the green wire, or connect
the frame ground on the rear panel of the equipment to
ground. If power is supplied without grounding the
equipment, there is a risk of receiving a severe or fatal
electric shock.
The operator cannot repair this equipment. DO NOT
attempt to remove the equipment covers or to disassemble
internal components. Only qualified service technicians
with knowledge of electrical fire and shock hazards should
service this equipment. There are high-voltage parts in this
equipment presenting a risk of severe injury or fatal electric
shock to untrained personnel. In addition, there is a risk of
damage to precision components.
If this equipment is used in a manner not specified by
the manufacturer, the protection provided by the
equipment may be impaired.
13000-000109 iii
June 2003

Declaration of Conformity
iv 13000-000109
June 2003

13000-000109 v
June 2003

Table of Contents
Warranty .................................................................................................................. i
Limitation of Warranty .............................................................................................. i
Trademark Acknowledgments ................................................................................. i
Notice about Documentation.................................................................................... i
Safety Symbols ........................................................................................................ii
For Safety ...............................................................................................................iii
Declaration of Conformity .......................................................................................iv
Chapter 1. General Information................................................................................. 1-1
Scope of this Manual.................................................................................................. 1-1
Software Versions ......................................................................................................1-1
Identification Number ................................................................................................. 1-1
Bluetooth Test Set Options and Accessories ............................................................. 1-1
Included accessories ........................................................................................... 1-1
Options and Accessories ..................................................................................... 1-2
Notation Conventions Used in This Manual ............................................................... 1-2
Chapter 2. Product Overview .................................................................................... 2-1
About Bluetooth.......................................................................................................... 2-1
The MT8850A/MT8852A ............................................................................................ 2-1
MT8850A/MT8852A Features.............................................................................. 2-2
BlueSuite Analysis Software ................................................................................ 2-3
Chapter 3. Installation ............................................................................................... 3-1
Introduction................................................................................................................. 3-1
Initial Inspection.......................................................................................................... 3-1
Power Requirements.................................................................................................. 3-1
AC Line Power ..................................................................................................... 3-1
Fuse Protection.................................................................................................... 3-1
Grounding ............................................................................................................ 3-1
Environmental Requirements ..................................................................................... 3-2
Rack Mounting ........................................................................................................... 3-2
Single Unit Rack Mounting (Option 01)................................................................ 3-2
Tools Required..................................................................................................... 3-3
Assembly Procedure............................................................................................ 3-3
Side-by-Side Rack Mounting (Option 03) ............................................................ 3-6
Storage and Shipment.............................................................................................. 3-10
Preparation For Storage .................................................................................... 3-10
Environmental Requirements............................................................................. 3-10
Preparation for Shipment ................................................................................... 3-10
Anritsu Service Centers............................................................................................ 3-11
vi 13000-000109
June 2003

13000-000109 vii
June 2003
Chapter 4. Connections ............................................................................................ 4-1
Introduction ................................................................................................................ 4-1
Front Panel Connectors ............................................................................................. 4-1
Rear Panel Connectors.............................................................................................. 4-1
Chapter 5. Front Panel Operation............................................................................. 5-1
Introduction ................................................................................................................ 5-1
Front Panel Controls .................................................................................................. 5-1
Power-On Procedure ................................................................................................. 5-3
Hard and Soft Keys.................................................................................................... 5-3
Hard keys............................................................................................................. 5-3
Soft Keys ............................................................................................................. 5-4
Choosing Screen Entries ........................................................................................... 5-4
Entering Data at the Keypad...................................................................................... 5-5
Chapter 6. Getting Started ........................................................................................ 6-1
Preparing the MT8850A/MT8852A for Use................................................................ 6-1
Selecting a Test Script ............................................................................................... 6-1
Specifying the EUT Address ...................................................................................... 6-2
Selecting the Test Mode ............................................................................................ 6-2
Running a Single Test................................................................................................ 6-2
Running a Script in Standard Mode ........................................................................... 6-4
Running a Script in Single Payload Mode.................................................................. 6-4
Running a Script in Null Packets Mode...................................................................... 6-5
Chapter 7. Configuring the MT8850A/MT8852A....................................................... 7-1
Introduction ................................................................................................................ 7-1
Setting up the EUT..................................................................................................... 7-3
Viewing the EUT Address and User Friendly Name............................................ 7-3
Viewing Supported Features ............................................................................... 7-4
Setting Up the EUT Control ................................................................................. 7-5
Setting Up Inquiries ............................................................................................. 7-6
Setting Up Authentication .................................................................................... 7-7
To make an Inquiry:............................................................................................. 7-8
Setting up the MT8850A/MT8852A............................................................................ 7-9
Displaying the Identity of the MT8850A/MT8852A .............................................. 7-9
Configuring the System Interfaces .................................................................... 7-10
Setting the Screen Display and Sound.............................................................. 7-11
Setting Up the Signal Generator........................................................................ 7-12
Setting Up the Bluetooth Interferer .................................................................... 7-13
Configuring the Rear Panel Outputs (MT8852A only) ....................................... 7-14
Performing Continuous Wave Measurement..................................................... 7-15
Setting the Range Hold ..................................................................................... 7-16

Setting the modulation index.............................................................................. 7-17
Setting Up the Link Timeout............................................................................... 7-17
Setting Up the IF Bandwidth Filter ..................................................................... 7-17
Setting Up Test Script Operation.............................................................................. 7-18
System features ....................................................................................................... 7-19
Setting the Link .................................................................................................. 7-19
Updating the Software ....................................................................................... 7-20
Errata 1158 ........................................................................................................ 7-21
Service ..................................................................................................................... 7-21
Chapter 8. Using the Script Menu ............................................................................. 8-1
Introduction................................................................................................................. 8-1
Accessing the Script Menu......................................................................................... 8-2
Locking and Unlocking a Script .................................................................................. 8-3
Changing the Password ............................................................................................. 8-4
Running the Tests ...................................................................................................... 8-5
Setting Up General Script Parameters ....................................................................... 8-6
Test control delay................................................................................................. 8-7
Test Pause Test Control ...................................................................................... 8-7
EUT Settings on Connection................................................................................ 8-7
Setting the Path Offset......................................................................................... 8-8
Creating or Editing a Path Offset Table ............................................................... 8-8
Testing in Standard Script Mode .............................................................................. 8-11
Output Power Test (Standard Mode) ................................................................. 8-11
Power Control Test (Standard Mode) ................................................................ 8-14
Initial Carrier Test (Standard Mode)................................................................... 8-17
Carrier Drift Test (Standard Mode) ....................................................................8-20
Single Slot Sensitivity Test (Standard Mode)..................................................... 8-23
Multi-Slot Sensitivity Test (Standard Mode)....................................................... 8-26
Modulation Index Test (Standard Mode)............................................................ 8-29
Maximum Input Power Test (Standard Mode) ................................................... 8-32
Testing in Single Payload Script Mode..................................................................... 8-34
Output Power Test (Single Payload Mode)........................................................ 8-34
Power control test (single payload mode).......................................................... 8-34
Initial Carrier Test (Single Payload Mode) ......................................................... 8-35
Carrier Drift Test (Single Payload Mode) ........................................................... 8-36
Single Slot Sensitivity Test (Single Payload Mode) ........................................... 8-37
Multi-Slot Sensitivity Test (Single Payload Mode) .............................................8-38
Modulation Index Test (Single Payload Mode) .................................................. 8-39
Maximum input power test (single payload mode)............................................. 8-39
Entering the BT Address of the EUT ........................................................................ 8-40
Viewing Test Results................................................................................................ 8-41
Output Power Test Results ................................................................................ 8-41
viii 13000-000109
June 2003

13000-000109 ix
June 2003
Power Control Test Results (standard and null packet modes) ........................ 8-42
Initial Carrier Test Results ................................................................................. 8-43
Carrier Drift Test Results ................................................................................... 8-44
Single Slot Sensitivity Results ........................................................................... 8-46
Multi Sensitivity Test Results............................................................................. 8-48
Modulation Index Test Results .......................................................................... 8-50
Maximum Input Power Test Results.................................................................. 8-51
Chapter 9. Audio Measurements (MT8852A only)................................................... 9-1
Testing the EUT’s Audio Performance Using Remote Loopback on the MT8852A... 9-1
Testing the Audio Performance of the EUT Transmit Path........................................ 9-4
Testing the Audio Performance of the EUT Receive Path......................................... 9-5
Putting the EUT into Remote Loopback..................................................................... 9-6
Appendix A. Top-line Messages.................................................................................. A-1
Introduction ................................................................................................................ A-1
Message Types.......................................................................................................... A-1
Message Priorities ..................................................................................................... A-2
Error Codes................................................................................................................ A-3
HCI and Communication List of Error Codes............................................................. A-7
Internal HCI and Communication List of Error Codes................................................ A-8
Appendix B. Preset Values.......................................................................................... B-1
Appendix C. Specification............................................................................................C-1
Transmitter Tests .......................................................................................................C-1
Receiver Tests ...........................................................................................................C-1
Output Power .............................................................................................................C-2
Power Control ............................................................................................................C-3
Modulation Characteristics.........................................................................................C-4
Initial Carrier Frequency Tolerance............................................................................C-5
Carrier Frequency Drift ..............................................................................................C-6
Sensitivity - Single Slot Packets.................................................................................C-7
Sensitivity - Multi-Slot Packets...................................................................................C-8
Maximum Input Level.................................................................................................C-9
MT8850A/MT8852A Signal Generator.....................................................................C-10
Frequency..........................................................................................................C-10
Level ..................................................................................................................C-10
Modulation .........................................................................................................C-10
MT8850A/MT8852A Measuring Receiver................................................................C-11
Frequency..........................................................................................................C-11
Level ..................................................................................................................C-11
Modulation .........................................................................................................C-11
EUT Control Interface ..............................................................................................C-11

Audio Specifications (MT8852 only)........................................................................ C-12
Frequency Standard................................................................................................ C-12
Rear Panel Connectors ........................................................................................... C-12
GPIB........................................................................................................................ C-12
RS 232 .................................................................................................................... C-12
Power Requirements............................................................................................... C-13
Environmental ......................................................................................................... C-13
Size and Weight ...................................................................................................... C-13
Ordering Information ............................................................................................... C-13
Appendix D. Bit and Frame Error Rates...................................................................... D-1
Appendix E. Connector Care and Handling .................................................................E-1
x 13000-000109
June 2003

13000-000109 1-1
June 2003 Scope of this Manual
Chapter 1. General Information
Scope of this Manual
This manual provides installation and operation information for the following two units:
• MT8850A Bluetooth Test Set
• MT8852A Bluetooth Test Set.
All information in this manual applies equally to both the MT8850A and the MT8852A
unless otherwise stated, and is most cases this is signified by the use of
“MT8850A/MT8852A”. The screen images provided in the procedural explanations have
been taken from the MT8850A unit, although these too apply equally to the MT8852A.
Chapter 9 in this manual provides specific details of audio measurements and therefore
applies to the MT8852A only.
Software Versions
This manual provides details of the operation and functionality of the following software
versions:
MT8850A: 2.30
MT8852A: 2.30
Identification Number
The MT8850A/MT8852A Bluetooth Test Set has an ID number affixed to the rear. Please
use the complete ID number when ordering parts or corresponding with the Anritsu
Customer Service department.
Bluetooth Test Set Options and Accessories
Included accessories
Power cord for destination country
RS232 HCI control interface lead
USB HCI control interface lead (MT8852A only)
RS232 cable for firmware updates
Operation Manual
Remote programming manual
Certificate of Calibration
LabVIEWTM Driver
BlueSuite software (standard version)

MT8850A / MT8852A Bluetooth Test Set General Information
3.5 mm jack plug x 3 (MT8852A only)
Options and Accessories
MT8850A-01 Rack Mount, single instrument
MT8850A-03 Rack Mount, side-by-side
MT8850A-06 Rear Mount RF and EUT connectors
MT8850A 10 Bluetooth antenna and adapter
MT8852A-12 Headset Profile Emulator Software
MT8850A-20 Spare EUT/RS232 cable
MT8850A-21 Spare EUT/USB cable
MT8850A-30 Extra Operation and Programming Manual
D41310 Soft Carry Case with shoulder strap
2300-259 BlueSuite Pro software
Notation Conventions Used in This Manual
This style is used for the hard keys on the unit itself.
[Setup] Soft keys that display on the screen are enclosed in square
brackets. Pressing a soft key provides access to menu options,
toggles selections and allows data entry.
“Output power” Items or text that display within the main body of the screen are
enclosed in quotation marks.
1-2 13000-000109
Notation Conventions Used in This Manual June 2003

13000-000109 2-1
June 2003 About Bluetooth
Chapter 2. Product Overview
About Bluetooth
Bluetooth wireless technology will simplify connections between everyday appliances such
as mobile phones, PCs and PDAs. Bluetooth will not be confined to the office - home
applications will include portable music players, digital cameras, video recorders and
children’s toys. In future, Bluetooth technology will be found in the automotive, avionics
and industrial controls markets. Bluetooth technology will provide individuals with a
personal networking environment that can be found in public places, such as shopping
centers, sports stadiums and airports.
The success of the Bluetooth standard will depend on users of the technology enjoying
products that are reliable with high-quality connections that can be used “out of the box” to
provide immediate connectivity.
The combination of leading-edge RF and protocol technologies, coupled with the
requirement to get implementation costs down to a few dollars, puts particularly high
demands on the test department to develop test procedures that are comprehensive in
terms of both RF and functionality. These tests need to be fast and initiated through a
simple user interface. The integration of a module into an OEM product will not necessarily
produce predictable results, and the performance of every item will be different, this
makes it essential to test to a known set of parameters using an instrument traceable to
National Standards.
Anritsu knows the importance of test for RF products. We know that in an OEM production
environment, the key requirement will be to validate performance in the shortest time.
Production engineers will need to decide on a subset of the Bluetooth RF test specification
that is appropriate to their product’s requirements.
Working with RF, especially RF at over 2 GHz is not easy, but with Anritsu as your test
partner you can be certain of having the most up-to-date and relevant testing capabilities
for your Bluetooth products.
The MT8850A/MT8852A
Anritsu have developed the MT8850A/MT8852A, a Bluetooth Test Set to test Bluetooth
modules and Bluetooth products - quickly and at low cost.
Anritsu has a century of experience in RF technology, and today has a reputation for
developing solutions to test the newest wired and wireless technologies. Our test and
measurement products are used by customers in over 100 countries worldwide, and our
experience in the measurement business is second-to-none.

MT8850A / MT8852A Bluetooth Test Set Product Overview
MT8850A/MT8852A Features
Three test modes •
•
•
•
•
•
•
• Standard mode in which the MT8850A/MT8852A uses full Test Mode signalling
and all the defined test controls to test the EUT in the fastest and most efficient
way possible.
• Single payload mode in which Test Mode signalling is performed in a very
restricted manner. The customer can define the packet length, packet payload,
select loopback or TX mode and hopping on or off.
• Null packet mode enables measurements to be made on EUTs that do not have
test mode support, by performing a limited subset of measurements on packets
without payloads. None of these measurements are performed in accordance
with the Bluetooth test specifications.
Fast
Keep your production lines flowing with the rapid “Quick Test” measurement script.
Production test scripts can run in as little as 10 seconds, measuring power, frequency,
modulation and receiver sensitivity (BER).
One touch testing
Once the MT8850A/MT8852A has been configured, each device is tested with a
single keystroke. Press Run to initiate a link, activate Test Mode, perform the
measurements and report the results.
Authoritative
Under standard operation, tests are made exactly as defined in the Bluetooth RF Test
Specification. All measurements are traceable to National Standards so that you can
be totally confident in both your production testing and design proving.
Reference Bluetooth transceiver
A custom design transceiver offers <1 kHz frequency accuracy at the start of any
packet and full compliance with the requirements for the “Dirty Transmitter” for true
receiver sensitivity measurements. In addition to the standard dirty transmitter table,
you can define customized stress conditions with user settable values of Carrier
Frequency Offset, Modulation Index, Symbol Timing Error and simulated carrier
frequency drift.
Remote control
Both GPIB and RS232 interfaces are offered as standard. Creating test programs has
been simplified by the ability to send single commands for initiating a test and
returning all results in a single string.
Small size and weight
MT8850A/MT8852A takes up minimal space in your test system thanks to its half rack
size and low weight. Where Bluetooth interfaces are being introduced into existing
products, the disturbance to the test system is minimized.
2-2 13000-000109
The MT8850A/MT8852A June 2003

Product Overview MT8850A / MT8852A Bluetooth Test Set
13000-000109 2-3
June 2003 The MT8850A/MT8852A
•
•
•
•
•
Editing tests
Define your own test scripts to customize the test measurements to your specific
requirements. Each test can be enabled or disabled and within any test, parameters
such as hopping can be enabled or disabled, the number of measured packets
defined, and the specific frequencies of testing set up.
Making a link
The BT address can be acquired by entering it manually at the keyboard, by
performing an inquiry, or by means of an RS232 or USB HCI link. Once the EUT BT
address is known a Bluetooth link is established using Paging.
Field upgradeable
The Bluetooth protocol stack is held in FPGA so that future versions of the core
Bluetooth specification can be installed locally. The instruments main program is held
in flash memory and so product enhancements are also field downloadable.
Design proving
Because measurements are made in accordance with the RF Test Specification,
MT8850A/MT8852A is the ideal instrument for pre-conformance testing and design
proving. Gain confidence in your product before submitting to a Bluetooth Qualification
Test Facility for approval. To perform tests such as TX output spectrum and spurious
emissions not supported by the MT8852A, use the Anritsu ME7865A Bluetooth Pre
Qualification Test System that addresses all 16 test cases defined in the RF test
specification.
Audio testing (MT8852A only)
The MT8852A Bluetooth Test Set can be used to perform audio measurements by
establishing a Synchronous Connection Oriented (SCO) link between the MT8852A
and the EUT.
BlueSuite Analysis Software
A BlueSuite software package gives PC control of the MT8850A/MT8852A for advanced
design proving measurements on Bluetooth radios. Use BlueSuite to view burst power
profiles, modulation eye diagrams, display graphs of the output power of the 79
frequencies and many other advanced diagnostic tools.

MT8850A / MT8852A Bluetooth Test Set Product Overview
2-4 13000-000109
The MT8850A/MT8852A June 2003

13000-000109 3-1
June 2003 Introduction
Chapter 3. Installation
Introduction
This chapter provides information for the initial inspection and preparation for use of the
MT8850A/MT8852A Bluetooth Test Set. Shipping and storage information is also
included.
Initial Inspection
Inspect the shipping container for damage. If the container or cushioning material is
damaged, retain until the contents of the shipment have been checked against the packing
list and the instrument has been checked for mechanical and electrical operation.
If the Test Set is damaged mechanically, notify your local sales representative or Anritsu
Customer Service Center. If either the shipping container is damaged or the cushioning
material shows signs of stress, notify the carrier as well as Anritsu. Retain the shipping
materials for the carrier's inspection.
Power Requirements
The MT8850A/MT8852A Bluetooth Test Set is operated from AC line power. The
MT8850A/MT8852A is intended as an Installation (Overvoltage) Category II, Insulation
Category I device.
At power-on, the instrument will perform a brief power-on self test (POST). If a POST error
occurs, information and available options will be displayed on the screen. If the POST is
successful, the instrument will then go to the top-level script or single test screen that was
active when it was powered down.
AC Line Power
The MT8850A/MT8852A can operate on AC input power of 85-264V, 47-63 Hz, 150 VA
maximum. The Test Set automatically configures itself for the voltage applied. An internal
fuse protects the AC line input.
Fuse Protection
The MT8850A/MT8852A Bluetooth Test Set is protected on the AC input by an internally
mounted fuse. Only qualified service personnel should change this fuse. Replace only with
a fuse of the same type and rating, which is 5 mm x 20 mm, 250V, 2.5A T (T= time lag or
slo-blo).
Grounding
The MT8850A/MT8852A Bluetooth Test Set must be properly grounded. Failure to ground
the instrument could be hazardous to operating personnel. The instrument is supplied with
a three-wire power cord.
The instrument is properly grounded when the plug is correctly installed in a grounded
receptacle. A grounding terminal is provided on the instrument rear panel.

MT8850A / MT8852A Bluetooth Test Set Installation
Environmental Requirements
The MT8850A/MT8852A is designed to operate within the temperature range of 5 to 40° C
(41 to 104° F) with a maximum humidity of 90% at 40° C (104° F), non-condensing. Full
accuracy is specified at 5 to 35° C (23 to 95° F).
Although not recommended, operation in temperatures to –20°C
(–4° F) is possible. At these temperatures, however, the liquid crystal display may exhibit
excessively slow response.
CAUTION The instrument is cooled by a fan at the rear, which circulates air
round the instrument through the vent holes in the base. The fan and
the vent holes should not be blocked.
Rack Mounting
The MT8850A/MT8852A Bluetooth Test Set can be ordered with rack mounting hardware
that allows the instrument to be mounted into a standard 19-inch equipment rack. There
are two rack mount option kits available:
The MT8850A-01 Rack Mount option allows the installation of a single
MT8850A/MT8852A in either the left or right side rack position.
The MT8850A-03 Rack Mount option allows side-by-side mounting of two
MT8850A/MT8852A Test Sets.
Single Unit Rack Mounting (Option 01)
This section describes the assembly procedure for fitting a single MT8850A/MT8852A
Bluetooth Test Set into an instrument rack. The MT8850A/MT8852A universal top and
bottom covers have removable feet to allow the rack mount kit to be fitted. The procedure
involves fitting the support bracket, front plate, base panel, and a rear support bracket to
the MT8852A. The MT8850A/MT8852A can then be loaded and secured in the rack
position.
Kits Parts List
Anritsu No. Description Quantity Max Torque
Setting
50077 Front face plate 1.0
900-848 M4, kep nut. 2.0 14 lbf.in [158
cNm]
790-319 Speed nut 4.0
900-345 #4, sst, washer, flat 8.0
900-821 Decorative screw 4.0
905-68 M3x8, pos, sst, patchlock,
screw, metric, pan head.
8.0 4 lbf.in [45 cNm]
788-575 Snap rivet, plastic 6.0
C37276 Rack mount, side, bracket 1.0
C41449 Rear support, bracket, rack
t
1.0
3-2 13000-000109
Environmental Requirements June 2003

Installation MT8850A / MT8852A Bluetooth Test Set
13000-000109 3-3
June 2003 Rack Mounting
Kits Parts List
mount
D41473 Rack mount, support bracket 1.0
49361 Bracket support, base panel 1.0
MT8852A MT8850A/MT8852A fitted with
universal top and bottom covers
with removable feet.
1.0
Tools Required
1 Small Phillips screwdriver
1 Large Phillips screwdriver
1 Small Phillips torque screwdriver 0 cNm to 50 cNm.
1 Torque socket driver 0 cNm to 200 cNm.
1-Foot removal tool (supplied).
1 Assembly drawing “MT8852A/01 Rack Mounted left or right option”
Assembly Procedure
1. Remove all feet from the MT8850A/MT8852A using the tools supplied. See diagram
and notes on the following pages.
2. Confirm the correct tools are available, the parts listed above are present and the
assembly drawing is at hand.
3. Lay the large support bracket D41473 next to the MT8850A/MT8852A Bluetooth Test
Set as per the assembly drawing. Note if the instrument needs to be mounted on the
left side of the rack, simply lay the bracket on the right side. i.e. a mirror image of the
assembly drawing.
4. Locate the support bracket on to the four case pillars. Secure with 4 screws 905-68
and 4 washers 900-345. See max. torque setting above. Note leave the two rear
screws lose to allow alignment, location, and securing of the 6 base plate snap rivets
788-575.
5. Locate the front rack mounting bracket C37276 at the front of the instrument on the
other side to the large support bracket with two screws 905-68 and two washers 900-
345. See max. torque setting above.
6. Locate the rear rack bracket C41449 at the back of the instrument on the other side
to the large support bracket with two screws 905-68 and two washers 900-345. See
max. torque setting above.
7. Fit the front face plate 50077 with 2 kep nuts 900-848. See max. torque setting
above.
8. Position the base panel 49361 as shown in the drawing, and secure with 6 snap
rivets 788-575.
9. Fit the four speed nut 790-319 to the rack in the correct place to allow mounting of
the instrument in the rack.
10. Slide the instrument into the rack and secure with 4 decorative screws 900-821.

MT8850A / MT8852A Bluetooth Test Set Installation
Removable Foot
Foot Removal
Tool 50210
Top / Bottom Case.
Foot removal:
1. To remove feet. Locate the removal tool into the recess of each foot located on the
top and bottom faces of the covers.
2. Once the removal tool has been located in the foot recess, apply gentle pressure
downward. This will release the foot.
3. To replace the feet, simply locate the peg into the recess and press down. The foot
will now snap on.
IMPORTANT: When removing the feet, note their placement position. This will ensure that
when replacing them they will be correctly fitted.
3-4 13000-000109
Rack Mounting June 2003

Installation MT8850A / MT8852A Bluetooth Test Set
13000-000109 3-5
June 2003 Rack Mounting

MT8850A / MT8852A Bluetooth Test Set Installation
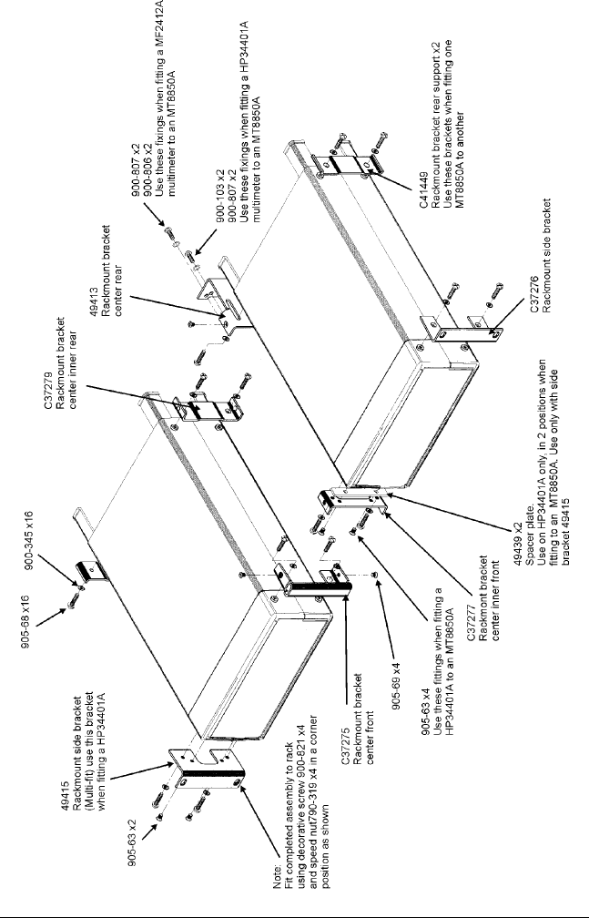
Side-by-Side Rack Mounting (Option 03)
This section describes the assembly procedure for fitting two MT8850A/MT8852A units
into a instrument rack. The universal top and bottom covers have removable feet to allow
the rack mount kit to be fitted. The procedure involves fitting support brackets and two rear
support brackets, one to each unit. The two MT8850A/MT8852A which are locked
together can then be loaded and secured in the rack position desired.
Kit Parts List
Anritsu No Description Quantity Max.Torque
Setting
790-319 SPEED NUT 4.0
900-345 WASHER,6-32UNC,OVERSIZE 16.0
900-821 DECORATIVE SCREW 4.0
905-68 M3X8,POS,SST,PATCHLOCK,
SCREW, METRIC,PAN HD
16.0 4lbf.in
[45cNm]
905-69 M3X6,POS,SST,PATCHLOCK,
SCREW, METRIC,FLT HD
4.0
900-807 WASHER,M4 SPLIT 4.0
900-806 M4X12MM, SCREW, PAN HD. 2.0
905-103 M3.5X8MM,SCREW,PAN HD. 2.0
905-63 M4X10MM, SCREW, FLT HD. 4.0
49415 RACK MOUNT, SIDE BRACKET 1.0
49413 RACK MOUNT, CENTER REAR
BRACKET
1.0
49439 SPACER PLATE 2.0
C37275 RACK MOUNT,CENTRE,FRT,
BRACKET
1.0
C37276 RACK MOUNT,SIDE, BRACKET 1.0
C37277 RACK MOUNT,CENTRE, BRACKET 1.0
C37279 RACK MOUNT,CENTRE,BRACKET 1.0
C41449 REAR
SUPPORT,BRACKET,RACKMOUNT
2.0
50210 FOOT REMOVAL TOOL 1.0
ML2430A POWER METER FITTED WITH
UNIVERSAL TOP AND BOTTOM
COVERS WITH REMOVABLE FEET
2.0
3-6 13000-000109
Rack Mounting June 2003

Installation MT8850A / MT8852A Bluetooth Test Set
13000-000109 3-7
June 2003 Rack Mounting
Tools Required
1 Small Phillips screwdriver
1 Large Phillips screwdriver
1 Small Phillips torque screwdriver 10cNm to 120cNm.
1 Foot removal tool 50210 (supplied).
1 Assembly drawing “ML2400/03 SIDE BY SIDE OPTION”
Assembly Procedure for fitting a ML2430A to another ML2430A
1. Remove all feet using tool supplied. See diagram on the following page.
2. Confirm the correct tools are available, the parts listed above are present and the
assembly drawing is at hand.
3. On the two sides of the MT8850A/MT8852A to be joined together, fit the two rear
brackets 49413, C37279, and two front brackets C37275, C37277 using 8 screws
905-68 and 8 washers 900-345. See max. torque setting above.
4. Slide the two units together and secure using 4 counter sink screws 905-69.
5. Locate the two front rack brackets C37276 and 49415 at the front of each unit, one
on each side with four screws 905-68 and four washers 900-345. See max. torque
setting above.
6. Locate the two rear rack brackets C41449 at the back of each unit, one on each side
with four screws 905-68 and four washers 900-345. See max. torque setting above.
7. Fit the four speed nuts 790-319 to the rack in the correct place to allow mounting of
the two units in the rack.
8. Slide the two units into the rack and secure with 4 decorative screws 900-821.

MT8850A / MT8852A Bluetooth Test Set Installation
Removable Foot
Foot Removal
Tool 50210
Top / Bottom Case.
Foot Removal:
1. To remove feet. Locate the removal tool into the recess of each foot located on the
top and bottom faces of the covers.
2. Once the removal tool has been located in the foot recess, apply gentle pressure
downward. This will release the foot.
3. To replace the feet, simply locate the peg into the recess and press down. The foot
will now snap on.
IMPORTANT: When removing the feet, note their placement position. This will ensure
that when replacing them they will be correctly fitted.
3-8 13000-000109
Rack Mounting June 2003

Installation MT8850A / MT8852A Bluetooth Test Set
13000-000109 3-9
June 2003 Rack Mounting

MT8850A / MT8852A Bluetooth Test Set Installation
Storage and Shipment
The following paragraphs describe preparing the MT8850A/MT8852A Bluetooth Test Set
for storage and shipment.
Preparation For Storage
Preparing the MT8850A/MT8852A Bluetooth Test Set for storage consists of cleaning the
instrument and packing it with moisture-absorbing desiccant crystals.
Environmental Requirements
Store the instrument in a temperature controlled environment that is maintained
between -40 and +70º C (-40 to ±156º F), with a maximum humidity of 90% at 40º C (104º
F), non-condensing.
Preparation for Shipment
To provide maximum protection against damage in transit, the MT8850A/MT8852A
Bluetooth Test Set should be repackaged in the original shipping container. If this
container is no longer available and the MT8850A/MT8852A is being returned to Anritsu
for repair, advise Anritsu Customer Service Center; they will send a new shipping
container free of charge. In the event neither of these two options is possible, follow the
packaging instructions below.
Use a
Suitable
Container
Obtain a corrugated cardboard carton with a 125 Kg (275-pound) test
strength. This carton should have inside dimensions of no less than 150
mm (6 in) larger than the instrument dimensions to allow for cushioning.
Protect the
Instrument
Wrap the instrument to protect the finish.
Cushion the
Instrument
Cushion the instrument on all sides by tightly packing dunnage or
urethane foam between the carton and the instrument. Provide at least
75 mm (3 in) of dunnage on all sides.
Seal the
Container
Seal the carton using either shipping tape or an industrial stapler.
Address the
container
If the instrument is being returned to Anritsu for service, mark the
address of the appropriate Anritsu service center, the Return Materials
Authorization (RMA) number, and your return address on the carton in a
prominent location.
3-10 13000-000109
Storage and Shipment June 2003

Installation MT8850A / MT8852A Bluetooth Test Set
13000-000109 3-11
June 2003 Anritsu Service Centers
Anritsu Service Centers
AUSTRALIA
ANRITSU PTY. LTD.
Unit 3, 170 Foster Road
Mt Waverley, VIC 3149
Australia
Telephone: +61-3-9558-8177
Fax: +61-3-9558--8255
Brazil
ANRITSU ELETRONICA LTDA.
Praia de Botafogo 440, Sala 2401
CEP 22250-040,
Rio de Janeiro, RJ,
Brasil
Telephone: +55-21-5276922
Fax: +55-21-537-1456
CANADA
700 Silver Seven Road, Suite 120, Kanata,
ON K2V 1C3,
Canada
Telephone: +1-613-591-2003
Fax: +1-613-591-1006
CHINA
ANRITSU BEIJING SERVICE CENTER
416W Beijing Fortune Building
5 Dong San Huan Bei Lu
Chao Yang Qu, Beijing 1000004,
China
Telephone: +86-1186-1065909237
Fax: +86-1186-1065909236
DENMARK
Anritsu ab
Tonsbakken 10
DK 2740 Skovlunde
Denmark
Telephone +45-44502160
Fax +45-44502170
FINLAND
Anritsu AB
Piispanportti 9, FIN-02240 Espoo,
Finland
Telephone: +358-9-435-522-0
Fax: +358-9-435-522-50
FRANCE
9, Avenue du Québec Z.A. de Courtabœuf
91951 Les
Ulis Cedex,
France
Telephone: +33-1-60-92-15-50
Fax: +33-1-64-46-10-65
GERMANY
Grafenberger Allee 54-56,
40237 Düsseldorf,
Germany
Telephone: +49-211-96855-0
Fax: +49-211-96855-55
HONG KONG
ANRITSU COMPANY LTD.
Suite 719, 7/F., Chinachem Golden Plaza,
77 Mody Road, Tsimshatsui East, Kowloon,
Hong Kong, China
Telephone: +852-2301-4980
Fax: +852-2301-3545
ITALY
ANRITSU Sp.A
Via Elio Vittorini, 129, 00144 Roma EUR,
Italy
Telephone: +39-06-509-9711
Fax: +39-06-502-24-25
JAPAN
5-10-27, Minamiazabu,
Minato-ku, Tokyo 106-8570,
Japan
Telephone: +81-3-3446-1111
Fax: +81-3-3442-0235
KOREA
ANRITSU CORPORATION LTD.
14F Hyun Juk Bldg. 832-41, Yeoksam-dong,
Kangnam-ku,
Seoul, Korea
Telephone: +82-2-553-6603
Fax: +82-2-553-6604˜ 5
SINGAPORE
10, Hoe Chiang Road, # 07-01/02
Keppel Towers
Singapore 089315
Telephone: +65-282 2400
Fax : +65- 282 2533
SWEDEN
Anritsu AB
Fågelviksvägen 9A
145 84 Stockholm
Sweden
Telephone: +46-8-74-05-840
Fax: +46-8-71-09-960
TAIWAN
ANRITSU CO., LTD.
7F, NO.316, Sec.1 NeiHu Rd., Taipei,
Taiwan, R.O.C
Telephone: +886-2-8751-1816
Fax: +886-2-8751-1817
UNITED KINGDOM
200 Capability Green, Luton,
Bedfordshire
LU1 3LU,
U.K.
Telephone: +44-1582-433200
Fax: +44-1582-731303
UNITED STATES
1155 East Collins Blvd., Richardson, TX
75081,
U.S.A.
Toll Free: 1-800-ANRITSU (267-4878)
Telephone: +1-972-644-1777
Fax: +1-972-671-1877

MT8850A / MT8852A Bluetooth Test Set Installation
3-12 13000-000109
Anritsu Service Centers June 2003

Chapter 4. Connections
Introduction
This chapter describes physical connections to the MT8850A/MT8852A Bluetooth Test
Set on both the front and rear panels.
Front Panel Connectors
The front panel connectors are illustrated below; detailed descriptions of each connector
are as follows:
Run Loop/Stop Scpt/Test Config Preset
!
Ω
RF Port
EUT HCI
interface
connector
N type RF
connector
Rear Panel Connectors
The rear panel connectors are illustrated and described in the diagram on the next page.
13000-000109 4-1
June 2003 Introduction

MT8850A / MT8852A Bluetooth Test Set Connections
4-2 13000-000109
Rear Panel Connectors June 2003

13000-000109 5-1
June 2003 Introduction
Chapter 5. Front Panel Operation
Introduction
The MT8850A/MT8852A Bluetooth Test Set is controlled from the front panel using the
hard and soft keys. This chapter explains the power on procedure and the features and
functions of each of the menus.
Front Panel Controls
The front panel controls are shown and described in the diagram on the next page. The
following sections provide more detailed explanations of the Menus and soft keys.

MT8850A / MT8852A Bluetooth Test Set Front Panel Operation
5-2 13000-000109
Front Panel Controls June 2003

Front Panel Operation MT8850A / MT8852A Bluetooth Test Set
Power-On Procedure
With the MT8850A/MT8852A Bluetooth Test Set connected to the power supply, press the
On/Standby switch.
The MT8850A/MT8852A performs a brief power-on self test (POST). After the POST, the
instrument displays the Script menu or the single test screen that was active when it was
powered down. If a POST error occurs, information and available options will be displayed
on the screen.
During the power-on self test, only failures and warnings will be displayed on the front
panel. If all the tests pass successfully, no self-test information is displayed.
The tests are performed during the power-on self-test, and also when the GPIB *TST?
Command is sent.
Hard and Soft Keys
PresetRun Scpt/Test Config
Soft keys
Hard keys
Loop/Stop
Hard and Soft Key locations
Hard keys
When this key is pressed the chosen script or test will run once.
When this key is pressed the chosen script or test will run the number
of times defined in the Script setup procedure. When the key is
pressed again while the tests are running, the tests will stop.
When the script key is pressed, you can select and edit the various
parameters of the script. The script menu would normally be displayed
at power up, unless the instrument was in Single test mode when it
was switched off.
13000-000109 5-3
June 2003 Power-On Procedure

MT8850A / MT8852A Bluetooth Test Set Front Panel Operation
The Config button allows you to configure the MT8850A/MT8852A
parameters. The parameters and the procedures are described in the
"Configuring the MT8852A" chapter.
The Preset key presets the instrument to a predefined state. See
Appendix B - Preset Values for details.
The Clear key is used when you want to clear the last character
entered or when you want to abort from various functions.
The Select key is used to select or enter your chosen function.
The Back key when selected takes you to the previous screen or
moves you back one level.
Soft Keys
There are four soft key positions on the bottom line of the LCD.
The text corresponding to a soft key appears only when that soft key function is
active. These keys perform two distinct functions:
1. To directly access another menu or additional screen. In this case it is used as
a navigation key.
2. To initiate an action “Enter”, for example.
Choosing Screen Entries
The four arrow keys on the keypad can be used to move the cursors to the screen entry
that you want choose or edit.
C
ursors
For each press the cursors will move in the chosen direction. For vertical movement, when
the cursors reaches the top or the bottom, they will start again at the opposite end.
When the cursor is at the item that you want to choose or modify, press the key.
5-4 13000-000109
Choosing Screen Entries June 2003

Front Panel Operation MT8850A / MT8852A Bluetooth Test Set
13000-000109 5-5
June 2003 Entering Data at the Keypad
Entering Data at the Keypad
The alphanumeric keypad is used to enter data such as hexadecimal addresses and
operates in the following manner. For each consecutive press of a key, the display will
show the next character in sequence associated with that key. When you press a different
key the last value selected will be entered and the cursor moves to the next position. If you
want to enter two or more characters from the same key, you must press the [Forward]
soft key to enter the value and move on to the next entry position.
For example, to enter the address 000091E082A5, you would need to press the following
keys in the sequence shown:
0 [Forward]
0 [Forward]
0 [Forward]
0
9
1
9 9 9
0
8
2
8 8
5

MT8850A / MT8852A Bluetooth Test Set Front Panel Operation
5-6 13000-000109
Entering Data at the Keypad June 2003

Chapter 6. Getting Started
Before you can run a test the EUT must be initialised so that it is page scanning with test
mode enabled.
Preparing the MT8850A/MT8852A for Use
1. Connect the RF port on the front panel of the MT8850A/MT8852A to the EUT or to
the Bluetooth antenna.
2. If you wish to use the MT8850A/MT8852A to initialise the EUT, connect the supplied
cable from the EUT control connector on the front panel of the MT8850A/MT8852A to
the EUT RS232 HCI interface.
Note: The USB device should only be connected when the MT8852A has been fully
powered.
3. Ensure the MT8850A/MT8852A is connected to the mains power supply.
4. Press the button on the front panel of the MT8850A/MT8852A.
The MT8850A/MT8852A performs a brief power-on self test (POST). After the POST,
the instrument displays the Script menu or the single test screen that was active when
it was powered down. If a POST error occurs, information and available options will be
displayed on the screen.
5. Press the hard key to restore the default settings. See Appendix B -
Preset Values for details.
Selecting a Test Script
1. Press the hard key.
The Script menu is displayed.
2. Move the cursor to the Script number and:
either:
Press the key, enter the number of the script that you want to run from the
keypad and press the [Enter] soft key.
or:
Press the [List] soft key and move the cursor to the test script that you want to run and
press the key.
13000-000109 6-1
June 2003 Preparing the MT8850A/MT8852A for Use

MT8850A / MT8852A Bluetooth Test Set Getting Started
Specifying the EUT Address
1. Move the cursor into the measurement area of the screen.
2. Press the
[EUT addr] soft key and select either manual, inquiry, RS232, or USB
(MT8852A only).
3. Press the hard key to run the test script once or:
Press the hard key to run the test script according to the configuration
settings of the MT8850A/MT8852A.
Press the [Abort] soft key to terminate the script immediately. Press the
hard key again to stop continuous script running.
4. Press the
[Results] soft key to view the results obtained from the tests.
Selecting the Test Mode
There are three test modes available; standard, single payload, and null packet, each of
which is explained in detail later in this chapter. In all cases, the user can select between
each of the modes on a script by script basis as detailed below.
1. Move the cursor to the script number and press the [Setup] soft key.
2. Check that the cursor is at the “Script mode” item and if so, press the key to
toggle between the three test mode settings. For standard mode and null packet
mode, no further settings are required on this screen, however if single payload
mode is selected, an additional line is displayed on the same screen to allow the
operator to define the packet type and payload. (Refer to the explanation and table
of required settings later in this chapter.)
Running a Single Test
The single test functionality can be used in any of the scripts to allow the user to run only
the test that has been selected rather than all of the tests that are available in that script.
1. Press the hard key.
The Script menu is displayed.
2. Move the cursor to the Script number and:
either:
6-2 13000-000109
Specifying the EUT Address June 2003

Getting Started MT8850A / MT8852A Bluetooth Test Set
Press the key, enter the number of the script that you want to run from the
keypad and press the [Enter] soft key.
or:
Press the [List] soft key and move the cursor to the test script that you want to run and
press the key.
3. Move the cursor back into the measurement area of the screen.
4. Press the
[EUT addr] soft key and select either manual, inquiry, RS232, or USB
(MT8852A only).
5. Choose the test that you want to run.
6. Press the [Single] soft key.
The relevant results screen for the test is displayed.
From this screen you can set up the test and save this setup information to be used for
future tests.
7. Press the
[Setup] soft key to go the setup screen for the chosen test.
Scripts 1 and 2 are predefined and cannot be altered.
8. Press the [Save] soft key to save the setup information.
9. Press the hard key to run the test once or:
Press the hard key to run the test script according to the configuration
settings of the MT8850A/MT8852A.
Press the [Abort] soft key to terminate the script immediately. Press the
hard key again to stop continuous script running.
10. The test results are displayed.
13000-000109 6-3
June 2003 Running a Single Test

MT8850A / MT8852A Bluetooth Test Set Getting Started
Running a Script in Standard Mode
In Standard mode, the MT8850A/MT8852A uses full Test Mode signalling and all the
defined test controls to test the EUT in the fastest and most efficient way possible.
Standard mode is the default mode setting, although it should be noted that for devices
with only a limited implementation of test mode functionality, operation in standard mode
may result in the EUT dropping the link or failing to respond to commands from the
MT8850A/MT8852A. In this case, select single payload or null packet operation.
Running a Script in Single Payload Mode
Single payload mode uses Test Mode signalling but in a very restricted manner. This is
ideal when the test device does not yet have a full Test Mode implemented, and the
repetitive signalling in standard mode may cause it to fail or drop the link. When the user
selects to run a script in single payload mode, a message to this effect displays on the
uppermost line of every page to remind the user that a mode other than standard is
currently selected.
In this mode, the user can define the packet length, packet payload, and set loopback or
TX mode and hopping to on or off. The MT8850A/MT8852A then sends a single test
control to put the EUT into the specified state, and no further test controls are sent. When
the customer views the measurement screens, only measurements that can be made on
the selected packets are presented.
If single payload mode is selected, an additional “single payload edit” line displays on the
screen.
1. Move the cursor to the word “Edit” and press the key. The user now has two
pages of configuration for the single payload of their choice.
2. When the payload selection is complete press to return to the main
measurement screen. Only measurements supported by the selected payload are
available. Invalid measurements have oval symbols beside them.
The table below shows the single payload settings required to enable each of the tests.
Test control Payload Packet type Hopping
Output power TX or Loopback Any Any On or Off
Power control Not supported in single payload mode.
Init carrier TX or Loopback Any Any On or Off
Carrier drift TX or Loopback 10101010 only Any On or Off
Single sensitivity Loopback only PRBS9 only DH1 only On or Off
Multi sensitivity Loopback only PRBS9 only DH3 or DH5 On or Off
Modulation index TX or Loopback 10101010 or
11110000
Any Off
Max input power Not supported in single payload mode.
6-4 13000-000109
Running a Script in Standard Mode June 2003

Getting Started MT8850A / MT8852A Bluetooth Test Set
The four parameters above (“Test control”, “Payload”, “Packet type”, and “Hopping mode”)
are accessed in the following manner.
11. Press the hard key.
12. Move the cursor to the script number and press the [Setup] softkey.
13. Move the cursor to “Edit” and press .
14. Make the required settings for “Test control”, “Payload”, and “Packet type”.
15. Press
[1 of 2] softkey to display the second page and make the settings for
“Hopping”.
Running a Script in Null Packets Mode
This mode is used to enable indicative measurements to be made on EUTs that have no
test mode support. In this mode the MT8850A/MT8852A does not use Test Mode
signalling at all, and makes only a limited subset of measurements on packets without
payloads. Measurements are not performed in accordance with the Bluetooth test
specification. When the user selects to run a script in null packets mode, a message to
this effect displays on the uppermost line of every page to remind the user that a mode
other than standard is currently selected.
The MT8850A/MT8852A can be made to link to an EUT and maintain the link by sending
POLL packets. In response to a POLL packet, the EUT will return a NULL packet. A NULL
Packet has no payload but can be used for power, initial frequency, drift, and modulation
measurements without having to activate test mode.
13000-000109 6-5
June 2003 Running a Script in Null Packets Mode

MT8850A / MT8852A Bluetooth Test Set Getting Started
6-6 13000-000109
Running a Script in Null Packets Mode June 2003

Chapter 7. Configuring the MT8850A/MT8852A
Introduction
The MT8850A/MT8852A is configured from menu entries accessed by pressing the
hard key. The menu entries are used to configure the equipment under test
(EUT), the MT8852A, and the way in which the test scripts are run. This chapter describes
the procedures for configuring the MT8850A/MT8852A.
The table below represents the hierarchy of commands that can be accessed from the
hard key. The column on the left represents the items that are first
displayed. The items contained within each selection are shown in the second column
and, where appropriate, in the third column.
Identity
BT address
Name
Serial no
Version
Core boot
Core code
Core FPGA
RF FPGA
DSP
RF pcb serial no
Rf pcb revision
Control pcb serial no
Control pcb revision
System interface
GPIB address
RS232 baud rate
RS232 mode
RS232 parity
RS232 data length
RS232 stop
Display/sound
Display contrast
Key click
Entry error bleep
User text display
Enter user text
Follow test
MT8850A/MT8852A
RX/TX settings Range
Modulation index
Link timeout
IF Bandwidth Filter
13000-000109 7-1
June 2003 Introduction

MT8850A / MT8852A Bluetooth Test Set Configuring the MT8850A/MT8852A
Audio (MT8852 only) ACL connect status
SCO channel status
Packet type
Air code format
SCO loopback
Tone generator
Input coding format
Input data format
Input sample size
Linear PCM bit posn
Rear Panel Output
(MT8852 only)
BNC Output 1
BNC Output 2
Signal generator
Pattern
RF power
Channel number
Modulation index
Sig Gen Power level
CW Measurement Gate width
Channel frequency
Equipment Under Test View user friendly name EUT address
EUT user friendly name
View supported features EUT supported features
EUT RS 232 setup Baud rate
Parity
Data length
Stop bits
Inquiry/Paging setup
End inquiry after
End paging after
Read name on inq
Page scan rep mode
Authentication Setup Authentication
PIN Length
Default PIN
All Scripts Setup Loop stop on test fail
Loop continuously
Loop count
Display frequency as
System features Connection control
ECL connection only
ACL connection & features
Disconnect from EUT
Make me an EUT
Inquiry scan
EUT Remote Power
Control
Increment EUT power
Decrement EUR power
Set EUT power to maximum
Set EUT power to minimum
Software Update
Errata 1158
Service This selection is provided for use by qualified service
personnel and is password protected. There are no service
procedures described in this manual.
Gray sections in the table above indicate that there are no further items.
7-2 13000-000109
Introduction June 2003

Configuring the MT8850A/MT8852A MT8850A / MT8852A Bluetooth Test Set
Setting up the EUT
Viewing the EUT Address and User Friendly Name
Each piece of Bluetooth equipment has a unique identifier called a BT address. This is in
the form of a 12 character hexadecimal address. Equipment can also be given a
meaningful name. This selection lets you view the address and user friendly name of the
equipment under test.
1. Press the hard key.
2. Choose “Equipment Under Test (EUT)”.
3. Press the key.
4. Choose “View user friendly name”.
5. Press the key.
6. If the MT8850A/MT8852A is already in a link with the EUT, this screen will
immediately display the EUT address and User friendly name.
7. The user friendly name can be up to 248 characters but will be truncated to 177
characters on the screen.
8. Press the key to exit this screen.
13000-000109 7-3
June 2003 Setting up the EUT

MT8850A / MT8852A Bluetooth Test Set Configuring the MT8850A/MT8852A
Viewing Supported Features
Bluetooth equipment can support a number of optional features defined in the Bluetooth
specification.
1. Press the hard key.
2. Choose “Equipment Under Test (EUT)”.
3. Press the key.
4. Choose “View supported features”.
5. Press the key.
6. If the MT8850A/MT8852A is already in a link with the EUT, this screen will
immediately display the EUT supported features screens.
7. A filled-in ellipse indicates supported features. Unsupported features show an empty
ellipse. In the screens above, for example, Encryption is not supported and Power
control is supported for the equipment under test.
8. Press the
[1 of 2] soft key to move to the second screen or the [2 of 2] soft key to
move back to the first screen.
9. Press the key to exit this screen.
7-4 13000-000109
Setting up the EUT June 2003

Configuring the MT8850A/MT8852A MT8850A / MT8852A Bluetooth Test Set
Setting Up the EUT Control
The control setup enables you to configure the serial communications that are used to link
the HCI of the equipment under test to the MT8850A/MT8852A tester.
1. Press the hard key.
2. Choose “Equipment Under Test (EUT)”.
3. Press the key.
4. Choose “EUT RS232 setup”.
5. Press the key.
The EUT RS232 setup screen is displayed.
The RS232 baud rate for the MT8850A can be 1200, 2400, 4800, 9600, 19200,
38400, 57600, or 115200 baud but must be the same at both ends. For the
MT8852A, three additional rates are also available; 230400, 460800, and 921600.
•
6. Select the item that you want to change.
7. Repeatedly press the key until the required value is displayed.
8. Press the key to exit this screen.
13000-000109 7-5
June 2003 Setting up the EUT

MT8850A / MT8852A Bluetooth Test Set Configuring the MT8850A/MT8852A
Setting Up Inquiries
The Inquiry feature is provided to read the address directly from the EUT through the radio
interface. This procedure sets up the conditions for making an Inquiry.
1. Press the hard key.
2. Choose “Equipment Under Test (EUT)”.
3. Press the key.
4. Choose “Inquiry/Paging setup”.
5. Press the key.
The EUT Inquiry setup screen is displayed.
You can set the Inquiry to end after the displayed number of responses (1 to 50) or
within the specified number of seconds (5 to 60). If the number of responses is set to
“1” as in the example above, the MT8850A/MT8852A automatically connects to the
first device that is located when the inquiry is performed. If the response setting is set
to a value other than “1” the user must select the required device manually when the
inquiry is complete. If the MT8850A/MT8852A is connected directly to the EUT or there
is known to be only one EUT that will respond to an inquiry, set the number of
responses to 1 for the fastest operation.
6. Choose “End paging after”.
7. Press the key.
8. Enter the number of seconds for which the MT8850A/MT8852A will page the EUT
before timing out. Settings at this item may be required to minimise delay for those
users who know that a connection will not be established by waiting if unsuccessful
within a given number of seconds. The default time is 10 seconds, and settings of
between 2 and 30 seconds are possible.
9. Choose “Read name on inq” and press the key to change the status between
ON and OFF.
10. Choose “Page scan rep mode” and press the key to change the status
between R0, R1, and R2 to match the requirements of the EUT.
11. Press the key to exit this screen.
7-6 13000-000109
Setting up the EUT June 2003

Configuring the MT8850A/MT8852A MT8850A / MT8852A Bluetooth Test Set
Setting Up Authentication
Authentication is the process of configuring a Bluetooth unit to connect only to one
specified device. A headset, for example, can be configured to connect only to a specific
mobile phone, and in this case, verification processing is used to ensure that the correct
connections have been established. The MT8850A/MT8852A can be configured to use
authentication during the establishment of a connection.
Note: The MT8850A/MT8852A does not use authentication by default.
The process of authentication involves creating a common key, referred to as the link key,
between the master and slave devices. Security could be compromised if this link key
were sent between devices, so instead, it is generated from a random number and a
Personal Identification Number (PIN) which can be entered into the MT8850A/MT8852A.
If authentication is required but the Bluetooth devices do not have a common link key, the
authentication procedure is completed using the PIN input, and a link key is then created
and stored during the authentication procedure. The link key stored in the Bluetooth
device can then be used during any future connection. Follow the procedure below to
configure the MT8850A/MT8852A to use authentication.
1. Press the hard key.
2. Choose “Equipment Under Test (EUT)”.
3. Press the key.
4. Choose “Authentication Setup”.
5. Press the key.
6. The Authentication setup screen is displayed as shown below.
7. Choose “Authentication” and press the key to toggle between “Disabled” and
“Enabled”.
8. Choose “PIN Length” and press the key.
9. Enter a pin length between 1 and 16 and press the “Enter” soft key.
10. Choose “PIN Code” and press the key.
11. Enter the required alphanumeric value, dependant upon PIN length and press the
“Enter” soft key. The MT8850A/MT8852A will use this PIN key during all subsequent
connections to any EUT.
13000-000109 7-7
June 2003 Setting up the EUT

MT8850A / MT8852A Bluetooth Test Set Configuring the MT8850A/MT8852A
To make an Inquiry:
1. Press the hard key.
2. Press the [EUT addr] soft key.
The EUT address screen is displayed.
3. Choose “Source”.
4. Press the key to switch repeatedly until “Inquiry” is displayed.
5. Press the
[Update] soft key to initiate the inquiry.
6. Press the key to exit this screen.
7-8 13000-000109
Setting up the EUT June 2003

Configuring the MT8850A/MT8852A MT8850A / MT8852A Bluetooth Test Set
Setting up the MT8850A/MT8852A
This section provides the procedures for setting up the MT8850A/MT8852A in order to run
the tests.
Displaying the Identity of the MT8850A/MT8852A
1. Press the hard key.
2. Choose “MT8850A/MT8852A”.
3. Press the key.
4. Choose “Identity”.
5. Press the key.
The MT8850A/MT8852A identity screens are displayed.
Screen 1 shows the Bluetooth address, user-friendly name, serial number and
software version number.
6. Press the
[1 of 3] soft key to move to the second page.
Screen 2 shows the different software modules and the date and time of creation.
7. Press the
[2 of 3] soft key to move to the third page.
8. Press the key to exit this screen.
13000-000109 7-9
June 2003 Setting up the MT8850A/MT8852A

MT8850A / MT8852A Bluetooth Test Set Configuring the MT8850A/MT8852A
Configuring the System Interfaces
The MT8850A/MT8852A can be controlled remotely from a PC through the GPIB or the
RS232 serial connecting ports on the rear of the instrument. This menu configures the
settings of these two interfaces.
1. Press the hard key.
2. Choose “MT8850A/MT8852A”.
3. Press the key.
4. Choose “System interfaces”.
5. Press the key.
The System Interfaces screens are displayed.
The GPIB address is the address by which the remote computer will recognise
the MT8852A.
•
•
•
•
•
•
The RS232 baud rate can be 1200, 2400, 4800, 9600, 19200, 38400 or 57600
baud but must be the same at both ends.
The RS232 mode can be EXT HCI when using an external PC for system
debugging or EXT COMMS during normal operation.
The RS232 Parity can be 0, 1 or None.
The RS232 Data length can be 7 or 8 bits
The RS232 Stop can be 1 or 2 bits.
6. Select the item that you want to change.
7. Repeatedly press the key until the required value is displayed.
8. Press the
[1 of 2] soft key to move to the second screen or the [2 of 2] soft key to
move back to the first screen.
9. Press the
[Defaults] soft key to restore the factory set default values for the system
interfaces.
10. Press the key to exit this screen.
7-10 13000-000109
Setting up the MT8850A/MT8852A June 2003

Configuring the MT8850A/MT8852A MT8850A / MT8852A Bluetooth Test Set
Setting the Screen Display and Sound
You can determine how the user interface will operate.
1. Press the hard key.
2. Choose “MT8850A/MT8852A” and press the key.
3. Choose “Display/sound”.
4. Press the key.
The MT8850A/MT8852A Display/sound screens are displayed.
Display contrast The display contrast reduces or increases the lighting to the display in
the range of 1 (light) to 10 (dark). The value is changed using the
appropriate [Contrast] soft key.
Key Click When set to ON, will cause the instrument to click each time a key is
pressed.
Entry error bleep When set to ON will cause the instrument bleep when you enter the
wrong information through the keypad.
User text display When set to ON, will enable user text of up to 15 characters to be
displayed on the top line of the screen. When set to ON, you can select
Enter user text and enter the required text using the keypad.
Follow test Set to have either the “SUMMARY” or “EXTENDED” results page
display automatically whilst the tests in the script are running. If “Follow
test” is set to “OFF”, the results pages must be displayed by the user
once the tests in the script are complete.
5. Select the item that you want to change.
6. For the ON/OFF values, press the key to toggle the value.
7. Press the
[1 of 2] soft key to move to the second screen or the [2 of 2] soft key to
move back to the first screen.
8. Press the
[Defaults] soft key to restore the factory set default values for the system
interfaces.
9. Press the key to exit this screen.
13000-000109 7-11
June 2003 Setting up the MT8850A/MT8852A

MT8850A / MT8852A Bluetooth Test Set Configuring the MT8850A/MT8852A
Setting Up the Signal Generator
The signal generator allows you to define and generate a continuously modulated
Bluetooth signal. The signal generator is switched on using the [Enable] soft key and
switched off using the [Exit] soft key or pressing the button. The signal
generator parameters can be changed when required.
1. Press the hard key.
2. Choose “MT8850A/MT8852A”.
3. Press the key.
4. Choose “Signal generator”.
5. Press the key.
The MT8850A/MT8852A Signal generator screen is displayed.
You can switch the modulating bit pattern between 10101010, 11110000, PRBS9,
PRBS15, and CW, where CW is an unmodulated carrier wave.
“RF power” can be switched ON or OFF. •
•
•
•
“Channel number” can be in the range -2 to 80. This can also be entered as a
frequency depending on how the test script operation has been set up.
“Modulation index” can be in the range 0.2 to 0.4.
“Sig gen power level” range from 0 to -90 dBm.
6. Select the item that you want to change.
7. Repeatedly press the key until the required value is displayed or enter a
value using the keypad as appropriate.
7-12 13000-000109
Setting up the MT8850A/MT8852A June 2003

Configuring the MT8850A/MT8852A MT8850A / MT8852A Bluetooth Test Set
Setting Up the Bluetooth Interferer
The MT8850A/MT8852A can be set up to perform the functionality of a Bluetooth interferer
as defined in the Bluetooth RF test specification. This functionality allows the user to
reduce overheads by removing the need to purchase expensive digital signal generators.
1. Press the hard key.
2. Choose “MT8850A/MT8852A”.
3. Press the key.
4. Choose “Signal generator”.
5. Press the key.
The MT8850A/MT8852A Signal generator screen is displayed.
6. Move the cursor to Pattern and press the key until the display changes to
“PRBS15”.
13000-000109 7-13
June 2003 Setting up the MT8850A/MT8852A

MT8850A / MT8852A Bluetooth Test Set Configuring the MT8850A/MT8852A
Configuring the Rear Panel Outputs (MT8852A only)
On the MT8852A, the user can configure the TX and RX signals that are routed to the rear
panel BNC connectors.
1. Press the hard key.
2. Choose “MT8852A”.
3. Move the cursor to “Rear Panel Output” and press the key.
4. Press the key to page between the output types. There are five possible
settings available for each output, although selection of specific output types restricts
the types available at the other port.
Output 1 can never be RXON and Output 2 can never be TXON.
If Output 1 is TXON, output 2 can be any value.
If Output 2 is RXON, output 1 can be any value.
Otherwise Output 1 and Output 2 must be set to the same value.
This is summarised in the table below.
Output 1
TX ON TX CH0
PULSE
RX
DATA
TX
DATA
CORR
FIRED
RXON
TX CH0 PULSE
RX DATA
TX DATA
Output 2
CORR FIRED
The meaning of each of the signals is detailed below.
TX ON: MT8852A TX on
RXON: MT8852A RX on
TX CH0 PULSE: MT8852A transmitted packet on channel 0.
RX DATA: MT8852A received data, provides a TTL output of all the received
packet bits, including preamble, header and payload.
TX DATA: MT8852A transmitted data, provides a TTL output of all the
transmitted packet bits, including preamble, header and payload.
CORR FIRED: MT8852A correlator fired, provides a TTL pulse when the MT8852A
correlator fires, giving an indication of the flow of good received
packets.
7-14 13000-000109
Setting up the MT8850A/MT8852A June 2003

Configuring the MT8850A/MT8852A MT8850A / MT8852A Bluetooth Test Set
Performing Continuous Wave Measurement
The MT8850A/MT8852A can measure a fixed frequency signal to calibrate power,
frequency, and modulation. The CW measurement mode is intended only for the
measurement of continuous non-packetized signals and does not support triggering.
5. Press the hard key.
6. Choose “MT8852A”.
7. Move the cursor to “CW Measurement” and press the key.
8. CW Measurement is commenced using the [Enable] soft key and switched off using
the [Exit] soft key or pressing the button.
“Gate width” defines the measurement window. Settings can be made between 1 and the
default setting of 10 ms.
“Channel frequency” may be replaced with “Channel number” depending on the setting
that has been made at “Display frequency as” on the All scripts setup page (detailed in the
following section of this manual.) The default channel number is 2, with settings possible
in the range of –2 to 98.
Note: No results will be displayed in the modulation field if the received power level
drops below -40 dBm.
13000-000109 7-15
June 2003 Setting up the MT8850A/MT8852A

MT8850A / MT8852A Bluetooth Test Set Configuring the MT8850A/MT8852A
Setting the Range Hold
The Range Hold facility allows you to fix the MT8850A/MT8852A measuring receiver on a
given range and disable the auto-range feature.
1. Press the hard key.
2. Choose “MT8850A/ MT8852A”.
3. Press the key.
The MT8850A/MT8852A Configuration screen is displayed.
4. Choose “RX/TX settings”.
5. Press the key.
The MT8850A/MT8852A RX/TX settings screen is displayed.
6. Highlight the Range hold value.
The values are Auto, 1 2, 3, 4, 5 and 6.
Auto is the default setting. •
•
•
•
•
•
•
RGH1 represents a range of +22 to +7 dBm.
RGH 2 represents a range of +9 to -3 dBm.
RGH 3 represents a range of +5 to -7 dBm.
RGH 4 represents a range of -4 to -16 dBm.
RGH 5 represents a range of -12 to -26 dBm.
RGH 6 represents a range of -24 to -35 dBm.
When any of the numbered ranges is displayed, the value will be displayed on the top
line of the screen.
When the value is Auto, the [Range hold] soft key is displayed and will cause the
current range to be held when pressed.
7. Repeatedly press the key until the required value is displayed.
7-16 13000-000109
Setting up the MT8850A/MT8852A June 2003

Configuring the MT8850A/MT8852A MT8850A / MT8852A Bluetooth Test Set
Setting the modulation index
The modulation index is the Deviation/Modulation rate. For normal Bluetooth operation this
should be set to 0.32. To test an EUT under other conditions, the modulation index can be
set to other values.
1. Press the hard key.
2. Choose “MT8850A/ MT8852A” and press the key. The MT8850A/MT8852A
Configuration screen is displayed.
3. Choose “RX/TX settings”.
4. Press the key.
The MT8850A/MT8852A RX/TX settings screen is displayed.
5. Highlight the Modulation index value.
The modulation index can be in the range 0.25 to 0.40. The default value is 0.32.
6. Enter the value using the keypad.
Setting Up the Link Timeout
The link timeout is the number of seconds for which the MT8850A/MT8852A will continue
to try to communicate with an EUT even when it receives no response. If the
MT8850A/MT8852A receives no response from the EUT after the set number of seconds,
it will stop transmitting and display the message, "Connection lost, timed out" at the top of
the screen. The default setting is 10 seconds and can be set between 1 and 40 seconds.
Setting Up the IF Bandwidth Filter
The user can select between two MT8850A/MT8852A receiver bandwidth filters.
Selectable filters, as defined by their 3dB bandwidth, are 2MHz and 1.3MHz. Both filters
have a flat frequency response from Fc +/- 550kHz. Both filters meet the requirements of
the Bluetooth RF test specification including errata 227. The narrower, 1.3MHz filter
should be selected when wanting to reject all EUT signals outside of a single Bluetooth
channel.
13000-000109 7-17
June 2003 Setting up the MT8850A/MT8852A

MT8850A / MT8852A Bluetooth Test Set Configuring the MT8850A/MT8852A
Setting Up Test Script Operation
You can determine how test scripts are run.
1. Press the hard key.
2. Choose “All Scripts Setup”.
3. Press the key.
The Scripts setup screen is displayed.
“Loop stop on test fail”, when ON, will run the test repeatedly until a failure is
recorded or the test is stopped.
•
•
•
•
•
“Loop continuously”, when ON, will run the test until it is stopped.
“Loop count” will run the test for the number of loops defined. When Loop stop on
failure or Loop continuously is set to ON, this will display N/A they take precedent.
“Display frequency as” will determine whether a channel is displayed in number
format (0 to 78) or by actual frequency in MHz.
Current will display the number of completed loops when the instrument is in loop
mode.
4. Select the item that you want to change.
5. For Loop stop on failure, Loop continuously and Display frequency, press the
key to switch the values. For Loop count, enter the value using the keypad.
7-18 13000-000109
Setting Up Test Script Operation June 2003

Configuring the MT8850A/MT8852A MT8850A / MT8852A Bluetooth Test Set
System features
Setting the Link
1. Press the hard key.
2. Choose “System features”.
3. Press the key.
4. Choose “Connection control”.
5. Press the key.
The connection control screen is displayed.
From this screen you can determine how the asynchronous link (ACL) will operate. The
choices are:
“ACL connection only” •
•
•
•
•
“ACL connection & features”
“Disconnect from EUT”
“Make me an EUT” - You can make the MT8850A/MT8852A behave as
equipment under test. This means that it is page scanning with test mode
enabled.
“Inquiry scan on” - The Inquiry feature allows the instrument to respond to an
inquiry from another device. It is especially useful for synchronizing with some
Bluetooth protocol analyzers. The protocol analyzer can then monitor the
messages between the MT8850A/MT8852A and the EUT.
6. Choose the operation that you require and press the key.
13000-000109 7-19
June 2003 System features

MT8850A / MT8852A Bluetooth Test Set Configuring the MT8850A/MT8852A
Updating the Software
CAUTION Do not use this procedure unless you have updated software and
intend to update it at this time. Once you have chosen Bootload and
pressed the key, the instrument will expect a firmware
download. To recover from this status, if the firmware upgrade is not
performed, it is necessary to disconnect the instrument from the
mains power supply by removing the power cord from the rear panel
of the instrument.
Software updates can be downloaded from a PC connected to the MT8850A/MT8852A
through the GPIB or RS232 connector. This can only occur when Bootload is selected.
1. Press the hard key.
2. Choose “System features”.
3. Press the key.
4. Choose “Software update”.
5. Press the key.
The MT8850A/MT8852A Software update screen is displayed.
6. Choose “Bootload”.
7. Download the software upgrade from the connected PC.
The download procedure requires that you copy some files from the upgrade disk and
run a batch program to implement the changes. This is described in the Readme
document supplied on the upgrade disk.
CAUTION Do not stop the upgrade once started, as you will not be able to
restore the instrument to operation. If this should occur because of a
PC breakdown, contact your Anritsu Service Center for advice.
7-20 13000-000109
System features June 2003

Configuring the MT8850A/MT8852A MT8850A / MT8852A Bluetooth Test Set
Errata 1158
Errata 1158 is an approved amendment to the Bluetooth core specification version 1.1. It
is used to apply a form of data whitening for Bluetooth links in test mode. If the protocol
set of the EUT does not implement Errata 1158 this should be set to OFF.
1. Press the hard key.
2. Choose “System features”.
3. Press the key.
4. Choose “Errata 1158”.
5. Press the key to toggle between on and off.
Service
This selection is provided for use by qualified service personnel and is password
protected. There are no service procedures described in this manual.
13000-000109 7-21
June 2003 Service

Chapter 8. Using the Script Menu
Introduction
The sequence of tests that is run is determined by one of 10 possible scripts, which define
the tests to be run.
Scripts 1 and 2 are preconfigured and the tests cannot be altered. Scripts 3 to 10 are
unlocked by default but can be locked and password protected. If you attempt to change
parameters for a locked script, a warning message is displayed.
The scripted tests are set up and run from menu entries accessed by pressing the
hard key. You can use entries in this menu to view the address and user
friendly name for the EUT and display results of tests.
There are eight tests defined and the procedures for configuring the test, running the test
and obtaining the results are described for each test.
The script menu provides access to configuring, running single tests and obtaining the
results for each test as well as checking the address of the EUT.
13000-000109 8-1
June 2003 Introduction

MT8850A / MT8852A Bluetooth Test Set Using the Script Menu
Accessing the Script Menu
To access the script menu:
1. Press the hard key.
The Script menu is displayed.
The menu shows all of the possible tests. A symbol is shown to the left of each test
name, the meanings of which are detailed below..
Test available and selected to run.
Test available but not selected.
Test selected and cannot be edited.
Test not available.
In the illustration above, the Initial Carrier and Carrier Drift tests are not selected.
From the script menu you can:
Lock, unlock and edit the scrip name. You can also change your password from
within this selection.
•
•
•
•
•
•
Choose and run the selected script.
Set up individual tests and set the limits of that test.
Check the address of the equipment under test.
Run a single test.
Display the results of a test.
8-2 13000-000109
Accessing the Script Menu June 2003

Using the Script Menu MT8850A / MT8852A Bluetooth Test Set
Locking and Unlocking a Script
You can access any of the 10 scripts in order to edit the script name, lock/unlock a script
(scripts 3 to 9 only) and set or change the access password.
1. Press the hard key.
The Script menu is displayed.
2. Move the cursor to the Script number.
The soft keys change to [List] and [Setup]. [List] will display a list of scripts and
[Setup] will take you to the Path Loss table for script named (see page 8-6).
3. Press the
[List] soft key.
The Script list screens are displayed.
4. To change the name of a script: Choose the script, press the [Edit] soft key and
enter a name from the keypad. Press the [Enter] soft key.
The Edit key is only available if the script is unlocked.
13000-000109 8-3
June 2003 Locking and Unlocking a Script

MT8850A / MT8852A Bluetooth Test Set Using the Script Menu
5. To lock/unlock the script: Choose the script, press the [Lock] or [Unlock] soft key.
You may need to enter a password. If you have not changed the
password, the factory default is 1234.
6. Enter the password using the keypad.
7. Press the
[Enter] soft key.
Changing the Password
1. To change the password: Choose the script, press the [Edit Passwd] soft key.
The Script password screen is displayed.
2. Enter the current password using the keypad. If a mistake is made, press the
key to delete the character at the cursor and move the cursor one place to
the left.
The factory default password is 1234.
3. Press the [Enter] soft key.
4. Enter the new four-digit password and. press the [Enter] soft key
5. Confirm the new password and press the [Enter] soft key again to save the
password.
8-4 13000-000109
Changing the Password June 2003

Using the Script Menu MT8850A / MT8852A Bluetooth Test Set
Running the Tests
The script menu provides access to configuring, running individual tests and obtaining the
results for each test as well as checking the address of the EUT.
1. Press the hard key.
The Script menu is displayed.
2. Move the cursor to the Script number and:
either:
Press the key, enter the number of the script that you want to run from the
keypad and press the [Enter] soft key.
or:
Press the [List] soft key and move the cursor to the test script that you want to run and
press the key.
3. Move the cursor back into the measurement area of the screen.
4. Press the
[EUT addr] soft key to enter the BT address of the EUT.
5. Press the hard key to run the test script once or:
Press the hard key to run the test script according to the configuration
settings of the MT8850A/MT8852A.
Press the [Abort] soft key to terminate the script immediately. Press the
hard key again to stop continuous script running.
6. When the tests are running, the results display in line with the “Follow test” setting
made by the user. The “Follow Test” setting gives the user the choice of displaying
the Extended or Summary results screens whilst the tests are being performed. If
“Follow test” is set to “OFF”, the results pages must be displayed by the user once
the tests in the script are complete. Regardless of the “Follow test” setting, the
display returns to the test script page when all the tests are complete.
7. Press the
[Results] soft key to view the results obtained from the tests.
8. The results given on the initial screen are a summary of the tests conducted. For
more detailed results press the “Extended” soft key. An extended screen is
displayed for each of the test combinations. For example, if a test is performed at
high, medium, and low frequencies, with hopping both on and off, there could be up
to six extended screens, and the user can page through these in the normal manner
by pressing the “1 of 6” soft key.
13000-000109 8-5
June 2003 Running the Tests

MT8850A / MT8852A Bluetooth Test Set Using the Script Menu
Setting Up General Script Parameters
1. Press the hard key.
The Script menu is displayed.
2. Move the cursor to the Script number.
3. Press the
[Setup] soft key.
The Script setup screens are displayed.
4. Specify the script mode.
Press the key to toggle the script mode setting between “Standard”, “Null
Packet”, and “Single Payload”.
5. Enter the “TX power level” value using the keypad.
You can set the transmission power level to between 0 and -90 dBm. TX power level
sets RF power of the MT8850A/MT8852A transmitter. This power level is used for link
setup and all measurement with the exception of EUT receiver sensitivity and
maximum input power.
8-6 13000-000109
Setting Up General Script Parameters June 2003

Using the Script Menu MT8850A / MT8852A Bluetooth Test Set
6. Press the
[1 of 3] soft key to move to the second screen.
Test control delay
The Test Control delay value can be between 0 and 100. When the MT8850A/MT8852A
sends a Test Control command (Loopback, TX or Test Pause) the EUT may require a
period of time to respond before it has actioned the Test Control. This time will vary
between differing Bluetooth developers implementations. Test control delay causes the
MT8850A/MT8852A to pause from measuring returned packets until the EUT has had
time to respond. The number entered is the number of transmitted packets from the
MT8850A/MT8852A that are ignored before measurements are started.
Test Pause Test Control
The Test Pause test control is defined in the Bluetooth specification to improve the
efficiency of device testing. If an EUT does not support test pause, use of test pause can
de disabled in the following manner.
1. Move the cursor to “Test Pause” and press the key to change the setting to
Off.
EUT Settings on Connection
The two settings on the screen above that appear below test pause are set by default to
“ON” and should be left at this setting unless required as detailed below.
When the MT8850A/MT8852A connects with an EUT it is required by the specification that
the power be set to maximum. However, as it has been found that this requirement may
pose a problem for certain EUTs in development, it is now possible to set “Set EUT max
pwr on connection” to “OFF”.
In a similar manner to the setting above, it is also possible to set “Read EUT name on
connection” to “OFF”. Under normal circumstances, the user-friendly name is read when
a connection is established. However, for certain EUTs still in development, this may
result in a dropped link, and for this reason it can be set to “OFF”.
13000-000109 8-7
June 2003 Setting Up General Script Parameters

MT8850A / MT8852A Bluetooth Test Set Using the Script Menu
9. Press the [2 of 3] soft key to move to the third screen.
Setting the Path Offset
You can set the path offset to OFF, FIXED, or TABLE. The meanings of each of the path
offset settings are detailed below.
Path offset = OFF
When the path offset is OFF you are unable to carry out any activity with the fixed offset
and path loss tables and these values are set to N/A.
Path offset = FIXED
When the path offset is fixed, you can enter the fixed offset value. Enter the offset value
from the keypad and press the key. It should be noted that values must be
entered in the negative by first pressing the key.
Path offset = TABLE
A setting of table allows the user to specify one of five loss tables for the selected script.
To do this, move the cursor to “Path loss table”, press the key and enter the
number (1 to 5) of the loss table that will be used. Press the “Enter” soft key when the
selection has been made.
Creating or Editing a Path Offset Table
Path offset tables can be created or edited in the manner described below.
1. Specify the table number (1 to 5) at the “Path loss table” item as described in the
explanation above.
2. Position the cursor at the “edit” item directly beneath the table number and press the
key.
3. An offset value can be specified for any or all of the 79 frequencies used. Press the
“Frequency” soft key, press the key on the keypad, and then enter the
associated offset.
4. When the “Enter” soft key is pressed the cursor is automatically positioned to allow
input of the offset value.
8-8 13000-000109
Setting Up General Script Parameters June 2003

Using the Script Menu MT8850A / MT8852A Bluetooth Test Set
5. Repeat this procedure until all of the required offsets have been specified.
The values entered in the table are used to interpolate the offsets for the intermediate
channels that were not actually specified. It should also be noted that the offsets are used
to perform compensations for either the receiver tests in the script or for the sensitivity
tests (single sensitivity), but never for both. For the receiver tests, the output power
measurements are compensated, and for the sensitivity test the transmitter is
compensated.
13000-000109 8-9
June 2003 Setting Up General Script Parameters

MT8850A / MT8852A Bluetooth Test Set Using the Script Menu
Setting Up Tests
The tests that can be performed in each of the three modes, and the settings that are
required to enable the tests are illustrated in the table below. Tests that cannot be
performed or are not available in this release of the software are highlighted in grey.
Single payload tests will only be available when the indicated settings are made.
Standard Single payload Null packets
Output power Supported
Test control:
Payload:
Packet type:
Hopping:
TX or Loopback
Any
Any
On or Off
Supported
Power control Supported Not
available
Not available
Init carrier Supported
Test control:
Payload:
Packet type:
Hopping:
TX or Loopback
Any
Any
On or Off
Supported
Carrier drift Supported
Test control:
Payload:
Packet type:
Hopping:
TX or Loopback
10101010
Any
On or Off
Supported
Single sensitivity Supported
Test control:
Payload:
Packet type:
Hopping:
Loopback
PRBS9
DH1
On or Off
Not available
Multi sensitivity Supported
Test control:
Payload:
Packet type:
Hopping:
TX or Loopback
PRBS9
DH3 or DH5
Off
Not available
Modulation
index Supported
Test control:
Payload:
Packet type:
Hopping:
TX or Loopback
10101010
or 11110000
Any
Off
Supported
Max input power Supported Not
available
Not available
8-10 13000-000109
June 2003

Using the Script Menu MT8850A / MT8852A Bluetooth Test Set
Testing in Standard Script Mode
Individual tests can be tailored to suit requirements. The setup procedures and limits are
described on the following pages:
Output Power Test (Standard Mode)
The output power test performs power measurements on the EUT transmitted packets in
one of four ways.
With “Hopping On” mode set to “Defined” the MT8850A/MT8852A measures power only
when the link hops to one of the frequencies defined on the LOW, MEDIUM and HIGH set
up screen. Although the measurements are only made at the defined frequencies, it is still
a hopping link. The number of packets measured at each frequency is set by the user in
the “Number of packets” field. This is the test method described in the Bluetooth RF Test
Specification.
With “Hopping On” mode set to “All” the MT8850A/MT8852A measures the power at every
one of the 79 frequencies in the Bluetooth channel structure. The number of packets
measured at each frequency is set by the user in the “Number of packets” field.
With “Hopping On” mode set to “Any” the MT8850A/MT8852A measures the power at the
next frequency that the link hops to after the previous power measurement has been
completed. The total number of packets measured is set by the user in the “Number of
packets” field. This is typically the shortest of the three options as there is no requirement
to measure a large number of packets at specified frequencies.
The MT8850A/MT8852A can perform the test using either loopback test controls or TX
test controls. The default form for this test is to use loopback. The following test
description is described using the default test control.
The MT8850A/MT8852A transmits a pseudo random data payload (PRBS 9) of the
longest supported type (DH5, DH3 or DH1) or the selected packet type, to the EUT. The
EUT loops back the data at its maximum output power and the MT8850A/MT8852A
measures the received power. This test is performed while hopping, and the test is
repeated until the requested number of packets has been measured on each of the
selected frequencies. The LOW, MEDIUM and HIGH frequencies relate to the default
frequencies specified in the Bluetooth RF test specification. The MT8850A/MT8852A
allows all these frequencies to be changed from their default values.
1. Choose Output power from the Script menu.
2. Press the key to select or deselect this test from the script routine.
If a test is selected, the box will be filled in. If not selected the box will be hollow.
13000-000109 8-11
June 2003 Testing in Standard Script Mode

MT8850A / MT8852A Bluetooth Test Set Using the Script Menu
3. Press the
[Setup] soft key.
The Output power test conditions screens are displayed.
4. Choose “Hopping”.
5. Press the key to switch between On, Off & On, and Off. It should be noted
that if hopping is set to “Off”, the “Hopping test mode” setting below is redundant.
6. Choose “Hopping test mode”.
7. Press the key to switch between Defined, All and Any.
8. Choose “No. of packets”.
9. Enter the value using the keypad.
10. Choose Test type.
11. Press the key to switch between Loopback and TX.
12. Choose “Packet type”.
13. Press the key repeatedly until the required packet type, Longest, DH1, DH3
or DH5 is displayed. Longest sets the packet type to the longest length that the EUT
supports during the link setup process.
14. Press the
[1 of 2] soft key to move to the second screen.
You can select or deselect the test to run and make changes to the frequency.
When the Hopping test mode is set to All or Any, the Low, Medium and High frequencies
are not applicable and they are displayed as hollow ellipses.
15. To select or deselect a test, choose the test and press the key.
16. To change a frequency, choose the frequency, press the key, enter the value
using the keypad and press the [Enter] soft key.
17. Press the
[Defaults] soft key to restore the default values.
8-12 13000-000109
Testing in Standard Script Mode June 2003

Using the Script Menu MT8850A / MT8852A Bluetooth Test Set
18. Press the [Limits] soft key to display the Output power test limits screen.
19. Press the
[Defaults] soft key to restore the default values.
20. Choose the limit you want to change.
21. Press the key and enter the new limit using the keypad.
22. Press the
[Enter] soft key.
23. Press the
[Conditions] soft key to return to the test conditions screen.
24. Press the key to return to the Script menu.
13000-000109 8-13
June 2003 Testing in Standard Script Mode

MT8850A / MT8852A Bluetooth Test Set Using the Script Menu
Power Control Test (Standard Mode)
The power control test performs power measurement cycles on the EUT output, if the EUT
supports power control, at each of the defined frequencies (LOW, MEDIUM and HIGH).
This measurement is always performed with hopping off. The MT8850A/MT8852A can
perform the test using either loopback test control or TX test control. The default form for
this test is to use loopback. The following test is described using the default test control.
The MT8850A/MT8852A transmits a DH1 (or the operator selected packet type) packet
with a pseudo random data payload (PRBS 9). This test is performed with hopping off.
The LOW, MEDIUM and HIGH frequency sets relate to the default frequencies specified in
the Bluetooth RF test specification. The MT8850A/MT8852A allows all the frequencies to
be changed.
A power measurement cycle sets the EUT output power to its maximum and then steps
the power down to the minimum power and then up to the maximum again one step at a
time. For each power step a number of data packets are sent to the EUT and looped back
to the MT8850A/MT8852A.
When the test is performed in TX test mode only the TX
frequency settings are used since both RX and TX frequencies
must be the same.
1. Choose “Power control” from the Script menu.
2. Press the key to select or deselect this test from the script routine.
If a test is selected, the box will be filled in. If not selected the box will be hollow.
3. Press the
[Setup] soft key.
The Power control test conditions screens are displayed.
You can change the number of cycles. In one cycle the EUT goes from maximum to
minimum power then returns to maximum power one power step at a time. You can
also change the test type and packet type.
4. Choose “Cycles”.
5. Enter the value using the keypad.
6. Choose “Test type”.
7. Press the key to switch between Loopback and TX.
8. Choose “Packet type”.
8-14 13000-000109
Testing in Standard Script Mode June 2003

Using the Script Menu MT8850A / MT8852A Bluetooth Test Set
9. Press the key to switch between DH1, DH3 and DH5.
10. Press the
[1 of 3] soft key to move to the second screen.
11. Choose “Packets per step”. Use the keypad to enter a value for the number of
packers that are averaged at each power step.
12. Choose “Minimum Test power”. Use the keypad to enter a value for the minimum
EUT power. When a power below this value is received by the MT8850A/MT8852A it
will start sending increment power commands, even if it has not received a minimum
power command from the EUT.
13. Choose “Measurement delay”. Use the keypad to specify the time delay between the
step command and the time that measurement is commenced.
14. Press the
[2 of 3] soft key to move to the third screen.
15. The third screen will vary according to whether the Test type is in Loopback or TX
mode. The following screen is in Loopback mode.
The following screen is in TX mode.
You can select or deselect the test to run and make changes to the frequency values
shown.
16. To select or deselect a test, choose the test and press the key.
17. To change a frequency, choose the frequency, press the key, enter the value
using the keypad and press the [Enter] soft key.
18. Press the
[Defaults] soft key to restore the default values.
13000-000109 8-15
June 2003 Testing in Standard Script Mode

MT8850A / MT8852A Bluetooth Test Set Using the Script Menu
19. Press the [Limits] soft key to display the Power control test limits screen.
20. Press the
[Defaults] soft key to restore the default values.
21. Choose the limit you want to change.
22. Press the key and enter the new limit using the keypad.
23. Press the
[Enter] soft key.
24. Press the
[Conditions] soft key to return to the test conditions screen.
25. Press the key to return to the Script menu.
8-16 13000-000109
Testing in Standard Script Mode June 2003

Using the Script Menu MT8850A / MT8852A Bluetooth Test Set
Initial Carrier Test (Standard Mode)
The initial carrier test performs a frequency accuracy test on a DH1 pseudo random data
packet. (PRBS 9) This test can be performed using either the loopback test control or the
TX test control. The default is to use the loopback test control. This test can be made with
either hopping on or off.
With hopping off, the MT8850A/MT8852A measures the initial carrier frequency error at
the three frequencies defined on the LOW, MEDIUM and HIGH set up screen. The
number of packets measured at each frequency is set by the user in the “Number of
packets” field. This is the test method described in the Bluetooth RF Test Specification for
an initial carrier frequency test with hopping off.
With hopping on, the MT8850A/MT8852A can make the measurement in one of two ways.
If Hopping On mode is set to “All”, the MT8850A/MT8852A will measure the initial carrier
frequency at every one of the 79 frequencies in the Bluetooth channel structure. The
number of packets measured at each frequency is set by the user in the “Number of
packets” field. This is the test method described in the Bluetooth RF Test Specification for
an initial carrier frequency test with hopping on.
If Hopping On mode is set to “Any” the MT8850A/MT8852A measures the power at the
next frequency that the link hops to after the previous initial carrier frequency
measurement has been completed. The total number of packets measured is set by the
user in the “Number of packets” field. This is typically the shortest option as there is no
requirement to measure a large number of packets at every frequency.
When the measurement is made using TX mode the MT8850A/MT8852A sets up the EUT
so that when the EUT is polled it transmits a DH1 packet with a pseudo random payload
for each of the frequencies selected (LOW, MEDIUM and HIGH). This test can be
performed with hopping off and on. The LOW, MEDIUM and HIGH frequencies relate to
the default frequencies specified in the Bluetooth RF test specification. The
MT8850A/MT8852A allows all the frequencies to be changed. When the test is performed
in TX test mode EUT transmitter and receiver frequencies must be the same.
1. Choose Init carrier from the Script menu.
2. Press the key to select or deselect this test from the script routine.
If a test is selected, the box will be filled in. If not selected the box will be hollow.
3. Press the
[Setup] soft key.
The Initial carrier test conditions screens are displayed.
The first screen lets you enter the number of packets to send, switch hopping on or off
and change test type. If hopping is on you can change the mode.
13000-000109 8-17
June 2003 Testing in Standard Script Mode

MT8850A / MT8852A Bluetooth Test Set Using the Script Menu
4. Choose “Number of packets”.
5. Enter the number of packets using the keypad.
6. Choose “Hopping”.
7. Press the key to switch between ON and OFF. If you choose ON, choose
Hopping test mode and press the key to switch between All and Any.
8. Choose Test type.
9. Press the key to switch between Loopback and TX.
10. Press the
[1 of 2] soft key to move to the second screen.
The second screen will vary according to whether the Test type is in Loopback or TX
mode. The following screen is in Loopback mode.
The following screen is in TX mode.
You can select or deselect the test to run and make changes to the frequency values
shown.
11. To select or deselect a test, choose the test and press the key.
12. To change a frequency, choose the frequency, press the key, enter the value
using the keypad and press the [Enter] soft key.
13. Press the
[Defaults] soft key to restore the default values.
14. Press the
[Limits] soft key to display the Initial carrier test limits screen.
8-18 13000-000109
Testing in Standard Script Mode June 2003

Using the Script Menu MT8850A / MT8852A Bluetooth Test Set
15. Press the [Defaults] soft key to restore the default values.
16. Choose the limit you want to change.
17. Press the key and enter the new limit using the keypad.
18. Press the
[Enter] soft key.
19. Press the
[Conditions] soft key to return to the test conditions screen.
20. Press the key to return to the Script menu.
13000-000109 8-19
June 2003 Testing in Standard Script Mode

MT8850A / MT8852A Bluetooth Test Set Using the Script Menu
Carrier Drift Test (Standard Mode)
The carrier drift test performs a frequency drift measurement over the length of the packet
received. The test can be carried out for each of the supported packet types with either
hopping on or hopping off. This test can be performed using either the loopback test
control or the TX test control. The default is to use the loopback test control.
In loopback mode with hopping off, the MT8850A/MT8852A sends DH1, DH3 and DH5
packets with a 10101010.... payload at each of the frequencies selected (LOW, MEDIUM
and HIGH). The EUT returns the DH1, DH3 or DH5 packet for measurement. The LOW,
MEDIUM and HIGH frequencies relate to the default frequencies specified in the Bluetooth
RF test specification. The number of packets of each length that are measured is set in
the “Number of packets” field. The MT8850A/MT8852A allows all the frequencies to be
changed. This is the test method described in the Bluetooth RF Test Specification for a
carrier frequency drift test with hopping off.
In loopback mode with hopping on, and hopping on mode set to “All” the
MT8850A/MT8852A sends DH1, DH3 and DH5 packets with a 10101010 payload. The
EUT returns the DH1, DH3 or DH5 packet for measurement. The MT8850A/MT8852A will
measure the carrier frequency drift for each packet length at every one of the 79
frequencies in the Bluetooth channel structure. The number of packets of each length that
are measured is set in the “Number of packets” field. This is the test method described in
the Bluetooth RF Test Specification for a carrier frequency drift test with hopping on.
In loopback mode with hopping on, and hopping on mode set to “Any” the
MT8850A/MT8852A sends DH1, DH3 and DH5 packets with a 10101010 payload. The
EUT returns the DH1, DH3 or DH5 packet for measurement. The MT8850A/MT8852A will
measure the carrier frequency drift at the next frequency that the link hops to after the
previous carrier frequency drift measurement has been completed. The number of packets
of each length that are measured is set in the “Number of packets” field.
In TX mode with hopping on or off the measurement process is the same as for loopback
except that the MT8850A/MT8852A does not send full DHX packets but just POLL
packets. The EUT has been configured by the MT8850A/MT8852A to respond to a POLL
with the appropriate DHX packet. The EUT must support TX mode part of the Test Mode
specification for this to work. The test time is much shorter when run using TX mode
compared with loopback, as the MT8850A/MT8852A does not have to send full packet
lengths. When the test is performed in TX test mode, EUT transmitter and receiver
frequencies must be the same. TX mode complies with the Bluetooth RF Test
Specification for a carrier frequency drift test.
8-20 13000-000109
Testing in Standard Script Mode June 2003

Using the Script Menu MT8850A / MT8852A Bluetooth Test Set
1. Choose “Carrier drift” from the Script menu.
2. Press the key to select or deselect this test from the script routine.
If a test is selected, the box will be filled in. If not selected the box will be hollow.
3. Press the
[Setup] soft key.
The Carrier drift test conditions screens are displayed.
This screen lets you enter the number of packets to send, switch hopping on or off. If
hopping is on you can change the mode. You are also able to set the length of the
packets and change the test type.
4. Choose “Number of packets”.
5. Enter the number of packets using the keypad.
6. Choose “Hopping”.
7. Press the key to switch between ON, OFF or ON & OFF. If you choose ON,
choose Hopping test mode and press the key to switch between All and Any.
8. Choose “Packet type (DHx)”.
9. Press the key to switch between:
1 •
•
•
•
•
•
•
3
5
1&3
1&5
3&5
1,3&5
10. Choose “Test type”.
11. Press the key to switch between Loopback and TX.
13000-000109 8-21
June 2003 Testing in Standard Script Mode

MT8850A / MT8852A Bluetooth Test Set Using the Script Menu
12. Press the [1 of 2] soft key to move to the second screen.
The second screen will vary according to whether the Test type is in Loopback or TX
mode. The following screen is in Loopback mode.
The following screen is in TX mode.
You can select or deselect the test to run and make changes to the frequency values
shown.
13. To select or deselect a test, choose the test and press the key.
14. To change a frequency, choose the frequency, press the key, enter the value
using the keypad and press the [Enter] soft key.
15. Press the
[Defaults] soft key to restore the default values.
16. Press the
[Limits] soft key to display the Carrier drift test limits screen.
17. Press the
[Defaults] soft key to restore the default values.
18. Choose the limit you want to change.
19. Press the key and enter the new limit using the keypad.
20. Press the
[Enter] soft key.
21. Press the
[Conditions] soft key to return to the test conditions screen.
22. Press the key to return to the Script menu.
8-22 13000-000109
Testing in Standard Script Mode June 2003

Using the Script Menu MT8850A / MT8852A Bluetooth Test Set
Single Slot Sensitivity Test (Standard Mode)
For a single slot sensitivity measurement the MT8850A/MT8852A transmits DH1 packets
with a pseudo random payload (PRBS 9) to the EUT at a minimum power level. If the dirty
transmitter parameters are applied, then every 20 ms the MT8850A/MT8852A changes
the transmitter parameters as specified in the dirty transmitter table for this test. The EUT
loops back the received data and a bit error rate (BER) calculation and frame error rate
(FER) calculation is performed by the MT8850A/MT8852A test set. The test is repeated
for each of the frequencies selected (LOW, MEDIUM and HIGH). This test is performed
with hopping off. The LOW, MEDIUM and HIGH frequencies relate to the default
frequencies specified in the Bluetooth RF test specification. The MT8850A/MT8852A
allows all the frequencies to be changed. This is the test method described in the
Bluetooth RF Test Specification for a single slot sensitivity test with hopping off.
The MT8850A/MT8852A can also carry out this test with hopping on.
1. Choose “Single sensitivity” from the Script menu.
2. Press the key to select or deselect this test from the script routine.
If a test is selected, the box will be filled in. If not selected the box will be hollow.
3. Press the
[Setup] soft key.
The Single sensitivity test conditions screens are displayed.
This screen lets you enter the number of packets to send and set the TX power.
4. Choose “Number of packets”.
5. Enter the number of packets using the keypad.
6. Choose “Test TX power”.
7. Enter the value required using the keypad.
8. Choose “Payload Pkt count”.
This setting allows the user to specify whether the count of the number of packets is
based on the transmitted or received values. The settings are detailed below.
Transmitted: The count is based on the number of transmitted packets. Due to lost
packets, this setting may result in failure to comply exactly with the
Bluetooth test specification that requires that the test should be
conducted for at least 1.6 million packets.
Received: The count is based on the number of packets actually received. This
setting will force the MT8850A/MT8852A to continue testing until 1.6
million packets have actually been measured.
13000-000109 8-23
June 2003 Testing in Standard Script Mode

MT8850A / MT8852A Bluetooth Test Set Using the Script Menu
9. Press the [1 of 3] soft key to move to the second screen.
You can choose how hopping is implemented. You can also switch the dirty transmitter
On, Off, or On and Off. When the Dirty transmitter is switched on you can edit the Dirty
parameter table.
10. Choose “Hopping”.
11. Press the key to switch between ON, OFF and ON&OFF.
12. Choose “Dirty transmitter”.
13. Press the key to switch between ON and OFF.
14. Choose “Dirty params table edit”.
15. Press the key.
The Dirty parameters, Single sensitivity screen is displayed.
10 entries are displayed on three screens. The Drift selection is only available on the
first screen. You can make changes to the OFFSET frequency values, MODULATION
INDEX and SYMBOL TIMING ERROR (STE) shown.
16. Choose “Drift” on screen 1 of 3.
17. Press the key to switch between ON and OFF.
With Drift set to ON, the MT8850A/MT8852A transmits with a sine wave, frequency
modulation, with a deviation of ±25 kHz, rate 1.6 kHz, synchronised to zero phase at
the packet start.
18. To change any of the OFFSET, MOD INDEX and STE, choose the item, press the
key, enter the value using the keypad and press the [Enter] soft key.
19. Press the key to return to the Single sensitivity test conditions screen 2.
8-24 13000-000109
Testing in Standard Script Mode June 2003

Using the Script Menu MT8850A / MT8852A Bluetooth Test Set
20. Press the [2 of 3] soft key to move to the third screen.
You can select or deselect the test to run and make changes to the frequency values
shown.
21. To select or deselect a test, choose the test and press the key.
22. To change a frequency, choose the frequency, press the key, enter the value
using the keypad and press the [Enter] soft key.
23. Press the
[Defaults] soft key to restore the default values.
24. Press the
[Limits] soft key to display the Single sensitivity test limits screen.
Note: As there is no RF Bluetooth specification for FER, the MT8850A/MT8852A
defaults to a FER limit of 100%.
25. Press the [Defaults] soft key to restore the default values.
26. Choose the limit you want to change.
27. Press the key and enter the new limit using the keypad.
28. Press the
[Enter] soft key.
29. Press the
[Conditions] soft key to return to the test conditions screen.
30. Press the key to return to the Script menu.
13000-000109 8-25
June 2003 Testing in Standard Script Mode

MT8850A / MT8852A Bluetooth Test Set Using the Script Menu
Multi-Slot Sensitivity Test (Standard Mode)
For a multi slot sensitivity measurement the MT8850A/MT8852A transmits the longest
supported packet type as reported by the EUT during link set up with a pseudo random
payload (PRBS 9) to the EUT at a minimum power level. If the dirty parameters are
enabled then every 20 mS the MT8850A/MT8852A changes the transmitter parameters as
specified in the dirty transmitter table for this test. The EUT loops back the received data
and a bit error rate (BER) calculation and frame error rate (FER) calculation is performed
by the MT8850A/MT8852A test set. This test is performed with hopping off.
Measurements are made at each of the frequencies selected (LOW, MEDIUM and HIGH).
The LOW, MEDIUM and HIGH frequencies relate to the default frequencies specified in
the Bluetooth RF test specification. The MT8850A/MT8852A allows all the frequencies to
be changed. This is the test method described in the Bluetooth RF Test Specification for a
multi slot sensitivity test with hopping off.
The MT8850A/MT8852A can also carry out this test with hopping on.
1. Choose “Multi sensitivity” from the Script menu.
2. Press the key to select or deselect this test from the script routine.
If a test is selected, the box will be filled in. If not selected the box will be hollow.
3. Press the
[Setup] soft key.
The Multi sensitivity test conditions screens are displayed.
This screen lets you enter the number of packets to send and set the TX power.
4. Choose “Number of packets”.
5. Enter the number of packets using the keypad.
6. Choose “Test TX power”.
7. Enter the value required using the keypad.
8. Choose “Payload Pkt count”.
This setting allows the user to specify whether the count of the number of packets is
based on the transmitted or received values. The settings are detailed below.
Transmitted: The count is based on the number of transmitted packets. Due to lost
packets, this setting may result in failure to comply exactly with the
Bluetooth test specification that requires that the test should be
conducted for at least 1.6 million packets.
Received: The count is based on the number of packets actually received. This
setting will force the MT8850A/MT8852A to continue testing until 1.6
million packets have actually been measured.
8-26 13000-000109
Testing in Standard Script Mode June 2003

Using the Script Menu MT8850A / MT8852A Bluetooth Test Set
9. Press the [1 of 3] soft key to move to the second screen.
You can choose how hopping is implemented. You can also switch the dirty transmitter
On, Off, or On and Off. When the Dirty transmitter is switched on you can edit the Dirty
parameter table.
10. Choose “Hopping”.
11. Press the key to switch between ON, OFF and ON&OFF.
12. Choose “Dirty transmitter”.
13. Press the key to switch between ON and OFF.
14. Choose “Dirty params table edit”.
15. Press the key.
The Dirty parameters, Multi sensitivity screen is displayed.
10 entries are displayed on three screens. The Drift selection is only available on the
first screen. You can make changes to the OFFSET frequency values, MODULATION
INDEX and SYMBOL TIMING ERROR (STE) shown.
16. Choose “Drift” on screen 1 of 3.
17. Press the key to switch between ON and OFF.
With Drift set to ON, the MT8850A/MT8852A transmits with a sine wave, frequency
modulation, with a deviation of ±25 kHz, rate 1.6 kHz, synchronised to zero phase at
the packet start.
18. To change any of the OFFSET, MOD INDEX and STE, choose the item, press the
key, enter the value using the keypad and press the [Enter] soft key.
19. Press the key to return to the Multi sensitivity test conditions screen 2.
13000-000109 8-27
June 2003 Testing in Standard Script Mode

MT8850A / MT8852A Bluetooth Test Set Using the Script Menu
20. Press the [2 of 3] soft key to move to the third screen.
You can select or deselect the test to run and make changes to the frequency values
shown.
21. To select or deselect a test, choose the test and press the key.
22. To change a frequency, choose the frequency, press the key, enter the value
using the keypad and press the [Enter] soft key.
23. Press the
[Defaults] soft key to restore the default values.
24. Press the
[Limits] soft key to display the Multi sensitivity test limits screen.
Note: As there is no RF Bluetooth specification for FER, the MT8850A/MT8852A
defaults to a FER limit of 100%.
25. Press the
[Defaults] soft key to restore the default values.
26. Choose the limit you want to change.
27. Press the key and enter the new limit using the keypad.
28. Press the
[Enter] soft key.
29. Press the
[Conditions] soft key to return to the test conditions screen.
30. Press the key to return to the Script menu.
8-28 13000-000109
Testing in Standard Script Mode June 2003

Using the Script Menu MT8850A / MT8852A Bluetooth Test Set
Modulation Index Test (Standard Mode)
This test measures the modulation characteristics on the EUT output for each of the
frequency ranges selected (LOW, MEDIUM and HIGH). The MT8850A/MT8852A can
perform the test using either loopback test controls or TX test controls. The default form
for this test is to use loopback. The following test is described using the default test
control.
The MT8850A/MT8852A transmits a number of packets containing the four ones four
zeros payload (11110000), which are looped back by the EUT. Then packets with the
alternate ones and zeros (101010101) payload are transmitted and are looped back by the
EUT. These packets are the longest supported packet type as reported by the EUT during
link set up (DH1, DH3 or DH5) or the selected packet type.
This test is performed with hopping off, and the test is repeated until the number of
packets has been measured on each of the selected frequencies as set in the “Number of
packets” field. The LOW, MEDIUM and HIGH frequencies relate to the default frequencies
specified in the Bluetooth RF test specification. The MT8850A/MT8852A allows all the
frequencies to be changed.
When the test is performed in TX test mode EUT transmitter and receiver frequencies
must be the same.
1. Choose “Modulation index” from the Script menu.
2. Press the key to select or deselect this test from the script routine.
If a test is selected, the box will be filled in. If not selected the box will be hollow.
3. Press the
[Setup] soft key.
The Modulation index test conditions screens are displayed.
You can change the number of cycles, the test type and packet type.
4. Choose “Number of packets”.
5. Enter the value using the keypad.
6. Choose “Test type”.
7. Press the key to switch between Loopback and TX.
8. Choose “Packet type”.
9. Press the key to switch between Longest, DH1, DH3 or DH5.
13000-000109 8-29
June 2003 Testing in Standard Script Mode

MT8850A / MT8852A Bluetooth Test Set Using the Script Menu
10. Choose “Toggle Payload” and select either “Continuous” or “Once” as detailed below.
Continuous: This is the default setting in which, to comply with the RF test
specification, the payload is changed after each packet measured.
Once: This setting reduces the time required to complete the test. The
payload is changed only once per measurement stage. The payload
is changed after the selected number of packets has been measured
with the first payload and the selected number of packets is then
measured with the second payload.
11. Press the
[1 of 2] soft key to move to the second screen.
The second screen will vary according to whether the Test type is in Loopback or TX
mode. The following screen is in Loopback mode.
The following screen is in TX mode.
You can select or deselect the test to run and make changes to the frequency values
shown.
12. To select or deselect a test, choose the test and press the key.
13. To change a frequency, choose the frequency, press the key, enter the value
using the keypad and press the [Enter] soft key.
14. Press the
[Defaults] soft key to restore the default values.
15. Press the
[Limits] soft key to display the Modulation index test limits screen.
16. Press the
[Defaults] soft key to restore the default values.
17. Choose the limit you want to change.
8-30 13000-000109
Testing in Standard Script Mode June 2003

Using the Script Menu MT8850A / MT8852A Bluetooth Test Set
18. Press the key and enter the new limit using the keypad.
19. Press the
[Enter] soft key.
20. Press the [Conditions] soft key to return to the test conditions screen.
21. Press the key to return to the Script menu.
13000-000109 8-31
June 2003 Testing in Standard Script Mode

MT8850A / MT8852A Bluetooth Test Set Using the Script Menu
Maximum Input Power Test (Standard Mode)
For the EUT maximum input power test the MT8850A/MT8852A transmits a pseudo
random payload (PRBS 9) DH1 data packet to the EUT so that the EUT receives the
signal at a power level of -20 dBm. The EUT loops back the received data and a bit error
rate (BER) calculation and frame error rate (FER) calculation is performed by the
MT8850A/MT8852A test set. The test is repeated for each of the frequency ranges
selected (LOW, MEDIUM and HIGH). This test is performed with hopping off. The LOW,
MEDIUM and HIGH frequencies relate to the default frequencies specified in the Bluetooth
RF test specification. The MT8850A/MT8852A allows all the frequencies to be changed.
1. Choose Input power from the Script menu.
2. Press the key to select or deselect this test from the script routine.
If a test is selected, the box will be filled in. If not selected the box will be hollow.
3. Press the
[Setup] soft key.
The Maximum input power test conditions screens are displayed.
You can enter the number of packets to be sent and enter the Test transmission power
value.
4. Choose “Number of packets”, and press the key.
5. Enter the number of packets from the keypad and press the [Enter] soft key.
6. Choose “Test TX Power” and press the key.
7. Enter the value from the keypad and press the [Enter] soft key.
8. Choose “Payload Pkt count”.
This setting allows the user to specify whether the count of the number of packets is
based on the transmitted or received values. The settings are detailed below.
Transmitted: The count is based on the number of transmitted packets. Due to lost
packets, this setting may result in failure to comply exactly with the
Bluetooth test specification that requires that the test should be
conducted for at least 1.6 million packets.
Received: The count is based on the number of packets actually received. This
setting will force the MT8850A/MT8852A to continue testing until 1.6
million packets have actually been measured.
9. Press the
[1 of 2] soft key to move to the second screen.
8-32 13000-000109
Testing in Standard Script Mode June 2003

Using the Script Menu MT8850A / MT8852A Bluetooth Test Set
You can select or deselect the test to run and make changes to the frequency values
shown.
10. To select or deselect a test, choose the test and press the key.
11. To change a frequency, choose the frequency, press the key, enter the value
using the keypad and press the [Enter] soft key.
12. Press the
[Defaults] soft key to restore the default values.
13. Press the
[Limits] soft key to display the Maximum input power test limits screen.
Note: The Bluetooth specification does not detail the FER value, so the customer can
set a percentage pass level to meet their own requirements.
14. Press the [Defaults] soft key to restore the default values.
15. Choose the limit you want to change.
16. Press the key and enter the new limit using the keypad.
17. Press the
[Enter] soft key.
18. Press the
[Conditions] soft key to return to the test conditions screen.
19. Press the key to return to the Script menu.
13000-000109 8-33
June 2003 Testing in Standard Script Mode

MT8850A / MT8852A Bluetooth Test Set Using the Script Menu
Testing in Single Payload Script Mode
In single payload mode the MT8850A/MT8852A sends a single test control to put the EUT
into the specified state, and no further test controls are sent. When single payload mode is
specified, an additional “single payload edit” line displays on the screen. Move the cursor
to the word [Edit] and press the key. The required settings to enable each test
are detailed in the test procedures below.
Output Power Test (Single Payload Mode)
The MT8850A/MT8852A can perform the test using either loopback test controls or TX
test controls. The default for this test is to use loopback. The following test description is
described using the default test control.
The MT8850A/MT8852A transmits a pseudo random data payload (PRBS 9) of the
longest supported type (DH5, DH3 or DH1) or the selected packet type, to the EUT. The
EUT loops back the data at its maximum output power and the MT8850A/MT8852A
measures the received power.
1. Refer to the settings below to enable the output power test in the script menu.
Test control: TX or Loopback
Payload: Any
Packet type: Any
Hopping mode: On or Off
2. Choose “Output power” from the Script menu.
3. Press the key to select or deselect this test from the script routine.
4. If a test is selected, the box will be filled in. If not selected the box will be hollow.
5. Press the
[Setup] soft key.
6. The Output power test limits screen is displayed.
7. Press the
[Defaults] soft key to restore the default values.
8. Choose the limit you want to change.
9. Press the key and enter the new limit using the keypad.
10. Press the
[Enter] soft key.
11. Press the key to return to the Script menu.
Power control test (single payload mode)
The power control test is not supported in single payload mode.
8-34 13000-000109
Testing in Single Payload Script Mode June 2003

Using the Script Menu MT8850A / MT8852A Bluetooth Test Set
Initial Carrier Test (Single Payload Mode)
The initial carrier test performs a frequency accuracy test on a DH1 pseudo random data
packet. (PRBS 9) This test can be performed using either the loopback test control or the
TX test control. The default is to use the loopback test control. This test can be made with
either hopping on or off.
1. Refer to the settings below to enable the initial carrier test in the test list.
Test control: TX or Loopback
Payload: Any
Packet type: Any
Hopping mode: On or Off
2. Choose “Init carrier” from the Script menu.
3. Press the key to select or deselect this test from the script routine.
4. If a test is selected, the box will be filled in. If not selected the box will be hollow.
5. Press the
[Setup] soft key.
6. The Initial carrier test limits screen is displayed.
7. Press the
[Defaults] soft key to restore the default values.
8. Choose the limit you want to change.
9. Press the key and enter the new limit using the keypad.
10. Press the
[Enter] soft key.
11. Press the key to return to the Script menu.
13000-000109 8-35
June 2003 Testing in Single Payload Script Mode

MT8850A / MT8852A Bluetooth Test Set Using the Script Menu
Carrier Drift Test (Single Payload Mode)
The carrier drift test performs a frequency drift measurement over the length of the packet
received. This test can be performed using either the loopback test control or the TX test
control. The default is to use the loopback test control.
In loopback mode with hopping off, the MT8850A/MT8852A sends a packet with a
10101010 and the EUT returns packet for measurement.
In TX mode with hopping on or off, the measurement process is the same as for loopback
except that the MT8850A/MT8852A does not send full DHX packets but just POLL
packets. The EUT has been configured by the MT8850A/MT8852A to respond to a POLL
with the appropriate DHX packet. The EUT must support TX mode part of the Test Mode
specification for this to work. The test time is much shorter when run using TX mode
compared with loopback, as the MT8850A/MT8852A does not have to send full packet
lengths. When the test is performed in TX test mode, EUT transmitter and receiver
frequencies must be the same. For this test, the TX and RX frequencies are the same. TX
mode complies with the Bluetooth RF Test Specification for a carrier frequency drift test.
1. Refer to the settings below to enable the carrier drift test in the test list.
Test control: TX or Loopback
Payload: 10101010
Packet type: Any
Hopping mode: On or Off
2. Choose “Carrier drift” from the Script menu.
3. Press the key to select or deselect this test from the script routine.
4. If a test is selected, the box will be filled in. If not selected the box will be hollow.
5. Press the
[Setup] soft key to display the Carrier drift test limits screen.
6. Press the
[Defaults] soft key to restore the default values.
7. Choose the limit you want to change.
8. Press the key and enter the new limit using the keypad.
9. Press the
[Enter] soft key.
10. Press the key to return to the Script menu.
8-36 13000-000109
Testing in Single Payload Script Mode June 2003

Using the Script Menu MT8850A / MT8852A Bluetooth Test Set
Single Slot Sensitivity Test (Single Payload Mode)
For a single slot sensitivity measurement the MT8850A/MT8852A transmits a DH1 packet
with a pseudo random payload (PRBS 9) to the EUT at a minimum power level. This test
can be performed with hopping on or off.
1. Refer to the settings below to enable the single slot sensitivity test in the test list.
Test control: Loopback
Payload: PRBS9
Packet type: DH1
Hopping mode: On or Off
2. Choose “Single sensitivity” from the Script menu.
3. Press the key to select or deselect this test from the script routine.
4. If a test is selected, the box will be filled in. If not selected the box will be hollow.
5. Press the
[Setup] soft key.
6. The Single sensitivity test limits screen is displayed.
7. Press the
[Defaults] soft key to restore the default values.
8. Choose the limit you want to change.
9. Press the key and enter the new limit using the keypad.
10. Press the
[Enter] soft key.
11. Press the key to return to the Script menu.
13000-000109 8-37
June 2003 Testing in Single Payload Script Mode

MT8850A / MT8852A Bluetooth Test Set Using the Script Menu
Multi-Slot Sensitivity Test (Single Payload Mode)
For a multi slot sensitivity measurement the MT8850A/MT8852A transmits the longest
supported packet type as reported by the EUT during link set up with a pseudo random
payload (PRBS 9) to the EUT at a minimum power level. The EUT loops back the received
data and a bit error rate (BER) calculation and frame error rate (FER) calculation is
performed by the MT8850A/MT8852A test set. This test can be performed with hopping on
or off.
1. Refer to the settings below to enable the multi-slot sensitivity test in the test list.
Test control: Loopback
Payload: PRBS9
Packet type: DH3 or DH5
Hopping mode: On or Off
2. Choose “Multi sensitivity” from the Script menu.
3. Press the key to select or deselect this test from the script routine.
4. If a test is selected, the box will be filled in. If not selected the box will be hollow.
5. Press the
[Setup] soft key.
6. The Multi sensitivity test limits screen.
7. Press the
[Defaults] soft key to restore the default values.
8. Choose the limit you want to change.
9. Press the key and enter the new limit using the keypad.
10. Press the
[Enter] soft key.
11. Press the key to return to the Script menu.
8-38 13000-000109
Testing in Single Payload Script Mode June 2003

Using the Script Menu MT8850A / MT8852A Bluetooth Test Set
Modulation Index Test (Single Payload Mode)
The MT8850A/MT8852A can perform this test using either loopback test controls or TX
test controls. The default form for this test is to use loopback. The following test is
described using the default test control.
The MT8850A/MT8852A transmits a packet that is looped back by the EUT. These
packets are the longest supported packet type as reported by the EUT during link set up
(DH1, DH3 or DH5) or the selected packet type.
When the test is performed in TX test mode, EUT transmitter and receiver frequencies
must be the same.
1. Refer to the settings below to enable the modulation index test in the test list.
Test control: TX or Loopback
Payload: 10101010 or 11110000
Packet type: Any
Hopping mode: Off
2. Choose “Modulation index” from the Script menu.
3. Press the key to select or deselect this test from the script routine.
4. If a test is selected, the box will be filled in. If not selected the box will be hollow.
5. Press the
[Setup] soft key.
6. The Modulation index test limits screen displays.
7. Press the
[Defaults] soft key to restore the default values.
8. Choose the limit you want to change.
9. Press the key and enter the new limit using the keypad.
10. Press the
[Enter] soft key.
11. Press the key to return to the Script menu.
Maximum input power test (single payload mode)
The maximum input power test is not supported in single payload mode.
13000-000109 8-39
June 2003 Testing in Single Payload Script Mode

MT8850A / MT8852A Bluetooth Test Set Using the Script Menu
Entering the BT Address of the EUT
The address of the equipment under test can be entered manually from the keyboard,
acquired by performing an inquiry, or obtained through the RS232 HCI port. For the
MT8852A, the address can also be acquired through the USB HCI port.
1. With the Script menu displayed, press the [EUT addr] soft key.
The EUT address screen is displayed.
At power up when the source is RS232, "No address" will be displayed.
2. Press the
[Update] soft key to display the EUT.
To change the source and enter the address:
1. Select “Source” and press the key to switch between RS232, Manual,
Inquiry, and USB (MT8852A only).
2. For manual, press the [Update] soft key and enter the hexadecimal address for EUT
from the keypad. Alternatively, choose the Address field, press the Select key and
enter the hexadecimal address for EUT from the keypad.
3. For Inquiry, press the [Update] soft key to initiate the Inquiry.
Note: If the number of responses for the inquiry is set to 1, the MT8850A/MT8852A
will automatically connect to the first device that responds.
4. Press the [Stop] soft key to halt the Inquiry.
The Inquiry completed screen is displayed.
The Common name is the user friendly name truncated to fit the line on the screen.
You can restart the Inquiry using the [Restart] soft key.
5. Choose the address required and press the key to enter the address.
8-40 13000-000109
Entering the BT Address of the EUT June 2003

Using the Script Menu MT8850A / MT8852A Bluetooth Test Set
Viewing Test Results
The results screens show pass or fail results for test limits set to ON. These screens are
for information only and cannot be changed.
The results screens detailed below apply for each of the script mode settings (standard,
single payload, and null packet) unless otherwise stated.
Output Power Test Results
1. Choose “Output power” from the Script menu.
2. Press the
[Results] soft key.
The Output power results screen is displayed.
Definition of test results
Current Pkt Displays the average power of the last packet measured by the
MT8850A/MT8852A. The MT8850A/MT8852A identifies the p0 in the
packet and measures the power in each individual bit. Packet avg is the
average power of all the measured bits.
Pkt Avg; Max Displays the highest power measured of all of the Packet avg
measurements during the test.
Pkt Avg; Min Displays the lowest power measured of all of the Packet avg
measurements during the test.
Test peak This is the power of the single bit in the packet that has the greatest
power. The value displayed is the largest peak power measured for all
packets in the test.
3. Press the
[Extended] soft key to display more detailed test results. As opposed to
the summary screen shown above, the extended screens are specific to each of the
test scenarios. For example, if a test is performed at high, medium, and low
frequencies, with hopping both on and off, there would be six extended screens. An
example of the first extended screen for the output power test is shown below.
4. Page through the extended screens with the soft key in the normal manner, or press
the [Summary] soft key to revert to the initial summary page.
13000-000109 8-41
June 2003 Viewing Test Results

MT8850A / MT8852A Bluetooth Test Set Using the Script Menu
Power Control Test Results (standard and null packet modes)
1. Choose “Power control” from the Script menu.
2. Press the
[Results] soft key.
The Power control results screen is displayed.
Definition of test results
Power max Displays the maximum power the EUT has risen to in the test.
Power min Displays the minimum power the EUT has dropped to in the test.
Current Pkt Displays the average power of the last packet measured by the
MT8852A. The MT8850A/MT8852A identifies the p0 in the packet and
measures the power in each individual bit. Packet avg is the average
power of all the measured bits.
Max step Displays the largest change between the power level steps.
Min step Display the smallest change between the power level steps.
3. Press the
[Extended] soft key to display more detailed test results. As opposed to
the summary screen shown above, the extended screens are specific to each
frequency.
4. Page through the extended screens with the soft key in the normal manner, or press
the [Summary] soft key to revert to the initial summary page.
Single payload mode
This test cannot be performed in single payload mode.
8-42 13000-000109
Viewing Test Results June 2003

Using the Script Menu MT8850A / MT8852A Bluetooth Test Set
Initial Carrier Test Results
1. Choose “Init carrier” from the Script menu.
2. Press the
[Results] soft key.
The Initial carrier results screens are displayed.
Definition of test results
Offset Displays the initial frequency error of the last packet measured.
Average offset Displays the average value of all initial frequency offset measurements
made in the test.
Max +ve offset Displays the frequency error of the single packet that had the greatest
positive error of all those measured.
Max -ve offset Displays the frequency error of the single packet that had the greatest
negative error of all those measured.
3. Press the
[Extended] soft key to display more detailed test results. As opposed to
the summary screen shown above, the extended screens are specific to each of the
test scenarios. For example, if a test is performed at high, medium, and low
frequencies, with hopping both on and off, there would be six extended screens. An
example of the first extended screen for the initial carrier test is shown below.
4. Page through the extended screens with the soft key in the normal manner, or press
the [Summary] soft key to revert to the initial summary page.
13000-000109 8-43
June 2003 Viewing Test Results

MT8850A / MT8852A Bluetooth Test Set Using the Script Menu
Carrier Drift Test Results
Standard and single packet modes
1. Choose “Carrier drift” from the Script menu.
2. Press the
[Results] soft key.
The Carrier drift results screen is displayed.
Definition of test results
Drift rate Displays the maximum drift rate between any two 10-bit groups in the
packet, separated by 50µs. This value is the peak held worst case value for
packets measured during the test.
Drift (DHX) Displays the difference between the average frequency of the first 4
preamble bits of the packet and the average frequency of any 10 bits in the
payload field of the same packet. This value is the peak held worst case
value for packets measured during the test.
3. Press the
[Extended] soft key to display more detailed test results. As opposed to
the summary screen shown above, the extended screens are specific to each of the
test scenarios. For example, if a test is performed at high, medium, and low
frequencies, with hopping both on and off, there would be six extended screens. An
example of the first extended screen for the carrier drift test is shown below.
Note: “Packets Tested” refers to the total of all packets tested (i.e., at DH1, DH3, and
DH5)
4. Page through the extended screens with the soft key in the normal manner, or press
the [Summary] soft key to revert to the initial summary page.
8-44 13000-000109
Viewing Test Results June 2003

Using the Script Menu MT8850A / MT8852A Bluetooth Test Set
Null packet mode
In null packets mode the carrier drift results screen displays as follows.
Definition of test results
Avg drift Displays the average drift over the entire test.
Max drift Displays the peak hold value of the worst recorded drift.
It should be noted that in null packets mode, drift refers to the frequency difference
between the preamble and the trailer.
13000-000109 8-45
June 2003 Viewing Test Results

MT8850A / MT8852A Bluetooth Test Set Using the Script Menu
Single Slot Sensitivity Results
Standard and single packet modes
1. Choose “Single sensitivity” from the Script menu.
2. Press the
[Results] soft key.
The Single sensitivity results screens are displayed.
3. Press the
[1 of 3] soft key to move to the second screen.
4. Press the
[2 of 3] soft key to move to the third screen.
Definition of test results
Current BER Displays the BER as measured in the last 10 returned packets.
Overall BER Displays the BER for all the returned packets.
Current FER Displays the FER as measured in the last 10 returned packets.
Overall FER Displays the FER for all the returned packets.
FER due to
CRC
Displays the number of packets returned that had a CRC error. These
packets are used in BER calculations.
5. Press the
[Extended] soft key to display more detailed test results. As opposed to
the summary screen shown above, the extended screens are specific to each of the
test scenarios. For example, if a test is performed at high, medium, and low
frequencies, with hopping both on and off, there would be six extended screens. An
example of the first extended screen for the single sensitivity test is shown below.
8-46 13000-000109
Viewing Test Results June 2003

Using the Script Menu MT8850A / MT8852A Bluetooth Test Set
6. Page through the extended screens with the soft key in the normal manner, or press
the [Summary] soft key to revert to the initial summary page.
FER due to
length
Displays the number of packets returned where the payload length of the
packet was incorrect. This will also result in a CRC error. These packets are
used in BER calculations.
FER due to
lost packets
A lost packet will result from the MT8852A:
•
•
•
•
Not recognising the sync word header as being correct.
The packet fails the Header Error Correction (HEC)
No packet received at all during the expected time slot.
NACK packet is received.
These packets are not used in BER calculations.
Null packet mode
This test cannot be performed in null packet mode.
13000-000109 8-47
June 2003 Viewing Test Results

MT8850A / MT8852A Bluetooth Test Set Using the Script Menu
Multi Sensitivity Test Results
Standard and single packet modes
1. Choose “Multi sensitivity” from the Script menu.
2. Press the
[Results] soft key.
The Multi sensitivity results screens are displayed.
3. Press the
[1 of 3] soft key to move to the second screen.
4. Press the
[2 of 3] soft key to move to the third screen.
Definition of test results
Current BER Displays the BER as measured in the last 10 returned packets.
Overall BER Displays the BER for all the returned packets.
Current FER Displays the FER as measured in the last 10 returned packets.
Overall FER Displays the FER for all the returned packets.
FER due to
CRC
Displays the number of packets returned that had a CRC error. These
packets are used in BER calculations.
8-48 13000-000109
Viewing Test Results June 2003

Using the Script Menu MT8850A / MT8852A Bluetooth Test Set
5. Press the [Extended] soft key to display more detailed test results. As opposed to
the summary screen shown above, the extended screens are specific to each of the
test scenarios. For example, if a test is performed at high, medium, and low
frequencies, with hopping both on and off, there would be six extended screens. An
example of the first extended screen for the multi sensitivity test is shown below.
6. Page through the extended screens with the soft key in the normal manner, or press
the [Summary] soft key to revert to the initial summary page.
FER due to
length
Displays the number of packets returned where the payload length of the
packet was incorrect. This will also result in a CRC error. These packets are
used in BER calculations.
FER due to
lost packets
A lost packet will result from the MT8852A:
•
•
•
•
Not recognising the sync word header as being correct.
The packet fails the Header Error Correction (HEC)
No packet received at all during the expected time slot.
NACK packet is received.
These packets are not used in BER calculations.
Null packet mode
This test cannot be performed in null packet mode.
13000-000109 8-49
June 2003 Viewing Test Results

MT8850A / MT8852A Bluetooth Test Set Using the Script Menu
Modulation Index Test Results
1. Choose “Modulation index” from the Script menu.
2. Press the
[Results] soft key.
The Output power results screen is displayed.
F1avg: MT8850A/MT8852A measures the maximum deviation for the second, third,
sixth and seventh bit of each 11110000 payload byte. It then calculates the
average value of all these deviations for each packet. This value is recorded as
F1avg for each packet. The displayed value on the MT8850A/MT8852A is the
highest F1avg value of all the packets that have been measured.
F2avg: MT8850A/MT8852A measures the maximum deviation of each 10101010 bit in
the payload. The average of all these maximum deviations is then calculated
and recorded as F2avg.
F2max: MT8850A/MT8852A measures the maximum deviation of each 10101010 bit in
the payload. Each of these values is recorded as an F2max value. The
displayed value of F2max is the single bit measured in a test that has the lowest
recorded deviation. The percentage of F2max values that are greater than the
limit of 115kHz is also displayed. The pass/fail criteria is made relative to the
percentage value passed, and should exceed 99.9%.
Note: If any pattern errors are found in either the 11110000 or 10101010 payload,
then these packets are discarded for measurement purposes.
3. Press the [Extended] soft key to display more detailed test results. As opposed to
the summary screen shown above, the extended screens are specific to each of the
test scenarios. For example, if a test is performed at high, medium, and low
frequencies, with hopping both on and off, there would be six extended screens. An
example of the first extended screen for the modulation index test is shown below.
4. Page through the extended screens with the soft key in the normal manner, or press
the [Summary] soft key to revert to the initial summary page.
8-50 13000-000109
Viewing Test Results June 2003

Using the Script Menu MT8850A / MT8852A Bluetooth Test Set
Maximum Input Power Test Results
Standard mode
1. Choose “Max input power” from the Script menu.
2. Press the
[Results] soft key.
The Maximum input power results screen is displayed.
3. Press the
[1 of 3] soft key to move to the second screen.
4. Press the
[2 of 3] soft key to move to the third screen.
Definition of test results
Current BER Displays the BER as measured in the last 10 returned packets.
Overall BER Displays the BER for all the returned packets.
Current FER Displays the FER as measured in the last 10 returned packets.
Overall FER Displays the FER for all the returned packets.
FER due to
CRC
Displays the number of packets returned that had a CRC error. These
packets are used in BER calculations.
13000-000109 8-51
June 2003 Viewing Test Results

MT8850A / MT8852A Bluetooth Test Set Using the Script Menu
5. Press the [Extended] soft key to display more detailed test results. As opposed to
the summary screen shown above, the extended screens are specific to each of the
test scenarios. For example, if a test is performed at high, medium, and low
frequencies, with hopping both on and off, there would be six extended screens. An
example of the first extended screen for the maximum input test is shown below.
6. Page through the extended screens with the soft key in the normal manner, or press
the [Summary] soft key to revert to the initial summary page.
FER due to
length
Displays the number of packets returned where the payload length of the
packet was incorrect. This will also result in a CRC error. These packets are
used in BER calculations.
FER due to
lost packets
A lost packet will result from the MT8850A/MT8852A:
•
•
•
•
Not recognising the sync word header as being correct.
The packet fails the Header Error Correction (HEC)
No packet received at all during the expected time slot.
NACK packet is received.
These packets are not used in BER calculations.
Null packet mode
This test cannot be performed in null packet mode.
Single payload mode
This test cannot be performed in single payload mode.
8-52 13000-000109
Viewing Test Results June 2003

Chapter 9. Audio Measurements
(MT8852A only)
The MT8852A Bluetooth Test Set can be used to perform audio measurements by
establishing a Synchronous Connection Oriented (SCO) link between the MT8852A and
the EUT. A SCO link is a full duplex link between a Bluetooth master and slave.
Note: It should be noted that SCO is an optional feature within the Bluetooth
specification. The MT8852A can be used to establish a SCO link and transmit
HV packets to, or from, the EUT. To perform audio measurements, an audio
signal source and audio analyzer are also required (e.g., Keithley 2015).
There are four basic scenarios in which audio measurements may be made, each of which
is illustrated and explained in this chapter. The four test scenarios are:
• Testing the EUT’s audio performance using remote loopback on the MT8852A.
• Testing the audio performance of the EUT transmit path.
• Testing the audio performance of the EUT receive path.
• Putting the EUT into remote loopback.
Testing the EUT’s Audio Performance Using Remote
Loopback on the MT8852A
The EUTs audio performance can be tested using the set-up below. The MT8852A is put
into remote loopback and the audio path tested without passing the signal through the
MT8852A CODEC. The audio is looped back in the MT8852A baseband and so there is
no audio distortion introduced by the tester.
1. Press the button.
2. Choose “MT8852A” and press the key to display the MT8852A Configuration
screen.
3. Choose “Audio” and press the key to display the screen below.
13000-000109 9-1
June 2003 Audio Measurements

MT8850A / MT8852A Bluetooth Test Set Audio Measurements
(MT8852A only)
Note: The RF level used is the same level as that set for the script that was last run.
4. Press the [EUT addr] soft key and set the EUT address in the normal manner. Refer
to “Entering the BT Address of the EUT” in chapter 8 of this manual for details.
5. Move the cursor to “ACL Connect status” and press the key to establish an
ACL connection. When the ACL connection has been established, the square
indicator at the right of this item becomes solid and, if the EUT supports SCO, the
indicators on the “SCO channel status” line change to clear squares to reflect this.
6. If the address source is set to RS232 or USB, it is now necessary to make the EUT
settings shown in the screen below. Press the [1 of 3] soft key followed by the [2 of
3] soft key to display the third page.
Note: No settings are required on this screen if the EUT address source is not set
to RS232 or USB. Skip to step 6 in this procedure if you are not initialising
the EUT using the MT8852A “EUT Control” interface.
Input coding format: Select the EUT baseband sample input/output data
format. There are three possible settings, “Linear”, “A-
Law”, and “u-Law”.
Input data format: Select the EUT baseband sample data format. There are
three possible settings, “1's”, “2's”, and “sign magnitude”.
Input sample size: Select either an 8 or 16 bit baseband sample size.
Linear PCM bit Posn: Set the EUT Baseband sample offset within the 16 bit
field. Specify a value within the range of 0 to 7.
Note: When these settings are complete it will not be necessary to repeat this
procedure until the EUT is changed.
7. Press [3 of 3] to return to page 1 and press the [TX power] soft key.
8. Enter the “TX power level” value using the keypad. The audio power level can be set
to between 0 and -90 dBm.
Note: An ACL connection must be made before an SCO link can be established.
When a device makes an ACL connection, it reports within its “Supported
Features” response whether or not it supports SCO connections, and if so,
which HV packet types it can support. Do not establish a SCO connection at
this stage.
9-2 13000-000109
Audio Measurements June 2003

Audio Measurements
(MT8852A only) MT8850A / MT8852A Bluetooth Test Set
9. Press the [1 of 3] soft key to display the second page.
10. Move the cursor to “SCO Loopback” and press the key to turn remote
loopback “ON”.
11. Move the cursor to “Tone Generator” and press the key to turn this ON or
OFF as required. Setting the tone generator to ON results in the creation of a 1 KHz
tone by the MT8852A which is transmitted over the SCO channel.
12. Press the
[2 of 3] soft key followed by the [3 of 3] soft key to return to the first page.
13. Move the cursor to “Packet type” and select the HV packet type to be used. When
the packet type is selected, the indicator to the right changes from clear to solid
black.
Note: Some EUTs may not support all packet types. Only packet types reported
as supported in “supported features” field are available and indicated on
screen by a clear square.
HV1
Speech length / packet: 10 voice bytes (1.25 ms of speech)
Payload length: 240 bits
FEC: 1/3 FEC
Transmission rate: Every TX time slot
HV2
Speech length / packet: 20 voice bytes (2.5 ms of speech)
Payload length: 240 bits
FEC: 2/3 FEC
Transmission rate: Every second TX time slot
13000-000109 9-3
June 2003 Audio Measurements

MT8850A / MT8852A Bluetooth Test Set Audio Measurements
(MT8852A only)
HV3
Speech length / packet: 30 voice bytes (3.75 ms of speech)
Payload length: 240 bits
FEC: None
Transmission rate: Every third TX time slot
8. Move the cursor to “Air code format”, and select the required type. When the packet
type is selected, the indicator to the right changes from clear to solid black. If the
EUT is not being initialised via the MT8852A RS232 control interface, the MT8852A
aircode must be set to match the setting of the EUT.
9. Finally, with all settings made, an SCO connection can now be established. Move
the cursor to “SCO channel status” and select the channel or channels over which
communications will be performed. Because the HV packet types use varying
quantities of the total bandwidth, it may not be possible to select multiple channels
with certain packet selections. Refer to the table below.
Packet type
HV1 HV2 HV3
1
2
No. of channels
3
Testing the Audio Performance of the EUT Transmit
Path
The performance of the EUT transmitter can be tested in isolation with the set-up shown
below.
• Position the signal generator and analyzer as shown in the diagram below.
• Follow the procedure for “Testing the EUTs Audio Performance” but set the “SCO
Loopback” setting to “OFF” (step 8 in the procedure).
9-4 13000-000109
Audio Measurements June 2003

Audio Measurements
(MT8852A only) MT8850A / MT8852A Bluetooth Test Set
Refer to the figure below for details of jack plug wiring.
Testing the Audio Performance of the EUT Receive Path
The performance of the EUT receiver can be tested in isolation with the set-up shown
below.
As a replacement for the external audio IN, it is also possible to use an internally
generated tone. Use of this tone is ideal for quick tests and as it is generated internally, it
does not pass through the MT8852A CODEC. The tone is fixed at 1kHz. For
measurement at other frequencies use of external audio is required.
• Position the signal generator and analyzer as shown in the diagram below.
Note: Refer to the jack plug diagram on the previous page.
• Follow the procedure for “Testing the EUTs Audio Performance” but set the “SCO
Loopback” setting to “OFF” (step 8 in the procedure).
• Set the “SCO tone generator” on page 2 of 3 to “ON” or “OFF” as required.
13000-000109 9-5
June 2003 Audio Measurements

MT8850A / MT8852A Bluetooth Test Set Audio Measurements
(MT8852A only)
Putting the EUT into Remote Loopback
It is also possible to put the EUT into remote loopback. The MT8852A will then send and
receive SCO packets from the EUT. The packets will be looped back digitally in the EUT
baseband and so will not introduce any distortion from the analogue circuits.
As with the set-up for testing the performance of the receiver, it is also possible to use an
internally generated 1 kHz tone. Use of this tone is ideal for quick tests and as it is
generated internally, it does not pass through the MT8852A CODEC. The tone is fixed at
1kHz. For measurements at other frequencies use of external audio is required.
• Position the signal generator and analyzer as shown in the diagram below.
Note: Refer to the jack plug diagram on the previous page.
• Follow the procedure for “Testing the EUTs Audio Performance” and use the HCI
software on the control PC to set the EUT to remoter loopback. SCO loopback for
the MT8852A should be set to “OFF” (step 8 in the procedure).
• Set the “SCO tone generator” on page 2 of 3 to “ON” or “OFF” as required.
9-6 13000-000109
Audio Measurements June 2003

13000-000109 A-1
June 2003
The right most 9 characters are reserved for Icons/characters for specific
instrument features
•
•
•
Appendix A. Top-line Messages
Introduction
The top line of LCD is reserved for conveying various types of information to the user. The
40 characters of this line are formatted as follows:
The left most 30 characters are reserved for text messages of varying lengths
with a maximum of 30 characters. All messages are left justified.
The character is left blank between the message and the icons/characters to
provide separation for clarity
Message Types
Each message type carries a particular kind of information. This consists of the following
types of information:
Status This indicates the internal state of the instrument such as:
“Script running”
“Script completed”
This may be augmented by Measurement status message if relevant
such as:
“No payload detected “
“Searching for channel”
These two types of messages, when present, are displayed
alternately.
Error This can be an internal or operator error
The cause of operator error, as the name implies, is an incorrect
operation of the MT8850A/MT8852A, during setup/running of a test
e.g. setup of out-of-range limit value for the pass/fail test criteria,
results in the message “ >Error!< out of range value”
Warning This warns you of:
Abnormal condition such as:
“Warning: over temperature”.
Non-standard set up of an instrument such as:
Null Packets. The icon “!“ indicates this condition
Conditions outside the control of MT8850A/MT8852A such as:
“Warning: EUT via RF (0x%x)” (see page Error! Bookmark not
defined.)
Information This provides you with helpful information where relevant. For
example,
EUT (equipment under test) address mode: if the manual mode is
selected following the auto, the unit disconnects from the EUT and the
following message is displayed:
“EUT disconnected”
Safety The safety here refers to the MT8850A/MT8852A safety such as:
“ SYSTEM SHUTTING DOWN"
" INTERNAL TEMPERATURE EXCEEDED"

MT8850A / MT8852A Bluetooth Test Set Top-line Messages
Message Priorities
1) MESSAGE PRIORITIES
All status messages are mutually exclusive for example:
“Making connection”
“Connection made”
Script running”
Depending on the use of instrument, more than one message type can be displayed.
For example, the messages “Null packets mode” and “Script running” may be displayed
alternately:
On loss of connection, “Null packets mode” and “Connection lost” will be displayed:
Some message such as “>Error! < minimum value is ------“ are displayed for a short period
(2 seconds).
The safety message is exception to above set of rules. It has the highest priority, over
riding any current messages. Example of safety message:
“SYSTEM SHUTTING DOWN INTERNAL TEMPERATURE EXCEEDED”
A-2 13000-000109
June 2003

Top-line Messages MT8850A / MT8852A Bluetooth Test Set
13000-000109 A-3
June 2003
Error Codes
The vast majority of the top line error messages are self-explanatory and the required
course of action will be immediately apparent. The table below lists the messages for
which a note of explanation may be required.
Message Meaning
Error!< External HCI The MT8850A/MT8852A has been configured to be controlled
by an external device through its rear panel RS232 HCI
interface. To return to normal operating mode, press
CONFIG\MT885XA\System interfaces – and set “RS232
mode” to EXT COMMS.
Error!< GPIB test config When an instrument is in single test mode and configuration
change or data read is attempted for another test, this
message will appear.
Error!< in calibration
mode
This message is output when trying to perform a test run whilst
the instrument is in calibration mode.
Error!< locked script It is not possible to edit a script that has been locked by
another user. To lock and unlock scripts, press Scpt/Test,
move the pointer to the script number and press the List soft
key. The status of all scripts is then shown and can be
changed using the soft keys.
Error!< non-editable
script
Scripts 1 and 2 are factory set to represent common test
requirements and cannot be altered by the user. To define your
own script settings use scripts 3 to 10.
Authentication failure The EUT has requested Authentication from the
MT8850A/MT8852A in order to complete a connection. Set
the “Authentication” item under Equipment Under Test to
“Enabled”.
Connection ended by
local host
The MT8850A/MT8852A ended the connection with the EUT.
Connection ended, low
resource
The reason the EUT ended the connection was reported as
due to low resources.
Connection lost, timed
out
The MT8850A/MT8852A has not received any communication
from the EUT for a defined period of time. The default time is
10 seconds. It can be set under Config \ MT885XA \ RXTX
settings “Link timeout”.
Core busy, try again When driving the MT8850A/MT8852A via GPIB using the
auxiliary command, additional rules have to be applied as
listed below.
A. After a CONNECT command, check the connection
complete bit (CON) of the INS register or the ERRLST output
for the connection failure, before sending another command.
B. After the INQUIRY command, check that the inquiry is
complete using status bit (INQ) of the INS register before
sending any other commands except INQCANCEL command.

MT8850A / MT8852A Bluetooth Test Set Top-line Messages
CW Measurement mode The MT8850A/MT8852A is configured as a signal generator.
To return to normal Bluetooth test modes, press the “Exit” soft
key.
DSP not communicating Measurement processor is no longer communicating with the
main processor.
EUT not reached Max
Power
The EUT was requested to go to maximum TX power and a
MAX power LMP has not been received.
EUT not reached Min
Power
The EUT was requested to go to minimum TX power and a
MIN power LMP has not been received.
EUT RS232 not
available
The MT8850A/MT8852A was requested to update the EUT
settings via the EUT control RS232 interface when the
Bluetooth address source was not set to RS232.
EUT test mode rejected On completion of the ACL connection, the MT8850A/MT8852A
sends an activate test mode command to the EUT. The EUT
must have been preconfigured to accept this command. If the
EUT has not been initialised to go into test mode, this error
message is shown. Only Null packet mode testing can be
performed in this condition.
EUT Unsupported
feature
The MT8850A/MT8852A has sent a command to the EUT that
the EUT cannot support.
External HCI interface The instrument’s Bluetooth core is now driven only by the
RS232 connection on the MT8850A/MT8852A back panel
using standard HCI commands.
Host timeout The EUT has not responsed to a connection request before the
accept connection timer has expired.
Incorrect packet length The packet received from the EUT is not the full length of a
standard DH1, DH3 or DH5 packet. It is therefore not suitable
for measurements.
Repeated attempts The EUT reports that too little time has elapsed since an
unsuccessful attempted to connect, authenticate or pair.
Invalid Air code When attempting to establish a SCO connection with the EUT,
the MT8852A air code must correspond to the air code used by
the EUT. Press Config \ MT8852A \ Audio and set the air code
format to match that of the EUT, before attempting a SCO
connection.
Invalid LMP parameters The EUT rejected the LMP due to the parameters not being
compatible with its present state.
Invalid packet type Warning message from the measurement processor that the
packet received was not the type it had been requested to
measure.
Invalid Payload The payload has been corrupted and cannot be used for
measurements. Typically this would be an error in the
10101010 or 11110000 bit structure.
A-4 13000-000109
June 2003

Top-line Messages MT8850A / MT8852A Bluetooth Test Set
13000-000109 A-5
June 2003
LMP timeout (TC: xx
HOP: ON or OFF)
The MT8850A/MT8852A has sent an LMP test control to the
EUT and the EUT has not responded with an LMP accepted
message. “xx” represents the scenario number as defined in
the Bluetooth test mode specification. The following numbers
are used:
0: Pause Test Mode
3: Transmitter test – 1010 pattern
4: Transmitter test – PRBS9
5: Closed loop back – ACL packets
7: ACL packets without whitening
9: Transmitter test – 11110000 pattern
LMP timeout (test
pause)
The EUT has not sent an LMP accepted message to the Test
Pause message sent by the MT8850A/MT8852A.
Loop: current test failed The MT8850A/MT8852A is running a test or script in loop
mode with the "loop stop on fail" option ON. A measurement
has failed causing the test or script to stop running.
Max number of
connections
Maximum number of ACL connections.
Max number of SCO
conns
It is not possible to set up more than 3 SCO connections.
No packet detected Warning from the measurement processor. A request to
measure has been received and no packets have been
detected.
No payload detected The packets looped back by the EUT appear to have no
payload. The EUT may be looping back Null packets only.
No sync word correlation The MT8850A/MT8852A is unable to correlate to the EUT
transmitted packets header.
No test control End
event
The end of the test sequence has not been received.
Not enough
Measurements
The MT8850A/MT8852A did not receive sufficient measurable
packets to complete the selected test.
No connection made,
timeout
When attempting to establish a connection, the process failed
due to a timeout.
Operation not allowed When changing EUT audio settings, an ACL connection must
be established first.

MT8850A / MT8852A Bluetooth Test Set Top-line Messages
Null packets mode The MT8850A/MT8852A is configured to make simple
measurements on Null packets transmitted by the EUT. To
return to standard Bluetooth operating modes press Scpt/Test ,
move the pointer to the script number and press the setup
softkey. Set “Script mode” to Standard.
Role change not allowed During the connection process the EUT has attempted to
become the piconet master. This is not allowed by the
MT8850A/MT8852A which must always remain the piconet
master. Reconfigure the EUT such that it does not attempt to
become a master on connection.
Signal Over Range The EUT power is greater than the input range of the
MT8850A/MT8852A. The maximum input power for
measurement is +23dBm.
Signal Under Range The EUT power is below the input range of the
MT8850A/MT8852A. The minimum input power to maintain a
link is -55dBm, and for power measurements is –30dBm.
Single Payload mode MT8850A/MT8852A has been configured to test an EUT by
sending one test control at a time. This limits the speed with
which a range of measurements can be made, but can improve
reliability with EUTs that do not yet have a robust
implementation of test mode signalling. To return to the
standard Bluetooth operating mode press Scpt/Test, move the
pointer to the script number and press the setup softkey. Set
“Script mode” to Standard.
Synchronisation error The EUT control RS232 control of the EUT has received an
illegal sequence.
Test stopping A test stop has been requested and the test is in the process of
stopping.
Unknown HCI command When under External HCI control, an unrecognised HCI
command has been received.
Unsupported feature The EUT has been requested to use a feature it does not
support.
Communication error The EUT has not acknowledged a communication from the
MT8850A/MT8852A and the MT8850A/MT8852A has run out
of retries.
USB device attached A USB device has been attached and is ready.
USB device removed A USB device has been removed.
Non Bluetooth USB
device
The USB device attached is not a Bluetooth device.
A-6 13000-000109
June 2003

Top-line Messages MT8850A / MT8852A Bluetooth Test Set
13000-000109 A-7
June 2003
HCI and Communication List of Error Codes
This section lists the various possible error codes:
• The error codes indicate the reason for error e.g. “Connection lost” may be followed
by one of the connection error codes.
• The detail explanation of each error code is given in Bluetooth specification Part H:1,
Host Controller Interface , section 6.2 .
Error Code Description
0x01 Unknown HCI command.
0x02 No connection.
0x03 Hardware failure.
0x04 Page timeout.
0x05 Authentication failure.
0x06 Key missing.
0x07 Memory full.
0x08 Connection timeout.
0x09 Max number of connections.
0x0A Max number of SCO connections to a device.
0x0B ACL connection already exists.
0x0C Command disallowed.
0x0D Host rejected due to limited resources.
0x0E Host rejected due to security reasons.
0x0F Host rejected due to remote device is only a personal device.
0x10 Host timeout.
0x11 Unsupported feature or parameter value.
0x12 Invalid HCI Command Parameters.
0x13 Other end terminated connection: User ended connection.
0x14 Other end terminated connection: Low resources.
0x15 Other end terminated connection: About to power off.
0x16 Connection terminated by local host.
0x17 Repeated attempts.
0x18 Pairing not allowed.
0x19 Unknown LMP PDU.
0x1A Unsupported remote feature.
0x1B SCO offset rejected.
0x1C SCO interval rejected.
0x1D SCO air mode rejected.
0x1E Invalid LMP parameters.
0x1F Unspecified error.
0x20 Unsupported LMP parameter value.
0x21 Role change not allowed
0x22 LMP response timeout
0x23 LMP error transaction collision
0x24 LMP PDU not allowed
0x25 Encryption mode not acceptable
0x26 Unit key used
0x27 QoS is not supported
0x28 Instant passed
0x29 Pairing with unit key not supported

MT8850A / MT8852A Bluetooth Test Set Top-line Messages
Internal HCI and Communication List of Error Codes
Error Code Description
0X51 Message from state controller unknown
0X52 Command from state controller unknown
0X53 Failed to create piconet
0X54 Disconnect returned fail
0x55 Failed to communicate to HCI comm. port
0X56 Timeout on reply from BBP HCI
0X57 HCI link returned fail
0X58 Missing event in protocol
0X59 Timed out waiting to receive the required measurements
0x5A Did not receive a TX/LB end event
0x5B The EUT has not been put into test mode
0x5C Core returned a hardware error event
0x5D HCI command not implemented
0x5E SYNC or invalid packet length error
0x5F DSP not communicating
0x60 Max power not reached
0x61 Min power not reached
A-8 13000-000109
June 2003

Top-line Messages MT8850A / MT8852A Bluetooth Test Set
13000-000109 A-9
June 2003

13000-000109 B-1
June 2003
Appendix B. Preset Values
Link status Will perform disconnect, if connected
Script QUICKTEST
Script mode Standard
Modulation index 0.32
Range hold Auto
EUT address source Inquiry
Path offset Not changed
Script set up conditions Not changed
Test set up conditions Not changed
Test pause On
TX power level Not changed
Signal generator mode OFF
Inquiry set up 1 response
20 seconds
Common name = ON
EUT RS232 set up Baud rate = 57600
Parity = None
Data length = 8 bits
Stop bits = 1 bit
GPIB address Not changed
RS232 baud rate Not changed
RS232 mode EXT COMMS
Display Contrast = 5
Key click = ON
Entry error beep = OFF
Channel pattern Standard (72 channels)
Loop stop on test fail OFF
Loop continuously ON
Loop count Continuous
Display frequency as MHz
Inquiry scan OFF
Errata 1158 ON
Payload pkt count Transmitted
Link timeout 10 seconds
Set EUT max pwr on connection ON
End paging after 10 seconds
Read EUT name on connection OFF
Authentication Disabled

MT8850A / MT8852A Bluetooth Test Set Preset Values
B-2 13000-000109
June 2003

13000-000109 C-1
June 2003
Appendix C. Specification
This appendix provides the specification for the MT8850A/MT8852A Bluetooth Test Set.
Transmitter Tests
Test Measurement Range Hop-
ping
Test
Mode
Loopback
(Or TX)
Pay-load Packets Measurement Control
Output
Power
Average power
+ 22 dBm to -35 dBm
Peak power
+ 23 dBm to -35 dBm
OFF
and/or
ON
ON Loopback PRBS 9 Longest
Supported
To Qualification specification
or user set;
Low/Mid/High frequencies
Number of returned packets
Power
Control
Average power
+22 dBm to -35 dBm
Power steps
measured
OFF ON Loopback PRBS 9 DH 1 To Qualification specification
or user set;
Low/Mid/High frequencies
Number of returned packets
Modulation
Characteristi
cs
0 kHz to 350 kHz OFF ON TX mode or
loopback
10101010
and
11110000
Longest
Supported
To Qualification specification
or user set;
Low/Mid/High frequencies
Number of returned packets
Initial
Frequency
±1 kHz to ±150 kHz OFF
and/or
ON
ON TX mode or
loopback
PRBS 9 DH 1 To Qualification specification
or user set;
Low/Mid/High frequencies
Number of returned packets
Frequency
Drift
DH 1/3/5 packets
0 kHz to 200 kHz
>20000 Hz/50µs
OFF
and/or
ON
ON TX mode or
loopback
1010.... All
supported
packet
lengths
To Qualification specification
Hopping On/Off, or user set;
Low/Mid/High frequencies
Number of returned packets
Receiver Tests
Test Measurement Range Hop-
ping
Test-
Mode
Loopback
(Or TX)
Payload Packets Measurement Control
Sensitivity
Single slot
Dirty
transmitter
BER 0.000% to 100%
FER 0.000% to 100%
OFF
and/or
ON
ON Loopback PRBS 9 DH 1 To Qualification specification
or user set;
Low/Mid/High frequencies
Number of returned packets
Sensitivity
Single slot
Clean
transmitter
BER 0.000% to 100%
FER 0.000% to 100%
OFF
and/or
ON
ON Loopback PRBS 9 DH 1 To Qualification specification
or user set;
Low/Mid/High frequencies
Number of returned packets
Sensitivity
Multi slot
Dirty
transmitter
BER 0.000% to 100%
FER 0.000% to 100%
OFF
and/or
ON
ON Loopback PRBS 9 DH 5
(or DH3 if
DH5 not
supported)
To Qualification specification
or user set;
Low/Mid/High frequencies
Number of returned packets
Sensitivity
Multi slot
Clean
transmitter
BER 0.000% to 100%
FER 0.000% to 100%
OFF
and/or
ON
ON Loopback PRBS 9 DH 5
(or DH3 if
DH5 not
supported)
To Qualification specification
or user set;
Low/Mid/High frequencies
Number of returned packets
Max. Input BER 0.000% to 100%
FER 0.000% to 100%
OFF ON Loopback PRBS 9 DH 1 To Qualification specification
Hopping On/Off, or user set;
Low/Mid/High frequencies
Number of returned packets

MT8850A / MT8852A Bluetooth Test Set Specification
Output Power
MT8852A measures average and peak power according to the Bluetooth RF Test
Specification. Measurement of output power is made with the EUT in test mode, loopback
enabled and hopping on. MT8850A/MT8852A transmits the longest supported packets
and longest supported payload length, with a PRBS 9 payload. Power is measured at
three defined frequencies. MT8850A/MT8852A identifies the position of p0 and measures
the power of every bit in the packet.
Link conditions:
Hopping: OFF or ON – measure at Defined, All, or Any frequencies
Test mode: ON
Loopback or TX mode
Payload: PRBS 9
Packet type: DH1, DH3, DH5
Measurement:
Supported measurements: Average power, peak power
Number of measurement channels: User selectable, Defined (3), All, or Any
Measurement range: +22 dBm to -50 dBm average power (+23 dBm peak
power)
Resolution: 0.1 dB
Accuracy: +20 dBm to -35 dBm, ±1 dB
+22 dBm to +20 dBm, ±1.5 dB
Speed: Greater then 300 DH1 packets/sec. with hopping mode set to “Any”.
C-2 13000-000109
June 2003

Specification MT8850A / MT8852A Bluetooth Test Set
13000-000109 C-3
June 2003
Power Control
MT8852A measures power control according to the Bluetooth RF Test Specification.
Measurement of power control is made with the EUT in test mode, loopback enabled and
hopping off. MT8850A/MT8852A transmits DH1 packets, with a PRBS 9 payload. Power
control is measured at three defined frequencies. MT8850A/MT8852A uses standard LMP
commands to set the EUT power. MT8850A/MT8852A identifies the position of p0 and
measures the power of every bit in the packet.
Link conditions:
Hopping: OFF
Test mode: ON
Loopback or TX mode
Payload: PRBS 9
Packet type: DH1, DH3, DH5
Measurement:
Supported measurements: Maximum power, minimum power, maximum step
size, minimum step size, and power at each power step.
Number of measurement frequencies: Three, default to qualification
specification or user defined
Measurement range: +22 dBm to -35 dBm average power (+23 dBm peak
power)
Resolution: 0.1 dB
Accuracy: +20 dBm to -35 dBm, ±1 dB
+22 dBm to +20 dBm, ±1.5 dB

MT8850A / MT8852A Bluetooth Test Set Specification
Modulation Characteristics
MT8850A/MT8852A measures modulation characteristics according to the Bluetooth RF
Test Specification.
Measurement of modulation characteristics is made with the EUT in test mode, loopback
enabled and hopping off. MT8850A/MT8852A transmits longest supported packets, with
the defined payload to the EUT.
Modulation characteristics are measured at three defined frequencies.
Link conditions:
Hopping: OFF
Test mode: ON
Loopback or TX mode
Payload: 11110000 and 10101010
Packet type: DH1, DH3, DH5
Measurement:
Supported measurements: Frequency deviation. ∆f1max, ∆f2max, ∆f1avg,
∆f2avg and ∆f2avg/∆f1avg plus % of ∆f2max < 115 kHz
Number of measurement frequencies: Three, default to qualification
specification or user defined
RF input measurement range: +20 dBm to -35 dBm
Deviation measurement range: 0 Hz to 350 kHz peak
Deviation resolution: 1 kHz
Accuracy: 1 kHz
C-4 13000-000109
June 2003

Specification MT8850A / MT8852A Bluetooth Test Set
13000-000109 C-5
June 2003
Initial Carrier Frequency Tolerance
MT8850A/MT8852A measures initial carrier frequency tolerance according to the
Bluetooth RF Test specification.
Measurement of initial carrier frequency is made with the EUT in test mode, TX mode and
hopping on and/or off. MT8850A/MT8852A transmits DH1 packets, with a PRBS 9
payload. Initial carrier frequency is measured at three defined frequencies.
MT8850A/MT8852A identifies the position of p0 and measures the average frequency of
the 4 preamble bits.
Link conditions:
Hopping: OFF or ON – measure at Defined, All, or Any frequencies
Test mode: ON
Loopback or TX mode
Payload: PRBS 9
Packet type: DH1
Measurement:
Supported measurements: Initial carrier frequency error
Number of measurement channels: User selectable, Defined (3), All, or Any
RF input measurement range: +20 dBm to -35 dBm
Initial frequency error measurement range: 0 Hz to ±150 kHz
Frequency resolution: 1 kHz
Accuracy: 1 kHz
Speed: Greater then 300 DH1 packets/sec. with hopping mode set to “Any”.

MT8850A / MT8852A Bluetooth Test Set Specification
Carrier Frequency Drift
MT8850A/MT8852A measures carrier frequency drift according to the Bluetooth RF Test
Specification. Measurement of frequency drift is made with the EUT in test mode, with
either loopback or transmitter test mode enabled. EUT transmits longest supported
packets, with a 10101010 payload to the EUT. Measurements are made with hopping off
and then with hopping on. Frequency drift is measured at three defined frequencies with
hopping off and every frequency with hopping on.
Link conditions:
Hopping: OFF or ON – measure at Defined, All, or Any frequencies
Test mode: ON
Loopback or TX mode
Payload: 10101010
Packet type: DH1, DH3, DH5
Measurement:
Supported measurements: Carrier frequency drift
Number of measurement channels: User selectable, Defined (3), All, or Any
RF input measurement range: +20 dBm to -35 dBm
Frequency drift measurement range: 0 Hz to 200 kHz, and > 2000/50µs
Frequency resolution: 1 kHz
Accuracy: 1 kHz
C-6 13000-000109
June 2003

Specification MT8850A / MT8852A Bluetooth Test Set
13000-000109 C-7
June 2003
Sensitivity - Single Slot Packets
MT8850A/MT8852A measures single slot sensitivity according to the Bluetooth RF Test
Specification
BER and FER are measured with the EUT in test mode and loopback on.
MT8850A/MT8852A transmits DH1 packets, with a PRBS 9 payload to the EUT. The user
can select to run the measurement with hopping on or off. Dirty transmitter conditions as
defined in the Bluetooth test specifications can be enabled.
Link conditions:
Hopping: OFF or ON, user selectable
Test mode: ON
Loopback: ON
Payload: PRBS 9
Packet type: DH1
Dirty transmitter (as defined in RF test spec): ON or OFF, user selectable
Measurement:
Supported measurements: BER, total number of bit errors and FER
Number of measurement frequencies: Three with hopping off, or hopping on.
Number of measured bits: 1 to 32,768 packets (216 to 7,077,888 bits)
MT8850A/MT8852A transmitter output range: 0 dBm to -80 dBm, resolution 0.1
dB
BER/FER measurement range: 0.000% to 100%
BER/FER resolution: 0.001%
Dirty transmitter specification
MT8850A/MT8852A transmits the first 20 ms with the first set of measurement conditions,
the second 20 ms with the second set of measurement conditions up to the tenth set of
conditions. The cycle is then repeated until the test is complete.
Measurement
conditions
Carrier frequency
offset
Modulation index Symbol timing
error
1 75 kHz 0.28 -20 ppm
2 14 kHz 0.30 -20 ppm
3 -2 kHz 0.29 +20 ppm
4 1 kHz 0.32 +20 ppm
5 39 kHz 0.33 20 ppm
6 0 kHz 0.34 -20 ppm
7 -42 kHz 0.29 -20 ppm
8 74 kHz 0.31 -20 ppm
9 -19 kHz 0.28 -20 ppm
10 -75 kHz 0.35 +20 ppm
In addition to the above measurement conditions, MT8850A/MT8852A transmits with a
sine wave, frequency modulation, with a deviation of ±25 kHz. rate 1.6 kHz, synchronized
to zero phase at the packet start.

MT8850A / MT8852A Bluetooth Test Set Specification
Dirty transmitter, user control; any entry in the dirty transmitter table can be edited within
the following ranges;
carrier frequency offset: 0 Hz to 100 kHz, 1 kHz resolution. •
•
•
Modulation index: 0.25 to 0.38, 0.01 resolution
Symbol timing error: 0 ppm, +20 ppm or 20 ppm
Sensitivity - Multi-Slot Packets
MT8850A/MT8852A measures multi-slot sensitivity according to the Bluetooth RF Test
Specification
BER and FER are measured with the EUT in test mode and loopback on.
MT8850A/MT8852A transmits DH5 packets (or DH3 packets if DH5 not supported by
EUT), with a PRBS 9 payload to the EUT. The user can select to run the measurement
with hopping on or off. Dirty transmitter conditions as defined in the Bluetooth test
specifications can be enabled.
Link conditions:
Hopping: OFF or ON, user selectable
Test mode: ON
Loopback: ON
Payload: PRBS 9
Packet type: DH3, DH5
Dirty transmitter (as defined in RF test spec): ON or OFF, user selectable
Measurement:
Supported measurements: BER, total number of bit errors and FER Number of
measurement frequencies: Three with hopping off, or hopping on.
Number of measured bits: 1 to 32,768 packets (for DH3, 1,464 to 47,972,352
bits), (for DH5, 2,712 to 88,866,816 bits).
MT8850A/MT8852A transmitter output range: 0 dBm to -80 dBm, 0.1 dB
resolution
BER/FER measurement range: 0.000% to 100%
BER/FER resolution: 0.001%
Dirty transmitter specification: as for single-slot sensitivity section except; in
addition to the measurement condition table, MT8850A/MT8852A transmits with
a sine wave, frequency modulation, with a deviation of ±40 kHz, rate 500 Hz (3
slots) or 300 Hz (5 slots), synchronized to zero phase at the packet start.
C-8 13000-000109
June 2003

Specification MT8850A / MT8852A Bluetooth Test Set
13000-000109 C-9
June 2003
Maximum Input Level
MT8850A/MT8852A measures BER and FER at the EUT maximum input level according
to the Bluetooth RF Test Specification. Measurement is made with the EUT in test mode,
loopback enabled and hopping off. MT8850A/MT8852A transmits the DH1 packets with a
PRBS 9 payload. The MT8850A/MT8852A transmitter level is set so that the EUT receiver
input level is -20 dBm. BER and FER are measured at three defined frequencies.
Link conditions
Hopping: OFF
Test mode: ON
Loopback: ON
Payload: PRBS 9
Packet type: DH1
Measurement:
Supported measurements: BER and FER for -20 dBm at receiver input
Number of measurement frequencies: Three, default to qualification
specification or user defined
Number of measured bits: 1 to 32,768 packets (216 - 7,077,888 bits)
Transmitter power settable range: 0 dBm to -80 dBm
Resolution: 0.1 dB

MT8850A / MT8852A Bluetooth Test Set Specification
MT8850A/MT8852A Signal Generator
Frequency
Frequency range: 2.40 to 2.5 GHz
Frequency resolution 1 kHz
Frequency accuracy As frequency standard ± 25 Hz
Settling time (when
hopping)
<160µs to ± 75 kHz during the establishing of a link. When a link
has been established and the EUT been placed into test mode,
the MT8850A/MT8852A transmitter is pre-tuned to ±1 kHz of the
nominal channel frequency at the beginning of its data burst for
both fixed frequency or hopping measurements.
Level
Amplitude range 0 dBm to -80 dBm
Amplitude accuracy ±1 dB
Amplitude resolution ±0.1 dB
Output impedance 50 Ohm (nominal)
Output VSWR 1.5:1 (typically 1.3)
Adjacent channels 3 or higher -40 dBc
Spurious 30 MHz to 1 GHz; -36 dBc
1 GHz to 12 GHz; -30 dBc
1.8 GHz to 1.9 GHz; -47 dBc
5.15 GHz to, 5.3 GHz; -47 dBc
or -80 dBm, whichever is greater
Modulation
Modulation GFSK
Modulation index Variable, 0.25 to 0.38
(125 kHz to 190 kHz)
Mod index resolution 0.01
Mod index accuracy 1 kHz
Baseband filter BT=0.5
C-10 13000-000109
June 2003

Specification MT8850A / MT8852A Bluetooth Test Set
13000-000109 C-11
June 2003
MT8850A/MT8852A Measuring Receiver
Frequency
Range 2.40 to 2.5 GHz
Resolution 1 kHz
Settling time <160µs to 75 kHz during the establishment of a link. When a link has
been established and the EUT has been placed into test mode, the
MT8850A/MT8852A receiver is pre-tuned to ±1 kHz of the nominal
channel frequency.
Accuracy As frequency standard ± 25 Hz
Measurement
channel
bandwidth
2 MHz 3dB bandwidth, flat response Fc ± 550 kHz, and 1.3 MHz
3dB bandwidth, flat response Fc ± 550 kHz.
Level
Range +22 dBm to -55 dBm average power
Power
measurement
accuracy
±1 dB (+20 dBm to -35 dBm)
Input VSWR 1.5:1
Damage level +25 dBm
Resolution 0.1 dB
Modulation
Modulation GFSK
Deviation
measurement
range
0 to 350 kHz peak
Accuracy 1 kHz
EUT Control Interface
The EUT control interface provides RS232 HCI commands to EUT through a standard
RS232 interface. The interface meets the requirements of Bluetooth V1.1 specification for
HCI UART transport layer. An RS232 cable is supplied.
The EUT control interface provides USB HCI commands to EUT through a standard USB
interface. The interface meets the requirements of Bluetooth V1.1 specification section
H:2. A USB cable is supplied (MT8852A only).

MT8850A / MT8852A Bluetooth Test Set Specification
Audio Specifications (MT8852 only)
Number of SCO channels supported 3
Codec air interfaces supported CVSD, A-Law, µ-Law
Frequency response: (-3dB) measured CODEC in to CODEC out:
160Hz -3.5kHz. Measured with 50Ω source
impedance and 10MΩ load impedance.
Maximum input / output signal level: 3.4Vpk-pk = 1.2V RMS.
Distortion/noise: greater than –40dB relative to 1kHz, 1V RMS
input/output.
Input/Output connectors 3.5mm audio jack plugs (one for each SCO
channel)
Input impedance: 20KΩ.
Minimum output load: 600Ω.
Internal audio source 1kHz fixed frequency
Frequency Standard
Frequency 10 MHz
Accuracy ±0.5 ppm at 25ºC
Temperature Stability ±0.5 ppm, -10ºC to +85ºC
Aging (1st year) ±1.0 ppm
Aging (over 10 years) ±2.5 ppm, including year 1
Rear Panel Connectors
External frequency
standard input
Rear panel BNC socket, 50Ω 1 volt
Output 1 TTL output for TX ON, TX DATA, RX DATA, and correlator.
Output 2 TTL output for RX ON, TX DATA, RX DATA, and correlator.
Input 1 For service use only
GPIB
IEE 488.2. Offers full instrument control as standard. User can also read the 4 x over-
sampled magnitude and frequency values of each data bit in the last measured packet.
RS 232
RS 232 interface offering full instrument control as standard
C-12 13000-000109
June 2003

Specification MT8850A / MT8852A Bluetooth Test Set
13000-000109 C-13
June 2003
Power Requirements
Supply 85 to 264 Volts AC
47 to 63 Hz
150 VA MAX
Environmental
Operating
temperature
5 to +40ºC
Operating humidity 20% to 75%
Safety Complies with IEC 1010-1
EMC Conforms to the protection requirements of EEC Council
Directive 89/336/EEC.
Size and Weight
Dimensions 216.5 mm x 88 mm x 380 mm
Weight <3.45 kg
Ordering Information
MT8850A/MT8852A Bluetooth Test Set
Included accessories
Power cord for destination country
RS232 HCI control interface lead
USB HCI control interface lead (MT8852A only)
RS232 cable for firmware updates
Operation Manual
Remote programming manual
Certificate of Calibration
LabVIEWTM Driver
BlueSuite software (standard version)
3.5 mm jack plug x 3 (MT8852A only)

MT8850A / MT8852A Bluetooth Test Set Specification
Options and Accessories
MT8850A-01 Rack Mount, single instrument
MT8850A-03 Rack Mount, side-by-side
MT8850A-06 Rear Mount RF and EUT connectors
MT8850A 10 Bluetooth antenna and adapter
MT8852A-12 Headset Profile Emulator Software
MT8850A-20 Spare EUT/RS232 cable
MT8850A-21 Spare EUT/USB cable
MT8850A-30 Extra Operation and Programming Manual
D41310 Soft Carry Case with shoulder strap
2300-259 BlueSuite Pro software
C-14 13000-000109
June 2003

Appendix D. Bit and Frame Error Rates
The flow diagram below illustrates the decision processing performed by the
MT8850A/MT8852A in determining bit and frame error rates.
Start
Packet
Received
Decode Header
HEC Check NULL with
NAK
CRC
FER Count
CRC +1
LENGTH +1
FER Count
CRC +1
LENGTH FER Count
LENGTH +1
BER
Payload
END
FER Count
Lost +1
FER Count
LOST +1
Pass
Pass
Pass
Fail
Fail
Fail
NO
NO
Yes
Yes Sync found
END
13000-000109 D-1
June 2003

Appendix E. Connector Care and Handling
Follow the precautions listed below when handling or connecting cables. Complying with
these precautions will guarantee longer component life and less equipment down time due
to connector or device failure. Also, such compliance will ensure that
Beware of destructive pin depth mating connectors
Destructive pin depth of mating connectors is the major cause of failure in the field. When
an RF component is mated with a connector having a destructive pin depth, damage will
usually occur to the RF component connector. A destructive pin depth is one that is too
long in respect to the reference plane of the connector (see figure below).
N connector pin depth definition
The center pin of a precision RF component connector has a precision tolerance. The
mating connectors of various RF components may not be precision types.
Consequently, the center pins of these devices may not have the proper pin depth.
The pin depth of DUT connectors should be measured to assure compatibility before
attempting to mate them with Power Sensor connectors. An Anritsu Pin Depth Gauge
or equivalent can be used for this purpose.
Pin depth gauge
If the measured connector is out of tolerance in the "+" region, the center pin is too
long (see Allowable DUT connector pin depth table below). Mating under this
condition will likely damage the precision RF component connector. If the test device
connector measures out of tolerance in the "-" region, the center pin is too short. This
should not cause damage, but it will result in a poor connection and a consequent
degradation in performance.
13000-000109 E-1
June 2003

MT8850A / MT8852A Bluetooth Test Set Connector Care and Handling
DUT Connector
Type
Anritsu Gauging
Set Model
Pin Depth
(inches)
Pin Depth
Gauge Reading
N - Male
N - Female
01-163 207 -0.000
+0.030
207 +0.000
-0.030
WSMA - Male
WSMA - Female
3.5 mm - Male
3.5 mm - Female
01-162 -0.000
-0.010
Same as pin
depth
Allowable DUT connector pin depth
Avoid over torquing connectors
Over torquing connectors is destructive; it may damage the connector center pin. Finger-
tight is usually sufficient for Type N connectors. Always use a connector torque wrench (8
inch-pounds) when tightening WSMA, K or V type connectors. Never use pliers to tighten
connectors.
Avoid mechanical shock
Precision connectors are designed to withstand years of normal bench handling. However,
do not drop or otherwise treat them roughly. Mechanical shock will significantly reduce
their service life.
Do not disturb Teflon tuning washers on connector center pins
The center conductor on many RF component connectors contains a small Teflon washer
that is located near the point of mating. This washer compensates for minor impedance
discontinuities at the interface. Do not disturb this washer. The location of the washer is
critical to the performance of the RF component.
Cleaning connectors
The precise geometry that makes possible the RF component's high performance can
easily be disturbed by dirt and other contamination adhering to the connector interfaces.
When not in use, keep the connectors covered.
To clean the connector interfaces, use a clean cotton swab that has been dampened with
denatured alcohol.
NOTE: Most cotton swabs are too large to fit in the smaller
connector types. In these cases, it is necessary to peel off most
of the cotton and then twist the remaining cotton tight. Be sure
that the remaining cotton does not get stuck in the connector.
Cotton swabs of the appropriate size can be purchased through
a medical laboratory-type supply center.
The following are some important tips on cleaning connectors:
Use only denatured alcohol as a cleaning solvent •
•
•
•
Do not use excessive amounts of alcohol as prolonged drying of the connector may be
required
Never put lateral pressure on the center pin of the connector
If installed, do not disturb the Teflon washer on the center conductor pin
E-2 13000-000109
June 2003

Connector Care and Handling MT8850A / MT8852A Bluetooth Test Set
13000-000109 E-3
June 2003
•
•
•
Verify that no cotton or other foreign material remains in the connector after cleaning it
If available, use compressed air to remove foreign particles and to dry the connector
After cleaning, verify that the center pin has not been bent or damaged.

MT8850A / MT8852A Bluetooth Test Set Connector Care and Handling
E-4 13000-000109
June 2003

13000-000109 E-1
June 2003
Index
A
about Bluetooth, 2-1
AC line power, 3-1
accessing script menu, 8-2
accessories, 1-1, 1-2, C-13, C-14
activate test mode, 2-2
advanced diagnostic tools, 2-3
alpha/numeric keypad, 5-5
arrow keys, 5-4
assembly procedure, 3-3
audio measurements, 9-1
authentication - setting up, 7-8
automatic EUT connection, 7-7
average and peak power, C-2
B
back key, 5-4
baud rate, 7-1, 7-6, 7-11
BlueSuite support software, 2-3
Bluetooth, i
Bluetooth address, 2-3, 7-1, 7-4, 8-5, 8-
40
Bluetooth link, 2-3
Bluetooth RF test specification, 2-2, 8-
11, 8-17, 8-20, 8-23, 8-26, 8-36, C-2,
C-3, C-4, C-6, C-7, C-8, C-9
bootload, 7-21
BT address, 2-3, 7-1, 7-4, 8-5, 8-40
C
carrier drift test, 8-20, 8-36
carrier drift test results, 8-44, 8-46, 8-
48, 8-51
carrier frequency drift, 2-2, 8-20, 8-36,
C-6
carrier frequency offset, 2-2
certificate of calibration, 1-2, C-13
change access password, 8-3
change password, 8-4
changing a frequency, 8-12, 8-15, 8-18,
8-22, 8-25, 8-28, 8-30, 8-33
changing name of a script, 8-3
channel number, 7-2, 7-13
choosing screen entries, 5-4
cleaning connectors, E-2
clear key, 5-4
common name, 7-2, 7-7, 8-40
config hard key, 5-4
configuring MT8850A, 5-4, 7-1
connections, 2-1, 4-1
connector care, D-1, E-1
connector handling, D-1, E-1
conventions, 1-2
cooling, 3-2
creating test programs, 2-2
customizing test measurements, 2-3
cycles, 8-14, 8-29
D
data length, 7-2, 7-11
deviation rate, 7-18
dirty parameters table, 8-24, 8-27
dirty transmitter, 8-24, 8-27, C-1, C-7,
C-8
dirty transmitter table, 2-2, 8-23, 8-26,
C-8
display contrast, 7-12
display frequency, 7-19
drift selection, 8-24, 8-27
E
editing tests, 2-3
Ellipse icon, 7-5
end paging after, 7-7
entry error bleep, 7-1, 7-12
environmental requirements, 3-2, 3-10
environmental specifications, 3-2, 3-10,
C-13
error codes, A-3
error message, 2-2, A-1, A-2, A-3, A-7,
A-8
EUT address, 7-2, 7-4, 7-9, 8-40
EUT control, 1-1, 7-6, C-11, C-13
EUT control interface, 1-1, C-11, C-13
EUT remote loopback, 9-6
EUT source, 7-9, 8-40
extended results, 8-41
F
features, 2-2
Follow test, 7-12, 8-5
foot removal, 3-3, 3-4
frequency accuracy, 2-2, 8-17, 8-35
frequency modulation, 2-2
frequency standard, C-12
front panel, 4-1, 5-1, 5-3, 6-1
front panel connectors, 4-1

MT8850A / MT8852A Bluetooth Test Set Index
loop stop on failure, 7-19
front panel controls, 5-1
loop/stop hard key, 5-3
fuse protection, 3-1
G M
Getting started, 6-1 making a link, 2-3
GPIB address, 7-1, 7-11 maximum input level, C-9
GPIB indicators, 7-1 maximum input power test, 8-32, 8-39
GPIB interface, 2-2 maximum input power test results, 8-51
GPIB serial connecting port, 7-11 measuring power, 2-2
grounding, 3-1 measuring receiver, 7-17, C-11
menu entries, 7-1, 8-1
menu features, 5-1
H menu functions, 5-1
message priorities, A-2
hard keys, 5-3 message type, A-1, A-2
hexadecimal address, 5-5 modulating bit pattern, 7-13
hopping, 8-11, 8-12, 8-17, 8-18, 8-21,
8-24, 8-27, C-1, C-2, C-3, C-4, C-5,
C-6, C-7, C-8, C-9
modulation characteristics, C-4
modulation index, 2-2, 7-2, 7-13, 7-18,
8-24, 8-27, 8-29, 8-30, 8-39, 8-50, B-
1, C-7, C-8, C-10
hopping test mode, 8-12, 8-18, 8-21
humidity, 3-2, 3-10, C-13 modulation index test, 8-29, 8-39
modulation index test results, 8-50
I modulation rate, 7-18
multi-slot sensitivity test, 8-26, 8-38
identity of MT8850A, 7-10 multi-slot sensitivity test results, 8-
48, 8-51
IEE 488.2, C-12
IF bandwidth filter, 7-18
individual test, 8-2, 8-5, 8-11 N
information message, 1-1, A-1
initial carrier frequency tolerance, C-5 national standard, 2-1, 2-2
initial carrier test, 8-17, 8-35 null packets mode, 6-5, A-2
initial carrier test results, 8-43 number of cycles, 8-14, 8-29
initiate link, 2-2 number of packets, 8-12
installation, 1-1, 3-1, 3-2, 3-9 number of responses, 7-7
number of seconds, 7-7
J
O
jack plug wiring, 9-5
obtaining results, 8-1, 8-5
K offset frequency, 8-24, 8-27
offset table, 8-8, 8-32
key click, 7-1 offset value, 8-8, 8-32
operation, ii, iii, 1-1, 3-1, 3-2, 7-11, 7-
18, 7-19, 7-20, 7-21, A-1
L optional features, 7-5
options, 1-1, 1-2, 3-1, 3-10, 5-3, 6-1, 8-
11
linear PCM bit posn, 9-2
Link Timeout, 7-18 ordering information, C-13
lock script, 8-3, 8-4 output power specification, 8-11, 8-12,
8-13, 8-34, 8-41, 8-50, C-2
longest supported packets, C-2, C-4, C-
6 output power test, 8-11, 8-34
longest supported payload length, C-2 output power test results, 8-41
loop continuously, 7-19
loop count, 7-19
Index-E-2 13000-000109
June 2003

Index MT8850A / MT8852A Bluetooth Test Set
13000-000109 Index-E-3
June 2003
P
packet lengths, 8-21
packet type, 8-12, 8-14, 8-29, C-2, C-3,
C-4, C-5, C-6, C-7, C-8, C-9
parity, 7-2, 7-11
payload pkt count, 8-23
perform measurements, 2-2
physical connections, 4-1
pin depth, E-1, E-2
pin depth gauge, E-1, E-2
poll packets, 6-5, 8-20, 8-36
power control specification, 7-5, 8-14,
8-16, 8-42, C-3
power control test, 8-14
power control test results, 8-42
power level range, 7-13
power on procedure, 5-1
power requirements, 3-1, C-13
power-on self test (POST), 3-1, 5-3, 6-1
power-on-procedure, 5-3
PRBS9, 7-13
preparing for use, 6-1
preset hard key, 5-4
product overview, 2-1
R
rack mounting, 3-2
rack mounting installation, 3-9
radio interface, 7-7
range hold, 7-17
rear panel connectors, 4-1, C-12
Rear Panel Outputs, 7-15
receiver sensitivity, 2-2, 8-6
receiver sensitivity measurements, 2-2
receiver tests specification, C-1
reference Bluetooth transceiver, 2-2
remote control, 2-2
report results, 2-2
RF power, 7-2, 7-13, 8-6
RF test specification, 2-2, 2-3, C-2, C-3,
C-4, C-6, C-7, C-8, C-9
RS 232 interface, 2-2, C-11, C-12
RS232 mode, 7-11
RS232 serial connecting port, 7-11
run hard key, 5-3
running a single test, 6-2, 8-5
running scripted tests, 6-1, 8-5
S
safety, A-1, C-13
safety symbols, ii
SCO, 9-1
screen display and sound, 7-12
script hard key, 5-3
script menu, 5-3, 8-1, 8-2, 8-5
script mode, 6-2
sel. key, 5-4
sensitivity - multi-slot packets, C-8
sensitivity - single slot packets, C-7
sequence of tests, 8-1
serial communication, 7-6
serial number, 7-10
set password, 8-3, 8-4
setting up EUT, 7-4, 7-6
shipping information, 3-1
signal generator, 7-13, C-10
single payload mode, 6-2, 6-4, 8-34, 8-
39, 8-42, 8-52
single slot sensitivity results, 8-46
single slot sensitivity test, 8-23, 8-37
single test mode, 2-2, 5-3
size and weight, 2-2, C-13
slot sensitivity, 8-23, 8-26, 8-37, 8-38,
8-46, C-7
soft keys, 5-3, 5-4
software modules, 7-10
software upgrade, 2-3, 7-21
software version number, 7-10
specific instrument features, A-1
specification, 2-3, C-1
Standard Mode, 6-4, 8-11, 8-14, 8-17,
8-20, 8-23, 8-26, 8-29, 8-32
status message, A-1, A-2
STE, 8-24, 8-27
stop, 7-2, 7-11, 8-40
storage and shipment, 3-10
storage information, 3-1
stress conditions, 2-2
supported features, 7-2, 7-5
symbol timing error, 2-2, 8-24, 8-27
system interfaces, 7-11, 7-12
T
temperature range, 3-2
test control delay, 8-7
test modes, 6-2
test pause, 8-7
test results, 6-3, 8-41, 8-42, 8-43, 8-44,
8-46, 8-48, 8-50, 8-51
test script operation, 7-13, 7-19
test scripts, 2-2, 2-3, 7-1, 7-19
test type, 8-12, 8-14, 8-15, 8-18, 8-21,
8-22, 8-29, 8-30
testing capabilities, 2-1
tests defined, 8-1
text message, A-1

MT8850A / MT8852A Bluetooth Test Set Index
June 2003
tools required, 3-3
top-line messages, A-1
transmission power level, 8-6
transmission power offset value, 8-32
transmitter test specification, C-1
TX output spectrum, 2-3
TX power level, 8-6, 9-2
U
unlock script, 8-3, 8-4
unsupported features, 7-5
updating software, 7-21
USB, 1-1, 2-3, 6-2, 6-3, 8-40, A-6, C-11,
C-13
user friendly name, 7-2, 7-4, 7-7, 7-10,
8-1, 8-40
user interface, 2-1, 7-12
user text display, 7-1, 7-12
W
warning message, A-1
warranty, i
Index-E-4 13000-000109

AUSTRALIA Brazil CANADA
ANRITSU PTY. LTD. ANRITSU ELETRONICA LTDA. 700 Silver Seven Road, Suite 120, Kanata,
Unit 3, 170 Foster Road Praia de Botafogo 440, Sala 2401 ON K2V 1C3,
Mt Waverley, VIC 3149 CEP 22250-040, Canada
Australia Rio de Janeiro, RJ, Telephone: +1-613-591-2003
Telephone: +61-3-9558-8177 Brasil Fax: +1-613-591-1006
Fax: +61-3-9558--8255 Telephone: +55-21-5276922
Fax: +55-21-537-1456
CHINA DENMARK FINLAND
ANRITSU BEIJING SERVICE CENTER Anritsu ab Anritsu AB
416W Beijing Fortune Building Tonsbakken 10 Piispanportti 9, FIN-02240 Espoo,
5 Dong San Huan Bei Lu DK 2740 Skovlunde Finland
Chao Yang Qu, Beijing 1000004, Denmark Telephone: +358-9-435-522-0
China
Telephone: +86-1186-1065909237
Telephone +45-44502160 Fax: +358-9-435-522-50
Fax +45-44502170
Fax: +86-1186-1065909236
FRANCE GERMANY HONG KONG
9, Avenue du Québec Z.A. de Courtabœuf
91951 Les
Grafenberger Allee 54-56, ANRITSU COMPANY LTD.
40237 Düsseldorf, Suite 719, 7/F., Chinachem Golden Plaza,
Ulis Cedex, Germany 77 Mody Road, Tsimshatsui East, Kowloon,
France Telephone: +49-211-96855-0 Hong Kong, China
Telephone: +33-1-60-92-15-50 Fax: +49-211-96855-55 Telephone: +852-2301-4980
Fax: +33-1-64-46-10-65 Fax: +852-2301-3545
ITALY JAPAN KOREA
ANRITSU Sp.A 5-10-27, Minamiazabu, ANRITSU CORPORATION LTD.
Via Elio Vittorini, 129, 00144 Roma EUR,
Italy
Minato-ku, Tokyo 106-8570, 14F Hyun Juk Bldg. 832-41, Yeoksam-dong,
Japan Kangnam-ku,
Telephone: +39-06-509-9711 Telephone: +81-3-3446-1111 Seoul, Korea
Fax: +39-06-502-24-25 Fax: +81-3-3442-0235 Telephone: +82-2-553-6603
Fax: +82-2-553-6604˜ 5
SINGAPORE SWEDEN TAIWAN
10, Hoe Chiang Road, # 07-01/02 Anritsu AB ANRITSU CO., LTD.
Keppel Towers Fågelviksvägen 9A 7F, NO.316, Sec.1 NeiHu Rd., Taipei,
Singapore 089315 145 84 Stockholm Taiwan, R.O.C
Telephone: +65-282 2400 Sweden Telephone: +886-2-8751-1816
Fax : +65- 282 2533 Telephone: +46-8-74-05-840 Fax: +886-2-8751-1817
Fax: +46-8-71-09-960
UNITED KINGDOM UNITED STATES
200 Capability Green, Luton, 1155 East Collins Blvd., Richardson, TX
75081, Bedfordshire
LU1 3LU, U.S.A.
U.K. Toll Free: 1-800-ANRITSU (267-4878)
Telephone: +44-1582-433200 Telephone: +1-972-644-1777
Fax: +44-1582-731303 Fax: +1-972-671-1877