AnyDATA EMIVV2 CDMA DATA MODEM User Manual CDMA DATA TERMINAL
AnyDATA Corporation CDMA DATA MODEM CDMA DATA TERMINAL
AnyDATA >
Contents
- 1. Users Manual
- 2. Users Manual 2
Users Manual 2

CDMA DATA TERMINAL
DTG2000-Dual Version 2.0 Reference Manual
Application Information
Mar. 16, 2006
01-DTG2000-Dual-V2 X2
AnyDATA.NET
AnyTime AnyPlace Any Wireless Data Solutions™
International Contact
AnyDATA Corp.
18902 Bardeen Ave
Irvine, CA 92612-1522, U.S.A.
e-mail : johnkim@anydata.net
Korea Contact
AnyDATA.NET
Hanvit Bank Bldg. 6th Fl., 1-12
Byulyang-dong Kwachon,
Kyunggi-do, Korea
e-mail : info@anydata.net

AnyDATA.NET Inc. AnyTime AnyPlace Any Wireless Data SolutionTM
Notice
All data and information contained in or disclosed by this document are confidential and proprietary
information of AnyDATA.NET Inc., and all rights therein are expressly reserved. By accepting this
material, the recipient agrees that this material and the information contained therein are held in
confidence and in trust and will not be used, copied, reproduced, or distributed in whole or in part, nor its
contents revealed in any manner to others without the express written permission of AnyDATA.NET Inc.
AnyDATA.NET Inc. does not assume any liability arising out of the application or use of its products.
AnyDATA.NET Inc. assumes no responsibility for any damage or loss resulting from the misuse of its
products. AnyDATA.NET Inc. assumes no responsibility for any loss or claims by third parties, which
may arise through the use of its products. AnyDATA.NET Inc. assumes no responsibility for any damage
or loss caused by the deletion or loss of data as a result of malfunctions or repairs.
The information contained in this document is subject to change without notice. Information contained
herein is for reference only and does not constitute a commitment on the part of AnyDATA.NET Inc.
Although the information in this document has been carefully reviewed and it’s believed to be reliable,
AnyDATA.NET Inc. assumes no responsibility or liability for any errors or inaccuracies that may appear
in this document nor are they in anyway responsible for any loss or damage resulting from the use (or
misuse) of this document.
It is advised for the customers to contact our engineers for more information with respect to Keypad,
audio interface, RF interface and input power supply before they start an actual design.
OEM integrators and installers are instructed that the phrase 'This device contains transmitter FCC ID:
P4M-DTG2000V2 must be placed on the outside of the host.
All Rights Reserved. AD-2001-06-28 Ver 1.1
-2-
!
Warning: Exposure to Radio Frequency Radiation
The radiated output power of this device is far below the FCC radio frequency exposure limits.
Nevertheless, the device should be used in such a manner that the potential for human contact
during normal operation is minimized. In order to avoid the possibility of exceeding the FCC
radio frequency exposure limits, human proximity to the antenna should not be less than 20cm
during normal operation and the gain of the antenna must not exceed 1dBi

AnyDATA.NET Inc. AnyTime AnyPlace Any Wireless Data SolutionTM
Contents
1 Introduction
1.1 Purpose
1.2 Organization
1.3 Revision History
1.4 Reference
1.5 Acronym List
2 Overview
2.1 Application Description
2.2 Technical Specifications
2.2.1 General Specification
2.2.2 Receive Specification
2.2.3 Transmit Specification
2.2.4 Standards
2.3 Interface Diagram
3 PIN Description
3.1 I/O Description Parameters
3.2 PIN Names and Pin-outs
3.2.1 100-PIN Connector
3.3 100-Pin Connector Pin-out (Top view)
4 Interface Descriptions
4.1 Overview
4.2 Powering Up the Module
4.3 CODEC Interface
All Rights Reserved. AD-2001-06-28 Ver 1.1
-3-
4.4 UART Interface
4.3.1 UART1 Interface

AnyDATA.NET Inc. AnyTime AnyPlace Any Wireless Data SolutionTM
4.3.2 UART2 Interface
4.3.3 UART3 Interface
4.5 General Purpose Interface
4.6 External Hardware Reset and Power Down Registration
4.7 User Interface
4.7.1 Key Pad
4.7.2 LCD
4.7.3 Ringer
4.7.4 LED Interface
5 Electrical Specifications
5.1 DC Electrical Specifications
5.1.1 Absolute Maximum Ratings
5.1.2 Recommended Operating Conditions
5.1.3 Power Consumption
5.1.4 Serial Interface Electrical Specifications
5.2 Timing Characteristics
5.2.1 External CODEC Timing
5.2.2 LCD Timing
4 Mechanical Dimension
6.1 DTG2000-Dual V2.0 Outline
6.2 100-Pin Connector
6.3 RF Connector
7 Application Schematic
All Rights Reserved. AD-2001-06-28 Ver 1.1
-4-

AnyDATA.NET Inc. AnyTime AnyPlace Any Wireless Data SolutionTM
Figures
Figure 2-1 Interface Block Diagram ....................................................................................... 11
Figure 2-2 General Features ................................................................................................... 12
Figure 4-1 Interface Block Diagram ....................................................................................... 16
Figure 4-2 Keypad Matrix ...................................................................................................... 21
Figure 4-3 LCD Interface Block Diagram .............................................................................. 22
Figure 4-4 Reference External Ringer Driver Circuit ............................................................. 23
Figure 5-1 External PCM CODEC to Module timing ............................................................ 25
Figure 5-2 Module to External PCM CODEC timing ............................................................ 25
Figure 5-3 LCD Timing .......................................................................................................... 26
Figure 6-1 100-pin Female Connector …………………………………………………………... 29
Figure 6-2 PCB Connector .……………………………………………………………………..30
Figure 6-3 PCB Connector Layout .……………………………………………………………. 30
Figure 6-4 Mechanical Characteristics of Cable Harness Assembly .……………………….…. 31
All Rights Reserved. AD-2001-06-28 Ver 1.1
-5-

AnyDATA.NET Inc. AnyTime AnyPlace Any Wireless Data SolutionTM
Tables
Table 1-1 Revision History ....................................................................................................... 7
Table 3-1 100-PIN Connector Pinouts ................................................................................... 15
Table 4-1 Analog Audio Pinouts ............................................................................................ 17
Table 4-2 Digital CODEC Pinouts ......................................................................................... 18
Table 4-3 UART Interface Pinouts ......................................................................................... 18
Table 4-4 UART2 Interface Pinouts ……………..…………………………………………… 19
Table 4-5 UART3 Interface Pinouts ....................................................................................... 19
Table 4-6 General Purpose Interface Pinouts ………………………………………………… 20
Table 4-7 LCD Interface Signals ............................................................................................ 22
Table 5-1 Absolute Maximum Ratings ................................................................................... 24
Table 5-2 External PCM CODEC Parameters ........................................................................ 26
Table 5-3 LCD Timing Parameters .......................................................................................... 27
All Rights Reserved. AD-2001-06-28 Ver 1.1
-6-

AnyDATA.NET Inc. AnyTime AnyPlace Any Wireless Data SolutionTM
1. Introduction
1.1 Purpose
This manual provides hardware interface and programming information for the DTG2000-Dual V2.0
CDMA Wireless Data Module.
1.2 Organization
This manual will discuss the interface and operation of the module and is divided into the following
subsections:
Section 2 – Introduces users to the DTG2000-Dual V2.0 CDMA Wireless Data Module’s basic
features and general specifications.
Section 3 – Lists each DTG2000-Dual V2.0 pin and its function within the device. The pinout
for the module is listed in numeric sequence.
Section 4 – Specifies the recommended operating conditions, DC voltage characteristics, I/O
timing, and power estimations for the module. Timing diagrams are also included.
Section 5 – Details each subsystem or block within the module and shows how the subsystem
or block interfaces with external peripherals.
Section 6 – Provides package dimensions for the module.
All Rights Reserved. AD-2001-06-28 Ver 1.1
-7-

AnyDATA.NET Inc. AnyTime AnyPlace Any Wireless Data SolutionTM
1.3 Revision History
The revision history for this document is shown in Table 1-1.
Table 1-1 Revision History
Version Date Description
V2_X1 Feb. 2005 Initial Release
V2_X2 Mar. 2006 1st Revision
-
-
-
All Rights Reserved. AD-2001-06-28 Ver 1.1
-8-

AnyDATA.NET Inc. AnyTime AnyPlace Any Wireless Data SolutionTM
1.4 References
1. QUALCOMM Incorporated. MSM6050 Mobile Station Modem: Component Supply
Specification. 80-V2466-1, April 13, 2002.
2. QUALCOMM Incorporated. MSM6050 Mobile Station Modem: Device Specification
(Preliminary Information). 93-V3185-1, March 29, 2002.
3. QUALCOMM Incorporated. SURF6050 User Manual. 80-V2551-40, March 29, 2002.
1.5 Acronym List
Te r m Definition
CDMA Code-Division Multiple Access
CODEC Coder-Decoder
GPIO General-purpose Input/Output
JTAG Joint Test Action Group (ANSI/ICEEE Std. 1149.1-1990)
LCD Liquid Crystal Display
LDO Voltage Regulator
LED Light Emitting Diode
PCB Printed Circuit Board
PCM Pulse Coded Modulation
PCS Personal Communications Service
RF Radio Frequency
Rx Receive
TCXO Temperature-Controlled Crystal Oscillator
Tx Transmit
UART Universal Asynchronous Receiver Transmitter
All Rights Reserved. AD-2001-06-28 Ver 1.1
-9-

AnyDATA.NET Inc. AnyTime AnyPlace Any Wireless Data SolutionTM
2. Overview
2.1 Application Descriptions
The CDMA Wireless Data Module is a complex consumer communications instrument that relies
heavily on both digital signal and embedded processor technologies. The Wireless Data Modules
manufactured by AnyDATA.NET support Code-Division Multiple Access (CDMA). This operates in
both the cellular and PCS spectrum band.
In a continuing effort to simplify the design and to reduce the size and production cost of the
Wireless Data Module, AnyDATA.NET has successfully developed the DTG series. The DTG2000-Dual
V2.0 is AnyDATA.NET’s latest compact Wireless Data Module operating in the Cellular and PCS
spectrum band. The DTG2000-Dual V2.0 contains not only a complete digital modulation and
demodulation system for CDMA standards as specified in IS-95 A/B and IS-2000, but also GPSOne
position location solution which offers wireless callers their location wherever and whenever they need it.
GPSOne is QUALCOMM CDMA Technologies’ position location solution. It offers the availability
of position location determination in hostile environments (such as indoors) where conventional
GPS receivers do not work well.
GPSOne uses a hybrid approach that utilizes signals from the GPS satellite constellation and from
CDMA cell sites to determine location. Using the hybrid approach, GPSOne enhances location
services availability, accelerates the location determination process, and provides improved
accuracy.
The hybrid mode approach for position location uses signals from CDMA cell stations and GPS
satellites to compute the user’s location. This approach basically takes advantage of an accurate
knowledge of GPS system timing on a CDMA mobile station. The knowledge of system timing
allows the GPSOne solution to use both the CDMA signal measurements and GPS signal
measurements collectively to compute the user’s location. It also allows for a central entity, named
Position Determination Entity (PDE), to send estimated signal phases to the mobile. This knowledge
reduces the time to search the satellite pseudo ranges on the mobile, thus improving the time taken to
determine the user’s position.
The subsystem in the DTG2000-Dual V2.0 includes a CDMA processor (MSM6050), an integrated
CODEC with an ear piece and microphone amplifiers, and an RS-232 serial interface supporting forward
link data communications at a rate of 153kbps.
All Rights Reserved. AD-2001-06-28 Ver 1.1
-10-
The DTG2000-Dual V2.0 provides an external interface that includes the standard RS-232, Digital
Audio, External reset control, parallel LCD Display, Keypad, Ringer extension ports and R-UIM for

AnyDATA.NET Inc. AnyTime AnyPlace Any Wireless Data SolutionTM
China market.
The DTG2000-Dual V2.0 has the capability to power down unused circuits in order to dynamically
minimize power consumption.
All Rights Reserved. AD-2001-06-28 Ver 1.1
-11-

AnyDATA.NET Inc. AnyTime AnyPlace Any Wireless Data SolutionTM
2.2 Technical Specifications
2.2.1 General Specifications
Parameters Descriptions
External Access Code-Division-Multiple-Access (CDMA)
CDMA Protocol IS-95 A/B, IS-98A, IS-126, IS-637A, IS-707A, IS-2000
Data Rate 153.6Kbps max
Transmit/Receive Frequency Interval 45MHz for Cellular and 80MHz for PCS
Vocoder EVRC, 13kQCELP
RF technology Zero Intermediate Frequency
Number of Channel 832 for Cellular and 42 for PCS
Operating Voltage DC +3.4V ~ +4.3V BATT_INT (Pin88 and 90)
DC +4.0V to +5.0V +VEXT_DC (Pin87 and 89)
Current Consumption 1. VCC applied to +VEXT_DC (Pin87 and Pin89)
Stand by mode: Idle (110mA), Sleep (less than 9mA)
Busy mode: 900mA (Max)
2. VCC applied to BATT_INT (Pin88 and Pin90)
Stand by mode: Idle (110mA), Sleep (less than 1mA)
Busy mode: 900mA (Max)
See section 4.5.1 for detail
Operating Temperature -30ºC ~ +60ºC
Frequency Stability ±300Hz for Cellular and ±150Hz for PCS
Antenna 2 x GSC Connectors, 50ohm
Size 38 X 38 X 5.4mm with case
Weight About 15g
External Interface RS-232s, Digital/Analog Audios, LCD, Keypad, Ringer
External Reset Control, R-UIM, MP3, MIDI, GPIOs
User Interface Software BREW support
Additional Function GPSOne position location solution
2.2.2 Receiver Specifications
Parameters Descriptions
Frequency Range 869.04 ~ 893.97 MHz for Cellular and 1931.25 ~ 1988.75MHz for PCS
Sensitivity Below –104 dBm
Interference Rejection Single tone (-30dBm @900KHz): Below –101dBm
Two tone (-43 dBm @900KHz and 1700KHz): Below –101dBm
Two tone (-32 dBm @900KHz and 1700KHz): Below –90dBm
Two tone (-21 dBm @900KHz and 1700KHz): Below –79dBm
Spurious Wave Suppression Below –80dBc
Input Dynamic Range -25 dBm ~ -104dBm
All Rights Reserved. AD-2001-06-28 Ver 1.1
-12-

AnyDATA.NET Inc. AnyTime AnyPlace Any Wireless Data SolutionTM
2.2.3 Transmitter Specifications
Parameters Descriptions
Frequency Range 824.04 ~ 848.97 MHz for Cellular and 1851.25 ~ 1908.75MHz for PCS
Nominal Max Power 0.32 W (24.7dBm)
Peak Power in Operation Mode 0.45W (26.5dBm)
Minimum Controlled Output Power Below –50dBm
Max Power Spurious 900KHz: Below –42dBc/30KHz
1.98MHz: Below –54dBc/30KHz
2.2.4 gpsOne Receiver Specifications
Parameters Descriptions
Frequency Range L1, 1575.42MHz
C/A Code 1.023MHz Chip Rate
Receiver Sensitivity -152dBm
2.2.5 Standards
IS-95 A/B: Protocol Between MS & BTS
IS-96A: Voice Signal Coding
IS-98A: Base MS Function
IS-126: Voice Loop-Back
IS-637: Short Message Service
IS-707: Data Service
Built-in TCP/IP : AnyDATA proprietary software
IS-657 : packet data
IS-916 : Assisted GPS
All Rights Reserved. AD-2001-06-28 Ver 1.1
-13-

AnyDATA.NET Inc. AnyTime AnyPlace Any Wireless Data SolutionTM
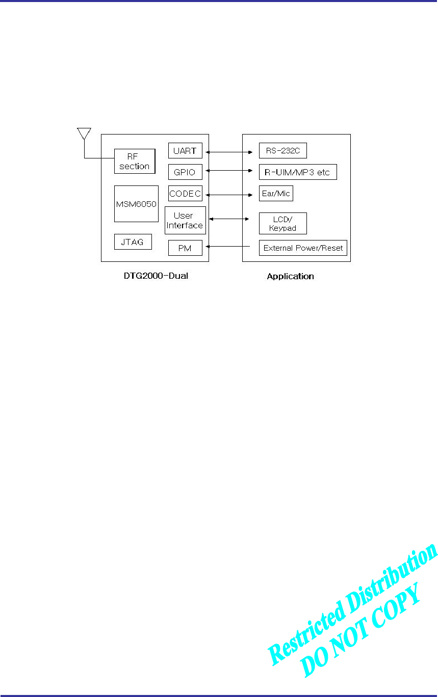
2.3 Interface Diagram
Figure 2-1 Interface Block Diagram
All Rights Reserved. AD-2001-06-28 Ver 1.1
-14-

AnyDATA.NET Inc. AnyTime AnyPlace Any Wireless Data SolutionTM
3. PIN Description
3.1 I/O Description Parameters
Symbol Description
I CMOS Input
O Output
B Bi-directional
N Voltage or Current Level
IS Input with Schmitt Trigger
BS Bi-directional Schmitt Trigger
PU Internal Pull-Up
PD Internal Pull-Down
3.2 PIN Names and Pinouts
3.2.1 100-Pin Connector
All Rights Reserved. AD-2001-06-28 Ver 1.1
-15-
PIN NAME TYPE DESCRIPTION
1 D15 B-K3 Data line
2 AGND AGND Analog Ground
3 D14 B-K3 Data line
4 AGND AGND Analog Ground
5 D12 B-K3 Data line
6 D13 B-K3 Data line
7 D10 B-K3 Data line
8 D11 B-K3 Data line
9 D08 B-K3 Data line
10 D09 B-K3 Data line
711 GND GND Signal ground
12 GND GND Signal ground
13 MSM_DP_DCD/ (GPIO_INIT44) BS-PD Data carrier detect ( UART1 )
14 MSM_DP_RI/ (GPIO_INIT54) BS-PD Ring indicator ( UART1 )
15 MSM_DP_RFR/ O Ready for Receive ( UART1 )
16 MSM_DP_TXD O Transmit data ( UART1 )
17 MSM_DP_DTR/ (GPIO_INIT50) BS-PU Data terminal ready ( UART1 )
18 MSM_DP_RXD IS-PD Receive data ( UART1 )
19 MSM_DP_CTS/ IS-PD Clear to send ( UART1 )
20 MSM_DP_RXD2(UIM_PWR_EN) BS_PD3 General purpose input output, Receive data ( UART2 )
21 MSM_DP_TXD2 (UIM_DATA) BS_PD3 General purpose input output,Transmit data ( UART2 )
22 MSM_DP_CTS2/ (UIM_RESET) BS_PD3 General purpose input output, Clear to send ( UART2 )
23 MSM_DP_RFR2/ (UIM_CLK) BS_PD3 General purpose input Output, Ready for Receive(UART2)
24 GPIO_INT15 BS_PU3 General purpose input output
25 AUX_PCM_CLK BS_PD3 External CODEC PCM clock
26 AUX_PCM_DOUT BS_PU3 External CODEC PCM data output
27 AUX_PCM_SYNC BS_PD3 External CODEC PCM data strobe
28 AUX_PCM_DIN IS-PD External CODEC PCM data input
29 GPIO_INT49 BS_HK2 General purpose input output
30 POWER_ON I POWER ON used only when to use 3.6V 1cell battery

AnyDATA.NET Inc. AnyTime AnyPlace Any Wireless Data SolutionTM
PIN NAME TYPE DESCRIPTION
All Rights Reserved. AD-2001-06-28 Ver 1.1
-16-
External pull-up required
31 EX_RESET I External Reset (Low Enable)
32 GPIO_INT18 BS_PD3 General purpose input output
33 GPIO_INT45 BS_PD3 General purpose input output
34 GPIO_INT33 (IDLE LED) BS_PD3 General purpose input output, Idle LED Enable
35 GPIO_INT47 (BUSY LED BS_PU3 General purpose input output, Busy LED Enable
36 GND GND Signal ground
37 GND GND Signal ground
38 D00 B-K3 Data line
39 D01 B-K3 Data line
40 D02 B-K3 Data line
41 D03 B-K3 Data line
42 D04 B-K3 Data line
43 D05 B-K3 Data line
44 D06 B-K3 Data line
45 D07 B-K3 Data line
46 A02 B-K3 Address line
47 A01 B_K3 Address line
48 RESET_OUT/ O Reset Out
49 GPIO_INT37(LCS_CS/) BS_PU3 General purpose input output
50 GPIO_INT36(LCD_EN) BS_PU3 General purpose input output
51 OE/ O-3 Output Enable Signal
52 WE/ O-3 Write Enable Signal
53 KEYSENSE0/ (GPIO_INT62) IS_PU3 Key sense input
54 KEYSENSE1/ (GPIO_INT63) IS_PU3 Key sense input
55 KEYSENSE2/ (GPIO_INT64) IS_PU3 Key sense input
56 KEYSENSE3/ (GPIO_INT65) IS_PU3 Key sense input
57 KEYSENSE4/ (GPIO_INT66) IS_PU3 Key sense input
58 GPIO_INT61 ( KEYPAD00 ) BS_PD3 General purpose input output, Keypad input
59 GPIO_INT60 ( KEYPAD01 ) BS_PD3 General purpose input output, Keypad input
60 GPIO_INT59 ( KEYPAD02 ) BS_PD3 General purpose input output, Keypad input
61 GPIO_INT58 ( KEYPAD03 ) BS_PD3 General purpose input output, Keypad input
62 GPIO_INT57 ( KEYPAD04 ) BS_PD3 General purpose input output, Keypad input
63 GPIO_INT56 ( KEYPAD05 ) BS_PD3 General purpose input output, Keypad input
64 GPIO_INT48(ON_SW_SENSE) BS_PU3 General purpose input output
65 GPIO_INT09 BS_HK2 General purpose input output
66 GPIO_INT10 BS_HK2 General purpose input output
67 SMS LED O SMS LED Enable
68 GPIO_INT17 BS_PU3 General purpose input output
69 GPIO_INT04 BS_PD3 General purpose input output
70 GPIO_INT16 BS_PU3 General purpose input output
71 VIBRATOR_DRV O VIBRATOR_DRV output
72 PS_HOLD O PS_HOLD output, POWER LED Enable
73 AUXON OA Auxiliary output (-)
74 RINGER O Ringer Enable output
75 AUXOP OA Auxiliary output (+)
76 GND GND Signal ground
77 GND GND Signal ground
78 GPIO_INT19(EAR_DET1) BS_PD3 General purpose input output, EAR Jack Detect
79 EAR2O OA Ear Jack speaker output
80 EAR1O_P OA External speaker (+) output

AnyDATA.NET Inc. AnyTime AnyPlace Any Wireless Data SolutionTM
PIN NAME TYPE DESCRIPTION
81 EAR1O_N OA External speaker (-) output
82 MIC1P IA External Mic (+) input
83 MIC2P IA Ear Jack Mic (+) input
84 GND GND Signal Ground
85 GND GND Signal ground
86 +VBATT IA Battery Gauge input
87 +VEXT_DC V External DC input
88 VATT_INT V Battery input
89 +VEXT_DC V External DC input
90 VATT_INT V Battery input
91 GPIO_INT11(RXD3) BS_PD3 General purpose input output ( UART3 )
92 GPIO_INT12(TXD3) BS_PD3 General purpose input output ( UART3 )
93 GPIO_INT13(CTS/3) BS_PD3 General purpose input output ( UART3 )
94 GPIO_INT14(RFR/3) BS_PD3 General purpose input output ( UART3 )
95 GPIO_INT02 BS_PU3 General purpose input output
96 GP_ADC_DET BS_PD3 General purpose ADC input
97 GPIO_INT34 BS_PU3 General purpose input output
98 GPIO_INT35 BS_PU3 General purpose input output
99 GND GND Signal ground
100 GND GND Signal ground
All Rights Reserved. AD-2001-06-28 Ver 1.1
-17-

AnyDATA.NET Inc. AnyTime AnyPlace Any Wireless Data SolutionTM
3.3 100-PIN Connect Pinouts (Topview)
Table 3-1 100-PIN Connector Pinouts
All Rights Reserved. AD-2001-06-28 Ver 1.1
-18-
1 D15 2 AGND
3 D14 4 AGND
5 D12 6 D13
7 D10 8 D11
9 D08 10 D09
11 GND 12 GND
13 MSM_DP_DCD/ ( GPIO_INT44 ) 14 MSM_DP_RI/ ( GPIO_INT54 )
15 MSM_DP_RFR/ 16 MSM_DP_TXD
17 MSM_DP_DTR/ ( GPIO_INT50 ) 18 MSM_DP_RXD
19 MSM_DP_CTS/ 20 MSM_DP_RXD2 ( UIM_PWR_EN )
21 MSM_DP_TXD2 ( UIM_DATA) 22 MSM_DP_CTS2/ ( UIM_RESET )
23 MSM_DP_RFR2/ ( UIM_CLK ) 24 UART_EN
25 AUX_PCM_CLK 26 AUX_PCM_DOUT
27 AUX_PCM_SYNC 28 AUX_PCM_DIN
29 GPIO_INT49 30 POWER_ON
31 EX_RESET 32 GPIO_INT18
33 GPIO_INT45 34 IDLE LED
35 BUSY LED 36 GND
37 GND 38 D00
39 D01 40 D02
41 D03 42 D04
43 D05 44 D06
45 D07 46 A02
47 A01 48 RESET_OUT
49 LCD_CS/ ( GPIO_INT37 ) 50 LCD_EN ( GPIO_INT36 )
51 OE/ 52 WE/
53 KEYSENSE0/ ( GPIO_INT62 ) 54 KEYSENSE1/ ( GPIO_INT63 )
55 KEYSENSE2/ ( GPIO_INT64 ) 56 KEYSENSE3/ ( GPIO_INT65 )
57 KEYSENSE4/ ( GPIO_INT66 ) 58 KEYPAD00 ( GPIO_INT61 )
59 KEYPAD01 ( GPIO_INT60 ) 60 KEYPAD02 ( GPIO_INT59 )
61 KEYPAD03 ( GPIO_INT58 ) 62 KEYPAD04 ( GPIO_INT57 )
63 KEYPAD05 ( GPIO_INT56 ) 64 GPIO_INT48 (ON_SW_SENSE/ )
65 GPIO_INT09 66 GPIO_INT10
67 SMS LED 68 GPIO_INT17
69 GPIO_INT04 70 GPIO_INT16
71 VIBRATOR_DRV 72 PS_HOLD, Power On LED
73 AUXON 74 RINGER
75 AUXOP 76 GND
77 GND 78 GPIO_INT19 (EAR_DET1 )
79 EAR2O 80 EAR1O_P

AnyDATA.NET Inc. AnyTime AnyPlace Any Wireless Data SolutionTM
81 EAR1O_N 82 MIC1P
83 MIC2P 84 GND
85 GND 86 +VBATT (NOT IN USE)
87 +VEXT_DC 88 VATT_INT
89 +VEXT_DC 90 VATT_INT
91 GPIO_INT11 ( MSM_DP_RXD3 ) * 92 GPIO_INT12 ( MSM_DP_TXD3 ) *
93 GPIO_INT13 ( MSM_DP_CTS3/ ) 94 GPIO_INT14 ( MSM_DP_RFR3 )
95 GPIO_INT02 96 GP_ADC_DET
97 GPIO_INT34 ( GP_CS0/ ) 98 GPIO_INT35 ( GP_CS1/ )
99 GND 100 GND
Notes:
* Pin 91 and Pin 92 can be used as the third UART for debugging. We strongly recommend that
the user have a 3-pin connector or 3 test points on their board, so that one can easily monitor and
diagnose their module.
* LEAVE UNUSED PINS OPEN AT ALL TIMES
All Rights Reserved. AD-2001-06-28 Ver 1.1
-19-

AnyDATA.NET Inc. AnyTime AnyPlace Any Wireless Data SolutionTM
4. Interface Descriptions
4.1 Overview
This chapter covers information required to convert the DTG2000-Dual V2.0 into a subscriber unit
application. In addition, some of the internal blocks of the device are described. Understanding these
internal blocks is necessary for one to completely grasp the functions of the various interfaces.
This chapter discusses the interface to the major blocks of the DTGD2000-Dual V2.0 as shown in
the following figure. These blocks include:
Power Up
CODEC Interface
UART Interface
General Purpose Interface
External Hardware Reset
User Interface
4.2 Powering Up the Module
There are two ways to power up the module and customers may choose one of the two ways to power
up DTG2000-Dual V2.0.
4.2.1 Supply input to +VEXT_DC (Pin 87 and Pin 89)
If the customers don’t need to save current in sleep mode, which is around 15mA, supplying the
voltage input to +VEXT_DC (Pin 87 and 89) is recommended.
When the input voltage from +4V to +5.0V is supplied, DTG2000-Dual V2.0 will automatically start its
power-on process and finish it within 2 seconds. In this case, using a regulator with an enable pin is
highly recommended so that the customer can reset the module using the enable pin if software lock-up
symptoms are found.
If a customer needs to use charging circuit built in the module, apply +4.5V DC to +VEXT_DC (Pin87
and 89) and connect the 3.6V 1cell lithium-ion battery to BATT_INT (Pin88 and 90).
All Rights Reserved. AD-2001-06-28 Ver 1.1
-20-

AnyDATA.NET Inc. AnyTime AnyPlace Any Wireless Data SolutionTM
4.2.2 Supply Input to BATT_INT (Pin 88 and Pin 90)
If the customers need to get their device to operate in a very low sleep current mode, supplying the
voltage input to BATT_INT (Pin 88 and 90) is recommended.
When the input voltage from +3.4V to +4.3V is supplied to BATT_INT(Pin88 and 90), DTG2000-Dual
V2.0 won’t automatically start its power-on process without low assertion of POWER_ON (Pin 30). To
power the module on, first apply VCC to BATT_INT and have POWER_ON (Pin30) stay low for more
than 500 msec and less than 2 sec.
POWER_ON (Pin 30) needs to be externally pulled up to 3V to 3.6V thru 100kohm resistor.
To power off the module, have POWER_ON(Pin 30) stay low for more than 2sec and less than 4sec and
then the voltage in BATT_INT may or may not be removed.
If Vcc is supplied thru a regulator to BATT_INT(Pin88 and 90), using a regulator with an enable pin is
highly recommended so that the customer can shut off the power to the module using the enable pin if
software lock-up symptoms are found. If the modem is locked up, low assertion of POWER_ON(Pin 30)
won’t power on or off the module or Pin 31(Ext_Reset) may not work.
If Vcc is supplied directly from a battery, having a FET between the output of a battery and input of
DTG2000-Dual V2.0 is recommended that the customer can shut off the Vcc to DTG2000-Dual V2.0
using the FET as a reset method..
4.3 CODEC Interface
With the integrated microphone and earpiece amplifier including CODEC, the DTG2000-Dual V2.0
module interfaces directly, either differential or single-ended, to the microphone and earpiece.
The audio features in the module are
- Two microphone inputs
- Two earphone outputs and one auxiliary audio output.
4.3.1 Internal CODEC Interface
The module contains analog audio interface circuitry. The contained audio interface supports all of the
required conversation and amplification stages for the audio front end.
The audio interface includes the amplification stages for both the microphone and earphone.
The EAR10 and MIC1P are typically used for the handset microphone,
The EAR_JACK+ and MIC2P are typically used for the ear-jack.
Table 4-1 Analog Audio Pinouts
All Rights Reserved. AD-2001-06-28 Ver 1.1
-21-
NAME DESCRIPTION CHARACTERISTIC
MIC2P Mic Jack Input Analog Input (Pin No. 83, for Ear-Mic Jack) *
EAR_DET1 EAR/MIC Set Detect Logic Input (Pin No. 78) **
EAR_JACK+ Earphone Output Analog Output (Pin No. 79 for Ear-Mic Jack)

AnyDATA.NET Inc. AnyTime AnyPlace Any Wireless Data SolutionTM
NAME DESCRIPTION CHARACTERISTIC
GND_A Audio Ground Audio Ground (Pin No. 2, 4)
EAR10_N Speaker Output - Analog Output (Pin No. 81)
EAR10_P Speaker Output + Analog Output (Pin No. 80)
MIC1P Mic Input Analog Input (Pin No. 82),
Mic bias is supplied from this pin.
AUXON Auxiliary Output - Analog Output (Pin No. 73)
AUXOP Auxiliary Output + Analog Output (Pin No. 75)
Note:
* MIC2, along with being a microphone input, checks to see if the user has pressed the headset key,
which allows the user to connect to or disconnect from a call. This pin is internally pulled high and is
therefore normally in the high state. To activate this input and connect to or disconnect from a call, the
user must set the MIC2 pin to a low state for 100ms to 200ms.
** EAR_DET1 checks to see if a headset has been connected to the ear-jack. When there is no headset
connected to the ear-jack, the audio path thru an ear jack is disconnected. When a headset is connected to
the ear-jack, audio path is opened. To simulate a headset connected to the ear-jack, the user must apply a
low signal to the EAR_DET1 pin for as long as the user wants the audio path to be kept open.
4.3.2 Extended CODEC Interface
The PCM CODEC interface is used for the car-kit audio system. This interface is optional.
External CODEC interface signals are listed below:
Table 4-2 Digital CODEC Pinouts
NAME DESCRIPTION PINOUTS
AUX_PCM_CLK PCM Clock Pin No. 25
AUX_PCM_DIN PCM Data Input Pin No. 28
AUX_PCM_DOUT PCM Data Output Pin No. 26
AUX_PCM_SYNC PCM Sync. Pin No. 27
4.4 UART Interface
The Universal Asynchronous Receiver Transmitter (UART) communicates with serial data that
conforms to the RS-232 Interface protocol. The module has 3 UARTs which provides 3.0V CMOS level
outputs and 3.0V CMOS input levels. All the control signals of the RS-232 are active low, however the
data signals, RXD and TXD, are active high.
All Rights Reserved. AD-2001-06-28 Ver 1.1
-22-
UART1 which has 512 bytes for Tx and Rx FIFO, supports high speed data communication up to
230.4kbps, program download and diagnostic monitor function.
UART2 and 3 which 64 bytes for T/Rx FIFO, support low speed data communication up to 115.2kbps,
program download and diagnostic monitor function.

AnyDATA.NET Inc. AnyTime AnyPlace Any Wireless Data SolutionTM
The UART features hardware handshaking, programmable data sizes, programmable stop bits, and
odd, even, no parity.
4.4.1 UART1 interface
Table 4-3 UART1 Interface Pinouts
NAME DESCRIPTION PIN NUNBER CHARACTERISTIC
DP_DCD/ Data Carrier Detect 13 Network connected from the module
DP_RI/ Ring Indicator 14 Output to host indicating coming call
DP_RFR/ Ready for Receive 15 Ready for receive to the host
DP_TXD Transmit Data 16 Output data from the module
DP_DTR/ Data Terminal Ready 17 Host ready signal from the host
DP_RXD Receive Data 18 Input data to the module
DP_CTS/ Clear to Send 19 Clear to send from the host
GND Signal Ground 11, 12 Signal ground
* Leave unused Pins open.
4.4.2 UART2 interface
The UART2 supports R-UIM interface.
Table 4-4 UART2 Interface Pinouts
NAME DESCRIPTION PIN NUMBER CHARACTERISTIC
DP_RXD2 Receive Data 20 Input data to the module
DP_TXD2 Transmit Data 21 Output data from the module
DP_CTS2/ Clear to Send 22 Clear to send from the host
DP_RFR2/ Ready for Receive 23 Ready for receive to the host
GND Signal Ground 11, 12 Signal ground
* Leave unused Pins open.
If a customer wants to use R-UIM card, UART2 can’t be used as UART.
4.4.3 UART3 interface
The UART3 is used to monitor and diagnose the status of the DTG2000-Dual V2.0. It is strongly
recommended for the user to have the following UART3 pins connected to an extra connector or to test
points, in order to easily troubleshoot any problems with the module.
Table 4-5 UART3 Interface Pinouts
All Rights Reserved. AD-2001-06-28 Ver 1.1
-23-
NAME DESCRIPTION PIN NUMBER CHARACTERISTIC
DP_RXD3 Receive Data 29 Input data to the module
DP_TXD3 Transmit Data 30 Output data from the module
DP_CTS3/ Clear to Send 34 Clear to send from the host
DP_RFR3/ Ready for Receive 32 Ready for receive to the host
GND Signal Ground 11, 12 Signal ground
* Leave unused Pins open.

AnyDATA.NET Inc. AnyTime AnyPlace Any Wireless Data SolutionTM
4.5 General Purpose Interface
The general purpose interface consists of 11 user-definable bi-directional pins.
Each GPIO pin can be configured as an input interrupt source. In addition, some GPIO pins can be
used as output control pins from the module. The user can define these pins properly as follows.
Table 4-6 General Purpose Interface Pinouts
NAME PIN NUMBER CHARACTERISTIC
GPIO_INT15 24 Configured as a pull-up, Bi-directional
GPIO_INT45 33 Configured as a pull-up, Bi-directional
GPIO_INT17 68 Configured as a pull-up, Bi-directional
GPIO_INT04 69 Configured as a pull-down, Bi-directional
GPIO_INT16 70 Configured as a pull-down, Bi-directional
GPIO_INT09 65 Configured as a pull-down, Bi-directional
GPIO_INT10 66 Configured as a pull-up, Bi-directional
GPIO_INT13 93 Configured as a pull-up, Bi-directional
GPIO_INT49 29 Configured as a pull-down, Bi-directional
GPIO_INT02 95 Configured as a pull-down, Bi-directional
GPIO_INT18 32 Configured as a pull-down, Bi-directional
4.6 External Hardware Reset and Power Down Registration
4.6.1 External Hardware Reset (Pin #31)
There are two types of resets that the user can employ to restart the module. The first type will reset
the MSM and the memory and is performed when the user gives the AT command, AT+RESET, to the
MSM. Another way to reset the module is by using the external hardware reset. This type of reset will
reset the hardware as well as the MSM and the memory. The flash memory will be the only information
that is kept. To perform an external hardware reset, make sure the module has powered on and is not in
the initialization stage, and then pull low the external hardware reset pin (Pin #31) for 200ms to 500ms.
Keep the external hardware reset pin high or floating when the module is initializing and booting up as
well as during normal operation. This pin is internally pulled up to +3.0V.
4.6.2 Power Down Registration
Before DTG2000-Dual V2.0 is powered off, it has to send power down registration message to the
CDMA base station to help the base station to maximize its capacity. Depending on air interface
environment, it may take 12 seconds at maximum according to CDMA technical standard.
All Rights Reserved. AD-2001-06-28 Ver 1.1
-24-

AnyDATA.NET Inc. AnyTime AnyPlace Any Wireless Data SolutionTM
4.6.2.1 Power Down Registration Protocol for CDMA device
4.6.2.1.1 Using AT command (When Vcc is applied to +VEXT_DC)
After waiting for 12 seconds, the host device may shut down the power to DTG-2000.
Before powering off DTG-2000, send “AT+POWEROFF” to DTG-2000.
Device connected to DTG
-
2000
DTG
-
2000
4.6.2.1.2 Using POWER_ON (Pin 30) (Only when Vcc is applied to BATT_INT)
Status of POWER_ON(Pin 67)
L
HIGH
LOW
Booting stage. In normal operation Powering the module off. 2 sec T1+12sec. Shut off the Vcc to DTG-2000
T1
All Rights Reserved. AD-2001-06-28 Ver 1.1
-25-

AnyDATA.NET Inc. AnyTime AnyPlace Any Wireless Data SolutionTM
4.7 User Interface
4.7.1 Keypad
The keypad interface consists of a 5 X 6 matrix pattern. The 5-KEYSENSE/[4:0] pins are used to
connect a matrix keypad to the module. The KEYSENSE/ pins are active low.
The 6-KEYPAD pins are necessary to construct the other side of the matrix. These KEYPAD pins
must be active high in order for the keypad matrix to work properly. The general keypad matrix is shown
below:
32 1
65 4
98 7
END
#
0
*
SEND
KEYSENSE0
KEYSENSE1
KEYSENSE2
KEYSENSE3
KEYSE
NSE4
KEYPAD00
KEYPAD01
KEYPAD02
KEYPAD03
KEYPAD04
KEYPAD05
Reserved
Figure 4-1 Keypad Matrix
DTMF
When key is pressed, CDMA Module generates standard DTMF tone and sends it to the local
audio path (speaker). If the Mobile station is in traffic state, the CDMA Module sends DTMF Message to
the Base Station and to the local audio path (speaker) at the same time. The network will deliver the
analog DTMF tone or DTMF Message to its final destination.
All Rights Reserved. AD-2001-06-28 Ver 1.1
-26-

AnyDATA.NET Inc. AnyTime AnyPlace Any Wireless Data SolutionTM
4.7.2 LCD
The module supports the 16 bits parallel LCD interface as well as the 8 bits. The LCD interface is
composed of 23-signals. Direct access to the LCD driver is not applicable.
Table 4-7 LCD Interface Signals
NAME TYPE CHARACTERISTIC
LWR/ BS_PU LCD RW pin out from the module
RD/ BS LCD E pin out from the module
A01 B LCD RS pin out from the module
LCD_CS/ O LCD Chip Select pin out from the module
RES_OUT/ O LCD Reset from the module
D00 ~ D015 O LCD Data Lines from the module
VDD LCD Power Supply
GND LCD Signal Ground
All Rights Reserved. AD-2001-06-28 Ver 1.1
-27-

AnyDATA.NET Inc. AnyTime AnyPlace Any Wireless Data SolutionTM
4.7.3 Ringer (Pin74)
The Ringer pin provides the output to drive the sound transducer on the host. It alerts the user of a
voice call event and outputs key tones if the keypad is connected.
The DTG2000-Dual V2.0 module includes Ringer Driver and drives Buzzer directly.
Table 4-8 Ringer/Buzzer Driver Output Spec.
PARAMETER TEST CONDITION TYPICAL VALUE
Drive Frequency Max 8kHz
Load Current R_load=10 ohm Min 300mA
Load Resistance Typ 10 ohm
4.7.4 LED Interface
Table 4-9 LED interface
PIN NUMBER USE REMARK
34 Idle LED High Enable, High indicates
“The device is in CDMA service area”
35 Busy LED High Enable, High indicates
“The device is in CDMA Traffic state”
67 SMS LED High Enable High indicates
“The device has received SMS message
72 Power On LED High Enable High indicates
“The device is turned on”
Above pins can not drive LED directly. Must use driver ICs to drive LEDs
All Rights Reserved. AD-2001-06-28 Ver 1.1
-28-

AnyDATA.NET Inc. AnyTime AnyPlace Any Wireless Data SolutionTM
5. Electrical Specifications
5.1 DC Electrical Specifications
5.1.1 Absolute Maximum Ratings
Operating the module under conditions that exceed those listed in the Absolute Maximum Ratings
table may result in damage to the module.
Absolute Maximum Ratings should be considered as limiting values. The module may not function
properly and should not be operated if any one of the parameters is not within its specified operating
range.
Table 5-1 Absolute Maximum Ratings
PARAMETER MIN MAX UNITS
Storage Temperature -50 +85 ºC
Voltage On Any Input or Output Pin -0.8 +3.5 V
+VEXT_DC -1.0 +5.0 V
Supply Voltage BATT_INT -1.0 +4.4 V
Initializing Current 250 mA
Drop No damages after 60-Inch drop over concrete floor
5.1.2 Recommended Operating Conditions
PARAMETER MIN TYP MAX UNITS
+VEXT_DC +4.0 +4.5 +5.0 V
Supply Voltage
BATT_INT +3.4 +4.0 +4.3 V
Operating Temperature -30 +60 ºC
Operating Humidity 95% (50°C) Relative Humidity
5.1.3 Power Consumption
All Rights Reserved. AD-2001-06-28 Ver 1.1
-29-
STANDBY
CONVERSATION
(Busy) Idle Sleep
900mA (MAX) 110mA +VEXT_DC : 9mA
BATT_INT : 1mA

AnyDATA.NET Inc. AnyTime AnyPlace Any Wireless Data SolutionTM
5.1.4 Serial Interface Electrical Specifications
PARAMETER MIN TYP
(NO LOAD) MAX UNITS
Input High Voltage +2.0 +3 +3.3 V
Input Low Voltage -0.5 0 +0.8 V
Output High Voltage +2.4 +2.85 +3.0 V
Output Low Voltage 0 +0.4 V
5.2 Timing characteristics
5.2.1 External CODEC Timing
t
clk
t
clkl
t
clkh
t
su(sync)
t
h(sync)
t
su(din)
t
h(din)
MSB LSB
PCM_CLK
PCM_SYNC
PCM_DIN
Figure 5-1 External PCM CODEC to Module timing
t
clk
t
clkl
t
clkh
t
su(sync)
t
h(sync)
MSB LSB
PCM_CLK
PCM_SYNC
PCM_DOUT
t
pdout
t
pdout
t
zdout
All Rights Reserved. AD-2001-06-28 Ver 1.1
-30-
Figure 5-2 Module to External PCM CODEC timing

AnyDATA.NET Inc. AnyTime AnyPlace Any Wireless Data SolutionTM
Table 5-2 External PCM CODEC Parameters
PARAMETER DESCRIPTION MIN TYP. MAX UNIT
tclk PCM-CLK cycle time 400 500 ns
tclkl PCM-CLK low time 200 250 ns
tclkh PCM-CLK high time 200 250 ns
tsu(sync) PCM_SYNC setup time to PCM_CLK falling 150 ns
th(sync) PCM_SYNC hold time after PCM_CLK falling 350 ns
tsu(din) PCM_DIN setup time to PCM_CLK falling 50 ns
th(din) PCM_DIN hold time after PCM_CLK falling 10 ns
tpdout Delay from PCM_CLK falling to PCM_DOUT 50 ns
5.2.2 LCD Timing
t
WRS
MCLK
(modem)
A[21:0]
LWR/
Write
Data[7:0]
LCD_CS/
RD/
LCD_E
Read
Data[7:0]
T
t
WRH
t
LCDES
t
LCDEHI
t
LCDEH
t
RDS
t
RDH
LCD Data Write
LCD Data Read
Figure 5-3 LCD Timing
All Rights Reserved. AD-2001-06-28 Ver 1.1
-31-

AnyDATA.NET Inc. AnyTime AnyPlace Any Wireless Data SolutionTM
Table 5-3 LCD Timing Parameters
PARAMETER DESCRIPTION MIN MAX UNIT
tLCDES LCD_CS/ active to LCD_E active ns
tLCDEHI Pulse width if LCD_E active ns
tLCDEH LCD_E inactive to LCD_CS/ inactive (write) ns
tLCDEHR LCD_E inactive to LCD_CS/ inactive (Read)
tRDS Read data setup ns
tRDH Read data hold ns
tWRS Write data setup to LCD_E inactive ns
tWRH Write data hold from LCD_E inactive ns
z k, I, n is integer lower than 16, MCLK is internal Clock of module
All Rights Reserved. AD-2001-06-28 Ver 1.1
-32-

AnyDATA.NET Inc. AnyTime AnyPlace Any Wireless Data SolutionTM
6. Mechanical Dimensions
6.1 DTG2000-Dual V2.0 Outline
`
These 4 solder points in red circles MUST be
soldered to PCB GND in the host device
GPS Connector CDMA Connector
All Rights Reserved. AD-2001-06-28 Ver 1.1
-33-

AnyDATA.NET Inc. AnyTime AnyPlace Any Wireless Data SolutionTM
6.2 100-Pin Connector Mechanical Dimension
Figure 6-1 100pins Connector (Units: mm)
Counter-Part (the 100-pins socket connector (not on the DTG2000-Dual V2.0)):
Part Name: Socket pin connector (0.5mm pitch, straight, dual row)
Part Number: AXK5F00545J
Manufacture : NAIS
Note: For more information on the 100-pins socket connector,
All Rights Reserved. AD-2001-06-28 Ver 1.1
-34-
Please visit http://www.nais-e.com/ , click connector, and “NARROW PITCH(0.5mm) CONNECTORS
P5 SERIES P5KF” .

AnyDATA.NET Inc. AnyTime AnyPlace Any Wireless Data SolutionTM
6.3 RF Connector
6.3.1 Sunridge Corp. Part
6.3.1.1 Bulkhead SMA Type cable : MCB2G-RH-59-LLL-SMAJB101
(Example, MCB2-RH-59-080-SMAJB101, 80mm-long RF cable)
6.3.1.2 PCB mountable right angle SMA cable : MCB2G-RH-59-LLL-SMAJX103
(Example, MCB2G-RH-59-100-SMAJX103, 100mm-long RF cable)
6.3.1.3 Contact Info.
Chris Su Tony Su
chrissu@sunridge.com tsu@sunridge.com
All Rights Reserved. AD-2001-06-28 Ver 1.1
-35-
Tel: 626-535-1780 (CA, U.S.A.)
Fax : 626-535-1788 (CA, U.S.A.)

AnyDATA.NET Inc. AnyTime AnyPlace Any Wireless Data SolutionTM
7. Application Schematic
All Rights Reserved. AD-2001-06-28 Ver 1.1
-37-
