Autec s r l CRXNH022 Transceiver unit User Manual
Autec s.r.l. Transceiver unit
User Manual

Original instructions
DYNAMIC SERIES
Part D: CRX receiving unit
INDEX
1 Description ............................................................................................................ 2
1.1 Safety functions of the CRX receiving unit ....................................................... 3
2 Technical data ....................................................................................................... 3
3 Technical data sheet ............................................................................................. 3
4 Plates ..................................................................................................................... 4
5 Light signals .......................................................................................................... 4
5.1 POWER LED (green) ....................................................................................... 4
5.2 ALARM LED (red) ............................................................................................ 5
5.3 RUN LED (green) ............................................................................................. 5
5.4 ERR LED (red) ................................................................................................. 5
6 Malfunction signalled by the receiving unit ........................................................ 6
AUTEC LICRXE00-01

2
LICRXE00-01
Description
AUTEC - Dynamic Series
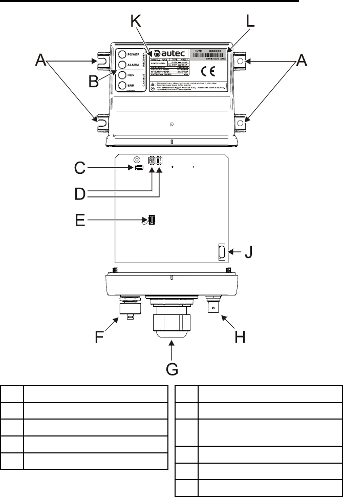
1 Description
Amounting holes
BLED
CIDK connector (for address key)
DDIP switches
EDTK connector (for memory board)
FConnector for cable control
GPlug or cable gland
HBNC connector for external antenna kit
(optional)
JFuse F1
KTechnical data plate
LRadio remote control identication plate

AUTEC - Dynamic Series
Technical data 3
LICRXE00-01
The receiving unit is interfaced with the machine through the outputs and their wiring and/or
through a CAN network (of which it is a slave node).
The CAN communication of the CRX receiving unit can be enabled or disabled. The machine
manufacturer or who install the radio remote control on the machine determines whether the
CAN communication is enabled or disabled.
The STOP and SAFETY outputs are some of the receiving unit's outputs.
1.1 Safety functions of the CRX receiving unit
The SO1 and SO2 outputs may be either STOP (stop function) or SAFETY outputs (UMFS
function), according to the conguration of the receiving unit (see technical data sheet).
If they are congured as STOP outputs the UMFS safety function is not available.
If they are congured as SAFETY outputs both the UMFS and stop safety functions are
available.
2 Technical data
Power supply ........................................................................................................ 8-30V
Antenna ............................................................................................. internal or dedicated
Rated current of SO_1 and SO_2 outputs ........................................................ 2A (30V )
Rated current of digital outputs ........................................................................ 2A (30V )
Protection of power supply (resettable fuse) ............................................................... 1.3A
Protection of outputs (fuse F1) ....................................................... 10A (32V , autofuse)
Housing material .......................................................................................... PA6 (20% fg)
Protection degree ....................................................................................... IP66 (NEMA 4)
Dimensions ................................................................ 128x143x63mm (5.04x5.63x2.48In)
Weight ....................................................................................................... 0.65kg (1.43Lb)
3 Technical data sheet
The technical data sheet contains the wiring diagram showing the connection between the
receiving unit and the machine. It also contains the transmitting unit conguration and shows
the matching between commands sent and machine functions/movements.
Each technical data sheet must be lled in, checked and signed by the installer, who is
responsible for a correct wiring.
A technical data sheet must always be kept toghether with this manual (always keep a copy
of the technical data sheet when it is used for administrative purposes).
The wiring of the receiving unit outputs must always reect the wiring
indicated in the technical data sheet.

4
LICRXE00-01
Plates
AUTEC - Dynamic Series
4 Plates
The receiving unit has the following plates:
Plate Position Content
radio remote control
identication plate On the casing of the receiving unit
Radio remote control
serial number (S/N), bar
code and manufacturing
year.
technical data plate On the casing of the receiving unit
MODEL, TYPE and main
receiving unit technical
data, marking and
possible radio remote
control marks.
5 Light signals
The receiving unit CRX has four LEDs:
-POWER is green
-ALARM is red
-RUN is green
-ERR is red
5.1 POWER LED (green)
The POWER LED indicates the status of the receiving unit and of the radio link.
The POWER LED... Meaning
…is o The receiving unit is not powered.
...is on The receiving unit is powered and radio link is missing.
… blinks The receiving unit is powered and radio link has been
established.

AUTEC - Dynamic Series
Plates 5
LICRXE00-01
5.2 ALARM LED (red)
The ALARM LED warns about anomalies in the receiving unit.
The ALARM LED... Meaning
…is o The receiving unit works correctly.
... blinks once Error on the SO1 and SO2 outputs when congured as
STOP outputs.
... blinks twice Error on the SO1 and SO2 outputs when congured as
SAFETY outputs.
... blinks three times Error on the outputs corresponding to direction
commands.
... is on Conguration error on the SO1 and SO2 outputs (see
paragraph 1.1).
5.3 RUN LED (green)
The RUN LED indicates the status of the communication between the receiving unit and the
CAN network Master node.
The RUN LED... Meaning
…is o The CAN communication is not active.
… blinks The receiving unit does not send commands in the CAN
network.
...is on The receiving unit is working correctly as a node in the
CAN network.
RUN LED signals reect the guidelines of the CANopen® standard, CiA recommendation 303-3.
5.4 ERR LED (red)
The ERR LED indicates the status of the CAN communication.
The ERR LED... Meaning
…is o The CAN communication is working correctly.
… blinks The CAN communication does not work correctly.
...is on No CAN communication.
ERR LED signals reect the guidelines of the CANopen® standard, CiA recommendation 303-3.

6
LICRXE00-01
Malfunction signalled by the receiving unit
AUTEC - Dynamic Series
6 Malfunction signalled by the receiving unit
Use the light signals on the receiving unit to identify the radio remote control malfunction.
If the problem persists after the suggested solution has been carried out, contact the support
service of the machine manufacturer.
Signals Possible reason Solutions
The POWER LED is o. The receiving unit is not
powered.
Disconnect the power supply and restore
it after 5 minutes to make sure that a
restorable thermal fuse integrated in the
receiving unit has not been activated.
Correctly plug in the connecting plug
and power on the receiving unit.
The POWER LED is on. No radio link. Bring the transmitting unit closer to the
receiving unit.
The ALARM LED blinks
once.
Error on the SO1 and
SO2 outputs when
congured as STOP
outputs.
Make sure that fuse F1 is intact.
Correctly plug in the connecting plug.
Make sure that the STOP outputs are
wired correctly.
The ALARM LED blinks
twice.
Error on the SO1 and
SO2 outputs when
congured as SAFETY
outputs.
Make sure that fuse F1 is intact.
Correctly plug in the connecting plug.
Make sure that the SAFETY outputs are
wired correctly.
The ALARM LED blinks
three times.
Error on the outputs
corresponding to direction
commands.
Contact the support service of the
machine manufacturer.
Make sure that the outputs of direction
commands are wired correctly.
The ALARM LED is on. Conguration error on the
SO1 and SO2 outputs.
Make sure that the DIP switches are set
as on the technical data sheet.
If this signal persists, contact the support
service of the machine manufacturer.
The RUN LED blinks.
The receiving unit does
not send commands in
the CAN network.
Contact the support service of the
machine manufacturer.
The ERR LED blinks. CAN communication
error.
Contact the support service of the
machine manufacturer.