CARRIER Package Units(both Units Combined) Manual L0605441
User Manual: CARRIER CARRIER Package Units(both units combined) Manual CARRIER Package Units(both units combined) Owner's Manual, CARRIER Package Units(both units combined) installation guides
Open the PDF directly: View PDF
.
Page Count: 90

COBRA TMEnergy Recovery Units
48/50HJ004-014 with 62AQ060-300
Single-Package Rooftop Units
with Energy Recovery Capability
Installation, Start-Up, and Service Supplement
IMPORTANT: This is a supplemental ins'auction for the ]
48/50H1 Start-Up and Service Instructions. It is not I
intended to take the place of the ins'auction or to be a com-
plete piece by itself.
IMPORTANT: Make sure supply voltage matches unit ]
nameplate voltage. I
CONTENTS
Page
SAFETY CONSIDERATIONS .......................... 1
GENERAL ............................................ 1
INSTALLATION .................................... 24.2
Step 1 -- Inspect Shipment .......................... 2
Step 2 -- Provide Unit Support ....................... 2
• COBRA UNIT WITH A FULL-PERIMETER ROOF CURB
• COBRA UNIT WITH A STANDARD ROOF CURB
Step 3 -- Field Fabricate Ductwork ................... 3
Step 4 -- Rig and Place Unit .......................... 6
POSITIONING
Step 5 -- Install Flue Hood (48HJ Rooftop
Sections Only) .................................... H
Step 6 -- Install Gas Piping (48HJ Rooftop
Sections Only) .................................... 11
Step 7 -- Install External Trap for Condensate
Drain .............................................. 11
Step 8 -- Make Electrical Connections .............. 11
• FIELD POWER SUPPLY
FACTORY-SUPPLIED NON-FUSED DISCONNECT
FIELD CONTROL WIRING
THERM1DISTAT TM DEVICE
PREMIERLINK TM CONTROLLER
HEAT ANTICIPATOR SETTINGS
INDOOR AIR QUALITY AND CO2 SENSORS
Step 9 -- Assemble and Mount Supply-Air Hood .... 39
Step t0 -- Mount the Barometric Relief Damper ..... 39
Step 11 -- Set the Outdoor Cooling and
Heating Thermostats .............................. 42
LIGHT COMMERCIAL THERMIDISTAT
ACCESSORY ................................... 424.6
General ............................................. 42
Power ............................................... 42
Dehumidification Equipment and Connections ...... 42
Step 1 -- Select Light Commercial
Thermidistst Location ............................. 42
Step 2 -- Set DIP Switches .......................... 43
Step 3 -- Install Light Commercial Thermidistat
Device ............................................ 43
Step 4 -- Set Light Commercial Thermidistst
Configuration ..................................... 43
Step 5 -- Conduct Light Commercial
Thermidistst Start-Up and Checkout .............. 45
Step 6 -- Make Final Settings ....................... 46
OPERATIONAL INFORMATION ................... 46-69
PRE-START-UP ...................................... 70
START-UP ........................................... 70
SERVICE .......................................... 70,71
TROUBLESHOOTING ............................. 72-88
ROOFTOP UNIT AND ENERGY RECOVERY UNIT
START-UP CHECKLIST .................... CL-1, CL-2
SAFETY CONSIDERATIONS
Installation and servicing of air-condifioulng equipment can
be hazardous due to system pressure and electrical compo-
nents. Only trained and qualified service personnel should
install, repair, or service air-conditioning equipment.
Unlrgmed personnel can perform basic maintenance func-
tions of cleaning coils and filters and replacing filters. All other
operations should be performed by trained service personnel.
When working on aft-conditioning equipment, observe precau-
tions in the litemtore, tags and labels attached to the unit, and
other safety precautions that apply.
Verify that the power source supplied to the unit matches
the voltages and amperages listed on the unit rating plate.
Follow all safety codes. Wear safety glasses and work
gloves. Use quenching cloth for unbrazing operations. Have
fire extinguishers available for all brazing opemtions.
Disconnect gas piping from unit when leak
testing at pressure greater than I/2 psig. Pres-
sures greater than 1/2 psig will cause gas
valve damage resulting in hazardous condi-
tion. If gas valve is subjected to pressure
greater than V2 psig, it must be replaced
before use. When pressure testing field-
supplied gas piping at pressures of U2psig or
less, a unit connected to such piping must be
isolated by manually closing the gas valve.
Before performing service or maintenance operations on
unit, turn off main power switch to unit and install a lock-
out tag. Electrical shock could cause personal injury.
GENERAL
Carrier's COBRA energy recovery units precondition venti-
lation air for the mot_op unit during winter and summer opera-
tion and recover energy from the building exhaust air. These
units are designed to satisfy the higher ventilation requirements
and other building codes while minimizing energy costs.
Factory installation of the 62AQ Energy$Recycler TM sec-
tion provides the benefit of reduced field-installation time,
single point power connections, and the assurance of a factory
test for the complete COBRA energy recovery unit. The
Enetgy$Recycler section requires less maintenance than other
energy recovery systems and can be serviced by any qualified
refrigeration technician.
NOTE: The COBRA unit nameplate has been moved to the
opposite end of the rooftop section, on the upper,
right-hand part of the panel due to the location of the 62AQ
Energy$Recycler section.
Manufacturer reserves the right to discontinue, or change at any am, spedlica_ons or designs wib_out notice and without incurring obligations.
Tab tlllla lb 6a 6b

INSTALLATION
Step I -- Inspect Shipment --File a claLm with the
sl_pping company if shipment is incomplete or damag_L See
Fig. 1 for typical shipping packaging of a COBRA TM energy
recovery unit.
Step 2 -- Provide Unit Support -- The COBRA
energy recovery unit can use afull-perimeter roof curb or a
standard roof curb for the rooftop section of the unit with a sup-
plemental equipment support for the energy recovery section.
COBRA UNIT WITH A FULL-PERIMETER ROOF
CURB If the COBRA unit is installedon the full-perimeter
curb, the supplemental equipment support is not required. Ifa
fuU-penmetgr curb is used, inspect the curb for the following
REQUIRED details:
1. The ductwork must be attached to the curb.
2. The flashing must be sealed to all ensure no water
can leak behind it, particularly around the 62AQ
Energy$Recycler TM section of the curb.
3. The Energy$Recycler section of the full-perimeter curb
must be watertight. See Fig. 2A and 2B.
DO NOT use the COBRA full-perimeter curb drawings to
field fabricate a replacement curb! Significant problems
can occur ifa Carrier approved curb is not used.
COBRA NAMEPLATE
OUTDOOR AIR HOODS
Fig. 1 -- Shipping Packaging (48/50HJ004-006 Shown)
DO NOT USE THIS DRAWING TO FIELD-FABRICATE A CURE! SIGNIF-
ICANT PROBLEMS CAN OCCUR IF A CARRIER APPROVED CURB IS
NOT USED•
DUCT OPENING SIZES
Supply = 13 7/6, x 20 1/4'
R1 = 13 5/8" x 17 3/4'
R2 = 13 5/6, x 12 5/16,
:',:;oSSZ°oI: AC
•Beck pans
7/''
37 3/16" "_
673/8"
92 1/2"
373/16"
2" Return sppport.
Only ussd on Sore6
END VIEW
1'¸ i .......................!................
Fig. 2A -- COBRA Energy Recovery Unit Full-Perimeter Roof Curb -- 48/50HJ004-007 with 62AQ060,100

DO NOT USE THIS DRAWING TO FIELD-FABRICATE A CURB!
SIGNIFICANT PROBLEMS CAN OCCUR IF A CARRIER /J'__
APPROVED CURB IS N_ USED. 4915/16"
IDUC't OPENING SI[ZES L
Supply = 15 11/16' x 31 5/6"
R1 = 15 5/16" x 29 1/16"
R2 = 15 5/16" x 9' 14'
I
RI =Returnfrom building to HVAC
R2 = Returnfrom buildingto 62AQ
Deck pans
2" Return support.
Only used on some
4915/16'
ENDVIEW
Fig, 2B -- COBRA TM Energy Recovery Unit Full-Perimeter Roof Curb -- 48/50HJ008-014 with 62AQ200,300
DO NOT use the standard COBRA full-perimeter curb in a
sloped application! Contact your Cartier salesperson for a
specific COBRA SLOPED fullspertmetar curb.
COBRA UNIT WITH STANDARD ROOF CURB If a
standard rooftop curb is used (for new or retrofit applications),
it is capable of supporting the rooftop unit section. An
accessory support rail must be used to support the 62AQ
EnergySRecycler TM section. Assemble end install accessory
roof curb in accordance with instmctious shipped with curb.
See Fig. 3A, 3B and 4. Install insulation, cant strips, roofing
felt, and counter flashing as shown.
Ductwork must be attached to curb, not to the unit. The ac-
cessory thru-the-bottom power and gas connection package
must be installed before the unit is set on the roof curb.
If the combined COBRA unit roof curb is not being used,
additional support is required under the EnergySRecycler
section of the unit. An accessory support and pad for the energy
recovery section or a field-fabricated and installed support can
be used. See Fig. 4. Place the protcctive rubber pad on the roof
so that the edge near the unit is located about 6 in. from the end
of the 62AQ EnergySRecycler sectiorl. Measure the distance
from the bottom of 62AQ Energy$Recycler rails to the pad.
Adjust the energy recovery equipment support to match the
measured distance and screw into place with the 4 screws
provided. See Fig. 4. Place the support underneath the
EnergySRecycler unit and on the protective rubber pad. This is
done by lifting the end of the 62AQ EnergySRecyeler section
slightly above level and then sliding the support underneath the
mils.
If electric control power or gas service is to be muted
through the basepan, a fteld-installed accessory thru-the-bottom
connection must be used Attach the accessory to the basepan
per the information m the accessory installation iaslruedons.
Thru-the-bottom connections must be installed before unit is set
on the roof.
iIMPORTANT: The gasketing oftbe unit to the roof curb is i
critical for a watertight seal. Install gasket supplied with the I
roof curb as shown in Fig. 3A and 3B. Improperly applied
gasket can result in air leaks end poor unit performance.
Curb should be level. This is necessary for unit condensate
drain to function properly. Refer to Roof Curb Accessory
Installation Insteactions for additional information as required.
Step 3 -- Field Fabricate Ductwork -- Secure all
ducts to roof curb and building structure. Do not connect duct-
work to unit. Insulate and weatherproof all external ductwork,
joints, and roof openings with cotmter flashing and mastic in
accordance with applicable codes. See Fig. 5A and 513for duct
dimensions.
Ducts passing through an unconditioned space must be
insulated and covered with a vapor barrier. If a plenum return is
used, the return should be ducted through the roof deck to com-
ply with applicable fire codes.
A minimum clearance is not required around ductwork.
These units are designed for a min'unum continuous healing
return-air temperature of 50 F (dry bulb), or an intermittent
operation down to 45 P (dry bulb), such as when used with a
night setback thermostat. To operate at lower r_urn-air temper-
atures, a field-supplied outdoor-air temperature control must be
used to initiate both stages of heat when the temperature is
below 45 K Indoor comfort may be compmmised when these
lower air temperatures are used with instdficient heating
temperature rise.

DALT
CONNECTOR B C DRAIN GAS POWER CONTROL ACCESSORY
PKG. ACCY. HOLE PWR
_/4" [19]
CRSTMPWR001A01 3/4"[19] NPT
NPT 11/4"
CRBTMPWRCO2A01 1' _11/16" 1'-4" 13/4" [31._ 1/2" 1/2"
CRBTMPWROO3A01 [551] [406] [44.5] 1/2" [12.7] 3//, [19] 12,7] NPT [12,7] NPT
NPT NPT
CRBTMPWR 004A01 3/4_ [19] 11/4"
NPT [31,7]
o, 3-
[761
D Ot3_T
J (F IELO 5UPPLI ED)
RIGID INSULATION
(FIELD SUPPLIED)
ROOF CURB [3A615 UNiT SIZE
ACCESSORY
CRRFCURB001A01 I'-Z'
CRRFCURB002A01 [61
NOTES:
1. Roof curb accessory ks shipped disassembled.
2, insulated panels.
3. Dimensions in [ 1are in millimeters.
4. Roof curb: galvanized steel.
5. Attach ductwork to curb (flanges of duct rest on
curb).
6. Ser,Ace clearance: 4 It on each side.
7. _Direction of airflow.
8. Connector packages CRBTMPWR001A01 and
2A01 are for thru-the-curb type gas. Packages
CRBTMPWR003A01 and 4A01 are for thru-the-
bottom type gas conneclions.
TYPICAL (4) SIDE5
o'-?/16"
IF]ELD SUPPLIED)
FELT
(FIELD SUPPLIED)
CANT 5TRIP
RIBID INBULAT]ON
{FIELD SUPPLIED1
0'-0 1/4°[7]
o" 4 9/16
[llS.Bl
i/i 8"
HEAD OF BOLT TO BE ON
INSIDE OF FLANGE
VIEW "B"
:TYp+ ALL CORNERS)
[76]
SEE VIEW
Fig. 3A -- Roof Curb Details (48/50HJ004-007 Section Only)
CAMBR]DGEPORT "SURE-LOCK" CORNER
FASTENING DEVICE IB ACCEPTABLE
ALTERNATE OONSTRgCTION.
4

D ALT
CONNECTOR BC DRAIN GAS POWER CONTROL
PKG. ACCY. HOLE
3/4" [19]
CRBTMPWROO1A01 3/4" [19] NPT
NPT 1-1/4"
CRBq-MPWR002A01 2' _87/t_, 1' q fll.s/l_ 13/4_ [31.7] I12_
CRBTMF_/R003A01 [827] [583] [44-51 V2" [12.7] 3/4"[19] [12.7] NPT
NPT NPT
314"[19] 11/4"
CRBTMPWR004A01 NPT [31.7_
GASKET
(BUPPLIEO WITH OL_RB)
DUCT
0'-0 7/16"
ACCESSORY
PWR
[12.7] NPT
ROOF CURB [3A6]_ UNIT SIZE
ACCESSORY
CRRFCU RBflfl3A01 1'_"
CRRFCURBOQ4A01 610
NOTES:
I. Roof curb accessory is shipped, disassembled.
2. Insulated panels: 1-m. th=ckpolyurethane loam,
13/4[b density.
3. Dimensions in [ ] are in millimeters.
4. Roof curb: 16-gage steel
5. Attach ductwork to curb (flanges of duct rest on
curb).
6, Service clearance 4 It on each side.
7. _Direction of aidfow.
8. Connector packages CRBTMPWRfl01AOl and
2Afll are for thru-the-curb gas type. Packages
CRBTMPWRO03A01 and 4A01 are for thru-
the-bottom type gas connections.
TYPICAL (4) 51DE5
o" 3[#_.I#]"
IG" _
(F]ELD SUPPLIED)
CANT 5TRIP
"_[g IELD 5k_pL ]ED)
SECTION "C-C"
OPENIN6 FO_ BASEPAN
GAB SERVICE
HEAD OF BOLT TO BE 0N
[NSIDE OF FLANGE
I76) NOTE, CAHBRIDGEPORT *SURE-LOCK" CORNER
ALTERNATE CONSTRUDTION,
Fig. 3B -- Roof Curb Details (48/50HJ008-014 Section Only)

UNIT SiZE
3-6 Ton
71/2-12_/_Ton
EQUIPMENT SUPPORT DIMENSIONS (in.)
PART NUMBER A B C
CRAQSUPTO01A00 36.9 40 8to14
CRAQSUPT002A00 36.9 40 14to24
CRAQSUPT003A00 49.7 54 8to 14
CRAOSUPTO04A00 49.7 54 14 to 24
_SCREW
SUPPORT
IN PEACE
F
,, ,
EE CHART)
PROTECTIVE
PA0
(EPDM)
ADJUSTABLE
EQUIPMENT
SUPPORT
ENERGY$ REcYCLER_ ROOFTOP UNIT
SECTION SECTION
"'"'! O O
CURB
iiiliiiiiliill!iii!ii!i!liliiill
Fig. 4 -- Supplemental Energy Recovery Section Equipment Support
Step 4 -- Rig and Place Unit -- Keepunit upright
and do not drop. Spreader bars arenot required if top crating is
left on unit. Rollers may be used to move unit across a roof.
Remove the bottom wooden skids that are under the unit by
removing the wooden plates that hold the bottom wooden
flame to the unit. Level by using unit frame as a reference. Lift-
hagholes are provided in base rails as shown in Fig. 6A and 613.
Refer to riggmg instructions on unit.
All panels must be in place when rigging.
POSITIONING Maintain clearance around and above unit
to provide minimum distance fi'om combustible materials,
proper airflow, and service access. A properly positioned unit
will have the following clearances between unit and roof curb:
ll4-in, clearance between roof curb and base mils on each side
and duct end of unit; i/4-in, clearance between roof curb
and condenser coil end of unit for size 004-007 units and a
3s/16-in. clearance between roof curb and condenser coil end of
unit for size 008-014 units.
Do not irtstall unit in an indoor location. Do not locate unit
air inlets near exhaust vents or other sources of contaminated
air.
Be sure that unit is installed such that snow will not block
the combustion intake or flue outlet.
Unit may be installed directly on wood floormg or on
Class A, B, or C roof_overing material when roof curb is used.
Although unit is weatherproof, guard against water from
higher level rtmoffend overhangs.
Flue vent discharge must have a minitman horizontal clear-
ance of 4d from electric and gas meters, gas regulators, and
gas relief equipment.
Minimum distance between unit and other electrically live
parts is 48 inches.
Flue gas can deteriorate building materials. Orient unit
such that flue gas will not affect building materials. Locate
mechanical draft system flue assembly at least 48 in. from an
adjacent building or combustible material.
Adequate combustion-air and ventilation-air space must be
provided for proper operation of this equipment. Be sure that
installation complies with all local codes and Section 5.3, Air
for Comb_fion and Ventilation, NFGC (National Fuel Gas
Code), and ANSI (American National Standards Institute)
Z223.1, and NFPA (National Fire Protection Association)
54 TIA-54-84-1. In Canada, installation must be in accordance
with the CAN1-BI49 installation codes for gas burning
appliances.
After unit is in position, remove rigging skids and shipping
materials.

LEFT
SIDE )P i
35 0 BIA Ci
[I 38]
CO_W[R
[44 T_]
REAR qll 1
14 4o]
187; 9
(137_]
[ZSll]
(I
[27 28]_]
18
15 58)
COWDENSERCOIt_
810 \
g90 12 Ok)
6603 [3 )0]_
1_6_001 _
1 Ery,,
_ONN[B
([t[CIRICAL ONLTI
[2435)
[3S 3Z)
1405 I
(5532)
145T 3
IS? )8)
14886
[5B 41]
(48_J ONLYI
d8 S
(I 91]
1
lR_HT
SIDE
uA ) t
-- _ 11745i°76] [645o1 e£r
[5111
i '
-1160
q_ BASEPAW
_T_AWSrO_[R
FRONT 112 0_1
IS )5]
Ho3p
IREOUi_[D Og 460V kPPLICATIOWS 0MLI)
_T6 4
[105 57]
410 0_ 4_
[15 16) 1415_ 06] [37 _)
-- _ISI 80_ -- 6)12 _5)
I) 5 [Z4 835 [I 001
r , . __
'>11
m(18
_03 4IS38} (I14$$1
[IO_ _9] $BPPLY AI_ I_[TU_(MAIR
),o)_ RIGHT SIDE
Fig. 5A -- Base Unit Dimensions -- COBRA TM Energy Recovery Unit -- 48/50HJ004-007 with 62AQ060,100

UNIT
48RJe004 e162AOOGO
48HJ,004 wlGZAOIO0
48HJ,005 IIGZAODGO
48HJtO_5 wf62_OlO0
48HJ1006 v/G?AODGO
48HJSO06 _/G?AOIO0
48HJoOOf w/G_OOGO
4_HJlOOf v/6_kOlO0
S_C4.E ZONE B.EC_ COCLIN6 grc40AE HEAT
[LEC]RICAL
CNARACTfRISTiCS
UNIT WEIGHT CORNER WEIGN1 "A" _ORN[R WEIGH[ "_" COffN[_ W[IGNT "C' )RNER WEIGHT 'D" UNII HEIGHT "G"
LB KG LB EG LB KG L6 EG LB KG IN k_
_061_30-1 riO, _081230 3 60, 460-3-60 890 404 ?36 lOG 28_ I_? _OS 93 IT1 7_ 33 33 846_
2081230 IGO. 206/_30-_ 60, 460 3 GO 905 411 238 108 284 I29 ?08 94 174 79 33.33 846¸5
208/230 I50. 2081230 3 60, 460-3-60 900 _09 _37 107 283 1_8 Z07 94 173 79 33 33 846¸5
208/Z301-6D, ?08/_30 3 GO. 460 3 GO _15 415 Z41 109 288 130 2ql 9_ 176 80 33 33 84_5
208/230 IGO, ?08/230-3-60, 460 3 GO 9ZO 41_ 24? _10 _89 131 ?IZ % IT7 _0 33¸33 _465
?0_1230.1 GO, _08/230 3 60, 460-3-G0 935 _5 Z46 I1_ 294 133 _15 _8 180 _ 33¸33 846¸5
208/230.3-60, 460 3 GO _9_ _5_ _G? 119 3P3 14_ ??_ !04 19_ 81 41¸24 1047¸4
_08/230 3 60, 4_D.3-60 IOrO 4S9 _66 120 _ll 144 _3Z 105 q94 8B _l_a 1047 4
oo
ZONE ELECTKIC
UNI[ ELECTrICAl
CHARAC][91_IlCS
LB KG LB KG LB KG
50HJO04 w162AO060 ZOSI230-t.60, 206/230-3 60, 4GO 3 GO T95 3GI 250 113 IB3 83
50HJO04 w/6_AOlO0 208/230 F 60. 208/230-3-60, 4GO 3 GO 810 368 255 115 18G 85
50HJO05 wlG2AOOGO 2061Z30 [GO, 208/230 3 GO, 4GO-3-GO 805 3G5 253 [15 185 84
50HJO05 w/G2AOIO0 2081230-_.B0, Z0812_O 3 GO, 4GO 3 GO 820 37_ 258 _17 189 86
50HJOOG wl6Z_OOGO _081_30 I60, 2081230 3GO. 460-3-G0 825 3T5 259 !18 190 8G
50HJ006 w/G?AOq00 _0BI230 IGO. 208/230-3 GO, _GO 3 GO 840 38[ ZG4 120 193 B8
50HJO02 wlG2AO060 _081230 3 GO, 4G0.3-60 880 dO0 2TT IZ5 203 92
5DNJO07 w152AO100 Z08/_30 360, 450 3 60 _95 _OI 281 1_8 _G _3
UNIT WEIGh1 CORNER WEIGHT "A" CORN[fl WEIGH[ "_' CO_EE _[IGN1 "C" _ORNER WEIGHT "D" UNIT HEIGHT %"
LB K_ LB K_ IN k_4
209 95 1_3 69 33¸33 _465
213 97 156 71 33_3 845¸5
?17 95 155 70 33 33 845¸5
215 98 158 ;_ 33.33 B4_5
Z17 _8 159 72 33 33 845¸5
221 IO0 IG_ 13 3_33 846¸5
Z3q _05 I69 TT 4P _4 1047¸4
235 107 17Z 78 41¸24 10_74
NOTES;
I DIMENSIONS IN { ]hE[ IN INCHES
3 _ _1RECT_O_ _[ klR [LOW
4 _UCTWORK TO BE ATT_CNED TO ACCESSORY ROOf _URB OgLI
5 HJ MINIMUM CL[_kNCE ILO(_L C0_[$ O_ Jp_I$DrCTION MA_ PREVAILI:
a BETWEEN UNIT, FLUE SI0[ ANO COMBUSTIBLE _URFkC[$, 48 I_CN[$
I0 INCHES WHEN _SIN6 k_C[SSORY TLUE plS_NARG[
O[fL[CTOR
_BOTIOM Of UNI_ 10 COMBUSTIBLE SURFACES (WB[N _07 USING
CURBI lINCH¸
BOTIOM Of BN$[ _klL 10 COMBUS[IBL[ SURFkC[S (gH[N gO7
_SI_G _URB) 0FNCN[_
cCONp[_$[R _OIL, FO_ PROPER kr_ FLOW, 36 INCH_ ON_ S_O[.
q2 INCHES IH[ OTNE_ THE SIDE GETTING THE GREAI[R
CL[kE_C[ IS OpIIONkL
dOV[_N[kD. 60 INCHES 10 kSSUR[ PROP[_ COND[NS_ TAN
OPEraTiON
efi[TW[[N UNIIS, CONTROL BOX SIDe, 42 IN P_R NEC
IBETWEEN UNI1 k_O UNGROUNO[D SU_[NC[$, CON]ROL _OX
SIDE, 36 Ig P[_ N_C
9BETWEEN UNIT k_O BLOCK O_ CONCRETE _ALLS AND OTHER
GROUNDED SURFACES, COglNOt BOX sro[. d_ IN P[_ g[_
h _RrZONTAL SUPPLY AND R_TURN END, 0INC_[_ W_[N 1HE
NL1[_NN[[ COND[NSkTE DRkI_ IS _S[O
A0 . MINI_UM CLEARANCE (LOCAL CODES OR JURISDIC1_Og _At p_[VAILI
o. _1W[[N UNI1 ICONTROLf[XNAU$1 SIp[) A_D UNOGRO_ND[D S_[NC[S,
3G INCH_S AND _LOCK OR CONCRETE _kLLS kgD OTN[_ GRO_#_[D
SURTAXES
b[ILI[R kCCE_S S_D[, 30 JNCHES
SUPPLy AIR INTAKE, 35 INCHES
UNI1 TOP, 0 rNC_ES
EXHAUST klR SI_[ 36 INCHES
6WiTH [_[ [XC[PIION O_ T_[ CL_ARAgC_ FOR THE COND[NS[B COIL
AND COMBUSTION SlOE kS STk][_ [N NO1[ lea. b _D (, k
_[_VkBLE FEgC_ O_ BkRRrCAD[ REOUIR[S gO CLEARANCE
? UNIIS Mk_ 8E INSTALLED ON COMBUSII_L[ _t_RS MkO[ TRO_4
_OOD O_ CLA_S k, ft. OR CROOT COVERING MMERI_L I[ _[T
O_ B_S[ _klL
8 IHE VE_I_CkL CENTER OF G_kVITY I_ 1'-6" [457 ] UP TROM
lEE _O]10M O[ IH[ BASE RklL
BOIWOM POWER CHART
THESE HOLES REQUIRED FOR USE
WITH ACCESSORY PACKAGES
CRBTMPWR001A01, 3A0112.7 [0.50], 19.0 [0.75]
OR
CRBTMPWR002A01, 4A01 12.7 [0,50], 31.8 [1.25]
THREADED REQUIRED HOLE
CONDUIT WIRE SIZE SIZES (MAX,)
SIZE
12.7 [0.50] ACCESSORY 22,2 [0.88]
12.7 [0.50 24V 22.2 [0.88]
31,71.25 44.428"4[1"1219.00.75 POWER" [1,75
POWER"
(003) 12,7 [0,50] FPT GAS 3 .8 .25
1004) 1g.o l0"751 FPT GAS 41.3 [1.62 l
*SELECT EITHER 19.0 [0.75] OR 31,8 [1.25] FOR POWER, DEPENDING ON
WIRE SIZE.
_OOF CprB [NO OR SLE[P[R RAIL_
AO B_SEPkN _UPpORT j
1813.9
[71 421
S[CHONA-A
_J
_121.8
(4 80]
_GGTG [2628]
IVIEW FOR COR_ISLE[?[R RAILI
Fig. 5A -- Base Unit Dimensions -- COBRA TM Energy Recovery Unit -- 48/50HJ004-007 with 62AQ060,100 (cont)
1
_39 3
1_.551
--228 6
19.00]

_c
LEFT
I _32 _
REAR
Fig. 5B -- Base Unit Dimensions -- COBRA TM Energy Recovery Unit _48/50HJ008-O14 with 62AQ200,300

5_NOLIE _E_J_CI_P,IC COOLING WITH GAS IE.AT
U_IT [t[CT_ICAL _11 W[IGHT CO_NER _EIGHT _k" (OR_[R WEIGHT -_= CORH[R _EIGHT ,_- COR_ER W[_G_I "D" _IT _(_G_T .5 ¸¸
C_ARA_TERISTI_S
L_ _G L_ KG L_ L_ KG LB _G IN MM
Z081_O 3_0 460 3 _0 1445 _T 300 1t6 13_ I_t 4_ 19_ _7_ 17_ 56 12 1_71
SK]d.E ZONE ELECTRIC COCLJM_
Ug_T _E_GHT CO_H£R _[IGHI _" CO_E_ _[IGHT "C" COffN[R W[I_HT =_" UNIT H[I_HT -_-
L_ i_
2_? T
_56 ili
_75 12s
_B_ ] 129
_ONJDO_ */_2A0200
[CT_kL
,(T[RIS_ICS
_0_/73_ 3 6O. 4_0 3 $0 1740
_¢8/_3_ 3_0, aso _6O 12_ 584
aOT[_:
I_IH[H_IOHS IN [ _ _R[ r# I_CH[S
2_ _ CEN T[_ O_ _R_WT_
5 HJ MrNfHI]H _L(_kHC[ [L_kL ¢OD(_ OR JB_ISpI_TIOH M_ PR[_IL_
a B[T_[[N UNFT FLU[ SI_f kHO (OMB_S11BL[ _RFk_[_ 4_ I_HfS
I_ INCH(S _[H U$IN_ ACCESTORY FL_[ blSCHkR6[
bBOTTOM OF _H TO [OMBBSTIB[( $_r_C[$ ew_[H HOT USlHG
90TTOH Or BASE RAIL 10 COH_U$1_BL[ _B_[kC[_ _H(H NOI
II IHCH($ TH£ OTH[R IHE S_[ G(TIIN6 TH[ 6R[AT(R
(LEAR_NC[ _ OPTIORkL
OPERAIroN
ALT[_HAI[ _OH_[_Skl[ _RAIH II USEB
kO MI_]M_M CLEXR_C[ ILO_XL COPES OR JUelS_I_TIOH M_ p_E_IL_:
SpRFA_IS
bFILTER ACCESS SI_Er 30 INCHES
SUppLy AfR INTAKE. 36 IHCH[S
UHH lOP _ ]H_H[_
6 _ITH TH[ [X_EPTIO_ OF TH_ _L[kRAHC[ FOR IH[ _ONO[HSER COIL
OH BkS[ BA_L
B THE V[nlICkL C[NT[R OF _RAVITX _S _ _ i4S?] _P FROM
IH[ BOTIOMOF TH[ Ok$[ RAIL
CO_HEH W[IG_T "B"
L_ [ IIG_I L_ L_ KG iN MM
]_ 13_ _BZ 17_ 339 154 _12 _OTO
_d 14_ 40_ 1_4 _50 15t 50 4Z IZT_
BOTTOM POWER CHART
3_]ESE HOLES REQUIRED FOR USE
WITH ACCESSORY PAOKAG ES
CRBTMPWRO01A01, 3AOl 12.7 [0.501, 19.0 [0.75]
OR
CRBTMPWRO02A01.4AO1 12.7 [0.50I, 31.8 [1.25]
THREADED REQUIRED HOLE
CONDUIT WIRE SIZE
SIZE SIZES (MAX.)
12.7 [0.50 ACCESSORY 22.2 0.88
12.710.50 t 24V 22,2f0.88 t
19.0 0.75 POWER* 28,4 1.12
31A1 o] POWER"I ,,,11751
003 12.7 0.50]FPT GAS 3t.811251
oo,oofo,sF,TI 1'3 °2
'S ELECT EITHER 1g,010.751 OR 31.8 [1.251 FOR POWER,
DEPENDING ON WIRE SIZE.
?l_T 0/
(85Jtl
s_c,_N A-A
SCkL[ 3:_
rVI[W fO_ CU_B/_L[[PER R_IL_
1_ 001
[4 80]
_808 $
131 84]
Fig. 5B -- Base Unit Dimensions -- COBRA _Energy Recovery Unit -- 48/50HJ008-014 with 62AQ200,300 (cont)
11 55]

/t CAUTION NOTnCETO RDGGER$:
ALL PANELMUSTBE IN PLACEWHIENRBOI_
HOOK RiGGiNG SHACKLES THROUGHHOLES IN BASE RAIL. AS SHOWN iN DETAIL "k"
HOLES IN BASE RAILS ARE CENTERED AROUND THE UNIT CENTER OF GRAVITTr
USE IK)ODER TOP SKID. WHEN RIGGING. TO PREVENT RIGGING STRAP._ FROH OAMAGING UNIT.
1914- _37 Imm)
DUCT
DETAIL A
i)[]AIL k
MAX WEIGHT A B C
Ib kg in. mm in. mm in. mm
4BHJO04 wi62AQ060 890 404 95.6 2428.20 57.38 1457.30 33.35 847
48HJ004 wi62AQ1 CO 905 411 95.6 2428.20 57.38 1457.30 33.35 847
48HJ005 w/62AO060 900 409 95.6 2428,20 57.38 1457.30 33.35 847
48HJOCO wi62AQ1 CO 915 415 95.6 2428.20 57.38 1457.30 33.35 847
48H JOCOwRI2AQ060 920 418 95.6 2428.20 57.38 1457.30 33.35 847
48HJ006 wI62AQlO0 935 425 95.6 2428.20 57.38 1457.30 33.35 847
48HJ007 wi62AQ060 995 452 95.6 2428.20 57.38 1457.30 42.12 1070
48HJCO7 w/62AQlO0 1010 459 95.6 2428.20 57.38 1457.30 42.12 1070
50H3004 wi62AQ060 795 361 95,6 2428.20 57.38 1457.30 33.35 847
50HJO04 w/62AQ1 CO 810 368 95.6 2428.20 57.38 1457.30 33.35 847
50HJOCO w/62AQCO0 805 365 95.6 2428.20 57.38 1457.30 33.35 847
COHJCO5W/62A01 CO 820 372 95.6 2428.20 57.38 1457.30 33.35 847
50HJO06 W/62AO060 825 375 95.6 2428.20 57.38 1457.30 33.35 847
50HJO06 wi62AQlO0 840 381 95.6 2428.20 57.38 1457.30 33.35 847
50HJCO7 wi62AO060 880 400 95.6 2428.20 57.38 1457.30 42.12 1070
50H JO07 wi62AQ1 CO 895 407 95.6 2428.20 57.38 1457.30 42.12 1070
Fig. 6A -- Rigging Label -- COBRATM Energy Recovery Unit -- Sizes 48/50HJ004-007
Step 5 -- Install Flue Hood (48HJ Rooftop Sec-
tions Only) -- Refer to the 48HJ installationinslmctioas for
information on installing the flue hood.
Step 6 -- Install Gas Piping (48HJ Rooftop Sec-
tions Only) -- The gas supply for gas heat units (48HJ) can
be ran through the curb or through the bottom of the unit. See
Fig. 7 and 8.
When installing the gas supply through the curb, the gas
piping will exit out through the side of the roof curb and a
hole in the base rail. The accessory thru-the-curb service
connections (part numbers CRBTMPWR001A01 and
CRBTMPWR002A01) are required. See Fig. 9. A field-
supplied regulator is installed outside the unit and the piping is
connected to the unit gas valve.
When installing gas supply through the bottom of the
unit, the gas piping is routed through a knockout in the unit
basepan and then connected to the unit gas valve. The
accessory thin-the-bottom service connections (part numbers
CRBTMPWR003A01 and CRBTMPWR004A01) are re-
quire& See Fig. 10 and 11. Refer to the 48HJ installation
instructions for more information on installing the gas piping.
Step 7 -- Install External Trap For Condensate
Drain -- The condensate from the rooftop unit along with
condensate from the upper coil of the 62AQ Energy$Recycler TM
section is internally piped to the condensate pan in the lower
section of the 62AQ Energy$Recyeler section. See Fig. 12. For
this reason, the bottom drain on the rooftop unit CANNOT be
used for a condensate drain.The 3/_-in.drain connection on the
energy recovery section is located near the bottom left of the
exhaust air section. See Fig. 5A and 513.The Energy$Recycler
section must have a field-fabricated, external, P-Irap installed for
condensate drainage. Trap must be at least 4 in. deep to protect
against freeze-up. If the drain line is installed downstream liom
the external trap, pitch the line away fi'om the unit at 1 in. per
10-fl of rim. Do not use a pipe smaller than the connection
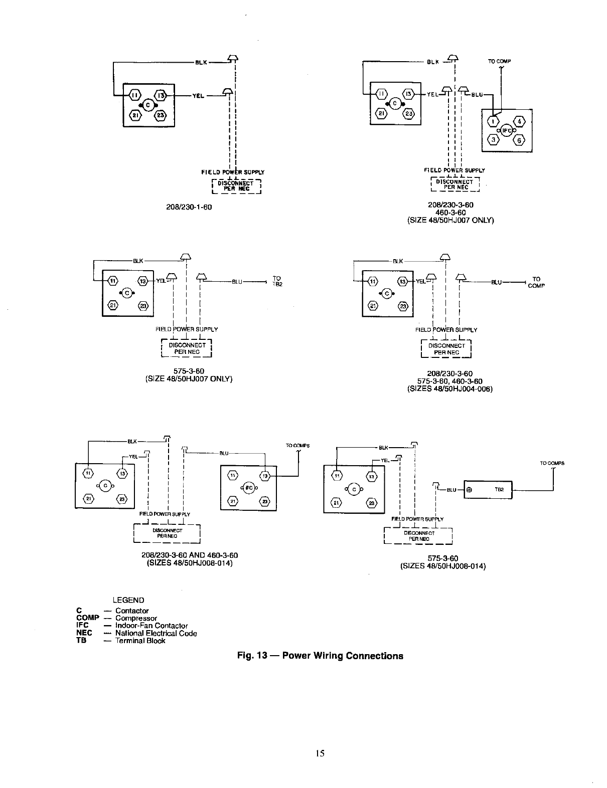
Step 8 -- Make Electrical Connections
Unit cabinet must have an uninterrupted, unbroken electri-
cal ground to minimize the possthility of personal injury if
an elcclrical fault should occur. This ground may consist of
electrical wire connected to unit ground lug in control com-
partment, or conduit approved for electrical ground when
installed in accordance with NEC (National Electrical
Code), ANSI/NFPA, latest edition, and local electrical
codes. Do not use gas piping as an electrical ground Fail-
ure to follow this warning could result m the installer being
liable for personal injury of others.
FIELD POWER SUPPLY -- All units except 208/230-v
units are factory-wired for the voltage shown on the nameplate.
I1

/!k,CAUTION- NOTICETO RIGGERS:
N.L P_EL MUST EE IN PLN:E _EM RIOOIN6
HOOK RIGGIMG SHACKLES THROUGH HOLES IN BASE RAIL, AS SHOWN IN DETAIL "A"
HOLES iN BASE RAILS ARE CENTERED AROUND THE UNiT CENTER OF GRAVITY.
US[ IIOOD[N TOP SKID. WHEN RIGGING, TO PREVENT RIGGING STRAPS FROM DAMAGING UNIT.
DETAIL A
k
MAX WEIGHT A B C
Ib kg in. mm in. mm in. mm
48HJ008 w/62AQ200 1310 595 77,42 1966.5 66.50 1689.10 42.12 1070
48HJOOB wi62AQ300 1355 616 77.42 1966,6 66,50 1689.10 42.12 1076
48HJ009 wi62AQ200 1400 636 77.42 1966.5 66.50 1689.10 42.12 1070
48H J009 wi62AQ300 1445 657 77,42 1966.5 66,50 1689.10 42,12 1070
48HJ012 wi62AQ200 1400 636 77.42 1966.5 66.50 1689.10 60.12 1273
48HJOl 2 wi62AQ300 1445 657 77.42 1966.5 66.50 1689.10 50.12 1273
¢HHJOl 4 wi62AQ200 1440 655 77.42 1966.5 66,60 1589.10 50.12 1273
48HJ014 w/62AQ3OO 1485 675 77.42 1966.5 66.60 1689.10 60.12 1273
50HJ608 w/62AQ200 1240 564 77,42 1966.5 66.50 1689.10 42.12 1070
50HJD08 w/62AQ300 1285 584 77.42 1966.5 66.50 1689.10 42.12 1070
50HJ009 wi62AQ200 1325 602 77.42 1966.5 66.50 1689.10 50.12 1273
5OHJO09 wi62AQ300 1370 623 77.42 1966.5 66.50 1689.10 50.12 1273
50HJ012 wi62AQ200 1326 602 77,42 1966.5 66,50 1689.10 50.12 1273
50H J012 wi62AQ300 1370 623 77.42 1966.5 66,56 1689.16 50,12 1273
50HJ014 w/62AQ200 1365 620 77,42 1966.5 66.50 1689.10 50,12 1273
50HJ014 wi62AQ300 1410 641 77.42 1966.5 66.50 1689,10 50.12 1273
Fig. 6B -- Rigging Label -- COBRA TM Energy Recovery Unit -- Sizes 48/50HJ008-014
GAS VALVE
CONNECTION
GAS
(FIELD
SUPPUED)
SHUTOFF
(FIELD
SUPPLIED)
PiPiNG
GAS VALVE
CONNECTION
GAS
FIELD
_UPPLIED)
MANUAL
SHUTOFF
(FIELD
SUPPUED)
GAS
PIPING
Fig. 7 -- Thru-the-Curb Gas Connections Fig, 8 --Thru-the-Bottom Gas Connections
]2

GAS
SERVICE
PLATE
Fig. 9 -- Thru-the-Curb
Gas Connection (Accessory)
SUPPORT
EMBOSSMENT BRASS FITTING BRACKET
Fig, 10 -- Internal Gas Line Piping with Thru-the-
Bottom Connection (3 to 6 Ton Shown)
LOUVERED,N,
PANEL bMUI UPP
Fig, 11 -- External Gas Piping with Thru-the-
Bottom Connection (3 to 6 Ton Models Shown)
lf the 208/230-v unit is to be connected to a 208-v power
supply, the transfon'ner must be rewired by moving the black
wire with the t/4-in, female space connector from the 230-volt
connection and moving to the 200-volt I/4-in. male terminal on
the primary side of the transformer:
Refer to unit label diagram for additional information. Pig-
tails are provided for field wire connections. Use factory-
supplied splices or UL (Underwriters Laboratories) approved
copper/aluminum connector.
13
When installing units, provide a disconnect per the NEC.
All field wiring must comply with NEC and local
requirements.
Install field wiring as follows:
1. Install conduit through side panel openings. Install con-
duit between disconnect and control box.
2. Install power lines to terminal connections as shown in
Fig. 13-15.
Voltage to compressor terminals during operation must be
within voltage range indicated on unit nameplate (see
Tables IA-1H). On 3-phase units, voltages between phases must
be balanced within 2% and the current within 10%. Use the for-
mula shown in the legend for Tables 1A-1H, Note 2 to deter-
mine the percent of voltage imbalance. Operation on improper
line voltage or excessive phase imbalance constitutes abuse and
may cause damage to electrical components. Such operation
would invalidate any applicable Cartier warranty.
FACTORY-SUPPLIED NON-FUSED DISCONNECT The
factory-supplied disconnect is capable of handling disconnect
amps up to 80 A for a COBRA energy recovery unit. For discon-
nect amps greater than 80 A, a field-supplied disconnect is
required.
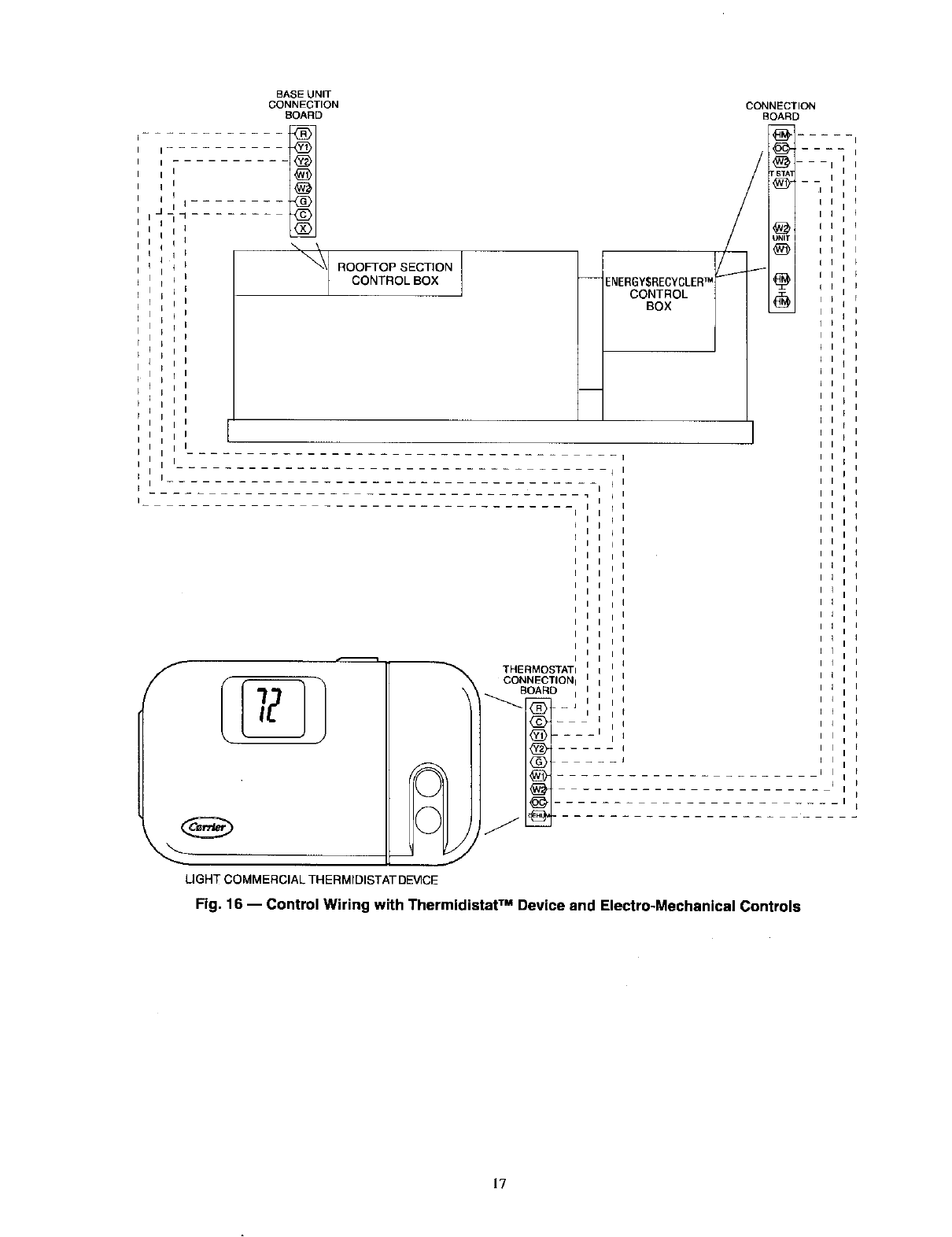
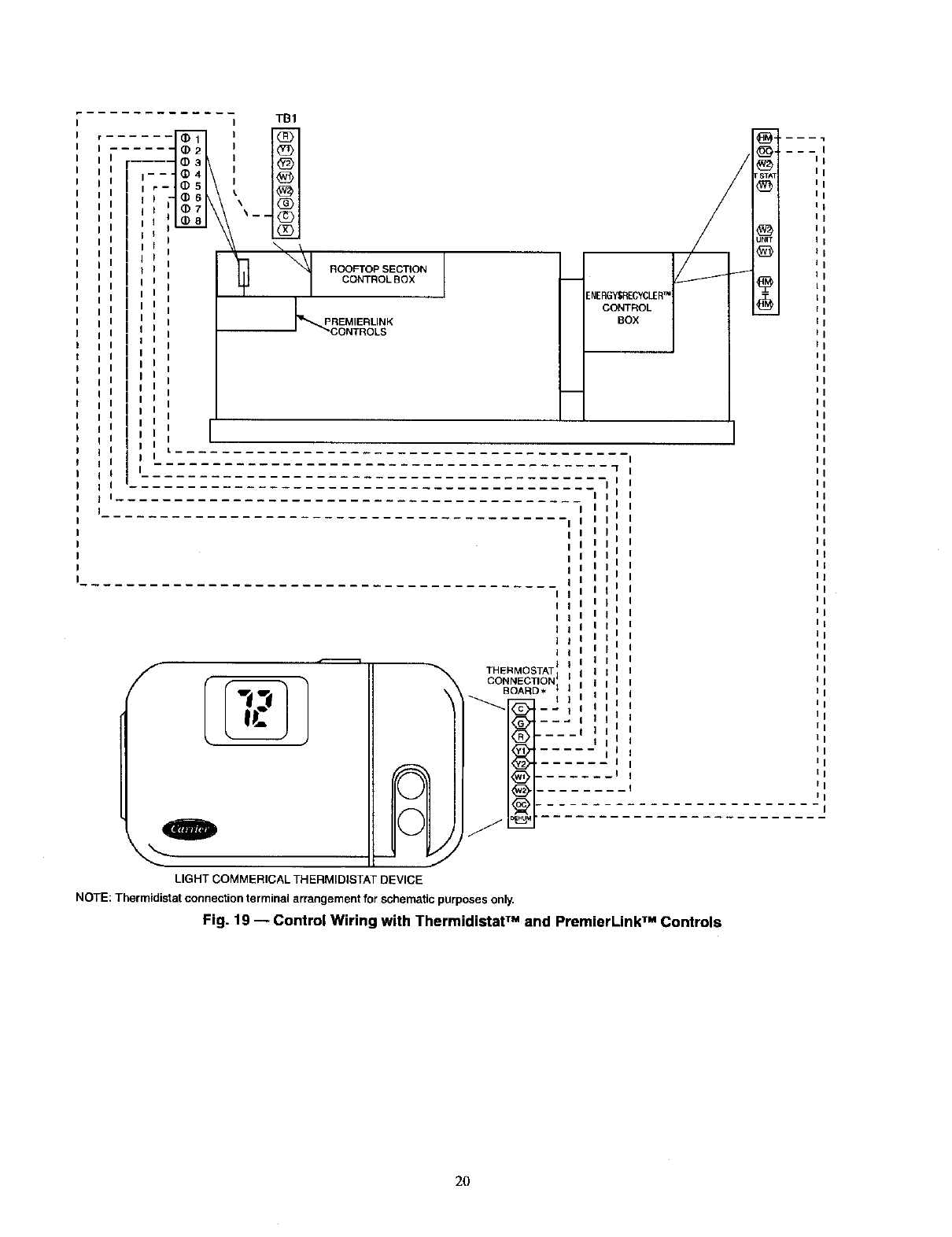
FIELD-CONTROLWlRING There are three required
inputs to properly control COBRA TM units: temperature,
humidity and an occupied/unoccupied schedule. The four rec-
ommended control combinations are:
• ThermidistatrM and electro_mechanical controls (Fig. 16)
• digital thermostat, humidistat and electro-mechanical con-
trois (Fig. 17)
• humidistat, space temperature sensor and PremierLink TM
controls (Fig. 18)
•Thermidistat and PremierLink controls (Fig. 19)
The most widely used combinations are the light commercial
Thermidistat or PremierLink with thermostat and humidistat.
If the unit is equipped with the Humidi-MiZer TM or
MoistureMi$er TM option, these systems also require a humidity
input. The Energy$Recycler wiring accepts the sensed space
humidity input and sends the appropriate signal to the rooftop
unit. See Fig. 14-17.
NOTE: The humidity sensor device used with a COBRA or
field-installed 62AQ unit with or without a Humidi-MiZer or
MoistureMi$er dehumidification option must be a contact
closure type device such as a humidistat or a light commercial
Thermidistat device.
NOTE: For wire runs up to 50 It, use No. 18 AWG (American
Wire Gage) insulated wire (35 C minimum). For wire runs of
50 to 75 ft, use No. 16 AWG insulated wire (35 C minimum).
For runs that require more than 75 1l,use No. 14 AWG insulat-
ed wire (35 C minimum). All wire larger than No. 18 AWG
cannot be directly connected to the thermostat and will require
a junction box and splice at the thermostat.
THERM1DISTAT DEVICE- The light commercial Ther-
midistat device is a 7-day programmable, wall-mounted, low
voltage field-installed control. It combines temperature and
humidity control in a single unit and provides separate set
points for heating and cooling. The control adds a dehumidifi-
cation control function with separate set points for up to 2
occupied and unoccupied periods per day.
Ifa Thermidistat device is used, install the Therraidistat as-
sembly accessory according to installation instructions includ-
ed with the accessory. Place the Thermidistat assembly on a
solid wall in the conditioned space to sense average tempera-
ture in accordance with Thermidistat installation instruction on
page 43. Connect Thermidistat wires to terminal board. Route
Thermidistat cable or equivalent single leads of colored wire
fi'om subbase terminals through connector on unit to low-
voltage connections (shown in Fig. 16). Thermidistat control
wiring is routed to both the rooftop unit control box and the
62AQ Energy$Reeycler control box.

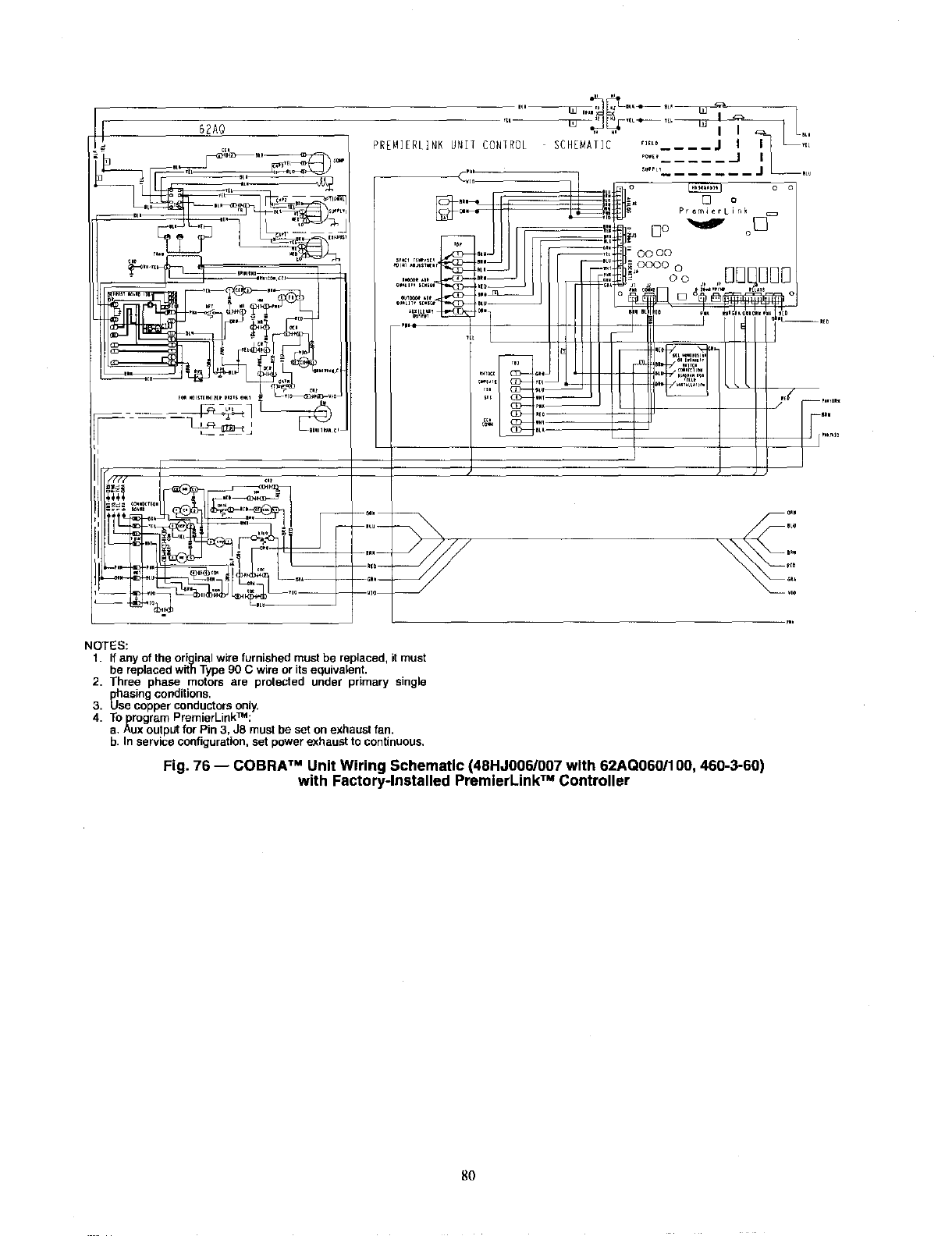
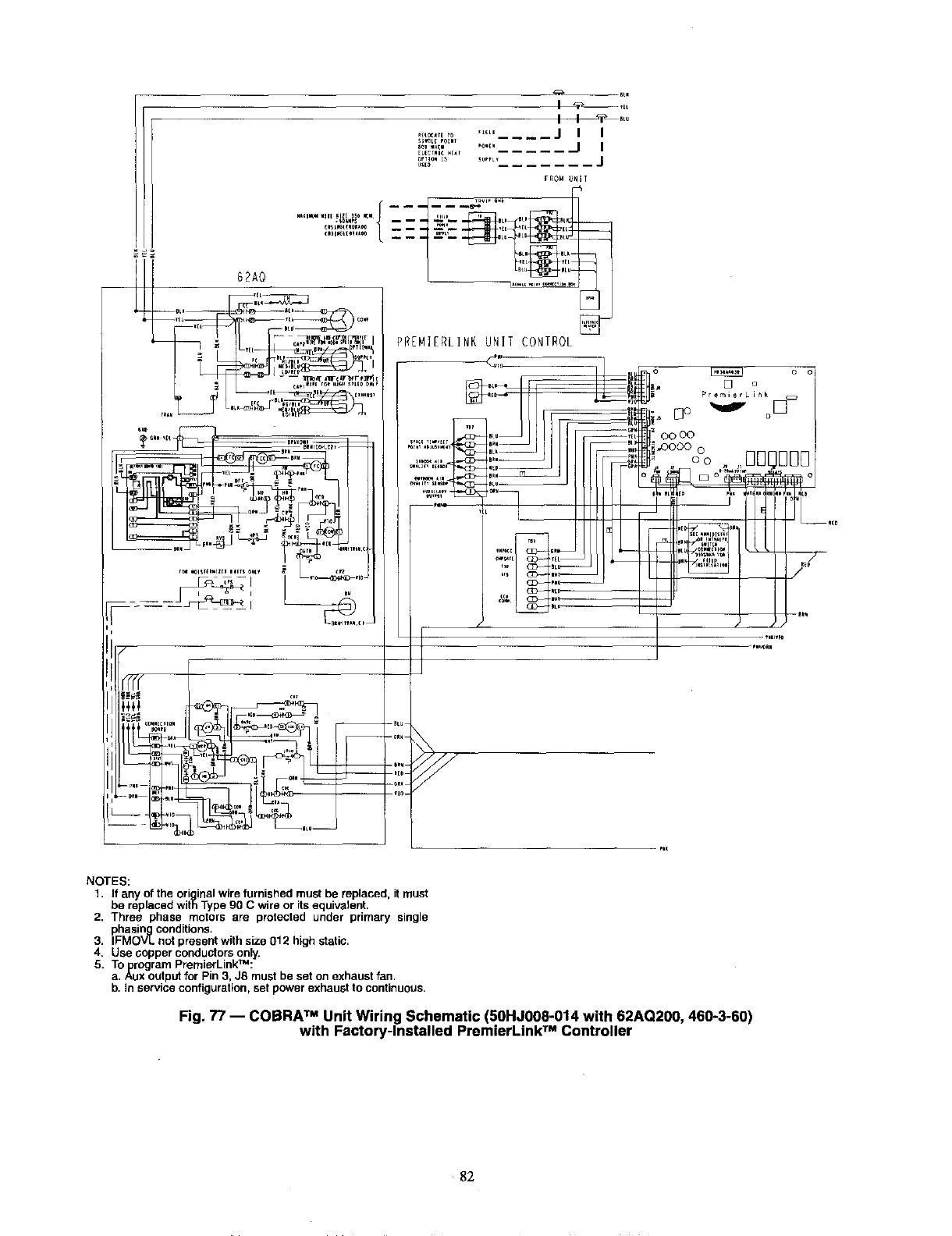
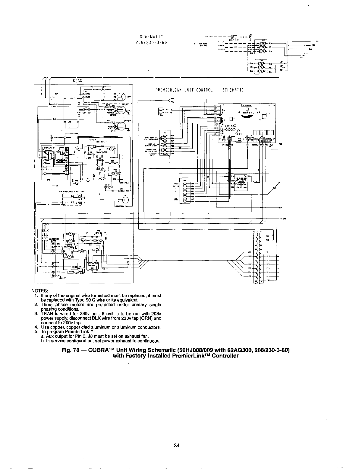
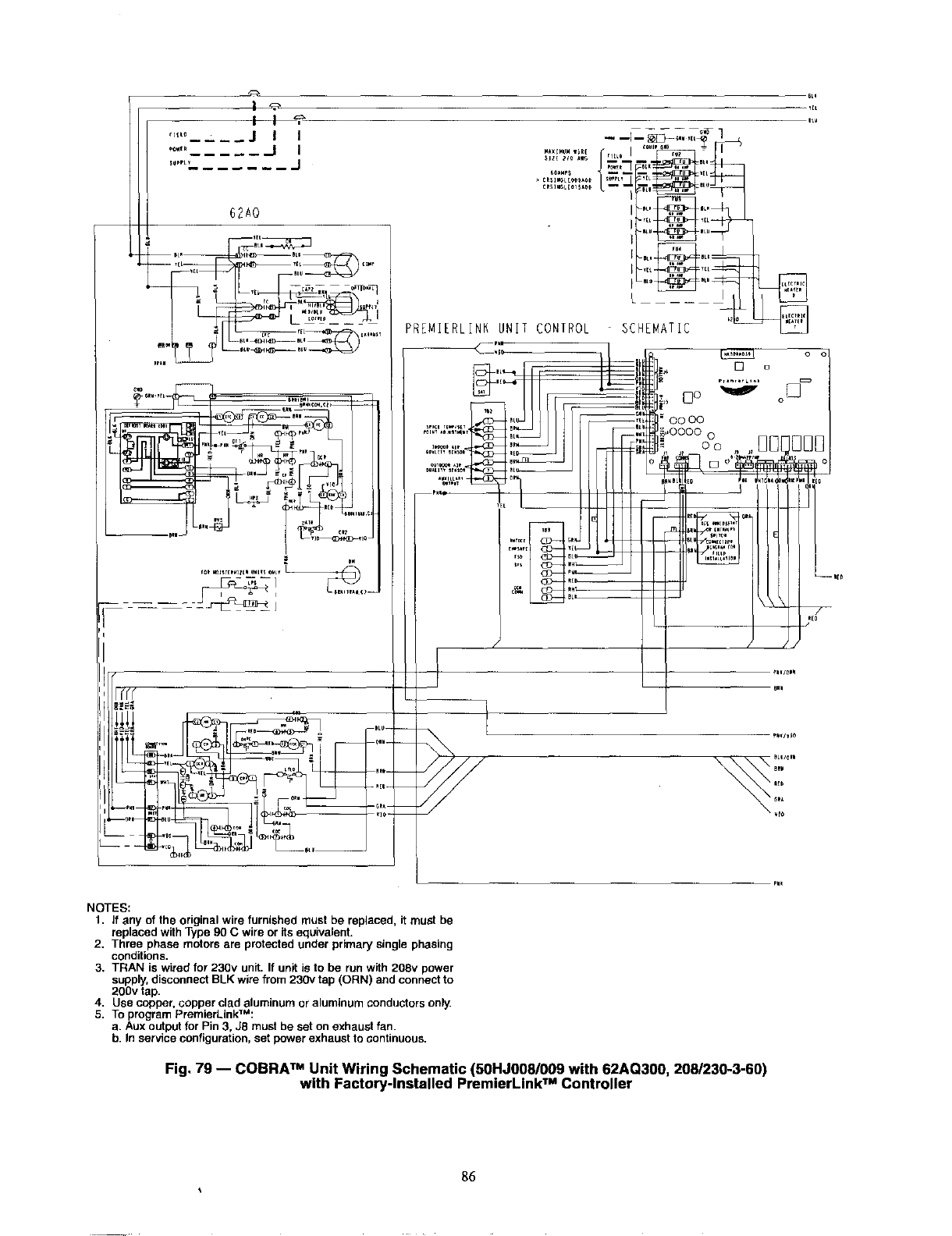
PREM1ERLINK TM CONTROLLER -- The PremierLink digi-
hal controller is a Direct Digital Control (DDC) box that mounts
in the motIop unit under the main unit control box. It is
designed to be connected to the Carrier Comfort Network®
(CCN) system, where all the input and output points and con-
trol screens can be monitored for servicing and troubleshooting
purposes. However, the PremierLink controller can also be
connected and operated via thermostat. For details and addi-
tional information, refer to the Retrofit PremierLink Installation
Instructions and Application Data.
The PremierLink controller is available factory-installed or
as a field retrofit accessory. The PremierLink controller is
designed to allow users the access and ability to change factory
defined settings, thus expanding the function of the standard
rooftop unit control. However, the PremierLink controller does
not have an incorporated visual interface. It requires a
CCN accessory such as a Navigator TM device, System PilotTM
unit or personal computer equipped with Carrier's proprietary
ComfortWORKS® or ServiceTool software.
If a PremierLink controller is used, a Thermidistat device
does not have to be used; a harnidistat and separate room air
sensor can also be used. Two extra terminal blocks (TB2 and
TB3) are provided in the control box for all units with Premier-
Link controls. No wires should be directly connected to the
PremierLink control. Wire sensors to "1332or TB3. Humidistat
is wired to TB 1 and the Energy$Recycler section. See Fig. 17.
Pass the control wires through the hole provided in the comer
post; then feed wires through the raceway build into the comer
post to the 24-v barrier located on.the left side of the control box.
See Fig. 20A and 20B. The raceway provides the UL required
clearance between high voltage and low voltage wiring.
The PremierLink controller does not support humidity con-
trol. A separate field-supplied humidity device that supports con-
tact closure must be used. However, remote humidity sensing
and control on a CCN system is possible using a PremierLink
controller, a 3V rM universal controller and a 3V compatible
humidity sensor. In this configuration, the universal controller
provides 24 vdc power to the humidity sensor and accepts a 4 to
CONDENSATE DRAIN CONDENSATE DRAIN FROM
FROM ROOFTOP ENERGY RECOVERY SUPPLY
SECTION COIL
20 mA humidity signal from the humidity sensor. The universal
controller provides an output relay contact that is connected to
the HM terminal in the Energy$Recycler section's cuntml box.
The humidity sensor output does not connect directly to the
COBRA unit. The universal controller is used to configure the
humidity sensor's set point; when the sensed humidity level is
reached, the controller sends a signal to the HM terminal.
The universal controller is also connected to the CCN bus
wiring, therefore the humidity set point and sensed humidity
value is displayed on the network. One universal controller can
be used for up to eight (8) different COBRA units.
The PremierLink controller has two modes of sensor input:
Temperature mode or Sensor mode. In Temperature mode, the
PremierLink controller accepts input from a Carrier approved
space thermostat. Input connections for this mode use terminal
strip TB3 as shown in Fig. 21-23. Terminal strip TB3 connects
to the J4 contacts on the PremierLink module. When the
PremierLink controller is factory-installed, it is completely
wired, except for the field-installed sensors. Currently, the only
sensor that is included from the factory is the supply air tem-
perature sensor. The following field-installed sensors are
required for PremierLink controller operation:
• space temperature sensor in sensor mode a space tem-
perature sensor (SPT) is required, or for thermostat mode
a thermostat is required, for all applications.
• outdoor-air temperature sensor (OAT) -- required for all
applications.
• supply-air temperature sensor (SAT) required for all
applications (included when PremierLink controller is
factory-installed).
• indoor-air quality sensor (IAQ) required for demand
control ventilation.
• outdoor-air quality sensor (OAQ) -- required for
demand control ventilation.
HEAT ANTICIPATOR SETTINGS -- Set heat anticipator
settings at 0.14 amp for the first stage and 0.14 amp for second-
stage heating, when available.
ENERGY RECOVERY EXHAUST
COIL
62A0 ENERGY$RECYCLER
SECTION DRAIN PAN
NOTE: Ensure condensate pan from rooftop
section is properly sloped in order for water to
flow to the 62AQ Energy$Recycler TM section
drain pan.
Fig. 12- Condensate Drain Location
14
DRAIN
OUTLET
FROM UNIT

L
_,,L---e, 1
FIELD PO=WI_RSUPPLY
I l_R IEC
208/230-1-60
<_]--YEL--'_:_°LU--
Ic
TO C0Mp
FIELD POWER SUPPLY
.'-oTs_o'_-1
L,'_.N_C._,
208/230-3-60
460-3-60
(SIZE 48/50HJ007 ONLY)
l® I
Z_C_BLU _ TO
TB2
[
[
[
[
FIELD POWER SUPPLY
J-I--L
rDISCONNECT _
L ._ER_EO
575-3-60
(SIZE 48/50HJ007 ONLY) 206/230-3-60
575-3-60, 460-3-60
(SIZES 48/50HJ004-006)
LK-
YEL_
® ®
__52
I
I
I
I
I
I
I
I
RELD POWERSUppLy
I__L_.L_
r'-- DISCONNECT '--_
IPERNEO I
L I
TOCC_APS _BLK_ t_
®®j ® @I
208/230-3-60 AND 460-3-60
(SIZES 48/50HJ008-014)
--mud_
I
I
I
FIELDPOWERSUpPLy
J-- _._-L__
r I DISCONNECT ]
I pERNEC I
575-3-60
(SIZES 48/50HJ006-014)
TO COMps
__]
,=]
LEGEND
C-- Contactor
COMP -- Compressor
IFC -- Indoor-Fan Contactor
NEC -- National Electrical Code
TB -- Terminal Block
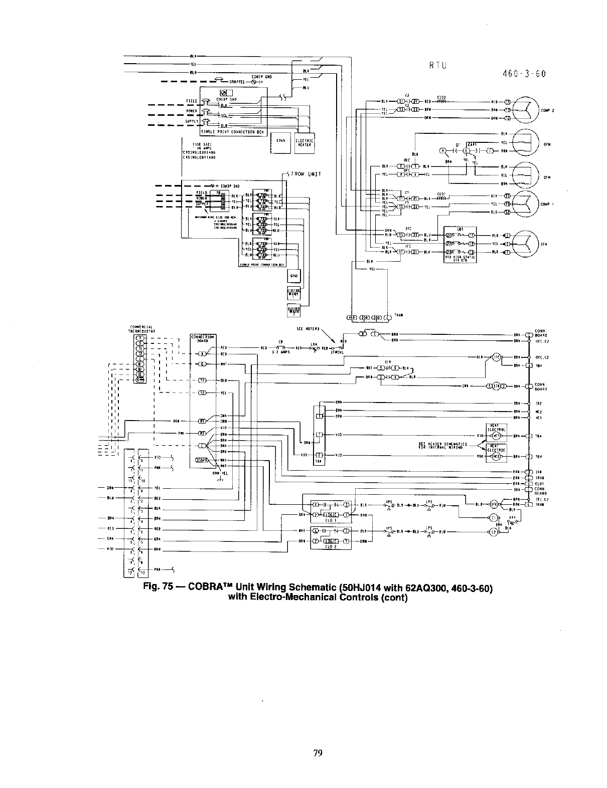
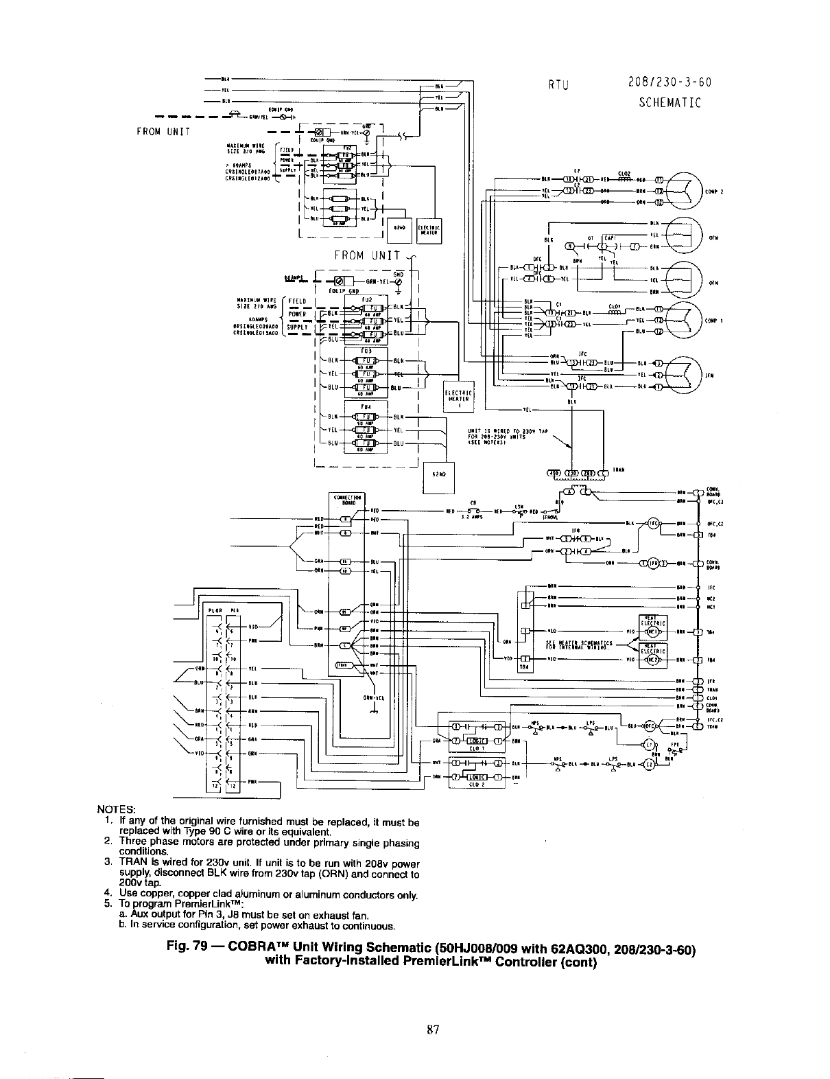
Fig. 13 -- Power Wiring Connections
15

PREMIERLINK TM TERMINAL
BLOCK
OPTIONAL FACTORY - INSTALLED
DISCONNECT
POWER WIRING
Fig. 14 -- Field Wiring Connections (Terminal Blocks in Rooftop Unit Section)
O
TERMINAL _/
BLOCK
O
Fig. 15 -- Field Wiring Connections
(Terminal Block in Energy Recovery Section)
16

BASE UNIT
CONNECTION
BOARD
"\\ ROOFTOP SECTION
CONTROL BOX --ENERGY$RECYCLER TM
CONTROL
BOX
CONNECTION
BOARD
/°
rSIAl
UNIT
................................. 1
S
LIGHT COMMERCIAL THERMIDISTAT DEVICE
THERMOSTATI
CONNECTIONI
BOARD I
(N
_-
Fig. 16 -- Control Wiring with Thermidistat TM Device and Electro-Mechanical Controls
I
I
I
I
I
17

I
I I
I
II
I
II
.f..L J.
Ii
II
Ii
I i
I i
I i
I i
I i
I i
I i
I i
I i
I i
II
I i
I i
I I
I I
I I
I I
I i
I I
II
I i I
III
I i I
I i I
I i I
i I
I
I
I
I
I
I
i I
-r
I
i
-i ¸
OPEN HOLE.
FOR WIRES
BASE UNIT
CONNECTION
BOARD
IN'
I
I
I
I
I
II
I I
II
II
II
I I
I I
-I T -i
I t
I I
II
I l
It
I I
0_
I l
I I t
I I _OPN2
-- Y1_2
.-T--I- _R _
-T-- iY_2 - C
DO NOT
USE
ROOFTOP SECTION
CONTROL BOX
ENERGYSREGYCLER'_
CONTROL
BOX
/
CONNECTION
BOARD
---- --i I
• STAT
UN_
r.......................
I
i I i
_ GRA
RED
RUMIDISTAT
MOUNTING HOLES
Fig. 17 -- Control Wiring with Digital Thermostat, Humidistat and Electro-Mechanical Controls
18

I
TB2 ITB1
I BLU =-L__1
_........g_2---_
ROOFTOP SECTION
CONTROL BOX
ROOFTOP UNIT
SECTION
m
ENERGY_ECYC_R TM
CONTROL
BOX
m
i°
r _TA]
UNIT
HUMIDISTAT
f',
\\
S_N SET
BLK
(T56)
/J9
SPACE TEMPERATURE SENSOR
(33ZCT56SPT)
CCN COM
SENSOR WIRING t -
JUMPER
_TERMINALS
AS SHOWN
Fig. 18 -- Control Wiring with Humidistat, Space Temperature Sensor, and PremierLink TM Controls
19

TBI
ROOFTOP SECTION
CONTROL BOX m
ENERGY$REGYCLERTM
CONTROL
BOX
.... I
II
II
II
II
II
Ii
N
/
W
LIGHT COMMERICAL THERMIDISTAT DEVICE
II
THERMOSTAT I
CONNECTION I
"_ BOARD* I
@---- I
@ .... I
NOTE:Thermidistatconnectionterminalarrangementfor schematicpurposesonly.
Fig. 19 -- Control Wiring with Thermidistat TM and PremierLink TM Controls
2O

RACEWAY LOW VOLTAGE INTEGRATED GAS UNIT
CONNECTIONS CONTROLLER (IGC)
FIELD-SUPPLIED
DISCONNECT
(I
CONTROL
(OPTIONAL)
INTERNAL
DISCONNECT
(80 AMP MAX)
CONDU
WATERTIGHT
CONNECTIONS
(FIELD-SUPPLIED)
_POWER WIRING
Fig. 20A -- Power Wiring Routing with Thru-the-Bottom Accessory (Gas Unit Shown)
RACEWAY LOW VOLTAGE INTEGRATED GAS UNIT
CONTROLLER (IGC)
FIELD-SUPPLIED
DISCONNECT
(i
CONTROL
(OPTIONAL)
OPTIONAL IINTERNAL
DISCONNECT
(80 AMP MAX)
ROOF
ROOF CURB
I
W,°,RG
Fig. 2OB -- Power Wiring Routing from Outside of Unit (Gas Unit Shown)
2!

hJ
TS_T
J2 ,r/ J8
oI'":;" :1":,'1
NOTE:Removeall unusedred wiresfrom J4 connectorto prevent24vac shortingothercomponentsor ground.Inputs onJ4 are 24 vac; red leadsare voltage source.
Fig. 21 -- PremierLink TM Controller Sensor Wiring --
With Programmable or Non-Programmable Thermostat

L_
i lU i
PremierLink _'
|
i uu ii i
_ 'j 0
NOTE: RemoveredwirefromJ4-9 to prevent24 vac shorting outothercomponentsor ground.
Fig. 22 -- PremierUnk TM Field-Installed Controller Sensor Mode Contacts

TERMINAL /
BLOCK
iO
Fig. 23 -- Field Wiring Connections
(Terminal Block in Energy Recovery Section)
24

Table 1A -- Electrical Data (COBRA TM Energy Recovery 48HJ004-007 Units with 62AQ060)
UNIT
SIZE
48HJ004
48HJ005
48HJ006
48HJ007
NOMINAL
V-PH-Hz
206/230-1-60
208/230-3-60
460-3-60
208/230-1-60
208/230-3-60
460-3-60
208/230-1-60
206/230-3-60
460-3-60
208/230-3-60
460-3-60
IFM
TYPE
STD
STD
HIGH
STD
HIGH
STD
STD
HIGH
STD
HiGH
STD
STD
HIGH
STD
HIGH
STD
HIGH
STD
HIGH
CONV 62AQ
OUTLET FLA
NO 9.2
YES 9.2
NO 9.2
YES 9,2
NO 9,2
YES 9,2
NO 9.2
YES 9.2
NO 9.2
YES 9.2
NO 9.2
YES 9.2
NO 9,2
YES 9.2
NO 9,2
YES 9,2
NO 9.2
YES 9.2
NO 9.2
YES 9.2
NO 9.2
YES 9.2
NO 9.2
YES 9.2
NO 9.2
YES 9,2
NO 9,2
YES 9.2
NO 9.2
YES 9,2
NO 9.2
YES 9,2
NO 9.2
YES 9.2
NO 9.2
YES 9,2
NO 9.2
YES 9.2
POWER SUPPLY*
MCA MOCPt
34,8/34.8 40/40
40,6/40.8 45/45
27,7/27.7 35/35
33,7/33,7 40/40
28,6/28.6 35/35
34.6/34.6 40/40
13.6 15
16.3 2O
14,0 20
16,7 20
44.4/44.4 60/60
50,4/50.4 60/60
31.7/31.7 40/40
37,7/37.7 40/40
32.6/32.6 45/40
38.6/38.6 45/45
15,2 20
17,9 20
15.6 20
16.3 20
53.3/53,3 70/70
59.3/59.3 70/70
38.1/38.1 45/45
44.1/44.1 50/50
39.5/39.8 45/45
45.6/45.8 50/50
19.3 25
22.0 25
20.1 25
22.9 25
42.0/42,0 50/50
48,0/48,0 60/60
43.7/43,7 50/50
49.7/49,7 60/60
19.8 25
22.5 25
20.6 25
23.3 30
DISCONNECT SIZE
FLA LRA
35/35 135/135
41/41 140/140
29/29 124/124
34/34 129/129
30/30 154/154
35/35 158/158
14 63
17 65
15 77
17 80
44/44 173/173
50/50 175/178
33/33 140/140
35/38 145/145
34/34 170/170
39/39 174/174
16 71
10 73
16 85
19 87
53/53 240/240
59/59 244/244
39/39 202/202
44/44 207/207
41/41 221/221
46/46 226/226
20 101
22 104
20 111
23 113
42/42 234/234
46/48 239/239
44/44 255/253
50/50 256/258
20 114
23 116
21 124
23 126
LEGEND
FLA -- Full Load Amps
HACR -- Heating, Air Conditioning and Refrigeration
IFM -- indoor (Evaporator) Fan Motor
LRA -- Locked Rotor Amps
MCA -- Minimum CircuitAmps
MOGP-- Maximum Overcurrent Protection
NEC -- National Electrical Code
UL -- Underwriters Laboratories
*The values listed in this table do not include power exhaust. See
Power Exhaust table for requirements.
tFuse or HACR breaker.
NOTES:
1. In compliance with NEC requirements for multimctorand combi-
nation load equipment (refer to NEC Articles 430 and 440), the
overcurrent protective device for the unit shall be fuse or HACR
breaker. UL, Canada units may be fuse or circuitbreaker.
2. Unbalanced 3-Phase Supply Voltage
Never operate a motor where a phase imbalance in supply volt-
age is greater than 2%. Use the following formula to determine
the percent of voltage imbalance.
=100x max voltage deviation from average voltage
average voltage
0( us
Example: Supply voltage is 460-3-60.
As c AB- 452 v
BC--464 v
AC = 455 v
Average Voltage = 452 + 464 + 455
3
1371
3
- 457
Determine maximum deviationfrom average voltage.
(AB) 457 - 452 =5 v
BC 464-457_7v
IACI 457-455 = 2 v
Maximum deviation is 7 v.
Determine percent of voltage imbalance.
7
% Voltage imbalance _100 x 45_
= 1,53%
ThiSmaximumamOUntallowa_leOfhase2%.imbalance is satisfactory as it is below the
l IMPORTANT: If the supply voltage phase imbalance is more than
2%, contact your local e_ectricuhl_ company immediately. I
25

UNIT
SIZE
50H J004
50H3005
Table 1B -- Electrical Data (COBRA TM Energy Recovery 50HJ004-007 Units with 62AQ060)
ELECTRIC HEAT POWER SUPPLY*
NOMINAL IFM CONV 62AQ HEATER MODEL NO.
V-PH-Hz TYPE OUTLET FLA CRHEATER--AOO Actual
kWt FLA MCA MOCP*'
1/-- --/--
001 3.3/ 4.0 15.9/18.3
002 4.9/ 5.8 23.5/27.1
NO 9.2 003 6.5/ 8.0 31.4/36.3
004 7,9/ 9,6 37.9/43,1
902+002 9,8/1 t,6 46.9/54.2
203/230-1-60 STD
001 3.3/ 4.0 15.9/18.3
YES 9.2 002 4.9/ 5.8 23.5/27.1
003 65/ 80 31.4/38.3
004 7.9/ 9.6 37,9/43.1
002+009 9.8/11.6 46.9/54.2
001 3.3/ 4.0 15.6/18.3
002 4.9/ 5.8 23.5/27.1
NO 9.2 003 6 5/ 8,0 31 4/36,3
004 7 9/ 96 37.9/43 1
005 12.0/14.7 33.4/38.5
STD --/-- --/--
001 3.3/ 4.0 15.9/18.3
002 49/ 5.8 23.5/271
YES 9.2 003 6.5/ 8.0 31.4/36.3
004 •.9/ 9.6 37.3/43.1
005 12.0114.7 33.4/38.5
208/230-3-60 __ __/__ __/__
001 3.3/ 4.0 15.9/18.3
NO 9.2 002 4.9/ 5.8 23.5/97.1
003 65/ 8,0 314/363
004 79/ 96 379/431
005 12.0/14.7 334/385
HIGH
001 3.3/ 4.0 15.9/18.3
YES 9.2 002 4.9/ 5+8 235/271
003 6,5/ 8.0 31,4/36,3
004 •.91 9.6 3•.9/43.1
005 12.0/14.7 33.4/38.5
460-3-60
NO
YES
NO
YES
STD
HIGH
208/330-1-60 STD
NO
YES
NO
STD
YES
202/230-3-60
NO
HIGH
YES
NO
460-3-60 STD
YES
9,2 007 8.1 13.8
008 10.6 16.8
009 12.9 27.•
9.2 007 8.1 13.8
008 106 168
009 129 277
o_ 55 72
9.2 007 6.1 13.8
008 10.6 16.8
009 12.9 27.7
8.2 007 8.1 13.8
008 10.6 168
009 12.9 27.7
001 39/ 40 15.9/t 8.3
003 6.5/ 80 31.4/36.3
92 009+002 9.8/11.6 46.9/54.2
003+003 13.1/16.0 628/79.5
004+004 16.0/19.3 75.9/87.5
001 3.3/ 4.0 15.9/18.3
9.2 003 6 51 80 31.4/36.3
002+009 9 8/11 6 46.9/542
003+003 13.1/16.0 62.8/79.5
004+004 16.0/19.3 75.8/87.5
002 4,9/ 5/8 13,6/15,6
9.2 003 6,5/ 8,0 18,1/20,9
005 12/.014.7 33.4/38.5
004+004 16.0/19 3 43.8/50.5
002 49/ 58 13 6/15.6
9,2 003 69/ 8+0 181/209
005 12,0/14,7 33,4/38,5
064+004 16,9/19,3 43,8/80,5
002 49/ 5,8 13,6/15,6
9.2 003 6.9/ 8.0 181/209
005 12.0/14.7 33.4/36.5
004+004 16.0/19.3 43.8/50.5
002 4.9/ 58 13.6/15 6
9.2 003 6.9/ 8.0 18.1/20.9
905 12.0/14.7 334/88+5
004+004 16.0/19,3 43 8/50 5
oo6 72 T_
9.2 008 13.8 138
009 168 16,8
008+008 27 •27.7
82 008 13.8 13.8
009 16.8 16.8
008+008 27.7 27.7
DISCONNEUTSBE
FLA LRA
34/8/34.8 40/40 35/35 135
95.7/38.8 40/45 35/37 135
45.2/49.7 69/50 49/47 135
55.1/61.2 60/70 52/58 135
63.2/70.5 70/80 60/67 135
74.5/836 80/80 70/79 135
408/408 45/45 41/41 140
40.8/43.0 45/50 41/42 140
50.0/83.9 60/60 49/52 140
599/65/4 60/70 58/63 140
88.0/747 70/80 65/71 140
79,3/87,8 89/90 76/83 140
27.7/277 35/55 29/29 124
27,7/29,1 35/35 29/29 124
32,8/35,4 40/40 32/34 124
385/42.0 45/45 3•/40 124
432/474 45/50 41/45 124
575/64.0 60/70 55/60 124
33.•/33.• 40135 34/84 129
337/337 40/40 34/34 129
37.6/396 45/45 37/39 129
43.3/46.2 50/50 43/45 129
48.0/51.6 50/60 47/50 129
62.3/66.2 70/70 60/65 129
28.6/286 35/35 30/30 154
28.6/30.0 35/35 30/30 154
33.7/36.3 40/49 33/35 154
39 4/42.9 45/45 35/41 154
44.1/48.3 50/50 49/46 164
584/64.9 60/70 55/62 154
34.6/34.6 40/40 35/85 158
34.6/34.6 40/40 35/35 158
38.5/40,5 45/45 35/40 158
44.2/47.1 59/50 44/46 158
49.9/52.5 60/60 48/51 158
639/69.1 70/70 61/66 158
136 20 14 63
167 20 14 63
20.9 25 15 63
25.0 25 24 63
98.7 30 27 63
16.3 20 20 67
18.8 25 20 68
23.0 25 20 68
271 30 29 68
308 35 32 68
140 20 15 77
171 20 15 77
21.3 25 15 77
25.4 30 24 77
29.1 30 28 77
16,7 20 20 82
19.2 25 20 62
23.4 25 20 82
27.5 30 29 82
31.9 35 32 82
444/ 44+4 60/ 60 44/ 44 173
44.4/ 44.4 69/ 60 44/ 44 179
55.1/ 61.2 60/ 70 52/ 58 173
745/ 83 6 89/ 90 70/ 79 173
94+4/106,5 1001110 881100 173
110.6/125,2 125/150 109/117 173
50.4/ 50.4 60/ 60 50/ 50 178
504/ 50,4 60/ 60 50/ 50 178
59.9/ 65.4 69/ 70 58/ 63 178
793/ 87.8 89/ 90 76/ 83 178
99.2/110.7 100/125 94/104 178
115.4/129.4 125/150 109/122 178
31,7/31,7 40/40 33/33 140
32,8/35,4 40/40 33/34 140
38.5/42.0 49/45 37/40 140
57,5/64,0 60/70 55/60 140
706/79.0 80/80 67/74 149
37,7/37,7 40/40 38/38 145
37.7/39.6 45/45 38/39 145
43.3/46.2 50/50 43/45 145
62,3/68.2 70/70 60/65 145
75,4/83,2 80/30 72/79 145
32.6/32.6 40/40 34/34 170
33.7/36.3 40/40 3_35 170
39.4/429 45/45 38/41 170
58.4/84.9 60/70 59/62 170
71.5/79.9 80/80 68/75 170
38.6/386 45/45 39/39 174
386/405 49/45 39/40 174
44,2/471 50/50 44/46 174
63+2/69.1 70/70 6_/66 174
76+9/84 t 80/90 73/80 174
15.2 20 16 70
16.7 20 16 71
250 25 18 71
28.7 30 27 71
42.3 45 40 71
17.9 20 21 75
18.8 25 21 75
27.1 30 21 75
30.8 35 32 75
444 45 44 75
26

Table 1B -- Electrical Data (COBRA TM Energy Recovery 50HJ004-007 Units with 62AQ060) (cont)
UNIT
SIZE
5OHJOO5
(coQt)
50HJ006
ELECTRIC HEAT POWER SUPPLY" DISCONNECT SIZE
NOMINAL IFM CONV 6gAQ HEATER MODEL NO.
V-PH-Hz TYPE OUTLET FLA CRHEATER--AO0 Actual FLA MCA MOCP** FLA LRA
kWt
15.6 20 16 84
o_ 7_ ;:2 171 20 16 65
NO 9.2 008 13.8 13.8 25.4 30 19 65
009 168 165 29.1 30 28 85
460=3.60 008+008 27.7 27.7 42.7 45 40 85
(con1) HIGH 16.3 20 22 89
o_ _2 T_ 192 2s 22 9o
YES 9.2 008 138 13.8 27.5 30 22 g0
009 16.8 16.8 31.2 35 32 90
008+008 27.7 27.7 44.8 45 45 90
_ 55.5/ 55.5 70/ 70 56/ 56 250
002 4.9/ 5.8 I23.5/27.1 55.5/ 55.5 70/ 70 56/ 56 250
003 6.5/ 8/8 31.4/36.3 59.5/ 65.5 70/ 70 57/ 62 250
NO 9.2 002+002 9.7/11.6 46 9/84.2 78.9/ 87.9 80/ 90 75/ 83 250
003+003 13.0116.0 62.8/72.5 98.71110.8 100/125 93/104 250
004+004 155/193 75,8/875 1159/129.6 125/150 1081121 250
208/230-1-60 STD --/-- 61.5/ 61.5 70/ 70 61/ 61 255
002 4.9/ 5.8 23.5/27.1 61.5/ 61.5 70/ 70 61/ 61 255
003 6.6/ 8.0 31,4/36 3 643/ 697 70/ 70 621 67 255
YES 92 002+002 8.7/11.6 46.5/54.2 83.7/ 92.1 90/100 80/ 88 255
003+003 13.0/16.0 62.6/72.5 103.5/115.0 110/125 68/109 255
004+004 15.6/19.3 75.8/87.5 119.8/133.8 1251150 113/126 255
_38.1/88.1 45/ 45 39/39 202
002 4.9/ 5.8 13.6/15.6 38.1/38.1 45/ 45 39/39 202
NO 9.2 004 7.9/ 9.6 21.9/25.3 44.1/48.3 50/ 50 42/46 202
005 120/14 7 334/38 5 58.4#64,9 60/ 70 56/82 202
004+004 15 5/19.3 438/86/5 71/8/79 9 86/ 80 68/75 202
004+005 19.3/24.3 55.2/83.8 85.6/96.4 90/100 81/91 202
STD /44.1/ 44.1 50/ 50 44/44 207
002 4.9/ 5.8 13.6/15.6 44.1/ 44.1 50/ 50 44144 207
YES 92 004 7.9/ 9.6 21.9/25.3 48.9/ 52.5 60/ 60 48/51 207
005 12.0/147 334/38.5 632/ 69.1 70/ 70 61/66 207
004+004 15.8/19.3 43.6/50,5 76.3/ 84.1 80/ g0 73/80 207
004+005 19.9/84.3 552/63.8 90.6/100/8 100/110 86/95 207
209/230-3-60 __ --/-- --/-- 39.8/89.8 49/ 45 41/41 221
002 49/ 58 13.6/15.6 39,9/39 8 45/ 45 41/41 221
004 76/ 96 21.9/25.3 459/501 56/ 60 44148 221
NO 9,2 005 12,0/14.7 33.4/86/5 60,3/66,7 70/ 70 58/63 221
004+004 15.3/19.3 43.8/50.5 73.3/81.7 80/ 90 70/77 221
004+005 19,9/24.3 55,2/638 876/98,3 g0/100 83/93 221
HIGH I45.8/ 45.8 50/ 50 46/46 226
002 4.9/ 5.8 13.6/15.6 45.8/ 45.8 50/ 50 46/46 226
YES 9.2 004 7.9/ 9,6 21 9/25 3 50.7/ 54.3 60/ 60 50/53 226
005 123/14.7 33.4/38.5 65.1/ 70.9 70/ 80 63/68 226
004+004 158/19.3 43.8/50.5 78.1/ 85.9 80/ 90 75/82 226
004+005 19.9/24.3 55.2/63.8 92.4/102.5 100/110 88/97 226
19.3 25 20 101
0_6 5-_ 7-_ 19.3 25 20 101
NO 9.2 008 10.6 138 25.4 30 20 101
009 12.9 16.8 29,1 30 28 101
008+008 21.1 27.7 427 45 40 101
460-3-60 STD 008+009 234 30 1 464 50 44 101
22.0 25 25 106
o_ _-_ T_ 220 25 85 108
YES 9,2 008 106 13,8 27.5 30 25 106
009 12.g 16,8 31.2 35 32 106
008+008 21.1 27,7 44.8 45 45 106
008+009 23.4 30,1 48.5 50 48 106
LEGEND
ELA -- Full Load Amps
HACR -- Heating, Air Conditioning and Refrigeration
Example: Supply _oitage is 460-3-60.
AB =452v
A B CBC=464v
IFM -- Indoor (Evaporator) Fan Motor
LRA -- Locked Rofor Amps
MCA -- Minimum Circuit Amps
MOCP -- Maximum Overcurrent Protection
HEC -- National Eleofdcal Code
UL -- Underwriters' Laboratories
*The values listed in this table do not include power exhaust. See Power Exhaust
table for requirements.
tHeater capacity (kW) is based on heater voltage of 240v or 480v. If power distribu-
tion voltage to unit varies from rated, beater kW will vary accordingly.
**Fuse er HACR breaker.
NOTED:
1. In compliance with NEC requirements for mugimotor and combination load
equipment (refer 1o NEC Articles 430 and 440). the overcurTent protective device
for the unit shall be fuse or HACR breaker. UL, Canada units may be fuse er cir-
cuit breaker.
2. Unbofanced 3-Phase Supply Voltage
Never operate a motor where a phase imbalance in supp_ _ltage is greater
than 2%. Use the following formula to determine the percent of voltage
_mbalance.
=100 x max voltage deviation from average votia_e
a_erage voltage
0( )us
AC = 455v
Average Voltage = 452 + 464 + 455
3
1371
3
=457
Determine maximum deviation from average VOltage.
AB) 457 -452 = 5 v
BC) 464 457 = 7 v
AC 457 -455 = 2 v
Maximum deviation is 7v.
Determine percent of '_oftage imbalance.
7
% Voltage Imbalance= 1CO x 4_
= 153%
This amount of phase imbalance is satisfactory as it is below the maximum
allowable 2%.
IMPORTANT: If 1he supply voltage phase imbalance is more than 2%, contact I
I
your local electric utilhy company immediately. I
2?

Table 1B -- Electrical Data (COBRA TM Energy Recovery 50HJ004-007 Units with 62AQ060) (cent)
UNIT
SIZE
6OHJEO6
(cant)
50H J007
NOMINAL IFM CONV 62AQ HEATER MODEL NO. ELECTRIC HEAT POWER SUPPLY* DISCONNECT SIZE
V-PH-Hz TYPE OUTLET FLA CRHEATER--A00 Actual
kWh" FLA MCA MOCP" FLA LRA
20.1 25 20 110
o_ _5 7.2 20.1 25 20 111
NO 9.2 008 10 6 13.8 26.2 30 20 111
009 12,9 16,8 299 30 29 111
008+008 21.1 27.7 43.5 45 41 111
460-3-60 008+009 23.4 30 1 47.2 50 44 111
(cont) HIGH 22.8 25 26 115
_ _2 22.6 25 26 116
YES 9.2 008 10.6 13.8 28.3 30 26 116
009 129 16.8 32.0 35 33 116
008+008 211 27.7 45.6 50 46 116
008+009 23.4 30.1 49.3 50 49 116
-- /-- --/-- 42.6/42.0 50/ 50 42/42 234
002 49/ 58 13.6/15.6 42.0/42.0 50/ 50 42/42 234
NO 92 004 7.6/ 9.6 21.9/25.3 44 1/48.3 50/ 50 42/46 234
005 12.0/14.7 33.4/38.5 584/64.9 60/ 70 56/22 234
004+004 158/19,3 43,8/50,5 71,5/79,9 80/ 80 68/25 234
208/230-3-60 STD 004+005 19,9/24,3 55,2/63,8 85,8/96,4 90/100 81/91 234
--/-- --_ 48.6/ 49.0 60/ 60 48/48 239
002 4.9/ 5.8 13.6/15.6 48.0/ 46.0 60/ 60 48/49 239
YES 9.2 004 7.9/ 9.6 21.9/25.3 48.9/ 52.8 60/ 60 48/51 239
005 12,0/14,7 33,4/38,5 632/ 69.1 70/ 70 61/66 239
004+004 158/19.3 43.9/50.5 76.3/ 841 80/ 90 73/80 939
004+005 19,9/243 55,2/63,8 90,6/100,6 100/110 86/25 239
--/-- _ 43,7/437 50/ 50 44/44 853
002 4,9/ 5.8 13,6/156 43,7/43,7 50/ 59 44/44 253
NO 9,2 004 7,0/ 9.6 21,9/253 45.9/50,1 50/ 60 44/48 253
005 12.6/147 33.4/38.5 60.3/66.7 76/ 70 58/63 253
004+004 15.8/19.3 43.6/505 73.3/81.7 86/ 90 70/77 253
004+005 19.9/243 552/63.8 87.6/98.3 90/100 83/93 253
206/230-3-60 HIGH --/-- --/ 497/ 49.7 60/ 60 50/50 258
002 4.6/ 5.8 13.6/156 49.7/ 49.7 60/ 60 56/50 258
YES 9.2 004 7.9/ 9.6 21 9/25.3 50.7/ 54.3 60/ 60 50/53 258
005 12.0/14.7 33.4/38.5 65,1/ 709 70/ 80 63/68 258
004+004 15.8/19.3 43.8/50.5 781/ 859 80/ 90 75/82 258
004+005 19.9/24.3 55.2/83,8 92.4/102.5 100/110 88/97 258
19.8 25 20 114
;-_ T/2 198 25 20 114
NO 9.2 60B 10.6 13.8 25.4 30 20 114
009 12,9 16,8 29,1 30 28 114
008+008 21 1 27,7 49,7 45 40 114
008+009 23,4 30,7 46 4 50 44 114
STD -- 22.5 25 26 119
0_6 5_ 72 22.5 25 26 119
YES 9.2 008 10.6 13.8 27.5 30 26 119
COg 12.9 168 312 35 32 119
008+008 91.1 277 44.8 45 45 11g
008+009 23.4 307 48.5 50 48 119
460-3-66 20.6 25 21 123
0_)6 5.5 7-_ 206 25 21 124
NO 9.2 008 106 13.8 26.9 30 21 124
009 129 16,8 29.9 30 99 124
CO8+008 21.1 27.7 43.5 45 41 124
HIGH 008+009 23,4 30,7 472 50 44 124
233 30 26 128
006 _5 7.2 233 30 26 128
YES 9.2 008 10.6 13.8 28.3 30 26 128
009 12.9 16.8 32.0 35 33 128
008+008 21.1 27.7 45.6 50 46 128
008+009 23.4 30.7 49.3 50 49 198
LEGEND
FLA -- Full Load Amps
HACR -- Heating, Air Conditioning and RefTigeration
IFM -- Indoor (Evaporator) Fan Motor
LRA -- Lccksd Rotor Amps
MCA -- Minimum Circuit Amps
MOCP -- Maximum Overcurrent Protection
NEC -- National Electrical Code
UL -- Underwriters' Laboratories
*The values listed in this table do not include powe_ exhaust. See Power Exhaust
table for requirements,
tHeater capacity (kW) is based on heater voitalgle of 240v or 480v1 If power distribu-
tion voRage to unit varies from rated, heater kW will vary accordingly,
**Fuse or HACR breaker
NOTES:
1, in compliance with NED requirements for multimotor and combination load
equipment refer to NED Articles 430 and 440 the overcurrent protective device
for he un t she be use or HACR breaker, UL, Canada units may be ft_se or cir-
cuit breaker.
2. Unbalanced 3-phase SuppPJ Voltage
Net_r operate a motor where a phase imbalance in supply w/rage is greater
than 2%. Use the following formula to determine the percent of voitage
imbalance.
=160 x max Voltage deviation from average 'mitage
average Voltage
Example: Supply ',_itage is 460-3-60.
AB=452V
AB c BC=464V
AC = 455v
Average Voltage = 452 ÷ 464 + 455
3
1371
3
= 457
Determine maximum deviation from average "_it age.
AS)457=452=Sv
BC) 464 457=7v
AD 457 - 458 =2 v
Maximum deviation is 7 v,
Delermioe percent o1vo8age imbalance,
% Voitage Imbalance= 100 x
m
=1,53%
This amount of phase imbalance is aatlafaetory as it is beiow the maximum
allowable 2%,
IMPORTANT: If the supply voltage phas_ imbalance is more than 2%, contact I
1
your local electric utility company immedialely. J
28

Table lC -- Electrical Data (COBRA TM Energy Recovery 48HJ004-007 Units with 62AQ100)
UNIT
SIZE
48HJO04
48HJO05
48HJ006
48HJ007
NOMINAL
V-PH-Hz
208/230-1-60
208/230-3-60
460-3-60
208/230-1-80
208/230-3-66
460-3-60
208/236/1-60
208/230-3-60
460-_60
208/236-3-60
460-3-60
IFM
TYPE
STD
STD
HIGH
STD
HIGH
STD
STD
HIGH
STD
HIGH
STD
STD
HIGH
STD
HIGH
STD
HIGH
STD
HIGH
CONV 62AQ
OUTLET FLA
NO 15.1
YES 15.1
NO 15,1
YES 15.1
NO 15.1
YES 15.1
NO 15.1
YES 15.1
NO 15.1
YES 15.1
NO 15.1
YES 15.1
NO 15.1
YES 15.1
NO 15.1
YES 15.1
NO 15.1
YES 15.1
NO 15.1
YES 15.1
NO 15.1
YES 15.1
NO 15.1
YES 15.1
NO 15.1
YES 15.1
NO 15.1
YES 15.1
NO 15.1
YES 15.1
NO 15.1
YES 15.1
NO 15.1
YES 15.1
NO 15.1
YES 15.1
NO 15.1
YES 15.1
POWER SUPPLY*
MCA MOCPt
40.7/40.7 45/45
46.7/46.7 50/50
33.6/33.6 40/40
39.6/39.6 45/45
34.5/34.5 40/40
40.5/40.5 45/45
16,5 20
19.2 20
16.9 20
19.6 25
50.3/50.3 60/60
56.3/56.3 70/70
37.6/37.6 45/45
43.6/43.6 50/50
38.5/38.5 45/45
44.5/44.5 80/80
18.2 20
20.9 25
18.6 25
21.3 25
59,2/59.2 70/70
65,2/65.2 80/80
44.0/44.0 50/50
50.0/80.0 60/60
45.7/45.7 60/60
51.7/51.7 60/60
22.2 25
24,9 30
23.0 30
25.7 30
47.9/47,9 60/60
53.9/53.9 60/60
49.6/49.6 60/60
55.6/55.6 60/60
22.8 30
25.5 30
23.6 30
26.3 30
DISCONNECT SIZE
FLA LRA
42/42 161/161
48/48 166/166
36/36 150/150
41/41 155/155
37/37 180/180
42/42 184/104
18 78
20 78
18 90
20 93
51/51 199/199
57/57 204/204
39/39 166/166
45/45 171/171
40/40 195/196
46/46 200/200
19 84
22 86
19 98
22 100
60/60 266/266
65/65 270/270
46/46 226/228
51/51 233/233
46/48 247/247
50/53 252/252
23 114
25 117
24 124
26 126
49/49 260/260
55/55 265/265
51/51 279/279
57/57 284/284
23 127
26 129
24 137
27 139
LEGEND
FLA -- Full Load Amps
I-IACR -- Heating, Air Conditioning and Refrigeration
IFM -- Indoor (Evaporator) Fan Motor
LRA -- Locked Rotor Amps
MCA -- Minimum Circuit Amps
MOCP-- Maximum Overcurrent Protection
NEC -- National Electrical Code
UL -- Underwriters Laboratories
*The values listed in this table do not include power exhaust. See
Power Exhaust table for requirements.
_Fuse or HACR breaker.
NOTES:
1. In compliance with NEC requirements for multimotor and combi-
nation load equipment (refer to NEC Articles 430 and 440), the
overcurrent protective device for the unit shall be fuse or HACR
breaker. UL, Canada units may be fuse or circuit breaker.
2. Unbalanced 3-Phase Supply Voltage
Never operate a motor where aphase imbalance in supply volt-
age is greater than 2%. Use the following formula to determine
the percent of voltage imbalance.
=100x max voitage deviation from avera_e voltage
average voltage
Example: Supply voltage is 460-3-60.
As c AB = 452 v
_) BC _ 464 v
AC =455 v
452 + 464 + 455
Average Voltage = 3
1371
3-
= 457
Determine maximum deviationfrom average voltage.
(AB) 457 - 452 = 5 v
BC) 464 - 457 = 7v
AC) 457 - 455 = 2 v
Maximum deviation is 7 v.
Determine percent of voltage imbalance.
7
% Voltage Imbalance = 100 x 457
-1.53%
This amount of hase imbalance is satisfactory as it is below the
maximum allowable 2%.
J IMPORTANT: If the supply voltage phase imbalance is more than2%, contact your local electric utility company immediately. J
29

UNIT
SIZE
50HJ008
00HJ008
Table 1D -- Electrical Data (COBRA TM Energy Recovery 50HJ004-007 Units with 62AQ100)
ELECTRIC HEAT
NOMINAL IFM CONV 62AQ HEATER MODEL NO.
V-PH-HZ rfPE OUTLET FLA CRHEATER--AO0 Actual FLA
kW,
001 3.3/ 4.0 15.0/18.3
NO 15.1 002 4.9/ 5.8 23.5/27.1
003 6,5/ 6,0 31.4/36,3
004 7.9/ 9,6 37/5/43.1
002+002 9,8/11.0 46,9/54.2
208/230-1/50 STD
001 3.3/ 4.0 15.9/18.3
YES 15.1 002 4.6/ 5.8 23,5/27,1
003 0,5/ 8,0 31,4/36,3
004 7,9/ 9,6 37,9/43,1
002+002 9.8/11.6 46.9/54.2
001 3.3/ 4.0 15.9/18.3
NO 15.1 062 4.6/ 5.8 23.5/27.1
003 6/5/ 8.0 31,4/36.3
004 79/ 9.6 37.9/43.1
005 120114.7 33.4/38.5
STD
001 3.9/ 4.0 15 9/18,3
YES 16,1 002 4.9/ 5.8 23,5/27 1
003 6.5/ 8.0 31.4/36.3
004 7.9/ 9.6 37.9/43.1
005 12.0/14.7 33.4/38.5
208/230-3-60 __ __/-- __/--
001 35/ 40 159/183
NO 151 002 4.9/ 5.8 23.5/27.1
003 6 5/ 8,0 31,4/36,3
004 76/ 96 37.9/43.1
005 12.0/14.7 33.4/38.5
HIGH
001 3.9/ 4.0 15.9/18.3
YES 15,1 002 4+6/ 5.8 23.5/271
003 6.5/ 8.0 31,4/36,3
004 7.9/ 9.6 37,9/43 1
005 12 0/14 7 33,4/38,5
466/3-60
205/208-1-60 STD
NO
STD
YES
209/230-3-60
NO
HIGH
YES
NO
460-3-60 STD
YES
o_ _
NO 15.1 007 8.1 13.8
008 10.6 168
009 12.9 27.7
STD
008 _ T_
YES 15.1 007 8.1 13.6
008 10.6 16.8
009 12.9 27,7
0_6 5.5 T_
NO 15.1 007 8.1 13.8
008 10.6 16.8
009 12.9 27.7
HIGH
oo-6 _6 T_
YES 15.1 007 8.1 13,8
008 10.6 18.8
009 12.9 27,7
001 3,3/ 40 15,9/18,3
NO 15.1 003 65/ 8.0 31.4/36.3
002+002 98/11 6 46.9/54.2
003+003 131/16,0 62,8/72,5
004+004 169/1 g 3 758/875
001 3.9/ 4.0 159/18.3
YES 15.1 003 6.5/ 8.0 31.4/36+3
002+002 9.8/11.6 46.9/54.2
003+003 13.1/16.0 62.8/72.5
004+004 16.9/19.3 75.8/57.5
/-- --/--
002 4,9/ 5,8 13,6/106
15,1 003 6,54 8,0 16.1/20/5
006 12,6/14.7 33,4/38.5
004+004 16,0/19.3 438/505
002 --/-- --/--
49/ 5.8 13.0/15.6
15.1 003 6.5/ 8.0 18.1/20.9
005 12.0/147 33.4/38.5
004+004 16,0/19 3 43.8/50.5
0_)2 --/-- --/--
4.9/ 5.8 13.6/15 6
15.1 003 6.5/ 8.0 1811209
005 12.9/I 4.7 33 4/38 5
004+004 16.0/19,3 438/506
002 4.9/ 5.8 13.6/15.6
15.1 003 6.6/ 8.0 18.1/20.0
005 12.0/14.7 33.4/385
004+004 16.0/19.3 439/50.5
008 55 72
15.1 008 106 136
009 12.9 16.8
009+008 21.1 27.7
0_6 _
15.1 008 10.6 138
009 12.9 168
008+008 21.1 277
POWER SUPPLY" DISCONNECT SIZE
MCA MOCP** FLA LRA
40.7/40.7 45/ 45 42/42 161
42.6/45.5 50/ 60 49/44 161
52.5/56.5 60/ 70 50/54 161
61.9/07.9 70/ 70 59/55 161
70,0/77,3 80/ 80 67/73 161
81.3/90.3 90!100 77/55 161
46,7/46+7 55/ 50 46/48 166
47.3/49.7 60/ 60 40/40 166
56.0/60.7 70/ 70 56/59 166
667/72.1 70/ 80 65/70 166
74.8/81.5 80/ 90 72/78 166
861/94+5 99/100 82/90 166
33.6/33.6 40/40 36/36 150
34.1/35.9 45/45 36/36 150
39.6/42.2 50/50 39/41 150
45.9/48.8 60/50 44/47 150
50.0/54.2 60/50 40/52 150
64.3/70.7 70/80 61/57 150
39,6/59+6 46/45 41/41 155
39,6/40.1 50150 41/41 155
444/46,4 60/60 44/46 155
56,1/53,0 60/60 49/02 156
54,9/58,4 60/70 54/07 156
691/749 80/80 67/72 155
34,5/34.5 40/46 37/37 180
35/5/36.6 45/45 37/37 180
40.5/43.1 50/50 40/42 180
46.9/49.7 60/60 40/46 180
50.9/55.1 60/60 49/53 180
65.2/71.6 70/50 62/68 180
40.5/40,5 46/45 42/42 184
40.5/41.0 50/50 42/42 164
45,9/47,3 60/60 45/47 184
51,0/53,9 60/50 50/53 184
557159.3 70/70 55/58 184
70.0/75.8 80/80 68/73 184
16 5 20 18 70
20,1 25 18 76
24.3 30 18 77
28,4 35 27 80
32.1 35 31 83
19,2 20 23 80
22.2 30 23 81
26.4 30 23 81
30.5 35 32 82
34+2 40 35 85
16.9 20 16 90
20.5 25 18 90
24+7 3O 18 91
28.8 35 26 94
325 35 31 07
196 25 24 95
22.6 30 24 95
26.8 30 24 95
30.9 35 32 96
34,6 40 36 99
509/ 503 60/ 60 51/ 51 199
60.3/ 50.3 09/ 60 51/ 51 199
61.9/ 07.9 70/ 70 55/ 65 199
61.3/ 90.3 95/100 771 85 199
101.2/113.3 110/120 96/106 |99
117.4/132.0 125/150 110/124 199
56,9/ 56.3 70/ 70 57/ 57 204
56,3/ 66.3 70/ 70 67/ 67 204
66,7/ 72.1 70/ 80 65/ 70 204
861/ 94.5 90/100 82/ 90 204
106/0H 17.5 1101125 101/111 204
122.2./136.2 125/150 115/126 204
37,5/376 45/46 39/39 166
39.6/42+2 50/50 39/41 166
45.3/48,8 60/60 44/47 166
64.3/707 70/50 61/67 166
77.3/85.8 80/50 79/81 166
43,6/43.6 50/50 45/46 171
44,4/46.4 60/60 45/46 171
50.1/53.0 60/50 49/52 171
69.1/74.9 80/80 67/72 171
82.1/60.0 90/90 79/86 171
38.5/36.5 45/45 40140 196
40 5/43.1 50/50 40/42 196
46,2/49,7 60/50 40/48 196
65.2/71.6 70/50 62/68 196
78.2/86.7 80/90 74/52 196
44.5/44.5 59/ 50 46/46 200
45.3/47.3 69/ 60 46/47 200
51.0/53.9 60/ 60 50/53 200
70.0/75.8 801 80 68/73 200
83 0/90.9 901100 80/87 200
18.2 20 19 83
20.1 25 19 84
28.4 35 19 84
32.1 30 31 84
45.6 50 43 94
20.9 25 25 88
222 30 25 88
30.5 35 25 88
342 40 35 88
477 60 48 96
3O

Table 1D -- Electrical Data (COBRA TM Energy Recovery 50HJ004-007 Units with 62AQ100) (cont)
UNIT
SIZE
50HJ006
(corn)
50H0606
NOMINAL IFM COHV 62AQ HEATER MODEL NO.
V-PH-Hz TYPE OUTLET FLA CRHEATER--A06
0_6
15.1 008
006
460-3-60 008+008
(cont) HIGH
YES 15.1 008
009
008+008
NO 15.1 003
009+002
003+603
004+004
206/906-1-60 STD
YES 15.1 003
002+002
003+003
004+004
NO 15.1 004
OO5
004+004
004+005
STD
YES 15.1 004
005
004+004
208/230-3-60 004+605
NO 15.1 004
005
004+004
004+005
HIGH
YES 15.1 004
13115
004+004
004+005
NO 15.1 006
006
008÷008
469/6/60 STD 008+009
006
YES 15.1 00B
009
008+006
006+069
NO
ELECTRIC HEAT
Actual
kWt FLA
106 13.8
12,9 16,8
21.1 277
106 13.8
12.9 16.8
21.1 277
--/-- /--
4.9 5.8 23.5/27.1
6.5/ 8.0 31.4/36,3
8.7/11.6 46.9/54.2
13.0/16.0 62.8/72.5
15,6/19.3 75.6/87.5
49/ 5.6 23.9/27.1
6.5 /8.0 31.4/36.3
87/11.9 46.9/54.2
130/160 62.8/72.5
15.9/19.3 75.8/875
4,9/ 58 136/156
7,9/ 96 21,9/253
12,0/14,7 33,4/38,5
15.8/193 43.8/50.5
19,9/24,3 55,2/638
4,9/ 5,8 13,6/15,6
7,9/ 9,6 21,9/25,3
19,6/14,7 334/385
156/19,3 438/50,5
19,9/24,3 55,2/63,8
4.9/ 5,8 13.6/15,6
7,9/ 9,6 21.9/25.3
12,6/14,7 33.9/38.5
15.8/193 43.8/50.5
19,9/24,3 552/63,8
49/ 58 13,6/15,6
7.9/ 9.6 21.9/25 3
120/14.7 33.4/38.5
158/19.3 43.8/50.5
199/24.3 55.2/63.8
_/5 _.2
10.6 13.8
12.9 16.6
21.1 277
23.4 301
_-_ 7.2
10.6 13.8
12.9 16.6
21.1 27.7
23,4 30.1
POWERSUPPLY* DISCONNEC'rSIZE
MCA MOCP** FLA LRA
18.6 25 19 97
20.5 25 19 98
25.8 36 19 98
32.5 35 31 98
46.0 50 43 108
213 25 25 102
226 30 25 103
30.9 35 25 103
346 40 36 103
46.1 50 46 110
61.4/ 61.4 70/ 70 62/ 62 276
61.4/ 61.4 701 70 62/ 62 276
658/ 71,8 70/ 80 64/ 69 276
85.2/ 94.2 90/100 81/ go 276
105,1/117,2 110/125 100/111 276
121,3/135,9 125/150 115/128 276
674/ 67.4 80/ 80 66/ 68 281
67.4/ 67.4 80/ 80 68/ 68 281
70.6/ 760 80/ 80 69/ 74 261
90.0/ 98.4 90/100 87/ 95 281
109.9/121.4 119/125 1051116 281
126.1/140.1 150/106 120/133 281
446/ 44.0 50/ 50 46/46 228
44.6/ 44.0 50/ 50 46/46 228
50.9/ 55.1 60/ 60 49/53 228
65.2/ 71.6 76/ 80 62/68 225
78.2/ 86 7 86/ 90 74/89 228
92,6/103,2 100/110 68/97 226
500/ 560 66/ 60 51/ 51 233
50.6/ 50.0 60/ 60 51/ 51 233
557/ 593 70/ 70 55/ 58 233
70.0/ 758 80/ 86 68/ 73 233
83,0/ 90.9 90/100 86/ 87 233
97,4/107.4 100/110 93/102 233
457/ 45.7 63/ 60 48/48 247
45.7/ 45.7 60/ 60 48/48 247
526/ 56.8 60/ 70 51/55 247
669/ 73.3 70/ 80 64/70 247
79.9/ 88.4 80/ 90 76/84 247
94,3/104 9 100/110 90/99 247
51.7/ 51,7 60/ 60 53/ 53 252
51.7/ 51.7 66/ 60 53/ 53 252
57 461 0 70/ 70 57/ 60 252
71.7/ 77 5 86/ 80 76/ 75 252
847/ 92.6 96/100 82/ 88 252
99 1/1091 100/104 95/104 252
22.2 25 23 114
22.2 25 23 114
288 35 23 114
32.5 35 31 114
46.0 50 43 114
49.8 50 47 114
249 30 28 119
24.9 30 28 119
309 35 28 119
346 40 36 119
48.1 50 48 119
51.9 60 52 119
LEGEND
FLA -- Fult Load Am11)_s
HACR Heating, Air _ondltioning and Refrigeration
IFM -- Indoor (Evaporator) Fan Motor
LRA -- Locked Rotor Amps
MCA -- Minimum Circuit Amps
MOCP -- Maximum Overcurrenl Protection
HEC -- National ElectdcalCode
UL -- Under_riters' Laboratories
*The values listed in this table do not include power exhaust. See Power Exhaust
table for requirements.
/"Heat er capacity kW is based on heater voltaLg*eof 240v or 480v. If power distribu-
tion voltage to unit varies from rated, healer kW will vary accordisgly.
**Fuse or HACR breal_r.
NOTES:
1. In compliance with NEC requirements for mulUmotor and combination load
equipment (refer to NEC Articles 430 and 440), the overcurrenl protective device
for the unit shalt be fuse or HACR breaker. UL, Canada units may be fuse or cir-
cuit breaker.
2. Unbalanced 3-Phase Supply Voitage
Never operate a motor where aphase imbalance in supply _ltage is greater
than 2%. Use the following formula to determine the percent of voltage
imbalance.
=100 xmax voltage deviation from average voltage
average _oltage
Example: Supply voltage is 460-3-60.
AB - 452 v
A g C BC=464V
AC =455v
Average Voltage =, 452 +464 +455
3
1371
3
-457
Determine maximum d_'ia6on from average _oltage.
AB 457-452=5v
IBC/464 - 457 =7 v
(AC) 457 - 455 = 2 v
Maximum deviation is 7 v.
Determine percent of voflage imbalance,
%Voltage Imbalance= tOO x
=1/53%
This amount of phase imbalance is satisfactory as it is below the maximum
allowable 2%.
IMPORTANT: I1 the supply voltage phase imbalance is more than 2%, contact |
1
your local electric utility company imm edlat ely. J
31

Table 1D -- Electrical Data (COBRA TM Energy Recovery 50HJ004-007 Units with 62AQ100) (cont)
UNIT
SIZE
50HJ906
(cont)
50HJO07
ELECTRIC HEAT POWER SUPPLY* DISCONNECT SIZE
NOMINAL IFM CONV 62AQ HEATER MODEL NO.
V-PH-HZ TYPE OUTLET FLA CRHEATER--A00 Actual
kWt FLA MCA MOCP *° FLA iRA
230 30 24 123
0_6 5-_ 7,2 23.0 30 24 124
NO 15.1 008 10.6 138 29.6 35 24 124
009 12.g 16.8 33.3 35 32 124
008+006 21.1 277 46.8 50 44 124
460-3-60 HiGH 008+009 23,4 30,1 50.6 60 46 124
(colt) -- 25.7 30 29 128
006 5.5 7.2 25*7 30 29 129
YES 15.1 008 10.6 13.8 31.7 35 29 129
00g 12.9 16.8 35.4 40 37 129
008+008 21.1 27.7 48.9 50 49 129
008+009 23,4 30,1 52.7 60 53 129
--_ --I-- 47.9/ 47.9 60/ 60 49/49 260
002 4.9/ 5+8 13.6/15.6 47+9/ 47.9 60/ 60 49/49 260
NO 15,1 004 79/ 9.6 21.9/25.3 50.9/ 55.1 60/ 60 49/53 260
005 12.0/14.7 33A/58.5 65.2/ 71,6 70/ 80 62/66 260
004+004 15,8/19.3 43.8/50.5 78+9/ 86.7 80/ 90 74/82 260
STD 004+005 19.9/24.3 55.2/638 92.6/103.2 100/110 88/87 260
0_2 --/-- --/ 53.9/ 53.5 60/ 60 59/ 55 265
4.9/ 5.8 13.6/15.6 53.9/ 53.9 60/ 60 55/ 55 265
YES 15.1 004 7.9/ 96 21.9/25.3 55.7/ 59,3 70/ 70 55/ 58 265
005 12,0/147 33.4/38.5 700/ 758 80/ 80 68/ 73 265
004+004 15.9/19.3 43.8/50.5 83.0/ 90.9 90/100 80/ 87 265
208/230o3-60 004+005 19.9/24.3 55.2/63.8 974/107.4 100/110 93/102 265
--_ --/-- 49.6/ 49.6 60/ 60 51/51 279
002 4,9/ 58 13.6/15.6 49,0/ 49.6 60/ 60 51/51 279
NO 15,1 004 7,9/ 9,6 21.9/25.3 52,6/ 56,8 60/ 70 51/55 279
005 120/147 33.4/38.5 66.9/ 73.3 70/ 80 64/70 278
004+004 15 8/19,3 43.8/50.5 79,9/ 88,4 80/ 90 76/84 279
HIGH 004+005 19,9/24,3 55.2/63,8 943/104,9 100/110 90_9 279
-- --/-- --/-- 55.6/ 55.6 66/ 60 57/ 57 284
002 4,6/ 5,6 13,6/15,6 55,6/ 55.6 60/ 60 57/ 57 284
YES 15.1 004 79/ 9.6 21.6/25.3 57.4/ 61.0 70/ 70 57/ 60 284
005 12,0/14.7 33.4/38,5 71.7/ 77.5 80/ 80 70/ 75 284
004+004 15.8/19.3 43,8/50.5 84.7/ 92.6 90/100 82/ 89 284
004+005 19.9/24.3 55.2/63.8 99.1/109.1 100/110 951104 264
0o6 _T_ 22.8 85 23 127
22.8 30 23 127
NO 15.1 008 10.6 13.8 28.8 35 23 127
009 12.9 16.8 32.5 35 31 127
008+008 21.1 27.7 46.0 50 43 127
STD 008+009 23.4 30.7 49.8 50 47 127
oT5 _-_ 72 95.5 80 29 t3t
255 30 29 132
YES 15.1 008 10.6 13.8 30.9 35 29 132
009 12.9 16.8 34.6 40 36 132
008+008 21 127.7 48.1 50 48 132
460-3-60 008+009 23,4 30.7 51.9 60 52 132
s-_ 72 23,6 30 24 t36
23.6 30 24 137
NO 15.1 008 10.6 138 29.6 35 24 137
009 12.9 168 33.3 35 32 137
008+008 21.1 27.7 46.8 50 44 137
HIGH 008+009 23,4 30,7 56,6 60 48 137
_-_ 7_ 263 30 80 141
26.3 30 30 141
YES 15,1 008 10,6 13.8 31,7 35 30 141
009 12,9 16.8 35,4 40 37 141
008+008 21.1 27.7 48.9 50 49 141
008+009 23.4 30.7 53,7 60 53 141
LEGEND
FLA -- Full Load Amps
HACR -- HeaSng, AgCoed9ioningaedRofrigeration
IFM -- Indoor (Evaporator) Fan Motor
LRA -- Locked Rotor Amps
MCA -- MtsimumCircuRAmps
MOCP -- Maximum Overeurrenl Protection
NED -- National Electrical Code
UL -- Underwr_ers' Laboratories
*The values listed in this table do not inciode power exhaust. See Power Exhaust
table for requirements.
theater capacity kW) is based on heater volta eo1240v or 480v. If power d s rbu-
t/on voltage to unh wries from rated, heater k_'_will vary accordingl_
**Fuse or HACR breake_
NOTES:
1, In compliance with NEC requirements for touR/motor and combination load
equipment (refer Io NEC Articles 430 and 440), the overcurrent protective device
for the un8 shait be fuse or HACR 0ieake_ UL, Canada units may be fuse or cir-
cuit breake_
2. Unbalanced 3-Phase Supply Voltage
Never operate amotor where a phase imbalance m supply voltage is greater
than 2%. Use the following formula to de/ermine the pement of voltage
/tuba/once,
-100x max v°_lage deviati°n fr°m average v°ita_e
8verage voltage
Example: Supply voSage is 460.3-60,
ABcAB=452V
SC=464v
AC =455v
Average Voltage = 452 +464 +455
3
1371
3
=457
Determine maximum deviotkon from average voltage.
AB 457 -452 =5 v
IBCI 464-457 = 7 v
(AC) 457 - 455 = 2 v
Maximum deviation is 7 v.
Determine percent of voltage imbalance.
% Vogage _mbalance= 100 x
i
= 1.53%
This amount of phase imbalance is satisfactory as it is below the maximum
aliowabts 2%.
3';'

Table 1E -- Electrical Data (COBRA TM Energy Recovery 48HJ008-014 Units with 62AQ200)
UNIT
SIZE
48HJOO8
48HJ009
48HJ012
48HJ014
NOMINAL
V-PH-HZ
208/230-3-60
460-3-60
208/230-_60
460-_60
208/230-3-60
460-3-60
208/23_3-60
460-_60
IFM
TYPE
STD
HIGH
STD
HIGH
STD
HIGH
STD
HiGH
STD
HIGH
STD
HIGH
STD
STD
CONV 62AQ POWER SUPPLY*
OUTLET FLA MCA MOCPI"
NO 21.9 60.1 70
YES 21.9 66.1 70
NO 21.9 63.2 70
YES 21.9 69.2 80
NO 10.2 29.4 35
YES 10.2 32.1 35
NO 10.2 30.8 35
YES 10.2 33.5 35
NO 21.9 62.1 70
YES 21.9 68.1 70
NO 21,g 65.2 70
YES 21.9 71.2 80
NO 10.2 31.7 35
YES 10,2 34.4 40
NO 10.2 33.1 35
YES 10.2 35.8 40
NO 21,9 74.9 80
YES 21,9 80.9 90
NO 21,9 79,3 90
YES 21,9 85.3 90
NO 10,2 35.1 40
YES 102 37.6 45
NO 10.2 37.7 40
YES 10,2 40.4 45
NO 21.9 82.5 90
YES 21.9 86,5 100
NO 10,2 39.3 45
YES 10,2 42.0 50
DISCONNECT SIZE
FLA LRA
66 366
71 371
69 391
75 395
32 184
34 186
34 197
36 199
68 400
73 405
71 425
77 429
34 206
37 208
36 219
38 221
81 465
87 469
86 488
92 493
38 234
40 236
41 245
43 247
89 550
95 555
43 270
45 272
LEGEND
FLA -- Full Load Amqp.,s
HACR -- Heating, Air Conditioning and Refrigeration
IFM -- Indoor (Evaporator) Fan Motor
LRA -- Locked Rotor Amps
MCA -- Minimum Circuit Amps
MOCP-- Maximum Overcurrent Protection
NEC -- National Electrical Code
UL -- Underwriters' Laboratories
Example: Supply voltage is 460-3-60.
AecAB--452v
(_ BC = 464 v
AC = 455 v
Average Voltage = 452 + 464 + 455
3
1371
3
*The values listed in this table do not include power exhaust. See
Power Exhaust table for requirements.
tFuse or HACR breaker.
NOTES:
1. In compliance with NEC requirements for muitimotor and combi-
nation load equipment (refer to NEC Articles 436 and 440), the
overcurrent protective device for the unit shall be fuse or HACR
breaker. UL, Canada units may be fuse or circuit breaker.
2. Unbalanced 3-Phase Supply Voltage
Never operate a motor where aphase imbalance in supply volt-
age is greater than 2%. Use the following formula to determine
the percent of voltage imbalance.
-- 10Ox max voitage deviation from average voitage
average voltage
=457
Determine maximum deviation from average voltage.
(AB) 457 - 452 = 5 v
(BC) 464 - 457 = 7 v
(AC) 457 - 455 _-2 v
Maximum deviation is 7 v,
Determine percent of voltage imbalance.
7
% Voltage Imbalance = 100 x 4_
= 1,53%
This amount of phase imbalance is satisfactory as it is below the
maximum allowable 2%.
IMPOR]ANT: If the supply voltage phase imbalance is more than2%, contact your local electric utilitycompany immediately. ]
33

Table 1F -- Electrical Data (COBRA TM Energy Recovery 50HJ008-014 Units with 62AQ200)
UNIT
SIZE
s0_J00a
50H J009
NOMINAL
V-pH-Hz
460-3-60
_3_50
IFM CONV 62AQ HEATER MODEL NO. ELECTRIC HEAT
TYPE OUTLET FLA CRHEATIER--A00 Actual I_N FLA
-- --I-- --/--
017 7.8/ 96 21¸7/ 25,0
010 12.0/14.7 33,4/ 38,5
NO 21,9 011 18,6/22.8 51,7/ 59,7
012 24.0/29¸4 66,7/ 770
012+017 31,8/38.9 88,4/102¸0
STD
017 7.0/ 96 21,7/ 25 0
010 12,0/14,7 33,4/ 38,5
YES 21.9 011 18,6/22¸8 51,7/ 59,7
012 24.0/29¸4 66,7/ 770
012+017 31,8/389 88,4/102,0
--I-- --/--
017 7,8/ 9,6 21,7/ 25,0
016 12,0/14,7 33,4/ 38,5
NO 21,9 011 18 6/22,8 51,7/ 59,7
012 24¸0/29,4 86,7/ 77,0
012+017 31,8/38¸9 88,4/102,0
_IGH --/-- --/--
017 781 9,6 21,7/ 25,6
010 12,0/14,7 33,4/ 38,5
YES 219 011 18,6/22,8 51,7/ 59,7
012 24,0/29,4 667/ 77,0
012+017 31¸8/38¸9 88,4/102¸0
ST£_
_IGH
STD
NO
YES
NO
YES
NO
016 1_-_ 16,7
013 15.2 19.8
21.9 014 25.5 33.4
015 30.3 39.7
014+016 38,3 50.2
016 12.8 16.7
013 15.2 198
21.9 014 25,5 33,4
015 30.3 39.7
014+016 383 502
o% 12.-a 16.-7
013 15.2 19,8
21.9 014 25.5 33.4
015 30.3 39.7
014+016 38.3 50.2
I I i
016 12.8 16.7
013 15,2 19,8
21,9 014 25,5 33,4
015 30.3 39,7
014+016 36,3 50,2
017 7.8 /96 21.7/ 25.0
010 120/14.7 33.4/ 38.5
21.9 011 18 6/22._ 51.7/ 59.7
012
012+017
017
YES 21.9 010
011
012
012+017
05-7
NO 21.9 010
011
612
012+017
HIGH oT7
010
YES 21 9 011
012
012+017
016
NO 21.9 013
014
015
014+016
STD
016
YES 21.9 013
014
015
014+016
016
NO 219 013
014
015
014+016
H',G,H
016
YES 219 013
014
015
014+016
POWER SUPPLY*
MCA MOCP"
601! 60.1 78/ 70
60,1/ 64.0 70/ 80
74.5/ 80.9 80/ 90
97.4/107.4 100/110
! 16.2/129.0 125/150
143.5/160,3 150/175
66.1/ 66.1 70/ 70
66.1/ 68.2 80/ 8O
79.3/ 85.1 90/ g0
102.2/111.6 115/125
121,5/133 2 125/15011
148.1/164.5 150/175
63._J 6,3.2 70/ 70
632/ 67.1 80/ 80
775/ 84.0 90/ 90
100.5/116.5 1101125
119,a/132,1 125/150
146.4/163.4 1501175
69.2/ 69.2 85/ 80
69.2/ 71.3 80/ 80
82.4/ 88 2 90/1 CO
105.3/114.7 110/125
12411136.3 125/150
151.2/167 6 175/175
29.4 35
36.1 40
400 45
570 60
648 70
77.9 80
32.1 35
38.2 45
42.1 45
59,1 60
66.9 70
80.0 80
30.8 35
37,5 40
41.4 45
58.4 60
66.2 70
79.3 80
33,5 35
39.6 45
43.5 45
60.5 70
68.3 70
81.4 90
62.1/ 62.1 75/ 70
62.1/ 64.0 70f 80
74 5/ 80.9 80[ go
g7.4/107.4 100/110
24.5/29.4 66.7/ 77.0 116.2/129.0 125/150
31.5/38.9 88.4/1020 143.3/1603 150/175
--/-- --/-- 68.1/ 68.1 75/ 70
7.5/ 9.6 21,7/ 25,0 68,1/ 68,2 80/ 80
12.0/14.7 33¸4/ 38,5 79¸3/ 85,1 90/ go
18.5/22,_ 51,7/ 59,7 102.2/111,6 110/125
24,0/29¸4 66,7/ 77,0 f 21,5/133,2 125/150
31,8/38¸9 88,4/102,0 148,1/164,5 150/175
--/-- --/-- 65.2/ 65,2 70/ 70
7,8/ 9,6 21,7/ 25,0 65,2/ 67,1 80/ 8Q
12,0/14,7 33,4/ 38,5 77,5/ 84,0 90/ 90
18,6/22,8 51,7/ 59,7 100,5/110¸5 1101125
24,0/29¸4 66,7/ 77,0 119,0/132,1 125/150
31,8/38,9 88,4/1Q2 0 146,4/163¸4 150/175
--/-- --!-- 71,2/ 71,2 85/ 80
7,8/ 9,6 21,7/ 25,8 71,2/ 71.3 80/ 80
120/14,7 334/ 385 82.4/ 88,2 90/100
18,5/22,8 51,7/ 59.7 105,5/114.7 110/125
240/29,4 68.7/ 77,0 124.1/136.3 125/150
31 8/38J 88.4/102.0 151.2/167,6 175/175
-- 31,7 35
12,8 16,7 36,1 40
15,2 198 40,0 45
25,5 33,4 57,9 69
30,3 39,7 64,8 70
38.3 502 77.9 80
-- L 34,4 40
128 167 38,2 45
15,2 19,8 42.1 45
25,5 33,4 59.1 60
303 39,7 66.9 70
38,3 50,2 80,0 80
-- -- 33.1 35
12,8 16,7 37,6 40
152 19,8 41,4 45
25.5 33.4 584 60
303 39.7 662 70
38,3 50.2 79,3 80
m-- 35,8 40
128 167 396 45
152 19,8 43,5 45
25,5 33,4 60,5 70
30,3 39,7 68,3 70
38 3 502 81.4 90
DISCONNECT SIZE
FLA LRA
66/ 66 366
66/ 66 366
72/ 78 366
93/102 366
1111122 366
135/151 366
71/ 71 371
711 71 371
78/ 83 371
99/107 371
116/127 371
1411156 371
65/ 69 391
65/ 69 391
76/ 82 391
97/106 891
114/126 391
135/155 391
75/ 75 395
75/ 75 395
81/ 86 395
102/111 395
120/131 395
145/160 395
32 184
35 184
38 184
54 184
61 184
73 184
34 186
37 186
41 186
57 186
64 186
76 186
34 196
36 197
4Q 197
56 197
63 197
75 197
36 196
39 199
42 199
58 199
65 199
77 199
68/ 68 400
65/ 68 400
72/ 78 400
95/102 400
111/122 400
135/151 400
73/ 73 405
73/ 73 405
78/ 83 405
99/107 405
116/127 405
1411156 405
71/ 7t 425
71/ 71 425
70/ 82 425
971106 425
114/126 425
139/155 425
72/ 77 429
77/ 77 429
81/ 86 429
102/111 429
120/131 429
145/160 429
34 2O6
35 2O6
36 2O6
54 2O6
61 206
73 206
37 208
37 208
41 208
57 208
64 208
76 208
36 218
36 219
40 219
56 219
63 219
75 219
38 22O
39 " 221
42 221
58 221
65 221
77 221
34

Table 1F wElectrical Data (COBRA TM Energy Recovery 50HJ008-014 Units with 62AQ200) (cent)
UNIT NOMINAL
SIZE V-PH-Hz
208/230 3-60
50HJ012
460-3_O
208/230-3-50
50HJ014
460-3-60
IFM CONV 62AQ HEATER MODEL NO. ELECTRIC HEAT POWER SUPPLY* DISCONNECT SIZE
TYPE OUTLET ELA CRHEATER--A80 Actual kW FLA MCA MOCP** FLA LRA
-- /-- --/ 749/ 74.9 89/ 80 81/ 81 465
017 7.9/ 9.6 21.7/ 25.0 74.9/ 74.9 80/ 80 81/ 81 465
010 12.0/14.7 33.4/ 38.5 77.6/ 84.0 90/ 90 81/ 82 465
NO 21.9 012 240/29.4 66.7/ 77.0 119.3/132.1 129/150 114/126 465
012+017 31.8/38.9 88.4/102.0 146.4/163.4 159/175 f39/155 465
010+012 37.9/45.9 104.9/104.2 166.2/156.2 175/175 157/176 465
STD -- /-- --! 80,9/ 80.9 90/ 90 87/ 87 469
017 7.8[ 9.6 21.9/ 25.0 80.9/ 80.g 90/ 90 87/ 87 469
010 12.0/14.7 33.4/ 38.5 82.4/ 88.2 90/180 87/ 87 469
YES 21.9 012 24.9/29.4 66.7/ 77.0 124.1/138.3 125/150 120/131 469
012+0_7 31.8/38.9 8B.4/102.0 151.2/167.6 175/175 145/160 469
010+012 375/45.9 104.9/120.3 171.0/1604 179/175 160/181 469
-- --/-- --/-- 79.5/ 79.3 90/ 90 89/ 86 488
017 7.9/ 9.8 21.71 25.0 79.5/ 79.3 90/ 90 86/ 86 488
NO 21.9 010 12.9/14.7 33.4/ 38.5 82.9/ 88.8 90/100 86/ 87 488
012 24.0/29.4 667/ 77.0 1240/136.9 129/150 119/131 488
012+017 31.8/389 88.4/1020 151.1/168.2 170/175 144/160 488
0!0+012 37.5/45,9 104,9/120,3 170.9/160,9 179/200 162/181 488
t_tPoH -- --/-- --/-- 85.5/ 85.3 99/ 90 99/ 92 493
017 70/ 9,6 21.0/ 25.0 85,9/ 853 99/ g(] 92/ 92 493
010 12 0/14.7 33.4/ 38.5 87.1/ 930 109/100 92/ 92 493
YES 21.9 012 24.9/294 66.7/ 77.0 128.9/141.t 150/150 120/136 493
012+017 81,8/389 884/102,0 155,9/172,4 !79/175 1501165 493
010+012 37.9/45.9 104.2/120.3 175.7/165.1 200/200 169/186 493
STD
HtGH
STD
HIGH
NO
YES
NO
0T6 12_8 16.7
013 15.2 19.8
21.9 o15 30.3 39.7
014_,o18 38.3 50.2
013+o15 45.9 60.1
OT6 12.8 16.7
21.9 013 152 19.8
015 30.3 39.7
014+016 383 50.2
013+815 45.9 60.1
0T6 12"J3 16-X
013 15.2 19.8
21.9 016 30.3 39.7
014+016 38.3 50.2
013+015 459 60.1
oTe 12.-8 16.-7
013 15.2 19.8
YES 21.9 915 30.3 39.7
014+016 38 3 502
013+015 459 60,1
817 7.8/ 96 21.7/ 25.0
010 12.0/147 33.4/ 38.5
NO 21.9 012 24.0/29.4 66.7/ 77.0
012+017 3f B/3B.9 88,4/192.0
010+012 37.5/45.9 104.2/120.3
017 79/ 9.6 21.7/ 25.0
YES 21.9 0!0 120/14.7 334/ 38.5
0_2 24.0/29.4 667/ 77.0
012+017 31,8/38.9 88.4/102.0
010+012 37,6/45,9 104.2/120.3
NO
YES
01_ 9 6 16.7
21.9 013 14.7 19.8
015 29.4 39.7
014+016 389 50.2
0!3+015 45.9 60.1
016 9 6 16,7
21.9 0!3 147 19.8
015 29,4 39,7
014+016 389 50,2
013+015 45,9 60.1
351 40 38 233
37.5 40 38 234
41.4 45 40 234
66.2 70 63 234
79.3 80 75 234
76.7 90 88 234
37.8 40 40 235
39.6 45 40 236
435 45 42 236
68.3 70 65 236
81.4 90 77 286
78.8 90 89 236
37.7 40 41 245
40.3 45 41 245
44.3 50 43 245
69.1 70 66 245
82.1 90 78 245
79.6 90 89 245
40.4 45 43 247
42.4 59 43 247
46.4 50 45 247
71 *2 80 68 247
842 90 80 247
81.7 90 92 247
82.9/ &?..5 90/ 90 89/ 89 550P=JoO
82.0/ 82.5 90[ 90 89/ 89 559/550
82.0/ 8th8 90/100 89/ 89 559/550
124.0/136.9 120/150 119/t31 550/550
151 1/168.2 175/175 144/160 559/550
1709/160.9 175/200 162/181 550/550
88.9/ 88.5 100/100 99/ 95 5551555
88.9/ 88.5 100/100 99/ 95 556/555
871/ 93.0 100/100 95/ 95 555/555
128.8/141.1 150/150 120/136 555/555
1559/172.4 175/175 160/165 555/555
1757/165.1 200/200 1681186 555/555
393 45 43 260
40.3 45 43 250
44.3 50 43 260
69.1 70 66 260
821 90 78 260
796 90 89 260
42.0 45 45 262
42 4 50 45 262
464 50 45 262
71.2 80 _262
84 290 262
81.7 90 9_ 262
LEGEND
FLA -- Full Load ALnmss
HACR Heating, Air Conditioning and Refrigeration
IFM Indoer(Evaporator) Fan Motor
Lo_ked Rotor s
McALRA Minimum Circult_Sps
MOCP -- Maximum(_,_rcurrentProtectlon
NEC -- National Electrical Code
UL -- UnderwrP,ers' Labor atoffes
°]_e values listed in this table do not include power exhaust. See Power ExhaUSt ta_e for
requirements.
theater capacity (IPiV is based on heater voltage of 246v or 480v, If power distribution
voltage to unit varies from Paled, heater kW wltl vary accordirrgly.
**Fuse or HACR breaker.
NQTE_:
1. In compllsnce with NEC requirements for multimctor and o0mbinatlon load eqUll0meent
(refer to NEC Articles 430 and 440), the c_ercurrent protective device for the un_ shall
be fusn or HACR breaker. UL, Canada unit_ may be fuse or"cimult breaker.
2Unbalanced _Phase Supply Voltage
Never opetate a motor whete a phase imbalance kTs_/ vo_age is gleater than 2%.
Use the fotlowtng formula to determine the percent of voltage imbalance.
= 100 x max voltage de_ation from m,eraRe voltage
average voltage
Exanvpte: SUpply voltage is 460-3-60.
AB = 452 v
A B C BC = 464v
_AC=455 v
A_rage Voltage = 452 + 464 + _55
3
I371
3
= 457
Determine maximum deviation from a',_srage voltage.
A_A_C}457 - 4_" = 5v
BC 4!14 457 = 7v
467-455 = 2v
Maximum deviation is 7 v.
Determine pement of voltage tr011al_r_.
%'_age Imbalance = 1COx _
= 1.53%
This amount of phase imbalance is sat_f_tory as ff _s below the maximum _lk_abl6
2%.
JMPORTANT: If the supp_ voltage phase imbalance is more than 2%, con- I
1
ta_t your local electric utltdy company immediately. 1
35

Table 1G -- Electrical Data (COBRA TM Energy Recovery 48HJ008-014 Units with 62AQ300)
UNIT
SIZE
48HJ008
48HJ009
48HJ012
48HJ014
NOMINAL
V-PH-Hz
208_30-_60
460-3-60
208/230-_60
460-3-60
208/230-3-60
460-3-80
208/230-3-60
460-3-60
IFM CONV 62AQ POWER SUPPLY*
TYPE OUTLET FLA MCA MOCPt
NO 29,8 68,0 80
STD YES 29.8 74.0 80
NO 29.8 71,1 89
HIGH YES 29.8 77,1 80
NO 15.9 35.0 40
STD YES 15,8 37.7 40
NO 15.8 36.4 40
HIGH YES 15.8 39.1 45
NO 29,8 70.0 80
STD YES 29,8 76,0 80
NO 29.8 73,1 80
HIGH YES 29.8 79.1 80
NO 15.8 37.3 40
STD YES 15.8 40.0 45
NO 15.8 38.7 45
HIGH YES 15.8 41.4 45
NO 29.8 82.8 90
STD YES 29.8 88.8 100
NO 29.8 87.2 100
HIGH YES 29.9 93.2 100
NO 15.8 40.7 45
STD YES 15.8 43.4 50
NO 15.8 43.3 50
HIGH YES 15.8 46.0 50
NO 29.8 90.4 100
STD YES 29.8 96.4 1O0
NO 15.8 44.9 50
STD YES 15.8 47.6 66
DISCONNECT SIZE
FLA LRA
75 420
80 425
78 445
84 449
38 211
41 213
46 224
43 226
77 454
82 459
80 479
86 483
41 233
43 235
42 246
45 248
90 519
96 523
95 542
101 547
44 261
47 263
47 272
50 274
98 604
104 609
49 297
51 299
LEGEND
FLA -- Full Load Amlpss
HACR -- Heating, Air Conditioningand Refrigeration
IFM -- Indoor (Evaporator) Fan Motor
LRA -- Locked Rotor Amps
MCA -- Minimum Cimuit Amps
MOCP-- Maximum Overcurrent Protection
NEC -- National Electrical Code
UL -- Underwriters Laboratories
*The values listed in this table do not include power exhaust, See
Power Exhaust table for requirements.
lFuse or HACR breaker.
NOTES:
1. In compliance with NEC requirements for multimctor and combi-
nation load equipment (refer to NEC Articles 430 and 440)), the
overcurrent protective device for the unit shall be fuse or HACR
breaker. UL, Canada units may be fuse or circuit breaker.
2. Unbalanced 3-Phase Supply Voltage
Never operate a motor where a phase imbalance in supply volt-
age is greater than 2%, Use the following formula to determine
the percent of voltage imbalance.
= 100 x max voltage deviation from avera_levoltage
average voltage
0( us
Example: Supply voltage is 460-3-60.
A B c AB =452 v
BC =464 v
AC =455 v
Average Voltage _ 452 + 464 + 455
3
1371
3
- 457
Determine maximum deviation from average voltage.
(AB) 457 - 452 = 5 v
(SC) 464 - 457 =7 v
(AC) 457 -455 --2 v
Maximum deviation is 7 v.
Determine percent of voitage imbalance.
7
% Voltage Imbalance =100 x 457
= 1.53%
This amount of phase imbalance is satisfactory as it is below the
maximum allowable 2%.
IIMPORTANT: If the supply voltage phase imbalance is more than2%, contact your localelectric utility company immediately. ]
36

UNIT
SIZE
50PIJO0a
50HJ009
Table 1H -- Electrical Data (COBRA TM Energy Recovery 50HJ008-014 Unite with 62AQ300)
NOMINAL IFM CONy 62AQ HEATER MODEL NO.
V-PH-H2 TYp OUTLET FLA CRHEATER--A00
208'230-3=60
46O-360
208/230-3-60
460-3-60
STD
t_GH
STD
HIG_
STD
HIGH
S1D
HIGH
NO
YES
NO
YES
NO
YES
NO
21.9 010
011
012
012;017
017
21.9 010
011
012
0121017
017
21,9 010
011
012
012+017
21,9 010
011
012
0121017
ELECTRIC HEAT
ACtual IdN FLA
7.8/ 9.6 21.7/ 25.0
12.0/14.7 33.4/ 38.5
18.6/22.8 51,7/ 59,7
24.0/29,4 66,7/ 77,0
31.0/38,9 88.4/102,0
7.8/ 96 21,7/ 25,0
12,0/14,7 33,4/ 38,5
18¸6/22,8 51¸7/ 59,7
24,0/29,4 66,7/ 77,0
31,8/38.9 88,4/102,9
7,8/ 9,6 21,7/ 25 0
12,0/14,7 33,4/ 38.5
18,6/22,8 51,7/ 59.7
24,0/29,4 66,7/ 770
31,8138,9 88,4/102,0
--/-- --/--
7,0/ 9,6 21.7/ 25,0
12,0/14,7 33.4/ 38.5
18.6/22.8 51.7/ 59,7
24.0/29.4 66,71 77,0
31.8/38,9 88.4/102.0
0T6 12,8 16.7
21,9 013 15,2 19,8
014 25,5 33,4
015 30,3 39,7
0141016 383 502
016 !2.8 167
21,9 013 15.2 19,8
014 25.5 334
015 30.3 39.7
014+016 38.3 50,2
12,'8 16_.7
21.9 013 152 19.8
014 25,5 334
015 30,3 39,7
0t41016 38,3 50.2
91% 12.-8 16.-7
YES 21.9 013 15.2 19.8
014 25.5 33.4
015 303 397
0141016 38.3 50.2
/--
oT7 76/96 _;-_
010 12.0/14.7 32.7
NO 21.9 011 18.0/22.8
012 24.0/29.4 16,4
0121017 21.0/38.9 32.7
-- --/-- --
017 7.8/ 96 164
010 12.0/147 32.7
YES 21.9 011 18.6/22 8
012 24.0/29.4 16.4
0121017 318/38.9 32.7
017 7.8/ 9.6 21.7/ 25.0
010 12.0/14.7 33.4/ 38.5
NO 21.9 011
012
0121017
YES 21.9 010
011
012
012+017
6T6
NO 21.9 013
014
015
014+016
016
YES 21.9 013
014
015
0141016
016
NO 2t.9 013
014
015
014+016
016
YES 21.9 013
014
015
0141016
POWER SUPPLY"
MCA MOCP**
68.0/ 68.0 80/ 80
68.7/ 72.9 90/ 90
83,3/ 89,7 100/100
106,2/116,2 120/125
125,0/137,8 150/150
152.1/169,1 170/175
74.0/ 74,0 801 80
74,0/ 77,1 90/ 90
88,1/ 93,9 100/110
111,0/120,4 125/125
129,8/142,0 150/150
156,0/173,3 170/175
71,1/ 71,1 80/ 80
71,8/ 76.O 90/ 90
86,4/ 9_.8 100/110
109,6/119.3 120/125
128,1/140.9 150/150
155,2/172¸2 175/175
/7,1/ 771 80/ 8O
77,1/ 80,2 g0/t00
91.2/ 97,0 110/110
114¸I/123,5 125/150
132¸9/145,1 150/150
160,0/176,4 170/200
35,0 40
44,4 60
48.3 60
65.3 80
73.1 90
86.2 100
37,7 40
46,5 60
50,4 60
67,4 80
75,2 90
88,3 100
36,4 40
45,8 80
49,7 60
66,7 80
74,5 g0
87,6 100
39.1 45
47.9 60
51.8 60
68.8 80
76,6 90
89,7 100
70,6/ 70,0 86/ 80
70.6/ 72 9 90/ 9O
83.3/ 89,7 100/100
106¸2/116,2 120/125
125,0/137,8 150/150
152.1/169.1 175/175
76.0/ 76,0 80/ 80
76,0/ 77,1 90/ 90
88,1/ 93,9 100/_ 10
111,0/120,4 125/125
129,0/142¸0 150/150
156,9/173,3 170/175
73,1/ 73,1 80/ 80
73.1/ 76.0 90/ g0
86¸4/ 92.8 100/110
18.6/22.8 51.7/ 59.7 1093/119.3 125/125
240/29.4 66.7/ 77.0 128.1/140.9 150/!50
318/38,9 884/102,0 155,2/172.2 175/175
--I-- --/-- 791/ 79.1 80/ 80
7.0/ 9,6 21,7/ 25,0 79,1/ 80 2 90/190
12.0/14,7 33,4/ 38,5 91,2/ 970 110/110
186/22.8 517/ 59.7 114.1/123.5 120/150
240/29.4 66,7/ 77.0 132.9/145.1 150/150
318138.9 88.4/102.0 160.0/1764 175/200
-- -- 37.3 40
12.8 16.7 44.4 60
15.2 19.8 48,3 60
25.5 334 65.3 80
30 3 39.7 73.1 90
383 502 862 !00
-- -- 40.0 45
12,8 16,7 46,5 60
152 198 50.4 60
25.5 334 674 80
30.3 39.7 75.2 80
38.3 50.2 88.3 100
-- 38.7 45
12,8 16,7 45.8 60
152 19.8 49.7 60
25.5 834 66,7 80
30.3 397 745 90
38.3 50.2 876 100
-- -- 41.4 45
128 167 47.9 60
15.2 198 518 60
25.5 33.4 68.8 80
30.3 39.7 76.6 90
38.3 50.2 89.7 100
DISCONNECT SIZE
FLA LRA
70/ 75 420/420
70/ 75 420/420
81/ 87 420/420
102/112 420/420
120/131 420/420
140/160 420/420
80/ 80 425/425
80/ 80 426/425
87/ 92 425/425
10_116 425/425
125/136 425/425
150/165 425/425
78/ 78 445/445
70/ 78 440/445
85/ 91 440/445
106/115 440/445
123/135 440/445
140/164 445/445
84/ 84 440/449
84/ 84 440/4_9
90/ _440/449
111112O 449/449
129/140 449/449
154/169 440/449
38 211
41 211
45 211
61 211
68 211
80 211
41 213
44 213
47 213
63 213
78 213
82 213
40 223
43 224
47 224
62 224
69 224
81 224
43 225
45 226
49 226
65 226
72 226
84 226
77/ 77 454/454
77/ 77 454/454
81/ 87 454/454
102/112 454/454
120/131 454/454
140/160 454/454
82/ 82 450/459
82/ 82 450/459
87/ 9_ 459/459
108/116 459/459
126/136 459/459
150/165 450/459
80/ 80 470/479
80/ 80 I470/479
86/ 91 479/479
106/115 470/479
!23/135 470/479
140/164 470/479
80/ 86 480/483
86/ 86 483/483
90/ 96 483/483
111/120 483/483
129/140 483/483
154/169 483/483
41 233
41 233
45 233
61 233
68 283
80 233
43 235
44 235
47 235
63 235
70 235
82 236
42 245
43 246
47 246
62 246
69 246
81 246
45 247
45 248
49 248
65 248
72 248
84 248
37

Table 1H -- Electrical Data (COBRA TM Energy Recovery 50HJ008-014 Units with 62AQ300) (cont)
UNIT
SIZE
50HJ012
50HJ014
NOMINAL IFM CONV
V-PH-HZ TYP OUTLEt
20PJ230-3-60
460-3-60
STD
H_G_
ST[_
HIGH
200/230-3-60 STD
460-3-60 HIGH
NO
YES
NO
YES
NO
YES
NO
YES
NO
YES
NO
YES
LEGEND
FLA -- Full Load A_n_o_s
HACR Heating, Air (_ondi[}oning and Refrigeration
IFM Indoor (Evaporator) Fan Motor
Lccbad RotO_A s
LRA Minimum CIm u!dn_MCA
MOCP -- M_mumOVercun'e_Pmt_ion
NEC -- National El_d_l Code
UL -- Under_rs' I_ora_ties
62AQ HEATER MODEL NO.
FLA CRHEATER--A00
21,9 010
012
012+017
012+010
010
21,9 012
012+017
012+0!0
010
21,9 012
012+017
012+010
21.9 010
012
012+0_7
012+010
219 013
015
014+016
015+013
013
21,g 0t5
014+016
01.r_,013
21.g 013
015
014+016
015+013
013
2_,9 015
014_,016
0_5+013
010
21.9 012
012+017
012+010
21,9 013
015
0t_-016
015+013
013
21,9 016
014+0_6
015+013
013
21.9 015
014"016
015+013
ELECTRIC HEAT
Actual kwh" FLA
--/-- --/--
7.81 9.6 21.7/ 25.0
12,0/14,7 33,4/ 38,5
24,0/234 66.7/ 77.0
31.8/38,9 88.4/1020
37.0/45.g 104,2/104,2
/-- /--
7.8J 9.6 2! 0/ 25.0
12.0/14 7 334/ 38.5
24,0/29,4 66,7/ 77.0
31,8/389 884/102,0
37,0/45,9 1040/120,3
--/-- --/--
7,8/ 9,6 21,7/ 250
12,0/147 33,4/ 385
24,0/;)9,4 66,7/ 77,0
31.0/38,g 88,4/102,0
37,0/459 104,2/120,3
7.8/ 9.6 21.0/ 25.0
12.0/14,7 33.4/ 38,5
24,0/294 66.7/ 77.0
31,8/389 88,4/1020
37.0/45.9 104.2/120.3
15.2 198
30.3 39.7
383 50.2
45.9 60.1
15.2 19.8
30 3 39.7
38.3 502
459 601
1_8 1_7
15.2 19.8
30.3 39.7
38.3 50.2
45.9 60.1
12_] 16:/
15.2 19.8
303 387
383 50.2
45.9 60.!
7,0/ 9.6 21,7/ 25,0
12.0/14.7 33,4/ 385
24.0/29.4 66,7/ 770
31¸8/38.9 88.4/102.0
37,5/45,9 104.2/120.3
m/-- --/--
7,8/ 9,6 21,7/ 250
12,0/14,7 33,4/ 38,5
24,0/29,4 66,7/ 77,[}
31.8/38,9 88¸4/102,[}
37.5/45,9 104.2/120,3
1_-8 1_7
15.:_ 19.8
30.3 39.7
38.3 50.2
45.9 60.1
15.2 !9.8
30*3 39.7
38.3 50.2
45.9 60.1
POWER SUPPLY* DISCONNECT 0/ZE
MCA MOCP _FLA LRA
82,0/ 82,8 90/ 90 90/ 90 519
82,8/ 82,8 90/ gO 90/ go 519
86,4/ 92.8 _.90/110 go/ 81 519
1281/140.9 150/150 123/135 519
155,2/172.2 170/17[} 140/164 519
175.0/165.0 175/200 160/185 519
88.8/ 88.8 100/100 96/ 96 523
88 8/ 8[},8 100/_00 96/ 96 523
91,2/ 970 110/11[} 90/ gO 523
t32,0/145 1 150/150 120/140 523
160,0/176,4 175/200 154/168 523
179,8/169,2 200/200 172/190 523
87,2/ 87,2 100/10(I 95/ 95 542
87,2/ 872 100/100 95/ 95 542
90,8/ 97.2 100/110 95/ 96 542
132,5/145.3 150/150 120/140 542
159.0/176.6 175/200 153/169 542
179.4/169.4 200/200 171/190 542
93.2/ 93.2 100/100 101/101 547
93,2/ 93,2 100/100 t01/101 547
95¸6/101,4 110/110 101/101 547
137,5/149,5 150/150 134/145 547
164,4/180¸8 170/200 159/174 547
184,2/178,6 200/200 177/195 547
40.7 45 44 260
45.8 60 44 261
49.7 60 47 281
66,7 80 62 261
876 100 81 261
850 110 93 261
43,4 45 47 262
47,9 60 47 263
51,8 60 49 268
688 80 65 263
88,7 100 84 263
87,1 !10 95 263
43,3 50 47 272
484 60 47 272
52,3 60 50 272
69,3 80 65 272
90,2 100 84 272
87,6 110 96 272
46,0 50 50 274
505 60 50 274
544 60 52 274
71 4 90 68 274
92,3 100 87 274
89,7 110 96 274
90,4/ 904 100/100 geJ 96 604/604
90,4/ 90.4 100/100 90/ 98 604/604
90.8/ 97_2 100/110 90/ 98 go4_04
137.5/145_3 150/150 120/1AO 604/604
159.6/_ 76,6 175/200 153/169 604/604
179¸4/169,4 200/200 171/190 604/604
96.4/ 96.4 100/100 104/104 609/609
go,o/ 96,4 100/100 104/104 609/609
95,6/101,4 110/110 104/104 600/509
137,3/149,5 150/150 134/145 609_609
164¸4/180,8 175/200 159/174 609_09
184.2/173,6 200/200 177/195 609_09
44,9 50 49 287
48,4 60 49 287
52,3 60 50 287
48,4 70 48 287
90.2 100 84 287
87.6 110 gO 287
47,6 50 51 289
50.5 60 51 289
544 60 52 289
50.5 70 51 289
92,3 1_ 87 289
89,7 110 98 289
Example: Suppry voltage is 460-3 60.
ABC AB = 452 v
BC=464v
AC=455V
A',l_raga Voltage = 452+464÷455
3
1371
3
457
*The values listed in this table do not include power exhaust+ See Power Exhaust raise for
requirements,
theater capacity (kW) is based on heater vott_ge of 240v or 480v, If power d_stribution
voltage _o unHvaries from rated, heate¢ kW will vary a_cordingly,
"*Fuse or HACR breaker.
NOTES:
1. In compliance with NEC requirements Ior mu_tirno_orand combination load equipment
refer to NEC Articles 430 and 440), Iha ovemurrent p rotectlve device for the unit shall
be fus_ or HACR breaker, UL, Canada un ts may be fuse or circuit breaker,
2 U nbnlanCed 3-Phase Supply Voltage
Nev_r operate a motor whe_ a l>hase imbalance in suupp_ vottage is gm0ier than 2%.
Usa the following formula to dele_mine the percent of voyage imbalance,
- 1O0x max voltage deviation 1tom a'_sra_le voltage
average _ltage
Determine maximum deviation from average voltage.
AB) 457 - 452 _5 v
BC 464-457 = 7 v
Max_morn bavia_ion is 7v,
D_terrrdr_ percen_ of vo_tag_ lrnba_anc_
%VoHage_mt_ance _100x 4_7
I_i_ _m_unt _f phase _rn_a_ce _ _lt_lo Was _ _ I_w _he rnaxirilum al_ab_a
2%.
I loMcPalOeleRTAiN_u_i_it_:o_l_lnY imVO_l_n_edgeiaPteth_imbal_r._s i..... than 2%. contact your 1
38

INDOOR AIR QUALITY AND CO2 SENSORS -- If a space
CO2 sensor is desired, a field-installed 25% outdoor-air damper
must be used for proper Demand Control Ventilation (DCV)
operation. If not, the 62AQ Energy$Recycler unit outdoor-ak
dampers will remain shut unless the space CO2 levels are
above the CO2 set point.
The 25% outdoor-air damper should be placed in the nor-
mal location on the base rooftop unit. See Fig. 24. This damper
will allow additional outdoor air to be brought in if the CO2
level is high, independent of 62AQ unit operation. In the
occupied mode, the 62AQ unit will usually bring in enough
fresh air to maintain CO2 levels below the set point. If not, the
25% outdoor-air damper will open to allow additional fresh air
to be brought in. See Fig. 25 and 26 for control wiring. The rec-
ommended CO2 sensor is a 33ZCSENCO2 and the recom-
mended 25% outdoor-air damper is a CRTWOPOSOOIA01 or
a CRTWOPOS002A01 (dependent on rooftop unit size). See
33ZCSENC02 or 25% outdoor-air damper installation instruc-
tions for additional information.
Step 9 -- Assemble and Mount Supply-Air
Hood -- The hood kit supplied with the 62AQ
Energy$Recycler TM section is needed to complete this installa-
tion. See Fig. 27. The Energy$Recycler section supply air
hood installs around its motorized damper inlet.
NOTE: Mount the hood sides to the Energy$Recycler sec-
tion first, and then the hoed top for easier installation. The ]
thermostats are shipped factory-wired and taped behind the [
damper blade of the Energy$Recycler section. Knobs and
screws are in hood package.
1. Assemble aod mount supply air hood as shown in Fig. 27.
2. Discard the tape that holds the thermostats behind the
damper plates. Mount thermostats to the hood sides of the
energy recovery section unit into the holes provided, with
thermostat terminals facing up. See Fig. 27. Mount
outside cooling set point thermostat part number
HH22HA060 (white label) on the left side of the hood.
See Fig. 27.
3. Mount the outside heating thermostat part number
HH22HA065 (red label) on the right side of the hood. See
Fig. 27.
4. From the outside of the unit's side panels fasten the
thermostat(s) with two mounting screws, with the quick
connect terminals face up. See Fig. 27.
5. Install thermostat knobs (provided in kit). See Fig. 27.
6. Set supply air unant__ (on units with optional factory÷
installed supply air fan [GA] or field-installed accessory
supply air fan kit [CRFANKIT001-006A00]). Select the
fan speed and damper position to obtain desired cfm.
Relocate damper stops to the desired position on the
damper support rail and adjust the fan speed by relocating
the wire on the supply fan motor terminal block. Factory
set position is 45 degrees for the damper position, and
medium speed for the motor. Relocate stops to top hole
for 30 degrees, bottom hole for 60 degrees, and remove
stops for 90 degrees (see Fig. 27).
7. Install the aluminum filter screen and end cap with
screws along the top, as shown in Fig. 27.
Step 10 -- Mount the Barometric Relief
Damper -- The hood kit supplied with the energy recovery
section is needed to complete this installation. The exhaust air
hood (that includes the barometric relief damper) must be
assembled and installed on the energy recovery section per the
instructions below. See Fig. 28.
1. lustall the barometric relief damper onto the
energy recovery section by mounting the hinge with
2 screws then sliding in the hinge pin. See Fig. 28.
2. Install damper limiter for 30, 45, or 60 degree angles,
Limiter pin not required for 90-degree setting (set to the
desired position based on cfm requirements and fan
speed). See Fig. 28. Fan speed is adjusted by relocating
wires on fan terminal blocks.
3. Loosen compressor bolts and remove shipping blocks
from under compressor on the 62AQ060 and 62AQ100
sizes only.
4. Install exhaust hood.
5. Install wire guard as shown in Fig. 28.
Never operate the unit without the wire guard in place.
OUTSIDE
AiR
EXHAUST
AIR
OPTIONAL
HUMIDI-MIZER COIL
OPTIONAL 25% EVAPORATOR
OA DAMPER
62AQ ENERGYSRECYCLERrmsECTION
_F MIXED AIR
__l ROO UNE t
RETURN AIR
ROOFTOP UNIT (RTU)
i
DOMPRESOOR,
SUPPLY AIR E
A
Fig. 24 -- 25% Outdoor Air Damper Location
COMPRESSOR 2
THER MIDISTATTM/
HUMIDSTAT
39

-- m
7c_-_
6 :=-9
5Dc_-_
2 _- 9
33ZCSENC02
,,I--@
-- - 24v POWe_
NO
(Alarm Relay
Contact)
R1
LEGEND
Field-Provided Wires
---_
I Comntel_ 181
I ThermldlStal
82.AQ CONNECTION
BOARD
_ qGRA--
--YEL--
--" _ --YEL-
_--VIO--
T STAT --WHT--
_ --WriT--
ICOM I
i I I
II I
II ,
TTT_m I
F¥o-_,-_,_T,-T;T,-, ,- " ,-¥,7¥,,
CRTWOPOSO01A01 or C_Ol_OSgO_Ji02
TWO POSITION DAMPER PLUG
NOTES:
1. R1 is a2-pole,normallyopenrelay(recommendedrelay:HN61KK040),
2. ThespaceCO=levelandset pointcan be readandchangedlocally,
Fig, 25 -- CO2 Sensor Wiring with Electro-Mechanical Controls
8C31 -_
7[_-_
6l::::] -_
4_¢o__
3=-_
1=_@
33ZCSENCO2
QSIG COM
(_ 4-20 mA
J ®..... ,ll-_
--_ 1 TS-=
I(base unit
2I=o.trctboz_
--_31
--(I) 41
--_51
--_61
--_7t
--_81
-- 24v Po_r
(Alarm R1
Relay
Contact)
24v powlr--_-_ [-_--
RI
62AQ CONNECTION
BOARD
YEL--
"-- _YEL-
T STAir --WHT_
Wl_2_-WH_
I i
III I
F¥.-_;.,.,_y,-y_-y_-y,-y,-1.,-y_-.,.,;,r,7
LEGEND
Field-Provided Wires
NOTES:
1. R1 is a2-pole normally open relay recommended relay: HN61KK040.
2. The space CO_ level can be read on the Carrier Comfort Network_ system; set pont must be changed ocally.
Fig. 26 -- CO2 Sensor Wiring with Factory-Installed PremierLink TM Direct Digital Control (DDC)
4O

- HOOD TOP DAMPER BLADE STOP
-- KNOB IN 45 _POSITION
SCREWS {2)
SIDE
END CAP
COOLING SET POINT
THERMOSTAT (WHITE LABEL)
TEMPERATURE SWITCH
SHIPPED WITH UNrr /
ALUMINUM FILTER SCREEN J
LTLO
MOUNTING
BRACKET
TEMPERATURE
COOLING
LOCKOUT (LTLO)
(2)
Fig. 27 -- Energy Recovery Section Supply-Air Hood Assembly
RELJEF CAMPER
HOOC SIDE
30°LOCATION
DAMPER LIMITER
Fig, 28 -- Energy Recovery Section Barometric Exhaust Air Hood Assembly
41

Step 11 -- Set the Outdoor Cooling and Heat-
ing Thermostats
IMPORTANT: The 62AQ Energy$Recycler TM section is
shipped with an outdoor thermostat set at 55 F which locks
out mechanical cooling on the rooftop section and the
Energy$Recycler section compressor. If this feature is not
desirable, the rooftop unit's compressor can be allowed to
run by relocating both gray wires to the same side of the low
temperature lockout thermostat (LTLO) leaving the white
wire on the opposite pole, locking out only the
Energy$Recycler section compressor. The LTLO is also
accessible by removing the filter access panel and the door
of the damper mounting bracket.
COOLING -- During the unoccupied period, the economizer
mode of operation is used as the first stage of cooling. When
the outside air temperature is below the cooling thermostat set
point, the outside air will be used for first stage cooling.
HEATING The heating thermostat should be adjusted to the
second stage balance point (heat output of the energy recovery
section plus the heat output of the ftrst stage on rooflop unit
equals building load at this temperature). Above this setting,
first stage heating will be the energy recovery section unit and
second stage will be the ftrst stage of the rooftop unit. Below
this point, first stage heating will be the Energy$Recycler
section plus first stage heating of the rooftop unit. The second
stage will be the second stage of the rooftop unit.
LIGHT COMMERCIAL
THERMIDISTAT TM ACCESSORY
General--A light commercial Thermidistat accessory
(part number TSTATCCPLH01-B) or PremierLink TM control-
ler with humidistat is required for field installation for each unit
to control the Energy$Recycler section. See Fig. 29.
The light commercial Thermidistat is a 7-day programma-
ble, wall-mounted, low-voltage control that combines tempera-
ture and humidity control in a single unit. It provides separate
set points for heating and cooling, and adds dehumidification
with separate set points for occupied and unoccupied periods.
Different heating and cooling set points and times are
programmable for up to 4 periods per day and 7 days per week.
The dehumidification output provides direct control of the
EoergySReeycler section, rooftop section fans, and the rooftop
section compressor in response to the programmed time sched-
ules and temperature settings. During power loss an internal
memory stores programs and settings for unlimited time, and
the clock continues to run for at least 8 hours. Batteries are not
used.
Power- Note that this control does not require batteries
and is not "power stealing." It does require 24 vac (R and C
terminals) from the rooftop section's low-voltage transformer
to be connected to it for proper operation. The control will not
operate without these 2 connections. See Fig. 30.
Dehumidification Equipment and Connec-
tions -- The dehumidification output terminals on the light
commercial Thermidistat device must be connected to the
dehumidify input terminals on the Energy$Recycler section.
Additionally, if the rooflop section is equipped with the optional
Humidi-MiZer TM dehumidification accessory, a relay in the
Energy$Recycler section energizes the Humidi-MiZer solenoid
to activate the enhanced dehumidification mode.
Step I -- Select Light Commercial Thermidistat
Location -- The light commercial Thermidistat should be
mounted:
• Approximately 5 ft (I.5 m) from floor.
•Close to or in afrequently used room, preferably on an
inside partitioning wall.
• On a sectinn of wall without pipes or ductwork.
The light commercial Thermidistat device should NOT be
motmted:
• Close to a window, on an outside wall, or next to a door
leading to the outside.
• Exposed to direct light and heat from a lamp, sun, fire-
place, or other temperature-radiating object that may
cause a false reading.
• Close to or in direct airflow from supply registers and
return-air registers.
• In areas with poor air circulation, such as behind a door
or in an alcove.
F
HEIGHT (in.) I WIDTH (in.) I DEPTH (in.)
41/4 I 71/2 J 13/8
Fig. 29 -- Light Commercial
Thermidistat Accessory
_R HUMIOI-MIZE_ ANt)
M_ISTU RF/_IIE_ UP&IT5C_Ly
I• ...... I r BA_r_NJT
I I I C0NN[( TI0_
I
I
i _ - ....
I IC0NN[_;IOM
I _ Y[L
P_K
I U,,I
L- _ _LU
I
I
I
if
L ....
OPTIONAL
HUMIDISTAT
(HL38MG029)
Fig. 30 -- Light Commercial Thermidistat
Accessory Low-Voltage Connections
42

Step 2 -- Set DIP Switches -- There is a4-sectinn
DIP (Dual In-line Package) switch within the light commercial
Thermidistaff udevice which must be properly set by the in-
staller. It is easiest to set these 4 switches before the light com-
mercial Thermidistat device is mounted to the wall, so com-
plete the following steps first:
1. aport hinged light commercial Thermidistat cover.
2. Remove cover completely by gently snapping it apart at
the hinge.
3. Switches are located in upper right comer of circuit
board. To change switch position, use corner of a small
screwdriver to slide switch to opposite position.
4. After switches have been set, do not reassemble the
2 halves. The rear plastic will be first mounted to wall.
SWITCH 1 -- Not used
SWITCH 2 -- Not used
SWITCH 3 -- SMART/CONVENTIONAL RECOVERY --
Switch 3 selects between conventional or smart recovery from
setback. Conventional recovery changes to new set point at
preprogrammed time. Smart recovery, which is active in both
heating and cooling, starts selected cycle 90 minutes earlier
and smoothly adjusts set point so room will arrive at pro-
rammed temperature at programmed time.
NOTE: The occupied output is only energized at the prepro-
grammed time.
To Set:
OFF for smart recovery. This is factory default.
ON for conventional recovery.
SWITCH 4-- INSTALLER TEST OFF/ON-- Switch 4 selects
a special installer test mode that assists with checkout and trouble-
shooting. See Step 5 -- Conduct Light Commercial Thermidistat
Start-Up and Checkout.
To Set:
OFF for normal operation. (Factory default setting.)
ON for Installer Test mode.
Step 3 -- Install Light Commercial Thermidistat
Device
Before installing light commercial Thermidistat device,
turn off all power to COBRA TM energy recovery units.
There may be more than one power disconnect. Electrical
shock can cause personal injury or death. Install lockout
tags on disconnects.
l. Turn offall power to equipment. Tag discounect.
2. If an existing thermustat is being replaced:
a. Remove existing thermostat from wall.
b. Disconnect wires from existing thermostat, one at
a time.
c. As each wire is disconnected, record wire color
and terminal marking.
d. New or additional wire may be needed to accommo-
date added humidity outputs transformer common.
e. Discard or recycle old thermostat.
properly.
3. Route Wires through large hole in rear plastic. Level rear
plastic (separated from front plastic in Step 2 Set DIP
Switches, on this page). Level rear plastic against wall
(for aesthetic value only -- light commercial Thermidi-
stat device does not need to be leveled for proper
operation) and mark wall through 2 mounting holes.
4. Drill two 3/16-in.mounting holes in wall where marked.
5. Secure rear plastic to wall with 2 screws and anchors
provided. Additional mounting holes are available for
more secure mounting if needed. Make sure all wires
extend through hole in mounting base.
6. Adjust length and routing of each ware to reach proper
connector block and terminal on mounting base with
t/4-in, extra length. Strip only I/n in. of insulation from
each wire to prevent adjacent wires from shorting togeth-
er when connected.
7. Match and connect equipment wires to proper terminals
of each connector block. Remember R and C must be
connected for proper operation (see Fig. 30).
Improper wiring or installation may damage light commer-
cial Thermidistat device. Check to make sure wiring is
correct before proceeding with installation or turning on
power. Refer to wiring schematic in the Troubleshooting
section of this manual
8. Push any excess wire into wall and against rear plastic.
Seal hole in wall to prevent air leaks. Leaks can affect
operation.
9. Reattaeh light commercial Thermidistat body to mount-
ing base by first reattaching hinge.
10. Close light commercial Thermidistat assembly, making
sure pins on back of circuit board align with sockets in
connector.
11. Turn on power to equipment.
On power up, all display segments will light far 2 seconds.
For the next 8 seconds, a 2-digit code appears on LED display
that identifies light commercial Thermidistat configuration:
CP -- Commercial Product
Step 4 -- Set Light Commercial Thermidistat
Configuration (Fig. 31 and 32) -- Configuration op-
tions, like DIP switch settings, are intended to be selected at
installation and normally are not modified by the owner. These
options must be made as part of the installation. A special
procedure allows entry into the Configuration mode. While in
configuration mode, up to 10 selections can be made. A
description of each selection and how to use the Configuration
mode are as follows:
CONFIGURATION OPTIONS -- SUMMARY
Option 1-- Anticipator adjustment
Option 2 -- Clean filter timer adjustment
Option 3 -- English/Metric selection
Option 4 Fan (G) ON with W selection
Option 9 -- Holiday heat set point
Option 10 -- Holiday cool set point
Option 11-- Holiday humidity set point
Option 13 -- Room temperature offset adjustment
Option 14 -- Heat cool deadband adjustment
Option 21 -- Keyboard lock
TO ENTER CONFIGURATION MODE -- Press and hold
FAN button for approximately 10 seconds until COOL set
point display indicates a flashing "01". The light commercial
Thermidistat device is now in Configuration mode. It will
automatically exit this mode if no button is pressed for 3 min-
utes. Pressing HOLD End button will exit the Configuration
mode immediately.
43

[] [] []
COPY PREVIOUS PROGRAM MODE
DAY [] [] []
CHANGE DAY HUMIDITY FAN
SET TIME/TEMP HOLIDAY HOLD
End
©uP
DOWN
Fig. 31 -- Light Commercial Thermidistat TM Keypad
Mode HOLDHOLIDAY Gel UN1 OC2 UN2
OFF DEHUM OO Mo Tu We Th
HEAT i_1 Fr Sa Su
COOL BB _>COOL IT]M E AB P8
AUTO BB B:
Fan D HEAT
CLEAN FILTER
ON** pROGRAMMING
AUTO
Fig. 32 -- Light Commercial Thermidistat LCD
on Power Up
WHILE IN CONFIGURATION MODE -- The upper small
(COOL set point) display indicates selected option number and
large display indicates selection made within that option. One of
these will be flashing. The up and down set point buttons are
used, both to move between available options and to make
selection for each option. When option number (small display)
is flashing, the up and down set point buttons allows for scroll-
ing through options moving between available option numbers.
After desired option number has been selected, press SET
TIME.q_MP button once. The large display will now flash,
indicating that up and down set point buttons now control avail-
able choices within that option. Each press of SET TIME!
TEMP button switches between available option (small display)
and available selections within each option (large display).
Option 1 -- Anticipator Adjustment -- This adjustment
controls sensitivity and cycle rate of light commercial Thermi-
distat device. Higher numbers decrease sensitivity and slow
cycle rate. Lower numbers increase sensitivity and cycle rate.
Anticipator values can range from 1 to 9. Factory default is 3.
This default selection provides optimum performance in nearly
all installations. Try it first; do not change setting unless there is
evidence of need to do so.
Unlike conventional anticipators, this setting is not deter-
mined by current draw. There is no need to measure, know, or
compensate for current draw. There is also no droop with this
light commercial Thermidistat device. Regardless of setting
and number of stages, both heating and cooling will control to
their respective set points.
TO ADJUST:
I. Enter Configuration mode. The upper small (COOL set
point) display will be flashing 01. If not, use up and down
set point buttons to move it to 01.
2. Press SET TIME/TEMP button once to flash current
selection of 1, 2, 3, 4, 5, 6, 7, 8, or 9 on large display.
Factory default is 3.
3. Use up and down set point buttons to move to desired
anticipator setting.
4. Press SET TIME!'I_MP button again to flash small
upper display for selection of another option, or press
HOLD End to exit Configuration mode.
Option 2 -- Clean Filter Timer -- Select hours of blower
operation (heating, cooling, or fan) before CLEAN FILTER
icon is displayed. With OFF selected, icon will never come on,
disabling this feature. Time selection can range from 400 to
3600 blower operation hours by selecting numbers 1through 9.
(Time is 400 times number selected.) Factory default is 2
(800 hr). Recommended blower operation hours selections are:
disposable filter -- 400 to 800 hr; media filter 1200 to
1600 hr; electronic air cleaner-- 1600 to 2400 hr.
TO SELECT OR ADJUST:
I. Enter Configttration mode. Use up and down set point
buttons to make small display (now flashing) indicate 02.
2. Press SET TIME/TEMP button once to display current
selection of 1, 2, 3, 4, 5, 6, 7, 8, or 9 on large display.
Factory default is 2.
3. Use up and down set point buttons to move between
available choices.
4. Press SET TIME/TEMP button again to flash small
upper display for selection of another option, or press
HOLD End to exit Configuration mode.
Option 3 English/Metric -- Select between Fahrenheit
and Celsius operation. Factory default is Fahrenheit.
TO SELECT OR ADJUST:
1. Enter Configuration mode. Use up and down set point
buttons to make small display (now flashing) indicate 03.
2. Press SET TIMEffEMP button once to flash current se-
lection off or C. Factory default is E
3. Use up and down set point buttons to move between F
and C on large display.
4. Press SET TIME/TEMP button again to flash small up-
per display for selection of another option, or press
HOLD End to exit Configuration mode.
Option 4 -- Fan (G) On With W -- This selection deter-
mines whether fan (G) output is to be ON or OFF when any W
(furnace or strip heat) output is ON. Most furnaces and fan
coils manage their own blowers and do not require separate G
signal. For these applications, select OFF. Some auxiliary heat-
ers require separate G signal to turn on blower. In this case,
select ON. Factory default is OFF.
TO SELECT:
I. Enter Configuration mode. Use up and down set point
buttons to make small display (now flashing) indicate 04.
2. Press SET TIME/TEMP button once to flash large
display.
3. Use up or down set point buttons to alternate between
OFF and ON on large display.
4. Press SET TIME/TEMP button again to flash small
upper display for selection of another option, or press
HOLD End to exit Configuration mode.
44

Option9-- Holid_ayHea_SetPoint-- Thisselectiondeter-
minestheheatingsetpoint(40to90minusdeadbandF)when
theHOLIDAYfunctionisactive.
TOSELECT:
I. EnterConfigurationmode.Useupanddownbuttonsto
makesmalldisplay(nowflashing)indicate09.
2. PressSETTIME/TEMPbuttononcetoflashlargedisplay.
3. Useupordownsetpointbuttonsto selectdesired
temperature.
4. PressSETTIMEFfEMPbuttonagainto flashsmall
upperdisplayforselectionofanotheroption,orpress
HOLDEndtoexitConfigurationmode.
Option 10 -- Holiday Cool Set Point -- This selection deter-
mines the cooling set point (40 to 90 minus deodbaod F) when
the HOLIDAY function is active.
TO SELECT:
1. Enter Configuration mode if not already there. Use up
and down set point buttons to make small display (now
flashing) indicate 10.
2. Press SET TIME!TEMP button once to flash large display.
3. Use up or down set point buttons to select desired
temperature.
4. Press SET TIMEffEMP button again to flash small up-
per display for selection of another option, or press
HOLD End to exit Configuration mode.
Option 11 -- Holiday Humidity Set Point -- This selection
determines the humidity set point (50 to 90% rh [relative
humidity]) when the HOLIDAY function is active.
NOTE: This value can only be changed in the installer soft-
ware Configuration mode.
TO SELECT:
I. Enter Configuration mode. Use up and down set point
buttons to make small display (now flashing) indicate 11.
2. Press SET TIMEffEMP button once to fiash large display.
3. Use up or down buttons to select desired humidity.
4. Press SET TIME/TEMP button again to flash small
upper display for selection of another option, or press
HOLD End to exit Configuration mode.
Option 13- Room Temperature Offset Adjust -- This op-
tion allows calibration (or deliberate miscalibration) of room
temperature sensor. There are various reasons why building
owners may want to have displayed temperature adjusted to a
higher or lower value. The selected number is number of
degrees, plus or minus, which will be added to actual
temperature. The numbers can range between -5 and +5.
Factory default is 0. This adjusted value will be used as actual
temperature for both display and con_ol action. For example, if
2 is selected, 72 F actual will read 74 F. lfset point is 72 F, the
room will control to an actual temperature of 70 F which will
be displayed and acted upon as if it were 72 E The effect is that
a positive number selection will make the room temperature
lower and vice versa. The light commercial Thermidistat
device is calibrated within an accuracy of± 1o F when shipped
fix_m the factory, so this adjustment will provide the best
accuracy when set to 0.
TO SELECT:
1. Enter Configuration mode. Use up and down set point
buttons to make small display (now flashing) indicate 13.
2. Press SET T1ME/TEMP button once to flash large display.
3. Use up or down set point buttons to move between 3,
_., -3, -2, 1, 0, 1, 2, 3, 4, or 5 on large display. Factory
default is 0.
4. Press SET T1MEFI'EMP button again to flash small
upper display for selection of another option, or press
HOLD End to exit Configuration mode.
OPtion 14 -- Heat/Cool Deac!lpand Adjustment -- This op-
tion selects the minimum difference between heating and cool-
ing set points. A larger difference saves energy and a smaller
difference decreases temperature difference between heating
and cooling. Factory default is 2, which means cooling set
point must be a minimum of 2 degrees above heating set point.
An attempt to move them closer will result in one "pushing"
the other to maintain the required difference.
Depending on set points, moving deadband closer than
2 degrees may result in regular cycling between heat and cool
when AUTO mode is selected. However, this cycling cannot
occur more often than 1 transition every 10 minutes. The sys-
tem has a built-in requirement that it cannot switch between
heat and cool without a 10-miunte "off' time between the 2
operations. Specifically, to switch from one mode to the other,
there must be no demand for the old mode and a demand for
the new mode, and this must exist continually for 10 minutes
before transition to the new mode will occur.
TO SELECT:
1. Enter Configuration mode if not already there. Use up
and down set point buttons to make small display (now
flashing) indicate 14.
2. Press SET TIMEFIEMP button once to flash large
display.
3. Useupordownsetpointbottonstomovebetween0, 1,2,
3, 4, 5, or 6 on large display. Faetory default is 2.
4. Press SET T1ME/TEMP button again to flash small
upper display for selection of another option, or press
HOLD End to exit Configuration mode.
Option 21 -- Keyboard Lock This option allows the
installer to disable the thermostat from being changed.
TO SELECT:
1. Enter Configuration mode. Use up and down set point
buttons to make small display (now flashing) indicate 21.
2. Press SET TIME/TEMP button once to flash large
display.
3. Use up and down set point buttons to move between OF
and ON on large display. Factory default is OF, keyboard
is active.
4.
NOTE: Once the keyboard is locked the building manag-
er can momentarily unlock the keyboard by pressing the
following keys sequentially, MODE, COPY PREVIOUS
DAY, SET TIME/TEMP, and HOLD End. The sequence
must be completed within a 5-second period, and the
keypad will be unlocked. The keypad will return to lock
once the keypad is idle for a 2-minute period or immedi-
ately if aller exiting the Configuration mode.
Press SET TIME/TEMP button again to flash upper
small display for selection of another option, or press
HOLD End to exit Configuration mode.
Step 5 -- Conduct Light Commercial Thermi-
distat Start-Up and Checkout -- The light commer-
cial Thermidistat device is designed with a built-in installer test
capability. It allows easy operation of equipment without
delays or set point adjustments to force heating or cooling. To
enable Installer Test mode, move DIP switch no. 4 to ON posi-
tion. To access this switch, open case as described in Step 2 --
Set DIP Switches. Use the tip of a small screwdriver to slide
switch no. 4 to ON position.
45

WhileinInstallerTestmode,clockwilldisplay"lnSt,"FAN
buttonwillcontrolfan,andMODEbuttonwillcontrolheating
andcooling.
TOTESTFAN:
NOTE:In theInstallerTestmodethefenoperation is not
dependent on the occupied signal.
Fan button switches FAN icon between AUTO and ON.
While ON is displayed, G output will be on, turning fan on.
Allow up to 10 seconds after button is pressed for fen to tau'non
and off. On 3 through 121/2 ton energy recovery units, the fan
continues to operate for a minimum of 30 seconds after G
signal is removed.
NOTE: In other than the Installer Test mode the fan will run
continuously during the occupied periods. If auto fan is
selected, the fan will come on with a heating or cooling call
during the unoccupied periods and run continuously during the
occupied periods. The fan icon AUTO will be lit if auto fan is
selected and ON will be lit when the fan is on.
TO TEST COOLING AND DEHUMIDIFICATION:
Press MODE button until COOL icon toms on. YI cooling
begins within 10 seconds and remains on for 4 minutes. Two
minutes after Y1 comes on, the Y2 signal is energized for
2 minutes. At the end of 4-minute ran, cooling stops and
MODE reverts to OFF. At any time during 4-minute run time,
cooling may be turned off by pressing MODE button until
OFF appears. While cooling is on, successive presses of
HUMIDITY button turns the dehumidify output on and off.
While this output is active, the "DFMUM" icon will be
energized.
TO TEST PRIMARY HEATING:
Press MODE button until HEAT icon toms on. WI heating
begins within I0 seconds and remains on for 4 minutes. This
is the Recycling mode. If the outdoor temperature is below the
balance point it will also include first stage furnace or electric
heat in AC system. W1 will be on for 2 minutes followed by
second stage W2 for 2 minutes. If the outdoor temperature is
above the balance point, this second stage call will energize
first stage furnace or electric heat in AC system. If the outdoor
temperature is below the balance point, this second stage call
will energize second stage furnace or electric heat in AC
system. At the end of 4-minute ran, heating stops, and MODE
reverts back to OFF. At any time during 4-minute run time,
heating may be turned off by pressing MODE button until
OFF appears. While heating is on, successive presses of
HUMIDITY button turn Occupied output on and off. While
this output is active, "OC" appears in cool set point display.
Step 6 pMake Final Settings -- Be sure to return
DIP switch no. 4 back to OFF position to exit Installer Test
mode. Assuming the system is to be left in operation after
installation is complete, use MODE button to select between
HEAT, COOL, or AUTO to provide desired operation of heat-
ing, cooling, or both.
The default set points and programmed schedule are
(ONLY ONE PERIOD 1S PROGRAMMED):
OCCUPIED 1 -OCCUPIED 2 - 7:00 AM;
COOL = 76 F; HEAT - 72 F
DISPLAY WILL READ OC2
UNOCCUPIED 1 _ UNOCCUPIED 2 = 5:00 PM;
COOL -85 F; HEAT = 65 F
DISPLAY "WILL READ UN2
Ifprugrammed schedule is to be used, make sure the HOLD
icon is off. The schedule is energized or deenergiTaxl by push-
ing the HOLD End button.
If fixed temperatures are desired, push HOLD End button to
turn on HOLD icon. This will maintain set points, not allowing
them to change with pregrammed schedule.
During unoccupied periods the FAN button may be used to
select between AUTO (fan on only with equipment) and FAN
(fan on continuously) fen modes. During occupied periods the
fan is on continuously.
DEHUMIDIFICATION--Dehumidification is done only
during cooling. A dehumidification set point is available to the
owner in both occupied and unoccupied times. It can range from
50 to 90% relative humidity. When actual humidity is higher
then set point, a dehumidification demand exists. In the occu-
pied period, the light commercial Thermidistat TM device
responds by activating its dehumidify output (DEHUM) turning
on the compres.sor in the energy recovery section; and when
a call for cooling exists, energizing the Humidi-MiZer TM
solenoid in the 48/50HJ unit (if so equipped). The 62AQ
Energy$Recycler TM compressor will be started in the Occupied
mode even though a call for cooling does not exist; thus dehu-
midifying the outside air before it enters the building. In the
unoccupied period the humidistat will only energize the
Humidi-MiZer solenoid in the main unit.
However, if the humidity is below the set point in the
unoccupied period, a "mini" economizer mode will be initiated,
bringing in outside air to cool the space as the first stage
of cooling, provided the outdoor air thermostat in the energy
recovery section is below its set point.
HOLIDAY -- A holiday selection is available specifically for
times where the building will not be occupied for an extended
period. For convenience, one button selects Holiday mode
which is indicated by "HOLIDAY" icon on LED display. Holi-
day mode also has an automatic hold, meaning that set points
are not affected by the programmed schedule. While in Holi-
day mode, the system provides temperature and humidity pro-
tection for the building in all seasons, but not comfort.
Holiday Set Points -- The settings for HEAT, COOL, and
DEHUM should have been done in the Configuration mode
(Options 9,10, and 1I).
OPERATIONAL INFORMATION
There are two different controls available: a light commercial
Thermidistat device or a Humidstat in conjunction with a temper-
ature sensor,
The light commercial Thcmlidistat device is a 7-day pro-
grammable, wall mounted, low voltage field-instaned control.
It combines temperature and humidity control in a single unit
and provides separate set points fur heating and cooling. The
control adds a dehumidification control function with separate
set points for up to 2occupied and unoccupied periods per day.
Different heating and cooling set points and times are pro-
grammable for up to 4 periods per day 7 days per week. In case
of a power loss an internal memory stores programs and set-
tings for unlimited time, and the dock continues to run for at
least 8 hours. Batteries are not used.
The light commercial Thermidistat device (or Humidistat
and temperature sensor) provides direct control of the energy
recovery section, rooftop unit fans, and rooftop unit compressor
in response to the programmed time schedules and temperature
settings. The dehumidification output signal controls the energy
recovery compressor to cool and dehumidify the supply air via
a relay.
Typical unit airflow is shown in Fig. 33. See Table 2A end
2B for operating information and system response.
46

Unoccupied Cooling Mode -- During unoccupied
periods the system fans and compressionwill cyclein response
to the light commercial Thermidistat device's (or Humidistat
and temperature sensor) temperature and humidity output sig-
nals to maintain space conditions at programmed set points.
During mild weather, if the outdoor temperature is below the
outside-air thermostat (OAT) set point, all compressor opera-
tion is locked off and the s_,stem operates in the economizer
mode to provide flee cooling.
If outdoor air is unsuitable (humidity or air quality), then the
Energy$Recycler TM section will be off. If outdoor air is suit-
able, then both the EnergySRecycler section and the rooftop
section will be used for cooling. First stage of cooling is the
Energy$Recycler section in economizer mode. Second stage
of cooling energizes the Energy$Recycler and rooftop
compressors.
Occupied Cooling Mode -- During occupied periods,
the Energy$Recycler fans and the rooftop unit's fans run con-
tinuously to maintain proper airflow and ventilation rotes. The
compressors in the Energy$Recycler section and the rooftop
unit cycle in response to the dehumidification and thermostat
output signals from the control to maintain proper tempemtore
and humidity levels.
Cooling Operation with the Humidi-MiZer TM
Option (Units after October 2004) -- Units equipped
with the Humidi-MiZer dehumidification option are capable of
increased humidity control by utilizing a common subcooling/
reheat dehumidification coil. This unique and innovative design
provides the capability of the rooftop section to operate in both a
subeooling mode and a hot gas reheat (HGRH) mode. A
48/50HJ rooftop unit equipped with the Humidi-MiZer system
can be used with or without a 62AQ EnergySRecycler TM unit.
See the Humidi-MiZer Application Data manual for additional
details.
The incorporation of the Humidi-MiZer adaptive dehumid-
ification system on a COBRA TM unit adds significant flexibili-
ty to the overall system. The response of the Humidi-MiZer
system to varying space conditions is extremely dynamic. The
COBRA energy recovery unit or 48/50HJ rooftop unit
equipped with the Humidi-MiZer system will respond based
on the temperature and humidity requirements as sensed in
the space. Either a Carrier Thermidistat TM device (combined
temperature and humidity sensing capability) or separate
thermostat and humidistat can be used with the Httmidi-MiZer
system. See Tables 3A and 3B for sequence of operation of
COBRA units equipped with the Humidi-MiZer dehumidifica-
tion option.
Healing with H_midi-MiZer in Unoccunied Mode -- In the
unoccupied mode, the Energy$Recycler (E$R) unit is off and
all compressors are locked off. First stage heat is rooftop sec-
tion heat at 50%. Second stage heat is rooftop unit heat at
100%. See Table 3A.
Headng with Humidi-MiZer in Occunied Mode -- In the oc-
cupied mode, when the ESR compressor runs in heat mode, it .
extracts heat from the exhaust air and rejects heat to the incom-
ing outdoor air, returning energy to the building that, otherwise,
would be wasted. The E$R and rooftop section fans run contin-
uously. Rooftop section compressors are always off.
On a first stage call, the ESR compressor is on in heat mode.
If the outdoor air is above the set point, rooftop section heat is
off. Rooftop section beat is on at 50°/0 iftbe outdoor air is be-
low the set point. On a second stage call, the E$R compressor
is on in heat mode. Rooftop section heat is on at 50% if the out-
door air is above the set point. Rooftop section heat is on at
100% if the outdoor air is below the set point. See Table 3B.
NOTE: If there is a thermostat call from the space for heating,
all dehumidification (both subeooling mode and hot gas reheat
mode) will not operate.
MOISTUREMI$ER TM OPTION (Units prior to October
2004) -- Units equipped with the MoistureMiSer dehumidifi-
cation option have an up to 40% increase in latent capacity in
hot, humid climates. The MoistureMi$er dehumidification
option increases humidity control and comfort in the occupied
space by automatically lowering the evaporator coil tempera-
tore to optimum dehumidification levels while simultaneously
reheating the leaving air to prevent overcooling. The
MoistureMi$er capabilities have been incorporated into the
Humidi-MiZer system; the MoistureMi$er is no longer an
available option for units produced after October 2004.
OUTSIDE AIR
EXHAUSTAIR
ROOFTOP UNIT
ENERGYRECOVERYSECTION
---2
ROOF LINE
MIXED AIR
ROOM AIR
13
I
1
SUPPLY AIR
Fig. 33 -- Typical Unit Airflow Diagram
I
47

Table 2A -- COBRA TM Energy Recovery Unit Sequence of Operation -- Unoccupied
COOLING
Indoor Temperature Above Y2*
Humidity Low & OAT Low
Humidity Low &OAT High
Humidity High & OAT Low
Humidity High & OAT High
Indoor Temperature Between Y1 & Y2*
Humidity Low &OAT Low
Humidity Low &OAT High
Humidity High & OAT Low
Humidity High & OAT High
Indoor Temperature Below Y1
Humidity Low
Humidity High
NOTE: OAT <55 F all compression off
UNOCCUPIED
E$R Compressor IE$R Fans IRTU Compress;or I I RTU Compressor 2" IRTU Fans I RTU Heat
OffOn On_fyc.)
Off Off
Off Off
On Off
On On
On On
On On
off o,
On off
On On
On On
off off
On On
OffOftOffOftOffOff OnOffOffOff(_c)
On (cyc.) Off
On Icyc.I Off
On cyc. off
On (cyc.) Off
On (cyc.) Off
On cyc.) Off
On (cyc.) I Off
On_fyc.) Off
Off
On cyc.) Off
HEATING
Indoor Temperature Above Wl
Indoor Temperature Between Wl & W2
Indoor Temperature Below W2
LEGEND
E$R -- Energy$Recycler TM Unit
OAT Outdoor Air Temperature
RTU -- Rooftop Unit
ESR Compressor_ RTU Compressor I RTU Compressor 2" _
off Io 1 Off I_%,1
Off Off Off On, 50
Off off off I J ;JIon
*Second stage for Y2 call applicable on rooftop units with 2 circuits
only.
1-50% rooftop unit heat only applicable with 2-stage electric or gas
heating units.
Table 2B -- COBRA Energy Recovery Unit Sequence of Operation -- Occupied
COOLING
Indoor Temperature Above Y2*
Humidity Low &OAT Low
Humidity Low & OAT High
Humidity High & OAT Low
Humidity High & OAT High
Indoor Temperature Between Y1 & Y2*
Humidity Low & OAT Low
Humidity Low & OAT High
Humidity High & OAT Low
Humidity High & OAT High
Indoor Temperature Below Y1
Humidity Low
Humidity High
NOTE: OAT <55 F aJlcompression off
HEATING
Indoor Temperature Above Wl
OCCUPIED
ESR Compressor I ESR Fans I RTU Compressor I I RTU Compressor 2* I RTU Fansl RTU Heat
On
On
0n •
On
On
On
On
On
Off
On
On
On
On
On
On
On
ON
On
On
On
Off
On
On
On
Off
Off
On
On
On
On
On
On
On
On
On
On
Indoor Temperature Between Wl & W2
OAT >Set Pt (30 F)
OAT <Set Pt (30 F)
Indoor Temperature Below W2
OAT >Set Pt (30 F)
OAT <Set Pt (30 F)
LEGEND
ESR- Energy$Recycler Unit
OAT -- Outdoor Air Temperature
RTU -- Rooftop Unit
Off
On
On
On
Off
Off
Off
Off
Off
Off
Off
Off
o. iOnl off I oft IOnlOftOn On Off Off On Oft
E$R Compressor E$R FanslRTU Compressor1 !RTU Compressor2 RTU Fans RTU Heatt
Off On Off IOff On Off
On IOnl Off I O. I OnI offOn On Off Off On On, 50%
Off IOff IOn IOn, 50%Off Off On On, 100%
*Second stage for Y2 call applicable on rooftop units with 2 circuits
only.
"i-50% rooftop unit heat only applicable with 2-stage electric or gas
heating units.
on IOntOn On
48

Table 3A -- Humidi-MlZer TM Adaptive Dehumidification System Rooftop with COBRA TM Energy Recovery Unit
Sequence of Operation -- Unoccupied
COOLING
Indoor Temperature Above Y2
Humidity Low & OAT Low
Humidity Low & OAT High
Humidity High & OAT Low
Humidity High & OAT High
Indoor Temperature Between Y1 & Y2
Humidity Low & OAT Low
Humidity Low & OAT High
Humidity High & OAT Low
Humidity High & OAT High
Indoor Temperature Below Y1
Humidity Low
Humidity High
NOTE: OAT <55 F all compression off
UNOCCUPIED
ESR Compressor ] E$R Fan I RTU Compressor I I RTU Compressor 2 IRTU Fans I RTU Heat
On(o_vc.)
Off
Off
On withoutSC Off
On withoutSC On without SC
On with SC On with SC
On with SC On with SC
On (cyc.) Off
On (cyc.) Off
On (cyc. off
On (cyc.) Off
On
Off
Off
Off
off °n°__'> Off Off IIOn(cyc.)
Off (_ On without SC Off On (cyc.
Off Off On with SC On with HGRH On (cyc.
Off Off On with SC On with HGRH On (cyc,)
Off Off Off Off
Off On with HGRH On with HGRH On (c_/c.)
Off
Off
Off
Off
Off
Off
HEATING E$R Compressor E$R Fans
Indoor Temperature Above Wl Off Off I
Indoor Temperature Between Wl & W2 Off Off I
Indoor Temperature Below W2 Off Off
LEGEND
E$R -- Energy$Recyeler TM Unit RTU -- Rooftop Unit
HGRH-- Hot Gas Reheat SC -- Subcooling
OAT -- Outdoor AirTemperature
RTU Compressor I I RTU Compressor 2
Off Off
Off Off
Off Off
RTU Fans RTU Heat
on, L
On (cyc,) On, 50%
OnIcyc.)
Table 3B -- Humidi-MiZer Adaptive Dehumidification System Rooftop with COBRA Energy Recovery Unit
Sequence of Operation -- Occupied
COOLING
Indoor Temperature Above Y2
Humidity Low & OAT Low
Humidity Low & OAT High
Humidity High & OAT Low
Humidity High & OAT High
Indoor Temperature Between Y1 & Y2
Humidity Low & OAT Low
Humidity Low & OAT High
Humidity High & OAT Low
Humidity High & OAT High
Indoor Temperature Below Y1
Humidity Low
Humidity High
NOTE: OAT <55 F all compression off
OCCUPIED
E=.CompressorIE=RFans ]RTU Compressor I I RTU Compressor 2 [ wru Fans I RTU Heat
On withoutSC
On without SC
On with SC
On with SC
Off
On without SC
On withSC
On withSC
On
On
On
On
On On
On On
On On
On On
Off
Off
Off
Off
Off On Off Off On Off
On On On without SC Off On Off
On On On with SC On with HGRH On Off
On On On with SC On with HGRH On Off
off I On I Off t Off I On I offOn On On with HGRH On with HGRH On Off
HEATING
Indoor Temperature Above Wl
Indoor Temperature Between Wl & W2
OAT >Set Pt (30 F) On
OAT <Set Pt (30 F) On
Indoor Temperature Below W2
OAT >Set Pt (30 F) On
OAT <Set Pt (30 F) On
LEGEND
E$R -- Energy$Recycler Unit RTU-- Rooftop Unit
HGRH-- Hot Gas Reheat SC -- Subcooling
OAT -- Outdoor Air Temperature
ESR Compressor E$R Fans ]RTU Compressor I I RTU Co_fpressor 2 IRTU Fans RTU Heat
Off On Off On Off
I°nl Off l Off I°n I offOn Off Off On On, 50%
I On Off Off On On, 50%On] Off I off I Golon, 0o%
49

AIRFLOW CONSIDERATIONS--A COBRA TM unit is
potentially capable of allowing up to 100% outdoor air (OA).
This application depends _ on the air conditions and
the amount of airflow desired. For exact capabilities on specific
COBRA applications, refer to the Packaged Roollop Builder
(PRB) selection software.
When configuring the COBRA unit, it is also important to
select the correct ratio of outdoor air to exhaust air. When using
the electronic selection sollware, the program will not allow
unacceptable ratios. In general, the exhaust airflow determines
the energy capacity available to condition the incoming outside
air. Typically, the exhaust air cfin must be at least 50% the
value of the OA cfm to satisfactorily precondition the OA.
Conversely, the OA flow must be great enough to properly
transfer energy from the OA coil.
Therefore, a minimum OA flow exists; the exhaust airflow
cannot be greater than the incoming OA flow. Additionally,
allowing the exhaust airflow to be greater than the incoming
outdoor airflow could result in space pressurization problems.
See Table 4 for minimum and maximum airflow
parameters.
Table 4 -- Factory Supported Rooftop Unit with
62AQ Unit Combination and Allowable Airflows
48/50HJ 62AQ OUTDOOR AIR
MODEL CFM RANGE
UNIT SIZE IE$R _(Min-Max)
060 300 -600
004-007 100 500- 1000
060* 300 -600
100" 500 -1000
008-514 200 10OO-2000
300 1800- 3000
LEGEND
E$R -- Energy$Recyeler Unit
OA Outdoor Air
EXHAUST
CFM RANGE
(Min-Max)
300 -100% of OA Value
500 - 100% of OA Value
300 -100% of OA Value
500 -100% of OA Value
1000 - 100% of OA Value
1800 - 100% el OA Value
*This unit combination is available only when the 62AQ is field-installed as an
accessory.
Five-Minute Compressor Time Guard
Device- This timer prevents compressorfi'om starting
unless it has been offfur at least 5 minutes. It can be defeated
for 1 cycle by simultaneously pressing FAN and UP buttons
simultaneously.
Fifteen-Minute Staging Timer -- In multistage heat-
ing or cooling, this timer prevents any higher stage from tam-
ing on until preceding stage has been on for 15 minutes. This
timer is not in effect if temperature difference is greater than
5°F (usually due to a large change in desired temperature).
Three-Minute Minimum On Time -- In normal op-
eration,whcn a stage turns on, it will not turn off for a mini-
mum of 3 minutes.
Heat/Cool Set Points (Desired Tempera-
ture) -- Aminimum difference of 2°F is enforced between
heating and cooling desired tamperatures. This is done by
allowing one setting to "push" the other to maintain this
difference. This difference is adjustable via Configuration
Option 14.
Equipment On Indicators -- When cooling equip-
me,at is on, a COOL icon preceded by a small triangle is
displayed below cooling set point. While cooling equipment is
delayed by the Time Guard timer, triangle will flash. The same
is true for HEAT icon and its preceding triangle located under
heating set point.
Dehumidify Output On Indicators -- The DEHUM
icon is on when the dehumidification output is energized.
Auto Changeover -- When auto changeover mode is
selected, a change from heat to cool (or vice versa) will not oc-
cur until an opposite mode demand has existed for lfi minutes.
If set point is changed, the 10-minuterequirement is deleted.
Power On Check -- When AC power is first applied, all
segments of display are turned on for a few seconds. Following
this, temperature display indicates model/configuration via fol-
lowing 2-digit code: CP for commercial product. See Fig. 32.
Error Codes -- If light commercial Thermidistat TM
device cannot properly read room temperature, display will
indicate two dashes (--) and all outputs (except fan, if on) will
turn off.
E4 -- If light commercial Thermidistat device's internal
memory fails, "E4" will be displayed. Replace light
commercial Thermidistat device.
E5 -- If light commercial Thermidistat device cannot prop-
erly read humidity, "'E5" will be displayed. Replace
light commercial Thermidistat device.
Smart Recovery -- With Smart Recovery selected (DIP
SW1 is on), transition out of setback begins a fixed time period
before selected recovery time and gradually adjusts room tem-
perature so desired temperature will be achieved at selected
recovery time. The fixed time period is 1.5 hours. It operates in
both heating and cooling.
Outdoor-Air Dampers -- The outdoor-air dampers of
the energy recovery section are fully adjustable. See Fig. 34.
SUPPLY-AIR DAMPERS -- The supply-air damper is a mo-
torlzed, two-position (open/closed), spring-return type damper.
There are 3 adjustable outdoor air intake stops (adjusts to 30,
45, 60, or 90 degrees open) to fix the amount of outdoor air
intake in economizer mode. The factory set position is
45 degrees. The supply air fan motor is a 3-spead motor that is
factory set for medium speed.
SUPPLY TWO-POSITION
AIR DAMPER OUTOOOR AJR DAMPER
STOPS (ADJUSTABLE)
o[ ]
BAROMETRIC RELIEF DAMPER
(IN EXHAUST HOOD)
Fig. 34 -- Outdoor-Air Dampers
50

BAROMETRIC RELIEF DAMPERS The barometric re-
lief damper is located in the exhaust fan section. The damper
limiter can be set for 30, 45, or 60 degrees open (90 degrees
open is not required) based on cfm and fan speed. The exhaust
air fan motor is a 3-speed motor that is factory set for medi_ma
speed.
MULTIPLE STAGE COOLING CONTROL Stage 1 is
free cooling by opening the supply-air dampers and bringing in
cool outside air. Stage 2 is efficient cooling with the energy
recovery section as outdoor temperatures rise. Stage 3 is
cooling operation of the rooftop section during peak outdoor
conditions.
When installing a COBRA TM energy recovery unit, all fans
and dampers must be balanced to achieve the proper unit
airflow. In addition to the base unit's indoor fan, the 62AQ
Energy$Recycler TM section has an exhaust damper_ exhaust
fan, supply damper and optional supply fan. The optional
supply fan may be required if the return air static pressure is too
low. See the 62AQ system fan curves (Fig. 35-70) or the
Packaged RTU Builder selection software to determine if a
supply fan is required for each application.
If proper setting for ESR supply fan and damper and
exhaust fan and damper have not been determined, make the
following adjustments using the appropriate 62AQ system fan
curve_q.
After balancing the base rooftop unit (RTU) per the base
unit installation instructions, make sure unit filters and all
panels are in place.
1. Run RTU supply fan at specified rpm. Do NOT run the
E$R fans.
2. Measure the return air static pressure at location B. See
Fig. 24.
3. Once the RTU return air static pressure is determined:
a. Plot the point on the appropriate exhaust fan
curve, using the measured return static pressure
and desired airflow.
b. If the plotted point does not fall on an existing
curve, adjust the position left or right until a curve
is reached. Each curve corresponds to a damper
position and fan speed. Follow the point vertically
down to find the actual airflow (cfm). This will be
the actual exhaust airflow of the 62AQ
Energy$Recycler unit.
NOTE: IF the E$R exhaust airflow is greater that
the supply airflow, the return plenum static pres-
sure will become more negative when the 62AQ
fans are running. In this situation, the total static
load on the rooftop unit's indoor ran motor is
increased and will operate at a higher power input
(watts).
c. Adjust the exhaust fan speed and damper position
according to the selected line from step (b).
4. Repeat Step 3 for the supply air fan and damper.
The supply fan is standard for COBRA units. If the supply
fan is not required, it can be left secured, or completely re-
moved to reduce supply static pressure.
51

uJ
_:D. ,
0.00
-0.1(
I
-0,2( r
-0.30
-0.40
35o
LEGEND
!
/,
,f
t
!
#/
[
)
/
/
/
/
/
/t
°Z
F [
I'
// /
,,>J;//,
[
//
/
400 450 500 550 600
AIRFLOW (CFM)
650
Z_ -- Damper at 30 Degrees Open
[] -- Damper at 45 Degrees Open
<D -- Damper at 60 Degrees Open
Damper at 90 Degrees Open
High Speed
_n Med Speed
...... Low Speed
Fig. 35 -- 62AQ060 Exhaust Fan Performance Curve (208v)
700 75O
I
f
Low Speed -all damper positions
_'===='_=_Hi_ 1Speed all daraper posdlons
.,..=
_"_Me JSpeed - all d imper pesition_
350 450 550 650
AIRFLOW (CFM)
Fig. 36 -- 62AQ060 Exhaust Fan Power Curve (208v)
200
150
100
50
750
#J
#.
Z
52

uJ
_og
14
0.00
-0.10
-0.20
-0.30
I
I
I
J
I
I
I
I
I
I
,/
,/
; X E
I
I
I
I
/I
I •
I I "
/'/ !
//
I
I
I
Ii
m_
fm
I
/
/
I
P
I
I
/
LI
/)
-0.40
400 450 500 550 600 650 700 750
AIRFLOW (CFM)
LEGEND
-- Damperat30DegreesOpen
[] -- Damper at 45 Degrees Open
• Damper el 60 Degrees Open
___ -- Damper at 90 Degrees Open
High Speed
m_-- Med Speed
...... Low Speed
Fig. 37 -- 62AQ060 Exhaust Fan Performance Curve (230v)
350
250
Low Speed - all damper p( sitions
±
High Speed - all ,I 1per I
Med Speed -all damper posi
ositions
ions
450 550 650
AIRFLOW (CFM)
Fig. 38 -- 62AQ060 Exhaust Fan Power Curve (230v)
200
150 W
0
Z
100 _u.
50
750
53

ILl
uJ_-
(e
0.00 ,
1
-13.10 I
-0.20
-_,30
-0.40
-0.50
-0.60
5O0
, P
, p
,I
6
'I
i#
,e /
I
m
f
/
550 600 650 700 750 806 850 900 950 1000
AIRFLOW (CFM)
LEGEND
A -- Damper at 30 Degrees Open
-- Damper at 45 Degrees Open
• -- Damper at 60 Degrees Open
<> -- Damper at 90 Degrees Open
High Speed
•Med Speed
...... Low Speed
Fig. 39 --62AQ100 Exhaust Fan Performance Curve (208v)
/
1050 1100
Med Speed - all damper positionl igh Speed - all dam_
Low Speed- _amper posi6on_
506 600 760 800 900 1000 1100
600
500
AIRFLOW (CFM)
Fig. 40 -- 62AQ100 Exhaust Fan Power Curve (208v)
400
360
1200
gJ
O
a.
Z
,,<
54

uJ
¢3tnO
uJ_-
0.00
_.101
-0,20 -
-0.30
-0.40
4.50
-0.60
*0.70 600
:°P f_
:_, L tf
#
z/I
//I
/ /
/
650 700 750 800 850 900 950 1000 1050
AIRFLOW (CFM)
LEGEND
A -- Damper _ 30 Degrees Open
-- Damper _ 45 Degrees Open
• -- Damper _60 Degrees Open
-- Damper _90 Degrees Open
High Speed
_--_Med Speed
...... Low Speed
Fig. 41 -- 62AQ100 Exhaust Fan Performance Curve (230v)
/
4
1100
60O
J
i
High Speed - all damper positions
Med Speed - all damper positions
700 800 900 1000 1100
AIRFLOW (CFM)
Fig. 42 -- 62AQ100 Exhaust Fan Power Curve (230v)
650
6OO
55O
5O0
45O
400
35O
1200
W
0
8.
Z
,,<
55

tu
t..._
Zo¢
03
-0.10
-0.20
-0.30
-0.40
-0.50
-0.60
-0.701100
r,
!
I
|
I
I
I
!
oI
, I
tt
!
1
I
I
//
,_'
•/I
o/ I
I•
''/ I &
Pi/ /''...
./
I,
I
l,
i
/
1200 1300 1400 1500 1600 1700 1800 1900 2000 2100
AIRFLOW (CFM)
LEGEND
-- Damper at 30 Degrees Open
-- Damper at 45 Degrees Open
• -- Damper at 60 Degrees Open
<_ -- Damper at 90 Degrees Open
_-- High Speed
_--_ Mad Speed
...... Low Speed
Fig. 43 -- 62AQ200 Exhaust Fan Performance Curve (208v)
110o
J
Low Speed - all damper positions
II
t200 1300 1400
I i SSIORS
High Speed - all damper po "' J
ed Speed -all damper positions
1500 1600 1700 1800 1900
750
700
650
600
UJ
550 O
Z
500 u<(
450
400
350
2000
AIRFLOW (CFM)
Fig. 44 -- 62AQ200 Exhaust Fan Power Curve (208v)
56

ILl
p-_
_3U}A
z_
_o.:i
___.=
UJI-
u)
-0,I0
-0.20
-0.30
-0.40
-0.50
-0.60
-0.70
1100
#
I
!
|
#
A
I
#
I
l
!
!
#
i
|
I / '! ' { %"
,! ,/
,_ :_/II
/1 ' iil't
1200 1300 1400 1500 1600 1700 1800 1900
/
AIRFLOW (CFM)
LEGEND
Z_ -- Damper at 30 Degrees Open
[] -- Damper at 45 Degrees Open
• -- Damper at 60 Degrees Open
O -- Damper at 90 Degrees Open
_ __ High Speed
_m-- Med Speed
...... Low Speed
Fig. 45 -- 62AQ200 Exhaust Fan Performance Curve (230v)
/
2000 2100
1100 1200
High Speed -all damper positions
- all damper p_sitions
/
1300
f
J
)eed -all damper positions
1400 1500 1600 1700
550
750
650
55O
450
35O
1800 1900 2000
AIRFLOW (CFM)
Fig. 46 -- 62AQ200 Exhaust Fan Power Curve (230v)
uJ
O
z
5?

uJ
lUl-
uJ
-0.10
_0.20
-0,30
-O.&O
-0.50
-0.60
"/,
' . #e
I_• II
:_ I , ,, _ f
I
,/, ,, /
*l I
_ n I l* I /
° / , ,;// I
II
,(
I I
' I ' III
'[5
-0.70
1100 1200 1300 1400 1500 t600 t700 1800 1900 2000 2100
AIRFLOW (CFM)
LEGEND
LI -- Damper at 30 Degrees Open
[] -- Damper at 45 Degrees Open
• -- Damper at 60 Degrees Open
O-- Damper at 90 Degrees Open
-- -- High Speed
.... Med Speed
...... Low Speed
Fig, 47 -- 62AQ200 Exhaust Fan Performance Curve (460v)
1100 1200
High Speed- all c 1per positior
/_==*_"- / Me_ Speed- alldamper positions
_ r""""--Low' Speed - all damper positions
II I
1300 1400 1500 1600 1700 1800 1900 2000
900
800
700
uJ
6oo o
I1.
z
5oo
400
2100
AIRFLOW(CFM)
Fig. 48 -- 62AQ200 Exhaust Fan Power Curve (460v)
58

uJ
_a z
-0.10 I
-0.20"
-0.30
-0.40
-0.59
-0.60"
-0.70
1700
/
DA_ 3ER ST( ,P DAMPI RSTOF NO D kMPER
30 D IG 45 DE( STOF
f/,
t
1800
PULLEY 5 TURNS OPEN
I I
1900 2000 2100
/Jls
// /
// /
/
LEGEND
--8-- Pulley 0 Turns Open
Pulley 1 Turn Open
Pulley 2 Turns Open
Pulley 3 Turns Open
Pulley 4 Turns Open
-- Pulley 5 Turns Open
2200 2300 2400 2500 2600 2700 2800 2900 3000 3100 3200
AIRFLOW (CFM)
Fig. 49 -- 62AQ300 Exhaust Fan Performance Curve (230v)
D\MPER _DEG DAMFER90D_G
DAMP _R 30 D[G
PUILEY5T RNSOFEN
1700 1800 1900 2000 2100 2200 2300 2400 2500 2600
_PULLEY
;LOSE r
rll}Y 1 e'_
)1
PUILE 2
TURN OPEN
PULLEY 3
TURNS OPEN
_ULLEY 4
URNSIIPEN
2700 2800 2900
AIRFLOW (CFM)
Fig. 50 -- 62AQ300 Exhaust Fan Power Curve (230v)
2500
2000
1500
5O0
0
3000 3100
o_
I%.
59

0.50
o4g,_ ='---
°.0°
w
z_:_
WI-
0.20
0.10
0.00
-0.10
-0.20 '
_},3g
-O.4O
-030
-0.60
350
%
..... 1
400 450 500 550 600 650 700 750
AIRFLOW (CFM)
LEGEND
Z_ -- Damper at 30 Degrees Open
[] -- Damper at 45 Degrees Open
• Damper at 60 Degrees Open
<_ -- Damper at 90 Degrees Open
.... No Fan
High Speed
--_-- Med Speed
...... Low Speed
Fig. 51 -- 62AQ060 Supply Fan Performance Curve (208v)
High Speed -all damper positions
_:ed - al;_ns Med Speed* alldamper positions
300
250
200
150 _.1
O
100 0,.
z
so "_
300 400 500 600 700
AIRFLOW (CFM)
Fig. 52 -- 62AQ060 Supply Fan Power Curve (208v)
6O

LU
i.=_;
Z
U_F-
0.50
0.40
0.30
0.20
0.10
0.00
-0.10
-0.20
-0.30
-0.40
-0.50
-0.60350
L'S.'zs-.-S..,..
450 550 650 750
AIRFLOW (CFM)
LEGEND
Z_ -- Damper at 30 Degrees Open
[3 -- Damper at 45 Degrees Open
• -- Damper at 60 Degrees Open
O -- Damper at 90 Degrees Open
.... No Fan
High Speed
--_-- Med Speed
...... Low Speed
Fig. 53 -- 62AQ060 Supply Fan Performance Curve (230v)
300
300
,,.,_€ m,I,
Low Speed - all damper positions
High Speed - all damper positions
J
Med Speed - all damper positions
400 500 600
AIRFLOW (CFM)
Fig. 54 -- 62AQ060 Supply Fan Power Curve (230v)
,,250
2o0
150 &U
O
Z
100 ,,_
50
0
70O
61

IJJ
i..(_
z_
_-__.
u)
0.8o
0.70
0.0o
0.50
0.40
0.30
0.20
0.1o
o.oo
-o.10
_0.2o
-0,30
-0,40
-0.50
-0.60
4OO
<>
I
|
I
9
I
|
I
of
500 000 700 800 900
%.
\
10oo 1100
AIRFLOW (CFM)
LEGEND
-- Damper at 30 Degrees Open
[] -- Damper at 45 Degrees Open
• -- Damper at 60 Degrees Open
-- Damper at 90 Degrees Open
.... NO Fan
High Speed
_Med Speed
...... Low Speed
Fig. 55 -- 62AQ100 Supply Fan Performance Curve (208v)
55O
/
High Speed - with damper at 90 and 60 degree=
High Speed - with d_mper at 30 degrees
Low Speed - _11damper positions
I
050 750 050 950
550
250
1050
AIRFLOW(CFM)
Fig. 56 -- 62AQ100 Supply Fan Power Curve (208v)
450
IZ
uJ
O
0.
Z
350
62

uJ
_=_o=
llJt--
U)
0.90
0.80
0,70
0.60
0.50
0.40
0.00
0.20
0.10
0.00
0,10
-0.20
-0.30
_).40
-0.50
-0.605O0 600
_'115'
700
t
A
800
\
900 1000 1100
AIRFLOW (CFM)
LEGEND
A -- Damper at 30 Degrees Open
-- Damper at 45 Degrees Open
• -- Damper at 60 Degrees Open
,_ -- Damper at 90 Degrees Open
,. -- No Fan
-- High Speed
_-- Med Speed
...... Low Speed
Fig. 57 --62AQ100 Supply Fan Performance Curve (230v)
700
Lowspe
600 700
Speed
all damper positions
800 900 1000 1100
600
AIRFLOW (CFM)
Fig, 58 -- 62AQ100 Supply Fan Power Curve (230v)
5O0 LU
O
0=
Z
400
3OO
1200
63

LU
z_:
wl,,-
0,90
0.80
0.70
0.60
0.50
0.40
0.30
0.20
0.10
0.00 1
-0.10
-0.20
-0.30
-0.40
-0.50
-0,60
1000 1100 1200 1300 1400 1500 1600 1700 1800 1900 2000
AIRFLOW (CFM)
LEGEND
Z_ -- Damper at 30 Degrees Open
[] -- Damper at 45 Degrees Open
• -- Damper at 60 Degrees Open
-- Damper at 90 Degrees Open
O---,. _ No Fan
High Speed
Med Speed
...... Low Speed
Fig. 59 -- 62AQ200 Supply Fan Performance Curve (208v)
lOO0 11oo
,,I
J
1200
High Speed - atl damper positions
_
Low Speed - all damper position_,_ J_
J
_J
f
f
_eMed Speed - all damper positions
1300 1400 1500 1600 1700 1800 1900
J
6_0
300
2000
500
0
400
AIRFLOW (CFM)
Fig. 60 -- 62AQ200 Supply Fan Power Curve (208v)
64

uJ
I.=_
z_
___=
IJJ I,-
0.70
0.60 .
0.50
0.40
0.30
0.20
0.10
0,00.
-0.10
-0.20
-0.30
-O,4O
-0.50
-0.60
1100 1200 1300 1400 1500 1600 1700 1800 1900 2000
AIRFLOW (CU FT/MIN)
LEGEND
L_ -- Damper at 30 Degrees Open
[] -- Damper at 45 Degrees Open
•-- Damper at 60 Degrees Open
O -- Damper at g0 Degrees Open
.. _No Fan
High Speed
------ Med Speed
...... Low Speed
Fig. 61 -- 62AQ200 Supply Fan Performance Curve (230v)
800
€__ High Speed -all da,,,per positions-- __
Low Speed -all damper positions
mml_ _PO -_a I damper positions
1000 1100 1200 1300 1400 1500 1600 1700 1800
,7oo _,
-600
uJ
O
5OO Z
AIRFLOW(CFM)
Fig. 62 -- 62AQ200 Supply Fan Power Curve (230v)
400
3OO
1900 2000
65

1100 1200 1300 1400 1500 1600 1700 1800 _900 2000
AIRFLOW(CFM)
LEGEND
-- Damper at 30 Degrees Open
Damper at 45 Degrees Open
• Damper at 60 Degrees Open
O -- Damper at 90 Degrees Open
.... NoFan
-- High Speed
mmm Med Speed
...... Low Speed
Fig. 63 -- 62AQ200 Supply Fan Performance Curve (460v)
1000
lOOO 1t00
I
I
f
_J
I
High Speed -all damper positions _._
Low Speed -all damper positions
Med Speed - all damper positionl
1200 1300 1400 1500 1600 1700 1800
AIRFLOW (CFM)
Fig. 64 -- 62AQ200 Supply Fan Power Curve (460v)
1900
900
800
LU
700 0
o=
z
600
50O
4OO
2000
66

0.60
0.50 I . _ :
!!!i...... ..........i •
1900 2000 210O 2200 2300 2400 2500 2600 2700 2800 2900 3000
AIRFLOW (CU FT/MIN)
LEGEND
A -- Damper at 30 Degrees Open
Fr -- Damper at 45 Degrees Open
• -- Damper at 60 Degrees Open
O -- Damper at 90 Degrees Open
.. -- No Fan
High Speed
_-- Med Speed
...... Low Speed
Fig. 65 -- 62AQ300 Supply Fan Performance Curve (208v)
High Speed -all damper posilions
i
1800 1900 2000 2100
Low Speed-alldamperpositions
2200 2300 2400 2500 2600 2700
i H _14oo
AIRFLOW (CFM)
Fig. 66-- 62AQ300 Supply Fan Power Curve (208v)
1200 03
1100 _
112
W
1000 0
Q_
Z
' i 900
1800
i 700
2800 2900 3000
67

0.90 i
0.00
0.70
0.60
2200 2300 2400 2500 2600 2700 2800 2900 3000 3100 3200 3300
AIRFLOW (CFM}
LEGEND
A -- Damper at 30 Degrees Open
[] Damper at 45 Degrees Open
• -- Damper at 60 Degrees Open
_, -- Damper at 90 Degrees Open
.... No Fan
High Speed
--_-- Med Speed
...... Low Speed
Fig. 67 -- 62AQ300 Supply Fan Performance Curve (230v)
1500
1400
=
13oo_"
1800 1900 2000 210<) 2200
+ +
2300 2400 2500 2600 2700 2800
AIRFLOW (CFM)
Fig. 68 -- 62AQ300 Supply Fan Power Curve (230v)
o:
Lu
11oo o.
z
1000 _u.
900
8OO
2900 3000
68

LU
i,. iX:
_:ID. •
_(3Z
UJI--
{/)
0.90 -
2300
i
2400 2500 2600
AIRFLOW (CFM)
2700 2000 2900 6CO0
LEGEND
A -- Damper at 30 Degrees Open
[] -- Damper at 45 Degrees Open
•-- Damper at 60 Degrees Gpen
@-- Damper at 90 Degrees Open
.... NO Fan
High Speed
--_-- Med Speed
...... Low Speed
Fig. 69 _62AQ300 Supply Fan Performance Curve (460v)
/High Speed - all damper positions
i
i i Ii
-- i
I:
I
1800
1700
1600
1500
1200
110D
1000
- 9_0
1900 2000 2100 2200 2300 2400 2500 2600 2700 2800 2g00 3000
AIRFLOW (CFM)
Fig. 70 -- 62AQ300 Supply Fen Power Curve (460v)
¢c
uJ
O
D.
Z
69

PRE-START-UP
Failure to observe the following warnings could result in
serious personal injury.
1. Follow recognized safety practices and wear protec-
tive goggles and gloves when checking or servicing
refrigerant system.
2. Do not operate compressor or provide any electric
power to unit unless compressor terminal cover is in
place and secured.
3. Do not remove compressor terminal cover until
all electrical sources are disconnected and tagged
accordingly.
4. Relieve all pressure from system before touching or
disturbing any connections inside compressor terminal
box. lfreliigerant leak is suspected around compressor
terminals, use accepted methods to recover refrigerant.
5. Never attempt to repair or solder any components
while refrigerant system is under pressure.
6. Do not use torch to remove any component. System
contains oil and refrigerant under pressure. To remove
a component, wear protective goggles and gloves and
proceed as follows:
a. Shut off electrical power to unit and tag
disconnect.
b. Recover refrigerant to relieve all pressure from
system, using both high-pressure and low-
pressure ports.
c. Cut component connection tubing with tubing
cutter, and remove component from unit.
d. Carefully unsweat remaining tubing stubs
when necessary. Oil can ignite when exposed to
torch flame.
Refer to 48/50HJ Installation Instructions for Pre-Start-Up
information for the rooftop unit section. Proceed as follows to
inspect and prepare the unit for initial start-up:
I. Remove filter access panel, blower access panel, and con-
trol panel access cover on the energy recovery section.
2. Read and follow instructions on all WARNING,
CAUTION, and INFORMATION labels attached to (or
shipped with) unit.
3. Make the following inspections:
a. Inspect for shipping or handling damages such as
broken lines, loose parts, or disconnected wires.
b. Inspect for oil at all refrigerant tubing connections
and on unit base. Detecting oil usually indicates a
refrigerant leak. Leak-test all refrigerant tubing
connections using an electronic leak detector,
halide torch, or liquid-soap solution.
c. Inspect all field and factory wiring connections Be
sure that connections are completed and tight.
d. Inspect upper (supply) and lower (exhaust) coils
for damage and refrigerant leaks, lffin damage is
noted, carefully straighten fins using a fin comb.
4. Tighten compressor bolddown bolts to 5.5 to 6.5 ft-lb of
torque.
5. Verify the following:
a. If installed, ensure optional supply and exhaust
blower wheel set screws are tight and wheels are
centered within the blower housing.
b. Make sure supply and exhaust air filters are in
place.
c. Make sure the condensate drain is of correct
dimensions and primed with water to ensure
proper drainage.
d. Reinstall all access panels.
e. Ensure all tools and miscellaneous parts have been
removed.
START-UP
Refer to the 48/50HJ Installation Instructions for informa-
tion on Start-Up for the rooftop unit section.
Unit Preparation -- Make sure the unit has been in-
stalled in accordance with installation instructions and applica-
• ble codes.
Supply and Exhaust Filters -- Make sure filters are
comectly installed on unit. Do not operate without filters in
place.
Outdoor-Air Inlet Screens -- Outdoor-airinletscreen(s)
must be in placebefore operating the unit.
Compressor Mounting -- Compressors are internally
spring-mounted. Ensure wooden shipping block has been
removed from under the compressor and holddown bolts are in
place.
Internal Wiring -- Check all low and high voltage con-
nections for proper locations. Ensure connections are tight.
Cooling- Set light commercial Thermidistaff TM mode
selection to Cooling and fan mode to Auto. Ensure thermostat
has been adjusted to a setting below room temperature. Refer to
Light Commercial Thermidistat Accessory section for correct
unit operation.
Heating -- Set light commercial Thermidistat mode selec-
tion to Heating and fan mode to Auto. Ensure thermostat has
been adjusted to a setting below room temperature. Refer to
Light Commercial Thermidistat Accessory section for correct
unit operation.
Operating Sequence -- Refer to Step 5 -- Conduct
Light Commercial Tbermidistat Start-Up and Checkout on
page 45, and Tables 2A and 2B for Energy$Recycler TM section
operating sequences.
SERVICE
Refer to base unit installation instructions or 62AQ Installa-
tion Instruction for all service information.
Fuse Box (48HJ012,014- 208/230-3-60 Units
Only) -- Certain 48HJ units contain fuses for the power sup-
ply. The fuse box is located in the compressor section in a
single point box. See Fig. 71. Replacement fuses are cartridge
type, non-renewable, time delay FRN type of the appropriate
size and voltage. Refer to existing fuse size and voltage for
replacement.
70

Fig. 71 -- Fuse Box (48HJ012,014 _208/230-3-60 Units Only)
71

TROUBLESHOOTING
Use Tables 5 and 6, and Fig. 72-79 when troubleshooting this unit.
NOTES:
1. If any of the original wire furnished must be
replaced, it must be replaced with Type 90 C
wire or its equivalent.
2. TRAN is wired for 230-v unit. If unit is to be run
with 208-v power supply, disconnect BLK wire
from 230-v tap (ORN) and connect to 208-v tap
(RED). Insulate end of 230-v tap.
3. Use copper, copper clad aluminum conductor.
Fli s[_[
[N[I_U;0 D[ [UEt61Z_Ü
COMPON[HT ARRA_G[M[#1
"lOII _rl R[I L
evs_
orl,_2
CTCL[ r[_o
_IL-
-1 62A0
77r ,. .,
CA_Z-- -- =0,TtT0a_-
--mtl eli ri '1 st1 m[0 _eLt i
lit
iiii
iiiJ
9ee_
i" "=
I
atu
-ael
lto
-;nx
TM
Fig. 72 -- COBRA Unit Wiring Schematic (50HJOO6with 62AQ060/100, 208/230_3-60)
with Electro-Mechanical Controls
LEGEND FOR FIG. 72-79
_ I Contactor HPS IHigh-Pressune Switch
PCapacitor HR IHeatln_g_-Relay
ICircuit Breaker HS Hall Effect Sensor
CC i Compressor tordacfor t -- tgn)for
CER I Cornpressor Energy Recovery section IDM IInduced Draft Motor
CH Crankcase Hester IFC IIndoor Fan Contactor
CLO -- Compressor Lockout IFM IIndoor Fan Motor
COC -- Cool Changeover Relay IGC -- Integrated Gas Unit Control (48HJ only)
COH Heat Changeover Relay LTLO -- Low Temp C[_ctingLockoct
COMP Comp_essoT Motet LPS -- Low-Pressure Switch
CR -- Cooling Rstay LS -- Limit Switch
CTD Compressor Time Delay LSM -- Limit Switch (Manual)
OB -- Defrost Board MGV IMain Gas Valve
OFT -- Defrost Thermostat OATC -- Outdoor-Air Thermostat tool)
DM -- Damper Motor OATH Outdeor-Air Thermostat (Heat
O_ I Defrost Relay OCI_ IOcc_pteU Rt_P,y
EFt Exhaust Fan Contacfot OFt -- Outdoor Fan Contactor
EQUIP I Equipment OFM -- Outdoor Fan Motor
FC I _upp_y Fan Contactor OLR IOverload Relay
FPT IFreeze-Up Protection Thermostat PL Plug Assembly
FR -- Fan Relay QT Quadruple Terminal
FB I Fuse RS Rollout Switch
aND qGround RTU qRooftop Unit
GVR IGas Valve Relay RVS IReversin_ Valve Solenoid
HM IHumidity Relay BAT -- Supply Air Temperature
SEN -- Sensor
TB _Terminal Block
Ton _Time Delay Relay
TRAH -- Transformer
Field SpliCe
Marked Wire
<_ Terminal (Marked)
O Terminal (Onmarked)
Terminal _lock
•Splice
Splice (Marked)
FactoP/Wiring
i_ Field Contro_Wiring
Field Power Widng
-- - -- Accessory or Optional Wiring
To indicate common potential
Io_ly. Not to represer_tv_g.
72

, c
Till
]Ill
) CLO
)Till
)Ill
Fig. 72 -- COBRA TM Unit Wiring Schematic (50HJ006 with 62AQ0601100, 2081230-3-60)
with Electro-Mechanical Controls (cont)
73

NOTES:
1. If any of the original wire furnished must be replaced, it must
be replaced with Type 90 C wire or its equivalent.
2. Three phase motors are protected under primary single
phasin_l conditions.
3. TRAN is wired for 230v unit. If unit is to be run with 208v
power supply,disconnect BLK wire from 230v tap (ORN) and
connect to 200v tap.
4. IFMOVL not present with size 0t 2 high static.
5. Use copper, copper clad aluminum or aluminum conductors.
oil
0
0
0
mmewDwwm
[][][] [ lq
i C_pON[ HI ARnAHG[HENT
HJ008/009
RIO
_L_
_RX
Fig. 73 -- COBRA TM Unit Wiring Schematic (48HJ008-012 with 62AQ200, 208/230-3-60)
with Electro-Mechanical Controls
?4

[&uiP G_D
ni i _GRH;TEL_I,
HJOlt/
¢OW4£_[AL
I.EnNIDISTXT
- - , %%*,o,
_ I F _ RIO
I4 miD_
__ I t ]
i- I ]I
_I -- i - BL_-
II
tIi J -i- yCL-
J!ll i
IFII
IIiFOH_ ORI-
IIIF
I_I I PI_ PNK
Iqll BHm
pI_I 8mN-
J
Fill 1,41
IIII ImT-
IIII
__2 111
ZZZJ
rLs_ PLI
qJp_l
_i_,
RTU 208/230-3-60
]I
•BRa
BI Hp P_rp
WT
Fig. 73 -- COBRA TM Unit Wiring Schematic (48HJ008-012 with 62AQ200, 208/230-3-60)
with Electro-Mechanical Controls (cont)
?5

tlm_UlT MU
ICSJ_4V_BR[_[_ VOL_$ Wf_ JO Tmlp
(
C_PO_IWI AR_AIG[W[WT
1eL[ 1 9_
--)LM
..... __ _ _ J l I
'o'- J I -_ 1
...... _ aim _R" T(L_ _FROM
$_PPLY....... J ' (oUIP GH_ _ I......
SJl[ ?¢_ ll_ _TTL -IlL
I
_:[; ;2;
.... I
!
--ONN HL)
aLU
UNIT
Fig. 74 -- COBRA TM Unit Wiring Schematic (50HJ008/009 with 62AQ300, 208/230-3-60)
with Electro-Mechanical Controls
76

I
I
208/230-3 60
RIU
Fig, 74 -- CORRA TM Unit Wiring Schematic (50HJ008/009 with 62AQ300, 208/230-3-60)
with Electro-Mechanical Controls (cont)
77

NOTES:
1. If any of the original wire furnished must be replaced, it must
be replaced with Type 90 C wire or its equivalent.
2. Three phase motors are protected under primary single
Dr_ghasinconditions.
3. _FMOV[- notpresent with size 012 high static or 014 std. mtr.
4. Use copper, copper clad aluminum or aluminum conductors.
[] []D
C_POHENI kR_NGEM[_T
I
Fig. 75 -- COBRA TM Unit Wiring Schematic (50HJ014 with 62AQ300, 460-3-60'
with Electro-Mechanical Controls
78

ors j
su_m
,_'°'" °'"_T'E °'°*ll%q_
.............'_'-' _JLL_
CRS_N6LEOIIAO0
6LV L
[]
[]
RTU 460-3 60
Cz CLO_
eLK
all _ m
Oft _ _[L rr-I L
__St_K [L ifc _[1 ir.
Fig. 75 -- COBRA TM Unit Wiring Schematic (50HJ014 with 62AQ300, 460-3-60)
with Electro-Mechanical Controls (cont)
leo*_D
ore CZ
or¢_z
MCl
I IFI
•(LOI
79

__ 62A0
._ oil
Tl,I
L___ L,,_
(_i ({ +"
i_-_':':=_'"°'LL_11_-',,_ I
ut' W IIA. r) _l_ s_,_
.Mn
PREM][RL]NK UNIT CONTROL SCHE_4AT]C ,,t,+....
'll
--eMl
c;i: _q
6Lu +it
-,,_1 II lill
1141}lIjil
,l*--
_o*(+
Pr emierLir_
[+ooo0o....E]E]E;E]E]C
g_l[[IL_
/
NOTES:
1. If any of the original wire furnished must be replaced, it must
be replaced withType 90 C wire or its equivalent.
2. Three phase motors are protected under primary single
basing conditions.pl
3. Use copper conductorsonly.
4. Toprrogram PremierLink_:
a. Aux output for Pin 3, J8 must be set on exhaust tan.
b. In service configuration, set power exhaust to continuous.
Fig. 76 -- COBRA TM Unit Wiring Schematic (48HJ006/007 with 62AQ060/100, 460-3-60)
with Factory-Installed PremlerLink TM Controller
80

Fig. 76 -- COBRA TM Unit Wiring Schematic (48HJ006/007 with 62AQ060/100, 460-3-60)
with Factory-Installed PremlerLink TM Controller (cont)
8[

I I --fip_,L,
S_LErOImT
6o__,Iu po.l, .I I
ILIITNI¢ N[AT
OPTI_SI_ZS sUP_L_....... J
NOTES:
1. If any of the original wire furnished must be replaced, it must
be replaced with Type 90 C wire or its equivalent.
2, Three phase motors are protected under primary single
phasinng conditions.
3. IFMOVL not present with size 012 high static.
4. Use copper conductors only.
5. Toprrogram PremierLink_:
a. Aux output for Pin 3, J8 must be set on exhaust fan.
b. In service configuration, set power exhaust to continuous.
Fig. 77 -- CORRA TM Unit Wiring Schematic (50HJ008-014 with 62AQ200, 460-3-60)
with Factory-Installed PremierLink TM Controller
g2

"°t
pNK--
rwK
vlo
61_ --6ml
_ --011
¢OMN
FOIW
] Te*
Fig. 77 -- COBRA TM Unit Wiring Schematic (50HJ008-014 with 62AQ200, 460-3-60)
with Factory-Installed PremlerLInk TM Controller (cont)
83

62A0
SCHEMATIC
208/230-3-60
PREM]ERLINK UN]T CONTROL SCHEMATIC
NOTES:
1. If any of the ori=ginalwire furnished must be replaced, it must
be replaced withType 90 C wire or its equivalent.
2. Three phase motors are protected under primary single
Phasing conditions.
3. TRAN is wired for 230v unit. If unit is to be run with 208v
power supply,disconnect BLK wirefrom 230v tap (ORN) and
connect to 200v tap.
4. Use copper, copper clad aluminum or aluminumconductors.
5. To program PremierLinkTm:
a. Aux output for Pin 3, J8 must be set on exhaust fan.
b. In service configuration, set power exhaust to continuous.
Fig. 78 -- COBRATM Unit Wiring Schematic (50HJ008/009 with 62AQ300, 208/230-3-60)
with Factory-Installed PremierLink TM Controller
84

_OUNECTIOm
e_mD
WNT-
_LX
0Ma
OlM-
-- e_N --
--JEe--
-- o.
_L VO
Fig. 78 -- COBRA TM Unit Wiring Schematic (50HJ008/009 with 62AQ300, 208/230-3-60)
with Factory-Installed Premierl.ink TM Controller (cont)
85

..... I _ _ _ .,I I I
..... ,.I I
suPrL_ J
62A0
: --_r[L [_HlUST
_li _EL-- 6DUI_
DM
...... -o/,__
_o
oo oo
NOTES:
1, If any of the original wire furnished must be replaced, it must be
replaced with Type 90 C wire or its equivalent.
2. Three phase motors are protected under primary single phasing
conditions.
3. TRAN is wired for 230v unit. If unit is to be run with 208v power
supply,disconnect BLKwire from 230v tap (ORN) and connect to
20Ov tap.
4. Use copper, copper clad aluminum or aluminum conductorsonly.
5. To program premierLinkTM:
a. Aux output for Pin 3. J8 must be set on exhaust fan.
b. In service configuration, set power exhaust to continuous,
Fig, 79 -- COBRA "rMUnit Wiring Schematic (50HJ008/009 with 62AQ300, 2081230-3-60)
with Factory-Installed PremierUnk TMController
86

NOTES:
f. If any of the original wire furnished must be replaced, it must be
replaced with Type 90 CWireor its equivalent.
2. Three phase motors are protected under primary single phasing
Conditions.
3. TRAN is wired for 230v unit. If unit is to be run with 208v power
supply, disconnect BLK wire from 230v tap (ORN) and connect to
200v tap.
4. Use copper, copper clad aluminum or aluminum conductors only.
5. To program Prem)erLink_:
a. Aux output for Pin 3, Jg must be set on exhaust fan.
b. In service configuration, set power exhaust to continuous.
RTU 208/230-3-60
SCHEMATIC
Fig. 79 -- COBRA TM Unit Wiring Schematic (50HJ008/00g with 62AQ300, 208/230-3-60)
with Factory-installed PremierLInk TM Controller (cont)
87

Table 5 -- Heating and Cooling Troubleshooting
PROBLEM
Compressor and Outdoor Fan
Will Not Start.
CAUSE
Powerfailure.
Fuse blown or circuitbreaker tripped.
Defectivethermostat, contactor,transformer, con-
trol relay, or capacitor.
Insufficientlinevoltage.
Incorrector faulty wiring.
LightCommercialThermidistatT'_program in UCf
or UC2 mode.
REMEDY
Call power company.
Replace fuse or reset circuitbreaker.
Replace component.
Compressor Will Not Start but
Outdoor Fan Runs,
Determine cause. Replace compressor.
Compressor Cycles (Other
than Normally Satisfying
Thermostat).
Suction Pressure Greater
than 100 pslg in Cooling
Mode,
Excessive Head Pressure.*
Head Pressure too Low.*
Excessive Suction Pressure.*
Defective fan motor.
Faulty wiring or looseconnection incompressor
circuit.
Compressor motor burned out, seized, or internal
overload open,
Defective run/start capacitor,overload, start relay,
Time Guard device.
No DEHUM signal from light commercial
Thermidistat device.
Time Guard device not timed out.
Refrigerant overcharge or undercharge.
Defective compressor.
Insufficientline voltage.
Blocked outdoor coil or dirtyair filter.
Defective run/start capacitor, overload, or start
relax/.
Faulty outdoor-fan (cooling) or indoor-fan (heat-
ing) motor or capacitor.
Restriction in refrigerant system.
DefectiveTXV.
Did), air filters.
Dirty coils.
Refrigerant overcharged.
Air in system.
Condensing air restricted or air short-cycling.
Low refrigerant charge.
Compressor valves leaking.
Restriction in ,quid tube.
High heat load.
Compressor valves leaking.
Refrigerant overcharged.
Dirty air filters or coils.
Low refrigerant charge.
Metering device or low side restricted.
Insufficient indoor airflow.
Suction Pressure too Low.*
LEGEND
TXV -- Thermostatic Expansion Valve
Determine cause and correct.
Check wiring diagram and rewire correctly.
Check light commercial Thermidistat program. See Step 5
-- Conduct Light Commercial Thermidistat Start-Up and
Checkout on page 45.
Replace fan motor.
Check wiring and repair or replace.
Determine cause and replace.
Check for DEHUM signal on light commercial Thermidistat
LCD display.
Allow time for Time Guard device to recycle unit.
Recover refrigerant, evacuate system, and recharge to
nameplate.
Replace and determine cause.
Determine cause and correct.
Determine cause and correct.
Determine cause and replace.
Replace,
Locate restriction and remove.
Replace TXV.
Replace filters.
Clean coils.
Recover excess refrigerant.
Recover refri_lerant, evacuate system, and recharge.
Determine cause and correct.
Check for leaks; repair and recharge.
Replace compressor.
Remove restriction.
Check for source and eliminate.
Replace compressor.
Recover excess refrigerant.
Replace filter,clean coils.
Check for leaks; repair and recharge.
Remove source of restriction.
Increase air quantity.Check filter and replace if necessar./.
"62A E R I T's I TXV Ih 100 _Im P t h I r
Q nergy$ ecyc er ecton uses s w't a ps'_ max um operating pressure MO feature o m't suction p essure
in Cooling mode at high temperatures. Alwaysconsult charging chart for correct operating pressures.
Table 6 -- Supply-Air Damper Troubleshooting
PROBLEM
Damper Does Not Open; Fan(s) Off.
Damper Will Not Close.
LEGEND
OCR -- Occupied Relay
CAUSE
OCR not energized (thermostat in Unoccupied
mode).
OCR defective.
Damper jammed.
Damper motor defective.
Loose wiring.
Damper jammed.
Motor return spring broken.
REMEDY
Check light commercial Thermidistat program
settings (see Step 5 -- LightCommercial Thermi-
distat Start-Up and Checkout section, page 45).
Replace OCR.
Free damper.
Replace damper motor.
Check wiring and correct.
Free damper.
Replace motor.
Copyright20(_ CarrierCorporation
ManufacturerreservestheHghtto discontinue,orchange at anybme,Bpectflcation8ordesignswithoutnoticeandwithoutincurdntiobligations.
ooto,o0No.o3,_so,°sP°ct ,°0.0.A. P0.,_o°
Tab IllIra lb 6a 0b

II.
III,
ROOFTOP SECTION AND ENERGY$RECYCLER SECTION (62AQ) START-UP CHECKLIST
(Remove and Store in Job File)
PRELIMINARY INFORMATION
COBRATM ENERGY RECOVERY UNIT MODEL NO.: SERIAL NO.:
DATE: TECHNICIAN:
RTU 62AQ
/
/
PRE-START-UP (insert checkmark in box as each item is completed)
[] VERIFY THAT CONDENSATE CONNECTION IS INSTALLED PER INSTALLATION INSTRUCTIONS
[] CHECK ALL ELECTRICAL CONNECTIONS AND TERMINALS FOR TIGHTNESS
[] CHECK THAT SUPPLY AND EXHAUST HOODS ARE INSTALLED AND AIR FILTER(S) ARE CLEAN AND IN
PLACE
[] CHECK FAN WHEEL AND PROPELLER FOR LOCATION 1N HOUSING/ORIFICE AND SETSCREW TIGHTNESS
[] CHECK PULLEY ALIGNMENT AND BELT TENSION PER INSTALLATION INSTRUCTIONS (62AQ300 BELT
DRIVE EXHAUST FAN AND SUPPLY FAN)
START-UP
COMBINED ELECTRICAL (COBRA ENERGY RECOVERY UNIT)
SUPPLY VOLTAGE L1-L2 L2-L3
COMPRESSOR AMPS L 1L2
INDOOR FAN AMPS LI L2
L3-L1
L3
L3
TEMPERATURES
OUTDOOR-AIR TEMPERATURE
RETURN-AIR TEMPERATURE
ENTERING SUPPLY-AIR (RTU)
LEAVING AIR TEMPERATURE (RTU)
DB
DB
DB
DB
WB
WB
WB
WB
PRESSURES (IN COOLING MODE)
ROOFTOP SECTION
REFRIGERANT SUCTION
REFRIGERANT DISCHARGE
PSIG TEMP AT COMPRESSOR
PSIG TEMP AT COMPRESSOR
[] VERIFY REFRIGERANT CHARGE USING CHARGING CHART LABEL ON UNIT,
62AQ
REFRIGERANT SUCTION PSIG TEMP AT COMPRESSOR
REFRIGERANT DISCHARGE PSIG TEMP AT COMPRESSOR
[] VERIFY REFRIGERANT CHARGE USING CHARGING CHART LABEL ON UNIT.
F
F
F
F
CL-1

III. START-UP (cont)
AIRFLOWS (62AQ)
SUPPLY AIR CFM
MOTOR SPEED (Circle One) LOW MEDIUM
DAMPER SETTING (°) (Circle One) 30 45
EXHAUST AIR CFM
MOTOR SPEED (Circle One) LOW MEDIUM
DAMPER SETTING (°) (Circle One) 30 45 60
HIGH
60 90
HIGH'
90
IV. LIGHT COMMERCIAL THERMIDISTAT TMACCESSORY
NOTE: To disable Keyboard Lock, press MODE, COPY PREVIOUS DAY, SET TIME/TEMP, and HOLD End buttons in :tu
,Z
sequence within 5 seconds.
PROGRAMMED Yes No
KEYBOARD LOCK Yes No
OCCUPIED SETHNGS:
ROOM TEMP
,CI
,W
,O
ROOM RH %
TIMES:
OCI
OC2
TIMES:
UC1
UC2
ON OFF
oN" o_
,w
'z
:8
,Q
,Z
'O
,j
:<
,I--
:o
Copyright 2006 Carder Corporation
Manufacturer reserves the right to discontinue, or change at any time, specifications or designs without notice and without Incurring obligations.
oa,o,o0No.o3,_8o,s0 o, ,0o0 .03.o_0o,oP0OL- ,o0
Tab I IIIla lb 6a 6b