Chamberlain Liftmaster 3265Cm Users Manual 114A3646
3266CM to the manual decf1598-bd1f-4e57-b151-6d6ba50587d3
2015-01-25
: Chamberlain Chamberlain-Liftmaster-3265Cm-Users-Manual-213949 chamberlain-liftmaster-3265cm-users-manual-213949 chamberlain pdf
Open the PDF directly: View PDF
.
Page Count: 72
- OWNER'S MANUAL
- TABLE OF CONTENTS
- INTRODUCTION
- ASSEMBLY
- INSTALLATION
- STEP 1 Determine the Header Bracket Location
- STEP 2 Install the Header Bracket
- STEP 3 Attach the Rail to the Header Bracket
- STEP 4 Position the Opener
- STEP 5 Hang the Opener
- STEP 6 Install the Door Control
- STEP 7 Install the Light
- STEP 8 Attach the Emergency Release Rope and Handle
- STEP 9 Electrical Requirements
- STEP 10 Install The Protector System®
- STEP 11 Fasten the Door Bracket
- STEP 12 Connect Door Arm to Trolley
- ADJUSTMENT
- OPERATION
- CARE OF YOUR OPENER
- HAVING A PROBLEM?
- PROGRAMMING
- REPAIR PARTS
- ACCESSORIES
- LIFTMASTER SERVICE ISON CALL
- HOW TO ORDER REPAIR PARTS
- WARRANTY
- FRENCH

The Chamberlain Group, Inc.
845 Larch Avenue
Elmhurst, Illinois 60126-1196
www.liftmaster.com
GARAGE DOOR OPENER
Models 3265CM 1/2 HP
3265-267CM 1/2 HP
For Residential Use Only
Owner’s Manual
Please read this manual and the enclosed safety materials carefully!
Fasten the manual near the garage door after installation.
The door WILL NOT CLOSE unless the Protector System® is connected and
properly aligned.
Periodic checks of the opener are required to ensure safe operation.
The model number label is located on the front panel of your opener.
®

2
Introduction 2-5
Safety symbol and signal word review ....................... 2
Preparing your garage door ....................................... 3
Tools needed .............................................................. 3
Planning .................................................................... 4
Carton inventory ......................................................... 5
Hardware inventory .................................................... 5
Assembly 6-7
Attach the rail to the motor unit .................................. 6
Attach the chain to the sprocket ................................. 6
Tighten the chain ........................................................ 7
Installation 7-22
Installation safety instructions .................................... 7
Determine the header bracket location ...................... 8
Install the header bracket ........................................... 9
Attach the rail to the header bracket ........................ 10
Position the opener ...................................................11
Hang the opener ....................................................... 12
Install the door control .............................................. 13
Install the light .......................................................... 14
Attach the emergency release rope and handle ...... 14
Electrical requirements ............................................. 15
Install the Protector System® .............................. 16-18
Fasten the door bracket ...................................... 19-20
Connect the door arm to the trolley ..................... 21-22
Adjustment 23-25
Adjust the travel limits .............................................. 23
Adjust the force ........................................................ 24
Test the safety reversal system ................................ 25
Test the Protector System® ..................................... 25
Operation 26-30
Operation safety instructions .................................... 26
Using your garage door opener ............................... 26
Using the wall-mounted door control ........................ 27
To open the door manually ....................................... 27
Care of your garage door opener ............................. 28
Having a problem? ................................................... 29
Diagnostic chart ........................................................ 30
Programming 31-32
To add or reprogram a hand-held remote control .... 31
To erase all codes .................................................... 31
3-Button remotes ...................................................... 31
To add, reprogram or change
a Keyless Entry PIN ................................................. 32
Repair Parts 33-34
Rail assembly parts .................................................. 33
Installation parts ....................................................... 33
Motor unit assembly parts ........................................ 34
Accessories 35
Repair Parts and Service 36
Warranty 36
TABLE OF CONTENTS
When you see these Safety Symbols and Signal Words on
the following pages, they will alert you to the possibility of
serious injury or death if you do not comply with the
warnings that accompany them. The hazard may come
from something mechanical or from electric shock. Read
the warnings carefully.
When you see this Signal Word on the following pages, it
will alert you to the possibility of damage to your garage
door and/or the garage door opener if you do not comply
with the cautionary statements that accompany it. Read
them carefully.
INTRODUCTION
Safety Symbol
and Signal Word Review
This garage door opener has been designed and tested to offer safe service provided it is installed, operated,
maintained and tested in strict accordance with the instructions and warnings contained in this manual.
Mechanical
Electrical

3
To prevent damage to garage door and opener:
• ALWAYS disable locks BEFORE installing and operating the
opener.
• ONLY operate garage door opener at 120V, 60 Hz to avoid
malfunction and damage.
To prevent possible SERIOUS INJURY or DEATH:
• ALWAYS call a trained door systems technician if garage
door binds, sticks, or is out of balance. An unbalanced
garage door may not reverse when required.
• NEVER try to loosen, move or adjust garage door, door
springs, cables, pulleys, brackets or their hardware, all of
which are under EXTREME tension.
• Disable ALL locks and remove ALL ropes connected to
garage door BEFORE installing and operating garage door
opener to avoid entanglement.
Preparing your garage door
Before you begin:
• Disable locks.
• Remove any ropes connected to garage door.
• Complete the following test to make sure your garage
door is balanced and is not sticking or binding:
1. Lift the door about halfway as shown. Release the
door. If balanced, it should stay in place, supported
entirely by its springs.
2. Raise and lower the door to see if there is any
binding or sticking.
If your door binds, sticks, or is out of balance, call a
trained door systems technician.
Tools needed
During assembly, installation and adjustment of the
opener, instructions will call for hand tools as illustrated
below.
Pliers
Wire Cutters
Claw Hammer
Hack Saw
Screwdriver Adjustable End Wrench
1/2" and 7/16" Sockets
and Wrench
Drill
Tape Measure
2
1
Stepladder
Pencil
3/16", 5/16" and
5/32" Drill Bits
Carpenter’s
Level (Optional)
Sectional Door
One-Piece Door

FINISHED CEILING
Support bracket
& fastening
hardware is required.
See page 12.
Slack in chain tension
is normal when
garage door is closed.
Safety
Reversing Sensor
Header
Wall
Access
Door
Safety
Reversing Sensor
Gap between floor and bottom of
door must not exceed 1/4" (6 mm).
Wall-
mounted
Door
Control
Motor Unit
ONE-PIECE DOOR WITHOUT TRACK
4
Planning
Identify the type and height of your garage door. Survey your garage area to see if any of the conditions below apply to
your installation. Additional materials may be required. You may find it helpful to refer back to this page and the
accompanying illustrations as you proceed with the installation of your opener.
Access
Door
Safety
Reversing Sensor
Safety
Reversing Sensor
Slack in chain tension is normal when
garage door is closed.
Gap between floor
and bottom of door
must not exceed 1/4" (6 mm).
ONE-PIECE DOOR WITH TRACK
Safety Reversing Sensor
Horizontal and vertical reinforcement
is needed for lightweight garage doors
(fiberglass, steel, aluminum,
door with glass panels, etc.).
See page 19 for details.
— — — — — — — —
Header Wall
Safety
Reversing
Sensor
Gap between floor and bottom of door
must not exceed 1/4" (6 mm).
Extension Spring
Torsion Spring
Access Door
OR
Slack in chain tension
is normal when
garage door is closed.
Wall-
mounted
Door
Control
Motor Unit
FINISHED CEILING
Support bracket &
fastening hardware
is required.
See page 12.
Vertical Centerline
of Garage Door
SECTIONAL DOOR INSTALLATION

5
Your garage door opener is packaged in two cartons which
contain the motor unit and all parts illustrated below.
Accessories will depend on the model purchased.
If anything is missing, carefully check the packing
material. Parts may be stuck in the foam. Hardware for
installation is also listed below.
Carton Inventory
Straight Door
Arm Section
Curved Door
Arm Section
Safety Labels
and
Literature
Header Bracket
UP
CEILING MOUNT ONLY
Sprocket Cover
2 Conductor Bell Wire
White & White/Red
Remote Control
Transmitter Visor Clip
Door Bracket
SECURITY✚®
3-Button Remote Control
3265C (1)
3265C-267 (2)
Multi-Function
Door Control Panel
LOCK
LIGHT
The Protector System®
(2) Safety Reversing Sensors
(1 Sending Eye and 1 Receiving Eye)
with 2-Conductor White & White/Black
Bell Wire attached
Safety Sensor
Bracket (2)
One-Piece
T-rail
Styrofoam
Chain
Pulley Bracket
Trolley
Chain
Motor Unit with Light Lenses
SECURITY✚®
Keyless Entry
3265C-267 ONLY
INSTALLATION HARDWARE
Hex Bolt 5/16"-18x7/8" (4)
Lag Screw 5/16"-9x1-5/8" (2)
Lag Screw 5/16"-18x1-7/8" (2)
Clevis Pin 5/16"x2-3/4" (1)
Clevis Pin 5/16"x1-1/4" (1)
Clevis Pin 5/16"x1" (1)
Nut 5/16"-18 (4)
Lock Washer 5/16" (4)
Screw 6ABx1-1/4" (2)
Screw 6-32x1" (2)
Self-Threading Screw 1/4"-14x5/8" (2)
Insulated Staples (30)
Ring Fastener (3)
Drywall Anchors (2)
Rail Grease
Carriage Bolt 1/4"-20x1/2" (2)
Wing Nut 1/4"-20 (2)
Rope
Handle

6
ASSEMBLY STEP 1
Attach the Rail to the Motor Unit
To avoid installation difficulties, do not run the garage
door opener until instructed to do so.
• Remove the two washered bolts mounted in top of
motor unit.
• Position rail at a 45˚ angle to opener so one hole in rail
and motor unit line up.
• Thread one of the washered bolts part way in.
Use only these bolts! Use of any other bolts will cause
serious damage to door opener.
• Align rail and styrofoam over sprocket. Cut tape from
rail, chain and styrofoam.
• REMOVE STYROFOAM.
ASSEMBLY STEP 2
Attach the Chain to the Sprocket and
Install the Sprocket Cover
• Position chain over the sprocket. If necessary, loosen
the outer nut on the trolley to obtain more chain slack.
• Insert the second washered bolt. CAUTION: Use only
the bolt previously removed from motor unit!
• Tighten both bolts securely through the rail into the
motor unit as shown.
• Install the sprocket cover: Insert the back tab in the slot.
Squeeze the cover slightly and insert the front tab in the
slot on the mounting plate.
To avoid possible serious injury to fingers from moving garage
door opener:
• ALWAYS keep hand clear of sprocket while operating opener.
• Securely attach sprocket cover BEFORE operating.
To avoid SERIOUS damage to garage door opener, use ONLY
those bolts/fasteners mounted in the top of the opener.
USE ONLY THIS
TYPE AND SIZE
BOLT
Washered Bolt
5/16"-18x1/2"
Styrofoam
Rail Hole
USE ONLY THIS
TYPE AND SIZE
BOLT
Washered Bolts
5/16"-18x1/2" Sprocket
Mounting
Plate
Front Tab Slot
Back Tab Slot
Sprocket Cover

7
Lock
Washer
To Tighten Outer Nut
Inner Nut
Trolley
Chain
Base of Rail
1/2" (13 mm)
To Tighten
Inner Nut
Outer Nut
Mid Length of Rail
INSTALLATION
ASSEMBLY STEP 3
Tighten the Chain
• Spin the inner nut and lock washer down the trolley
threaded shaft, away from the trolley.
• To tighten the chain, turn outer nut in the direction
shown (Figure 1).
• When the chain is approximately 1/2" (13 mm) above
the base of the rail at its midpoint, re-tighten the inner
nut to secure the adjustment.
Sprocket noise can result if chain is too loose.
When installation is complete, you may notice some chain
droop with the door closed. This is normal. If the chain
returns to the position shown in Figure 2 when the door is
open, do not re-adjust the chain.
NOTE: During future maintenance, ALWAYS pull the
emergency release handle to disconnect trolley before
adjusting chain.
NOTE: You may notice loosening of chain after Adjustment
Step 3 (Test the Safety Reversal System). Check for
proper tension and readjust chain if necessary. Then
repeat Adjustment Step 3.
You have now finished assembling your garage door
opener. Please read the following warnings before
proceeding to the installation section.
IMPORTANT INSTALLATION INSTRUCTIONS
To reduce the risk of SEVERE INJURY or DEATH:
WARNING
WARNING
WARNINGWARNING
1. READ AND FOLLOW ALL INSTALLATION WARNINGS AND
INSTRUCTIONS.
2. Install garage door opener only on properly balanced and
lubricated garage door. An improperly balanced door may
not reverse when required and could result in SEVERE
INJURY or DEATH.
3. All repairs to cables, spring assemblies and other hardware
MUST be made by a trained door systems technician
BEFORE installing opener.
4. Disable ALL locks and remove ALL ropes connected to
garage door BEFORE installing opener to avoid
entanglement.
5. Install garage door opener 7 feet (2.13 m) or more above
floor.
6. Mount emergency release handle 6 feet (1.83 m) above
floor.
7. NEVER connect garage door opener to power source until
instructed to do so.
8. NEVER wear watches, rings or loose clothing while
installing or servicing opener. They could be caught in
garage door or opener mechanisms.
9. Install wall-mounted garage door control:
• within sight of the garage door.
• out of reach of children at minimum height of 5 feet
(1.5 m).
• away from ALL moving parts of the door.
10. Place entrapment warning label on wall next to garage
door control.
11. Place manual release/safety reverse test label in plain
view on inside of garage door.
12. Upon completion of installation, test safety reversal
system. Door MUST reverse on contact with a 1-1/2"
(3.8 cm) high object (or a 2x4 laid flat) on the floor.
Figure 1
Figure 2

8
INSTALLATION STEP 1
Determine the Header Bracket
Location
Installation procedures vary according to garage door
types. Follow the instructions which apply to your door.
1. Close the door and mark the inside vertical centerline of
the garage door.
2. Extend the line onto the header wall above the door.
You can fasten the header bracket within 4 feet
(1.22 m) of the left or right of the door center only if
a torsion spring or center bearing plate is in the
way; or you can attach it to the ceiling (see page 9)
when clearance is minimal. (It may be mounted on
the wall upside down if necessary, to gain
approximately 1/2" (1 cm).
If you need to install the header bracket on a 2x4
(on wall or ceiling), use lag screws (not provided)
to securely fasten the 2x4 to structural supports as
shown here and on page 9.
3. Open your door to the highest point of travel as shown.
Draw an inter secting horizontal line on the header wall
above the high point:
• 2" (5 cm) above the high point for sectional door and
one-piece door with track.
• 8" (20 cm) above the high point for one-piece door
without track.
This height will provide travel clearance for the top edge
of the door.
NOTE: If the total number of inches exceeds the height
available in your garage, use the maximum height
possible, or refer to page 9 for ceiling installation.
To prevent possible SERIOUS INJURY or DEATH:
• Header bracket MUST be RIGIDLY fastened to structural
support on header wall or ceiling, otherwise garage door
might not reverse when required. DO NOT install header
bracket over drywall.
• Concrete anchors MUST be used if mounting header bracket
or 2x4 into masonry.
• NEVER try to loosen, move or adjust garage door, springs,
cables, pulleys, brackets, or their hardware, all of which are
under EXTREME tension.
• ALWAYS call a trained door systems technician if garage
door binds, sticks, or is out of balance. An unbalanced
garage door might not reverse when required.
Header Wall
Sectional door with curved track
Highest Point
of Travel
Door
Track
2" (5 cm)
One-piece door with horizontal track
Door
Track
Header Wall
Highest Point
of Travel
2" (5 cm)
Door
Jamb
Hardware
One-piece door without track:
jamb hardware
8" (20 cm)
Highest
Point
of Travel Door
Pivot
8" (20 cm)
One-piece door without track:
pivot hardware
Highest
Point
of Travel
Header Wall
Header Wall
Header Wall
Vertical Centerline
of Garage Door
Level
(optional)
2x4
2x4
Structural
Supports
OPTIONAL
CEILING
MOUNT
FOR
HEADER
BRACKET
Unfinished
Ceiling

9
INSTALLATION STEP 2
Install the Header Bracket
You can attach the header bracket either to the wall above
the garage door, or to the ceiling. Follow the instructions
which will work best for your particular requirements. Do
not install the header bracket over drywall. If installing
into masonry, use concrete anchors (not provided).
WALL HEADER BRACKET INSTALLATION
• Center the bracket on the vertical centerline with the
bottom edge of the bracket on the horizontal line as
shown (with the arrow pointing toward the ceiling).
• Mark the vertical set of bracket holes (do not use the
holes designated for ceiling mount). Drill 3/16" pilot
holes and fasten the bracket securely to a structural
support with the hardware provided.
Lag Screw
5/16"-9x1-5/8"
HARDWARE SHOWN ACTUAL SIZE
Lag Screws
5/16"-9x1-5/8"
Highest Point of
Garage Door Travel
Vertical
Centerline of
Garage Door
Header
Wall
Garage
Door
UP
CEILING MOUNT ONLY
Wall Mounting Holes
Optional
Wall Mounting Holes
The nail hole is for
positioning only.
You must use lag screws
to mount the header bracket.
UP
CEILING MOUNT ONLY
Door Spring
Header
Bracket
2x4
Structural
Support
Vertical
Centerline of
Garage Door
Horizontal
Line
UP
CEILING MOUNT ONLY
Ceiling Mounting Holes
The nail hole is for
positioning only.
You must use lag screws
to mount the header bracket.
UP
Lag Screws
5/16"-9x1-5/8"
Garage Door
Vertical
Centerline
of Garage Door
Header Wall
– Finished Ceiling –
Header
Bracket
6" (15 cm)
Maximum
Vertical
Centerline
of Garage Door
Door
Spring
CEILING HEADER BRACKET INSTALLATION
• Extend the vertical centerline onto the ceiling as shown.
• Center the bracket on the vertical mark, no more than
6"(15 cm) from the wall. Make sure the arrow is pointing
toward the wall. The bracket can be mounted flush
against the ceiling when clearance is minimal.
• Mark the side holes. Drill 3/16" pilot holes and fasten
bracket securely to a structural support with the
hardware provided.

Header Bracket
Chain Pulley
Bracket
Temporary
Support
Header Wall
Garage
Door
Rail
Clevis Pin
5/16"x2-3/4"
Ring Fastener
Header Bracket
Chain
Pulley
Bracket
Rail
10
Clevis Pin
5/16"x2-3/4" Ring Fastener
INSTALLATION STEP 3
Attach the Rail to the Header Bracket
• Position the opener on the garage floor below the
header bracket. Use packing material as a protective
base. NOTE: If the door spring is in the way you’ll need
help. Have someone hold the opener securely on a
temporary support to allow the rail to clear the spring.
• Position the rail bracket against the header bracket.
• Align the bracket holes and join with a clevis pin
as shown.
• Insert a ring fastener to secure.
HARDWARE SHOWN ACTUAL SIZE

11
ONE-PIECE DOOR WITHOUT TRACK
A 2x4 on its side is convenient for setting an ideal
door-to-rail distance.
• Remove foam packaging.
• Raise the opener onto a stepladder. You will need help
at this point if the ladder is not tall enough.
• Open the door all the way and place a 2x4 on its side
on the top section of the door beneath the rail.
• The top of the door should be level with the top of the
motor unit. Do not position the opener more than 4"
(10 cm) above this point.
INSTALLATION STEP 4
Position the Opener
Follow instructions which apply to your door type as
illustrated.
SECTIONAL DOOR OR ONE-PIECE DOOR WITH
TRACK
A 2x4 laid flat is convenient for setting an ideal door-to-rail
distance.
• Remove foam packaging.
• Raise the opener onto a stepladder. You will need help
at this point if the ladder is not tall enough.
• Open the door all the way and place a 2x4 laid flat on
the top section beneath the rail.
• If the top section or panel hits the trolley when you raise
the door, pull down on the trolley release arm to
disconnect inner and outer sections. Slide the outer
trolley toward the motor unit. The trolley can remain
disconnected until Installation Step 12 is completed.
Trolley
Release Arm
ENGAGED RELEASED
To prevent damage to garage door, rest garage door opener
rail on 2x4 placed on top section of door.
Rail
Door 2x4 is used to determine
the correct mounting height
from ceiling.
Header
Bracket
Top of Door
2x4 is used to determine
the correct mounting height
from ceiling.

Measure
Distance Lag Screws
5/16"-18x1-7/8"
Structural
Supports
Bracket
(Not Provided)
Lag Screws
5/16"-18x1-7/8"
(Not Provided)
Bolt 5/16"-18x7/8"
Lock Washer 5/16"
Nut 5/16"-18
FINISHED CEILING
Hidden
Support
Bolt 5/16"-18x7/8"
Lock Washer 5/16"
Nut 5/16"-18
Bolt 5/16"-18x7/8"
Lock Washer 5/16"
Nut 5/16"-18
Bolt 5/16"-18x7/8"
Lock Washer 5/16"
Nut 5/16"-18
Lag Screws
5/16"-18x1-7/8"
(Not Provided)
Bolt 5/16"-18x7/8"
Lock Washer 5/16"
Nut 5/16"-18
FINISHED CEILING
12
INSTALLATION STEP 5
Hang the Opener
Three representative installations are shown. Yours may
be different. Hanging brackets should be angled (Figure 1)
to provide rigid support. On finished ceilings (Figure 2 and
Figure 3), attach a sturdy metal bracket to structural
supports before installing the opener. This bracket and
fastening hardware are not provided.
1. Measure the distance from each side of the motor unit
to the structural support.
2. Cut both pieces of the hanging bracket to required
lengths.
3. Drill 3/16" pilot holes in the structural supports.
4. Attach one end of each bracket to a support with
5/16"-18x1-7/8" lag screws.
5. Fasten the opener to the hanging brackets with
5/16"-18x7/8" hex bolts, lock washers and nuts.
6. Check to make sure the rail is centered over the door
(or in line with the header bracket if the bracket is not
centered above the door).
7. Remove the 2x4. Operate the door manually. If the door
hits the rail, raise the header bracket.
8. Grease the top and underside of the rail surface where
the trolley slides with rail grease.
NOTE: DO NOT connect power to opener at this time.
To avoid possible SERIOUS INJURY from a falling garage door
opener, fasten it SECURELY to structural supports of the
garage. Concrete anchors MUST be used if installing any
brackets into masonry.
Lag Screw 5/16"-18x1-7/8"
Hex Bolt
5/16"-18x7/8" Nut 5/16"-18 Lock Washer 5/16"
HARDWARE SHOWN ACTUAL SIZE
Figure 1
Figure 2
Figure 3

KG
1
3
9
7
5
KG
1
3
9
7
5
13
To prevent possible SERIOUS INJURY or DEATH from
electrocution:
• Be sure power is not connected BEFORE installing door
control.
• Connect ONLY to 24 VOLT low voltage wires.
To prevent possible SERIOUS INJURY or DEATH from a
closing garage door:
• Install door control within sight of garage door, out of reach
of children at a minimum height of 5 feet (1.5 m), and away
from ALL moving parts of door.
• NEVER permit children to operate or play with door control
push buttons or remote control transmitters.
• Activate door ONLY when it can be seen clearly, is properly
adjusted, and there are no obstructions to door travel.
• ALWAYS keep garage door in sight until completely closed.
NEVER permit anyone to cross path of closing garage door.
INSTALLATION STEP 6
Install the Door Control
Locate door control within sight of door at a minimum
height of 5 feet (1.5 m) where small children cannot reach,
and away from moving parts of door and door hardware.
The installation surface must be smooth and flat. If
installing into drywall (Figure 1), drill 5/32" holes and use
anchors provided. For pre-wired installations (as in new
home construction), it may be mounted to a single gang
box (Figure 2). NOTE: After installation, a green or amber
indicator light behind the cover will indicate proper
connection. If not lit, the Lock and Light features will not
function (reverse wires to correct).
1. Strip 7/16" (11 mm) of insulation from one end of bell
wire and connect to the two screw terminals on back of
door control by color: white wire to WHT and white/red
wire to the RED (Figure 3).
2. Remove cover by gently prying at slot in the top of the
cover with a small flat head screwdriver (Figure 4).
Fasten with 6ABx1-1/4" self-tapping screws (drywall
installation) or 6-32x1" machine screws (into gang box)
as follows:
• Drill and install bottom screw, allowing 1/8" (3 mm) to
protrude above wall surface.
• Position bottom of door control on screw head and
slide down to secure. Adjust screw for snug fit.
• Install top screw with care to avoid cracking plastic
housing. Do not overtighten.
• Insert bottom tabs and snap on cover.
NOTE: The push bar may stick if the door control is not
mounted on a smooth surface. If a click is not heard
when pressing the push bar, loosen the two mounting
screws or relocate the door control to a smoother
surface.
3. (Standard installation only) Run bell wire up wall and
across ceiling to motor unit. Use insulated staples to
secure wire in several places. Do not pierce wire with a
staple, creating a short or open circuit.
4. Strip 7/16" (11 mm) of insulation from end of bell wire.
Connect bell wire to the quick-connect terminals as
follows: white to white and white/red to red (Figure 5).
NOTE: When connecting multiple door controls to the
opener, twist same color wires together. Insert wires into
quick-connect holes: white to white and red/white to red.
5. Use tacks or staples to permanently attach entrapment
warning label to wall near door control, and manual
release/safety reverse test label in a prominent location
on inside of garage door.
NOTE: DO NOT connect power and operate opener at this
time. The trolley will travel to the full open position but will
not return to the close position until the sensor beam is
connected and properly aligned.
To release or insert wire,
push in tab with screwdriver tip
Door Control
Connections
7/16" (11 mm)
Strip wire 7/16" (11 mm)
Red Grey
White
LOCK
LIGHT
Figure 4 REMOVE COVER
Bell Wire
Terminal
Screws
Bottom Mounting Hole
Top Mounting Hole
Drywall Anchors
Insulated
Staples
Screw 6ABx1-1/4"
(standard installation)
Screw 6-32x1"
(pre-wired)
HARDWARE SHOWN ACTUAL SIZE
Figure 2
To Replace
Insert Bottom Tabs First
PRE-WIRED
INSTALLATION
LOCK
LIGHT
LOCK
LIGHT
To Replace
Insert Bottom Tabs First
Figure 1 STANDARD
INSTALLATION
24 Volt
2-Conductor
Bell Wire in
Gang Box
Figure 5
Figure 3 MULTI-FUNCTION
DOOR CONTROL (BACK)

14
INSTALLATION STEP 7
Install the Light
• Press the release tabs on both sides of lens. Gently
rotate lens back and downward until the lens hinge is in
the fully open position. Do not remove the lens.
• Install up to a 100 watt maximum light bulb in each
socket. Light bulb size should be A19, standard neck
only. The light will turn ON and remain lit for
approximately 4-1/2 minutes when power is connected.
Then the lights will turn OFF.
• Reverse the procedure to close the lens.
• If the bulbs burn out prematurely due to vibration,
replace with a Garage Door Opener bulb.
• Use A19, standard neck garage door opener bulbs for
replacement.
NOTE: Use only standard light bulbs. The use of short
neck or speciality light bulbs may overheat the endpanel or
light socket.
INSTALLATION STEP 8
Attach the Emergency Release Rope
and Handle
• Thread one end of the rope through the hole in the top
of the red handle so “NOTICE” reads right side up as
shown. Secure with an overhand knot at least 1"
(2.5 cm) from the end of the rope to prevent slipping.
• Thread the other end of the rope through the hole in the
release arm of the outer trolley.
• Adjust rope length so the handle is 6 feet (1.83 m)
above the floor. Ensure that the rope and handle clear
the tops of all vehicles to avoid entanglement. Secure
with an overhand knot.
NOTE: If it is necessary to cut the rope, heat seal the cut
end with a match or lighter to prevent unraveling.
Trolley
NOTICE
Overhand
Knot
Emergency
Release Handle
Rope
Trolley
Release Arm
To prevent possible SERIOUS INJURY or DEATH from a falling
garage door:
• If possible, use emergency release handle to disengage
trolley ONLY when garage door is CLOSED. Weak or broken
springs or unbalanced door could result in an open door
falling rapidly and/or unexpectedly.
• NEVER use emergency release handle unless garage
doorway is clear of persons and obstructions.
• NEVER use handle to pull door open or closed. If rope knot
becomes untied, you could fall.
Lens
Hinge
100 Watt (Max)
Standard Light Bulb
Release Tab
100 Watt (Max)
Standard Light Bulb
To prevent possible OVERHEATING of the endpanel or light
socket:
• DO NOT use short neck or specialty light bulbs.
• DO NOT use halogen bulbs. Use ONLY incandescent.
To prevent damage to the opener:
• DO NOT use bulbs larger than 100W.
• ONLY use A19 size bulbs.

15
INSTALLATION STEP 9
Electrical Requirements
To avoid installation difficulties, do not run the opener
at this time.
To reduce the risk of electric shock, your garage door
opener has a grounding type plug with a third grounding
pin. This plug will only fit into a grounding type outlet. If
the plug doesn’t fit into the outlet you have, contact a
qualified electrician to install the proper outlet.
If permanent wiring is required by your local code,
refer to the following procedure.
To make a permanent connection through the 7/8" hole in
the top of the motor unit:
• Remove the motor unit cover screws and set the cover
aside.
• Remove the attached 3-prong cord.
• Connect the black (line) wire to the screw on the brass
terminal; the white (neutral) wire to the screw on the
silver terminal; and the ground wire to the green ground
screw. The opener must be grounded.
• Reinstall the cover.
To avoid installation difficulties, do not run the opener
at this time.
RIGHT WRONG
To prevent possible SERIOUS INJURY or DEATH from
electrocution or fire:
• Be sure power is not connected to the opener, and
disconnect power to circuit BEFORE removing cover to
establish permanent wiring connection.
• Garage door installation and wiring MUST be in compliance
with all local electrical and building codes.
• NEVER use an extension cord, 2-wire adapter, or change
plug in ANY way to make it fit outlet. Be sure the opener is
grounded.
Ground Tab
Green
Ground Screw
Ground Wire
Black Wire
PERMANENT WIRING
CONNECTION
White Wire
Black
Wire

16
Invisible Light Beam
Protection Area
Safety Reversing Sensor
6" (15 cm) max. above floor Safety Reversing Sensor
6" (15 cm) max. above floor
Facing the door from inside the garage
INSTALLATION STEP 10
Install The Protector System®
The safety reversing sensor must be connected and
aligned correctly before the garage door opener will
move in the down direction.
IMPORTANT INFORMATION ABOUT
THE SAFETY REVERSING SENSOR
When properly connected and aligned, the sensor will
detect an obstacle in the path of its electronic beam. The
sending eye (with an amber indicator light) transmits an
invisible light beam to the receiving eye (with a green
indicator light). If an obstruction breaks the light beam
while the door is closing, the door will stop and reverse to
full open position, and the opener lights will flash 10 times.
The units must be installed inside the garage so that the
sending and receiving eyes face each other across the
door, no more than 6" (15 cm) above the floor. Either can
be installed on the left or right of the door as long as the
sun never shines directly into the receiving eye lens.
The mounting brackets are designed to clip onto the track
of sectional garage doors without additional hardware.
If it is necessary to mount the units on the wall, the
brackets must be securely fastened to a solid surface such
as the wall framing. Extension brackets (see accessories)
are available if needed. If installing in masonry
construction, add a piece of wood at each location to
avoid drilling extra holes in masonry if repositioning is
necessary.
The invisible light beam path must be unobstructed. No
part of the garage door (or door tracks, springs, hinges,
rollers or other hardware) may interrupt the beam while
the door is closing.
Be sure power is not connected to the garage door opener
BEFORE installing the safety reversing sensor.
To prevent SERIOUS INJURY or DEATH from a closing garage
door:
• Correctly connect and align the safety reversing sensor. This
required safety device MUST NOT be disabled.
• Install the safety reversing sensor so beam is NO HIGHER
than 6" (15 cm) above garage floor.

17
DOOR TRACK MOUNT (RIGHT SIDE)
Indicator
Light
Lens
Lip
Sensor
Bracket
Door
Track
FLOOR MOUNT (RIGHT SIDE)
WALL MOUNT (RIGHT SIDE)
Indicator
Light
Sensor
Bracket
Lens
Extension
Bracket
(See Accessories)
Inside
Garage
Wall
(Provided with
Extension
Bracket)
(Provided with
Extension Bracket)
Figure 1
Figure 2
Figure 3
Figure 4
WALL MOUNT (RIGHT SIDE)
Attach with
Concrete Anchors
(Not Provided)
Inside
Garage
Wall
Sensor
Bracket
Lens Indicator
Light
Inside
Garage
Wall
Indicator
Light Sensor
Bracket
Lens
Lag Screws
(Not Provided)
Fasten Wood Block to Wall with
Lag Screws (Not Provided)
INSTALLING THE BRACKETS
Be sure power to the opener is disconnected. Install
and align the brackets so the sensors will face each other
across the garage door, with the beam no higher than 6"
(15 cm) above the floor. They may be installed in one of
three ways, as follows.
Garage door track installation (preferred):
• Slip the curved arms over the rounded edge of each
door track, with the curved arms facing the door. Snap
into place against the side of the track. It should lie
flush, with the lip hugging the back edge of the track, as
shown in Figure 1.
If your door track will not support the bracket securely, wall
installation is recommended.
Wall installation (Figure 2 & 3):
• Place the bracket against the wall with curved arms
facing the door. Be sure there is enough clearance for
the sensor beam to be unobstructed.
• If additional depth is needed, an extension bracket (See
accessories) or wood blocks can be used.
• Use bracket mounting holes as a template to locate and
drill (2) 3/16" diameter pilot holes on the wall at each
side of the door, no higher than 6" (15 cm) above the
floor.
• Attach brackets to wall with lag screws (Not provided).
• If using extension brackets or wood blocks, adjust right
and left assemblies to the same distance out from the
mounting surface. Make sure all door hardware
obstructions are cleared.
Floor installation (Figure 4):
• Use wood blocks or extension brackets (see
accessories) to elevate sensor brackets so the lenses
will be no higher than 6" (15 cm) above the floor.
• Carefully measure and place right and left assemblies at
the same distance out from the wall. Be sure all door
hardware obstructions are cleared.
• Fasten to the floor with concrete anchors as shown.
Wing Nut
1/4"-20
Staples
Carriage Bolt
1/4"-20x1/2"
HARDWARE SHOWN ACTUAL SIZE

Invisible Light Beam
Protection Area
Safety Reversing Sensor
Connect Wire to
Opener Quick-Connect Terminals
Bell Wire
Bell Wire Finished
Ceiling
Quick-Connect Terminals
3. To insert or release
wire, push in tab with
screwdriver tip
1. Strip wire 7/16"
(11 mm)
2. Twist like colored
wires together
Red Grey
White
7/16" (11 mm)
Safety Reversing Sensor
18
Carriage Bolt
1/4"-20x1/2" Lens
Wing Nut
1/4"-20
Figure 5MOUNTING AND WIRING THE SAFETY REVERSING
SENSORS
• Slide a 1/4"-20x1/2" carriage bolt head into the slot on
each sensor. Use wing nuts to fasten sensors to
brackets, with lenses pointing toward each other across
the door. Be sure the lens is not obstructed by a bracket
extension (Figure 5).
• Finger tighten the wing nuts.
• Run the wires from both sensors to the opener. Use
insulated staples to secure wire to wall and ceiling.
• Strip 7/16" (11 mm) of insulation from each set of wires.
Separate white and white/black wires sufficiently to
connect to the opener quick-connect terminals. Twist
like colored wires together. Insert wires into
quick-connect holes: white to white and white/black
to grey (Figure 6).
ALIGNING THE SAFETY REVERSING SENSORS
• Plug in the opener. The indicator lights in both the
sending and receiving eyes will glow steadily if wiring
connections and alignment are correct.
The sending eye amber indicator light will glow regardless
of alignment or obstruction. If the green indicator light in
the receiving eye is off, dim, or flickering (and the invisible
light beam path is not obstructed), alignment is required.
• Loosen the sending eye wing nut and readjust, aiming
directly at the receiving eye. Lock in place.
• Loosen the receiving eye wing nut and adjust sensor
until it receives the sender’s beam. When the green
indicator light glows steadily, tighten the wing nut.
TROUBLESHOOTING THE SAFETY REVERSING
SENSORS
1. If the sending eye indicator light does not glow steadily
after installation, check for:
• Electric power to the opener.
• A short in the white or white/black wires. These can
occur at staples, or at opener connections.
• Incorrect wiring between sensors and opener.
• A broken wire.
2. If the sending eye indicator light glows steadily but the
receiving eye indicator light doesn’t:
• Check alignment.
• Check for an open wire to the receiving eye.
3. If the receiving eye indicator light is dim, realign either
sensor.
NOTE: When the invisible beam path is obstructed or
misaligned while the door is closing, the door will reverse.
If the door is already open, it will not close. The opener
lights will blink 10 times. See page 16.
Figure 6

19
Fiberglass, aluminum or lightweight steel garage doors WILL
REQUIRE reinforcement BEFORE installation of door bracket.
Contact your door manufacturer for reinforcement kit.
INSTALLATION STEP 11
Fasten the Door Bracket
Follow instructions which apply to your door type as
illustrated below or on the following page.
A horizontal reinforcement brace should be long
enough to be secured to two or three vertical
supports. A vertical reinforcement brace should cover
the height of the top panel.
Figure 1 shows one piece of angle iron as the horizontal
brace. For the vertical brace, 2 pieces of angle iron are
used to create a U-shaped support. The best solution is to
check with your garage door manufacturer for an opener
installation door reinforcement kit.
NOTE: Many door reinforcement kits provide for direct
attachment of the clevis pin and door arm. In this case you
will not need the door bracket; proceed to Step 12.
SECTIONAL DOORS
1. Center the door bracket on the previously marked
vertical centerline used for the header bracket
installation. Note correct UP placement, as stamped
inside the bracket.
2. Position the top edge of the bracket 2"-4" (5-10 cm)
below the top edge of the door, OR directly below any
structural support across the top of the door.
3. Mark, drill holes and install as follows, depending on
your door’s construction:
Metal or light weight doors using a vertical angle iron
brace between the door panel support and the door
bracket:
• Drill 3/16" fastening holes. Secure the door bracket
using the two 1/4"-14x5/8" self-threading screws.
(Figure 2A)
• Alternately, use two 5/16" bolts, lock washers and nuts
(not provided). (Figure 2B)
Metal, insulated or light weight factory reinforced
doors:
• Drill 3/16" fastening holes. Secure the door bracket
using the self-threading screws. (Figure 3)
Wood Doors:
• Use top and bottom or side to side door bracket holes.
Drill 5/16" holes through the door and secure bracket
with 5/16"x2" carriage bolts, lock washers and nuts (not
provided). (Figure 4)
NOTE: The 1/4"-14x5/8" self-threading screws are not
intended for use on wood doors.
Vertical
Centerline
of Garage
Door
Door
Bracket
Location
Header
Bracket
HORIZONTAL AND VERTICAL
REINFORCEMENT IS NEEDED
FOR LIGHTWEIGHT GARAGE
DOORS (FIBERGLASS,
ALUMINUM, STEEL, DOORS
WITH GLASS PANEL, ETC.).
(NOT PROVIDED)
Door
Bracket
Vertical
Centerline
of Garage Door
UP
Vertical
Reinforcement
Self-Threading
Screw
1/4"-14x5/8"
Self-Threading
Screw
1/4"-14x5/8"
Door
Bracket
Nut
5/16"-18
Bolt
5/16"-18x2"
Lock Washer
5/16"
UP
Vertical
Reinforcement
(Not Provided)
Vertical
Centerline
of Garage Door
UP
Self-Threading
Screw
1/4"-14x5/8"
Vertical
Centerline
of Garage Door
UP
Inside Edge
of Door or
Reinforcement Board
Bolt
5/16"x2"
(Not Provided)
Vertical
Centerline
of Garage
Door
Figure 1
Figure 2A
Figure 3
Figure 4
Figure 2B
HARDWARE
SHOWN
ACTUAL SIZE

20
Header Wall
Vertical
Centerline of
Garage Door
Finished Ceiling
Optional
Placement
of Door
Bracket
Header
Bracket
Door
Bracket
2x4 Support
For a door with no exposed framing,
or for the optional installation, use
lag screws 5/16"x1-1/2" (Not Provided)
to fasten door bracket.
METAL DOOR
Top of Door
(Inside
Garage)
Door
Bracket
Optional
Placement
Top Edge
of Door
Self-Threading
Screw
1/4"-14x5/8"
Door
Bracket
Top of Door
(Inside
Garage)
Carriage Bolt
5/16"x2"
(Not Provided)
Optional
Placement
Lock
Washer
5/16"
Nut
5/16"-18
Top Edge
of Door
WOOD DOOR
HORIZONTAL AND VERTICAL
REINFORCEMENT IS NEEDED
FOR LIGHTWEIGHT GARAGE
DOORS (FIBERGLASS,
ALUMINUM, STEEL, DOORS
WITH GLASS PANEL, ETC.).
(NOT PROVIDED)
ONE-PIECE DOORS
Please read and comply with the warnings and
reinforcement instructions on the previous page. They
apply to one-piece doors also.
• Center the door bracket on the top of the door, in line
with the header bracket as shown. Mark either the left
and right, or the top and bottom holes.
• Metal Doors: Drill 3/16" pilot holes and fasten the
bracket with the 1/4"-14x5/8" self-threading screws
provided.
• Wood Doors: Drill 5/16" holes and use 5/16"x2"
carriage bolts, lock washers and nuts (not provided) or
5/16"x1-1/2" lag screws (not provided) depending on
your installation needs.
NOTE: The door bracket may be installed on the top edge
of the door if required for your installation. (Refer to the
dotted line optional placement drawing.)
Self-Threading Screw
1/4"-14x5/8"
HARDWARE SHOWN
ACTUAL SIZE

21
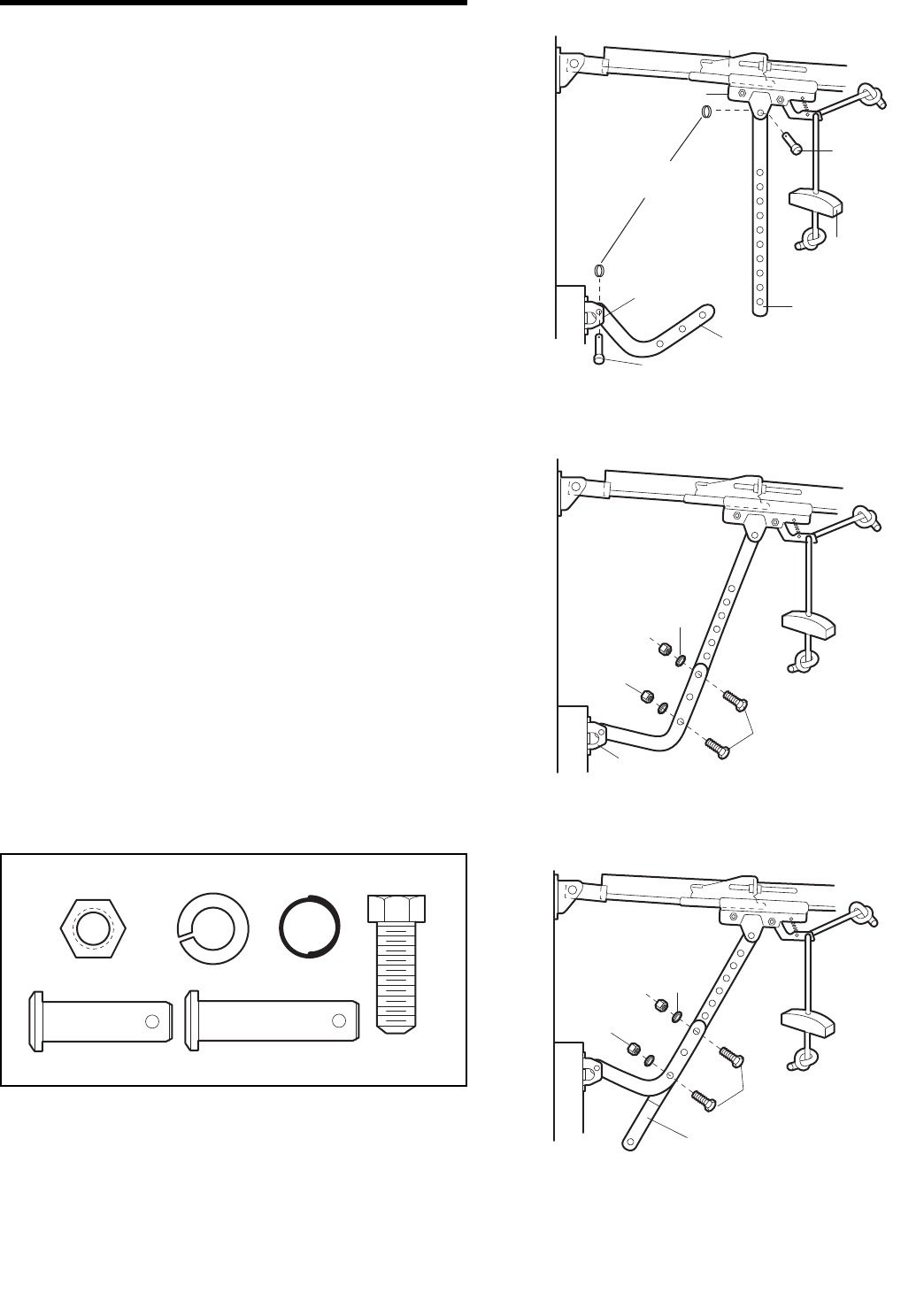
INSTALLATION STEP 12
Connect Door Arm to Trolley
Follow instructions which apply to your door type as
illustrated below and on the following page.
SECTIONAL DOORS ONLY
Make sure garage door is fully closed. Pull the emergency
release handle to disconnect the outer trolley from the
inner trolley. Slide the outer trolley back (away from the
door) about 2" (5 cm) as shown in Figures 1, 2 and 3.
Figure 1:
• Fasten straight door arm section to outer trolley with the
5/16"x1" clevis pin. Secure the connection with a ring
fastener.
• Fasten curved section to the door bracket in the same
way, using the 5/16"x1-1/4" clevis pin.
Figure 2:
• Bring arm sections together. Find two pairs of holes that
line up and join sections. Select holes as far apart as
possible to increase door arm rigidity.
Figure 3, Hole alignment alternative:
• If holes in curved arm are above holes in straight arm,
disconnect straight arm. Cut about 6" (15 cm) from the
solid end. Reconnect to trolley with cut end down as
shown.
• Bring arm sections together.
• Find two pairs of holes that line up and join with bolts,
lock washers and nuts.
Pull the emergency release handle toward the opener at a
45° angle so that the trolley release arm is horizontal.
Proceed to Adjustment Step 1, page 23. Trolley will
re-engage automatically when opener is operated.
Ring
Fastener
Door
Bracket
Clevis Pin
5/16"x1-1/4"
Curved
Door Arm
Straight
Door Arm
Clevis Pin
5/16"x1"
Inner Trolley
Outer Trolley
Lock
Washers
5/16"
Nuts
5/16"-18
Door Bracket
Bolts
5/16"-18x7/8"
Emergency
Release
Handle
Lock
Washers
5/16"
Nuts
5/16"-18
Bolts
5/16"-18x7/8"
Cut This End
Figure 1
Figure 2
Figure 3
Lock Washer 5/16"
Nut 5/16"-18 Ring Fastener
Hex Bolt
5/16"-18x7/8"
Clevis Pin
5/16"x1" (Trolley)
Clevis Pin
5/16"x1-1/4" (Door Bracket)
HARDWARE SHOWN ACTUAL SIZE

22
ALL ONE-PIECE DOORS
1. Assemble the door arm, Figure 4:
• Fasten the straight and curved door arm sections
together to the longest possible length (with a 2 or 3
hole overlap).
• With the door closed, connect the straight door arm
section to the door bracket with the 5/16"x1-1/4"
clevis pin.
• Secure with a ring fastener.
2. Adjustment procedures, Figure 5:
• On one-piece doors, before connecting the door arm
to the trolley, the travel limits must be adjusted. Limit
adjust ment screws are located on the left side panel
as shown on page 23. Follow adjustment procedures
below.
• Open door adjustment: decrease UP travel limit
- Turn the UP limit adjustment screw counter-clockwise
4 turns.
- Press the Door Control push button. The trolley will
travel to the fully open position.
- Manually raise the door to the open position (parallel
to the floor), and lift the door arm to the trolley. The
arm should touch the trolley just in back of the door
arm connector hole. Refer to the fully open trolley/
door arm positions in the illustration. If the arm does
not extend far enough, adjust the limit further. One
full turn equals 2" (5 cm) of trolley travel.
• Closed door adjustment: decrease DOWN travel
limit
- Turn the DOWN limit adjustment screw clockwise
4 complete turns.
Nuts
5/16"-18
Lock
Washers
5/16"
Ring
Fastener
Straight
Arm
Bolts
5/16"-18x7/8
Door
Bracket
Clevis Pin
5/16"x1-1/4"
Curved
Door Arm
- Press the Door Control push button. The trolley will
travel to the fully closed position.
- Manually close the door and lift the door arm to the
trolley. The arm should touch the trolley just ahead of
the door arm connector hole. Refer to the fully closed
trolley/door arm positions in the illustration. If the arm
is behind the connector hole, adjust the limit further.
One full turn equals 2" (5 cm) of trolley travel.
3. Connect the door arm to the trolley:
• Close the door and join the curved arm to the
connector hole in the trolley with the remaining clevis
pin. It may be necessary to lift the door slightly to make
the connection.
• Secure with a ring fastener.
• Run the opener through a complete travel cycle. If the
door has a slight "backward" slant in full open position
as shown in the illustration, decrease the UP limit until
the door is parallel to the floor.
NOTE: When setting the up limit on the following page, the
door should not have a "backward" slant when fully open
as illustrated below. A slight backward slant will cause
unnecessary bucking and/or jerking operation as the door
is being opened or closed from the fully open position.
Figure 4
Door Arm
Door Arm
Connector Hole
Closed
Door
Outer Trolley
Emergency Release Handle
Inner Trolley
Outer Trolley
Open Door
Door Arm
Correct Angle
Door with
Backward Slant (Incorrect)
Inner Trolley
Figure 5

23
ADJUSTMENT STEP 1
Adjust the UP and DOWN Travel Limits
Limit adjustment settings regulate the points at which the
door will stop when moving up or down.
To operate the opener, press the Door Control push bar.
Run the opener through a complete travel cycle.
• Does the door open and close completely?
• Does the door stay closed and not reverse
unintentionally when fully closed?
If your door passes both of these tests, no limit
adjustments are necessary unless the reversing test fails
(Adjustment Step 3, page 25).
Adjustment procedures are outlined below. Read the
procedures carefully before proceeding to Adjustment Step
2. Use a screwdriver to make limit adjustments. Run the
opener through a complete travel cycle after each
adjustment.
NOTE: Repeated operation of the opener during
adjustment procedures may cause the motor to overheat
and shut off. Simply wait 15 minutes and try again.
NOTE: If anything interferes with the door’s upward travel,
it will stop. If anything interferes with the door’s downward
travel (including binding or unbalanced doors), it will
reverse.
HOW AND WHEN TO ADJUST THE LIMITS
• If the door does not open completely but opens at
least five feet (1.5 m):
Increase up travel. Turn the UP limit adjustment screw
clockwise. One turn equals 2" (5 cm) of travel.
NOTE: To prevent the trolley from hitting the cover
protection bolt, keep a minimum distance of 2-4"
(5 cm - 10 cm) between the trolley and the bolt.
• If door does not open at least 5 feet (1.5 m):
Adjust the UP (open) force as explained in Adjustment
Step 2.
• If the door does not close completely:
Increase down travel. Turn the down limit adjustment
screw counterclockwise. One turn equals 2" (5 cm) of
travel.
If door still won't close completely and the trolley bumps
into the pulley bracket (page 4), try lengthening the door
arm (page 21) and decreasing the down limit.
• If the opener reverses in fully closed position:
Decrease down travel. Turn the down limit adjustment
screw clockwise. One turn equals 2" (5 cm) of travel.
Without a properly installed safety reversal system, persons
(particularly small children) could be SERIOUSLY INJURED or
KILLED by a closing garage door.
• Incorrect adjustment of garage door travel limits will
interfere with proper operation of safety reversal system.
• If one control (force or travel limits) is adjusted, the other
control may also need adjustment.
• After ANY adjustments are made, the safety reversal system
MUST be tested. Door MUST reverse on contact with 1-1/2"
high (3.8 cm) object (or 2x4 laid flat) on floor.
• If the door reverses when closing and there is no
visible interference to travel cycle:
If the opener lights are flashing, the Safety Reversing
Sensors are either not installed, misaligned, or
obstructed. See Troubleshooting, page 18.
Test the door for binding: Pull the emergency release
handle. Manually open and close the door. If the door is
binding or unbalanced, call for a trained door systems
technician. If the door is balanced and not binding,
adjust the DOWN (close) force. See Adjustment Step 2.
To prevent damage to vehicles, be sure fully open door
provides adequate clearance.
Left Side Panel Limit Adjustment Screws
Cover Protection
Bolt
Adjustment Label
2-4"
(5-10 cm)

ADJUSTMENT STEP 2
Adjust the Force
Force adjustment controls are located on the back panel
of the motor unit. Force adjustment settings regulate the
amount of power required to open and close the door.
If the forces are set too light, door travel may be
interrupted by nuisance reversals in the down direction
and stops in the up direction. Weather conditions can
affect the door movement, so occasional adjustment may
be needed.
The maximum force adjustment range is about 3/4 of a
complete turn. Do not force controls beyond that
point. Turn force adjustment controls with a screwdriver.
NOTE: If anything interferes with the door’s upward travel,
it will stop. If anything interferes with the door’s downward
travel (including binding or unbalanced doors), it will
reverse.
HOW AND WHEN TO ADJUST THE FORCES
1. Test the DOWN (close) force
• Grasp the door bottom when the door is about halfway
through DOWN (close) travel. The door should reverse.
Reversal halfway through down travel does not
guarantee reversal on a 1-1/2" (3.8 cm) obstruction. See
Adjustment Step 3, page 25. If the door is hard to
hold or doesn’t reverse, DECREASE the DOWN
(close) force by turning the control counterclockwise.
Make small adjustments until the door reverses
normally. After each adjustment, run the opener through
a complete cycle.
• If the door reverses during the down (close) cycle
and the opener lights aren’t flashing, INCREASE
DOWN (close) force by turning the control clockwise.
Make small adjustments until the door completes a close
cycle. After each adjustment, run the opener through a
complete travel cycle. Do not increase the force beyond
the minimum amount required to close the door.
2. Test the UP (open) force
• Grasp the door bottom when the door is about halfway
through UP (open) travel. The door should stop. If the
door is hard to hold or doesn’t stop, DECREASE UP
(open) force by turning the control counterclockwise.
Make small adjustments until the door stops easily and
opens fully. After each adjustment, run the opener
through a complete travel cycle.
• If the door doesn’t open at least 5 feet (1.5 m),
INCREASE UP (open) force by turning the control
clockwise. Make small adjustments until door opens
completely. Readjust the UP limit if necessary. After
each adjustment, run the opener through a complete
travel cycle.
24
Without a properly installed safety reversal system, persons
(particularly small children) could be SERIOUSLY INJURED or
KILLED by a closing garage door.
• Too much force on garage door will interfere with proper
operation of safety reversal system.
• NEVER increase force beyond minimum amount required to
close garage door.
• NEVER use force adjustments to compensate for a binding
or sticking garage door.
• If one control (force or travel limits) is adjusted, the other
control may also need adjustment.
• After ANY adjustments are made, the safety reversal system
MUST be tested. Door MUST reverse on contact with 1-1/2"
high (3.8 cm) object (or 2x4 laid flat) on floor.
Force
Adjustment
Controls
Back Panel
FORCE ADJUSTMENT LABEL
KG KG
1
3
9
7
5
1
3
9
7
5
KG KG
Antenna
Open Force Close Force

Without a properly installed safety reversal system, persons
(particularly small children) could be SERIOUSLY INJURED or
KILLED by a closing garage door.
• Safety reversal system MUST be tested every month.
• If one control (force or travel limits) is adjusted, the other
control may also need adjustment.
• After ANY adjustments are made, the safety reversal system
MUST be tested. Door MUST reverse on contact with 1-1/2"
high (3.8 cm) object (or 2x4 laid flat) on the floor.
25
ADJUSTMENT STEP 3
Test the Safety Reversal System
TEST
• With the door fully open, place a 1-1/2" (3.8 cm) board
(or a 2x4 laid flat) on the floor, centered under the
garage door.
• Operate the door in the down direction. The door must
reverse on striking the obstruction.
ADJUST
• If the door stops on the obstruction, it is not traveling far
enough in the down direction. Increase the DOWN limit
by turning the DOWN limit adjustment screw
counterclockwise 1/4 turn.
NOTE: On a sectional door, make sure limit adjustments
do not force the door arm beyond a straight up and
down position. See the illustration on page 21.
• Repeat the test.
• When the door reverses on the 1-1/2" (3.8 cm) board,
remove the obstruction and run the opener through 3 or
4 complete travel cycles to test adjustment.
• If the unit continues to fail the Safety Reverse Test, call
for a trained door systems technician.
IMPORTANT SAFETY CHECK:
Test the Safety Reverse System after:
• Each adjustment of door arm length, limits, or force
controls.
• Any repair to or adjustment of the garage door
(including springs and hardware).
• Any repair to or buckling of the garage floor.
• Any repair to or adjustment of the opener.
ADJUSTMENT STEP 4
Test The Protector System®
• Press the remote control push button to open the door.
• Place the opener carton in the path of the door.
• Press the remote control push button to close the door.
The door will not move more than an inch (2.5 cm), and
the opener lights will flash.
The garage door opener will not close from a remote if the
indicator light in either sensor is off (alerting you to the fact
that the sensor is misaligned or obstructed).
If the opener closes the door when the safety
reversing sensor is obstructed (and the sensors are
no more than 6" (15 cm) above the floor), call for a
trained door systems technician.
Safety Reversing Sensor Safety Reversing Sensor
Without a properly installed safety reversing sensor, persons
(particularly small children) could be SERIOUSLY INJURED or
KILLED by a closing garage door.
1-1/2" (3.8 cm) board
(or a 2x4 laid flat)

OPERATION
26
IMPORTANT SAFETY INSTRUCTIONS
To reduce the risk of SEVERE INJURY or DEATH:
Using Your Garage Door Opener
Your Security✚® opener and hand-held remote control
have been factory-set to a matching code which changes
with each use, randomly accessing over 100 billion new
codes. Your opener will operate with up to eight
Security✚® remote controls and one Security✚® Keyless
Entry System. If you purchase a new remote, or if you
wish to deactivate any remote, follow the instructions in
the Programming section.
Activate your opener with any of the following:
• The hand-held Remote Control: Hold the large push
button down until the door starts to move.
• The wall-mounted Door Control: Hold the push button or
bar down until the door starts to move.
• The Keyless Entry (See Accessories): If provided with
your garage door opener, it must be programmed before
use. See Programming.
When the opener is activated (with the safety reversing
sensor correctly installed and aligned)
1. If open, the door will close. If closed, it will open.
2. If closing, the door will reverse.
3. If opening, the door will stop.
4. If the door has been stopped in a partially open position,
it will close.
5. If obstructed while closing, the door will reverse. If the
obstruction interrupts the sensor beam, the opener lights
will blink for five seconds.
6. If obstructed while opening, the door will stop.
7. If fully open, the door will not close when the beam is
broken. The sensor has no effect in the opening cycle.
If the sensor is not installed, or is misaligned, the door
won’t close from a hand-held remote. However, you can
close the door with the Door Control, the Outside Keylock,
or Keyless Entry, if you activate them until down travel is
complete. If you release them too soon, the door will
reverse.
The opener lights will turn on under the following
conditions: when the opener is initially plugged in; when
power is restored after interruption; when the opener is
activated.
They will turn off automatically after 4-1/2 minutes or
provide constant light when the Light feature on the Multi-
Function Door Control is activated. Bulb size is A19. Bulb
power is 100 watts maximum.
Security✚® light feature: Lights will also turn on when
someone walks through the open garage door. With a
Multi-Function Door Control, this feature may be turned off
as follows: With the opener lights off, press and hold the
light button for 10 seconds, until the light goes on, then off
again. To restore this feature, start with the opener lights
on, then press and hold the light button for 10 seconds
until the light goes off, then on again.
WARNING
WARNING
WARNINGWARNING
1. READ AND FOLLOW ALL WARNINGS AND
INSTRUCTIONS.
2. ALWAYS keep remote controls out of reach of children.
NEVER permit children to operate or play with garage
door control push buttons or remote controls.
3. ONLY activate garage door when it can be seen clearly, it
is properly adjusted, and there are no obstructions to door
travel.
4. ALWAYS keep garage door in sight until completely
closed. NO ONE SHOULD CROSS THE PATH OF THE
MOVING DOOR.
5. NO ONE SHOULD GO UNDER A STOPPED, PARTIALLY
OPEN DOOR.
6. If possible, use emergency release handle to disengage
trolley ONLY when garage door is CLOSED. Weak or
broken springs or unbalanced door could result in an
open door falling rapidly and/or unexpectedly.
7. NEVER use emergency release handle unless garage
doorway is clear of persons and obstructions.
8. NEVER use handle to pull garage door open or closed. If
rope knot becomes untied, you could fall.
9. If one control (force or travel limits) is adjusted, the
other control may also need adjustment.
10. After ANY adjustments are made, the safety reversal
system MUST be tested.
11. Safety reversal system MUST be tested every month.
Garage door MUST reverse on contact with 1-1/2" high
(3.8 cm) high object (or a 2x4 laid flat) on the floor.
12. ALWAYS KEEP GARAGE DOOR PROPERLY BALANCED
(see page 3). An improperly balanced door may not
reverse when required and could result in SEVERE
INJURY or DEATH.
13. All repairs to cables, spring assemblies and other
hardware, all of which are under EXTREME tension,
MUST be made by a trained door systems technician.
14. ALWAYS disconnect electric power to garage door
opener BEFORE making ANY repairs or removing covers.
15. SAVE THESE INSTRUCTIONS.

To Open the Door Manually
The door should be fully closed if
possible. Pull down on the
emergency release handle and lift
the door manually. To reconnect
the door to the opener, press the
door control push bar.
The lockout feature prevents the
trolley from reconnecting
automatically. Pull the emergency
release handle down and back
(toward the opener). The door can
then be raised and lowered
manually as often as necessary.
To disengage the lockout feature,
pull the handle straight down. The
trolley will reconnect on the next
UP or DOWN operation, either
manually or by using the door
control or remote.
To prevent possible SERIOUS INJURY or DEATH from a falling
garage door:
• If possible, use emergency release handle to disengage
trolley ONLY when garage door is CLOSED. Weak or broken
springs or unbalanced door could result in an open door
falling rapidly and/or unexpectedly.
• NEVER use emergency release handle unless garage doorway
is clear of persons and obstructions.
• NEVER use handle to pull door open or closed. If rope knot
becomes untied, you could fall.
27
Trolley
Release
Arm
NOTICE
Emergency
Release
Handle
(Pull Down)
Trolley
Release
Arm
NOTICE
Emergency
Release Handle
(Down and Back)
LOCKOUT POSITION
MANUAL DISCONNECT
POSITION
Using the Wall-Mounted
Door Control
THE MULTI-FUNCTION DOOR CONTROL
Press the push button to open or close
the door. Press again to reverse the door
during the closing cycle or to stop the
door while it's opening.
Light feature
Press the Light button to turn the opener
light on or off. It will not control the opener lights when the
door is in motion. If you turn it on and then activate the
opener, the light will remain on for 4-1/2 minutes. Press
again to turn it off sooner. The 4-1/2 minute interval can be
changed to 1-1/2, 2-1/2, or 3-1/2 minutes as follows: Press
and hold the Lock button until the light blinks (about 10
seconds). A single blink indicates that the timer is reset to
1-1/2 minutes. Repeat the procedure and the light will blink
twice, resetting the timer to 2-1/2 minutes. Repeat again
for a 3-1/2 minute interval, etc., up to a maximum of four
blinks and 4-1/2 minutes.
Lock feature
Designed to prevent operation of the door from hand-held
remote controls. However, the door will open and close
from the Door Control, the Outside Keylock and the
Keyless Entry Accessories.
To activate, press and hold the Lock button for 2 seconds.
The push bar light will flash as long as the Lock feature
is on.
To turn off, press and hold the Lock button again for
2 seconds.The push bar light will stop flashing. The Lock
feature will also turn off whenever the “learn” button on the
motor unit panel is activated.
Additional features when used with the 3-Button
hand-held remote
A) To control the opener lights:
In addition to operating the door, you may
program the remote to operate the lights.
1. With the door closed, press and hold a small remote
button that you want to control the light.
2. Press and hold the Light button on the Multi-Function
door control.
3. While holding the Light button, press and hold the Lock
button on the door control.
4. After the opener lights flash, release all buttons.
LOCK
LIGHT
Push
Button
Lock
Button
Light
Button
B) To operate one door using all three buttons on the
hand-held remote:
You may program the remote to
openthe door with the large button,
close it with the middle button, and
stop the door’s movement with the
third button.
NOTE: If remote is already programmed, you must first
erase all codes. See Programming.
1. With the door closed, press and hold the large remote
push button.
2. Press and hold the Lock button on the door control.
3. Press and hold the door control push bar.
4. After the opener lights flash, release all buttons.
Open
Close
Stop

CARE OF YOUR OPENER
LIMIT AND FORCE ADJUSTMENTS:
Weather conditions may cause
some minor changes in door
operation requiring some
re-adjustments, particularly during
the first year of operation.
Pages 23 and 24 refer to the limit
and force adjustments. Only a
screwdriver is required. Follow the
instructions carefully.
Repeat the safety reverse test
(Adjustment Step 3, page 25)
after any adjustment of limits or force.
28
MAINTENANCE SCHEDULE
Once a Month
• Manually operate door. If it is unbalanced or binding, call
a trained door systems technician.
• Check to be sure door opens and closes fully. Adjust
limits and/or force if necessary. (See pages 23 and 24.)
• Repeat the safety reverse test. Make any necessary
adjustments. (See Adjustment Step 3.)
Twice a Year
• Check chain tension. Disconnect trolley first. Adjust if
necessary (See page 7).
Once a Year
• Oil door rollers, bearings and hinges. The opener does
not require additional lubrication. Do not grease the door
tracks.
FORCE CONTROLS
1
3
9
7
5
1
3
9
7
5
LIMIT CONTROLS
KG KG
NOTICE: To comply with FCC and or Industry Canada (IC) rules, adjustment or modifications of this
receiver and/or transmitter are prohibited, except for changing the code setting or replacing the
battery. THERE ARE NO OTHER USER SERVICEABLE PARTS.
Tested to Comply with FCC Standards FOR HOME OR OFFICE USE. Operation is subject to the
following two conditions: (1) this device may not cause harmful interference, and (2) this device
must accept any interference received, including interference that may cause undesired operation.
THE REMOTE CONTROL BATTERY
To prevent possible SERIOUS INJURY or DEATH:
• NEVER allow small children near batteries.
• If battery is swallowed, immediately notify doctor.
To reduce risk of fire, explosion or chemical burn:
• Replace ONLY with 3V2032 coin batteries.
• Do NOT recharge, disassemble, heat above 100°C (212°F) or
incinerate.
The lithium battery should
produce power for up to 5 years.
To replace battery, use the visor
clip or screwdriver blade to pry
open the case as shown. Insert
battery positive side up (+).
Dispose of old battery properly.
Replace the battery with only
3V2032 coin cell batteries.
Battery
positive
side up (+)

29
HAVING A PROBLEM?
1. My door will not close and the light bulbs blink on
my motor unit: The safety reversing sensor must be
connected and aligned correctly before the garage door
opener will move in the down direction.
• Verify the safety sensors are properly installed, aligned
and free of any obstructions. Refer to Installation Step
10: Install The Protector System®.
• Check diagnostic LED for flashes on the motor unit
then refer to the Diagnostic Chart on the following
page.
2. My remotes will not activate the door:
• Verify your Door Control is not blinking. If it is blinking,
deactivate the Lock Mode following the instructions for
Using the Wall Mounted Door Control.
• Reprogram remotes following the programming
instructions. Refer to Programming.
• If remote will still not activate your door, check
diagnostic LED for flashes on motor unit then refer to
Diagnostic Chart on the following page.
3. My door reverses for no apparent reason: Repeat
safety reverse test after adjustments to force or travel
limits. The need for occasional adjustment for the force
and limit settings is normal. Weather conditions in
particular can affect door travel.
• Manually check door for balance or any binding
problems.
• Refer to Adjustment Step 2, Adjust the Force.
4. My door reverses for no apparent reason after fully
closing and touching the floor: Repeat safety reverse
test after adjustments to force or travel limits. The need
for occasional adjustment for the force and limit settings
is normal. Weather conditions in particular can affect
door travel.
• Refer to Adjustment Step 1, Adjust the UP and DOWN
Travel Limits. Decrease down travel by turning down
limit adjustment screw clockwise.
5. My lights will not turn off when door is open:
• The garage door opener is equipped with a security
light feature. This feature activates the light on when
the safety sensor beam has been obstructed. Refer to
Operation section; Using the Wall Mounted Door
Control, Light Feature.
Receiving Eye Safety Reversing
Sensor (Green Indicator Light)
Sending Eye Safety Reversing
Sensor (Amber Indicator Light)
6. My motor unit hums briefly:
• First verify that the trolley is against the stop bolt.
• Release the door from the opener by pulling the
Emergency Release Rope.
• Manually bring the door to a closed position.
• Loosen the chain by adjusting the outer nut 4 to 5
turns. This relieves the tension.
• Run the motor unit from the remote control or door
control. The trolley should travel towards the door and
stop. If the trolley re-engages with the door, pull the
Emergency Release Rope to disengage.
• Decrease the UP travel by turning the UP Travel
adjustment screw 2 full turns away from the arrow.
• Re-tighten the outer nut so the chain is a 1/2" (13 mm)
above the base of the rail. (When the door is
reconnected and closed, the chain will sag. This is
normal.)
• If the trolley does not move away from the bolt, repeat
the steps above.
Bell Wire
Safety Reversing Sensor
Diagnostics
Located On
Motor Unit
LED or
Diagnostic
LED
“Learn”
Button

30
Installed
Safety Reversing
Sensor
Your garage door opener is programmed with self-diagnostic
capabilities. The “Learn” button/diagnostic LED will flash a
number of times then pause signifying it has found a potential
issue. Consult Diagnostic Chart below.
Diagnostic Chart
Symptom: One or both of the Indicator lights on the safety sensors do
not glow steady.
• Inspect sensor wires for a short (staple in wire), correct wiring polarity
(black/white wires reversed), broken or disconnected wires, replace/attach
as needed.
• Disconnect all wires from back of motor unit.
• Remove sensors from brackets and shorten sensor wires to 1-2 ft. (30-60 cm)
from back each of sensor.
• Reattach sending eye to motor unit using shortened wires. If sending eye
indicator light glows steadily, attach the receiving eye.
• Align sensors, if the indicator lights glow replace the wires for the sensors. If
the sensor indicator lights do not light, replace the safety sensors.
Symptom: LED is not lit on door control.
• Inspect door control/wires for a short (staple in wire), replace as needed.
• Disconnect wires at door control, touch wires together. If motor unit activates,
replace door control.
• If motor unit does not activate, disconnect door control wires from motor unit.
Momentarily short across red and white terminals with jumper wire. If motor
unit activates, replace door control wires.
Symptom: Sending indicator light glows steadily, receiving indicator light
is dim or flashing.
• Realign receiving eye sensor, clean lens and secure brackets.
• Verify door track is firmly secured to wall and does not move.
Symptom: Motor has over heated; the motor unit does not operate or
trolley is stuck on stop bolt = Motor unit hums briefly; RPM Sensor =
Short travel 6-8" (15-20 cm).
• Unplug unit to reset. Try to operate motor unit, check diagnostic code.
• If it is still flashing 5 times and motor unit moves 6-8" (15-20 cm), replace
RPM sensor.
• If motor unit doesn’t operate, motor unit is overheated. Wait 30 minutes and
retry. If motor unit still will not operate replace logic board.
Symptom: Motor unit doesn’t operate.
• Replace logic board because motor rarely fails.
Motor Circuit Failure.
Replace Receiver
Logic Board.
Motor overheated or
possible RPM sensor
failure. Unplug to reset.
Safety reversing sensors
slightly misaligned
(dim or flashing LED).
Door control or
wire shorted.
Safety reversing sensors
wire shorted or black/
white wire reversed.
Safety reversing sensors
wire open (broken or
disconnected).
1 FLASH
2 FLASHES
3 FLASHES
4 FLASHES
5 FLASHES
6 FLASHES
OR
Bell Wire
Safety Reversing Sensor
Diagnostics
Located On
Motor Unit
LED or
Diagnostic
LED
“Learn”
Button

*3-Button Remotes
If provided with your garage door opener, the large button
is factory programmed to operate it. Additional buttons on
any Security✚® 3-Button remote
or compact remote can be
programmed to operate
other Security✚® garage
door openers.
To Erase All Codes From Motor Unit
Memory
To deactivate any unwanted remote, first
erase all codes:
Press and hold the “learn” button on motor
unit until the learn indicator light goes out
(approximately 6 seconds). All previous
codes are now erased. Reprogram each
remote or keyless entry you wish to use.
1. Press and hold the button on the
hand-held remote* that you wish to
operate your garage door.
While holding the remote button,
press and hold the LIGHT button on
the Multi-Function Door Control.
3. Continue holding both buttons while
you press the push bar on the
Multi-Function Door Control (all three
buttons are held).
4. Release buttons when the motor unit
lights blink. It has learned the code. If
light bulbs are not installed, two
clicks will be heard.
1. Press and release the “learn” button
on the motor unit. The learn indicator
light will glow steadily for 30
seconds.
2. Within 30 seconds, press and hold
the button on the hand-held remote*
that you wish to operate your garage
door.
3. Release the button when the motor
unit lights blink. It has learned the
code. If light bulbs are not installed,
two clicks will be heard.
To Add or Reprogram a Hand-held Remote Control
USING THE “LEARN” BUTTON USING THE MULTI-FUNCTION DOOR CONTROL
PROGRAMMING
31
Your garage door opener has already been programmed at the factory to operate with your hand-held remote control.
The door will open and close when you press the large push button.
Below are instructions for programming your opener to operate with additional Security✚® remote controls.
NOTICE: If this Security✚® garage door opener is operated with a non-rolling code transmitter, the technical measure in
the receiver of the garage door opener, which provides security against code-theft devices, will be circumvented. The
owner of the copyright in the garage door opener does not authorize the purchaser or supplier of the non-rolling code
transmitter to circumvent that technical measure.
KG
1
3
9
7
5
KG
1
3
9
7
5
LOCK
LIGHT
LOCK
LIGHT
LOCK
LIGHT

32
1. Enter a four digit personal
identification number (PIN) of your
choice on the keypad. Then press
and hold ENTER.
2. While holding the ENTER button,
press and hold the LIGHT button on
the Multi-Function Door Control.
3. Continue holding the ENTER and
LIGHT buttons while you press the
push bar on the Multi-Function Door
Control (all three buttons are held).
4. Release buttons when the motor unit
lights blink. It has learned the code. If
light bulbs are not installed, two clicks
will be heard.
To Add, Reprogram or Change a Keyless Entry PIN
NOTE: Your new Keyless Entry must be programmed to operate your garage door opener.
USING THE “LEARN” BUTTON USING THE MULTI-FUNCTION DOOR CONTROL
NOTE: This method requires two people if the Keyless Entry
is already mounted outside the garage.
LOCK
LIGHT
LOCK
LIGHT
To change an existing, known PIN
If the existing PIN is known, it may be changed by one
person without using a ladder.
1. Press the four buttons for the present PIN, then press and
hold the # button.
The opener light will blink twice. Release the # button.
2. Press the new 4-digit PIN you have chosen, then
press Enter.
The motor unit lights will blink once when the PIN has been
learned.
Test by pressing the new PIN, then press Enter. The door
should move.
To set a temporary PIN
You may authorize access by visitors or service people with a
temporary 4-digit PIN. After a programmed number of hours
or number of accesses, this temporary PIN expires and will
no longer open the door. It can be used to close the door
even after it has expired. To set a temporary PIN:
1. Press the four buttons for your personal entry PIN (not the
last temporary PIN), then press and hold the ✽ button.
The opener light will blink three times. Release the button.
2. Press the temporary 4-digit PIN you have chosen, then
press Enter.
The opener light will blink four times.
3. To set the number of hours this temporary PIN will work,
press the number of hours (up to 255), then press ✽.
OR
3. To set the number of times this temporary PIN will work,
press the number of times (up to 255), then press #.
The opener light will blink once when the temporary PIN has
been learned.
Test by pressing the four buttons for the temporary PIN, then
press Enter. The door should move. If the temporary PIN was
set to a certain number of openings, remember that the test
has used up one opening.To clear the temporary password,
repeat steps 1-3, setting the number of hours or times to 0 in
step 3.
LOCK
LIGHT
One Button Close: Opener can be closed by pressing only the ENTER button if the one button close feature has been
activated. This feature has been activated at the factory. To activate or deactivate this feature press and hold buttons 1
and 9 for 10 seconds. The keypad will blink twice when the one button close is active. The keypad will blink four times
when one button close is deactivated.
1. Press and release the “learn” button
on motor unit. The learn indicator light
will glow steadily for 30 seconds.
2. Within 30 seconds, enter a four digit
personal identification number (PIN) of
your choice on the keypad. Then
press and hold the ENTER button.
3. Release the button when the motor
unit lights blink. It has learned the
code. If light bulbs are not installed,
two clicks will be heard.

1
34
5
6
2
33
REPAIR PARTS
Rail Assembly Parts
KEY PART
NO. NO. DESCRIPTION
1 4A1008 Master link kit
2 41A4813 Chain pulley bracket
3 41A3489 Complete trolley
assembly
4 1707LMC One-piece rail - 7' (2.1 m)
1708LMC One-piece rail - 8' (2.4 m)
1710LMC One-piece rail - 10' (3 m)
5 41D3484 Full chain assembly
6 83A11-2 Rail grease
7
6
NOTICE
11
4
UP
CEILING MOUNT ONLY
8
12
5
1
9
10
LOCK
LIGHT
2
3
Installation Parts
KEY PART
NO. NO. DESCRIPTION
1 41A5273-1 Multi-function door control panel
2 373LMC 3-Button remote control
3 10A20 3V2032 Lithium battery
4 29B137 Remote control visor clip
5 41A5047 Door bracket w/clevis pin & fastener
6 41A2828 Emergency release rope & handle
assembly
7 178B34 Straight door arm section
8 41A4353 Header bracket w clevis pin &
fastener
9 41A5034 Safety sensor kit (receiving and
sending eyes) with 3' (.9 m)
2-conductor bell wire
10 41A5266-1 Safety sensor brackets (2)
11 41B4494-1 2-Conductor bell wire, white & white/
red
12 178B35 Curved door arm section
NOT SHOWN
41A2770-6 Installation hardware bag
(includes hardware listed on page 5).
114A3646 Owner’s manual

Motor Unit Assembly Parts
34
2
10
8
13
14
15
5
19
3
9
4
16
12
7
18
11
17 6
6
7
DN
UP
Brown
Wire
(Down)
Contact LIMIT SWITCH
ASSEMBLY
Grey
Wire
Yellow
Wire
(Up)
Contact
Center Limit
Contact
Drive
Gear
1
KEY PART
NO. NO. DESCRIPTION
1 31D380 Sprocket cover
2 41C4220A Gear and sprocket assembly
Complete with: Spring
washer, thrust washer,
retaining ring, bearing plate,
roll pins (2), drive gear and
worm gear, helical gear w/
retainer and grease
3 41A2817 Drive/worm gear kit w/grease,
roll pins (2)
4 41B4245 Line cord
5 41A5484-1 End panel w/all labels
6 4A1344 Light socket
7 108D79 Lens
8 30B532 Capacitor
9 12A373 Capacitor bracket
10 41A3150 Terminal block w/screws
11 41D3058 Universal replacement motor
& bracket assembly
Complete with: Motor, worm,
bracket, bearing assembly,
RPM sensor
KEY PART
NO. NO. DESCRIPTION
12 41A5525-1 Cover
13 41A2818 Limit switch drive & retainer
14 41D3452 Limit switch assembly
15 41A2822-1 Interrupter cup assembly
16 41C4398A RPM sensor assembly
17 41AC050-2M Receiver logic board assy.
Complete with: Logic board,
end panel w/all labels, light
socket
18 41C5498 Low voltage wire harness
assembly.
41C5497 High voltage wire harness
assembly.
19 41D180-1 End panel w/all labels
NOT SHOWN
41A2826 Motor shaft bearing kit
41A2825 Opener assembly hardware
kit (includes screws not
designated by a number in
illustration)

35
ACCESSORIES
374LMC
370LMC
395LMC
41A5281
1702LM Outside Quick Release:
Required for a garage with NO access
door. Enables homeowner to open
garage door manually from outside by
disengaging trolley.
Remote Light Control:
Enables homeowner to turn on a lamp,
television or other appliance from their
car with their garage door opener
remote or from anywhere in their home
with an additional LiftMaster Security✚®
remote.
Designer Burled Walnut 3-Button
Remote Control with Security✚®:
Includes visor clip.
4-Button Security✚® Remote Control:
Includes visor clip.
Multi-Function Door Control Panel:
Provides a Lock Feature which
prevents operation of garage door
opener from portable remotes and a
Light Feature for constant light.
377LMC
Extension Brackets:
(Optional) For safety sensor installation
onto the wall or floor.
373WC
Wireless Keyless Entry with
Security✚®:
Enables homeowner to operate garage
door opener from outside by entering a
password on a specially designed
keyboard. Also can add a temporary
password for visitors or service
persons. This temporary password can
be limited to a programmable number
of hours or entries.
78LMC
3-Button Mini-Remote Control with
Security✚®:
With key ring and fastening strip.
902LMC/
903LMC
2 & 3 Door Multi-Function Wall
Control:
Ideal for homes with up to three garage
doors. Combine up to three controls
into one wall control panel for a neat
compact appearance. Enhanced
functions include Lock Feature to lock
out outside radio signals while you are
away from home and turn opener lights
on or off from the control panel. Garage Door Monitor:
Security for the largest door of your
home!
Tells you if your garage door is open or
closed. Monitors up to 4 garage doors
by adding additional sensor modules.
915LMC
Garage Door Monitor Sensor:
Additional accessory sensor for homes
with multiple garage doors.
916LMC
373LMC 3-Button Security✚® Remote Control:
Includes visor clip.
CLOSED
OPEN
LOCK
LIGHT
975LMC Laser Park Assist:
Laser enables homeowners to precisely
park vehicles in the garage.
SECURITY✚® 3-Button Remote
Control:
Includes visor clip.
373PC

© 2008, The Chamberlain Group, Inc.
114A3646 All Rights Reserved
LIFTMASTER ONE-YEAR LIMITED WARRANTY
LIFETIME MOTOR LIMITED WARRANTY
The Chamberlain Group, Inc. (“Seller”) warrants to the first retail purchaser of this product, for the residence in which this product is
originally installed, that it is free from defect in materials and/or workmanship for a period of one year from the date of purchase and that
the motor is free from defect in materials and/or workmanship for the lifetime of the product. The proper operation of this product is
dependent on your compliance with the instructions regarding installation, operation, maintenance and testing. Failure to comply strictly
with those instructions will void this warranty in its entirety.
If, during the limited warranty period, this product appears to contain a defect covered by this limited warranty, call
1-800-528-9131, toll free, before dismantling this product. Then send this product, pre-paid and insured, to our service center for warranty
repair. You will be advised of shipping instructions when you call. Please include a brief description of the problem and a dated proof-of-
purchase receipt with any product returned for warranty repair. Products returned to Seller for warranty repair, which upon receipt by
Seller are confirmed to be defective and covered by this limited warranty, will be repaired or replaced (at Seller’s sole option) at no cost
to you and returned pre-paid. Defective parts will be repaired or replaced with new or factory-rebuilt parts at Seller’s sole option.
THIS LIMITED WARRANTY IS IN LIEU OF ANY OTHER WARRANTIES, EXPRESS OR IMPLIED, INCLUDING ANY IMPLIED
WARRANTY OF MERCHANTABILITY OR FITNESS FOR A PARTICULAR PURPOSE OR OTHERWISE, AND OF ANY OTHER
OBLIGATIONS OR LIABILITY ON SELLER’S PART. THIS LIMITED WARRANTY DOES NOT COVER NON-DEFECT DAMAGE,
DAMAGE CAUSED BY IMPROPER INSTALLATION, OPERATION OR CARE (INCLUDING, BUT NOT LIMITED TO ABUSE, MISUSE,
FAILURE TO PROVIDE REASONABLE AND NECESSARY MAINTENANCE, UNAUTHORIZED REPAIRS OR ANY ALTERATIONS TO
THIS PRODUCT), LABOR CHARGES FOR REINSTALLING A REPAIRED OR REPLACED UNIT, REPLACEMENT OF BATTERIES
AND LIGHT BULBS OR UNITS INSTALLED FOR NON-RESIDENTIAL USE.
THIS LIMITED WARRANTY DOES NOT COVER ANY PROBLEMS WITH, OR RELATING TO, THE GARAGE DOOR OR GARAGE
DOOR HARDWARE, INCLUDING BUT NOT LIMITED TO THE DOOR SPRINGS, DOOR ROLLERS, DOOR ALIGNMENT OR HINGES.
ANY SERVICE CALL THAT DETERMINES THE PROBLEM HAS BEEN CAUSED BY ANY OF THESE ITEMS COULD RESULT IN A
FEE TO YOU.
UNDER NO CIRCUMSTANCES SHALL SELLER BE LIABLE FOR CONSEQUENTIAL, INCIDENTAL OR SPECIAL DAMAGES
ARISING IN CONNECTION WITH USE, OR INABILITY TO USE, THIS PRODUCT. IN NO EVENT SHALL SELLER’S LIABILITY FOR
BREACH OF WARRANTY, BREACH OF CONTRACT, NEGLIGENCE OR STRICT LIABILITY EXCEED THE COST OF THE PRODUCT
COVERED HEREBY. NO PERSON IS AUTHORIZED TO ASSUME FOR US ANY OTHER LIABILITY IN CONNECTION WITH THE
SALE OF THIS PRODUCT.
Some provinces do not allow the exclusion or limitation of consequential, incidental or special damages, so the above limitation or
exclusion may not apply to you. This limited warranty gives you specific legal rights, and you may also have other rights which vary from
province to province.
LIFTMASTER SERVICE IS
ON CALL
OUR LARGE SERVICE ORGANIZATION
SPANS AMERICA AND CANADA
INSTALLATION AND SERVICE INFORMATION IS AS NEAR
AS YOUR TELEPHONE. SIMPLY DIAL OUR TOLL
FREE NUMBER:
1-800-528-9131
www.liftmaster.com
For professional installation, parts and service, contact
your local LIFTMASTER/CHAMBERLAIN dealer. Look for him
in the Yellow Pages, or call our Service number for a list of
dealers in your area.
HOW TO ORDER
REPAIR PARTS
Selling prices will be furnished on request or parts will be
shipped at prevailing prices and you will be billed accordingly.
WHEN ORDERING REPAIR PARTS, ALWAYS GIVE THE
FOLLOWING INFORMATION:
• PART NUMBER
• PART NAME
• MODEL NUMBER
ADDRESS ORDERS TO:
THE CHAMBERLAIN GROUP, INC.
Technical Support Group
6050 S. Country Club Road
Tucson, Arizona 85706
SERVICE INFORMATION
TOLL FREE NUMBER:
1-800-528-9131

The Chamberlain Group, Inc.
845 Larch Avenue
Elmhurst, Illinois 60126-1196
www.liftmaster.com
OUVRE-PORTE DE GARAGE
Modèles 3265CM 1/2 HP
3265-267CM 1/2 HP
Pour résidences seulement
Manuel d’instructions
Lire attentivement ce manuel ainsi que les consignes de sécurité!
Après la pose, accrocher ce manuel près de la porte de garage pour s’y reporter
ultérieurement.
La porte NE SE FERMERA PAS si le Système Protector® n’est pas branché et
réglé correctement.
Pour un bon fonctionnement en toute sécurité de cet ouvre-porte de garage, le
vérifier et le régler périodiquement.
L’étiquette du numéro de modèle est située sur le panneau avant de votre ouvre-
porte.
®

2
Introduction 2-5
Revue des symboles de sécurité et des mots
de signalement. . . . . . . . . . . . . . . . . . . . . . . . . . . . . . . . . . 2
Préparation de votre porte de garage . . . . . . . . . . . . . . . . 3
Outils nécessaires . . . . . . . . . . . . . . . . . . . . . . . . . . . . . . . 3
Planification . . . . . . . . . . . . . . . . . . . . . . . . . . . . . . . . . . . . 4
Inventaire de la boîte d’emballage . . . . . . . . . . . . . . . . . . . 5
Inventaire des fixations. . . . . . . . . . . . . . . . . . . . . . . . . . . . 5
Montage 6-7
Fixation du rail au moteur. . . . . . . . . . . . . . . . . . . . . . . . . . 6
Fixation de la chaîne au pignon . . . . . . . . . . . . . . . . . . . . . 6
Tension de la chaîne . . . . . . . . . . . . . . . . . . . . . . . . . . . . . 7
Pose 7-22
Instructions pour une pose en toute sécurité . . . . . . . . . . . . 7
Déterminer l’emplacement du support de linteau. . . . . . . . . 8
Pose du support de linteau . . . . . . . . . . . . . . . . . . . . . . . . 9
Fixation du rail sur le support de linteau . . . . . . . . . . . . . 10
Positionnement de l’ouvre-porte. . . . . . . . . . . . . . . . . . . . 11
Accrochage de l’ouvre-porte . . . . . . . . . . . . . . . . . . . . . . 12
Pose de la commande de porte . . . . . . . . . . . . . . . . . . . . 13
Pose des l’ampoule . . . . . . . . . . . . . . . . . . . . . . . . . . . . . 14
Pose de la corde et de la poignée de
déclenchement d’urgence . . . . . . . . . . . . . . . . . . . . . . . . 14
Exigences électriques . . . . . . . . . . . . . . . . . . . . . . . . . . . 15
Pose du Système Protector®. . . . . . . . . . . . . . . . . . . 16-18
Fixation du support de la porte . . . . . . . . . . . . . . . . . 19-20
Fixation de la biellette de la porte au chariot . . . . . . . 21-22
Réglages 23-25
Réglage des courses . . . . . . . . . . . . . . . . . . . . . . . . . . . . 23
Réglage de la force . . . . . . . . . . . . . . . . . . . . . . . . . . . . . 24
Contrôle du système d’inversion de sécurité . . . . . . . . . . 25
Essai du Système Protector® . . . . . . . . . . . . . . . . . . . . . 25
Fonctionnement 26-30
Instructions de fonctionnement en toute sécurité . . . . . . 26
Utilisation de votre ouvre-porte de garage. . . . . . . . . . . . 26
Utilisation de la commande de porte murale. . . . . . . . . . . . 27
Ouverture manuelle de la porte . . . . . . . . . . . . . . . . . . . . 27
Entretien de votre ouvre-porte de garage . . . . . . . . . . . . 28
Défauts de fonctionnement . . . . . . . . . . . . . . . . . . . . . . . 29
Fiche diagnostique . . . . . . . . . . . . . . . . . . . . . . . . . . . . . . 30
Programmation 31-32
Pour ajouter ou reprogrammer
une télécommande à main. . . . . . . . . . . . . . . . . . . . . . . . 31
Pour effacer tous les codes . . . . . . . . . . . . . . . . . . . . . . . 31
Télécommandes à trois boutons . . . . . . . . . . . . . . . . . . . 31
Pour ajouter, reprogrammer ou
modifier un NIP d’entrée sans clé . . . . . . . . . . . . . . . . . . 32
Pièces de réparation 33-34
Pièces d’assemblage du rail . . . . . . . . . . . . . . . . . . . . . . 33
Pièces pour la pose . . . . . . . . . . . . . . . . . . . . . . . . . . . . . 33
Pièces d’assemblage du moteur . . . . . . . . . . . . . . . . . . . 34
Accessoires 35
Pièces de réparation et service 36
Garantie 36
Lorsque vous verrez ces symboles de sécurité et ces mots de
signalement sur les pages suivantes, ils vous aviseront de la
possibilité de blessures graves ou de mort si vous ne vous
conformez pas aux avertissements qui les accompagnent. Le
danger peut provenir de source mécanique ou d’un choc
électrique. Lisez attentivement les avertissements.
Lorsque vous verrez ce mot de signalement sur les pages
suivantes, il vous avisera de la possibilité de dommages à votre
porte de garage ou ouvre-porte de garage, ou les deux, si vous
ne vous conformez pas aux énoncés de mise en garde qui l
’accompagnent. Lisez-les attentivement.
Mécanique
Électrique
ATTENTION
AVERTISSEMENTAVERTISSEMENT AVERTISSEMENT
AVERTISSEMENT
AVERTISSEMENT
ATTENTION
AVERTISSEMENT AVERTISSEMENTAVERTISSEMENT
AVERTISSEMENT
AVERTISSEMENT
ATTENTIONATTENTION
AVERTISSEMENT AVERTISSEMENT
AVERTISSEMENT
AVERTISSEMENT
INTRODUCTION
Revue des symboles de sécurité
et des mots de signalement
Cet ouvre-porte de garage a été conçu et testé dans le but d’offrir un service sûr à condition qu’il soit installé, utilisé, entretenu et
testé en stricte conformité avec les instructions et les avertissements contenus dans le présent manuel.
TABLE DES MATIÈRES

3
Pince universelle
Pince coupante
Marteau
Scie à métaux
Tournevis Clé à molette
Clé à douille et douilles
de 1/2 po et 7/16 de po
Perceuse
Ruban à mesurer
2
1
Escabeau
Crayon
Forets de 3/16 de po,
de 5/16 de po et 5/32 de po
Niveau de
menuisier (facultatif)
Pour prévenir les dommages à la porte de garage et à
l’ouvre-porte :
• TOUJOURS désactiver les serrures AVANT de poser et d’utiliser
l’ouvre-porte.
• Faire fonctionner l’ouvre-porte de garage UNIQUEMENT à une
tension de 120 V, 60 Hz pour éviter les défauts de fonctionnement
et les dommages.
Pour prévenir d’éventuelles BLESSURES GRAVES ou LA MORT :
• TOUJOURS appeler un technicien formé en systèmes de porte si la
porte de garage force ou est déséquilibrée. Une porte de garage
déséquilibrée peut ne pas remonter au besoin.
• Ne JAMAIS tenter de desserrer, déplacer ou régler la porte de
garage ainsi que les ressorts, câbles, poulies, supports de porte ou
leurs ferrures de montage, lesquels sont tous sous une tension
EXTRÊME.
• Désactiver TOUTES les serrures et retirer TOUTES les cordes
raccordées à la porte de garage AVANT de poser et d’utiliser
l’ouvre-porte de garage afin d’éviter un emmêlement.
Préparation de votre porte de garage
Avant de commencer :
• Désactiver les serrures.
• Retirer toute corde raccordée à la porte de garage.
• Réaliser le test suivant pour s’assurer que la porte de
garage est équilibrée et qu’elle ne force pas :
1. Soulever la porte à moitié, comme illustré, puis la relâcher.
Si elle est équilibrée, elle devrait rester en place,
entièrement supportée par ses ressorts.
2. Faire monter et descendre la porte pour s’assurer
qu’elle ne force pas.
Si votre porte force ou est déséquilibrée, appeler un technicien
formé en systèmes de porte.
Outils nécessaires
Lors de l’assemblage, de la pose et du réglage de l’ouvre-porte,
les instructions feront appel aux outils à main illustrés ci-après.
ATTENTION
AVERTISSEMENT AVERTISSEMENT
AVERTISSEMENT
AVERTISSEMENTAVERTISSEMENT
ATTENTIONATTENTION
AVERTISSEMENT AVERTISSEMENT
AVERTISSEMENT
AVERTISSEMENT
Porte articulée
Porte rigide

Lorsque la porte du garage
est fermée, il est normal
que la chaîne dessine une courbe.
Linteau
Détecteur inverseur
de sécurité
Détecteur inverseur
de sécurité
L'espace entre le
plancher et le bas de
la porte ne doit pas
dépasser 1/4 po (6 mm).
Moteur
Commande
de porte
murale
PLAFOND FINI
Une cornière et des
fixations peuvent être
requises. Se reporter à
la page 12.
Porte
d'accès
POSE DE PORTE RIGIDE SANS GUIDES
4
Planification
Identifier le type et la hauteur de votre porte de garage. Examiner la région du garage pour noter si l’une des conditions ci-après
s’applique à votre installation. Des matériaux supplémentaires peuvent être nécessaires. Il vous sera peut-être utile de vous reporter
à cette page et aux illustrations qui l’accompagnent en procédant à la pose de l’ouvre-porte.
Porte
d'accès
L'espace entre le plancher et le bas de la
porte ne doit pas être supérieur à 1/4 po (6 mm).
Détecteur
inverseur de sécurité
Détecteur inverseur de sécurité
Lorsque la porte du garage est fermée,
il est normal que la chaîne dessine
une courbe.
PORTE RIGIDE AVEC GUIDES
— — — — — — — —
Il faudra poser des renforts horizontaux
et verticaux dans le cas d'une porte de
garage légère (en fibre de verre, en acier,
en aluminium, en panneaux de verre, etc.).
Se reporter à la page 19 pour plus de détails.
Linteau
Détecteur
inverseur
de sécurité
Détecteur inverseur de sécurité
L'espace entre le plancher
et le bas de la porte ne doit pas être supérieur à 1/4 po (6 mm).
Ressort de traction
Ressort
de torsion
Porte
d'accès
OU
Lorsque la porte du garage
est fermée, il est normal
que la chaîne dessine une courbe.
Commande
de porte
murale
Moteur
PLAFOND FINI
Une cornière et des
fixations peuvent être
requises. Se reporter à
la page 12.
Ligne du centre
vertical de la
porte de garage
POSE DE PORTE ARTICULÉE

UP
CEILING MOUNT ONLY
Carter du pignon
Agrafe de pare-soleil
pour télécommande
Support de linteau
Support de
la porte
Biellette
courbée
Mousse de
polystyrène
Chaîne
Rail rigide
Support de la poulie
de la chaîne
Chariot
Biellette
droite
Documentation
et étiquettes
de sécurité
Support du détecteur
de sécurité (2)
(2) Capteurs d'inversion de sécurité
(1 œil de transmission et 1 œil de réception)
avec fil de sonnerie blanc et blanc/noir
à deux conducteurs fixé
Panneau de commande
de porte multifonction
LOCK
LIGHT
Fil de sonnerie
blanc et blanc/rouge
à 2 conducteurs
Moteur avec un diffuseurs
SECURITY✚®
Télécommande
à trois boutons
Modèles 3265C (1)
3265C-267 (2)
SECURITY✚®
Système d’ouverture sans clé
Modèle 3265C-267
UNIQUEMENT
The Protector System®
5
Inventaire de la boîte d’emballage
Votre ouvre-porte de garage est emballé dans deux boîtes qui
contiennent le moteur et toutes les pièces illustrées ci-après. Les
accessoires dépendront du modèle acheté. S’il manque quoi que
ce soit, vérifier soigneusement le matériel d’emballage. Les
pièces peuvent être coincées dans la mousse. Les ferrures de
montage sont également indiquées ci-après.
FIXATIONS DE POSE
Boulon hexagonal de 5/16 po-18 x 7/8 po (4)
Tire-fond de 5/16 po -9 x 1-5/8 po (2)
Tire-fond de 5/16 po -18 x 1-7/8 po (2)
Axe de chape de 5/16 po x 2-3/4 po (1)
Axe de chape de 5/16 po x 1-1/4 po (1)
Axe de chape de 5/16 po x 1 po (1)
Écrou de 5/16 po -18 (4)
Rondelle-frein de 5/16 po (4)
Vis 6AB x 1-1/4 po (2)
Vis 6-32 x 1 po (2)
Vis autotaraudeuse 1/4 po -14 x 5/8 po (2)
Agrafes isolées (30)
Anneau d’arrêt (3)
Chevilles pour murs secs (2)
Graisse à rail
Boulon à tête bombée et à collet carré
1/4 po-20 x 1/2 po (2)
Écrou à oreilles de 1/4 po-20 (2)
Corde
Poignée

6
MONTAGE - 1re OPÉRATION
Fixation du rail au moteur
Pour éviter les difficultés pendant la pose, ne faire
fonctionner l'ouvre-porte de garage que lorsque cela est
expressément indiqué.
• Enlever les deux boulons à rondelles montés sur le dessus du
moteur.
• Placer le rail à un angle de 45˚ de l'ouvre-porte de façon à ce
qu’un des trous du rail soit aligné sur un des trous du moteur.
• Visser partiellement l'une des boulons à rondelles.
Il importe de n’utiliser que ces boulons! Tout autre boulon
causera des dommages considérables à l’ouvre-porte.
• Aligner le rail et la mousse de polystyrène par-dessus le
pignon. Couper le ruban adhésif du rail, de la chaîne et de la
mousse.
• ENLEVER LA MOUSSE DE POLYSTYRÈNE.
Afin d’éviter d’endommager SÉRIEUSEMENT l’ouvre-porte de garage,
utiliser UNIQUEMENT les boulons et les fixations montés sur le
dessus de l’ouvre-porte.
ATTENTIONATTENTION
AVERTISSEMENT AVERTISSEMENT
AVERTISSEMENT
AVERTISSEMENT
MONTAGE - 2e OPÉRATION
Montage de la chaîne au pignon et
installation du carter du pignon
• Placer la chaîne par-dessus le pignon. Si nécessaire,
desserrer l’écrou externe du chariot afin de donner plus de jeu
à la chaîne.
• Insérer le deuxième boulon à rondelle. ATTENTION :
N'utiliser que les boulons auparavant démontés du
moteur!
• Serrer les deux boulons fortement à travers le rail et dans le
moteur, comme illustré.
• Pour fixer le carter du pignon : Introduire la patte arrière dans
la fente. Serrer légèrement le carter et introduire la patte avant
dans la fente de la plaque de fixation.
Pour éviter d’éventuelles BLESSURES GRAVES aux doigts par suite
du mouvement de l’ouvre-porte :
• TOUJOURS garder la main à l’écart du pignon lorsque l’ouvre-porte
fonctionne.
• Fixer solidement le carter du pignon AVANT de faire fonctionner
l’ouvre-porte.
ATTENTION
AVERTISSEMENTAVERTISSEMENT AVERTISSEMENT
AVERTISSEMENT
AVERTISSEMENT
Tr o u
du Rail
Mousse de
polystyrène
N'UTILISER QUE
CE TYPE ET QUE
CETTE GROSSEUR DE
BOULON
Boulon à rondelle de blocage
de 5/16 po-18 x 1/2 po
Boulon à rondelle de blocage
de 5/16 po-18 x 1/2 po Pignon de
moteur
Carter du pignon
Plaque
de fixation
Fente de la
patte avant
Fente de la
patte arrière
N'UTILISER QUE
CE TYPE ET QUE CETTE
GROSSEUR DE BOULON

7
POSE
IMPORTANTES INSTRUCTIONS CONCERNANT
LA POSE
1. LIRE ET SUIVRE TOUS LES AVERTISSEMENTS ET
INSTRUCTIONS DE POSE.
2. Poser l’ouvre-porte de garage uniquement sur une porte de
garage bien équilibrée et lubrifiée. Une porte mal équilibrée peut
ne pas remonter au besoin et pourrait provoquer des BLESSURES
GRAVES ou la MORT.
3. Toutes les réparations aux câbles, ensembles de ressort et autres
ferrures de montage DOIVENT être confiées à un technicien formé
en systèmes de porte AVANT de poser l’ouvre-porte.
4. Désactiver TOUTES les serrures et retirer TOUTES les cordes
raccordées à la porte de garage AVANT de poser l’ouvre-porte
afin d’éviter un emmêlement.
5. Poser l’ouvre-porte de garage à au moins 7 pieds (2,13 m)
au-dessus du sol.
6. Monter la poignée de déclenchement d’urgence à 6 pieds (1,83
m) au-dessus du sol.
7. Ne JAMAIS raccorder l’ouvre-porte de garage à une source de
courant avant d’avoir reçu l’instruction de le faire.
8. Ne JAMAIS porter de montres, bagues ou vêtements amples
durant la pose ou l’entretien de l’ouvre-porte. Ils pourraient être
happés par la porte de garage ou les mécanismes de
l’ouvre-porte.
9. Poser la commande de porte murale :
• en vue de la porte de garage
• hors de la portée des enfants à une hauteur minimum
de 5 pieds (1,5 m)
• à l’écart de TOUTES les pièces mobiles de la porte.
10. Placer l’étiquette d’avertissement de prise au piège sur le mur à
côté de la commande de la porte de garage.
11. Placer l’étiquette d’essai d’inversion de sécurité/ouverture
manuelle bien en vue à l’intérieur de la porte de garage.
12. Au terme de la pose, faire l’essai du système d’inversion de
sécurité. La porte DOIT remonter au contact d’une objet d’une
hauteur de 1-1/2 po (3,8 cm) (ou un 2 x 4 posé à plat) sur
le sol.
Pour réduire le risque de BLESSURES GRAVES
ou MORTELLES :
AVERTISSEMENT
AVERTISSEMENT
AVERTISSEMENTAVERTISSEMENT
MONTAGE - 3e OPÉRATION
Tension de la chaîne
• Dévisser l'écrou intérieur de la tige filetée du chariot et
éloigner la rondelle.
• Pour tendre la chaîne, tourner l'écrou extérieur dans le sens
illustré (Figure 1).
• Lorsque la chaîne est à environ 1/2 pouce (13 mm) au-dessus
du patin du rail en son point médian, resserrer l'écrou intérieur
pour fixer le réglage.
Le pignon peut faire du bruit si la chaîne est trop détendue.
Lorsque la pose est terminée, la chaîne peut pendre lorsque la
porte est fermée. Ceci est tout à fait normal. Si la chaîne revient
à la position illustrée lorsque la porte est ouverte, ne pas
retendre la chaîne.
REMARQUE : Pour toutes les mises au point ultérieures,
TOUJOURS tirer la poignée de déclenchement d’urgence avant
d’ajuster la chaîne.
REMARQUE : La chaîne sera peut-être plus détendue après la
3e opération de réglage (Essai du système d’inversion de
sécurité). Vérifier la tension et la régler de nouveau au besoin.
Répéter ensuite la 3e opération de réglage.
Le montage de l'ouvre-porte de garage est maintenant
terminé. Lire les avertissements suivants avant de procéder
à la section sur la pose.
Rondelle-frein
Pour visser
l'écrou extérieur
Écrou intérieur
Chariot
Chaîne
Patin du rail Mi-longuer du rail
1/2 pouce (13 mm)
Pour visser
l'écrou intérieur
É
crou extérieur
Figure 1
Figure 2

8
POSE – 1re OPÉRATION
Déterminer l’emplacement du support de
linteau
Les méthodes de pose varient en fonction de la porte du garage.
Suivre les instructions qui correspondent à la porte du garage
sur laquelle on pose l’ouvre-porte.
1. Fermer la porte et marquer l’axe vertical intérieur de la porte
du garage.
2. Prolonger cet axe sur le linteau au-dessus de la porte.
Ne pas oublier que l’on peut fixer le support du linteau à
moins de 4 pieds (1,22 m) à droite ou à gauche de l’axe de
la porte seulement si un ressort de torsion ou une plaque
d’appui centrale gêne; ce support peut également être fixé
au plafond (se reporter à la page 9) si le dégagement n’est
pas suffisant. (Il peut être monté à l’envers sur un mur, au
besoin, pour gagner environ 1/2 po (1 cm).
Si l’on doit poser le support de linteau sur un 2 x 4 (au mur ou
au plafond), utiliser des tire-fond (non fournis) pour s’assurer
que le 2 x 4 est bien retenu sur les solives, comme montré sur
cette page et à la page 9.
3. Ouvrir la porte à son point de course le plus haut, tel
qu’ illustré. Tracer une ligne horizontale d’intersection sur le
linteau au-dessus du point le plus haut :
• 2 po (5 cm) au-dessus du point le plus haut pour portes
articulées et portes rigides avec rail.
• 8 po (20 cm) au-dessus du point le plus haut pour portes
rigides sans rail.
Cette hauteur permettra d’obtenir un dégagement suffisant
pour le passage de la partie supérieure de la porte.
REMARQUE : Si le nombre total de pouces (centimètres)
dépasse la hauteur disponible dans le garage, utiliser la
hauteur maximum ou se reporter à la page 9 pour la pose
au plafond.
Porte articulée avec guide courbé Porte rigide avec guide horizontal
Linteau
Guide
Point de course
le plus haut
Porte
Porte
Guide
2 po (5 cm) Linteau
Point de course
le plus haut
2 po (5 cm)
Plafond
non fini MONTAGE DU
SUPPORT DE
LINTEAU AU
PLANFOND
EN OPTION
Linteau
2 x 4
Solives
Ligne du centre
vertical de la
porte de garage
Niveau de
menuisier
(Facultatif)
2x4
Porte rigide sans guides :
ferrure de montant
8 po (20 cm)
8 po (20 cm)
Porte rigide sans guides :
basculant sur pivots
Porte
Point de
course
le plus haut
Pivot
Point de course
le plus haut
Porte
Ferrure de
montant
Linteau
Linteau
Pour prévenir d’éventuelles BLESSURES GRAVES ou LA MORT :
• Le support de linteau DOIT être fixé DE MANIÈRE RIGIDE à la
solive sur le linteau ou le plafond, sinon la porte de garage pourrait
ne pas remonter au besoin. NE PAS poser le support de linteau sur
des plaques de placoplâtre.
• On DOIT utiliser des ancrages de béton pour le montage du support
de linteau ou d’un 2 x 4 dans la maçonnerie.
• Ne JAMAIS tenter de desserrer, déplacer ou régler la porte de
garage ainsi que les ressorts, câbles, poulies, supports de porte ou
leurs ferrures de montage, lesquels sont tous sous une tension
EXTRÊME.
• TOUJOURS appeler un technicien formé en systèmes de porte si la
porte de garage force ou est déséquilibrée. Une porte de garage
déséquilibrée peut ne pas remonter au besoin.
ATTENTION
AVERTISSEMENTAVERTISSEMENT AVERTISSEMENT
AVERTISSEMENT
AVERTISSEMENT

9
POSE – 2e OPÉRATION
Pose du support de linteau
Le support de linteau peut être fixé soit sur le mur, au-dessus de
la porte, soit au plafond. Suivre les instructions qui répondent le
mieux aux besoins particuliers. Ne pas poser le support de
linteau sur des panneaux de placoplâtre. Utiliser des
ancrages de béton (non fournis) pour la pose dans la
maçonnerie.
POSE DU SUPPORT DE LINTEAU AU MUR
• Centrer le support par rapport à l’axe vertical, la partie
inférieure du support étant alignée avec la ligne horizontale,
comme illustré (la flèche du support doit être orientée vers le
plafond).
• Marquer la série verticale des trous de support (ne pas utiliser
les trous prévus pour le montage au plafond). Percer des
avant-trous de 3/16 pouce et fixer fermement le support sur
une solive avec les fixations fournies.
Tire-fond de
5/16 de po-9 x 1-5/8 de po
GRANDEUR RÉELLE DES FIXATIONS
UP
CEILING MOUNT ONLY
UP
CEILING MOUNT ONLY
Tire-fond de
5/16 po- 9 x 1-5/8 po
Point de course
le plus haut
(de la porte du garage)
Linteau
Porte de
garage
Trous de fixation au mur
Trous de fixation au
mur en option
Le trou du clou n'est prévu que
pour le positionnement
seulement. Des tire-fond doivent
être utilisés pour fixer
le support de linteau.
Ressort de
la porte
Support
de linteau
2 x 4 fixé
sur les
poteaux
Ligne du centre vertical
de la porte de garage
Axe vertical de
la porte du garage
UP
CEILING MOUNT ONLY
UP
– Plafond fini –
Tire-fond de
5/16 po- 9 x 1-5/8 po
Linteau
Support de
linteau
6 po (15 cm)
maximum
Ressort de
la porte
Porte de
garage
Trous de fixation au plafond
Le trou du clou n'est prévu que
pour le positionnement seulement. Des
tire-fond doivent être utilisés pour fixer
le support de linteau.
Axe vertical de
la porte du garage
Ligne du centre
vertical de la
porte de garage
POSE DU SUPPORT DE LINTEAU AU PLAFOND
• Prolonger l’axe vertical sur le plafond, comme illustré.
• Centrer le support sur l’axe vertical à 6 pouces (15 mm) au
maximum du mur. S’assurer que la flèche est orientée vers le
mur. Le support peut être encastré dans le plafond si le
dégagement n’est pas suffisant.
• Marquer les trous latéraux. Percer des avant-trous de 3/16 po
et fixer fermement le support sur une solive du plafond à l’aide
des fixations fournies.

Support
temporaire
Porte de
garage
Axe de chape de
5/16 po x 2-3/4 po
Support de
la poulie
de la chaîne
Rail
Rail
Anneau d'arrêt
Support de linteau
Support
de linteau
Support de
la poulie
de la chaîne
Linteau
10
POSE - 3e OPÉRATION
Fixation du rail sur le support de linteau
• Positionner l’ouvre-porte de garage sur le plancher, juste sous
le support de linteau. Utiliser une des boîtes d’emballage pour
le protéger. REMARQUE : Si le ressort de la porte gêne, il
faudra demander de l’aide. Demander à une personne de bien
retenir l’ouvre-porte sur un support temporaire de façon que le
rail ne touche pas le ressort.
• Positionner le support du rail contre le support de linteau.
• Aligner les trous des supports et les raccorder avec un axe de
chape comme il est illustré.
• Introduire un anneau d’arrêt pour immobiliser.
Axe de chape de 5/16 po x 2-3/4 po Anneau d'arrêt
GRANDEUR RÉELLE DES FIXATIONS

11
PORTE RIGIDE SANS GUIDES
• Enlever l’emballage en mousse.
• La porte étant entièrement ouverte et parallèle au sol, mesurer
la distance qu’il y a entre le sol et la partie supérieure de la
porte.
• En se servant d’un escabeau comme support, lever le haut de
l’ouvre-porte à cette hauteur.
• Le haut de la porte doit être à la même hauteur que le dessus
du moteur. Ne pas positionner l’ouvre-porte à plus de
4 pouces (10 cm) au-dessus de ce point.
POSE - 4e OPÉRATION
Positionnement de l’ouvre-porte
Suivre les instructions qui se rapportent à la porte de garage
particulière, en se rapportant aux illustrations.
PORTE ARTICULÉE OU PORTE RIGIDE AVEC GUIDES
Un 2 x 4 posé à plat convient très bien pour obtenir l’espace qu’il
faut entre la porte et le rail.
• Enlever l’emballage en mousse.
• Lever l’ouvre-porte et le faire reposer sur un escabeau. Si
l’escabeau n’est pas assez haut, demander de l’aide.
• Ouvrir complètement la porte et mettre un 2 x 4 à plat sur sa
partie supérieure, sous le rail.
• Si le panneau ou la section du dessus vient en contact avec le
chariot lorsqu’on lève la porte, tirer sur la biellette de
dégagement du chariot pour dégager le chariot intérieur du
chariot extérieur. Faire glisser le chariot extérieur vers le
moteur. Il ne sera pas nécessaire de réassembler le chariot
avant la fin de l’opération 12.
Biellette de
dégagement
du chariot
ENGAGÉE DÉGAGÉE
Pour prévenir les dommages à la porte de garage, faire reposer le rail
de l’ouvre-porte de garage sur un 2 x 4 placé sur la section
supérieure de la porte.
ATTENTIONATTENTION
AVERTISSEMENT AVERTISSEMENT
AVERTISSEMENT
AVERTISSEMENT
2 x 4 à plat
Porte
Rail
Le 2 x 4 est utilisé pour déterminer
la hauteur de fixation correcte
à partir du plafond.
Dessus de la porte
Support
de linteau
Le 2 x 4 est utilisé pour déterminer
la hauteur de fixation correcte
à partir du plafond.

Cornière
(Non fournie)
PLAFOND FINI
Solive cachée
(Non fournis)
Boulon de 5/16 po-18 x
7/8 de po, Rondelle-frein
de 5/16 po, Écrou de
5/16 po-18
Tire-fond de
5/16 po x18x1-7/8 po
Mesurer
la distance
Tire-fond de
5/16 po x 18 x 1-7/8 po
Solives
Boulon de 5/16 po-18 x 7/8 po,
Rondelle-frein de 5/16 po,
Écrou de 5/16 po-18
Boulon de 5/16 po-18 x 7/8 de po,
Rondelle-frein de 5/16 po,
Écrou de 5/16 po-18
Boulon de 5/16 po-18 x 7/8 po,
Rondelle-frein de 5/16 po,
Écrou de 5/16 po-18
Tire-fond de
5/16 po x18x1-7/8 po
PLAFOND FINI
(Non fournis)
Boulon de 5/16 po-18 x
7/8 de po, Rondelle-frein
de 5/16 po, Écrou de
5/16 po-18
12
Figure 1
Figure 2
POSE - 5e OPÉRATION
Accrochage de l’ouvre-porte
Les illustrations représentent trois poses types. La pose peut
toutefois être différente. Les supports de suspension doivent être
inclinés (Figure 1) pour assurer un support rigide. Dans le cas
d’un plafond fini (Figure 2 et Figure 3), fixer une cornière aux
solives du plafond avant de poser l’ouvre-porte. La cornière et
les fixations ne sont pas fournies.
1. Mesurer, de chaque côté de l’ouvre-porte, la distance entre
l’ouvre-porte et les solives.
2. Couper les deux supports de suspension à la longueur
requise.
3. Percer des avant-trous de 3/16 pouce dans les solives.
4. Fixer une extrémité de chaque support de suspension sur une
solive avec des tire-fond de 5/16 po -18 x 1-7/8 po.
5. Fixer l’ouvre-porte aux supports de suspension à l’aide de
boulons hexagonaux de 5/16 po-18 x 7/8 po, de
rondelles-frein et d’écrous.
6. S’assurer que le rail est centré au-dessus de la porte (ou dans
le prolongement du support de linteau si le support n’est pas
centré au-dessus de la porte).
7. Retirer le 2 x 4. Faire fonctionner la porte manuellement. Si la
porte frappe le rail, lever le support de linteau.
8. Graisser le dessus et le dessous de la surface du rail où
glisse le chariot à l’aide de graisse à rail.
REMARQUE : NE PAS mettre l’ouvre-porte sous tension à
ce stade.
Tire-fond de 5/16 de po-18 x 1-7/8 de po
Boulon hexagonal de
5/16 de po-18 x 7/8 de po
Écrou de
5/16 de po-18
Rondelle-frein
de 5/16 de po
Pour éviter d’éventuelles BLESSURES GRAVES par suite de la chute
d’un ouvre-porte de garage, fixer l’ouvre-porte SOLIDEMENT aux
solives du garage. On DOIT utiliser des ancrages de béton si les
supports sont posés dans la maçonnerie.
ATTENTION
AVERTISSEMENTAVERTISSEMENT AVERTISSEMENT
AVERTISSEMENT
AVERTISSEMENT
GRANDEUR RÉELLE DES FIXATIONS
Figure 3

13
LOCK
LIGHT
Figure 4 RETIRER LE COUVERCLE
POSE - 6e OPÉRATION
Pose de la commande de porte
Poser la commande murale dans un endroit où on pourra la voir
de la porte, à au moins 5 pieds (1,5 m) du sol, là où les enfants
ne pourront pas l’atteindre et loin de toutes les pièces mobiles et
fixations de la porte. La surface de montage doit être lisse et
plate. Si les murs sont des murs secs, percer des trous de
5/32 pouce (Figure 1) et utiliser les chevilles fournies. Pour les
installations précâblées (comme dans la construction d’une
maison neuve), on peut la monter sur une boîte simple (Figure 2).
REMARQUE : Après l’installation, un témoin lumineux vert
derrière le couvercle indiquera un branchement approprié. S’il
n’est pas allumé, les fonctions de blocage et d’éclairage ne
fonctionneront pas (inverser les fils pour corriger).
1. Dénuder 7/16 pouce (11 mm) à chaque extrémité des fils de
sonnerie; brancher les fils sur les deux bornes filetées qui se
trouvent à l’arrière de la commande murale : blanc à 2; blanc/
rouge à 1 (Figure 3).
2. Retirer le couvercle en soulevant doucement la fente dans la
partie supérieure du couvercle à l’aide d’un petit tournevis à
tête plate (Figure 4). Fixer à l’aide de vis autotaraudeuses
6AB x 1-1/4 po (installation standard) ou de vis à métaux
6-32 x 1 po (dans la boîte simple) comme suit :
• Percer et poser la vis inférieure en laissant 1/8 po (3 mm)
faire saillie du mur.
• Placer le bas de la commande de porte par-dessus la tête de
vis et ajuster pour un ajustement serré.
• Percer et poser la vis supérieure soigneusement afin d’éviter
de fissurer le boîtier en plastique. Ne pas serrer
excessivement.
• Remettre le couvercle en place en insérant les languettes
inférieures et en enclenchant en place.
REMARQUE : Le gros bouton-poussoir peut rester coincé si la
commande de porte n’est pas montée sur une surface lisse. Si
aucun clic ne se fait entendre en appuyant sur le gros bouton-
poussoir, desserrer les deux vis de montage ou déplacer la
commande de porte à une surface plus lisse.
3. (Installation standard seulement) Faire monter le fil de
sonnerie le long du mur et du plafond jusqu’au moteur. Utiliser
des agrafes isolées pour fixer le fil à plusieurs endroits. Ne
pas percer le fil avec une agrafe, ce qui créerait un court-
circuit ou un circuit ouvert.
4. Enlever 7/16 po (11 mm) d’isolation à l’extrémité du fil de
sonnerie. Raccorder le fil de sonnerie aux bornes à
raccordement rapide comme suit : le fil blanc à blanc et le fil
blanc/rouge à rouge. (Figure 5).
REMARQUE : Lors de la connexion de plusieurs commandes de
porte à l’ouvre-porte, torsader les fils de même couleur. Insérer
les fils dans les trous à raccordement rapide : blanc à blanc et
rouge/blanc à rouge.
5. Utiliser des punaises ou des agrafes pour fixer en permanence
l’étiquette d’avertissement de prise au piège sur le mur près
de la commande de porte, et l’étiquette d’essai d’inversion de
sécurité/ouverture manuelle bien en vue à l’intérieur de la
porte de garage.
REMARQUE : Ne PAS brancher et faire fonctionner l’ouvre-porte
pour le moment. Le chariot se déplacera jusqu’à la position
complètement ouverte mais ne reviendra pas à la position
fermée avant que le faisceau détecteur soit branché et
correctement aligné.
Pour prévenir d’éventuelles BLESSURES graves ou LA MORT par
suite d’électrocution :
• S’assurer que le courant est coupé AVANT de poser la commande de
porte.
• Raccorder UNIQUEMENT à des fils basse tension 24 V.
Pour prévenir d’éventuelles BLESSURES GRAVES ou LA MORT par
suite d’une porte de garage qui se ferme :
• Poser la commande de porte en vue de la porte de garage, hors de la
portée des enfants à une hauteur minimum de 5 pieds (1,5 m), et à
l’écart de TOUTES les pièces mobiles de la porte.
• Ne JAMAIS laisser des enfants faire fonctionner les
boutons-poussoirs de la commande de porte ou les émetteurs de la
télécommande, ni jouer avec ceux-ci.
• Actionner la porte UNIQUEMENT lorsqu’on la voit clairement, qu’elle
est bien réglée et que rien n’en gêne la course.
• TOUJOURS garder la porte de garage en vue jusqu’à ce qu’elle soit
complètement fermée. Ne JAMAIS laisser personne croiser le chemin
d’une porte de garage qui se ferme.
ATTENTION
AVERTISSEMENT AVERTISSEMENT
AVERTISSEMENTAVERTISSEMENT
AVERTISSEMENT
Fil de sonnerie
Bornes filetées
Trou de
fixation supérieur
Trou de
fixation inférieur
()
WHT
RED
Chevilles pour murs secs
Agrafe
isolée
Vis 6AB x 1-1/4 po
(installation standard)
Vis 6-32 x 1 po
(installation précâblée)
GRANDEUR RÉELLE DES FIXATIONS
Figure 1 Figure 2
Fil de sonnerie à
2 conducteurs dans
la boite simple 24 V
Pour remettre le couvercle en
place, insérer les languettes
inférieures en premier
INSTALLATION
STANDARD
Pour remettre le couvercle en
place, insérer les languettes
inférieures en premier
INSTALLATION
PRÉ-CÂBLÉE
LOCK
LIGHT
LOCK
LIGHT
Figure 3 PANNEAU COMMANDE
DE PORTE (ARRIÈRE)
7/16 po
(11 mm)
Pour relâcher ou insèrer le fil,
enfoncer la languette
à l’aide de
l’extrémité du
tournevis.
Rouge Gris
Blanc
Dénuder le fil sur 7/16 po (11 mm)
Connexions
de commande
de porte
Figure 5

14
POSE - 7e OPÉRATION
Pose des l’ampoule
• Appuyer sur les languettes de dégagement des deux côtés du
diffuseur. Faire pivoter le diffuseur délicatement vers l’arrière
et le bas jusqu’à ce que la charnière du diffuseur soit
complètement ouverte. Ne pas retirer le diffuseur.
• Visser une ampoule de 100 watts maximum dans chaque
douille. La taille légère d’ampoule doit être A19, cou standard,
seulement. La lumière s’allumera et restera allumée pendant
environ 4-1/2 minutes aussitôt que le courant sera établi. La
lumière s’éteindra ensuite.
• Inverser la procédure pour fermer le diffuseur.
• Si l’ampoule brûle prématurément en raison de la vibration,
remplacer-la par une ampoule d’ouvre-porte de garage.
• Pour remplacement, utilisez les lampes électriques standard
A19 pour ouvre-porte de garage.
REMARQUE : Utiliser uniquement une ampoule standard.
L’utilisation d’une ampoule à col court ou d’une ampoule
spécialisée peut causer une surchauffe du panneau d’extrémité
ou de la douille.
POSE - 8e OPÉRATION
Pose de la corde et de la poignée de
déclenchement d’urgence
• Faire passer une extrémité de la corde dans le trou supérieur
de la poignée rouge de façon que le mot « NOTICE » puisse
être lu à l’endroit. Fixer à l’aide d’un nœud simple à au moins
1 po de l’extrémité de la corde, pour empêcher le glissement.
• Passer l’autre extrémité de la corde dans le trou du levier de
déclenchement du chariot extérieur.
• Ajuster la longueur de la corde de façon que la poignée soit à
environ 6 pieds (1,83 m) du sol. S’assurer que la corde et la
poignée ne risquent pas de toucher au capot d’aucun véhicule
pour éviter qu’elle s’emmêle. Fixer la corde à l’aide d’un nœud
simple.
REMARQUE : Si la corde doit être coupée, brûler légèrement
l’extrémité coupée pour empêcher qu’elle ne s’effiloche.
Pour prévenir d’éventuelles BLESSURES GRAVES ou LA MORT par
suite de la chute d’une porte de garage :
• Si possible, utiliser la poignée de déclenchement d’urgence pour
dégager le chariot UNIQUEMENT lorsque la porte de garage est
FERMÉE. Des ressorts faibles ou brisés ou une porte déséquilibrée
peuvent causer la chute rapide et/ou imprévue d’une porte ouverte.
• Ne JAMAIS utiliser la poignée de déclenchement d’urgence à moins
que l’entrée de garage ne soit dégagée (absence de personnes et
d’obstacle).
• Ne JAMAIS utiliser la poignée pour ouvrir ou fermer la porte. Il y a
risque de chute si le nœud de la corde se défait.
NOTICE
Chariot Levier de
déclenchement
du chariot
Poignée de
déclenchement
d'urgence
Nœud
simple
Corde
ATTENTION
AVERTISSEMENTAVERTISSEMENT AVERTISSEMENT
AVERTISSEMENT
AVERTISSEMENT
Ampoule standard
de 100 W (max.)
Ampoule standard
de 100 W (max.)
Charnière de diffuseur
Languette de dégagement
Pour éviter toute SURCHAUFFE éventuelle du panneau d’éclairage :
• NE PAS utiliser d’ampoules à col court ou de forme spéciale.
• NE PAS utiliser d’ampoules halogène. Utiliser UNIQUEMENT des
ampoules incandescentes.
Pour empêcher des dommages à l’ouvre-boîte :
• NE PAS utiliser d’ampoule plus grandes que 100W.
• SEULEMENT utiliser A19 ampoules de taille.
ATTENTIONATTENTION
AVERTISSEMENT AVERTISSEMENT
AVERTISSEMENT
AVERTISSEMENT

15
POSE - 9e OPÉRATION
Exigences électriques Pour prévenir d’éventuelles BLESSURES GRAVES ou LA MORT par
suite d’électrocution ou d’un incendie :
• S’assurer que l’ouvre-porte est hors tension et couper le courant au
circuit AVANT de retirer le couvercle pour procéder à un
branchement permanent.
• La pose et le câblage de la porte de garage DOIVENT être conformes
à tous les codes électriques et de construction locaux.
• Ne JAMAIS utiliser de cordon de rallonge ou d’adaptateur bifilaire ni
modifier la fiche de quelque manière que ce SOIT pour l’insérer
dans la prise. S’assurer que l’ouvre-porte est mis à la terre.
Patte de terre
Vis verte
de terre
Fil de terre
Fil
noir
BRANCHEMENT
ÉLECTRIQUE
PERMANENT
Fil blanc
Fil
noir
ATTENTION
AVERTISSEMENT AVERTISSEMENTAVERTISSEMENT
AVERTISSEMENT
AVERTISSEMENT
Pour éviter les difficultés pendant la pose, ne pas faire
fonctionner l’ouvre-porte pour le moment.
Afin de minimiser les risques de chocs électriques, le cordon
d’alimentation de l’ouvre-porte de garage comporte une fiche à
trois broches, dont une de mise à la terre. Cette fiche ne peut
être branchée que dans une prise de courant mise à la terre. Si
la fiche ne peut pas être branchée dans la prise de courant qui
existe, s’adresser à un électricien qualifié pour faire poser une
prise de courant adéquate.
Si les codes municipaux exigent une installation électrique
permanente, procéder comme suit.
Pour procéder à un branchement permanent par le trou de
7/8 po pratiqué au-dessus du moteur :
• Retirer les vis du couvercle du moteur et mettre le couvercle de
côté.
• Débrancher le cordon à 3 fils.
• Brancher le fil noir (courant secteur) sur la vis de la borne en
laiton; le fil blanc (neutre) sur la vis de la borne en argent, puis
le fil de terre sur la vis verte de terre. L’ouvre-porte doit
obligatoirement être mis à la terre.
• Reposer le couvercle.
Pour éviter les difficultés pendant la pose, ne pas faire
fonctionner l’ouvre-porte pour le moment.
BON MAUVAIS

16
Zone de protection du
faisceau lumineux invisible
Détecteur inverseur
de sécurité
6 po (15 cm) max
au-dessus du sol
Détecteur inverseur
de sécurité
6 po (15 cm) max
au-dessus du sol
POSE - 10e OPÉRATION
Pose du Système Protector®
Les détecteurs inverseurs de sécurité doivent être bien
branchés et bien alignés avant que l’ouvre-porte de garage
puisse fermer la porte.
INFORMATIONS IMPORTANTES AU SUJET DU DÉTECTEUR
INVERSEUR DE SÉCURITÉ
Lorsqu’il est bien raccordé et aligné, le détecteur détecte un
obstacle dans le parcours de son faisceau électronique. La
cellule émettrice (avec un témoin lumineux ambre) transmet un
faisceau de lumière invisible à la cellule réceptrice (avec un
témoin lumineux vert). Si un obstacle brise le faisceau de lumière
pendant que la porte se ferme, la porte s’arrêtera et remontera
jusqu’à la position entièrement ouverte, et les lumières de
l’ouvre-porte clignoteront 10 fois.
Les unités doivent être posées à l’intérieur du garage de manière
à ce que la cellule émettrice et la cellule réceptrice se fassent
face l’une l’autre de part et d’autre de la porte, à pas plus de 6
po (15 cm) au-dessus du sol. L’une ou l’autre peut être posée à
gauche ou à droite de la porte pourvu que le soleil n’éclaire
jamais directement la cellule réceptrice.
Les supports de montage sont conçus en vue de leur fixation par
pince sur le guide des portes de garage articulées sans fixations
supplémentaires.
Si les unités doivent être montées sur le mur, les supports
doivent être fixés fermement à une surface solide telle que la
charpente du mur. On peut se procurer des supports de rallonge
(se reporter à la section Accessoires), au besoin. Si la pose se
fait dans une construction en maçonnerie, ajouter un morceau de
bois à chaque endroit pour éviter de percer des trous
supplémentaires dans la maçonnerie si un repositionnement est
nécessaire.
Il ne doit y avoir aucun obstacle sur le parcours du faisceau de
lumière invisible. Aucune partie de la porte de garage (ni les
guides, les ressorts, les charnières, les rouleaux ou autres
fixations de la porte) ne doit interrompre le faisceau pendant que
la porte se ferme.
S’assurer que l’ouvre-porte de garage est hors tension AVANT de
poser le détecteur inverseur de sécurité.
Pour prévenir des BLESSURES GRAVES ou LA MORT par suite d’une
porte de garage qui se ferme :
• Raccorder et aligner correctement le détecteur inverseur de sécurité.
Ce dispositif de sécurité requis NE DOIT PAS être désactivé.
• Poser le détecteur inverseur de sécurité de manière à ce que le
faisceau NE SOIT PAS À UNE HAUTEUR de plus de 6 po (15 cm)
au-dessus du plancher du garage.
ATTENTION
AVERTISSEMENT AVERTISSEMENT
AVERTISSEMENT
AVERTISSEMENTAVERTISSEMENT
Faisant face à la porte depuis l’intérieur du garage

17
POSE DES SUPPORTS
S’assurer que l’ouvre-porte est hors tension.
Poser et aligner les supports de manière à ce que les détecteurs
se fassent face l’un l’autre de part et d’autre de la porte du
garage, le faisceau n’étant pas à une hauteur de plus de 6 po
(15 cm) au-dessus du sol. Ils peuvent être posés de trois façons,
comme suit.
Pose aux guides de la porte de garage (mode préféré) :
• Faire glisser les bras courbés par-dessus le bord arrondi de
chaque guide de porte, les bras courbés étant dirigés vers la
porte. Enclencher en place contre le côté du guide. Il doit
reposer à plat, avec le rebord embrassant le bord arrière du
guide, comme illustré à la Figure 1.
Si votre guide de porte ne supporte pas solidement le support,
une pose murale est recommandée.
Pose murale (Figure 2 et 3) :
• Placer le support contre le mur, les bras courbés étant dirigés
vers la porte. S’assurer qu’il y a un dégagement suffisant et
qu’aucun obstacle n’est dans le parcours du faisceau du
détecteur.
• Si une profondeur supplémentaire est nécessaire, on peut
employer un support de rallonge (se reporter à la section
accessoires) ou des blocs de bois.
• Utiliser les trous de montage de support comme gabarits pour
positionner et percer deux avant-trous de 3/16 po de diamètre
sur le mur de chaque côté de la porte, à une hauteur
maximale de 6 po (15 cm) du sol.
• Fixer les supports au mur à l’aide de tire-fond (non fournis).
• Si des supports de rallonge ou des blocs de bois sont
employés, ajuster les ensembles droit et gauche à la même
distance vers l’extérieur depuis la surface de montage.
S’assurer qu’il n’y a aucune obstacle de ferrure de porte.
Pose au sol (Figure 4) :
• Utiliser des blocs de bois ou des supports de rallonge (se
reporter à la section Accessoires) pour élever les supports de
détecteur de manière à ce que les diffuseurs ne soient pas à
plus de 6 po (15 cm) au-dessus du sol.
• Mesurer soigneusement et placer les ensembles droit et
gauche à la même distance vers l’extérieur depuis le mur.
S’assurer qu’il n’y a aucune obstruction de ferrure de porte.
• Fixer au sol à l’aide des ancrages de béton, comme illustré.
MONTAGE SUR GUIDES DE PORTE (CÔTÉ DROIT)
Témoin
lumineux
Diffuseur
Rebord
Support de
détecteur
Guide
de porte
MONTAGE AU SOL (CÔTÉ DROIT)
MONTAGE MURAL (CÔTÉ DROIT)
Témoin
lumineux
Support de
détecteur
Diffuseur
Support de
rallonge
(Voir Accessoires)
Mur
intérieur
du
garage
(Fournis avec support
de rallonge)
(Fournis avec
support de
rallonge)
Figure 1
Figure 2
Figure 3
Figure 4
MONTAGE MURAL (CÔTÉ DROIT)
Mur
intérieur
du garage
Témoin
lumineux Support de
détecteur
Diffuseur
Tire-fond de
(Non fournis)
Attachez le morceau de bois au
mur avec des tire-fond (Non fournis)
Fixer à l'aide
d'ancrages de béton
(Non Fournis)
Support de
détecteur
Témoin
lumineux
Diffuseur
Mur
intérieur
du
garage
Écrou à
oreilles
Agrafes isolées
Boulon à tête bombée
et collet carré de
1/4 de po-20 x 1/2 de po 1/4 de po-20
GRANDEUR RÉELLE DES FIXATIONS

Bornes à raccordement rapide.
3. Insérer dans les
bornes appropriées.
2. Torsader les fils de
même couleur.
7/16 po
(11 mm)
Raccorder les fils sur
bornes à raccordement rapide.
Rouge Gris
Blanc
Fil de sonnerie
Fil de sonnerie Plafond fini
1. Dénuder le fil sur 7/16 po
(11 mm).
Aire de protection du
faisceau du lumière invisible
Détecteur inverseur
Détecteur inverseur
Figure 6
Boulon à tête
bombée et collet
carré de 1/4 de po-20 x 1/2 de po Diffuseur
Écrou à oreilles
1/4 de po x 20
Figure 5
DÉPANNAGE DES DÉTECTEURS INVERSEURS DU
SÉCURITÉ
1. Si, lorsque la pose est terminée, le témoin de la cellule
émettrice ne reste pas constamment allumé après
l’installation, s’assurer :
• Que le courant électrique parvient bien à l’ouvre-porte.
• Qu’il n’y a pas de court-circuit dans les fils blanc ou blanc/
noir. Ces court-circuits peuvent se produire sous les agrafes
ou à la hauteur des branchements des bornes filetées.
• Le câblage est bien fait entre les détecteurs et l’ouvre-porte.
• Qu’il n’y a pas de fil brisé.
2. Si le témoin de la cellule émettrice est allumé alors que le
témoin de la cellule réceptrice est éteint :
• Vérifier l’alignement.
• Vérifier s’il y a un fil brisé dans la cellule réceptrice.
3. Si le témoin de la cellule réceptrice est faible, aligner l’un ou
l’autre des détecteurs.
REMARQUE : Lorsque le faisceau invisible est obstrué ou mal
aligné quand la porte se ferme, cette dernière remontera. Si la
porte est déjà ouverte, elle ne se fermera pas. La lumière de
l’ouvre-porte clignotera 10 fois. Se reporter à la page 16.
18
MONTAGE ET CÂBLAGE DES DÉTECTEURS INVERSEURS
DU SECURITIÉ
• Faire glisser un boulon à tête bombée et collet carré de 1/4
po-20 x 1/2 po dans la fente de chaque détecteur. Utiliser des
écrous à oreilles pour fixer les détecteurs aux supports, avec
les diffuseurs dirigés l’un vers l’autre de part et d’autre de la
porte. S’assurer que le diffuseur n’est pas obstrué par une
rallonge de support (Figure 5).
• Serrer les écrous à oreilles à la main.
• Acheminer les fils des deux détecteurs à l’ouvre-porte. Utiliser
des agrafes isolées pour fixer le fil au mur et au plafond.
• Enlever 7/16 po (11 mm) d’isolation de chaque série de fils.
Séparer les fils blanc et blanc/noir suffisamment pour leur
raccordement aux vis des bornes á raccordement rapide de
l’ouvre-porte. Torsader les fils de même couleur. Insérer les fils
dans les trous à raccordement rapide : blanc à blanc et noir/
blanc à gris (Figure 6).
ALIGNEMENT DES DÉTECTEURS INVERSEURS DU
SECURITIÉ
• Brancher l’ouvre-porte dans la prise de courant. Les témoins
des cellules émettrice et réceptrice s’allumeront et resteront
allumés si les connexions électriques sont bonnes et si
l’alignement est bon.
Le témoin lumineux ambre de la cellule émettrice s’allumera
indépendamment de l’alignement ou de l’obstruction. Si le témoin
lumineux vert de la cellule réceptrice est éteint, faible ou
clignotant (et que la trajectoire du faisceau lumineux invisible
n’est pas obstruée), aligner les deux détecteurs.
• Desserrer l’écrou de la cellule émettrice et ajuster de façon à
ce qu’elle vise directement la cellule réceptrice. Serrer l’écrou.
• Desserrer l’écrou de la cellule réceptrice et régler le détecteur
jusqu’à ce qu’il reçoive le faisceau de la cellule émettrice.
Lorsque le témoin vert reste allumé, serrer l’écrou.
Détecteur inverseur de
sécurité
Détecteur inverseur de
sécurité

19
POSE - 11e OPÉRATION
Fixation du Support de Porte
Suivre les instructions qui correspondent au type de porte,
comme il est illustré ci-dessous ou à la page suivante.
Un renfort horizontal doit être suffisamment long pour être
fixé à deux ou trois supports verticaux. Un renfort vertical
doit couvrir la hauteur du panneau supérieur.
La figure 1 illustre un morceau de cornière utilisé en tant que
renfort horizontal. Pour le renfort vertical, 2 morceaux de
cornière sont utilisés de façon à créer un support en forme de U.
La meilleure solution consiste à s’adresser au fabricant de la
porte de garage pour obtenir un nécessaire de renforts de porte
afin de pouvoir poser l’ouvre-porte de garage.
REMARQUE : Bon nombre de nécessaires de renforts de porte
prévoient la fixation directe de l’axe de chape et de la biellette de
porte. Le support de porte est alors inutile; procéder à l’étape 12.
PORTES ARTICULÉES
1. Centrer le support de la porte avec l’axe vertical
précédemment tracé et utilisé pour la pose du support de
linteau. Il convient de noter le positionnement correct de
« UP » (vers le haut), comme estampillé à l’intérieur du
support.
2. Positionner le bord supérieur du support de 2 à 4 pouces
(5 cm - 10 cm) plus bas que le bord supérieur de la porte, OU
directement sous toute solive à travers le haut de la porte.
3. Marquer, percer des trous et poser comme indiqué ci-après,
selon la construction de votre porte :
Portes métalliques ou légères utilisant une ferrure angulaire
verticale entre le support du panneau de porte et le support
de porte :
• Percer des trous de fixation de 3/16 po. Fixer le support de
porte à l’aide des deux vis autotaraudeuses de
1/4 po-14 x 5/8 po. (Figure 2A)
• On peut également utiliser deux boulons de 5/16 po, des
rondelles de blocage et des écrous (non fournis). (Figure 2B)
Portes métalliques, isolées ou légères renforcées à l’usine :
• Percer des trous de fixation de 3/16 po. Fixer le support de
porte à l’aide des vis autotaraudeuses (Figure 3).
Portes en bois :
• Utiliser les trous supérieurs et inférieurs ou latéraux de
support de porte. Percer des trous de 5/16 po à travers la
porte et fixer le support à l’aide de boulons à tête bombée et à
collet carré de 5/16 po x 2 po, des rondelles de blocage et des
écrous (non fournis). (Figure 4)
REMARQUE : Les vis autotaraudeuses de 1/4 po-14 x 5/8 po ne
sont pas prévues pour être utilisées sur des portes en bois.
Les portes de garage en fibre de verre, en aluminium ou en acier
léger ont BESOIN d’être renforcées AVANT la fixation du support de
porte. Il est conseillé de s’adresser au fabricant de la porte pour
obtenir un nécessaire de renforts.
ATTENTIONATTENTION
AVERTISSEMENT AVERTISSEMENT
AVERTISSEMENT
AVERTISSEMENT
Ligne du centre
vertical de la porte
de garage
Situation
du support
de porte
Support
de linteau
DES RENFORTS HORIZONTAUX ET
VERTICAUX SONT REQUIS DANS LE
CAS D'UNE PORTE DE GARAGE
LÉGÈRE (EN FIBRE DE VERRE, EN
ALUMINIUM, EN ACIER, EN PANNEAUX
DE VERRE, ETC.).
(NON FOURNIS)
UP
Support
de la porte
Renforts
verticaux
Vis autotaraudeuse
1/4 de po-14 x 5/8 de po
Ligne du centre
vertical de la porte
de garage
Boulon
5/16 po
-18 x 2 po
Rondelle de blocage
de 5/16 de po
UP
Support
de la porte
Renforts
verticaux
(Non fournis)
Écrou de
5/16 de po-18
Ligne du centre
vertical de la porte
de garage
UP
Vis
autotaraudeuse
1/4 de po-14 x 5/8 de po
Ligne du centre
vertical de la
porte de garage
UP
Bord intérieur de la
porte ou morceau de
bois de renfort
Boulon
5/16 de po x 2 po
(Non fournis)
Ligne du centre
vertical de la
porte de garage
Figure 1
Figure 2A
Figure 2B
Figure 3
Figure 4
Vis
autotaraudeuse
1/4 de po-14 x 5/8 de po
GRANDEUR
RÉELLE DES
FIXATIONS

20
Linteau
Axe vertical
de la porte
du garage
Plafond fini
Placement
facultatif du
support de
la porte
Support
de
linteau
Support
de la porte
Support 2 x 4
Pour une porte sans cadre exposé,
ou pour l'installation facultative,
utiliser des tire-fonds de 5/16 po x 1-1/2 po
(non fournis) pour fixer le support de la porte.
PORTE MÉTALLIQUE
Dessus de
la porte
(intérieur du
garage)
Placement
facultatif
Bord
supérieur
de la porte
Vis
autotaraudeuse de
1/4 po-14 x 5/8 po
Support de
la porte
Boulon à tête
bombée et à
collet carré de
5/16 po x 2 po
(non fournis)
Placement
facultatif
Rondelle de blocage
de 5/16 po
Bord
supérieur
de la porte
PORTE EN BOIS
DES RENFORTS HORIZONTAUX ET
VERTICAUX SONT REQUIS DANS
LE CAS D'UNE PORTE DE GARAGE
LÉGÈRE (EN FIBRE DE VERRE,
EN ALUMINIUM, EN ACIER,
EN PANNEAUX DE VERRE, ETC.).
(NON FOURNIS)
Support de
la porte
Dessus de
la porte
(intérieur du
garage)
Écrou
5/16 po-18
Vis autotaraudeuse
1/4 de po-14 x 5/8 de po
GRANDEUR RÉELLE
DES FIXATIONS
PORTES RIGIDES
Prière de lire et de suivre les avertissements et les instructions
de renforcements à la page précédente. Ils s’appliquent
également aux portes rigides.
• Centrer le support de porte sur le dessus de la porte, en
l’alignant avec le support de linteau, comme il est illustré.
Repérer soit les trous de gauche et de droite, soit les trous du
haut et du bas.
• Portes métalliques : Percer des avant-trous de 3/16 pouce,
puis fixer le support de la porte à l’aide des vis
autotaraudeuses de 1/4 po-14 x 5/8 po fournies.
• Portes en bois : Percer des trous de 5/16 po et utiliser des
boulons à tête bombée et à collet carré de 5/16 po x 2 po, des
rondelles de blocage et des écrous (non fournis) ou des tire-
fond de 5/16 po x 1-1/2 po (non fournis) suivant les besoins
particuliers de l’installation.
REMARQUE : Le support de porte peut être posé sur le bord
supérieur de la porte, si nécessaire pour une installation
particulière. (Se reporter au dessin du positionnement facultatif à
la ligne pointillée.)

21
POSE - 12e OPÉRATION
Fixation de la biellette au chariot
Suivre uniquement les instructions se reportant à votre type de
porte, comme illustré ci-dessous et à la page suivante.
PORTE ARTICULÉE SEULEMENT
S’assurer que la porte du garage est complètement fermée. Tirer
la poignée de déclenchement d’urgence pour détacher le chariot
extérieur du chariot intérieur. Reculer le chariot extérieur (en
l’éloignant de la porte) d’environ 2 pouces (5 cm) , comme illustré
aux figures 1, 2 et 3.
Figure 1 :
• Fixer la biellette droite sur le chariot extérieur à l’aide d’un axe
de chape de 5/16 po x 1 po. Faire tenir l’axe de chape en
place avec un anneau d’arrêt.
• Fixer la biellette courbée au support de la porte de la même
manière, à l’aide d’un axe de chape de 5/16 po x 1-1/4 po.
Figure 2 :
• Rapprocher les biellettes et aligner les trous. Choisir les trous
les plus éloignés étant donné qu’ils permettent aux biellettes
d’être plus solides.
Figure 3, Méthode alternative :
• Si les trous de la biellette courbée sont trop hauts, démonter la
biellette droite et couper 6 po (15 cm) du bout. Refixer la
biellette droite sur le chariot en orientant la partie coupée vers
le bas, comme illustré.
• Rapprocher les biellettes.
• Aligner deux paires de trous et raccorder les deux biellettes
avec les boulons, les rondelles-frein et les écrous.
Tirer sur la poignée de déclenchement d’urgence en direction de
l’ouvre-porte à un angle de 45° de façon que la biéllette de
dégagement du chariot soit horizontale. Passer à la section
« Réglages », 1re opération, page 23. Le chariot se
réenclenchera automatiquement lorsque l’ouvre-porte
fonctionnera.
Axe de chape de
5/16 po x 1-1/4 po
Axe de chape de
5/16 po x 1 po
Anneau d'arrêt
Support de
la porte
Biellette
courbée
Biellette
droite
Chariot intérieur
Chariot extérieur
Support de
la porte
Rondelle-frein
de 5/16 po
Écrous de
5/16 po-18
Boulons hexagonaux de
5/16 po-18 x 7/8 po
Corde
Rondelle-frein
de 5/16 po
Écrous de
5/16 po-18
Boulons hexagonaux
de 5/16 po-18 x 7/8 po
Couper ce morceau
Poignée de
déclenchement
d'urgence
Figure 1
Figure 2
Figure 3
Rondelle-frein
de 5/16 po
Écrou de
5/16 po-18
Anneau
d'arrêt
Boulon hexagonal de
5/16 po-18 x 7/8 de po
Axe de chape de
5/16 po x 1 po (Chariot)
Axe de chape de
5/16 po x 1-1/4 po
(Support de la porte)
GRANDEUR RÉELLE DES FIXATIONS

22
Écrous de
5/16 de po-18
Rondelle-frein
de 5/16 de po
Anneau
d’arrêt
Biellette
droite
Boulon de
5/16 de po-
18x7/8 de po
Support
de la porte
Axe de chape de
5/16 de po x 1-1/4 de po
Biellette
courbée
Biellette
Porte
fermée
Chariot extérieur
Porte ouverte
Porte inclinée vers l'arriére
(Incorrecte)
Angle correct
Poignée de déclenchement d'urgence
Chariot intérieur
Chariot intérieur
Chariot extérieur
POUR TOUTES LES PORTES RIGIDES
1. Assemblage des biellettes, Figure 4 :
• Assembler les biellettes droite et courbée à leur plus grande
longueur (2 ou 3 trous se chevauchant).
• La porte étant fermée, raccorder la biellette droite au support
de la porte à l’aide d’un axe de chape de 5/16 po x 1-1/4 po.
• Faire tenir l’axe de chape avec un anneau d’arrêt.
2. Méthodes de réglage, Figure 5 :
• Dans le cas d’une porte rigide, la course doit être réglée
avant de raccorder la biellette au chariot. Les vis de réglage
de la course sont situées sur le panneau du côté gauche,
comme illustré à la page 23. Suivre les méthodes de réglage
détaillées ci-dessous.
• Réglage de l’ouverture de la porte : diminuer la course
d’ouverture
- Tourner la vis de réglage d’ouverture « UP » de 4 tours en
sens antihoraire.
- Appuyer sur le gros bouton-poussoir de la commande de
porte. Le chariot se déplacera jusqu’à la position
entièrement ouverte.
- À la main, ouvrir complètement la porte (parallèle au
plancher), puis soulever la biellette jusqu’au chariot. La
biellette doit toucher le chariot juste derrière son trou de
raccordement. Se reporter à « Chariot entièrement ouvert/
positions de la biellette » dans l’illustration. Si la biellette est
trop courte, diminuer la course d’ouverture. Un tour complet
de la vis de réglage correspond à 2 pouces
(5 cm) de course.
• Réglage de la fermeture de la porte : diminuer la course
de fermeture
- Tourner la vis de réglage de fermeture « DOWN » de 4
tours complets en sens horaire.
- Appuyer sur le bouton-poussoir de la commande de porte.
Le chariot se déplacera à la position de porte complètement
fermée.
- À la main, fermer complètement la porte, puis soulever la
biellette jusqu’au chariot. La biellette doit toucher le chariot,
juste devant son trou de raccordement. Se reporter à
« Chariot complètement fermé/positions de la biellette »
dans l’illustration. Si la biellette arrive plus loin que le trou
de raccordement, raccourcir la course de fermeture. Un tour
complet de la vis de réglage correspond à 2 pouces (5 cm)
de course.
3. Raccordement de la biellette sur le chariot :
• La porte étant fermée, raccorder la biellette courbée au trou
de raccordement du chariot avec le dernier axe de chape. Il
sera peut-être nécessaire de soulever légèrement la porte
pour procéder au raccordement.
• Faire tenir l’axe de chape avec un anneau d’arrêt.
• Faire faire un cycle de fonctionnement complet à
l’ouvre-porte. Si, en position complètement ouverte, la porte
est légèrement inclinée vers l’arrière, comme illustré,
diminuer la course de montée « UP » jusqu’à ce que la porte
soit parallèle au sol.
REMARQUE : En réglant la course d’ouverture à la page
suivante, la porte ne doit pas être inclinée vers l’arrière lorsqu’elle
est entièrement ouverte, comme illustré ci-dessous. Une légère
inclinaison arrière causera une résistance inutile ou un
fonctionnement saccadé, ou les deux lorsque la porte est ouverte
ou fermée depuis la position entièrement ouverte.
Figure 4
Figure 5

23
RÉGLAGES - 1re OPÉRATION
Réglage des courses d’ouverture
et de fermeture
Le réglage de ces courses fixe les points où la porte s’arrêtera
lors de son ouverture ou de sa fermeture.
Pour faire fonctionner l’ouvre-porte, appuyer sur le
bouton-poussoir de la commande de porte. Faire faire un cycle
complet à l’ouvre-porte.
• La porte s’ouvre-t-elle et se ferme-t-elle complètement?
• Est-ce que la porte reste fermée sans remonter
involontairement lorsqu’elle est complètement fermée?
Si la réponse est oui à ces deux questions, aucun réglage de la
course n’est requis à moins que le test d’inversion n’échoue (se
reporter à la 3e opération, page 25 des réglages).
Les procédures suivantes indiquent les réglages à effectuer dans
chaque cas. Lire les procédures attentivement avant de procéder
à la 2e opération des réglages. Utiliser un tournevis pour
procéder aux réglages. Faire faire un cycle complet à
l’ouvre-porte après chaque réglage.
REMARQUE : Un fonctionnement répété de l’ouvre-porte
pendant le réglage risque de faire surchauffer le moteur et de
provoquer son arrêt. Dans ce cas, attendre environ 15 minutes
avant de continuer.
REMARQUE : Si quoi que ce soit gêne l’ouverture de la porte,
elle s’arrêtera. Si quoi que ce soit gêne la fermeture de la porte
(y compris des portes qui forcent ou qui sont déséquilibrées),
elle remontera.
COMMENT ET QUAND RÉGLER LES COURSES
• Si la porte ne s’ouvre pas complètement mais s’ouvre
d’au moins cinq pieds (1,5 m) :
Augmenter la course d’ouverture en tournant la vis de réglage
« UP » à droite. Un tour complet de la vis correspond à 2 po
(5 cm) de course.
REMARQUE : Pour empêcher le chariot de frapper le boulon
de protection du couvercle, garder une distance minimale de
2 po à 4 po (5 cm - 10 cm) entre le chariot et le boulon.
• Si la porte ne s’ouvre pas d’au moins 5 pieds :
Régler la force d’ouverture « UP », comme indiqué dans la
2e opération des réglages.
• Si la porte ne se ferme pas complètement :
Augmenter la course de fermeture en tournant la vis de
réglage « DOWN » dans le sens antihoraire. Un tour complet
de la vis correspond à 2 po (5 cm) de course.
Si la porte ne se ferme toujours pas complètement et que le
chariot heurte le support de la poulie (page 4), essayer de
rallonger le bras de la porte (page 21) et de diminuer la course
de fermeture.
• Si l’ouvre-porte fait remonter la porte lorsqu’elle est
complètement fermée :
Diminuer la course de fermeture. Tourner la vis de réglage de
fermeture (« DOWN ») dans le sens horaire. Un tour complet
de la vis correspond à 2 po (5 cm) de course.
Sans un système d’inversion de sécurité bien installé, des personnes
(plus particulièrement les petits enfants) pourraient être
GRIÈVEMENT BLESSÉES ou TUÉES par une porte de garage qui se
referme.
• Un réglage erroné des courses de la porte de garage gênera un
fonctionnement approprié du système d’inversion de sécurité.
• Après avoir réglé une commande (force ou course), il peut être
nécessaire de régler l’autre commande.
• Après avoir effectué quelque réglage que ce soit, on DOIT faire
l’essai du système d’inversion de sécurité. La porte de garage DOIT
remonter au contact d’un objet d’une hauteur de 1-1/2 po (3,8 cm)
(ou un 2 x 4 posé à plat) sur le sol.
• Si la porte remonte en cours de fermeture sans qu’il n’y
ait d’obstacles visibles qui la gênent :
Si les lumières de l’ouvre-porte clignotent, ceci signifie que les
détecteurs inverseurs de sécurité ne sont pas installés, sont
mal alignés ou sont obstrués. Se reporter à la section «
Dépannage » à la page 18.
Vérifier si la porte force : Tirer la poignée de déclenchement
d’urgence. Ouvrir et fermer manuellement la porte. Si la porte
force, appeler un technicien formé en systèmes de porte. Si la
porte est équilibrée et ne force pas, ajuster la force de
fermeture. Se reporter à la 2e opération des réglages.
ATTENTION
AVERTISSEMENT AVERTISSEMENT
AVERTISSEMENT
AVERTISSEMENTAVERTISSEMENT
Pour prévenir les dommages aux véhicules, s’assurer que la porte
entièrement ouverte offre un dégagement suffisant.
ATTENTIONATTENTION
AVERTISSEMENT AVERTISSEMENT
AVERTISSEMENT
AVERTISSEMENT
2-4 po
(5-10 cm)
Panneau
côté gauche
Vis de réglage
de course
Étiquette de réglage
Boulon de
protection du
couvercle

Sans un système d’inversion de sécurité bien installé, des personnes
(plus particulièrement les petits enfants) pourraient être
GRIÈVEMENT BLESSÉES ou TUÉES par une porte de garage qui se
referme.
• Une trop grande force sur la porte de garage gênera un
fonctionnement approprié du système d’inversion de sécurité.
• Ne JAMAIS augmenter la force au-delà du niveau nécessaire à la
fermeture de la porte.
• Ne JAMAIS utiliser les réglages de force pour compenser une porte
qui force ou qui adhère.
• Après avoir réglé une commande (force ou course), il peut être
nécessaire de régler l’autre commande.
• Après avoir effectué quelque réglage que ce soit, on DOIT faire
l’essai du système d’inversion de sécurité. La porte de garage DOIT
remonter au contact d’un objet d’une hauteur de 1-1/2 po (3,8 cm)
(ou un 2 x 4 posé à plat) sur le sol.
24
RÉGLAGES - 2e OPÉRATION
Réglage de la force
Les commandes de réglage de la force sont situées sur le
panneau arrière du moteur. Elles servent à régler la puissance
du courant nécessaire à l’ouverture et à la fermeture de la porte.
Si la force réglée est trop faible, la porte aura tendance à
s’arrêter à l’ouverture et à remonter à la fermeture. Les variations
saisonnières peuvent modifier le fonctionnement de la porte; il
faudra donc occasionnellement procéder à un réglage.
Le réglage maximum de la force est de 3/4 de tour de vis. Ne
pas forcer la vis au-delà de cette limite. Utiliser un tournevis
pour régler la force.
REMARQUE : Si quoi que ce soit gêne l’ouverture de la porte,
elle s’arrêtera. Si quoi que ce soit gêne la fermeture de la porte
(y compris des portes qui forcent ou qui sont déséquilibrées),
elle remontera.
COMMENT ET QUAND RÉGLER LES FORCES
1.Vérification de la force de fermeture (DOWN)
• Pendant que la porte est environ à mi-chemin de sa course de
fermeture, essayer de l’arrêter à la main. La porte doit
remonter. L’inversion du mouvement de fermeture de la porte
à mi-chemin ne garantit pas l’inversion lorsqu’il s’agit d’une
obstacle de 1-1/2 po (3,8 cm). Se reporter à la 3e opération
des réglages, page 25. S’il est difficile de retenir la porte ou
si la porte ne remonte pas, DIMINUER LA FORCE DE
FERMETURE (DOWN) en tournant la vis dans le sens
antihoraire. Effectuer de petits réglages jusqu’à ce que la porte
remonte normalement. Après chaque réglage, faire faire un
cycle complet à l’ouvre-porte.
• Si la porte remonte durant le cycle de fermeture et que les
lumières de l’ouvre-porte ne clignotent pas, AUGMENTER
LA FORCE DE FERMETURE (DOWN) en tournant la vis de
réglage dans le sens horaire. Effectuer de petits réglages
jusqu’à ce que la porte fasse un cycle de fermeture complet.
Après chaque réglage, faire faire un cycle complet à
l’ouvre-porte. Ne pas augmenter la force au-delà du niveau
nécessaire pour fermer la porte.
2.Vérification de la force d’ouverture (UP)
• Pendant que la porte est environ à mi-chemin de sa course
d’ouverture, essayer de l’arrêter à la main. La porte doit
s’arrêter. S’il est difficile de retenir la porte ou si la porte
ne s’arrête pas, DIMINUER LA FORCE D’OUVERTURE (UP)
en tournant la vis de réglage dans le sens antihoraire.
Effectuer de petits réglages jusqu’à ce que la porte s’arrête
facilement et s’ouvre entièrement. Après chaque réglage, faire
faire un cycle complet à l’ouvre-porte.
• Si la porte ne s’ouvre pas d’au moins 5 pieds
(1,5 m), AUGMENTER LA FORCE D’OUVERTURE (UP), en
tournant la vis de réglage dans le sens horaire. Effectuer de
petits réglages jusqu’à ce que la porte s’ouvre complètement.
Au besoin, régler de nouveau la course d’ouverture (UP).
Après chaque réglage, faire faire un cycle complet à
l’ouvre-porte.
ATTENTION
AVERTISSEMENTAVERTISSEMENT AVERTISSEMENT
AVERTISSEMENT
AVERTISSEMENT
KG KG
1
3
9
7
5
1
3
9
7
5
KG KG
Antenne
Vis de réglage
de la force
Force d'Overture Force de Fermeture
ÉTIQUETTE DE RÉGLAGE
Panneau arrière

25
Sans un système d’inversion de sécurité bien installé, des personnes
(plus particulièrement les petits enfants) pourraient être
GRIÈVEMENT BLESSÉES ou TUÉES par une porte de garage qui se
referme.
• On DOIT procéder à une vérification mensuelle du système
d’inversion de sécurité.
• Après avoir réglé une commande (force ou course), il peut être
nécessaire de régler l’autre commande.
• Après avoir effectué quelque réglage que ce soit, on DOIT faire
l’essai du système d’inversion de sécurité. La porte de garage DOIT
remonter au contact d’un objet d’une hauteur de 1-1/2 po (3,8 cm)
(ou un 2 x 4 posé à plat) sur le sol.
RÉGLAGES - 3e OPÉRATION
Essai du système d’inversion de sécurité
ESSAI
• La porte étant entièrement ouverte, placer une planche de
1-1/2 po (3,8 cm) d’épaisseur (ou un 2 x 4 à plat) sur le
plancher, centrée sous la porte de garage.
• Fermer la porte. La porte doit remonter dès qu’elle touche
l’obstacle.
RÉGLAGE
• Si la porte s’arrête sur l’obstacle, sa course de fermeture n’est
pas suffisante. Augmenter la course de fermeture (DOWN) en
tournant la vis de réglage « DOWN » de 1/4 de tour dans le
sens antihoraire.
REMARQUE : Dans le cas d’une porte articulée, s’assurer
que les réglages ne forcent pas sur la biellette, ni à l’ouverture
ni à la fermeture. Se reporter aux illustrations de la page 21.
• Répéter l’essai.
• Lorsque la porte remonte sur la planche de 1-1/2 po (3,8 cm),
retirer l’obstacle et faire faire 3 ou 4 cycles complets à
l’ouvre-porte afin de vérifier le réglage.
• Si l’essai du système d’inversion de sécurité échoue, appeler
un technicien formé en systèmes de porte.
VÉRIFICATION DE SÉCURITÉ IMPORTANTE :
Faire l’essai du système d’inversion de sécurité après :
• Chaque fois que l’on modifie la longueur des biellettes, et
chaque fois que l’on procède à un réglage de la force et de la
course de la porte.
• Chaque fois que l’on répare ou que l’on règle la porte du
garage (y compris les ressorts et les fixations).
• Chaque fois que l’on répare le plancher du garage ou après un
soulèvement de celui-ci.
• Chaque fois que l’on procède à une réparation ou à un réglage
de l’ouvre-porte.
RÉGLAGES - 4e OPÉRATION
Essai du Système Protector®
• Appuyer sur le bouton-poussoir de la télécommande pour
ouvrir la porte.
• Mettre la boîte en carton de l’ouvre-porte dans la course de la
porte.
• Appuyer sur le bouton-poussoir de la télécommande pour
fermer la porte. La porte ne se déplacera pas de plus d’un
pouce (2,5 cm), et les lumières de l’ouvre-porte clignoteront.
La porte de garage ne se fermera pas à l’aide d’une
télécommande si le témoin lumineux d’un des deux détecteurs
est éteint (ce qui avertit que le détecteur est mal aligné ou est
obstrué).
Si l’ouvre-porte ferme la porte lorsque le détecteur inverseur
de sécurité est obstrué (et que les détecteurs ne sont pas à
plus de 6 po (15 cm) au-dessus du sol), appeler un
technicien formé en systèmes de porte.
Détecteur inverseur de sécurité Détecteur inverseur de sécurité
Sans un système d’inversion de sécurité bien installé, des personnes
(plus particulièrement les petits enfants) pourraient être
GRIÈVEMENT BLESSÉES ou TUÉES par une porte de garage qui se
referme.
Planche de 1-1/2 de po (3,8 cm)
(ou 2 x 4 à plat)
ATTENTION
AVERTISSEMENTAVERTISSEMENT AVERTISSEMENT
AVERTISSEMENT
AVERTISSEMENT
ATTENTION
AVERTISSEMENTAVERTISSEMENT AVERTISSEMENT
AVERTISSEMENT
AVERTISSEMENT

FONCTIONNEMENT
Utilisation de votre ouvre-porte de garage
Votre télécommande à main et ouvre-porte Security✚® ont été
réglés en usine à un code compatible qui change avec chaque
usage, accédant de manière aléatoire à plus de 100 milliards de
nouveaux codes. Votre ouvre-porte fonctionnera avec un nombre
allant jusqu’à huit télécommandes Security✚® et un Système
d’entrée sans clé. Si vous achetez une nouvelle télécommande
ou que vous désirez désactiver toute télécommande, suivez les
instructions de la section Programmation.
Actionner l’ouvre-porte suivant l’une des méthodes
ci-après :
• La télécommande à main : Appuyer sur le bouton-poussoir
jusqu’à ce que la porte commence à se déplacer.
• La commande de porte murale : Tenir la barre ou le bouton-
poussoir enfoncé jusqu’à ce que la porte commence à se
déplacer.
• Le système d’entrée sans clé : (Se reporter à la
section Accessoires) s’il est fourni avec votre ouvre-porte de
garage, il doit être programmé avant usage. Se reporter à la
section Programmation.
Lorsque l’on actionne l’ouvre-porte de garage et que les
détecteurs inverseurs de sécurité sont correctement
installés et alignés
1. Si la porte est ouverte, elle se fermera. Si elle est fermée, elle
s’ouvrira.
2. Si la porte est en course de fermeture, elle remontera.
3. Si la porte est en course d’ouverture, elle s’arrêtera.
4. Si on l’a arrêtée en position partiellement ouverte, elle se
fermera.
5. Si la fermeture de la porte est gênée, la porte remontera. Si
l’obstacle interrompt le faisceau du détecteur, les lumières de
l’ouvre-porte clignoteront pendant 5 secondes.
6. Si l’ouverture de la porte est gênée, la porte s’arrêtera.
7. Si la porte est complètement ouverte, elle ne se fermera pas
tant que le faisceau lumineux sera interrompu. Le détecteur
n’a aucun effet lors du cycle d’ouverture.
Si le détecteur n’est pas installé ou est mal aligné, la porte ne se
fermera pas à partir d’une télécommande à main. Cependant,
vous pouvez fermer la porte avec la commande de porte, la clé
de verrouillage extérieur, ou l’entrée sans clé, si vous les activez
jusqu’à ce que la fermeture soit complète. Si vous les relâchez
trop tôt, la porte s’inversera.
L’éclairage de l’ouvre-porte de garage s’allumera dans les cas
suivants : lorsque l’on branche l’ouvre-porte de garage pour la
première fois sur le courant; lorsque le courant est interrompu;
lorsque l’ouvre-porte est actionné. Cet éclairage s’éteint
automatiquement après 4-1/2 minutes ou il assure un éclairage
constant lorsqu’on actionne la fonction d’éclairage sur la
commande de porte à functions multiples. La taille d’ampoule est
A19. Le pouvoir d’ampoule est 100 maximum de watts.
Éclairage Security✚®: Les lumières s’allumeront également
lorsqu’une personne franchira la porte de garage ouverte. Sur la
commande de porte multifonction, cette fonction d’éclairage peut
être désactivée de la façon suivante : les lumières fermées,
enfoncer et tenir le bouton d’éclairage pendant 10 secondes
jusqu’à ce que les lumières s’éteignent, puis s’allument de
nouveau. Pour rétablir cette fonction, commencer avec le
dispositif d’éclairage de l’ouvre-porte allumé, puis enfoncer et
tenir le bouton d’éclairage pendant 10 secondes, jusqu’à ce que
les lumières s’éteignent, puis s’allument à nouveau.
26
IMPORTANTES CONSIGNES DE SÉCURITÉ
AVERTISSEMENT
AVERTISSEMENT
AVERTISSEMENTAVERTISSEMENT
Pour réduire le risque de BLESSURES GRAVES
ou DE MORT :
1. LIRE ET SUIVRE TOUS LES AVERTISSEMENTS ET
INSTRUCTIONS.
2. TOUJOURS garder les télécommandes hors de la portée des
enfants. Ne JAMAIS laisser les enfants faire fonctionner les
télécommandes ou les boutons-poussoirs de la commande de
porte ou jouer avec ceux-ci.
3. Actionner la porte de garage UNIQUEMENT lorsqu’on peut la voir
clairement, qu’elle est bien réglée et qu’il n’y a aucune obstacle à
la course de la porte.
4. TOUJOURS garder la porte de garage en vue jusqu’à sa fermeture
complète. PERSONNE NE DOIT TRAVERSER LE PARCOURS DE
LA PORTE EN MOUVEMENT.
5. PERSONNE NE DOIT PASSER SOUS UNE PORTE ARRÊTÉE EN
COURS D’OUVERTURE.
6. Si possible, utiliser la poignée de déclenchement d’urgence
pour dégager le chariot UNIQUEMENT lorsque la porte de garage
est FERMÉE. Des ressorts faibles ou brisés ou une
porte déséquilibrée peuvent causer la chute rapide et/ou imprévue
d’une porte ouverte.
7. Ne JAMAIS utiliser la poignée de déclenchement d’urgence
à moins que l’entrée de garage ne soit dégagée (absence de
personnes et d’obstacles).
8. Ne JAMAIS utiliser la poignée pour ouvrir ou fermer la porte.
Il y a risque de chute si le nœud de la corde se défait.
9. Après avoir réglé une commande (force ou course), il peut être
nécessaire de régler l’autre commande.
10. Après avoir effectué quelque réglage que ce soit, on DOIT faire
l’essai du système d’inversion de sécurité.
11. On DOIT procéder à une vérification mensuelle du système
d’inversion de sécurité. La porte de garage DOIT remonter au
contact d’un objet d’une hauteur de 1-1/2 po (3,8 cm)
(ou un 2 x 4 posé à plat) sur le sol.
12. TOUJOURS GARDER LA PORTE DE GARAGE BIEN ÉQUILIBRÉE
(se reporter à la page 3). Une porte mal équilibrée peut ne pas
remonter au besoin et pourrait provoquer des BLESSURES
GRAVES ou LA MORT.
13. Toutes les réparations aux câbles, ensembles de ressort et
autres ferrures de montage, qui sont tous sous une tension
EXTRÊME, DOIVENT être confiées à un technicien formé en
systèmes de porte.
14. TOUJOURS mettre l’ouvre-porte de garage hors tension AVANT
d’effectuer quelque réparation que ce SOIT ou d’enlever des
couvercles.
15. CONSERVER CES INSTRUCTIONS.

27
Dans la mesure du possible,
la porte doit être complètement
fermée. Tirer la poignée de
déclenchement d’urgence et lever
la porte manuellement. Pour
rattacher la porte à l’ouvre-porte,
appuyer sur la barre-poussoir de
la commande de porte.
La fonction de verrouillage
empêche le chariot de se
réenclencher automatiquement.
Tirer la poignée de déclenchement
d’urgence vers le bas et l’arrière
(vers l’ouvre-porte de garage). Il
sera alors possible d’ouvrir et de
fermer la porte à la main autant de
fois qu’on le désirera. Pour inhiber
le verrouillage, tirer la poignée
droit vers le bas. Le chariot se
réenclenchera lors de la prochaine
ouverture ou fermeture de la
porte.
NOTICE
Poignée de
déclenchement
d'urgence
(tirer vers le bas et
l'arrière en direction
de l'ouvre-porte)
Levier de
déclenchement
du chariot
POSITION DE VERROUILLAGE
NOTICE
Levier de
déclenchement
du chariot
Poignée de
déclenchement
d'urgence
(à tirer)
POSITION DE DÉCLENCHEMENT
MANUEL
B) Pour actionner une porte en utilisant les trois boutons de la
télécommande à main (ouverture/fermeture/arrêt) :
On peut programmer la télécommande
de manière à ouvrir la porte avec le
gros bouton, à la refermer avec le
bouton central et à arrêter le
mouvement de la porte à l’aide du
troisième bouton.
REMARQUE : Si la télécommande est déjà programmée, on doit
d’abord effacer tous les codes. Voir Programmation.
1. La porte étant fermée, enfoncer et tenir le gros
bouton-poussoir de la télécommande.
2. Continuer à tenir tout en enfonçant le bouton de blocage sur la
commande de porte.
3. Continuer à tenir les deux boutons tout en enfonçant la barre-
poussoir de la commande de porte.
4. Lorsque l’éclairage de l’ouvre-porte clignote, relâcher tous les
boutons.
Ouverture manuelle de la porte
Utilisation de la commande de porte à
montage mural
PANNEAU COMMANDE DE PORTE
Appuyer sur la barre pour ouvrir ou fermer la
porte. Appuyer à nouveau pour faire
remonter la porte lors du cycle de fermeture
ou pour arrêter la porte pendant le cycle
d’ouverture.
Fonction d’éclairage
Appuyez sur le bouton d’éclairage pour allumer ou éteindre
l’éclairage de l’ouvre-porte. Il ne contrôle pas l’éclairage de
l’ouvre-porte pendant que la porte est en mouvement. Si vous
allumez, puis activez l’ouvre-porte, l’éclairage demeurera allumé
pendant 4-1/2 minutes. Appuyez à nouveau sur ce bouton pour
l’éteindre plus tôt. L’intervalle de 4-1/2 minutes peut être changé
à 1-1/2, 2-1/2 ou 3-1/2 minutes comme suit : Enfoncer et tenir le
bouton de blocage jusqu’à ce que l’éclairage clignote (environ
10 secondes). Un seul clignotement indique que la minuterie est
réglée à 1-1/2 minute. Répéter la procédure et l’éclairage
clignotera deux fois, réglant ainsi la minuterie à 2-1/2 minutes.
Répéter à nouveau pour un intervalle de 3-1/2 minutes, etc.,
jusqu’à un maximum de quatre clignotements pour 4-1/2 minutes.
Élément de verrouillage
L’élément de verrouillage est conçu de manière à empêcher le
fonctionnement de la porte à l’aide de télécommandes à main.
Cependant, la porte s’ouvrira et se fermera à partir de la
commande de porte, de la serrure extérieure ou du système
d’ouverture sans clé en accessoire.
Pour actionner, appuyer sur le bouton de verrouillage et le tenir
pendant 2 secondes. L’éclairage de la barre-poussoir clignotera
aussi longtemps que l’élément de verrouillage sera en marche.
Pour arrêter, appuyer à nouveau sur le bouton de verrouillage et
le tenir pendant 2 secondes. L’éclairage de la barre-poussoir
cessera de clignoter. L’élément de verrouillage sera également
neutralisé chaque fois que le bouton « learn » se trouvant sur le
panneau de l’ouvre-porte sera actionné.
Fonctions supplémentaires lors de l’utilisation avec la
télécommande à trois canaux
A) Commande de l’éclairage de l’ouvre-porte :
Vous pouvez programmer la télécommande de
manière à commander, non seulement la porte,
mais aussi l’éclairage.
1. La porte étant fermée, enfoncer et tenir un petit bouton de la
télécommande auquel on attribuera le contrôle de l’éclairage.
2. Continuer à tenir tout en enfonçant le bouton d’éclairage sur le
panneau de commande de la porte.
3. Continuer à tenir les deux boutons tout en enfonçant le bouton
de blocage de la commande de la porte.
4. Lorsque l’éclairage de l’ouvre-porte clignote, relâcher tous les
boutons.
Ouverture
Fermeture
Arrêt
LOCK
LIGHT
Bouton-
poussoir
Bouton
de blocage
Bouton
d'éclairage
Pour prévenir d’éventuelles BLESSURES GRAVES ou la MORT par
suite de la chute d’une porte de garage :
• Si possible, utiliser la poignée de déclenchement d’urgence pour
dégager le chariot UNIQUEMENT lorsque la porte de garage est
FERMÉE. Des ressorts faibles ou brisés ou une porte déséquilibrée
peuvent causer la chute rapide ou imprévue d’une porte ouverte.
• Ne JAMAIS utiliser la poignée de déclenchement d’urgence à moins
que l’entrée de garage ne soit dégagée (absence de personnes et
d’obstacles).
• Ne JAMAIS utiliser la poignée pour ouvrir ou fermer la porte. Il y a
risque de chute si le nœud de la corde se défait.
ATTENTION
AVERTISSEMENTAVERTISSEMENT AVERTISSEMENT
AVERTISSEMENT
AVERTISSEMENT

28
ENTRETIEN DE L’OUVRE-PORTE DE
GARAGE
RÉGLAGES DE COURSE ET DE FORCE :
Les conditions climatiques risquent de
causer de petites modifications dans
le fonctionnement de la porte qui
devra alors être réglée, en particulier
après la première année d’utilisation.
Se reporter aux pages 23 et 24 pour
les réglages des courses d’ouverture
et de fermeture et de la force. Seul un
tournevis est requis. Suivre
attentivement les instructions.
Procéder toujours au contrôle de
l’inversion de sécurité (réglages - 3e
Opération, page 25) après avoir procédé à un réglage des
courses ou de la force.
COMMANDES DE FORCE
COMMANDES DE COURSE
1
3
9
7
5
1
3
9
7
5
KG KG
PÉRIODICITÉS D’ENTRETIEN
Une fois par mois
• Faire fonctionner la porte à la main. Si elle est déséquilibrée ou
si elle force, appeler un technicien formé en systèmes de porte.
• S’assurer que la porte s’ouvre et se ferme complètement. Au
besoin, régler les commandes de course et/ou de force. (Se
reporter aux pages 23 et 24.)
• Répéter le contrôle du dispositif d’inversion de sécurité.
Procéder à tous les réglages nécessaires (voir réglages -
3e opération).
Deux fois par année
• Vérifier la tension de la chaîne. Désaccoupler d’abord le
chariot. Régler la tension de la chaîne au besoin (se reporter à
la page 7).
Une fois par année
• Huiler les rouleaux, les roulements et les charnières de la
porte. Il n’est pas nécessaire de lubrifier l’ouvre-porte de
garage. Ne pas graisser les guides de la porte.
AVIS : Les règles de la FCC ou d’Industrie Canada (IC), ou les deux, interdisent tout ajustement ou
toute modification de ce récepteur et/ou de cet émetteur, sauf pour modifier le code ou pour
remplacer la pile. IL N’EXISTE AUCUNE AUTRE PIÈCE SUSCEPTIBLE D’ÊTRE ENTRETENUE PAR
L’UTILISATEUR.
Vérifié pour conformité avec les normes de la FCC POUR UTILISATION À LA MAISON OU
AU BUREAU. L’utilisation est sujette aux deux conditions ci-après : (1) ce dispositif ne peut causer
des interférences nuisibles, et (2) ce dispositif doit accepter toute interférence reçue, y compris une
interférence pouvant causer un fonctionnement non désiré.
LA PILE DE LA TÉLÉCOMMANDE
La pile au lithium devrait durer
pendant une période allant
jusqu’à 5 ans. Pour changer la
pile, ouvrir le boîtier comme
illustré en le soulevant à l’aide de
la pince du pare-soleil ou de la
lame d’un tournevis. Insérer la
pile avec le côté positif vers le
haut (+).
Se débarrasser de la pile usagée
convenablement.
Remplacer les piles UNIQUEMENT par des piles capsules
3V2032.
Pour prévenir d’éventuelles BLESSURES GRAVES ou LA MORT :
• Ne JAMAIS laisser de petits enfants à proximité des piles.
• Aviser immédiatement un médecin en cas d’ingestion d’une pile.
Pour réduire le risque d'incendie, d'explosion ou de brûlure
chimique :
• Remplacer les piles UNIQUEMENT par des piles capsules 3V2032.
• NE PAS recharger, ni démonter, ni chauffer à une température
supérieure à 100 °C (212 °F), ni incinérer.
ATTENTION
AVERTISSEMENTAVERTISSEMENT AVERTISSEMENT
AVERTISSEMENT
AVERTISSEMENT
Pile au pôle
positif vers
le haut (+)

29
DÉFAUTS DE FONCTIONNEMENT
1. Ma porte ne se ferme pas et les ampoules de l’éclairage
du moteur clignotent : Le détecteur inverseur de sécurité
doit être raccordé et aligné correctement avant que l’ouvre-
porte de garage n’entame la procédure de fermeture.
• Vérifier que les détecteurs inverseurs de sécurité sont bien
installés et dépourvus d’obstruction. Se reporter à la
10e étape de pose : Pose du Système Protector®.
• Vérifier le diagnostic du voyant LED concernant les éclairs
sur le moteur, puis se reporter à la fiche diagnostic à la
page suivante.
2. Mes télécommandes ne font pas fonctionner la porte :
• Vérifier que votre commande murale ne clignote pas. Si elle
clignote, désactiver le mode de verrouillage en suivant les
instructions du passage consacré à l’Utilisation de la
commande de porte à montage murale.
• Reprogrammer les télécommandes en suivant les
instructions de programmation. Se reporter au chapitre
Programmation.
• Si la télécommande ne fait toujours pas fonctionner votre
porte, examiner le voyant LED diagnostique et observer, le
cas échéant, les éclairs sur le moteur, puis se reporter à la
fiche diagnostic à la page suivante.
3. La porte inverse sa course sans raison apparente : Après
avoir procédé au réglage de la force ou des limites de course,
répéter le contrôle de l’inversion de sécurité. Le besoin de
procéder à des réglages occasionnels des limites de courses
et de la force est normal. Les variations saisonnières en
particulier peuvent altérer la course de la porte.
• Vérifier manuellement que la porte est bien équilibrée et
qu’il n’y a pas de problèmes d’adhésion.
• Se reporter à la 2e opération de réglage, Réglage de la
force.
4. Après fermeture complète et après contact avec le sol, la
porte inverse sa course sans raison apparente : Répéter le
contrôle de l’inversion de sécurité après avoir procédé au
réglage de la force ou des limites de course. Le besoin de
procéder à des réglages occasionnels des limites de courses
et de la force est normal. Les variations saisonnières en
particulier peuvent altérer la course de la porte.
• Se reporter à la 1ère opération de réglage, Réglage des
courses d’OUVERTURE et de FERMETURE. Diminuer la
course de fermeture en tournant les vis de réglage dans le
sens des aiguilles de la montre.
5. L’éclairage ne s’éteint pas quand la porte est ouverte :
• L’ouvre-porte de garage est équipé d’un éclairage de
sécurité. Cette caractéristique allume la lumière quand le
faisceau lumineux de sécurité a été obstrué. Se reporter à la
section Fonctionnement ; Utilisation de la commande de
porte murale, Fonction d’éclairage.
Cellule réceptrice de détecteur inverseur
de sécurité (Témoin lumineux vert )
Cellule émettrice de détecteur inverseur
de sécurité (Témoin lumineux ambre)
6. Le moteur de l’ouvre-porte ronfle brièvement :
• Vérifier d’abord si le chariot appuie contre le boulon d’arrêt.
• Détacher la porte de l’ouvre-porte en tirant sur la cordon de
déverrouillage d’urgence.
• Fermer la porte manuellement.
• Relâcher la chaîne en donnant 4 à 5 tours à l’écrou
extérieur, ce qui relâche la tension.
• Mettre le moteur en marche au moyen de la télécommande
ou de la commande de porte. Le chariot devrait se diriger
vers la porte puis s’arrêter. Si le chariot se réengage avec la
porte, tirer sur le cordon de déverrouillage d’urgence pour le
libérer.
• Réduire la course d’ouverture en donnant deux tours
complets à la vis de réglage de la course d’OUVERTURE
dans le sens opposé à la flèche.
• Resserrer l’écrou extérieur de façon que la chaîne se trouve
à 1/2 po (13 mm) au-dessus de la base du rail. (Quand la
porte est raccordée et fermée, la chaîne pendra légèrement,
ce qui est normal.)
• Si le chariot ne s’éloigne pas du boulon, répéter les étapes
ci-dessus.
Fil de sonnerie
Détecteur inverseur
« Learn »
Bouton
Voyant LED
ou LED
diagnostic
Détecteur inverseur de sécurité

Fil de sonnerie
Détecteur inverseur
Voyant LED
ou LED
diagnostic
Diagnostic situé
sur le moteur
Bouton
« Learn »
30
Montage du
détecteur inverseur
du sécurité
Des fonctions d’autodiagnostic ont été programmées dans votre
ouvre-porte de garage. Le bouton « learn » ou le voyant LED de
diagnostic émettra un certain nombre d’éclairs avant de faire une
pause pour indiquer la découverte d’un problème potentiel.
Consulter la fiche diagnostique ci-dessous.
Fiche Diagnostique
Symptôme : Un des témoins lumineux des détecteurs de sécurité, ou les deux,
n’émet pas une lumière constante.
• Inspecter les fils du détecteur pour détecter un court-circuit (agrafe dans le fil), corriger
la polarité des branchements (fils noir/blanc inversés), les fils cassés ou débranchés ;
remplacer / relier si nécessaire.
• Déconnecter tous les fils de la plaque arrière du moteur.
• Retirer les détecteurs de leurs supports et raccourcir les fils des détecteurs à une
longueur de 1-2 pieds (30 à 60 cm) à partir de l’arrière de chaque détecteur.
• Rattacher la cellule de transmission au moteur à l’aide des fils raccourcis. Si le témoin
lumineux de la cellule de transmission brille de manière constante, fixer la cellule de
réception.
• Aligner les détecteurs, si les témoins lumineux sont allumés, remplacer les fils des
détecteurs. Si les témoins lumineux de détection ne s’allument pas, remplacer les
détecteurs de sécurité.
Symptôme : Le témoin LED n’est pas allumé sur la commande de porte.
• Inspecter la commande de porte / les fils pour détecter un court-circuit (agrafe dans le
fil)—remplacer si nécessaire.
• Déconnecter les fils au niveau de la commande de porte, toucher les fils l’un à l’autre.
Si le moteur se met en marche, remplacer la commande de porte.
• Si le moteur ne se met pas en marche, déconnecter les fils de la commande de porte
du moteur. Court-circuiter momentanément les terminaux rouge et blancs à l’aide d’un
câble de raccord. Si le moteur se met en marche, remplacer les fils de la commande
de porte.
Symptôme : Le témoin lumineux émetteur est allumé en continu alors que le témoin
lumineux récepteur donne une lumière faible ou clignote.
• Réaligner la cellule réceptrice, nettoyer le diffuseur et bien fixer les supports.
• Vérifier que le guide de la porte est bien ancré au mur et ne bouge pas.
Symptôme : Le moteur a surchauffé ; le moteur ne fonctionne pas ou le chariot est
coincé sur le boulon d’arrêt = le moteur ronfle brièvement = capteur de régime ;
Course courte de 6-8 po (15 à 20 cm).
• Débrancher le moteur pour le réarmer. Essayer de mettre le moteur en marche, vérifier
le code de diagnostic.
• S’il émet encore 5 éclairs et que le moteur se déplace de 6-8 po (15 à 20 cm),
remplacer le capteur de régime.
• Si le moteur ne fonctionne pas, le moteur a surchauffé. Attendre 30 minutes et essayer
à nouveau. Si le moteur ne se met toujours pas en marche, remplacer la carte logique.
Symptôme : Le moteur ne fonctionne pas.
• Remplacer la carte logique car les pannes de moteur sont rares.
Panne du circuit moteur.
Remplacer la carte logique
du récepteur.
Surchauffe du moteur ou
éventuelle panne du capteur
de régime. Débrancher pour
le réarmer.
Court-circuit de la
commande de porte ou
du fil.
Court-circuit du fil des
détecteurs inverseurs du
sécuritié ou inversion des
fils noir/blanc.
Cassure du fil des détecteurs
inverseurs du sécuritié (coupé
ou déconnecté).
1 ÉCLAIR
2 ÉCLAIRS
3 ÉCLAIRS
4 ÉCLAIRS
5 ÉCLAIRS
6 ÉCLAIRS
OU
Détecteur inverseur de sécurité
Léger mésalignement des
détecteurs inverseurs du
sécuritié (témoin LED faible
ou clignotant).

* Télécommandes à trois boutons
Programmé en usine, le gros bouton dont pourrait être munie
votre télécommande sert au fonctionnement de l’ouvre-porte
de garage. Les boutons supplémentaires sur n’importe quelle
télécommande ou télécommande
miniature trois boutons
Security✚® peuvent être
programmés pour faire
fonctionner d’autres ouvre-
portes de garage
Security✚®.
Pour effacer tous les codes de la
mémoire du moteur
Pour désactiver toute télécommande non désirée, effacer
d’abord tous les codes :
Enfoncer et tenir le bouton « learn » du moteur
jusqu’à ce que le témoin lumineux learn
s’éteigne (environ 6 secondes). Tous les codes
précédents sont maintenant effacés.
Reprogrammer chaque télécommande ou
entrée sans clé qu’on désire utiliser.
1. Enfoncer et tenir le bouton de la
télécommande* qui fera fonctionner votre
porte de garage.
2. Tout en tenant le bouton de la
télécommande, enfoncer et tenir le
bouton LIGHT sur la commande de porte
multifonction.
3. Continuer à tenir les deux boutons tout en
appuyant sur la barre-poussoir de la
commande de porte multifonction (les
trois boutons sont tenus).
4. Relâcher les boutons lorsque l’éclairage
du moteur clignote. Il a appris le code. Si
les ampoules ne sont pas posées, deux
clics se feront entendre.
1. Enfoncer et relâcher le bouton
« learn » sur le moteur. Le témoin
lumineux learn s’allumera en continu
pendant 30 secondes.
2. Dans un délai de 30 secondes, enfoncer
et tenir le bouton de la télécommande*
qui fera fonctionner votre porte de
garage.
3. Relâcher le bouton lorsque l’éclairage du
moteur clignote. Il a appris le code. Si
les ampoules ne sont pas posées, deux
clics se feront entendre.
Pour ajouter ou reprogrammer une télécommande à main supplémentaire
UTILISATION DU BOUTON « LEARN » UTILISATION DE LA COMMANDE DE
PORTE MULTIFONCTION
PROGRAMMATION
31
L’ouvre-porte de garage a été programmé en usine de manière à fonctionner avec la télécommande à main fournie. La porte s’ouvrira
et se fermera lorsqu’on appuiera sur le gros bouton-poussoir.
Ci-après se trouvent des instructions pour programmer votre ouvre-porte en vue du fonctionnement avec d’autres télécommandes
Security✚®.
REMARQUE : Si cet ouvre-porte de garage Security✚® est utilisé avec une télécommande émettrice à code fixe, le dispositif
technique que contient le récepteur de l’ouvre-porte et qui procure une protection contre les vols de code, se trouvera contourné. Le
détenteur des droits d’auteur de cet ouvre-porte de garage n’autorise pas l’acheteur ni le fournisseur de la télécommande émettrice à
code fixe à contourner ce dispositif technique.
KG
1
3
9
7
5
KG
1
3
9
7
5
LOCK
LIGHT
LOCK
LIGHT
LOCK
LIGHT

Pour ajouter, reprogrammer ou modifier un NIP d’entrée sans clé
REMARQUE : Votre nouvelle entrée sans clé doit être programmée de manière à faire fonctionner votre ouvre-porte de garage.
UTILISATION DU BOUTON « LEARN » UTILISATION DE LA COMMANDE DE
PORTE MULTIFONCTION
32
LOCK
LIGHT
1. Introduire un numéro d’identification
personnelle (NIP) à quatre chiffres de
son choix sur le pavé numérique.
Enfoncer et tenir ensuite le bouton
ENTER.
2. Tout en maintenant le bouton ENTER
enfoncé, appuyer et tenir le bouton
LIGHT de la commande de porte
Multifonction.
3. Maintenir les deux boutons enfoncés
tout en appuyant sur le bouton-poussoir
de la commande de porte Multifonction
(les trois boutons sont tenus).
4. Relâcher les boutons lorsque l’éclairage
du moteur clignote. Il a appris le code. Si
les ampoules ne sont pas posées, deux
clics se feront entendre.
1. Enfoncer et tenir le bouton « learn » sur
le moteur. Le témoin lumineux learn
s’allumera en continu pendant 30
secondes.
2. Dans un délai de 30 secondes,
introduire un numéro d’identification
personnelle (NIP) à quatre chiffres de
son choix sur le pavé numérique.
Enfoncer et tenir ensuite le bouton
ENTER.
3. Relâcher le bouton lorsque l’éclairage
du moteur clignote. Il a appris le code.
Si les ampoules ne sont pas posées,
deux clics se feront entendre.
REMARQUE : Cette méthode nécessite deux personnes si le
pavé pour l’entrée sans clé est déjà monté à l’extérieur du
garage.
Pour modifier un NIP connu, existant
Si le NIP existant est connu, il peut être modifié par une seule
personne sans devoir utiliser d’échelle.
1. Appuyer sur les quatre boutons correspondant au NIP actuel,
puis enfoncer et tenir le bouton #.
L’éclairage de l’ouvre-porte clignotera deux fois. Relâcher le
bouton #.
2.
Introduire le nouveau NIP à 4 chiffres choisi, puis appuyer sur
ENTER.
L’éclairage du moteur clignotera une fois lorsque le NIP aura été
appris.
Faire un essai en introduisant sur le nouveau NIP, puis appuyer
sur ENTER. La porte devrait bouger.
Pour définir un NIP temporaire
Vous pouvez autoriser l’accès aux visiteurs ou aux techniciens
de service à l’aide d’un NIP temporaire à 4 chiffres. Après un
nombre programmé d’heures ou un nombre programmé
d’utilisations, ce NIP temporaire vient à expiration et n’ouvre plus
la porte. On peut l’utiliser pour fermer la porte une fois qu’il a
expiré. Pour définir un NIP temporaire :
1. Appuyer sur les quatre boutons correspondant à son NIP
d’entrée personnelle (non le dernier NIP temporaire), puis
enfoncer et tenir le bouton ✽.
L’éclairage de l’ouvre-porte clignotera trois fois. Relâcher le
bouton.
2. Introduire le NIP temporaire à 4 chiffres choisi, puis appuyer
sur ENTER.
L’éclairage de l’ouvre-porte clignotera quatre fois.
3. Pour définir le nombre d’heures de validité de ce NIP
temporaire, appuyer sur le nombre d’heures (jusqu’à 255),
puis appuyer sur ✽.OU
3. Pour définir le nombre de fois de validité de ce NIP
temporaire, appuyer sur le nombre de fois (jusqu’à 255), puis
appuyer sur #.
L’éclairage de l’ouvre-porte clignotera une fois lorsque ce NIP
temporaire aura été appris.
Faire un essai en entrant les quatre chiffres correspondant à ce
NIP temporaire, puis appuyer sur ENTER. La porte devrait
bouger. Si le NIP temporaire a été défini pour un certain nombre
d’ouvertures, ne pas oublier que le test a utilisé une ouverture.
Pour effacer le mot de passe temporaire, répéter les étapes 1 à
3, en définissant le nombre d’heures ou de fois à 0 lors de
l’étape 3.
LOCK
LIGHT
LOCK
LIGHT
Un bouton fermé: L’ouvreur peut être fermé en appuyant sur le bouton ENTER si le dispositif du bouton fermé a été activé. Ce
dispositif a été activé par le fabricant. Afin d’activer ou de désactiver ce dispositif, appuyez et maintenez les boutons 1 et 9 enfoncés
pendant 10 secondes. Le bloc de touches clignotera deux fois lorsque le bouton fermé sera activé. Le bloc de touches clignotera
quatre fois lorsque le bouton fermé sera désactivé.

1
34
5
6
2
33
PIÈCES DE RECHANGE
Pièces d’assemblage du rail
N° DE
RÉF. PIÈCE DÉSIGNATION
1 4A1008 Maillon de raccord
2 41A4813 Support de poulie de
chaîne
3 41A3489 Chariot complet
4 1707LMC Rail rigide 7 pi (2,1 m)
1708LMC Rail rigide 8 pi (2,4 m)
1710LMC Rail rigide 10 pi (3 m)
5 41D3484 Chaîne dans un carton
distributeur
6 83A11-2 Graisse à rail
7
6
NOTICE
11
4
UP
CEILING MOUNT ONLY
8
12
5
1
9
10
LOCK
LIGHT
2
3
Pièces pour la pose
N° DE
RÉF. PIÈCE DÉSIGNATION
1 41A5273-1 Panneau commande de porte
multifonction
2 373LMC Télécommande à trois boutons
3 10A20 Pile au lithium 3V2032
4 29B137 Agrafe de pare-soleil de la télécommande
5 41A5047 Support de porte avec axe de chape et
fixation
6 41A2828 Poignée et corde pour fonctionnement
d’urgence
7 178B34 Biellette droite
8 41A4353 Support de linteau avec axe de chape et
fixation
9 41A5034 Nécessaire de capteur de sécurité
(cellules de réception et de transmission)
avec fil de sonnerie à deux conducteurs
de 3 pi (.9 m)
10 41A5266-1 Supports de détecteurs inverseurs de
sécurité (2)
11 41B4494-1 Fil de sonnerie blanc et blanc/rouge à
2 conducteurs
12 178B35 Biellette courbée
NON ILLUSTRÉS
41A2770-6 Sachet des fixations de pose
(comprend les fixations à la page 5).
114A3646 Manuel d’instructions

Pièces d’assemblage du moteur
34
2
10
8
13
14
15
5
4
19
3
9
16
12
7
18
11
17
1
6
6
7
DN
UP
Fil
brun
Contact
(fermeture) INTERRUPTEUR DE FIN
DE COURSE
Fil
gris
Fil
jaune
Contact
(d'ouverture)
Contact de fin
de course central
Pignon
menant
N° DE
RÉF. PIÈCE DÉSIGNATION
1 31D380 Carter du pignon
2 41C4220A Pignon et engrenage
Comprend : Rondelle de
blocage, rondelle de butée,
jonc d’arrêt, plaque de butée,
goupille cylindrique (2),
pignon menant et vis sans fin,
pignon hélicoïdal avec flasque
et graisse
3 41A2817 Vis sans fin/pignon menant
avec graisse, goupille
cylindrique (2)
4 41B4245 Cordon électrique
5 41A5484-1 Panneau d’extrémité avec
toutes les étiquettes
6 4A1344 Douille d'ampoule
7 108D79 Diffuseur
8 30B532 Condensateur
9 12A373 Support de condensateur
10 41A3150 Bornier à vis
11 41D3058 Moteur de rechange universel
et support, Comprend :
Moteur, vis sans fin, support,
roulement, capteur de régime
N° DE
RÉF. PIÈCE DÉSIGNATION
12 41A5525-1 Couvercle
13 41A2818 Entraînement et dispositif de
retenue d’interrupteur de fin de
course
14 41D3452 Interrupteur de fin de course
15 41A2822-1 Coupelle d’interrupteur
16 41C4398A Capteur de régime
17 41AC050-2M Plaque logique du récepteur
Comprend : Plaque logique,
panneau d'extrémité avec
toutes les étiquettes, douille
18 41C5497 Harnais de fils haute tension
41C5498 Harnais de fils basse tension
19 41D180-1 Panneau d'extrémité avec
toutes les étiquettes
NON ILLUSTRÉ
41A2826 Roulement d’arbre
41A2825 Sachet des fixations de
l’ouvre-porte (comprend les vis
non montrées dans l’illustration
ci-dessus)

LOCK
LIGHT
35
ACCESSOIRES
CLOSED
OPEN
374LMC
370LMC
395LMC
41A5281
1702LMC
Détachement rapide d'extérieur :
Nécessaire pour un garage SANS porte
d'accès. Permet au propriétaire d'ouvrir la
porte de garage manuellement à partir de
l'extérieur en déconnectant le chariot.
Commande d’éclairage :
Permet d’allumer une lampe, un téléviseur
ou un autre appareil à partir de la voiture
avec l’ouvre-porte ou à partir de n’importe
où dans la maison avec une autre
télécommande LiftMaster Security✚®.
Télécommande noyer à 3 touches avec
Security✚® :
Comprend l'agrafe de pare-soleil.
Télécommande à 4 touches avec
Security✚® :
Comprend l'agrafe de pare-soleil.
Panneau commande de porte :
Comporte une fonction de verrouillage
qui empêche le fonctionnement de la
porte à l’aide d’une télécommande et une
fonction d’éclairage pour un éclairage
constant.
377LMC
Supports de rallonge :
(Facultatif) Pour la pose du détecteur
inverseur de sécurité au mur ou au sol.
373WC
Ouvre-porte sans fil et sans clé avec
Security✚®
Permet d'ouvrir la porte de l’extérieur en
entrant un code sur le clavier de
conception spéciale. Peut également
ajouter un code temporaire pour les
visiteurs ou les préposés au service. Ce
code programmable peut être limité à
un nombre programmable d’heures ou
d’entrées.
78LMC
Mini-télécommande à 3 touches avec
Security✚® :
Avec porte-clé et ruban d’attache.
902LMC/903LMC Commande murale multifonction
pour 2 et 3 portes :
Idéal pour les domiciles qui comptent
jusqu’à trois portes. Trois postes de
commande logés dans un même
panneau pour garder une apparence
propre et dégagée. Fonction de
verrouillage qui empêche l’actionnement
de la porte à l’aide d’une télécommande
et commande d’éclairage.
Système de détection d’ouverture de
porte de garage :
Permet de surveiller la plus grande porte
de votre domicile! Indique si la porte du
garage est ouverte ou fermée. Peut
surveiller jusqu’à 4 portes de garage avec
des moniteurs supplémentaires.
915LMC
Moniteur de porte de garage :
Moniteur supplémentaire pour les
domiciles qui comptent plusieurs portes
de garage.
916LMC
373LMC Télécommande à 3 touches avec
Security✚® :
Comprend l'agrafe de pare-soleil.
Télécommande à 3 boutons avec
Security✚® :
Comprend l’agrafe de pare-soleil.
373PC
975LMC Aide au stationnement au laser :
Le laser permet au propriétaire de
stationner avec précision ses véhicules
dans le garage.

© 2008, The Chamberlain Group, Inc.
114A3646 Tous droits réservés
SERVICE LIFTMASTER À
VOTRE DISPOSITION
NOTRE IMPORTANT ORGANISATION DE SERVICE
APRÈS-VENTE COUVRE TOUTE LES ÉTATS-UNIS ET
CANADA.
SEVOUS POUVEZ OBTENIR PAR TÉLÉPHONE DES
INFORMATIONS SUR L'INSTALLATION ET LE SERVICE
APRÈS-VENTE: COMPOSEZ SIMPLEMENT NOTRE
NUMÉRO DE SERVICE:
1-800-528-9131
www.liftmaster.com
Pour une installation, des pièces et un service
professionnels, communiquez avec votre dépositaire local
CHAMBERLAIN/LIFTMASTER. Recherchez son numéro
dans les pages jaunes ou appelez notre numéro de
service. Vous obtiendrez la liste des concessionnaires
de votre région.
COMMENT COMMANDER DES
PIÈCES DE RECHANGE
Les prix de vente seront fournis sur demande, ou bien les
pièces seront expédiées au prix en vigueur et vous seront
facturées en conséquence.
LORSQUE VOUS COMMANDEZ DES PIÈCES DE
RECHANGE, DONNEZ TOUJOURS LES
RENSEIGNEMENTS SUIVANTS:
• NUMÉRO DE LA PIÈCE
• NOM DE LA PIÈCE
• NUMÉRO DE MODÈLE
PASSEZ VOS COMMANDES À:
THE CHAMBERLAIN GROUP, INC.
Technical Support Group
6050 S. Country Club Road
Tucson, Arizona 85706
NOTRE NUMÉRO DE SERVICE:
1-800-528-9131
GARANTIE LIMITÉE DE UN AN DE LIFTMASTER
GARANTIE LIMITÉE À VIE SUR LE MOTEUR
La société Chamberlain Group Inc. (« le Vendeur ») garantit à l’acheteur au détail initial de ce produit dans la résidence duquel ce produit est
originalement installé, que le produit est exempt de tout défaut de matière ou vice de fabrication pour une période de un an à compter de la date
d’achat et que le moteur est exempt de défaut de matière et/ou vice de fabrication pour le vie de produit. Pour que ce produit fonctionne
correctement, il faut se conformer aux instructions relatives à l’installation, à l’opération, à la maintenance et aux tests. Le non-respect de ces
instructions invalide totalement la présente garantie.
Si, au cours de la période de garantie limitée, ce produit semble contenir un défaut couvert par la présente garantie limitée, appeler le 1-800-
528-9131, sans frais, avant de démonter le produit. Envoyer ensuite le produit, en port payé et assuré, à notre centre de service pour que la
réparation soit couverte par la garantie. On vous indiquera les directives d’expédition lorsque vous appellerez. Une brève description du problème
et un reçu daté prouvant l’achat devront être joints à tout produit retourné pour une réparation sous garantie. Lorsque le Vendeur aura reçu les
produits qui lui sont retournés pour réparation, s’il s’avère que les produits étaient effectivement défectueux et couverts par la présente garantie
limitée, ils seront réparés ou remplacés (à la seule discrétion du Vendeur) sans frais pour l’acheteur, puis retournés en port payé. Les pièces
défectueuses seront réparées ou remplacées par de nouvelles pièces ou des pièces remises à neuf en usine, à la seule discrétion du
Vendeur.
LA PRÉSENTE GARANTIE LIMITÉE REMPLACE TOUTE AUTRE GARANTIE, EXPRESSE OU IMPLICITE, NOTAMMENT TOUTE GARANTIE
IMPLICITE DE QUALITÉ MARCHANDE OU D’ADAPTATION À UN BUT PARTICULIER, OU AUTRE, ET TOUTE AUTRE OBLIGATION OU
RESPONSABILITÉ DE LA PART DU VENDEUR. LA PRÉSENTE GARANTIE LIMITÉE NE COUVRE PAS LES DOMMAGES QUI NE SONT
PAS DUS À UN DÉFAUT, CEUX CAUSÉS PAR UNE MAUVAISE INSTALLATION, UNE OPÉRATION OU UN ENTRETIEN INADÉQUATS
(INCLUANT, NOTAMMENT, LES AVARIES DUES À UN MAUVAIS TRAITEMENT, UN USAGE NON APPROPRIÉ, L’ABSENCE D’ENTRETIEN
RAISONNABLE ET NÉCESSAIRE, DES RÉPARATIONS NON AUTORISÉES OU TOUTE MODIFICATION À CE PRODUIT), LES FRAIS DE
MAIN-D’ŒUVRE POUR LA RÉINSTALLATION D’UNE UNITÉ RÉPARÉE OU REMPLACÉE, LE REMPLACEMENT DES PILES ET DES
AMPOULES OU DES UNITÉS INSTALLÉES POUR UNE UTILISATION NON RÉSIDENTIELLE.
LA PRÉSENTE GARANTIE LIMITÉE NE COUVRE PAS LES PROBLÈMES RELATIFS OU CONNEXES À LA PORTE DU GARAGE OU À LA
QUINCAILLERIE DE LA PORTE DU GARAGE, NOTAMMENT LES RESSORTS DE LA PORTE, LES GALETS DE PORTE, L’ALIGNEMENT
DE LA PORTE OU LES CHARNIÈRES. DES FRAIS POURRAIENT ÊTRE IMPUTÉS À L’ACHETEUR POUR TOUTE RÉPARATION
RÉSULTANT D’UN PROBLÈME CAUSÉ PAR L’UN DE CES ARTICLES.
LE VENDEUR NE SERA EN AUCUN CAS TENU RESPONSABLE DES DOMMAGES SPÉCIAUX OU INDIRECTS RÉSULTANT DE
L’UTILISATION OU DE L’IMPOSSIBILITÉ D’UTILISER CE PRODUIT. EN AUCUN CAS LA RESPONSABILITÉ DU VENDEUR POUR
L’INOBSERVATION DE GARANTIE, LA RUPTURE DE CONTRAT, LA NÉGLIGENCE OU LA RESPONSABILITÉ OBJECTIVE NE POURRA
EXCÉDER LE COÛT DU PRODUIT GARANTI AUX PRÉSENTES. NUL N’EST AUTORISÉ À ASSUMER POUR NOUS D’AUTRES
RESPONSABILITÉS RELATIVEMENT À LA VENTE DE CE PRODUIT.
Certaines provinces n’acceptant pas l’exclusion ou les restrictions relatives aux dommages spéciaux ou indirects, les restrictions ou exclusions
figurant dans la présente garantie pourraient ne pas s’appliquer. La présente garantie limitée accorde certains droits légaux spécifiques à
l’acheteur et il se peut qu’il ait d’autres droits qui varient d’une province à l’autre.