Chief Manufacturing Pac501 Users Manual INSTALLATION INSTRUCTIONS
PAC501 to the manual 896e9244-f24e-4a3b-856e-835439c70b30
2015-02-05
: Chief-Manufacturing Chief-Manufacturing-Pac501-Users-Manual-534926 chief-manufacturing-pac501-users-manual-534926 chief-manufacturing pdf
Open the PDF directly: View PDF
.
Page Count: 8

INSTALLATION INSTRUCTIONS
Instrucciones de instalación
Installationsanleitung
Instruções de Instalação
Istruzioni di installazione
Installatie-instructies
Instructions d´installation
IN-WALL ENCLOSURE
Spanish Product Description
German Product Description
Portuguese Product Description
Italian Product Description
Dutch Product Description
French Product Description
PAC501

PAC501 Installation Instructions
2
DISCLAIMER
Milestone AV Technologies, and its affiliated corporations and
subsidiaries (collectively, "Milestone"), intend to make this
manual accurate and complete. However, Milestone makes no
claim that the information contained herein covers all details,
conditions or variations, nor does it provide for every possible
contingency in connection with the installation or use of this
product. The information contained in this document is subject
to change without notice or obligation of any kind. Milestone
makes no representation of warranty, expressed or implied,
regarding the information contained herein. Milestone assumes
no responsibility for accuracy, completeness or sufficiency of
the information contained in this document.
Chief® is a trademark of Milestone AV Technologies.
All rights reserved.
IMPORTANT WARNINGS AND
CAUTIONS!
WARNING: A WARNING alerts you to the possibility of
serious injury or death if you do not follow the instructions.
CAUTION: A CAUTION alerts you to the possibility of
damage or destruction of equipment if you do not follow the
corresponding instructions.
WARNING: Failure to read, thoroughly understand, and
follow all instructions can result in serious personal injury,
damage to equipment, or voiding of factory warranty! It is the
installer’s responsibility to make sure all components are
properly assembled and installed using the instructions
provided.
CAUTION: This equipment must be installed and
assembled by qualified service personnel in accordance with
local building codes.
WARNING: Failure to provide adequate structural strength
for this accessory can result in serious personal injury or
damage to equipment! It is the installer’s responsibility to
make sure the structure to which this accessory is attached
can support the combined weight of the box and all
equipment not to exceed 200 lbs (90.72 kg).
NOTES:
• SUITABLE FOR USE IN OTHER ENVIRONMENTAL AIR SPACE IN ACCORDANCE WITH SECTION 300.22,
(C) OF THE NATIONAL ELECTRICAL CODE.
• The maximum specified ambient temperature of the cabinet system is 40° - 120°F (4° - 49°).
• Minimum spacings between the accessories and components and the housing for Information Technology
Communication Equipment shall be maintained for safe operation of the equipment when installed in
accordance with the National Electric Code, ANSI/NFPA 70-1999. Refer to communication equipment
manufacturer’s specifications for minimum spacings.
• This Cabinet System is for use with ITE or Audio/Video equipment only.

Installation Instructions PAC501
3
DIMENSIONS
[458.2]
18.04
[50.8]
2X 2.00
[24.9]
.98
GROUNDING SCREW CONNECTIONS
[762]
30.00
[50.8]
2X 2.00 [304.8]
2X 12.00 [457.2]
2X 18.00 [711.2]
2X 28.00
[17.5]
2X R.69
[30.2]
2X R1.19
[581]
2X 22.88
[657.2]
2X 25.88
[148.6]
2X 5.85
[97.9]
3.85
[101.6]
2X 4.00
[47.6]
4X 1.88
[304.8]
2X 12.00
[508]
20.00
ELECTRICAL CUTOUT
DESIGNED TO FIT A SINGLE GANG
RACO 590, STEEL CITY CY ½ OR
SIMILAR STYLE ELECTRICAL BOX
MEASUREMENTS IN: [MILLIMETERS]
INCHES

PAC501 Installation Instructions
4
LEGEND
Tighten Fastener
Apretar elemento de fijación
Befestigungsteil festziehen
Apertar fixador
Serrare il fissaggio
Bevestiging vastdraaien
Serrez les fixations
Loosen Fastener
Aflojar elemento de fijación
Befestigungsteil lösen
Desapertar fixador
Allentare il fissaggio
Bevestiging losdraaien
Desserrez les fixations
Phillips Screwdriver
Destornillador Phillips
Kreuzschlitzschraubendreher
Chave de fendas Phillips
Cacciavite a stella
Kruiskopschroevendraaier
Tournevis à pointe cruciforme
Open-Ended Wrench
Llave de boca
Gabelschlüssel
Chave de bocas
Chiave a punte aperte
Steeksleutel
Clé à fourche
By Hand
A mano
Von Hand
Com a mão
A mano
Met de hand
À la main
Hex-Head Wrench
Llave de cabeza hexagonal
Sechskantschlüssel
Chave de cabeça sextavada
Chiave esagonale
Zeskantsleutel
Clé à tête hexagonale
Pencil Mark
Marcar con lápiz
Stiftmarkierung
Marcar com lápis
Segno a matita
Potloodmerkteken
Marquage au crayon
Drill Hole
Perforar
Bohrloch
Fazer furo
Praticare un foro
Gat boren
Percez un trou
Adjust
Ajustar
Einstellen
Ajustar
Regolare
Afstellen
Ajuster
Remove
Quitar
Entfernen
Remover
Rimuovere
Verwijderen
Retirez
Optional
Opcional
Optional
Opcional
Opzionale
Optie
En option
Security Wrench
Llave de seguridad
Sicherheitsschlüssel
Chave de segurança
Chiave di sicurezza
Veiligheidssleutel
Clé de sécurité

Installation Instructions PAC501
5
TOOLS REQUIRED FOR INSTALLATION
PARTS
3/16"
G (4)
A (1)
B (1)
C (8)
M7 x 40mm
F (10)
08 x 1/2"
E (1)
M7
Grounding screw and washer
installed at factory
Earthing symbol IEC 60418 No. 5019
affixed adjacent to grounding terminal.
D (4)
M7 x 50mm

PAC501 Installation Instructions
6
INSTALLATION
WARNING: IMPROPER INSTALLATION CAN RESULT IN
DEATH OR SERIOUS PERSONAL INJURY! This accessory
should be installed by qualified personnel.
Site Preparation
Locate and Prepare Mounting Site
1. Identify a suitable wall location for the in-wall enclosure.
IMPORTANT ! : The PAC-501 is designed for in-wall
installation spanning a minimum of three wood studs, 16"
on center. Installation of PAC-501 in 2x4 wall results in
nearly direct contact with vertical studs and back wall.
Inadequate space will remain for electrical wires/cables,
plumbing, ductwork, or insulation. Locate installation
accordingly.
WARNING: ELECTRICAL SHOCK HAZARD! CUTTING
OR DRILLING INTO ELECTRICAL WIRES OR CABLES
CAN CAUSE DEATH OR SERIOUS PERSONAL INJURY!
ALWAYS make certain area behind mounting surfaces is free
of electrical wires and cables before cutting, drilling, or
installing fasteners.
WARNING: EXPLOSION AND FIRE HAZARD! CUTTING
OR DRILLING INTO GAS PLUMBING CAN CAUSE DEATH
OR SERIOUS PERSONAL INJURY! ALWAYS make certain
area behind mounting surfaces is free of gas, water, waste, or
any other plumbing before cutting, drilling, or installing
fasteners.
2. Using a stud sensor, locate and mark studs.
3. Center and level housing between marked studs.
4. Using housing as a template, draw pencil line completely
around housing. (See Figure 1)
5. Cut drywall on outside edge of line and remove.
Figure 1
Frame Housing
The exposed portion of the center wood stud must be removed
and the resulting cavity completely framed with wood. The
following steps are suggested. The actual procedure is
dependent upon the specific installation.
WARNING: STRUCTURAL FAILURE HAZARD! FAILURE
TO TAKE ADEQUATE PRECAUTIONS CAN LEAD TO
DEATH OR SERIOUS INJURY! Ensure removal of center
stud will not cause unacceptable loss of structural strength.
Consult a qualified building contractor and applicable building
codes.
1. Remove exposed portion of center wood stud flush with
upper and lower drywall edges.
Figure 2
Wood Studs
(A)
Horizontal Framing
Support
Blocks
Top View
Wood
Screws
(5 places)
(Typical for each
support block)

Installation Instructions PAC501
7
2. Cut four 8" long support blocks out of 2x4 wood.
3. Using three #10 x 2-1/2" countersunk wood screws (not
provided), attach each support block to the studs (See
Figure 2)
NOTE: Ensure screws are far enough from block end to
prevent interference with framing screws installed in
Step 5.
4. If necessary, cut rectangular hole in horizontal framing to
accomodate the PAC-501 electrical box.
5. Attach horizontal framing to each support block with two
#10 x 2-1/2" countersunk wood screws (not provided).
(See Figure 2)
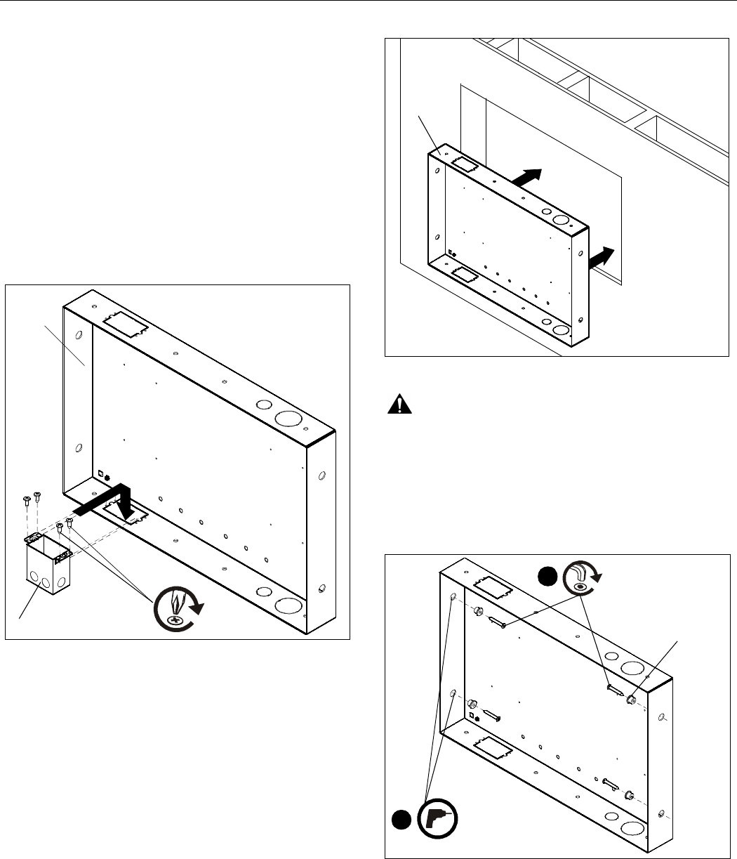
In-Wall Enclosure Installation
1. Install junction box (B) into the PAC-501 (A) using four
08 x 1/2" Phillips pan head tap screws (F). (See Figure 3)
Figure 3
2. Connect electrical wiring.
3. Route audio/visual cables into housing.
4. Center PAC-501 in opening and insert into opening. Align
front of box with front face of wall. (See Figure 4)
Figure 4
WARNING: ELECTRICAL SHOCK HAZARD! CUTTING
OR DRILLING INTO ELECTRICAL WIRES OR
CABLES CAN CAUSE DEATH OR SERIOUS
PERSONAL INJURY! ALWAYS make certain area behind
mounting surfaces is free of electrical wires and cables
before cutting, drilling, or installing fasteners.
5. Drill four 3/16" diameter pilot holes in studs at side mounting
holes. (See Figure 5)
Figure 5
6. Attach the PAC-501 to side studs using four M7 x 50mm
Allen head connector screws (D) and mounting spacers (G)
using an M4 Allen head drill bit (E). (See Figure 5)
NOTE: The PAC-501 has 1/2" total clearance between the two
studs. The spacers allow side to side adjustment.
(F) x 4
(B)
(A) Mounting
Holes
(A)
x
5
6
x 4
(D) x 4
(G) x 4

PAC501 Installation Instructions
Chief Manufacturing, a division of
Milestone AV Technologies
8807-000073 Rev A
2008 Milestone AV Technologies
www.chiefmfg.com
10/08
USA/International A 8401 Eagle Creek Parkway, Savage, MN 55378
P800.582.6480 / 952.894.6280
F877.894.6918 / 952.894.6918
Europe A Fellenoord 130 5611 ZB EINDHOVEN, The Netherlands
P+31 (0)40 2668620
F+31 (0)40 2668615
Asia Pacific A Room 24F, Block D, Lily YinDu International Building
LuoGang, BuJi Town, Shenzhen, CHINA.
P+86-755-8996 9226
F+86-755-8996 9217